//
ТехЛит.ру
- крупнейшая бесплатная электронная интернет библиотека для "технически умных" людей.
WWW.TEHLIT.RU - ТЕХНИЧЕСКАЯ ЛИТЕРАТУРА

:: Алготрейдинг::


АЛГОТРЕЙДИНГ
шаг за шагом
с нуля по урокам!

Торговые роботы на PYTHON, BackTrader,
Pandas, Pine Script для TradingView. Связка с брокерами, телеграм и легкими приложениями.


ОРДЕНА ТРУДОВОГО КРАСНОГО ЗНАМЕНИ
АКАДЕМИЯ КОММУНАЛЬНОГО ХОЗЯЙСТВА им. К.Д. Памфилова

Утверждаю

Директор НИИ КВОВ

АКХ им. К.Д. Памфилова

И.И. Демин

20 декабря 1990 г.

ИНСТРУКЦИЯ
ПО ПРИМЕНЕНИЮ МОНОБЛОЧНЫХ
ВОДООЧИСТНЫХ УСТАНОВОК
ПРОИЗВОДИТЕЛЬНОСТЬЮ 100 - 800 м3ут

Сектор научно-технической информации АКХ

Москва 1991

Изложены рекомендации по привязке и монтажу моноблочной установки и эксплуатации ее основного технологического оборудования.

Разработана НИИ коммунального водоснабжения и очистки воды АКХ им. К.Д. Памфилова (кандидаты техн. наук В.М. Корабельников и В. Мельцер) и предназначена для специалистов, занимающихся вопросами проектирования и эксплуатации.

Замечания и предложения по настоящей инструкции просьба направлять по адресу: 123371, Москва, Волоколамское шоссе, 87, НИИ коммунального водоснабжения и очистки воды.

НАЗНАЧЕНИЕ И ОБЛАСТЬ ПРИМЕНЕНИЯ

1. Установка предназначена для очистки поверхностных и подземных вод, в том числе осветления, обесцвечивания и обесфторивания в системах хозяйственно-питьевого водоснабжения.

2. При использовании настоящих установок исходная вода должна отвечать следующим требованиям:

при очистке поверхностных вод содержание взвешенных веществ до 1000 мг/л; цветность до 300 град.;

при обесфторивании подземных вод (мг/л): содержание фтора до 5; содержание сульфатов до 350.

3. Производительность установок при очистке поверхностных вод Qпов соответствует принятому типоразмеру в единицах измерения, м3ут, например: «Моноблок-С-100В» - 100, «Моноблок-С-400В» - 400 м3ут.

Производительность установок в режиме обесфторивания подземной воды рассчитывается и определяется по следующей формуле:

Qрасч = Qпов Kот,

где Qрасч - расчетная производительность установки при обесфторивании, м3/сут; Qпов - производительность в расчете на условия очистки поверхностных вод, м3/сут; Kот - коэффициент относительного изменения производительности установок по сравнению с типовой для случая очистки поверхностных вод.

УСТРОЙСТВО И ПРИНЦИП ДЕЙСТВИЯ УСТАНОВОК В РЕЖИМЕ ОЧИСТКИ ПОВЕРХНОСТНЫХ ВОД

4. Схема работы и технологическое решение водоочистной установка изображены на рис. 1. Исходная вода забирается из водоисточника насосами 2 и подается на установку. Раствор коагулянта и щелочного реагента в требуемых дозах (выбранных на основании пробных лабораторных испытаний) вводят в напорный патрубок насоса до или после сетчатого фильтра. Обеззараживающий раствор хлорреагента вводят в фильтрованную воду, а при необходимости также и исходную воду. В случае ввода флокулянта полиакриламида (ПАА) он дозируется после сетчатого фильтра, а коагулянт - до него.

Рис. 1. Схема осветления воды на установке «Моноблок» при очистке поверхностных вод:

1 - поверхностный водозабор; 2 - насосы исходной воды; 3 - трубчатый отстойник; 4 - фильтр с плавающей загрузкой; 5 - блок коагулирования; 6 - блок обеззараживания; 7 - насосы-дозаторы; 8 - водонапорная башня; 9 - сетчатый фильтр; 10 - операционные задвижки; 11 - блок подщелачивания (блок флокулирования ПАА); 12 - установка «Поток» (при использовании установки «Поток» блок обеззараживания 6 не устанавливается)

Реагенты смешивают с обрабатываемой водой в напорном трубопроводе до камеры хлопьеобразования. Для задержания крупных плавающих примесей после насоса устанавливают грубый фильтр 9. Пройдя его, вода поступает в камеру хлопьеобразования, в которой после ввода коагулянта образуются хлопья гидрата окиси алюминия с извлеченными из воды взвешенными и коллоидными частицами. Затем образовавшиеся в камере хлопья поступают в отстойник 3, в трубках и межтрубном пространстве которого происходит выпадение взвеси, и вода интенсивно осветляется. Одновременно часть осадка сползает в камеру хлопьеобразования. Отстоенная вода с остаточной мутностью проходит фильтр 4, где происходит ее окончательная очистка.

5. Пройдя фильтр с плавающей загрузкой, вода под остаточным напором поступает в резервуар чистой воды или в бак водонапорной башни 8 с гарантированным запасом воды на промывку (в зависимости от привязки установки на месте), а затем в водопроводную сеть.

6. Для удаления накапливающихся загрязнений установку периодически промывают. Промывная вода из водонапорной башни, поступая на фильтр сверху вниз, расширяет его фильтрующую загрузку из вспененного полистирола, выносит накопившиеся за фильтроцикл загрязнения и затем поступает в отстойник и смывает накопившийся в нем осадок.

7. Сброс осадка из отстойника осуществляют через специальную систему опорожнения при открытии соответствующей операционной задвижки.

8. Для обеззараживания воды использует гипохлорит кальция или натрия, приготовляя раствор этих реагентов в баках с помощью мешалки.

Рис. 2. Технологическая схема установки «Моноблок»:

а - с одним отстойником и фильтром; б - с двумя отстойниками и фильтрами; 1 - насос подачи воды; 2 - сетчатый фильтр; 3 - отстойник; 4 - фильтр; 5 - бак водонапорной башни; 6 - промывной отсек; 7 - операционная задвижка; 8 - оборудование для коагулирования; 9 - оборудование для обеззараживания; 10 - смесительная диафрагма

9. Размещение и привязку установки определяют расположением источника водоснабжения, водонапорной башни и установкой их по отношению друг к другу, а также возможностью использования водопровода и величиной колебаний уровня воды в источнике.

10. Высота башен должна быть не менее 10 - 12 м. При высоте более 15 м расход воды для промывки установок регулируют задвижкой. Для большей надежности используют дополнительную задвижку между установкой и башней для регулирования степени постоянного ее открытия на требуемые параметры промывки. Возможна также установка диафрагмы, рассчитанной на остаточный напор при промывке не более 15 м.

11. Емкости водонапорных башен должны быть рассчитаны на регулирующий и промывной объемы. Регулирующий объем определяют конкретными условиями работы системы водоснабжения. Промывной объем рассчитывают на одну промывку 4 - 5 м3 для установок производительностью 100 и 200 м3/сут, 16 - 20 м3 для установок производительность 400 - 800 м3/сут. При этом конструкция узла подвода воды от установки к башне должна обеспечивать необходимые продолжительность и интенсивность промывки установки.

РАБОТА УСТАНОВОК В РЕЖИМЕ ОБЕСФТОРИВАНИЯ ПОДЗЕМНЫХ ВОД

12. Технологическая схема обесфторивания воды на моноблочных установках включает целый ряд аналогичных элементов (оборудование для коагулирования, подщелачивания и обеззараживания воды). Однако режимы работы установок, методы их расчета и состав вспомогательного оборудования имеют некоторое различие.

13. Технологическая схема обесфторивания воды представлена на рис. 3. Исходная вода из скважины поступает в промежуточный аэрационный бак, необходимый для предотвращения возможной флотации растворенных газов в блоке отстаивания и фильтрации. Этот бак является также регулирующей емкостью между подземным водозабором и установкой. Вода из бака забирается насосами установки и обрабатывается коагулянтом - сернокислым алюминием, обладающим фторселективными свойствами (фтор сорбируется на поверхности осадка солей алюминия, выделяющихся из воды при коагуляции).

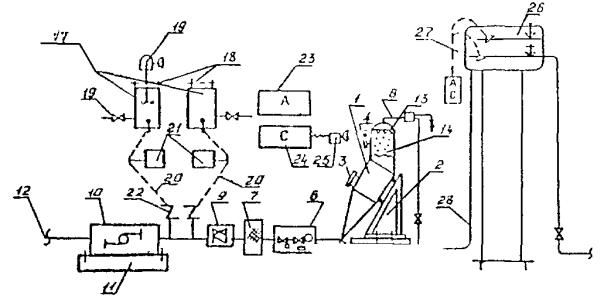
Рис. 3. Принципиальная схема работы установки в режиме обесфторивания:

1 - скважина; 2 - промежуточный бак; 3 - насосы; 4 - сетчатый фильтр; 5 - отстойник; 6 - фильтр; 7 - водонапорная башня; 8 - бак раствора соды; 9 - бак раствора коагулянта; 10 - блок бактерицидных установок; 11 - дозаторы; 12 - места ввода реагентов; 13 - водомер; 14 - операционная задвижка; 15 - подача воды от скважины арианты); 16 - обратные клапаны; 17 - подача от башни потребителям; 18 - дозировочные клапаны (краны); 19 - воздушник; 20 - манометры

Для интенсификации; выделения осадка необходимо дополнительно вводить в воду флокулянт полиакриламид (ПАА).

Осветление воды, как и в предыдущих случаях, осуществляют в трубчатом отстойнике и фильтре.

14. Обеззараживание воды осуществляют либо в бактерицидной установке, либо с использованием хлорреагентов. Метод обеззараживания должен быть выбран с учетом местных условий и согласован с органами санитарного надзора.

15. Очищенную и обеззараженную воду подают в водонапорную башню и далее потребителю. В башне должен быть предусмотрен запас промывной воды из расчета проведения одной промывки установки.

16. Промывку установки осуществляют как и при осветлении воды обратным током от башен или бака после открытия операционной задвижки. При этом последовательно в течение 5 - 10 мин промывают фильтр и отстойник и промывную воду отводят через систему опорожнения.

Монтаж установки

17. Монтаж установки выполняют по схеме, указанной на рис. 4. До начала монтажа проверяют готовность отдельных элементов по технической документации. В фундаментах должны быть оставлены соответствующие болты и колодцы. Перед проведением монтажных работ узлы и детали, подаваемые на монтаж, должны быть очищены от грязи, песка, снега и льда. Особенно тщательно очищают стыки.

18. Рекомендуется следующий порядок монтажа:

на месте монтажа проверить комплектность установки согласно чертежам общих видов, отдельных сборок и их спецификации, а также сохранность оборудования, приборов и средств автоматики;

Рис. 4. Монтажно-наладочная схема установки «Моноблок»:

1 - блок отстойника и фильтра; 2 - опорная рама; 3 - нижний люк; 4 - верхний люк; 5 - фундамент отстойника и фильтра; 6 - запорно-соединительная арматура и КИП; 7 - фильтр грубый; 8 - соединительные коммуникации фильтра; 9 - насосно-арматурный узел; 10 - насосы подачи воды; 11 - фундамент насосов; 12 - подсоединение к водоприемникам; 13 - дренажные колпачки; 14 - загрузка фильтра; 15 - подсоединение к канализации: 16 - анкерные болты; 17 - баки реагентов; 13 - крепление мешалки; 19 - мешалка; 20 - коммуникации блоков; 21 - насосы-дозаторы; 22 - подача раствора реагентов; 23 - пульт автоматики; 24 - пульт сигнализации; 25 - блок звуковой сигнализации; 26 - водонапорная башня; 27 - автоматика и сигнальная аппаратура; 28 - подсоединение к башне

установить и закрепить на фундаменте опорную раму;

с помощью грузоподъемного оборудования (погрузчика, автокрана и т.д.) поднять и установить опорную раму, блок отстаивания и фильтрования установки и закрепить болтовые соединения;

установить насосы «сырой» воды 10 на фундамент 11 в соответствии с положением фундаментных колодцев;

собрать и установить по монтажным чертежам и маркировке элементов соединительные трубопроводы (предварительно сняв фланцевые заглушки), арматуру и сетчатый фильтр;

жестко закрепить собранное оборудование и заделать фундаментные колодцы и закладные детали цементным раствором;

установить в соответствии с предварительной разметкой баки реагентов 17, дозировочные насосы 21 и кожух пульта автоматики 23;

установить и жестко закрепить хомутами коммуникации баков реагентов и дозировочных насосов (приемные сетки, клапаны, регулирующую арматуру, трубки уровня, шланги и т.д.) и оборудовать баки креплением для установки мешалки 19, закрепив на одном из креплений мешалки 18;

присоединить шланги подачи реагентов через клапаны (краны) к местам ввода их на установку;

проверить качество закрепления щелевых дренажных колпачков 13 на дренажной системе фильтра 1 через верхний люк 4 после чего люк закрыть (см. ниже):

 

Область применения

Очистка природных вод

Обесфторивание подземной воды

Толщина слоя загрузки фильтра, м

0,7 - 0,3

1 - 1,1

Крупность зерен загрузки, мм

0,5 - 1,5

0,5 - 1,5

Эквивалентный диаметр загрузки, мм

0,7 - 0,8

0,7 - 0,8

Коэффициент неоднородности

2 - 3

2 - 3

В случае, если в заводских условиях не проведено заполнение установки фильтрующим материалом, необходимо осуществить загрузку в требуемом количестве: мелкий пенополистирол через верхний люк и крупный пенополистирол через нижний люк, после чего люки закрыть. При этом сначала следует загрузить крупный пенополистирол;

установить пульт автоматики и сигнализации. При этом систему автоматика и сигнализации уровня воды устанавливают в водонапорной башне и подсоединяют к пультам автоматики и сигнализации;

соединить установку с водоприемными коммуникациями 12 и системой канализации 15.

19. Подготовка установки к пуску. Перед началом работы установку оснащают минимальным комплектом оборудования и химическими реагентами для проведения лабораторно-производственного контроля качества воды.

20. При введении установки в эксплуатацию рекомендуется иметь 2 - 3-месячный запас реагентов. Необходимое количество реагентов для станций различной производительности приведено ниже:

Реагент (по техническому продукту)

Производительность м3/сут

100

200

400

800

Коагулянт

1

2

3

4

Полиакриламид

0,2

0,4

0,8

1,6

Гипохлорит кальция*

0,15

0,3

0,6

1,2

Хлорная известь*

0,2

0,4

0,8

1,6

Техническая поваренная соль**

0,8

1,6

3,2

6,4

* Применяют в случае отсутствия электролизных установок.

** Применяют при наличии электролизных установок.

Перед вводом установок в эксплуатацию их необходимо дезинфицировать хлорной известью, гипохлоритом кальция или натрия. Хлорреагент вводят насосомозатором, снижая производительность установки для обеспечения дозы 25 - 30 мгпо активному хлору. После 8-часового контакта воду сбрасывают в канализацию, дозу снижают до 3 - 4 мг/л и подают в водонапорную башню, от которой промывают установку. После получения благоприятных санитарно-бактериологических показателей установку можно включить в постоянную эксплуатацию.

21. Перед пуском установки в эксплуатацию необходимо тщательно ознакомиться с инструкциями по эксплуатации всех элементов, входящих в ее состав.

ЭКСПЛУАТАЦИЯ УСТАНОВОК

22. Во время эксплуатации установки обслуживающий персонал приготавливает химические реагенты, следит за работой насосных агрегатов, периодически контролирует подачу требуемых доз реагентов, контролирует качество обработки воды, устраняет возникающие мелкие неполадки, т.е. поддерживает установку в рабочем состоянии.

23. Для приготовления раствора коагулянта в бак загружают необходимое количество реагента. Затем заливают воду так, чтобы уровень ее в баке был ниже верхней кромки бака на 15 см и закрепляют на нем электрическую мешалку. Время перемешивания раствора должно составлять около 20 - 30 мин. Для проверки эффективности перемешивания химическим методом определяют концентрацию приготовленного раствора.

24. Расход раствора реагента, подаваемого насосом-дозатором, равен

qР = 0,19QДК(1/KР),

где qР - расход раствора коагулянта, л/ч; Q - производительность установки, м3/ч; ДК - доза коагулянта по окиси алюминия, г/м3; KР - концентрация раствора коагулянта по окиси алюминия.

25. Перед включением в работу насоса-дозатора необходимо дать возможность раствору отстояться в течение 15 мин.

После отстаивания раствора надо проверить состояние фильтрующего элемента в баке, через который происходит всасывание раствора реагента насосом-дозатором. В случае необходимости его нужно прочистить или промыть водой. Требуемую производительность насоса-дозатора устанавливают вращением установочного кольца на устройстве изменения длины хода поршня в соответствии со шкалой, выраженной в л/ч или в процентном отношении от максимальной производительности насоса. Регулировку можно производить как при работающем, так и при неработающем насосе.

26. Введение щелочных реагентов (извести, соды) в обрабатываемую воду необходимо производить в трубопровод после промежуточного бака.

27. При дозировании реагентов в обрабатываемую воду рекомендуется принимать следующие концентрации растворов или суспензий (%): раствор коагулянта по Al2O3 - 1 - 2; суспензии известкового молока по CaO - 3 - 5; раствора кальцинированной соды по Nа2CO4 - 5-8; раствора хлорной извести по активному хлору (гипохлорита кальция или натрия) - 0,5 - 2; электролитического хлорреагента по активному хлору - 1.

28. Необходимую дозу хлорреагента уточняют по величине остаточного хлора в пробах воды после бака водонапорной башни или в фильтрате пробным хлорированием.

29. Предварительный пуск установок (см. рис. 3) в работу осуществляют в ручном 19 режиме следующим образом: открывают вентили воздушников на фильтрах 6 для выпуска накопившегося воздуха (во время работы установок воздушники полностью не закрываются и из них непрерывно вытекает небольшая струя воды); операционные задвижки 14 должны быть в положении «Закрыто», включают насос подачи воды (нажимается кнопка «Пуск» на щите управления); пускают насос-дозатор хлорреагента и устанавливают требуемый расход хлорного раствора; включают насос-дозатор реагента и устанавливают его требуемый расход. После выведения установки на оптимальный режим и получения заданного качества воды работу установки переводят в автоматический режим.

30. Промывку установки производят при предельных потерях напора на фильтре порядка 6 - 10 м в течение 5 - 10 мин.

УПРАВЛЕНИЕ РАБОТОЙ МОНОБЛОЧНЫХ ВОДООЧИСТНЫХ УСТАНОВОК

Электрическая система пульта управления работой установок производительностью 100 и 200 м3ут предусматривает их работу в «ручном» и полуавтоматическом режиме.

В «ручном» режиме включение и выключение насосов подачи исходной воды и насосов-дозаторов происходит путем нажатия соответствующих кнопок на щите управления. Промывку установки осуществляют также путем открывания операционной задвижки «Вручную». Возможность включения и выключения насосных агрегатов независимо друг от друга необходима также при выполнении профилактических ремонтных и регулировочных работ.

Под полуавтоматическим режимом имеют в виду работу насосных агрегатов в автоматическом режиме, а промывку установок - в «ручном» режиме.

Для включения установки в автоматический режим необходимо на щите пульта управления ключи одного из насосов подачи исходной воды и насосов-дозаторов поставить в положение «Автомат».

Автоматическое включение их в работу обеспечивает датчик (поплавкового типа), который расположен в приемном резервуаре (водонапорной башне). По мере опорожнения приемной емкости очищенной воды до нижнего уровня замыкаются соответствующие контакты датчика уровня, которые включают в работу насосные агрегаты. По мере наполнения приемной емкости и достижения установленного верхнего уровня разрываются соответствующие контакты и происходит выключение насосов. Время работы установки (цикличность включений и выключений) зависит от интенсивности водозаборов. По мере работы установки и роста перепада давления на фильтре до установленного предела (6 - 10 м) замыкаются контакты датчика давления, в результате чего дается звуковой и световой сигнал о необходимости проведения промывки установки, что и надо сделать, открыв операционную задвижку. После выполнения этой операции установка снова готова к работе по очистке воды.

Электрическая схема пульта управления работой установки производительностью 400 и 800 м3/сут также предусматривает их работу в «ручном» и автоматическом режиме.

В отличие от установок производительностью 100 и 200 м3/сут для установок производительностью 400 и 800 м3/сут в качестве операционной задвижки используют клапан с электроприводом, для управления которым электросхема пульта управления и автоматики предусматривает соответствующие датчики и реле времени, с помощью которого выдерживается время промывки установки (около 5 - 10 мин).

Управление работой установками производительностью 400 и 800 м3/сут в «ручном» режиме аналогично управлению установками производительностью 100 и 200 м3/сут с той лишь разницей, что операционную задвижку (клапан) с электроприводом открывают и закрывают нажатием кнопок на щите пульта управления.

Автоматический режим работы этих установок обеспечивает не только работу насосных агрегатов в автоматическом режиме по очистке воды (аналогично установкам меньшей производительности), но и автоматическую промывку установок. После окончания времени промывки определяемого реле времени клапан с электроприводом автоматически закрывается и электрическая схема также автоматически включает насосные агрегаты в работу, в результате чего прерванный процесс очистки воды (для промывки) снова продолжается.

В целях своевременного устранения возникающих неисправностей, в том числе выхода из строя насосных агрегатов, достижения предельного перепада давления на фильтрах перелива водонапорной башни или резервуара чистой воды, а также при полном их опорожнении, электросхема блока управления и сигнализации установок предусматривает соответственно световую и звуковую сигнализацию. Звуковая сигнализация (зуммер) общая на все виды неисправностей и технологических процессов. Световая сигнализация в виде лампочек со светофильтрами (на каждую неисправность отдельно) выведена на лицевую панель пульта управления и сигнализации.

Для подачи сигнала о любой неисправности на установке предусмотрен отдельный дистанционный пульт с зуммером и лампочкой.

Выяснение конкретной неисправности может быть определено оператором на месте работы установки.

Документация на насосы-дозаторы, средства контроля и управления работой установок в «ручном» и автоматическом режиме, на схемы подключения насосных агрегатов прилагается отдельно.

31. Если в установке два отстойника и два фильтра (см. рис. 2,б), то каждый отстойник и соединенный с ним фильтр промывают поочередно, что достигается открыванием соответствующей операционной задвижки перед отстойником.

ОРГАНИЗАЦИЯ ТЕХНОЛОГИЧЕСКОГО И ЛАБОРАТОРНОГО КОНТРОЛЯ

32. Объем и периодичность технологического и лабораторного контроля на установке (табл. 1) ориентировочно следующие:

наблюдение и контроль за технологическими и гидравлическими параметрами работы установки. Для этого проводят периодическую запись показаний параметров по напору насоса и потерям напора в установке, запись и регистрацию количества воды, поданной установкой, ее часовую и суточную производительности (табл. 2);

физико-химический и бактериологический анализ исходной и обработанной воды желательно производить один раз в квартал или сезон года;

оперативный анализ исходной и обработанной воды (привкус, запах, остаточный хлор, цветность, мутность, жесткость, железо, фтор, колиндекс) желательно проводить 1 - 4 раза в месяц;

контроль качества обрабатываемой воды (вода после отстаивания, фильтрат) желательно проводить не реже одного раза в неделю. Пробы должны анализироваться на прозрачность, мутность, жесткость, железо, фтор, остаточный хлор 1 - 3 раза в сутки, коли-индекс 1 - 2 раза в неделю;

контроль за крепостью растворов реагентов и постоянством требуемых доз осуществляют ежедневно. Крепость растворов реагентов определяют также при каждом их приготовлении.

Таблица 1

Примерный объем технологического и лабораторного контроля на водоочистной установке

Время отбора проб

Данные лабораторного и технологического контроля

Периодичность контроля

Исходная вода, растворы реагентов

Отстоянная вода

Фильтрат

Число, часы

Температура

1 раз в неделю

1 раз в смену

1 раз в смену

Привкус, запах

То же

То же

То же

Мутность (прозрачность)

"

"

"

Остаточный хлор

-

-

2 - 4 раза в смену

Общая (карбонатная) жесткость

1 раз в неделю

1 раз в смену

То же

Содержание фтора

То же

То же

"

Щелочность

"

"

"

рН

"

"

"

Крепость раствора реагентов

1 раз в сутки и при каждом приготовлении

-

-

Бактериологический анализ

По согласованию с санэпидемстанцией

Таблица 2

Журнал технологического контроля работы установки

Дата и часы работы, промывки

Показания расходомеров

Показания манометров, МПа

Потери напора, МПа

Заданная доза хлорреагента, г/м3

Расход раствора хлорреагента, л/ч

Концентрация раствора хлорреагента, %

Заданная доза коагулянта, г/м3

Расход раствора коагулянта, л/ч

Концентрация раствора коагулянта, %

водомера, м3

ротаметра, л/мин

насоса подачи воды Н1

отстой инка Н2

фильтра Н3

общая Н1 - Н3

фильтра Н2 - Н3

 

Возможно применение одного из приборов

-

-

-

Показание (Н1 - Н3) - 2 - Н3) = (Н1 - Н2) является потерей напора а сетчатом фильтре

-

-

-

Или извести оды)

-

-

ВОЗМОЖНЫЕ НЕИСПРАВНОСТИ РАБОТЫ УСТАНОВОК И СПОСОБЫ ИХ УСТРАНЕНИЯ

33. Наиболее характерные неисправности работы установки, причины их возникновения и способы устранения приведены в табл. 3.

Таблица 3

Возможные неисправности работы установок и способы их устранения

Неисправность

Вероятная причина

Способ устранения

1. Подача очищенной воды начинает резко снижаться

Неисправность насоса подачи воды

Проверить работу насоса в соответствии с инструкцией

Достижение фильтром предельных потерь напора

Промыть установку

Неисправна задвижка аварийного опорожнения фильтра

Отключить установку, отремонтировать или заменить задвижку

Засорение сетчатого фильтра

Заменить сетку фильтра на запасную, промыть снятую сетку

2. Остаточный хлор в очищенной вода недостаточен

Недостаточная доза хлорреагента

Увеличить производительность насоса-дозатора и проверить дозу хлора

Неисправность насоса-дозатора хлорреагента

Проверить работу насоса-дозатора подачи хлорреагента в соответствии с инструкцией и уточнить дозу хлора йодометрическим методом

Снижение активности хлорреагента

Догрузить баки хлорреагента. Проверять его крепость

3. Низкое качество осветления воды в отстойнике или повышенная концентрация остаточного фтора, остаточного алюминия

Недостаточная доза реагентов

Проверить объемным методом расходы реагентов и уточнить их расход

Неисправность насосов-дозаторов реагентов

Проверить работу насосов-дозаторов в соответствии с инструкцией и устранить неисправности

Выход отстойника из работы в связи с излишним накоплением осадка

Промыть установку

4. Низкое качество фильтрата по остаточной мутности, фтору, остаточному алюминию

Недостаточная доза реагента

См. п. 3

Повышенный расход воды и скорость фильтрации

Проверить расход воды по ротаметру и установить производительность в соответствии с инструкцией

Выход фильтра из работы в связи с ухудшением качества воды

Промыть установку

5. Низкая концентрация растворов реагентов

Плохое растворение реагентов

Увеличить время работы электромешалки

Бак для раствора реагентов забит осадками

Промыть и прочистить бак

6. Нарушена работа водомера

Засорение или поломка водомера

Снять и проверить водомер. В случае неисправности прочистить или отремонтировать по инструкции

7. Наличие пенополистирола в фильтрате или баке водонапорной башни

Поломка колпачков фильтра

Опорожнить установки и через верхний люк заменить неисправные колпачки. После этого при необходимости произвести догрузку фильтрового материала через верхний люк

8. Установка не обеспечивает необходимого качества обработки воды независимо от доз реагентов

Неправильно выбраны дозы реагентов

Проверить в лабораторных условиях эффективность обработки воды. Подобрать в лабораторных условиях требуемый режим обработки, дозы и порядок ввода реагентов

СОДЕРЖАНИЕ

 




Яндекс цитирования



   Copyright © 2007-2026,  www.tehlit.ru.

[ ѓосты, стандарты, нормативы, инструкции, правила, строительные нормы ]