//
ТехЛит.ру
- крупнейшая бесплатная электронная интернет библиотека для "технически умных" людей.
WWW.TEHLIT.RU - ТЕХНИЧЕСКАЯ ЛИТЕРАТУРА

:: Алготрейдинг::


АЛГОТРЕЙДИНГ
шаг за шагом
с нуля по урокам!

Торговые роботы на PYTHON, BackTrader,
Pandas, Pine Script для TradingView. Связка с брокерами, телеграм и легкими приложениями.


МЕЖДУНАРОДНЫЙ СТАНДАРТ * 8033

INTERNATIONAL ORGANIZATION FOR STANDARDIZATION
ORGANISATION INTERNATIONALE DE NORMALISATION
МЕЖДУНАРОДНАЯ ОРГАНИЗАЦИЯ ПО СТАНДАРТИЗАЦИИ

РУКАВА ИЗ РЕЗИНЫ И ПЛАСТИНЫ

МЕТОД ОПРЕДЕЛЕНИЯ АДГЕЗИИ МЕЖДУ ЭЛЕМЕНТАМИ

ИСО 8033-85

Первое издание

Дескрипторы: резиновые изделия, пластмассовые изделия, рукава, резиновые рукава, испытание, определение, адгезия

1988

ПРЕДИСЛОВИЕ

Международная организация по стандартизации (ИСО) представляет собой объединение национальных организаций по стандартизации (комитеты-члены ИСО). Разработка международных стандартов осуществляется техническими комитетами ИСО. Каждый комитет-член может принимать участие в работе любого технического комитета по интересующему его вопросу. Другие международные организации, как правительственные, так и неправительственные, сотрудничающие с ИСО, также могут принимать участие в этой работе.

Проекты международных стандартов, принятые техническими комитетами, перед утверждением их советом ИСО в качестве международных стандартов, направляются на рассмотрение всем комитетам-членам. В соответствии с процедурой ИСО международный стандарт считается принятым, если его одобрили, по крайней мере, 75 % комитетов-членов.

Международный стандарт ИСО 8033 разработан Техническим комитетом ИСО/ТК 45 «Резина и резиновые изделия».

МЕЖДУНАРОДНЫЙ СТАНДАРТ                                      ИСО 8033

РУКАВА ИЗ РЕЗИНЫ И ПЛАСТИНЫ

Метод определения адгезии между
элементами

Rubber and plastics hose. Determination of adhesion between components

Рег. № ИСО
8033-85

ВВЕДЕНИЕ

Для удовлетворительной работы рукава в эксплуатационных условиях существенное значение имеет соответствующая величина адгезии между элементами конструкции рукава.

1. НАЗНАЧЕНИЕ И ОБЛАСТЬ ПРИМЕНЕНИЯ

Настоящий международный стандарт устанавливает методы определения адгезии между внутренним слоем и усилением, между наружным слоем и усилением и между усиливающим слоями.

Он охватывает все диаметры и следующие типы конструкции рукавов:

тканевые обмоточные;

нитяные оплеточные;

нитяные навивочные;

нитяные вязаные;

нитяные круглотканые;

текстильно-кордные;

с металлонавивкой;

с опорной спиралью.

2. ССЫЛКИ

ИСО 471.       Резина. Стандартные условия для кондиционирования, испытания резиновых образцов.

ИСО 1826.     Резина. Промежуток времени между вулканизацией и испытанием. Технические требования.

ИСО 5893.     Испытательное оборудование для резин и пластмасс. Оборудование для определения прочности, изгиба, сжатия (с постоянной скоростью движения траверсы).

ИСО 6133.     Методы анализа многотиповых диаграмм при испытании на сопротивление раздиру и адгезию.

3. СУЩНОСТЬ МЕТОДА

Измеряют адгезионную прочность между внутренним слоем и усилением между слоями усиления, между наружным слоем и усилением при определенных условиях испытуемых образцов стандартных размеров.

4. ПРИБОР

Прибор должен обладать следующими характеристиками:

4.1. Прибор работает от источника энергии, снабжен динамометром, сохраняет постоянную скорость перемещения подвижной части в течение испытания, имеется автографический самописец. Прибор отвечает требованиям ИСО 5893 (тип А). Следует применять буинерционный динамометр (например, электронного или оптического типа).

4.2. Зажимы должны прочно удерживать испытуемый образец, а слои должны расслаиваться без скольжения.

Примечание. Если расслаивается резина, рекомендуются самозатягивающиеся зажимы. Для образцов в форме полосок следует предусматривать приспособления, позволяющие удерживать полоску в соответствующей плоскости в процессе испытания. Это достигается подвешиванием достаточной массы к свободному концу образца или закреплением опорной пластины, покрытой материалом с низкой фрикцией типа политетрафторэтилена (PTFE), к неподвижному зажиму.

4.3. Для испытания кольцеобразного образца используется оправка-держатель, закрытый с торца, с гладкой поверхностью. Оправка вставляется в образец и закрепляется во вращающейся головке машины, таким образом, чтобы обеспечивалось свободное вращение оправки в процессе испытания.

5. ИСПЫТУЕМЫЕ ОБРАЗЦЫ

5.1. Типы испытуемых образцов

Семь типов испытуемых образцов охватывают ряд методов и размеры внутренних диаметров, обычно встречающихся на практике.

5.1.1. Тип 1. Кольцо шириной (25 ± 0,5) мм, отрезанное от рукава и разрезанное поперек для образования полоски.

5.1.2. Тип 2. Полоска размером 160 мм ´ 0,5 окружности рукава.

5.1.3. Тип 3. Кольцо, отрезанное от рукава шириной (35 ± 0,5) мм и разрезанное поперек для образования полоски.

5.1.4. Тип 4. Полоска размером 160 мм ´ 0,5 окружности рукава или ´ 10 мм в зависимости от того, что меньше.

5.1.5. Тип 5. Полоса размером 160 мм ´ 0,5 окружности рукава.

5.1.6. Тип 6. Кольца шириной (35 ± 2) мм.

Конструкция рукавов

Адгезия

Номинальный внутренний диаметр рукава, мм

20

20  50

50

Тканевая обмотка

Внутренний слой и усиливающий слой

Тип 4

Тип 1

Тип 1

Нитяная оплетка

Усиливающие слои

Тип 4

Тип 1

Тип 1

Вязанный нитяной каркас

Наружный слой и усиливающий слой

Тип 2

Тип 3

Тип 3

Круглотканый нитяной каркас

 

 

 

 

Нитяная навивка

Внутренний слой и усиливающий слой

Тип 2

Тип 3

Тип 3

Текстильно-кордный каркас

Усиливающие слои

Тип 21

Тип 2 или 31

Тип 31

 

Наружный слой и усиливающий слой

Тип 2

Тип 3

Тип 3

Металлооплетка

Внутренний слой и усиливающий слой

Тип 52

Тип 5

Тип 5

Металлонавивка

Усиливающий наружный слой и усиливающий слой

Тип 2 или 6

Тип 2 или 6

Тип 2 или 6

Рукава с опорной спиралью

Внутренний слой и усиливающий слой

Тип 7

Тип 7

Тип 7

Усиливающие слои

Тип 7

Тип 7

Тип 7

Наружный слой и усиливающий слой

Тип 7

Тип 7

Тип 7

1 Если при определении адгезии встречаются трудности с получением чисто рассматривающихся поверхностей вследствие истирания пряжи, это следует указать в протоколе испытания.

2 Определение адгезии не практикуется при внутреннем диаметре менее 12,5 мм, т.к. образец получается недостаточной ширины.

3 Определение адгезии не практикуется, поскольку слои металлооплетки, клеи металлонавивки расходятся, и на результат обычно оказывают значительное влияние силы, вызывающие изгиб проволоки.

5.1.7. Тип 7. Полоска, вырезанная вдоль усиливающего слоя (навивки) шириной (25 ± 0,5) мм или максимально достижимой.

5.2. Выбор испытуемого образца

Если нет других указаний в стандарте на изделие или соглашения между заинтересованными сторонами, или образца, то образец следует выбирать из таблицы. Результаты, полученные на разных испытуемых образцах и (или) рукавах одной конструкции, но разных диаметров, несопоставлены.

5.3. Изготовление испытуемого образца

5.3.1. Тип 1

Из рукава вырезают кольцо шириной (25 ± 0,5) мм под прямым углом к его продольной оси. Разрезают кольцо в поперечном направлении и раскрывают его с образованием полости (см. черт. 1).

Испытуемый образец I типа

Черт. 1

Примечание. Образцы должны изготавливаться таким образом, чтобы в результате вырезания не поднималась температура. В том случае, если теплообразование вызывает ухудшение свойств, следует использовать образцы швов 2, 3, 5 или 6.

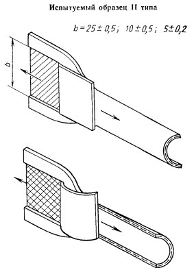
5.3.2. Тип II

Не прорезая нити, сделать два надреза параллельно оси испытуемого образца на расстоянии (25 ± 0,5), (10 ± 0,5) или (5 ± 0,2) мм друг от друга в зависимости от имеющейся ширины (см. черт. 2).

Черт. 2

5.3.3. Тип III

Вырезать кольцо шириной (35 ± 2) мм под прямым углом к продольной оси. Разрезать кольцо поперек и развернуть его в полоску. На расстоянии (25 ± 0,5) мм друг от друга делают два подреза параллельно от рукава, стараясь не прорезать нити. Определить слой на расстоянии, достаточное для того, чтобы разделенные концы можно было зажать в зажимах машины для испытания (см. черт. 3).

Испытуемый образец III типа

Черт. 3

Испытуемый образец IV типа

Черт. 4

5.3.4. Тип IV

Испытуемый образец разрезают пополам в продольном направлении. Из одной половины вырезают полоску шириной (10 ± 0,5) мм или максимально достигаемой ширины, если ширина не достигает 10 мм. После отделения резинового слоя концы образца нужно зажать в зажимах машины (черт. 4).

5.3.5. Тип V

Испытуемый образец разрезать пополам в продольном направлении. С помощью ножа с двумя лезвиями, прорезая внутренний слой, вырезать из центра продольную полоску шириной (5 ± 0,2) мм, и, оттянув один конец, раскрыть образец (см. черт. 5).

5.3.6. Тип VI

Испытуемый образец V типа

Черт. 5

Отрезать кольцо шириной (35 ± 2) мм из рукава под прямым углом к его продольной оси. Прорезая наружный слой, сделать два надреза по окружности на расстоянии (25 ± 0,5) мм друг от друга таким образом, чтобы, разделив, вырезанный образец располагался по центру испытуемого образца. Поперечный разрез сделать, прорезая наружный слой, оттянув один конец, раскрыть образец (см. черт. 6).

Испытуемый образец VI типа

Черт. 6

5.3.7. Тип VII

Получают полоску из стенки рукава с помощью надреза вдоль усиливающей спирали, отделяют полоску от спирали и подравнивают до длины 160 мм и ширины (25 ± 0,5) мм, а в случае, если ширина менее 25 мм, то до максимально достигаемой (см. черт. 7).

Испытуемый образец VII типа

Черт. 7

Примечание. Для рукавов со спиральным усилением и большой длины такое испытание не является обязательным. Оно не применимо также к рукавам специальной длины со специальными концами, встроенной арматурой и т.д. Оно используется только в том случае, когда расстояние между отдельными спиралями более 10 мм.

5.4. Кондиционирование испытуемых образцов.

Испытания нельзя проводить в течение 24 ч после изготовления рукава. Образцы кондиционируются при стандартной лабораторной температуре и влажности (см. ИСО 471) не менее чем за 16 ч до испытания, то время может быть частью 24 ч после изготовления рукава.

5.5. Промежуток времени между вулканизацией и испытанием

Для получения сравнимых результатов испытания по мере возможности следует проводить через одинаковые периоды времени после изготовления продукции. В ИСО 1826 указывается время между изготовлением и испытанием.

6. МЕТОДИКА

6.1. Для каждой поверхности раздела рекомендуется испытывать отдельный образец.

6.2. Взять испытуемый образец, кондиционированный в соответствующих условиях и измерить его фактическую ширину.

Закрепить разведенные концы испытуемого образца в зажимах машины, регулируя равномерное натяжение обоих концов таким образом, чтобы избежать перекоса в процессе испытания. При закреплении образца в зажимах угол разведения равен приблизительно 180° для плоскости, 90° для колец. Важно убедиться, что растягивающая сила действует в плоскости разделения слоев.

6.3. Скорость перемещения зажима должна обеспечивать расслоение со скоростью (50 ± 5) мм/мин.

6.4. Включить машину и отметить силу (Н), необходимую для; расслаивания не менее 100 мм по длине или на максимально возможное расстояние. Если длина образца меньше 100 мм.

Если расслоение происходит в любой другой точке, например, внутри любого испытуемого компонента, отмечают это нарушение и силу, которая вызывает это разрушение.

7. ОБРАБОТКА РЕЗУЛЬТАТОВ

На кривых, полученных на диаграмме, отражают изменение силы в процессе расслоения слоев.

По диаграмме с помощью соответствующего метода (см. ИСО 6133) определяют среднюю пиковую силу. Делят эту силу на эффективную ширину испытуемого образца и выражают величину адгезии в Н/мм (КН/м).

8. ПРОТОКОЛ ИСПЫТАНИЯ

Протокол испытания должен содержать следующую информацию:

а) тип рукава и номинальный внутренний диаметр;

б) дату изготовления продукции, номер закладки или партии;

в) метод изготовления партии и тип усиливающего слоя;

г) ссылку на данный международный стандарт;

д) тип образца;

е) величину адгезии, выраженную в килоньютонах на метр ширины, между:

внутренним и усиливающим слоем,

усиливающими слоями,

наружным и усиливающим слоями;

ж) дату проведения испытания.

СОДЕРЖАНИЕ

 




Яндекс цитирования



   Copyright © 2007-2026,  www.tehlit.ru.

[ ѓосты, стандарты, нормативы, инструкции, правила, строительные нормы ]