|
|
Министерство энергетики Российской Федерации
РУКОВОДЯЩИЙ ДОКУМЕНТ ПРАВИЛА РД 153-39.4-114-01
Дата введения 20.02.2002 1 ОпределенияВ настоящем руководящем документе применяются следующие термины с соответствующими определениями:
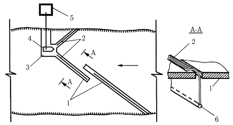
2 ОБЛАСТЬ ПРИМЕНЕНИЯ2.1 Правила устанавливают порядок организации и выполнения работ по обнаружению, локализации и ликвидации аварий и повреждений на магистральных нефтепроводах. 2.2 Правила предназначены для специалистов предприятий и организаций, эксплуатирующих и выполняющих работы по ремонту и реконструкции магистральных нефтепроводов и их объектов, входящих в систему открытого акционерного общества акционерной компании по транспорту нефти "Транснефть" (в дальнейшем ОАО "АК "Транснефть"). 2.3 Положениями руководящего документа устанавливаются и регламентируются: порядок обнаружения аварии, организация выезда патрульной группы для определения места аварии; порядок организации и проведения аварийно-восстановительных работ (АВР); меры по охране труда при выполнении работ на объектах магистральных нефтепроводов (МП), защите окружающей природной среды. 2.4 На основании положений настоящих Правил и с учетом требований нормативных документов, указанных в Приложении А, ОАО МП, РНУ (УМН) должны организовывать разработку планов ликвидации возможных аварий на объектах МП, регламентов и инструкций по выполнению аварийно - восстановительных работ (по технологическим операциям). При отсутствии в структуре управления ОАО МП РНУ (УМН) обязанности последних должны выполняться ОАО МН. 3 КЛАССИФИКАЦИЯ И ХАРАКТЕРИСТИКА АВАРИЙ3.1 Аварией на магистральном нефтепроводе считается внезапный вылив или истечение нефти (утечки) в результате полного разрушения или повреждения нефтепровода, его элементов, резервуаров, оборудования и устройств, сопровождаемые одним или несколькими из следующих событий: - смертельным травматизмом людей; - травмированием людей с потерей трудоспособности; - воспламенением нефти или взрывом её паров; - загрязнением рек, водоемов и водотоков сверх пределов, установленных стандартом на качество воды; - утечками нефти объемом 10 м3 и более. 3.2 Инцидент на объектах МН - это отказ или повреждение оборудования или технических устройств на объектах МН, отклонения от режима технологического процесса, нарушения законодательных и правовых актов РФ и нормативных документов, устанавливающих правила ведения работ на объектах МН, которые могут сопровождаться утечками нефти объемом менее 10 м3 без воспламенения нефти или взрыва её паров, без загрязнения водотоков. 4 МЕТОДЫ И СРЕДСТВА ОБНАРУЖЕНИЯ АВАРИЙ4.1 Для обнаружения места аварий и аварийных утечек нефти на магистральном нефтепроводе могут применяться методы: визуальный, контроля давления, графоаналитический, балансового учета нефти, анализа изменения нагрузки электродвигателей, приборной диагностики (ультразвуковой и акустический), параметрического контроля расхода и давления. 4.2 Основными признаками аварии или аварийной утечки при их визуальном обнаружении являются: видимый выход нефти на поверхность трассы; изменение цвета (пожелтение) растительности; изменение цвета (потемнение) снежного покрова; появление радужной пленки на поверхности воды. Эти признаки могут быть обнаружены обходчиками при патрулировании трассы МН, обслуживающим персоналом при проведении работ в охранной зоне нефтепровода, а также посторонними лицами. 4.3 Обнаружение аварий и повреждений методом контроля за давлением в нефтепроводе осуществляется по показаниям манометров, установленных на НПС и трассе нефтепровода. Снижение давления на выкиде или на приеме НПС более, чем на 0,15 МПа (1,5 кг/см2) от установленной технологическими картами или режимами перекачки величины ("установившегося режима"), указывает на наличие аварийной утечки или повреждение нефтепровода. Изменение давления должно сопровождаться звуковым и световыми сигналами в операторной НПС и районном диспетчерском пункте. Метод позволяет определить только наличие утечек на нефтепроводе и не указывает места повреждения на трассе нефтепровода. 4.4 Графоаналитический метод обнаружения утечки на ЛЧ МН основан на построении линий гидравлического уклона трубопровода на участке нарушения герметичности. Метод определяет место повреждения нефтепровода. Погрешность определения места утечки графоаналитическим методом составляет около 10 % от длины нефтепровода между соседними работающими НПС. 4.5 При обнаружении аварии на основе метода балансового учета нефти проводится сравнение количества откачанной и поступившей нефти на пункты контроля. Метод обнаруживает наличие утечки, величина которой составляет более 2 % расхода перекачиваемой нефти по нефтепроводу. 4.6 Метод обнаружения утечек на ЛЧ МН на основе анализа причин изменения нагрузки электродвигателей приводов магистральных насосных агрегатов основан на регистрации изменения нагрузки более 3 % от установившейся на данном режиме перекачки. 4.7 Обнаружение наличия утечек нефти на нефтепроводе может осуществляться с использованием системы обнаружения утечек (СОУ), принцип действия которой основан на непрерывном контроле изменений параметров расхода и давлений на нефтепроводе. Величина обнаруживаемой утечки и её место устанавливаются с точностью в соответствии с паспортными данными системы. 4.8 ОАО МН разрабатывает для каждого МН Регламент действия оперативного персонала при аварийных ситуациях с указанием порядка действия оперативного персонала, работы систем автоматики и телемеханики при обнаружении аварии. При обнаружении признаков аварии системы автоматики и телемеханики должны обеспечить остановку нефтепровода и закрытия линейных задвижек в режиме телеуправления по программе разработанной для каждого нефтепровода. 5 ТРЕБОВАНИЯ К ОРГАНИЗАЦИИ И ТЕХНОЛОГИИ ЛИКВИДАЦИИ АВАРИЙ НА МАГИСТРАЛЬНЫХ НЕФТЕПРОВОДАХ5.1 Оповещение о возникновении аварии5.1.1 При получении сообщения об аварии на нефтепроводе или падении давления на выкиде НПС или трассе нефтепровода, увеличении нагрузки на электродвигатели, оператор ЛПДС (НПС) должен сообщить об этом диспетчеру РДП, РНУ (УМН) и начальнику ЛПДС, НПС. 5.2.1 Аварийно-восстановительные службы, обходчики нефтепроводов при осмотре трассы нефтепровода и обнаружении выхода нефти на поверхность земли, водоема, водотока должны: - сообщить о выходе нефти оператору НПС и диспетчеру РДП; - продублировать сообщение по телефону или рации с ближайшей ЛПДС (НПС); - приступить к ликвидации аварии, действуя согласно ПЛА. При облете трассы и обнаружении выхода нефти летный наблюдатель или бортовой оператор должны: - сообщить через диспетчера аэропорта диспетчеру РНУ (УМН) об обнаруженном месте выхода нефти; - сделать круг над ближайшей ЛПДС (НПС) и сбросить вымпел с сообщением об обнаружении выхода нефти; - продублировать свое сообщение диспетчеру РДП с ближайшего аэропорта; - находиться на связи в ожидании указаний диспетчера РДП. 5.1.3 Руководитель ЛПДС, на участке которого произошла авария, после получения сообщения об аварии, обязан доложить руководству РНУ (УМН), принять на себя руководство по ликвидации аварии до прибытия на место аварии руководителя работ от РНУ (УМН) или ответственного руководителя по ликвидации аварии, назначенного приказом по ОАО МН. 5.1.4 Диспетчер РДП, получив сообщение об аварии, обязан: - остановить перекачку нефти по аварийному участку нефтепровода и отключить аварийный участок в режиме телеуправления в соответствии с Регламентом действия оперативного персонала при аварийных ситуациях; - немедленно известить об аварии руководство РНУ (УМН), начальника ЦРС (СУПЛАВ), диспетчера ОАО МН, диспетчера связи ПТУС; - организовать контроль за выездом аварийно-восстановительной бригады, патрульной группы. 5.1.5 Диспетчер ОАО МН, получив известие об аварии, обязан: - немедленно сообщить о возникновении аварии генеральному директору ОАО МН, его заместителям, руководству ПТУС, диспетчеру ОАО "АК "Транснефть" по форме указанной в Регламенте представления срочных донесений об авариях и отказах на магистральных нефтепроводах, НПС и РП и их учет; - уточнить с диспетчером РДП схему и порядок отключения аварийного участка; - контролировать ход выполнения мероприятий по ликвидации аварии. 5.1.6 После обнаружения аварии или аварийной утечки нефти ОАО МН обязано уведомить об аварии в территориальный орган Госгортехнадзора России и другие инспектирующие органы. 5.1.7 Главный диспетчер ОАО "АК "Транснефть" при получении информации о возникновении аварии или повреждения с выходом нефти должен: - уточнить информацию об аварии (источник полученной информации, время, дата, наименование объекта, привязка по трассе, характер и последствия аварии, угроза нанесения ущерба, принятые меры, сведения об ответственном руководителе организации работ, периодичности представления информации о ходе производства АВР); - доложить руководству и в отделы ОАО "АК "Транснефть" об аварии, о принятых мерах и изменении ситуации в распределении грузопотоков; - сообщить об аварии диспетчеру ОАО "Связьтранснефть"; - осуществлять постоянный контроль за выполнением плана-графика и представлением информации в ОАО "АК "Транснефть"; - доложить руководству ОАО "АК "Транснефть" о готовности объекта к возобновлению перекачки нефти. 5.2 Организация поиска места аварии5.2.1 При поступлении сообщения об аварии, для определения места повреждения трубопровода, начальник ЛПДС, технический руководитель НПС должны оперативно выслать на трассу нефтепровода патрульную (поисковую) группу и бригаду на закрытие линейных задвижек для локализации поврежденного участка. 5.2.3 При благоприятных погодных условиях в светлое время суток обнаружение места аварии может проводиться с использованием воздушных транспортных средств. 5.2.4 Для обеспечения обследования трассы нефтепровода за указанное в 5.2.2 время, при необходимости, направляется несколько патрульных групп. 5.2.5 Количество патрульных (поисковых) групп и время на обнаружение места аварии для конкретных участков МН должны быть определены в ПЛА в зависимости от расположения повреждения на трассе, расстояния от места дислокации ABC до предполагаемого места повреждения, погодных условий, времени года и суток, наличия препятствий на трассе нефтепровода (водных или других преград). 5.2.6 Патрульная группа, выезжающая на осмотр трассы и закрытие линейных задвижек, должна иметь оборудование, средства индивидуальной защиты, сигнальные знаки для ограждения и обозначения места разлива нефти, необходимый набор инструментов, инвентарь, материалы, а также средства связи. Перечень необходимого оборудования и материалов устанавливается отделом эксплуатации РНУ (УМН) с учетом состояния сооружений ЛЧ МН. 5.2.7 При обнаружении места выхода нефти на поверхность земли, водоема, водотока патрульная группа должна немедленно сообщить об этом начальнику ЛПДС, диспетчеру РДП, указав при этом: - точное место аварии; - обстановку на местности; - характер истечения и разлива нефти; - наличие вблизи населенных пунктов, предприятий, водоемов, автомобильных и железных дорог и угрозы им от растекания нефти; - состояние подъездных дорог и проездов. 5.2.8 Патрульная группа, обнаружившая выход нефти, должна: - принять меры по предотвращению пожара, несчастных случаев; - закрыть задвижки по команде диспетчера РНУ (УМН); - обозначить место выхода и разлива нефти предупредительными знаками; - принять меры по локализации растекания нефти; - в случае выхода нефти вблизи населенного пункта обратиться за помощью к представителям местных властей для организации работ по предотвращению растекания нефти. 5.2.9 Линейные задвижки на поврежденном участке закрываются в режиме телеуправления с РДП или по месту патрульной группой или бригадой направленной для этих целей. 5.3 Организация ликвидации аварий5.3.1 Работы по организации ликвидации аварий должны проводиться в соответствии с разработанными Планами ликвидации возможных аварий (ПЛА) для объектов МН, расчетная продолжительность выполнения работ по ликвидации аварий не должна превышать 80 ч. в обычных условиях, с увеличением на 30-50 % для болотистых трасс. Расчет времени выполнения видов работ в зависимости от диаметр МН, приведен в приложении И. 5.3.2 Для оперативного руководства аварийно-восстановительными работами должен быть создан штаб ликвидации аварии. Персональный состав штаба устанавливается приказом генерального директора ОАО МН. Работы по ликвидации аварий должен возглавлять генеральный директор или главный инженер ОАО МН. Работы по ликвидации инцидента должны выполняться под руководством начальника или главного инженера РНУ (УМН). 5.3.3 Руководство АВР с начала возникновения аварии на объектах линейной части, НПС, ЛПДС, нефтебаз осуществляется руководителями этих объектов, в дальнейшем - ответственным руководителем по ликвидации аварии, назначенным приказом генерального директора ОАО МН. 5.3.4 Ответственный руководитель по ликвидации аварии обязан: - срочно прибыть к месту аварии; - организовать связь с районным диспетчерским пунктом (РДП); - уточнить характер аварии и определить возможный объем стока нефти; - принять меры, исключающие возможность попадания нефти на территорию населенных пунктов, в водоемы, на автомобильные и железные дороги; - принять меры по предотвращению возможности возгорания разлитой нефти; - организовать сбор вытекшей нефти; - определить способ опорожнения дефектного участка нефтепровода от нефти; - организовать выполнение АВР; - принять решение о способе ликвидации аварии применительно к конкретным условиям; - в соответствии с принятым способом ликвидации аварии организовать прибытие на место аварии необходимого количества аварийных бригад, техники и технических средств, средств связи для обеспечения непрерывной работы по ликвидации аварии, принять меры по оповещению населения и подключению дополнительных средств ремонта; - назначить своего заместителя, связных и ответственного за ведение оперативного журнала, а также других ответственных лиц, в соответствии с конкретной сложившейся обстановкой; - организовать каждые три часа письменное сообщение в ОАО МН о ходе работ по устранению аварии; - организовать размещение бригад, обеспечить их отдых и питание; - после завершения сварочно-монтажных работ по ликвидации аварии, при положительных результатах контроля сварных соединений, сообщить телефонограммой диспетчеру ОАО МН или РНУ (УМН) об окончании работ и готовности нефтепровода к заполнению нефтью и возобновлению перекачки; - укомплектовать группы, назначить ответственных по открытию линейных задвижек; - проконтролировать визуально герметичность отремонтированного участка, сварных швов и других технологических соединений после пуска нефтепровода и достижения в нем рабочего давления, доложить о состоянии участка диспетчеру; - организовать оформление исполнительно-технической документации на выполненный ремонт нефтепровода; - организовать устранения последствий аварий и сдачу землевладельцам и инспектирующим органам очищенные территории и водоемы. 5.4 Методы ликвидации аварий5.4.1 Ликвидация аварий нефтепровода может быть выполнена методами постоянного или временного ремонта. К постоянным методам относится вырезка катушки или участка нефтепровода с повреждением и вварка новой катушки или секции трубы, заварка свищей с установкой "чопиков" (металлических пробок), приварка патрубков с заглушками. В качестве временного метода аварийного ремонта могут быть применены на срок не более одного месяца установка необжимной приварной муфты, муфты с коническими переходами, галтельные муфты, с обязательной последующей заменой их с применением методов постоянного ремонта. 5.4.2 Восстановление аварийного участка нефтепровода путем вырезки и замены на новый проводится при: - наличии на трубопроводе сквозной трещины в сварном шве и в основном металле трубы; - разрыве кольцевого монтажного шва; - разрыве продольного сварного шва или металла трубы. 5.4.3 Ремонт нефтепровода путем вырезки и замены разрушенного участка на новый проводится с обеспечением безопасных условий выполнения сварочно-монтажных работ (остановки перекачки нефти, закрытия линейных задвижек, уборки разлитой нефти на месте повреждения, герметизации внутренней полости нефтепровода). 5.4.4 При замене поврежденных участков ввариваемые катушки должны соответствовать следующим требованиям: - катушки должны быть изготовлены из труб, прошедших гидравлические испытания давлением, величина которого должна быть не ниже давления, вызывающего в стенках труб кольцевое напряжение, равное 95 % нормативного предела текучести (заводское испытательное давление) в соответствии со СНиП 2.05.06-85*; - труба, из которой изготовлена катушка должна быть подвергнута дефектоскопии металла и сварных швов, не должна иметь дефекты в виде трещин, закатов, расслоений, вмятин, задиров и рисок на поверхности катушки; - катушки должны иметь маркировку, паспорт и сертификат на трубу, из которой они изготовлены. Технология ремонта методом замены участка должна соответствовать требованиям СНиП III-42-80*, ВСН 006-89, ВСН 012-88 и других нормативным документов. "Чопик" забивают до полного устранения течи, после чего наружную выступающую часть обваривают электросваркой с формированием на поверхности трубы усиления высотой не более 3 мм, с шириной обварки 4-5 мм по периметру "чопика". "Чопики" должны изготавливаться из низкоуглеродистых сталей Ст3, 10 согласно ГОСТ 11050. Не допускается устанавливать более одного "чопика" по периметру поперечного сечения нефтепровода. Расстояние между "чопиками" по продольной оси нефтепровода должно быть не менее 0,5 м. Схема монтажа "чопика" приведена в приложении Е. 5.4.6 Повреждения типа сквозных коррозионных свищ или несанкционированные врезки, могут ремонтироваться приваркой патрубков с заглушками. 5.4.7 При ремонте повреждений временными методами для прекращения течи нефти из нефтепровода могут применяться накладные элементы с уплотняющей прокладкой прижатой к поверхности трубы при помощи наружных центраторов, прижимных хомутов, струбцин, домкратов, с последующей обваркой накладных элементов и установкой на них муфт временного ремонта. 5.4.8 При ремонте повреждений путем применения ремонтных муфт и приваркой патрубков с заглушками технология их монтажа, применяемые материалы, контроль качества работ должны соответствовать требованиям "Технологии сварочно-монтажных работ по установки ремонтных конструкций на действующие магистральные нефтепроводы ОАО "АК "Транснефть". 5.4.9 При выполнении АВР, для опорожнения нефтепровода и закачки собранной нефти, в нефтепровод врезаются отводы с задвижками ДУ 100-200, Ру 64. Количество отводов с задвижкой определяется в зависимости от объема освобождаемого нефтепровода. Присоединяемый узел отвода, его конструктивные элементы должны быть выбраны и смонтированы с учетом диаметров отвода и магистрали, возможных нагрузок на МП и соответствовать требованиям нормативных документов. 5.4.10 При выполнении АВР применяемые оборудование, арматура, материалы труб, муфт, усиливающих элементов, соединительных деталей нефтепроводов, технология сборки и сварки должны соответствовать требованиям СНиП 2.05.06-85*, СНиП III-42-80*, ТУ 102-488-95, ВСН 006-89, ВСН 012-88 и других нормативных документов. 5.4.11 Аварии и аварийные утечки на линейных задвижках ликвидируются: - в сальниковых устройствах - донабивкой уплотнений сальниковых камер с помощью специальных приспособлений, после остановки перекачки при отсутствии избыточного давления в нефтепроводе; - во фланцевых соединениях (между крышкой и корпусом задвижки, на байпасах) - заменой прокладок, с остановкой перекачки нефти и, при необходимости, с опорожнением участка нефтепровода; - при разгерметизации корпуса задвижки либо потере работоспособности запорного устройства - заменой задвижки на новую путем остановки перекачки нефти по нефтепроводу, опорожнением участка нефтепровода от нефти, вырезки дефектной задвижки и монтажом новой задвижки. 5.5 Ликвидация аварий на участках магистральных нефтепроводов в обычных условиях5.5.1 Аварийно-восстановительные работы на магистральных нефтепроводах проводятся в следующей организационно-технологической последовательности: - сооружение земляного амбара и сбор в него нефти; - подготовка ремонтной площадки и размещение на ней технических средств; - вскрытие аварийного участка нефтепровода и сооружение ремонтного котлована; - освобождение аварийного участка нефтепровода от нефти; - вырезка дефектного участка нефтепровода; - герметизация (перекрытие) внутренней полости нефтепровода; - монтаж и вварка катушки; - заварка контрольных отверстий и отверстий для отвода нефти; - контроль качества сварных швов; - пуск нефтепровода, вывод его на эксплуатационный режим; - изоляция отремонтированного участка нефтепровода; - засыпка нефтепровода, восстановление обвалования. Сооружение земляного амбара. Сбор нефти 5.5.2 Для предотвращения разлива и возможности попадания вытекшей нефти в водоемы, водотоки, загрязнения лесных массивов, сельскохозяйственных угодий, населенных пунктов, дорог, животноводческих ферм, с учетом рельефа местности должны быть созданы земляные обвалования и амбары для сбора разлитой нефти. 5.5.3 В зависимости от характера аварии и местных условий для этой цели могут быть использованы существующие защитные сооружения, эластичные резинотканевые резервуары, естественные складки местности, резервуары близлежащих НПС, неповрежденные участки аварийного нефтепровода или параллельно проложенные нефтепроводы. 5.5.4 При сооружении земляных амбаров должны соблюдаться условия: - объем сооружаемого амбара должен обеспечивать прием разлитой, откачиваемой и вылившейся самотеком нефти из нефтепровода; - основание и стенки амбаров должны быть уплотнены или покрыты пленками; - уровень заполнения нефтью амбара должен быть ниже от верха обвалования на 0,5 м. 5.5.5 Амбар для сбора нефти должен быть устроен не ближе 100 м от места проведения АВР (допускается уменьшить это расстояние до 50 м при температуре воздуха ниже 10 °С). 5.5.6 В целях предотвращения перелива нефти из амбара необходимо предусмотреть отвод и дренаж ливневых и грунтовых вод. 5.5.7 Для отвода разлитой нефти в амбар или в сторону обвалования должна быть устроена траншея или проложен временный нефтепровод диаметром 150-200 мм. 5.5.8 Сооружение земляного амбара и нефтеотводной траншеи осуществляется землеройными машинами (бульдозерами, экскаваторами) или с использованием энергии взрыва. Подготовка ремонтной площадки и размещение технических средств 5.5.9 В зависимости от вида дефекта и технологии ликвидации аварии, применяемых и привлекаемых для этого технических средств, с учетом природно-климатических и погодных условий, рельефа местности, а также в соответствии с требованиями охраны труда и пожарной безопасности подготавливается ремонтная площадка. 5.5.10 Технические средства (сварочные агрегаты, насосно-компрессорные установки и другие несамоходные механизмы) должны устанавливаться на спланированной горизонтальной площадке. Размеры площадки определяются габаритами механизмов, условиями их обслуживания. При этом механизмы должны находиться на расстоянии не менее 1 м от края площадки. 5.5.11 При сооружении ремонтной площадки при необходимости следует выполнить мероприятия по отводу поверхностных вод путем сооружения отводной (обводной) канавы, водосборного котлована или защитной дамбы выше ремонтной площадки. 5.5.12 Площадка для проведения ремонтно-восстановительных работ должна быть подготовлена до начала работ по вскрытию нефтепровода. Вскрытие нефтепровода и сооружение ремонтного котлована 5.5.13 Работы по вскрытию аварийного участка нефтепровода и сооружению ремонтного котлована должны выполняться только после определения точного места аварии. 5.5.14 Вскрытие аварийного участка нефтепровода и сооружение ремонтного котлована выполняется одноковшовым экскаватором с соблюдением мер предосторожности, исключающих повреждения поверхности трубы, особенно за пределами дефектного участка. Необходимое количество экскаваторов определяется в зависимости от объема земляных работ. Наиболее эффективно выполняется разработка котлована двумя экскаваторами одновременно. Глубину котлована Н рекомендуется определять по формуле: Н = h + Дн + 0,6, м, (5.1) где Дн - наружный диаметр нефтепровода, м; h - высота от верха трубы до поверхности земли, м. При этом расстояние от низа трубы до дна котлована должно быть не менее 0,6 м. Длину котлована L рекомендуется определять по формуле: L = l + (2 ¸ 3), м, (5.2) где l - длина разрушенного (дефектного) участка нефтепровода, м. Ширина котлована В определяется: В = Дн + 3, м, (5.3) где Дн - наружный диаметр нефтепровода, м. При разработке котлована его ширину принимают из условия возможности работы обслуживающего персонала с грузоподъемными машинами или механизмами. 5.5.16 Ремонтный котлован с вертикальными стенками устраивается в грунтах естественной влажности с ненарушенной структурой при отсутствии грунтовых вод (табл. 5.1) в соответствии с п. 9.9 СНиП III-4-80*. Таблица 5.1 - Допускаемая глубина ремонтного котлована с вертикальными стенками различных грунтов
Для сооружения котлована большей глубины необходимо устраивать откосы различного заложения, в зависимости от состава грунта, при уровне грунтовых вод ниже глубины выемки (табл. 5.2), в соответствии с требованием п. 9.10 СНиП III-4-80*. Таблица 5.2 - Наибольшая допустимая крутизна откосов котлована в грунтах естественной влажности
При сильном притоке грунтовых вод необходимо устраивать крепление стенок котлована и одновременно принимать меры по понижению уровня грунтовых вод откачкой водоотливными агрегатами или насосами. 5.5.17 Для обеспечения возможности быстрого выхода работающих из траншеи следует устанавливать стремянки (с уклоном 1:3 с планками через 0,20-0,25 м) из расчета 2 лестницы на 5 человек, работающих в траншее, и устраивать выходы (не менее двух) с противоположных сторон. Освобождение аварийного участка нефтепровода от нефти 5.5.18 Освобождение аварийного участка нефтепровода от нефти может проводиться: - самотеком через поврежденное место и откачкой её в амбар для сбора по временному нефтепроводу; - откачкой передвижными насосными агрегатами в земляные амбары и другие емкости; - откачкой из поврежденного нефтепровода в параллельный нефтепровод. 5.5.19 Для откачки нефти из нефтепровода, на расстоянии не менее 30 м от намеченного места реза дефектного участка, к нефтепроводу приваривается отвод с задвижкой и прокладывается временный сборный нефтепровод диаметром 150 мм до земляного амбара или других емкостей для сбора нефти. Агрегаты (типа ПНА-1, ПНА-2, ПНУ-1, ПНУ-1М) для откачки или закачки нефти должны устанавливаться от амбара или места закачки нефти в нефтепровод на расстоянии не менее 50 м согласно Правил ВППБ 01-05-99. После перекрытия аварийного участка при пропуске отсекающих задвижек, осуществляется отвод ("перехват") поступающей нефти путем резки в трубопровод на нижней точке по профилю трассы отверстия диаметром до 12 мм или патрубка с задвижкой диаметром до 100 мм. Количество отверстий или врезаемых патрубков определяются объемом пропускаемой нефти задвижками. Пример расчета диаметра врезаемых патрубков и количества "перехватов" приведен в приложении Г. 5.5.20 Одновременно с освобождением нефтепровода должны продолжаться работы по сбору разлитой нефти, предотвращению дальнейшего распространения её по поверхности земли, попаданию в населенные пункты, водоемы, реки, на железнодорожные и автомобильные магистрали. 5.5.21 После ремонта нефть из земляных амбаров и других емкостей передвижными насосными агрегатами по временному нефтепроводу должна быть закачана в нефтепровод. Вырезка дефектного участка 5.5.22 Способ вырезки дефектных участков выбирается в зависимости от конкретных условий, наличия соответствующих технических средств и условий безопасности ведения работ. Перед вырезкой поврежденного участка, за пределами вырезаемой катушки, на трубопроводе должна быть установлена шунтирующая перемычка с сечением 16 мм2. Подключение шунтирующих элементов (кабеля) к трубопроводу может выполняться: - гибкими стальными лентами, навитыми с натяжкой на очищенную поверхность трубы; - стальными болтами диаметром 12-15 мм, ввинченными в просверленные в стенке трубы ручной или пневматической дрелью глухие отверстия, с оставленной толщиной стенки трубы не менее 3 мм; - сваркой соединительных наконечников, в случае отсутствия нефти и загазованности в рабочем котловане и трубопроводе. 5.5.24 Вырезка дефектного участка с применением энергии взрыва должна осуществляться в соответствии с требованиями Единых правил безопасности при взрывных работах, утвержденных Госгортехнадзором России, эксплуатационной документацией на кумулятивные заряды и средства взрывания, действующими инструкциями и положениями о порядке хранения, учета, использования и транспортирования взрывчатых материалов. 5.5.25 Взрывные работы должны проводиться по типовому проекту производства взрывных работ на магистральных нефтепроводах или по отдельному проекту для конкретного единичного случая. Проект производства работ разрабатывается и утверждается руководителем организации, проводящей взрывные работы (имеющей соответствующую лицензию Госгортехнадзора), и согласовывается руководителем предприятия, на объектах которого ведутся взрывные работы. 5.5.26 Способ резки с применением энергии взрыва может применяться для нефтепроводов полностью заполненных нефтью, частично заполненных и полностью опорожненных, с неудаляемыми остатками нефти на стенках. 5.5.27 Установка зарядов для резки на нефтепроводе проводится в соответствии с проектом производства взрывных работ, с соблюдением установленных мер безопасности и в соответствии с инструкциями по применению типов зарядов. При демонтаже дефектного участка, арматуры и соединительных деталей вырезку рекомендуется проводить тремя резами. 5.5.28 Вырезка дефектного участка может осуществляться с применением труборезных машин с приводами во взрывобезопасном исполнении, предназначенных для резки труб, имеющих сертификат соответствия требованиям промышленной безопасности и разрешение Госгортехнадзора России на их применение. 5.5.29 Вырезка дефектных участков осуществляется одновременно двумя труборезными машинами. 5.5.30 Перед началом работы по резке труб необходимо разработать котлован с подкопом ниже трубы не менее 600 мм, а также подготовить емкость для смазочно-охлаждающей жидкости, которая требуется для охлаждения режущего инструмента. После освобождения трубы от грунта зачистить от изоляции места установки МРТ на длине 600-700 мм. Труборезные машины устанавливают на трубе согласно требованиям Руководства по эксплуатации на данные машины и в соответствии со схемами вырезки катушек, задвижек и соединительных деталей на расстоянии не менее 1,5 м между ними. Герметизация (перекрытие) внутренней полости нефтепровода 5.5.31 Для предотвращения выхода из нефтепровода взрывопожароопасных газов и нефти к месту ведения огневых работ, а также предотвращения загазованности места производства АВР, внутреннюю полость нефтепровода необходимо перекрыть на весь период выполнения сварочно-монтажных работ. 5.5.32 Перекрытие внутренней полости нефтепровода может проводиться тампонами-герметизаторами, механическими устройствами или глиняными тампонами. 5.5.33 При перекрытии нефтепровода тампонами-герметизаторами из резинокордной оболочки, их применение и установка проводятся согласно Инструкции РД 39-00147105-009-96. При перекрытии внутренней полости нефтепровода механическими перекрывающими устройствами их установка проводится согласно инструкции по их применению. При применении глиняных тампонов, для ограничения объема тампона и обеспечения большей плотности укладывания глины, необходимо предусматривать установку упоров в нефтепроводе в виде резиновых шаров, стенки из кирпича-сырца. 5.5.34 В качестве герметизирующего материала могут применяться глина, тампонажная глина и кирпич сырец из красной глины. В составе глины не должны быть посторонние включения. Тампон из глины или кирпича-сырца создается послойной укладкой и трамбованием длиной не менее двух диаметров трубы нефтепровода по верхней образующей. Торец тампона должен располагаться на расстоянии не менее 400 мм от сварного стыка. При использовании глиняных тампонов необходимо контролировать герметичность путем осмотра его торцевой части на наличие трещин и усадки по верхней образующей трубы, а также отбором и анализом проб воздуха. При необходимости перед установкой катушки для сварки проводится дополнительная трамбовка тампона с добавлением свежей глины. При отрицательной температуре воздуха необходимо принимать меры по теплоизоляции тампона снаружи нефтепровода. Во избежание потери герметичности тампона не допускаются удары по трубе и её вибрация от работающих машин и механизмов. 5.5.35 Для отвода избыточного давления и контроля за наличием во внутренней полости нефтепровода уровня нефти, на расстоянии не менее 30 м от тампонов на верхней образующей нефтепровода высверливаются контрольные отверстия диаметром 8-12 мм. Для контроля за местоположением и последующей заварки отверстий в них устанавливаются сигнальные флажки на алюминиевой проволоке. В случае обнаружения поступления нефти к тампонам и избыточного давления в трубопроводе, создающих угрозу безопасности ведения сварочных работ, принимаются соответствующие меры по отводу газов на безопасное расстояние от места производства работ, а также отведению поступающей нефти в специальные емкости, в экстренных случаях - во временный котлован. После завершения восстановительных работ отверстия в трубопроводе и болты, указанные в 5.5.23, должны быть заглушены и обварены как указано в 5.4.5 настоящих Правил. 5.5.36 При применении тампонов-герметизаторов и механических перекрывающих устройств, контроль их прохождения, при заполнении трубопровода нефтью, осуществляется сигнализаторами контроля прохождения диагностических устройств или скребков. 5.5.37 После герметизации нефтепровода ремонтный котлован и поверхность нефтепровода должны быть очищены от остатков нефти и горючих материалов. Перед началом огневых работ в котловане и трубопроводе перед тампонами следует замерить концентрацию паров нефти для определения возможности ведения огневых работ. Рабочее место сварщика должно быть защищено от солнечных лучей, атмосферных осадков, ветра. Монтаж и вварка катушки 5.5.38 Сварочно-монтажные работы при замене дефектного участка должны выполняться с соблюдением требований СНиП III-42-80* и ВСН 006-89, ВППБ 01-05-99 и других нормативных документов. 5.5.39 До начала сварочно-монтажных работ для обеспечения надежной работы нефтепровода в будущем на вскрытом участке необходимо за пределами дефектного участка проверить остаточную толщину стенки труб, наличие очагов коррозионного разрушения металла, дефектов, которые со временем могут привести к повторной аварии. 5.5.40 Длина монтируемого участка нефтепровода взамен вырезанного должна быть больше дефектного участка не менее чем на 100 мм с каждой стороны. Минимальная длина монтируемой катушки должна быть не менее диаметра нефтепровода. 5.5.41 Расстояние от торца катушки до кольцевого монтажного шва на основном нефтепроводе должно быть не менее диаметра трубы. 5.5.42 При монтаже катушки продольные швы катушки и трубы, с которой она стыкуется, должны быть смещены не менее чем на 100 мм. 5.5.43 В тех случаях, когда концы нефтепровода после вырезки дефектного участка, вследствие напряженного состояния, расходятся, для обеспечения возможности центровки труб, необходимо концы нефтепровода от дефектного участка раскопать на длину до обеспечения радиуса упругого изгиба в соответствии с требованиями СНиП III-42-80*. 5.5.44 Все сварные швы, выполненные при ликвидации аварий, должны обозначаться личным клеймом сварщика. 5.5.45 Сварка намагниченных (например, в результате пропуска диагностических устройств) нефтепроводов проводится по специальной технологии с использованием методов, приборов и приспособлений в соответствии с «Рекомендациями по размагничиванию труб при ремонтных работах на нефтепроводах диаметром до 1220 мм» (М. ВНИИСТ, 1998) или «Методом компенсации намагниченных трубопроводов с использованием приборов ПКНТ», позволяющих изменять ориентацию магнитных полей и вести сварочные работы на намагниченных нефтепроводах. 5.5.46 Стали труб и соединительных деталей, применяемых при монтаже и соединении сваркой в ходе АВР на трубопроводе, по своим механическим свойствам и химическому составу должны быть аналогичными стали труб ремонтируемого нефтепровода и отвечать требованиям СНиП 2.05.06-85*. Контроль качества сварных швов 5.5.47 В процессе сборки и сварки стыков ремонтируемого участка нефтепровода мастером ABC должен осуществляться пооперационный контроль качества сварочных работ. 5.5.48 Все законченные сварные стыки, после очистки их от шлака, брызг металла подвергаются внешнему осмотру непосредственными исполнителями. 5.5.49 Все монтажные сварные стыки, выполненные дуговой сваркой, в условиях центральной базы производственного обслуживания, при заготовке деталей конструктивных элементов, или на трассе нефтепровода, при замене дефектного участка, подлежат 100 % контролю физическими методами с учетом требований СНиП III-42-80*, ВСН 012-88 и других нормативных документов. Все кольцевые стыковые сварные швы подлежат 100 % радиографическому контролю. Угловые сварные швы, продольные швы при монтаже муфт, выполненные на нефтепроводе при ремонтных работах, подлежат 100 % контролю ультразвуковым методом. Сварные швы, соединяющие трубы, арматуру или детали с разной толщиной стенок подлежат 100 % контролю радиографическим и ультразвуковым методами. Наплавки на стенке нефтепровода, выполненные при устранении повреждений (коррозионных повреждений, рисок, царапин), а также швы обваренных «чопиков», болтов подлежат 100 % контролю магнитографическим или ультразвуковым методами. 5.5.50 Сварные соединения считаются годными, если по результатам визуального контроля и обмера, а также после контроля неразрушающими методами, удовлетворяют требованиям СНиП III-42-80*, ВСН 006-89 и в них не обнаружены дефекты или при обнаружении дефектов, величина, количество и плотность распределения которых не превышает допустимые нормативные значения. 5.5.51 Сварные соединения, в которых по результатам контроля обнаружены недопустимые дефекты (признанные "не годными"), подлежат удалению или ремонту. 5.5.52 Все отремонтированные сварные стыки должны быть вновь подвергнуты внешнему осмотру и неразрушающему контролю. Повторный ремонт стыков не допускается. Подготовка и пуск нефтепровода в работу 5.5.53 После завершения работ по контролю качества сварных швов и исправления обнаруженных при этом дефектов, ответственный за ликвидацию аварии сообщает диспетчеру ОАО МП о готовности нефтепровода для заполнения нефтью. 5.5.54 После согласования с ОАО "АК "Транснефть" по распоряжению диспетчера ОАО МН открывают линейные задвижки. Через вантузы выпускается воздух из нефтепровода. 5.5.55 При заполнении отремонтированного нефтепровода нефтью давление следует увеличивать равномерно с постоянным контролем за показаниями приборов. 5.5.56 После заполнения нефтепровода нефтью, визуально проверяется плотность (герметичность) отремонтированного участка. После пуска нефтепровода и вывода его на рабочий режим, отремонтированный участок нефтепровода в течение 8 ч контролируется на герметичность. Противокоррозионная изоляция отремонтированного участка нефтепровода 5.5.57 Противокоррозионная изоляция отремонтированного участка нефтепровода должна проводиться в соответствии с ГОСТ Р 51164 после получения положительных результатов контроля качества сварочных работ и опрессовки отремонтированного участка рабочим давлением. 5.5.58 Качество изоляционного покрытия должно контролироваться внешним осмотром, приборным контролем адгезии изоляционного покрытия к стали и сплошности. 5.5.59 Осмотр изоляционного покрытия проводится в процессе наложения каждого слоя изоляции. В изоляционном покрытии не должно быть пузырей, складок, зазоров между витками, разрывов. 5.5.60 Контроль адгезии изоляционного покрытия, в зависимости от типа изоляционного материала, проводится согласно ГОСТ Р 51164 по методу А - для изоляционных покрытий из полимерных лент и по методу Б - для защитных покрытий на основе битумных мастик. 5.5.61 Контроль изоляционного покрытия на сплошность выполняется искровыми дефектоскопами (типа КРОНА-2И). Засыпка ремонтного котлована 5.5.62 Засыпать ремонтный котлован следует после завершения изоляционных работ, проверки качества изоляции с учетом требований СНиП III-42-80*, РД 39-00147105-015-98 Правила капитального ремонта МН. При засыпке ремонтного котлована расположенного в скальных, гравийных и галечниковых грунтах подсыпку под трубопровод следует выполнить из мягкого грунта толщиной не менее 20 см с подбивкой и выполнить присыпку над ним таким же грунтом на высоту 20 см над верхней образующей трубы. После подбивки грунта под трубопровод, проводится окончательная засыпка ремонтного котлована минеральным грунтом, осуществляемая бульдозером с одной или с обеих сторон траншеи с устройством по верху котлована валика с учетом последующей осадки грунта. По ширине валик должен перекрывать котлован не менее чем на 0,5 м в каждую сторону. При необходимости производится засыпка экскаваторами или другими техническими средствами. 5.6 Ликвидация аварий на участках магистральных нефтепроводов, расположенных на болотах5.6.1 При ликвидации аварий на болотах, отключение аварийного участка, освобождение нефтепровода от нефти, герметизация внутренней полости нефтепровода, вырезка дефектного участка, монтаж и сварка катушки, ремонт дефектных мест без замены катушки, организация пуска нефтепровода выполняются в соответствии с требованиями для обычных условий. 5.6.2 ABC, обслуживающие болотистые участки трассы, должны оснащаться дополнительными техническими средствами, предназначенными для работы на болотистой местности. 5.6.3 Поиск места аварии, а также доставка технических средств, материалов и ремонтного персонала к месту ведения АВР осуществляется с использованием воздушного и наземного транспорта высокой проходимости. 5.6.4 В качестве наземного транспорта могут быть использованы: колесный транспорт на тороидных шинах с регулируемым давлением воздуха, трейлеры, гусеничные машины высокой проходимости, болотоходные транспортные средства с малым удельным давлением на грунт; водный транспорт - катера, мотолодки, баржи; воздушный транспорт - вертолеты. Основные технические средства, применяемые при АВР, приведены в табелях технического оснащения ABC РД 39-025-90 и РД 153-39.4-143-99. 5.6.5 В зависимости от типа вертолета доставка грузов может осуществляться в грузовом отсеке или на внешней подвеске. Для доставки оборудования и материалов вертолетами ABC должны быть оснащены строповочными и другими необходимыми приспособлениями и устройствами. Повышение несущей способности болота 5.6.6 Для выполнения работ по ликвидации аварии на участках МН, расположенных на болотах, необходимо обеспечить возможность базирования и маневрирования технических средств, которое осуществляется повышением несущей способности почвы. Для этого сооружаются: - временные подъездные пути; - пешеходные дорожки; - ремонтные площадки; - временные вертолетные площадки; - вспомогательные площадки. 5.6.7 Для повышения несущей способности поверхности болот, в зависимости от его характеристики, могут быть использованы: - лежни и слани из лесоматериалов; - слани из отбракованных труб; - деревянные щиты типа ЛВ-11 (ЛВ-11Б); - настилы из деревянных железнодорожных шпал и выстилка металлическая; - сборно-разборные клеефанерные дорожные покрытия (СРДП); - стальная плетеная сетка в сочетании с рулонными синтетическими неткаными материалами типа "СНМ" или "Дорнит Ф-1"; - сборно-разборные несущие покрытия типа СРНП-1, СРНП-2. Технические характеристики временных покрытий приведены в приложении Е. 5.6.8 Полосу строительства подъездных путей необходимо расчищать по возможности без нарушения поверхностного слоя почвы. Крупные деревья и кустарники срезаются вровень с поверхностью земли. Трелевка леса проводится трелевочными тракторами ТДТ-55а, ТТ-4. Могут также использоваться гусеничные тракторы на колесном ходу. 5.6.9 На болотах с устойчивыми торфами устраиваются лежневые дороги путем поперечной укладки бревен диаметром 12-20 см на продольные лежни или лежневые дороги из инвентарных щитов (ЛВ-11, ЛВ-11Б). При глубине торфа 0,8 м и более или неустойчивом подстилающем грунте, а также на травяных болотах с ровной поверхностью без кочек и пней, применяются инвентарные слани из лесоматериалов или настилы из шпал. Сооружения пешеходных дорог, ремонтной и вертолетной площадок 5.6.10 Для передвижения ремонтного персонала во время выполнения АВР и оперативной эвакуации людей в случае возникновения пожара необходимо устраивать пешеходные дорожки. Они могут быть устроены из стальной плетеной сетки в сочетании с рулонными синтетическими материалами типа "СНМ", "Дорнит Ф-1" или другими рулонными материалами, позволяющими создать конструктивно-фильтрующую прослойку покрытия. 5.6.11 Конструкция, размеры ремонтной площадки, сооружаемой на болоте, должны обеспечивать возможность установки и размещения необходимых технических средств и материалов, работы землеройной и грузоподъемной техники. 5.6.12 До сооружения ремонтной площадки выполняются следующие подготовительные работы: - определение размеров площадки; - разметка территории площадки; - планировка площадки. Ремонтная площадка сооружается теми же средствами и способами, что и сооружение временных подъездных путей (5.6.6 - 5.6.9). 5.6.13 При ликвидации аварий на МН появляется необходимость устройства временных вертолетных площадок. Сооружение временных вертолетных площадок должно проводиться в соответствии с требованиями Инструкции по проектированию вертолетных станций, вертодромов и посадочных площадок для вертолетов гражданской авиации. Размещение временных вертолетных площадок должно обеспечивать безопасную работу вертолетов и максимально возможную близость к месту аварии. Расстояние от вертолетной площадки до зданий и сооружений населенных пунктов и промышленных сооружений должно быть не менее 150 м, а до воздушных высоковольтных линий электропередач, расположенных в пределах полос воздушных подходов (ПВП) - не менее 1 км. Это расстояние может быть сокращено до 500 м, если ЛЭП, пересекающая ПВП со стороны вертолетной площадки, закрыта складками местности, лесопосадками, зданиями, не выходящими за пределы условной плоскости ограничения препятствий. Вне полосы воздушного подхода площадка должна находиться на расстоянии не менее 300 м. Это расстояние может быть сокращено до 120 м, если ЛЭП закрыта на всем протяжении затеняющими объектами. 5.6.14 При сооружении вертолетной площадки непосредственно на болоте используются дорожные покрытия СРДП или бревна диаметром не менее 18 см, прочно скрепленных между собой, причем бревна верхнего наката должны укладываться поперек направления принятого старта. 5.6.15 Вертолетные площадки должны быть оборудованы маркировочными знаками упрощенного типа, ветроуказателем стандартных размеров, осветительной и радиоаппаратурой. 5.6.16 Для создания необходимых условий выполнения АВР сооружаются следующие вспомогательные площадки: - площадка для складирования и подготовки грузов к транспортировке; - площадка для стоянки и обслуживания аварийной техники; - площадка для размещения жилого городка; - площадка для размещения противопожарной техники. 5.6.17 Для обеспечения безопасных условий эксплуатации вспомогательные площадки должны быть удалены от границы разлива нефти на расстояние не менее 100 м. Располагать их следует на открытой местности, с некоторым уклоном для обеспечения естественного водоотвода. Вскрытие нефтепровода и сооружение ремонтного котлована 5.6.18 Ремонтный котлован на болотах I и II типа может быть сооружен с креплением и без крепления стенок, комбинированным методом - с креплением стенок и применением ремонтной герметичной камеры. 5.6.19 Размеры и конструкция ремонтного котлована должны соответствовать требованиям, изложенным в 5.5.15, 5.5.16. Сооружение ремонтного котлована с креплением стенок 5.6.20 При сильном притоке грунтовых вод стенки ремонтного котлована укрепляются деревянными или металлическими шпунтами, шпунтами из профилированной стали, сваями или другими средствами. 5.6.21 Погружение шпунтов может проводиться: - забивкой механизированным способом с применением ручной электротрамбовки, вибропогружателя, вибромолотов, гидромолотов; - размывом болотной массы на месте погружения шпунтов до минерального грунта с применением гидромониторов, поливочных машин и других технических средств, обеспечивающих подачу воды под давлением, с последующей добивкой шпунтов. 5.6.22 Перечень оборудования и приспособлений, необходимый для проведения работ по погружению шпунта, зависит от принятого метода и определяется при составлении ПЛА. Сооружение ремонтного котлована без крепления стенок 5.6.24 Для предотвращения перетока болотной массы и поверхностных вод в котлован, вокруг него следует создать земляное обвалование. 5.6.25 Для искусственного понижения уровня воды используются иглофильтровые установки, заглубляемые в грунт ниже подошвы котлована на глубину не менее 1,5-2,0 м. 5.6.26 По мере откачки и понижения уровня грунтовых вод подготавливается ремонтный котлован. Откачка воды должна проводиться непрерывно. 5.6.27 Сооружение ремонтного котлована может проводиться с использованием ремонтных герметичных камер различных конструкций. Сооружение котлована и обвалования для сбора нефти 5.6.28 Котлован для сбора нефти может быть разработан: - за пределами болота на твердом грунте - при помощи энергии взрыва или землеройными механизмами; - непосредственно на болоте - с использованием энергии взрыва. 5.6.29 С использованием энергии взрыва могут быть созданы котлованы и обвалования на болотах I типа, дренажные траншеи - на болотах I и II типа. 5.6.30 Обвалование из торфяного грунта (мощностью до 1 м) создается выбросом верхнего слоя торфяного грунта, находящегося между двух рядов наклонных шпуров при их взрыве. 5.6.31 Котлован для сбора нефти создается взрывом вертикальных зарядов и двух рядов наклонных шпуров, при котором происходит выброс верхнего слоя торфяного грунта, находящегося между рядами шпуров. 5.6.33 Дренажные траншеи на болотах могут быть созданы методом взрывания скважинных и шпуровых вертикальных зарядов, который включает: - разбивку сетки шпуров на оси траншеи; - образование вертикальных шпуров; - заряжение шпуров и взрывание зарядов. Все земляные работы на болотах - по подготовке ремонтного котлована, амбара для нефти, должны выполняться с учетом требований СНИП III-42-80*. Сбор нефти 5.6.34 В состав работ по сбору разлития нефти входят: - ограждение места разлитой нефти; - подготовка земляных обвалований, котлованов, резинотканевых резервуаров и других емкостей; - прокладка сборно-разборных нефтепроводов или создание дренажных траншей; - откачка нефти в подготовленные емкости. 5.6.35 Вместимость используемых емкостей должна обеспечить прием разлитой и откачиваемой или сливаемой самотеком нефти из аварийного участка нефтепровода. 5.6.36 Отвод (откачка) нефти в подготовленные емкости может проводиться по дренажным траншеям, сборно-разборным металлическим или резинотканевым трубопроводам с использованием откачивающих средств. 5.6.37 Очистка поверхности болота от остатков нефти может быть осуществлена путем: - смыва нефти с поверхности болота; - выжигания. 5.6.38 Метод смыва нефти заключается в следующем: гидромонитором, мотопомпой или насосами пожарных автомобилей вода под давлением из ближайшего источника подается к месту аварии или повреждения. Вода с нефтью собирается в приямке, устроенном на границе разлития нефти, откуда водонефтяная смесь откачивается в нефтесборный котлован или обвалование. 5.6.39 Выжигание остатков нефти допускается как исключение при невозможности сбора нефти другими способами и проводится после согласования с местным комитетом экологии и органами пожарной охраны. 5.6.40 После восстановления аварийного участка нефтепровода нефть, собранная с поверхности болота и откаченная из дефектного участка нефтепровода, должна быть закачана насосными агрегатами в восстановленный или параллельно проложенный нефтепровод. 5.7 Ликвидация аварий на подводных переходах магистральных нефтепроводов5.7.1 Способ ремонта трубопровода подводного перехода магистрального нефтепровода (ППМН) выбирается в зависимости от вида и характера повреждения. Ремонт свищей и трещин на поперечных швах нефтепровода, может осуществляться применением временного метода с установкой обжимной, или галтельной муфт. При разрушении металла трубы, сварного шва, ремонт трубопровода должен проводиться с заменой дефектного участка. 5.7.2 Для ликвидации аварий на ППМН, с разгерметизацией нефтепровода и выходом нефти, необходимо: - остановить перекачку нефти; - закрыть береговые задвижки и отключить аварийный участок нефтепровода; - установить ограждения, препятствующие распространению нефти в водном объекте и организовать сбор разлившейся нефти; - определить место и характер повреждения ППМН; - определить объемы ожидаемой утечки; - организовать доставку людей и технических средств к месту аварии; - организовать ремонт поврежденного (разрушенного) участка ППМН одним из способов, указанных ПЛА; - испытать отремонтированный участок нефтепровода. 5.7.3 При поступлении сообщения о появлении нефти на водной поверхности, берегах водного объекта диспетчер РДП должен немедленно остановить перекачку, направить на место расположения ППМН группу патрулирования ABC для определения места выхода нефти (утечка из резервной или основной нитки ППМН), изучения ситуации. При необходимости на судоходных реках должны быть приняты меры по предупреждению судов об опасности. 5.7.4 Диспетчер, в случае выхода нефти из основной (резервной) нитки ППМН, по согласованию с руководством РНУ (УМН) и диспетчером ОАО МН, вводит в работу резервную (основную) нитку, отключив аварийную нитку, путем переключения береговых задвижек. При возникновении аварии на ППМН во время работы обеих ниток, диспетчер должен остановить перекачку нефти, отключить нитки закрытием задвижек и принять меры по определению места аварии. Перекачка нефти должна быть возобновлена по исправной нитке. 5.7.5 На место аварии немедленно направляются подразделения ABC и водолазные бригады участков подводно-технических работ. 5.7.6 Подразделения ABC, прибывшие на место аварии, должны выставить предупреждающие знаки и принять меры по ограждению и охране места выхода нефти. 5.7.7 В ПЛА для каждого ППМН должны быть приведены зоны возможного распространения нефтяного загрязнения и даны рекомендации по локализации и сбору нефти с поверхности реки или водоема. 5.7.8 Зоны возможного распространения нефтяных загрязнений для каждого конкретного ППМН, эксплуатирующегося в системе магистральных нефтепроводов, определяются при проведении учений по локализации и ликвидации последствий возможных аварий на ППМН или методами экспериментальной гидрологии на масштабных лабораторных моделях. - скорость течения реки на участке русла в створе ППМН, а также в прилегающих рукавах реки; - профиль трассы нефтепровода ППМН; - рельеф береговой зоны на участке ППМН, рельеф дна реки, наличие береговой и донной растительности; - гидрометеорологические и климатические условия в момент возникновения и в период ликвидации аварии; - характер повреждения стенки нефтепровода ППМН; - объем утечки нефти из поврежденного участка. 5.7.10 При определении возможных зон распространения нефтяного пятна могут применяться методы математического моделирования с использованием ПЭВМ, которые позволяют получить точную характеристику поведения нефтяного загрязнения, с учетом местной топографии, гидрологических режимов данного водотока и метеорологических условий, в зависимости от сезона года, и дать прогноз развития аварийной ситуации, для возможной аварии на конкретном ППМН, с указанием: - направления распространения нефтяного загрязнения по водной поверхности, в зависимости от координат места повреждения нефтепровода ППМН и объема утечки, а также гидрологических и метеорологических условий; - характера истечения нефти через толщу грунта и воды. 5.7.11 Задержание и сбор нефти на малых реках и водоемах может осуществляться созданием временных или постоянных запруд или дамб с водоспускными трубами. Конструкции этих запруд и дамб (см. рис. 5.1), их места расположения определяются при разработке ПЛА. Рекомендуемые общие строительные размеры элементов насыпи-дамбы для улавливания нефти на водотоке для обычных условий трассы приведены на рис. 5.1. H = h1 + h2 + 0,5d В = 2H + в; в = 1 ¸ 3 м; h1 ³ 0,5 м; h2 = ³ 2,5d. 1 - оголовок; 2 - труба; 3 - насыпь-дамба; 4 - стальные приварные пластины; 5 - бетонированный лоток; 6 - задвижка Рис. 5.1 - Схема запруды для улавливания нефти на водотоке При подготовке и устройстве дамб должно соблюдаться условие: Q1 £ Q2 или F1V1 £ F2V2, где Q1 - расход воды в водотоке, м3/сек; Q2 - расход воды через трубы, уложенные в "теле" дамбы, м3/сек; F1 - живое сечение поперечника реки водотока, м2; F2 - сумма живых сечений труб, уложенных в "теле" дамбы, м2; V1 - скорость течения реки до строительства дамбы, м/сек; V2 - скорость истечения воды по трубам, м/сек. Площади сечений определяются: F1 = где а - ширина дна реки; с - ширина реки по урезу; hp - высота (глубина) потока воды в реке; F2 = где d - диаметр труб, уложенных в дамбе; n - количество труб, уложенных в дамбе. 5.7.12 Локализации нефти на поверхности водных объектов осуществляются установкой боновых заграждений. Боковые заграждения могут устанавливаться в несколько рядов в зависимости от объема и интенсивности выхода нефти, по возможности, они должны полностью перекрывать русло реки, с учетом факторов, указанных в 5.7.9. Применяются боковые заграждения различных конструкций в соответствии РД 153-39.4-143-99. На мелких реках, на заранее выбранных и подготовленных местах, могут быть использованы также специальные маты из соломы, камыша, бревен и т.п. Уловленную нефть направляют вдоль ограждения к нефтесборщикам или к берегу для последующей откачки. Способы и места установки заграждений и объемы подготовительных мероприятий, с учетом местных условий и времени года, должны быть предусмотрены в ПЛА для ППМН и отработаны на учениях по ликвидации аварий на ППМН. 5.7.13 С поверхности воды нефть следует собирать нефтесборщиками или откачивать её насосами (в смеси с водой) в специальные емкости (земляные амбары, резинотканевые емкости), устраиваемые на берегу, с целью последующей её утилизации. Объемы емкостей и способы утилизации собранной нефти также определяются при разработке ПЛА. 5.7.14 Места устройства заграждений на водотоках, определенные согласно ПЛА, уточняются ответственным руководителем по ликвидации аварий, с учетом конкретных обстоятельств в каждом случае, с таким расчетом, чтобы ко времени подхода головной части нефтяного пятна были закончены работы по сооружению заграждений. 5.7.15 До начала ремонтных работ водолазы должны обследовать ППМН, уточнить место и характер повреждения нефтепровода, после чего ответственным руководителем по ликвидации аварии определяется способ ремонта. 5.7.16 Ремонт ППМН, в зависимости от вида аварии, конкретных условий, технической оснащенности, времени года, может проводиться с подъемом или без подъема нефтепровода на поверхность воды, а также в огражденном от водной среды котловане. 5.7.17 Ремонт нефтепровода с подъемом на поверхность воды (льда) проводится по специально разработанному проекту. 5.7.18 Ремонт нефтепровода без подъема его на поверхность проводят в случаях, если необходимо: установить заиливатели, хомуты, зажимы, муфты; дозаглубить нефтепровод; провести сварку в камере или непосредственно в водной среде; заизолировать нефтепровод полимерной пленкой и т.д. 5.7.19 Ремонт нефтепровода без подъема может быть выполнен под водой ("мокрый" способ) или под защитой устройств (кессонов, камер), обеспечивающих проведение работ "сухим" способом. 5.7.20 До начала сварочных работ в кессоне, камере, ППМН должен быть освобожден от нефти и заполнен водой или загерметизирован с целью предотвращения поступления взрывопожароопасных и отравляющих газов к месту проведения работ. 5.7.21 В воздушной среде кессона или камеры не должно содержаться более 3 мг/м3 сероводорода в смеси с углеводородом и более 300 мг/м3 предельных углеводородов (в пересчете на углерод). 5.7.22 При разработке ПЛА на ППМН необходимо использовать типовые технологические карты и предусматривать наиболее рациональные и эффективные приемы выполнения ремонтно-восстановительных работ. Технология вытеснения нефти водой из поврежденной нитки подводного перехода магистрального нефтепровода 5.7.23 Порядок вытеснения нефти из поврежденного трубопровода подводного перехода выбирается в зависимости от места и характера повреждения подводного трубопровода, наличия камер пуска-приема очистных устройств или разделителей, профиля трассы перехода. Вытеснение нефти выполняется согласно плану мероприятий, разработанному отделами эксплуатации и утвержденному главным инженером ОАО МН, РНУ (УМН) или согласно оперативному плану ликвидации возможных аварий (ПЛА) на ППМН, если в составе ПЛА предусмотрен весь объем работ, подлежащих выполнению по вытеснению с учетом конкретных обстоятельств. 5.7.24 План мероприятий по вытеснению нефти из подводного трубопровода в зависимости от обстоятельств и местных условий на месте аварии должен включать: - определение мест подключения задвижек (вантузов) для откачки нефти из ППМН и закачки в него воды; - способы сбора и транспортировки вытесненной нефти из трубопровода и подачи воды в трубопровод; - выбор и подготовка мест отбора воды из реки для закачки в трубопровод ППМН; - выбор схемы подачи воды, типы применяемых разделителей; - определение схемы обвязки передвижных насосных агрегатов для откачки (и закачки) нефти и закачки воды в трубопровод; - определение места подачи (и запасовки) и приема разделителей при вытеснении нефти; - определение количества оборудования и материалов для монтажа временных трубопроводов; - порядок монтажа трубопроводов и принятые схемы обвязки насосов; - порядок испытания временных трубопроводов на прочность и герметичность; - порядок врезки задвижек для откачки и закачки нефти в действующий параллельный нефтепровод, закачки воды в трубопровод ППМН; - порядок проверки, подготовки разделителей, материалов и оборудования, применяемых при вытеснении; - подготовка приказа о назначении ответственных за выполнение работ при вытеснении (или общего приказа о ликвидации аварии с учетом работ по вытеснению); - определение мер безопасности и инструктаж персонала по выполняемым работам; - порядок опробования разработанной схемы вытеснения и ведения работ по вытеснению. 5.7.25 Работы по вытеснению нефти из поврежденного участка ППМН и заполнению его водой выполняются в следующей последовательности: - врезаются задвижки и подготавливается обвязка для откачки нефти в параллельный трубопровод, в резервную нитку или в сборную емкость и закачки воды в трубопровод; - вырезается катушка, на ее место врезается новая катушка с запасованым разделителем в случае отсутствия постоянных камер пуска на резервных и основных нитках перехода, на противоположной стороне для приема и откачки нефти врезаются задвижки диаметром 150-200 мм; - присоединяются необходимые механизмы и оборудование; - откачивается нефть из трубопровода и закачивается в параллельный трубопровод или за линейной задвижкой ремонтируемого нефтепровода (или в передвижную емкость) и закачивается вода для заполнения в освобождаемый участок трубопровода; - ремонтируемая нитка отключается от действующей магистрали и заглушаются с установкой заглушек после вырезки катушек, пойменные части и участки ППМН на суше, при необходимости, освобождаются от воды. 5.7.26 Вытеснение нефти с нефтепровода осуществляется водой с применением механических разделителей. Вытеснение нефти водой из подводного перехода не допускается проводить прямым контактированием. Возможные схемы вытеснения откачки-закачки нефти приведены на рис. 5.2, 5.3, 5.4. 5.7.27 При вытеснении нефти, в качестве разделителей могут быть использованы скребки-разделители без щеток типа СКР-1, СКР-К конструкции ЦТД "Диаскан" соответствующих диаметров. Работы по приему-пуску разделителей состоят из запасовки разделителей в камеру пуска, запуска в магистраль перед водяной пробкой и приема разделителей в камеру приема и остановки перекачки после заполнения участка подводного перехода водой. MH I, MH II - магистральные нефтепроводы; ППР - пункт пуска-приема разделителей; JIЗ1 ... ЛЗ2 - линейные (береговые) задвижки; Zi , Z2 - геодезические отметки, 1, 2, 3, 4 - насосные агрегаты; 5 - задвижки Æ 150-200 мм, врезанные в МН; 6 - амбар для нефти; 7 - отсекающие (технологические) задвижки; 8 - обратный клапан Рисунок 5.2 - Примерная схема вытеснения нефти водой с однониточного перехода, не имеющего КПП, и закачки нефти в ремонтируемый МН МН - магистральный нефтепровод; КПП - камера пуска-приема разделителей; JIЗ1 ... ЛЗ6 - линейные (береговые) задвижки; Z1, Z2 - геодезические отметки; 1, 2, 3, 4 - насосные агрегаты; 5 - задвижки Æ 150-200 мм, врезанные в МН; 6 - отсекающие (технологические) задвижки; 7 - обратный клапан; 8 - пункты пуска-приема разделителя Рисунок 5.3 - Примерная схема вытеснения нефти водой с основной нитки перехода с применением временной камеры пуска-приема разделителя КПП - камера пуска-приема; ЛЗ1, ЛЗ2 - линейные (береговые) задвижки; 1, 2, 3, 4 - насосные агрегаты; 5 - задвижки Æ 150 мм, врезанные в МП; 6 - обратный клапан Рисунок 5.4 - Схема вытеснения нефти водой и откачки её с резервной нитки, закачки нефти в основную нитку 5.7.28 Вытесненная нефть может быть закачена в резервную (основную) нитку перехода, в параллельный нефтепровод или в передвижные емкости. Примерная схема закачки воды, откачки и закачки нефти, приведена на рис. 5.2, 5.3, 5.4. В случае отсутствия резервной нитки на переходе или параллельного магистрального нефтепровода, вытесняемая нефть из поврежденного участка может быть закачена в нефтепровод за береговыми линейными задвижками или закачена во временный амбар. 5.7.29 Для закачки воды в ППМН и для откачки и закачки вытесненной нефти, могут быть использованы передвижные агрегаты ПНУ-1, ПНУ-1М или (ПНА-1, 2) или другими насосными агрегатами. Заполнение ППМН водой и откачка из него нефти должны вестись с производительностью обеспечивающий скорость движения разделителя 0,75¸2 м/сек. 5.7.30 Время освобождения подводного трубопровода и скорость вытеснения нефти должны регулироваться выбором необходимого количества насосных агрегатов соответствующей производительности. Выбранные насосные агрегаты должны обеспечить возможность преодоления перепада высот по профилю перехода с учетом сил трения и местных сопротивлений. Для предупреждения воздействия на освобождаемый участок давлением, превышающим статическое, откачку нефти следует проводить с подключенными подпорными насосами, при этом количество откачиваемой нефти должно быть равно или больше количества закачиваемой воды на точке закачки. 5.7.31 Вытеснение нефти из нефтепровода подводного перехода при ликвидации аварии на участках суши между урезом и береговыми задвижками, проводятся с учетом местных условий и требований безопасности как при ликвидации аварий на трубопроводе линейной части. 5.7.32 Технология вытеснения нефти из поврежденного участка конкретного перехода магистрального нефтепровода должна быть разработана в составе плана ликвидации возможной аварии (ПЛА), на ППМН через крупные водные переходы - отработана на учениях. 5.7.33. Размещение наполнительных агрегатов, оборудования и технических средств для заполнения водой, откачки и закачки нефти, а также принимаемые меры безопасности должны соответствовать требованиям 11, 12 глав настоящих Правил, Правил пожарной безопасности при эксплуатации МН и другим нормативным документам. Особенности локализации и сбора нефти на водных объектах в зимнее время при наличии ледового покрова 5.7.34 Локализация нефти и направление её в зону сбора в условиях наличия ледового покрова проводится с помощью установки боковых заграждений или созданием во льду направляющих ледовых прорезей. 5.7.35 Прорези располагаются под углом к течению реки в зависимости от скорости в соответствии с рекомендуемыми углами установки боковых заграждений. В конце направляющей прорези сооружается майна для размещения нефтесборщика и вспомогательного оборудования. 5.7.36 Ширина прорези выбирается с учетом всплытия нефтяных частиц в зависимости от скорости течения и толщины льда. В соответствии с отечественным и зарубежным опытом рекомендуемая ширина прорези составляет 1-3 м. 5.7.37 Для сооружения майн и прорезей на ледовом покрове рекомендуется использовать ледорезные механизмы и машины. 5.7.38 Ледорезные работы при глубине воды подо льдом более 0,5 м допускается выполнять после определения приведенной толщины ледяного покрова, способного выдержать нагрузку работающей ледорезной техники. 5.7.39 Наименьшая допустимая толщина ледяного покрова для выполнения всех работ, установки оборудования, размещения материалов и движения транспортных средств определяется из опыта проведения работ и обеспечения безопасности. Возможность проведения работ должна решаться руководителем работ по ликвидации аварии с учетом предыдущего опыта и знания местных условий конкретного водоема в районе аварии (температура воздуха, продолжительность ледостава, нарастание льда по времени, структура льда и характер ледяного поля, химический состав воды, наличие трещин, воды и снега на поверхности льда) и времени нахождения на льду. Рекомендуется определять допустимую толщину льда расчетным путем в соответствии с ВСН 010-88. Определяется приведенная толщина hпр ледового покрова, которая учитывает фактическую структуру и прочность отдельных слоев льда hпр = (hп + 0,5hм)×к1×к2, где hп - замеренная толщина нижнего прозрачного слоя льда, м; hм - замеренная толщина мутного слоя льда, м; к1 - коэффициент, зависящий от структуры льда. При раковистой структуре к1 = 1, при игольчатой к1 = 0,66; к2 - коэффициент, зависящий от температуры. При температуре воздуха ниже 0 °С к2 = 1, при температуре выше 0 °С к2 = 0,8. Определяется расчетная толщина льда, необходимая для размещения груза на сплошном ледяном покрове (при отсутствии вблизи груза майны): hр = 8× где hр - расчетная толщина прозрачного льда кристаллической структуры, м; п - запас прочности, п = 2; Р - масса груза, установленного на лед, т; sр - временное сопротивление льда на растяжение, т/м2 (среднее значение 140 т/м2); В1 и В2 - линейные размеры площади опоры груза, м; к - температурный коэффициент, учитывающий среднесуточную температуру воздуха за последние трое суток, принимаемый по таблице 5.3. Таблица 5.3 - Зависимость коэффициента прочности льда от температуры воздуха
Расчетная толщина льда для размещения груза на ледовом покрове, имеющем прорезь (майну), определяется по формуле hр = 8× где В1 - длина опоры, параллельной прорези, м; В2 - длина опоры, перпендикулярной к прорези, м; прочие обозначения аналогичны принятым для (5.4). Разрешается проводить работы на льду, если выполняется условие hp < hпр. 5.7.40 Для сбора нефти в зимних условиях могут быть применены барабанные (щеточные), лентопротяжные нефтесборщики или дисковые скиммеры. Характеристика и тип нефтесборщиков приведены в РД 153-39.4-143-99. 5.7.41 Для поддержания нефтесборщиков в рабочем состоянии и увеличения эффективности их использования, необходимо обеспечить подачу тепла в зону контакта рабочего элемента нефтесборщиков с нефтяной пленкой. В качестве источника тепла могут быть использованы передвижные паровые установки (ППУ) или электрокалориферы. 5.7.42 Для предохранения прорези и майн от промерзания необходимо принимать меры по их утеплению. При этом необходимо обеспечить отслеживание изменения толщины льда с целью обеспечения безопасности работы персонала. 5.7.43 Надувные боковые заграждения в зимних условиях могут применяться для локализации и направления нефти к месту сбора только на открытых участках воды, но более предпочтительными являются металлические боновые заграждения, кроме того позволяющие проводить выжигание нефти. В силу специфики ликвидации аварий в зимних условиях для локализации и направления нефти можно использовать листовые материалы в виде непрерывного полотна, опускаемого на глубину 0,5-0,7 м и вмораживаемого верхней кромкой в лед. Схема локализации и направления нефтяного пятна приведена на рис. 5.5. 1 - прорезь; 2 - полотно заграждения; 3 - майна; 4 - нефтесборщик; 5 - емкость; 6 - утяжеляющий груз Рисунок 5.5 - Схема локализации и направления нефтяного пятна в зимних условиях Порядок взаимодействия с организациями - владельцами сооружений, находящихся в одном техническом коридоре с ППМН 5.7.44 В планах ликвидации аварий (ПЛА) на подводных переходах магистральных нефтепроводов (ППМН) должны быть также отражены вопросы взаимодействия эксплуатирующей организации с предприятиями-владельцами (коммуникаций), находящихся (проложенных) в едином техническом коридоре с ППМН, а также с производственными объединениями водных путей и речными пароходствами Росречфлота. 5.7.45 Предприятия-владельцы коммуникаций, проложенных в едином техническом коридоре с ППМН, должны иметь ПЛА, предусматривающие меры по недопущению повреждений их коммуникаций при проведении аварийно-восстановительных работ (АВР) на ППМН. ПЛА владельцев соседних коммуникаций технического коридора должны быть согласованы между собой, а также с организацией-владельцем ППМН. 5.7.46 В аварийных ситуациях, требующих безотлагательных мер для их устранения, допускается приступать к АВР без предварительного согласования с заинтересованными организациями, приняв меры к обеспечению сохранности соседних коммуникаций технического коридора во время производства работ на ППМН с сообщением (оповещением) о проведении АВР всем заинтересованным организациям. 5.7.47 Порядок взаимодействия организации-владельца ППМН и предприятий-владельцев коммуникаций технического коридора должен определяться в соответствии с Положением о взаимоотношениях ведомств, коммуникации которых проходят в одном техническом коридоре и Правилами охраны магистральных трубопроводов. 5.8 Особенности ликвидации аварий в горных условиях, на переходах через железные и автомобильные дороги5.8.1 При ликвидации аварии в горных условиях производство работ сводится к восстановлению работоспособности нефтепровода и укреплению грунта в районе его прохождения. Производство земляных работ должно выполняться с учетом требований СНиП III-42-80*. При производстве работ в горных стесненных условиях должны быть приняты меры против повреждения самого нефтепровода в процессе ремонта, а рабочие механизмы должны размещаться на полке в технологической последовательности и иметь возможность беспрепятственно отходить после отработки, не задерживая выполнения последующих операций АВР. Площадки для проведения работ устраиваются в зависимости от рельефа и характеристики грунтов в виде выемки или полунасыпи-полувыемки. При невозможности устройства горизонтальных площадок в горных условиях должны приниматься меры по обеспечению устойчивости механизмов путем закрепления их упорами и якорением за деревья, трактора, механизмы. 5.8.2 При работе на склонах крутизной более 35° рабочие должны быть обеспечены съемными металлическими подковами; при работе на откосах высотой более 3 м и крутизной более 45° работающие закрепляются предохранительными поясами, закрепляемыми за стальной штырь. Штыри заделываются в пробуренных шпурах на 0,5 м в скальных и 0,7 м в связанных грунтах. Земляные работы на участках с поперечным уклоном до 8° и продольным уклоном 15° должны выполняться механизмами на колесном и гусеничном ходу обычными методами, на косогорах с поперечным уклоном более 8° и продольным уклоном более 15°, устойчивость механизмов обеспечивается устройством полок и (или) анкеровкой. В этом случае способ закрепления, количество анкеров или марка удерживающих механизмов, выбор троса для закрепления должны быть определены в ПЛА с учетом ситуации местности и возможных обстоятельств. 5.8.3 При восстановлении нефтепровода на участках в скальных грунтах необходимо учитывать трудность создания ремонтного котлована в стесненных условиях непосредственно у нефтепровода. Разработка грунта должна проводиться после предварительного рыхления, осуществляемого механическим или взрывным способом. Остальные операции восстановительного ремонта нефтепроводов в скальных грунтах выполняются обычным способом. Производство работ по ликвидации аварии, методы выполнения технологических операций, с учетом местных условий, должны быть определены в ПЛА. 5.8.4 Аварии на переходах нефтепроводов через автомобильные и железные дороги ликвидируются, как правило, путем замены дефектного участка новым. Выполнение АВР на переходах магистральных нефтепроводов через автомобильные и железные дороги включает следующие операции: - монтаж и сварка участка трубопровода рядом с ремонтируемым нефтепроводом; - вскрытие участка; - создание рабочего и приемного котлована; - освобождение от нефти участка нефтепровода; - вырезка участка трубопровода в рабочем котловане необходимой длины для демонтажа поврежденного участка; - вытаскивание поврежденного участка трубопровода из кожуха; - прокладка (протаскивание) нового трубопровода внутри кожуха и его опрессовка; - соединение трубопровода сваркой с нефтепроводом; - изоляция стыков; - устройство уплотнений, колодца, отводной канавы; - засыпка котлована и рекультивация земли. В случае невозможности вытаскивания поврежденного трубопровода из кожуха или значительной сдвижки его вместе с кожухом, следует соорудить новый переход согласно разработанному проекту. 5.9 Техническая документация5.9.1 По окончании работ по ликвидации аварии или инцидента эксплуатационными службами ОАО МН или РНУ (УМН) составляется исполнительно-техническая документация, подтверждающая виды проводимых работ и их качество. 5.9.2 В состав исполнительно-технической документации при ликвидации аварии на линейной части входят: - сертификаты на трубы, электроды, детали трубопроводов, изоляционные материалы; - паспорта на установленное оборудование; - акты испытания смонтированных труб, оборудования до и после монтажа; - схема монтажа и журнал сварных стыков ремонтируемого участка трубопровода; - заключение по результатам контроля качества сварных стыковых и угловых швов обварных "чопиков" (пробок) и болтов; - схемы или чертежи конструкций усилительных элементов - муфт, хомутов, смонтированных на нефтепроводе; - акты на замену деталей или конструкций оборудования, приборов; - журнал изоляции или акты на изоляцию и результаты проверки качества изоляции; - копии удостоверений сварщиков. 5.9.3 Подготовленная техническая документация должна храниться совместно с паспортами линейной части, НПС, перевалочной нефтебазы, ППМН магистральных нефтепроводов. 6 ЛИКВИДАЦИЯ ПОСЛЕДСТВИЙ АВАРИЙ6.1 После завершения АВР и пуска нефтепровода в работу, силами и средствами ABC, согласно разработанному Плану, должны быть устранены последствия аварии. В состав Плана должно входить следующее: - способы и методы откачки и закачки собранной нефти, разлитой вследствие аварии; - способы уборки остатки нефти из ям, амбаров, замазученности территории; - методы утилизации собранных остатков с сорбентом, торфом, соломой или шламов и места расположения специальных пунктов для сбора и утилизации нефтяных загрязнений; - работы по демонтажу временных нефтепроводов с арматурой, сборных или резиновых емкостей для сбора нефти, оборудования, жилых вагончиков и других сооружений; - виды и способы работ по восстановлению земельных площадей, участков и объемы работ по рекультивации земель; - способы удаления и очистки от нефти надземных и подземных вод при их заражении; - способы удержания и очистки попавшей под лед нефти при авариях; - оценка степени загрязнения земель, водных объектов и атмосферы в результате аварии; - проект и график восстановления объектов, разрушенных от взрыва или пожара в результате аварий. В зависимости от последствий аварий, вида предстоящих работ, Планы ликвидации последствий аварий могут быть согласованы с Госгортехнадзором, природоохранными и противопожарными органами. 6.2 Закачка нефти из ям-накопителей в магистральный нефтепровод проводится по временному нефтепроводу передвижными насосными агрегатами типа ПНА-1, ПНА-2, ПНУ-1, ПНУ-1М или другими высоконапорными агрегатами. A. После откачки нефти из ям-накопителей, амбаров, запруд на поверхность оставшейся в них нефти, которую невозможно откачать, наносится сорбент (торф, солома, опилки и т.д.), количество которого определяется с учетом его поглощающей способности. После пропитывания сорбента нефтью его собирают и вывозят на специальные пункты для утилизации. Если сорбент не впитал с поверхности почвы всю нефть, операцию повторяют. Б. Нефть, разлившаяся по поверхности земли покрытой снегом, и снежной массой, должна быть собрана в сборные котлованы для откачки или вывезены в очистные сооружения ближайшей НПС. Остатки нефти с землей должны быть собраны и вывезены на пункты утилизации, а участок земли подвергнут рекультивации согласно РД 39-00147105-006-97. B. Тонкие слои нефти, оставшейся на поверхности воды после сбора нефтесборщиками, нефть, оставшаяся в лагунах, рукавах, заливах, убираются сорбентами. Остаточные нефтяные загрязнения, нефть, оставшаяся на плесах, берегах, между растительностью, смываются водой, собираются на поверхности воды между берегом и боковыми заграждениями, затем убираются с помощью сорбентов, которые наносятся на водную поверхность и после пропитывания остаточной нефти собираются и вывозятся на специальные полигоны, где утилизируются или сжигаются. Г. Нефть, разлившаяся по поверхности льда, должна быть собрана механизированным или ручным способом и вывезена в котлованы или ближайшую НПС. Нефть, попавшая под лёд должна быть собрана нефтесборщиками и вывезена. Оставшаяся нефть после уборки со льда и из подо льда, по согласованию с экологическими и противопожарными органами, может быть уничтожена путем сжигания. Не сожженная часть загрязненной нефтью остатки льда (и снега) должны быть вывезены для утилизации в специально отведенные места. Возможные способы сбора и ликвидации остатков нефти, с учетом различных ситуаций и климатических условий, должны быть предусмотрены в Планах ликвидации возможных аварий на линейной части или на подводных переходах МН. 6.4 При ликвидации последствий аварии запрещается: - засыпать ямы-накопители и дренажные канавы до полной откачки из них остатков нефти; - вывозить почву, загрязненную нефтью, в отвалы, не отведенные для этих целей; - сжигать неоткачанную из амбаров (котлованов) нефть. Сжигание остатков нефти может проводиться, как исключение, при уборке остаточных нефтяных загрязнений на поверхности болот, пойменных (камышовых) и береговых участков (водоемов) по согласованию с местным комитетом экологии и органом пожарной охраны. Остатки - битумообразные отходы, нефтешламы должны быть собраны и вывезены в специальные пункты для утилизации, а при их отсутствии - в места, согласованные с природоохранными органами. 6.5 После завершения АВР должна быть проведена рекультивация земель в соответствии с требованиями инструкции РД 39-00147105-006-97. 6.6 Процесс рекультивации земель, нарушенных и загрязненных при аварии на МН, включает: - удаление из почвы остатков нефти; - рекультивацию земель (технический и биологический этапы). 6.7 Рекультивацию, загрязненных нефтью земель, следует осуществлять с учетом уровня загрязнения, климатических условий и состояния биогеноценоза. Рекультивация включает два этапа: технический и, при необходимости, биологический. 6.8 Техническая рекультивация земель предусматривает планировку, формирование откосов, снятие и нанесение плодородного слоя почвы, устройство гидротехнических и мелиоративных сооружений, а также проведение других работ, создающих условия для дальнейшего использования рекультивированных земель по целевому назначению или для проведения мероприятий по восстановлению плодородия почв (биологический этап). 6.9 Биологическая рекультивация включает комплекс агротехнических и фитомелиоративных мероприятий (подготовка почвы, внесение удобрений, подбор трав и травосмесей, посев, уход за посевами) и направлена на закрепление поверхностного слоя почвы корневой системой растений, создание сомкнутого травостоя и предотвращение развития водной и ветровой эрозии почв на нарушенных землях. 6.10 В Планах ликвидации возможных аварий для объектов магистральных нефтепроводов должны быть предусмотрены меры по ликвидации последствий загрязнения подземных вод от аварийных разливов нефти, учитывающие специфику конкретных обстоятельств аварий и местные условия. Мероприятия по ликвидации последствий загрязнения подземных вод от аварийных разливов нефти в общем виде включают следующее: - изучение гидрогеологических характеристик места аварийного разлива нефти и определение вероятности загрязнения подземных вод, в т.ч. мест водозаборов для питьевого и хозяйственного водоснабжения; - обустройство наблюдательных скважин по контролю за качеством (загрязнением) подземных вод; - сооружение водозаборных(защитных) скважин для откачки загрязненных нефтью подземных вод; - очистку загрязненных нефтью подземных вод, обеспечивающую ПДК содержания нефтепродуктов в очищенной воде на уровне требований соответствующих нормативных документов; - порядок взаимодействия заинтересованных организаций в процессе выполнения мероприятий по ликвидации последствий загрязнений подземных вод; - другие меры, применяемые с учетом конкретных обстоятельств. 6.11 С целью предотвращения негативного воздействия на окружающую среду в процессе эксплуатации объектов магистральных нефтепроводов организациями, эксплуатирующими МН, должны обеспечиваться следующие мероприятия: - приобретение установок, материалов, оборудования и технического флота по сбору нефти, мусора и других отходов и загрязняющих веществ с акваторий водоемов; - создание автоматических систем контроля за загрязнением атмосферного воздуха, оснащение стационарных источников выброса вредных веществ в воздушный океан приборами контроля; - строительство, реконструкция полигонов по обезвреживанию вредных промышленных отходов; - приобретение оборудования, материалов для рекультивации нефтезагрязненных земель. 6.12 С целью ликвидации последствий вредных воздействий аварий на объектах магистральных нефтепроводов, организациями, эксплуатирующими МН, должны выполняться следующие мероприятия: - развитие производства и внедрение технологий по переработке отходов; - рекультивация нефтезагрязненных земель; - ликвидация шламонакопителей, рекультивация технологических амбаров. 6.13 Организацией, эксплуатирующей магистральные нефтепроводы, должны предусматриваться мероприятия по ликвидации последствий аварий, которые включают в себя: - разработку и согласование с местными природоохранными и другими заинтересованными органами надзора мероприятий по ликвидации последствий аварий; - организацию сбора разлитой нефти; - организацию производственного экологического контроля за состоянием нарушенных компонентов природной среды; - определение размеров компенсационных выплат за ущерб, нанесенный природной среде аварией; - организацию отбора арбитражных проб (при разногласиях с контролирующими природоохранными органами); - организацию работ по восстановлению нарушенных компонентов природной среды. 6.14 Производственному экологическому контролю должны подвергаться системы для предупреждения, локализации и ликвидации последствий техногенных аварий, приводящих к отрицательным воздействиям на окружающую природную среду, а также почвы и природные воды, загрязненные нефтью по вине природопользователя. Порядок проведения производственного экологического контроля определяется внутрипроизводственными программами, технологическими регламентами (инструкциями, планами природоохранных мероприятий и другой нормативно-методической документацией) с учетом требований Регламента проведения производственного экологического контроля в процессе эксплуатации производства работ в дочерних акционерных обществах ОАО "АК "Транснефть". 7 ПЛАН ЛИКВИДАЦИИ ВОЗМОЖНЫХ АВАРИЙ НА ОБЪЕКТАХ МАГИСТРАЛЬНЫХ НЕФТЕПРОВОДОВ7.1 Для объектов МН, в т.ч. участков нефтепроводов линейной части подводных переходов через судоходные реки, НПС и перевалочных нефтебаз магистральных нефтепроводов, в РНУ (УМН) в соответствии с постановлением Правительства Российской Федерации от 21 августа 2000 г. № 613 и с требованиями действующих нормативных правовых актов должны быть разработаны Планы ликвидации возможных аварий (ПЛА). ПЛА для нефтепроводов должны быть разработаны для максимально возможного объема разлившейся нефти, величина которого принимается: - при порыве нефтепровода- 25 % максимального объема перекачки в течение 6 ч, и объем нефти между запорными задвижками на поврежденном участке нефтепровода; - при повреждении стенки трубопровода - 2 % максимального объема перекачки в течение 14 дней. ПЛА определяют действия должностных лиц ОАО МН и РНУ (УМН), ремонтного персонала ABC по проведению АВР, спасению людей, оказавшихся в опасной зоне, обеспечению безопасности соседних объектов, защите окружающей природной среды, ликвидации последствий аварии. 7.2 План ликвидации возможных аварий должен содержать: - оперативную часть; - техническую часть. 7.3 В оперативной части ПЛА должно быть представлено: - распределение обязанностей между отдельными службами и лицами, участвующими в ликвидации аварии, и порядок их взаимодействия; - организация управления, связи и оповещения должностных лиц структурных подразделений, которые должны быть немедленно извещены об аварии, с указанием телефонов, домашних адресов; - порядок обеспечения готовности ремонтного персонала и технических средств с указанием ответственных за поддержание их готовности; - порядок действий группы патрулирования в начальный период после обнаружения аварии; - перечень мероприятий по спасению людей и оказанию медицинской помощи; - перечень сторонних организаций, предприятий, землевладельцев и других заинтересованных организаций, а также порядок их оповещения о возможном распространении разлившейся при аварии нефти и о границах взрывопожароопасной зоны с целью принятия совместных мер по обеспечению безопасности населенных пунктов, промышленных и сельскохозяйственных объектов и по защите окружающей природной среды; - маршруты следования групп патрулирования, техники и ремонтного персонала ABC к месту аварии; - порядок организации материально-технического, инженерного обеспечения для ликвидации аварий; - порядок, формы и сроки оформления документации об аварии. 7.4 Техническая часть ПЛА должна содержать: - расчет объема предполагаемого стока и площадь распространения (растекания) нефти, методов задержания нефти, мест установки заградителей, способов сбора нефти, характеристик водоема или водотока; - расчет сил и средств для ликвидации аварии на объекте МН, выполняемых с учетом, что время локализации аварии, исключая время прибытия аварийно-восстановительных служб к месту разлива нефти, не должно превышать 4 ч при разливе нефти в акватории и 6 ч - при разливе на почве; - график выполнения работ по ликвидации аварий (приложение Г); - оперативный журнал ведения работ при ликвидации аварии; - перечень технической документации, необходимой для организации и выполнения работ по ликвидации аварии; - план и профиль участка нефтепровода с указанием всех подземных и надземных коммуникаций в техническом коридоре; - план объекта МН (резервуарного парка, помещения насосной, сливо-наливной эстакады, очистных сооружений, причала) с указанием мест размещения основного технологического оборудования, шкафов с газозащитной аппаратурой и инструментом, мест размещения материалов, используемых при аварии, щитов со средствами пожаротушения, пожарного извещателя и телефонов, а для закрытых помещений (насосной и т.п.) - расположения основных и запасных выходов, устройств включения вентиляции; - схему технологических и вспомогательных нефтепроводов, с указанием мест расположения и номерами задвижек, клапанов, кранов, вентилей, пунктов их управления и других устройств; - схему расположения вдольтрассовой ЛЭП и линейных потребителей; - описание методов ликвидации аварии на объекте МН; - перечень мероприятий по обследованию состояния нефтепровода после ликвидации аварии, порядок закрытия и открытия линейных задвижек; - перечень мероприятий по сбору и утилизации разлитой нефти, ликвидации последствий аварий (по форме 2, приложение Г); - перечень мероприятий по охране окружающей природной среды; - перечень мероприятий по сохранению качества нефти; - транспортную инфраструктуру в районе возможного разлива нефти; - обоснование времени доставки сил и средств для ликвидации аварийного разлива нефти к месту чрезвычайной ситуации. 7.5 При расчетах силы средств, составлении графиков выполнения работ продолжительности ликвидации аварий на МН должны учитываться характер повреждения и количества вытекшей нефти, диаметр и профиль трассы нефтепровода, погодно-климатические условия на месте повреждения и другие факторы. С учетом указанных расчетная продолжительность выполнения работ по ликвидации аварий может составить 80 ч. в обычных условиях (приложение И) и могут быть больше на 30-50 % при ликвидации аварий на болотах. 7.6 ПЛА должны быть согласованы со всеми владельцами объектов, проходящих в одном техническом коридоре, с местными органами Госгортехнадзора, Минприроды и МЧС, а на участках пересечения МН с железной дорогой, автомобильной дорогой - с представителями организаций, эксплуатирующих данные объекты. 7.7 В ПЛА в 10-ти дневный срок должны быть внесены соответствующие изменения и дополнения при изменении технологических режимов, замене и реконструкции оборудования, внедрении систем автоматики, телемеханики, защиты. 7.8 ПЛА разрабатываются при вводе объекта в эксплуатацию и ежегодно пересматриваются комиссией в составе: начальника отдела эксплуатации, старшего диспетчера, главного механика, главного энергетика, инженера по охране труда, инженера по экологической безопасности РНУ (УМН), представителя ПТУС, заместителя начальника (старшего инженера) ЛПДС, начальника ЦРС (СУПЛАВ), начальника пожарной части. 7.9 ПЛА должны быть подписаны всеми членами комиссии и утверждены главным инженером РНУ (УМН) или ОАО МН до начала следующего года. 7.10 Ответственность за своевременное и правильное составление ПЛА и соответствие их существующему положению в производстве несет главный инженер РНУ (УМН), контроль за выполнением организует главный инженер ОАО МН. 7.11 ПЛА должны находиться у главного инженера РНУ (УМН), диспетчера РНУ (УМН), начальника ЛПДС (НПС), начальника ЦРС (СУПЛАВ), оператора ЛПДС (НПС). 8 ПОДРАЗДЕЛЕНИЯ СЛУЖБЫ ЛИКВИДАЦИИ АВАРИЙ8.1 Ликвидация аварий, аварийных утечек нефти и их последствий на объектах магистральных нефтепроводов должна выполняться силами и средствами аварийно-восстановительных служб ОАО МН с привлечением, при необходимости, сил и средств сторонних организаций. 8.2 Работы по ликвидации аварий на объектах магистральных нефтепроводов осуществляются силами центральных ремонтных служб (ЦРС), созданных при РНУ (УМН), в состав которых входят участки аварийно-восстановительных работ (участки АВР), участки устранения дефектов, участки откачки нефти из трубопровода или СУПЛАВ, организованное при ОАО "Сибнефтепровод". 8.3 Структура и места расположения подразделений ABC, их вид и количество определяются ОАО МН с учетом требований Правил технической эксплуатации магистральных нефтепроводов. 8.4 Участки линейной части магистральных нефтепроводов, ЛПДС (НПС), перевалочные нефтебазы, пункты налива и приема нефти должны быть закреплены приказами ОАО МН и РНУ (УМН) за подразделениями ABC для выполнения аварийного ремонта и технического обслуживания. Протяженность участка МН, закрепляемого за каждым подразделением ABC, в зависимости от диаметра, количества ниток нефтепроводов, природно-климатических условий и местных условий, должна составлять, как правило, 100-150 км, но не должна превышать 250 км. Границы обслуживания ЦРС рекомендуется устанавливать в пределах протяженности нефтепроводов, эксплуатируемых РНУ (УМН). 8.5 Для каждого участка нефтепровода должен быть создан аварийный запас труб, арматуры, деталей нефтепроводов в объеме и количестве, соответствующем требованиям ПТЭ МН (РД 153-39.4-056-00). 8.6 Аварийно-восстановительные службы должны: - проводить плановые работы на своем участке по графику с целью предотвращения аварии; - оперативно ликвидировать аварии и их последствия; - содержать в постоянной готовности все технические и транспортные средства, используемые при ликвидации аварии; - проводить обслуживание и содержать все объекты на закрепленном участке магистрального нефтепровода в состоянии, отвечающем требованиям Правил технической эксплуатации магистральных нефтепроводов, Правил охраны магистральных трубопроводов и других нормативных документов; - осуществлять контроль за состоянием трассы МН на закрепленном участке нефтепровода путем регулярного патрулирования; - своевременно пополнять аварийный запас труб, сменных узлов и деталей; - обеспечивать прикрепленные производственные участки необходимой нормативной и технической документацией, технологическими операционными картами, должностными и производственными инструкциями; - повышать уровень профессиональной подготовки ремонтного персонала путем обучения, тренировок, учений. - своевременно аттестовывать сварщиков и специалистов ABC по сварочному производству. 8.7 Для повышения профессионального уровня персонала совершенствования технологий выполнения АВР в целом и её отдельных операций в каждом ОАО МН, РНУ (УМН) должны постоянно проводиться и отрабатываться учения и учебно-тренировочные занятия. Учения и учебно-тренировочные занятия должны проводиться по специальной программе с периодичностью: участки ЦРС - не реже одного раза в месяц; СУПЛАВ - не реже одного раза в полугодие; РНУ (УМН) - не реже одного раза в год. 8.7 Подразделения ABC должны быть: - обеспечены в соответствии с РД 39-025-90 и РД 153-39.4-143-99 техническими и транспортными средствами, оборудованием, материалами; - укомплектованы персоналом соответствующей квалификации согласно штатному расписанию. Персонал ABC должен знать специфику и расположение закрепленных за ним объектов, их расположение относительно соседних нефтепроводов, сооружений, линий электропередач, связи и т.д., а также знать правила производства работ в охранной зоне нефтепроводов, в местах прокладки кабелей, воздушных линий электропередач и других сооружений и коммуникаций, находящихся в зоне расположения обслуживаемого нефтепровода. 8.8 Персонал, ремонтная техника и технические средства ABC должны использоваться только при ликвидации аварий и выполнении плановых мероприятий по техническому обслуживанию и ремонту нефтепроводов. Табельные, и используемые при ликвидации аварий и их последствий технические средства, должны иметь в комплекте соответствующие инструкции по эксплуатации; персонал ABC должен знать эти инструкции и применять технические средства в соответствии с их требованиями. 9 ОРГАНИЗАЦИЯ СВЯЗИ ПРИ ПРОИЗВОДСТВЕ АВАРИЙНО-ВОССТАНОВИТЕЛЬНЫХ РАБОТ9.1 Оперативная и информационная связь между производственными подразделениями и службами ОАО МН (РНУ (УМН)), участвующими при выполнении работ по ликвидации аварий на объектах магистральных нефтепроводов, осуществляется силами и средствами производственно-технических управлений связи ПТУС ОАО "Связьтранснефть". 9.2 Подразделения (бригада связи) ПТУС, выделенные для обеспечения связи в период ликвидации аварии, начиная с момента возникновения до окончания работ по устранению её последствий, должны находиться в подчинении у ответственного руководителя по ликвидации аварии. 9.3 Диспетчер РНУ (УМН) или ОАО МН при получении сообщения о возникновении аварии обязан немедленно сообщить об этом диспетчеру связи или руководителю ПТУС. Сообщение должно быть зарегистрировано в диспетчерском журнале. 9.4 Производственно-техническое управление связи после получения сообщения диспетчера РНУ (УМН) или ОАО МН о возникновении аварии должно немедленно приступить к выполнению работ по организации связи. 9.5 Руководитель ПТУС, в зависимости от сложности аварии, должен принимать личное участие в организации и обеспечении связи с выездом на место аварии. 9.6 Диспетчер связи ПТУС, получив сообщение об аварии, обязан: - немедленно доложить о возникновении аварии руководителю ПТУС; - оповестить и обеспечить сбор работников подразделений связи; - выяснить у диспетчера РНУ (УМН) или ОАО МН нахождение пункта сбора группы поиска места аварий, время выезда (вылета) группы, вид транспорта, фамилию лица, возглавляющего группу, характер аварии и особенности организации связи. 9.7 Ответственность за организацию и обеспечение устойчивой связи с подразделениями ОАО МН, участвующими в ликвидации аварии, инспектирующими и другими организациями, возлагается на руководителя аварийной бригады связи, назначенного приказом руководства ПТУС. 9.8 Продолжительность выполнения мероприятий по организации и обеспечению связи на период ликвидации аварии и её последствий должна быть регламентирована утвержденными схемами организации связи для всех участков нефтепроводов с учетом возможного распространения последствий аварии. 9.9 Работник (связист), участвующий в составе группы в поиске места и определении характера аварии, должен выполнять все распоряжения и поручения руководителя старшего патрульной группы поиска. 9.10 Бригада связи, прибыв на место аварии, должна немедленно приступить к развертыванию связи. Руководитель бригады должен организовать устойчивую связь между всеми подразделениями РНУ (УМН) и ОАО МН, участвующими в ликвидации аварии, а также с руководством и диспетчером ОАО "АК "Транснефть". 9.11 Ответственный руководитель по ликвидации аварии после прибытия бригады связи на место аварии обязан: - указать место размещения средств связи (палатка, вагончик, навес, транспортные средства и т.д.); - определить перечень лиц, которым разрешается доступ к использованию средств связи; - назначить лицо, ответственное за сбор и передачу информации с места аварии; - оказывать услуги жизнеобеспечения членам бригады связи наравне со всеми работниками, участвующими в ликвидации аварии (питание, отдых, медпомощь). 9.12 Руководитель аварийной бригады связи, развернув средства связи, обязан доложить о её готовности ответственному руководителю по ликвидации аварии, диспетчеру связи, руководству ПТУС и организовать постоянное дежурство у аппаратуры связи на все время ликвидации аварии и её последствий. 9.13 Свертывание и демонтаж аварийных средств связи после ликвидации последствий аварии проводятся по указанию ответственного руководителя по ликвидации аварии с согласия руководства ПТУС. Бригада связи должна выполнять свои функции до полного завершения АВР и на постоянное место дислокации может вернуться только по разрешению ответственного руководителя по ликвидации аварии. 9.14 Для отработки организации и осуществления связи с наиболее вероятными местами возможных аварий в соответствующих подразделениях ПТУС и ОАО МН ежеквартально должны проводиться учебно-тренировочные занятия. В качестве таких занятий может быть использована организация связи во время выполнения плановых ремонтов нефтепроводов. 9.15 Бригада связи должна состоять из специалистов по всем видам связи и быть укомплектована необходимыми средствами, оборудованием, материалами, инструментом. 9.16 При организации связи используются мобильные радиостанции, установленные на транспортных средствах ABC, резервные радиостанции ПТУС, а также, по согласованию с ПТУС, используются резервные частоты для организации симплексной связи. При наличии вблизи места возникновения аварии средств связи других организаций и ведомств должна быть рассмотрена, при необходимости, возможность использования их услуг. 9.17 Для обеспечения подразделений ABC устойчивой связью при возникновении аварий ПТУС заблаговременно совместно с ОАО МН должен разработать Инструкцию по организации и обеспечению связи при ликвидации аварий на МН, которая должна быть составной частью ПЛА. 10 РЕГИСТРАЦИЯ, ТЕХНИЧЕСКОЕ РАССЛЕДОВАНИЕ ПРИЧИН ВОЗНИКНОВЕНИЯ АВАРИЙ, ИХ УЧЕТ10.1 Аварии, произошедшие на магистральных нефтепроводах, независимо от тяжести и сложности, подлежат регистрации, техническому расследованию и учету. Регистрация и учет аварий и повреждений на объектах МН должны проводиться согласно требованиям Правил технической эксплуатации магистральных нефтепроводов РД 153-39.4-056-00 и в соответствии с Регламентом представления срочных донесений об авариях и отказах на МН, НПС и РП и их учета, утвержденного ОАО "АК "Транснефть". 10.2 Целью расследования аварий, изучения обстоятельств и причин их возникновения является выбор наиболее эффективных мер по предупреждению и ликвидации подобных аварий в будущем. 10.3 Техническое расследование аварий и инцидентов должно проводиться согласно Положению о порядке технического расследования причин аварий на опасных производственных объектах, утвержденному Постановлением Госгортехнадзора России от 8.06.1999 г. № 40 и Регламенту представления срочных донесений об авариях и отказах на магистральных нефтепроводах, НПС и РП и их учета. 10.4 Техническое расследование причин аварий проводится специальной комиссией, возглавляемой представителем территориального органа Госгортехнадзора России. 10.5 К работе комиссий по расследованию аварий, в зависимости от характера, причин и последствий, должны быть привлечены представители: - территориальных органов исполнительной власти субъектов Российской Федерации, на территории которых располагается опасный объект; - органов государственной пожарной охраны; - органов государственного санитарного надзора; - Минприроды; - органов по использованию и охране водных ресурсов и рыбного хозяйства; - отдела экологической безопасности и рационального природопользования ОАО МН; - строительно-монтажных организаций и Государственной инспекции по качеству строительства, если авария произошла вследствие брака, допущенного при строительстве; - заводов-изготовителей труб, арматуры, оборудования, если причиной аварии явились металлургические или заводские дефекты; - проектных институтов, если причиной аварии послужили недостатки проекта; - научно-исследовательских организаций; - топливно-энергетической, строительной, металлургической и других отраслей. 10.6 Техническое расследование причин инцидентов проводится комиссией, назначаемой руководителем ОАО МН или РНУ (УМН), на объектах которого произошло повреждение. 10.7 ОАО МН представляет в ОАО "АК "Транснефть" за подписью главного инженера ОАО МН следующие материалы: - письменное донесение о выходе нефти по установленной форме (Приложение Д) - не позднее одного часа с момента поступления первоначальной информации; - акт предварительного расследования - в течение суток; - план-график мероприятий по локализации и ликвидации аварий и повреждений по установленной форме (Приложение Г) - не позднее трех часов с момента возникновения аварии; - план-график мероприятий по ликвидации последствий аварий по установленной форме (Приложение Г) - в течение шести часов с момента прибытия на место аварии; - справку о ходе выполнения работ по ликвидации аварии - передается каждые три часа; - справку о ходе выполнения работ по ликвидации последствий аварии - передается ежедневно. 10.8 По результатам расследования аварии руководитель ОАО МН в пятидневный срок с момента получения актов расследования должен издать приказ с указанием причин аварии, виновных лиц, мероприятий, подлежащих выполнению, со сроками исполнения и довести его до сведения всех подразделений с целью предупреждения подобных аварий. Порядок расследования аварий и повреждений 10.9 Комиссия по расследованию аварии должна приступить к работе немедленно по прибытии на место аварии. 10.10 До прибытия комиссии на место аварии все части разрушенного или поврежденного объекта должны быть, по возможности, сохранены. 10.11 Для расследования аварии ОАО МН, РНУ (УМН) должны обеспечить комиссию всеми техническими средствами и нужными в работе сведениями, представить необходимую документацию и материалы для выяснения обстоятельств, характера и причин аварии. 10.12 При определении причин аварии комиссией устанавливаются факторы конструктивного, технологического или эксплуатационного характера, вызвавшие аварию, для чего выясняются: - соответствие разрушенного, поврежденного объекта проекту, государственному стандарту, техническим условиям на изготовление; - соответствие выполнения строительно-монтажных работ требованиям строительных норм и правил; - соответствие эксплуатационных параметров работы заданным; - наличие и состояние средств автоматической защиты, сигнализации, предохранительных устройств, правильность действий персонала в аварийной ситуации. 10.13 По результатам расследования аварий и инцидентов составляется акт специальной формы (приложение Л). 10.14 В тех случаях, когда непосредственно на месте аварии невозможно установить причину разрушения нефтепровода, образцы вырезанные из аварийной катушки, передаются в независимую лабораторию для исследования. 10.15 К акту технического расследования аварии магистрального нефтепровода прилагаются: - эскизы разрушения и методы ремонта нефтепровода; - ситуационный план с эскизом площади, залитой нефтью; - справка товарно-транспортной службы с расчетом потерь нефти; - картограммы давления на нагнетании и всасывании ближайших нефтеперекачивающих станций к месту аварии нефтепровода; - профиль трассы дефектного участка с эпюрой давлений, технологической схемой и ситуационным планом; - заключение научно-исследовательского института (лаборатории) по результатам исследования образцов из дефектных участков нефтепроводов (при необходимости); - объяснительные записки и другие материалы (при необходимости). 10.16 Акты технического расследования аварий магистральных нефтепроводов направляются и хранятся в ОАО МН, РНУ (УМН), ЛПДС в течение срока эксплуатации МН. Акты технического расследования аварий технологических объектов МН направляются в вышестоящую организацию, в Госгортехнадзор России и по требованию - в другие инспектирующие организации. 10.17 ЛПДС (НПС), РНУ (УМН), ОАО МН должны вести журнал (учета) "Сведений об авариях и отказах на магистральных нефтепроводах" установленной формы (приложение М). 10.18 Отдел экологической безопасности и рационального природопользования ОАО МН регистрирует и ведет учет аварий и повреждений с выходом нефти, контролирует образование, хранение и переработку нефтешламов и в установленные сроки заполняет формы в системе СКУТОР (форма 2 приложение М). Отдел экологической безопасности и рационального природопользования ОАО МН осуществляет постоянный контроль за выполнением мероприятий по ликвидации последствий аварий. При выявлении фактов срыва сроков выполнения мероприятий по ликвидации последствий аварий, не выполнения полного объема запланированных работ проводит повторные осмотры места аварии, составляет протоколы повторных проверок и представляет главному инженеру ОАО МН и начальнику отдела эксплуатации ОАО МН. 10.19 Отдел эксплуатации ОАО МН регистрирует и ведет учет причин аварий и повреждений с выходом и без выхода нефти, актов расследований, методов аварийного ремонта. 10.20 Все случаи аварий и повреждений с выходом и без выхода нефти на нефтепроводах и объектах НПС, регистрируются в журнале установленной формы, который хранится в диспетчерском управлении ОАО "АК "Транснефть". 11 ОХРАНА ТРУДА ПРИ ЛИКВИДАЦИИ АВАРИЙ11.1 Организация и выполнение АВР на магистральных нефтепроводах должны соответствовать требованиям Правил технической эксплуатации магистральных нефтепроводов, Правил безопасности при эксплуатации магистральных нефтепроводов и настоящих Правил. 11.2 Привлекаемый к работам по ликвидации аварий персонал должен быть проинструктирован по безопасным методам и приемам выполнения АВР. 11.3 К выполнению работ по ликвидации аварий на магистральных нефтепроводах допускаются лица не моложе 18 лет, прошедшие обучение безопасным методам и приемам работ и проверку знаний. 11.4 К работам по сбору разлитой нефти допускаются работники в соответствующей одежде, обуви и обеспеченные средствами индивидуальной защиты (шланговыми или изолирующими противогазами, защитными очками, предохранительными поясами и т.п.) в соответствии с Типовыми отраслевыми нормами выдачи рабочим и служащим спецодежды, спецобуви и других средств индивидуальной защиты. К ведению огневых работ сварщики допускаются в теплостойких костюмах, защищающих от искр, брызг расплавленного металла и окалины. Выдаваемая спецодежда и обувь должна отвечать требованиям государственных стандартов или технических условий и соответствовать размеру работающего. 11.5 Запрещается работа в одежде и обуви, пропитанных нефтью или легковоспламеняющимися жидкостями. 11.6 При проведении подводных работ зимой должны приниматься меры, предохраняющие водолазов от переохлаждения: выдача второго комплекта шерстяного белья; ограничение времени пребывания водолазов под водой; устройство отапливаемых помещений на плавсредствах или специальных передвижных будок. 11.7 При ликвидации аварии, для обеспечения условий безопасной работы, необходимо предусматривать следующие мероприятия: - прекратить работу производственного оборудования или перевести его в режим, обеспечивающий локализацию или ликвидацию аварии; - оказать первую помощь пострадавшим при аварии, вывести их за пределы опасного участка; - доступ к месту аварии людей должен проводиться только с разрешения ответственного руководителя работ; - в случае угрозы для жизни людей немедленно организовать их эвакуацию, используя для этого все имеющиеся силы и средства: - вызвать пожарную, газоспасательную и медицинскую службы и привести в готовность имеющиеся средства пожаротушения; - на месте аварии и на смежных участках прекратить работы с применением открытого огня и другие работы, кроме работ, связанных с мероприятиями по ликвидации аварии; - проводить работы по локализации и ликвидации аварии, с применением защитных средств и безопасных инструментов; - удалить, по возможности, легковоспламеняющиеся и горючие жидкости, понизить давление в нефтепроводе и оборудовании; - на месте аварии и на соседних участках, при наличии газоопасных зон, запретить проезд для всех видов транспорта, кроме транспорта аварийных служб, до полного устранения последствий аварии. Дополнительные мероприятия по ликвидации аварии в каждом конкретном случае определяются ответственным руководителем работ по ликвидации аварии, исходя из создавшегося положения и с соблюдением мер безопасности. 11.8 Персонал, выполняющий работы по ликвидации последствий аварий на воде, должен знать и выполнять специфические правила безопасности проведения работ на воде, знать способы спасения утопающих и оказания им первой помощи. Плавучие средства (катера, лодки), используемые при работах по ликвидации последствий аварий, должны быть оборудованы всеми необходимыми средствами и устройствами, обеспечивающими безопасность персонала и безопасность выполнения работ, средствами пожарной безопасности. 11.9 В процессе выполнения работ на воде необходимо учитывать погодные условия. Категорически запрещается проводить работы с речных катеров при силе ветра свыше 6 баллов, с лодок - при силе ветра свыше 4 баллов. Запрещается при скорости течения реки больше 1 м/с плавать на лодке вдоль боковых заграждений с верхней стороны (по течению). 11.10 Персонал, выполняющий работы с лодки, должен беспрекословно исполнять все распоряжения и команды старшего. При работе на фарватерах судоходных рек должен назначаться дежурный, наблюдающий за движением судов, который при возникновении опасности для персонала обязан действовать в соответствии с заранее предусмотренным планом. 11.11 В сложных природно-климатических условиях трассы (экстремальное состояние погоды, пустыня, горные районы) ответственный руководитель по ликвидации аварий на период производства АВР должен иметь постоянную связь с селевой и метеорологической станциями и своевременно оповещать персонал о резких изменениях погоды и надвигающихся стихийных бедствиях (пурга, ураганный ветер, снегопад, сель, гроза и т.п.). Одновременно должны быть приняты меры по обеспечению безопасности людей (определены заранее безопасные места и укрытия, организовано страхование работающих, система сигнализации и т.п.). 11.12 При проведении АВР продолжительностью более 12 ч для работающих должны быть созданы бытовые и санитарные условия в соответствии с действующими нормами. Персонал, участвующий в ликвидации аварий, должен быть обеспечен горячей пищей, сухим пайком. 11.13 Площадка для размещения палаточного городка для отдыха людей должна находиться на ровной территории, по возможности удаленной от заболоченных мест и стоянки технических средств. На период выполнения АВР на месте их проведения может быть организовано дежурство медперсонала. 11.14 При размещении рабочих площадок, рабочих мест, проездов ремонтно-строительных машин и транспортных средств, проходов для людей, следует установить опасные для людей зоны, в пределах которых постоянно действуют или потенциально могут действовать опасные производственные факторы. Опасные зоны должны быть обозначены с учетом направления ветра красными сигнальными флажками, а в темное время - светильниками во взрывозащищенном исполнении, а также знаками с надписями: "Нефть, огнеопасно!", "С огнем не приближаться!", "Не курить!" и т.д. Предупреждающие знаки должны быть установлены на расстоянии 800 м от места разрыва магистрального нефтепровода в обе стороны автомобильной или железной дороги. Все технические средства, не используемые в работе, должны находиться за пределами зоны с разлитой нефтью на расстоянии не менее 100 м. Все агрегаты и механизмы в рабочей зоне следует устанавливать в соответствии с требованиями нормативов, но не ближе чем за 30 м от места разлива нефти с наветренной стороны. 11.15 Передвижение технических средств при ликвидации аварии в техническом коридоре, а также в зоне выполнения аварийно-восстановительных работ должно выполняться с учетом требований Правил охраны магистральных нефтепроводов, ВСН 31-81 и других нормативных документов. 11.16 Удаление торфяной массы, начиная с глубины 0,3 м от верха трубы, проводить размывом и откачкой насосами. При ручной доработке котлована рабочий должен работать с дублером и надевать шланговый противогаз и предохранительный пояс со спасательной веревкой. 11.17 В слабых грунтах и топких местах должен быть устроен настил из бревен, брусков, инвентарных щитов или сланей. Общая нагрузка технических средств на настил не должна превышать расчетной величины, а для инвентарных покрытий - паспортных данных. Устойчивость работающих на настилах (покрытиях) механизмов должна обеспечиваться креплением. 11.18 Работы в колодцах, шурфах или закрытых емкостях следует выполнять, применяя шланговые противогазы, при этом двое рабочих, находясь вне колодца, шурфа или емкости, должны страховать непосредственных исполнителей работ с помощью канатов, прикрепленных к их предохранительным поясам. 11.19 Рабочие места, объекты, проезды и подходы к ним, переходы в темное время суток должны быть освещены. Светильники рабочего и аварийного освещения должны питаться от разных источников. 11.20 В процессе проведения работ по ликвидации аварий следует контролировать содержание вредных веществ в воздухе, которое не должно превышать предельно допустимой концентрации по санитарным нормам (не более 300 мг/м3 по углеводородам). 11.21 Работы в ремонтном котловане должны выполняться с соблюдением требований действующих Правил безопасности при эксплуатации магистральных нефтепроводов под контролем и руководством мастера аварийно-восстановительной бригады. 11.22 При сооружении ремонтного котлована грунт, извлеченный из него, следует размещать на расстоянии не менее 0,5 м от бровки выемки. Валуны и камни, а также отслоения грунта, обнаруженные на откосах, должны быть удалены. Перед допуском рабочих в котлованы или траншеи, глубиной более 1,3 м, должна быть проверена устойчивость откосов или крепления стен. Размеры ремонтного котлована должны обеспечить свободное выполнение всех видов работ при ликвидации повреждения (центровку труб, сварку неповоротных стыков, противокоррозионную изоляцию) и соответствовать требованиям 5.5.15, 5.5.16, 5.6.23-5.6.32. 11.23 При значительном притоке грунтовых вод стенки ремонтного котлована должны крепиться металлическими или деревянными шпунтами, а при отсутствии их - деревянными сваями. 11.24 Во время нахождения людей в ремонтном котловане запрещается проводить на бровке работы, связанные с перемещением механизмов. Если в процессе работы в стенках траншеи появились трещины, грозящие обвалом, то рабочие должны немедленно покинуть её, стенку с трещинами следует обрушить, грунт удалить и принять меры против обрушения грунта (укрепление стенок траншеи, срезание грунта для увеличения откосов и др.). Во время ремонтных работ в ремонтном котловане должны находиться только лица, занятые выполнением конкретной работы в данное время. 11.25 До начала работ по ликвидации аварии на горных участках нефтепроводов руководитель работ должен осмотреть зону проведения АВР и принять меры по обеспечению безопасности работ (удаление нависших камней, деревьев, укрепление оползающих откосов, насыпей, стен и сводов тоннелей, отвод поверхностных вод). Работы на горных участках должны проводиться с учетом требований, указанных в 5.8. 11.26 К проведению огневых работ допускаются сварщики и резчики, прошедшие специальную подготовку и имеющие квалификационное удостоверение. К сварочным работам допускаются дипломированные сварщики с квалификацией не ниже 6 разряда, прошедшие испытание согласно Положению об аттестации сварщиков и специалистов сварочного производства системы магистральных нефтепроводов ОАО "АК "Транснефть" (утв. 30.01.2001 г. ОАО "АК "Транснефть", согл. с ГГТН РФ № 02-38/146 от 05.04.2001 г.). 12 ПОЖАРНАЯ БЕЗОПАСНОСТЬ ПРИ ВЫПОЛНЕНИИ АВАРИЙНО-ВОССТАНОВИТЕЛЬНЫХ РАБОТ12.1 Работы по ликвидации аварий на объектах магистральных нефтепроводов должны выполняться с соблюдением требований Правил пожарной безопасности при эксплуатации магистральных нефтепроводов, Правил пожарной безопасности при производстве строительно-монтажных работ, Типовой инструкции о порядке ведения сварочных и других огневых работ на взрывоопасных, взрывопожароопасных и пожароопасных объектах нефтяной промышленности, Правил пожарной безопасности в Российской Федерации, СНиП 21.01, ГОСТ 12.1.004 и настоящих Правил. 12.2 При возникновении аварии, угрожающей взрывом или пожаром, руководитель объекта или другое ответственное лицо согласно Правилам пожарной безопасности при эксплуатации магистральных нефтепроводов открытого акционерного общества "Акционерная компания по транспорту нефти "Транснефть" обязаны объявить о вводе на объекте аварийного режима и задействовании ПЛА и оперативного плана тушения пожаров, доложить об этом диспетчеру и руководителю РНУ (УМН). 12.3 При авариях на магистральных нефтепроводах, связанных с утечкой нефти, ответственный руководитель по ликвидации аварии одновременно с введением аварийного режима, обязан вызвать к месту аварии пожарную команду предприятия или ГУПС МЧС РФ. 12.4 При возникновении пожара на любом объекте магистрального нефтепровода для организации всех работ по тушению пожара должен быть создан оперативный штаб тушения пожара. В состав штаба должен входить ответственный руководитель по ликвидации аварии. 12.5 При возникновении пожара в период ликвидации аварии руководителем тушения пожара является начальник прибывшего подразделения пожарной охраны. В этом случае ответственный руководитель по ликвидации аварии и все находящиеся в его распоряжении рабочие и специалисты обязаны оказывать помощь руководителю тушения пожара. 12.6 Ответственный руководитель по ликвидации аварии при тушении пожара обязан постоянно находиться при руководителе тушения пожара и должен: - консультировать руководителя тушения пожара по вопросам технологического процесса производства и специфическим особенностями горящего объекта; - обеспечить персоналом для выполнения работ, связанных с тушением пожара и эвакуацией имущества; - обеспечить объект автотранспортом для подвозки воды и пенообразователей, землеройными машинами (экскаваторами и бульдозерами) для устройства обвалований, запруд и перемычек на пути растекания нефти; - обеспечить, по указанию руководителя тушения пожара, работы по отключению или переключению коммуникаций, трубопроводов откачки нефти из резервуаров, прорезанию отверстий (окон) в металле или подачи пены и т.д.; - корректировать действия персонала при выполнении работ, связанных с тушением пожара; - обеспечить защиту людей, принимающих участие в тушении пожара, от возможных выбросов горящей нефти, обрушений конструкций, поражений электрическим током, отравлений, ожогов. 12.7 Перед началом огневых работ исполнители должны получить инструктаж по соблюдению мер пожарной безопасности при выполнении АВР. 12.8 Работы по ликвидации аварии должны проводиться с оформлением наряда-допуска по прилагаемой форме (приложение В). 12.9 Наряд-допуск выдается на срок, необходимый для выполнения заданного объема работ. Лицо, выдавшее наряд-допуск на проведение работ, обязано осуществлять контроль за выполнением ответственным руководителем работ мероприятий по обеспечению безопасности труда. 12.10 При невозможности или несоблюдении мер безопасности, предусмотренных нарядом-допуском, а также в случае появления на рабочем месте газа, паров нефти, огневые работы должны быть немедленно прекращены, а работающие выведены из опасной зоны. 12.11 Огневые работы допускается проводить при условии обеспечения герметичности внутренней полости концов ремонтируемого участка нефтепровода и отсутствии возможности поступления паров нефти, газов к месту выполнения огневых работ. 12.12 После перекрытия внутренней полости нефтепровода ремонтный котлован и поверхность нефтепровода должны быть очищены от остатков нефти и горючих материалов. 12.13 Перед началом огневых работ ремонтный котлован должен быть проветрен или провентилирован переносными вентиляторами; из котлована должна быть взята проба воздуха для определения возможности проведения в нем огневых работ. Концентрация горючих паров и газов в пробах, взятых из ремонтного котлована согласно Правилам пожарной безопасности при эксплуатации магистральных нефтепроводов, не должна превышать предельно допустимой взрывобезопасной концентрации (ПДВК) - 5 % величины нижнего предела воспламенения паров или газа в воздухе (для нефти 0,07 % объемных единиц или 2,1 мг/дм3). При обнаружении опасных концентраций паров нефти, газа в воздухе необходимо: - вывести работающих из ремонтного котлована и загазованной зоны; - приостановить все работы, кроме тех, которые необходимы для обеспечения безопасности; - известить непосредственного руководителя работ или диспетчера о возникшей опасности; - ограничить загазованную зону предупредительными знаками, с учетом направления ветра, и выставить посты на границе опасной зоны; - принять меры по устранению загазованности. 12.14 Если огневые работы продолжаются несколько дней и не исключена возможность внезапной утечки газов, паров нефти, то перед началом огневых работ и далее через каждый час, необходимо контролировать состояние воздушной среды в ремонтном котловане. Анализ пробы воздуха, взятого из ремонтного котлована, должен проводиться после каждого перерыва и в случае, если у работающих возникают опасения возможности появления газов, паров нефти на рабочем месте. 12.15 До вырезки катушки (дефектного участка нефтепровода) необходимо: - установить гибкую кабельную перемычку с площадью поперечного сечения не менее 16 мм2 на концы нефтепровода в местах вырезаемой катушки; - подготовить рабочий котлован для производства работ; - убедиться в отсутствии нефти, разрежения или избыточного давления в нефтепроводе; - установить пожарную машину и первичные средства пожаротушения у котлована; - обеспечить постоянную вентиляцию котлована с осевыми вентиляторами типа ВЗГ; - установить станки-труборезы на местах реза дефектного участка нефтепровода и заземлить корпуса труборезов с кабельной перемычкой; - установить пульты управления труборезами и автотехнику не ближе 30 м от котлована с наветренной стороны; - работы проводить в спецодежде и спецобуви с применением средств защиты; - проводить анализ воздушной среды через каждые 30 минут (при необходимости - постоянно); - установить светильники во взрывозащищенном исполнении; - при демонтаже катушки обильно смазать литолом места резов, работы проводить аттестованными стропальщиками под руководством лица, ответственного за производство работ. 12.16 Пожаровзрывобезопасность при резке труборезами обеспечивается модулями "Вулкан" и заполнением внутреннего пространства трубопровода выхлопными газами двигателя внутреннего сгорания. 12.17 Во время производства взрывных работ на трубопроводах, содержащих горючие жидкости и газы, должна присутствовать пожарная охрана с необходимым инвентарем и средствами пожаротушения. Количество сил и средств пожарной охраны определяется в соответствии с приложением 8 Правил пожарной безопасности при эксплуатации магистральных нефтепроводов ОАО "АК "Транснефть" ВППБ 01-05-99. 12.18 При выполнении изоляционных работ с применением огнеопасных материалов, а также материалов, выделяющих вредные вещества, следует обеспечить защиту работающих от воздействия вредных веществ, а также от термических и химических ожогов в соответствии с требованиями Правил капитального ремонта МН и других действующих Правил. 12.19 При уборке остатков нефти с грунтом должны быть соблюдены требования пункта 6.3 настоящих Правил. Вокруг места сжигания (земляного амбара, и т.п.) должна быть предварительно подготовлена противопожарная защитная полоса шириной не менее 10 м. 12.20 После окончания огневых работ необходимо осмотреть место их проведения и устранить выявленные нарушения, которые могут привести к возникновению пожара и к травмам. 12.21 При выполнении работ по ликвидации последствий аварий на МН на воде, одной из первоочередных задач является предотвращение распространения нефтяного пятна к населенным пунктам с целью защиты их от опасности возникновения взрывопожароопасных ситуаций. 12.22 Руководитель предприятия, ответственный за пожарную безопасность объекта, обязан обеспечить проверку места проведения огневых или других пожароопасных работ в течение 3-5 ч после их окончания. Аварийный режим на объекте магистрального нефтепровода может быть отменен только после создания условий для нормального его функционирования. Приложение А(справочное) НОРМАТИВНЫЕ ССЫЛКИВ настоящем руководящем документе использованы ссылки на следующие документы: Закон РФ "О промышленной безопасности опасных производственных объектов" принят Гос. Думой РФ от 21.07.97 № 116-ФЗ. Постановление Правительства РФ от 21.08.2000 г. № 613 "О неотложных мерах по предупреждению и ликвидации аварийных разливов нефти и нефтепродуктов". ГОСТ 17376-83 Детали трубопроводов стальные бесшовные приварные на Ру = 10 МПа (£ 100 кгс/см2). Отводы крутоизогнутые. Конструкции и размеры. ГОСТ Р 22.0.05-94 Безопасность в чрезвычайных ситуациях. Техногенные чрезвычайные ситуации. Термины и определения. ГОСТ Р 51164-98 Трубопроводы стальные магистральные. Общие требования к защите от коррозии. СНиП 2.05.06-85* Магистральные трубопроводы. СНиП III-4-80* Техника безопасности в строительстве. СНиП III-42-80* Магистральные трубопроводы. ТУ 102-488-95 Детали соединительные и узлы магистральных и промысловых трубопроводов на Рр до 10 МПа (100 кгс/см2). ВППБ 01-05-99 Правила пожарной безопасности при эксплуатации магистральных нефтепроводов открытого акционерного общества "Акционерная компания по транспорту нефти "Транснефть". Зарегистрированы ГУ ГПС МВД РФ, введены с 01.08.99. ПБ 13-01-91 Единые правила безопасности при взрывных работах. Утв. постановлением Госгортехнадзора России от 24.03.92, изм. 1995. ВСН 006-89 Строительство магистральных и промысловых трубопроводов. Сварка. ВСН 010-88 Строительство магистральных трубопроводов. Подводные переходы. ВСН 012-88 Строительство магистральных и промысловых трубопроводов. Контроль качества и приемка работ. ВСН 31-81 Инструкция по производству строительных работ в охранных зонах магистральных трубопроводов. - Уфа: ВНИИСПТнефть, 1981. РД 03-293-99 Положение о порядке технического расследования причин аварий на опасных производственных объектах. Утв. Постановлением Госгортехнадзора РФ от 8.06.99 № 40. РД 08-204-98 Порядок уведомления и предоставления территориальным органам Госгортехнадзора информации об авариях, аварийных утечках и опасных условиях эксплуатации объектов магистрального трубопроводного транспорта газов и опасных жидкостей. Утв. постановлением Госгортехнадзора России от 2.04.98 № 23. РД 39-00147105-006-97 Инструкция по рекультивации земель, нарушенных и загрязненных при аварийном и капитальном ремонте магистральных нефтепроводов. - Уфа: ИПТЭР, 1997. РД 39-00147105-009-96 Инструкция по перекрытию внутренней полости нефтепроводов тампонами-герметизаторами из резинокордной оболочки. - Уфа: ИПТЭР, 1996. РД 39-00147105-015-98 Правила капитального ремонта магистральных нефтепроводов. - Уфа: ИПТЭР, 1998. РД 39-0147103-360-89 Инструкция по безопасному ведению сварочных работ при ремонте нефте- и продуктопроводов под давлением. - Уфа: ВНИИСПТнефть, 1989. РД 39-025-90 Норматив-табель технического оснащения аварийно-восстановительных пунктов магистральных нефте- и продуктопроводов. - Уфа: ВНИИСПТнефть, 1990. РД 39-075-91 Инструкция по врезке отводов к магистральным нефтепроводам под давлением. - Уфа: ВНИИСПТнефть, 1990. РД 153-39.4-056-00 Правила технической эксплуатации магистральных нефтепроводов. Утв. Минтопэнерго России, 2000. РД 153-39.4-067-00 Методы ремонта дефектных участков действующих магистральных нефтепроводов. Утв. ОАО "АК "Транснефть" 30.12.2000. РД 153-39.4-086-01 Технология сварочно-монтажных работ по установке ремонтных конструкций (муфт и патрубков) на действующие магистральные нефтепроводы. РД 153-39.4-143-99 Табель технического оснащения нефтепроводных предприятий ОАО "АК "Транснефть" для восстановления нефтепровода и ликвидации аварийного разлива нефти при авариях на подводных переходах МН. - М.: ОАО "АК "Транснефть", 1999. Правила охраны магистральных трубопроводов. Утв. Минтопэнерго, Госгортехнадзор 29.04.1992. Положение об аттестации сварщиков и специалистов сварочного производства системы магистральных нефтепроводов ОАО "АК "Транснефть". Утв. АК "Транснефть" 30.01.2001 г. Регламент проведения производственного экологического контроля в процессе эксплуатации и производства работ в дочерних акционерных обществах ОАО " АК "Транснефть". Утв. ОАО "АК "Транснефть" 28.02.2000 г. Регламент представления срочных донесений об авариях и отказах на магистральных нефтепроводах, НПС и РП и их учет. Утв. ОАО "АК "Транснефть" 30.12.2000. Регламент оформления нарядов-допусков на огневые, газоопасные и другие работы повышенной опасности на взрывопожароопасных и пожароопасных объектах МН дочерних акционерных обществ ОАО "АК "Транснефть". - М.: ОАО "АК "Транснефть", 2000. Инструкция по учету нефти при её транспортировке по системе магистральных нефтепроводов ОАО "АК "Транснефть". Утв. ОАО "АК "Транснефть", 2001. Приложение Б(справочное) ОБОЗНАЧЕНИЯ И СОКРАЩЕНИЯABC - аварийно-восстановительная служба АВР - аварийно-восстановительные работы ГУПС МЧС РФ - главное управление пожарной службы Министерства РФ по делам гражданской обороны, чрезвычайных ситуаций и ликвидации последствий стихийных бедствий ЛПДС - линейная производственная диспетчерская станция ЛЧ МН - линейная часть магистрального нефтепровода МН - магистральный нефтепровод НПС - нефтеперекачивающая станция ОАО МН - открытое акционерное общество магистральных нефтепроводов ПЛА - план ликвидации возможных аварий ППМН - подводный переход магистрального нефтепровода ПТУС - производственно-технологическое управление связи РДП - районный диспетчерский пункт, РНУ (УМН) - районное нефтепроводное управление ЦБПО - центральная база производственного обслуживания ЦРС - центральная ремонтная служба Приложение В(обязательное)
5. Планируемое время проведения работ: Начало _______________________ время _____________________ дата Окончание ____________________ время _____________________ дата 6. Меры по обеспечению безопасности _________________________________________ (организационные и технические меры безопасности, ___________________________________________________________________________ осуществляемые при подготовке объекта к проведению работ, при их проведении, ___________________________________________________________________________ средства коллективной и индивидуальной защиты, режим работы) При наличии проекта организации подготовки и безопасного проведения работ в п. 6 пишется: "Указаны в приложении № ____ к наряду-допуску: "Проект организации подготовки и безопасного проведения работ" 7. Требуемые приложения: ___________________________________________________ (наименование схем, эскизов, таблица результатов анализов, ___________________________________________________________________________ проект организации подготовки и безопасного проведения работ и т.п.) 8. Особые условия ___________________________________________________________ (в т.ч. присутствие страхующих (наблюдающих) лиц при проведении работ) 9. Наряд - допуск выдал ______________________________________________________ (должность, Ф.И.О., подпись лица, выдавшего наряд-допуск, дата) 10.1. Со службой охраны труда ________________________________________________ (при ее наличии на объекте, Ф.И.О., подпись, дата) 10.2. С пожарной охраной ____________________________________________________ (должность, Ф.И.О., подпись, дата, время) 10.3. С взаимодействующими службами, цехами, организациями __________________________ ___________________________________________ (указать конкретную службу) (должность, Ф.И.О., подпись, дата, время) __________________________ ___________________________________________ (указать конкретную службу) (должность Ф.И.О., подпись, дата, время) __________________________ ___________________________________________ (указать конкретную службу) (должность, Ф.И.О., подпись, дата, время) 10.4. С диспетчером, оператором ______________________________________________ (должность, Ф.И.О., подпись, дата, время) 11. Анализ воздушной среды перед началом и в период проведения работ:
При проведении работ более 1 смены таблица результатов анализа воздушной среды перед началом и в период проведения работ помещается в приложении к наряду-допуску, а в п. 7 указывается номер и название приложения. 12. Объект к проведению работ подготовлен: 12.1. _______________________________________________________________________ (должность, Ф.И.О., подпись лица, ответственного за подготовку работ, дата, время) 12.2. _______________________________________________________________________ (должность, Ф.И.О., подпись лица, ответственного за проведение работ, дата, время) 13. К выполнению работ допускаю: ____________________________________________ (должность, Ф.И.О, подпись лица, ___________________________________________________________________________ отвечающего за безопасное производство работ в целом, дата, время) 14. Отметка о ежедневном допуске к работе и перерыве (в том числе и первый день)
При проведении работ более 10 дней таблица отметок о ежедневном допуске к работе и ее окончании помещается в приложение к наряду-допуску, а в п. 7 указывается номер этого приложения 15. Наряд-допуск продлен до (при необходимости проведения работ после планируемого времени - см. п. 5) до ___________________________________________ (дата и время, до которого продлевается ___________________________________________________________________________ действие наряда-допуска) ___________________________________________________________________________ (должность, Ф.И.О., подпись лица, выдавшего наряд-допуск, дата, время) 16. Продление наряда-допуска согласовано (заполняется в случае, когда работы не закончены в сроки, указанные в п. 5 наряда-допуска должностными лицами, указанными в п. 10): 16.1 Со службой охраны труда ________________________________________________ (при ее наличии на нефтепроводном объекте, ___________________________________________________________________________ Ф.И.О., подпись, дата) 16.2.С пожарной охраной ____________________________________________________ (должность, Ф.И.О., подпись, дата, время) 16.3.С взаимодействующими службами, цехами, организациями: __________________________ ___________________________________________ (указать конкретную службу) (должность, Ф.И.О., подпись, дата, время) __________________________ ___________________________________________ (указать конкретную службу) (должность Ф.И.О., подпись, дата, время) __________________________ ___________________________________________ (указать конкретную службу) (должность, Ф.И.О., подпись, дата, время) 16.4.С диспетчером, оператором _______________________________________________ (должность, Ф.И.О., подпись, дата, время) 17. К выполнению работ на период продления допускаю (с учетом анализа воздушной среды, п. 11): _______________________________________________________________ (должность, Ф.И.О., подпись лица, отвечающего за безопасное ___________________________________________________________________________ производство работ в целом, дата, время) 18. Изменения в составе бригады исполнителей:
19. Работы выполнены в полном объеме, рабочие места приведены в порядок, инструмент и материалы убраны, люди выведены ___________________________________________________________________________ (время, дата, подпись ответственного за проведение работ) ___________________________________________________________________________ (время, дата, подпись начальника смены (оператора) 20. Работы приняты, наряд-допуск закрыт ___________________________________________________________________________ (Ф.И.О, должность, подпись лица, выдавшего наряд-допуск, дата, время) Приложение Г(обязательное) Форма № 1 УТВЕРЖДАЮ Главный инженер ОАО МН _________________ Ф.И.О. "____" _________________ ФОРМА ПЛАНА-ГРАФИКА
| ||||||||||||||||||||||||||||||||||||||||||||||||||||||||||||||||||||||||||||||||||||||||||||||||||||||||||||||||||||||||||||||||||||||||||||||||||||||||||||||||||||||||||||||||||||||||||||||||||||||||||||||||||||||||||||||||||||||||||||||||||||||||||||||||||||||||||||||||||||||||||||||||||||||||||||||||||||||||||||||||||||||||||||||||||||||||||||||||||||||||||||||||||||||||||||||||||||||||||||||||||||||||||||||||||||||||||||||||||||||||||||||||||||||||||||||||||||||||||||||||||||||||||||||||||||||||||||||||||||||||||||||||||||||||||||||||||||||||||||||||||||||||||||||||||||||||||||||||||||||||||||||||||||||||||||||||||||||||||||||||||||||||||||||||||||||||||||||||||||||||||||||||||||||||||||||||||||||||||||||||||||||||||||||||||||||||||||||||||||||||||||||||||||||||||||||||||||||||||||||||||||||||||||||||||||||||||||||||||||||||||||||||||||||||||||||||||||||||||||||||||||||||||||||||||||||||||||||
|
№№ п/п |
Наименование мероприятий |
Срок выполнения |
Ответственный исполнитель |
Привлекаемые тех. средства и персонал |
|
1 |
2 |
3 |
4 |
5 |
|
1. |
|
|
|
|
|
2. |
|
|
|
|
|
3. |
|
|
|
|
УТВЕРЖДАЮ
Главный инженер ОАО МН
_________________ Ф.И.О.
"____" _________________
ФОРМА ПЛАНА-ГРАФИКА
мероприятий по ликвидации последствий аварии (отказа)
на ______________________________________________________________________
(название объекта)
|
№№ п/п |
Наименование мероприятий |
Срок выполнения |
Ответственный исполнитель |
Привлекаемые тех. средства и персонал |
|
1 |
2 |
3 |
4 |
5 |
|
1. |
|
|
|
|
|
2. |
|
|
|
|
|
3. |
|
|
|
|
(обязательное)
Форма № 1
1. Название ОАО МН.
2. Название РНУ (УМН).
3. Дата и время обнаружения отказа/аварии, от кого поступило сообщение.
4. Местонахождение (республика, край, область, район, населенный пункт, ближайший водный объект, авто- и железные дороги).
5. Нефтепровод (наименование, километр, диаметр, максимально разрешенное рабочее давление и давление на момент отказа/аварии в месте отказа/аварии, год ввода нефтепровода в эксплуатацию, толщина стенки, марка стали).
6. Ближайшие НПС, какими задвижками (номер, километр) и в какое время отсечен участок.
7. Тип ландшафта (лес, луг, болото, пашня, водоем и т.д.).
8. Характеристика отказа/аварии (площадь разлива, максимальные размеры по длине и ширине, объем выхода нефти, максимальная толщина слоя нефти).
9. Направление и интенсивность распространения очага загрязнения.
10. Предполагаемые причины отказа/аварии, характеристики разрушения трубы.
11. Принимаемые меры по локализации места отказа/аварии.
12. Планируемый способ и сроки устранения отказа/аварии.
13. Старший на месте аварии (должность, Ф.И.О.).
14. Состав и количество технических средств и персонала, находящихся на месте и направленных к месту повреждения/аварии (указать откуда вышли бригады и расстояние до места повреждения/аварии, время выхода и прибытия на место).
15. Источник поступления первой информации.
16. Последняя дата, время и способ осмотра трассы нефтепровода.
17. Как организована работа с инспектирующими органами и средствами массовой информации.
18. Когда и каким прибором был обследован данный участок, наличие дефектов на участке по результатам внутритрубной диагностики (выявленных и устраненных).
Донесение должно сопровождаться четкой схемой места отказа/аварии и передаваться в диспетчерский отдел ОАО "АК "Транснефть" по факсу 1602, в течение 1 часа с момента поступления информации в ОАО МН.
Подпись главного инженера ОАО МН
(или лица его замещающего)
Форма № 2
Форма донесения об аварии на резервуаре с выходом нефти
1. Наименование эксплуатирующего предприятия, НПС, РНУ (УМЫ), ОАО МН.
2. Дата и время возникновения аварии (пожара).
3. Расстояние до ближайших населенных пунктов (их название) и сторонних промышленных предприятий (их название).
4. Причины и характер повреждения.
5. Место аварии (номер пояса, положение относительно монтажного сварочного шва).
6. Меры, принятые для предотвращения развития ЧС на другие объекты НПС.
7. Наличие пострадавших и характер травм, их фамилии и должности.
8. Технические характеристики резервуара.
8.1. Тип резервуара.
8.2. Год ввода в эксплуатацию.
8.3. Толщина металла в месте аварии.
8.4. Высота резервуара.
8.5. Диаметр резервуара.
8.6. Максимальный допустимый уровень взлива.
8.7. Уровень взлива на момент аварии.
9. Объем выхода нефти.
10. Площадь выхода нефти.
11. Сведения о силах и средствах, участвующих в ликвидации аварии (пожара).
12. Сведения о привлеченных силах и средствах сторонних организаций.
13. Расчетный срок ликвидации аварии.
14. Погодные условия (сила и направление ветра, атмосферные осадки, атмосферные явления).
15. Перечень сторонних организаций, оповещенных об аварии (пожаре).
16. Фамилия, имя, отчество лица, возглавляющего работы по ликвидации аварии (пожара). Его должность, контактный телефон.
Подпись главного инженера ОАО МН
(или лица его замещающего)
Форма № 3
Форма донесения об аварии на объекте НПС с выходом нефти
1. Наименование эксплуатирующего предприятия, НПС, РНУ (УМН), ОАО МН.
2. Дата и время возникновения аварии (пожара).
3. Расстояние до ближайших населенных пунктов (их название) и сторонних промышленных предприятий (их название).
4. Причина и характер повреждения.
5. Место аварии.
6. Меры, принятые для предотвращения развития ЧС на другие объекты НПС.
7. Наличие пострадавших и характер травм, их фамилии и должности.
8. Технические характеристики объекта НПС.
8.1. Год ввода в эксплуатацию.
8.2. Год последнего ТОР.
8.3. Дата проведения последнего ТОР.
8.4. Давление в момент аварии.
9. Объем выхода нефти.
10. Площадь разлива.
11. Схема разлива нефти с обозначением основных объектов НПС.
12. Сведения о силах и средствах, участвующих в ликвидации аварии (пожара).
13. Сведения о привлеченных силах и средствах сторонних организаций.
14. Расчетный срок ликвидации аварии.
15. Погодные условия (сила и направление ветра, атмосферные осадки, атмосферные явления).
16. Перечень сторонних организаций, оповещенных об аварии (пожаре).
17. Фамилия, имя, отчество лица, возглавляющего работы по ликвидации аварии (пожара). Его должность, контактный телефон.
Подпись главного инженера ОАО МН
(или лица его замещающего)
(справочное)

Таблица Е. 1 - основные размеры "чопика
|
Наименование показателей |
Диаметр трубы, Æ, мм |
Толщина стенки, s, мм |
Допускаемый диаметр "чопика" d, мм |
Внутренняя выступающая часть "чопика", а, мм |
Наружная выступающая часть "чопика", h, мм |
Ширина обварки, k, мм |
|
Величина показателей |
325-1220 |
8¸16 |
не более 12 |
не более 5 |
не более 3 |
4-5 |
(справочное)
Число "перехватов" определяется по формуле:
где Q - количество нефти, которое необходимо откачать из нефтепровода;
Qo - количество нефти, отводящейся по одному патрубку.
Количество нефти (Qo), отводящейся по патрубку, определяется по формуле (В.Е. Губин, В.Ф. Новоселов, П.И. Тугунов. Типовые расчеты при проектировании и эксплуатации нефтебаз и нефтепродуктопроводов):
Диаметр отводного патрубка (do) определяется по формуле:
где т - показатель, зависящий от характера течения нефти в соответствии с (И.Е. Идельчик. Справочник по гидравлическим сопротивлениям) для зоны гидравлически гладких труб:
при ламинарном режиме т = 1,
при турбулентном режиме т = 0,25;
для зоны гидравлически шероховатых труб:
при турбулентном режиме т = 0;
do - диаметр отводного патрубка (на практике d0 не должно быть более 150 мм);
DZ - разность отметок уровня нефти в нефтепроводе и оси отводной линии у земляного амбара;
b - коэффициент, зависящий от характера течения нефти
для зоны гидравлически гладких труб:
при ламинарном режиме
,
при турбулентном режиме
;
для зоны гидравлически шероховатых труб:
при турбулентном режиме
;
v - вязкость нефти выбирается по справочнику (Нефти СССР. Справочник);
l - длина патрубка.
Пример расчета 1.
Определить диаметр отводного патрубка (d0).
Принимаем v =
0,28 сСт, Qо = 0,0045 м3/с, l
= 50 м, DZ = 0,25. Режим течения нефти
- ламинарный (
; т = 1).
Диаметр (d0) определяем по формуле (Ж.3)
м.
Пример расчета 2.
Необходимо определить число "перехватов".
Принимаем, что количество
нефти, поступающей в нефтепровод из-за негерметичности задвижек и которую
необходимо откачать Q = 30 м3/ч; v = 0,3 сСт, d0 = 0,15 м, l
= 50 м, DZ = 0,1 м; режим течения
нефти - ламинарный (
; т = 1).
По формуле (Ж.2) определим количество нефти (Qo), отводящейся по одному патрубку.
= 0,0041 м3/с =
14,76 м3/ч.
По формуле (Ж.1) определяем число "перехватов":
.
(справочное)
Таблица И.1
|
Наименование технологических операций |
Продолжительность технологических операций, ч |
Примечание |
||||
|
|
Диаметр трубопровода, мм |
|
||||
|
до 530 вкл. |
720 |
820 |
1020 |
1220 |
||
|
1 |
2 |
3 |
4 |
5 |
6 |
7 |
|
1. Получение сообщения об аварии, остановка перекачки, отключение аварийного участка |
1,0-1,5 |
1,0-1,5 |
1,0-1,5 |
1,0-1,5 |
1,0-1,5 |
|
|
2. Оповещение руководства НПС (ЛПДС), филиала ОАО МН, ОАО МН |
0,25 |
0,25 |
0,25 |
0,25 |
0,25 |
|
|
3. Сбор, отправка в район аварии патрульной группы |
0,5 (2,0) |
0,5 (2,0) |
0,5 (2,0) |
0,5 (2,0) |
0,5 (2,0) |
Рабочее (нерабочее) время |
|
4. Проезд патрульной группы, обнаружение места аварии, уточнение характера аварии, закрытие линейных задвижек |
1,0-4,0 |
1,0-4,0 |
1,0-4,0 |
1,0-4,0 |
1,0-4,0 |
|
|
5. Сбор и доставка на место аварии сил и средств ABC |
2,0-10 |
2,0-10 |
2,0-10 |
2,0-10 |
2,0-10 |
В зависимости от времени суток, состояния дорог, погоды, времени года, расстояния |
|
6. Планировка (при необходимости) рабочей площадки, расстановка технических средств ликвидации аварии |
0,5 |
0,5 |
0,5 |
0,5 |
0,5 |
|
|
7. Разработка земляного котлована V = 1000 м3 |
3,7 (1,85) |
3,2 (1,6) |
3,2 (1,6) |
2,5 (1,7) |
3,6 (1,8) |
Одним (двумя) бульдозерами |
|
8. Врезка отводов в ремонтируемый и параллельный нефтепровод для откачки-закачки нефти, монтаж обвязки передвижных насосных агрегатов |
2,5-3,0 |
2,5-3,0 |
2,5-3,0 |
3,0-3,5 |
3,0-3,5 |
|
|
9. Опорожнение аварийного участка |
6,0-11,0 |
2,0-6,0 |
2,5-17,0 |
3,0-16,0 |
3,0-15,0 |
Длина опорожняемого участка принята для трубопроводов диаметром: 530 и 720 мм - 5 км, 820-1220 мм - 15 км |
|
10. Вскрытие нефтепровода и разработка ремонтного котлована при длине дефектного участка трубопровода |
|
|
|
|
|
|
|
5 м |
0,7 |
0,8 |
0,9 |
1,1 |
1,3 |
|
|
10 м |
1,1 |
1,3 |
1,4 |
1,8 |
2,0 |
|
|
15 м |
1,5 |
1,8 |
1,9 |
2,4 |
2,8 |
|
|
11. Герметизация полости трубопровода путем: |
|
|
|
|
|
|
|
а) набивки глиняных тампонов (в оба конца); |
2,2 |
3,5 |
3,8 |
4,9 |
6,2 |
|
|
б) установки тампонов-герметизаторов |
1,0 |
1,2 |
1,5 |
1,7 |
1,7 |
|
|
12. Вырезка и восстановление дефектного участка: |
|
|
|
|
|
|
|
а) вырезка дефектного участка |
1,2-1,7 |
1,5-2,0 |
1,5-2,6 |
2,2-3,2 |
2,1-5,1 |
С использованием энергии взрыва (min) - машинок типа "Файн", "МР" (max) |
|
б) подготовка катушки |
2,6 |
3,1 |
3,8 |
5,7 |
6,0 |
|
|
в) захлест концов трубы |
2,8 |
3,2 |
3,5 |
4,7 |
5,2 |
|
|
г) размагничивание стыкуемых торцов труб перед сваркой (на 1 стык) |
3,0 |
3,0 |
3,8 |
4,0 |
4,0 |
Расчет произведен на размагничивание двух стыков |
|
д) сварка стыков |
3,8 |
2,9 |
3,2 |
4,2 |
4,9 |
Для вертикального неповоротного положения стыка |
|
13. Контроль качества сварных швов |
1,8 |
2,2 |
2,3 |
2,9 |
3,0 |
Расчет произведен для контроля качества двух кольцевых сварных швов |
|
14. Пуск и вывод на требуемый режим работы нефтепровода с учетом приема или пропуска герметизирующих элементов и вытеснения воздуха из трубопровода |
4,0 |
4,4 |
4,5 |
8,0 |
8,3 |
Данные показатели в общей продолжительности ликвидации аварий (п. 15) не входят |
|
16. Общая продолжительность работ по ликвидации аварии до пуска и вывода нефтепровода на режим (без учета времени взаимного наложения операций, которое составляет 6-11 ч) при длине дефектного участка: |
36,9-53,9 |
38,9-55,9 |
42,9-70,9 |
50,9-77,9 |
55,1-83,1 |
Общая продолжительность при минимальных и максимальных затратах |
|
5 м |
|
|
|
|
|
|
|
10 м |
37,3-54,3 |
39,4-56,4 |
43,4-71,4 |
51,6-78,6 |
55,8-83,8 |
|
|
15 м |
37,7-54,7 |
39,9-56,9 |
43,9-71,9 |
52,2-79,2 |
56,6-84,6 |
|
(справочное)
Таблица К.1
|
Покрытие |
Размеры покрытия, мм |
Масса, кг |
Материал |
Примечание |
||
|
длина |
ширина |
высота |
||||
|
Переносной щит ЛВ-11 (ЛВ-ПВ) |
6190 (6190) |
1100-1200 |
190 |
750** |
Дерево - металл |
|
|
Сборно-разборное дорожное покрытие СРДП-1 |
|
3500 |
300 |
85-100* |
Дерево, фанера, металл |
Наибольшая нагрузка 200 кН |
|
Сборно-разборное несущее покрытие СРНП-1 |
5000 |
4000 |
600 |
264** |
Дерево - металл |
Наибольшая нагрузка, кН автомоб. 200 гусеничн. 36,5 |
|
Сборно-разборная ремонтная площадка СРРП-2 |
16500 |
12800 |
470 |
55,83* |
Дерево - металл |
Наибольшая нагрузка, кН автомоб. 200 гусеничн. 250 |
|
Настил из ж.д. шпал |
3000-4000 |
2750 |
150 (180) |
750** |
Деревянные шпалы |
|
|
* - масса 1 пм ** - масса 1 шт. |
||||||
(обязательное)
ФОРМА АКТА
|
(обязательное)
Форма № 1
Сведения об авариях и отказах на магистральных нефтепроводах
Таблица М.1
|
№ |
Наименование нефтепровода, диаметр, мм |
Место отказа, км |
Дата возникновения отказа |
Простой НП в часах |
Площадь замазученной территории, м2 |
Выход нефти, т |
Безвозвратные потери нефти, т |
Ущерб, тыс. руб. |
Характеристика разрушения (размер, мм), способ ликвидации отказа |
Причина отказа |
Марка трубной стали |
Завод- изготовитель трубы |
Возраст трубы, г |
Тип изоляции, её возраст |
Режим работы нефтепровода в момент повреждения (стационарный, переходный (с какого на какое давление)) |
Дата и вид последнего диагностического обследования |
Дата и вид последнего капремонта или реконструкции |
Дата последнего гидропереиспытания |
Тип местности |
|||
|
Всего |
Затраты на ликвидацию |
Штрафные санкции |
Ущерб от потерь нефти |
|||||||||||||||||||
|
1 |
2 |
3 |
4 |
5 |
6 |
7 |
8 |
9 |
10 |
11 |
12 |
13 |
14 |
15 |
16 |
17 |
18 |
19 |
20 |
21 |
22 |
23 |
|
1. |
|
|
|
|
|
|
|
|
|
|
|
|
|
|
|
|
|
|
|
|
|
|
|
2. |
|
|
|
|
|
|
|
|
|
|
|
|
|
|
|
|
|
|
|
|
|
|
|
3. |
|
|
|
|
|
|
|
|
|
|
|
|
|
|
|
|
|
|
|
|
|
|
Журнал регистрации аварий, связанных с экологическим ущербом по ОАО "АК "Транснефть"
Таблица М.2
|
Наименование трубопровода |
Дата аварии |
Дата ввода в эксплуатацию |
Характеристики трубопровода |
Причина аварии |
Работы по ликвидации аварии |
Время возобновления работ трубопровода |
Кол-во разлитой нефти, тонн |
Площадь замазученности, кв. м |
Сообщение в контролирующие органы |
|||
|
диаметр, мм |
рабочее давление, атм |
фактическое давление, атм |
начало |
конец |
||||||||
|
1 |
2 |
3 |
4 |
5 |
6 |
7 |
8 |
9 |
10 |
11 |
12 |
13 |
|
|
|
|
|
|
|
|
|
|
|
|
|
|
СОДЕРЖАНИЕ
|
|
|
|