//
ТехЛит.ру
- крупнейшая бесплатная электронная интернет библиотека для "технически умных" людей.
WWW.TEHLIT.RU - ТЕХНИЧЕСКАЯ ЛИТЕРАТУРА

:: Алготрейдинг::


АЛГОТРЕЙДИНГ
шаг за шагом
с нуля по урокам!

Торговые роботы на PYTHON, BackTrader,
Pandas, Pine Script для TradingView. Связка с брокерами, телеграм и легкими приложениями.


СССР
МИНИСТЕРСТВО ТРАНСПОРТНОГО СТРОИТЕЛЬСТВА

ВСЕСОЮЗНЫЙ ОРДЕНА ОКТЯБРЬСКОЙ РЕВОЛЮЦИИ
НАУЧНО-ИССЛЕДОВАТЕЛЬСКИЙ ИНСТИТУТ
ТРАНСПОРТНОГО СТРОИТЕЛЬСТВА

УТВЕРЖДАЮ

Зам. директора института

Г. Д. Хасхачих

12 мая 1988 г.

РЕКОМЕНДАЦИИ
ПО ПРОЕКТИРОВАНИЮ И СТРОИТЕЛЬСТВУ
УСТОЕВ ДИВАННОГО ТИПА
ДЛЯ МАЛЫХ И СРЕДНИХ АВТОДОРОЖНЫХ МОСТОВ

Одобрены Главтранспроектом и Главмостостроем

Москва 1988

ПРЕДИСЛОВИЕ

Настоящие Рекомендации разработаны на основе экспериментальных и теоретических исследований, проведенных ЦНИИСом, обобщения отечественного и зарубежного опыта проектирования и строительства устоев диванного типа и армогрунтовых конструкций различного целевого назначения, опытного проектирования и строительства, осуществляемых Ленгипротрансмостом, Киевским филиалом Союздорпроекта, Гипродорнии, Гипростроймостом, трестами: Мостострой № 6, Мостострой № 9, Мостострой № 2, Мостоотрядом № 19.

Рекомендации предназначены для проектирования и строительства устоев диванного типа мостов и путепроводов на автомобильных дорогах и временных мостов на железных дорогах, а также облегченных конструкций подпорных стен контрфорсного типа, которые могут применяться в узлах сопряжения искусственных сооружений с насыпями.

Рекомендации разработали кандидаты техн. наук Э.А. Балючик, Ф.И. Целиков, инж. А.Д. Соколов, при участии инженеров Л.М. Бирюковой (ЦНИИС), Л.В. Пышко (трест Мостострой № 9), Е.Б. Мухиной (Союздорпроект). В Рекомендациях использованы материалы кандидатов техн. наук А.Е. Якунина, Э.А. Аблогина (СибЦНИИС).

Замечания и предложения направлять по адресу: 129329, Москва, ул. Кольская, д. 1, Всесоюзный научно-исследовательский институт транспортного строительства.

Зав. отделением искусственных сооружений

К.С. Силин

Зав. отделением земляного полотна и верхнего строения пути

П.Г. Пешков

1. ОБЩИЕ ПОЛОЖЕНИЯ

1.1. Настоящие Рекомендации, составленные в развитие СНиП 2.05.03-84 и ВСН 167-40, предназначены для использования при проектировании и строительстве устоев диванного типа автодорожных мостов, путепроводов, мостов под временные железные дороги в различных климатических и инженерно-геологических условиях строительства.

1.2. Рекомендации содержат примеры конструкций устоев диванного типа применительно к тем или иным условиям строительной площадки.

1.3. В приведенных в Рекомендациях методах расчета армогрунтовых оснований устоев диванного типа использованы простые, апробированные практикой проектирования модели грунтовой среды, с помощью которых могут быть обеспечены достаточно высокие коэффициенты запаса и надежность сооружений.

1.4. Нагрузки и воздействия, а также соответствующие коэффициенты надежности должны приниматься по СНиП 2.05.03-84 (разд. 2).

1.5. Расчеты железобетонных элементов устоев диванного типа должны выполняться в соответствии с требованиями разд. 3 СНиП 2.05.03-84.

1.6. Расчеты оснований, характеристики грунтов принимаются по СНиП 2.05.03-84 (разд. 7) и СНиП 2.02.01-83.

2. КОНСТРУКЦИИ УСТОЕВ ДИВАННОГО ТИПА

2.1. К устоям диванного типа относятся опоры, состоящие из железобетонного блока уголкового или таврового сечения-лежня (дивана), опирающегося непосредственно на конус подходной насыпи, являющейся искусственным грунтовым основанием (без фундаментов глубокого или мелкого заложения), которое в свою очередь опирается на естественный грунт.

2.2. В традиционную конструкцию [1, 2] устоя диванного типа входят:

диван, воспринимающий нагрузку от пролетного строения;

конус насыпи, на который передается нагрузка от дивана (хорошо уплотненный грунт, образующий искусственное основание под подошвой диванного блока);

естественное грунтовое основание, на которое передается нагрузка от дивана и искусственного основания (конуса);

переходная плита, опирающаяся с одной стороны на шкафную стену дивана, а с другой - на лежень и обеспечивающая плавный въезд с подходной насыпи на пролетное строение.

2.3. Расстояние от передней грани опорной плиты дивана до бровки откоса L должно быть не менее 1 м, а заложение откоса (1 : n) - не круче 1 : 1,5.

2.4. Для защиты поверхности конуса от воздействия гидрологических факторов должно предусматриваться крепление конусов каменной наброской, плитами и др.

2.5. Конструкция диванного блока может быть железобетонной (сборной или монолитной), деревянной, стеклопластиковой, комбинированной и др.

2.6. Устой диванного типа на армогрунтовом основании (рис. 1), в отличие от традиционного, имеет усиленное искусственное основание.

Естественное основание с недостаточной несущей способностью также может быть усилено специальной мембраной из геотекстиля или другим путем.

2.7. При армировании геотекстилем для отсыпки конуса может использоваться местный грунт, имеющий при отсутствии армирования недостаточную несущую способность для восприятия давления от диванного блока.

2.8. Конструкция устоя диванного типа должна предусматривать возможность выправки положения дивана и пролетного строения при эксплуатации.

2.9. Конструктивные решения устоев диванного типа, как традиционные, так и с армированным конусом (см. рис. 1) зависят от конкретных условий их применения. На рис. 2 приведен один из возможных вариантов устоев диванного типа для условий вечной мерзлоты.

Рис. 1. Конструкция устоя диванного типа на армогрунтовом основании:

1 - линия распределения давления от диванного блока; 2 - защитное покрытие; 3 - лицевая поверхность армогрунтового основания; 4 - пролетное строение; 5 - диванный блок; 6 - переходная плита; 7 - армирующие элементы (прослойки); 8 - естественное основание; 9 - армогрунтовое основание

2.10. При сопряжении подходных участков насыпей с диванными устоями предпочтительно применение конструкций, включающих переходные плиты (плиты мягкого въезда). Они могут быть незаглубленные, полузаглубленные (см. рис. 1) и заглубленные. Длина переходных плит принимается 4 - 8 м, а уклон - 0 - 3°.

2.11. Для более равномерной передачи нагрузки от дивана к искусственному основанию целесообразно подошву дивана опирать непосредственно на щебеночную хорошо уплотненную и выровненную подушку толщиной 50 - 70 см.

2.12. Для защиты армогрунтовых устоев от размыва наряду со способами, перечисленными в п. 2.4, необходимо применять геотекстильные материалы в различном конструктивном оформлении.

2.13. При использовании для отсыпки искусственных оснований некондиционных грунтов в конструкции устоев диванного типа надо предусматривать противопучинные мероприятия (см. рис. 2).

2.14. Для стабилизации фронта вечномерзлых грунтов в естественном основании диванных устоев целесообразно покрывать поверхность устоя торфяным грунтом и не допускать скопления снега на проезжей части и откосах узла сопряжения.

2.15. Не допускается использовать для искусственных оснований диванных устоев набухающие грунты.

2.16. Использование мерзлого грунта в зимнее время для отсыпки в искусственное основание диванных устоев допускается лишь для временных дорог.

3. УСЛОВИЯ И ОБЛАСТИ ПРИМЕНЕНИЯ КОНСТРУКЦИЙ УСТОЕВ ДИВАННОГО ТИПА

3.1. Устои диванного типа в традиционном исполнении наиболее целесообразно применять при наличии в естественном основании скальных грунтов, при отсыпке искусственного основания из несортированной горной массы. Они могут применяться и при наличии в основании песчано-гравийной смеси и отсыпке из нее искусственного основания (при соответствующем уплотнении) для повышения несущей способности до 0,3 МПа.

Рис. 2. Конструкция армогрунтового устоя диванного типа из местных недренирующих грунтов для районов с вечной мерзлотой:

1 - граница вечномерзлого грунта; 2 - мешки из геотекстиля с дренирующим грунтом, образующие вместе с «4» противопучинный пояс; 3 - блок регулировки положения пролетного строения; 4 - привозной дренирующий грунт; 5 - местный недренирующий грунт; 6 - откос котлована; 7 - защитное покрытие; 8 - рисберма из геотекстиля; hв - глубина выторфовывания

3.2. Устои диванного типа, усиленные армированием грунта (см. рис. 1), рекомендуется использовать при дефиците кондиционных грунтов и на основаниях с низкой несущей способностью.

3.3. Устои диванного типа традиционного исполнения могут применяться в условиях вечной мерзлоты при отсыпке искусственного основания из песчано-гравийной смеси или несортированной горной массы и сохранении мерзлоты в естественном основании, т.е. использовании их по принципу I.

3.4. При отсутствии кондиционных грунтов для отсыпки искусственного основания и залегании вечномерзлых грунтов в естественном основании могут использоваться устои диванного типа двух модификаций:

при использовании мерзлых грунтов в основании по принципу I и армировании отсыпаемых грунтов;

при возможности оттаивания грунтов в естественном основании, т.е. использовании их по принципу II, наряду с армированием отсыпаемых грунтов принимаются меры по уменьшению осадок естественного основания, например, путем устройства подстилающих мембран.

3.5. Возможность строительства диванных устоев на грунтах, используемых по принципу I, должна подтверждаться теплотехническими расчетами и предусматривать в случае необходимости меры по утеплению насыпи или заложению откосов с крутизной, снижающей возможность накопления снега и повышение температуры грунта.

4. АРМОГРУНТОВЫЕ КОНСТРУКЦИИ УСТОЕВ ДИВАННОГО ТИПА

4.1. Армогрунт (армогрунтовые конструкции) - новый строительный материал, состоящий из послойно уплотненного грунта, армированного металлическими или железобетонными элементами, геотекстильными (или другими) полотнищами.

Армирующие полотнища создают дополнительные связи между частицами грунта за счет так называемого фиктивного сцепления, придавая грунту новые положительные свойства. При этом в несвязных грунтах арматура создает сцепление, а в связных - увеличивает его. Вследствие этого армогрунты могут воспринимать растягивающие напряжения. Армирующие прослойки, работая совместно с грунтом, вызывают также перераспределение напряжений между участками массива, обеспечивая передачу напряжений с перегруженных зон и вовлекая в работу недогруженные.

4.2. Армогрунтовые конструкции имеют следующие преимущества:

сокращают продолжительность строительства вследствие простоты технологического процесса, исключающего необходимость применения тяжелого сваебойного и кранового оборудования и процессов бетонирования (мокрых процессов);

не требуют заглубления фундаментов или значительно сокращают величину этого заглубления;

требуют гораздо меньшего расхода металла и цемента;

позволяют использовать местные грунты в качестве основного строительного материала (в том числе и связные);

дают возможность обходиться сравнительно небольшим ассортиментом имеющихся на любом строительстве машин и механизмов (прежде всего бульдозерами и катками);

уменьшают потребность во вспомогательных и временных сооружениях;

в минимальной степени нарушают геологическую структуру нижележащих слоев грунта;

значительно снижают строительную стоимость (более чем в 2 раза) и трудозатраты;

обладают повышенной сейсмической устойчивостью и пониженной чувствительностью к неравномерным осадкам, что позволяет использовать их при грунтах с низкой несущей способностью;

удобны для строительства в стесненных условиях;

сооружение армогрунтовых конструкций не требует высококвалифицированной рабочей силы.

4.3. При применении в качестве армирующих элементов геотекстиля* предпочтение следует отдавать материалам, обладающим значительной прочностью на растяжение, незначительной ползучестью (удлинением при разрыве), и устойчивым к воздействию температурных колебаний, минеральных кислот, щелочных сред, солей, влаги и солнечной радиации.

* Здесь и далее под геотекстилем (геотехническими материалами) понимаются материалы, изготавливаемые из нефти (полиамиды, полиэфиры, полипропилены и др.), кремнезема (стекловолокно), древесной пульпы (вискоза, ацетат), выполненные в виде полотнищ (тканых, нетканых и сетчатых) [3, 4].

В табл. 1 приведены сравнительные характеристики некоторых выпускаемых в нашей стране геотекстильных материалов.

4.4. При использовании импортных геотекстильных материалов для армирования подходных участков насыпей желательна их предварительная проверка на прочность и долговечность по методике ЦНИИСа.

4.5. Стеклопластики имеют следующие преимущества перед другими геотекстильными материалами:

обладают достаточно высокой прочностью на разрыв;

имеют высокий модуль деформации и небольшие относительные удлинения, что позволяет им включаться в работу практически одновременно с грунтом;

имеют сравнительно небольшую стоимость;

покрытие стеклосетки защитными лаками и смолами обеспечивает ее устойчивость к атмосферным и иным внешним воздействиям;

прочностные характеристики не снижаются при циклическом замораживании (до минус 50 °С) и оттаивании.

4.6. Снижение прочности стеклоткани при увлажнении и воздействии щелочно-кислотной среды имеет тенденцию к затуханию во времени; при этом сохраняющаяся прочность обычно превышает прочность синтетических (нетканых) материалов вновь изготовленных. Прочность стеклотканей, потерянная от увлажнения, восстанавливается при их высыхании, что имеет практическое значение, так как увлажнение армирующих элементов в грунте от осадков захватывает их не одновременно все, а со смещением во времени. При этом увлажнение практически не оказывает влияния на величину модуля деформации стеклопластике.

Таблица 1

Материал

Прочность на разрыв

Толщина, мм

Относительное удлинение при разрыве

Стоимость 1 м2, руб.

Ширина рулона, м

кН
м

кН
см2

Дорнит (синтетический нетканый материал) различных марок

7 - 12

-

4 - 5

70 - 140

2

1,5 - 2,5

СПАП-КАМА (стеклопластик на основе стеклосетки ТУ 6-11-217-76)*

63 - 73

30 - 33

1

4 - 5

0,5 - 0,8

1

Стеклоткань ровинговая марки ТР-07

80

-

1

-

1,15

1

Стеклопластик типа РСТ-Л (на основе стеклосетки вязально-прошивной электроизоляционной марки ВП7-04, ТУ 6-11-286-73)**

80

-

1

-

2 - 3

1

* Пропиточный состав: лак бакелитовый (ГОСТ 901-78) - 100 в. ч., хлорпарафин (ТУ 6-01-568-76) - 10 в. ч., флотореагент-оксаль (ТУ 38.103.429-83) - 40 в.ч.

** Покрытие латексом марки ВХВД-65-А.

4.7. В настоящее время рекомендуется использовать для армогрунтовых конструкций устоев диванного типа стеклопластики типа СПАП (сетка стеклянная перевивочная, армирующая по ТУ 6-11-217-76 при пропитке ее различными составляющими), выпускаемые заводами стекловолокна в городах Астрахани и Уфе.

4.8. Устои диванного типа на армогрунтовом основании в сравнении с традиционной (неармированной) конструкцией, имеют следующие преимущества:

способны выдерживать под подошвой дивана повышенные напряжения, благодаря чему можно увеличивать длину пролетных строений, опирающихся на диванную опору;

могут иметь любую крутизну лицевой поверхности вплоть до вертикальной, независимо от характеристик армируемого грунта, что позволяет экономить на длине пролетного строения мостов при условии обеспечения пропуска расхода при расчетном паводке.

4.9. Наличие армогрунтового основания с опирающимся на него диваном улучшает условия сопряжения подходной насыпи с пролетным строением, поскольку как подходная насыпь, так и пролетное строение будут опираться на основания, имеющие практически одинаковые модули упругости. Это способствует также выравниванию неравномерных осадок естественного основания при наличии в нем слабых прослоек.

4.10. Изложенные выше особенности работы армогрунтовых устоев диванного типа позволяют сооружать их в сложных инженерно-геологических условиях: при отсутствии кондиционных (дренирующих) грунтов, наличии слабых заторфованных грунтов, в районах вечной мерзлоты, а также в зонах с повышенной сейсмичностью.

4.11. При проектировании в строительстве армогрунтовых устоев диванного типа необходимо предусматривать строительный подъем (возвышение над проектной отметкой), зависящий от величины прогнозируемой осадки, складывающейся из осадки армогрунта (искусственного основания под подошвой дивана) и осадки естественного основания.

4.12. Осадка армогрунта (искусственного основания под подошвой дивана) обусловливается степенью уплотнения грунта в армируемых слоях и ориентировочно может быть определена по данным, приведенным в табл. 2.

Таблица 2

№ п.п.

Характеристика грунта и условий возведения

Величина запаса на осадку, % от проектной высоты насыпи

1

Песчаные и глинистые грунты, отсыпаемые с коэффициентом уплотнения:

 

К = 0,95

0,5

К = 0,90

1 - 2,5

2

Глинистые переувлажненные грунты (с показателем текучести JL > 0,25)

2 - 3

3

Мелкие, пылеватые пески, супеси и другие грунты, укладываемые способом гидронамыва

0,75 - 1,5

4

Легковыветривающиеся размягчаемые скальные и крупнообломочные грунты, уплотняемые в соответствии с требованиями строительных норм и правил

1 - 3

5

Скальные слабовыветривающиеся и легковыветривающиеся неразмягчаемые грунты, отсыпаемые без уплотнения

До 6

6

Пылеватые и глинистые грунты, отсыпаемые в зимнее время

5 - 6

7

Песчаные, крупнообломочные с песчаным заполнителем и легковыветривающиеся размягчаемые, отсыпаемые в зимнее время

4 - 5

Примечание. Бóльшие величины запаса относятся к насыпям, возводимым в срок до 6 месяцев, из грунтов с влажностью, близкой к предельно допустимой.

4.13. При наличии данных о коэффициенте уплотнения насыпного грунта возможно прогнозирование его осадки в соответствии с методом, изложенным в пп. 5.39 - 5.51.

4.14. Осадку естественного основания целесообразно прогнозировать по методу послойного суммирования в соответствии с указаниями настоящих Рекомендаций. При этом следует иметь в виду, что осадки оснований (незамерзлоченных) в первый год после постройки могут составить 65 - 80 % от полной их величины.

4.15. Осадку основания можно значительно уменьшить с помощью следующих мероприятий:

срезки верхнего слабого слоя грунта и замены его армогрунтом, мешками с грунтом, песчано-гравийной смесью;

стабилизации слоя вечной мерзлоты при выходе ее на поверхность (на глубину сезонного оттаивания);

создания поддерживающей конструкции (мембраны) из стеклопластика, заанкеренной валиком грунта, окаймляющим устой диванного типа;

предварительного обжатия слабого слоя отсыпкой дополнительного слоя грунта с последующей его срезкой;

уплотнения основания.

4.16. В проектах армогрунтовых устоев диванного типа рекомендуется предусматривать возможность выправки положения дивана или пролетного строения, или того и другого вместе.

4.17. Для предотвращения размывов (подмывов) подошву армогрунтовых устоев рекомендуется заглублять.

Глубину размыва hразм можно ориентировочно определять по формуле

,                                             (1)

где vp - расчетная скорость точения водотока у подошвы устоя, м/с;

hп - глубина водотока у подошвы устоя, м;

g - ускорение силы тяжести (9,8 м/с2);

d - средний диаметр фракции грунта, глубину размыва которого прогнозируют, м.

4.18. Котлован, отрываемый под призму крепления на глубину размыва, можно заполнять армогрунтовыми прослойками, заранее заготовленными упаковками грунта в геотекстильных полотнищах или каменной наброской. Для защиты от размыва и ледохода на поверхности лицевой и боковых граней армогрунтового устоя необходимо устройство ограждений различных конструкций (пневмонабрызг по металлической сетке, каменная наброска, отбойные брусья и т.п.).

4.19. При отсыпке армогрунтового устоя из недренирующих грунтов по его наружной поверхности (лицевые грани и верхний участок) следует устраивать антипучинный пояс, представляющий собой слой дренирующего грунта (с коэффициентом фильтрации > 0,5 м/сут). Толщина его (см. рис. 2) должна быть не менее глубины сезонного промерзания.

5. РАСЧЕТ УСТОЕВ ДИВАННОГО ТИПА

Общие положения

5.1. При расчете устоев диванного типа, в том числе и на армогрунтовом основании, целесообразно использовать методы, основанные на хорошо изученных и широко применяемых моделях грунтовой среды, оправдавшие себя многолетней практикой проектирования взаимодействующих с грунтом сооружений различного целевого назначения, обеспечивающие необходимый запас прочности и требуемую надежность сооружения.

5.2. Нагрузки и воздействия, их сочетания, коэффициенты сочетаний, надежности по нагрузке, надежности по назначению, условия работы, динамический коэффициент к нагрузкам от транспортных средств принимаются в соответствии с разд. 1, 2 и рекомендуемым приложением 2 к СНиП 2.05.03-84.

5.3. Устои диванного типа и его элементы рассчитываются по двум группам предельных состояний.

По первой группе предельных состояний выполняют расчеты:

прочности армирующих прослоек;

устойчивости диванного блока на опрокидывание и плоский сдвиг по его подошве;

устойчивости устоя против глубокого сдвига по круглоцилиндрической (или иной) поверхности с учетом возможности захвата слабых слоев основания;

несущей способности основания (естественного и армогрунтового);

прочности элементов диванного блока и переходной плиты по материалу.

По второй группе предельных состояний рассчитывают:

основание по деформациям (осадка основания, крен диванного блока или проверка положения равнодействующей в сечении по подошве диванного блока);

вероятность образования и раскрытия трещин в элементах диванного блока и переходной плиты.

Расчет диванного блока

5.4. Диванный блок и переходную плиту следует рассчитывать с учетом их работы как пространственной конструкции. Для приближенных расчетов допускается использование плоских расчетных схем.

5.5. Расчет устойчивости диванного блока против опрокидывания необходимо выполнять для наиболее неблагоприятного сочетания постоянных и временных нагрузок (тормозные силы в пределах переходной плиты при этом не учитываются). Расчет ведется по формуле

,                                                           (2)

где Мu - момент опрокидывающих сил относительно оси, совпадающей с нижним ребром диванного блока со стороны пролета (точка 0 на рис. 3);

Mz - момент удерживающих сил относительно той же оси;

gc - коэффициент условий работы;

gп - коэффициент надежности по назначению.

В рассматриваемом случае принимаем: gc = 0,8; gп = 1,1.

Опрокидывающие силы принимаются с коэффициентом надежности по нагрузке gf < 1, а удерживающие - с коэффициентом gf < 1.

При таком расположении сил, как показано на схеме 3, имеем:

Мu = T × hТ + ,                                                   (3)

где Т =  - расчетная сила трения в опорной части, складывающаяся из сил торможения или тяги и температурного воздействия;

Е - нормативное значение активного давления грунта на шкафную стенку;

hТ,  - плечи этих сил относительно точки 0;

 - соответствующие коэффициенты надежности по нагрузке.

Рис. 3. Схема нагрузок к расчету диванного блока

 ,                                  (4)

где G1, G2, G3, Q - нормативные значения весов элементов диванного блока и пригрузки плиты грунтом;

Рпр и Pпл - расчетные значения опорного давления постоянных и временных нагрузок пролетного строения и переходной плиты;

 - соответствующие коэффициенты надежности по нагрузке.

5.6. Расчет устойчивости диванного блока против сдвига по его подошве следует проводить по формуле

,                                                           (5)

где Qr - сдвигающая сила, равная сумме проекций на плоскость сдвига всех сдвигающих сил, действующих на диванный блок;

Qz - удерживающая сила, равная сумме сил сопротивления по подошве диванного блока;

gс = 0,9; gn = 1,1.

;                                                 (6)

,                      (7)

где fб - коэффициент трения бетонного блока по грунту основания (для суглинков и супесей fб = 0,30; для песков 0,40; для гравийных и галечниковых грунтов 0,50).

5.7. Нормативное значение активного давления грунта Е вычисляют следующим образом:

Е =  × Рn × h × l,                                                      (8)

где h - высота грунтовой засыпки от низа переходной плиты до подошвы диванного блока;

l - длина диванного блока (в поперечном направлении к оси пути);

Рп - нормативное значение интенсивности активного давления грунта;

Pn = λn × × h;                                                             (9)

λn = tg2 ,                                                       (10)

где λn - коэффициент активного давления грунта

, jn - нормативные значения удельного веса и угла внутреннего трения грунта засыпки, которые должны приниматься по данным лабораторных исследований.

Для дренирующего грунта конуса можно принять:  = 17,7 кН/м3 (1,8 тс/м3) и jn = 35°.

5.8. При опирании переходной плиты на лежень давление на грунт учитывается согласно приложению 8 СНиП 2.05.03-84.

При опирании переходной плиты свободным концом непосредственно на грунт насыпи, передаваемое ею давление на грунт насыпи и в том числе на призму обрушения, можно принять распределенным по линейному закону (рис. 4). При этом интенсивность реактивного сопротивления основания qo будет иметь вид:

qo =  qпл,

где qпл - интенсивность нагрузки, действующей на переходную плиту, включая ее собственный вес, вес проезжей части и находящейся на ней временной нагрузки.

Рис. 4. Схема нагрузок при опирании переходной плиты на грунт насыпи

Величина интенсивности нагрузки, передаваемой на призму обрушения у ее границы Ра будет равна:

Ра = qа = × а,                                                             (11)

где а - размыв призмы обрушения грунта.

,                                                                 (12)

Здесь Θ - угол наклона к горизонтали плоскости обрушения грунта;

Θ = 45° .

Дополнительное боковое давление на шкафную стенку будет при этом определяться по формуле

Pnq = λn × Pa,                                                           (13)

а его равнодействующая

Eq =  Pnq × h × l.                                                       (14)

Дополнительное давление будет передаваться и на плиту диванного блока. Его интенсивность Pv будет равна

Pv = qb =  × bн,                                                      (15)

где bн - ширина плиты диванного блока со стороны насыпи (см. рис. 4). Равнодействующая дополнительного давления будет иметь вид:

Qv =  Pv × bн × l.                                                    (16)

Нагрузка, передаваемая переходной плитой на шкафную стенку Рпл, кН/м, при этой схеме опирания определяется выражением

                                                       (17)

5.9. Проверка несущей способности основания под диванным блоком должна выполняться в соответствии с указаниями разд. 7 СНиП 2.05.03-84 [5], т.е. должны удовлетворяться условия:

,                                                (18)

где P, Pmax - соответственно среднее и максимальное давления подошвы диванного блока;

R - расчетное сопротивление основания из нескальных или скальных грунтов осевому сжатию, определяемое согласно приложению 24 СНиП 2.05.03-84 [5];

gn - коэффициент надежности по назначению сооружения, принимаемый равным 1,4;

gc - коэффициент условий работы, принимаемый в этом случае равным 1,0 ³ gc £ 1,2 (в зависимости от грунта основания и характера временных нагрузок, в соответствии с приложением 24 СНиП 2.05.03284).

Среднее давление на основание по подошве диванного блока вычисляется по выражению

где N - нормальная сила, приложенная к подошве диванного блока;

F - площадь подошвы блока.

Максимальное давление вычисляют по выражениям:

                                                       (19)

или

                                                       (20)

где Mx, My - моменты всех внешних сил относительно главных центральных осей сечения подошвы диванного блока (ось x - поперек моста, а ось y - вдоль моста);

Wx и Wy - соответствующие моменты сопротивления подошвы диванного блока;

;                                                (21)

Здесь l и b - соответственно длина и ширина подошвы диванного блока.

Момент My определяют для случая несимметричного (относительно продольной оси моста) загружения временной нагрузкой проезжей части в пролете и на переходной плите.

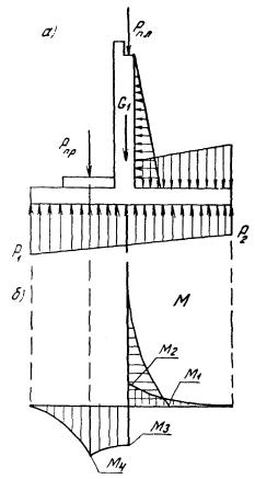
5.10. Тонкоэлементные диванные блоки рассчитывают на прочность и трещиностойкость (по предельным состояниям I и II групп) в соответствии с указаниями разд. 3 СНиП 2.05.03-84 как консольные плиты, заделанные в жесткий узел (рис. 5).

На рис. 5, а показана эпюра уравновешенных нагрузок на элементы диванного блока. Ординаты эпюры реактивного сопротивления основания Р1 и Р2 определяют по формуле

.                                                          (22)

Нагрузки, реактивное сопротивление основания и внутренние силовые факторы должны быть найдены для невыгоднейшего сочетания постоянных и временных нагрузок с коэффициентами надежности по нагрузке как бóльшими, так и меньшими единицы.

По эпюре расчетных нагрузок строится эпюра изгибающих моментов (рис. 5,б), по которым подбирается необходимое армирование или проверяется ранее назначенное.

5.11. Для повышения эксплуатационной надежности проводится дополнительный расчет диванного блока как балки таврового сечения, работающей в условиях неравномерных осадок основания по расчетным схемам, данным на рис. 6 (qΣ - интенсивность распределенной нагрузки, включающая собственный вес блока, вес пригрузки грунтом фундаментной плиты и нагрузку от переходной плиты; Рпр - вертикальная нагрузка от пролетного строения; апр - расстояние между осями опорных частей пролетного строения).

Рис. 5. Схема к расчету диванного блока в виде тонкостенной конструкции:

а - эпюра нагрузок; б - эпюра изгибающих моментов в элементах диванного блока

Рис. 6. Дополнительные расчетные схемы для проверки прочности диванного блока:

а - балка на двух опорах; б - консольная балка

На основании этих расчетов назначается дополнительное продольное армирование диванного блока на положительные значения изгибающего момента (схема 6, а) и на отрицательные (схема 6, б).

5.12. Переходная плита при ее опирании на лежень должна быть рассчитана как балка на двух опорах без учета реакции упругого основания.

При опирании переходной плиты свободным концом на грунт насыпи (см. рис. 4) наибольший изгибающий момент в ней может быть найден по формуле

.                                                           (23)

Точный расчет переходной плиты должен быть сделан по схеме расчета балки на упругом основании.

5.13. Расчет деформаций основания диванного блока следует проводить согласно СНиП 2.02.01-83 [6].

Крен диванного блока от внецентренного загружения вдоль моста и поперек моста (при загружении одной полосы движения) не должен превышать величин, препятствующих его нормальной эксплуатации, для чего целесообразно ограничить величину относительного эксцентриситета равнодействующей в сечении по подошве диванного блока:

 £ 0,2 - для постоянных сил;

 £ 0,4 - для невыгодного сочетания постоянных и временных сил.

                                                        (24)

                                                                (25)

Во избежание появления зон пластических деформаций грунта максимально допустимое давление  под подошвой диванной опоры устоя по типу рис. 1 рекомендуется определять по формуле

,                                                (26)

где Ср - расчетное значение структурного сцепления (для несвязных грунтов «зацепления»), кПа или кгс/см2;

jр - расчетное значение угла внутреннего трения грунта в градусах (или в радианах).

Если  получается меньше максимального давления под подошвой дивана, определенного по формуле (18), необходимо или увеличить площадь подошвы или (лучше) армировать грунт искусственного основания дивана.

Расчет армогрунтового основания

5.14. Исходные данные для расчета армогрунтового основания - силовые факторы N, Q и Mx, найденные при расчете диванного блока при неблагоприятном сочетании постоянных и временных нагрузок и приложенные в центре тяжести подошвы диванного блока в расчете на 1 м его длины (рис. 7).

5.15. Под подошвой диванного блока эпюра нормальных напряжений s может быть рассчитана по следующим формулам:

                                                         (27)

Эпюра касательных напряжений t может быть условно принята прямоугольной с ординатой

t = .                                                                 (28)

Рис. 7. Схема загружения армогрунтового основания устоя диванного типа:

а - внутренние силовые факторы в сечении по подошве диванного блока; б - эпюра нормальных напряжений s; в - эпюра касательных напряжений

5.16. Необходимое количество армирующих прослоек определяют из условия требуемого коэффициента надежности при расчете устойчивости насыпи на глубокий сдвиг по круглоцилиндрической (или иной) поверхности с учетом возможности захвата слабых слоев естественного основания.

5.17. Для этого по известным методикам с применением существующих программ для расчета на ЭВМ определяют положение центра и радиус круглоцилиндрической поверхности скольжения*, имеющей наименьший коэффициент надежности (рис. 8, а):

* При наличии ломаной поверхности скольжения Кф определяется по соотношению удерживающих сил к сдвигающим. При этом удерживающие силы будут равны , сдвигающие - ΣGi × sin ai.

,                                                           (29)

где Кф - наименьшее значение коэффициента надежности, найденное без учета армирующих прослоек;

Mуд - момент удерживающих сил относительно центра 0 кривой скольжения.

,                                      (30)

где rо - радиус кривой скольжения;

Gi - вес i-го отсека с учетом нагрузки на его поверхности;

ai - угол наклона к горизонтали хорды, заменяющей криволинейное основание i-го отсека;

 - угол внутреннего трения грунта в пределах i-го отсека;

 - удельное сцепление грунта в пределах i-го отсека;

Dli - длина хорды основания i-го отсека;

п - число вертикальных отсеков, на которое разбит сползающий массив;

Рис. 8. Схема к расчету устойчивости насыпи против глубокого сдвига по круглоцилиндрической поверхности:

а - без учета армирования грунта; б - с учетом армирующих прослоек

Мсд - момент сдвигающих сил относительно центра 0 кривой скольжения.

,                                                   (31)

* Второй член в правой части формулы (31) можно записать также иначе:

.

где hQ - плечо силы Q относительно центра 0 кривой скольжения;

ri - плечи весов отсеков Gi относительно центра 0.

5.18. Требуемая надежность может быть достигнута армированием искусственного основания (см. рис. 8, а), коэффициент надежности Ктр определяется выражением**

** Определение Ктр при армировании в случае ломаной поверхности скольжения вычисляется по формуле

где все обозначения прежние.

,                  (32)

где ma - число армирующих прослоек, необходимое для обеспечения требуемого коэффициента надежности;

Н - высота армируемого массива.

Число армирующих прослоек ma при этом определится по формуле

,                                       (33)

где Ra - расчетная прочность на разрыв армирующего материала;

Ксн - коэффициент снижения прочности армирующего материала во времени (Ксн = 0,5 - 0,3).

5.19. Толщину армируемых слоев грунта DН (при условии равенства толщин) определяют по формуле

.                                                            (34)

Она определяется также технологией уплотнения грунта и принимается равной ~ 0,5 м.

5.20. Армирующие прослойки заводятся за опасную поверхность скольжения на длину заделки l3 (рис. 8, б), обеспечивающую их равнопрочность на разрыв и вытягивание из грунта, определяемую по формуле

,                                                          (35)

где g - удельный вес грунта;

DНi - толщина армируемого слоя;

Кв - коэффициент сопротивления вытягиванию армирующего материала из грунта, определяемый по рекомендуемому приложению 1.

В предварительных расчетах при отсутствии опытных данных для сетчатых материалов величина Kв может быть принята равной 1,8 tg jн (jн - нормативный угол внутреннего трения грунта).

Если длина заделки l3i армирующих прослоек за опасную поверхность сползания, определенная по формуле (35), получается меньше 1 м, то l3 принимается равной 1 м (постоянной для всех армирующих прослоек).

5.21. Помимо приведенного выше расчета проверяется прочность армирующих прослоек на разрыв по формуле

Namax + DNa £ Ксн Ra,                                                      (36)

где Namax - наибольшее расчетное значение растягивающего усилия в армирующей прослойке, определяемое одним из приведенных ниже способов, в зависимости от геометрических параметров армогрунтового основания устоя диванного типа;

DNa - расчетное значение дополнительного усилия натяжения армирующей прослойки, определяемое в соответствии с п. 5.31;

Ra , Ксн - величины, поясненные в п. 5.18.

5.22. При крутых фронтальных гранях армогрунтового основания устоя диванного типа (e £ ) значительных высотах насыпи (Н ³ 6 м) и диванном блоке, расположенном близко к бровке откоса (L £ 1 m), Namax определяют по эпюре активного давления грунта на условную подпорную стенку по теории Кулона.

5.23. Эпюра активного давления грунта на условную подпорную стенку Pc при наличии на поверхности грунта под подошвой диванного блока вертикальных и горизонтальных сил складывается из трех слагаемых:

Pc = Pg + Ps + Pt,                                                        (37)

где Pg, Ps, Pt - расчетное значение интенсивности активного давления на условную подпорную стенку от собственного веса грунта; вертикальных сил под подошвой диванного блока; горизонтальных сил под подошвой диванного блока (соответственно).

5.24. Расчетные значения интенсивности активного давления от собственного веса грунта на условную напорную грань АВ (рис. 9) определяют по формуле

,                                                       (38)

где λn - нормативный коэффициент активного давления грунта, определяемый по формулам, приведенным в табл. 3;

 - нормативный удельный вес грунта;

hi - заглубление точки от поверхности грунта;

 - коэффициент надежности по нагрузке.

Рис. 9. Эпюра активного давления от собственного веса грунта на условную напорную грань для армогрунтового основания (а) и графического построения для определения угла наклона к горизонту опасной плоскости обрушения армогрунтового основания θ (б)

Таблица 3

№ п/п

Схема армогрунтовой конструкции

Углы

Формулы

a

b

e

λ

η

1

>0

>0

>0

2

0

>0

>0

3

>0

0

>0

4

0

0

>0

5

>0

>0

0

6

0

>0

0

7

>0

0

0

8

0

0

0

sin2 j

5.25. Эпюра активного давления на условную напорную грань АВ от вертикальной нагрузки на поверхности грунта под подошвой диванного блока построена на рис. 10. Считается, что вертикальные напряжения s на поверхности грунта вызывают активное давление на участке 1′ - 2′ условной напорной грани АВ. Для построения эпюры из точек 1 и 2, соответствующих границам загруженного участка поверхности грунта (подошва диванного блока), проводятся прямые, параллельные опасной поверхности обрушения, т.е. под углом Θ к горизонтали, до пересечения с условной напорной гранью АВ в точках 1′ и 2′, которые сносятся на вертикаль и против них откладываются соответствующие ординаты активного давления грунта:

                                                            (39)

где  - расчетные значения интенсивности активного давления;

s1, s2 - расчетные значения вертикальных напряжений на поверхности грунта под подошвой диванного блока (см. п. 5.15).

5.26. Угол Θ наклона к горизонтали опасной плоскости обрушения при вертикальной напорной грани АВ, горизонтальной поверхности грунта и горизонтальных армирующих прослойках (a = e = b = 0) определяют по формуле

Θ = 45° + ,                                                          (40)

где jn - нормативное значение угла внутреннего трения грунта.

5.27. В общем случае (при a 0, e 0, b 0) угол Θ должен быть найден из условия максимального активного давления грунта или соответствующего максимального суммарного усилия в армирующих прослойках, определяемого выражением

 = 0.                                                             (41)

Рис. 10. Пример построения эпюр активного давления грунта на условную напорную грань от загружения поверхности армогрунтового основания:

а, б - соответственно вертикальной и горизонтальной распределенной нагрузкой по подошве диванного блока

5.28. Практически угол Θ для общего случая удобно определять построением (см. рис. 9, б). Для этого из точки А поводится прямая AM под углом 90 + b к плоскости естественного откоса BF. На отрезке BF, как на диаметре, строится полуокружность, на которой определяется положение точки К путем восстановления перпендикуляра МК к прямой BF. Отрезок ВК будет равен

BK = BD = .                                               (42)

Из точки D проводится прямая DС, параллельная AM. Полученная при этом прямая ВС представляет собой след опасной плоскости обрушения, отвечающей условию выражения (41). Угол Θ определяется графически по чертежу.

Примечания: 1. Угол Θ, найденный с учетом вертикальной нагрузки s на поверхности грунта, будет несколько отличаться от определенного согласно п. 5.28, однако это отличие незначительно, и в приближенных расчетах не учитывается.

2. Если точка С, определяющая величину угла Θ, окажется расположенной в пределах подошвы диванного блока, то принимается, что угол Θ охватывает всю подошву диванного блока.

5.29. Активное давление грунта на условную напорную грань от горизонтальных напряжений на поверхности грунта под подошвой диванного блока определяют по формуле

,                                                               (43)

где Pt - расчетное значение интенсивности активного давления на условную напорную грань от горизонтальной нагрузки на поверхности грунта Т = t × b;

ht - вертикальная проекция участка 1′ - 2′ условной напорной грани, на котором возникает активное давление от горизонтальной нагрузки на поверхности грунта (рис. 10, б).

5.30. Наибольшее растягивающее усилие в армирующей прослойке определяется путем распределения суммарной эпюры активного давления между армирующими прослойками по принципу узловой передачи нагрузки.

5.31. Дополнительное усилие натяжения армирующей прослойки, необходимое для удержания фронтальной грани армогрунтового массива в форме полуцилиндров, определяют по формуле

,                                                         (44)

где gрг - расчетный удельный вес грунта;

DН - толщина армируемых слоев, определяемая по формуле (34).

5.32. При углах наклона условной напорной грани e > , расстоянии от диванного блока до бровки откоса L > 1 м и небольших высотах армогрунтовых оснований Н < 6 м, прочность армирующих прослоек на разрыв проверяют в сечении диванного блока по оси (рис. 11) с учетом действия только вертикальной силы N.

5.33. Вертикальные напряжения в произвольном горизонтальном сечении армогрунтового основания на глубине hi будут складываться из двух слагаемых

,                                                       (45)

где  - вертикальные напряжения от собственного веса грунта;

 - вертикальные напряжения от нагрузки N.

5.34. Расчетные значения вертикальных напряжений  от собственного веса грунта в сечении на глубине hi определяют по формуле

 × hi × gf,                                                       (46)

где gf - коэффициент надежности по нагрузке, определяемый по табл. 8 СНиП 2.05.03-84.

Рис. 11. Схема к расчету на прочность армирующих прослоек при
Н
£ 6 м; L ³ 1 м и e ³

5.35. Линии 1 - 3 и 2 - 4 на рис. 11, проведенные под углом jп к вертикали, ограничивают условную зону распространения вертикальных напряжений  от нагрузки N. Расчетные значения напряжений  при этом будут равны

.                                                    (47)

5.36. Горизонтальные напряжения в осевом сечении на глубине h определяют по формуле

,                                                    (48)

где ξ0 - коэффициент бокового давления грунта, соответствующий состоянию покоя.

.                                                              (49)

Здесь ν - коэффициент Пуассона для грунта.

5.37. Построив эпюру , по формулам (46) - (49) определяют наиболее напряженную армирующую прослойку, прочность которой проверяют следующим образом:

 × DH £ Ксн Ra.                                                     (50)

5.38. Суммарная несущая способность на разрыв всех армирующих прослоек, пересекающих осевое сечение, должна быть не меньше равнодействующей бокового давления грунта, т.е. должно соблюдаться условие

,                                          (51)

где H - высота армогрунтового основания;

B - ширина зоны распространения нагрузки, передаваемой диванным блоком, на уровне подошвы армогрунтового основания;

mа - число армирующих прослоек.

После установления количества армирующих прослоек mа следует определить максимально допустимое давление  под подошвой диванной опоры с учетом армирования, которое проверяют по формуле (26) с учетом повышения несущей способности грунта за счет появления так называемого «фиктивного сцепления» Сf, подставляемого в формулу (26) вместе с Ср.

Величина «фиктивного сцепления» устанавливается по выражению

где sразр = Ксн × Ra;

остальные обозначения прежние.

Схема армирования принимается с учетом результатов всех изложенных выше расчетов по невыгодному варианту.

Прогноз осадки шкафных блоков диванного типа

5.39. Величина запаса на осадку блоков диванного типа зависит от степени уплотнения грунта искусственного основания, размеров (высоты) устоя, характера и состояния грунтов естественного основания.

В общем виде величина запаса на осадку S может быть определена по выражению

S = Sн + (S0 - St),                                                        (52)

где Sн - осадка искусственного основания (насыпи) после окончания его сооружения;

S0 - конечная осадка естественного основания (под центром поперечного сечения устоя);

St - осадка естественного основания в процессе сооружения устоя.

5.40. Подсчет осадки искусственного основания проводят по формуле

,                                                 (53)

где Dhi - толщина уплотняемых слоев, см;

ρai - среднее значение фактических плотностей сухого грунта в пределах уплотняемых слоев, г/см3*;

* Индексация и наименования даны в соответствии с СН 528-80 [7].

 - максимальные плотности сухого грунта, определяемые по методу стандартного уплотнения (ГОСТ 22733-77) для грунтов в пределах уплотняемых слоев, г/см3.

Для ориентировочных подсчетов осадок искусственного основания можно воспользоваться данными табл. 2.

5.41. Конечную осадку естественного основания вычисляют по формуле

,                                                            (54)

где Dеi - приращения модулей осадки**, см/м, вызванные вертикальными нормальными напряжениями от веса насыпного грунта и приведенных к нему весов подвижной и постоянной нагрузок в различных условно выделенных слоях грунта естественного основания в пределах активной зоны;

** Модуль осадки показывает относительную деформацию сжатия столба грунта высотой 1 м (в см на 1 м) для различных ступеней нагрузок.

Zi - толщина условно выделенных слоев грунта в пределах активной зоны или же слоев разнородных грунтов в этих же пределах, м.

5.42. Величина приращений модулей осадки (рис. 12) устанавливается по компрессионным кривым вида е = f (p), которые строятся по данным компрессионных испытаний образцов грунта ненарушенной структуры по формуле

е = 100 × ,                                                            (55)

где е - модуль осадки, см/м;

Dh - абсолютная деформация сжатия образца, см, вызванная постепенным приложением нагрузки от нуля до Р, МПа (кгс/см2);

h - высота образца, см.

Рис. 12. Компрессионная кривая вида e = f (р) (а) и схемы к определению напряжений в основании устоя диванного типа от веса центральной части насыпи (б); то же от веса откосных частей насыпи (в)

При этом целесообразно каждый образец обжать предварительной нагрузкой, соответствующей бытовому давлению на него в условиях естественного залегания и равной

szg = g1 × z1 + g2 × z2 + … + gn × zn,                                           (56)

где g1, g2, …, gn - значения удельного веса грунта* в различных слоях, кН/м3;

* По системе СИ (согласно СН 528-80) удельный вес грунта - отношение веса грунта (включая вес воды в его порах) к занимаемому этим грунтом объему (включая поры) полностью эквивалентен применявшемуся раньше термину «объемный вес грунта».

z1, z2, …, zn - толщины слоев грунта, расположенных над образцом, м.

При расположении грунта ниже уровня грунтовых вод удельный вес следует брать с учетом взвешивающего влияния воды.

5.43. Значения приращений модулей осадок для каждого выделенного слоя вычисляют в следующем порядке:

подсчитывают нормальные вертикальные напряжения szр в основании от веса насыпного грунта и приведенных к нему подвижной и постоянной нагрузок для глубин, соответствующих взятым образцам;

по компрессионным кривым типа e = f (р) отсчитывают величины модулей осадок, соответствующих значениям szрi, вычисленным для середины каждого слоя разнородного грунта; эти значения модулей осадок и будут являться иx приращениями Dеi.

5.44. При наличии компрессионных кривых вида e = f′ (р) переход к кривым вида e = f (р) осуществляется по формуле

.                                                          (57)

где e0 и eр - коэффициенты пористости, соответствующие нагрузкам (начальной и р) на компрессионной кривой вида e = f′ (р).

5.45. Напряжения в основании устоев, необходимые для вычисления осадок по данному методу, рекомендуется определять по формулам плоской задачи теории линейно деформируемых тел. При этом напряжения от веса насыпи (по ее оси) подсчитываются суммированием напряжений от двух откосных и центральной частей в отдельности, т.е.

szр = szрц + 2szро,                                                       (58)

где szрц - напряжения от веса центральной части насыпи в пределах ширины проезжей части (основной площадки), рассматриваемой как прямоугольная нагрузка (см. рис. 12, б).

szро - напряжения от веса каждой откосной части, представляющей собой треугольную нагрузку (см. рис. 12, в).

szрц =  (2b + sin 2b).                                                 (59)

Здесь b - углы, образованные вертикальными плоскостями, ограничивающими равномерно распределенную нагрузку с прямыми, соединяющими точку, в которой определяются напряжения, и краевые части нагрузки

,

где l1 - ширина основной площадки, м;

Z - глубина, на которой определяются напряжения;

q - интенсивность нагрузки, кН/м2;

q = gн × Нн.

Здесь gн - удельный вес грунта насыпи;

Нн - высота насыпи под диванным блоком, м.

,               (60)

где а′ - база треугольной нагрузки;

b1 и b2 - углы, показанные на рис. 12, в.

5.46. Глубина активной зоны (т.е. расстояние от подошвы искусственного основания до нижней границы сжимаемой толщи) в соответствии со СНиП 2.02.01-83 принимается до уровня, на котором выполняется условие

szр = 0,2szg,                                                           (61)

где szg - напряжение от собственного веса грунта естественного основания.

При ограничении толщи сжимаемых грунтов вечномерзлыми или несжимаемыми (скальными) грунтами активная зона рассматривается лишь в пределах сжимаемой толщи.

5.47. Осадка естественного основания St в процессе сооружения устоя устанавливается в зависимости от характера подстилающих грунтов, их состояния и продолжительности работ по сооружению устоя.

5.48. При залегании в пределах активной зоны гравийно-песчаной смеси, песков и супесей (как в водонасыщенном, так и в трехфазном состоянии) осадка основания считается полностью сформировавшейся в процессе сооружения устоя.

5.49. При залегании в основании устоя в пределах глубины активной зоны водонасыщенных глинистых (суглинистых) грунтов в чередовании с дренирующими пластами St рассчитывают в такой последовательности.

Из середины каждого пласта (глинистого, суглинистого) берут образцы (керны) ненарушенной структуры, которые в лабораторных условиях подвергают сжатию в компрессионных приборах. При этом первоначально образцы сжимают нагрузкой, равной бытовому давлению szgi. По прекращении стабилизации от ее воздействия добавляют нагрузку, соответствующую среднему давлению от насыпи устоя в пределах каждого слоя естественного основания szpi.

Устанавливают продолжительность ti хода осадки каждого образца, зная которую, а также имея данные о высоте испытываемого образца hi и толщине слоя грунта, из которого он взят Zi длительность осадки Тi каждого слоя находят по формуле

.                                                                (62)

Определяют величину осадки каждого слоя St в натуре по выражению

St =  si,                                                                  (63)

где si - осадка образца в компрессионном приборе, см.

По результатам испытаний и формуле (62) для каждого слоя глинистого (суглинистого) грунта строят кривые консолидации, показывающие зависимость общих осадок данного слоя (в сантиметрах и процентах) от времени (в единицах времени и в процентах от общей величины осадок) при приложении нагрузок, равных среднему давлению szpi на данный слой от воздействия насыпи.

По кривым консолидации для каждого слоя устанавливают величину осадки Sti, соответствующую расчетному времени tрасч

tрасч = ,                                                               (64)

где tвоз.у - суммарное время возведения устоя.

Суммарная величина осадки основания насыпи устоя при сооружении составит

.                                                                (65)

5.50. При залегании в пределах активной зоны глин и суглинков, находящихся в трехфазном состоянии (скелет, вода, воздух), т.е. неводонасыщенных, осадку основания устоя в процессе сооружения ориентировочно можно принимать равной 60 - 70 % от полной ее величины (при условии отсутствия длительных перерывов в работе по возведению устоя).

5.51. Расчет осадок оснований (полных So и происходящих в процессе сооружения St) для насыпей устоев, возводимых на сухих основаниях в районах незначительного увлажнения, не производится.

При возведении же насыпей устоев на сухих естественных основаниях во всех прочих климатических районах, а также на сырых, мокрых и подтопляемых основаниях, осадки последних (So и St) не учитываются, когда высоты устоев равны или меньше величин, указанных ниже.

Род грунта основания                                                   Предельная высота устоя, м

Песчано-гравийная смесь......................................................................... 12

Пески:

крупные.................................................................................................. 12

средние................................................................................................... 11

мелкие.................................................................................................... 10

пылеватые.............................................................................................. 7

Мелкие супеси............................................................................................ 6

Суглинки..................................................................................................... 5

Тяжелые суглинки и глины....................................................................... 4

Суглинки пылеватые и супеси пылеватые.............................................. 3

6. ТЕХНОЛОГИЯ СООРУЖЕНИЯ УСТОЕВ ДИВАННОГО ТИПА

Армогрунтовые устои

6.1. При сооружении армогрунтовых устоев (при использовании в качестве армирующих полотнищ геотекстиля) рекомендуется соблюдать следующую последовательность работ:

на естественное основание будущего сооружения (или подготовительный слой) укладывают полосы геотекстиля с нахлесткой в стыках на 10 - 20 см; длина заложения полос, считая от лицевой грани сооружения, должна соответствовать проектной, а общая длина выпускаемых за лицевую грань участков этих полос должна равняться сумме высоты слоя грунта и длины, предназначенной для перекрытия верха этого слоя;

разложенные полосы засыпают грунтом, перемещаемым бульдозером (или экскаватором и самосвалами) с разравниванием его до высоты, учитывающей проектную отметку и уплотнение;

выпущенные за лицевую грань полотнища укладывают на выровненную и уплотненную поверхность слоя грунта;

на эту же поверхность вновь расстилают полотнища геотекстиля и процесс повторяется.

6.2. Толщину армируемых слоев назначают исходя из возможности уплотнения грунта имеющимся оборудованием до величины 0,95 - 0,98 от стандартной плотности; толщина слоев не должна превышать 0,40 - 0,60 м в плотном состоянии.

6.3. Для сооружения армогрунтовой конструкции устоя с вертикальной гранью необходимо в торцовой части ее устраивать скользящую опалубку (например, в виде забора с подкосами против опрокидывания); для этой цели может применяться выкладка лицевой грани из упаковок грунта в геотекстильном материале, заранее уплотненных на стройдворах. Эта выкладка затем охватывается армирующими сооружение полотнищами.

6.4. Для образования заранее заданного очертания (угла наклона) лицевой грани устоя можно использовать тонкостенные железобетонные блоки уголкового профиля или специальные стабилизаторы, выполненные в виде скоб, к которым крепятся полотнища геотекстиля и др.

6.5. Торцовые участки армогрунтовых откосов целесообразно усиливать полотнищами, расположенными перпендикулярно к армирующим (с внутренней их стороны), что предохранит стыки от раскрытия, а также уменьшит суффозию мелких частиц грунта. Для этих целей можно использовать другие геотекстильные материалы (дорнит, доркреп и др.).

6.6. Участки грунта, примыкающие к торцовой грани, следует уплотнять ручными дизельтрамбовками или электротрамбовками.

6.7. При использовании в качестве грунта несортированной горной массы необходимо принимать меры по предотвращению повреждения стеклопластиков от ударов скальных обломков при выгрузке их из самосвалов и транспортировании бульдозерами, для чего разложенные полотнища засыпают тонким слоем (~ 20 см) предварительно заготовленного мелкозема или слои стеклопластика покрывают более эластичным и менее чувствительным к ударам материалом (типа дорнита).

6.8. Внешние грани армогрунтовых сооружений следует защищать от гидрологических и погодно-климатических факторов (путем покрытия пневмонабрызгом по заанкеренной сетке, покрытия плитами и др.).

6.9. В случае удаления слабого грунта из-под основания армогрунтового сооружения в образовавшийся котлован целесообразно укладывать заранее заготовленные упаковки грунта (при заполнении котлована водой) или же проводить отсыпку армогрунтовых слоев, аналогичных тем, которые расположены выше поверхности котлована.

6.10. Проезд по уложенным геотекстильным полотнищам машин и механизмов возможен лишь при оснащении их ходовых частей пневматическими шинами. Для прохода машин на гусеничном ходу необходимо предварительно покрывать полотнища слоем грунта толщиной не менее 20 см. Разворот машин на геотекстильных полотнищах (в том числе и на пневмоходу) без предварительно уложенного защитного слоя грунта запрещается.

В ходе строительства устоев диванного типа и после его завершения рекомендуется осуществлять наблюдение в соответствии с программой, изложенной в рекомендуемом приложении 2.

Устои диванного типа на неармированном основании

6.11. Технология сооружения устоев диванного типа без использования армогрунта включает в себя следующие операции:

подготовку грунтового естественного основания;

отсыпку и уплотнение грунта конуса (искусственного основания) до отметки подошвы дивана;

монтаж блоков дивана со сваркой стыков (или бетонирование на месте в специальной опалубке);

досыпку конуса до проектного профиля;

устройство плиты мягкого въезда.

Засыпаемые грунтом поверхности диванных опор покрываются битумом. Откосы конусов (ив некоторых случаях русло реки) защищают от повреждений паводковыми водами и льдом.

6.12. Подготовка естественного основания заключается (в зависимости от особенностей местных инженерно-геологических условий и конструкции устоя) в выравнивании площадки под устой, открытии котлована, укреплении основания различными способами (при необходимости повышения несущей способности), отсыпке подготовительного слоя и т.п.

6.13. Используя грунты в качестве естественных оснований, надо предусматривать методы строительных работ, не допускающие ухудшения свойств грунтов подготовительного основания вследствие неорганизованного замачивания, размыва грунтовыми и поверхностными водами, повреждения механизмами и транспортными средствами.

При наличии просадочных грунтов перерыв между окончанием разработки котлованов и устройством оснований, как правило, не допускается.

6.14. Подготавливая основания в вечномерзлых грунтах, в процессе работ необходимо поддержать принятые в проекте температурные режимы грунтов. Если грунты в естественном основании намечено сохранить в вечномерзлом состоянии, то разработку котлованов и устройство (подготовку) оснований следует выполнять, как правило, при устойчивой среднесуточной температуре воздуха ниже 0 °С.

6.15. Основным работам по уплотнению грунтов конуса (искусственного основания дивана) должно предшествовать опытное уплотнение, проводимое с учетом грунтовых условий и используемых для уплотнения механизмов. Линейный размер площадки для опытного уплотнения принимается не менее утроенного размера трамбовки или двойной ширины рабочего органа трамбующей машины (при уплотнении трамбованием) и не менее 6 - 12 м при уплотнении укаткой.

6.16. При опытном уплотнении трамбовками через каждые два удара трамбовок (прохода трамбующей машины) нивелированием забитых в грунт штырей определяется понижение уплотняемой поверхности. Для контрольного определения толщины уплотненного слоя в центре уплотненной площади на глубине, равной двум диаметрам трамбовки (через 0,25 м по глубине), должна определяться плотность и влажность грунта.

6.17. Опытное уплотнение укаткой проводится по трем вариантам: число проходов катка 6, 8 и 10 по одному следу. Уплотняют грунты всех разновидностей не менее, чем при трех значениях их влажности, равных соответственно 1,2Wp, 1,0Wp и 0,8Wp (Wp - влажность на границе раскатывания).

После уплотнения грунта на опытном участке следует определить плотность и влажность уплотненного грунта на двух горизонтах, соответствующих верхней и нижней границе уплотненного слоя.

6.18. После завершения опытного уплотнения составляют соответствующий акт, в котором кроме плотности, влажности, глубины и характера грунтов указывают размеры, массу и количество проходов трамбующей машины (или ударов трамбовки) по одному следу (при уплотнении трамбованием); величину отсыпаемых слоев и режим работы (количество проходов) механизмов (при уплотнении укаткой).

6.19. Качество работы при уплотнении грунтов искусственного основания под диваны трамбованием и укаткой следует проверять определением плотности грунта: при уплотнении трамбованием через 0,25 - 0,50 м - на всю глубину уплотнения, а при послойном уплотнении укаткой - в середине каждого слоя. Количество точек определения плотности устанавливают из расчета: одну точку на каждые 300 м2 уплотненной площади. В каждой точке должно быть отобрано не менее двух проб при уплотнении трамбованием и не менее трех проб в каждом слое при послойном уплотнении укаткой.

6.20. Качество уплотнения грунта при любом способе производства работ признается удовлетворительным, если средняя плотность грунтов в уплотненном состоянии соответствует проектной. Допустимое отклонение в сторону уменьшения плотности, принятой в проекте, не должно превышать 0,05 т/м3 в количестве не более 10 % общего числа определений.

6.21. Отсыпку грунта под диванную мостовую опору рекомендуется осуществлять горизонтальными слоями с тщательным послойным уплотнением. Толщина слоев (в плотном состоянии) принимается в пределах 40 - 100 см в зависимости от технических характеристик применяемого для уплотнения оборудования. Не рекомендуется укладывать обломки, имеющие размер, превышающий 2/3 толщины отсыпаемого слоя.

6.22. Для стабилизации осадок рекомендуется возводить искусственные грунтовые основания за 6 - 10 месяцев до монтажа дивана.

6.23. Допускается возведение искусственных оснований под диванные опоры с помощью гидронамыва без дополнительного механического уплотнения (из гравийно-галечниковых грунтов с песчаным заполнителем и других дренирующих грунтов).

6.24. Укрепительные работы по защите от размыва и ледового воздействия следует проводить непосредственно после отсыпки грунта искусственного основания диванной опоры.

6.25. Диванная мостовая опора должна монтироваться на спланированную горизонтальную площадку из отсыпанного грунта или щебеночную призму в зависимости от конструктивных особенностей диванного устоя. Горизонтальность площадки должна контролироваться нивелированием. Отклонение отдельных неровностей от проектной отметки с учетом строительного подъема не должно превышать ± 20 мм.

6.26. Не рекомендуется проводить монтаж дивана на искусственное основание, отсыпанное в зимнее время при отрицательных температурах из мерзлого грунта до его оттаивания и стабилизации осадок за счет самоуплотнения.

Приложение 1
Рекомендуемое

ОПРЕДЕЛЕНИЕ КОЭФФИЦИЕНТА СОПРОТИВЛЕНИЯ ВЫТЯГИВАНИЮ АРМИРУЮЩЕГО МАТЕРИАЛА ИЗ ГРУНТА

Величина коэффициента сопротивления вытягиванию из грунта армирующего материала характеризуется отношением

,                                                                 (1)

где

 -                                                               (2)

касательное напряжение на поверхности образца армирующего материала;

s = s0 + q -                                                             (3)

нормальное напряжение на поверхности образца армирующего материала, складывающееся из величин нормального напряжения от собственного веса слоя вышележащего грунта

s0 = g × DH0                                                                                                       (4)

и пригрузки поверхности грунта равномерно распределенным давлением q с помощью пневматического загрузочного устройства;

Тпр - величина предельной сдвигающей (вытягивающей) силы;

F = b0 × l0 - площадь образца армирующего материала (b0 и l0 - ширина и длина образца).

Предельный коэффициент Кв определяется по формуле

,                                                            (5)

где nс - число ступеней изменения напряжения s.

Приложение 2
Рекомендуемое

ПРОГРАММА НАБЛЮДЕНИЙ ЗА ДИВАННЫМИ УСТОЯМИ В ХОДЕ СТРОИТЕЛЬСТВА ОПЫТНЫХ ОБЪЕКТОВ И В ПЕРВЫЕ ГОДЫ ЭКСПЛУАТАЦИИ

Общие положения

Конструктивное оформление армогрунтовых узлов сопряжений подходных насыпей с искусственными сооружениями может быть разнообразным. При этом инженерно-геологические и климатические условия влияют на конструкцию армогрунтовых узлов сопряжений, способ их возведения и методику наблюдений. Настоящая программа носит общий характер, не касаясь отдельных деталей, связанных с конструктивными особенностями сооружений, что обусловлено также и тем, что окончательные конструктивные решения по привязке к конкретным объектам еще не разработаны.

Изложенные в программе положения должны отражаться в проектах опытных объектов строительства.

Исследования в ходе строительства

Исследования в ходе строительства опытных объектов должны охватывать прежде всего технологию сооружения армогрунтовых участков сопряжений и возможности ее совершенствования.

Необходимо разработать и захронометрировать процессы расстилки армирующих полотнищ на основание, включая и котлованы (как сухие, так и заполненные водой), выкладку откосов торцовых частей армогрунтовых участков различными способами (опалубкой, железобетонными элементами, спрессованными заготовками грунта, завернутыми в геотекстиль, и др.), засыпку и уплотнение слоев грунта, установку плиты мягкого въезда. Работа должна выполняться под наблюдением ЦНИИСа.

На железобетонных диванах должны быть зафиксированы отметки, позволяющие геодезическим путем снимать по ним показания и контролировать во времени деформации (в плане и по вертикали).

В процессе возведения армогрунтового участка насыпи берутся пробы грунта для определения гранулометрического состава, влажности, плотности, наличия засоленности и величины рН. При этом со стороны обоих устоев устраиваются эталонные участки армирующих полотнищ, которые зарываются в те же грунты, что и в узле сопряжения. Цель закладки указанных эталонных участков - контроль за изменением прочностных характеристик геотекстиля во времени, методика которого приведена ниже. Там, где это необходимо, закладывают температурные скважины. На каждом объекте выявляется рациональная технология, отбираются пробы.

Исследования при эксплуатации

Важнейшие задачи исследования в процессе эксплуатации опытных образцов с армогрунтовыми участками подходных насыпей таковы:

проверка деформативности армогрунтовых элементов;

контроль за изменением прочности армирующих полотнищ;

установление причин появления деформаций и изменения состояния геотекстиля;

уточнение методов расчета, улучшение свойств армирующих полотнищ, совершенствование конструкций и технологии армогрунтовых узлов сопряжений.

Деформативность армогрунтовых элементов (подходной насыпи, устоев диванного типа и др.) проверяют сопоставительным нивелированием специальных марок, установленных в определенных точках насыпи, дивана и пролетного строения. Схема размещения марок определяется для каждого объекта индивидуально. При этом должны фиксироваться не только вертикальные, но и горизонтальные перемещения отдельных элементов (в частности, дивана).

На участках, где основание подходного участка подстилается вечномерзлыми грунтами, следует оборудовать температурные скважины по схемам, обусловленным конкретными условиями.

Контроль за изменением прочности армирующих полотнищ осуществляется следующим образом: перед укладкой геотекстиля проводится испытание его на разрыв в соответствии с ГОСТ 69.43.10-79 с необходимой повторностью; спустя полгода и год такие же испытания осуществляются с образцами геотекстиля, вынутыми из эталонных участков; в последующем каждый год подобные испытания повторяются в течение всего срока наблюдений за опытным объектом.

Установление причин появления деформаций и изменения состояния армирующих полотнищ осуществляется на основании анализа результатов измерений и специальных экспериментов в лабораторных условиях (по результатам определения химических примесей в грунте и моделирования воздействия их на материал армирующих полотнищ).

По результатам натурных и лабораторных исследований намечается уточнить длину заделки геотекстильных армирующих полотнищ, характер распределения напряжений, значения расчетных параметров (угла внутреннего трения и сцепления) в зависимости от удельного давления, состояния грунта (влажность и плотность) и его гранулометрического состава.

Улучшать армирующие свойства геотекстиля предполагается путем подбора его состава, наименее чувствительного к воздействию внешних факторов, обладающего достаточно высоким сопротивлением на разрыв, малым относительным удлинением и высоким модулем деформации.

Совершенствование конструкций армогрунтовых подходных участков должно быть направлено на выравнивание удельного давления по подошве дивана, создание противопучинного пояса, окаймляющего армогрунт из местных грунтов в районах возможного пучинообразования, создание облегченных защитных экранов, а также на конструктивные решения, обеспечивающие защиту от размывов и повреждений текущей водой и льдом. Совершенствование технологии строительства армогрунтовых узлов сопряжений должно осуществляться на основе выявления оптимальных способов строительства откосных участков армогрунтовых земляных отложений в различных условиях; путем уточнения толщины слоев армогрунта, обеспечивающей наибольшую плотность при различных методах уплотнения; организацией стройдворов для механизированной заготовки упакованных в геотекстиль грунтовых блоков для выкладки лицевых граней армогрунтовых сооружений; разработкой методов армирования грунта в траншеях, котлованах (в том числе при заполнении их водой).

Приложение 3
Рекомендуемое

МЕТОДИКА ОПРЕДЕЛЕНИЯ ДАВЛЕНИЯ ГРУНТА И ПРОВЕРКИ УСТОЙЧИВОСТИ ПРОТИВ ПЛОСКОГО СДВИГА ПОДПОРНЫХ СТЕН С КОНТРФОРСАМИ СО СТОРОНЫ ГРУНТОВОЙ ЗАСЫПКИ

Давление грунта на подпорные стены с контрфорсами Е со стороны грунтовой засыпки (рис. 1) определяется как активное с учетом вертикальных сил трения 2Тв, развивающихся по боковым поверхностям контрфорсов и контактирующим с ними основаниям призмы обрушения, снижающих величину давления

Е = Еg + Еq - DЕg - DЕq,                                                    (1)

где Еg и Еq - равнодействующие полных давлений на 1 м длины пролета напорной стенки В от собственного веса грунта g и равномерно распределенной нагрузки q на поверхности засыпки, определяемые по теории Кулона:

Еg = λ × ;                                                             (2)

Еq = λ × q × H;                                                              (3)

DЕg и DЕq - равнодействующие снижения (за счет сил трения) давлений на 1 м длины пролета напорной стенки В от собственного веса g и равномерно распределенной нагрузки q на поверхности засыпки, определяемые по формулам:

DЕg = λ × ;                                                         (4)

DЕg = λ ×  × q × H2.                                                       (5)

Рис. 1. Схемы к расчету подпорной стены с контрфорсами:

а - со стороны грунтовой засыпки; б - эпюры активного давления от собственного веса грунта g и нагрузки q на поверхность засыпки для плоской задачи по теории Кулона; в - эпюры снижения активного давления за счет сил трения по боковым поверхностям контрфорсов

Коэффициент активного давления грунта λ определяется для вертикальных стенок с горизонтальной поверхностью засыпки по формуле

,                                                 (6)

где j и δ - соответственно углы внутреннего и внешнего трения грунта;

η - коэффициент снижения давления за счет сил трения.

η = ξ × tg δк.                                                                (7)

Удельное значение этого коэффициента, отнесенное к длине пролета напорной стенки В′, равно

.                                                                  (8)

ξ - коэффициент бокового давления грунта на контрфорсы, определяется по формуле

,                                (9)

где δк - угол трения грунта по поверхностям контрфорсов.

При выполнении контрфорсов с ребристой поверхностью* угол трения δк может приниматься равным углу внутреннего трения j. Формула (9) при этом будет иметь вид:

* Конструкции сборных железобетонных подпорных стен арочно-контрфорсного типа разработаны в отделении ГС ЦНИИСа (а. с. № 1094887, № 1134662).

,                                           (10)

На рис. 2 приведен график зависимости коэффициента η от углов j и δк.

Эпюры интенсивности давления грунта и снижения давления за счет сил трения показаны на рис. 1, б, в.

Давление грунта на торцовую вертикальную грань контрфорса определяется с учетом особенностей пространственной задачи как для узких граней по формуле

Ет.к = Екул × ψ,                                                             (11)

где

;                                               (12)

ψ - коэффициент снижения давления, учитывающий особенности пространственной задачи, принимаемый при a/H £ 0,1 равным 0,25;

a′ - ширина задней торцовой грани контрфорса.

Рис. 2. График зависимости коэффициента снижения бокового давления грунта на контрфорсы η от углов внутреннего j и внешнего δк трения грунта

Точка приложения силы Ет.к принимается на высоте 0,41Н от низа стенки (рис. 3).

Устойчивость положения против плоского сдвига подпорных стен с контрфорсами со стороны грунтовой засыпки проверяется с учетом сил трения по боковым поверхностям контрфорсов. В пределах призмы обрушения силы трения направлены вертикально и определяются по формулам:

 (от собственного веса грунта g);                            (13)

 (от распределения нагрузки q на поверхности засыпки),         (14)

где Θ - угол наклона к горизонтали плоскости обрушения грунта,

,                                                         (15)

где

(при δ = j, К0 =).                                        (16)

Рис. 3. Эпюра давления грунта на торцовую грань контрфорса

За пределами призмы обрушения силы трения направлены горизонтально. Для их определения строится эпюра касательных напряжений t на боковой поверхности контрфорса, определяемых по формулам:

tg = η × g × h (от собственного веса грунта g);                               (17)

tq = η × q (от распределенной нагрузки q).                                (18)

Эпюры tg и tq показаны на рис. 4.

Горизонтальные удерживающие силы трения определяются по формулам:

;                                                        (19)

,                                                        (20)

где  и  - площади эпюр t, соответственно равные:

;                                                          (21)

                                                            (22)

Zo - горизонтальный размер запризменной части контрфорса на уровне центра тяжести соответствующей эпюры t:

;                                                        (23)

.                                                       (24)

С учетом (21) - (24) горизонтальные сипы трения 2Т2 можно определять по формулам:

Рис. 4. Эпюры касательных напряжений t на боковой поверхности контрфорса за пределами призмы обрушения:

а - от собственного веса грунта g; б - от равномерно распределенной нагрузки q на поверхности засыпки

;                                                 (25)

,                                                  (26)

где С′ - полная длина контрфорса со стороны грунтовой засыпки.

Проверка устойчивости положения против плоского сдвига выполняется по формуле

,                                                           (27)

где Qz - сумма горизонтальных удерживающих сил, к которым относится сила трения по основанию, вызванная весом стены и передаваемыми непосредственно на нее нагрузками, и горизонтальные силы трения по боковым поверхностям контрфорсов за пределами призмы обрушения 2Т2;

Qr - сумма горизонтальных сдвигающих сил, к которым относится горизонтальная составляющая давления грунта, уменьшенная на величину сил трения по основанию, вызванных вертикальными силами трения 2Tв по боковым поверхностям контрфорсов в пределах призмы обрушения;

gс - коэффициент условий работы, принимаемый равным 0,9;

gn - коэффициент надежности по назначению, принимаемый равным 1,1 при расчетах в стадии эксплуатации, и 1,0 при расчетах в стадии строительства.

СПИСОК ЛИТЕРАТУРЫ

1. Пышко Л.В. Проектирование и строительство устоев диванного типа. - Транспортное строительство, 1985, № 5.

2. Ронин Б.Г., Пышко Л.В., Кузнецов В.М. Рациональные конструкции устоев мостов в условиях линейного строительства. Экспресс-информация ВПТИтрансстроя. «Строительство инженерных сооружений», № 5. М., 1987.

3. Применение геотекстиля в транспортном строительстве на Аляске (США). Экспресс-информация ВПТИтрансстроя. «Транспортное строительство за рубежом», № 3. М., 1986.

4. Возрастающее применение геотехнических материалов (США). Экспресс-информация ВПТИтрансстроя. «Транспортное строительство за рубежом», № 18. М., 1984.

5. СНиП 2.05.03-84. Строительные нормы и правила. Мосты и трубы. ЦИТП Госстроя СССР. М., 1985.

6. СНиП 2.02.01-83. Строительные нормы и правила. Основания зданий и сооружений. Стройиздат. М., 1985.

7. СН 528-80. Перечень единиц физических величин, подлежащих применению в строительстве. М., Стройиздат, 1981.

СОДЕРЖАНИЕ

Предисловие. 1

1. Общие положения. 1

2. Конструкции устоев диванного типа. 2

3. Условия и области применения конструкций устоев диванного типа. 3

4. Армогрунтовые конструкции устоев диванного типа. 4

5. Расчет устоев диванного типа. 8

Общие положения. 8

Расчет диванного блока. 8

Расчет армогрунтового основания. 15

Прогноз осадки шкафных блоков диванного типа. 24

6. Технология сооружения устоев диванного типа. 28

Армогрунтовые устои. 28

Устои диванного типа на неармированном основании. 29

Приложение 1 Определение коэффициента сопротивления вытягиванию армирующего материала из грунта. 31

Приложение 2 Программа наблюдений за диванными устоями в ходе строительства опытных объектов и в первые годы эксплуатации. 32

Приложение 3 Методика определения давления грунта и проверки устойчивости против плоского сдвига подпорных стен с контрфорсами со стороны грунтовой засыпки. 33

Список литературы.. 38

 




Яндекс цитирования



   Copyright © 2007-2026,  www.tehlit.ru.

[ ѓосты, стандарты, нормативы, инструкции, правила, строительные нормы ]