//
ТехЛит.ру
- крупнейшая бесплатная электронная интернет библиотека для "технически умных" людей.
WWW.TEHLIT.RU - ТЕХНИЧЕСКАЯ ЛИТЕРАТУРА

:: Алготрейдинг::


АЛГОТРЕЙДИНГ
шаг за шагом
с нуля по урокам!

Торговые роботы на PYTHON, BackTrader,
Pandas, Pine Script для TradingView. Связка с брокерами, телеграм и легкими приложениями.


МИНИСТЕРСТВО ТРАНСПОРТНОГО СТРОИТЕЛЬСТВА

ВСЕСОЮЗНЫЙ ОРДЕНА ОКТЯБРЬСКОЙ РЕВОЛЮЦИИ
НАУЧНО-ИССЛЕДОВАТЕЛЬСКИЙ ИНСТИТУТ
ТРАНСПОРТНОГО СТРОИТЕЛЬСТВА

УТВЕРЖДАЮ

Зам. директора института

Н. Б. СОКОЛОВ

30 сентября 1985 г.

МЕТОДИЧЕСКИЕ РЕКОМЕНДАЦИИ
ПО ПРОЕКТИРОВАНИЮ СВАЙНОЙ КРЕПИ
КОТЛОВАНОВ МЕТРОПОЛИТЕНОВ

Одобрены Главтранспроектом и
Главтоннельметростроем

Москва 1986

ПРЕДИСЛОВИЕ

Настоящие Методические рекомендации составлены в развитие глав СНиП II-40-80 «Метрополитены» и СНиП III-44-77 «Тоннели железнодорожные, автодорожные и гидротехнические. Метрополитены» и содержат конструктивные требования к свайной крепи котлованов метрополитенов, методику расчета и предложения по ее совершенствованию.

Методические рекомендации разработаны на основании обобщения отечественной и зарубежной практики проектирования и возведения свайной крепи котлованов метрополитенов, а также результатов исследований, выполненных Новосибирским филиалам ЦНИИСа (СибЦНИИСом) при участии Метрогипротранса, Ленметрогипротранса, Новосибметропроекта и Новосибирскметростроя.

Работа подготовлена кандидатами техн. наук Б.В. Корякиным, Э.А. Аблогиным, А.Е. Якуниным, инженерами П.С. Пинчуком, Н.Ж. Стунжа, А.В. Чаруковским (СибЦНИИС), канд. техн. наук И.В. Маковским, инженерами В.Н. Соловьевым (Метрогипротранс), И.В. Андросовым (Ленметрогипротранс), Б.Г. Калининым (Новосибметропроект), В.В. Щипииыным (Новосибирскметрострой).

Замечания и предложения просим направлять по адресу: 630056, Новосибирск, ул. Софийская, 18, СибЦНИИС.

Директор СибЦНИИС                                                                                   П.Ф. Стафеев

1. ОБЩИЕ ПОЛОЖЕНИЯ

1.1. Настоящие Методические рекомендации предназначены для использования при проектировании свайной крепи котлованов станций, перегонных тоннелей и других сооружений метрополитена, возводимых открытым способом, когда по инженерно-геологическим и градостроительным условиям исключается разработка котлованов с естественными откосами [1, 2].

1.2. Проектирование свайной крепи котлованов следует производить при составлении технического (технорабочего) проекта и рабочих чертежей в разделе «Организация строительства».

Проект свайной крепи котлована должен содержать:

варианты конструктивных решений свайной крепи котлована в увязке с проектом организации строительства, выполненные в объеме, достаточном для выявления технико-экономических показателей;

обоснование конструктивных решений;

технико-экономическое сопоставление конструктивных решений и обоснование выбранного варианта.

Проект производства работ по возведению свайной крепи котлована должен содержать:

технологическую схему сооружения крепи, составленную в развитие проекта организации строительства;

детальные чертежи конструкций крепи;

чертежи вспомогательных сооружений и устройств;

указания по технике безопасности.

1.3. В качестве свайной крепи вертикальных и наклонных стен котлованов рекомендуется использовать:

забивные сваи из металлических двутавровых балок, в том числе широкополочных, или металлический шпунт;

буронабивные железобетонные сваи, как правило, с ориентированным армированием;

бурообсадные сваи из металлических труб.

1.4. Забивные сваи из металлических двутавров рекомендуются для применения в широком диапазоне инженерно-геологических и градостроительных условий. Исключение составляют следующие случаи:

расположение котлована в водоносных грунтах плывунного типа при неэффективности применения водопонижения или искусственного закрепления грунтов;

расположение котлована в несвязных грунтах, когда применение забивной опережающей крепи или других мероприятий при устройстве затяжки (забирки) между сваями не эффективно в технико-экономическом отношении или не обеспечивает устойчивости грунтового массив;

расположение на поверхности в пределах призмы обрушения или вблизи ее зданий, сооружений, в том числе подземных, транспортных магистралей и других устройств, для которых неравномерные деформации основания недопустимы;

наличие градостроительных условий, в которых уровни шума и вибрации, создаваемые забивкой и извлечением свай, превышают санитарные нормы или специальные требования, указанные в задании на проектирование.

1.5. Металлический шпунт рекомендуется применять в водоносных грунтах плывунного типа при неэффективности использования водопонижения или искусственного закрепления грунтов, а также при устройстве крепи в несвязных грунтах, если другие типы крепи в них неэффективны,

1.6. Буронабивные или буроопускные сваи рекомендуются для применения при расположении на поверхности призмы обрушения или в непосредственной близости от нее зданий и других сооружений, не рассчитанных на восприятие неравномерной осадки, а также в тех градостроительных условиях, когда шум и вибрация, вызываемые забивкой свай, недопустимы. Кроме того, такие сваи рекомендуются для применения в качестве элемента постоянной крепи метрополитена.

1.7. Выбор типа буровых свай в зависимости от гидрогеологических условий, вида грунтов, принятой организации строительства и имеющейся производственной базы рекомендуется производить согласно требованиям нормативных документов по основаниям и фундаментам на проектирование и производство работ [3-5].

1.8. Допускается применять другие виды свай при соответствующих технико-экономических обоснованиях.

1.9. В качестве вспомогательной свайной крепи котлованов, предназначенной для снижения и выравнивания деформаций поверхности над призмой обрушения и вблизи ее, рекомендуется установка дополнительного ряда или рядов свай в грунтовый массив за пределами контура выработки [6]; целесообразность этих работ должна быть подтверждена соответствующими технико-экономическими обоснованиями. Выбор конструкции свай, следует производить по рекомендациям пп. 1.3.-1.8. Допускается применение для этой цели так называемых микросвай [6].

1.10. В настоящей работе содержатся рекомендации по расчету свайной крепи, приводятся примеры расчета крепи применительно к сваям, изготовленным из прокатных двутавров, так как такая крепь наиболее распространена в отечественном метростроении.

При расчете шпунтовой крепи рекомендуется использовать программу РО1 «Расчет шпунтового ограждения», составленную Ленметропроектом на языке Фортран-1У (ДОС, версия 2.1) для ЭВМ серии ЕС [7].

1.11. В грунтах с включениями валунов, прослоек твердых грунтов и других помех, препятствующих забивке, устройство свай следует осуществлять в предварительно пробуренных скважинах с последующей заделкой свай цементным раствором или бетоном.

1.12. При необходимости обеспечения точного расположения забивных свай, например, в случае применения для затяжки железобетонных панелей или щитов, движущихся по сваям, как по направляющим, рекомендуется предварительное бурение лидирующих скважин. При этом диаметр лидирующей скважины не должен превышать высоту сечения двутавров; кроме того, лидирующие скважины не следует опускать ниже дна котлована, на эту глубину сваи нужно добивать.

1.13. В проекте организации строительства следует предусмотреть демонтаж расстрелов и поясов в процессе обратной засыпки котлованов, а также извлечение забивных свай для их повторного использования.

1.14. В соответствующих градостроительных и инженерно-геологических условиях рекомендуется устройство котлованов с естественным откосом с одной стороны котлована и свайной крепью с анкерами с другой стороны.

1.15. Конструкции и технология устройства грунтовых анкеров в настоящей работе не рассматриваются. Проектирование анкерной крепи котлованов метрополитенов следует производить в соответствии с «Руководством по проектированию и технологии устройства анкеров подземных сооружений» [8], а также «Руководством по применению грунтовых анкеров с использованием пневмопробойников при проектировании и строительстве Новосибирского метрополитена» [9].

2. КОНСТРУКТИВНЫЕ ТРЕБОВАНИЯ

2.1. Конструкция свайной крепи котлованов состоит из собственно свай того или иного типа, устанавливаемых до раскрытия котлована на определенном расстоянии друг от друга, и затяжки (забирки) между сваями, которая воспринимает нагрузку от грунтового массива и передает ее на сваи. При сооружении глубоких котлованов между рядами ограждающих котлован свай устанавливают один или несколько рядов расстрелов или заанкеривают сваи в грунт посредством установки грунтовых анкеров, для чего на сваи в уровне установки расстрелов (анкеров) навешивают пояса, которые укладывают на специальные кронштейны, привариваемые к лицевой полке сваи.

2.2. Для изготовления забивных свай рекомендуется использовать двутавровые балки (ГОСТ 8239-72х), в том числе широкополочные двутавры (ТУ 14-2-24-72). Если длина свай превышает длину двутавровых балок, то сваи разрешается наращивать, приваривая накладки по полкам и стенке балки, при этом стык должен быть равнопрочным сечению сваи.

2.3. Стены котлована в промежутках между полками крепят затяжкой из досок или брусьев, которые устанавливают по мере обнажения стен с расклинкой и тщательным забучиванием грунтом. Величина заходки должна быть определена проектом производства работ. В несвязных грунтах следует применять опережающую крепь, а при необходимости и заделку щелей между досками.

При соответствующем технико-экономическом обосновании допускается применение для затяжки других видов крепи: железобетонных плит, торкрета, набрызг-бетона, в том числе в сочетании с короткими анкерами, нетканых синтетических материалов и др.

2.4. Расстрелы рекомендуется проектировать из стальных труб (ГОСТ 10704-76х, СТ СЭВ 490-77) или из прокатной стали составными коробчатого сечения.

2.5. Конструкция узла крепления расстрела к поясу и свае должна обеспечивать центрированную передачу усилий на расстрел, не допускающую появления в расстреле дополнительных моментов от внецентренного приложения нагрузки. Кроме того, в конструкции узла следует предусмотреть возможность ликвидации зазоров при установке расстрела с помощью дополнительных металлических пластин и клиньев или других устройств. Рекомендуемая схема узла крепления приведена на рис. 1.

2.6. Для изготовления поясов крепи котлованов рекомендуется применять: при креплении расстрелами - двутавровые балки (ГОСТ 8239-72), при креплении грунтовыми анкерами - спаренные швеллеры (ГОСТ 8240-72).

2.7. Пояса, как правило, выполняют неразрезными по длине котлована. Стыки поясов следует выполнять на опоре, т.е. на ближайшей свае.

2.8. В местах опирания расстрелов пояс рекомендуется усилить ребрами жесткости, размеры которых назначают по расчету, но не менее 10 мм по толщине для предотвращения местной потери устойчивости стенок и полок.

2.9. Составные расстрелы рекомендуется выполнять из четырех уголков, объединенных накладками по каждой стороне расстрела, обеспечивающими их совместную работу. Шаг накладок следует назначать не более 40 минимальных радиусов инерции уголка.

Рис. 1. Схема узла крепления расстрела к поясу:

1 - свая; 2 - пояс; 3 - центрирующая прокладка; 4 - расклинивающая прокладка; 5 - расстрел; 6 - заглушка; 7 - монтажная подставка; 8 - кронштейн

2.10. Для обеспечения геометрической неизменяемости поперечных сечений составных расстрелов устанавливаются диафрагмы по длине расстрела с шагом не более 3 м.

2.11. Диафрагмы и накладки рекомендуется выполнять из стального листа толщиной 6-10 мм в зависимости от размеров поперечного сечения расстрела. Ширину накладок принимают равной 100-150 мм, длину - в зависимости от высоты (ширины) расстрела.

2.12. Ширина составного расстрела определяется расчетом в зависимости от нагрузки на расстрел, высота расстрела с учетом его веса и возможных временных нагрузок назначается на 20-25 % более его ширины.

2.13. Опорные части составных расстрелов рекомендуется проектировать с плитой на торцевой части расстрела толщиной не менее 20 мм и двумя дополнительными накладками по каждой стороне расстрела на расстоянии 40-50 см от торца с целью распределения местных концентраций напряжений в торцевой части расстрела, обусловленных неравномерной передачей давления от сваи на расстрел.

2.14. Расстрелы следует опирать на пояс в створе со сваями, шаг расстрелов должен быть кратным шагу свай.

Грунтовые анкеры располагают в пролете между сваями, как правило, с шагом, равным шагу свай.

2.15. Для уменьшения расстояния между расстрелами и снижения расхода металла на пояса рекомендуется при проектировании крепи применять подкосы к расстрелам, устанавливаемые горизонтально в плоскости пояса. Эффективным приемом повышения устойчивости расстрелов за счет уменьшения их свободной длины является устройство подкосов и в вертикальной плоскости.

2.16. При многоярусном креплении расстрелы следует располагать, как правило, в одной плоскости по вертикали, при этом для каждого яруса рекомендуется использовать расстрелы с разной несущей способность, определяемой величиной нагрузки на соответствующий ярус.

Допускается установка расстрелов на менее загруженный ярус (например, верхним по сравнению с нижним) с большим шагом, кратным шагу наиболее загруженных расстрелов. При этом для уменьшения пролета опорного пояса рекомендуется использовать подкосы на пояс от расстрела.

2.17. Количество ярусов расстрелов и их расположение следует выбирать, исходя из минимально возможного количества перекреплений при монтаже конструкций станции.

2.18. При ширине котлованов более 25 м рекомендуется, как правило, проектировать выработку либо с откосами, либо с применением грунтовых анкеров.

В случаях, когда градостроительные или инженерно-геологические условия не позволяют выполнить это требование, для повышения продольной устойчивости расстрелов применяют забивку промежуточного ряда (или рядов) свай с жестким раскреплением расстрелов на эти ряды свай, препятствующие их продольному изгибу.

2.19. Для уменьшения глубины забивки свай рекомендуется увеличивать ширину полок двутавров на длине свай, расположенной ниже дна котлована, путем наваривания пластин. Размеры пластин следует назначать в соответствии с расчетом.

2.20. При проектировании крепи в числе других рекомендуется рассматривать вариант без заглубления свай ниже дна котлована, когда используется бетон монолитного или сборно-монолитного лотка в качестве нижней распорки. При этом устанавливают временные расстрелы и демонтируют их после достижения бетоном лотка-распорки необходимой прочности.

2.21. При соответствующих технико-экономических обоснованиях рекомендуется устройство верхнего ряда анкеров взамен расстрелов в виде тяжей, расположенных в траншеях и заанкеренных за пределами призмы обрушения [10].

2.22. В процессе разработки котлована допускается использование боковых уступов (с горизонтальной или наклонной бермой) для обеспечения устойчивости свайной крепи на период до установки соответствующего ряда расстрелов или анкеров [11]. Размеры боковых уступов и глубина заходки при разработке котлована должны быть проверены расчетом.

2.23. Толщину досок затяжки следует назначать в соответствии с расчетом, но не менее 40 мм.

3. ОСНОВНЫЕ ПОЛОЖЕНИЯ РАСЧЕТА

3.1. Расчет свайной крепи котлованов метрополитена следует производить по первой группе предельных состояний - по устойчивости и прочности материалов конструкций.

Расчет по второй группе предельных состояний (по деформации) следует производить в том случае, если заданием на проектирование установлены предельно допустимые величины деформаций крепи.

Расчет конструкций свайной крепи следует производить в соответствии с требованиями строительных норм и правил по проектированию метрополитенов, металлических и деревянных конструкций, в необходимых случаях по проектированию бетонных и железобетонных конструкций, свайных фундаментов с учетом дополнений, изложенных в настоящих Методических рекомендациях.

3.2. При расчете конструкций свайной крепи котлованов станций перегонов и других сооружений метрополитена следует учитывать возможные неблагоприятные сочетания (для всей конструкции или ее элементов) нагрузок и воздействий, а также все этапы сооружения крепи и раскрытия котлована.

3.3. Расчет свайной крепи по устойчивости и прочности грунта производят на действие расчетных нагрузок, а по деформациям - на действие нормативных нагрузок.

3.4. Сваи крепи котлована при их расчете рассматриваются как балки, нижняя часть которых заделана в грунтовое основание с линейно изменяющимся коэффициентом постели по глубине, а верхняя часть - либо свободно стоящая консоль, либо консоль, опирающаяся на опоры в виде анкеров или расстрелов.

3.5. Расчет ограждающей стенки из свайной крепи на устойчивость следует производить, как правило, методами построения круглоцилиндрических поверхностей скольжения в соответствии с требованиями строительных норм и правил по проектированию оснований зданий и сооружений. При этом отношение момента удерживающих (препятствующих сдвигу) сил к моменту сдвигающих сил должно быть не менее 1,2:

.                                                         (1)

Положение центра поворота и радиус наиболее опасной окружности следует находить путем подбора. При этом для консольных стен следует рассматривать вариант потери устойчивости при вращении стены вокруг некоторой условной точки, положение которой определяется из рассмотрения действующих на крепь активных и пассивных сил, а для стен, закрепленных анкерами или расстрелами, - вариант, когда центры вращения совпадают с точками опирания стены на анкеры или расстрелы.

Применительно к расчету свайной крепи котлованов метрополитенов условие (1) принимает следующий вид:

,                                                          (2)

где s - интенсивность давления сваи на грунт на глубине , Па (см. п. 3.6);

t - глубина забивки сваи ниже дна котлована;

m - коэффициент условий работы, равный 0,95;

snp - предельная величина интенсивности давления сваи на грунт, Па;

.                                                       (3)

Здесь Кпр - коэффициент, учитывающий пространственную работу свай (см. п. 3.9);

Рп - расчетная интенсивность пассивного отпора грунта, Па (см. п. 3.10).

3.6. Интенсивность давления сваи на грунт s, Па, определяется по формуле

,                                            (4)

где

;                         ;                                      (5)

К - коэффициент пропорциональности, Н/м4, величину которого при отсутствии опытных данных допускается принимать в зависимости от вида грунта, окружающего сваю, по справочному приложению 1;

z - глубина расположения сечения, отсчитываемая от дна котлована, м;

u(ε) - прогибы сваи ниже дна котлована, м (см. п. 3.7);

функция безразмерной координаты ε;

в, J - соответственно ширина полки и момент инерции сваи, м, м4;

Е - расчетный модуль упругости материала сваи, Па;

a - коэффициент деформации, 1/м.

3.7. Прогибы сваи u(ε), м, находят по формуле

                               (6)

где

                                 (7)

                               (8)

Q0 - сумма всех горизонтальных сил Еj, действующих на свайную крепь выше дна котлована, Н;

М0 - сумма моментов всех сил, действующих выше дна котлована, относительно сечения сваи с координатой z = 0, Нּм.

Величины Q0 и М0 положительны, если направлены соответственно вправо и по часовой стрелке (рис. 2).

Численные значения функций f1(ε), f2(ε), f3(ε), f4(ε) и их первые, вторые и третьи производные, обозначенные соответственно штрихами, даны в справочном приложении 2.

3.8. Проверкой правильности вычисления коэффициентов С1, С2, С3 и С4 является выполнение условия

,                                (9)

где

  (10)

Рис. 2. К определению величин Q0 и М0:

а - закладное крепление без анкеров (расстрелов);

; ;

б - закладное крепление с анкерами (расстрелами);

.

3.9. Коэффициент Кпр, учитывающий пространственную работу свай, вычисляется по формуле

,                                         (11)

где в - ширина сваи, м;

l - шаг свай, м;

tnp - глубина, в пределах которой грунт находится в предельном состоянии, м; определяется в зависимости от расчетной схемы.

3.10. Интенсивность расчетного пассивного отпора грунта определяется согласно теории Кулона по формуле

,                                               (12)

где n2 - коэффициент условий работ, принимаемый равным 0,8;

γ - удельный вес грунта, Н/м3;

С - расчетное сцепление грунта, Н/м2; для поверхностного слоя его принимают уменьшающимся от полной величины на глубине 1,0 м до нуля у поверхности грунта;

λn - коэффициент пассивного отпора;

                                      (13)

Здесь φ - расчетный угол внутреннего трения грунта, град.,

δ - угол трения грунта по свае, град.

Как правило, принимают δ = 0, при этом формула (13) упрощается и принимает вид

                                              (14)

В случаях, когда превышение hIв уровня грунтовых вод над дном котлована составляет не более 2 м и не более трети глубины котлована, угол трения грунта по стенке при расчете свайной крепи с одним ярусом анкеров (расстрелов) принимается равным:

δ = φ/3 при hIв>0;                                                     (15)

δ = φ/2 при hIв = 0.

3.11. Нормативные и расчетные характеристики грунта (удельный вес, угол внутреннего трения, а для связных грунтов и сцепление) следует устанавливать по результатам инженерно-геологических изысканий с учетом возможных изменений в процессе строительства, в том числе с учетом сезонных колебаний влажности.

Разнородные грунты, различающиеся значениями каждой из этих характеристик не более чем на 20 %, допускается рассматривать как однородный грунт со средневзвешенными значениями характеристик:

                                                      (16)

где γi, φi и сi - значения соответственно удельного веса, угла внутреннего трения и сцепления i-го слоя грунта толщиной hi.

3.12. Прочность элементов конструкции на изгиб рассчитывается из условия

,                                                           (17)

где М - расчетный изгибающий момент, Нּм;

W - момент сопротивления сечения элемента, м3;

R - расчетное сопротивление материала, Н/м2.

Изгибающие моменты и перерезывающие силы, действующие на сваю ниже дна котлована, находят по формулам:

;                  (18)

,

а выше дна котлована - по известным правилам строительной механики.

Расчет прочности элементов конструкции на сжатие и растяжение осуществляется по условию

,                                                          (19)

где N - расчетная нагрузка, Н;

F - расчетная площадь сечения элемента, м;

ψ - коэффициент продольного изгиба.

3.13. Расчет свайной крепи по деформациям производится с целью проверки условия

,                                                          (20)

где Δmax - максимальная величина горизонтального или вертикального перемещения свайной крепи, м, определяемая расчетом;

Δпр - предельно допустимая величина горизонтального или вертикального перемещения свайной крепи, м, устанавливаемая заданием на проектирование.

Формулы для определений Δmax даны при рассмотрении конкретных расчетных схем свайной крепи.

3.14. Свайная крепь котлованов может быть запроектирована в двух вариантах:

без учета защемления свай ниже дна котлована, когда деформации заделанного в грунт ниже дна котлована конца сваи не ограничиваются;

с учетом защемления свай, когда глубина их заделки ниже дна котлована должна быть такой, чтобы угол поворота конца сваи был равен нулю.

3.15. Учет защемления свай позволяет снизить величину изгибающего момента, действующего на сваю, и усилий в расстрелах или анкерах, однако, как правило, приводит к увеличению глубины забивки (обшей длины) свай, что может в ряде случаев увеличить трудоемкость сооружений и стоимость крепи или привести к глубине забивки свай, неприемлемой по инженерно-геологическим или технологическим условиям. Поэтому рациональное проектирование крепи состоит в сопоставлении вариантов крепи для конкретных условий строительства с учетом и без учета защемления и выбора варианта.

3.16. Полный расчет свайной крепи котлованов метрополитенов с целью назначения ее оптимальных параметров надлежит производить в такой последовательности:

определение нагрузок;

вычисление действующего на свайную крепь расчетного активного давления грунта;

предварительное назначение подлежащих расчету параметров свайной крепи - шага свай, сечения свай, шага анкеров или расстрелов, количества анкеров или расстрелов и их расположение по высоте котлована, усилия в анкерах (расстрелах);

определение глубины забивки свай как без учета, так и с учетом защемления свай в грунте;

расчет каждого из вариантов свайной крепи по устойчивости и прочности материалов конструкций;

корректировка подлежащих расчету параметров по результатам предыдущего пункта;

выполнение итерационных расчетов каждого варианта при скорректированных расчетных параметрах;

выбор оптимального варианта;

расчет свайной крепи по деформациям;

определение допустимой глубины первого яруса разработки без анкеров (расстрелов);

определение допустимой глубины последующих ярусов разработки котлована с одним или несколькими рядами анкеров (расстрелов).

4. НАГРУЗКИ И ВОЗДЕЙСТВИЯ

4.1. Расчетные нагрузки определяют как произведение нормативных нагрузок на коэффициент перегрузки, который следует принимать в соответствии с данными табл. 1.

Коэффициенты перегрузки для прочих нагрузок, возникающих в процессе строительства, принимают в соответствии с требованиями строительных норм и правил по нагрузкам и воздействиям.

Таблица 1

№ п/п

Нормативные нагрузки и воздействия

Коэффициенты перегрузки n

1

Собственный вес строительных конструкций

1,2 (0,8)

2

Вертикальное давление от веса грунта

1,2 (0,9)

3

Горизонтальное давление грунта

1,2 (0,7)

4

Гидростатическое давление воды

1,1 (0,9)

5

Вес грузоподъемного оборудования и транспортных средств

1,1 (0,9)

6

Вес людей, инструмента, мелкого оборудования

1,3 (0,7)

7

Инерционные нагрузки от кранов, автомашин и т.д.

1,1 (1,0)

Примечание. Коэффициент перегрузки следует принимать, учитывая возможное отклонение нагрузок в неблагоприятную сторону при рассматриваемом предельном состоянии.

4.2. Нормативные временные вертикальные нагрузки Р на призму обрушения следует принимать:

а) от веса материалов и возможной отсыпки грунта в виде равномерно распределенной нагрузки интенсивностью, соответствующей предполагаемым проектным объемом материалов и отсыпки, но не менее 10 кН/м2 (1 тс/м2);

б) от строительного оборудования, кранов, копров и транспортных средств, перемещающихся по рельсам, - по паспортным данным, каталогам и справочникам (с учетом загружения, наиболее неблагоприятного для рассчитываемой конструкции);

в) от автотранспорта (рис. 3), проходящего по дороге, расположенной вдоль котлована, - в виде полосовой нагрузки (ширина полосы 3 м для каждого ряда машин):

при расстоянии между краем котлована и бровкой дороги, равном 2-3 м, и весе машин до 250 кН (25 тс) Ра  = 20 кН/м2 (2 тс/м2);

при расстоянии 1-2 м Ра  = 30 кН/м2 (3 тс/м2), а при меньшем расстоянии Ра  = 40 кН/м2 (4 тс/м2);

при расстоянии между дорогой и котлованом больше 3 м Ра  = 10 кН/м2 (1 тс/м2);

при весе машин до 300 кН (30 тс) значения Ра увеличиваются в 1,2 раза, при весе до 450 кН (45 тс) - в 1,9 раза и весе 600 кН (60 тс) - в 2,5 раза.

Рис. 3. Вертикальная нагрузка на призме обрушения от автотранспорта

4.3. Если поверхность грунта ограничена плоскостью и на ней расположена равномерно распределенная нагрузка интенсивностью q , Н/м2 (рис. 4), то силу Еa, H, активного давления несвязного грунта на свайную крепь от поверхности грунта до глубины Нк вычисляют по формуле

,                                                       (21)

где λа - коэффициент активного давления грунта

.                                              (22)

Здесь b - угол между плоскостью, ограничивающей поверхность грунта, и горизонтальной плоскостью; правило знаков показано на рис. 4.

Рис. 4. К определению активного давления несвязного грунта на свайную крепь в случае, если поверхность грунта ограничена плоскостью и на ней равномерно распределена нагрузка

При горизонтальной поверхности грунта (β = 0)

.                                               (23)

Сила Ea является равнодействующей давлений, распределенных по линейному закону (см. рис. 4) с ординатой Р1, Н/м2, верхней точке 1

,                                                            (24)

и с ординатой Р2, Н/м2, на глубине Нк от этой точки

.                                              (25)

Сила Еа приложена на расстоянии h, м, от нижнего конца рассматриваемого участка

.                                            (26)

При q = 0

; Р1 = 0; Р2 = γНкλа и .                         (27)

4.4. В случаях, не охваченных п. 4.3, силу Еа активного давления несвязного грунта на свайную крепь определяют как наибольшее из значений Еi, Н, подсчитанных по формуле

,                                                (28)

где Gi - сумма равнодействующих веса Gгр предполагаемой призмы обрушения АВСi и расположенной на ней нагрузки (рис. 5, а), Н;

θi - угол между предполагаемой плоскостью обрушения и горизонтальной плоскостью, град.

Значение θi, которому соответствует наибольшее значение Еi, определенное по формуле (28), принимают за угол θ между плоскостью обрушения и горизонтальной плоскостью.

Силу Еa, Н, рассматривают как сумму сил Егр, Н, от веса призмы обрушения и Еq, Н, от каждой из нагрузок на призме обрушения.

Рис. 5. К определению активного давления связного грунта на свайную крепь при произвольном очертании поверхности грунта и расположении на ней нагрузки:

а - определение Q; б - построение эпюры активного давления

Силу Егр определяют по формуле

,                                            (29)

принимая, что Егр является равнодействующей давлений, эпюра которых имеет вид треугольника (см. рис. 5, б) с ординатой Р2, Н/м2, на глубине Нк от дневной поверхности

; Рt = 0.                                              (30)

Расстояние hгр от точки приложения этой силы до нижнего конца (точки А) рассматриваемого участка свайной крепи вычисляют по формуле

                                                            (31)

Силу Еq от нагрузки q, расположенной на призме обрушения и распределенной по ширине a, м, (см. рис. 5, б) определяют по формуле

.                                          (32)

Принимают, что сила Еq является равнодействующей давления, равномерно распределенного между точками А1 и А2 на пересечении со стенкой прямых, проведенных параллельно следу плоскости обрушения от начала и конца участка, в пределах которого действует нагрузка q (см. рис. 5, б). Если плоскость обрушения пересекает участок, на котором расположена нагрузка q, то за конец участка следует принимать след пересечения плоскости обрушения с поверхностью грунта.

Расстояния от точки А до точек А1, А2 и точки приложения силы Еq, м, и ординаты Pq вычисляют по формулам:

                                        (33)

где х - расстояние между внешней стороной сечения сваи и осью полосы нагрузки (шириной а), м;

Н0 - разность отметок уровня поверхности грунта под центром полосы шириной а и точкой В (см. рис. 5, б), м.

4.5. Если поверхность грунта ограничена плоскостью и на ней равномерно распределена нагрузка интенсивностью q, то активное давление несвязного грунта из нескольких слоев в пределах каждого (i-го) слоя принимают изменяющимся прямолинейно от давления Pi на уровне кровли этого слоя до давления Pi' на уровне его подошвы (рис. 6):

                        (34)

где hi - толщина i-го - слоя грунта с удельным весом γi и углом внутреннего трения φi;

λai - коэффициент активного давления грунта i-го слоя, определяемый по формуле (22).

Рис. 6. К определению активного давления грунта из нескольких слоев песка или супеси на стенку ограждения

4.6. Активное давление связного грунта допускается определять, учитывая сцепление грунта С, путем уменьшения ординат эпюры, построенной как для несвязного грунта по удельному весу γ и углу внутреннего трения φ связного грунта, на величину, которая при плоской поверхности грунта, наклоненной к горизонту под углом β, определяется выражением

.                                         (35)

В пределах участка, на котором величина рс превышает ординаты активного давления, вычисленные как для несвязного грунта, активное давление связного грунта не учитывают. Высота участка hc вычисляется по формуле

                                   (36)

При горизонтальной поверхности грунта (β = 0) и отсутствии на ней нагрузки (q = 0) формула (36) примет вид

                                                         (37)

Построение эпюры активного давления однородного связного грунта показано на рис. 7.

В случае разнородного грунта уменьшение активного давления за счет сцепления следует учитывать в пределах каждого слоя связного грунта, определяя величину рс согласно формуле (35) по характеристикам φ и с соответствующего слоя.

При горизонтальной поверхности связного грунта (β = 0) формула (35) может быть представлена в виде

                                     (38)

Рис. 7. К определению активного давления связного грунта

Равнодействующая Еа активного давления связного грунта на метр свайной крепи определяется как площадь эпюры давлений грунта.

5. РАСЧЕТ СВАЙНОЙ КРЕПИ, НЕ ИМЕЮЩЕЙ РАССТРЕЛОВ (АНКЕРОВ)

5.1. Расчет свайной крепи без анкеров или расстрелов рекомендуется производить:

при проектировании неглубоких котлованов, когда свайная крепь без расстрелов или анкеров обеспечивает устойчивость котлована;

при назначении величины допустимой глубины разработки грунта глубоких котлованов до стадии установки первого яруса расстрелов.

Расчет свайной крепи с закладными элементами без анкеров (расстрелов) производится в соответствии с расчетной схемой, изображенной на рис. 8.

Рис. 8. Расчетная схема свайной крепи без анкеров (расстрелов)

5.2. При расчете свайной крепи в случае неглубоких котлованов основными параметрами, подлежащими определению, являются:

глубина забивки свай t, м;

расстояние между сваями (шаг свай) l, м;

сечения свай и закладных элементов.

5.3. Расчет свайной крепи без анкеров (расстрелов) рекомендуется выполнять в такой последовательности:

определяется действующее на свайную крепь расчетное активное давление грунта в соответствии с рекомендациями разд. 4;

предварительно назначаются шаг свай и ее конструкция;

определяется глубина забивки свай;

проверяется сечение сваи;

при чрезмерных запасах прочности или невыполнении условия по прочности производится корректировка параметров и проверяются расчеты.

5.4. Предварительное назначение шага свай l, м, и момента сопротивления сечения свай W, м3, рекомендуется производить по формулам:

                                                (39)

где l1 - наибольший пролет закладного крепления, м;

М0 - момент всех сил, действующих выше дна котлована, относительно сечения с координатой z = 0, Нּм (см. рис. 2, а), определяемый согласно п. 3.7;

R - расчетное сопротивление материала сваи на изгиб, Па [12].

.                                                   (40)

Здесь βq - толщина доски или бруса закладного крепления, м, принимаемая не менее 0,04 м;

Ru - расчетное сопротивление древесины на изгиб, Па [13];

Pa - максимальная ордината расчетного активного давления грунта, Па (для однородного грунта Pa = P2).

При предварительном назначении конструкции сваи следует иметь в виду, что, как правило, наиболее экономичной оказывается конструкция крепи со сваями из наиболее мощных или широкополочных двутавров. Величина l изменяется от 1,5 до 2, 5 м.

5.5. Глубина забивки свай t ниже дна котлована определяется путем решения следующего уравнения при , получаемого из условия (2)

                                                           (41)

В случае решения уравнения (41) методом подбора начальную величину глубины забивки свай рекомендуется принимать равной глубине котлована, т.е. t = Hk.

При нахождении t величины Q0 и М0 определяют согласно п. 3.7 и подставляют в формулы (8) со своими знаками. Глубина tпр для определения коэффициента Knp по формуле (11) принимается равной .

5.6. При найденной глубине забивки t проверяется условие (2), величины z и tnp соответственно принимаются равными t.

Если условие (2) не выполняется, то рекомендуется увеличить ширину полки сваи путем, например, применения широкополочных двутавров или уширения полки навариванием дополнительных пластин.

5.7. Проверка прочности сечения сваи на изгиб осуществляется из условия (17).

Значение максимального изгибающего момента определяется по формуле

                   (42)

здесь величина εmax находится путем решения уравнения

                              (43)

5.8. Определение допустимой глубины первой заходки с консольными сваями при глубоком котловане при заданных шаге, сечении сваи и глубине забивки (общей длине сваи) рекомендуется производить методом подбора в такой последовательности:

а) предварительно назначается глубина котлована Нк. В случае, если поверхность грунта ограничена плоскостью и по ней равномерно распределена нагрузка интенсивностью q, глубина заходки определяется по формуле (44), в остальных случаях принимается Нк - 4÷5 м.

,                                             (44)

где ра - максимальная ордината расчетного активного давления грунта, Па (для однородного грунта Ра = Р2);

qв - интенсивность равномерно распределенной на поверхности грунта нагрузки, Н/м2;

n1 - коэффициент перегрузки, принимаемый по табл. 1.

,                                                 (45)

где δg - толщина доски закладного крепления, м;

Ru - расчетное сопротивление древесины на изгиб, Па [13];

в - ширина полки сваи, м;

б) производится проверка прочности сечения сваи согласно п. 5.7. Глубина забивки свай t при определении коэффициентов С1, С2, С3 и С4 принимается равной

,                                                         (46)

где L - полная длина сваи, м;

в) по результатам расчета на прочность глубина котлована Нк корректируется.

5.9. Свайная крепь по деформациям рассчитывается из условия (20).

Горизонтальные перемещения свайной крепи (прогибы сваи) выше дна котлована Δ, м, вычисляются по формуле

,                                                   (47)

где

;                                   ;                                 (48)

 - соответственно горизонтальное перемещение и прогиб сваи в уровне дна котлована, м;

Δ1 - прогиб сваи, определяемый как для консольной балки, заделанной на уровне дна котлована, от нормативных нагрузок выше дна котлована;

С1, С2 - коэффициенты, определяемые по формулам (8) от нормативных нагрузок при ранее установленной глубине забивки t;

α - коэффициент деформации, определяемый по формуле (5), м-1.

5.10. Пример расчета свайной крепи без анкеров (расстрелов) приведен в справочном приложении 3.

6. РАСЧЕТ СВАЙНОЙ КРЕПИ С ОДНИМ ЯРУСОМ АНКЕРОВ (РАССТРЕЛОВ) БЕЗ УЧЕТА ЗАЩЕМЛЕНИЯ СВАЙ

6.1. Расчет крепи с одним ярусом анкеров (расстрелов) без учета защемления свай в грунте рекомендуется производить в соответствии со схемами, приведенными на рис. 9.

6.2. Основными параметрами, подлежащими определению, являются:

глубина забивки свай t, м;

расстояние между сваями и анкерами (расстрелами), м;

сечения свай, анкеров (расстрелов) и поясов крепления;

высота расположения пояса над дном котлована.

6.3. Расчет свайной крепи с одним ярусом анкеров (расстрелов) без защемления свай в грунте рекомендуется выполнять в такой последовательности:

а) определяется действующее на свайную крепь расчетное активное давление грунта;

б) предварительно назначаются шаг свай l, момент сопротивления сваи W, давление Р на пояс крепления и глубина положения пояса Нk;

в) определяется глубина забивки свай;

Рис. 9. Расчетные схемы свайной крепи с закладными элементами без защемления свай в грунте при одном ярусе анкеров (расстрелов):

а, б - соответственно в связных и несвязных грунтах

г) проверяется прочность сечения сваи на изгиб, подбирается сечение анкеров (расстрелов), пояса крепления;

д) производится расчет деформаций свайной крепи.

6.4. Ординаты расчетного активного давления несвязного грунта с учетом перераспределения давления по высоте стенки определяются:

А. Для однородных грунтов (рис. 10, а):

а) на уровне верха P1 и дна P2 котлована в случае, когда поверхность грунта ограничена плоскостью и на ней равномерно распределена нагрузка интенсивностью q по формулам (24) и (25), в остальных случаях - по формуле (30);

б) на уровне расстрелов (анкеров) в точке К по формуле

;                                                   (49)

в) на высоте  от дна котлована в точке М по формуле

;                            (50)

где n - коэффициент перегрузки, принимаемый по табл. 1;

Сa - коэффициент бокового давления грунта, определяемый выражением

.                                                (51)

Здесь λa - коэффициент активного давления грунта, вычисляется по формуле (22) в случае, когда поверхность грунта ограничена плоскостью и на ней равномерно распределена нагрузка интенсивностью q, в остальных случаях по формуле.

Рис. 10. Эпюры активного давления несвязного грунта с учетом распределения давления по высоте стенки:

а, б - соответственно однородного и неоднородного грунта (изменение давления грунта между характерными точками 1, К, М, 2 и границами слоев грунта допускается принимать по линейному закону)

                                                  (52)

η - коэффициент, определяемый по табл. 2

Таблица 2

hКК

0,15

0,20

0,25

0,30

0,35

η

0,1

0,2

0,3

0,4

0,5

Б. Для неоднородных грунтов (см. рис. 10, б):

а) на уровне верха Р1 и дна Р2 котлована по формулам (34):

б) на границе 1-го и 2-го слоев по формулам:

                                       (53)

в) на уровне анкеров (расстрелов) в точке К по формуле

;                                          (54)

г) на границе 2-го и 3-го слоев по формулам:

   (55)

д) на высоте 0,5 (Нk-hk) от дна котлована в точке М по формуле

;                              (56)

в) на границе 3-го и 4-го слоев по формулам:

   (57)

где hi - толщина, м, i-го слоя грунта с удельным весом γi и углом внутреннего трения φi;

λai - коэффициент активного давления грунта i-го слоя, определяемый по выражению (52);

Сai - коэффициент бокового давления грунта i-го слоя, который вычисляется по формуле (51);

Кa - коэффициент уменьшения давления грунта в середине пролета в результате прогиба сваи.

Значение коэффициента Ка определяется из условия равенства равнодействующих активного давления без учета и с учетом перераспределения давления по высоте стенки.

Ординаты активного давления несвязного грунта без учета перераспределения давления по высоте стенки в характерных точках 1, М, К, 2 и на границах слоев грунта определяются по формулам (34).

6.5. Ординаты расчетного активного давления связного грунта с учетом перераспределения давления по высоте стенки (рис. 11) определяются:

а) на уровне верха и дна котлована согласно п. 4.6;

б) на глубине  от верха котлована по формуле

,                                                     (58)

где Р - ордината расчетного активного давления грунта на той же глубине, которая находится согласно п. 4.6;

Р - ордината отпора связного грунта, возникающего от нажима консольной части сваи на грунт, которая вычисляется по формуле

,                                                   (59)

где п1 - коэффициент перегрузки, принимаемый по табл. 1;

λn - коэффициент отпора грунта, который определяется согласно п. 3.10.

Рис. 11. Эпюра давления связного грунта с учетом перераспределения давления по высоте стенки:

а - при hк<hс; б - при hк>hс

6.6. Шаг сваи l, м, и момент сопротивления W, м3, сечения сваи назначаются по формулам:

                                                      (60)

где l1 - наибольший пролет закладного крепления, м; находится по формуле (40) с учетом п. 5.4;

М - максимальный изгибающий момент, Нּм, действующий на сваю выше дна котлована, определяемый по известным правилам строительной механики.

Глубину положения пояса hk следует назначать из конструктивных соображений, располагая его, как правило, над конструкцией во избежание перекрепления в процессе сооружения конструкций. При расчетах положение пояса может быть изменено исходя из характера работы сваи.

6.7. Глубину забивки свай t ниже дна котлована определяют путем решения уравнения (61) при z = t, полученного из условия (2)

                                                           (61)

При нахождении t величины Q0 и M0 определяют согласно п. 3.7 и подставляют в формулы (8) со своими знаками. Глубина tпр для определения коэффициента К по формуле (11) принимается равной t.

6.8. При найденной глубине забивки t проверяют условие (2), величины z и tnp принимают соответственно равными t/3.

Если условие (2) не выполняется, рекомендуется увеличить ширину полки сваи.

6.9. Проверку прочности сечения сваи на изгиб осуществляют согласно п. 3.15.

За максимальный изгибающий момент принимают наибольший изгибающий момент из действующих в свае на двух участках - выше или ниже дна котлована.

Наибольший изгибающий момент выше дна котлована определяют по известным правилам строительной механики.

Наибольший изгибающий момент ниже дна котлована определяют по формуле

,                    (62)

где εmax находят путем решения уравнения

.                             (63)

6.10. В случаях недостаточной прочности свай целесообразно изменить положение пояса по высоте или увеличить глубину погружения свай в грунт с тем, чтобы за счет обеспечения защемления свай в грунте, когда угол поворота нижнего конца свай принимается равным нулю, снизить величины изгибающих моментов в ее поперечных сечениях.

6.11. Усилие в анкере или расстреле Rр, H, допускается принимать равным

,                                                 (64)

где P - давление сваи на пояс крепления, Н;

lλ, ln - расстояния между расстрелами или анкерами соответственно слева и справа, м.

6.12. Расчет деформаций свайной крепи следует производить из условия (20).

Прогибы свай в уровне дна котлована u0, м, определяют из условия

,                                                                 (65)

где с1 - коэффициент, определяемый по формулам (8) при найденной глубине забивки свай t от нормативных нагрузок.

6.13. Пример расчета свайной крепи с одним ярусом анкеров (расстрелов) без учета защемления свай в грунте дан в справочном приложении 4.

7. РАСЧЕТ СВАЙНОЙ КРЕПИ С ОДНИМ ЯРУСОМ АНКЕРОВ (РАССТРЕЛОВ) С УЧЕТОМ ЗАЩЕМЛЕНИЯ СВАЙ

7.1 . Расчет свайной крепи с закладными элементами и защемлением свай в грунте производится в соответствии со схемами, изображенными на рис. 12.

7.2. При расчете крепи с учетом защемления свай в грунте основные параметры, подлежащие определению, те же, что и при расчетах без учета защемления, т.е. Р, t, l, W, hk.

7.3. Расчет свайной крепи выполняется в такой последовательности:

а) определяется расчетное активное давление грунта аналогично пп. 6.4-6.5;

б) предварительно назначается шаг свай

,                                                       (66)

где l1 - наибольший пролет закладного крепления, м, вычисляемый по формуле (40);

в) назначается сечение сваи;

г) определяются глубина забивки свай t и давление стенки на пояс крепления Р;

д) рассчитывается прочность сечения свай, анкеров (расстрелов) согласно п. 6.11;

е) производится расчет деформаций свайной крепи.

7.4. При расчете свайной крепи с защемлением свай в грунте при заданных (назначенных) шаге и сечении свай глубина забивки и давление стенки на пояс крепления находят путем совместного решения уравнений:

                                                           (67)

                                                                 (68)

Рис. 12. Расчетные схемы свайной крепи с закладными элементами и защемлением свай при одном ярусе анкеров (расстрелов):

а, б - соответственно в связных и несвязных грунтах

Величины σ и σnp определяют при z = t/3 согласно п. 3.5. Глубина tnp для вычисления коэффициента Кпр по формуле (11) принимается равной t/3.

Поворот сечения сваи в заделке находят по формуле

,                            (69)

где С1, С2, С3 и С4 - те же коэффициенты, что и при решении уравнения (8).

7.5. При найденных глубине забивки t и давлении стенки на пояс крепления P проверяется условие (2), величины z и tnp принимают равными t.

В случае невыполнения условия (2) рекомендуется увеличить сечение свай или уменьшить расстояние между ними.

7.6. Расчет по деформациям свайной крепи выше дна котлована следует производить из условия (20), рассматривая сваю как балку, загруженную ранее определенными нагрузками, при этом прогибы свай на уровне дна котлована рассчитывают по формуле (65) применительно к рассматриваемому случаю.

8. РАСЧЕТ СВАЙНОЙ КРЕПИ С НЕСКОЛЬКИМИ ЯРУСАМИ АНКЕРОВ (РАССТРЕЛОВ)

8.1. Расчет свайной крепи с несколькими ярусами анкеров (расстрелов) производят согласно требованиям разделов 3, 5, 6 и 7 настоящих Методических рекомендаций; допускается также пользоваться методиками, изложенными в [12].

8.2. Расчетная схема свайной крепи с несколькими ярусами анкеров (расстрелов) изображена на рис. 13.

8.3. Активное давление грунта определяется по теории Кулона с учетом реакции грунта, возникающей от давления на грунт участка стенки, расположенного выше анкеров или расстрелов (см. рис. 13).

Рис. 13. Расчетные схемы свайной крепи с закладными элементами при двух или более ярусах анкеров (расстрелов):

а, б - соответственно в связных и несвязных грунтах

Ордината активного давления грунта на расстоянии  от верха котлована определяется по формуле (58).

8.4. Минимальная глубина забивки свай в случае расположения анкеров (расстрелов) выше дна котлована находится путем решения уравнений

                                                       (70)

при z = t. Реакции Pi определяются исходя из предположения, что свая деформируется как многопролетная неразрезная балка, при этом реакция нижней опоры принимается равной несущей способности анкера (расстрела), устанавливаемого на этом уровне.

9. ПРЕДЛОЖЕНИЯ ПО СОВЕРШЕНСТВОВАНИЮ СВАЙНОЙ КРЕПИ КОТЛОВАНОВ МЕТРОПОЛИТЕНОВ

9.1. В качестве основных направлений совершенствования свайной крепи котлованов метрополитенов рекомендуется:

проведение многовариантных расчетов при проектировании с использованием ЭВМ с целью получения оптимальной конструкции крепи;

применение конструкций временной крепи, которая используется в дальнейшем как элемент постоянной крепи метрополитенов: стена в грунте, железобетонные сваи, грунтовые анкеры, предназначенные для постоянной крепи;

применение буровых (буронабивных или буроопускных) свай в рекомендуемых условиях (см. разд. 1) с целью снижения шума и вибрации, повышения надежности, предотвращения вывалов, снижения деформаций поверхности, а также обеспечения сохранности зданий и сооружений, находящихся вблизи котлована;

применение наклонных свай взамен вертикальных, что существенно снижает металлоемкость и стоимость крепи;

использование для изготовления свай, как правило, двутавров большого сечения (в том числе широкополочных), а также применение в качестве расстрелов труб большого диаметра, что снижает расход металла и стоимость крепи и повышает производительность работ при ее установке;

применение взамен деревянной затяжки торкрета, набрызг-бетона (в том числе заанкеренных в грунт), синтетических нетканых материалов типа «Бидим», «Дорнит» и др., инвентарных железобетонных панелей, инвентарных металлических щитов, в том числе щитов-лидеров, и т.д.;

применение грунтовых анкеров взамен расстрелов, что позволяет снизить трудоемкость и стоимость крепи, а также открывает возможности для использования новой технологии строительства, так как пространство внутри котлована не загромождено расстрелами;

использование монолитного или сборно-монолитного бетона основания в качестве плиты-распорки, в результате чего существенно сокращаются длина свай и количество рядов расстрелов;

создание и применение для установки и извлечения свай высокопроизводительных машин и механизмов.

9.2. При проектировании свайной крепи котлованов рекомендуется проведение многовариантных расчетов преимущественно с использованием ЭВМ. Целью проведения таких расчетов является выбор параметров крепи, близких к оптимальным. Анализ существующей практики проектирования показывает, что способ предварительного назначения параметров крепи и последующей проверки по упрощенным методикам [15] не только не позволяет выявить оптимальные параметры (тип свай, расстояние между сваями, количество и место расположения поясов и др.), но приводит в одних случаях к излишним запасам прочности и завышению стоимости и трудоемкости, в других - к проектированию крепи недостаточной несущей способности.

9.3. Рекомендуются к применению буронабивные сваи [16], которые в устойчивых неводонасыщенных грунтах устанавливают в скважины без крепления их стенок, а в водонасыщенных и песчаных грунтах - с закреплением стенок скважин инвентарными навлекаемыми обсадными трубами или путем заполнения скважин глинистым раствором.

Допускается применение буронабивных свай с креплением обсадными трубами, оставляемыми в грунте; в данном случае обсадные трубы должны быть включены в расчет, а их параметры следует принимать с учетом работы при эксплуатации крепи.

Допускается при соответствующем технико-экономическом обосновании применение набивных свай, устраиваемых путем предварительного погружения инвентарных труб, нижний конец которых закрыт оставляемым в грунте башмаком, с последующим их извлечением по мере бетонирования тела сваи, а также свай других конструкций.

9.4. Буронабивные сваи (рис. 14) следует проектировать из пространственного арматурного каркаса, обеспечивающего, как правило, ориентированное армирование, и бетонного заполнения. Допускается применение жесткой арматуры преимущественно из двутавров, которые также обеспечивают ориентированное армирование.

9.5. Материалы, применяемые для изготовления буронабивных свай, должны отвечать требованиям строительных норм и правил на проектирование железобетонных конструкций, оснований и фундаментов, а также государственных стандартов на бетон и арматурную сталь.

Марку бетона по прочности следует принимать не ниже М200. При работе конструкции при расчетной зимней температуре минус 40 ˚С проектная марка бетона должна быть не ниже: по морозостойкости Мрз 150 и водонепроницаемости В2.

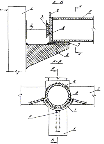
Рис. 14. Буронабивная свая с ориентированным армированием:

1 - бетон сваи; 2 - арматура сваи; 3 - опалубка; 4 - засыпной грунт; 5 - затяжка между сваями; 6 - уголок; 7 - контур поверхности скважины

Специальных требований к классу арматуры свай временной крепи не предъявляется.

9.6. Буроопускные сваи, устанавливаемые в предварительно пробуренные скважины, по конструкции разделяются:

на сваи, в которых в качестве жесткой арматуры используют двутавровые балки с последующим заполнением зазоров цементно-песчаным раствором или бетоном1;

1 По способу установки такие сваи могут быть отнесены и к буронабивным сваям.

на сваи, устраиваемые в скважинах путем установки в них сплошных (или полых) железобетонных конструкций; при этом зазор между элементом и стенками скважины также заполняют раствором или бетоном;

9.7. Расчет буронабивных и буроопускных свай, используемых в качестве временной крепи котлованов, разрешается производить только по первой группе предельных состояний [17].

9.8. Арматурный каркас должен иметь стержневую продольную и поперечную (в виде спиралей или хомутов) арматуру [18].

9.9. Места пересечения стержней продольной арматуры и спирали или хомута следует соединять в шахматном порядке, используя контактную сварку или вязальную проволоку. Дуговая сварка для этой цели не допускается.

9.10. В арматурном каркасе, кроме продольных стержней, спирали или хомутов, равномерно по его длине на расстоянии 2 м друг от друга должны быть поставлены наружные элементы жесткости в виде кольца или рамки, как правило, из стержней такого же диаметра, что и продольная арматура. Каждый элемент жесткости необходимо соединить сваркой с продольной арматурой при помощи четырех стальных фасонок размером 50×50 м, толщиной 8-12 мм, расположенных по периметру со смещением от элемента к элементу. В каркасах длиной свыше 15 м два концевых элемента жесткости рекомендуется соединять фасонками с каждым стержнем продольной арматуры.

У места строповки на расстоянии 1/3 длины от верха каркаса должны быть поставлены два внутренних подобных элемента жесткости, приваренных к каждому стержню продольной арматуры, с шагом 0,3 м.

9.11. Рекомендуется применять в основном пространственные арматурные каркасы с круговой или прямоугольной формой внешнего контура поперечного сечения.

Каркас с круговой формой поперечного сечения используют в сваях без устройства затяжки между ними, например, при расположении свай, примыкающих друг к другу в плане.

Каркас с прямоугольной формой поперечного сечения применяют в сваях с устройством затяжки между ними. Буронабивная свая с таким каркасом должна иметь закладные детали, например, в виде выступающих из ствола и приваренных к продольной арматуре металлических заплечиков, расположенных по длине ствола на участке от поверхности грунта до дна котлована.

При бетонировании свай с таким каркасом по способу вертикально перемещающейся трубы (ВПТ) внутренняя полость каркаса должна иметь размеры, позволяющие вставлять внутрь нее бетонолитную трубу с наружным диаметром не менее 25-30 см.

9.12. В конструкциях буронабивных свай, применяемых в качестве временной крепи котлованов, толщина защитного слоя бетона не нормируется. Арматурный каркас может иметь размеры поперечного сечения, позволяющие устанавливать его в скважину с минимально возможными зазорами между стенками скважины и арматурой.

Каркас должен иметь четко выполненную маркировку, позволяющую осуществлять ориентированное армирование сваи в соответствии с рабочим чертежом ее конструкции.

9.13. Для устройства скважин для буронабивных свай следует преимущественно применять буровые станки вращательного (роторного) бурения отечественного (типов МБУ-1, 2, МБС-1, 7 и др.) или импортного («Като», «Франки» и др.) производства.

При соответствующем обосновании могут быть использованы станки грейферного бурения («Беното», «Баде» и др.).

9.14. При разработке технологии изготовления буронабивной сваи рекомендуется пользоваться соответствующими требованиями «Руководства по производству и приемке работ при устройстве оснований и фундаментов» [16], а также пп. 9.15-9.31 настоящих Методических рекомендаций.

9.15. Скважины в грунтах без включений следует бурить оборудованием с рабочими органами в виде ковшовых или шнековых буров. При наличии в грунтах скальных прослоек, валунов или слежавшегося строительного мусора рекомендуется применять ковшовые или колонковые буры, а также в необходимых случаях грейферы и долота.

Разработка и удаление глинистых и влажных песчаных грунтов производится циклическим бурением с помощью ковшового или шнекового бура, периодически поднимаемого на поверхность.

9.16. Каждый цикл бурения скважины с применением оборудования вращательного действия включает в себя следующие операции:

опускание бура на забой скважины;

включение привода ротора при поднятом над забоем на 5-10 см буром;

плавное опускание на забой вращаемого бура с увеличением на него давления;

постепенное углубление бура и наполнение его полости грунтом:

отделение бура от забоя и выключение вращения привода ротора;

подъем бура из скважины и опорожнение его от грунта.

9.17. До установки каждого каркаса в скважину необходимо:

обеспечить его приемку;

очистить от ржавчины, масла, грунта, снега или льда;

на каркасах с прямоугольной формой поперечного сечения (см. п. 9.11) закрепить на наружных частях боковых поверхностей грунтозащитные покрытия из досок, фанеры, нетканых синтетических материалов и др. в пределах длины каркаса, находящейся выше дна закрепляемого сваями котлована.

9.18. Установку каркаса в скважину необходимо выполнять в строгом соответствии с нанесенной на него маркировкой для соблюдения ориентирования рабочих стержней арматуры относительно направления действия расчетных нагрузок.

9.19. Скважины с установленным в нее арматурным каркасом заполняют бетонной смесью путем сбрасывания ее в сухие скважины или подачи по бетонолитной трубе в скважины, заполненные глинистым раствором (способ ВПТ).

9.20. Особенность устройства сваи с арматурным каркасом с прямоугольной формой поперечного сечения заключается в том, что бетонную смесь сбрасывают через внутреннюю полость каркаса или подают ее по бетонолитной трубе до заполнения бетоном скважины до уровня дна котлована; после этого зазоры между стенками скважины и грунтозащитным покрытием каркаса заполняют выбуренным из скважины грунтом (до уровня устья скважины), а затем заполняют бетонной смесью внутреннюю полость арматурного каркаса.

9.21. При проектировании и устройстве временной или постоянной крепи из буронабивных и буроопускных свай рекомендуется применять в зависимости от градостроительных, гидрогеологических и инженерно-геологических условий строительства следующие схемы устройства крепи:

установка свай с промежутками, которые по мере разработки котлована закрепляют аналогично крепи из забивных свай (рис. 15, а);

установка свай сплошной стенкой в ряд (рис. 15, б);

установка свай сплошной стенкой в шахматном порядке (рис. 15, в);

установка свай сплошной стенкой с подрезкой (рис. 15, г).

При выборе схемы установки свайной крепи, кроме указанных выше условий, следует учитывать также допускаемые величины деформации на поверхности в пределах и вблизи призмы обрушения; степень обеспечения надежности крепи для сохранности сооружений, находящихся вблизи котлована; дополнительную нагрузку на крепь от этих сооружений, а также наличие или возможность получения соответствующего оборудования для бурения скважин.

Рис. 15. Схемы крепи из буронабивных свай:

а-г - установка свай соответственно с промежутками, сплошной стенкой, сплошной стенкой в шахматном порядке, с подрезкой; 1 - грунт; 2 - затяжка; 3 - железобетонная свая; 4 - бетонная свая

9.22. Установка свай сплошной стенкой с подрезкой (см. рис. 15, г) включает следующие операции:

установку промежуточных бетонных свай;

бурение скважин через бетон промежуточных свай, не набравший полной прочности;

установку в пробуренные скважины рабочих (армированных) свай.

9.23. Рекомендуется установка свай с наклоном к вертикали, так как такая конструкция крепи резко снижает расход металла и стоимость крепи даже при небольших углах наклона свай; например, если сваи установлены с наклоном 6˚ к вертикали, экономия металла составляет до 400 т/км котлована, а при увеличении угла наклона до 9˚ она возрастает до 600 т/км.

9.24. Перед забивкой наклонных свай следует произвести вертикальную планировку поверхности, поскольку точка начальной установки свай зависит при этом от глубины их погружения.

9.25. Для погружения наклонных свай рекомендуется применять копровое оборудование, позволяющее забивать сваи под углом к вертикали с заданными параметрами точности погружения, т.е. имеющее автоматизированные или неавтоматизированные системы наведения свай.

9.26. В качестве крепи промежутков между сваями рекомендуется использовать, как правило, инвентарные извлекаемые для повторного использования конструкции взамен применяемой в настоящее время затяжки из досок или брусьев, изготавливаемых на месте установки. В качестве таких инвентарных конструкций рекомендуется использовать железобетонные панели, металлические щиты и др., которые следует устанавливать сверху вниз, используя полки двутавров как направляющие. При этом требования к точности установки свай должны быть резко повышены.

В слабых грунтах нижний щит следует снабжать ножевой частью, щиты устанавливать с пригрузкой и использовать в качестве опережающей крепи, предназначенной для предотвращения вывалов или выпора грунта.

При заглублении щитов-лидеров ниже дна котлована разрешается включать их в расчет защемления, что позволяет уменьшить длину свай.

9.27. При использовании торкрета или набрызг-бетона для закрепления промежутков между сваями рекомендуется:

при проектировании и производстве руководствоваться требованиями ВСН 126-77 [19] и «Методическими рекомендациями по расчету временной крепи тоннельных выработок» [20];

при доработке грунта стен поверхность между сваями разрабатывать по вогнутой кривой с целью использования несущей способности грунта путем формирования арочной конструкции из грунта и набрызг-бетона (торкрета), опирающейся пятами на сваи и воспринимающей нагрузку от грунтового массива;

для повышения несущей способности набрызг-бетонной арочной конструкции рекомендуется использовать короткие анкеры [19, 20].

9.28. Наряду с жесткой крепью промежутков между сваями применяется гибкая затяжка. В качестве гибкой затяжки рекомендуются нетканые текстильные полотна из синтетических волокон, скрепленных механическим, физическим (термическим) или химическим (клеевым) способом или сочетанием этих методов. Такие полотна могут быть использованы самостоятельно или в комплексе с поддерживающей решеткой из арматурной стали, металлической сеткой или деревянной затяжкой, установленной вразбежку.

9.29. В качестве материалов для гибкой затяжки рекомендуется использовать иглопробивной нетканый материал типа «Дорнит», изготавливаемый из смеси штапельных синтетических волокон или швейного лоскута; иглопробивной нетканый материал из сплава поликапроамида, материал из расплава полиэтилена, а также холстопрошивное стекловолокно ГОСТ 15902.1-70, ГОСТ 15902.3-79 [21].

Из материалов, выпускаемых зарубежными фирмами, рекомендуется для этой цели «Бидим» (Франция), «Террам» (Англия), «Типпар» (США), «Гейдельбергский холст» (ФРГ) и др. Физико-механические свойства этих материалов приведены в справочном приложении 5.

9.30. Проектирование конструкций, расчет и производство работ по устройству грунтовых анкеров взамен расстрелов рекомендуется производить для грунтовых анкеров, устанавливаемых с помощью пневмопробойников, в соответствии с [9, 22], для грунтовых анкеров фирмы «Бауэр» согласно [8, 23].

9.31. Рекомендуется, особенно в тех случаях, когда нижний ряд расстрелов располагается в уровне конструкций метрополитена и вследствие этого требуется перекрепление при монтаже конструкций, в качестве нижней распорки использовать лоток, устраиваемый в котловане для передачи усилий от колонн станции на грунт основания. При этом операция по монтажу временного нижнего расстрела сохраняется, однако после твердения бетона лотка расстрел может быть демонтирован и сборка конструкций производится без трудоемких работ по перекреплению.

В отдельных случаях, определяемых расчетом конструкции крепи с учетом этапов включения ее в работу по мере раскрытия котлована, глубина забивки свай при использовании плиты-распорки может быть значительно снижена.

Приложение 1

Справочное

ЗНАЧЕНИЯ КОЭФФИЦИЕНТА ПРОПОРЦИОНАЛЬНОСТИ

Вид грунта, окружающего сваи, и его характеристика

Коэффициент пропорциональности К, кН/м4, для свай

набивных свай-столбов и свай-оболочек

забивных

Глины и суглинки мягкопластичные (0,5≤lL≤0,75), супеси пластичные (0≤lL≤1 ), пески пылеватые (0,6≤е≤0,8)

2000-4000

2500-5000

Глины и суглинки тугопластичные и полутвердые (0≤lL≤0,5), супеси твердые (lL<0), пески мелкие (0,6≤e≤0,75), пески средней крупности (0,55≤e≤0,7)

4000-6000

5000-8000

Глины и суглинки твердые (lL<0), пески крупные (0,55≤e≤0,7)

6000-10000

8000-13000

Пески гравелистые (0,55≤e≤0,7), гравий и галька с песчаным заполнителем

10000-20000

-

Примечания: 1. Меньшие значения коэффициента К в таблице соответствуют более высоким значениям показателя консистенции lL глинистых и коэффициентам пористости е песчаных грунтов, указанным в характеристиках грунтов, а большие значения коэффициента К - соответственно более низким значениям lL и е. Для грунтов с промежуточными значениями характеристик lL и е величины коэффициента К определяются интерполяцией.

2. Коэффициент К для плотных песков должен приниматься на 30 % выше, чем наибольшие значения указанных в таблице коэффициентов К для заданного вида грунта.

Приложение 2

Справочное

Значения функций f1(ε), f2(ε), f3(ε), f4(ε) и их производных

ε

f1

f2

f3

f4

f1

f2

f3

f4

0

1,00000

0,00000

0,00000

0,00000

0,00000

1,00000

0,00000

0,00000

0,1

1,00000

0,10000

0,00500

0,00017

0,00000

1,00000

0,10000

0,00500

0,2

1,00000

0,20000

0,02000

0,00133

-0,00007

1,00000

0,20000

0,02000

0,3

0,99998

0,30000

0,04500

0,00450

-0,00034

0,99996

0,30000

0,04500

0,4

0,99991

0,39999

0,08000

0,01067

-0,00107

0,99983

0,39998

0,08000

0,5

0,99974

0,49996

0,12500

0,02083

-0,00260

0,99948

0,49994

0,12499

0,6

0,99935

0,59987

0,17998

0,03600

-0,00540

0,99870

0,59981

0,17998

0,7

0,99860

0,69967

0,24495

0,05716

-0,01000

0,99720

0,69951

0,24494

0,8

0,99727

0,79927

0,31988

0,08532

-0,01707

0,99454

0,79891

0,31983

0,9

0,99508

0,89852

0,40472

0,12146

-0,02733

0,99016

0,89779

0,40462

1,0

0,99167

0,99722

0,49941

0,16657

-0,04167

0,98333

0,99583

0,49921

1,1

0,98658

1,09508

0,60384

0,22163

-0,06096

0,97317

1,09262

0,60346

1,2

0,97927

1,19171

0,71787

0,28758

-0,08632

0,95855

1,18756

0,71716

1,3

0,96908

1,28660

0,84127

0,36536

-0,11883

0,93817

1,27990

0,84002

1,4

0,95523

1,37910

0,97373

0,45588

-0,15973

0,91047

1,36865

0,97163

1,5

0,93681

1,46839

1,11484

0,55997

-0,21030

0,87365

1,45259

1,11145

1,6

0,91280

1,55346

1,26403

0,67842

-0,27194

0,82565

1,53020

1,25872

1,7

0,88201

1,63307

1,42061

0,81193

-0,34604

0,76413

1,59963

1,41247

1,8

0,84313

1,70575

1,58362

0,96109

-0,43412

0,68645

1,65867

1,57150

1,9

0,79467

1,76972

1,75190

1,12637

-0,53768

0,58967

1,70468

1,73422

2,0

0,73502

1,82294

1,92402

1,30801

-0,65822

0,47061

1,73457

1,89871

2,1

0,66243

1,86298

2,09813

1,50603

-0,79720

0,32577

1,74474

2,06258

2,2

0,57491

1,88709

2,27217

1,72042

-0,95616

0,15127

1,73110

2,22299

2,3

0,47050

1,89213

2,44339

1,95039

-1,13627

-0,05673

1,68891

2,37639

2,4

0,34691

1,87450

2,60882

2,19535

-1,33889

-0,30273

1,61286

2,51874

2,5

0,20196

1,83019

2,76464

2,45359

-1,56476

-0,59086

1,49708

2,64504

2,6

0,03315

1,75473

2,90670

2,72365

-1,81479

-0,92602

1,33485

2,74972

2,7

-0,16179

1,64330

3,02983

3,00257

-2,08900

-1,31232

1,11912

2,82605

2,8

-0,38548

1,49037

3,12843

3,28769

-2,38756

-1,75483

0,84177

2,86653

2,9

-0,64006

1,29037

3,19587

3,57439

-2,70929

-2,25716

0,49467

2,86246

3,0

-0,92809

1,03679

3,22471

3,85838

-3,05319

-2,82410

0,06837

2,80406

3,1

-1,25131

0,72336

3,20663

4,13302

-3,41643

-3,45810

-0,44606

2,68039

3,2

-1,61181

0,34292

3,13224

4,39169

-3,79609

-4,16262

-1,05887

2,47922

3,3

-2,01091

-0,11155

2,99125

4,62582

-4,18750

-4,93906

-1,77990

2,18713

3,4

-2,44950

-0,64729

2,77233

4,82560

-4,58478

-5,78780

-2,61908

1,78947

3,5

-2,92799

1,27172

2,46304

4,97982

-4,98062

-6,70806

-3,58647

1,27018

3,6

-3,44521

-1,99103

2,05056

5,07506

-5,36519

-7,69498

-4,68989

0,61299

3,7

-4,00008

-2,81250

1,52038

5,09706

-5,72771

-8,74428

-5,93855

-0,20060

3,8

-4,58954

-3,74164

0,85783

5,02912

-6,05440

-9,84667

-7,33854

-1,18891

3,9

-5,20922

-4,78317

0,04750

4,85282

-6,32914

-10,98585

-8,89431

-2,37097

4,0

-5,85333

-5,94097

-0,92677

4,54780

-6,53316

-12,15811

-10,60842

-3,76647

 

ε

f1’’

f2’’

f3’’

f4’’

f1’’’

f2’’’

f3’’’

f4’’’

0

0,00000

0,00000

1,00000

0,00000

0,000000

0,00000

0,00000

1,00000

0,1

-0,00017

-0,00001

1,00000

0,10000

-0,00500

-0,00033

-0,00001

1,00000

0,2

-0,00133

-0,00013

0,99999

0,20000

-0,02000

-0,00267

-0,00020

0,99999

0,3

-0,00450

-0,00067

0,99994

0,30000

-0,04500

-0,00900

-0,00101

0,99992

0,4

-0,01067

-0,00213

0,99974

0,39998

-0,08000

-0,02133

-0,00320

0,99956

0,5

-0,02083

-0,00521

0,99922

0,49991

-0,12499

-0,04167

-0,00781

0,99896

0,6

-0,03600

-0,01080

0,99806

0,59974

-0,17997

-0,07199

-0,01620

0,99741

0,7

-0,05716

-0,02001

0,99580

0,69935

-0,24490

-0,11433

-0,03001

0,99440

0,8

-0,08532

-0,03412

0,99181

0,79854

-0,31975

-0,17060

-0,05120

0,98908

0,9

-0,12144

-0,05466

0,98524

0,89705

-0,40443

-0,24284

-0,08198

0,98032

1,0

-0,26652

-0,08329

0,97501

0,99445

-0,49881

-0,33298

-0,12493

0,96667

1,1

-0,22152

-0,12192

0,95975

1,09016

-0,60268

-0,44292

-0,18285

0,94634

1,2

-0,28737

-0,17260

0,93783

1,18342

-0,71573

-0,57450

-0,25886

0,91712

1,3

-0,36496

-0,23760

0,90727

1,27320

-0,83753

-0,72950

-0,35631

0,87638

1,4

-0,45515

-0,31933

0,86573

1,35621

-0,96746

-0,90954

-0,47883

0,82102

1,5

-0,55870

-0,42039

0,81054

1,43680

-1,10468

-1,11609

-0,63027

0,74745

1,6

-0,67629

-0,54348

0,73859

1,50695

-1,24808

-1,35042

-0,81466

0,65156

1,7

-0,80648

-0,69144

0,64637

1,56621

-1,39623

-1,61346

-1,03616

0,52871

1,8

-0,95564

-0,86715

0,52997

1,61162

-1,54728

-1,90577

-1,29909

0,37368

1,9

-1,11796

-1,07357

0,38503

1,63969

-1,69889

-2,22745

-1,60770

0,18071

2,0

-1,29535

-1,31361

0,20676

1,64628

-1,84818

-2,57798

-1,96620

-0,05652

2,1

-1,48734

-1,59004

-0,00997

1,62668

-1,99157

-2,95602

-2,37851

-0,34479

2,2

-1,69334

-1,90567

-0,27087

1,57538

-2,12481

-3,35952

-2,84858

-0,69158

2,3

-1,91179

-2,26266

-0,58168

1,48618

-2,24266

-3,78502

-3,37919

-1,10436

2,4

-2,14117

-2,66329

-0,94885

1,35201

-2,33901

-4,22811

-3,97323

-1,59151

2,5

-2,37862

-3,10864

-1,37845

1,16516

-2,40657

-4,68242

-4,63169

-2,16081

2,6

-2,62126

-3,59987

-1,87734

0,91679

-2,43695

-5,14023

-5,35541

-2,82106

2,7

-2,86444

-4,13643

-2,45160

0,59770

-2,42035

-5,59113

-6,14237

-3,57964

2,8

-3,10341

-4,71748

-3,10791

0,19729

-2,34558

-6,02299

-6,99007

-4,44491

2,9

-3,33119

-5,33985

-3,85136

-0,29498

-2,20003

-6,42018

-7,89189

-5,42270

3,0

-3,54058

-5,99979

-4,68788

-0,89126

-1,96928

-6,76460

-8,84029

-6,51972

3,1

-3,72170

-6,69027

-5,62047

-1,60292

-1,63768

-7,03440

-9,82203

-7,73853

3,2

-3,86401

-7,40313

-6,65258

-2,44289

-1,18744

-7,20386

-10,82192

-9,08188

3,3

-3,95459

-8,12669

-7,78473

-3,42337

-0,59949

-7,24318

-11,81880

-10,54818

3,4

-3,97863

-8,84626

-9,01534

-4,55644

0,14686

-7,11800

-12,78633

-12,13253

3,5

-3,91921

-9,54367

-10,34038

-5,85402

1,07408

-6,78895

-13,69235

-13,82609

3,6

-3,75711

-10,19582

-11,75031

-7,32463

2,20416

-6,21240

-14,49604

-15,61220

3,7

-3,47079

-10,77604

-13,23411

-6,97827

3,56225

-5,33828

-15,15108

-17,47104

3,8

-3,03628

-11,25172

-14,77364

-10,82022

5,17222

-4,11208

-15,60080

-19,37265

3,9

-2,42717

-11,58471

-16,34517

-12,85291

7,05806

-2,47390

-15,77939

-21,27853

4,0

-1,61428

-11,73066

-17,91862

-15,07554

9,24368

-0,35762

-15,61046

-23,14038

Приложение 3

Справочное

ПРИМЕР РАСЧЕТА СВАЙНОЙ КРЕПИ БЕЗ АНКЕРОВ (РАССТРЕЛОВ)

Определение глубины забивки, сечения свай и расстояния между ними. Котлован глубиной Нк = 5 м сооружается в супесях с удельным весом γ = 17 кН/м3 (1,7 тс/м3), с углом внутреннего трения φ = 21º и сцеплением С = 0,01 МПа (1,0 тс/м2). Вертикальная нагрузка на призме обрушения отсутствует (рисунок).

Решение. По формуле (23) определяется коэффициент активного давления супеси

Активное давление грунта находится согласно п. 4.6.

По формуле (38) вычисляется

 MПа

Ордината активного давления супеси как связного грунта на глубине Нк = 5 м определяется с учетом формулы (27)

 МПа (2,64 тс/м2)

Расчетное значение этой величины составит

 МПа (3,17 тс/м2),

где 1,2 - коэффициент перегрузки, принимаемый по табл. 1.

По формуле (37) находится

 м

К примеру расчета свайной крепи без анкеров (расстрелов):

а - расчетная схема котлована; б - эпюра интенсивности давлений, МПа (тс/м2); в - эпюра изгибающих моментов, кН·м (тс·м)

Равнодействующая Еа, активного давления супеси на метр свайной крепи равна

 кН/м

Определяется наибольший пролет доски закладного крепления по формуле (40) при δ = 0,06 м (ГОСТ 24454-80) и Ru = 14 МПа, принимаемым по табл. 3 [13]

 м

Предварительно по формуле (39) назначаются шаг свай l и момент сопротивления сечения свай W:

l = 1,46+0,09 = 1,55 м, принято l = 1,50 м;

 м3,

где R = 210 МПа (2100 кгс/см2) - расчетное сопротивление сваи на изгиб, определяемое по табл. 51 [12].

По ГОСТ 8239-72 принят двутавр № 40 с геометрическими характеристиками J = 19062·10-8 м4, W = 953·10-6 м3, в = 0,155 м.

Изгибающий момент и перерезывающая сила в уровне дна котлована определяются согласно п. 3.7 при направлении оси X вправо - положительном

Q0 = -52,08·1,5 = -78,12 кН;

 кН·м

По зависимости (41) при z = t/3 методом подбора определяется глубина забивки свай t = 4,80 м.

Вычисляется коэффициент α по формуле (5)

 м-1,

где К = 8000 кН/м4 - коэффициент, принимаемый по таблице справочного приложения 1;

Е = 2,1·105 МПа (2,1·106 кгс/см2) - модуль упругости стали, принимаемый по табл. 63 [12].

По формулам (7) и (8) определяются коэффициенты C1, C2, C3 и С4.

;

;

;

                                  

                                  

                                  

                                     

В1 = 0,00859·0,94884-0,01569·1,35201 = -0,01306;

В2 = 0,00859·0,97323+0,01569·1,59150 = 0,05910;

В = 2,14113·4,22816-2,66328·2,33901 = 2,82360;

;

.

Проверяется правильность вычисления коэффициентов С1, С2, С3 и С4 по формулам (9) и (10):

u'' (εt) = 0,07530·2,14113-0,05563·2,66238+0,00859·0,94884-0,01569·1,35201 = 0,00000;

u''' (εt) = 0,0753·2,33901-0,05563·4,22812+0,00859·3,97323+0,01569·1,59150 = 0,00000;

u"(0) = 0,00859·1 = 0,00859;

εt = 2,4;  М0 = -85,67 кН·м;

Условие (9) выполняется, коэффициенты С1, С2, С3, С4 вычислены верно.

По формуле (6) определяется перемещение свайной крепи на глубине z = t/3 = 1,60 м и по формуле (3) - интенсивность давления сваи на грунт на той же глубине.

εt/3 = 0,4991·1,60 = 0,8;

ut/3 = -0,07530·0,99727+0,5563·0,79927-0,00859·0,31988-0,01569·0,08532 = -0,0347 м;

σt/3 = -8000·103·1,60·0,0347 = -0,444 МПа (-44,4 тс/м2).

Коэффициент Kпр вычисляется по формуле (11) при tпр = t/3 = 1,60 м

По формуле (14) находится коэффициент пассивного отпора грунта и по формуле (12) определяется пассивный отпор супеси на глубине z = t/3 = 1,60 м:

;

 МПа (6,93 тс/м2)

Предельная величина интенсивности давления сваи на грунт на глубине z = t/3 = 1,60 м с учетом пространственной работы свай равна

σnp = 6,541·0,0693 = 0,453 МПа (45,3 тс/м2).

Найденные значения σ и σnp подставляются в формулу (2)

σ = 0,444 МПа > 0,95

σпр = 0,95·0,453 = 0,430 МПа.

Условие (2) считаем выполненным, так как разница составляет 3,2 %.

По формуле (4) строится эпюра интенсивности давления сваи на грунт. Вычисления сведены в табл. 1.

Расчетный пассивный отпор грунта на глубине z = t = 4,80 м определяется по формуле (12)

 МПа (16,1 тс/м2)

По зависимости (11) при tnp = t = 4,80 м находится Кnp

Предельная величина интенсивности давления сваи на грунт

σпр = 0,161·8,518 = 1,371 МПа (137,1 тс/м2).

Проверяется условие (2) при z = t = 4,8 м

σ = 0,818 МПа (81,8 тс/м2) < 0,95;

σпр = 0,95·1,371 = 1,30 МПа (130 тс/м2).

Изгибающие моменты ниже дна котлована определяются по формуле (18)

Вычисления сведены в табл. 2.

В расчете допускается принимать значение М(εmax) по эпюре изгибающих моментов. В данном примере М(εmax) = 165 кН·м (16,5 тс·м).

По формуле (17) производится расчет прочности сваи на изгиб

 = 173 МПа (1730 кгс/см2) <R = 210 МПа (2100 кгс/см2).

Таблица 1

z, м

ε

f1(ε)

f2(ε)

f3(ε)

f4(ε)

c1f1(ε) = -0,0753*f1(ε)

C2f2(ε) = 0,05563*f2(ε)

C3f3(ε) = -0,00859*f3(ε)

C4f4(ε) = -0,01569*f4(ε)

U, м

Σ(7+8+9+10)

σ, МПа (тс/м2)

σ = (8000*103z*u)*10-6(10-4)

1

2

3

4

5

6

7

8

9

10

11

12

0,00

0

1,00000

0,00000

0,00000

0,00000

-0,07530

0

0

0

-0,0753

0

0,40

0,2

1,00000

0,20000

0,02000

0,00133

-0,07530

0,01113

-0,00017

-0,00002

-0,0644

-0,206 (-20,6)

0,80

0,4

0,99991

0,39999

0,08000

0,01067

-0,07530

0,02225

-0,00069

-0,00017

-0,0539

-0,345 (-34,5)

1,20

0,6

0,99935

0,59987

0,17998

0,03600

-0,07525

0,03337

-0,00155

-0,00056

-0,0440

-0,422 (-42,2)

1,60

0,8

0,99727

0,79927

0,31988

0,08532

-0,07509

0,04446

-0,00275

-0,00134

-0,0347

-0,444 (-44,4)

2,00

1,0

0,99167

0,99722

0,49940

0,16657

-0,07467

0,05548

-0,00429

-0,00261

-0,0261

-0,418 (-41,8)

2,40

1,2

0,97927

1,19171

0,71787

0,28757

-0,07374

0,06629

-0,00617

-0,00451

-0,0181

-0,348 (-34,8)

2,80

1,4

0,95523

1,37910

0,97373

0,45587

-0,07193

0,076

-0,00836

-0,00715

-0,0107

-0,240 (-24,0)

3,20

1,6

0,91280

1,55346

1,26404

0,67841

-0,06873

0,08642

-0,01086

-0,01064

-0,0038

-0,097 (-9,7)

3,60

1,8

0,84313

1,70575

1,58362

0,96108

-0,06349

0,09489

-0,01360

-0,01508

-0,0027

0,078 (7,8)

4,00

2,0

0,73502

1,82294

1,92401

1,30798

-0,05535

0,10141

-0,01653

-0,02052

-0,0090

0,288 (28,8)

4,40

2,2

0,57492

1,88710

2,27217

1,72039

-0,04329

0,10498

-0,01952

-0,02699

-0,0152

0,535 (53,5)

4,80

2,4

0,34691

1,87449

2,60882

2,19530

-0,02612

0,10428

-0,02241

-0,03444

-0,02131

0,818 (81,8)

Таблица 2

z, м

ε

f1''(ε)

f2''(ε)

f3''(ε)

f4''(ε)

c1f1''(ε) = -0,0753*f1‘(ε)

C2f2''(ε) = 0,05563*f2‘(ε)

C3f3''(ε) = -0,00859*f3‘(ε)

C4f4''(ε) = -0,01569*f4‘(ε)

M, кH·м (тс·м)

0,00

0

0,00000

0,00000

1,00000

0,00000

0

0

-0,00859

0

-85,6 (-8,56)

0,40

0,2

-0,00133

-0,00013

0,99999

0,20000

0,00010

-0,00001

-0,00859

-0,00314

-116 (-11,6)

0,80

0,4

-0,01067

-0,00213

0,99974

0,39974

0,00080

-0,00012

-0,00859

-0,00627

-141 (-14,1)

1,20

0,6

-0,03600

-0,01080

0,99806

0,59974

0,00271

-0,00060

-0,00857

-0,00941

-158 (-15,8)

1,60

0,8

-0,08531

-0,03413

0,99181

0,79854

0,00642

-0,00190

-0,00852

-0,01253

-165 (-16,5)

2,0

1,0

-0,16652

-0,08329

0,97501

0,99445

0,01254

-0,00463

-0,00838

-0,01560

-160 (-16,0)

2,40

1,2

-0,28736

-0,17260

0,93783

1,18342

0,02164

-0,00960

-0,00806

-0,01857

-146 (-14,6)

2,80

1,4

-0,45514

-0,31934

0,86574

1,35821

0,03427

-0,01776

-0,00744

-0,02131

-122 (-12,2)

3,20

1,6

-0,67628

-0,54348

0,73858

1,50695

0,05092

-0,03023

-0,00634

-0,02364

-93 (-9,3)

3,60

1,8

-0,95562

-0,86715

0,52997

1,61162

0,07196

-0,04824

-0,00455

-0,02529

-61 (-6,1)

4,00

2,0

-1,29532

-1,31361

0,20676

1,64629

0,09754

-0,07308

-0,00178

-0,02583

-31 (-3,1)

4,40

2,2

-1,69331

-1,90568

-0,27087

1,57537

0,12751

-0,10601

0,00233

-0,02472

-9 (-0,9)

4,80

2,4

-2,14113

-2,66328

-0,94884

1,35201

0,16123

-0,14816

0,00815

-0,02121

0 (0)

Следовательно, предварительно назначенные параметры крепи, а именно сваи из I40, заглубленные ниже дна котлована на 4,8 м и установленные с шагом, равным 1,5 м, обеспечивают надежность работы конструкции как по несущей способности грунта, так и по прочности материалов затяжки и самих свай, при этом запас по прочности материала свай составляет 20 %. Последнее не позволяет считать назначенные параметры рациональными и заставляют повторить расчет при увеличенном расстоянии между сваями, используя либо широкополочные двутавры или искусственно уширив их полки навариванием пластин для увеличения их несущей способности по грунту.

Приложение 4

Справочное

ПРИМЕР РАСЧЕТА СВАЙНОЙ КРЕПИ С ОДНИМ ЯРУСОМ АНКЕРОВ (РАССТРЕЛОВ) БЕЗ УЧЕТА ЗАЩЕМЛЕНИЯ СВАЙ В ГРУНТЕ

Исходные данные: котлован глубиной Нк = 10 м cооружается в суглинках удельным весом γ = 18 кН/м3 (1,8 тс/м3), с углом внутреннего трения φ = 13° и сцеплением С = 0,022 МПа (2,2 тс/м2). Вертикальная нагрузка на призме обрушения отсутствует. Схема котлована показана на рис. 1.

Рис. 1. К определению величин Q0 и M0

Принимаем Hк = 3,0 м из конструктивных требований по расположению конструкции под расстрелом; остальные характеристики крепи l, W, t принимаются и проверяются в процессе расчета.

Определение активного давления грунта. По формуле (23) определяется коэффициент активного давления суглинка

.

По формуле (38) вычисляется

 МПа (3,50 тс/м2).

Ордината активного давления суглинка как связного грунта на глубине Нк = 10 м определяется с учетом формулы (27)

Рн2 = 18·103·10·0,6327·10-6(-0,0350) = 0,0789 МПа (7,89 тс/м2).

Расчетное значение этой величины составит

Р2 = 1,2·0,0789 = 0,0947 МПа (9,47 тс/м2),

где 1,2 - коэффициент перегрузки, принимаемый по табл. 1.

По формуле (37) определяется hс

 м.

Коэффициент пассивного отпора грунта вычисляется по формуле (14)

.

Ордината расчетного активного давления суглинка на глубине  от верха котлована находится по формулам (58) и (59), где Р = 0.

 МПа (3,41 тс/м2)

Р1 = 0+0,0341 = 0,0341 МПа (3,41 тс/м2).

Определяется наибольший пролет доски закладного крепления по формуле (40) при δg = 0,06 м и Ru = 1,2·15 = 18 МПа для лиственницы, принимаемым по табл. 3 (СНиП II-25-80)

 м.

Шаг свай предварительно назначается по формуле (60)

l = 0,95+0,09 = 1,04 м

и окончательно l = 1,00 м. Принимается Р = 225 кН.

Согласно п. 3.7 уравнения для определения Q и М могут быть записаны в виде (см. рис. 1):

Направление силы «вправо» и момента «по часовой стрелке» принято положительным.

Определяется Мmах(y0) при Q(y0) = 0;

225-6,83(у0-3,07)2-51,2 = 0;

у0 = 8,12 м.

Мmax = 225(8,12-3,0)-2,28(8,12-3,07)3-51,2(8,12-1,5) = 520 кН·м (52 т·м).

Требуемый момент сопротивления сваи вычисляется по формуле (60) при Rн = 210 МПа [12].

 м3.

По ГОСТ 8239-72 принято сечение свай - двутавр № 60 с геометрическими характеристиками J = 76806·10-8 м4; W = 2560·10-6 м3 и в = 0,19 м.

Изгибающий момент и перерезывающая сила в уровне дна котлована определяются при у = Н = 10 м

Q0 = 225-6,83(10-3,07)2-51,2 = -154,2 кН (-15,42 тс);

М0 = 225(10-3,0)-2,28(10-3,07)3-51,2(10-1,5) = 381,0 кН·м (38,10 тс·м).

По формуле (61) при z = t методом подбора определяется глубина забивки сваи t, которая получилась равной 3,55 м (промежуточные расчеты не приводятся).

Вычисляется коэффициент α по зависимости (5)

 м-1,

где К = 8000 кН/м4 - для твердых суглинков (см. справочное приложение 1);

Е = 2,1·105 МПа (2,1·106 т/м2) - модуль упругости стали, принимаемый по табл. 63 (СНиП II-23-81).

По формулам (6) - (8) определяются коэффициенты С1, С2, С3, С4.

;

;

;

                                         

                                         

                                           

                                            

В1 = 0,01526·0,86574-0,01570·1,35821 = -0,00811;

В2 = -0,01526·0,47883-0,01570·0,82101 = 0,02020;

В = 0,45514·0,90954-0,96746·0,31934 = 0,10502;

;

.

Проверяется правильность вычисления коэффициентов С1, С2, С3 и С4 по зависимости (9):

u''(εt) = 0,00881·0,45514+0,01283·0,31934+0,01526·0,86574-0,01570·1,35821 = 0,00000;

u'''(εt) = 0,00881·0,96746+0,01283·0,90954-0,01526·0,47883-0,01570·0,82101 = 0,00000;

u''(0) = 0,01526·1 = 0,01526;

εt = 1,40;

M0 = 381,0 кН·м (38,1 тс·м);

 т.

Расхождение %, т.е. вычисления верны.

По формулам (6) и (4) определяются перемещение и интенсивность давления сваи на грунт на глубине z = t:

u(εt) = -0,00881·0,95523-0,01283·1,37910+0,01526·0,97373-0,01570·0,45587 = -0,01841 м;

σt = 8000·103·3,55(-0,01841) ·10-6 = 0,523 МПа (52,3 тс/м2).

Расчетный отпор суглинка по глубине z = t вычисляется по формуле (12.)

Рп = 0,8[18·103·3,55·1,5805·10-6+2·0,022] = 0,125 МПа (12,5 тс/м2).

По зависимости (11) находится коэффициент Кnp при tпр = t

Предельная величина интенсивности давления сваи на грунт на глубине z = t = 3,50 м согласно формуле (3) с учетом пространственной работы свай равна

σпр = 0,125·4,795 = 0,60 МПа (60,0 те/м2).

Найденные значения σt и σnp подставляются в формулу (61)

σ = 0,523 МПа (52,3 тс/м2) < 0,95σпр = 0,57 МПа (57,0 тс/м2).

Вычисления интенсивности, давления сваи на грунт сведены в табл. 1.

Интенсивность давления сваи на грунт не глубине z = t/3 определяется из эпюры и равна σt/3 = 0,13 МПа (13 тс/м2) (рис. 2).

Рис. 2. К примеру расчета свайной крепи с одним ярусом анкеров (расстрелов):

а - расчетная схема; б - эпюра интенсивности давления, МПа (тс/м2); в - эпюра изгибающих моментов, кН·м (тс·м)

Расчетный отпор грунта на глубине z = t/3 вычисляется по формуле(12)

 МПа (7,1 тс/м2)

Коэффициент Кnp определяется по формуле (11 ) при tпр = t/3 = 1,18 м.

Таблица 1

z, м

ε

f1(ε)

f2(ε)

f3(ε)

f4(ε)

с1f1(ε)

с2f2(ε)

с3f3(ε)

с4f4(ε)

U, м

σ, МПа (тс/м2)

0

0

1,00000

0,00000

0,00000

0,00000

-0,00881

0,00000

0,00000

0,00000

-0,00881

0

0,51

0,2

1,00000

0,20000

0,02000

0,00133

-0,00881

-0,00257

0,00031

-0,00002

-0,01109

-0,045 (-4,5)

1,02

0,4

0,99991

0,39999

0,08000

0,01067

-0,00881

-0,00513

0,00122

-0,00017

-0,01289

-0,105 (-10,5)

1,52

0,6

0,99935

0,59987

0,17998

0,03600

-0,00880

-0,00770

0,00275

-0,00057

-0,01432

-0,174 (-17,4)

2,03

0,8

0,99727

0,79927

0,31988

0,08532

-0,00879

-0,01025

0,00488

-0,00134

-0,01550

-0,252 (-25,2)

2,54

1,0

0,99167

0,99722

0,49940

0,16657

-0,00874

-0,01279

0,00762

-0,00262

-0,01653

-0,355 (-35,5)

3,05

1,2

0,97927

1,19171

0,71787

0,028757

-0,00863

-0,01529

0,01095

-0,00451

-0,01748

-0,427 (-42,7)

3,55

1,4

0,95523

1,37910

0,97373

0,45587

-0,00842

-0,01769

0,01486

-0,00716

-0,01841

-0,523 (-52,3)

Таблица 2

z, м

ε

f1''(ε)

f2''(ε)

f3''(ε)

f4''(ε)

с1f1''(ε)

с2f2''(ε)

с3f3''(ε)

с4f4''(ε)

М, кНм (тсм)

0

0

0,00000

0,00000

1,00000

0,00000

0,00000

0,00000

0,01526

0,00000

380,9 (38,09)

0,51

0,2

-0,00133

-0,00013

0,99999

0,20000

0,00001

0,00000

0,01526

-0,00314

302,8 (30,28)

1,02

0,4

-0,01067

-0,00213

0,99974

0,39998

0,00009

0,00003

0,01526

-0,00628

227,2 (22,72)

1,52

0,6

-0,03600

-0,01080

0,99806

0,59974

0,00032

0,00014

0,01523

-0,00942

156,5 (15,65)

2,03

0,8

-0,08532

-0,03412

0,99181

0,79854

0,00075

0,00044

0,01514

-0,01254

94,6 (9,46)

2,54

1,0

-0,16652

-0,08329

0,97501

0,99445

0,00147

0,00107

0,01488

-0,01561

45,2 (4,52)

3,05

1,2

-0,28736

-0,17260

0,93783

1,18342

0,00253

0,00221

0,01431

-0,01858

11,7 (1,17)

3,55

1,4

-0,45515

-0,31934

0,86573

1,35821

0,00401

0,00410

0,01321

-0,02132

0,0

Предельная величина интенсивности давления сваи на грунт на глубине z = t/3 = 1,18 и равна

σпр = 0,0711·3,967 = 0,2820 МПа (28,2 тс/м2).

Условие (2) при z = t/3 выполняется:

0,13 МПа (13,0 тс/м2) < 0,950·0,282 = 0,268 МПа (26,8 тс/м2).

Вычисления сведены в табл. 2.

Наибольший изгибающий момент ниже дна котлована равен 380,9 кН·м (38,09 тс·м), максимальный изгибающий момент (рис. 2) - 520 кН·м (52 тс·м). Проверка прочности сечения сваи на изгиб выполняется.

По результатам расчета принимаем сваи из № 60, длина свай 13,55 м, расстояние между сваями 1 м, один пояс расстрелов на глубине hk = 3,0 м. Расчеты поясов, затяжки и расстрелов, а также расстояния между расстрелами в настоящем примере не рассматриваются.

Приложение 5

Справочное

ХАРАКТЕРИСТИКИ НЕТКАНЫХ МАТЕРИАЛОВ

Название, фирма-производитель, страна

Марка

Вид СТМ, способ упрочнения, исходный полимер

Поверхностная плотность, г/м2

Удельная прочность при разрыве, Н/см

Относительное удлинение, %

Бидим, Рон-Цуленктекстиль (Франция)

U-14

U-24

U-34

U-44

U-64

Иглопробивной, полиэфир 100 %

150

210

270

340

350

100

160

210

260

440

53

65

70

76

-

Гейдельбергский холст, Гебрудер Фридрих (ФРГ).

70Н

140Н

200Н

280Н

140НС

175НС

265НС

375НС

Термоупрочненный, полиэфир 100 %

 

Тканый, полиэфир 100 %

70

140

200

280

140

175

265

375

22

62

98

122

221/186

270/180

380/500

600/600

39

68

69

69

14,7/11,2

18/13

25/17

30/20

Дорнит (СССР)

Ф-1а

Ф-1б

Ф-2а

Ф-2б

Иглопробивной, смесь вторичных синтетических волокон

600

600

600

600

120/100

100/90

90/70

70/50

70/130

70/130

80/140

80/140

Колбонд Энка (Дания)

Р250

Р450

Иглопробивной + клееный, полиэфир 100 %

250

450

140/80

170/160

40

42

Полифельт, Хеми Линц (Австрия)

ТС-200

ТС-300

Иглопробивной, полипропилен 100 %

250

350

120

160

80

80

Террам, Ай-Си-Ай (Англия)

W/5-5

W/10-10

W/12

35С

44А

7М7

20М20

40В

РРГ 70

РРГ 140

РРГ 280

Тканый, полипропилен 75 %, полиэфир 25 %

-

-

-

-

-

-

-

-

-

-

-

280

450

650

200

200

500

1150

200

26

49

94

10

-

-

-

-

-

-

-

60

60

60

Типар, Дюпон (США)

136

200

Термоупрочненный, полипропилен 100 %

136

200

110

128

45

52

Тревира, Хохст (Дания)

200

300

400

500

Иглопробивной, полиэфир 100 %

200

300

400

500

100

150

240

270

73

78

82

73

Фибертекс, Фибертекс (Дания)

170

300

Термоупрочненный, полипропилен 95-98 %, полиэфир 2-5 %

170

300

64/80

120/160

65

70

СПИСОК ЛИТЕРАТУРЫ

1. СНиП II-40-80. Метрополитены. Нормы проектирования.

2. СНиП III-44-77. Тоннели железнодорожные, автодорожные и гидротехнические. Метрополитены. Правила производства и приемки работ.

3. СНиП II-17-77. Свайные фундаменты. Нормы проектирования.

4. Руководство по проектированию свайных фундаментов. М., Стройиздат, 1980.

5. СНиП 3.02.01-83. Основания и фундаменты.

6. Федосов Н., Тарасенко Н., Соболевский Д., Арван Н. Защитное крепление микросваями. - Метрострой, 1983. № 4.

7. Расчет шпунтового ограждения. Алгоритмы и программа. Л., архив Ленметропроекта, 1983.

8. Руководство по проектированию и технологии устройства анкеров подземных сооружений. Л., ВНИИГС, 1977.

9. Руководство по применению грунтовых анкеров с использованием пневмопробойников при проектировании и строительстве Новосибирского метрополитена. М., Стройиздат, 1982.

10. Маковский И.В., Котов В.В. Пути снижения металлоемкости свайной крепи котлованов. - Транспортное строительство, 1978, № 8.

11. Воробьев М.П., Штучкин В.Д. Рациональный способ крепления котлованов. - Метрострой, 1974, № 1.

12. СНиП II-23-81. Стальные конструкции. Нормы проектирования.

13. СНиП 25-80. Деревянные конструкции. Нормы проектирования.

14. Руководство по проектированию стен сооружений и противофильтрационных завес, устраиваемых способом «стена в грунте». М., Стройиздат. 1977.

15. ВСН 136-78. Инструкция по проектированию вспомогательных сооружений и устройств для строительства мостов.

16. Руководство по производству работ при устройстве оснований и фундаментов. М., Стройиздат, 1977.

17. Руководство по проектированию бетонных и железобетонных конструкций из тяжелого бетона (без предварительного натяжения). М., Стройиздат, 1977.

18. СН 365-67. Указания по проектированию железобетонных и бетонных конструкций железнодорожных, автодорожных и городских мостов и труб. М., 1967 (Изменения БСТ № 11, 1968; № 7, 1970; № 11, 1969).

19. ВСН 126-77. Инструкция по применению анкеров и набрызг-бетона в качестве временной крепи выработок транспортных тоннелей. М., ВПТИтрансстрой, 1978.

20. Методические рекомендации по расчету временной крепи тоннельных выработок. М., ЦНИИС, 1984.

21. Синтетические текстильные материалы в транспортном строительстве. М., Транспорт, 1984.

22. Корякин Б.В., Федоров А.А., Немилостивых М.М., Самочернов Ю.Г. Технология устройства грунтовых анкеров с применением пневмопробойников. - Транспортное строительство, 1984, № 3.

23. Технологическая карта. Анкерное закрепление стен котлована станции метрополитена, строящейся открытым способом работ. М., ВПТИтрансстрой. 1981.

СОДЕРЖАНИЕ

1. Общие положения. 1

2. Конструктивные требования. 3

3. Основные положения расчета. 6

4. Нагрузки и воздействия. 11

5. Расчет свайной крепи, не имеющей расстрелов (анкеров) 16

6. Расчет свайной крепи с одним ярусом анкеров (расстрелов) без учета защемления свай. 19

7. Расчет свайной крепи с одним ярусом анкеров (расстрелов) с учетом защемления свай. 23

8. Расчет свайной крепи с несколькими ярусами анкеров (расстрелов) 24

9. Предложения по совершенствованию свайной крепи котлованов метрополитенов. 25

Приложение 1 Значения коэффициента пропорциональности. 31

Приложение 2 Значения функций f1(ε), f2(ε), f3(ε), f4(ε) и их производных. 31

Приложение 3 Пример расчета свайной крепи без анкеров (расстрелов) 33

Приложение 4 Пример расчета свайной крепи с одним ярусом анкеров (расстрелов) без учета защемления свай в грунте. 37

Приложение 5 Характеристики нетканых материалов. 42

 




Яндекс цитирования



   Copyright © 2007-2026,  www.tehlit.ru.

[ ѓосты, стандарты, нормативы, инструкции, правила, строительные нормы ]