//
ТехЛит.ру
- крупнейшая бесплатная электронная интернет библиотека для "технически умных" людей.
WWW.TEHLIT.RU - ТЕХНИЧЕСКАЯ ЛИТЕРАТУРА

:: Алготрейдинг::


АЛГОТРЕЙДИНГ
шаг за шагом
с нуля по урокам!

Торговые роботы на PYTHON, BackTrader,
Pandas, Pine Script для TradingView. Связка с брокерами, телеграм и легкими приложениями.


ТИПОВЫЕ ТЕХНОЛОГИЧЕСКИЕ КАРТЫ
НА ПРОИЗВОДСТВО ОТДЕЛЬНЫХ ВИДОВ РАБОТ

РАЗДЕЛ 05

ТИПОВАЯ
ТЕХНОЛОГИЧЕСКАЯ
КАРТА

НА КРОВЕЛЬНЫЕ И ИЗОЛЯЦИОННЫЕ РАБОТЫ 5.01.05.30

УСТРОЙСТВО ПОЛИМЕРЦЕМЕНТНОЙ
ГИДРОИЗОЛЯЦИИ

МОСКВА 1989

РАЗРАБОТАНА

Проектно-конструкторско-технологическим бюро с опытным производством Минстроя БССР

Главный инженер ПКТБ с ОП   В.С. Бажутов

Заведующий отделом                    Л.Г. Римша

Главный конструктор                  Н.С. Макаренкова

ОДОБРЕНА

Отделом механизации и технологии строительства Госстроя СССР

Письмо от 09.03.88 г. № 23-100

Введена в действие

с 20.04.1988 г.

СОДЕРЖАНИЕ

ПОЯСНИТЕЛЬНАЯ ЗАПИСКА

1. ОБЛАСТЬ ПРИМЕНЕНИЯ

1.1. Технологическая карта предназначена для строительных организаций при устройстве гидроизоляции с применением полимерцементных растворов.

1.2. Полимерцементные растворы применяются для гидроизоляции подземных частей зданий и сооружений в соответствии с требованиями СН 301-65* «Гидроизоляция подземных частей зданий и сооружений».

1.3. Привязка технологической карты к конкретному объекту и условиям строительства состоит в уточнении объемов работ, потребности в трудовых и материальных ресурсах, а также графической схемы организации строительного процесса.

1.4. Технологическая карта разработана на основе изучения и обобщения опыта работы по применению полимерцементных составов на стройках Минстроя БССР, а также в соответствии с требованиями действующих норм и правил.

1.5. Все показатели рассчитаны на 100 м2 изолируемой поверхности и в каждом отдельном случае должны привязываться к конкретному объекту с учетом требований проекта, вида и толщины слоя гидроизоляции, условий производства работ и эксплуатации гидроизоляционного покрытия.

2. ОРГАНИЗАЦИЯ И ТЕХНОЛОГИЯ СТРОИТЕЛЬНОГО ПРОЦЕССА

2.1. Гидроизоляционное покрытие следует осуществлять в соответствии с указаниями проекта, основных положений данной технологической карты. При этом должны соблюдаться основные требования СНиП III-15-76, СН 301-65* «Гидроизоляция подземных частей зданий и сооружений».

Гидроизоляционные работы в соответствии с настоящей технологической картой выполняются при температуре воздуха не ниже +5° С.

2.2. Устройство гидроизоляционных покрытий состоит из следующих технологических операций:

подготовка поверхности;

приготовление полимерцементного раствора;

нанесение гидроизоляционного покрытия;

уход за покрытием;

испытание на водонепроницаемость.

2.3. До начала работ необходимо:

завезти необходимые материалы и механизмы;

подключить установку к электросети, водопроводу, наладить сигнализацию;

установить передвижные подмости так, чтобы расстояние между настилом и рабочей поверхностью составляло 1,2 - 1,5 м;

организовать освещение рабочих мест;

обеспечить звено необходимым инструментом и индивидуальными средствами защиты;

разработать проект производства работ;

произвести подбор состава полимерцементного раствора.

2.4. Подготовка изолируемой поверхности

2.4.1. Изолируемая поверхность тщательно очищается от пыли, грязи, пятен. Очистку производят скребками, щетками, бучардами, шарошками.

2.4.2. Раковины и трещины тщательно разделываются зубилом и продуваются сжатым воздухом, а затем заделываются раствором, на основе которого приготавливается гидроизоляционный состав.

2.4.3. После ремонта и очистки изолируемая поверхность промывается водой под давлением с последующим удалением избытка воды сжатым воздухом.

2.4.4. Поверхность сооружения, подготовленная под гидроизоляцию, подлежит отдельной приемке, ее состояние и качество фиксируются в акте на скрытые работы.

2.5. Составы и технология приготовления полимерцементных растворов

2.5.1. Ориентировочные составы полимерцементных растворов приведены в табл. 1.

2.5.2. При отсутствии цемента марки НЦ-10 допускается смешивание портландцемента М400 и глиноземистого цемента в процентах по массе соответственно от 93:7 до 85:15. Замену производить под контролем строительной лаборатории.

Таблица 1

Составы полимерцементных растворов

Состав раствора

ГОСТ, ТУ

Расход материала на м3

№ 1

 

 

Портландцемент М400-500, кг

ГОСТ 10178-85

540-600

или напрягающий цемент НЦ-10, кг

ТУ 21-20-48-82

540-600

Строительный песок, Мкр 2-2,5, кг

ГОСТ 8736-85

1240

Латекс стабилизированный СКС-65 ГП «Б», кг

ГОСТ 10564-75*

7-8

или латексы, стабилизацию которых рекомендуется осуществлять ОП-7 или ОП-10, кг

ГОСТ 8433-81

7-8

Вода, л

ГОСТ 23732-79

235

№ 2

 

 

Портландцемент М400-500, кг

ГОСТ 10178-85

540-600

или напрягающий цемент НЦ-10, кг

ТУ 21-20-48-82

540-600

Строительный песок, Мкр 2-2,5, кг

ГОСТ 8736-85

1240

ГКЖ-10 или ГКЖ-11, кг

ТУ-6-02-696-76

2-3

Вода, л

ГОСТ 23732-79

235-240

№ 3

 

 

Портландцемент М400-500, кг

ГОСТ 10178-85

540-600

Песок кварцевый, кг

ГОСТ 8736-85

1240

Разжижитель С-3, кг

ТУ 6-14-625-80

0,5-0,8

Вода, л

ГОСТ 23732-79

235-240

№ 4

 

 

Глиноземистый расширяющийся цемент М500, кг

ГОСТ 11052-74

500

Песок речной Мкр 2, кг

ГОСТ 8736-85

1250

Раствор СДБ, л

ОСТ 81-79-74

12

ρ=1,09

ТУ 81-04-225-79

 

Вода до требуемой подвижности смеси, л

ГОСТ 23732-79

188

№ 5

 

 

Портландцемент М400-500, кг

ГОСТ 10178-85

600

Песок речной, Мкр-2, кг

ГОСТ 8736-85

1200

Жидкое стекло натриевое ρ = 1,42, кг

ГОСТ 13079-81

12

Раствор СДБ, ρ=0,9, л

ОСТ 81-79-74

12

Вода, л

ГОСТ 23732-79

187

2.5.3. При подборе составов гидроизоляционных растворов, наносимых механизированным способом, должны быть удовлетворены следующие требования:

пластичность растворов, определяемая по конусу СтройЦНИП ГОСТ 5802-86, 7...9 см;

предел прочности при сжатии не менее 10 и 30 МПа на 3-и и 28-е сутки твердения соответственно; предельное линейное расширение - 0,3 %;

на поверхности через 8 суток твердения не должны обнаруживаться пятна фильтрации воды при гидростатическом давлении не менее 0,5-0,6 МПа.

2.5.4. Приготовление раствора производится в установке СМБ-027.

2.5.5. Исходные материалы загружаются в растворомешалку в следующей последовательности:

1 состав:

жидкость ГКЖ-10 иди ГКЖ-11 разбавить водой (2 л ГКЖ на 200 л воды);

затем в растворомешалку вместимостью 100 л влить 20 л разбавленного ГКЖ, добавить 42,9 кг песка и 33 кг напрягающего цемента НЦ-10, перемешать 4-6 мин и добавить 57,1 кг песка и воды.

Полученная масса перемешивается в течение 10 мин до пластичности раствора 7-9 см по конусу СтройЦНИП.

2 состав:

7-9 кг пластифицированного латекса влить в бочку с водой вместимостью 200 л и перемешать в течение 3-4 мин;

затем в растворомешалку вместимостью 100 л влить ведро приготовленного состава, добавить песка (43 кг), цемента (16,5 кг) и перемешивать 6 мин.;

В полученный раствор добавить два ведра состава разбавленного ГКЖ, песка (114 кг), цемента (51 кг) и перемешивать до готовности около 10 мин.

2.5.6. При отсутствии стабилизированного латекса его стабилизацию рекомендуется осуществлять поверхностно-активным веществом ОП-7 или ОП-10 в количестве 7-5 % от массы латекса. ОП-7 или ОП-10 растворяют предварительно в воде с температурой 40-50 °С в соотношении 1:1 по объему.

2.6. Устройство полимерцементной гидроизоляции

2.6.1. Процесс устройства гидроизоляции разделяется на следующие технологические процессы:

механизированное нанесение на изолируемую поверхность первого слоя полимерцементного раствора;

то же для второго слоя;

уход за свежеуложенным покрытием;

испытание изолируемой поверхности на водонепроницаемость.

2.6.2. Общая толщина гидроизоляции устанавливается проектом в соответствии с требованиями СН 301-65*.

2.6.3. Гидроизоляция вертикальных поверхностей ведется последовательно по захваткам, определенным в проекте производства работ. Работа на высоте более 2 м ведется с подмостей, до 2 м - с пола.

2.6.4. Полимерцементный раствор на изолируемую поверхность наносится распылителем, соединенным при помощи шлангов с пневмоустановкой. Оптимальное расстояние для пистолета-распылителя при нанесении гидроизоляционных растворов на изолируемую поверхность должно быть 0,5 м. Угол наклона пистолета-распылителя к изолируемой поверхности должен составлять 75-90°.

2.6.5. Полимерцементный раствор наносится на изолируемую поверхность в два слоя при давлении сжатого воздуха 0,4 МПа (на вертикальные поверхности - в два-три слоя толщиной 10-20 мм, на горизонтальные поверхности - в два-три слоя толщиной 30 мм). Нанесение раствора следует производить от нижних отметок к верхним.

2.6.6. Нанесение гидроизоляционного покрытия должно быть сплошным, без припусков, для чего каждая последующая полоса наносится так, чтобы факел распылителя перекрывал предыдущую полосу на 3-5 см.

2.6.7. Каждый последующий слой покрытия рекомендуется наносить до начала схватывания предыдущего слоя (при работе на открытом воздухе - около 1 часа, в закрытых помещениях с большой относительной влажностью - с интервалом 4-5 часов).

При этом следует принять меры, предотвращающие повреждение каждого нанесенного слоя.

2.6.8. Примыкания и сопряжения таких конструкций, как душевые, бассейны и др., заделывают мастикой типа «Вента». Деформационные швы очистных сооружений следует заделывать тиоколовыми мастиками.

2.6.9. Для надежного твердения нанесенного покрытия необходимо обеспечить тщательный уход за свежеуложенным покрытием. Это достигается поливом безнапорной распыленной струей воды или нанесением защитного слоя из пленкообразующего материала (вода и латекс в соотношении 2:1 по объему). Расход защитного покрытия должен составлять 150-200 г/м3 поверхности.

2.6.10. Первая поливка гидроизоляционного покрытия в зависимости от условий производства работ должна проводиться не позднее, чем через 1-2 часа после нанесения покрытия.

2.6.11. Способ защиты гидроизоляционного покрытия определяется в проекте производства работ в зависимости от объема работ, вида и состояния конструкции. Как правило, пленкообразующие материалы целесообразно применять на больших площадях. Наносить пленкообразующие материалы следует механизированным способом на свежеуложенное покрытие при отсутствии капельной влаги на его поверхности. Расход латекса 150-200 г/м2, латекс разводится водой в соотношении 1:2.

2.6.12. Проверка водонепроницаемости производится путем заливки водой. Через 6 суток после наполнения сооружения водой на поверхности гидроизоляции не должно быть пятен фильтрации воды при гидростатическом давлении не менее 0,1 МПа.

2.7. Контроль качества гидроизоляционных работ

2.7.1. При устройстве цементных гидроизоляционных покрытий контролю подлежит:

качество подготовки поверхностей;

качество исходных материалов;

точность дозировки составляющих материалов;

толщина наносимых слоев (не реже, чем на каждые 100 м2);

качество готового покрытия.

2.7.2. Контроль осуществляет строительная лаборатория в соответствии с требованиями стандартов и проекта, технологической карты.

2.7.3. Подвижность раствора контролируется не менее двух раз в сутки.

2.7.4. Готовое гидроизоляционное покрытие не должно иметь видимых трещин и при простукивании не должно издавать глухого звука, который свидетельствует об отсутствии сцепления покрытия с основанием.

2.7.5. Обнаруженные дефектные участки покрытия следует удалить, поверхность вновь очистить, увлажнить и на нее нанести новый слой покрытия.

2.7.6. Схема пооперационного контроля качества работ приведена в табл. 2.

2.8. Техника безопасности

2.8.1. При выполнении гидроизоляции необходимо руководствоваться: СНиП III-4-80 «Техника безопасности в строительстве», ГОСТ 12.2.012-75; ГОСТ 12.2.016-81; ГОСТ 12.2.085-82; ГОСТ 12.1.004-85; ГОСТ 24258-80.

2.8.2. К работам по приготовлению и нанесению полимерцементных составов допускаются рабочие не моложе 18 лет, прошедшие медицинское освидетельствование.

Таблица 2

Контроль качества выполнения работ

Операция, подлежащая контролю

Состав

Способы

Время

Привлекаемые службы

производителем работ

мастером

 

Подготовка поверхностей

Очистка от пыли, грязи, масляных пятен, наплывов раствора; заделка раковин

Визуально

До начала работ

-

 

Приготовление полимерцементных растворов

Качество исходных материалов, точность дозировки составляющих материалов

Визуально, замерами, лабораторным анализом

Во время работ

Строительная лаборатория

 

Нанесение гидроизоляционного покрытия

Равномерность и толщина нанесенного покрытия

Визуально, замерами

Во время выполнения работ

-

Испытание гидроизоляционного покрытия на водонепроницаемость

 

Качество готового покрытия, наличие трещин, наплывов, толщина покрытия

Визуально, простукиванием, контрольным вскрытием, заливкой водой

После окончания работ, выдержка шесть суток

Строительная лаборатория

2.8.3. Рабочие обеспечиваются спецодеждой, перчатками, комбинезоном, респиратором, защитными очками согласно установленным нормам и стандартам, указанным в табл. 5. При работе в закрытом помещении в связи с повышенной запыленностью рабочего места помещение оборудуется приточно-вытяжной вентиляцией. Через каждые 25-30 мин. рабочий, который наносит полимерцементный раствор, должен отдыхать на свежем воздухе 4-5 мин.

2.8.4. К управлению механизмами для приготовления и нанесения полимерцементных растворов допускается обученный оператор, имеющий удостоверение на право управления механизмами.

2.8.5. Оператор должен знать:

устройство машины, правила и инструкцию по ее эксплуатации и техническому обслуживанию;

способы производства работ и приготовления полимерцементного раствора, технические требования к качеству;

приемы освобождения пострадавших от электрического тока и правила оказания первой помощи.

2.8.6. Перед началом работы производят осмотр механизмов, при котором проверяют:

соответствие напряжения сети и электродвигателя;

отсутствие посторонних предметов на узлах машины и в растворосмесителе;

исправность пускового устройства и заземления, отсутствие повреждений отдельных узлов, изоляции электропроводки и др.

2.8.7. Применяемые при работе машины приспособления должны быть испытаны в соответствии с нормами и сроками, предусмотренными правилами Госгортехнадзора и Госэнергонадзора, по которым категорически запрещается:

пользоваться неисправной установкой;

допускать к работе посторонних;

отсоединять воздушные, водяные, растворные шланги и рукава под давлением;

исправлять дефекты, смазку узлов во время работы машины;

работать при недостатке сжатого воздуха в системе, из-за чего в трубопроводе могут образоваться пробки;

работать на машине без заземления;

перемещать работающую машину;

оставлять без надзора машину, подключенную к сети.

2.8.8. На оборудовании, используемом при работе, должны быть вывешены инструкция по эксплуатации оборудования, правила техники безопасности, а также фамилии лиц, ответственных за проведение работ.

2.8.9. Перед присоединением шлангов к пистолету они должны быть продуты. Присоединение и отсоединение шлангов и пистолетов должно производиться только после перекрытия вентиля и подачи сжатого воздуха.

2.8.10. Во время работы установки запрещается подтягивать болты и гайки, производить удары по коммуникациям и аппаратуре, находящимся под давлением.

2.8.11. Перед началом, а также по необходимости в процессе выполнения работ следует осуществлять промывку всей системы водой под давлением для предотвращения закупорки пневмомеханизмов, шлангов и пистолетов-распылителей.

2.8.12. Запрещается производить работы с пневмобачком, имеющим повреждение в корпусе или шлангах.

2.8.13. Заправка аппарата цементно-полимерным раствором производится при закрытом кране на магистральном трубопроводе и снятом давлении с бачка (когда спущен воздух из бачка через спускной кран).

2.8.14. Давление сжатого воздуха регулируется предохранительным клапаном на компрессоре 0,4 МПа по его манометру.

2.8.15. На время регулирования факела, а также при промывке установки сопло нужно закрепить за неподвижный предмет.

2.8.16. Предохранительный клапан растворонасоса должен быть отрегулирован по манометру на наибольшее давление 1,0 МПа. Работать при закупоренном отверстии клапана или при его отсутствии категорически запрещается.

2.8.17. При увеличении давления сжатого воздуха в воздухосборнике компрессора сверх допустимого растворонасос следует немедленно выключить, сбросить полностью давление в системе и выявить причину повышения давления в материальном трубопроводе.

2.8.18. Перед началом работы материальный трубопровод необходимо опрессовать давлением 1,5 МПа. Трубопровод располагают так, чтобы он не мешал движению и не подвергался повреждениям.

2.8.19. Силовые и осветительные проводки должны быть заключены в изоляционные трубы для исключения возможных повреждений. На осветительные приборы необходимо надеть защитные колпаки из небьющегося стекла.

2.8.20. Постоянные и передвижные подмости должны иметь сплошной настил с ограждениями и лестницы с перилами.

Между сопловщиком и оператором устанавливается двухсторонняя связь. Без сигнала сопловщика оператор не имеет права включать и выключать установку.

2.8.21. Во время работы категорически запрещается:

сгибать и переламывать шланги;

направлять сопло в сторону людей.

2.8.22. После окончания работ следует произвести промывку всей системы водой под давлением и отключить ее от сети.

2.8.23. Жидкости ГКЖ-10, ГКЖ-11 хранят в складском помещении в стальных бочках вместимостью 100-200 л, герметически закрытыми металлическими навинчивающимися пробками с прокладками.

2.8.24. При работе с жидкостью следует избегать попадания ее в глаза. При попадании жидкости на кожу необходимо обмыть пораженные участки струей воды, затем сделать примочки из 5 %-ного раствора уксусной или лимонной кислоты.

2.8.25. Латекс СКС-65 ГП хранится в бочках по ГОСТ 6247-79* вместимостью 100-200 л или в полиэтиленовых бочках при температуре не ниже 7 °С.

2.8.26. Места приготовления, хранения и нанесения герметизирующих мастик и их растворителей должны быть снабжены огнетушителями, ящиками с песком, ведром, лопатой, а ИТР и рабочие проинструктированы правилами пользования ими. Запрещается в этих местах курить, пользоваться огнем и производить работы, связанные с искрообразованием.

2.8.27. При попадании в глаза жидкости ГКЖ следует тщательно промыть глаза струей воды, затем закапать 2 %-ный раствор новокаина.

3. ТЕХНИКО-ЭКОНОМИЧЕСКИЕ ПОКАЗАТЕЛИ

на 100 м2 изолируемой поверхности

Затраты труда, чел.-день                                                                 9,45

Выработка на одного рабочего в смену, м2                                   16,6

Стоимость затрат труда, руб.-коп.                                                  45-54

Потребность в машинах, маш.-смена                                             3,0

Потребность в электроэнергии, кВт·ч                                            9,75

Расход сжатого воздуха, м3                                                              420

4. МАТЕРИАЛЬНО-ТЕХНИЧЕСКИЕ РЕСУРСЫ

Таблица 4

Потребность в основных материалах

Наименование

Марка, ГОСТ, ТУ

Единица измерения

Количество на м2

Полимерцементный раствор, вертикальные поверхности при толщине слоя 20 мм

 

м3

0,021

Горизонтальные поверхности при толщине 30 мм

 

м3

0,03

Латекс при выполнении пункта 2.6.11.

ГОСТ 10564-75*

кг

0,15

Таблица 5

Перечень механизмов, инструментов, инвентаря и приспособлений для бригады изолировщиков

Наименование

Марка, ГОСТ, ТУ

Количество

Техническая характеристика

1. При небольших объемах

 

 

 

Растворосмеситель

СО-46

1

 

Пневмоаппарат вместимостью 120 л 0,5 МПа

СМБ-020 ПО «Строймаш»

1

 

Пистолет-распылитель с набором шлангов диаметром:

 

1

 

25-32 мм

 

40

Материальный

12 мм

 

40

Воздушный

Компрессор с комплектами шлангов

СО-7А

1

5 м3/мин.

2. При больших объемах

Установка для приготовления и нанесения гидроизоляционных растворов, оборудованная скиповым подъемником и приставкой Марчукова для подачи раствора

СМБ-027

1

 

Ларь

Собственного изготовления

1

 

Бочка

ГОСТ 6247-79*

2

 

Бидоны

ГОСТ 20882-75*

3

 

Вибросито с ячейками 1-2 мм

ГОСТ 11999-76*

1

 

Кельма

ГОСТ 9533-81

3

 

Лопата совковая

ГОСТ 3620-76

3

 

Молоток-кирочка

ГОСТ 11042-83

3

 

Кисть маховая

ГОСТ 10597-80*

2

 

Скребки металлические

Чертежи ШИ-28 трест «Оргтехстрой» Главсредуралстроя

3

 

Бучарда

ТУ 22-1066-68

3

 

Очки защитные

ГОСТ 12.4.008-84

3

 

Респиратор с полумаской

ГОСТ 17269-71*

3

 

Рукавицы специальные

ГОСТ 12.4.010-75*

3

 

Водонепроницаемый костюм

ГОСТ 17-63 ЦНИИЛ Швейпрома

3

 

Сапоги непромокаемые

ГОСТ 5394-74*

3

 

Перчатки резиновые

ГОСТ 20010-74*

3

 

Калькуляция затрат труда на устройство полимерцементной гидроизоляции

Обоснование норм (ЕНиР и др.)

Работы

Единица измерения

Объем работ

Норма времени на единицу измерения чел.-ч

Затраты труда на весь объем работ, чел.-день

Расценка на единицу измерения, руб.-коп.

Стоимость затрат труда на весь объем работ, руб.-коп.

11-45

1 б

Приготовление полимерцементного раствора. Загрузка ковша растворомешалки составляющими вручную с дозировкой их и подноской на расстояние 30 м

м3

2,1

1,1

0,29

0-611

1-283

11-45

2 б

Механизированное приготовление раствора в растворомешалке вместимостью 100 л и временем перемешивания 3 мин. и с последующей выгрузкой раствора в пневмобачок

м3

2,1

1,1

0,29

0-611

1-283

8-17

1 а, б

К = 2

Подготовка и торкретирование поверхности при толщине слоя гидроизоляция 20 мм с заполнением пневмобачка раствором, очисткой и промывкой шлангов

(в два слоя)

(в три слоя)

100 м2

100 м2

1,0

1,0

40,2

53,4

5,02

6,67

24-42

32-56

24-42

32-56

§8-32

п. 5

Уход за полимерцементным покрытием путем смачивания поверхности водой или составом вода-латекс с приготовлением состава

100 м2

1,0

4,4

0,55

2-17

2-17

§8-32 п. 2

применительно

Огрунтовка мастикой «Вента» мест примыканий с приготовлением состава

100 м2

0,30

44

1,65

27-50

8-25

 

ИТОГО на 100 м2

 

 

 

9,45

 

45-54

График производства работ

Работы

Единица измерения

Объем работ

Затраты труда

Состав бригады (звена), используемые механизмы

Рабочие дни

На единицу измерения чел.-ч

На весь объем работ чел.-день

1

2

3

Приготовление полимерцементного раствора

м3

2,1

2,2

0,58

Машинист 3 разр. – 1

Изолировщик 3 разр. – 1

-

-

-

Подготовка поверхности и нанесение полимерцементного раствора

100 м2

1,0

53,4

6,67

Изолировщики 4 разр. – 2

 

 

 

 

 

 

Заделка мест сопряжений и уход за полимерцементным покрытием

100 м2

 

8,8

2,20

Изолировщики 4 разр. - 2

-------

-------

-------

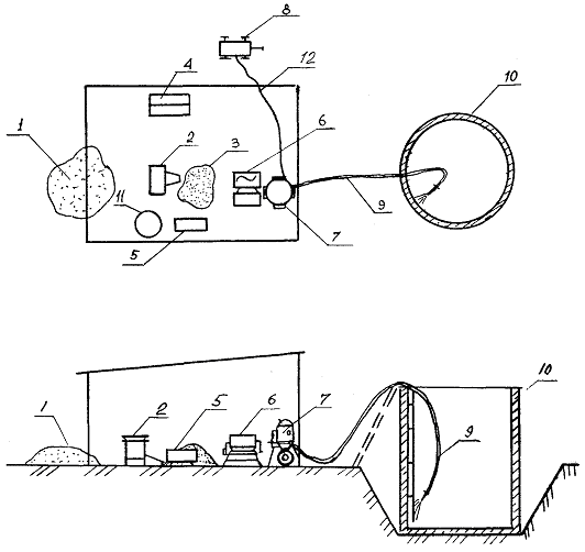
Схема организации работ по полимерцементной гидроизоляции резервуара

1 - песок; 2 - вибросито; 3 - просеянный песок; 4 - ларь для цемента; 5 - емкость для воды; 6 - растворомешалка; 7 - пневмобачек; 8 - компрессор; 9 - материальный шланг; 10 - резервуар; 11 - емкость для латекса; 12 - шланг для сжатого воздуха

 

Руководителям строительно-монтажных и проектных организаций, оргтехстроев, домостроительных комбинатов, заводов железобетонных изделий и других предприятий стройиндустрии, директорам строительно-учебных заведений

Типовые технологические карты на производство отдельных видов работ являются неотъемлемой частью проектов производства работ, используются в качестве основы при их разработке или входят в них как самостоятельные части.

Типовые технологические карты включают текстовую документацию (область применения, организация и технология строительного процесса, календарный график выполнения работ, калькуляция затрат труда, потребность в основных конструкциях, машинах, оборудовании, инструменте, инвентаре, приспособлениях, технико-экономические показатели), схемы движения оборудования, раскладки конструкций и изделий на строительной площадке, монтажа и демонтажа вспомогательных конструкций, узлы крепления вспомогательных конструкций и приспособлений.

Типовые технологические карты способствуют повышению производительности труда строителей, сокращению сроков и повышению качества строительства.

КРОВЕЛЬНЫЕ И ИЗОЛЯЦИОННЫЕ РАБОТЫ

Обозначение (инвентарный номер)

Наименование

Организация-разработчик. Дата введения в действие

05.01.02

5.01.02.01/83 (63510)

Очистка плит покрытия от мусора и пыли

Промстройпроект Госстроя СССР.

01.05.83 г.

05.01.03

5.01.02.01/83 (63510)

Сушка влажных оснований кровли с уклоном до 2,5 %

Промстройпроект Госстроя СССР.

01.05.83 г.

05.01.04

5.01.04.01/83 (63508)

Огрунтовка плит покрытия и выравнивающего слоя

То же

05.01.05.05

(63573)

Нанесение окрасочной пароизоляции кровли

То же,

01.06.84 г.

05.01.05.06

(63563)

Устройство кровли из асбестоцементных волнистых листов унифицированного профиля по стальным прогонам неотапливаемых галерей

Оргтехстрой Главкузбасстроя Минтяжстроя СССР.

01.09.84 г.

05.01.05.08

(63576)

Устройство кровли из асбестоцементных волнистых листов унифицированного профиля по стальным прогонам в неотапливаемых промышленных зданиях

Хабаровскпромпроект Минвостокстроя

01.09.84 г.

05.01.05.09

(63578)

Устройство кровли из асбестоцементных волнистых листов унифицированного профиля по стальным прогонам в неотапливаемых промышленных зданиях (вариант применения стрелового автомобильного крана КС-3562А)

Оргтехстрой Главкузбасстроя Минтяжстроя СССР.

01.12.85 г.

05.01.05.10

(63579)

Устройство кровли из асбестоцементных волнистых листов унифицированного профиля по деревянной обрешетке в отапливаемом промышленном здании

То же

05.01.05.11

(63583)

Устройство гидроизоляции из цементно-песчаного раствора с добавками хлорного железа

Проектно-конструкторско-технологическое бюро с опытным производством Минпромстроя БССР.

15.03.86 г.

05.01.05.12

(63584)

Устройство оклеечной пароизоляции на горячей битумной мастике по профилированному настилу

Оргтехстрой Главюжуралстроя Минтяжстроя СССР.

15.04.86 г.

05.01.05.13

(63581)

Устройство теплоизоляции из минераловатных плит повышенной жесткости по стальному профилированному настилу

Оргтехстрой Главкузбасстроя Минтяжстроя СССР. 15.02.86 г.

05.01.05.14

(63588)

Окраска поверхностей горячей битумной и резино-битумной мастиками

Оргтехстрой Главкраснодарпромстроя Минпромстроя СССР.

01.08.87 г.

05.01.05.15

(63585)

Устройство огнезащитного покрытия металлических конструкций с применением агрегата УНОП-1М

Оргтехстрой Главоренбургстроя Минтяжстроя СССР.

01.12.86 г.

05.01.05.26

(63589)

Наклейка рубероида на горячей и холодной битумной мастике

ПТИ Минвостокстроя СССР.

01.02.88 г.

05.01.05.27

(63591)

Устройство кровель из наплавляемых материалов способом расплавления покровного слоя

То же

05.01.05.28

(63592)

Устройство цементной стяжки

ПТИ (г. Ярославль) Минсевзапстрой СССР.

05.01.05.29

(63590)

Устройство кровель из эластомерных материалов на основе бутилкаучука (бутизола, бутерола)

ПТИ Минвостокстроя СССР.

01.02.88 г.

05.01.06.01

(63574)

Наклейка однослойного пароизоляционного ковра кровли

Промстройпроект Госстроя СССР.

01.06.84 г.

05.01.07.01

(63575)

Укладка теплоизоляционных плит из неорганических материалов

То же

05.01.08

5.01.08.01/83 (63507)

Устройство теплоизоляционного слоя из сыпучих материалов

То же,

01.05.83 г.

05.01.09

5.01.09.01/83 (63505)

Устройство основания из цементно-песчаного раствора (при подаче раствора растворопроводами)

То же

 




Яндекс цитирования



   Copyright © 2007-2026,  www.tehlit.ru.

[ ѓосты, стандарты, нормативы, инструкции, правила, строительные нормы ]