//
ТехЛит.ру
- крупнейшая бесплатная электронная интернет библиотека для "технически умных" людей.
WWW.TEHLIT.RU - ТЕХНИЧЕСКАЯ ЛИТЕРАТУРА

:: Алготрейдинг::


АЛГОТРЕЙДИНГ
шаг за шагом
с нуля по урокам!

Торговые роботы на PYTHON, BackTrader,
Pandas, Pine Script для TradingView. Связка с брокерами, телеграм и легкими приложениями.


ГОСТ 5402.1-2000

(ИСО 2478-87)

МЕЖГОСУДАРСТВЕННЫЙ СТАНДАРТ

 

ИЗДЕЛИЯ ОГНЕУПОРНЫЕ
С ОБЩЕЙ ПОРИСТОСТЬЮ МЕНЕЕ 45 %

Метод определения остаточных изменений
размеров при нагреве

 

МЕЖГОСУДАРСТВЕННЫЙ СОВЕТ
ПО СТАНДАРТИЗАЦИИ, МЕТРОЛОГИИ И СЕРТИФИКАЦИИ

Минск

 

Предисловие

1 РАЗРАБОТАН МТК 9 ОАО «Санкт-Петербургский институт огнеупоров» (ОАО «СПбИО»)

ВНЕСЕН Госстандартом России

2 ПРИНЯТ Межгосударственным Советом по стандартизации, метрологии и сертификации (протокол № 17-2000 от 22 июня 2000 г.)

За принятие проголосовали:

Наименование государства

Наименование национального органа по стандартизации

Азербайджанская Республика

Азгосстандарт

Республика Армения

Армгосстандарт

Республика Беларусь

Госстандарт Республики Беларуси

Республика Казахстан

Госстандарт Республики Казахстан

Киргизская Республика

Киргизстандарт

Российская Федерация

Госстандарт России

Республика Таджикистан

Таджикгосстандарт

Туркменистан

Главная государственная инспекция Туркменистана

Республика Узбекистан

Узгосстандарт

Украина

Госстандарт Украины

3 Приложение А к настоящему стандарту представляет собой аутентичный текст международного стандарта ИСО 2478-87 «Плотные огнеупорные изделия. Определение остаточных изменений размеров при нагреве»

4 Постановлением Государственного комитета Российской Федерации по стандартизации и метрологии от 9 октября 2000 г. № 255-ст межгосударственный стандарт ГОСТ 5402.1 введен в действие непосредственно в качестве государственного стандарта Российской Федерации с 1 июня 2001 г.

5 ВЗАМЕН ГОСТ 5402-81 в части изделий с общей пористостью менее 45 %

 

Содержание

 

МЕЖГОСУДАРСТВЕННЫЙ СТАНДАРТ

ИЗДЕЛИЯ ОГНЕУПОРНЫЕ С ОБЩЕЙ ПОРИСТОСТЬЮ МЕНЕЕ 45 %

Метод определения остаточных изменений размеров при нагреве

Refractory products with a true porosity of less than 45 %.
Method for determination of permanent change in dimensions on heating

Дата введения 2001-06-01

1 Область применения

Настоящий стандарт устанавливает объемный метод определения остаточных изменений размеров (дополнительной линейной усадки или роста) обожженных огнеупорных изделий с общей пористостью менее 45 % при нагреве при высоких температурах.

Стандарт не распространяется на углеродсодержащие изделия.

(Поправка. ИУС 9-2001 г.).

Допускается определять остаточные изменения размеров по международному стандарту ИСО 2478, приведенному в приложении А, если это оговорено в нормативной документации или контракте.

2 Нормативные ссылки

В настоящем стандарте использованы ссылки на следующие стандарты:

ГОСТ 166-89 (ИСО 3599-76) Штангенциркули. Технические условия

ГОСТ 2409-95 (ИСО 5017-88) Огнеупоры. Метод определения кажущейся плотности, открытой и общей пористости, водопоглощения

ГОСТ 7164-78 Приборы автоматические следящего уравновешивания ГСП. Общие технические условия

ГОСТ 8179-98 (ИСО 5022-79) Изделия огнеупорные. Отбор образцов и приемочные испытания

ГОСТ 8335-81 Пирометры визуальные с исчезающей нитью. Общие технические условия

3 Определение

В настоящем стандарте применяют следующий термин с соответствующим определением:

3.1 остаточное изменение размеров при нагреве: Рост или усадка образца обожженного огнеупорного изделия, нагретого до определенной температуры в течение установленного времени и охлажденного до температуры окружающей среды.

4 Сущность метода

Метод заключается в определении разности объемов образцов до и после нагрева по заданному режиму с пересчетом полученной объемной усадки или роста на линейную.

5 Аппаратура

5.1 Электрическая печь, обеспечивающая нагрев образцов в среде воздуха. Перепад температуры в пределах рабочей зоны в период выдержки не должен превышать 20 °С.

5.2 Устройство для насыщения образцов жидкостью и гидростатического взвешивания по ГОСТ 2409-95 .

5.3 Сушильный шкаф с температурой не ниже 110 °С по нормативной документации [НД].

5.4 Устройства для измерения температуры.

5.4.1 Термопара по нормативной документации с измерительным прибором класса 0,5 по ГОСТ 7164-78  или другой НД.

5.4.2 Пирометр любого типа с основной погрешностью измерения ±20 °С в интервале температур 1200 - 1800 °С по ГОСТ 8335-81  или другой НД.

5.5 Штангенциркуль по ГОСТ 166-89  или другой измерительный инструмент с допускаемой точностью измерения линейных размеров ±0,1 мм по НД.

6 Образцы для испытания

6.1 Отбор изделий (образцов)

Для испытания отбирают три изделия в соответствии с ГОСТ 8179-98 (ИСО 5022-79). Из каждого изделия, отобранного для испытания, вырезают один образец.

6.2 Подготовка образцов

6.2.1 Образцы должны иметь форму:

- прямоугольного параллелепипеда с размерами в сечении не менее (30´30) мм и высотой не менее 60 мм;

- цилиндра диаметром не менее 35 мм и высотой не менее 60 мм.

Объем образца должен быть не менее 50 см3. При невозможности изготовления образца указанных размеров допускается уменьшать площадь его поперечного сечения при условии получения необходимого объема.

(Поправка. ИУС 9-2001 г.).

6.2.2 Образец вырезают или отсекают от одного из углов изделия по направлению прессования.

При испытании изделий толщиной менее 60 мм допускается вырезать или отсекать образец без учета направления прессования.

Из изделия, имеющего форму тела вращения, образец вырезают из средней части по направлению оси вращения.

6.2.3 На образцах не должно быть видимых дефектов и неровностей поверхности. После подшлифовывания граней на абразивном круге образцы тщательно очищают от пыли и выкрашивающихся зерен

6.2.4 На каждый образец наносят любой условный знак способом, обеспечивающим его сохранность после нагрева, для идентификации образца.

7 Проведение испытания

7.1 Объем образца до и после нагрева определяют гидростатическим взвешиванием по ГОСТ 2409-95  со следующим дополнением:

- 4-часовую выдержку образцов в жидкости после вакуумирования не проводят;

- перед установкой в печь образцы высушивают в сушильном шкафу не менее 1 ч при температуре не ниже 110 °С.

7.2 Установка образцов в печи

Подготовленные образцы помещают в печь в один ряд по высоте.

7.3 Измерение температуры

Температуру измеряют термопарой или пирометром. Спай термопары располагают между двумя соседними образцами на уровне середины их высоты, а пирометр визируют на поверхность образцов.

7.4 Температура испытания

Температуру испытания образцов устанавливают в соответствии с нормативной документацией на изделия.

7.5 Нагрев

Температуру в печи повышают со скоростью не более: 10 °С/мин - при температуре до 1000 °С;

8 °С /мин - при температуре свыше 1000 °С до температуры на 50 °С ниже температуры выдержки;

2 °С /мин - для последних 50 °С перед началом выдержки.

7.6 Выдержка при температуре испытания

Образцы выдерживают при температуре испытания в течение 2 ч. Колебания температуры во время выдержки не должны превышать ±20 °С от заданной температуры испытания.

7.7 Охлаждение

Выключают печь и дают ей остыть вместе с образцами.

Допускается извлекать из печи образцы всех типов изделий (кроме кремнеземистых) при температуре не выше 600 °С при условии сохранения их целостности и исключения образования трещин.

Образцы кремнеземистых изделий извлекают после остывания печи до температуры не выше 100 °С.

7.8 Измерение объема

Объем определяют в соответствии с 7.1.

8 Обработка результатов

8.1 Общий объем образца до и после нагрева V, см3, вычисляют по формуле

,

(1)

где m3 - масса насыщенного жидкостью образца, г;

m- масса гирь, уравновешивающих насыщенный жидкостью образец при взвешивании его в жидкости, г;

- плотность насыщающей жидкости при температуре испытания, г/см3.

8.2 Объемную дополнительную усадку -  или рост +, %, вычисляют по формуле

,

(2)

где V1- объем образца до нагрева, см3;

V2 - объем образца после нагрева, см3.

Объемную дополнительную усадку или рост вычисляют до второго десятичного знака и округляют до первого десятичного знака.

8.3 Дополнительную линейную усадку -  или рост +, %, вычисляют по формуле

,

(3)

9 Протокол испытания

Результаты испытания записывают в протокол, в котором указывают:

- обозначение настоящего стандарта;

- наименование предприятия, проводившего испытания;

- дату проведения испытания;

- наименование и марку изделия;

- тип печи, в которой проводилось испытание;

- конечную температуру испытания и время выдержки;

- результаты испытания каждого образца;

- подпись исполнителя.

ПРИЛОЖЕНИЕ А

(рекомендуемое)

Определение остаточных изменений размеров плотных огнеупорных изделий при нагреве
(ИСО 2478-87)

А.1 Область применения

Настоящий международный стандарт устанавливает два метода определения остаточных изменений размеров плотных огнеупорных изделий при нагреве. Метод не распространяется на углеродсодержащие изделия.

(Поправка. ИУС 9-2001 г.).

А.2 Нормативные ссылки

В настоящем стандарте использованы ссылки на следующие стандарты:

ИСО 5017-88 Плотные огнеупорные изделия. Определение кажущейся плотности, открытой и общей пористости

ИСО 5022-79 Огнеупорные изделия. Отбор образцов и приемочные испытания

А.3 Определения

А.3.1 В настоящем стандарте применяют следующие термины с соответствующими определениями.

А.3.1.1 остаточное изменение размеров при нагреве: Рост или усадка огнеупорного изделия, нагретого до определенной температуры в течение установленного времени и охлажденного затем до температуры окружающей среды.

А.3.1.2 плотное огнеупорное изделие: Огнеупорное изделие с общей пористостью менее 45 % (по объему), определяемой по ИСО 5017.

А.4 Сущность метода

Из каждого изделия вырезают образец в форме прямоугольного параллелепипеда или цилиндра, высушивают и измеряют линейные размеры (метод 1) или объем (метод 2). Образец нагревают в печи в окислительной среде при заданной скорости нагрева до определенной температуры, которую поддерживают в течение определенного времени. После охлаждения образца до температуры окружающей среды измерения повторяют и вычисляют изменение линейных размеров или объема.

А.5 Аппаратура

А.5.1 Электрическая или газовая печь, обеспечивающая нагрев образцов в окислительной среде при заданной скорости нагрева, а также их выдержку при температуре испытания в течение определенного времени.

А.5.2 Устройства для измерения температуры.

А.5.2.1 Термопары (не менее трех) для измерения температуры и распределения ее в пространстве, занимаемом образцами.

Примечание - В комплекте с термопарами используют прибор для непрерывной записи температуры, регистрирующий зависимость «температура - время».

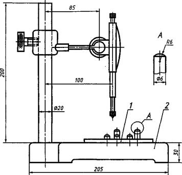
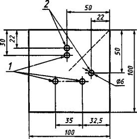
А.5.3 Устройство для измерения линейных размеров, состоящее из индикатора часового типа или микрометра с точностью до 0,01 мм, установленного на стенде с отшлифованной опорной плитой (рисунок А.1) и подставкой (рисунок А.2) с тремя опорными и двумя установочными штифтами диаметром 6 мм. Нижняя поверхность подставки должна быть отшлифована. Для симметричного расположения на штифтах призматического образца в одном из его углов наносят диагональную отметку.

Для калибровки устройства используют цилиндр определенных размеров. Измеряют образец, установленный на подставку, до и после нагрева в одних и тех же точках на его поверхности с помощью индикатора часового типа или микрометра.

А.5.4 Устройство для измерения объема, работающее по принципу вытеснения воды

Общий объем определяют в соответствии с ИСО 5017.

А.5.5 Сушильный шкаф с отверстиями для обеспечения эффективной вентиляции.

А.6 Образцы для испытания

А. 6.1 Отбор изделий (образцов)

Количество образцов для испытаний устанавливают в соответствии с ИСО 5022 по соглашению сторон.

А.6.2 Подготовка образцов

Из каждого изделия вырезают один образец.

Образцы должны иметь форму прямоугольного параллелепипеда размером (50´50´(60 ± 2)) мм или цилиндра диаметром 50 мм и высотой (60 ± 2) мм.

Примечания

1 Допускается вырезать большее количество образцов, если позволяет размер изделия, и выбрать один.

2 Размер 60 мм должен совпадать с направлением прессования изделия, если оно известно.

1 - подставка; 2 - опорная плита

Рисунок А. 1 - Устройство для измерения длины

1 - опорные штифты; 2 - установочные штифты

Рисунок А.2 - Подставка для образцов

Местоположение каждого образца в изделии указывают в журнале. Стороны параллелепипеда 50´50 мм или основания цилиндра должны быть подшлифованными и параллельными. Маркировку наносят на каждый образец.

А.7 Проведение испытания

А.7.1 Сушка образцов

Образец высушивают в сушильном шкафу при температуре (110 ± 5) °С до постоянной массы.

А.7.2 Измерение образцов

А.7.2.1 Измерение линейных размеров.

Устройство для измерения длины калибруют с помощью цилиндра с известной высотой. Цилиндрический образец устанавливают на подставку измерительного устройства так, чтобы его высота была перпендикулярна подставке. Образец в форме прямоугольного параллелепипеда устанавливают так, чтобы один из его углов находился на одной линии с диагональной отметкой. На этот угол наносят метку для того, чтобы после нагрева была возможность установки образца в том же положении. На цилиндрическом образце метку наносят у диагональной отметки.

Высоту образца измеряют в четырех точках с погрешностью не более 0,01 мм, перемещая подставку с образцом по основной плите. Измерения на образцах в форме прямоугольного параллелепипеда проводят по диагоналям на расстоянии 20-25 мм от каждого угла, на цилиндрических - по двум взаимно перпендикулярным диаметрам на расстоянии 10-15 мм от образующей цилиндра. Каждую точку измерения отмечают огнеупорной краской.

А.7.2.2 Определение объема

Кажущуюся плотность образца определяют в соответствии с ИСО 5017.

Объем Vв см3, вычисляют по формуле (А.1):

,

(А.1)

где m1 - истинная масса погруженного образца, г;

m2 - масса пропитанного образца, г;

- плотность жидкости, в которую погружают образец, г/см3.

А.7.3 Установка образцов в печи

Образцы помещают в печь на грань 50´50 мм прямоугольного параллелепипеда или на основание цилиндра таким образом, чтобы они были защищены от прямого излучения в электропечи или от пламени газовой горелки в газовой печи. Для обеспечения свободной циркуляции горячих газов образцы должны находиться на расстоянии не менее 20 мм друг от друга и 50 мм от стенок печи.

Образцы помещают в печь на кирпичи толщиной от 30 до 65 мм, изготовленные из материала образцов. Кирпичи устанавливают на плашку на вершины двух опор высотой 20 - 50 мм, имеющих треугольное поперечное сечение и расположенных на расстоянии около 80 мм друг от друга.

А.7.4 Температура испытания

Температура испытания должна быть не ниже 800 °С и кратной 50 °С.

А.7.5 Измерение и распределение температуры

Температуру измеряют не менее чем тремя термопарами, расположенными на расстоянии от стенок печи и нагревателей так, чтобы была возможность регистрировать распределение температуры в пределах пространства, занимаемого образцами. Расхождение между показателями термопар не должно превышать 20 °С.

А.7.6 Нагрев

Температуру в печи повышают со скоростью:

- при температуре испытания до 1250 °С:

5 - 10 °С/мин - от температуры окружающей среды до температуры на 50 °С ниже температуры

испытания; 1 - 5 °С/мин - оставшиеся 50 °С;

- при температуре испытания свыше 1250 °С

5-10 м /мин - от температуры окружающей среды до 1200 °С;

2 - 5 °С/мин - от 1200 °С до температуры на 50 °С ниже температуры испытания;

1 - 5 °С/мин - для последних 50 °С.

Примечание - Для последних 50 °С скорость повышения температуры от 1 до 2 °С/мин является предпочтительной

А.7.7 Выдержка при температуре испытания

Образцы выдерживают в течение 5 ч при температуре испытания, зарегистрированной каждой из трех термопар.

Колебания температуры во время выдержки не должны превышать ±10 °С.

Температуру испытания определяют как среднее арифметическое измеряемых температур.

Примечание - В случае необходимости испытание проводят в течение 12 или 24 ч.

А.7.8 Анализ газовой атмосферы

Для определения содержания кислорода в газовой печи отбирают пробу газов вблизи образцов во время нагрева.

А.7.9 Охлаждение

Выключают печь и дают ей остыть с образцами.

А.7.10 Измерение образцов после нагрева

Описывают внешний вид образцов. Измеряют расстояние между двумя противоположными гранями каждого образца в соответствии с А.7.2.

А.7.10.1 Измерение линейных размеров

Осматривают образцы, отмечая раковины или выпуклости, возникшие после нагрева.

Если дефект затронул точку измерения, то его производят вблизи этой точки. При необходимости образец поворачивают для устранения контакта между дефектом и любой из трех опор измерительного устройства. Измеряют длину образца в каждой из четырех точек, указанных в А.7.2.1.

А.7.10.2 Измерение объема

Объем образца измеряют по методу, приведенному в А.7.2.2.

А.8 Образца результатов

Остаточное изменение размеров выражают как изменение длины или объема. Значения DL или DV вычисляют в процентах от первоначально L0 или V0, т. е. 100  или 100 .

Изменение длины определяют во всех точках измерения.

А.9 Протокол испытания

Протокол должен содержать следующую информацию:

- наименование предприятия, проводившего испытания;

- дату проведения испытания;

- ссылку на настоящий стандарт;

- маркировку (изготовитель, марка, номер партии и т. д.);

- количество образцов, отбираемых от изделия;

- размеры образцов и их расположение в изделии;

- тип используемой печи;

- содержание кислорода в атмосфере печи (при необходимости);

- режим нагрева;

- заданную температуру испытания;

- среднюю температуру;

- выдержку при средней температуре;

- внешний вид образцов после нагрева;

- отдельные и средние значения линейного или объемного изменения (положительное или отрицательное) для каждого образца и изделия.

 

Ключевые слова: огнеупорные изделия с общей пористостью менее 45 %, остаточные изменения размеров, образец, нагрев

 




Яндекс цитирования



   Copyright © 2007-2026,  www.tehlit.ru.

[ ѓосты, стандарты, нормативы, инструкции, правила, строительные нормы ]