//
ТехЛит.ру
- крупнейшая бесплатная электронная интернет библиотека для "технически умных" людей.
WWW.TEHLIT.RU - ТЕХНИЧЕСКАЯ ЛИТЕРАТУРА

:: Алготрейдинг::


АЛГОТРЕЙДИНГ
шаг за шагом
с нуля по урокам!

Торговые роботы на PYTHON, BackTrader,
Pandas, Pine Script для TradingView. Связка с брокерами, телеграм и легкими приложениями.


МИНИСТЕРСТВО СВЯЗИ РОССИЙСКОЙ ФЕДЕРАЦИИ

ЦЕНТР НАУЧНО-ТЕХНИЧЕСКОЙ ИНФОРМАЦИИ «ИНФОРМСВЯЗЬ»

УТВЕРЖДЕНЫ

Министерством связи

Российской Федерации

07.10.96 г.

ПРАВИЛА
ТЕХНИЧЕСКОГО ОБСЛУЖИВАНИЯ И РЕМОНТА
ЛИНИЙ КАБЕЛЬНЫХ, ВОЗДУШНЫХ И
СМЕШАННЫХ МЕСТНЫХ СЕТЕЙ СВЯЗИ

Москва 1996 г.

Содержание

Предисловие. 3

1. Общие указания. 3

1.1. Основные положения по устройству и эксплуатации линий местных сетей связи. 3

1.2. Состав линейных сооружений местных сетей связи. 4

2. Характеристики оборудования, кабелей, проводов и арматуры, применяемых на линиях местных сетей связи. 5

2.1. Кабели и провода. 5

2.2. Оконечные кабельные устройства. 6

2.3. Опоры и приставки воздушных линий. 7

2.4. Линейная арматура. 10

3. Основные эксплуатационно-технические требования к линейным сооружениям местных сетей связи. 16

3.1. Общие требования. 16

3.2. Требования к кабельным линиям, кабельным вводам и оконечным кабельным устройствам.. 17

3.3. Требования к воздушным столбовым линиям.. 23

3.4. Требования к воздушным стоечным линиям.. 36

3.5. Требования к защите линейных сооружений местных сетей связи от опасных напряжений и токов. 38

4. Организация технической эксплуатации линейных сооружений местных сетей связи. 39

4.1. Общие положения. 39

4.2. Методы технической эксплуатации линейных сооружений городских телефонных сетей. 40

4.3. Методы технической эксплуатации линейных сооружений сельских телефонных сетей. 42

4.4. Планирование, контроль и учет выполненных работ. 45

4.5. Техническое оснащение линейных подразделений. 47

4.6. Техническая документация. 47

4.7. Надзор за сохранностью линейных сооружений и техника безопасности. 48

5. Техническое обслуживание линейных сооружений. 49

5.1. Общие положения. 49

5.2. Осмотр и профилактическое обслуживание линейно-кабельных сооружений. 49

5.3. Осмотр и профилактическое обслуживание воздушных линий. 50

5.4. Измерения электрических; кабельных, воздушных и смешанных линий. 50

5.5. Проверка новых кабелей проводов, оконечных кабельных устройств и арматуры, поступающих в эксплуатацию.. 51

6. Устранение повреждений кабельных, воздушных и смешанных линий. 51

6.1. Организация работ по устранению аварий и повреждений линий. 51

6.2. Методы отыскания и устранения повреждений кабельных линий. 54

6.3. Методы устранения повреждений воздушных линий. 61

7. Текущий ремонт линейных сооружений. 67

7.1. Общие положения. 67

7.2. Текущий ремонт линейно-кабельных сооружений. 67

7.3. Текущий ремонт воздушных линий. 68

7.4. Приемка работ по текущему ремонту линейных сооружений. 69

8. Капитальный ремонт линейных сооружений. 70

8.1. Общие положения. 70

8.2. Состав основных работ, выполняемый при капитальном ремонте, линейно-кабельных сооружений. 72

8.3. Состав основных работ, выполняемых при капитальном ремонте воздушных линий. 72

8.4. Приемка работ по капитальному ремонту кабельных, воздушных и смешанных линий. 73

Приложение 1 Характеристики линейной проволоки и проводов, применяемых на линиях местных сетей связи. 74

Приложение 2 Характеристики опор, применяемых на столбовых линиях местных сетей связи. 75

Приложение 3 Габаритные размеры железобетонных приставок. 76

Приложение 4 Нормы электрические на постоянном токе на неуплотненные находящиеся в эксплуатации, кабельные, воздушные и смешанные линии местных сетей связи. 76

Приложение 5 Нормы электрические на переменном токе на неуплотненные, находящиеся в эксплуатации, кабельные, воздушные и смешанные линии местных сетей связи. 79

Приложение 6 Нормы электрических характеристик усилительных (регенерационных) участков кабельных соединительных (межстанционных) линий СТС, уплотненных системами передачи (при температуре 20 °С) 80

Приложение 7 Наименьшие допустимые расстояния между кабелем связи, проложенным в грунте, или кабельной канализацией и другими сооружениями. 82

Приложение 8 Габариты подвесных кабелей. 82

Приложение 9 Габаритные размеры воздушных линий местных сетей связи. 83

Приложение 10 Нормальные и максимальные длины пролетов воздушных линий местных сетей связи. 84

Приложение 11 Глубина закопки опор и приставок столбовых линий местных сетей связи. 84

Приложение 12 Стрелы провеса проводов. 85

Приложение 13 Нормы годового расхода материалов, арматуры и оборудования на эксплуатационное содержание и текущий ремонт столбовых линий. 86

Приложение 14 Нормы годового расхода арматуры и материалов на эксплуатационное содержание и текущий ремонт стоечных линий. 89

Приложение 15 Перечень инструментов и оборудования для электромонтеров, обслуживающих воздушные линии. 90

Приложение 16 Перечень основных инструментов для участкового электромонтера. 91

Приложение 17 Форма наряда на текущий ремонт линейных сооружений. 92

Приложение 18 Форма акта на приемку работ по текущему ремонту линейных сооружений. 94

ПРЕДИСЛОВИЕ

За последние годы емкость местных сетей связи и объем линейных сооружений значительно увеличились. На линиях местных сетей связи все шире внедряются кабели с пластмассовой изоляцией и оболочкой и заполнением сердечника гидрофобной массой, железобетонные опоры и приставки. Получили применение новые способы монтажа кабелей. Все шире распространяются новые методы технической эксплуатации линейных сооружений.

Правильная техническая эксплуатация линейных сооружений местных сетей связи имеет большое значение для обеспечения бесперебойной телефонной связью органов государственного управления, предприятий, учреждений и населения.

Грамотное, четкое и оперативное выполнение работ линейными электромонтерами связи при возросших требованиях к качеству связи имеет важное значение. Поэтому назрела необходимость разработки настоящих правил.

Правила содержат практические указания по технической эксплуатации линейных сооружений местных сетей связи. В них даны характеристики линейных сооружений местных сетей связи, изложены основные эксплуатационно-технические требования к этим сооружениям, приведены указания по организации технической эксплуатации, техническому обслуживанию, текущему и капитальному ремонтам линейных сооружений. Правила содержат указания по организации работ по устранению повреждений и аварий кабельных, воздушных и смешанных линий местных сетей связи, а также рекомендации по отысканию и устранению повреждений линейных сооружений.

Правила разработаны коллективом авторов Ленинградского отраслевого научно-исследовательского института связи (ЛОНИИС) и Министерства связи Российской Федерации.

1. ОБЩИЕ УКАЗАНИЯ

1.1. Основные положения по устройству и эксплуатации линий местных сетей связи

1.1.1. Устройство и эксплуатация линий местных сетей связи в Российской Федерации регулируются:

- приказами и распоряжениями Министерства связи Российской Федерации по вопросам линий местных сетей связи;

- правилами, инструкциями, руководствами по строительству, реконструкции, капитальному ремонту и технической эксплуатации линий местных сетей связи.

1.1.2. Линии местных сетей связи должны проектироваться в соответствии с указаниями «Инструкции по проектированию линейно-кабельных сооружений связи (ВСН-116-93)», действующими ГОСТ и техническими условиями на линейные сооружения местных сетей связи.

1.1.3. Строительство и капитальный ремонт линий местных сетей связи должны производиться в соответствии с «Руководством по строительству линейных сооружений местный сетей связи» (М., АООТ «ССКТБ-Томасс» 1995), «Отраслевыми строительно-технологическими нормами на монтаж сооружений и устройств связи, радиовещания и телевидения» ОСТН 600-93, М., 1994), «Правилами строительства и ремонта воздушных линий связи и радиотрансляционных сетей», часть I и III (М., Связь, 1975), инструкциями по монтажу кабелей ГТС в СТС, техническими условиями и ГОСТ.

1.1.4. Вновь построенные, реконструированные и капитально отремонтированные линейные сооружения связи принимаются в эксплуатацию согласно «Руководства по приемке в эксплуатацию линейных сооружений проводной связи и проводного вещания» (М., 1990).

1.1.5. Техническая эксплуатация линий местных сетей связи должна осуществляться в соответствии с указаниями настоящих: Правил и нормативно-технической документацией Министерства связи Российской Федерации по вопросам эксплуатации линейных сооружений местных сетей связи.

1.2. Состав линейных сооружений местных сетей связи

1.2.1. Линейные сооружения являются составной частью сооружений местных сетей связи.

1.2.2. К линейным сооружениям местных сетей связи относятся:

- кабельные линии, включающие смонтированные кабели и оконечные кабельные устройства: защитные полосы кроссового оборудования, распределительные шкафы с кабельными боксами, распределительные коробки, кабельные ящики (устройства кабельные связи - УКС, устройства кабельные переходные - УКП);

- воздушные линии (столбовые и стоечные), включающие опоры, провода и арматуру для подвески проводов на опорах;

- смешанные линии, содержащие участки кабельных и воздушных линий;

- канализационные сооружения связи, включающие колодцы и трубопроводы кабельной канализации, помещения ввода кабелей предприятий связи, коллекторы;

- вспомогательные устройства;

- необслуживаемые усилительные (регенеративные) пункты.

1.2.3. Линии местных сетей связи по назначению разделяются на соединительные (линии межстанционной связи) и абонентские линии.

1.2.4. Соединительные линии прокладываются между:

- телефонными станциями местных сетей связи;

- районными (оконечными) и узловыми станциями;

- узловыми станциями;

- станциями местных сетей связи и междугородными телефонными станциями.

1.2.5. Абонентские линии могут содержать магистральные и распределительные участки, а также абонентскую проводку или только магистральные участки и абонентскую проводку.

1.2.6. К магистральным кабельным линиям относятся:

- кабельные линии, проложенные от кроссового оборудования телефонной станции до распределительных шкафов;

- кабельные линии прямого питания, проложенные от кроссового оборудования до распределительных коробок и кабельных ящиков (УКС, УКП), минуя распределительные шкафы;

- кабельные линии межшкафной связи.

1.2.7. К распределительным кабельным линиям относятся линии, проложенные от распределительных шкафов до распределительных коробок и кабельных ящиков (УКС, УКП).

1.2.8. К абонентской проводке относится участок абонентской линии от распределительной коробки или кабельного ящика (УКС, УКП) до розетки телефонного аппарата абонента.

В первом случае в состав абонентской проводки входит только однопарный провод, а во втором случае - воздушная цепь, абонентское защитное устройство и цепь из однопарного провода.

1.2.9. Кабельные линии по способу прокладки подразделяются на линии:

- подземные в кабельной канализации, коллекторах и тоннелях метрополитена;

- подвесные (на столбовой или стоечной линии);

- подводные;

- в конструкциях мостов рек;

- настенные (открытой или скрытой прокладки).

1.2.10. Воздушные линии по способу прокладки подразделяются на столбовые и стоечные.

1.2.11. К вспомогательным устройствам относятся:

- замерные столбики и указатели для обозначения трассы и местонахождения муфт (участков) подземного кабеля на местности;

- сигнальные оградительные знаки для обозначения места расположения кабеля на речных переходах и т.п.

2. ХАРАКТЕРИСТИКИ ОБОРУДОВАНИЯ, КАБЕЛЕЙ, ПРОВОДОВ И АРМАТУРЫ, ПРИМЕНЯЕМЫХ НА ЛИНИЯХ МЕСТНЫХ СЕТЕЙ СВЯЗИ

2.1. Кабели и провода

2.1.1. На местных сетях связи применяются кабели следующих типов и марок:

- многопарные типа Т (ТУ, 16.К71-008-87) с медными жилами диаметром 0,5 и 0,64 (0,7) мм, парной скруткой, с бумажной изоляцией в свинцовой, стальной гофрированной и алюминиевой оболочках;

- многопарные с медными жилами, парной скруткой, с полиэтиленовой изоляцией типов:

ТПП с жилами диаметром 0,32; 0,4; 0,5; 0,64 мм, в полиэтиленовой оболочке, с заполнением или без заполнения сердечника гидрофобной массой; ТПВ с жилами диаметром 0,4; 0,5; 0,64 мм - в поливинилхлоридной оболочке, СТПА - с жилами диаметром 0,5 мм в алюминиевой оболочке, защищенной полиэтиленовым или поливинилхлоридным шлангом. Кабели изготавляют по ГОСТ 22498-88;

- низкочастотные типа ТЗ (ТУ 16.К78-03-88) с медными жилами диаметром 0,8; 0,9; 1,2 мм, с кордельно-бумажной изоляцией, в свинцовой оболочке;

- высокочастотные типа МКС (ГОСТ 15125-76), с медными жилами диаметром 1,2 мм, с кордельно-полистирольной изоляцией, четверочной скруткой, в свинцовой, алюминиевой и стальной гофрированной оболочках;

- высокочастотные одно- и двухчетверочные типа КСПП (ТУ 16.К71-061-89) с медными жилами диаметром 0,64 и 0,9 мм; с полиэтиленовой изоляцией и оболочкой, с заполнением или без заполнения сердечника гидрофобной массой;

- малопарные марки КТП ЗБбШп (ТУ 16.К71-007-87) с медными жилами диаметром 0,64 мм, полиэтиленовой изоляцией и оболочкой;

- однопарные марок ПРППМ и ПРПВМ (ТУ 16.705.450-87) с медными жилами диаметром 0,9 и 1,2 мм, полиэтиленовой изоляцией жил, соответственно в полиэтиленовой или поливинилхлоридной оболочках;

- станционные марки ТСВ (ТУ 16.К71-005-87) с медными жилами диаметром 0,4 и 0,5 мм, с поливинилхлоридной изоляцией и оболочкой;

- оптические марки ОК и ОН (ТУ 16-705, 296-86) на длине волны 0,85 мкм, с затуханием 3 и 5 дБ/км, в полиэтиленовой и поливинилхлорной оболочках и марок ОКК и ОКС (ТУ 16.К71-084-90) на длине волны 1,3 мкм, с затуханием 0,7 и 1,0 дБ/км, в полиэтиленовой и поливинидхлоридной оболочках; марки ОККП (ТУ 3587-004-13173860-95) и многомодовые на длине волн 0,85 и 1,3 мкм и одномодовые на длине волн 1,3 и 1,55 мкм.

2.1.2. Многопарные кабели типов Т и ТПП применяются на абонентских и соединительных линиях. Низкочастотные кабели типа ТЗ в основном используются на соединительных линиях.

Высокочастотные кабели типов МКС и КСПП, а также оптические кабели применяются на соединительных линиях, уплотненных системами передачи.

Малопарные кабели марки КТП 3 БбШп и однопарные кабели марок ПРППМ и ПРПВМ предназначены для использования на абонентских линиях сельских телефонных сетей.

Кабели типов КСПП и ТЗ применяются также для организации вводов линейных кабелей и цепей воздушных линий связи в здания сельских телефонных станций и устройства вставок в воздушные линии.

Станционные кабели марки ТСВ используются для зарядки плат защиты (защитных полос) кросса и монтажа телефонных станций.

2.1.3. На абонентских линиях СТС применяются также однопарные провода марки ПТПЖ (ПТВЖ), выпускаемые по ТУ 16.К03-01-87, с жилами из стальной оцинкованной проволоки диаметром 0,6; 1,2 и 1,8 мм.

2.1.4. Для соединения проводов воздушных линий с жилами кабеля, включенного в кабельный ящик (УКС, УКП), применяются двухжильные медные провода диаметром 0,6 мм с поливинилхлоридной изоляцией (ТУ 16.К45-001-87), витой марки ЛТВ-В и плоский марки ЛТВ-П.

2.1.5. Для устройства кроссировок в распределительных шкафах и кроссовом оборудовании телефонных станций применяются двухжильный витой провод марки ПКС8 (ТУ 16.К71-80-90) с медными жилами диаметром 0,5 мм и поливинилхлоридной изоляцией.

2.1.6. На воздушных линиях местных сетей связи в качестве линейной и перевязочной проволоки используют:

- стальную оцинкованную проволоку (ГОСТ 1668-73);

- сталемедную проволоку марок БСМ-1 и БСМ-2 (ТУ 14.4-76);

- сталеалюминиевую проволоку марки БСА-КПА (ТУ-14.4.818-77);

- многожильную сталеалюминиевую проволоку марки АС.

Диаметры линейной и перевязочной проволоки указаны в Приложении 1.

2.1.7. При пересечениях воздушных линий связи с проводами линий электропередачи применяют сталемедные провода с резиновой изоляцией марок ПСБАР (ТУ 16-505.432.72) и ПСБА (с оплеткой из проданной хлопчатобумажной пряжи), а также стальные оцинкованные провода с полиэтиленовой (поливинилхлоридной) изоляцией марок ПРСП (ПРСВ) - ГОСТ 10254-75 и ППЖ (ПВЖ) - ТУ 16.К03-01-87.

2.1.8. Основные характеристики проволоки и проводов, указанных в пп. 2.1.6 - 2.1.7, приведены в Приложении 1.

2.2. Оконечные кабельные устройства

2.2.1. К оконечным кабельным устройствам местных сетей связи относятся платы защиты (защитные полосы), рамки с разделительными гнездами (пружинами), распределительные блоки и рамки с врезными контактами кроссового оборудования телефонной станции, распределительные шкафы, распределительные коробки, кабальные ящики (устройства кабельные связи, устройства кабельные переходные), кабельные воронки и междугородные кабельные шкафы. Оконечными кабельными устройствами систем передачи являются: высокочастотные кабельные боксы для систем с частотным разделением каналов, вводные панели для систем с ИКМ и устройства соединения линейных и станционных кабелей для включения оптических волокон.

2.2.2. Платы защиты (защитные полосы) и рамки с разделительными гнездами (пружинами) предназначены для включения в кроссовое оборудование телефонной станции жил вводных кабелей.

На местных сетях связи нашли применение платы защиты на 25 (РС2.116.685ТУ и РР0.481.006ТУ) и 100 (РС0.116.000ТУ) пар, содержащие элементы электрической защиты (угольные разрядники и термические катушки), и рамки с разделительными гнездами (пружинами) - без элементов электрической защиты на 40 (РС0.070.026ТУ) и 15 (РС3.663.019ТУ) пар (10 троек).

2.2.3. Распределительные блоки и рамки кроссового оборудования электронных АТС предназначены для включения жил кабелей абонентских и соединительных линий диаметром 0,4 ÷ 0,6 мм с пластмассовой изоляцией без снятия изоляции. Распределительный блок имеет 20 вставных элементов на 10 пар каждый, а рамки миникросса изготовляются емкостью 30, 50 и 100 пар и содержат 10-ти парные односторонние коммутируемые плинты типа ПКО.

2.2.4. Распределительные шкафы предназначены для перехода с магистральных на распределительные кабельные линии. На местных сетях связи применяются распределительные шкафы типа ШР (ТУ 45-85 6е3.622.134ТУ), рассчитанные на включение 600 и 1200 пар кабелей и устанавливаемые на улице, а также распределительные шкафы типа ШРП, для установки внутри здания, рассчитанные на включение 150 пар кабелей (ТУ 45-76 6е3.622.047ТУ) и 300, 600, 1200 пар кабелей (ТУ 45-89 2Д0.362.030ТУ).

Основными элементами распределительного шкафа (РШ) являются кабельные боксы с установленными в них плинтами. В боксах производят оконечную разделку кабеля и подключение жил кабелей к контактным перьям плинтов.

В РШ устанавливают боксы кабельные телефонные типа БКТ (ТУ 45-88 6е0.362.015) с 1, 2, 3, 5 или 10 плинтами типа 9У (ТУ 45-88 6е0.364.003). Плинт типа 9У имеет 10 пар контактных перьев для припайки вводимого в бокс кабеля и 10 пар винтовых зажимов для подключения кроссировочных проводов.

В распределительных шкафах могут устанавливаться плинты с врезными контактами, имеющие установочные размеры аналогичные установочным размерам плинтов типов 9У и ПГ-10-4.

2.2.5. Распределительные коробки (РК) предназначены для соединения распределительного кабеля с абонентской проводкой. На местных сетях связи применяются настенные РК емкостью 10 пар трех типов:

- распределительные коробки типов КРТ (ТУ 45-76 2Д3.622.136) в чугунном или алюминиевом корпусе и - КРТП (ТУ 45-86 6е0.016) в пластмассовом корпусе с крышкой и боксам, на котором устанавливается плинт типа 9У;

- малогабаритные пластмассовые распределительные коробки типа КРТН (ТУ 45-76 2Д3.622.136) с кабельным боксом типа БКТП и плоским плинтом типа ПГ-10-4 (ТУ 45-68 АхП.3.656.046) на 10 пар.

2.2.6. Применяемые на местных сетях связи кабельные ящики типа ЯКГ, а также выпускаемые вместо них устройства кабельные связи (ТУ 45-86 6е0.362.014) и устройства кабельные переходные (ТУ 45-86 6е0.362.010) предназначены для осуществления перехода с кабельной линии на воздушные цепи или с многопарного кабеля на однопарные. Кабельные ящики, ЯКГ, устройства кабельные связи (УКС) и устройства кабельные переходные (УКП) конструктивно представляют металлический корпус с крышкой, внутри которого устанавливается кабельный бокс с одним или двумя плинтами (для ЯКГ и УКС) или платами (для УКП) с элементами защиты (грозоразрядниками или грозоразрядниками и предохранителями). Каждые плинт или плата рассчитаны на включение 10 пар кабеля.

2.2.7. Назначение междугородных кабельных шкафов (ТУ 45-87 700.368.002) аналогично назначению ЯКГ. В них устанавливаются боксы типа БМ, которые комплектуются одним или двумя плинтами типа ПН-10 на 10 пар для низкочастотных кабелей или одним плинтом типа ПЭ-6 на 6 пар для высокочастотных кабелей.

2.2.8. Кабельная воронка предназначена для перехода с однопарного кабеля на воздушную линию и служит для защиты кабельной линии от опасных напряжений и токов. В качестве элементов защиты используются два разрядника типа Р-350.

2.3. Опоры и приставки воздушных линий

2.3.1. Опоры воздушных столбовых линий подразделяются на следующие виды:

- промежуточные, устанавливаемые на прямолинейных участках линии;

- угловые, устанавливаемые в местах изменения направления линии;

- переходные, устанавливаемые в местах перехода линий связи через железные, автомобильные дороги, водные и другие преграды;

- контрольные, устанавливаемые в местах, где провода линии подвергаются контрольным электроизмерениям и испытаниям;

- оконечные (вводные) и кабельные, устанавливаемые в пунктах ввода проводов в предприятия связи или здания другого назначения или при переходе с воздушной линии на кабельную.

2.3.2. По материалу опоры подразделяются на деревянные, железобетонные и деревянные в железобетонных приставках. В лесных районах, где разрешается местная заготовка леса, допускается применять приставки из древесных хвойных пород.

2.3.3. Деревянные опоры должны изготавливаться из хвойных пород деревьев: лиственницы, сосны, кедра и ели.

2.3.4. Деревянные опоры, приставки и траверсы должны быть пропитаны антисептиком в соответствии с действующей «Временной инструкцией по применению антисептической пасты с фтористым натрием на каменноугольном лаке для диффузионной пропитки деревянных опор воздушных линий связи».

2.3.5. В целях экономии древесины, необходимо осуществлять изготовление и применение железобетонных опор и приставок.

2.3.6. Железобетонные опоры для воздушных линий местной связи различаются по форме поперечного сечения, прочности на изгиб и длине. Они изготавливаются длиной 6,5; 7,5 и 8,5 м. В зависимости от типа линий, числа подвешиваемых проводов, габарита линии и длины пролета железобетонные опоры рассчитаны на изгибающие моменты (М) в плоскости, перпендикулярной оси линии связи: 1,75; 2,75, 4,4 и 6,8 тм.

2.3.7. На воздушных линиях местной связи рекомендуется применять опоры типа ПО (прямоугольная, облегченная с ненапряженной арматурой) или ПОН - опора с предварительно напряженной стержневой арматурой (рис. 2.1).

2.3.8. Характеристики железобетонных и деревянных опор, применяемых на столбовых линиях местных сетей связи, приведены в Приложении 2.

2.3.9. Длины опор, применяемых на линиях местных сетей связи, складываются из длин наземных частей опор и глубин закопки. Длина наземной части опоры определяется с учетом профиля и габарита линии при максимальном провисании проводов.

2.3.10. Для увеличения механической прочности и высоты деревянных опор, а также для продления срока их службы, применяют железобетонные приставки типа ПР или ПТ (рис. 2.2.). На промежуточных опорах линий типов О и Н устанавливается одна приставка;

на линиях типа У, а также на угловых, оконечных и кабельных опорах линий типа О и Н - по две приставки.

2.3.11. Приставки устанавливаются к опоре в плоскости, перпендикулярной оси линии, выступами к опоре. При укреплении приставками деревянной опоры комель (нижний торец) опоры должен быть приподнят над землей на 25 - 30 см. В случае удлинения приставкой железобетонной опоры ее торец может быть спущен до поверхности земли в зависимости от требуемой величины удлинения опоры.

Одиночные приставки устанавливаются в шахматном порядке, т.е. поочередно по одну и другую сторону от опор. Приставки к опорам прикрепляются хомутами из стальной проволоки.

Рис. 2.1. Опоры железобетонные типов ПО и ПОН

Рис. 2.2. Приставки железобетонные:

а - типа ПР;б - типа ПТ

2.3.12. Габаритные размеры железобетонных приставок приведены в Приложении 3.

2.3.13. Опорами стоечных линий могут быть: стальные трубчатые стойки, стальные штыри, вводные трубы.

Стойки изготавливают четырех типов: СПТ-1, СПТ-2, СПТ-6 и СПТ-10 (рис. 2.3.). Стойки СПТ-2 и СПТ-10 состоят из стоек СПТ-1 и СПТ-6 и надставок 1×2 и 1×4.

Стойки содержат вертикальную трубу с наружным диаметром 27 или 48 мм и трубчатые траверсы. Стойки СПТ-1, СПТ-2, СПТ-6 и СПТ-10 содержат, соответственно 1, 2, 3 и 5 траверс. Траверсы снабжены штырями для установки изоляторов. Изоляторы крепят перед установкой стоек.

2.3.14. Для подвески одной пары проводов вместо установки стойки СПТ-1 допускается использование стальных штырей из круглой стали диаметром 12 мм (рис. 2.4.).

2.3.15. Ввод и вывод подвесного кабеля на чердак здания производится через вводную трубу. Если кабель подвешивают индивидуально, то в качестве опор применяют вводные трубы (рис. 2.5.).

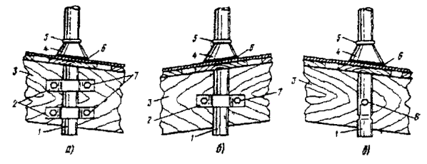
2.4. Линейная арматура

2.4.1. К линейной арматуре столбовых линий местных сетей связи относятся: изоляторы, крюки, штыри, траверсы, кронштейны, накладки, отходные планки, линейные крепежные детали и арматура для соединения линейных проводов. Основные виды арматуры воздушно-столбовых линий связи приведены на рис. 2.6. В числителе указаны размеры изоляторов и крюков типа 12, а в знаменателе - типа 16.

2.4.2. Для крепления проводов на воздушных линиях местных сетей связи применяются в основном фарфоровые изоляторы марок ТФ-12 и ТФ-16 (цифры соответствуют диаметру крюка или штыря). Зависимость марки изолятора от закрепляемого на нем провода показана в табл. 2.1.

Рис. 2.3. Стоечные опоры

Рис. 2.4. Установка пары штырей

Рис. 2.5. Вводная труба

Рис 2.6. Арматура воздушно-столбовых линий связи:

а) изолятор; б) крюк; в) хомут для железобетонных опор; г) штырь; д) отходная планка

Таблица 2.1.

Зависимость марки изолятора от закрепляемого провода

Марка изолятора

Материал и диаметр проволоки, мм

Сталь

Биметалл

Линии ГТС

1,5; 2; 3,0

1,2; 1,6

ТФ-12

Линии СТС

1,5; 2,0; 2,5; 3,0

1,2; 1,6; 2,0; 3,0; 4,0

ТФ-12

ТФ-16

 

3,0; 4,0

2.4.3. Сопротивление изоляции изоляторов должно составлять не менее:

ТФ-12                      20000 МОм;

ТФ-16                      40000 МОм;

2.4.4. Для крепления к деревянным опорам изоляторов типа ТФ-12 и ТФ-16 соответственно используют металлические крюки типов КН-12 и КН-16.

2.4.5. На деревянных (стальных) траверсах изоляторы типов ТФ-12 и ТФ-16 крепят соответственно на металлических штырях типов ШТ-12Д и ШТ-16Д, (ШТ-12С и ШТ-16С), а при скрещивании цепей - на подвесных крюках типов КПД-12 и КПД-16, (КПС-12 и КПС-16).

2.4.6. На воздушно-столбовых линиях местных сетей связи применяются деревянные и стальные телефонные траверсы.

Деревянные траверсы в основном применяются на сельских телефонных сетях и рассчитаны на установку 4 или 8 штырей с изоляторами.

8, 4 и 2-х штырные траверсы, изготовленные из угловой равнополочной стали, наибольшее применение получили на городских и комбинированных телефонных сетях. На городских телефонных сетях (ГТС) в основном используются стальные траверсы с приваренными штырями. Стальные траверсы следует применять преимущественно на железобетонных опорах. К стальным траверсам для крепления к опорам должны привариваться подкосы типа ПТ-1. Допускается крепить подкосы к стальным траверсам болтами диаметром 10 мм в этом случае в траверсе высверливаются два отверстия диаметром 11 мм.

Конструкции деревянных траверс приведены на рис. 2.7.

Конструкции стальных 4-х и 8-ми штырных траверс ГТС с приваренными штырями и подкосами приведены на рис. 2.8., а стальная 8-ми штырная траверса СТС показана на рис. 2.9.

Основные размеры стальных траверс даны в табл. 2.2.

Таблица 2.2.

Размеры стальных траверс

Тип траверсы

Тип линий

Размеры траверсы, мм

Длина

В

d

2-штырная

О и Н

600

40

5

У и ОУ

600

50

5

4-штырная для

О и Н

1000

40

5

СТС

У и ОУ

1000

50

5

4-штырная для

О и Н

1000

40

4

ГТС

У и ОУ

1000

40

5

8-штырная для

О и Н

2400

50

5

СТС

У и ОУ

2400

63

6

8-штырная для

О и Н

2000

45

5

ГТС

У и ОУ

2000

50

6

Стальные траверсы крепят к железобетонным опорам металлическими хомутами или планками.

2.4.7. В качестве линейных крепежных деталей применяются болты, шайбы, глухари, барочные гвозди, строительные скобы и подкосы.

Рис. 2.7. Деревянные траверсы:

а - 4-штыревая; б - 8-штыревая

Рис. 2.8. Стальные траверсы ГТС

Рис. 2.9. Стальная телефонная восьмиштыревая траверса СТС

2.4.8. Медные и биметаллические сталемедные провода соединяются между собой медными трубками.

2.4.9. Биметаллические многожильные сталеалюминиевые провода типов АС-10, АС-16 и АС-25 соединяют методом скручивания соединительными овальными зажимами (трубками) типов СОАС-10, СОАС-16 и СОАС-25 соответственно.

2.4.10. Биметаллические сталеалюминиевые провода типа БСА-4,3, соединяют зажимами типа СОАС-10, а БСА-5, 1 - СОАС-16.

2.4.11. К линейной арматуре стоечных линий относятся: изоляторы, отходные планки и арматура, необходимая для установки стоек.

2.4.12. Для крепления проводов на стоечных линиях применяются изоляторы марки Т-12.

2.4.13. При ответвлении проводов со стоек СПТ-6 и СПТ-10 под углом менее 45º на траверсах стоек должны быть установлены отходные планки. Планку устанавливают у крайнего штыря и крепят к траверсе скобой с двумя гайками.

2.4.14. Основная арматура, применяемая для крепления стоек показана на рис. 2.10.

Рис. 2.10. Установка стойки 10×2 и детали ее крепления:

а - заделка оттяжки за траверсу стойки; б - заделка оттяжки за струбцину с болтом; в - копыто чугунное; г - хомут чугунный:

1 - болт с кольцом длиной - 440 мм диаметром 10 - 12 мм; 2 - струбцина с колодкой; 3 - оттяжки; 4 - войлочная прокладка; 5 - копыто; 6 - упорное кольцо; 7 - колпачок; 8 - провод ЛТВ-В или ЛТР-В; 9 - хомуты; 10 - стропила; 11 - пучок кроссировочных проводов; 12 - кабельный ящик; 13 - кабель 10×2; 14 - провод заземления

3. ОСНОВНЫЕ ЭКСПЛУАТАЦИОННО-ТЕХНИЧЕСКИЕ ТРЕБОВАНИЯ К ЛИНЕЙНЫМ СООРУЖЕНИЯМ МЕСТНЫХ СЕТЕЙ СВЯЗИ

3.1. Общие требования

3.1.1. Техническое состояние линейных сооружений местных сетей связи должно обеспечивать высококачественную и бесперебойную телефонную связь.

3.1.2. Техническое состояние линий местных сетей связи определяется электрическими параметрами этих линий: сопротивлением изоляции, емкостью цепей, величинами переходного затухания на ближнем и защищенностью на дальнем концах, рабочим затуханием цепей, уровнем линейных помех и техническим содержанием линий в соответствии с требованиями нормативных документов.

Нормы электрические на постоянном и переменном токах на неуплотненные, находящиеся в эксплуатации, кабельные, воздушные и смешанные линии местных сетей связи приведены соответственно в Приложениях 4 и 5.

Нормы электрических характеристик усилительных (регенерационных) участков кабельных линий СТС, уплотненных системами передачи, приведены в Приложении 6, а кабельных линий ГТС в ГОСТ 45.36-86 «Линии кабельные, воздушные и смешанные городских телефонных сетей. Нормы электрические эксплуатационные».

Нормы электрических характеристик усилительных участков воздушных линий местных сетей связи, уплотненных системами передачи определяются согласно указаниям «Инструкции по скрещиванию телефонных линий связи» (М., Радио и связь, 1981).

3.1.3. Трасса линии связи должна обеспечивать удобство эксплуатации и минимальные затраты по строительству линии и защите ее от повреждений. Трасса должна быть очищена от всех материалов, оставшихся от выполнения строительно-монтажных работ.

3.1.4. Наименьшие допустимые расстояния между кабельными линиями местных сетей связи и другими сооружениями приведены в Приложении 7, габариты подвесных кабелей даны в Приложении 8, а габариты воздушных линий указаны в Приложении 9.

3.1.5. Местоположение и конструкция линейных сооружений должны обеспечивать возможность свободного доступа обслуживающему персоналу к ним в течение круглых суток.

3.2. Требования к кабельным линиям, кабельным вводам и оконечным кабельным устройствам

3.2.1. Требования к кабельным линиям, проложенным непосредственно в земле

3.2.1.1. Для прокладки непосредственно в земле должны применяться кабели с броней из стальных лент. Допускается прокладка непосредственно в земле небронированных кабелей марок КСПП и ПРППМ.

3.2.1.2. Трасса подземного кабеля должна быть выравненной и не иметь провалов, гряд и ям в местах расположения муфт (сростков). Трасса кабельной линии вне населенных пунктов должна проходить, как правило, вдоль автомобильных дорог.

3.2.1.3. Кабель должен быть уложен посередине дна траншей без натяжения, со слабиной и плотно прилегать к дну траншеи. При прокладке нескольких кабелей в одной траншее их следует располагать параллельно без перекрещиваний с расстоянием между ними не менее 50 мм. Соединительные муфты в котловане должны размещаться в этом случае со сдвигом или в шахматном порядке.

3.2.1.4. Глубина прокладки кабелей (бронированных и небронированных) непосредственно в земле на местных сетях связи должна приниматься:

а) в грунтах I - IV групп:

1,2 м - для оптических кабелей на межстанционных соединительных линиях ГТС;

0,8 м - для электрических кабелей на местных (городских и сельских сетях вне населенных пунктов и 0,7 м - в населенных пунктах. При необходимости прокладки кабелей на глубине менее указанной должна предусматриваться защита кабелей от механических повреждений в виде укладки над кабелем кирпича (бетонных плит) поверх слоя мягкой земли или песчаного грунта толщиной 0,1 м;

б) в грунтах V группы и выше, а также в грунтах IV группы, разрабатываемых взрывным способом или отбойными молотками:

при выходе скалы на поверхность - 0,4 м для всех типов кабелей (глубина траншей 0,5 м);

при наличии над скальной породой поверхностного почвенного слоя - 0,6 м для всех кабелей (глубина траншей 0,7 м). При этом заглубление в твердую породу (скалу) должно быть не более 0,5 м. При почвенном слое полностью от 0,7 до 1,3 м кабель должен прокладываться над скальной породой на расстоянии 0,1 м.

Способы и глубина прокладки непосредственно в грунт небронированных кабелей в пластмассовых оболочках, а также в металлических оболочках с пластмассовыми защитными шлангами с наружным диаметром менее 20 мм в районах, зараженных грызунами, должны приниматься в соответствии с указаниями ВСН 116-93 Минсвязи России.

3.2.1.5. При пересечении проезжей части улиц, автомобильных и железных дорог кабели связи прокладывают в асбестоцементных, бетонных или полиэтиленовых трубах.

3.2.1.6. Местоположение муфт, поворотов, концов труб, проложенных под дорогами, отмечают указателями на стенках ближайших зданий или установкой замерных столбиков. Замерные столбики на прямолинейных участках трассы в загородной зоне устанавливают не далее 250 ÷ 300 м один от другого.

3.2.2. Требования к кабельным линиям, проложенным в канализации

3.2.2.1. В кабельной канализации прокладываются электрические кабели связи без броневого покрова, а также оптические кабели с броневым покровом и без него.

Прокладка оптических кабелей в кабельной канализации должна осуществляться, как правило, в свободных каналах, расположенных, по возможности, в середине блока трубопровода по вертикали и у края по горизонтали. В свободном канале допускается прокладка на более пяти - шести однотипных оптических кабелей. Использовать занятый оптическими кабелями канал для прокладки электрических кабелей не допускается.

Прокладка небронированных оптических кабелей в канале, занятом электрическими кабелями, должна выполняться в предварительно проложенной полиэтиленовой трубе типа ПНД 32Т. Оптические кабели с броней, покрытой полиэтиленовой оболочкой, могут прокладыватъся как в свободном так и занятом канале без трубы.

Кабельные линии на всем протяжении по возможности должны иметь кабели с однородной оболочкой и одинаковым диаметром жил. Все кабели, проложенные в канализации, должны содержаться в колодцах в надлежащей чистоте. Проходящие через колодцы кабели должны иметь плавные изгибы по форме стенок колодцев. Минимально допустимые радиусы изгиба кабелей должны быть: для кабелей типа КСПП-15, для многопарных кабелей типов ТПП, ТГ и однопарных кабелей марки ПРППМ - 10, а для оптических кабелей - 20 диаметров кабелей.

Все кабели в колодцах должны лежать на кабельных консолях: под кабелями на консолях должны быть прокладки из толькожи; одностороннего рубероида, полиэтилена или резины.

Кабели не должны иметь трещин, вмятин, надломов, пережимов и перекручиваний, а в местах изгибов - поперечных складок.

3.2.2.2. Все кабели в кододцах должны иметь нумерационные кольца. На кольцах указываются номер, емкость, диаметр жил кабеля и буквенные обозначения.

На кабелях с дистанционным питанием в колодцах кабельной канализации и в помещении ввода кабелей кроме установки нумерационного кольца наносится красная краска на участке шириной 30 см, а на оптических кабелях - желтая.

3.2.2.3. Муфты в колодцах должны быть размещены по обеим сторонам между кронштейнами. Устройство муфт в пролетах канализации не допускается.

Размещение муфт оптических кабелей СМОК и эксплуатационного запаса кабелей длиной от 3 до 5 м производится в верхних рядах консолей колодцев кабельной канализации.

3.2.2.4. Расстояние по вертикали между осями двух соседних кабелей должно быть не менее 20 см, а расстояние от верхних и нижних перекрытий колодца до кабелей - не менее 30 см.

3.2.2.5. Распределительные кабели должны занимать в канализации верхние, ближайшие к местам вводов в здания каналы.

3.2.2.6. Кабели в колодцах не должны перекрещиваться с другими кабелями, идущими в том же горизонтальном ряду, и заслонять собой отверстия каналов, лежащих в одной с ними горизонтальной плоскости. Спуски и подъемы кабеля между кронштейнами на боковой стенке, как правило, не допускаются.

3.2.3. Требования к кабельным линиям, проложенным по стенам зданий

3.2.3.1. По стенам зданий прокладывают кабели без броневого покрова.

3.2.3.2. При выходе кабелей из трубопроводов на наружные стены зданий они должны быть заключены в газовые или пластмассовые трубы на высоту 0,7 м и защищены желобами на высоту не менее 3 м от грунта.

3.2.3.3. Трасса прокладки кабелей местной связи по наружным стенам зданий должна располагаться на высоте не менее 2,8 м и не более 5 м от земли, а по внутренним стенам на высоте не менее 2,3 м от пола и 0,1 м от потолка. Открытые проложенные кабели на высоте менее указанной должны быть защищены от механических повреждений стальными желобами или угловой сталью.

3.2.3.4. Кабели, проложенные в местах, опасных в отношении механических повреждений (под окнами, под водосточными трубами, за пожарными лестницами и т.д.) должны быть защищены металлическими желобами или угольниками, за исключением кабелей, проложенных под карнизом.

3.2.3.5. Проложенные по стенам кабели крепят скрепами. Скрепы должны размещаться:

- на участках горизонтальной прокладки кабелей - через 350 мм;

- на участках вертикальной прокладки - через 500 мм;

- при изменении направления оси трассы - в 100 мм от центра поворота в обе стороны.

3.2.3.6. Муфты укрепляют скрепами соответствущих размеров. В местах расположения муфт стены штробят на такую глубину, чтобы между стеной и кабелем у муфты не было просвета.

3.2.3.7. При пересечении кабели большей емкости должны прилегать к стене, а меньшей емкости - огибать их сверху или проходить под кабелем большей емкости со штроблением стены.

3.2.3.8. На пересечении с электропроводами телефонный кабель должен быть заключен в трубу из изоляционного материала.

3.2.3.9. При прокладке телефонных кабелей параллельно изолизованным проводам осветительной, силовой проводки или линии проводного вещания расстояние между ними должно быть не мене 25 мм.

3.2.3.10. Не допускается устройство муфт в следующих местах:

- под угольниками и желобами при выходе кабеля из грунта;

- рядом с водосточными трубами;

- на маршах лестниц.

В районах с суровыми климатическими условиями монтаж муфт кабельных линий, проложенных по наружным стенам зданий, следует производить внутри зданий.

3.2.3.11. При скрытой прокладке кабели прокладывают в каналах. Муфты и распределительные коробки располагают в нишах или смотровых устройствах.

3.2.3.12. Прокладка кабелей на чердаках должна производиться по стропилам и балкам с выходами кабелей из стены и перекрытия. Кабели чердака должны быть защищены желобами на высоту не менее 0,85 м от п.

3.2.4. Требования к кабельным линиям, подвешенным на опорах и стойках

3.2.4.1. На опорах и стойках воздушных линий местной связи подшивают кабели марок ТППт, ТПП, ТГ и КСПП.

Максимальная емкость подвешиваемых кабелей не должна превышать 100 пар для столбовых и 30 пар для стоечных линий.

3.2.4.2. Кабель без встроенного троса (каната) подвешивают на стальном оцинкованном тросе с помощью подвесов из листовой оцинкованной стали. Допускается подвеска кабелей емкостью до 20 пар на стальной оцинкованной проволоке диаметром 5 мм. Трос не должн иметь в пролете сростков и других дефектов, препятствувщих свободному перемещению подвесов по тросу.

3.2.4.3. Подвесы вдоль кабеля устанавливают равномерно, через каждые 0,35 м. Подвесы должны плотно облегать оболочку кабеля на 2/3 его диаметра, свободно висеть на тросе и надежно закрепляться поясками.

3.2.4.4. Тросы на промежуточных опорах столбовых линий крепят при помощи металлических консолей, а на оконечных опорах - при помощи клемм или струбцин.

3.2.4.5. Кабели с встроенным тросом крепят на промежуточных опорах при помощи специальных металлических консолей, а на оконечных опорах трос отдаляют от кабеля и крепят при помощи клемм или струбцин. В месте отдаления троса от кабеля на кабель с тросом накладывают проволочный бандаж.

3.2.4.6. На промежуточных опорах кабель должен быть изогнут дугой под консолью. На вводных, оконечных и угловых опорах, а также на всех стойках кабель должен иметь запас в виде полукольца с радиусом 12 - 15 диаметров кабеля.

3.2.4.7. Муфты на подвесном кабеле располагают на опорах или на расстоянии от оси опоры до середины муфты: прямые - не более 500 мм, разветвительные - не более 700 мм, при этом запас кабеля должен составлять 1м.

3.2.5. Требования к подводным кабельным линиям

3.2.5.1. Для устройства переходов кабельных линий через водные пространства (реки, озёра, болота) применяют кабели с броней из круглых стальных проволок.

3.2.5.2. Кабель через водные пространства должен быть проложен целым куском, без муфт в подводной части.

3.2.5.3. Трасса подводных кабелей должна проходить ниже моста по течению реки на расстоянии не менее 300 м от моста и на таком же расстоянии от пристани.

3.2.5.4. Прокладка кабелей через реки, входящие в Единую глубоководную сеть РФ; при глубине их до 8 м, через все остальные судоходные и сплавные реки при глубине их до 5 м, а также несудоходные и несплавные реки глубиной до 3 м выполняется с заглублением в дно реки не менее чем на 1 м.

3.2.5.5. Кабели, проложенные через реки без заглубления на подходах к берегам, должны быть углублены в дно не менее чем на 0,8 м по отношению к наинизшему уровню воды, и при выходе из воды - на 0,8 м.

3.2.5.6. Место стыка подводного кабеля с подземным должно быть на расстоянии до 50 м от уреза воды в зависимости от рельефа и по возможности расположено в незатопляемой части берега.

3.2.5.7. Кабельные переходы через судоходные и сплавные реки должны отмечаться створными столбами и сигнальными огнями.

3.2.6. Требования к оборудованию вводов кабелей в здания

3.2.6.1. К вводам кабелей в здания относится часть линейно-кабельных сооружений на участке от вводного колодца кабельной канализации или вводной опоры воздушной линии связи до оконечных кабельных устройств, установленных в здании.

3.2.6.2. Ввод кабеля связи в здание следует производить в месте, удаленном от вводов электрокабелей, водопровода и других подземных коммуникаций, а также в месте, доступном для осмотра в период эксплуатации.

3.2.6.3. Подземный ввод кабеля в здание может быть выполнен одним из следующих способов:

а) к месту ввода кабеля от проходящей мимо кабельной канализации прокладывается трубопровод, по которому кабель вводится в подвальное помещение (техническое подполье) с последующим выходом его наверх, на лестничные клетки с прокладкой по их стенам открыто или в каналах скрытой проводки; длина трубопровода от вводного колодца до стены здания должна быть не более 30 м;

б) кабель выводится из подземной канализации по трубопроводу на наружную стену дворового или бокового фасада здания и далее прокладывается открыто по стене между первым и вторым этажами с ответвлениями через стену на лестничные клетки. Как исключение допускается устройство ввода со стороны уличного фасада;

в) бронированным кабелем к месту ввода кабеля в подвальное помещение или на наружную стену здания.

3.2.6.4. Вывод кабеля из подземного трубопровода или бронированного кабеля на наружную стену здания при открытой проводке осуществляют посредством изогнутых стальных или полиэтиленовых труб (с внутренним диаметром 50 - 60 мм). Для защиты кабелей на стене от возможных механических повреждений выше вводной трубы их закрывают желобами из тонколистовой стали (толщиной 0,8 - 1,00 мм) на высоту не менее 3 м от земли.

3.2.6.5. Ввод подвесного кабеля может быть воздушным или подземным. При подземном вводе кабель по опоре опускают в грунт и вводят в здание по трубопроводу или же ввод выполняют бронированным кабелем.

В здание подвесной кабель подводят на тросе, который крепят к стене с помощью крюка КН-16. Кабель вводят в отверстие в стене, в которое вставляют изолирующую втулку длиной не менее 0,1 м и по диаметру большую, чем наружный диаметр кабеля.

3.2.7. Требования к оконечным кабельным устройствам

3.2.7.1. Распределительный шкаф должен быть заземлен.

3.2.7.2. Наружную поверхность шкафа окрашивают противокоррозийной краской, а внутреннюю поверхность и каркас - черной краской.

3.2.7.3. Шкафную доску заливают плотным сплошным слоем массы МКБ, не допуская отеков и других дефектов, нарушающих герметичность заливки.

3.2.7.4. Кроссировочные шнуры должны быть аккуратно выложены, не иметь перекосов и петель; на горизонтальных участках, при пересечении пакета кроссировочных шнуров с кабелями, пакет шнуров должен находиться за кабелями.

3.2.7.5. Боксы должны иметь нумерацию.

3.2.7.6. У боксов, заряженных кабелем в свинцовой оболочке, между задней крышкой и боксом, а также между корпусом и плинтами должны иметься прокладки, пропитанные парафином или прошпарочной массой.

3.2.7.7. На плинтах не должно быть неисправных клемм. Последние должны быть завернуты до отказа.

Для кабелей в свинцовой оболочке корытце плинта заливают массой МКС-6 на 1 - 1,5 мм выше основания контактных перьев.

3.2.7.8. Распределительные коробки устанавливают в основном в нишах на лестничных клетках, допускается установка их также на внутренних стенах здания. Высота установки коробки должна быть 2,3 ÷ 2,5 м.

3.2.7.9. Зарядку распределительных коробок следует производить кабелем с полиэтиленовой изоляцией типа ТПП. На крайние перья плинта надевают полиэтиленовые гильзы, длина которых на 2 мм превышает длину перьев.

3.2.7.10. При вводе в коробку кабель должен иметь петлеобразный изгиб с расстоянием 15 см от коробки до вершины дуги.

3.2.7.11. Распределительную коробку в чугунном корпусе окрашивают серой масляной краской.

3.2.7.12. На лицевой стороне корпуса коробки с помощью трафарета должны быть написаны номер распределительного шкафа, в сеть которого включена данная коробка, и номер плинта в распределительном шкафу, с которым коробка соединена. В случае, если коробка запараллелена с другой, дополнительно указывают индекс параллельности (а, б, в).

3.2.7.13. Кабельные ящики на стоечных линиях устанавливают на чердаке, на монтажной доске, а при переходе со столбовой воздушной линии к кабельной - на кабельной опоре.

3.2.7.14. Кабель при вводе в кабельный ящик должен иметь дугообразный изгиб с расстоянием 15 см от ящика до вершины дуги.

3.2.7.15. Каждый плинт кабельного ящика полностью укомплектовывают плавкими предохранителями и угольными разрядниками.

3.2.7.16. Кабельный ящик заземляют. Сопротивление заземления должно соответствовать ГОСТ 464-79.

3.2.7.17. Кабель, поданный с чердака на стойку, должен проходить через газовую трубу, прикрепленную к стойке. При выходе из трубы до крепления на тросе кабель должен иметь запас в виде петли.

3.2.7.18. Наружные части кабельного ящика окрашивают противокоррозийной краской. На крышке ящика пишут номер распределительного шкафа и номер плинта в распределительном шкафу. Кабельный ящик должен быть всегда заперт.

3.2.8. Требования к кабельным линиям, проложенным в коллекторах и тоннелях

3.2.8.1. В коллекторах должны проклевываться кабели без брони, в тоннелях - бронирование без джутового покрытия.

3.2.8.2. Кабели с металлическими оболочками, проходящие по тоннелям метрополитена, для защиты оболочек от коррозии должны иметь изолирующие муфты, которые устанавливаются на расстоянии не более 10 м от выхода кабеля из метрополитена.

3.2.8.3. Противокоррозийная перепайка металлических оболочек кабелей производится через каждые 300 м, а также при вводе кабелей в коллектор и выхода из него.

3.2.8.4. При параллельной прокладке кабелей связи и электрических кабелей в коллекторах кабели связи прокладывают на 15 см ниже электрических кабелей.

3.2.8.5. В коллекторах на пересечении с электрокабелями на расстоянии менее 15 см кабели связи должны быть заключены в трубы из изолирующего материала.

3.2.8.6. При прокладке в коллекторах кабелей связи над теплопроводом, водопроводом и другими трубопроводами (кроме газопровода), расстояние от трубопровода до верха кансоли должно быть не менее 10 см.

3.2.8.7. В остальном к кабелям, проложенным в коллекторах и тоннелях, предъявляются такие же требования, как и к кабелям, проложенным в канализации.

3.2.9. Требования к кабелям, проложенным по мостам

3.2.9.1. По мостам следует прокладывать кабели в пластмассовой оболочке с защитным покровом и без него, в зависимости от способа прокладки.

3.2.9.2. Под пешеходной частью моста кабели прокладывают в асбестоцементных, пластмассовых, бетонных или металлических трубах, причем последние должны быть надежно электрически изолированы от металлических конструкций моста. Концы металлических труб в смотровых нишах должны быть укорочены и тщательно обработаны с внутренней стороны.

3.2.9.3. Прокладка кабелей по мостам без труб может осуществляться следующим образом:

- в огнестойких желобах с боковой стороны моста или под пешеходной частью его;

- открыто по опорным точкам, оборудованным на фермах и устоях моста, аналогично подвеске кабеля.

Для уменьшения вибрации кабеля применяют амортизаторы или упругие основания из асбестовых очесов, песка и других упругих негорючих материалов.

3.2.9.4. В местах температурных швов моста, а также в местах перехода кабеля с металлических ферм моста на устои следует оставлять запасы кабеля в виде небольших петель длиной 20 - 30 см. Для оптических кабелей запас кабеля должен составлять не менее 2 см.

3.2.9.5. В каналах трубопроводов мостов оптические кабели должны прокладываться в полиэтиленовых трубах ПНД-32Т.

3.2.10. Требования к кабельной канализации

3.2.10.1. Трубопровод кабельной канализации должен удовлетворять следующим требованиям:

- внутренняя поверхность его должна быть гладкой, без шероховатостей и заусениц;

- быть прочньм, долговечным в эксплуатации, морозостойким, водонепроницаемым и, по возможности, газонепроницаемым;

- быть устойчивым к воздействию грунтовых вод, обладать достаточным электросопротивлением и не оказывать вредного воздействия на оболочку кабеля.

3.2.10.2. Колодцы кабельной канализации должны быть долговечными в эксплуатации и механически прочными. Все металлические конструкции в колодцах должны быть защищены от коррозии.

3.2.10.3. Помещения ввода кабелей должны удовлетворять следующим требованиям:

- стены и покрытия должны быть из огнеупорных материалов (кирпича, бетона, железобетона), полы бетонные или асфальтированные;

- помещения должны быть без окон и надежно защищены от проникновения грунтовых и канализационных вод;

- все свободные отверстия в другие помещения должны быть закрыты, а если в отверстиях проходят кабели, то промежутки между кабелями и стенками отверстий должны быть заделаны;

- помещение ввода кабелей должно быть оборудовано герметичным взрывобезопасным электрическим освещением, центральным водяным отоплением и естественной вытяжной вентиляцией.

3.3. Требования к воздушным столбовым линиям

3.3.1. В зависимости от метеорологических условий местности типы воздушных линий определяются по табл. 3.1.

Таблица 3.1.

Типы воздушных линий

Тип линий

Расчетные климатические условия района

Допускаемая масса гололеда, изморози или мокрого снега, не более, г/пог.м

О (облегченный)

Негололедный или гололедный, со средней толщиной стенки льда на проводе до 5 мм включительно или изморози до 20 мм включительно

до 150

Н (нормальный)

Гололед с толщиной стенки льда на проводе до 10 мм включительно или изморози свыше 20 мм

до 400

У (усиленный)

Гололед с толщиной стенки льда на проводе до 15 мм включительно или изморози свыше 20 мм

до 800

ОУ (особо усиленный)

Гололед с толщиной стенки льда на проводе до 20 мм включительно или изморози свыше 20 мм

до 1400

3.3.2. Типовые профили опор воздушных линий местных сетей связи приведены в «Руководстве по строительству линейных сооружений местных сетей связи» (М., АООТ «ССКТБ-ТОМАСС», 1995).

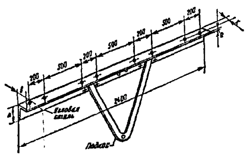
Крюковые профили столбовых воздушных линий ГТС и СТС приведены соответственно на рис. 3.1 и 3.2.

Оснастка опор столбовой линии ГТС траверсами показана на рис. 3.3.

3.3.3. Требования к выполнению работ по строительству столбовых линий местных сетей связи приведены в указанном в п. 3.3.2. Руководстве.

3.3.4. Крепление траверс на опорах должно выполняться:

- на кабельных и оконечных, а также на опорах с ответвлениями со стороны, противоположной тяге проводов;

- на промежуточных опорах с одинаковыми пролетами поочередно с разных сторон.

3.3.5. Нормальные и максимальные длины пролетов воздушных линий местных сетей связи указаны в Приложении 10.

3.3.6. Разбивка трассы воздушной столбовой линии связи должна производиться от начала линии до первого поворота и далее между точками изменения направления линии.

Разбивку трассы воздушных столбовых линий ГТС выполняют с учетом следующих дополнительных требований:

- опоры, как правило, должны устанавливаться в пешеходной части улиц;

- расстояние от опоры до бровки тротуара или кювета не должно превышать 0,5 м;

- опоры и их крепления не должны мешать уличному движению пешеходов и транспорта;

- провода должны пересекать улицы перпендикулярно осям последних. В порядке исключения допускается пересечение под углом не менее 45º;

- линия по возможности не должна проходить по одной стороне улицы с линией освещения;

- опора пересекающего улицу пролета устанавливается в том месте, где впоследствии возможно ответвление проводов;

- установка опор против ворот, калиток, дверей, окон, а также на дне сточных канав и кюветов не допускается.

Рис. 3.1. Крюковой профиль столбовой воздушной линии ГТС

Рис. 3.2. Крюковой профиль столбовой воздушной линии СТС

Рис. 3.3. Оснастка опор траверсами

3.3.7. Глубина закопки опор и приставок воздушных столбовых линий местных сетей связи приведена в Приложении 2.

3.3.8. Для укрепления опор используются оттяжки (рис. 3.4) подпоры (рис. 3.5) или оттяжки с оттяжными столбами (рис. 3.6).

Оттяжки должны делаться из новой стальной оцинкованной проволоки диаметром 4 - 5 мм, свитой в жгут (2 - 7 проволок). Нижний конец оттяжки крепится к закопанному в грунт якорному лежню.

Подпоры должны быть зарыты в грунтах I и II категорий на глубину 1 м и опираться на лежень диаметром 16 - 20 см. В грунтах III и IV категорий подпоры зарываются на глубину 0,6 м.

Железобетонные опоры следует укреплять только оттяжками при помощи двухушковых хомутов.

3.3.9. Линейную проволоку соединяют:

- стальную диаметром 1,5 - 2,0 мм - скруткой;

- стальную диаметром 3,5 - 5,0 мм - сваркой термитно-муфельными патронами или, в исключительных случаях, спайкой;

- биметаллическую сталеаллюминиевую - с помощью зажимов соединительных овальных типа СОАС или алюминиевыми соединительными трубками;

- стальную со сталемедной - сваркой термитно-муфельными патронами;

- сталемедную со сталеалюминиевой - алюминиевыми соединительными трубками, зажимами;

Рис. 3.4. Угловая опора, укрепленная оттяжками:

а - конструкция; б - укрепление оттяжки скобами; в - начало заделки оттяжки; г - конец заделки оттяжки

Рис. 3.5. Угловая опора, укрепленная подпорой:

1 - болт Ø 16×450 с гайкой и шайбой; 2 - поперечный брус Ø 200×1000; 3 - лежень Ø 200×1000, врубки делать в столбе и поперечном брусе на глубину по 30 мм; 4 - болт 16×210 с гайкой и шайбой

Рис. 3.6. Устройство оттяжного столба

- сталемедную с проводом АС - алюминиевой трубкой или зажимами. Соединение стальных проводов показано на рис. 3.7 ÷ 3.9.

3.3.10. Технология работ по подвеске проводов, регулировке стрелы провеса и вязке проводов к изоляторам приведена в «Руководстве по строительству линейных сооружений местных сетей связи» (М., АООТ «ССКТБ-ТОМАСС», 1995).

Крепление проводов к изоляторам показано на рис. 3.10 ÷ 3.16.

3.3.11. Подвеска проводов должна быть выполнена так, чтобы провода дальних абонентов занимали верхние траверсы, причем наиболее удаленные абоненты находились бы ближе к опоре.

Провода, принадлежащие одной цепи, должны быть расположены на одной траверсе и по одну сторону опоры, сохраняя занятое в начале место до конца линии. Переход проводов в пролете с одной стороны опоры на другую не допускается.

На всем протяжении телефонная цепь должна иметь провода одного и того же диаметра и материала.

3.3.12. Подвеска проводов радиотрансляционной сети на линиях ГТС и подвеска проводов ГТС на линиях радиофикации не допускается.

Подвеска проводов ГТС на линиях электрической сети категорически запрещается.

3.3.13. Стрела провеса проводов должна соответствовать установленной. Допустимые стрелы провеса проводов на воздушных столбовых линиях приведены в Приложении 12.

3.3.14. Кабельные опоры должны устанавливаться в местах перехода воздушной линии на кабельную.

На рис. 3.17 показана деревянная столбовая кабельная опора, а на рис. 3.18 - укороченная железобетонная кабельная опора.

Рис. 3.7. Скрутка проводов

Рис. 3.8. Образцы термитно-муфельной сварки проводов:

а) правильно; б) и в) неправильно

Рис. 3.9. Спайка проводов

Рис. 3.10. Крепление провода к изолятору на прямой линии

Рис. 3.11. Крепление провода к изолятору на угловой опоре

Рис. 3.12. Оконечная заделка стальных проводов

Рис. 3.13. Оконечная заделка провода малого диаметра скруткой

Рис. 3.14. Оконечная заделка провода из цветного металла

Рис. 3.15. Крепление сталеалюминиевого провода к изолятору на промежуточных опорах с применением фольги

Рис. 3.16. Рессорная вязка проводов:

а - стального; б - соединение стального провода с рессорой; в - сталеалюминиевого

Рис. 3.17. Кабельная опора:

1 - молниеотвод; 2 - кабельная площадка; 3 - заземление; 4 - кабельный ящик; 5 - шурупы с шестигранной головкой 12×100; 6 - стальной желоб; 7 - ступени; 8 - изогнутая труба; 9 - отверстие 6 мм

Рис. 3.18. Укороченная кабельная опора ОКУ

3.3.15. Для соединения проводов с жилами вводных кабелей или кабельных вставок на кабельных опорах воздушных линий в зависимости от их назначения должны устанавливаться телефонные кабельные ящики типа ЯГК 10/20×2, устройства кабельные связи УКС 10/20×2, устройства кабельные переходные УКП 10/20×2, кабельные ящики новой конструкции с контактами на защемление жил и проводов или кабельные шкафы типов УКМП и ШКМ.

3.3.16. На крыше кабельного ящика должны быть нанесены: индекс АТС, номер шкафа и плинта в распределительном боксе.

3.3.17. Кабельная опора должна оборудоваться кабельной площадкой, ступенями, траверсами, молниеотводом и заземлением.

3.3.18. На кабельной опоре устанавливают пять 8-ми штырных траверс при емкости кабельного ящика 20 пар и три 8-ми штырных или пять 4-х штырных траверс при емкости ящика 10 пар.

На траверсах должны быть отверстия для прохода изолированных проводов типа ЛТВ (ЛТО). В эти отверстия вставляют изолирующие втулки с внутренним диаметром 7 мм.

3.3.19. Выводимый на опору кабель защищается изогнутой стальной или полиэтиленовой трубой на высоту 0,7 м от земли и далее до отметки на 50 см выше пола площадки кабель закрывают деревянным или стальным желобом. При использовании полиэтиленовой трубы вывод защищается желобом ниже уровня земли на 100 мм. Линейный кабель сращивают на опоре с концом кабеля, включенного в кабельный ящик, у входа из-под защитного желоба. С подвесным кабелем конец кабеля, заряженный в кабельный ящик, сращивается в муфте на канате на расстояния 65 - 70 см от опоры. На опоре кабель крепится скрепами на шурупах или гвоздях.

3.3.20. Соединение клеммы плинтов кабельного ящика с воздушными проводами осуществляется двухпроводными изолированными проводами марки ЛТВ-В и ЛТР-В, прокладываемыми вдоль опоры под общими скобами. Место соединения изолированного и линейного проводов пропаивается горячей пайкой или покрывается асфальтовым лаком.

3.3.21. Опоры линий связи должны иметь нумерацию. На каждой опоре проставляются:

- две последние цифры года установки опоры (с написанием цифр по горизонтали);

- номер опоры (с написанием цифр по вертикали);

- в местах соединения секций скрещивания на опоры наносится буква «С».

3.3.22. Нумерация опор производится начиная от вводной или кабельной опоры.

3.3.23. Цифры проставляются черной краской по трафарету на зачищенной поверхности опор. Высота цифр 80 мм расстояние между цифрами года и номера опоры по вертикали 40 мм. Расстояние между цифрами номера опоры по вертикали 20 мм. Высота буквы «С» - 50 мм.

3.3.24. На воздушных линиях ГТС и СТС нумерация должна начинаться (считая от верха цифр года установки опоры) на высоте 2 м над поверхностью земли (рис. 3.19).

3.3.25. На приставках, подпорах и оттяжных столбах ставится только год установки.

Год закопки якорного лежня должен быть отмечен на 150 мм ниже нумерации опоры. При установке оттяжного столба год закопки лежня отмечается на нем. При железобетонном лежне на опору наносят букву «Б».

3.3.26. Нумерация должна быть обращена в сторону дороги.

На деревянных и круглых железобетонных опорах нумерацию располагают под углом 45° к профилю линии (на четных опорах со сдвигом вправо, на нечетных - влево).

Рис. 3.19. Нумерация опор линий связи:

а и б - непропитанных; в - пропитанных

На линиях, проходящих вдоль железной дороги по лесным массивам, сдвиг нумерации на 45° не делают.

3.3.27. На пропитанных опорах нумерацию выполняют черной масляной краской на железном листе или на листе из толя, предварительно окрашенной в светло-желтый или белый цвет.

3.3.28. Нумерация цепей, в зависимости от профиля опор, приведена на рис. 3.1. и 3.3.

3.3.29. Защите от разрушения при прямых ударах молний подлежат опоры:

- вводные, кабельные, контрольные, угловые, разрезные, сложные, мачтовые;

- промежуточные, поврежденные разрядами молний;

- опоры, на которых установлены кабельные ящики в кабельные воронки;

- опоры, установленные на участках пересечения с линиями электропередачи, или контактными проводами электрофицированных железных дорог.

3.3.30. В качестве молниеотводов на деревянных опорах используются стальная проволока диаметром 4 - 5 мм (или две проволоки диаметром 3 мм), которая прокладывается по опоре от ее вершины и прибивается через 300 мм скобами длиной 30 мм, сделанными из той же проволоки.

Устройство молниеотводов на деревянных опорах показано на рис. 3.20. Провода молниеотводов на опорах закрываются по всей длине деревянной рейкой. Разрыв в спусках не делается.

3.3.31. Для устройства молниеотводов на железобетонной кабельной опоре на ее нижнем конце обнажают один из арматурных стержней, к которому припаивают проволоку от заземлителя. Места обнажения арматуры и припайки к ним проводов тщательно заделывают цементнопесочным раствором.

Рис. 3.21. Заземлитель из угловой стали

Рис. 3.20. Протяженный вытянутый заземлитель

3.3.32. Кабельный ящик заземляется подключением его к молниеотводу кабельной опоры.

3.3.33. Сопротивление заземлений устройств кабельных связи (кабельных ящиков) должно быть не более значений, приведенных в табл. 3.2.

Таблица 3.2

Сопротивление заземлений кабельных ящиков

Удельное сопротивление грунта (p), Ом, м

Сопротивление заземления, Ом не более

до 100 включительно

10

свыше 100 до 300 включительно

15

свыше 300 до 500 включительно

20

свыше 500

25

3.3.34. При оборудовании заземлений кабельных ящиков и несущих канатов или проволок для устройства заземлителей используют при нормируемых значениях сопротивления заземления:

- 20 Ом и более - протяженные заземлители (рис. 3.20);

- от 5 до 20 Ом - единичные стержневые заземлители (рис. 3.2);

- от 5 Ом - многоэлектродные заземлители.

3.4. Требования к воздушным стоечным линиям

3.4.1. Стоечные линии представляют собой систему металлических опор (стоек, штырей), устанавливаемых на крышах зданий.

Провода, подвешиваемые на стоечных линиях, включаются в кабельные ящики, устанавливаемые на чердаках зданий, около обреза вертикальной трубы стойки, на монтажной доске, прикрепляемой к стропильной балке.

3.4.2. На стоечных линиях подвешивают стальные или биметаллические провода диаметром 1,2 и 1,6 мм и кабели, указанные в п. 3.2.4.1.

Соединение линейных проводов с клеммами кабельного ящика производится изолированными проводами марок ЛТВ-В и ЛТР-В.

3.4.3. Длина пролета стоечной линии должна быть не более 60 м, а в исключительных случаях - до 100 м.

При подвеске проводов линий ГТС на стойках, расстояние между проводами одной цепи, между двумя цепями и между траверсами должно быть 25 см, на двухштырных траверсах расстояние между проводами цепи должно быть 30 см.

3.4.4. К трассе и местам установки стоек предъявляются следующие требования:

- трасса стоечной линии должна быть по возможности прямолинейной и должна иметь минимальное количество пересечений с другими линиями, особенно с линиями электропередачи;

- опоры стоечной линии следует размещать на зданиях примерно одинаковой высоты для уменьшения резких перегибов подвешиванием проводов или кабелей в вертикальной плоскости;

- опоры следует устанавливать как можно ближе к гребню крыши для обеспечения возможно большего расстояния от подвешиваемых проводов или кабелей до поверхности крыш и вершин деревьев;

- трасса подвески проводов должна быть выбрана с таким расчетом, чтобы расстояние между ними и выступающими устройствами крыши (трубы, слуховые окна, антенны, надстройки и др.) было не менее 0,8 м, а расстояние от проводов (кабеля) до телевизионных антенн - не менее 3 м;

- не должно быть препятствий для установки стойки и ее оттяжек;

- стоечные опоры должны быть установлены строго вертикально. Заделка оттяжек должна допускать возможность регулирования их натяжения (в пределах 50 % - винтовой нарезки струбцины);

- стоечные опоры должны быть установлены так, чтобы их траверсы располагались перпендикулярно основному направлению линии, а при разветвлении - направлению равнодействующей силы натяжения отходящих линий;

- на зданиях с железобетонными кровлями или с железобетонными стропилами в целях уменьшения вибрации проводов, стойки устанавливают над лестничными клетками или над шахтами лифтов.

3.4.5. Установка стоек и штырей на крышах зданий, подвеска проводов и крепление их к изоляторам производится в соответствии с указаниями «Руководства по строительству линейных сооружений местных сетей связи» (М., АООТ «СОКТБ-ТОМАСС». 1995).

3.4.6. Стойки типа СПТ-6 крепят к стропильной балке одним чугунным хомутом, типа СПТ-10 и выводные трубы - двумя хомутами стойки СПТ-1 и СПТ-2 - одним сквозным болтом диаметром 10 мм (рис. 3.22).

3.4.7. Стойки типов СПТ-1, СПТ-2 и СПТ-6 и пары штырей укрепляют четырьмя оттяжками, а стойки типа СПТ-10 - восемью оттяжками, располагаемыми в два яруса по вертикали.

Оттяжки должны изготавливаться для стоек типов СПТ-1, СПТ-2 и пары штырей из двух свитых вместе стальных оцинкованных проволок диаметром 2 мм, а для стоек типов СПТ-6 и СПТ-10 и для выводных труб следует применять стальную оцинкованную проволоку диаметром 5 мм.

Верхние концы оттяжек крепят за траверсы стоек (выводную трубу), нижние концы - за струбцины.

Нижние концы оттяжек к стойкам типов СПТ-1 и СПТ-2 допускается крепить за гребень шва металлической кровли крыш, просверлив в нем отверстие.

Рис. 3.22. Крепление стоек

а - СПТ-10 двумя хомутами; б - СПТ-6 одним хомутом; в - СПТ-1 и СПТ-2 болтом:

1 - труба стойки; 2 - хомут; 3 - стропильная балка; 4 - чугунное копыто; 5 - упорное кольцо; 6 - войлочная прокладка; 7 - болты с обваркой; 8 - болт без обварки

3.4.8. Стойки и штыри должны быть окрашены масляной краской в черный или серый цвет. На стойке должны быть надеты предохранительные колпачки.

3.4.9. Для обеспечения безопасного подхода к стоечным опорам на крышах зданий в необходимых случаях должны быть оборудованы: деревянные трапы, рабочие площадки, выходные люки или должна быть подвешена предохранительная стальная проволока диаметром 5 мм.

3.4.10. На крышах с уклоном более 30° должны быть оборудованы: рабочая площадка у стойки, выходной люк с закрывающейся крышкой и лестницей, закрепляемой на чердаке.

3.4.11. Подходы к стойкам СТП-6 и СТП-10 на крышах с уклоном более 30° должны быть оборудованы трапами.

3.4.12. Величины допустимых стрел провеса, в зависимости от температуры воздуха и длины пролетов, приведены в табл. 3.3.

Таблица 3.3.

Стрелы провеса проводов стоечных линий

Температура воздуха , в С°

Стрелы провеса, см, при длине пролета, м

60

80

100

+30

51

82

120

+25

47

76

111

+20

43

71

105

+15

39

66

99

+10

36

61

93

+5

34

57

87

0

31

54

82

-5

29

50

78

-10

27

47

73

-15

25

42

65

-20

24

42

65

-25

22

40

62

-30

20

38

59

3.5. Требования к защите линейных сооружений местных сетей связи от опасных напряжений и токов

3.5.1. Возможными источниками опасных напряжений и токов для линейных сооружений являются:

- провода электросети напряжением до 1000 В и контактные сети городского наземного электротранспорта при сообщении их с проводами линий связи;

- линии электропередачи напряжением выше 1000 В (до 35 кВ) при электрическом их влиянии на воздушные линии связи или сообщении их с проводами линий связи;

- линии электропередачи напряжением от 110 кВ и выше при магнитном и гальваническом влиянии на линейные сооружения связи;

- контактные сети магистральных и пригородных электрофицированных железных дорог постоянного и переменного токов при электрическом, магнитном и гальваническом влияниях на линейные сооружения связи;

- грозовые разряды при электромагнитном влиянии и прямых ударах молнии.

3.5.2. Указания по защите линейных сооружений местных сетей связи от опасных напряжений и токов приведены в «Руководстве по строительству линейных сооружений местных сетей связи» (М., АООТ «ССКТБ-ТОМАСС», 1995).

3.5.3. Защита от опасных напряжений и токов при пересечениях проводами воздушной линии связи проводов электросети напряжением до 1000 В или контактных проводов наземного электротранспорта осуществляется посредством:

- включения предохранителей и разрядников на вводах цепей и кабельных вставках;

- подвески проводов, покрытых атмосферостойкой изоляцией (в пролете пересечения), испытательное напряжение которых должно быть не менее 2 кВ и коэффициент запаса прочности на растяжение при наибольших расчетных нагрузках - не менее 1,5;

- замены воздушных цепей связи на участках пересечения подземным кабелем или воздушным кабелем, подвешенным на стальном канате;

- установки на опорах линии связи, ограничивающих пролет пересечения, молниеотводов и оборудования в спуске молниеотводов на высоте (1,5 ± 0,2) и разрывов длиной 50 мм;

- устройством пересечения возможно ближе к опоре электросети, но не менее 2 м от самой опоры;

- установки двойных креплений проводов на опорах, ограничивающих пролет, для высоковольтной линии при расположении проводов линии связи под проводами высоковольтной линии, или для стоечной линии при расположении проводов стоечной линии над проводами линии напряжением 380/220 В;

- оборудования пролета пересечения таким образом, чтобы расстояние по вертикали между пересекаемыми проводами при наибольших стрелах провеса было не менее 1,25 м.

3.5.4. Пересечения воздушных линий местных сетей связи (ЛС) с высоковольтными линиями напряжением 1000 В и выше, а также с контактными сетями наземного электротранспорта должны выполняться подземными кабелями, прокладываемыми в асбестоцементных или других неметаллических трубах.

Воздушный переход разрешается в исключительных случаях как временный вариант или когда нельзя по каким-либо причинам оборудовать подземный кабельный переход.

3.5.5. Воздушные пересечения допускаются с электрофицированными железными дорогами постоянного тока при числе проводов линий ГТС не более восьми, а с контактными сетями трамваев и троллейбусов при числе не более 16.

3.5.6. Работы на воздушных пересечениях должны производиться при отключенной и заземленной на месте производства работ контактной сети.

3.5.7. Устройство и ремонт подземного пересечения ЛС контактных сетей наземного электротранспорта можно производить без отключения напряжения в контактной сети.

4. ОРГАНИЗАЦИЯ ТЕХНИЧЕСКОЙ ЭКСПЛУАТАЦИИ ЛИНЕЙНЫХ СООРУЖЕНИЙ МЕСТНЫХ СЕТЕЙ СВЯЗИ

4.1. Общие положения

4.1.1. Основными задачами технической эксплуатации линейных сооружений местных сетей связи являются:

- обеспечение бесперебойной и высококачественной работы обслуживаемых линейных сооружений;

- содержание линейных сооружений в соответствии с техническими нормами и правилами, утвержденными Министерством связи Российской Федерации;

- устранение в контрольные сроки всех возникающих повреждений и аварий линейных сооружений;

- повышение производительности труда, снижение денежных, трудовых и материальных затрат на технологическое обслуживание и текущий ремонт;

- внедрение передовых методов эксплуатации и научной организации труда и, в первую очередь, бригадной формы организации и стимулирования труда;

- внедрение новой техники;

- обеспечение выполнения действующих положений, правил, руководств и инструкций, приказов и директив, а также указаний Министерств связи Российской Федерации по вопросам технического обслуживания и ремонта линейных сооружений;

- повышение трудовой и производственной дисциплины;

- ведение статистического и технического учета в соответствии с утвержденными формами и инструкциями.

4.1.2. Бесперебойная работа линейных сооружений может быть обеспечена при:

- правильной расстановке технического персонала;

- высокой квалификации работников;

- знании техперсоналом своих обязанностей;

- обеспечении работников материалами, оборудованием, инструментами, измерительной аппаратурой, переговорным устройством и транспортом.

4.1.3. Для технической эксплуатации линейных сооружений на предприятиях местной связи создается группа линейных работников, в состав которой могут входить электромонтеры линейных сооружений и абонентских устройств связи, кабельщики - спайщики электромонтеры канализационных сооружений связи и инженерно-технические работники телефонной связи. В зависимости от назначения предприятия местной телефонной связи и объема линейных сооружений эта группа работников может входить в состав линейного цеха (участка) или включаться в состав линейно-кабельного и линейно-абонентских цехов.

4.1.4. Техническая эксплуатация линейных сооружений местных сетей связи включает в себя работы по техническому обслуживанию сооружений, устранении аварий и случайных повреждений линейных сооружений, текущему и капитальному ремонту сооружений.

4.1.5. Работы по капитальному ремонту линейных сооружений должны выполняться специальной бригадой или подрядной организацией. Штат бригады по капитальному ремонту определяется объемом выполняемых работ.

4.1.6. Штат работников, обслуживающих линейные сооружения местных сетей связи должен определяться на основании действующих штатных нормативов, утвержденных Министерством связи Российской Федерации.

4.2. Методы технической эксплуатации линейных сооружений городских телефонных сетей

4.2.1. На городских телефонных сетях (ГТС) в зависимости от объема линейных сооружений и местных условий в основном применяются методы комплексного или раздельного обслуживания линейных сооружений. При комплексном обслуживании все работы по техническому обслуживанию, устранению повреждений и ремонту линейных сооружений, как правило, выполняет одна объединенная бригада электромонтеров.

При раздельном обслуживании линейных сооружений работы по устранению повреждений линейных сооружений и работы по ремонту этих сооружений выполняют отдельные бригады электромонтеров или электромонтеры.

4.2.2. Метод комплексного обслуживания линейных сооружений, как правило, применяется на ГТС малой емкости (до 2 - 3 тысяч номеров). На ГТС малой емкости техническую эксплуатацию линейных сооружений осуществляет линейный участок ГТС, в состав которого входит одна объединенная бригада.

4.2.3. Объединенная бригада выполняет следующие основные работы:

- техническое обслуживание линейных сооружений;

- текущий ремонт линейных сооружений;

- устранение линейных и кабельных аварий и повреждений;

- содержание и установку под постоянное избыточное воздушное давление кабельных линий.

4.2.4. Объединенная бригада несет ответственность за:

- выполнение плана работ;

- качество выполненных работ;

- техническое состояние линейных сооружений;

- количество линейных и кабельных повреждений;

- устранение повреждений в контрольные сроки;

- повторность повреждений;

- сохранность линейных сооружений;

- качественное содержание кабелей под постоянным избыточным воздушным давлением;

- соблюдение правил техники безопасности.

4.2.5. Метод раздельного обслуживания линейных сооружений ГТС применяется на ГТС средней (от 3000 до 50000 номеров) и большой (свыше 50000 номеров) емкости. На ГТС средней емкости для технической эксплуатации линейных сооружений создается линейный цех, на ГТС большой емкости, как правило, организуются линейно-кабельные и линейно-абонентские цеха.

4.2.6. В линейном цехе ГТС для технического обслуживания и ремонта воздушно-столбовых и воздушно-стоечных линий организуется линейная бригада из электромонтеров линейных сооружений и абонентских устройств, а для выполнения работ по техническому обслуживанию текущему ремонту и устранению повреждений кабельных линий создается кабельно-канализационный участок.

4.2.7. Линейная бригада выполняет работы по техническому обслуживанию, ремонту (текущему и капитальному) и устранению повреждений воздушных линий.

4.2.8. Линейная бригада несет ответственность за:

- выполнение плана работ;

- качество выполненных работ;

- техническое состояние воздушных линий;

- количество линейных повреждений;

- устранение повреждений в установленные контрольные сроки;

- повторность повреждений;

- сохранность воздушных линий;

- соблюдение правил техники безопасности.

4.2.9. Структура подразделений, осуществляющих техническую эксплуатацию линейных сооружений местных телефонных сетей, определяется руководством предприятий местной телефонной связи с учетом видов линейных сооружений, их объемов и местных условий.

Примерные структуры линейно-кабельного цеха и кабельно-канализационного участка линейного цеха и состав работ, выполняемых этими подразделениями приведены в типовом проекте «Организация труда в линейно-кабельных цехах (участках) городских телефонных сетей» (Прейскурантиздат, М., 1988).

Примерная структура линейно-абонентского цеха приведены в типовом проекте «Организация труда в линейно-абонентском цехе городской телефонной сети, городского телефонного узла, городской телефонной станции». (Прейскурантиздат, М., 1988).

4.2.10. Производственные формы бригад на технической эксплуатации линейных сооружений городских телефонных сетей, их численность и профессионально-квалификационный состав определяются исходя из содержания и сложности технологического процесса обслуживания, трудоемкости работ, требований научной организации труда, применяемых технических и организационных средств.

4.2.11. На ГТС организуются и работают специализированные бригады, объединяющие работников одной специальности или выполняющих однородные технологические операции;

комплексные бригады, объединяющие работников разных специальностей и профессий для выполнения всех операций технологического процесса и смешанные бригады, состоящие из рабочих и ИТР.

4.2.12. Производственные бригады могут работать на:

- бригадной форме организации и стимулирования труда;

- бригадном подряде;

- хозяйственном расчете.

4.3. Методы технической эксплуатации линейных сооружений сельских телефонных сетей

4.3.1. Основными методами технической эксплуатации линейных сооружений СТС являются:

- постовой или участковый метод;

- централизованный метод;

- смешанный или комбинированный метод.

При постовом или участковом методе линейные сооружения линейно-технического участка (ЛТУ) предприятия связи разделяются на монтерские участки, которые закрепляются за отдельными участковыми электромонтерами. Объем линейного хозяйства и границы монтерских участков определяются руководством предприятия связи в соответствии с действующими нормативами и с учетом местных условий.

Местожительство участкового электромонтера должно находиться примерно в центре участка. Как правило, участковый электромонтер осуществляет техническую эксплуатацию линейных сооружений и абонентских пунктов СТС и радиофикации.

4.3.2. Основными задачами участковых электромонтеров являются:

- предупреждение повреждений закрепленных линейных сооружений;

- выполнение плановых ремонтных работ с установленной периодичностью;

- быстрое и точное выявление и определение места и характера линейных и кабельных повреждений;

- устранение повреждений линейных сооружений в установленные контрольные сроки с привлечением в случае необходимости кабельщика - спайщика.

4.3.3. Участковые электромонтеры при технической эксплуатации линейных сооружений выполняют следующие работы:

- техническое обслуживание линейных сооружений;

- текущий ремонт линейных сооружений;

- участие в работах по капитальному ремонту линейных сооружений;

- надзор за сохранностью линейных сооружений, в том числе за работами по строительству и реконструкции сооружений;

- устранение линейных повреждений, а также кабельных повреждений с привлечением кабельщика-спайщика;

- участие в приемке в эксплуатацию вновь построенных, реконструированных и капитально отремонтированных линейных сооружений.

4.3.4. Участковые электромонтеры рабочий день начинают с получения от бюро ремонта, отделения связи или от начальника ЛТУ данных о наличии на их участках повреждений сооружений СТС, ГТС и радиофикации и приступают к их устранению в кратчайшие сроки, не превышающие контрольные.

После устранения повреждений участковые электромонтеры, по согласованию с начальником ЛТУ, выполняют работы по техническому обслуживанию или текущему ремонту закрепленных сооружений или другие работы по заданию начальника ЛТУ.

В течение рабочего дня участковый электромонтер через каждые 1 - 2 часа по телефону получает от бюро ремонта данные о появлении повреждений на закрепленных за ним сооружениях и абонентских пунктах и устраняет эти повреждения, прерывая работы по техническому обслуживанию или текущему ремонту линейных сооружений.

4.3.5. Участковый электромонтер обеспечивается:

- велосипедом, мопедом или мотоциклом, а в зимнее время лыжами;

- монтерской сумкой с набором инструмента для обслуживания линейных сооружений и абонентских пунктов СТС и радиофикации;

- переносным телефонным аппаратом;

- необходимыми измерительными приборами.

4.3.6. Для выполнения сложных работ по текущему ремонту, устранения больших аварий, а иногда и для выполнения плана капитального ремонта в составе линейно-технического цеха (ЛТЦ) предприятия связи создаются ремонтные бригады.

На время ремонта линейных сооружений, закрепленных за участковым электромонтером, последний включается в состав ремонтной бригады, при этом линейные и абонентские повреждения на его участке устраняют электромонтеры соседних участков или он сам, если диспетчеру предприятия связи удастся вызвать эту ремонтную бригаду. В крупных предприятиях связи для устранения повреждений и аварий на ответственных линиях связи в любое время суток могут создаваться дежурные восстановительные бригады, обеспеченные автотранспортом.

4.3.7. Централизованный метод обслуживания линейных сооружений целесообразно внедрять в эксплуатацию при условиях:

- наличия развитой сети шоссейных дорог и подъездных путей в районе прохождения линий связи;

- обеспечения бригад автотранспортом и механизмами;

- организации диспетчерской службы предприятия связи;

- обеспечении радиотелефонной связью диспетчеров с бригадами.

В результате увеличения объема линейных сооружений и абонентских пунктов СТС и ГТС в настоящее время создались условия, при которых оптимальным районом внедрения централизованного метода обслуживания является линейно-технический участок в пределах административного района.

При этом методе все или большинство монтерских участков ликвидируются и только на участках, отрезанных водными или иными преградами, обособленных и удаленных от дорог - сохраняются постовой или участковый метод эксплуатации.

Вся территория района разбивается на отдельные зоны централизованного обслуживания.

4.3.8. При централизованном методе из числа высвободившихся участковых электромонтеров, при упразднении монтерских участков, организуются бригады специализированного назначения, в том числе:

- дежурная (аварийно-профилактическая) бригада по устранению повреждений, аварий и проведению технического обслуживания сооружений в составе 2 - 3 человек в числе их один шофер - монтер;

- бригада, предназначенная для выполнения работ по текущему, капитальному ремонту и развитию, в количестве 5 - 9 человек.

Нередко этой бригаде приходится выполнять работы по строительству линейных сооружений связи.

4.3.9. В ЛТЦ или ЛТУ организуется диспетчерский пункт, который должен иметь двухстороннюю связь с бригадами электромонтеров. В диспетчерский пункт своевременно должна поступать вся информация о состоянии линейных сооружений и появлении на них повреждений.

4.3.10. Дежурная бригада комплектуется из состава электромонтеров, освободившихся при упразднении монтерских постов и одного или двух водителей автомашины.

Состав бригады оформляется приказом начальника предприятия связи.

Состав бригады может быть сменным, работающим по графику, или постоянным, работающим в течение рабочей недели.

Дежурная бригада, как правило, размещается в центре зоны линейных сооружений и подчиняется начальнику линейно-техническою участка, а оперативно диспетчеру ЛТЦ (ЛТУ). В соответствии с действующими нормативами она оснащается материалами, инструментами, приборами, различными приспособлениями для устранения повреждений и аварий на линейных сооружениях связи.

Бригаде предоставляется автомашина с радиостанцией.

Бригада поддерживает связь с диспетчером ЛТУ, ЛТЦ или дежурным МТС, кросса АТС и получает от них информацию о состоянии технических средств своей зоны.

В случае повреждений на линии бригада выезжает на трассу для устранения повреждений, а когда повреждений нет, бригада производит техническое обслуживание линейных сооружений в соответствии с утвержденным графиком и устраняет на линии замеченные недостатки.

При большой повреждаемости на линиях связи, для выполнения плана профилактических осмотров должен быть предусмотрен резервный день.

Независимо от времени года и метеорологических условий устранение повреждений на линиях СТС необходимо организовать круглосуточно.

Для устранения повреждений на линиях связи в нерабочее время начальник ЛТУ организует оповещение и вызов работников дежурной бригады. Как правило, в выходные и праздничные дни для устранения повреждений устанавливается при ЛТЦ дежурство одной из дежурных бригад ЛТУ.

На дежурную бригаду возлагаются следующие функции:

- устранение повреждений на линиях связи;

- участие в ликвидации аварии на линиях связи совместно с ремонтной бригадой;

- проведение профилактических осмотров линейных сооружений;

- устранение мелких дефектов на линиях связи, которые могут вызвать повреждения;

- содержание закрепленного оборудования, приборов, инструмента и инвентаря в надлежащем состоянии;

- проведение разьяснительной работы на предприятиях, в учреждениях, организациях, школах и среди населения по обеспечению сохранности линейных сооружений;

- осуществление контроля за выполнением требований действующих «Правил охраны линий и сооружений взаимоувязанной сети связи Российской Федерации».

Для лучшей организации коллективного труда при централизованном методе обслуживания линий связи в каждом ЛТЦ (ЛТУ) все линейное хозяйство СТС и ГТС разбивается на оптимальные маршруты и определяется наиболее целесообразный порядок надзора за трассами линий связи.

При определении оптимального маршрута учитывается:

- характер местности (городская черта, населенные пункты, земельные угодья, леса) по которой проходят линии связи;

- преграды на пути (овраги, реки без мостов и переправ);

- непроездные отрезки трасс, их протяженность;

- наличие мест, опасных для сохранности линий связи;

- наличие сторонних организаций, их характер и производственная структура и др.

Осмотр трассы линий совершается на автомашине с определенной периодичностью, установленной для каждого маршрута, в зависимости от характера местности, времени года, наличия опасных мест и др. Начальник ЛГУ не реже 1 раза в месяц осуществляет контрольные осмотры трасс линий.

Дежурная (аварийно-профилактическая) бригада должна иметь:

- положение о бригаде;

- инструкцию по технике безопасности;

- инструкцию по эксплуатации средств радиосвязи;

- схему маршрутов движения и график профилактических осмотров линейных сооружений;

- схему размещения оборудования в автомашине, приданной бригаде;

- журнал приема и сдачи дежурств (при сменном составе бригады).

4.3.11. Руководство ремонтной бригадой осуществляет бригадир, назначаемый приказом по предприятию связи из числа электромонтеров высокой квалификации.

Бригадир подчиняется непосредственно начальнику ЛТУ.

Состав и штат ремонтной бригады определяется начальником ЛТУ в зависимости от объема работ, протяженности участка и местных условий.

На ремонтную бригаду возлагается:

- проведение текущего, а иногда капитального ремонта и реконструкции линейных сооружений;

- приведение к нормам электрических параметров линий связи;

- содержание закрепленного оборудования, приборов, инструмента и инвентаря в надлежащем состоянии;

- подготовка линейных сооружений к работе в неблагоприятных метеорологических условиях;

- выполнение восстановительных работ при ликвидации аварий;

- выполнение плановых работ по развитию средств электросвязи.

Ремонтная бригада обеспечивается транспортом, механизмами,

измерительными приборами, инструментом и материалами в соответствии с действующими нормами.

Для организации оперативной связи с диспетчером ЛТЦ (ЛТУ) автомашины ремонтных бригад оснащаются радиостанциями.

Ремонтные бригады сосредотачиваются в местах дислокации ЛТУ.

4.4. Планирование, контроль и учет выполненных работ

4.4.1. Качественное техническое состояние линейных сооружений местных сетей связи достигается проведением в соответствии с ГОСТ 18322-78 «Система технического обслуживания и ремонта техники» и «Положением об организации и проведении ремонта специализированных основных фондов связи (М., Хозу МС СССР, 1987) технического обслуживания, текущего и капитального ремонта линейных сооружений.

4.4.2. Техническое обслуживание осуществляется проведением систематических осмотров и электрических измерений линейных сооружений по плану - графику.

4.4.3. Работы по ремонту линейных сооружений выполняются в соответствии с годовым производственным планом.

4.4.4. Годовой производственный план составляется начальником линейного (линейно-технического) участка или цеха и утверждается руководством предприятия местной связи.

Основанием для составления годового производственного плана являются данные плановых и контрольных измерений электрических характеристик линейных сооружений, записи в журнале технического обслуживания, личный осмотр сооружений начальником участка (цеха).

4.4.5. В соответствии с годовым производственным планом составляются квартальные планы - графики текущего и капитального ремонта линейных сооружений с разбивкой по месяцам, утверждаемые главным инженером предприятия связи. В этих планах - графиках указываются: наименование и срок выполнения работ, бригады, которые будут выполнять работы, дата выполнения работ. В планах - графиках капитального ремонта, кроме того, указываются сметная и фактическая стоимости работ. Составление планов - графиков ремонта линейных сооружений производится не позже чем за месяц до начала планируемого периода.

4.4.6. Работы по текущему ремонту линейных сооружений в основном выполняются в летний период, однако часть этих работ может выполняться в весенний, осенний и зимний периоды.

Линейные сооружения, подлежащие капитальному ремонту в данном году, в план работы текущего ремонта этого года не включаются.

4.4.7. Раздел годового производственного плана по титульному капитальному ремонту содержит перечень объектов с указанием наименования выполняемых работ, их сметной стоимости, сроков исполнения и исполнителей.

4.4.8. Годовой производственный план предусматривает материально-техническое обеспечение всех подлежащих выполнению работ.

4.4.9. До начала работ планы работ должны быть обсуждены на производственном совещании работников участка (цеха) и доведены до каждого работника.

4.4.10. Контроль за работой бригад электромонтеров осуществляется следующим образом:

- задание на устранение линейных и кабельных повреждений или выполнение ремонтных работ бригада получает от начальника участка;

- в рабочие время бригадир бригады, работающей по устранению повреждений, по прибытии на каждый новый участок работы должен позвонить по телефону в бюро ремонта или начальнику участка и сообщить о своем местонахождении и выполняемой работе;

- не реже одного раза в день - электромеханик (начальник участка) должен посетить места работ непосредственно подчиненных ему бригад, проверить организацию и ход работ, соблюдение правил техники безопасности и в случае необходимости - оказать помощь бригаде;

- электромеханик должен присутствовать на месте работ непосредственно подчиненных ему бригад при выполнении ими особо опасных, аварийных или сложных работ;

- электромеханик осуществляет выборочный контроль качества выполнения работ бригадами монтеров, непосредственному ему подчиненных, проверяет правильность заполнения рапортов (нарядов).

4.4.11. Контроль за работой электромехаников осуществляет старший электромеханик, перед которым электромеханики регулярно отчитываются о ходе выполнения работ.

В рабочее время электромеханики должны регулярно сообщать по телефону в цех (группу) или бюро ремонта о своем местонахождении.

4.4.12. Контроль за работой участковых электромонтеров СТС осуществляется следующим образом:

- участковый электромонтер получает задание на работы от начальника участка в начале рабочего дня;

- задание на устранение повреждений в течение рабочего дня передается по телефону начальником участка или бюро ремонта ЦС, для чего электромонтер обязан через каждые 1 - 2 ч справляться о наличии повреждений на его участке и сообщать о своем месте нахождения и выполняемой работе.

После устранения повреждения электромонтер немедленно сообщает в бюро ремонта ЦС и начальнику участка об устранении повреждения и о причине его возникновения.

Контроль за работой участкового электромонтера производится начальником участка по выполнению поручаемых заданий на работы в течение рабочего дня.

При отсутствии повреждений на закрепленном участке участковый монтер занимается работами по техническому обслуживанию и текущему ремонту линейных сооружений.

4.4.13. Для учета выполненных работ каждый электромеханик (начальник участка) ежедневно должны записывать в тетрадь (произвольной формы), где работают подчиненные ему бригады или отдельные электромонтеры и какую работу они выполняют.

4.5. Техническое оснащение линейных подразделений

4.5.1. Бригады электромонтеров и кабельщиков - спайщиков, обслуживающих линейные сооружения, а также участковые электромонтеры должны обеспечиваться материалами, инструментом, приборами, спецодеждой и оборудованием техники безопасности в соответствии с утвержденными нормами.

4.5.2. Нормы годового расхода кабелей, основных материалов и арматуры на техническое обслуживание и текущий ремонт кабельных сооружений ГТС и СТС, приведены соответственно во «Временных нормах: годового расхода материалов и запасных частей на эксплуатационное содержание и текущий ремонт городских телефонных сетей» и «Временных нормах годового расхода материалов и запасных частей на эксплуатационное содержание и текущий ремонт оборудования сельских телефонных сетей» (М., Связь, 1979).

4.5.3. Составы комплектов инструментов, приспособлений и приборов для бригады кабельщиков - спайщиков и комплекта инструментов для отдельного кабельщика - спайщика приведены в типовом проекте «Организация труда в линейно-кабельных цехах (участках) городских телефонных сетей (М., Прейскурантиздат, 1988).

4.5.4. Нормы годового расхода материалов, арматуры и оборудования на эксплуатационное содержание и текущий ремонт столбовых и стоечных линий соответственно приведены в Приложениях 13 и 14.

4.5.5. Перечень инструментов и оборудования для электромонтеров, обслуживающих воздушные линии, дан в Приложении 15.

4.5.6. Перечень основного инструмента для участкового электромонтера СТС приведен в Приложении 16.

4.5.7. Участковые электромонтеры должны обеспечиваться в летнее время велосипедами или мотоциклами, а в зимнее время - лыжами.

4.5.8. Бригадиры бригад электромонтеров и участковые электромонтеры являются ответственными за хранение материалов и инструментов, а также за расходование их в соответствии с установленными нормами и сроками службы.

4.5.9. Электромеханик (начальник участка) должен проверять по нарядам и «Рапортам» правильность списания материалов.

4.6. Техническая документация

4.6.1. Технический учет и паспортизация линейных сооружений ГТС и СТС должны проводиться в соответствии с требованиями «Руководства по техническому учету оборудования и паспортизации сооружений ГТС» (М., Связь, 1979) и «Инструкции по паспортизации воздушных линий связи и радиофикации» (М., Связь, 1977).

4.6.2. Формы технических документов, заполняемых при эксплуатации кабельных линий ГТС и СТС, приведены в «Альбоме форм первичного эксплуатационно-технического учета и технической паспортизации по городской телефонной связи» (М., Связь, 1973).

4.6.3. Формы технических документов, заполняемых при эксплуатации воздушных линий местных сетей связи, приведены в табл. 4.1.

Таблица 4.1.

Техническая документация для местных сетей связи, имеющих воздушные линии

Вид документации

Номер формы

Назначение документации

Место хранения документации

Кто заполняет формы документации

1

2

3

4

5

1. Контрольный лист осмотра опор, проводов, арматуры

Ф-13

Материалы осмотра используется при определении объема ремонта сооружений

Группа технического учета

Начальник (техник) линейного участка

2. Линейный паспорт

Л

Учет объема линейного хозяйства

То же

То же

3. Сведения о столбовом хозяйстве линии связи

1

То же

То же

То же

4. Паспорт воздушной стоечной линии

ТФ-3/10

То же

То же

То же

5. Сведения о проводах ГТС и подвесных кабелях

ТФ-3/14

То же

То же

То же

6. Итоговая карточка составных частей линейных устройств на участке

4

Учет объема линейного хозяйства

Группа технического учета

Начальник (техник) линейного участка

7. Сведения об опорах

Ф1

То же

То же

То же

8. Сведения о кабельном переходе, вводе воздушной линии связи, кабельной линии СТС

Ф2

То же

Тоже

То же

9. Схема скрещивания проводов

Ф5

Определяет защищенность между параллельными цепями

Группа технического учета

Начальник ЛТЦ, ЛТУ, ЛУ

10. Список с домашними адресами работников, обслуживающих линейные сооружения

Произвольная

Для оперативного вызова личного состава при аварийных ситуациях

Бюро ремонта, диспетчерская

Руководство цеха

4.7. Надзор за сохранностью линейных сооружений и техника безопасности

4.7.1. Надзор за сохранностью линейных сооружений местных сетей связи производится в соответствии с указаниями «Правил охраны линий и сооружений взаимоувязанной сети связи Российской Федерации», утвержденных в 1995 г.

4.7.2. Руководство линейного цеха (участка) должно организовать оповещение (путем рассылки уведомлений) организаций, на территории которых проходят линейные сооружения связи, о правилах ведения работ в зоне расположения линейных сооружений и номерах телефонов, по которым принимаются телефонограммы о работах в охранных зонах линий связи.

4.7.3. При повреждении линейных сооружений посторонними организациями последние привлекаются к административной или уголовной ответственности в установленном порядке.

4.7.4. При обслуживании линейных сооружений местных сетей связи должны соблюдаться «Правила по охране труда при работах на кабельных линиях связи и проводного вещания (радиофикации)» и «Правила техники безопасности при выполнении работ на воздушных линиях связи и проводного вещания (радиофикации) (М., 1996).

5. ТЕХНИЧЕСКОЕ ОБСЛУЖИВАНИЕ ЛИНЕЙНЫХ СООРУЖЕНИЙ

5.1. Общие положения

5.1.1. Техническое обслуживание представляет собой комплекс операций, направленных на поддержание работоспособности или исправности линейных сооружений, своевременное предупреждение появление неисправностей, выявление их и устранение возникающих дефектов.

Правильная организация технического обслуживания удлиняет сроки службы линейных сооружений, сохраняет высокое качество и надежность их работы, способствует удлинению межремонтного периода и снижению стоимости ремонтов.

5.1.2. Техническое обслуживание линейных сооружений в зависимости от объема работ и периодичности их выполнения подразделяется на текущее (повседневное) и периодическое планово-профилактическое обслуживание.

5.1.3. Текущее техническое обслуживание линейных сооружений осуществляется систематически, является обязательным и специально не планируется.

5.1.4. Планово-профилактическое техническое обслуживание линейных сооружений осуществляется периодически в основном путем проведения осмотров сооружений и устранения обнаруженных при этом неисправностей, а также путем проведения электрических измерений сооружений.

5.1.5. Текущее техническое обслуживание линейных сооружений включает в себя проведение охранных мероприятий, включая осмотр трасс линейных сооружений, а также устранение на линиях связи обнаруженных неисправностей, которые могут привести к нарушению нормального действия связи.

5.1.6. Планово-профилактическое техническое обслуживание включает следующие работы:

- осмотр и профилактическое обслуживание линейных сооружений;

- проведение плановых и контрольных измерений электрических характеристик линий связи;

- проверка новых кабелей, проводов, оконечных кабельных устройств, оборудования и арматуры, поступающих в эксплуатацию;

- подготовка линейных сооружений к работе в осенне-зимний период, период паводка и грозовой период.

5.2. Осмотр и профилактическое обслуживание линейно-кабельных сооружений

5.2.1. При профилактическом обслуживании линейно-кабельных сооружений выполняются следующие основные работы:

- осмотр состояния трасс кабельных линий и приведение их в порядок;

- проведение работ по надзору за сохранностью линейно-кабельных сооружений;

- протирка и выправка кабелей и муфт в кабельных колодцах;

- выправка положения подвесных и настенных кабелей;

- регулировка стрелы провеса подвесного кабеля;

- очистка от пыли и влаги деталей в оконечных кабельных устройствах;

- проверка исправности и замена в случае необходимости разрядников и предохранителей;

- проверка состояния и приведение в порядок кроссировок в распределительных шкафах и кабельных ящиках.

5.2.2. Выявленные при техническом обслуживании линейно-кабельных сооружений недостатки, подлежащие устранению при ремонте этих сооружений, должны фиксироваться в журнале технического осмотра линейно-кабельных сооружений.

5.3. Осмотр и профилактическое обслуживание воздушных линий

5.3.1. Осмотр и профилактическое обслуживание воздушных линий производятся линейной бригадой или участковым электромонтером во время обхода закрепленного участка.

5.3.2. Профилактическое обслуживание воздушных линий местных сетей связи включает следующие работы:

- контрольный осмотр опор (один раз в год - весной) с уточнением необходимого объема работ для включения в план ремонта;

- замена и укрепление аварийных спор и регулировка оттяжек;

- вырубка поросли кустарника под проводами, обрезка ветвей деревьев, для обеспечения установленной ширины просек, удаление деревьев, угрожающих паданием на линию связи;

- замена битых изоляторов, пересадка слабо насаженных изоляторов;

- выправки штырей, крюков, кронштейнов, накладок, замена негодных вязок (коротких, корродированных, лопнувших и др.) выправка перекосившихся траверс;

- замена неисправных контрольных сжимов на контрольных опорах, пайки или покрытие лаком мест соединения изолированных проводов с голыми;

- крепление (подтягивание) проволочных хомутов на приставках, удаление набросов с проводов, сбор металлических отходов с трассы линий;

- окраска кабельных площадок, желобов, кронштейнов, хомутов, стоек и т.д.;

- выправка или замена ступенек на кабельных опорах, ремонт кабельных площадок и желобов;

- дополнительное укрепление линий для обеспечения механической устойчивости их при неблагоприятных метеорологических условиях.

5.4. Измерения электрических; кабельных, воздушных и смешанных линий

5.4.1. Измерение электрических характеристик кабельных, воздушных и смешанных линий местных сетей связи проводят с целью проверки соответствия характеристик установленным нормам и предупреждения аварийного состояния.

5.4.2. Электрические измерения линий проводятся измерительной группой предприятия связи в соответствии с действующими «Руководствами» по электрическим измерениям линий ГТС и СТС.

5.4.3. Измерительная группа выполняет следующие виды электрических измерений линий:

- плановые (периодические);

- намерения по определению мест повреждений;

- контрольные измерения, проводимые после выполнения ремонтных и восстановительных работ;

- измерения при приемке в эксплуатацию вновь построенных и реконструированных линий;

- Измерения по уточнению трассы кабельной линии и глубины залегания кабеля;

- измерения для проверки качества изделий (кабелей, проводов, разрядников, предохранителей, плинтов, боксов, коммутационных коробок, изоляторов и т.п.), поступающих от промышленности, перед установкой (монтажом) их на линиях.

Виды измеряемых параметров и объемы плановых, контрольных и приемо-сдаточных измерений электрических характеристик кабельных, воздушных и смешанных линий местных сетей связи приведены ь указанных в п. 5.4.2.«Руководствах».

5.4.4. Измеренные электрические характеристики кабельных, воздушных и смешанных линий местных сетей связи должны соответствовать нормам, приведенным в Приложении 4.

5.4.5. Результаты плановых, контрольных и аварийных измерений электрических характеристик линий служат исходными данными при определений состояния линейных сооружений и основанием при разработке планов текущего и капитального ремонта и проектов реконструкции сооружений.

5.5. Проверка новых кабелей проводов, оконечных кабельных устройств и арматуры, поступающих в эксплуатацию

5.5.1. Все кабели, провода, оконечные кабельные устройства, изоляторы и арматура, поступающие от заводов - изготовителей, обязательно должны быть проверены на соответствие техническим условиям и ГОСТ. Проверка производится путем проведения внешнего осмотра и контрольных измерений электрических характеристик согласно «Руководству по электрическим измерениям линий сельских телефонных сетей» (М., «Связь», 1976) в объемах, приведенных в табл. 5.1.

Таблица 5.1.

Объем проверок и измерений кабелей, проводов, арматуры

Наименование кабелей, проводов, шнуров и оконечных устройств

Объем проверок и измерений от полученной партии, %

Строительные длины и маломерные куски кабелей

5

«Телефонные провода различных марок с полиэтиленовой, поливинилхлоридной и резиновой изоляцией

3

Плинты без разрядников и предохранителей

2

Разрядники

1

Предохранители

0,5

Изоляторы

3

5.5.2. Если проверкой будет установлено несоответствие кабельных изделий, проводов, шнуров или оборудования техническим условиям и ГОСТ, составляется акт - рекламация.

Акт - рекламацию высылают заводу - поставщику, который может направить своего представителя на предприятие связи для проверки забракованной продукции. К рекламации прилагаются паспорта (сертификаторы) и акт испытаний.

6. УСТРАНЕНИЕ ПОВРЕЖДЕНИЙ КАБЕЛЬНЫХ, ВОЗДУШНЫХ И СМЕШАННЫХ ЛИНИЙ

6.1. Организация работ по устранению аварий и повреждений линий

6.1.1. На линейных сооружениях различают повреждения и аварии.

6.1.2. Повреждением считается нарушение нормальной телефонной связи, подтвержденное результатом испытания, проведенного с помощью измерительной аппаратуры, или опросом абонента.

6.1.3. В соответствии с утвержденной 01.04.94 Министерством связи Российской Федерации «Инструкцией о порядке устранения повреждений и учета заявлений, поступающих в бюро ремонта (ЦБР) на местных телефонных сетях» повреждения линейных сооружений разделяются на кабельные и линейно-абонентские.

6.1.4. К кабельным относятся повреждения в подземных, подвесных, настенных и подводных кабелях, а также в оконечных кабельных устройствах: боксах, кабельных ящиках, устройствах кабельных связи, устройствах кабельных переходных, распределительных коробках.

6.1.5. Линейно-абонентские повреждения подразделяются на повреждения:

- воздушных проводов от кабельного ящика (устройства кабельного связи, устройства кабельного переходного) до вводных крюков или стоек ввода;

- абонентских проводок от распределительной коробки, вводных крюков или стойки ввода до розетки основного и дополнительного телефонных аппаратов или дополнительного прибора (блокиратора, диодной приставки, абонентского блока аппаратуры АВУ, дополнительного звонка и т.д.);

- переходных устройств (плинты и шнуры распределительных шкафов и кабельных ящиков), плавких предохранителей и угольных разрядников в кабельных ящиках и абонентских защитных устройствах.

6.1.6. В настоящих «Правилах» даются указания по устранению только кабельных повреждений и повреждений воздушных проводов столбовых и стоечных линий.

6.1.7. Аварией кабельной линии считается повреждение кабеля межстанционной связи, повреждение не менее 20 % пар в кабеле абонентской линии, а также выход из строя наиболее ответственных кабельных связей, перечень которых определяется руководством местной телефонной сети по согласованию с местными органами власти.

6.1.8. Аварией на воздушной линии местной телефонной сети считается одновременное повреждение не менее 20 % цепей.

6.1.9. Время приема заявлений на бюро ремонта по заявлению абонента устанавливается руководством ГТС, СТС по согласованию с местными органами власти.

В воскресные и праздничные дни прием заявлений в бюро ремонта (ЦБР) и устранение повреждении не производится.

6.1.10. Продолжительностью повреждения считается время с момента заявления о неисправности телефонной связи до момента ее восстановления, включая ночное время, праздничные и выходные дни.

6.1.11. Повреждения воздушных проводов от кабельного ящика до вводных изоляторов абонентского пункта устраняются в течение следующего рабочего дня после поступления заявки с 9.00 до 17.00 ч. Повреждения, выявленные в субботние и праздничные дни, исправляются в следующий рабочий день с 9.00 до 17.00 часов.

В день поступления заявления до 16 ч устраняются повреждения: прямых проводов, таксофонов, абонентских телефонных линий, используемых для охранной сигнализации, телефонов спецабонентов, детских и медицинских учреждений.

6.1.12. Замена поврежденной пары магистрального или распределительного кабеля на свободную исправную производится электромонтерами линейно-абонентского участка (цеха) по разрешению группы переключения. После 17 ч. 30 мин. и в субботние дни распределительные поврежденные пары заменяются на исправные по усмотрению электромонтера, о чем он после замены сообщает в бюро ремонта (ЦБР) для исправления данных в абонентской карточке. В группу переключения измененные данные электромонтер сообщает на следующий день.

Если три пары, выделенные группой переключения, оказались неисправными, а также в случае отсутствия свободной исправной пары бюро ремонта (ЦБР) оформляет наряд на исправление кабеля (ф.ТФ 2/6), который передается кабельной бригаде.

Поврежденные магистральные пары, выявленные после 17 ч. 30 мин. и в субботние дни, заменяются электромонтерами в течение следующего рабочего дня.

6.1.13. Контрольный срок исправления кабельных повреждений считается с 8 ч. 30 мин. рабочего дня, следующего за днем истечения контрольного срока линейно-абонентского повреждения. Контрольные сроки исправления кабельных повреждений, сданных линейно-абонентским участком (цехом) в пятницу, исчисляются с 8 ч. 30 мин. понедельника, для повреждений сданных в субботу или предпраздничные дни, контрольный срок кабельных повреждений исчисляется со следующего рабочего дня.

Работникам линейно-кабельного участка (цеха) разрешается исправлять кабельные повреждения до начала исчисления контрольного срока; то есть до 8 ч. 30 мин. дня, следующего за днем передачи электромонтером линейно-абонентского участка (цеха) поврежденного номера «на измерение».

6.1.14. Контрольный срок на устранение повреждений в оконечных, кабельных устройствах (распределительных коробках, кабельных ящиках, распределительных шкафах) должен исчисляться согласно п. 6.1.13., при этом контрольный срок устанавливается в течение дня, отсчет сверх контрольного времени начинается с 24 часов.

6.1.15. Контрольные сроки устранения повреждений в кабелях межстанционной связи, магистральных и распределительных, приведены в таблице 6.1.

Количество повреждений, и из них устраненных или неустраненных в контрольные сроки, определяется по задействованной емкости данного кабеля. Контрольный срок восстановления действия связей в поврежденном кабеле при наличии технической возможности путем использования обходной линии составляет 24 часа. При замене более одного пролета кабеля с монтажом дополнительных муфт, контрольный срок исправления кабеля увеличивается на 8 часов на каждую дополнительную муфту.

6.1.16. Контрольный срок на устранение повреждения в муфте оптического кабеля составляет 48 часов.

Таблица 6.1.

Контрольные сроки устранения повреждений в многопарных кабелях

Емкость кабеля, пар

Максимальная продолжителъность повреждения в кабеле межстанционной связи, магистральных и распределительных, час

Максимальная продолжительность повреждения в высокочастотных кабелях межстанционной связи, час

Со вскрытием муфт, но без замены пролета

С заменой пролета

до 200

18

36

24 (В одночетверочных кабелях СТС - 8)

Свыше 200 до 400

24

48

Свыше 400 до 600

30

60

Свыше 600 до 800

36

72

Свыше 800 до 1200

60

100

Свыше 1200 до 1400

70

120

Свыше 1400 до 1600

80

140

Свшац 1600 до 1800

96

150

Свыше 1800 до 2000

120

170

Свыше 2000 до 2400

144

190

6.1.17. Если замена или ремонт кабеля связаны с оттаиванием льда в колодце и каналах трубопровода, откачиванием воды из кабельной канализации или котлована, отогревом грунта, то эти работы должны быть начаты немедленно после выявления места повреждения.

Время, затрачиваемое на оттаивание льда в колодце, оттаивание грунта, откачку воды из колодца или котлована не входит в нормируемые контрольные сроки. В этих случаях отсчет контрольного срока должен вестись с момента окончания работ по удалению льда из колодца, воды из колодца или котлована, отогрева или разработки мерзлого грунта в месте повреждения кабеля.

6.1.18. В целях быстрейшей ликвидации аварий линейных сооружений в линейном цехе (участке) должны быть:

- полный комплект аварийного запаса кабелей, проводов материалов, инструмента и инвентаря;

- список работников, вызываемых, для устранения аварий, с указанием их домашних телефонов и адресов;

- автотранспорт и механизмы;

- полный комплект аварийного запаса ключей от распределительных шкафов, киосков, колодцев, а также от помещений, в которые может понадобиться доступ для устранения аварии линейных сооружений;

- комплект измерительной аппаратуры для определения расстояния до места повреждения.

6.1.19. Порядок приема заявок о повреждениях и устранения повреждений на ГТС и СТС должен соответствовать указаниям действующих «Инструкции о порядке устранения повреждений и учета заявлений, поступающих в бюро ремонта (ЦБР) на местных телефонных сетях» (М., 1994) и «Инструкции о порядке учета заявлений о повреждениях и устранении повреждении на сельских телефонных сетях» (М., Связь, 1979).

6.1.20. После записи заявления о неисправности телефонной связи в контрольном листе (или журнале повреждений) работник бюро ремонта с испытательно-измерительного стола (прибора) определяет характер повреждения, сообщает электромеханику о повреждении и выдает участковому электромонтеру задание на устранение повреждения.

6.1.21. Участковый электромонтер с оконечного кабельного устройства определяет при помощи рабочего микротелефона участок повреждения: в кабельной линии, на воздушно-столбовой или стоечной линии, в абонентской проводке или телефонном аппарате.

Если повреждение произошло в абонентской проводке или в телефонном аппарате, то участковый электромонтер устраняет повреждение сам. Если же повреждение кабельное или линейное, то участковый электромонтер сообщает об этом в бюро ремонта.

6.1.22. Работник бюро ремонта кабельные повреждения передает на устранение в кабельный участок (группу). На ГТС при подтверждении электрическими измерениями наличия повреждения кабеля работник бюро ремонта выписывает наряд на исправление кабеля формы ТФ-2/6.

6.1.23. Получив от кабельного участка (группы) сообщение об устранении кабельного повреждения, работник бюро ремонта проводит контрольные испытания всех ранее поврежденных линий, после чего отмечает в абонентских карточках и журнале учета заявлений и повреждений время исправления и характер повреждения. В контрольном листе делается отметка об исправлении повреждений.

6.1.24. Если повреждение линейное, то работник бюро ремонта передает его на устранение в линейную бригаду электромонтеров. На СТС при участковом (постовом) методе эксплуатации линейные повреждения устраняет участковый электромонтер.

6.1.25. Получив сообщение об устранении линейного повреждения, работник бюро ремонта действует так же как и при кабельном повреждении.

6.1.26. После устранения повреждения (аварии) на линии оформляют следующие документы:

протоколы контрольных измерений электрических характеристик линии;

в паспорт данной линии вносятся сведения о произведенных изменениях на линии;

в случае, если повреждение (авария) вызваны действиями посторонней организации, составляется смета на восстановительные работы, которая предъявляется к оплате организации, повредившей линию.

6.2.27. По окончании работ по ликвидации повреждения (аварии) с линейным персоналом проводится разбор причин, вызвавших повреждение (аварию), и рассматривается правильность проведения восстановительных работ.

6.2. Методы отыскания и устранения повреждений кабельных линий

6.2.1. Общие указания

6.2.1.1. Все работы, выполняемые при устранении кабельных повреждений и аварий (прокладка строительных длин кабелей, монтаж и демонтаж муфт и оконечных устройств), должны производиться в соответствии с действующими техническими условиями, инструкциями по строительству, монтажу, правилами техники безопасности и Руководствами по эксплуатации линейно-кабельных сооружений ГТС и СТС.

6.2.1.2. Если повреждение кабеля произошло в кабельной канализации, то перед началом работ в канализации необходимо удалить из колодцев воду и произвести их вентилирование.

6.2.1.3. Перед вскрытием муфт при устранении кабельного повреждения (аварии) должно быть снято избыточное давление в кабеле. Работу по устранению повреждения разрешается начинать только после снижения давления внутри кабеля до атмосферного.

6.2.1.4. Для вскрытия свинцовых муфт их швы распаивают.

6.2.1.5. Перед вскрытием полиэтиленовых и поливинилхлоридных муфт, смонтированных сваркой, участки сварки тщательно прогревают горячим воздухом от пламени газовой горелки или паяльной лампы. Для этого над водружаемой муфтой устанавливают козырек из фанеры или картона, а горелку или лампу размещают под муфтой. Нагретые участки сварки осторожно прорезают ножом и детали муфты сдвигают со сростка. Для вскрытия муфты, смонтированной термоусаживаемыми трубками на трубке делают продольный надрез. После этого трубку снимают со сростка. Затем поочередно разматывают ленты, намотанные на сросток.

6.2.1.6. Для демонтажа муфты, смонтированной заливкой битумным компаундом, муфту нагревают горячим воздухом или в кипящей воде до размягчения компаунда. В дне муфты прорезают отверстие. Затем муфту стягивают со сростка. Остатки компаунда дополнительно нагревают горячим воздухом и стирают со сростка ветошью. После этого сросток протирают смоченной бензином ветошью. Демонтаж тупиковой муфты, залитой герметиком ВИДАД-31, не производится. Если кабель поврежден вблизи этой муфты, то муфту вырезают и монтируют новую муфту, используя запас кабеля.

6.2.1.7. Демонтаж муфты, смонтированной склейкой или липкими лентами, осуществляют путем поочередного разматывания ленты, намотанной на сросток.

6.2.1.8. Защитные чугунные муфты перед вскрытием укладывают на козлы и очищают от земли и грязи. Под муфту устанавливают противень. Открывают крышку люка верхней полумуфты. Муфту несколько наклоняют над противнем, обеспечивая сток кабельной массы при награде. Затем ее нагревают, по возможности наклоняя, выливают кабельную массу. От нижней полумуфты отделяют обе накладки и верхнюю полумуфту. Свинцовую муфту дополнительно надевают и ветошью снимают с нее кабельную массу. Остатки массы стирают смоченной бензином чистой ветошью.

6.2.1.9. После демонтажа поврежденной муфты кабельщик - спайщик в первую очередь определяет границы распространения влаги в кабеле. Для кабеля со свинцовой оболочкой это делается путем постепенного вскрытия оболочки по 5 - 6 см по оси кабеля и осмотра поверхности изоляции жил и внутренней поверхности оболочки, а для кабеля с пластмассовой изоляцией и оболочкой границы распространения влаги в кабеле ориентировочно определяются по количеству вытекшей из кабеля воды при вскрытии муфты.

6.2.1.10. При наличии влаги в поврежденном кабеле производится его просушка. Просушка осуществляется с помощью прогрева свинцовой оболочки участков кабеля, прилегающих к месту повреждения, паяльной лампой (непосредственно или через металлический кожух) с одновременной подачей сжатого сухого воздуха внутрь кабеля из соседней муфты (муфт).

Влагу в месте сращивания (под муфтой) удаляют пропаркой парафиновой массой или просушкой горячим воздухом.

Если с помощью просушки не удается удалить влагу из кабеля, то делают вставку по длине поврежденного участка.

6.2.1.11. Если в кабеле с пластмассовой изоляцией и оболочкой вода обнаружена только в муфте, то ее выливают и после протирки муфты и просушки сростка теплым воздухом производят монтаж муфты обычными способами или термоусаживаемыми лентами с подслоем сэвилена (ГИПКа).

Просушку сростка теплым воздухом осуществляют с помощью газовой горелки или паяльной лампы, как указано в п. 6.2.1.10.

Температура теплого воздуха, поступающего к сростку, не должна превосходить 90 °С.

В случае распространения воды за пределы муфты в соответствии с указаниями п. 6.2.1.9, а также путем вскрытия соседних муфт определяют участок кабеля, в котором имеется вода, и делают вставку по длине поврежденного участка.

6.2.1.12. При наличии влаги в сердечнике или муфте кабеля с полиэтиленовой изоляцией емкостью от 10 до 600 пар может быть применен способ удаления влаги из кабеля и восстановления электрических характеристик кабельной линии путем закачки в заполненный водой участок кабельной линии под давлением жидкого медленно-полимеризующегося гидрофобного заполнителя.

Гидрофобный заполнитель состоит из двух компонентов:

- основного компонента - маслонаполненного олигомера (раствора каучука в индустриальном масле);

- отвердителя - триэтаноломина, добавляемого в количестве 5 ÷ 10 мл на 1 литр основного компонента.

Закачка в кабель гидрофобного заполнителя производится с помощью переносного устройства УЗК-2 (ТУ 45-93 4а2.954.000ТУ), позволяющего за 8 - 10 ч заполнить гидрофобным заполнителем от места закачки в обе стороны линии два пролета кабеля длиной до 120 м каждый.

Порядок выполнения работ по удалению влаги из замокшего кабеля и восстановления его электрических характеристик следующий:

1) подготовка оборудования УЗК-2 (проверка режимов закачки узла перемешивания, герметичности шлангов, комплектности приспособлений для подключения устройства к кабелю);

2) подготовка жидкого гидрофобного заполнителя к работе (измерение вязкости гидрофобного заполнителя без отвердителя и с отвердителем);

3) подключение УЗК-2 в кабель посредством шланга со струбциной через отверстие в оболочке; вырезка отверстий в оболочке кабеля по концам восстанавливаемого отрезка кабеля;

4) заполнение бака УЗК-2 основным компонентом заполнителя и отвердителем и их смешивание в течение 3 - 5 мин.;

5) введение заполнителя в сердечник кабеля в режиме «закачка»;

6) контроль давления подачи заполнителя в кабель (до МПа (15 кгс/см2)) по манометру на панели УЗК-2;

7) контроль прохождения заполнителя по кабелю, определение завершения закачки визуально по выходу заполнителя из отверстий концах восстанавливаемого участка кабеля;

8) измерение электрических характеристик восстанавливаемой линии;

9) заделка отверстий в оболочке кабеля.

Полная полимеризация жидкого гидрофобного заполнителя проходит за период до 30 суток.

6.2.1.13. При устранении кабельных аварий и повреждений, требующих замены пролета или вставки кабеля, должны быть выполнены следующие работы:

- измерено сопротивление изоляции жил и экрана и проверена целостность оболочки кабеля, предназначенного для замены поврежденного участка;

- проложен новый кабель;

- во время монтажа муфт кабельщик - спайщик должен сообщать по телефону работнику кросса об окончании соединения каждых 10- пар, после чего производится контрольная проверка соединенных пар из кросса;

- по окончании монтажа сростка (до запайки или сварки муфт) выборочно измеряют сопротивление изоляции 10 - 20 % пар разных для многопарного кабаля и 100 % пар для одно- и четырех- кабеля. При неудовлетворительных результатах измерений сростки и прилегающие к месту сращивания участки кабелей вновь просушивают. Затем вновь повторяют выборочные измерения сопротивления изоляции. При положительных результатах измерений муфты запаивают (сваривают с оболочкой кабеля).

6.2.1.14. После окончания монтажных работ по устранению кабельных повреждений (аварии) производятся контрольные измерения восстановленного кабеля. В случае положительного результата изменений сообщают в кросс и начальнику цеха (участка) о ликвидации кабельного повреждения (аварии).

6.2.1.15. Ремонт оболочек кабелей и муфт производится путем запайки (заварки) мелких трещин, проколов и порезов или посредством напаивания (наваривания) на значительные отверстия заплат из того же материала, что и оболочка.

6.2.1.16. Определение мест повреждений волоконно-оптических линий производят с помощью рефлектометра.

Порядок устранения повреждений волоконно-оптических линий указан в разделах 6.2.2 и 6.2.3.

6.2.2. Методы отыскания и устранения повреждений в кабелях, проложенных в грунте

6.2.2.1. Устранение повреждений в кабелях, проложенных в грунте, производят в следующем порядке:

- осматривают трассу кабеля на предполагаемом участке повреждения и ближайших участках:

- по результатам электрических измерений находят места повреждений и по технической документации определяют места расположения муфт, граничащих с участком повреждения;

- вскрывает грунт в предполагаемом месте повреждения, а также в «подозрительных» местах трассы (просадка грунта, следы раскопок грунта и т.д.);

- вскрывают грунт в месте расположения ближайшей к участку повреждения муфты в случае, если не удалось обнаружить повреждения в местах, указанных выше;

- вскрывают муфту и проводят электрические измерения по уточнению места повреждения. В случае надобности получения более точных результатов вскрывают дополнительно вторую муфту и с помощью двусторонних измерений уточняют место повреждения;

- вскрывают грунт в месте повреждения;

- устраняют повреждение;

- засыпают кабель и утрамбовывают грунт.

6.2.2.2. В зависимости от характера повреждения кабеля для его устранения могут быть применены следующие методы:

- запайка или заварка поврежденной оболочки;

- монтаж удлиненной муфты со вставкой жил;

- монтаж кабельной вставки.

6.2.3. Методы отыскания и устранения повреждений кабелей, проложенных в кабельной канализации

6.2.3.1. Перед началом работ в кабельной канализации необходимо:

- выполнить комплекс работ по установке ограждений, устройству совещания, проверке на наличие опасных газов и т.д.

Примечание. В случае обнаружении в колодце газа необходимо провентилировать колодец, после чего взять пробу для вторичной проверки. Если повторная проверка вновь подтвердит наличие газа, необходимо поставить в известность, аварийную службу газовой сети, а работу в колодце прекратить.

- при наличии воды в колодце организовать отливку и принять меры, предотвращающие ее поступление в колодец;

- организовать осушку перекрытия и стенок колодца путем обогревания пламенем паяльной лампы или газовой горелки.

6.2.3.2. При устранении повреждения кабеля в муфте должен соблюдаться следующий порядок выполнения работ:

- отыскание в колодце по нумерационным кольцам поврежденного кабеля;

- наружный осмотр поврежденного кабеля и определение места повреждения;

- вскрытие муфты или оболочки и определение границ распространения влаги;

- удаление влаги (пропарка или просушка) из поврежденного участка;

- восстановление поврежденных пар или оптических волокон кабелей со вставкой или без вставки жил, оптических волокон;

- контрольная прозвонка кабеля с металлическими токопроводящими жилами или измерение затухания оптических волокон волоконно-оптической линии;

- наложение поясной изоляции и миткалевой ленты для кабелей со свинцовой оболочкой; наложение поясной изоляции и экранной ленты для кабелей с пластмассовой оболочкой;

- выборочные контрольные измерения сопротивления изоляции;

- запайка (заварка, восстановление) муфты или оболочки.

6.2.3.3. При распространении влаги в пределах муфты ее снимают и используют вновь для запайки (заварки) после устранения повреждения.

6.2.3.4. При распространении влаги вдоль кабеля за пределы муфты на кабеле со свинцовой оболочкой, если участок проникновения влаги ограничен 1 м, после устранения повреждения смонтировать удлиненную разрезную муфту; при болышх участках распространение влаги допускается кабельная вставка с монтажом двух муфт в колодце.

В кабелях с пластмассовой изоляцией влагу, проникшую за пределы муфты удаляют продуванием воздуха через вскрытые муфты соседних колодцев. После удаления влаги измеряют сопротивление изоляции жил кабеля на поврежденном участке. Если измеренная величина сопротивления изоляции жил соответствует установленным нормам, произвести монтаж муфт на обоих концах поврежденного участка, если не соответствует - заменить поврежденный пролет.

6.2.3.5. В случае повреждения всех пар кабеля пролет заменяют с перерывом связи, если же повреждена часть пар кабеля, то без перерыва связи. Замену пролета без перерыва связи осуществляет следующим образом: в свободный канал трубопровода на данном пролете затягивают исправный кабель по типу и емкости соответствующий поврежденному. После разделки и прозвона жил затянутого кабеля во вскрытых муфтах колодцев последовательно заменяют пары поврежденного кабеля парами исправного кабеля; по окончании монтажа и контрольных измерений муфты запаивают (сваривают с оболочкой).

6.2.3.6. При устранении повреждения кабеля в пролете канализации должен соблюдаться следующий порядок выполнения работ:

- осмотр трассы данного участка кабельной канализации;

- распайка (вскрытие) муфты в колодце, ближайшем к предполагаемому месту повреждения на участке от конца линии до распаянной (вскрытой) муфты; более точные данные о месте повреждения получают измерениями с двух концов из двух муфт, ограничивающих поврежденный пролет;

- проталкивание винтовых палок или гибкой ленты, трубки, прутка и контрольного цилиндра в свободный канал (при отсутствии свободного канала - в занятый канал) для определения границ проходимости канала и возможного места осадки или провала канализации;

- вскрытие поврежденного участка канализации или вытягивание из канала поврежденного пролета кабеля и отыскание места повреждения кабеля в натуре;

- устранение повреждения в кабеле;

- ремонт поврежденной канализации или устройство колодца в месте повреждения.

6.2.3.7. В зависимости от характера повреждения кабеля для его устранения могут быть применены следующие методы:

- заварка, заделка (у кабелей с пластмассовой оболочкой) или подпайка (у кабелей со свинцовой оболочкой) места повреждения оболочки;

- монтаж муфты во вновь устроенном на месте повреждения колодце;

- замена поврежденного пролета.

6.2.4. Методы отыскания и устранения повреждений кабелей, проложенных по стенам и в каналах стен зданий

6.2.4.1. При устранении повреждений в кабелях, проложенных по стенам зданий, должен соблюдаться следующий порядок выполнения работ:

- осмотр с приставной лестницы кабеля в предполагаемом месте повреждения;

- отыскание и устранение повреждения.

6.2.4.2. В зависимости от характера повреждения для его устранения применяют следующие методы:

- подпайку (заварку) оболочки кабеля;

- напайку на поврежденной свинцовой оболочке кабеля разрезной муфты;

- монтаж новой муфты;

- прошпарку (просушку) муфты c частичным пересоединением жил;

- перемонтаж муфты со вставкой или без вставки жил;

- вставку кабеля с монтажом двух муфт;

- замену пролета между муфтами.

Примечание. При устройстве кабельной вставки или замене участка кабеля расстояние между двумя соседними муфтами должно быть не менее 5 м.

6.2.4.3. При наличии повреждения кабеля в каналах стен (скрытая прокладка) заменяют пролет на участке от распределительной коробки до муфты (перчатки) в подвале здания.

6.2.5. Методы отыскания и устранения повреждений подвесных кабелей

6.2.5.1. При устранении повреждений подвесных кабелей должен соблюдаться следующий порядок выполнения работ:

- осмотр с телескопической вышки или приставной лестницы поврежденного участка кабеля. В случае невозможности осмотра с указанных выше устройств кабель с тросом опускают до высоты, позволяющей провести осмотр с земли;

- проведение дополнительных измерений по определению места повреждения с ближайшей к столбу (стойке) муфты в случаях, когда повреждения у столбов (стоек) не обнаруживаются, а опустить кабель с тросом невозможно или нецелесообразно;

- устранение повреждений.

6.2.5.2. При повреждении подвесного кабеля пользуются следующими методами для его устранения:

- подпайкой кабеля, напайкой разрезной муфты на поврежденную оболочку или заваркой пластмассовой оболочки кабеля;

- прошпаркой (для кабеля со свинцовой оболочкой) или просушкой муфты;

- монтажом муфты со вставкой или без вставки жил;

- вставкой кабеля (заменой пролета).

6.2.6. Методы устранения повреждений в оконечных кабельных устройствах

6.2.6.1. При повреждении отдельных пар в боксе распределительного шкафа плинт, в который включена поврежденная пара, должен быть освобожден от кроссировок, отсоединен от корпуса и осмотрен изнутри. При этом отключаемые кроссировки перевязывают так, чтобы сохранился порядок их подключения к винтам (контактам) плинта. Если при осмотре повреждение будет обнаружено (например, обрыв в пайке жилы или контакте на защемление, касание пружиной корпуса бокса, пробой изоляции в паре жил и др.), то после его устранения и проверки для кабеля со свинцовой оболочной необходимо прошпарить расшивку кабеля, включевного в плинт. Если кабель пластмассовый - просушить теплым воздухом расшивку кабеля.

После выполнения указанных работ для кабелей в свинцовой оболочке корытце плинта залить массой МКС-6 и покрасить асфальтовым лаком с двух сторон бумажную прокладку под плинт.

После этого установить плинт на свое место, включить кроссировки и сообщить в бюро ремонта об окончании работ.

6.2.6.2. В случае, если при повреждении отдельных пар в боксе не представляется возможность отсоединить плинт от корпуса бокса или повреждение не обнаруживается при осмотре плинта изнутри, следует уточнить место повреждения путем вскрытия муфты в шкафном колодце и проверки поврежденной пары из этой муфты в сторону бокса и в сторону линии. Если по результатам проверки повреждение находится на стороне бокса, необходимо выполнить следующие работы:

- освободить бокс от кроссировок;

- вскрыть шкафную доску;

- освободить бокс от крепления к каркасу распределительного шкафа, опуская бокс на себя, закрепить его в таком положении, чтобы верхняя часть находилась ниже корешка бокса;

- открыть заднюю крышку бокса;

- рассмотреть расшивку кабеля и в случае обнаружения повреждения устранить его, а в случае, если повреждение не обнаружено, использовать запасные пары;

- проверить, восстановились ли поврежденные пары;

- для кабеля со свинцовой оболочкой залить корешок бокса массой марки МКС-6; корешки боксов пластмассовых кабелей не заливают;

- плавно, подавая запас кабеля по направлению к шкафному колодцу, установить бокс на свое место, закрепить его на каркасе и очистить от следов массы;

- включить кроссировки и сообщить об окончании работ в бюро ремонта:

- выправить по указанию кросса возможные ошибки при включении кроссировок;

- залить шкафную доску массой марки МКБ.

6.2.6.3. При наличии повреждения большого количества пар в боксе его следует заменить:

Работы по замене бокса необходимо выполнять следующим образом:

- освободить бокс от кроссировок, кроссировки занумеровать и перевязать;

- вскрыть шкафную доску;

- освободить бокс от крепления к каркасу распределительного шкафа;

- вскрыть муфту в шкафном колодце, занумеровать и перевязать пары со стороны линии, обрезать их;

- подать кабель, включенный в бокс, из шкафного колодца в сторону распределительного шкафа, обеспечивая плавный изгиб кабеля и удалить бокс с кабелем из шкафа;

- подать в шкафный колодец из распределительного шкафа через шкафную доску конец кабеля, включенный в новый бокс, и, обеспечивая его плавный изгиб, установить новый бокс в распределительном шкафу взамен старого;

- смонтировать муфту с прозвонкой в шкафном колодце, сделать контрольную прозвонку кабельных пар и при отсутствии повреждений в смонтированной муфте, запаять ее;

- включить кроссировки в распределительном шкафу и сообщить в кросс об окончании работы;

- залить шкафную доску массой марки МКБ.

6.2.6.4. При повреждении пар в распределительной коробке от плинта коробки должны быть отключены однопарные кабели и перевязаны в соответствии с их подключением к плинту; плинт отсоединить от корпуса коробки осмотреть изнутри. Если при этом повреждение будет обнаружено, то после его устранения необходимо выполнить следующие работы:

- прошпарить расшивку кабеля (у кабелей со свинцовой оболочкой);

- просушить теплым воздухом (у кабеля в пластмассовой оболочке);

- проверить исправность восстанавливаемых пар;

- для кабелей в свинцовой оболочке залить массой марки МКС-6 корешок бокса и корытце плинта.

После выполнения перечисленных выше работ необходимо:

- установить плинт на свое место на прокладку, укрепить его на корпусе распределительной коробки и включить однопарные кабели;

- сообщить в кросс об окончании работ по устранению повреждения.

6.2.6.5. Если после проведения мероприятий, перечисленных в п. 6.2.6.4 повреждение все же имеет место, то следует заменить распределительную коробку, предварительно уточнив место повреждения. Для этой цели у распределительной коробки должна быть вскрыта ближайшая муфта или кабель в целом месте (на расстоянии 2 - 3 от коробки) и определено место повреждения.

Если повреждение окажется на участке кабеля, включенного в распределительную коробку, необходимо:

- кабель, включенный в распределительную коробку, обрезать у муфты или в месте вскрытия оболочки и вместе с плинтом удалить из распределительной коробки;

- заменить вырезанный участок кабелем, заряженным в новый плинт;

- смонтировать муфту и прозвонить жилы;

- включить в распределительном шкафу абонентские линии и сообщить в кросс об окончании работы:

6.2.6.6. Работы по устранению повреждений в кабельных ящиках (устройствах кабельных связи УКС, устройствах кабельных переходных УКП) проводят в том же порядке, что и в абонентских распределительных коробках.

Кроме того, следует укомплектовать кабельные ящики (УКС, УКП) защитными устройствами.

6.2.6.7. Методы устранения повреждений в платах защиты (защитных полосах) кросса (ВКУ) приведены в «Руководстве по эксплуатации линейно-кабельных сооружений СТС».

6.3. Методы устранения повреждений воздушных линий

6.3.1. Наиболее распространенные виды повреждении цепей воздушных линий местных сетей связи приведены в табл. 6.2.

Таблица 6.2.

Виды повреждений цепей воздушных линий связи

Наименование повреждения

Причины повреждения

«Земля»

Заземление одного или обоих проводов линии, соединение с землей деталей арматуры (крепежных пластин плинта, винтов, угольных пластин и т.д.)

«Обрыв»

Разъединение (разрыв) одной или обеих жил проводов линии

«Сообщение»

Соединение одной или обеих жил проводов линии с одним или несколькими проводами других линий

«Напряжение»

Касание одной или обеих жил проводов, имеющих повреждение изоляции, других проводов, находящихся под напряжением

«Короткое»

Соединение между собой двух жил проводов линии

6.3.2. Участок повреждения от распределительной коробки или кабельного ящика в сторону телефонного аппарата определяют с помощью рабочей микротелефонной трубки (в которой телефон и микрофон могут быть соединены последовательно и параллельно).

6.3.3. При повреждении «земля» следует:

- отклонить жилы однопарного провода от клемм плинта распределительной коробки (кабельного ящика);

- отыскать минусовую жилу любой действующей пары в распределительной коробке, для чего одну жилу шнура микротелефона временно присоединить к винту плинта, соединенного с землей, а другую жилу поочередно подключать к клеммам действующей пары до получения щелчка (треска) в телефоне, что является признаком подключения к минусовой жиле;

- один конец микротелефонного шнура присоединить к найденной минусовой клемме, а другим - поочередно касаться концов жил поврежденной линии, щелчок (треск) в телефоне будет признаком того, что повреждена одна или обе жилы абонентской проводки;

если же щелчка в телефоне не слышно, то повреждения на участке от распределительной коробки до телефонного аппарата нет.

6.3.4. При повреждении «короткое» следует:

- отключить от клеммы плинта одну жилу однопарного провода и распределительной коробке (кабельном ящике) и к этой клемме присоединить одну жилу микротелефонного шнура; другую жилу микротелефонного шнура подключить к отключенной жиле, возникновение щелчка в телефоне будет признаком того, что короткое замыкание находится в сторону телефонного аппарата;

- при обесточенной линии проверку производят временным присоединением одной из жил поврежденной линии к клемме ближайшей действующей пары (например, лезвием отвертки); при этом жилы поврежденной линии отключают, а жилы микротелефонного шнура присоединяют: одну ко второй клемме действующей пары и другую - ко второй жиле поврежденной пары; наличие щелчка в телефоне является признаком того, что короткое замыкание произошло в проверяемой линии.

6.3.5. При повреждении «обрыв» следует:

- жилы микротелефонного шнура присоединить к клеммам плинта распределительной коробки (кабельного ящика);

- появление зуммера (ответ АТС) является признаком отсутствия повреждения на участке от коробки до станции и указывает на повреждение в сторону телефонного аппарата;

- при отсутствии зуммера поврежденную линию закоротить в коробке; в распределительном шкафу отключить одну жилу провода от клеммы поврежденной линии и подключить к ней одну жилу микротелефонного шнура, другую жилу микротелефонного шнура подключить к отключенной жиле; отсутствие зуммера подтвердит, что обрыв находится на участке от шкафа до распределительной коробки.

6.3.6. При повреждении «сообщение» следует:

- в распределительной коробке (кабельном ящике) отключить от клеммы плинта жилы проверяемой линии;

- одну жилу микротелефонного шнура присоединить к крепежному винту, а другой - касаться первой и второй жил поврежденной пары; прослушивание щелчка в телефоне является признаком того, что имеется сообщение с минусовой жилой другой (действующей) пары;

- сообщение с полюсовой жилой определяют так же, как при определении повреждения «земля».

Порядок определения участка повреждения из других устройств такой же, как и из распределительной коробки.

6.3.7. Основные причины линейных повреждений в распределительных коробках и кабельных ящиках (УКС, УКП) приведены в табл. 6.3.

Таблица 6.3.

Причины линейных повреждений в оконечных кабельных устройствах

Вид повреждения

Причины повреждения

Способ устранения повреждения

1. «Обрыв»

1. Поломка жилы провода 1×2 в месте включения в клеммы плинта

Перезаделать конец провода 1×2

2. Неплотный контакт (зажим) жилы провода 1×2

Подвернуть винты до отказа

2. «Земля»

1. Образование нагара (загрязнение) в воздушном промежутке разрядника

Заменить угли и прокладку

2. Неправильное положение прокладок, вызывающее соединение угольных пластин.

Привести в порядок прокладки

3. Касание жил провода ЛТВ-В нумерационной пласти ны

Удалить изчишек жил

4. Касание плохо укрепленной нумерационной пластины клеммы или жилы провода

Укрепить нумерационную пластину

5. Касание стойки (опоры) жилой провода ЛТВ-В при нарушении его изоляции (оплетки)

Заменить провод ЛТВ-В

6. Попадание влаги или загрязнение поверхности плинта

Протереть плинт, удалить загрязнение

6.3.8. Большое количество линейных повреждений наблюдается на вводах воздушных линий в абонентские пункты, в распределительных коробках и кабельных ящиках (УКС, УКП).

Для снижения повреждаемости воздушных линии на вводах заменяют на них провода с обветшалой изоляцией, поврежденные вводные изоляторы, втулки, воронки, некачественные сростки линейных проводов с вводными, устраняют касание проводов друг друга и с другими предметами.

Вводные изоляторы и провода защищают от попадания на них воды, стекающей с крыши.

6.3.9. Основные неисправности распределительных коробок и способы их устранения приведены в табл. 6.4.

Таблица 6.4.

Причины линейных повреждений в распределительных коробках

Характер неисправностей

Причины неисправностей

Способ устранения неисправностей

1

2

3

В контактной арматуре плинта:

 

 

- ослабление клеммных винтов и прочности крепления жил проводов

Вибрация

Дополнительное завинчивание винтов до конца

- отсутствие клеммных винтов

Выпадание клеммных винтов

Установка новых винтов

- поломка или срыв резьбы клеммных винтов

Механическое воздействие

То же

- поломка контактного пера

Механическое воздействие

Замена плинта

- коррозия контактной арматуры

Наличие агрессивной среды

Чистка контактной арматуры или замена плинта

В цоколе плинта:

 

 

- ослабление крепления плинта к боксу

Вибрация

Дополнительное крепление

- понижение электрического сопротивления изоляции между токопроводящими клеммными винтами (контактами)

Запыление и увлажнение поверхности плинта

Чистка плинта от пыли и грязи или замена плинта

- прогорание пластмассы в междуклеммных промежутках

Воздействие электрического тока в условиях повышенной влажности

Замена плинта

- сколы или трещины в цоколе плинта

Механическое воздействие

То же

- ослабление крепления или смещение нумерационных пластин

Вибрация

Дополнительное крепление

6.3.10. Наиболее распространенные неисправности кабельных ящков (УКС, УКП) и способы их устранения перечислены в табл. 6.5.

Таблица 6.5.

Причины линейных повреждений в кабельных ящиках

Характер неисправностей

Причины неисправностей

Способ устранения неисправностей

1

2

3

В угольном разряднике типа УР-500:

 

 

- замыкание пластин

Отсутствие изоляционной прокладки или пробой во время грозы,

Чистка угольных пластин, установка изоляционной прокладки

- поломка или скол пластин

Механическое воздействие

Замена пластин

- отсутствие одной или двух пластин

Вибрация

Установка выпавших или новых пластин

В предохранителе:

 

 

- перегорание плавкой вставки

Воздействие сильного тока

Замена предохранителя

- разбита стеклянная трубка

Механическое воздействие

То же

- подвижность контакта

То же

То же

- коррозия контактов

Наличие агрессивной среды

Чистка контактов

- отсутствие предохранителя

Вибрация или преднамеренное изъятие посторонним лицом

Установка выпавшего или нового предохранителя

В контактной арматуре:

 

 

- ослабление клеммных винтов и нарушение прочности крепления жил проводов

Вибрация

Дополнительное завинчивание винтов

- отсутствие клеммных винтов

Выпадание клеммных винтов

Установка новых винтов

- поломка или срыв резьбы винтов

Механическое воздействие

Замена винтов

- поломка линейных пружин

Механическое воздействие

Замена плинта

- коррозия контактной арматуры

Воздействие агрессивной среды

Чистка контактной арматуры или замена плинта

В цоколе плинта:

 

 

- сколы или трещины

Механическое воздействие

Замена плинта

- ослабление крепления плинта к боксу

Вибрация

Дополнительное крепление

- понижение сопротивления изоляции между токопроводящими клеммными винтами (контактами)

Запыление и увлажнение поверхности плинта

Чистка плинта от пыли и грязи

В крышке:

 

 

- поломка

Механическое воздействие

Замена

- ослабление крепления крышки

Вибрация

Усиление крепления

6.3.11. Основными причинами повреждений воздушных линий связи является: загрязнение или скол изоляторов; срыв проводов с изоляторов, обрыв проводов, большой провес проводов, коррозия проводов и наличие плохих сростков, загнивание деревянных опор, подпор и приставок, большой наклон опор и стоек, скол железобетонных опор и приставок.

6.3.12. На всех линиях изоляторы должны быть вычищены два раза в год: весной и осенью. В зонах с интенсивным загрязнением изоляторов периодичность чистки уменьшается и принимается в соответствии с табл. 6.6.

Таблица 6.6

Периодичность чистки изоляторов воздушных линий связи

Место расположения линии

Сроки чистки изоляторов

1. В городах

Через три месяце

2. В радиусе 1 км от металлургических, химических, цементных заводов, нефтепромыслов, железнодорожных узлов

Через один месяц

Для чистки изоляторов используют: флягу с водой, мешочек с мраморной мукой или мелом и тряпки. Осмотр и чистку начинают с верхних изоляторов. При обнаружении дефектов изолятор заменяют. Первоначально изолятор протирают мокрой тряпкой. Если загрязненный изолятор не поддается чистке, то тряпку посыпают мраморной мукой или мелом и ими снова протирают изолятор, Внутреннюю поверхность изолятора чистят мокрыми тряпками. Очищенный изолятор снаружи и внутри следует протереть сухой тряпкой.

6.3.13. Изоляторы, крюки и штыри заменяют в следующем порядке:

- отвязывают провод от изолятора и подвешивают к крюку, или к траверсе;

- вывертывают крюк или штырь вместе с изолятором и при помощи веревки опускают его на землю;

- ввертывают новый крюк или устанавливают штырь и насаживают изолятор;

- провод накладывают на изолятор и закрепляют вязкой.

6.3.14. При вязке сорванного с изолятора провода необходимо выявить причину срыва. Если она обусловлена некачественной вязкой, то провод вяжут тем же способом, которым он был закреплен, но с соблюдением установленной технологии вязки. Если срыв провода вызван вылетом опоры, то его крепят как на угловой опоре. Если же срыв произошел по причине вибрации провода, то его крепят специальной вязкой с использованием рессоры (рис. 3.16).

6.3.15. Если провода имеют стрелу провеса более нормальной, то на этом участке ослабляют вязку проводов, слабину перегоняют с двух сторон участка к пролету, в котором имеется сросток проводов. Затем провод берут в блоки и натягивают до требуемой величины стрелы провеса. На участке вырезают лишний участок провода, после чего концы проводов соединяют. Ослабленную вязку проводов закрепляют.

6.3.16. Если провод имеет стрелу провеса менее нормальной, то на этом участке ослабляют вязку проводов, по обе стороны сростка провод берут в блоки и перерезают на сростке. Затем блоки медленно отпускают и провод перегоняют «удочками» в соседние пролеты до получения требуемой стрелы провеса. Выполняют вставку провода в том месте, где он был перерезан и закрепляют ослабленные вязки.

Во всех случаях перед перерезанием провода в него должна быть включена перемычка из изолированного провода (для предотвращения перерыва связи).

6.3.17. Замену участка провода с интенсивной коррозией или плохим сростком на длине 0,5 ÷ 3,0 м проводят в следующей очередности:

- провода отвязывают от изоляторов на двух (или нескольких) соседних опорах и опускают вниз, причем провод шестами или «удочками» (крюком с веревкой) отводят в сторону, чтобы не было касания с землей или другими проводами;

-с обеих сторон соединения провод берут в блоки и натягивают так, чтобы получилась слабина, позволяющая сделать новые соединения;

- из изолированного провода делают временную перемычку (для предотвращения прекращения связи);

- участок старого провода вырезают и выполняют соединение концов нового провода с концами проводов линии.

При выполнении вставки провода на длине одного или нескольких пролетов:

- разматывают отрезок новой проволоки;

- вытягивают стальную проволоку;

- заменяемый провод освобождают от вязки и при помощи изолированных подвесов временно подвешивают к крюку или траверсе;

- вставку поднимают вверх, укладывают на изоляторы и временно привязывают;

- заменяемый провод берут в лапки блоков, включают перемычку из изолированного провода, провод натягивают и заменяемый провод перерезают;

- конец нового провода соединяют с концом линейного провода;

- снимают блоки, конец заменяемого провода закрепляют подвесом, а другой конец вставки провода линии берут в лапки блока, слегка подтягивают и включают за лапками перемычку;

- заменяемый провод перерезают и второй конец вставки соединяют с концом провода линии;

- блоки и перемычку снимают и провод вставки крепят к изоляторам перевязочной проволокой;

- вырезанный провод сбрасывают на землю (или перетягивают из пролета в пролет, сматывая его в бухту).

6.3.18. Обрыв проводов часто приводит к наклону опор вдоль линии, и иногда - к поломке опор. Для обеспечения связи оборванные провода поднимают с земли, устраняют касание проводов друг с другом и другими предметами и соединяют временными перемычками из изолированных проводов.

По обе стороны поврежденного участка опоры и провода дополнительно закрепляют. Вязку проводов на поврежденном участке ослабляют. Производят выправку или замену поврежденных опор. Затем провода натягивают блоками, регулируют стрелу провеса и соединяют концы проводов. При необходимости, делают замену поврежденного участка провода. Временные вставки удаляют и ослабленные вязки закрепляют.

6.3.19. Степень загнивания опор, подпор и приставок проверяют каждую весну. Глубину загнивания непропитанных опор контролируют стальным щупом. Щуп вводят в столб в нескольких местах у поверхности земли и определяют глубину загнивания в сантиметрах. Затем суммируют все полученные значения и делят на число проколов. Измеряют длину окружности опоры и мест проколов. Вычитая из измеренной величины окружности опоры среднюю глубину загнивания, умноженную на 6,3, получают среднюю длину окружности здоровой части опоры. Минимально допустимые длины окружности опор у поверхности земли и конструкция щупа приведены в части 1 «Правил строительства и ремонта воздушных линий связи и радиотрансляционных сетей» (М., Связь, 1975).

Пропитанные опоры, подпоры и приставки проверяют на загнивание простукиванием. Контролировать их щупом не разрешается.

6.3.20. На поверхности железобетонных приставок и опор не должно быть раковин глубиной и шириной более 5 мм и сколов углов глубиной более 8 мм.

Сколы и раковины, размеры которых превосходят указанные, должны быть закрашены битумом (нагретая смесь битумов № 3 и 4) или отремонтированы цементно-песчаным раствором.

Ремонт проводят в летнее время года. Разрушенный бетон скалывают. Поверхности бетона и арматуры зачищают и обильно смачивают водой. Над поврежденным местом приставки или опоры устанавливают воронку из толя или другого материала.

В воронку заливают цементный раствор в соотношении 1:2 (рис. 6.1). После схватывания бетона воронку снимают и цементную массу разравнивают на поверхности приставки или опоры. Отремонтированное место затирают мокрой тряпкой и периодически смачивают водой до полного отвердения бетона.

В случае появления на отремонтированном месте (после отвердения свежего бетона) волосных трещин между старым и новым бетоном, ремонт должен быть проведен заново.

7. ТЕКУЩИЙ РЕМОНТ ЛИНЕЙНЫХ СООРУЖЕНИЙ

7.1. Общие положения

7.1.1. Текущим ремонтом называется минимальный по объему вид планового ремонта, при котором производятся работы по систематическому и своевременному предохранению сооружений от преждевременного износа и возникновения повреждений путем замены и (или) восстановления отдельных элементов сооружений.

7.1.2. Текущий ремонт линейных сооружений местных сетей связи производится в объеме, определенном анализом их технического состояния.

7.1.3. Затраты на текущий ремонт производятся в пределах средств, предусмотренных сметой эксплуатационных расходов.

7.1.4. Работы по текущему ремонту линейных сооружений связи трудоемки и, как правило, выполняются бригадой электромонтеров по нарядам. Форма наряда приведена в Приложении 17.

7.2. Текущий ремонт линейно-кабельных сооружений

7.2.1. При текущем ремонте линейно-кабельных сооружений выполняются следующие работы:

- текущий ремонт кабельных линий:

а) проложенных в кабельной канализации и коллекторе;

б) проложенных в грунте;

в) подвешенных на столбовых и стоечных линиях;

г) проложенных по стенам зданий;

д) проложенных под водой и по мостам;

- текущий ремонт колодцев и трубопроводов кабельной канализации;

- текущий ремонт сигнальных знаков на подводных кабельных переходах;

- текущий ремонт установок для содержания кабелей под постоянным, избыточным воздушным давлением.

Рис. 6.1. Ремонт железобетонной опоры

7.2.2. При текущем ремонте кабельных линий выполняются следующие основные работы:

- замена отдельных участков кабеля длиной до 200 м, замена и ремонт отдельных муфт, восстановление целостности защитных покровов кабеля;

- устранение разбитости пар в кабеле, если требуется распайка на более одной - двух муфт;

- доведение до нормы сопротивления изоляции кабелей;

- восстановление поврежденных пар в кабелях;

- осмотр, протирка и приведение в порядок кабелей и муфт в колодцах кабельной канализации;

- осмотр и приведение в порядок настенных и подвесных кабелей;

- осмотр и приведение в порядок трасс подземных кабелей;

- ремонт распределительных шкафов, включая крепление шкафа, замену и выправку кроссировок, окраску шкафа, замену поврежденных плинтов, установку трафаретов на боксах, заливку шкафной доски, укомплектование недостающих клеммных винтов, чистку и проверку их надежности, слесарный ремонт шкафов;

- ремонт распределительных коробок, включая крепление коробки, замену поврежденного плинта, очистку плинта от пыли и грязи, укомплектование недостающих и крепление до отказа существующих клеммных винтов, окраску металлического корпуса коробки;

- ремонт кабельных ящиков с учетом требований, предъявляемых к ремонту распределительных коробок.

Кроме того, кабельные ящики должны быть укомплектованы исправными защитными устройствами, не иметь сломанных пружин на плинтах и быть закрытыми на замки;

- приведение к норме сопротивлений заземлений канатов (тросов) подвесных кабелей и кабельных ящиков.

7.2.3. Состав работ, выполняемых при текущем ремонте канализационных сооружений ГКС указан в «Руководстве по эксплуатации канализационных сооружений ГТС (М., Связь, 1970).

7.2.4. Перечень работ по текущему ремонту установок для содержания кабелей под воздушным давлением приведен в «Руководстве по содержанию кабельных линий ГТС под избыточным воздушным давлением» (М., Радио и связь, 1982).

7.3. Текущий ремонт воздушных линий

7.3.1. Текущий ремонт воздушных линий связи в основном проводится в летнее время.

7.3.2. При текущем ремонте воздушных линий выполняются следующие работы:

- замена до 25 % негодных опор, приставок и подпор с пропиткой древесины из мягких пород, допропитка ранее установленных опор, приставок и подпор;

- укрепление подгнивших опор приставками (в среднем 2 - 3 опоры на 1 км линий);

- устройство искусственных оснований к отдельным опорам;

- передвижка отдельных опор;

- выправка угловых и промежуточных опор, окопка их и подсыпка грунта;

- подъем отдельных опор для соблюдения габарита;

- замена негодных оттяжек, укрепление и регулировка оттяжек;

- дополнительное укрепление отдельных опор подпорами, оттяжками, а на отдельных участках - установка противоветровых опор;

- замена проводов (канатов), не обеспечивающих, вследствие износа, требуемую механическую прочность на отдельных переходах и пересечениях;

- замена проводов в отдельных пролетах в местах, где они подвержены быстрой коррозии (вблизи химзаводов, фабрик, депо и др.);

- сварка стальных проводов и замена негодных трубок на проводах из цветных материалов;

- устройство на отдельных участках специальных (рессорных) вязок в районах, где наблюдается вибрация проводов;

- регулировка проводов (до 10 %);

- оборудование новой и ремонт существующей каскадной защиты;

- ремонт не удовлетворяющих нормам и устройство недостающих линейных молниеотводов и заземлений на промежуточных, оконечных, разрезных, контрольных и переходных опорах и мачтах, а также заземлений кабельных ящиков, подвесных кабелей и канатов;

- частичная корректировка схемы скрещивания;

- ремонт вводов и замена изолированных проводов, имеющих износ изоляции, установка вводных изоляторов;

- расчистка просек;

- чистка изоляторов (в сроки, предусмотренные действующими правилами технической эксплуатации);

-замена битых изоляторов: со сколами, с трещинами, покрытых ржавчиной и потерявших глазурь, перенасадка слабо насаженных изоляторов;

- выправка, замена или установка новых штырей, крюков, кронштейнов, накладок, подтяжка гаек, осмотр и крепление глухарей, болтов и подкосов, замена негодных вязок (коротких, корродированных, лопнувших и пр.), выправка или замена негодных траверс;

- лужение концов стальных проводов на контрольных опорах, замена неисправных контрольных сжимов;

- запайка или покрытие лаком мест соединения изолированных проводов с голыми;

- замена отбойных тумб и установка новых, крепление (подтягивание) проволочных хомутов на приставках и установка недостающих, вырезка негодных соединений и дефективных мест на проводах и устройство стыков при помощи термитной сварки и трубок;

- регулировки проводов, удаление набросов с проводов и сбор металлических отходов с трассы линий;

- вырубка поросли кустарника в охранной зоне, обрезка сучьев деревьев для предупреждения повреждений от соприкосновения веток с проводами, удаление деревьев, угрожающих падением на линию связи;

- окраска металлических траверс, кронштейнов, хомутов и др.;

- осмотр переходов и пересечений и выполнение на них работ по приведению к габариту проводов;

- проведение сплошного контроля состояния опор и определение необходимого объема работ для включения в план ремонта;

- возобновление нумерации опор (подпор и приставок);

- выправка или замена ступенек на кабельных опорах, ремонт кабельных площадок, желобов и их окраска;

- выправка, ремонт и окраска стоек, ремонт крыш в местах установки стоек и креплений оттяжек;

- замене отдельных втулок в траверсах, ремонт канатов, рабочих площадок, люков и лестниц установленных на чердаках зданий под стойками;

- перенос отдельных стоек на другие дома в связи с ветхостью крыш или сносом отдельных строений.

7.4. Приемка работ по текущему ремонту линейных сооружений

7.4.1. Приемка линейных сооружений местных сетей связи после текущего ремонта производится на ГТС приемочной комиссией, назначаемой распоряжением руководства ГТС или предприятия, в состав которого входит ГТС, а на СТС - начальником линейно-технического цеха или по его указанию соседнего с отремонтированными сооружениями линейно-технического участка совместно с исполнителем работ (бригадиром ремонтной бригады или участковым электромонтером при постовом методе). В состав приемочной комиссии должен включаться бригадир ремонтной бригады.

7.4.2. Приемке работ по текущему ремонту линейных сооружений производится в месячный срок после окончания ремонтных работ и оформляется актом. Форма акта приведена в Приложении 15.

7.4.3. При приемке линейных сооружений местной связи приемочная комиссия осматривает:

- не менее 50 % отремонтированных воздушных линий, воздушных вводов;

- 100 % пересечений воздушных линий с высоковольтными линиями;

- не менее 10 % отремонтированных линейно-кабельных сооружений, в том числе 100 % замененных кабелей, распределительных шкафов и кабельных ящиков;

- 100 % отремонтированных заземлений.

Часть выполненных работ по текущему ремонту на СТС, но не менее 25 % от общего объема по каждому из районов, выборочно принимается инженером по линейным сооружениям и Главным инженером предприятия связи.

7.4.4. До начала приемки работ по текущему ремонту линейных сооружений предъявляется следующая документация:

- утвержденный план текущего ремонта линейных сооружений;

- откорректированные паспорта отремонтированных линейных сооружений;

- протоколы электрических измерений линейных сооружений до и после ремонта;

- справки о составе и объема выполненных работ, фактическом расходе использованных для ремонта кабелей, монтажных материалов, проводов, линейной арматуры, столбов, приставок, стоек;

- акты проверок свободных каналов кабельной канализации;

- акты на скрытые работы (в случае их производства);

- протоколы проверки герметичности оболочек кабелей, содержащихся под давлением;

- списки мест пересечений воздушных линий местных сетей связи с высоковольтными линиями.

Примечание: в зависимости от вида линейных сооружений и состава выполненных работ отдельные виды технической документации могут не предъявляться.

7.4.5. При выявлении в процессе приемки дефектов, недоделок или нарушений действующих норм и правил принимающий обязан потребовать их немедленного устранения.

7.4.6. Приемка работ по текущему ремонту линейных сооружений оформляется актом (Приложение 18) и записью в паспортах сооружений за подписью принявшего работы с указанием даты приемки. В акте указывается оценка работ (отлично, хорошо или удовлетворительно). Акт приемки утверждается главным инженером предприятия связи.

8. КАПИТАЛЬНЫЙ РЕМОНТ ЛИНЕЙНЫХ СООРУЖЕНИЙ

8.1. Общие положения

8.1.1. Капитальный ремонт является наибольшим по объему видом планового ремонта, выполняемого с периодичностью более одного года, при котором производится смена изношенных частей и конструкций сооружений или замена их на более прочные и экономичные, улучшающие эксплуатационные возможности объектов.

При капитальном ремонте сооружения связи должны подвергаться модернизации, если определена ее техническая и экономическая целесообразность. Под модернизацией понимается частичное усовершенствование отдельных частей или деталей сооружений связи, производимое, как правило, одновременно с капитальным ремонтом.

Задачами капитального ремонта линейных сооружений являются обеспечение их модернизации и бесперебойной работы на протяжении всего срока службы.

8.1.2 Капитальный ремонт линейных сооружений местных сетей связи производится периодически в зависимости от межремонтного цикла и от технического состояния сооружений и планируется в каждом отдельном случае на основе данных технических осмотров, протоколов электрических измерений, актов проверки герметичности оболочек кабелей, и составленных на этой основе ведомостей дефектов.

Периодичность капитального ремонта линейных сооружений местных сетей связи приведена в табл. 8.1.

Таблица 8.1.

Периодичность выполнения капитального ремонта линейных сооружений

Наименование сооружений

Периодичность выполнения ремонтов (в годах)

Кабели в пластмассовой оболочке:

 

- в канализации и грунте

12

- настенные и подвесные

7

- подвесные со встроенным тросом (канатом)

10

Кабели в свинцовой оболочке голые:

 

- в канализации

25

- настенные

15

- подвесные

10

Кабели в свинцовой оболочке бронированные:

 

- в грунте и по дну рек

20

- речные в тяжелых условиях

10

Кабели в стальной и алюминиевой оболочках

15

Кабели с гидрофобным заполнением

10

Шкафы телефонные распределительные:

 

- внутри помещений

25

- уличные

15

Устройства кабельные для городской и сельской связи (кабельные ящики)

5

Колодцы кабельной канализации:

 

- бетонные и железобетонные

20

- кирпичные

6

Трубопроводы кабельной канализации:

 

- асбестоцементные

20

- бетонные

15

- пластмассовые

10

Воздушные линии связи

12

8.1.3. Средства, выделяемые на капитальный ремонт, определяются амортизационными отчислениями и местными условиями (возможностью и необходимостью выполнения работ).

8.1.4. Ежегодно к концу II квартала составляются пообъектно ведомости дефектов, ориентировочные сметы (сметно-финансовые расчеты) и перечень материалов, необходимых для капитального ремонта линейных сооружений на следующий год.

8.1.5. К концу IV квартала на каждый планируемый на следующий год объект капитального ремонта должен быть составлен комплект документации, содержащий:

- ведомости дефектов;

- пояснительную записку;

- результаты измерений электрических характеристик линейных сооружений;

- рабочие чертежи;

- смету;

- ведомость материалов, проводов и кабелей;

- акт проверки герметичности оболочек кабелей.

Примечание. При небольшом объеме работ некоторые документы могут не составляться (например, пояснительная записка и ведомость материалов).

8.1.6. Проектно-сметная документация на проведение капитального ремонта линейных сооружений разрабатывается в соответствии с «Положением об организации и проведения ремонта специализированных основных фондов связи» (М., 1987) и утверждается руководителем или главным инженером предприятия связи.

8.2. Состав основных работ, выполняемый при капитальном ремонте, линейно-кабельных сооружений

8.2.1. Капитальному ремонту подлежат следующие линейно-кабельные сооружения:

- кабельные линии, содержащие кабели и оконечные кабельные устройства;

- колодцы и трубопроводы кабельной канализации.

8.2.2. При капитальном ремонте кабельных линий выполняют следующие основные работы:

- перекладка кабелей с перепайкой, замена участков кабеля длиной более 200 м;

- обследование и ремонт кабельных речных переходов с привлечением водолазов;

- работы по перемонтажу муфт и восстановлению целостности защитных покровов кабеля;

- приведение электрических характеристик кабелей к установленным нормам, в том числе устранение разбитости пар с распайкой более двух муфт;

- установка кабелей под постоянное воздушное избыточное давление;

- перетяжка кабелей в связи с заменой пришедшей в негодность канализации, замена и перепайка кабелей, вызванная переустройством кабельных колодцев;

- частичная замена подвесного кабеля на подземный;

- ремонт кабельных вводов с одновременной переноской распределительных коробок в помещение;

- устройство кабельных вводов взамен воздушных в пределах населенного пункта, прокладка или подвеска кабеля взамен пучка воздушных проводов на отдельных пролетах воздушной линии;

- замена пришедших в негодность подвесных кабелей и провесов воздушных линий подвесными или подземными кабелями;

- ремонт и замена негодных боксов, кабельных ящиков, элементов пупинизации и защиты, распределительных коробок со вставками и без вставок кабеля;

- ремонт или замена распределительных шкафов, кабельных ящиков, боксов, кабельных коробок, НУП (НРП), распределительных коробок с одновременной их перестановкой, перенос распределительных шкафов с улиц внутрь зданий;

- проведение мероприятий по защите кабелей от различных видов коррозии, ударов молний, влияния линий электропередачи и электрифицированных железных дорог с установкой дренажей, протекторов, прокладкой отсасывающих фидеров и применением других средств защиты кабелей;

- симметрирование и депупинизация кабелей для их высокочастотного уплотнения и другие работы по усовершенствованию и модернизации кабельных линий.

8.2.3. Состав работ; выполняемых при капитальном ремонте кабельной канализации приведен в «Руководстве по эксплуатации канализационных сооружений ГТС» (М., Связь, 1970).

8.3. Состав основных работ, выполняемых при капитальном ремонте воздушных линий

8.3.1. При капитальном ремонте воздушных линий местных сетей связи выполняются следующие работы:

- работы по приведению электрических характеристик цепей воздушных линий связи к установленным нормам;

- переустройство скрещиваний телефонных цепей, сплошная регулировка проводов;

- замена проводов и канатов (тросов), не соответствующих электрическим нормам или не обеспечивающих нормальной механической прочности, приведение проводов на каждой цепи к одному диаметру путем замены или перекладки отдельных проводов;

- переустройство линий с крюкового профиля на траверсный для соблюдения габаритов и приведения к нормам электрических характеристик цепей на отдельных участках;

- замена отдельных опор (сложных опор, подпор), укрепление опор искусственными основаниями, железобетонными приставками, ряжами и т.п., замена деревянных опор железобетонными;

- укрепление линии полуанкерными, противоветровыми и другими сложными опорами в зависимости от гололедности района с целью повышения устойчивости линий;

- спрямление трассы линий с целью уменьшения числа угловых опор и доведения вылетов углов до нормы;

- выноска линии с заболоченных и труднопроходимых участков к дорогам, а также относка линейных сооружений из районов, вызывающих большую повреждаемость проводов;

- учащение опор линий до доведения длины пролета проводов до нормы;

- приведение к установленным нормам воздушных переходов линий связи через реки, через железнодорожное полотно, автомобильные дороги, трамвайные и троллейбусные сети и на пересечениях с линиями электропередачи;

- замена пришедших в негодность кабельных площадок и канатов подвесных кабелей;

- оборудование воздушных линий связи молниезащитными устройствами;

- вырубка и расширение просек на трассах линий связи с целью соблюдения габаритов и предупреждения повреждений;

- перекладка проводов на стоечных линиях;

- установка надставок на стойках и развертывание стоек по направлению тяги проводов с целью приведения габаритов проводов к нормам;

- каблирование вводов и отдельных участков воздушных линий связи (в населенных пунктах, на пересечениях с ВЛ, электрифицированными железными дорогами и др.);

- сплошная замена негодной арматуры (траверс, крюков, кронштейнов, накладок и др.) и другие работы, относящиеся по характеру к капитальному ремонту.

8.4. Приемка работ по капитальному ремонту кабельных, воздушных и смешанных линий

8.4.1. К приемке предъявляются линейные сооружения, на которых выполнены все работы, предусмотренные планом.

8.4.2. Приемка работ по капитальному ремонту линейных сооружений местных сетей связи должна производится в соответствии с указаниями «Руководства по приемке в эксплуатацию линейных сооружений проводной связи и проводного вещания» (М.ССКТБ, 1990 г.).

8.4.3. Работы по капитальному ремонту принимает комиссия, назначаемая приказом начальника предприятия связи в срок не позднее 15 дней после предъявления сооружений к сдаче.

8.4.4. В состав комиссии включаются:

представитель руководства предприятия связи - председатель комиссии; начальник цеха (участка) и руководитель бригады, выполнявший работы по ремонту.

Приемка производится с участием работника, обслуживающего принимаемые линейные сооружения. Приемка выполненных работ производится по каждому объекту (линии) отдельно.

8.4.5. До предъявления к сдаче капитально отремонтированных сооружений главный инженер предприятия связи обязан организовать их предварительное освидетельствование, с целью проверки готовности этих сооружений к сдаче.

8.4.6. На капитально отремонтированные линейные сооружения представляется следующая документация:

- утвержденные проекты (рабочие чертежи) и сметы (сметно-финансовые расчеты) на ремонт;

- исполнительная документация (откорректированный паспорт линии, схемы прокладки кабелей и др.);

- протоколы измерений электрических параметров линии, выполненных до и после ремонта;

- акты проверок герметичности оболочек кабелей, содержащихся под давлением;

- акты на скрытые работы;

- справка (наряд) о фактическом расходе использованных для ремонта линий столбов, приставок, проводов, кабеля и всех других материалов;

- справка о фактической стоимости выполненных работ;

- справка о количестве столбов, проводов, кабеля, арматуры и других материалов, замененных при ремонте и сданных на склад.

8.4.7. При приемке комиссия подвергает освидетельствованию все 100 % отремонтированных линейных сооружений, которые после ремонта должны соответствовать рабочим чертежам, действующим нормам, ГОСТ и ТУ.

8.4.8. По результатам освидетельствования отремонтированных линейных сооружений и их технического состояния комиссией дается оценка качества выполненных работ.

8.4.9. При соответствии капитально отремонтированных линейных сооружений проектно-сметной документации, нормам и техническим условиям приемочная комиссия составляет и подписывает акт в трех экземплярах, который утверждается главным инженером предприятия связи.

ПРИЛОЖЕНИЕ 1

ХАРАКТЕРИСТИКИ ЛИНЕЙНОЙ ПРОВОЛОКИ И ПРОВОДОВ, ПРИМЕНЯЕМЫХ НА ЛИНИЯХ МЕСТНЫХ СЕТЕЙ СВЯЗИ

Таблица П. 1.1.

Материал и диаметры линейной и перевязочной проволоки

Линейная проволока

Перевязочная проволока

Материал и марка

Диаметр, мм

Материал

Диаметр, мм

ГТС

СТС

 

1,5

1,5

 

1,2

 

2,0

2,0

 

1,2

Сталь

-

2,5

Сталь

1,2

оцинкованная

3,0*)

3,0

оцинкованная

2,0

обыкновенная

-

4,0

обыкновенная

2,5

медистая

-

5,0

медистая

2,5

 

 

 

 

 

Биметал

1,2

1,2

Биметалл

1,2

сталемедный марок

1,6

1,6

сталемедный

1,2

БСМ-1 и БСМ-2

-

2,0

 

1,2

 

-

3,0

 

2,0

 

-

4,0

 

2,5

Биметалл сталеалюминиевый

-

4,3

Биметалл сталеалюминиевый

2,7

марки БСА-КПЛ

-

5,1

 

2,7

Биметалл

4,4

4,4

Биметалл

2,7

сталеалюминиевый

5,4

5,4

сталеалюминиевый

2,7

марки АС

6,6

6,6

марки АС

2,7

Примечание. *) только для удаленных абонентов.

Таблица П. 1.2.

Конструктивные характеристики линейных изолированных проводов

Материал и марка провода

Диаметр токопроводящей жилы, мм

ГТС

СТС

Биметалл сталемедный с резиновой изоляцией

1,2

1,2

и оплеткой из пропитанного хлопчатобумажной пряжи, марки ПСБА

1,5

1,5

Биметалл сталемедный с атмосферостойкой

1,2

1,2

резиновой изоляцией марки ПСБАР

1,6

1,6

Биметалл сталемедный с полиэтиленовой

-

3,0

изоляцией марки ПСБАП и поливинилхлоридной изоляцией марки ПСБАВ

-

4,0

Биметалл сталемедиый с поливинилхлоридной

1,2

1,2

изоляцией марки ПСБАВ

Сталь оцинкованная с полиэтиленовой

-

2,0

изоляцией марки ПРСП и поливинхлоридной

-

3,0

изоляцией марки ПРСВ

-

4,0

Сталь оцинкованная с полиэтиленовой

1,4

1,4

изоляцией марки ППЖ и поливинилхлоридной изоляцией марки ПВЖ

1,8

1,8

Таблица П. 1.3.

Сопротивление изоляции и электрическая прочность изоляции изолированных проводов

Марка провода

Диаметр токопроводящей жилы, мм

Сопротивление изоляции, МОм.км

Электрическая прочность изоляции, В

ПВЖ

1,4; 1,8

10,0

3000

ППЖ

1,4; 1,8

60,0

3000

ПСБА

1,2; 1,5

-

2000

ПСБАП, ПСБАВ

3,0; 4,0

-

4000

ПСБАВ

1,2

20,0

-

ПРИЛОЖЕНИЕ 2

Характеристики опор, применяемых на столбовых линиях местных сетей связи

Таблица П. 2.1.

Характеристики железобетонных опор

Типы опор

Опоры прямоугольные типа ПО и ПОН

Расчетный изгибающий момент, т.м.

Размеры поперечного сечения h×b, см

Масса опоры, кг при длине, м

6,5

7,5

8,5

ПО-1,75 и ПОН-1,75

1,75

24×14

343

390

-

ПО-2,75 и ПОН-2,75

2,75

24×14

410

455

-

ПО-4,4 и ПОН-4,4

4,4

30×18

-

725

810

ПО-6,8 и ПОН-6,8

6,8

30×18

-

-

810

Таблица П. 2.2.

Размеры промежуточных деревянных опор для линий ГТС

Материал опоры

Диаметр в верхней части, см, при длине, м

7,5

8,5 и 9,5

11 и 13

Сосна, ель, кедр

14 ÷ 20

16 ÷ 20

20 ÷ 23

Лиственница

13 ÷ 18

15 ÷ 18

18 ÷ 21

Примечания: 1. Для оконечных и угловых опор следует выбирать бревна из числа имеющих наибольший диаметр.

2. На линиях типа У могут применяться опоры с диаметром, увеличенным не более чем на 2 см по сравнению с указанными в таблице.

3. В отдельных случаях на ГТС допускается применение бревен длиной 6,5 м с установкой их на железобетонных приставках.

Таблица П. 2.3.

Размеры промежуточных деревянных опор для линий СТС при габарите 3 м

Число проводов

Номер профиля

Длина опоры, м

Минимальный диаметр опоры в вершине, см, для линий типов

О

Н

У

ОУ

4

1,1а

6,5

12

12

12

13

8

1,1а

7,5

12

14

14

15

10

1,1а

8,5

14

15

15

16

12

6

8,5

12

14

16

19

16

2; 2а и 7; 7а

8,5

14

17

18

20

20

8; 3а и 8

8,5

15

18

19

20

24

5

6,5

16

18

19

22

32

5

7,5

18

22

-

-

40

5

8,5

20

25

-

-

Таблица П. 2.4.

Объемный вес бревен различных пород в полусухом состоянии

Порода древесины

Объемный вес, кг/м3

Ель, пихта, кедр

500

Сосна

550

Лиственница

700

ПРИЛОЖЕНИЕ 3

ГАБАРИТНЫЕ РАЗМЕРЫ ЖЕЛЕЗОБЕТОННЫХ ПРИСТАВОК

Тип приставки

Размер наибольшего поперечного сечен., мм

Вес приставки, кг, при длине, м

2,8

3,0

3,2

3,25

3,5

4,25

ПР-0,6

140×190

169

179

-

-

-

-

ПР-0,8

140×190

-

179

190

-

-

-

ПР-1,2

140×220

-

209

224

-

-

-

ПР-2,0

140×220

-

-

224

-

245

-

ПТ-0,6

100×140×170

-

152

-

-

-

-

ПТ-0,8

100×140×170

-

-

-

165

-

-

ПТ-1,2

100×180×220

-

-

-

250

-

-

ПТ-1,7

100×180×220

-

-

-

250

-

-

ПТ-2,2

100×180×220

-

-

-

250

-

-

ПТ-2,2

100×180×220

-

-

-

-

-

325

ПРИЛОЖЕНИЕ 4

Нормы электрические на постоянном токе на неуплотненные находящиеся в эксплуатации, кабельные, воздушные и смешанные линии местных сетей связи

1. Нормы электрического сопротивления цепей кабельных линий приведены в табл. П.4.1.

Таблица П. 4.1.

Электрическое сопротивление 1 км цепей кабельных линий постоянному току при температуре плюс 20 °С

Диаметр токопроводящей жилы, мм

Электрическое сопротивление цепи, Ом, не более

0,32

488,0

0,40

296,0

0,50

190,0*)

0,64

116,0

0,70

96,0

0,90

56,8

1,20

31,6

*) Для кабелей типов ТП и СТП (ГОСТ 22.498-88) - 191,8

2. Асимметрия (разность) сопротивлений постоянному току жил кабельной линии должны быть не более 1 % от половины величины сопротивления цепи.

3. Электрическое сопротивление изоляции жил кабельных линий приведено в табл. П.4.2.

Таблица П. 4.2.

Электрическое сопротивление изоляции токопроводящих жил кабельной линии при температуре плюс 20 ºС

Марка кабеля

Сопротивление изоляции жил, МОм. км, не менее, для линий

Без оконечных устройств

С оконечными устройствами

1. ТГ, ТГШп, ТБ, ТБпШп, ТБГ, ТК, ТКпШп, ТСтШп,ТАШп, ТАпШп

8000

1000

2. ТПП, ТППэп, ТППБ, ТППэп, Б, ТППБТ, ТППэп БТ, ТППБбШп, ТППт, ТПВ, ТПВБГ, СТПАПП, СТПАППБ, СТПАППБТ, СТПАВ, СТПАПБП

Для 100 % значений - 6500 для 80 % значений - 8000

1000

3. ТППЗ, ТППэпЗ, ТППЗБ, ТППэпЗБ, ТППЗБбШп, ТППэпЗБбШп

5000

1000

4. КТПЗБбШп

5000

1000

5. ТЗГ, ТЗБ, ТЗБп, ТЗБн, ТЗБГ, ТЗБлГ, ТЗК, ТЗКл

10000

3000

6. Для линий из кабелей марок ПРППМ и ПРПВМ находящихся в эксплуатации

 

 

- до 1 года

10000

3000

- от 1 до 5 лет

-

75

- от 5 до 10 лет

-

10

свыше 10 лет

-

3

Примечание. Для линий с оконечными устройствами длиной менее 1 км нормы относятся ко всей длине линий.

4. Нормы электрических воздушных линий приведены в табл. П.4.3.

Таблица П. 4.3.

Нормы электрические постоянному току воздушных столбовых и стоечных линий при температуре плюс 20 °С

Наименование параметра

Норма

1

2

1. Электрическое сопротивление провода цепи, пересчитанное на 1 км длины, Ом, не более:

 

- стального медистого диаметром:

 

1,5 мм

82,63

2,0 мм

46,47

2,5 мм

29,74

3,0 мм

20,65

4,0 мм

11,61

5,0 мм

7,43

- стального обыкновенного диаметром:

 

1,5 мм

78,10

2,0 мм

43,92

2,5 мм

28,11

3,0 мм

19,52

4,0 мм

10,98

5,0 мм

7,03

- биметаллического марки БСМ-1 диаметром:

 

1,2 мм

47,30

1,6 мм

26,00

2,0 мм

16,40

2,5 мм

11,10

3,0 мм

7,10

4,0 мм

4,00

- биметаллического марки БСМ-2 диаметром:

 

1,2 мм

58,00

1,6 мм

32,00

2,0 мм

20,00

2,5 мм

13,90

3,0 мм

9,00

4,0 мм

5,00

- биметаллического марки БСА-КПП диаметром:

 

4,3 мм

4,00

5,1 мм

3,00

- стального изолированного марок ППЖ и ПВЖ диаметром:

 

1,4 мм

110,00

1,8 мм

70,00

2. Асимметрия (разность) электрических сопротивлений проводов в рабочей цепи (на длине усилительного участка), Ом, не более:

 

- стальные провода диаметром до 3 мм,

10

- стальные провода диаметром 4 и 5 мм

5

- провода из цветных металлов и биметаллические провода

5

3. Электрическое сопротивление изоляции провода по отношению к земле при относительной влажности воздуха 98 % и температуре плюс 20 °С, МОм.км, не менее

1

Электрическое сопротивление изоляции между проводами должна равняться сумме сопротивлений изоляции обоих проводов по отношению к земле

 

4. Разница электрических сопротивлений изоляции проводов при относительной влажности воздуха 98 % и температуре плюс 20 °С, %, не более

30

5. Электрические параметры смешанных линий, содержащих участки кабельных и воздушных линий, должны быть не хуже однородных линий связи и соответствовать значениям, приведенным в табл. П.4.4.

Таблица П. 4.4.

Нормы электрические постоянному току смешанных линий при температуре плюс 20 °С

Наименование параметров

Норма

1. Электрическое сопротивление цепи, Ом, не более

R1 + R2 = 1000

2. Асимметрия (разность) сопротивлений жил (проводов) цепи на длине усилительного участка, Ом, не более

0,01(R1 + R2)

3. Электрическое сопротивление изоляции жил кабельного участка цепи должно соответствовать данным табл. П.4.2, а проводов воздушного участка цепи - данным табл. П.4.3.

 

4. Разброс значений сопротивлений изоляции по отношению к земле проводов цепи, % не более

30

Примечание. R1 - электрическое сопротивление постоянному току проводов воздушного участка линии; R2 - электрическое сопротивление постоянному току жил кабельного участка линии.

ПРИЛОЖЕНИЕ 5

Нормы электрические на переменном токе на неуплотненные, находящиеся в эксплуатации, кабельные, воздушные и смешанные линии местных сетей связи

1. Нормируемые значения рабочей емкости цепей кабельных линий приведены в таблице П.5.1.

Таблица П. 5.1.

Рабочая электрическая емкость цепей кабельных линий на частоте 800 Гц, пересчитанная на 1 км цепей

Тип (марка) кабеля

Рабочая емкость нФ, не более

1

2

1. ТП без гидрофобного заполнения (ТП, ТПВ и др.) и СТПА

50

2. ТП с гидрофобным заполнением (ТППЗ, ТППЗБ и др.)

55

3. ТГ (Б,К), ТСтШп, ТАШп:

 

- с трубчато-бумажной изоляцией жил диаметром:

 

0,5 мм

52

0,64 и 0,7 мм

50

- с пористо-бумажной изоляцией жил диаметром

 

0,5 мм

55

4. КТПЗБбШп

50

5. ПРППМ с жилами диаметром:

 

0,9 мм

50

1,2 мм

56

6. ПРПВМ с жилами диаметром:

 

0,9 мм

87

1,2 мм

88

2. Наибольшие допустимые нормы затухания цепей местных сетей связи приведены в таблице П. 5.2.

Таблица П.5.2.

Нормы затухания цепей местных сетей связи по участкам линейного тракта на частоте 800 Гц

Участок линейного тракта

Нормы затухания, дБ, не более

1. Абонентская линия из кабеля диаметром

3,5

0,32 мм

2. Абонентская линия из кабеля с жилами диаметром 0,4 и 0,5 мм, воздушная и смешанная абонентские линии

4,5

3. Соединительная линия между районными автоматическими телефонными станциями (РАТС)

17,0

ГТС

4. Соединительная линия между РАТС и узлом входящего сообщения (УВС)

12,5

5. Соединительные линии между РАТС и узлом исходящего сообщения (УИС), УВС и РАТС, РАТС и междугородной АТС

4,0

6. Соединительная линия между УИС и УВС

8,0

7. Суммарное затухание разговорного тракта местной сети связи

28,0

3. Допустимые величины переходных затуханий на ближнем конце линий местных сетей связи приведены в таблице П.5.3.

Таблица П. 5.3.

Нормы переходных затуханий на ближнем конце линий местных сетей связи на частоте 800 Гц

Наименование линии

Переходное затухание между цепями, дБ, не менее

1. Кабельная и смешанная линии

69,5

2. Воздушная линия при величине приемного уровня полезного сигнала (Рпол):

 

28,7

76,5

выше 28,7

46,9 - Рпол

4. Величины допустимых мощностей псофометрических и невзвешенных шумов (помех) для цепей абонентских и соединительных линий местных сетей связи приведены в таблице П.5.4.

Таблица П. 5.4.

Нормы мощностей псофометрических и невзвешенных шумов (помех) дня цепей абонентских и соединительных линий местных сетей связи

Наименование линии

Мощность псофометрических шумов, пВт, не более

Напряжение псофометрических шумов, мВ, не более

Мощность невзвешенных шумов, пВт, не более

Абонентская линия

100

0,245

200

Соединительная линия

500

0,55

1000

ПРИЛОЖЕНИЕ 6

Нормы электрических характеристик усилительных (регенерационных) участков кабельных соединительных (межстанционных) линий СТС, уплотненных системами передачи (при температуре 20 °С)

Электрические характеристики цепей смонтированных линий из одно и двухчетверочных кабелей, уплотненных системами передачи с частотным и временным разделением каналов (ЧРК и ВРК) должны соответствовать нормам на постоянном и переменном токах:

- сопротивление цепей постоянному току не должно превышать значений, указанных выше в табл. П.4.1;

- асимметрия сопротивления постоянному току жил цепи кабельной линии должна быть не более 1,5 Ом на усилительный (регенерационный) участок;

- сопротивление изоляции между каждой жилой и остальными жилами, соединенными с экраном (броней) и заземлением, в зависимости от срока эксплуатации должны соответствовать значениям, приведенным в табл. П.6.1;

- сопротивление изоляции оболочки (шланга) относительно земли должно быть не менее 1,0 МОм.км в течение всего срока службы кабеля;

- рабочая емкость цепи в зависимости от срока эксплуатации, должна соответствовать значениям, приведенным в табл. П.6.2;

- электрическая прочность изоляции между всеми жилами, соединенными вместе, и экраном, а также каждой жилы по отношению к другим жилам, соединенным с экраном, должна быть не менее 1500 В постоянного тока;

- переходное затухание между цепями на ближнем конце на получастотах для цифровых систем передачи и максимальные величины затуханий регенерационных участков должны соответствовать значениям, приведенным в табл. П.6.2;

Таблица П. 6.1.

Нормы сопротивления изоляции жил кабельных цепей

Марка кабеля

Сопротивление изоляции, МОм.км, не менее

при приемке вновь построенных линий

после эксплуатации в течение

5 лет

10 лет

15 и более лет

КСПП

10000

8000

5000

3000

КСПЗП

10000

10000

10000

5000

Таблица П. 6.2.

Нормы рабочей емкости цепей

Марка кабеля

Диаметр токопроводящей жилы, мм

Рабочая емкость цепи, нф/км, не более

При приемке вновь построенной линии

После эксплуатации в течение, лет

5

10

15 и более

КСПП

0,64

38,0

38,1

38,3

38,6

КСПП

0,9

38,0x)

38,2

38,4

38,8

 

 

(41,0)

(41,2)

(41,4)

(41,8)

КСПП

1,2

46,5

46,8

47,0

47,5

КСПЗП

0,64

38,0

38,0

38,0

38,0

КСПЗП

0,9

38,0х)

38,0

38,0

38,0

 

 

(41,0)

(41,0)

(41,0)

(41,0)

КСПЗП

1,2

46,5

46,5

46,5

46,6

x) В скобках даны величины для кабелей, изготовленных до 01.01.87.

- электрическая прочность изоляции между всеми жилами, соединенными вместе, и экраном, а также каждой жилы по отношению другим жилам, соединенным с экраном, должна быть не менее 500 В постоянного тока;

- переходное затухание между цепями на ближнем конце на частотах для цифровых систем передачи и максимальной величины рабочих затуханий регенерационных участков должны соответствовать значениям, приведенным в табл. П.6.3;

Таблица П. 6.3.

Нормы переходного затухания между цепями на ближнем конце и максимальные величины затуханий регенерационных участков

Тип аппаратуры

Частота передачи (полутактовая), кГц

Переходное затухание между цепями на ближнем конце, дБ, не менее

Рабочее затухание регенерационных участков, дБ, не более

ИКМ-12

352

61

37

ИКМ-15

512

58

46

ИКМ-З00

1024

56

36

ИКМ-12×З

1024

56

36

Зона-15

1024

56

36

- переходное затухание между цепями на ближнем конце (Ао) и защищенность на дальнем конце (Аз) во всем диапазоне используемых частот для систем передачи с частотным разделением каналов, а также максимальные величины рабочих затуханий усилительных участков должны соответствовать значениям, приведенным в табл. П.6.4.

Таблица П. 6.4.

Нормы переходного затухания на ближнем и защищенности на дальнем концах между цепями, уплотненными системами передачи о ЧРК, и максимальные величины рабочих затуханий усилительных участков

Тип аппаратуры

Диапазон частот, кГц

Нормы затуханий на усилительный участок

Ао, дБ, не менее

Аз, дБ, не менее

Рабочее затухание, дБ, не более

КНК-6Т

6 - 120

52

61

49

КНК-12

6 - 108

52

61

48

КАМА

12 - 548

61

69,5

50

ПРИЛОЖЕНИЕ 7

Наименьшие допустимые расстояния между кабелем связи, проложенным в грунте, или кабельной канализацией и другими сооружениями

Наименование сооружений

Минимальное расстояние до кабелей связи и кабельной канализации, м

при параллельном прохождении

на пересечениях (по вертикали)

1

2

3

Водопровод диаметром до 300 мм включительно

0,50

0,25/0,15

То же, свыше 300 мм

1,00

0,25/0,15

Канализация, дренажи и водостоки

0,50

0,25/0,15

Теплопроводы

1,00

0,25/0,15

Газопроводы (независимо от давления)

1,00

0,50/0,15

Силовые кабели

0,50

0,50/0,15

Кабельная канализация (от блоков и колодцев)

0,25

0,1

Железные и автомобильные дороги (от края подошвы насыпи)

5,0

не менее 1 от полотна автомобильной дороги или подошвы рельсов и 0,8 ниже дна кювета при его наличии

Трамвайные пути

2 от ближайшего рельса

1 ниже подошвы рельса

Общие коллекторы для подземных сетей

1,0

-

От красной линии домов

1,5

-

Бортовой камень улицы, дороги

1,5

-

Стволы деревьев

1,5

-

Стены или опоры тоннелей и путеводов (на уровне или ниже оснований)

0,5

-

Насыпи или бровки каналов

1,0 от подошвы насыпи или бровки канала

-

Оросительные каналы

1,5 от бровки каналов при непросадочных грунтах

-

Мачты и опоры контактной сети, сети наружного освещения и связи

0,5

-

Кабели связи магистральной, внутризоновой сетей и соединительные линии местных сетей с использованием систем передачи

0,5/0,25 (при условии разработки траншей ручным способом)

-/0,1

Кабели СТС с системами передачи КНК-6Т, КНК-12, ИКМ-12М и др.

В одной траншее или в одном канале кабельной канализации

-/0,1

неуплотненные однопарные кабели СТС

0,1/-при параллельной прокладке на длине не более 5 км совместно в одной траншее

-/0,1

Кабели радиотрансляционных сетей I класса

1,0

-/0,25

Кабели радиотрансляционных сетей II класса

0,5

-/0,25

Мосты автомобильных и железных дорог через несудоходные реки

50 - 100 ниже по течению

-

Примечание. В числителе указаны расстояния при прокладке кабелей непосредственно в грунте, а в знаменателе - в трубах, а при отсутствии дроби - в особых случаях.

ПРИЛОЖЕНИЕ 8

Габариты подвесных кабелей

Наименование габарита

Минимальная величина, м

1. Расстояние между двумя подвесными кабелями на их пересечении при наинизшей и наивысшей температурах

0,6

2. Расстояние по вертикали между пересекающимися кабелями связи и линией электропередачи напряжением не более 1 кВ

1,25

3. Расстояние между наинизшей точкой кабеля и коньком крыши

1,5

4. Расстояние между подвесным кабелем и головной рельса при переходе через железнодорожное полотно нормальной и узкой колеи

7,5

5. Расстояние между кабелем и канатом, несущим контактный провод электрифицированной железной дороги

2,0

6. Расстояние от кабеля на пересечении с контактными проводами трамвая или троллейбуса до головного рельса для трамвая или до поверхности дорожного покрытия для троллейбуса

8,0

7. Расстояние от земли до кабеля на переходах через шоссейные, грунтовые, полевые (степные) дороги

5,5

8. Расстояние от земли до кабеля в черте населенных пунктов

4,5

9. Расстояние от ветвей деревьев до кабеля

1,25

10. Расстояние от вершины наиболее высоких мачт судов, проходящих по данному водному пути во время наибольшего половодья, до кабеля при пересечении рек и каналов

1,0

ПРИЛОЖЕНИЕ 9

ГАБАРИТНЫЕ РАЗМЕРЫ ВОЗДУШНЫХ ЛИНИЙ МЕСТНЫХ СЕТЕЙ СВЯЗИ

Наименование габарита

Минимальная величина, м

1

2

Расстояние от земли до нижнего провода для линий, идущих вдоль железных дорог вне населенных пунктов

2,5

Расстояние от земли до нижнего провода для линий, идущих вдоль автомобильных или грунтовых дорог вне населенных пунктов

3,0

Расстояние от земли до нижнего провода линий, проходящих в черте населенного пункта

4,5

Расстояние от земли до нижнего провода линий при пересечении автомобильных дорог

5,5

Расстояние от земли до нижнего провода абонентского ввода над тротуаром; огородом, садом

3,0

Расстояние между нижним проводом линий и головкой рельса при пересечении железнодорожного полотна нормальной и узкой колеи

7,5

Расстояние от низшей точки провода линий при пересечении рек и каналов до наиболее высоких мачт судов при высшем уровне воды

1,0

Расстояние от низшей точки провода линии до верхней точки габарита сплава при горизонте наивысшего паводка пересекаемых сплавных рек и каналов

1,0

Расстояние по вертикали от полотна дороги до

 

оттяжки опоры при пересечении оттяжкой:

 

- пешеходных тротуаров

3,5

- проездов

5,5

Расстояние от земли до нижнего провода линии в окне путепровода

3,0

Расстояние между низшей точкой путепровода и верхним проводом линии (при наиболее низкой температуре)

0,5

Расстояние по горизонтали между проводом линии и окном путепровода

1,25

Расстояние между нижней точкой провода линии и коньком крыши

1,5

Расстояние между нижним проводом одной и верхним проводом другой линии МТС, СТО и ГТС при их пересечении между собой для низшей и высшей температур

0,6

Расстояние между нижним проводом фидерной цепи РС и верхним проводом линии местной сети связи при их пересечении

1,25

Расстояние между осями опор линий связи, идущих параллельно друг другу при наличии на одной или обеих линиях цепей, уплотненных аппаратурой трехканальной системы, или неуплотненных цепей, а также при наличии на одной из линий цепи из цветного металла, уплотненной аппаратурой 12-канальной системы

8,5

Расстояние по горизонтали от опор линии до головки ближайшего рельса при расположении линии вдоль железной дороги

1,3 высоты надземной части опоры

Расстояние по горизонтали от бровки полотна автомобильной дороги до основания опор линии, расположенной вдоль дороги

Высота опоры

Расстояние по горизонтали от бровки полотна автомобильной дороги до основания переходных опор (или подпор) линии, пересекающей дорогу

Высота опоры

Расстояние по горизонтали между ближайшим к строению проводом и вертикальной плоскостью, проходящей через край карниза, балкона , фонаря или другой выступающей части строения

2,25

Расстояние по горизонтали от подземных трубопроводов (водо-, газо-, нефте- и теплопровода, а также канализационных труб) до основания опор линии

1,0

Расстояние по горизонтали от пожарных гидрантов, колодцев (люков) и водоразборных колонок до опор линии

2,0

Расстояние от бензоколонок до опор линии

5,0

Расстояние от ветвей деревьев до проводов линии:

 

- в городе

1,25

- в пригороде и сельской местности

2,0

Расстояние по горизонтали от подземных кабелей связи и РС до опор линии

1,0

ПРИЛОЖЕНИЕ 10

НОРМАЛЬНЫЕ И МАКСИМАЛЬНЫЕ ДЛИНЫ ПРОЛЕТОВ ВОЗДУШНЫХ ЛИНИЙ МЕСТНЫХ СЕТЕЙ СВЯЗИ

Таблица П. 10.1.

Нормальная длина пролета проводов (расстояние между смежными опорами) воздушных линий

Тип линии

Длина пролета; м

Число опор на один км

О

83,3

12

Н

62,5

16

У

50,0

20

ОУ

50,0

20

Примечание. На абонентских линиях длина пролета может быть уменьшена так, чтобы с одной опоры выполнялось не более четырех вводов

Таблица П. 10.2.

Максимально допустимые длины пролетов столбовых воздушных линий

Материал провода

Диаметр мм

Максимально допустимая длина пролета

О

Н

У

ОУ

1

2

3

4

5

6

Сталь оцинкованная

1,5

83,3

50,0

-

-

2,0

150

83,3

60

-

2,5

100

40,0

30

-

3,0

125

62,5

40

-

4,0

150

83,3

50

40

5,0

150

130

70

45

Биметалл

1,2

83,3

35,7

-

-

(сталемедь)

1,6

100

62,5

40

40

БСМ-1,

2,0

150

83,3

62,5

40

БСМ-2

3,0

150

100,0

83,3

62,5

 

4,0

150

125,0

100,0

83,3

Биметалл

4,4

83,3

50

40

35,7

(сталеалюминий,

5,4

83,3

62,5

40

35,7

многожильный) АС

6,6

150

83,3

62,5

50

Биметалл (сталеалюминий) БСА-КПЛ

4,3; 5,1

150

125

100

83,3

Длина пролета стоечной линии ГТС, как правило, не должна превышать 80 м. Если это невыполнимо, допускается увеличение пролета до 100 м.

ПРИЛОЖЕНИЕ 11

Глубина закопки опор и приставок столбовых линий местных сетей связи

Число проводов на опоре до

Глубина закопки, м, при длине опоры, м, в грунтах

твердом и болотистом

каменистом

5 и 5,5

6,0

6,5

7,5

8,5

9,5

11 ÷ 13

5 и 5,5

6,0

6,5

7,5 - 8,5

9,5

11 ÷ 13

до 4

1,0

1,1

1,1

1,2

-

-

1,6

0,8

0,8

0,9

-

-

1,3

6

1,1

1,1

1,2

1,3

1,4

1,5

1,6

-

0,9

0,9

1,1

1,3

1,3

8 - 12

-

-

1,2

1,3

1,4

1,5

1,7

-

-

0,9

1,1

1,3

1,3

14 - 24

-

-

1,4

1,4

1,5

1,6

1,7

-

-

0,9

1,1

1,3

1,3

26 - 40

-

-

-

1,6

1,6

1,7

1,9

-

-

-

1,1

1,3

1,3

Примечание. В слабых грунтах (категория 1) и на склонах холмов с уклоном 45° и более ямы выкапывают на 15 см глубже.

ПРИЛОЖЕНИЕ 12

СТРЕЛЫ ПРОВЕСА ПРОВОДОВ

Таблица П. 12.1.

Стрелы провеса стальных и биметаллических (сталемедных) проводов диаметром 1,2 - 2,0 мм, подвешенных на столбовых опорах

Температура, °С, для зоны

Стрелы провеса проводов, см, при длине пролета, м

I

II

III

40

50

62,5

83,3

-55

-40

-25

8

14

21

41

-45

-30

-15

9

15

23

43

-40

-25

-10

10

16

25

45

-35

-20

-5

11

17

27

47

-30

-15

0

11

18

28

50

-25

-10

5

12

19

30

53

-20

-5

10

13

20

32

56

-15

0

15

14

22

35

60

-10

5

20

15

24

37

64

-5

10

25

17

26

39

68

0

15

30

18

28

43

73

5

20

35

20

31

47

78

10

25

40

23

34

51

84

15

30

45

25

37

55

89

25

40

55

30

43

63

100

30

45

60

35

49

70

112

Таблица П. 12.2.

Стрелы провеса стальных и биметаллических (сталемедных) проводов диаметром 2,5 - 5 мм, подвешенных на столбовых опорах

Температура, °С для зоны

Стрелы провеса проводов, см, при длине пролета, м

I

II

Ш

35,7

40

50

62,5

83,3

-55

-40

-25

8

10

15,5

24

42

-50

-35

-20

8,5

10,5

16,5

25,5

45

-45

-30

-15

9

11,5

18

27,5

48

-40

-25

-10

10,0

12,5

19,5

30

52

-35

-20

-5

11

14

21,5

33

56

-30

-15

0

12,5

15,5

23,5

35

59

-25

-10

5

14

17

25,5

38

63

-20

-5

10

16,5

19

28

41

68

-15

0

15

17,5

21

31

45

73

-10

5

20

19,5

23,5

34

49

78

-5

10

25

22

26,5

37

53

82

0

15

30

24,5

29,5

41

56

87

5

20

35

27,5

32

44

60

92

10

25

40

30

35

48

65

97

15

30

45

33

38

51

69

102

20

35

50

36

41

54

73

106

25

40

55

38

44

57

77

110

30

45

60

41

47

60

81

114

Таблица П. 12.3.

Стрелы провеса сталеалюминиевых проводов марки БСА - КПЛ диаметром 4,3 - 5,1 мм, подвешенных на столбовых опорах

Температурная зона

Стрелы провеса провода, см, при длине пролета, м

1

2

3

35,7

40

50

62,5

83,3

100

-55

-40

-25

8

10

15,5

24

42

53

-50

-35

-20

9,5

10,5

16,5

25,5

46

68

-45

-30

-15

11

11,5

18

27,5

50

73

-40

-25

-10

13

12,5

19,5

30

55

78

-35

-20

-5

15

14

21,5

33

60

84

-30

-15

0

17,5

16,5

24

36

64

90

-25

-10

5

20

19

27,5

40

69

96

-23

-5

10

22,5

22

31

44

75

102

-15

0

15

25,5

26

35

49

81

108

-10

5

20

28

29

39

54

87

115

-5

10

25

32

33

43

59

92

122

0

15

30

36

38

49

63

98

128

5

20

35

39

42

52

68

104

134

10

25

40

43

46

57

74

110

141

15

30

43

46

50

60

78

116

148

20

35

50

50

54

64

83

121

153

25

40

55

53

57

67

87

125

159

Таблица П. 12.4.

Стрелы провеса сталеалюминиевых многожильных проводов марок АС-10, АС-16 и АС-25, подвешенных на столбовых опорах

Температура, °С для зоны

Стрелы провеса сталеалюминиевых проводов марок АС-10; АС-16 и АС-25, при длине пролета, м

I

II

III

35,7

40

50

62,5

83,3

-55

-40

-25

6

7

12

20

39

-50

-35

-20

6,5

8

13

22

41

-45

-30

-15

7

9

14

24

43

-40

-25

-10

7,5

10

15

27

48

-35

-20

-5

8

11

17

30

54

-30

-15

0

9

12

20

35

61

-25

-10

5

10

13

23

40

69

-20

-5

10

11

15

28

46

77

-15

0

15

13

18

33

52

85

-10

5

20

16

21

38

59

92

-5

10

25

19

25

44

67

100

0

15

30

23

30

51

74

110

5

20

35

27

34

58

81

118

10

25

40

32

39

64

88

125

15

30

45

36

44

70

95

132

20

35

50

41

49

77

108

139

25

40

55

45,5

54

85

109

146

30

45

60

51

60

92

117

153

ПРИЛОЖЕНИЕ 13

Нормы годового расхода материалов, арматуры и оборудования на эксплуатационное содержание и текущий ремонт столбовых линий

Таблица П. 13.1.

Материалы, арматура и оборудование на эксплуатационное содержание и текущий ремонт опор столбовых линий

Наименование

Единица измерения

Норма годового расхода на 1 км линии

1

2

3

1. Краска для нумерации опор

кг

0,10

2. Болты с гайками и шайбами

кг

0,35

3. Гвозди толевые

кг

0,015

4. Глухари

шт.

0,39

5. Железо кровельное для нумерации опор, пропитанных масляными антисептиками

кг

0,06

6. Краска разная

кг

0,03

7. Олифа

кг

0,032

8. Подкосы

шт.

0,132

9. Приставки железобетонные для укрепления опор:

 

 

одинарные

шт.

0,88

двойные

шт.

1,72

10. Проволока - катанка для хомутов

кг

5,0

11. Проволока оцинкованная диаметром 4 - 5 мм для оттяжек, заземлений, молниеотводов

кг

0,6

12. Проволока печная для бандажей

кг

0,04

13. Столбы для замены опор

шт.

0,87

14. Столбы для укрепления опор подпорами

шт.

0,36

15. Сталь полосовая

кг

0,06

16. Лес пиленый для площадок и желобов

м3

0,004

17. Траверсы деревянные

шт.

0,44

18. Шурупы для сшивания желобов

кг

0,003

19. Шпаклевка для желобов

кг

0,006

20. Битум плавленный для гидроизоляции

 

 

бандажный способ

кг

0,524

длительное вымачивание

кг

0,150

21. Битум растворимый для гидроизоляции:

 

 

бандажный способ

кг

0,243

длительное вымачивание, «осмос»

кг

0,78

22. Растворитель (керосин, сольвент - нафта) для гидроизоляции:

 

 

бандажный способ

кг

0,135

длительное вымачивание, «осмос»

кг

0,420

23. Толь (рубероид, битуминизированцая бумага и др.)

м2

0,374

24. Фтористый натрий:

 

 

бандажный способ;

кг

0,75

«осмос»

кг

3,0

25. Экстракт сульфидных щелоков:

 

 

бандажный способ

кг

0,09

«осмос»

кг

0,36

Таблица П. 13.2.

Материалы и арматура на эксплуатационное содержание и текущий ремонт проводов столбовых линий

Наименование

Единица измерения

Норма годового расхода на 1 км линии

1

2

3

1. Веревка блочная,

кг

0,013

2. Изоляторы фарфоровые:

 

 

ТФ-20

шт.

0,71

ТФ-12,ТФ-16

шт.

0,76

3. Каболка

кг

0,014

4. Кронштейн для скрещивания

шт.

0,005

5. Крюк стальной

шт.

0,064

6. Крюк подвесной

шт.

0,01

7. Лента медная (фольга) для вязки биметаллических проводов

кг

0,006

8. Лента алюминиевая (фольга) для вязки сталеалюминиевых проводов

кг

0,003

9. Лак асфальтовый

кг

0,006

10. Мраморная мука

кг

0,05

11. Накладка для скрещивания

шт.

0,01

12. Припой ПОССу-40-2

кг

0,003

13. Припой ПОССу-30-2

кг

0,001

14. Проволока стальная линейная диаметром, мм:

 

 

5

кг

0,21

4

кг

0,50

3

кг

0,50

2

кг

0,51

1,5

кг

0,75

15. Проволока стальная перевязочная диаметром, мм

 

 

2,5

кг

0,15

2

кг

0,12

1,2 - 1,5

кг

0,04

16. Проволока медная линейная диаметром, мм:

 

 

4

кг

0,20

3 - 3,5

кг

0,19

17. Проволока медная перевязочная диаметром, мм:

 

 

2,5

кг

0,17

2

кг

0,13

1

кг

0,05

18. Проволока биметаллическая (сталемедная) линейная, диаметром, мм:

 

 

4

кг

0,29

3

кг

0,27

2

кг

0,20

1,2

кг

0,30

19. Проволока биметаллическая (сталемедная) перевязочная, диаметром, мм:

 

 

2,5

кг

0,16

2,0

кг

0,13

20. Проволока сталеалюминиевая линейная

кг

0,90

21. Проволока алюминиевая перевязочная диаметром 3 мм

кг

0,10

22. Сжим контрольный

шт.

0,01

23. Спички к термопатронам

шт

0,5

24. Термопатрон

шт.

0,35

25. Трубки медные для медных и биметаллических проводов

шт.

0,085

26. Трубки алюминиевые

шт.

0,05

27. Штыри с гайками и шайбами

шт.

0,04

28. Кроссировочный провод для кабельных ящиков

м

0,073

29. Провод для абонентских вводов СТС

м

1,362

30. Лента поливинилхлоридная

кг

0,013

Примечание к Приложению 13.

Все перечисленные в Приложении 13 годовые нормы расхода материалов рассчитаны для столбовых воздушных линий электросвязи, еще 20 опор на километр, при среднем долголетии опор (19 лет) и среднем воздействии атмосферно-климатических условий и агрессивной среды. При определении потребности в материалах наиболее существенные особенности столбовых воздушных линий местных сетей связи и условий их эксплуатации учитываются при помощи соответствующих поправочных коэффициентов.

Таблица П. 13.3.

Коэффициенты качественного состава опор воздушных линий местных сетей связи

Наименование областей, краев, республик

Поправочные коэффициенты

1. Архангельская, Вологодская, Ленинградская, Новгородская, Псковская, Республика Карелия, Тверская, Калужская, Костромская, Ярославская, Нижегородская, Пермская, Республика Марий Эл, Липецкая, Волгоградская, Республика Калмыкия-Хальм Танги, Пермская, Екатеринбургская, Удмуртская Республика

1,36

2. Брянская, Владимирская, Ивановская, Орловская, Рязанская, Смоленская, Чувашская Республика, Воронежская, Курская, Тамбовская, Астраханская, Самарская, Пензенская, Саратовская, Республика Башкортостан, Республика Татарстан, Краснодарский, Ростовская, Чеченская Республика, Ингушская Республика, Курганская, Оренбургская

1,27

3. Мурманская, Республика Коми, Московская., Тульская, Республика Мордовия, Белгородская, Ульяновская, Республика Дагестан, Кабардино-Балкарская Республика, Челябинская, Кемеровская, Новосибирская

1,19

4. Ставропольский, Республика Алтай, Омская, Тюменская

1,12

5. Томская, Красноярский, Иркутская, Читинская, Республика Бурятия, Республика Тува, Приморский, Хабаровская, Амурская, Камчатская, Магаданская, Сахалинская, Республика Саха (Якутия)

1,06

Одновременное воздействие разнородных поправочных коэффициентов (количественного и качественного состава опор, коэффициента агрессивности) учитывается умножением нормы расхода материала на произведение соответствующих поправочных коэффициентов.

ПРИЛОЖЕНИЕ 14

Нормы годового расхода арматуры и материалов на эксплуатационное содержание и текущий ремонт стоечных линий

Таблица П. 14.1.

Арматура и материалы на эксплуатационное содержание и текущий ремонт опор стоечных линий

Наименование

Единица измерения

Норма годового расхода на 1 км линии

1

2

3

АРМАТУРА

 

 

1. Болты диаметром 10 - 12 мм

длиной 250 - 400 мм с шайбой и гайкой

шт.

1,0

2. Втулка 9 - 11 мм

шт.

2,5

3. Колпачок оцинкованный

шт.

1,4

4. Копыто чугунное

шт.

1,2

5. Планки отходные

шт.

0,5

6. Проволока стальная оцинкованная диаметром, мм:

 

 

2

кг

1,7

5

кг

1,8

4

кг

1,6

7. Стойки трубчатые: 1×2; 2×2; 6×2; 10×2

шт.

0,5

8. Струбцина с колодками и гайками

шт.

0,8

9. Хомут для крепления стоек

шт.

0,8

10. Штыри:

 

 

промежуточные

шт.

2,5

с накладками, гайками и болтами

 

 

стальные с гайками к траверсам

шт.

0,8

11. Канат стальной

м

2

МАТЕРИАЛЫ

 

 

12. Войлок для прокладки под копыта

кг

0,4

13. Гвозди 25 - 150 мм

кг

0,4

14. Доски толщиной 30 - 40 мм

м2

1

15. Железо кровельное

кг

1,6

16. Замазка

кг

9,5

17. Краска серая масляная

кг

2,9

18. Олифа

кг

0,8

19. Сурик

кг

0,2

Таблица П. 14.2.

Арматура и материалы на эксплуатационное содержание и текущий ремонт проводов стоечных линий

Наименование

Единица измерения

Норма годового расхода на 1 км провода

1

2

3

АРМАТУРА

 

 

1. Изолятор (ТФ-12)

шт.

1,1

2. Провода:

 

 

атмосферостойкий диаметрам 1,6 мм

м

39,2

ЛТВ-В, ЛТР-В

м

11,2

3. Проволока:

 

 

биметаллическая диаметром 1,2 мм

кг

3,9

Стальная оцинкованная диаметром, мм:

 

 

1,0

кг

1,6

1,0 (перевязочная)

кг

0,4

МАТЕРИАЛЫ

 

 

4. Каболка смоляная

кг

0,13

5. Кислота соляная

кг

0,001

6. Лак асфальтовый

кг

0,05

7. Мел в порошке

кг

0,02

8. Припой ПОССу-30-2

кг

0,18

9. Тряпки обтирочные

кг

0,4

ПРИЛОЖЕНИЕ 15

Перечень инструментов и оборудования для электромонтеров обслуживающих воздушные линии

Наименование

Единица измерения

Количество

1

2

3

1. Багор

шт.

1

2. Блок с веревкой

шт.

1

3. Бурав 12/250 мм

шт.

1

4. Бурав 16/310 мм

шт.

1

5. Ведро с крышкой для краски до 2 кг

шт.

1

6. Веревка

м

15

7. Граммометр на 125 г

шт.

1

8. Замша 100×100 мм

шт.

1

9. Зубило 100 мм

шт.

1

10. Индикатор напряжения

шт.

1

11. Кисти малые разные

шт.

3

12. Клеенка 2000×2000 мм

шт.

1

13. Ключ шведский № 2

шт.

1

14. Ключ шведский № 4

шт.

1

15. Когти монтерские облегченные для деревянных опор

пара

1

16. Когти монтерские для железобетонных опор

пара

1

17. Кувалда 1,5 кг

шт.

1

18. Кусачки боковые 130 мм

шт.

1

19. Кусачки торцевые 185 мм

шт.

1

20. Лапка (машинка) для заделки оттяжек

шт.

1

21. Лом

шт.

1

22. Лопата торцевая

шт.

1

23. Лопата совковая

шт.

1

24. Машинка для чистки изоляторов

шт.

1

25. Молоток слесарный 400 г

шт.

1

26. Напильник трехгранный, шт.

шт.

1

27. Нож монтерский слесарный

шт.

1

28. Ножовка по дереву

шт.

1

29. Отвертка 2/90 мм

шт.

1

30. Отвертка 6 - 8/150 мм

шт.

1

31. Очки предохранительные

шт.

1

32. Очки защитные от солнца

шт.

1

33. Паяльник электрический 36 В

шт.

1

34. Переносная лампа в комплекте с понижающим трансформатором на 36 В

шт.

1

35. Перчатки резиновые

пара

1

36. Пила поперечная

шт.

1

37. Плоскогубцы 175 мм

шт.

1

38. Плоскогубцы комбинированные

шт.

1

39. Пояс предохранительный с цепью и карабином

шт.

1

40. Регулировка

шт.

1

41. Регулировка комбинированная с чистоделом

шт.

1

42. Резиновые калоши диэлектрические

пара

1

43. Рейка и динамометр для определения стрелы провеса

шт.

2

44. Рогач

шт.

1

45. Рулетка стальная

шт.

1

46. Станок ножовочный по металлу с набором полотен

шт.

1

47. Струг

шт.

1

48. Сумка для инструмента

шт.

1

49. Сучкорез

шт.

1

50. Трафарет букв и цифр

компл.

1

51. Тюрфель

шт.

1

52. Флейц 50/125 мм

шт.

1

53. Фонарь карманный

шт.

1

54. Щетка стальная

шт.

1

55. Шило прямое

шт.

1

56. Шлямбур 30/600 мм

шт.

1

57. Щуп для контроля столбов

шт.

1

58. Щуп для определения зазоров

шт.

1

59. Электродрель на 220 В с комплектом сверл

шт.

1

Примечание. 1. Багры, ножовки, пилы, лопаты и ломы, ключи шведские и другие громоздкие виды оборудования и инструментов выдаются на бригаду электромонтеров.

ПРИЛОЖЕНИЕ 16

Перечень основных инструментов для участкового электромонтера

Наименование инструментов

Кол-во

Кусачки боковые 150 мл

1

Бокорезы

1

Плоскогубцы «утиный нос»

1

Отвертка (малая, средняя, большая) комплект

1

Молоток стальной 0,5 кг

1

Напильник плоский

1

Метр складной металлический

1

Щуп металлический

1

Ключ гаечный раздвижной 200 - 250 мм

1

Ключ торцовый

1

Пинцет

1

Шило

1

Кисть щетинная плоская

1

Микротелефонная трубка с номеронабирателем или телефонный аппарат

1

Лопата металлическая (штыковая)

1

Топор металлический 1 кг

1

Тестер

1

Защитные очки

1


ПРИЛОЖЕНИЕ 17

ФОРМА НАРЯДА НА ТЕКУЩИЙ РЕМОНТ ЛИНЕЙНЫХ СООРУЖЕНИЙ

Наряд № _______________

«_____»_________ 197___ г.

Кому _______________ бригадир ____________ Начало работы __________ 97 __ г.

(узел, уч-к службы)

На выполнение работ _______________ Конец работы ________________ 197 __ г.

(наименование объекта)

№№ п.п.

§§ единых норм

Наименование работы и состав ее по элементам

Един. изм.

Норма времени един. работ

Стоимость единицы работ

Задание

Выполнение

Примечание

количество единиц

ч/ч по нор ме

сумма стоимости раб. силы

количество единиц

фактически затрачено ч/часов

сумма стоимости раб. силы

 

 

 

 

 

 

 

 

 

 

 

 

 

 

 

 

 

 

 

 

 

 

 

 

 

 

 

 

 

 

 

 

 

 

 

 

 

 

 

 

 

 

 

 

 

 

 

 

 

 

 

 

 

 

 

 

 

 

 

 

 

 

 

 

 

 

 

 

 

 

 

 

 

 

 

 

 

 

 

 

 

 

 

 

 

 

 

 

 

 

 

 

 

 

 

 

 

 

 

 

 

 

 

 

 

 

 

 

 

 

 

 

 

 

 

 

 

 

 

 

 

 

 

 

 

 

 

 

 

 

 

 

 

 

 

 

 

 

 

 

 

 

 

 

 

 

 

 

 

 

 

 

 

 

 

 

 

 

 

 

 

 

 

 

 

 

 

 

 

 

 

 

 

 

 

 

 

 

 

 

 

 

 

 

 

 

 

 

 

 

 

 

 

 

 

 

 

 

 

 

 

 

 

 

 

 

 

 

 

 

 

 

 

 

 

 

 

 

 

 

 

 

 

 

 

 

 

 

 

 

 

 

 

 

 

 

 

 

 

 

 

 

 

 

 

 

 


 

Расход материалов

Табель за 197 __ г.

 

№№ п.п.

Наименование материалов

Единица измерения

Общая потребность по нормам

Фактич. израсх.

На сумму

Приме чание

№ п.п.

Фамилия, имя, отчество

Должн ость

Отработано часов по числам месяца

1

2

3

4

5

6

7

8

9

10

11

12

13

14

15

16

17

18

19

20

21

22

23

24

25

26

27

28

29

30

 

 

 

 

 

 

 

 

 

 

 

 

 

 

 

 

 

 

 

 

 

 

 

 

 

 

 

 

 

 

 

 

 

 

 

 

 

 

 

 

 

 

 

 

 

 

 

 

 

 

 

 

 

 

 

 

 

 

 

 

 

 

 

 

 

 

 

 

 

 

 

 

 

 

 

 

 

 

 

 

 

 

 

 

 

 

 

 

 

 

 

 

 

 

 

 

 

 

 

 

 

 

 

 

 

 

 

 

 

 

 

 

 

 

 

 

 

 

 

 

 

 

 

 

 

 

 

 

 

 

 

 

 

 

 

 

 

 

 

 

 

 

 

 

 

 

 

 

 

 

 

 

 

 

 

 

 

 

 

 

 

 

 

 

 

 

 

 

 

 

 

 

 

 

 

 

 

 

 

 

 

 

 

 

 

 

 

 

 

 

 

 

 

 

 

 

 

 

 

 

 

 

 

 

 

 

 

 

 

 

 

 

 

 

 

 

 

 

 

 

 

 

 

 

 

 

 

 

 

 

 

 

 

 

 

 

 

 

 

 

 

 

 

 

 

 

 

 

 

 

 

 

 

 

 

 

 

 

 

 

 

 

 

 

 

 

 

 

 

 

 

 

 

 

 

 

 

 

 

 

 

 

 

 

 

 

 

 

 

 

 

 

 

 

 

 

 

 

 

 

 

 

 

 

 

 

 

 

 

 

 

 

 

 

 

 

 

 

 

 

 

 

 

 

 

 

 

 

 

 

 

 

 

 

 

 

 

 

 

 

 

 

 

 

 

 

 

 

 

 

 

 

 

 

 

 

 

 

 

 

 

 

 

 

 

 

 

 

 

 

 

 

 

 

 

 

 

 

 

 

 

 

 

 

 

 

 

 

 

 

 

 

 

 

 

 

 

 

 

 

 

 

 

 

 

 

 

 

 

 

 

 

 

 

 

 

 

 

 

 

 

 

 

 

 

 

 

 

 

 

 

 

 

 

 

 

 

 

 

 

 

 

 

 

 

 

 

 

 

 

 

 

 

 

 

 

 

 

 

 

 

 

 

 

 

 

 

 

 

 

 

 

 

 

 

Начальник участка _____________________________ Работу сдал _________ 197 __ г. ______________

подпись

Наряд к исполнению получил ________ 197 ___ г. _____________

Работу принял _________ 197 ___г.

подпись

подпись

Проверял ______________ 197 ___ г. _________________________

подпись


ПРИЛОЖЕНИЕ 18

АКТ

«_____»___________________199 ____ г. Комиссия в составе

действующая на основании __________________________________________________

приняла работы по текущему ремонту линейных сооружений _____________________

произведенные бригадой т.

в количестве _______ человек, в срок с ______________ по _______________ телефонной сети _____________________ области.

Комиссия установила:

 

Виды работ

Един. измерения

Предусмотрено

Выполнение

Примечание

Абсолютное

%

 

 

 

 

 

 

 

Дефекты и недоделки

 

Оценка качества работ

 

Предложения комиссии

 

Председатель комиссии

Члены комиссии:




Яндекс цитирования



   Copyright © 2007-2026,  www.tehlit.ru.

[ ѓосты, стандарты, нормативы, инструкции, правила, строительные нормы ]