//
ТехЛит.ру
- крупнейшая бесплатная электронная интернет библиотека для "технически умных" людей.
WWW.TEHLIT.RU - ТЕХНИЧЕСКАЯ ЛИТЕРАТУРА

:: Алготрейдинг::


АЛГОТРЕЙДИНГ
шаг за шагом
с нуля по урокам!

Торговые роботы на PYTHON, BackTrader,
Pandas, Pine Script для TradingView. Связка с брокерами, телеграм и легкими приложениями.


ГОСТ 23593-79

МЕЖГОСУДАРСТВЕННЫЙ СТАНДАРТ

МОНТАЖ ЭЛЕКТРИЧЕСКИЙ
РАДИОЭЛЕКТРОННОЙ АППАРАТУРЫ
И ПРИБОРОВ С ПРИМЕНЕНИЕМ
ГИБКИХ МАТРИЦ

ТЕХНИЧЕСКИЕ ТРЕБОВАНИЯ

ИПК ИЗДАТЕЛЬСТВО СТАНДАРТОВ

Москва

МЕЖГОСУДАРСТВЕННЫЙ СТАНДАРТ

МОНТАЖ ЭЛЕКТРИЧЕСКИЙ РАДИОЭЛЕКТРОННОЙ
АППАРАТУРЫ И ПРИБОРОВ С ПРИМЕНЕНИЕМ
ГИБКИХ МАТРИЦ

Технические требования

Mounting of electric radioelectronic equipment and instruments
using flexible matrices. Technical requirements

ГОСТ
23593-79

Дата введения 01.07.80

1. Настоящий стандарт распространяется на монтаж электрический, выполняемый внутри радиоэлектронной аппаратуры и приборов (далее - аппаратура), отвечающие требованиям нормативной документации (НД).

2. Стандарт устанавливает технические требования к электромонтажу, выполненному с применением гибких матриц.

Стандарт не распространяется на технические требования, предъявляемые к электромонтажу аппаратуры на печатных платах.

3. В случаях предъявления к электромонтажу дополнительных требований, не предусмотренных НД и настоящим стандартом, они указываются в конструкторской документации и согласовываются с заказчиком.

4. Гибкие матрицы следует применять для раскладки и крепления проводов в аппаратуре; определение минимальных габаритных размеров и примеры конструкций приведены в рекомендуемом приложении 1. Термины и их определения приведены в справочном приложении 2.

5. Материалы, применяемые для гибкой матрицы, приведены в рекомендуемом приложении 3. Применение материалов, содержащих серу, не допускается.

6. Для прошивки матриц следует применять монтажные провода сечением не более 0,2 мм2. Применение проводов с однопроволочной жилой не допускается. Монтажные провода приведены в рекомендуемом приложении 4.

7. Прошивку матриц следует производить одиночными монтажными проводами или набором нескольких монтажных проводов. Прошивку матрицы при различных диаметрах проводов следует производить по возможности в отдельных трассах для каждого из диаметра проводов.

Не рекомендуется прошивать гибкие матрицы экранированными проводами. Пример прошивки гибкой матрицы монтажными проводами приведен в рекомендуемом приложении 5.

Смонтированные гибкие матрицы ремонтопригодны.

8. Крепление монтажных проводов при продольной и поперечной прошивке гибкой матрицы осуществлять за счет образования петель-замков или изоляционными трубками (например, из фторопласта 4Д диаметром 0,3; 0,5; 0,6 мм).

Крепление монтажных проводов к матрице осуществлять в соответствии с требованиями, установленными в конструкторской документации.

(Измененная редакция, Изм. № 1).

9. Диаметр отверстий в матрице следует выбрать большим или равным диаметру набора из проводов, проходящих через одно отверстие. Диаметр набора следует определять по номограмме, приведенной в рекомендуемом приложении 6. Провода в матрице должны быть уложены ровно, без натяжения, так, чтобы внутренний радиус изгиба матрицы, прошитой монтажными проводами, был не менее трех диаметров наибольшего набора, проходящего через отверстие матрицы. Внутренний радиус изгиба проводов в процессе прошивки матрицы должен быть не менее значения, указанного в стандартах и технических условиях на провода.

10. При прошивке матрицы допускаются отдельные прорывы перемычек между отверстиями не более 2 % к общему количеству отверстий. Допускается не более одного прорыва из всех возможных перемычек к одному отверстию.

11. Примеры крепления гибкой матрицы к ячейке и в блоке приведены в справочном приложении 7.

ПРИЛОЖЕНИЕ 1

Рекомендуемое

ОПРЕДЕЛЕНИЕ МИНИМАЛЬНЫХ ГАБАРИТНЫХ РАЗМЕРОВ ГИБКОЙ МАТРИЦЫ

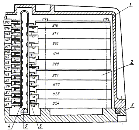
Минимальные габаритные размеры гибкой матрицы, приведенные на черт. 1, 2, определяются максимальным количеством связей между ячейками блока. Ширина матрицы А определяется по формуле

,                                                        (1)

где с - количество проводов, проходящих через одно отверстие матрицы;

с1 - максимальное количество связей между ячейками или ячейками и разъемами;

t - шаг между отверстиями матрицы в горизонтальном ряду, мм;

b - участок прикрепления матрицы на ячейке, мм;

т - количество участков прикрепления матрицы на ячейке.

Длина матрицы В определяется по формуле

В = (п - 1) 3а + g + L + а,                                                   (2)

где а - шаг между отверстиями в вертикальном ряду, мм;

g - длина участка прикрепления конца матрицы не корпусе;

L - расстояние от нижней ячейки до участка крепления матрицы на корпусе, обеспечивающее извлечение пакета ячеек из корпуса по время монтажа и настройки блока, мм;

п - количество промежутков между отверстиями.

Черт. 1

Черт. 2

ПРИЛОЖЕНИЕ 2

Справочное

Термины, применяемые в настоящем стандарте, и определения к ним

Термин

Определение

Гибкая матрица

Деталь из гибкого материала, на который размещены сквозные отверстия, предназначенные для прошивки монтажными проводами

Смонтированная гибкая матрица

Гибкая матрица, прошитая монтажными проводами, крепление которых осуществляется за счет образования петель-замков в каждой паре отверстий

Блок

Конструктивно и функционально законченная сборочная единица, в состав которой входят ячейки, электрорадиоэлементы и конструктивные элементы

Блок книжной конструкции

Блок, в котором ячейки конструктивно объединены по одной стороне гибкой матрицей, что обеспечивает доступ к ячейкам при монтаже и настройке за счет откидывания ячеек одна относительно другой

Ячейка

Сборочная единица, в состав которой входят гибридные интегральные микросхемы, электрорадиоэлементы и конструктивные элементы

Прошивка матрицы

Пропускание (протягивание) монтажных проводов в сквозные отверстия гибкой матрицы

ПРИЛОЖЕНИЕ 3

Рекомендуемое

Материалы, применяемые для гибкой матрицы

Наименование

ТУ

Резиновая смесь НО-68-1

То техническим условиям

Резиновая смесь ИРП

Резиновая смесь МАК-44

ПРИЛОЖЕНИЕ 4

Рекомендуемое

Марки монтажных проводов, применяемых при прошивке гибких матриц

Марка провода

Номинальное сечение, мм2

Максимальный наружный диаметр, мм2

ТУ

МШВ

0,07

0,75

По техническим условиям

МГТФ

0,03; 0,07

0,75

0,12

0,90

МП16-11

0,03

0,45

0,05

0,52

МП37-12

0,08

1,0

0,12

1,1

МС16-13

0,03

0,60

0,05

0,66

0,08

0,72

0,12

0,81

МГВ

0,07

0,75

(Измененная редакция, Изм. № 1).

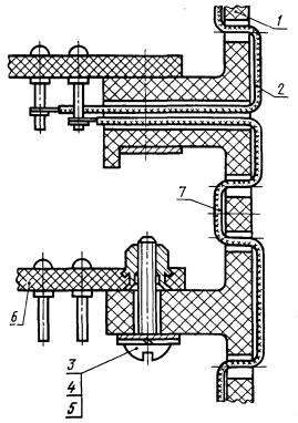
ПРИЛОЖЕНИЕ 5

Рекомендуемое

Пример прошивки гибкой матрицы монтажными проводами

1 - условное изображение набора проводов, входящих на ячейку, 2 - условное изображение набора проводов в продольных трассах; 3 - условное изображение набора проводов в поперечных трассах; 4 - скоба; 5 - винт; 6 - гибкая матрица; 7 - ячейка или съемная гребенка

ПРИЛОЖЕНИЕ 6

Рекомендуемое

НОМОГРАММА ДЛЯ ОПРЕДЕЛЕНИЯ ДИАМЕТРА НАБОРА МОНТАЖНЫХ ПРОВОДОВ

На номограмме приведена зависимость диаметра набора монтажных проводов от количества их и диаметров.

Диаметр набора, состоящий из проводов различных диаметров, определяется путем перехода с кривых большого диаметра проводов на кривые меньшего диаметра.

Пример. Набор состоит из 4 проводов d = 0,8 мм и 6 проводов d = 0,45 мм.

Определяем диаметр набора. На оси абсцисс находим точку А, соответствующую 4 проводам. Из точки А восстанавливаем перпендикуляр до пересечения с кривой d = 0,8 мм - точка Б;

через точку Б проводим линию, параллельную оси абсцисс, до пересечения с кривой d = 0,45 мм - точка В;

на продолжении линии БВ накладываем отрезок ВГ, равный в масштабе оси абсцисс п = 6 проводам;

из точки Г проводим линию, параллельную оси ординат, до пересечения с кривой d = 0,45 мм - точка Д;

из точки Д проводим линию, параллельную оси абсцисс, до пересечения с осью ординат - точка Е.

Искомый диаметр равен 2,6 мм.


Номограмма для определения диаметра набора монтажных проводов

D - диаметр набора, мм; п - количество проводов, входящих в набор; d - диаметр провода, мм


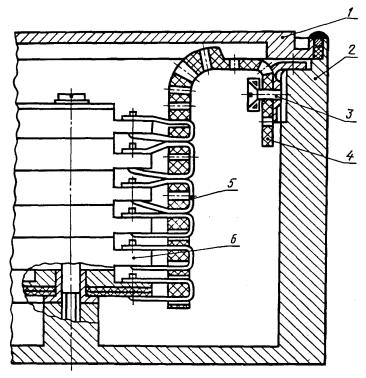
ПРИЛОЖЕНИЕ 7

Справочное

Пример крепления гибкой матрицы к ячейке скобами

1 - гибкая матрица; 2 - провод; 3 - винт; 4 - скоба; 5 - шайба; 6 - ячейка; 7 - петля-замок

Черт. 1

Пример крепления гибкой матрицы к ячейке хомутами

1 - гибкая матрица; 2 - хомут; 3 - ячейка

Черт. 2

Пример конструкции хомута

Черт. 3

Примеры крепления гибкой матрицы в блоке

1 - крышка; 2 - корпус; 3 - винт; 4 - гибкая матрица; 5 - хомут; 6 - ячейка

Черт. 4

1 - кожух; 2 - ячейка; 3 - основание; 4 - гибкая матрица; 5 - винт; 6 - хомут

Черт. 5

ИНФОРМАЦИОННЫЕ ДАННЫЕ

1.    УТВЕРЖДЕН И ВВЕДЕН В ДЕЙСТВИЕ Постановлением Государственного комитета СССР по стандартам от 26.04.79 № 1539

2.    ПЕРЕИЗДАНИЕ, апрель 2000 г., с Изменением № 1, утвержденным в сентябре 1988 г.

СОДЕРЖАНИЕ

Приложение 1 Определение минимальных габаритных размеров гибкой матрицы.. 2

Приложение 2 Термины, применяемые в настоящем стандарте, и определения к ним.. 3

Приложение 3 Материалы, применяемые для гибкой матрицы.. 4

Приложение 4 Марки монтажных проводов, применяемых при прошивке гибких матриц. 4

Приложение 5 Пример прошивки гибкой матрицы монтажными проводами. 4

Приложение 6 Номограмма для определения диаметра набора монтажных проводов. 5

Приложение 7 Пример крепления гибкой матрицы к ячейке. 7

 




Яндекс цитирования



   Copyright © 2007-2026,  www.tehlit.ru.

[ ѓосты, стандарты, нормативы, инструкции, правила, строительные нормы ]