//
ТехЛит.ру
- крупнейшая бесплатная электронная интернет библиотека для "технически умных" людей.
WWW.TEHLIT.RU - ТЕХНИЧЕСКАЯ ЛИТЕРАТУРА

:: Алготрейдинг::


АЛГОТРЕЙДИНГ
шаг за шагом
с нуля по урокам!

Торговые роботы на PYTHON, BackTrader,
Pandas, Pine Script для TradingView. Связка с брокерами, телеграм и легкими приложениями.


ГОСУДАРСТВЕННЫЙ КОМИТЕТ РОССИЙСКОЙ ФЕДЕРАЦИИ
ПО СТАНДАРТИЗАЦИИ И МЕТРОЛОГИИ

НАЦИОНАЛЬНЫЙ
СТАНДАРТ
РОССИЙСКОЙ
ФЕДЕРАЦИИ

ГОСТ Р
52169-2003

ОБОРУДОВАНИЕ ДЕТСКИХ ИГРОВЫХ
ПЛОЩАДОК

БЕЗОПАСНОСТЬ КОНСТРУКЦИИ И МЕТОДЫ ИСПЫТАНИЙ

ОБЩИЕ ТРЕБОВАНИЯ

Москва

ИПК Издательство стандартов

2004

Предисловие

Задачи, основные принципы и правила проведения работ по государственной стандартизации Российской Федерации установлены ГОСТ Р 1.0-92 «Государственная стандартизация Российской Федерации. Основные положения» и ГОСТ Р 1.2-92 «Государственная система стандартизации Российской Федерации. Порядок разработки государственных стандартов»

Сведения о стандарте

1 РАЗРАБОТАН Федеральным государственным унитарным предприятием Всероссийский научно-исследовательский институт стандартизации и сертификации в машиностроении (ВНИИНМАШ) Госстандарта России

2 ВНЕСЕН Техническим комитетом по стандартизации ТК 455 «Оборудование детских игровых площадок»

3 УТВЕРЖДЕН И ВВЕДЕН В ДЕЙСТВИЕ Постановлением Госстандарта России от 26 декабря 2003 г. № 394-ст

4 В настоящем стандарте учтены основные нормативные положения европейского стандарта ЕН 1176-1:1998 «Оборудование детских игровых площадок. Часть 1: Общие требования безопасности и методы испытаний» (EN 1176-1:1998 «Playground equipment-Part 1: General safety requirements and test methods», NEQ)

5 ВВЕДЕН ВПЕРВЫЕ

Информация об изменениях к настоящему стандарту публикуется в указателе «Национальные стандарты», а текст этих изменений - в информационных указателях «Национальные стандарты». В случае пересмотра или отмены настоящего стандарта соответствующая информация будет опубликована в информационном указателе «Национальные стандарты»

СОДЕРЖАНИЕ

Введение

Настоящий стандарт разработан с целью нормативного обеспечения безопасности детского игрового оборудования с учетом необходимости постоянного присмотра взрослыми за детьми в возрасте трех лет и младше на детской игровой площадке.

НАЦИОНАЛЬНЫЙ СТАНДАРТ РОССИЙСКОЙ ФЕДЕРАЦИИ

ОБОРУДОВАНИЕ ДЕТСКИХ ИГРОВЫХ ПЛОЩАДОК

Безопасность конструкции и методы испытаний
Общие требования

Children’s playgrounds equipment. Safety of structure and test methods.
General requirements

Дата введения - 2004-07-01

1 Область применения

Настоящий стандарт распространяется на оборудование детских игровых площадок (далее - оборудование), предназначенное для индивидуального и коллективного пользования. Стандарт устанавливает общие требования к безопасности конструкции и методам испытаний оборудования детских игровых площадок.

Настоящий стандарт не распространяется на оборудование детских игровых площадок, изготовленное до 01.07.2004 г.

2 Нормативные ссылки

В настоящем стандарте использованы ссылки на следующие стандарты и классификаторы:

ГОСТ 2.201-80 Единая система конструкторской документации. Обозначение изделий и конструкторских документов

ГОСТ 12.1.044-89 (ИСО 4589-84) Система стандартов безопасности труда. Пожаровзрывоопасность веществ и материалов. Номенклатура показателей и методы их определения

ГОСТ 2224-93 Коуши стальные для стальных канатов. Технические условия

ГОСТ 3241-91 (ИСО 3108-74) Канаты стальные. Технические условия

ГОСТ 3916.1-96 Фанера общего назначения с наружными слоями из шпона лиственных пород. Технические условия

ГОСТ 3916.2-96 Фанера общего назначения с наружными слоями из шпона хвойных пород. Технические условия

ГОСТ ИСО/ТО 12100-1-2001 Безопасность оборудования. Основные понятия, общие принципы конструирования. Часть 1. Основные термины, методика

ГОСТ ИСО/ТО 12100-2-2002 Безопасность оборудования. Основные понятия, общие принципы конструирования. Часть 2. Технические правила и технические требования

ГОСТ 19191-73 Талрепы с автоматическим стопорением. Технические условия

ГОСТ 20022.0-93 Защита древесины. Параметры защищенности

ГОСТ 20022.2-80 Защита древесины. Классификация

ГОСТ 27751-88 Надежность строительных конструкций и оснований. Основные положения по расчету

ГОСТ 30055-93 Канаты из полимерных материалов и комбинированные. Технические условия

ГОСТ 30188-97 Цепи короткозвенные грузоподъемные калиброванные высокопрочные. Технические условия

ГОСТ 30402-96 Материалы строительные. Метод испытания на воспламеняемость

ГОСТ 30441-97 (ИСО 3076-84) Цепи короткозвенные грузоподъемные некалиброванные класса прочности Т(8). Технические условия

ГОСТ Р ИСО/МЭК 50-2002 Безопасность детей и стандарты

ГОСТ Р ИСО/МЭК 17025-2000 Общие требования к компетентности испытательных и калибровочных лабораторий

ГОСТ Р 51121-97 Товары непродовольственные. Информация для потребителя. Общие требования

ОК 012-93 Общероссийский классификатор изделий и конструкторских документов (классификатор ЕСКД). Класс 33. Изделия культурно-бытового назначения и хозяйственного обихода

Примечание - При пользовании настоящим стандартом целесообразно проверить действие ссылочных стандартов и классификаторов по указателю «Национальные стандарты», составленному по состоянию на 1 января текущего года, и по соответствующим информационным указателям, опубликованным в текущем году. Если ссылочный документ заменен (изменен), то при пользовании настоящим стандартом следует руководствоваться замененным (измененным) стандартом. Если ссылочный документ отменен без замены, то положение, в котором дана ссылка на него, применяется в части, не затрагивающей эту ссылку.

3 Термины и определения

В настоящем стандарте применяют следующие термины с соответствующими определениями:

3.1 оборудование детской игровой площадки: Оборудование, с которым или на котором дети могут играть в помещении или на открытых площадках, индивидуально или группой по своему усмотрению и правилам.

3.2 ударопоглощающее покрытие детской игровой площадки: Покрытие детской игровой площадки с амортизационной способностью (песчаное, грунтовое, газонное, резиновое, полимерное и т.п.).

3.3 игровая зона: Пространство, в котором установлено оборудование и обеспечивается безопасность детей (см. рисунок 1).

3.4 зона безопасности: Пространство внутри, на или вокруг оборудования, которое может быть занято ребенком, находящимся в движении, вызванном использованием оборудования (например, при катании с горки, качании на качелях, раскачивании на качалке и т.п.) (см. рисунок 1).

3.5 зона приземления: Зона, в которой происходит торможение и остановка ребенка, или зона, в которую может попасть ребенок после произвольного или непроизвольного падения (см. рисунок 1).

1 - игровая зона; 2 - зона безопасности; 3 - зона приземления

Рисунок 1 - Зоны игрового оборудования

3.6 высота свободного падения: Расстояние по вертикали от игровой поверхности до зоны приземления.

3.7 стремянка: Простейшее средство доступа с углом наклона к горизонтали 60° - 90°, состоящее из горизонтальных перекладин.

3.8 лестница: Простейшее средство доступа с углом наклона к горизонтали 15° - 60°, состоящее из горизонтальных ступеней.

3.9 трап: Простейшее средство доступа, состоящее из плоской поверхности с углом наклона к горизонтали 0° - 38°.

3.10 захватиться: Держаться рукой за опору, сомкнув пальцы (см. рисунок 2).

Рисунок 2

3.11 ухватиться: Держаться рукой за опору, не смыкая пальцы (см. рисунок 3).

Рисунок 3

3.12 застревание: Опасная ситуация, когда тело, часть тела или одежда ребенка застревает в элементах конструкции.

3.13 труднодоступное оборудование: Оборудование, в конструкции которого специально предусмотрено ограничение доступа для детей конкретной возрастной группы.

3.14 базовая отметка заглубления: Отметка, показывающая уровень заглубления оборудования.

3.15 изготовитель: По ГОСТ Р 51121.

4 Требования безопасности

4.1 Пользование оборудованием может включать риски согласно ГОСТ ИСО/ТО 12100-1, раздел 4, а также:

- падение на оборудовании;

- падение с оборудования;

- столкновения;

- застревания.

4.2 Материалы

4.2.1 Применяемые материалы не должны:

- оказывать вредное воздействие на здоровье ребенка и окружающую среду в процессе эксплуатации;

- вызывать термический ожог при контакте с кожей ребенка в климатических зонах с очень высокими или очень низкими температурами.

Примечание - Особое внимание должно уделяться выбору материалов для оборудования, которое будет эксплуатироваться в экстремальных климатических условиях.

4.2.2 Применение полимерных легковоспламеняющихся материалов (группа В3 по ГОСТ 30402) не допускается.

4.2.3 Применение чрезвычайно опасных по токсичности продуктов горения материалов не допускается (см. ГОСТ 12.1.044, пункт 4.20).

4.2.4 Применение новых материалов, свойства которых недостаточно изучены, не допускается.

4.2.5 Полимерные материалы, композиционные материалы на различных матричных основах должны быть стойкими к воздействию ультрафиолетового излучения.

4.2.6 Если полимерные материалы, композиционные материалы на различных матричных основах в процессе эксплуатации становятся хрупкими, изготовитель указывает период времени их безопасной эксплуатации.

4.2.7 Износостойкость и твердость поверхности полимерных и композиционных материалов, включая стеклоармированные полимерные материалы, должны обеспечивать безопасность детей на весь установленный период эксплуатации.

4.2.8 Металлические материалы, образующие окислы, шелушащиеся или отслаивающиеся, должны быть защищены нетоксичным покрытием.

4.2.9 Древесина и защитные средства древесины - по ГОСТ 20022.0 и ГОСТ 20022.2.

4.2.10 Фанера по ГОСТ 3916.1 и ГОСТ 3916.2 должна быть стойкой к атмосферным воздействиям.

4.3 Требования к оборудованию

4.3.1 Оборудование и элементы оборудования должны:

- соответствовать общим требованиям безопасности и мерам защиты по ГОСТ ИСО/ТО 12100-2 и ГОСТ Р ИСО/МЭК 50;

- соответствовать возрастной группе детей, для которой они предназначены;

- быть такими, чтобы риск, предполагаемый в игре, был явным для ребенка и ребенок мог его предвидеть;

- обеспечивать доступ взрослых для помощи детям внутри оборудования;

- не допускать скопления воды на поверхности и обеспечивать свободный сток и просыхание.

4.3.2 Конструкция оборудования должна обеспечивать прочность, устойчивость, жесткость и пространственную неизменяемость.

4.3.3 Элементы оборудования из металла должны быть защищены от коррозии (или изготовлены из коррозионно-стойких материалов).

4.3.4 Элементы оборудования из полимерных материалов, композиционных материалов, которые со временем становятся хрупкими, должны заменяться по истечении периода времени, указанного изготовителем.

4.3.5 Элементы оборудования из древесины должны изготавливаться из древесины классов «стойкие» и «среднестойкие» по ГОСТ 20022.2 и не должны иметь на поверхности дефектов обработки (например, заусенцев, задиров, отщепов, сколов и т.п.).

4.3.5.1 Элементы оборудования из древесины, от которых зависит прочность оборудования, в случае постоянного контакта с грунтом предохраняют методами химической защиты древесины от биологических агентов в соответствии с ГОСТ 20022.0 и ГОСТ 20022.2, дополнительно можно применять конструктивные методы защиты (например, металлический подпятник).

4.3.6 При выборе металлических креплений необходимо учитывать тип древесины и применяемого антисептика во избежание ускоренной коррозии металла.

4.3.7 Наличие выступающих элементов оборудования с острыми концами или кромками не допускается.

4.3.8 Наличие шероховатых поверхностей, способных нанести травму ребенку, не допускается.

4.3.9 Выступающие концы болтовых соединений должны быть защищены.

Примеры защиты болтовых соединений показаны на рисунке 4.

Рисунок 4 - Защита болтовых соединений

4.3.10 Сварные швы должны быть гладкими.

4.3.11 Углы и края любой доступной для детей части оборудования должны быть закруглены. Минимальный радиус закругления 3 мм.

4.3.12 Угол между стенками V-образных зазоров и щелей должен быть не менее 60°.

4.3.13 Крепление элементов оборудования должно исключать возможность их демонтажа без применения инструментов.

4.3.14 Элементы оборудования (комплектующие), подлежащие периодическому обслуживанию или замене (например, подшипники), должны быть защищены от несанкционированного доступа.

4.3.15 Закрытое оборудование, например тоннели, игровые домики и т.п., с внутренним размером более 2000 мм в любом направлении от входа должно иметь не менее двух открытых доступов, не зависящих друг от друга и расположенных на разных сторонах оборудования. Конструкция доступов должна исключать возможность их блокирования и обеспечивать, при необходимости, оказание помощи взрослыми детям без каких-либо дополнительных средств (например, лестницы, не являющейся составной частью данного оборудования). Размеры открытых доступов должны быть не менее 500´500 мм.

При чрезвычайной ситуации доступы должны обеспечить возможность детям покинуть оборудование.

4.3.16 Размеры элемента оборудования, позволяющего ребенку захватиться (см. 3.10 и рисунок 2), должны быть не менее 16 и не более 45 мм в любом направлении.

4.3.17 Ширина элемента оборудования, позволяющего ребенку ухватиться (см. 3.11 и рисунок 3), должна быть не более 60 мм.

4.3.18 Подвижные, а также подвижные и неподвижные элементы оборудования не должны:

- образовывать сдавливающих или режущих поверхностей;

- создавать возможность застреваний тела, частей тела или одежды ребенка (см. 4.3.23).

4.3.19 Расстояние между ударопоглощающим покрытием игровой площадки и подвижными элементами оборудования должно быть не менее 400 мм.

4.3.20 Оборудование, доступное детям младше трех лет, должно обеспечивать следующие дополнительные требования безопасности:

- для защиты от падения (к перилам и ограждениям) - по 4.3.22;

- к лестницам - по 4.3.28;

- к трапам - по 4.3.30.

4.3.21 Несущая способность конструкций оборудования

4.3.21.1 Несущую способность конструкций оборудования детских игровых площадок оценивают:

- расчетами в соответствии с приложениями А и Б настоящего стандарта;

- физическими (натурными) испытаниями в соответствии с приложением В настоящего стандарта;

- комбинацией расчетов и испытаний.

4.3.21.2 При выполнении расчетов несущей способности в соответствии с приложением Б предельные состояния конструкции не должны быть превышены при сочетании нагрузок, указанных в Б.2.

4.3.21.3 При натурных испытаниях несущей способности в соответствии с приложением В в конструкциях оборудования не должно возникать трещин, повреждений или чрезмерных остаточных деформаций.

4.3.21.4 Конструкции оборудования, которые нельзя проверить расчетами или испытаниями, должны иметь несущую способность, достаточную для обеспечения восприятия действующих нагрузок.

4.3.21.5 Несущую способность однотипного оборудования проверяют для наиболее неблагоприятных сочетаний и мест приложения нагрузок.

4.3.21.6 При натурных испытаниях несущей способности конструкций оборудования в соответствии с приложением В подтверждают способность каждой конструкции воспринимать как постоянные, так и временные нагрузки, действующие на оборудование и его отдельные части.

4.3.21.7 Проверяемые расчетом или испытуемые элементы конструкций должны выдерживать наиболее неблагоприятное сочетание прикладываемых нагрузок. Для этого необходимо рассматривать случаи, когда часть нагрузки, вызывающей благоприятное воздействие, удаляется согласно рисунку 5.

1 - удаляемая часть нагрузки

Рисунок 5 - Удаление части нагрузки

4.3.21.8 Аварийные воздействия и вызванные ими нагрузки на оборудование детских игровых площадок, такие как пожар, землетрясение, столкновения транспортных средств, при расчетах и испытаниях не рассматривают.

4.3.21.9 Оборудование детских игровых площадок на усталость не проверяют.

4.3.22 Защита от падений

4.3.22.1 Для защиты детей от падения с оборудования оборудуют перила и ограждения. Для предупреждения травм при падении детей оборудуют ударопоглощающие покрытия. Типы оборудования для защиты детей от падения в зависимости от высоты опорной поверхности приведены на рисунке 6.

1 - необходимо ударопоглощающее покрытие; 2 - необходимы ограждения; 3 - необходимы перила

Рисунок 6 - Типы оборудования для защиты детей от падения в зависимости от высоты опорной поверхности

4.3.22.2 Перила для лестниц оборудуют над опорной поверхностью (ступенью лестницы). Высота перил - не менее 600 и не более 850 мм (см. рисунок 7).

1 - опорная поверхность (ступень лестницы); 2 - перила; Н - высота перил

Рисунок 7 - Перила для лестниц

4.3.22.3 Перила для оборудования, труднодоступного для детей младше трех лет, оборудуют, если игровая поверхность располагается на высоте от 1000 до 2000 мм (см. рисунок 6). Высота перил от опорной поверхности должна быть не менее 600 и не более 850 мм.

4.3.22.4 Для детей младше трех лет (высота игровой поверхности не более 600 мм) оборудуют защитные ограждения высотой не менее 700 мм (см. рисунок 6а).

4.3.22.5 На оборудовании, труднодоступном для детей младше трех лет, с высотой игровой поверхности более 2000 мм оборудуют защитные ограждения высотой не менее 700 мм (см. рисунок 6б).

4.3.22.6 Конструкция защитного ограждения не должна поощрять детей стоять или сидеть на нем.

4.3.22.7 В конструкции защитного ограждения не должно быть элементов, допускающих лазание детей или их подъем.

4.3.22.8 Нагрузки на оборудование детских игровых площадок, метод расчета и испытания несущей способности - в соответствии с приложениями А, Б и В.

4.3.23 Застревания

4.3.23.1 Оборудование не должно допускать застревания тела, частей тела или одежды ребенка.

Варианты застреваний представлены в таблице 1.

Таблица 1 - Варианты застреваний

Элемент застревания

Отверстия

Прямоугольные зазоры или щели

V-образные зазоры или щели

Выступы

Подвижные элементы оборудования

Жесткие

Нежесткие

Все тело

-

-

-

-

Голова/шея, вперед головой

-

Голова/шея, вперед ногами

-

-

-

Кисть и рука

-

-

-

-

Нога и ступня

-

-

Пальцы

-

Одежда

-

-

Волосы

-

-

-

-

4.3.23.2 Не допускается застревание головы или шеи ребенка:

- в отверстиях;

- в прямоугольных и V-образных зазорах или щелях;

- в подвижных отверстиях, зазорах и щелях.

Диаметр круглых отверстий в твердых элементах конструкций должен быть не менее 130 и не более 230 мм.

Пересекающиеся веревки, канаты, тросы, цепи не должны допускать застревания.

Расстояние между гибкими элементами подвесных мостиков и неподвижными элементами конструкции должно быть не менее 230 мм.

4.3.23.3 Не допускается застревание тела ребенка:

- между неподвижными элементами конструкции;

- между жестко подвешенными тяжелыми элементами конструкции;

- в тоннелях.

Требования безопасности к конструкции тоннелей, в которых дети могут ползать, приведены в таблице 2.

Таблица 2 - Требования безопасности к конструкции тоннелей

Тип тоннеля

Длина, мм

Минимальный внутренний диаметр тоннеля, мм

Наклон тоннеля

Открытый с одной стороны

£ 2000

³ 750

£

Вход в тоннель расположен ниже его окончания

Открытый с двух сторон

£ 1000

³ 400

£ 15°

£ 2000

³ 500

£ 15°

Не ограничена

³ 750

£ 15°

4.3.23.4 Не допускаются застревания ног или ступней ребенка:

- в отверстиях твердых элементов или в поверхностях конструкций, по которым дети могут бегать или взбираться;

- в опорах для ног, стойках перил и т.п.

Горизонтальные поверхности и поверхности, имеющие наклон до 45°, предназначенные для ходьбы или бега (исключая подвесные мостики), должны иметь зазоры шириной не более 30 мм согласно рисунку 8.

Рисунок 8 - Ширина зазоров на поверхностях с наклоном до 45°

4.3.23.5 Не допускаются застревания пальцев ребенка:

- в зазорах и щелях, в то время как тело может перемещаться (скользить, качаться, падать и т.п.);

- в открытых концах труб;

- в переменных зазорах.

Концы труб должны быть закрыты.

Ширина зазоров в элементах конструкции оборудования, размеры которых изменяются в процессе эксплуатации (например, между витками пружины в качалке), должна быть не менее 12 мм при любом положении элементов конструкции.

4.3.23.6 Не допускается застревание одежды ребенка:

- в прямоугольных и V-образных зазорах или щелях;

- в выступах элементов конструкции;

- во вращающихся частях.

Для предотвращения застревания одежды (элементов одежды) применяют прокладки или специальные уплотнения.

4.3.23.7 Конструкция горок и шестов не должна допускать застревание пуговиц.

4.3.23.8 При наличии в оборудовании детской игровой площадки крыши ее конструкция не должна допускать застревание пуговиц.

4.3.23.9 Вращающиеся части оборудования должны иметь защиту, предотвращающую застревание одежды и волос.

4.3.23.10 Испытания на застревания - в соответствии с приложением Г.

4.3.24 Зона безопасности

4.3.24.1 Зону безопасности определяют построением нескольких цилиндров, перпендикулярных к игровой поверхности и расположенных по направлению перемещения ребенка, вызванного использованием оборудования.

Определение зоны безопасности горки - в соответствии с рисунком 9.

1 - цилиндр; 2 - зона безопасности; r - радиус цилиндра; h - высота цилиндра

Рисунок 9 - Определение зоны безопасности горки

Определение зоны безопасности шеста - в соответствии с рисунком 10.

1 - шест; 2 - зона безопасности; r - радиус цилиндра; h - высота цилиндра

Рисунок 10 - Определение зоны безопасности шеста

4.3.24.2 Размеры цилиндра для определения зоны безопасности приведены в таблице 3 и на рисунке 11.

Таблица 3 - Размеры цилиндра для определения зоны безопасности

В миллиметрах

Положение ребенка

Радиус r

Высота h

Ребенок стоит

1000

1800

Ребенок сидит

1000

1500

Ребенок висит на руках

500

300

Рисунок 11 - Размеры цилиндра для определения зоны безопасности

4.3.24.3 При определении зоны безопасности учитывают возможные перемещения ребенка и подвижных элементов конструкции.

4.3.24.4 В зоне безопасности не должно быть препятствий (элементов конструкций, веток деревьев и т.п.).

Примечание - В стандартах на оборудование конкретных типов могут быть дополнительные требования к зоне безопасности.

4.3.25 Игровая зона

4.3.25.1 Игровую зону игровой площадки не должны пересекать пешеходные маршруты (например, пешеходные дорожки).

4.3.25.2 В игровой зоне не должно быть препятствий, которых ребенок не ожидает и которые могут стать причиной травмы.

Примеры неожиданных препятствий приведены на рисунке 12.

Рисунок 12 - Неожиданные препятствия

4.3.26 Высота свободного падения

4.3.26.1 При определении высоты свободного падения h учитывают положение ребенка относительно игровой поверхности (см. таблицу 4 и рисунки 13 а, б, в) и возможные перемещения ребенка и оборудования.

Таблица 4 - Определение высоты свободного падения

Положение ребенка

Высота свободного падения h

Ребенок стоит

От опорной поверхности ног до зоны приземления

Ребенок сидит

От сиденья до зоны приземления

Ребенок висит на руках

От уровня захвата руками до зоны приземления

Рисунок 13 - Высота свободного падения h для различного оборудования

4.3.26.2 Высота свободного падения h не должна превышать 3000 мм.

4.3.27 Зона приземления

4.3.27.1 При определении границы зоны приземления учитывают возможные перемещения элементов конструкции и ребенка. Граница зоны приземления должна находиться на расстоянии не менее 1500 мм от проекции любой точки конструкции на зону приземления.

4.3.27.2 Допускается увеличивать зону приземления в случае вынужденного перемещения ребенка (например для каруселей) или уменьшать (например в случае расположения оборудования возле стены).

4.3.27.3 Допускается взаимное перекрытие зон приземления различных типов оборудования.

Примечание - В стандартах на оборудование конкретного типа (например, качели, карусели) могут быть дополнительные требования к взаимному перекрытию зон приземления.

4.3.27.4 Размеры зоны приземления в общем случае должны соответствовать рисунку 14.

h - высота свободного падения, м; h = (1500) l - 750, l - минимальный размер зоны приземления, м, при

600 < h £ 1500               l = 1500;

h ³ 1500             l =  + 500

Рисунок 14 - Размеры зоны приземления

4.3.27.5 При высоте свободного падения свыше 600 мм зона приземления должна соответствовать следующим требованиям:

- по всей зоне приземления должно быть ударопоглощающее покрытие;

- в зоне приземления не должно быть препятствий;

- ударопоглощающее покрытие зоны приземления должно исключать травмирование ребенка.

4.3.27.6 Примеры ударопоглощающих покрытий зоны приземления представлены в таблице 5.

Таблица 5 - Ударопоглощающие покрытия зоны приземления

В миллиметрах

Материал

Размер частиц

Минимальная толщина слоя 1)

Дерн/разрыхленная земля

-

-

Кора дерева

20 - 80

300

Древесные опилки

5 - 30

Песок 2)

0,2 - 2

Гравий 2)

2 - 8

1) Если используется сыпучий материал, толщину его слоя увеличивают на 200 мм для компенсации вытеснения материала при использовании.

2) Не должно быть загрязнений или частиц глины.

4.3.28 Лестницы

4.3.28.1 Конструкция лестниц должна соответствовать требованиям 4.3.23; лестницы должны иметь постоянный наклон.

4.3.28.2 Поверхность ступеней должна быть ровной, отклонение от горизонтали - не более ±3°.

4.3.28.3 Глубина ступеней (кроме ступеней винтовых и спиральных лестниц) должна быть не менее 140 мм.

4.3.28.4 На проекции лестницы на горизонтальную поверхность не должно быть зазоров между смежными ступенями.

4.3.28.5 При высоте лестницы (кроме винтовых и спиральных) более 2000 мм оборудуют промежуточные площадки с интервалом по высоте не более 2000 мм, шириной не менее ширины ступени и длиной не менее 1000 мм.

4.3.28.6 Направление лестничных маршей (при наличии промежуточных площадок) может меняться не менее чем на 90° (кроме винтовых и спиральных лестниц).

4.3.28.7 При высоте лестницы более 1000 мм и наклоне более 45° наличие перил обязательно. Перила оборудуют по обеим сторонам лестницы. Устройство перил - по 4.3.22.

4.3.28.8 На лестницах, доступных детям младше трех лет, перила оборудуют, начиная с первой ступени.

4.3.28.9 Размеры элементов винтовых и спиральных лестниц должны быть одинаковыми и соответствовать таблице 6 и рисунку 15.

Таблица 6 - Размеры элементов винтовых и спиральных лестниц

Параметр элемента лестницы

Значение

минимальное

максимальное

Высота ступени В, мм

110

230

Высота перил Н, мм

500

900

Ширина лестницы W, мм

500

900

Высота лестницы, мм

1830

-

Угол наклона (для винтовой лестницы)

³ 20°

А - ширина ступени; В - высота ступени; Н - высота перил; W - ширина лестницы

Примечание - Ширину ступени А измеряют по касательной к осевой линии ступени.

Рисунок 15 - Винтовая и спиральная лестницы

4.3.28.10 Перила винтовых и спиральных лестниц оборудуют по обеим сторонам по всей их длине.

4.3.29 Стремянки

4.3.29.1 Конструкция стремянок должна соответствовать требованиям 4.3.23.

4.3.29.2 Перекладины стремянок должны быть жестко закреплены.

4.3.29.3 Поверхность перекладин стремянок должна быть ровной; отклонение от горизонтали - не более ±3°.

4.3.29.4 Для деревянных стремянок гвозди и шурупы не должны быть единственной связью между элементами конструкции.

4.3.29.5 Свободное пространство для правильного расположения ноги на перекладине должно быть не менее 90 мм от осевой линии перекладины.

4.3.29.6 Если стремянка установлена вертикально и достигает верхней части платформы (см. рисунок 13в), допускается применение стремянки без перил.

4.3.29.7 Конструкция перекладин, стоек, перил должна позволять ребенку захватиться согласно 4.3.16.

4.3.30 Трапы

4.3.30.1 Уклон трапа должен быть постоянным.

4.3.30.2 Поверхность трапа должна быть ровной по всей его ширине, отклонение от горизонтали - не более ±3°.

4.3.30.3 Конструкция трапа должна содержать элементы, обеспечивающие надежное сцепление ноги ребенка с поверхностью.

4.3.30.4 Если трап предназначен для детей младше трех лет, ограждение оборудуют при высоте свободного падения более 600 мм.

4.3.31 Канаты

4.3.31.1 При изготовлении оборудования канаты должны соответствовать требованиям ГОСТ 3241, ГОСТ 30055.

4.3.31.2 Расстояние между канатами длиной менее 2000 мм, закрепленными с одного конца (раскачивающимися канатами), должны быть, мм, не менее:

600 - между раскачивающимися канатами и неподвижными элементами оборудования;

900 - между раскачивающими канатами и подвижными элементами оборудования.

4.3.31.3 Для канатов длиной от 2000 до 4000 мм, закрепленных с одного конца (раскачивающихся канатов), расстояние между канатами и другими элементами оборудования - не менее 1000 мм.

4.3.31.4 Диаметр раскачивающегося каната 25 - 45 мм.

4.3.31.5 Раскачивающиеся канаты не устанавливают с качелями в одном пролете (отсеке).

4.3.31.6 Канаты, закрепленные с обоих концов (лазательные канаты), должны соответствовать следующим требованиям:

- стрела провеса каната - не более 20 % расстояния между точками подвеса;

- диаметр каната 18 - 45 мм.

4.3.31.7 Применение сплошных однородных (литых) канатов из полимерных материалов не допускается.

4.3.31.8 Стальные канаты должны соответствовать следующим требованиям:

- быть изготовлены из оцинкованной или коррозионно-стойкой проволоки;

- концы стального каната в спрессованных петлях должны совпадать с краем опрессовки;

- концы стального каната в петлях с зажимами, концы резьб зажимов должны иметь травмобезопасную защиту.

- талреп каната должен быть изготовлен из коррозионно-стойкого материала, иметь спрессованные петли или петли с коушем и зажимами; талреп не должен допускать возможность демонтажа без применения инструмента.

4.3.31.9 Коуши должны соответствовать требованиям ГОСТ 2224, а талрепы - требованиям ГОСТ 19191.

4.3.31.10 При использовании стальных канатов для лазания каждая стренга каната должна иметь наружную оплетку из полимерных или натуральных материалов.

4.3.31.11 Петля с опрессовкой, талреп и петля с коушем и зажимами приведены на рисунке 16.

1 - петля с опрессовкой; 2 - талреп; 3 - петля с коушем и зажимами

Рисунок 16 - Спрессованная петля, талреп, петля с коушем и зажимами

4.3.32 Цепи

4.3.32.1 Применяемые при изготовлении оборудования цепи должны соответствовать требованиям ГОСТ 30188 и ГОСТ 30441.

4.3.32.2 Внутренний размер звеньев цепи (за исключением соединительных) должен быть не более 8,6 мм в любом направлении звена.

4.3.32.3 Внутренний размер соединительных звеньев должен быть менее 8,6 или более 12 мм в любом направлении звена.

4.3.33 Фундаменты оборудования

4.3.33.1 Фундаменты оборудования (далее - фундаменты) должны соответствовать требованиям [1].

4.3.33.2 При наличии сыпучего покрытия (например песка) фундаменты должны соответствовать следующим требованиям:

- элементы фундамента должны располагаться на глубине не менее 400 мм от поверхности покрытия игровой площадки;

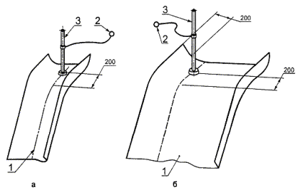
- глубина от поверхности покрытия игровой площадки до верха фундамента конической формы должна быть не менее 200 мм (рисунок 17);

- острые кромки фундамента должны быть закруглены. Радиус закругления - не менее 20 мм;

- концы элементов, выступающих из фундамента (например, анкерных болтов), должны располагаться на глубине не менее 400 мм от уровня поверхности покрытия игровой площадки.

Примечание - В местах, не доступных для детей (например, при монтаже центральной оси карусели), элементы фундамента допускается располагать на уровне поверхности игровой площадки или на глубине менее 400 мм.

Пример фундамента приведен на рисунке 17.

1 - опора; 2 - поверхность покрытия игровой площадки; 3 - фундамент; 4 - базовая отметка заглубления

Рисунок 17 - Фундамент

4.3.33.3 Базовую отметку заглубления наносит на оборудование изготовитель способом, обеспечивающим ее сохранность в течение периода эксплуатации оборудования.

4.3.33.4 Возможна бесфундаментная установка оборудования, при этом перемещение оборудования в любом направлении не допускается.

5 Методы испытаний

5.1 Требования безопасности в соответствии с разделом 4 проверяют визуально, органолептически или инструментальными методами.

5.2 Оценка абразивной стойкости элементов оборудования с полимерным покрытием и из композиционных материалов на различных матричных основах - по методу Табера.

5.3 При испытаниях по 5.2 элементов оборудования из стеклоармированных полимерных материалов слой ниже гелькоутного покрытия не должен быть поврежден.

5.4 Определение твердости поверхности элементов оборудования из стеклоармированных полимерных материалов - по Барколю.

5.5 Значения прикладываемых нагрузок - в соответствии с приложением А.

5.6 Усталостные нагрузки оборудования детских игровых площадок значительно меньше постоянных и временных нагрузок и их комбинаций, поэтому испытания на усталость не проводят.

5.7 Испытания несущей способности - в соответствии с приложением В.

5.8 Испытания на застревания - в соответствии с приложением Г.

5.9 По результатам испытаний оформляют отчет в соответствии с ГОСТ Р ИСО/МЭК 17025.

6 Обозначение и маркировка оборудования

6.1 Обозначение

Обозначение оборудования - по ГОСТ 2.201 и ОК 012.

6.2 Маркировка

На оборудование на видном и доступном месте устанавливают табличку, содержащую:

- наименование и адрес изготовителя;

- год введения в эксплуатацию;

- обозначение по 6.1.

Приложение А

(обязательное)

Нормативные нагрузки

Нормативные нагрузки на конструкции оборудования применяют при расчетах и испытаниях оборудования детских игровых площадок.

А.1 Постоянные нагрузки

К постоянным нагрузкам относят:

- вес конструкции в сборе;

- усилия в предварительно напряженных элементах;

- вес воды, если в состав оборудования включены водные резервуары.

А.1.1 Вес конструкции в сборе

Вес конструкции в сборе определяют на основании конструкторской документации.

А.1.2 Нагрузки в предварительно напряженных элементах

При расчете нагрузок в предварительно напряженных элементах рассматривают их максимальные и минимальные значения.

А.1.3 Нагрузки от воды

При расчетах нагрузок от воды учитывают возможные верхний и нижний уровни воды в резервуаре.

А.2 Временные нагрузки

А.2.1 К временным нагрузкам относят:

- нагрузки от детей;

- нагрузки от снега;

- нагрузки от ветра;

- температурные нагрузки;

- специфические нагрузки (характерные для определенного типа оборудования).

А.2.2 Нагрузки от детей

А.2.2.1 Масса детей

Общую массу детей Gn, кг, вычисляют по формуле

Gn = пт + 1,64s ,                                                (A.1)

где п - число детей на оборудовании - по А.3;

т - средняя масса ребенка в рассматриваемой возрастной группе, кг;

s - среднеквадратичное отклонение массы детей в рассматриваемой возрастной группе, кг.

Средняя масса ребенка в разных возрастных группах приведена в таблице А.1.

Таблица А.1 - Средняя масса ребенка в разных возрастных группах

Возрастная группа

Средняя масса ребенка в возрастной группе т, кг

Среднеквадратичное отклонение s, кг

Дети всех возрастов (до 14 лет) 1)

53,8

9,6

Дети до 4 лет 2)

16,7

2,1

Дети до 8 лет 2)

27,9

5,0

Дети до 12 лет 2)

41,5

7,9

1) Средняя масса ребенка возрастной группы до 14 лет по антропометрическим данным детей от 13,5 до 14,5 лет с учетом 2 кг одежды.

2) Для возрастных групп детей до 4, 8 и 12 лет средняя масса ребенка с учетом 0,5, 1 и 1,5 кг одежды соответственно.

Приведенные данные для возрастных групп детей до 4, 8 и 12 лет следует использовать только для детских игровых площадок, предназначенных для четко определенных возрастных групп детей, например детских игровых площадок в центрах по уходу за детьми.

А.2.2.2 Коэффициент динамичности

При расчетах нагрузок используют коэффициент динамичности Cd, учитывающий дополнительную нагрузку, вызванную перемещением детей (бег, игра, и т.д.).

Коэффициент динамичности Cd вычисляют по формуле

Cd = 1 + ,                                                            (А.2)

где n - число детей по А.3.

А.2.2.3 Общая вертикальная нагрузка от детей

Вертикальную нагрузку от детей Fn, v, Н, определяют по формуле

Fn, v = g ∙ Gn ∙ Cd,                                                         (А.3)

где g - ускорение свободного падения (10 м∙с-2);

Gn - по (А.1);

Cd - по (А.2).

Общие вертикальные нагрузки от детей для игровых площадок, предназначенных для детей всех возрастов, приведены в таблице А.2.

Таблица А.2 - Общие вертикальные нагрузки от детей для игровых площадок, предназначенных для детей всех возрастов

Число детей п

Общая масса детей Gn, кг

Коэффициент динамичности Cd

Общая вертикальная нагрузка от детей Fn, v, Н

Вертикальная нагрузка от одного ребенка Fl, v, Н

1

69,5

2,00

1391

1391

2

130

1,50

1948

974

3

189

1,33

2516

839

5

304

1,20

3648

730

10

588

1,10

6468

647

15

868

1,07

9259

617

20

1146

1,05

12033

602

25

1424

1,04

14810

592

30

1700

1,3

17567

586

40

2252

1,025

23083

577

50

2801

1,02

28570

571

60

3350

1,017

34058

568

n > 60 1)

-

1,00

-

538

1) Для п > 60 общая вертикальная нагрузка от детей Fn, v = n Fl, n.

А.2.2.4 Общая горизонтальная нагрузка от детей

Горизонтальную нагрузку от детей Fn, h, H, принимают равной 10 % вертикальной нагрузки Fn, v по А.2.2.3

Fn, h = 0,1 Fn, v.                                                             (А.4)

А.2.2.5 Виды нагрузок от детей, равномерно распределенных по элементу конструкции

А.2.2.5.1 Сосредоточенную вертикальную нагрузку Fv, H, вычисляют по формуле

Fv = Fn, v.                                                                      (A.5)

А.2.2.5.2 Сосредоточенную горизонтальную нагрузку Fh, H, вычисляют по формуле

Fh = 0,1 Fn, v = 0,1 Fv.                                                   (А.6)

А.2.2.5.3 Сосредоточенные нагрузки Fv и Fh действуют на площадке 0,1´0,1 м.

А.2.2.5.4 Распределенную вертикальную нагрузку qv, H, вычисляют по формуле

                                                               (A.7)

где L - длина элемента, м.

А.2.2.5.5 Распределенную горизонтальную нагрузку qh, H, вычисляют по формуле

                                                  (A.8)

А.2.2.5.6 Вертикальную нагрузку на площадке pv, Н/м2, вычисляют по формуле

                                                          (A.9)

где А - площадь, м2.

А.2.2.5.7 Горизонтальную нагрузку на площадке, Н/м2, вычисляют по формуле

                                              (А.10)

А.2.3 Нагрузки от снега, ветра, а также температурные и климатические воздействия - по [2].

А.3 Число детей, размещающихся на оборудовании

А.3.1 Число детей, размещающихся на оборудовании, рассчитывают для каждого элемента конструкции.

Полученный результат округляют в большую сторону до целого.

А.3.2 Число детей, размещающихся на ограниченной поверхности (в точке)

Любой элемент оборудования, предназначенный для ходьбы, подъема или для стоящих детей, шириной более 0,1 м, с углом наклона менее 30° должен выдерживать нагрузку от одного ребенка. Число детей п, размещающихся на ограниченной поверхности, равно единице.

А.3.3 Число детей, размещающихся на элементе линейного типа

Число детей n, размещающихся на элементе линейного типа, вычисляют по формулам:

- для линейных элементов с углом наклона до 60°

                                                             (А.11)

- для линейных элементов с углом наклона более 60°

                                                              (А.12)

где Lpr - длина проекции линейного элемента на горизонтальную плоскость, м;

L - длина линейного элемента, м.

К элементам линейного типа относят, например, ступени лестниц, шесты, канаты и т.п.

А.3.4 Число детей, размещающихся на площадке

Число детей п, размещающихся на площадке, вычисляют по формулам:

- для площадки с углом наклона не более 60°

                                                       (А.13)

- для площадки с углом наклона более 60°

                                                      (А.14)

где А - площадь, м2;

Аpr - площадь проекции площадки на горизонтальную плоскость, м2.

К площадкам относят: платформы, решетчатые платформы, трапы и сетки.

Ширина площадки должна быть более 0,6 м.

Площадку шириной не более 0,6 м рассматривают как элемент линейного типа.

Для оборудования с игровыми поверхностями на двух противоположных сторонах (например сетка, решетка и т.п.) число детей n, размещающихся на игровой поверхности, рассчитывают только для одной стороны.

А.3.5 Число детей, размещающихся в трехмерном пространстве (объеме)

Число детей п, размещающихся в трехмерном пространстве (объеме) оборудования, вычисляют по формулам:

- для объема V £ 4,3 м3

                                                            (A.15)

- для объема 4,3 м3 < V £ 12,8 м3

                                             (А.16)

- для объема V > 12,8 м3

                                              (А.17)

где V - объем, ограниченный пространством игрового оборудования, м3.

Формулы А.15 - А.17 применяют для вычисления максимального числа детей, размещаемых на игровом оборудовании (например, на элементах, используемых для подъема, пространственных сетках и т.п.). Указанные в формулах (А.15) - (А.17) значения объемов основаны на следующих размерах:

0,60´0,60´1,20 м = 0,43 м3;

0,75´0,75´1,50 м = 0,85 м3;

0,90´0,90´1,80 м = 1,46 м3.

А.4 Специфические нагрузки

А.4.1 Качели

Число детей п, размещаемых на качелях, равно:

- для обычных качелей - п = 2;

- для гондолы - по А.3;

- для качелей с одной точкой крепления при п ³ 2

где L - длина качающейся платформы, м.

Нагрузки, возникающие при движении качелей, вычисляют для всех наиболее неблагоприятных положений качающейся платформы.

Нагрузки от детей по А.2.2.1 и А.2.2.2 учитывать не следует.

Массу движущихся частей качелей считают равномерно распределенной между точками опоры.

Максимальный угол отклонения каната или цепи от вертикали при качании на качелях amах = 80°.

Пример вычисления нагрузок, действующих на качели, приведен в А.5.2.

А.4.2 Карусели

Число детей, размещаемых на карусели, принимают максимально возможным.

Число сидений п, размещаемых на линейном элементе карусели, рассчитывают по А.3.3, принимая за Lpr общую длину сидений карусели.

Число сидений п, размещающихся на платформе карусели, рассчитывают по А.3.4, принимая за Аpr площадь платформы карусели.

Для каруселей рассматривают два случая приложения общей нагрузки от детей:

- общую нагрузку Fn, равномерно распределенную по всей карусели;

- общую нагрузку , равномерно распределенную по одной половине карусели.

Вертикальные и горизонтальные нагрузки от детей действуют одновременно.

Центробежные силы учтены в расчете горизонтальной нагрузки от детей.

А.4.3 Пространственная сетка (игровое пространство, образованное горизонтальными, вертикальными и/или наклонными сетями)

Число детей в объеме, ограниченном пространственной сеткой, рассчитывают по А.3.5.

Рассматривают два случая общих нагрузок от детей:

- общую нагрузку Fn (V), равномерно распределенную по всей конструкции;

- общую нагрузку , равномерно распределенную по одной половине конструкции.

А.4.4 Стремянка и лестница

Допустимое число детей на одну стремянку или лестницу, обеспечивающую доступ к игровому оборудованию, рассчитывают по А.3.3 по суммарной длине всех перекладин или ступеней.

А.4.5 Ограждения и перила

Горизонтальную нагрузку, действующую на верхнюю часть ограждений и перил, принимают равной 750 Н/м.

А.4.6 Сиденья

Нагрузку от детей на одно сиденье оценивают следующим образом:

- для одного ребенка - рассматривают как сосредоточенную (А.2.2.5.1 и А.2.2.5.2);

- более одного ребенка - рассматривают как равномерно распределенную (А.2.2.5.3 и А.2.2.5.4).

А.5 Примеры расчета нагрузок (без учета коэффициентов надежности)

А.5.1 Пример расчета нагрузок для платформы с лестницей

Нагрузки рассчитывают по числу детей, размещаемых на платформе и лестнице.

Параметры платформы с лестницей (см. рисунок А.1):

Размеры платформы 1000´1000 мм.

Размеры лестницы:

- длина 1770 мм;

- ширина внешняя 388 мм;

- ширина внутренняя 350 мм;

- угол наклона 56°;

- число ступеней 6.

Длина перил платформы 4´1000 мм.

А.5.1.1 Платформа

Число детей п, размещаемых на платформе, вычисляют по (А.13):

.

Результат округляют до целого:

n = 3.

Общую вертикальную нагрузку на платформу Fn, v, Н, при n = 3 выбирают по таблице А.2:

fn, v = 2516.

Общую горизонтальную нагрузку на платформу от детей Fn, h, Н, вычисляют по (А.4):

Fn, h = 0,1 fn, v = 252.

Рисунок А.1 - Платформа с лестницей

А.5.1.2 Перила платформы

Для линейного элемента перил платформы рассматривают два вида нагрузок от детей - вертикальную и горизонтальную.

Число детей n, размещаемых по длине перил на одной стороне платформы, определяют по (А.10):

.

Результат округляют до целого:

n = 2.

Общую вертикальную нагрузку на перила Fn, v, Н, при n = 2 выбирают по таблице А.2:

Fn, v = 1948.

Распределенную вертикальную нагрузку qv, Н/м, вычисляют по (А.7):

.

Распределенную горизонтальную нагрузку qh, Н/м, вычисляют по (А.8):

qh = 0,1 qv = 195.

В соответствии с А.4.5 распределенную горизонтальную нагрузку на перила qv принимают равной 750 Н/м.

А.5.1.3 Лестница

В соответствии с А.3.2 каждая ступень лестницы должна выдерживать нагрузку одного ребенка:

Fn, v = 1391 Н.

Число детей рассчитывают по А.4.4 по общей сумме длины ступеней.

Общая длина ступеней в метрах Lpr = 6 ∙ 0,35 = 2,1.

Число детей п рассчитывают по (А.11):

.

Результат округляют до целого:

n = 4.

Общую вертикальную нагрузку от детей Fn, v, Н, рассчитывают по (А.3):

Fn, v = g Gn Cd (4 ∙ 53,8 + 1,64 ∙ 9,6 ) (1+ ) = 3084.

Для удобства расчетов допускается использование таблицы А.2.

А.5.1.4 Нагрузка на конструкцию в целом

Нагрузку на конструкцию в целом от детей определяют как сумму нагрузок на отдельные конструкции:

- платформу                                  n = 2,77;

- перила платформы (4 шт.)        п = 4 ∙ 1,67 = 6,68;

- лестницу                                     п = 3,5.

Общее расчетное число детей    п = 12,95.

Результат округляют до целого:

общее расчетное число детей     n = 13.

Общую вертикальную нагрузку от детей Fn, v, Н, рассчитывают по (А.3):

Fn, v = g Gn Cd = 10 (13 ∙ 53,8 + 1,64 ∙ 9,6) (1 + ) = 8143.

Для удобства расчетов допускается использование таблицы А.2.

Общую горизонтальную нагрузку на конструкцию Fn, h, Н, определяют по (А.4):

Fn, h = 0,1 Fn, v = 814,3.

А.5.2 Расчет нагрузок для качелей

А.5.2.1 Силы, действующие на качели

На рисунке А.2 показаны силы, действующие на качели.

Силы, действующие на качели, рассчитывают по формулам:

Fh = Ch g (Gn + Gs);                                                  (A.18)

Fv = Cv g (Gn + Gs);                                                   (A.19)

Fr = Cr g (Gn + Gs);                                                   (A.20)

где Fh -           горизонтальная нагрузка на узел, Н;

Fv -            вертикальная нагрузка на узел, Н;

Fr -            нагрузка на узел, Н;

g -              ускорение свободного падения (g = 10 м∙с-2);

Gs -            масса качелей, кг;

Gn -           масса детей по А.2.2.1;

Ch, Cv, Cr -           коэффициенты нагрузки, зависящие от максимального угла отклонения качелей amах и угла отклонения качелей a (см. таблицу А.3).

Fh, Fv, Fr -           временные нагрузки.

Fh, - горизонтальная нагрузка на узел; Fv - вертикальная нагрузка на узел; Fr - нагрузка на узел; Сs - масса качелей; Сn - масса детей; a - угол отклонения качелей; amax - максимальный угол отклонения качелей 80°.

Рисунок А.2 - Силы, действующие на качели

Таблица А.3 - Коэффициенты нагрузки для качелей при максимальном угле отклонения качелей amах = 80°

Угол отклонения качелей a

Коэффициент нагрузки Сr

Коэффициент вертикальной нагрузки Cv

Коэффициент горизонтальной нагрузки Ch

80°

0,174

0,030

0,171

70°

0,679

0,232

0,683

60°

1,153

0,577

0,999

50°

1,581

1,016

1,211

42,6°

1,950

1,494

1,253

30°

2,251

1,949

1,126

20°

2,472

2,323

0,845

10°

2,607

2,567

0,453

2,653

2,653

0,000

Массу качелей вычисляют по сумме масс качающейся платформы и массы канатов, тросов или стержней, деленной на два.

А.5.2.2 Нагрузки для качелей рассчитывают на примере качающейся платформы (см. рисунок А.3).

Рисунок А.3 - Качающаяся платформа

Качающаяся платформа подвешена на четырех цепях и состоит из резиновой шины, затянутой сеткой, согласно рисунку А.3.

Параметры качающейся платформы:

Диаметр качающейся платформы 1,0 м, масса (шины и сетки) 50 кг, масса цепей 10 кг.

Масса качелей в килограммах Gs = 50 + (0,5 ∙ 10) = 55.

Периметр окружности качающейся платформы в метрах

L = p D = 3,14 ∙ 1,0 = 3,14.

Число детей .

Результат округляют до целого: n = 6.

Массу детей Gn, кг, вычисляют по (А.1):

Gn = 6 ∙ 53,3 + 1,64 ∙ 9,6 ∙  = 361.

Максимальный угол отклонения платформы, подвешенной на цепях, amах = 80°.

Максимальная сила в цепях возникает, когда результирующая сила Fr достигает максимального значения при a = 0°.

По таблице А.3 определяют коэффициент результирующей нагрузки Сr при a = 0°.

Сr = 2,653.

Нагрузку Fr, Н, определяют по (А.20):

Fr = 2,653 ∙ 10 (361 + 55) = 11036.

Максимальная вертикальная сила возникает, когда коэффициент нагрузки Cv достигает максимального значения при a = 0°.

По таблице А.3 определяют коэффициент вертикальной нагрузки Cv при a = 0°:

Cv = 2,653.

Вертикальную нагрузку Fv, Н, определяют по (А.19):

Fv = 2,653 ∙ 10 (361 + 55) = 11036.

При a = 0° горизонтальная нагрузка Fh равна нулю.

По таблице А.3:

Ch = 0;

Fh = 0.

Максимальная горизонтальная сила Fh в качелях возникает, когда коэффициент нагрузки Сh достигает максимального значения при a = 42,6°.

По таблице А.3 определяют коэффициент горизонтальной нагрузки Сh для a = 42,6°:

Ср = 1,253.

Горизонтальную нагрузку Fh, Н, определяют по (А.18):

Fh = 1,253 ∙ 10 (361 + 55) = 5212.

При a = 42,6° (таблица А.3) коэффициент вертикальной нагрузки Cv = 1,494.

Вертикальную нагрузку Fv, Н, определяют по (А.19):

Fv = 1,494 ∙ 10 (361 + 55) = 6215.

Приложение Б

(обязательное)

Расчеты несущей способности

Б.1 Общие положения

Б.1.1 Каждую конструкцию и элемент конструкции оборудования (соединения, фундаменты, опоры) рассчитывают с учетом сочетания нагрузок согласно Б.2.

Б.1.2 Расчет должен основываться на общих принципах и определениях метода предельных состояний согласно ГОСТ 27751.

Б.1.3 Расчет следует проводить согласно [3] и [4], а также другими методами при условии обеспечения уровня безопасности оборудования не ниже чем при использовании метода предельных состояний.

Б.1.4 В общем виде расчет по предельным состояниям описывают зависимостью

,                                                               (Б.1)

где gF - коэффициент надежности по нагрузке;

gM - коэффициент надежности по материалу;

S - силовое воздействие от нормативных нагрузок;

R - расчетное сопротивление конструкции.

Б.2 Первое предельное состояние

Оборудование детских игровых площадок рассчитывают по первому предельному состоянию, которое характеризуется разрушением, потерей устойчивости формы (необратимыми чрезмерными деформациями), потерей устойчивости положения (опрокидыванием, смещением).

Б.3 Второе предельное состояние

Второе предельное состояние, характеризующееся потерей эксплуатационной надежности из-за деформаций (прогибов, перемещений элементов конструкций), при расчете оборудования детских игровых площадок не рассматривается.

Б.4 Сочетания нагрузок для статических расчетов

Б.4.1 При расчетах применяют следующее сочетание нагрузок:

gG, c G + gQ, c Qi,                                                          (Б.2)

где G - постоянная нагрузка в соответствии с А.1 (приложение А);

Qi - одна из временных нагрузок, определенных в А.2.2 - А.2.6 (приложение А);

gG, c - коэффициент надежности по постоянной нагрузке;

gQ, c - коэффициент надежности по временной нагрузке.

Б.4.2 При расчетах применяют следующие значения коэффициентов надежности:

gG, c = 1,0 - для благоприятных условий;

gG, c = 1,35 - для неблагоприятных условий;

gQ, c = 1,0 - для благоприятных условий;

gQ, c = 1,35 - для неблагоприятных условий.

Б4.3 При испытаниях учтено сочетание взаимосвязанных нагрузок, действующих в различных направлениях, таких как вертикальные и горизонтальные нагрузки от детей.

Б.4.4 При испытаниях не учитывают сочетание независимых временных нагрузок (например, от ветра и от детей).

Приложение В

(обязательное)

Натурные испытания несущей способности

В.1 Испытуемый объект (оборудование) должен выдерживать приложенную испытательную нагрузку (по В.2) в течение 5 мин.

В.1.1 После испытаний на испытуемом объекте не должно быть повреждений, в т.ч. трещин, поломок, чрезмерных остаточных деформаций, ослабления соединений и связей.

В.1.2 Остаточные деформации считают недопустимыми, если они приводят к нарушению любого требования настоящего стандарта.

В.2 Испытательные нагрузки

В.2.1 Сочетания нагрузок

При испытаниях несущей способности применяют следующие сочетания нагрузок:

gG, t.G + gQ, t. Qi,                                                        (В.1)

где G - постоянная нормативная нагрузка по А.1;

Qi - одна из временных нормативных нагрузок по А.2.2, А.2.3 (приложение А);

gG, t, - коэффициент надежности по постоянной нагрузке, используемой при испытаниях (gG, t = 1,0 во всех случаях);

gQ, t - коэффициент надежности по временной нагрузке по В.2.2.

Постоянные нагрузки, действующие в течение всего процесса испытаний, как правило, малы по сравнению с временными нагрузками, и применять повышенные коэффициенты надежности по постоянной нагрузке (gG, t > 1) нет необходимости.

Допускается не учитывать одновременное действие независимых временных нагрузок, например нагрузки от ветра и нагрузки от детей.

Необходимо учитывать взаимосвязанные нагрузки, действующие в различных направлениях, например вертикальные и горизонтальные нагрузки от детей.

В.2.2 Коэффициенты надежности по временным нагрузкам

Коэффициент надежности gQ, t принимают равным:

- при испытании серийных изделий (когда нет необходимости испытывать каждый образец):

1,0 - для нормальных условий эксплуатации,

2,0 - для неблагоприятных условий эксплуатации;

- при необходимости испытаний каждой конструкции, а также при испытаниях уникальных изделий:

1,0 - для нормальных условий эксплуатации,

1,35 - для неблагоприятных условий эксплуатации.

В.3 Условия приложения нагрузок

В.3.1 Сосредоточенные нагрузки

Размеры области приложения сосредоточенных нагрузок:

- длина области нагружения линейного элемента в метрах L £ 0,1;

- площадь области нагружения поверхности в квадратных метрах А £ 0,1´0,1.

При моделировании нагрузки, создаваемой одним ребенком, нагрузка должна прикладываться на длине не более 0,1 м.

В.3.2 Распределенные нагрузки на линейных элементах

Распределенные нагрузки на линейных элементах могут быть представлены как равномерно распределенные сосредоточенные нагрузки, прикладываемые к конструкции на расстоянии не более 0,6 м друг от друга. Длина элемента, нагружаемая сосредоточенными нагрузками, может составлять до 0,6 м.

В.3.3 Нагрузки, распределенные по поверхности

Нагрузки, распределенные по поверхности, могут быть представлены сосредоточенными нагрузками, равномерно распределенными по поверхности в виде сетки с размерами ячеек не более 0,6´0,6 м.

Приложение Г

(обязательное)

Испытания на застревания

Г.1 Испытания на застревание головы или шеи

Г.1.1 Испытания на застревания в отверстиях

Г.1.1.1 Аппаратура

Щупы, применяемые при испытаниях, - в соответствии с рисунками Г.1 - Г.3.

Допустимые отклонения размеров щупов:

- линейных - ±1 мм;

- угловых - ±1°.

Рисунок Г.1 - Щупы А и Б (малые) для определения застревания головы или шеи в отверстиях

Рисунок Г.2 - Щуп В (малый) для определения застревания головы или шеи в отверстиях

Рисунок Г.3 - Щуп Г (большой) для определения застревания головы или шеи в отверстиях

Г.1.1.2 Проведение испытаний

Для проверки возможности застревания головы или шеи ребенка в отверстиях согласно таблице Г.1 выбирают щупы (рисунки Г.1 - Г.3) и вставляют последовательно в каждое отверстие испытуемого оборудования.

Таблица Г.1 - Щупы, применяемые для оценки застреваний головы или шеи в отверстиях

Оборудование, доступное детям старше трех лет

Оборудование для детей всех возрастных групп (0 - 14 лет)

Жесткие отверстия/направление - ногами вперед

Все другие отверстия (включая жесткие отверстия/направление - головой вперед)

Щуп В (малый),

щуп Г (большой)

Щуп А (малый),

щуп Г (большой)

Щуп Б (малый),

щуп Г (большой)

Г.1.1.3 При испытаниях в соответствии с Г.1.1.2 отверстие считают допустимым:

- если в отверстие не проходит малый щуп (А, Б или В - в зависимости от типа отверстия и возрастной группы детей);

- если в отверстие проходит большой щуп Г.

Г.1.1.4 При испытаниях в соответствии с Г.1.1.2 отверстие считают недопустимым:

- если в отверстие проходит (или застревает) малый щуп (А, Б или В - в зависимости от типа отверстия и возрастной группы) и не проходит большой щуп Г;

- если в отверстие не проходит (или застревает) большой щуп Г.

Г.1.2 Испытания на застревание в прямоугольных и V-образных зазорах

Г.1.2.1 Аппаратура

Шаблон, применяемый при испытаниях, - в соответствии с рисунком Г.4.

Допустимые отклонения размеров шаблона:

- линейных - ±1 мм;

- угловых - ±1°.

А - зона А шаблона; Б - зона Б шаблона

Рисунок Г.4 - Шаблон для определения застреваний головы или шеи в прямоугольных и V-образных зазорах

Г.1.2.2 Проведение испытаний

Г.1.2.2.1 Испытание V-образных и прямоугольных зазоров с использованием зоны 5 шаблона

Помещают зону Б шаблона в зазор перпендикулярно к плоскости зазора в соответствии:

- с рисунком Г.5 - при испытаниях V-образных зазоров;

- с рисунком Г.6 - при испытаниях прямоугольных зазоров.

Рисунок Г.5 - Испытания V-образных зазоров с использованием зоны Б шаблона

Рисунок Г.6 - Испытания прямоугольных зазоров с использованием зоны Б шаблона

Зазор считают допустимым:

- если зона Б шаблона не проходит в зазор;

- если зона Б шаблона проходит в зазор на глубину менее 45 мм (толщина шаблона).

Если шаблон можно вставить в V-образный зазор на глубину, большую чем толщина шаблона (45 мм), то проводят испытание с использованием зоны A шаблона.

Г.1.2.2.2 Испытание V-образных зазоров с использованием зоны A шаблона

Помещают зону A шаблона в зазор до соприкосновения его со стенками зазора так, чтобы продольная ось шаблона совпадала с продольной осью зазора согласно рисунку Г.7.

Рисунок Г.7 - Испытания V-образных зазоров с использованием зоны А шаблона

Зазор считают допустимым:

- если вершина зоны А шаблона достигает дна зазора (см. рисунок Г.8а);

- если зона А шаблона боковыми гранями соприкасается со стенками зазора, находящегося на высоте менее 600 мм от опорной поверхности (см. рисунок Г.8б).

Зазор считают недопустимым, если зона А шаблона не проходит в зазор, вершина зоны А шаблона не достигает дна зазора (рисунок Г.8в).

Рисунок Г.8 - Примеры размещения зоны А шаблона при испытаниях V-образных зазоров

Г.2 Испытания на застревание одежды

Г.2.1 Аппаратура

Испытательное устройство для испытаний застревания пуговицы - в соответствии с рисунком Г.9.

1 - стойка; 2 - цепь; 3 - пуговица из полимерного материала; 4 - втулка; R - радиус лицевой поверхности пуговицы

Рисунок Г.9 - Испытательное устройство для испытаний застревания пуговицы

Г.2.2 Проведение испытаний

Г.2.2.1 Испытания горки

Испытательное устройство в соответствии с рисунком Г.9 устанавливают вертикально, на расстоянии 200 мм от начала наклонного участка горки, согласно рисунку Г.10.

1 - горка; 2 - пуговица с цепью; 3 - стойка

Рисунок Г.10 - Размещение испытательного устройства на горке

Испытательное устройство перемещают по горке в направлении скатывания ребенка, обеспечивая вертикальное расположение стойки 3 (рисунок Г.10а) и перемещение пуговицы с цепью по горке исключительно под собственным весом.

Если ширина горки более 600 мм, то испытание проводят дважды, располагая испытательное устройство с обоих краев горки в соответствии с рисунком Г.10б.

Застревание пуговицы или цепи не допускается.

Г.2.2.2 Испытания шеста

Проводят последовательно два вида испытаний.

Г.2.2.2.1 Испытание в соответствии с рисунком Г.11а с применением испытательного устройства согласно рисунку Г.9

Испытательное устройство помещают вертикально с краю платформы 1 (см. рисунок Г.11а) в точке, наиболее близкой к шесту. Медленно перемещают испытательное устройство в направлении принудительного движения ребенка на оборудовании и определяют возможность застревания пуговицы или цепи.

Рисунок Г.11 - Испытания шеста

Г.2.2.2.2 Испытание в соответствии с рисунком Г.11б с применением только пуговицы с цепью (без стойки)

Отсоединяют пуговицу с цепью 2 от стойки 1 (рисунок Г.9) и располагают на высоте 1800 мм над поверхностью платформы в соответствии с рисунком Г.11б.

Медленно перемещают испытательное устройство в направлении принудительного движения ребенка на оборудовании и определяют возможность застревания пуговицы или цепи.

Повторяют испытание по всей высоте шеста до отметки 1200 мм над уровнем поверхности игровой площадки.

Застревание пуговицы или цепи не допускается.

Г.2.2.2.3 Испытание крыши

Медленно перемещают испытательное устройство (рисунок Г.9) в направлении принудительного движения ребенка по поверхности крыши в зоне любых доступных отверстий и определяют возможность застревания пуговицы или цепи исключительно под собственным весом.

Застревание пуговицы или цепи не допускается.

Г.3 Испытания на застревание пальцев

Г.3.1 Аппаратура

Стержни-пальцы, применяемые при испытаниях, - в соответствии с рисунками Г.12 и Г.13.

R - радиус сферы

Рисунок Г.12 - Стержень-палец А (малый)

R - радиус сферы

Рисунок Г.13 - Стержень-палец Б (большой)

Г.3.2 Проведение испытаний

Прикладывают стержень-палец А (малый) к отверстию в испытуемом оборудовании и, если стержень не проходит в отверстие, вращают его, не прилагая усилия, по конической образующей в соответствии с рисунком Г.14.

Рисунок Г.14 - Схема вращения стержня-пальца

Если стержень-палец A проходит в отверстие в испытуемом оборудовании, то используют стержень-палец Б (большой), вращая его, не прилагая усилий, по конической образующей в соответствии с рисунком Г.14.

Г.3.2.1 Отверстия считают допустимыми:

- если в отверстие не проходит малый стержень-палец A;

- если в отверстие проходит большой стержень-палец Б.

Г.3.2.2 Отверстия считают недопустимыми:

- если в отверстие проходит (или застревает) малый стержень-палец A и не проходит большой стержень-палец Б;

- если в отверстии застревает большой стержень-палец Б.

Библиография

[1] Строительные нормы и правила Российской Федерации СНиП 2.02.01-83

Основания зданий и сооружений

[2] Строительные нормы и правила Российской Федерации СНиП 2.01.07-85

Нагрузки и воздействия

[3] Строительные нормы и правила Российской Федерации СНиП II-23-81

Стальные конструкции. Нормы проектирования

[4] Строительные нормы и правила Российской Федерации СНиП II-25-80

Деревянные конструкции. Нормы проектирования

Ключевые слова: детские игровые площадки, требования безопасности, испытания




Яндекс цитирования



   Copyright © 2007-2026,  www.tehlit.ru.

[ ѓосты, стандарты, нормативы, инструкции, правила, строительные нормы ]