|
| |
ГОССТРОЙ
СССР
центральный научно-исследовательский
и проектно-экспериментальный институт организации,
механизации и технической помощи строительству
БЮРО ВНЕДРЕНИЯ
ТЕХНОЛОГИЧЕСКИЕ КАРТЫ
НА УСТРОЙСТВО РЕЛЬСОВЫХ
ПУТЕЙ ДЛЯ СТРОИТЕЛЬНЫХ
БАШЕННЫХ КРАНОВ
ИЗДАТЕЛЬСТВО
ЛИТЕРАТУРЫ ПО СТРОИТЕЛЬСТВУ
Москва - 1972
Технологические карты составлены инженерами
отдела организации строительства проектной части
ЦНИИОМТП: В.В. АКИМОВЫМ (начальник отдела),
Ю.А. ЯРЫМОВЫМ, Н.С. ГАЛЯМОВОЙ, Н.П.
ГУТЕЕВОЙ, В.С. ГАБРАНЕ, А.К.
НОВИКОВОЙ, Н.И. ЕРЕМКИНОЙ под руководством
зам. главного инженера института по проектной
части Д.М.
КОНСТАНТИНОВА.
Методическое руководство разработкой технологических карт
осуществлялось отделом механовооружения и механизации
строительства
В брошюре приведены
технологические карты на устройство рельсовых путей для строительных башенных
кранов КБ-100.1, БКСМ-5-5А и КБ-160.2, которые могут быть использованы и для
кранов КБ-100, КБ-100.0, БКСМ-3-5-5А, БКСМ-7-5 и других.
Технологическими
картами предусмотрены следующие виды работ:
устройство
балластной призмы;
укладка и
разборка рельсового пути для монтируемых секций трех типов (на деревянных
полушпалах, деревометаллических рамах и железобетонных шпалах);
погрузка,
перевозка и выгрузка инвентарных секций рельсового пути;
заземление
рельсового пути, установка и разборка тупиковых упоров и выключающих линеек.
Технологические
карты (ТК) разработаны с целью внедрения в строительство рациональных методов
организации труда и производства работ по устройству, разборке и перевозке
инвентарных элементов верхнего строения пути, снижения трудоемкости и стоимости
работ, а также повышения их качества.
ТК предназначены
для применения в проектах организации строительства и производства работ, а
после привязки к конкретным объектам - в качестве руководства для
производителей работ, мастеров и бригадиров.
Выполненные в
соответствии с «Методическими указаниями по разработке технологических карт в
строительстве», составленными ЦНИИОМТП и утвержденными Техническим управлением
Госстроя СССР 2 июля 1964 г., технологические карты содержат следующие разделы:
I. Область применения;
II. Технико-экономические показатели строительного процесса;
III. Организация и технология строительного процесса;
IV. Организация и методы труда рабочих;
V. Материально-технические ресурсы.
Технологические
карты разработаны на устройство рельсовых путей для башенных кранов КБ-100.1;
БКСМ-5-5А и КБ-160.2, но могут быть привязаны к работам по устройству путей для
кранов КБ-100, КБ-100.0, БКСМ-3-5-5А; БКСМ-7-5 и других.
При разработке
технологических карт исходили из следующих условий:
устройство и
разборку монтажного звена рельсового пути производят автомобильным краном, а
последующих звеньев - башенным или автомобильным краном;
путевые работы
ведут с помощью машин серийно выпускаемых промышленностью;
калькуляции
затрат труда и графики производства работ учитывают выполнение работ в летнее
время;
при устройстве
путей в зимних условиях к нормам времени и расценкам применяют коэффициент -
1,4;
при разборке путей,
помимо коэффициентов, предусмотренных Приложением 2 к общей части ЕНиР 1969 г., используют коэффициенты,
учитывающие трудоемкость рыхления балластных материалов (для песка - 1,6, для
гравия или щебня - 2,2).
Технологическими
картами на устройство рельсовых путей для строительных башенных кранов
КБ-100.1, КБ-160.2 и БКСМ-5-5А предусмотрены следующие виды работ:
1. Устройство
сплошной и раздельной балластной призмы из песка или гравия.
2. Укладка и
разборка звена рельсового пути из инвентарных секций на деревянных полушпалах,
деревометаллических рамах и железобетонных шпалах.
3. Погрузка,
перевозка и выгрузка инвентарных секций рельсового пути.
4. Заземление
рельсового пути, установка и разборка тупиковых упоров и выключающих линеек.
Технико-экономические
показатели при устройстве, разборке и перевозке одного звена пути в зависимости
от его типа и нижнего строения пути приведены в табл. 1 - 3.
При привязке
технологических карт к местным условиям уточняют объемы работ, средства
механизации, потребность в материально-технических ресурсах, а также схемы
организации работ. При этом могут быть внесены изменения, только улучшающие
методы выполнения работ и технико-экономические показатели, приведенные в
карте.
Таблица 1
Устройство балластной призмы на участке
длиной 12,5 м
|
Показатели
|
Балластная
призма
|
|
сплошная
|
раздельная
|
|
из
песка
|
из
гравия
|
из
песка
|
из
гравия
|
|
Затраты труда на устройство
балластной призмы, чел-ч
|
4
|
4,65
|
2,32
|
2,6
|
|
Выработка одного рабочего в час,
м3
|
7
|
4,9
|
8,2
|
4,6
|
|
Затраты машинного времени
бульдозера, маш-ч
|
0,434
|
0,356
|
0,344
|
0,217
|
Таблица 2
Укладка и разборка звена рельсового пути длиной 12,5 м
|
Показатели
|
Типы секций
|
Устройство пути для кранов
|
Разборка пути для кранов
|
|
КБ-100.1
|
БКСМ-5-5А
|
КБ-160.2
|
КБ-100.1
|
БКСМ-5-5А
|
КБ-160.2
|
|
Сплошная призма
|
Раздельная призма
|
Сплошная призма
|
Раздельная призма
|
|
из песка
|
из гравия
|
из песка
|
из гравия
|
из песка
|
из гравия
|
|
Затраты труда на одно звено рельсового пути, чел-ч
|
На деревянных полушпалах
|
9,66
|
11,07
|
9,75
|
11,16
|
8,62
|
9,78
|
3,53
|
3,65
|
3,65
|
|
На деревометаллических рамах
|
9,81
|
11,13
|
9,89
|
11,21
|
8,76
|
9,84
|
5,84
|
5,94
|
5,94
|
|
На железобетонных шпалах
|
10,15
|
11,41
|
10,23
|
11,49
|
9,1
|
10,12
|
6,63
|
6,82
|
6,82
|
|
Выработка одного рабочего в час, пог. м пути
|
На деревянных полушпалах
|
1,29
|
1,13
|
1,28
|
1,12
|
1,45
|
1,28
|
3,54
|
3,43
|
3,43
|
|
На деревометаллических рамах
|
1,27
|
1,12
|
1,26
|
1,11
|
1,43
|
1,27
|
2,14
|
2,10
|
2,1
|
|
На железобетонных шпалах
|
1,23
|
1,09
|
1,22
|
1,08
|
1,37
|
1,23
|
1,89
|
1,84
|
1,84
|
|
Затраты машинного времени монтажного крана, маш-ч
|
На деревянных полушпалах
|
0,37
|
0,37
|
0,42
|
0,42
|
0,42
|
0,42
|
0,45
|
0,51
|
0,51
|
|
На деревометаллических рамах
|
0,43
|
0,43
|
0,47
|
0,47
|
0,47
|
0,47
|
0,52
|
0,57
|
0,57
|
|
На железобетонных шпалах
|
0,76
|
0,76
|
0,79
|
0,79
|
0,79
|
0,79
|
0,91
|
0,96
|
0,96
|
Таблица 3
Погрузка, перевозка и выгрузка звена
рельсового пути длиной 12,5 м
|
Показатели
|
Типы
секций
|
Погрузка,
перевозка и выгрузка звена пути для крана
|
|
КБ-100.1
|
БКСМ-5-5А
|
КБ-160.2
|
|
Затраты труда на одно звено
рельсового пути, чел-ч
|
На деревянных полушпалах
|
2,67
|
2,95
|
2,97
|
|
На деревометаллических рамах
|
3,78
|
4,04
|
4,08
|
|
На железобетонных шпалах
|
5,67
|
5,92
|
5,99
|
|
Затраты машинного времени
монтажного крана и автомобилей*, маш-ч
|
На деревянных полушпалах
|
1,39
1,28
|
1,5
1,45
|
1,5
1,46
|
|
На деревометаллических рамах
|
1,59
2,19
|
1,67
2,37
|
1,69
2,39
|
|
На железобетонных шпалах
|
2,24
3,44
|
2,31
3,59
|
2,34
3,64
|
|
* В числителе приведены данные
для монтажного крана, в знаменателе - для автомобилей.
|
I. Область
применения
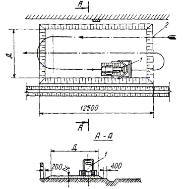
1.
Технологическая карта разработана на устройство из песка или гравия сплошной и
раздельной балластных призм звена рельсового пути длиной 12,5 м и шириной колеи 4,5 и 6 м для строительных башенных кранов.
II.
Технико-экономические показатели устройства балластных призм для одного звена
рельсового пути
|
Показатели
|
Призма из песка
|
Призма из гравия
|
|
сплошная
|
раздельная
|
сплошная
|
раздельная
|
|
Затраты труда на устройство призмы для одного звена пути, чел-ч
|
3,99
|
2,32
|
4,65
|
2,6
|
|
Выработка
одного рабочего в час, м3
|
7
|
8,2
|
4,9
|
4,6
|
|
Затраты
машинного времени бульдозера, маш-ч
|
0,434
|
0,344
|
0,356
|
0,217
|
|
Примечание. Ширина колеи рельсового
пути при сплошной призме 4,5 м,
при раздельной - 6 м.
|
III. Организация и технология строительного процесса
1. До начала
работ по устройству балластной призмы рельсовых путей для строительных башенных
кранов должны быть закончены все земляные работы, связанные с возведением
фундамента здания и прокладкой подземных коммуникаций, а также спланирована
площадка земляного полотна и сделан водоотвод в соответствии с предусмотренным
генпланом отводом сточных вод.
2. На
спланированной площадке разбивают земляное полотно и оси пути, отмечая их на
местности колышками.
3. Материал и
высота балластного слоя предусматривается проектом согласно инструкции СН
78-67.
Гранулометрический
состав балластных материалов и нормы примесей должны соответствовать данным
табл. 5 инструкции СН 78-67.
Размер частиц
балластных материалов должен быть проверен до укладки в призму и отражен в акте
сдачи пути в эксплуатацию.
4. Балласт
отсыпают автомобилями-самосвалами в соответствии со схемой, приведенной на рис.
1 и 2.
5. Отсыпанный
балласт разравнивают и уплотняют бульдозером (рис. 3 и 4).
6. Плотность
балластной призмы проверяют при высоте слоя 150 мм и не менее чем через
12,5 м под каждой
рельсовой ниткой (Приложение 5
инструкции СН 78-67). Данные о плотности заносят в акт сдачи пути в
эксплуатацию.
7. Укладка
балластного слоя на неподготовленную площадку земляного полотна, а также
устройство пути на грунте без балластного слоя не допускаются.

|
Тип крана
|
Ширина В
земляного полотна при балластной призме, мм
|
Объем отсыпаемой призмы, м3
|
Расстояние между отвалами, мм
|
|
из песка
|
из гравия
|
из песка
|
из гравия
|
из песка
|
из гравия
|
|
БКСМ-5-5А
КБ-100.1
|
8050
8350
|
7700
8100
|
28
28
|
23
23
|
4700
4700
|
~5000
~5000
|
Рис. 1. Отсыпка
сплошной балластной призмы
1 - автомобиль-самосвал; 2 -
направление движения автомобиля-самосвала; 3 - отвалы из песка; 4 - водоотводная канава

|
Тип крана
|
Ширина В
земляного полотна, мм
|
Объем отсыпаемой призмы, м3
|
Расстояния между отвалами, мм
|
Минимальное расстояние Б от оси пути до здания, мм
|
|
из песка
|
из гравия
|
из песка
|
из гравия
|
из песка
|
из гравия
|
|
КБ-160-2*
|
9750
|
9250
|
19
|
12
|
4200
|
6000
|
4500
|
|
*) В связи с изменением давления на ходовое колесо башенного крана
КБ-160.2 (по данным ВНИИстройдормаша), размеры балластной призмы и нормы
расхода балластных материалов приняты применительно к параметрам крана СБК-1.
|
Рис. 2. Отсыпка раздельной
балластной призмы

|
Тип крана
|
Высота слоя hб, мм
|
Ширина призмы Д по верху, мм
|
|
из песка
|
из гравия
|
|
БКСМ-5-5А
|
250
|
200
|
6250
|
|
КБ-100.1
|
250
|
200
|
6250
|
Уклон боковых
сторон призмы из песка должен быть 1:2 - 1:3, а из гравия 1:1,5.
Рис. 3. Разравнивание сплошной
балластной призмы
1 -
бульдозер на базе трактора мощностью 54 л.с.; 2 - направление движения бульдозера

|
Высота слоя hб, мм
|
Ширина призмы по верху, мм
|
|
из песка
|
из гравия
|
|
200
|
150
|
1750
|
Уклон боковых
сторон призмы из песка 1:2 - 1:3, а из гравия 1:1,5.
Рис. 4. Разравнивание раздельной
балластной призмы
1 - бульдозер на базе трактора
мощностью 20 л.с.; 2 - направление движения бульдозера
IV.
Организация и методы труда рабочих
1. Устройство
балластной призмы производит звено, состоящее из машиниста бульдозера 5 разряда
и двух монтеров пути 3 разряда.
Монтеры пути
размечают земляное полотно, и после планировки балластной призмы бульдозером
зачищают поверхность призмы вручную.
2. В графиках
выполнения работ по устройству балластной призмы принята односменная работа.
3. При
производстве работ необходимо соблюдать правила техники безопасности (СНиП III-А.11-62).
V.
Материально-технические ресурсы
1.
Основные материалы при устройстве балластной призмы длиной 12,5 м
|
Материал
|
Характеристика материала
|
Количество материалов, м3
|
|
сплошная призма
|
раздельная призма
|
|
Песок
|
Крупный и средний 0,5 - 3 мм
|
28
|
19
|
|
Гравий
|
Крупный 3 - 60 мм
|
23
|
12
|
2. Машины,
оборудование, инструменты и приспособления
|
Наименование
|
Количество
|
|
Автомобиль-самосвал
|
1
|
|
Бульдозер*
|
1
|
|
Лопата совковая
|
2
|
|
» штыковая
|
2
|
|
Рулетка стальная
|
1
|
|
Метр стальной
|
1
|
|
* Для сплошной призмы применяют бульдозер на тракторе мощностью
54 л.с., а для
раздельной - 20 л.с.
|
График выполнения
работ по устройству сплошной балластной призмы из песка (одно звено пути)
|
Наименование работ
|
Единица измерения
|
Объем работ
|
Норма времени на единицу измерения, ч
|
Затраты труда на весь объем работ, чел-ч
|
Состав звена
|
Часы работы
|
|
1
|
2
|
|
Разравнивание и уплотнение балластного слоя бульдозером
|
м3
|
28
|
0,0155
|
0,434
|
Машинист бульдозера
4 разр. - 1
|
__
|
|
|
Зачистка поверхности балластной призмы вручную после
механизированной планировки
|
м2
|
81
|
0,044
|
3,56
|
Монтеры пути
3 разр. - 2
|
_
|
__
|
Калькуляция
затрат труда на устройство сплошной балластной призмы из песка (одно звено
пути)
|
Шифр норм
|
Наименование работ
|
Единица измерения
|
Объем работ
|
Норма времени на единицу измерения, ч
|
Затраты труда на весь объем работ, чел-ч
|
Расценка на единицу измерения, руб.-коп.
|
Заработная плата на весь объем работ,
руб.-коп.
|
|
ЕНиР, 1969, § 2-1-20, т. 2, п. 1б
|
Разравнивание и уплотнение балластного слоя бульдозером
|
м3
|
28
|
0,0155
|
0,434
|
0-00,969
|
0-27
|
|
ЕНиР, 1969, § 2-1-46, п. 10а
|
Зачистка поверхности балластной призмы вручную после
механизированной планировки
|
м2
|
81
|
0,044
|
3,56
|
0-02,17
|
1-76
|
|
|
Итого
|
-
|
-
|
-
|
3,99
|
-
|
2-03
|
|
-
|
Обслуживание бульдозера
|
маш-ч
|
-
|
-
|
0,434
|
-
|
0-27
|
График выполнения
работ по устройству раздельной балластной призмы из песка (одно звено пути)
|
Наименование работ
|
Единица измерения
|
Объем работ
|
Норма времени на единицу измерения, ч
|
Затраты труда на весь объем работ, чел-ч
|
Состав звена
|
Часы работы
|
|
1
|
2
|
|
Разравнивание и уплотнение балластного слоя бульдозером
|
м3
|
19
|
0,0181
|
0,344
|
Машинист бульдозера
4 разр. - 1
|
__
|
|
|
Зачистка поверхности балластной призмы вручную после
механизированной планировки
|
м2
|
45
|
0,044
|
1,98
|
Монтеры пути
3 разр. - 2
|
_
|
__
|
Калькуляция
затрат труда на устройство раздельной балластной призмы из песка (одно звено
пути)
|
Шифр норм
|
Наименование работ
|
Единица измерения
|
Объем работ
|
Норма времени на единицу измерения, ч
|
Затраты труда на весь объем работ, чел-ч
|
Расценка на единицу измерения, руб.-коп.
|
Заработная плата на весь объем работ,
руб.-коп.
|
|
ЕНиР, 1969, § 2-1-20, т. 2, п. 1б, К = 1,1 (применительно)
|
Разравнивание и уплотнение балластного слоя бульдозером
|
м3
|
19
|
0,0181
|
0,344
|
0-01,13
|
0-22
|
|
ЕНиР, 1969, § 2-1-46, п. 10а
|
Зачистка поверхности балластной призмы вручную после
механизированной планировки
|
м2
|
45
|
0,044
|
1,98
|
0-02,17
|
0-98
|
|
|
Итого
|
-
|
-
|
-
|
2,324
|
-
|
1-20
|
|
-
|
Обслуживание бульдозера
|
маш-ч
|
-
|
-
|
0,344
|
-
|
0-22
|
График выполнения работ по
устройству сплошной балластной призмы из гравия (одно звено пути)
|
Наименование работ
|
Единица измерения
|
Объем работ
|
Норма времени на единицу измерения, ч
|
Затраты труда на весь объем работ, чел-ч
|
Состав звена
|
Часы работы
|
|
1
|
2
|
3
|
|
Разравнивание и уплотнение балластного слоя бульдозером
|
м3
|
23
|
0,0155
|
0,356
|
Машинист бульдозера
4 разр. - 1
|
__
|
|
|
|
Зачистка поверхности балластной призмы вручную после
механизированной планировки
|
м2
|
81
|
0,053
|
4,29
|
Монтеры пути
3 разр. - 2
|
_
|
___
|
__
|
Калькуляция затрат труда на
устройство сплошной балластной призмы из гравия (одно звено пути)
|
Шифр норм
|
Наименование работ
|
Единица измерения
|
Объем работ
|
Норма времени на единицу измерения, ч
|
Затраты труда на весь объем работ, чел-ч
|
Расценка на единицу измерения, руб.-коп.
|
Заработная плата на весь объем работ,
руб.-коп.
|
|
ЕНиР, 1969, § 2-1-20, т. 2 п. 1б
|
Разравнивание и уплотнение балластного слоя бульдозером
|
м3
|
23
|
0,0155
|
0,356
|
0-00,969
|
0-22,3
|
|
ЕНиР, 1969, § 2-1-46, п. 10б
|
Зачистка поверхности балластной призмы вручную после
механизированной планировки
|
м2
|
81
|
0,053
|
4,29
|
0-02,61
|
2-11
|
|
|
Итого
|
-
|
-
|
-
|
4,65
|
-
|
2-33,3
|
|
|
Обслуживание бульдозера
|
маш-ч
|
-
|
-
|
0,356
|
-
|
0-22
|
График выполнения
работ по устройству раздельной балластной призмы из гравия (одно звено пути)
|
Наименование работ
|
Единица измерения
|
Объем работ
|
Норма времени на единицу измерения, ч
|
Затраты труда на весь объем работ, чел-ч
|
Состав звена
|
Часы работы
|
|
1
|
2
|
|
Разравнивание и уплотнение балластного слоя бульдозером
|
м3
|
12
|
0,0181
|
0,217
|
Машинист бульдозера
4 разр. - 1
|
__
|
|
|
Зачистка поверхности балластной призмы вручную после
механизированной планировки
|
м2
|
45
|
0,053
|
2,385
|
Монтеры пути
3 разр. - 2
|
__
|
__
|
Калькуляция
затрат труда на устройство раздельной балластной призмы из гравия (одно звено
пути)
|
Шифр норм
|
Наименование работ
|
Единица измерения
|
Объем работ
|
Норма времени на единицу измерения, ч
|
Затраты труда на весь объем, чел-ч
|
Расценка на единицу измерения, руб.-коп.
|
Заработная плата на весь объем работ,
руб.-коп.
|
|
Применительно к ЕНиР, 1969, § 2-1-20, т. 2, п. 1б, К = 1,17 (получен расчетным путем)
|
Разравнивание и уплотнение балластного слоя бульдозером на
базе трактора 20 л.с.
|
м3
|
12
|
0,0181
|
0,217
|
0-00,969
|
0-11,6
|
|
ЕНиР, 1969, § 2-1-46, п. 10б
|
Зачистка поверхности балластной призмы вручную после
механизированной планировки
|
м2
|
45
|
0,053
|
2,385
|
0-02,61
|
1-17,4
|
|
|
Итого
|
-
|
-
|
-
|
2,60
|
-
|
1-29
|
|
-
|
Обслуживание бульдозера
|
маш-ч
|
-
|
-
|
0,217
|
-
|
0-11,6
|
ТЕХНОЛОГИЧЕСКАЯ
КАРТА
I. Область
применения
1.
Технологическая карта разработана на укладку и разборку звена рельсового пути
длиной 12,5 м из
инвентарных секций на деревянных полушпалах для строительных башенных кранов с
шириной колеи 4,5 м (для
кранов КБ-100.1 и БКСМ-5-5А) и 6 м
(для кранов КБ-160.2).
2.
Технологической картой предусмотрена укладка и разборка автомобильным краном
грузоподъемностью 2 - 6 Т инвентарных
секций рельсового пути на деревянных полушпалах с предварительной раскладкой их
у мест монтажа. Длина каждой секции - 12,5 м.
Инвентарные
секции пути укладывают на сплошные и раздельные балластные призмы из песка или
гравия.
II.
Технико-экономические показатели укладки и разборки звена рельсового пути
|
Показатели
|
Укладка пути для кранов
|
Разборка пути для кранов
|
|
КБ-100.1
|
БКСМ-5-5А
|
КБ-160.2
|
|
призма из песка
|
призма из гравия
|
призма из песка
|
призма из гравия
|
призма из песка
|
призма из гравия
|
КБ-100.1
|
БКСМ-5-5А
|
КБ-160.2
|
|
Затраты труда на звено рельсового пути, чел-ч
|
9,66
|
11,07
|
9,75
|
11,16
|
8,62
|
9,78
|
3,53
|
3,65
|
3,65
|
|
Выработка одного рабочего в час, пог. м пути
|
1,29
|
1,13
|
1,28
|
1,12
|
1,45
|
1,28
|
3,54
|
3,43
|
3,43
|
|
Затраты машинного времени крана, маш-ч
|
0,37
|
0,37
|
0,42
|
0,42
|
0,42
|
0,42
|
0,45
|
0,51
|
0,51
|
III. Организация и технология строительного процесса
1. До начала
укладки звеньев пути для строительных башенных кранов должна быть уложена
балластная призма и доставлены в зону монтажа инвентарные секции рельсового
пути, монтажные приспособления, инструменты и инвентарь.
2. Инвентарные
секции рельсового пути на деревянных полушпалах длиной 12,5 м рекомендуется завозить на объект на
автомобиле-лесовозе МАЗ-501 с одноосным прицепом-роспуском.
3. Доставленные
секции рельсового пути складируют в зоне действия крана (рис. 5, 6).
4. Инвентарные
секции рельсового пути укладывают автомобильным краном грузоподъемностью 2 - 6 Т.
5. Укладку пути
начинают с корпусной секции звена, выверяя ее по уровню и шаблону.
6. Строповку и
подъем инвентарных секций пути производят при помощи двухветвевого стропа
грузоподъемностью 2,5 Т.
7. После укладки звена рельсового пути
(две секции по 12,5 м каждая)
устанавливают поперечные стяжки, закрепляя их болтами, засыпают вручную площадь
между шпалами и с торцов балластным материалом на высоту не менее 50 мм, а затем уплотняют балласт под
шпалами деревянными подштопками.
Укладку
рельсового пути заканчивают проверкой ширины колеи (с помощью шаблона). После
установки тупиковых упоров и выключающих линеек, устройства заземления и
монтажа крана производят окончательную проверку пути. Горизонтальность
рельсового пути проверяют через каждые 6 м нивелировкой.
8. Работы по
разборке рельсового пути выполняют в обратной технологической
последовательности с применением тех же средств механизации. При разборке
рельсового пути в зимних условиях, помимо коэффициентов, предусмотренных Приложением 2 к общей части ЕНиР 1969 г.,
к нормам времени и расценкам следует применять коэффициенты, учитывающие
трудность рыхления балластных материалов (для песка К = 1,6, а для
гравия или щебня К = 2,2).
9. При разборке
рельсовых путей в зимнее время рекомендуется (применять изолирующие прокладки,
укладываемые под полушпалы при монтаже пути (для предотвращения примерзания
полушпал к грунту), и моторные подогреватели. Кроме того, для отрыва примерзших
к балласту полушпал следует использовать домкраты, предварительно обкалывая
мерзлый грунт отбойным молотком. Примерзшие рамы отрывают последовательно за
конец крайней шпалы и далее за рельс, начиная с конца секции.
10. При укладке
и разборке рельсового пути из инвентарных секций на деревянных полушпалах
следует пользоваться инструкцией СН78-67.
IV.
Организация и методы труда рабочих
1. Укладку
рельсового пути выполняет звено рабочих, состоящее из одного машиниста крана 5
разряда и пяти монтеров пути - трех 5, 4 и 3 разрядов и двух 2 разряда.

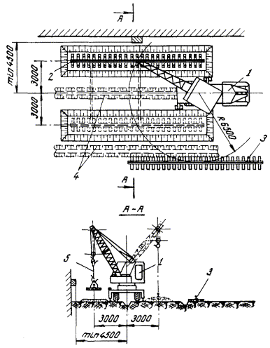
Рис. 5. Схема
укладки инвентарных секций на деревянных полушпалах при сплошной балластной призме
1 - автомобильный кран; 2 - инвентарные секции; 3 - место складирования секций до
монтажа; 4 - водоотводная
канава; 5 - строп

Рис. 6. Схема
укладки инвентарных секций на деревянных полушпалах при раздельной балластной
призме
1 - автомобильный кран; 2 -
инвентарные секции; 3 - место складирования секций до монтажа; 4 -
водоотводная канава; 5 - строп
Монтеры с
помощью автомобильного крана укладывают на балластную призму инвентарную секцию
длиной 12,5 м первой
(корпусной) нитки звена и выверяют ее по уровню и шаблону. После укладки второй
нитки звена монтеры подносят и устанавливают три стяжки (между нитками звена) и
закрепляют их, затем вручную засыпают площадь между шпалами и с торцов
балластным материалом на высоту 50 мм, уплотняют балласт под шпалами подштопками и выверяют уложенное
звено по уровню и шаблону.
При укладке
последующих звеньев инвентарных секций четыре монтера с помощью автомобильного
крана укладывают инвентарные секции, а один подносит стыковые накладки и болты,
затем все монтеры звена производят стыковку рельсов.
2. Разборку
рельсового пути выполняет в обратной технологической последовательности звено
рабочих, состоящее из одного машиниста крана 5 разряда и четырех монтеров пути
- двух 4 и 3 разрядов и двух 2 разряда.
3. В графиках
выполнения работ по устройству и разборке звена рельсового пути принята
односменная работа.
V.
Материально-технические ресурсы
1. Основные
конструкции
|
Наименование
|
Марка
|
Количество, шт.
|
Вес 1 шт., кг
|
|
для крана КБ-100.1
|
для кранов БКСМ-5-5А, КБ-160.2
|
|
Инвентарная секция длиной 12,5 м
|
-
|
2
|
1550
|
1760
|
|
Стяжка рельсового пути
|
Ð56
|
3
|
48
|
-
|
|
»
|
Ð80
|
3
|
-
|
43,5; 58,0*
|
|
Детали крепления
стяжек к рельсам
|
|
Прокладка
|
Ст. 3
|
12
|
0,7
|
1,2
|
|
Планка прижимная
|
Ст. 3
|
12
|
0,7
|
0,94
|
|
Болт
|
М16 ´ 55
|
24
|
0,019
|
0,019
|
|
Гайка
|
М16
|
24
|
0,042
|
0,042
|
|
Шайба пружинная
|
16
|
24
|
0,008
|
0,008
|
|
Детали крепления
рельсов между собой
|
|
Накладка двухголовая
|
-
|
4
|
15,6
|
18,8
|
|
Болт
|
М20 ´ 120
|
12
|
0,317
|
-
|
|
»
|
М22 ´ 130
|
12
|
-
|
0,421
|
|
Гайка
|
М20
|
12
|
0,074
|
-
|
|
»
|
М22
|
12
|
-
|
0,107
|
|
Шайба пружинная
|
20
|
12
|
0,024
|
-
|
|
»
|
24
|
12
|
-
|
0,037
|
|
* Для крана КБ-160.2
|
2. Машины,
оборудование, инструменты и приспособления
|
Наименование
|
Количество, шт.
|
|
Автомобильный кран грузоподъемностью 2 - 6 Т и длиной стрелы 7,5 - 3,5 м
|
1
|
|
Рулетка стальная длиной 10 - 20 м
|
1
|
|
Лапа костыльная
|
2
|
|
Строп двухветвевой грузоподъемностью 2,5 Т
|
1
|
|
Нивелир с треногой
|
1
|
|
Подштопка деревянная
|
5
|
|
Уровень
|
1
|
|
Шаблон для контроля колеи весом 18 кг (диаметр трубы 40 мм)
|
1
|
|
Ключ гаечный 24 мм
|
2
|
|
» 30 мм
|
2
|
|
» 32 мм
|
2
|
|
» торцовый
|
1
|
|
Лопата совковая
|
2
|
|
» штыковая
|
2
|
|
Лом
|
2
|
|
Кувалда весом 5 кг
|
2
|
|
Домкрат винтовой грузоподъемностью 5 Т
|
2
|
|
Примечание. Для разборки пути в зимнее время дополнительно
применяют компрессор производительностью 5 - 10 м3/мин с отбойными молотками и моторные
подогреватели.
|
График выполнения
работ по устройству звена пути длиной 12,5 м из инвентарных секций на
деревянных полушпалах при сплошной песчаной призме для крана КБ-100.1
|
Наименование работ
|
Единица измерения
|
Объем работ
|
Норма времени на единицу измерения, ч
|
Затраты труда на весь объем работ, чел-ч
|
Состав звена
|
Часы работы
|
|
1
|
2
|
|
Укладка инвентарных секций
|
Т
|
3,11
|
0,24
|
0,75
|
|
|
|
|
Стыковка рельсов
|
звено пути
|
1
|
0,5
|
0,5
|
|
|
|
|
Подноска и установка стяжек
|
шт.
|
3
|
0,28
|
0,84
|
Монтеры пути
5 разр. - 1
4 ² -
1
3 ² -
1
2 ² -
2
|
|
|
|
Засыпка песком площади между шпалами и с торцов
|
м2
|
3,21
|
0,64
|
2,05
|
____
|
_____
|
|
Подштопка шпал
|
полушпала
|
50
|
0,0775
|
3,87
|
|
|
|
Рихтовка уложенного пути по уровню и шаблону
|
звено пути
|
1
|
1,65
|
1,65
|
|
|
|
Итого
|
-
|
-
|
-
|
9,66
|
-
|
|
|
|
Обслуживание крана
|
маш-ч
|
-
|
-
|
0,37
|
Машинист крана
5 разр. - 1
|
_____
|
|
Калькуляция
затрат труда на устройство звена пути длиной 12,5 м из инвентарных
секций на деревянных полушпалах при сплошной песчаной призме для крана КБ-100.1
|
Шифр норм
|
Наименование работ
|
Единица измерения
|
Объем работ
|
Норма времени на единицу измерения, ч
|
Затраты труда на весь объем работ, чел-ч
|
Расценка на единицу измерения, руб.-коп.
|
Заработная плата на весь объем работ,
руб.-коп.
|
|
ЕНиР, 1969, § 24-13. п. 18
|
Укладка инвентарных секций
|
Т
|
3,11
|
0,24
|
0,75
|
0-12,6
|
0-39
|
|
ЕНиР, 1969, § 16-1-11, т. 2, п. 5
|
Стыковка рельсов
|
звено пути
|
1
|
0,5
|
0,5
|
0-27
|
0-27
|
|
НИС Мосстроя
|
Подноска и установка стяжек
|
шт.
|
3
|
0,28
|
0,84
|
0-16
|
0-48
|
|
ЕНиР, 1969, § 16-1-125, п. а
|
Засыпка песком площади между шпалами и с торцов
|
м3
|
3,21
|
0,64
|
2,05
|
0-31,8
|
1-02
|
|
ЕНиР, 1969, § 16-1-120, т. 1, п. 5а, К = 0,5
|
Подштопка шпал
|
полушпала
|
50
|
0,0775
|
3,87
|
0-04,1
|
2-05
|
|
НИС Мосстроя
|
Рихтовка уложенного пути по уровню и шаблону
|
звено пути
|
1
|
1,65
|
1,65
|
0-95
|
0-95
|
|
|
Итого
|
-
|
-
|
-
|
9,66
|
-
|
5-16
|
|
-
|
Обслуживание крана
|
маш-ч
|
-
|
-
|
0,37
|
-
|
0-26
|
График выполнения
работ по устройству звена пути длиной 12,5 м из инвентарных секций на
деревянных полушпалах при сплошной гравийной призме для крана КБ-100.1
|
Наименование работ
|
Единица измерения
|
Объем работ
|
Норма времени на единицу измерения, ч
|
Затраты труда на весь объем работ, чел-ч
|
Состав звена
|
Часы работы
|
|
1
|
2
|
3
|
|
Укладка инвентарных секций
|
Т
|
3,11
|
0,24
|
0,75
|
|
|
|
|
|
Стыковка рельсов
|
звено пути
|
1
|
0,5
|
0,5
|
Монтеры пути
5 разр. - 1
4 ² -
1
3 ² -
1
2 ² -
2
|
|
|
|
|
Подноска и установка стяжек
|
шт.
|
3
|
0,306
|
0,92
|
____
|
____
|
_
|
|
Засыпка гравием площади между шпалами и с торцов
|
м3
|
3,21
|
0,77
|
2,47
|
|
|
|
|
Подштопка шпал
|
полушпала
|
50
|
0,0925
|
4,62
|
|
|
|
|
|
Рихтовка уложенного пути по уровню и шаблону
|
звено пути
|
1
|
1,81
|
1,81
|
|
|
|
|
|
Итого
|
-
|
-
|
-
|
11,07
|
-
|
|
|
|
|
Обслуживание крана
|
маш-ч
|
-
|
-
|
0,37
|
Машинист крана
5 разр. - 1
|
__
|
|
|
Калькуляция
затрат труда на устройство звена пути длиной 12,5 м из инвентарных
секций на деревянных полушпалах при сплошной гравийной призме для крана
КБ-100.1
|
Шифр норм
|
Наименование работ
|
Единица измерения
|
Объем работ
|
Норма времени на единицу измерения, ч
|
Затраты труда на весь объем работ, чел-ч
|
Расценка на единицу измерения, руб.-коп.
|
Заработная плата на весь объем работ,
руб.-коп.
|
|
ЕНиР, 1969, § 24-13, п. 18
|
Укладка инвентарных секций
|
Т
|
3,11
|
0,24
|
0,75
|
0-12,6
|
0-39
|
|
ЕНиР, 1969, § 16-1-11, т. 2, п. 5
|
Стыковка рельсов
|
звено пути
|
1
|
0,5
|
0,5
|
0-27
|
0-27
|
|
НИС Мосстроя
|
Подноска и установка стяжек
|
шт.
|
3
|
0,306
|
0,92
|
0-17,6
|
0-53
|
|
ЕНиР, 1969, § 16-1-125, п. б
|
Засыпка гравием площади между шпалами и с торцов
|
м3
|
3,21
|
0,77
|
2,47
|
0-38,2
|
1-23
|
|
ЕНиР, 1969, § 16-1-120, п. 5б, К = 0,5
|
Подштопка шпал
|
полушпала
|
50
|
0,0925
|
4,62
|
0-04,9
|
2-45
|
|
НИС Мосстроя
|
Рихтовка уложенного пути по уровню и шаблону
|
звено пути
|
1
|
1,81
|
1,81
|
1-04
|
1-04
|
|
|
Итого
|
-
|
-
|
-
|
11,07
|
-
|
5-91
|
|
-
|
Обслуживание крана
|
маш-ч
|
-
|
-
|
0,37
|
-
|
0-26
|
График выполнения
работ по устройству звена пути длиной 12,5 м из инвентарных секций на
деревянных полушпалах при сплошной песчаной призме для крана БКСМ-5-5А
|
Наименование работ
|
Единица измерения
|
Объем работ
|
Норма времени на единицу измерения, ч
|
Затраты труда на весь объем работ, чел-ч
|
Состав звена
|
Часы работы
|
|
1
|
2
|
|
Укладка инвентарных секций
|
Т
|
3,52
|
0,24
|
0,84
|
|
|
|
|
Стыковка рельсов
|
звено пути
|
1
|
0,5
|
0,5
|
|
|
|
|
Подноска и установка стяжек
|
шт.
|
3
|
0,28
|
0,84
|
Монтеры пути
5 разр. - 1
4 ² -
1
3 ² -
1
2 ² -
2
|
____
|
___
|
|
Засыпка песком площади между шпалами и с торцов
|
м3
|
3,21
|
0,64
|
2,05
|
|
|
|
Подштопка шпал
|
полушпала
|
50
|
0,0775
|
3,87
|
|
|
|
|
Рихтовка уложенного пути по уровню и шаблону
|
звено пути
|
1
|
1,65
|
1,65
|
|
|
|
|
Итого
|
-
|
-
|
-
|
9,75
|
-
|
|
|
|
Обслуживание крана
|
маш-ч
|
-
|
-
|
0,42
|
Машинист крана
5 разр. - 1
|
__
|
|
Калькуляция
затрат труда на устройство звена пути длиной 12,5 м из инвентарных
секций на деревянных полушпалах при сплошной песчаной призме для крана
БКСМ-5-5А
|
Шифр норм
|
Наименование работ
|
Единица измерения
|
Объем работ
|
Норма времени на единицу измерения, ч
|
Затраты труда на весь объем работ, чел-ч
|
Расценка на единицу измерения, руб.-коп.
|
Заработная плата на весь объем работ,
руб.-коп.
|
|
ЕНиР, 1969, § 24-13, п. 18
|
Укладка инвентарных секций
|
Т
|
3,52
|
0,24
|
0,84
|
0-12,6
|
0-44
|
|
ЕНиР, 1969, § 16-1-11 т. 2, п. 5
|
Стыковка рельсов
|
звено пути
|
1
|
0,5
|
0,5
|
0-27
|
0-27
|
|
НИС Мосстроя
|
Подноска и установка стяжек
|
шт.
|
3
|
0,28
|
0,84
|
0-16
|
0-48
|
|
ЕНиР, 1969, § 16-1-125, п. а
|
Засыпка песком площади между шпалами и с торцов
|
м3
|
3,21
|
0,64
|
2,05
|
0-31,8
|
1-02
|
|
ЕНиР, 1969, § 16-1-120, т. 1, п. 5а, К = 0,5
|
Подштопка шпал
|
полушпала
|
50
|
0,0775
|
3,87
|
0-04,1
|
2-05
|
|
НИС Мосстроя
|
Рихтовка уложенного пути по уровню и шаблону
|
звено пути
|
1
|
1,65
|
1,65
|
0-95
|
0-95
|
|
|
Итого
|
-
|
-
|
-
|
9,75
|
-
|
-
|
|
-
|
Обслуживание крана
|
маш-ч
|
-
|
-
|
0,42
|
-
|
0-30
|
График выполнения
работ по устройству звена пути длиной 12,5 м из инвентарных секций на
деревянных полушпалах при сплошной гравийной призме для крана БКСМ-5-5А
|
Наименование работ
|
Единица измерения
|
Объем работ
|
Норма времени на единицу измерения, ч
|
Затраты труда на весь объем работ, чел-ч
|
Состав звена
|
Часы работы
|
|
1
|
2
|
3
|
|
Укладка инвентарных секций
|
Т
|
3,52
|
0,24
|
0,84
|
|
|
|
|
|
Стыковка рельсов
|
звено пути
|
1
|
0,5
|
0,5
|
Монтеры пути
5 разр. - 1
4 ² -
1
3 ² -
1
2 ² -
2
|
|
|
|
|
Подноска и установка стяжек
|
шт.
|
3
|
0,306
|
0,92
|
___
|
___
|
__
|
|
Засыпка гравием площади между шпалами и с торцов
|
м3
|
3,21
|
0,77
|
2,47
|
|
|
|
|
|
Подштопка шпал
|
полушпала
|
50
|
0,0925
|
4,62
|
|
|
|
|
|
Рихтовка уложенного пути по уровню и шаблону
|
звено пути
|
1
|
1,81
|
1,81
|
|
|
|
|
|
Итого
|
-
|
-
|
-
|
11,16
|
-
|
|
|
|
|
Обслуживание крана
|
маш-ч
|
-
|
-
|
0,42
|
Машинист крана
5 разр. - 1
|
___
|
|
|
Калькуляция
затрат труда на устройство звена пути длиной 12,5 м из инвентарных
секций на деревянных полушпалах при сплошной гравийной призме для крана
БКСМ-5-5А
|
Шифр норм
|
Наименование работ
|
Единица измерения
|
Объем работ
|
Норма времени на единицу измерения, ч
|
Затраты труда на весь объем работ, чел-ч
|
Расценка на единицу измерения, руб.-коп.
|
Заработная плата на весь объем работ,
руб.-коп.
|
|
ЕНиР, 1969, § 24-13, п. 18
|
Укладка инвентарных секций
|
Т
|
3,52
|
0,24
|
0,84
|
0-12,6
|
0-44
|
|
ЕНиР, 1969, § 16-1-11, т. 2, п. 5
|
Стыковка рельсов
|
звено пути
|
1
|
0,5
|
0,5
|
0-27
|
0-27
|
|
НИС Мосстроя
|
Подноска и установка стяжек
|
шт.
|
3
|
0,306
|
0,92
|
0-17,6
|
0-53
|
|
ЕНиР, 1969, § 16-1-125 п. б
|
Засыпка гравием площади между шпалами и с торцов
|
м3
|
3,21
|
0,77
|
2,47
|
0-38,2
|
1-23
|
|
ЕНиР,
1969, § 16-1-120, п. 5б, К = 0,5
|
Подштопка шпал
|
полушпала
|
50
|
0,0925
|
4,62
|
0-04,9
|
2-45
|
|
НИС
Мосстроя
|
Рихтовка
уложенного пути по уровню и шаблону
|
звено пути
|
1
|
1,81
|
1,81
|
1-04
|
1-04
|
|
|
Итого
|
-
|
-
|
-
|
11,16
|
-
|
5-96
|
|
-
|
Обслуживание
крана
|
маш-ч
|
-
|
-
|
0,42
|
-
|
0-30
|
График выполнения
работ по устройству звена пути длиной 12,5 м из инвентарных секций на
деревянных полушпалах при раздельной песчаной призме для крана КБ-160.2
|
Наименование работ
|
Единица измерения
|
Объем работ
|
Норма времени на единицу
измерения, ч
|
Затраты труда на весь объем
работ, чел-ч
|
Состав звена
|
Часы работы
|
|
1
|
2
|
|
Укладка инвентарных секций
|
Т
|
3,52
|
0,24
|
0,84
|
|
|
|
|
Стыковка рельсов
|
звено пути
|
1
|
0,5
|
0,5
|
|
|
|
|
Подноска и установка стяжек
|
шт.
|
3
|
0,28
|
0,84
|
Монтеры пути
5 разр. - 1
4 ² -
1
3 ² -
1
2 ² -
2
|
|
|
|
Засыпка песком площади между шпалами и с торцов
|
м3
|
1,43
|
0,64
|
0,92
|
_____
|
___
|
|
Подштопка шпал
|
полушпала
|
50
|
0,0775
|
3,87
|
|
|
|
|
Рихтовка уложенного пути по уровню и шаблону
|
звено пути
|
1
|
1,65
|
1,65
|
|
|
|
|
Итого
|
|
-
|
-
|
8,62
|
|
|
|
|
Обслуживание крана
|
маш-ч
|
-
|
-
|
0,42
|
Машинист крана
5 разр. - 1
|
__
|
|
Калькуляция
затрат труда на устройство звена пути длиной 12,5 м из инвентарных
секций на деревянных полушпалах при раздельной песчаной призме для крана
КБ-160.2
|
Шифр норм
|
Наименование работ
|
Единица измерения
|
Объем работ
|
Норма времени на единицу
измерения, ч
|
Затраты труда на весь объем
работ, чел-ч
|
Расценка на единицу измерения,
руб.-коп.
|
Заработная плата на весь объем
работ, руб.-коп.
|
|
ЕНиР, 1969, § 24-13, п. 18
|
Укладка инвентарных секций
|
Т
|
3,52
|
0,24
|
0,84
|
0-12,6
|
0-44
|
|
ЕНиР, 1969, § 16-1-11, т. 2, п. 5
|
Стыковка рельсов
|
звено пути
|
1
|
0,5
|
0,5
|
0-27
|
0-27
|
|
НИС Мосстроя
|
Подноска и установка стяжек
|
шт.
|
3
|
0,28
|
0,84
|
0-16
|
0-48
|
|
ЕНиР, 1969, § 16-1-125, п. а
|
Засыпка песком площади между шпалами и с торцов
|
м3
|
1,43
|
0,64
|
0,92
|
0-31,8
|
0-44
|
|
ЕНиР, 1969, § 16-1-120, п. 5а, К = 0,5
|
Подштопка шпал
|
полушпала
|
50
|
0,0775
|
3,87
|
0-04,1
|
2-05
|
|
НИС Мосстроя
|
Рихтовка уложенного пути по уровню и шаблону
|
звено
|
1
|
1,65
|
1,65
|
0-95
|
0-95
|
|
|
Итого
|
-
|
-
|
-
|
8,62
|
-
|
4-63
|
|
-
|
Обслуживание крана
|
маш-ч
|
-
|
-
|
0,42
|
-
|
0-30
|
График выполнения
работ по устройству звена пути длиной 12,5 м из инвентарных секций на
деревянных полушпалах при раздельной гравийной призме для крана КБ-160.2
|
Наименование работ
|
Единица измерения
|
Объем работ
|
Норма времени на единицу измерения, ч
|
Затраты трута на весь объем работ, чел-ч
|
Состав звена
|
Часы работы
|
|
1
|
2
|
|
Укладка инвентарных секций
|
Т
|
3,52
|
0,24
|
0,84
|
|
|
|
|
Стыковка рельсов
|
звено пути
|
1
|
0,5
|
0,5
|
|
|
|
|
Подноска и установка стяжек
|
шт.
|
3
|
0,306
|
0,92
|
Монтеры пути
5 разр. - 1
4 ² -
1
3 ² -
1
2 ² -
2
|
|
|
|
Засыпка гравием площади между шпалами и с торцов
|
м3
|
1,43
|
0,77
|
1,09
|
_____
|
___
|
|
Подштопка шпал
|
полушпала
|
50
|
0,0925
|
4,62
|
|
|
|
|
Рихтовка уложенного пути по уровню и шаблону
|
звено пути
|
1
|
1,81
|
1,81
|
|
|
|
|
Итого
|
-
|
-
|
-
|
9,78
|
|
|
|
|
Обслуживание крана
|
маш-ч
|
-
|
-
|
0,42
|
Машинист крана
5 разр. - 1
|
___
|
|
Калькуляция
затрат труда на устройство звена пути длиной. 12,5 м из инвентарных
секций на деревянных полушпалах при раздельной гравийной призме для крана
КБ-160.2
|
Шифр норм
|
Наименование работ
|
Единица измерения
|
Объем работ
|
Норма времени на единицу измерения, ч
|
Затраты труда на весь объем работ, чел-ч
|
Расценка на единицу измерения, руб.-коп.
|
Заработная плата на весь объем работ,
руб.-коп.
|
|
ЕНиР,
1969, § 24-13, п. 18
|
Укладка инвентарных секций
|
Т
|
3,52
|
0,24
|
0,84
|
0-12,6
|
0-44
|
|
ЕНиР, 1969, § 16-1-11, т. 2, п. 5
|
Стыковка рельсов
|
звено пути
|
1
|
0,5
|
0,5
|
0-27
|
0-27
|
|
НИС Мосстроя К = 1,1
|
Подноска и установка стяжек
|
шт.
|
3
|
0,306
|
0,92
|
0-17,6
|
0-53
|
|
ЕНиР, 1969, § 16-1-125, п. б
|
Засыпка гравием площади между шпалами и с торцов
|
м3
|
1,43
|
0,77
|
1,09
|
0-38,2
|
0-55
|
|
ЕНиР, 1969, § 16-1-120, п. 5б, К = 0,5
|
Подштопка шпал
|
полушпала
|
50
|
0,0925
|
4,62
|
0-04,9
|
2-45
|
|
НИС Мосстроя К = 1,1
|
Рихтовка уложенного пути по уровню и шаблону
|
звено пути
|
1
|
1,81
|
1,81
|
1-04
|
1-04
|
|
|
Итого
|
-
|
-
|
-
|
9,78
|
-
|
5-28
|
|
|
Обслуживание крана
|
маш-ч
|
-
|
-
|
0,42
|
-
|
0-29
|
График выполнения
работ по разборке звена пути длиной 12,5 м из инвентарных секций на деревянных полушпалах для крана
КБ-100.1
|
Наименование работ
|
Единица измерения
|
Объем работ
|
Норма времени на единицу измерения, ч
|
Затраты труда на весь объем работ, чел-ч
|
Состав звена
|
Часы работы
|
|
1
|
2
|
|
Очистка мест стыковки рельсов
|
стык
|
2
|
0,845
|
1,69
|
|
|
|
|
Снятие стяжек
|
шт.
|
3
|
0,153
|
0,46
|
Монтеры пути
4 разр - 1
3 ² -
1
2 ² -
2
|
___
|
|
|
Расстыковка рельсов
|
звено пути
|
1
|
0,48
|
0,48
|
|
|
|
|
Снятие инвентарных секций
|
Т
|
3,11
|
0,29
|
0,90
|
|
|
|
|
Итого
|
-
|
-
|
-
|
3,53
|
|
|
|
|
Обслуживание крана
|
маш-ч
|
-
|
-
|
0,45
|
Машинист крана
5 разр. - 1
|
__
|
|
Калькуляция
затрат труда на разборку звена пути длиной 12,5 м из инвентарных секций на деревянных полушпалах для крана
КБ-100.1
|
Шифр норм
|
Наименование работ
|
Единица измерения
|
Объем работ
|
Норма времени на единицу измерения, ч
|
Затраты труда на весь объем работ, чел-ч
|
Расценка на единицу измерения, руб.-коп.
|
Заработная плата на весь объем работ,
руб.-коп.
|
|
НИС
Мосстроя
|
Очистка мест стыковки рельсов
|
стык
|
2
|
0,845
|
1,69
|
0-46
|
0-92
|
|
²
|
Снятие стяжек
|
шт.
|
3
|
0,153
|
0,46
|
0-08,3
|
0-25
|
|
ЕНиР,
1969, § 16-1-14, п. 1
|
Расстыковка рельсов
|
звено пути
|
1
|
0,48
|
0,48
|
0-24
|
0-24
|
|
ЕНиР,
1969, § 24-13, п. 5
|
Снятие инвентарных секций
|
Т
|
3,11
|
0,29
|
0,90
|
0-15,2
|
0-47
|
|
|
Итого
|
-
|
-
|
-
|
3,53
|
-
|
1-88
|
|
-
|
Обслуживание крана
|
маш-ч
|
-
|
-
|
0,45
|
-
|
0-32
|
График выполнения
работ по разборке звена пути длиной 12,5 м из инвентарных секций на деревянных полушпалах для крана
БКСМ-5-5А
|
Наименование работ
|
Единица измерения
|
Объем работ
|
Норма времени на единицу измерения, ч
|
Затраты труда на весь объем работ, чел-ч
|
Состав звена
|
Часы работы
|
|
1
|
2
|
|
Очистка мест стыковки рельсов
|
стык
|
2
|
0,845
|
1,69
|
|
|
|
|
Снятие стяжек
|
шт.
|
3
|
0,153
|
0,46
|
Монтеры пути
4 разр - 1
3 ² -
1
2 ² -
2
|
___
|
|
|
Расстыковка рельсов
|
звено пути
|
1
|
0,48
|
0,48
|
|
|
|
|
Снятие инвентарных секций
|
Т
|
3,52
|
0,29
|
1,02
|
|
|
|
|
Итого
|
-
|
-
|
-
|
3,65
|
-
|
|
|
|
Обслуживание крана
|
маш-ч
|
-
|
-
|
0,51
|
Машинист крана
5 разр. - 1
|
___
|
|
Калькуляция
затрат труда на разборку звена пути длиной 12,5 м из инвентарных секций на деревянных полушпалах для крана
БКСМ-5-5А
|
Шифр норм
|
Наименование работ
|
Единица измерения
|
Объем работ
|
Норма времени на единицу измерения, ч
|
Затраты труда на весь объем работ, чел-ч
|
Расценка на единицу измерения, руб.-коп.
|
Заработная плата на весь объем работ,
руб.-коп.
|
|
НИС Мосстроя
|
Очистка мест стыковки рельсов
|
стык
|
2
|
0,845
|
1,69
|
0-46
|
0-92
|
|
²
|
Снятие стяжек
|
шт.
|
3
|
0,153
|
0,46
|
0-08,3
|
0-25
|
|
ЕНиР, 1969, § 16-1-14, п. 1
|
Расстыковка рельсов
|
звено пути
|
1
|
0,48
|
0,48
|
0-24
|
0-24
|
|
ЕНиР, 1969, § 24-13
|
Снятие инвентарных секций
|
Т
|
3,52
|
0,29
|
1,02
|
0-15,2
|
0-54
|
|
|
Итого
|
-
|
-
|
-
|
3,65
|
-
|
1-95
|
|
-
|
Обслуживание крана
|
маш-ч
|
-
|
-
|
0,51
|
-
|
0-36
|
График выполнения
работ по разборке звена пути длиной 12,5 м из инвентарных секций на деревянных полушпалах для крана
КБ-160.2
|
Наименование работ
|
Единица измерения
|
Объем работ
|
Норма времени на единицу измерения, ч
|
Затраты труда на весь объем работ, чел-ч
|
Состав звена
|
Часы работы
|
|
1
|
2
|
|
Очистка мест стыковки рельсов
|
стык
|
2
|
0,845
|
1,69
|
|
|
|
|
Снятие стяжек
|
шт.
|
3
|
0,153
|
0,46
|
Монтеры пути
4 разр - 1
3 ² -
1
2 ² -
2
|
|
|
|
Расстыковка рельсов
|
звено пути
|
1
|
0,48
|
0,48
|
___
|
|
|
Снятие инвентарных секций
|
Т
|
3,52
|
0,29
|
1,02
|
|
|
|
|
Итого
|
-
|
-
|
-
|
3,65
|
|
|
|
|
Обслуживание крана
|
маш-ч
|
-
|
-
|
0,51
|
Машинист крана
5 разр. - 1
|
___
|
|
Калькуляция
затрат труда на разборку звена пути длиной 12,5 м из инвентарных секций на деревянных полушпалах для крана
КБ-160.2
|
Шифр норм
|
Наименование работ
|
Единица измерения
|
Объем работ
|
Норма времени на единицу измерения, ч
|
Затраты труда на весь объем работ, чел-ч
|
Расценка на единицу измерения, руб.-коп.
|
Заработная плата на весь объем работ,
руб.-коп.
|
|
НИС Мосстроя
|
Очистка мест стыковки рельсов
|
стык
|
2
|
0,845
|
1,69
|
0-46
|
0-92
|
|
²
|
Снятие стяжек
|
шт.
|
3
|
0,153
|
0,40
|
0-08,3
|
0-25
|
|
ЕНиР, 1969, § 16-1-14, п. 1
|
Расстыковка рельсов
|
звено пути
|
1
|
0,48
|
0,48
|
0-24
|
0-24
|
|
ЕНиР, 1969, § 24-13
|
Снятие инвентарных секций
|
Т
|
3,52
|
0,29
|
1,02
|
0-15,2
|
0-54
|
|
|
Итого
|
|
|
|
3,65
|
-
|
1-95
|
|
-
|
Обслуживание крана
|
маш-ч
|
|
-
|
0,51
|
-
|
0-36
|
ТЕХНОЛОГИЧЕСКАЯ
КАРТА
I. Область применения
1.
Технологическая карта разработана на укладку и разборку звена рельсового пути
длиной 12,5 м из
инвентарных секций длиной 6,25 м
на деревометаллических рамах для строительных башенных кранов с шириной
колеи 4,5 м (для кранов
КБ-100.1 и БКСМ-5-5А) и 6 м (для
крана КБ-160.2).
2.
Технологической картой предусмотрена укладка и разборка автомобильным краном
грузоподъемностью 0,75 - 2 Т инвентарных
секций на деревометаллических рамах с предварительной раскладкой их у мест
монтажа. Инвентарные секции пути укладывают на сплошные и раздельные балластные
призмы из песка или гравия.
II. Технико-экономические показатели укладки и разборки звена рельсового
пути
|
Показатели
|
Укладка пути для кранов
|
Разборка пути для кранов
|
|
КБ-100.1
|
БКСМ-5-5А
|
КБ-160.2
|
|
призма из песка
|
призма из гравия
|
призма из песка
|
призма из гравия
|
призма из песка
|
призма из гравия
|
КБ-100.1
|
БКСМ-5-5А
|
КБ-160.2
|
|
Затраты труда на звено рельсового пути, чел-ч
|
9,81
|
11,13
|
9,89
|
11,21
|
8,76
|
9,84
|
5,84
|
5,94
|
5,94
|
|
Выработка одного рабочего в час, пог. м пути
|
1,27
|
1,12
|
1,26
|
1,11
|
1,43
|
1,27
|
2,14
|
2,1
|
2,1
|
|
Затраты машинного времени крана, маш-ч
|
0,43
|
0,43
|
0,47
|
0,47
|
0,47
|
0,47
|
0,52
|
0,57
|
0,57
|
III. Организация и технология строительного процесса
1. До начала
укладки пути для строительных башенных кранов должна быть отсыпана и уплотнена
балластная призма, а также доставлены в зону монтажа инвентарные секции на
деревометаллических рамах рельсового пути длиной 6,25 м, монтажные приспособления, инвентарь
и инструменты.
2. Инвентарные
секции рельсового пути рекомендуется завозить в зону монтажа на бортовом
полуприцепе ОдАЗ-885 тягачом ЗИЛ-130В1.
3. Доставленные
секции рельсового пути складируют в зоне действия монтажного крана (рис, 7, 8).
4. Секции
рельсового пути укладывают автомобильным краном грузоподъемностью 0,75 - 2 Т. Кран имеет две стоянки. С каждой
стоянки укладывают по две секции.
5. Строповку и
подъем инвентарных секций рельсового пути производят при помощи двухветвевого
стропа грузоподъемностью 1,6 Т.
6. Укладку пути
начинают с корпусной секции звена, выверяя ее по уровню и шаблону. Рельсы между
собой соединяют с помощью болтов, гаек, шайб и прижимных планок накладками,
устанавливаемыми с двух сторон.
7. После укладки
звена рельсового пути (четыре секции) устанавливают поперечные стяжки,
закрепляя их болтами, засыпают вручную площадь между шпалами и с торцов
балластным материалом, а затем уплотняют балласт под шпалами деревянными
подштопками. После установки тупиковых упоров, выключающих линеек, устройства
заземления и монтажа крана производят окончательную проверку пути.
Горизонтальность рельсового пути проверяют через каждые 6 м нивелировкой.

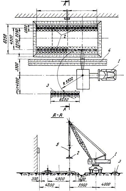
Рис. 7. Схема
укладки инвентарных секций на деревометаллических рамах при сплошной балластной
призме
1 -
автомобильный кран; 2 - секции пути; 3
- место складирования
секции до монтажа; 4 - водоотводная
канава; 5 - строп

Рис. 8. Схема
укладки инвентарных секций на деревометаллических рамах при раздельной
балластной призме
1 - автомобильный кран; 2 - секции пути; 3 - место складирования секций до монтажа; 4 - водоотводная канава; 5 - строп
8. Работы по
разборке рельсового пути выполняют в обратной технологической
последовательности с применением тех же средств механизации. При разборке
рельсового пути в зимних условиях, помимо коэффициентов, предусмотренных Приложением 2 к общей части ЕНиР 1969 г.,
к нормам времени и расценкам следует применять коэффициенты, учитывающие
трудность рыхления балластных материалов (для песка К = 1,6, для гравия или щебня К
= 2,2).
9. При разборке
рельсовых путей в зимнее время рекомендуется применять изолирующие прокладки,
укладываемые под полушпалы при монтаже пути (для предотвращения примерзания
полушпал к грунту), и моторные подогреватели. Кроме того, для отрыва примерзших
к балласту полушпал следует использовать домкраты, предварительно обкалывая
мерзлый грунт отбойным молотком. Примерзшие рамы отрывают последовательно за
конец крайней шпалы и далее за рельс, начиная с конца секции.
10. При укладке
и разборке рельсового пути из инвентарных секций на деревометаллических рамах
следует пользоваться инструкцией СН78-67.
IV. Организация и методы труда рабочих
1. Укладку
рельсового пути выполняет звено рабочих, состоящее из одного машиниста крана 5
разряда и пяти монтеров пути - трех 5, 4 и 3 разрядов и двух 2 разряда.
Четыре монтера с
помощью автомобильного крана укладывают на балластную призму инвентарные секции
и выверяют их по шаблону. Пятый монтер подносит стыковые накладки с болтами для
стыковки ниток звеньев пути, затем все монтеры производят стыковку рельсов,
устанавливают и закрепляют стяжки (три штуки) между нитками звена рельсового пути
(на длине 12,5 м). Затем
рабочие звена вручную засыпают площадь между шпалами и с торцов балластным
материалом на высоту 50 мм и
уплотняют балласт под шпалами подштопками. Выверку уложенного звена пути
производят по уровню и шаблону.
2. Разборку
рельсового пути в обратной технологической последовательности выполняет звено
рабочих, состоящее из одного машиниста крана 5 разряда и четырех монтеров пути
- двух 4 и 3 разрядов и двух 2 разряда.
3. В графиках
выполнения работ по устройству и разборке звена рельсового пути принята
односменная работа.
V. Материально-технические ресурсы
1. Основные
конструкции
|
Наименование
|
Марка
|
Количество шт.
|
Вес 1 шт., кг
|
|
для крана КБ-100.1
|
для крана БКСМ-5-5А, КБ-160.2
|
|
Инвентарная секция длиной 6,25 м
|
-
|
4
|
964
|
1046
|
|
Стяжка для рельсового пути
|
Ð56
|
3
|
48
|
-
|
|
»
|
Ð80
|
3
|
-
|
43,5
58,0*
|
|
Детали крепления
стяжек к рельсам
|
|
Прокладка
|
Ст. 3
|
12
|
0,7
|
1,2
|
|
Планка прижимная
|
Ст. 3
|
12
|
0,7
|
0,94
|
|
Болт
|
М16 ´ 55
|
24
|
0,119
|
0,119
|
|
Гайка
|
М16
|
24
|
0,042
|
0,042
|
|
Шайба пружинная
|
16
|
24
|
0,008
|
0,008
|
|
Детали крепления
рельсов между собой
|
|
Накладка двухголовая
|
-
|
4
|
15,6
|
18,8
|
|
Болт
|
М20 ´ 120
|
12
|
0,317
|
-
|
|
»
|
М22 ´ 130
|
12
|
-
|
0,421
|
|
Гайка
|
М20
|
12
|
0,074
|
-
|
|
»
|
М22
|
12
|
-
|
0,107
|
|
Шайба пружинная
|
20
|
12
|
0,024
|
-
|
|
»
|
24
|
12
|
-
|
0,037
|
|
* Только для крана КБ-160.2
|
2. Машины,
оборудование, инструменты и приспособления
|
Наименование
|
Количество шт.
|
|
Автомобильный кран грузоподъемностью 0,75 - 2 Т с длиной стрелы 7,35 м
|
1
|
|
Строп двухветвевой грузоподъемностью 1,6 Т
|
1
|
|
Рулетка стальная длиной 10 - 20 м
|
1
|
|
Лапа
|
2
|
|
Нивелир с треногой
|
1
|
|
Подштопка деревянная
|
5
|
|
Уровень
|
1
|
|
Шаблон для контроля колеи весом 18 кг (диаметр трубы 40 мм)
|
1
|
|
Ключ гаечный 24 мм
|
2
|
|
» 30 мм
|
2
|
|
» 32 мм
|
2
|
|
» торцовый
|
2
|
|
Лопата совковая
|
2
|
|
Лопата штыковая
|
2
|
|
Лом
|
2
|
|
Кувалда весом 5 кг
|
2
|
|
Домкрат винтовой грузоподъемностью 5 Т
|
2
|
|
Примечание. Для разборки пути в зимнее время дополнительно применяют
компрессор производительностью 5 - 10 м3/мин с
отбойными молотками и моторные подогреватели.
|
График выполнения
работ по устройству звена пути длиной 12,5 м из инвентарных секций на
деревометаллических рамах при сплошной песчаной призме для крана КБ-100.1
|
Наименование работ
|
Единица измерения
|
Объем работ
|
Норма времени на единицу измерения, ч
|
Затраты труда на весь объем работ, чел-ч
|
Состав звена
|
Часы работы
|
|
1
|
2
|
|
Укладка инвентарных секций
|
Т
|
3,6
|
0,24
|
0,86
|
|
|
|
|
Стыковка рельсов
|
звено пути
|
1
|
1,0
|
1,0
|
Монтеры пути
5 разр. - 1
4 ² -
1
3 ² -
1
2 ² -
2
|
|
|
|
Подноска и установка стяжек
|
шт.
|
3
|
0,28
|
0,84
|
_____
|
___
|
|
Засыпка песком площади между шпалами и с торцов
|
м3
|
3,21
|
0,64
|
2,05
|
|
|
|
|
Подштопка шпал
|
полушпала
|
44
|
0,0775
|
3,41
|
|
|
|
|
Рихтовка уложенного пути по уровню и шаблону
|
звено пути
|
1
|
1,65
|
1,65
|
|
|
|
|
Итого
|
-
|
-
|
-
|
9,81
|
-
|
|
|
|
Обслуживание крана
|
маш-ч
|
-
|
-
|
0,43
|
Машинист крана
5 разр. - 1
|
___
|
|
Калькуляция
затрат труда на устройство звена пути длиной 12,5 м из инвентарных
секций на деревометаллических рамах при сплошной песчаной призме для крана
КБ-100.1
|
Шифр норм
|
Наименование работ
|
Единица измерения
|
Объем работ
|
Норма времени на единицу измерения, ч
|
Затраты труда на весь объем работ, чел-ч
|
Расценка на единицу измерения, руб.-коп.
|
Заработная плата на весь объем работ,
руб.-коп.
|
|
ЕНиР, 1969, § 24-13, п. 18
|
Укладка инвентарных секций
|
Т
|
3,6
|
0,24
|
0,86
|
0-12,6
|
0-45
|
|
ЕНиР, 1969, § 16-1-11, т. 2, п. 5; т. 1, п. 5 по
интерполяции
|
Стыковка рельсов
|
звено пути
|
1
|
1,0
|
1,0
|
0-54
|
0-54
|
|
НИС Мосстроя
|
Подноска и установка стяжек
|
шт.
|
3
|
0,28
|
0,84
|
0-16
|
0-48
|
|
ЕНиР, 1969, § 16-1-125, п. а
|
Засыпка песком площади между шпалами и с торцов
|
м3
|
3,21
|
0,64
|
2,05
|
0-31,8
|
1-02
|
|
ЕНиР, 1969, § 16-1-120, т. 1, п. 5а, К = 0,5
|
Подштопка шпал
|
полушпала
|
44
|
0,0775
|
3,41
|
0-04,1
|
1-80
|
|
НИС Мосстроя
|
Рихтовка уложенного пути по уровню и шаблону
|
звено пути
|
1
|
1,65
|
1,65
|
0-95
|
0-95
|
|
|
Итого
|
-
|
-
|
-
|
9,81
|
-
|
5-24
|
|
-
|
Обслуживание крана
|
маш-ч
|
-
|
|
0,43
|
-
|
0-30
|
График выполнения
работ по устройству звена пути длиной 12,5 м из инвентарных секций на
деревометаллических рамах при сплошной гравийной призме для крана КБ-100.1
|
Наименование работ
|
Единица измерения
|
Объем работ
|
Норма времени на единицу измерения, ч
|
Затраты труда на весь объем работ, чел-ч
|
Состав звена
|
Часы работы
|
|
1
|
2
|
3
|
|
Укладка инвентарных секций
|
Т
|
3,6
|
0,24
|
0,86
|
|
|
|
|
|
Стыковка рельсов
|
звено пути
|
1
|
1,0
|
1,0
|
|
|
|
|
|
Подноска и установка стяжек
|
шт.
|
3
|
0,306
|
0,92
|
Монтеры пути
5 разр. - 1
4 ² -
1
3 ² -
1
2 ² -
2
|
|
|
|
|
Засыпка гравием площади между шпалами и с торцов
|
м3
|
3,21
|
0,77
|
2,47
|
___
|
____
|
__
|
|
Подштопка шпал
|
полушпала
|
44
|
0,0925
|
4,07
|
|
|
|
|
|
Рихтовка уложенного пути по уровню и шаблону
|
звено пути
|
1
|
1,81
|
1,81
|
|
|
|
|
|
Итого
|
-
|
-
|
-
|
11,13
|
-
|
|
|
|
|
Обслуживание крана
|
маш-ч
|
-
|
-
|
0,43
|
Машинист крана
5 разр. - 1
|
__
|
|
|
Калькуляция
затрат труда на устройство звена пути длиной 12,5 м из инвентарных
секций на деревометаллических рамах при сплошной гравийной призме для крана
КБ-100.1
|
Шифр норм
|
Наименование работ
|
Единица измерения
|
Объем работ
|
Норма времени на единицу измерения, ч
|
Затраты труда на весь объем работ, чел-ч
|
Расценка на единицу измерения, руб.-коп.
|
Заработная плата на весь объем работ,
руб.-коп.
|
|
ЕНиР, 1969, § 24-13, п. 18
|
Укладка инвентарных секций
|
Т
|
3,6
|
0,24
|
0,86
|
0-12,6
|
0-45
|
|
ЕНиР, 1969, § 16-1-11, т. 2, п. 5; т. 1, п. 5 по
интерполяции
|
Стыковка рельсов
|
звено пути
|
1
|
1,0
|
1,0
|
0-54
|
0-54
|
|
НИС Мосстроя, К = 1,1
|
Подноска и установка стяжек
|
шт.
|
3
|
0,306
|
0,92
|
0-17,6
|
0-53
|
|
ЕНиР, 1969, § 16-1-125, п. б
|
Засыпка гравием площади между шпалами и с торцов
|
м3
|
3,21
|
0,77
|
2,47
|
0-38,2
|
1-23
|
|
ЕНиР, 1969, § 16-1-120, т. 1, п. 5б, К = 0,5
|
Подштопка шпал
|
полушпала
|
44
|
0,0925
|
4,07
|
0-04,9
|
2-16
|
|
НИС Мосстроя, К
= 1,1
|
Рихтовка уложенного пути по уровню и шаблону
|
звено пути
|
1
|
1,81
|
1,81
|
1-04
|
1-04
|
|
|
Итого
|
-
|
-
|
-
|
11,13
|
-
|
5-95
|
|
-
|
Обслуживание крана
|
маш-ч
|
-
|
-
|
0,43
|
-
|
0-30
|
График выполнения
работ по устройству звена пути длиной 12,5 м из инвентарных секций на
деревометаллических рамах при сплошной песчаной призме для крана БКСМ-5-5А
|
Наименование работ
|
Единица измерения
|
Объем работ
|
Норма времени на единицу измерения, ч
|
Затраты труда на весь объем работ, чел-ч
|
Состав звена
|
Часы работы
|
|
1
|
2
|
|
Укладка инвентарных секций
|
Т
|
3,93
|
0,24
|
0,94
|
|
|
|
|
Стыковка рельсов
|
звено пути
|
1
|
1,0
|
1,0
|
|
|
|
|
Подноска и установка стяжек
|
шт.
|
3
|
0,28
|
0,84
|
Монтеры пути
5 разр. - 1
4 ² -
1
3 ² -
1
2 ² -
2
|
|
|
|
Засыпка песком площади между шпалами и с торцов
|
м3
|
3,21
|
0,64
|
2,05
|
____
|
_____
|
|
Подштопка шпал
|
полушпала
|
44
|
0,0775
|
3,41
|
|
|
|
|
Рихтовка уложенного пути по уровню и шаблону
|
звено пути
|
1
|
1,65
|
1,65
|
|
|
|
|
Итого
|
-
|
-
|
-
|
9,89
|
-
|
|
|
|
Обслуживание крана
|
маш-ч
|
-
|
-
|
0,47
|
Машинист крана
5 разр. - 1
|
__
|
|
Калькуляция
затрат труда на устройство звена пути длиной 12,5 м из инвентарных
секций на деревометаллических рамах при сплошной песчаной призме для крана
БКСМ-5-5А
|
Шифр норм
|
Наименование работ
|
Единица измерения
|
Объем работ
|
Норма времени на единицу измерения, ч
|
Затраты труда на весь объем работ, чел-ч
|
Расценка на единицу измерения, руб.-коп.
|
Заработная плата на весь объем работ,
руб.-коп.
|
|
ЕНиР, 1969, § 24-13, п. 18
|
Укладка инвентарных секций
|
Т
|
3,93
|
0,24
|
0,94
|
0-12,6
|
0-50
|
|
ЕНиР, 1969, § 16-1-11, т. 2, п. 5; т. 1, п. 5 по
интерполяции
|
Стыковка рельсов
|
звено пути
|
1
|
1,0
|
1,0
|
0-54
|
0-54
|
|
НИС Мосстроя
|
Подноска и установка стяжек
|
шт.
|
3
|
0,28
|
0,84
|
0-16
|
0-48
|
|
ЕНиР, 1969, § 16-1-125, п. а
|
Засыпка песком площади между шпалами и с торцов
|
м3
|
3,21
|
0,64
|
2,05
|
0-31,8
|
1-02
|
|
ЕНиР, 1969. § 16-1-120, т. 1, п. 5а, К = 0,5
|
Подштопка шпал
|
полушпала
|
44
|
0,0775
|
3,41
|
0-04,1
|
1-80
|
|
НИС Мосстроя
|
Рихтовка уложенного пути по уровню и шаблону
|
звено пути
|
1
|
1,65
|
1,65
|
0-95
|
0-95
|
|
|
Итого
|
-
|
-
|
-
|
9,89
|
-
|
5-29
|
|
-
|
Обслуживание крана
|
маш-ч
|
-
|
-
|
0,47
|
-
|
0-33
|
График выполнения
работ по устройству звена пути длиной 12,5 м из инвентарных секций на
деревометаллических рамах при сплошной гравийной призме для крана БКСМ-5-5А
|
Наименование работ
|
Единица измерения
|
Объем работ
|
Норма времени на единицу измерения, ч
|
Затраты труда на весь объем работ, чел-ч
|
Состав звена
|
Часы работы
|
|
1
|
2
|
3
|
|
Укладка инвентарных секций
|
Т
|
3,93
|
0,24
|
0,94
|
|
|
|
|
|
Стыковка рельсов
|
звено пути
|
1
|
1,0
|
1,0
|
Монтеры пути
5 разр. - 1
4 ² -
1
3 ² -
1
2 ² -
2
|
|
|
|
|
Подноска и установка стяжек
|
шт.
|
3
|
0,306
|
0,92
|
____
|
____
|
_
|
|
Засыпка гравием площади между шпалами и с торцов
|
м3
|
3,21
|
0,77
|
2,47
|
|
|
|
|
Подштопка шпал
|
полушпала
|
44
|
0,0925
|
4,07
|
|
|
|
|
|
Рихтовка уложенного пути по уровню и шаблону
|
звено пути
|
1
|
1,81
|
1,81
|
|
|
|
|
|
Итого
|
-
|
-
|
-
|
11,21
|
-
|
|
|
|
|
Обслуживание крана
|
маш-ч
|
-
|
-
|
0,47
|
Машинист крана
5 разр. - 1
|
__
|
|
|
Калькуляция
затрат труда на устройство звена пути длиной 12,5 м из инвентарных
секций на деревометаллических рамах при сплошной гравийной призме для крана
БКСМ-5-5А
|
Шифр норм
|
Наименование работ
|
Единица измерения
|
Объем работ
|
Норма времени на единицу измерения, ч
|
Затраты труда на весь объем работ, чел-ч
|
Расценка на единицу измерения, руб.-коп.
|
Заработная плата на весь объем работ,
руб.-коп.
|
|
ЕНиР,
1969, § 24-13, п. 18
|
Укладка инвентарных секций
|
Т
|
3,93
|
0,24
|
0,94
|
0-12,6
|
0-50
|
|
ЕНиР, 1969, § 16-1-11, т. 2, п. 5; т. 1, п. 5 по
интерполяции
|
Стыковка рельсов
|
звено пути
|
1
|
1,0
|
1,0
|
0-54
|
0-54
|
|
НИС Мосстроя, К = 1,1
|
Подноска и установка стяжек
|
шт.
|
3
|
0,306
|
0,92
|
0-17,6
|
0-53
|
|
ЕНиР, 1969, § 16-1-125, п. а
|
Засыпка гравием площади между шпалами и с торцов
|
м3
|
3,21
|
0,77
|
2,47
|
0-38,2
|
1-23
|
|
ЕНиР, 1969, § 16-1-120, т. 1, п 5б, К = 0,5
|
Подштопка шпал
|
полушпала
|
44
|
0,0925
|
4,07
|
0-04,9
|
2-16
|
|
НИС Мосстроя, К = 1,1
|
Рихтовка уложенного пути по уровню и шаблону
|
звено пути
|
1
|
1,81
|
1,81
|
1-04
|
1-04
|
|
|
Итого
|
-
|
-
|
-
|
11,21
|
-
|
6-00
|
|
-
|
Обслуживание крана
|
маш-ч
|
-
|
-
|
0-47
|
-
|
0-33
|
График выполнения
работ по устройству звена пути длиной 12,5 м из инвентарных секций на
деревометаллических рамах при раздельной песчаной призме для крана КБ-160.2
|
Наименование работ
|
Единица измерения
|
Объем работ
|
Норма времени на единицу измерения, ч
|
Затраты труда на весь объем работ, чел-ч
|
Состав звена
|
Часы работы
|
|
1
|
2
|
|
Укладка инвентарных секций
|
Т
|
3,93
|
0,24
|
0,94
|
|
|
|
|
Стыковка рельсов
|
звено пути
|
1
|
1,0
|
1,0
|
|
|
|
|
Подноска и установка стяжек
|
шт.
|
3
|
0,28
|
0,84
|
Монтеры пути
1 разр. - 1
4 ² -
1
3 ² -
1
2 ² -
2
|
|
|
|
Засыпка песком площади между шпалами и с торцов
|
м3
|
1,43
|
0,64
|
0,92
|
____
|
_____
|
|
Подштопка шпал
|
полушпала
|
44
|
0,0775
|
3,41
|
|
|
|
Рихтовка уложенного пути по уровню и шаблону
|
звено пути
|
1
|
1,65
|
1,65
|
|
|
|
|
Итого
|
-
|
-
|
-
|
8,76
|
-
|
|
|
|
Обслуживание крана
|
маш-ч
|
-
|
-
|
0,47
|
Машинист крана
5 разр. - 1
|
__
|
|
Калькуляция
затрат труда на устройство звена пути длиной 12,5 м из инвентарных
секций на деревометаллических рамах при раздельной песчаной призме для крана
КБ-160.2
|
Шифр норм
|
Наименование работ
|
Единица измерения
|
Объем работ
|
Норма времени на единицу измерения, ч
|
Затраты труда на весь объем работ, чел-ч
|
Расценка на единицу измерения, руб.-коп.
|
Заработная плата на весь объем работ,
руб.-коп.
|
|
ЕНиР,
1969, § 24-13, п.
18
|
Укладка инвентарных секций
|
Т
|
3,93
|
0,24
|
0,94
|
0-12,6
|
0-50
|
|
ЕНиР, 1969, § 16-1-11, т. 2, п. 5; т. 1, п. 5 по
интерполяции
|
Стыковка рельсов
|
звено пути
|
1
|
1,0
|
1,0
|
0-54
|
0-54
|
|
НИС Мосстроя
|
Подноска и установка стяжек
|
шт.
|
3
|
0,28
|
0,84
|
0-16
|
0-48
|
|
ЕНиР, 1969, § 16-1-125, п. а
|
Засыпка площади песком между шпалами и с торцов
|
м3
|
1,43
|
0,64
|
0,92
|
0-31,8
|
0-45
|
|
ЕНиР, 1969, § 16-1-120, т. 1, п. 5а, К = 0,5
|
Подштопка шпал
|
полушпала
|
44
|
0,0775
|
3,41
|
0-04,1
|
1-80
|
|
НИС Мосстроя
|
Рихтовка уложенного пути по уровню и шаблону
|
звено пути
|
1
|
1,65
|
1,65
|
0-95
|
0-95
|
|
|
Итого
|
-
|
-
|
-
|
8,76
|
-
|
4-72
|
|
-
|
Обслуживание крана
|
маш-ч
|
-
|
-
|
0,47
|
-
|
0-33
|
График выполнения
работ по устройству звена пути длиной 12,5 м из инвентарных секций на
деревометаллических рамах при раздельной гравийной призме для крана КБ-160.2
|
Наименование работ
|
Единица измерения
|
Объем работ
|
Норма времени на единицу измерения, ч
|
Затраты труда на весь объем работ, чел-ч
|
Состав звена
|
Часы работы
|
|
1
|
2
|
|
Укладка инвентарных секций
|
Т
|
3,93
|
0,24
|
0,94
|
|
|
|
|
Стыковка рельсов
|
звено пути
|
1
|
1,0
|
1,0
|
Монтеры пути
5 разр. - 1
4 ² -
1
3 ² -
1
2 ² -
2
|
|
|
|
Подноска и установка стяжек
|
шт.
|
3
|
0,306
|
0,92
|
____
|
_____
|
|
Засыпка гравием площади между шпалами и с торцов
|
м3
|
1,43
|
0,77
|
1,1
|
|
|
|
Подштопка шпал
|
полушпала
|
44
|
0,0925
|
4,07
|
|
|
|
|
Рихтовка уложенного пути по уровню и шаблону
|
звено пути
|
1
|
1,81
|
1,81
|
|
|
|
|
Итого
|
-
|
-
|
-
|
9,84
|
-
|
|
|
|
Обслуживание крана
|
маш-ч
|
-
|
-
|
0,47
|
Машинист крана
5 разр. - 1
|
___
|
|
Калькуляция
затрат труда на устройство звена пути длиной 12,5 м из инвентарных
секций на деревометаллических рамах при раздельной гравийной призме для крана
КБ-160.2
|
Шифр норм
|
Наименование работ
|
Единица измерения
|
Объем работ
|
Норма времени на единицу измерения, ч
|
Затраты труда на весь объем работ, чел-ч
|
Расценка на единицу измерения, руб.-коп.
|
Заработная плата на весь объем работ,
руб.-коп
|
|
ЕНиР, 1969, § 24-13, п. 18
|
Укладка инвентарных секций
|
Т
|
3,93
|
0,24
|
0,94
|
0-12,6
|
0-50
|
|
ЕНиР, 1969, § 16-1-11, т. 2, п. 5, т. 1, п. 5 по
интерполяции
|
Стыковка рельсов
|
звено пути
|
1
|
1,0
|
1,0
|
0-54
|
0-54
|
|
НИС Мосстроя, К = 1,1
|
Подноска и установка стяжек
|
шт.
|
3
|
0,306
|
0,92
|
0-17,6
|
0-53
|
|
ЕНиР, 1969, § 16-1-125, п. б
|
Засыпка гравием площади между шпалами и с торцов
|
м3
|
1,43
|
0,77
|
1,1
|
0-38,2
|
0-55
|
|
ЕНиР, 1969, § 16-1-120, п. 5б, К = 0,5
|
Подштопка шпал
|
полушпала
|
44
|
0,0925
|
4,07
|
0-04,9
|
2-16
|
|
НИС Мосстроя, К = 1,1
|
Рихтовка уложенного пути по уровню и шаблону
|
звено пути
|
1
|
1,81
|
1,81
|
1-04
|
1-04
|
|
|
Итого
|
-
|
-
|
-
|
9,84
|
-
|
5-32
|
|
-
|
Обслуживание крана
|
маш-ч
|
-
|
-
|
0,47
|
-
|
0-33
|
График выполнения
работ по разборке звена пути длиной 12,5 м из инвентарных секций на
деревометаллических рамах для крана КБ-100.1
|
Наименование работ
|
Единица измерения
|
Объем работ
|
Норма времени на единицу измерения, ч
|
Затраты труда на весь объем работ, чел-ч
|
Состав звена
|
Часы работы
|
|
1
|
2
|
|
Очистка мест стыковки рельсов
|
стык
|
4
|
0,845
|
3,38
|
|
|
|
|
Снятие стяжек
|
шт.
|
3
|
0,153
|
0,46
|
Монтеры пути
4 ² -
1
3 ² -
1
2 ² -
2
|
|
|
|
Расстыковка рельсов
|
стык
|
4
|
0,24
|
0,96
|
_____
|
____
|
|
Снятие инвентарных секций
|
Т
|
3,6
|
0,29
|
1,04
|
|
|
|
Итого
|
-
|
-
|
-
|
5-84
|
|
|
|
|
Обслуживание крана
|
маш-ч
|
-
|
-
|
0-52
|
Машинист крана
5 разр. - 1
|
|
__
|
Калькуляция
затрат труда на разборку звена пути длиной 12,5 м из инвентарных секций
на деревометаллических рамах для крана КБ-100.1
|
Шифр норм
|
Наименование работ
|
Единица измерения
|
Объем работ
|
Норма времени на единицу измерения, ч
|
Затраты труда на весь объем работ, чел-ч
|
Расценка на единицу измерения, руб.-коп.
|
Заработная плата на весь объем работ,
руб.-коп.
|
|
НИС Мосстроя
|
Очистка мест стыковки рельсов
|
стык
|
4
|
0,845
|
3,38
|
0-46
|
1-84
|
|
²
|
Снятие стяжек
|
Шт.
|
3
|
0,153
|
0,46
|
0-08,3
|
0-25
|
|
ЕНиР, 1969, § 16-1-14. п. 1
|
Расстыковка рельсов
|
стык
|
4
|
0,24
|
0,96
|
0-12
|
0-48
|
|
ЕНиР, 1969, § 24-13, п. 5
|
Снятие инвентарных стяжек
|
Т
|
3,6
|
0,29
|
1,04
|
0-15,2
|
0-55
|
|
|
Итого
|
-
|
-
|
-
|
5,84
|
-
|
3-12
|
|
-
|
Обслуживание крана
|
маш-ч
|
-
|
-
|
0,52
|
-
|
0-37
|
График выполнения
работ по разборке звена пути длиной 12,5 м из инвентарных секций на
деревометаллических рамах для крана БКСМ-5-5А
|
Наименование работ
|
Единица измерения
|
Объем работ
|
Норма времени на единицу измерения, ч
|
Затраты труда на весь объем работ, чел-ч
|
Состав звена
|
Часы работы
|
|
1
|
2
|
|
Очистка мест стыковки рельсов
|
стык
|
4
|
0,845
|
3,38
|
|
|
|
|
Снятие стяжек
|
шт.
|
3
|
0,153
|
0,46
|
Монтеры пути
4 ² -
1
3 ² -
1
2 ² -
2
|
____
|
____
|
|
Расстыковка рельсов
|
стык
|
4
|
0,24
|
0,96
|
|
|
|
Снятие инвентарных секций
|
Т
|
3,93
|
0,29
|
1,14
|
|
|
|
Итого
|
-
|
-
|
-
|
5,94
|
-
|
|
|
|
Обслуживание крана
|
маш-ч
|
-
|
-
|
0,57
|
-
|
|
___
|
Калькуляция
затрат труда на разборку звена пути длиной 12,5 м из инвентарных секций на деревометаллических рамах для крана БКСМ-5-5А
|
Шифр норм
|
Наименование работ
|
Единица измерения
|
Объем работ
|
Норма времени на единицу измерения, ч
|
Затраты труда на весь объем работ, чел-ч
|
Расценка на единицу измерения, руб.-коп.
|
Заработная плата на весь объем работ,
руб.-коп.
|
|
НИС Мосстроя
|
Очистка мест стыковки рельсов
|
стык
|
4
|
0,845
|
3,38
|
0-46
|
1-84
|
|
²
|
Снятие стяжек
|
шт.
|
3
|
0,153
|
0,46
|
0-08,3
|
0-25
|
|
ЕНиР, 1969, § 16-1-14, п. 1
|
Расстыковка рельсов
|
стык
|
4
|
0,24
|
0,96
|
0-12
|
0-48
|
|
ЕНиР, 1969, § 24-13, п. 5
|
Снятие инвентарных секций
|
Т
|
3,93
|
0,29
|
1,14
|
0-15,2
|
0-60
|
|
|
Итого
|
-
|
-
|
-
|
5,94
|
-
|
3-17
|
|
-
|
Обслуживание крана
|
маш-ч
|
-
|
-
|
0-57
|
-
|
0-40
|
График выполнения
работ по разборке звена пути длиной 12,5 м из инвентарных секций на деревометаллических рамах для крана
КБ-160.2
|
Наименование работ
|
Единица измерения
|
Объем работ
|
Норма времени на единицу измерения, ч
|
Затраты труда на весь объем работ, чел-ч
|
Состав звена
|
Часы работы
|
|
1
|
2
|
|
Очистка мест стыковки рельсов
|
стык
|
4
|
0,845
|
3,38
|
|
|
|
|
Снятие стяжек
|
шт.
|
3
|
0,153
|
0,46
|
Монтеры пути
4 ² -
1
3 ² -
1
2 ² -
2
|
|
|
|
Расстыковка рельсов
|
стык
|
4
|
0,24
|
0,96
|
_____
|
___
|
|
Снятие инвентарных секций
|
Т
|
3,93
|
0,29
|
1,14
|
|
|
|
Итого
|
-
|
-
|
-
|
5,94
|
-
|
|
|
|
Обслуживание крана
|
маш-ч
|
-
|
-
|
0,57
|
Машинист крана
5 разр. - 1
|
__
|
__
|
Калькуляция
затрат труда на разборку звена пути длиной 12,5 м из инвентарных секций на деревометаллических рамах для крана
К-160.2
|
Шифр норм
|
Наименование работ
|
Единица измерения
|
Объем работ
|
Норма времени на единицу измерения, ч
|
Затраты труда на весь объем работ, чел-ч
|
Расценка на единицу измерения, руб.-коп.
|
Заработная плата на весь объем работ,
руб.-коп.
|
|
НИС Мосстроя
|
Очистка мест стыковки рельсов
|
стык
|
4
|
0,845
|
3,38
|
0-46
|
1-84
|
|
²
|
Снятие стяжек
|
шт.
|
3
|
0,153
|
0,46
|
0-08,3
|
0-25
|
|
ЕНиР, 1969, § 16-1-14, п. 1
|
Расстыковка рельсов
|
стык
|
4
|
0,24
|
0,96
|
0-12
|
0-48
|
|
ЕНиР, 1969, § 24-13, п. 5
|
Снятие инвентарных секций
|
Т
|
3,93
|
0,29
|
1,14
|
0-15,2
|
0-60
|
|
|
Итого
|
-
|
-
|
-
|
5,94
|
-
|
3-17
|
|
-
|
Обслуживание крана
|
маш-ч
|
-
|
-
|
0,57
|
-
|
0-40
|
ТЕХНОЛОГИЧЕСКАЯ
КАРТА
I. Область применения
1.
Технологическая карта разработана на укладку и разборку звена рельсового пути
длиной 12,5 м из
инвентарных секций длиной 6,25 ч
на железобетонных шпалах для строительных башенных кранов с шириной
колеи 4,5 м (для кранов
КБ-100.1 и БКСМ-5-5А) и 6 м (для кранов КБ-160.2).
2.
Технологической картой предусмотрена укладка и разборка автомобильными кранами
грузоподъемностью 2 - 6 Т инвентарных
секций на железобетонных шпалах с предварительной раскладкой их у мест монтажа.
Инвентарные секции пути укладывают на сплошные и раздельные балластные призмы
из песка или гравия.
II. Технико-экономические показатели укладки и разборки звена пути
|
Показатели
|
Укладка пути под краны
|
Разборка пути под краны
|
|
КБ-100.1
|
БКСМ-5-5А
|
КБ-160.2
|
|
призма из песка
|
призма из гравия
|
призма из песка
|
призма из гравия
|
призма из песка
|
призма из гравия
|
КБ-100.1
|
БКСМ-5-5А
|
КБ-160.2
|
|
Затраты труда на звено рельсового пути, чел-ч
|
10,15
|
11,41
|
10,23
|
11,49
|
9,1
|
10,12
|
6,63
|
6,82
|
6,82
|
|
Выработка одного рабочего в час, пог. м пути
|
1,23
|
1,09
|
1,22
|
1,08
|
1,37
|
1,23
|
1,89
|
1,84
|
1,84
|
|
Затраты машинного времени крана, маш-ч
|
0,76
|
0,76
|
0,79
|
0,79
|
0,79
|
0,79
|
0,91
|
0,96
|
0,96
|
III. Организация и технология строительного процесса
1. До начала
укладки звеньев пути под строительные башенные краны должна быть уложена
балластная призма, а также доставлены в зону монтажа инвентарные секции
рельсового пути, необходимые монтажные приспособления, инвентарь и инструменты.
2. Инвентарные
секции рельсового пути длиной 6,25 м рекомендуется завозить на бортовом полуприцепе ОдАЗ-885 тягачом
ЗИЛ-130В1.
3. Доставленные
секции рельсового пути складируют в зоне действия крана.
4. Секции
рельсового пути укладывают автомобильными кранами грузоподъемностью от 2 до 6 и
10 Т (рис. 9, 10, 11).
Кран имеет две стоянки. С каждой стоянки укладывают по две секции.
5. Укладку пути
начинают с корпусной секции звена, выверяя ее по уровню и шаблону.
Рельсы между
собой соединяют с помощью болтов, гаек, шайб и прижимных планок накладками,
устанавливаемыми с двух сторон.
6. Строповку и
подъем инвентарных секций рельсового пути производят при помощи двухветвевого
стропа.
7. После укладки
звена рельсового пути (четыре секции) устанавливают поперечные стяжки,
закрепляя их болтами, засыпают вручную площадь между шпалами и с торцов
балластным материалом, а затем уплотняют балласт под шпалами деревянными
подштопками. После установки тупиковых упоров, выключающих линеек, устройства
заземления и монтажа крана производят окончательную проверку пути. Горизонтальность
рельсового пути проверяют через каждые 6 м нивелировкой.

Рис. 9. Схема
укладки инвентарных секций на железобетонных шпалах при сплошной балластной
призме
1 - автомобильный кран; 2 - инвентарные секции; 3 - место складирования секций до
монтажа; 4 - водоотводная
канава; 5 - строп
8. Работы по
разборке рельсового пути выполняют в обратной технологической
последовательности с применением тех же средств механизации. При разборке
рельсового пути в зимних условиях, помимо коэффициентов, предусмотренных Приложением 2 к общей части ЕНиР 1969 г.,
к нормам времени и расценкам следует применять коэффициенты, учитывающие
трудность рыхления балластного материала (для песка К = 1,6, для гравия
или щебня К = 2,2).
9. При разборке
рельсовых путей в зимнее время рекомендуется применять изолирующие прокладки,
укладываемые под полушпалы при монтаже пути (для предотвращения примерзания
полушпал к грунту), и моторные подогреватели. Кроме того, для отрыва примерзших
к балласту полушпал следует использовать домкраты, предварительно обкалывая
мерзлый грунт отбойным молотком. Примерзшие рамы отрывают последовательно за
конец крайней шпалы и далее за рельс, начиная с конца секции.
10. При укладке
и разборке рельсового пути из инвентарных секций на железобетонных шпалах
следует пользоваться инструкцией СН78-67.
IV. Организация и методы труда рабочих
1. Укладку
рельсового пути выполняет звено, состоящее из одного машиниста крана 5 разряда
и четырех монтеров пути - двух 4 и 3 разрядов и двух 2 разряда. Четыре монтера
с помощью автомобильного крана укладывают на балластную призму инвентарные
секции (см. рис. 9, 10, 11) и выверяют их по шаблону. Пятый монтер подносит
стыковые накладки с болтами для стыковки ниток звеньев пути, затем все монтеры
производят стыковку рельсов, устанавливают и закрепляют стяжки (три штуки)
между нитками звена рельсового пути. Затем рабочие засыпают вручную площадь
между шпалами и с торцов балластным материалом на высоту 50 мм и уплотняют балласт под шпалами
подштопками.
Выверку
уложенного звена пути производят по уровню и шаблону.
2. Разборку
рельсового пути в обратной технологической последовательности выполняет звено
рабочих, состоящее из одного машиниста крана 5 разряда и четырех монтеров пути
- двух 4 и 3 разрядов и двух 2 разряда.
3. В графиках
выполнения работ по устройству и разборке звена рельсового пути принята
односменная работа.

Рис. 10. Схема
укладки инвентарных секций на железобетонных шпалах при сплошной балластной
призме
1 - автомобильный кран; 2 -
инвентарные секции; 3 - место
складирования секций до монтажа; 4 - водоотводная канава; 5 - строп

Рис. 11. Схема
укладки инвентарных секций на железобетонных шпалах при раздельной балластной
призме
1 -
автомобильный кран; 2 - инвентарные секции; 3 - место
складирования секций до монтажа; 4 - водоотводная канава; 5 -
строп
V. Материально-технические ресурсы
Основные
конструкции
|
Наименование
|
Марка
|
Количество шт.
|
Вес 1 шт., кг
|
|
для крана КБ-100.1
|
для крана БКСМ-5-5А и КБ-160.2
|
|
Инвентарная секция длиной 6,25 м
|
На бетонных шпалах
|
4
|
1578,91
|
1661,44
|
|
Стяжки для рельсового пути
|
Ð56
|
3
|
48
|
-
|
|
»
|
Ð80
|
3
|
-
|
43,5
58,0*
|
|
Детали крепления
стяжек к рельсам
|
|
Прокладка
|
Ст. 3
|
12
|
0,7
|
1,2
|
|
Планка прижимная
|
Ст. 3
|
12
|
0,7
|
0,94
|
|
Болт
|
М16 ´ 55
|
24
|
0,119
|
0,119
|
|
Гайка
|
М16
|
24
|
0,042
|
0,042
|
|
Шайба пружинная
|
16
|
24
|
0,008
|
0,008
|
|
Детали крепления
рельсов между собой
|
|
Накладка двухголовая
|
-
|
4
|
15,6
|
18,8
|
|
Болт
|
М20 ´ 120
|
12
|
0,317
|
-
|
|
»
|
М22 ´ 130
|
12
|
-
|
0,421
|
|
Гайка
|
М20
|
12
|
0,074
|
-
|
|
»
|
М22
|
12
|
-
|
0,107
|
|
Шайба пружинная
|
20
|
12
|
0,024
|
-
|
|
»
|
24
|
12
|
-
|
0,037
|
|
* Только для крана КБ-160.2.
|
2. Машины, оборудование,
инструменты и приспособления
|
Наименование
|
Количество, шт.
|
|
Автомобильный кран грузоподъемностью 2 - 6 Т
|
1
|
|
Автомобильный кран грузоподъемностью до 10 Т
|
1
|
|
Строп двухветвевой
|
1
|
|
Кувалда
|
2
|
|
Молоток
|
3
|
|
Подштопка деревянная
|
5
|
|
Уровень
|
1
|
|
Шаблон для контроля колеи весом 18 кг (диаметр
трубы 40 мм)
|
1
|
|
Ключ гаечный 24 мм
|
2
|
|
» 30 мм
|
2
|
|
» 32 мм
|
2
|
|
Лом
|
2
|
|
Рулетка стальная длиной 10 - 20 м
|
1
|
|
Нивелир с треногой
|
1
|
|
Домкрат винтовой ручной грузоподъемностью 5 Т
|
2
|
|
Лопата штыковая
|
2
|
|
Лопата совковая
|
2
|
|
Примечание. Для разборки пути в зимнее время дополнительно применяют
компрессор производительностью 5 - 10 м3/мин с отбойными молотками, моторные
подогреватели и динамометр.
|
График выполнения
работ по устройству звена пути длиной 12,5 м из инвентарных секций на
железобетонных шпалах при сплошной песчаной призме для крана КБ-100.1
|
Наименование работ
|
Единица измерения
|
Объем работ
|
Норма времени на единицу измерения, ч
|
Затраты труда на весь объем работ, чел-ч
|
Состав звена
|
Часы работы
|
|
1
|
2
|
|
Укладка инвентарных секций
|
Т
|
6,32
|
0,24
|
1,51
|
|
|
|
|
Стыковка рельсов
|
звено пути
|
1
|
1,0
|
1,0
|
Монтеры пути
5 разр. - 1
4 ² -
1
3 ² -
1
2 ² -
2
|
|
|
|
Подноска и установка стяжек
|
шт.
|
3
|
0,28
|
0,84
|
_____
|
____
|
|
Засыпка песком площади между шпалами и с торцов
|
м3
|
3,21
|
0,64
|
2,05
|
|
|
|
|
Подштопка
шпал
|
полушпалы
|
40
|
0,0775
|
3,10
|
|
|
|
|
Рихтовка уложенного пути по уровню и шаблону
|
звено пути
|
1
|
1,65
|
1,65
|
|
|
|
|
Итого
|
-
|
-
|
-
|
10,15
|
|
|
|
|
Обслуживание крана
|
маш-ч
|
-
|
-
|
0,76
|
Машинист крана
5 разр. - 1
|
___
|
|
Калькуляция
затрат труда на устройство звена пути длиной 12,5 м из инвентарных
секций на железобетонных шпалах при сплошной песчаной призме для крана КБ-100.1
|
Шифр норм
|
Наименование работ
|
Единица измерения
|
Объем работ
|
Норма времени на единицу измерения, ч
|
Затраты труда на весь объем работ, чел-ч
|
Расценка на единицу измерения, руб.-коп.
|
Заработная плата на весь объем работ,
руб.-коп.
|
|
ЕНиР,
1969, § 24-15, п. 18 д, е
|
Укладка инвентарных секций
|
Т
|
6,32
|
0,24
|
1,51
|
0-12,9
|
0-79,6
|
|
ЕНиР,
1969, § 16-1-11, т. 2, п. 5; т. 1, п. 5 по интерполяции
|
Стыковка рельсов
|
звено пути
|
1
|
1,0
|
1,0
|
0-54
|
0-54
|
|
НИС
Мосстроя
|
Подноска и установка стяжек
|
шт.
|
3
|
0,28
|
0,84
|
0-16
|
0-48
|
|
ЕНиР,
1969, § 16-1-125, п. а
|
Засыпка песком площади между шпалами и с торцов
|
м3
|
3,21
|
0,64
|
2,05
|
0-31,8
|
1-02
|
|
ЕНиР,
1969, § 16-1-120, т. 1, п. 5а, К =
0,5
|
Подштопка шпал
|
полушпала
|
40
|
0,0775
|
3,10
|
0-04,1
|
1-64
|
|
НИС Мосстроя
|
Рихтовка уложенного пути по уровню и шаблону
|
звено пути
|
1
|
1,65
|
1,65
|
0-95
|
0-95
|
|
|
Итого
|
-
|
-
|
-
|
10,15
|
-
|
5-42
|
|
-
|
Обслуживание крана
|
маш-ч
|
-
|
-
|
0,76
|
-
|
0-53
|
График выполнения
работ по устройству звена пути длиной 12,5 м из инвентарных секций на железобетонных шпалах при сплошной
гравийной призме для крана КБ-100.1
|
Наименование работ
|
Единица измерения
|
Объем работ
|
Норма времени на единицу измерения, ч
|
Затраты труда на весь объем работ, чел-ч
|
Состав звена
|
Часы работы
|
|
1
|
2
|
3
|
|
Укладка инвентарных секций
|
Т
|
6,32
|
0,24
|
1,51
|
|
|
|
|
|
Стыковка рельсов
|
звено пути
|
1
|
1,0
|
1,0
|
|
|
|
|
|
Подноска и установка стяжек
|
шт.
|
3
|
0,306
|
0,92
|
Монтеры пути
5 разр. - 1
4 ² -
1
3 ² -
1
2 ² -
2
|
|
|
|
|
Засыпка гравием площади между шпалами и с торцов
|
м3
|
3,21
|
0,77
|
2,47
|
____
|
____
|
____
|
|
Подштопка шпал
|
полушпала
|
40
|
0,0925
|
3,70
|
|
|
|
|
|
Рихтовка уложенного пути по уровню и шаблону
|
звено пути
|
1
|
1,81
|
1,81
|
|
|
|
|
|
Итого
|
-
|
-
|
-
|
11,41
|
-
|
|
|
|
|
Обслуживание крана
|
маш-ч
|
-
|
-
|
0,76
|
Машинист крана
5 разр. - 1
|
___
|
|
|
Калькуляция
затрат труда на устройство звена пути длиной 12,5 м из инвентарных
секций на железобетонных шпалах при сплошной гравийной призме для крана
КБ-100.1
|
Шифр норм
|
Наименование работ
|
Единица измерения
|
Объем работ
|
Норма времени на единицу измерения, ч
|
Затраты труда на весь объем работ, чел-ч
|
Расценка на единицу измерения, руб.-коп.
|
Заработная плата на весь объем работ,
руб.-коп.
|
|
ЕНиР, 1969, § 24-15, п. 18 д, е
|
Укладка инвентарных секций
|
Т
|
6,32
|
0,24
|
1,51
|
0-12,6
|
0-79,6
|
|
ЕНиР, 1969, § 16-1-11, т. 2, п. 5; т. 1, п. 5 по
интерполяции
|
Стыковка рельсов
|
звено пути
|
1
|
1,0
|
1,0
|
0-54
|
0-54
|
|
НИС Мосстроя, К = 1,1
|
Подноска и установка стяжек
|
шт.
|
3
|
0,306
|
0,92
|
0-17,6
|
0-53
|
|
ЕНиР, 1969, § 16-1-125, п. а
|
Засыпка гравием площади между шпалами и с торцов
|
м3
|
3,21
|
0,77
|
2,47
|
0-38,2
|
1-23
|
|
ЕНиР, 1969, § 16-1-120, т. 1. п. 5б, К = 0,5
|
Подштопка шпал
|
полушпала
|
4,0
|
0,0925
|
3,70
|
0-04,9
|
1-96
|
|
НИС Мосстроя
|
Рихтовка уложенного пути по уровню и шаблону
|
звено пути
|
1
|
1,81
|
1,81
|
1-04
|
1-04
|
|
|
Итого
|
-
|
-
|
-
|
11,41
|
-
|
6-09
|
|
-
|
Обслуживание крана
|
маш-ч
|
-
|
-
|
0,76
|
-
|
0-53
|
График выполнения
работ по устройству звена пути длиной 12,5 м из инвентарных секций на
железобетонных шпалах при сплошной песчаной призме для крана БКСМ-5-5А
|
Наименование работ
|
Единица изменения
|
Объем работ
|
Норма времени на единицу измерения, ч
|
Затраты труда на весь объем работ, чел-ч
|
Состав звена
|
Часы работы
|
|
1
|
2
|
3
|
|
Укладка инвентарных секций
|
Т
|
6,64
|
0,24
|
1,59
|
|
|
|
|
|
Стыковка рельсов
|
звено пути
|
1
|
1,0
|
1,0
|
|
|
|
|
|
Подноска и установка стяжек
|
шт.
|
3
|
0,28
|
0,84
|
Монтеры пути
5 разр. - 1
4 ² -
1
3 ² -
1
2 ² -
2
|
___
|
____
|
__
|
|
Засыпка песком площади между шпалами и с торцов
|
м3
|
3,21
|
0,64
|
2,05
|
|
|
|
|
Подштопка шпал
|
полушпала
|
40
|
0,0775
|
3,10
|
|
|
|
|
|
Рихтовка уложенного пути по уровню и шаблону
|
звено пути
|
1
|
1,65
|
1,65
|
|
|
|
|
|
Итого
|
-
|
-
|
-
|
10,23
|
-
|
|
|
|
|
Обслуживание крана
|
маш-ч
|
-
|
-
|
0,79
|
Машинист крана
5 разр. - 1
|
___
|
|
|
Калькуляция
затрат труда на устройство звена пути длиной 12,5 м из инвентарных
секций на железобетонных шпалах при сплошной песчаной призме для крана
БКСМ-5-5А
|
Шифр норм
|
Наименование работ
|
Единица измерения
|
Объем работ
|
Норма времени на единицу измерения, ч
|
Затраты труда на весь объем работ, чел-ч
|
Расценка на единицу измерения, руб.-коп.
|
Заработная плата на весь объем работ,
руб.-коп.
|
|
ЕНиР, 1969, § 24-15, п. 18 д, е
|
Укладка инвентарных секций
|
Т
|
6,64
|
0,24
|
1,59
|
0-12,6
|
0-84
|
|
ЕНиР, 1969, § 16-1-11, т. 2, п. 5; т. 1, п. 5 по
интерполяции
|
Стыковка рельсов
|
звено пути
|
1
|
1,0
|
1,0
|
0-54
|
0-54
|
|
НИС Мосстроя
|
Подноска и установка стяжек
|
шт.
|
3
|
0,28
|
0,84
|
0-16
|
0-48
|
|
ЕНиР, 1969, § 16-1-125, п. а
|
Засыпка песком площади между шпалами и с торцов
|
м3
|
3,21
|
0,64
|
2,05
|
0-31,8
|
1-02
|
|
ЕНиР, 1969, § 16-1-120, т. 1, п. 5а, К = 0,5
|
Подштопка шпал
|
полушпала
|
40
|
0,0775
|
3,10
|
0-04,1
|
1-64
|
|
НИС Мосстроя
|
Рихтовка уложенного пути по уровню 1 шаблону
|
звено пути
|
1
|
1,65
|
1,65
|
0-95
|
0-95
|
|
|
Итого
|
-
|
-
|
-
|
10,23
|
-
|
5-47
|
|
-
|
Обслуживание крана
|
маш-ч
|
-
|
-
|
0,79
|
-
|
0-56
|
График выполнения
работ по устройству звена пути длиной 12,5 м из инвентарных секций на
железобетонных шпалах при сплошной гравийной призме для крана БКСМ-5-5А
|
Наименование работ
|
Единица измерения
|
Объем работ
|
Норма времени на единицу измерения, ч
|
Затраты труда на весь объем работ, чел-ч
|
Состав звена
|
Часы работы
|
|
1
|
2
|
3
|
|
Укладка инвентарных секций
|
Т
|
6,64
|
0,24
|
1,59
|
|
|
|
|
|
Стыковка рельсов
|
звено пути
|
1
|
1,0
|
1,0
|
|
|
|
|
|
Подноска и установка стяжек
|
шт.
|
3
|
0,306
|
0,92
|
|
|
|
|
|
Засыпка гравием площади между шпалами и с торцов
|
м3
|
3,21
|
0,77
|
2,47
|
Монтеры пути
5 разр. - 1
4 ² -
1
3 ² -
1
2 ² -
2
|
___
|
____
|
__
|
|
Подштопка шпал
|
полушпала
|
40
|
0,0925
|
3,70
|
|
|
|
|
Рихтовка уложенного пути по уровню и шаблону
|
звено пути
|
1
|
1,81
|
1,81
|
|
|
|
|
|
Итого
|
-
|
-
|
-
|
11,49
|
-
|
|
|
|
|
Обслуживание крана
|
маш-ч
|
-
|
-
|
0,79
|
Машинист крана
5 разр. - 1
|
__
|
|
|
Калькуляция
затрат труда на устройство звена пути длиной 12,5 м из инвентарных
секций на железобетонных шпалах при сплошной гравийной призме для крана
БКСМ-5-5А
|
Шифр норм
|
Наименование работ
|
Единица измерения
|
Объем работ
|
Норма времени на единицу измерения, ч
|
Затраты труда на весь объем работ, чел-ч
|
Расценка на единицу измерения, руб.-коп.
|
Заработная плата на весь объем работ,
руб.-коп.
|
|
ЕНиР, 1969, § 24-15, п. 18 д, е
|
Укладка инвентарных секций
|
Т
|
6,64
|
0,24
|
1,59
|
0-12,6
|
0-84
|
|
ЕНиР, 1969, § 16-1-11, т. 2, п. 5; т. 1, п. 5 по
интерполяции
|
Стыковка рельсов
|
звено пути
|
1
|
1,0
|
1,0
|
0-54
|
0-54
|
|
НИС Мосстроя, К = 1,1
|
Подноска и установка стяжек
|
шт.
|
3
|
0,306
|
0,92
|
0-17,6
|
0-53
|
|
ЕНиР,
1969, § 16-1-125, п. а
|
Засыпка
гравием площади между шпалами и с торцов
|
м3
|
3,21
|
0,77
|
2,47
|
0-38,2
|
1-23
|
|
ЕНиР,
1969, § 16-1-120, т. 1, п. 5б, К = 0,5
|
Подштопка
шпал
|
полушпала
|
40
|
0,0925
|
3,70
|
0-04,9
|
1-96
|
|
НИС
Мосстроя К = 1,1
|
Рихтовка
уложенного пути по уровню и шаблону
|
звено пути
|
1
|
1,81
|
1,81
|
1-04
|
1-04
|
|
|
Итого
|
-
|
-
|
-
|
11,49
|
-
|
6-14
|
|
-
|
Обслуживание
крана
|
маш-ч
|
-
|
-
|
0,79
|
-
|
0-56
|
График
выполнения работ по устройству звена пути длиной 12,5 м из инвентарных
секций на железобетонных шпалах при раздельной песчаной призме для крана
КБ-160.2
|
Наименование работ
|
Единица измерения
|
Объем работ
|
Норма времени на единицу измерения, ч
|
Затраты труда на весь объем работ, чел-ч
|
Состав звена
|
Часы работы
|
|
1
|
2
|
|
Укладка
инвентарных секций
|
Т
|
6,64
|
0,24
|
1,59
|
|
|
|
|
Стыковка
рельсов
|
звено пути
|
1
|
1,0
|
1,0
|
Монтеры пути
5 разр. - 1
4 ² -
1
3 ² -
1
2 ² -
2
|
|
|
|
Подноска
и установка стяжек
|
шт.
|
3
|
0,28
|
0,84
|
|
|
|
Засыпка
песком площади между шпалами и с торцов
|
м3
|
1,43
|
0,64
|
0,92
|
____
|
____
|
|
Подштопка
шпал
|
полушпала
|
40
|
0,0775
|
3,10
|
|
|
|
|
Рихтовка уложенного пути по уровню и шаблону
|
звено пути
|
1
|
1,65
|
1,65
|
|
|
|
|
Итого
|
-
|
-
|
-
|
9,10
|
-
|
|
|
|
Обслуживание крана
|
маш-ч
|
-
|
-
|
0,79
|
Машинист крана
5 разр. - 1
|
___
|
|
Калькуляция
затрат труда на устройство звена пути длиной 12,5 м из инвентарных секций
на железобетонных шпалах при раздельной песчаной призме для крана КБ-160.2
|
Шифр норм
|
Наименование работ
|
Единица измерения
|
Объем работ
|
Норма времени на единицу измерения, ч
|
Затраты труда на весь объем работ, чел-ч
|
Расценка на единицу измерения, руб.-коп.
|
Заработная плата на весь объем работ,
руб.-коп.
|
|
ЕНиР, 1969, § 24-13,
т. 18
|
Укладка инвентарных секций
|
Т
|
6,64
|
0,24
|
1,59
|
0-12,6
|
0-84
|
|
ЕНиР, 1969, § 16-1-11,
т. 2, п. 5; т. 1, п. 5 по интерполяции
|
Стыковка рельсов
|
звено пути
|
1
|
1,0
|
1,0
|
0-54
|
0-54
|
|
НИС Мосстроя
|
Подноска и установка стяжек
|
шт.
|
3
|
0,28
|
0,84
|
0-16
|
0-48
|
|
ЕНиР, 1969, § 16-1-125,
п. а
|
Засыпка песком площади между шпалами и с торцов
|
м3
|
1,43
|
0,64
|
0,92
|
0-31,8
|
0-45
|
|
ЕНиР, 1969, § 16-1-120,
т. 1, п. 5а, К = 0,5
|
Подштопка шпал
|
полушпала
|
40
|
0,0775
|
3,10
|
0-04,1
|
1-64
|
|
НИС Мосстроя
|
Рихтовка уложенного пути по уровню и шаблону
|
звено пути
|
1
|
1,65
|
1,65
|
0-95
|
0-95
|
|
|
Итого
|
-
|
-
|
-
|
9,10
|
-
|
4-90
|
|
-
|
Обслуживание крана
|
маш-ч
|
-
|
-
|
0,79
|
-
|
0-56
|
График выполнения
работ по устройству звена пути длиной 12,5 м из инвентарных секций на
железобетонных шпалах при раздельной гравийной призме для крана КБ-160.2
|
Наименование работ
|
Единица измерения
|
Объем работ
|
Норма времени на единицу измерения, ч
|
Затраты труда на весь объем работ, чел-ч
|
Состав звена
|
Часы работы
|
|
1
|
2
|
3
|
|
Укладка инвентарных секций
|
Т
|
6,64
|
0,24
|
1,59
|
|
|
|
|
|
Стыковка рельсов
|
звено пути
|
1
|
1,0
|
1,0
|
|
|
|
|
|
Подноска и установка стяжек
|
шт.
|
3
|
0,306
|
0,92
|
Монтеры пути
5 разр. - 1
4 ² -
1
3 ² -
1
2 ² -
2
|
|
|
|
|
Засыпка гравием площади между шпалами и с торцов
|
м3
|
1,43
|
0,77
|
1,1
|
____
|
____
|
__
|
|
Подштопка шпал
|
полушпала
|
40
|
0,0925
|
3,70
|
|
|
|
|
|
Рихтовка уложенного пути по уровню и шаблону
|
звено пути
|
1
|
1,81
|
1,81
|
|
|
|
|
|
Итого
|
-
|
-
|
-
|
10,12
|
-
|
|
|
|
|
Обслуживание крана
|
маш-ч
|
-
|
-
|
0,79
|
Машинист крана
5 разр. - 1
|
___
|
|
|
Калькуляция
затрат труда на устройство звена пути длиной 12,5 м из инвентарных
секций на железобетонных шпалах при раздельной гравийной призме для крана
КБ-160.2
|
Шифр норм
|
Наименование работ
|
Единица измерения
|
Объем работ
|
Норма времени на единицу измерения, ч
|
Затраты труда на весь объем работ, чел-ч
|
Расценка на единицу измерения, руб.-коп.
|
Заработная плата на весь объем работ,
руб.-коп.
|
|
ЕНиР, 1969, § 24-15,
т. 18 д, е
|
Укладка инвентарных секций
|
Т
|
6,64
|
0,24
|
1,59
|
0-12,6
|
0-84
|
|
ЕНиР, 1969, § 16-1-11,
т. 2, п. 5; т. 1, п. 5 по интерполяции
|
Стыковка рельсов
|
звено пути
|
1
|
1,0
|
1,0
|
0-54
|
0-54
|
|
НИС Мосстроя К = 1
|
Подноска и установка стяжек
|
шт.
|
3
|
0,306
|
0,92
|
0-17,6
|
0-53
|
|
ЕНиР, 1969, § 16-1-125,
п. а
|
Засыпка гравием площади между шпалами и с торцов
|
м3
|
1,43
|
0,77
|
1,1
|
0-38,2
|
0-55
|
|
ЕНиР, 1969, § 16-1-120,
т. 1, п. 5б, К = 0,5
|
Подштопка шпал
|
полушпала
|
40
|
0,0925
|
3,70
|
0-04,9
|
1-96
|
|
НИС Мосстроя К = 1,1
|
Рихтовка уложенного пути по уровню и шаблону
|
звено пути
|
1
|
1,81
|
1,81
|
1-04
|
1-04
|
|
|
Итого
|
-
|
-
|
-
|
10,12
|
-
|
5-46
|
|
-
|
Обслуживание крана
|
маш-ч
|
-
|
-
|
0,79
|
-
|
0-56
|
График выполнения
работ по разборке звена пути длиной 12,5 м из инвентарных секций на
железобетонных шпалах при сплошной призме для крана типа КБ-100.1
|
Наименование работ
|
Единица измерения
|
Объем работ
|
Норма времени на единицу измерения, ч
|
Затраты труда на весь объем работ, чел-ч
|
Состав звена
|
Часы работы
|
|
1
|
2
|
|
Очистка мест стыковки рельсов
|
стык
|
4
|
0,845
|
3,38
|
|
|
|
|
Снятие стяжек
|
шт.
|
3
|
0,153
|
0,46
|
Монтеры пути
4 ² -
1
3 ² -
1
2 ² -
2
|
|
|
|
Расстыковка рельсов
|
стык
|
4
|
0,24
|
0,96
|
____
|
____
|
|
Снятие инвентарных секций
|
Т
|
6,32
|
0,29
|
1,83
|
|
|
|
Итого
|
-
|
-
|
-
|
6,63
|
-
|
|
|
|
Обслуживание крана
|
маш-ч
|
-
|
-
|
0,91
|
Машинист крана
5 разр. - 1
|
_
|
____
|
Калькуляция
затрат труда на разборку звена пути длиной 12,5 м из инвентарных секций на железобетонных шпалах при сплошной
призме для крана КБ-100.1
|
Шифр норм
|
Наименование работ
|
Единица измерения
|
Объем работ
|
Норма времени на единицу измерения, ч
|
Затраты труда на весь объем работ, чел-ч
|
Расценка на единицу измерения, руб.-коп.
|
Заработная плата на весь объем работ,
руб.-коп.
|
|
НИС Мосстроя
|
Очистка мест стыковки рельсов
|
стык
|
4
|
0,845
|
3,38
|
0-46
|
1-84
|
|
²
|
Снятие стяжек
|
шт.
|
3
|
0,153
|
0,46
|
0-08,3
|
0-25
|
|
ЕНиР, 1969, § 16-1-14, п. 1
|
Расстыковка рельсов
|
стык
|
4
|
0,24
|
0,96
|
0-12
|
0-48
|
|
ЕНиР, 1969, § 24-15, п. 5 д, е
|
Снятие инвентарных секций
|
Т
|
6,32
|
0,29
|
1,83
|
0-15,2
|
0-96
|
|
|
Итого
|
-
|
-
|
-
|
6,63
|
-
|
3-53
|
|
-
|
Обслуживание крана
|
маш-ч
|
-
|
-
|
0,91
|
-
|
0-64
|
График выполнения
работ по разборке звена пути длиной 12,5 м из инвентарных секций на
железобетонных шпалах при сплошной призме для крана БКСМ-5-5А
|
Наименование работ
|
Единица измерения
|
Объем работ
|
Норма времени на единицу измерения, ч
|
Затраты труда на весь объем работ, чел-ч
|
Состав звена
|
Часы работы
|
|
1
|
2
|
|
Очистка мест стыковки рельсов
|
стык
|
4
|
0,845
|
3,38
|
|
|
|
|
Снятие стяжек
|
шт.
|
3
|
0,153
|
0,46
|
Монтеры пути
4 ² -
1
3 ² -
1
2 ² -
2
|
|
|
|
Расстыковка рельсов
|
стык
|
4
|
0,24
|
0,96
|
____
|
____
|
|
Снятие инвентарных секций
|
Т
|
6,64
|
0,29
|
1,92
|
|
|
|
Итого
|
-
|
-
|
-
|
6,82
|
-
|
|
|
|
Обслуживание крана
|
маш-ч
|
-
|
-
|
0,96
|
Машинист крана
5 разр. - 1
|
_
|
____
|
Калькуляция
затрат труда на разборку звена пути длиной 12,5 м из инвентарных секций
на железобетонных шпалах при сплошной призме для крана БКСМ-5-5А
|
Шифр норм
|
Наименование работ
|
Единица измерения
|
Объем работ
|
Норма времени на единицу измерения, ч
|
Затраты труда на весь объем работ, чел-ч
|
Расценка на единицу измерения, руб.-коп.
|
Заработная плата на весь объем работ,
руб.-коп.
|
|
НИС Мосстроя
|
Очистка мест стыковки рельсов
|
стык
|
4
|
0,845
|
3,38
|
0-46
|
1-84
|
|
НИС Мосстроя
|
Снятие стяжек
|
шт.
|
3
|
0,153
|
0,46
|
0-08,3
|
0-25
|
|
ЕНиР, 1969, § 16-1-14, п. 1
|
Расстыковка рельсов
|
стык
|
4
|
0,24
|
0,96
|
0-12
|
0-48
|
|
ЕНиР, 1969, § 24-15, п. 5 д, е
|
Снятие инвентарных секций
|
Т
|
6,64
|
0,29
|
1,92
|
0-15,2
|
1-01
|
|
|
Итого
|
-
|
-
|
-
|
6,82
|
-
|
3-58
|
|
-
|
Обслуживание крана
|
маш-ч
|
-
|
-
|
0,96
|
-
|
0-67,7
|
График выполнения
работ по разборке звена пути длиной 12,5 м из инвентарных секций на
железобетонных шпалах при раздельной призме для крана КБ-160.2
|
Наименование работ
|
Единица измерения
|
Объем работ
|
Норма времени на единицу измерения, ч
|
Затраты труда на весь объем работ, чел-ч
|
Состав звена
|
Часы работы
|
|
1
|
2
|
|
Очистка мест стыковки рельсов
|
стык
|
4
|
0,845
|
3,38
|
|
|
|
|
Снятие стяжек
|
шт.
|
3
|
0,153
|
0,46
|
Монтеры пути
4 ² -
1
3 ² -
1
2 ² -
2
|
|
|
|
Расстыковка рельсов
|
стык
|
4
|
0,24
|
0,96
|
____
|
____
|
|
Снятие инвентарных секций
|
Т
|
6,64
|
0,29
|
1,92
|
|
|
|
Итого
|
-
|
-
|
-
|
6,82
|
.
|
|
|
|
Обслуживание крана
|
маш-ч
|
-
|
-
|
0,96
|
Машинист крана
5 разр. - 1
|
_
|
____
|
Калькуляция
затрат труда на разборку звена пути длиной 12,5 м из инвентарных секций на железобетонных шпалах при раздельной
призме для крана КБ-160.2
|
Шифр норм
|
Наименование работ
|
Единица измерения
|
Объем работ
|
Норма времени на единицу измерения, ч
|
Затраты труда на весь объем работ, чел-ч
|
Расценка на единицу измерения, руб.-коп.
|
Заработная плата на весь объем работ,
руб.-коп.
|
|
НИС Мосстроя
|
Очистка мест стыковки рельсов
|
стык
|
4
|
0,845
|
3,38
|
0-46
|
1-84
|
|
²
|
Снятие стяжек
|
шт.
|
3
|
0,153
|
0,46
|
0-08,3
|
0-25
|
|
ЕНиР, 1969, § 16-1-14, п. 1
|
Расстыковка рельсов
|
стык
|
4
|
0,24
|
0,96
|
0-12
|
0-48
|
|
ЕНиР, 1969, § 24-15, п. 5 д, е
|
Снятие инвентарных секций
|
Т
|
6,64
|
0,29
|
1,92
|
0-15,2
|
1-01
|
|
|
Итого
|
-
|
-
|
-
|
6,82
|
-
|
3-58
|
|
-
|
Обслуживание крана
|
маш-ч
|
-
|
-
|
0,96
|
-
|
0-67,7
|
ТЕХНОЛОГИЧЕСКАЯ
КАРТА
I. Область применения
1.
Технологическая карта разработана на погрузку, перевозку и выгрузку звена
рельсового пути длиной 12,5 м, состоящего
из двух инвентарных секций на деревянных полушпалах и из четырех инвентарных
секций на деревометаллических рамах и железобетонных шпалах. Длина секции на
деревянных полушпалах 12,5 м, а
на деревометаллических рамах и железобетонных шпалах - 6,25 м. Расстояние перевозки секций - 10 км.
II. Технико-экономические
показатели погрузки, перевозки и выгрузки звена рельсового пути
|
Показатели
|
Тип секции
|
|
на деревянных полушпалах
|
на деревометаллических рамах
|
на
железобетонных шпалах
|
|
Марка крана
|
|
КБ-100.1
|
БКСМ-5-5А
|
КБ-160.2
|
КБ-100.1
|
БКСМ-5-5А
|
КБ-160.2
|
КБ-100.1
|
БКСМ-5-5А
|
КБ-160.2
|
|
Затраты труда на одно звено рельсового пути, чел-ч
|
2,67
|
2,95
|
2,97
|
3,78
|
4,04
|
4,08
|
5,67
|
5,92
|
5,99
|
|
Выработка одного рабочего в час, Т
|
1,28
|
1,27
|
1,28
|
1,08
|
1,09
|
1,09
|
1,15
|
1,16
|
1,15
|
|
Затраты машинного времени, маш-ч
|
|
|
|
|
|
|
|
|
|
|
автомобильного крана
|
1,39
|
1,5
|
1,5
|
1,59
|
1,67
|
1,69
|
2,24
|
2,31
|
2,34
|
|
автомобиля
|
1,28
|
1,45
|
1,46
|
2,19
|
2,37
|
2,39
|
3,44
|
3,59
|
3,64
|
III. Организация и технология строительного процесса
1. Инвентарные
секции рельсового пути, погруженные на транспортные средства, должны быть
тщательно закреплены и плотно прилегать к деревянным подкладкам (рис. 12, 13, 14).
2. Погрузку и
разгрузку секций пути производят автомобильным краном при помощи двухветвевого
стропа.

Рис. 12. Погрузка
и перевозка инвентарных секций на деревянных полушпалах тягачом с одноосным
прицепом-роспуском
1 - автомобильный
кран; 2 - тягач; 3 - инвентарные секции; 4 - упорные
бруски; 5 - строп; 6 - прицеп-роспуск

Рис. 13. Погрузка
и перевозка инвентарных секций на деревометаллических рамах автотранспортом
1 - автомобильный кран; 2 -
тягач; 3 - инвентарные
секции; 4 - упорные бруски; 5 - строп; 6 - бортовой
полуприцеп
3. Одновременно
можно перевозить две секции пути на деревянных полушпалах и железобетонных
шпалах и четыре секции пути на деревометаллических рамах с комплектом стяжек и
креплений.
4. Транспортные
средства должны быть в исправном состоянии и иметь необходимые приспособления,
обеспечивающие надежное закрепление секций при перевозке.

Рис. 14. Погрузка
и перевозка инвентарных секций на железобетонных шпалах автотранспортом
1 - автомобильный кран; 2 -
тягач; 3 - инвентарные
секции; 4 - упорные
бруски; 5 - строп; 6 - бортовой
полуприцеп
IV. Организация и методы труда рабочих
1. Погрузку и
выгрузку с транспортных средств инвентарных секций рельсового пути выполняет
звено рабочих, состоящее из одного машиниста крана 5 разряда и двух
такелажников 3 и 2 разрядов.
V. Материально-технические ресурсы
1. Основные
конструкции
|
Наименование
|
Количество, шт.
|
Марка крана
|
|
КБ-100.1
|
БКСМ-5-5А
|
КБ-160.2
|
|
Общий вес конструкций, Т
|
|
Инвентарные секции длиной 12,5 м на деревянных полушпалах
|
2
|
3,11
|
3,52
|
3,52
|
|
Инвентарные секции длиной 6,25 м на деревометаллических рамах
|
4
|
3,86
|
4,18
|
4,18
|
|
Инвентарные секции длиной 6,25 м на железобетонных шпалах
|
4
|
6,32
|
6,64
|
6,64
|
|
Стяжки рельсового пути Ð56
|
3
|
0,144
|
-
|
-
|
|
То же, Ð80
|
3
|
-
|
0,130
|
0,174
|
|
Прочие детали крепления
|
-
|
0,087
|
0,111
|
0,111
|
2. Машины,
оборудование, инструменты и приспособления
|
Наименование
|
Количество машин и оборудования для
погрузки, перевозки и выгрузки секций
|
|
на деревянных полушпалах
|
на деревометаллических рамах
|
на железобетонных шпалах
|
|
Автомобильный кран грузоподъемностью 1 - 3 Т
|
1
|
-
|
-
|
|
То же, 0,75 - 2 Т
|
-
|
1
|
-
|
|
» 2 - 6 Т
|
-
|
-
|
1
|
|
Тягач МАЗ-501
|
1
|
-
|
-
|
|
Тягач ЗИЛ-130В1
|
-
|
1
|
2
|
|
Одноосный прицеп-роспуск 1-ПР-5х
|
1
|
-
|
-
|
|
Бортовой полуприцеп ОдАЗ-885
|
-
|
1
|
2
|
|
Строп двухветвевой грузоподъемностью 2,5 Т
|
1
|
-
|
1
|
|
То же, 1,6 Т
|
-
|
1
|
-
|
График выполнения
работ по погрузке, перевозке и выгрузке звена пути длиной 12,5 м из инвентарных секций на деревянных
полушпалах для крана КБ-100.1
|
Наименование работ
|
Единица измерения
|
Объем работ
|
Норма времени на единицу измерения, ч
|
Затраты труда на весь объем работ, чел-ч
|
Состав звена
|
Часы работы
|
|
1
|
2
|
|
Погрузка звена пути на автотранспорт
|
Т
|
3,34
|
0,29
|
0,97
|
Такелажники
3 разр. - 1
2 ² -
1
|
__
|
|
|
Перевозка звена пути на расстояние 10 км
|
т/км
|
33,4
|
0,012
|
0,40
|
Шофер
3 кл. - 1
|
_
|
|
|
Перегон автомобильного крана на 10 км
|
км
|
10
|
0,05
|
0,5
|
Машинист крана
5 разр. - 1
|
__
|
|
|
Выгрузка звена пути с автотранспорта
|
Т
|
3,34
|
0,24
|
0,80
|
Такелажники
3 разр. - 1
2 ² -
1
|
_
|
_
|
|
Итого
|
-
|
-
|
-
|
2,67
|
-
|
|
|
|
Обслуживание крана
|
маш-ч
|
-
|
-
|
1,39
|
Машинист крана
5 разр. - 1
|
____
|
_
|
|
Обслуживание автомобиля
|
маш-ч
|
-
|
-
|
1,28
|
Шофер
3 кл. -1
|
____
|
_
|
Калькуляция
затрат труда на погрузку, перевозку и выгрузку звена пути длиной 12,5 м из инвентарных секций на деревянных
полушпалах для крана КБ-100.1
|
Шифр норм
|
Наименование работ
|
Единица измерения
|
Объем работ
|
Норма времени на единицу измерения, ч
|
Затраты труда на весь объем работ, чел-ч
|
Расценка на единицу измерения, руб.-коп.
|
Заработная плата на весь объем работ,
руб.-коп.
|
|
ЕНиР, 1969, § 24-13, п. 5
|
Погрузка звена рельсового пути на автотранспорт
|
Т
|
3,34
|
0,29
|
0,97
|
0-15,2
|
0-51
|
|
ЕНВиВр,
1961, Разд. III, ч. II,
к Нормам времени К = 1,66 к
расценкам К = 1,2; К = 1,1; К = 1,66
|
Перевозка звена пути на тягаче МАЗ-501 с одноосным
прицепом-роспуском на расстояние 10 км
|
т/км
|
33,4
|
0,012
|
0,40
|
0-00,9
|
0-30
|
|
НИС Мосстроя
|
Перегон автокрана на 10 км
|
км
|
10
|
0,05
|
0,5
|
0-03,5
|
0-35
|
|
ЕНиР, 1969, § 24-13, п. 18
|
Выгрузка звена рельсового пути из автотранспорта
|
Т
|
3,34
|
0,24
|
0,80
|
0-12,6
|
0-41
|
|
|
Итого
|
-
|
-
|
-
|
2,67
|
-
|
1-57
|
|
-
|
Обслуживание крана
|
маш-ч
|
-
|
-
|
1,39
|
-
|
0-97
|
|
-
|
Обслуживание автомобиля
|
маш-ч
|
-
|
-
|
1,28
|
-
|
-
|
График выполнения
работ по погрузке, перевозке и выгрузке звена пути длиной 12,5 м из инвентарных секций на деревянных
полушпалах для крана БКСМ-5-5А
|
Наименование работ
|
Единица измерения
|
Объем работ
|
Норма времени на единицу измерения, ч
|
Затраты труда на весь объем работ, чел-ч
|
Состав звена
|
Часы работы
|
|
1
|
2
|
|
Погрузка звена пути на автотранспорт
|
Т
|
3,76
|
0,29
|
1,1
|
Такелажники
3 разр. - 1
2 ² -
1
|
__
|
|
|
Перевозка звена пути на расстояние 10 км
|
т/км
|
37,6
|
0,012
|
0,45
|
Шофер
3 кл. - 1
|
__
|
|
|
Перегон автомобильного крана на 10 км
|
км
|
10
|
0,05
|
0,5
|
Машинист крана
5 разр. - 1
|
__
|
_
|
|
Выгрузка
звена пути с автотранспорта
|
Т
|
3,76
|
0,24
|
0,90
|
Такелажники
3 разр. - 1
2 ² -
1
|
|
_
|
|
Итого
|
-
|
-
|
-
|
2,95
|
-
|
|
|
|
Обслуживание
крана
|
маш-ч
|
-
|
-
|
1,50
|
Машинист крана
5 разр. - 1
|
____
|
___
|
|
Обслуживание
автомобиля
|
маш-ч
|
-
|
-
|
1,45
|
Шофер
3 кл. -1
|
____
|
___
|
Калькуляция
затрат труда на погрузку, перевозку и выгрузку звена пути длиной 12,5 м из инвентарных секций на деревянных
полушпалах для крана БКСМ-5-5А
|
Шифр норм
|
Наименование работ
|
Единица измерения
|
Объем работ
|
Норма времени на единицу измерения, ч
|
Затраты труда на весь объем работ, чел-ч
|
Расценка на единицу измерения, руб.-коп.
|
Заработная плата на весь объем работ,
руб.-коп.
|
|
ЕНиР,
1969, § 24-13, п. 5
|
Погрузка звена рельсового пути на автотранспорт
|
Т
|
3,76
|
0,29
|
1,1
|
0-15,2
|
0-57
|
|
ЕНВиВр,
1961, Разд. III. ч. II
к Нормам времени К = 1,66; к расценкам К = 1,2; К = 1,1;
К = 1,66
|
Перевозка звена рельсового пути на расстояние 10 км
|
т/км
|
37,6
|
0,012
|
0,45
|
0-00,9
|
0-34
|
|
НИС
Мосстроя
|
Перегон автомобильного крана
|
км
|
10
|
0,05
|
0,5
|
0-03,5
|
0-35
|
|
ЕНиР, 1969, § 24-13, п. 18
|
Выгрузка звена рельсового пути с автотранспорта
|
Т
|
3,76
|
0,24
|
0,90
|
0-12,6
|
0-47,4
|
|
|
Итого
|
|
|
|
2,95
|
-
|
1-73,4
|
|
-
|
Обслуживание крана
|
маш-ч
|
-
|
-
|
1,5
|
-
|
1-04,6
|
|
-
|
Обслуживание автомобиля
|
маш-ч
|
-
|
-
|
1,45
|
-
|
-
|
График выполнения
работ по погрузке, перевозке и выгрузке звена пути длиной 12,5 м из инвентарных секций на деревянных
полушпалах для крана КБ-160.2
|
Наименование работ
|
Единица измерения
|
Объем работ
|
Норма времени на единицу измерения, ч
|
Затраты труда на весь объем работ, чел-ч
|
Состав звена
|
Часы работы
|
|
1
|
2
|
|
Погрузка звена пути на автотранспорт
|
Т
|
3,805
|
0,29
|
1,1
|
Такелажники
3 разр. - 1
2 ² -
1
|
__
|
|
|
Перевозка звена пути на расстояние 10 км
|
т/км
|
38,05
|
0,012
|
0,46
|
Шофер
3 кл. - 1
|
__
|
|
|
Перегон автомобильного крана на 10 км
|
км
|
10
|
0,05
|
0,5
|
Машинист крана
5 разр. - 1
|
__
|
_
|
|
Выгрузка звена пути с автотранспорта
|
Т
|
3,805
|
0,24
|
0,91
|
Такелажники
3 разр. - 1
2 ² -
1
|
|
_
|
|
Итого
|
-
|
-
|
-
|
2,97
|
-
|
|
|
|
Обслуживание крана
|
маш-ч
|
-
|
-
|
1,5
|
Машинист крана
5 разр. - 1
|
____
|
__
|
|
Обслуживание автомобиля
|
маш-ч
|
-
|
-
|
1,46
|
Шофер
3 кл. -1
|
____
|
__
|
Калькуляция
затрат труда на погрузку, перевозку и выгрузку звена пути длиной 12,5 м из инвентарных секций на деревянных
полушпалах для крана КБ-160.2
|
Шифр норм
|
Наименование работ
|
Единица измерения
|
Объем работ
|
Норма времени на единицу измерения, ч
|
Затраты труда на весь объем работ, чел-ч
|
Расценка на единицу измерения, руб.-коп.
|
Заработная плата на весь объем работ,
руб.-коп.
|
|
ЕНиР, 1969, § 24-13, п. 5
|
Погрузка звена рельсового пути на автотранспорт
|
Т
|
3,805
|
0,29
|
1,1
|
0-15,2
|
0-57,8
|
|
ЕНВиВр, 1961, Разд. III, ч. II. к Нормам времени, К =
1,66; к расценкам К = 1,2; К = 1,1; К = 1,66
|
Перевозка звена рельсового пути на расстояние 10 км
|
т/км
|
38,05
|
0,012
|
0,46
|
0-00,9
|
0-34
|
|
НИС Мосстроя
|
Перегон автомобильного крана
|
км
|
10
|
0,05
|
0,5
|
0-03,5
|
0-35
|
|
ЕНиР, 1969, § 24-13, п. 18
|
Выгрузка звена рельсового пути с автотранспорта
|
Т
|
3,805
|
0,24
|
0,91
|
0-12,6
|
0-48
|
|
|
Итого
|
-
|
-
|
-
|
2,97
|
-
|
1-75
|
|
-
|
Обслуживание крана
|
маш-ч
|
-
|
-
|
1,5
|
-
|
1-06
|
|
-
|
Обслуживание автомобиля
|
маш-ч
|
-
|
-
|
1,46
|
-
|
-
|
График выполнения
работ по погрузке, перевозке и выгрузке звена пути длиной 12,5 м из инвентарных секций на
деревометаллических рамах для крана КБ-100.1
|
Наименование работ
|
Единица измерения
|
Объем работ
|
Норма времени на единицу измерения, ч
|
Затраты труда на весь объем работ, чел-ч
|
Состав звена
|
Часы работы
|
|
1
|
2
|
3
|
|
Погрузка звена пути на автотранспорт
|
Т
|
4,09
|
0,29
|
1,2
|
Такелажники
3 разр. -
1
2 ² -
1
|
__
|
|
|
|
Перевозка звена пути на расстояние 10 км
|
т/км
|
40,9
|
0,026
|
1,1
|
Шофер
3 кл. - 1
|
_
|
__
|
|
|
Перегон автомобильного крана
|
км
|
10
|
0,05
|
0,5
|
Машинист крана
5 разр. - 1
|
|
_
|
|
|
Выгрузка звена пути с автотранспорта
|
Т
|
4,09
|
0,24
|
0,98
|
Такелажники
3 разр. - 1
2 ² -
1
|
|
_
|
_
|
|
Итого
|
-
|
-
|
-
|
3,78
|
-
|
|
|
|
|
Обслуживание крана
|
маш-ч
|
-
|
-
|
1,59
|
Машинист крана
5 разр. - 1
|
_
|
__
|
_
|
|
Обслуживание автомобиля
|
маш-ч
|
-
|
-
|
2,19
|
Шофер
3 кл. -1
|
____
|
____
|
_
|
Калькуляция
затрат труда на погрузку, перевозку и выгрузку звена пути длиной 12,5 м из инвентарных секций на
деревометаллических рамах для крана КБ-100.1
|
Шифр норм
|
Наименование работ
|
Единица измерения
|
Объем работ
|
Норма времени на единицу измерения, ч
|
Затраты труда на весь объем работ, чел-ч
|
Расценка на единицу измерения, руб.-коп.
|
Заработная плата на весь объем работ,
руб.-коп.
|
|
ЕНиР, 1969, § 24-13, п. 5
|
Погрузка звена рельсового пути на автотранспорт
|
Т
|
4,09
|
0,29
|
1,2
|
0-15,2
|
0-62,2
|
|
ЕНВиВр, 1961, Разд. III, ч. II, к Нормам времени К = 1,66; к расценкам К = 1,2; К = 1,66
|
Перевозка звена рельсового пути на расстояние 10 км
|
т/км
|
40,9
|
0,026
|
1,1
|
0-0,15
|
0-61,4
|
|
НИС
Мосстроя
|
Пробег автомобильного крана
|
км
|
10
|
0,05
|
0,5
|
0-03,5
|
0-35
|
|
ЕНиР,
1969, § 24-13, п. 18
|
Выгрузка звена рельсового пути с автотранспорта
|
Т
|
4,09
|
0,24
|
0,98
|
0-12,6
|
0-51,6
|
|
|
Итого
|
-
|
-
|
-
|
3,78
|
-
|
2-10
|
|
-
|
Обслуживание крана
|
маш-ч
|
-
|
-
|
1,59
|
-
|
1-11
|
|
-
|
Обслуживание автомобиля
|
маш-ч
|
-
|
-
|
2,19
|
-
|
-
|
График выполнения
работ по погрузке, перевозке и выгрузке звена пути длиной 12,5 м из инвентарных секций на
деревометаллических рамах для крана БКСМ-5-5А
|
Наименование работ
|
Единица измерения
|
Объем работ
|
Норма времени на единицу измерения, ч
|
Затраты труда на весь объем работ, чел-ч
|
Состав звена
|
Часы работы
|
|
1
|
2
|
3
|
|
Погрузка звена пути на автотранспорт
|
Т
|
4,42
|
0,29
|
1,28
|
Такелажники
3 разр. - 1
2 ² -
1
|
_
|
|
|
|
Перевозка звена пути на расстояние 10 км
|
т/км
|
44,2
|
0,026
|
1,2
|
Шофер
3 кл. - 1
|
_
|
___
|
|
|
Перегон автомобильного крана
|
км
|
10
|
0,05
|
0,5
|
Машинист крана
5 разр. - 1
|
|
_
|
|
|
Выгрузка звена пути с автотранспорта
|
Т
|
4,42
|
0,24
|
1,06
|
Такелажники
3 разр. - 1
2 ² -
1
|
|
_
|
_
|
|
Итого
|
-
|
-
|
-
|
4,04
|
-
|
|
|
|
|
Обслуживание крана
|
маш-ч
|
-
|
-
|
1,67
|
Машинист крана
5 разр. - 1
|
_
|
__
|
_
|
|
Обслуживание автомобиля
|
маш-ч
|
-
|
-
|
2,37
|
-
|
___
|
____
|
_
|
Калькуляция
затрат труда на погрузку, перевозку и выгрузку звена рельсового пути длиной
12,5 м из инвентарных секций на деревометаллических рамах для крана
БКСМ-5-5А
|
Шифр норм
|
Наименование работ
|
Единица измерения
|
Объем работ
|
Норма времени на единицу измерения, ч
|
Затраты труда на весь объем работ, чел-ч
|
Расценка на единицу измерения, руб.-коп.
|
Заработная плата на весь объем работ,
руб.-коп.
|
|
ЕНиР, 1969, § 24-13, п. 5
|
Погрузка звена рельсового пути на автотранспорт
|
Т
|
4,42
|
0,29
|
1,28
|
0-15,2
|
0-67,4
|
|
ЕНВиВр, 1961, разд. III, ч. II, к Нормам времени К =
1,66; к расценкам К = 1,2; К = 1,66
|
Перевозка звена рельсового пути на расстояние 10 км
|
т/км
|
44,2
|
0,026
|
1,2
|
0-01,5
|
0-66,3
|
|
НИС Мосстроя
|
Перегон автомобильного крана
|
км
|
10
|
0,05
|
0,5
|
0-03,5
|
0-35
|
|
ЕНиР, 1969, § 24-13, п. 18
|
Выгрузка звена рельсового пути с автотранспорта
|
Т
|
4,42
|
0,24
|
1,06
|
0-12,6
|
0-55,8
|
|
|
Итого
|
-
|
-
|
-
|
4,04
|
-
|
2-25
|
|
-
|
Обслуживание крана
|
маш-ч
|
-
|
-
|
1,67
|
-
|
1-17
|
|
-
|
Обслуживание автомобиля
|
маш-ч
|
-
|
-
|
2,37
|
-
|
-
|
График выполнения
работ по погрузке, перевозке и выгрузке звена пути длиной 12,5 м из инвентарных секций на
деревометаллических рамах для крана КБ-160.2
|
Наименование работ
|
Единица измерения
|
Объем работ
|
Норма времени на единицу измерения, ч
|
Затраты труда на весь объем работ, чел-ч
|
Состав звена
|
Часы работы
|
|
1
|
2
|
3
|
|
Погрузка звена пути на автотранспорт
|
Т
|
4,47
|
0,29
|
1,3
|
Такелажники
3 разр. - 1
2 ² -
1
|
__
|
|
|
|
Перевозка звена пути на расстояние 10 км
|
т/км
|
44,7
|
0,026
|
1,2
|
Шофер
3 кл. - 1
|
_
|
___
|
|
|
Перегон автомобильного крана
|
км
|
10
|
0,05
|
0,5
|
Машинист крана
5 разр. - 1
|
|
_
|
|
|
Выгрузка звена пути с автотранспорта
|
Т
|
4,47
|
0,24
|
1,08
|
Такелажники
3 разр. - 1
2 ² -
1
|
|
_
|
__
|
|
Итого
|
-
|
-
|
-
|
4,08
|
-
|
|
|
|
|
Обслуживание крана
|
маш-ч
|
-
|
-
|
1,69
|
Машинист крана
5 разр. - 1
|
_
|
__
|
_
|
|
Обслуживание автомобиля
|
маш-ч
|
-
|
-
|
2,39
|
Шофер
3 кл. -1
|
___
|
____
|
__
|
Калькуляция
затрат труда на погрузку, перевозку и выгрузку звена пути длиной 12,5 м из инвентарных секций на
деревометаллических рамах для крана КБ-160.2
|
Шифр норм
|
Наименование работ
|
Единица измерения
|
Объем работ
|
Норма времени на единицу измерения, ч
|
Затраты труда на весь объем работ, чел-ч
|
Расценка на единицу измерения, руб.-коп.
|
Заработная плата на весь объем работ,
руб.-коп.
|
|
ЕНиР, 1969, § 24-13, п. 5
|
Погрузка звена рельсового пути на автотранспорт
|
Т
|
4,47
|
0,29
|
1,3
|
0-15,2
|
0-68
|
|
ЕНВиВр, 1961, разд. III, ч. II, к Нормам времени, К = 1,66; к расценкам К =
1,2, К = 1,66
|
Перевозка звена рельсового пути на расстояние 10 км
|
т/км
|
44,7
|
0,026
|
1,2
|
0-01,5
|
0-67,1
|
|
НИС Мосстроя
|
Перегон автомобильного крана
|
км
|
10
|
0,05
|
0,5
|
0-03,5
|
0-35
|
|
ЕНиР, 1969, § 24-13, п. 18
|
Выгрузка звена рельсового пути с автотранспорта
|
Т
|
4,47
|
0,24
|
1,08
|
0-12,6
|
0-56,3
|
|
|
Итого
|
-
|
-
|
-
|
4,08
|
-
|
2-26
|
|
-
|
Обслуживание крана
|
маш-ч
|
-
|
-
|
1,69
|
-
|
1-18
|
|
-
|
Обслуживание автомобиля
|
маш-ч
|
-
|
-
|
2,39
|
-
|
-
|
График выполнения
работ по погрузке, перевозке и выгрузке звена пути длиной 12,5 м из инвентарных секций на железобетонных
шпалах для крана КБ-100.1
|
Наименование работ
|
Единица измерения
|
Объем работ
|
Норма времени на единицу измерения, ч
|
Затраты труда на весь объем работ, чел-ч
|
Состав звена
|
Часы работы
|
|
1
|
2
|
3
|
|
Погрузка звена пути на автотранспорт
|
Т
|
6,55
|
0,29
|
1,90
|
Такелажники
3 разр. - 1
2 ² - 1
|
__
|
|
|
|
Перевозка звена пути на расстояние 10 км
|
т/км
|
65,5
|
0,026
|
1,70
|
Шофер
3 кл. - 2
|
_
|
__
|
|
|
Перегон автомобильного крана
|
км
|
10
|
0,05
|
0,5
|
Машинист крана
5 разр. - 1
|
|
_
|
|
|
Выгрузка звена пути с автотранспорта
|
Т
|
6,55
|
0,24
|
1,57
|
Такелажники
3 разр. - 1
2 ² - 1
|
|
_
|
_
|
|
Итого
|
-
|
-
|
-
|
5,67
|
-
|
|
|
|
|
Обслуживание крана
|
маш-ч
|
-
|
-
|
2,24
|
Машинист крана
5 разр. - 1
|
_
|
__
|
__
|
|
Обслуживание автомобиля
|
маш-ч
|
-
|
-
|
3,44
|
Шофер
3 кл. - 2
|
___
|
___
|
__
|
Калькуляция
затрат труда на погрузку, перевозку и выгрузку звена пути длиной 12,5 м из инвентарных секций на
железобетонных шпалах для крана КБ-100.1
|
Шифр норм
|
Наименование работ
|
Единица измерения
|
Объем работ
|
Норма времени на единицу измерения, ч
|
Затраты труда на весь объем работ, чел-ч
|
Расценка на единицу измерения, руб.-коп.
|
Заработная плата на весь объем работ,
руб.-коп.
|
|
ЕНиР,
1969, § 24-15, п. 5 д, е
|
Погрузка звена рельсового пути на автотранспорт
|
Т
|
6,55
|
0,29
|
1,90
|
0-15,2
|
0-99,5
|
|
ЕНВиВр,
1961, разд. III, ч. II,
к Нормам времени К = 1,66; к расценкам К = 1,2; К = 1,66; К = 1,1
|
Перевозка
звена рельсового пути на расстояние 10 км
|
т/км
|
65,5
|
0,026
|
1,70
|
0-01,5
|
0-98,3
|
|
НИС
Мосстроя
|
Перегон
автомобильного крана
|
км
|
10
|
0,05
|
0,5
|
0-03,5
|
0-35
|
|
ЕНиР,
1969, § 24-15, п. 18 д, е
|
Выгрузка
звена рельсового пути с автотранспорта
|
Т
|
6,55
|
0,24
|
1,57
|
0-12,6
|
0-82,6
|
|
|
Итого
|
-
|
|
|
5,67
|
|
3-15,4
|
|
-
|
Обслуживание
крана
|
маш-ч
|
-
|
-
|
2,24
|
-
|
-
|
|
-
|
Обслуживание
автомобиля
|
маш-ч
|
-
|
-
|
3,44
|
-
|
-
|
График выполнения
работ по погрузке, перевозке и выгрузке звена пути длиной 12,5 м из инвентарных секций на железобетонных
шпалах для крана БКСМ-5-5А
|
Наименование работ
|
Единица измерения
|
Объем работ
|
Норма времени на единицу измерения, ч
|
Затраты труда на весь объем работ, чел-ч
|
Состав звена
|
Часы работы
|
|
1
|
2
|
3
|
|
Погрузка звена пути на автотранспорт
|
Т
|
6,88
|
0,29
|
1,99
|
Такелажники
3 разр. - 1
2 ² -
1
|
___
|
|
|
|
Перевозка звена пути на расстояние 10 км
|
т/км
|
68,8
|
0,026
|
1,78
|
Шофер
3 кл. - 2
|
|
___
|
|
|
Перегон автомобильного крана
|
км
|
10
|
0,05
|
0,5
|
Машинист крана
5 разр. - 1
|
|
_
|
|
|
Выгрузка звена пути с автотранспорта
|
Т
|
6,88
|
0,24
|
1,65
|
Такелажники
3 разр. - 1
2 ² -
1
|
|
_
|
__
|
|
Итого
|
-
|
-
|
-
|
5,92
|
-
|
|
|
|
|
Обслуживание крана
|
маш-ч
|
-
|
-
|
2,31
|
Машинист крана
5 разр. - 1
|
__
|
__
|
__
|
|
Обслуживание автомобиля
|
маш-ч
|
-
|
-
|
3,59
|
Шофер
3 кл. - 2
|
____
|
____
|
___
|
Калькуляция
затрат труда на погрузку, перевозку и выгрузку звена пути длиной 12,5 м из инвентарных секций на
железобетонных шпалах для крана БКСМ-5-5А
|
Шифр норм
|
Наименование работ
|
Единица измерения
|
Объем работ
|
Норма времени на единицу измерения, ч
|
Затраты труда на весь, объем работ, чел-ч
|
Расценка на единицу измерения, руб.-коп.
|
Заработная плата на весь объем работ,
руб.-коп.
|
|
ЕНиР,
1969, § 24-15, п. 5 д, е
|
Погрузка звена рельсового пути на автотранспорт
|
Т
|
6,88
|
0,29
|
1,99
|
0-15,2
|
1-04,5
|
|
ЕНВиВр,
1961, разд. III, ч. II,
к Нормам времени К = 1,66; к расценкам К = 1,2; К = 1,66; К = 1,1
|
Перевозка
звена длиной 6,25 м рельсового пути на расстояние 10 км
|
т/км
|
68,8
|
0,020
|
1,78
|
0-01,5
|
1-03
|
|
НИС
Мосстроя
|
Перегон
автомобильного крана
|
км
|
10
|
0,05
|
0,5
|
0-03,5
|
0-35
|
|
ЕНиР,
1969, § 24-15, п. 18 д, е
|
Выгрузка
звена рельсового пути с автотранспорта
|
Т
|
6,88
|
0,24
|
1,65
|
0-12,6
|
0-86,6
|
|
|
Итого
|
-
|
-
|
-
|
5,92
|
-
|
3-29,1
|
|
-
|
Обслуживание крана
|
маш-ч
|
-
|
-
|
2,31
|
-
|
-
|
|
-
|
Обслуживание автомобиля
|
маш-ч
|
-
|
-
|
3,59
|
-
|
-
|
График выполнения
работ по погрузке, перевозке и выгрузке звена пути длиной 12,5 м из инвентарных секций на
железобетонных шпалах для крана КБ-160.2
|
Наименование работ
|
Единица измерения
|
Объем работ
|
Норма времени на единицу измерения, ч
|
Затраты труда на весь объем, работ, чел-ч
|
Состав звена
|
Часы работы
|
|
1
|
2
|
3
|
|
Погрузка звена пути на автотранспорт
|
Т
|
6,92
|
0,29
|
2,02
|
Такелажники
3 разр. - 1
2 ² -
1
|
__
|
|
|
|
Перевозка звена пути на расстояние 10 км
|
т/км
|
69,2
|
0,026
|
1,80
|
Шофер
3 кл. - 2
|
|
__
|
|
|
Перегон автомобильного крана
|
км
|
10
|
0,05
|
0,5
|
Машинист крана
5 разр. - 1
|
|
_
|
|
|
Выгрузка звена пути с автотранспорта
|
Т
|
6,92
|
0,24
|
1,67
|
Такелажники
3 разр. - 1
2 ² -
1
|
|
_
|
__
|
|
Итого
|
-
|
-
|
-
|
5,99
|
-
|
|
|
|
|
Обслуживание крана
|
маш-ч
|
-
|
-
|
2,34
|
Машинист крана
5 разр. - 1
|
___
|
_ _
|
___
|
|
Обслуживание автомобиля
|
маш-ч
|
-
|
-
|
3,64
|
Шофер
3 кл. - 2
|
___
|
____
|
__
|
Калькуляция
затрат труда на погрузку, перевозку и выгрузку звена пути длиной 12,5 м из инвентарных секций на
железобетонных шпалах для крана КБ-160.2
|
Шифр норм
|
Наименование работ
|
Единица измерения
|
Объем работ
|
Норма времени на единицу измерения, ч
|
Затраты труда на весь объем работ, чел-ч
|
Расценка на единицу измерения, руб.-коп.
|
Заработная плата на весь объем работ,
руб.-коп
|
|
ЕНиР, 1969, § 24-15, п. 5 д, е
|
Погрузка звена рельсового пути на автотранспорт
|
Т
|
6,92
|
0,29
|
2,02
|
0-15,2
|
1-05
|
|
ЕНВиВр,
1961, разд. III, ч. II,
к Нормам времени К = 1,66; к расценкам К = 1,2; К = 1,66; К = 1,1
|
Перевозка звена рельсового пути на расстояние 10 км
|
т/км
|
69,2
|
0,026
|
1,80
|
0-01,5
|
1-03,8
|
|
НИС
Мосстроя
|
Перегон автомобильного крана
|
км
|
10
|
0,05
|
0,5
|
0-03,5
|
0-35
|
|
ЕНиР,
1969, § 24-15, п. 18 д, е
|
Выгрузка звена рельсового пути с автотранспорта
|
Т
|
6,92
|
0,24
|
1,67
|
0-12,6
|
0-87
|
|
|
Итого
|
-
|
-
|
-
|
5,99
|
-
|
3-30,8
|
|
-
|
Обслуживание крана
|
маш-ч
|
-
|
-
|
2,34
|
-
|
-
|
|
-
|
Обслуживание автомобиля
|
маш-ч
|
-
|
-
|
3,64
|
-
|
-
|
ТЕХНОЛОГИЧЕСКАЯ
КАРТА
I. Область применения
1.
Технологическая карта разработана на устройство заземления, установку и
разборку тупиковых упоров и выключающих линеек звена рельсового пути для
строительных башенных кранов.
II. Технико-экономические показатели устройства заземления,
установки и разборки тупиковых упоров и выключающих линеек
|
Наименование работы
|
Затраты труда, чел-ч
|
|
Устройство заземления звена пути
|
5,69
|
|
Установка выключающей линейки
|
0,01
|
|
Установка тупикового упора
|
0,52
|
|
Разборка тупикового упора
|
0,23
|
III. Организация и технология строительного процесса
1. До начала
работ по устройству заземления необходимо:
подготовить
площадку под устройство двух очагов заземления, с разбивкой мест забивки
электродов;
получить данные
о токопроводимости основания нижнего строения пути;
получить данные
о системе электрической сети для энергоснабжения крана;
подобрать
материалы и механизмы для выполнения заземляющего устройства;
уложить
подкрановые пути;
вырыть траншею
под систему заземления.
2. Заземление при
глухозаземленной нейтрали осуществляется соединением металлоконструкций и
рельсовых путей крана с заземленной нейтралью через нулевой провод силовой
линии, питающей кран.
В этом случае
работы выполняют в следующем порядке:
прокладывают
соединительный проводник из круглой стали диаметром 6 мм между подключательным пунктом и
рельсовыми путями, концы которого приваривают к корпусу подключательного пункта
и к рельсу, а корпус подключательного пункта присоединяют к нулевому проводу
питающей линии;
приваривают электросваркой
перемычки из круглой стали диаметром 6 мм между всеми стыками рельсов, а также между двумя нитками
рельсов на расстоянии не менее 500 мм от их концов;
заземляют
нулевой провод очагом из трех стержней, расположенных по треугольнику, и
присоединяют его к рельсам.
Вертикальные
электроды забивают вручную кувалдами в дно предварительно вырытой траншеи так,
чтобы над дном оставались концы длиной 100 - 200 мм для присоединения к ним перемычек.
Электродами
служат стальные трубы диаметром 50 и длиной 3000 мм.
С помощью
электросварки электроды соединяют стальными перемычками, заглубленными на 150 мм ниже уровня грунта. После устройства
заземления рельсового пути проверяют сопротивление растеканию тока заземляющей
системы.
3. На звено пути
строго перпендикулярно оси рельса закрепляют два инвентарных тупиковых упора на
расстоянии не менее 1500 мм от
концов рельсов.
Выключающие
линейки для концевых выключателей механизма передвижения крана (2 шт. на звено
пути) устанавливают перед тупиковыми упорами.
4. Заземление
должно быть выполнено в соответствии с требованиями СНиП III-4.6-62, а также инструкций СН38-58 и СН78-67.
IV. Организация и методы труда рабочих
1. Работы по
устройству заземления и установке выключающих линеек выполняет звено рабочих,
состоящее из электромонтажника 3 разряда и электросварщика 3 разряда (рис. 15).
Установку и
разборку тупиковых упоров выполняет звено рабочих, состоящее из пяти монтеров
пути - трех 5, 4 и 3 разрядов и двух 2 разряда.
V. Материально-технические ресурсы
1. Основные
конструкции
|
Наименование
|
Единица измерения
|
Количество
|
Вес, кг
|
|
единицы
|
общий
|
|
Инвентарный тупиковый упор
|
шт.
|
2
|
95,5
|
191,0
|
|
Сталь круглая диаметром 6 мм
|
пог. м
|
40
|
0,22
|
8,80
|
|
Выключающая линейка
|
шт.
|
2
|
0,66
|
1,32
|
|
Стальная труба диаметром 50 и длиной 3000 мм (электроды)
|
шт.
|
6
|
14,64
|
87,84
|

Рис. 15.
Заземление рельсового пути
1 - очаг
заземления; 2
- перемычка; 3 - инвентарный
тупик; 4 - электроды; 5 - выключающая линейка; 6 - поперечные стяжки
2. Оборудование,
инструменты, приспособления
|
Наименование
|
Количество, шт.
|
|
Кувалда весом 5 кг
|
2
|
|
Электросварочный аппарат
|
1
|
|
Лопата штыковая
|
2
|
|
Измеритель заземления МС-07
|
1
|
|
Клещи
|
1
|
График выполнения
работ по устройству заземления одного звена пути длиной 12,5 м
|
Наименование работ
|
Единица измерения
|
Объем работ
|
Норма времени на единицу измерения, ч
|
Затраты труда на весь объем работ, чел-ч
|
Состав звена
|
Рабочие часы
|
|
1
|
2
|
3
|
4
|
5
|
6
|
|
Устройство двух очагов заземления пути
|
звено пути
|
1
|
5,4
|
5,4
|
Электромонтажник
3 разр. - 1
|
|
|
|
|
|
|
|
Приварка перемычек
|
пог. м
|
1,2
|
0,24
|
0,29
|
Электросварщик
3 разр. - 1
|
|
|
|
|
|
_
|
|
Итого
|
|
-
|
-
|
5,69
|
-
|
|
|
|
|
|
|
Калькуляция
затрат труда на устройство заземления одного звена пути длиной 12,5 м
|
Шифр норм
|
Наименование работ
|
Единица измерения
|
Объем работ
|
Норма времени на единицу измерения, ч
|
Затраты труда на весь объем работ, чел-ч
|
Расценка на единицу измерения, руб.-коп.
|
Заработная плата на весь объем работ,
руб.-коп.
|
|
ЕНиР, 1969, § 35-16, п. 2б
|
Устройство двух очагов заземления рельсового пути
|
звено пути
|
1
|
5,4
|
5,4
|
3-00
|
3-00
|
|
ЕНиР, 1969, § 22-1, п. 2д
|
Приварка перемычек
|
пог. м
|
1,2
|
0,24
|
0,29
|
1-33
|
1-60
|
|
|
Итого
|
-
|
-
|
-
|
5,69
|
-
|
4-60
|
Калькуляция затрат труда на
установку тупиковых упоров
|
Шифр норм
|
Наименование работ
|
Единица измерения
|
Объем работ
|
Норма времени на единицу измерения, ч
|
Затраты труда на весь объем работ, чел-ч
|
Расценка на единицу измерения, руб.-коп.
|
Заработная плата на весь объем работ,
руб.-коп.
|
|
Типовые нормы ЦНИБ при НИИЭС, 1967
|
Подноска и установка тупиковых упоров
|
шт.
|
2
|
0,52
|
1,04
|
0-23,7
|
0-47,4
|
График выполнения работ по
установке тупиковых упоров
|
Наименование работ
|
Единица измерения
|
Объем работ
|
Норма времени на единицу измерения, ч
|
Затраты труда на весь объем работ, чел-ч
|
Состав звена
|
Часы работы
|
|
1
|
2
|
|
Подноска и установка тупиковых упоров
|
шт.
|
2
|
0,52
|
1,04
|
Монтеры пути
5 разр. - 1
4 " -
1
3 " -
1
2 " -
2
|
_
|
|
Калькуляция
затрат труда на разборку тупиковых упоров
|
Шифр норм
|
Наименование работ
|
Единица измерения
|
Объем работ
|
Норма времени на единицу измерения, ч
|
Затраты труда на весь объем работ, чел-ч
|
Расценка на единицу измерения, руб.-коп.
|
Заработная плата на весь объем работ,
руб.-коп.
|
|
Типовые нормы ЦНИБ при НИИЭС, 1967
|
Разборка тупиковых упоров
|
шт.
|
2
|
0,23
|
0,46
|
0-10,5
|
0-21
|
График выполнения
работ по разборке тупиковых упоров
|
Наименование работ
|
Единица измерения
|
Объем работ
|
Норма времени на единицу измерения, ч
|
Затраты труда на весь объем работ, чел-ч
|
Состав звена
|
Часы работы
|
|
1
|
2
|
|
Разборка тупиковых упоров
|
шт.
|
2
|
0,23
|
0,46
|
Монтеры пути
4 разр. - 1
3 " -
1
2 " -
2
|
_
|
|
Калькуляция
затрат труда на установку выключающих линеек
|
Шифр норм
|
Наименование работ
|
Единица измерения
|
Объем работ
|
Норма времени на единицу измерения, ч
|
Затраты труда на весь объем работ, чел-ч
|
Расценка на единицу измерения, руб.-коп.
|
Заработная плата на весь объем работ,
руб.-коп.
|
|
ЕНиР, 1969, сб. 16 применительно к § 16-1-38, а
|
Установка выключающих линеек
|
шт.
|
2
|
0,01
|
0,02
|
0-0,05
|
0-01
|
График выполнения
работ по установке выключающих линеек
|
Наименование работ
|
Единица измерения
|
Объем работ
|
Норма времени на единицу измерения, ч
|
Затраты труда на весь объем работ, чел-ч
|
Состав звена
|
Часы работы
|
|
1
|
2
|
|
Установка выключающих линеек
|
шт.
|
2
|
0,01
|
0,02
|
Монтеры пути
4 разр. - 1
2 " -
1
|
_
|
|
СОДЕРЖАНИЕ
| |
|