//
ТехЛит.ру
- крупнейшая бесплатная электронная интернет библиотека для "технически умных" людей.
WWW.TEHLIT.RU - ТЕХНИЧЕСКАЯ ЛИТЕРАТУРА

:: Алготрейдинг::


АЛГОТРЕЙДИНГ
шаг за шагом
с нуля по урокам!

Торговые роботы на PYTHON, BackTrader,
Pandas, Pine Script для TradingView. Связка с брокерами, телеграм и легкими приложениями.


МЕЖГОСУДАРСТВЕННЫЙ СОВЕТ ПО СТАНДАРТИЗАЦИИ, МЕТРОЛОГИИ И СЕРТИФИКАЦИИ
(МГС)

INTERSTATE COUNCIL FOR STANDARDIZATION, METROLOGY AND CERTIFICATION
(ISC)

межгосударственный

стандарт

ГОСТ

15902.2-

2003

(ИСО 9073 - 2:1995)

ПОЛОТНА НЕТКАНЫЕ

Методы определения структурных характеристик

ISO 9073-2:1995

Textiles - Test methods for nonwovens - Part 2: Determination of thickness
(MOD)

Москва
ИПК Издательство стандартов
2004

Предисловие

Цели, основные принципы и основной порядок проведения работ по межгосударственной стандартизации установлены ГОСТ 1.0-92 «Межгосударственная система стандартизации. Основные положения» и ГОСТ 1.2-97 «Межгосударственная система стандартизации. Стандарты межгосударственные, правила и рекомендации по межгосударственной стандартизации. Порядок разработки, принятия, применения, обновления и отмены».

Сведения о стандарте

1 РАЗРАБОТАН Открытым Акционерным обществом «Научно-исследовательский институт нетканых материалов» (ОАО «НИИНМ»)

ВНЕСЕН Госстандартом России

2 ПРИНЯТ Межгосударственным советом по стандартизации, метрологии и сертификации (протокол 23 от 22 мая 2003 г.). Зарегистрирован Бюро по стандартам МГС 4455

За принятие проголосовали:

Краткое наименование страны по MK (ИСО 3166) 004-97

Код страны по MK (ИСО 3166) 004-97

Сокращенное наименование национального органа по стандартизации

Азербайджан

AZ

Азстандарт

Армения

AM

Армстандарт

Беларусь

BY

Госстандарт Республики Беларусь

Грузия

GE

Грузстандарт

Казахстан

KZ

Госстандарт Республики Казахстан

Кыргызстан

KG

Кыргызстандарт

Молдова

MD

Молдова-Стандарт

Российская Федерация

RU

Госстандарт России

Таджикистан

TJ

Таджикстандарт

Туркменистан

TM

Главгосслужба «Туркменстандартлары»

Узбекистан

UZ

Узстандарт

Украина

UA

Госпотребстандарт Украины

3 Постановлением Государственного комитета Российской Федерации по стандартизации и метрологии от 1 марта 2004 г. 77-ст межгосударственный стандарт ГОСТ 15902.2-2003 (ИСО 9073-2:1995) введен в действие непосредственно в качестве национального стандарта Российской Федерации с 1 сентября 2004 года

4 Настоящий стандарт содержит идентичный текст ИСО 9073-2:1995 «Текстиль. Методы испытаний нетканых материалов. Часть 2. Определение толщины» (приложение А)

5 ВЗАМЕН ГОСТ 15902.2-79

Информация о введении в действие (прекращении действия) настоящего стандарта и изменений к нему публикуется в указателе «Национальные стандарты».

Информация об изменениях к настоящему стандарту публикуется в указателе (каталоге) «Национальные стандарты», а текст изменений - в информационных указателях «Национальные стандарты». В случае пересмотра или отмены настоящего стандарта соответствующая информация будет опубликована в информационном указателе «Национальные стандарты»

Содержание

1 Область применения

2 Нормативные ссылки

3 Определения

4 Методы испытаний

4.1 Методы отбора проб

4.2 Идентификация полотна по внешнему виду

4.3 Определение числа петель и проколов игл

4.4 Определение плотности нити

4.5 Определение длины петли

4.6 Определение уработки и извитости нитей*

4.7 Определение линейной плотности нити, извлеченной из вязально-прошивного полотна*

4.8 Определение массы нитей на единицу площади вязально-прошивного полотна**

4.9 Определение содержания связующих на основе сшивающихся каучуковых и акриловых полимерных дисперсий в клееном полотне

4.10 Определение толщины

4.11 Определение объемной плотности

4.12 Определение пористости полотна

4.13 Определение неровноты по массе

4.14 Определение неровноты по воздухопроницаемости

Приложение А (справочное)

Текстильные материалы. Методы испытаний нетканых материалов. Определение толщины ИСО 9073-2:1995

 

МЕЖГОСУДАРСТВЕННЫЙ СТАНДАРТ

ПОЛОТНА НЕТКАНЫЕ

Методы определения структурных характеристик

Nonwoven fabrics. Methods of determination of structural characteristics

Дата введения - 2004-09-01

1 Область применения

Настоящий стандарт распространяется на нетканые полотна различных способов производства из волокон всех видов и устанавливает методы определения следующих показателей:

внешнего вида;

числа петель и проколов игл;

плотности нити;

длины петли;

уработки и извитости нити;

линейной плотности нити, извлеченной из полотна;

массы нитей на единицу площади, содержания прошивной нити;

содержания связующих на основе сшивающихся каучуковых и акриловых полимерных дисперсий;

толщины;

объемной плотности;

пористости;

неровноты по массе и воздухопроницаемости.

2 Нормативные ссылки

В настоящем стандарте использованы ссылки на следующие стандарты:

ГОСТ 427-75 Линейки измерительные металлические. Технические условия

ГОСТ 3811-72 (ИСО 3801-77, ИСО 3932-76, ИСО 3933-76) Материалы текстильные. Ткани, нетканые полотна и штучные изделия. Методы определения линейных размеров, линейной и поверхностной плотностей

ГОСТ 4201-79 Натрий углекислый кислый. Технические условия

ГОСТ 4204-77 Кислота серная. Технические условия

ГОСТ 6709-72 Вода дистиллированная. Технические условия

ГОСТ 10681-75 Материалы текстильные. Климатические условия для кондиционирования и испытаний проб и методы их определения

ГОСТ 12023-93 (ИСО 5084-77) Материалы текстильные. Полотна. Метод определения толщины

ГОСТ 12088-77 Материалы текстильные и изделия из них. Метод определения воздухопроницаемости

ГОСТ 13587-77 Полотна нетканые и изделия штучные текстильные. Правила приемки и метод отбора проб

ГОСТ 16430-83 Полотна нетканые. Термины и определения

ГОСТ 18300-87 Спирт этиловый ректификованный технический. Технические условия

ГОСТ 23932-90 Посуда и оборудование лабораторные стеклянные. Общие технические условия

ГОСТ 25336-82 Посуда и оборудование лабораторные стеклянные. Типы, основные параметры и размеры

ГОСТ 25706-83 Лупы. Типы, основные параметры. Общие технические требования

ГОСТ 29329-92 Весы для статического взвешивания. Общие технические требования

ИСО 7211-3-84 Материалы текстильные. Ткани. Структура. Методы анализа. Определение извитости нити в ткани

ИСО 7211-5-84 Материалы текстильные. Ткани. Структура. Методы анализа. Определение линейной плотности нити, извлеченной из ткани

ИСО 7211-6-84 Материалы текстильные. Ткани. Структура. Методы анализа. Определение массы основных и уточных нитей на единицу площади ткани

Примечание - При пользовании настоящим стандартом целесообразно проверить действие ссылочных стандартов по указателю «Национальные стандарты», составленному по состоянию на 1 января текущего года, и по соответствующим информационным указателям, опубликованным в текущем году. Если ссылочный документ заменен (изменен), то при пользовании настоящим стандартом следует руководствоваться замененным (измененным) стандартом. Если ссылочный документ отменен без замены, то положение, в котором дана ссылка на него, применяется в части, не затрагивающей эту ссылку.

3 Определения

3.1 В настоящем стандарте применяют термины по ГОСТ 13587 и ГОСТ 16430.

4 Методы испытаний

4.1 Методы отбора проб

4.1.1 Количество рулонов (кусков) в объединенной пробе, отбираемых от партий для испытаний, устанавливают по ГОСТ 13587 и/или согласно требованиям нормативных документов на полотно конкретного вида.

4.1.2 Подготовку точечных проб к испытанию и испытания проводят при относительной влажности воздуха (65 ±2) % и температуре воздуха (20 ±2)°С по ГОСТ 10681. Точечные пробы выдерживают по ГОСТ 10681 не менее 24 ч.

Допускается выдерживать пробы из химических волокон (нитей) не менее 10 ч.

4.1.3 От каждого рулона (куска) объединенной пробы, удовлетворяющего требованиям к внешнему виду и линейным размерам, на расстоянии не менее 1 м от конца полотна по всей его ширине отрезают острыми ножницами точечные пробы в виде отрезков. Число точечных проб, размеры и площадь одной пробы указывают в нормативных документах на полотно конкретного вида.

4.1.4 За результат испытания партии полотна принимают среднеарифметическое значение результатов всех измерений каждого показателя.

4.2 Идентификация полотна по внешнему виду

4.2.1 Внешнюю структуру, продольное и поперечное направление, наличие в структуре полотна каркасного материала (ткани, пленки и т. п.), лицевую и изнаночную стороны, наличие внешнего или внутреннего дублирующего слоя, наличие пороков внешнего вида устанавливают путем осмотра внешнего вида и поперечного среза каждой испытуемой пробы по ГОСТ 13587 и по нормативному документу на конкретный вид полотна.

4.3 Определение числа петель и проколов игл

4.3.1 Средства испытания и вспомогательные устройства

Линейка измерительная металлическая по ГОСТ 427.

Игла препаровальная.

Лупа по ГОСТ 25706.

Ножницы.

4.3.2 Подготовка и проведение испытания

4.3.2.1 Точечную пробу вязально-прошивного полотна раскладывают в расправленном состоянии на гладкой поверхности и подсчитывают число петель по длине и ширине, отступив при этом не менее 50 мм от кромки (продольного сгиба) и края.

4.3.2.2 С помощью измерительной металлической линейки (шаблона), препаровальной иглы и лупы производят непосредственный подсчет числа петель отдельно по длине и ширине на отрезке 50 мм. Последующие пять измерений числа петель проводят по длине и ширине через 100-150 мм, при этом каждое последующее измерение не должно быть продолжением предыдущего.

Подсчет числа петель проводят с точностью до 0,5 петли и округляют до целого числа. При необходимости подсчитывают количество петель на единицу площади Пs (25 см2 или 1 м2) по формулам:

Пs = Пд Пш                                                                            (1)

или

Пs = 4×102 Пд Пш,                                                                  (2)

где Пд - число петель по длине на 50 мм;

Пш - число петель по ширине на 50 мм.

4.3.2.3 На точечной пробе иглопробивного полотна согласно 4.3.2.1 и 4.3.2.2 с помощью металлической линейки подсчитывают число проколов игл по длине и ширине на отрезке 10 мм.

Количество проколов игл на единицу площади (плотность прокалывания) Nn подсчитывают на 100 мм2 или 1 м2 по формулам:

Nп = Nд Nш                                                                             (3)

или

Nп = Nд Nш×104                                                                       (4)

где Nд - число проколов по длине на 10 мм;

Nш - число проколов по ширине на 10 мм.

Допускается подсчитывать плотность прокалывания, исходя из заправочных параметров изготовления иглопробивного полотна по формулам:

при периодической подаче волокнистого холста на прокол:

                                                                              (5)

где ПИ - проекционная плотность игл, м-1,

S - подача на прокол, мм;

при непрерывной подаче волокнистого холста на прокол:

                                                                           (6)

где п - частота прокалывания, Гц;

V - скорость выпуска полотна, м/мин.

4.3.3 Обработка результатов испытания

4.3.3.1 За результат испытания принимают среднеарифметическое значение всех измерений числа петель и проколов игл соответственно по длине, ширине и площади.

Вычисления проводят с точностью до 0,1 петли и округляют до целого числа.

4.4 Определение плотности нити

4.4.1 Средства испытания и вспомогательные устройства - по 4.3.1.

4.4.2 Подготовка к проведению испытания

4.4.2.1 Для проведения испытания из точечной пробы вырезают пять элементарных проб размером 50×50 мм.

Элементарные пробы вырезают по диагонали точечной пробы.

4.4.3 Проведение испытания

4.4.3.1 С помощью препаровальной иглы, лупы и измерительной металлической линейки из пробы путем роспуска петель удаляют крайнюю прошивную нить для образования бахромы и подсчитывают число поперечных (уточных) нитей. Число продольных (основных) нитей определяют на элементарной пробе по петельным рядам. Число петель прошивных нитей - по 4.3.2.

4.4.3.2 Подсчет числа продольных и поперечных нитей проводят с точностью до 1 нити.

4.4.4 Обработка результатов испытания

4.4.4.1 За результат испытания принимают среднеарифметическое значение результатов всех измерений по определению плотности нитей.

Вычисление проводят с точностью до 0,1 нити и округляют до целого числа.

4.5 Определение длины петли

4.5.1 Средства испытания и вспомогательные устройства - по 4.3.1.

4.5.2 Подготовка и проведение испытания

4.5.2.1 От точечной пробы вязально-прошивного полотна вырезают пять элементарных проб размером 100×100 мм. На вырезанных элементарных пробах, отступив от края 20 мм, отмечают пять петельных столбиков. На каждом столбике подсчитывают число петель, приходящихся на длину 100 мм. Затем последовательно ряд за рядом распускают петельные столбики и извлекают:

для одногребеночного переплетения - пять нитей,

для двухгребеночного переплетения - пять нитей одной гребенки и пять нитей другой гребенки.

4.5.2.2 Определяют длину нитей, изъятых из элементарных проб. Для этого нить накладывают на металлическую линейку, осторожно ее распрямляют при минимальном натяжении, необходимом только для ликвидации зигзагообразной формы нити, а затем ее измеряют. Нить распрямляют следующим образом: прижав указательным пальцем левой руки один конец нити к началу линейки, указательным пальцем правой руки распрямляют нить вдоль линейки. Длину расправленной нити в миллиметрах определяют по линейке с точностью до 1 мм. По каждой из пяти элементарных проб проводят измерение длины пяти распрямленных нитей.

4.5.3 Обработка результатов испытания

4.5.3.1 Длину петли lп, мм, вычисляют по формуле

,                                                                            (7)

где  - сумма длин нитей, извлеченных из пробы и распрямленных, мм;

 - общее количество петель, приходящихся на .

4.5.3.2 Длину петли вычисляют с точностью до второго десятичного знака и округляют до первого десятичного знака. При наличии двух или нескольких прошивных систем нитей длину петли вычисляют и указывают отдельно по каждой системе.

4.6 Определение уработки и извитости нитей*

* Метод гармонизирован с ИСО 7211-3-84.

4.6.1 Средства испытания и вспомогательные устройства - по 4.3.1.

4.6.2 Подготовка и проведение испытания

4.6.2.1 Из точечной пробы вязально-прошивного полотна вырезают пять элементарных проб размером 100×100 мм. Допускается использовать элементарные пробы для определения длины петли.

4.6.2.2 Отступив 20 мм от края элементарных проб, вырезанных из точечной пробы, последовательно ряд за рядом распускают пять прошивных нитей (петельных столбиков) и одновременно извлекают (вытаскивают) по пять продольных и поперечных нитей.

Определяют длину распрямленной нити согласно 4.5.2.2 и длину, занимаемую нитью в полотне, в миллиметрах.

4.6.3 Обработка результатов испытания

4.6.3.1 Уработку нити Ун, %, вычисляют по формуле

                                                                 (8)

где Lн - средняя длина извлеченных и распрямленных нитей, мм;

L0 - длина элементарной пробы, из которой извлекают нити, мм.

4.6.3.2 Извитость нити С, %, (разность между средним значением распрямленных нитей и значением длины, занимаемой в полотне, отнесенная к значению распрямленных нитей) вычисляют по формуле

                                                                   (9)

4.6.3.3 Уработку и извитость нити вычисляют для каждой системы (поперечной, продольной, прошивной) отдельно с точностью до второго десятичного знака и округляют до первого десятичного знака.

4.7 Определение линейной плотности нити, извлеченной из вязально-прошивного полотна*

* Метод гармонизирован с ИСО 7211-5-84.

4.7.1 Средства испытания и вспомогательные устройства

Весы с погрешностью не более 0,1 % от взвешиваемой массы - по ГОСТ 29329.

Линейка измерительная металлическая - по ГОСТ 427.

Игла препаровальная.

Ножницы.

4.7.2 Подготовка и проведение испытания

4.7.2.1 Из точечной пробы вырезают три элементарные пробы прямоугольной формы размером 200×300 мм.

4.7.2.2 Извлекают 10 нитей из каждой пробы и определяют их длину в расправленном состоянии отдельно для каждой системы.

4.7.2.3 Выдерживают извлеченные из полотна нити в нормальных климатических условиях при относительной влажности (65 ±2) % и температуре (20 ±2)°С в течение 24 ч. При этом допускается выдерживать нити из синтетических волокон не менее 10 ч.

4.7.2.4 Взвешивают все прошивные, продольные и поперечные нити отдельно для каждой системы.

4.7.3 Обработка результатов

4.7.3.1 Вычисляют линейную плотность нитей Т, текс, извлеченных из структуры вязально-прошивного полотна отдельно для каждой системы, по формуле

                                                                  (10)

где  - общая масса нитей, извлеченных из полотна для каждой системы отдельно, г;

 - общая длина нити для каждой системы отдельно, м (средняя длина числа взвешенных в расправленном виде нитей).

4.8 Определение массы нитей на единицу площади вязально-прошивного полотна**

** Метод гармонизирован с ИСО 7211-6-84.

4.8.1 Массу нитей вязально-прошивного полотна вычисляют в граммах, исходя из заправочных данных или данных лабораторных испытаний по разделам

4.8.2 Массу прошивных нитей холстопрошивного полотна, г, в пересчете на 1 м2 полотна ρsp, г/м2, вычисляют по формуле

                                               (11)

где п - количество гребенок, участвующих в формировании переплетения;

К - коэффициент проборки;

l - длина петли, мм;

Т - линейная плотность прошивной нити, текс.

Зависимость коэффициента К от проборок:

при заправке нитей в каждую иглу К = 1;

при заправке нитей через иглу К = 1/2;

при заправке нитей через две иглы К = 1/3 и т.д.

Для полотна одногребеночного переплетения (трико, цепочка и т.д.):

                                                          (12)

Для полотен двухгребеночного переплетения с проборкой нитей через иглу с применением нитей разной линейной плотности:

                                            (13)

где l1 - длина петли для первой гребенки, мм;

l2 - длина петли для другой гребенки, мм;

Т1 - линейная плотность прошивной нити для первой гребенки, текс;

Т2 - линейная плотность прошивной нити для второй гребенки, текс.

Для полотен с рисунчатыми видами переплетений с применением нитей разной линейной плотности:

                                     (14)

где Kр - коэффициент, зависящий от раппорта рисунка, равный

                                                                              (15)

где Nн - число нитей в заправке раппорта;

Nи - число игл в раппорте.

Пример. При заправке раппортом 3010 (заправка нитей в гребенках - три ушковины заправлены, одна пропущена, одна заправлена, одна пропущена) всего шесть ушковин:

Кр = 4/6 = 0,67.

При заправке раппортом 5010:

Кр = 6/8 = 0,75

и т.д.

Таким же образом вычисляют массу, г, прошивной нити на единицу площади в зависимости от переплетения с разной проборкой и заправкой нити, линейной плотности нити и др. в различных сочетаниях.

4.8.3 Массу продольных, поперечных и прошивных нитей в пересчете на 1 м2 нитепрошивного полотна, г/м2, вычисляют отдельно для каждой системы по формулам:

для продольных нитей:

                                                                     (16)

для поперечных нитей:

                                                                     (17)

для прошивных нитей:

                                                                     (18)

где Т0, Ту, Тп - линейная плотность соответственно основных, уточных и прошивных нитей, текс;

П0, Пу, Пп - число соответственно продольных, поперечных и прошивных нитей на 50 мм;

У0, Уу, Уп - уработка продольных, поперечных и прошивных нитей, %.

4.8.4 Массовую долю прошивной нити Мн в вязально-прошивном полотне, %, вычисляют по формуле

                                                                       (19)

где  - поверхностная плотность полотна, г/м2;

 - масса прошивной нити на 1 м2 полотна, г.

4.9 Определение содержания связующих на основе сшивающихся каучуковых и акриловых полимерных дисперсий в клееном полотне

4.9.1 Средства измерения и вспомогательные устройства

Шкаф электрический сушильный, обеспечивающий поддержание температуры до 200°С.

Эксикатор - по ГОСТ 25336.

Весы аналитические с допускаемой погрешностью взвешивания не более ±0,001 г.

Фильтр Шотта.

Стакан стеклянный вместимостью 200 см3 по ГОСТ 23932.

Спирт этиловый ректификационный технический по ГОСТ 18300.

Кислота серная концентрированная по ГОСТ 4204.

Вода дистиллированная по ГОСТ 6709.

Натрий углекислый кислый (бикарбонат натрия) по ГОСТ 4201.

Палочки стеклянные.

4.9.2 Подготовка к проведению испытания

4.9.2.1 От точечной пробы вырезают три элементарные пробы массой не менее 1-2 г в зависимости от структуры и поверхностной плотности клееного полотна. Пробы нумеруют и выдерживают в нормальных климатических условиях по ГОСТ 10681.

4.9.2.2 Фильтр Шотта марки 100 помещают в сушильный шкаф, высушивают при температуре 150°С, помещают в эксикатор для охлаждения и взвешивают до постоянной массы.

4.9.3 Проведение испытания

4.9.3.1 Подготовленные навески пробы взвешивают на аналитических весах с точностью до 0,001 г и определяют массу каждой навески пробы.

4.9.3.2 Взвешенную навеску пробы помещают в стакан, заливают (200 ±2) см2 96 %-ной концентрированной серной кислотой, слегка помешивая через каждые 3 мин, выдерживают в течение 15 мин. Полученный раствор отфильтровывают через фильтр Шотта, промывают последовательно два раза в (100 ±1) см3 96 %-ной концентрированной серной кислотой, в 1 дм3 дистиллированной воды, в 1 дм3 1,5 %-ного раствора бикарбоната натрия, затем еще раз в 1 дм3 дистиллированной воды.

4.9.3.3 Закрывают выходное отверстие воронки фильтра Шотта пробкой, оставшийся осадок на фильтре заливают этиловым спиртом, выдерживают в течение 30 мин, затем отфильтровывают и промывают в 1 дм3 дистиллированной воды.

4.9.3.4 Помещают фильтр Шотта с осадком в эксикатор, выдерживают в нормальных климатических условиях по ГОСТ 10681 и взвешивают.

4.9.4 Обработка результатов испытания

4.9.4.1 Массовую долю связующих Мс, %, в полотне вычисляют по формуле

                                                            (20)

где mн - масса навески пробы, г;

mос - масса фильтра Шотта с осадком, г;

mш - масса фильтра Шотта, г.

4.9.4.2 За результат испытания принимают среднеарифметическое значение всех измерений содержания связующих в клееном полотне.

Вычисления проводят с точностью до второго десятичного знака, округляют до первого десятичного знака.

4.10 Определение толщины

4.10.1 Определение толщины по ГОСТ 12023.

При экспортно-импортных поставках рекомендуется, по согласованию заинтересованных сторон, толщину полотен определять в соответствии с приложением А.

4.11 Определение объемной плотности

4.11.1 Для вычисления объемной плотности полотна предварительно определяют длину, ширину и массу точечных проб по ГОСТ 3811, толщину точечных проб по ГОСТ 12023.

4.11.2 Объемную плотность полотна δ, г/см3, вычисляют по формуле

                                                                          (21)

где m - масса точечной пробы, г

l - длина точечной пробы, мм;

b - ширина точечной пробы, мм;

t - толщина точечной пробы, мм.

Если известна поверхностная плотность полотна , г/м, то

                                                                            (22)

4.11.3 Объемную плотность полотна вычисляют с точностью до третьего десятичного знака и округляют до второго десятичного знака.

4.12 Определение пористости полотна

4.12.1 Пористость полотна определяют по вычисленной объемной плотности (δ) и известной удельной плотности (γ) волокон и (или) нитей, содержащихся в полотне.

4.12.2 Пористость полотна П %, вычисляют по формуле

                                                                     (23)

В случае многокомпонентных структур удельную плотность γs, г/см3, полотна вычисляют по формуле

                                       (24)

где γ1, γ2, γn - удельная плотность каждого компонента волокон или нитей, г/см3;

S1, S2, Sn - массовая доля каждого компонента волокон или нитей, %.

4.12.3 Пористость полотна вычисляют с точностью до третьего десятичного знака и округляют до второго десятичного знака.

4.13 Определение неровноты по массе

4.13.1 Средства испытания и вспомогательные устройства

Средства испытания и вспомогательные устройства по 4.7.1, шаблоны и карандаш.

4.13.2 Подготовка к проведению испытания

4.13.2.1 От каждой точечной пробы вырезают 20 элементарных проб, размеры которых определяются структурой полотна:

для клееных, термоскрепленных и т.п. полотен размеры проб 50×50 мм;

для холстопрошивных, иглопробивных полотен размеры проб 100×100 мм.

4.13.2.2 В зависимости от определяемых характеристик неровноты используют схемы раскроя проб в соответствии с рисунками 1 а, 1 б:

Рисунок 1 - Схемы раскроя проб в зависимости от определяемых характеристик неровноты

4.13.2.3 Для определения неровноты по длине и ширине полотна следует использовать схему раскроя проб в соответствии с рисунком 1 а, при которой положение каждой элементарной пробы фиксируется номером i (по ширине) и строкой j (по длине), для определения неровноты по площади следует использовать схему раскроя проб в шахматном порядке в соответствии с рисунком 1 б.

4.13.3 Проведение испытания

4.13.3.1 Элементарные пробы взвешивают на весах с точностью до 0,01 г.

4.13.4 Обработка результатов

4.13.4.1 Неровноту по массе характеризуют коэффициентом вариации Кm, %, по длине, ширине и площади, вычисляемым по формуле

                                                                       (25)

где S - среднеквадратичное отклонение, г, определяемое по формуле

                                                                 (26)

где xi - масса i-й пробы, г;

 - отклонение каждого i-го результата взвешивания от среднеарифметического значения, г;

n - общее число проб;

 - среднеарифметическое значение результатов взвешивания проб, г, вычисляемое по формуле

                                                                 (27)

По результатам измерения массы проб возможно, при необходимости, оценить поперечную неоднородность полотна, критерием которой является коэффициент вариации по ширине (рисунок 1 а).

Для определения значения критерия поперечной неоднородности ξ, %, по коэффициенту вариации массы проб по ширине используют выражение:

                                                                        (28)

где  - среднеквадратическое отклонение коэффициентов вариации массы по ширине, %;

 - коэффициент вариации массы по ширине, %.

4.13.4.2 Неровноту по массе вычисляют с точностью до второго десятичного знака и округляют до первого десятичного знака.

4.14 Определение неровноты по воздухопроницаемости

4.14.1 Средства измерения и вспомогательные средства

Прибор для определения воздухопроницаемости - по ГОСТ 12088.

4.14.2 Подготовка и проведение испытания

4.14.2.1 На всей точечной пробе наносят метки согласно рисункам 1 а, 1 б.

4.14.2.2 По меткам на всей точечной пробе определяют значение воздухопроницаемости по ГОСТ 12088.

4.14.3 Обработка результатов

4.14.3.1 Неровноту по воздухопроницаемости характеризуют коэффициентом вариации Кв, % по длине, ширине и площади, вычисляемым по 4.13.4.

Приложение А
(справочное)

Текстильные материалы.
Методы испытаний нетканых материалов.
Определение толщины
ИСО 9073-2:1995

Международный стандарт ИСО 9073-2:1995 подготовлен Техническим комитетом ИСО/ТК 38 «Текстиль» взамен ИСО 9073-2-89

Предисловие

Нетканые полотна относят к текстильной промышленности, технологически они имеют общее не только с текстильными материалами, но также с бумагой и пластиками. Имеется международный стандарт по определению толщины текстильных материалов ИСО 5084-77 «Текстильные материалы. Определение толщины текстильных полотен и изделий (исключая текстильные покрытия для пола, нетканые полотна и геотекстиль)». Будет опубликован пересмотренный стандарт. Для удовлетворения специфических требований к нетканым полотнам в этой части стандарта ИСО 9073-2 перечислены требования, альтернативные требованиям стандарта ИСО 5084. А именно:

а) другая процедура отбора проб;

б) специфические значения давления, при котором испытывают плоские и объемные нетканые полотна;

в) специфическое значение площади и размера нажимной пластины;

г) более короткое время для снятия показания датчика.

А.1 Область применения

Настоящий международный стандарт распространяется на плоские и объемные нетканые полотна и устанавливает метод определения толщины при заданном давлении.

А.2 Нормативные ссылки

ИСО 139-73* Текстильные материалы. Стандартные атмосферные условия для кондиционирования испытаний

ИСО 186-94* Бумага и картон. Отбор проб для определения среднего качества

* Переводы международных стандартов находятся во ВНИИКИ.

А.3 Определения

А.3.1 объемное нетканое полотно: Нетканое полотно, сжимаемое на 20 % и более, когда приложенное давление изменяется от 0,1 до 0,5 кПа.

А.3.2 толщина: Расстояние между лицевой и изнаночной сторонами полотна, измеренное как расстояние между опорной базисной пластиной, на которой лежит полотно, и параллельной нажимной пластиной, которая оказывает давление на нетканое полотно.

А.4 Принцип

Измерение толщины нетканого полотна, как расстояние между опорной пластиной, на которой лежит нетканое полотно, и параллельной нажимной пластиной, которая оказывает заданное давление на испытуемую площадь.

А.5 Аппаратура

А.5.1 Для испытания плоских нетканых полотен

А.5.1.1 Две круглые горизонтальные пластины, закрепленные на стенде, включающие верхнюю или нажимную пластину, которая может перемещаться вертикально и имеет площадь примерно 2500 мм2, и опорную пластину, имеющую плоскую поверхность диаметром не менее чем на 50 мм больше, чем нажимная пластина.

А.5.1.2 Измерительное устройство со шкалой ценой деления 0,01 мм для измерения расстояний между опорной и нажимной пластинами (А.5.1.1).

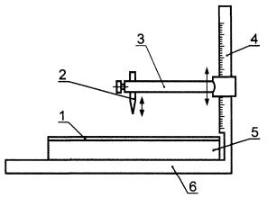
А.5.2 Для объемных нетканых полотен максимальной толщиной 20 мм

Примечание - Испытательное устройство приведено на рисунке А.1.

А.5.2.1 Вертикальная опорная пластина площадью 1000 мм2, нажимная пластина площадью 2500 мм2 и оборудование для подвешивания испытуемой пробы вертикально между ними.

А.5.2.2 Коленчатый рычаг с плечами одинаковой длины, присоединенный к опорной пластине, который можно уравновешивать с помощью противовеса.

Геометрия рычага такова, что балансирный груз вызывает измерительное давление 0,02 кПа.

А.5.2.3 Электрические контакты, которые в замкнутом положении вызывают включение электрической лампочки.

А.5.2.4 Балансирный груз массой (2,05 ±0,05) г, который при нахождении на своем месте вызывает размыкание контактов (А.5.2.3) и выключение лампочки.

A.5.2.5 Винт, вращение которого вызывает смещение нажимной пластины влево и прижатие испытуемой пробы к опорной пластине с возрастающим давлением до тех пор, пока не превысит силу давления балансирного груза и лампочка загорится.

А.5.2.6 Измерительное устройство с круглой шкалой для измерения расстояния в миллиметрах между опорной и нажимной пластинами, соответствующего толщине испытуемой пробы при приложенном давлении.

А.5.3 Для объемных нетканых полотен толщиной более 20 мм

Примечание - Испытательное устройство приведено на рисунке А.2.

А.5.3.1 Горизонтальная квадратная опорная плита размером 300×300 мм с гладкой поверхностью. В середине одной ее стороны установлена вертикальная линейка М, градуированная в миллиметрах, на которой помещен горизонтальный измерительный стержень В, перемещаемый в вертикальном направлении. Стержень имеет регулируемый вертикальный щуп Т на расстоянии 100 мм от вертикальной линейки.

Примечание - Вертикальный щуп Т во время использования должен находиться над центром измерительной пластины Р (см. А.9.3.2), чтобы исключить контакт с линейкой.

А.5.3.2 Квадратная измерительная пластина размерами (200 ±0,2) мм×(200 ±0,2) мм и массой (82 ±2) г, изготовленная из стекла толщиной 0,7 мм, масса которой может быть доведена до требуемой путем добавления грузиков, чтобы оказывать измерительное давление 0,02 кПа.

Примечание - Если необходимы дополнительные грузики, они должны быть размещены симметрично, чтобы оказывать равномерное давление на всю площадь пластины.

А.5.4 Секундомер.

А.6 Отбор проб

Отбор проб в соответствии со стандартом ИСО 186, при этом необходимо убедиться, чтобы отобранные пробы не имели видимых пороков внешнего вида и не были смяты.

Примечание - Данный метод отбора проб учитывает анизотропию (различие в свойствах в различных направлениях, в основном в продольном и поперечном направлениях) в готовых образцах. В некоторых случаях желательно определить систематические вариации свойств (включая анизотропию), например по ширине или по длине рулона полотна. Во всех случаях специальные положения должны быть согласованы между изготовителем и покупателем.

А.7 Подготовка и кондиционирование проб

А.7.1 Если метод испытания [А, В или С (п. А.9)] не был определен, предварительно вырезают 10 проб, каждая площадью более 2500 мм2 и после кондиционирования выполняют процедуру, описанную в разделе А.8.

А.7.2 Для плоских нетканых полотен следует вырезать 10 проб, каждая площадью 2500 мм2.

А.7.3 Для объемных нетканых полотен максимальной толщиной 20 мм следует вырезать 10 проб площадью (130 ±5) мм×(80 ±0,2) мм.

А.7.4 Для объемных нетканых полотен максимальной толщиной более 20 мм следует вырезать 10 проб площадью (200 ±0,2) мм×(200 ±0,2) мм.

А.7.5 Кондиционируют пробы согласно стандарту ИСО 139.

А.8 Предварительная процедура

А.8.1 Проводят испытания в стандартных атмосферных условиях согласно ИСО 139.

А.8.2 Используя устройство, описанное в А.5.1, регулируют нагрузку на нажимную пластину, чтобы обеспечить равномерное давление в 0,1 кПа и устанавливают измерительное устройство на нуль.

А.8.3 Поднимают нажимную пластину и помещают предварительно приготовленную пробу по А.7.1 аккуратно, без натяжения на опорную пластину. Следует убедиться, что испытуемая проба расположена по центру нажимной пластины. Нажимную пластину аккуратно опускают до контакта с испытуемой пробой.

А.8.4 Оставляют в контакте на 10 с, настраивают измерительное устройство для измерения толщины пробы и снимают его показания в мм.

А.8.5 Повторяют процедуру с девятью другими пробами.

А.8.6 Регулируют нагрузку на нажимную пластину для обеспечения равномерного давления 0,5 кПа и устанавливают измерительное устройство на нуль. Повторяют измерения с теми же 10 пробами.

А.8.7 Вычисляют разницу между результатами измерений под давлениями 0,1 кПа и 0,5 кПа для каждой предварительно подготовленной пробы и определяют среднюю толщину нетканых полотен.

Примечание - Рекомендуется использовать эталонные образцы известной толщины для периодической поверки испытательного устройства.

А.8.8 Испытывают нетканые полотна, которые были сжаты на менее 20 % их толщины в данной предварительной процедуре согласно А.9.1 (метод А), а другие - в соответствии с А.9.2 (метод В) или А.9.3 (метод С) в зависимости от того, имеют ли они толщину меньше или больше 20 мм.

Примечание - При необходимости сравнения разных образцов, близких по толщине к предельным значениям для каждого метода, сравнение должно проводиться, используя один и тот же метод.

А.9 Проведение испытаний

А.9.1 Метод А для плоских нетканых полотен

А.9.1.1 Испытания проводят в стандартных атмосферных условиях согласно ИСО 139.

А.9.1.2 Используя устройство, описанное в А.5.1, регулируют нагрузку на нажимную пластину для обеспечения равномерного давления 0,5 кПа и устанавливают измерительное устройство на нуль.

А.9.1.3 Поднимают нажимную пластину и помещают пробу (А.7.2) без натяжения на опорную пластину по центру относительно нажимной пластины.

А.9.1.4 Аккуратно опускают нажимную пластину до контакта с испытуемой пробой и оставляют в контакте на 10 с.

А.9.1.5 Включают измерительное устройство и снимают показания в миллиметрах.

А.9.1.6 Повторяют процедуру с девятью другими пробами.

А.9.2 Метод В применяют для объемных нетканых полотен с максимальной толщиной 20 мм.

А.9.2.1 Испытания проводят в стандартных атмосферных условиях согласно ИСО 139.

А.9.2.2 Используя устройство, описанное в А.5.2, проверяют, что чувствительность и нулевое положение отрегулированы правильно, балансирный груз массой (2,05 ±0,05) г находится на своем месте.

А.9.2.3 Отодвигают нажимную пластину вправо, подвешивают испытуемую пробу между опорной и нажимной пластинами и закрепляют ее в держателе.

А.9.2.4 Медленно передвигают нажимную пластину влево с помощью винта до тех пор, пока не загорится лампочка.

А.9.2.5 Через 10 с снимают показания толщины на измерительном устройстве с круглой шкалой с точностью до десятичного знака.

Примечание - Если дальнейшее сжатие испытуемой пробы в течение 10 с вызовет размыкание контактов, то нажимную пластину необходимо отрегулировать так, чтобы лампочка зажглась снова, прежде чем снять показание толщины.

А.9.2.6 Повторяют процедуру с другими девятью пробами.

А.9.3 Метод С используют для объемных нетканых полотен толщиной свыше 20 мм.

А.9.3.1 Испытания проводят в стандартных атмосферных условиях согласно ИСО 139.

А.9.3.2 Используя устройство, описанное в А.5.3, помещают измерительную пластину на опорную пластину и, если необходимо, регулируют высоту щупа так, чтобы показание на линейке было «ноль», когда щуп только коснется измерительной пластины в ее центре.

А.9.3.3 Помещают испытуемую пробу (А.7.4) по центру под щупом и помещают измерительную пластину прямо поверх испытуемой пробы, не прилагая излишнего давления.

А.9.3.4 Через 10 с измерительный стержень двигают вниз до тех пор, пока щуп не коснется измерительной пластины, и снимают показание толщины на линейке с точностью до десятичного знака.

А.9.3.5 Повторяют процедуру с другими девятью пробами.

А.10 Представление результатов

Используют 10 полученных результатов для вычисления средней толщины нетканых полотен в миллиметрах и, если требуется, коэффициента вариации.

А.11 Протокол испытаний

Протокол испытаний должен включать следующую информацию:

а) номер и год публикации данной части ИСО 9073-2:1995;

б) все подробности, необходимые для идентификации полотна;

в) среднюю толщину нетканых полотен в миллиметрах, и, если требуется, коэффициент вариации;

г) использованный метод испытаний;

д) использованные кондиционные атмосферные условия;

е) любые необычные факты, отмеченные во время испытаний, или отклонения от стандартной процедуры испытаний;

ж) характеристики использованных эталонных образцов.

1 - лампочка; 2 - контакты; 3 - проба; 4 - нажимная пластина; 5 - измерительное устройство с крупной шкалой; 6 - винт; 7 - опорная пластина; 8 - балансирный груз; 9 - коленчатый рычаг; 10 - балансирный противовес

Рисунок А.1 - Испытательное устройство для объемных нетканых полотен максимальной толщиной 20 мм

1 - измерительная пластина; 2 - вертикальный щуп; 3 - измерительный стержень; 4 - вертикальная линейка; 5 - проба; 6 - опорная плита

Рисунок А.2 - Испытательное устройство для объемных нетканых полотен толщиной более 20 мм

Ключевые слова: нетканые полотна, структурные характеристики, определение

 




Яндекс цитирования