//
|
|
ГОСТ 52170-2003
БЕЗОПАСНОСТЬ АТТРАКЦИОНОВ МЕХАНИЗИРОВАННЫХ Основные положения по проектированию стальных конструкций Mechanized attractions safety. Principal rules of the design of steel constructions Дата введения 2005-01-01 СОДЕРЖАНИЕ Предисловие1. РАЗРАБОТАН Российской ассоциацией парков и производителей аттракционов, включающей рабочую группу специалистов конструкторского бюро «Мир» и ЦНИИСК им. Кучеренко ВНЕСЕН Техническим комитетом по стандартизации ТК 427 «Аттракционы и другие устройства для развлечений» 2. УТВЕРЖДЕН И ВВЕДЕН В ДЕЙСТВИЕ Постановлением Госстандарта России от 26 декабря 2003 г. № 395-ст 3. Настоящий стандарт гармонизирован с европейским стандартом pr EN 13814 «Fairground and amusement park machinery and structures - Safety» («Механизмы и конструкции передвижных и стационарных парков. Безопасность»), а также разработан с учетом основных нормативных положений немецкого стандарта DIN 15018-1:1984 «Cranes. Steel structures. Verification and analyses» («Краны. Стальные конструкции. Расчеты и проверка») и ENV 1991-2-4:1994 «Eurocode 1: Basis of design and actions on structures. Part 2 - 4: Wind actions» («Основные положения проектирования и ветровые воздействия на сооружения») (см. приложение А) 4. ВВЕДЕН ВПЕРВЫЕ ВведениеНастоящий стандарт разработан с целью нормативного обеспечения безопасности посетителей и обслуживающего персонала аттракционов и других устройств для развлечений на стадии проектирования стальных конструкций аттракционов. Настоящий стандарт является стандартом типа С по ГОСТ ЕН 1070. 1. Область примененияНастоящий стандарт устанавливает правила проектирования стальных конструкций механизированных аттракционов, обеспечивающие снижение до необходимого уровня риска основных значительных механических опасностей: пластического и усталостного разрушений, потери устойчивости формы и положения, достижения предельных прогибов и перемещений. Стандарт распространяется на стальные конструкции каруселей, колес обозрения, катальных гор, вращающихся платформ и др. (далее - конструкции), используемых для постоянного и временного, в том числе повторного, применения, эксплуатируемых при температуре наружного воздуха не более плюс 50°С и не менее минус 20°С. Настоящий стандарт не распространяется на конструкции аттракционов, которые изготовлены до введения его в действие. 2. Нормативные ссылкиВ настоящем стандарте использованы ссылки на следующие стандарты: ГОСТ 27.002-89 Надежность в технике. Основные понятия. Термины и определения ГОСТ 380-94 Сталь углеродистая обыкновенного качества. Марки ГОСТ 535-88 Прокат сортовой и фасонный из стали углеродистой обыкновенного качества. Общие технические условия ГОСТ 1050-88 Прокат сортовой, калиброванный, со специальной отделкой поверхности из углеродистой качественной конструкционной стали. Общие технические условия ГОСТ ЕН 1070-2003 Безопасность оборудования. Термины и определения ГОСТ 1759.0-87 Болты, винты, шпильки и гайки. Технические условия ГОСТ 1759.1-82 Болты, винты, шпильки, гайки и шурупы. Допуски. Методы контроля размеров и отклонений формы и расположения поверхностей ГОСТ 1759.4-87 (ИСО 898-1-78) Болты, винты и шпильки. Механические свойства и методы испытаний ГОСТ 1759.5-87 (ИСО 898-2-80) Гайки. Механические свойства и методы испытаний ГОСТ 2246-70 Проволока стальная сварочная. Технические условия ГОСТ 3241-91 (ИСО 3108 - 74) Канаты стальные. Технические условия ГОСТ 4543-71 Прокат из легированной конструкционной стали. Технические условия ГОСТ 5264-80 Ручная дуговая сварка. Соединения сварные. Основные типы, конструктивные элементы и размеры ГОСТ 8050-85 Двуокись углерода газообразная и жидкая. Технические условия ГОСТ 8713-79 Сварка под флюсом. Соединения сварные. Основные типы, конструктивные элементы и размеры ГОСТ 8731-74 Трубы стальные бесшовные горячедеформированные. Технические требования ГОСТ 9087-81 Флюсы сварочные плавленые. Технические условия ГОСТ 9467-75 Электроды покрытые металлические для ручной дуговой сварки конструкционных и теплоустойчивых сталей. Типы ГОСТ 10157-79 Аргон газообразный и жидкий. Технические условия ГОСТ 10705-80 Трубы стальные электросварные. Технические условия ГОСТ 11533-75 Автоматическая и полуавтоматическая дуговая сварка под флюсом. Соединения сварные под острыми и тупыми углами. Основные типы, конструктивные элементы и размеры ГОСТ 11534-75 Ручная дуговая сварка. Соединения сварные под острыми и тупыми углами. Основные типы, конструктивные элементы и размеры ГОСТ ИСО/ТО 12100-2-2002 Безопасность оборудования. Основные понятия, общие принципы конструирования. Часть 2. Технические правила и технические требования ГОСТ 14637-89 (ИСО 4995-78) Прокат толстолистовой из углеродистой стали обыкновенного качества. Технические условия ГОСТ 14771-76 Дуговая сварка в защитном газе. Соединения сварные. Основные типы, конструктивные элементы и размеры ГОСТ 14776-79 Дуговая сварка. Соединения сварные точечные. Основные типы, конструктивные элементы и размеры ГОСТ 18123-82 Шайбы. Общие технические условия ГОСТ 19281-89 Прокат из стали повышенной прочности. Общие технические условия ГОСТ 22356-77 Болты и гайки высокопрочные и шайбы. Общие технические условия ГОСТ 22727-88 Прокат листовой. Методы ультразвукового контроля ГОСТ 23118-99 Конструкции стальные строительные. Общие технические условия ГОСТ 23518-79 Дуговая сварка в защитных газах. Соединения сварные под острыми и тупыми углами. Основные типы, конструктивные элементы и размеры ГОСТ 25100-95 Грунты. Классификация ГОСТ 27751-88 Надежность строительных конструкций и оснований. Основные положения по расчету ГОСТ 28870-90 Сталь. Методы испытания на растяжение толстолистового проката в направлении толщины ГОСТ 30188-97 Цепи грузоподъемные калиброванные высокопрочные. Технические условия ГОСТ 30441-97 (ИСО 3076 - 84) Цепи короткозвенные грузоподъемные некалиброванные класса прочности Т(8). Технические условия СНиП 2.01.07-85* Нагрузки и воздействия СНиП 2.02.01-83* Основания зданий и сооружений СНиП II-7-81* Строительство в сейсмических районах СНиП II-23-81* Стальные конструкции 3. ОпределенияВ настоящем стандарте применены термины по ГОСТ ЕН 1070. 4. Общие положения4.1. Общие требования безопасности к оборудованию (конструкциям) - по ГОСТ ИСО/ТО 12100-2. 4.2. Конструкции должны обеспечивать безопасную сборку, монтаж, наладку, эксплуатацию и демонтаж аттракционов (то есть без разрушения или появления недопустимых деформаций), сохранять свои технические характеристики при многократном монтаже и демонтаже (при их необходимости), обладать достаточной живучестью. Спроектированные конструкции должны быть технологичными в отношении сборки и демонтажа, при необходимости должны быть пригодными для регулирования геометрических размеров, которые обеспечивают безопасность эксплуатации аттракционов. Конструкции должны проектироваться таким образом, чтобы в них не возникали остаточные деформации при безаварийной эксплуатации аттракционов. 4.3. К значительным механическим опасностям, рассматриваемым в настоящем стандарте, относятся следующие основные предельные состояния, опасность достижения которых предупреждается путем расчета по методу предельных состояний: пластические разрушения, усталостные разрушения, потеря устойчивости формы, потеря устойчивости положения (первая группа предельных состояний), достижение предельных прогибов и перемещений (вторая группа предельных состояний). Общие принципы обеспечения надежности строительных конструкций при расчете по методу предельных состояний - по ГОСТ 27751. 4.4. При расчете конструкций необходимо различать следующие виды внешних нагрузок: статическая (или квазистатическая) - возникает от массы конструкций, стационарного оборудования, людей на площадках, лестницах, проходах, а также веса движущихся частей аттракционов с людьми при скорости их движения до 3 м/с; переменная (в том числе знакопеременная) - возникает от массы движущихся частей аттракциона; динамическая - возникает от виброактивного оборудования, неуравновешенных движущихся частей механизмов (в том числе возможного дебаланса вращающихся частей) при работе подъемников; ударная (в том числе аварийная) - возникает при резкой остановке движущихся частей аттракциона, а также при прохождении колес транспортных средств через стыки и неровности пути. 4.5. Основная цель расчета - не допустить с определенной обеспеченностью наступления предельных состояний первой группы (см. 4.3) или перехода за предельные состояния второй группы в течение всего срока эксплуатации аттракционов, а также в процессе их монтажа и демонтажа. 4.6. Расчетные модели конструкций (в том числе расчетные схемы, основные исходные данные для расчета) должны отражать реалистичные условия работы аттракционов. При этом необходимо учитывать напряженное и деформированное состояния, пространственную работу конструкций, при необходимости - геометрическую нелинейность, возможные отклонения геометрических размеров от их номинальных значений и особенности взаимодействия элементов конструкций между собой, с основанием и с движущимися частями аттракциона. 4.7. Конструктивные схемы должны обеспечивать прочность, устойчивость, жесткость и пространственную неизменяемость конструкций в целом, а также их отдельных элементов при монтаже, демонтаже и эксплуатации. При проектировании конструкций следует предусматривать меры для исключения резонанса элементов конструкций. 4.8. Конструкции должны быть защищены от коррозии. Все конструкции должны быть доступны для наблюдения, очистки и окраски, а также не должны задерживать влагу. Замкнутые профили конструкции, как правило, должны быть герметизированы. 4.9. Материалы для конструкций и соединений следует выбирать в зависимости от условий эксплуатации, технологии изготовления, условий монтажа и демонтажа аттракциона. 4.10. Конструкции должны изготавливаться в соответствии с требованиями ГОСТ 23118. Элементы конструкций и детали соединений, критические в отношении безопасности, должны быть доступны для проведения визуального и инструментального контроля в период эксплуатации аттракциона. Вид контроля и его периодичность необходимо указывать в конструкторской документации и затем - в эксплуатационной документации. 4.11. Основания и фундаменты опор аттракционов должны рассчитываться по несущей способности и деформативности в соответствии с СНиП 2.02.01. Установка аттракционов на опорные плиты, свободно уложенные на грунт (бесфундаментная установка), допускается только в тех случаях, когда пучения и просадки грунта, вызванные его промерзанием, не приведут к нарушениям в работе аттракционов или отказам элементов конструкций. При бесфундаментной установке аттракционов следует проводить периодический контроль за возможной осадкой опор. 5. Нагрузки и перемещения5.1. Общие положения5.1.1. Порядок учета нагрузок и воздействий в расчетах конструкций аттракционов - по СНиП 2.01.07. 5.1.2. В зависимости от продолжительности действия следует различать постоянные, временные и особые нагрузки. К постоянным нагрузкам относится вес несущих конструкций, транспортных средств, машин, механизмов, иллюминации и оформительских элементов. К временным нагрузкам относятся приложенные извне и воздействующие на элементы конструкции нагрузки, которые могут меняться по величине, направлению и месту приложения во время эксплуатации (гироскопические, динамические, от пассажиров, ветровая, снеговая, температурная и т.п.). Нормативные значения постоянных и временных нагрузок обозначаются символами Gk и Pki соответственно. К особым нагрузкам следует относить сейсмические воздействия, нагрузки от столкновений (если столкновение не является элементом развлечения), нагрузки, вызываемые неисправностью или поломкой оборудования. 5.2. Вес конструкций5.2.1. Вес конструкций, транспортных средств, машин, механизмов, электрооборудования, иллюминации и т.п. следует рассчитывать на основании стандартов, конструкторской документации и паспортных данных заводов-изготовителей. 5.3. Нагрузки от посетителей5.3.1. При проектировании конструкций аттракционов, включая места для размещения пассажиров, необходимо принимать следующие значения нормативных нагрузок: - на каждого посетителя старше 10 лет: 0,75 кН - для всех расчетов на усталость и расчетов на статические нагрузки в аттракционах, предназначенных для двух и более пассажиров, 1,0 кН - для расчетов на статические нагрузки в аттракционах, предназначенных для одного пассажира; - на каждого посетителя возрастом 10 лет и менее: 0,5 кН - для расчетов во всех случаях. При определении расчетной нагрузки от посетителей коэффициент надежности по нагрузке составляет γfР = 1,35. 5.3.2. При проектировании площадок, настилов, лестниц и т.п. на аттракционах и в помещениях значения нормативных нагрузок от посетителей следует принимать в соответствии с таблицей 1. 5.3.3 Для обеспечения требуемой продольной и поперечной жесткости трибун и аналогичных сооружений с посадочными или стоячими местами помимо ветровой нагрузки в расчетах необходимо учитывать горизонтальную нагрузку, действующую на уровне пола в неблагоприятном направлении. Значение такой горизонтальной нагрузки должно составлять 0,1 значения вертикальной нагрузки в соответствии с 5.3.2. 5.4. Нагрузки от движущихся частей5.4.1. Нормативные нагрузки, действующие на конструкции при перемещении движущихся частей аттракционов, зависят от вида используемого привода (двигатель постоянного тока, трехфазный двигатель переменного тока, гидравлический привод и т.п.). В общем виде пусковые и тормозящие силы рассчитывают по фактическим характеристикам ускорения и торможения привода по формуле:
где В - сила пуска/торможения; аb - ускорение пуска/торможения; тV - масса движущихся частей; тP - масса пассажиров. В случае кругового движения в формулу (1) вводят соответствующие параметры. Необходимо также учитывать ударный коэффициент φ1 по 5.9.1. Если скорость движения не превышает 3 м/с, для определения силы В допускается значение аb = 0,7 м/с2, если не требуется более точная оценка. Значения нормативных нагрузок от посетителей на площадки, настилы, лестницы и др. элементы зрелищных и развлекательных объектов
5.4.2. Нагрузки от ударов движущихся частей следует рассматривать как временные, если они возникают от столкновений, которые являются элементом развлечения (например, сталкивающиеся автомобили). Нормативное значение эквивалентной статической нагрузки F, Н, передающейся на конструкцию при ударе движущихся частей аттракциона об упоры, допускается определять по формуле:
где v - разность скоростей между движущейся частью аттракциона и упорным устройством в момент удара, м/с; mv - масса движущейся части аттракциона, кг; j - податливость вдоль направления удара упорных устройств, передающих удар от движущейся части аттракциона на конструкцию, м/Н. 5.5. Ветровые нагрузки5.5.1. Ветровые нагрузки Pkw, действующие на аттракционы, рассчитывают по формуле:
где wm - средняя составляющая ветровой нагрузки; wg - пульсационная составляющая ветровой нагрузки. При проектировании сплошностенчатых высоких и протяженных аттракционов, размеры которых удовлетворяют условию:
где l - длина или высота сооружения; d - характерный размер поперечного сечения, необходимо, кроме того, проводить их поверочный расчет на резонансное вихревое возбуждение и учитывать возможность появления в них аэродинамически неустойчивых колебаний типа галопирования. 5.5.2. Среднюю составляющую ветровой нагрузки wm рассчитывают по формуле:
где w0P - расчетное давление ветра, кПа; kz (z) - коэффициент, учитывающий изменение среднего давления ветра по высоте (где z - высота над поверхностью земли, м); с - аэродинамический коэффициент давления, лобового сопротивления или силы трения. 5.5.3. Расчетное давление ветра w0.P рассчитывают по формуле:
где w0 - нормативное давление ветра (см. СНиП 2.01.07); γfw - коэффициент надежности по ветровой нагрузке; γfw = 1,4. Примечание - Расчетное давление ветра w0.P в формуле (6) соответствует 50-летнему периоду повторяемости скорости ветра. Кроме того, значение давления w0.Р допускается устанавливать на основе статистических обработок данных о скоростях ветра, зарегистрированных на местных метеостанциях. В этом случае:
где Vo - скорость ветра на высоте 10 м над местностью типа А, м/с (см. 5.5.5), определенная с 10-минутным осреднением и с 5-летним периодом повторяемости. 5.5.4. Коэффициент kz(z), учитывающий изменение среднего давления ветра по высоте z, рассчитывают по формуле:
где z - высота над поверхностью земли, м; kτ(10), αt - параметры, значения которых приведены в таблице 2. Таблица 2 Значения параметров kτ (10) и αt, используемых в формуле (8)
5.5.5. Типы местности классифицируют следующим образом: А - открытые побережья морей, озер, водохранилищ; пустыни, степи, лесостепи, тундра; В - городские территории, лесные массивы и другие местности, равномерно покрытые препятствиями высотой более 10 м; С - городские районы с застройкой зданиями высотой более 25 м. Сооружение считается расположенным в местности данного типа, если эта местность сохраняется с наветренной стороны аттракциона высотой h < 60 м на расстоянии, равном 30 h, и аттракциона высотой h≥ 60 м - на расстоянии, равном 2 км. 5.5.6. При назначении аэродинамических коэффициентов необходимо использовать данные, приведенные в приложении Б. В случаях, не предусмотренных приложением Б, допускается использовать значения аэродинамических коэффициентов, приведенных в СНиП 2.01.07, а также в справочной литературе. 5.5.7. Определение пульсационной составляющей ветровой нагрузки 5.5.7.1. Действие пульсаций ветровой нагрузки на башни высотой h ≤ 50 м и на колеса обозрения, удовлетворяющие условиям:
где w0.P - расчетное давление ветра, кПа, f1 - частота колебаний по низшей изгибной собственной форме колебаний, Гц, (см. приложение Б, рисунок Б.7), D - диаметр колеса, м, допускается приводить к эквивалентной статической нагрузке в соответствии с указаниями приложения Б. 5.5.7.2. Усилия и перемещения от действия пульсаций ветровой нагрузки, возникающих в аттракционах, не удовлетворяющих условиям, перечисленным в 5.5.7.1, а также требованиям СНиП 2.01.07 (пункт 6.7), определяются в результате их полного динамического расчета в соответствии с [1] в зависимости от типа, геометрических размеров и формы аттракционов, а также от их динамических характеристик (собственных частот и форм). 5.5.8. Конструкции должны быть рассчитаны на эксплуатацию аттракционов при скорости ветра не более 15 м/с. Ветровые нагрузки при указанной скорости ветра в расчетах на усталость не учитывают. 5.6. Снеговые нагрузки5.6.1. Снеговые нагрузки должны учитываться в соответствии с требованиями СНиП 2.01.07. Снеговые нагрузки не учитывают в следующих случаях: - для аттракционов, эксплуатируемых в сезоны, когда выпадение снега маловероятно; - для аттракционов, у которых конструкция, условия работы или мероприятия по обслуживанию предотвращают оседание снега. Примечание - В качестве мероприятий по предотвращению оседания снега могут быть: использование оборудования для обогрева; выполнение обшивки и натягивание ее таким образом, чтобы исключалась возможность накопления воды. Предусмотренные в аттракционе средства для устранения или ограничения снеговых нагрузок должны быть отражены в эксплуатационной документации на аттракцион. 5.7. Нагрузки от сил инерции5.7.1. Нагрузки от сил инерции (центробежных, гироскопических, кориолисовых) должны указываться в случае их наличия. Примеры определения таких нагрузок и расчетов некоторых видов аттракционов приведены в приложении В. 5.8. Особые нагрузки5.8.1. Особые нагрузки от столкновений должны учитываться только при расчете элементов конструкций и их креплений, подвергающихся непосредственному воздействию столкновений. Нагрузку от столкновения следует прикладывать в самой неблагоприятной точке элемента конструкции, а в расчете необходимо учитывать массу полностью загруженного транспортного средства mq в килограммах. Если столкновение может произойти только под углом α ≤ 90°, то силу столкновения F в ньютонах рассчитывают по формуле F = g • mq • sin α (где g - ускорение свободного падения). При этом значение F, принимаемое в расчет, должно быть не менее 0,3g·mq. 5.8.2. Особые нагрузки от сейсмических воздействий должны учитываться по требованию заказчика. Расчет колес обозрения на сейсмическое воздействие следует проводить с учетом нормативных значений веса конструкции и пассажиров при полной загрузке кабины. Для других видов аттракционов расчет на сейсмические воздействия следует проводить для условий, когда аттракцион не эксплуатируется. Расчеты следует выполнять в соответствии со СНиП II-7. 5.9. Дополнительный учет ударных воздействий и вибрации элементов конструкций, непосредственно воспринимающих подвижные нагрузки5.9.1. В случае, когда в элементах конструкции могут возникнуть ударные нагрузки от движущихся частей (например от движения по рельсовым стыкам или по неровностям, возникающим от абразивного износа), необходимо учитываемые в расчете подвижные нагрузки (постоянные или временные) умножить на ударный коэффициент φ1 = 1,2. Если во время пробных пусков аттракциона установлены значительно более высокие ударные нагрузки, которые невозможно уменьшить до расчетных значений конструктивными мерами, значение коэффициента φ1 увеличивают до необходимого значения и выполняют новый поверочный расчет. Нагрузки, возникающие при пуске и торможении, учитывают в соответствии с 5.4.1. 5.9.2. При расчете элементов конструкций, непосредственно воспринимающих подвижные нагрузки (например, рельсы и хребтовые балки катальных гор) либо подверженных вибрации из-за работы виброактивного оборудования (в том числе подъемников) или движения неуравновешенных частей механизмов, все напряжения в этих элементах, а также в подвижных частях, должны быть умножены на коэффициент динамичности φ2 = 1,2, учитывающий вибрацию рассчитываемых элементов. При наличии достаточных обоснований коэффициент динамичности может быть уменьшен: 1,0 ≤ φ2 < 1,2. Без учета коэффициента динамичности допускается проводить расчет следующих элементов и проверять следующие состояния: опоры и узлы тех элементов, по которым происходит непосредственное движение; давление на основание; деформации; устойчивость против потери формы, а также против опрокидывания и приподнимания. В случае необходимости следует принимать специальные конструктивные меры, уменьшающие вибрацию элементов конструкции и предупреждающие от попадания их в резонанс. 5.10. Расчетные нагрузки и их сочетания5.10.1. Расчетные нагрузки определяют как произведение их нормативного значения на коэффициент надежности по нагрузке yf,, соответствующий рассматриваемому предельному состоянию. 5.10.2. Расчет конструкции следует выполнять с учетом наиболее неблагоприятных сочетаний нагрузок или соответствующих им усилий. Сочетания должны устанавливаться из анализа реальных вариантов одновременного действия нескольких нагрузок для рассматриваемой расчетной ситуации с учетом возможности появления различных схем приложения временных нагрузок или при отсутствии некоторых из нагрузок. 5.10.3. В зависимости от учитываемого состава нагрузок следует различать: а) основные сочетания нагрузок, состоящие из постоянных и временных; б) особые сочетания нагрузок, состоящие из постоянных, временных и одной из особых нагрузок. 5.10.4. Основные сочетания нагрузок должны рассматриваться в соответствии со следующими выражениями:
где γfG - коэффициент надежности по постоянной нагрузке; γfPi - коэффициент надежности по временной нагрузке; Gk - нормативное значение постоянной нагрузки; Рki - нормативное значение временной нагрузки. Расчет конструкций аттракционов следует проводить на основные сочетания нагрузок по выражениям (10) и (11). При этом необходимо использовать значения коэффициентов надежности по нагрузке, указанные в таблице 3. Таблица 3 Значения коэффициентов надежности по нагрузке
5.10.5. Коэффициенты надежности по нагрузкам при расчете на усталость принимают равными γfG = γfPi = 1. 5.10.6. Особые сочетания расчетных нагрузок должны рассматриваться в соответствии с выражением:
где FD - расчетное значение особой нагрузки, Причем при определении особых сочетаний расчетных нагрузок принимают: γfG = γfPi = 1 Сейсмические воздействия не следует рассматривать в сочетании с ветровыми нагрузками. 5.11. Прогибы, выгибы и перемещения5.11.1. Предельные значения прогибов, выгибов и перемещений элементов конструкции приведены в приложении Г. 6. Материалы для конструкций и соединений6.1. При выборе стали для конструкций необходимо учитывать характеристики механических свойств сталей (временное сопротивление, предел текучести, ударную вязкость, пластичность), химический состав, обрабатываемость (свариваемость, деформируемость). В зависимости от условий эксплуатации элементы конструкций разделяют на 3 группы. Стали для элементов конструкций выбирают в соответствии с таблицей Д.1 приложения Д. 6.2. Для сварных соединений конструкций применяют электроды для ручной дуговой сварки по ГОСТ 9467, сварочную проволоку по ГОСТ 2246, флюсы по ГОСТ 9087, углекислый газ по ГОСТ 8050, аргон по ГОСТ 10157 - в соответствии с таблицей Д.2 приложения Д. Применяемые сварочные материалы и технология сварки должны обеспечивать временное сопротивление металла шва не ниже нормативного значения временного сопротивления основного металла, а также значения твердости, ударной вязкости и относительного удлинения металла сварных соединений, установленные соответствующими нормативными документами. 6.3. Для болтовых соединений следует применять стальные болты и гайки по ГОСТ 1759.0, ГОСТ 1759.4 и ГОСТ 1759.5, шайбы - по ГОСТ 18123. 6.4. Для подвесок пассажирских кабин и кресел следует применять стальные грузолюдские канаты марок ВК и В по ГОСТ 3241 и стальные цепи по ГОСТ 30188 и ГОСТ 30441. Для оттяжек и вант следует применять стальные канаты в соответствии со СНиП II-23. Для несущих элементов конструкций аттракционов следует применять канаты диаметром не менее 4 мм. При соответствующем технико-экономическом обосновании допускается использовать канаты и цепи, выпускаемые по другим нормативным документам, если подтверждено, что их механические свойства не хуже установленных вышеуказанными стандартами. Несущая способность канатов и цепей должна быть подтверждена сертификатами, маркировкой изготовителя или испытаниями, проведенными в установленном порядке. 6.5. Характеристики сталей, материалов для сварки, болтов, канатов и цепей, а также в случае необходимости дополнительные требования к ним следует указывать в конструкторской документации. 6.6. Физические характеристики материалов, применяемых для конструкций, - в соответствии со СНиП II-23. 6.7. Расчетные сопротивления проката, гнутых профилей и труб для различных видов напряженных состояний, определяют по формулам: - для растяжения, сжатия и изгиба принимают меньшее из двух значений:
для сдвига
- для смятия торцевой поверхности при наличии пригонки:
где RY, Ru - расчетные сопротивления проката растяжению, сжатию, изгибу, установленные по пределу текучести и временному сопротивлению соответственно; RP, RS - расчетные сопротивления проката смятию торцевой поверхности и сдвигу соответственно;
γm - коэффициент надежности по материалу, ут= 1,1. Значения 6.8. Значения расчетных сопротивлений сварных и болтовых соединений следует принимать по СНиП II-23. 7. Принципы расчета конструкций аттракциона7.1. Расчет конструкций необходимо проводить на наиболее неблагоприятное воздействие нагрузок с учетом их возможного динамического характера. Влияние подвижных частей аттракциона на конструкции следует определять с учетом скорости их движения и наиболее неблагоприятного расположения. Если в конструкции имеются элементы, нерегулярно используемые при работе аттракциона, необходимо проверить, не приводит ли их отсутствие к более неблагоприятным условиям нагружения. 7.2. Расчетные значения сил, действующих на конструкции аттракциона, следует определять отдельно для каждой нагрузки, указанной в разделе 5. При расчете элементов стальных конструкций на прочность и устойчивость наибольшие напряжения в них в зависимости от расчетных нагрузок и воздействий не должны превышать расчетных сопротивлений стали. 7.3. Все формулы и расчеты должны оформляться в письменном виде. Источники формул должны быть указаны. Выведение оригинальных формул должно быть представлено так, чтобы была возможность проверки их правильности. 7.4. При проведении компьютерных расчетов приближенными численными методами математические модели должны достоверно отражать параметры конструкции и соответствовать используемому программному средству. При оформлении расчетов должна быть представлена исчерпывающая информация, которая позволила бы проанализировать исходные допущения и конечные результаты (понятные рисунки, обоснования принятых допущений и/или файлы в общепринятых стандартах, содержащие математические модели и полученные результаты). 7.5. Конструкции аттракционов вращающегося типа должны быть рассчитаны на статические нагрузки для условий вне эксплуатации и при эксплуатации с полной и частичной загрузкой. Расчет конструкций на одностороннее загружение следует проводить для случая, когда заняты посадочные места на 1/4 или 3/4 периметра аттракциона. 7.6. При односторонней загрузке сидений на 1/6 периметра аттракциона вращающегося типа должна быть проверена устойчивость положения аттракциона по 8.2. При этом опрокидывающий момент, вызванный односторонней загрузкой, не должен превышать стабилизирующего момента. Аналогичную проверку на устойчивость положения необходимо выполнить для аттракционов с многоместными гондолами с рассмотрением наиболее неблагоприятного случая - односторонней загрузкой крайнего сектора гондолы. 7.7. При расчете конструкций аттракционов вращающегося типа необходимо проверить их сопротивление усталости при односторонней загрузке на 1/6 и 5/6 периметра аттракциона. При этом считается, что односторонняя загрузка действует в течение всего расчетного числа циклов нагружения. 7.8. В случае, если в аттракционе предусмотрено вращение в прямом и обратном направлениях, оба направления движения следует учитывать при расчетах конструкции. 8. Расчет конструкций на статические нагрузки8.1. Расчет на прочность и устойчивость формы8.1.1. Расчет на прочность и устойчивость формы стальных конструкций и их элементов выполняют по СНиП II-23. Расчет стальных деталей механизмов, которые одновременно выполняют функции элементов конструкций, проводят по тем же правилам с определением расчетных сопротивлений по формулам (13), (14) и (15). 8.1.2. Пространственные стержневые конструкции следует, как правило, рассчитывать как единые пространственные системы. При этом расчетные схемы и основные предпосылки расчета должны отражать действительные условия работы конструкций. При проверке устойчивости единых пространственных стержневых систем с определением критических сил упругих идеальных стержней по методу Эйлера коэффициент надежности по общей устойчивости γgS для расчетной нагрузки должен быть не менее 1,3 (γgS ≥ 1,3). По результатам таких расчетов допускается определять расчетные длины сжатых элементов. Нелинейность рассчитываемых элементов (физическая и геометрическая) не допускается. 8.1.3. При отклонении принимаемой расчетной схемы от действительных условий работы элементов конструкции, а также при наличии других факторов, не отраженных непосредственно в расчетах, значения расчетных сопротивлений следует умножить на коэффициенты условий работы γс < 1, установленные на основе экспериментальных и теоретических исследований. Для расчета некоторых элементов конструкций значения коэффициентов γc приведены в СНиП II-23. 8.1.4. Расчет статической прочности канатов и цепей выполняют, исходя из следующего соотношения: [Минимальное разрывное усилие] > [Максимальная нагрузка] × [Коэффициент надежности]. Коэффициент надежности для цепей, используемых в оттяжках и вантах, принимают равным 4 (γ = 4); для канатов, изготовленных из проволок маркировочной группы 1570 Н/мм2 по ГОСТ 3241, γ = 3,5. Необходимо учитывать, что полнота использования прочности каната зависит от вида его концевого крепления. 8.2. Расчет на устойчивость положения8.2.1. При расчете на устойчивость положения (опрокидывание, скольжение, приподнимание) конструкция должна рассматриваться как единая жесткая система. При этом не должны учитываться временные нагрузки, благоприятно влияющие на устойчивость положения, и постоянные нагрузки от тех частей конструкции, которые не закреплены на ней стационарно. При учете благоприятно влияющих постоянных нагрузок в расчет принимают их минимально возможные значения. В случаях, когда собственный вес конструкции не обеспечивает необходимую устойчивость ее положения, следует принимать дополнительные конструктивные меры (противовесы, анкеры и др.). 8.2.2. При определении расчетных нагрузок, действующих при опрокидывании, скольжении и приподнимании, необходимо принимать следующие значения коэффициентов надежности по нагрузке γ'fG, γ"fG, γ"fQ соответственно: 1) благоприятно действующие постоянные нагрузки от собственного веса - γ'fG = 1,0; 2) неблагоприятно действующие постоянные нагрузки (например, от собственного веса) - γ"fG = 1.1; 3) неблагоприятно действующие временные нагрузки (например, ветровые нагрузки) - γ"fQ = 1,3. 8.2.3. Расчет на устойчивость против опрокидывания проводят по формуле:
где γ'fG коэффициент надежности по благоприятно действующей нагрузке от собственного веса в соответствии с 8.2.2; Мst - расчетное значение стабилизирующего момента; γ''fi - коэффициент надежности по неблагоприятно действующим нагрузкам в соответствии с 8.2.2; MK - расчетное значение опрокидывающего момента. 8.2.4. Расчет на устойчивость против скольжения проводят по формуле:
где γ'fG коэффициент надежности по благоприятно действующей нагрузке от собственного веса; μ - коэффициент трения; в соответствии с таблицей 4; N - расчетное значение вертикальной составляющей нагрузки; γ''fi - коэффициент надежности по неблагоприятно действующим нагрузкам; H - расчетное значение горизонтальной составляющей нагрузки. Таблица 4 Значения коэффициента трения различных материалов, принимаемые в расчетах на устойчивость против скольжения
Следует учесть, что если опоры подвержены вибрации, то под ее воздействием возможно ослабление сцепления между трущимися поверхностями, особенно при малых значениях коэффициента трения. 8.2.5. В случае, когда только сил трения недостаточно для обеспечения устойчивости против скольжения, конструкцию необходимо дополнительно защитить от смещения. При расчете на устойчивость против скольжения с учетом дополнительного закрепления значения коэффициентов трения, указанные в таблице 4, должны быть умножены на 0,7:
где Zh - горизонтальная составляющая усилия от дополнительного закрепления (см. 8.2.7); остальные обозначения - по формуле (17). 8.2.6. Расчет на устойчивость против приподнимания проводят по формуле:
где γ'fG - коэффициент надежности по благоприятно действующей нагрузке от собственного веса; Nst - расчетное значение вертикальной составляющей стабилизирующей нагрузки; γ''fi - коэффициенты надежности по неблагоприятно действующим нагрузкам; Na - расчетное значение вертикальной составляющей приподнимающей нагрузки. Учет дополнительных креплений проводят по формуле:
где Zy - расчетное значение вертикальной составляющей усилия от дополнительного закрепления (см. 8.2.7). 8.2.7. Наиболее простым способом дополнительного закрепления конструкции аттракциона с целью обеспечения устойчивости против скольжения и приподнимания служит балласт, прикрепляемый к опорам. При проектировании закреплений с помощью стержневых и иных анкеров, заглубляемых в грунт, неопределенное состояние грунта затрудняет точную оценку несущей способности креплений. В приложении Е приведены данные по определению расчетных нагрузок и проектированию креплений с использованием стержневых анкеров. 8.2.8. При размещении аттракционов непосредственно на грунтовой площадке необходимо обеспечить такое давление на грунт, которое не вызывает его значительной осадки. В случае необходимости следует предусмотреть меры по укреплению грунта или увеличению площади опирания опорных частей аттракционов. Расчетные сопротивления грунтов принимают по СНиП 2.02.01. 8.3. Оценка жесткости элементов конструкции и их предельной гибкости8.3.1. Прогибы, выгибы и перемещения при расчете конструкций на жесткость должны соответствовать требованиям 5.11. Определение прогибов, выгибов и перемещений следует проводить от нормативных значений временных нагрузок в предположении упругих деформаций стали без учета ослабления сечений отверстиями для болтов. 8.3.2. Расчет на жесткость элементов, подверженных центральному сжатию силой N, выполняют по формуле:
где f - выгиб элемента в середине длины; l - длина, пролет; N - сжимающая сила от нормативного значения временной нагрузки;
где λ - гибкость (λ = lef/i), Е - модуль упругости, lef - расчетная длина, i - радиус инерции сечения; А - площадь сечения брутто; Ry - расчетное сопротивление проката; fu - предельное значение выгиба - см. 5.11. При расчете составных
сквозных элементов в формуле (21) следует принимать
8.3.3. Расчет на жесткость однопролетных балок (для случая их шарнирного опирания) следует выполнять по формулам: при равномерно распределенной нагрузке q:
при сосредоточенной силе F в середине пролета:
где f - прогиб балки от нормативного значения временной нагрузки; l - момент инерции; остальные обозначения - по формуле (21). Расчет на жесткость консолей следует выполнять по формулам: при равномерно распределенной нагрузке:
при сосредоточенной силе F на конце консоли:
где l1 - вылет консоли; остальные обозначения - по формуле (23). 8.3.4. Расчет на жесткость элементов, подверженных действию осевой силы с изгибом в одной из главных плоскостей, следует выполнять по формуле:
где fo - прогиб только от нормативного значения временной поперечной нагрузки; остальные обозначения - по формуле (21). 8.3.5. Расчет на жесткость элементов, подверженных сжатию с изгибом в двух главных плоскостях, следует выполнять раздельно в каждой из плоскостей с проверкой результирующего выгиба fu по формуле:
где fx и fy - соответственно выгиб в каждой из главных плоскостей от нормативного значения временной нагрузки. 8.3.6. Кроме расчета отдельных элементов по 8.3.2 - 8.3.5, следует выполнить расчет на жесткость конструкции в целом как единой системы по деформированной схеме в пределах упругих деформаций на действие нормативных значений временных нагрузок. Определяемые при этом горизонтальные перемещения f системы не должны превышать их предельных значений fu, принимаемых в соответствии с требованиями 5.11. 8.3.7. Гибкости элементов конструкций, как правило, не должны превышать предельных значений, указанных в приложении Ж. 9. Расчет конструкций на усталость9.1. Элементы конструкций, узлы и соединения элементов аттракционов, непосредственно воспринимающие многократно действующие подвижные, вибрационные и другого вида переменные нагрузки с количеством циклов нагружений более 104, которые могут вызвать усталостные повреждения, следует рассчитывать на усталость. 9.2. При расчете конструкций на усталость следует учитывать воздействия от: - постоянных нагрузок, вызываемых изменением положения конструкций при движении; - временных движущихся нагрузок; - силы тяги и торможения (импульсные воздействия); - нагрузок из-за возможных столкновений; - центробежных сил и кориолисовых сил, а также дополнительные силы от ударов и колебания элементов, воспринимающих непосредственно подвижные нагрузки. 9.3. Расчет на усталость следует выполнять на действие нормативных значений нагрузок, а также с учетом ударных воздействий и вибрации элементов конструкций в соответствии с 5.9. 9.4. Расчетное число циклов нагружений следует принимать, исходя из того, что минимальная суммарная наработка* конструкций аттракциона (ресурс*) должна составлять 35000 ч. Час наработки определяется как час нормальной работы аттракциона, включающей пуск, собственно работу, выключение аттракциона, а также посадку-высадку посетителей, продолжительность которой должна быть не более 50 % наработки. Периоды времени, в которые аттракцион не работает (нерабочие часы, сезонные перерывы, время технического обслуживания и перемещения), не должны включаться в расчет часов наработки. * Определение терминов «наработка» и «ресурс» - по ГОСТ 27.002. Теоретические расчеты ресурса аттракциона должны быть представлены в проектной документации. Указанное выше требование к ресурсу конструкции предназначено только для проектных и поверочных расчетов на усталость и не распространяется на критические в отношении безопасности заменяемые компоненты с ограниченным ресурсом. Перечень заменяемых компонентов с ограниченным ресурсом и периодичность их замены должны указываться изготовителем в эксплуатационной документации. Кроме того, должны быть указаны подлежащие периодическому осмотру узлы конструкции, опасные в отношении усталостных разрушений, а также ресурс конструкций аттракциона. 9.5. Расчет на усталость проводят по формуле:
где σmах - максимальное по абсолютному значению номинальное напряжение в рассчитываемом элементе, вычисленное по сечению нетто; R(ρ) - расчетный предел выносливости. Значение R(ρ) не должно
превышать меньшего значения одной из двух величин: В целом расчетный предел выносливости зависит от следующих факторов: - временного сопротивления стали; - групп элементов конструкций, приведенных в таблице И. 1 приложения И; - числа циклов напряжений; - вида напряженного состояния; - коэффициента асимметрии цикла напряжений ρ = σmin / σmax / (где σmin и σmax - соответственно минимальное и максимальное по абсолютному значению напряжения цикла; при разнозначных напряжениях коэффициент асимметрии цикла напряжений принимается со знаком «минус»). Значение расчетного предела выносливости R(ρ) в зависимости от характеристики цикла напряжений определяют как произведение расчетного предела выносливости при симметричном цикле R(-1) и фактора ψρ, зависящего от коэффициента асимметрии цикла ρ и вида напряженного состояния, по формуле:
Для количества циклов напряжения свыше 2·106 значения R(ρ) определяют по формулам: для количества циклов 2·106 < N < 4·106 R(ρ) = R(-1)·ψρ (0,9 + 0,1ρ); (30а) для количества циклов N ≥ 4·106 R(ρ) = R(-1)·ψρ(0,8 + 0,2ρ), (30б) где R(-1) - расчетный предел выносливости при симметричном цикле с количеством напряжений до 2·106 по таблице 5. Таблица 5
Данные, необходимые для определения количественных значений расчетного предела выносливости по формуле (29), приведены в таблицах 5 и 6: в таблице 5 представлены значения R{-1) для различных групп элементов конструкций; в таблице 6 - значения фактора ψρ. Формулы для вычисления фактора ψρ, определяющего предел выносливости элемента
9.6. Значения расчетного предела выносливости при действии сдвигающих напряжений для стальных элементов, сварных швов, болтов, а также при смятии торцевой поверхности в элементах болтовых соединений следует устанавливать по соотношениям, приведенным в таблице 7. Таблица 7 Соотношения для определения расчетного предела выносливости элементов конструкций
9.7. Расчет на усталость при действии сложных напряжений проводят по формуле:
где σх и σу - нормальные напряжения в направлении осей х и у, действующие в рассчитываемых элементах;
τ - напряжения сдвига, действующие в рассчитываемом элементе;
9.8. Для элементов конструкций, соединений и деталей, прошедших механическую обработку на металлорежущих станках, значения расчетного предела выносливости следует определять с учетом следующих факторов: концентратора напряжений, масштабного фактора, чистоты поверхности, а также условий эксплуатации и степени ответственности. Напряженное состояние в элементах конструкций и деталей определяют в соответствии с общими принципами расчета напряжений. 9.9. Расчет механически обработанных деталей на усталость проводят по формуле (28). Расчетный предел выносливости деталей R(ρ) для количества циклов 5•106 определяют по формуле:
где βk - коэффициент, учитывающий концентрацию напряжений(определяют по графикам, приведенным на рисунках И.1 - И.6 приложения И); kи - коэффициент, учитывающий чистоту обработки поверхности детали (см. рисунок И.7 приложения И); kd - коэффициент, учитывающий масштабный фактор (см. рисунок И.8 приложения И); φ1 и φ2 - коэффициенты, учитывающие наличие ударных и вибрационных нагрузок (см. подраздел 5.9); γaf - коэффициент дополнительной гарантии неразрушимости, равный 2,2; γMf - коэффициент, учитывающий ответственность соединения и его доступность для контроля; значения γMf приведены в таблице 8; ψρ - фактор, зависящий от коэффициента асимметрии цикла ρ (определяют по формулам таблицы 6, соответствующим состоянию «Растяжение»). Таблица 8 Значения коэффициента надежности γMf при расчетах на усталость, учитывающего ответственность соединения и его доступность для контроля
Значение
величины R(ρ) не должно
превышать меньшее значение одной из двух величин: 9.10. Расчет на усталость подвесок пассажирских кабин и кресел из стальных канатов, изготовленных из проволок маркировочной группы 1570 Н/мм2 по ГОСТ 3241, проводят с использованием значений предела выносливости, приведенных в таблице 9. При применении канатов из проволок маркировочной группы выше 1570 Н/мм2 экстраполяция значений предела выносливости, приведенных в таблице 9, не допускается, и эти значения следует определять отдельно. Для расчета на усталость стальных цепей предел выносливости определяют по минимальному разрывному усилию с использованием коэффициента надежности γ = 6. Таблица 9 Предел выносливости канатов для оттяжек и вант (канаты изготовлены из отдельных проволок маркировочной группы 1570 Н/мм2)
10. Расчет и конструирование соединений10.1. Соединения элементов конструкций следует проектировать в соответствии со СНиП II-23 с учетом требований, изложенных в настоящем разделе. 10.2. Сварные соединения 10.2.1. При действии на сварное соединение продольной силы распределение напряжений по длине сварного шва следует принимать равномерным. 10.2.2. При действии на сварное соединение изгибающего момента распределение напряжений по длине сварного шва следует принимать пропорциональным расстоянию от центра тяжести соединения до рассматриваемого сечения шва. 10.2.3. Сварные швы при одновременном действии продольной силы и момента следует рассчитывать на равнодействующую напряжений, вычисленных от продольной силы и момента. 10.2.4. При расчете сварных швов допускается не учитывать эксцентриситеты, возникающие в соединяемых элементах и зависящие от их толщины. 10.2.5. Стыковые соединения следует рассчитывать на прочность в пределах упругих деформаций с учетом расчетных сопротивлений для стыковых сварных соединений. В стыковых швах при одновременном действии нормальных и срезывающих напряжений необходимо проверять приведенные напряжения, учитывающие связь между компонентами напряженного состояния шва. Стыковые швы рассчитывать не следует, если расчетные сопротивления основного металла и металла шва одинаковы, а сварка выполнена с полным проплавлением, концы швов выведены за пределы стыка и предусмотрен сплошной контроль неразрушающими методами. 10.2.6. Сварные угловые швы необходимо рассчитывать на срез (условный), как правило, по расчетным сечениям металла шва с учетом свариваемых сталей, сварочных материалов, технологии сварки и положения шва. Сварные соединения с угловыми швами при одновременном действии срезывающих напряжений в двух направлениях, как правило, следует рассчитывать на равнодействующую этих напряжений. 10.2.7. Основные типы, конструктивные элементы и размеры сварных соединений должны соответствовать требованиям ГОСТ 5264, ГОСТ 8713, ГОСТ 11533, ГОСТ 11534, ГОСТ 14771, ГОСТ 14776, ГОСТ 23518. 10.2.8. Расчет и конструирование сварных соединений следует выполнять в соответствии с требованиями приложения К. 10.3. Болтовые соединения 10.3.1. Болтовые соединения следует рассчитывать на растяжение и срез болтов и на смятие соединяемых элементов. Расчет на растяжение болтов следует выполнять по сечению «нетто» болта. 10.3.2. При действии на болтовое соединение продольной силы распределение этой силы между болтами, как правило, следует принимать равномерным. 10.3.3. При действии на болтовое соединение изгибающего момента распределение усилий на болты следует принимать пропорционально расстояниям от центра тяжести соединения до рассматриваемого болта. При действии момента в плоскости соединения расчет следует выполнять на срез болтов и на смятие соединяемых элементов. При действии момента в плоскости, перпендикулярной плоскости соединения, болты следует рассчитывать на растяжение. 10.3.4. Болты при одновременном действии продольной силы и момента следует рассчитывать на равнодействующее усилие. 10.3.5. Болты, подвергающиеся одновременно срезу и растяжению, следует рассчитывать как при раздельном, так и совместном действии указанных силовых факторов. 10.3.6. Расчет на прочность соединяемых элементов, ослабленных отверстиями для болтов, следует проводить: при динамических и переменных нагрузках - по площади сечения «нетто» Ап; при статических нагрузках - по площади сечения «брутто» А, если Ап ≥ 0,85 А, или по условной площади Ас = 1,18 Ап, если Ап < 0,85 А. 10.3.7. Резьба болта, работающего на срез, должна находиться вне пакета соединяемых элементов. 10.3.8. Для болтов следует предусматривать меры против самоотвинчивания. 10.3.9. Расчет и конструирование болтовых соединений следует выполнять в соответствии с требованиями приложения Л. 10.4. Фрикционные соединения 10.4.1. Осевое усилие натяжения болта во фрикционном соединении следует принимать в зависимости от характеристик механических свойств стали болтов и площади сечения «нетто» болта. 10.4.2. Фрикционные соединения, как правило, следует рассчитывать в предположении передачи усилий трением по соприкасающимся плоскостям соединяемых элементов. Распределение между болтами действующей на соединение продольной силы следует принимать равномерным. 10.4.3. Расчетное усилие, которое может быть воспринято каждой поверхностью трения соединяемых элементов, стянутых одним болтом, следует определять в зависимости от осевого усилия натяжения болта, коэффициента трения соединяемых элементов и характера нагрузки (статическая, динамическая или переменная). 10.4.4. Расчет на прочность сечений соединяемых элементов, работающих на трение и ослабленных отверстиями для болтов, следует выполнять с учетом того, что половина усилия, приходящегося на каждый болт в рассматриваемом сечении, передается силами трения. 10.4.5. Расчет и конструирование фрикционных соединений следует выполнять в соответствии с требованиями приложения Л. 10.5. Фланцевые соединения 10.5.1. Во фланцевых соединениях элементов, подверженных растяжению, изгибу или их совместному действию, следует предусматривать предварительное нормированное натяжение болтов. Поперечные усилия в таких соединениях воспринимаются силами трения, возникающими между контактирующими поверхностями фланцев от предварительного натяжения болтов. 10.5.2. Во фланцевых соединениях сжатых элементов допускается предусматривать применение болтов без контролируемого предварительного нормированного натяжения. В таких соединениях сдвигающие усилия воспринимаются за счет сил трения между контактирующими поверхностями фланцев, возникающих от сжимающих усилий, действующих в соединяемых элементах. 10.5.3. Расчетные усилия предварительного натяжения болтов фланцевых соединений следует принимать в зависимости от характеристик механических свойств стали болтов и площади сечения «нетто» болта. 10.5.4. Во фланцевых соединениях растянутых элементов конструкции необходимо проверить расчетом на прочность следующие элементы соединения: болты - на растяжение; фланцы - на изгиб; фланцевое соединение - на поперечное усилие; сварное соединение фланца с трубой. 10.5.5. Фланцевое соединение должно быть спроектировано таким образом, чтобы при отказе одного из болтов оно продолжало воспринимать расчетную нагрузку. 10.5.6. Расчет и конструирование фланцевых соединений следует выполнять в соответствии с требованиями приложения М. 10.6. Пальцевые соединения 10.6.1. В пальцевых соединениях необходимо проверить расчетом на прочность следующие элементы соединения: пальцы - на изгиб и срез, соединяемые элементы с отверстиями - на растяжение и смятие, сварные соединения, прикрепляющие промежуточные элементы с отверстиями и основные элементы конструкции. 10.6.2. Пальцы, подвергающиеся одновременно изгибу и срезу, следует рассчитывать как при раздельном, так и совместном действии указанных силовых факторов. 10.6.3. При действии осевой силы на элементы конструкции с многопальцевым соединением распределение этой силы между пальцами, как правило, следует принимать равномерным. 10.6.4. Расчет на прочность соединяемых элементов, ослабленных отверстиями для пальцев, следует проводить во всех случаях по площади сечения «нетто». 10.6.5. В пальцевом соединении следует принимать меры, обеспечивающие удержание пальцев в отверстиях соединяемых элементов. 10.6.6. Расчет и конструирование пальцевых соединений, а также выбор материалов для пальцев следует выполнять в соответствии с требованиями приложения Н. ПРИЛОЖЕНИЕ
А
| ||||||||||||||||||||||||||||||||||||||||||||||||||||||||||||||||||||||||||||||||||||||||||||||||||||||||||||||||||||||||||||||||||||||||||||||||||||||||||||||||||||||||||||||||||||||||||||||||||||||||||||||||||||||||||||||||||||||||||||||||||||||||||||||||||||||||||||||||||||||||||||||||||||||||||||||||||||||||||||||||||||||||||||||||||||||||||||||||||||||||||||||||||||||||||||||||||||||||||||||||||||||||||||||||||||||||||||||||||||||||||||||||||||||||||||||||||||||||||||||||||||||||||||||||||||||||||||||||||||||||||||||||||||||||||||||||||||||||||||||||||||||||||||||||||||||||||||||||||||||||||||||||||||||||||||||||||||||||||||||||||||||||||||||||||||||||||||||||||||||||||||||||||||||||||||||||||||||||||||||||||||||||||||||||||||||||||||||||||||||||||||||||||||||||||||||||||||||||||||||||||||||||||||||||||||||||||||||||||||||||||||||||||||||||||||||||||||||||||||||||||||||||||||||||||||||||||||||||||||||||||||||||||||||||||||||||||||||||||||||||||||||||||||||||||||||||||||||||||||||
|
Требования настоящего стандарта |
Стандарты и их пункты, с которыми гармонизирован настоящий стандарт |
|||
|
Пункты настоящего стандарта |
Предмет требований |
Пункты pr EN 13814 |
Пункты DIN 15018-1:1984 |
Другие стандарты |
|
4 |
Общие положения |
|
|
|
|
4.1; 4.2 |
Общие требования безопасности Основные положения расчета: |
|
|
|
|
4.3 |
- предельные состояния |
5.1.4 |
- |
- |
|
4.4 |
- виды внешних нагрузок |
- |
|
|
|
4.5; 4.6; 4.7 |
- расчетные модели и конструктивные схемы |
5.4.1 |
|
|
|
4.8; 4.9; 4.10; 4.11 |
- общие положения по защите от коррозии, выбору материалов, сварке, основаниям и фундаментам* |
- |
|
|
|
5 |
Нагрузки и перемещения: |
|
|
|
|
5.1 |
- общие положения |
5.3.2; 5.3.3; 5.3.4 |
|
|
|
5.2 |
- вес конструкций |
5.3.2 |
|
|
|
5.3 |
- нагрузки от посетителей |
5.3.3 |
|
|
|
5.4 |
- нагрузки от движущихся частей |
5.3.3 |
|
|
|
5.5 |
- ветровые нагрузки** |
- |
|
ENV 1991-2-4:1994 |
|
5.6 |
- снеговые нагрузки |
5.3.3.5 |
- |
|
|
5.7 |
- нагрузки от сил инерции |
5.3.3.6; 5.4.2; 5.4.3 |
|
|
|
5.8 |
- особые нагрузки |
5.3.3.7; 5.3.4 |
|
|
|
5.9 |
- учет ударных воздействий и вибраций |
5.3.5 |
|
|
|
5.10 |
- расчетные нагрузки и их сочетания |
5.3.6; 5.1.4 |
|
|
|
5.11 |
- прогибы и перемещения* |
- |
|
|
|
6 |
Материалы для конструкций: |
|
|
|
|
6.1; 6.2; 6.3 |
- стальной прокат, сварка и болты** |
- |
|
|
|
6.7; 6.8 |
- расчетные сопротивления проката и соединений |
5.4.1 |
- |
- |
|
6.4 |
- канаты и цепи** |
- |
|
|
|
7 |
Принципы расчета конструкций: |
|
|
|
|
7.1 |
- учет наиболее неблагоприятного воздействия нагрузок |
5.4.1 |
|
|
|
7.2 |
- определение расчетных сил в отдельности для каждой нагрузки |
5.4.1 |
- |
- |
|
7.3; 7.4 |
- оформление расчетов |
5.4.1 |
|
|
|
7.5; 7.6; 7.7 |
- учет частичной загрузки аттракциона при расчете конструкций |
5.4.2 |
|
|
|
7.8 |
- учет направления вращения |
5.4.2 |
|
|
|
8 |
Расчет конструкций на статические нагрузки: |
|
|
|
|
8.1 |
- расчет на прочность и устойчивость формы |
5.6.2; 5.6.5 |
|
|
|
8.2 |
- расчет на устойчивость положения |
5.5 |
- |
- |
|
8.3 |
- жесткость элементов и их предельные гибкости* |
- |
|
|
|
9 |
Расчет конструкций на усталость: |
|
|
|
|
9.1; 9.2 |
- общие положения |
5.6.3.3 |
7.4.1 |
|
|
9.3 |
- расчетные нагрузки |
5.6.3.2 |
|
|
|
9.4 |
- расчетное число циклов нагружения |
5.6.3.4 |
|
|
|
9.5; 9.6 |
- основные положения расчета и расчетная выносливость** |
- |
7.4.4; 10.2; 10.3 |
- |
|
9.7 |
- расчет при действии сложных напряжений** |
- |
7.4.5 |
|
|
9.8; 9.9 |
- расчет механически обработанных деталей |
5.6.3.6; 5.6.3.2 |
|
|
|
9.10 |
- расчет канатов и цепей |
5.6.5 |
|
|
|
10 |
Расчет и конструирование соединений: |
|
|
|
|
10.2 |
- сварные соединения* |
- |
|
|
|
10.3 |
- болтовые соединения |
5.6.4 |
|
|
|
10.4 |
- фрикционные соединения |
5.6.4 |
|
- |
|
10.5 |
- фланцевые соединения |
5.6.4 |
9.2 |
|
|
10.6 |
- пальцевые соединения* |
- |
|
|
|
* В pr EN 13814 аналогичные требования отсутствуют. ** Требования, не гармонизированные с pr EN 13814 |
||||
Б.1 Аэродинамические коэффициенты
Б.1.1. При определении ветровой нагрузки, действующей на конструктивные элементы плоских и пространственных решетчатых конструкций аттракционов, аэродинамические коэффициенты сх каждого элемента определяются без учета его затенения другими конструктивными элементами сооружения по формуле:
|
cx = cx,o·kλ, |
(Б.1) |
где cx,о - аэродинамический коэффициент соответствующего элемента, имеющего бесконечное удлинение;
kλ - коэффициент, учитывающий удлинение элемента.
Б.1.2. Аэродинамические коэффициенты cx,о металлических конструктивных элементов с круглым поперечным сечением приведены на рисунке Б.1 в зависимости от характерного числа Рейнольдса Re и степени шероховатости c внешней поверхности элемента. На этом рисунке:
|
|
(Б.2) |
где d - диаметр элемента, м;
wo,p - расчетное давление, кПа;
k(z) - коэффициент, учитывающий изменение давления ветра по высоте;
Δ - параметр, характеризующий шероховатость внешней поверхности элемента; для металлических конструктивных элементов аттракционов Δ = 0,0002 м.
Б.1.3. Аэродинамические коэффициенты сх,о элементов с квадратным поперечным сечением (в том числе со скругленными углами) определяют по формуле:
|
cx,o = 2kr, |
(Б.3) |
где кr - коэффициент, определяемый по графику на рисунке Б.2 в зависимости от характерного размера b сечения и радиуса r скругления углов.

Рисунок Б.1 - Аэродинамические коэффициенты конструктивных элементов с круглым поперечным сечением

Рисунок Б.2 - Коэффициент kr, учитывающий степень скругления углов конструктивных элементов с квадратным поперечным сечением
Б.1.4. Аэродинамические коэффициенты сх,о конструктивных профилей (двутавры, швеллеры, уголки и т. д.) допускается принимать равными: сх,о = 2,0.
Б.1.5. Значения коэффициента kλ принимаются равными:
kλ = 1,0 - для стоек и поясов ферм;
kλ = 0,7 - для остальных элементов (раскосы, связи и т.д.) решетчатых конструкций.
Б.1.6. Аэродинамические коэффициенты сх плоских и пространственных ферм, выполненных из однотипных элементов, допускается определять по формуле:
|
сх = cx,o·ψλ, |
(Б.4, а) |
где сх,о - аэродинамический коэффициент бесконечно удлиненной фермы, определяемый по графикам, приведенным на рисунках Б.3 и Б.4 в зависимости от относительного заполнения φ плоской фермы или одной из граней пространственной фермы;
ψλ - коэффициент, учитывающий удлинение фермы, определяемый по рисунку Б.5. Относительное заполнение φ определяют по формуле:
|
φ = А/Ас, |
(Б.4, б) |
где А - сумма площадей проекций стержневых элементов и косынок на плоскость конструкции;
А = Σbili + ΣAgi. Для пространственных решетчатых конструкций должна быть принята плоскость, расположенная к наветренной грани;
Ас - площадь, ограниченная проекциями плоскостей, нормальных к плоскости конструкции;
Ас = bl;
l - длина решетчатой конструкции;
b - ширина решетчатой конструкции;
bili - ширина и длина стержневого элемента i;
Аgi - площадь косынки i.


Рисунок Б.3 - Аэродинамические коэффициенты плоских а) и пространственных б) решетчатых ферм, составленных из профилей




Обозначения φ, l, b, b1 - см. Б.1.6
Рисунок Б.4 - Аэродинамические коэффициенты плоских и пространственных решетчатых ферм, составленных из элементов с круглым поперечным сечением

φ - относительное заполнение (см. Б.1.6)
Рисунок Б.5 - Коэффициент φλ учитывающий относительное удлинение λ плоских и пространственных ферм (λ = 1/b), (см. рисунок Б.4)
При ветре, направленном вдоль плоскости колеса обозрения, аэродинамические коэффициенты лобового сопротивления ферм cx,β ферм допускается определять по формуле:
|
сх,β = cx·cos2β, |
(Б.5) |
где cx - аэродинамический коэффициент отдельно стоящей фермы;
β - угол между направлением средней скорости ветра и нормалью к плоскости фермы.
Б.1.7. При определении характерной площади S, к которой относятся коэффициенты лобового сопротивления ферм, необходимо учитывать площадь закладных деталей и других дополнительных элементов фермы.
Б.1.8 Аэродинамические коэффициенты сх элементов иллюминации определяют по формуле:
|
сх = cx,o·kl, |
(Б.6) |
где cx,o - аэродинамический коэффициент отдельно расположенного элемента.
Значения коэффициента kl для случая двустороннего расположения иллюминации показаны на рисунке Б.6 в зависимости от направления ветра и расположения элемента иллюминации по отношению к конструктивному элементу, к которому он прикреплен.

V - направление ветра, kl - коэффициент, учитывающий расположение иллюминации относительно направления ветра
Рисунок Б.6 - Определение коэффициентов kl для случая двустороннего расположения элементов иллюминации
Б.2. Определение пульсационной составляющей ветровой нагрузки
Б.2.1. Действие пульсаций ветровой нагрузки на конструктивные элементы башен и колес обозрения, удовлетворяющих условиям 4.5.7.1 настоящего стандарта, допускается рассматривать как эквивалентную статическую нагрузку wp, определяемую на уровне z - wp (z) по формуле:
|
wp(z) = wm(z)•ζ(z)•v•ζ, |
где wm(z) - средняя составляющая нагрузки, определяемая по формуле (5), в которой принимается wm (z) = wm;
ζ (z) - коэффициент пульсаций;
v - коэффициент корреляции;
ζ - коэффициент динамичности.
Б.2.2 Коэффициент пульсаций £, (г) в зависимости от типа местности определяют по формуле:
|
ζ(z) = ζt(10)·(z/10)-αt, |
(Б.8) |
где z - высота над поверхностью земли, м;
ζt(10), αt - параметры, определяющие коэффициент пульсаций, значения которых приведены в таблице Б.1.
Таблица Б.1
Значения параметров ζt(10) и αt используемых при определении коэффициента пульсаций
|
Наименование параметра |
Значение параметра для типа местности (см. 5.5.5) |
||
|
А |
В |
С |
|
|
Коэффициент пульсаций ζt(10) на высоте 10 м |
0,76 |
1,06 |
1,78 |
|
Показатель степени αt |
0,15 |
0,20 |
0,25 |
Б.2.3. Коэффициент корреляции v определяют по таблице Б.2 в зависимости от направления действия ветровой нагрузки и значения параметра а, который принимают равным диаметру D колеса обозрения или четверти высоты h башни (а = 0,25 h для башни).
Таблица Б.2
Коэффициент корреляции v
|
Вид конструкции и характеристика расчетных условий |
Значение коэффициента v при а, м |
||||
|
≤ 10 |
= 15 |
= 30 |
= 50 |
= 75 |
|
|
Башни при произвольном направлении ветра и колеса обозрения при ветре, направленном перпендикулярно плоскости колеса |
0,89 |
0,83 |
0,78 |
0,72 |
0,68 |
|
Колеса обозрения при ветре, направленном вдоль плоскости колеса |
0,95 |
0,89 |
0,84 |
0,80 |
0,76 |
Б.2.4. Коэффициент динамичности ζ определяют по формуле:
|
ζ = [1+11wo,p/afl]1/2, |
(Б.9) |
где wo,p - расчетное давление ветра, кПа;
fl - частота колебаний по низшей изгибной собственной форме в рассматриваемом направлении, Гц. (Примеры характерных форм собственных колебаний колес обозрения приведены на рисунке Б.7);
а - линейный параметр, м, зависящий от диаметра D колеса или высоты h башни и принимаемый равным:
а = 0,25 h - для башен;
а = D - при ветровой нагрузке, действующей перпендикулярно плоскости колеса;
а = 2D - при ветровой нагрузке, действующей вдоль плоскости колеса.
Б.2.5. При проектировании колес обозрения необходимо учитывать неравномерность распределения пульсаций ветровой нагрузки в плоскости колеса, а также возбуждение колебаний по крутильным собственным формам (рисунок Б.7). При направлении ветра перпендикулярно плоскости колеса необходимо учитывать следующие дополнительные нагрузки:
а) в вертикальных стойках опор [см. рисунок Б.8, а) и б)] дополнительно действует крутящий момент Мt.

Изгибные формы колебаний

Крутильная форма колебаний
Рисунок Б.7 - Характерные формы собственных колебаний колес обозрения
рассчитываемый по формуле:
|
Mt = 0,15Mb |
(Б.10) |
где Мb - максимальный изгибающий момент в стойке от действия нагрузки wp(z) [см. формулу (Б.7)];
б) усилия, действующие в наклонных стойках опор колес обозрения, имеющих внутренние диагональные связи, пример которых приведен на рисунке Б.8, в), необходимо увеличить в 1,2 раза.
Примечание - В элементах опор, выполненных без внутренних связей, в том числе в виде ферм Веранделя (рисунок Б.8, б), могут возникнуть значительные статические и динамические эффекты, связанные с кручением колеса вокруг вертикальной оси. Подобные эффекты могут приводить к появлению в элементах опор дополнительных усилий, которые в два и более раз превышают те, которые возникают при действии пульсационной составляющей ветровой нагрузки, задаваемой формулой (Б.7).

Рисунок Б.8 - Характерные конструктивные формы опор колес обозрения
В.1. Карусели
В.1.1. Консольные и подвесные карусели (схема - на рисунке В.1)
Центробежные силы консольных и подвесных каруселей с вертикальной осью и постоянной скоростью вращения рассчитывают по формулам:
|
|
(В.1) |
|
|
(В.2) |
|
|
(В.3) |
Для определения угла отклонения подвески гондолы α используют безразмерный параметр q, характеризующий связь размеров вращающихся частей карусели и округленной скорости гондолы V:
|
|
(В.4) |
Обозначения, примененные в формулах В.1 - В.4:
HFL - центробежная сила в гондоле;
т - масса гондолы, включая массу пассажиров;
V - окружная скорость гондол;
R - радиус вращения карусели (см. рисунок В.1);
а - вылет гондол при вращении карусели;
Q' - вес гондолы с пассажирами;
l - длина каната для подвески гондолы, м;
α - угол отклонения подвески гондол от вертикали;
g - ускорение свободного падения;
п - частота вращения, 1/мин.
Вместо решения приведенного выше уравнения угол отклонения подвески гондол от вертикали можно определить в зависимости от частоты вращения по диаграмме, приведенной на рисунке В.2.
Элементы подвески посадочного места или гондолы (например, 4 цепи, 4 каната или 4 стержня) и соединения должны быть рассчитаны на восприятие каждым из этих элементов половины результирующей силы от HFL и Q'.
Устройства для фиксации на посадочных местах также должны быть рассчитаны на восприятие результирующей силы от HFL и Q'. Фиксирующие устройства нельзя крепить к элементам подвески.
Для консольных каруселей с небольшой длиной цепи достаточно принять угол отклонения подвески α = 45°, то есть HFL = Q'. Если на одной консоли закреплены два расположенных рядом сиденья, допускается для обоих сидений принимать угол отклонения α = 45°.
Для детских каруселей с подвешенными фигурами зверей или с чем-либо подобным допускается принимать угол отклонения подвески α = 30° (HFL = 0,5 Q').
Момент вертикальных и горизонтальных нагрузок относительно точки А (основание мачты) МА рассчитывают по формуле:
|
MA = clP(R + ht·gα) + (Hw·hw - Vw·x), |
(В.5) |
где сl - коэффициент, учитывающий число занятых гондол при односторонней загрузке на 1/4 и 1/6 периметра карусели; значения c1 приведены в таблице В.1;
Р - нагрузка от пассажиров;
R - см. формулу (В.4);
h - расстояние от точки подвески гондолы до уровня земли;
α - см. формулу (В.4);
Hw - суммарная горизонтальная составляющая ветровой нагрузки;
hw - расстояние от точки приложения Hw до уровня земли;
Vw - суммарная вертикальная составляющая ветровой нагрузки;
х - расстояние от точки приложения Vw до оси вращения карусели.
Для обеспечения устойчивости карусели против опрокидывания необходимо учитывать одностороннюю нагрузку при максимальной частоте вращения. Действие ветровой нагрузки необходимо учитывать в наиболее неблагоприятном направлении.

1 - односторонняя загрузка на 1/4 периметра в соответствии с 7.5; 2 - односторонняя загрузка на 1/6 периметра в соответствии с 7.6; 3 - вылет гондолы при максимальном угле отклонения подвески; 4 - точка подвески гондолы
Буквенные обозначения и их пояснения - в тексте настоящего пункта.

Обозначения - см. формулу (В.4)
Рисунок В.2 - Диаграмма для определения угла отклонения подвески гондол от вертикали
Моменты относительно кромок опрокидывания k - k или k' – k' [см. рисунок (В.1,а)] составляют:
- опрокидывающий момент:
|
Мk = 1,3 [Р·c1(R + h·tgα) - Р·с2·е] + 1,2[Hw·hw - Vw (x + e)]; |
(В.6) |
|
|
(В.7) |
где с2 - коэффициент, учитывающий число занятых гондол при односторонней загрузке на 1/4 и 1/6 периметра окружности карусели; значения с2 приведены в таблице В.1;
е - расстояние между центром мачты и кромкой опрокидывания, остальные обозначения - см. формулу (В.5);
- стабилизирующий момент:
|
|
(В.8) |
|
|
(В.9) |
где G - величина, представляющая собой минимальный гарантированный вес (например, учитывается вес древесины в сухом состоянии).
Необходимо, чтобы выполнялись условия: Mst ≥ Мk, Мst' ≥ Мk'.
Таблица В.1
Значения коэффициентов c1 и с2 для случаев односторонней загрузки
|
Наименование параметра |
Значение |
|||||||||||
|
Общее число гондол |
4 |
6 |
8 |
10 |
12 |
14 |
16 |
18 |
20 |
22 |
24 |
|
|
Загрузка на 1/4 или 3/4 периметра окружности карусели |
c1 |
1,414 |
1,732 |
2,414 |
2,618 |
3,346 |
3,514 |
4,260 |
4,412 |
5,172 |
5,310 |
6,078 |
|
c2 |
2 |
2 |
3 |
3 |
4 |
4 |
5 |
5 |
6 |
6 |
7 |
|
|
Загрузка на 1/6 периметра окружности карусели |
c1 |
1,000 |
1,732 |
1,848 |
1,902 |
2,732 |
2,802 |
2,848 |
3,702 |
3,757 |
3,799 |
4,664 |
|
c2 |
1 |
2 |
2 |
2 |
3 |
3 |
3 |
4 |
4 |
4 |
5 |
|
|
Обозначения: c1 - см. формулу (В.5); с2 - см. формулу (В.7). |
||||||||||||
При наличии 18 и более сидений, равномерно расположенных по периметру карусели, обеспечение устойчивости против опрокидывания в ряде случаев может оказаться решающим фактором. В этих случаях необходимо провести дополнительный расчет опрокидывающего момента Мk.mах и Мk'.таx по формулам:
|
|
(В.10) |
|
|
(В.11) |
где с3 и с4 - коэффициенты, учитывающие число занятых гондол при односторонней загрузке на 1/2 периметра карусели (значения с3 и с4 приведены в таблице В.2); остальные символы - см. формулы (В.5), (В.6) и (В.7). В этом случае также должно выполняться условие:
Mst ≥ Mkmax, Mst' ≥ Mk'max.
Таблица В.2
Значения коэффициентов с3 и с4 для случаев односторонней загрузки
|
Наименование параметра |
Значение |
|||||||||||
|
Общее число гондол |
18 |
20 |
22 |
24 |
26 |
28 |
30 |
32 |
34 |
36 |
38 |
|
|
Загрузка на 1/2 периметра карусели |
c3 |
5,76 |
6,39 |
7,03 |
7,66 |
8,30 |
8,93 |
9,57 |
10,20 |
10,84 |
11,47 |
12,11 |
|
c4 |
9 |
10 |
11 |
12 |
13 |
14 |
15 |
16 |
17 |
18 |
19 |
|
|
Обозначения: с3, с4 - см. формулы (В.10) и (В.11). |
||||||||||||
Если при односторонней загрузке на 1/4 периметра карусели опрокидывающий момент превысит стабилизирующий момент Mst / Мk < 1 или Мst' / Мk' < 1, необходимо предусмотреть дополнительные меры для предупреждения опрокидывания, например установить противовесы или анкерное закрепление.
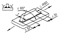
При размещении анкеров на концах крестообразной опоры, находящейся на земле, расчетная несущая способность анкера D (см. рисунок В.1 а) должна быть не менее определяемой по формулам (В.12) вертикальной составляющей ZV:
|
|
(В.12) |
где Z - расчетная несущая способность анкера, определяемая согласно приложению Е;
ZV - усилие на анкер от опрокидывающей нагрузки в крайней точке;
b и b' - расстояние между анкерами;
Мk, Мk',, Mst, Mst' - по формулам (В.6) - (В.9).
При построении расчетной схемы необходимо учесть возможность существенного увеличения момента относительно основания мачты вследствие отклонения от вертикали оси вращения из-за неточности установки или просадки бесфундаментных опор аттракциона.
В.1.2. Карусели с несколькими видами вращения
В.1.2.1. Для каруселей, движущиеся части которых могут вращаться вокруг нескольких осей в различных плоскостях, следует включить в расчеты все возникающие нагрузки. Для заданных угловых скоростей определяют центробежные силы, силы разгона и торможения, случайно возникающие ударные нагрузки. Силы Кориолиса следует учитывать в тех случаях, когда изменяется направление одной или нескольких осей вращения и возникают гироскопические силы.
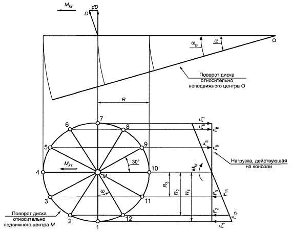
Для каруселей, где вращение происходит с постоянной угловой скоростью, и расчетная модель вращающейся конструкции может быть представлена в виде осесимметричного твердого тела вращения, гироскопический момент Мkr рассчитывают по формуле:
|
|
(В.13) |
где α - угол между осями вращения и прецессии;
I3 - момент инерции вращающейся конструкции относительно своей оси вращения;
I2 - момент инерции вращающейся конструкции относительно ортогональной оси;
ω - угловая скорость относительно оси вращения;
ωр - угловая скорость прецессии.
Следует иметь в виду, что значения ω и ωр могут быть положительными или отрицательными (согласно правилу правой руки).
В случае, когда вращающаяся конструкция моделируется плоскостью и α = 90°, получается следующее упрощенное уравнение:
|
|
(В.14) |
Пример определения гироскопического момента твердого тела и описание поведения вращающейся конструкции с 12 консолями, поворачивающейся на угол α с угловой скоростью ω, приведен на рисунке В.3.
Нагрузка на каждую консоль Fi, выраженная через гироскопический момент, рассчитывается по формуле:
|
|
(В.15) |
где Ri - расстояния между концами консоли и осью (см. рисунок В.3).
В.1.2.2. Карусели, вращающиеся только в одной плоскости
Если карусель совершает движение в одной плоскости и вращается с постоянной скоростью относительно только двух параллельных осей, то абсолютные значения скорости и ускорения необходимо рассчитывать с учетом относительного движения и кориолисовых ускорений (см. рисунок В.4).
Компоненты скорости материальной точки т и результирующей скорости рассчитывают по формулам (В.16) - (В.20):
|
|
(В.16) |
|
|
(В.17) |
|
|
(В.18) |
а) - схема перемещения тела

б) - компоненты механизма поворота

Обозначения:
D - крутящий момент, dD - изменение крутящего момента, Мkr - гироскопический момент, М - подвижный центр вращения, О - неподвижный центр вращения, R - длина консоли, Ri - расстояние между концом консоли и осью, соединяющей подвижный (М) и неподвижный (О) центры вращения, ω - угловая скорость относительно подвижной оси вращения, ωP - угловая скорость прецессии, α - угол прецессии, Fi - нагрузка на каждую консоль
Рисунок В.3 - Момент инерции твердого тела и исследование механизма поворота диска с 12 консолями, вращающегося с угловой скоростью ω и одновременно поворачивающегося на угол α
Вид сверху

Обозначения: М - движущийся центр вращения, О - неподвижный центр вращения, R - радиус вращения точки т относительно точки О; а - радиус вращения точки т относительно точки М; b - ускорение; е - радиус вращения точки М относительно точки О; ω1 - угловая скорость относительно точки М; ω2 - угловая скорость относительно точки О;
Индексы скоростей и ускорений означают: f - для основного движения, r - для относительного движения, с - для Кориолисова ускорения. Для величин без индекса берут абсолютные значения
Рисунок В.4 - Скорости и ускорения материальной точки массой т
где
;
![]()
Результирующее значение скорости:
|
|
(В.19) |
Направление результирующей скорости V:
|
|
(В.20) |

Рисунок В.5 - Разложение скорости V
Ускорения (см. рисунок В.6) рассчитывают по формуле:
|
|
(В.21) |
|
|
(В.22) |
Для определения нормальной и тангенциальной составляющих ускорения b используют соотношения, вытекающие из построений на рисунке В.4:
|
|
(В.23) |
где
и
.
Изложенное выше решение действительно, когда ω1 и ω2 имеют разные направления. Если ω1 имеет то же направление, что и ω2, направление bс должно быть изменено на противоположное.

Рисунок В.6 - Направление ускорения b
В.2. Катальные горы с транспортными средствами на рельсах
В.2.1. Рельсовый путь
Схемы рельсового пути катальной горы с указанием действующих сил и параметров движения представлены на рисунках В.7 и В.8.
Продольный уклон рельсового пути должен быть ограничен таким образом, чтобы результирующая сила, перпендикулярная к рельсовому пути, была не менее 0,2g в самом неблагоприятном случае. Это условие должно выполняться для транспортного средства, движущегося с самой большой скоростью. Если результирующая сила меньше указанного значения, то пассажиры должны быть надежно зафиксированы на сидении.
Для определения угла α поперечного наклона рельса, при котором поперечная сила становится равной нулю (в зависимости от значения скорости транспортного средства), может быть использована следующая формула:
|
|
(В.24) |
где v - скорость тележки;
γ - продольный наклон рельса;
Rh - радиус кривизны в горизонтальной плоскости;
Rv - радиус кривизны в вертикальной плоскости (плюс - впадина; минус - пик).
Угол α следует измерять под прямым углом к Rh и к рельсу. Знак «плюс» применяется, если вертикальная составляющая центробежной силы Cv прижимает транспортное средство к колее, знак «минус» - если Cv отрывает транспортное средство от колеи.
Вертикальное сечение

Рисунок В.7 - Вертикальное сечение и вид сверху рельсовой колеи

Рисунок В.8 - Поперечное сечение рельса с несущими и направляющими колесами
Максимальный поперечный наклон рельсового пути в местах, где существует вероятность полной остановки тележки (например, на предохранительных тормозах), должен быть не более 25°. Скорости, ускорения и силы могут быть определены для центра масс по формуле (В.36). При наличии нескольких соединенных транспортных средств следует учитывать движение общего центра масс.
В формулах (В.24 - В.36), на рисунках В.7 и В.8 использованы следующие обозначения:
а - ширина колеи;
е- расстояние до центра тяжести;
g - ускорение свободного падения;
а- теоретический поперечный наклон рельса;
β - фактический поперечный наклон рельса;
γ - продольный наклон рельса;
δ - установочный угол направляющих роликов;
- вертикальный
радиус оси рельса (плюс - впадина, минус - подъем);
-
горизонтальный радиус оси рельса;
±RV - вертикальный радиус центра тяжести (плюс - впадина, минус - подъем);
Rh - горизонтальный радиус центра тяжести;
Cv - вертикальная составляющая центробежной силы;
Ch - горизонтальная составляющая центробежной силы;
F - результирующая нагрузка;
V - нагрузка от F, действующая перпендикулярно рельсовому пути;
Н - нагрузка от F, действующая в плоскости рельсового пути;
μ - коэффициент трения между несущими (основными) колесами и рельсовым путем;
- коэффициент
трения между направляющими колесами и рельсовым путем;
f - плечо силы трения;
μ2 - коэффициент трения подшипников;
А - площадь проекции поверхности тележки, взаимодействующая с воздушным потоком;
Сf - коэффициент, учитывающий форму;
hl - подъем точки 1;
h2 - подъем точки 2;
h - разность высот: h1 - h2,
Q - нагрузка транспортного средства, включая нагрузку от пассажиров;
m - масса транспортного средства, включая массу пассажиров;
D1 - диаметр основного колеса;
D2 - диаметр направляющего колеса;
d1 - диаметр оси основного колеса;
d2 - диаметр оси направляющего колеса;
v1 - скорость в точке 1;
v2 - скорость в точке 2;
vm - средняя скорость;
l - фактическая длина рельсового пути от точки 1 до точки 2;
р - плотность воздуха.
Радиусы кривизны рассчитывают по формулам:
|
|
(В.25) |
|
|
(В.26) |
Примечание - В местах, где колея имеет крутые повороты, формулы (В.25) и (В.26) могут стать неточными и потребуется более точная оценка.
Скорости, силы и соответствующий им наклон рельса рассчитывают по формулам:
|
|
(В.27) |
|
|
(В.28) |
|
|
(В.29) |
|
|
(В.30) |
|
|
(В.31) |
|
|
(В.32) |
|
|
(В.33) |
|
|
(В.34a) |
Коэффициенты трения рассчитывают по формулам:
|
|
(В.34 |
|
|
(В.35) |
Все силы отнесены к середине отрезка пути, длина которого не должна превышать 5 м.
|
|
(В.36) |
После подстановки всех значений в формулу (В.36) получим:




|
|
(В.36a) |
Вычисления по формуле (В.36а) проводят итерационным методом, причем значение vm определяют по формуле (В.30). На первом шаге итерации значение vm может быть принято равным v1.
Поскольку коэффициенты трения могут сильно меняться по величине в процессе работы и в зависимости от особенностей конструкции, чистоты поверхности рельсов и погоды, необходимо измерить фактические скорости и ускорения. Не должно быть существенного расхождения с расчетными значениями. Для расчета сил, действующих на отдельное колесо, необходимы дополнительные данные. Для скоростной колеи с крутыми петлями или спиралями необходимо учитывать динамику.
В.2.2. Несущая конструкция
При расчетах мобильных катальных гор (с бесфундаментным опиранием) возможную осадку колонн необходимо учитывать путем уменьшения на 50 % расчетного значения момента на опоре, а увеличение высоты колонны необходимо учитывать путем увеличения на 25 % значения того же момента. Увеличение или уменьшение этих моментов следует учитывать при расчетах на усталость.
Для опорных колонн без рекламного оформления и украшений, поддерживающих замкнутый рельсовый путь, при проверке устойчивости и угрозы скольжения оценку ветровой нагрузки можно не выполнять.
Обычно не проверяют аттракционы на устойчивость к опрокидыванию под воздействием ветровой нагрузки, если только не могут возникнуть значительные горизонтальные силы, обусловленные особенностями формы или исключительно большой площадью конструкции, или ее оформлением (декорации, осветительные панели и т.п.).
В.3. Качели
В.3.1. Общие положения
Обычно качели рассчитывают на угол отклонения не более 120° от положения равновесия. Для детских качелей, у которых расстояние от нижнего края гондолы до оси подвеса не превышает 2 м, максимальный угол отклонения не должен превышать 90°.
Для расчета качелей с полным переворотом необходимо принимать максимальный угол отклонения равным 180°.
Для качелей с полным переворотом и противовесом избыточный вес гондолы должен учитываться в каждом случае как односторонняя перегрузка в добавление к весу пассажиров.
Предполагая, что основания стоек находятся в одной и той же горизонтальной плоскости и что угол наклона стоек одинаков, можно принять следующий упрощенный метод расчета для обычных качелей-лодок (см. рисунок В.9).
Во время раскачивания возникают следующие силы:
Н - горизонтальная составляющая радиальной силы, рассчитываемая по формуле:
|
Н = Q(3cos θ – 2cos θmах)sin θ (r/к)2; |
(В.37) |
V - вертикальная составляющая радиальной силы, рассчитываемая по формуле
|
V = Q [(3cos θ - 2 cos θmax) cos θ (r/k)2 + {1 - (r/k)2}], |
(В.38) |
где Q - собственный вес движущихся частей и временная движущаяся нагрузка (гондола - связи - пассажиры);
θ - угол отклонения гондолы;
θтах - максимальный угол отклонения гондолы;
r - радиальное расстояние центра масс от оси вращения;
k - радиус вращения всех элементов качелей вокруг оси.
Если нет противовеса, и качели представляются как материальная точка, а r/k = 1, то действующие силы S, Н, V рассчитывают по формулам:
|
S = Q(3cos θ - 2cos θmax); |
(В.39) |
Н = S·sin θ;
V = S·cos θ,
где S - радиальная сила для маятника, эквивалентная раскачивающейся гондоле;
Н - см. формулу (В.37);
V - см. формулу (В.38).
В таблице В.3 значения сил, полученные на основании вышеприведенных формул для колебаний материальной точки при разных углах отклонения, указаны для максимальных углов отклонения гондолы (θтах) относительно положения покоя, равных 90°, 120° и 180°.
Силы, действующие на опоры, рассчитывают по формулам:
|
|
(В.40) |
где Dg - сжимающее усилие в опорах;
G - сила собственного веса;
α - угол наклона опор.
![]()

Обозначения: G - постоянная нагрузка от неподвижных элементов (опоры, ось, подшипники) (если качели установлены на платформе, то ее собственный вес может быть включен в значение G только при условии, что платформа прочно прикреплена к опорам и монтируется совместно с ними); W - ветровая нагрузка; S - радиальная сила для маятника, эквивалентная раскачивающейся гондоле; H и V - горизонтальная и вертикальная составляющие радиальной силы S; I - расстояние между опорами; h - высота качелей; hw - высота точки приложения ветровой нагрузки; α - угол наклона опор; θ - угол отклонения гондолы; θтах - максимальный угол отклонения гондолы; а - а - линия закрепления опор; Z - усилие, действующее в основании опоры
Рисунок В.9 - Качели типа «Лодка»
|
|
(В.41) |
где Df - центробежная сила;
V - см. формулу (В.38);
Н - см. формулу (В.37);
α - см. формулу (В.40).
Максимальное значение силы, действующей на опору, Df определяют из соотношения D(/Q для различных углов отклонения с использованием соотношений величин V/Q и H/Q по таблице В.3 [где Q - см. формулу (В.38)].
Таблица В.3
Значения сил, действующих в элементах качелей при различных углах отклонения гондолы
|
θmax = 90° |
|||
|
Угол отклонения гондолы θ |
Значения соотношения величин |
||
|
S/Q |
V/Q |
H/Q |
|
|
90° |
0 |
0 |
0 |
|
80° |
+0,52 |
+0,09 |
+0,51 |
|
70° |
+1,03 |
+0,35 |
+0,96 |
|
60° |
+1,50 |
+0,75 |
+1,30 |
|
50° |
+1,93 |
+1,24 |
+1,48 |
|
45° |
+2,12 |
+1,50 |
+1,50 |
|
40° |
+2,30 |
+1,76 |
+1,48 |
|
30° |
+2,60 |
+2,25 |
+1,30 |
|
20° |
+2,82 |
+2,65 |
+0,97 |
|
10° |
+2,96 |
+2,91 |
+0,51 |
|
0° |
+3,00 |
+3,00 |
0 |
|
θmax = 120° |
|||
|
Угол отклонения гондолы θ |
Значения соотношения величин |
||
|
S/Q |
V/Q |
H/Q |
|
|
120° |
-0,50 |
+0,25 |
-0,43 |
|
110° |
-0,03 |
+0,01 |
-0,02 |
|
100° |
+0,48 |
-0,09 |
+0,47 |
|
90° |
+1,00 |
0 |
+1,00 |
|
80° |
+1,52 |
+0,27 |
+1,50 |
|
70° |
+2,03 |
+0,69 |
+1,90 |
|
60° |
+2,50 |
+1,25 |
+2,16 |
|
50° |
+2,93 |
+1,88 |
+2,24 |
|
40° |
+3,30 |
+2,53 |
+2,12 |
|
30° |
+3,60 |
+3,11 |
+1,80 |
|
20° |
+3,82 |
+3,59 |
+1,31 |
|
10° |
+3,96 |
+3,90 |
+0,69 |
|
0° |
+4,00 |
+4,00 |
0 |
|
θmax = 180° |
|||
|
Угол отклонения гондолы θ |
Значения соотношения величин |
||
|
S/Q |
V/Q |
H/Q |
|
|
180° |
-1,00 |
+1,00 |
0 |
|
170° |
-0,96 |
+0,94 |
-0,17 |
|
160° |
-0,82 |
+0,77 |
-0,28 |
|
150° |
-0,60 |
+0,52 |
-0,30 |
|
140° |
-0,30 |
+0,23 |
-0,19 |
|
130° |
+0,07 |
-0,05 |
+0,05 |
|
120° |
+0,50 |
-0,25 |
+0,43 |
|
110° |
+0,97 |
-0,33 |
+0,92 |
|
100° |
+1,48 |
-0,26 |
+1,46 |
|
90° |
+2,00 |
0 |
+2,00 |
|
80° |
+2,52 |
+0,44 |
+2,48 |
|
70° |
+3,03 |
+1,04 |
+2,84 |
|
60° |
+3,50 |
+1,75 |
+3,03 |
|
50° |
+3,93 |
+2,53 |
+3,01 |
|
40° |
+4,30 |
+3,29 |
+2,76 |
|
30° |
+4,60 |
+3,98 |
+2,30 |
|
20° |
+4,82 |
+4,53 |
+1,65 |
|
10° |
+4,96 |
+4,88 |
+0,86 |
|
0° |
+5,00 |
+5,00 |
0 |
Расчет по формуле (В.41) предполагает наличие эффективного недеформируемого крепления оснований стоек. В противном случае значение Df должно быть умножено на коэффициент 2. Ветровую нагрузку, действующую на стойки, Dw рассчитывают по формуле:
|
|
(В.42) |
где W - общая ветровая нагрузка;
hw - высота точки приложения ветровой нагрузки;
l - расстояние между опорами;
α - см. формулу (В.40).
Площадь, на которую действует давление ветра, для гондолы с пассажирами можно приблизительно принять равной 1,2 м2, учитывая, что ветер действует перпендикулярно для всех положений качелей в диапазоне значений угла θ от 0° до 60°.
Предполагается, что точка приложения этой силы ветра находится на уровне подвеса. В случае необходимости следует учитывать ветровые нагрузки на элементы оформления и рекламы. Полную силу, действующую на опоры, ΣD рассчитывают по формуле:
|
ΣD = Dg + Dfmax + Dw; |
(В.43) |
где Dg - усилия в опорах от собственного веса;
Dfтах - максимальная центробежная сила;
Dw - сила ветра.
В.3.2. Оценка опасности опрокидывания
Опрокидывающий момент Мk относительно линии закрепления опор а - а (см. рисунок В.9) рассчитывают по формуле:
|
|
(В.44) |
где Н - см. формулу (В.37);
h - высота качелей;
V - см. формулу (В.38);
l, W, hw - см. формулу (В.42).
Значения величин V и Н должны быть получены с использованием данных таблицы В.3 для соответствующего угла θmax.
Стабилизирующий момент Mst относительно линии закрепления опор а - а (см. рисунок В.9) рассчитывают по формуле:
|
|
(В.45) |
G - вес неподвижных элементов;
l - см. формулу (В.42).
В формуле (В.45) величина G представляет собой минимальный вес, который должен быть гарантирован (например, если используется древесина, то ее вес должен учитываться в сухом состоянии). Для предупреждения опрокидывания качелей должно быть выполнено условие Мst ≥ Мk.
Если Mst < Мk, то необходимо
обеспечить дополнительное крепление опор качелей, так чтобы выполнялось условие
Z ≥ Zv,, где
. Это условие обеспечивается, как указано в 8.2.7
настоящего стандарта.
Подвесные тяги гондолы проверяют расчетом на растяжение, а также на устойчивость для углов отклонения, превышающих 120°.
Если подшипники, в которых закреплена ось подвески гондолы, имеют эксцентриситет относительно поперечной балки, то балка подвергается воздействию крутящего момента, а опоры - воздействию изгибающего момента. Сопротивление элементов конструкции указанным воздействиям должно быть проверено расчетом.
Значения прогибов, выгибов и перемещений элементов и конструкций следует определять от действия нормативных значений временных нагрузок. Предельные значения прогибов, выгибов и перемещений fu элементов и конструкций не должны превышать указанных в таблице Г.1.
Таблица Г.1
Предельные значения прогибов, выгибов и перемещений
|
Наименование элементов и конструкций |
Предельное значение |
|
|
вертикального прогиба или выгиба fu |
горизонтального выгиба или перемещения fu |
|
|
1. Изгибаемые, сжато-изгибаемые и сжатые элементы |
l/500 |
l/500 |
|
2. Элементы путей под движущиеся транспортные средства |
l/500 |
- |
|
3. Конструкция в целом, рассматриваемая как консоль, защемленная в основании |
- |
h/1000 |
|
Обозначения: l - пролет или длина элемента; h - высота, равная расстоянию от низа опорной плиты до верха стальной конструкции. Примечание - Для консоли вместо значения l принимают значение удвоенного вылета. |
||
При соблюдении всех требований настоящего стандарта по обеспечению надежности конструкций допускается предельные значения fu увеличивать по сравнению с приведенными в таблице Г.1, но во всех случаях принимать не более 2fu.
В зависимости от условий эксплуатации элементы конструкций следует разделять на три группы:
1 - элементы и детали, работающие в особо тяжелых условиях и непосредственно воспринимающие динамические или вибрационные нагрузки (элементы пути для рельсовых транспортных средств или каруселей; соединительные фланцы; элементы, соединяющие секции пути между собой и со стойками и т.п.);
2 - элементы и детали, работающие в основном при статических нагрузках (опоры, стойки и их соединительные детали; посадочные площадки; лестницы; конструкции, поддерживающие механизмы и оборудование, и т.п.);
3 - вспомогательные и слабонагруженные элементы и детали (связи стоек и их соединительные детали, элементы наземного каркаса, кроме указанных в группах 1 и 2, и т.п.).
Стали для элементов конструкций и дополнительные требования к ним установлены в таблице Д.1.
Стали для конструкций
|
Марка стали |
Прокат |
Категория или группа стали для конструкций группы |
Дополнительные требования (см. примечания к настоящей таблице) |
|
|||
|
Вид проката |
Обозначение нормативного документа |
||||||
|
1 |
2 |
3 |
|
||||
|
Ст3сп и Ст3пс по ГОСТ 380 |
Листовой |
Кат. 5 и 6 |
Кат. 4 |
Кат. 3 |
- |
|
|
|
Фасонный, сортовой |
Кат. 5 |
Кат. 4 |
Кат. 3 |
- |
|
||
|
Трубы |
Гр.В |
Гр.В |
Гр.В |
2 |
|
||
|
10 и 20 по ГОСТ 1050 |
Трубы |
Гр.В |
Гр.В |
Гр.В |
2 |
|
|
|
09Г2С; 09Г2; 12ГС; 17Г1С по ГОСТ 19281 |
Листовой, фасонный, сортовой |
Кат. 11 и 12 |
Кат. 3 |
Кат. 10 |
3 |
|
|
Примечания1. Для сварных конструкций содержание углерода в готовом прокате не должно превышать 0,22 %. 2. Для труб в конструкциях групп 1 и 2 ударная вязкость KCU-20 ≥ 30 Дж/см2. 3. Для фланцев в соединениях элементов, воспринимающих усилия растяжения, листовой прокат должен удовлетворять следующим требованиям: - относительное сужение в направлении толщины проката должно соответствовать группе качества не хуже Z15 по ГОСТ 28870; - по сплошности при проведении ультразвукового контроля прокат должен соответствовать классу 1 по ГОСТ 22727. Указанные требования к материалу фланцев распространяются на фланцевые стыки, в которых расчетные напряжения превышают 50 % несущей способности, определенной при расчете фланца на изгиб и сварного соединения фланца с профилем согласно 10.5.4 настоящего стандарта. 4. По сплошности при проведении ультразвукового контроля прокат, предназначенный для конструкций группы 1, должен соответствовать классу 1 по ГОСТ 22727. 5. Бесшовные горячедеформированные трубы, изготовленные из слитков, имеющих маркировку с литерой «Л», применять не следует. 6. Допускается использовать стали марок, не указанных в таблице Д.1, если подтверждено соответствие их механических и технологических свойств требованиям, предъявляемым к сталям, приведенным в настоящей таблице. 7. По согласованию с заказчиком допускается использовать стали, к которым предъявляются дополнительные требования в части химического состава и механических свойств. |
|
||||||
Материалы для сварки указаны в таблице Д.2.
Материалы для сварки
|
Марка стали |
Электродные материалы для сварки |
||
|
Тип электрода по ГОСТ 9467 |
Марка сварочной проволоки по ГОСТ 2246 |
||
|
для сварки в углекислом газе по ГОСТ 8050 и его смеси с аргоном по ГОСТ 10157 |
для сварки под флюсом по ГОСТ 9087 |
||
|
Ст3сп, Ст3пс, 20 |
Э42, Э42А, Э46, Э46А.Э50, Э50А |
Св-08Г2С |
Св-08А, Св-08ГА |
|
09Г2С, 09Г2, 12ГС, 17Г1С |
Э46, Э46А, Э50, Э50А |
Св-08Г2С |
Св-08ГА, Св-10ГА |
|
Примечание - При соответствующем технико-экономическом обосновании для сварки конструкций допускается использовать материалы, не указанные в таблице Д.2. При этом механические свойства металла шва, выполняемого с их применением, должны быть не ниже свойств, обеспечиваемых применением материалов по настоящей таблице. |
|||
Схема стержневого анкера представлена на рисунке Е.1.
Расчетную несущую способность простых стержневых анкеров круглого сечения с минимальным заглублением в грунт на 80 см для жестких связных грунтов определяют по формуле:
|
Z = (6,5 + 0,08β)l'd, |
(Е.1) |
где Z- расчетная несущая способность анкера, Н;
β - угол приложения нагрузки, град.; (0° ≤ β ≤ 45°);
l - заглубление, см; (l' ≥ 80 см);
d - диаметр поперечного сечения анкера, см; (d ≥ 0,025l' + 0,5).
Расчетная несущая способность анкера может быть определена экспериментально путем контрольного нагружения анкеров, установленных и нагруженных в условиях, соответствующих натурным. Испытаниям должно быть подвергнуто не менее трех анкеров. Расчетная несущая способность рассчитывается по минимальному результату испытаний с коэффициентом надежности γ, равным 2.
Результирующая нагрузка Zres, действующая на анкер, определяется как сумма векторов с учетом коэффициентов безопасности γ''fQ и γ'fG по 8.2.2 настоящего стандарта (рисунок Е.2). При этом результирующая нагрузка должна быть не более расчетной несущей способности анкера Zres ≤ Z.
При использовании групп анкеров расстояние между смежными анкерами должно быть не менее пятикратного значения их диаметра.
Необходимо учитывать, что динамические нагрузки могут привести к снижению несущей способности анкерного крепления.

Zv и Zh - вертикальная и горизонтальная составляющие расчетной несущей способности анкера; Z, l', β - см. формулу (Е.1)
Рисунок Е.1 - Схема стержневого анкера

ZG - благоприятно действующая постоянная нагрузка; ZQ - неблагоприятно действующая временная нагрузка; Zres - результирующая нагрузка, действующая на анкер;
γ''fQ и γ'fG - коэффициенты надежности по 8.2.2
Рисунок Е.2 - Схема нагрузок, действующих на стержневой анкер
|
Наименование элементов конструкций |
Значение предельной гибкости λи |
|
1. Сжатые элементы: |
|
|
- стволы башен для обозрения и для прыжков, основные опоры колес обозрения и каруселей |
120 |
|
- стойки, пояса и решетки основных несущих конструкций колес обозрения, каруселей, катальных гор |
160 |
|
- связевые и другие элементы |
200 |
|
2. Растянутые элементы при нагрузках: |
|
|
- статических |
400 |
|
- динамических |
300 |
|
Примечания 1. Для элементов, непосредственно воспринимающих динамические нагрузки, значения предельных гибкостей для исключения резонанса следует при необходимости уменьшать с учетом параметров колебания. 2. Предельные значения гибкости сжатых элементов допускается увеличивать по сравнению с приведенными в настоящей таблице, но не более чем на 25 %. При этом при проверке устойчивости конструкций как единых пространственных стержневых систем в соответствии с 8.1.2 коэффициент запаса по общей устойчивости должен быть γgs ≥ 1,5. |
|
И.1 Таблицы, используемые для расчета элементов на усталость
Группы концентраторов в элементах конструкций при расчете на усталость
|
Индекс концентратора |
Характеристика элемента |
Схема элемента |
Требования к выполнению швов по таблице И.2 |
|
|
Группа 1 |
|
|
|
1 01 |
Основной металл с прокатанными или обработанными механическим путем кромками, а также с кромками, обрезанными машинной газовой резкой |
- |
- |
|
|
Группа 2 |
|
|
|
2 11 |
Элементы с отверстиями под заклепки и болты, а также с заклепками и болтами при их нагружении не выше 20 % несущей способности |
|
- |
|
|
Группа 3 |
|
|
|
3 21 |
Элементы с отверстиями в двухсрезных болтовых и заклепочных соединениях |
|
- |
|
3 22 |
Элементы с отверстиями в односрезных болтовых и заклепочных соединениях |
|
- |
|
3 23 |
Элементы с отверстиями в односрезных болтовых и заклепочных соединениях при эксцентричном приложении нагрузки |
|
- |
|
|
Группа 4 |
|
|
|
4 11 |
Элементы со стыковым поперечным швом особо высокого уровня качества |
|
|
|
4 12 |
Элементы различной толщины со стыковым поперечным швом особо высокого уровня качества. Более толстый элемент имеет односторонний или симметричный скос по толщине с уклоном ≤ 1:4 или ≤ 1:3 соответственно |
|
|
|
4 13 |
Вваренный узловой элемент с поперечными стыковыми швами высокого уровня качества |
|
|
|
4 14 |
Вертикальные листы, соединенные стыковым швом особо высокого уровня качества |
|
|
|
4 21 |
Элементы, соединенные продольным стыковым швом нормального уровня качества |
|
|
|
4 22 |
Вертикальный лист, вваренный между двумя поясными профилями стыковыми швами нормального уровня качества |
|
|
|
4 23 |
Элементы таврового и крестообразного сечений с продольным К-образным двусторонним швом |
|
|
|
|
Группа 5 |
|
|
|
5 11 |
Элементы со стыковым поперечным швом особо высокого уровня качества |
|
|
|
5 12 |
Элементы со стыковым поперечным швом нормального уровня качества. Более толстый элемент имеет односторонний или симметричный скос по толщине |
|
|
|
5 13 |
Вваренный узловой элемент с поперечными стыковыми швами нормального уровня качества |
|
|
|
5 14 |
Вертикальные листы, соединенные стыковым швом нормального уровня качества |
|
|
|
5 21 |
Элементы, соединенные продольным стыковым швом нормального уровня качества |
|
|
|
5 23 |
Элементы таврового сечения с продольным угловым швом нормального уровня качества |
|
|
|
531 |
Сквозной элемент, к которому с помощью двустороннего К-образного поперечного шва особо высокого уровня качества приварен поперечный вертикальный элемент |
|
|
|
5 32 |
Сквозной элемент, к которому с помощью двустороннего К-образного поперечного шва особо высокого уровня качества приварена шайба |
|
|
|
5 33 |
Поясные и вертикальные листы в элементе коробчатого сечения, к которым с помощью двусторонних угловых швов особо высокого уровня качества приварены диафрагмы или ребра жесткости со срезанными углами |
|
|
|
5 54 |
Вертикальные и изогнутые поясные листы в элементе двутаврового сечения, к которым с помощью двустороннего К-образного шва особо высокого уровня качества приварена стенка |
|
|
|
|
Группа 6 |
|
|
|
6 11 |
Элементы из фасонного или сортового проката со стыковым поперечным швом особо высокого уровня качества |
|
|
|
6 12 |
Элементы различной толщины со стыковым поперечным швом особо высокого уровня качества. Более толстый элемент имеет односторонний или симметричный скос по толщине с уклоном ≤ 1:3 и ≤ 1:2 соответственно |
|
|
|
6 13 |
К сквозному элементу с помощью поперечных стыковых швов особо высокого уровня качества с двух сторон приварены поясные листы с угольниками; концы швов подвергнуты механической обработке |
|
|
|
6 14 |
Элементы приварены стыковым поперечным швом особо высокого уровня качества; концы швов подвергнуты механической обработке |
|
|
|
6 31 |
Сквозной элемент, к которому с помощью двустороннего углового шва особо высокого уровня качества приварен поперечный вертикальный элемент |
|
|
|
6 32 |
Сквозной элемент, к которому с помощью двустороннего углового поперечного шва особо высокого уровня качества приварена шайба |
|
|
|
6 33 |
Поясные и вертикальные листы в элементе коробчатого сечения, к которым с помощью двусторонних угловых швов особо высокого уровня качества по всему периметру приварены диафрагмы или ребра жесткости со срезанными углами |
|
|
|
6 41 |
Сквозной элемент, к кромке которого продольным стыковым швом нормального уровня качества приварена фасонка со скошенными или закругленными торцами; концы швов подвергнуты механической обработке |
|
|
|
6 42 |
Сквозной элемент, к которому продольным угловым швом особо высокого уровня качества приварено вертикальное ребро жесткости (фасонка) со скошенными или закругленными торцами; концевые участки швов на длине ≥ 5t представляют собой К-образные швы особо высокого уровня качества |
|
|
|
6 44 |
Сквозной элемент, к которому приварена накладка. Концевой угловой шов особо высокого уровня качества на длине ≥ 5t имеет соотношение катетов 1:3 с высотой рабочего сечения а = 0,5t; переход поверхности концевого шва к основному металлу подвергнут механической обработке |
|
|
|
6 45 |
К плоскому элементу кольцевым угловым швом особо высокого уровня качества приварены накладки |
|
|
|
6 51 |
Между двумя элементами поперечными К-образными двусторонними швами особо высокого уровня качества вварен сквозной элемент |
|
|
|
6 52 |
Элемент, воспринимающий изгиб и сдвиг, образует с другим элементом тавровое соединение с использованием К-образного двустороннего шва особо высокого уровня качества |
|
|
|
6 53 |
Тавровое соединение с двусторонним К-образным швом особо высокого уровня качества, воспринимающее вертикальные подвижные нагрузки |
|
|
|
6 54 |
Вертикальные и изогнутые поясные листы в элементе двутаврового сечения, к которым с помощью двустороннего К-образного шва нормального уровня качества приварена стенка |
|
|
|
|
Группа 7 |
|
|
|
7 11 |
Элементы со стыковым поперечным швом, выполненным с одной стороны на подкладке |
|
|
|
7 12 |
Элементы различной толщины со стыковым поперечным швом нормального уровня качества. Более толстый элемент имеет односторонний или симметричный скос по толщине с уклоном ≤ 1:2 и ≤ 1:1 соответственно |
|
|
|
7 13 |
К сквозному элементу с помощью поперечных стыковых швов нормального уровня качества с двух сторон приварены поясные листы с угольниками; концы швов подвергнуты механической обработке |
|
|
|
7 14 |
Трубчатые элементы соединены кольцевым стыковым швом, корень которого сформирован на выступе без подварочного шва |
|
|
|
7 31 |
Сквозной элемент, к которому с помощью двустороннего углового шва нормального уровня качества приварен поперечный вертикальный элемент |
|
|
|
7 33 |
Поясные и вертикальные листы в элементе коробчатого сечения, к которым с помощью двусторонних угловых швов нормального уровня качества по всему периметру приварены поперечные диафрагмы или ребра жесткости |
|
|
|
7 41 |
Сквозной элемент, к кромке которого продольным угловым швом особого уровня качества приварена фасонка со скошенными торцами; концы швов подвергнуты механической обработке |
|
|
|
7 42 |
Сквозной элемент, к которому продольным угловым швом приварено вертикальное ребро жесткости (фасонка) со скошенными торцами; концевые участки швов на длине ≥ 5t представляют собой угловые швы особо высокого уровня качества |
|
|
|
7 43 |
В прорезь элемента К-образными двусторонними швами нормального уровня качества вварено вертикальное продольное ребро жесткости со скошенными или закругленными торцами; концевые участки швов на длине ≥ 5t представляют собой К-образные двусторонние швы особо высокого уровня качества |
|
|
|
7 44 |
Сквозной элемент, к которому приварена накладка. Концевой угловой равнокатетный шов особо высокого уровня качества на длине ≥ 5t0 подвергнут механической обработке. Отношение толщины накладки к толщине основного элемента t0 ≤ 1,5t |
|
|
|
7 45 |
Соединение элементов с двумя накладками при соотношении толщины t0 ≤ t. Нахлесточные соединения выполнены угловыми швами нормального уровня качества. Зона перехода поверхности лобовых швов к основному металлу подвергнута механической обработке |
|
|
|
7 46 |
Элемент таврового сечения выполнен продольными связующими прерывистыми угловыми швами нормального уровня качества |
|
|
|
7 47 |
Узел фермы из фасонного проката, в котором раскосы приварены к поясу по всему периметру примыкания угловыми швами особо высокого уровня качества |
|
|
|
7 48 |
Узел фермы из труб с непосредственным примыканием элементов, в котором раскосы приварены к поясу угловыми швами особо высокого уровня качества |
|
|
|
7 51 |
Между двумя элементами поперечными К-образными двусторонними швами нормального уровня качества вварен сквозной элемент |
|
|
|
7 52 |
Элемент, воспринимающий изгиб и сдвиг, образует с другими элементами тавровое соединение с использованием К-образного двустороннего шва нормального уровня качества |
|
|
|
7 53 |
Тавровое соединение с двусторонним К-образным швом нормального уровня качества, воспринимающее вертикальные подвижные нагрузки |
|
|
|
7 54 |
Вертикальные и изогнутые поясные листы в элементе двутаврового сечения, к которым с помощью двустороннего углового шва нормального уровня качества приварена стенка |
|
|
|
|
Группа 8 |
|
|
|
8 12 |
Элементы различной толщины, эксцентрично соединенные поперечным стыковым швом нормального уровня качества. Более толстый элемент не имеет скоса по толщине |
|
|
|
8 13 |
К сквозному элементу с помощью поперечных стыковых швов нормального уровня качества с двух сторон приварены поясные листы |
|
|
|
8 14 |
Фланцы приварены к трубам угловыми швами нормального уровня качества |
|
|
|
8 33 |
Поясные и вертикальные листы в элементе коробчатого сечения, к которым с помощью односторонних угловых швов нормального уровня качества приварены по всему периметру поперечные диафрагмы |
|
|
|
8 41 |
Сквозной элемент, к кромке которого продольным швом приварена прямоугольная пластина |
|
|
|
8 42 |
Сквозной элемент, к которому продольными угловыми швами нормального уровня качества приварена вертикальная прямоугольная пластина |
|
|
|
8 43 |
В прорезь элемента двусторонними угловыми швами нормального уровня качества вварена вертикальная продольная прямоугольная пластина |
|
|
|
8 44 |
Сквозной элемент, к которому угловыми швами нормального уровня качества приварена накладка |
|
|
|
8 45 |
Нахлесточное соединение двух пластин с угловым швом нормального уровня качества, выполненным по периметру внутреннего отверстия |
|
|
|
8 46 |
Два фасонных элемента, между продольными кромками которых с помощью угловых или стыковых швов нормального уровня качества вварены соединительные вставки |
|
|
|
8 47 |
Узел фермы из фасонного проката, в котором раскосы приварены к поясу по всему периметру примыкания угловыми швами нормального уровня качества |
|
|
|
8 48 |
Узел фермы из труб с непосредственным примыканием элементов, в котором раскосы приварены к поясу угловыми швами нормального уровня качества |
|
|
|
8 51 |
Между двумя элементами с помощью поперечных швов вварен сквозной элемент; швы нормального уровня качества двусторонние угловые или односторонние на подкладке и с разделкой кромок |
|
|
|
8 52 |
Элемент, воспринимающий изгиб и сдвиг, образует с другим элементом тавровое соединение с использованием двустороннего углового шва нормального уровня качества |
|
|
|
8 53 |
Тавровое соединение с двусторонним угловым швом нормального уровня качества, воспринимающее вертикальные подвижные нагрузки |
|
|
|
Обозначение: t - толщина основного элемент; t0 - толщина накладки; Нр, Нр100, HРT - см. таблицу И.2 |
|||
Таблица И.2
Требования к выполнению сварных швов и контролю их качества
|
Вид шва |
Уровень качества |
Требования к выполнению шва |
Контроль качества |
||
|
Технологическая характеристика |
Условное обозначение |
Вид и объем контроля |
Условное обозначение |
||
|
Стыковой |
Особо высокий |
Выполнение подварочного шва с предварительной зачисткой корня. Обработка поверхности шва в направлении действия усилия. Заварка кратера шва |
|
Сплошной неразрушающий контроль шва |
Нр100 |
|
Нормальный |
Выполнение подварочного шва с предварительной зачисткой корня. Заварка кратера шва |
|
Сплошной неразрушающий контроль всех швов, воспринимающих переменные растягивающие напряжения σтах ≥ 0,8 R(ρ) |
Нр100 |
|
|
Неразрушающий контроль 10 % протяженности всех нагруженных швов, выполненных каждым из сварщиков |
Нр |
||||
|
Без выполнения подварочного шва |
|
- |
- |
||
|
Шов с К-образной разделкой с двумя симметричными скосами кромок |
Особо высокий |
Выполнение подварочного шва с предварительной зачисткой корня. Зона перехода поверхности шва к основному металлу выполнена без подрезов либо подвергнута механической обработке |
|
Неразрушающий контроль металла в направлении толщины проката в соответствии с приложением Д настоящего стандарта |
НрТ |
|
Нормальный |
Притупление разделки кромок не более 3 мм и не более 0,2t (где t - толщина элемента) |
|
|
|
|
|
Угловой |
Особо высокий |
Зона перехода поверхности швов к основному металлу выполнена без подрезов либо подвергнута механической обработке |
|
|
|
|
Нормальный |
- |
|
- |
- |
|
|
Обозначение: R(ρ), - расчетный предел выносливости. |
|||||
И.2. Графики, используемые для расчета деталей на усталость [2]
Значения коэффициента βk, учитывающего концентрацию напряжений для вращающихся валов при расчете по формуле (32) настоящего стандарта, определяют по графикам, приведенным на рисунках И.1 - И.6, где представлены наиболее часто встречающиеся формы концентраторов. При наличии нескольких концентраторов на одной детали расчет необходимо выполнять с использованием коэффициента βk с максимальным значением.
Ступенчатый вал

Обозначения:
D, d - диаметры вала,
r - радиус галтели
|
Коэффициенты βk для ступенчатых валов определяют по формулам: βk = 1 + γσfsσ - для нормальных напряжений, βk = 1 + γτfsτ - для касательных напряжений, где γσ, fσs, γτ и fsτ - условные коэффициенты (см. рисунки И.1 и И.2) |
И.1 |
Коэффициенты γ в формуле (И.1) определяются из графика, приведенного на рисунке И.1.

Рисунок И.1 - График для определения значений коэффициентов γ в формуле (И.1)
Значения коэффициентов в формуле (И.1) определяют из графика, приведенного на рисунке И.2.

Рисунок И.2 - График для определения значений коэффициентов в формуле (И.1)
Вал с бортиком

Обозначения:
s - ширина бортика;
d - диаметр вала;
h - высота бортика;
r - радиус галтели.
Значения коэффициентов βk для валов с бортиками определяют из графика, приведенного на рисунке И.3.

Рисунок И.3 - График для определения значений коэффициентов βk для валов с бортиком
Вал со шпоночной канавкой
Форма канавки N1

Обозначения: D - диаметр вала; R, r - радиус галтели
Рисунок И.4 - График для определения значений коэффициентов для валов со шпоночной канавкой, лист 1
Значения коэффициентов βk для валов со шпоночной канавкой определяют из графика, приведенного на рисунке И.4.

Рисунок И.4, лист 2

Обозначения: D - диаметр вала, r - радиус галтели
Рисунок И.5 - График для определения значений коэффициентов βk для шлицевых валов, лист 1
Значения коэффициентов βk для шлицевых валов определяют из графика, приведенного на рисунке И.5.

Рисунок И.5, лист 2
Валы со сверлеными поперечными отверстиями

Обозначения: D - диаметр вала, d - диаметр отверстия
Рисунок И.6 - График для определения значений коэффициентов βk для валов со сверлеными отверстиями, лист 1
Значения коэффициентов βk для валов со сверлеными отверстиями определяют из графика, приведенного на рисунке И.6.

Рисунок И. 6, лист 2
Значения коэффициента ku для расчетов по формуле (32) определяют по графику, приведенному на рисунке И.7.

Обозначение: Rz - параметр шероховатости поверхности
Рисунок И.7 - График для определения значений коэффициента ku.
Значения коэффициента kd для расчетов по формуле (32) определяют по графику, приведенному на рисунке И.8.

Рисунок И. 8 - График для определения значения коэффициента kd.
К.1. Нормы расчета, приведенные в настоящем приложении, распространяются на сварные соединения, соответствующие требованиям ГОСТ 23118, а также 6.2 и 10.2.7 настоящего стандарта.
К.2. Сварные стыковые соединения при центральном растяжении или сжатии силой N рассчитывают по формуле:
|
|
(К.1) |
где t - наименьшая толщина соединяемых элементов;
lw - расчетная длина шва;
Rwy - расчетное сопротивление сварного стыкового соединения растяжению, сжатию или изгибу, устанавливаемое по СНиП II-23 в зависимости от прочностных свойств стали и метода контроля соединения.
К.3. Сварные соединения с угловыми швами
К.3.1. Сварные соединения с угловыми швами при действии силы N, проходящей через центр тяжести соединения, рассчитывают по формуле:
|
|
(К.2) |
где At = Kfβlw - площадь расчетного сечения шва;
Kf - катет углового шва;
β - коэффициент глубины проплавления шва, принимаемый по СНиП II-23 в зависимости от условий сварки;
lw - расчетная длина шва, принимаемая менее его полной длины на 10 мм;
Rwf - расчетное сопротивление углового шва срезу, принимаемое по СНиП II-23 в зависимости от прочностных свойств металла шва.
К.3.2 Сварные соединения с угловыми швами при действии момента М в плоскости, перпендикулярной плоскости расположения швов, рассчитывают по формуле:
|
|
(К.3) |
где Wf - момент сопротивления расчетного сечения шва;
Rwf - см. формулу (К.2).
К.3.3. Сварные соединения с угловыми швами при действии момента М в плоскости расположения швов рассчитывают по формуле:
|
|
(К.4) |
где lfx и lfy - моменты инерции расчетного сечения шва относительно его главных осей х - х и у - у;
х и у - координаты точки шва, наиболее удаленной от центра тяжести расчетного сечения шва;
Rwf - см. формулу (К.2)
К.3.4. Расчетная длина углового шва должна быть не менее 4Kf, но не менее 40 мм (где Kf - катет углового шва).
Значение катета углового шва принимают в соответствии с расчетом по формулам (К.2) - (К.4), но не менее значения, указанного в СНиП II-23 в зависимости от толщины свариваемых элементов и вида сварки.
К.3.5. Односторонние и прерывистые угловые швы допускается применять при дополнительном обосновании.
К.4. Нахлесточные элементы соединений толщиной до 4 мм с точечными швами, выполненными дуговой сваркой сквозным проплавлением, рассчитывают по формулам:
|
|
(К.5) |
|
|
(К.6) |
где Ns и Nt - сила срезывающая и сила отрывающая сварные точки соединения соответственно;
Rwun - нормативное сопротивление металла шва по временному сопротивлению, принимаемое по СНиП II-23;
- нормативное
сопротивление основного металла по временному сопротивлению, принимаемое по СНиП II-23;
п - число сварных точек в соединении;
d - диаметр точечного шва в плоскости соединяемых элементов, принимаемый по ГОСТ 14776;
t - меньшая из толщин свариваемых элементов.
Размер нахлестки в соединении должен быть не менее 5t.
Л.1 Болтовые соединения, воспринимающие продольные силы N, рассчитывают по формулам:
|
|
(Л.1) |
|
|
(Л.2) |
|
|
(Л.3) |
где п - число болтов в соединении;
ns - число срезов одного болта;
Аb - площадь сечения стержня болта;
db - наружный диаметр стержня болта;
Σt - наименьшая суммарная толщина элементов, сминаемых в одном направлении;
Аbп - площадь сечения болта «нетто»;
Rbs, Rbp, Rbt - расчетные сопротивления болтовых соединений срезу, смятию и растяжению соответственно, принимаемые по СНиП II-23;
γb - коэффициент условий работы по СНиП II-23.
Л.2. Болт, подвергающийся одновременному срезу и растяжению, кроме расчета по формулам (Л.1 - Л.3), при п = 1 должен быть дополнительно рассчитан по формуле:
|
|
(Л.4) |
где Ns и Nt - срезывающее и растягивающее усилия соответственно, приходящиеся на болт, остальные обозначения - см. формулы (Л.1) - (Л.3).
Л.3. При работе болтового соединения на сдвиг и непосредственном действии на соединение подвижной нагрузки, а также при необходимости ограничения деформаций конструкций в целом следует, как правило, применять болты класса точности А по ГОСТ 1759.1.
Л.4. Минимальные расстояния между центрами болтов в любом направлении, а также от центра болта до края элемента вдоль и поперек усилия, как правило, принимают соответственно равными 2,5d, 2d и 1,5d (где d - диаметр отверстия для болта).
Допускается уменьшать эти расстояния до 2d, 1,5d и 1,35d, соответственно, при условии снижения на 25 % расчетных сопротивлений срезу и смятию (Rbs и Rbp), указанных в формулах (Л.1) и (Л.2)
Л.5. Болтовые фрикционные соединения рассчитывают в предположении передачи действующих в соединении усилий через трение, возникающее по соприкасающимся плоскостям соединяемых элементов от предварительного натяжения болтов. При этом распределение продольной силы между болтами следует принимать равномерным.
Усилия предварительного натяжения болтов в фрикционных соединениях принимают по таблице М.1 приложения М.
Л.6. Проверку прочности фрикционного болтового соединения выполняют по формулам:
|
|
(Л.5) |
где Q - сдвигающее усилие от расчетных нагрузок, действующее на болтовое соединение;
- расчетное сдвигающее усилие, которое
может быть воспринято каждой контактной поверхностью соединяемых элементов,
стянутых одним болтом;
n - число болтов;
k - число поверхностей трения соединяемых элементов;
В0- расчетное усилие предварительного натяжения болта (см. М.1.1);
μ - коэффициент трения, принимаемый по СНиП II-23;
γb - коэффициент условий работы, принимаемый по СНиП II-23;
yh = 1,5 - коэффициент надежности.
Л.7. Разность номинальных диаметров отверстий и болтов в болтовых фрикционных соединениях должна составлять не более 1 мм.
Л.8. Для болтов, подвергаемых воздействию вибрации, предварительное натяжение не может считаться мерой, достаточной для предупреждения самоотвинчивания, особенно на начальных стадиях эксплуатации аттракциона. Поэтому в эксплуатационной документации должно быть указано место расположения болтов, натяжение которых следует регулярно контролировать.
Применение упругих стопорных шайб (прижимных, стопорных с зубьями, фасонных, с лапкой и носиком и аналогичных) в качестве меры предупреждения самоотвинчивания болтов классов 8.8 и 10.9 не допускается.
М.1. Предварительное натяжение и расчетные усилия болтов
М.1.1. Расчетные усилия предварительного натяжения В0 болтов фланцевых соединений определяют по формуле:
|
|
(М.1) |
где
- нормативное сопротивление растяжению
болта;
Аbп - площадь сечения болта «нетто».
Значения расчетных усилий предварительного натяжения болтов и соответствующие им значения моментов закручивания приведены в таблице М.1.
Расчетные усилия предварительного натяжения и моменты закручивания для болтов фланцевых соединений
|
Диаметр болта, мм |
Расчетное усилие предварительного натяжения В0, кН, для болтов класса по ГОСТ 1759.4 |
Момент закручивания Мt*, Н-м, для болтов класса по ГОСТ 1759.4 |
||||
|
6.8 |
8.8 |
10.9 |
6.8 |
8.8 |
10.9 |
|
|
16 |
60 |
80 |
100 |
175 |
230 |
290 |
|
20 |
94 |
125 |
156 |
340 |
450 |
560 |
|
22 |
116 |
154 |
193 |
460 |
610 |
765 |
|
24 |
134 |
179 |
224 |
580 |
775 |
970 |
|
27 |
175 |
233 |
292 |
860 |
ИЗО |
1420 |
|
30 |
213 |
285 |
356 |
1150 |
1540 |
1920 |
|
36 |
312 |
416 |
520 |
2020 |
2700 |
3370 |
|
* Значения Мt определены с использованием коэффициента закручивания К = 0,18 в соответствии с ГОСТ 22356. |
||||||
М.1.2. Расчетное сопротивление внешнему растягивающему усилию Вft единичного болтового соединения во фланцевом стыке, при условии, что это усилие носит преимущественно статический характер, определяют по формуле:
|
Bft = 0,8B0, |
(М.2a) |
где В0 - усилие предварительного натяжения болта по таблице М.1.
В случае воздействия внешних усилий, расчетные значения которых установлены с учетом ударных нагрузок и вибрации (коэффициенты φ1 > 1 и φ2 > 1, см. 5.9.1 и 5.9.2 настоящего стандарта), значение Вft следует принимать:
|
Bft = 0,7B0, |
(М.2б) |
М.2. Расчет фланцевых соединений
М.2.1. Внешнее усилие в
единичном болтовом соединении фланцевого стыка
, возникающее от совместного действия осевой растягивающей
силы и изгибающего момента, не должно превышать расчетного значения,
определяемого по формуле:
|
|
(М.3) |
где п - число болтов во фланцевом стыке;
N и М - осевая сила и изгибающий момент, действующие на фланцевый стык, соответственно;
Db - диаметр окружности оси постановки болтов;
Вft - см. формулу (М.2а).
М.2.2. В фланцевых
соединениях, подвергаемых растяжению или растяжению с изгибом, внешнее усилие,
действующее на один болт
, предварительно затянутый с усилием по таблице М.1,
составляет:
|
|
(М.4) |
где
- см. формулу (М.3);
χ - коэффициент основной нагрузки, определяемый по формуле:
,
lbt - длина части болта, заключенная внутри фланцевого стыка между внутренними гранями головки болта и гайки;
db - номинальный диаметр болта.
М.2.3. При расчете на
усталость фланцевых соединений напряжение в одном предварительно затянутом
болте, определяемое по усилию
из формул
(М.3) и (М.4), не должно превышать предела выносливости:
|
|
(М.5) |
где
- внешнее усилие,
действующее на один болт;
Аbп - площадь сечения болта «нетто»;
RQ = 40 Н/мм2 - предел выносливости болта при отнулевом цикле напряжений (ρ = 0) на базе 2·106 циклов. Для количества циклов напряжений свыше 2·106 значения R0 определяют по формулам (30а; 30б).
Усталость болтов в соединениях без предварительной затяжки проверяют по формуле:
,
где
- см. формулу (М.3);
остальные обозначения - см. формулу (М.5).
М.2.4. Расчет на прочность при изгибе круглых фланцев в соединениях труб проводят по формуле:
|
|
(М.6) |
где
- приведенная осевая нагрузка на
фланец с учетом изгибающего момента [где N и М - см. формулу (М.3)];
l = (Db – D0)/2 - расстояние между осью болта и окружной осью сечения трубы в соединении (где Db - диаметр окружности оси постановки болтов на фланце, D0 - средний диаметр трубы);
n - число болтов;
d - диаметр отверстия под болт;
tf - толщина фланца;
Ry - расчетное сопротивление проката.
Толщину фланца tf рассчитывают по формуле:
|
|
(М.7) |
При этом толщину фланца tf следует принимать не менее трехкратной толщины стенки трубы tt : tf ≥ 3tt/,.
М.2.5. Расчет фланцевых соединений на поперечную силу Q проводят по формуле (Л.5) приложения Л. При отсутствии местной поперечной силы принимают ее условное значение Q = 0,1μN, где N - внешнее осевое усилие на фланцевое соединение.
М.2.6. Расчет сварного соединения фланца с трубой проводят в соответствии с общими указаниями 10.2 настоящего стандарта. Формула для расчета сварных соединений имеет вид:
|
|
(М.8) |
где N и М - см. формулу (М.3);
Aw и Ww - площадь и момент сопротивления расчетного сечения швов соответственно;
Rwf - расчетное сопротивление углового шва срезу.
Расчет сварных соединений во фланцевых стыках, не имеющих фасонок, укрепляющих соединение фланца с трубой, проводят по формуле:
|
|
(М.9) |
где aw - расчетная высота шва;
остальные обозначения - см. формулы (М.б), (М.7), (М.8).
М.3. Конструирование фланцевых соединений
М.3.1. Стальной прокат, используемый для фланцев, должен соответствовать требованиям, изложенным в приложении Д.
М.3.2. Фланцевые соединения растянутых элементов замкнутого профиля следует выполнять, как правило, со сплошными фланцами.
Наличие ребер жесткости в зоне прикрепления фланца к трубе, их размеры и количество выбирают исходя из напряженно-деформированного состояния соединения в целом.
Болты следует располагать как можно ближе к внешнему контуру присоединяемого к фланцу профиля.
М.3.3. Для восприятия поперечных (сдвигающих) усилий во фланцевых соединениях целесообразно применять дополнительные конструктивные элементы, например штыри.
М.3.4. Меры предупреждения самоотвинчивания болтов фланцевых соединений должны удовлетворять требованиям пункта Л.8 приложения Л.
Н.1. Материалы для пальцев
Н.1.1. Для пальцев должна применяться углеродистая конструкционная сталь по ГОСТ 1050 и легированная конструкционная сталь по ГОСТ 4543.
Пальцы из стали с содержанием углерода более 0,2 % следует, как правило, подвергать упрочняющей термической обработке (закалка плюс отпуск).
Н.1.2. Для пальцев в наиболее ответственных однопальцевых соединениях, рассчитываемых на усталость, отказ которых может привести к травме посетителя или разрушению аттракциона (сцепки тележек и стыки рельсов катальных гор, подвески посадочных мест каруселей и др.), следует применять хромомолибденовую сталь марок 30ХМА, 38ХМА по ГОСТ 4543.
Н.2. Расчетные характеристики
Н.2.1. Расчетные сопротивления пальцев из термически упрочненной стали при изгибе Ru и при срезе Rs, следует определять по формулам:
|
|
(Н.1) |
|
|
(Н.2) |
|
|
(Н.3) |
где
- нормативное
значение временного сопротивления;
γт - коэффициент однородности по материалу, равный 1,2.
Н.3. Расчет на статическую прочность
Н.3.1. Расчет пальца на изгиб проводят по схеме, приведенной на рисунке Н.1. При этом максимальные напряжения изгиба определяют по формуле:
|
|
(Н.1) |
где N - осевое усилие, действующее на пальцевое соединение;
d - диаметр пальца;
t1 и t2 - толщины соединяемых пластин;
b - зазоры между пластинами;
Ru - расчетное сопротивление изгибу.

Обозначения: Мmax - изгибающий момент; q - распределенная нагрузка; σизг - напряжения изгиба; остальные обозначения - см. формулы (Н.4), (Н.6) и (Н.7)
Рисунок Н.1 - Конструктивная и расчетная схема пальцевого соединения
Н.3.2. Расчет элементов пальцевого соединения на смятие проводят по формулам:
|
|
(Н.5) |
где Rp - расчетное сопротивление проката смятию торцевой поверхности; остальные обозначения - см. формулу (Н.4).
На смятие следует рассчитывать соединяемые пластины. Проверку на смятие пальцев по формулам (Н.5) проводят в том случае, если временное сопротивление материала пальца ниже значения аналогичной характеристики пластины.
Н.3.3. При рабочей длине пальца свыше 3d расчеты, выполняемые в соответствии Н3.1 и Н3.2 дают результаты, превышающие значения действительных напряжений. При более точных компьютерных расчетах необходимо использовать основные предпосылки и расчетные схемы, отражающие действительную конструкцию пальцевого соединения и условия его работы, в том числе необходимо учитывать возможность увеличения зазоров в отверстии под воздействием переменных напряжений.
Н.3.4. Размеры пластин в пальцевых соединениях а, с и t1, указанные на рисунке Н.1, рассчитывают по формулам:
|
|
(Н.6) |
где а - расстояние вдоль усилия от края пластины до центра отверстия,
Ry - расчетное сопротивление по пределу текучести,
N, t1, d - см. формулу (Н.4);
|
|
(Н.7) |
где с - расстояние поперек усилия от края пластины до центра отверстия,
t1, d - см. формулу (Н.4),
Ry - см. формулу (Н.6);
|
|
(Н.8) |
|
|
(Н.9) |
где t1 - толщина пластины;
N, d - см. формулу (Н.4);
Ry - см. формулу (Н.6)
Н.3.5. В случае если конструктивно соотношения размеров, указанные в Н3.4, выполнить невозможно, необходимо провести расчет пластин на растяжение по формулам:
- по сечению е - е (см. рисунок Н.1)
|
|
(Н.10) |
- по сечению k - k (см. рисунок Н.1)
|
|
(Н.10) |
Н.3.6. Расчет сварных соединений следует выполнять в соответствии с 10.2 настоящего стандарта.
Н.4. Расчет на усталость
Н.4.1. Расчет пальцев на усталость следует проводить по формулам (28) и (32) настоящего стандарта, причем значение коэффициента βk принимают равным 1, если палец не имеет геометрических концентраторов.
Н.4.2. Расчет на усталость промежуточных элементов с отверстиями и сварных соединений, прикрепляющих эти элементы к основным элементам конструкции, проводят в соответствии с требованиями раздела 9 настоящего стандарта.
Н.5. Требования к конструированию
Н.5.1. В однопальцевых соединениях необходимо предусмотреть резервирование пальца, если его отказ может вызвать разрушение конструкции аттракциона.
Для резервирования пальца допускается применять дополнительный коэффициент надежности γ'af ≥ 1,5 при расчете пальца на прочность либо разрабатывать специальную процедуру систематического контроля пальца, которая должна быть предусмотрена в чертежах и эксплуатационной документации.
Н.5.2. Конструкция многопальцевого соединения должна обеспечивать сохранение его расчетной несущей способности в случае отказа одного из пальцев.
Н.5.3. Зазор по диаметру между стенкой отверстия и пальцем должен быть не более 0,025 диаметра пальца и не более 1 мм, если к обеспечению надежности и работоспособности соединения и конструкции в целом не предъявляют иные требования.
1. Рекомендации по уточненному динамическому расчету зданий и сооружений на действие пульсационной составляющей ветровой нагрузки, утвержденные Научно-техническим Советом Центрального научно-исследовательского института строительных конструкций им. В.А. Кучеренко 15 декабря 1999 г.
2. Berechnungsgrundsatze fur Triebwerke in Hebezeugen. (Основы расчета механизмов подъемных устройств) DIN. Beuth, 1982
|
Ключевые слова: аттракционы механизированные, конструкции стальные, принципы расчета |
|
|
|
|