//
ТехЛит.ру
- крупнейшая бесплатная электронная интернет библиотека для "технически умных" людей.
WWW.TEHLIT.RU - ТЕХНИЧЕСКАЯ ЛИТЕРАТУРА

:: Алготрейдинг::


АЛГОТРЕЙДИНГ
шаг за шагом
с нуля по урокам!

Торговые роботы на PYTHON, BackTrader,
Pandas, Pine Script для TradingView. Связка с брокерами, телеграм и легкими приложениями.


Российское Акционерное общество энергетики и электрификации
«ЕЭС РОССИИ»

Департамент научно-технической политики и развития

ПРАВИЛА
ОРГАНИЗАЦИИ И ПРОВЕДЕНИЯ НАТУРНЫХ
НАБЛЮДЕНИЙ И ИССЛЕДОВАНИЙ НА ПЛОТИНАХ
ИЗ ГРУНТОВЫХ МАТЕРИАЛОВ

РД 153-34.2-21.546-2003

Санкт-Петербург
2004

Утверждено Департаментом стратегии развития и научно-технической политики РАО «ЕЭС России»

Срок первой проверки РД - 2007 г.

Периодичность проверки - один раз в 5 лет

Ключевые слова: грунтовая плотина, натурные исследования, контрольно-измерительная аппаратура, фильтрация, осадки и перемещения, напряжения, диагностические показатели, критерии безопасности, техническое состояние.

Правила организации и проведения натурных наблюдений и исследований на плотинах из грунтовых материалов

РД 153-34.2-21.546-2003

Взамен ВСН 35-70

Минэнерго СССР

Дата введения 2005 - 02 - 01

1. ОБЩИЕ ПОЛОЖЕНИЯ

Назначение Правил и область их применения

1.1. Настоящие Правила следует применять в качестве норм и как практическое пособие при проектировании, организации и проведении контрольных натурных наблюдений и диагностировании грунтовых плотин всех видов и классов.

1.2. Правила содержат указания по соблюдению общих положений по организации и проектированию натурных наблюдений и исследований на грунтовых плотинах, по составу и методике проведения натурных наблюдений, оценке технического состояния грунтовых плотин.

1.3. Правила имеют целью установить единый методический подход к проведению натурных наблюдений и диагностированию грунтовых плотин.

1.4. Настоящие Правила должны применяться на стадии проектирования, строительства и эксплуатации плотин, при проведении натурных наблюдений и исследований, при обработке и анализе их результатов, а также оценке состояния сооружений.

Нормативные ссылки

1.5. В тексте Правил приводятся ссылки на следующие нормативные документы:

Федеральный закон «О безопасности гидротехнических сооружений», № 117-ФЗ от 21.07.1997 г.

СНиП 2.06.05-84*. Плотины из грунтовых материалов. М.: Госстрой СССР. 1991.

СНиП 2.02.02-85. Основания гидротехнических сооружений. Нормы проектирования. М.: Стройиздат. 1986.

СНиП 2.06.01-86. Гидротехнические сооружения. Основные положения проектирования. М.: Госстрой СССР. 1989.

Правила технической эксплуатации электрических станций и сетей Российской Федерации / РД34.20.501-95. 15-е издание. М. 1996.

Положение об отраслевой системе надзора за безопасностью гидротехнических сооружений электростанций / РД34.03.102-94. СПО «Союзтехэнерго». 1994.

ГОСТ 27.002-89. Надежность в технике. Термины и определения. М.: Издательство Стандартов. 1989.

ГОСТ 19185-73. Гидротехника. Основные понятия. Термины и определения.

Рекомендации по диагностическому контролю фильтрационного режима грунтовых плотин: П71 -2000 / ВНИИГ. 2000.

Рекомендации по проведению визуальных наблюдений и обследований на грунтовых плотинах: П72-2000 / ВНИИГ. 2000.

Рекомендации по натурным исследованиям и диагностике грунтовых плотин, расположенных в зоне вечной мерзлоты: П81-2001 / ВНИИГ. 2001.

Рекомендации по проведению натурных наблюдений за осадками грунтовых плотин: П87-2001 / ВНИИГ. 2001.

Руководство по натурным наблюдениям за деформациями гидротехнических сооружений и их оснований геодезическими методами: П-648 / Гидропроект. М.: Энергия. 1980.

ОСТ 3472.965-96. Преобразователи измерительные струнные для объектов энергетики. Общие технические требования.

Методика определения критериев безопасности гидротехнических сооружений / РД 153-34.2-21.342-00. М. 2001.

Термины и определения

1.6. В тексте Правил использованы следующие термины и определения:

Безопасность гидротехнических сооружений - свойство гидротехнических сооружений, позволяющее обеспечить защиту жизни, здоровья и законных интересов людей, окружающей среды и хозяйственных объектов.

Надежность сооружения - свойство сооружения воспринимать проектные внешние нагрузки и воздействия и сохранять во времени в установленных пределах значения всех параметров, характеризующих способность выполнять заданную функцию в заданных режимах и условиях эксплуатации, технического обслуживания и ремонта.

Контрольные натурные наблюдения - систематические инструментальные и визуальные наблюдения, проводимые на сооружении в целях изучения основных параметров работы, комплексного анализа его состояния и оценки эксплуатационной надежности.

Специальные натурные наблюдения (исследования) - наблюдения (исследования), проводимые на сооружении при соответствующем обосновании в целях изучения различных процессов, уточнения методов и результатов расчета и модельных исследований, обоснования конструктивных решений, методов производства работ и улучшения условий эксплуатации сооружения.

Контрольно-измерительная аппаратура (КИА) - совокупность средств измерений (измерительных приборов, датчиков и др.) и вспомогательных устройств, предназначенных для контрольных натурных наблюдений и исследований состояния сооружения и основания.

Измерительный створ (сечение) - условная горизонтальная или вертикальная плоскость в сооружении, в которой устанавливается контрольно-измерительная аппаратура.

Измерительная точка - местоположение одного или компактной группы измерительных устройств в измерительном створе.

Контролируемые показатели - измеренные на данном сооружении с помощью технических средств или вычисленные на основе измерений количественные характеристики, а также качественные характеристики состояния сооружения.

Диагностические показатели - наиболее значимые для оценки безопасности и диагностики состояния гидротехнического сооружения контролируемые показатели, позволяющие дать оценку безопасности и состояния системы сооружение - основание - водохранилище в целом или отдельных ее элементов.

Критерии безопасности гидротехнического сооружения - предельные значения количественных и качественных показателей состояния гидротехнического сооружения и условий его эксплуатации, соответствующие допустимому уровню риска аварии сооружения.

Критерии состояния гидротехнического сооружения.

К1 - первый (предупреждающий) уровень значений диагностических показателей, при достижении которого устойчивость, механическая и фильтрационная прочность сооружения и его основания, а также пропускная способность водосбросных и водопропускных сооружений еще соответствуют условиям нормальной эксплуатации;

К2 - второй (предельный) уровень значений диагностических показателей, при превышении которых эксплуатация сооружения в проектных режимах недопустима.

Эксплуатирующая организация - государственное или муниципальное унитарное предприятие либо организация любой другой организационно-правовой формы, на балансе которой находится гидротехническое сооружение.

Собственник гидротехнического сооружения - Российская Федерация, субъект Российской Федерации, муниципальное образование, физическое лицо или юридическое лицо независимо от его организационно-правовой формы, имеющие права владения, пользования и распоряжения гидротехническим сооружением.

Общие требования к натурным наблюдениям

1.7. Основными задачами натурных наблюдений за гидротехническими сооружениями являются: комплексное изучение их основных показателей работы; проверка соответствия этих показателей проектным предпосылкам, критериям безопасности и нормативным требованиям; объективная оценка эксплуатационной надежности и безопасности сооружений. Для решения указанных задач гидротехнические сооружения должны оснащаться контрольно-измерительной аппаратурой (КИА). В проектах плотин I, II, III классов соблюдение требования по установке КИА для проведения натурных наблюдений и исследований является обязательным. На плотинах IV класса инструментальные натурные наблюдения проводятся при соответствующем обосновании.

1.8. В составе контрольных натурных наблюдений на грунтовых плотинах должны проводиться систематические визуальные наблюдения с целью фиксирования различных дефектов, явлений и процессов, влияющих на надежность сооружения.

1.9. Для ответственных плотин (I - III класс) натурные наблюдения должны быть комплексными и выполняться по специальной для каждого сооружения программе. Их состав должен соответствовать составу объектов (элементов) диагностирования и отвечать требованию получения полной и достоверной информации по всем намеченным проектом диагностическим показателям состояния плотины и необходимым нагрузкам и воздействиям на нее.

1.10. В общем случае состав натурных наблюдений, проводимых на грунтовых плотинах, типы и количество КИА, должен отвечать требованиям СНиП и назначаться проектом.

1.11. Натурные наблюдения должны быть систематическими и обладать высокой оперативностью получения информации и проведения измерений (наблюдений). Регулярными наблюдениями должны охватываться все этапы работы плотины - строительный период, периоды постановки ее под напор, начальной и последующей (многолетней) эксплуатации при проектных нагрузках, период старения.

1.12. Рациональность выбора состава натурных наблюдений и размещения КИА должна оцениваться возможностью дифференцированного контроля состояния элементов плотины, получения фактических значений диагностических показателей ее работы, являющихся наиболее важными для обеспечения надежности сооружения.

1.13. Контрольные натурные наблюдения на плотинах должны проводиться с заданной проектом периодичностью производства измерений в режиме мониторинга.

1.14. Для эксплуатируемых грунтовых плотин должны быть установлены критериальные значения контролируемых показателей их состояния (критерии безопасности).

1.15. Проводимые контрольные наблюдения (инструментальные и визуальные) должны быть просты и доступны по исполнению для эксплуатационного персонала плотины.

2. ОРГАНИЗАЦИЯ НАТУРНЫХ НАБЛЮДЕНИЙ И ИССЛЕДОВАНИЙ

2.1. Контрольные натурные наблюдения (а при необходимости по условиям обеспечения безопасности - специальные исследования) на сооружениях организуются в соответствии с требованиями статей 8, 9 и 13 Федерального закона «О безопасности гидротехнических сооружений», СНиП и других нормативных документов.

2.2. В организации и контроле обеспечения необходимых натурных наблюдений и исследований на сооружениях в рамках своих полномочий участвуют: генпроектная, генподрядная строительная и специализированная научно-исследовательская организации, собственник (эксплуатирующая организация) и территориальные органы государственного надзора за безопасностью гидротехнических сооружений.

2.3. Генпроектная организация в рамках своих полномочий:

разрабатывает проект натурных наблюдений и размещения КИА в сооружениях;

осуществляет авторский контроль за полнотой и качеством реализации проекта на сооружениях, за качеством монтажа и сохранностью КИА;

назначает совместно с научно-исследовательской организацией предельно допустимые значения (критерии безопасности) контролируемых показателей работы и состояния для строящихся и эксплуатируемых сооружений;

участвует в анализе результатов наблюдений, оценке состояния сооружений и соответствия их контролируемых показателей проектным и критериальным показателям (совместно с научно-исследовательской организацией);

оперативно разрабатывает инженерные решения по предотвращению возможных аварийных ситуаций и (или) опасных повреждений сооружений;

участвует в приемке в эксплуатацию КИА, установленной в сооружения, и соответствующей исполнительной документации.

2.4. Научно-исследовательская организация, привлекаемая к проведению натурных наблюдений и исследований, в рамках своих полномочий:

участвует в разработке и согласовании программы и проекта натурных наблюдений и исследований на сооружениях (либо в их экспертизе);

разрабатывает методику проведения натурных наблюдений и специальных исследований на конкретных строящихся и эксплуатируемых сооружениях, методику обработки результатов наблюдений и оценки надежности и безопасности сооружений;

назначает совместно с Генеральной проектной организацией предельно допустимые значения (критерии безопасности) контролируемых показателей работы и состояния эксплуатируемых сооружений;

осуществляет научно-методическое руководство в проведении натурных наблюдений и исследований, обработке их результатов и оперативной оценке состояния сооружений;

выполняет на основе данных наблюдений и исследований многофакторный анализ эксплуатационной надежности и безопасности сооружений;

разрабатывает методические рекомендации (инструкции) по проведению натурных наблюдений на сооружениях в периоды их строительства, эксплуатации и консервации;

осуществляет обучение эксплуатационного персонала методам и технике проведения натурных наблюдений и ведения технической документации.

2.5. Генподрядная строительная организация в рамках своих обязанностей и полномочий:

обеспечивает качественный монтаж в сооружения КИА в соответствии с проектом;

обеспечивает в течение всего периода монтажа КИА, вплоть до сдачи ее эксплуатирующей организации, сохранность установленных приборов, кабельных линий, измерительных пультов, а также необходимый технический уход и ремонт.

2.6. Собственник (эксплуатирующая организация) в рамках своих обязанностей и полномочий:

обеспечивает своевременное приобретение и изготовление необходимой КИА для натурных наблюдений и исследований, осуществляет ее приемочный контроль и передачу в монтаж;

обеспечивает экспертизу проекта натурных наблюдений и исследований;

своевременно создает и подготавливает специализированное структурное подразделение по проведению систематических натурных наблюдений (мониторинга) на гидротехнических сооружениях;

проводит технический контроль качества монтажа КИА, приемку ее в эксплуатацию, уход и поддержание в работоспособном состоянии;

обеспечивает проведение систематических натурных наблюдений (мониторинга) и оценку работы и состояния гидротехнических сооружений в строительный и эксплуатационный периоды, вплоть до вывода их из эксплуатации.

2.7. Органы государственного надзора за безопасностью гидротехнических сооружений в рамках своих полномочий:

согласовывают задание на проектирование и проект натурных наблюдений за гидротехническими сооружениями;

контролируют качество строительства сооружений и монтажа технических средств контроля их состояния;

участвуют в приемке в эксплуатацию КИА для натурных наблюдений за сооружениями;

согласовывают правила эксплуатации гидротехнических сооружений, проверяют качество технического контроля за сооружениями и материалы оценки их безопасности;

выдают и контролируют предписания по обеспечению контроля за безопасностью гидротехнических сооружений;

проводят экспертизу и утверждают Декларации и критерии безопасности гидротехнических сооружений.

2.8. На строящихся объектах все работы по монтажу КИА и уходу за ней до сдачи сооружения в эксплуатацию выполняются специализированным подразделением генерального подрядчика.

На эксплуатируемых сооружениях установка КИА и уход за ней осуществляется подразделениями эксплуатирующей организации или привлекаемой на договорной основе специализированной организацией.

Авторский надзор за монтажом КИА осуществляет проектная организация, технический контроль - представители собственника сооружения, методическое и техническое руководство монтажом КИА и проведением наблюдений - головная научно-исследовательская организация.

2.9. При сдаче гидротехнического сооружения в эксплуатацию собственнику (эксплуатирующей организации) должны быть переданы:

строительной организацией - контрольно-измерительная аппаратура в проектном объеме и в исправном состоянии, исполнительная документация на ее установку и ведомости начальных показаний КИА;

проектной организацией - перечень контролируемых показателей сооружения и их предельно допустимые значения (критерии безопасности), данные сравнения фактических значений контролируемых показателей работы и состояния сооружения, полученные натурными наблюдениями, с соответствующими проектными и предельно допустимыми показателями;

научно-исследовательской организацией - данные многофакторного анализа надежности и безопасности сооружения по данным натурных наблюдений, методические рекомендации (инструкции) по проведению натурных наблюдений, методам обработки и анализа результатов, оценки состояния сооружения.

2.10. Контрольно-измерительная аппаратура и вся документация по натурным наблюдениям и сравнительной оценке фактических показателей работы и состояния сооружения с проектными, нормативными и критериальными показателями передаются собственнику (эксплуатирующей организации) по Акту приемки-сдачи.

3. ОСНОВНЫЕ ПРАВИЛА ПРОЕКТИРОВАНИЯ НАТУРНЫХ НАБЛЮДЕНИЙ И ИССЛЕДОВАНИЙ

3.1. Проектирование натурных наблюдений и исследований проводится на стадии разработки проекта сооружения и технологии его возведения.

3.2. На первом этапе проектирования натурных наблюдений и исследований проводится анализ конструктивных особенностей плотины, инженерно-геологических и физико-механических характеристик грунтов основания, природно-климатических условий, последовательности и технологических схем производства работ на всех стадиях строительства.

В результате анализа устанавливаются: основные конструктивные элементы плотины, определяющие ее прочность, надежность и безопасность; схемы силового взаимодействия конструктивных элементов между собой, с основанием и берегами; ожидаемые нагрузки и воздействия на элементы плотины и основание; характер строения основания по геологическим слоям, наличие в нем тектонических разломов, трещин, льда, слабых, сильнопроницаемых и неконсолидированных грунтов, резких изломов и перепадов поверхности по линии створа; размеры технологических карт и толщина слоев укладки грунта в плотину и др.

3.3. Исходя из конструктивных, технологических особенностей и класса сооружения, инженерно-геологических, гидрологических и природно-климатических условий створа, определяются основные задачи и состав натурных наблюдений и исследований, выбираются конструктивные элементы сооружения и области основания для предстоящего контроля (элементы диагностирования), составляется перечень контролируемых (диагностических) показателей, характеризующих работу и состояние сооружения.

3.4. В состав элементов диагностирования грунтовой плотины должны включаться те из ее конструктивных элементов и областей основания, состояние которых предопределяет степень надежности и безопасности сооружения: противофильтрационные элементы (ядро, экран, диафрагма, инъекционная или мерзлотная завесы и т.п.); дренажные устройства, переходные слои и обратные фильтры; тело плотины; элементы и зоны сопряжения противофильтрационных устройств с основанием, берегами и встроенными в плотину бетонными сооружениями; защитные крепления откосов; слабо или сильноводопроницаемые прослойки грунтов, зоны тектонических разломов в основании, территория нижнего бьефа и др.

Для каждой конкретной плотины, в зависимости от ее конструктивных особенностей и условий эксплуатации, состав элементов диагностирования ее работы и состояния должен определяться индивидуально.

3.5. Контролируемые натурными наблюдениями диагностические показатели грунтовой плотины должны быть представлены важнейшими количественными и качественными характеристиками работы и состояния элементов плотины, совокупность которых однозначно определяет эксплуатационную надежность и безопасность сооружения. В их число должны быть также включены все основные нагрузки и воздействия на данное сооружение и отдельные его элементы.

В общем случае состав контролируемых инструментальными и визуальными натурными наблюдениями и исследованиями диагностических показателей, характеризующих состояние грунтовой плотины, должен назначаться с учетом требований СНиП 2.06.05-84*, СНиП 2.02.02-85 и программы наблюдений.

Для ответственных грунтовых плотин I - III классов в их число должны включаться:

напряжения и деформации в различных элементах плотины, в основании и в зонах сопряжения;

осадки и горизонтальные смещения сооружения и основания;

положение поверхности депрессии, пьезометрические напоры в теле плотины, в основании и в берегах;

фильтрационные расходы;

мутность, температура (а в ряде случаев - химический состав) профильтровавшейся воды;

градиенты напора в теле плотины и в основании;

потери напора на противофильтрационных элементах;

норовое давление в глинистых противофильтрационных элементах и в основании;

температура грунта в теле плотины, в основании, в водохранилище и в дренажных устройствах;

уровни верхнего и нижнего бьефа и скорости их сработки и др.

3.6. Состав проектируемых натурных наблюдений и исследований на конкретной плотине, намечаемые виды инструментальных измерений и визуальных обследований, подлежащих контролю диагностических показателей работы и состояния сооружения и его элементов, нагрузок и воздействий заносятся в соответствующую Программу, являющуюся составной частью проекта натурных наблюдений.

3.7. В соответствии с составом подлежащих контролю диагностических показателей работы и состояния грунтовой плотины и основания, нагрузок и воздействий осуществляется выбор типов и технических характеристик контрольно-измерительной аппаратуры, нестандартных измерительных устройств, пультов, коммутаторов, вспомогательных устройств, материалов, кабельной продукции и т.п.

3.8. Количество измерительных приборов, подлежащих установке, зависит от состава наблюдений, количества контролируемых показателей, класса и размеров плотины, ее конструктивных особенностей и условий эксплуатации.

3.9. Приборы и устройства, закладываемые в тело плотины и в основание, следует располагать по всей ее длине в определенных поперечных или продольных сечениях сооружения с учетом его конструктивного оформления и геологических особенностей створа.

3.10. Количество контрольных сечений по длине сооружения назначается с таким расчетом, чтобы по показаниям установленной в них КИА можно было с достаточной подробностью характеризовать работу и состояние сооружения в целом и по отдельным наиболее ответственным участкам и элементам.

3.11. КИА размещают в наиболее «чувствительных» и напряженных точках таким образом, чтобы для каждого расчетного критерия безопасного состояния сооружения была получена путем измерений соответствующая численная величина контролируемого диагностического показателя.

3.12. На стадии проекта контрольные поперечные сечения для производства натурных наблюдений, как правило, следует располагать:

на русловом участке, где сооружение имеет максимальную высоту и, соответственно, максимальное нагружение;

на границах сопряжения подруслового талика с мерзлыми береговыми участками;

на участках выпуклостей плотины (в плане) и резкого (крутого) падения поверхности основания в створе сооружения;

на границах сопряжения грунтовой плотины с бетонными сооружениями (устоями, трубами для пропуска строительных расходов, водоводами и др.);

на границах сопряжения мерзлых и талых участков плотины;

над тектоническими разломами и крупными трещинами в основании, над потенциальными зонами проявления термокарста;

в зонах возможных ослаблений напряженно-деформированного состояния, фильтрационной прочности, устойчивости, трещинообразования (выявленных расчетами, специальными исследованиями или наблюдениями).

3.13. В контрольных сечениях КИА располагается в горизонтальных и вертикальных измерительных створах, в отдельных измерительных точках с привязкой их к осям сооружения в плане и по высоте, а также высотным отметкам. Измерительные пульты для телеметрической КИА следует размещать в специальных помещениях на гребне, бермах или в незатапливаемых потернах, штольнях, галереях.

3.14. Для исключения возможных ошибок при измерениях, а также для уменьшения разброса и повышения надежности полученных результатов измерительные сечения, створы, точки в ряде случаев следует дублировать.

3.15. Количество и состав приборов, устанавливаемых в измерительных сечениях, створах и точках, обуславливаются решаемыми задачами. Минимально необходимое количество измерительных приборов в створах диктуется также требованиями статистической обработки результатов, необходимостью построения эпюр, графиков, зависимостей и т.п.

3.16. После первичного наполнения водохранилища, начального периода эксплуатации при полном цикле смены внешних условий и выявления слабых мест в работе плотины проектное количество контрольных наблюдательных сечений или створов должно быть уточнено, а при необходимости увеличено. В процессе длительной эксплуатации плотины эти уточнения периодически должны проводиться с учетом показателей работы сооружения, в том числе процессов старения, изменения мерзлотной обстановки в сооружении и в основании, перераспределения нагрузок и других факторов.

3.17. Для обеспечения оперативного контроля (мониторинга) технического состояния плотин I - III классов в составе проектов натурных наблюдений должны разрабатываться информационно-диагностические системы (ИДС) на основе современных компьютерных технологий. Информационно-диагностическая система должна обеспечивать: накопление и хранение данных наблюдений и базовой информации о сооружении и системе контроля; все виды обработки данных и их анализ; диагностирование технического состояния плотины и основания.

4. УСТАНОВКА КОНТРОЛЬНО-ИЗМЕРИТЕЛЬНОЙ АППАРАТУРЫ В ГРУНТОВЫХ ПЛОТИНАХ И ОСНОВАНИЯХ

Установка КИА для контроля фильтрации

4.1. В составе фильтрационных наблюдений должен быть предусмотрен контроль за положением поверхности депрессии в теле плотины и берегах, за распределением пьезометрических напоров в области фильтрации плотины и основания, за фильтрационными расходами, поступающими через противофильтрационные элементы и основание, за развитием порового давления воды в глинистых элементах тела плотины и грунтах основания, а также за температурой фильтрующейся воды и, при необходимости, ее химическим составом и соленостью.

4.2. Для наблюдений за положением поверхности депрессии в теле фильтрующей плотины и в берегах применяются различного типа трубные пьезометры или телеметрические преобразователи (датчики) давления воды струнные (типа ПДС). Датчики размещаются в сечениях, перпендикулярных оси плотины, а также вдоль линий примыкания плотины к бетонным сооружениям и к берегам.

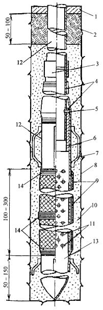
Первый по линии тока измерительный прибор устанавливается на гребне плотины вблизи бровки напорного откоса. Последний - у входа фильтрационного потока в дренаж, а промежуточные делят расстояние между крайними приборами на несколько частей (рис. 4.1).

В случаях, когда дренажное устройство трубчатого или банкетного типа глубоко заведено в тело плотины (типичное решение для районов сурового климата), то за дренажем следует установить пьезометр, контролирующий работу дренажного устройства.

Рис. 4.1. Принципиальные схемы размещения пьезометров в грунтовых плотинах:

а - каменнонабросная плотина с ядром; б - однородная плотина с диафрагмой и с дренажной призмой; в - каменнонабросная плотина с экраном; г - однородная плотина с дренажной призмой; 1 - пьезометр; 2 - датчик давления воды (ПДС)

4.3. Глубина заложения водоприемников, пьезометров или датчиков давления должна быть ниже поверхности депрессии, соответствующей УМО.

Установку приборов следует производить преимущественно в буровых скважинах. После установки приборов обсадные трубы из скважин должны быть извлечены и скважины заполнены извлеченным из них при бурении грунтом.

4.4. Для наблюдений за распределением гидродинамического напора в теле плотины и в основании применяются точечные пьезометры или датчики давления, которые следует располагать в точках, где намечено получить значения напора. В плотинах с экраном или ядром особое внимание должно уделяться измерениям напора на контакте их с основанием, в плотинах криволинейных в плане - на выпуклых участках, где фильтрация может быть пространственной. Приборы данного назначения устанавливаются поярусно в тех же контрольных сечениях, что и приборы для регистрации поверхности депрессии.

4.5. Избыточное паровое давление в глинистых экранах, ядрах, основаниях измеряется датчиками давления ПДС (пьезодинамометры), устанавливаемыми в толще грунта одновременно с возведением сооружения.

4.6. Для замера величин фильтрационного расхода на дренажах и на выпусках из дренажа устанавливаются смотровые колодцы, оборудованные водомерными устройствами. Колодцы располагаются в конце каждого из характерных контролируемых участков плотины. На открытых дренажах (канавы, кюветы) устанавливаются мерные водосливы треугольного или трапецеидального профилей. Установка водомерных устройств должна предусматриваться проектом.

4.7. Пьезометры, смотровые колодцы, канавы и трубы для отвода профильтровавшейся воды следует защищать от возможного промерзания применением теплоизоляции или электрообогревательных устройств.

4.8. В тех случаях, когда измерение расходов воды на дренажных линиях оказывается невозможным, допускается устройство у подошвы плотины сборного бассейна, оборудованного водомером в виде водослива или перепускной трубы.

4.9. Измерения скорости фильтрации в теле плотины или в основании проводятся методами термокаротажа, индикаторами или радиоактивными изотопами с применением парных пьезометров, установленных на удалении друг от друга по одной линии тока.

Скорости воды в дренажных линиях открытого типа (или в трубах значительного диаметра), имеющих доступ для наблюдателей, измеряются гидрометрическими измерительными приборами и способами (например, вертушками, поплавками, датчиками скорости и т.п.).

4.10. Значения градиентов напора в областях фильтрации тела плотины, в основании или берегах определяются косвенным путем по разностям падений напора на парных точечных пьезометрах, располагаемых на определенной длине линии тока контролируемой зоны или участка.

4.11. Температура фильтрующейся воды в теле плотины, основании, берегах, на выходах в дренаж и в водохранилище измеряется ртутными термометрами, телеметрическими струнными датчиками температуры типа ПТС-60, микропроцессорными высокоточными датчиками ИТПМ или других типов.

Установка КИА для измерений осадок и смещений плотины и основания

4.12. Наблюдения за осадкой гребня, берм и поверхности основания плотины производятся с помощью поверхностных высотных марок путем их периодического нивелирования по II - III классу точности. Нивелировка марок производится в абсолютных и относительных отметках от фундаментальных реперов опорной сети гидроузла. Принципиальные схемы размещения марок в измерительном створе показаны на рис. 4.2.

4.13. В строительный период осадка плотины измеряется по временным маркам, устанавливаемым на промежуточных отметках, остающихся длительное время открытыми (например, на временных бермах, на поверхности отсыпанной карты). По мере роста насыпи плотины временные марки переносятся на более высокие отметки; при этом необходимо сохранять преемственность наблюдений для получения непрерывной картины хода осадки во времени.

4.14. Постоянные и временные поверхностные высотные марки устанавливаются на отметках ниже границы сезонного промерзания грунта. Вертикальный элемент (стояк) марки изолируется от прямого контакта с грунтом обсадной трубой или оберточным материалом со смазкой.

4.15. Наблюдения за послойными осадками тела плотины должны производиться с помощью: глубинных марок; многоярусных марок; гидростатических марок; наблюдательных шахт; поперечных или продольных галерей; длиннобазных телеметрических деформометров типа ПЛПС-320 (см. рис. 4.2). Все эти устройства должны монтироваться по мере возведения плотины. Наблюдательные шахты рекомендуется выполнять из отдельных звеньев (колец), свободно перемещающихся вместе с оседающим грунтом за счет создаваемых зазоров между звеньями. Отдельные звенья шахты оборудуются поверхностными стеновыми марками, отметки которых относительно верха шахты определяются с помощью геодезической рулетки.

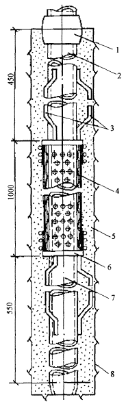
Рис. 4.2. Принципиальные схемы размещения геодезических марок на грунтовых плотинах:

а - каменнонабросная плотина с ядром; б - однородная плотина; 1 - планово-высотная марка; 2 - система деформометров (типа ПЛПС-320); 3 - поверхностная марка; 4 - глубинная многоярусная марка

4.16. Длиннобазные телеметрические деформометры ПЛПС-320 монтируются в коротких (3 - 5 м) скважинах без обсадных труб по мере возведения насыпи плотины в виде последовательной «цепочки» из отдельных приборов (см. рис. 4.2).

4.17. Наблюдательные поперечные галереи из отдельных не связанных секций рекомендуется располагать ярусами на отметках постоянных берм низового откоса плотины с заведением их вглубь массива призмы (см. рис. 4.2). Высота галерей должна составлять порядка 2 м.

4.18. Измерения осадки основания плотины производятся нивелированием поверхностных марок, устанавливаемых в цементационной галерее, с помощью глубинных марок и длиннобазных деформометров, размещаемых в грунтовом массиве в соответствии с рекомендациями, приведенными в пп. 4.15 - 4.16 и на рис. 4.2. Указанные средства измерений устанавливаются перед началом работ по возведению насыпи тела плотины.

4.19. Плановые смещения гребня и берм плотины следует определять одним из следующих методов:

а) метод визирных створов;

б) метод триангуляции;

в) комбинированный метод (створов и триангуляции).

Метод визирных створов рекомендуется применять при наблюдениях за смещениями плотин с прямолинейной продольной осью, методы триангуляции и комбинированный - на плотинах, продольная ось которых имеет изломы.

4.20. Планово-высотные марки располагаются в ряде точек гребня и низовых берм плотины (обычно порядка 5 - 7 точек), лежащих на их продольных осях. При несовпадении осей симметрии гребня плотины и верха противофильтрационного элемента (ядра, экрана, диафрагмы) марки следует размещать по оси элемента.

4.21. Наблюдения за плановыми смещениями точек, расположенных внутри тела плотины, производятся с применением длиннобазных телеметрических деформометров ПЛПС, наблюдательных шахт, оснащенных отвесами, инклинометрических установок.

4.22. Деформометры устанавливаются на заданных отметках горизонтально вдоль одной или двух взаимно перпендикулярных осей в теле плотины.

На крутопадающих береговых участках плотины, где наиболее вероятно образование поперечных трещин, деформометры устанавливаются вдоль оси гребня с заглублением 0,5 - 1,0 м от поверхности в виде «цепочек» из набора отдельных приборов.

4.23. Наблюдательные шахты с отвесами устраиваются, как правило, в 5 - 7 м за низовой гранью центрального противофильтрационного элемента (диафрагмы, ядра). Для измерений поперечных горизонтальных смещений этих элементов они соединяются с отвесом в шахте телескопическими трубами-прогибомерами (рис. 4.3).

4.24. Инклинометрические скважинные установки могут размещаться как по центру плотины, так и со смещениями в стороны верхнего и нижнего бьефов. Измерения смещений по ним производятся с помощью специальной электромеханической «торпеды».

4.25. На участках плотины, где проявляются просадки, подвижки откосов или трещины, должны быть оперативно установлены дополнительные временные плановые или высотные марки и по ним организованы учащенные измерения (вплоть до ежедневных) до выяснения причин и стабилизации деформаций, оценки эффективности ремонтных мероприятий (рис. 4.4).

Рис. 4.3. Схема размещения высотных марок, прогибомеров и отвеса в смотровой шахте плотины с диафрагмой:

1 - стеновые высотные марки на кольцах шахты; 2 - прогибомер; 3 - диафрагма плотины; 4 - отвес прямой

Рис. 4.4. Схема размещения временных высотных марок для контроля просадки (а), оползня (б) и трещины (в):

1 - поверхностная марка; 2 - воронка проседания; 3 - массив оползня; 4 - трещина

4.26. При наличии в основании плотины слабых грунтов следует проводить наблюдения за их выпором. В этих целях вдоль подошвы низового откоса плотины размещают сеть поверхностных марок.

4.27. Для обеспечения комплексности контроля эксплуатационной надежности сооружения измерительные устройства для определения осадок и смещений (марки, деформометры, шахты и т.д.) рекомендуется по возможности размещать в тех же сечениях и створах, что и другую телеметрическую КИА.

Установка КИА для контроля напряженно-деформированного состояния плотины

4.28. Наблюдения за напряженно-деформированным состоянием грунтовой плотины проводятся в целях оценки ее прочности, устойчивости и эксплуатационной надежности, а также для контроля процесса консолидации грунта, определения нагрузок на центральные противофильтрационные элементы, в том числе из негрунтовых материалов, давления грунта на встроенные бетонные сооружения и для уточнения деформационных характеристик материала непосредственно в сооружении.

4.29. Наблюдениями за напряженно-деформированным состоянием грунта в плотине должны быть установлены значения компонентов напряжений и соответствующих им относительных деформаций в скелете грунта и поровое давление воды.

4.30. Полное напряжение в грунте определяется с помощью телеметрических преобразователей (датчиков) напряжений типа ПНГС. Монтаж преобразователей в измерительных точках должен осуществляться в ходе строительства плотины с принятием необходимых мер по их защите от повреждений механизмами.

Поровое давление воды в грунте определяется датчиками ПДС. Относительные деформации в грунте измеряются деформометрами ПЛПС.

4.31. Преобразователи напряжений грунта ПНГС и деформометры устанавливаются:

в грунтовых, асфальтобетонных, глиноцементных противофильтрационных элементах (экране, ядре, понуре, диафрагме);

в песчано-гравийных переходных зонах, защищающих противофильтрационные элементы;

в грунтовом теле боковых призм;

по поверхностям сопряжения противофильтрационных элементов с упорными призмами плотины и встроенными бетонными сооружениями.

Рис. 4.5. Схема размещения датчиков нормальных напряжений в ядре и переходных слоях плотины:

1 - датчик напряжений; 2 - ядро; 3 - переходные слои; 4 - датчик порового давления

4.32. Измерению подлежат нормальные напряжения по трем направлениям в плоскости поперечного сечения плотины - горизонтальному, вертикальному и под углом 45° к горизонту. Соответственно этим направлениям размещаются приборы для измерения напряжений грунта и деформометры. В узких створах или там, где подошва плотины имеет значительный уклон в направлении русла, рекомендуется устанавливать дополнительные приборы для измерения нормальных напряжений и деформаций, действующих вдоль ее продольной оси (рис. 4.5).

4.33. В точках размещения датчиков напряжений грунта следует устанавливать датчики для измерения порового давления. По показаниям тех и других приборов определяются напряжения в скелете грунта как разность полных напряжений в грунте и порового давления.

4.34. Датчики напряжений грунта, порового давления и деформометры устанавливаются группами и, как правило, ярусами, число которых определяется проектом. В отдельных измерительных точках могут быть установлены одиночные приборы.

4.35. В плотинах с суглинистыми ядрами, асфальтобетонными и суглинистыми экранами и диафрагмами приборы устанавливаются в горизонтальных сечениях с расположением их у верховой и низовой граней, в центре сечения, в промежуточных точках, а также в переходных зонах (см. рис. 4.5).

4.36. В плотинах с диафрагмами измерительные приборы данной группы размещаются в 5 - 7 сечениях по высоте на контакте диафрагмы с грунтом боковых призм. Для определения величины касательных напряжений, действующих по поверхности диафрагмы и в непосредственной близости от нее в массиве грунта, устанавливаются группы датчиков напряжений, ориентированных чувствительными элементами под углами 0°, 90° и 45° к горизонту. Аналогичная схема размещения приборов должна применяться в зонах контакта грунтовой плотины с бетонными устоями встроенных сооружений, а также в примыканиях к крутопадающим уступам берегов.

4.37. Для контроля давления грунта на перекрытия и стенки жестких конструкций (трубу, туннель и т.п.), пересекающих в подошве плотины ее противофильтрационные элементы (ядро, экран, диафрагму или призму), на их внешних поверхностях должны быть установлены датчики напряжений грунта и давления воды. По длине этих конструкций измерительные приборы размещаются в нескольких поперечных створах, назначаемых проектом.

4.38. В экранах и диафрагмах из асфальтобетона, железобетона и металла следует устанавливать преобразователи линейных деформаций типов ПЛДС-400 или ПЛДСН-150 (тензометры) для определения напряжений в материале. Измерительные приборы размещаются в тех же створах и на тех же ярусах, что и приборы других назначений, и преимущественно на боковых гранях экрана, диафрагмы.

4.39. Измерительные приборы для контроля напряженно-деформированного состояния плотины и ее основных элементов устанавливаются в процессе строительства сооружения. Измерения по ним начинаются сразу после установки и далее систематически проводятся в течение всего периода строительства сооружения и последующей его эксплуатации вплоть до полной стабилизации напряжений и деформаций или исчерпания приборами рабочего ресурса.

Установка термометрической КИА

4.40. Для плотин, расположенных в зоне вечной мерзлоты, главная задача температурного контроля в общей постановке сводится к обеспечению требуемого проектом температурного состояния грунтового основания и тела плотины при ее строительстве и эксплуатации.

В качестве средств измерений температуры в настоящее время могут быть рекомендованы преобразователи (датчики) температуры струнные (ПТС-60), омического сопротивления и терморезисторы, прошедшие метрологическую аттестацию.

Частные задачи температурного контроля грунтовых плотин включают контроль за оттайкой мерзлого основания при устройстве цементационных завес, за температурным режимом противофильтрационных элементов (ядра, экрана, мерзлотной завесы, призмы) переходных фильтровых зон, дренажей, основания, зон сопряжения грунтовой плотины (мерзлого типа) с бетонными сооружениями (талого типа), береговых массивов вблизи сооружения, а также эффективности теплоизоляционных покрытий (например, на низовом откосе плотины или вокруг дренажа) и др.

4.41. Размещение температурных преобразователей (датчиков) в контролируемых зонах, областях, створах, сечениях или в отдельных элементах плотины и основания должно производиться таким образом, чтобы полученной информацией от измерений обеспечивалось: а) построение температурного поля в заданных границах; б) установление тенденции в изменении контролируемого температурного режима во времени в необходимом интервале (сутки, декада, месяц, год, многолетний период).

4.42. Применительно к задачам для плотин мерзлого и талого типов, возведенных как на мерзлом, так и на талом основаниях, рекомендуются принципиальные схемы оснащения их датчиками температуры (рис. 4.6).

Рис. 4.6. Принципиальные схемы размещения телетермометров в плотинах:

а - с мерзлотной завесой; б - с суглинистым экраном; в - в примыкании плотины

к водосбросу; г - в области дренажа;

1 - термодатчики; 2 - мерзлотная завеса; 3 - устой водосброса; 4 - дренаж; 5 - теплоизоляция

4.43. В основании плотины, расположенной в криолитзоне, термодатчики располагают в скважинах. Глубина заложения датчиков определяется глубиной мерзлотной или цементационной завес и предполагаемым изменением температуры основания в связи с возведением сооружения и наполнением водохранилища. Для исследований температуры в зонах вечной мерзлоты необходимо применять термометры, обеспечивающие точность измерений 0,1 °С. В контролируемой области датчики температуры следует размещать по квадратной или прямоугольной сетке, обеспечивающей гарантированное фиксирование границ мерзлоты и динамику изменения положения нулевой изотермы.

4.44. В плотине мерзлого типа размещение термодатчиков производят как в зоне, играющей роль противофильтрационного элемента (например, мерзлотной завесы), так и по ее периферии для гарантированной фиксации границ мерзлоты и их перемещения во времени.

4.45. В плотинах талого типа (фильтрующих) датчики температуры размещаются в противофильтрационных элементах (ядре, экране), в переходных фильтровых зонах и в зонах высачивания фильтрационного потока через основание или в специальное дренажное устройство. При этом данными наблюдений должна гарантироваться однозначная оценка температурного состояния этих элементов («мерзлое» или «талое» состояние), а также определение скорости прохождения через них температурной волны или продвижения к ним нулевой изотермы. При наличии в основании засоленных вод должна контролироваться температура фазового перехода основания от мерзлого к талому состоянию.

4.46. В береговых примыканиях плотины, сложенных вечномерзлыми грунтами, должна быть оборудована сеть термодатчиков, контролирующих их состояние, в том числе процесс возможной деградации мерзлоты от отепляющего воздействия водохранилища.

4.47. Температурный режим водохранилища контролируется системой датчиков с шагом 5 - 10 м, устанавливаемых на жесткой штанге или гибком тросе с грузом, уложенных по верховому откосу плотины от гребня до дна.

Установка КИА для наблюдений за криогенными процессами

4.48. Криогенными (мерзлотными) процессами называются комплексные многофакторные природные и инженерно-геологические процессы, развивающиеся в грунтах в результате и в ходе их промерзания-оттаивания.

К криогенным процессам, наблюдаемым в грунтовых плотинах в северной строительно-климатической зоне, относятся следующие:

криогенное пучение промерзающих и оттаивающих грунтов морозоопасных зон плотин, подвергающихся ежегодному промерзанию и оттаиванию;

температурное деформирование и криогенное трещинообразование мерзлых грунтов при изменении их температурного режима;

льдообразование в упорных призмах из крупнообломочных грунтов с распучиванием при сплошном льдозаполнении;

солифлюкция (оползание) откосов плотин и бортовых примыканий;

морозное выветривание крупнообломочных грунтов и скальных примыканий;

осадки и просадки (термокарст) при оттаивании мерзлых грунтов оснований и грунтовых плотин;

наледеобразование и фильтрационные выходы на откосах плотин и бортовых примыканиях;

тепломассоперенос, в том числе конвективный тепломассоперенос воздуха, пара и воды в теле, основаниях и бортах плотины.

4.49. Наблюдения за криогенным пучением связных грунтов противофильтрационных устройств и распучиванием сыпучих материалов переходных зон и упорных призм при льдообразовании в них проводятся как в строительный, так и в эксплуатационный периоды.

4.50. Наблюдения за пучением в строительный период производятся с помощью поверхностных марок путем их периодического нивелирования и одновременного контроля температурного состояния грунтов либо с использованием дифференциальных пучиномеров.

Нивелировка марок производится в абсолютных отметках от фундаментальных реперов, находящихся на территории гидроузла, нивелированием не ниже III класса.

4.51. Марки следует устанавливать во время технологических перерывов в строительстве плотины сразу же после завершения земляных работ. Места установки марок следует привязывать к местам закладки стационарной КИА.

4.52. В эксплуатационный период наблюдения за пучением проводятся при помощи стационарных механических приборов (дифференциальных пучиномеров, телескопических марок) или электрических струнных и тензодеформометров, устанавливаемых вертикально.

4.53. Конструкции механических и электрических приборов определяются для каждого объекта индивидуально, исходя из вида исследуемых грунтов и ожидаемой глубины промерзания.

4.54. Наблюдения за криогенным трещинообразованием в строительный период проводятся визуально. При обнаружении трещин выполняется их описание с фиксацией протяженности, ширины раскрытия, глубины и координат, а также фотографирование и нанесение на план сооружения с использованием геодезической съемки участков плотины, затронутых трещинообразованием.

4.55. При необходимости организуются инструментальные наблюдения за развитием трещин во времени, которые следует проводить при помощи механических трещиномеров (щелемеров) и геодезической съемки в несколько циклов (рис. 4.7, а).

4.56. В эксплуатационный период наблюдения за температурными деформациями и трещинообразованием осуществляются при помощи механических приборов (деформометров, трещиномеров, щелемеров и т.п.) или электрических с автоматизацией измерений. Деформометры (трещиномеры) устанавливаются на поверхности элементов плотины горизонтально в двух взаимно перпендикулярных плоскостях, а при размещении в глубинных слоях и зонах - в трех координатных плоскостях. База (lпр) приборов выбирается в зависимости от гранулометрического состава исследуемого грунта. При этом следует соблюдать условие lпр ³ 5dмакс, где dмакс - максимальный размер фракции исследуемого грунта.

Рис. 4.7. Схемы установки механического трещиномера на криогенной трещине (а) и шнуромера на откосе, подверженном солифлюкции (б):

1 - штырь (труба); 2 - консоль; 3 - стержень стальной; 4 - трещина; 5 - свая (швеллер); 6 - груз натяжной; 7 - линейка; 8 - ролик; 9 - тросик; 10 - якорь

4.57. Установку приборов на гребне противофильтрационного элемента и бермах, работающих на механическом принципе, следует производить в специально оборудованных шурфах, пройденных с гребня плотины до поверхности грунтового противофильтрационного устройства, или на бермах плотины. Рекомендуемые размеры шурфа в плане 2´2 м.

4.58. Оптимальный состав КИА, устанавливаемой в шурфе, должен включать: дифференциальный пучиномер, два трещиномера, расположенных во взаимно перпендикулярных плоскостях, и одну термоскважину, глубина которой на 2 - 3 м должна превышать глубину максимально возможного промерзания верхней зоны плотины. На стенках перекрытий и дне шурфа при этом, как правило, должны устанавливаться геодезические марки для контроля общих деформаций сооружения и его отдельных элементов.

4.59. Криогенные деформации пучения и трещинообразования по механической КИА, установленной в шурфах, фиксируются при помощи штангенциркуля или автоматизированных электродеформометров (типа индикаторов с электронной насадкой конструкции и т.п.).

4.60. Приборы, работающие по электрическому принципу, не требуют устройства специальных шурфов и после установки засыпаются грунтом. Рядом с местом установки этих приборов оборудуется температурная скважина.

4.61. Приборы, регистрирующие электрический сигнал, должны размещаться в условиях, определенных их паспортом. При работе в нестандартных условиях все приборы должны быть соответствующим образом переаттестованы метрологической службой.

4.62. Наблюдения за оплыванием грунта при его оттаивании и переувлажнении (процесс солифлюкции) организуются как в строительный, так и в эксплуатационный период на потенциально опасных участках откосов плотины, береговых склонах и откосах подводящих каналов, выбираемых на основании инженерно-геокриологической съемки.

4.63. Наблюдения за оплыванием грунта в зависимости от протяженности откоса (склона) и слагающих его грунтов могут проводиться при помощи геодезической съемки, закладной механической или электрической КИА (рис. 4.7, б).

4.64. Геодезические наблюдения за перемещениями оплывающего по откосу (склону) грунта целесообразно организовывать при мощности потенциально опасного участка, превышающей 2 м. Закладку марок и организацию наблюдательных створов следует приурочивать к летнему сезону.

4.65. При выполнении геодезических наблюдений осуществляется планово-высотная съемка закладных марок с привязкой их к фундаментным реперам, находящимся на территории гидроузла, нивелированием не ниже III класса.

4.66. При наблюдениях за оплыванием по откосам (склонам) грунта необходима организация систематических геодезических наблюдений.

4.67. Наблюдения за конвекцией во время строительства ведутся визуально, а также с использованием спаренных гигрографов и термографов у конвекционных выходов, при этом фиксируют зоны наиболее интенсивных конвективных выходов и наносят их на план плотины.

4.68. Наблюдения за льдообразованием и наледеобразованием во время строительства ведутся визуально. При этом фиксируют состояние наброски в смотровых проемах галерей и шахт, а также на откосах. При обнаружении любых форм льда следует выполнить их фотографирование, а также зафиксировать координаты их локализации и промерить объемы льдонакопления на поверхности откоса, бермы или в смотровой галерее.

4.69. В строительный период ведется снегомерная съемка с точностью 1 см при помощи переносных снегомерных реек.

Определение плотности снега выполняют при помощи походного снегомера.

4.70. Наблюдения за инфильтрацией влаги в наброску ведутся при помощи осадкомеров, располагаемых в наброске и соединенных с наблюдательным помещением (проходной галереей) или дневной поверхностью патрубками. Рекомендуется также располагать осадкомеры в потолке смотровых галерей, размещаемых поярусно в низовой призме. Наблюдения за влажностью внутрипорового воздуха наброски ведутся при помощи спаренных термографов и гигрографов, которые следует располагать в специальных проемах, находящихся в галереях или шахтах и выходящих непосредственно в наброску. От воздействия наружного воздуха галереи, шахты и проемы должны быть защищены герметичной дверцей.

4.71. Для стационарных летних наблюдений за скоростью конвекции воздуха (пара) в наброске на поверхности откосов плотины устраиваются специальные короба, снабженные патрубками для установки анемометров. Такие же патрубки рекомендуется устраивать в дверцах и люках смотровых проемов, расположенных в галереях и шахтах плотины.

5. МЕТОДИКА И ТЕХНИКА НАТУРНЫХ НАБЛЮДЕНИЙ

5.1. Натурные наблюдения за гидротехническими сооружениями должны проводиться в соответствии с требованиями и положениями нормативных и методических документов, утвержденных в установленном порядке, а также требованиями и положениями настоящих Правил.

5.2. Регулярные натурные наблюдения за показателями, характеризующими эксплуатационную надежность и безопасность сооружения и основания, должны начинаться непосредственно после установки соответствующих средств измерений и продолжаться в течение нормируемого для каждого сооружения или отдельного его элемента срока с учетом их состояния, тенденций в процессах стабилизации режимов работы и старения, долговечности измерительной аппаратуры и возможностей ее замены по истечении рабочего ресурса и других обстоятельств.

5.3. Для каждого конкретного объекта сроки отсчетов по датчикам и другим измерительным устройствам для всех характерных этапов работы сооружения устанавливаются программой наблюдений или местными инструкциями.

5.4. Устанавливают частоту систематических отсчетов, выполняемых через определенные интервалы времени, и сроки специальных отсчетов, приуроченных к особым моментам режима эксплуатации сооружения (первоначальное наполнение водохранилища, превышение НПУ, резкое увеличение фильтрационного расхода, сильное землетрясение и т.п.).

5.5. Перед первоначальным наполнением водохранилища систематические отсчеты по всем видам закладных измерительных устройств производятся через 7 - 10 дней. Специальные отсчеты выполняют перед началом наполнения, в процессе наполнения (например, через каждые 0,5 - 3,0 м подъема уровня или при достижении им, например, 1/4, 1/2, 3/4 и полной величины напора), при проявлениях аномальных или настораживающих явлений (появление мутности в фильтрующейся воде, трещин и т.п.).

5.6. В общем случае периодичность специальных измерений следует назначать в пределах от одного до пяти дней. В исключительных случаях, когда наблюдается интенсивное развитие того или иного неблагоприятного процесса, отсчеты по приборам должны производиться по несколько раз в сутки, включая и ночное время (например, идет интенсивный вынос грунта фильтрационным потоком и т.п.).

5.7. Периодичность систематических отсчетов по приборам в начальный период эксплуатации сооружения, вплоть до проявления признаков установившегося режима его работы, назначается в интервале 5 - 15 дней. В дальнейшем, при отсутствии аномальных явлений частота отсчетов по некоторым датчикам и приборам при соответствующем обосновании может быть сокращена до 10 - 30 дней.

5.8. Наблюдения за напряженно-деформированным состоянием плотины и ее основания по полной программе и с использованием всех установленных средств измерений должны проводиться в течение периода, охватывающего полное наполнение водохранилища и такое количество циклов его сезонной сработки и наполнения в проектных пределах нормальной эксплуатации, которое соответствует стабилизации напряженно-деформированного состояния и переходу деформаций сооружения в упругую стадию.

5.9. Периодичность систематических наблюдений (отсчетов по приборам) за температурным режимом сооружения, его отдельных элементов и основания в строительный период назначается с интервалом 7 - 10 дней, в период первоначального наполнения водохранилища - 1 - 5 дней, в начальный период эксплуатации - 10 - 15 дней, а в последующем, при установившемся режиме работы сооружения - 15 - 30 дней. При пропуске паводков через встроенные в плотину бетонные водопропускные сооружения температурный режим контактных зон контролируется специальными отсчетами с периодичностью 1 - 5 дней.

5.10. Осадки и горизонтальные смещения гребня и берм плотин контролируются: в строительный период - в зависимости от условий, обусловленных технологией возведения, но с периодичностью не реже 4 циклов в год и дополнительно - по одному циклу перед и сразу после перемонтажа временных марок; один контрольный цикл наблюдений проводится перед наполнением водохранилища, по 2 цикла в месяц (а в отдельных случаях до 4 циклов в месяц) - в процессе наполнения водохранилища; по 2 цикла в год - в период эксплуатации в режиме сезонной сработки и подъема уровня (первый цикл проводится при самом низком сработанном уровне, второй - спустя 1 - 2 месяца после его подъема до НПУ). При проявлении процессов интенсификации осадки или горизонтальных смещений периодичность наблюдений может быть доведена до 1 цикла в сутки и сохраняется в этих пределах вплоть до принятия мер по их стабилизации.

5.11. Наблюдения по фильтрационной КИА (пьезометры, водосливы и др.) в период наполнения водохранилища проводятся через каждые 1 - 5 дней.

При нормальной работе сооружения и основания в период их начальной эксплуатации до выхода на установившийся режим периодичность отсчетов составляет 5 - 15 дней. В последующие годы нормальной эксплуатации она должна быть не реже 10 - 15 дней. При резких сработках или подъемах уровня верхнего бьефа или проявлении аномалий оперативность наблюдений должна быть повышена до 1 - 5 дней, причем в течение всего периода времени, необходимого для проявления реакции средств измерений на указанные изменения УВБ (этот период обуславливается «инерционностью» пьезометров и водосливов).

5.12. Вопрос о прекращении или снижении периодичности отдельных видов инструментальных наблюдений решается индивидуально для каждого сооружения. В случае, если состояние сооружения изучено достаточно подробно и имеет установившийся характер, поведение его в целом соответствует проектным предположениям и отсутствуют какие-либо аномальные явления, регулярные наблюдения по некоторой части КИА могут быть прекращены, а контрольные отсчеты по ней можно брать 2 - 4 раза в год (например, напряжения в теле грунтовой плотины или ее противофильтрационном элементе и др.).

Регулярные наблюдения с частотой 1 - 2 раза в месяц должны постоянно продолжаться по тем измерительным устройствам, которые дают наиболее важную информацию для оценки состояния и эксплуатационной надежности и безопасности сооружения и основания. Применительно к грунтовым плотинам, расположенным в криолитзоне, к таким наблюдениям следует отнести: наблюдения за температурным режимом плотины, ее элементов, основания, воды в водохранилище и наружного воздуха; наблюдения за фильтрационным режимом плотины, основания и береговых примыканий; наблюдения за осадками и смещениями.

5.13. Визуальные осмотры сооружения проводятся, как правило, еженедельно.

5.14. Первичная обработка данных натурных наблюдений состоит в вычислении по показаниям измерительных устройств значений измеряемых величин контролируемых параметров сооружения (температуры, осадки, смещения, расхода, градиентов и т.д.), их систематизации и представлении в удобном для оперативного использования, анализа и хранения виде.

5.15. Первичная обработка результатов наблюдений должна оперативно производиться непосредственно на объекте персоналом подразделения наблюдений, в том числе с применением ПЭВМ.

Результаты обработки представляются в виде таблиц, графиков, эпюр, изолиний и в других формах, регламентируемых местной инструкцией.

Наиболее приемлемой и обязательной формой представления результатов наблюдений следует считать графики зависимостей основных контролируемых рабочих параметров сооружения (осадок, смещений, напряжений, расходов, пьезометрических напоров и др.) от действующих нагрузок и воздействий (гидростатического напора, собственного веса, температуры и др.), а также от временного фактора.

Некоторые примеры представления результатов наблюдений даются на рис. 5.1 - 5.9.

5.16. Способы и объемы анализа результатов наблюдений определяются характером и сложностью решаемых задач.

Рис. 5.1. Натурные и расчетные эпюры нормальных сжимающих напряжений:

а - в ядре плотины; б - в грунте на поверхности устоя; в - в стальной диафрагме; 1 - натурная эпюра; 2 - расчетная эпюра; 3 - эпюра смещений диафрагмы

Рис. 5.2. Графики колебаний уровней воды в пьезометрах:

П-11, П-12, П-23 - номера пьезометров

Рис. 5.3. График изменения фильтрационного расхода во времени

Рис. 5.4. График осадки гребня плотины:

МПГ-3 - поверхностная марка на гребне ядра; МВП-3 - поверхностная марка на верховой бровке

Рис. 5.5. Эпюра продольных деформаций гребня плотины:

а - размещение марок М0, М1, М2, ... на гребне; б - эпюра деформаций гребня

Рис. 5.6. Эпюра выходных градиентов напора (Jвых) в зоне разгрузки потока:

П1, П2, П3, П4 - контрольные точечные пьезометры

1 - низивой откос; 2 - поверхность депрессии; 3 - дренаж; 4 - линии равных напоров

Рис. 5.7. Кривые депрессии, полученные в результате обработки данных наблюдений:

а - в годичном интервале наблюдений; б - в многолетнем интервале наблюдений; в - продольная поверхность депрессии по измерениям в пьезометрических створах

5.17. Визуальными наблюдениями контролируются:

состояние откосов и гребня плотины (просадки, подвижки, оползни, трещины);

состояние креплений откосов и гребня плотины (разрушение креплений, просадка, оползание, раскрытие швов и деформации плит креплений);

состояние водосборных кюветов на низовом откосе, бермах и прилегающей территории (повреждение облицовок, заиление, зарастание, перемерзание);

состояние водовыпусков из закрытых дренажных устройств (целостность, проточность, перемерзание);

появление на низовом откосе плотины и в береговых ее примыканиях выходов фильтрационных вод или мокрых пятен;

появление выходов воды или просадочных воронок в примыкании грунтовой плотины к бетонным сооружениям;

появление выходов воды из основания в нижнем бьефе плотины;

появление наледей у подошвы низового откоса плотины и на дренажных линиях;

размывы откосов и берегов;

появление морозного пучения грунта, конвективного льдообразования и морозного выветривания каменной наброски;

появление мутности в фильтрующейся воде;

солифлюкция (оползание) откосов плотины и береговых примыканий.

5.18. Визуальные наблюдения ведутся путем регулярных обходов и осмотров сооружения по заранее разработанной маршрутной схеме (рис. 5.8).

5.19. Выявленные дефектные участки сооружения оконтуриваются, фотографируются, наносятся на план в виде карты-развертки (рис. 5.8). Все материалы наблюдений заносятся в специальный журнал. Информация о выявленных дефектах передается главному инженеру объекта для принятия соответствующих решений.

5.20. В местах выявления дефектов или непредвиденных явлений организуются соответствующие инструментальные наблюдения.

5.21. При визуальных наблюдениях надлежит осуществлять проверку состояния контрольно-измерительной аппаратуры - оголовков пьезометров, геодезических знаков, мерных водосливов, измерительных пультов, кабельных линий и т.п.

5.22. Результаты визуальных наблюдений, также как и инструментальных, должны использоваться при оперативной оценке работы, состояния и диагностирования грунтовых плотин. Учет их производится, в основном, путем корректировки расчетных схем, граничных условий, выключения из работы сооружения (в расчетных схемах) отдельных его дефектных элементов, если таковые зафиксированы визуальными наблюдениями, и т.п.

Рис. 5.8. Маршрутная карта-развертка грунтовой плотины

Рис. 5.9. Пример маршрутных схем осмотров плотины:

а - гребня; б - низового откоса и берм

6. АНАЛИЗ РЕЗУЛЬТАТОВ НАТУРНЫХ НАБЛЮДЕНИЙ И ОЦЕНКА СОСТОЯНИЯ ГРУНТОВЫХ ПЛОТИН

6.1. Оценка эксплуатационной надежности и безопасности грунтовой плотины (как и других сооружений) должна производиться, главным образом, на основе анализа результатов систематических инструментальных и визуальных натурных наблюдений за ее работой и состоянием, представляемых в обработанном и обобщенном виде в форме графиков, эпюр, номограмм, числовых таблиц и т.п.

6.2. Главными задачами анализа результатов натурных наблюдений за плотиной являются:

оценка контролируемых показателей работы и состояния плотины и установление степени их соответствия (несоответствия) проектным и нормативным требованиям, соответствующим критериям безопасности;

выявление и оценка опасностей для плотины, создаваемых неблагоприятными явлениями, процессами и тенденциями изменения контролируемых показателей, зарегистрированных наблюдениями;

установления причин возникновения неблагоприятных процессов, явлений и тенденций в работе плотины и основания, отклонения фактических значений контролируемых параметров от соответствующих проектных или нормативных показателей;

назначение технических мероприятий по обеспечению нормативной прочности и устойчивости плотины.

6.3. Данные всех видов натурных наблюдений при их анализе и оценке состояния плотины должны рассматриваться по отдельности и в комплексе с учетом взаимного влияния отмеченных процессов в сооружении и в основании.

6.4. Анализ и оценка значений основных контролируемых показателей работы и состояния грунтовой плотины и основания должны производиться с учетом тенденций их изменения во времени за предшествующий период наблюдений. Сравнение изменяющихся во времени контролируемых показателей должно производиться при идентичных нагрузках и воздействиях на сооружение (уровнях бьефов, напорах, температурных и других воздействиях и т.п.)

6.5. На основании анализа конкретных данных систематических натурных наблюдений за грунтовой плотиной и основанием должно быть установлено следующее:

повышение, понижение или стабильность во времени положения поверхности депрессии при одних и тех же отметках уровней бьефов, наличие (отсутствие) выходов фильтрационного потока на поверхность низового откоса выше дренажа;

закономерность изменения фильтрационного расхода через плотину и основание от действующего напора, наличие явлений изменения расходов, не мотивированных изменениями напора;

значения действующих средних градиентов напора в области фильтрации, включая зоны разгрузки фильтрационного потока в дренаж, на дневную поверхность, в прослои грунтов относительно большей водопроницаемости в основании и др., соотношение натурных значений градиентов напора с допустимыми;

динамика изменения в действующих очагах фильтрации и в дренажах мутности профильтровавшейся воды во времени и в зависимости от действующего напора на плотину;

закономерность хода осадки плотины и основания, наличие (отсутствие) тенденции к ее затуханию во времени, степень равнозначности относительной осадки сооружения по его длине (в различных наблюдательных створах), проявление резкой интенсификации хода осадки;

закономерность горизонтальных смещений гребня плотины от действующего напора, наличие и характер затухания необратимой составляющей смещений;

динамика развития во времени, а также в зависимости от действующего напора просадочных воронок, наметившихся оползней на откосах и берегах, трещин различных ориентации на гребне, откосах и бермах;

уровень нормальных сжимающих напряжений в противофильтрационных элементах плотины (в ядре, экране, диафрагме и т.п.), соотношение их значений с величинами удельного геостатического и гидростатического давлений в контролируемых сечениях; наличие и местоположение в сооружении зон растягивающих напряжений, соотношение этих напряжений с показателями прочности материала на растяжение;

характер и размеры повреждений волновых креплений откосов плотины, соответствие проекту крупности камня, толщины и конструкции крепления;

работоспособность дренажных устройств плотины и основания, наличие признаков и явлений их засорения, зарастания, перемерзания;

местоположение и размеры образующихся зимой наледей на низовом откосе, береговых склонах и на прилегающей территории нижнего бьефа, как следствие выхода на поверхность и замерзание профильтровавшейся воды.

6.6. Для оценки состояния плотины по результатам анализа данных натурных наблюдений и исследований устанавливается степень соответствия или несоответствия фактических значений всех контролируемых диагностических показателей ее работы проектным, нормативным и критериальным показателям. Определяется адекватность реакции плотины и ее элементов на изменение нагрузок и воздействий.

6.7. В общем случае оперативную оценку эксплуатационного состояния и безопасности плотины и основания следует осуществлять сравнением натурных (измеренных или вычисленных на основе измерений) количественных и качественных диагностических показателей с их критериальными значениями К1 и К2, а также с прогнозируемым интервалом изменения диагностических показателей.

6.8. Критериальные значения К1 и К2 диагностических показателей следует определять преимущественно поверочными расчетами сооружения на основное и особое сочетания нагрузок и воздействий, соответственно. В расчетных моделях должны быть учтены конструктивные изменения плотины, внесенные в ходе строительства и эксплуатации, а также особенности работы, процессы и дефекты, влияющие на прочность и устойчивость сооружения. В расчетах должны использоваться уточненные в ходе строительства и эксплуатации физико-механические характеристики грунтов.

6.9. Для диагностических показателей, достоверные расчетные значения которых получить сложно (из-за отсутствия исходных данных, сложности учета многочисленных факторов строительного периода и т.п.), критериальные прогнозные значения должны быть получены на основе статистической обработки данных многолетних натурных наблюдений.

6.10. Назначение численных значений критериев К1 и К2 производится в соответствии с Методикой РД 153-34.2-21.342-00 на основе результатов поверочных расчетов плотины на основное и особое сочетания нагрузок, соответственно, или прогнозных статистических моделей с учетом требований норм для данного класса сооружения.

6.11. Для эксплуатируемых плотин сопоставлением диагностических показателей, полученных натурными измерениями, с их критериями устанавливаются следующие состояния:

нормальное (исправное) - состояние плотины, при котором она соответствует всем требованиям нормативных документов и проекта, при этом натурные значения диагностических показателей состояния плотины не превышают своих критериальных значений К1

Fнат ≤ К1;                                                                (6.1)

потенциально опасное (неисправное) - состояние, при котором натурное значение хотя бы одного диагностического показателя стало большим (меньшим) своего критериального значения К1 или вышло за пределы прогнозируемого при данном сочетании нагрузок интервала значений

К1 < Fнат ≤ К2;                                                             (6.2)

предаварийное - состояние, при котором значение хотя бы одного натурного диагностического показателя стало большим (меньшим) его критериального значения К2. В этом случае эксплуатация плотины недопустима без проведения оперативных мер по восстановлению требуемого уровня безопасности

Fнат > К2,                                                                (6.3)

где Fнат - измеренное (или вычисленное по измерениям) значение диагностического показателя состояния плотины; К1 и К2 - численные критериальные значения (критерии безопасности) диагностических показателей.

6.12. Кроме проверки выполнения (или невыполнения) условий (6.1) - (6.3), при оценке состояния плотины следует контролировать попадание натурного значения диагностического показателя в доверительный интервал, прогнозируемый для реально действующих на момент проверки нагрузок или на определенный период эксплуатации сооружения:

Fпрог - δFнатFпрог + δ,                                          (6.4)

где Fпрог - значение диагностического показателя, прогнозируемого расчетом или по статистической прогнозной модели; δ - допускаемая погрешность прогнозной модели.

6.13. При выполнении условия (6.2), отвечающего переходу плотины из исправного в потенциально-опасное состояние, должны быть приняты оперативные меры по приведению ее в нормальное состояние. При этом следует выполнить многофакторный анализ прочности и устойчивости сооружения и выявить причины его неисправности с участием специализированных проектной и научно-исследовательской организаций.

6.14. Результаты контроля и анализа данных систематических натурных наблюдений по оценке состояния грунтовых плотин (и других основных гидротехнических сооружений) должны ежегодно оформляться в виде технических отчетов, которые утверждаются руководителем эксплуатирующей организации (собственником).

Результаты оперативного контроля (мониторинга) оформляются службой наблюдений и утверждаются руководителем эксплуатирующей организации после каждого цикла измерений по установленной на плотине КИА.

ПРИЛОЖЕНИЕ

ИЗМЕРИТЕЛЬНЫЕ УСТРОЙСТВА И ИХ ТЕХНИЧЕСКИЕ ДАННЫЕ

СРЕДСТВА ИЗМЕРЕНИЙ ДЛЯ КОНТРОЛЯ НАПРЯЖЕННОГО И ДЕФОРМИРОВАННОГО СОСТОЯНИЯ ПЛОТИН И ОСНОВАНИЙ

В настоящее время основные средства измерений (закладные измерительные преобразователи и датчики), используемые при натурных наблюдениях за напряженным и деформированным состоянием плотин и их оснований, разрабатывает и изготовляет ОАО «НИИЭС», ОАО «ВНИИГ им. Б.Е. Веденеева» и др.

Измерительные преобразователи различного назначения унифицированы по выходному сигналу и типу передающего элемента, выполняющего перевод измеряемой величины (деформаций, усилий, давлений, температуры и др.) в электрическую. Информативным параметром сигнала является частота переменного напряжения на выходе преобразователя. В качестве передающего преобразовательного элемента использованы унифицированные струнные виброчастотные модули, работающие в режиме затухающих колебаний.

Ниже приведены унифицированные параметры и основные технические характеристики измерительных преобразователей номенклатуры отечественных предприятий.

Примечание. Наименования средств измерений номенклатуры указанных предприятий соответствуют следующим общепринятым терминам:

преобразователь линейных деформаций струнный (ПЛДС) - тензометр струнный;

преобразователь силы арматурный струнный (ПСАС) - динамометр арматурный;

преобразователь линейных перемещений струнный (ПЛПС) - щелемер струнный;

преобразователь температуры струнный (ПТС) - термометр струнный;

преобразователь температуры терморезисторный (ПТТ) - термометр сопротивления;

преобразователь давления струнный (ПДС) - пьезодинамометр струнный.

УНИФИЦИРОВАННЫЕ ПАРАМЕТРЫ ИЗМЕРИТЕЛЬНЫХ СТРУННЫХ ПРЕОБРАЗОВАТЕЛЕЙ

Предел допускаемой основной погрешности,

приведенный к диапазону измерения, %.................................. не более 2

Вариация выходного сигнала, приведенная к диапазону

измерений, %............................................................................... не более 1

Разность частот выходного сигнала, соответствующих

предельным значениям входной величины, кГц...................... 1 ± 0,2

Максимальное (начальное) амплитудное напряжение

затухающего выходного сигнала синусоидальной

формы на активной нагрузке 6 кОм, мВ................................... не менее 5

Импенданс на частоте 1,5 кГц, Ом............................................ 250 ± 50

Логарифмический декремент затухания................................... не менее 0,005

Сопротивление изоляции электрических цепей относительно

корпуса при испытательном напряжении 500 В, Мом............ не менее 1,0

Параметры импульса запроса (возбуждения):

напряжение, В.............................................................................. 150 + 15

длительность, мс.......................................................................... 0,5 - 1

период повторения, с................................................................... не менее 0,5

полярность.................................................................................... любая

Выводной кабель.......................................................................... двужильный типа КРГД

Исполнение преобразователей по устойчивости

к механическим воздействиям окружающей среды................. обыкновенное

Герметичность при внешнем давлении, МПа........................... 3,5

Область рабочих температур, °С................................................ от -30 до +40

Средний срок службы, лет.......................................................... 10

Градуировочная характеристика................................................ индивидуальная

ПРЕОБРАЗОВАТЕЛЬ ДАВЛЕНИЯ СТРУННЫЙ (ПДС)

Преобразователь предназначен для телеизмерения давления воды в напорных пьезометрах и порового давления в бетонной кладке гидротехнических сооружений и в грунте их оснований.

Преобразователь содержит чувствительный элемент, выполненный в виде цилиндра, внутри которого установлен струнный преобразовательный элемент (рис. П1).

Измеряемое давление передается через диафрагму на чувствительный элемент, сжимает его и, снижая натяжение струны, изменяет частоту ее собственных колебаний.

Преобразователи, предназначенные для измерения порового давления, поставляются с пористой насадкой (фильтром).

Технические данные

                                                                    ПДС-3        ПДС-10      ПДС-30     ПДС-100

Верхний предел измерения,

МПа                                                                0,3              1,0               3,0             10,0

Тоже, кгс/см2                                                  3                10                30              100

Максимально допустимое

внешнее давление                                         не более 1,25 предела измерения

Начальная частота

выходного сигнала, Гц                                                    2000 ± 200

Диапазон изменения частоты

выходного сигнала, Гц                                                    1000 ± 200

Изменение начальной

частоты при изменении

температуры на 10 °С, Гц                                               не более 10

Габаритные размеры, мм:

диаметр                                                                                  32

длина                                                                                   200 (215)

Масса, кг                                                                         не более 0,75

Рис. П1. Преобразователь давления воды струнный (ПДС-1, ПДС-3, ПДС-10, ПДС-30)

ПРЕОБРАЗОВАТЕЛЬ НАПРЯЖЕНИЙ ГРУНТА СТРУННЫЙ (ПНГС)

Диапазон измерения, МПа:

ПНГС-3.......................................................................... 0,06 - 0,3

ПНГС-10........................................................................ 0,20 - 1,0

ПНГС-30........................................................................ 0,60 - 3,0

ПНГС-100...................................................................... 2,0 - 10,0

Выходной электрический сигнал............................... затухающие колебания

                                                                                          электродвижущей силы

Диапазон периодов выходного сигнала (рабочий),

мкс................................................................................. 450 - 1250

Амплитуда выходного сигнала, измеренная в интервале

времени от 100 до 200 периодов, мВ......................... не менее 5

Основная погрешность, приведенная к верхнему

пределу измерения, %.................................................. ±3

Вариация показаний, приведенная к верхнему пределу

измерения, %................................................................ не более 1

Рис. П2. Общий вид преобразователя типа ПНГС

ГРУНТОВЫЙ ДИНАМОМЕТР ТИПА ГД

Преобразователь предназначен для телеизмерения контактного давления грунта на грани бетонных сооружений. Допустимо его использование для измерения нормальных напряжений в массиве грунта.

Преобразователь (рис. П3) представляет собой цилиндрический корпус с кольцевой мембраной (чувствительный элемент). В местах наибольшей угловой деформации мембраны к ней прикреплены кронштейны, в которые заделана струна. Прогиб мембраны от давления грунта вызывает поворот кронштейнов и увеличение натяжения струны, а соответственно и частоты ее собственных колебаний.

Рис. П3. Общий вид преобразователя типа ГД

Технические данные

Обозначение типоразмеров

                                                 ГД-2,5      ГД-4      ГД-6   ГД-10  ГД-16    ГД-26

Предел измерения, МПа......... 0,25         0,40         0,60      1,0        1,6         2,5

То же, кгс/см2.......................... 2,5           4,0           6,0     10,0      16,0       25,0

Чувствительность............................... не менее 0,5 % от предела измерений

Основная погрешность........................ не более 1 % от предела измерений

Максимальный прогиб

мембраны, мкм................................................ не более 20 - 25

Герметичность, МПа.............................. 1,25 от предела измерений

Габаритные размеры, мм:

диаметр.................................................................... 128

высота........................................................................ 25

Масса, кг.................................................................. 1,75

ПРЕОБРАЗОВАТЕЛЬ ТЕМПЕРАТУРЫ СТРУННЫЙ (ПТС-60)

Преобразователь предназначен для телеизмерения температуры в теле и основании гидротехнических сооружений и окружающей их среды (воды, грунта, бетона, воздуха) в течение длительного времени (рис. П4).

Преобразователь содержит в герметичном корпусе трубчатый чувствительный элемент и закрепленный в нем соосно струнный виброчастотный преобразовательный элемент. Чувствительный элемент и струна выполнены из материалов (алюминия и стали) с различными коэффициентами линейного расширения. При изменении температуры в струне возникает дополнительное усилие, вызывающее изменение частоты ее собственных колебаний.

Рис. П4. Преобразователи температуры:

а - схема конструкции струнного преобразователя ПТС-60; б - общий вид ПТС-60; в - общий вид терморезисторного преобразователя ПТТ-60; 1 - упругий элемент; 2 - струнный резонатор; 3 - передающий преобразовательный элемент; 4 - кабельный ввод

Технические данные

Пределы измерений, К................................................................ 253 - 233

То же, °С....................................................................................... от -20 до +60

Основная погрешность, К (°С)................................................... 1

Начальная частота выходного сигнала, Гц............................... 1300 ± 100

Диапазон измерения частоты выходного сигнала, Гц............. 800 ± 100

Габаритные размеры, мм:

диаметр......................................................................................... 30

длина............................................................................................. 200

Масса, кг....................................................................................... 0,5

ПРЕОБРАЗОВАТЕЛЬ ТЕМПЕРАТУРЫ ТЕРМОРЕЗИСТОРНЫЙ (ПТТ-60)

Преобразователь предназначен для измерения температуры бетона гидросооружений в период их возведения. Он представляет собой терморезистор, завулканизированный в резиновую оболочку.

Принцип действия преобразователя основан на зависимости активного сопротивления полупроводникового терморезистора от его температуры. Сопротивление измеряют мостом постоянного тока типа МО-62 или Р-333, не допуская нагрева терморезистора питающим его током (рис. П4).

Технические данные

Пределы измерения, К................................................................. 273 - 333

То же, °С....................................................................................... от 0 до +60

Основная погрешность, К (°С)................................................... не более 2

Номинальное сопротивление при температуре 0 °С, Ом........ 1700 ± 400

Изменение сопротивления при измерении температуры в

пределах диапазона измерений, Ом.......................................... 1250 ± 250

Герметичность при внешнем давлении, МПа........................... 0,3

Габаритные размеры, мм:

диаметр......................................................................................... 20

длина............................................................................................. 80

Масса, кг....................................................................................... 0,2

Средний срок службы, лет.......................................................... 2

ПРЕОБРАЗОВАТЕЛЬ ЛИНЕЙНЫХ ПЕРЕМЕЩЕНИЙ СТРУННЫЙ (ПЛПС)

Преобразователь предназначен для телеизмерения раскрытий швов, трещин и деформаций массивов мягких и скальных грунтов (рис. П5).

Преобразователь содержит струнный виброчастотный преобразовательный элемент, присоединенный с одной стороны к корпусу, а с другой - к масштабной пружине, свободный конец которой прикреплен к перемещаемому относительно корпуса штоку. Перемещение вызывает изменение растягивающего усилия в струне и частоты ее собственных колебаний.

Преобразователи ПЛПС-3 и ПЛПС-10 отличаются только жесткостью масштабных пружин. Преобразователи ПЛПС-3 0 и ПЛПС-160 выполнены на базе ПЛПС-10 с присоединением к нему клиновых ходоуменьшительных устройств с передаточными соотношениями 1:3 и 1:16 соответственно. В настоящее время выпускаются преобразователи ПЛПС-320.

Преобразователи ПЛПС-3 и ПЛПС-10 используют в основном для измерения раскрытий швов, преобразователи ПЛПС-30 и ПЛПС-160 - в качестве длиннобазных (25 - 30 м и более) измерителей деформаций скалы и грунта. Измерители получают путем присоединения к преобразователям базообразующих элементов (трубы или стержня с анкером) требуемой длины.

Рис. П5. Преобразователь линейных перемещений типа ПЛПС-10

а - схема конструкции; б - общий вид; 1 - корпус; 2 - струнный резонатор; 3 - передающий преобразовательный элемент; 4 - упругий элемент; 5 - кабельный ввод; 6 - фланец; 7 - удлинитель штока с анкером

Технические данные

                                                 ПЛПС-3     ПЛПС-10   ПЛПС-30  ПЛПС-160  ПЛПС-320

Диапазон измерения, мм...... 0 - 3              0 - 10         0 - 30          0 - 100         0 - 320

Пределы диапазона рабочих частот, Гц............................................. 700 - 2000

Диапазон изменения частоты выходного сигнала, Гц...................... 1000 ± 300

Габаритные размеры, мм:

диаметр.................................................................................................. 48

длина (с кабельной частью)................................................................. 400

Масса (без фланца), кг.......................................................................... 2,7

ПРЕОБРАЗОВАТЕЛЬ УРОВНЯ ЖИДКОСТИ (ПУЖС)

Преобразователь предназначен для телеизмерения осадки сооружений и оснований, прогибов железобетонных конструкций и уровня воды на мерных водосливах. Он является базовым прибором для построения основы гидростатического нивелирования (ОГН).

Преобразователь (рис. П6) состоит из герметичного корпуса и жестко вмонтированного в корпус собственно преобразователя типа ПСУС, к чувствительному элементу которого присоединен на гибкой стальной подвеске груз цилиндрической формы, погруженный частично в жидкость с удельной массой 0,8 - 0,9 г/см3 (трансформаторное масло, силиконовые жидкости, спирт и др.).

ОГН содержит группу преобразователей ПУЖС, установленных в контролируемых точках сооружения и соединенных между собой жидкостными (нижними) и воздушными (верхними) трубками. Вертикальное смещение одного из преобразователей изменяет уровень жидкости в сообщающихся сосудах (корпусах ПУЖС) и соответственное усилие, воспринимаемое ПСУС. Преобразователи выпускают 5 типоразмеров.

Рис. П6. Установка преобразователя уровня жидкости струнного (ПУЖС):

1 - труба масло- и воздухопровода; 2 - монтажная плита; 3 - установочная плита; 4 - установочные болты, закрепляющие ПУЖС; 5 - регулировочный винт; 6 - регулировочный стержень; 7 - регулировочные гайки; 8 - монтажный стержень; 9 - фланец; 10 - труба для кабеля; 11 - соединительная трубка; 12 - штуцер с накидной гайкой

Технические данные

Пределы измерения, мм:

ПУЖС-32............................................................................ 0 - 32

ПУЖС-64............................................................................ 0 - 64

ПУЖС-130.......................................................................... 0 - 130

ПУЖС-250.......................................................................... 0 - 250

ПУЖС-500.......................................................................... 0 - 500

Пределы диапазона рабочих частот, Гц.......................... 800 - 2200

Предел допускаемой основной погрешности, приведенной к

верхнему пределу измерений, %...................................... ±0,6

Вариация показаний, приведенная к верхнему пределу

измерений, %..................................................................... не более 0,6

Диапазон рабочих температур, °С................................... от -25 до +30

Внешнее давление, МПа................................................... до 3

ПРИЕМНАЯ АППАРАТУРА ДЛЯ СТРУННЫХ ДАТЧИКОВ ЦИФРОВОЙ ЧАСТОТОМЕР «Струна-12»

Прибор предназначен для измерения в полевых условиях частоты и периода выходного сигнала струнных преобразователей вызывного типа.

Рис. П7. Периодомер цифровой ПЦП-1М

Основные технические данные

Диапазон измерения:

частоты, Гц......................................................................... 500 - 2500

периода, мс......................................................................... 0,4 - 2,0

Погрешность измерения, %.............................................. ~ 0,1

Начальная амплитуда входного сигнала, В.................... 0,001 - 10

Импульс возбуждения преобразователя, В..................... 130; 0,5 мс

Питание.............................................................................. автономное (батарея или

                                                                                              аккумулятор 4В ± 20 %; 0,5А

Потребляемая мощность, Вт............................................ 1,2

Вход прибора симметричный, входной

импенданс, кОм................................................................. 3

Габариты, мм..................................................................... 165´285´80

Масса (с источником питания), кг.................................. 3,0

ПЕРИОДОМЕР ЦИФРОВОЙ ПОРТАТИВНЫЙ (ПЦП-1)

Прибор предназначен для измерения в полевых условиях периода выходного сигнала струнных преобразователей вызывного типа (Рис. П7).

Основные технические данные

Диапазон измеряемых периодов, мкс........................... 400 - 2000

Индикация результата.................................................... на 5-разрядном цифровом табло

Предел допускаемой относительной погрешности, %

систематической............................................................. не более 0,1

случайной........................................................................ 0,05

Параметры импульса запроса:

амплитуда, В.................................................................... 150 ± 10 %

период следования, с...................................................... 1,5 ± 0,5

длительность, мс............................................................. 0,5 ± 0,2

Питание:

автономное...................................................................... аккумуляторная батарея

                                                                                           напряжением 9 В ± 20 %

сетевое.............................................................................. переменный ток напряжением

                                                                                           220 В ± 10 % и 36 В ± 10 %

Потребляемая мощность, Вт.......................................... не более 3

Входной импенданс на частоте 1500 Гц, кОм............. не более 3 ± 20 %

Запуск............................................................................... ручной и автоматический

Надежность:

наработка на отказ, ч...................................................... не менее 5000

средний срок службы, лет.............................................. не менее 6

Габариты, мм................................................................... 262´114´344

Масса, кг.......................................................................... 4,2

КОММУТИРУЮЩИЕ УСТРОЙСТВА

КОММУТАТОР ДАТЧИКОВ КП-24

Коммутатор предназначен для поочередного или выборочного ручного подключения к вторичному измерительному прибору группы закладных датчиков, установленных в теле или основании гидротехнических сооружений (рис. П8).

Технические данные

Число подключаемых датчиков, шт.......................... 24

Тип коммутируемых датчиков................................... струнный и резистивный

Исполнение.................................................................. пылевлагозащитное

Область рабочих температур, °С............................... от -30 до + 40

Габариты, мм:

высота........................................................................... 200

ширина......................................................................... 175

длина (без кабельной части)...................................... 155

Длина выходных кабелей, мм.................................... 1000

Масса, кг...................................................................... не более 11,2

Рис. П8. Коммутатор преобразователей КП-24

ИНКЛИНОМЕТРИЧЕСКАЯ УСТАНОВКА

Установка предназначена для измерения вертикальных и горизонтальных деформаций внутренних зон тела грунтовых плотин.

Установка (рис. П9) смонтирована на шасси автомобиля и содержит инклинометр, лебедку с каротажным кабелем и электронную измерительную аппаратуру. В инклинометре смонтированы измерительные преобразователи углов наклона, ориентированные в двух взаимно перпендикулярных плоскостях, преобразователь расстояния между марками и электронный блок, выполняющий предварительное преобразование сигнала преобразователей.

В процессе измерений инклинометр автоматически фиксирует высотное положение марок, расположенных внутри или снаружи инклинометрических труб (устанавливаются по ходу возведения сооружения), и при каждой остановке прибора (осуществляется автоматически) измеряются углы наклона оси инклинометра и расстояния между марками. Результаты измерений индицируются на цифровом табло и регистрируются на носителе для последующей обработки на ЭВМ.

Технические данные

Пределы измерений:

угла наклона в плоскости, перпендикулярной продольной

оси плотины, град........................................................................ ±15

угла наклона в плоскости, параллельной продольной оси

плотины, град............................................................................... ±4

Высота, мм.................................................................................... 500

Диаметр, мм................................................................................. 68

Вес без кабеля, кг......................................................................... 7

Рис. П9. Схема инклинометрической установки:

1 - труба; 2 - муфта (обсадная труба); 3 - инклинометр; 4 - марка; 5 - анкер; 6 - отстойник; 7 - каротажный кабель; 8 - машина; 9 - уплотненный грунт; 10 - бетон

ПРЯМОЙ ОТВЕС

Относительные горизонтальные перемещения плотин измеряются, главным образом, с помощью прямых и обратных отвесов. Прямой отвес представляет собой груз на инварной проволоке (рис. П10), закрепленной в точке, перемещения которой измеряются механическим или оптическим координатомером, расположенным у нижнего конца нити отвеса. Перемещения точки подвеса измеряются в двух взаимно перпендикулярных плоскостях с номинальной чувствительность 0,05 - 0,1 мм.

Нить отвеса обычно закрепляется у гребня плотины и проходит до незатопляемой галереи у ее основания в вертикальной шахте в бетоне первых столбов. В расширенных швах или между контрфорсами нить опускают в стальную защитную трубу.

Для демпфирования колебаний нити отвеса груз на ее конце устанавливается в сосуд с маслом, над которым смонтирован столик для стационарного или переносного координатомера, помещение которого должно быть изолировано от наружного воздуха во избежание сквозняков, раскачивающих нить отвеса.

На уровне смотровых галерей в шахте или трубе закреплены специальные устройства - зацепы, в которые последовательно на промежуточных отметках временно вводится нить отвеса с отсчетом по шкалам расположенного внизу координатомера. При отсутствии «зацепов» перемещения могут измеряться путем перенесения координатомера с отметки на отметку.

В плотинах с криволинейным или ломаным очертанием напорной грани, не позволяющим устроить возле нее шахту от гребня до основания, шахту сдвигают в сторону нижнего бьефа, а при большой высоте плотины располагают несколько отвесов, подвешенных на разной высоте и сдвинутых в сторону нижнего бьефа по отношению к вышележащим.

П10. Измерительный узел прямого отвеса:

1 - дренажное отверстие; 2 - бак успокоительный; 3 - жидкость; 4 - груз; 5, 7 - дверки; 6 - стяжка регулировочная; 8 - рама координатомера; 9 - координатомер; 10 - струна; 11 - труба; 12 - зацеп промежуточный; 13 - дверка зацепа; 14 - цанга; 15 - кронштейн; 16 - траверса; 17 - крышка

ОПУСКНОЙ ПЬЕЗОМЕТР

Опускной пьезометр предназначен для наблюдений за фильтрационным режимом гидротехнических сооружений (положением депрессионной поверхности фильтрационного потока, фильтрационным противодавлением по подошве, работой противофильтрационных и дренажных устройств и др.).

Конструкция пьезометра определяется его назначением, порядком установки, условиями эксплуатации и другими факторами.

На рис. П11 приведена конструкция водоприемника опускного пьезометра, устанавливаемого путем опускания в вертикальную или наклонную скважину, пробуренную в сооружении и имеющую прямолинейную ось. При ожидаемых неравномерных осадках (например, при размещении основания пьезометра на скале) опускной пьезометр оснащают компенсатором осадки (рис. П12).

МЕРНЫЙ ВОДОСЛИВ НА ВОДООТВОДЯЩИХ КЮВЕТАХ

Мерный водослив на водоотводящих кюветах (коллекторах, лотках) предназначен для измерения расходов воды, профильтровавшейся через грунтовую плотину, ее основание или в обход сооружения и поступающей из дренажной системы или локального сосредоточенного выхода. Измерение расходов выполняют с целью определения соответствия фактического расхода установленному проектом предельно допустимому; выявления интенсивности развития процесса, его связи с деформациями и причин возникновения процесса, а также с целью оценки безопасности работы сооружения.

Форма водослива принимается в зависимости от размера расхода: для малых расходов используют треугольные водосливы, для больших расходов - трапецеидальные или прямоугольные.

Конструкция треугольного мерного водослива приведена на рис. П13.

Измерения напора Н на водосливе выполняют с точностью до 0,2 см при Н < 10 см и 0,5 см при Н > 10 см.

Определение расхода обеспечивается с погрешностью не более 10 %.

Рис. П11. Типовая конструкция водоприемника опускного пьезометра:

1 - соединительная муфта Æ 50 мм; 2 - винипластовая труба Æ 50 мм; 3 - направляющие скобы; 4 - фильтр из гофрированной винипластовой сетки и стеклоткани; 5 - песчаная обсыпка; 6 - опорное кольцо; 7 - отстойник (винипластовая труба Æ 50 мм); 8 - стенки скважины

Рис. П12. Конструкция водоприемника опускного пьезометра с компенсатором осадки:

1 - раствор цементный; 2 - тампон глиняный; 3 - муфта Æ 50 мм; 4 - стеклоткань в два слоя; 5 - заклепка алюминиевая; 6 - патрубок направляющий; 7 - скобы направляющие; 8 - стенки скважины; 9 - обмотка фильтровая (гофрированная сетка и стеклоткань); 10 - фильтр песчаный; 11 - перфорация (круглые или щелевидные отверстия) скважностью не менее 20 %; 12 - труба винипластовая или стальная (оцинкованная) Æ 50 мм; 13 - отстойник; 14 - обмотка изоляционной лентой

Рис. П13. Установка мерного треугольного водослива на водоотводящих кюветах:

1 - стенка водослива; 2 - упорный уголок 20´20´4 мм; 3 - резиновое уплотнение; 4 - анкер Æ 6 мм; 5 - цементно-песчаный раствор; 6 - рейка деревянная 20´8 мм; 7 - анкер Æ 8 мм, длиной 75 мм; 8 - уголок 40´40´4 мм; 9 - хомут Æ 6 мм

СОДЕРЖАНИЕ

1. Общие положения. 1

Назначение правил и область их применения. 1

Нормативные ссылки. 1

Термины и определения. 2

Общие требования к натурным наблюдениям.. 3

2. Организация натурных наблюдений и исследований. 4

3. Основные правила проектирования натурных наблюдений и исследований. 6

4. Установка контрольно-измерительной аппаратуры в грунтовых плотинах и основаниях. 8

Установка киа для контроля фильтрации. 8

Установка киа для измерений осадок и смещений плотины и основания. 10

Установка киа для контроля напряженно-деформированного состояния плотины.. 13

Установка термометрической киа.. 15

Установка киа для наблюдений за криогенными процессами. 17

5. Методика и техника натурных наблюдений. 20

6. Анализ результатов натурных наблюдений и оценка состояния грунтовых плотин. 27

Приложение. Измерительные устройства и их технические данные. 30

 




Яндекс цитирования



   Copyright © 2007-2026,  www.tehlit.ru.

[ ѓосты, стандарты, нормативы, инструкции, правила, строительные нормы ]