//
ТехЛит.ру
- крупнейшая бесплатная электронная интернет библиотека для "технически умных" людей.
WWW.TEHLIT.RU - ТЕХНИЧЕСКАЯ ЛИТЕРАТУРА

:: Алготрейдинг::


АЛГОТРЕЙДИНГ
шаг за шагом
с нуля по урокам!

Торговые роботы на PYTHON, BackTrader,
Pandas, Pine Script для TradingView. Связка с брокерами, телеграм и легкими приложениями.


ФЕДЕРАЛЬНОЕ АГЕНТСТВО
ПО ТЕХНИЧЕСКОМУ РЕГУЛИРОВАНИЮ И МЕТРОЛОГИИ

НАЦИОНАЛЬНЫЙ СТАНДАРТ РОССИЙСКОЙ ФЕДЕРАЦИИ

ГОСТ Р
61436-2006

Аккумуляторы и аккумуляторные батареи, содержащие щелочной и другие некислотные электролиты

АККУМУЛЯТОРЫ НИКЕЛЬ-МЕТАЛЛ-ГИДРИДНЫЕ ГЕРМЕТИЧНЫЕ

IEC 61436:1998

Secondary cells and batteries containing alkaline or other non-acid electrolytes-Sealed nickel-metal hydride rechargeable single cells

(IDT)

Москва

ИПК Издательство стандартов

2004

Предисловие

Задачи, основные принципы и правила проведения работ по государственной стандартизации в Российской Федерации установлены ГОСТ Р 1.0-92 «Государственная система стандартизации Российской Федерации. Основные положения» и ГОСТ Р 1.2-92 «Государственная система стандартизации Российской Федерации. Порядок разработки государственных стандартов»

Сведения о стандарте

1. ПОДГОТОВЛЕН Автономной некоммерческой организацией «НТЦСЭ «ИСЭП» на основе собственного аутентичного перевода стандарта, указанного в пункте 4

2. ВНЕСЕН Техническим комитетом по стандартизации ТК 044 «Аккумуляторы и батареи»

3. УТВЕРЖДЕН И ВВЕДЕН В ДЕЙСТВИЕ Постановлением Госстандарта России от 9 марта 2004 г. № 137-ст

4. Настоящий стандарт идентичен международному стандарту МЭК 61436:1998 «Аккумуляторы и аккумуляторные батареи, содержащие щелочной и другие некислотные электролиты. Герметичные никель-металл-гидридные аккумуляторы».

При применении настоящего стандарта рекомендуется использовать вместо ссылочных международных стандартов соответствующие им национальные стандарты Российской Федерации, сведения о которых приведены в дополнительном приложении А

5. ВВЕДЕН ВПЕРВЫЕ

Информация об изменениях к настоящему стандарту публикуется в указателе «Национальные стандарты», а текст этих изменений - в информационных указателях «Национальные стандарты». В случае пересмотра или отмены настоящего стандарта соответствующая информация будет опубликована в информационном указателе «Национальные стандарты»

Содержание

Введение

Изготовители и потребители щелочных аккумуляторов и батарей традиционно выражают токи заряда и разряда, используемые для этих аккумуляторов и батарей, как кратные величины их емкости. Например, ток 20 А, используемый для заряда аккумулятора номинальной емкостью (С) 100 А·ч может быть выражен как С/5 А, или 0,2 С А. Этот метод обозначения токов используется во всех стандартах, относящихся к щелочным аккумуляторам и батареям.

Было высказано замечание, что такой метод обозначения тока некорректен с точки зрения размерности физической величины, так как кратность емкости батареи будет выражаться в ампер-часах, а не в амперах, как требуется для размерности токов.

В результате этого подкомитет 21А МЭК опубликовал «Рекомендации по обозначению тока в стандартах на щелочные аккумуляторы и батареи» - МЭК 61434: 1996, и описанный в нем метод был использован в настоящем стандарте. Кратко метод устанавливает, что ток, рекомендуемый для испытаний, lt, А, будет выражен согласно формуле

где lt - рекомендуемый ток, А;

Сn - номинальная емкость, установленная изготовителем, А·ч;

n - продолжительность разряда основного режима, для которого установлена номинальная емкость, ч.

НАЦИОНАЛЬНЫЙ СТАНДАРТ РОССИЙСКОЙ ФЕДЕРАЦИИ

Аккумуляторы и аккумуляторные батареи, содержащие щелочной и другие некислотные электролиты

АККУМУЛЯТОРЫ НИКЕЛЬ-МЕТАЛЛ-ГИДРИДНЫЕ ГЕРМЕТИЧНЫЕ

Secondary cells and batteries containing alkaline or other non-asid electrolytes - Sealed nickel-metal hydride rechargeable single cells

Дата введения - 2005-01-01

1 Общие положения

1.1 Область применения

Настоящий стандарт устанавливает основные технические требования и методы испытаний герметичных никель-металл-гидридных аккумуляторов, предназначенных для использования в любой области.

1.2 Нормативные ссылки

В настоящем стандарте использованы нормативные ссылки на следующие международные стандарты.

МЭК 60051 (все части) Приборы аналоговые показывающие электроизмерительные прямого действия и вспомогательные части к ним

МЭК 60068-2-29:1987 Основные методы испытаний на воздействие внешних факторов. Часть 2. Испытания. Испытание Еb и руководство. Удар

МЭК 60410:1973 Планы отбора и процедуры контроля.

МЭК 60485:1974 Цифровые электронные вольтметры постоянного тока и аналого-цифровые электронные преобразователи постоянного тока.

Примечание - При пользовании настоящим стандартом целесообразно проверить действие ссылочных стандартов по указателю «Национальные стандарты», составленному по состоянию на 1 января текущего года, и по соответствующим информационным указателям, опубликованным в текущем году. Если ссылочный документ заменен (изменен), то при пользовании настоящим стандартом следует руководствоваться замененным (измененным) стандартом. Если ссылочный документ отменен без замены, то положение, в котором дана ссылка на него, применяется в части, не затрагивающей эту ссылку.

1.3 Определения

В настоящем стандарте применены следующие термины с соответствующими определениями:

1.3.1 герметичный никель–металл-гидридный аккумулятор: Аккумулятор, остающийся закрытым и не пропускающим газ или жидкость при работе в режимах заряда и температуре, установленных изготовителем. Аккумулятор должен быть снабжен предохранительным устройством, предотвращающим возникновение опасного высокого внутреннего давления.

Аккумулятор не требует дополнительной заливки электролита и предназначен для работы в исходном герметичном состоянии на протяжении всего срока службы.

Примечание - Однако к концу срока службы аккумулятор может выделять избыточный водород, возникший вследствие его накопления внутри аккумулятора.

1.3.2 малогабаритный призматический аккумулятор: Аккумулятор в форме прямоугольного параллелепипеда, ширина и толщина которого не более 25 мм.

1.3.3 номинальное напряжение герметичного никель-металл-гидридного аккумулятора: Напряжение аккумулятора, равное 1,2 В.

1.3.4 номинальная емкость: Количество электричества С5·ч), указанное изготовителем, которое может отдать аккумулятор при разряде током 0,2 It А до конечного напряжения 1 В и температуре 20 °С после заряда, хранения и разряда в условиях, установленных в разделе 4.

1.4 Допустимые отклонения измерений

Общая точность контролируемых или измеряемых физических величин, относительно заданных или фактических величин, должна находиться в пределах:

а) ± 1 % для напряжения;

b) ± 1 % для тока;

c) ± 1 % для емкости;

d) ± 2 % для температуры;

e) ± 0,1 % для времени.

Эти допуски включают в себя комплексную точность измерительных приборов, точность используемых технологий измерения и все другие источники погрешностей, возникающие в процессе испытаний.

При выборе измерительных приборов следует руководствоваться МЭК 60051 для аналоговых приборов и МЭК 60485 для цифровых приборов. Сведения о примененных приборах должны содержаться в каждом отчете с результатами испытаний.

2 Обозначение и маркировка

2.1 Обозначение аккумулятора

2.1.1 Герметичные никель-металл-гидридные цилиндрические аккумуляторы

Герметичные никель-металл-гидридные цилиндрические аккумуляторы должны обозначаться буквами HR и двумя группами цифр, разделенных наклонной линией

Две цифры первой группы означают максимальный диаметр аккумулятора.

Две цифры второй группы после наклонной линии означают максимальную высоту аккумулятора.

Диаметр и высоту аккумулятора выражают целым числом миллиметров или округленным до целого числа.

Пример обозначения герметичного никель-металл-гидридного цилиндрического аккумулятора диаметром 15 мм и высотой 51 мм:

HR 15/51

2.1.2 Герметичные никель-металл-гидридные малогабаритные призматические аккумуляторы

Герметичные никель-металл-гидридные малогабаритные призматические аккумуляторы должны обозначаться буквами HF и тремя группами цифр, разделенных наклонными линиями.

Две цифры первой группы означают максимальную ширину аккумулятора.

Две цифры второй группы цифр после наклонной линии означают толщину аккумулятора.

Две цифры третьей группы после второй наклонной линии означают максимальную высоту аккумулятора.

Ширину, толщину и высоту аккумулятора выражают целым числом миллиметров или округленным до целого числа.

Пример обозначения герметичного никель-металл-гидридного малогабаритного призматического аккумулятора шириной 18 мм, толщиной 7 мм и высотой 49 мм:

HF 18/07/49

2.2 Маркировка

Каждый аккумулятор без выводов должен иметь прочную маркировку, содержащую следующую информацию (если иное не установлено потребителем):

- надпись «герметичный перезаряжаемый никель-металл-гидридный или обозначение «Ni-MH»;

- обозначение аккумулятора согласно 2.1;

- номинальную емкость;

- номинальное напряжение;

- рекомендации по режиму и продолжительности заряда;

- полярность;

- дату изготовления (может быть в виде кода);

- наименование или обозначение изготовителя или поставщика.

Примечание - В случае, если аккумуляторы с выводами являются неотъемлемой частью батареи и не имеют этикетки, то такая батарея должна иметь маркировку, содержащую вышеуказанную информацию.

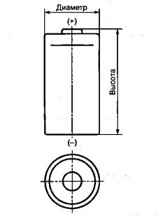
3 Размеры

Размеры никель-металл-гидридных герметичных аккумуляторов в чехлах должны соответствовать приведенным на рисунках 1, 2 и в таблицах 1, 2

Рисунок 1 - Цилиндрический аккумулятор

Рисунок 2 - Малогабаритный призматический аккумулятор

Таблица 1 - Размеры цилиндрических аккумуляторов в чехлах

Обозначение аккумулятора

Диаметр, мм

Высота, мм

Номин.

Пред. откл.

Номин.

Пред. откл.

HR11/45

10,5

0-0,7

44,5

0-1,5

HR15/43

14,5

43,0

HR15/49

14,5

49,0

HR15/51

14,5

50,5

HR17/29

17,0

28,5

HR17/43

17,0

43,0

HR17/50

17,0

50,0

0-2,0

HR17/67

17,0

67,0

0-1,5

HR23/43

23,0

0-1,0

43,0

HR26/47

25,8

47,0

HR26/50

25,8

50,0

0-2,0

Таблица 2- Размеры малогабаритных призматических аккумуляторов в чехлах

Обозначение аккумулятора

Ширина, мм

Толщина, мм

Высота, мм

Номин.

Пред. откл.

Номин.

Пред. откл.

Номин.

Пред. откл.

HF15/08/49

14,5

0-1,0

7,4

0-0,7

48,2

0-1,0

HF15/09/49

14,5

8,3

48,2

HF18/07/36

17,3

6,1

35,7

HF18/07/49

17,3

6,1

48,2

HF18/09/49

17,3

8,3

48,2

HF18/07/68

17,3

6,1

67,3

0-1,5

HF18/11/68

17,3

10,7

0-1,0

67,3

HF18/18/68

17,3

17,3

67,3

HF23/11/68

22,7

10,7

67,3

HF23/15/68

22,7

14,5

67,3

4 Электрические испытания

Токи заряда и разряда при испытаниях согласно настоящему разделу и разделу 5 должны быть установлены на основе номинальной емкости аккумулятора.

При всех испытаниях, за исключением. 4.7, не должно быть утечки электролита.

4.1 Метод заряда

Заряд, предшествующий различным режимам разряда, если иное не установлено в настоящем стандарте, проводят при температуре окружающей среды (20 ± 5) °С постоянным током 0,1 It А в течение 16 ч.

Аккумулятор перед зарядом должен быть разряжен при температуре окружающей среды (20 ± 5) °С постоянным током 0,2 It А до конечного напряжения 1 В.

4.2 Разрядные характеристики

Проверка разрядных характеристик должна проводиться в следующей последовательности

4.2.1 Разрядная характеристика при 20°С

Аккумулятор должен быть заряжен согласно 4.1. После заряда он должен быть выдержан не менее 1 ч, но не более 4 ч при температуре окружающей среды (20 ± 5) °С. Затем аккумулятор должен быть разряжен постоянным током согласно таблице 3 при той же температуре. Продолжительность разряда должна быть не менее указанной в таблице 3.

Таблица 3 - Разрядная характеристика при 20 °С

Режим разряда

Минимальная продолжительность разряда

Ток, А

Конечное напряжение, В

0,2 It1)

1,0

5ч

1,0 It

0,9

42 мин

1) Допускается проведение пяти заряд-разрядных циклов. Испытание может быть закончено, если продолжительность разряда будет достигнута ранее пятого цикла.

4.2.2 Разрядная характеристика при 0°С

Аккумулятор должен быть заряжен согласно 4.1. После заряда он должен быть выдержан не менее 16 ч, но не более 24 ч при температуре окружающей среды (0 ± 2) °С. Затем аккумулятор должен быть разряжен постоянным током согласно таблице 4 при температуре окружающей среды (0 ± 2) °С. Продолжительность разряда должна быть не менее указанной в таблице 4.

Таблица 4 - Разрядная характеристика npи 0°С

Режим разряда

Минимальная продолжительность разряда

Ток, А

Конечное напряжение, В

0,2 It

1,0

4ч

1,0 It

0,9

36 мин

4.3 Сохранность заряда

Аккумулятор на сохранность заряда должен быть проверен следующим испытанием.

После заряда согласно 4.1 аккумулятор должен храниться при разомкнутой цепи в течение 28 сут. Среднее значение температуры окружающей среды должно быть (20 ± 2) °С, однако во время хранения допускается кратковременное отклонение температуры ± 5°С. Затем аккумулятор должен быть разряжен в условиях, установленных 4.2.1, постоянным током 0,2 It А. Продолжительность разряда после 28 сут хранения должна быть не менее 3 ч.

4.4 Наработка в циклах

Аккумулятор перед испытанием на наработку в циклах должен быть разряжен постоянным током 0,2 It А до конечного напряжения 1 В.

Испытание проводят при температуре окружающей среды (20 ± 5) °С независимо от конструкции аккумулятора.

Заряд и разряд должны проводиться постоянным током циклами в режимах, указанных в таблице 5. При необходимости во время испытания должно применяться принудительное воздушное охлаждение корпуса аккумулятора для предотвращения его перегрева свыше 35 °С.

Примечание - Фактическая температура корпуса определяется конструкцией аккумулятора, а не температурой окружающей среды.

Таблица 5 - Наработка в циклах

Номер цикла

Режим заряда

Время хранения в заряженном состоянии, ч.

 

Режим разряда

Ток, А

Продолжительность

Ток, А

Продолжительность

1

0,10 It

16ч

-

0,25 It

2 ч 20 мин 2)

2-48

0,25 It

3 ч 10 мин

0,25 It

49

0,25 It

3 ч 10 мин

0,25 It

До конечного напряжения 1 В

50

0,10 It

16 ч

1-4

0,20 It

До конечного напряжения 1 В 1)

1) Допускается выдержка аккумуляторов при разомкнутой цепи после окончания разряда на 50-м цикле для того, чтобы начать 51-й цикл через две недели от начала испытаний. Аналогичная процедура может быть применена в отношении 100, 150, 200, 250, 300, 350, 400 и 450-го циклов.

2) Испытание может быть закончено, если конечное напряжение будет менее 1 В.

Циклы 1-50 следует продолжать до тех пор, пока продолжительность разряда на любом цикле, кратном 50-му, станет менее 3 ч. Последующий цикл должен быть проведен в режиме 50-го цикла. Испытание на наработку считают законченным, если на двух последовательных циклах продолжительность разряда будет менее 3 ч.

Число циклов по окончании испытаний должно быть не менее 500.

4.5 Заряд при постоянном напряжении

Настоящий стандарт не устанавливает требований к испытаниям аккумуляторов на заряд при постоянном напряжении.

Заряд аккумуляторов при постоянном напряжении не рекомендуется.

4.6 Перезаряд

Способность аккумулятора выдерживать перезаряд должна быть проверена следующим испытанием.

Аккумулятор должен быть заряжен постоянным током 0,1 It А в течение 48 ч при температуре окружающей среды (20 ± 5) °С. После окончания заряда аккумулятор должен быть выдержан не менее 1 ч, но не более 4 ч при температуре окружающей среды (20 ± 5) °С. Затем аккумулятор разряжают током 0,2 It А до конечного напряжения 1 В при температуре окружающей среды (20 ± 5) °С. Продолжительность разряда должна быть не менее 5 ч.

4.7 Работа предохранительного устройства

Предупреждение. При проведении испытания необходимо соблюдать повышенные меры предосторожности. Аккумуляторы должны испытываться индивидуально, при этом следует учитывать, что аккумуляторы, не отвечающие требованиям, могут взрываться даже после отключения тока заряда. По этой причине испытание должно проводиться в защитной камере.

Следующее испытание проводят для определения способности предохранительного устройства аккумулятора обеспечить выход газа, если внутреннее давление аккумулятора превышает критическое значение.

Аккумулятор должен быть принудительно разряжен постоянным током 0,2 It А до конечного напряжения 0 В при температуре окружающей среды (20 ± 5) °С. Затем ток должен быть увеличен до 1 It А и поддерживаться при той же температуре в течение 60 мин.

В процессе и в конце этого разряда аккумулятор не должен взрываться или разрушаться. Допускается течь электролита и деформация аккумулятора.

4.8 Хранение

Аккумулятор перед испытанием на хранение должен быть заряжен согласно 4.1.

Заряженный аккумулятор должен храниться в течение 12 мес при разомкнутой цепи, средней температуре окружающего воздуха (20 ± 5) °С и относительной влажности (65 ± 20) %.

Во время хранения допускается кратковременное отклонение температуры окружающей среды ±10°С.

Спустя 12 мес хранения аккумулятор должен быть разряжен и заряжен согласно 4.1 и затем разряжен согласно 4.2.1 постоянным током 0,2 It A.

Продолжительность разряда аккумулятора после хранения в течение 12 мес при 20 °С должна быть не менее 4 ч. Для проверки продолжительности разряда после хранения допускается проведение пяти заряд-разрядных циклов.

Примечание - При необходимости оценки уровня качества (приемки аккумуляторов) до окончания испытаний на хранение может быть принято решение о временной приемке аккумуляторов до получения удовлетворительных результатов разряда аккумуляторов после хранения.

4.9 Внутреннее сопротивление

Внутреннее сопротивление аккумулятора должно быть определено методами переменного (а.с) и постоянного (d.c) токов.

При необходимости измерения внутреннего сопротивления одних и тех же аккумуляторов обоими методами первоначально должен быть использован метод переменного тока (а.с). В этом случае нет необходимости проводить разряд и заряд в паузах между испытаниями по обоим методам.

Аккумулятор перед проведением измерений должен быть разряжен постоянным током 0,2 It А до конечного напряжения 1 В.

Аккумулятор заряжают в соответствии с 4.1. После заряда аккумулятор должен быть выдержан не менее 1 ч, но не более 4 ч при температуре окружающей среды (20+5) °С.

Внутреннее сопротивление следует измерять при температуре окружающей среды (20±5) °С.

4.9.1 Измерение внутреннего сопротивления методом переменного тока

Для определения внутреннего сопротивления аккумулятора должно быть в течение 1-5 с измерено среднеквадратичное значение (r.m.s.) переменного напряжения Ua, возникающее при прохождении через аккумулятор переменного тока со среднеквадратичным значением (r.m.s.) Ia частотой (1,0 ± 0,1) кГц.

Внутреннее сопротивление Ra.c.,Ом, рассчитывают по формуле

(1)

где Ua - переменное напряжение (среднеквадратичное значение),В;

Iа - переменный ток (среднеквадратичное значение), А;

Примечания

1. Переменный ток должен быть таким, чтобы пиковое напряжение было менее 20 мВ.

2. Этим методом фактически измеряют импеданс, который в диапазоне заданной частоты приблизительно равен сопротивлению.

4.9.2 Измерение внутреннего сопротивления методом постоянного тока

Аккумулятор должен быть разряжен постоянным током I1,. На 10 с разряда должно быть измерено и зарегистрировано разрядное напряжение U1 Разрядный ток должен быть сразу же увеличен до значения I2 и должно быть измерено и зарегистрировано напряжение U2 на 3 с разряда.

Внутреннее сопротивление Rd.c., Ом, рассчитывают по формуле

(2)

где I1, - постоянный ток разряда 0,2 It A;

I2 - тоже, 2 It A;

U1 - напряжение, измеренное на 10 с разряда, В;

U2 - то же, на 3 с разряда, В.

5 Механические испытания на воздействие удара

Способность аккумулятора выдерживать механический удар должна определяться в соответствии с МЭК 60068-2-29.

Аккумуляторы, отобранные в выборку произвольно, должны быть подготовлены к испытанию.

При испытаниях цилиндрических аккумуляторов половина образцов должна быть испытана так, чтобы направление удара было параллельно оси аккумулятора, вдоль которой измеряют общую высоту, а другая половина - при направлении удара перпендикулярно оси аккумулятора.

При испытаниях малогабаритных призматических аккумуляторов все образцы должны быть подвергнуты испытаниям в каждом из двух направлений и в трех взаимно перпендикулярных осях аккумулятора.

Каждый аккумулятор должен быть надежно закреплен. Допускается метод крепления аккумулятора эпоксидной смолой к плоской стальной плите толщиной не менее 5 мм. Аккумуляторы могут быть прикреплены к плите дном или боковой стороной в зависимости от направления удара, применяемого при испытаниях.

Каждый аккумулятор должен быть заряжен согласно 4.1. После окончания заряда должно быть проведено испытание на воздействие удара с использованием установки, соответствующей требованиям МЭК 60068-2-29.

Испытания должны проводиться при температуре окружающей среды (20 ± 5) °С путем воздействия на аккумуляторы механических ударов многократного действия со следующими параметрами:

максимальное (пиковое) ускорение (А)

98 м/с2 (10 g)

продолжительность импульса (D)

16 мс

изменение скорости

1 м/с

число ударов

1000 ± 10

После испытания каждый аккумулятор должен храниться не менее 1 ч, но не более 4 ч при температуре окружающей среды (20 ± 5) °С. Затем аккумуляторы должны быть разряжены при той же температуре постоянным током 0,2 It А до конечного напряжения 1 В.

Продолжительность разряда должна быть не менее 5 ч.

6 Условия одобрения и приемки

6.1 Одобрение типа

Для одобрения типа проводят испытания аккумуляторов в последовательности и объеме, указанных в таблице 6. Должны быть испытаны аккумуляторы шести групп: А, В, С, D, Е и F. Общее число испытуемых образцов, требующихся для одобрения типа, - 27. В это число включен дополнительный аккумулятор для повторного испытания в случае отказа, произошедшего не по вине изготовителя (поставщика).

Испытания должны быть проведены в последовательности, установленной для аккумуляторов каждой группы. Все аккумуляторы подвергают испытаниям, установленным для группы А, после чего их произвольно делят на пять групп (В, С, D, Е и F) согласно таблице 6.

Число дефектных аккумуляторов, допускаемых в отдельных группах и в целом, приведено в таблице 6. Аккумулятор считают дефектным, если по результатам испытаний группы он не соответствует всем или части требований таблицы 6.

Таблица 6 - Последовательность испытаний для одобрения типа

Группа

Число образцов

Раздел, пункт

Проверка/испытание

Допускаемое число дефектных аккумуляторов

в группе

в целом

А

27

2.2

Маркировка

0

3

3.1

Размеры

4.2.1

Разряд при 20 °С токами 0,2 It А и 1,0 It А

В

5

4.2.2

Разряд при 0 °С токами 0,2 It А и 1,0 It A

1

С

5

4.6

Перезаряд

0

4.7

Работа предохранительного устройства

D

5

4.4

Наработка в циклах

1

Е

6

4.3

Сохранность заряда

1

5

Испытания на воздействие удара

F

5

4.8

Хранение

1

4.2.1

Разряд при 20 °С током 0,2 It A

6.2 Приемка партии

Эти испытания применяют для единичных поставок аккумуляторов. Процедура отбора образцов должна соответствовать МЭК 60410. Если иное не установлено соглашением между поставщиком и потребителем, проверка и испытания должны быть проведены с учетом уровня контроля и приемочного уровня дефектности AQL, приведенных в таблице 7.

Таблица 7 - Рекомендуемая последовательность испытаний для приемки партии аккумуляторов

Группа

Раздел, пункт

Проверка/испытание

Рекомендация

Уровень контроля

Приемочный уровень дефектности AQL, %

А

В соответствии соглашением

Внешний осмотр:

- отсутствие механических повреждений

II

4

- отсутствие коррозии на корпусе и выводах

II

4

- количество, расположение и прочность крепления выводов

S3

1

- отсутствие электролита на корпусе и выводах

II

0,65

B

3

Проверка:

- размеров

S3

1

-

- массы

S3

1

2.2

- маркировки

S3

1

С

В соответствии соглашением

Проверка электрических параметров:

- напряжение разомкнутой цепи и полярность

II

0,65

4.2.1

- разряд при 20 °С током 0,2 Л А

S3

1

4.2.1

- разряд при 20 °С током 1,0 It A

S3

1

Примечание – Два или более отказа одного и того же аккумулятора не суммируют. Принимают во внимание только отказ, соответствующий наименьшему приемочному уровню дефектности AQL

Приложение А
(справочное)
Сведения о соответствии ссылочных международных стандартов национальным стандартам Российской Федерации, использованным в настоящем стандарте в качестве нормативных ссылок.

Таблица А.1

Обозначение и наименование ссылочного национального стандарта Российской Федерации

Обозначение и наименование ссылочного международного стандарта и условное обозначение степени его соответствия ссылочному национальному стандарту Российской Федерации

ГОСТ 7590-93 Приборы аналоговые показывающие электроизмерительные прямого действия и вспомогательные части к ним. Часть 4. Особые требования к частотомерам

МЭК 51-4:1984 Приборы аналоговые показывающие электроизмерительные прямого действия и вспомогательные части к ним. Часть 4. Особые требования к частотомерам (MOD)

ГОСТ 8039-93 Приборы аналоговые показывающие электроизмерительные прямого действия и вспомогательные части к ним. Часть 5. Особые требования к фазометрам, измерителям коэффициента мощности и синхроноскопам

МЭК 51-5:1985 Приборы аналоговые показывающие электроизмерительные прямого действия и вспомогательные части к ним. Часть 5. Особые требования к фазометрам, измерителям коэффициента мощности и синхроноскопам (MOD)

ГОСТ 8042-93 Приборы аналоговые показывающие электроизмерительные прямого действия и вспомогательные части к ним. Часть 8. Особые требования к вспомогательным частям

МЭК51-8:1984 Приборы аналоговые показывающие электроизмерительные прямого действия и вспомогательные части к ним. Часть 8. Особые требования к вспомогательным частям (MOD)

ГОСТ 8476-93 Приборы аналоговые показывающие электроизмерительные прямого действия и вспомогательные части к ним. Часть 3. Особые требования к ваттметрам и варметрам

МЭК 51-3:1984 Приборы аналоговые показывающие электроизмерительные прямого действия и вспомогательные части к ним. Часть 3. Особые требования к ваттметрам и варметрам (MOD)

ГОСТ 8711-93 Приборы аналоговые показывающие электроизмерительные прямого действия и вспомогательные части к ним. Часть 2. Особые требования к амперметрам и вольтметрам

МЭК 51-2:1984 Приборы аналоговые показывающие электроизмерительные прямого действия и вспомогательные части к ним. Часть 2. Особые требования к амперметрам и вольтметрам (MOD)

ГОСТ 10374-93 Приборы аналоговые показывающие электроизмерительные прямого действия и вспомогательные части к ним. Часть 7. Особые требования к многофункциональным приборам

МЭК51-7:1984 Приборы аналоговые показывающие электроизмерительные прямого действия и вспомогательные части к ним. Часть 7. Особые требования к многофункциональным приборам (MOD)

ГОСТ 11478-88 Аппаратура радиоэлектронная бытовая. Нормы и методы испытаний на воздействие внешних механических и климатических факторов

МЭК 68-2-29:1987 Аппаратура радиоэлектронная бытовая. Нормы и методы испытаний на воздействие внешних механических и климатических факторов (MOD)

ГОСТ 23706-93 Приборы аналоговые показывающие электроизмерительные прямого действия и вспомогательные части к ним. Часть 6. Особые требования к омметрам (приборам для измерения полного сопротивления) и приборам для измерения активной проводимости

МЭК 51-6:1984 Приборы аналоговые показывающие электроизмерительные прямого действия и вспомогательные части к ним. Часть 6. Особые требования к омметрам (приборам для измерения полного сопротивления) и приборам для измерения активной проводимости (MOD)

ГОСТ 28215-89 Основные методы испытаний на воздействие внешних факторов. Часть 2. Испытания. Испытание Еb и руководство: Многократные удары

МЭК 68-2-29:1987 Основные методы испытаний на воздействие внешних факторов. Часть 2. Испытания. Испытание Еb и руководство: Многократные удары (MOD)

ГОСТ 30012.1-2002 Приборы аналоговые показывающие электроизмерительные прямого действия и вспомогательные части к ним. Часть 1. Определения и основные требования, общие для всех частей

МЭК 60051-1:1997 Приборы аналоговые показывающие электроизмерительные прямого действия и вспомогательные части к ним. Часть 1. Определения и основные требования, общие для всех частей (MOD)

ГОСТ 30012.9-93 Приборы аналоговые показывающие электроизмерительные прямого действия и вспомогательные части к ним. Часть 9. Рекомендуемые методы испытаний

МЭК 51-9:1998 Приборы аналоговые показывающие электроизмерительные прямого действия и вспомогательные части к ним. Часть 9. Рекомендуемые методы испытаний (MOD)

Ключевые слова: никель-металл-гидридные цилиндрические и призматические аккумуляторы, испытания электрические и механические




Яндекс цитирования



   Copyright © 2007-2026,  www.tehlit.ru.

[ ѓосты, стандарты, нормативы, инструкции, правила, строительные нормы ]