//
ТехЛит.ру
- крупнейшая бесплатная электронная интернет библиотека для "технически умных" людей.
WWW.TEHLIT.RU - ТЕХНИЧЕСКАЯ ЛИТЕРАТУРА

:: Алготрейдинг::


АЛГОТРЕЙДИНГ
шаг за шагом
с нуля по урокам!

Торговые роботы на PYTHON, BackTrader,
Pandas, Pine Script для TradingView. Связка с брокерами, телеграм и легкими приложениями.


МИНИСТЕРСТВО ТРАНСПОРТА РОССИЙСКОЙ ФЕДЕРАЦИИ

ГОСУДАРСТВЕННАЯ СЛУЖБА ДОРОЖНОГО ХОЗЯЙСТВА
(РОСАВТОДОР)

ЦЕНТР
ОРГАНИЗАЦИИ ТРУДА И ЭКОНОМИЧЕСКИХ
МЕТОДОВ УПРАВЛЕНИЯ
(ЦЕНТРОРГТРУД)

СБОРНИК КАРТ
ТРУДОВЫХ ПРОЦЕССОВ НА РЕМОНТ И
СОДЕРЖАНИЕ АВТОМОБИЛЬНЫХ ДОРОГ

Карта трудового процесса

Укладка черного щебня
щебнераспределителем Д-337А

КТП-1.10.2001

Издание второе, переработанное и дополненное.

(Выпуск 1)

Москва, 2001 г.

Карты трудовых процессов предназначены для совершенствования организации труда рабочих, занятых на ремонте и содержании автомобильных дорог.

Карты определяют прогрессивную технологию работ, рациональное использование рабочего времени, технологическую последовательность выполнения работ на основе передовых приемов и методов труда.

Карты могут быть использованы при разработке организационно-технологической документации при ремонте и содержании автомобильных дорог (ППР и другие), планировании работ, а также в учебных целях при подготовке высококвалифицированных рабочих.

Сборник карт трудовых процессов подготовлен инженерами А.И. Анашко, Е.В. Купцовой, Т.В. Страховой.

Ответственный за выпуск А.А. Морозов.

СОДЕРЖАНИЕ

 

Карта трудового процесса

Укладка черного щебня щебнераспределителем Д-337А

Разработана ГП Центроргтруд Росавтодора

КТП-1.10.2001
(Е-20-2-21-2а, б-89)

Взамен КТ-7.05.89

1. Область и эффективность применения карты

1.1. Карта предназначена для рациональной организации труда рабочих при укладке черного щебня слоем 6 см щебнераспределителем Д-337 при ремонте дорожных покрытий.

1.2. Показатели производительности труда:

п/п

Наименование показателей

Единица измерения

Величина показателей

по ЕНиР

по карте

1.

Выработка на 1 чел.-день

м2

909

941

2.

Затраты труда на 100 м2 покрытия

чел.-час

0,88

0,85

Примечание: В затраты труда по карте включено время на подготовительно заключительные работы - 5 % и отдых - 10 %.

Использование методов и приемов труда, рекомендованных картой, позволит повысить выработку на 4 %.

2. Подготовка и условия выполнения процесса

2.1. Работы по устройству покрытий и оснований из горячего щебня следует выполнять весной при температуре воздуха не ниже +5 °С и осенью не ниже +10 °С.

2.2. Поверхность под покрытие должна быть сухой, ровной и чистой.

2.3. Перед укладкой смеси (за 3 - 5 часов) необходимо провести обработку нижнего слоя битумной эмульсией или жидким битумом марки БНД-90/130, БНД-60/90.

2.4. Перед укладкой смеси проверяют наличие паспорта на смесь, в котором указаны ее вид, температура, время отправки и качество.

2.5. Для перевозки горячего черного щебня следует использовать автосамосвалы с металлическим кузовом, внутренние стенки и дно которых во избежание прилипания смеси обработаны мазутом или нефтью с помощью специальных распылителей или вручную.

2.6. Рабочие должны быть обеспечены спецодеждой и спецобувью в соответствии с типовыми нормами.

2.7. К работе допускаются рабочие, прошедшие инструктаж по технике безопасности с учетом специфики работ по данному трудовому процессу.

3. Исполнители, предметы и орудия труда

3.1. Исполнители.

1. Машинист щебнераспределителя                   6 разряд (М1)               1

2. Асфальтобетонщик                                          3 разряд (А1)                1

3. Асфальтобетонщик                                          2 разряд (А2-3)              2

3.2. Машины, оборудование, инструменты, приспособления, инвентарь.

№ п/п

Наименование

Кол-во

1

2

3

1.

Щебнераспределитель Д-337А

1

2.

Лопата строительная

3

3.

Грабли металлические

1

4.

Линейка металлическая измерительная

1

5.

Шаблон с уровнем

1

6.

Ведро

1

7.

Кувалда кузнечная

1

8.

Контрольная рейка

1

3.3. Спецодежда и спецобувь.

1. Комбинезон хлопчатобумажный                                                                    1

2. Полукомбинезон хлопчатобумажный                                                            3

3. Ботинки кожаные                                                                                             4 пары

4. Рукавицы комбинированные                                                                           1 пара

5. Рукавицы брезентовые                                                                                     3 пары

6. Наколенники брезентовые                                                                              3 пары

7. Жилет сигнальный                                                                                           3

3.4. Норма расхода материалов: щебень размером 20 - 40 мм - 115т/1000 м2, битум БНД-90/130, БНД-60/90 - 1,05 т/1000 м2.

4. Технология и организация процесса

4.1. Технологический процесс по укладке черного щебня включает следующие операции для машиниста:

- приведение рабочих органов щебнераспределителя в рабочее положение;

- распределение и укладка щерного щебня;

- очистка рабочих органов щебнераспределителя от остатков черного щебня и проверка их после окончания работы.

Для рабочих:

- устройство упорного валика из песка;

- регулирование подхода автомобиля к бункеру;

- прием смеси в бункер;

- распределение смеси в бункере;

- устранение дефектов в уложенном слое;

- обрубка краев свежеуложенного черного щебня со смазкой мест примыкания битумом.

4.2. График трудового процесса

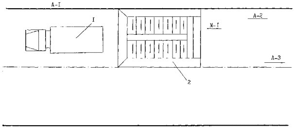
4.3. Схема организации рабочего места

1 - автосамосвал, 2 - щебнераспределитель.

5. Приемы труда

№ п/п

Наименование операций

Характеристика приемов труда

1

2

3

1.

Приведение рабочих органов щебнераспределителя в рабочее положение

М1 - заводит двигатель, проверяет наличие топлива.

2.

Устройство упорного валика из песка

А2, А3 - устраивают валик из песка.

3.

Регулирование подхода автомобиля к бункеру

А1 - подает сигнал автосамосвалу, доставляющему смесь и регулирует подход автосамосвала к бункеру.

4.

Прием смеси в бункер

А1 - принимает смесь в бункер распределителя, находясь у приемного бункера, помогает выгрузке, наблюдает за тем, чтобы в бункер не попадали посторонние предметы, могущие вызвать поломку рабочих органов, подает сигнал на отход автосамосвала, ведет учет поступающей смеси.

5.

Распределение и укладка смеси в бункере

6.

Распределение и укладка смеси

М1 - питателем из бункера подает смесь к распределительному шнеку. Распределенная смесь предварительно уплотняется трамбующим брусом, а затем заглаживается выглаживающей плитой.

7.

Очистка рабочих органов щебнераспределителя от остатков смеси

М1 - после окончания работы очищает рабочие органы щебнераспределителя от остатков черного щебня, проверяет их после окончания работы.

8.

Устранение дефектов в уложенном слое

А2А3 - после выявления дефектных мест контрольной рейкой устраняют их, взрыхляют граблями поверхность, лопатами добавляют свежую смесь или снимают излишки и заглаживают.

9.

Обрубка краев свежеуложенной смеси

А1, А2, А3 - обрубают кромки черного щебня, места примыкания смазывают битумом и удаляет отходы материала.

 




Яндекс цитирования



   Copyright © 2007-2026,  www.tehlit.ru.

[ ѓосты, стандарты, нормативы, инструкции, правила, строительные нормы ]