Министерство транспорта Российской Федерации
Государственная служба дорожного хозяйства
(Росавтодор)
Центр
организации труда и экономических
методов управления
(Центроргтруд)
СБОРНИК КАРТ
ТРУДОВЫХ ПРОЦЕССОВ НА СТРОИТЕЛЬСТВО,
РЕМОНТ И СОДЕРЖАНИЕ АВТОМОБИЛЬНЫХ ДОРОГ
Ремонт гравийного (щебеночного)
покрытия
КТП-8.04-2002
Издание
второе, переработанное и дополненное
(Выпуск
8)
Москва,
2002 г.
Сборник
карт трудовых процессов на строительство, ремонт и содержание автомобильных
дорог. Выпуск 8. М.: Центроргтруд, 2002.
Карты
трудовых процессов предназначены для совершенствования организации труда
рабочих, занятых на строительстве, ремонте и содержании автомобильных дорог.
Карты
определяют прогрессивную технологию работ, рациональное использование рабочего
времени, технологическую последовательность выполнения работ на основе
передовых приемов и методов труда.
Карты могут быть использованы при разработке
организационно-технологической документации при строительстве, ремонте и
содержании автомобильных дорог (ППР и другие), планировании работ, а также в
учебных целях при подготовке высококвалифицированных рабочих.
СОДЕРЖАНИЕ
|
Карта
трудового процесса
|
Ремонт гравийного
(щебеночного)
покрытия
|
Разработана ГП
Центрорпруд
Росавтодора
|
|
КТП-8.04-2002
(Е17-3-1-3 (щ), 18, 19;
Е-17-2-1 (щ), 3;
Е17-31-2 (прим. 30 %);
Е20-2-19-1, 3, 5, 7, 9)
|
Взамен КТ
|
1. Область и эффективность
применения карты
1.1. Карта предназначена для организации
труда специализированного звена рабочих по ремонту гравийного (щебеночного)
покрытия.
1.2.
Показатели производительности труда:
|
№ п/п
|
Наименование показателей
|
Единица измерения
|
Величина показателей
|
|
по ЕНиР
|
по карте
|
|
1.
|
Выработка на 1 чел.-день:
гравийного покрытия
щебеночного покрытия
|
м2
м2
|
398
246
|
406
254
|
|
2.
|
Затраты труда на ремонт 1000 м2
покрытия:
гравийного
|
чел.-час
|
20,1
|
19,7
|
|
|
щебеночного
|
чел.-час
|
32,5
|
31,45
|
Примечание: В затраты труда по
карте включено время на подготовительно-заключительные работы - 5 % и отдых -
10 %.
Использование
методов и приемов труда, рекомендованных данной картой, позволит повысить
производительность на 2 - 3 % по сравнению с едиными нормами.
2. Подготовка и условия
выполнения процесса
2.1. Работы по ремонту гравийного
(щебеночного) покрытия производят в весенний, летний и осенний периоды.
2.2. Перед началом работ необходимо:
-
оградить участок работ типовыми ограждениями и знаками безопасности;
-
подготовить механизмы к работе;
-
иметь необходимый запас гравия (щебня), складированного на обочине.
2.3. Работы следует выполнять, соблюдая
нормы проектирования, а также правила техники безопасности (СНиП III-4-80),
Правила охраны труда при строительстве, ремонте и содержании автомобильных
дорог, 1993 г., СНиП 12-03-2001,
инструкции по охране труда.
3. Исполнители, предметы и орудия
труда
3.1.
Исполнители
|
1.
|
Машинист автогрейдера
|
5 разряд (М1)
|
1
|
|
2.
|
Тракторист
|
5 разряд (Т)
|
1
|
|
3.
|
Машинист поливомоечной машины ПМ-130
|
4 разряд (М2)
|
1
|
|
4.
|
Машинист катка
|
6 разряд (М3)
|
1
|
|
5.
|
« «
|
5 разряд (М4)
|
1
|
|
6.
|
Дорожный рабочий
|
2 разряд (Д1 - Д2)
|
2
|
3.2. Машины, оборудование, инструменты,
приспособления, инвентарь
|
№ п/п
|
Наименование
|
Количество
|
|
1
|
2
|
3
|
|
1.
|
Кирковщик КП-4 в прицепе к трактору С-80
|
1
|
|
2.
|
Автогрейдер
|
1
|
|
3.
|
Каток
|
2
|
|
4.
|
Поливомоечная машина ПМ-130
|
1
|
|
5.
|
Шаблон с уровнем
|
2
|
|
6.
|
Трехметровая рейка
|
2
|
|
7.
|
Лопата стальная строительная
|
2
|
|
8.
|
Знаки безопасности и ограждения в соответствии
с ПОР
|
комплект
|
3.3. Расход материалов.
Гравий
или щебень - на 1 км - 500 м3;
Вода:
-
перед кирковкой - 100 м2 - 0,2 м3;
-
при укатке гравия (щебня) - 100 м2 - 0,9 м3 (1,5 м3).
3.4. Спецодежда и спецобувь.
Машинисты
автогрейдера и поливомоечной машины:
1. Комбинезон хлопчатобумажный 2
2. Рукавицы комбинированные двупалые 2
пары
Машинисты
катков:
1. Комбинезон хлопчатобумажный 2
пары
2. Ботинки кожаные 2
пары
3. Рукавицы комбинированные 2
пары
Дорожные
рабочие
1. Костюм хлопчатобумажный 2
2. Ботинки кожаные 2
пары
3. Рукавицы комбинированные 2
пары
4. Жилет сигнальный 2
4. Технология и организация
процесса
4.1. Технологический процесс ремонта
гравийного (щебеночного) покрытия включает в себя следующие операции:
-
очистку покрытия от пыли и грязи;
-
полив водой перед кирковкой;
-
кирковку покрытия кирковщиком;
-
перемещение автогрейдером гравийного (щебеночного) материала с обочины с
одновременным разравниванием по всей ширине;
-
перемешивание вскиркованного и вновь добавленного материала со сбором в мерный
валик;
-
разравнивание и планировка материала из валика на всю ширину проезжей части;
-
проверка ровности;
-
полив водой при укатке;
-
подкатка и укатка;
-
очистка и разравнивание обочин, проверка ровности.
4.2. Разравнивание и планировка
автогрейдером материала из валика на всю ширину проезжей части -7 метров.
4.3. Технологическая схема ремонта
гравийного (щебеночного) покрытия

4.4. Графики технологического процесса на
ремонт:
а) гравийного покрытия


а)
щебеночного покрытия


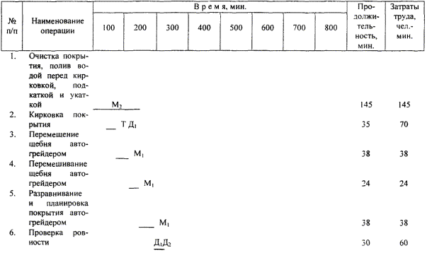
5. Приемы труда
|
№ п/п
|
Наименование
операций
|
Характеристика
приемов труда
|
|
1
|
2
|
3
|
|
1.
|
Очистка
покрытия от пыли и грязи, полив водой перед укаткой
|
М2
до начала кирковки производит очистку покрытия от пыли и грязи за 2 - 3
прохода по одному следу на постоянной рабочей скорости 10 - 12 км/час с
перекрытием каждого следа на 30 - 40 см. После очистки производит полив
покрытия из расчета 2 л/м2.
|
|
2.
|
Кирковка
покрытия
|
Т
производит кирковку покрытия по всей ширине проезжей части. Д1
следит за глубиной кирковки во время работы.
|
|
3.
|
Перемещение
гравийного (щебеночного) материала с обочины с одновременным разравниванием
его по всей ширине проезжей части
|
М1
устанавливает автогрейдер на проезжую часть дороги таким образом, чтобы
задние правые колеса находились у кромки основания, ставит отвал автогрейдера
под углом 35 - 40°, углом резания до 50° и начинает перемещение гравийного
(щебеночного) материала с обочины, одновременно разравнивая его по всей
ширине проезжей части за 6 круговых проходов на постоянной рабочей скорости
3,5 - 4 км/час.
|
|
4.
|
Перемешивание
вскиркованного и вновь добавленного материала со сбором материала в мерный
валик
|
М1
производит перемешивание вскиркованного и вновь добавленного материала с
последующим оформлением его в мерный валик за 4 круговых прохода.
|
|
5.
|
Разравнивание
и планировка материала из валика на всю ширину проезжей части
|
М1
производит разравнивание и планировку гравийной (щебеночной) смеси за 6
проходов автогрейдера.
|
|
6.
|
Проверка
ровности
|
Д1
- Д2 проверяют ровность покрытия при помощи 3-метровой рейки,
укладывая ее вдоль дороги в трех местах (на оси и в одном метре от кромок
проезжей части) на каждом поперечнике.
Измеряют
просветы под рейкой в пяти контрольных точках, расположенных на расстоянии
0,5 м от концов рейки и одна от другой. Выявляют дефектные места.
Д1
- Д2 проверяет уклоны поперечного профиля шаблоном через каждые
100 м.
|
|
7.
|
Уплотнение катками
|
М3,
М4 производят подкатку и укатку гравийного покрытия за 20 проходов
по одному следу; щебеночного покрытия за 42 прохода по одному следу.
Уплотнение начинают от краев проезжей части с постепенным переходом к
середине. Каждый последующий проход катка должен перекрывать предыдущую
полосу укатки на 30 см. Скорость движения при первых двух проходах должна
быть 1,5 - 2,0 км/час, при последующих - 3,5 - 4,0 км/час. Расстояние между
движущимися катками 10 - 15 м.
М2
в процессе уплотнения производит полив гравийного (щебеночного) материала
водой.
Внешним
признаком окончания укатки является прекращение осадки укатываемого слоя при
проходе катка и прекращение движения волны перед катком.
|
|
8.
|
Проверка ровности, очистка и планировка обочин
|
Д1, Д2 - проверяют
ровность покрытия трехметровой рейкой, поперечный уклон - шаблоном, выявляют
дефектные места и исправляют их. Очищают и планируют обочины.
|