//
ТехЛит.ру
- крупнейшая бесплатная электронная интернет библиотека для "технически умных" людей.
WWW.TEHLIT.RU - ТЕХНИЧЕСКАЯ ЛИТЕРАТУРА

:: Алготрейдинг::


АЛГОТРЕЙДИНГ
шаг за шагом
с нуля по урокам!

Торговые роботы на PYTHON, BackTrader,
Pandas, Pine Script для TradingView. Связка с брокерами, телеграм и легкими приложениями.


ГЛАВНОЕ УПРАВЛЕНИЕ ПО СТРОИТЕЛЬСТВУ
АВТОМОБИЛЬНЫХ ДОРОГ ПРИ СОВЕТЕ МИНИСТРОВ СССР

ГОСУДАРСТВЕННЫЙ ВСЕСОЮЗНЫЙ ДОРОЖНЫЙ
НАУЧНО-ИССЛЕДОВАТЕЛЬСКИЙ ИНСТИТУТ
СОЮЗДОРНИИ

Н.А. КАЛАШНИКОВ и О.М. ПРИХОДЬКО

РЕКОМЕНДАЦИИ
ПО ПРОЕКТИРОВАНИЮ
И УСТРОЙСТВУ
ПРОЛЕТНЫХ СТРОЕНИЙ
МОСТОВ
БЕЗ ГИДРОИЗОЛЯЦИИ

НАУЧНО-ТЕХНИЧЕСКОЕ ИЗДАТЕЛЬСТВО
АВТОТРАНСПОРТНОЙ ЛИТЕРАТУРЫ

Москва 1958

ИНФОРМАЦИОННОЕ ПИСЬМО № 103

ПРЕДИСЛОВИЕ

Настоящие «Рекомендации» предназначаются для руководства при проектировании и строительстве пролетных строений мостов без гидроизоляции железобетонной плиты проезжей части.

«Рекомендации» составлены в отделе искусственных сооружений Союздорнии Главдорстроя СССР старшим научным сотрудником Н.А. Калашниковым (руководитель) и младшим научным сотрудником О.М. Приходько. При составлении «Рекомендаций» учтены замечания рецензентов: канд. техн. наук А.Н. Защепина и инженеров К.В. Гайдука и Е.Н. Роера.

Все замечания и предложения по «Рекомендациям» просьба направлять по адресу: Москва, Софийская наб., 34, Союздорнии.

                                                                     Директор Союздорнии

                                                                     канд. техн. наук Н.Ф. ХОРОШИЛОВ

                                                                     И. о. начальника отдела

                                                                     искусственных сооружений Л.А. ЗАХАРОВ

ВВЕДЕНИЕ

Применяемая в настоящее время в железобетонных пролетных строениях многослойная оклеечная гидроизоляция не соответствует современным скоростным методам поточного строительства.

Устройство оклеечной гидроизоляции требует много ручного труда, специальных материалов, определенных температурных условий (более +5 °), сухой погоды и значительного времени. Согласно инструкции по устройству гидроизоляции, только на высыхание и твердение отдельных ее слоев (смазка, грунтовочный и защитный слои) при асфальтобетонном покрытии требуется в общей сложности не менее 16 дней. Устройство гидроизоляции чаще всего приходится на осенний период - период дождей и заморозков, что еще более затрудняет качественное ее выполнение.

Часто вследствие неблагоприятных погодных условий или сжатых сроков строительства грубо нарушаются основные требования инструкции по устройству гидроизоляции: не выдерживаются установленные сроки на высыхание и твердение ее слоев, работы выполняются некачественно. Это приводит к тому, что гидроизоляция не выполняет своего назначения. Имеются случаи, когда вследствие неблагоприятных атмосферных условий или недостатка времени гидроизоляция плиты проезжей части вообще не устраивается.

Ремонт и исправление оклеечной гидроизоляции - сложная и трудоемкая операция. Эти работы часто вызывают необходимость удаления всего покрытия проезжей части моста и частичного или полного прекращения движения по мосту на все время ремонта.

При строительстве сборных железобетонных мостов, которые в последнее время занимают ведущее место в мостостроении, недостатки применения оклеечной гидроизоляции выявляются еще сильнее: устройство гидроизоляции зачастую занимает больше времени, чем монтаж железобетонного пролетного строения.

Следует отметить также и то, что при применении оклеечной гидроизоляции обязательно устройство защитного слоя и покрытия, которые, значительно увеличивая вес сооружения, не являются рабочими элементами. Так, например, для разрезных балочных железобетонных пролетных строений с пролетами от 7,5 до 40,0 м расчетное усилие от веса гидроизоляции и элементов покрытия составляет 8-12 % от полного расчетного усилия.

Указанные недостатки оклеечной гидроизоляции заставляют искать новые способы защиты бетона от вредного действия воды, удовлетворяющие современным требованиям технологии строительства мостов и облегчающие вес сооружений. Одним из основных направлений в изыскании новых способов защиты бетона от вредного действия воды является повышение коррозиеустойчивости самого бетона1.

1 Калашников Н. А. и Приходько О. М. О возможности строительства мостов без гидроизоляции. Журнал «Автомобильные дороги» № 4, 1956.

Известно, что вредное действие атмосферных вод на бетон заключается главным образом:

а) в растворении и вымывании извести из цементного камня при просачивании воды через поры и трещины в бетоне;

б) в механическом разрушении бетона, вызываемом расширением при замерзании воды, находящейся в порах и трещинах.

Вымывание извести из цементного камня снижает прочность бетона. Потеря бетоном извести в количестве более 20 % уменьшает прочность его на 20-25 %. Однако процесс вымывания извести из цементного камня весьма длительный и при прочих равных условиях находится в прямой зависимости от количества воды, проходящей через бетон, длительности контакта между водой и бетоном и от температуры.

Следовательно, чем быстрее будет удалена вода с поверхности бетона и чем он будет плотнее, тем менее будет проявляться разрушающее действие воды.

Механическое разрушение бетона вследствие замерзания воды будет проявляться тем сильнее, чем крупнее поры и чем больше степень насыщения их водой.

Следовательно, для уменьшения разрушающего действия замерзающей воды также необходимо иметь плотные бетоны с минимальной пористостью и водопоглощаемостью.

Результаты лабораторных работ дают основание полагать, что путем правильного выбора исходных материалов для бетонной смеси, усовершенствования технологии изготовления и укладки бетона, применением добавок, повышающих водонепроницаемость и морозостойкость бетона, и надлежащим уходом за ним можно получить достаточно долговечные железобетонные конструкции без устройства специальной гидроизоляции.

Возможность изготовления бетонной смеси, хорошо противостоящей совместному действию воды и мороза, подтверждается многочисленными исследованиями. Опыты показывают, что в зависимости от минералогического состава цемента и качества бетонной смеси образцы в условиях лабораторных испытаний выдерживали 2000-кратное замораживание и оттаивание при полном водонасыщении и быстром понижении температуры. Естественные условия работы сооружений в большинстве случаев будут значительно легче.

Долговечность бетона, как показывают исследования, наряду с минералогическим составом цемента определяется структурой бетона как материала в целом.

В последние годы широкое распространение получил способ повышения долговечности бетона путем применения поверхностноактивных веществ, вводимых в состав бетонной смеси в незначительных количествах, измеряемых долями процента от веса цемента.

Опыт показал, что введение указанных добавок резко улучшает как технологические свойства бетонной смеси, так и свойства затвердевшего бетона. Одной из групп поверхностноактивных добавок являются гидрофобизирующие добавки - мылонафт, абиетиновая смола и др.

Гидрофобизированный бетон получается или путем применения гидрофобного цемента (помол клинкера с мылонафтом), или путем введения гидрофобизирующих добавок в процессе приготовления бетона.

Гидрофобизированный бетон имеет следующие преимущества перед обычным:

а) повышенную морозостойкость и водонепроницаемость;

б) большую трещиноустойчивость при деформациях;

в) меньший капиллярный подсос, позволяющий устранить развитие знакопеременных деформаций, обусловленных попеременным увлажнением и высыханием бетона и ведущих к появлению усталости в бетоне и образованию поверхностных трещин;

г) лучшую сопротивляемость выщелачиванию;

д) меньшую потерю влаги в период твердения бетона, что имеет особенно большое значение в условиях жаркого климата.

Таким образом, теоретические предпосылки, многочисленные лабораторные исследования, а также примеры многолетнего существования различных бетонных и железобетонных конструкций (автомобильные дороги, аэродромы, плотины, железобетонные суда и т.д.), подвергающихся непосредственному действию атмосферных явлений, подтверждают, что для пролетных строений мостов можно получить коррозиеустойчивый бетон, если в нем не будет трещин.

Трещины в бетоне появляются в результате действия значительных растягивающих усилий, превышающих предельную растяжимость его, или под действием усадки бетона в процессе его твердения. Использование метода предварительного напряжения арматуры позволило создать в настоящее время трещиноустойчивые железобетонные конструкции. Что же касается усадочных трещин, то их появление можно предупредить надлежащим уходом за бетоном во время его твердения.

Из изложенного следует, что для достаточной долговечности железобетонных пролетных строений без гидроизоляции проезжей части необходимо обеспечить:

а) быстрый отвод воды с поверхности проезжей части пролетного строения;

б) высокую структурную плотность бетона;

в) невозможность появления трещин в бетоне, особенно в плите проезжей части.

Следует отметить, что в настоящее время в СССР уже имеется некоторый положительный опыт строительства и эксплуатации мостов с пролетными строениями без гидроизоляции. В течение последних лет построено несколько таких мостов, например мост через канал им. Москвы у г. Химки, мост на 44-м км дороги Москва - Казань и др. Они находятся под наблюдением Союздорнии и, как показали проведенные обследования, работают удовлетворительно.

Весьма интересные материалы получены Союздорнии при обследовании ряда старых мостов на автомобильной дороге Адлер - Красная Поляна, построенных в 1902-1906 гг. Стальные мосты с железобетонной плитой проезжей части и плитные железобетонные пролетные строения не имеют гидроизоляции и, несмотря на большой срок службы, находятся в удовлетворительном состоянии2.

2 Приходько О. М. и Калашников Н. А. Мосты без гидроизоляции. Журнал «Автомобильные дороги» № 4, 1957.

Уместно отметить, что и за рубежом в последнее время строительству мостов с железобетонной плитой проезжей части без гидроизоляции уделяется большое внимание, особенно в сооружениях с предварительно напряженной арматурой.

В настоящем информационном письме даны практические рекомендации по устройству железобетонной плиты проезжей части без гидроизоляции.

Рекомендации предусматривают как конструктивные мероприятия, обеспечивающие быстрое удаление воды с поверхности проезжей части и предупреждающие появление и развитие трещин от действия нагрузок, так и технологические, обеспечивающие высокую плотность и коррозиеустойчивость бетона как материала.

ОБЩИЕ ПОЛОЖЕНИЯ

§ 1. Устройство железобетонной плиты проезжей части без гидроизоляции рекомендуется для пролетных строений, у которых в верхних фибрах плиты не возникает растягивающих напряжений от каких-либо постоянно действующих факторов.

Наиболее подходящими конструкциями пролетных строений с этой точки зрения являются:

а) пролетные строения с предварительно напряженной плитой проезжей части в двух направлениях;

б) разрезные плитные пролетные строения из обычного (ненапряженного) железобетона;

в) пролетные строения с предварительно напряженной арматурой в одном направлении и с балочной или опертой по контуру плитой проезжей части;

г) разрезные балочные пролетные строения из обычного железобетона с балочной или опертой по контуру плитой проезжей части.

§ 2. В порядке опыта возможно также устройство проезжей части без гидроизоляции в типовых разрезных балочных пролетных строениях из обычного или предварительно напряженного железобетона с плитой, работающей как консоль (рис. 1).

§ 3. В балочно-консольных и неразрезных пролетных строениях без предварительного напряжения устройство проезжей части без гидроизоляции не рекомендуется.

Рис. 1. Сборное пролетное строение без гидроизоляции:

а - поперечный разрез: 1 - арматурная сетка; 2 - выравнивающий слой из гидрофобизированного бетона марки 300; 3 - стыки диафрагм; б - деталь А сопряжения выравнивающего слоя со сборным бортом: 4 - битумная мастика; 5 - цементный раствор

§ 4. Для строительства мостов с железобетонной плитой проезжей части без гидроизоляции особенно благоприятные условия имеются в южных и умеренно влажных районах страны.

КОНСТРУКТИВНЫЕ МЕРОПРИЯТИЯ

§ 5. Поверхность бетона проезжей части должна быть ровной и гладкой, с поперечным уклоном не менее 20‰, обеспечивающим отвод воды к лоткам у бордюров.

Лотки должны иметь продольный уклон к водоспускным трубкам, которые устанавливаются на расстоянии не более 5 м друг от друга.

§ 6. При расположении моста на продольном уклоне, большем 20‰, расстояние между водоотводными трубками может быть увеличено до 8-10 м.

§ 7. В монолитных железобетонных пролетных строениях проезд осуществляется непосредственно по бетону плиты (рис. 2), толщина которой принимается с запасом на истирание на 1 см больше требуемой по расчету. Рабочая арматура, расположенная в верхней зоне плиты проезжей части, должна иметь защитный слой в соответствии с действующими техническими условиями плюс 1 см.

Рис. 2. Поперечный разрез монолитной плиты проезжей части без гидроизоляции:

1 - гидрофобизированный бетон; 2 - защитный слой бетона по ТУ + 1 см

Рис. 3. Конструкция пролетного строения из струнобетонных балок без гидроизоляции:

1 - выравнивающий слой из гидрофобизированного бетона марки 300; 2 - арматурная сетка; 3 - защитный слой бетона по ТУ + 1 см; 4 - водосборный лоток из оцинкованного железа; 5 - гидрофобизированный бетон, укладываемый после установки тротуарных блоков; 6 - водоотводный короб из оцинкованного железа

§ 8. В сборных железобетонных пролетных строениях по плите проезжей части укладывается выравнивающий слой из гидрофобного бетона толщиной 6-8 см, по которому осуществляется проезд (рисунки 1 и 3).

Рис. 4. Разбивка водоотводных отверстий в тротуарных блоках (к рис. 3):

а - при пролете 10 м; б - при пролете 12,5 м, в - при пролете 15,0 м

Примечания: 1. Поверхность бетона проезжей части под тротуарными блоками обрабатывается гидрофобным пленкообразующим материалом.

2. Конструкция и разбивка водоотводных отверстий даны применительно к проектам струнобетонных пролетных строений (Союздорпроект).

§ 9. В выравнивающем слое на глубине 2 см от поверхности рекомендуется укладывать сварную арматурную сетку из холоднотянутой проволоки диаметром 6-8 мм с размером ячейки 10 ´ 20 см. Меньший размер принимается в направлении вдоль моста.

§ 10. Марка бетона монолитной плиты проезжей части или выравнивающего слоя должна быть не менее 300.

§ 11. При расчете сборных пролетных строений выравнивающий слой может быть учтен в расчете на полную толщину за вычетом 1 см.

§ 12. В сборных железобетонных пролетных строениях сопряжение выравнивающего слоя с бордюром (при устройстве сборного бордюра) рекомендуется делать по рис. 1, б.

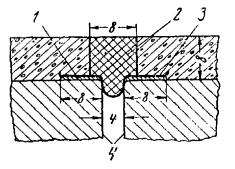
Рис. 5. Пример устройства шва сопряжения пролетных строений без гидроизоляции для пролетов до 15 м:

1 - подготовка из раствора; 2 - битумная мастика; 3 - компенсатор из листовой меди или латуни 1´300 мм стыках листы паять); 4 - смазка битумом

§ 13. Швы между пролетными строениями и в сопряжении с береговыми опорами для железобетонных пролетных строений пролетом до 15 м рекомендуется делать по рис. 5, для других пролетных строений - в соответствии с типовыми проектами.

ТЕХНОЛОГИЧЕСКИЕ МЕРОПРИЯТИЯ

Требования, предъявляемые к бетону и бетонной смеси

§ 14. Бетон элементов пролетных строений, подверженных непосредственному постоянному действию атмосферных явлений (плита проезжей части монолитных мостов, выравнивающий слой сборных мостов), наряду с прочностью должен обладать климатической стойкостью, т.е. способностью в течение всего срока службы сооружения без потери прочности и эксплуатационных показателей противостоять атмосферным воздействиям - совместному действию воды и мороза, намоканию и высыханию, нагреванию и охлаждению и т.д.

Поэтому к бетону монолитной плиты проезжей части и выравнивающему слою сборных железобетонных мостов, находящемуся под непосредственным действием атмосферных явлений, должны предъявляться особенно высокие требования, и работы по устройству этих элементов должны производиться особенно тщательно и качественно, с выполнением всех мероприятий, указанных в настоящем письме.

§ 15. В целях увеличения морозостойкости, уменьшения водопроницаемости и водопоглощаемости бетона рекомендуется применять гидрофобный портланд-цемент или гидрофобизирующие добавки в процессе приготовления бетона.

В качестве гидрофобизирующих добавок рекомендуется применять мылонафт (ГОСТ 3853-47) или абиетиновую смолу (ТУ Главлесхима 01).

§ 16. Бетонная смесь должна иметь состав, предварительно подобранный в лаборатории. При подборе состава бетона следует употреблять материалы, предназначенные для применения на строительстве.

Подбор состава бетона должен производиться до начала работ, чтобы иметь возможность испытать бетон подобранного состава перед использованием его на производстве.

§ 17. Бетонная смесь при правильно подобранном составе должна быть удобоукладываемой.

Определение подвижности и удобоукладываемости бетонной смеси производится по ГОСТ 6901-54.

§ 18. Осадка конуса бетонной смеси для монолитной плиты проезжей части и выравнивающего слоя сборных железобетонных мостов в момент укладки рекомендуется не более 4 см, удобоукладываемость (подвижность) - не менее 15 сек.

§ 19. Морозостойкость и прочность на истираемость бетона плиты проезжей части обеспечивается применением щебня, песка и цемента в соответствии со стандартом на бетон дорожный (ГОСТ 8424-57), а также использованием при приготовлении бетонной смеси возможно меньшего водоцементного отношения.

§ 20. Водоцементное отношение () бетонной смеси для монолитной плиты проезжей части и выравнивающего слоя сборных мостов рекомендуется принимать не более 0,5, расход цемента на 1 м3 бетона - не менее 325 кг.

Приготовление, укладка и уход за бетоном

§ 21. Проектирование состава, приготовление и транспортирование бетонной смеси, контроль качества материалов для бетонной смеси и прочности бетона следует производить в соответствии с «Техническими правилами устройства цементобетонных покрытий на автомобильных дорогах», главы V, VIII, IX и X (Автотрансиздат, 1957).

§ 22. Работы по устройству железобетонной монолитной плиты и выравнивающего слоя сборных железобетонных мостов должны проводиться при строгом соблюдении настоящих «Рекомендаций».

§ 23. При использовании мылонафта в качестве гидрофобизирующей добавки в бетонную смесь рекомендуется следующая дозировка его (в % по весу цемента):

при пластифицированном цементе............................ 0,04

при непластифицированном цементе........................ 0,08

т.е. на 100 кг цемента потребуется 40-80 г товарного мылонафта, содержащего 45-50 % воды.

§ 24. При использовании в качестве гидрофобизирующей добавки абиетиновой смолы рекомендуется следующая дозировка ее, в расчете на сухое вещество (в % по весу цемента):

при пластифицированном цементе............................ 0,005

при непластифицированном цементе........................ 0,01

§ 25. Абиетиновая смола применяется в виде 10-процентного раствора.

§ 26. Указанные выше гидрофобизирующие добавки вводятся в бетон вместе с водой затворения.

§ 27. Необходимо производить проверку воздухововлечения бетонной смеси, изготовляемой с добавками. Количество вовлеченного воздуха для бетонной смеси не должно превышать 4 %. Объем вовлечения воздуха определяют по ГОСТ 4799-49 «Бетон гидротехнический. Методы испытания бетонной смеси».

§ 28. Продолжительность перемешивания бетонной смеси на гидрофобном цементе, а также при гидрофобизации в процессе приготовления смеси принимается такая же, как и при обычных цементах. Следует иметь в виду, что слишком длительное перемешивание может привести к некоторому снижению прочности гидрофобного бетона из-за повышенного воздухововлечения.

§ 29. Перед укладкой бетона монолитной плиты проезжей части и выравнивающего слоя сборных железобетонных мостов при ширине проезжей части до 8 м рекомендуется устанавливать маячные рейки по продольной оси моста и у борта, а при большей ширине еще и промежуточные рейки, чтобы расстояние между ними было не более 4 м.

Рейки должны устанавливаться таким образом, чтобы верхняя грань их соответствовала проектной отметке проезжей части. По маячным рейкам при укладке бетона может передвигаться виброрейка.

§ 30. Бетонная смесь в плиту проезжей части должна укладываться без перерыва в работе по длине пролета. Допускается устройство рабочего продольного шва по оси пролетного строения. В тех случаях, когда по условиям работы строители вынуждены делать рабочие швы по длине пролета, последние должны устраиваться в наиболее сжатой зоне (от постоянной нагрузки) и быть тщательно обработаны, чтобы надежность сцепления старого бетона с новым была полностью обеспечена.

§ 31. Уплотнение бетонной смеси, укладываемой в плиту проезжей части монолитных или в выравнивающий слой сборных мостов, должно производиться вначале площадочными вибраторами, а затем виброрейкой для придания ровности и требуемого поперечного уклона поверхности железобетонной плиты.

§ 32. Уплотнение бетонной смеси площадочными вибраторами должно производиться непрерывными полосами с перекрытием смежных позиций вибратора в пределах одной и той же полосы на 5-10 см. Смежные полосы уплотнения также должны перекрываться на 5-10 см. На каждой позиции вибратор необходимо выдерживать в течение установленного лабораторией времени. Для бетонной смеси, имеющей осадку конуса 2-4 см, время вибрирования должно быть не менее 1 мин.

§ 33. Для обеспечения ровной поверхности плиты, без впадин и разрывов в свежеуложенном бетоне, необходимо следить за тем, чтобы впереди виброрейки был постоянный валик из бетонной смеси, высота которого должна быть около 10 см.

§ 34. Количество проходов виброрейки для получения ровной поверхности бетона зависит от подвижности бетонной смеси. При правильно подобранном составе бетона обычно достаточно 2-3 проходов.

§ 35. После отделки поверхности бетона по всей ширине моста или по одной половине его бортовая маячная рейка извлекается, и полученная щель заделывается бетоном (до начала схватывания уже уложенного бетона).

Рейка, расположенная по продольной оси моста, должна извлекаться только после отделки бетона по всей ширине моста. Поэтому работы по укладке бетона плиты проезжей части или выравнивающего слоя желательно производить одновременно по всей ширине моста с небольшим опережением работ на одной половине.

§ 36. Для обеспечения морозостойкости, повышения сопротивления бетонной поверхности истиранию и придания требуемой ровности рекомендуется удалять с поверхности бетона обводненный поверхностный слой раствора, получаемый при вибрировании бетонной смеси, при помощи выглаживания холщевой лентой. Затем излишки раствора и цементного молока удаляют деревянными скребками, обитыми куском мешковины или брезента.

В процессе удаления излишков раствора исправляются отдельные небольшие неровности на поверхности бетона.

§ 37. При бетонировании особое внимание следует обращать на укладку и уплотнение бетонной смеси в месте сопряжения бордюра с плитой или выравнивающим слоем.

§ 38. При устройстве монолитного бордюра бетонирование его необходимо производить одновременно с бетонированием плиты проезжей части или выравнивающего слоя.

Швы между бордюром и плитой проезжей части не допускаются.

§ 39. При устройстве сборного бордюра рекомендуется выравнивающий слой устраивать по рис. 1, б с обязательным уплотнением бетона в месте утолщения выравнивающего слоя поверхностным вибратором или виброрейкой.

§ 40. При укладке бетонной смеси и отделке поверхности необходим тщательный контроль за ровностью плиты. Проверка ровности производится при помощи трехметровой рейки, укладываемой в продольном и поперечном направлениях с перекрытием по 2 м предыдущих положений. Величина зазора между рейкой и поверхностью бетона должна быть не более 5 мм. Исправление неровностей должно производиться до начала схватывания бетона.

§ 41. Категорически запрещается выравнивание поверхности бетона путем последующей затирки цементным раствором схватившегося бетона.

§ 42. После окончания отделки поверхности свежеуложенного бетона необходимо укрыть его влажной мешковиной или рогожей для предохранения от быстрого высыхания.

По истечении суток рогожу или мешковину удаляют и поверхность бетона покрывают слоем песка или опилок толщиной не менее 4-5 см. Этот слой должен поддерживаться во влажном состоянии не менее 4 недель.

Могут применяться и другие способы ухода за бетоном (покрытие пленкообразующими материалами и др.), обеспечивающие сохранение влаги в бетоне в течение указанного времени.

В случае обнаружения мелких трещин, шелушения и других поверхностных дефектов бетона или следов просачивания воды рекомендуется в сухое жаркое время года произвести поверхностную обработку проезжей части битумом с засыпкой крупным песком.

§ 43. После окончания строительства за состоянием поверхности бетона плиты проезжей части должно быть установлено постоянное наблюдение.

МАТЕРИАЛЫ ДЛЯ ПРИГОТОВЛЕНИЯ БЕТОННОЙ СМЕСИ

§ 44. Для приготовления бетонной смеси для пролетных строений мостов без гидроизоляции желательно применять гидрофобный портланд-цемент (ТУ МПСМ СССР № 10-53).

Гидрофобный портланд-цемент получается введением при помоле клинкера поверхностноактивного вещества (мылонафта, асидол-мылонафта, олеиновой кислоты). От обычного портландцемента он отличается пониженной гигроскопичностью и при длительном хранении не теряет своей активности; бетон из этого цемента обладает повышенной морозостойкостью, значительно меньшим водопоглощением и капиллярным подсосом воды и пониженной водопроницаемостью. Кроме того, гидрофобный портланд-цемент придает бетонной смеси повышенную пластичность и удобообрабатываемость.

§ 45. При отсутствии гидрофобного портландцемента возможно применение обычного или пластифицированного портландцемента (ГОСТ 970-41) с введением в бетонную смесь гидрофобизирующей добавки в процессе изготовления бетона.

Портланд-цемент пластифицированный отличается от обычного повышенной пластичностью в растворах и бетонах за счет введения в цемент при помоле клинкера на цементном заводе пластифицирующей поверхностноактивной добавки - сульфитно-спиртовой барды.

§ 46. Применяемый цемент должен удовлетворять требованиям действующих ГОСТ и ведомственных технических условий, а также дополнительным требованиям, указанным в § 47, 48 настоящих «Рекомендаций». Марка цемента должна соответствовать требованиям действующих стандартов и технических условий на цемент и должна быть не ниже 500.

§ 47. Содержание трехкальциевого алюмината в портландцементном клинкере должно быть не более 10 %.

§ 48. Цемент не должен содержать в своем составе инертных добавок. В качестве добавки к цементу допускается применение гранулированного доменного шлака не более 15 %.

§ 49. Мылонафт представляет собой натриевые мыла не растворимых в воде органических кислот, извлекаемых из отходов щелочной очистки керосиновых, газойлевых и соляровых дистиллятов нефти, применяемые в качестве заменителей жиров в мыловаренной промышленности и для приготовления эмульсий.

В соответствии с ГОСТ 3853-47 мылонафт делится на три сорта: 1, 2 и 3-й.

По внешнему виду мылонафт представляет собой мазеобразное вещество. В зависимости от сорта цвет его изменяется от соломенно-желтого (1-й сорт) до темно-коричневого (3-й сорт). Для гидрофобизации бетона может применяться мылонафт всех трех сортов.

§ 50. Приемка и отбор проб мылонафта производится по ГОСТ 1510-50 и 2517-44.

§ 51. Абиетиновая смола имеет темный цвет, в тонком слое просвечивает с желто-красным окрашиванием. Куски смолы имеют роговистый излом и при растирании легко превращаются в порошок. Получают абиетиновую смолу из еловой серки или пневого осмола. Основными компонентами, входящими в состав еловой серки, являются твердые смолистые вещества, содержащие нормальные и окисленные смоляные кислоты.

Выпускаемая промышленностью смола должна удовлетворять Техническим условиям Главлесхима (ТУ ГЛХ 01).

§ 52. Вода, песок и щебень для приготовления бетона должны соответствовать требованиям, предъявляемым к бетону верхнего слоя покрытия по стандарту на бетон дорожный (ГОСТ 8424-57).

Приложение

1. ПРИГОТОВЛЕНИЕ РАСТВОРА МЫЛОНАФТА

Для удобства дозирования мылонафт следует растворить в воде, подогретой до 40-50°. Раствор рекомендуется приготовлять в соотношении 1 кг мылонафта на 5 или 10 л воды. Потребное количество раствора мылонафта определяется расчетом с учетом принятой концентрации.

2. ПРИГОТОВЛЕНИЕ ОМЫЛЕННОЙ АБИЕТИНОВОЙ СМОЛЫ

В железный (неоцинкованный) сосуд заливается сода, на каждый литр воды загружается 20 г едкого натрия (каустическая сода) и отмечается уровень воды. Раствор нагревается до кипения, и в него при непрерывном перемешивании небольшими порциями всыпается порошкообразная абиетиновая смола из расчета 100 г смолы на 1 л первоначально залитой воды. Когда весь порошок будет всыпан, раствор подогревается до полного растворения смолы (обычно 10-15 мин.) и доливается водой, если количество последней стало меньше по сравнению с первоначальным объемом. После остывания раствор готов для употребления. В 1 л раствора будет содержаться 100 г абиетиновой смолы (10-процентный раствор).

СОДЕРЖАНИЕ

 




Яндекс цитирования



   Copyright © 2007-2026,  www.tehlit.ru.

[ ѓосты, стандарты, нормативы, инструкции, правила, строительные нормы ]