//
ТехЛит.ру
- крупнейшая бесплатная электронная интернет библиотека для "технически умных" людей.
WWW.TEHLIT.RU - ТЕХНИЧЕСКАЯ ЛИТЕРАТУРА

:: Алготрейдинг::


АЛГОТРЕЙДИНГ
шаг за шагом
с нуля по урокам!

Торговые роботы на PYTHON, BackTrader,
Pandas, Pine Script для TradingView. Связка с брокерами, телеграм и легкими приложениями.


ТИПОВЫЕ ТЕХНОЛОГИЧЕСКИЕ КАРТЫ НА ПРОИЗВОДСТВО ОТДЕЛЬНЫХ ВИДОВ РАБОТ

РАЗДЕЛ 06

ТИПОВАЯ
ТЕХНОЛОГИЧЕСКАЯ КАРТА

6.01.01.31

УСТРОЙСТВО ОДНОЦВЕТНЫХ МОЗАИЧНЫХ ПОЛОВ
В ПРОМЫШЛЕННЫХ ЗДАНИЯХ

 

РАЗРАБОТАНА
СОГЛАСОВАНО

Институтом ПТИ Минсевзапстроя СССР

Отделом механизации и технологии

Главный инженер института

Ю.И.Руднев

строительства Госстроя СССР

Заведующий отделом

А.М.Гущин

Письмо от 27.12.1988 г.  № 23-737

Главный инженер проекта

В.П.Одинцов

Введена в действие с 1 февраля 1989 г.

 

МОСКВА-1989

1. ОБЛАСТЬ ПРИМЕНЕНИЯ

Типовая технологическая карта разработана на устройство мозаичного покрытия пола при марке цементного раствора 200 и толщине слоя 25 мм.

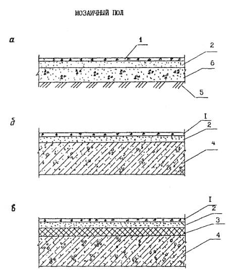
Мозаичное покрытие пола может устраиваться по бетонному подстилающему слою, по железобетонным плитам перекрытия и по цементно-песчаной стяжке, уложенной на тепло- или звукоизоляционный слой.

2. ОРГАНИЗАЦИЯ И ТЕХНОЛОГИЯ ВЫПОЛНЕНИЯ РАБОТ

До начала работ по устройству мозаичного пола должно быть закончено устройство оснований под полы, установлены оконные и дверные блоки, выполнены штукатурные и облицовочные работы, смонтированы санитарно-технические устройства.

Поверхность, на которую укладывается мозаичное покрытие (слой из цементно-песчаного раствора), тщательно очищается от пыли, мусора и грязи, а также от цементной плёнки.

Поверхность основания для лучшего сцепления с мозаичным покрытием должна иметь борозды, а при отсутствии борозд основание насекается вручную.

Непосредственно перед укладкой мозаичного покрытия основание промывается водой.

Для производства работ здание в плане разделено поперёк на четыре захватки размером 72´36 м. Каждая захватка делится на 24 полосы шириной 3 м и длиной 36 м.

Мозаичное покрытие устраивается из раствора:

цемент - 1 часть;

вода - 0,5 части;

крошка - 2,4 части;

песок из полирующих пород - 1,4 части 1.

В качестве транспортных средств для подачи мозаичных смесей на место укладки используют самоходное шасси Т-16.

При одноцветных полах мозаичные смеси укладывают аналогично бетонным смесям между маячными рейками полосами через одну. При укладке смеси в местах примыкания покрытий к колоннам устанавливают прокладки из толя.

Разрезку покрытий на отдельные карты не производят. Уложенный раствор разравнивают граблями и лопаткой, проверяя правильность укладки правилом по маячным рейкам.

Не следует разравнивать раствор с каменной крошкой рейкой, так как крупная крошка будет перемещаться в большей степени, чем мелкая, и насыщение поверхности крошкой окажется неравномерным.

Смесь уплотняют виброрейками С0-131А и др., которые передвигают по маячным рейкам. В местах, недоступных для виброреек, смесь уплотняют лёгкими трамбовками. В процессе уплотнения на поверхности покрытия скапливается цементное молоко, которое удаляется скребками с резиновой прокладкой. После уплотнения раствора его поверхность выравнивают так, чтобы получить ровную поверхность покрытия. Горизонтальность и ровность поверхности покрытия при уплотнении периодически проверяют правилом. Для обеспечения необходимой прочности и качества свежеуложенное покрытие следует укрыть рогожами или матами и в течение 7 - 10 дней смачивать водой один раз в сутки.

После достаточного затвердения раствора покрытия (обычно 3 - 6 дней) приступают к отделке его поверхности. Отделка заключается в грубой обдирке и шлифовании абразивными камнями. В процессе такой обработки с поверхности покрытия удаляется цементная плёнка и обнажается рисунок пола. Кроме того, при обдирке обнаруживаются возможные дефекты покрытия, такие изъяны заделывают шпаклеванием этих мест раствором того же состава, что и покрытие. Если к качеству покрытия предъявляются повышенные требования, то его дополнительно шлифуют абразивными камнями с более мелким зерном, затем обрабатывают шлифовальным порошком и полируют.

Обычно необходимо качество мозаичного покрытия, удовлетворяющего условиям его эксплуатации в промышленных зданиях, достигается обдиркой и шлифованием. Для этой цели пользуются мозаично-шлифовальной широкозахватной самоходной машиной СМ-104. При работе таких машин вдоль стен, выступающих фундаментов под оборудование и т.п. остаются необработанные полосы покрытия. Для отделки таких полос, а также плинтусов применяется электрошлифовальная машина ИЭ-6103А.

Обдирку мозаичных покрытий производят на 2/3 требуемой глубины съема. Для обдирки применяют абразивные камни зернистостью № 100 ... 50. После окончания обдирки перед шлифованием мозаичное покрытие промывают, раковины и другие повреждённые места зашпаклёвывают цементным тестом с добавлением мраморной муки. Покрытие шлифуют до общей толщины съёма, используя абразивные камни зернистостью № 40 ... 16.

Толщину снимаемого слоя при обдирке и шлифовании контролируют в процессе обработки покрытий. Наибольшая степень обнажения зёрен заполнителя при максимальной ее фракции 15 мм составляет 5 ... 7 мм, а при 10 мм - 3 ... 5 мм.

При повышенных требованиях к условиям эксплуатации полов, о чем должно быть указано в проекте, производят дополнительную отделку, при которой кроме шлифования выполняется пропитка флюатами или уплотняющими составами.

Устройство мозаичного покрытия пола ведётся бригадой из 4 звеньев общей численностью 14 человек.

Звено № 1 и № 2

облицовщик-мозаичник                                        4 разр. - 2

облицовщик-мозаичник                                        2 разр. - 1

бетонщик                                                                 2 разр. - 1

машинист                                                                3 разр. - 1

выполняют следующие работы: устройство мозаичных полов с очисткой основания и разметкой полов, приготовление мозаичного раствора, укладка раствора по рейке и уровню с разравниванием и уплотнением, устройство плинтусов, подчистка кромок.

Звено № 3

бетонщик                                                                 2 разр. - 1

выполняет следующие работы: покрытие поверхности пола рогожами, или матами, поливка водой в течение 7 - 10 дней.

Звено № 4

облицовщик-мозаичник                                        6 разр. - 1

облицовщик-мозаичник                                        4 разр. - 2

выполняет следующие работы: отделка полов, шлифовка поверхности пола со смачиванием водой и посыпкой песком, грубая обдирка, шпаклёвка поверхности с заделкой пор, снятие шпаклёвки с очисткой и промывкой поверхности пола, дошлифовка мест примыкания полов к стенам и колоннам, шлифовка поверхности плинтуса со смачиванием водой и посыпкой пеоном, грубая обдирка, шпаклёвка и заделка пор, очистка и промывка поверхности пола.

3. ТРЕБОВАНИЯ К КАЧЕСТВУ И ПРИЁМКЕ РАБОТ

Работы по устройству мозаичных одноцветных полов следует выполнять в соответствии со СНиП 3.04.01-87 «Изоляционные и отделочные покрытия».

Технические критерии и средства контроля операций и процессов приводятся в табл. 1.

                                                                                                           Таблица 1

Наименование процессов, подлежащих контролю

Предмет контроля

Инструмент и способ контроля

Периодичность контроля

Ответственный за контроль

Технические критерии оценки качества

Подготовительные работы

Очистка поверхности от брызг раствора, масляных и жировых пятен

Визуально

До начала выполнения работ

Мастер

 

Ровность поверхности

2-х метровая рейка

То же

То же

Акт на скрытые работы. Допускаемые просветы при проверке 2-х метровой рейкой - 10 мм

Влажность и температура поверхности нижележащего слоя

Термометр

Лаборант

Не ниже 5 ºС

Акт на скрытые работы

Соответствий состава цементно-песчаного раствора и мозаичной смеси

Проверка паспортов

Мастер

Осадка конуса 2 - 4 см, цементно-песчаного раствора - 4 - 5 см

Устройство мозаичного покрытия

Равномерность распределения раствора по поверхности, ровность, горизонтальность поверхности

Визуально, 2-х метровая рейка (уровень)

После укладки каждых 10 м2

Мастер

Допускаемые просветы при проверке 2-х метровой рейкой - 4 мм

Толщина мозаичного покрытия

Визуально, стальной метр

В процессе производства работ

То же

В отдельных местах не более 10 % заданной толщины

Правильность и достаточность уплотнения

Визуально

То же

До прекращения подвижности смеси и равномерного появления влаги на её поверхности

Соблюдения условий и режима твердения раствора

 

После укладки слоя

Во влажных условиях через 1 сутки после укладки засыпают песком или опилками толщиной не менее 30 мм и в течение 7 - 10 суток поливают водой 1 раз в сутки

Обработка поверхности пола

Наличие поверхностных дефектов

То же

После окончания производства работ

Царапины и поры на поверхности покрытия до окончательной шлифовки затирают цементом

Своевременность, качество шлифовки

Визуально

После окончания производства работ

Мастер

Не ранее достижения раствором прочности, при которой исключается - выкрашивания мраморной крошки с его поверхности. Наибольшая степень обнажения зёрен заполнителя при максимальной её фракции 15 мм - 5. ..7 мм, а при 10 мм - 3 ... 5 мм

Приёмка пола

Достижение мозаичным покрытием проектной прочности

Испытание контрольных образцов

После постижения проектной прочности

Прораб, лаборант

Акт на скрытые работы. Испытание контрольных образцов в количестве не менее 3 на каждые 500 м2 пола

Внешний вид готового пола, ровность и горизонтальность поверхности

Визуально, 2-х метровая рейка

То же

Прораб

Допускаемые отклонения при 2-х метровой рейке -4 мм

Сцепление покрытия с нижележащим слоем

Простукивание поверхности

 

То же

На участках, где измерение звука при простукивании укажет на отсутствие сцепления, покрытие перекладывается.

1 - маячные рейки; 2 - полосы, заполненные раствором; 3 - промежуточные полосы, заполняемые после снятия маячных реек; 4 - бетонная подготовка

а - на грунте; б - на плите перекрытия; в - на плите перекрытия по тепло- или звукоизоляционному слою 1 - мозаичное покрытие; 2 - нижний слой из цементно-песчаного раствора; 3 - тепло- или звукоизоляционный слой; 4 - плита перекрытия; 5 - грунт основания; 6 - бетонный подстилающий слой


4. КАЛЬКУЛЯЦИЯ ЗАТРАТ ТРУДА, МАШИННОГО ВРЕМЕНИ, ЗАРАБОТНОЙ ПЛАТЫ НА УСТРОЙСТВО 1000 м2 ПОЛОВ

Таблица 2

Наименование процесса

Номер фасет для пересчёта показателей

Единица измерения

Объём работ

Обоснование (ЕНиР и др. нормы)

Норма времени

Расценка, р.-к.

Затраты труда

Заработная плата, р.-к.

Время пребывания машины на объекте, маш.-ч

Заработная плата машиниста с учётом пребывания машины на объекте, р.-к.

 

рабочих, чел.-ч

машиниста, чел.-ч (маш.-ч)

рабочих

машиниста

рабочих, чел.-ч

машиниста, чел.-ч (маш.-ч)

рабочих

машиниста

 

Устройство мозаичных полов с прослойкой из цементно-песчаного раствора

 

м2

1000

Е19 - 29, п. 1а

0,93

-

0 - 66,5

-

930

 

665 - 00

-

-

-

 

Приготовление террацевого раствора

 

м3

25,5

Е19 - 53

2,6

-

1 - 74

-

66,3

-

44 - 37

-

-

-

 

Устройство плинтусов

 

м

120

Е19 - 50

0,43

-

0 - 34

-

51,6

-

40 - 80

-

-

-

 

Покрытие поверхности пола рогожами и матами и снятие их

 

100

м2

10,0

Е4-1-53, п. 10, 12

0,43

 

0 - 27,6

 

4,3

 

2 - 76

-

-

-

 

Поливка водой

 

100

м2

10,0

Е4-1-53, п. 9

0,14

-

0 - 09

-

1,4

-

0 - 90

-

-

-

 

Шлифовка покрытий

 

м2

1000

Е19 - 30. т. 1, п. 1

0,32

-

0 - 25,3

-

320

-

253 - 00

-

-

-

 

Шлифовка плинтусов

 

м

120

Е19 - 30. т. 1, п. 6

0,44

-

0 - 46,6

-

52,8

-

55 - 92

-

-

-

 

Шлифовка мест примыкания полов к стенам и колоннам

 

м

60

Е19 - 30, т. 2, п. 2

0,36

-

0 - 28,4

-

21,6

-

17 - 04

-

-

-

 

Итого:

1448,0

 

1079 - 78

 

 

5. ГРАФИК ПРОИЗВОДСТВА РАБОТ НА УСТРОЙСТВО 1000 м2 ПОЛОВ

Таблица 3


6. МАТЕРИАЛЬНО-ТЕХНИЧЕСКИЕ РЕСУРСЫ

Потребность в инструменте, инвентаре и приспособлениях приведена в табл. 4

                                                                                                                              Таблица 4

Наименование

Марка, техническая характеристика, ГОСТ, № чертежа

Количество

Назначение

Мозаично-шлифовальная машина

СМ-104

2

Обдирка и шлифование

Машина шлифовальная электрическая с гибким валом

ИЭ-6103А

1

Отделка плинтусов, труднодоступных мест около стен, фундаментов под оборудование и т.д.

Самоходное шасси

Т-16

2

Транспортировка раствора на место укладки

Площадочный вибратор

ИВ-91

2

Уплотнение смеси

Виброрейка

С0-131А

8

То же

Правило

 

2

Проверка ровности покрытия

Контрольные рейки длиной 3 м

 

2

Проверка горизонтальности

Кельма

ГОСТ 9533-81

8

Уплотнение раствора при набивке плинтуса и другие вспомогательные работы

Молоток

мпл

ГОСТ 11042-83

4

Вспомогательные работы

Трамбовка

 

2

Трамбование в узких местах

Лопата

ГОСТ 3620-76

8

Вспомогательные работы

Уровень строительный

УС 1-300

2

То же

Кисти мочальные

 

6

Смачивание поверхности

Ведро

 

6

Для воды

Маячные рейки

 

3600 м

Технология укладки раствора

Шаблон для вытягивания плинтусов

 

2

Конус стандартный

ГОСТ 5802-86

2

Определение подвижности раствора

Гладилка для устройства плинтусов

ТУ 22-5370-82

2

Выравнивание и заглаживание раствора

Гладилка трапециевидная

ГТ-2 ГОСТ 10403

2

То же

Гладилка ленточная

ГОСТ 10403-80

4

Гребок

 

4

Снятие излишка цементного молока поле уплотнения смеси

Скребок плоский с шарниром

ТУ 22-5086-81

4

Удаление шлама после обдирки и шлифовки

Скребок зубчатый с шарниром

ТУ 2-5086-81

4

То же

Скребок

ТУ 22-4629-80

4

Штырь стальной

 

4

Для закрепления шнура

Грабли

 

2

Разравнивание раствора

Рейка-распорка

 

8

Фиксация положения маячных реек

Ящик вместимостью 0,015 м3

 

2

Хранение шпатлевочной смеси

Ларь вместимостью 3,5 м3

 

2

Хранение сыпучих материалов

Нить капроновая

Длина 100 м

2

 

Каска строительная

ГОСТ 12.4.087-84

14

Средства индивидуальной защиты

Рулетка металлическая

Р3-20

ГОСТ 7502-80*

4

Измерительные работы

Очки защитные

3П1-90

ГОСТ 12.4.011-87

14

Средства индивидуальной защиты

Рукавицы антивибрационные

Сапоги резиновые

ГОСТ 12.4.002-74

ГОСТ 5375-79*

3

3

То же

Уровень гибкий (водяной)

ТУ 25-11-760-72

2

Для нанесения отметки уровня пола

Потребность в материалах и полуфабрикатах для выполнения работ по устройству мозаичных одноцветных полов приводится в табл. 5.

                                                                                                                                  Таблица 5

Наименование материала, полуфабриката, конструкции (марка, ГОСТ)

Вариант (фасет-код)

Исходные данные

Потребное количество

Единица измерения по нормам (чертежам)

Объём работ в нормативных единицах

Принятая норма расхода материалов на единицу измерения

Раствор цементный М 200

-

100 м2

10,0

2,04 м3

20,4 м3

Раствор декоративный, в т.ч.

 

100 м2

10,0

2,55 м3

25,5 м3

крошка мраморная

 

м3

25,8

0,875 м3

22,6 м3

цемент

 

м3

25,8

600 кг

15480 кг

вода

 

м3

25,8

312 л

8050 л

Песок кварцевый

 

100 м2

10,0

3,06 м3

30,6 м3

Рогожи или маты

 

м2

75

С учётом 2-х кратной оборачиваемости

75 м2

Вода

 

м2

1000

Справочник проектировщика гл. 6, т. 128

35,8 м3

7. ТЕХНИКА БЕЗОПАСНОСТИ

При производстве работ по устройству мозаичных одноцветных полов необходимо руководствоваться СНиП III-4-80 «Техника безопасности в строительстве», «Правилами техники безопасности при эксплуатации электроустановок потребителей», утверждёнными Госэнергонадзором Министерства энергетики и электрофикации СССР (М., Атомиздат, 1971).

При применении ручных машин следует соблюдать правила безопасности эксплуатации, предусмотренные ГОСТ 12.1.013-78 и ГОСТ 12.2.010-75*, а также инструкциями заводов-изготовителей.

Машины для устройства и отделки полов подключают в электросеть только через защитно-отключающие устройства при помощи штепсельного соединения, имеющего защитно-заземляющий контакт.

Лицам, работающим с машинами, запрещается: передавать машину другим лицам; разбирать машину и производить самим какой-либо ремонт её механической или электрической части; использовать машину не по назначению. При перерывах в работе, смене рабочих органов машин, ремонте прекращении подачи электроэнергии машины необходимо отключать от сети.

При отделке мозаичных покрытий полов для снижения уровня вибрации шлифовальных машин необходимо тщательно балансировать их рабочие траверсы, регулярно заменять абразивные рабочие органы с нарушенными поверхностями, создающими дебаланс. Они должны быть подготовлены к работе по ГОСТ 12.3.028-82 с учётом требований, приведённых в паспорте машин.

При работе с машинами для отделки полов нельзя одновременно касаться металлических коммуникаций (трубопроводов, радиаторов и т.п.) и поверхностей машины.

Работающие с машинами для шлифования, заглаживания и затирки поверхностей должны иметь диэлектрические перчатки.

Запрещается работать шлифовальными, заглаживающими и затирочными машинами со снятыми ограждениями траверс лопастей и ременной передачи, а также применять самодельные устройства, фиксирующие муфту во включённом положении. Не разрешается переносить машины, подключённые к сети, включать и отключать вилку питающего кабеля под нагрузкой.

Для питания электровибраторов необходимо применять влагозащитные провода. При перерывах в работе, а также при переходах с одного места работы на другое вибраторы следует выключать. Во избежание обрыва провода и поражения током лиц, работающих с вибратором, нельзя перетаскивать вибратор за провода или кабель. Не допускается прижимать руками виброрейки и поверхностные электровибраторы; перемещение их вручную во время работы следует производить при помощи гибких тяг. При работе с вибраторами работающие должны быть в резиновых сапогах и перчатках.

8. ТЕХНИКО-ЭКОНОМИЧЕСКИЕ ПОКАЗАТЕЛИ НА УСТРОЙСТВО 1000 м2 ПОЛОВ

Нормативные затраты труда рабочих, чел.-ч                      - 1448,0

Заработная плата рабочих, р.-к.                                           - 1079-78

Продолжительность выполнения работ, смена                  - 22,0

Выработка на одного рабочего в смену, м2                         - 5,7

СОДЕРЖАНИЕ

 




Яндекс цитирования



   Copyright © 2007-2026,  www.tehlit.ru.

[ ѓосты, стандарты, нормативы, инструкции, правила, строительные нормы ]