//
ТехЛит.ру
- крупнейшая бесплатная электронная интернет библиотека для "технически умных" людей.
WWW.TEHLIT.RU - ТЕХНИЧЕСКАЯ ЛИТЕРАТУРА

:: Алготрейдинг::


АЛГОТРЕЙДИНГ
шаг за шагом
с нуля по урокам!

Торговые роботы на PYTHON, BackTrader,
Pandas, Pine Script для TradingView. Связка с брокерами, телеграм и легкими приложениями.


ГОСУДАРСТВЕННАЯ СЛУЖБА ДОРОЖНОГО ХОЗЯЙСТВА
МИНИСТЕРСТВА ТРАНСПОРТА РОССИЙСКОЙ ФЕДЕРАЦИИ

ИНФОРМАЦИОННЫЙ ЦЕНТР
ПО АВТОМОБИЛЬНЫМ ДОРОГАМ
«ИНФОРМАВТОДОР»

Ю.М. Львович

Геосинтетические и
геопластиковые материалы
в дорожном строительстве

7 - 2002

Данный выпуск обзорной информации посвящён комплексу вопросов, связанных с новыми геотекстильными и геопластиковыми материалами (которые входят в группу геосинтетиков), функциональными особенностями их использования в дорожном строительстве в качестве разделительных слоев, дренажных и фильтрационных элементов; для армирования слабых оснований, грунтовых сооружений, дорожных одежд, включая монолитные слои покрытий, для формирования совершенно новых дренажных систем и конструкций укрепления.

В самых общих информационных сведениях рассмотрены принципы и решения на основе геосинтетики и геопластики для смежных с дорожной отраслей строительства. Впервые сделана попытка классифицировать современные геотекстильные и геопластиковые материалы, в частности, для дорожного строительства. Особое внимание уделено таким вопросам, как тенденция их развития в зарубежной и отечественной практике с учётом возрастающих потребностей дорожного строительства, в частности, для обеспечения надёжности конструкций и корректировки современных технологий, замены материалоёмких элементов для укрепительных работ, снижения объёмов использования таких природных материалов, как песок и щебень в дренажных сооружениях. В отличие от предыдущего выпуска (обзорная информация № 5, 1998 г.) рассмотрены специфика физико-механических свойств материалов из геосинтетики и геопластики, лабораторные методы испытаний, уровень современных методов лабораторного контроля. Дан анализ нормативно-технической базы таких ведущих стран в области применения геосинтетических материалов, как Германия, Великобритания, США.

Предложены пути решения этих весьма непростых вопросов для российской практики, освещены современные конструкции грунтовых сооружений на автомобильных дорогах с использованием геосинтетики и методы их расчёта.

Приведен опыт использования различных типов геосинтетики и геопластики в отечественном и зарубежном строительстве.

Материал подготовил

Ю. М. Львович (заведующий лабораторией

земляного полотна, геотехники и

геосинтетики Союздорнии)

ГОСУДАРСТВЕННАЯ СЛУЖБА ДОРОЖНОГО ХОЗЯЙСТВА

МИНИСТЕРСТВА ТРАНСПОРТА РОССИЙСКОЙ ФЕДЕРАЦИИ

ИНФОРМАЦИОННЫЙ ЦЕНТР

ПО АВТОМОБИЛЬНЫМ ДОРОГАМ

«ИНФОРМАВТОДОР»

АВТОМОБИЛЬНЫЕ ДОРОГИ

ГЕОСИНТЕТИЧЕСКИЕ И ГЕОПЛАСТИКОВЫЕ
МАТЕРИАЛЫ В ДОРОЖНОМ СТРОИТЕЛЬСТВЕ

Обзорная информация

Выпуск 7

Москва 2002

Выходит с 1971 г.

7 выпусков в год

1. ВВЕДЕНИЕ

В отечественной и зарубежной практике имеется значительный опыт применения геосинтетических материалов, разработке и созданию которых способствовало бурное развитие химической промышленности, особенно в зарубежных странах. Основными потребителями геосинтетических материалов стали, прежде всего, дорожная и железнодорожная отрасли, гражданское и гидротехническое строительство, строительство аэродромов [1]. В последние годы созданы новые материалы и технологии на их основе, в том числе и для экологической защиты территории (при строительстве полигонов с целью размещения твёрдых бытовых отходов). Произошло существенное расширение областей использования новых материалов, разработаны методы расчёта дорожных конструкций с их применением.

Благодаря исследовательским и внедренческим работам Союздорнии по указанной проблеме, а также организаторской и информационной деятельности, интерес к рассматриваемым материалам существенно возрос к концу 90-х годов как среди потребителей, так и среди производителей геосинтетики.

В СССР единственный семинар по проблеме использования геосинтетики и геопластики был проведён Минтрансстроем СССР в 1977 г. В последующий, почти 20-летний период, отсутствие достоверной информации о новых геосинтетических материалах, их использовании в мировой практике нанесло значительный урон не только в части развития отечественных современных технологий в дорожной и других строительных отраслях, но и достоверной оценки роли геосинтетических материалов как совершенно нового продукта, позволяющего дополнить или компенсировать известные физико-механические свойства грунтов и других строительных материалов. И только после Международной конференции по геосинтетике (EuroGeo 1), которая состоялась в г. Маастрихте (Голландия) в 1996 г. в рамках Объединённой Европы, положение в значительной степени изменилось [2]. В дальнейшем этому вопросу были посвящены международные конференции, проводившиеся в марте 1998 г. в г. Атланте (США); 2001 г. - г. Болонье (Италия); 2001 г. - Японии; 2002 г. - г. Ницце (Франция) [3, 4, 5, 6]. Расширены контакты с ведущими зарубежными фирмами, работающими в области геосинтетических материалов. Причём эти контакты касались не только вопросов поставки тех или иных материалов, но прежде всего комплекса теоретических, конструктивных и технологических решений, что особенно важно на современном этапе.

Национальные конференции и семинары в области геосинтетических материалов, их применения в дорожной и транспортной отраслях прошли в 1998 г. (г. Владимир), в 2000 г. (г. Балашиха), в 2001 г. (Москва, МАДИ), в 2002 г. (Санкт-Петербург, ЛИИЖТ). Они получили статус международных, поскольку в них принимали участие представители ряда зарубежных фирм (Германии, Финляндии, Италии, Белоруссии, Украины). При этом, если на первом семинаре в 1998 г. прозвучали доклады и сообщения, которые в известной степени реанимировали рассматриваемую проблему после большого перерыва, носили в большинстве случаев постановочный или ретроспективный характер, то на последующих семинарах и конференциях был освещён уже накопленный опыт использования современных геосинтетических материалов при проектировании, строительстве и реконструкции таких автомобильных дорог, как МКАД, МКАД - Кашира, «Дон», «Крым», третье транспортное кольцо, КАД вокруг Санкт-Петербурга и ряд других. Вместе с тем, их тематика, диапазон которой был существенно расширен, включала следующие ключевые вопросы:

·        современный мировой уровень в области геосинтетики и геопластики;

·        геосинтетика и геопластика при строительстве и реконструкции автомобильных дорог;

·        геосинтетика при ремонте и содержании автомобильных дорог;

·        экологические проблемы при использовании геосинтетики и геопластики;

·        производство и производители геосинтетики.

Особое внимание было уделено теоретическим аспектам применения геосинтетики и геопластики в дорожных конструкциях; состоянию отечественной нормативно-технической базы в этой области; опыту научных исследований, накопленному Союздорнии и ГП «Росдорнии», а также проектных работ, выполненных Союздорпроектом и Гипродорнии.

2. СОВРЕМЕННЫЙ МИРОВОЙ УРОВЕНЬ В ОБЛАСТИ ИСПОЛЬЗОВАНИЯ ГЕОСИНТЕТИКИ И ГЕОПЛАСТИКИ В ДОРОЖНОМ СТРОИТЕЛЬСТВЕ

2.1. Общие вопросы

При анализе существующих, прежде всего зарубежных документов по применению геосинтетических материалов, в частности в дорожном строительстве, особое значение приобретает немецкая «Памятная записка по применению геотекстиля и геосеток при земляных работах в дорожном строительстве» [7] (далее «Памятная записка»).

«Памятная записка» содержит информацию о возможностях применения геотекстильного материала, геосетки и сеткоподобных «продуктов» при земляных работах и в гидротехнических сооружениях дорожного строительства. Помимо чисто дорожной ориентации в «Памятной записке» даются необходимые ссылки на ряд рекомендаций и своды правил для гидротехнического строительства, правила применения гидроизоляционных искусственных материалов для защиты от грунтовых вод, рекомендации для проектирования и расчётов армогрунтовых сооружений с армоэлементами из геосинтетических и геопластиковых материалов, рекомендации по устройству свалок и лома. Указанная «Памятная записка» для дорожного строительства действительна до выхода соответствующей европейской нормы условий поставки или предписаний (рекомендаций). «Продукты» государств - членов Европейского союза, - которые не соответствуют требованиям, указанным в данной памятке, эквивалентно подвергаются также проводимым в стране их производства исследованиям и контролю, пока для них не будет установлен равным образом устойчивый и требуемый уровень защиты по безопасности, гигиене и пригодности к использованию.

Собирательный термин «продукт» или «продукты» довольно часто применяется в соответствующих текстах рекомендаций, докладах или высказываниях, которые касаются совокупности геосинтетических материалов.

Вместе с тем, в отечественной практике рассматриваемый «продукт» носит более чёткое и обобщённое определение.

Геосинтетические материалы - общая классификационная терминология для всех видов синтетических материалов, которые используются в различных отраслях строительства, в том числе и дорожной. Этот термин включает: геотекстильные материалы, георешётки, геосетки, геомембраны и геокомпозиты.

В терминологическом аспекте «Памятная записка» рассматривает термины, охватывающие следующий круг геосинтетических материалов.

Геотекстильный материал (водопроницаемый): нетканый, тканый, трикотаж, другие изделия плоской формы, характерные для искусственных полимерных материалов.

Геосетки или аналогичные композиции («продукты» в терминологии «Памятной записки»): плетёные, вязаные и уложенные геосетки (т.е. сформированные на месте производства работ), ленты и стержневидные элементы, комплексные материалы.

Гидроизоляционные материалы (водонепроницаемые или с незначительной степенью водопроницаемости): искусственные (полимерные) материалы, бентонитовые композиты, другие изделия из геосинтетики или геопластики плоской формы. Отметим, что выделенные структуры представлены в «Памятной записке» в самом общем виде и, очевидно, не могут претендовать на какую-либо классификацию.

Геотекстильными материалами являются водопроницаемые нетканые материалы, ткани, трикотаж и комплексные материалы для использования в дорожном строительстве.

Геосетками, которые выделены отдельно, являются изготовленные из синтетических волокон или пластических масс кристаллические структуры с различными узловыми соединениями и с шириной отверстия более 10 мм для применения в тех же целях. Различают геосетки:

·        плетёные;

·        вязаные;

·        уложенные.

Реже встречаются ленты и стержневидные элементы.

Отмеченные термины более подробно раскрываются в соответствующих разделах упомянутой «Памятной записки» в следующем виде.

Геотекстили. Нетканые материалы получают в результате скрепления синтетического холста уложенными по плоскостям друг на друга элементарными нитями (бесконечными волокнами) - элементарными неткаными нитями или штапельными волокнами длиной от 3 до 5 см. Скрепление может быть механическим (например, при прокалывании иглой или зашивании) и/или адгезионным (например, с помощью соединительного клеящего средства), или когезионным (например, при термическом воздействии).

Тканые материалы состоят из скрещивающихся под прямым углом нитевых систем (пряжи). Они различаются по виду пряжи (пряжа из штапельного волокна, мультиволоконная пряжа, кручёная нить, моноволоконная пряжа, узкие полоски, нарезанные из плёнки, и срощенная нить); по её переплетению (так называемому соединению), например, полотняное переплетение типа «рогожка», и каркасное; по количеству нитей на единицу длины. При необходимости дополнительно укрепляются места скрещивания пряжи.

Трикотаж - общее наименование изделий плоской формы, которые состоят:

·        из одной или нескольких нитевых систем, соединённых друг с другом петлеобразно;

·        из одной или нескольких проходящих по прямой линии нитевых систем, связанных друг с другом следующей нитевой системой (вязально-прошивной, основовязальный трикотаж).

Геосетка. Сплетённая геосетка - это сетка с отверстиями более 10 мм.

Вязаная сетка изготавливается из синтетических лент. В лентах пробиваются отверстия, растягиваются в одном или обоих направлениях (вдоль и поперёк). При вытягивании полимерные молекулы ориентируются в направлении растяжения. При этом прочность в направлении растяжения увеличивается, а удлинение уменьшается. Узловые пункты не смещаются, благодаря чему происходит передача силового фактора между продольными и поперечными перемычками.

Уложенная геосетка в соответствии с «Памятной запиской» производится из покрытых оболочек лент. При этом ленты укладываются крестообразно и соединяются в местах перекрещивания.

Ленты и стержневидные элементы рассматриваются (обозначаются) как геосеткообразные «продукты». Ленты могут состоять, например, из сотканных или соединённых полос, а также из объединённых между собой на одном уровне слоев нитей, зафиксированных полимерной оболочкой. Стержневидные элементы выполняют из связанных переплетающихся нитей, которые обёрнуты материалом из искусственного волокна.

Комбинированные материалы или композиты состоят из объединённых в плоскости друг с другом нетканых материалов, тканей, геосетки и/или других плоскостных структур и композитов.

2.1.1. Технические характеристики геотекстильных материалов и георешёток

Общие положения. Характеристики «продукта» (геосинтетического материала) определяются его компонентами, их предназначением, используемым сырьём, типом, креплением или соединением волокон (нитей) или расположением узловых точек пересечения георешёток.

Сырьё. В настоящее время применяются следующие ткани или сырьё для сплошных материалов и решёток: полиамид (РА), полиэтилен (РЕ), полиэстер (PES) и полипропилен (РР). Полиэтилен и полипропилен известны как полиолефины. В целях обеспечения специальных характеристик «продукта» могут использоваться добавки (например, стабилизаторы), применяться оболочки из поливинилхлорида (ПВХ), полиэтилена (РЕ) или битума. Другим типом сырья являются разлагаемые натуральные материалы, такие, как лён, джут или кокос, которые применяются для защиты поверхности грунтового основания.

При их использовании почва, грунты и вода не подвергаются воздействию вредных веществ. Применяемые при производстве добавки, растворимые в воде или вымываемые водой, например, определённые авиважи (водные эмульсии, поверхностно-активные вещества), стабилизаторы или консерванты для авиважей, - должны соответствовать указаниям, содержащимся в описании «продукта» в части типа и количественного соотношения.

Нетканые материалы используются в качестве разделительного и фильтрующего элемента в дорожной конструкции. В нетканых материалах с ориентированно расположенными волокнами механические характеристики не зависят от направления самих волокон. Такая зависимость может возникнуть вследствие частично ориентированного расположения волокон.

При натяжении только часть волокон будет подвержена нагрузке, а другая ориентируется по направлению натяжения. В результате достигается высокая эластичность нетканых материалов по сравнению с ткаными. Чем меньше волокон фиксируется в заданном положении, тем выше эластичность ткани. Механически закреплённый нетканый материал растягивается сильнее, чем связанный адгезионно или когезионно. В уложенном состоянии эластичность значительно снижается вследствие сопротивления поперечному сжатию. Нетканые материалы в зависимости от своей эластичности могут хорошо подходить для укладки на неровные грунтовые поверхности. Они повторяют неравномерно изменяющуюся граничную грунтовую поверхность при укладке, располагаясь между ней и дренирующим материалом. В случае локальных повреждений, например, при засыпке камнем, и сквозных деформациях (продавливании) благодаря своей эластичности (прежде всего эластичности волокон) структура материала, окружающего локальное повреждение, не изменяется, оставаясь в первоначальном положении. Трение между грунтом и нетканым материалом в значительной степени зависит от взаимодействия грунта и структуры верхней поверхности нетканых материалов.

Нетканые материалы обладают, как правило, хорошей водопроницаемостью. Толстый нетканый материал может также использоваться для отвода воды в её плоскости.

Тканые материалы применяются в тех случаях и ситуациях, когда требуется компенсировать дефицит силовых факторов в грунтовых сооружениях или слоях дорожных одежд.

Механические характеристики тканых материалов формируются через структуру нитей в ткацкой машине для правки утка и основы и зависят от направления при использовании. При разрыве одной или больше нитей ткань теряет часть своей прочности в направлении нити.

Трение и сцепление между грунтом и тканым материалом в значительной степени зависит от взаимодействия грунта и структуры ткани.

Технические фильтрационные характеристики определяются через ширину раскрытия кромок в материале. Смятие незначительно влияет на изменение фильтрационных характеристик. При растяжении ширина раскрытия кромок может меняться. Рекомендуется соблюдать ограничение (уменьшение) водопроницаемости при нагрузке, а также при укладке грунта во время фильтрационных технических измерений.

Трикотажные материалы. Для применения в земляных работах материалов этой группы особенно подходит текстиль с прямолинейной непрерывной ниточной ровинговой системой, когда необходимо использовать их растягивающее усилие. Особенностями трикотажных материалов являются:

·        высокое растягивающее усилие при небольшом относительном удлинении в направлении непрерывной нити (ровинга);

·        возможность воспринимать растягивающие напряжения в диагональном направлении при определённых «продуктах» этой группы с диагональной непрерывной системой нитей (ровингов);

·        низкая эластичность в направлении непрерывной нити по сравнению с ткаными и неткаными материалами;

·        характер передачи нагрузки при взаимодействии с грунтом или другим дорожно-строительным материалом, а также фильтрационные технические характеристики, соответствующие аналогичным параметрам тканых геотекстилей.

Георешётка. Используется в грунте для армирования различных конструктивных элементов сооружений. Передача силы нагрузки между грунтом и георешёткой осуществляется через трение, в котором при достаточной узловой жёсткости можно также дополнительно получить сопротивление грунту узлов и перемычек. Георешётки (или в отечественной практике геосетки) применяются также при армировании асфальтобетонных покрытий при их ремонте, реконструкции и в случаях борьбы с отражёнными трещинами.

Комбинированные материалы. Необходимы, когда требуется одновременное действие их отдельных компонентов. Их технические характеристики определяются взаимодействием отдельных компонентов материалов.

Определённые комбинированные материалы могут также использоваться для отвода воды в их плоскости.

Рассмотренная выше совокупность геосинтетических материалов не включает в качестве отдельного типа объёмные георешётки из полиэтиленовых лент, скреплённые между собой механическим или термическим способом, которые вошли в отечественную и зарубежную практику прежде всего для укрепительных работ. Кроме того, в разделе при рассмотрении геосеток (плоских структур) не приведены способы их получения (изготовления) методом экструдирования. Наконец, для дальнейшего анализа необходима более полная трактовка геомембран.

Геомембрана - это герметический элемент из полимерного материала, используемый для регулирования поверхностных и подземных вод и защиты от них оснований и фундаментов грунтовых сооружений, а также иных конструктивов.

2.1.2. Устойчивость к старению

При применении в рассмотренных «продуктах» (по терминологии немецкой «Памятной записки») синтетического сырья можно добиться их высокой долговечности за счёт достижения устойчивости к старению. Для этого необходимо обеспечить технологические требования при укладке материалов без механических дефектов, которые могут ухудшить их исходные характеристики. Существенное значение приобретает функция защиты материала от света (ультрафиолетовых лучей). Это касается прежде всего полипропилена. Следует принимать также во внимание чувствительность полиэфира к сильным щелочным воздействиям, что безусловно ограничивает их применение в конструкциях с бетонными или железобетонными элементами или требует проектирования специальных защитных мероприятий. Для отечественной практики необходимо иметь в виду то, что полиамид и геосинтетические материалы из него не морозостойки и не могут быть уложены в зонах ниже глубины промерзания. Изделия («продукты») из стекла, обладая относительно высокими «силовыми» функциями, снижают их при длительном взаимодействии с водой и отрицательными температурами, в связи с чем подвержены интенсивному старению и также требуют специфических мер защиты. Это следует учитывать при рассмотрении сроков службы дорожных конструкций и их отдельных элементов в случаях применения стеклоизделий.

Снижение (изменение) гидравлических и фильтрационных характеристик, а, следовательно, и соответствующих функций геосинтетических материалов в этом направлении, может быть предотвращено путём тщательного подбора и соответствия показателей их фильтрационных свойств составу прилегающего грунта (или наоборот).

Весьма важны усталостные свойства геосинтетических материалов, т.е. их реакция на воздействие длительной нагрузки (ползучесть). Роль этого фактора приобретает первостепенное значение при использовании так называемых «силовых» геосинтетических материалов с целью обеспечения или повышения надёжности грунтовых сооружений. Более подробно этот аспект будет рассмотрен в следующих разделах настоящего обзора.

2.1.3. Области применения

В самом широком аспекте области применения геосинтетических материалов в дорожной отрасли, охватывая как конструктивные, так и технологические решения, включают два направления: земляные сооружения и дорожные одежды. В качестве основополагающих функций геосинтетических материалов для указанных направлений характерны следующие.

Разделение. Разделение (trennen - нем.) грунтовых сред, различных по составу или состоянию, с целью исключения их перемешивания (особенно в процессе строительства) происходит путём соответствующей защиты и обеспечения в условиях эксплуатации неизменности по толщине конструктивных слоев. Особое значение эта функция приобретает при строительстве земляного полотна насыпей на слабых основаниях (в естественном залегании последних), а также устройстве рабочего слоя выемок в глинистых переувлажнённых грунтах и последующих дополнительных слоев дорожной одежды. Кроме того, во многих случаях функция разделения может быть использована в качестве дополнительной к другим, рассматриваемым ниже.

Фильтрация. Функция, которая направлена на осушение и отвод поверхностных и грунтовых вод от конструктивных элементов земляного полотна и дорожных одежд.

Осушение (дренирование). Использование геосинтетических материалов в качестве антикольматационных фильтров, а также горизонтальных и вертикальных дренажей в случаях применения композитных объёмных «продуктов» (дренажи в выемках, оползневых структурах).

Защита от эрозии. Укрепление наклонных и лекальных поверхностей грунтовых сооружений на автомобильных дорогах от вредного воздействия воды и ветра. Указанная функция может быть совмещена с дренированием поверхностных слоев откосных частей, например, в выемках (откосные дренажи).

Армирование. Силовая функция сплошных тканых геосинтетических материалов, геосеток и георешёток используется для армирования земляных сооружений и их оснований при строительстве, реконструкции, ремонте, а также асфальтобетонных покрытий.

В определённых случаях применение геосинтетических материалов, например, нетканых, охватывает такие области как защита уплотняемых слоев насыпей от механических повреждений при движении построечного транспорта или уплотняющих средств. Особое значение указанная защитная функция приобретает при наличии слабых или недоуплотнённых естественных оснований [8]. Отмеченные характерные особенности геосинтетических материалов, их разнообразие, а также выделенные области использования, которые в настоящее время хорошо корреспондируются в различных международных документах и, прежде всего, в «Памятной записке» и Британском стандарте, целесообразно классифицировать [9]. Такая классификация разработана автором настоящего обзора на основе имеющейся практики, анализа и обобщения выделенных геосинтетических материалов, показателей их физико-механических свойств и областей использования в дорожном строительстве и представлена в табл. 1 [10].

Подобная классификация имеет существенное значение для выбора того или иного геосинтетического материала в плане разработки рациональных типов дорожных конструкций применительно к конкретным инженерно-геологическим, грунтовым и климатическим условиям строительства и реконструкции.

Таблица 1

Наименование материалов

Исходный материал, полимер

Область применения

Основные требуемые показатели физико-механических свойств

Нетканые:

Иглопробивные (механическое крепление)

Полипропилен,

полиэфир

Разделительные прослойки, дренажные конструкции, обратные фильтры, защита от кольматации, подложки для композитов и других конструкций (например, габионов, объёмных решёток)

Номинальная прочность при разрыве, относительное удлинение для номинальной прочности, прочность при заданной деформации, модуль упругости, прочность при прокалывании конусом (диаметр отверстия), несущая способность (за рубежом СВR), эффективная пористость, светостойкость, химическая стойкость, плотность, толщина

Термоскрепленные (когезионные или адгезионные)

Полипропилен

Тканые и трикотажные

Полиэфир, полипропилен

Армирование слабых оснований, армогрунтовые сооружения (откосы повышенной крутизны, армогрунтовые подпорные стенки)

Номинальная прочность при разрыве, относительное удлинение для номинальной прочности, прочность при заданной деформации, модуль упругости, предел ползучести, деформация и прирост деформации при ползучести, химическая стойкость и светостойкость, прочность при прокалывании конусом, несущая способность (СВR), плотность, толщина, водопроницаемость, коэффициент внешнего трения

Геосетки:

тканые

Полипропилен, полиэфир, полиамид, стекло

Армирование грунтовых сооружений и естественных оснований, устройство гибких и жёстких свайных ростверков, армирование асфальтобетонных покрытий, защита от отраженных трещин

Номинальная прочность при разрыве, относительное удлинение для номинальной прочности, прочность при заданной деформации, модуль упругости, предел ползучести, деформация и прирост деформации при ползучести, химическая стойкость и светостойкость, плотность, когезия, коэффициент внешнего трения

экструзивные

Полипропилен, полиэтилен

Объёмные георешётки:

модульные сотовидные

Полиэтилен, полипропилен

Укрепление откосов, конусов, насыпей и выемок на подходах к искусственным сооружениям, укрепление водоотводных канав Армирование оснований, откосов повышенной крутизны

Прочность при разрыве ленты, прочность стыков, предельная деформация при разрыве, морозостойкость и химическая стойкость

габионного типа

То же

Композиционные:

волокнистые пористые материалы

Полипропилен, полиэтилен

Укрепление откосов, конусов в сложных климатических и грунтовых условиях. Укрепление откосов и устройство дренажей различного назначения (траншейные, откосные, пластовые и т.д.)

Водопроницаемость, прочность при разрыве, относительная деформация при номинальной прочности

многослойные структуры с пластиковым каркасом и защитными слоями из нетканых материалов малой плотности

Полипропилен, полиэтилен, полиэфир

Геомембраны

(сплошные водонепроницаемые или слабопроницаемые рулонные материалы)

Полипропилен, полиэтилен

Устройство жёстких гидроизоляционных прослоек, снижение активных сдвиговых напряжений за счёт уменьшения трения в контакте с грунтом

Водопроницаемость, предел прочности при разрыве, относительное удлинение при разрыве, удобоукладываемость, толщина, плотность

Гидроизоляционные материалы

Элементы:

полипропилен + бентонит, другие изделия плоской формы

Устройство полностью водонепроницаемых элементов геотехнических конструкций

Водопроницаемость, в том числе и под расчётным давлением для защиты отгрунтовых вод

Кроме общих характеристик, областей применения и требуемых показателей физико-механических свойств, классификация содержит ещё два крупных блока, конкретизирующих тот или иной геосинтетический материал. Так, например, для выбора нетканого геотекстильного материала в качестве разделительной прослойки (функция разделения) могут быть рассмотрены специальные спецификации конкретных материалов (нетканых), выпускаемых как отечественными, так и зарубежными производителями (например, Геоком, Виротекс, Пинотекс, Тайпар, Полифельт и др.). После выбора группы материалов с близкими показателями свойств, удовлетворяющих требуемым значениям для данной конструкции земляного полотна, технологии, другим условиям, марка геотекстильного материала может быть выбрана с учётом рациональной цены 1 м2. При этом для выбранного материала производитель должен представить паспорт с протоколами испытаний контрольных образцов.

Таким образом, данная классификация выходит из традиционных представлений, поскольку, кроме группировки материалов, требует некоторой системы базы данных о них, включая результаты испытаний. В связи с этим в Союздорнии разрабатывается на её основе соответствующий программный продукт, позволяющий не только выбрать требуемый материал для конкретных сооружений, но и занести его в базу данных и сохранить всю необходимую информацию о нём.

Помимо общей классификации, представленной в табл. 1, целесообразно рассмотреть дифференциацию геосинтетических материалов по степени их устойчивости к внешним силовым факторам.

Устойчивость к воздействиям силовых факторов, возникающих при укладке геосинтетических материалов для выполнения тех или иных функций, предусмотренных проектом, необходимо учитывать как с точки зрения применяемых насыпных материалов, так и в плане интенсивности и состава движения построечного транспорта. Для этой цели в «Памятной записке» [7] приводятся специальные классификации для отдельных рассмотренных в настоящем обзоре типов геотекстильных материалов. В большинстве случаев такие классификации действительны, когда требуемые механические параметры не могут быть установлены (например, использование нетканых материалов в качестве разделительного, защитного слоев или фильтра) и данный материал не используется для армирования. В подобных классификациях приведены эмпирические данные (полученные из опыта), которые установлены для нетканых материалов на основе испытаний на продавливание специальным штампом (цилиндром), для тканых материалов, трикотажных изделий и комплексных «продуктов» по данным номинальной (предельной) прочности на растяжение стандартных полосок. Кроме того, для всех типов материалов в качестве показателя физических свойств, соответствующего силовым (механическим) параметрам, используется масса на единицу поверхности (mа), в качестве которой принимается её средняя величина (х*) (табл. 2). Количество определений при этом должно быть не менее 10. Сила продавливания стандартным цилиндром для нетканых материалов принимается равной средней величине минус стандартное отклонение.

Таблица 2

Класс прочности (GRK)

Сила продавливания цилиндром (х*-S), кН

Максимальная сила

растяжения (х*-S), кН

Масса на единицу поверхности (х*), г/м2

Нетканые материалы

1

³ 0,5

-

³ 80

2

³ 1,0

-

³ 100

3

³ 1,5

-

³ 150

4

³ 2,5

-

³ 250

5

³ 3,5

-

³ 300

Продукты из узких полосок, нарезанных из пленки или щепной нити

(полипропилен или полиэтилен)

1

-

³ 20

³ 100

2

-

³ 30

³ 160

3

-

³ 35

³ 180

4

-

³ 45

³ 220

5

-

³ 50

³ 250

«Продукты» из комплексных нитей

1

-

³ 60

³ 230

2

-

³ 90

³ 280

3

-

³ 150

³ 320

4

-

³ 180

³ 400

5

-

³ 250

³ 550

Поскольку имеются различия между «продуктами», изготовленными из узких полосок, нарезанных (сформированных) из плёнки или выполненных из комплексных нитей, классы прочности для рассматриваемых материалов дифференцированы.

В данном случае используется меньшая величина силы для продольного и поперечного направлений.

Для оценки прочности принимается средняя величина максимальной силы растяжения образца стандартной полоски (x*) минус стандартное отклонение (S) для меньшего значения в продольном и поперечном направлениях.

Данные табл. 2 основываются на исследованиях «продуктов», которые показали различную прочность материала в продольном направлении при единой максимальной силе растяжения в 50 кН/м в поперечном. Для классификации использована максимальная сила растяжения в направлении большей прочности. В тех случаях, когда применяются материалы с другим соотношением пределов прочности на растяжение в продольном и поперечном направлениях, необходимо их идентифицировать с геосинтетическим материалом в соответствии с классом прочности.

В отношении классификации геосинтетических материалов для композитов имеется незначительный опыт. Класс прочности таких материалов рекомендуется [7] «доказывать» путём идентифицирующих опытов непосредственно на строительной площадке. Так, например, для композитов (комплексных материалов), состоящих из геосеток и нетканых материалов, класс прочности нетканого материала может быть увеличен на 1 класс, если прочность на растяжение геосетки, присутствующей в композите, будет равна 25 кН/м. Для других композитов, включающих тканые материалы или трикотаж, класс прочности нетканого материала может быть соответственно повышен на его удельную массу. При этом рекомендуется за основу принимать предел прочности на растяжение для тканей или трикотажа после введения защитного слоя как элемента композита. При использовании комплексных материалов в качестве дренажных элементов (например, объёмные дренажные композиты) определяющим является геотекстильный класс прочности фильтра.

В Германии также разработана классификация по характеру воздействия нагрузки от насыпного грунта на геосинтетические материалы в зависимости от характеристик грунта, которая в конечном итоге корреспондируется с описываемыми случаями их использования.

Рассматриваются два случая: первый учитывает только влияние слоя насыпного грунта над материалом и тип грунта основания под ним (АS); второй - влияние механических воздействий при укладке и в процессе строительства (АВ). В каждом из указанных случаев определены свои классификационные признаки, которые представлены в табл. 3, 4.

Таблица 3

Индекс использования

Условия применения и выбора геотекстильного материала

АS1

Насыпной грунт и вышележащие слои не влияют на выбор геосинтетического материала

АS2

Геосинтетический материал уложен в основании между мелкозернистым грунтом и грубозернистым

АS3

Геосинтетический материал уложен в основании между мелкозернистым грунтом и крупнообломочным (40 % камней и блоков), а также грубозернистым материалом типа АS2 с острорёберными частицами

АS4

То же, что и АS3, но количество крупных включений более 40 %

АS5

То же, что и АS4, но крупные включения горных пород (40 %) имеют острые рёбра

Используя классы прочности геосинтетических материалов (см. табл. 3), а также условия применения (см. табл. 4), разработаны требуемые классы прочности геосинтетических материалов, следующие из случаев их применения и возникающих напряжений от нагрузки (табл. 5).

Таблица 4

Индекс случая укладки

Характеристика типа укладки геосинтетического материала и процесса строительства

АВ1

Укладка материала и засыпка его вручную. Отсутствие какой-либо нагрузки на геосинтетический материал

АВ2

Механизированная укладка материала, уплотнение машинными уплотняющими средствами. Отсутствие деформаций как на поверхности слоя, так и по его глубине, включая геосинтетический материал

АВ3

То же, что АВ2, но повышенные напряжения и соответственно деформации при допустимой внутренней колее от 5 до 15 см *

АВ4

То же, что и АВ3, но при допустимой внутренней колее (глубине следа) более 15 см

Примечания: 1. * Для оценки влияния механической нагрузки при отсыпке слоя грунта на геосинтетический материал в качестве критерия принято образование колеи, т.е. прогнозируемая (ожидаемая) внутренняя глубина колеи, а также непосредственно в насыпном слое под уложенным геосинтетическим материалом.

2. Данная классификация не учитывает дополнительные нагрузки на материал, возникающие в случаях укладки (отсыпки) слоя грунта не мелкозернистого (например, песка), а крупнообломочного. С ростом прочности (несущей способности) нижнего слоя грунта (в том числе и грунта основания) и с возрастающим количеством крупных и грубых обломков в отсыпаемом поверх геосинтетического материала слое при уплотнении и движении построечного транспорта могут возникнуть дополнительные нагрузки и напряжения на материал, которые не учтены в данной классификации.

Таблица 5

Индекс использования

Индекс случаев укладки

АВ1

АВ2

АВ3

АВ4

АS1

GRК1

 

 

 

АS2

GRК2

GRК2

GRК3

GRК4

АS3

GRК3

GRК3

GRК4

GRК5

АS4

GRК4

GRК4

GRК5

(1)

АS5

GRК5

GRК5

(1)

(1)

Примечание. (1) - для указанных случаев необходимо проведение опытных работ по пробной отсыпке и уплотнению грунта.

2.2. Ретроспективный анализ применения геотекстильных и геопластиковых материалов в отечественной и зарубежной практике

Дорожная отрасль, которая включает в себя обширный комплекс вопросов, связанных с проектированием, строительством, ремонтом, реконструкцией и эксплуатацией линейных и нелинейных дорожных сооружений, стала одной из первых вслед за гражданским строительством [11], где внедрение геосинтетики достигло самых больших объемов, рост которых продолжается и по сей день [12].

Геотекстильные материалы претерпели существенное развитие с тех пор, как в 1970 г. в гражданском строительстве началось их массовое применение, а дорожная отрасль подхватила эту эстафету. Появилось много новой и разнообразной продукции, изготовленной по специальным технологиям, в том числе и из различного сырья со значительной степенью соответствия предъявляемым требованиям для применения. Разработаны специальные нормы, регламентирующие условия использования геосинтетических материалов и требования к ним. В этом аспекте зарубежная практика значительно опередила российскую.

Факторами, определяющими, будет ли геосинтетический материал выполнять требуемые от него функции, являются следующие его свойства: механические, гидравлические, эксплуатационные показатели в условиях той или иной грунтовой среды, куда он будет помещен. Это прежде всего такие показатели, как номинальная прочность, деформативность, фильтрационная способность, ползучесть, долговечность, фрикционные показатели. Именно они обеспечивают придание новых качеств дорожной конструкции, изменение соответствующих технологических регламентов ее устройства. Рассматривая в настоящем обзоре современные мировой уровень и опыт применения геосинтетики и геопластики в дорожной отрасли, целесообразно в первую очередь сделать небольшой исторический экскурс в части развития отечественного опыта.

Принятая Минтрансстроем СССР в 70-80-х годах программа совершенствования геотекстильных материалов и расширения рациональной области их применения при проектировании и строительстве автомобильных и железных дорог, аэропортов, портов и причалов послужила благоприятным фактором не только для создания и расширения базы по изготовлению таких материалов, но и существенному повышению качества дорожного и транспортного строительства [3, 13, 14, 15].

Первые опытные работы были выполнены Союздорнии на автомобильной дороге Москва - Рига. Исследования, проведённые на опытном участке одной из «мокрых» выемок, послужили отправной точкой по разработке области применения нетканого материала тогда ещё существующей фирмы «Рон-Пуленк» для обеспечения стабильности переувлажнённых выемок. Исследования велись в двух направлениях: геотехническом и водно-теплового режима. Последующие наблюдения позволили разработать первые требования к дорожным конструкциям, в которых необходимо или целесообразно использовать геосинтетические материалы в качестве дополнительного фильтра, армоэлементов и разделительной прослойки. На первом этапе эти требования касались только нетканых иглопробивных материалов отечественного и зарубежного производства, но, тем не менее, определили в первом приближении направленность применения геосинтетических материалов в дорожной отрасли.

Для последующих целенаправленных научных исследований под эгидой Союздорнии было сформировано специальное направление в дорожной геотехнике (дорожная геосинтетика), которое определило объём исследований и дальнейшие пути практического использования геосинтетических материалов.

Был установлен основной принцип рационального применения рассматриваемых материалов: расчёт дорожной конструкции с определением «узких мест» работы её элементов и далее переход к конкретным требованиям для геосинтетических материалов, которые и должны воспринимать дефицит усилий, изменить условия дренирования, обеспечить в целом требуемую надёжность и долговечность дорожных сооружений.

Именно это позволило в первоначальном объёме определить комплекс требований к геосинтетическим материалам при их совместной работе с конструктивными элементами насыпей, выемок и их естественных оснований. Поскольку речь идёт о совместной работе прежде всего с грунтовыми сооружениями, то одновременно устанавливался комплекс требований к грунтам с искусственной и естественной структурой.

В рассматриваемый период были разработаны методики, которые позволили выполнить комплекс необходимых исследований и определить, с одной стороны, показатели физико-механических свойств геотекстильных материалов, а с другой - соответствующих систем: грунт (или другой дорожно-строительный материал) + геосинтетический элемент. Три показателя исследовались в достаточно широком аспекте: фильтрационная и водоотводящая способность, номинальная (предельная) прочность и соответствующая ей деформативность.

В 1977 г. был создан в содружестве с группой отечественных институтов первый нетканый геотекстильный материал Дорнит и осуществлено его массовое производство. Получены опытные партии из расплава полимера. Результаты исследований отражены в первых документах и конструктивно-технологических решениях для нефтепромысловых дорог Западной Сибири, что в значительной степени способствовало увеличению темпов и качества их строительства.

Несмотря на возможность применения в семидесятые годы геосинтетического материала только одного типа, а именно нетканого, в Союздорнии на его основе были разработаны конструкции и соответствующие технологии для условий Западной Сибири, включая районы распространения вечномёрзлых грунтов. Такие конструкции по своей структуре и учёту механизма взаимодействия грунта и геосинтетического материала предопределили многие современные решения, которые базируются на более прочных и менее деформативных современных материалах. Речь идёт о конструкциях «грунт в обойме», в том числе и использование мёрзлого комковатого грунта, различных типов разделительных элементов, которые в определённых условиях использовались для снижения неравномерности осадки слабого основания при сезонном оттаивании деятельного слоя под нагрузкой от веса насыпи и воздействий тяжёлого построечного и эксплуатационного транспорта. Типовыми решениями стали конструкции сборного железобетонного покрытия с разделительным и антикольматирующим элементом из нетканого геосинтетического материала, а также временных дорог с прослойкой из геосинтетического материала в основании.

Выполненные полевые и экспериментальные исследования позволили обобщить полученные результаты и внести их в соответствующие разделы нормативных документов: СНиП 2.05.02-85, СНиП 3.06.03-85, ВСН 26-90, ВСН 84-89.

Возможность регулирования напряжённо-деформированного состояния геотехнических сооружений в сложных инженерно-геологических условиях с помощью геосинтетических материалов была реализована при разработке ряда специальных документов для дорожной отрасли (рекомендаций по выбору проектных решений нефтепромысловых дорог в районах Ямбурга и Уренгоя, технических условий по Ямалу, рекомендаций по технологии сооружения земляного полотна из грунтов повышенной влажности для условий Нечерноземной зоны России и других).

В 90-е годы значительный импульс в плане возобновления и проведении исследований на современном уровне дала первая Международная конференция Объединённой Европы по дорожной геосинтетике в г. Маастрихте, где сотрудники Союздорнии выступали с освещением опыта применения геосинтетики при проектировании и реконструкции МКАД. Результаты представленных исследований были отмечены почётными дипломами и наградами [2].

Все последующие международные и российские конференции, проводимые с 1998 г. уже регулярно, объединили отечественных производителей и потребителей, проектировщиков и исследователей для целенаправленных совместных действий в части рационального применения геосинтетических материалов в дорожной отрасли. Подобное объединение не исключало рабочие контакты с ведущими зарубежными фирмами и использование их продукции, научного и технического потенциала наряду с отечественными материалами [16, 17, 18].

Был выполнен научный и инженерный анализ продукции таких ведущих фирм в области геосинтетических материалов, как «Хьюскер», «Дюпон», «Полифельт», «Тензар», Tenax, «Геотерра», «Фазер-Техник», Prestorus, Geoweb. Особое внимание при этом уделено работе научно-технических центров при фирмах-производителях. В частности, на совместных семинарах изучался опыт научно-технического и инженерного сопровождения проектирования и строительства сложных объектов, где использованы геосинтетический материал, расчётный аппарат, программные продукты.

Основной объём собственных исследований был направлен прежде всего на формирование пакета первичных документов (ТУ) для отечественных производителей. Были исследованы, в частности, нетканые геотекстильные материалы более 50 отечественных фабрик. В результате разработаны требования, сформированы и согласованы ТУ, выполнены сертификационные исследования нетканых материалов, включая большой объём лабораторных испытаний. Накопленный материал позволяет уже сейчас разработать общие требования и рекомендации именно к нетканым материалам отечественного производства, которые в настоящее время наиболее широко используются в дорожной отрасли. Исследовались также материалы ряда зарубежных фирм [19]. По результатам исследований установлены рациональные области применения геосинтетических материалов различных типов в элементах дорожных конструкций. Следует отметить, что диапазон выполненных работ включал в себя исследования изменчивости прочностных и деформационных свойств, фильтрационной способности этих материалов, способности выдерживать локальные нагрузки в зависимости от физических показателей и особенностей технологии изготовления. Первичный пакет созданных совместно с производителями документов, по мнению автора обзора, можно принять за основу для дальнейшего развития и формирования отечественной нормативной базы, хотя этот процесс в значительной степени затянулся.

С целью расширения номенклатуры геосинтетических материалов был выполнен значительный объём исследований пластиковых объёмных георешёток, предназначенных, прежде всего, для укрепления конусов и откосов земляного полотна. На основе результатов лабораторных и экспериментальных исследований разработаны методические рекомендации, руководство и осуществлено их широкое внедрение на МКАД, автомагистралях «Дон», «Крым» и многих других. Конструкция стала типовой и может быть внесена в альбом по укреплению конусов и откосов. В настоящее время ведутся исследования этих материалов с целью их применения в конструкциях дорожных одежд и естественных оснований при соответствующем технико-экономическом обосновании.

Для армирования асфальтобетонных покрытий комплекс выполненных исследований совместно с фирмой «Стеклопрогресс» позволил разработать новые виды стеклосеток с любой размерностью ячеек, хорошей когезией и прочностью не менее 40 кН/пог.м. Создана линия и начат выпуск отечественного армирующего материала. В 2001 г. был выполнен комплекс опытных работ на базе Владимиравтодора для автомобильных дорог III и IV категорий. Росавтодором разработаны и выпущены методические рекомендации по использованию базальтовых сеток для указанных целей.

Для исследования работоспособности зарубежных нетканых, тканых и решетчатых материалов были выполнены конструктивно-технологические проработки армогрунтовых сооружений на слабых грунтах, в откосах повышенной крутизны, дренажных сооружениях, аэродромных конструкциях. Всё это позволило разработать собственную концепцию рационального применения геотекстильных материалов для дорожного строительства и, в частности, для КАД вокруг Санкт-Петербурга. Такая концепция исходит из взаимосвязи геотехники, механики грунтов и основных требований к дорожной геосинтетике. Она базируется на инженерно-геологическом анализе условий проектирования и строительства, оценке устойчивости, осадки, времени её прохождения. Особое значение при этом приобретают требуемые сроки устройства дорожной одежды, что в определённых случаях вызывает необходимость устройства безосадочных насыпей на сваях с ростверком из прочных геосинтетических материалов.

Нельзя не отметить значительный объём полевых исследований и наблюдений, связанный с применением теплоизолирующих материалов типа Пеноплекс, которые Союздорнии осуществил совместно с дирекцией ДСД «Центр» на автомобильных дорогах «Дон» и «Крым».

В настоящее время, наряду с лабораторными, полевыми и экспериментальными, ведутся теоретические исследования по созданию комплекса методик и программных продуктов для расчётного аппарата, необходимого при проектировании дорожных конструкций с использованием геотекстильных и геопластиковых материалов различного направления.

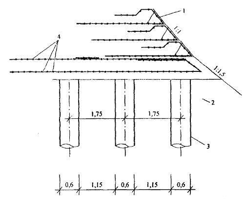
Среди разработанных Союздорнии конструкций с геосинтетическими элементами следует выделить такие, как: насыпи с вертикальными ленточными дренами (взамен песчаных) при строительстве дорог на болотах; конструкции укрепления подтопляемых откосов, защиты от водной и ветровой эрозии; конструкции дренажных сооружений; армогрунт; прослойки в конструкциях дорожных одежд со сборными типами покрытий и ряд других.

Такие конструкции позволяют повысить надёжность дорожных сооружений, снизить объём использования естественных зернистых материалов, разрабатывать принципиально новые решения.

В дорожной отрасли, как отечественной, так и зарубежной, с помощью геосинтетики успешно решаются следующие задачи:

·        устройство разделительных прослоек между различными по свойствам и назначению конструктивными элементами дорожной конструкции, особенно в различных средах (по составу или состоянию);

·        армирование элементов земляного полотна и дорожной одежды и защита монолитных слоев от отраженных трещин покрытий дорог и аэродромов;

·        укрепление конусов путепроводов и мостов, откосов, склонов от водной, ветровой эрозии и других форм нарушения местной устойчивости;

·        устройство дренажей (траншейных, пластовых, откосных) повышенной надежности и долговечности;

·        применение гидроизолирующих и термоизолирующих прослоек;

·        использование геосинтетики и геопластики в качестве армоэлементов для армирования конструкции земляного полотна и насыпей с откосами повышенной крутизны;

·        разработка специальных решений в виде конструкций «грунт в обойме» при необходимости применения грунтов различного состава, состояния, температуры;

·        строительство временных и подъездных дорог с использованием геосинтетики и геопластики в качестве технологических прослоек, особенно при наличии слабых оснований.

Возможны и другие области применения этой весьма широкой номенклатуры геосинтетики и геопластики, которая производится в настоящее время во всем мире. Вместе с тем, при таком количестве и различном качестве материалов особое значение приобретают следующие аспекты: выбор рациональных типов конструктивных решений; методы расчета, в том числе и программные продукты, позволяющие создавать и использовать необходимые в подобных случаях системы управления базами данных; степень эффективности. Что касается степени эффективности, то здесь необходимо, по мнению автора обзора, исходить из комплексной оценки конкретных решений, которые включают в себя в качестве конструктивных элементов геосинтетические и геопластиковые материалы. Основные направления получения того или иного эффекта сводятся к:

·        повышению (или обеспечению) надежности и долговечности конструкции;

·        снижению материалоемкости;

·        уменьшению стоимости;

·        повышению технологичности, качества производства работ, возможности контроля в заводских и производственных условиях.

При всём при этом первостепенное значение приобретает долговечность используемых материалов, а, следовательно, и сооружений с элементами из них. Это связано прежде всего с тем, что геосинтетика - это полимерный материал.

Долговечность геосинтетических и геопластиковых материалов, используемых в дорожной отрасли, определяется комплексом факторов и условий, основными из которых являются: исходное сырье; погодно-климатические воздействия; реакция среды строящегося объекта или отдельных конструктивных элементов; солнечная радиация; расчетные нагрузки и воздействия в процессе строительства и эксплуатации.

В настоящее время в отечественной и зарубежной практике для изготовления геосинтетических и геопластиковых материалов применяют в основном полиамид, полиэфир, полипропилен, полиэтилен, стекловолокно. Для придания специальных свойств в сырье вводят добавки, например, технический углерод (сажу) в качестве стабилизатора от солнечной радиации; пигменты для окраски материала и т.д. На поверхность рассматриваемых материалов могут быть нанесены специальные покрытия (обволакивающие и защитные слои), увеличивающие или придающие адгезионные свойства, необходимые для быстрого и, что самое главное, надежного контакта с рабочими поверхностями контактной среды конструкций и сооружений. Для указанных целей используются поливинилхлорид, полиэтилен, битумные эмульсии, а также специальные материалы, запатентованные в ряде стран. Разработаны также способы термообработки геотекстильных материалов.

Долговечность применяемых геосинтетических и геопластиковых материалов высокая (40-120 лет), если материалы не получили серьезные повреждения в процессе строительства и были своевременно защищены от солнечной радиации. Вместе с тем, следует учитывать чувствительность материалов из полиамида к воздействию сильных щелочей и кислот, а также их набухание в водной среде. Не следует также допускать длительное применение материалов из полиэфира в грунтовых средах с показателем кислотности рН > 10.

Снижения гидравлических и фильтрационных свойств можно избежать путем тщательного соблюдения соответствия фильтрационных характеристик, например, нетканых или комбинированных материалов и граничащей с ними грунтовой среды.

Долговременная прочность геосинтетических и геопластиковых материалов определяется временем до их разрушения под влиянием длительного воздействия постоянной нагрузки и приростом деформации во времени. Ползучесть и долговременная прочность должны указываться фирмой-изготовителем в паспорте, технических условиях, а также в сертификате на материал по результатам соответствующих испытаний.

При выборе и последующем использовании таких материалов следует учитывать также вопросы экологии, которые с каждым годом становятся все более актуальными, особенно в областях дорожного строительства. Применяемые материалы не должны загрязнять окружающую, в том числе и геологическую, среду вредными веществами, а наоборот, должны препятствовать или поглощать водорастворимые или вымываемые вредные и загрязняющие среду компоненты.

Нельзя не отметить роль современных геотекстильных материалов при обеспечении экологической безопасности, особенно при создании специальных полигонов для размещения и захоронения промышленных и твердых бытовых отходов (ТБО). В этих случаях применяют конструкции гидроизолирующих экранов в виде геомембран толщиной 1,5-5 мм. В состав нижнего защитного экрана входит также дренажный слой из геосинтетики для сбора ядовитого фильтрата.

В России экологической безопасности, связанной с размещением отходов, не уделяют должного внимания. В результате только в Московской области (и в самой Москве) расположено более 150 полигонов и свалок, не отвечающих элементарным требованиям экологической безопасности.

Геосетки, объемные георешетки выпускаются практически во всех развитых странах мира. Они предназначены для укрепительных работ (укрепления конусов, откосов, склонов), армирования крутых откосов, экологических мероприятий [20]. Наиболее рациональная область использования геосеток, выполняемых из полиэтилена, полипропилена, полиэфира, стекловолокна и других материалов, - это армирование асфальтобетонных покрытий, в том числе при их устройстве на старом цементобетонном или асфальтобетонном покрытии для борьбы с отраженными трещинами.

Объединение сплошных геотекстильных материалов с геосетками и георешетками позволило зарубежным специалистам получить оригинальные композиты, которые особенно удачно применяются практически для всех типов дренажных конструкций, необходимых для регулирования поверхностного и подземного стоков.

Что касается отечественной практики, то выпуск геосинтетических и геопластиковых материалов в России осуществляется в гораздо меньших объемах, а по номенклатуре основным видом являются нетканые иглопробивные, далее объёмные пластиковые георешётки, стекло и базальтовые сетки. Вместе с тем, как уже отмечалось, выпуск новых геосинтетических материалов, особенно так называемых композитов, обуславливает существенное изменение традиционных дорожных конструкций, сооружений и технологий. Подобная тенденция хорошо прослеживается как в зарубежной, так и в отечественной практике.

Для условий России в этом плане большое значение приобретает отказ от значительных объёмов природных материалов, таких, как песок, щебень, гравий, за счёт внедрения геосинтетики и геопластики. Так, только при реконструкции МКАД ежегодно использовалось до 2-3 млн. м3 песка для дренажных слоев дорожных одежд. Выполненные в настоящее время эскизные проработки новых решений с применением геосинтетики, геопластики, специальных композитных материалов позволяют коренным образом изменить традиционную и весьма консервативную тенденцию. Использование геосинтетических термоизолирующих материалов повлечет за собой, по мнению автора обзора, изменение конструктивных и технологических решений при строительстве автомобильных дорог в зоне сезонного промерзания, а также в условиях распространения вечномерзлых грунтов.

Существует еще немало примеров и реальных вариантов совершенствования и изменения традиционных дорожных конструкций за счет широкого внедрения современной геосинтетики и геопластики. Таким образом:

1. Современное развитие геосинтетики и геопластики достигло в настоящее время высокого уровня, который позволяет обеспечивать, в частности, дорожное строительство практически любыми материалами с различными требуемыми свойствами, определяемыми расчётами и условиями строительства и эксплуатации.

2. Геосинтетика и геопластика являются перспективными материалами в дорожном строительстве, а их использование - перспективным направлением в части совершенствования дорожных конструкций, их конструктивных элементов и технологии строительства.

Перспективы развития дорожной геосинтетики могут быть сформулированы следующим образом:

·        анализ профильных конструктивных решений, в частности, по земляному полотну: линейные участки; над трубами; подходные насыпи к мостам, эстакадам, другим сооружениям;

·        на основе расчётов установление требований к геосинтетическим материалам;

·        расширение номенклатуры отечественных материалов, области их использования в дорожных конструкциях;

·        создание на основе анализа существующего, но разрозненного в рамках различных фирм, расчётного аппарата, дополняющего классический аппарат по геосинтетике, механике грунтов, механике дорожных одежд и соответствующих программных продуктов;

·        разработка документов различного уровня в области проектирования и строительства дорожных и мостовых сооружений с использованием геосинтетических материалов.

2.3. Нормативно-техническая база при использовании геосинтетических материалов в дорожном строительстве

Оценивая современный мировой уровень развития и использования геосинтетики и геопластики в дорожном строительстве, сопоставляя его с отечественным опытом, можно с уверенностью отметить, что наиболее слабым, неорганизованным и несистематизированным звеном в море существующих материалов, конструкций и технологий на их основе является нормативно-техническая база, которая весьма медленно создаётся для условий отечественного дорожного строительства. Вместе с тем, хотя в настоящее время есть все необходимые предпосылки для её создания, анализ функционирования зарубежных норм показывает, что такие нормы, правила, требования, рекомендации по применению и использованию в строительстве геосинтетических материалов различного назначения очень тесно корреспондируются с существующими во всех странах мира нормативными базами для отдельных отраслей строительства и, более того, с аналогичными структурами в каждой из них, что не характерно для России.

В связи с указанным разработка и создание нормативной базы в области рассматриваемых материалов должна в известной степени ускорить процесс гармонизации общих норм, в частности, для дорожного строительства.

В зарубежных странах, странах Объединённой Европы в настоящее время осуществляется разработка единой нормативной базы, включая и требования, и правила применения геосинтетических материалов в грунтовых и других средах из известных строительных материалов.

Еврокод (так будут называться будущие нормы стран ЕС), как правило, разрабатываются общественными комитетами путём сопоставления, анализа и гармонизации уже существующих норм таких стран, как Германия, Франция, Великобритания. При этом за основу приняты немецкие «Дины» и ряд положений Британского стандарта [7, 9]. В связи с этим в рамках будущих европейских норм ниже рассмотрены некоторые требования этих норм. Кроме того, имеются также американские нормы.

Например, на первой Международной конференции Объединенной Европы по геосинтетике и геопластике [2] США представили 40 стандартов, в основном, направленных на методы испытаний. Эти стандарты касаются сплошных геотекстилей и геомембран. Из их числа можно отметить следующие, которые характерны для общих принципов стандартизации методов испытаний, принятых в США [14, 21], по определению:

·        биологического засорения геотекстильных материалов в системе «грунт - геотекстильный материал в качестве фильтра»;

·        потенциала кольматации систем «геотекстильный материал - грунт» по отношению к гидравлическим градиентам;

·        фильтрующей способности и средней скорости потока в геотекстильном материале, применяемом в качестве противозаиливающей завесы для грунта с конкретного участка строительства;

·        номинальной толщины геотекстилей под нормальной статической нагрузкой;

·        относительного коэффициента фильтрации системы «грунт - геотекстильный материал»;

·        модуля деформации полиэтиленовой геомембраны при нагрузке, соответствующей 2 %-ной деформации;

·        характеристик неустановившейся ползучести при растяжении для геосинтетиков;

·        коэффициента трения на границе раздела сред «грунт - геосинтетика» или «геосинтетика - геосинтетика» методом чистого сдвига;

·        а также проведение полевых испытаний геосинтетики.

Как видно из приведенной выборки, американские стандарты имеют широкий диапазон, касающийся именно методов испытаний сплошных геотекстильных материалов, а также геомембран, широко применяемых за рубежом.

Немецкие правила более дифференцированы, с точки зрения рассмотрения различных аспектов регламентации при использовании геосинтетических материалов. Они включают полный спектр, начиная от технических характеристик геосинтетических материалов, областей их применения, указаний по расчёту требуемых параметров, методов проверки и испытаний, указаний по выбору и по оформлению договора поставки. В данной обзорной информации рассматриваются только некоторые их них в связи с ограниченностью его объёма.

В разделе проверки и испытаний [4] уже в общих положениях отмечается, что испытуемые и проверяемые параметры геосинтетических материалов должны быть представлены средними величинами, стандартным отклонением и коэффициентом вариации. При количестве проб менее 5 их индивидуальные значения должны быть приведены полностью. Проверяются следующие механические характеристики.

Масса на единицу площади (удельная плотность, г/см2). Пробная величина 100 см2, пробный формат - окружность или квадрат, количество проб - 10.

Номинальная прочность при растяжении. Ширина пробы 200 мм, свободная длина натяжения 100 мм, скорость деформации 50 мм/мин. Количество проб по 10 вдоль и поперёк.

Для всех геосеток дополнительно действуют следующие требования: образцы в разрывной машине зажимаются, как минимум, тремя перемычками. Ширина пробы - максимум 200 мм. При этом рекомендуется, чтобы, как минимум, один ряд узлов с поперечными перемычками располагался между зажимами. При проверке отдельных полос или ровингов их количество увеличивается на 10. Прочность узлов геосеток определяется десятью пробами в каждом направлении. Поперечные перемычки зажимаются таким образом, чтобы узлы оставались свободными до образования поперечных рёбер.

Проверка прошивки (сшивки) и других видов механических соединений. Такая проверка связана с определением номинальной и длительной прочности соединяемых поверхностей геосинтетических материалов.

Свойства усталости (деформация и длительная прочность). Перед выполнением испытаний устанавливаются степени нагрузки от краткосрочной (номинальной) прочности, например, 80, 60, 40, 20 %. Кривую «деформация - нагрузка» необходимо при этом начертить для каждого испытания до 5 лет или до полной потери прочности.

Особое значение приобретают испытания геосинтетических материалов для оценки несущей способности и технологических свойств. В немецкой системе норм к ним относятся следующие.

Определение силы продавливания материала специальным цилиндром. Пробы отбираются в двух плоскостях (вдоль и поперёк), количество проб - не менее 5 для каждого направления. Натяжение при испытании пробы - круговое, диаметр 150 мм, интенсивность подачи нагрузки 60±10 мм/мин. Кроме силы продавливания цилиндром, измеряются также свободный ход подачи штампа (цилиндра) до возникновения реакции материала и силы продавливания.

Реакция на нагрузку падения конуса (пирамиды) на пробу геосинтетического материала. Нагрузка представляет собой трехгранную пирамиду с равными углами, массой 2500 г; высота падения - 500 мм; натяжение пробы материала - круговое, диаметр 150 мм. Основанием пробы служит смесь глицерина и бетонита в соотношении 45:55. Количество испытываемых проб - 10. Для каждого испытания необходимо зафиксировать: максимальную глубину проникания пирамиды, максимальную реакцию (силу) с материалом и без него, остаточную прочность при продавливании.

Повреждения при укладке. Предполагается некоторое моделирование условий строительства. Исследуемая искусственная площадка должна состоять из нижнего уплотнённого слоя грунта или грунта естественного основания. Геосинтетический материал, предусмотренный для дальнейшего строительства, укладывается на подготовленный грунт и засыпается либо грунтом с проектной гранулометрией, либо дроблёным известняком размером 0-45 мм. Толщина этого слоя должна быть не менее 25 см или не менее требуемой толщины слоя для исследуемой технологии. После укладки крупнообломочного материала поверх геосинтетического, распределения и уплотнения последний извлекается из конструкции и проверяется. Минимальная величина пробы 1 м2. Перед последующими испытаниями описывается картина повреждений: количество дыр и проколов на 1 м2. Повреждения следует классифицировать по величине, форме и другим возможным видам. В лаборатории определяются остаточная прочность по силе продавливания цилиндрическим штампом или при растяжении в разрывной машине, а также степень изменения номинальной прочности при растяжении. Указанные показатели заносятся в лабораторный журнал в процентах к кратковременной прочности или несущей способности геосинтетического материала.

Испытание на выдёргивание геосинтетического материала из грунтовой среды. Для этого используются сдвиговые каретки размером 300´300 мм, геосинтетический материал (продукт) при двустороннем контакте с грунтом; ступенчатое приложение нагрузки в диапазоне от 10 до 200 кПа. Испытание осуществляется в стандартизированном грунте.

В процессе опыта строится диаграмма зависимости сдвиговой нагрузки при заданном напряжении от деформации. Определяется также сила выдёргивания.

Весьма существенными являются требования к определению гидравлических характеристик геосинтетических материалов, к которым относятся: эффективный диаметр пор (О90W, мм), водопроницаемость сквозь геосинтетическую поверхность (Кv, м/с), в том числе и в горизонтальной плоскости.

Кроме номенклатуры и требований к испытаниям, в немецких нормах содержатся указания по выбору и параметрам, согласно которым этот выбор и осуществляется для различных условий строительства.

В качестве критерия (или основы) для выбора геосинтетического материала того или иного типа (тканые, нетканые, геосетки, георешётки и т.п.) прежде всего должны быть установлены и определены ожидаемые нагрузки на «продукт». В связи с тем, что количество параметров достаточно велико, установлен их необходимый рейтинг с целью рационального выбора. Такой рейтинг или своеобразная классификация предназначена для стандартных (штатных) ситуаций и содержит средние величины для предполагаемого выбора. В других случаях, когда необходима повышенная надёжность, могут быть соответствующие отклонения.

При использовании такой классификации (или рейтинга) решающим для выбора материала является непосредственное определение расчётных параметров: важно - достаточно, чтобы граничные величины соблюдались; менее важно - граничные величины должны соблюдаться; никакого влияния на выбор нет - не принимать во внимание.

Основные параметры, по которым осуществляется выбор материала, следующие: предел прочности при растяжении; деформативность; реакция на продавливание цилиндрическим штампом; реакция на пробивание конусом; реакция на длительную нагрузку; трение на контакте «грунт - продукт» или «продукт - продукт»; устойчивость к химическим воздействиям; устойчивость к атмосферным условиям; механическая эффективность фильтрации; водопроницаемость. Из числа перечисленных параметров остановимся только на некоторых из них.

Устойчивость к атмосферным условиям определяется остаточной прочностью при соответствующей нагрузке в течение шести месяцев свободного атмосферного воздействия, которые приняты в немецких нормах типичными для средней Европы.

Устойчивость к атмосферным условиям

Класс остаточной прочности, %

Высокая

³ 80

Средняя

60-80

Низкая

< 60

Класс остаточной прочности - это средняя величина остаточной прочности минус стандартное отклонение.

Защитой, причём наиболее оптимальной, является надёжное покрытие грунтом или другим дорожно-строительным материалом.

Механическая эффективность фильтрации. Считается достаточной, если эффективный диаметр пор находится в диапазоне 0,06 £ О90W £ 0,2 мм. При других ситуациях и отклонениях эффективный диаметр должен быть 0,06 £ О90W £ 0,4 мм.

В нормативы, свод правил, рекомендации в обязательном порядке включены указания по оформлению договора: требования к геосинтетическим материалам, цель использования, объём строительства, объём и виды контроля, условия поставки. Немаловажное значение имеет гарантия качества. Для этих целей служит система исследований на пригодность «продукта», собственный контроль и контрольные проверки. Для специальных продуктов, например, производимых с целью армирования, рекомендуется контроль сторонних организаций.

Исследования на пригодность необходимы для доказательства пригодности того или иного материала согласно предусмотренной цели его использования в соответствии с требованиями строительного договора. Необходимо предъявить заказчику результаты исследования до передачи заказа. Исследования на пригодность могут проводиться независимым институтом, имеющим соответствующую технику и персонал, одобренный заказчиком. Все исследования проводятся на отдельных частях проб с учётом типа грунта или другого строительного материала.

Собственный контроль - исследования юридического лица, принимающего заказ, или по его поручению (например, собственный контроль производителя), чтобы убедиться, соответствуют ли товарные характеристики «продукта» и готовый результат требованиям договора.

Контрольная проверка - это проверка заказчика, который осуществляет контроль на месте строительства в присутствии подрядчика. Заказчик или кто-либо по его поручению своевременно перед началом строительства отбирает пробы «продукта» в присутствии подрядчика. Количество проб зависит от занимаемой площади и устанавливается заказчиком.

Из числа других немецких документов следует отметить рекомендации для проектирования и расчёта параметров земляных сооружений с геосинтетическими искусственными материалами [22]. Из более ранних публикаций заслуживают внимания справочник по геотекстильным материалам [23] и «Геотекстильные материалы: требования к функциям (разделение, фильтрация, дренаж)», которые разработаны объединением швейцарских дорожных специалистов (1991 г.) [7, 24, 25].

Далее кратко остановимся на таком фундаментальном документе, как Британский стандарт ВS 8006 «Свод правил по армированию грунтов естественного залегания и насыпных грунтов» [9]. Этот стандарт включает правила и требования ко всем видам армирования, в том числе и при использовании геосинтетики. В нём содержатся материалы, которые предназначены как для информации, так и для практического руководства. Причём они дают возможность разрабатывать практические рекомендации на достаточно высоком профессиональном уровне.

Британский стандарт реализует опыт инженеров, длительно работавших в области проектирования и строительства армогрунтовых сооружений, и предназначен для специалистов с определённым знанием предмета в качестве основы для проектирования подобных конструкций. Этот стандарт в наибольшей степени отражает взаимосвязь между геотехникой, механикой грунтов и требованиями к современной геосинтетике.

Стандарт разработан из принципов предельных состояний, а основные рекомендации сформулированы на основе запасов прочности с использованием соответствующих коэффициентов запаса материалов и нагружения для различных случаев использования геосинтетики и проектирования сооружений [26]. В последние годы Британский стандарт нашёл своё применение и в отечественной практике, например, при разработке проектных решений по конструкциям земляного полотна для КАД вокруг Санкт-Петербурга [16]. В других странах Европы, таких, как Италия, Финляндия, Франция, этот документ в той или иной степени принят в качестве основополагающего при расчётах, конструировании, организации работ и разработке технологических регламентов для армогрунтовых сооружений. Как следует из краткого анализа в области зарубежных нормативных документов, в ближайшее время должны появиться документы Объединённой Европы, гармонизированные на основе прежде всего немецких норм, а также Британского стандарта, французских, итальянских и, возможно, швейцарских разработок по данному вопросу.

Отечественная практика отстаёт в этом направлении довольно существенно. Нормативная база, хотя бы в рамках отдельного свода правил по использованию геосинтетических материалов для дорожного строительства, в настоящее время отсутствует. Поэтому в ближайшее время, возможно, встанет вопрос о принятии европейских норм (Еврокод) с учётом, конечно, особенностей грунтовых и климатических условий России. С другой стороны, подобное решение неизбежно потянет за собой гармонизацию норм для других материалов и, прежде всего, для грунтов.

Немецкие «Дины» по геосинтетическим материалам и грунтам чётко корреспондируются между собой.

Вместе с тем, нельзя не отметить, что в отечественной практике всё же есть определённые разрозненные документы, посвящённые отдельным конструктивным и технологическим решениям. К их числу относятся:

·        нормы по проектированию нефтепромысловых дорог в Западной Сибири, где был использован основной объём геосинтетических материалов, в частности нетканых;

·        методические рекомендации по строительству автомобильных дорог из грунтов повышенной влажности;

·        рекомендации по армированию дополнительных слоев из щебёночных материалов с помощью стеклосеток;

·        рекомендации по использованию базальтовых сеток для армирования асфальтобетонных покрытий;

·        руководство по укреплению конусов и откосов земляного полотна автомобильных дорог с использованием геосинтетических материалов и металлических сеток.

Нельзя здесь не отметить ряд документов, подготовленных и выпущенных Росдорнии в рамках бывшего Минавтодора РСФСР. К ним относятся ВСН 49-86, которые ко времени написания данного обзора перерабатываются, рекомендации по оптимальным конструкциям дорожных одежд с геосинтетическими прослойками, типовые решения по борьбе с пучинами. Этот блок документов разработан для ремонта и содержания автомобильных дорог. В рамках сопровождения проектирования и строительства таких объектов, как реконструкция МКАД, третье транспортное кольцо, МКАД - Кашира, «Дон», «Крым» и ряд других, Союздорнии разработал и передал подрядчикам соответствующие рекомендации для обоснования конкретных проектных решений и новых технологий с использованием геосинтетических материалов различного типа (см. табл. 1).

На основе накопленной базы данных по геосинтетическим нетканым материалам, объёмным дренажным композитам Союздорпроект включил геосинтетические материалы в ряд своих Альбомов по типовым решениям, прежде всего связанных с земляным полотном, конструкциями укрепления откосов, дренажными сооружениями, которые действуют и по настоящее время.

Анализ объёма отечественных документов в дорожном деле, которые в той или иной степени связаны с использованием геосинтетики и геопластики, показывает, что в них в основном даны общие рекомендации по использованию в конструкциях, а также области применения. Отсутствуют требования, обусловленные характером работы материала в конструкциях, особенно в различных средах дорожных сооружений. Недостаточно определены условия функционирования систем «грунт - геотекстильный материал», «асфальтобетон - геосинтетика (геопластика)».

Поскольку первоначальные отечественные документы базировались на необходимости и возможности применения российских материалов, таких, как Дорнит; Каменск-Шахтинского производства из расплава полиамида, Кемеровского производства, а также изготавливаемого в то время в Венгрии - Терфила, то практически все отечественные производители ориентировались на те требования и технические условия, которые были приняты для этих материалов. Появились даже такие термины: типа Дорнит, а для импортных материалов - типа Бидим, что, безусловно, запутывало взаимоотношения между производителями и потребителями. Этот факт в достаточном объёме отражён в разработанных технических условиях на отечественные нетканые геосинтетические материалы.

Если рассмотреть блок нормативных документов, соответствующих требований к геосинтетике и геопластике, которые используют производители отечественных материалов, то он весьма скуден. Во-первых, отсутствуют требования к различным типам материалов, исходя из условий, расчетных схем их работы в конструкции при достижении предельных состояний, во-вторых, стандарты на методы испытаний существуют не на все виды, а, кроме того, они в достаточной степени устарели, поскольку вся «стандартная», если можно так выразиться, методология была привязана к другим отраслям, применявшим первоначально тканые и нетканые синтетические материалы. Эти отрасли не были напрямую связаны с дорожным строительством. В связи с этим в последние годы производители стали ориентироваться на зарубежные требования в основном для сплошных геотекстилей и геосеток, а типичными документами, характеризующими выпускаемую продукцию в настоящее время, являются технические условия, которые сами производители составляют, согласовывая с каким-либо одним потребителем, предлагая свою продукцию согласно этим условиям всем остальным потребителям. Следует отметить, что до сих пор отсутствуют технические требования на поставку геосинтетики и геопластики.

Резюмируя краткий анализ состояния дел в области нормативно-технической базы, необходимой при использовании геосинтетики и геопластики в дорожном строительстве, можно отметить следующее:

1. Зарубежный опыт представлен значительным объемом документов, начиная со стандартов и кончая отдельными инструкциями. Имеются две группы стандартов и документов - американские и европейские, которые в настоящее время гармонизируются для Объединённой Европы. На их основе выпускаются специальные каталоги по геосинтетике и геопластике. Отдельные фирмы-изготовители различных материалов приводят в своих каталогах их характеристики, требования, области использования, а в некоторых случаях и методики расчетов. Имеются технические условия и требования на поставку и т.д.

2. Отечественная практика характеризуется фрагментарным объемом и номенклатурой документов, которые недостаточно увязаны между собой, в большинстве случаев имеют давний срок издания и лишь в первом приближении могут послужить некоторой приблизительной основой для создания нормативно-технической базы.

Вместе с тем, в настоящее время остро ощущается отсутствие нормативной базы в области потребления и производства геосинтетики и геопластики. Такая база, по мнению автора обзора, должна гибко войти в систему нормативных и методических документов дорожного хозяйства. Её разработка должна быть комплексной с участием как потребителей, так и производителей на основе следующих принципов:

·        создания общей классификации геосинтетики и геопластики для дорожного строительства с разграничением областей применения и использования различных материалов отечественного и зарубежного производства в дорожных конструкциях;

·        разработки требований к материалам, исходя из условий их работы в дорожной конструкции, расширения областей применения для изменения существующих технологий, обоснования расчетных данных;

·        подготовки стандартов и методов на различные виды испытаний геосинтетики и геопластики согласно существующим требованиям с последующим созданием технических условий для их производства;

·        разработки документов нормативного, инструктивного и методического характера, определяющих технические и технологические принципы работы геосинтетики и геопластики в дорожных конструкциях;

·        создания типовых проектных решений с использованием геосинтетики и геопластики;

·        подготовки специальных документов, определяющих условия поставки потребителям отечественных и зарубежных материалов;

·        объединения всех указанных (и не указанных, т.е. еще не учтенных) позиций в общую систему, гибко согласующуюся с нормативными документами потребителей и производителей;

·        на основе единой нормативно-технической базы создание системы сертификации отечественных и зарубежных материалов.

3. ДОРОЖНЫЕ КОНСТРУКЦИИ С ЭЛЕМЕНТАМИ ИЗ ГЕОСИНТЕТИЧЕСКИХ МАТЕРИАЛОВ И ОПЫТ ИХ ПРИМЕНЕНИЯ В ОТЕЧЕСТВЕННОЙ И ЗАРУБЕЖНОЙ ПРАКТИКЕ

3.1. Общие положения

Как уже отмечалось, геосинтетические материалы согласно краткой классификации [17] применяются в дорожных конструкциях в следующих случаях:

·        разделение грунтовых сред, различных по составу и состоянию;

·        фильтрация;

·        дренаж при назначении и устройстве мероприятий по регулированию подземного стока;

·        армирование земляных сооружений и естественных оснований;

·        формирование дорожных одежд, включая асфальтобетонные покрытия;

·        защита от эрозии, обеспечение местной устойчивости откосов.

3.2. Конструкции временных дорог и на слабых основаниях

Рассмотрим конструктивные решения, соответствующие каждому из указанных случаев. В отечественной практике широкое применение нашли для этих целей нетканые иглопробивные и термоскреплённые материалы [16, 27, 28, 29]. Они использовались для устройства временных дорог, особенно при освоении Западной Сибири и северных территорий (рис. 1), на участках слабых оснований (переувлажнённые глинистые грунты), болотах I и II типов. При разработке и назначении конструктивных решений выбор геосинтетического материала определялся несущей способностью грунтов естественного основания, самого материала, грунта, применяемого для засыпки (устройства насыпи), его мощностью и показателями физико-механических свойств, интенсивностью транспортной нагрузки. Для конструкций временных дорог без капитального типа покрытия требуемым условием работы является отсутствие колеи или ограничение её допустимыми пределами. Недостающая для этой цели несущая способность грунтов естественного основания должна компенсироваться несущей способностью применяемого геосинтетического материала. В зарубежной практике для определения дефицита несущей способности сопоставляют СВR для грунта основания и геосинтетического материала. Собственно для этого в номенклатуру лабораторных испытаний введён тест на продавливание материала цилиндрическим штампом. Таким образом, в зависимости от показателей физико-механических свойств грунта основания, а также грунта насыпи, её высоты (или толщины слоя засыпки) подобранный геосинтетический материал, прежде всего нетканый, может выполнять одну из трёх функций: технологическую, обеспечивая работу технологического транспорта; разделение грунтовых сред, т.е. предотвращение перемешивания или проникания насыпных дисперсных и слабых грунтов основания; фильтрационную, или всех вместе. Кроме того, в определённых случаях, учитывая соотношение между объёмными и транспортными нагрузками и несущей способностью грунтов основания, к указанным функциям геосинтетического материала прибавляется ещё одна - армирование, которая более подробно будет рассмотрена в подразделе 3.3. настоящего обзора. Помимо перечисленных, специфика ещё одной функции связана с устройством насыпи из мёрзлых комковатых глинистых грунтов в районах распространения вечномёрзлых грунтов (I дорожно-климатическая зона России). Для того чтобы при оттаивании мёрзлые грунты не смещались в сторону откосных частей и равномерно деформировались при прохождении осадки, их заключают в обоймы из геосинтетического, как правило, нетканого материала с коэффициентом фильтрации не менее 20 м/сут (под расчётной нагрузкой) и требуемой эффективной пористостью в зависимости от состава оттаивающего грунта. Срок службы таких обойм из геосинтетического материала может быть равен времени консолидации оттаивающих грунтов с учётом переформирования их комковатой структуры под нагрузкой.

Рис. 1. Конструкции временных дорог с использованием нетканых материалов для условий Западной Сибири:

а - на болоте I-II типа; б - на минеральном переувлажненном грунте; в - на болоте II типа; 1 - насыпь; 2 - геосинтетический материал; 3 - слабый грунт; 4 - нижняя часть насыпи из торфа; 5 - глинистый грунт; 6 - лежневый настил

Возвращаясь к рассмотрению временных дорог, целесообразно выделить тонкослойную насыпь в качестве своеобразного расчётного элемента дорожной конструкции. Он может определяться как собственно земляное полотно для временных дорог, а, кроме того, в качестве первого слоя отсыпки при сооружении обычных насыпей различной высоты (рис. 2). Толщина этого слоя с учётом геосинтетической прослойки определяется опытным путём или исходя из следующих условий:

Рис. 2. Тонкослойная насыпь в виде расчётного элемента дорожной конструкции:

а - на минеральном основании (глинистые грунты); б - с лежневым настилом на болоте; 1 - основание земляного полотна; 2 - тонкослойная насыпь в рабочих отметках или нижний слой земляного полотна из песка; 3 - геосинтетический материал в виде разделительной или армирующей прослойки; 4 - лежневый настил

·        при движении построечного транспорта и работе уплотняющих средств не должна образовываться колея (т.е. отсутствие горизонтальных деформаций в слое грунта основания - так называемая внутренняя колея);

·        возможности доуплотнения естественного грунта основания до требуемой плотности в тех случаях, когда по фактическому состоянию, т.е. по естественной влажности, этот процесс исключает движение уплотняющих средств непосредственно по грунту основания.

В выемках, особенно «мокрых», когда грунты рабочего слоя представлены грунтами повышенной влажности или переувлажнены, эффективны геосинтетические прослойки, обладающие комплексом функций из числа перечисленных выше. Конструктивные решения для выемок показаны на рис. 3.

Рис. 3. Конструкции выемок в переувлажнённых грунтах и грунтах повышенной влажности:

а - выемка с откосным дренажом и трубчатыми дренами; б - выемка с подкюветным дренажом в обойме из геосинтетического материала; 1 - земляное полотно выемки; 2 - геосинтетический дренажный материал; 3 - пластиковые дрены

Технологические и разделительные прослойки при обеспеченной устойчивости слабого основания под действием объёмных и транспортных нагрузок в отечественной практике устраивают из нетканых иглопробивных материалов с плотностью не менее 250 г/м2 или термоскреплённых - с плотностью не менее 110 г/м2. Конусное погружение для указанных материалов должно быть не более 50 мм. Дренирующая и фильтрационная функции нетканых геосинтетических материалов используются как в отечественной, так и в зарубежной практике для ускорения осадки слабого основания с помощью вертикальных ленточных дрен. В наиболее простой форме такие дрены представляют собой ленты из рулонного волокнистого или объемного материала (рис. 4), вертикально установленные в грунте. Различия между ними сводятся в основном к ширине и толщине ленты, числу слоев образующего её материала. Возможны также более сложные варианты конструкции дрены: с укладкой геотекстиля в несколько слоев, различной структуры и образованием внутри дрены продольных каналов, различной величины и формы или использованием объёмных материалов [30].

Ленточные дрены [27, 31] целесообразно применять для ускорения консолидации слабых водонасыщенных грунтов как биогенных (торф, сапропель, заторфованные грунты), так и минеральных (илы, глинистые грунты, мелкие пески) при мощности слабого слоя свыше 3 м на водоупоре и свыше 5 м на водопроницаемом основании. При устройстве геотекстильных дрен в таких грунтах могут быть сняты принимаемые для песчаных дрен дополнительные ограничения по использованию вертикальных дрен в слоистых толщах, имеющих крупные включения или прочные слои, затрудняющие погружение обсадной трубы при устройстве песчаной дрены. Применять ленточные дрены следует при обеспеченной устойчивости основания под нагрузкой от веса насыпи. Причём одним из вариантов обеспечения устойчивости слабого основания может быть его армирование.

Вертикальные геотекстильные дрены целесообразно устраивать в слабых грунтах со степенью влажности 1 ³ δ ³ 0,8 и с коэффициентом фильтрации до 10-5 м/сут. При проектировании дрен следует учитывать неоднородность строения и свойств слабого грунта по глубине и простиранию, благоприятную с точки зрения вертикального дренирования: превышение горизонтальной водопроницаемости над вертикальной, наличие в слабой толще горизонтальной слоистости и горизонтальных прослоек с повышенной водопроницаемостью.

Рис. 4. Насыпь с вертикальными дренами на слабых грунтах:

а - схема; б - фрагмент дрены из геосинтетического объёмного материала; 1 - насыпь; 2 - рабочая платформа из песка; 3 - слабый грунт; 4 - ленточные дрены из материала Сolbonddrain; 5 - коренной грунт

Необходимым условием применения вертикальных геотекстильных дрен в грунтах с начальным градиентом фильтрации J0 является достаточная величина напора, возникающего в основании под весом насыпи. Критическое значение напора Нк (м) определяется из условия

,

где de - эффективный диаметр дрены (диаметр зоны дренирования), м;

J0u - начальный градиент фильтрации с учётом его изменения в процессе уплотнения слоя до степени консолидации u.

Для ускорения консолидации, проведения предварительного построечного уплотнения, а также для достижения уплотнения грунта при высоте насыпи и давлении, не обеспечивающих преодоление начального градиента, вертикальное дренирование целесообразно сочетать с устройством временной пригрузки, например, в виде дополнительного слоя грунта. Минимальная толщина пригрузки hпр (см) определяется из условия

,

где ρS, ρB - соответственно плотность влажного грунта и воды, т/м3;

Нн - проектная высота насыпи, м.

Величину временной пригрузки назначают в зависимости от требуемого срока консолидации насыпи (по условию устройства монолитных слоев дорожной одежды) и ограничивают по условию устойчивости основания. Для насыпей автомобильных дорог II категории и ниже максимальная толщина слоя пригрузки составляет 2 м.

Вертикальные ленточные дрены должны, как правило, достигать подстилающих слабую толщу прочных слоев грунта. В плане дрены располагают по квадратной или ромбической сетке (с углом 60°).

Эффективный диаметр дрены de в зависимости от расстояния между дренами l следует принимать для квадратной сетки de =1,13 l, для ромбической - de =1,05 l.

Для устройства вертикальных ленточных дрен применяют нетканые волокнистые геотекстильные материалы толщиной не менее 3 мм при обжатии уплотняющей нагрузкой 0,05 МПа. Этим условиям, как правило, удовлетворяют нетканые иглопробивные полотна, вырабатываемые как из расплава полимера, так и из штапельных волокон. Текстильное полотно для ленточных дрен должно обладать долговечностью не меньше срока службы дрены (обычно 1 г.). Волокнообразующий полимер не должен вызывать загрязнения грунтовых вод.

Текстильный материал для вертикальных ленточных дрен должен отвечать следующим требованиям:

·        поверхностная плотность по ГОСТ 15902.1-80 (масса 1 м2 материала) должна быть не менее 500 г/м2 для материалов, не обработанных связующим;

·        отклонение поверхностной плотности от среднего значения по площади полотна по ГОСТ 15902.1-80 должно быть не более 20 %;

·        ширина полотна и ширина вырезанной из него дрены должны соответствовать расчётным значениям;

·        длина полотна в рулоне и длина дрены в катушке должны соответствовать конструкции установки для погружения дрен и проектной длине дрен;

·        толщина полотна по ГОСТ 15902.1-80 должна составлять не менее 5 мм;

·        разрывное усилие по ГОСТ 15902.3-79 не менее 30 Н/см;

·        относительная деформация при разрыве по ГОСТ 15902.3-79 от 30 до 150 %.

Кроме того, геотекстильный материал для ленточных дрен должен характеризоваться водопроницаемостью в плоскости полотна (продольной водопроницаемостью), сжатого расчётной нормальной нагрузкой; сжимаемостью под расчётной нагрузкой; величиной и структурой пористости.

Продольная водопроницаемость геотекстильного полотна измеряется в условиях сжатия его расчётной нормальной нагрузкой, равной боковому давлению, действующему в слабой толще на дрену и возникающему от собственного веса рабочей платформы и бокового давления на глубине середины мощности слабого слоя. Коэффициент фильтрации геотекстильного полотна должен соответствовать принятому в проекте значению, но быть не менее 30 м/сут при нагрузке 0,05 МПа. Для устройства вертикального дренажа, обеспечивающего ускоренную консолидацию слабого грунта основания, в зарубежной практике нашли применение уже готовые специально сформированные дрены, например, элементы «Колондрайн» - продукт фирмы Аkzо Nobel Geosyntetiks. «Колондрайн» является композитным материалом из полиэстерового дренирующего ядра с трехмерной пространственной структурой, которая заключена в оболочку из нетканого термически уплотнённого фильтра. Благодаря своей конструкции «Колондрайн» сохраняет высокие рабочие характеристики даже при значительных нагрузках от веса насыпи, их распределении в слабой толще и возможных поперечных деформациях.

Применение таких дрен обеспечивает быстрое прохождение осадок грунта слабой толщи, увеличение её несущей способности, а также использование дополнительных конструктивных решений, например, временной пригрузки. В зарубежной практике такие дрены устанавливаются в слабую толщу с помощью стандартного оборудования, без нарушений природной структуры грунта слабого основания, что гарантирует целостность вертикального дренажа после его установки и передачи нагрузки. Основным экономическим преимуществом является быстрое увеличение сопротивляемости сдвигу грунтов слабой толщи за счёт их ускоренной консолидации и стабилизации в связи с этим осадок ещё в период строительства.

Дренажные конструкции. В отечественной и зарубежной практике геосинтетический материал в значительных объёмах используется в дренажных сооружениях [29, 32] для перехвата и отвода поверхностных и грунтовых вод. Одним из самых элементарных решений в этом плане является конструкция пластового дренажа, которая в отечественной практике была впервые применена при реконструкции МКАД. На низких насыпях в нулевых местах и выемках для отвода подземных вод на основание, как правило, из глинистых грунтов, укладывали нетканый материал отечественного или зарубежного производства. Материал должен был удовлетворять следующим требованиям: плотность 250 г/м2, коэффициент фильтрации Кф > 20 м/сут (в поперечном направлении), номинальная прочность > 2 кН/пог.м, конусное погружение не более 50 мм; полимер (исходное сырьё) - полипропилен. На материал распределялся гранитный щебень размером зерен 20-40 мм, поверх которого укладывали слой аналогичного геосинтетического материала. Далее выполнялась отсыпка грунта насыпи или рабочего слоя земляного полотна. Более сложные виды дренажных конструкций, а именно: перехватывающие (подкюветные, закюветные, в пределах откосных частей выемок); откосные застенные с использованием геосинтетических материалов различных типов - приведены в альбоме Союздорнии, разработанном на основе типового альбома Союздорпроекта (рис. 5).

Такие решения были внедрены на автомобильной дороге МКАД - Кашира. При этом вместо асбоцементных труб также использовались пластиковые в оболочке из термоскреплённого материала Тайпар.

Анализ эффективности применения различных типов геосинтетических нетканых материалов для дренажных конструкций показал, что именно этот материал в наибольшей степени подходит для обеспечения антикольматационной защиты элементов дренажа, а также может служить сам оболочкой (формой) новых типов дренажей без укладки водоотводящих труб.

Особое место занимают геокомпозиты для рассматриваемых типов дренажных сооружений и условий их применения. Как правило, такие материалы состоят из комбинации различных компонентов: нетканого геотекстиля с различной плотностью, геосеток (или георешёток) из полиэтилена или пропилена и в некоторых случаях геомембран. Сочетание геотекстиля (фильтрующая функция), геомембран (водозащитная функция) и геосетки (дренаж и распределение нагрузки) обеспечивает всю гамму свойств для фильтрации, дренажа и защиты от давления грунта. Такая система является очень компактной и простой при монтаже. Подобные материалы выпускаются различными зарубежными фирмами. Например, такой объёмный материал, как «Энкадрайн», кроме указанных компонентов в композите, содержит в нижней части специальную пазуху (канал) для отводной пластиковой трубы. «Энкадрайн» представляет собой полимерный геокомпозиционный дренажный мат, состоящий из дренирующего ядра, защищённого с двух сторон фильтрами. Дренирующее ядро состоит (в отличие, например, от материалов Теnаx, Тензар, Мультимат) из жёстких витых полиамидных нитей толщиной 0,3-0,8 мм, скреплённых между собой в точках пересечения и образующих трехмерную открытую структуру. Нетканый фильтр выполнен из термически скреплённого нетканого материала из полиэфирных волокон. Выпускается модифицированный «Энкадрайн», который имеет с одной стороны фильтр, а с другой - гидроизоляцию из ПВХ или полиэтилена высокого давления (фирма «Колбонд»). Аналогичные решения разработаны фирмами Tenax, «Тензар» и рядом других европейских производителей. Наиболее эффективными решениями с использованием объёмных дренажных композиций для отечественной практики являются следующие конструкции:

·        горизонтальные дренажные устройства под дорожной одеждой с заменой части подстилающего слоя из песка;

·        пластовые дренажи в основаниях земляного полотна;

·        перехватывающие траншейные дренажи всех типов;

·        откосные дренажи.

Во всех случаях преимущества таких конструкций по сравнению с традиционными включают высокую дренирующую способность при выдерживании расчётного давления грунта, многофункциональность применения, долговечность, устойчивость к гниению, эластичность, малый вес и простоту монтажа, возможность выполнения всех технологических операций в любых погодных условиях, надёжную защиту гидроизоляции от механических повреждений при обратной засыпке, экономию песка и щебня. Вместе с тем, в частности для отечественной практики, возникают вопросы, связанные с технологией укладки различных типов дренажных матов, уплотнением песка, укладываемого на поверхность горизонтальных дренажей, стыковкой узлов сопряжений горизонтальных, вертикальных и наклонных элементов. Безусловно, что их решение напрямую связано с объёмами использования этих материалов, накоплением опыта проектирования и строительства.

Рис. 5. Конструкции дренажных сооружений с использованием геосинтетических материалов:

а - дополнительное дренирование морозозащитного слоя объёмным геосинтетическим материалом при строительстве МКАД; б - вертикальный дренаж подпорной стенки; в - устройство дренажа в водонасыщенном основании (аэропорт «Домодедово»)

3.3. Армирование конструкций земляного полотна и слабых оснований

Общие положения. Армированными грунтовыми системами считаются комплексные композиции из насыпного грунта и отвечающего этим целям армоэлемента (или армоэлементов) из различных типов геосинтетических материалов, включая тканые и геосетки. Такие системы [2, 7, 16, 17, 22, 27, 33, 34] применяются в случаях:

·        армирования грунтов слабых оснований для обеспечения устойчивости земляных сооружений на них;

·        обеспечения устойчивости откосов повышенной крутизны, когда в зонах строительства со стеснёнными условиями не могут быть размещены большие заложения откосных частей, чем они требуются по расчёту;

·        устройства армогрунтовых подпорных сооружений.

Армирующий элемент или система из них после монтажа должна создать дополнительные силовые реакции при допустимой для данного сооружения деформации, которые без армирования отсутствуют, и в связи с этим не обеспечивается требуемая надёжность сооружения. Принцип взаимодействия геосинтетического армоэлемента с грунтами естественного основания или насыпным уплотнённым грунтом обеспечивается за счёт трения и адгезии геосинтетического материала с этими грунтами. Взаимодействие и «перенос» силового фактора в общую систему характеризуется коэффициентом трения и необходимой деформацией сдвига для активизации трения. При непосредственном контакте расположенных друг над другом армоэлементов из геосинтетических материалов значение коэффициента трения устанавливается как трение между этими армоэлементами. Указанные характеристики определяются в лабораторных условиях.

Армирование слабых оснований при сооружении насыпей. Как уже отмечалось, геосинтетические материалы нашли широкое применение при строительстве автомобильных дорог в качестве разделительных прослоек на слабых основаниях. Вместе с тем, с увеличением высоты насыпи, мощности слабой толщи, достаточно низких показателей сопротивляемости сдвигу (угла внутреннего трения и величины общего сцепления) или несущей способности, которая в ряде зарубежных стран характеризуется CBR, устойчивость слабого основания под воздействием объёмных и транспортных нагрузок может быть не обеспечена. Одним из мероприятий по её обеспечению является армирование грунтов слабого основания геосинтетическими материалами: ткаными и геосетками (плоскими георешётками). При этом следует иметь в виду, что само армирование не исключает прохождение осадки, т.е. процесса консолидации слабого основания. В тех случаях, когда прохождение осадки (вертикальные деформации) армированного основания влечёт за собой повышение несущей способности слабых грунтов, армоэлементы из геосинтетических материалов можно рассматривать как временные со сроком службы, равным времени полной (или соответствующего процента) консолидации [27, 34, 35].

В случаях, когда по результатам оценки устойчивость неармированной насыпи в конечном (консолидированном) состоянии слабого основания не может быть обеспечена, срок службы назначаемой при этом геосинтетической арматуры должен соответствовать сроку службы сооружения.

Геосинтетический материал для армирования следует подбирать таким образом, чтобы устойчивость насыпи на слабом основании была обеспечена как на стадии строительства (и при начальной эксплуатации), так и под действием растягивающих напряжений, реализующихся в течение всего срока эксплуатации сооружения. Однако и в этом случае осадка не исключается, хотя за счёт армоэлемента (т.е. его номинальной и длительной прочности) осадка будет проходить более равномерно, уменьшаясь по величине.

Выбор принципа армирования слабого основания обусловлен конкретными условиями проектирования и строительства, инженерно-геологическими и конструктивно-технологическими решениями. Практика показывает, что величина осадки и время её прохождения, в том числе и армированных сооружений, регламентируют сроки устройства монолитных слоев дорожной одежды. В связи с этим в зарубежной и отечественной практике разработаны варианты регулирования (ускорения) хода осадки во времени или исключения её вообще на основе применения различных типов геосинтетических материалов.

Ниже рассмотрены два типа таких конструкций.

Первый тип представляет насыпь на слабом основании, устойчивость которого не обеспечена ни в процессе строительства, ни в период эксплуатации. Комбинированное решение включает в себя следующие аспекты: устройство ленточных дрен (как вариант - песчаных) для ускорения осадки слабой толщи и её армирование геосинтетическими материалами, параметры которого устанавливаются расчётом (рис. 6).

Рис. 6. Конструкция насыпи на слабом основании с дренами и армоэлементами:

1 - насыпь; 2 - грунт слабого основания; 3 - песчаные сваи-дрены в оболочке из геосинтетического материала; 4 - прочный грунт; 5 - георешётка

Второй тип по сути является безосадочным сооружением и включает следующие элементы: дискретные в виде забивных, буронабивных железобетонных, грунтоцементных свай, выполняемых по специальной технологии, или иных, и ростверка из армированного грунта (песок крупнозернистый или щебень мелких фракций и геосинтетический материал). Этот тип конструкций определяет устойчивость слабого основания (поскольку не зависит от неё) и исключает осадку, обеспечивая возможность устройства монолитных слоев дорожной одежды в директивные сроки (рис. 7).

Рис. 7. Конструкция безосадочной насыпи с армоэлементами из геосинтетических материалов и свайным ростверком:

1 - насыпь; 2 - грунт слабого основания; 3 - свайные элементы с армированным откосом; 4 - геосетка

Область применения второго типа распространяется также на подходные насыпи к искусственным сооружениям (мосты, эстакады, путепроводы), когда необходимо выдержать принцип безосадочного и устойчивого сопряжения грунтового и железобетонного сооружений. В большинстве случаев в связи с высокими насыпями на подходах к таким искусственным сооружениям может быть запроектировано комплексное армирование слабого основания и откосных частей в продольном, а в некоторых случаях и поперечном направлениях. Наконец, в определённых условиях строительства (принятая технология, особенности строительной площадки и инженерно-геологические условия) при использовании для глубинного армирования песчаных и грунтоцементных дискретных элементов в виде свай последние помещаются в оболочки из высокопрочного тканого геосинтетического материала. Эти оболочки выполняются для конкретного диаметра и длины сваи, являясь бесшовными армоэлементами, поскольку воспринимают на себя поперечные напряжения на сваи по всей мощности слабой толщи, обеспечивая её продольную устойчивость (см. рис. 6). Такие решения, как правило, включают также и традиционные, связанные с армированием слабого основания ткаными геосинтетическими материалами или решётками. При этом для исключения перемешивания слабого грунта и грунта отсыпки перед укладкой армоэлементов из прочных георешёток дополнительно устраивается разделительная прослойка из нетканого материала. Прочность последнего определяется в основном технологическими особенностями строительства (рис. 8, 9).

Расчётные схемы и методы оценки устойчивости насыпей на слабых основаниях, армированных геосинтетическими материалами. Как правило, рассматриваются, например, в Британском стандарте или в немецких рекомендациях [7, 9 ,22] два основных случая:

·        расчёт устойчивости так называемых «плавающих» насыпей на слабом основании, армированных геосинтетическими материалами;

·        расчёт ростверка из этих материалов поверх свайных элементов при использовании безосадочных сооружений.

Рис. 8. Сооружение насыпи на слабом основании, армированном стеклотканью в оболочке из нетканого материала (а, б - варианты)

Рис. 9. Сооружение насыпи на слабом основании, укреплённом инъекционными сваями с двухрядным ростверком из геосетки Tenax:

а - общий вид уложенной геосетки первого ряда гибкого ростверка; б - отсыпка нижних слоев насыпи на геосетку второго ряда гибкого ростверка; в - характер контакта песка с верхним слоем геосетки

В первом случае выбор армоэлементов определяется на основе комплекса расчётов в рамках первого предельного состояния. В их число входят: обрушение со срезом и вращением, устойчивость против бокового плоского скольжения, оценка возможности выдавливания грунтов слабого основания.

Устойчивость против обрушения со срезом и вращением. Устойчивость насыпи против обрушения со срезом и вращением может быть проанализирована многими методами. Из них наиболее приемлемые: выявление поверхности скольжения; решение задачи пластической деформации методом конечных элементов; метод конечных разностей.

Определение поверхности скольжения - общепринятый метод, используемый обычно при анализе устойчивости насыпей на слабых, в том числе армированных основаниях. Общие правила такого анализа иллюстрирует рис. 10. Подразумевается, что арматура обеспечивает дополнительный удерживающий момент, повышающий общую устойчивость насыпи. Процедура предусматривает определение поверхности скольжения, пересекающей основание насыпи для определения растягивающего усилия, которое должна воспринять арматура, чтобы обеспечить требуемую устойчивость насыпи на слабом основании. При выборе формы потенциальных поверхностей скольжения необходимо, чтобы всегда было обосновано прохождение поверхности скольжения через слабые грунты основания, мощность которых определяется расчётным инженерно-геологическим разрезом.

На основе расчётов определяется требуемая кратковременная прочность армоэлемента и длительная в случае его использования в качестве постоянного со сроком службы, равным сроку службы сооружения. Кроме того, устанавливается необходимая длина геосинтетической арматуры в пределах дуги поверхности скольжения и за её пределами.

Рис. 10. Расчётная схема для расчёта устойчивости насыпей на слабом основании методом круглоцилиндрических поверхностей скольжения:

1 - насыпь; 2 - слабое основание; 3 - армоэлемент из геосинтетического материала; 4 - критическая поверхность скольжения

Устойчивость против бокового плоского скольжения. При анализе боковой устойчивости грунта насыпи (рис. 11) рекомендуется рассмотреть все потенциальные поверхности скольжения, которые могут реализоваться на горизонте взаимодействия грунта и верхних зон армированного основания. Армированное основание должно удерживать насыпь от боковых смещений, сопровождающихся отказом работы сооружения. Нагрузка в армоэлементе Тds максимальна на уровне бордюрной кромки насыпи и составляет

,

где Тds - растягивающее усилие в армоэлементе, удерживающее насыпь от бокового смещения, в расчете на 1 пог.м;

Ка - активный коэффициент бокового давления, равный tg2(45°-φ/2);

Н - высота насыпи, м;

γ - удельный вес грунта насыпи, т/м3;

ws - распределенная нагрузка по верху насыпи, т/пог.м;

ffs - коэффициент удельного веса грунта;

fq - коэффициент корректировки величины распределенной внешней нагрузки.

Для того чтобы генерировать необходимое растягивающее усилие в геосинтетической арматуре, грунт насыпи не должен проскальзывать по армоэлементам за пределы насыпи. Это осуществляется надлежащей длиной контактирования армоэлементов с материалом насыпи.

Рис. 11. Расчётная схема для оценки устойчивости против бокового смещения по поверхности раздела между грунтом и арматурой основания:

1 - фрагмент насыпи; 2 - геосинтетический армоэлемент; 3 - поверхность скольжения над и под армоэлементом; 4 - слабое основание

Выдавливание грунтов слабого основания. Геометрия насыпи обуславливает появление касательных напряжений, направленных «наружу» в пределах слабого грунта основания. Там, где грунт основания очень слабый и мощность такого грунта ограничена, направленные «наружу» касательные напряжения могут вызывать выдавливание, в связи с чем длина армированного участка основания Ls насыпи должна быть достаточно большая, чтобы предотвратить мобилизацию этих касательных напряжений. Механизм отказа предусматривает боковое выдавливание грунта основания в зоне ниже армоэлементов. Для того чтобы предотвратить вероятность такого отказа, необходимо ограничить перемещение грунта основания за пределы насыпи за счет адекватного бокового торможения на достаточно большом по площади участке на нижней поверхности армоэлемента, уложенного на основание. При этом следует выполнить два условия. Во-первых, полное сопротивление сдвигу на нижней поверхности армоэлементов должно быть достаточным, чтобы противостоять поперечным нагрузкам, возникающим в грунте основания. Во-вторых, материал армоэлементов, используемых для армирования основания, должен иметь достаточно высокий предел прочности, чтобы противостоять растягивающим напряжениям, возникающим под действием касательных напряжений, являющихся результатом взаимодействия армоэлементов с грунтом основания.

Проверка прочности армоэлементов выполняется методом обратного расчёта. Для проведения расчётов используется предел прочности армирующего геосинтетического материала при растяжении (кратковременная прочность Fd)

Fk = Fd/A1·A2·A3·A4·γb,

где Fd - требуемая кратковременная прочность на растяжение арматуры из геосинтетических материалов, кН/пог.м;

А1 - коэффициент учёта ползучести; принимают А1 = 0,5-0,8;

А2 - коэффициент учёта повреждения материала при транспортировке, монтаже и уплотнении грунта; принимают А2 = 0,95;

А3 - коэффициент учёта стыковки, взаимного перекрытия и соединения армоэлементов; А3 = 0,8;

А4 - коэффициент учёта влияния окружающей среды; принимают А4 = 0,9;

γb - коэффициент запаса для гибких армоэлементов, принимаемый равным 1,75.

Геосинтетические армоэлементы следует выбирать таким образом, чтобы их прочность при разрыве была равна по меньшей мере параметру Fk, рассчитанному по приведённой формуле.

Для оценки вероятности выдёргивания армоэлементов из грунта усилие сопротивлению выдёргивания на участке фактического контакта с грунтом сравнивают с требуемой прочностью армоэлементов при разрыве.

В отечественной практике заслуживает внимания опыт проектирования и строительства высоких насыпей на слабом основании (толща представлена аллювиальными отложениями) на ряде автомобильных дорог федерального значения. Так, на ПК 719 - ПК 720 дороги МКАД - Кашира сооружена насыпь высотой 17 м на слабом основании. Для обеспечения его устойчивости под нагрузкой от веса сооружения на основе расчётов были разработаны следующие мероприятия: армирование с помощью отечественного тканого материала из стекловолокна с дополнительной разделительной прослойкой из нетканого материала также отечественного производства. Конструкция армоэлемента в указанном комплекте укладывалась на слабое основание и была заделана в нижний слой насыпи (рис. 12).

Рис. 12. Схема армирования высокой насыпи ровинговой стеклотканью в обойме из нетканого иглопробивного материала:

1 - насыпь из золоматериалов; 2 - слабое основание; 3 - нетканый иглопробивной материал; 4 - ровинговая стеклоткань; 5 - критическая поверхность скольжения; 6 - узел обоймы

В целях снижения нагрузки на слабое основание (это было обусловлено недостаточным объёмом инженерно-геологической и расчётной информации) ядро земляного полотна отсыпано из золы Ступинской ТЭЦ с объёмным весом в уплотнённом состоянии равным 1,4 т/м3. На отдельных участках КАД вокруг Санкт-Петербурга армирование слабого основания осуществлено путём устройства армоэлементов из тканого материала с прочностью от 60 до 150 кН/пог.м непосредственно на поверхности слабого основания и ростверка из тканых или решетчатых материалов поверх свайных элементов (рис. 13).

Из зарубежного опыта заслуживает внимания строительство железнодорожной насыпи на слабом основании. Конструкция выполнена на сваях с ростверком из георешётки [6] при реконструкции железной дороги недалеко от г. Берлина. Часть дороги проходит по местности с залеганием существенной мощности слабых грунтов в виде торфа или ила. Существующая двухколейная насыпь имеет большие осадки, недостаточно устойчива, а её эксплуатация очень дорогая. После рассмотрения всех возможных вариантов, как традиционных для указанного случая, так и связанных с выбором материала для армоэлементов (тканый материал высокой прочности или георешётка) с ориентацией по прочности в одном или двух направлениях, определением полимера (ползучесть или, возможно, химическое сопротивление в агрессивной среде), числа, расположения и технологических характеристик армоэлементов для ростверка было принято оптимальное решение. На основе выполненных расчётов по двум моделям: плиты и мембраны и анализа результатов в качестве материала для армоэлементов была выбрана георешётка Fortrag 150/150/30, укладываемая в три слоя. Песок крупный между и над слоями георешётки уплотнялся до стандартной плотности по Проктору, равной 97 %.

Армирование откосов с различной крутизной.

Принципы расчёта. Армированные геосинтетическими материалами грунтовые сооружения (дорожные насыпи, подпорные стенки) широко используются в зарубежной практике и находят всё большее применение в отечественном дорожном строительстве, особенно в сложных инженерно-геологических и стеснённых условиях.

Рис. 13. Конструкции земляного полотна насыпей на участках слабых грунтов на КАД вокруг Санкт-Петербурга:

а - конструктивная схема; б - устройство железобетонных оголовков перед укладкой геосинтетического ростверка; 1 - насыпь; 2 - геосинтетический материал; 3 - песок свай; 4 - оголовки; 5 - слабые грунты

Согласно требованиям Британского стандарта, откосы земляных сооружений, в частности насыпей, крутизна которых более 70°, рассматриваются как откосы повышенной крутизны, а конструкции приобретают статус «особые». Они должны иметь Техническое свидетельство, подписанное службой инженерного надзора. На сооружения с откосными частями, крутизна которых менее 70°, необходимо только одобрение геотехнической службы [7, 22, 36].

Основываясь на указанных требованиях, можно кратко классифицировать рассматриваемые армированные грунтовые системы: конструкции с откосами, крутизна которых более нормированных в пределах до 70°; конструкции с откосами повышенной крутизны, т.е. находящиеся в пределах от 70 до 85°, и конструкции с практически вертикальными откосами в виде подпорных сооружений.

Для выполнения работ по созданию армогрунтовых сооружений необходимо проанализировать следующие условия проектирования и строительства: характер основания, на котором будет расположена армированная насыпь; предельную крутизну откоса по условию размещения сооружения; показатели физико-механических свойств грунтов, предполагаемых для отсыпки насыпи; геосинтетические материалы (тканые, геосетки); высоту насыпи; тип будущей облицовки поверхности откоса; срок службы сооружения. Проектирование и расчёт таких конструкций осуществляется совместно.

Основы проектирования и расчётов базируются на анализе предельных состояний, к которым относятся общая устойчивость всего армированного сооружения (т.е. разрушение по рассматриваемым поверхностям скольжения и смещение всей армированной системы) и внутренняя устойчивость, связанная с работой отдельных армоэлементов из геосинтетических материалов, которая определяется их кратковременной и длительной прочностью на растяжение, а также взаимодействием с грунтом насыпи за счёт трения и нормальных напряжений от веса грунта на соответствующем горизонте расположения армоэлемента (рис. 14).

Рис. 14. Расчетные схемы для проектирования откосов повышенной крутизны с армоэлементами из геосинтетических материалов:

а - состояние предела общей устойчивости (внешней); б - то же, внутренней устойчивости; в - то же, суммарной устойчивости; 1 - проседание и проскальзывание; 2 - горизонтальное проскальзывание; 3 - обрушение грунтового массива со срезом и вращением; 4 - разрушение при разрыве армоэлементов; 5 - разрушение при деформации армоэлементов

При анализе предельных состояний возможен вариант, когда окончательная оценка состояния предельной внешней устойчивости может выдвинуть на первый план задачу эксплуатационной надёжности, снижая актуальность отказа в результате разрушения конструкции. Например, срок службы армированного сооружения может определяться допустимыми деформациями всего сооружения, которые в свою очередь зависят от ползучести (прироста деформации за период срока службы) геосинтетического материала, используемого в качестве армоэлементов. Таким образом, расчёт и проектирование армированных сооружений должны включать анализ 1-го и 2-го предельных состояний.

Для отдельных случаев рекомендуется осуществлять оценку локальной устойчивости, т.е. устойчивости и давления грунта армогрунтового пространства на элементы облицовки или подпорных стен, а также устоев мостов и путепроводов с таким расчётом, чтобы учесть допустимые горизонтальные нагрузки.

Выделены (например, в Британском стандарте [9]) рассмотренные выше схемы для оценки общей устойчивости армированных откосов: обрушение со срезом и вращением; разрушение откоса за счёт осадки грунта основания; горизонтальное смещение за счёт скольжения всей армированной системы. Расчётные схемы, определяющие расчёт (или оценку) внутренней устойчивости, соответствуют разрушению при растяжении отдельных армоэлементов или их соединительных узлов, в частности с облицовкой (см. рис. 14).

Расчётная схема к оценке внутренней устойчивости (устойчивости работы армоэлементов) приведена на рис. 15.

Кроме указанного, выделяется так называемая суммарная устойчивость, обеспечение которой гарантируется локализацией разрушения при растяжении армоэлементов и допустимой их деформации за период срока службы. В результате комплекса расчётов проектируемое сооружение должно удовлетворять требованиям заданной геометрии. Установлен рациональный шаг армоэлементов с учётом свойств геосинтетики. Максимальное растягивающее усилие Т (кH/пог.м), допустимое в материале армоэлемента, определяют по формуле

,

где Т0 - прочность на разрыв с учётом ползучести конкретного геосинтетического материала и срока службы армогрунтового сооружения

;

Fg - номинальная прочность на разрыв, кН/пог.м;

m1, m2, m3 - коэффициенты условий работы;

m4 - коэффициент ползучести материала.

Рис. 15. Расчётная схема оценки внутренней устойчивости армоэлементов в теле грунтового сооружения:

1 - внешняя нагрузка; 2 - сооружение из армогрунта с откосами повышенной крутизны; 3 - пассивная и активная длина заделки

Кроме шага армирования, устанавливают минимально допустимую длину анкерной заделки армоэлементов Lz, м

,

где Кзап - коэффициент запаса на работу армоэлемента в заделке (зависит от типа материала, технологических факторов и других условий);

m5 - коэффициент условий работы, учитывающий трение между геосинтетическим материалом и грунтом засыпки;

φ - угол внутреннего трения грунта;

Nz - нормальная сила от объёмных и внешних нагрузок на заданном горизонте работы анкерной заделки, т.

Конструктивные решения. Основные типы конструкций армогрунтовых сооружений приведены на рис. 16. Как следует из представленных схем, они отличаются друг от друга прежде всего назначением (откосы повышенной крутизны, подпорные сооружения, врезка в уже существующие насыпи при реконструкции автомобильных дорог, участки для уширения подходных насыпей в местах сопряжений и т.п.), формированием внешней поверхности откоса (созданием декоративных типов укреплений на основе геосинтетики и гидропосева, применением специальных блоков и других изделий), выбранными геосинтетическими армоэлементами (тканые материалы, плоские георешётки и т.п.). Интересным представляются указанные ранее решения, предложенные техническим центром фирмы Huesker, так называемые композиции МURALEX (рис. 17). Область их применения лежит в диапазоне армированных откосов с крутизной от 50 до 70° и от 60 до 90°. Особенностями таких сооружений является облицовка поверхности откосов. Она включает дренирующую засыпку между внешней поверхностью армоэлементов и укрепляемой поверхностью откоса (крупнозернистый песок или щебень изверженных пород). Кроме того, с целью повышения крутизны откоса облицовка может быть в жёстком варианте заанкерена в активной зоне армированного откоса. Разделение работы облицовки и собственно армированной части грунтового сооружения, отсутствие давления на облицовку, а также благоприятные условия дренажа в поверхностной зоне откоса позволяют повысить надёжность подобных решений.

Рис. 16. Основные типы конструктивных решений армированных откосов:

а - временная армогрунтовая стенка из ровинговой ткани ТР-07 на съезде с эстакады третьего транспортного кольца на Комсомольский проспект (1999 г., СУ-862 ОАО «Центрдорстрой»); б - фрагмент насыпи, армированной геосетками; в - армирование вертикального откоса

Рис. 17. Конструктивные решения для армированных откосов, предложенные фирмой Huesker:

а - с дренирующей засыпкой из песка; б - то же, из щебня; 1 - фрагмент откоса; 2 - армоэлементы из геосинтетического материала; 3 - анкера для крепления металлической облицовки в виде сетки; 4 - песок внутри армоэлементов; 5 - дренирующий материал между металлической облицовкой и армоэлементами; 6 - металлическая облицовка в виде сетки

Опыт применения. Основной опыт применения армированных откосов в отечественной практике накоплен при проектировании, строительстве и реконструкции МКАД и третьего транспортного кольца. На рис. 15, 18, 19, 20, 21, 22 приведены основные расчётные схемы, используемые при проектировании.

На МКАД армогрунтовые сооружения выполнялись по рекомендациям и при сопровождении ЦНИИСа, по проектам Союздорпроекта. На участках третьего транспортного кольца - по рекомендациям МГСУ (МИСИ) и проектам института «Мосинжпроект» (см. рис. 20). На ряде объектов, в частности на Бережковской набережной, контроль работ осуществляли сотрудники Союздорнии.

На МКАД были выполнены следующие типы армосооружений: вертикальные подпорные сооружения; откосы повышенной крутизны; армогрунтовые конструкции у мостовых опор. Основные типы конструктивных решений для МКАД приведены на рис. 16. Заслуживает внимания опыт строительства насыпи с откосами повышенной крутизны в районе Бережковской набережной [37].

Основные требования проекта. На подходе к мосту через р. Москву в районе Бережковской набережной, который входит в состав первой очереди третьего транспортного кольца Москвы, силами СУ-862 ОАО «Центродорстрой» построена насыпь с армогрунтовым откосом повышенной крутизны. Работы выполнены согласно проекту, разработанному институтом «Мосинжпроект» на основе рекомендаций МГСУ.

В соответствии с расчётами в проекте в качестве армирующего геотекстильного материала была принята геоткань из высокопрочного полиэфира типа Stabilenka 200/45 и Stabilenka 400/50, поставляемая компанией «Хьюскер» (сравнительные характеристики геотканей представлены в табл. 6). Согласно проекту и выполненному расчёту насыпь должна иметь откос с переменным углом заложения (до 1:0,86); отсыпка осуществляться из песка с коэффициентом фильтрации не менее 1 м/сут; армирование геотканью с шагом 100 см (см. рис. 21).

Рис. 18. Схемы для расчёта армогрунтовых сооружений с откосами повышенной крутизны:

а, б - расчётные схемы; в - фрагмент реконструируемой насыпи; 1 - предполагаемые поверхности скольжения, проходящие через подошву сооружения; 2 - то же, в толще грунтов основания; 3 - расчётная толща грунтов основания; 4 - армогрунтовая насыпь; 5 - армоэлементы из геосинтетических материалов

Рис. 19. Схема для расчёта армогрунтовых сооружений в виде подпорных стен с модульными элементами:

а - расчётная схема; б - модульный элемент; 1 - облицовочные элементы модульного типа; 2 - армоэлементы из геосинтетики и геопластики; 3 - временная нагрузка; 4 - схема грунтового подпорного сооружения; 5 - расчетные поверхности скольжения

Рис. 20. Схема сопряжения насыпи с эстакадой через Волоколамское шоссе:

1 - ровинговая стеклоткань ТР-07; 2 - защитная облицовка из геосинтетического материала; 3 - подходная насыпь; 4 - переходная железобетонная плита; 5 - элемент эстакады

Рис. 21. Схема армогрунтового откоса повышенной крутизны в районе Бережковской набережной (третье транспортное кольцо):

1 - фрагмент откоса повышенной крутизны; 2 - армоэлементы из тканого материала (Stabilenka); 3 - нагели с шагом 0,7 м; 4 - растительный грунт; 5 - Enkamat для укрепления поверхности откоса; 6 - грунтовое основание

Рис. 22. Расчётная схема оценки внешней и внутренней устойчивости сложных армированных систем:

1 - армированное сооружение; 2 - грунт засыпки (песок); 3 - критическая поверхность скольжения для выполнения анализа по методу Бишопа; 4, 5 - плоские поверхности скольжения для анализа устойчивости по методу Спенсера

Таблица 6

Основные характеристики

Величина показателя для геотканей

Stabilenka 200/45

Stabilenka 400/50

Прочность на разрыв (основа), кН/пог.м

200

400

Удлинение при разрыве, %

10

10

Усилие при относительном удлинении (6 % по основе), кН/пог.м

100

200

Поверхностная плотность, г/м2

400

800

Длина рулона, м

300

200

Ширина полотна, м

5

5

Диаметр рулона, м

0,5-0,6

0,5-0,6

Для армирования основания насыпи принята геоткань Stabilenka 400/50 с расчётной длиной 12 м. Расчётная длина промежуточных слоев геотекстиля Stabilenka 200/45 из условия обеспечения достаточного анкерного эффекта составляет 8 м для нижних пяти слоев и 6 м для последующих верхних слоев.

Толщина верхнего слоя грунта могла изменяться от 30 до 100 см и определяться в зависимости от проектной отметки низа дорожной одежды.

Устройство армогрунтовой конструкции с откосом повышенной крутизны. Устройство армогрунтовой конструкции включало следующие технологические операции: подготовку основания насыпи для укладки нижнего слоя геоткани; подготовку полотен геоткани; установку щитов-опалубки на подошве откоса для фиксации торцевой грани первого яруса армогрунта; укладку геоткани на проектную длину с заведением оставшегося края на щиты-опалубки; отсыпку первого слоя насыпи толщиной 0,5 м с планировкой и уплотнением до требуемой плотности; устройство вдоль бровки песчаного валика с планировкой и уплотнением для анкеровки свободного края геоткани; укладку свободного края геоткани на валик с выпуском на поверхность нижнего первого слоя насыпи; досыпку первого слоя насыпи до 1 м с планировкой и уплощением до требуемой плотности; снятие щитов-опалубки и перестановка их для устройства следующего яруса армогрунтовой насыпи.

Работы по устройству армогрунтового сооружения проводили захватками. При этом длина захватки, исходя из сменной производительности, была кратна 5 м согласно ширине рулона геотекстиля, т.е. 25; 30; 35; 40; 45; 50; 70 м.

По длине захватки вдоль бровки каждого яруса возводимого откоса установили передвижные щиты-опалубки. Высота щитов-опалубки составляла 1 м, т.е. равнялась высоте отсыпаемых слоев насыпи и ярусов армирования. После укладки требуемого слоя щиты-опалубки переносили на следующую захватку или уровень.

Для выполнения работ на данном объекте щиты-опалубки были заранее изготовлены в заводских условиях.

Перед укладкой геоткань нарезали на полотна длиной, предусмотренной проектом для каждого яруса, и распределяли у щитов-опалубки для последующей раскладки в поперечном направлении по отношению к оси насыпи. Для удобства размотки и нарезки полотен были изготовлены специальные металлические «козлы».

Рис. 23. Передвижные щиты-опалубки для устройства армогрунтовых насыпей фирмы Huesker:

а - щиты для первых двух рядов; б - последовательность перестановки щитов; 1-12 - последовательность отсыпки слоев

В продольном направлении насыпи полотна геоткани укладывали внахлёстку не менее 50 см. При этом нахлёст выполнялся по направлению подвижки песка автогрейдером или бульдозером и соответствующего движения построечного транспорта.

Проектная длина полотен на одну укладку для верхних слоев из геоткани Stabilenka 200/45 составляла 9,7 м, для пяти нижних слоев из этого же материала - 11,7 м, для нижнего слоя из геоткани Stabilenka 400/50 - 15,7 м. При этом полная длина армоэлемента составляла для нижнего полотна - 12 м, для следующих пяти слоев - 8 м и последующих верхних слоев - 6 м.

Отгибаемый край геоткани длиной 3,7 м на период отсыпки первого нижнего слоя яруса подвешивали на щитах-опалубках.

На уложенную геоткань отсыпали слой песка толщиной 0,5 м бульдозером из заранее подготовленного штабеля. Песок уплотняли вибрационным катком Bomag за 8 проходов по одному следу для достижения требуемой плотности, а на примыкании слоя песка к щитам-опалубкам - ручными вибротрамбовками.

В зарубежной практике для монтажа армогрунтовых откосов повышенной крутизны применяются инвентарные технологические приспособления. На рис. 23 приведены приспособления фирмы Huesker.

3.4. Применение геосинтетических материалов для укрепительных работ

Для укрепления поверхности конусов, откосов насыпей и выемок, склонов, других земляных сооружений, включая армогрунтовые системы, применяются различные геосинтетические материалы: от нетканых до специальных композиций и объемных георешёток [3, 14, 31, 33, 36, 38, 39, 40, 41, 42]. По защитным функциям используемые в настоящее время в практике дорожного строительства укрепления можно разделить на две группы. К первой относятся решения, связанные с защитой подтопляемых откосов, берегов водохранилищ и т.п., ко второй ~ традиционные, направленные, в первую очередь, на локализацию эрозионных и более существенных деформаций, связанных, как правило, с местной устойчивостью, усилением образуемого в результате посева трав дернового слоя путём его армирования и защиты в процессе вегетации, и формирования корневой системы. В число конструкций второй группы входят также объёмные пластиковые георешётки, изготавливаемые из различных геосинтетических и геопластиковых материалов.

В качестве непременного элемента в конструкциях для укрепительных работ из металлических элементов повсеместно применяются нетканые материалы.

Для подтопляемых откосов и конусов геосинтетические материалы используются в качестве элементов обратного фильтра, выполняя одновременно функции разделения, антикольматационной защиты инертных материалов, выравнивающего слоя. Основной конструкцией в данном случае являются сборные железобетонные плиты и другие элементы различной геометрии и несущей способности в зависимости от расчётных гидрометеорологических условий. Для геосинтетических продуктов, как правило, рекомендуется применять нетканые материалы. К ним предъявляются следующие требования:

·        в качестве полимера следует использовать полипропилен;

·        расчётная толщина (под нагрузкой от веса щебня и железобетонной плиты) - не менее 4-6 мм;

·        удельный вес - не менее 350 г/м2;

·        прочность - по расчёту в зависимости от динамических нагрузок, характерных для конкретной акватории;

·        коэффициент фильтрации под расчётной нагрузкой должен составлять в поперечном направлении не менее 20 м/сут, а в продольном - не менее 10 м/сут.

Для выдерживания указанных характеристик необходим тщательный подбор нетканого материала в лабораторных условиях с последующей проверкой, например, в условиях опытного строительства. Кроме отмеченных параметров, предъявляются также технологические требования, связанные прежде всего с устойчивостью и прочностью материала от возможности его «прокалывания» щебнем или другим грубообломочным грунтом, используемым в качестве обратного фильтра. Конструктивные решения, связанные с применением геосинтетических материалов для укрепления подтопляемых откосов, могут включать также объёмные дренажные композиции, а также полностью или частично исключать использование инертных материалов для обратного фильтра. Последнее имеет существенное значение для предотвращения выплесков песка (при его применении в конструкции обратного фильтра) через стыковочные швы сборных железобетонных плит. Выбор осуществляется на основе технико-экономического обоснования.

Для неподтопляемых откосов и конусов земляного полотна используются две группы материалов: геокомпозиты в виде различных волоконных матов и объёмные георешётки.

Волоконные маты, которые в той или иной конструктивной и «материальной» интерпретации выпускаются ведущими мировыми фирмами, такими, как, «Тензар», Tenax, Neue Faser-Technik, «Полифельт», «Хьюскер» и рядом других, предназначены для обеспечения местной устойчивости в основном для локализации эрозионных процессов в поверхностных слоях откосов, а также создания декоративных облицовок лицевых поверхностей армогрунтовых сооружений. Как правило, они выполняются в комплексе с посевом трав, в том числе и гидропосевом. Эффективны в случаях, когда только одно травосеяние в его традиционном виде не позволяет обеспечить быструю защиту от рассматриваемых деформаций, связанных с местной устойчивостью. Указанные типы конструкций в связи с их многочисленностью и в то же время схожестью между собой рассматриваются в настоящем обзоре на примере нескольких типов композиций Enkamat.

Конструкции укрепления с использованием волоконных матов тина Enkamat состоят из следующих элементов [42]:

·        уплотнённого поверхностного слоя грунта откоса или конуса;

·        волоконного мата толщиной 1-3 см;

·        анкеров в виде деревянных колышков длиной 20-40 см;

·        растительного грунта с семенами трав или гидропосева.

На основе материала типа Enkamat изготавливаются, в частности, следующие композиты:

·        Enkamat S - мат Enkamat, жёстко скреплённый с армирующей плоской георешёткой из полиэфира, благодаря чему прочность мата увеличивается до 110 кН/м;

·        Enkamat А - геокомпозит из мата Enkamat, заполненный минеральным фильтром (например, из щебня), частицы которого связаны друг с другом и с волокнами мата органическим вяжущим; обладает хорошей гибкостью и проницаем для воды и корней растений;

·        Enkason - дёрн, выращенный на мате Enkamat в оптимальных для образования травяного покрова условиях, что обеспечивает мгновенную зелёную защиту откоса; за рубежом производится только по специальному заказу.

Номенклатура, типоразмеры, массы и некоторые другие характеристики таких композитов приведены в руководстве [42].

Волоконный мат типа Enkamat представляет собой объемную структуру, выполненную из переплетенных неупорядоченных волокон (рис. 24). Мат заполняется растительным грунтом с посевом семян трав любым способом и служит для защиты от эрозии, вымывания растительного грунта и семян трав. При соответствующем обосновании допускается применять волоконные маты на поверхности конуса (откоса) без засыпки растительным грунтом.

Материалы типа Enkamat изготавливаются из полиамидных волокон и имеют следующие технические характеристики: плотность - 25 г/м2; прочность на растяжение в продольном направлении - 1,5-3,0 кН/м; соединение волокон в местах пересечения путём сплавления; обладают высокой сопротивляемостью погодным условиям и солнечной радиации; благодаря стабилизаторам высокой химической стойкостью к грунтовой агрессии; термическая стойкость от минус 30 до 100°С.

Геометрические параметры и масса волоконных матов также приведены в руководстве [42].

Объёмные георешетки. Такие конструкции представляют собой более мощные по сравнению с волоконными матами композиции на основе гибких компактных модулей, состоящих из полиэтиленовых лент (или изготовленных из полиэфирных волокон), скрепленных металлическими «скрепками» или сшивкой механическим степлером. Площадь одного модуля в зависимости от типа объёмной решётки может доходить до 150 м2.

Рис. 24. Типы (а, б, в) волоконных матов

Предназначены для укрепления конусов путепроводов и малых мостов, откосов насыпей в условиях, когда травосеяние неэффективно или невозможно (например, в I дорожно-климатической зоне), откосов водоотводных канав и в других аналогичных случаях.

Конструкция укрепления с использованием модулей объемных георешеток проста и технологична. Она позволяет изменять в широком диапазоне размеры ячеек и объем, а также материал для заполнения.

Объёмные пластиковые георешетки из полиэтиленовых лент. В общем случае конструкция такого типа укрепления состоит из элементов, приведенных на рис. 25.

Рис. 25. Конструкция укрепления откоса выемок с применением объёмных георешёток:

1 - уплотнённый слой грунта; 2 - нетканый материал; 3 - объёмные модули георешётки; 4 - монтажные анкера; 5 - несущие анкера; 6 - заполнитель объёмных ячеек; 7 - упор; 8 - водосточный лоток

В качестве материала для устройства разделительной или дренирующей прослойки рекомендуется применять нетканый геотекстильный материал плотностью не менее 250 г/м2, имеющий, как правило, высокий коэффициент фильтрации (вдоль волокна - не менее 10 м/сут, поперек - 20 м/сут). Допускается использовать другие синтетические материалы: тканые геотекстильные материалы, геосетки и плоские георешетки. Требования к указанному элементу устанавливаются проектом в зависимости от крутизны откоса (конуса) и погодно-климатических факторов.

В настоящее время в отечественной и зарубежной практике широко применяются следующие гибкие модули георешеток: Геомат, Armater, Geoweb, Tenweb, Prestorus, Wolta, Tenax, Webtec, Прудон, «Геотехкомплекс». Такие модули выпускаются как отечественными, так и зарубежными производителями. Классификация объемных пластиковых георешеток (гибких модулей) приведена в руководстве [42]. Из отечественных пластиковых объёмных георешёток наибольшее распространение получили конструкции, выпускаемые УНР-494 (Прудон), фирмой «Геотехкомплекс» и Туймазинской фабрикой.

Модули могут состоять из сплошных или перфорированных лент, на которых имеются специальные отверстия заданного диаметра для пропуска (дренирования) поверхностных вод [34].

В качестве прототипа всех выпускаемых пластиковых объёмных георешёток служат варианты объёмных модулей Geoweb (США). Конструкции укрепления с их применением (в том числе, созданные отечественными производителями) обладают большей жёсткостью и массой по сравнению с объёмными георешётками из лент на основе полиэфира, полипропилена или их смесей и с соответствующими укрепительными добавками.

Георешетка Geoweb [14, 33, 36, 42] представляет собой модульную сотовидную конструкцию из сварных полиэтиленовых полос с высокой прочностью на растяжение. Содержание в полиэтилене 2 % сажи предотвращает окисление материала под воздействием солнечной радиации. Лабораторные исследования показали, что решетка сохраняет свои свойства в течение 40 лет даже под воздействием солнечных лучей. Георешетки Geoweb высотой от 0,1 до 0,3 м и с различными размерами ячеек выпускаются фирмой Presto Product (США) и свободно продаются. В Европе, в том числе и в России, официальным дистрибьютером этой фирмы является фирма PRS (Израиль). В России успешно работает совместное предприятие Prestorus. Следует отметить, что в конструкции георешеток используются гладкие или рифленые ленты из высокопрочного полиэтилена или другого синтетического материала, которые соединены между собой с помощью ультразвуковой сварки линейным практически герметичным швом, что в ряде случаев затрудняет фильтрацию влаги в армируемом слое. Как уже отмечалось, для обеспечения этого эффекта как в отечественной, так и в зарубежной практике налажен выпуск георешёток с перфорированными стенками.

Георешетки типа Geoweb, включая все образцы на их основе, получают путем скрепления (соединения) в пакет полиэтиленовых лент таким образом, чтобы при растяжении получить объемную ячеистую конструкцию (рис. 26). Оптимальные размеры георешеток (высоту и площадь ячейки) устанавливают в зависимости от крутизны откоса (конуса), прочностных характеристик грунтов откосов насыпей, выемок, конусов, характера и степени воздействий погодно-климатических и гидрометеорологических факторов.

Близкую по конструкции к Geoweb георешетку из полиэтиленовых лент, называемую Tenweb, выпускает фирма Tenax (Италия) (рис. 27).

Отличие георешетки Tenweb от решетки Geoweb заключается в способе соединения между собой лент полиэтилена. В георешетке Tenweb ленты материала соединены между собой не линейным вертикальным швом, как это имеет место у георешетки Geoweb, а термоконтактной сваркой нижней и верхней зоны лент. За счет этого при растяжении георешетки Tenweb в средней части ячеек между сварными точками образуется щель, которая обеспечивает фильтрацию влаги. С другой стороны, прочность такого соединения может уменьшаться, что требует для применения георешеток Tenweb более прочных материалов.

Рис. 26. Типы георешёток Geoweb:

а - монтаж и продольное крепление модуля; б - заполнение ячеек растительным грунтом; в - заполнение ячеек щебнем

Рис. 27. Фрагмент георешётки Tenweb

Выбор размеров ячеек для георешёток типа Tenweb, как, впрочем, и для других типов, осуществляется на основе оценки местной устойчивости, анализа стабильности самой георешётки, укладываемой на поверхности откоса, склона, конуса, а также заполнителя ячеек на их поверхности.

Анализ стабильности выполняется для трёх частей георешётки: центральной, верхней с учётом закрепления в верхней части откоса и нижней возле подошвы. Знание параметров конструкции позволяет определить сдвигающие и удерживающие силы, которые должны регулировать установку (монтаж) и её функционирование в период эксплуатации. Кроме того, на основании расчётов устанавливается минимальная длина стыка, принцип анкеровки, конструкции, количество монтажных анкеров, их длина возле подошвы сооружения и стабильность верхнего слоя заполнителя (например, грунта), когда он располагается на поверхности заполненных ячеек георешётки. Как правило, геометрия ячеек используемых георешёток определяется необходимой толщиной (мощностью) заполнителя: щебня, гравия, растительного грунта (в последнем случае для нормального роста травы). При выборе соответствующего типа георешёток из серии Tenweb необходимы для расчёта следующие данные: предел прочности соединения ячеек при растяжении модуля, сопротивление отслаиванию, максимальный предел прочности и число соединений.

Объёмные георешётки из геотекстильных материалов. Растягивающаяся георешётка принципиально другой конструкции разработана британской фирмой MMG Givil Egineering Systems [42]. Эта решётка, названная Armater, представляет собой сотовую гексагональную структуру с вертикальными стенками. Решетка выполняется из высокопрочного геотекстильного материала на основе полиэстера (рис. 28). Материал термообработан для повышения его жесткости, но все же она ниже по сравнению с георешеткой Geoweb. Достоинством георешетки Armater является то, что нетканый материал обладает хорошими фильтрующими характеристиками.

Рис. 28. Георешетки Armater

Соединение полос между собой осуществляется в шахматном порядке посредством линейных швов, выполненных методом склеивания, сшивания или комбинированным способом. При этом прочность шва обеспечивается на уровне 70 % от прочности основного материала. Следует отметить, что исключительные права на использование георешетки Armater приобрела фирма Akzo Nobel (Нидерланды). Эта фирма планирует создать с российской организацией в г. Перми совместное предприятие по выпуску таких георешеток.

Технические характеристики георешетки Armater фирмы Akzo Nobel приведены в руководстве [42].

Широко применяются также жёсткие георешётки, не складывающиеся в пакет, а также конструкции из металлических элементов на подложке из нетканых материалов (рис. 29). Так, например, решётка Nidaplast (Франция) имеет жёсткую ячеистую структуру в виде пчелиных сот. Получают решётку в процессе экструдирования полиэтилена, полипропилена или каких-либо других термопластических материалов. Диаметр шестигранных ячеек со стенкой толщиной 0,5 мм может составлять от 8 до 30 мм. Звенья ячеек размером 10´10 см образуют панели размером 2,5´1,0´0,003 м и блоки размером 2,5´1,0´1,5 м. В зависимости от области применения лицевые поверхности панелей или блоков могут быть закрыты (соединения на клею) нетканым материалом, обеспечивающим дренаж основания. Плотность георешётки Nidaplast меняется от 35 до 80 г/м2, а прочность при сжатии - от 0,6 до 2 МПа в зависимости от диаметра ячеек и толщины стенок.

Георешётки с вертикальными стенками применяются в строительстве для защиты грунтовой поверхности от водной и ветровой эрозии (откосов дорог, берегов рек, каналов, набережных морей) и для повышения несущей способности грунта.

Рис. 29. Укрепление конуса путепровода матрасами «Рено» с подложкой из нетканого геосинтетического материала

Технология монтажа практически для всех рассмотренных типов укрепления конусов и откосов земляного полотна и сопутствующих грунтовых сооружений при строительстве автомобильных дорог включает следующие операции:

·        разбивочные работы, подготовку наклонной или вертикальной поверхности путём её планировки, уплотнения или монтажа;

·        устройство дополнительных элементов в виде укладки нетканого материала, элементов обратного фильтра;

·        раскладку волоконных матов отдельными секциями и их стыковку или модулей объёмных георешёток с устройством необходимых элементов крепления для обеспечения продольной и поперечной устойчивости;

·        нанесение растительного грунта, включая метод гидропосева;

·        заполнение ячеек объёмных георешёток различными материалами.

Внедрение конструкций укрепления из геосинтетических материалов в отечественной практике. Опыт применения рассматриваемых типов расширяется и увеличивается с каждым годом. Вместе с тем, используются не все конструктивные решения. Наибольший объём приходится на нетканые материалы, которые в различной интерпретации применяются в качестве обратного фильтра в конструкциях укреплений подтопляемых откосов, для разделительных и дренирующих прослоек из металлических элементов (габионы, матрасы «Рено»), при укладке объёмных георешёток. Последние нашли широкое использование для укрепления конусов подходных насыпей к путепроводам и мостам (вместо сборных железобетонных и бетонных плит, монолитного бетона, сборных железобетонных элементов различной геометрии). При реконструкции МКАД, где это решение было применено практически на всех конусах путепроводов, такая конструкция стала типовой. Она включает следующие элементы: нетканый материал, модули пластиковых георешёток, металлические штыри, скрепки, анкеры. В качестве материала для заполнения ячеек использовались гранитный щебень, растительный грунт с посевом трав. В нижней части конструкции (подошве конуса) устраивался бетонный упор с заделкой торцевых концов объёмных модулей, в верху конуса георешётки закреплялись с помощью металлических анкеров. В отечественной практике дорожного строительства применяются в настоящее время следующие типы пластиковых георешёток: Прудон (УНР 494), «Геотехкомплекс», Prestorus. Эти конструкции использовались на МКАД, участках третьего транспортного кольца, Братеевского проезда, автомобильных дорогах «Дон», «Крым», КАД вокруг Санкт-Петербурга и ряде других дорог. Рассматривая здесь широко применяемые объёмные пластиковые георешётки для укрепительных работ, нельзя не отметить их использование и для других целей, а именно при устройстве оснований дорожных одежд и стабилизации слабых грунтов в основании дорожных насыпей.

3.5. Применение геосинтетических материалов для армирования асфальтобетонных покрытий

Использование геосинтетической арматуры для ремонта и реконструкции асфальтобетонных покрытий всегда представлялось весьма привлекательным, в связи с чем для указанных целей в опытном порядке применялись различные геосинтетические материалы: нетканые иглопробивные, нетканые термоскреплённые (из бесконечных нитей), полимерные сетки, сетки из стекловолокна, базальтовые сетки, композиты в виде полимерных сеток с подложкой из тонкого нетканого материала [17, 43, 44]. В некоторых случаях при сильно повреждённом покрытии или жёстком основании, что довольно часто имеет место возле светофоров, переездов и других ограничений движения транспортного потока, за рубежом используются специальные металлические сетки, покрываемые антикоррозионными растворами, совместимыми по адгезионным свойствам с асфальтобетонами. Вместе с тем, в последнее время количество типов геосинтетических материалов, применяемых для этих целей, в значительной степени сократилось: в больших объёмах стали использовать геосетки из полимеров и минерального сырья или композиты на основе тех же геосеток (рис. 30) и подложек из тонкого термоскреплённого нетканого материала (рис. 31). В число задач, которые ставятся проектировщиками и строителями при применении геосинтетических материалов для армирования, целесообразно выделить следующие [45]:

·        борьбу с отражёнными трещинами, что особенно практикуется при ремонте;

·        стыковку новых полос асфальтобетонного покрытия с существующим (закрепление продольного шва);

·        укладку геосинтетического «продукта» над коммуникациями, поперечными швами перекрываемого асфальтобетоном цементобетонного покрытия;

·        армирование одного из слоев асфальтобетонного покрытия для повышения несущей способности при новом строительстве.

Рис. 30. Армирование асфальтобетонных покрытий геосеткой:

а - укладка геосетки; б - уплотнение слоя асфальтобетона

Рис. 31. Укладка сплошного геосинтетического материала для армирования асфальтобетонных покрытий

Для каждого конкретного случая необходимо решить комплекс вопросов на основе соответствующей информации (диагностики, состояния коммуникационных сооружений, результатов расчёта дорожной одежды, схемы ремонта, реконструкции, усиления покрытия), а также стендовых и лабораторных испытаний соответствующих типов геосинтетического «продукта». Выбор армирующего материала осуществляется по следующим параметрам: тип геосетки (полимерная или минеральная); размер ячейки; прочность на растяжение (в продольном и поперечном направлениях); относительная деформация при прочности на растяжение; модуль упругости при малых относительных деформациях (2-3 %); ширина сетки; количество метров в рулоне; адгезия с асфальтобетоном. Последний параметр является одним из основных, поскольку от него зависит обеспечение требуемого сцепления армирующей геосетки с асфальтобетоном. Адгезионные свойства, характеризующие сцепление сетки с асфальтобетоном, в значительной степени определяют совместную работу этих двух материалов в конструкции покрытия. Как отмечается, величина адгезии будет определяться качеством геосетки (её прочностными и деформационными свойствами), состоянием поверхности, на которую она накладывается, типом асфальтобетонной смеси, используемым вяжущим, технологическими особенностями укладки асфальтобетона на армирующую геосетку, качеством и количеством битумной эмульсии, применяемой для склеивания геосетки с асфальтобетоном. Для асфальтобетона установлено, что наибольшей адгезией обладают мелкозернистые асфальтобетоны на ПБВ, наименьшей - пористые. Кроме указанного, отметим, что арматура находится в зоне промерзания (активной зоне), в связи с чем необходимо учитывать указанный фактор и при определении расчётной прочности и адгезии различных геосеток на растяжение оценивать возможную потерю прочности и адгезионной способности после воздействия циклов промерзания-оттаивания. Особенно это касается геосеток из стекловолокна.

К сожалению, как в зарубежной, так и в отечественной практике дорожного строительства не разработаны соответствующие методы расчёта дорожных одежд с использованием геосеток для целей борьбы с отражёнными трещинами или повышения несущей способности, включая увеличение межремонтных сроков. В большинстве случаев применяются эмпирические методы, основанные на оценке работы опытных участков с различными типами геосеток, или результаты стендовых исследований, когда формируются различные типы армированных дорожных одежд, и прикладываются расчётные циклы подвижной нагрузки. Оценка эффективности осуществляется по времени и характеру прорастания отражённых трещин, их плотности на единицу поверхности или образования колеи с соответствующими параметрами.

В зарубежной практике в основном для армирования асфальтобетонных покрытий или других элементов дорожных одежд применяются полимерные геосетки (полипропилен или полиэфир). Известные во всём мире ведущие фирмы «Хьюскер», «Полифельт», «Tenax», «Тензар» предлагают различные типы геосинтетической продукции для указанных целей. Такие материалы, как Хателит, Фортраг фирмы «Хьюскер», PGM - нетканый материал, механически упрочнённый из бесконечной нити (полипропилен 100 %), дополнительно армированный высокопрочным стекловолокном фирмы «Полифельт», использованы при реконструкции МКАД, городских магистралей Москвы и Санкт-Петербурга, на третьем транспортном кольце.

Отечественный опыт армирования асфальтобетонных покрытий ограничивается использованием стеклосеток на таких магистралях, как проспект Королёва, ул. 26 Бакинских комиссаров, при реконструкции автомобильной дороги «Урал», а также геосеток из базальтового волокна [46].

Лабораторией земляного полотна, геотехники и геосинтетики Союздорнии с октября 1994 г. совместно с Владимиравтодором, Владимирским политехническим университетом, фирмой «Стекло-прогресс» проводятся лабораторные исследования показателей физико-механических свойств геосеток и полевые исследования участков автомобильных дорог III и IV категорий, армированных отечественными геосетками, изготовленными из стекловолокна.

Ремонт покрытия дорожной одежды с использованием геосетки из стекловолокна в качестве армирующей прослойки осуществлялся в Москве, Подмосковье, Владимирской, Ростовской, Курской, Нижегородской областях, Красноярском крае и Казахстане. В период с 1994 по 2001 гг. таким способом произведён ремонт многих сотен километров дорожных покрытий.

Лабораторные исследования стеклосеток и последующая разработка технических условий, а также полевые исследования участков автомобильных дорог, армированных отечественной геосеткой типа ССД-5, ГСДА-40, производились в основном во Владимирской и Московской областях на основе соответствующих работ и наблюдений.

Опыт применения геосеток для армирования асфальтобетонных покрытий при ремонте автомобильных дорог показал, что их использование увеличивает межремонтные сроки и снижает процент распространения отражённых трещин из старого асфальтобетонного покрытия. Дальнейшие исследования, анализ технологии процесса армирования и результаты наблюдений за состоянием армированных асфальтобетонных покрытий позволили фирме «Стеклопрогресс» разработать новую технологию производства геосеток из стекловолокна. Основа такой технологии - изготовление геосеток клеёным способом. При этом технологическое оборудование позволяет производить широкую гамму геосеток. Они различаются между собой размерами ячеек (12,5´12,5; 25,0´25,0; 37,5´37,5; 50,0´50,0 мм), ширина полотна до 240 см. Существенно изменился диапазон номинальной прочности геосеток: от 45-50 кН/пог.м до 120 кН/пог.м.

Ориентируясь на имеющееся оборудование (завод Судогодское стекловолокно, г. Судогда), по заданию Росавтодора Компанией «Дорожные технологии» разработана технология армирования асфальтобетонных покрытий рулонными базальтоволокнистыми материалами [46]. Номинальная прочность базальтовой сетки 40-45 кП/пог.м; относительное удлинение 6±2 %; средний размер ячеек 25,0´25,0 мм; ширина базальтовой геосетки в рулоне 100±5 см. При ремонте автомобильной дороги «Дон» на участке 284-285 км в асфальтобетонное покрытие было уложено 5000 м2 базальтовой сетки и проведены испытания по оценке влияния армирующей сетки из базальтовой нити на деформируемость дорожной конструкции.

Заслуживает внимания опыт применения стеклосеток для борьбы с отражёнными трещинами на автомобильных дорогах Белоруссии. Работы, выполненные под руководством Белдорнии, показали целесообразность их использования (на основе стекловолокна белорусского производства) в качестве трещинопрерывающих элементов при реконструкции цементобетонных покрытий.

В ряде зарубежных стран применяются для рассматриваемых целей самоклеящиеся геосетки, которые хорошо себя зарекомендовали для ремонта асфальтобетонных покрытий в плане локализации отраженных трещин. Геосетка, например Glas Crid 8550, поставляется в рулонах длиной 150 м и шириной 1,5 м. Основной её материал - стекло. Материал защитной пропитки - синтетический полимер (средство защиты запатентовано), представляющий собой одностороннее самоклеящееся покрытие. Основные требования к состоянию поверхности старого покрытия: поверхность должна быть чистая и сухая, температура поверхности должна быть в пределах от +5 до +60°С. Благодаря одностороннему самоклеящемуся покрытию разработана весьма простая и в то же время надёжная технология укладки стеклосетки (рис. 32). В связи с наличием самоклеящегося покрытия, эффект которого усиливается от давления уплотняющих средств, возникает прочное соединение армирующего материала с поверхностью старого асфальтобетонного покрытия без использования (как в других случаях) розлива органического вяжущего. Как и для всех сеток из стекловолокна, не возникает проблем удаления (фрезерования) армированного слоя асфальтобетона при последующих ремонтах.

Рис. 32. Применение самоклеящихся стеклосеток для армирования асфальтобетонных покрытий

При армировании асфальтобетонного покрытия любыми типами геосеток (полимерными или из стекловолокна), технологический регламент должен быть составлен на основе анализа результатов диагностики и последнего обследования в расчётный период и включать следующие операции:

·        фрезерование и удаление материала старого асфальтобетонного покрытия;

·        очистку поверхности нижнего слоя асфальтобетонного покрытия от пыли и мелких частиц;

·        укладку выравнивающего слоя из мелкозернистого асфальтобетона с последующим уплотнением;

·        розлив органического вяжущего (битумная эмульсия катионного типа);

·        распределение геосетки на площади подготовленной захватки с прикреплением к выравнивающему слою;

·        укладку верхнего слоя асфальтобетона на геосетку с последующим уплотнением;

·        распределение геосетки на выравнивающий слой (рекомендуется выполнять не менее чем через сутки после уплотнения).

ЗАКЛЮЧЕНИЕ

В настоящем обзоре рассмотрены современный уровень, накопленный опыт и потенциальные возможности применения геосинтетических материалов в дорожном строительстве. Использование геосинтетики и геопластики, прежде всего в этой отрасли, диктует прогрессивное изменение традиционных дорожных конструкций, обеспечивая их повышенную надёжность, снижение материалоёмкости, технологичность строительства, а также ремонтопригодность практически всех конструктивных элементов. Отечественный и зарубежный опыт дают основание считать, что проанализированные в обзоре материалы являются инструментом для решения следующих задач: укрепления откосов, конусов, склонов для защиты от водной и ветровой эрозии; обеспечения общей устойчивости откосов повышенной крутизны; строительства армированных насыпей и грунтовых подпорных стен с учётом статистических и динамических воздействий; строительства дренажей нового поколения с минимальным применением природных инертных материалов; гидроизоляции, теплоизоляции, сепарации (разделения) конструктивных слоев и элементов дорожных сооружений; армирования монолитных слоев дорожных одежд и защиты от отражённых трещин. Значительный эффект в дорожной практике, особенно в отечественной, достигается путём использования геосинтетики и геопластики при строительстве автомобильных дорог на слабых грунтах (болотах, грунтах повышенной влажности, переувлажнённых), а также в районах со сложными инженерно-геологическими и климатическими условиями (например, в Западной Сибири, районах с распространением вечномёрзлых грунтов, грунтов повышенной влажности).

Во всём мире, в том числе и в России, наблюдается интенсивный рост использования геосинтетики и геопластики.

Отечественная практика дорожного строительства и другие отрасли обеспечены собственными типами нетканых материалов, объёмными пластиковыми георешётками, некоторыми видами геосеток для армирования асфальтобетонных покрытий. Появились и используются новые материалы, такие, как композиты на основе геопластики, полимерных сеток и нетканых геотекстилей, плоские объёмные георешётки, высокопрочные изделия для армогрунтовых сооружений. Разработан теоретический аппарат для расчётов армогрунтовых конструкций практически всех видов: откосов повышенной крутизны, армогрунтовых подпорных стен, армированных слабых оснований, включая свайные ростверки, а также один из основополагающих документов в этой области - Британский стандарт.

Нормативная база Объединённой Европы в ближайшее время будет представлена системой стандартов Еврокод (в том числе и для геосинтетики). Формируется нормативно-техническая база и в России, хотя темпы этой работы явно недостаточны. Вместе с тем, наметилась тенденция гармонизации норм с европейскими стандартами. Можно констатировать также, что в известной степени сформирован российский рынок геосинтетических материалов, на котором широко представлена как отечественная, так и зарубежная продукция.

Регулярными стали конференции по геосинтетике, в которых принимают участие как производители, так и потребители этого «продукта». Целенаправленно стали применяться геосинтетические материалы в сложных условиях строительства, например, на КАД вокруг Санкт-Петербурга, автомобильных дорогах «Дон» и «Крым», обеспечивая устойчивость и надёжность дорожных конструкций.

В целом можно констатировать, что геосинтетика обрела статус строительного материала, и не только в дорожной отрасли, но и в смежных отраслях строительства. К их числу относятся железные дороги, аэродромы, трубопроводный транспорт (транспортное строительство); каналы, плотины, водохранилища, берега и набережные рек и морей, специальные дренажные системы; фортификационные геотехнические сооружения. В железнодорожном строительстве, например, так же, как в автодорожном, широко используются принципы армирования: армирование основания пути, стабилизация осадок насыпей, устройство вертикальных подпорных стен, усиление откосных частей, армирование балласта.

Объемные георешётки, как показала практика, хорошо зарекомендовали себя при строительстве военных аэродромов, где конструкция выдерживает нагрузку истребителя-бомбардировщика. Широко также используются геотекстили с малой деформативностью (5 %) и большой прочностью. В некоторых случаях применяют армоэлементы в два и более слоев.

В гидротехническом строительстве с использованием рассмотренных материалов решаются задачи гидроизоляции и дренажа, армирования и стабилизации откосов и набережных, защиты их от эрозии и размыва. При строительстве каналов важное значение имеют мероприятия, направленные на исключение потерь воды за счёт фильтрации через дно и откосы канала, а также на локализацию процессов эрозии русл каналов. Для этих целей применяют геомембраны, рулонные материалы, георешётки и другие объёмные конструкции и композиты. Например, полотна геомембраны, соединённые герметичным швом, покрывают сплошным ковром и обеспечивают гидроизоляцию русла канала. Рулонные материалы используют в основном для обеспечения защиты геомембран от механических повреждений, особенно в случаях усиления дна и откосов каналов каменной наброской, щебнем или бетонными плитами. Объёмные конструкции (геоматы, габионы, георешётки) применяют для защиты берегов и русл каналов от эрозии в случаях большой гидродинамической нагрузки.

Для устройства гидроизолирующих экранов водохранилищ используются маты типа СС, представляющие собой трёхслойную систему. Наружные слои изготавливают из рулонных, как правило, водонепроницаемых материалов, соединённых между собой равномерно по площади гибкими связями. Внутренний слой - это сухая глина или бетонит. При набухании они становятся водонепроницаемыми.

Многие известные технические решения, разработанные для различных земляных сооружений в части применения геосинтетики, вполне могут быть использованы при строительстве специальных фортификационных сооружений в интересах Министерства обороны, например, обваловываний для складов, арсеналов и баз боеприпасов, мест стоянок самолётов дальней авиации, многих подземных сооружений. С помощью геосинтетики в этом случае решаются задачи устойчивости путём армирования грунта, защиты его от эрозии, гидроизоляции и дренажа, а в некоторых случаях и устройства камуфляжного покрытия.

В странах Европы и США большое внимание уделяют вопросам обеспечения экологической безопасности, связанным с размещением и хранением отходов. Хранилища являются крупноразмерными специфическими геотехническими объектами, к которым предъявляются жёсткие требования по экологической безопасности и, в первую очередь, недопущения утечек вредных веществ, особенно в плане заражения ими грунтовых вод.

Имеются свои особенности для хранилищ твёрдых муниципальных, промышленных и других вредных отходов. Следует отметить, что отечественная практика в этом плане значительно отстаёт от зарубежной. При строительстве хранилищ отходов с помощью геосинтетики решаются задачи обеспечения герметичности этих сооружений, водного и газового дренажа, защиты от эрозии и даже эстетические вопросы.

В общем случае строительство хранилищ для размещения отходов состоит из следующих основных этапов:

·        рытья котлована или строительства грунтового обваловывания по периметру хранилища;

·        уплотнения грунта и профилирования внутренней части хранилища;

·        устройства гидроизолирующего экрана;

·        формирования дренажного слоя;

·        формирования фильтрующего и защитного слоя.

По мере заполнения хранилища отходы послойно уплотняют. Затем хранилище покрывают сверху защитным слоем. При этом проводятся следующие работы:

·        устройство слоя для газового дренажа;

·        укладка гидроизолирующего слоя;

·        строительство верхнего дренажного слоя;

·        защита от эрозии и озеленение поверхности.

Далее формируется фильтрующий слой из соответствующего геосинтетического материала и песка. В полученный таким образом котлован закладываются отходы, которые послойно уплотняют. После заполнения отходами хранилище покрывают верхним защитным слоем. При этом сначала формируют газовый дренажный слой из нетканого материала и песка. Сверху укладывают гидроизолирующий слой из композита, например СС, и сплошной ковёр из геомембраны. Затем формируют верхний дренажный слой из гравия или геокомпозита и фильтрующий слой из геотекстиля или песка. Геомембрана сверху и снизу может быть дополнительно защищена от механических повреждений прослойкой из нетканого материала. Поверх дренажного слоя укладывают растительный грунт, поверхность которого озеленяют дёрном с помощью волоконного мата или объёмных георешёток с посевом семян различных трав. Кроме этого, в конструкции может быть предусмотрен тоннель для проведения наблюдений за процессами, происходящими внутри хранилища.

Безусловно, в рамках одного обзора весьма сложно рассмотреть весь диапазон конструктивных и технологических решений с использованием геосинтетических материалов. Задача автора заключалась в том, чтобы расширить представление читателей об областях использования этих современных и весьма перспективных материалов.

СПИСОК ЛИТЕРАТУРЫ

1. Королев М.М. Второй международный конгресс по геотекстилю (Лас-Вегас, США) // Трансп. стр-во за рубежом: Экспресс-информ. / ВПТИтрансстрой. - 1984. - Вып. 11. - С. 8-9.

2. Geosynthedcs: Applications, Design and Constroction. EuroGeo 1 De Groot, Den Hoedt & Termaat (eds). - Rotterdam: Balkema, 1996. - 1066 p.

3. Шестая Международная конференция по геосинтетическим материалам. - Атланта, США, 1998.

4. Вторая Европейская конференция по геосинтетическим материалам EUROGEO 2000. Patron Editore. - Bologna, 2000.

5. Международный симпозиум по армированию грунта. - Japan: Fukuoka, Kyushu, 2001.

6. Septieme Conference Internationale Sur les Geosynthetiques: Тез. докл. - Ницца, 2002.

7. Памятная записка по применению геотекстиля и геосеток при земляных работах в строительстве дорог / Науч.-исслед. общество дор. стр-ва и транспорта. Рабочая группа по земляным и грунтовым работам. - Кельн, 1994.

8. Бурдо А.С. Применение текстилей в транспортном строительстве на Аляске (США) // Трансп. стр-во за рубежом: Экспресс-информ. / ВПТИтрансстрой. - 1986. - Вып. 3. - С. 3-6.

9. Британский стандарт ВS 8006: Свод правил по армированию грунтов естественного залегания и насыпных грунтов. - 1995.

10. Львович Ю.М. Тенденции, пути развития и опыт применения геосинтетических материалов в дорожном строительстве // Применение геоматериалов при строительстве и реконструкции транспортных объектов: Материалы 2-й Междунар. науч.-техн. конф. - Санкт-Петербург, 2002.

11. Van Santvoort Gerard Р.Т.М. Геотекстиль и геомембраны в гражданском строительстве. - Роттердам: Balkema, 1994.

12. Пятая Международная конференция по геотекстилю, геомембранам и аналогичным изделиям. - Singapore, 1994.

13. Юмашев В.М., Казарновский В.Д., Львович Ю.М. Современный мировой опыт применения геосинтетики в дорожной отрасли: Науч.-практ. семинар, г. Владимир, 6-10 апр. 1998. - М., 1998. - (Тр. / Союздорнии; Вып. 196).

14. Львович Ю.М., Аливер Ю.А., Ким А.И. Геосинтетические и геопластиковые материалы в дорожном строительстве. - М., 1998. -76 с. - (Автомоб. дороги: Обзорн. информ. / Информавтодор; Вып. 5).

15. Львович Ю.М. Дорожная геосинтетика. Тенденции и направления применения геосинтетических материалов в дорожном строительстве // Строит. техника и технология. - 2002. - Январь-февраль.

16. Львович Ю.М., Бондарева Э.Д. Опыт выбора и применения геосинтетических и геопластиковых материалов при проектировании и строительстве земляных сооружений на С.-Петербургской КАД // Геотекстиль и геосинтетики при строительстве автомобильных дорог: Тез. докл. междунар. семинара / МАДИ. - М., 2001.

17. Львович Ю.М. Основные принципы применения геосинтетики и геопластиков в дорожных конструкциях // Геотекстиль и геосинтетики при строительстве автомобильных дорог: Тез. докл. междунар. семинара / МАДИ. - М., 2001.

18. Львович Ю.М. Нормативно-техническая база при использовании геосинтетики и геопластиков в дорожной отрасли: Науч.-практ. семинар, г. Владимир, 6-10 апр. 1998.-М., 1998.- (Тр. / Союздорнии; Вып. 196).

19. Нестерова Т.Н. Применение геотекстилей и геопластиков для укрепления грунтов (Франция) // Трансп. стр-во за рубежом: Экспресс-информ. / ВПТИтрансстрой. - 1987. - Вып. 5. - С. 8-9.

20. Подчепаева Л.М. Георешетка, используемая для укрепления основания автодороги в шт. Висконсин (США) // Трансп. стр-во за рубежом: Экспресс-информ. / ВПТИтрансстрой. - 1986. - Вып. 4. - С. 7.

21. ASTM Standarts on Geosynthetics/Fourth Edition. - 1995. - 217 р.

22. Empfehlungen für Bewehrungen aus Geokunstoffen - EBGEO / Нем. общество по геотекстилю. - 1997.

23. Ingold T.S. Справочник по геотекстилю и геомембранам. - Eisevier Advanced Technology, 1994.

24. Koerner Robert M. Проектирование с использованием геосинтетических материалов / Forth Edition. - Prentice Hall, 1998.

25. Геосинтетические материалы. Применение, проектирование и строительство: Первая Европейская конференция по геосинтетическим материалам EUROGEO 1. - Роттердам: Balkema, 1996.

26. Международный симпозиум по армированию грунта EUROGEO 1.- Роттердам: Balkema, 1996.

27. Геотекстильные материалы в дорожном строительстве // В.Д.Казарновский, А.Г.Полуновский, Ю.Р.Перков и др. - М.: Транспорт, 1979.

28. Научно-техническое сопровождение строительства опытных участков на автомобильной дороге в г. Бронницы Московской области (Шифр «Дорога-94») / 26 ЦНИИ МО РФ. - М., 1994. - 68 с.

29. Брантман Б.П. Применение геотекстильных материалов в конструкциях дренажей // Геотекстиль и геосинтетики при строительстве автомобильных дорог: Тез. докл. междунар. семинара / МАДИ.- М., 2001.

30. Методические рекомендации по расчету и проектированию ленточных дрен при возведении насыпей на слабых грунтах / Союздорнии. - М., 1987.

31. Полуновский А.Г. О некоторых проблемах применения геотекстильных материалов // Применение геотекстиля и геопластиков в дорожном строительстве. - М., 1990. - С. 8-14. - (Тр. / Союздорнии).

32. Львович Ю.М., Мирошкин А.К. Применение геотекстильного материала На-Те и гофрированных труб фирмы REHAU при реконструкции перрона в аэропорту «Домодедово» // Геотекстиль и геосинтетики при строительстве автомобильных дорог: Тез. докл. междунар. семинара / МАДИ. - М., 2001.

33. Хосровянц Ю.М. Использование нового типа георешеток для укрепления земляного полотна / Трансп. стр-во за рубежом: Экспресс-информ. / ВПТИтрансстрой. - 1988. - Вып. 7. - С. 6-8.

34. Черкезов А.С. Применение растягивающихся георешеток Geoweb для укрепления дорожного основания. // Трансп. стр-во за рубежом: Экспресс-информ. / ВПТИтрансстрой. - 1987. - Вып. 2. - С. 8.

35. Львович Ю.М., Добров Э.М., Кузахметова Э.К. Глинистые грунты с влажностью более оптимальной в дорожном строительстве. - М.: Транспорт, 1998.

36. Методические указания по применению геосинтетических материалов в дорожном строительстве / МАДИ. - М., 2001.

37. Щербина В.Е. Устройство армированной насыпи с применением геосинтетических материалов: Науч.-практ. семинар, г. Владимир, 6-10 апр. 1998. - М., 1998. - (Тр. Союздорнии; Вып. 196).

38. Пудов Ю.В., Львович Ю.М. Использование геотекстильных материалов и объёмных геопластиковых решёток на автомобильной дороге Братеево-Беседы в г. Москва // Геотекстиль и геосинтетики при строительстве автомобильных дорог: Тез. докл. междунар. семинара / МАДИ. - М., 2001.

39. Пятый информационный сборник «Пластмассы в геотехнике»: Спец. выпуск «Геотехника» / Нем. общество по геотехнике. - Essen, 1997.

40. Шестой информационный сборник «Пластмассы в геотехнике»: Спец. выпуск «Геотехника» / Нем. общество по геотехнике. - Essen, 1999.

41. Седьмой информационный сборник «Пластмассы в геотехнике»: Спец. выпуск «Геотехника» / Нем. общество по геотехнике. - Essen, 2001.

42. Львович Ю.М., Аливер Ю.А. Руководство по укреплению конусов и откосов земляного полотна автомобильных дорог с использованием геосинтетических материалов и металлических сеток / Союздорнии. - М., 2002.

43. Гладков В.Ю., Мерзликин А.Е., Казарновский В.Д. Методические рекомендации по применению армированных сеток из стекловолокна при строительстве нежестких дорожных одежд с зернистым основанием / Минтрансстрой, Союздорнии. - 1988. - 28 с.

44. Киршнер Р. Арматурные сетки из полиэстера, используемые для армирования асфальтобетона аэродромных покрытий // Аэропорт Форум. - 1990. - № 5, октябрь.

45. Гвоздев В.А., Ильичёв А.В. Опыт армирования асфальтобетонных покрытий дорог геосинтетическими материалами: Науч.-практ. семинар, г. Владимир, 6-10 апр. 1998. - М., 1998. - (Тр./ Союздорнии; Вып. 196).

46. Попов В.А., Коганзон М.С. Компания «Дорожные технологии». Армирование асфальтобетонных покрытий базальтовыми материалами // Геотекстиль и геосинтетика при строительстве автомобильных дорог: Тез. докл. междунар. семинара / МАДИ. -М., 2001.

СОДЕРЖАНИЕ

1. Введение. 2

2. Современный мировой уровень в области использования геосинтетики и геопластики в дорожном строительстве. 3

2.1. Общие вопросы.. 3

2.1.1. Технические характеристики геотекстильных материалов и георешёток. 5

2.1.2. Устойчивость к старению.. 7

2.1.3. Области применения. 8

2.2. Ретроспективный анализ применения геотекстильных и геопластиковых материалов в отечественной и зарубежной практике. 13

2.3. Нормативно-техническая база при использовании геосинтетических материалов в дорожном строительстве. 19

3. Дорожные конструкции с элементами из геосинтетических материалов и опыт их применения в отечественной и зарубежной практике. 26

3.1. Общие положения. 26

3.2. Конструкции временных дорог и на слабых основаниях. 26

3.3. Армирование конструкций земляного полотна и слабых оснований. 35

3.4. Применение геосинтетических материалов для укрепительных работ. 55

3.5. Применение геосинтетических материалов для армирования асфальтобетонных покрытий. 63

Заключение. 67

Список литературы.. 70

 




Яндекс цитирования



   Copyright © 2007-2026,  www.tehlit.ru.

[ ѓосты, стандарты, нормативы, инструкции, правила, строительные нормы ]