//
|
|
РУКОВОДСТВО
РД 52.04.186-89
Москва 1991 Информационные данные 1. РАЗРАБОТАН И ВНЕСЕН Государственным комитетом СССР по гидрометеорологии и Министерством здравоохранения СССР РАЗРАБОТЧИКИ: Ордена Трудового Красного Знамени Главная геофизическая обсерватория им. А.И. Воейкова Госкомгидромета СССР (ГГО). Институт общей и коммунальной гигиены им. А.И. Сысина Минздрава СССР (ИОКГ), Центральный ордена Ленина институт усовершенствования врачей Минздрава СССР (ЦОЛИУВ), Институт прикладной геофизики им. акад. Е.К. Федорова Госкомгидромета СССР (ИПГ), Лаборатория мониторинга природной среды и климата Госкомгидромета СССР и АН СССР (ЛАМ), Научно-производственное объединение «Тайфун» Госкомгидромета СССР (НПО «Тайфун»), Уральское территориальное управление по гидрометеорологии Госкомгидромета СССР (Уральское УГМ), Онкологический центр АМН СССР (ОЦ АМН), Научно-исследовательский институт общей и коммунальной гигиены им. А.Н. Морзеева Минздрава СССР (НИИ ОКГ), Московский государственный университет им. М.В. Ломоносова (МГУ), Ленинградский научно-исследовательский институт гигиены труда и профзаболеваний Минздрава РСФСР (ЛенНИИ ГТП), Среднеазиатский региональный научно-исследовательский гидрометеорологический институт Госкомгидромета СССР (САНИГМИ). Руководители разработки: д-р геогр. наук Э.Ю. Безуглая, д-р физ.-мат. наук М.Е. Берлянд, канд. техн. наук Н.Ш. Вольберг, канд. физ.-мат. наук А.С. Зайцев (ГГО); акад. АМН ССР Г.И. Сидоренко, д-р мед. наук М.А. Пинигин (ИОКГ). Исполнители Часть I Раздел 2 - д-р физ.-мат. наук М.Е. Берлянд, д-р геогр. наук Э.Ю. Безуглая, канд. техн. наук Н.Ш. Вольберг, канд. физ.-мат. наук А.И. Полищук, канд. хим. наук Е.А. Шайкова (ГГО), д-р мед. наук К.А. Буштуева, канд. мед. наук С.Н. Кимина, канд. мед. наук Л.Е. Безпалько (ЦОЛИУВ), Н.И. Казнина, д-р мед. наук М.А. Пинигин (ИОКГ). Раздел 3 - д-р геогр. наук Э.Ю. Безуглая, канд. геогр. наук Б.Б. Горошко, канд. геогр. наук В.А. Ионин, Г.П. Расторгуева, А.М. Царев (ГГО), д-р мед. наук М.А. Пинигин (ИОКГ). Раздел 4 - канд. физ.-мат. наук Н.Н. Александров, д-р геогр. наук Э.Ю. Безуглая, канд. техн. наук Н.Ш. Вольберг, канд. хим. наук Е.А. Шайкова (ГГО). Раздел 5 - Т.С. Виноградова, канд. техн. наук Н.Ш. Вольберг, Е.Д. Егорова, Т.А. Кузьмина, А.А. Павленко, Т.П. Струкова, канд. хим. наук В.С. Титов, З.Г. Тульчинская, канд. хим. наук Е.А. Шайкова, О.П. Шарикова (ГГО), Н.Н. Бадовская, М.А. Запевалов, В.А. Сурнин, д-р хим. наук П.Е. Тулупов (НПО «Тайфун»), канд. хим. наук А.X. Федоровская (Уральское УГМ), д-р биол. наук А.Я. Хесина (ОЦ АМН), И.М. Донина, д-р мед. наук Н.Я. Янышева (НИИ ОКГ), Л.Н. Бродская, канд. биол. наук В.П. Якимова (ЛенНИИ ГТП), О.И. Свинцицкая (САНИГМИ), д-р хим. наук М.Т. Дмитриев, канд. биол. наук Н.П. Зиновьева, канд. мед. наук И.К. Остапович, канд. биол. И.А. Пинигина, канд. мед. наук Л.А. Тепикина (ИОКГ), канд. биол. наук Т.А. Теплицкая (МГУ). Раздел 6 - канд. техн. наук В.А. Цветков, И.С. Яновский (ГГО). Раздел 7 - канд. техн. наук Н.Ш. Вольберг, канд. физ.-мат. наук А.И. Полищук, канд. хим. наук Е.А. Шайкова (ГГО). Раздел 8 - канд. физ.-мат. наук А.И. Полищук, Е.А. Горбачева (ГГО). Раздел 9 - д-р геогр. наук Э.Ю. Безуглая, Е.К. Завадская, И.В. Смирнова (ГГО), д-р мед. наук М.А. Пинигин (ИОКГ). Часть II Раздел 2 - Р.Ф. Лавриненко, Н.А. Першина, канд. хим. наук П.Ф. Свистов (ГГО). Раздел 3 - Е.И. Кузнецова, А.В. Лысак (ИПГ). Раздел 4 - В.А. Зуева, канд. хим. наук П.Ф. Свистов (ГГО). Раздел 5 - Т.В. Беликова, В.Н. Василенко, И.Ф. Дликман, д-р физ.-мат. наук Ш.Д. Фридман (ИПГ). Часть III Раздел 2 - канд. геогр. наук Е.Н. Русина (ГГО), канд. хим. наук М.И. Афанасьев, канд. физ.-мат. наук Л.В. Бурцева, канд. физ.-мат. наук В.М. Егоров, канд. хим. наук Л.А. Лапенко (ЛАМ). Раздел 3 - Р.Ф. Лавриненко, Н.А. Першина, канд. хим. наук П.Ф. Свистов (ГГО). Раздел 4 - канд. хим. наук М.И. Афанасьев, канд. физ.-мат. наук Л.В. Бурцева, канд. физ.-мат. наук В.М. Егоров, канд. хим. наук Л.А. Лапенко (ЛАМ), канд. биол. наук Т.А. Теплицкая (МГУ). Раздел 5 - канд. геогр. наук Е.Н. Русина (ГГО). Раздел 6 - канд. физ.-мат. наук А.М. Броунштейн, канд. геогр. наук Е.Н. Русина, Е.В. Фабер, А.А. Шашков, канд. физ.-мат. наук А.М. Шаламянский, канд. техн. наук Я.М. Шварц (ГГО). 2. УТВЕРЖДЕН Заместителем председателя Госкомгидромета СССР Ю.С. Цатуровым 1 июня 1989 г. и Главным государственным санитарным врачом СССР А.И. Кондрусевым 16 мая 1989 г. 3. ВЗАМЕН Руководства по контролю загрязнения атмосферы, 1979 4. ССЫЛОЧНЫЕ НОРМАТИВНО-ТЕХНИЧЕСКИЕ ДОКУМЕНТЫ
Руководящий документ Руководство по контролю загрязнения атмосферы РД 52.04.186-89 Дата введения 01.07.1991 Настоящий документ регламентирует организацию и проведение наблюдений за загрязнением атмосферы в городах, на региональном и фоновом уровнях на территории СССР, методики химического анализа концентраций вредных веществ в атмосфере, методы сбора, обработки и статистического анализа результатов наблюдений. Руководство обязательно для всех организаций, осуществляющих наблюдения за состоянием загрязнения атмосферы, анализ проб воздуха, атмосферных осадков и снежного покрова для определения содержания в них вредных веществ; сбор, обработку и анализ информации, составление обобщенных сведений о качестве воздуха городов, на региональном и фоновом уровне. Документ отменяет Руководство по контролю загрязнения атмосферы (Л., Гидрометеоиздат, 1979). ОСНОВНЫЕ ПОЛОЖЕНИЯНеотъемлемым условием успеха атмосфероохранной деятельности является информация о содержании в атмосфере различных примесей. Для этого на базе гидрометеорологической сети наблюдений, подразделений Минздрава СССР и других ведомств в 1972 г. под руководством Главного управления гидрометеорологической службы при Совете Министров СССР (ныне Госкомгидромет СССР) была создана Общегосударственная служба наблюдений и контроля за уровнем загрязнения природной среды (ОГСНК). В рамках ОГСНК действует сеть станций наблюдений за загрязнением атмосферы - ОГСНКА. Передача Госкомгидромету СССР головной функции ОГСНКА обусловлена прежде всего тем, что при организации наблюдений за загрязнением должны использоваться те же основные принципы, что и при построении метеорологической сети: регулярность, единство программ и методов наблюдений, репрезентативность мест наблюдений. В рамках ОГСНКА характеристики загрязнения атмосферы определяются одновременно с необходимыми для их интерпретации метеорологическими показателями. В соответствии с законом СССР «Об охране атмосферного воздуха» на Общегосударственную службу наблюдений и контроля за уровнем загрязнения природной среды возлагается обеспечение заинтересованных государственных и общественных органов, предприятий, учреждений и организаций систематической информацией и прогнозами об уровнях загрязнения атмосферы, обусловленного хозяйственной деятельностью и метеорологическими условиями. Решение этой задачи включает: наблюдение за уровнем загрязнения; оценку уровня загрязнения и его изменений под влиянием хозяйственной деятельности и метеорологических условий; прогноз ожидаемых изменений качества воздуха за длительный период. В целях унификации способов наблюдений, химического анализа проб воздуха, статистического анализа информации и форм ее представления в 1979 г. впервые было издано согласованное и утвержденное Госкомгидрометом СССР и Минздравом СССР Руководство по контролю загрязнения атмосферы. Со времени издания и внедрения на сети ОГСНКА этого Руководства некоторые его положения, связанные с правилами организации сети, методами химического анализа и обработки информации, существенно усовершенствованы. Разработан ряд новых нормативных и руководящих документов, используемых на сети Госкомгидромета СССР и Минздрава СССР. Созданы дополнительно сети наблюдения за содержанием вредных веществ на региональном уровне на основании анализа проб атмосферных осадков и снежного покрова. Осуществляются наблюдения за состоянием загрязнения атмосферы вдоль западных границ СССР на станциях наблюдений за трансграничным переносом. Расширена сеть станций комплексного фонового мониторинга, осуществляющих наблюдения за состоянием атмосферы на региональном и глобальном уровне. Обработка и обобщение информации выполняется на ЭВМ. Для репрезентативной оценки состояния атмосферы потребовалась организация систем наблюдений с использованием для определения концентрации примесей достаточно селективных, чувствительных, стабильных, точных и надежных методов и приборов. Диапазон измерений должен обеспечивать не только определение высоких уровней загрязнения в отдельные короткие периоды, но и выявление небольших изменений в течение длительного времени. Особенно важно применение единых по стране методов измерения концентраций примесей в воздухе, математической обработки и интерпретации получаемых данных. С этой целью Госкомгидрометом СССР и Минздравом СССР создано новое Руководство по контролю загрязнения атмосферы. Настоящее издание руководящего документа, разработанного Госкомгидрометом СССР и Минздравом СССР, содержит исходные положения по всем направлениям деятельности ОГСНКА на городском (импактном), региональном и глобальном (фоновом) уровне. В новом тексте Руководства для отдельных видов мониторинга загрязнения атмосферы рассмотрены и даны основные правила по следующим направлениям: 1) организации и проведению мониторинга (выбор мест наблюдений, программа работ, проведение измерений); 2) анализу отобранных проб воздуха, атмосферных осадков, снежного покрова; 3) сбору, обработке, статистическому анализу и представлению информации заинтересованным организациям. В соответствии с видами мониторинга загрязнения атмосферы в Руководстве выделены разделы, в которых рассмотрены вопросы, связанные с организацией и функционированием мониторинга в городах, а также на региональном и глобальном уровнях. ЧАСТЬ I
| ||||||||||||||||||||||||||||||||||||||||||||||||||||||||||||||||||||||||||||||||||||||||||||||||||||||||||||||||||||||||||||||||||||||||||||||||||||||||||||||||||||||||||||||||||||||||||||||||||||||||||||||||||||||||||||||||||||||||||||||||||||||||||||||||||||||||||||||||||||||||||||||||||||||||||||||||||||||||||||||||||||||||||||||||||||||||||||||||||||||||||||||||||||||||||||||||||||||||||||||||||||||||||||||||||||||||||||||||||||||||||||||||||||||||||||||||||||||||||||||||||||||||||||||||||||||||||||||||||||||||||||||||||||||||||||||||||||||||||||||||||||||||||||||||||||||||||||||||||||||||||||||||||||||||||||||||||||||||||||||||||||||||||||||||||||||||||||||||||||||||||||||||||||||||||||||||||||||||||||||||||||||||||||||||||||||||||||||||||||||||||||||||||||||||||||||||||||||||||||||||||||||||||||||||||||||||||||||||||||||||||||||||||||||||||||||||||||||||||||||||||||||||||||||||||||||||||||||||||||||||||||||||||||||||||||||||||||||||||||||||||||||||||||||||||||||||||||||||||||||
|
υ |
H м |
υ |
H м |
|||||
|
20 |
50 |
100 |
50 |
100 |
250 |
|||
|
Низкие и холодные выбросы (ΔT < 50) |
Высокие и горячие выбросы (ΔT ≥ 50) |
|||||||
|
120 |
1 |
0,3 |
1,6 |
6,6 |
50 |
3,5 |
14,0 |
87,4 |
|
120 |
10 |
0,6 |
3,6 |
14,2 |
1200 |
10,1 |
40,3 |
252,1 |
|
160 |
1 |
0,2 |
1,2 |
5,0 |
50 |
2,6 |
10,5 |
65,6 |
|
160 |
10 |
0,4 |
2,7 |
10,7 |
1200 |
7,6 |
30,3 |
189,1 |
|
200 |
1 |
0,2 |
1,0 |
4,0 |
50 |
2,1 |
8,4 |
52,4 |
|
200 |
10 |
0,3 |
2,1 |
8,5 |
1200 |
6,0 |
24,2 |
151,3 |
|
240 |
1 |
0,1 |
0,8 |
3,3 |
50 |
1,8 |
7,0 |
43,7 |
|
240 |
10 |
0,3 |
1,8 |
7,1 |
1200 |
5,0 |
20,2 |
126,1 |
Значения H устанавливаются с учетом следующих условий.
Если примесь поступает в атмосферу от многих мелких источников и автотранспорта, принимается H ≤ 20 м. Если примеси выбрасываются из нескольких промышленных источников разной высоты, то принимаем условно H = 50 м, что примерно соответствует средней высоте труб. Если в городе основные примеси выбрасываются в основном промышленными предприятиями с высокими трубами (ТЭЦ, ГРЭС и др.), то для них принимается H, равная 100 - 250 м.
По значениям Mi и ПДКм.рi определяется параметр реального потребления воздуха, который сравнивается затем с ПВт2. Если ПВт2i > ПВт2, то i-я примесь включается во второй предварительный список примесей, рекомендованных для контроля.
С помощью значений ПВ2, приведенных в табл. 2.1, определяется второй предварительный список. Этот список одновременно является списком городов, где необходимо организовать наблюдения за основными примесями.
Окончательный приоритетный список примесей, рекомендуемых для наблюдений в городах на сети ОГСНКА, составляется из двух списков. Сначала распределяются места в списке примесей по значению ПВт1. Номер первый присваивается примеси, которой соответствует наибольшее значение ПВт1. Затем распределяются места в порядке убывания значений ПВт2.
Работа проводится в несколько этапов. Окончательный приоритетный список составляется по сумме мест в предварительных списках, составленных по значениям ПВт1 и ПВт2. При этом примеси, для которых нет ПДКм.р, включаются в список по удвоенному номеру места, полученного по значению ПВт1. Если несколько примесей имеют одинаковые номера мест в окончательном списке, то очередность этих примесей устанавливается по классу опасности веществ. В первую очередь записываются примеси классов опасности 1 и 2.
Пример. Требуется составить приоритетный список примесей, подлежащих контролю в городе N.
1. В соответствии с данными инвентаризации выбросов вредных веществ в городе N, расположенном на ЕЧС (A = 120; ПЗА = 2,5), характерный размер которого L = 6 км, высота выбросов H = 50 м, ΔT > 50, в табл. 2.2 приведены значения количества выбросов М для восьми примесей (графа 2), а также значения ПДКс.с и ПДКм.р (графы 3 и 4).
2. Из списка исключаются примеси, не имеющие ПДК.
3. Для основных примесей (диоксида азота,
диоксида серы), выбрасываемых множеством предприятий, принимается характерный
размер города L =
6 км. На черт. 2.1
по значениям M и
L для
этих примесей определяем, что средние концентрации
,
будут превышать
соответствующие ПДК, и в таблице в графе 5 ставим знаки плюс.
4. Для специфических примесей, поступающих в атмосферу от одиночных источников (акролеин, аммиак и др.), рассчитывается M = M'P, где P = 0,5 (так как данный город расположен на ЕЧС). Из черт. 2.1 по значению M' и L' = 2 км определяем, что необходимо контролировать средние концентрации следующих примесей: аммиак, свинец и сероводород. Против них в графе 5 ставится знак плюс, против остальных специфических записей - знак минус.
5. Рассчитываются значения ПВт2 для всех примесей, имеющих ПДКм.р (графа 8) и сравниваются эти значения с ПВ2 из табл. 2.1 для выбросов при ΔT > 50, H = 50 м. Для примесей, у которых ПВт2 > ПВ2, ставим в графе 6 знак плюс (диоксид азота, аммиак, ацетон, диоксид серы, сероводород).
6. Рассчитывается индекс ПВт1 для примесей со знаками «++», «-+» (или «+-») и записывается в графу 7.
Пример составления приоритетного списка для контроля на ОГСНКА для города N (ЕЧС) при A = 120, ПЗА = 2,5, L = 6 км, H = 50 м
|
M тыс. т/год |
ПДКс.с |
ПДКм.р |
Контроль по |
ПВт1 |
ПВт2 |
Номер места по |
Сумма мест |
|||
|
ПВт1 |
ПВт2 |
ПВт1 |
ПВт2 |
|||||||
|
1 |
2 |
3 |
4 |
5 |
6 |
7 |
8 |
9 |
10 |
11 |
|
1. Азота диоксид |
12,07 |
0,04 |
0,085 |
+ |
+ |
301,8 |
142,0 |
2 |
1 |
3 |
|
2. Акролеин |
0,001 |
0,03 |
0,03 |
- |
- |
- |
- |
- |
- |
- |
|
3. Аммиак |
7,938 |
0,04 |
0,2 |
+ |
+ |
198,4 |
39,69 |
4 |
4 |
8 |
|
4. Ацетон |
1,932 |
0,35 |
0,35 |
- |
+ |
5,52 |
5,52 |
6 |
5 |
11 |
|
5. Изопентан |
0,013 |
Нет ПДК |
|
|
|
|
|
|
|
|
|
6. Свинец |
0,0710 |
0,0003 |
Нет ПДК |
+ |
|
236,7 |
|
3 |
|
6 |
|
7. Серы диоксид |
20,04 |
0,05 |
0,5 |
+ |
+ |
400,8 |
40,08 |
1 |
3 |
4 |
|
8. Сероводород |
0,823 |
0,008 |
0,008 |
+ |
+ |
102,9 |
102,9 |
5 |
2 |
7 |
|
Примечание. В графах 5, 6 плюс - контроль нужен, минус - контроль не нужен. Для сероводорода значение ПДКс.с, равное 8, взято условно. |
||||||||||
7. По значению ПВт1 для шести примесей устанавливаются номера мест с 1-го по 6-е. Они помещаются в графу 9. По значениям ПВт2 номера мест с 1-го по 5-е записываются в графу 10.
8. Определяется сумма мест для каждой из шести примесей и записывается в графу 11. Для свинца, у которого нет ПДКм.р, номер места равен 3´2 = 6.
9. Составляется приоритетный список примесей для организации наблюдений в городе N. При этом для одинаковых значений суммы мест первой ставится примесь с большим значением ПВт1 + ПВт2 или примесь, класс опасности которой выше (имеет меньший номер).
Приоритетный список
|
2. Диоксид серы |
3. Свинец 4. Сероводород |
5. Аммиак 6. Ацетон |
На основании установленного перечня веществ, подлежащих контролю, в каждом городе определяются вещества для организации наблюдений на постах. На опорных стационарных постах организуются наблюдения за содержанием основных загрязняющих веществ: пыли, диоксида серы, оксида углерода, оксида и диоксида азота, - и за специфическими веществами, которые характерны для промышленных выбросов многих предприятий данного города (населенного пункта).
На неопорных стационарных и маршрутных постах проводятся наблюдения за содержанием специфических примесей приоритетного списка, характерных для близлежащих источников выбросов. Наблюдения за основными примесями на этих постах проводятся по сокращенной программе или не проводятся, если среднемесячная концентрация этих веществ в течение года не превышала 0,5 среднесуточной ПДК. Одна специфическая примесь контролируется на 2 - 3 стационарных постах одновременно.
Кроме веществ, приоритет которых установлен по изложенной методике, в обязательный перечень контролируемых веществ в городе включаются:
растворимые сульфаты - в городах с населением более 100 тыс. жителей;
формальдегид и соединения свинца - в городах с населением более 500 тыс. жителей, поскольку эти примеси в большом количестве выбрасываются автомобилями;
металлы - в городах с предприятиями черной и цветной металлургии;
бенз(а)пирен - в городах с населением более 100 тыс. жителей и в населенных пунктах с крупными источниками выбросов;
пестициды - в городах, расположенных вблизи крупных сельскохозяйственных территорий, на которых используются пестициды.
Выбросы перечисленных веществ трудно точно установить, и их приоритет не может быть определен по изложенной методике.
Перечень вредных веществ, подлежащих контролю, пересматривается при изменении данных инвентаризации промышленных выбросов, появлении новых источников выбросов, реконструкции предприятий, но не реже 1 раза в 3 года.
Расширение перечня контролируемых веществ осуществляется после предварительных наблюдений, направленных на ориентировочную оценку состояния загрязнения. Такие наблюдения могут проводиться на стационарных, маршрутных постах или при эпизодических обследованиях.
При подфакельных измерениях наблюдения за основными примесями не проводятся, так как трудно выделить вклад исследуемого источника в уровень загрязнения воздуха этими примесями. Под факелом предприятия выполняются наблюдения за специфическими вредными веществами, характерными для выбросов этого предприятия. Программа подфакельных наблюдений составляется таким образом, чтобы число измерений концентрации данной примеси за год на каждом заданном расстоянии от источника было не менее 50. С помощью подфакельных наблюдений можно обеспечить контроль ряда специфических веществ, которые выбрасываются низкими источниками и влияние которых ограничивается небольшим районом. Правила проведения подфакельных наблюдений см. в п. 3.4.3.
Эпизодические обследования небольших населенных пунктов (см. п. 3.3) по специальным программам должны проводиться таким образом, чтобы обеспечить за период обследования населенного пункта не менее 200 наблюдений за концентрацией каждой примеси.
Программа работы постов в городах
|
Пыль |
Диоксид серы |
Оксид углерода |
Диоксид азота |
Оксид азота |
Растворимые сульфаты |
Сероводород |
Метилмеркаптан |
Углеводороды |
БП |
Тяжелые металлы |
Программа наблюдений |
|
|
Город |
3 |
2 |
4 |
1 |
|
|
5 |
7 |
6 |
|
|
|
|
1 |
´ |
´ |
´ |
´ |
´ |
´ |
´ |
´ |
´ |
´ |
|
НП |
|
2 |
´ |
´ |
´ |
´ |
|
|
|
|
|
|
|
НП |
|
3 |
´ |
´ |
´ |
´ |
|
|
´ |
´ |
´ |
|
|
НП |
Ежегодно составляется программа работы каждого поста наблюдений (табл. 2.3).
В первой строке программы указывается приоритет каждого вещества в городе. Во второй и последующих строках для каждого поста крестиком отмечаются те вещества, которые измеряются на данном посту.
При определении приземной концентрации примеси в атмосфере отбор проб и измерение концентрации примеси проводятся на высоте 1,5 - 3,5 м от поверхности земли.
Продолжительность отбора проб воздуха для определения разовых концентраций примесей составляет 20 - 30 мин.
Продолжительность отбора проб воздуха для определения среднесуточных концентраций загрязняющих веществ при дискретных наблюдениях по полной программе составляет 20 - 30 мин через равные промежутки времени в сроки 1, 7, 13 и 19 ч, при непрерывном отборе проб - 24 ч.
Конкретные требования к методам и средствам отбора проб, условиям их хранения и транспортировки, индивидуальным для каждого загрязняющего вещества, указаны в разделах 4 и 5.
Одновременно с отбором проб воздуха или регистрацией концентраций примесей на стационарных и маршрутных постах проводятся метеорологические наблюдения за скоростью, направлением ветра, температурой воздуха, состоянием погоды, при подфакельных наблюдениях - за скоростью и направлением ветра. Метеорологические наблюдения на стационарных постах выполняются с помощью метеорологического оборудования, находящегося в лаборатории «Пост-1» и «Пост-2». Скорость и направление ветра при подфакельных наблюдениях определяются на высоте 2 м с помощью ручного анемометра и вымпела. Последовательность проведения метеорологических наблюдений описана в разделе 4. Продолжительность метеорологических наблюдений составляет 10 мин.
Пробы воздуха, отобранные на постах сети ОГСНКА, доставляют в одно из химических подразделений, где осуществляется их анализ. Имеется четыре типа химических подразделений: 1) группа или лаборатория наблюдений за загрязнением атмосферы, 2) кустовая лаборатория или группа наблюдений за загрязнением атмосферы, 3) централизованные лаборатории различной специализации, 4) специализированные лаборатории научно-исследовательских учреждений.
Группы или лаборатории наблюдений за загрязнением атмосферы осуществляют химический анализ проб воздуха, отобранных на постах в том же городе, с целью определения содержания основных и наиболее распространенных специфических примесей.
Форма
титульного листа технического дела поста
Управление по гидрометеорологии
|
Город _____________________________________________________________________ Республика, край, область, район ______________________________________________ Пост ______________________________________________________________________ (опорный, стационарный. неопорный, маршрутный) Координатный номер поста ___________________________________________________ Номер поста на схеме ________________________________________________________ Адрес организации, которой подчинен пост ___________________________________________________________________________ Телефон ___________________________________________________________________ Ведомственная принадлежность поста ___________________________________________________________________________ (СЭС, предприятие) Кем и когда закреплен земельный участок для поста ______________________________ ___________________________________________________________________________ Крупные предприятия вблизи поста и их номер на схеме ___________________________________________________________________________ Источник энергопитания _____________________________________________________ Дата организации наблюдений на посту ________________________________________ Дата переноса, закрытия поста ________________________________________________ Причина переноса, закрытия поста _____________________________________________ ___________________________________________________________________________ Подпись руководителя |
Форма записи при составлении технического дела
1. Результаты инспекции поста
|
№ п/п |
Дата проведения инспекции |
Кто проводил (организация, фамилия, и. о.) |
Основные замечания |
Подпись принявшего замечания |
|
|
|
|
|
|
2. Схема расположения поста
(На схеме должны быть показаны автомагистрали, промышленные предприятия и другие источники выбросов, массивы зеленых насаждений, расположенные в радиусе нескольких километров от поста.
Под схемой могут быть помещены краткие сведения о расположении относительно ПНЗ источников выбросов, которые могут оказывать влияние на степень загрязнения воздуха вблизи ПНЗ).
3. Программа работы поста
|
Перечень веществ |
Сроки наблюдений |
Используемые приборы |
Продолжительность отбора |
|
|
|
|
|
|
|
Когда и кем утверждена программа _________________________________________
4. Программа метеорологических наблюдений
|
С какого времени ведутся наблюдения |
Используемые приборы |
Даты проверок |
|
|
|
|
|
|
5. Сведения о приборах и оборудовании, установленных на посту
|
Дата установки |
Дата снятия |
|
|
|
|
|
Кустовые лаборатории или группы осуществляют анализ проб, отобранных на постах в других городах и пересылаемых в кустовые лаборатории рейсовым транспортом. В этих лабораториях проводят также химический анализ, который не может быть выполнен в лабораториях первого типа.
Централизованные специализированные лаборатории обеспечивают проведение многокомпонентного (спектрального, хроматографического и др.) анализа на определенную группу веществ (металлы, органические соединения и пр.), газовых проб и аэрозольных фильтров, отобранных в ряде городов на территории одного или нескольких УГМ.
Специализированные лаборатории научно-исследовательских учреждений осуществляют детальный анализ проб воздуха для определения содержания тех веществ, анализ которых не производится сетевыми подразделениями.
Техническое дело составляется для каждого стационарного и маршрутного поста (табл. 2.4). Техническое дело хранится на посту. В нем содержатся необходимые данные о постах, программах их работы, используемых приборах, в него вносятся изменения в программе работы, сведения о замене приборов, оборудования, проведенных инспекциях поста.
На титульном листе записываются: название управления, города (и его административная подчиненность), название поста (опорный стационарный, неопорный стационарный, маршрутный), координаты поста, номер поста на схеме и в информативных документах, адрес организации, которой подчинен пост, номер ее телефона и другие сведения.
Техническое дело состоит из пяти разделов.
1. Запись замечаний лиц, инспектирующих посты; в этом разделе 1 раз в 2 - 3 года дается заключение о репрезентативности поста.
2. Схема расположения поста, на которой следует указать местоположение основных источников загрязнения в районе поста и расстояние до них, расстояние до строений, высоких зеленых насаждений и т.д.
3. Программа работы поста с указанием сроков наблюдений для каждого измеряемого вещества отдельно, используемых приборов и продолжительности отбора проб воздуха.
4. Программа метеорологических наблюдений с указанием используемых приборов.
5. Сведения о приборах и оборудовании, установленных на посту (включая лабораторию «Пост-1», «Пост-2» или др.).
Обследование состояния загрязнения атмосферы в городе или крупном районе организуется для выяснения причин высоких уровней концентрации примесей, установления их неблагоприятного влияния на здоровье населения и окружающую среду и разработки мероприятий по охране атмосферы.
В зависимости от целей различают три вида обследования: эпизодическое - для ориентировочной оценки состояния загрязнения воздуха в населенном пункте и при выборе мест для размещения постов наблюдений; комплексное - для детального изучения особенностей и причин высокого уровня загрязнения, его влияния на здоровье населения и окружающую среду в целом, а также для разработки рекомендаций по проведению воздухоохранных мероприятий; оперативное - для выявления причин резкого ухудшения качества воздуха (выполняется по специальной программе и в настоящем Руководстве не приводится). В зависимости от вида обследования различаются объемы выполняемых работ как предварительных (до начала обследования), так и в процессе обследования.
На основании предварительного изучения материалов по обследуемому городу или району (особенностей климатических условий и состояния загрязнения атмосферы) составляется программа проведения обследования. По завершении обследования выполняется обобщение полученных данных наблюдений. На основании результатов обобщения разрабатываются конкретные рекомендации по проведению тех или иных мероприятий, направленных на снижение уровня загрязнения или делается вывод о необходимости организации регулярных наблюдений. Описание методов и средств наблюдений дано в разделах 4 - 6, способы обобщения информации - в разделах 8, 9.
До проведения любого вида обследования необходимо ознакомиться:
с общей физико-географической характеристикой района для выбора местоположения постов наблюдений;
с климатическими условиями распространения примесей в районе населенного пункта для определения периодов обследования, в течение которых возможны неблагоприятные и благоприятные условия рассеивания вредных веществ, с тем чтобы обследование проводилось в различных погодных условиях;
с основными источниками загрязнения воздуха, количественным и качественным составом выбросов вредных веществ, особенностями технологических процессов с тем, чтобы провести обследование в местах возможного наибольшего загрязнения, при различных режимах выбросов вредных веществ, характерных для действующих в населенном пункте предприятий;
с состоянием загрязнения атмосферы города на основе всех имеющихся данных наблюдений или по косвенным показателям, с тем чтобы уточнить программу обследования.
На основании изучения перечисленных сведений составляется документ, в котором содержатся четыре основных раздела.
1. Физико-географическая характеристика района с указанием особенностей рельефа местности в пределах зоны радиусом 15 - 20 км, наличие водных объектов, растительных массивов.
2. Описание особенностей климатических условий распространения примесей в атмосфере на основе данных о повторяемости слабых и опасных скоростей ветра, застоев воздуха, приземных и приподнятых инверсий, их мощности и интенсивности, средних и максимальных значений коэффициента турбулентного обмена, продолжительности туманов, интенсивности осадков и количестве суммарной радиации.
Обобщение данных о климатических условиях распространения примесей в атмосфере и формы таблиц рассматриваются в разделе 9.
3. Карта-схема, на которую нанесены основные автомагистрали, железные дороги и главные источники выбросов; сведения о выбросах вредных веществ в формах, приведенных в разделе 9. Они необходимы в первую очередь для того, чтобы установить качественный и количественный состав выбросов. Список вредных веществ, содержание которых в выбросах может привести к тому, что концентрации этих веществ в атмосфере превысят ПДК, устанавливается по правилам, изложенным в разделе 2.
Параметры промышленных выбросов могут быть использованы для расчета по ОНД-86 [5] возможных максимальных концентраций вредных веществ в районе предприятия, т.е. они позволяют провести ориентировочные оценки степени загрязнения атмосферы при отсутствии данных наблюдений.
4. Оценка состояния загрязнения атмосферы города и отдельных жилых районов, сделанная по данным наблюдений, выполненных до организации обследования. При наличии данных регулярных наблюдений за год или несколько лет выполняется обобщение результатов наблюдений в соответствии с правилами, изложенными в разделе 9. Если имеются лишь отдельные эпизодические или подфакельные наблюдения в районе источников загрязнения, выполненные в разные годы, то эти данные также обобщаются за период не более 5 лет для получения основных статистических характеристик состояния загрязнения. Если данные наблюдений отсутствуют, то для оценки уровня загрязнения используются сведения о выбросах, позволяющие рассчитать значения максимальных концентраций или оценить по параметру ПВ возможности возникновения концентраций выше ПДК (см. раздел 2).
Результаты изучения особенностей климатических условий и состояния загрязнения атмосферы в городе используются для составления программы наблюдений при проведении обследования. В тех случаях, когда предусматривается изучение влияния загрязнения атмосферы на состояние здоровья населения, выбор пунктов наблюдений следует осуществлять с учетом методических указаний Минздрава СССР.
При отсутствии регулярных наблюдений за загрязнением атмосферы, организованных по принципам, изложенным в разделе 2, в городах и районах крупных промышленных объектов организуется эпизодическое обследование состояния загрязнения атмосферы. Оно может быть двух видов: в различных точках города или на разных расстояниях от промышленного предприятия под факелом выбросов вредных веществ.
Эпизодические обследования могут проводиться в течение 3 - 5 лет или только в течение одного года. Экспедиция в район обследования направляется один раз в 2 - 3 месяца и проводит там серию наблюдений в течение 10 - 15 дней с учетом необходимости получения за год не менее 200 наблюдений за концентрацией каждой примеси независимо от количества точек наблюдений. Наблюдения могут проводиться по одной из программ, рекомендованных для регулярных наблюдений, в те же сроки (см. п. 2.3). Могут быть проведены и учащенные наблюдения. Например, для изучения суточного хода концентрации примеси измерения могут выполняться каждые 2 ч. Места для проведения эпизодического обследования выбираются в соответствии с правилами, изложенными в п. 2.2. Число точек наблюдений может быть любым в зависимости от имеющихся материальных и людских ресурсов, но не менее двух.
В программе проведения эпизодического обследования указываются: место проведения обследования (город, район), количество точек наблюдений, периоды наблюдений, сроки наблюдений в течение каждого периода, перечень вредных веществ, которые необходимо контролировать, и планируемое общее количество наблюдений за каждой примесью в каждой точке. Эпизодическое обследование может быть ограничено проведением подфакельных наблюдений в районе одного из основных источников загрязнения атмосферы. Правила проведения подфакельных наблюдений подробно изложены в п. 3.4.3. При эпизодическом обследовании измерения концентраций примеси под факелом проводятся не менее, чем в трех точках на расстоянии 0,5; 1 и 3 км от границы санитарно-защитной зоны предприятия.
При подфакельных наблюдениях проводятся измерения концентраций специфических вредных веществ, характерных для выбросов обследуемого предприятия. Общее количество наблюдений на каждом расстоянии от предприятия за одной примесью должно быть не менее 50.
В случае обследования промышленного предприятия в программе обследования указывается количество точек наблюдений, их расстояние от предприятия и перечень веществ, измеряемых при обследовании. При проведении обследования используют стандартные приборы и оборудование, описание которых содержится в разделах 4 - 6. Правила отбора проб воздуха в отдельных точках города изложены в разделе 4.
Результаты выполненного обследования обрабатываются и обобщаются по правилам, изложенным в разделе 9. На основании выполненных работ составляется справка о состоянии загрязнения атмосферы, и при необходимости даются рекомендации по организации регулярных наблюдений.
При разработке мероприятий по оздоровлению воздушного бассейна отдельного города или крупного промышленного района иногда необходимо детальное изучение состояния загрязнения атмосферы с целью выделения районов, подверженных влиянию определенных источников загрязнения, уточнения распределения по территории города содержания основных и некоторых специфических вредных веществ, наблюдения за которыми ранее не проводились, уточнения правильности расчета полей максимальных концентраций при разработках нормативов предельно-допустимых выбросов (ПДВ), особенностей переноса вредных выбросов на десятки, а иногда и сотни километров от источника и изучения взаимного влияния отдельных промышленных центров на крупный промрайон. Для этого организуется комплексное обследование города или промрайона. До проведения обследования, как указано в п. 3.2, осуществляется ознакомление с общей физико-географической характеристикой района, основными источниками загрязнения и состоянием загрязнения атмосферы в различных районах города. По этим данным сначала составляется подробный обзор состояния загрязнения атмосферы города (или промрайона), а затем разрабатывается программа комплексного обследования.
После предварительного ознакомления с объектом изучения, выявляют промышленные предприятия, загрязняющие атмосферу, определяется перечень вредных веществ, наблюдения за которыми необходимо организовать, период года, в течение которого возможны условия накопления примесей в атмосфере, места вероятного максимума загрязнения, автомагистрали с наиболее интенсивным движением автомобилей и устанавливается необходимое количество и местоположение стационарных постов. Затем составляется программа обследования. Она должна включать следующие работы:
1) уточнение характеристик выбросов промышленных предприятий и автотранспорта (перечень предприятий, подлежащих обследованию, веществ, выбросы которых должны определяться и уточняться, автомагистралей для определения характеристик движения с указанием периода обследования и их частоты);
2) изучение мезометеорологического режима (определение метеопараметров, за которыми должны проводиться наблюдения, сроков проведения наблюдений, указание точек наблюдений на карте-схеме);
3) определение программы наблюдений: установление количества стационарных постов и дополнительных точек наблюдений с указанием их местоположения на карте-схеме города, перечня подлежащих контролю веществ и сроков наблюдений, перечня предприятий, в районе которых будут проведены подфакельные наблюдения, с указанием расстояний и количества точек наблюдений, сроков наблюдений и веществ, концентрации которых будут определяться;
4) сбор медико-биологических сведений (определение перечня показателей, мест обследования и т.п.), который производится в соответствии с методическими указаниями Минздрава СССР, а также со специальными программами по изучению влияния загрязнения атмосферы на состояние здоровья населения.
Обследование должно проводиться по расширенной программе, включающей измерения не только на территории города, но и за его пределами, а также на различных высотах над городом, чтобы оценить дальность и высоту распространения вредных примесей от городов, их влияние на изменение концентраций во всем жизнедеятельном слое на территории города или в целом промышленного района.
Если в городе проводится систематический контроль загрязнения атмосферы, то существующая сеть пунктов принимается за репер, так как имеет длительный период наблюдений и позволит выявить отклонения в режиме концентраций примесей. В период обследования сеть постов значительно расширяется и уплотняется (один стационарный пост на 0,5 - 5 км). В зависимости от задач обследования посты располагаются на перекрестках улиц с оживленным движением, у обочины крупных автомагистралей, на разных расстояниях от мощных промышленных предприятий или промплощадок в направлении преобладающего направления ветра, в жилых районах разного типа застройки, в местах отдыха населения, на территориях школ и детских садов, в формах рельефа (возвышенностях, впадинах), в районе метеостанции. Выбранные точки должны располагаться по возможности равномерно по городу на площадках с непылящим или малопылящим покрытием (газон, асфальт, твердый грунт) на проветриваемых местах. Для выявления влияния города на окружающую местность целесообразно также установить один стационарный пост на расстоянии 1 - 3 км от города на наветренной стороне по преобладающему направлению ветра и на расстоянии 2 - 5 км - на подветренной стороне.
Рекомендуется проводить наблюдения на различных уровнях над землей, в частности, путем использования телевизионных мачт и установки на них газоанализаторов или приборов для отбора проб воздуха, а также с помощью вертолетов - зондирование атмосферы, сопровождаемое отбором проб воздуха [2, 3].
Сроки отбора проб воздуха на стационарных и маршрутных постах зависят от программ наблюдений. Большое количество постов измерений требует значительного количества обслуживающего персонала и техники. Поэтому изучение загрязнения может проводиться последовательно в отдельных районах города. При этом на стационарных постах наблюдения выполняются постоянно, а на дополнительной сети наблюдений в отдельных районах города - периодически в течение двух месяцев года - в теплый и холодный периоды. Деление города на части проводится по географическим (например, город разделен реками или формами рельефа), административным или производственным признакам в зависимости от его размеров и степени индустриализации. Например, в городе выбрано для изучения 20 постов, пять из которых являются стационарными постами сети ОГСНКА, т.е. реперными. В соответствии с размерами и расположением промышленных объектов город можно разделить на части, в каждой из которых имеются стационарные (реперные) посты и 4 - 6 дополнительных. Наблюдения на стационарных постах проводятся в течение всего года в рекомендованные стандартными программами сроки, а на дополнительных - в различные месяцы (июнь и декабрь, июль и январь, август и февраль). Если обследование продолжается более двух лет, то целесообразно менять месяцы, в которые проводятся наблюдения.
Программа обследования должна быть рассчитана на комплексное изучение в течение 1 года или двух - трех лет.
Для обеспечения получения статистически достоверных характеристик загрязнения атмосферы общее количество наблюдений за одной примесью в одной точке должно быть не менее 200, на одном расстоянии от предприятий за одной примесью - не менее 50 в год [1].
В программе следует указать сроки подготовки результатов обобщения и анализа информации.
Работы по комплексному изучению состояния загрязнения атмосферы должны организовываться и проводиться совместно рядом заинтересованных организаций под руководством УГМ: санитарно-эпидемиологической службой, специализированными НИИ, предприятиями, учреждениями геолого-почвенного профиля (для оценки состава почвы с целью выявления отложений в ней вредных веществ), медико-биологического профиля (для определения влияния загрязнения атмосферы на биосферу, растительность и живые организмы, в том числе человека). В программе должны быть указаны задачи, решаемые каждой организацией. Для общей координации работ решением местных Советов может быть создана специальная комиссия, которая сможет разместить заказы на изготовление оборудования, решить вопрос о выделении на период обследования служебных помещений, организовать охрану приборов и установок и т.п.
Для определения максимальных значений концентрации загрязняющих веществ, которые создаются при направленных выбросах от предприятий на тот или иной район города, а также размера зоны распространения примесей от данного предприятия, организуются подфакельные наблюдения, т.е. измерения концентраций примесей под осью факела выбросов из труб промышленных предприятий. Местоположение точек, в которых производится отбор проб воздуха для определения концентраций вредных веществ, меняется в зависимости от направления факела.
Подфакельные наблюдения проводятся в районе отдельно стоящего источника выбросов или группы источников как на территории города, так и за его пределами. Для проведения наблюдений, перевозки аппаратуры, с помощью которой осуществляется отбор проб воздуха, источников питания и радиостанций с радиусом действия не менее 10 - 15 км, необходима автомашина. С помощью автомобиля можно довольно быстро перемещаться из одной точки в другую и проводить наблюдения одним наблюдателем и одним комплектом аппаратуры в нескольких точках с некоторым сдвигом наблюдений по времени. За рабочую смену (8 ч) на одной машине можно провести наблюдения в 8 - 10 точках. Если на каждом пункте проводить наблюдения не менее двух раз в день, то с помощью одной машины можно осуществлять наблюдения в 4 - 5 точках [6].
Отбор проб при подфакельных наблюдениях проводится на расстояниях 0,5; 1; 2; 3; 4; 6; 8; 10; 15 и 30 км. Данные наблюдений на близких расстояниях от источника (0,5 км) характеризуют загрязнение атмосферы низкими источниками и неорганизованными выбросами, а на дальних - сумму от низких, неорганизованных и высоких выбросов.
Измерения концентраций проводятся в центральных (осевых) точках, расположенных по оси факела на различных расстояниях от источника выброса, и в точках слева и справа от линии, перпендикулярной оси факела. Расстояние между точками зависит от ширины факела: по мере удаления от источника выброса оно увеличивается и может колебаться от 50 до 300 - 400 м. Проведение отбора проб в зоне влияния факела предприятия на разных расстояниях от источника дает возможность проследить изменение концентраций вдоль факела и получить более достоверные данные. В случае изменения направления факела наблюдения перемещаются в зону влияния факела. Если из-за препятствий (водоемы, отсутствие подъездных дорог и т.д.) установить местоположение отбора проб на необходимых расстояниях от источника под факелом не представляется возможным, выбираются другие точки.
Более часто следует проводить наблюдения на расстояниях 10 - 40 средних высот труб от источника, где особенно велика вероятность появления максимума концентраций. Наблюдения проводятся за специфическими веществами, характерными для данного предприятия, и с таким расчетом, чтобы на каждом расстоянии от источника было не менее 50 измерений каждого вещества.
При выполнении подфакельных наблюдений наиболее существенной частью работы является установление направления факела и выбор точек отбора проб. Направление факела определяется по визуальным наблюдениям за очертаниями дыма. Если дымовое облако отсутствует, то направление факела определяется по направлению ветра (по данным шаропилотных наблюдений) на высоте выброса, по запаху вредных веществ, характерных для обследуемого источника, и по видимым факелам близлежащих источников.
Отбор проб воздуха под факелом осуществляется на высоте 1,5 - 3,5 м от поверхности земли в соответствии с методикой, применяемой при наблюдениях на стационарном посту. Подфакельные наблюдения следует выполнять в сроки проведения измерений на стационарных и маршрутных постах и дополнительно в другие сроки, чтобы изучить распределение максимальных концентраций в различные часы суток.
Измерение уровня загрязнения воздуха, обусловленного выбросами автотранспорта, проводится в комплексе с измерением уровня загрязнения выбросами промышленных источников, но может проводиться и самостоятельно. Оценка состояния загрязнения атмосферного воздуха на автомагистралях и в прилегающей жилой застройке может быть проведена на основе определения в воздухе содержания как основных компонентов выхлопных газов (оксида углерода, углеводородов, оксидов азота, акролеина, формальдегида, соединений свинца), так и продуктов их фотохимических превращений (озона и др.).
Для изучения особенностей загрязнения воздуха выбросами автотранспорта организуют специальные наблюдения, в результате которых определяют:
максимальные значения концентраций основных примесей, выбрасываемых автотранспортом в районах автомагистралей, и периоды их наступления при различных метеоусловиях и интенсивности движения транспорта;
границы зон и характер распределения примесей по мере удаления от автомагистралей;
особенности распространения примесей в жилых кварталах различного типа застройки и в зеленых зонах, примыкающих к автомагистралям;
особенности распределения транспортных потоков по магистралям города.
Наблюдения проводят во все дни рабочей недели ежечасно с 6 до 13 ч или с 14 до 21 ч, чередуя дни с утренними и вечерними сроками. В ночное время наблюдения проводятся один - два раза в неделю.
Точки наблюдения выбираются на городских улицах в районах с интенсивным движением транспорта и располагаются на различных участках улиц в местах, где часто производится торможение автомобилей и выбрасывается наибольшее количество вредных примесей. Кроме того, пункты организуются в местах скопления вредных примесей за счет слабого рассеяния (под мостами, путепроводами, в туннелях, на узких участках улиц и дорог с многоэтажными зданиями), а также в зонах пересечения двух и более улиц с интенсивным движением транспорта.
Места для размещения приборов выбираются на тротуаре, на середине разделительной полосы при ее наличии и за пределами тротуара - на расстоянии половины ширины проезжей части одностороннего движения. Пункт, наиболее удаленный от автомагистрали, должен располагаться не менее чем в 0,5 м от стены здания. На улицах, пересекающих основную автомагистраль, пункты наблюдения размещаются на краях тротуаров и на расстояниях, превышающих ширину магистрали в 0,5; 2; 3 раза.
В кварталах старой застройки (сплошные ряды зданий с отдельными арочными проемами в них) места для размещения пунктов наблюдения выбираются в центре внутриквартального пространства.
Интенсивность движения определяется путем учета числа проходящих транспортных средств, которые делятся на пять основных категорий: легковые автомобили, грузовые автомобили, автобусы, дизельные автомобили и автобусы, мотоциклы, - ежедневно в течение 2 - 3 недель в период с 5 - 6 ч до 21 - 23 ч, а на транзитных автомагистралях в течение суток. Подсчет количества проходящих транспортных единиц проводится в течение 20 мин каждого часа, а в 2 - 3-часовые периоды наибольшей интенсивности движения автотранспорта - каждые 20 мин. Средняя скорость движения транспорта определяется на основе показателей спидометра автомашины, движущейся в потоке транспортных средств, на участке протяженностью от 0,5 до 1 км данной автомагистрали. На основании результатов наблюдений вычисляются средние значения интенсивности движения автотранспорта в течение суток (или за отдельные часы) в каждой из точек наблюдения.
Метеорологические наблюдения включают измерения температуры воздуха и скорости ветра на уровнях 0,5 и 1,5 м от поверхности земли. Аналогичные наблюдения выполняются на метеостанции, расположенной за городом. При определении содержания в воздухе озона одновременно на метеостанции проводятся наблюдения за интенсивностью прямой и суммарной солнечной радиации, которая оказывает существенное влияние на скорость протекания фотохимических реакций в воздухе и образование озона.
Изучение уровня загрязнения воздуха промышленного района включает наблюдения в отдельных городах и промышленных поселках этого района, вне городов и населенных пунктов, по радиальным маршрутам за пределами города и промрайона.
Одновременно с наблюдениями за уровнем загрязнения атмосферы могут проводиться наблюдения за содержанием вредных веществ в почве и растительности, химическим составом осадков, коррозией металлических поверхностей и конструкций.
При организации изучения уровня загрязнения атмосферы промрайона необходимо выбрать опорный город в той части района, которая вносит основной вклад в загрязнение атмосферы. Важно, чтобы в опорном городе имелся ряд наблюдений за уровнем загрязнения атмосферы и чтобы в период изучения промрайона сохранялись систематические наблюдения. Если в этом городе отсутствует сеть наблюдений за уровнем загрязнения атмосферы, то такие наблюдения необходимо организовать. В остальных городах в период изучения должны быть также организованы наблюдения за уровнем загрязнения атмосферы, как указано в п. 3.4.3.
Программа изучения состояния загрязнения атмосферы может выполняться одновременно во всех городах района или последовательно в разных городах, но при сохранении непрерывных наблюдений в опорном городе.
Организация внегородских наблюдений за уровнем загрязнения атмосферы предусматривает выбор стационарных пунктов за пределами города на территории промышленного района. Количество пунктов зависит от площади промрайона и от расстояния между городами. Пункты должны размещаться между городами (не на автомагистралях) в небольших поселках или малонаселенных местах, где крупные источники выброса вредных веществ отсутствуют, а также за пределами промрайона на расстоянии до 50 км. Наблюдения на этих пунктах проводятся по той же программе, что и на стационарных (маршрутных) постах; при этом допускается сдвиг сроков наблюдений. Целесообразно организовать непрерывный отбор среднесуточных проб.
Для изучения уровня загрязнения атмосферы, обусловленного влиянием источников выбросов отдельных городов промрайона, используется система радиальных маршрутов, предусматривающая как бы проведение подфакельных наблюдений, где за источник выброса принимается весь город. Конкретная реализация этого типа наблюдений следующая. Автомашина, оснащенная оборудованием для отбора проб воздуха и метеорологических наблюдений, передвигается от одного города к другому по направлению ветра с остановками для проведения измерений на расстояниях (от административной черты города) 1, 5, 10, 20 км и далее через 20 км до административной черты следующего города. В то же время выполняются отборы проб на пунктах в городе, от которых начинаются радиальные маршруты. Для получения статистически обоснованных результатов рейсы по одному и тому же маршруту должны повторяться не менее 10 раз с проведением не менее 50 измерений в каждой точке наблюдений. При радиальных маршрутах факел вредных веществ от города может не совпадать с направлением ближайшей автомагистрали. В таких случаях целесообразно прекратить наблюдения по маршруту и провести наблюдения по другим подветренным маршрутам, связывающим другие города. Отбор проб следует проводить не на автомагистрали, а на расстоянии 200 - 300 м от нее. Наблюдения на радиальных маршрутах являются очень трудоемким и дорогим мероприятием, поэтому они должны выполняться с максимально возможной тщательностью, чтобы не допустить погрешностей в измерениях.
Кроме наблюдений непосредственно за уровнем загрязнения атмосферы, используются также косвенные методы, к числу которых относится отбор проб атмосферных осадков, определение содержания вредных веществ в снеге, почве и растительности.
Результаты анализа химического состава осадков позволяют не только оценивать вклад локальных источников выбросов примесей, но и перенос этих примесей вместе с воздушными массами. Сбор атмосферных осадков и их химический анализ для получения надежных характеристик должны продолжаться не менее двух - трех лет. Сбор осадков должен осуществляться на пунктах наблюдений (на метеостанциях, гидрометеорологических постах), расположенных вне города, и на городских стационарных пунктах - в наиболее чистом и в наиболее загрязненном месте.
Основным условием получения надежных данных химического состава осадков является точное исполнение методических рекомендаций, изложенных в разделе 2, ч. II.
Накопление вредных веществ в почве и растительности происходит главным образом за счет их поступления из атмосферы. Поэтому изучение загрязнения почвы, поврежденной растительности или накопления в ней примесей может оказать существенную помощь в оценке содержания в атмосфере вредных веществ. Места взятия образцов почвы и растительности должны находиться, по возможности, вблизи точек отбора проб воздуха.
Организации при проектировании крупных промышленных объектов, например таких, как атомные электростанции, проводят инженерные изыскания, целью которых является определение коррозионной активности атмосферы в районе предполагаемого строительства. В ходе работ предусматривается проведение наблюдений за содержанием коррозионно-активных примесей в атмосфере (главные из которых диоксид серы, хлориды).
В зависимости от результатов наблюдений проектирующие организации выбирают меры по защите сооружений от атмосферной коррозии в соответствии с ГОСТ 15.150-69 [4], согласно которому выделяются четыре типа атмосферы по загрязнению ее диоксидом серы в промышленных районах и хлоридами на побережьях морей и в районах с сильно засоленными почвами.
Наблюдения за содержанием в воздухе коррозионно-активных примесей в районе предполагаемого строительства проводят в течение одного - двух лет на специальных постах, оборудованных для отбора проб воздуха и пыли. Расположение постов и их количество должны быть репрезентативными для исследуемого района.
Наблюдения проводят ежедневно один раз в сутки на высотах 1,5; 10; 30 и 40 м от поверхности земли. В период выпадения осадков в виде дождя и снега пробы не отбираются, а при пыльных бурях продолжительность отбора проб сокращается.
При организации наблюдений составляют физико-географическое описание исследуемого района, в котором должны быть отражены основные метеорологические характеристики. Дополнительно включают данные о среднемесячной продолжительности выпадения осадков, туманов. Отражаются также сведения о расположенных в радиусе 40 км промышленных предприятиях, солончаках и других влияющих на химический состав атмосферы естественных и антропогенных объектах.
Отбор и анализ проб воздуха для определения концентрации диоксида, серы осуществляется в соответствии с методикой 5.2.7.2, ч. I. Отбор и химический анализ проб аэрозолей для определения концентрации хлоридов осуществляется по методике 4.5.7, ч. II. Однако продолжительность отбора одной пробы увеличивается до 90 мин.
По результатам систематических анализов проб воздуха и аэрозолей определяются среднемесячные концентрации диоксида серы и хлоридов для каждого поста наблюдений. Интенсивность выпадения хлоридов (мг/м2×сут) на подстилающую поверхность рассчитывается по следующей формуле:
П = 8,64×104q(ω + 0,048u), (3.1)
где q - среднемесячная концентрация хлоридов в воздухе, мг/м3, ω - скорость гравитационного осаждения хлоридов, м/с; u - среднемесячная скорость ветра на уровне флюгера, м/с.
Скорость гравитационного осаждения хлоридов, выносимых с поверхности морей, принимается равной 0,064 м/с, а с засоленных почв - 0,002 м/с.
Определение типа атмосферы в зависимости от ее загрязнения диоксидом серы и хлоридами производят по табл. 3.1.
Классификация атмосферы по степени загрязнения коррозионно-активными веществами
|
Содержание коррозионно-активных веществ |
||
|
диоксид серы, мг/м3 |
хлориды мг/(м2×сут) |
|
|
1 |
2 |
3 |
|
I. Условно-чистая |
Не более 0,025 |
Менее 0,3 |
|
II. Промышленная |
0,025 - 0,13 |
Менее 0,3 |
|
III. Морская |
Не более 0,025 |
30 - 300 |
|
IV. Приморско-промышленная |
0,025 - 0,13 |
0,3 - 30 |
По окончании общего цикла наблюдений проектирующей организации передается отчет, в котором представляются данные о содержании коррозионно-активных примесей атмосферы в исследуемом районе и определяется тип атмосферы в соответствии с ГОСТ 15.150-69 [4].
Оценка состояния загрязнения атмосферы вредными веществами проводится по правилам, изложенным в разделе 9. Характеристики загрязнения определяются за различные интервалы времени, в течение которых проявляется изменчивость загрязнения атмосферы, например за сутки, неделю или более длительные периоды. Анализ данных наблюдений может быть проведен с учетом различных метеорологических условий: слабых скоростей ветра, длительных периодов инверсий температуры воздуха, застоев воздуха и так далее. Обобщение материалов наблюдений выполняется отдельно по каждой точке измерений, по различным зонам в городе, по городу в целом и по промышленному району.
Для анализа влияния метеорологических условий на загрязнение воздуха используются результаты наблюдений за уровнем загрязнения воздуха на постах в городе и данные метеорологических наблюдений из ближайшей метеостанции. Результаты обобщения представляются в виде таблиц и графиков.
Если в городе проводились наблюдения за уровнем загрязнения воздуха на различной высоте от земли, то они также используются для анализа. Эти данные позволяют сделать заключение о закономерностях изменения концентрации с высотой. Наблюдения за содержанием вредных примесей с помощью вертолетов дают возможность получить вертикальные разрезы концентраций вредных примесей над городом и охарактеризовать поле концентрации примесей на разных высотах. Пространственное распределение содержания вредных примесей в атмосфере представляют с помощью изолиний. Это позволяет выявить структуру «дымовой шапки» над городом и ее протяженность в зависимости от преобладающего направления ветра.
Результаты наблюдений на телевизионной башне в городе представляют в виде графиков вертикального распределения концентраций примесей. Исследуется зависимость значений концентрации от метеорологических параметров, таких как направление и скорость ветра, а также температура воздуха на разных высотах.
При изучении уровня загрязнения атмосферы выхлопными газами устанавливается зависимость содержания примесей в атмосфере от интенсивности движения автотранспорта, ширины улиц и магистралей, времени суток и метеоусловий, а также от вида и плотности застройки, высоты зданий, степени озеленения.
При изучении распространения примесей от одиночного источника можно использовать данные распределения концентраций, полученные в результате расчетов максимально возможной концентрации (cм) на ЭВМ по параметрам выбросов [5]. На основании результатов наблюдения проверяется надежность выполненных расчетов.
Если в городе проведена микрометеорологическая съемка, ее результаты используются для описания поля метеорологических элементов в городе. Например, в зависимости от времени суток и времени года можно построить карты изолиний температуры воздуха и определить местоположение и время максимального развития «острова тепла» в городе, его смещение в зависимости от преобладающего направления ветра.
На основании характеристик загрязнения (см. раздел 9) атмосферы по разным районам проводится анализ влияния загрязнения атмосферы на состояние здоровья населения, проживающего в данной местности, в соответствии с рекомендациями Минздрава СССР. На основании результатов анализа данных наблюдений составляется обобщающий отчет с рекомендациями по улучшению экологической ситуации и по оптимизации сети наблюдений.
Определение концентраций многих вредных примесей в атмосфере производится лабораторными методами. Отбор проб осуществляется путем аспирации определенного объема атмосферного воздуха через поглотительный прибор, заполненный жидким или твердым сорбентом для улавливания вещества, или через аэрозольный фильтр, задерживающий содержащиеся в воздухе частицы. Определяемая примесь из большого объема воздуха концентрируется в небольшом объеме сорбента или на фильтре. Параметры отбора проб, такие как расход воздуха и продолжительность его аспирации через поглотительный прибор, тип поглотительного прибора или фильтра, устанавливаются в зависимости от определяемого вещества.
При наблюдениях за уровнем загрязнения атмосферы используются следующие режимы отбора проб: разовый, продолжающийся 20 - 30 мин; дискретный, при котором в один поглотительный прибор или на фильтр через равные промежутки времени в течение суток отбирают несколько (от 3 до 8) разовых проб, и суточный, при котором отбор в один поглотительный прибор или на фильтр производится непрерывно в течение суток.
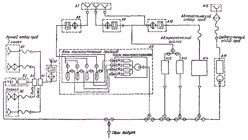
Отбор проб атмосферного воздуха осуществляется на стационарных или передвижных постах, укомплектованных оборудованием для проведения отбора проб воздуха и автоматическими газоанализаторами для непрерывного определения концентраций вредных примесей. Одновременно с проведением отбора проб непрерывно измеряются скорость и направление ветра, температура воздуха, атмосферное давление, фиксируется состояние погоды и подстилающей поверхности почвы.
Используемые на стационарных постах средства измерения размещаются в комплектных лабораториях «Пост-1» и «Пост-2», на маршрутных и подфакельных постах - в автолаборатории «Атмосфера-II». Для отбора проб воздуха используются электроаспираторы или воздухоотборники.
Электроаспираторы модели 822 и ЭА-1 предназначены для отбора разовых (20 - 30 мин) проб воздуха в поглотительные приборы с целью дальнейшего определения концентраций газообразных примесей и сажи. Используются в стационарных лабораториях «Пост-1» и «Пост-2». Электроаспиратор ЭА-1А также предназначен для отбора разовых проб, имеет автономное питание и используется в автолаборатории «Атмосфера-II». Электроаспиратор ЭА-2 предназначен для отбора разовых проб воздуха на фильтры с целью дальнейшего определения концентраций аэрозольных примесей. Используется в лабораториях «Пост-2». Характеристики фильтров приведены в приложения 4.1.
Электроаспиратор ЭА-2С предназначен для отбора суточных проб на один фильтр в циклическом или непрерывном режиме. Используется в лаборатории «Пост-2». С 1988 г. серийно выпускается электроаспиратор ЭА-2СМ взамен снятых с производства электроаспираторов ЭА-2 и ЭА-2С. Он предназначен для отбора разовых или суточных проб на один фильтр в циклическом или непрерывном режиме. Используется в «Пост-2».
Электроаспиратор ЭА-3 предназначен для отбора разовых или суточных проб большого объема на один фильтр и адсорбер с твердым сорбентом для определения малых концентраций примесей, находящихся в газообразном и аэрозольном состоянии. Используется на станциях фонового мониторинга и в населенных пунктах, где устанавливается автономно на охраняемой территории.
Воздухоотборник «Компонент» предназначен для циклического отбора разовых проб воздуха в поглотительные приборы с целью дальнейшего определения концентрации газообразных примесей. Предусмотрен автоматический отбор 32 проб, распределенных по четырем каналам. Используется в стационарных лабораториях «Пост-2».
Неполные технически данные электроаспираторов, используемых на сети ОГСНКА, приведены табл. 4.11, технические средства и характеристики комплектных лабораторий - в табл. 4.2.
1 Подробное описание электроаспираторов имеется в техническом описании, прилагаемом к каждому прибору.
Основные технические данные электроаспираторов
|
ЭА-1 |
ЭА-1А |
Модель 822 |
«Компонент» |
ЭА-2 |
ЭА-2С |
ЭА-2СМ |
ЭА-3 |
|
|
Число каналов |
4 |
4 |
4 |
4 |
1 |
1 |
1 |
1 |
|
Диапазон расхода воздуха в каждом канале, дм3/мин |
0,25 - 5,00 |
0,25 - 5,00 |
0,1 - 1,0; 1 - 20 |
0,25 - 5,00 |
150 - 250 |
75 - 125 |
70 - 250 |
600 |
|
Максимальное разрежение, Па |
14000 |
6500 |
10790 |
8000 |
12000 |
7500 |
4500 |
4500 |
|
Суммарный расход, дм3/мин |
20 |
10 |
42 |
8 |
250 |
125 |
250 |
600 |
|
Основная приведенная погрешность измерения, %, не более |
10 |
10 |
10 |
5 |
6 |
5 |
5 |
5 |
|
Напряжение питания, В |
220 |
12 |
220 |
220 |
220 |
220/380 |
220/380 |
220/380 |
|
Частота, Гц |
50 |
0 |
50 |
50 |
50 |
50 |
50 |
50 |
|
Масса, кг |
25 |
8 |
8 |
100 |
43 |
80 |
78 |
350 |
|
Потребляемая мощность, В×А |
500 |
40 |
130 |
800 |
1300 |
1700 |
505 |
1500 |
|
Длительность отбора пробы (мин) и режим работы |
20 |
20 |
20 |
20 (автоматический, циклический) |
20 |
Непрерывный или циклический |
20; непрерывный или циклический |
Непрерывный или циклический |
|
Измеритель объема, расхода или стабилизатор расхода воздуха |
Ротаметры |
Ротаметры |
Ротаметры |
Критические сопла |
РГ-40 |
РГ-40 |
РГ-40 |
РГ-40 |
|
Прибор предназначен для определения концентрации |
Газов |
Газов и пыли |
Газов |
Газон |
Пыли |
Пыли |
Пыли |
Пыли и газов |
|
Вид поглотителя |
Жидкий или твердый сорбент |
Жидкий или твердый сорбент, фильтр АФА-ВП-20 |
Жидкий или твердый сорбент |
Жидкий или твердый сорбент |
Фильтр из ткани ФПП |
Фильтр АФА-ВП-20 |
Фильтры АФА-ВП-20, из ткани ФПП |
Фильтры из ткани ФПП, АФА-ВП-20, твердый сорбент |
Технические средства и характеристики комплектных лабораторий
|
«Пост-1» |
«Пост-2» |
«Атмосфера-II» |
|
|
Автоматические газоанализаторы |
ГМК-3 |
ГМК-3 |
Газоиндикаторы «Атмосфера-I», «Атмосфера-II» |
|
Измеряемые вещества |
|
Пыль, газовые примеси |
|
|
Метеорологические приборы |
М-47 |
М-63МР, ГС-210 |
М-49 |
|
Диапазоны измеряемых метеорологических элементов |
|
|
|
|
скорость ветра, м/с |
1,5 - 60 |
1,5 - 60 |
1,5 - 60 |
|
направление ветра, …° |
0 - 360 |
0 - 360 |
0 - 360 |
|
температура, °С |
-55... + 45 |
-40... + 50 |
-30... + 50 |
|
относительная влажность, % |
30 - 100 |
30 - 100 |
10 - 100 |
|
атмосферное давление, кПа |
40 - 108 |
40 - 108 |
40 - 108 |
|
Электропитание |
|
|
|
|
напряжение, В |
220 ± 10 % |
(220/380) ± 10 % |
220 ± 10 % |
|
частота, Гц |
50 ± 0,5 |
50 ± 0,5 |
50 ± 0,5 |
|
потребляемая мощность, кВт |
До 4 |
До 8 |
До 4 |
|
Размеры |
|
|
|
|
длина, мм |
2100 |
2200 |
4360 (2730) |
|
ширина, мм |
2100 |
2700 |
1940 (1820) |
|
высота, мм |
7830 |
7600 |
2090 (1320) |
|
масса, кг |
2300 |
3000 |
2670 |
|
Срок службы, лет |
10 |
10 |
10 |
|
Электроаспираторы |
Модель 822, пылесос с фильтродержателем и ротаметром РС-7 |
ЭА-1, ЭА-2, ЭА-2С, ЭА-2СМ, «Компонент» |
Модель 822, пылесос с фильтродержателем и счетчиком газа РГ-40-1 |
|
Способ отбора проб для анализа |
Ручной |
Ручной и автоматический |
Ручной |
|
Время подготовки к работе, мин |
30 |
30 |
30 |
|
Примечание. В скобках приведены внутренние размеры салона автофургона. |
|||
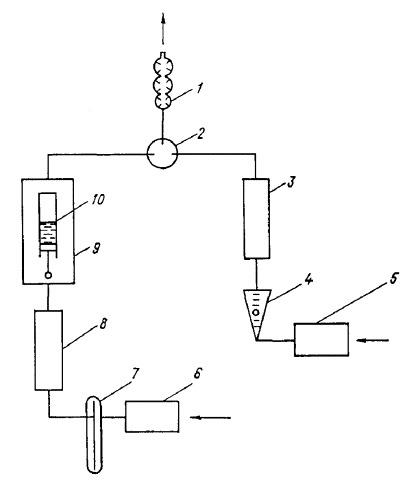
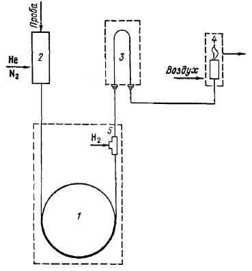
Электроаспиратор ЭА-1 (черт. 4.1) состоит из побудителя расхода (ротационного насоса), четырех ротаметров, регулирующих вентилей и реле времени, штатива, на котором укреплены коллектор, поглотительные приборы и патроны-переходники, предотвращающие попадание поглотительных растворов в ротаметры.
Электроаспиратор ЭА-1
Электроаспиратор ЭА-1A
Электроаспиратор ЭА-1А (черт. 4.2) состоит из побудителя расхода, четырех ротаметров, батареи аккумуляторов и штатива.
Электроаспиратор ЭА-2 (черт. 4.3) состоит из фильтродержателя, блока аспирации с пультом управления и расходомером и побудителя расхода (пылесоса). Расходомер состоит из счетчика газа РГ-40-1, измерительной диафрагмы, дросселя и нагревателя с терморегулятором, которой включается при отрицательной температуре отбираемого воздуха и автоматически поддерживает его постоянную температуру (20 ± 1) °С.
Электроаспиратор ЭА-2
Электронагреватель снабжен блокировкой, исключающей возможность его включения при неработающем побудителе расхода. ЭА-2 имеет реле времени, обеспечивающее автоматическое выключение электроаспиратора по истечении заданного интервала времени.
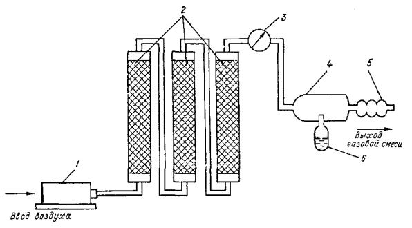
Электроаспиратор ЭА-2С (черт. 4.4) состоит из фильтродержателя, блока аспирации с расходомером и побудителя расхода (вихревого вентилятора). Блок аспирации включает в себя счетчик газа РГ-40-1, измерительную диафрагму, дифманометр и дроссель для регулировки и определения расхода воздуха, воздуховод с электронагревателем и терморегулятором для поддержания постоянной температуры отбираемого воздуха при отрицательных температурах наружного воздуха (электронагреватель снабжен блокировкой, исключающей возможность его включения при неработающем побудителе расхода), два реле времени для установки длительности рабочего периода и паузы при циклическом режиме работы электроаспиратора в пределах от 4 мин до 3 ч. Выключение электроаспиратора осуществляется вручную кнопкой «Стоп» или автоматически (в автоматическом режиме).
ЭА-2С-М - универсальный электроаспиратор, сочетающий возможности ЭА-2 и ЭА-2С; по конструкции подобен электроаспиратору ЭА-2.
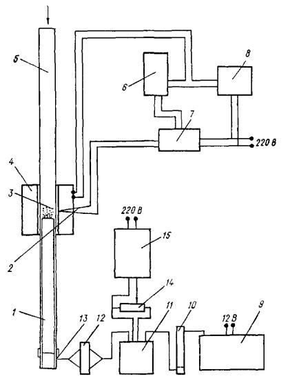
Электроаспиратор ЭА-3 (черт. 4.5) состоит из тех же основных частей, что и электроаспиратор ЭА-2С. Отличие заключается в том, что все они размещены в специальном термоизолированном металлическом шкафу, а фильтродержатель находится над шкафом и имеет защиту от попадания на фильтр осадков. Электроаспиратор снабжен двумя сменными фильтродержателями. Первый предназначен для отбора проб пыли из атмосферного воздуха на фильтр из ткани ФП с площадью рабочей поверхности 160 см2; второй - для отбора проб воздуха на фильтр АФА-20 и твердые сорбенты.
Воздухоотборник «Компонент» состоит из вакуумного насоса и корпуса, в котором находятся реле времени, вакууметр, системы электромеханических реле и клапанов. Постоянство расхода воздуха обеспечивается термостатированными критическими соплами, также расположенными внутри корпуса. На верхней части корпуса расположены воздуховоды, поглотительные приборы и защитные фильтры.
Электроаспиратор ЭА-2С
В лаборатории «Пост-1» размещается основное и вспомогательное оборудование для проведения наблюдений за уровнем загрязнения атмосферы и измерения метеорологических элементов. Приборы и оборудование лаборатории работают при температуре (10 - 35 °С), относительной влажности до 80 % (при 20 °С) и атмосферном давлении 90 - 104 кПа (680 - 785 мм рт. ст.).
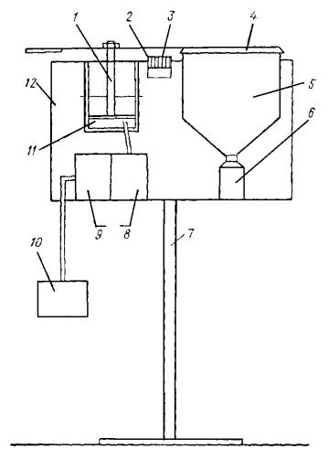
Оборудование «Пост-1» включает: автоматические газоанализаторы ГМК-3 и ГКП-1, системы для проведения отбора проб и метеорологических наблюдений, мачту для установки датчика ветра, систему электроснабжения и освещения.
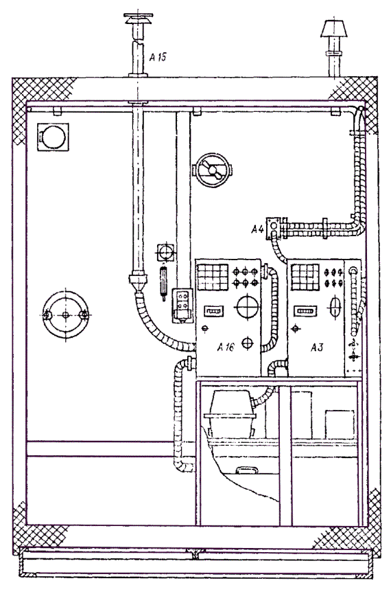
Схема размещения приборов и оборудования в «Пост-1» показана на черт. 4.6. Стены павильона выполнены из термоизолирующего материала и облицованы с внутренней стороны пластиком 1, а с наружной - декоративными дюралюминиевыми ячейками специального профиля 2, пол покрыт линолеумом. Мачта с датчиком ветра устанавливается на плоской крыше павильона.
В специальной камере 35 размещаются датчики 33 температуры и влажности воздуха метеостанции М-49. От внутренней части павильона камера термоизолирована. При открытой дверце 34 камеры датчик выдвигается на 1,5 м от стенки павильона для производства измерений в естественных условиях.
В двух противоположных углах павильона имеются четыре люка 11 с крышками, в которые вставляется блок 39 отбора проб на пыль и сажу. Высота люков от поверхности земли составляет 1,5 м. Через крышу павильона пропущен трубопровод 15 с защитным колпачком 14, возвышающийся над крышей на 50 см и соединенный внутри павильона с распределительной гребенкой 27 для отбора проб воздуха на газовые примеси.
Лабораторное оборудование включает: лабораторный Г-образный стол 7 с тумбочками, на котором крепятся полки 9 для установки приборов; вращающийся лабораторный стул (с регулируемой высотой); два ящика 5 для хранения и транспортировки стеклянных поглотителей, наполненные поглотительным раствором; два штатива для установки поглотителей, настольного вентилятора и сигнальных часов (на чертеже не показаны). Для вентиляции павильона служит люк 3.
Система отбора проб воздуха на газовые примеси и сажу состоит из трубопровода 15 с нагревателем 30 и терморегулятором 29, распределительной гребенки 27 для подключения поглотителей и двух электроаспираторов 28 модели 822 на амортизаторах 26. Все элементы воздуховода и распределительной гребенки выполнены из фторопласта. При отрицательной температуре наружного воздуха терморегулятор поддерживает положительную температуру воздушного потока, поступающего в поглотители.
Система отбора проб воздуха на пыль состоит из блока отбора проб 38 с гибким шлангом 46, оканчивающимся шлифом 37, камеры подогрева 20, имеющей нагреватель с терморегулятором 31 и шлиф 19, ротаметра РС-7 17 с регулятором расхода 32, который соединен гибким шлангом 21 с пылесосом 22. В блок отбора проб вмонтирована труба, один ее конец 39, на который надевается фильтродержатель с фильтром, выставляется наружу, а другой располагается внутри павильона и заканчивается гибким шлангом 46. Гибкий шланг посредством шлифа 37 вставляется непосредственно в шлиф, соединенный с камерой подогрева 19, либо в шлиф 10 трубопровода 4, идущего от противоположного угла павильона, который в свою очередь с помощью гибкого шланга 18 и шлифа соединяется с камерой подогрева. Таким образом обеспечивается возможность отбора проб воздуха на пыль в любом из четырех люков. В этот же блок вмонтирована трубка 40 для забора проб воздуха на сажу. Ее наружный конец оканчивается специальным патроном для фильтра, а на внутренний конец надевается резиновая трубка, соединенная с электроаспиратором.
Размещение оборудования в «Пост-1». Вид слева
Размещение оборудования в «Пост-1». Вид спереди
Размещение оборудования в «Пост-1». Вид справа
При отрицательной наружной температуре воздух, поступающий в ротаметр, подогревается до 20° С с помощью терморегулятора.
Расход воздуха в ротаметре РС-7 (дм3/мин) определяют по высоте подъема (см) верхнего среза поплавка с помощью градуировочного графика 16. В верхней части ротаметра имеется регулятор расхода 32 со специальной муфтой, поворотом которой частично или полностью перекрывается разгрузочное отверстие в воздуховоде, благодаря чему можно регулировать расход воздуха в пылевом канале. Побудителем расхода воздуха служит пылесос, включенный в розетку над столом; розетка соединена с электрической сетью через выключатель пылесоса. Пылесос резиновым шлангом 21 соединяется (на чертеже не показано) с регулятором расхода 32.
Система автоматических измерений состоит из газоанализатора диоксида серы ГКП-1 12 и газоанализатора оксида углерода ГМК-3 13, 25, закрепленных на столе и полках. Газоанализаторы присоединяются к распределительной гребенке при помощи фторопластовых трубок. Электрическое питание газоанализаторов осуществляется подключением к розеткам 24, расположенным на боковой стенке павильона над столом. При отсутствии этих газоанализаторов можно вместо них установить газоанализатор серии 600-03.
Система измерения метеорологических элементов состоит из метеорологической станции М-49, пульта управления 8, который располагается на полке и включается в розетку на боковой стенке павильона; датчика скорости и направления ветра станции, установленного на мачте, укрепленной на крыше павильона. При установке датчик ветра ориентируется с помощью компаса. Соединительный кабель от датчика скорости и направления ветра пропущен внутрь мачты через отверстие в верхней ее части и проходит через крышу в павильоне к пульту управления станции.
Датчики температуры и влажности воздуха смонтированы на каретке 42 устройства для перемещения 43, ролики которой катятся по передвижной штанге 45. Кабель 44 от датчиков проходит внутри выдвижной штанги. Каретка вместе с датчиками выдвигается в рабочее положение наблюдателем за рукоятку 41 на подвижной штанге. В исходное положение датчик возвращается наблюдателем за ту же рукоятку, дверца камеры для сбрасывания защелки резко захлопывается с помощью гибкого стального тросика 36. Для определения атмосферного давления в выдвижном ящике стола установлен барометр-анероид 23, который выдвигается на время измерений. Для измерения влажности и температуры воздуха в случае выхода из строя датчиков в комплекте лаборатории предусмотрен аспирационный психрометр, который крепится горизонтально на специальном держателе на уровне датчика влажности.
Система отопления и освещения состоит из двух электрических нагревателей 6 с терморегулятором, обеспечивающих в холодное время года температуру в павильоне (20 ± 5) °С, и двух люминесцентных светильников.
Лаборатория «Пост-2» предназначена для тех же целей, что и «Пост-1», и отличается от «Пост-1» главным образом наличием дополнительного оборудования: автоматического воздухоотборника «Компонент» и электроаспиратора ЭА-2С. Для измерения метеорологических элементов в лаборатории используется автоматический метеокомплекс. Схема размещения приборов и оборудования представлена на черт. 4.7. В центре крыши павильона закреплена мачта, состоящая из неподвижной и подвижной частей. На подвижной части мачты, шарнирно соединенной с неподвижной, устанавливается датчик направления и скорости ветра. На кронштейнах неподвижной части устанавливаются датчики температуры и влажности. Температура воздуха в павильоне поддерживается автоматически на уровне (20 ± 5) °С.
Размещение оборудования в «Пост-2». Вид слева
Размещение оборудования в «Пост-2». Вид спереди
Размещение оборудования в «Пост-2». Вид справа
Система отбора разовых проб воздуха на пыль и сажу. Отбор проб воздуха на пыль и сажу для определения разовых концентраций производится через два блока (А1 и А2) (черт. 4.7 и 4.8), каждый из которых имеет фильтродержатель для установки фильтра при определении пыли из ткани ФП и патрон для установки мембранных фильтров при определении содержания сажи. Блоки отбора проб в зависимости от направления ветра вставляются в ближайший из четырех люков, расположенных попарно на высоте 1,5 м в двух противоположных углах павильона.
Фильтродержатели соединены с электроаспиратором ЭА-2 A3 трубопроводом, укрепленным на стенках павильона через воздухораспределительную коробку А4, позволяющую включать первый А1 или второй А2 каналы с помощью конусного разъема.
Для отбора проб на сажу имеются две воздушные магистрали, проложенные вдоль стенок павильона под потолком и состоящие из двух резиновых трубок и воздухораспределительной коробки А5, которая служит для подключения любой магистрали к электроаспиратору ЭА-1 с помощью конусного разъема и фторопластовой трубки, проходящей через термостат А6.
Система отбора разовых проб на газовые примеси. Отбор проб воздуха на газовые примеси осуществляется через воздухозаборник А7, в который выведена фторопластовая трубка, проходящая через термостат А8 и подводящая воздух в блок поглотительных приборов А17 и аспирационное устройство электроаспиратора А11. Поглотительные приборы барботажного типа присоединяются непосредственно к патрубкам распределительной гребенки, сорбционные трубки - через вспомогательные S-образные трубки из стекла. Все соединения выполняются при помощи муфт из отрезков резинового шланга встык. Прохождение анализируемого воздуха через резиновые шланги до поглотительного прибора недопустимо!
Система автоматического отбора проб на газовые примеси. Отбор проб воздуха осуществляется через воздухозаборник, в который выведена фторопластовая трубка, проходящая через термостат А10 и подводящая воздух к воздухораспределительному устройству автоматического воздухоотборника «Компонент» А14.
Для автоматического анализа воздух, отобранный через фторопластовую трубку, проходящую через термостат А9, подводится через тройник к газоанализаторам ГМК-3 оксида углерода А12 и ГКП-1 диоксида серы А13. Термостат и тройник закреплены на стенке павильона. При отсутствии газоанализатора ГМК-3 можно установить один из газоанализаторов серии 600-03 (см. приложание 4.2).
Система отбора среднесуточных проб пыли. Отбор среднесуточных проб пыли осуществляется через воздухозаборник А15, заканчивающийся внутри павильона вертикальной трубой и фланцем с накидной гайкой для соединения трубы с фильтродержателем на уровне 1,5 м над полом. Фильтродержатель соединяется с электроаспиратором ЭА-2С 16 с помощью гибкого шланга. Отработанный воздух от всех воздухоотборных устройств направляется в выходной трубопровод и выводится наружу под полом павильона.
Система измерения метеорологических элементов. Измерение метеорологических элементов производится автоматическим метеокомплексом, состоящим из анеморумбографа М-63МР, гигрометра сорбционного ГС-210, термопреобразователя сопротивления Т? М6114, блока согласования и регистратора КСП-4. Показывающий прибор ГС-210 смонтирован в блоке согласования.
Визуальные отсчеты средней за 10 мин скорости ветра, мгновенной и максимальной скорости и направления ветра осуществляются с пульта анеморумбографа М-63МР, а относительной влажности воздуха - с показывающего прибора гигрометра ГС-210.
Регистрация текущих значений мгновенной скорости (3-я и 6-я точки) и направления (1-я и 4-я точки) ветра, а также температуры (2-я точка) и относительной влажности воздуха (5-я точка) осуществляется шеститочечным регистратором КСП-4.
Первичная подготовка лабораторий «Пост-1» и «Пост 2» к работе осуществляется после установки на пункте наблюдений и распаковки оборудования в соответствии с «Руководством по эксплуатации», техническими описаниями комплектующих приборов и устройств и правил РД 52.04.32-84. Для этого необходимо выполнить следующие операции:
1) установить оборудование на свои места;
2) подготовить устройства жизнеобеспечения (электропитания, кондиционирования воздуха, отопления и вентиляции);
3) подготовить и проверить исправность воздушных магистралей;
4) подготовить пробоотборные устройства (электроаспираторы модели 822, ЭА-1, ЭА-2, ЭА-2С, «Компонент») и газоанализаторы (порядок первичной подготовки газоанализаторов к работе изложен в приложении 4.2);
5) подготовить устройства измерения метеорологических элементов.
Лаборатория «Атмосфера-II» предназначена для определения уровня загрязнения атмосферного воздуха и измерения метеорологических элементов при проведении маршрутных и подфакельных наблюдений.
Приборы и оборудование лаборатории могут эксплуатироваться при температуре воздуха внутри салона автофургона 10 - 35 °С, относительной влажности до 80 % (при 20 °С), атмосферном давлении 90 - 104 кПа (680 - 785 мм рт. ст.). Скорость передвижения лаборатории по дорогам с усовершенствованным покрытием не превышает 45 км/ч.
Оборудование лаборатории «Атмосфера-II» (черт. 4.9) смонтировано в кузове автофургона типа УАЗ-452А. Салон автофургона разделен стенкой на два отсека: приборный и вспомогательный. В приборном отсеке размещены приборы и оборудование для отбора проб воздуха на газовые примеси, сажу и пыль, газоанализаторы, измерительный пульт анеморумбометра М-49 (или М-47) и пульт управления.
Во вспомогательном отсеке размещены датчики температуры и влажности воздуха, распределительный щит, кабель на катушке, аккумуляторные батареи, держатель патронов и другое оборудование.
На крыше автофургона укреплена съемная платформа, на которой размещены ящик с датчиком скорости и направления ветра, мачта для установки в рабочее положение датчиков и выносная штанга для крепления датчиков температуры, влажности и анеморумбометра.
Приборы и оборудование для отбора проб воздуха размещены на стенде по левому борту автомашины и во вспомогательном отсеке.
Соединительные трубопроводы для отбора проб воздуха на пыль и сажу через стенки и вспомогательный отсек выводятся из автомашины через открытую во время отбора проб заднюю дверь автофургона.
Отбор проб воздуха на газовые примеси производится на высоте 2,6 м от уровня земли по вертикальному каналу через фторопластовый воздуховод и распределитель и горизонтальному каналу, который смонтирован параллельно газопроводу для отбора пыли и сажи. В этом случае отбор проб производится через держатель, укрепленный на выносной штанге.
Оба канала отбора проб газовых примесей имеют общий нагреватель, включаемый при температурах наружного воздуха ниже минус 5 °С. Терморегулятор обеспечивает автоматическое поддержание температуры пробы не ниже 5 °С.
Автолаборатория «Атмосфера-II»
В лаборатории «Атмосфера-II» используются полуавтоматические переносные приборы-индикаторы, предназначенные для полуколичественного определения содержания диоксида серы и сероводорода («Атмосфера-I») и хлора и озона («Атмосфера-2») в атмосферном воздухе1. В автолаборатории, укомплектованной анеморумбометром М-49, датчики температуры и влажности вместе с держателем монтируются на специальной выдвижной штанге, укрепленной на платформе. Штанга с датчиками может устанавливаться перпендикулярно или параллельно продольной оси автомашины, а держатель может вращаться вокруг вертикальной оси. Сигналы датчиков подаются на пульт управления станции, установленный внутри салона на переднем стенде.
1 Данные наблюдений с помощью этих приборов используются для выделения зон повышенного загрязнения в случае аварий.
В некоторых автолабораториях, укомплектованных анеморумбометром М-47, измерение температуры и влажности производится с помощью аспирационного психрометра МВ-4М, подвешиваемого на выносной штанге.
Приборы и оборудование выносных пунктов (электроаспираторы, штативы с поглотительными приборами) во время работы устанавливаются на специальных выносных столиках. На время транспортировки столики укрепляют на платформе (в специальном ящике), а электроаспираторы в приборном отсеке салона (на правом стенде по ходу автомашины).
Электропитание приборов и оборудования лаборатории «Атмосфера-II» осуществляется от промышленной сети переменного тока напряжением 220 В, 50 Гц, через входной распределительный щит, установленный во вспомогательном отсеке лаборатории. Подключение электрораспределительного щита к электросети производится при помощи ???????????? типа КР???.
В некоторых населенных пунктах сохранились изготовленные в конце шестидесятых годов стационарные посты, не оборудованные комплектными лабораториями (черт. 4.10). На боковых стенках внутри павильона имеется два яруса полок и стенные шкафчики для хранения необходимых материалов. К передней стенке крепится столик. В павильоне имеется электросчетчик, осветительная лампа и десять розеток для подключения питания к приборам. В зимнее время павильон отапливается нагревательными печами типа ПТЭ-7 (220 В, 1 кВт), работающими вместе с температурным датчиком типа ПТКБ.
Стационарный пост
Газовая схема отбора проб воздуха на стационарном посту
1 - защитный стакан из пластмассы; 2 - металлическая трубка; 3 - крыша павильона; 4 - воздухозаборная трубка; 5 - нагреватель; 6 - теплоизоляция нагревателя; 7 - стеклянный тройник; 8 - пробка; 9 - стеклянная гребенка; 10 - штатив; 11 - поглотительные приборы; 12 - резиновая трубка; 13 - защитный прибор; 14 - электроаспиратор.
Отбор проб воздуха на газовые примеси проводится с помощью воздухозаборника, выведенного наружу через потолок и крышу павильона (черт. 4.11). Приемной частью воздухозаборника служит фторопластовая и стеклянная трубка диаметром 6 - 8 мм, защищенная металлической трубкой и полиэтиленовым стаканом. На части трубки, находящейся в павильоне, монтируется нагревательный элемент, который включается при отрицательных температурах наружного воздуха. Обогревательная установка (черт. 4.12) состоит из 4 - 5 одинаковых резисторов типа ПЭ-25 общим сопротивлением около 2 кОм. При температуре минус 25 °С и ниже элемент включают в сеть посредством тумблера, а при температуре от минус 5 до минус 25 °С - через диод типа Д-226.
Схема обогрева воздухозаборной трубки
1 - тумблер; 2 - диод Д-226; 3 - воздухозаборная трубка; 4 - втулка; 5 - сопротивления ПЭ-25.
Отбор проб воздуха для определения концентрации аэрозолей (пыль, сажи) осуществляется с помощью автомобильного аспиратора или электроаспиратора М-114 через один из четырех люков в стенках павильона (расположенных на высоте 1,5 м от поверхности земли и на расстоянии 20 - 30 см от угла павильона) в зависимости от направления ветра.
Основные требования техники безопасности изложены в следующих документах:
1) Правила технической эксплуатации электроустановок потребителей и правила техники безопасности при эксплуатации электроустановок потребителей (М., Энергоатомиздат, 1986);
2) Основные правила безопасной работы в лабораториях промышленно-санитарной химии (М., Медицина, 1968);
3) Правила по технике безопасности при производстве наблюдений и работ на сети Госкомгидромета (Л.: Гидрометеоиздат, 1983);
4) Правила по технике безопасности при работе с приборами для отбора проб со средствами измерений, изложенные в соответствующих технических описаниях.
К работе допускаются лица, прошедшие инструктаж по технике безопасности работы с приборами, используемыми на постах. Перед началом работ в «Пост-1» и «Пост-2» должно быть проверено состояние проводов питания средств отбора проб и других измерительных средств и заземление этих средств. Не реже одного раза в месяц производится проверка отсутствия замыканий на корпус приборов, состояния изоляции проводов; квалификационная группа проверяющего не ниже III. При обнаружении неисправности прибора он должен быть немедленно выключен.
Автолаборатория до подключения ее к источнику питания (городской сети) должна быть заземлена. Заземление лаборатории производится только со стороны правого борта. При этом заземляющий штырь должен быть углублен в грунт на всю длину.
При проведении работ, связанных с регулированием, настройкой лаборатории и ее оборудования и при эксплуатации следует руководствоваться требованиями по технике безопасности, изложенными в прилагаемых заводом-изготовителем инструкциях на входящие в состав лаборатории изделия.
К работам, связанным с регулированием и настройкой лаборатории и ее систем, и к эксплуатации оборудования лаборатории допускаются лица, имеющие опыт работ с измерительными приборами и оборудованием для отбора проб воздуха и прошедшие инструктаж по технике безопасности.
Категорически запрещается проводить работы, связанные с регулированием и настройкой лаборатории при ее передвижении по местности.
При проведении работ, связанных с настройкой системы электроснабжения, в приборном отсеке лаборатории или в непосредственной близости от него должно находиться не менее двух человек.
Лаборатория должна быть оборудована системой защитного отключения напряжения при возможных перегрузках и контуром заземления.
Лаборатория должна быть оборудована углекислотным огнетушителем, аптечкой и знаком аварийной остановки.
Питающие кабели и провода должны быть надежно закреплены. Крепление должно исключать возможность повреждения изоляции цепей питания.
Запрещается работать с незаземленным электроаспиратором; сопротивление контура заземления должно быть не более 4 Ом. Подсоединение прибора к контуру заземления необходимо производить медным многожильным проводом сечением не менее 1,5 мм2.
Запрещается при включенном электроаспираторе производить ремонт, снимать и устанавливать фильтры. Запрещается включать электроаспиратор без фильтра в фильтродержателе.
При отрицательных температурах воздуха включение нагревателя обязательно.
Нагреватель включается только после включения пылесоса.
До начала отбора необходимо убедиться в соблюдении ряда требований.
Для правильного определения концентрации пыли при отборе разовых проб воздуха должно выполняться условие изокинетичности, т.е. скорость пропускаемого через фильтр воздуха должна быть равна скорости набегающего потока; выравнивание скоростей осуществляется за счет применения конусных насадок, выбор которых зависит от скорости ветра. Фильтродержатель должен быть ориентирован навстречу ветровому потоку. При суточном отборе пробы пыли в условиях высокой запыленности масса пыли на фильтре может превысить его пылеемкость, равную 5 мг/см2 (т.е. 200 мг на весь фильтр). В таком случае следует переходить к циклическому отбору проб.
На точность определения объема воздуха, прошедшего через поглотительные устройства, влияет нарушение герметичности воздуховодов и фильтродержателя. Проверка состояния системы производится не реже одного раза в месяц (см. п. 4.5). Наиболее вероятно натекание воздуха через фильтродержатель, подводящие резиновые шланги за счет старения резины и появления трещин, соединения резиновых шлангов со штуцерами и поглотительными устройствами.
При отборе проб воздуха для определения концентраций газовых примесей напряжение электропитания электроаспиратора должно составлять 220 В ± 10 %. Отбор проб можно производить при температуре наружного воздуха, находящейся в пределах, указанных в табл. 4.2.
Воздушные коммуникации один раз в месяц очищают от пыли и промывают (см. п. 4.5) теплой мыльной водой, чистой водой, затем спиртом. Воздуховод устанавливается только после просушивания. Промытая система перед отбором проб должна быть продута воздухом в течение примерно 20 мин. О проведенной работе делается запись в журнале профилактических работ, который должен храниться на посту.
Колпачок, предохраняющий воздухозаборную трубку от прямого попадания осадков и грязи, промывается один раз в три месяца.
Для защиты ротаметров электроаспираторов от брызг поглотительных и пропитывающих растворов к выходным штуцерам присоединяют патроны, заполненные промытым и высушенным силикагелем с диаметром зерен 0,5 - 4 мм (черт. 4.13) и ватными тампонами.
Патрон с силикагелем
Проверка градуировки ротаметров электроаспираторов проводится ежемесячно.
Сразу после отсоединения поглотителей штуцера гребенки должны быть герметично закрыты заглушками. Наличие открытых штуцеров недопустимо.
Поглотительные приборы должны присоединяться к распределительной гребенке (или воздуховодам) встык с помощью коротких резиновых трубок. Все воздуховоды и распределительная гребенка до поглотительных приборов должны быть изготовлены только из фторопласта или стекла. Применение для этой цели хлорвинила, полиэтилена, других пластмасс и всех типов резины недопустимо.
При отборе проб воздуха в сорбционные трубки (СТ) они присоединяются к S-образной трубке с помощью резиновой муфты. Присоединение СТ непосредственно к распределительной гребенке недопустимо. Общая длина резиновых соединений, с которыми непосредственно соприкасается анализируемый воздух, не должна превышать 10 мм. Нельзя допускать загрязнения S-образной трубки пропитывающим раствором. Промывка трубки и присоединительных муфт должна производиться еженедельно в химической лаборатории.
Сорбционные трубки устанавливаются при отборе пробы строго вертикально слоем сорбента вниз, чтобы воздух проходил слой сорбента снизу вверх (черт. 4.14). Перед присоединением СТ к электроаспиратору слой сорбента уплотняется легким постукиванием нижнего конца СТ о кусочек чистой фильтровальной бумаги, лежащей на твердой поверхности.
Принципиальная схема отбора проб через сорбционную трубку
1 - сорбционная трубка; 2 - светозащитный экран; 3 - побудитель расхода.
Черт 4.14
При отборе проб воздуха для определения содержания диоксида серы, сероводорода и сероуглерода СТ должны быть защищены от света.
При отборе пробы воздуха для определения концентрации фторида водорода в качестве материала для воздуховода нельзя применять не только резину, но и стекло. Допускается только фторопласт. Поэтому отбор проб для определения HF не может осуществляться с помощью воздухоотборника «Компонент», имеющего стеклянные распределительные гребенки. Можно присоединять СТ снаружи поста к патрубку для отбора проб на сажу. Внутреннюю поверхность воздуховодов при отборе проб HF внутри поста следует очищать от пыли 1 раз в неделю.
При проведении работ в автолаборатории «Атмосфера-II» необходимо соблюдать следующие условия. Автомашина устанавливается таким образом, чтобы ее левый борт или задняя часть были наветренными. На магистралях города лаборатория устанавливается параллельно оси движения транспорта у тротуара или на обочине дороги. Расстояние от лаборатории до места подключения к электросети не должно превышать 100 м.
Определению концентрации диоксида серы с помощью газоиндикатора «Атмосфера-I» мешают некоторые органические вещества и сероводород, определению концентрации сероводорода мешают те же органические вещества и диоксид серы, определению концентрации озона - диоксид серы и сероводород. Для устранения мешающего влияния неорганических газов следует использовать селективные фильтры.
Сразу после отбора проб поглотительные приборы (СТ) закрывают заглушками; особенно тщательно закрываются СТ с пробами на оксиды азота и аммиак. Пробы на диоксид серы, сероуглерод и сероводород должны предохраняться от попадания света как при отборе проб, так и при хранении. При температуре воздуха выше 25 °С пробы на сероуглерод и диоксид серы следует сразу после отбора поместить в холодильник, а при его отсутствии - в широкогорлый термос, в котором находится лед.
Для этой цели могут использоваться термосы объемом 0,25 - 1 л. Количество льда, необходимое для сохранения низкой температуры в течение дня, зависит от наружной температуры, но обычно не превышает 20 - 30 % емкости термоса. Лед вносят в термос в виде небольших кусочков, помещенных в два полиэтиленовых мешка, герметично запаянных или закрытых с помощью резинового кольца. Во избежание поломки стеклянной колбы на ее дно помещают кусочек поролона, а стенки защищают цилиндром из толстой бумаги.
СТ, закрытые заглушками или колпачками из полиэтиленовой пленки, вкладывают в термос в полиэтиленовом мешке слоем сорбента вниз. Мешок должен быт герметично закрыт во избежание конденсации в нем влаги из воздуха. При использовании небольших термосов, в которых СТ не помещаются целиком, сверху на него надевают теплозащитный колпак, изготовленный из двух слоев материи с прокладкой из ваты или поролона.
Отбор проб воздуха и метеорологические наблюдения на стационарных постах выполняются в определенной последовательности.
1. За 10 мин до срока наблюдений войти в помещение лаборатории («Пост-1», «Пост-2»), включить освещение и убедиться в исправности энергоснабжения. Система исправна, если горят сигнальные лампочки на щите электропитания и температура воздуха поддерживается в диапазоне 10 - 35 °С.
При отрицательной температуре наружного воздуха включить терморегуляторы газового канала, которые автоматически поддерживают постоянную температуру. При отсутствии автоматического устройства в один из каналов газовой схемы между ротаметром и защитным патроном 6 вставляют тройник 5 с термометром 3 (черт. 4.15) и включают обогрев подводящей трубки (см. черт. 4.12). Если температура окружающей среды выше 10 °С, необходимо включить термостатирующее устройство «Нагрев» тумблером, находящимся на пульте управления.
Схема отбора проб при отрицательной температуре воздуха
1 - аспиратор; 2 - кронштейн; 3 - термометр; 4 - резиновая пробка; 5 - тройник; 6 - защитный патрон с силикагелем; 7 - резиновая трубка; 8 - поглотительный прибор.
2. Проверить исправность газоанализатора ГМК-3, анеморумбографа и флюгера. При перекосе ленты, ее разрывах, разрывах перфорации или прекращении записи выключить лентопротяжный механизм, устранить неисправность, сделать на ленте отметку «брак» в начале и конце бракованного участка ленты. Затем снова включить лентопротяжный механизм, отметить на ленте дату и время включения записи.
При измерении концентрации оксида углерода верхний кран газоанализатора должен быть установлен в положение «Проба», а указатель диапазона - таким образом, чтобы обеспечивалась наибольшая точность измерений. Обычно включают диапазон 0 - 40 мг/м3.
3. Открыть люк и выдвинуть штангу за рукоятку для измерения температуры наружного воздуха и влажности. Перед выдвижением штанги необходимо освободить защелку («Пост-1»).
За 10 мин до начала срока наблюдений включить устройство измерения скорости ветра и через 10 мин определить скорость и направление ветра с целью установления наветренной стороны павильона, из люка которой следует отбирать пробы на пыль и сажу и для выбора конусной насадки при отборе проб пыли. Проверить работу узла измерения ветра включением переключателя «Скорость», а затем - «Направление»; подвижность стрелки указывает на рабочее состояние датчика, неподвижность наблюдается при штиле или при неисправности датчика. При отсутствии автоматической системы измерения скорости и направления ветра определить направление ветра по флюгеру или вымпелу, скорость ветра - по ручному анемометру, который предварительно укрепляется на выносной штанге высотой 1,5 м.
4. Выбрать конусную насадку к фильтродержателю для отбора проб пыли. В табл. 4.3 указываются значения диаметра насадок, используемых для различных скоростей ветра. Установить фильтр для определения концентрации пыли в фильтродержатель. Для этого протереть фильтродержатель и конусную насадку тряпочкой, желательно батистовой. На сетку фильтродержателя с помощью пинцета с пластмассовым наконечником поместить фильтр, прижать его кольцом и накидной гайкой. На фильтродержатель с фильтром надеть разборную конусную насадку. Затем вставить фильтродержатель в люк для отбора пробы пыли с наветренной стороны и записать показания счетчика электроаспиратора ЭА-2 («Пост-2») или расход по ротаметру («Пост-1»).
Значения (мм) диаметра входного отверстия конусной насадки при разных скоростях ветра и расходах воздуха
|
Градация скорости ветра, м/с |
||||||
|
1,0 - 1,9 |
2,0 - 2,9 |
3,0 - 3,9 |
4,0 - 4,9 |
5,0 - 5,9 |
6 и более |
|
|
250 |
56 |
46 |
30 |
36 |
36 |
25 |
|
200 |
56 |
46 |
36 |
36 |
25 |
25 |
|
150 |
46 |
36 |
36 |
25 |
25 |
25 |
|
100 |
36 |
25 |
25 |
25 |
25 |
25 |
В случае определения концентрации сажи вложить фильтр в патрон для отбора проб в блоке и вставить этот блок в люк с наветренной стороны павильона, присоединить к электроаспиратору и установить расход воздуха 1 дм3/мин.
5. Подсоединить поглотительные приборы для определения концентраций газовых примесей при помощи резиновых шлангов к электроаспиратору модели 822 («Пост-1») или к электроаспиратору ЭА-1 и воздухоотборнику «Компонент» («Пост-2»). Используют поглотительные приборы барботажного типа или сорбционные трубки, подготовленные для отбора проб в химической лаборатории. Входные трубки поглотительных приборов подсоединяют при помощи коротких отрезков резинового шланга встык к распределительной гребенке из стекла или фторопласта.
При использовании воздухоотборника «Компонент» необходимо установить столько поглотительных приборов, сколько требуется по программе измерений, начиная с первой пробы. Остальные отверстия распределительной гребенки заглушить с помощью трубок или пробок, чтобы исключить поступление воздуха из помещения. Поглотительные приборы устанавливают в отведенные для них места стойки, соединяют их в систему резиновыми муфтами, следя за тем, чтобы к распределительной гребенке был подключен входной патрубок.
6. Включить электроаспиратор ЭА-2 («Пост-2») для отбора пробы пыли, отрегулировать расход воздуха и включить часовой механизм. Установить реле времени на 20 мин.
7. Включить электроаспиратор ЭА-1 для отбора проб на газовые примеси и произвести предварительную установку необходимого расхода воздуха в каждом канале с помощью вентилей. Для этого повернуть регулирующий клапан электроаспиратора ЭА-1 в крайнее левое положение. В этом положении клапан открыт и может пропускать воздух, не допуская излишнего разрежения и уменьшая тем самым нагрузки электродвигателя. При больших сопротивлениях воздуховодных трактов клапан необходимо перекрывать, обеспечивая необходимую скорость прохождения воздуха. Значения расхода при определении концентрации каждой примеси приведены в разделе 5; поправка для ротаметров учитывается в соответствии с градуировочными кривыми, приведенными в паспорте электроаспиратора. Для удобства в павильоне должна быть таблица значений расхода воздуха для определения концентрации каждой примеси с учетом поправок. По окончании настройки нажатием кнопки отключить электроаспиратор. Установить поглотительные приборы (СТ) и включить аспиратор. Провести дополнительную регулировку расхода по каналам. В ходе отбора необходимо следить за тем, чтобы скорость аспирации поддерживалась на заданном уровне с максимально возможной точностью. При последующих отборах достаточна регулировка ротаметров вентилями.
В случае изменений показаний ротаметров в процессе отбора произвести дополнительную регулировку при помощи вентилей, соединенных с соответствующими ротаметрами. Если установить необходимую скорость не удается, то записывают ее действительное значение в таблицу ТЗА-0 (см. п. 8.2).
Регулировку расхода следует производить очень быстро, так как ошибка на 1 мин при отсчете времени отбора дает погрешность определения концентрации, равную 5 %.
8. Для проведения метеорологических наблюдений поставить переключатель на пульте метеокомплекса в положение «Работа» и включить «Питание». В «Пост-1» измерение скорости ветра производят в положении переключателя «Скорость»; в течение 1 мин следят за стрелками и производят отсчет мгновенной скорости по черной стрелке, максимальной - по красной, записывают среднее значение в ТЗА-0 (см. раздел 8) (с точностью до 1 м/с); переводят переключатель в положение «Направление», в течение 1 мин следят за стрелкой. Отсчет направления ветра производится по верхней шкале указателя, если светится красная лампа, и по нижней - если зеленая. Если во время измерения переключится индикатор, следует выждать 2 мин, после чего произвести новый отсчет. Записывают среднее значение (с точностью до 1°). Для получения среднего значения направления ветра производят три отсчета: в первую, пятую и десятую минуты наблюдений.
Для измерения температуры воздуха переключатель переводят в положение «Контроль температуры», устанавливают стрелку на красную риску шкалы, затем в положение, соответствующее диапазону измеряемых температур, и записывают в ТЗА-0 среднее показание с точностью до 0,5 °С. Измерение температуры производят три раза в течение 10 мин, полученные значения осредняют и вводят поправку на температуру их технического формуляра.
В «Пост-1» для измерения давления выдвигается ящик с барометром-анероидом, прибор подключается к сети и на 5 - 10 с включается вибратор с помощью кнопки, расположенной справа. При полном совпадении указателя стрелки с его отражением отсчитывается давление с точностью до 1 мм рт. ст. и записывается в ТЗА-0. Отсчитывают температуру по термометру при барометре и вводят шкаловую, температурную и добавочную поправки.
В «Пост-2» отсчет атмосферного давления производится по шкале барометра-анероида М-67. Для этого необходимо поднять крышку барометра, находящегося в столе слева от входа, определить давление с точностью до 1 мм рт. ст. и записать в ТЗА-0.
При измерении метеорологических параметров дверь павильона должна быть закрыта, подходить в период измерений к датчикам температуры воздуха запрещено.
При отсутствии в составе поста метеокомплекса на штативе на расстоянии 3 - 4 м от поста с наветренной стороны укрепляются психрометр и ручной анемометр. Анемометр крепится так, чтобы его приемная часть располагалась на высоте 2 м от земли. Не следует трогать руками чашки на крестовине и верхний винт. Анемометр включают по секундомеру на 10 мин, начальные и конечные показания записываются в ТЗА-0. Затем вычисляется разность отсчетов, делится на 600, и по графику или таблице, приложенной к прибору, определяется скорость ветра с точностью до 1 м/с. Направление ветра определяется в течение 1 - 2 мин по 8 румбам, и результат записывается в градусах в соответствии с табл. 4.4. При отсутствии ветра в графе «Направление» записывается «Штиль», в графе «скорость» - «0».
Перевод румбов направления ветра в градусы
|
Градусы |
Румбы |
Градусы |
|
|
С |
360 |
Ю |
180 |
|
СВ |
45 |
ЮЗ |
225 |
|
В |
90 |
З |
270 |
|
ЮВ |
135 |
СЗ |
315 |
При измерении температуры воздуха с помощью аспирационного психрометра его подвешивают на треноге так, чтобы резервуары располагались на высоте 1,5 м от земли, вдали от стен зданий, заборов, деревьев и других препятствий горизонтально резервуаром навстречу ветру; если невозможно определить направление ветра, то резервуары термометров должны быть обращены в сторону, противоположную солнцу. Из помещения психрометр выносят летом за 5 мин до наблюдения, зимой - за 10 - 15 мин.
Состояние погоды оценивается визуально по характерным признакам, указанным в табл. 4.5, и в зашифрованном виде записывается в ТЗА-0. Состояние подстилающей поверхности (влажная, сухая) также записывается в ТЗА-0.
9. Автоматический анализ на оксид углерода осуществляется с помощью газоанализатора ГМК-3. В процессе эксплуатации газоанализатора ГМК-3 необходимо следить за постоянством расхода газовой смеси по ротаметру, контролировать исправность измерительного прибора, проверять один раз в сутки нулевые показания и один раз в неделю чувствительность газоанализатора по аттестованной смеси. Смена поглотителя (гопкалита) производится один раз в неделю.
Характеристика состояния погоды
|
Состояние погоды, атмосферные явления |
Признаки |
|
|
0 |
|
Атмосферных явлений шифра 2 - 9 нет |
|
1 |
Ясно |
На небе нет облаков |
|
2 |
Мгла |
Помутнение воздуха за счет взвешенных частиц пыли, дыма, гари, воздух имеет синеватый оттенок |
|
3 |
Дымка |
Слабое помутнение атмосферы за счет пересыщения воздуха влагой. Воздух имеет сероватый оттенок; видимость более 1 км |
|
4 |
Дождь |
Осадки в виде жидких капель |
|
5 |
Морось |
Атмосферные осадки в виде мелких капель, их падение почти незаметно для глаза |
|
6 |
Пыльная буря |
Ухудшение видимости на большой территории из-за пыли, поднятой сильным ветром |
|
7 |
Снег |
Осадки в виде ледяных кристаллов |
|
8 |
Туман |
Помутнение атмосферы при горизонтальной видимости менее 1 км |
|
9 |
Туман (или дымка) с осадками |
Помутнение атмосферы за счет тумана (или дымки) при наличии осадков |
При измерении концентрации оксида углерода верхний кран установить в положение «Проба»; указатель диапазона установить таким образом, чтобы обеспечить наибольшую точность измерений. Обычно, если заранее неизвестна примерная концентрация оксида углерода в пробе, сначала включается наибольший диапазон (0 - 400 мг/м3).
При температуре окружающего воздуха ниже 10 °С на пульте управления включить тумблеры «Прибор» и «Нагрев». При температуре окружающей среды выше 10 °С необходимо выключить термостатирующее устройство «Нагрев» тумблером, находящимся на пульте управления. При температуре окружающей среды выше 20 °С на преобразователь надевается металлическая крышка.
Первичная подготовка к работе газоанализатора ГМК-3 описана в приложении 4.2.
10. По окончании отбора проб (после автоматического отключения электроаспираторов ЭА-2 и ЭА-1) извлечь из люка блок отбора проб, снять фильтродержатель, вынуть из него патрон с фильтром на пыль, извлечь из патронов фильтры на пыль и на сажу и сложить их в соответствующие пакеты, на которых отметить соответственно конечное показание счетчика РГ-40 и расход воздуха в сажевом канале ЭА-1, а также значения температуры воздуха, прошедшего через счетчик и ротаметр. Отсоединить все поглотительные приборы, закрыть их заглушками и установить в ящик для транспортировки в лабораторию.
По истечении времени отбора проб воздуха для определения концентрации соответствующих газовых примесей отсоединить поглотительные приборы, закрыть их заглушками, поместить в ящик для транспортировки. Штуцера распределительной гребенки закрыть заглушками во избежание конденсации паров внутри воздуховода в холодное время года.
Записать в ТЗА-0 номера поглотительных приборов и фильтров, название примесей, время начала и конца отбора, расход воздуха и объем протянутого воздуха.
11. Порядок отбора проб и наблюдений в «Пост-1» и «Пост-2» приведен в приложениях 4.3 - 4.5.
Для проведения наблюдений на маршрутных и подфакельных постах оборудование доставляется с помощью автолаборатории «Атмосфера-II» или другого вида автомобиля. По приезде в точку отбора проб воздуха необходимо:
проверить (внешним осмотром) качество соединения приборов и оборудования с контуром заземления и произвести заземление лаборатории. Для этого из вспомогательного салона извлечь штырь заземления и углубить со стороны правого борта автомашины в грунт на всю его длину. Перед подключением автолаборатории к сети тумблер входного щита должен находиться в положении «Выключено», а вилки разъемов всех приборов должны быть отсоединены от розеток;
подключить лабораторию к распределительным щитам жилых зданий или цехов предприятий. При этом одновременно одна из жил питающего кабеля подключается к корпусу распределительного щита. В местах пролегания кабеля ставятся знаки, запрещающие движение транспортных средств;
поставить переключатель входного распределительного щита в положение «Включено», подав тем самым электропитание на пульт управления лаборатории; подключить все приборы и оборудование в сеть лаборатории при помощи разъемов; включить тумблеры всех приборов на пульте управления. При этом лампочки на лицевой панели пульта должны загораться. Показания амперметра на пульте не должны превышать 10 А, а вольтметра - 220 В ± 10 %; включить тумблеры всех приборов на пульте управления;
вынуть поглотительные приборы вместе со штативами, соединить поглотительные приборы с распределительной гребенкой и аспираторами;
поднять и закрепить мачту на платформе в рабочем положении. Установить и закрепить датчики скорости и направления ветра анеморумбометра на мачте. При этом штырь датчика должен быть направлен на север;
подготовить к работе анеморумбометр в соответствии с технической документацией на него;
произвести контрольный отсчет скорости ветра по анемометру АРИ-49, подобрать насадку к пылевому патрону в зависимости от скорости ветра и установить патрон с фильтром на выдвижной штанге, предварительно выдвинув ее на 0,5 - 1 м от первоначального положения. Установить штангу с пылевым патроном навстречу ветровому потоку;
развертывание выносных пунктов производится до начала работ по подготовке лаборатории к наблюдениям. На выносном пункте устанавливают треногу (для аспиратора ЭА-1А) или столик (для аспиратора ЛК-1) и оборудование (аспиратор и штатив с поглотительными приборами). Снять аккумулятор с машины и поставить его на землю рядом с треногой, соединить поглотительные приборы с электроаспиратором, подключить электроаспиратор к аккумуляторной батарее. После проведения указанных операций автолаборатория и выносной пункт готовы к проведению наблюдений. При отборе проб и метеорологических наблюдениях руководствуются в основном правилами, изложенными в п. 4.4.1.
В срок наблюдения на основном пункте (в автолаборатории) включить анеморумбометр, пылесос и установить необходимую скорость аспирации, перекрывая разгрузочное отверстие в шланге пылесоса. Одновременно включить часы или секундомер. Через 1 мин включить электроаспиратор. Режим отбора газовых примесей устанавливается, как описано в п. 4.4.1. По истечении 20 мин выключить пылесос и через 1 мин - электроаспиратор. С помощью пинцета осторожно извлечь фильтр, сложить вчетверо запыленной поверхностью внутрь и поместить в пакет, из которого он был изъят.
Направление и скорость ветра определяются по анеморумбометру в начале, середине и конце срока наблюдения, а температуру воздуха - в конце срока наблюдения. Все необходимые данные записывают в ТЗА-0.
На выносных пунктах производят отбор проб только на газовые примеси и синхронно с наблюдениями на основном пункте.
1 Или за длительный период.
Отбор проб воздуха для определения среднесуточных концентраций пыли осуществляется в лаборатории «Пост-2» электроаспиратором ЭА-2С или ЭА-2СМ непрерывно в течение 24 ч или дискретно через равные промежутки времени. Отбор среднесуточных проб воздуха для определения концентрации пыли осуществляется также с помощью автономного электроаспиратора ЭА-3. Установка фильтра в фильтродержатель производится один раз в сутки в последний из стандартных сроков наблюдений (19 ч) по правилам, аналогичным правилам отбора разовых проб для определения концентраций пыли (см. п. 4.4.3). При необходимости отбора проб на один фильтр в течение нескольких суток из фильтродержателя фильтр не вынимают.
На пакете, в который вложен фильтр, записать дату и время его установки, начальное показание счетчика времени. После извлечения из фильтродержателя фильтр сложить пополам, вложить в пакет, записать на нем дату и время снятия и конечное показание счетчика времени. Пакет с фильтром вложить в пакет для отправки в химическую лабораторию.
Через 10 мин после автоматического выключения часового механизма определить среднюю скорость ветра, направление ветра, температуру воздуха, состояние погоды и подстилающей поверхности. Правила проведения метеорологических наблюдений см. в п. 4.4.3.
Отбор проб воздуха для определения среднесуточной концентрации газовых примесей осуществляют с помощью воздухоотборника «Компонент» после установления соответствующего режима работы кнопочным переключателем.
Время начала отбора суточных проб с помощью «Компонента» устанавливают в последний срок стандартной программы. Заранее устанавливают сопла, обеспечивающие необходимый расход воздуха в каждом канале. Для отбора устанавливают поглотительные приборы в гнезда с одинаковым номером во всех четырех каналах. В этом случае воздух будет автоматически отбираться в один поглотительный прибор по каждому из четырех каналов восемь раз за 24 часа (через 2 ч 40 мин) в течение 20 мин.
После подключения поглотительных приборов включить «Компонент».
Один раз в сутки в тот же срок отсоединить поглотительные приборы, закрыть их заглушками и уложить в ящик для транспортировки. В сопроводительном документе указывают номера поглотительных приборов в каждом канале, показание датчика числа отборов, время включения цикла, дату и время смены поглотительных приборов, среднее за сутки атмосферное давление, установленный расход в каждом канале, режим работы.
Техническое обслуживание и поверка пробоотборных устройств в лаборатории «Пост-1» и «Пост-2» выполняются в соответствии с их паспортами и техническими описаниями (электроаспираторы ЭА-2, ЭА-2С, воздухоотборник «Компонент»).
Измерительные приборы, занесенные в Госреестр как средства измерения, должны проходить поверку согласно ГОСТ 8.002-71. Кроме того для уменьшения погрешности определения объема отобранного воздуха необходимо ежемесячно проверять средства измерения расхода воздуха (ротаметры, реометры и пр.).
Поверка и проверка градуировки ротаметров во всех каналах ЭА-1 и сопел воздухоотборника «Компонент» должна проводиться с полной нагрузкой, т.е. с присоединением к каналам тех поглотительных устройств, которые используются в работе. Для этого на вход поглотительного устройства или сажевого патрона устанавливают газовый счетчик ГСБ-400 и устанавливают необходимый расход воздуха (1 л/мин), соответствующий отметке шкалы на ротаметре. Затем, задав по реле времени время отбора - 20 мин, - производят отбор проб воздуха. Зная объем аспирированного воздуха (по газовому счетчику) и время отбора по секундомеру, определяют расход в л/мин. Если расход воздуха, соответствующий отметке шкалы на ротаметре, не совпадает с вновь определенным, необходимо произвести градуировку ротаметра заново и построить новую градуировочную характеристику.
Проверку правильности работы воздухоотборника «Компонент» необходимо ежемесячно проводить с использованием применяемых в данный момент работы сопел. Придерживаться порядка проведения проверки согласно техническому описанию.
Техническое обслуживание измерительных приборов и оборудования производится в соответствии с их эксплуатационной документацией.
Техническое обслуживание лаборатории проводится два раза в год. Выполняются следующие работы:
- очистка от пыли и грязи, наружных поверхностей павильона заборных люков, датчиков температуры и влажности;
- измерение сопротивления заземления лаборатории;
- проверка крепления датчиков скорости и направления ветра, температуры и влажности.
Воздухозаборные магистрали не реже одного раза в месяц необходимо промывать предварительно бензином БР-1 ГОСТ 443-76, затем спиртом ГОСТ 17299-78 и просушивать. Для промывки воздухозаборной магистрали необходимо:
1) отсоединить фторопластовый трубопровод; разъединить его на отдельные составные части (трубки);
2) закрыть один конец каждой трубки резиновой пробкой с полиэтиленовой прокладкой;
3) налить в каждую трубку бензин (1/2 по объему);
4) закрыть второй конец каждой трубки резиновой пробкой с полиэтиленовой прокладкой;
5) путем нескольких покачиваний промыть трубку;
6) вынуть одну из пробок и слить бензин.
Операции 3 - 6 повторить 2 - 3 раза.
Аналогично проводится промывка воздуховода спиртом - две промывки по 60 мл. Норма расхода спирта на один трубопровод - 120 мл. Просушку трубопровода производить с помощью пылесоса.
После промывки воздушных магистралей проверяется их герметичность. Для проверки герметичности газовых и пылевых каналов необходимо заглушить входные отверстия воздухозаборников с помощью резиновых пробок и колец, металлических дисков. Компрессор соединить с помощью тройника с выходами проверяемых каналов. Свободный штуцер тройника соединить через кран с манометром или вакуумметром. Соединение производится с использованием переходных резиновых трубок. Установить давление (разрежение), равное 7840 - 9810 Па (800 - 1000 мм рт. ст.), прекратить краном подачу (откачку) воздуха и одновременно отключить компрессор.
Следить за спадом (нарастанием) давления в течение 20 мин, который не должен превышать 980 Па (100 мм рт. ст.). Применяется компрессор от воздухоотборника «Компонент», входящий в состав лаборатории.
В случае натекания воздуха через соединения резиновых шлангов со штуцерами приборов необходимо обмотать эти соединения резиновой лентой толщиной 0,3 - 0,5 мм. Конец ленты закрепляется суровой ниткой или изоляционной лентой.
Натекание воздуха через фильтродержатель возможно из-за неплотного прижима накидной гайкой фильтра к фильтродержателю. В этом случае необходимо подложить дополнительные резиновые кольцевые прокладки над и под прижимным кольцом. Резьбовое соединение корпуса фильтродержателя с воронкообразной частью алонжа также может являться причиной натекания воздуха. Следует уплотнить это соединение резиновыми прокладками. Если натекание воздуха происходит через поврежденные шланги, необходимо их заменить.
Для проведения проверки работоспособности системы целесообразно перед каждым измерением поставить заглушку вместо фильтра и при полностью закрытом дросселе убедиться, что показания газового счетчика неизменны.
Для того чтобы проверить исправность работы воздухоотборника «Компонент», необходимо по шкалам реле времени и счетчика числа оборотов определить отработанную часть цикла; по сигнальным лампочкам проб определить пробы, отобранные без нарушения режима протягивания воздуха (инструкция по эксплуатации воздухоотборника «Компонент»).
Для проверки нуля газоанализатора ГМК-3 через него следует пропускать нулевой газ или азот в течение 15 - 20 мин при положении кранов «Нулевой газ». Записать нулевое показание ГМК-3. Расход газа установить с помощью индикатора расхода и вентиля «Байпас». Установку нуля производят с помощью ручки «Установка нуля».
Для проверки показаний газоанализатора по реперу краны установить в положение «Нулевой газ». Переключатель диапазонов установить в положение 0 - 40 мг/м3. Пропускать через газоанализатор нулевой газ или азот в течение 5 - 10 мин. Включить тумблер «Репер». Зафиксировать показания газоанализатора на репере. Если показания на репере отличаются от паспортного значения более чем на 5 % верхнего предела измерения произвести настройку газоанализатора.
Профилактический осмотр технического состояния автолаборатории «Атмосфера-II» осуществляется 2 раза в год. Он включает проверку технического состояния лаборатории, чистоты трубопроводов и распределителя, крепления багажника (платформы) к автомашине, крепления стендов и приборов в салоне, крепления мачты анеморумбометра и выдвижной штанги. Обнаруженные неисправности устраняются.
Метрологическая поверка средств измерений, входящих в состав лаборатории, должна осуществляться в соответствии с указаниями, изложенными в технических описаниях этих средств измерений.
Чистка воздухозаборных систем осуществляется так же, как в лабораториях «Пост-1» и «Пост-2».
Чистка элементов выдвижной штанги и мачты датчика анемометра-румбометра производится мягкой фланелью 2 раза в год. Установочные цапфы штанги смазывают смазкой ЦИАТИМ 201 ГОСТ 6267-74.
Наладка и регулировка всех систем отбора проб воздуха производится перед началом эксплуатации лаборатории и через каждые 3 месяца ее работы в «полевых» условиях.
При наладке и регулировании систем газозабора необходимо проверить прочность соединения штуцеров и трубопровода на перегородке, отделяющей вспомогательный отсек от приборного. Проверить надежность крепления трубопровода к распределителю. При обнаружении люфтов и неплотности в соединениях произвести их устранение затяжкой гаек на штуцерах. Регулирование скорости отбора проб воздуха производится в соответствии с требованиями, изложенными в технической документации аспираторов модели 822.
При наладке и регулировании системы пылезабора необходимо проверить качество сопряжения муфты пылевого патрона с конусом держателя, прочность соединения штуцеров и трубопровода на перегородке, отделяющей вспомогательный отсек от приборного, надежность крепления трубопровода к нагревателю и фланцам газового счетчика. При обнаружении люфтов и неплотностей в соединениях произвести их устранение затяжкой гаек на штуцерах. Регулирование скорости отбора проб пыли произвести при помощи дросселя на нижнем фланце газового счетчика.
При наладке и регулировании системы сажезабора необходимо проверить качество сопряжения муфты сажевого канала со штуцером держателя, сопряжение резиновой трубки сажевого канала со всеми штуцерами тракта. Регулирование скорости отбора проб на сажу производится в соответствии с требованиями, изложенными в технической документации аспираторов модели 822.
Методы устранения неисправностей в серийных изделиях лаборатории содержатся в эксплуатационной документации на данное изделие. Характерные неисправности автолаборатории «Атмосфера-II» и методы их устранения приведены в табл. 4.6.
Характерные неисправности автолаборатории «Атмосфера-II» и методы их устранения
|
Вероятная причина неисправности |
Метод устранения неисправности |
|
|
Отсутствие питания в сети лаборатории |
Отключен установочный автомат |
Включить автомат |
|
При включении какого-либо прибора не загорается его сигнальная лампа |
Перегорела лампа |
Заменить лампу |
|
Неисправен тумблер |
« тумблер |
|
|
Сгорел предохранитель |
« предохранитель |
|
|
Затруднен подъем мачты датчика скоростей и направления ветра в рабочее положение |
Загрязнение или заклинивание оси |
Произвести очистку и смазку оси |
|
Затруднена установка выдвижной штанги в нужное положение |
Загрязнение элементов поворотной цапфы |
Произвести очистку и смазку цапфы |
Периодичность проверки технического состояния, технического обслуживания и поверки комплектных лабораторий «Пост-1», «Пост-2» и «Атмосфера-II» приведены в табл. 4.7 - 4.10. Форма записи результатов проверки приборов и оборудования представлена в табл. 4.11.
Периодичность (число раз) проверки технического состояния комплектных лабораторий
|
Период |
||||
|
1 сут. |
1 нед. |
1 мес. |
6 мес. |
|
|
Электрическое сопротивление контура заземления |
- |
- |
- |
1 |
|
Электрическое сопротивление изоляции |
- |
- |
- |
1 |
|
Наличие напряжения питания |
1 |
- |
- |
- |
|
Работа устройств жизнеобеспечения |
1 |
- |
- |
- |
|
Работа термостатов автоматического подогрева воздуха в воздуховодах |
1 |
- |
- |
- |
|
Герметичность газовых каналов |
- |
- |
1 |
- |
|
Герметичность пиленых каналов |
- |
1 |
- |
- |
|
Техническое состояние средств отбора проб (электроаспираторы мод. 822, ЭА-1, ЭА-2, ЭА-2С, «Компонент») |
- |
- |
1 |
- |
|
Газоанализатор ГМК-3 |
- |
- |
1 |
- |
|
Метеокомплекс (М-49, М-63МР): |
|
|
|
|
|
датчик ветра |
- |
- |
- |
2 |
|
пульт |
- |
- |
1 |
- |
|
регистраторы (КСП-4, КСП-2, КСУ-2) |
1 |
- |
- |
- |
Периодичность (число раз) технического обслуживания комплектных лабораторий
|
Период |
||
|
1 мес. |
6 мес. |
|
|
Очистка от пыли и грязи наружных поверхностей павильонов, заборных люков, датчиков температуры и влажности |
- |
1 |
|
Проверка крепления мачты, датчиков скорости и направления ветра |
- |
1 |
|
Ориентирование датчика направления ветра |
- |
1 |
|
Промывка воздухозаборных магистралей: |
|
|
|
на газовые примеси |
1 |
- |
|
на пыль |
1 |
- |
|
Чистка и смазка подшипников анеморумбографа М-63МР |
|
1 |
|
Техническое обслуживание измерительных приборов и оборудования |
|
|
|
электроаспираторы модели 822, ЭА-2, ЭА-2С |
1 |
- |
|
электроаспиратор ЭА-1 |
|
2 |
|
воздухозаборник «Компонент» |
1 |
- |
|
Техническое обслуживание газоанализатора ГМК-3 |
1 |
- |
|
Чистка элементов системы выдвижения датчиков температуры и влажности (для «Пост-1») |
- |
1 |
|
Примечание. Техническое обслуживание производится в соответствии с эксплуатационной документацией на соответствующие технические средства. |
||
Периодичность (число раз) поверки средств измерений, входящих в состав комплектных лабораторий
|
Период |
Проверяющие органы |
||||
|
1 мес. |
6 мес. |
1 год |
4 года |
||
|
Ротаметры (в электроаспираторах модели 822 и ЭА-1) |
- |
1 |
- |
- |
Центры поверки Госстандарта |
|
Ротаметр РС-7 (в «Пост-1») |
- |
1 |
- |
- |
То же |
|
Счетчик газа ротационный (в электроаспираторах ЭА-2, ЭА-2С, ЭА-2СМ) |
- |
- |
- |
1 |
» |
|
Метеостанция М-49 (в «Пост-1») |
- |
- |
1 |
- |
Органы ведомственной поверки |
|
Метеокомплекс (М-63МР, ГС-210) |
- |
- |
1 |
- |
То же |
|
Барометр-анероид (М-49А в «Пост-1», М-67 в «Пост-2») |
- |
- |
1 |
- |
» |
|
Психрометр аспирационный МА-4М |
- |
- |
1 |
- |
» |
|
Анемометр ручной АРИ-49 (в «Пост-1») |
- |
- |
1 |
- |
» |
|
Погрешность в определении объема пробы воздуха в каналах отбора проб на пыль |
- |
- |
1 |
- |
» |
|
Газоанализатор ГМК-3 |
|
1 |
- |
- |
|
|
ведомственная поверка |
1 |
- |
- |
- |
Органы ведомственной поверки |
|
госповерка |
- |
1 |
- |
- |
ЛГИ Госстандарта |
Периодичность (число раз) технического обслуживания автолаборатории «Атмосфера-II»
|
Период |
|||
|
1 нед. |
1 мес. |
6 мес. |
|
|
Очистка и мытье наружных поверхностей автомашины и фургона |
- |
1 |
- |
|
Чистка элементов выдвижной штанги и мачты анеморумбометра |
- |
- |
1 |
|
Промывание фторопластовых трубопроводов |
- |
- |
1 |
|
Проверка надежности крепления трубопроводов и их герметичности |
1 |
- |
- |
|
Наладка и регулировка всех систем отбора проб воздуха |
- |
- |
2 |
|
Профилактический осмотр и проверки технического состояния лаборатории |
- |
- |
1 |
Форма журнала технического обслуживания приборов и оборудования ПНЗ (лаборатории)
|
Наименование прибора, заводской номер |
Что сделано, какие запасные части заменены, техническое состояние прибора (оборудования) после техобслуживания (ремонта) |
Подпись |
||
|
работника, производящего техобслуживание |
ответственного за прибор |
|||
|
|
|
|
|
|
Данный раздел содержит описание методик определения концентраций ряда наиболее распространенных примесей в атмосферном воздухе, рекомендуемых для применения на сети Госкомгидромета СССР, в службах Минздрава СССР и других ведомств, осуществляющих наблюдения за уровнем загрязнения атмосферы в населенных пунктах. Для определения концентраций ряда газообразных веществ помещено по две методики. Одна предусматривает отбор проб на пленочный сорбент, другая - в раствор, находящийся в барботере. Так как поглотительные приборы, заполненные пленочным сорбентом (сорбционные трубки), имеют ряд преимуществ по сравнению с поглотительными приборами барботажного типа (малые массу и габариты, относительно высокую прочность, высокую эффективность улавливания при меньшем расходе реактива, возможность отбора проб при отрицательной температуре воздуха и др.), то предпочтительны методы с их применением. Приведены также методики с использованием поглотительных приборов барботажного типа. Кроме того, в разделе помещено несколько методик, рекомендуемых к применению при проведении научных исследований и не предназначенных для получения режимной информации. Для ряда важных примесей одновременно с методиками, требующими специальной аппаратуры, редких реактивов или особенно высокой квалификации аналитиков, приводятся простые, хотя и менее точные методики анализа. Большая часть методик исследована метрологически, некоторые из них аттестованы и выпущены в виде руководящих документов (РД). При метрологическом исследовании были оценены систематическая и случайная составляющие погрешности. Для разных методик соотношения между этими составляющими различаются, однако для всех аттестованных методик результирующая погрешность не превышает ±25 %, что соответствует требованиям ГОСТ 17.2.4.02-81.
В Руководство включен также ряд давно используемых и хорошо зарекомендовавших себя методик, для которых метрологическое исследование не проводилось в требующемся в настоящее время объеме. Некоторые хроматографические методики, в которых используется неселективный детектор, помещены в приложении. Эти методики могут использоваться для анализа проб воздуха, отобранных вблизи предприятия, выбросы которого в атмосферу содержат помимо определяемого вещества только указанные в данной методике сопутствующие компоненты. При наличии других веществ необходимо предварительно оценить возможность их мешающего влияния.
Методики изложены в соответствии с требованиями ГОСТ 8.504-84 и РД 52.24-127-87. Разделы, общие для всех методик (условия выполнения измерений, общие положения по технике безопасности, требования к квалификации оператора, вычисление результатов измерений), объединены. Так как большая часть методик основана на фотометрическом методе анализа, это не отражено в названии. В остальных случаях метод указан. В названии многих методик отмечается способ отбора пробы воздуха.
В списке литературы помещены ссылки на работы, касающиеся последних модификаций методик, а также исходные руководящие документы.
Для наблюдения за загрязнением атмосферы в настоящем руководстве помещены методики, основанные на использовании следующих физико-химических и физических методов: фотоколориметрии, атомно-абсорбционной спектрофотометрии, рентгенофлуоресцентный, квазилинейчатых спектров люминесценции, потенциометрии, газовой хроматографии (ГХ).
Большая часть приведенных методик определения концентраций неорганических веществ и некоторых органических основана на фотометрическом методе анализа, включающем химическое преобразование определяемого вещества в окрашенное соединение и измерение оптической плотности его раствора. Наличие большого количества достаточно избирательных химических реакций, простота, доступность и надежность требующейся аппаратуры, высокая чувствительность и производительность делают этот метод особенно удобным для широкого использования при проведении серийных анализов проб, отобранных из воздуха.
Практически все приведенные в данном руководстве фотометрические методики разработаны с использованием двухлучевых фотоколориметров ФЭК-56, ФЭК-56М, предусматривающих уравнивание интенсивностей двух световых потоков при помощи переменной диафрагмы. В последнее время широкое распространение получили однолучевые фотоколориметры КФК-2 и КФК-2МП, КФК-3, которые имеют лучшие метрологические характеристики, проще в работе и, как правило, могут заменить ФЭК-56М. Следует отметить, что при использовании фильтрового прибора иной марки, чем это указано в методике, необходимо произвести подбор светофильтра. Способ подбора описан в инструкции к каждому фотоколориметру.
Применение вместо фотоколориметров спектрофотометров в ряде случаев дает возможность улучшить метрологические характеристики методик благодаря более точной настройке на максимум светопоглощения, однако их стоимость обычно существенно выше. Поэтому для проведения серийных анализов использование спектрофотометров в большинстве случаев не оправдано. Возможность достаточно точной настройки на нужную длину волны света, относительно невысокая стоимость, небольшие масса и габариты удачно сочетаются в фотометре КФК-3. Этот прибор имеет к тому же проточную кювету и предоставляет возможность вывода на встроенный дисплей или печатающее устройство результатов измерения сразу в единицах концентрации. Все это делает КФК-3 особенно удобным для проведения серийных анализов.
Еще большее снижение затрат труда на проведение анализа обеспечивают фотометры с автоматической подачей проб, установленных в специальные кассеты. При их использовании производительность повышается до 100 и более анализов подготовленных проб в час. Однако такие приборы целесообразно применять в лабораториях с большим объемом работ (не менее 35000 анализов в год).
В качестве основного метода определения концентрации металлов в аэрозолях и осадках рекомендуется атомно-абсорбционная спектрофотометрия с пламенной и термической ионизацией пробы. Этот метод, особенно тот вариант, в котором используется термическая атомизация, обладает достаточно высокой чувствительностью и позволяет определять большое число металлов.
Некоторую сложность представляет переход от определения одного металла к определению другого, поскольку при этом обычно требуется смена источника излучения. Поэтому при серийных анализах удобнее использовать несколько приборов, каждый из которых настроен на измерение концентрации одного металла. Атомно-абсорбционные спектрофотометры обеспечивают высокую производительность труда (несколько десятков проб в час), но имеют высокую стоимость. Это обусловливает целесообразность их использования только в специализированных централизованных лабораториях с большим объемом работ или в городах, где ввиду большой вероятности появления загрязняющих веществ в концентрациях выше ПДК, необходим оперативный анализ каждой пробы. Организацию централизованного контроля облегчает также простота пересылки проб аэрозолей, отобранных на фильтры и хорошая сохраняемость проб.
Метод рентгенофлуоресцентный с использованием полупроводникового детектора предназначен только для централизованных лабораторий. Он позволяет существенно увеличить объем информации, получаемой при анализе одной пробы, а также определять концентрацию таких вредных веществ, как мышьяк и селен. Кроме того, метод не требует специальной подготовки проб, они не портятся в процессе измерения и могут анализироваться повторно.
Наряду с атомно-абсорбционным и рентгенофлуоресцентным методом для определения ряда металлов приводятся фотометрические методики, не требующие сложной аппаратуры. Однако применять их следует лишь при невозможности использовать первые два метода.
Для некоторых соединений наряду с фотометрическими приведены потенциометрические методики анализа. Поскольку последние являются более простыми в исполнении и надежными, им следует отдать предпочтение при наличии соответствующей аппаратуры.
Для проведения режимных наблюдений за концентрациями 3, 4-бензпирена выбран вариант метода квазилинейчатых спектров люминесценции замороженных растворов с использованием единого стандарта. В то же время, для проведения научных исследований и для анализа проб, сильно загрязненных промышленными выбросами, приведен более сложный для серийного анализа вариант с использованием добавок. Для определения концентраций нескольких полиароматических углеводородов из одной пробы приведен метод высокоэффективной жидкостной хроматографии.
Для определения концентраций большинства органических веществ выбран метод газовой хроматографии. Его основным достоинством по сравнению с фотометрическим методом является возможность определения из одной пробы нескольких веществ, в том числе принадлежащих к одному гомологическому ряду. Кроме того, чувствительность хроматографического метода при определении концентраций многих веществ выше, чем чувствительность фотометрического. Он позволяет существенно расширить номенклатуру определяемых в атмосфере вредных примесей. Вместе с тем хроматографический метод имеет ряд ограничений, которые должны учитываться при планировании его использования: сложность и высокая стоимость аппаратуры, необходимость высококвалифицированного обслуживания и небольшая производительность (1 - 3 пробы в час).
Настройка хроматографа на каждую новую методику требует значительного времени и трудозатрат. В связи с этим хроматографы в первую очередь целесообразно применять в специализированных централизованных лабораториях, имеющих достаточное число приборов, чтобы каждый из них использовался для анализа одной группы веществ. Для определения ряда хлорированных углеводородов приведены две хроматографические методики, различающиеся вспомогательными устройствами.
По мере совершенствования приборов и методов в лаборатории периодически возникает необходимость перехода на новую методику. При переходе с одной методики измерения данного вещества или группы веществ на другую необходимо в каждой лаборатории провести параллельные анализы в течение не менее одного месяца для того, чтобы установить, имеются ли различия в результатах. При наличии расхождений необходимо проанализировать их причины и выяснить возможность установления переходного коэффициента для сохранения непрерывности ряда. Параллельные измерения следует производить тщательно, из одного воздуховода, предварительно проверив правильность работы расходомеров. Результаты измерений и их аналитическое обсуждение направляют в головную организацию для получения разрешения на переход к новой методике.
В каждой методике наряду с принципом метода измерения указаны конкретные средства измерения, с применением которых она разработана, однако они могут быть заменены аналогичными с погрешностями, не превышающими погрешность рекомендуемых. Применяемые средства измерений должны быть поверены (аттестованы) в сроки, установленные ГОСТ 8.002-71, иметь клеймо и свидетельство о поверке.
Помещение для лаборатории должно быть по возможности просторным, удобным, светлым. Лабораторию не следует располагать на верхних этажах зданий, где заметна вибрация, а также вблизи источников, загрязняющих воздух, поскольку эти факторы неблагоприятно влияют на рабочие растворы и точные измерительные приборы и, следовательно, снижают точность анализа.
Помещение лаборатории должно соответствовать гигиеническим нормам, санитарным нормам СН 535-81 или ВСН-2-68 АН СССР и правилам техники безопасности. Средняя норма площади на каждого аналитика не менее 12 м2, длина рабочего стола - 1,5 м, а при проведении массовых анализов - 3 м. Помещение лаборатории должно иметь большие окна, обеспечивающие достаточное освещение днем. Для вечернего освещения, помимо потолочных ламп, над каждым рабочим местом должен находиться источник света. Рекомендуется применить лампы дневного света.
В каждой лаборатории должна быть свежая дистиллированная вода, для получения которой необходимо иметь дистиллятор. При некоторых анализах требуется наличие бидистиллята или деминерализованной воды. Для ее получения в лаборатории должен иметься бидистиллятор или ионообменные колонки с катионитом и анионитом, через которые в случае необходимости пропускают дистиллированную воду. Каждая лаборатория должна быть оборудована подводкой технического тока и вытяжными шкафами, снабженными водопроводом и канализационным сливом.
Правильное размещение приборов в помещении лаборатории является одним из важных факторов, обеспечивающих удобные условия работы аналитиков, рациональное использование их рабочего времени, а также способствует и продлению срока службы приборов. В частности, аналитические весы желательно размещать в отдельной комнате.
Особое внимание должно быть уделено правильному хранению реактивов. Категорически запрещается размещать концентрированные растворы летучих веществ (соляную и азотную кислоты, растворы аммиака, фенола и т.д.) в помещениях, где проводятся анализы или находятся аппараты для очистки воды. Хранение рабочих растворов летучих реактивов (аммиака, формальдегида, фенола и др.) должно быть организовано так, чтобы исключить загрязнение одного другим или проб через воздух. Анализы, которые могут мешать один другому, следует проводить в разное время (например, при определении аммиака выделяются пары фенола, при определении диоксида серы - формальдегида, которые могут мешать при определении соответствующих веществ).
При проведении аналитических работ следует использовать поверенную на заводе мерную посуду не ниже второго класса точности. Совершенно недопустимо использовать общую посуду для проведения анализа разных веществ.
Примерный перечень приборов и оборудования для анализа атмосферного воздуха приведен в приложении 5.1. В каждой лаборатории желательно иметь специальную литературу, рекомендованную в приложении 5.2.
К проведению работ по отбору и анализу проб воздуха допускаются лица не моложе 18 лет, изучившие правила по технике безопасности, утвержденные в данной отрасли после проверки усвоения материала и проведения дополнительного инструктажа, учитывающего специфику проводимых работ. Работникам Госкомгидромета при этом следует руководствоваться «Правилами по технике безопасности при производстве наблюдений и работ на сети Госкомгидромета» (Гидрометеоиздат, 1983) и обратить особое внимание на разделы, касающиеся работ с электрическими установками, имеющими напряжение до 1000 В, сосудами, находящимися под давлением, и опасными химическими веществами, используемыми в лаборатории (концентрированными кислотами, щелочами, сильными окислителями, ядами и т.д.). Оператор должен быть подробно ознакомлен со специфическими свойствами и действием на организм конкретных химических веществ. Особое внимание должно быть уделено инструктажу и проверке знаний по правилам обращения с применяемыми в лаборатории веществами 1-го класса опасности (соединениями ртути и свинца, триоксидом хрома и т.д.), а также огнеопасными веществами. В частности, обработка сорбционных трубок растворами триоксида хрома или солей ртути должна производиться в резиновых перчатках под тягой.
Ответственность за технику безопасности на пунктах отбора проб и в лаборатории возлагается на заведующего лабораторией.
К работе в химической лаборатории наблюдения за загрязнением атмосферы (ЛНЗА) могут быть допущены лица, изучившие п. 5.1, раздел 4 и конкретные методики определения концентрации загрязняющих веществ, которые используются в данной лаборатории. Химический анализ проб может производить инженер или техник, имеющий химическое образование или опыт работы в химической лаборатории. Он должен тщательно изучить методики определения концентрации веществ, которые контролируются данной лабораторией, освоить технику работ на используемых при этом средствах измерения и оборудовании. Проверку знаний нового сотрудника лаборатории производит специально выделенная комиссия ЛНЗА.
К проведению анализов оператор может быть допущен, если: установленная им градуировочная характеристика (котангенс угла наклона) не отличается от действующей в лаборатории более чем на 10 %; отклонение от среднего единичного результата измерения концентрации раствора для градуировки, соответствующего середине измеряемого диапазона концентраций, не превышает ±10 %, а отклонение результата измерения контрольного раствора неизвестной концентрации не превышает ±15 % заданного значения.
Стеклянная посуда должна быть тщательно вымыта. При этом можно использовать как механические и физические способы очистки, так и химические. Посуду, используемую при анализе атмосферного воздуха на содержание H2SO4, Cr (VI), Cl-, не следует очищать хромовой смесью. Наиболее пригодна для этих целей кальцинированная сода. Посуду, используемую при анализе органических веществ, следует промывать хромовой смесью (лучше предварительно слегка подогреть смесь). После такой обработки необходима очень тщательная отмывка от следов соединений хрома и серной кислоты. Если на стенках посуды имеется налет, посуду очищают (предварительно смочив 10 %-ным раствором мыла или тринатрийфосфата) щеткой или ершом и уже затем окончательно моют водой. Хорошо вымытую посуду обязательно два - три раза тщательно ополаскивают дистиллированной водой для удаления солей, содержащихся в водопроводной воде. Окончательную очистку посуды производят пропариванием. Обработку паром продолжают до тех пор, пока стенки очищаемой посуды не будут равномерно смачиваться водой. Если этого не наблюдается, то посуду следует вымыть заново. Абсорберы с пористой пластинкой не следует мыть водопроводной водой. Вымытую химическую посуду сушат в сушительном шкафу при температуре 80 - 100 °С. Мерную посуду сушить при нагревании нельзя. Посуду, используемую при анализе воздуха на содержание в нем 3,4-бензпирена, заливают хромовой смесью на 1 - 2 ч, затем промывают водопроводной и дистиллированной водой, сушат и после этого ополаскивают небольшим количеством (несколько см3) перегнанного н-гексана. Критерием чистоты посуды в этом случае является отсутствие свечения использованной для ополаскивания порции н-гексана при освещении ультрафиолетовым светом. Для анализа каждого вещества необходимо использовать отдельный комплект всей посуды.
При проведении анализов следует использовать мерную посуду с клеймом поверки. При отсутствии клейма производит проверку градуировки новой мерной посуды по массе заполняющей ее дистиллированной воды. Для получения правильных результатов необходимо учесть тепловое расширение воды и стекла посуды, а также различие плотностей воды и использованного при взвешивании на воздухе разновеса, пользуясь табл. 5.1. Перед взвешиванием дистиллированную воду и посуду выдерживают в помещении весовой на менее 1 ч, чтобы они приняли температуру окружающего воздуха. Ошибка в измерении температуры окружающего воздуха на 1 °С приводит к ошибке в определении вместимости посуды примерно на 0,02 %.
Масса воды (г), которая в стеклянной посуде занимает объем, равный 1000 см3
|
Давление, мм рт. ст. |
Температура, °С |
Давление, мм рт. ст. |
|||||
|
760 |
740 |
720 |
760 |
740 |
720 |
||
|
15 |
997,93 |
997,96 |
997,99 |
21 |
997,00 |
997,03 |
997,06 |
|
16 |
997,80 |
997,83 |
997,86 |
22 |
997,80 |
997,83 |
996,86 |
|
17 |
997,65 |
997,68 |
997,71 |
23 |
996,61 |
996,64 |
996,67 |
|
18 |
997,51 |
997,54 |
997,57 |
24 |
996,39 |
996,42 |
996,45 |
|
19 |
997,34 |
997,37 |
997,40 |
25 |
996,18 |
996,21 |
996,23 |
|
20 |
997,18 |
997,21 |
997,24 |
|
|
|
|
Для проверки вместимости пипетки набирают в нее воду до метки и сливают, держа пипетку в вертикальном положении и прикасаясь кончиком к стенке взвешенного заранее бюкса. Через 5 с после вытекания всей воды пипетку отводят, не встряхивая, от края бюкса. При выполнении анализов применяют этот же способ выливания жидкости из пипетки. Закрывают бюкс и взвешивают его с точностью до 0,001 г. Температуру воды принимают равной температуре воздуха. Производят не менее трех измерений, из которых находят среднее.
Пример
Масса воды в пипетке вместимостью 25,0 см3 при 23 °С и атмосферном давлении 742 мм рт. ст., согласно табл. 5.1, должна быть равной:
996,64×25/1000 = 24,916 г.
При взвешивании средняя масса воды в пипетке оказалась равной 24,884 г. Разница составляет: 24,916 - 24,884 = 0,032 (г). Таким образом, вместимость проверяемой пипетки на 0,032 см3 меньше и составляет: 25,0 - 0,032 = 24,968 (см3).
Для мерных пипеток допустимы следующие погрешности:
Вместимость, см3 1 2 5 10 25 50 100
Отклонение, см3 ±0,003 ±0,006 ±0,01 ±0,02 ±0,04 ±0,05 ±0,08
Пипетки, погрешность которых превышает допустимую, нельзя использовать для работы.
При проверке мерных колб, используя данные табл. 5.1, вычисляют массу, которую должна иметь вода в объеме колбы. На чашку технических весов помещают вымытую и высушенную колбу и разновес, соответствующий вычисленной массе воды в колбе, и уравновешивают другую чашку весов дробью или разновесом. Затем, убрав с первой чашки весов разновес, наливают в колбу воду до метки. Если равновесия нет, то добавляют или убирают разновес. Значение прибавленной или снятой массы и будет являться поправкой к номинальной вместимости колбы.
Все используемые для анализа растворы должны быть прозрачными. При фильтровании растворов, если эта операция обусловлена методикой анализа, следует применять бумажные фильтры, каждая партия которых проверена на отсутствие определяемого вещества. Для снижения трудозатрат при фильтровании применяется установка (черт. 5.1), позволяющая сберечь время оператора, так как при ее использовании не требуется наблюдения. Раствор, который следует профильтровать, наливают в колбу с длинным и узким горлом и прикрывают его сверху воронкой с фильтром. Затем, придерживая воронку, переворачивают колбу с воронкой, вставляют воронку в сосуд для сбора фильтрата и укрепляют колбу в штативе. Обязательным условием для этого способа фильтрования является то, что при проведении всех указанных операций горлышко колбы должно соприкасаться с фильтром. Для ускорения процесса фильтрования горлышко колбы можно приподнять, чтобы его обрез находился на 1 - 2 см ниже края фильтра. Для удаления нерастворимых частиц из растворов, приготавливаемых для определения анионов, которые могут содержаться в бумажных фильтрах (хлор-, фтор- и сульфат-ионов), следует использовать стеклянные фильтры или центрифугирование. То же относится и к удалению частиц из растворов проб.
Установка для автоматического фильтрования растворов
Дистиллированная вода, используемая при определении концентрации аммиака, ионов сульфата, хлорида и некоторых других соединений, должна подвергаться дополнительной очистке с помощью ионообменных смол - деионизации (деминерализации). С этой целью воду пропускают через колонку объемом 0,5 - 1 дм3, заполненную слоями сильнокислотного катионита (например, КУ 2) и слабоосновного анионита (например, ЭДЭ-10П). Размер (диаметр) зерен ионитов должен быть в пределах 0,2 - 0,4 мм. Перед смешиванием иониты подготавливают следующим образом. Тщательно промывают дистиллированной водой методом декантации, пока промывные воды не станут совершенно прозрачными. Затем каждый ионит отдельно загружают в колонку, дают набухнуть в воде в течение суток, промывают дистиллированной водой и производят «тренировку». Для этого катионит переводят в Н-форму путем пропускания 3-кратного объема соляной кислоты концентрацией 2 моль/дм3, затем промывают дистиллированной водой до нейтральных (по метиловому оранжевому) промывных вод, промывают 2 - 3-кратным объемом гидроксида натрия концентрацией 1 моль/дм3 и опять дистиллированной водой; такой цикл повторяют трижды. Последний раз катионит промывают соляной кислотой, оставляют в ней на ночь, затем промывают дистиллированной водой до нейтральных (по метиловому оранжевому) промывных вод.
Анионит переводят в OH-форму аналогично, обрабатывая его раствором гидроксида натрия концентрацией 1 моль/дм3, промывают водой до нейтральной (по фенолфталеину) реакции промывных вод, промывают 3-кратным объемом соляной кислоты концентрацией 2 моль/дм3 и опять дистиллированной водой. Цикл обработки повторяют трижды. Последний раз анионит промывают раствором гидроксида натрия, затем дистиллированной водой до нейтральной реакции промывных вод.
Для регенерации иониты извлекают из колонки и порознь обрабатывают катионит - соляной кислотой (2 моль/дм3), анионит - гидроксидом натрия (1 моль/дм3). Через слой ионита пропускают 3-кратный объем раствора, оставляют его на ночь в контакте с этим раствором (только катионит), а затем отмывают до нейтральной реакции промывных вод. Затем подготовленные иониты загружают в колонку, разделив их слои тампоном из стеклянной ваты, предварительно прокипяченой в растворе соляной кислоты (2 моль/дм3) и отмытой до нейтральных промывных вод горячей дистиллированной водой.
Перед загрузкой ионитов в колонку заливают дистиллированную воду, чтобы предотвратить возможность появления в слое воздушных пузырей. Сверху на слой ионита помещают тампон обработанной в кислоте стеклянной ваты и прижимают его сеткой из органического стекла, промытой дистиллированной водой. Схема установки для приготовления деминерализованной воды представлена на черт. 5.2. При необходимости очистки воды только от ионов аммония и металлов может использоваться колонка, содержащая только катионит. Расход воды через ионообменную колонку должен быть таким, чтобы можно было считать капли. При перерыве в работе колонки более 1 ч необходимо отбрасывать первые 5 - 10 см3 воды, чтобы промыть отводную трубку. В процессе эксплуатации колонки необходимо следить, чтобы в слой ионитов не попадал воздух. Ориентировочно килограмм ионитов позволяет очистить 0,5 - 1 м3 дистиллированной воды.
Реактивы, используемые при анализе воздуха на содержание и нем микропримесей различных веществ, должны иметь квалификацию х. ч., ч. д. а. и ос. ч. При отсутствии реактивов нужной квалификации, а также при длительном хранении изменяющих свойства реактивов, их необходимо подвергнуть очистке.
Установка для получения деминерализованной воды
1 - патрон с натронной известью; 2 - патрон с кристаллической щавелевой кислотой; 3 - резиновая пробка; 4 - дистиллированная вода; 5 - кран; 6 - колонка вместимостью 0,5 - 1,0 дм3; 7 - стеклянная вата; 8 - смесь катионита и анионита; 9 - пористая стеклянная пластина; 10 - поливинилхлоридная трубка.
Используемый для работы с сорбционными трубками этиленгликоль не должен содержать перекисных соединений. Проверка производится путем добавления к 1 см3 этиленгликоля 5 см3 1 %-ного свежеприготовленного раствора иодида калия и нескольких капель раствора крахмала. При появлении даже слабой окраски реактив не следует использовать. Для очистки этиленгликоля его пропускают через слой оксида алюминия (гамма-форма, ч., по ТУ 6-09-3428-78). Сорбент помещают в бюретку с пористой стеклянной пластиной, снабженную стеклянным краном или зажимом. На пористую пластину помещают небольшой ватный тампон для удерживания частиц оксида алюминия. Вначале смешивают 20 см3 оксида алюминия со 100 см3 воды в стакане, взмучивают полученную смесь, вливают в бюретку и дают осесть. Сливают воду так, чтобы она только покрывала слой сорбента (нужно следить, чтобы вода не опустилась ниже слоя сорбента). Наливают в бюретку этиленгликоль и пропускают его через слой сорбента. Первую порцию 10 см3 отбрасывают, а остальной реактив используют для приготовления раствора. После пропускания каждых 100 см3 этиленгликоля контролируют полноту его очистки. При появлении следов перекиси в очищенном этиленгликоле сорбент следует заменить. После тщательной отмывки водой от поглощенной перекиси и сушки сорбент можно использовать повторно.
Для проверки исправности измерительного прибора, применяемого при фотометрическом анализе, в межповерочный период при отсутствии в их комплекте контрольных светофильтров рекомендуется использовать раствор, имеющий постоянное значение оптической плотности в течение длительного промежутка времени. Для его приготовления растворяют в мерной колбе вместимостью 1 дм3 навеску 0,04 г химически чистого хромата калия в растворе гидроксида калия концентрацией 0,05 моль/дм3. Полученный раствор тщательно перемешивают и, не фильтруя, применяют для проверки фотоэлектроколориметра. В табл. 5.2 помещены данные для проверки ФЭК-56 при использовании кювет с расстоянием между гранями 10 мм. Результаты измерений могут несколько отличаться от приведенных из-за различия спектральных характеристик светофильтров одного номера для разных экземпляров приборов.
Значения оптической плотности записывают в специальный журнал ежемесячно для контроля работы фотоэлектроколориметра. Если при измерении они будут отличаться более, чем не 0,02 от среднего значения за несколько месяцев, то необходимо, проверив качество приготовленного реактива на других фотоэлектроколориметрах, произвести юстировку лампы, проверить чистоту деталей в оптических каналах, а при отсутствии улучшения произвести ремонт прибора и его поверку. Аналогично проверяют фотометрические приборы других марок; измерения производят на длинах волн, по возможности близких к указанным в табл. 5.2.
Значения оптической плотности стандарта спектрального пропускания для проверки ФЭК-56
|
Длина волны, нм |
Оптическая плотность |
|
|
2 |
365 |
0,92 |
|
3 |
400 |
0,25 |
|
4 |
440 |
0,05 |
Не реже одного раза в неделю, следует проверить правильность установки осветителя в приборе и чувствительность, согласно инструкции, приложенной к прибору.
На точность результатов измерений большое влияние оказывает чистота рабочих граней кювет. Перед каждым измерением их необходимо протирать батистом. Использование других тканей недопустимо, так как на гранях кюветы могут образоваться мелкие царапины или остаться ворсинки. Очистку стенок кювет от осадка следует производить кусочком поролона, обернутым вокруг деревянной палочки и смоченным моющим средством. Хромовую смесь для очистки кювет применять нельзя. Во время работы кюветы следует брать руками только за нерабочие грани, а после заполнения раствором внимательно следить за отсутствием на стенках кювет даже мельчайших пузырьков воздуха. При серийных измерениях следует периодически осматривать находящуюся в приборе сравнительную или проточную рабочую кювету, поскольку в жидкости могут образоваться пузырьки газа, что приведет к неверным результатам. После окончания работы кюветы должны быть тщательно вымыты и заполнены дистиллированной водой или (при длительных перерывах в работе) высушены.
При приготовлении растворов реактивов необходимо учитывать требования ГОСТ 4212-76, ГОСТ 4517-77, ГОСТ 4919.1-77, ГОСТ 4912.2-77. К точности приготовления растворов, являющихся основой при установлении градуировочной характеристики, предъявляются особенно высокие требования.
1) Для приготовления растворов следует применять соединения в виде стандартных образцов, а при их отсутствии - реактивы квалификации не ниже ч. д. а., имеющие этикетку с указанием содержания основного вещества и примесей; использование случайных и старых реактивов недопустимо.
2) При приготовлении растворов из порошкообразных негигроскопичных веществ заданные навески отвешивают на аналитических весах на часовом стекле. В мерную колбу навеску с часового стекла переводят только через воронку, вставленную в горлышко мерной колбы. Часовое стекло после перенесения навески в колбу, не вынимая из воронки, тщательно промывают указанной в конкретной методике жидкостью.
3) Гигроскопичные вещества взвешивают в бюксе с притертой крышкой или в маленькой пробирке. При этом взвешиваемое вещество вносят в емкость один раз и тотчас закрывают крышкой во избежание увлажнения вещества на воздухе. В мерную колбу навеску переводят, как описано в перечислении 2, затем рассчитывают концентрацию получившегося раствора и последующим разведением готовят раствор необходимой концентрации.
4) При приготовлении градуировочных растворов из жидких веществ их вносят по каплям в мерную колбу. Предварительно в колбу не менее чем до половины наливают растворитель и взвешивают на аналитических весах. Перед взвешиванием колбу тщательно вытирают снаружи. Для внесения вещества используют пипетку с оттянутым кончиком. Навеску жидкого вещества вносят в мерную колбу таким образом, чтобы оно сразу попадало в растворитель, а не стекало по стенкам колбы. Определяют массу введенной жидкости по увеличению массы колбы, рассчитывают концентрацию полученного раствора и последующим разведением готовят раствор необходимой концентрации.
Для каждого вещества, концентрацию которого определяют, в соответствующей методике указаны способы приготовления растворов, применяемых при установлении градуировочной характеристики используемых приборов. Пример оформления градуировочной характеристики приведен на черт. 5.3. На графике обязательно должны указываться следующие данные: определяемое вещество, метод анализа, марка прибора, заводской номер прибора, условия определения (например, при фотометрическом методе номер светофильтра и расстояние между рабочими гранями кюветы), число и фамилия аналитика.
Пример оформления градуировочной характеристики
Фотометрическое определение диоксида серы (метод с парарозанилином). ФЭК-56М № 60903; светофильтр № 7; кювета 10,051 мм
Установлена: 22.01.86 Ивановой А.А.
Подпись
Проверена: 28.02.86 Ивановой А.А.
Подпись
Черт. 5.3
При установлении градуировочной характеристики, если результат какого-либо измерения отличается от среднего арифметического значения для данной точки более чем на ±15 % (если в методике не указан иной критерий отбраковки), то его не принимают во внимание и повторяют измерение в этой точке, приготовив новый раствор для градуировки. При графическом изображении градуировочной характеристики соотношение масштабов по координатным осям должно быть таким, чтобы ее наклон был близким к 45°.
Следует отметить, что градуировочная характеристика для однолучевых фотоколориметров (например, КФК-2) при измерении с обратными шкалами (т.е. в случаях, когда оптическая плотность окрашенных растворов при увеличении концентрации определяемого вещества не возрастает, а снижается) начинается не от нуля, а от максимального значения оптической плотности, соответствующего «нулевому раствору». Чувствительность однолучевых приборов оказывается при этом ниже, чем двухлучевых. Поэтому в данном случае следует применять либо двухлучевые приборы (например, ФЭК-56М), либо однолучевые с встроенным микропроцессором (КФК-2МП, КФК-3).
При установлении градуировочной характеристики для нового прибора сначала подбирают светофильтр или длину волны, обеспечивающие максимальную разность между оптическими плотностями нулевого и одного из окрашенных растворов.
Градуировочную характеристику проверяют не реже одного раза в квартал и обязательно после смены каждого реактива. В ряде методов градуировочная характеристика должна устанавливаться по одной или нескольким точкам перед началом каждой серии измерений.
Оптическая плотность кювет фотоколориметров после их продолжительной эксплуатации может изменяться. Поэтому установление градуировочной характеристики следует начинать с измерения оптической плотности дистиллированной воды, которой заполняют измерительную и сравнительную кюветы. Если оптические плотности кювет различаются, то в качестве измерительной выбирают кювету, дающую большее значение (во избежание появления систематической отрицательной ошибки). С этой кюветой устанавливают градуировочную характеристику, и в нее заливают анализируемые растворы при измерениях.
Поглотительные приборы перед заполнением растворами очищают, как описано в п. 5.1.5, используя при промывке только дистиллированную воду. На корпус прибора наносят чернилами для письма по стеклу или пластинкой из титана метку, соответствующую объему 6 см3 (для V-образных поглотительных приборов - на узком колене). Для этого в поглотительный прибор заливают 6 см3 дистиллированной воды и удаляют воздух, находящийся под пористой пластинкой, используя резиновую грушу. (При нанесении метки необходимо следить за тем, чтобы уровень раствора в обоих коленах был одинаковым, а метка имела бы ширину не более 1 мм). После отбора пробы уровень жидкости в приборе доводят до метки, также предварительно удалив воздушный пузырь из-под пористой пластинки. Поглотительные приборы Рыхтера градуируют, наливая в каждый по 6 см3 дистиллированной воды, и наносят метки по наружному мениску. При отсутствии чернил для письма по стеклу метку наносят черной тушью, в которую добавлен сахар, и после просыхания метку заклеивают прозрачной липкой лентой на лавсановой основе (используется для склеивания магнитофонных лент).
В чистые отградуированные поглотительные приборы заливают поглотительный раствор в количестве, указанном в применяемой методике. Заполнение поглотительных приборов производят с помощью установки, приведенной на черт. 5.4. После заполнения поглотительный прибор ставят в штатив (черт. 5.5), закрывают заглушками и помещают в ящик для транспортировки.
При подготовке к отбору проб новые сорбционные трубки (СТ) подвергают внешнему осмотру и отбраковывают экземпляры, заполненные стеклянными гранулами, размер которых не соответствует номеру трубки: 1 - 2 мм для трубок с маркировкой «1» и «2» и 2 - 3 мм для трубок с маркировкой «3». Затем их промывают.
При первой промывке СТ помещают в высокий стеклянный стакан, заливают дистиллированной водой и кипятят, меняя воду 2 - 3 раза. Затем трубки промывают еще 2 - 3 раза дистиллированной водой и сушат при температуре 100 - 120 °С. После каждого анализа трубки тщательно промывают горячей дистиллированной водой, кипятят и не менее трех раз ополаскивают. Один раз в неделю их кипятят в 5 %-ном растворе кальцинированной соды и затем промывают дистиллированной водой. При загрязнении не отмывающимися водой органическими веществами трубки очищают кипячением в 5 %-ном растворе кальцинированной соды, а затем тщательно промывают водой описанным способом.
Установка для заполнения поглотительных приборов раствором
1 - бутыль с поглотительным раствором; 2 - бюретка; 3 - кран; 4 - поливинилхлоридная трубка; 5 - поглотительный прибор.
Штатив для поглотительных приборов
Перед отбором проб слой стеклянных гранул в СТ обрабатывают в лаборатории абсорбирующим раствором. Раствор заливают в чистую сухую пробирку или маленький стаканчик в количестве, необходимом для обработки нужной партии СТ. Остатки раствора выливают. Недопустимо хранение этого раствора в открытой посуде более 15 мин и повторное использование посуды без промывки.
Обработку СТ можно осуществлять двумя способами. При первом способе в абсорбирующий раствор реактива неглубоко (на 3 - 5 мм) погружают конец трубки со стеклянными гранулами и осторожно засасывают при помощи резиновой груши № 1 или № 2 столько раствора, чтобы весь слой гранул и верхняя перегородка были смочены. Затем трубку вынимают из раствора и несколькими резкими сжатиями груши выдувают излишек жидкости в другую емкость. Необходимо следить за тем, чтобы раствор не попал внутрь груши! В этом случае грушей можно пользоваться только после ее тщательной промывки дистиллированной водой и высушивания при 100 °С. Нежелательно также, чтобы раствор смачивал трубку выше верхней перегородки, т.е. выше слоя сорбента.
При втором способе в трубку заливают со стороны сорбента требуемое количество раствора, указанное в методике (обычно 0,2 - 0,3 см3 на 1 см3 слоя стеклянных гранул). При помощи резиновой груши, присоединенной к пустому концу СТ, раствор осторожно перемещают по слою гранул, добиваясь их равномерного смачивания. Эту операцию необходимо производить аккуратно, поскольку при наличии плохо смоченных участков эффективность улавливания вещества при отборе проб может значительно снизиться. Избыток раствора выдувают.
Обработанную раствором трубку очень тщательно обтирают снаружи чистой фильтровальной бумагой (в том числе с торца, опускавшегося в жидкость), закрывают заглушками (например отрезками резинового шланга с полиэтиленовой или стеклянной пробкой) встык к СТ. При отсутствии таких заглушек на концы трубок могут надеваться колпачки из полиэтиленовой пленки, плотно закрепляемые на трубке резиновыми кольцами. Однако в последнем случае срок хранения трубок до отбора пробы не должен превышать 1 - 2 сут. Особенно тщательно должны герметизироваться СТ, подготовленные для отбора проб на диоксид азота и аммиак. На маркированную часть СТ наклеивают номер, написанный на кусочке лейкопластыря, или пишут простым карандашом на матированном кружке и вкладывают в полиэтиленовый мешок для транспортировки на пункт отбора.
Одновременно с партией рабочих СТ тем же раствором дорабатывают шесть «нулевых» трубок, три из которых транспортируются на посты наблюдений вместе с остальными СТ и с ними же возвращаются. В тех случаях, когда в результате длительных (не менее месяца) наблюдений установлено, что нулевые пробы, транспортируемые на пост, не отличаются от нулевых проб, оставленных в лаборатории, для данного вещества транспортировку нулевых проб на пост можно прекратить (кроме СТ на аммиак и сероуглерод, которые должны транспортироваться на пункт всегда) и оставлять их в лаборатории. Трубки и заглушки должны использоваться всегда для анализов только одних и тех же примесей.
Поскольку растворы для обработки большей части СТ содержат ядовитые или едкие вещества (концентрированные растворы щелочей, кислоты и т.п.), эту обработку необходимо проводить, защитив глаза, под тягой, в резиновых перчатках. В случае попадания растворов на руки, немедленно принимать меры в соответствии с правилами техники безопасности.
Подготовку поглотительных приборов следует производить в чистом помещении, чтобы исключить загрязнение проб в лаборатории. В случае отсутствия отдельной комнаты с вытяжным шкафом, необходимо готовить пробы в самом начале рабочего дня, после хорошего проветривания помещения. Совершенно недопустимо одновременно с подготовкой поглотительных приборов в той же комнате проводить анализы с использованием летучих реактивов, содержащих, например, фенол, аммиак, соляную кислоту и т.п.
Подготовка сорбционных трубок, заполненных адсорбентами, описана в конкретных методиках.
При подготовке к отбору проб для определения массовой концентрации аэрозолей фильтры выдерживают в открытых пакетах в течение суток в эксикаторе с осушителем (хлоридом кальция). Затем извлекают из пакета пинцетом, взвешивают на аналитических весах с точностью до 0,1 мг, снова вкладывают в пакет и записывают на нем массу фильтра и его номер. Те же данные вносят в рабочий журнал. Фильтры хранят в сухом помещении при комнатной температуре в условиях, исключающих попадание на них пыли.
Для предупреждения влияния электростатического заряда фильтром на точность взвешивания, фильтры на чашке весов покрывают сверху предварительно взвешенным кружочком из алюминиевой фольги.
При выполнении измерений в лаборатории, согласно ГОСТ 15150-69, должны быть соблюдены следующие условия1
температура воздуха (20 ± 10) °С;
атмосферное давление 84,0 - 106,7 кПа; (630 - 800 мм рт. ст.);
влажность воздуха не более 80 % при температуре 25 °С.
1 Если в паспорте используемых средств измерений или в методике указаны более узкие диапазоны, то они должны быть соблюдены.
Относительная суммарная погрешность измерения массовой концентрации определяемых веществ в атмосферном воздухе, согласно ГОСТ 17.2.4.02-81, не должна превышать ±25 %.
В каждой методике указано наибольшее значение этой погрешности, либо установленное при метрологической аттестации, приведенной с участием органов метрологической службы и оформленной документально, либо по результатам метрологического исследования автором методики. В ряде давно используемых и хорошо себя зарекомендовавших методик указано, что их погрешность, по экспертным оценкам, не превышает ±25 %.
Методики, рекомендованные к применению при ограниченном числе сопутствующих примесей, помещены в приложении 5.3.
Все результаты измерений заносят в рабочий журнал (см. приложение 5.4).
Для получения сравнимых результатов определения концентраций примесей объем пробы воздуха, взятого для анализа, приводят к нормальным условиям: температуре t = 0 °С, (T0 = 273 К) и давлению P0 = 760 мм рт. ст. (101,3 кПа).
Расчет производят по формуле:
1 Если в паспорте используемых средств измерений или в методике указаны более узкие диапазоны, то они должны быть соблюдены.
где V0 - объем отобранной пробы воздуха, приведенный к нормальным условиям, дм3;
u - расход воздуха при отборе пробы, дм3/мин;
V - объем пробы воздуха, измеренный при отборе, дм3;
t - температура воздуха на входе в ротаметр или счетчик (не на улице!), °С;
τ1 и τ2 - время начала и конца отбора пробы;
P - атмосферное давление при отборе пробы воздуха, кПа или мм рт. ст.;
K - коэффициент пересчета (при измерении P в кПа K = 2,7, а при измерении P в мм рт. ст. K = 0,358).
Для приведения объема пробы воздуха к нормальным условиям можно также использовать более простую формулу:
где V0 и V - означают то же, что в формуле (1); K' - коэффициент пересчета, найденный по табл. 5.3.
При отборе проб воздуха с помощью автоматических воздухоотборников «Компонент», АВ-1, а также электроаспираторов ЭА-2С, ЭА-2СМ, ЭА-3 температура воздуха, поступающего в измерительную часть прибора, регулируется. Поэтому для приведения к нормальным условиям объема проб воздуха, отобранных при помощи «Компонента» и АВ-1, формулах (1) и (2) следует использовать t = 20 °С.
Для электроаспираторов ЭА-2С, ЭА-2СМ и ЭА-3 терморегулирование включается только при температуре ниже 20 °С. Поэтому при пониженной температуре наружного воздуха и включенном терморегулировании в расчетах t = 20 °С. При выключенном терморегуляторе или более высокой температуре в расчетах должно использоваться действительное значение температуры, отсчитываемое по встроенному в электроаспираторы термометру.
Для определения среднесуточной температуры при отборе проб аэрозолей с выключенным терморегулятором используют запись значений температуры на ленте самописца метеокомплекса КСП-4. Рассчитывают среднюю температуру из ее мгновенных значений через каждые 3 ч, а для электроаспиратора ЭА-2С, работающего в циклическом режиме, - в моменты начала и конца рабочей части каждого цикла.
Среднее значение атмосферного давления при отборе среднесуточной пробы рассчитывают по формуле:
где Рн и Рк - значения атмосферного давления в начале и конце отбора пробы. Концентрацию загрязняющего вещества в воздухе (мг/м3) находят по одной из формул:
(5)
(6)
где ρ - концентрация загрязняющего вещества в воздухе, мг/м3;
m - масса загрязняющего вещества, найденная по градуировочной характеристике в объеме раствора, взятого на анализ, мкг;
Коэффициенты пересчета для приведения объема воздуха к нормальным условиям
|
Давление, мм рт. ст. (кПа) |
||||||
|
730 (97,3) |
735 (98,0) |
740 (98,7) |
745 (99,3) |
750 (100,0) |
755 (100,7) |
|
|
0 |
0,96 |
0,96 |
0,97 |
0,98 |
0,98 |
0,99 |
|
5 |
0,94 |
0,95 |
0,96 |
0,96 |
0,97 |
0,98 |
|
10 |
0,93 |
0,93 |
0,94 |
0,95 |
0,95 |
0,96 |
|
15 |
0,91 |
0,92 |
0,92 |
0,93 |
0,94 |
0,94 |
|
20 |
0,89 |
0,90 |
0,91 |
0,91 |
0,92 |
0,94 |
|
25 |
0,88 |
0,89 |
0,89 |
0,90 |
0,90 |
0,93 |
|
30 |
0,87 |
0,87 |
0,88 |
0,88 |
0,89 |
0,90 |
|
35 |
0,85 |
0,86 |
0,86 |
0,87 |
0,87 |
0,88 |
|
40 |
0,84 |
0,84 |
0,85 |
0,85 |
0,86 |
0,87 |
|
|
760 (101,3) |
765 (102,0) |
770 (102,7) |
775 (103,3) |
780 (104,0) |
|
|
0 |
1,0 |
1,0 |
1,1 |
1,1 |
1,2 |
|
|
5 |
0,98 |
0,99 |
0,99 |
1,00 |
1,00 |
|
|
10 |
0,96 |
0,97 |
0,98 |
0,98 |
0,99 |
|
|
15 |
0,96 |
0,96 |
0,96 |
0,97 |
0,97 |
|
|
20 |
0,93 |
0,94 |
0,94 |
0,95 |
0,96 |
|
|
25 |
0,92 |
0,92 |
0,93 |
0,94 |
0,94 |
|
|
30 |
0,90 |
0,91 |
0,91 |
0,92 |
0,92 |
|
|
35 |
0,89 |
0,89 |
0,90 |
0,90 |
0,91 |
|
|
40 |
0,87 |
0,88 |
0,88 |
0,89 |
0,89 |
|
|
Примечание. Погрешность приведенных значений коэффициентов не более ±2 %. В случае если t и P являются промежуточными между двумя приведенными в таблице значениями, производят интерполяцию. |
||||||
υa - объем раствора, взятого на анализ, см3;
υр - общий объем раствора пробы, см3;
V0 - объем пробы воздуха, приведенный к нормальным условиям, дм3;
m1 - масса загрязняющего вещества во вcей пробе, мкг;
Kэ - эмпирический поправочный коэффициент.
Используемая при расчете концентрации загрязняющего вещества формула зависит от конкретной схемы проведения анализа, и ссылка на нее дается в каждой методике.
Примечания:
1. Концентрацию металлов и 3,4-бензпирена в воздухе обычно выражает в мкг/м3. Для перевода мкг/м3 в мг/м3 производят деление на 1000.
2. В том случае, если отбор проб воздуха проводился в два последовательно соединенных поглотительных прибора, общую массу m находят, суммируя результаты, полученные для обеих анализируемых проб.
3. Результаты измерений, составляющие менее 1/3 нижнего предела диапазона определяемых концентраций, считаются недостоверными и принимаются за нуль.
Ориентировочные затраты времени на проведение химического анализа см. в приложении 5.5.
Метод предназначен для определения в атмосферном воздухе концентрации аммиака в диапазоне 0,01 - 2,5 мг/м3 при объеме пробы 40 дм3. Используется для измерения разовых и среднесуточных концентраций.
Определению мешают примеси ароматических аминов и формальдегида, не мешают: диоксид серы при массовой концентрации до 1,8 мг/м3, сероводород - до 0,35 мг/м3, диоксид азота - до 0,3 мг/м3, железо трехвалентное - до 25 мг/м3, медь - до 10 мг/м3, свинец двухвалентный - до 7 мг/м3, цинк - до 10 мг/м3.
1. Нормы точности измерений
По экспертным оценкам, при определении концентрации аммиака в атмосферном воздухе в диапазоне 0,01 - 2,5 мг/м3 суммарная погрешность не превышает ±25 %.
2. Метод измерения
Метод основан на улавливании аммиака из воздуха раствором кислоты и его фотометрическом определении по индофенолу, образующемуся в результате взаимодействия аммония с гипохлоритом и фенолом в присутствии нитропруссида натрия.
3. Средства измерений, вспомогательные устройства, реактивы и материалы
3.1. При выполнении измерений должны быть применены следующие средства измерений, вспомогательные устройства, реактивы и материалы.
3.2. Средства измерений
Спектрофотометр или фотоэлектроколориметр
КФК-2, КФК-2МП, КФК-3
Весы аналитические ВЛА-200 по ГОСТ 24104-80Е
Меры массы по ГОСТ 7328-82Е
Секундомер; класс 3; цена деления
секундной шкалы 0,2 с по ГОСТ 5072-79Е
Термометр лабораторный шкальный ТЛ-2;
пределы 0 - 55 °С; цена деления 1 °С по ГОСТ 215-73Е
Барометр-анероид М-67 по ТУ 2504-1797-75
Электроаспиратор ЭА-1; погрешность
±10 %; Госреестр № 5997-77 по ТУ 26-11-1414-78
Колбы мерные по ГОСТ 1770-74Е
2-50-2 - 7 шт.
2-100-2 - 5 шт.
2-1000-2 - 1 шт.
Пипетки по ГОСТ 20292-74Е
4-2-1 - 5 шт.
3-1-5 - 3 шт.
6-2-10 - 2 шт.
4-2-2 - 2 шт.
6-2-25 - 1 шт.
Бюретки 3-2-25 - 2 шт. по ГОСТ 20292-74Е
3.3. Вспомогательные устройства
Поглотительные приборы Рыхтера по ТУ 25-11-1136-75
Фильтродержатели для фильтров АФА-В-10
изготовитель ВО «Изотоп»
Воронка Бюхнера
Пробирки с притертыми пробками по ГОСТ 1770-74Е
вместимостью 10 см3 из стекла
«пирекс» или боросиликатного
3.4. Материалы
Фильтры АФА-В-10, изготовитель ВО «Изотоп»
Трубка резиновая полувакуумная, тип 1 по ГОСТ 5496-57
Фильтры «синяя лента» по ТУ 6-09-1678-77
3.5. Реактивы
Аммония хлорид, х. ч. по ГОСТ 3773-72
Вода дистиллированная деионизированная
Известь хлорная по ГОСТ 1692-85
Калия иодид, х. ч. по ГОСТ 4232-74
Кислота салициловая, ч. (HOC6, COOH) по ГОСТ 5844-51
Кислота серная (ρ = 1,84 г/см3) х. ч. по ГОСТ 4204-77
Крахмал растворимый по ГОСТ 10163-76
Натрия гидроксид, х. ч. по ГОСТ 4328-77
Натрий серноватистокислый (тиосульфат), по ТУ 6-09-2540-72
0,1 моль/дм3, стандарт-титр (Na2S2O3)
Натрия нитропруссид (Na2[Fe(CN)5 NO]), импортный
Натрия карбонат, х. ч. по ГОСТ 83-79
Сильнокислотный катионит
Фенол, ч. д. а. (C6H5OH) по ГОСТ 6417-72
Щавелевая кислота, х. ч. (C2H4O4) по ГОСТ 22180-76
4. Требования безопасности
См. п. 5.1.3.
Все работы по перегонке фенола и приготовлению фенольного реактива нужно проводить под тягой.
5. Требования к квалификации оператора
См. п. 5.1.4.
6. Условия выполнения измерений
См. п. 5.1.14.
7. Подготовка к выполнению измерений
7.1. Перед выполнением измерений должны быть проведены следующие работы: приготовление растворов, установление градуировочной характеристики, отбор пробы воздуха.
7.2. Приготовление растворов
1) Вода дистиллированная, неионизированная. При измерении концентраций аммиака в атмосферном воздухе используется только свежеприготовленная деионизированная вода (см. п. 5.1.7).
2) Поглотительный раствор 0,5 см3 серной кислоты (ρ = 1,84 г/см3) растворяют в 1 дм3 деионизированной воды. Раствор хранят в склянке с тубусом. Склянка закрыта пробкой со стеклянной трубкой, заполненной кристаллами щавелевой кислоты.
3) Калия иодид, 10 %-ный раствор. 10 г иодида калия растворяют в деионизированной воде. Объем доводят до 100 см3 водой.
4) Кислота серная, раствор 1:9. К 90 см3 деионизированной воды осторожно прибавляют 10 см3 концентрированной серной кислоты.
5) Триосульфат натрия, раствор (0,1 моль/дм3). Готовят из стандарт-титра.
6) Фенольный реактив. 5 г свежеперегнанного фенола, 0,025 г нитропруссида натрия, 0,1 г салициловой кислоты растворяют в 100 см3 воды. Реактив пригоден к употреблению в течение 6 мес при хранении в холодильнике (температура 4 - 6 °С) в герметичной упаковке.
Примечание. Температура кипения фенола 181,4 °С, поэтому при перегонке необходима теплоизоляция верхней части колбы. Первую и последнюю трети отогнанного фенола отбрасывают, а среднюю фракцию собирают в пробирку с притертой пробкой.
7) Крахмал, 0,5 %-ный раствор. 0,25 г крахмала перемешивают с 10 см3 воды до получения равномерной взвеси. К 40 см3 воды, нагретой до 60 - 70 °С, прибавляют при непрерывном помешивании взвесь крахмала, кипятят 1 мин и охлаждают.
8) Раствор гипохлорита. 100 г порошкообразной хлорной извести размешивают в течение 15 мин со 170 см3 деионизированной воды, прибавляют 70 г карбоната натрия, растворенного в 170 см3 воды. При этом масса вначале загустевает, затем разжижается. Ее фильтруют под вакуумом на воронке Бюхнера через фильтр «синяя лента» и в фильтрате определяют массовую долю «активного» хлора. Для этого 20 см3 раствора переносят в колбу для титрования с притертой пробкой, прибавляют 10 см3 раствора серной кислоты 1:9 и 10 см3 10 %-ного раствора иодида калия. Колбу закрывают и оставляют на 10 мин в темном месте. Выделившийся иод титруют раствором тиосульфата натрия концентрацией 0,1 моль/дм3 до получения слабо-желтой окраски. Прибавив несколько капель раствора крахмала, продолжают титрование до обесцвечивания раствора. 1 см3 раствора тиосульфата натрия концентрацией 0,1 моль/дм3 соответствует массе хлора 0,00354 г. Раствор гипохлорита должен иметь массовую долю «активного» хлора 0,6 - 0,8 % (т.е. 0,006 - 0,008 г/см3). При меньшей доле хлора для приготовления раствора следует взять большую массу хлорной извести, при большей - разбавить полученный раствор деионизированной водой.
9) Гипохлоритный реактив. К 100 см3 раствора гипохлорита (см. перечисление 8) добавляют 4 г гидроксида натрия. В случае выпадения осадка раствор фильтруют под вакуумом.
9а) Гипохлоритный реактив можно приготовить также следующим образом: 10 г гидроксида натрия и 11,7 г хлорида натрия растворяют в 100 см3 деионизированной воды, насыщенной хлором с массовой долей 0,6 - 0,8 %. Реактив пригоден к употреблению в течение 6 мес.
10) Исходный раствор для градуировки (ρ = 100 мкг/см3). 0,3141 г хлорида аммония, высушенного при температуре 100 °С, помещают в мерную колбу вместимостью 1000 см3, доводят объем до метки деионизированной водой и тщательно перемешивают. Полученный раствор хлорида аммония соответствует раствору с массовой концентрацией аммиака 100 мкг/см3. Он пригоден в течение 2 мес.
11) Рабочий раствор для градуировки (ρ = 1 мкг/см3). 10 см3 исходного раствора (см. перечисление 10) разбавляют в мерной колбе до 1000 см3 водой. Раствор готовят перед использованием.
7.3. Установление градуировочной характеристики.
Градуировочную характеристику, выражающую зависимость оптической плотности раствора от массы аммиака в пробе устанавливают по пяти сериям растворов для градуировки. Каждую серию, состоящую из шести растворов, готовят из свежеприготовленного раствора хлорида аммония (см. п. 7.2., перечисление 11).
Растворы для установления градуировочной характеристики готовят в мерных колбах вместимостью 50 см3. Для этого в каждую колбу вливают рабочий раствор для градуировки в соответствии с табл. 5.4, доводят объем деионизированной водой до метки и тщательно перемешивают.
Растворы для установления градуировочной характеристики при определении концентрации аммиака
|
1 |
2 |
3 |
4 |
5 |
6 |
|
|
Объем рабочего раствора (ρ = 1 мкг/см3), см3 |
1 |
2 |
4 |
6 |
10 |
20 |
|
Соответствует массе аммиака в 5 см3 раствора, мкг |
0,1 |
0,2 |
0,4 |
0,6 |
1,0 |
2,0 |
Для установления градуировочной характеристики отбирают в пробирки по 5 см3 каждого раствора для градуировки, 1 см3 фенольного реактива, перемешивают, вносят 0,5 см3 гипохлоритного реактива и опять перемешивают. Одновременно готовят нулевой раствор: 5 см3 деионизированной воды, к которой прибавляют эти же реактивы, за исключением растворов для градуировки. Через 2 ч измеряют оптическую плотность по отношению к воде при 625 нм в кюветах с расстоянием между рабочими гранями 5 мм.
7.5. Отбор проб
Для определения разовой концентрации аммиака исследуемый воздух аспирируют с расходом 2,0 дм3/мин в течение 20 мин через поглотительный прибор, содержащий 10 см3 поглотительного раствора. Для определения среднесуточных концентраций отбирают 4 - 8 разовых проб за 24 ч.
С целью задержки аэрозоли солей аммония перед поглотительным прибором устанавливают фильтродержатель с фильтром АФА-В-10. Все соединительные трубки должны быть изготовлены из фторопласта или стекла и соединяться встык резиновыми муфтами. Необходимо тщательно следить за тем, чтобы внутренняя поверхность соединительных трубок была сухой во избежание сорбции аммиака. При отборе проб на открытом воздухе эффективное поглощение аммиака обеспечивается в диапазоне температур 0 - 40 °С.
Уровень раствора в поглотительном приборе доводят до 10 см3 деионизированной водой, раствор переливают в пробирку. Часть пробы объемом 0,2 - 5 см3 (обычно 1,0 см3) переводят в пробирку с притертой пробкой, доводят объем до 5 см3 поглотительным раствором и добавляют 1 см3 фенольного реактива. Все перемешивают, вносят 0,5 см3 гипохлоритного реактива и опять перемешивают. Через 2 ч измеряют оптическую плотность в кюветах с расстоянием между гранями 5 мм при длине волны 625 нм относительно воды. Одновременно готовят три нулевые пробы. Для этого к 5 см3 поглотительного раствора добавляют последовательно все реактивы, что при анализе проб. Среднее значение оптической плотности нулевой пробы не должно превышать 0,2. При проведении анализа необходимо тщательно следить за чистотой посуды, заглушек и измерительных кювет, качеством воды и реактивов. Массу аммиака в пробе определяют с помощью установленной градуировочной характеристики по разности оптической плотности растворов пробы и средней оптической плотности нулевых проб.
Примечания:
1. Следует использовать пробирки из стекла «пирекс» или боросиликатного.
2. После каждого анализа посуду обрабатывают соляной кислотой (1:1), кипятят в деионизированной воде, промывают деионизированной водой и сушат при 200 °С. Пробирки со шлифами, не вынимая из сушильного шкафа, охлаждают до 60 - 70 °С, закрывают нагретыми пробками, вкладывают в эксикатор для охлаждения.
Методика предназначена для определения концентрации аммиака в атмосферном воздухе населенных пунктов в диапазоне 0,03 - 6,0 мг/м3 при объеме пробы воздуха 40 дм3. Используется для измерения разовых и среднесуточных концентраций.
1. Нормы точности измерений
При определении концентрации аммиака в атмосферном воздухе в диапазоне 0,03 - 6,0 мг/м3 установленная суммарная погрешность при доверительной вероятности 0,95 не превышает ±15 %.
2. Метод измерения
Метод основан на улавливании аммиака из воздуха пленочным хемосорбентом и фотометрическом определении его по индофенолу, образующемуся в результате взаимодействия аммония с гипохлоритом и фенолом в присутствии нитропруссида натрия.
3. Средства измерений, вспомогательные устройства, реактивы и материалы
3.1. При выполнении измерений должны быть применены следующие средства измерений, вспомогательные устройства, реактивы и материалы.
3.2. Средства измерений
Фотоэлектроколориметр или спектрофотометр
Весы аналитические ВЛА-200 по ГОСТ 24104-80Е
Меры массы по ГОСТ 7328-82Е
Секундомер; класс 3; цена деления
секундной шкалы 0,2 с по ГОСТ 5072-79Е
Термометр лабораторный шкальный ТЛ-2;
пределы 0 - 55 °С; цена деления 1 °С по ГОСТ 215-73Е
Барометр-анероид М-67 по ТУ 2504-1797-75
Электроаспиратор ЭА-1; погрешность
±10 %; Госреестр № 5997-77 по ТУ 26-11-1414-78
Колбы мерные по ГОСТ 1770-74Е
2-50-2 - 7 шт.
2-100-2 - 5 шт.
2-1000-2 - 1 шт.
Пипетки по ГОСТ 20292-74Е
4-2-1 - 5 шт.
3-1-5 - 3 шт.
6-2-10 - 2 шт.
4-2-2 - 2 шт.
6-2-25 - 1 шт.
Бюретки 3-2-25 - 2 шт. по ГОСТ 20292-74Е
3.3. Вспомогательные устройства
Трубки сорбционные СТ 112 (маркировка 1) по ТУ 25-1110.039-82
Фильтродержатели для фильтров
АФА-В-10, изготовитель ВО «Изотоп»
Воронка Бюхнера
3.4. Материалы
Фильтры АФА-В-10, изготовитель ВО «Изотоп»
Трубка резиновая полувакуумная, тип 1 по ГОСТ 5496-57
Фильтры «синяя лента» по ТУ 6-09-1678-77
3.5. Реактивы
Аммония хлорид, х. ч. по ГОСТ 3773-72
Вода дистиллированная деионизированная
Глицерин, х. ч. по ГОСТ 6259-75
Известь хлорная по ГОСТ 1692-85
Кислота салициловая, ч. по ГОСТ 5844-51
Кислота серная (ρ = 1,83 г/см3), х. ч. по ГОСТ 4204-77
Крахмал, ч. по ГОСТ 10163-02
Натрия гидроксид, х. ч. по ГОСТ 4328-77
Натрий серноватистокислый (тиосульфат),
0,1 моль/дм3, (0,1 н.) стандарт-титр по ТУ 6-09-2540-72
Натрия нитропруссид, импортный
Натрия карбонат, х. ч. по ГОСТ 83-79
Сильнокислотный катионит
Фенол, ч. д. а. по ГОСТ 6417-72
4. Требования безопасности
См. п. 5.1.3.
Все работы по перегонке фенола и приготовлению фенольного реактива необходимо проводить под тягой.
5. Требования к квалификации оператора
См. п. 5.1.4.
6. Условия выполнения измерений
См. п. 5.1.14.
7. Подготовка к выполнению измерений
7.1. Перед выполнением измерений должны быть проведены следующие работы: приготовление растворов, установление градуировочной характеристики, подготовка сорбционных трубок к работе, отбор проб воздуха.
7.2. Приготовление растворов
1) Вода дистиллированная, деионизированная. При измерении концентраций аммиака в атмосферном воздухе используется только свежеприготовленная деионизированная вода (см. п. 5.1.7).
2) Калия иодид, 10 %-ный раствор. 10 г иодида калия растворяют в деионизированной воде. Объем доводят до 100 см3 водой.
3) Кислота серная, раствор 1:9. К 90 см3 деионизированной воды осторожно прибавляют 10 см3 концентрированной серной кислоты.
4) Тиосульфат натрия, 0,1 моль/дм3. Готовят из стандарт-титра.
5) Фенольный реактив. 5 г свежеперегнанного фенола, 0,025 г нитопруссида натрия, 0,1 г салициловой кислоты растворяют в 100 см3 воды. Реактив пригоден к употреблению в течение шести месяцев при хранении в холодильнике (температура 4 - 6 °С) в герметичной упаковке.
Примечание. Температура кипения фенола 181,4 °С, поэтому при перегонке необходима теплоизоляция верхней части колбы. Первую треть отогнанного фенола отбрасывают, а среднюю фракцию собирают в пробирку с притертой пробкой.
6) Крахмал, 0,5 %-ный раствор. 0,25 г крахмала перемешивают с 10 см3 воды до получения равномерной взвеси. К 40 см3 воды, нагретой до 60 - 70 °С, прибавляют при непрерывном перемешивании взвесь крахмала, кипятят 1 мин и охлаждают.
7) Раствор гипохлорита. 100 г порошкообразной хлорной извести размешивают в течение 15 мин с 170 см3 деионизированной воды, прибавляют 70 г карбоната натрия, растворенного в 170 см3 воды. При этом масса сначала загустевает, затем разжижается. Жидкость фильтруют под вакуумом на воронке Бюхнера через фильтр «синяя лента» и в фильтрате определяют массовую долю «активного» хлора. Для этого 20 см3 раствора переносят в колбу для титрования с притертой пробкой, прибавляют 10 см3 раствора серной кислоты 1:9 и 10 см3 10 %-ного раствора иодида калия. Колбу закрывают и оставляют на 10 мин в темном месте. Выделившийся иод титруют раствором тиосульфата натрия концентрацией 0,1 моль/дм3 до получения слабо-желтой окраски. Прибавив несколько капель раствора крахмала, продолжают титрование до обесцвечивания раствора. 1 см3 такого раствора тиосульфата соответствует массе хлора 0,00354 г. Раствор гипохлорита должен иметь массовую долю «активного» хлора от 0,6 до 0,8 % (т.е. 0,006 - 0,008 г/см3). При меньшей доле хлора для приготовления раствора следует взять соответственно большую массу хлорной извести, при большей - разбавить полученный раствор деионизированной водой.
8) Гипохлоритный реактив. К 100 см3 раствора гипохлорита добавляют 4 г гидроксида натрия. В случае выпадения осадка раствор фильтруют под вакуумом.
9) Исходный раствор для градуировки (ρ = 100 мкг/см3). Навеску 0,3141 г хлорида аммония, высушенного при температуре 100 °С, помещают в мерную колбу вместимостью 1000 см3, доводят объем до метки деионизированной водой и тщательно перемешивают. Полученный раствор хлорида аммония соответствует раствору с массовой концентрацией аммиака 100 мкг/см3. Он пригоден в течение двух месяцев.
10) Рабочий раствор для градуировки (ρ = 1 мкг/см3). 10 см3 исходного раствора (см. перечисление 9) разбавляют в мерной колбе до 1000 см3 водой. Раствор готовят перед использованием.
11) Раствор для обработки сорбционных трубок. В цилиндре вместимостью 100 см3 растворяют в 50 см3 воды 5,4 см3 концентрированной серной кислоты, после охлаждения раствора к нему приливают 12 см3 глицерина и доводят объем до 100 см3 деионизированной водой.
12) Раствор для разбавления. 1,7 см3 раствора (см. перечисление 11) разбавляют в мерной колбе деионизированной водой до 100 см3.
7.3. Установление градуировочной характеристики.
Градуировочную характеристику, выражающую зависимость оптической плотности раствора от массы аммиака в анализируемой пробе, устанавливают по пяти сериям растворов для градуировки. Каждую серию, состоящую из шести растворов, готовят из свежеприготовленного раствора хлорида аммония (см. п. 7.2, перечисление 10).
Растворы для установления градуировочной характеристики готовят в мерных колбах вместимостью 50 см3. Для этого в каждую колбу вливают рабочий раствор для градуировки в соответствии с табл. 5.5, доводят объем деионизированной водой до метки и тщательно перемешивают.
Растворы для установления градуировочной характеристики при определении концентрации аммиака
|
1 |
2 |
3 |
4 |
5 |
6 |
|
|
Объем рабочего раствора (ρ = 1 мкг/см3), см3 |
1 |
2 |
4 |
6 |
10 |
20 |
|
Соответствует массе аммиака в 5 см3 раствора, мкг |
0,1 |
0,2 |
0,4 |
0,6 |
1,0 |
2,0 |
Для установления градуировочной характеристики отбирают в пробирки по 5 см3 каждого градуировочного раствора, добавляют 0,1 см3 раствора для обработки сорбционных трубок, 1 см3 фенольного реактива, перемешивают, вносят 0,5 см3 гипохлоритного реактива и опять перемешивают. Одновременно готовят нулевой раствор: 5 см3 деионизированной воды, к которой добавлены эти же реактивы, за исключением растворов для градуировки. Через 2 ч измеряют оптическую плотность при 625 нм по отношению к воде в кюветах шириной 5 мм.
7.4. Подготовка сорбционных трубок. Чистые трубки, предназначенные для отбора проб воздуха и три трубки, которые используют в качестве нулевых, обрабатывают абсорбирующим раствором (см. п. 7.2, перечисление 11) согласно п. 5.1.12 тщательно вытирают снаружи чистой фильтровальной бумагой, закрывают заглушками, упаковывают в полиэтиленовые пакеты и отправляют на пункт отбора проб. Срок хранения пропитанных трубок в герметичной упаковке не более недели.
7.5. Отбор проб
Для определения разовой концентрации аммиака исследуемый воздух аспирируют с расходом 2,0 дм3/мин в течение 20 мин через сорбционную трубку, подготовленную к отбору. Сорбционная трубка должна быть укреплена в вертикальном положении слоем сорбента вниз. Для определения среднесуточных концентраций отбирают 4 - 8 разовых проб за 24 ч. Сорбционные трубки сразу после отбора закрывают заглушками.
С. целью задержки аэрозоля солей аммония перед сорбционной трубкой устанавливают фильтродержатель с фильтром АФА-В-10. Все соединительные трубки должны быть изготовлены из фторопласта или стекла и соединяться встык резиновыми муфтами. Во избежание сорбции аммиака необходимо тщательно следить за тем, чтобы внутренняя поверхность соединительных трубок была сухой. При отборе проб на открытом воздухе эффективное поглощение аммиака обеспечивается в диапазоне температур от минус 20 до 40 °С.
8. Выполнение измерений
Сорбционную трубку помещают в пробирку и заливают 6 см3 воды. Путем прокачивания воды через сорбент при помощи резиновой груши переводят пробу в раствор и вынимают трубку из пробирки. Для анализа 1,0 см3 этого раствора переносят в другую пробирку и доводят раствором для разбавления (см. п. 7.2, перечисление 12) до объема 5 см3. Если ожидаются большие концентрации, то объем раствора пробы, может быть уменьшен до 0,1 см3. Затем в пробирку добавляют 1 см3 фенольного реактива, перемешивают, вносят 0,5 см3 гипохлоритного реактива и опять перемешивают.
Одновременно анализируют три нулевые пробы из партии подготовленных к отбору. Через 2 ч измеряют оптическую плотность относительно воды в кюветах шириной 5 мм при длине волны 625 нм. Время от добавления последнего реактива до измерения оптической плотности всех проб должно быть одинаковым. Среднее значение оптической плотности нулевой пробы не должно превышать 0,04. В противном случае следует заменить реактивы, загрязненные аммиаком. При проведении анализа необходимо тщательно следить за чистотой посуды, заглушек и измерительных кювет, качеством воды и реактивов.
Массу аммиака в пробе определяют с помощью установленной градуировочной характеристики по разности результатов измерений оптической плотности растворов пробы и средней оптической плотности нулевых проб.
Рекомендации по очистке посуды см. примечания к п. 8 методики 5.2.1.1.
9. Вычисление результата измерений
Методика1 предназначена для определения концентрации диоксида азота в атмосферном воздухе населенных пунктов в диапазоне 0,02 - 1,40 мг/м3 при объеме пробы воздуха 5 дм3. Используется для измерения разовых и среднесуточных концентраций.
1 Методика аттестована в ГГО. Свидетельство № 218.
1. Нормы точности измерений
При определении концентрации диоксида азота в атмосферном воздухе в диапазоне 0,02 - 1,40 мг/м3 установленная суммарная погрешность при доверительной вероятности 0,95 не превышает ±18 %.
2. Метод измерения
Метод основан на улавливании диоксида азота из воздуха пленочным хемосорбентом и фотометрическом определении образующегося нитрит-иона по азокрасителю, получающемуся в результате взаимодействия нитрит-иона с сульфаниловой кислотой и I-нафтиламином.
3. Средства измерений, вспомогательные устройства, реактивы и материалы
3.1. При выполнении измерений должны быть применены следующие средства измерений, вспомогательные устройства, реактивы.
Фотоэлектроколориметр или спектрофотометр
Весы аналитические ВЛР-200 по ГОСТ 24104-80Е
Меры массы по ГОСТ 7328-82Е
Секундомер, класс 3; цена деления
секундной шкалы 0,2 с по ГОСТ 5072-79Е
Барометр анероид М-67 по ТУ 2504-1797-75
Термометр лабораторный шкальный ТЛ-2;
пределы 0 - 55 °С; цена деления 1 °С по ГОСТ 215-73Е
Электроаспиратор ЭА-1;
погрешность ± 10 %; Госреестр № 5997-77 по ТУ 25-11-1414-78
Колбы мерные по ГОСТ 1770-74Е
2-100-2 - 3 шт.
2-50-2 - 8 шт.
Пипетки по ГОСТ 20292-74Е
4-2-1 - 4 шт.
6-2-5 - 2 шт.
6-2-10 - 1 шт.
3.3. Вспомогательные устройства
Трубки сорбционные СТ 212 (маркировка 2) по ТУ 25-1110-039-82
3.4. Реактивы
Калия иодид, х. ч. по ГОСТ 4232-74
Кислота сульфаниловая, ч. д. а. по ГОСТ 5821-78
Кислота уксусная, ч. д. а. по ГОСТ 10164-75
Натрия гидроксид по ГОСТ 4328-77
Натрия нитрит, х. ч. по ГОСТ 4197-74
Натрия гидроортоарсенит, ч. по ТУ 6-09-2792-78
или натрия метаарсенит, ч. по ТУ 6-09-2791-78
I-нафтиламин, ч. д. а. по ГОСТ 8827-74
Этиленгликоль, ч. д. а. по ГОСТ 10164-75
4. Требования безопасности
См. п. 5.1.3.
Реактивы, в состав которых входят соединения мышьяка, должны храниться в склянках с надписью «Яд» в специальных закрывающихся на ключ металлических ящиках.
Подготовка сорбционных трубок к отбору проб, связанная с обработкой их раствором, содержащим арсенит натрия, должна проводиться под тягой.
5. Требования к квалификации оператора
См. п. 5.1.4.
6. Условия выполнения измерений
См. п. 5.1.14
7. Подготовка к. выполнению измерений
7.1. Перед выполнением измерений должны быть проведены следующие работы: приготовление растворов, установление градуировочной характеристики, подготовка сорбционных трубок, отбор проб воздуха.
1) Раствор для обработки сорбционных трубок. 40 г иодида калия растворяют в 35 см3 дистиллированной воды и прибавляют 15 см3 этиленгликоля. Отдельно растворяют в 10 см3 воды 0,177 г гидроортоарсенита натрия (Na2HAsO3) и 0,042 г гидроксида натрия. Оба раствора сливают вместе. Полученный раствор сохраняется в темном месте в течение 14 сут.
При использовании метаарсенита натрия (NaAsO2) в 10 см3 воды растворяют 0,13 г метаарсенита натрия и 0,08 г гидроксида натрия. Полученный раствор смешивают с раствором иодида калия.
Примечания:
1. Для приготовления раствора для обработки СТ можно использовать и другие формы трехвалентного мышьяка. Например, при наличии мышьяковистого ангидрида (As2O3) следует взять 0,10 г As2O3 и добавить 0,125 г гидроксида натрия.
2. Этиленгликоль не должен содержать окислителей (способ проверки см. п. 5.1.7).
3. При проведении суточных отборов проб концентрацию соли мышьяка в растворе для обработки СТ увеличивают в 10 раз.
2) Кислота уксусная, 12 %-ный раствор. К 500 - 600 см3 воды приливают 120 см3 концентрированной уксусной кислоты, перемешивают и объем раствора доводят водой до 1000 см3.
3) Кислота сульфаниловая. В 150 см3 12 %-ной уксусной кислоты растворяют 0,5 г сульфаниловой кислоты.
4) I-нафтиламин. 0,2 г I-нафтиламина растворяют в 20 см3 воды при нагревании на водяной бане до образования лиловых пятен на дне колбы. Раствор сливают в темную склянку, оставляя осадок в колбе. В склянку с раствором I-нафтиламина вливают 150 см3 12 %-ного раствора уксусной кислоты.
5) Составной реактив. Перед употреблением смешивают растворы сульфаниловой кислоты и I-нафтиламина в отношении 1:1.
6) Исходный раствор нитрита натрия для градуировки (ρ = 1 мг/см3). 0,1500 г нитрита натрия, предварительно высушенного при 60 °С в течение 2 ч, растворяют в мерной колбе вместимостью 100 см3 в дистиллированной воде. Полученный раствор нитрита натрия соответствует раствору с массовой концентрацией диоксида азота 1 мг/см3. Раствор сохраняется в течение 4 сут.
7) Рабочий раствор А (ρ = 10 мкг/см3). 1 см3 исходного раствора для градуировки разбавляют в мерной колбе вместимостью 100 см3 дистиллированной водой.
8) Рабочий раствор Б (ρ = 1 мкг/см3). 10 см3 раствора А разводят в мерной колбе вместимостью 100 см3 дистиллированной водой.
Рабочие растворы А и Б готовят перед применением.
7.3. Установление градуировочной характеристики
Градуировочную характеристику, выражающую зависимость оптической плотности от массы диоксида азота в анализируемом объеме пробы, устанавливают по растворам для градуировки, приготовленным в пяти сериях. Каждую серию, состоящую из семи растворов для градуировки, готовят из свежеприготовленного рабочего раствора нитрита натрия.
Растворы для градуировки готовят в мерных колбах вместимостью 50 см3, для чего в каждую колбу приливают по 25 - 30 см3 дистиллированной воды, рабочий раствор согласно табл. 5.6, по 2 см3 раствора для обработки сорбционных трубок, доводят до метки дистиллированной водой и тщательно перемешивают.
Растворы для установления градуировочной характеристики при определении оксида и диоксида азота
|
1 |
2 |
3 |
4 |
5 |
6 |
7 |
|
|
Объем рабочего раствора, см3 |
|
|
|
|
|
|
|
|
ρ = 1 мкг/см3 (Б) |
1 |
2 |
4 |
8 |
- |
- |
- |
|
ρ = 10 мкг/см3 (А) |
- |
- |
- |
- |
2 |
4 |
6 |
|
Соответствует массе в 5 см3 пробы, мкг |
|
|
|
|
|
|
|
|
диоксида азота |
0,1 |
0,2 |
0,4 |
0,8 |
2,0 |
4,0 |
6,0 |
|
оксида азота |
0,065 |
0,13 |
0,26 |
0,52 |
1,3 |
2,6 |
3,9 |
Для установления градуировочной характеристики отбирают по 5 см3 каждого раствора в пробирки, с интервалом 1 - 2 мин приливают по 0,5 см3 составного реактива и содержимое пробирок взбалтывают. Через 20 мин определяют оптическую плотность растворов по отношению к воде. Измерения производят в кюветах с расстоянием между гранями 10 мм при длине волны 520 нм. Одновременно готовят нулевой раствор: к 5 см3 дистиллированной воды приливают 0,2 см3 раствора для обработки сорбционных трубок и 0,5 см3 составного реактива. Проводят измерение оптической плотности трех параллельно приготовленных нулевых растворов. Среднее значение оптической плотности не должно превышать 0,02. В противном случае необходимо проверить чистоту посуды, измерительных кювет, качество воды, приготовленных реактивов.
7.4. Подготовка сорбционных трубок.
Чистые трубки, предназначенные для отбора проб, и те, которые используют в качестве нулевых, обрабатывают 0,3 см3 абсорбирующего раствора (см. п. 7.2, перечисление 1) согласно п. 5.1.12 (способ 2), тщательно вытирают снаружи чистой фильтровальной бумагой, сразу же закрывают заглушками и упаковывают в полиэтиленовые пакеты. Срок хранения обработанных трубок в герметичной упаковке не более 7 сут.
7.5. Отбор проб
Для определения разовой концентрации диоксида азота исследуемый воздух аспирируют с расходом 0,25 дм3/мин в течение 20 мин через сорбционную трубку, подготовленную к отбору. Сорбционная трубка должна быть укреплена вертикально, слоем сорбента вниз. Воздух должен идти снизу вверх. Отбор проб можно проводить в диапазоне температур воздуха от минус 30 до 40 °С. Пробы в герметичной упаковке могут сохраняться в течение 20 сут. Для определения среднесуточных концентраций отбирают 4 - 8 разовых проб за 24 ч.
Сорбционную трубку помещают в пробирку и заливают 6 см3 воды. Путем нескольких прокачиваний воды через сорбент (при помощи резиновой груши) переводят пробу в раствор, выдувают остатки раствора и вынимают трубку из пробирки. Для анализа 5 см3 раствора переносят в другую пробирку. К этому раствору добавляют 0,5 см3 составного реактива и встряхивают. Через 20 мин определяют оптическую плотность раствора. Каждый раз одновременно аналогично пробе анализируют нулевую пробу - сорбционную трубку из партии подготовленных к отбору трубок. Массу диоксида азота в пробе находят с помощью градуировочной характеристики по разности оптических плотностей растворов пробы и нулевого.
9. Вычисление результата измерений
Методика предназначена для определения концентрации диоксида азота в атмосферном воздухе населенных пунктов, в диапазоне 0,02 - 1,40 мг/м3 при объеме пробы воздуха 5 дм3. Используется для измерения разовых концентраций.
1. Нормы точности измерений
По экспертным оценкам, при определении концентрации диоксида азота в атмосферном воздухе в диапазоне 0,02 - 1,40 мг/м3 суммарная погрешность не превышает ±25 %.
2. Метод измерения
Метод основан на улавливании диоксида азота из воздуха раствором иодида калия. Образующийся нитрит-ион определяется фотометрически по азокрасителю, получающемуся в результате взаимодействия нитрит-иона с сульфаниловой кислотой и I-нафтиламином.
3. Средства изменений, вспомогательные устройства, реактивы и материалы
3.1. При выполнении измерений должны быть применены следующие средства измерения, вспомогательные устройства, реактивы.
3.2. Средства измерений
3.3. Вспомогательные устройства
U - образный поглотитель с пористой
стеклянной пластинкой типа ПП по ТУ 25-11-1136-75
Калия иодид, ч. по ГОСТ 4232-74
Кислота уксусная, х. ч. по ГОСТ 62-75
Натрия нитрит, х ч. по ГОСТ 4197-74
I-нафтиламин, ч. д. а. по ГОСТ 8827-74
4. Требования безопасности
См. в п. 5.1.3.
5. Требования к квалификации оператора
См. п. 5.1.4.
6. Условия выполнения измерений
См. п. 5.1.14.
7 Подготовка к выполнению измерений
7.1. Перед выполнением измерений должны быть проведены следующие работы: приготовление растворов, установление градуировочной характеристики, отбор пробы воздуха, подготовка пробы к анализу.
1) Поглотительный раствор. 40 г иодида калия растворяют в 500 см3 воды. Полученный раствор должен быть бесцветным и храниться в банке из темного стекла. Срок хранения 2 недели.
2) Натрий сернистокислый, 0,06 %-ный раствор. 0,03 r сернистокислого натрия растворяют в 50 см3 воды. Раствор готовят перед анализом.
Приготовление остальных растворов см. методику 5.2.13 п. 7.2. перечисления 2 - 8.
7.3. Установление градуировочной характеристики
Градуировочную характеристику, выражающую зависимость оптической плотности от массы диоксида азота в анализируемом объеме пробы, строят по растворам для градуировки, приготовленным в пяти сериях. Каждую серию, состоящую из семи растворов для градуировки, готовят из свежеприготовленного рабочего раствора нитрита натрия. Растворы для градуировки готовят в мерных колбах вместимостью 50 см3, для чего в каждую колбу приливают по 25 - 30 см3 поглотительного раствора, рабочие растворы согласно табл. 5.7. доводят до метки поглотительным раствором и тщательно перемешивают. Для установления градуировочной характеристики отбирают по 5 см3 каждого раствора в пробирки и с интервалом 1 - 2 мин приливают по 0,5 см3 составного реактива. Содержимое пробирок энергично встряхивают и через 20 мин (непосредственно перед измерением) в пробирки приливают по 5 капель 0,06 %-ного раствора сернистокислого натрия и еще раз встряхивают. Измеряют оптическую плотность растворов относительно воды в кюветах с расстоянием между рабочими гранями 10 мм при длине волны 540 нм.
Растворы для установления градуировочной характеристики при определении концентрации оксида и диоксида азота
|
1 |
2 |
3 |
4 |
5 |
6 |
7 |
|
|
Объем рабочего раствора, см3 |
|
|
|
|
|
|
|
|
ρ = 1 мкг/см3 |
1 |
2 |
4 |
8 |
- |
- |
- |
|
ρ = 10 мкг/см3 |
- |
- |
- |
- |
2 |
4 |
6 |
|
Соответствует массе в 5 см3 пробы, мкг |
|
|
|
|
|
|
|
|
диоксида азота |
0,1 |
0,2 |
0,4 |
0,8 |
2,0 |
4,0 |
6,0 |
|
оксида азота |
0,065 |
0,13 |
0,26 |
0,52 |
1,3 |
2,6 |
3,9 |
Одновременно с приготовлением растворов для градуировки готовят нулевой раствор, содержащий те же реактивы, кроме определяемого вещества. Для этого к 5 см3 поглотительного раствора приливают 0,5 см3 составного реактива. Проводят измерение оптической плотности трех параллельно приготовленных нулевых растворов. Среднее значение оптической плотности не должно превышать 0,02. Если оно больше 0,02, необходимо проверить чистоту посуды, измерительных кювет, качество воды и реактивов.
7.4. Отбор проб
Для определения разовой концентрации диоксида азота исследуемый воздух аспирируют с расходом 0,25 дм3/мин и течение 20 мин через U-образный поглотительный прибор с пористой пластиной, наполненный 6 см3 поглотительного раствора. Во время отбора пробы избегают освещения поглотительного прибора прямыми солнечными лучами. Срок хранения проб не более 2 сут.
Уровень раствора в поглотительном приборе доводят дистиллированной водой до метки 6 см3. 5 см3 раствора каждой пробы переносят в пробирку и выполняют все операции анализа согласно п. 7.3. Одновременно измеряют оптическую плотность нулевой пробы, для чего анализируют 5 см3 поглотительного раствора. Значение оптической плотности нулевого раствора должно быть не более 0,02. Массу диоксида азота в пробах находят с помощью градуировочной характеристики по разности оптических плотностей растворов пробы и нулевого.
9. Вычисление результата измерений
Методика предназначена для определения концентрации оксида азота в атмосферном воздухе населенных пунктов в диапазоне концентраций от 0,016 до 0,94 мг/м3 при отборе пробы воздуха объемом 5 дм3. Используется для измерения разовых и среднесуточных концентраций.
1. Нормы точности измерений
По экспертным оценкам при определении концентрации оксида азота в атмосферном воздухе в диапазоне концентраций 0,016 до 0,94 мг/м3 суммарная погрешность не превышает ±25 %.
2. Метод измерений
Метод основан на окислении оксида азота с последующим улавливанием образующегося диоксида азота пленочным хемосорбентом и фотометрическом определении по азокрасителю, получающемуся в результате взаимодействия нитрит-иона с сульфаниловой кислотой и I-нафтиламином.
3. Средства измерения, вспомогательные устройства, реактивы и материалы
3.1. При выполнении измерений должны быть применены следующие средства измерений, вспомогательные устройства, реактивы и материалы.
3.2. Средства измерения
3.3. Вспомогательные устройства
Трубка сорбционная СТ 212 (маркировка 2) по ТУ 25-1110-039-82.
Колонка сорбционная стеклянная (трубка длиной 150 мм и внутренним диаметром 20 мм с патрубками наружным диаметром 9 мм).
3.4. Реактивы
Инертный пористый носитель (сферохром-1, порохром и др.) с размером зерен 0,3 - 0,5 мм
Натрия ацетат (плавленый) ч. по ТУ 6-09246-76
Триэтаноламин ч. по ТУ 6-09-2448-72
Хрома оксид (VI) ч. д. а. по ГОСТ 3776-78
Все остальные реактивы указаны в п. 3.4 методики п. 5.2.1.3.
4. Требования безопасности
См. п. 5.1.3.
Реактивы, в состав которых входят соединения мышьяка, должны храниться в склянках с надписью «Яд» в закрывающихся на ключ металлических ящиках. Работы с оксидом хрома (VI) и I-нафтиламином, а также подготовка сорбционных трубок к отбору проб, связанная с их обработкой пропитывающим раствором, содержащим арсенит натрия, должны проводиться под тягой.
5. Требования к квалификации оператора
См. п. 5.1.4.
6. Условия выполнения измерений
См. п. 5.1.14.
7. Подготовка к выполнению измерений
7.1. Перед выполнением измерений должны быть проведены следующие работы: приготовление растворов и сорбентов, установление градуировочной характеристики, подготовка сорбционных трубок к отбору проб воздуха, отбор проб.
7.2. Приготовление растворов и сорбентов
1) Инертный пористый носитель промывают горячей водой и высушивают в сушильном шкафу.
2) Триэтаноламин, 20 %-ный раствор.
3) Сорбент диоксида азота. Носитель, обработанный согласно перечислению 1, смачивают 20 %-ным раствором триэтаноламина, помещают в чашку и сушат 40 - 60 мин при температуре 90 - 95 °С. После высушивания сорбент должен рассыпаться.
4) Стабилизатор влажности. К 40 г безводного ацетата натрия медленно, по каплям, при постоянном перемешивании добавляют 13 см3 воды. Получают гранулированные кристаллические зерна.
5) Окислитель. Инертный пористый носитель смачивают раствором, содержащим 17 г оксида хрома (VI) в 100 см3 воды. Избыток раствора сливают, реагент высушивают при температуре 105 - 115 °С и хранят в склянке с притертой пробкой.
6) Фильтр - сорбционная колонка, заполненная 15 см3 сорбента диоксида азота, 15 см3 гранулированного порошка стабилизатора влажности, 15 см3 окислителя. Сорбенты разделены между собой тампонами из стекловаты.
Все остальные реактивы готовят в соответствии с п. 7.2 методики 5.2.1.3.
7.3. Установление градуировочной характеристики
Градуировочную характеристику, выражающую зависимость оптической плотности от массы оксида азота в анализируемой пробе, устанавливают по градуировочным растворам, приготовленным из нитрита натрия, как описано в п. 7.3 методики 5.2.1.3.
7.4. Подготовка сорбционных трубок к отбору проб
Чистые СТ, предназначенные для отбора проб, и те, которые используют в качестве нулевых, обрабатывают раствором 1 (п. 7.2 методики 5.2.1.3) в соответствии с п. 5.1.12, тщательно вытирают снаружи чистой фильтровальной бумагой, сразу же закрывают заглушками и упаковывают в полиэтиленовые пакеты. Срок хранения обработанных трубок в герметичной упаковке не более недели.
7.5. Отбор проб
Для определения разовой концентрации оксида азота исследуемый воздух аспирируют через систему, состоящую из стеклянной колонки, заполненной сорбентом для поглощения NO2, стабилизатором влажности, окислителем, и сорбционной трубки, подготовленной к отбору, с расходом 0,25 дм3/мин в течение 20 мин. При отборе колонка и сорбционная трубка должны быть укреплены в вертикальном положении. Отобранные пробы в герметичной упаковке могут сохраняться в течение 20 сут.
8. Выполнение измерений
При определении массы оксида азота в пробе должны быть выполнены операции, указанные в п. 8 методики 5.2.1.3.
9. Вычисление результата измерений
Методика предназначена для определения концентрации оксида азота в атмосферном воздухе населенных пунктов в диапазоне 0,016 - 0,94 мг/м3 при отборе пробы воздуха объемом 5 дм3. Используется для измерения разовых и среднесуточных концентраций.
1. Нормы точности измерений
По экспертным оценкам, при определении концентрации оксида азота в атмосферном воздухе в диапазоне 0,016 - 0,94 мг/м3 суммарная погрешность не превышает ±25 %.
2. Метод измерения
Оксид азота после окисления оксидом хрома (VI) до диоксида поглощается из воздуха раствором иодида калия. Образующийся нитрит-ион определяется фотометрически по реакции с сульфаниловой кислотой и I-нафтиламином, приводящей к образованию красителя красного цвета.
3. Средства измерения, вспомогательные устройства, реактивы и материалы
3.1. При выполнении измерений должны быть применены следующие средства измерений, вспомогательные устройства, реактивы и материалы.
3.2. Средства измерений
3.3. Вспомогательные устройства
U-образные поглотительные приборы с
пористой стеклянной пластинкой типа ПП по ТУ 25-11-1136-75
Сорбционная колонка - стеклянная
U-образная трубка с внутренним диаметром
20 мм и длиной колена 75 мм
3.3. Реактивы
Инертный пористый носитель
(сферохром-1, порохром и др.)
Триэтаноламин, ч. по ТУ 6-09-2448-72
Хрома (VI) оксид, ч. д. а. по ГОСТ 3776-78
Все остальные реактивы указаны в п. 3.4 методики 5.2.1.4
4. Требования безопасности
См. п. 5.1.3.
Все работы с I-нафтиламином и оксидом хрома (VI) следует проводить под тягой.
5. Требования к квалификации оператора
См. п. 5.1.4.
6. Условия выполнения измерений
См. п. 5.1.14.
7. Подготовка к выполнению измерений
7.1. Перед выполнением измерений должны быть проведены следующие работы: приготовление растворов, установление градуировочной характеристики, отбор проб воздуха.
7.2. Приготовление растворов и сорбентов
Приготовление сорбентов см. перечисления 1 - 6 п. 7.2 методики 5.2.1.5. Приготовление остальных растворов см. п. 7.2 методики 5.2.1.4.
7.3. Установление градуировочной характеристики
Градуировочную характеристику, выражающую зависимость оптической плотности от массы оксида азота в анализируемом объеме пробы, устанавливают по градуировочным растворам, приготовленным из нитрита натрия, как описано в п. 7.3 методики 5.2.1.4.
7.4. Отбор проб
Для определения разовой концентрации оксида азота исследуемый воздух аспирируют в течение 20 мин с расходом 0,25 дм3/мин через систему, состоящую из фильтра, заполненного сорбентом для поглощения NO2, стабилизатором влажности, окислителем, и U-образного поглотительного прибора, заполненного 6 см3 8 %-ного раствора иодида калия.
8. Выполнение измерений
При определении массы оксида азота в пробе должны быть выполнены операции, указанные в п. 8 методики 5.2.1.4.
9. Вычисление результата измерений
При определении концентрации оксида и диоксида азота из одной пробы исследуемый воздух аспирируют с расходом 0,25 дм3/мин в течение 20 мин через систему (черт. 5.7), состоящую из двух последовательно соединенных подготовленных к отбору сорбционных трубок и расположенной между ними стеклянной трубки, которая заполнена 15 см3 стабилизатора влажности и 10 см3 окислителя (стабилизатор влажности и окислитель разделены тампоном из стекловаты). Первая сорбционная трубка служит для поглощения NO2 из воздуха, вторая - для поглощения NO2, образовавшегося в результате окисления NO.
Приготовление растворов и сорбентов, подготовка сорбционных трубок к отбору, установление градуировочной характеристики, анализ проб и расчет результатов анализа производятся согласно пп. 7.2 - 7.4, 8, 9 методики 5.2.1.3 и п. 7.2 методики 5.2.1.5.
При определении концентрации оксида и диоксида азота из одной пробы исследуемый воздух аспирируют с расходом 0,25 дм3/мин в течение 20 мин через систему (черт. 5.7), состоящую из двух последовательно соединенных поглотительных приборов с пористой пластиной, содержащих по 6 см3 8 %-ного раствора иодида калия, и расположенной между ними стеклянной трубки. Трубка заполнена 15 см3 стабилизатора влажности и 10 см3 окислителя, разделенными тампоном из стекловаты (черт. 5.7).
Схема установки для отбора проб при определении концентрации оксида и диоксида азота с использованием пленочного сорбента
1 - сорбционная трубка для улавливания NO2; 2 - сорбционная колонка; 3 - стекловата; 4 - стабилизатор влажности; 5 - сорбционная трубка для улавливания после
Черт. 5.6
Схема установки для отбора проб при определении концентрации оксида и диоксида азота с использованием барботеров
1 - поглотительный прибор для улавливания NO2; 2 - U-образная трубка; 3 - стекловата; 4 - стабилизатор влажности; 5 - окислитель; 6 - поглотительный прибор для улавливания NO2.
Первый поглотительный прибор содержит 8 %-ный раствор иодида калия и служит для поглощения NO2 из воздуха, второй содержит тот же раствор для поглощения NO2, образовавшегося в результате окисления NO. Приготовление растворов и сорбентов, анализ проб, установление градуировочной характеристики и расчет результатов анализа производятся согласно пп. 7.2, 7.3, 8, 9 методики 5.2.1.4 и п. 7.2 методики 5.2.1.5.
Методика предназначена для определения концентрации борной кислоты в атмосферном воздухе в диапазоне 0,001 - 1,0 мг/м3 при отборе пробы воздуха 2 м3.
Определению не мешают фосфаты, фториды, сульфаты, карбонаты, 100-кратные количества ионов меди, цинка, никеля, марганца, алюминия; мешают хлораты, иодиды, роданиды и нитраты металлов.
1. Нормы точности измерений
По результатам метрологического исследования, при определении концентрации борной кислоты в атмосферном воздухе в диапазоне 0,001 - 1,0 мг/м3 суммарная погрешность при доверительной вероятности 0,95 не превышает ±18 %.
2. Метод измерения
Метод определения основан на измерении потенциала тетрафторборатного электрода на фоне буферного раствора после переведения борат-ионов в тетрафторборат-ионы по реакции с фтористоводородной кислотой.
3. Средства измерений, вспомогательные устройства, реактивы и материалы
3.1. При выполнении измерений должны быть применены следующие средства измерений, вспомогательные устройства, реактивы и материалы.
3.2. Средства измерений
Универсальный иономер И-130 или другой с ценой деления не более 0,5 мВ
Электрод индикаторный тетрафторборатный, ЭМ-BF4-01 по ТУ 25.05.2721-80
Электрод сравнения хлоридсеребряный ЭВЛ-1М3 по ГОСТ 16286-70
Термокомпенсатор ТКА-5
Мешалка магнитная ММ-2 (или аналогичная)
Барометр анероид М-67 по ТУ 2504-1797-75
Весы аналитические ВЛА-200 или ВЛР по ГОСТ 24104-80Е
Меры массы по ГОСТ 7328-82Е
Термометр лабораторный шкальный ТЛ-2;
цена деления 1 °С; пределы 0 - 55 °С по ГОСТ 215-73Е
Электроаспиратор ЭА-2С,
погрешность ±5 %; Госреестр № 2225429 по ТУ 25-11.1591-81
Секундомер; класс 3; цена деления
секундной шкалы 0,2 с по ГОСТ 5072-79Е
Колбы мерные по ГОСТ 1770-74E
2-25-2 - 10 шт.
2-100-2 - 2 шт.
2-1000-2 - 1 шт.
Пипетки по ГОСТ 20292-74Е
4-2-2 - 5 шт.
2-2-5 - 3 шт.
5-2-10 - 2 шт.
3.3. Вспомогательные устройства
Стаканы полиэтиленовые вместимостью 25 и 50 см3
Пипетка полиэтиленовая вместимостью 0,5 см3
Фильтродержатель
Баня водяная
3.4. Материалы
Фильтры аэрозольные АФА-XП-18, ФПП
3.5. Реактивы
Аммиак водный, х. ч. по ГОСТ 3760-79
Калий фосфорнокислый,
однозамещенный, ч. д. а. по ГОСТ 4198-75
Кислота борная, х. ч. по ГОСТ 9658-75
Кислота фтористоводородная, х. ч. по ГОСТ 1048-73
Натрий тетрафторборат, ч. по ТУ 6-09-1460-76
Натрий фосфорнокислый двузамещенный по ГОСТ 245-76
двуводный, ч. д. а.
4. Требования безопасности
См. п. 5.1.3.
5. Требования к квалификации оператора
См. п. 5.1.4.
6. Условия выполнения измерений
См. п. 5.1.14
7. Подготовка к выполнению измерений
7.1. Перед выполнением измерений должны быть проведены следующие работы: приготовление растворов, зарядка электрода, проверка крутизны характеристики электрода, установление градуировочной характеристики, отбор проб.
7.2. Приготовление растворов
1) Натрий тетрафторборат, раствор 0,1 моль/дм3 готовят растворением 10,9 тетрафторбората натрия в дистиллированной воде в мерной колбе вместимостью 1000 см3.
2) Калий фосфорнокислый однозамещенный. Раствор 0,067 моль/дм3. Готовят растворением 9,078 г соли в мерной колбе вместимостью 1000 см3 в дистиллированной воде.
3) Натрий фосфорнокислый двузамещенный. Раствор 0,067 моль/дм3. Готовят растворением 11,876 г соли в дистиллированной воде в мерной колбе вместимостью 1000 см3.
4) Буферный раствор с pH 5,4. В мерную колбу вместимостью 1000 см3 наливают 31 см3 раствора фосфорнокислого двузамещенного натрия и доводят объем до метки раствором фосфорнокислого однозамещенного калия. Раствор хранят в полиэтиленовом сосуде.
5) Исходный раствор для установления градуировочной характеристики с массовой концентрацией 1 мг/см3 борной кислоты готовят растворением 0,100 г борной кислоты в дистиллированной воде в мерной колбе вместимостью 100 см3. Раствор следует хранить в полиэтиленовой посуде, срок хранения 3 мес.
6) Растворы для градуировки А (ρ = 200 мкг/см3), Б (ρ = 10 мкг/см3) готовят путем разбавления исходного раствора дистиллированной водой соответственно в 5 и 100 раз.
7.3. Зарядка электрода и проверка крутизны его характеристики
Тетрафторборатный электрод заряжают в соответствии с инструкцией, изложенной в паспорте. Собранный электрод вымачивают при комнатной температуре в течение суток в растворе тетрафторбората натрия концентрацией 0,1 моль/дм3. В перерывах между измерениями электрод хранят в растворе тетрафторбората натрия концентрацией 0,001 - 0,0001 моль/дм3, чтобы не допускать высыхания мембраны. Перед началом работы электрод промывают дистиллированной водой и обсушивают с помощью фильтровальной бумаги. В промежутках между измерениями в течение рабочего дня электрод помещают в раствор, содержащий все реактивы, кроме бора. Крутизна характеристики электрода должна соответствовать паспортным данным; она вычисляется по формуле:
![]()
где E1 и E2 - потенциалы измерительного электрода в растворах с концентрацией соответственно c1 и c2, мВ; c1 и c2 - концентрации растворов, моль/дм3.
7.4. Установление градуировочной характеристики
Градуировочную
характеристику, выражающую зависимость потенциала измерительного электрода (E, мВ) от логарифма концентрации H3BO3
(lg
), выраженной в мкг/см3, устанавливают по результатам измерений
пяти серий градуировочных растворов. Каждую серию, состоящую из семи
градуировочных растворов, готовят из растворов для градуировки А и Б. Для этого
в семь полиэтиленовых стаканов вносят растворы согласно табл. 5.8, доводят
объем до 10 см3 водой, прибавляют полиэтиленовой пипеткой 0,2 см3 концентрированной
фтористоводородной кислоты и выдерживают на водяной бане при температуре 100 °С
в течение 10 мин. Посте охлаждения приливают 0,1 см3 концентрированного раствора аммиака, 5 см3 буферного раствора,
переносят содержимое стакана в мерную колбу вместимостью 25 см3, доводят до метки
дистиллированной водой и перемешивают.
Растворы для установления градуировочной характеристики при определении концентрации борной кислоты
|
1 |
2 |
3 |
4 |
5 |
6 |
7 |
|
|
Объем раствора для градуировки, см3 |
|
|
|
|
|
|
|
|
А |
0,25 |
1,0 |
|
|
|
|
|
|
Б |
|
|
0,25 |
0,5 |
1,25 |
5 |
10 |
|
Соответствует массовой концентрации борной кислоты, мкг/см3 |
0,1 |
0,4 |
2,0 |
4,0 |
10,0 |
40,0 |
80,0 |
|
lg |
-1,000 |
-0,398 |
0,301 |
0,602 |
1,000 |
1,602 |
1,903 |
Для проведения измерений раствор возвращают в полиэтиленовый стакан, опускают в него индикаторный электрод ЭМ-BF4-01, хлоридсеребряный электрод сравнения, термокомпенсатор и якорь магнитной мешалки. Включают магнитную мешалку и снимают показания мономера через 3 мин после погружения электродов в раствор. Измерения проводят в порядке возрастания концентраций. Проверку градуировочной характеристики следует проводить ежедневно по трем растворам в диапазоне концентраций анализируемых проб.
Перед измерениями электрод промывают несколько раз дистиллированной водой, просушивают фильтровальной бумагой, добиваясь получения стабильного потенциала электрода в растворе, содержащем все реактивы, кроме бора.
7.5. Отбор проб
Для определения разовых концентраций борной кислоты исследуемый воздух с расходом 100 дм3/мин аспирируют через фильтр в течение 20 мин. Срок хранения отобранных проб 1 месяц.
8. Выполнение измерений
Фильтр с отобранной пробой помещают в полиэтиленовый стакан вместимостью 25 - 50 см3 и отмывают 3 раза горячей (70 °С) дистиллированной водой порциями по 5 см3 при перемешивании стеклянной палочкой. Фильтр отжимают на стенке стакана. Все порции экстракта объединяют в другом полиэтиленовом стакане, приливают 0,2 см3 концентрированной фтористоводородной кислоты. Раствор выдерживают на водяной бане с температурой 100 °С в течение 10 мин, после чего пробу охлаждают до комнатной температуры и приливают 0,1 см3 концентрированного раствора аммиака. Содержимое стакана количественно переносят в мерную колбу вместимостью 25 см3, прибавляют 5 см3 буферного раствора, доводят объем до метки водой и перемешивают. Полученный раствор переносят в полиэтиленовый стакан и измеряют потенциал индикаторного электрода, как указано в п. 7.3.
По полученному значению потенциала, пользуясь градуировочной характеристикой, находят логарифм концентрации борной кислоты.
9. Вычисление результата измерения
Объем отобранной пробы воздуха приводят к нормальным условиям согласно п. 5.1.16.
Концентрацию ρ (мг/м3) борной кислоты в воздухе находят по формуле:
![]()
где ρ'
- концентрация борной кислоты (антилогарифм lg
), мкг/см3;
25 - общий объем раствора пробы, см3;
V0 - объем воздуха, отобранный для анализа и приведенный к нормальным условиям, дм3.
Методика1 предназначена для определения концентрации фторида водорода в атмосферном воздухе в диапазоне 0,002 - 0,17 мг/м3 при объеме пробы 60 дм3. Используется для измерения разовых и среднесуточных концентраций.
1 Методика аттестована в ГГО. Свидетельство № 220.
1. Нормы точности измерений
При определении концентрации фторида водорода в атмосферном воздухе в диапазоне 0,002 - 0,17 мг/м3 установленная суммарная погрешность при доверительной вероятности 0,95 не превышает ±23 %.
2. Метод измерения
Метод основан на улавливании фторида водорода из воздуха пленочным хемосорбентом и фотометрическом определении его массы по ослаблению фторид-ионами окраски комплекса циркония с ксиленоловым оранжевым.
3. Средства измерений, вспомогательные устройства, реактивы и материалы
3.1. При выполнении измерений должны быть применены следующие средства измерений, вспомогательные устройства, реактивы и материалы.
Фотоэлектроколориметр ФЭК-56М,
КФК-2МП, КФК-3 или спектрофотометр
Весы аналитические ВЛА 200 по ГОСТ 24104-80Е
Меры массы по ГОСТ 7328-82Е
Секундомер; класс 3; цена деления
секундной шкалы 0,2 с по ГОСТ 5072-79Е
Барометр-анероид М-67 по ТУ 2504-1797-75
Термометр лабораторный шкальный
тип ТЛ-2; пределы 0 - 55 °С; цена деления 1 °С по ГОСТ 215-73Е
Электроаспиратор ЭА-1; погрешность
± 10 %; Госреестр № 5997-77 по ТУ 25-11-1414-78
Колбы мерные по ГОСТ 1770-74Е
2-50-2 - 2 шт.
2-100-2 - 10 шт.
2-1000-2 - 1 шт.
Пипетки по ГОСТ 20292-74Е
4-2-1 - 2 шт.
4-2-2 - 2 шт.
6-2-5 - 2 шт.
6-2-10 - 1 шт.
3.3. Вспомогательные устройства
Плитка электрическая (бытовая)
Холодильник (бытовой, любого типа)
Фильтродержатели для фильтров АФА-В-10 (ВО «Изотоп»)
Спиртовка лабораторная
Стаканы термостойкие ВН-600 см3, по ГОСТ 23932-79Е
НН-1000 см3, НН-400 см3 - по 3 шт. по ГОСТ 23932-79Е
Склянки с тубусом вместимостью
1000 см3 - 1 шт.,
10000 см3 - 1 шт.
Сорбционные трубки СТ-112 по ТУ 25-1110.039-82
3.3. Материалы
Фильтры АФА-В-10 или ткань ФПП-15
Полиэтиленовая трубка диаметром 6 мм
Шланги резиновые диаметром 7 мм
Калька
Фильтровальная бумага
Батист
Глицерин, ч. д. а. по ГОСТ 6259-75
Калия карбонат, х. ч. по ГОСТ 4143-78
Кислота соляная, х. ч. по ГОСТ 3118-77
Ксиленоловый оранжевый, индикатор по ТУ 6-09-1509-78
или производства ЧССР
Метиловый оранжевый, индикатор по ГОСТ 10816-64
Натрия тетраборат, х. ч. по ГОСТ 4199-76
Натрия фторид, х. ч. по ГОСТ 4463-76
Спирт этиловый, 96 % по ГОСТ 5962-67
Цирконил нитрат, ч. д. а. по ТУ 6-09-1406-76
Фенолфталеин, индикатор по ГОСТ 5850-72
4. Требования безопасности
См. п. 5.1.3.
5. Требования к квалификации оператора
См. п. 5.1.4.
6. Условия выполнения измерений
См. п. 5.1.14.
7. Подготовка к выполнению измерений
7.1. При подготовке к выполнению измерений должны быть проведены следующие работы: приготовление растворов, установление градуировочной характеристики, подготовка сорбционных трубок к работе, отбор пробы воздуха.
1) Раствор для обработки сорбционных трубок. 1,5 г K2CO3 растворяют в 42 см3 дистиллированной воды и добавляют 7,5 см3 глицерина.
2) Соляная кислота, раствор 1:1, готовят в объемных соотношениях.
3) Соляная кислота, раствор 3,50 ± 0,05 моль/дм3. 305 см3 концентрированной HCl (ρ = 1,19 г/см3) вносят в мерную колбу вместимостью 1 дм3, доводят объем до метки дистиллированной водой и тщательно перемешивают.
Точный титр приготовленной кислоты устанавливают по тетраборату натрия. Для этого 2 - 2,5 г тетрабората натрия, взвешенного с точностью до 1 мг, помещают в коническую колбу, растворяют при слабом нагревании в 25 см3 воды, добавляют 2 капли метилового оранжевого и теплый раствор титруют приготовленной кислотой до перехода желтой окраски индикатора в розовую. Концентрацию кислоты определяют по трем навескам и берут среднее значение. Расчет производят по формуле:
где cHCl - концентрация приготовленной кислоты, моль/дм3; a - масса тетрабората натрия, г; V - объем кислоты, затраченный на титрование навески соли, см3; 5,25 - коэффициент пересчета.
Если в результате проверки получается, что концентрация кислоты больше или меньше (3,50 ± 0,05) моль/дм3, то ее доводят до нужного значения путем добавления воды или концентрированной соляной кислоты, объем которых рассчитывают исходя из концентрации, полученной при титровании, и объема приготовленного раствора.
Пример:
а) Случай, когда концентрация приготовленной кислоты больше требуемого значения, например 3,60 моль/дм3. Остаток этого раствора после титрования составил 800 см3. Рассчитаем, какой объем (V') кислоты нужной концентрации (c = 3,50 моль/дм3) можно приготовить из него:
V' = 3,60×800 : 3,50 = 824 см3,
т.е. к 800 см3 кислоты концентрацией 3,60 моль/дм3 необходимо добавить 824 - 800 = 24 см3 воды.
б) Случай, когда концентрация приготовленной кислоты меньше требуемого значения, например 3,40 моль/дм3. Остаток этого раствора после титрования 800 см3. Для получения, например, 1000 см3 кислоты концентрацией 3,50 моль/дм3 необходимо добавить к нему определенный объем концентрированной соляной кислоты (c = 12,50 моль/дм3) и воды. Для расчета объемов добавляемых реактивов вычислим количество молей кислоты, которые необходимо добавить. В 1000 см3 HCl (c = 3,50 моль/дм3) должно содержаться 3,50 моль HCl. В 800 см3 кислоты (c = 3,40 моль/дм3) будет содержаться:
3,4×800/1000 = 2,72 моль.
Следовательно, необходимо добавить HCl 3,50 - 2,72 = 0,78 моль. Объем соляной кислоты (c = 12,50 моль/дм3), в котором содержится 0,78 моль HCl, составляет:
0,78×1000/12,5 = 62,4 см3.
Для получения 1000 см3 кислоты (c = 50 моль/дм3) к 800 см3 кислоты (с = 3,40 моль/дм3) добавляют 62,4 см3 кислоты (с = 12,5 моль/дм3) и доводят до 1000 см3 дистиллированной водой.
4) Раствор цирконила азотнокислого. 0,080 г ZrO(NO3)2×2H2O без нагревания растворяют в 1 дм3 соляной кислоты концентрацией 3,5 моль/дм3.
5) Ксиленоловый оранжевый, 0,2 %-ный раствор 0,200 г ксиленолового оранжевого вносят в мерную колбу вместимостью 100 см3 и доводят дистиллированной водой до метки. Срок хранения раствора в холодильнике не более недели.
6) Ксиленоловый оранжевый, 0,02 %-ный раствор, готовят непосредственно перед анализом. 10 см3 0,2 %-ного раствора индикатора вносят в мерную колбу вместимостью 100 см3 и доводят дистиллированной водой до метки.
7) Фенолфталеин, 0,1 %-ный раствор в 60 %-ном спирте. 0,100 г фенолфталеина растворяют в 78 см3 96 %-ного спирта и доводят водой до 100 см3.
8) Метиловый оранжевый, 0,1 %-ный водный раствор. 0,100 г метилового оранжевого растворяют в 100 см3 дистиллированной воды.
9) Исходный раствор фторида натрия для градуировки. 0,2211 г фторида натрия, предварительно высушенного при температуре 105 - 110 °С в течение 1 - 2 ч, помещают в мерную колбу вместимостью 1000 см3, доводят уровень раствора дистиллированной водой до метки и тщательно перемешивают. Массовая концентрация фторид-ионов в полученном растворе 100 мкг/см3. Хранят раствор в полиэтиленовой посуде.
10) Рабочий раствор для градуировки (ρ = 10 мкг/см3) получают разбавлением исходного раствора в 10 раз. Раствор готовят перед употреблением.
11) Изготовление уголков. Уголки изготавливают из полиэтиленовой трубки внутренним диаметром 6 мм, изгибая ее при нагревании на спиртовке.
7.3. Установление градуировочной характеристики.
Градуировочная характеристика, выражающая зависимость оптической плотности раствора от массы фторид-ионов в жидкой пробе объемом 5 см3, устанавливается по пяти сериям растворов для градуировки. Каждую серию, состоящую из девяти растворов для градуировки, готовят из свежеприготовленного рабочего раствора (см. п. 7.2 перечисление 10) в мерных колбах вместимостью 100 см3. Для этого в каждую колбу приливают 30 - 50 см3 дистиллированной воды 2 см3 раствора для обработки сорбционных трубок (см. п. 7.2, перечисление 1), рабочий раствор согласно табл. 5.9, доводят уровень раствора водой до метки и тщательно перемешивают. Градуировочную характеристику устанавливают на основании результатов измерения оптической плотности градуировочных растворов, для чего к 5 см3 каждого раствора для градуировки добавляют растворы азотнокислого цирконила, ксиленолового оранжевого и проводят измерения, как это описано в п. 8. Одновременно готовят нулевой раствор: 5 см3 дистиллированной воды, к которой добавлены все реактивы, кроме градуировочных растворов. На график наносят среднее из пяти измеренных значений оптической плотности каждого градуировочного раствора, найденных по разности оптической плотности градуировочного и нулевого растворов. Проверку градуировочной характеристики следует проводить не реже одного раза в квартал, а также при каждой смене реактивов.
Растворы для установления градуировочной характеристики при определении концентрации фторида водорода
|
1 |
2 |
3 |
4 |
5 |
6 |
7 |
8 |
9 |
|
|
Объем рабочего раствора для градуировки (ρ = 10 мкг/см3), см3 |
0,25 |
0,5 |
1,00 |
2,00 |
4,00 |
8,00 |
12,00 |
16,00 |
20,00 |
|
Масса фторид-ионов в 5 см3 раствора, мкг |
0,125 |
0,25 |
0,50 |
1,00 |
2,00 |
4,00 |
6,00 |
8,00 |
10,00 |
7.4. Подготовка сорбционных трубок к работе
Чистые сорбционные трубки, предназначенные для отбора проб воздуха, и те, которые используют в качестве нулевых, обрабатывают абсорбирующим раствором (см. п. 7.2, перечисление 1) согласно п. 5.1.12, тщательно вытирают чистой фильтровальной бумагой, закрывают заглушками и упаковывают в полиэтиленовые пакеты. Срок хранения пропитанных трубок в такой упаковке не более 7 сут. При хранении трубки следует защищать от воздействия воздуха, загрязненного фторидными соединениями.
7.5. Отбор проб
Перед отбором пробы слой сорбента в СТ-112 уплотняют легким постукиванием трубки по листу фильтровальной бумаги, лежащей на столе. Для определения разовой концентрации фторида водорода исследуемый воздух аспирируют с расходом 3 дм3/мин в течение 20 мин через сорбционную трубку, укрепленную с внешней стороны поста вертикально, сорбентом вниз. Воздух должен идти снизу вверх. Отбор проб можно производить при температуре от минус 30 до 40 °С. Перед трубкой с помощью полиэтиленового уголка устанавливают фильтродержатель с фильтром для улавливания твердых фторидов и других аэрозолей. Трубка, уголок, фильтродержатель должны быть соединены встык, чтобы не было контакта воздуха с резиной. Отобранные пробы в герметичной упаковке могут храниться не более недели.
Для определения среднесуточной концентрации пробу отбирают в одну сорбционную трубку непрерывно или 4 - 8 разовых проб за 24 ч.
В лаборатории сорбционную трубку извлекают из упаковки, тщательно вытирают фильтровальной бумагой наружную поверхность, помещают в пробирку, приливают 6 см3 дистиллированной воды. Путем 5 … 6-кратного прокачивания воды через слой стеклянных гранул с помощью резиновой груши, не допуская попадания жидкости внутрь груши, переводят пробу в раствор. Затем трубку удаляют из пробирки и отбирают 5 см3 раствора в пробирку для анализа. К 5 см3 раствора добавляют 1,6 см3 раствора азотнокислого цирконила, тщательно перемешивают раствор и выдерживают 30 мин. Одновременно готовят три нулевые пробы. С этой целью трубки, подготовленные для отбора (из той серии, которая была отправлена на пункт отбора проб), помещают в пробирки, приливают 6 см3 дистиллированной воды и проводят все операции согласно ходу анализа. Через 30 мин во все пробы, в том числе нулевые, приливают по 1,6 см3 6,02 %-ного раствора ксиленового оранжевого и вновь тщательно перемешивают содержимое пробирок. Сливают вместе нулевые пробы и через 3 - 5 мин измеряют оптическую плотность. Измерения производят при длине волны 540 нм в кюветах с расстоянием между рабочими гранями 20 мм. При определении содержания фторид-ионов в пробе измеряют ослабление окраски. Поэтому порядок операций при работе на двухлучевом фотоэлектроколориметре меняется по сравнению с обычным. В левый пучок света колориметра помещают кювету с дистиллированной водой, в правый - кювету с усредненной нулевой пробой и с помощью левого барабана уравновешивают световые потоки. При этом правый барабан должен стоять на нуле оптической плотности. Затем из правой кюветы выливают раствор, удаляют его остатки, опрокинув кювету на толстый слой фильтровальной бумаги или марли, и в нее наливают анализируемый раствор. Уравнивают световые потоки правым барабаном (левый не трогают) и снимают значение оптической плотности по его шкале. Затем выливают из кюветы раствор, удаляют его остатки и наливают новую пробу. Грани кюветы тщательно вытирают батистом, помещают кювету в правый световой поток, выравнивают потоки правым барабаном (левый не трогают), снимают его показания и т.д. Через 10 - 15 измерений в кювету заливают усредненную нулевую пробу, устанавливают правый барабан на нуль и проверяют, не разбалансировался ли прибор (при положении правого барабана на нуле шкалы оптической плотности световые потоки должны быть уравновешенными).
Массу фторид-ионов в растворе определяют по полученному на правом барабане значению оптической плотности с помощью градуировочной характеристики.
9. Вычисление результата измерений
Методика предназначена для определения концентрации фторида водорода в атмосферном воздухе в диапазоне 0,002 - 0,7 мг/м3 при объеме пробы воздуха 60 дм3.
1. Нормы точности измерений
По результатам метрологического исследования, при определении концентрации фторида водорода в атмосферном воздухе в диапазоне 0,002 - 0,7 мг/м3 суммарная погрешность не превышает ±23 %.
2. Метод измерения
См. п. 2 методики 5.2.3.1.
3. Средства измерений, вспомогательные устройства, реактивы и материалы
3.1. При выполнении измерений должны быть применены следующие средства измерений, реактивы и материалы.
3.2. Средства измерений
3.3. Вспомогательные устройства
Поглотительные приборы Рыхтера по ТУ 25-11-1136-75. Остальные вспомогательные устройства согласно п. 3.2 методики 5.2.3.1, кроме сорбционных трубок.
3.4. Материалы
3.5 Реактивы
4. Требования безопасности
См. п. 5.1.3.
5. Требования к квалификации оператора
См. п. 5.1.4.
6. Условия выполнения измерений
См. п. 5.1.14.
7. Подготовка к выполнению измерений
7.1. Перед выполнением измерений должны быть проведены следующие работы: приготовление растворов, установление градуировочной характеристики, подготовка поглотительных приборов и отбор проб воздуха.
7.2. Приготовление растворов
Все растворы кроме тех, которые указаны в перечислениях 1 и 7, готовят согласно п. 7.2 методики 5.2.3.1.
7.3. Установление градуировочной характеристики
7.4. Отбор проб воздуха
Для определения разовой концентрации фторида водорода исследуемый воздух аспирируют через поглотительный прибор Рыхтера, заполненный 5 см3 дистиллированной воды, с расходом 3 дм3/мин в течение 20 мин. Перед поглотительным прибором устанавливают фильтродержатель с фильтром АФА-В-10 для задержания твердых фторидов и других аэрозолей. После отбора пробы фильтродержатель отсоединяют от поглотительного прибора, фильтр, согнув пополам внутрь экспонированной стороной, укладывают в бумажный конверт, а поглотительные приборы, закрыв заглушками, устанавливают в ящик для отправки в химическую лабораторию.
Для определения среднесуточной концентрации отбирают 4 - 8 разовых проб в течение 24 ч.
8. Выполнение измерений
В лаборатории снимают с поглотительных приборов заглушки, доливают уровень раствора дистиллированной водой до метки 6 см3 (приливать воду необходимо через входную трубку), перемешивают и переносят 5 см3 раствора в пробирку. Одновременно готовят три нулевые пробы, в качестве которых используют 5 см3 дистиллированной воды. К 5 см3 раствора добавляют по 1,0 см3 раствора азотнокислого цирконила и далее производят измерения согласно п. 5 методики 5.2.3.1.
9. Вычисление результата измерений
При определении концентрации фторида водорода и твердых фторидов из одной пробы воздух аспирируют с расходом 3 дм3/мин через последовательно установленные фильтр и сорбционную трубку или поглотительный прибор Рыхтера, подготовленные для улавливания из воздуха фторида водорода. На фильтре накапливаются твердые фториды и соединения алюминия. Фторид водорода проходит через фильтр и улавливается в поглотительный прибор для HF.
Определение массы фторида водорода проводят по методике 5.2.3.1 или 5.2.3.2. При определении массы твердых фторидов см. пп. 1, 3 - 7, 9 методики 5.2.3.1. Фильтр вынимают из пакета, помещают в пробирку, смачивают 0,1 см3 спирта, заливают 6 см3 раствора гидроксида натрия концентрацией 0,1 моль/дм3 и выдерживают на кипящей водяной бане 20 - 30 мин. После охлаждения отбирают 5 см3 раствора, нейтрализуют его по фенолфталеину соляной кислотой концентрацией 3,5 моль/дм3, приливают 1,6 см3 азотнокислого цирконила, тщательно перемешивают и вновь нагревают на кипящей водяной бане 30 мин. После охлаждения к пробе приливают 1,6 см3 0,02 %-ного раствора ксиленолового оранжевого, перемешивают и через 3 - 5 мин измеряют оптическую плотность (см. п. 8 методики 5.2.3.1).
Методика предназначена для определения концентрации хлора в атмосферном воздухе населенных пунктов в диапазоне 0,012 - 0,30 мг/м3 при отборе пробы воздуха объемом 20 дм3. При определении массовой концентрации в диапазоне 0,3 - 1,0 мг/м3 объем пробы воздуха следует уменьшить до 5 дм3.
Сильные окислители и восстановители мешают определению. Эквивалентное количество озона ослабляет окраску поглотительного раствора в 10 раз меньше, чем хлор, SO2 и другие сильные восстановители занижают результаты измерений.
1. Нормы точности измерений
По экспертным оценкам, при определении концентрации хлора в атмосферном воздухе в диапазоне 0,012 - 0,30 мг/м3 суммарная погрешность не превышает ±25.
2. Метод измерения
Метод основан на поглощении хлора из воздуха раствором метилового оранжевого и дальнейшем его фотометрическом определении по ослаблению окраски раствора метилового оранжевого.
3. Средства измерений, вспомогательные устройства, реактивы и материалы
3.1. При выполнении измерений должны быть применены следующие средства измерений, вспомогательные устройства, реактивы и материалы.
3.2. Средства измерений
Фотоэлектроколориметр или спектрофотометр
Весы аналитические ВЛА-200 по ГОСТ 24104-80Е
Меры массы по ГОСТ 7328-82Е
Барометр анероид М-67 по ТУ 2504-1797-75
Термометр лабораторный шкальный
ТЛ-2; цена деления 1 °С; пределы 0 - 55 °С по ГОСТ 215-73Е
Электроаспиратор ЭА-1;
погрешность ±10 %; Госреестр № 5997-77 по ТУ 25-11-1414-78
Секундомер; класс 3; цена деления
секундной шкалы 0,2 с по ГОСТ 5072-79Е
Колбы мерные по ГОСТ 1770-74Е
2-50-2 - 8 шт.
2-100-2 - 3 шт.
2-500-2 - 3 шт.
2-1000-2 - 2 шт.
Пипетки по ГОСТ 20292-74Е
4-2-1 - 5 шт.
4-2-2 - 2 шт.
2-2-5 - 5 шт.
5-2-10 - 2 шт.
2-2-10 - 2 шт.
2-2-50 - 2 шт.
2-2-100 - 1 шт.
Бюретки по ГОСТ 20292-74Е
3-2-25-0,1 - 3 шт.
3.3. Вспомогательные устройства
Поглотительные приборы Рыхтера по ТУ 25-11-1136-75
3.4. Реактивы
Известь хлорная, медицинская по ГОСТ 1692-85
Калия бромид, ч. д. а. по ГОСТ 4160-74
Калия иодид, х. ч. по ГОСТ 4232-74
Крахмал растворимый, ч. по ГОСТ 10163-76
Метиловый оранжевый, индикатор по ГОСТ 10816-64
Натрия тиосульфат, 0,1 моль/дм3
(0,1 н.), стандарт-титр по ТУ 6-09-2540-72
Серная кислота (ρ = 1,84 г/см3), х. ч. по ГОСТ 4204-77
4. Требования безопасности
См. п. 5.1.3.
5. Требования к квалификации оператора
См. п. 5.1.4.
6. Условия выполнения измерений
См. п. 5.1.14.
7. Подготовка к выполнению измерений
7.1. Перед выполнением измерений должны быть проведены следующие работы: приготовление растворов, установление градуировочной характеристики, отбор проб воздуха.
1) Серная кислота, 10 %-ный раствор. В стакан из термостойкого стекла вносят 90 см3 воды, осторожно приливают 5,5 см3 концентрированной серной кислоты (ρ = 1,84 г/см3) и перемешивают.
2) Серная кислота, 0,5 %-ный раствор. К 500 см3 воды осторожно приливают 2,8 см3 концентрированной серной кислоты. После охлаждения раствор доводят до 1000 см3 водой.
3) Тиосульфат натрия, раствор 0,02 моль/дм3. 100 см3 раствора тиосульфата натрия концентрацией 0,1 моль/дм3 (0,1 н.), приготовленного из стандарт-титра, доводят водой до метки в мерной колбе вместимостью 500 см3. Используют свежеприготовленный раствор тиосульфата.
4) Тиосульфат натрия, раствор 0,002 моль/дм3. Раствор, приготовленный по перечислению 3, разбавляют в 10 раз.
5) Метиловый оранжевый, 0,06 %-ный раствор. В мерной колбе вместимостью 100 см3 растворяют 60 мг метилового оранжевого в 50 см3 воды при температуре 48 - 50 °С, охлаждают и объем в колбе доводят до 100 см3 водой.
6) Поглотительный раствор. 10 см3 0,06 %-ного раствора метилового оранжевого вносят в мерную колбу вместимостью 1 дм3, содержащую 400 - 500 см3 воды, добавляют 100 см3 0,5 %-ного раствора серной кислоты и 0,5 г бромида калия. Раствор доводят водой до метки и хорошо перемешивают. Этот раствор используют для заполнения поглотительных приборов. Его оптическая плотность должна быть в интервале 0,74 - 0,78. Если оптическая плотность поглотительного раствора больше или меньше этого значения, добавляют соответствующее количество дистиллированной воды или 0,06 %-ного раствора метилового оранжевого. Раствор хранят в темной, герметично закрытой склянке не более 1 мес.
7) Раствор метилового оранжевого для установления градуировочной характеристики. 10 см3 0,06 %-ного раствора метилового оранжевого переносят в мерную колбу вместимостью 500 см3, добавляют 250 см3 воды, 100 см3 0,5 %-ного раствора серной кислоты и 0,5 г бромида калия. Раствор доводят водой до метки и хорошо перемешивают. При хранении в темном прохладном месте в герметично закрытой склянке он пригоден к употреблению в течение 2 мес.
8) Крахмал, 0,5 %-ный раствор. 0,25 г крахмала размешивают с 10 см3 воды до получения равномерной взвеси. Нагревают 40 см3 воды до 50 - 60 °С, прибавляют взвесь крахмала, при постоянном перемешивании нагревают до кипения, кипятят 1 мин и охлаждают.
9) Исходный раствор для установления градуировочной характеристики. 5 г хлорной извести (технической) растворяют в 250 см3 воды, хорошо перемешивают и оставляют на несколько часов. Затем раствор фильтруют через фильтр «синяя лента» в темную склянку и доводят объем раствора до 1 дм3 водой. Массу хлора определяют титрованием. Для этого 10 см3 раствора вносят в коническую колбу с притертой пробкой вливают 5 см3 10 %-ного раствора серной кислоты, 60 см3 воды, всыпают 1 г иодида калия. Раствор оставляют на 3 - 5 мин в темном месте и затем титруют раствором тиосульфата натрия концентрацией 0,02 моль/дм3. Перед концом титрования добавляют несколько капель 0,5 %-ного раствора крахмала. Массу хлора определяют из расчета, что 1 см3 раствора тиосульфата натрия концентрацией 0,02 моль/дм3 соответствует 0,709 мг хлора. Рассчитывают объем раствора, в котором содержится 1,00 мг хлора.
10) Рабочий раствор для установления градуировочной характеристики с массовой концентрацией хлора 10 мкг/см3. Готовят в мерной колбе вместимостью 100 см3. Для этого рассчитанный объем исходного раствора (см. перечисление 9), в котором содержится 1 мг хлора, помещают в мерную колбу и доводят до метки водой. Этот раствор необходимо оттитровать свежеприготовленным раствором тиосульфата натрия (см. перечисление 4). Проводят не менее пяти определений и вычисляют среднее значение. 1 см3 тиосульфата натрия концентрацией 0,002 моль/дм3 соответствует 0,0709 мг хлора. Результаты титрования учитывают при расчете массовой концентрации хлора в растворах для градуировки.
7.3. Установление градуировочной характеристики
Градуировочную характеристику, выражающую зависимость оптической плотности раствора от массы хлора в пробе, устанавливают с помощью растворов для градуировки, приготовленных в пяти сериях. Каждую серию, состоящую из шести растворов для градуировки, готовят из рабочего раствора для установления градуировочной характеристики. Растворы для градуировки готовят в мерных колбах вместимостью 50 см3, для чего в каждую колбу вносят рабочий раствор для градуировки, согласно табл. 5.10, по 25 см3 раствора метилового оранжевого для градуировки (см. п. 7.2, перечисление 7), доводят до 50 см3 дистиллированной водой и тщательно перемешивают. Измерения начинают через 30 мин после приготовления растворов для градуировки.
Растворы дня установления градуировочной характеристики при определении концентрации хлора
|
1 |
2 |
3 |
4 |
5 |
6 |
|
|
Объем рабочего раствора (ρ = 10 мкг Cl2 в 1 см3), см3 |
0,25 |
0,5 |
1,0 |
2,0 |
4,0 |
6,0 |
|
Масса Cl2 в 5 см3 раствора, мкг |
0,25 |
0,5 |
1,0 |
2,0 |
4,0 |
6,0 |
Для установления градуировочной характеристики измеряют оптическую плотность раствора из каждой колбы в кюветах с расстоянием между рабочими гранями 10 мм при длине волны 499 нм. Следует учесть, что при определении концентрации хлора измеряют не усиление окраски, как в других методах, а ослабление, поэтому порядок операций при работе на двухлучевом фотоэлектроколориметре будет следующим. В левый пучок света помещают кювету с дистиллированной водой, в правый - кювету с поглотительным раствором и с помощью левого барабана уравнивают световые потоки. Затем в кювету, где находился поглотительный раствор, наливают анализируемый раствор, уравнивают световые потоки правым барабаном и снимают значение оптической плотности по шкале. Через каждые 5 - 10 измерений (в зависимости от устойчивости нуля прибора) в кювету заливают поглотительный раствор. При положении правого барабана на нуле шкалы оптической плотности световые потоки должны находиться в состоянии равновесия (уравновешивание производится вращением левого барабана). При установлении градуировочной характеристики в расчете используют истинные значения содержания хлора в 5 см3, полученные при титровании.
Пример. В результате титрования получено, что концентрация рабочего раствора для градуировки составляет не 10, а 9,2 мкг хлора в 1 см3 раствора. В этом случае действительная масса хлора в 5 см3 пробы в колбе № 2 составляет 0,25´0,92 = 0,23 мкг, в колбе № 3 она будет 0,5´0,92 = 0,46 мкг и т.д.
Проверку градуировочной характеристики следует проводить при каждой смене партии реактива, но не реже одного раза в квартал.
7.4. Отбор проб. Для определения разовой массовой концентрации хлора исследуемый воздух в течение 20 мин аспирируют с расходом 1 дм3/мин через поглотительный прибор Рыхтера, содержащий 6 см3 поглотительного раствора. Срок хранения отобранных проб не более 3 сут. Поглотительный прибор с раствором взвешивают до отбора пробы.
8. Выполнение измерений
В лаборатории раствор в поглотительном приборе доводят до исходной массы дистиллированной водой и перемешивают. Переводят жидкость из поглотительного прибора в кювету фотоколориметра. Оптическую плотность раствора измеряют в кюветах с расстоянием между рабочими гранями 10 мм при длине волны 499 нм согласно п. 7.3. Массу хлора в пробах находят с помощью установленной градуировочной характеристики.
9. Вычисление результата измерений
Методика предназначена для определения концентрации хлорида водорода в атмосферном воздухе населенных пунктов в диапазоне 0,06 - 3,13 мг/м3 при объеме пробы воздуха 80 дм3. Используется для измерения разовых и среднесуточных концентраций. Мешающее влияние аэрозолей хлоридов, бромидов и иодидов металлов устраняют в процессе отбора проб.
1. Нормы точности измерений
По результатам метрологического исследования, при определении концентрации хлорида водорода в атмосферном воздухе в диапазоне 0,06 - 3,13 мг/м3 суммарная погрешность при доверительной вероятности 0,95 не превышает ±20 %.
2. Метод измерения
Метод основан на поглощении хлорида водорода из воздуха раствором углекислого натрия с глицерином, нанесенным на твердый инертный носитель. Поглощенный хлорид водорода определяют потенциометрическим методом с помощью хлоридного электрода.
3. Средства измерений, вспомогательные устройства, реактивы и материалы
3.1. При выполнении измерений должны быть применены следующие средства измерений, вспомогательные устройства, реактивы.
3.2. Средства измерений
Универсальный иономер И-130 или другой
с ценой деления не более 0,5 мВ
Электрод хлорид-селективный ЭМ-C1-01 по ТУ 25.05.1910-80
Электрод сравнения ЭВЛ-1М3 по ГОСТ 16286-70
Мешалка магнитная ММ-2 (или аналогичная)
Весы аналитические ВЛА-200 по ГОСТ 24104-80Е
Меры массы по ГОСТ 7328-82Е
Барометр-анероид М-67 по ТУ 2504-1797-75
Термометр лабораторный шкальный по ГОСТ 215-73Е
ТЛ-2; пределы 0 - 55 °С; цена деления 1 °С
Электроаспиратор ЭА-1; погрешность ±10 %,
Госреестр № 5997-77 по ТУ 25-11-1414-78
Секундомер; класс 3; цена деления по ГОСТ 5072-79Е
секундной шкалы 0,2 с
Колбы мерные по ГОСТ 1770-74Е
2-25-2 - 7 шт.
2-100-2 - 2 шт.
2-1000-2 - 1 шт.
Пипетки по ГОСТ 20292-74Е
4-2-1 - 5 шт.
2-1-5 - 3 шт.
6-2-10 - 2 шт.
Стакан-ячейка для монометрических измерений вместимостью 8 см3 (наружный диаметр 24 мм, высота 24 мм) - 20 шт.
3.3. Вспомогательные устройства
Трубки сорбционные СТ 112 или СТ 212 по ТУ 25-1110.039-82.
Солевой мостик для отделения электрода сравнения от анализируемого раствора. Мостик представляет собой делительную воронку вместимостью 250 см3, соединенную гибкой трубкой из полимерного материала диаметром 0,5 см3, длиной 20 - 40 см с капиллярной трубкой для полярографических ртутно-капающих электродов диаметром 0,5 см3, длиной 7 - 12 см, с отверстием диаметром 0,05 мм. Систему солевого мостика заполняют раствором азотнокислого калия концентрацией 1 моль/дм3. Кран делительной воронки смазывают внутри и снаружи апиезоновой смазкой для предотвращения вытекания раствора и кристаллизации соли. Раствор азотнокислого калия в делительной воронке меняют не реже одного раза в 10 дней при перекрытом кране. Необходимо следить, чтобы в системе солевого мостика отсутствовали пузырьки воздуха. Перед измерениями хлорид-серебряный электрод сравнения опускают в делительную воронку и приоткрывают кран.
7.4. Реактивы
Аммоний уксуснокислый, ч. д. а. по ГОСТ 3117-78
Глицерин, ч. д. а. по ГОСТ 6259-79
Калий азотнокислый, х. ч. по ГОСТ 4217-77
Калий хлористый, х. ч. по ГОСТ 4234-77
Кислота уксусная ледяная, х. ч. по ГОСТ 61-75
Натрий углекислый, ч. д. а. по ГОСТ 83-79
Свинец уксуснокислый, ч. д. а. по ГОСТ 1027-67
Спирт этиловый, ректификат по ГОСТ 5962-67
3.5. Материалы
Фильтры АФА-В-10, изготовитель ВО «Изотоп»
4. Требования безопасности
См. п. 5.1.3.
5. Требования к квалификации оператора
См. п. 5.1.4.
6. Условия выполнения измерений
См. п. 5.1.14.
7. Подготовка к выполнению измерений
7.1. Перед выполнением измерений должны быть проведены следующие работы: приготовление растворов, зарядка электрода, проверка крутизны характеристики электрода, установление градуировочной характеристики, подготовка сорбционных трубок, отбор пробы воздуха.
1) Раствор для обработки сорбционных трубок. В колбе вместимостью 100 см3 растворяют 10 г углекислого натрия, добавляют 10 см3 глицерина и доводят до метки дистиллированной водой.
2) Буферный раствор. 7,78 г уксуснокислого аммония растворяют в воде, добавляют 5,7 см3 ледяной уксусной кислоты, 0,015 г уксуснокислого свинца и 10 см3 этилового спирта. Раствор доводят дистиллированной водой до метки в мерной колбе вместимостью 1000 см3.
3) Калий азотнокислый, раствор 1 моль/дм3. 101,1 г азотнокислого калия растворяют в дистиллированной воде в мерной колбе вместимостью 1000 см3.
4) Раствор для градуировки концентрацией 100 мкг/см3 хлорид-иона. 0,2102 г хлорида калия растворяют в буферном растворе в мерной колбе вместимостью 1000 см3. Объем доводят до метки буферным раствором. Хранить в холодильнике не более 1 мес.
5) Исходный контрольный раствор хлорида калия концентрацией 0,1 моль/дм3 для проверки крутизны характеристики хлоридного электрода. 7,456 г хлорида калия растворяют в дистиллированной воде в мерной колбе вместимостью 1000 см3.
6) Контрольные растворы 0,01; 0,001; 0,0001 моль/дм3 готовят путем разбавления исходного раствора дистиллированной водой соответственно в 10, 100 и 1000 раз.
7.3. Зарядка электрода. Проверка крутизны характеристики электрода.
Хлоридный электрод заряжают в соответствии с инструкцией, изложенной в паспорте. Собранный электрод вымачивают при комнатной температуре в течение суток в растворе хлорида калия концентрацией 0,001 моль/дм3.
Перед началом работы электрод промывают дистиллированной водой и обтирают фильтровальной бумагой. Готовность электрода к работе проверяют, согласно инструкции, по значению потенциала электрода в контрольном растворе хлорида калия концентрацией 0,001 моль/дм3 относительно насыщенного хлорсеребряного электрода, равному 198 ± 12 мВ, при температуре (25 ± 1) °С.
Крутизна характеристики электрода K должна соответствовать паспортным данным; она вычисляется по формуле:
![]()
где E1 и E2 - потенциалы электрода в растворах с концентрацией соответственно c1 и c2, мВ; c1 и c2 - концентрации растворов, моль/дм3.
В лабораторных условиях электроды хранятся сухими. Если электрод ежедневно эксплуатируется, его следует хранить в растворе хлорида калия концентрацией 0,001 моль/дм3 в вертикальном положении.
7.4. Установление градуировочной характеристики
Градуировочную характеристику, выражающую зависимость потенциала измерительного электрода (E, мВ) от логарифма концентрации хлорид-иона (lg cCl-) строят по результатам измерений пяти серий градуировочных растворов. Каждую серию, состоящую из семи растворов, готовят из раствора для градуировки. Растворы готовят в мерных колбах вместимостью 25 см3, для чего в каждую колбу вносят 1 см3 раствора для обработки сорбционных трубок (см. п. 7.2, перечисление 1), раствор для градуировки согласно табл. 5.11, доводят объем до метки буферным раствором и тщательно перемешивают.
Для проведения измерения раствор переливают в измерительную ячейку (стакан вместимостью 8 см3), опускают хлоридный электрод ЭМ-С1-01, капилляр солевого мостика и якорь магнитной мешалки. Включают магнитную мешалку и снимают показания иономера через 1 - 2 мин. Необходимо следить за тем, чтобы глубина погружения электродов в растворы во всех случаях была одинаковой.
Растворы для установления градуировочной характеристики при определении концентрации хлорида водорода
|
1 |
2 |
3 |
4 |
5 |
6 |
7 |
|
|
Объем исходного раствора для градуировки (ρ = 100 мкг/см3), см3 |
0,25 |
0,5 |
1,0 |
1,25 |
2,5 |
5,0 |
12,5 |
|
Концентрация Cl, мкг/см3 |
1 |
2 |
4 |
5 |
10 |
20 |
50 |
|
lg cCl- |
0,000 |
0,301 |
0,602 |
0,699 |
1,000 |
1,301 |
1,699 |
Измерения проводит в порядке возрастания концентрации. После каждого измерения электроды промывают несколько раз дистиллированной водой до получения стабильного потенциала хлоридного электрода в нулевом буферном растворе, который готовят, добавляя 1 см3 раствора по п. 7.2, перечислению 1 к 24 см3 буферного раствора.
Градуировочную характеристику устанавливают по семи точкам на основании средних арифметических значений результатов измерений пяти серий растворов для градуировки. Проверку градуировочного графика следует производить ежедневно по трем растворам в диапазоне концентраций анализируемых проб.
7.5. Подготовка сорбционных трубок
Чистые трубки, предназначенные для отбора проб, обрабатывают абсорбирующим раствором (см. п. 7.2, перечисление 1) в соответствии с п. 5.1.12, тщательно вытирают снаружи чистой фильтровальной бумагой, сразу же закрывают заглушками и упаковывают в полиэтиленовые пакеты. Срок хранения пропитанных трубок в герметичной упаковке не более 7 сут.
7.6. Отбор проб
Для определения разовой концентрации хлорида водорода исследуемый воздух аспирируют с расходом 4 дм3/мин в течение 20 мин через фильтр АФА-В-10 и сорбционную трубку, подготовленную к отбору. Сорбционная трубка должна быть укреплена в вертикальном положении слоем сорбента вниз. Воздух должен идти снизу вверх. Срок хранения проб в герметичной упаковке не более 7 сут.
8. Выполнение измерений
Сорбционную трубку помещают в пробирку, приливают 5 см3 буферного раствора и тщательно перемешивают содержимое с помощью резиновой груши, надетой на выходной конец трубки. Через 5 - 10 мин раствор переливают в измерительную ячейку и измеряют потенциал хлоридного электрода, как указано в п. 7.4. По полученному значению потенциала, пользуясь градуировочной характеристикой, находят логарифм концентрации хлорид-ионов (lg cCl-). По окончании измерения хлоридсеребряный электрод вынимают из делительной воронки и помещают в дистиллированную воду.
9. Вычисление результата измерений
Концентрацию (мг/м3) хлорида водорода в воздухе находят по формуле:
![]()
где c - концентрация хлорид-ионов, мкг/см3 (антилогарифм lg cCl-);
1,03 - коэффициент пересчета хлорид-иона на хлорид водорода;
5 - объем раствора пробы, см3;
V0 - объем отобранной пробы воздуха, приведенный к нормальным условиям, дм3.
Примечание. При работе с хлорид-селективным электродом необходимо избегать прямого солнечного света.
1 Методику применять при отсутствии условий для использования методики 5.2.3.5.
Методика предназначена для определения концентрации хлорида водорода в атмосферном воздухе населенных пунктов в диапазоне концентраций 0,1 - 2,0 мг/м3 при объеме пробы 30 дм3. Используется для измерения разовых и среднесуточных концентраций. Мешающее влияние аэрозолей хлоридов, бромидов и цианидов металлов устраняют в процессе отбора пробы.
1. Нормы точности измерений
По результатам метрологического исследования при определении концентрации хлорида водорода в атмосферном воздухе в диапазоне 0,1 - 2,0 мг/м3 суммарная погрешность при доверительной вероятности 0,95 не превышает ±17 %.
2. Метод измерения
Метод основан на улавливании хлорида водорода пленочным хемосорбентом и фотометрическом определении его массы по реакции с роданидом ртути и трехвалентным железом в водно-ацетоновой среде.
3. Средства измерений, вспомогательные устройства, реактивы и материалы
3.1. При выполнении измерений должны быть применены следующие средства измерений, вспомогательные устройства, реактивы, материалы.
3.2. Средства измерений
Фотоэлектроколориметр или спектрофотометр
Весы аналитические ВЛА-200 по ГОСТ 24104-80Е
Меры массы по ГОСТ 7328-82Е
Секундомер; класс 3; цена деления
секундной шкалы 0,2 по ГОСТ 5072-79Е
Термометр лабораторный шкальный ТЛ-2;
пределы 0 - 55 °С; цена деления 1 °С по ГОСТ 215-73Е
Барометр-анероид М-67 по ТУ 2504-1797-75
Электроаспиратор ЭА-1; погрешность
±10 %; Госреестр № 5997-77 по ТУ 25-11-1414-78
Колбы мерные по ГОСТ 1770-74Е
2-50-2 - 8 шт.
2-100-2 - 3 шт.
2-500-2 - 1 шт.
Пипетки по ГОСТ 20292-74Е
4-2-1 - 3 шт.
2-1-5 - 2 шт.
6-2-10 - 2 шт.
Воронка с пористой пластинкой № 4
Пробирки колориметрические с
пришлифованными пробками по ГОСТ 10615-75
3.3. Вспомогательные устройства
Трубки сорбционные СТ 112 или СТ 212
(маркировки 1 и 2) по ТУ 25-1110.039-82
3.4. Материалы
Трубка резиновая полувакуумная, тип 1 по ГОСТ 5496-77
Фильтры АФА-В-10; изготовитель ВО «Изотоп»
3.5. Реактивы
Азотная кислота, х. ч. по ГОСТ 4461-77
Ацетон, ч. д. а. по ГОСТ 2603-71
Глицерин, х. ч. или ч. д. а. по ГОСТ 6259-75
Калий хлористый, х. ч. по ГОСТ 4234-77
Квасцы железоаммонийные, ч. д. а. по ГОСТ 4205-77
Натрий углекислый, х. ч. по ГОСТ 83-79
Ртути роданид (см. п. 7.2, перечисление 2)
Спирт этиловый, ректификат по ГОСТ 5962-67
Ртуть азотнокислая, окисная, одноводная, по ГОСТ 4520-78
ч. д. а.
Калий роданистый, х. ч. по ГОСТ 4139-75
4. Требования безопасности
См. п. 5.1.3.
5. Требования к квалификации оператора
См. п. 5.1.4.
6. Условия выполнения измерений
См. п. 5.1.14.
7. Подготовка к выполнению измерений
7.1. Перед выполнением измерений должны быть проведены следующие работы: приготовление растворов, установление градуировочной характеристики, подготовка сорбционных трубок к работе, отбор пробы воздуха.
7.2. Приготовление растворов и роданида ртути
1) Раствор для обработки сорбционных трубок. 10 г углекислого натрия растворяют в мерной колбе вместимостью 100 см3 примерно в 50 см3 дистиллированной воды, приливают 20 см3 глицерина и доводят объем до метки водой.
2) Роданид ртути. 20 г нитрата ртути растворяют в 100 см3 воды и подкисляют несколькими каплями азотной кислоты. В другой колбе растворяют 13 г роданида калия в 50 см3 воды и при сильном перемешивании по каплям переносят в раствор нитрата ртути. Образовавшийся аморфный осадок отфильтровывают, промывают водой до отрицательной реакции на роданид-ионы (индикатор - железоаммонийные квасцы) и высушивают.
3) Роданид ртути, 0,2 %-ный спиртовой раствор. 0,2 г роданида ртути растворяют в 100 см3 этилового спирта. Спустя сутки раствор отфильтровывают через воронку с пористой пластинкой № 4. Раствор устойчив в течение 14 сут.
4) Раствор железоаммонийных квасцов. 61 г квасцов вносят в колбу, добавляют 100 см3 воды и 310 см3 азотной кислоты. Раствор фильтруют через воронку с пористой пластинкой № 4 в мерную колбу вместимостью 500 см3 и доводят водой до метки.
5) Ацетон, 60 %-ный раствор в воде по объему.
6) Исходный раствор для градуировки (ρ = 100 мкг/см3 хлорид-иона). 0,0210 г хлористого калия помещают в мерную колбу 100 см3, доводят объем до метки дистиллированной водой.
7) Рабочий раствор для градуировки (ρ = 10 мкг/см3 хлорид-иона). 10 см3 исходного раствора разбавляют в мерной колбе до 100 см3 водой.
7.3. Установление градуировочной характеристики
Градуировочную характеристику, выражающую зависимость оптической плотности от массы хлорид-иона, устанавливают по пяти сериям растворов для градуировки. Каждую серию, состоящую из семи растворов, готовят из свежеприготовленного раствора хлорида калия (см. п. 7.2, перечисление 6).
Растворы для установления градуировочной характеристики готовят в мерных колбах вместимостью 50 см3. Для этого в каждую колбу вливают рабочий раствор для градуировки в соответствии с табл. 5.12, 2 см3 раствора для обработки сорбционных трубок, доводят объем 60 %-ным ацетоновым раствором до метки и тщательно перемешивают.
Растворы для установления градуировочной характеристики при определении концентрации хлорида водорода
|
1 |
2 |
3 |
4 |
5 |
6 |
7 |
|
|
Объем рабочего раствора (ρ = 10 мкг/см3), см3 |
3 |
6 |
9 |
- |
- |
- |
- |
|
Объем исходного раствора (ρ = 100 мкг/см3), см3 |
- |
- |
- |
1,2 |
1,5 |
2,0 |
4,0 |
|
Масса хлорид-иона в 5 см3, мкг |
3 |
6 |
9 |
12 |
25 |
20 |
40 |
Для установления градуировочной характеристики отбирают в пробирки по 5 см3 каждого раствора, добавляют 0,5 см3 раствора железоаммонийных квасцов и 0,4 см3 раствора роданида ртути, тщательно перемешивают. Одновременно готовят нулевой раствор, содержащий все реактивы, кроме раствора для градуировки. Через 10 мин измеряют оптическую плотность растворов по отношению к воде. Измерения проводят в кюветах с расстоянием между рабочими гранями 10 мм при длине волны 480 нм. Среднее значение оптической плотности нулевой пробы не должно превышать 0,035 - 0,040.
7.4. Подготовка сорбционных трубок
Чистые трубки, предназначенные для отбора проб, и те, которые используются в качестве нулевых, обрабатывают абсорбирующим раствором (см. п. 7.2, перечисление 1), согласно п. 5.1.12, тщательно вытирают снаружи чистой фильтровальной бумагой, сразу же закрывают заглушками и упаковывают в полиэтиленовые пакеты. Срок хранения пропитанных трубок в герметичной упаковке не более недели.
7.5. Отбор проб
Для определения разовой концентрации хлорида водорода исследуемый воздух с расходом 1,5 дм3/мин аспирируют в течение 20 мин через фильтр АФА-В-10 и сорбционную трубку, подготовленную к отбору. Сорбционная трубка должна быть укреплена в вертикальном положении слоем сорбента вниз. Воздух должен идти снизу вверх. Отбор проб можно производить в диапазоне температур воздуха от минус 10 до 40 °С. Отобранные пробы в герметичной упаковке могут сохраняться в течение недели. При необходимости определения меньших концентраций расход воздуха может быть увеличен до 5 дм3/мин.
8. Выполнение измерений
Сорбционную трубку помещают в пробирку и смывают пробу 5 см3 60 %-ного ацетонового раствора с помощью пипетки, кончик которой касается внутреннего края трубки и перемещается по окружности. Путем нескольких прокачиваний ацетонового раствора через сорбент при помощи резиновой груши переводят пробу в раствор, затем в трубку, находящуюся в пробирке, приливают 0,5 см3 раствора железоаммонийных квасцов и 0,4 см3 раствора роданида ртути. Повторяют операцию перемешивания и вытесняют грушей остатки раствора в пробирку. Через 10 мин после прибавления реактивов измеряют оптическую плотность раствора. Каждый раз одновременно анализируют аналогично пробе нулевой раствор - сорбционную трубку из партии, приготовленной к отбору.
Массу хлорид-иона в пробе находят с помощью градуировочной характеристики по разности результатов измерений оптической плотности растворов пробы и нулевого и пересчитывают на массу хлорида водорода умножением на коэффициент 1,03.
9. Вычисление результатов измерений
Методика предназначена для определения концентрации фосфорной кислоты и фосфорного ангидрида в атмосферном воздухе населенных пунктов в диапазоне 0,0005 - 0,015 мг/м3 при объеме пробы воздуха 2 м3. Используется для измерения разовых и среднесуточных концентраций.
Определению мешают растворимые фосфаты и соединения мышьяка.
1. Нормы точности измерений
По экспертным оценкам, при определении концентрации фосфорной кислоты и фосфорного ангидрида в атмосферном воздухе в диапазоне 0,0005 - 0,015 мг/м3 суммарная погрешность не превышает ±25 %.
2. Метод измерения
Метод основан на улавливании из воздуха фосфорной кислоты и фосфорного ангидрида аэрозольным фильтром и фотометрическом их определении по фосфорно-молибденовой сини, образующейся в результате взаимодействия фосфорной кислоты с молибденовокислым аммонием в присутствии восстановителя.
3. Средства измерений, вспомогательные устройства, реактивы и материалы
3.1. При выполнении измерений должны быть применены следующие средства измерений, вспомогательные устройства, реактивы и материалы.
3.2. Средства измерений
Фотоэлектроколориметр или спектрофотометр
Весы аналитические ВЛА-200 по ГОСТ 24104-80Е
Меры массы по ГОСТ 7328-82Е
Секундомер: класс 3; цена деления
секундной шкалы 0,2 с по ГОСТ 5072-79Е
Термометр лабораторный шкальный
ТЛ-2; пределы 0 - 55 °С; цена деления 1 °С по ГОСТ 215-73Е
Барометр-анероид М-67 по ТУ 2504.1797-75
Электроаспиратор модели ЭА-1;
погрешность ±10 %; Госреестр № 5997-77 по ТУ 25-11-1414-78
Колбы мерные по ГОСТ 1770-74Е
2-50-2 - 2 шт.
2-100-2 - 3 шт.
Пипетки по ГОСТ 20292-74Е
4-2-1 - 5 шт.
2-1-5 - 5 шт.
6-2-10 - 3 шт.
3.3. Вспомогательные устройства
Фильтродержатели для фильтров
АФА-XП-18, изготовитель ВО «Изотоп»
Пористый стеклянный фильтр № 3
Стаканы стеклянные вместимостью 50 см3
Баня водяная
Электрическая плитка с закрытой спиралью
Пробирки П4-10-14/23 по ГОСТ 23932-79
3.4. Материалы
Фильтры АФА-XП-18; изготовитель ВО «Изотоп»
3.5. Реактивы
Аммоний молибденовокислый, х. ч. по ГОСТ 3765-78
Вода дистиллированная по ГОСТ 6709-72
Калий фосфорнокислый однозамещенный х. ч. по ГОСТ 4198-75
Кислота аскорбиновая х. ч. по ГОСТ 4815-75
Кислота серная, х. ч. по ГОСТ 4204-77
4. Требования безопасности
См. п. 5.1.3.
5. Требования к квалификации оператора
См. п. 5.1.14.
6. Условия выполнения измерений
См. п. 5.1.14.
7. Подготовка к выполнению измерений
7.1. Перед выполнением измерений должны быть проведены следующие работы: приготовление растворов, установление градуировочной характеристики, подготовка фильтров, отбор пробы воздуха.
1) Кислота аскорбиновая, 1 %-ный раствор. 1 г аскорбиновой кислоты растворяют в воде. Объем доводят до 100 см3. Раствор хранят в склянке из темного стекла.
2) Кислота серная, раствор 1:4. К четырем объемам воды осторожно, при постоянном помешивании добавляют 1 объем серной кислоты.
3) Аммоний молибденовокислый. 1,7 %-ный раствор. 1 г молибденово-кислого аммония растворяют в 10 см3 дистиллированной воды и добавляют 50 см3 раствора серной кислоты 1:4 (см. перечисление 2).
4) Исходный раствор для градуировки (ρ = 1000 мкг/см3). 0,1915 г калия фосфорнокислого однозамещенного помещают в мерную колбу вместимостью 100 см3, доводят объем до метки дистиллированной водой и тщательно перемешивают.
5) Рабочий раствор для градуировки (ρ = 10 мкг/см3). Готовят 100-кратным разбавлением исходного раствора (см. перечисление 4) водой. Раствор хранят не более 5 сут.
7.3. Установление градуировочной характеристики
Градуировочную характеристику, выражающую зависимость оптической плотности раствора от массы фосфорной кислоты в пробе, устанавливают по пяти сериям растворов для градуировки. Каждую серию, состоящую из семи растворов, готовят из рабочего раствора (см. п. 7.2, перечисление 5) в соответствии с табл. 5.13.
Растворы для установления градуировочной характеристики при определении концентрации фосфорной кислоты (в пересчете на фосфорный ангидрид)
|
1 |
2 |
3 |
4 |
5 |
6 |
7 |
|
|
Объем рабочего раствора (ρ = 10 мкг/см3), см3 |
0,05 |
0,1 |
0,2 |
0,4 |
0,8 |
1,0 |
1,5 |
|
Соответствует массе фосфорного ангидрида, в пробе, мкг |
0,5 |
1 |
2 |
4 |
8 |
10 |
15 |
Для установления градуировочной характеристики на чистые фильтры АФА-XП-18 с обрезанными краями, помещенные в стаканы, наносят по 5 см3 растворов для градуировки согласно табл. 5.13 и обрабатывают аналогично пробам (см. п. 8). Для построения градуировочной характеристики используют разности оптических плотностей растворов 1 - 7 и среднего значения оптической плотности трех нулевых проб.
7.4. Отбор проб
Для определения разовой концентрации фосфорной кислоты и фосфорного ангидрида исследуемый воздух аспирируют через фильтр АФА-XП-18 с расходом 50 дм3/мин или через фильтр площадью 36 см2 с расходом до 100 дм3/мин в течение 20 мин. Для определения среднесуточных концентраций отбирают на один фильтр шесть разовых проб с перерывами в 4 ч. Срок хранения проб в герметичной упаковке неограничен.
8. Выполнение измерений
Фильтр с пробой помещают в стакан, заливают 5 см3 воды и подогревают до 70 - 80 °С. Затем раствор и фильтр переносят на воронку с пористым стеклянным фильтром № 3 и маленькими порциями горячей воды промывают стакан и фильтр. Общий объем фильтрата доводят до 10 см3. 5 см3 раствора переносят в пробирку, добавляют 1 см3 раствора молибденовокислого аммония и 0,3 см3 аскорбиновой кислоты. Пробирку энергично встряхивают и помещают на 3 мин в кипящую водяную баню. По охлаждении измеряют оптическую плотность раствора по отношению к воде при 700 нм в кюветах с расстоянием между рабочими гранями 10 мм. Одновременно анализируют нулевую пробу, которую готовят из чистого фильтра с обрезанными краями.
Массу фосфорной кислоты и фосфорного ангидрида в пробе определяют с помощью установленной градуировочной характеристики по разности оптических плотностей растворов пробы и нулевого.
9. Вычисление результата измерений
Методика предназначена для определения концентрации ванадия в атмосферном воздухе населенных пунктов в диапазоне 0,001 - 0,01 мг/м3 при объеме пробы воздуха 2 м3. Используется для определения разовых и среднесуточных концентраций.
Определению не мешает железо, кальций, магний, марганец, титан, медь, кремний, никель и цинк в количествах до 5,0 мг в пробе.
1. Нормы точности измерений
По экспертным оценкам, при определении концентрации ванадия в атмосферном воздухе в диапазоне 0,001 - 0,01 мг/м3 суммарная погрешность не превышает ±25 %.
2. Метод измерения
Метод основан на улавливании ванадия на фильтры АФА-XП-18 и фотометрическом определении его массы по окрашенному в фиолетовый цвет комплексному соединению, образующемуся при взаимодействии ванадия с салицилгидроксамовой кислотой.
3. Средства измерений, вспомогательные устройства, реактивы и материалы
3.1. При выполнении измерений должны быть применены следующие средства измерений, вспомогательные устройства, реактивы и материалы.
3.2. Средства измерений
Фотоэлектроколориметр или спектрофотометр
Весы аналитические ВЛА-200 по ГОСТ 24104-80Е
Меры массы по ГОСТ 7328-82Е
Термометр лабораторный шкальный
ТЛ-2, пределы 0 - 55 °С; цена деления 1 °С по ГОСТ 215-73Е
Барометр-анероид М-117 по ТУ 2504-1797-75
Электроаспиратор ЭА-1; погрешность
±10 %; Госреестр № 5997-77 по ТУ 25-11-1414-78
Муфельная печь с термопарой
Колбы мерные по ГОСТ 1770-74Е
2-50-2 - 5 шт.
2-100-2 - 3 шт.
2-1000-2 - 1 шт.
Пипетки по ГОСТ 20292-74Е
4-2-1 - 5 шт.
2-1-5 - 7 шт.
6-2-10 - 3 шт.
4-2-2 - 2 шт.
Стаканы В-1-250 ТС по ГОСТ 25336-82
Пробирки П4-5-14/23 по ГОСТ 1770-74
Тигли фарфоровые
Чашки ЧВА1-100 по ГОСТ 10973-75
Воронки В-25-50 ХС по ГОСТ 25336-82
3.3. Вспомогательные устройства
Бумага индикаторная, универсальная
Баня водяная
Баня песчаная
Фильтродержатели для фильтров АФА-XП-18
Воронка Бюхнера
Сушильный шкаф
3.4. Материалы
Фильтры АФА-XП-18 или из ткани ФПП,
изготовитель ВО «Изотоп»
Трубка резиновая полувакуумная, тип 1 по ГОСТ 5496-57
Фильтры «синяя лента» диаметром 4 см
Палочки стеклянные
3.5. Реактивы
Аммоний метаванадиевокислый, ч. д. а. по ГОСТ 9336-75
изменение № 1
Вода дистиллированная по ГОСТ 6709-72
Гидроксиламин гидрохлорид, ч. д. а. по ГОСТ 5456-79
Кислота азотная, х. ч. по ГОСТ 4461-77
Кислота уксусная ледяная, х. ч. по ГОСТ 61-75
Кислота соляная, х. ч. (ρ = 1,19 г/см3) по ГОСТ 3118-77
Натрия гидроксид, х. ч. по ГОСТ 4328-77
Этанол для хроматографии по ТУ 6-09-1710-77
Эфир метиловый салициловой кислоты, ч.
4. Требования безопасности
См. п. 5.1.3.
Все работы по выпариванию кислоты и озолению фильтров необходимо проводить в вытяжном шкафу.
5. Требования к квалификации оператора
См. п. 5.1.4.
6. Условия выполнения измерений
См. п. 5.1.14.
7. Подготовка к выполнению измерений
7.1. Перед выполнением измерений должны быть проведены следующие работы: приготовление растворов, установление градуировочной характеристики, отбор проб воздуха.
7.2. Приготовление растворов
1) Азотная кислота, 50 %-ный раствор. В цилиндр вместимостью 100 см3 помещают 54,32 см3 азотной кислоты (ρ = 1,4 г/см3), доводят водой до 100 см3.
2) Натрия гидроксид 20 %-ный раствор. 20 г гидроксида натрия растворяют в воде в термостойком стакане. После охлаждения раствор переносят в цилиндр и доводят объем раствора водой до 100 см3.
3) Натрия гидроксид, 5 %-ный раствор. 5 г гидроксида натрия растворяют в воде в термостойком стакане. После охлаждения раствор переносят в цилиндр и доводят объем раствора водой до 100 см3.
4) Гидроксиламин гидрохлорид, 22 %-ный раствор в 20 %-ном растворе гидроксида натрия, свежеприготовленный. 22 г растворяют в 20 %-ном растворе гидроксида натрия в мерной колбе вместимостью 100 см3. После охлаждения объем доводят до метки тем же раствором.
5) Синтез салицилгидроксамовой кислоты. В мерный цилиндр помещают 114 см3 20 %-ного раствора гидроксида натрия и доводят объем водой до 300 см3, перемешивают, охлаждают раствор и переносят его в стакан вместимостью 2000 см3, добавляют 76 г метилового эфира салициловой кислоты, 900 см3 воды и тщательно перемешивают в течение 45 - 50 мин. Затем вносят 100 см3 охлажденного 22 %-ного раствора гидроксиламина и оставляют на 24 ч. Все операции по синтезу проводят при температуре окружающего воздуха не выше 25 °С. После этого раствор фильтруют и с помощью соляной кислоты доводят pH раствора до 1 - 2 (по универсальной индикаторной бумаге). Осадок отфильтровывают через воронку Бюхнера, промывают водой, подкисленной соляной кислотой. Выход салицилгидроксамовой кислоты составляет 70 - 72 %, температура плавления 140 - 145 °С. Реактив устойчив в течение нескольких лет.
6) Салицилгидроксамовая кислота, 0,5 %-ный раствор. В мерной колбе вместимостью 200 см3 растворяют 1 г салицилгидроксамовой кислоты в ледяной уксусной кислоте, доводят кислотой до метки.
7) Исходный раствор для градуировки (ρ = 1000 мкг/см3). 0,2295 г перекристаллизованного и высушенного аммония метаванадиевокислого растворяют в 50 см3 горячей воды (70 - 75 °С) в мерной колбе вместимостью 100 см3 и после охлаждения доводят объем до метки водой.
Примечание. Аммоний метаванадиевокислый дважды перекристаллизовывают из горячей (температура 60 - 70 °С) воды. Кристаллы промывают этанолом, сушат на воздухе и затем в сушильном шкафу при температуре не выше 25 °С.
8) Рабочий раствор для градуировки (ρ = 10 мкг/см3). В мерную колбу вместимостью 100 см3 помещают 1 см3 исходного раствора для градуировки (ρ = 1000 мкг/см3) и доводят водой до метки.
7.3. Установление градуировочной характеристики
Градуировочную характеристику, выражающую зависимость оптической плотности раствора от массы ванадия, устанавливают по пяти сериям растворов для градуировки. Для этого семь чистых, не использованных для отбора проб фильтров с обрезанными краями помещают в семь тиглей. На шесть фильтров наносят рабочий раствор согласно табл. 5.14; один фильтр используют в качестве нулевого образца.
Растворы для установления градуировочной характеристики при определении концентрации ванадия
|
1 |
2 |
3 |
4 |
5 |
6 |
|
|
Объем рабочего раствора (ρ = 10 мкг/см3), см3 |
0,1 |
0,2 |
0,4 |
0,6 |
0,8 |
1,0 |
|
Масса ванадия в пробе, мкг |
1,0 |
2,0 |
4,0 |
6,0 |
8,0 |
10,0 |
Каждый фильтр в тигле обрабатывают 2 см3 50 %-ного раствора азотной кислоты и выпаривают досуха на песчаной бане, после чего тигли переносят в муфельную печь. Температуру в муфельной печи постепенно поднимают до 500 °С. После полного озоления пробы тигли охлаждают и вливают в них по 2 см3 5 %-ного раствора гидроксида натрия и 5 см3 воды. Нагревают тигли в течение 2 - 3 мин на кипящей водяной бане, а затем содержимое фильтруют в пробирку через бумажные фильтры. Тигли несколько раз промывают водой и промывные воды фильтруют в те же пробирки, доводя общий объем в каждой до 10 см3. Из каждой пробирки (после тщательного перемешивания) отбирают по 5 см3 прозрачного раствора и переносят в другую пробирку, куда добавляют по 5 см3 0,5 %-ного раствора салицилгидроксамовой кислоты. Содержимое пробирок встряхивают и через 20 мин измеряют оптическую плотность растворов относительно воды в кювете с расстоянием между рабочими гранями 20 мм при длине волны 490 нм. Время от добавления последнего реактива до измерения оптической плотности для каждого раствора должно быть одинаковым.
7.4. Отбор проб
Для определения разовой концентрации ванадия исследуемый воздух аспирируют через фильтр АФА-XП-18 с расходом 50 дм3/мин или через фильтр площадью 36 см2 из ткани ФПП с расходом до 100 дм3/мин в течение 20 мин. Для определения среднесуточных концентраций отбирают на один фильтр 4 - 8 разовых проб за 24 ч. Срок хранения проб в герметично упакованных пакетах неограничен.
8. Выполнение измерений
Фильтр с пробой извлекают из пакета, осторожно обрезают края, помещают в фарфоровый тигель. Затем производят те же операции, что и с образцами для градуировки (см. п. 7.3).
Одновременно готовят нулевую пробу. Для этого чистый фильтр с обрезанными краями анализируют аналогично пробам.
Оптическую плотность растворов измеряют в кюветах шириной 20 мм при длине волны 490 нм относительно воды.
Массу ванадия в пробе определяют с помощью установленной градуировочной характеристики по разности оптической плотности растворов пробы и средней оптической плотности из трех нулевых проб.
9. Вычисление результата измерений
См. п. 5.1.16, формулу (4). Коэффициент для пересчета на V2O5 - 1,78.
Методика1 предназначена для определения концентрации в атмосферном воздухе аэрозолей кадмия в диапазоне 0,002 - 0,24 мкг/м3, марганца, никеля, меди, цинка, кобальта, хрома, железа и магния в диапазоне 0,01 - 1,5 мкг/м3 и свинца в диапазоне 0,06 - 1,5 мкг/м3 при отборе пробы объемом 20 м3 на фильтры из ацетилцеллюлозного или перхлорвинилового материала.
1 Методика аттестована в ГГО. Свидетельство № 51.
1. Нормы точности измерений
По результатам метрологического исследования, при определении в воздухе концентрации металлов в указанных диапазонах суммарная погрешность не превышает ±15 %.
2. Метод измерений
Метод основан на измерении селективного поглощения в пламени атомами свинца, кадмия, марганца, никеля, меди, цинка, кобальта, хрома, железа или магния излучения резонансных линий атомов этих элементов от внешнего источника света (метод атомно-абсорбционной спектрофотометрии).
3. Средства измерений, вспомогательные устройства, реактивы и материалы
3.1. При выполнении измерений применяют следующие средства измерений, вспомогательные устройства, реактивы и материалы.
3.2. Средства измерений
Спектрофотометр AAS-1N, «Сатурн» по ГОСТ 15150-69
или С-115 по ТУ 1Е2.851.03411С
Весы аналитические ВЛА-200 по ГОСТ 24104-80Е
Меры массы по ГОСТ 7328-82Е
Электроаспираторы ЭА-2С, ЭА-2, ЭА-3 по ТУ 25-11.1591-81
Колбы мерные по ГОСТ 1770-74Е
2-100-2 - 5 шт.
2-500-2 - 5 шт.
2-1000-2 - 2 шт.
Пипетки по ГОСТ 20292-74
4-2-1 - 2 шт.
4-2-5 - 2 шт.
5-2-10 - 2 шт.
Цилиндры по ГОСТ 1770-74Е
1-25 - 2 шт.
1-50 - 2 шт.
1-500 - 1 шт.
3.3. Вспомогательные устройства
Баллон для ацетилена по ГОСТ 949-73
Редуктор ацетиленовый ДАП-1-65 по ГОСТ 5.1381-72
Компрессор СО-45А по ТУ 22.5356-82
Печь муфельная по ТУ 16-531.704-81
Плитка типа ПЭК-800/3 по ТУ 92-208-74
Стаканы по ГОСТ 19908-80
ВН-30 - 10 шт.
ВН-100 - 10 шт.
Пробирки по ГОСТ 1770-74Е
П-2-10 ХС - 50 шт.
3.4. Реактивы
Аммония сульфат, х. ч. по ГОСТ 3769-78
Ацетилен серии Д по ГОСТ 5457-60
Вода дистиллированная по ГОСТ 6709-72
Водорода перекись, ос. ч. по ТУ 6-02-570-75
Кислота азотная, ос. ч. по ГОСТ 11125-78
Стандартные образцы
№ 1 по ГСО 1837-80-1841-80
№ 2 по ГСО 1842-80.1846-80
№ 3 по ГСО 3082-84.3086-84
№ 4 по ГСО 3087-84.3091-84
№ 6 по ГСО 3097-84.3101-84
№ 7 по ГСО 3102-84.3106-84
ГСОРМ-1 по ТУ 2293-82
ГСОРМ-4 по ТУ 2296-82
3.5. Материалы
Фильтры АФА-ХА-20 или АФА-ХП-20 по ТУ 957-40-80
Батист
4. Требования безопасности
См. п. 5.1.3.
5. Требования к квалификации оператора
См. п. 5.1.4.
6. Условия выполнения измерений
См. п. 5.1.14.
7. Подготовка к выполнению измерений
7.1. Перед выполнением измерений должны быть проведены следующие работы: приготовление растворов, отбор проб, озоление фильтров, настройка спектрофотометра, установление градуировочной характеристики.
7.2. Приготовление растворов
1) Рабочие растворы с массовой концентрацией металлов 0,1, 0,2, 0,5, 1,0, 2,0 и 5,0 мг/дм3 готовят в соответствии с инструкцией по применению стандартных образцов.
2) Азотная кислота, раствор 1:90. 10 см3 концентрированной кислоты (ρ = 1,37 г/см3) разбавляют до 1000 см3 дистиллированной водой,
7.3. Отбор проб
Отбор проб аэрозолей производится на фильтры АФА-ХА или АФА-ХП. При наличии электроаспираторов ЭА-2С и ЭА-3 пробу отбирают в течение суток с расходом 0,1 м3/мин. Можно также проводить дискретный отбор проб, протягивая воздух через один фильтр в течение 3 - 5 сут по 2 - 4 раза в сутки с помощью электроаспиратора ЭА-2 с расходом 0,1 м3/мин. Фильтр в перерывах между отборами не вынимают из фильтродержателя. Объем пробы воздуха должен быть не менее 20 м3. После окончания отбора фильтр сворачивают рабочей поверхностью внутрь, помещают в бумажный пакет, герметично упаковывают и хранят до обработки в холодильнике.
7.4. Озоление фильтров
1) При использовании фильтров АФА-ХА проводят их «мокрое» озоление. Фильтр помещают в кварцевый стакан, добавляют 5,0 см3 концентрированной азотной кислоты и выдерживают 30 мин при комнатной температуре. Затем стакан помещают на плитку с асбестовой прокладкой и нагревают до прекращения выделения бурных паров. Стакан снимают, охлаждают, добавляю 0,3 см3 перекиси водорода и выдерживают 30 мин при комнатной температуре. Затем раствор нагревают и выпаривают до влажных солей. К остатку добавляют 0,2 см3 концентрированной азотной кислоты и переносят в пробирку. Стакан промывают бидистиллированной водой и доводят объем раствора в пробирке до 5,0 см3. Полученный раствор анализируют.
2) При использовании фильтров АФА-ХП проводят их «сухое» озоление. Фильтр помещают в кварцевый стакан, добавляют около 10 мг сульфата аммония. Озоление проводят в муфельной печи при температуре около 500 °С в течение 1 - 1,5 ч. К зольному остатку добавляют 0,3 см3 концентрированной азотной кислоты и выпаривают до влажных солей на водяной или песчаной бане. Остаток после охлаждения растворяют в азотной кислоте (1:90) и переводят в пробирку, доводя объем этой же кислотой до 5,0 см3.
3) Для определения содержания металлов в неэкспонированных фильтрах и реактивах (в нулевой пробе) озоляют 3 - 5 фильтров и определяют содержание каждого металла в пересчете на один фильтр. Полученные значения вычитают из результатов анализа.
7.5. Настройка спектрофотометра AAS-1N или «Сатурн»
1) Спектрофотометр настраивают по инструкции к прибору.
2) Примерные условия работы спектрофотометров при определении свинца, кадмия, марганца, меди, цинка, кобальта, хрома, железа и магния сведены в табл. 5.15.
7.6. Установление градуировочной характеристики
Условия работы спектрофотометров
|
AAS-1N |
|||||
|
Cu |
Cr |
Cd |
Mn |
Ni |
|
|
Длина волны, нм |
324,8 |
357,9 |
228,8 |
279,5 |
232,1 |
|
Ширина щели, мм |
0,06 |
0,06 |
0,06 |
0,06 |
0,06 |
|
Тип источника света |
ТСПК |
«Narva» |
ЛСП-1 |
«Narva» |
«Narva» |
|
Сила тока через источник света, мА |
12 |
8 |
12 |
8 |
8 |
|
Напряжение на ФЭУ, В |
1000 |
1000 |
1000 |
1000 |
1000 |
|
Расход ацетилена, дм3/ч |
60 |
120 |
60 |
60 |
60 |
|
Расход воздуха, дм3/ч |
530 |
530 |
530 |
530 |
530 |
|
AAS-1N |
«Сатурн» |
||||
|
Pb |
Zn |
Mg |
Co |
Fe |
|
|
Длина волны, нм |
283,3 |
213,8 |
285,2 |
240,7 |
248,3 |
|
Ширина щели, мм |
0,05 |
0,07 |
0,2 |
0,1 |
0,1 |
|
Тип источника света |
«Narva» |
«Narva» |
ЛСП-1 |
ЛСП-1 |
ЛСП-1 |
|
Сила тока через источник света, мА |
8 |
8 |
25 |
30 |
30 |
|
Напряжение на ФЭУ, В |
1000 |
1000 |
800 |
900 |
900 |
|
Расход ацетилена, дм3/ч |
60 |
60 |
140 |
130 |
130 |
|
Расход воздуха, дм3/ч |
530 |
530 |
680 |
680 |
800 |
Градуировочную характеристику устанавливают в день анализа проб. В пламя спектрофотометра вводят последовательно эталонные растворы и снимают показания. Измерения осуществляют не менее трех раз и по средним значениям строят градуировочный график отдельно для каждого элемента в координатах: концентрация металла в эталонном растворе (мг/дм3) - показания измерительного инструмента.
8. Выполнение измерений
Анализу подвергают растворы, полученные после озоления фильтров. Измерения на спектрофотометре AAS-1N выполняют в соответствии с инструкцией по прибору.
9. Вычисление результата измерений
Расчет концентрации металлов ρ (мкг/м3) производят по формуле
![]()
где Vк - объем раствора пробы, полученной после обработки фильтров, см3; ρ' - концентрация металла в растворе пробы, мкг/см3; ρ" - концентрация металла в растворе пробы, полученном с использованием неэкспонированного фильтра (нулевой пробы), мкг/см3; n - число фильтров, составляющих пробу, V0 - суммарный объем воздуха аспирированного через n фильтров, приведенный к нормальным условиям, согласно формуле (1) п. 5.1.16, м3.
Методика предназначена для определения концентрации марганца (в пересчете на диоксид марганца) в атмосферном воздухе населенных пунктов в диапазоне 0,001 - 0,005 мг/м3 при объеме пробы 2 м3. Используется для измерения разовых и среднесуточных концентраций при отсутствии атомно-абсорбционного анализатора. Определению мешают соединения хрома.
1. Нормы точности измерений
По экспертным оценкам, при определении концентрации марганца в атмосферном воздухе в диапазоне 0,001 - 0,005 мг/м3 суммарная погрешность не превышает ±25 %.
2. Метод измерения
Метод основан на окислении персульфатом аммония в присутствии катализатора растворенных в смеси кислот соединений марганца (уловленных из воздуха фильтром) до марганцевой кислоты, окрашивающей раствор в розово-фиолетовый цвет. Масса марганца определяется фотометрически в пересчете на диоксид марганца.
3. Средства измерений, вспомогательные устройства, реактивы и материалы
3.1. При выполнении измерений должны быть применены следующие средства измерений, вспомогательные устройства, реактивы и материалы.
3.2. Средства измерений
Спектрофотометр или фотоколориметр
Весы аналитические ВЛА-200 по ГОСТ 24104-80Е
Меры массы по ГОСТ 7328-82Е
Термометр лабораторный шкальный
ТЛ-2: пределы 0 - 55 °С и 0 - 100 °С; цена по ГОСТ 215-73Е
деления 1 °С
Барометр-анероид М-67 по ТУ 2504-1797-75
Электроаспиратор ЭА-1
погрешность ±10 %; Госреестр № 5997-77 по ТУ 25-11-1414-78
Центрифуга лабораторная
Муфельная печь с термопарой
Песчаная баня
Водяная баня
Колбы мерные не ниже 2-го класса точности по ГОСТ 1770-74Е
Пипетки не ниже 2-го класса точности по ГОСТ 20292-74Е
Пробирки конические градуированные
вместимостью 10 см3 по ГОСТ 10515-75
Тигли фарфоровые
Пробирки круглодонные вместимостью 10 см3
Воронки стеклянные диаметром 2 - 3 см3
3.3. Вспомогательные устройства
Фильтродержатели для фильтров
АФА-XП-18; изготовитель ВО «Изотоп»
3.4. Материалы.
Фильтры АФА-XП-18; изготовитель ВО «Изотоп»
Трубка резиновая полувакуумная; тип 1 по ГОСТ 5496-54
Фильтры «синяя лента» по ТУ 6-09-1678-77
3.5. Реактивы
Аммония персульфат, ч. по ГОСТ 20478-75
Кислота серная (ρ = 1,84 г/см3) х. ч. по ГОСТ 4204-77
Кислота ортофосфорная (ρ = 1,72 г/см3) х. ч. по ГОСТ 6552-80
Кислота щавелевая, х. ч. по ГОСТ 2218-76
Марганца сульфат, ч. д. а. по ГОСТ 435-77
Серебро азотнокислое, х. ч. по ГОСТ 1277-75
4. Требования безопасности
См. п. 5.1.3.
Работы проводятся под тягой.
5. Требования к квалификации оператора
См. п. 5.1.4.
6. Условия выполнения измерений
См. п. 5.1.14.
7. Подготовка к выполнению измерений
7.1. Перед выполнением измерений должны быть проведены следующие работы: приготовление растворов, установление градуировочной характеристики, подготовка пробоотборного устройства, отбор проб воздуха.
1) Вода дистиллированная
2) Кислота серная, 5 %-ный раствор. К 200 см3 воды, налитой в термостойкую посуду, осторожно приливают 5,5 см3 концентрированной серной кислоты.
3) Кислота ортофосфорная, 20 %-ный раствор. 22,9 г (13,3 см3) концентрированной фосфорной кислоты растворяют в 50 см3 воды в мерной колбе вместимостью 100 см3. После охлаждения раствор доводят водой до метки.
4) Кислота щавелевая, 8 %-ный раствор. 8 г кислоты растворяют в воде и доводят объем до 100 см3.
5) Смесь серной и щавелевой кислот. 50 см3 концентрированной серной кислоты осторожно приливают к 50 см3 8 %-ного раствора щавелевой кислоты. Раствор готовят перед анализом.
6) Серебро азотнокислое, 0,1 %-ный раствор. 0,1 г реактива растворяют в воде и доводят до 100 см3 водой. Хранят в склянке из темного стекла.
7) Исходный раствор для градуировки соответствует ρ = 1 мг/см3 диоксида марганца. 0,2733 г сульфата марганца (MnSO4×5H2O) растворяют в 5 %-ном растворе серной кислоты в мерной колбе вместимостью 100 см3.
8) Рабочий раствор для градуировки (ρ = 10 мкг/см3). Готовят 100-кратным разбавлением исходного раствора для градуировки 5 %-ным раствором серной кислоты.
7.3. Установление градуировочной характеристики
Градуировочную характеристику, выражающую зависимость оптической плотности раствора от массы диоксида марганца, устанавливают по пяти сериям растворов для градуировки. Каждую серию, состоящую из пяти растворов, готовят из свежеприготовленного раствора сульфата марганца (см. п. 7.2, перечисление 8). Для этого чистые, не использованные для отбора проб фильтры с обрезанными краями помещают в фарфоровые тигли и на них наносят рабочий раствор согласно табл. 5.16. Одновременно в каждой серии готовят нулевую пробу, в качестве которой используют чистый фильтр, на который рабочий раствор не наносится.
Растворы для установления градуировочной характеристики при определении концентрации марганца в пересчете на диоксид марганца
|
1 |
2 |
3 |
4 |
5 |
|
|
Объем рабочего раствора (ρ = 10 мкг/см3), см3 |
0,2 |
0,4 |
0,6 |
0,8 |
1,0 |
|
Соответствует массе диоксида марганца в растворе, мкг |
2,0 |
4,0 |
6,0 |
8,0 |
10,0 |
Тигли с фильтрами помещают в муфельную печь для озоления при температуре 500 - 600 °С. К озоленным фильтрам добавляют по 0,5 см3 смеси кислот, помещают тигли на песчаную баню и нагревают до прекращения выделения белых паров серной кислоты. Образовавшийся сульфат марганца растворяют в 4,0 см3 5 %-ного раствора серной кислоты. Растворы фильтруют через воронки с оттянутым концом, в каждую из которых вложен состоящий из волокон бумажного фильтра тампон длиной около 0,5 см3, в конические градуированные пробирки и центрифугируют. Из каждой пробирки отбирают по 3,5 см3 прозрачного раствора, переносят в другие пробирки, прибавляют по 0,1 см3 раствора азотнокислого серебра, по 0,1 см3 ортофосфорной кислоты и несколько кристаллов надсернокислого аммония. Содержимое пробирок хорошо встряхивают после добавления каждого реактива.
Затем пробирки на 5 мин помещают на водяную баню, нагретую до 70 °С. После охлаждения измеряют оптическую плотность растворов относительно воды в кювете с расстоянием между рабочими гранями 10 мм при длине волны 545 нм. Время от добавления последнего реактива до измерения оптической плотности для всех проб должно быть одинаковым. Для построения градуировочной характеристики используют разности оптической плотности растворов 1 - 5 и средней оптической плотности трех нулевых проб.
7.4. Отбор проб
Для определения разовой концентрации соединений марганца исследуемый воздух протягивают через фильтр АФА-XП-18 с расходом до 50 дм3/мин или через фильтр площадью 30 см2 с расходом до 100 дм3/мин в течение 20 мин.
Для определения среднесуточных концентраций анализируемый воздух аспирируют через один и тот же фильтр не менее 4 раз за 24 часа с тем же расходом, что и при отборе разовых проб. Срок хранения проб в герметичной упаковке неограничен.
8. Выполнение измерений
Фильтр извлекают из пакета, обрезают края, помещают в фарфоровый тигель и озоляют при температуре 500 - 600 °С. Затем поступают так же, как описано в п. 7.3: к озоленной пробе добавляют 0,5 см3 смеси кислот, тигель помещают на песчаную баню и нагревают до прекращения выделения белых паров и т.д. Измеряют оптическую плотность прозрачных растворов относительно воды в кювете с расстоянием между рабочими гранями 10 мм при длине волны 545 нм. Одновременно с пробами измеряют нулевую пробу. Для этого у чистого фильтра обрезают края и производят те же операции, что и при анализе пробы воздуха. Массу марганца в пробе определяют с помощью установленной градуировочной характеристики по разности оптической плотности растворов пробы и средней оптической плотности трех нулевых проб.
9. Вычисление результатов измерений
Методика предназначена для определения концентрации неорганических соединений мышьяка в атмосферном воздухе населенных пунктов в диапазоне 0,001 - 0,006 мг/м3 при объеме пробы 1 м3. Используется для измерения разовых и среднесуточных концентраций. Определению мешают соединения фосфора.
1. Нормы точности измерений
По экспертным оценкам, при определении концентрации мышьяка в атмосферном воздухе в диапазоне 0,001 - 0,006 мг/м3 суммарная погрешность не превышает ±25 %.
2. Метод измерения
Метод основан на улавливании неорганических соединений мышьяка аэрозольными фильтрами, окислении смесью перекиси водорода и аммиака, последующем фотометрическом определении окрашенного соединения, образующегося при взаимодействии соединений мышьяка (V) с молибдатом аммония и восстановителем.
3. Средства измерений, вспомогательные устройства, реактивы и материалы
3.1. При выполнении измерений должны быть применены следующие средства измерений, вспомогательные устройства, реактивы и материалы.
3.2. Средства измерений
Фотоэлектроколориметр КФК-2,
КФК-3 или спектрофотометр
Весы ВЛА-200 по ГОСТ 24104-80Е
Меры массы по ГОСТ 7328-82Е
Секундомер; класс 3; цена деления
секундной шкалы 0,2 с по ГОСТ 5072-79Е
Термометр лабораторный шкальный
ТЛ-2; пределы 0 - 55 °С; цена деления 1 °С по ГОСТ 215-73Е
Барометр-анероид М-67 по ТУ 2504-1797-75
Электроаспиратор ЭА-1;
погрешность ±10 %; Госреестр № 5997-77 по ТУ 25-11-1414-78
Колбы мерные по ГОСТ 1770-74Е
2-50-2 - 2 шт.
2-100-2 - 2 шт.
2-1000-2 - 2 шт.
Пипетки по ГОСТ 20292-74
4-2-1 - 5 шт.
6-2-10 - 3 шт.
Цилиндры по ГОСТ 1770-74
50 - 2 шт.
100 - 2 шт.
Воронки для фильтрования - 5 шт. по ГОСТ 25336-82
Стаканчики стеклянные - 10 шт. по ГОСТ 25336-82
Пробирки - 10 шт. по ГОСТ 1770-74
Фарфоровые чашки - 10 шт.
Баня водяная
Стеклянная палочка
3.3. Вспомогательные устройства
Фильтродержатели для фильтров
АФА-ХП-20; изготовитель ВО «Изотоп»
3.4. Материалы
Фильтры АФА-XП-18; изготовитель ВО «Изотоп»
Фильтры «синяя лента» по ТУ 6-09-1678-77
3.5. Реактивы
Аммиак водный, 25 %-ный
раствор, ч. д. а. по ГОСТ 3760-79
Аммоний молибденовокислый, х. ч. по ГОСТ 3765-78
Вода дистиллированная по ГОСТ 6709-72
Водорода перекись, 30 %-ный
водный раствор, х. ч. по ГОСТ 10929-76
Гидразин сернокислый, ч. д. а. по ГОСТ 5841-74
Кислота серная (ρ = 1,84 г/см3), х. ч. по ГОСТ 4204-77
Натрия арсенат трехзамещенный, ч. по ТУ 6-09-2791-78
4. Требования безопасности
См. п. 5.1.3.
Все работы по приготовлению растворов соединений мышьяка необходимо проводить в вытяжном шкафу.
5. Требования к квалификации оператора
См. п. 5.1.4.
6. Условия выполнения измерений
См. п. 5.1.14.
7. Подготовка к выполнению измерений
7.1. Перед выполнением измерений должны быть произведены следующие работы: приготовление растворов, установление градуировочной характеристики, отбор пробы воздуха.
1) Аммиак, 12 %-ный раствор. 100 см3 концентрированного аммиака растворяют в 100 см3 дистиллированной воды. Раствор хранят в склянке с хорошо закрытой пробкой.
2) Гидразин сернокислый, 0,15 %-ный раствор. 0,075 г гидразина сернокислого растворяют в 50 см3 воды. Реактив готовят перед употреблением.
3) Перекись водорода, 10 %-ный раствор. 20 см3 перекиси водорода растворяют в 40 см3 воды. Реактив хранят в склянке из темного стекла с притертой пробкой.
4) Серная кислота, раствор 10 моль/дм3. К 50 см3 воды осторожно приливают 14 см3 концентрированной серной кислоты. После охлаждения раствор доводят водой до 100 см3.
5) Молибдат аммония, 1 %-ный раствор. 1 г молибдата аммония растворяют в 86 см3 раствора серной кислоты (см. перечисление 4). Реактив хранят в склянке с хорошо закрытой пробкой.
6) Исходный раствор для градуировки (ρ = 100 мкг/см3). 0,5653 г перекристаллизованного трехзамещенного арсената натрия помещают в мерную колбу вместимостью 1000 см3, доводят объем до метки водой и тщательно перемешивают.
7) Рабочий раствор для градуировки (ρ = 10 мкг/см3). 10 см3 исходного раствора (см. перечисление 6) разбавляют в мерной колбе до 100 см3 водой. Раствор готовят перед употреблением.
7.3. Установление градуировочной характеристики
Градуировочную характеристику, выражающую зависимость оптической плотности раствора от массы мышьяка, устанавливают по пяти сериям растворов для градуировки. Каждую серию, состоящую из семи растворов, готовят из раствора трехзамещенного арсената натрия (см. п. 7.2, перечисление 7).
Для установления градуировочной характеристики на чистые фильтры АФА-XП-18, помещенные в стаканы, наносят растворы для градуировки в соответствии с табл. 5.17 и обрабатывают аналогично пробам (см. п. 8). Одновременно готовят нулевой раствор. Для чего чистый фильтр помещают в стакан, добавляют 8 см3 12 %-ного раствора аммиака и обрабатывают аналогично пробам.
7.4. Отбор проб
Для определения разовой концентрации соединений мышьяка исследуемый воздух аспирируют через фильтр АФА-ХП-20 с расходом до 50 дм3/мин или через фильтр из ткани ФПП площадью 36 см2 с расходом до 100 дм3/мин в течение 20 мин. Для определения среднесуточных концентраций отбирают на один фильтр 4 - 8 разовых проб за 24 ч. Срок хранения проб в герметичной упаковке не ограничен.
Растворы для установления градуировочной характеристики при определении концентрации соединений мышьяка
|
1 |
2 |
3 |
4 |
5 |
6 |
|
|
Объем рабочего раствора (ρ = 10 мкг/см3), см3 |
0,1 |
0,2 |
0,3 |
0,4 |
0,5 |
0,6 |
|
Аммиак 12 %-ный раствор, см3 |
7,9 |
7,8 |
7,7 |
7,6 |
7,5 |
7,4 |
|
Соответствует массе мышьяка в 8 см3 раствора, мкг |
1,0 |
2,0 |
3,0 |
4,0 |
5,0 |
6,0 |
8. Выполнение измерений
Фильтр с отобранной пробой помещают в стаканчик и обрабатывают 8 см3 12 %-ного раствора аммиака, добавляют 1 см3 раствора 10 %-ной перекиси водорода и выдерживают 10 мин, помешивая стеклянной палочкой. Раствор переливают в фарфоровую чашку, фильтр промывают несколько раз 2 - 3 см3 раствора аммиака, каждый раз тщательно отжимая его стеклянной палочкой. Смывы объединяют с пробой, выпаривают досуха на водяной бане и сухой остаток растворяют в 2 см3 воды. Раствор фильтруют в мерную пробирку вместимостью 5 см3. Чашку ополаскивают 2 раза по 1,5 см3 воды, фильтруют смывы через тот же фильтр, и доводят общий объем раствора до 5 см3. В пробирку добавляют 0,5 см3 раствора молибдата аммония и 0,2 см3 сернокислого гидразина. Содержимое пробирки тщательно встряхивают и нагревают на водяной бане в течение 10 - 15 мин.
После охлаждения до комнатной температуры измеряют оптическую плотность раствора при 840 нм по отношению к воде в кюветах с расстоянием между рабочими гранями 10 мм. Одновременно измеряют оптическую плотность нулевого раствора. Массу соединений мышьяка в пробе определяют с помощью градуировочной характеристики по разности оптических плотностей растворов пробы и нулевого раствора.
9. Вычисление результата измерений
Методика1 предназначена для определения концентрации паров ртути в атмосферном воздухе населенных пунктов в диапазоне 0,16 - 16,70 мкг/м3 при объеме пробы воздуха 80 дм3.
1 Методика аттестована НПО «ВНИИМ им. Д.И. Менделеева». За исключением разделов, изложенных в пп. 5.1.3, 5.1.4 и 5.1.14, соответствует аттестату № 324.
1. Нормы, точности измерений
При определении концентрации паров ртути в атмосферном воздухе в диапазоне 0,16 - 16,70 мкг/м3 установленное значение суммарной погрешности при доверительной вероятности 0,95 не превышает ±20 %.
2. Метод измерения
Метод основан на поглощении паров ртути из воздуха пленочным хемосорбентом на основе раствора оксида хрома (VI) в серной кислоте, восстановлении ртути двухлористым оловом до элементарного состояния и определении массы ртути в пробе атомно-абсорбционным методом.
3. Средства измерений, вспомогательные устройства, реактивы и материалы
3.1. При выполнении измерений должны быть применены перечисленные ниже средства измерений, вспомогательные устройства, реактивы и материалы.
Атомно-абсорбционный анализатор ртути
«Ртуть-101» по ТУ 25-05 (1Е2.850-224)-79
«Рт-102» по ТУ 25-05 (1Е2.850.235)-85
MAS-50 фирмы «Перкин-Элмер» (США)
Анализатор «Юлия-2»
Весы аналитические ВЛА-200 по ГОСТ 24104-80Е
Меры массы по ГОСТ 7328-82Е
Секундомер; класс 3; цена деления
секундной шкалы 0,2 с по ГОСТ 5072-79Е
Термометр лабораторный шкальный
ТЛ-2; пределы 0 - 55 °С; цена деления 0,1 °С по ГОСТ 215-73Е
Барометр-анероид М 67 по ТУ 2504-1797-75
Электроаспиратор ЭА-1;
погрешность ±10 %; Госреестр № 5997-77 по ТУ 25-11-1414-78
Колбы мерные по ГОСТ 1770-74Е
2-1000-2 - 1 шт.
2-100-2 - 3 шт.
2-50-2 - 6 шт.
Цилиндры по ГОСТ 1770-74Е
1-250 или 3-250 - 3 шт.
1-100 или 3-100 - 1 шт.
1-25 или 3-25 - 1 шт.
Мензурки по ГОСТ 1770-74Е
1000 см3 - 1 шт.
250 см3 - 2 шт.
100 см3 - 3 шт.
Пипетки по ГОСТ 20292-74Е
6-2-10 - 1 шт.
1-2-5 - 2 шт.
2-2-5 - 1 шт.
6-2-5 - 2 шт.
8-2-1 - 2 шт.
Стаканы термостойкие по ГОСТ 25336-82Е
В-1-250 - 2 шт.
В-1-50 - 2 шт.
3.3. Вспомогательные устройства
Сорбционные трубки СТ 112
(маркировка 1) - 10 шт. по ТУ 25-1110.039-82
Зажим Мора - 1 шт.
Пробирки П4Д 25-14/23 по ГОСТ 10515-75
Склянка СВТ-25 по ГОСТ 10378-77
Колонка стеклянная с двумя отводами
Реактор для анализа проб объемом 5 - 20 см3 (черт. 5.8)
Реактор для анализа проб объемом 5 - 20 см3
Вода дистиллированная по ГОСТ 6709-72
Калий двухромовокислый, х. ч. по ГОСТ 4220-75
Кислота азотная (ρ = 1,37 г/см3), ос. ч. по ГОСТ 11125-84
Кислота серная (ρ = 1,83 г/см3), ос. ч. по ГОСТ 14262-78
Олово двухлористое, дигидрат, ч. д. а. по ГОСТ 36-78
Стандартный раствор ГСОРМ-1 ГСО № 2293-82
Уголь активный
Хрома (VI) оксид, ч. д. а. по ГОСТ 3776-78
Силикагель крупнопористый
Соединительные шланги с
внутренним диаметром 3 - 4 мм
из поливинилхлорида по ТУ 64-286-79
из силиконовой резины по ТУ 38106152-77
из медицинской резины по ГОСТ 5496-78
4. Требования безопасности
См. п. 5.1.3, а также рекомендации по утилизации растворов, содержащих ртуть, изложенные в приложении 1 к методике 5.2.7.2.
5. Требования к квалификации оператора
См. п. 5.1.4.
6. Условия выполнения измерений
См. п. 5.1.14.
7. Подготовка к выполнению измерений
7.1. Перед выполнением измерений должны быть произведены следующие работы: приготовление растворов, подготовка анализатора к выполнению измерений, установление градуировочной характеристики, подготовка сорбционных трубок, отбор проб.
7.2. Приготовление вспомогательных растворов
Все растворы готовят на свежеперегнанной дистиллированной воде.
1) Калий двухромовокислый, 4 %-ный раствор. 4 г двухромовокислого калия растворяют в воде в мерной колбе вместимостью 100 см3 и доводят водой до метки.
2) Раствор разбавления. Отмеряют мерным цилиндром 50 см3 концентрированной азотной кислоты (ρ = 1,37 г/см3), переносят в мензурку вместимостью 1000 см3, добавляют 5 см3 4 %-ного раствора двухромовокислого калия и доводят водой до метки.
3) Серная кислота, 40 %-ный раствор. В термостойком стакане вместимостью 300 см3 к 100 см3 воды осторожно добавляют 60 см3 концентрированной серной кислоты (ρ = 1,83 г/см3), после охлаждения раствор переносят в мерный цилиндр вместимостью 250 см3 и доводят водой до метки 200 см3.
4) Раствор для обработки сорбционных трубок. 15 г хромового ангидрида растворяют в 60 см3: 40 %-ной серной кислоты в мензурке вместимостью 100 см3 и доводят до метки этой же кислотой. Ввиду того, что раствор легко сорбирует пары ртути из воздуха, его хранят в склянке с притертой пробкой.
5) Олово двухлористое, 20 %-ный раствор. В мензурке вместимостью 100 см3 смешивают 20 см3 воды и 50 см3 40 %-ной серной кислоты, затем вносят 23,8 г двухлористого олова. После растворения навески объем раствора доводят водой до метки. Ввиду того, что двухлористое олово легко окисляется кислородом воздуха, раствор готовят ежедневно.
7.3. Приготовление растворов ртути
Для приготовления исходных и рабочих растворов ртути используются стандартные образцы ГСОРМ-1.
1) Приготовление исходного раствора ртути (ρ = 1000 мкг/см3). Вскрывают ампулу с раствором ГСОРМ-1 (массовая концентрация ртути 1 мг/см3). В мерную колбу вместимостью 50 см3 помещают 20 - 30 см3 раствора разбавления и 5 см3 раствора ртути, отобранного из ампулы с помощью пипетки Мора вместимостью 5 см3, тщательно перемешивают и доводят до метки раствором разбавления. Раствор устойчив в течение 3 мес.
2) Приготовление рабочего раствора ртути (ρ = 1,0 мкг/см3). В мерную колбу вместимостью 100 см3 помещают 20 - 30 см3 раствора разбавления и 1,0 см3 исходного раствора ртути (ρ = 100 мкг/см3), тщательно перемешивают и доводят до метки раствором разбавления. Раствор устойчив в течение 3 мес.
3) Приготовление рабочего раствора ртути (ρ = 0,1 мкг/см3). В мерную колбу вместимостью 100 см3 помещают 20 - 30 см3 раствора разбавления и 10 см3 рабочего раствора ртути с массовой концентрацией 1,0 мкг/см3. Тщательно перемешивают и доводят до метки раствором разбавления. Раствор готовят в день измерения.
7.4. Приготовление растворов для установления градуировочной характеристики
В мерные колбы вместимостью 50 см3 вносят 25 - 30 см3 5 %-ного раствора серной кислоты, 1,0 см3 раствора для обработки сорбционных трубок, рабочий раствор ртути и раствор разбавления согласно табл. 5.18, затем доводят до метки 5 %-ным раствором серной кислоты и тщательно перемешивают.
Растворы для установления градуировочной характеристики при определении концентрации ртути
|
1 |
2 |
3 |
4 |
5 |
6 |
|
|
Объем рабочего раствора ртути, см3 |
|
|
|
|
|
|
|
ρ = 0,10 мкг/см3 |
1,00 |
5,00 |
- |
- |
- |
- |
|
ρ = 1,00 мкг/см3 |
- |
- |
1,00 |
2,00 |
5,00 |
10,00 |
|
Раствор разбавления, см3 |
9,00 |
5,00 |
9,00 |
8,00 |
5,00 |
- |
|
Масса ртути в пробе объемом 5 см3, мкг |
0,01 |
0,05 |
0,10 |
0,20 |
0,50 |
1,00 |
Одновременно готовят нулевой раствор. С этой целью в мерную колбу вместимостью 50 см3 вносят 1,0 см3 раствора для обработки сорбционных трубок, 10,0 см3 раствора разбавления и доводят до метки 5 %-ным раствором серной кислоты. Растворы хранению не подлежат, их готовят непосредственно перед использованием.
7.5. Подготовка анализаторов к выполнению измерений
1) Подготовка прибора «Ртуть-101». При выполнении измерений используют реактор для анализа проб объемом от 5 до 20 см3 (см. черт. 5.8), объем анализируемого раствора - 5 см3. Реактор устанавливают в штатив, на нижний патрубок реактора надевают сливной шланг. Вплотную к нижнему патрубку реактора устанавливают на сливной шланг зажим Мора. Нижний конец шланга опускают в сливную склянку вместимостью 3 дм3. Штатив устанавливают с правой стороны прибора.
Для контроля выходного сигнала подключают самописец к клеммам «Запись» на задней панели анализатора, заземляют анализатор и самописец. При помощи электрического разъема отсоединяют фотометр от генератора. Отсоединяют шланг от выходного штуцера кюветы анализатора на задней панели блока фотометра и устанавливают на его место патрон для очистки воздуха с активированным углем. Снимают верхнюю крышку корпуса фотометра, отсоединяют шланг от входного штуцера кюветы анализатора в блоке фотометра. Снимают блок фотометра. Снимают верхнюю крышку корпуса генератора, отвинтив два винта, расположенные на задней панели генератора.
Через патрон с активным углем для очистки поступающего в реактор воздуха с помощью винта из поливинилхлорида соединяют выходной канал одного из компрессоров с входным штуцером реактора, выведя шланг через боковое отверстие генератора. Соединяют с помощью шланга входной патрубок кюветы анализатора через отверстие в правой боковой панели генератора с выходным штуцером реактора, установленного в штатив. Закрывают верхнюю крышку корпуса генератора. Устанавливают на прежнее место фотометр, с помощью электрического разъема соединяют фотометр с генератором. Проверяют правильность подсоединения всех соединительных трубок и герметичность подсоединения их к штуцерам.
Включают генератор в сеть переменного тока напряжением 220 В частотой 50 Гц и прогревают прибор в течение 30 мин. Подключают в газовую схему перед вводным штуцером реактора ротаметр и измеряют расход воздуха в системе. Нужный расход воздуха при анализе (1,0 ± 0,2) дм3/мин может быть установлен с помощью ручек регулировки расхода микрокомпрессора или винтового зажима.
2) Подготовка анализатора «Рт-102». При выполнении измерений используют реактор для анализа проб объемом 5 - 20 см3 (см. черт. 5.8), объем анализируемого раствора - 5 см3. Подготовку прибора к выполнению измерений производят в соответствии с паспортом.
3) Подготовка анализатора MAS-50. При выполнении измерений используют реактор вместимостью 100 см3, входящий в комплект прибора. Подготовку анализатора к выполнению измерений производят в соответствии с инструкцией по эксплуатации прибора.
4) Подготовка анализатора «Юлия-2» производится в соответствии с паспортом. Используют реактор, входящий в комплект прибора. Объем анализируемого или градуировочного раствора - 2 см3. К выходу усилителя (pH-метра) присоединяют самопишущий потенциометр. Погрешность измерений, по экспертным оценкам, не превышает +25 %.
7.6. Установление градуировочной характеристики
Анализатор «Ртуть-101» настраивают на диапазон 0 - 0,20 мкг. 5 см3 раствора для установления градуировочной характеристики с массой ртути в пробе 0,20 мкг вносят с помощью пипетки Мора вместимостью 5,0 см3 во входной патрубок реактора и добавляют 2 см3 раствора двухлористого олова. Устанавливают на программных переключателях время измерения - 2 мин. Нажимают клавишу «Пуск» и регулятор усиления устанавливают в такое положение, чтобы максимальное показание индикатора в процессе измерения составило 1000 ± 50.
Отсоединяют реактор, сливают его содержимое через нижний патрубок, открыв зажим Мора, хорошо промывают его, заполняя с помощью промывалки дистиллированной водой.
Значение коэффициента усиления в выбранном диапазоне проверяют ежедневно с помощью раствора для установления градуировочной характеристики с массой ртути в пробе 0,20 мкг.
При освоении методики, затем регулярно раз в три месяца, а также при переходе на работу с новой партией реактивов или новым реактором следует устанавливать градуировочную характеристику по трем точкам. Для этого проводят измерения пяти серий растворов с массой ртути в пробе 0,01; 0,10 и 0,20 мкг и нулевого раствора.
Градуировочную характеристику анализатора «Рт-102» устанавливают аналогично в соответствии с паспортом прибора в диапазоне 0 - 0,10 мкг и пробе.
Градуировочную характеристику «Рт-102» по трем точкам устанавливают путем измерения пяти серий растворов с массой ртути в пробе 0,01; 0,05; 0,10 мкг и нулевого раствора.
Градуировочную характеристику MAS-50 устанавливают путем измерения пяти серий растворов с содержанием ртути в пробе от 0 до 0,25 мкг и от 0 до 1,0 мкг, выбирая по три концентрации в каждом диапазоне. С этой целью отбирают 5 см3 раствора для установления градуировочной характеристики с выбранным содержанием ртути, переносят в мерную колбу вместимостью 100 см3 и доводят до метки раствором разбавления. Содержимое колбы переносят в реактор и измеряют максимальный сигнал прибора при цикле 120 с.
Градуировочную характеристику строят по разности среднего арифметического значения пяти измерений для каждой точки и среднего арифметического значения измерений нулевой пробы.
7.7. Подготовка сорбционных трубок
Новые сорбционные трубки помещают в высокий стеклянный стакан, заливают его на одну треть раствором хромовой смеси и оставляют на 1 ч. Затем при помощи резиновой груши промывают трубки проточной водой и 2 - 3 раза дистиллированной, после чего сушат в сушильном шкафу при температуре 100 - 120 °С. Затем в стакан наливают раствор для обработки трубок (слой 2 - 3 см3) и погружают в него сорбционные трубки так, чтобы раствор полностью смочил стеклянные гранулы. Операцию отдувки избытка раствора для обработки трубок производят с помощью установки (черт. 5.9), состоящей из электроаспиратора 1, аэрозольного фильтра 2, брызгоотбойника 8, приемника 6, резиновых муфты 3 и шайбы 4, фильтра для очистки воздуха 5, поступающего в сорбционную трубку 7.
Установка для отдувки сорбционных трубок
1 - аспиратор; 2 - аэрозольный фильтр; 3 - резиновая муфта; 4 - резиновая шайба; 5 - фильтр для очистки воздуха; 6 - приемник; 7 - сорбционная трубка; 8 - брызгоотбойник.
1) Аэрозольный фильтр. Колонку диаметром 25 - 35 мм и высотой 140 - 160 мм с дырчатой перегородкой в нижней части заполняют слоем 30 - 50 см3 силикагеля (фракция 2 - 3 мм), промытого водой и высушенного при температуре 150 - 200 °С, поверх слоя силикагеля помещают слой ваты. Фильтр заменяют по мере увлажнения.
2) Приемник. В качестве приемника используют пробирку с отводом типа П4Д. Шайбу изготавливают из эластичной резины толщиной 1 - 2 мм, отверстие в шайбе диаметром 6 - 8 мм должно обеспечивать ее плотную посадку на резиновую муфту, представляющую собой отрезок резинового шланга, подобранный по диаметру обрабатываемых сорбционных трубок. Трубки должны без усилий, но плотно входить в муфту.
3) Фильтр для очистки воздуха. Колонку, аналогичную указанной в перечислении 1, заполняют силикагелем, пропитанным раствором для обработки трубок. Сорбент заменяют ежемесячно. Отработанный силикагель после тщательной промывки и сушки при температуре не выше 60 °С вновь обрабатывают тем же раствором и используют в фильтре.
Отдувку избытка раствора производят следующим образом. Обработанную абсорбирующим раствором трубку присоединяют верхним (т.е. удаленным от слоя сорбента) концом к резиновой муфте, соединенной с фильтром очистки воздуха, опускают в приемник и включают электроаспиратор, заранее отрегулированный на расход воздуха 5 дм3/мин. Через 5 с трубку извлекают из приемника, отсоединяют от муфты, помещают в стакан. После обработки всех сорбционных трубок, отключают электроаспиратор, тщательно обтирают наружную поверхность сорбционных трубок фильтровальной бумагой, закрывают заглушками и упаковывают в полиэтиленовый мешок.
Во избежание загрязнения проб веществами, содержащимися в воздухе лаборатории, все операции по обработке трубок производят по возможности быстро.
7.8. Отбор проб
Для определения разовой концентрации паров ртути исследуемый воздух аспирируют через сорбционную трубку с расходом до 4 дм3/мин в течение 20 мин. Отобранные пробы закрывают заглушками, упаковывают в полиэтиленовый пакет и транспортируют к месту проведения анализа. Срок хранения отобранных проб 30 сут при комнатной температуре.
8. Выполнение измерений
Для измерения нулевой пробы используют сорбционную трубку, обработанную одновременно с трубками, которые применялись для отбора проб. При выполнении измерений на анализаторах «Ртуть-101» и «Рт-102» трубку помещают в стеклянную пробирку вниз сорбентом, заливают внутрь сорбционной трубки 10 см3 5 %-ной серной кислоты и перемешивают содержимое с помощью груши, надетой на конец трубки. Затем 5,0 см3 полученного раствора отбирают пипеткой Мора вместимостью 5,0 см3 и переносят в реактор1. Подсоединяют реактор к анализатору, в течение минуты продувают раствор и устанавливают нуль прибора. После прекращения барботирования вносят пипеткой в реактор 2 см3 20 %-ного раствора двухлористого олова и, установив время продувания 2 мин, проводят измерение. По окончании цикла записывают показания прибора, сливают раствор, промывают реактор.
1 При использовании анализатора «Юлия-2» сорбционную трубку промывают в 5 см3 кислоты, а на анализ берут 2 см3 раствора.
При выполнении измерения на анализаторе MAS-50 сорбционную трубку с нулевой пробой смывают 10 см3 5 %-ной серной кислоты и раствором разбавления через воронку в мерную колбу вместимостью 100 см3, затем доводят до метки раствором разбавления. Содержимое переносят в реактор, подсоединяют его к анализатору и в течение минуты продувают раствор, устанавливая нуль прибора. После чего добавляют 2 см3 20 %-ного раствора двухлористого олова и производят измерение.
Сорбционную трубку с пробой воздуха анализируют аналогично.
Необходимо помнить, что пары ртути легко сорбируются на коммуникациях, в связи с чем соединительные шланги от реактора к кювете должны быть выполнены из поливинилхлоридного пластика и иметь минимальную длину. Диапазон измерения массовой концентрации ртути в атмосферном воздухе может быть значительно расширен путем изменения объема аликвоты раствора, взятой на анализ.
9. Вычисление результата измерений
Методика1 предназначена для определения концентрации паров ртути в атмосферном воздухе населенных пунктов в диапазоне 0,16 - 16,70 мкг/м3 при отборе пробы воздуха объемом 60 дм3.
1 Методика аттестована НПО «ВНИИМ им. Д.И. Менделеева». За исключением разделов, изложенных в пп. 5.1.3, 5.1.4 и 5.1.14, соответствует аттестату № 180.
1. Нормы точности измерений
При определении концентрации паров ртути в атмосферном воздухе в диапазоне 0,16 - 16,70 мкг/м3 установленное значение суммарной погрешности при доверительной вероятности 0,95 не превышает ±20 %.
2. Метод измерения
Метод основан на поглощении паров ртути из воздуха сернокислым раствором марганцевокислого калия, восстановлении ртути до элементарного состояния при взаимодействии с двухлористым оловом и ее атомно-абсорбционном определении.
3. Средства измерений, вспомогательные устройства, реактивы и материалы
3.1. При выполнении измерений должны быть применены следующие средства измерений, вспомогательные устройства, реактивы и материалы.
3.2. Средства измерений, кроме мерной посуды, см. в п. 3.2 методики 5.2.5.5.
Мерная посуда:
Колбы мерные по ГОСТ 1770-74Е
2-1000-2 - 1 шт.
2-100-2 - 3 шт.
2-50-2 - 6 шт.
Цилиндры по ГОСТ 1770-74Е
3-100 - 3 шт.
3-250 - 2 шт.
2-25 - 1 шт.
Мензурки вместимостью 100 см3 - 5 шт. по ГОСТ 1770-74Е
Пипетки по ГОСТ 20292-74Е
1-2-5 - 3 шт.
4-2-1 - 2 шт.
1-2-2 - 1 шт.
2-2-10 - 2 шт.
6-2-10 - 1 шт.
Бюретка 1-2-25-0,1 - 1 шт. по ГОСТ 20292-74Е
3.3. Вспомогательные устройства
Холодильник бытовой любого типа
Поглотительные приборы Рыхтера по ТУ 25-11.1136-75
Пробирки П1-16-120 ХС по ГОСТ 25336-82
Стаканы по ГОСТ 25336-82
В-1-250 - 1 шт.
В-1-100 - 2 шт.
3.4. Реактивы
См. п. 3.4 методики 5.2.5.5, а также:
Гидроксиламин солянокислый, ч. по ГОСТ 5456-79
Калий марганцевокислый, х. ч. по ГОСТ 20490-75
Кислота щавелевая, ч. по ГОСТ 22180-76
3.5. Материалы
4. Требования безопасности
См. п. 5.1.3, а также рекомендации по утилизации растворов, содержащих ртуть, изложенные в методике 5.2.7.2.
5. Требования к квалификации оператора
См. п. 5.1.4.
6. Условия выполнения измерений
См. п. 5.1.14.
7. Подготовка к выполнению измерений
7.1. Перед выполнением измерений должны быть проведены следующие работы: приготовление растворов, подготовка анализатора к выполнению измерений, установление градуировочной характеристики, отбор проб.
7.2. Приготовление растворов
Все растворы готовят в соответствии с перечислением п. 7.2 методики 5.2.5.5, а также:
1) Серная кислота, 10 %-ный раствор. В термостойком стакане вместимостью 300 см3 к 100 см3 воды осторожно приливают при перемешивании 13 см3 концентрированной серной кислоты (ρ = 1,83 г/см3), после охлаждения раствор переносят в мерный цилиндр вместимостью 250 см3 и доводят водой до 200 см3.
2) Калий марганцевокислый, 2 %-ный раствор. 2 г марганцевокислого калия растворяют в 50 см3 воды в мензурке вместимостью 100 см3, доливают водой до метки. Раствор хранят не более недели в темной склянке с притертой пробкой в холодильнике.
3) Поглотительный раствор. В стакане смешивают 50 см3 2 %-ного раствора марганцевокислого калия и 50 см3 10 %-ной серной кислоты. Ввиду того, что поглотительный раствор нестоек и легко сорбирует пары ртути из воздуха, его хранят в темной склянке с притертой пробкой в холодильнике. Срок хранения не более 3 сут.
4) Солянокислый гидроксиламин, 4 %-ный раствор. 4 г солянокислого гидроксиламина растворяют в мензурке вместимостью 100 см3 в воде и доводят водой до метки. Срок хранения раствора 7 сут.
5) Щавелевая кислота, 5 %-ный раствор. В мензурке вместимостью 100 см3 растворяют в воде 5 г щавелевой кислоты и доводят до метки.
7.3. Приготовление растворов ртути
7.4. Приготовление растворов для установления градуировочной характеристики. В мерные колбы вместимостью 50 см3 вносят 25 - 30 см3 поглотительного раствора, раствора ртути и раствора разбавления согласно табл. 5.19, доводят до метки поглотительным раствором и тщательно перемешивают. Растворы хранению не подлежат, их готовят непосредственно перед определением.
Растворы для установления градуировочной характеристики при определении концентрации ртути
|
1 |
2 |
3 |
4 |
5 |
6 |
|
|
Объем рабочего раствора ртути, см3 |
|
|
|
|
|
|
|
ρ = 0,1 мкг/см3 |
1,00 |
5,00 |
- |
- |
- |
- |
|
ρ = 1,0 мкг/см3 |
- |
- |
1,00 |
2,00 |
5,00 |
10,00 |
|
Объем раствора разбавления, см3 |
9,00 |
5,00 |
9,00 |
8,00 |
5,00 |
- |
|
Масса ртути в пробе, мкг |
0,01 |
0,05 |
0,10 |
0,20 |
0,50 |
1,00 |
Одновременно готовят нулевой раствор. С этой целью в мерную колбу вместимостью 50 см3 вносят 10,0 см3 раствора разбавления и доводят до метки поглотительным раствором.
7.5. Подготовка анализатора к выполнению измерений
7.6. Установление градуировочной характеристики
Установление градуировочной характеристики анализатора осуществляют в соответствии с п. 7.6 методики 5.2.5.5, используя растворы для установления градуировочной характеристики (см. п. 7.3 методики 5.2.5.5). 5 см3 раствора для установления градуировочной характеристики помещают в пробирку, добавляют 1,0 см3 4 %-ного раствора солянокислого гидроксиламина. После обесцвечивания раствора отбирают из пробирки с помощью пипетки 5 см3 раствора, помещают в реактор, добавляют 2,0 см3 раствора двухлористого олова, подключают реактор к прибору и измеряют сигнал прибора.
При использовании анализатора MAS-50 обесцвеченный раствор в количестве 5 см3 переносят в мерную колбу вместимостью 100 см3 и доводят до метки раствором разбавления. После этого содержимое колбы переносят в реактор вместимостью 100 см3, добавляют 2 см3 раствора двухлористого олова и измеряют сигнал прибора.
7.7. Отбор проб
Для определения разовой концентрации ртути исследуемый воздух аспирируют с расходом до 3 дм3/мин в течение 20 мин через поглотительный прибор Рыхтера, заполненный 5 см3 поглотительного раствора.
Для определения среднесуточных концентраций ртути исследуемый воздух аспирируют не менее 4 - 8 раз по 20 мин через равные промежутки времени в один и тот же поглотительный прибор с расходом 0,5 дм3/мин.
Поглотительные приборы с отобранными пробами закрывают заглушками, устанавливают в штатив и транспортируют к месту проведения анализа. Срок хранения отобранных проб - пять суток в холодильнике (при температуре 5 °С).
8. Выполнение измерений
Для измерения нулевой пробы используют приготовленные к отбору поглотительные приборы и оставленные в лаборатории. Приливают через входной канал 1,0 см3 4 %-ного раствора гидроксиламина солянокислого, затем закрывают заглушками барботер и осторожно встряхивают до обесцвечивания раствора, смывая пожелтевшие от воздействия раствора марганцевокислого калия стенки поглотительного прибора и следя, чтобы капли раствора не попали во входной канал. После этого снимают заглушки и содержимое поглотительного прибора переносят в пробирку. С помощью пипетки Мора вместимостью 5 см3 отбирают из пробирки 5 см3 раствора пробы, помещают в реактор, добавляют 2 см3 двухлористого олова. Реактор подсоединяют к прибору и измеряют сигнал прибора.
Измерение нулевой пробы проводят три раза и вычисляют среднее ее значение.
Для проведения измерения уровень раствора в барботерах, которые использовались для отбора проб, доводят до метки 5 см3 водой. Во входной канал поглотительного прибора приливают 1,0 см3 4 %-ного раствора солянокислого гидроксиламина и поступают как при измерении нулевой пробы.
Массу ртути находят по разности между показаниями прибора при анализе и средним значением нулевых проб.
Необходимо помнить, что пары ртути легко сорбируются на коммуникациях, в связи с этим соединительные шланги от реактора к кювете должны быть выполнены из поливинилхлорида и иметь минимальную длину.
9. Вычисление результата измерений
Методика предназначена для определения концентрации свинца и его соединений в атмосферном воздухе населенных пунктов в диапазоне 0,00024 - 0,0024 мг/м3 (при отборе пробы воздуха объемом 5,0 м3). Используется для измерения среднесуточных концентраций.
1. Нормы точности измерений
По экспертным оценкам, при определении концентрации свинца и его соединений в атмосферном воздухе в диапазоне 0,00024 - 0,0024 мг/м3 суммарная погрешность не превышает ±25 %.
2. Метод измерения
Метод основан на улавливании неорганических соединений свинца аэрозольными фильтрами и их фотометрическом определении по окрашенному в красный цвет соединению, образующемуся при взаимодействии с сульфарсазеном.
3. Средства измерений, вспомогательные устройства, реактивы и материалы
3.1. При выполнении измерений должны быть применены следующие средства измерений, вспомогательные устройства, реактивы и материалы.
3.2. Средства измерений
Фотоэлектроколориметр или спектрофотометр
Весы аналитические ВЛА-200 по ГОСТ 24104-80Е
Меры массы по ГОСТ 7328-82Е
Термометр лабораторный шкальный
ТЛ-2; пределы 0 - 55 °С; цена деления 1 °С по ГОСТ 215-73Е
Барометр-анероид М-67 по ТУ 2504-1797-75
Электроаспиратор ЭА-2С;
погрешность ±10 %; Госреестр № 5997-77 по ТУ 25-11-1414-78
Колбы мерные по ГОСТ 1770-74Е
2-50-2 - 2 шт.
2-100-2 - 2 шт.
2-500-2 - 1 шт.
2-1000-2 - 2 шт.
Пипетки по ГОСТ 20292-74Е
4-2-1 - 3 шт.
6-2-10 - 3 шт.
Пробирки центрифужные - 10 шт. по ГОСТ 1770-74
Цилиндры по ГОСТ 1770-74
20 - 2 шт.
50 - 2 шт.
100 - 3 шт.
Воронки для фильтрования - 5 шт. по ГОСТ 25336-82
Тигли фарфоровые - 15 шт.
Печь муфельная (tнагр до 1000 °С).
Баня песчаная
3.3. Вспомогательные устройства
Фильтродержатели для фильтров
АФА-ХП-20, изготовитель ВО «Изотоп»
3.4. Материалы
Фильтры АФА-ХП-20 или АФА-ХА-20;
изготовитель ВО «Изотоп»
3.5. Реактивы
Аммоний уксуснокислый, ч. по ГОСТ 3117-78
Вода дистиллированная по ГОСТ 6709-72
Водорода перекись, 30 %-ный водный
раствор, х. ч. по ГОСТ 10929-76
Калий железистосинеродистый, х. ч. по ГОСТ 4207-65
Кислота азотная, х. ч. по ГОСТ 4461-77
Кислота серная (ρ = 1,84 г/см3) х. ч. по ГОСТ 4204-77
Натрий борнокислый, х. ч. по ГОСТ 4199-76
Свинец азотнокислый, х. ч. по ГОСТ 4236-77
Сульфарсазен, ч. д. а. по МРТУ 6-09-2827-66
Тиомочевина, х. ч. по ГОСТ 6344-52
4. Требования безопасности
См. п. 5.1.3.
5. Требования к квалификации оператора
См. п. 5.1.4.
6. Условия выполнения измерений
См. п. 5.1.14.
7. Подготовка к выполнению измерений
7.1. Перед выполнением измерений должны быть проведены следующие работы: приготовление растворов, установление градуировочной характеристики, подготовка фильтров, отбор проб.
1) Аммоний уксуснокислый, 3 %-ный раствор. 3 г аммония уксуснокислого растворяют в мерной колбе вместимостью 100 см3 в дистиллированной воде, объем доводят до метки водой.
2) Калий железистосинеродистый, 1 %-ный раствор. 1 г калия железисто-синеродистого растворяют в мерной колбе вместимостью 100 см3 в дистиллированной воде, объем доводят до метки водой. Используется свежеприготовленный раствор.
3) Кислота азотная, раствор 1:2. К 80 см3 дистиллированной воды осторожно прибавляют 40 см3 концентрированной азотной кислоты.
4) Кислота серная, раствор 1:2. К 80 см3 дистиллированной воды осторожно прибавляют 40 см3 концентрированной серной кислоты.
5) Натрий борнокислый, раствор 0,05 моль/дм3. 9,51 г натрия борнокислого растворяют в дистиллированной воде в мерной колбе вместимостью 500 см3, объем доводят водой до метки.
6) Сульфарсазен, 0,025 %-ный раствор. 0,025 г сульфарсазена растворяют в растворе натрия борнокислого концентрацией 0,05 моль/дм3 и мерной колбе вместимостью 100 см3, объем доводят водой до метки. Срок хранения раствора две недели.
7) Тиомочевина, 10 %-ный раствор. 10 г тиомочевины растворяют в дистиллированной воде в мерной колбе вместимостью 100 см3, объем доводят водой до метки.
8) Исходный раствор свинца для градуировки (ρ = 1 мг/см3). 1,5984 г азотнокислого свинца растворяют в мерной колбе вместимостью 1000 см3, доводят объем до метки дистиллированной водой и тщательно перемешивают. Устойчив в течение месяца.
9) Рабочий раствор свинца для градуировки (ρ = 10 мкг/см3). В мерную колбу вместимостью 1000 см3 помещают 10 см3 исходного раствора свинца (ρ = 1 мг/см3) и доводят до метки 3 %-ным раствором уксуснокислого аммония. Раствор готовят перед использованием.
10) Рабочий раствор свинца (ρ = 1 мкг/см3). В мерную колбу вместимостью 1000 см3 помещают 1 см3 исходного раствора свинца (ρ = 1 мг/см3) и доводят до метки 3 %-ным раствором уксуснокислого аммония. Раствор готовят перед использованием.
11) Смесь разбавленных растворов серной и азотной кислот в отношении 5:1. К 100 см3 раствора (1:2) серной кислоты осторожно прибавляют 20 см3 раствора (1:2) азотной кислоты. Смесь тщательно перемешивают.
7.3. Установление градуировочной характеристики. Градуировочную характеристику, выражающую зависимость оптической плотности раствора от массы свинца в пробе, устанавливают по пяти сериям образцов для градуировки. Каждую серию, состоящую из шести образцов, готовят из свежеприготовленного раствора азотнокислого свинца (см. п. 7.2. перечисление 9).
Образцы для установления градуировочной характеристики при определении концентрации свинца
|
1 |
2 |
3 |
4 |
5 |
6 |
|
|
Объем рабочего раствора, см3 |
|
|
|
|
|
|
|
ρ = 1 мкг/см3 |
1,2 |
- |
- |
- |
- |
- |
|
ρ = 10 мкг/см3 |
- |
0,24 |
0,48 |
0,72 |
0,96 |
1,2 |
|
Масса свинца в 3 см3, мкг |
1,2 |
2,4 |
4,8 |
7,2 |
9,6 |
12,0 |
Для установления градуировочной характеристики чистые фильтры АФА-ХП-20 с обрезанными краями помещают в фарфоровые тигли и наносят рабочий раствор для градуировки в соответствии с табл. 5.20. Прибавляют 2 см3 смеси кислот (см. п. 7.2., перечисление 11) и 0,25 см3 30 %-ной перекиси водорода, дают постоять до полного смачивания фильтра и нагревают на песчаной бане до образования твердого остатка. Тигли с образцами помещают в муфельную печь, постепенно поднимают температуру печи до 450 - 500 °С и озоляют. После остывания в тигли с образцами добавляют 3 см3 3 %-ного раствора уксуснокислого аммония, тщательно растирают осадок стеклянной палочкой. Раствор переносят в центрифужные пробирки и центрифугируют. К 2,5 см3 прозрачного раствора добавляют по 0,2 см3 10 %-ного раствора тиомочевины (для связывания ионов меди), по 0,1 см3 1 %-ного раствора калия железистосинеродистого (для связывания ионов цинка), по 2 см3 раствора натрия борнокислого концентрацией 0,05 моль/дм3 (в качестве буферного раствора), по 0,5 см3 0,025 %-ного раствора сульфарсазена. После добавления каждого реактива содержимое пробирок перемешивают. Аналогично анализируют нулевую пробу - чистый фильтр с обрезанными краями. Через 30 мин измеряют оптическую плотность растворов при 510 нм по отношению к воде в кюветах с расстоянием между рабочими гранями 10 мм.
7.4. Отбор проб
Для определения разовой концентрации соединений свинца исследуемый воздух аспирируют через фильтр АФА-ХП-40 с расходом 130 дм3/мин или через фильтр из ткани ФПП площадью 36 см2 с расходом 100 дм3/мин в течение 30 мин. Для определения среднесуточных концентраций отбирают на один фильтр 4 - 8 разовых проб за 24 ч. Срок хранения проб в герметичной упаковке неограничен.
8. Выполнение измерений
Фильтр с отобранной пробой и нулевые пробы после обрезания опрессованного края помещают в фарфоровый тигль и анализируют так же, как в п. 7.3.
Массу свинца в пробе определяют с помощью градуировочной характеристики по разности оптической плотности растворов пробы и средней оптической плотности трех нулевых проб.
9. Вычисление результата измерений
См. п. 5.1.16, формулы (1), (6).
Поправочный коэффициент Kэ при вычислении массовой концентрации свинца по формуле (6) в воздухе составляет 1,2.
Методика предназначена для определения концентрации селена в атмосферном воздухе населенных пунктов в диапазоне 0,00025 - 0,00100 мг/м3 при отборе пробы воздуха объемом 2 м3. Определению не мешают теллур, медь, железо и мышьяк. Используется для определения разовых и среднесуточных концентраций.
1. Нормы точности измерений
По экспертным оценкам, при определении концентрации селена в атмосферном воздухе в диапазоне 0,00025 - 0,00100 мг/м3 суммарная погрешность не превышает ±25 %.
2. Метод измерения
Метод основан на улавливании селена на аэрозольный фильтр, переведении селена смесью соляной и азотной кислот в растворимую форму, которая при взаимодействии с 3,3-диаминобензидином образует соединение желтого цвета, экстрагируемое толуолом.
Массу селена определяют фотометрически по интенсивности окраски экстракта.
3. Средства измерений, вспомогательные устройства, реактивы и материалы
3.1. При выполнении измерений должны быть применены следующие средства измерений, вспомогательные устройства, реактивы, материалы.
3.2. Средства измерений
Спектрофотометр СФ-46 или фотоэлектроколориметр
Весы аналитические ВЛА-200 по ГОСТ 24104-80Е
Меры массы по ГОСТ 7328-82Е
Термометр лабораторный шкальный ТЛ-2;
пределы 0 - 55 °С; цена деления 1 °С по ГОСТ 215-73Е
Барометр-анероид М-67 по ТУ 2504-1797-75
Электроаспиратор ЭА-1;
погрешность ±10 %; Госреестр № 5997-77 по ТУ 25-11-1414-78
Колбы мерные по ГОСТ 1770-74Е
2-50-2 - 1 шт.
2-100-2 - 3 шт.
2-1000-2 - 1 шт.
Пипетки по ГОСТ 20292-74Е
4-2-1 - 5 шт.
2-1-5 - 5 шт.
6-2-10 - 2 шт.
4-2-2 - 5 шт.
3.3. Вспомогательные устройства
Фильтродержатель
Бумажные фильтры «синяя лента» по ТУ 6-09-1678-77
Стаканы химические стеклянные вместимостью 20 - 30 см3
Делительные воронки вместимостью 50 см3
Плитка электрическая бытовая
Баня водяная
3.4. Материалы
Фильтры АФА-ХП-40 изготовитель ВО «Изотоп»
Трубка резиновая полувакуумная, тип 1 по ГОСТ 5496-57
3.5. Реактивы
Аммиак водный, ч. д. а. по ГОСТ 3760-79
Вода дистиллированная по ГОСТ 6709-72
Гидроксид натрия, х. ч. по ГОСТ 4328-77
3,3-диаминобензидин, ч. по МРТУ 6-09-3655-67
Кислота азотная (ρ = 1,38 г/см3), х. ч. по ГОСТ 4461-77
Кислота муравьиная, ч. д. а. по ГОСТ 5848-73
Кислота соляная (ρ = 1,185 г/см3), х. ч. по ГОСТ 3118-77
Крезоловый красный, индикатор, х. ч. по ГОСТ 5849-74
Селен (порошок), ос. ч. по ТУ 6-09-2521-77
Толуол, ч. д. а. по ГОСТ 5789-78
Этилендиамин-N, N, N', N"-тетрауксусной
кислоты динатриевая соль (трилон Б), ч. д. а. по ТУ 6-09-1956-77
4. Требования безопасности
См. п. 5.1.3.
Все работы с использованием селена, толуола следует проводить под тягой.
5. Требования к квалификации оператора
См. п. 5.1.4.
6. Условия выполнения измерений
См. п. 5.1.14.
7. Подготовка к выполнению измерений
7.1. Перед выполнением измерений должны быть произведены следующие работы: приготовление растворов, установление градуировочной характеристики, подготовка фильтров, отбор пробы воздуха.
1) Аммиак, раствор 1:1. К 10 см3 аммиака добавляют 10 см3 воды.
2) 3,3-диаминобензидин, 0,5 %-ный раствор. 0,5 г 3,3-диаминобензидина растворяют в воде. Объем доводят до 100 см3. Готовят перед употреблением.
3) Гидроксид натрия, 1 %-ный раствор. 1 г гидроксида натрия растворяют в воде. Объем доводят до 100 см3.
4) Муравьиная кислота, раствор 1:9. Смешивают 1 объем кислоты с 9 объемами воды.
5) Крезоловый красный, 0,1 %-ный раствор. 0,1 г индикатора растворяют в 20 см3 1 %-ного раствора гидроксида натрия. Объем доводят до 100 см3.
6) Смесь концентрированных кислот соляной и азотной в соотношении 1:1. Кислоты смешивают в равных объемах.
7) Трилон Б, 2,5 %-ный раствор. 2,5 г трилона Б растворяют в воде и доводят объем до 100 см3.
8) Исходный раствор для градуировки (ρ = 100 мкг/см3). 100 мг селена растворяют в 10 см3 соляной кислоты, содержащей несколько капель азотной кислоты. Раствор переносят в мерную колбу вместимостью 1000 см3 и доводят водой до метки.
9) Рабочий раствор для градуировки (ρ = 1 мкг/см3) готовят 100-кратным разбавлением водой исходного раствора непосредственно перед использованием.
7.3. Установление градуировочной характеристики
Градуировочную характеристику, выражающую зависимость оптической плотности раствора от массы селена, устанавливают по пяти сериям растворов для градуировки. Каждую серию, состоящую из семи растворов, готовят из свежеприготовленного рабочего раствора селена. Для этого рабочий раствор селена наносят на фильтры АФА-XП-18 (с обрезанными краями), помещенные в семь химических стаканов в количествах, указанных в табл. 5.21. Одновременно в каждой серии готовят нулевую пробу, в качестве которой используют чистый фильтр (без рабочего раствора).
Растворы для установления градуировочной характеристики при определении концентрации селена
|
1 |
2 |
3 |
4 |
5 |
6 |
7 |
|
|
Объем рабочего раствора (ρ = 1 мкг/см3), см3 |
0,5 |
0,7 |
1,0 |
1,2 |
1,5 |
1,7 |
2,0 |
|
Масса селена в пробе, мкг |
0,5 |
0,7 |
1,0 |
1,2 |
1,5 |
1,7 |
2,0 |
Фильтры в стаканах заливают 10 см3 смеси концентрированных соляной и азотной кислот и нагревают на кипящей водяной бане в течение 15 мин, избегая бурной реакции, которая может привести к улетучиванию селена. Затем раствор упаривают почти досуха, к сухому осадку добавляют 10 - 15 см3 горячей воды и содержимое нагревают до получения прозрачного раствора. В стаканы с прозрачным раствором добавляют по 2 - 3 капли крезолового красного, по 1 см3 раствора трилона-Б, по 2 см3 муравьиной кислоты. Тщательно все перемешивают после добавления каждого реактива, а затем нейтрализуют аммиаком до желтой окраски (pH 2,0 - 3,0). К охлажденным растворам прибавляют по 2 см3 0,5 %-ного раствора 3,3-диаминобензидина и оставляют на 30 мин в темном месте. По истечении этого времени растворы вновь нейтрализуют аммиаком до появления фиолетовой окраски (pH 7,0 - 8,0) и переносят в делительные воронки. В каждую воронку добавляют по 5 см3 толуола и встряхивают в течение 1 мин. После разделения слоев каждый экстракт сливают через ватный тампон или бумажный фильтр в кювету с расстоянием между рабочими гранями 10 мм и определяют оптическую плотность окрашенного толуола относительно воды при длине волны 420 нм.
7.4. Отбор проб
Для определения разовой концентрации селена исследуемый воздух аспирируют через фильтр площадью 36 см2 со скоростью до 100 дм3/мин в течение 20 мин.
Для определения среднесуточных концентраций отбирают на один фильтр 4 - 8 разовых проб за 24 ч. Срок хранения проб в герметичной упаковке неограничен.
8. Выполнение измерений
Фильтр с пробой осторожно вынимают из пакета, обрезают края, избегая потерь пробы, помещают в химический стакан, заливают 10 см3 смеси концентрированных соляной и азотной кислот, нагревают, не допуская бурной реакции, затем упаривают почти досуха, добавляют 10 - 15 см3 горячей воды и т.д., как указано в п. 7.3. Аналогично анализируют три нулевые пробы, в качестве которых используют чистые фильтры с обрезанными краями.
Измеряют оптическую плотность окрашенного толуола относительно воды при длине волны 420 нм в кювете с расстоянием между рабочими гранями 10 мм.
Массу селена в пробе определяют с помощью установленной градуировочной характеристики по разности оптической плотности растворов пробы и средней оптической плотности нулевых проб.
9. Вычисление результата измерений
Методика предназначена для определения концентрации теллура в атмосферном воздухе населенных пунктов в диапазоне 15×10-4 - 1×10-3 мг/м3 (при отборе пробы воздуха объемом 2 м3). Используется для измерения разовых и среднесуточных концентраций.
Определению мешают сильные восстановители, переводящие теллур в неактивное соединение, и сильные окислители, увеличивающие оптическую плотность исследуемого раствора. Определению не мешают железо, цинк, свинец, висмут, сурьма, селен и хром в количествах, не превышающих содержание теллура; медь - в двухкратном количестве.
1. Нормы точности измерений
По экспертным оценкам, при определении концентрации теллура в атмосферном воздухе в диапазоне 15×10-4 - 1×10-3 мг/м3 наибольшее значение суммарной погрешности не превышает ±25 %.
2. Метод измерения
Метод основан на улавливании теллура из воздуха фильтром, его взаимодействии с бутилродамином С, образовании окрашенного соединения и экстракции его бензолом. Массу теллура определяют фотометрически по интенсивности окраски бензольного экстракта.
3. Средства измерений, вспомогательные устройства, реактивы и материалы
3.1. При выполнении измерений должны быть применены следующие средства измерений, вспомогательные устройства, реактивы, материалы.
3.2. Средства измерений
Фотоэлектроколориметр
Весы аналитические ВЛА-200 по ГОСТ 24104-80Е
Меры массы по ГОСТ 7328-82Е
Термометр лабораторный шкальный
ТЛ-2; пределы 0 - 55 °С; цена деления 1 °С по ГОСТ 215-73Е
Барометр-анероид М-67 по ТУ 2504-1797-75Е
Электроаспиратор ЭА-1; погрешность
± 10 %; Госреестр № 5997-77 по ТУ 25-11-1414-78
Колбы мерные по ГОСТ 1770-74Е
2-50-2 - 7 шт.
2-100-2 - 5 шт.
2-1000-2 - 1 шт.
Пипетки по ГОСТ 20292-74Е
4-2-1 - 5 шт.
2-1-5 - 5 шт.
6-2-10 - 3 шт.
4-2-2 - 2 шт.
6-2-25 - 1 шт.
3.3. Вспомогательные устройства
Фильтродержатели для фильтров АФА-ХП-18,
изготовитель ВО «Изотоп»
Делительные воронки вместимостью 50 см3
Химические стаканы вместимостью 50 см3 по ГОСТ 23932-79Е
Водяная баня
Песчаная баня
Электроплитка
3.4. Материалы
Фильтры АФА-XП-18 или фильтр из ткани
ФПП площадью 36 см2
Трубка резиновая полувакуумная, тип 1 по ГОСТ 5496-57
Фильтры «синяя лента» по ТУ 6-09-1678-77
3.5. Реактивы
Ацетон, х. ч. по ТУ 6-09-1707-77
Бензол, х. ч. по ГОСТ 5955-75
Бутилродамин С (бутиловый эфир
родамина С), ч. д. а. по ТУ 6-09-05-304-76
Вода дистиллированная по ГОСТ 6709-72
Водорода перекись, 30 %-ный раствор, х. ч. по ГОСТ 10929-76
Ксилол, х. ч. по ТУ 6-09-3825-78
Кислота азотная (ρ = 1,4 г/см3), х. ч. по ГОСТ 4461-77
Кислота аскорбиновая по ГОСТ 4815-75
Кислота серная (ρ = 1,84 г/см3), х. ч. по ГОСТ 4207-77
Кислота соляная (ρ = 1,19 г/см3), х. ч. по ГОСТ 3118-77
Натрия бромид, х. ч. по ГОСТ 4169-76
Трибутилфосфат, ч.
Теллур металлический, х. ч.
4. Требования безопасности
См. п. 5.1.3.
Все работы с использованием толуола, ксилола необходимо проводить в вытяжном шкафу.
5. Требования к квалификации оператора
См. п. 5.1.4.
6. Условия выполнения измерений
См. п. 5.1.14.
7. Подготовка к выполнению измерений
7.1. Перед выполнением измерений должны быть проведены следующие работы: приготовление растворов, установление градуировочной характеристики, подготовка фильтров к работе, отбор проб воздуха.
7.2. Приготовление растворов
1) Бутилродамин С, 0,1 %-ный раствор. 0,1 г реактива растворяют в воде. Объем доводят до 100 см3.
2) Кислота аскорбиновая, 2 %-ный раствор. 2 г кислоты растворяют в воде. Объем доводят до 100 см3. Готовят перед анализом.
3) Кислота серная, раствор 1:1. К 1 объему воды осторожно, при постоянном помешивании, добавляют такой же объем кислоты, не допуская сильного разогревания и разбрызгивания.
4) Кислота соляная, раствор 5 моль/дм3. Разбавляют 40,8 см3 концентрированной кислоты водой до 100 см3.
5) Кислота соляная, раствор 0,1 моль/дм3. Разбавляют раствор 5 моль/дм3.
6) Натрия бромид, 20,6 %-ный раствор. 20,6 г реактива растворяют в воде. Объем доводят до 100 см3.
7) Смесь концентрированных кислот серной и азотной в отношении 1,5:1. Смешивают осторожно кислоты в указанных объемах.
8) Трибутилфосфат, 30 %-ный раствор в ксилоле, по объему.
9) Исходный раствор теллура (ρ = 1 мг/см3). 100 мг теллура растворяют в 5 см3 смеси концентрированных кислот (серной и азотной) в мерной колбе вместимостью 100 см3 и доводят объем до метки водой.
10) Промежуточный раствор теллура (ρ = 100 мкг/см3). 10 см3 исходного раствора доводят в мерной колбе вместимостью 100 см3 до метки разбавленной серной кислотой (1:1).
11) Рабочий раствор теллура (ρ = 1 мкг/см3). 1 см3 промежуточного раствора доводят в мерной колбе вместимостью 100 см3 до метки серной кислотой (1:1).
7.3. Установление градуировочной характеристики
Градуировочную характеристику, выражающую зависимость оптической плотности раствора от массы теллура, устанавливают по пяти сериям растворов для градуировки. Каждая серия состоит из пяти растворов. Для их приготовления в каждый из пяти химических стаканов помещают неиспользованный чистый фильтр АФА-XП-18 с обрезанными краями. На фильтр наносят пипеткой рабочий раствор в соответствии с табл. 5.22. Одновременно в каждой серии готовят нулевую пробу, в качестве которой используют чистый фильтр (без рабочего раствора).
Растворы для установления градуировочной характеристики при определении концентрации теллура
|
1 |
2 |
3 |
4 |
5 |
|
|
Объем рабочего раствора (ρ = 1 мкг/см3), см3 |
0,3 |
0,5 |
1,0 |
1,5 |
2,0 |
|
Масса теллура в пробе, мкг |
0,3 |
0,5 |
1,0 |
1,5 |
2,0 |
Фильтры в каждом стакане заливают 5 см3 смеси концентрированных серной и азотной кислот. Стаканы помещают на песчаную баню и слегка нагревают до растворения теллура и минерализации ткани фильтра. При потемнении смеси в стакан добавляют (после охлаждения) по каплям 30 %-ный раствор перекиси водорода и снова нагревают, добиваясь полного осветления реакционной массы. Нагревание проводят под тягой. После полного растворения фильтра содержимое каждого стакана упаривают до появления паров SO2 (не доводя до полного высушивания). Влажный остаток в каждом стакане обрабатывают 5 см3 раствора соляной кислоты концентрацией 5 моль/дм3. Затем содержимое из каждого стакана переносят в делительные воронки, приливают в каждую воронку по 5 см3 раствора трибутилфосфата в ксилоле и встряхивают в течение 2 мин. После разделения слоев водный слой сливают, а к органическому прибавляют по 5 см3 раствора соляной кислоты концентрацией 0,1 моль/дм3 и реэкстрагируют теллур в течение 2 мин. Полученные реэкстракты теллура в соляной кислоте переносят в те же химические стаканы, в которых растворяли теллур, и осторожно упаривают на водяной бане почти досуха. К влажным остаткам прибавляют по 5,5 см3 раствора серной кислоты (1:1), по 0,5 см3 2 %-ного раствора бромида натрия, по 1 см3 0,1 %-ного раствора бутилродамина С и по 2 см3 аскорбиновой кислоты.
Полученные в химических стаканах смеси охлаждают до 10 - 12 °С и добавляют 1,0 см3 ацетона. Смеси из стаканов переносят в делительные воронки, прибавляют по 5 см3 бензола и проводят экстракцию в течение 1 мин. После разделения слоев нижний удаляют. Бензольные экстракты переносят последовательно в кюветы с расстоянием между рабочими гранями 10 мм и измеряют оптическую плотность растворов относительно воды при длине волны 560 нм. Градуировочную характеристику устанавливают по разности оптических плотностей растворов для градуировки и нулевого раствора.
7.4. Отбор проб
Для определения разовой концентрации теллура исследуемый воздух аспирируют через фильтр АФА-XП-18 с расходом около 50 дм3/мин или через фильтр из ткани ФПП площадью 36 см2 с расходом 100 дм3/мин в течение 20 мин. Для определения среднесуточных концентраций отбирают на один фильтр 4 - 8 разовых проб за 24 ч. Срок хранения проб в герметичной упаковке не ограничен.
8. Выполнение измерений
Фильтр с пробой извлекают из пакета, обрезают края, помещают в химический стакан вместимостью 50 см3 и заливают 5 см3 смеси концентрированных серной и азотной кислот. Далее поступают с пробой, как описано в п. 7.3: стакан помещают на песчаную баню, слегка нагревают до растворения теллура и т.д.
Одновременно анализируют три нулевые пробы, как описано в п. 7.3.
Массу теллура в пробе определяют с помощью установленной градуировочной характеристики по разности оптических плотностей растворов проб и средней оптической плотности нулевых проб.
9. Вычисление результата измерений
Методика предназначена для определения концентрации хрома (VI) в атмосферном воздухе населенных пунктов в диапазоне 0,0004 - 0,0015 мг/м3 при отборе пробы воздуха объемом 2 м3. Используется для измерения разовых и среднесуточных концентраций.
Определению мешают молибден, железо и ванадий в количествах, превышающих 1 мг в пробе.
1. Нормы точности измерений
По экспертным оценкам, при определении концентрации хрома в атмосферном воздухе в диапазоне 0,0004 - 0,0015 мг/м3 суммарная погрешность не превышает ±25 %.
2. Метод измерения
Метод основан на улавливании соединений хрома (VI) аэрозольными фильтрами и фотометрическом определении его массы и экстракте при взаимодействии с дифенилкарбазидом в кислой среде с образованием соединения красно-фиолетового цвета.
3. Средства измерений, вспомогательные устройства, реактивы и материалы
3.1. При выполнении измерений должны быть применены следующие средства измерений, вспомогательные устройства, реактивы и материалы.
3.2. Средства измерений
Фотоэлектроколориметр
Весы аналитические ВЛА-200 по ГОСТ 2404-80Е
Меры массы по ГОСТ 7328-82Е
Термометр лабораторный шкальный
ТЛ-2; пределы 0 - 55 °С; цена деления 1 °С по ГОСТ 215-73Е
Барометр-анероид М-67 по ТУ 2504-1797-75
Электроаспиратор ЭА-1;
погрешность ±10 %; Госреестр № 5997-77 по ТУ 25-11-1414-78
Колбы мерные по ГОСТ 1770-74Е
2-100-2 - 3 шт.
2-1000-2 - 3 шт.
Пробирки - 10 шт. по ГОСТ 1770-74Е
Стаканы В-1-50 - 10 шт. по ГОСТ 25336-82
Пипетки по ГОСТ 20292-74
4-2-2 - 2 шт.
4-2-5 - 2 шт.
3.3. Вспомогательные устройства
Фильтродержатели для фильтров АФА-XП-18; изготовитель ВО «Изотоп»
3.4. Материалы
Фильтры АФА-XП-18; изготовитель ВО «Изотоп»
3.5. Реактивы
Дифенилкарбазид, ч. д. а. по ГОСТ 5859-70
Калий двухромовокислый, х. ч. по ГОСТ 4220-75
Кислота соляная (ρ = 1,19 г/см3), х. ч. по ГОСТ 3118-77
Спирт этиловый, ректификат по ТУ 6-09-1710-77
4. Требования безопасности
См. п. 5.1.3.
5. Требования к квалификации оператора
См. п. 5.1.4.
6. Условия выполнения измерений
См. п. 5.1.14.
7. Подготовка к выполнению измерений
7.1. Перед выполнением измерений должны быть произведены следующие работы: приготовление растворов, установление градуировочной характеристики, подготовка фильтров, отбор пробы воздуха.
7.2. Приготовление растворов
1) Исходный раствор двухромовокислого калия, соответствующий раствору с массовой концентрацией оксида хрома (VI) 100 мкг/см3. 0,1471 г двухромовокислого калия, дважды перекристаллизованного и высушенного до постоянной массы при температуре 130 - 150 °С, помещают в мерную колбу вместимостью 1000 см3, доводят объем до метки дистиллированной водой и тщательно перемешивают.
2) Рабочий раствор для градуировки, соответствующий раствору с массовой концентрацией оксида хрома (VI) 10 мкг/см3. 10 см3 исходного раствора (см. перечисление 1) разбавляют водой до 100 см3 в мерной колбе.
3) Дифенилкарбазид, 0,5 %-ный раствор. В мерную колбу вместимостью 100 см3 вносят 80 см3 этилового спирта, 1 см3 концентрированной кислоты (ρ = 1,19 г/см3) и тщательно перемешивают. Затем вносят 0,5 г дифенилкарбазида и после его растворения доводят до метки этиловым спиртом. Раствор хранят в склянке из темного стекла. Раствор розовато-коричневого цвета к работе непригоден.
7.3. Установление градуировочной характеристики
Градуировочную характеристику, выражающую зависимость оптической плотности раствора от массы оксида хрома (VI) в пробе устанавливают по пяти сериям растворов для градуировки. Каждую серию, состоящую из шести растворов, готовят из свежеприготовленного раствора двухромовокислого калия. В мерные колбы вместимостью 50 см3 наливают 25 - 30 см3 дистиллированной воды, рабочий раствор (ρ = 10 мкг/см3) в соответствии с табл. 5.23 и доводят водой до метки.
Растворы для установления градуировочной характеристики при определении концентрации хрома (VI)
|
1 |
2 |
3 |
4 |
5 |
6 |
|
|
Объем рабочего раствора (ρ = 10 мкг/см3), см3 |
0,08 |
0,12 |
0,16 |
0,2 |
0,24 |
0,3 |
|
Масса теллура в пробе, мкг |
0,8 |
1,2 |
1,6 |
2,0 |
2,4 |
3,0 |
Для установления градуировочной характеристики на чистые фильтры АФА-XП-18 с обрезанными краями, помещенные в стаканчики, наносят по 6 см3 раствора для градуировки, фильтр отжимают при помощи стеклянной палочки, отбирают 5 см3 пробы, переносят в пробирку и приливают 0,5 см3 раствора дифенилкарбазида.
Содержимое пробирок тщательно встряхивают и через 10 мин измеряют оптическую плотность растворов при 540 нм по отношению к воде в кюветах с расстоянием между рабочими гранями 10 мм. Одновременно готовят нулевой раствор. Для чего чистый фильтр с обрезанными краями обрабатывают аналогично пробам.
7.4. Отбор проб
Для определения разовой концентрации хрома (VI) исследуемый воздух аспирируют с расходом 50 дм3/мин в течение 20 мин через фильтр АФА-XП-18 или через фильтр из ткани ФПП площадью 36 см2 с расходом 100 дм3/мин. Для определения среднесуточных концентраций отбирают 4 - 8 разовых проб за 24 ч. Срок хранения отобранных проб в герметичной упаковке неограничен.
8. Выполнение измерений
Фильтр извлекают из пакета, обрезают края, помещают в стакан вместимостью 50 см3 и заливают 3 см3 горячей воды. Через 10 - 15 мин фильтр отжимают при помощи стеклянной палочки и экстракт переносят в пробирку. Затем фильтр заливают 3 см3 холодной воды, перемешивают и вновь отжимают в ту же пробирку. Отбирают 5 см3 пробы в другую пробирку и приливают 0,5 см3 раствора дифенилкарбазида. Содержимое пробирки тщательно перемешивают и через 10 мин измеряют оптическую плотность растворов по отношению к воде при 540 нм в кюветах с расстоянием между рабочими гранями 10 мм. Одновременно готовят нулевой раствор, для чего чистый фильтр с обрезанными краями обрабатывают аналогично пробам.
Массу оксида хрома (VI) в пробе определяют с помощью установленной градуировочной характеристики по разности оптических плотностей растворов пробы и нулевого.
9. Вычисление результата измерений
Методика предназначена для определения концентрации цинка в атмосферном воздухе населенных пунктов в диапазоне 0,00025 - 0,005 мг/м3 при объеме пробы 2,0 м3. Используется для определения разовых и среднесуточных концентраций.
Определению не мешают железо (III), ванадий (IV), молибден, алюминий и литий в количествах до 1 мг в пробе.
Влияние меди, свинца, никеля, кобальта и марганца устраняется в процессе анализа.
1. Нормы точности измерений
По экспертным оценкам, при определении концентрации цинка в атмосферном воздухе в диапазоне 0,00025 - 0,005 мг/м3 суммарная погрешность не превышает ±25 %.
2. Метод измерения
Метод основан на улавливании цинка на аэрозольные фильтры и фотометрическом определении его массы по окрашенному в оранжево-красный цвет комплексному соединению, образующемуся при взаимодействии иона цинка с сульфарсазеном в среде винной, лимонной кислот и аммиака.
3. Средства измерений, вспомогательные устройства, реактивы и материалы
3.1. При выполнении измерений должны быть применены следующие средства измерений, вспомогательные устройства, реактивы и материалы.
3.2. Средства измерений
Фотоэлектроколориметр или спектрофотометр
Весы аналитические ВЛА-200 по ГОСТ 24104-80Е
Меры массы по ГОСТ 7328-82Е
Термометр лабораторный шкальный
ТЛ-2; пределы 0 - 55 °С; цена деления 1 °С по ГОСТ 215-73Е
Барометр-анероид М-67 по ТУ 2504-1797-75
Электроаспиратор ЭА-1;
погрешность ±10 %; Госреестр № 5997-77 по ТУ 25-11-1414-78
Колбы мерные по ГОСТ 1770-74Е
2-50-2 - 7 шт.
2-100-2 - 5 шт.
2-1000-2 - 1 шт.
2-250-2 - 1 шт.
Пипетки по ГОСТ 20292-74Е
4-2-1 - 5 шт.
2-1-5 - 5 шт.
6-2-10 - 3 шт.
4-2-2 - 2 шт.
3.3. Вспомогательные устройства
Фильтродержатели для фильтров
АФА-XП-18, изготовитель ВО «Изотоп»
Баня водяная
Стаканы стеклянные термостойкие,
В-1-250 ТС по ГОСТ 25336-82
Чашки выпарительные ЧКЦ1-1000 по ГОСТ 10973-75
Тигли фарфоровые
Воронки для фильтрования, стеклянные В-25-50 ХС по ГОСТ 25336-82
3.4. Материалы
Фильтры АФА-XП-18, изготовитель ВО
«Изотоп», или из ткани ФПП
Трубка резиновая полувакуумная, тип 1 по ГОСТ 5496-57
Фильтры «синяя лента» диаметром 4 см3
Палочки стеклянные
3.5. Реактивы
Аммиак водный, ч. д. а. по ГОСТ 3760-79
Вода дистиллированная по ГОСТ 6709-72
Диэтилдитиокарбамат натрия, ч. д. а. по ГОСТ 8864-71
Меди сульфат, ч. д. а. по ГОСТ 4165-68
Кислота винная, ч. д. а. по ГОСТ 5817-77
Кислота лимонная, х. ч. по ГОСТ 3652-69
Кислота серная, стандарт-титр,
0,05 моль/дм3 (0,1 н.) по ТУ 6-09-2504-72
Кислота соляная (ρ = 1,19 г/см3), х. ч. по ГОСТ 3118-77
Натрия гидроксид, х. ч. по ГОСТ 4328-77
Сульфарсазен, ч. д. а. по ТУ 6-09-4681-78
Цинк металлический, х. ч. по ГОСТ 989-75
4. Требования безопасности
См. п. 5.1.3.
Все работы, связанные с выпариванием кислот, а также с разбавлением и использованием аммиака необходимо проводить под тягой.
5. Требования к квалификации оператора
См. п. 5.1.4.
6. Условия выполнения измерений
См. п. 5.1.14.
7. Подготовка к выполнению измерений
7.1. Перед выполнением измерений должны быть проведены следующие работы: приготовление растворов, установление градуировочной характеристики, отбор проб воздуха.
7.2. Приготовление растворов
1) Аммиак водный, 5 %-ный раствор. Готовят соответствующим разбавлением 25 %-ного раствора. Концентрацию полученного раствора уточняют титрованием раствора серной кислоты концентрацией 0,05 моль/дм3 (0,1 н.) в присутствии метилового оранжевого. 1 см3 раствора серной кислоты концентрацией 0,05 моль/дм3 (0,1 н.) соответствует 0,001703 г аммиака. Учитывая результаты титрования, проводят корректировку концентрации раствора.
2) Диэтилдитиокарбамат натрия, 1 %-ный раствор. 0,5 г реактива растворяют в воде, объем доводят до 50 см3.
3) Кислота винная, 10 %-ный раствор. 5 г кислоты растворяют в воде. Объем доводят до 50 см3.
4) Кислота лимонная, 10 %-ный раствор. 5 г кислоты растворяют в воде. Объем доводят до 50 см3.
5) Кислота серная, раствор 0,05 моль/дм3 (0,1 н.) раствор. Готовят из фиксанала.
6) Кислота соляная 1:1.
7) Меди сульфат. 0,393 г свежеперекристаллизованного и высушенного на воздухе сульфата меди растворяют в воде в мерной колбе вместимостью 100 см3. Массовая концентрация меди в растворе соответствует 1 мг/м3.
8) Натрия гидроксид, 5 %-ный раствор. 5 г растворяют в воде. После охлаждения объем доводят до 100 см3.
9) Сульфарсазен, 0,02 %-ный раствор. 0,01 г растворяют в воде и доводят объем до 50 см3. Готовят перед анализом.
10) Исходный раствор для градуировки (ρ = 1000 мкг/см3). 250 мг металлического, цинка растворяют в мерной колбе, вместимостью 250 см3 в разбавленной (1:1) соляной кислоте.
11) Промежуточный раствор для градуировки (ρ = 100 мкг/см3). 10 см3 исходного раствора вносят в мерную колбу, вместимостью 100 см3, нейтрализуют 5 %-ным раствором гидрооксида натрия по индикаторной бумажке и доводят объем до метки водой.
12) Рабочий раствор для градуировки (ρ = 10 мкг/см3). Готовят соответствующим разбавлением водой промежуточного раствора (см. перечисление 11).
7.3. Установление градуировочной характеристики
Градуировочную характеристику, выражающую зависимость оптической плотности раствора от массы цинка, устанавливают по пяти сериям растворов для градуировки. Для этого шесть чистых, не использованных для отбора проб фильтров с обрезанными краями помещают в шесть тиглей. На каждый фильтр наносят рабочий раствор согласно табл. 5.24. Одновременно в каждой серии готовят нулевую пробу. В качестве нулевой пробы используют чистый фильтр, на который рабочий раствор не наносится.
Каждый фильтр в тигле «промывают» горячей разбавленной соляной кислотой (1:1) несколько раз порциями по 3 - 4 см3. Фильтр отжимают стеклянной палочкой, промывают водой и удаляют. Промывные жидкости объединяют в выпарительных чашках, в каждую из которых вносят по 0,3 см3 раствора сульфата меди для соосаждения мешающих определению металлов (свинца, меди, никеля, кобальта, марганца) и содержимое выпаривают досуха на водяной бане. Сухой остаток в каждой чашке растворяют в 2,4 см3 5 %-ного раствора аммиака, добавляют по 0,5 см3 1 %-ного раствора диэтилдитиокарбамата натрия. Содержимое чашек хорошо перемешивают, добавляют по 1,9 см3 воды и в течение 10 мин снова периодически перемешивают. Выпавшие в осадок диэтилдитиокарбаматы металлов отфильтровывают через маленький бумажный фильтр. Бесцветные фильтраты образцов используют для анализа. Для этого по 1,6 см3 каждого фильтрата (т.е. 1/3 часть) переносят в пробирки, прибавляют по 1,1 см3 воды, по 0,8 см3 10 %-ного раствора винной кислоты, по 0,2 см3 10 %-ного раствора лимонной кислоты, по 0,3 см3 5 %-ного раствора аммиака и по 1 см3 0,02 %-ного раствора сульфарсазена. После добавления каждого реактива содержимое пробирок энергично встряхивают. Измеряют оптическую плотность растворов относительно воды в кюветах с расстоянием между рабочими гранями 10 мм при длине волны 500 нм. Время от добавления последнего реактива до измерения оптической плотности для всех проб должно быть одинаковым. Градуировочную характеристику устанавливают по разности оптических плотностей растворов для градуировки и нулевого.
Образцы для установления градуировочной характеристики при определении концентрации цинка1
|
1 |
2 |
3 |
4 |
5 |
6 |
|
|
Объем рабочего раствора (ρ = - 10 мкг/см3), см3 |
0,05 |
0,1 |
0,3 |
0,5 |
0,7 |
1,0 |
|
Масса цинка в образце, мкг |
0,5 |
1,0 |
3,0 |
5,0 |
7,0 |
10,0 |
1 При необходимости градуировочную характеристику можно устанавливать в диапазоне 0,5 - 30 мкг цинка.
7.4. Отбор проб
Для определения разовой концентрации цинка исследуемый воздух аспирируют через фильтр АФА-XП-18 с расходом 50 дм3/мин или через фильтр из ткани ФПП площадью 36 см2 с расходом 100 дм3/мин в течение 20 - 30 мин.
Для определения среднесуточных концентраций отбирают 4 - 8 разовых проб за 24 ч на один фильтр. Срок хранения отобранных проб в герметичной упаковке неограничен.
8. Выполнение измерений
Фильтр с пробой извлекают из пакета, осторожно обрезают края, помещают в фарфоровый тигель и промывают горячей соляной кислотой (1:1) несколько раз порциями по 3 - 4 см3. Затем поступают, как описано в п. 7.3. с образцами для градуировки: промывные жидкости собирают в выпарительной чашке; фильтр отжимают, промывают водой, которую переносят в ту же чашку, и удаляют; к жидкости в выпарительной чашке добавляют 0,3 см3 раствора сульфата меди и т.д. Аналогично исследуют нулевую пробу: чистый фильтр с обрезанными краями. Оптическую плотность растворов относительно воды измеряют в кюветах с расстоянием между рабочими гранями 10 мм при длине волны 500 нм.
Массу цинка в пробе определяют с помощью установленной градуировочной характеристики по разности оптических плотностей растворов пробы и средней оптической плотности трех нулевых проб.
9. Вычисление результата измерений
Методика предназначена для определения среднесуточной концентрации брома, железа, иттрия, кальция, марганца, меди, мышьяка, никеля, свинца, селена, стронция, титана, хрома, цинка, циркония в атмосферном воздухе при проведении научных исследований. Диапазон измеряемых концентраций, а также значения среднесуточных предельно допустимых концентраций (ПДК) представлены в табл. 5.25.
ПДК и диапазоны измеряемых концентраций (мкг/м3) химических элементов в атмосферном воздухе
|
Среднесуточная ПДК |
Диапазон измеряемых концентраций |
Элемент |
Среднесуточная ПДК |
Диапазон измеряемых концентраций |
|
|
Бром |
40,0 |
0,04 - 100 |
Свинец |
0,3 |
0,04 - 50 |
|
Железо |
40,0 |
0,04 - 100 |
Селен |
0,05 |
0,005 - 100 |
|
Иттрий |
- |
0,03 - 50 |
Стронций |
- |
0,003 - 50 |
|
Кальций |
- |
0,1 - 100 |
Титан |
- |
0,09 - 100 |
|
Марганец |
0,06 |
0,05 - 100 |
Хром |
- |
0,07 - 100 |
|
Медь |
2,0 |
0,01 - 100 |
Цинк |
50 |
0,08 - 100 |
|
Мышьяк |
3,0 |
0,005 - 100 |
Цирконий |
- |
0,003 - 50 |
|
Никель |
1,0 |
0,02 - 100 |
|
|
|
|
Примечание. Нижний предел определен для пробы воздуха объемом 20 м3. |
|||||
1. Нормы точности измерений
По экспертным оценкам, при определении массовой концентрации перечисленных химических элементов в атмосферном воздухе в диапазоне 0,001 - 100 мкг/м3 суммарная погрешность при доверительной вероятности 0,95 не превышает ±25 %.
2. Метод измерения
Метод определения массовой концентрации элементов в атмосферном воздухе основан на взаимодействии низкоэнергетического гамма- и рентгеновского излучения с веществом, при котором квант излучения вырывает электрон с одного из внутренних уровней атома. Вакантное место заполняется электроном с более удаленного уровня, а энергия возбужденного атома расходуется путем испускания характеристического рентгеновского излучения (ХРИ). ХРИ регистрируется детектором, и по его интенсивности рассчитывается концентрация искомого элемента.
Методика разработана в НПО «Тайфун».
3. Средства измерения, вспомогательные устройства, реактивы и материалы
3.1. При выполнении измерений должны быть применены следующие средства измерений, вспомогательные устройства, реактивы и материалы.
3.2 Средства измерения
Анализатор импульсов с диалоговым
вычислительным комплексом АМА-02Ф по ТУ 95.1260-85
Детекторы рентгеновского излучения:
БДРК 1/25 с разрешением не хуже по ТУ 95.150022-75
270 эВ на линии 5,9 кэВ
БРД-2М с разрешением не хуже по ТУ 009.0143-78
200 эВ на линии 5,9 кэВ
БДРГ-7/3-201 с разрешением не по ТУ 96.1243-84
хуже 250 эВ на линии 5,9 кэВ
Усилитель импульсов для полупроводниковой
спектрометрии БУС-97 по ТУ 96.560-81
Источники питания детектора
БНБ-31 по ТУ 95.1451-86Е
БНН-151 по ТУ 95.643-82
Весы аналитические ВЛА-200 по ГОСТ 24104-80Е
Радиоактивные источники
ИРАЖ-30 активностью 55Fe 5,6×109 Бк по ТУ 11-300-77
ИРИК активностью 109Cd 3,7×108 Бк по ТУ 95.457-77
ИГИА активностью 241Am 4,7×108 Бк по ТУ 95.779-76
3.3. Вспомогательные устройства
Сосуд Дьюара для жидкого азота АСД-16 по ГОСТ 16023-78
Шкаф сушильный по ГОСТ 13474-79
Пресс гидравлический с давлением
250 кг/см2 по ГОСТ 9753-75
Прессформа - два металлических
полированных цилиндра (черт. 5.10)
Прессформа
Стакан НИ-150 по ГОСТ 23932-79Е
Трубка стеклянная диаметром
40 мм, высотой 45 мм
Коллиматор (черт. 5.11)
Коллиматоры - держатели источников
а - для 109Cd; б - для Fe.
Предметное стекло размером 60´90 мм
3.4. Реактивы
Вода дистиллированная по ГОСТ 6709-72
Гептан по ТУ 609-3375-78
Спирт этиловый по ГОСТ 18300-72
Стандартные образцы состава
дерново-подзолистой супесчаной почвы
(комплект СДПС) по ГСО 2498-83,
2499-83, 2500-83
Стандартные образцы состава
красноземной почвы (почвы СКР) по ГСО 2501-83, 2502-83,
2503-83
Стандартные образцы состава почвы
серозема карбонатного (комплект ССК) по ГСО 2504-83, 2505-83,
2506-83
3.5. Материалы
Азот жидкий, технический
Фильтры АФА-ХА или АФА-ВП по ГОСТ 95.10052-85
4. Требования безопасности
При выполнении измерений концентраций химических элементов в воздухе рентгенофлуоресцентным методом необходимо соблюдать требования, изложенные в «Правилах по технике безопасности при производстве наблюдений и работ на сети Госкомгидромета» (Л., Гидрометеоиздат, 1983), в справочнике для работников химической промышленности «Техника безопасности и промышленная санитария» (М., Химия, 1978), в «Нормах радиационной безопасности НРБ-76/87» (М., Энергоиздат, 1987), в «Основных санитарных правилах работы с радиоактивными веществами и другими источниками ионизирующих излучений ОСП-72/87» (М., Энергоатомиздат, 1987).
5. Требования к квалификации оператора
Измерение содержания химических элементов в атмосферном воздухе по данной методике может выполнять инженер или техник, имеющий опыт работы с анализаторами импульсов, с вычислительной техникой.
6. Условия выполнения измерений
См. п. 5.1.14.
7. Подготовка к выполнению измерений
7.1. Перед выполнением измерений должны быть проведены следующие работы: подготовка фильтров, образцов сравнения, градуировка прибора.
7.2. Подготовка набора фильтров для установления градуировочной характеристики
Чистые фильтры АФА-ВП или АФА-ХА, предварительно высушенные до постоянной массы (при t = 60 °С), помещают на чистые обезжиренные предметные стекла и по центру каждого фильтра устанавливают стеклянную трубку.
7.3. Приготовление суспензии для образцов сравнения
Отвешивают на аналитических весах по 20 мг стандартного образца состава почвы каждого типа. Навески высыпают в химические стаканы, содержащие 40 - 50 см3 гептана, тщательно взбалтывают каждый в течение 5 - 10 мин до получения однородной взвеси и сразу же используют ее для приготовления соответствующего образца сравнения.
7.4. Приготовление образца сравнения для градуировки прибора
В чистую обезжиренную трубку, поставленную на фильтр, резким движением выливают суспензию и оставляют на 5 - 10 мин до испарения гептана. Затем фильтр высушивают (при 60 °С) до постоянной массы, складывают пополам и спрессовывают при давлении 150 кг/см2. Этот фильтр является образцом сравнения.
7.5. Расчет поверхностной плотности образца сравнения
Расчет проводят по формуле:
![]()
где pэт - поверхностная плотность эталона (образца сравнения), мг/м2;
m0 - масса чистого фильтра, мг;
mст - масса этого же фильтра со стандартом почв, мг;
S - площадь нанесенного пятна, м2.
7.6. Градуировка прибора
Приготовленный образец сравнения помещают в коллиматор (3) установки, собранной согласно блок-схеме (черт. 5.12), и снимают спектр характеристического рентгеновского излучения (ХРИ). Нажимают кнопки «Калибровка», «0», «ВЧ», затем подводят маркер под максимальную точку пика с известной энергией, нажимают кнопки «Калибровка», «n» (n - энергия данного пика в эВ), «ВЧ». Маркер сдвигают до следующего пика с известной энергией и снова нажимают кнопки «Калибровка», «n», «ВЧ». При двух пиках и более с известной энергией на экране терминала появляется служебная строка, показывающая энергию пика.
Блок-схема соединения приборов для многоэлементного анализа
1 - детектор БДРК-1/25; 2 - изотопный источник; 3 - излучательная головка; 4 - экспонированный фильтр; 5 - усилитель импульсов БУС-2-96; 6 - усилитель БУС-2-97; 7 - анализатор АМА-02-Ф1; 8 - ДВК; 9 - блок питания детектора.
Затем производят градуировку прибора: определяют площади фотопиков, для чего при помощи кнопок «СП96≤» и «≤СП96» последовательно с Ca до Zr просматривают весь спектр и маркером отмечают границы фотопиков интересующих нас элементов; при этом на экране дисплея высвечивается площадь искомого фотопика. По полученным площадям фотопиков рассчитывают градуировочный коэффициент K для каждого элемента по формуле
K = Mэт/Nэт,
где Mэт - содержание данного элемента в эталоне, мг;
Nэт - площадь фотопика элемента в эталоне, имп.
Коэффициент вводится в память ЭВМ.
7.7 Отбор проб
Для определения концентрации элементов в аэрозолях по данной методике рекомендуется два способа отбора проб. Дискретный отбор производится на один фильтр (по 20 мин не менее 2 раз в сутки) в течение 3 - 5 сут, так чтобы суммарный объем аспирированного воздуха был не менее 20 м3. Суточный отбор производится путем непрерывной аспирации воздуха с таким расходом, чтобы нагрузка взвешенных веществ на 1 см2 не превышала 5 мг.
8. Выполнение измерений
Экспонированный фильтр складывают вдвое, спрессовывают и помещают в коллиматор. Нажимают кнопки «Очистка», «Подготовка» (задают время набора), «Набор». По истечении заданного времени на экране появится набранный спектр.
9. Вычисление результата измерений
Вычисление результата проводится по формуле:
![]()
где ρ - концентрация искомого элемента в пробе, мг/м3;
V0 - объем отобранной пробы воздуха, приведенный к нормальным условиям (см. п. 5.1.16), м3;
Nпр - площадь фотопика искомого элемента, имп;
pэт - поверхностная плотность эталона, мг/м2;
pпр - поверхностная плотность пробы, мг/м2;
K - градуировочный коэффициент.
Результаты регистрируются в цифровом виде на ленте прибора.
Методика предназначена для определения массовой концентрации пыли в атмосферном воздухе. Используется для измерения разовых и среднесуточных концентраций пыли при удельном расходе воздуха 5 дм3/(мин×см3) в диапазонах: 0,26 - 50 мг/м3 (разовая); 0,007 - 0,69 мг/м3 (суточная); 0,04 - 4,2 мг/м3 (суточная при автоматическом циклическом отборе проб по 20 мин 12 раз в сутки); от 0,17 до 16,7 мг/м3 (суточная при ручном циклическом отборе проб по 20 мин 3 раза в сутки) в зависимости от объема пробы.
1. Нормы точности измерений
По экспертным оценкам, при определении концентрации пыли в атмосферном воздухе в указанных диапазонах (0,26 - 50; 0,007 - 0,69; 0,04 - 4,2; 0,17 - 16,7 мг/м3) относительная погрешность не превышает ±25 %. Предельная абсолютная погрешность определения массы пыли на фильтре - 0,2 мг. Предельная относительная погрешность определения объема воздуха, прошедшего через фильтр, - 6 %.
2. Метод измерения
Метод основан на определении массы взвешенных частиц пыли, задержанных фильтром из ткани ФПП при прохождении через него определенного объема воздуха.
3. Средства измерений, вспомогательные устройства, реактивы и материалы
3.1. При выполнении измерений должны быть применены следующие средства измерений, вспомогательные устройства, реактивы и материалы.
3.2. Средства измерений
Весы аналитические ВЛА-200 по ГОСТ 24104-80Е
Меры массы по ГОСТ 7328-82Е
Электроаспиратор ЭА-2; погрешность
± 6 %; Госреестр № 1833995 по ТУ 25-11.1413-78
Электроаспиратор ЭА-2С или ЭА-2СМ; по ТУ 25-11.1591-81
погрешность ±5 %; Госреестр № 2225429
Анеморумбограф М-63МР по ТУ 25-11-1451-78
Барометр-анероид М-67 по ТУ 25-04-1797-75
3.3. Материалы
Фильтры из уплотненной опрессованной по ТУ 52-01-367-80
ткани ФПП-15 с диаметром рабочей поверхности
69,4 мм, изготовитель ЭПМ НИИП
Фильтры АФА-ВП-20, изготовитель ВО «Изотоп»
4. Требования безопасности
См. п. 4.3.
5. Требования к квалификации оператора
См. п. 5.1.4.
6. Условия выполнения измерений
См. п. 5.1.14.
7. Подготовка к выполнению измерений
7.1. Используемые для отбора пробы пыли фильтры должны быть пронумерованы. Порядковый номер наносят карандашом на уплотненную кольцевую часть каждого фильтра из ткани ФПП или на бумажное кольцо фильтра АФА.
7.2. Перед отбором пробы фильтр должен быть взвешен на аналитических весах. Перед этим фильтр не менее 1 ч выдерживают в помещении, где производится взвешивание. Чтобы не испортить рабочую поверхность фильтра, при всех операциях его следует брать пинцетом за край.
Взвешенные чистые фильтры вкладывают в пакеты из кальки. Эти пакеты помещают в полиэтиленовые пакеты, на которые шариковой ручкой наносят номер фильтра и его начальную массу.
Подготовленные фильтры передаются наблюдателям для отбора проб воздуха на соответствующих постах наблюдений.
8. Выполнение измерений
8.1. Выполнение отбора пробы воздуха должно соответствовать п. 4.4.1.
Отбор пробы для определения среднесуточной концентрации пыли выполняется непрерывно с удельным расходом 5 дм3/(мин×см2) в течение 24 ч или - при большой запыленности - циклически по 20 мин через одинаковые промежутки времени. Для определения разовой концентрации отбор производится в течение 20 мин. Предельная пылеемкость фильтра из ткани ФПП составляет 5 мг/см2.
Фильтр с отобранной пробой осторожно вынимают из фильтродержателя, складывают пополам запыленной поверхностью внутрь и помещают последовательно в пакет из кальки и в полиэтиленовый пакет. На пакет шариковой ручкой наносят следующие данные: наименование и номер города; дату и время отбора; начальное и конечное показания газового счетчика (или расход воздуха и продолжительность отбора пробы по ротаметру РС-7); температуру воздуха, проходящего через счетчик или ротаметр, и атмосферное давление во время отбора пробы. После этого фильтр передается в лабораторию для определения массы пыли.
8.2. Перед взвешиванием фильтры не менее часа выдерживают в помещении, где производится взвешивание. Если отбор пробы проводился при относительной влажности воздуха, близкой к 100 %, то фильтр доводят до постоянной массы. Для этого его необходимо поместить в стеклянной чашке в эксикатор с плавленым хлористым кальцием на 2 ч или в сушильный шкаф с температурой 40 - 50 °С на 30 - 50 мин, а затем выдержать 40 - 50 мин в помещении, где производится взвешивание. Если при взвешивании масса фильтра изменяется, то повторяют операцию просушивания.
Взвешенные фильтры с накопленной на них пылью вкладывают в те же пакеты из кальки и полиэтилена, на которые шариковой ручкой наносят значение конечной массы фильтра с пылью. Если после взвешивания и занесения всех данных о пробе в рабочий журнал фильтры не направляются на анализ элементного состава, то они тщательно запаковываются в кальку и сдаются на бессрочное хранение. Номер поста, дата и срок отбора записываются на конвертах.
Примечание: фильтры, используемые после определения массовой концентрации пыли для определения ее элементного состава, необходимо особенно тщательно оберегать от загрязнения. Сушить фильтры следует только в чистом сушильном шкафу и охлаждать под защитным колпаком в помещении, где производится взвешивание. Брать и переносить фильтры при всех манипуляциях необходимо только пинцетом, на концы которого надеть наконечники из пластмассовых трубок.
9. Вычисление результата измерений
Массовую концентрацию (ρ мг/м3) взвешенных частиц в воздухе вычисляют по формуле
![]()
где m1 - масса фильтра без пыли, мг;
m2 - масса фильтра с пылью, мг;
V0 - объем пропущенного через фильтр воздуха, приведенный к нормальным условиям, м3 (см. п. 5.1.16, формулу (1)).
1 Методика разработана в ГГО, НПО «Химаналит», аттестована НПО «ВНИИМ им Д.И. Менделеева». За исключением разделов, изложенных в пп. 5.1.3, 5.1.4 и 5.1.14, соответствует аттестату № 539 НПО «ВНИИМ им Д.И. Менделеева».
Методика предназначена для определения концентрации диоксида серы в атмосферном воздухе населенных пунктов в диапазоне 0,04 - 5,0 мг/м3 (с учетом возможности разбавления) при объеме разовой пробы 50 дм3. Мешающее влияние диоксида азота устраняется введением сульфаминовой кислоты, озона - выдерживанием пробы перед фотометрированием, солей тяжелых металлов - добавлением трилона Б, аммиака - введением буфера с pH 1,2 (соляная кислота - хлорид калия).
1. Нормы точности измерений
При определении концентрации диоксида серы в атмосферном воздухе в диапазоне 0,04 - 5,0 мг/м3 установленная суммарная погрешность при доверительной вероятности 0,95 не превышает ±25 %.
2. Метод измерения
Метод основан на поглощении диоксида серы из воздуха раствором формальдегида с образованием гидроксиметансульфокислоты. При добавлении гидроксида натрия гидроксиметансульфокислота снова разлагается на формальдегид и S (IV). Эти вещества при реакции с парарозанилином образуют соединение, по интенсивности окраски которого определяют содержание диоксида серы фотометрическим методом.
3. Средства измерений, вспомогательные устройства, реактивы и материалы
3.1. При выполнении измерений должны быть применены следующие средства измерений, вспомогательные устройства, реактивы и материалы.
3.2. Средства измерений
Весы аналитические ВЛА-200; погрешность 0,0002 г по ГОСТ 24104-80Е
Весы технические погрешность 0,01 г по ТУ 25-06-385-80
pH-метр-милливольтметр pH-673 по ТУ 25-05-1181-76
Секундомер; класс 3; цена деления
секундной шкалы 0,2 с по ГОСТ 5072-79Е
Термометр лабораторный шкальный по ГОСТ 215-73Е
ТЛ-2; цена деления 1 °С; пределы 0 - 55 °С
Фотоэлектроколориметр или спектрофотометр
Электроаспиратор ЭА-1; погрешность паспорт М-2.840.007 ПС
10 %
Примечание. Все перечисленные средства измерений могут быть заменены аналогичными с погрешностью, не превышающей погрешности рекомендуемых. Применяемые средства измерений должны быть поверены (аттестованы) в установленные сроки по ГОСТ 8002-717, иметь клеймо или свидетельство о поверке.
Колбы мерные по ГОСТ 1770-74Е
2-50-2 - 1 шт.
2-100-2 - 9 шт.
2-250-2 - 3 шт.
2-1000-2 - 2 шт.
Пипетки по ГОСТ 20292-74Е
4-2-1 - 5 шт.
4-2-2 - 2 шт.
2-2-5 - 3 шт.
5-2-10 - 2 шт.
2-2-50 - 1 шт.
2-2-100 - 1 шт.
Пробирки П4-15-14/23 ХС 2-2-10 - 20 шт. по ГОСТ 25336-82
Пробки полиэтиленовые по ОСТ 64-2-87-81
Бюретки 3-2-25-0,1 - 2 шт. по ГОСТ 20292-74Е
Стакан для взвешивания СВ-14/8 по ГОСТ 25336-82
Флаконы пенициллиновые ФО-20 АБ-1 по ТУ 64-2-10-77
Цилиндры 1-500 - 1 шт. по ГОСТ 1770-74
3.3. Вспомогательные устройства
Поглотительные приборы Рыхтера по ТУ 25-11-1136-75
3.4. Реактивы
Бутанол по ГОСТ 5208-81Е
Дистиллированная вода по ГОСТ 6709-72
Йод, раствор 0,05 моль/дм3
(0,1 н.), стандарт-титр по ТУ 6-09-2540-72
Калия бифталат, ч. д. а. по ТУ 6-09-4433-77
Калия иодид, ч. д. а. по ГОСТ 4232-74
Калия хлорид, ч. д. а. по ГОСТ 4234-77
Кислота соляная (ρ = 1,19 г/см3), х. ч. по ГОСТ 3118-77
Кислота сульфаминовая, х. ч. по ТУ 6-09-2437-79
Кислота уксусная, ч. д. а. по ГОСТ 61-75
Комплексон III (трилон Б), ч. д. а. по ГОСТ 10652-73
Крахмал растворимый, ч. по ГОСТ 101163-76
Натрия гидроксид, х. ч. по ГОСТ 4328-77
Натрия пиросульфит (Na2S2O5), ч. по ТУ 6-09-4327-78
Натрия сульфит, ч. д. а. по ГОСТ 195-77
Натрия тиосульфат, раствор
0,1 моль/дм3, стандарт-титр по ТУ 6-09-2540-72
Парарозанилина гидрохлорид, ч. по ТУ 6-09-07-1182-79
Формальдегид 40 %-ный (формалин) по ГОСТ 1625-75
Феноловый красный (водорастворимый индикатор) по ТУ 6-09-3070-84
3.5. Материалы
Карандаш для письма по стеклу по ТУ 480-11-59-82
Поролон по ОСТ 6-05-407-75
4. Требования безопасности
См. п. 5.1.3.
Все работы с 40 %-ным раствором формальдегида проводить под тягой.
5. Требования к квалификации оператора
См. п. 5.1.4.
6. Условия выполнения измерений
См. п. 5.1.14.
7. Подготовка к выполнению измерений
7.1. При подготовке к выполнению измерений должны быть проведены следующие работы: приготовление растворов, установление градуировочной характеристики, отбор проб воздуха.
1) Уксусная кислота, раствор 1 моль/дм3. В мерную колбу вместимостью 500 см3 вносят 28,6 см3 ледяной уксусной кислоты и доводят до метки дистиллированной водой. Срок годности раствора - 3 мес.
2) Гидроксид натрия, раствор 1 моль/дм3. В мерную колбу вместимостью 500 см3 вносят 20,0 г гидроксида натрия и доводят до метки дистиллированной водой. Срок годности раствора - 1 мес.
3) Ацетатный буферный раствор с pH 4,0 - 4,2. В мерную колбу вместимостью 500 см3 вносят 236,2 см3 раствора уксусной кислоты, приготовленной по перечислению 1, 50 см3 раствора гидроксида натрия, приготовленного по перечислению 2, и доводят до метки дистиллированной водой. После перемешивания измеряют pH полученного раствора. Устанавливают pH 4,0 - 4,2 добавлением кислоты или щелочи. Срок годности раствора - 3 мес.
Примечание. Растворы по перечислениям 1 и 3 готовят лишь при отсутствии бифталата натрия.
4) Раствор формальдегида 0,021 моль/дм3. Определяют концентрацию формальдегида в формалине (cф моль/дм3) в соответствии с ГОСТ 1625-75 (см. приложение 1 к данной методике). Рассчитывают объем (υф см3) формалина, необходимый для приготовления 1000 см3 раствора, по формуле:
где с'ф - концентрация раствора формальдегида, который следует приготовить (с'ф = 0,021), моль/дм3;
1000 - объем раствора формальдегида, который следует приготовить, см3.
В мерную колбу вместимостью 1 дм3 вносят рассчитанный объем формалина, добавляют 0,7 г трилона Б, 100 см3 ацетатного буфера (или 2,04 г бифталата калия) и доводят до метки дистиллированной водой. Срок годности раствора - 6 мес.
5) Поглотительный раствор. 300 см3 раствора формальдегида, приготовленного по перечислению 4, вносят в мерную колбу вместимостью 1 дм3 и доводят до метки дистиллированной водой. Срок годности раствора - 1 мес.
6) Феноловый красный, 0,1 %-ный раствор. В колбу вместимостью 50 см3 вносят (0,05 ± 0,005) г индикатора фенолового красного и заполняют дистиллированной водой. Срок годности раствора - 1 мес.
7) Соляная кислота, раствор 1 моль/дм3. 82,6 см3 концентрированной соляной кислоты вносят в мерную колбу вместимостью 1 дм3 и доводят до метки дистиллированной водой. Срок годности раствора - 3 мес.
8) Соляная кислота, раствор 0,1 моль/дм3. В мерную колбу вместимостью 500 см3 вносят 50 см3 раствора соляной кислоты, приготовленной по перечислению 7, и доводят до метки дистиллированной водой. Срок годности раствора - 3 мес.
9) Исходный раствор гидроксида натрия. В мерную колбу вместимостью 100 см3 вносят 24,0 г гидроксида натрия, растворяют в 50 см3 воды и после охлаждения доводят до метки свежепрокипяченной и охлажденной дистиллированной водой.
Затем в три конические колбы вместимостью 200 - 250 см3 переносят по 0,3 см3 приготовленного раствора гидроксида натрия, добавляют приблизительно 20 см3 дистиллированной воды и титруют раствором соляной кислоты концентрацией 0,1 моль/дм3 в присутствии индикатора фенолового красного до появления желтой окраски. Рассчитывают точную концентрацию раствора гидроксида натрия (cNaOH) по формуле:
где υHCl - объем раствора соляной кислоты, пошедшего на титрование, см3;
υNaOH - объем раствора гидроксида натрия, взятого на титрование (υNaOH = 03), см3;
cHCl - концентрация раствора соляной кислоты (cHCl = 0,1), моль/дм3.
Рассчитывают объем υ (см3) приготовленного раствора гидроксида натрия, который необходимо внести для разбавления в колбу вместимостью 100 см3, по формуле:
где υ1 - требуемый объем раствора гидроксида натрия (υ1 = 100), см3;
cтр - требуемая концентрация раствора гидроксида натрия (cтр = 4,5), моль/дм3;
cNaOH - концентрация исходного раствора гидроксида натрия, моль/дм3.
10) Раствор гидроксида натрия 4,5 моль/дм3. Вносят рассчитанный объем гидроксида натрия в колбу вместимостью 100 см3 и доводят до метки дистиллированной водой. Раствор хранят в герметичной полиэтиленовой посуде. Срок годности раствора - 1 мес.
11) Парарозанилин (ПРА), исходный 0,2 %-ный раствор. В мерную колбу вместимостью 100 см3 вносят (0,2 ± 0,0002) г ПРА и доводят до метки соляной кислотой, приготовленной по перечислению 7. Срок хранения раствора - 1 мес.
12) ПРА, 0,019 %-ный раствор. В мерную колбу вместимостью 500 см3 приливают 48,4 см3 исходного раствора ПРА, 66,6 см3 концентрированной соляной кислоты, вносят 46,0 г хлорида калия и доводят до метки дистиллированной водой. Хранить в бутыли из темного стекла в темном месте. Срок годности раствора - 1 мес.
13) Сульфаминовая кислота, 0,6 %-ный раствор. 0,6 г сульфаминовой кислоты растворяют в 90 см3 воды в мерной колбе вместимостью 100 см3, доводят pH этого раствора до 4,1 ± 0,1 добавлением раствора гидроксида натрия концентрацией 1 моль/дм3, приготовленного по перечислению 2, и доводят до метки дистиллированной водой. Срок годности раствора 15 сут.
14) Исходный раствор пиросульфита натрия (ρ = 1 мг/см3 диоксида серы).
Определяют содержание основного вещества - пиросульфита натрия (Q %) в реактиве в соответствии с приложением 2 к данной методике. Рассчитывают массу навески пиросульфита натрия с учетом содержания основного вещества по формуле:
(4)
где Mпс - навеска пиросульфита натрия, соответствующая 100 мг диоксида серы, г;
Q - содержание основного вещества, %;
0,1484 (г) - навеска пиросульфита натрия при Q = 100 %.
В бюксе на аналитических весах взвешивают пиросульфит натрия с погрешностью ±0,0002 г и переносят в мерную колбу вместимостью 100 см3. Растворяют в небольшом количестве поглотительного раствора и им же доводят до метки. В 1 см3 приготовленного раствора содержится 1 мг диоксида серы. Срок годности раствора - 1 мес.
Примечание. При отсутствии пиросульфита натрия можно использовать сульфит натрия, предварительно определив содержание в нем SO2 (см. методику 5.2.7.1, перечисление 17).
15) Рабочий раствор пиросульфита натрия с массовой концентрацией диоксида серы 20 мкг/см3 (рабочий раствор 1). После приготовления исходного раствора в наполовину заполненную поглотительным раствором мерную колбу вместимостью 50 см3 вносят 1 см3 исходного раствора пиросульфита натрия и доводят до метки поглотительным раствором. Хранить в холодильнике. Срок годности раствора - 1 мес.
16) Рабочий раствор пиросульфита натрия с массовой концентрацией диоксида серы 100 мкг/см3 (рабочий раствор 2). Рабочий раствор 2 готовят так же, как рабочий раствор 1, с той разницей, что в мерную колбу вместимостью 50 см3 вносят 5 см3 исходного раствора пиросульфита натрия. Хранить в холодильнике. Срок годности раствора - 1 мес.
Примечание. При наличии стандартного образца диоксида серы из него сразу готовят рабочий раствор 1 путем растворения в 50,0 см3 поглотительного раствора навески, содержащей 1,00 мг диоксида серы, и рабочий раствор 2 путем растворения в 50,0 см3 раствора навески, содержащей 5,00 мг диоксида серы. Навески рассчитывают с учетом содержания диоксида серы в 1 г стандартного образца, указанного в паспорте. Навески растворяют в поглотительном растворе. В этом случае растворы по перечислениям 14 - 16 не готовят.
7.3. Построение градуировочной характеристики
Градуировочная характеристика выражает зависимость разности ΔD оптических плотностей раствора для градуировки и нулевого раствора от массы диоксида серы в пробе. Строят три градуировочные характеристики (по пяти растворам каждая) с содержанием в пробе диоксида серы: 1,5 - 5,0; 4,0 - 12,5; 10,0 - 40,0 мкг.
Растворы для установления градуировочных характеристик готовят в мерных колбах вместимостью 100 см3, в каждую вносят рабочий раствор для градуировки согласно табл. 5.26, доводят до метки поглотительным раствором и тщательно перемешивают.
Для установления градуировочной характеристики в пробирки отбирают по 5 см3 каждого раствора для градуировки. В каждую пробирку приливают 0,2 см3 сульфаминовой кислоты, встряхивают и оставляют на 10 мин, затем приливают 0,3 см3 раствора гидроксида натрия (4,5 моль/дм3) и тщательно перемешивают.
В чистые пробирки предварительно вносят 2,0 см3 рабочего раствора ПРА. Затем содержимое пробирки с раствором для градуировки вливают в пробирки с раствором ПРА (не наоборот!) и сразу же переливают весь раствор обратно в пробирку для градуировки. Операцию переливания повторяют 5 раз и только после этого переходят к следующей пробе.
Одновременно анализируют нулевую пробу, содержащую вместо 5 см3 раствора для градуировки 5 см3 поглотительного раствора.
Через 10 мин (не позднее чем через 15 мин) определяют оптическую плотность растворов и нулевой пробы относительно воды. Измерения проводят при длине волны 548 нм. Строят три градуировочные характеристики в координатах MSO2i (содержание SO2 в 5 см3 раствора пробы, мкг) и ΔD.
ΔD = (Di - D0),
где Di - оптическая плотность градуировочного раствора; D0 - оптическая плотность нулевой пробы.
Примечание. Оптическая плотность нулевой пробы не должна превышать 0,1 (для кюветы с l = 20 мм). Если она превышает это значение, необходимо произвести дополнительную очистку ПРА согласно приложению 3 к данной методике.
Растворы для установления градуировочных характеристик при определении концентрации диоксида серы
|
Номер раствора для градуировки |
Расстояние между рабочими гранями кюветы, мм |
|||||
|
1 |
2 |
3 |
4 |
5 |
||
|
Градуировочная характеристика 1 |
||||||
|
Объем рабочего раствора 1, см3 |
1,5 |
2,5 |
3,2 |
4,0 |
5,0 |
20 |
|
Масса SO2 в 5 см3 раствора, мкг |
1,5 |
2,5 |
3,2 |
4,0 |
5,0 |
|
|
Градуировочная характеристика 2 |
||||||
|
Объем рабочего раствора, см3 |
4 (1) |
6 (1) |
8 (1) |
2 (2) |
2,5 (2) |
10 |
|
Масса SO2 в 5 см3 раствора, мкг |
4 |
6 |
8 |
10 |
12,5 |
|
|
Градуировочная характеристика 3 |
||||||
|
Объем рабочего раствора 2, см3 |
2,0 |
3,0 |
4,0 |
6,0 |
8,0 |
5 |
|
Масса SO2 в 5 см3 раствора, мкг |
10 |
15 |
20 |
30 |
40 |
|
|
Примечание. В скобках указан номер рабочего раствора. |
||||||
Все операции по приготовлению растворов для градуировки повторяют трижды, каждый раз приготавливая исходный, рабочий и градуировочные растворы из новой навески пиросульфита натрия или стандартного образца.
Строят
градуировочные характеристики, для чего на оси абсцисс откладывают M
, а
на оси ординат соответствующее ему значение (ΔD). Градуировочные
характеристики проводят из начала координат таким образом, чтобы все
экспериментальные точки были равномерно распределены по обе стороны
градуировочной характеристики. Пример построения градуировочных характеристик
для трех диапазонов концентрации диоксида серы представлен на черт. 5.13.
Разность между результатом единичного наблюдения ΔDi и значением оптической плотности, найденной по градуировочной характеристике (ΔD), должна удовлетворять неравенствам:
|ΔDi - ΔD| ≤ 0,040 - для 1-го диапазона концентраций диоксида серы;
|ΔDi - ΔD| ≤ 0,042 - для 2-го диапазона концентраций диоксида серы; (5)
|ΔDi - ΔD| ≤ 0,052 - для 3-го диапазона концентраций диоксида серы,
где ΔDi - результат наблюдения оптической плотности i-го раствора;
ΔD - оптическая плотность этого же раствора, определенная по градуировочной характеристике;
0,040; 0,042; 0,052 - допустимые разности, определенные в процессе разработки методики для каждого диапазона концентраций диоксида серы. Результаты наблюдений, не соответствующие условию (5), считаются ошибочными и исключаются. Всего может быть исключено не более одного результата для каждой серии градуировочных растворов. После исключения ошибочных результатов строят новую градуировочную характеристику. Если ошибочных результатов больше одного, то градуировку проводят заново, выявив источники ошибок.
Градуировочные характеристики необходимо устанавливать не реже одного раза в квартал, а также при использовании новой партии реактивов или замене фотоэлектроколориметра.
Градуировочная характеристика для определения диоксида серы
а) 1,5 - 5,0 мкг в пробе (кювета с l = 20 мм); б) 4 - 12,5 мкг в пробе (кювета с l = 10 мм); в) 10 - 40 мкг в пробе (кювета с l = 5 мм); 1 - градуировочная характеристика; 2 - граница допустимого расхождения по п. 7.3.
Для определения разовых концентраций диоксида серы исследуемый воздух аспирируют через поглотительный прибор Рыхтера, содержащий 6 см3 поглотительного раствора (см. п. 7.2., перечисление 5), с расходом 2,5 дм3/мин в течение 20 мин.
При ожидаемых больших массовых концентрациях диоксида серы расход воздуха может быть снижен до 0,5 дм3/мин. Исходный уровень раствора отмечают карандашом по стеклу, причем ширина риски должна быть не более 1 - 1,5 мм.
При отборе анализируемого воздуха поглотительный прибор подсоединяют к электроаспиратору в соответствии с паспортом. Поглотительные приборы должны находиться в вертикальном положении. Для характеристики воздуха в пункте отбирают не менее трех последовательных или параллельных проб.
Для определения суточных концентраций через один поглотительный прибор аспирируют 150 дм3 воздуха. При этом объеме диапазон измеряемых концентраций составляет 0,013 - 1,7 мг/м3.
Пробы в процессе отбора и при хранении необходимо защищать от прямого солнечного света. Отобранные пробы могут храниться 15 сут при температуре (20 ± 5) °С, 1 сут при температуре (40 ± 5) °С и 2 мес в холодильнике.
В городах, не имеющих лабораторий, после отбора проб содержимое поглотительных приборов дополняют на посту дистиллированной водой до 6 см3, переливают в чистые пенициллиновые флаконы, закрывают флаконы полиэтиленовыми пробками, маркируют и пересылают в аналитическую лабораторию. Использованные поглотительные приборы промывают дистиллированной водой, дважды наполняя их. Перед отбором пробы в них наливают 6 см3 поглотительного раствора. Не реже 1 раза в неделю поглотительные приборы пропаривают.
Для пересылки флаконы с пробами перекладывают пенополиуретаном (поролоном) и помещают в картонную или деревянную коробку (ящик). Время от начала отбора проб до момента выполнения измерения по п. 8 и температура хранения проб не должны превышать значений, указанных в п. 7.4.
В лаборатории из флаконов отбирают 5 см3 пробы в пробирку и анализируют, как указано в п. 7.3.
Для контроля вместе с пробами из пункта в лабораторию пересылают с каждой партией проб по 6 см3 поглотительного раствора, через который не пропускался анализируемый воздух (нулевая проба).
Анализ начинают не раньше, чем через 20 мин после отбора пробы воздуха. Сначала доводят уровень в поглотительном приборе водой до 6 см3 и перемешивают. Затем переносят жидкость из поглотительного прибора в пробирку и отбирают 5 см3 раствора для анализа. Проводят анализ, как описано в п. 7.3. Измерение проводят в кювете с расстоянием между рабочими гранями l = 20 мм. Если оптическая плотность раствора при измерении в указанной кювете превышает значение 0,42, измерение проводят в кювете с расстоянием между рабочими гранями 10 мм. Если измеренная в кювете с l = 10 мм оптическая плотность превышает значение 0,45, измерение проводят в кювете с l = 5 мм. Время от добавления последнего реактива до измерения оптической плотности должно быть в пределах 10 - 15 мин и одинаковым для всех проб. Температура при анализе и градуировке не должна различаться более чем на 5 °С.
Массу диоксида серы в каждой пробе находят по градуировочной характеристике для кюветы, в которой измерялась оптическая плотность. В этой же кювете измеряют оптическую плотность нулевого раствора. Если масса диоксида серы в пробе превышает максимально измеряемое значение даже в кювете с расстоянием между гранями 5 мм, необходимо разбавить окрашенный раствор, прибавив к 1 см3 раствора 4 см3 нулевой пробы. При расчете необходимо учитывать пятикратное разбавление (K = 5).
Для обеспечения возможности проведения разбавления нулевую пробу не следует выливать до конца анализа всей серии проб. Если ожидается большая концентрация диоксида серы, то разбавление пробы поглотительным раствором в 2 - 5 раз проводят до начала анализа.
9. Вычисление результата измерения
Концентрацию диоксида серы в воздухе для каждой пробы ρ SO2i мг/м3 рассчитывают по формуле:
где MSO2i - содержание диоксида серы в 5 см3 поглотительного раствора, найденное по градуировочной характеристике, мкг;
K - отношение общего объема раствора пробы к объему раствора пробы, взятому на анализ (K = 6/5 = 1,2);
K' - коэффициент разбавления пробы при высоких концентрациях диоксида серы. При обычных измерениях K' = 1;
V0 - объем пропущенного через поглотительный прибор анализируемого воздуха, приведенный к нормальным условиям, м:
![]()
где Vi - объем пробы воздуха, м3 при температуре Ta и давлении Pa;
Pa, P0 - атмосферное давление соответственно во время проведения анализа и при нормальных условиях (P0 = 101,3 кПа), кПа;
Ta, T0 - температура воздуха соответственно на входе в аспиратор и при нормальных условиях (T0 = 273 К), К.
За результат измерения содержания диоксида серы в воздухе в данной точке принимают среднее арифметическое результатов не менее трех последовательных или параллельных наблюдений, которое рассчитывают по формуле:

где n - число наблюдений.
10. Контроль точности измерений
10.1. Внутренний контроль (внутрилабораторный) проводится не реже 1 раза в год. При этом берутся три навески пиросульфита натрия для приготовления исходного раствора по п. 7.2, перечислению 14. Из каждой навески готовят исходный раствор пиросульфита, рабочие растворы 1 и 2 (см. п. 7.2, перечисления 15 и 16) и по два градуировочных раствора для каждой градуировочной характеристики с максимальным и минимальным содержанием диоксида серы (Mзад i) в соответствии с п. 7.3: для первой градуировочной характеристики 1,5 и 5,0 мкг, для второй градуировочной характеристики 4,0 и 12,5 мкг и для третьей 10,0 и 40,0 мкг.
Измеряют оптическую плотность приготовленных растворов и по соответствующей градуировочной характеристике определяют содержание диоксида серы в пробе (Mгр i). Проводят три параллельных измерения для каждой точки и рассчитывают для каждой точки среднее значение содержания диоксида серы (Mгр i).
Результаты контроля считают положительными, если для каждой градуировочной характеристики выполняется условие:
![]()
где δ - погрешность измерения содержания диоксида серы в пробе, равная 19 %.
10.2. Внешний контроль проводится в соответствии с планом при использовании образцового генератора поверочной газовой смеси, содержащей диоксид серы. Если генератор отсутствует, то контроль проводится в соответствии с п. 10.1 с использованием аттестованного стандартного образца диоксида серы или сульфит-иона.
10.3. При проведении внешнего контроля с использованием генератора расхождение между результатами трех параллельных наблюдений должно удовлетворять неравенству:
ρ
- ρ
≤ 0,77
,
где ρ
и ρ
- максимальное и минимальное значения
результатов наблюдений, мг/м3;
0,77 - допустимое расхождение, определенное в процессе разработки методики.
В случае использования генератора за нормальные условия принимается температура 293 К.
Определение содержания формальдегида в формалине
1. Приготовление растворов
1) Иод, раствор 0,05 моль/дм3. Раствор готовят из стандарт-титра. В мерную колбу вместимостью 500 см3 переносят содержимое одной ампулы иода и доводят дистиллированной водой до метки.
2) Гидроксид натрия, 30 %-ный (масса/объем) раствор. Взвешивают 30,0 г гидроксида натрия с погрешностью 0,02 г, растворяют в дистиллированной воде, переносят в мерную колбу вместимостью 100 см3 и доводят до метки водой.
3) Раствор соляной кислоты 1:5 (по объему). В мерную колбу вместимостью 100 см3 вносят 40 - 50 см3 дистиллированной воды, 20 см3 концентрированной соляной кислоты и доводят водой до метки.
4) Тиосульфат натрия, раствор 0,1 моль/дм3. Раствор готовят из стандарт-титра. В мерную колбу вместимостью 1000 см3 переносят содержимое одной ампулы тиосульфата натрия и доводят до метки дистиллированной водой.
2. Проведение анализа
В мерную колбу вместимостью 500 см3 вносят 10 см3 формалина, доводят объем до метки дистиллированной водой и тщательно перемешивают. 5 см3 этого раствора переносят в коническую колбу вместимостью 250 см3, добавляют 40 см3 раствора иода концентрацией 0,05 моль/дм3 и по каплям 30 %-ный раствор едкого натра до получения бледно-желтой окраски. Колбу закрывают пробкой и помещают на 10 мин в темное место, после чего осторожно добавляют 5 см3 соляной кислоты (1:5) и вновь оставляют на 10 мин в темном месте.
Затем в колбу вносят 100 - 150 см3 воды и оттитровывают избыток иода раствором тиосульфата натрия концентрацией 0,1 моль/дм3 до обесцвечивания.
Контрольное титрование проводят, внося в колбу вместо раствора формальдегида 5,0 см3 дистиллированной воды.
Расчет концентрации формальдегида в формалине (c, моль/дм3) проводят по формуле
![]()
где υк - объем раствора тиосульфата, пошедшего на контрольное титрование, см3;
υр - объем раствора тиосульфата, пошедшего на титрование пробы, содержащей формальдегид, см3;
K - коэффициент разбавления формалина (K = 50);
υ - объем формалина, взятый на титрование, см3 (υ = 5);
F - стехиометрический фактор (F = 2);
cтс - концентрация раствора тиосульфата натрия (cтс = 0,1), моль/дм3.
Определение содержания основного вещества пиросульфита натрия в реактиве
1) Иод, раствор 0,05 моль/дм3. Раствор готовят в соответствии с п. 1 (см. перечисление 1) приложения 1 к данной методике.
2) Соляная кислота, 25 %-ный раствор. Замеряют плотность концентрированной соляной кислоты, по справочнику находят массовую долю соляной кислоты в процентах и, исходя из этого, разбавляют ее дистиллированной водой, чтобы получить 25 %-ный раствор.
3) Тиосульфат натрия, раствор 0,1 моль/дм3. Раствор тиосульфата натрия готовят, как изложено в п. 1 (см. перечисление 4) приложения 1 к данной методике.
4) Крахмал, 0,5 %-ный раствор. Взвешивают 0,25 г крахмала с погрешностью 0,01 г и размешивают его в 10 см3 холодной воды. Доводят до кипения 40 см3 воды и постепенно вливают в нее взвесь крахмала в холодной воде. Нагревают до полного просветления раствора.
2. Проведение анализа
Взвешивают в бюксе около 0,1 г пиросульфита натрия с погрешностью 0,0002 г и количественно переносят в колбу с притертой пробкой вместимостью 100 см3, содержащую 25 см3 раствора иода концентрацией 0,05 моль/дм3 и 5 см3 25 %-ного раствора соляной кислоты, быстро закрывают колбу пробкой и растворяют при перемешивании.
Избыток иода оттитровывают раствором тиосульфата концентрацией 0,1 моль/дм3, прибавляя в конце титрования 1 см3 0,5 %-ного раствора крахмала. Раствор титруют до исчезновения синей окраски. Одновременно делают контрольный опыт, титруя такой же раствор, не содержащий пиросульфита натрия.
Содержание основного вещества (%) рассчитывают по формуле:
![]()
где υ1 - объем раствора тиосульфата натрия концентрацией 0,1 моль/дм3, пошедшего на титрование пробы, содержащей пиросульфит натрия, см3;
υ - объем раствора тиосульфата натрия концентрацией 0,1 моль/дм3, пошедшего на контрольное титрование, см3;
M - навеска пиросульфита натрия, г;
0,004752 - масса (г/см3) пиросульфита натрия, эквивалентная 1 см3 раствора тиосульфата натрия концентрацией 0,1 моль/дм3.
Очистка парарозанилина гидрохлорида
1. Приготовление растворов
1) Соляная кислота, раствор 1 моль/дм3. Раствор готовят в соответствии с п. 7.2 (см. перечисление 7) данной методики.
2) Иодид калия, 20 %-ный (масса/объем) раствор. В мерную колбу вместимостью 100 см3 помещают 20,0 г иодида калия, взвешенного с погрешностью 0,02 г, растворяют в воде и доводят объем до метки.
3) Соляная кислота, насыщенная бутанолом.
В делительную воронку вместимостью 1 дм3 помещают 250 см3 раствора соляной кислоты (1 моль/дм3) и 250 см3 бутанола. Раствор встряхивают 10 - 15 мин, оставляют на 2 ч и разделившиеся фазы сливают в две конические колбы. Верхняя фаза - раствор бутанола, насыщенного соляной кислотой. Нижняя фаза - раствор соляной кислоты, насыщенной бутанолом.
Примечание. Перед приготовлением проверяют бутанол на присутствие окислителей. Для этого к 20 см3 бутанола приливают 5 см3 20 %-ного раствора KI и встряхивают несколько раз. Если появляется желтая окраска, реактив использовать нельзя.
2. Проведение очистки
Для очистки используют экстракцию примесей с помощью раствора бутанола, насыщенного соляной кислотой, из раствора парарозанилина в соляной кислоте, насыщенной бутанолом. В 100 см3 раствора HCl (1 моль/дм3), насыщенного бутанолом, растворяют 0,2 г парарозанилина. Раствор переносят в делительную воронку вместимостью 250 см3 и добавляют 100 см3 бутанола, насыщенного соляной кислотой, встряхивают 5 мин и через 15 мин разделяют фазы. При встряхивании содержимого воронки загрязняющие примеси переходят в бутанол, окрашивая его в фиолетовый цвет. Эту фазу отбрасывают. Экстракцию повторяют еще 3 раза, используя по 50 см3 чистого, насыщенного кислотой бутанола. Затем водный раствор парарозанилина фильтруют через бумажный фильтр в мерную колбу вместимостью 100 см3 и доводят объем до метки раствором HCl (1 моль/дм3). Этот исходный раствор должен быть окрашен в красновато-желтый цвет. Готовят нулевую пробу, и, если ее оптическая плотность в кювете с l = 2 см не превышает 0,1, очищенный парарозанилин можно использовать в работе.
Если после 4-кратной экстракции значение оптической плотности нулевого раствора превышает указанное, данная партия красителя непригодна к работе.
Методика1 предназначена для определения концентрации диоксида серы в атмосферном воздухе населенных пунктов в диапазоне 0,05 - 1,00 мг/м3 при объеме пробы 10 дм3. Мешающее влияние диоксида азота устраняется сульфаминовой кислотой, озона - выдерживанием пробы перед фотометрированием, солей тяжелых металлов - добавлением трилона Б и фосфорной кислоты.
1 Методика аттестована в ГГО Свидетельство № 221.
1. Нормы точности измерений
При определении концентрации диоксида серы в атмосферном воздухе в диапазоне 0,05 - 1,00 мг/м3 установленное значение суммарной погрешности при доверительной вероятности 0,95 не превышает ±12 %.
2. Метод измерения
Метод основан на улавливании диоксида серы из воздуха пленочным хемосорбентом на основе тетрахлормеркурата натрия (ТХМ) и его фотометрическом определении по соединению, образующемуся в результате взаимодействия диоксида серы с формальдегидом и парарозанилином (или фуксином).
3. Средства измерений, вспомогательные устройства, реактивы и материалы
3.1. При выполнении измерений должны быть применены следующие средства измерений, вспомогательные устройства, реактивы и материалы.
3.2. Средства измерений
Фотоэлектроколориметр или спектрофотометр
Весы аналитические ВЛА-200 по ГОСТ 24104-80Е
3.3. Вспомогательные устройства
Трубки сорбционные СТ 112
(маркировка 1) или СТ 212 (маркировка 2) по ТУ 25-1110.039-82
Стакан В-1-50 ТС по ГОСТ 25336-82
Холодильник (бытовой)
3.4. Реактивы
Бутанол-1, ч. д. а. по ГОСТ 6006-78
Вода дистиллированная по ГОСТ 6709-72
Водорода перекись, х. ч. по ГОСТ 10929-76
Глицерин, ч. д. а. по ГОСТ 6259-75
Иод, раствор 0,05 моль/дм3
(0,1 н.), стандарт-титр по ТУ 6-09-2540-72
Калия иодид, х. ч. по ГОСТ 4232-74
Кислота ортофосфорная (ρ = 1,719 г/см3), х. ч. по ГОСТ 6552-80
Кислота соляная (ρ = 1,19 г/см3), х. ч. по ГОСТ 3118-77
Кислота сульфаминовая, х. ч. по ТУ 6-09-2437-79
Комплексон III (трилон Б), ч. д. а. по ГОСТ 10652-73
Крахмал растворимый, ч. по ГОСТ 10163-76
Натрия ацетат трехводный, ч. д. а. по ГОСТ 199-78
Натрия гидроксид, х. ч. по ГОСТ 4328-77
Натрия гидроксид, раствор
0,1 моль/дм3, стандарт-титр по ТУ 6-09-2540-72
Натрий сернистый, девятиводный, ч. по ГОСТ 2053-77
Натрия пиросульфит, ч. по ТУ 6-09-4327-78
Натрия сульфит, ч. д. а. по ГОСТ 195-77
Натрия тиосульфат, раствор
0,1 моль/дм3, стандарт-титр по ТУ 6-09-2540-72
Натрия хлорид, х. ч. по ГОСТ 4233-77
Парарозанилина гидрохлорид, ч. по ТУ 6-09-07-1182-79
или фуксин основной для фуксинсернистой
кислоты, ч. д. а. по ТУ 6-09-4091-75
Ртути (II) оксид (желтый), ч. д. а. по ГОСТ 5230-74
Формальдегид, 40 %-ный (формалин) по ГОСТ 1625-75
Этиленгликоль, ч. д. а. по ГОСТ 10164-75
4. Требования безопасности
См. п. 5.1.3.
Все работы по приготовлению солей ртути (II) и по обработке сорбционных трубок раствором ТХМ необходимо проводить в вытяжном шкафу. Фильтровальная бумага, используемая для протирания трубок, должна быть обезврежена. Растворы, содержащие ртуть, после анализа следует сливать в специальную емкость. Обезвреживание растворов проводят согласно приложению 1 к данной методике.
5. Требования к квалификации оператора
См. п. 5.1.4.
6. Условия выполнения измерений
См. п. 5.1.14.
7. Подготовка к выполнению измерений
7.1. Перед выполнением измерений должны быть проведены следующие работы: приготовление растворов, установление градуировочной характеристики, подготовка сорбционных трубок, отбор пробы воздуха.
1) Соляная кислота, раствор 10 моль/дм3. 80 см3 соляной кислоты (ρ = 1,19 г/см3) доводят до 100 см3 водой в мерной колбе.
2) Соляная кислота, раствор 1 моль/дм3. 80 см3 соляной кислоты (ρ = 1,19 г/см3) разбавляют до 1 дм3 водой.
3) Соляная кислота, раствор 0,1 моль/дм3. 100 см3 раствора (по перечислению 2) разводят водой в мерной колбе вместимостью 1 дм3.
4) Гидроксид натрия, раствор 0,1 моль/дм3. Готовят из стандарт-титра.
5) Тетрахлормеркурат натрия (ТХМ), раствор 0,04 моль/дм3. В мерную колбу вместимостью 1 дм3 вносят 124 см3 гидроксида натрия концентрацией 0,1 моль/дм3, 600 см3 воды и перемешивают. В толстостенный стакан вместимостью 50 см3 вносят 8,7 г оксида ртути, 4,68 г хлорида натрия и 0,07 г трилона Б и перемешивают стеклянной палочкой до получения однородной массы. Затем вливают 9,0 см3 соляной кислоты концентрацией 10 моль/дм3 и перемешивают до растворения оксида ртути. Полученный раствор медленно переливают в колбу с раствором гидроксида натрия, несколько раз ополаскивают стакан водой до полного переноса раствора из него в колбу. Раствор в колбе перемешивают, измеряют значение pH. Если оно не попадает в интервал 5,4 - 6,4, добавляют раствор гидроксида натрия концентрацией 0,1 моль/дм3 или соляной кислоты концентрацией 0,1 моль/дм3. Доливают раствор до метки водой и вновь перемешивают. Раствор оставляют на сутки, затем в случае легкого помутнения фильтруют. Срок хранения раствора - не больше 6 мес.
Внимание! Раствор ядовит! Все работы по приготовлению раствора следует производить под тягой!
6) Сульфаминовая кислота для проведения анализа, 0,03 %-ный раствор. 0,15 г сульфаминовой кислоты растворяют в 500 см3 воды. Раствор сохраняется не более 2 сут.
7) Сульфаминовая кислота для установления градуировочной характеристики, 0,6 %-ный раствор. 0,6 г сульфаминовой кислоты растворяют в 100 см3 воды. Раствор сохраняется не более 2 сут.
8) Формальдегид, 0,2 %-ный раствор. 0,5 см3 40 %-ного раствора формальдегида (формалина) разбавляют до 100 см3 водой. Раствор готовят перед анализом. Концентрацию исходного раствора формальдегида проверяют титрованием (см. приложение к методике 5.2.7.1).
9) Ортофосфорная кислота, раствор 3 моль/дм3. 194,4 см3 концентрированной ортофосфорной кислоты (ρ = 1,719 г/см3) разбавляют до 1 дм3 водой.
10) Исходный 0,2 %-ный раствор парарозанилина (или фуксина). 0,2 г парарозанилина (или фуксина для фуксинсернистой кислоты) растворяют в мерной колбе вместимостью 100 см3 в 40 - 60 см3 соляной кислоты концентрацией 1 моль/дм3 и доводят до метки тем же раствором кислоты.
11) Рабочий раствор парарозанилина (или фуксина). В мерную колбу вместимостью 250 см3 приливают 200 см3 фосфорной кислоты концентрацией 3 моль/дм3, 20 см3 исходного раствора парарозанилина (или фуксина) и доливают до метки водой. Раствор устойчив 6 мес.
12) Иод, раствор 0,05 моль/дм3 (0,1 н.). Готовят из стандарт-титра.
13) Иод, раствор 0,005 моль/дм3. 50 см3 раствора иода концентрацией 0,05 моль/дм3 разводят водой в мерной колбе вместимостью 500 см3. Раствор готовят перед употреблением.
14) Крахмал растворимый, 0,2 %-ный раствор. Растирают 0,4 г крахмала с небольшим количеством воды и полученную взвесь медленно прибавляют к 200 см3 горячей воды; продолжают нагревание до получения прозрачного раствора, затем охлаждают и переносят в стеклянную колбу с пробкой.
15) Тиосульфат натрия, раствор 0,1 моль/дм3. Готовят из стандарт-титра.
16) Тиосульфат натрия, раствор 0,01 моль/дм3. 50 см3 раствора тиосульфата натрия концентрацией 0,1 моль/дм3 доводят водой до метки в мерной колбе вместимостью 500 см3. Раствор готовят перед употреблением.
17) Исходный раствор пиросульфита натрия. 0,300 г пиросульфита натрия (№ 28205) или 0,400 г сульфита натрия растворяют в 500 см3 свежепрокипяченной и охлажденной воды. Этот раствор соответствует раствору с массовой концентрацией SO2 320 - 400 мкг/см3. Точную концентрацию SO2 устанавливают иодометрическим титрованием. Сначала проводят холостое определение. Для этого в три конические колбы вместимостью 200 - 250 см3 вносят из бюретки по 20,0 см3 раствора иода концентрацией 0,005 моль/дм3, по 10 см3 воды и титруют раствором тиосульфата натрия концентрацией 0,01 моль/дм3 до получения слабожелтой окраски, затем добавляют 2 см3 раствора крахмала и дотитровывают синий раствор до полного обесцвечивания. Вычисляют среднее значение результата холостого определения.
После этого в три конические колбы вместимостью 200 - 250 см3 вносят из бюретки по 20,0 см3 раствора иода концентрацией 0,005 моль/дм3 и по 10,0 см3 исходного раствора для установления градуировочной характеристики. Закрывают колбы и через 5 мин титруют, как при холостом определении. Массовую концентрацию (мкг/см3) диоксида серы в исходном растворе для градуировки рассчитывают по формуле ρ = 32(A - B), где A и B - объемы (см3) раствора тиосульфата натрия концентрацией 0,01 моль/дм3, пошедшие на титрование соответственно холостой пробы и исходного раствора для градуировки, 32 - коэффициент пересчета. Затем рассчитывают объем раствора, в котором содержится 1,00 мг диоксида серы.
18) Рабочий раствор пиросульфита натрия с массовой концентрацией диоксида серы 10 мкг/см3. Готовят в мерной колбе вместимостью 100 см3 сразу же после установления концентрации исходного раствора, поскольку он неустойчив. Для этого рассчитанный объем исходного раствора (см. перечисление 17), в котором содержится 1 мг диоксида серы, помещают в мерную колбу и доводят до метки раствором ТХМ концентрацией 0,04 моль/дм3 (см. перечисление 5). Раствор устойчив в течение 30 сут при условии хранения в холодильнике. Если холодильник отсутствует, раствор готовят перед употреблением.
При наличии твердого стандартного образца сульфита для установления градуировочной характеристики из него сразу готовят рабочий раствор путем растворения рассчитанной навески стандартного образца в растворе ТХМ натрия (см. перечисление 5). В этом случае растворы по перечислениям 12 - 17 не готовят.
19) Раствор для обработки сорбционных трубок. (Осторожно! Раствор ядовит!) В колбе вместимостью 100 см3 растворяют 1,6 г ацетата натрия в растворе ТХМ концентрацией 0,04 моль/дм3, добавляют 15 см3 этиленгликоля и доводят до метки тем же раствором ТХМ. Раствор может храниться в течение 6 мес. Этиленгликоль должен быть проверен на отсутствие перекисных соединений. Метод проверки и очистки этиленгликоля дается в п. 5.1.7.
7.3. Установление градуировочной характеристики
Градуировочную характеристику, выражающую зависимость оптической плотности от массы диоксида серы в пробе, устанавливают по растворам для градуировки, приготовленным в пяти сериях. Растворы для градуировки готовят в мерных колбах вместимостью 100 см3, для чего в каждую колбу вносят по 1,7 см3 раствора для обработки трубок, по 25 - 30 см3 дистиллированной воды, рабочий раствор для градуировки, согласно табл. 5.27, доводят до метки дистиллированной водой и тщательно перемешивают.
Растворы для установления градуировочной характеристики при определении концентрации диоксида серы
|
1 |
2 |
3 |
4 |
5 |
6 |
7 |
|
|
Объем рабочего раствора (ρ = 10 мкг/см3), см3 |
0,2 |
1 |
2 |
4 |
8 |
12 |
16 |
|
Соответствует массе 50 г в 5 см3 раствора, мкг |
0,1 |
0,5 |
1 |
2 |
4 |
6 |
8 |
Для установления градуировочной характеристики отбирают по 5 см3 каждого раствора для градуировки, в каждую пробирку приливают по 0,2 см3 (точно) 0,6 %-ной сульфаминовой кислоты (см. п. 7.2, перечисление 7), встряхивают и оставляют на 10 мин. Затем приливают по 0,4 см3 формальдегида и по 1 см3 раствора парарозанилина или фуксина (см. п. 7.2, перечисление 11). Содержимое пробирок тщательно встряхивают и через 30 мин измеряют оптическую плотность раствора относительно воды. Измерения производят в кюветах с расстоянием между рабочими гранями 10 мм при длине волны 548 нм. Время от добавления последнего реактива до измерения оптической плотности для всех проб должно быть одинаковым. Одновременно измеряют оптическую плотность нулевого раствора, содержащего те же реактивы, кроме SO2. Для этого к 5 см3 дистиллированной воды приливают 0,1 или 0,2 см3 (при использовании СТ 212) раствора для обработки трубок и далее анализируют аналогично пробе. Проводят измерение оптической плотности пяти параллельно приготовленных нулевых растворов и вычисляют среднее значение. Если оно превышает 0,035, необходимо провести дополнительную очистку фуксина или парарозанилина согласно приложению 2 к методике 5.2.7.1. Значения температуры растворов при установлении градуировочной характеристики и при анализе проб не должны различаться более чем на 5 °С.
Действительные значения оптической плотности находят по разности значений оптической плотности растворов для градуировки и нулевого раствора. Проверку градуировочной характеристики следует проводить при каждой смене партии парарозанилина, но не реже одного раза в квартал.
7.4. Подготовка сорбционных трубок к отбору проб
Чистые трубки, предназначенные для отбора проб, и те, которые используют в качестве нулевых, обрабатывают абсорбирующим раствором (см. п. 7.2, перечисление 19) в соответствии с п. 5.1.12. (Внимание! Работать в резиновых перчатках под тягой!) Затем трубки тщательно вытирают фильтровальной бумагой, сразу же закрывают заглушками, помещают в полиэтиленовые пакеты и транспортируют к месту отбора проб. Срок хранения обработанных трубок в герметичной упаковке в защищенном от света месте при температуре ниже 20 °С не более 14 сут.
7.5. Отбор проб
Для определения разовых концентраций диоксида серы исследуемый воздух аспирируют через сорбционную трубку, обработанную раствором (см. п. 7.2, перечисление 19), с расходом 0,5 дм3/мин в течение 20 мин. При отборе сорбционная трубка должна быть укреплена в вертикальном положении, слоем сорбента вниз. Перед отбором пробы слой сорбента в СТ уплотняется легким постукиванием нижним концом трубки о деревянную поверхность. Воздух должен идти снизу вверх. При небольших концентрациях диоксида серы расход воздуха может быть увеличен до 2 дм3/мин. В этом случае диапазон измеряемых концентраций составляет 0,01 - 0,25 мг/м3. Пробы в процессе отбора и хранения необходимо защищать от света (при отборе - экраном из черной бумаги). При температуре 20 °С диоксид серы в пробах окисляется примерно на 1,5 % за сутки, при более высокой - быстрее. Пробы необходимо сразу же после отбора закрыть заглушками, упаковать и поместить в холодильник. Хранение на пункте отбора проб без холодильника при температуре выше 20 °С недопустимо. Срок хранения в холодильнике - 8 сут. Способ увеличения срока хранения без холодильника описан в приложении 2 к данной методике.
8. Выполнение измерений
В лаборатории помещают трубки в стеклянные пробирки и заливают их 6 см3 раствора сульфаминовой кислоты (см. п. 7.2, перечисление 6). Путем нескольких прокачиваний раствора через сорбент при помощи резиновой груши переводят пробу в раствор, выдувают его остатки и вынимают трубку. Из пробирки отбирают для анализа 5 см3 раствора. Приливают 0,4 см3: формальдегида и 1,0 см3 раствора парарозанилина или фуксина. Содержимое пробирки тщательно перемешивают и через 30 мин измеряют оптическую плотность раствора относительно воды. Каждый раз одновременно с пробами готовят три нулевых раствора, для чего обработанные специальным раствором (см. п. 7.2, перечисление 19) сорбционные трубки, хранившиеся вместе с пробами, помещают в стеклянные пробирки и анализируют аналогично пробе. Массу диоксида серы в пробе находят с помощью установленной градуировочной характеристики по разности оптических плотностей растворов пробы и нулевого.
При исследовании проб особо загрязненного воздуха (с концентрацией SO4 1 - 10 мг/м3) вместо 5 см3 для анализа берут 0,5 см3 пробы и доливают 4,5 см3 дистиллированной воды. В этом случае расчет проводят с учетом разбавления в 10 раз.
9. Вычисление результата измерений
Обезвреживание растворов, содержащих ртуть
В полиэтиленовый сосуд вместимостью не менее 50 дм3 сливают растворы, содержащие ртуть, полученные после анализа (не смешивать с растворами от других анализов!). Когда объем достигает 40 дм3, добавляют реактивы в определенном порядке, тщательно перемешивая раствор после каждого добавления. Сначала приливают 40 %-ный (масса/объем) раствор гидроксида натрия в количестве, достаточном для нейтрализации, и еще 400 см3 этого же раствора. Затем добавляют 100 г сульфида натрия и через 10 мин медленно приливают 400 см3 30 %-ного раствора перекиси водорода. Оставляют смесь на 24 ч, сливают жидкость над осадком и выливают ее. Осадок сульфида ртути (содержащий около 5 г HgS) с небольшим количеством жидкости переливают в стеклянную банку вместимостью 1 дм3, которую после наполнения захоранивают в специально отведенных местах для токсичных отходов, или регенирируют из сульфида ртуть.
Способ увеличения срока хранения проб без холодильника
Для обеспечения длительного хранения проб при отсутствии холодильника их помещают в стеклянные пробирки, откуда вытесняют воздух углекислым газом. Для этого после отбора пробы воздуха сорбционную трубку присоединяют к источнику CO2 и помещают в пробирку. Углекислый газ пропускают в течение 10 мин, отсоединяют трубку от источника CO2, не вынимая ее из пробирки, плотно закрывают пробирку притертой стеклянной пробкой и помещают на хранение в темное место. Скорость окисления проб в углекислом газе составляет примерно 0,3 % в сутки, т.е. в пять раз меньше, чем в воздухе. Срок хранения проб в углекислом газе в темном месте - не более 10 сут.
Методика предназначена для определения концентрации сероводорода в атмосферном воздухе населенных пунктов в диапазоне 0,003 - 0,075 мг/м3 при отборе пробы воздуха объемом 80 дм3. Используется для измерения разовых и среднесуточных концентраций сероводорода.
1. Нормы точности измерений
По результатам метрологического исследования, при определении концентрации сероводорода в атмосферном воздухе в диапазоне 0,003 - 0,075 мг/м3 суммарная погрешность при доверительной вероятности 0,95 не превышает ±25 %.
2. Метод измерения
Метод основан на улавливании сероводорода из воздуха пленочным хемосорбентом и его фотометрическом определении по метиленовой синей, образующейся в результате взаимодействия сульфид-иона с N, N-диметил-n-фенилендиамином и хлорным железом.
3. Средства измерений, вспомогательные устройства, реактивы и материалы
3.1. При выполнении измерений должны быть применены следующие средства измерений, вспомогательные устройства, реактивы и материалы.
Фотоэлектроколориметр КФК-2, КФК-2МП,
КФК-3 или спектрофотометр
Весы аналитические ВЛА-200 или ВЛР-200 по ГОСТ 24104-80Е
Меры массы по ГОСТ 7328-82Е
Секундомер; класс 3; цена деления
секундной шкалы 0,2 с по ГОСТ 5072-79Е
Барометр-анероид М-67 по ТУ 2504-1797-75
Термометр лабораторный шкальный
ТЛ-2; пределы 0 - 55 °С; цена деления 1 °С по ГОСТ 215-73Е
Электроаспиратор ЭА-1;
погрешность ±10 %; Госреестр 5997-77 по ТУ 25-11-1414-78
Колбы мерные 2-50-2 - 8 шт. по ГОСТ 1770-74Е
Пипетки по ГОСТ 20292-74Е
4-2-1 - 4 шт.
6-2-10 - 1 шт.
Бюретки 3-2-25-0,1 - 2 шт. по ГОСТ 20292-74Е
3.3. Вспомогательные устройства
Трубки сорбционные СТ 212
(маркировка 2) по ТУ 25-1110.039-82
Вода дистиллированная по ГОСТ 6709-72
N, N-диметил-n-фенилендиамин
дигидрохлорид, ч. д. а. по ТУ 6-09-1903-77
Железа (III) хлорид, х. ч. по ГОСТ 4147-74
Иод, 0,05 моль/дм3 (0,1 н.), стандарт-титр по ТУ 6-09-2540-72
Кадмия ацетат, ч. д. а. по ГОСТ 5824-79
или кадмия сульфат, х. ч. по ГОСТ 4456-75
Калия цитрат, 1-водный, ч. д. а. по ГОСТ 5538-78
Крахмал растворимый, ч. по ГОСТ 10163-76
Натрия гидроксид, х. ч. по ГОСТ 4328-77
Натрия сульфид, ч. д. а. по ГОСТ 2053-77
Натрия тиосульфат, 0,1 моль/дм3
(0,1 н.), стандарт-титр
Серная кислота, х. ч. по ГОСТ 4204-77
Соляная кислота, х. ч. по ГОСТ 3118-77
Триэтаноламин, ч. по ТУ 6-09-10-643-76
Уголь осветляющий ОУ-А
4. Требования безопасности
См. п. 5.1.3.
Все работы с сероводородом и солями кадмия необходимо проводить под тягой.
5. Требования к квалификации оператора
См. п. 5.1.4.
6. Условия выполнения измерений
См. п. 5.1.14.
7. Подготовка к выполнению измерений
7.1. Перед выполнением измерений должны быть произведены следующие работы: приготовление растворов, установление градуировочной характеристики, подготовка сорбционных трубок, отбор проб воздуха.
1) Раствор соли кадмия. 5 г уксуснокислого кадмия или 4,8 г сернокислого кадмия и 1 г лимоннокислого калия растворяют в мерной колбе вместимостью 1 дм3 в 500 см3 воды, добавляют 80 г триэтаноламина (или 400 см3 его 20 %-ного раствора) и доводят водой до метки.
Примечание. Если триэтаноламин имеет окраску (от желтой до темно-коричневой), то его очищают следующим образом. 200 г триэтаноламина разводят в мерном стакане водой до 1 дм3, добавляют 12 г осветляющего угля, тщательно перемешивают и оставляют на 2 - 3 ч. После этого раствор фильтруют через воронку Бюхнера с водоструйным насосом или обычным способом через фильтр «синяя лента». Фильтрат (бесцветный или со слабожелтым оттенком) используют для приготовления поглотительного раствора. В случае необходимости операцию очистки повторяют.
2) Раствор, для обработки сорбционных трубок. 10 г сернокислого кадмия растворяют в 100 см3 20 %-ного раствора триэтаноламина, к полученному раствору прибавляют 3,8 см3 50 %-ного раствора гидроксида натрия и тщательно перемешивают. Полученная мелкодисперсная суспензия гидроксида кадмия применяется для обработки сорбционных трубок и может быть использована в течение месяца. В случае расслоения суспензию перед употреблением перемешивают до образования однородной массы.
3) Раствор хлорного железа. 50 г хлорного железа растворяют в небольшом количестве воды и доводят объем до 50 см3.
4) Серная кислота, раствор 1:1. К 100 см3 воды медленно, небольшими порциями, при перемешивании приливают 100 см3 концентрированной серной кислоты.
5) Серная кислота, 5 %-ный раствор. К 100 см3 воды осторожно приливают 3 см3 концентрированной серной кислоты и перемешивают.
6) Раствор N, N-диметил-n-фенилендиамина (ДФД). 100 мг ДФД растворяют в 100 см3 раствора серной кислоты (1:1).
7) Крахмал, 0,5 %-ный раствор. 0,25 г крахмала размешивают в 10 см3 воды до получения равномерной взвеси. Нагревают 30 см3 воды до 50 - 60 °С, прибавляют взвесь крахмала и продолжают при постоянном перемешивании нагревать до кипения. Раствор кипятят 1 мин и охлаждают. Объем раствора доводят до 50 см3 водой.
8) Гидроксид натрия, 50 %-ный раствор. 50 г гидроксида натрия растворяют при перемешивании в 50 см3 воды. Раствор готовят в термостойкой посуде, соблюдая предосторожности, необходимые при работе с крепкими растворами щелочей.
9) Гидроксид натрия, раствор 0,1 моль/дм3. 4 г гидроксида натрия растворяют в мерной колбе в 1 дм3 свежепрокипяченной охлажденной воды. Раствор готовят перед употреблением.
10) Соляная кислота, 10 %-ный раствор. Готовят добавлением 219 см3 концентрированной соляной кислоты (ρ = 1,19 г/см3) к 781 см3 воды.
11) Тиосульфат натрия, раствор 0,1 моль/дм3. Готовят из стандарт-титра.
12) Иод, раствор 0,05 моль/дм3. Готовят из стандарт-титра.
13) Сероводород. Для получения сероводорода сульфид натрия помещают в двугорлую склянку и медленно, по каплям, приливают из капельной воронки 5 - 10 %-ную соляную кислоту, покачивая склянку для более равномерного смачивания.
Осторожно! Прибавление большого количества кислоты может вызвать выброс пробки. Работать только под тягой!
14) Исходный раствор сероводорода готовят насыщением сероводородом свежеприготовленного раствора гидроксида натрия концентрацией 0,1 моль/дм3. Массовую концентрацию H2S в исходном растворе определяют иодометрическим титрованием. Для этого в коническую колбу с притертой пробкой вместимостью 150 - 200 см3 вносят 25,0 см3 раствора иода концентрацией 0,05 моль/дм3, 10 см3 5 %-ного раствора серной кислоты и затем при постоянном перемешивании 10 см3 исходного раствора сероводорода. Закрывают колбу и оставляют на 5 мин. Затем титруют раствором тиосульфата натрия концентрацией 0,1 моль/дм3 до получения слабо-желтой окраски, добавляют несколько капель крахмала и продолжают титрование до полного обесцвечивания раствора. Вычисляют среднее значение из трех определений. Так же проводят контрольное титрование, для чего в три колбочки вливают по 25,0 см3 раствора иода концентрацией 0,05 моль/дм3, 10 см3 5 %-ного раствора серной кислоты и 10 см3 воды. 1 см3 раствора Na2S2O3 концентрацией 0,1 моль/дм3 соответствует 1,7043 мг H2S. Массовую концентрацию (мг/см3) сероводорода в исходном растворе рассчитывают по формуле:
![]()
где V1 и V2 - объемы растворов тиосульфата (0,1 моль/дм3), пошедшие на контрольное титрование (V1) и на титрование пробы (V2), см3;
K - коэффициент пересчета (K = 1,7).
15) Раствор сероводорода (ρ = 500 мкг/см3). После установления концентрации H2S в исходном растворе путем его разведения раствором гидроксида натрия (0,1 моль/дм3) готовят раствор с массовой концентрацией 500 мкг/см3 H2S. Точное содержание сероводорода в приготовленном растворе определяют титрометрически, как указано в перечислении 14.
16) Рабочий раствор сероводорода (ρ = 5 мкг/см3) готовят сразу же с учетом результатов титрования раствора H2S (см. перечисление 15). Для этого в мерную колбу вместимостью 100 см2 наливают 70 - 80 см3 раствора по перечислению 1 и прибавляют по каплям при интенсивном перемешивании необходимое количество раствора по перечислению 15, после чего объем доводят до метки раствором по перечислению 1. Раствор устойчив 24 ч.
7.3. Установление градуировочной характеристики
Градуировочную характеристику, выражающую зависимость оптической плотности от массы сероводорода в анализируемой пробе, устанавливают по растворам для градуировки, приготовленным в пяти сериях. Каждую серию, состоящую из семи растворов, готовят в мерных колбах вместимостью 50 см3 из свежеприготовленного рабочего раствора сероводорода, для чего в каждую колбу приливают 10 - 20 см3 дистиллированной воды, 2 см3 раствора для обработки трубок, 10 см3 раствора ДФД, 0,4 см3 раствора хлорида железа, рабочий раствор сероводорода для градуировки, согласно табл. 5.28, доводят до метки дистиллированной водой, тщательно перемешивают и через 30 мин измеряют оптическую плотность растворов по отношению к воде.
Растворы для установления градуировочной характеристики при определении концентрации сероводорода
|
1 |
2 |
3 |
4 |
5 |
6 |
7 |
|
|
Объем рабочего раствора (ρ = 5 мкг/см3), см3 |
0,5 |
1 |
2 |
4 |
8 |
12 |
16 |
|
Масса H2S в 5 см3 пробы, мкг |
0,25 |
0,5 |
1 |
2 |
4 |
6 |
8 |
Измерения проводят в кюветах с расстоянием между рабочими гранями 10 мм при длине волны 670 нм. Одновременно готовят нулевой раствор, содержащий все реактивы, кроме определяемого вещества. Проводят измерение оптической плотности трех параллельно приготовленных нулевых растворов. Среднее значение оптической плотности нулевого раствора не должно превышать 0,02. Действительные значения оптической плотности находят по разности оптических плотностей растворов для градуировки и нулевого раствора.
7.4. Подготовка сорбционных трубок к отбору проб
Чистые сорбционные трубки, предназначенные для отбора проб, и те, которые используют в качестве нулевых, обрабатывают абсорбирующим раствором (см. п. 7.2, перечисление 2) в соответствии с п. 5.1.12, тщательно вытирают снаружи чистой фильтровальной бумагой, закрывают заглушками и упаковывают в полиэтиленовые пакеты. Срок хранения подготовленных трубок в герметичной упаковке в защищенном от света месте - одна неделя.
7.5. Отбор проб
Для определения разовой концентрации сероводорода исследуемый воздух аспирируют с расходом 4 дм3/мин в течение 20 мин через сорбционную трубку, подготовленную к отбору. При отборе трубка должна быть укреплена в вертикальном положении слоем сорбента вниз и защищена от света экраном из черной бумаги или фольги. Отобранные пробы, защищенные от света, в герметичной упаковке могут сохраняться в течение 2 - 3 сут.
8. Выполнение измерений
Сорбционную трубку помещают в пробирку, содержащую 4 см3 дистиллированной воды, 1 см3 раствора ДФД и 1 каплю раствора хлорного железа. Путем нескольких прокачиваний при помощи резиновой груши переводят пробу в раствор и оставляют на 30 мин до полного развития окраски. После этого трубку вынимают и определяют оптическую плотность раствора. Аналогично анализируют нулевую пробу - сорбционную трубку из партии подготовленных к отбору. Массу сероводорода в пробе находят с помощью установленной градуировочной характеристики по разности оптических плотностей растворов пробы и нулевого.
9. Вычисление результата измерений
Методика предназначена для определения концентрации сероводорода в атмосферном воздухе в диапазоне 0,004 - 0,12 мг/м3 при отборе пробы воздуха объемом 80 дм3.
Сильные окислители, присутствующие в воздухе, занижают результаты определения. Диоксид серы при концентрациях более 10 мг/м3 задерживает развитие окраски.
Потери сероводорода при отборе в поглотительные приборы Рыхтера в процессе аспирации воздуха при расходе 4 дм3/мин составляют 35 %, что компенсируется введением коэффициента 1,54.
1. Нормы точности измерений
По экспертным оценкам, при определении концентрации сероводорода в атмосферном воздухе в диапазоне 0,004 - 0,12 мг/м3 суммарная погрешность не превышает ±25 %.
2. Метод измерения
Метод основан на улавливании сероводорода из воздуха раствором комплекса кадмия с триэтаноламином и его фотометрическом определении по метиленовой сини, образующейся в результате взаимодействия сульфид-иона с N, N-диметил-n-фенилендиамином и хлорным железом.
3. Средства измерения, вспомогательные устройства, реактивы и материалы
3.1. При выполнении измерений должны быть применены следующие средства измерений, вспомогательные устройства, реактивы.
3.2. Средства измерения
3.3. Вспомогательные устройства
Поглотительные приборы Рыхтера по ТУ 25-11.1136-75
3.4. Реактивы
4. Требования безопасности
См. п. 5.1.3.
Все работы с сероводородом и солями кадмия следует проводить под тягой.
5. Требования к квалификации оператора
См. п. 5.1.4.
6. Условия выполнения измерений
См. п. 5.1.14.
7. Подготовка к выполнению измерений
7.1. Перед выполнением измерений должны быть произведены следующие работы: приготовление растворов, установление градуировочной характеристики, отбор проб воздуха.
7.2. Приготовление растворов
См. методику 5.2.7.3, п. 7.2, перечисления 1, 3 - 16 методики 5.2.7.3.
Растворы для установления градуировочной характеристики при определении концентрации сероводорода
|
1 |
2 |
3 |
4 |
5 |
6 |
|
|
Объем рабочего раствора (ρ = 5 мкг/см3), см3 |
1 |
2 |
4 |
8 |
16 |
24 |
|
Масса H2S в 5 см3 пробы, мкг |
0,25 |
0,5 |
1 |
2 |
4 |
6 |
7.3. Установление градуировочной характеристики
Градуировочную характеристику, выражающую зависимость оптической плотности от массы сероводорода в анализируемой пробе, строят по пяти сериям растворов для градуировки. Каждую серию, состоящую из шести растворов, готовят из свежеприготовленного раствора сероводорода. Растворы для градуировки готовят в мерных колбах вместимостью 100 см3, для чего в каждую колбу приливают 50 - 60 см3 поглотительного раствора, рабочего раствора для градуировки (см. методику 5.2.7.3, п. 7.2, перечисления 16) согласно табл. 5.29, доливают до метки поглотительным раствором (см. методику 5.2.7.3, п. 7.2, перечисление 1) и тщательно перемешивают.
Для установления градуировочной характеристики отбирают по 5 см3 каждого раствора в пробирки, приливают по 1 см3 раствора N, N-диметил-n-фенилендиамина и с интервалом 1 - 2 мин по 1 капле (0,04 см3) раствора хлорного железа. Содержимое пробирок перемешивают, через 30 мин определяют оптическую плотность растворов по отношению к воде. Измерения производят в кюветах с расстоянием между рабочими гранями 10 мм при длине волны 670 нм. Аналогично измеряют оптическую плотность трех нулевых растворов. Для приготовления нулевого раствора к 5 см3 поглотительного раствора приливают 1 см3 раствора N, N-диметил-n-фенилендиамина и 1 каплю раствора хлорного железа. Среднее значение оптической плотности нулевого раствора не должно превышать 0,02. В противном случае необходимо проверить чистоту посуды, измерительных кювет, качество воды, приготовленных реактивов. Действительные значения оптической плотности находят по разности оптических плотностей растворов для градуировки и нулевого.
7.5. Отбор проб
Для определения разовой концентрации сероводорода исследуемый воздух аспирируют через поглотительный прибор Рыхтера, заполненный 5 см3 поглотительного раствора, со скоростью 4 дм3/мин в течение 20 мин. При отборе следует защищать поглотительный прибор от прямых солнечных лучей. Срок хранения отобранных проб 24 ч.
8. Выполнение измерений
Уровень раствора в поглотительном приборе доводят дистиллированной водой до метки 5 см3. В поглотительный прибор приливают 1 см3 раствора N, N-диметил-n-фенилендиамина и 0,04 см3 (1 каплю) раствора хлорного железа. Содержимое энергично встряхивают и через 30 мин определяют оптическую плотность относительно воды. Измерения производят в кюветах с расстоянием между рабочими гранями 10 мм при длине волны 670 нм. Время от добавления последнего реактива до измерения оптической плотности для всех проб должно быть одинаковым. Аналогично анализируют нулевую пробу - 5 см3 поглотительного раствора. Массу сероводорода в пробе определяют с помощью градуировочной характеристики по разности оптических плотностей пробы и нулевого раствора.
9. Вычисление результата измерений
См. п. 5.1.16, формулу (5), в числитель которой вводится коэффициент 1,54.
Методика1 предназначена для определения концентрации сероуглерода в атмосферном воздухе населенных пунктов в диапазоне 0,02 - 0,33 мг/м3 при объеме пробы воздуха 30 дм3. Мешающее влияние сероводорода и диоксида серы устраняется улавливанием их фильтрами с твердыми сорбентами.
1 Методика аттестована в ГГО. Свидетельство № 18.
1. Нормы точности измерений
При определении концентрации сероуглерода в атмосферном воздухе в диапазоне 0,02 - 0,33 мг/м3 установленное значение суммарной погрешности при доверительной вероятности 0,95 не превышает ±18 %.
2. Метод измерения
Метод основан на улавливании сероуглерода из воздуха пленочным хемосорбентом и его фотометрическом определении по соединению, образующемуся в результате взаимодействия сероуглерода, тетраметилдипропилентриамина и ацетата меди.
3. Средства измерений, вспомогательные устройства, реактивы и материалы
3.1. При выполнении измерений должны быть применены следующие средства измерений, вспомогательные устройства, реактивы и материалы.
3.2. Средства измерений
Фотоэлектроколориметр или спектрофотометр
Весы аналитические ВЛА-200 по ГОСТ 24104-80Е
Меры массы по ГОСТ 7328-82Е
Секундомер; класс 3; цена деления
секундной шкалы 0,2 с по ГОСТ 5072-79Е
Барометр-анероид М-67 по ТУ 2504-1797-75
Термометр лабораторный шкальный
ТЛ-2; пределы 0 - 55 °С; цена деления 1 °С по ГОСТ 215-73Е
Электроаспиратор ЭА-1; погрешность
±10 %; Госреестр № 5997-77 по ТУ 25-11-1414-78
Колбы мерные по ГОСТ 1770-74Е
1-25-2 - 1 шт.
1-50-2 - 8 шт.
Пипетки по ГОСТ 20292-74Е
4-2-1 - 4 шт.
6-2-5 - 2 шт.
6-2-10 - 1 шт.
3.3. Вспомогательные устройства
Трубки сорбционные СТ 212 (маркировка 2) по ТУ 25-1110.039-82
Патрон для сорбентов
Холодильник бытовой любого типа
3.4. Реактивы
Диэтилдитиокарбамат натрия, ч. д. а. по ГОСТ 8864-71
Глицерин, ч. д. а. по ГОСТ 6259-75
Иод 0,05 моль/дм3 (0,1 н.), стандарт-титр по ТУ 6-09-2540-72
Кальций хлористый, ч. д. а. по ГОСТ 4161-77
Крахмал растворимый по ГОСТ 10163-76
Медь уксуснокислая, ч. д. а. по ГОСТ 5852-79
Натрий уксуснокислый, ч. д. а. по ГОСТ 199-78
Никель сернокислый, ч. д. а. по ГОСТ 4465-74
Сероуглерод синтетический по ГОСТ 19213-73
Спирт этиловый, ректификат по ГОСТ 5962-67
Сферохром (фракция 0,25 - 2 мм)
или кирпич легковесный шамотный по ГОСТ 5040-78
Трилон Б, ч. д. а. по ГОСТ 6-09-11-762-78
Тетраметилдипропилентриамин (ТМДТ) по ГОСТ 38.4040-81
Углерод четыреххлористый, х. ч. по ГОСТ 20288-74
Хлороформ, х. ч. по ГОСТ 6209-42-63-76
Цинк уксуснокислый ч. д. а. по ГОСТ 5823-78
3.5. Материалы
Стекловата.
4. Требования безопасности
См. п. 5.1.3.
Все работы с сероуглеродом следует проводить под тягой.
5. Требования к квалификации оператора
См. п. 5.1.4.
6. Условия выполнения измерений
См. п. 5.1.14.
7. Подготовка к выполнению измерений
7.1. Перед выполнением измерений должны быть произведены следующие работы: приготовление растворов, установление градуировочной характеристики, подготовка сорбционных трубок, отбор проб воздуха.
1) 25 %-ный раствор сульфата никеля. 2,5 г сульфата никеля (NiSO4×7H2O) растворяют в 7,5 см3 горячей дистиллированной воды.
2) Раствор для обработки сорбционных трубок. 0,8 см3 25 %-ного раствора сульфата никеля приливают к 100 см3 ТМДТ, перемешивают и оставляют на 1 сут. Появившаяся при перемешивании раствора муть оседает, прозрачный раствор сливают и используют для обработки трубок. Срок хранения раствора - 7 сут.
3) 5 %-ный раствор ацетата меди. 2,5 г ацетата меди растворяют в 30 - 40 см3 горячей дистиллированной воды, после осаждения объем раствора доводят водой до 50 см3.
4) 0,01 %-ный спиртовой раствор ацетата меди. 0,2 см3 5 %-ного раствора ацетата меди разводят до 100 см3 спиртом.
5) 1 %-ный раствор трилона Б. 5 г трилона Б растворяют в 500 см3 дистиллированной воды.
6) Смешанный реактив для установления градуировочной характеристики. Смешивают 20 см3 1 %-ного раствора трилона Б, 20 см3 раствора для обработки сорбционных трубок и 460 см3 0,01 %-ного спиртового раствора ацетата меди.
7) Исходный раствор CS2 для градуировки. В мерную колбу с притертой пробкой вместимостью 50 см3 вливают около 20 см3 спирта, закрывают пробкой и взвешивают на аналитических весах. Затем прибавляют 1 - 2 капли сероуглерода и колбу взвешивают вторично. По разности результатов взвешиваний находят массу сероуглерода. Содержимое колбы доводят до метки спиртом и тщательно перемешивают. Вычисляют массу сероуглерода в 1 см3 раствора.
8) Рабочий раствор CS2 для градуировки с массовой концентрацией 10 мкг/см3. Готовят соответствующим разбавлением исходного раствора спиртом.
Используют свежеприготовленные растворы для градуировки.
Примечание. В случае отсутствия сероуглерода для приготовления раствора для градуировки можно использовать диэтилдитиокарбамат натрия (ДДТК Na), содержание которого в реактиве контролируется путем иодометрического титрования. При титровании 4 г ДДТК Na переносят в мерную колбу вместимостью 250 см3, растворяют в дистиллированной воде и доводят водой до метки. В три конические колбы переносят по 10 см3 данного раствора и титруют раствором иода концентрацией 0,05 моль/дм3, добавив 10 см3 петролейного эфира, хлороформа или четыреххлористого углерода, чтобы экстрагировать образующийся тиурамдисульфид. Затем приливают несколько капель крахмала и окончательно титруют иодом до появления синей окраски. Для расчета используют среднее значение из трех определений. Хотя при титровании с иодом взаимодействует молекула диэтилдитиокарбамата натрия, но для удобства работы расчет ведут на сероуглерод. 1 см3 раствора иода (c = 0,05 моль/дм3) соответствует 7,6 мг сероуглерода. Массовую концентрацию сероуглерода (мг/см3) в растворе диэтилдитиокарбамата натрия рассчитывают по формуле:
![]()
где K - коэффициент пересчета, равный 7,6;
V1 - объем раствора ДДТК Na, взятый для титрования, см3;
V2 - объем раствора иода концентрацией 0,05 моль/дм3, пошедший на титрование, см3.
По результатам титрования разведением спиртом в мерной колбе вместимостью 50 см3 готовят градуировочный раствор, соответствующий раствору с массовой концентрацией сероуглерода 100 мкг/см3. Из этого раствора разведением в спирте получают рабочий раствор для градуировки (ρ = 10 мкг/см3 CS2). Этот раствор используют для приготовления градуировочных растворов.
9) Иод, 0,05 моль/дм3. Готовят из стандарт-титра.
10) Крахмал 0,5 %-ный раствор. 0,25 г крахмала размешивают с 10 см3 воды до получения равномерной взвеси, нагревают 40 см3 воды до 50 - 60 °С, прибавляют взвесь крахмала и продолжают при перемешивании нагревать до кипения. Раствор кипятят 1 мин и охлаждают. Объем раствора доводят до 50 см3 водой.
11) Сорбент для улавливания сероводорода и диоксида серы из анализируемого воздуха. Порошок инертного носителя (фракция 0,25 - 2 мм) смачивают смесью насыщенных растворов (1:1) ацетатов натрия и цинка с добавкой 10 % (по объему) глицерина. Избыток раствора сливают, и сорбент высушивают при температуре 90 - 100 °С.
Растворы для установления градуировочной характеристики при определении концентрации сероуглерода
|
1 |
2 |
3 |
4 |
5 |
6 |
7 |
|
|
Объем раствора сероуглерода (ρ = 10 мкг/см3), см3 |
0,5 |
1 |
2 |
4 |
6 |
8 |
10 |
|
Масса сероуглерода в 5 см3 пробы, мкг |
0,5 |
1 |
2 |
4 |
6 |
8 |
10 |
12) Осушитель воздуха. Порошок инертного носителя (фракция 0,25 - 2 мм) смачивают насыщенным раствором хлористого кальция. Избыток раствора сливают, и сорбент высушивают при температуре 150 - 160 °С.
13) Поглотительный патрон заполняют 5 см3 сорбента для поглощения H2S и SO2 и 10 см3 осушителя воздуха. Сорбенты помещают между тампонами из стекловаты.
7.3. Установление градуировочной характеристики
Градуировочную характеристику, выражающую зависимость оптической плотности от массы сероуглерода в анализируемой пробе, устанавливают по растворам для градуировки, приготовленным в пяти сериях. Каждую серию, состоящую из семи растворов для градуировки, готовят из свежеприготовленного раствора сероуглерода. Растворы для градуировки готовят в мерных колбах вместимостью 50 см3, для чего в каждую колбу приливают 25 - 30 см3 смешанного реактива, рабочий раствор, согласно табл. 5.30, доводят до метки смешанным реактивом и тщательно перемешивают.
Для установления градуировочной характеристики через 10 мин после приготовления измеряют оптическую плотность растворов, содержащихся в колбах, по отношению к воде. Измерения производят в кюветах с расстоянием между рабочими гранями 10 мм со светофильтром с максимумом пропускания 434 нм. В качестве нулевой пробы используют смешанный реактив для установления градуировочной характеристики. Среднее из трех измерений значение оптической плотности этого раствора не должно превышать 0,02. В противном случае необходимо проверить чистоту посуды, измерительных кювет, качество воды и приготовленных реактивов.
Действительные значения оптической плотности находят по разности оптических плотностей растворов для градуировки и нулевого раствора.
7.4. Подготовка сорбционных трубок
Чистые СТ, предназначенные для отбора проб, и те, которые используют в качестве нулевых, обрабатывают абсорбирующим раствором (см. п. 7.2, перечисление 2) в соответствии с п. 5.1.12, тщательно вытирают снаружи чистой фильтровальной бумагой, сразу же закрывают заглушками и упаковывают в полиэтиленовые пакеты. Срок хранения обработанных трубок в герметичной упаковке 2 сут.
7.5. Отбор проб
Для определения разовой концентрации сероуглерода исследуемый воздух аспирируют с расходом 1 дм3/мин в течение 30 мин через сорбционную трубку, подготовленную к отбору. Отбор проб проводят в диапазоне температур 5 - 40 °С. При отборе поглотительный патрон с фильтром для очистки и осушки воздуха и сорбционная трубка укрепляются в вертикальном положении, воздух должен идти последовательно через фильтр очистки, осушитель воздуха и сорбционную трубку. Сорбционную трубку необходимо защищать от света экраном из черной бумаги или фольги. Пробы сразу же после отбора закрывают заглушками, упаковывают в полиэтиленовый мешок и помещают в холодильник или термос со льдом. В этих условиях пробы хранят не более 2 сут.
Сорбент для поглощения SO2 и H2S можно использовать в течение полугода, а осушитель воздуха меняют ежедневно, для регенерации его высушивают при 150 - 160 °С в течение 2 ч.
8. Выполнение измерений
Сорбционную трубку помещают в пробирку и приливают 4,6 см3 0,01 %-ного спиртового раствора ацетата меди и 0,2 см3 1 %-ного раствора трилона Б. Путем нескольких прокачиваний при помощи резиновой груши переводят пробу в раствор и оставляют на 10 мин до полного развития окраски. После этого трубку вынимают и измеряют оптическую плотность раствора. Одновременно с пробами проводят измерение нулевой пробы из партии сорбционных трубок, отправленных на пункт, но не использованных для отбора. Массу сероуглерода в пробе находят с помощью градуировочной характеристики по разности оптических плотностей растворов пробы и нулевого раствора.
9. Вычисление результата измерений
Методика предназначена для определения концентрации сероуглерода в атмосферном воздухе населенных пунктов в диапазоне 0,00125 - 0,05 мг/м3 при объеме пробы воздуха 100 см3. Используется для измерения разовых концентраций.
Определению не мешают хлор, сероводород, диоксид серы, хлористый нитрозил, фосген.
1. Нормы точности измерений
По результатам метрологического исследования, при определении концентрации сероуглерода в атмосферном воздухе в диапазоне 0,00125 - 0,50 мг/м3 суммарная погрешность при доверительной вероятности 0,95 не превышает ±12,5 %.
2. Метод измерения
Метод основан на концентрировании сероуглерода из воздуха на полисорб-1, последующей термодесорбции и газохроматографическом анализе при использовании хроматографа с электронно-захватным детектором.
3. Средства измерений, вспомогательные устройства, реактивы и материалы
3.1. При выполнении измерений должны быть применены следующие средства измерений, вспомогательные устройства, реактивы и материалы:
3.2. Средства измерений
Газовый хроматограф с детектором
по захвату электронов
Хроматографическая колонка стеклянная
длиной 3 м с внутренним диаметром 3 мм
Газообразный азот особой чистоты в
баллоне с редуктором по ТУ 6-027376-65
Шприцы медицинские вместимостью
1 - 2 см3 со стеклянными поршнями по ТУ 64-1-378-73
Дозатор диффузионно-динамического типа
(«Микрогаз»)
Секундомер; класс 3; цена деления
секундной шкалы 0,2 с по ГОСТ 5072-79Е
Лупа измерительная по ГОСТ 8309-75
Линейка измерительная
Весы аналитические ВЛА-200 по ГОСТ 24104-80Е
Меры массы по ГОСТ 7328-82Е
Термометр лабораторный шкальный ТЛ-2;
пределы 0 - 55 °С и 0 - 200 °С; цена деления 1 °С по ГОСТ 215-73Е
Барометр-анероид М-67 по ТУ 2504-1797-75
Колбы мерные по ГОСТ 1770-74Е
Пипетки по ГОСТ 20292-74Е
Выпарные чашки по ГОСТ 9147-73
3.3. Вспомогательные устройства
Трубки сорбционные U-образные стеклянные длиной 150 мм с внутренним диаметром 3 мм
Аспиратор водяной
Печь электрическая для термодесорбции пробы; рабочая температура до 250 °С
3.4. Материалы
Вата стеклянная, обезжиренная
3.5. Реактивы
Полисорб-1, фракция 0,25 - 0,5 мм
Полихлорфенилметилсилоксан ХС-2-1 (неподвижная фаза)
Полихром-1, фракция 0,315 - 0,5 мм
Сероуглерод свежеперегнанный при
температуре 46 °С, х. ч. по ГОСТ 19213-73
Хлороформ свежеперегнанный, х. ч. по ТУ 6-09-4263-76
4. Требования безопасности
См. п. 5.1.3.
Все работы, связанные с использованием сероуглерода и хлороформа, необходимо проводить под тягой.
5. Требования к квалификации оператора
См. п. 5.1.4.
6. Условия выполнения измерений
См. п. 5.1.14.
7. Подготовка к выполнению измерений
7.1. Перед выполнением измерений должны быть произведены следующие работы: подготовка хроматографической колонки и сорбционных трубок, приготовление градуировочных смесей сероуглерода с воздухом, установление градуировочной характеристики, отбор проб воздуха.
7.2. Приготовление насадки для хроматографической колонки, ее заполнение и тренировка
Жидкую фазу ХС-2-1 в количестве 10 % от массы носителя (полихрома-1) растворяют в хлороформе. Раствором заливают помещенный в выпарную чашку полихром-1 так, чтобы он был полностью покрыт жидкостью. Выдерживают полихром в течение 20 - 30 мин при периодическом встряхивании чашки, а затем растворитель упаривают при комнатной температуре до нормальной сыпучести. Вся работа проводится в вытяжном шкафу. Готовой насадкой заполняют хроматографическую колонку одним из общепринятых методов, концы ее закрывают стеклянной ватой слоем 1 см3. Тренируют колонку в токе азота при температуре 170 °С в течение 24 ч.
7.3. Подготовка сорбционных трубок
Сорбционные трубки (пробоотборные) заполняют полисорбом-1, концы закрывают стеклянной ватой и кондиционируют в токе азота при 250 °С в течение 24 ч. Перед отбором проб проверяют чистоту сорбционных трубок, подсоединяя их к хроматографу (см. п. 8). О чистоте сорбционных трубок судят по отсутствию пиков на нулевой линии хроматограммы.
7.4. Приготовление градуировочных смесей сероуглерода с воздухом Градуировочные смеси сероуглерода с воздухом получают диффузионным способом при помощи диффузионно-динамического дозатора «Микрогаз» в соответствии с прилагаемой к нему инструкцией. Время установления динамического равновесия в смеси воздух-сероуглерод определяют путем введения одинаковых объемов этой смеси в хроматограф. Пики одинаковой высоты на хроматограмме свидетельствуют о динамическом равновесии в дозаторе.
7.5. Установление градуировочной характеристики
Градуировочную характеристику, выражающую зависимость высоты пика на хроматограмме от количества сероуглерода, устанавливают с использованием стандартных смесей сероуглерод-воздух, приготовленных диффузионно-динамическим способом. Для этого через сорбционные трубки протягивают градуировочную смесь воздуха с сероуглеродом (после наступления динамического равновесия в системе) в течение разных отрезков времени (например, через одну - 5 мин, через другую - 10 мин, третью - 20 мин и четвертую - 30 мин) в зависимости от концентрации сероуглерода в смеси. Затем сорбционные трубки с градуировочной смесью последовательно подключают к системе ввода проб в хроматограф, нагревают в течение 2 мин электрической печью при температуре 200 °С и при помощи крана-дозатора десорбирующийся сероуглерод вводят в хроматографическую колонку. Операцию отбора стандартной смеси с последующим хроматографическим анализом повторяют до тех пор, пока на хроматограмме не будет получена одинаковая высота пика для каждой концентрации не менее 5 раз. Полученные средние значения используют для установления градуировочной характеристики.
Хроматографический анализ проводится при следующем режиме работы хроматографа:
Температура
термостата колонок 50 °С
испарителя 75 °С
детектора 110 °С
Скорость газа-носителя (азота) через
колонку 20 см3/мин
Скорость газа-носителя на поддувку
детектора 120 см3/мин
Скорость протяжки диаграммной ленты 240 мм/мин
Время выхода сероуглерода составляет 9 мин.
7.6. Отбор проб
Для определения разовой концентрации сероуглерода исследуемый воздух аспирируют через чистую сорбционную трубку (не оказывающую влияния на нулевую линию на хроматограмме), соединенную с водяным аспиратором, скорость вытекания воды из которого должна составлять примерно 100 капель в минуту. Общий объем отобранной пробы - 100 см3. По окончании отбора пробы концы трубки закрывают заглушками. Пробу можно хранить в течение 5 сут.
8. Выполнение измерений
Прибор включают в соответствии с инструкцией и выводят на рабочий режим (см. п. 7.5). Трубку с пробой подключают к системе ввода проб в хроматограф, нагревают ее в течение 2 мин электрической печью при 200 °С и с помощью крана-дозатора вводят в хроматографическую колонку. На полученной хроматограмме измеряют высоты пиков, проб. Массу сероуглерода в пробе определяют с помощью градуировочной характеристики по высоте пика.
9. Вычисление результата анализа
Методика предназначена для определения концентрации аэрозоля серной кислоты и растворимых сульфатов в воздухе населенных пунктов в диапазоне 0,005 - 3,00 мг/м3 при объеме пробы воздуха 2 м3.
1. Нормы точности измерений
По экспертным оценкам, при определении концентрации аэрозоля серной кислоты и растворимых сульфатов в воздухе в диапазоне 0,005 - 3,00 мг/м3 суммарная погрешность не превышает ±25 %.
2. Метод измерения
Метод основан на образовании нерастворимого сульфата бария при взаимодействии сульфат-ионов с хлоридом бария. Массу сульфат-ионов определяют турбидиметрически. Определению мешают нерастворимые аэрозоли; их влияние устраняют центрифугированием или фильтрованием.
3. Средства измерений, вспомогательные устройства, реактивы и материалы
3.1. При выполнении измерений должны быть применены следующие средства измерений, вспомогательные устройства, реактивы и материалы.
3.2. Средства измерений
Фотоэлектроколориметр или спектрофотометр
Весы аналитические ВЛА-200 по ГОСТ 24104-80Е
Меры массы по ГОСТ 7328-82Е
Секундомер; класс 3; цена деления
секундной шкалы 0,2 с по ГОСТ 5072-79Е
Барометр-анероид М-67 по ТУ 2504-1797-75
Термометр лабораторный шкальный
ТЛ-2; пределы 0 - 55 °С; цена деления 1 °С по ГОСТ 215-73Е
Электроаспиратор ЭА-2 по ТУ 25-11-1413-78
Колбы мерные 2-100-2 - 10 шт. по ГОСТ 1770-74Е
Пипетки 4-2-1 - 2 шт. по ГОСТ 20292-74Е
4-2-2 - 2 шт.
4-2-5 - 2 шт.
2-2-10 - 2 шт.
3.3. Материалы
Фильтры аэрозольные из ткани ФПП или ФПА
3.4. Реактивы
Бария хлорид (дигидрат) х. ч. по ГОСТ 4108-72
Вода дистиллированная по ГОСТ 6709-72
Глицерин, ч. д. а. по ГОСТ 6259-75
Калия сульфат, л. ч. по ГОСТ 4145-74
Соляная кислота (ρ = 1,19 г/см3), х. ч. по ГОСТ 3118-77
Этанол, ректификат по ГОСТ 18300-72
Этиленгликоль, ч. д. а. по ГОСТ 10164-62
4. Требования безопасности
См. п. 5.1.3
5. Требования к квалификации оператора
См. п. 5.1.4
6. Условия выполнения измерений
См. п. 5.1.14
7. Подготовка к выполнению измерений
7.1. Перед выполнением измерений должны быть проведены следующие работы: приготовление растворов, установление градуировочной характеристики, отбор проб воздуха.
7.2. Приготовление растворов
1) Вода дистиллированная. Для приготовления всех растворов применяют свежеперегнанную дистиллированную воду.
2) Составной раствор хлорида бария. 11,7 г кристаллического хлорида бария растворяют в 100 см3 воды. Затем приливают 300 см3 этанола и 300 см3 глицерина или этиленгликоля. Значение pH смеси доводят до 2,5 - 2,8 концентрированной соляной кислотой. Раствор оставляют на 48 ч. В случае появления осадка фильтруют через фильтр «синяя лента». Срок хранения раствора 2 мес.
3) Исходный раствор сульфата калия (ρ = 1000 мкг/см3). Сульфат калия сушат при температуре 120 - 150 °С в течение 2 ч. В воде в мерной колбе вместимостью 100 см3 растворяют 0,1814 г реактива.
4) Рабочий раствор сульфата калия с массовой концентрацией 100 мкг/см3 сульфат-иона. Водой разбавляют 10 см3 исходного раствора в мерной колбе вместимостью 100 см3.
5) Соляная кислота, раствор 1:1. К 100 см3 воды добавляют 100 см3 концентрированной соляной кислоты.
7.3. Установление градуировочной характеристики
Градуировочную характеристику, выражающую зависимость оптической плотности от массы сульфат-иона в пробе, устанавливают по восьми точкам на основании среднеарифметических значений, вычисленных из результатов измерений пяти серий растворов для установления градуировочной характеристики. Растворы готовят в мерных колбах вместимостью 100 см3. В каждую колбу приливают 15 - 20 см3 воды, исходного или рабочего раствора согласно табл. 5.31, доливают до метки водой и тщательно перемешивают.
Растворы для установления градуировочной характеристики при определении концентрации аэрозоля серной кислоты и растворимых сульфатов
|
1 |
2 |
3 |
4 |
5 |
6 |
7 |
8 |
|
|
Объем раствора сульфата калия, см3 |
|
|
|
|
|
|
|
|
|
рабочего (ρ = 100 мкг/см3) |
1 |
2 |
4 |
6 |
8 |
- |
- |
- |
|
исходного (ρ = 1000 мкг/см3) |
- |
- |
- |
- |
- |
1,2 |
1,6 |
2,0 |
|
Масса сульфат-иона в 4 см3 раствора, мкг |
4 |
8 |
16 |
24 |
32 |
48 |
64 |
80 |
Для установления градуировочной характеристики в пробирки вносят по 4 см3 каждого раствора, добавляют по 0,1 см3 раствора соляной кислоты (1:1) и 1 см3 раствора хлорида бария, встряхивают и выдерживают 15 мин. Одновременно готовят нулевую пробу, для чего к 4 см3 воды добавляют те же реактивы в том же порядке. Время от добавления раствора хлорида бария до измерения оптической плотности раствора всех проб должно составлять 15 мин. Затем, предварительно встряхнув пробирку, измеряют оптическую плотность каждого раствора относительно воды в кюветах с расстоянием между рабочими гранями 10 мм при длине волны 400 нм. Проверку градуировочной характеристики следует проводить при смене составного раствора, но не реже 1 раза в 3 мес.
7.4. Отбор проб
Для определения разовой концентрации аэрозоля серной кислоты и растворимых сульфатов исследуемый воздух аспирируют через фильтр с расходом 100 - 150 дм3/мин в течение 20 мин. После окончания отбора фильтр сгибают пополам запыленной стороной внутрь и вкладывают в полиэтиленовый пакет. В таком виде проба доставляется в лабораторию. Для анализа могут использоваться фильтры с пробами, отобранными для определения концентрации взвешенных частиц, после измерения их массы.
8. Выполнение измерений
В лаборатории фильтры с отобранной пробой пинцетом извлекают из конверта, помещают в стаканы вместимостью 25 см3, смачивают 0,2 см3 этанола и приливают 10 см3 горячей воды. Содержимое стакана перемешивают стеклянной палочкой в течение 10 мин. Взвесь удаляют центрифугированием или фильтрованием через бумажный фильтр «синяя лента». Аналогично поступают с чистым аэрозольным фильтром, взятым из этой же упаковки. Полученный раствор используют как нулевую пробу. Пробы, включая нулевые, пропускают через бумажные фильтры из одной упаковки, поскольку масса сульфат-иона в разных упаковках различна. Употреблять можно лишь те фильтры, из которых вымывается не более 3 мкг сульфат-ионов с одного фильтра. Для анализа отбирают в пробирки по 4 см3 раствора, добавляют по 0,1 см3 раствора соляной кислоты (1:1), 1 см3 раствора хлорида бария, тщательно перемешивают и через 15 мин, предварительно встряхнув, измеряют оптическую плотность растворов. Массу аэрозоля серной кислоты и растворимых сульфатов в пробе определяют с помощью градуировочной характеристики по разности оптических плотностей растворов пробы и нулевого. Значение оптической плотности нулевого раствора не должно превышать 0,01. При необходимости определения больших концентраций для анализа отбирают соответственно меньшую часть пробы (до 0,04 см3) и дополняют водой до 4 см3.
9. Вычисление результата измерений
1 Методика разработана в ГГО.
Методика предназначена для полуколичественного определения концентрации аэрозоля серной кислоты в атмосферном воздухе населенных пунктов при подфакельных измерениях в диапазоне 0,25 - 3,0 мг/м3 при отборе пробы воздуха объемом 0,2 м3.
1. Нормы точности измерений
По экспертным оценкам, при определении концентрации аэрозоля серной кислоты в экстракте с аэрозольного фильтра суммарная погрешность не превышает ±25 %.
2. Метод измерения
Метод измерения основан на улавливании серной кислоты аэрозольным фильтром и потенциометрическом измерении концентрации водородных ионов в забуференном экстракте с фильтра. Специально подобранный состав буфера обеспечивает линейную зависимость показаний pH-метра от концентрации кислоты. Определению мешают аммиак, амины, аэрозоли соединений щелочного характера. Методика неселективна в присутствии аэрозолей других кислот, кислых и легкогидролизующихся солей.
3. Средства измерений, вспомогательные устройства, реактивы и материалы
3.1. При выполнении измерений должны быть применены следующие средства измерений, вспомогательные устройства, реактивы и материалы.
3.2. Средства измерений
pH-метр-милливольтметр pH-673 по ТУ 25-05.2501-79
или мономер лабораторный И-115М по ТУ 25-05.2303-77
Весы аналитические ВЛА-200 по ГОСТ 24104-80Е
Меры массы по ГОСТ 7328-82Е
Секундомер; класс 3; цена
деления секундной шкалы 0,2 с по ГОСТ 5072-79Е
Термометр лабораторный шкальный по ГОСТ 215-73Е
ТЛ-2; пределы 0 - 55 °С; цена деления 1 °С
Барометр-анероид М-67 по ТУ 2504-1797-75
Электроаспиратор ЭА-2, ЭА-2С по ТУ 25-11-1413-79
Колбы мерные по ГОСТ 1770-74Е
2-1000-2 - 2 шт.
2-100-2 - 8 шт.
Пипетки по ГОСТ 20292-74Е
4-2-1 - 1 шт.
4-2-2 - 1 шт.
2-2-5 - 2 шт.
2-3-20 - 1 шт.
2-2-10 - 2 шт.
3.3. Материалы
Фильтры аэрозольные из ткани ФПП диаметром 80 мм, используемые для отбора проб взвешенных частиц
3.4. Реактивы
Вода дистиллированная по ГОСТ 6709-72
Калия дигидрофосфат (KH2PO4), х. ч. по ГОСТ 4198-75
Калия хлорид, х. ч. по ГОСТ 4234-77
Кислота лимонная, х. ч. по ГОСТ 3652-69
Кислота серная, раствор 0,05 моль/дм3 по ТУ 6-09-2540-72
(0,1 н.), стандарт-титр
Натрия гидроксид, раствор 0,1 моль/дм3 по ТУ 6-09-2540-72
(0,1 н.), стандарт-титр
или натрия гидроксид, х. ч. по ГОСТ 4328-77
Этанол, ректификат по ГОСТ 18300-72
4. Требования безопасности
См. п. 5.1.3
5. Требования к квалификации оператора
См. п. 5.1.4.
6. Условия выполнения измерений
См. п. 5.1.14.
7. Подготовка к выполнению измерений
7.1. Перед выполнением измерений должны быть произведены следующие работы: приготовление растворов, установление градуировочной характеристики, отбор проб воздуха.
7.2. Приготовление растворов
Для приготовления всех растворов применяют дистиллированную воду.
1) Раствор серной кислоты для установления градуировочной характеристики концентрацией 0,05 моль/дм3 (0,1 н.) готовят из стандарт-титра. Массовая концентрация серной кислоты в растворе 4900 мкг/см3.
2) Раствор гидроксида натрия 0,1 моль/дм3. Готовят из стандарт-титра. В случае отсутствия стандарт-титра раствор готовят следующим образом: 500 г гидроксида натрия постепенно вносят при перемешивании в фарфоровый стакан, заполненный 0,5 дм3 свежепрокипяченной и охлажденной до комнатной температуры воды. После охлаждения раствор переливают в полиэтиленовую бутыль с пробкой и оставляют стоять 10 - 12 сут. За это время раствор должен стать прозрачным, так как примесь карбоната натрия осядет на дно. Прозрачный раствор осторожно сливают с осадка в цилиндр, определяют плотность полученного раствора ареометром и находят по справочнику концентрацию. Срок хранения раствора в герметично закрытой полиэтиленовой бутыли неограничен. Ориентировочная концентрация этого раствора составляет 19 моль/дм3. Соответствующим разбавлением готовят необходимое количество раствора гидроксида натрия концентрацией 0,1 моль/дм3. Хранить в плотно закрытых полиэтиленовых бутылях. Срок хранения раствора - 7 сут.
3) Хлорид калия, раствор 2 моль/дм3. 149 г KCl растворяют в 1 дм3 воды.
4) Исходный буферный раствор. Растворяют 32,3 г хлорида калия, 7,5 г лимонной кислоты, 5,4 г дигидрофосфата калия в 500 см3 воды.
5) Рабочий буферный раствор. 5 см3 исходного буферного раствора вносят в мерный цилиндр и доводят до метки 500 см3 раствором KCl концентрацией 2 моль/дм3. Затем весь разбавленный раствор наливают в большой стакан и при перемешивании доводят значение его pH до 7,0 раствором NaOH (концентрацией 0,1 моль/дм3). Рабочий буферный раствор хранят в плотно закрытой бутыли не более 3 сут.
6) Раствор этанола (1:1). К 50 см3 этилового спирта добавляют 50 см3 воды.
7.3. Установление градуировочной характеристики. Градуировочную характеристику, выражающую зависимость значения pH от массы серной кислоты в анализируемой пробе, устанавливают по пяти точкам на основании средних арифметических значений, вычисленных из результатов измерений пяти серий растворов для градуировки. Для каждой серии вновь готовят раствор серной кислоты.
Растворы для установления градуировочной характеристики готовят следующим образом. В мерные колбы вместимостью 50 см3 заливают раствор H2SO4 согласно табл. 5.32, добавляют 25 см3 этанола, доливают водой до метки и тщательно перемешивают.
Для установления градуировочной характеристики в каждый из пяти стаканов (вместимостью 50 см3) помещают аэрозольный фильтр, смачивают его 1 см3 соответствующего градуировочного раствора и добавляют 10 см3 рабочего буферного раствора. Одновременно готовят нулевую пробу. Для этого в стакан помещают аэрозольный фильтр из той же упаковки, смачивают 1 см3 этанола (1:1) и добавляют 10 см3 буферного раствора. Содержимое стаканов тщательно перемешивают стеклянной палочкой и измеряют pH градуировочных растворов и нулевой пробы.
При постоянном использовании методики проверку градуировочной характеристики по одной точке следует проводить в начале, середине и конце рабочего дня. После каждой замены исходного буферного раствора градуировочная характеристика проверяется по всем точкам.
7.4. Отбор проб
Для определения разовой концентрации аэрозоля серной кислоты исследуемый воздух аспирируют через фильтр с расходом 10 дм3/мин в течение 20 мин. После этого фильтр пинцетом снимают с фильтродержателя, складывают пополам загрязненным слоем внутрь и сразу же помещают в пробирку с плотно пригнанной полиэтиленовой пробкой. В таком виде пробы доставляются в лабораторию. Срок хранения проб не более 2 сут. Если фильтры при транспортировке в лабораторию не были закрыты герметично, их нельзя использовать для определения серной кислоты из-за быстрой нейтрализации кислоты содержащимся в воздухе аммиаком.
Растворы для установления градуировочной характеристики при определении концентрации аэрозоля серной кислоты
|
1 |
2 |
3 |
4 |
5 |
|
|
Объем раствора серной кислоты (ρ = 4900 мкг/см3), см3 |
0,5 |
1 |
2 |
5 |
7,5 |
|
Масса H2SO4 в 1 см3 раствора, мкг |
49 |
98 |
196 |
490 |
735 |
8. Выполнение измерений
Фильтр с пробой пинцетом переносят в стакан вместимостью 50 см3, немедленно смачивают 1 см3 этанола (1:1), добавляют 10 см3 буферного раствора, тщательно перемешивают содержимое стакана стеклянной палочкой и измеряют pH раствора.
Одновременно в качестве нулевой пробы анализируют неэкспонированный фильтр из той же партии, которая применялась для отбора проб. Находят разницу между измеренным значением pH нулевой и определяемой пробы. Массу серной кислоты в пробе находят по градуировочной характеристике.
Примечание. При наличии в пробе более 750 мкг серной кислоты пробу разбавляют в 5 раз. Для этого 2 см3 экстракта переносят в другой стакан, добавляют 0,8 см3 этанола (1:1) и 8 см3 буферного раствора. Измеряют pH полученного раствора.
9. Вычисление результата измерений
Методика1 предназначена для определения концентрации цианида водорода в атмосферном воздухе в диапазоне 0,0025 - 0,1 мг/м3 при объеме пробы воздуха 40 дм3. Используется для измерения разовых и среднесуточных концентраций.
1 Методика аттестована в ГГО. Свидетельство № 17.
1. Нормы точности измерений
При определении концентрации цианида водорода в атмосферном воздухе в диапазоне 0,0025 - 0,1 мг/м3 установленное значение суммарной погрешности при доверительной вероятности 0,95 не превышает ±18 %.
2. Метод измерения
Метод основан на поглощении цианида водорода из воздуха пленочным хемосорбентом и фотометрическом определении по полиметиновому красителю, который образуется при взаимодействии цианида водорода с хлорамином и пиридин-барбитуровым реактивом.
3. Средства измерений, вспомогательные устройства, реактивы и материалы
3.1. При выполнении измерений должны быть применены следующие средства измерений, вспомогательные устройства, реактивы и материалы.
Фотоэлектроколориметр или спектрофотометр
Весы аналитические ВЛА-200 по ГОСТ 24104-80Е
Меры массы по ГОСТ 7328-82Е
Секундомер; класс 3; цена деления секундной
шкалы 0,2 с по ГОСТ 5072-79Е
Барометр-анероид М-67 по ТУ 2504-1797-75
Термометр лабораторный шкальный ТЛ-2; по ГОСТ 215-73Е
пределы 0 - 55 °С; цена деления 1 °С
Электроаспиратор ЭА-1; погрешность ±10 %;
Госреестр 5997-77 по ТУ 25-11-1414-78
Колбы мерные по ГОСТ 1770-74Е
2-50-2 - 2 шт.
2-100-2 - 10 шт.
2-500-2 - 2 шт.
2-1000-2 - 1 шт.
Пипетки по ГОСТ 20292-74Е
4-2-1 - 2 шт.
4-2-2 - 4 шт.
6-2-5 - 5 шт.
6-2-10 - 2 шт.
3.3. Вспомогательные устройства
Плитка электрическая (бытовая)
Спиртовка лабораторная по ТУ 42-1441-62
Водяная баня
Стаканы термостойкие по ГОСТ 25336-82
В-1-600ТС - 2 шт.
Н-1-1000ТС - 2 шт.
Н-1-400ТС - 3 шт.
Н-1-100ТС - 10 шт.
Сорбционные трубки СТ 112 по ТУ 25-1110.039-82
(маркировка 1)
Фильтровальная бумага по ТУ 6.09-1678-77
Батист
Марля
Шланг медицинский резиновый диаметром 7 мм
Пакеты полиэтиленовые или полиэтиленовая пленка для упаковки сорбционных трубок
Аммония роданид, стандарт-титр по ТУ 6.09.2504-72
Железа (III) хлорид, х. ч. по ГОСТ 4147-74
Калия гидроксид, х. ч. по ГОСТ 6-01-301-74
Кислота барбитуровая, ч по ТУ 6-09-512-75
Кислота лимонная, х. ч. по ГОСТ 3659-69
Кислота серная (ρ = 1,84 г/см3), х. ч. по ГОСТ 4204-77
Кислота соляная (ρ = 1,19 г/см3), х. ч. по ГОСТ 3118-77
Натрия гидроксид, х. ч. по ГОСТ 4328-77
Пиридин, ч. д. а. по ГОСТ 13647-78
Спирт этиловый, ректификат по ГОСТ 5962-67
Фенолфталеин, индикатор по ГОСТ 5850-72
Хлорамин Б, ч. по ТУ 6-09-3021-73
4. Требования безопасности
См. п. 5.1.3.
Все операции по обработке сорбционных трубок следует проводить в резиновых перчатках под тягой.
5. Требования к квалификации оператора
См. п. 5.1.4.
6. Условия выполнения измерений
См. п. 5.1.14.
7. Подготовка к выполнению измерений
7.1. Перед выполнением измерений должны быть проведены следующие работы: приготовление растворов, установление градуировочной характеристики, подготовка сорбционных трубок, отбор проб воздуха.
1) Вода дистиллированная. Для приготовления растворов применяется свежеперегнанная дистиллированная вода.
2) Фенолфталеин, 0,1 %-ный спиртовой раствор.
3) Кислота соляная, раствор 1:1, готовят в объемных соотношениях.
4) Кислота серная, 50 %-ный раствор. Вносят 28,5 см3 концентрированной кислоты в 50 см3 воды.
5) Хлорид железа (III), 0,1 %-ный раствор, готовят перед употреблением.
6) Пиридин перегнанный. К 100 см3 пиридина прибавляют для удаления воды 20 г гранулированного гидроксида калия, перемешивают и через неделю перегоняют в установке с дефлегматором в вытяжном шкафу. Для работы отбирают фракцию с температурой кипения 115,2 °С.
7) Составной реактив (пиридин-барбитуровый). В мерной колбе вместимостью 50 см3 растворяют 1,5 г барбитуровой кислоты в 20 - 30 см3 воды при нагревании на водяной бане. Затем прибавляют 7,5 см3 пиридина и 1,5 см3 концентрированной соляной кислоты. Содержимое колбы энергично перемешивают. После охлаждения раствора доводят объем в колбе до метки водой.
8) Раствор гидроксида натрия 1 моль/дм3. 40 г сухого гидроксида натрия растворяют в воде и в мерной колбе вместимостью 1000 см3 после остывания доводят уровень водой до метки.
9) Раствор гидроксида натрия 0,1 моль/дм3. Раствор, приготовленный по перечислению 8, разбавляют в 10 раз.
10) Раствор цитрата натрия 0,1 моль/дм3. В мерной колбе вместимостью 1 дм3 растворяют 21,014 г лимонной кислоты (H3C6H5O7×Н2О) в 200 см3 раствора гидроксида натрия концентрацией 1 моль/дм3 (см. перечисление 8) и объем доводят до метки водой.
11) Буферный раствор pH = 6,2 готовят в мерной колбе вместимостью 100 см3. Помещают в колбу 43,3 см3 раствора гидроксида натрия концентрацией 0,1 моль/дм3 (см. перечисление 9) и доводят объем до метки раствором цитрата натрия (см. перечисление 10).
12) Раствор для обработки сорбционных трубок. 50 г гидроксида калия помещают в термостойкую посуду, приливают при помешивании 50 см3 дистиллированной воды и после остывания доводят объем раствора водой до метки 100 см3.
Осторожно, едкая щелочь! Работу обязательно выполнять под тягой и пользоваться защитными очками.
13) Хлорамин Б, 1 %-ный раствор. Готовят перед использованием.
14) Раствор роданида аммония концентрацией 0,1 моль/дм3 готовят из стандарт-титра. 1 см3 раствора роданида аммония концентрацией 0,1 моль/дм3 соответствует раствору с массовой концентрацией цианида водорода 2,7 мг/см3. Этот раствор является исходным для приготовления растворов для градуировки.
15) Раствор для градуировки (ρ = 100 мкг/см3). Готовят разбавлением 37 см3 исходного (см. перечисление 14) раствора водой в мерной колбе вместимостью 1000 см3.
16) Рабочий раствор для градуировки (ρ = 10 мкг/см3). Готовят десятикратным разведением раствора для градуировки (см. перечисление 15).
7.3. Установление градуировочной характеристики
Градуировочная характеристика, выражающая зависимость оптической плотности раствора от массы цианида водорода в 5 см3 раствора, устанавливается по пяти сериям растворов для градуировки. Для каждой серии, состоящей из семи градуировочных растворов, готовят свежие растворы в мерных колбах вместимостью 100 см3. Для этого в каждую колбу наливают 30 - 50 см3 раствора гидроксида натрия (см. п. 7.2, перечисление 9), рабочий раствор (см. п. 7.2, перечисление 16) согласно табл. 5.33, доводят уровень раствора до метки раствором гидроксида натрия (см. п. 7.2, перечисление 9) и тщательно перемешивают.
Растворы для установления градуировочной характеристики при определении концентрации цианида водорода
|
1 |
2 |
3 |
4 |
5 |
6 |
7 |
|
|
Объем рабочего раствора (ρ = 10 мкг/см3), см3 |
0,1 |
0,2 |
0,4 |
0,8 |
1,6 |
2,0 |
4,0 |
|
Соответствует массе цианида водорода в 5 см3 раствора, мкг |
0,05 |
0,1 |
0,2 |
0,4 |
0,8 |
1,0 |
2,0 |
Для установления градуировочной характеристики отбирают по 5 см3 раствора из каждой колбы, добавляют 1 каплю фенолфталеина, оттитровывают раствор 50 %-ной серной кислотой и затем анализируют в соответствии с п. 8 данной методики.
Градуировочную характеристику устанавливают на основании средних значений, полученных из результатов пяти измерений. Проверку градуировочной характеристики следует проводить при смене партии реактивов, но не реже одного раза в квартал.
7.4. Подготовка сорбционных трубок
Чистые трубки, предназначенные для отбора проб воздуха, обрабатывают абсорбирующим раствором (см. п. 7.2, перечисление 12): 0,2 см3 раствора заливают в трубку на стеклянные гранулы и с помощью резиновой груши равномерно распределяют жидкость в слое гранул, а избыток выдувают с помощью резиновой груши на фильтровальную бумагу. Подготовленные сорбционные трубки закрывают заглушками и упаковывают в полиэтиленовые пакеты. Три трубки используют в качестве нулевых. Обработанные трубки могут храниться до 2 сут.
7.5. Отбор проб
Для определения разовых концентраций цианида водорода исследуемый воздух аспирируют с расходом 2 дм3/мин в течение 20 мин через укрепленную вертикально сорбентом вниз сорбционную трубку. При определении среднесуточной концентрации отбирают 4 - 8 разовых проб за 24 ч. После отбора пробы сорбционные трубки закрывают заглушками и упаковывают в полиэтиленовые пакеты. Срок хранения - до 2 сут.
8. Выполнение измерений
В лаборатории трубку извлекают из упаковки, тщательно вытирают фильтровальной бумагой ее наружную поверхность, помещают в пробирку, пипеткой вносят 1 каплю фенолфталеина на сорбент и приливают 6 см3 дистиллированной воды. С помощью резиновой груши (не допускать попадания раствора внутрь груши!) путем 5 - 6-кратного прокачивания раствора через слой гранул переводят пробу в раствор. Трубку удаляют из пробирки, аккуратно оттитровывают раствор 50 %-ной серной кислотой и берут 5 см3 для анализа. К аликвоте добавляют 1 см3 буферного раствора, 0,2 см3 раствора хлорамина, 0,1 см3 раствора хлорида железа и закрывают пробирку пробкой. После каждого добавления реактива раствор в пробирке тщательно перемешивают. Через 1 мин добавляют 1 см3 пиридин-барбитурового реактива и опять перемешивают. Оптическую плотность относительно воды измеряют через 15 мин в кюветах с расстоянием между рабочими гранями 10 мм при длине волны 584 нм.
Одновременно три нулевые пробы (трубки, подготовленные для отбора) анализируют аналогично отобранным пробам.
Массу цианида водорода в пробе определяют с помощью градуировочной характеристики по разности оптических плотностей растворов пробы и нулевого.
9. Вычисление результата измерения
1 Методика разработана в НИИ гигиены труда и профзаболеваний (г. Ленинград).
Методика предназначена для определения концентрации цианида водорода в атмосферном воздухе в диапазоне 0,007 - 0,2 мг/м3 при отборе пробы воздуха 10 дм3.
1. Нормы точности измерений
По экспертным оценкам, при определении концентрации цианида водорода в атмосферном воздухе в диапазоне 0,007 - 0,2 мг/м3 суммарная погрешность не должна превышать ±25 %.
2. Метод измерения
Метод основан на поглощении цианида водорода из воздуха 0,4 %-ным раствором гидроксида натрия и дальнейшем фотометрическом определении по полиметиновому красителю, который образуется при взаимодействии цианид-иона с хлорамином и пиридин-барбитуровым реактивом.
3. Средства измерений, вспомогательные устройства, реактивы и материалы
3.1. При выполнении измерений должны быть применены следующие средства измерений, вспомогательные устройства, реактивы и материалы.
3.2. Средства измерений
См. методику 5.2.8.1, п. 3.2.
3.3. Вспомогательные устройства
Поглотительные приборы Рыхтера по ТУ 25.11.1136-75
Все устройства, примененные в методике 5.2.8.1, п. 3.3, кроме сорбционных трубок.
3.4. Материалы
См. методику 5.2.8.1, п. 3.4.
3.5. Реактивы
См. методику 5.2.8.1, п. 3.5.
4. Требования безопасности
См. методику 5.2.8.1, п. 4.
5. Требования к квалификации оператора
См. п. 5.1.4.
6. Условия выполнения измерений
См. п. 5.1.14.
7. Подготовка к выполнению измерений
7.1. Перед выполнением измерений должны быть проведены следующие работы: приготовление растворов, установление градуировочной характеристики, подготовка сорбционных трубок, отбор проб.
7.2. Приготовление растворов
1) Поглотительный раствор. Для приготовления 0,4 %-ного раствора гидроксида натрия 4 г гидроксида натрия растворяют в 1000 см3 дистиллированной воды.
2) Раствор серной кислоты 0,5 моль/дм3. В мерную колбу вместимостью 100 см3 вносят 50 см3 воды, осторожно приливают 2,67 см3 концентрированной серной кислоты и перемешивают. После охлаждения раствор доводят до метки водой.
Приготовление остальных реактивов - см. методику 5.2.8.1, п. 7.2, перечисления 1, 2, 5 - 7, 13 - 16.
7.3. Установление градуировочной характеристики
Градуировочную характеристику, выражающую зависимость оптической плотности раствора от массы цианида водорода в 4 см3 раствора, устанавливают по пяти сериям растворов для градуировки. Каждую серию, состоящую из семи градуировочных растворов, готовят в мерных колбах вместимостью 100 см3. Для этого в каждую колбу наливают 30 - 50 см3 поглотительного раствора, рабочий раствор роданида аммония (ρ = 10 мкг/см3) согласно табл. 5.34, пробы сорбционные трубки закрывают заглушками и упаковывают в полиэтиленовые пакеты. Срок хранения - до 2 сут.
Растворы для установления градуировочной характеристики при определении концентрации цианида водорода
|
1 |
2 |
3 |
4 |
5 |
6 |
7 |
|
|
Объем рабочего раствора (ρ = 10 мкг/см3), см3 |
0,25 |
0,5 |
1,0 |
1,5 |
2,0 |
2,5 |
5,0 |
|
Соответствует массе цианида водорода в 4 см3 раствора, мкг |
0,1 |
0,2 |
0,4 |
0,6 |
0,8 |
1,0 |
2,0 |
8. Выполнение измерений
В лаборатории трубку извлекают из упаковки, тщательно вытирают фильтровальной бумагой ее наружную поверхность, помещают в пробирку, пипеткой вносят 1 каплю фенолфталеина на сорбент и приливают 6 см3 дистиллированной воды. С помощью резиновой груши (не допускать попадания раствора внутрь груши!) путем 5 - 6-кратного прокачивания раствора через слой гранул переводят пробу в раствор. Трубку удаляют из пробирки, аккуратно оттитровывают раствор 50 %-ной серной кислотой и берут 5 см3 для анализа. К аликвоте добавляют 1 см3 буферного раствора, 0,2 см3 раствора хлорамина, 0,1 см3 раствора хлорида железа и закрывают пробирку пробкой. После каждого добавления реактива раствор в пробирке тщательно перемешивают. Через 1 мин добавляют 1 см3 пиридин-барбитурового реактива и опять перемешивают. Оптическую плотность относительно воды измеряют через 15 мин в кюветах с расстоянием между рабочими гранями 10 мм при длине волны 584 нм.
Одновременно три нулевые пробы (трубки, подготовленные для отбора) анализируют аналогично отобранным пробам.
Массу цианида водорода в пробе определяют с помощью градуировочной характеристики по разности оптических плотностей растворов пробы и нулевого.
9. Вычисление результата измерения
1 Методика разработана в НИИ гигиены труда и профзаболеваний (г. Ленинград).
Методика предназначена для определения концентрации цианида водорода в атмосферном воздухе в диапазоне 0,007 - 0,2 мг/м3 при отборе пробы воздуха 10 дм3.
1. Нормы точности измерений
По экспертным оценкам, при определении концентрации цианида водорода в атмосферном воздухе в диапазоне 0,007 - 0,2 мг/м3 суммарная погрешность не должна превышать ±25 %.
2. Метод измерения
Метод основан на поглощении цианида водорода из воздуха 0,4 %-ным раствором гидроксида натрия и дальнейшем фотометрическом определении по полиметиновому красителю, который образуется при взаимодействии цианид-иона с хлорамином и пиридин-барбитуровым реактивом.
3. Средства измерений, вспомогательные устройства, реактивы и материалы
3.1. При выполнении измерений должны быть применены следующие средства измерений, вспомогательные устройства, реактивы и материалы.
3.2. Средства измерений
3.3. Вспомогательные устройства
Поглотительные приборы Рыхтера по ТУ 25.11.1136-75
Все устройства, приведенные в методике 5.2.8.1, п. 3.3, кроме сорбционных трубок.
3.4. Материалы
3.5. Реактивы
4. Требования безопасности
5. Требования к квалификации оператора
См. п. 5.1.4.
6. Условия выполнения измерений
См. п. 5.1.14.
7. Подготовка к выполнению измерений
7.1. Перед выполнением измерений должны быть проведены следующие работы: приготовление растворов, установление градуировочной характеристики, подготовка сорбционных трубок, отбор проб.
7.2. Приготовление растворов
1) Поглотительный раствор. Для приготовления 0,4 %-ного раствора гидроксида натрия 4 г гидроксида натрия растворяют в 1000 см3 дистиллированной воды.
2) Раствор серной кислоты 0,5 моль/дм3. В мерную колбу вместимостью 100 см3 вносят 50 см3 воды, осторожно приливают 2,67 см3 концентрированной серной кислоты и перемешивают. После охлаждения раствор доводят до метки водой.
Приготовление остальных реактивов - см. методику 5.2.8.1, п. 7.2, перечисления 1, 2, 5 - 7, 13 - 16.
7.3. Установление градуировочной характеристики
Градуировочную характеристику, выражающую зависимость оптической плотности раствора от массы цианида водорода в 4 см3 раствора, устанавливают по пяти сериям растворов для градуировки. Каждую серию, состоящую из семи градуировочных растворов, готовят в мерных колбах вместимостью 100 см3. Для этого в каждую колбу наливают 30 - 50 см3 поглотительного раствора, рабочий раствор роданида аммония (ρ = 10 мкг/см3) согласно табл. 5.34, доводят уровень раствора до метки поглотительным раствором и тщательно перемешивают.
Растворы для установления градуировочной характеристики при определении концентрации цианида водорода
|
1 |
2 |
3 |
4 |
5 |
6 |
7, |
|
|
Объем рабочего раствора (ρ = 10 мкг/см3), см3 |
0,25 |
0,5 |
1,0 |
1,5 |
2,0 |
2,5 |
5,0 |
|
Соответствует массе цианида водорода в 4 см3 раствора, мкг |
0,1 |
0,2 |
0,4 |
0,6 |
0,8 |
1,0 |
2,0 |
Для установления градуировочной характеристики отбирают по 4 см3 раствора из каждой колбы и производят все операции по п. 8 настоящей методики. Градуировочную характеристику устанавливают на основании средних значений полученных результатов измерений. Проверку градуировочной характеристики следует проводить при смене партии реактивов, но не реже одного раза в квартал.
7.4. Отбор проб
Для определения разовых концентраций цианида водорода исследуемый воздух аспирируют с расходом 0,5 дм3/мин в течение 20 - 30 мин через поглотительный прибор Рыхтера, заполненный 6 см3 0,4 %-ного раствора гидроксида натрия.
8. Выполнение измерений
Уровень раствора в поглотительном приборе доводят водой до метки 6 см3. Для анализа берут 4 см3 пробы, добавляют 0,4 см3 раствора серной кислоты концентрацией 0,5 моль/дм3, 0,1 см3 хлорида железа, 0,2 см3 раствора хлорамина Б. Содержимое пробирок перемешивают, по истечении 1 мин добавляют 1 см3 пиридин-барбитурового реактива и опять перемешивают. Через 15 мин определяют оптическую плотность раствора относительно воды в кюветах с расстоянием между рабочими гранями 10 мм при длине волны 584 нм. Время от добавления последнего реактива до измерения оптической плотности для всех проб должно быть одинаковым. Одновременно проводят измерения нулевой пробы, для чего 4 см3 поглотительного раствора анализируют аналогично пробам. Массу цианида водорода в пробе определяют с помощью градуировочной характеристики по разности оптических плотностей растворов пробы и нулевого.
9. Вычисление результата измерений
1 Методика разработана в НПО «Тайфун».
Методика предназначена для определения концентрации метиламина, диметиламина, триметиламина, диэтиламина и триэтиламина в атмосферном воздухе населенных пунктов. Диапазоны измеряемых концентраций аминов, а также значения их максимальной разовой и средней суточной предельно допустимых концентраций в атмосферном воздухе (ПДКм.р. и ПДКс.с) представлены в табл. 5.35.
Диапазоны измеряемых концентраций и ПДК алифатических аминов в атмосферном воздухе (мг/м3)
|
ПДКм.р. |
ПДКс.с |
Диапазон измеряемых концентраций |
|
|
Метиламин |
Не установлена |
0,004 - 0,2 |
|
|
Диметиламин |
0,005 |
0,005 |
0,004 - 0,2 |
|
Триметиламин |
0,04 |
0,04 |
0,004 - 0,2 |
|
Диэтиламин |
0,05 |
0,05 |
0,02 - 0,5 |
|
Триэтиламин |
0,14 |
0,12 |
0,02 - 0,5 |
1. Нормы точности измерений
По результатам метрологических исследований, при определении концентрации аминов в атмосферном воздухе в диапазоне 0,02 - 0,5 мг/м3 при доверительной вероятности 0,95 погрешность измерений не превышает ±15 %, в диапазоне 0,004 - 0,02 мг/м3 не превышает ±25 %.
2. Метод измерения
Определяемые вещества абсорбируют пленочным хемосорбентом, элюируют образовавшиеся соли аминов разбавленным раствором хлористого аммония, обрабатывают полученный раствор гидроксидом калия в герметичном сосуде и выполняют газохроматографический анализ газовой фазы этого сосуда.
3. Средства измерений, вспомогательные устройства, реактивы и материалы
3.1. При выполнении измерений должны быть применены следующие средства измерений, вспомогательные устройства, реактивы и материалы.
3.2. Средства измерений
Газовый хроматограф серии «Цвет 500» по ТУ 1.550.150
с пламенно-ионизационным детектором или
другой с чувствительностью по пропану не менее
1,0×10-8 мг/см3
Весы аналитические ВЛА-200 по ГОСТ 24104-80Е
Меры массы по ГОСТ 7328-82Е
Электроаспиратор ЭА-1;
погрешность 10 %; Госреестр № 5997-77 по ТУ 25-11-1414-78
Секундомер, класс 3; цена деления
секундной шкалы 0,2 с по ГОСТ 5072-79Е
Термометр ТМ-8; пределы измерения
от минус 35 до 40 °С по ГОСТ 112-78Е
Барометр-анероид М-67 по ТУ 2504-1797-75
Колбы мерные 2-100-2 - 10 шт. по ГОСТ 1770-74Е
Пипетки мерные по ГОСТ 20292-74Е
2-2-5 - 2 шт.
6-2-10 - 5 шт.
4-2-1 - 2 шт.
3.3. Вспомогательные устройства
Редуктор водородный по ТУ 26-05-463-76
Редуктор кислородный по ТУ 26-05-235-70
Насос водоструйный стеклянный по ГОСТ 10696-75
Колонки хроматографические стеклянные
200´0,3 см3 (I) и 300´0,3 см3 (II) по ГОСТ 16285-80
Сорбционные трубки СТ 212 (маркировка 2) по ТУ 25-1110.039-82
Флаконы пенициллиновые вместимостью 16 см3 с алюминиевыми колпачками и резиновыми пробками
Пресс для обжима колпачков на флаконах по ТУ 42-2-2442-73
Шприц медицинский комбинированный
для туберкулина вместимостью 1 см3 по ТУ 64-1-378-78
Пробирки по ГОСТ 23932-79Е
П-4-10-14/23 - 14 шт.
П-4-5-14/23 - 14 шт.
Ампулы стеклянные вместимостью 1 см3 по ГОСТ 18122-75
3.4. Материалы
Азот технический по ГОСТ 9293-74
Водород технический по ГОСТ 3022-80
Воздух сжатый
Стекловата
Пленка фторопластовая по ГОСТ 24222-80
3.5. Реактивы
Аммоний хлористый, х. ч. по ГОСТ 3773-72
Ацетон, ч. д. а. по ГОСТ 2603-79
Ацетиленовая сажа, покрытая пироуглеродом,
зернением 0,25 - 0,50 мм (носитель для
хроматографической колонки II)
Вода дистиллированная по ГОСТ 6709-77
Гексаметилдисилоксан, ч. по ТУ 6-09-11-647-75
Диметиламина гидрохлорид, ч. по ТУ 6-09-905-76
Диэтиламина гидрохлорид, ч. по ГОСТ 13279-77
Калия гидроксид, ос. ч. по ОСТ 6-01-301-74
Кислота серная, ос. ч. по ГОСТ 14262-78
Метиламина гидрохлорид, ч. по ТУ 6-09-3755-74
Полисорб 30/160 зернением
0,25 - 0,5 мм (носитель для хроматографической
колонки I)
Полиэтиленгликоль 6000 (карбовакс 6000)
Полиэтиленгликоль 20000 (карбовакс 20 М)
Толуол, ч. д. а. по ГОСТ 5789-78
Триметиламина гидрохлорид, ч. по ТУ 6-09-3931-75
Хлороформ, х. ч. по ТУ 6-09-11-906-77
Этанол, ректификат по ТУ 6-09-4263-76
по ГОСТ 5962-67
4. Требования безопасности
См. п. 5.1.3.
5. Требования к квалификации оператора
См. п. 5.1.4.
6. Условия выполнения измерений
См. п. 5.1.14.
7. Подготовка к выполнению измерений
7.1. Перед выполнением измерений должны быть проведены следующие работы: подготовка измерительной аппаратуры, приготовление растворов, установление градуировочной характеристики, подготовка сорбционных трубок, отбор проб.
7.2. Подготовка измерительной аппаратуры
Стеклянные колонки промывают дистиллированной водой, ацетоном, толуолом и заполняют раствором гексаметилдисилоксана (см. п. 7.3, перечисление 1). Этим же раствором обрабатывают стекловату, применяемую для закрепления насадки в колонке и медицинский шприц вместимостью 1 см3 (шприц в разобранном виде помещают в мерный цилиндр с указанным раствором). Через 5 - 10 ч раствор сливают, колонку высушивают в токе воздуха, а шприц и стекловату - в сушильном шкафу при температуре 70 - 80 °С. На канюлю силанизированного шприца надевают иглу, набирают в шприц 1 см3 воздуха, герметизируют его (втыкают иглу в край использованной резиновой прокладки от испарителя хроматографа), продвигают поршень шприца до отметки 0,5 см3 и полностью погружают его в чашку с водой. Если в течение 15 с не наблюдается выделения пузырьков воздуха, то шприц пригоден для дозирования газа в хроматограф. Через 2 недели силанизирование шприца и испытание его герметичности повторяют.
В фарфоровую чашку высыпают 8 г полисорба 30/160 (колонка I) или 8 г ацетиленовой сажи (колонка II) и заливают 60 см3 раствора гидроксида калия (см. п. 7.3, перечисление 2). Испаряют этанол при осторожном перемешивании шпателем полученной суспензии, нагревая ее на водяной бане или лампой накаливания мощностью 100 Вт до тех пор, пока насадка не станет сыпучей. Работу необходимо производить в вытяжном шкафу. Затем насадку заливают 60 см3 раствора полиэтиленгликоля 6000 (колонка I) или 20000 (колонка II) (см. п. 7.3, перечисление 3), удаляют хлороформ так же, как этанол, и окончательно высушивают насадку при температуре 80 - 90 °С в течение 30 мин.
В силанизированную колонку со стороны, подключаемой к детектору, вкладывают тампон силанизированной стекловаты и присоединяют этот конец колонки к водоструйному насосу. Постукивая по колонке, засыпают в нее через воронку полученную насадку в таком количестве, чтобы участок колонки, входящий в испаритель, остался пустым. Отсоединив заполненную колонку от насоса, вкладывают в нее второй тампон стекловаты и продвигают его до насадки. Подготовленную колонку подключают к испарителю хроматографа и продувают азотом с расходом 40 см3/мин сначала при программировании температуры от комнатной до 160 °С со скоростью 2 °С/мин, а затем в изотермическом режиме при 160 °С в течение 5 - 10 ч, при этом в испаритель вкалывают 15 - 20 раз по 10 мм3 свежепрокипяченной дистиллированной воды, после чего колонку охлаждают и присоединяют к детектору.
1) Раствор гексаметилдисилоксана. 5 см3 гексаметилдисилоксана растворяют в 30 см3 толуола.
2) Раствор гидроксида калия. 0,35 - 0,40 г гидроксида калия растворяют в 60 см3 этанола.
3) Раствор полиэтиленгликоля (ПЭГ). 0,3 г полиэтиленгликоля 20000 или полиэтиленгликоля 6000 растворяют в 60 см3 хлороформа.
4) Серная кислота, 15 %-ный раствор. В мерную колбу вместимостью 100 см3 помещают 50 - 60 см3 дистиллированной воды, приливают 8,15 см3 концентрированной серной кислоты и доводят объем раствора до 100 см3.
5) Серная кислота, 1,5 %-ный раствор. Готовят разбавлением 15 %-ного раствора (см. перечисление 4) дистиллированной водой в 10 раз.
6) Раствор хлористого аммония 1600 мкг/см3. В мерную колбу вместимостью 100 см3 вносят 0,16 г хлористого аммония и добавляют дистиллированную воду до метки.
7) Раствор хлористого аммония 160 мкг/см3 готовят разбавлением раствора хлористого аммония (см. перечисление 6) в 10 раз дистиллированной водой в мерной колбе вместимостью 100 см3.
8) Раствор хлористого аммония 1600 мкг/см3 в 1,5 %-ной серной кислоте. В мерную колбу вместимостью 100 см3 отвешивают 0,16 г хлористого аммония и добавляют 1,5 %-ный раствор серной кислоты (см. перечисление 5) до метки.
9) Раствор хлористого аммония 160 мкг/см3 в 1,5 %-ной серной кислоте. Готовят разбавлением раствора хлористого аммония по перечислению 8 в 10 раз 1,5 %-ным раствором серной кислоты (см. перечисление 5) в мерной колбе вместимостью 100 см3.
10) Градуировочный раствор А. В мерную колбу вместимостью 100 см3 вносят по 80 - 100 мг гидрохлоридов метиламина, диметиламина и триметиламина и добавляют 1,5 %-ный раствор серной кислоты (см. перечисление 5) до метки. Срок хранения раствора 20 сут.
11) Градуировочный раствор Б. Готовят разбавлением градуировочного раствора А в 10 раз 1,5 %-ным раствором серной кислоты (см. перечисление 5) в мерной колбе вместимостью 100 см3. Срок хранения раствора 20 сут.
12) Градуировочный раствор В. В мерную колбу вместимостью 100 см3 вносят по 100 - 150 мг диэтиламина гидрохлорида и триэтиламина гидрохлорида и добавляют 1,5 %-ный раствор серной кислоты (см. перечисление 5) до метки. Срок хранения раствора 20 сут.
13) Градуировочный раствор Г. Готовят разбавлением градуировочного раствора В в 10 раз 1,5 %-ным раствором серной кислоты (см. перечисление 5) в мерной колбе вместимостью 100 см3. Срок хранения раствора 20 сут.
7.4. Установление градуировочной характеристики
Градуировочную характеристику, выражающую зависимость высоты хроматографического пика определяемого вещества от его массы в анализируемой пробе, устанавливают по четырем сериям градуировочных растворов. Каждую серию, состоящую из семи градуировочных растворов, готовят последовательным двухкратным разбавлением градуировочного раствора Б или Г. В семь пронумерованных пробирок П4-10 вместимостью 10 см3 пипеткой вносят по 5 см3 раствора хлористого аммония 160 мкг/см3 в 1,5 %-ной серной кислоте (см. п. 7.3, перечисление 9). Той же пипеткой отбирают 5 см3 градуировочного раствора Б или Г и переносят его в пробирку № 1. Закрывают пробирку пробкой и перемешивают ее содержимое, после чего 5 см3 полученного раствора 1 переносят в пробирку № 2. Аналогично готовят градуировочные растворы 3 - 7. Срок хранения раствора 5 сут для метиламина, диметиламина и триметиламина и 20 сут для диэтиламина и триэтиламина. Концентрацию аминов в градуировочных растворах рассчитывают по формуле:
![]()
где ρn - концентрация амина в растворе, мкг/см3;
a - коэффициент пересчета, равный 0,457 для метиламина, 0,553 для диметиламина, 0,629 для триметиламина, 0,666 для диэтиламина и 0,735 для триэтиламина;
m - масса соли амина, мг;
n - номер раствора.
В пенициллиновый флакон вместимостью 16 см3 засыпают 10 г измельченного гидроксида калия. В ампулу с обломанным кончиком вводят пипеткой 0,7 см3 градуировочного раствора солей аминов и устанавливают ампулу во флакон. Закрывают флакон резиновой пробкой с прокладкой из фторопластовой пленки, надевают сверху алюминиевый колпачок и обжимают его прессом. Перемешивают содержимое флакона путем встряхивания, выдерживают 10 мин при комнатной температуре и анализируют газовую фазу флакона, отбирая ее силанизированным шприцем, предварительно нагретым в сушильном шкафу до температуры 60 °С.
Анализ метиламина, диметиламина и триметиламина проводят на колонке I (полисорб 30/160 с 5 % ПЭГ-6000 + 5 % КОН) при следующих условиях:
объем вводимой в хроматограф пробы 1 см3
температура испарителя 120 °С
температура термостата колонок 80 °С
расход газа-носителя (азота) 45 см3/мин
расход водорода 45 см3/мин
расход воздуха 330 см3/мин
скорость протяжки ленты самописца 600 мм/г
шкала измерителя тока (10 … 200)×10-12 А
Время удерживания метиламина составляет около 1,5 мин, диметиламина - 3 мин, триметиламина - 4 мин.
Анализ диметиламина и триэтиламина проводят на колонке II (ацетиленовая сажа с 5 % ПЭГ-20000 + 5 % КОН) при следующих условиях:
объем вводимой в хроматограф пробы 1 см3
температура испарителя 160 °С
расход газа-носителя (азота) 40 см3/мин
расход водорода 30 см3/мин
расход воздуха 300 см3/мин
скорость протяжки ленты самописца 600 мм/ч
шкала измерителя тока (20 ... 200)×10-2 А
Время удерживания диэтиламина составляет около 3 мин, триэтиламина - 7 мин.
Измеряют высоты пиков указанных веществ (при наличии интегратора измеряют площади) и приводят их к одной шкале измерителя тока.
Для установления градуировочной характеристики вычисляют средние значения результатов параллельных измерений для четырех серий градуировочных растворов. Градуировку проверяют 1 раз в неделю путем анализа одного из градуировочных растворов 1 - 7. Результат измерения не должен отличаться от полученного при градуировке более чем на 5 %. В противном случае градуировку повторяют.
7.5. Подготовка сорбционных трубок к отбору проб
Чистые сорбционные трубки обрабатывают 15 %-ным раствором серной кислоты (см. п. 7.3, перечисление 4) в соответствии с п. 5.1.12, тщательно вытирают снаружи чистой фильтровальной бумагой, закрывают заглушками и упаковывают в полиэтиленовые пакеты. Срок хранения обработанных трубок в герметичной упаковке не более недели.
7.6. Отбор проб
Дли отбора проб трубку устанавливают вертикально, к верхнему пустому концу присоединяют аспиратор и пропускают через слой гранул 100 дм3 анализируемого воздуха с расходом не более 5 дм3/мин. После отбора пробы сорбционную трубку закрывают заглушками, помещают в полиэтиленовый пакет и отправляют в лабораторию для анализа.
8. Выполнение измерений
Трубку с отобранной пробой опускают в пробирку П4-5 вместимостью 5 см3 концом, содержащим стеклянные гранулы, и вводят пипеткой в трубку 1 см3 раствора хлористого аммония концентрацией 160 мкг/см3 (см. п. 7.3, перечисление 7). Прокачивают раствор 4 - 6 раз через слой гранул с помощью резиновой груши, вытесняют его остатки и вынимают трубку из пробирки. Отбирают пипеткой 0,7 см3 полученного раствора и анализируют его аналогично градуировочным растворам. Массу аминов в пробе, взятой на анализ, определяют с помощью установленной градуировочной характеристики.
9. Вычисление результата измерений
Методика предназначена для определения концентрации диметиламина в атмосферном воздухе населенных пунктов в диапазоне 0,0025 - 0,1 мг/м3 при объеме пробы 300 дм3. Используется для измерения разовых концентраций.
1. Нормы точности измерений
По результатам метрологического исследования, при определении концентрации диметиламина в атмосферном воздухе в диапазоне 0,0025 - 0,1 мг/м3 суммарная погрешность при доверительной вероятности 0,95 не превышает ±25 %.
2. Метод измерения
Метод основан на поглощении диметиламина из воздуха пленочным сорбентом - раствором борной кислоты в глицерине, нанесенным на твердый инертный носитель. Поглощенный диметиламин растворяют в этиловом спирте, добавляют спиртовые растворы аммиака, ацетата меди, сероуглерода, серную и уксусную кислоты. Содержание диметиламина определяют по интенсивности окраски образовавшегося диметилдитиокарбамата меди.
Определению диметиламина не мешает присутствие в воздухе аммиака, первичных (в 50-кратных количествах) и третичных аминов. Другие вторичные алифатические амины реагируют аналогично диметиламину.
3. Средства измерений, вспомогательные устройства, реактивы и материалы
3.1. Средства измерений
Фотоэлектроколориметр или спектрофотометр
Весы аналитические ВЛА-200 по ГОСТ 24104-80Е
Меры массы по ГОСТ 7328-82Е
Барометр-анероид М-67 по ТУ 2504-1797-75
Термометр лабораторный шкальный ТЛ-2;
цена деления 1 °С; пределы 0 - 55 °С по ГОСТ 215-73Е
Электроаспиратор ЭА-1; погрешность
±10 %; Госреестр № 5997-77 по ТУ 25-11-1414-78
Секундомер; класс 3; цена деления
секундной шкалы 0,2 с по ГОСТ 5072-79Е
Колбы мерные по ГОСТ 1770-74Е
2-50-2 - 4 шт.
2-100-2 - 2 шт.
2-200-2 - 2 шт.
Пипетки по ГОСТ 20292-74Е
4-2-1 - 3 шт.
4-2-2 - 4 шт.
2-2-5 - 4 шт.
5-2-10 - 4 шт.
Бюретка 3-2-10-0.02 - 2 шт. по ГОСТ 20292-74Е
3.2. Вспомогательные устройства
Трубки сорбционные СТ 212 или СТ 223
(маркировка 2 или 3) по ТУ 25-1110.039-82
Колба Вюрца вместимостью 200 см3
Капельная воронка вместимостью 50 см3
Трубка стеклянная диаметром 6 мм
Стаканы химические вместимостью 50 см3 - 3 шт. по ГОСТ 10394-72
Баня водяная
Склянка Дрекселя
Поглотительные приборы Рыхтера - 5 шт. по ТУ 25-11.1136-75
Колбы конические вместимостью 50 см3 - 2 шт. по ГОСТ 10394-72
Колбы конические вместимостью 200 см3 - 2 шт.
3.3. Реактивы
Аммиак, ч. д. а. по ГОСТ 3760-64
Глицерин, ч. д. а. по ГОСТ 6259-75
Диметиламин, ч. по МРТУ 6-09-1169-64
Диэтилдитиокарбамат натрия, ч. д. а. по ГОСТ 8864-71
Кадмий уксуснокислый, ч. д. а. по ГОСТ 5824-71
Кислота серная, х. ч. по ГОСТ 4204-77
Кислота серная, 0,05 моль/дм3 (0,1 н.)
стандарт-титр по ТУ 6-09-2540-72
Кислота соляная, х. ч. по ГОСТ 3118-77
Кислота соляная, 0,1 моль/дм3 (0,1 н.)
стандарт-титр по ТУ 6-09-2540-72
Кислота уксусная ледяная, х. ч. по ГОСТ 61-75
Кислота борная, х. ч. по ГОСТ 9659-75
Кислота ортофосфорная, х. ч. по ГОСТ 6552-80
Медь уксуснокислая одноводная, х. ч. по ГОСТ 5852-72
Метиловый красный, ч. д. а. по ГОСТ 5853-51
Натрия хлорид, х. ч. по ГОСТ 4233-77
Натрия гидроксид, ч. по ГОСТ 4328-77
Сероуглерод синт. по ГОСТ 19213-73
Хлорамин Б, ч. по ТУ 6-09-3021-73
Этиловый спирт, х. ч.. по ГОСТ 5962-67
Цинк уксуснокислый, ч. д. а. по ГОСТ 5823-78
См. п. 5.1.3
Все работы по приготовлению растворов сероуглерода и анализу проб следует проводить под тягой.
Спиртовые растворы сероуглерода с истекшим сроком хранения, а также лабораторная посуда, использованная для получения растворов сероуглерода путем разложения диэтилдитиокарбамата натрия, обезвреживаются под тягой спиртовым раствором гидроксида натрия и хлорамина Б, приготовленным согласно перечислениям 1, 2 п. 7.2. Затем посуда промывается обычными моющими средствами.
5. Требования к квалификации оператора
См. п. 5.1.4.
6. Условия выполнения измерений
См. п. 5.1.14.
7. Подготовка к выполнению измерений
7.1. Перед выполнением измерений должны быть проведены следующие работы: приготовление растворов, установление градуировочной характеристики, подготовка сорбционных трубок, отбор проб воздуха.
1) Спиртовой раствор сероуглерода, содержащий 125 - 130 мг сероуглерода в 1 см3, готовят растворением 1 см3 сероуглерода в 9 см3 этилового спирта. Раствор устойчив в течение 7 сут при хранении в морозильной камере холодильника в хорошо закупоренной темной склянке.
В случае отсутствия сероуглерода его спиртовой раствор получают путем кислотного разложения диэтилдитиокарбамата натрия согласно приложению к данной методике.
2) Раствор для дегазации посуды и реактивов, содержащих сероуглерод. 5 г гидроксида натрия растворяют в 100 см3 этилового спирта и добавляют 0,5 г хлорамина Б. Этиловый спирт может быть заменен н-пропиловым или изопропиловым.
3) Соляная кислота, раствор 0,1 моль/дм3. Готовят из стандарт-титра.
4) Серная кислота, раствор 0,005 моль/дм3. Готовят путем разбавления в 10 раз водой раствора концентрацией 0,05 моль/дм3, приготовленного из стандарт-титра.
5) Метиловый красный, 0,1 %-ный спиртовой раствор. Растворяют 50 мг индикатора в 50 см3 этилового спирта.
6) Раствор для обработки сорбционных трубок. Готовят насыщенный раствор борной кислоты в глицерине, растворяя при перемешивании 25 г кислоты в 100 см3 глицерина. Смесь выдерживают в течение нескольких часов, после чего раствор сливают в склянку с пришлифованной пробкой.
7) Раствор аммиака в этиловом спирте концентрацией 7 - 10 мг/см3. 1 см3 25 %-ного водного раствора аммиака смешивают с 9 см3 этилового спирта. Содержание аммиака в полученном растворе устанавливают титриметрически. Для этого в коническую колбу вместимостью 50 см3 вносят 4 см3 воды, 1 см3 спиртового раствора аммиака, 1 каплю индикатора - раствора метилового красного и титруют раствором соляной кислоты концентрацией 0,1 моль/дм3 до появления устойчивой розовой окраски. 1 см3 раствора соляной кислоты концентрацией 0,1 моль/дм3 соответствует 1,7 мг аммиака. Если содержание аммиака превышает 10 мг/см3, раствор разбавляют этиловым спиртом до нужной концентрации. Применяют свежеприготовленный раствор.
8) Уксуснокислая медь, 2 %-ный раствор. 1 г ацетата меди растворяют в 50 см3 дистиллированной воды.
9) Раствор уксуснокислой меди в этиловом спирте. 0,5 см3 2 %-ного раствора ацетата меди приливают к 9,5 см3 этилового спирта и перемешивают. Готовят перед употреблением.
10) Исходный раствор диметиламина для установления градуировочной характеристики. Готовят из имеющегося в продаже (обычно 30 - 40 %-ного) раствора. 0,5 см3 раствора диметиламина вносят в мерную колбу вместимостью 250 см3, доводят водой до метки и перемешивают. Концентрацию диметиламина в исходном растворе устанавливают титриметрически. Для этого в три конические колбы вместимостью 200 см3 вносят по 5,0 см3 полученного раствора диметиламина, приливают по 25 см3 воды, по 2 - 3 капли раствора метилового красного и титруют раствором серной кислоты концентрацией 0,005 моль/дм3 до появления устойчивой розовой окраски. По результатам титрования рассчитывают содержание диметиламина в 1 см3 исходного раствора. 1 см3 раствора серной кислоты концентрацией 0,005 моль/дм3 соответствует 0,45 мг диметиламина.
11) Рабочий раствор 1 (ρ = 100 мкг/см3) для установления градуировочной характеристики готовят путем разбавления исходного раствора диметиламина в этиловом спирте в мерной колбе вместимостью 50 - 100 см3. Раствор устойчив в течение одного рабочего дня.
12) Рабочие растворы диметиламина 2 (ρ = 10 мкг/см3) и 3 (ρ = 5 мкг/см3) для установления градуировочной характеристики готовят перед приготовлением градуировочных растворов путем разбавления раствора 1 этиловым спиртом в мерных колбах вместимостью 25 - 50 см3.
7.3. Установление градуировочной характеристики
Градуировочную характеристику, выражающую зависимость оптической плотности от массы диметиламина в анализируемом объеме пробы, устанавливают по растворам для градуировки. Растворы для градуировки готовят в пробирках, для чего в каждую пробирку вносят рабочие растворы 2 и 3, этанол согласно табл. 5.36 и 0,1 см3 раствора для обработки сорбционных трубок.
Растворы для установления градуировочной характеристики при определении концентрации диметиламина
|
1 |
9 |
3 |
4 |
5 |
6 |
7 |
|
|
Объем рабочего раствора |
|
|
|
|
|
|
|
|
3 (ρ = 5 мкг/см3), см3 |
0,1 |
0,2 |
0,5 |
1,0 |
- |
- |
- |
|
2 (ρ = 10 мкг/см3), см3 |
- |
- |
|
- |
1,0 |
1,5 |
2,0 |
|
Объем этанола, см3 |
2,8 |
2,7 |
2,4 |
1,9 |
1,9 |
1,4 |
0,9 |
|
Масса диметиламина в пробе, мкг |
0,5 |
1,0 |
2,5 |
5,0 |
10,0 |
15,0 |
20,0 |
Затем во все пробирки приливают при перемешивании по 0,1 см3 раствора аммиака, 0,2 см3 раствора сероуглерода и 0,2 см3 раствора ацетата меди. Через 10 мин добавляют по 0,5 см3 концентрированной серной кислоты и 1,2 см3 ледяной уксусной кислоты, перемешивают и измеряют оптическую плотность окрашенных в желто-зеленый цвет растворов по отношению к воде в кюветах с расстоянием между рабочими гранями 10 мм при длине волны 400 нм. Одновременно анализируют нулевой раствор, содержащий все перечисленные реактивы, кроме диметиламина. Окраска фотометрируемых растворов устойчива в течение 24 ч.
Градуировочную характеристику устанавливают на основании средних значений оптической плотности, вычисленных из результатов измерений 5 серий растворов для градуировки. Проверку градуировочной характеристики следует проводить при каждой смене партии реактивов, но не реже одного раза в квартал.
7.4. Подготовка сорбционных трубок
Чистую сухую трубку устанавливают в пробирку входным отверстием вверх и смачивают слой стеклянных гранул 0,2 см3 абсорбирующего раствора (см. п. 7.2, перечисление 6), который распределяют по поверхности гранул, затягивая воздух в трубку с помощью груши. Трубки помещают в маркированные пробирки с полиэтиленовыми пробками и транспортируют к месту отбора проб. Срок хранения подготовленных трубок - 2 недели.
7.5. Отбор проб
Для определения разовых концентраций диметиламина исследуемый воздух с расходом 10 дм3/мин аспирируют в течение 30 мин через сорбционную трубку, подготовленную к отбору проб. При отборе сорбционная трубка, наружные стенки которой защищены полиэтиленовой пленкой, укрепляется в вертикальном положении слоем сорбента вниз. Воздух должен идти снизу вверх.
Срок хранения проб в герметичной упаковке 5 сут. Отбор проб можно проводить в диапазоне температур окружающего воздуха от минус 30 до 30 °С.
8. Выполнение измерений
Сорбционную трубку с пробой устанавливают в пробирку слоем стеклянных гранул вниз. В трубку приливают 4,5 см3 этилового спирта и тщательно перемешивают содержимое пробирки путем прокачивания раствора через сорбент при помощи резиновой груши, надетой на конец трубки. Трубку вынимают, вытесняя грушей остатки раствора в пробирку. Отбирают 3 см3 раствора пробы в пробирку с притертой пробкой, приливают 0,1 см3 раствора аммиака, 0,2 см3 раствора сероуглерода и 0,2 см3 раствора ацетата меди. После добавления каждого реактива раствор перемешивают. Через 10 мин в пробирку прибавляют 0,5 см3 концентрированной серной кислоты и 1,2 см3 уксусной кислоты. Раствор перемешивают и измеряют оптическую плотность относительно воды. Аналогично анализируют нулевую пробу - сорбционную трубку, подготовленную к отбору. Измерения проводят так, как указано в п. 7.3. Массу диметиламина в фотометрируемом объеме раствора пробы находят по градуировочной характеристике.
9. Вычисление результата измерений
Приложение
Получение спиртового раствора сероуглерода
В вытяжном шкафу собирают установку, состоящую из колбы Вюрца вместимостью 200 см3 и пяти поглотительных приборов Рыхтера. Колбу закрывают пробкой, снабженной капельной воронкой с трубкой, доходящей почти до дна колбы, и такой же длины трубкой с зажимом для регулирования расхода воздуха через систему. В колбу помещают 5 г диэтилдитиокарбамата натрия, заполняют первый поглотительный прибор 5 - 7 см3 5 %-ного раствора ацетата кадмия или 20 %-ного раствора ацетата цинка для улавливания следов сероводорода, второй - 5 - 7 см3 концентрированной серной кислоты для улавливания возможного аэрозоля диэтиламина сульфата и осушки газа, третий поглотительный прибор оставляют пустым, а в четвертый и пятый наливают по 5 см3 этилового спирта и помещают их в смесь льда с хлоридом натрия или калия. Выходной отвод последнего поглотителя соединяют через ротаметр с водоструйным насосом или электроаспиратором. Приливают из воронки по каплям концентрированную о-фосфорную кислоту (шлиф крана предварительно смачивают той же кислотой) и аспирируют через систему воздух с расходом 0,1 - 0,2 дм3/мин. Кислоту в количестве 10 см3 прибавляют малыми порциями в течение 20 мин при постоянном протягивании воздуха. Реакцию проводят при нагревании, поместив колбу в водяную баню с температурой 70 - 80 °С. Для анализа используют раствор из четвертого поглотительного прибора. Чтобы предотвратить возможность попадания непоглощенных паров сероуглерода в воздух, перед электроаспиратором или водоструйным насосом устанавливают склянку Дрекселя со спиртовым раствором гидроксида натрия и хлорамина Б, который связывает и окисляет сероуглерод. Дегазацию использованной посуды и раствора сероуглерода из пятого поглотительного прибора проводят в соответствии с п. 4. 5 см3 полученного раствора сероуглерода достаточно для проведения 20 - 22 измерений.
При использовании одних и тех же партий диэтилдитиокарбамата натрия, фосфорной кислоты и этанола и выдерживании всех условий синтеза растворы сероуглерода, получаемые в разное время, обеспечивают хорошую воспроизводимость результатов измерения концентрации диметиламина. Поэтому проводить проверку градуировочной характеристики достаточно 1 раз в квартал.
Методика предназначена для определения концентрации анилина, N-метиланилина в атмосферном воздухе населенных пунктов. Диапазон измеряемых концентраций ароматических аминов, а также значения их максимальной разовой и среднесуточной предельно допустимых концентраций в атмосферном воздухе (ПДКм.р и ПДКс.с) представлены в табл. 5.37.
Диапазоны измеряемых концентраций и ПДК ароматических аминов в атмосферном воздухе (мг/м3)
|
ПДКм.р |
ПДКс.с |
Диапазон измеряемых концентраций |
|
|
Анилин |
0,05 |
0,03 |
0,02 - 0,5 |
|
N-метиланилин |
0,04 |
0,04 |
0,02 - 0,5 |
1. Нормы точности измерений
По результатам метрологических исследований, при определении концентрации ароматических аминов в атмосферном воздухе в диапазоне 0,02 - 0,5 мг/м3 погрешность измерений не превышает ±18 % при доверительной вероятности 0,95.
2. Метод измерения
Определяемые вещества абсорбируют пленочным хемосорбентом, элюируют образовавшиеся соли аминов водой, обрабатывают полученный раствор избытком щелочи, экстрагируют амины бензолом и выполняют газохроматографический анализ экстракта.
3. Средства измерений, вспомогательные устройства, реактивы и материалы
3.1. При выполнении измерений должны быть применены следующие средства измерений, вспомогательные устройства, реактивы и материалы.
3.2. Средства измерений
Газовый хроматограф серии «Цвет 500М»,
снабженный пламенно-ионизационным детектором
или другой с чувствительностью по пропану
не менее 1,0×10-8 мг/см3 по ТУ 1.550-150
Весы аналитические ВЛА-200 по ГОСТ 24104-80Е
Меры массы по ГОСТ 7328-82Е
Электроаспиратор ЭА-1; погрешность 10 %;
Госреестр № 5997-77 по ТУ 25-11-1414-78
Секундомер; класс 3; цена деления
секундной шкалы 0,2 с по ГОСТ 5072-79Е
Термометр ТМ-8; пределы
измерения от минус 35 до 40 °С по ГОСТ 112-78Е
Барометр-анероид М-67 по ТУ 2504-1797-75
Колбы мерные 2-100-2 - 4 шт. по ГОСТ 1770-74Е
Пипетки по ГОСТ 20292-74Е
2-2-10 - 2 шт.
6-2-10 - 2 шт.
2-2-5 - 2 шт.
4-2-1 - 2 шт.
3.3. Вспомогательные устройства
Редуктор кислородный по ТУ 26-05.235-70
Редуктор водородный по ТУ 26-05-463-76
Насос водоструйный стеклянный по ГОСТ 10696-75
Колонка хроматографическая
стеклянная, 200´0,3 см3 по ГОСТ 16285-80
Трубки сорбционные СТ 212 (маркировка 2) по ТУ 25-1110.039-82
Флаконы пенициллиновые вместимостью
2 см3 с алюминиевыми колпачками и резиновыми пробками
Пресс для обжима колпачков на флаконах по ТУ 42-2-2442-73
Микрошприц «Газохром-101» вместимостью 1 мм3 по ТУ 2505-2152-76
Пробирки по ГОСТ 23932-79
П4-10-14/23 - 10 шт.
П4-5-14/23 - 10 шт.
Ампулы стеклянные вместимостью 1 см3 по ГОСТ 18122-75
3.4. Материалы
Азот технический по ГОСТ 9293-74
Водород технический по ГОСТ 3022-80
Воздух сжатый
Стекловата
Пленка фторопластовая по ГОСТ 24222-80
3.5. Реактивы
Анилин, ч. д. а. по ГОСТ 5819-78
Ацетон, ч. д. а. по ГОСТ 2603-79
Бензол, х. ч. по ГОСТ 5955-75
Вода дистиллированная по ГОСТ 6709-77
Гексаметилдисилоксан, ч. по ТУ 6-09-11-647-75
N, N-Диметиланилин, ч. д. а. по ГОСТ 5855-78
Калия гидроксид, ос. ч по ОСТ 6-01-301-74
Кислота серная, ос. ч по ГОСТ 14262-78
N-Метиланилин, ч. по ТУ 6-09-2298-74
Полиокс-100 (стационарная фаза)
Толуол, ч. д. а. по ГОСТ 5789-78
Хлороформ, х. ч. по ТУ 6-09-4263-76
Целит-545 или цветохром ЗК
зернением 0,18 - 0,25 мм
Этиловый спирт, ректификат по ГОСТ 5962-67
4. Требования безопасности
См. п. 5.1.3.
5. Требования к квалификации оператора
См. п. 5.1.4.
6. Условия выполнения измерений
См. п. 5.1.14.
7. Подготовка к выполнению измерений
7.1. Перед выполнением измерений должны быть проведены следующие работы: подготовка измерительной аппаратуры, приготовление растворов, установление градуировочной характеристики, подготовка сорбционных трубок, отбор проб.
7.2. Подготовка измерительной аппаратуры. Стеклянную колонку промывают с помощью водоструйного насоса дистиллированной водой, ацетоном, толуолом и заполняют ее раствором гексаметилдисилоксана (см. п. 7.3, перечисление 1). Этим же раствором обрабатывают стекловату, применяемую для закрепления насадки в колонке. Через 5 - 10 ч раствор удаляют из колонки и высушивают колонку в токе воздуха.
В фарфоровую чашку высыпают 8 г целита-545 и заливают 60 см3 раствора гидроксида калия (см. п. 7.3, перечисление 2). Этанол испаряют в вытяжном шкафу при осторожном перемешивании шпателем полученной суспензии, нагревая ее на водяной бане или лампой накаливания мощностью 100 Вт до тех пор, пока насадка не станет сыпучей. Работу необходимо производить в вытяжном шкафу. Затем насадку заливают 60 см3 раствора полиокса-100 (см. п. 7.3, перечисление 3), удаляют хлороформ, так же как этанол, и окончательно высушивают насадку при температуре 80 - 90 °С в течение 30 мин.
В силанизированную колонку со стороны, подключаемой к детектору, вкладывают тампон силанизированной стекловаты и присоединяют этот конец колонки к водоструйному насосу. Осторожно постукивая по колонке, засыпают в нее через воронку полученную насадку в таком количестве, чтобы участок колонки, входящий в испаритель, остался пустым. Отсоединив заполненную колонку от насоса, вкладывают в нее второй тампон стекловаты и продвигают его до насадки. Подготовленную колонку подключают к испарителю хроматографа и продувают азотом с расходом 40 см3/мин сначала при программировании температуры от комнатной до 140 °С со скоростью 2 °С/мин, а затем в изотермическом режиме при 140 °С в течение 5 - 10 ч, после чего колонку охлаждают и присоединяют к детектору.
1) Раствор гексаметилдисилоксана. 5 см3 гексаметилдисилоксана растворяют в 30 см3 толуола.
2) Раствор гидроксида калия. 0,20 - 0,25 г гидроксида калия растворяют в 60 см3 этанола.
3) Раствор полиокса-100. 1,6 г полиокса-100 растворяют в 60 см3 хлороформа.
4) Серная кислота, 15 %-ный раствор. 8,15 см3 концентрированной серной кислоты растворяют в 100 см3 дистиллированной воды.
5) Серная кислота, 1,5 %-ный раствор. Готовят разбавлением 15 %-ного раствора (см. перечисление 4) дистиллированной водой в 10 раз.
6) Гидроксид калия, 30 %-ный раствор. 30 г гидроксида калия растворяют в 70 см3 дистиллированной воды. Раствор хранят в полиэтиленовой посуде.
7) Градуировочный раствор А. В мерную колбу вместимостью 100 см3 отвешивают по 100 - 150 мг каждого амина, вносят в нее пипеткой 10 см3 15 %-ного раствора серной кислоты (см. перечисление 4), перемешивают содержимое колбы до полного растворения солей аминов и добавляют дистиллированной воды до метки.
8) Градуировочный раствор Б. Готовят разбавлением раствора А в 10 раз 1,5 %-ной серной кислотой (см. перечисление 5) в колбе вместимостью 100 см3.
Срок хранения растворов А и Б не более 20 сут.
7.4. Установление градуировочной характеристики
Градуировочную характеристику, выражающую зависимость высоты хроматографического пика определяемого вещества от его массы в анализируемой пробе, устанавливают по четырем сериям градуировочных растворов. Каждую серию, состоящую из семи градуировочных растворов, готовят последовательным двукратным разбавлением градуировочного раствора Б.
В семь пронумерованных пробирок П4-10 вместимостью 10 см3 пипеткой вносят по 5 см3 1,5 %-ного раствора серной кислоты (см. п. 7.3, перечисление 5). Той же пипеткой отбирают 5 см3 градуировочного раствора Б, переносят его в пробирку № 1. Закрывают пробирку пробкой и перемешивают ее содержимое путем встряхивания, после чего 5 см3 полученного раствора 1 переносят в пробирку № 2. Аналогично последовательным двукратным разбавлением готовят градуировочные растворы 3 - 7. Срок хранения растворов 20 сут.
Концентрацию ароматических аминов в градуировочных растворах рассчитывают по формуле:
![]()
где ρn - концентрация определяемого вещества в градуировочном растворе, мкг/см3;
m - масса определяемого вещества, мг;
n - номер раствора.
В пенициллиновый флакон вместимостью 2 см3 заливают 0,2 см3 30 %-ного гидроксида калия (см. п. 7.3, перечисление 6). Пипетками вместимостью 1 см3 во флакон вводят 0,2 см3 бензола, затем 0,7 см3 анализируемого градуировочного раствора солей аминов. Через прокладку из фторопластовой пленки закрывают флакон резиновой пробкой, надевают сверху алюминиевый колпачок и обжимают его прессом. Перемешивают содержимое флакона путем встряхивания, выдерживают его не менее 10 мин при комнатной температуре и анализируют бензольный экстракт при следующих условиях:
Объем вводимой в хроматограф пробы 1 мм3
температура испарителя 160 °С
температура термостата колонок 140 °С
расход газа-носителя (азота) 40 см3/мин
расход водорода 30 см3/мин
расход воздуха 300 см3/мин
скорость протяжки ленты самописца 600 мм/ч
шкала измерителя тока (20 ... 200)×10-12 А
Время удерживания диметиланилина составляет около 7 мин, метиланилина - 14 мин, анилина - 16 мин.
Измеряют высоты пиков аминов (при наличии интегратора измеряют площади), приводят их к одной шкале измерителя тока.
Для установления градуировочной характеристики вычисляют средние значения результатов параллельных измерений для четырех серий градуировочных растворов. Градуировку проверяют 1 раз в неделю путем анализа одного из градуировочных растворов 1 - 7. Результат измерения не должен отличаться от полученного при градуировке более чем на 5 %. В противном случае градуировку повторяют.
7.5. Подготовка сорбционных трубок
Чистые сорбционные трубки обрабатывают 15 %-ным раствором серной кислоты (см. п. 7.3, перечисление 4) в соответствии с п. 5.1.12, тщательно вытирают снаружи чистой фильтровальной бумагой, закрывают заглушками и упаковывают в полиэтиленовые пакеты. Срок хранения обработанных трубок в герметичной упаковке не более 7 сут.
7.6. Отбор проб
Для отбора пробы трубку устанавливают вертикально, к верхнему пустому концу присоединяют аспиратор и пропускают через слой гранул 100 дм3 анализируемого воздуха с расходом не более 5 дм3/мин. После отбора пробы сорбционную трубку закрывают заглушками, помещают в полиэтиленовый пакет и отправляют в лабораторию для анализа.
8. Выполнение измерений
Трубку с отобранной пробой опускают в пробирку вместимостью 5 см3 концом, содержащим стеклянные гранулы, и вводят пипеткой в трубку 1 см3 дистиллированной воды. Прокачивают раствор 4 - 6 раз через слой гранул с помощью резиновой груши, вытесняют его остатки и вынимают трубку из пробирки. Отбирают пипеткой 0,7 см3 полученного раствора и анализируют его аналогично градуировочным растворам. Массу аминов в пробе, взятой на анализ, определяют с помощью установленной градуировочной характеристики.
9. Вычисление результата измерений
Методика1 предназначена для определения концентрации пиридина в атмосферном воздухе населенных пунктов в диапазоне 0,05 - 1,00 мг/м3 при отборе пробы воздуха 10 дм3. Используется для измерения разовых концентраций.
1 Методика аттестована в ГГО. Свидетельство № 217.
1. Нормы точности измерений
По результатам метрологического исследования, при определении концентрации пиридина в атмосферном воздухе в диапазоне 0,05 - 1,00 мг/м3 суммарная погрешность при доверительной вероятности 0,95 не превышает ±13 %.
2. Метод измерения
Метод основан на улавливании пиридина из воздуха пленочным хемосорбентом и фотометрическом определении по полиметиновому красителю, образующемуся в результате взаимодействия пиридина с роданидом калия, хлорамином Б и барбитуровой кислотой.
3. Средства измерений, вспомогательные устройства, реактивы и материалы
3.1. При выполнении измерений должны быть применены следующие средства измерений, вспомогательные устройства, реактивы и материалы.
3.2. Средства измерений
Фотоэлектроколориметр или спектрофотометр
Весы аналитические ВЛА-200 по ГОСТ 24104-80Е
Меры массы по ГОСТ 7328-82Е
Секундомер; класс 3; цена деления
секундной шкалы 0,2 с по ГОСТ 5072-79Е
Барометр-анероид М-67 по ТУ 2504-1797-75
Термометр лабораторный шкальный ТЛ-2;
пределы 0 - 55 °С; цена деления 1 °С по ГОСТ 215-73Е
Электроаспиратор ЭА-1; погрешность
±10 %; Госреестр № 5997-77 по ТУ 25-11-1414-78
Колбы мерные по ГОСТ 1770-74Е
2-25-2 - 7 шт.
2-100-2 - 1 шт.
2-250-2 - 1 шт.
Пипетки по ГОСТ 20292-74Е
4-2-1 - 7 шт.
2-2-5 - 5 шт.
6-2-10 - 5 шт.
6-2-25 - 1 шт.
Бюретки по ГОСТ 20292-74Е
3-2-25 - 1 шт.
3.3. Вспомогательные устройства
Трубки сорбционные СТ 112 (маркировка 1) по ТУ 25-1110.039-82
3.4. Материалы
Трубка резиновая полувакуумная, тип 1 по ГОСТ 5496-57
3.5. Реактивы
Барбитуровая кислота, ч. по ТУ 6-09-512-75
Глицерин, х. ч. по ГОСТ 6259-75
Кальция оксид, ч. д. а. по ГОСТ 8677-76
Калия роданид, х. ч. по ГОСТ 4139-75
или аммония роданид, х. ч. по ТУ 6-09-4708-79
Натрий гидроксид, 0,1 моль/дм3
(0,1 н.), стандарт-титр по ТУ 6-09-2540-72
Пиридин, ч. д. а. по ГОСТ 13647-78
Серная кислота (ρ = 1,84 г/см3), х. ч. по ГОСТ 4204-77
Хлорамин Б, ч. по ТУ 6-09-3021-73
4. Требования безопасности
См. п. 5.1.3.
Все работы с пиридином следует проводить под тягой.
5. Требования к квалификации оператора
См. п. 5.1.4.
6. Условия выполнения измерений
См. п. 5.1.14.
7. Подготовка к выполнению измерений
7.1. Перед выполнением измерений должны быть проведены следующие работы: приготовление растворов, установление градуировочной характеристики, подготовка сорбционных трубок, отбор проб воздуха.
1) Барбитуровая кислота, 1 %-ный раствор. 1 г барбитуровой кислоты растворяют в дистиллированной воде в мерной колбе вместимостью 100 см3.
2) Калия (аммония) роданид, 1 %-ный раствор. 1 г роданида калия (аммония) растворяют в дистиллированной воде в мерной колбе вместимостью 100 см3.
3) Натрия гидроксид, раствор 0,1 моль/дм3. Готовят из стандарт-титра.
4) Кислота серная, раствор 0,05 моль/дм3. Готовят разбавлением 2,66 см3 H2SO4 (ρ = 1,84 г/см3) дистиллированной водой в мерной колбе вместимостью 1 дм3.
5) Хлорамин Б, 1 %-ный раствор. 1 г хлорамина Б растворяют в дистиллированной воде в мерной колбе вместимостью 100 см3.
6) Исходный раствор пиридина для градуировки. Чистый пиридин высушивают над прокаленным оксидом кальция. Для этого в сухую склянку с притертой пробкой насыпают оксид кальция и наливают пиридин. Оксид кальция расплывается. Пиридин сливают в другую склянку, содержащую прокаленный оксид кальция. Операции повторяют до тех пор, пока оксид кальция перестанет расплываться. Пиридин сливают и перегоняют. Собирают фракцию с температурой кипения 115,6 °С.
В мерную колбу вместимостью 100 см3 вносят 5 см3 раствора серной кислоты концентрацией 0,05 моль/дм3, взвешивают, приливают 0,1 см3 перегнанного пиридина, взвешивают, затем доводят объем раствором серной кислоты до метки. С учетом разности взвешиваний рассчитывают массу пиридина в 1 см3 раствора.
7) Рабочий раствор пиридина (ρ = 5 мкг/см3). Готовят соответствующим разбавлением исходного раствора дистиллированной водой в мерной колбе вместимостью 250 см3.
8) Раствор для обработки сорбционных трубок. В цилиндре вместимостью 100 см3 растворяют 5,4 см3 концентрированной серной кислоты в 50 см3 воды; после охлаждения раствора к нему приливают 12 см3 глицерина и доводят объем до 100 см3 дистиллированной водой.
7.3. Установление градуировочной характеристики
Градуировочную характеристику, выражающую зависимость оптической плотности раствора от массовой концентрации пиридина, устанавливают по пяти сериям растворов для градуировки. Каждую серию, состоящую из семи растворов, готовят из свежеприготовленного раствора пиридина (см. п. 7.2, перечисление 7). Растворы для установления градуировочной характеристики готовят в мерных колбах вместимостью 25 см3. Для этого в каждую колбу вливают рабочий раствор для градуировки в соответствии с табл. 5.38, доводят объем дистиллированной водой до метки и тщательно перемешивают.
Растворы для установления градуировочной характеристики при определении концентрации пиридина
|
1 |
2 |
3 |
4 |
5 |
6 |
7 |
|
|
Объем рабочего раствора (ρ = 5 мкг/см3), см3 |
1,25 |
2,5 |
5,0 |
10 |
15 |
20 |
25 |
|
Соответствует массе пиридина в 1 см3 раствора, мкг |
0,25 |
0,5 |
1,0 |
2,0 |
3,0 |
4,0 |
5,0 |
Для установления градуировочной характеристики отбирают по 1 см3 каждого раствора, добавляют 0,1 см3 раствора для обработки сорбционных трубок, 1 см3 раствора роданида калия или аммония и 1 см3 8 %-ного раствора хлорамина, перемешивают. Через 10 мин вносят 3 см3 1 %-ного раствора барбитуровой кислоты и 4 см3 раствора гидроксида натрия концентрацией 0,1 моль/дм3. Пробирки помещают на водяную баню и выдерживают в течение 30 - 35 мин при 35 - 40 °С. После охлаждения измеряют оптическую плотность по отношению к воде при 584 нм в кюветах с расстоянием между рабочими гранями 20 мм. Одновременно анализируют нулевой раствор - 1 см3 дистиллированной воды, к которой добавлены те же реактивы.
7.4. Подготовка сорбционных трубок
Чистые СТ, предназначенные для отбора проб, и те, которые используются в качестве нулевых, обрабатывают абсорбирующим раствором (см. п. 7.2, перечисление 8), в соответствии с п. 5.1.12, тщательно вытирают снаружи чистой фильтровальной бумагой, закрывают заглушками и упаковывают в полиэтиленовые пакеты.
7.5. Отбор проб
Для определения разовой концентрации пиридина исследуемый воздух с расходом 0,5 дм3/мин в течение 20 мин аспирируют через сорбционную трубку, подготовленную к отбору. Сорбционная трубка должна быть укреплена в вертикальном положении слоем сорбента вниз. При отборе проб на открытом воздухе эффективное поглощение пиридина обеспечивается в диапазоне температур от минус 20 до 40 °С.
8. Выполнение измерений
Сорбционную трубку помещают в пробирку и заливают 2 см3 воды. Путем прокачивания воды через сорбент при помощи резиновой груши переводят пробу в раствор, выдувают его остатки и вынимают трубку из пробирки. Для анализа берут 1 см3 раствора. Затем в пробирку добавляют 1 см3 1 %-ного раствора роданида калия (аммония) и 1 см3 8 %-ного раствора хлорамина Б, перемешивают. Через 10 мин вносят 3 см3 раствора барбитуровой кислоты и 4 см3 раствора гидроксида натрия концентрацией 0,1 моль/дм3. Содержимое пробирок перемешивают, помещают на водяную баню и выдерживают в течение 30 - 35 мин при 35 - 45 °С. После охлаждения измеряют оптическую плотность в кюветах с расстоянием между рабочими гранями 20 мм при длине волны 584 нм. Аналогично анализируют три нулевые пробы - сорбционные трубки, обработанные абсорбирующим раствором (см. п. 7.2, перечисление 8). Время от добавления последнего реактива до измерения оптической плотности всех проб должно быть одинаковым. Среднее значение оптической плотности нулевой пробы не должно превышать 0,040. Массу пиридина в пробе определяют с помощью установленной градуировочной характеристики по разности оптических плотностей растворов пробы и нулевого.
9. Вычисление результата измерений
Методика предназначена для определения концентрации анионоактивных детергентов в атмосферном воздухе населенных пунктов в диапазоне 0,00053 - 0,015 мг/м3 при отборе пробы воздуха объемом 2 м3. Используются для измерения разовых и среднесуточных концентраций.
1. Нормы точности измерений
По экспертным оценкам, при определении концентрации анионоактивных детергентов в атмосферном воздухе в диапазоне 0,00053 - 0,015 мг/м3 суммарная погрешность не превышает ±25 %.
2. Метод измерения
Метод основан на взаимодействии анионоактивных детергентов с метиленовым голубым и последующем фотометрическом определении.
3. Средства измерений, вспомогательные устройства, реактивы и материалы
3.1. При выполнении измерений должны быть применены следующие средства измерений, вспомогательные устройства, реактивы и материалы.
3.2. Средства измерений
Фотоэлектроколориметр или спектрофотометр
Весы аналитические ВЛА-200 по ГОСТ 24104-80Е
Меры массы по ГОСТ 7328-82Е
Секундомер; класс 3; цена деления
секундной шкалы 0,2 с по ГОСТ 5072-79Е
Термометр лабораторный шкальный
ТЛ-2; пределы 0 - 55 °С; цена деления 1 °С по ГОСТ 215-73Е
Барометр-анероид М-67 по ТУ 2504-1797-75
Электроаспиратор ЭА-1; погрешность
±10 %; Госреестр № 5997-77 по ТУ 25-11-1414-78
Колбы мерные по ГОСТ 1770-74
50 - 2 шт.
100 - 2 шт.
1000 - 2 шт.
Пипетки по ГОСТ 20292-74Е
4-2-1 - 5 шт.
6-2-10 - 5 шт.
Цилиндры по ГОСТ 1770-74
50 - 3 шт.
250 - 3 шт.
3.3. Вспомогательные устройства
Воронки для фильтрования - 5 шт. по ГОСТ 8613-75
Воронки делительные - 2 шт. по ГОСТ 8613-75
Стаканы стеклянные - 10 шт. по ГОСТ 10994-72
Чашки выпарительные - 2 шт. по ГОСТ 10973-75
Баня водяная
Фильтродержатели для фильтров
АФА-XП-18, изготовитель ВО «Изотоп»
Обратный холодильник по ГОСТ 9499-70
Стеклянный фильтр по ГОСТ 9775-69
3.4. Материалы
Фильтры АФА-XП-18, изготовитель ВО «Изотоп»
Фильтры «синяя лента» по ТУ 6-09-1678-77
3.5. Реактивы
Вода дистиллированная по ГОСТ 6709-72
Водорода перекись (30 %-ный раствор), х. ч. по ГОСТ 10929-76
Кислота серная конц., х. ч. по ГОСТ 4204-77
Метиленовый голубой (синий), ч. д. а. по ТУ 6-09-29-76
Моющее средство
Натрия гидроксид, х. ч. по ГОСТ 4328-77
Натрий фосфорнокислый двузамещенный,
безводный, ч. д. а. по ГОСТ 11773-76
Спирт этиловый, ректификат по ГОСТ 5967-67
Хлороформ, х. ч. по ТУ 6-09-4263-76
Эфир петролейный, ч.
4. Требования безопасности
См. п. 5.1.3.
5. Требования к квалификации оператора
См. п. 5.1.4.
6. Условия выполнения измерений
См. п. 5.1.14.
7. Подготовка к выполнению измерений
7.1. Перед выполнением измерений должны быть проведены следующие работы: приготовление растворов, установление градуировочной характеристики, подготовка фильтров, отбор пробы воздуха.
1) Кислота серная, 0,3 %-ный раствор. К 250 см3 дистиллированной воды осторожно приливают 0,4 см3 концентрированной серной кислоты.
2) Буферный раствор pH 10. 1 г фосфорнокислого натрия (двузамещенного) растворяют в 10 см3 воды, pH раствора устанавливают равным 10 добавлением раствора гидроксида натрия концентрацией 0,1 моль/дм3. Общий объем раствора доводят до 100 см3.
3) Метиленовый голубой (синий), 0,017 %-ный раствор. 0,017 метиленового голубого растворяют в воде. Объем доводят до 100 см3.
4) Натрия гидроксид, раствор 0,1 моль/дм3. 4 г гидроксида натрия растворяют в 600 - 700 см3 воды. После охлаждения объем доводят до 1000 см3.
5) Перекись водорода, 3 %-ный раствор. К 30 см3 перекиси водорода приливают 270 см3 воды, тщательно перемешивают. Реактив хранят в склянке из темного стекла с притертой пробкой не более 1 мес.
6) Составной реактив. В делительную воронку вносят равные объемы перекиси водорода, метиленового голубого и буферного раствора, добавляют хлороформ в количестве, превышающем в 3 раза общий объем смеси, и энергично встряхивают. После разделения слоев хлороформ сливают, а водный раствор используют для анализа.
7) Очистка анионоактивного синтетического детергента. Навеску 2,5 - 3 г определяемого моющего средства обрабатывают 50 см3 этилового спирта при нагревании с обратным холодильником на водяной бане в течение 30 - 40 мин. Полученный раствор фильтруют в сухую колбу через стеклянный фильтр, дважды промывают этиловым спиртом колбу и холодильник. Полученный раствор также отфильтровывают в колбу. Затем раствор переливают в выпарительную чашку и упаривают на водяной бане. Осадок трижды промывают петролейным эфиром для экстрагирования несульфированных веществ. Полноту экстракции проверяют отсутствием жирного пятна при нанесении капли эфирной вытяжки на фильтровальную бумагу. Остаток после очистки петролейным эфиром переносят в выпарительную чашку и высушивают при температуре 80 °С до постоянной массы. Из полученного вещества готовят градуировочные растворы.
8) Исходный раствор для градуировки (ρ = 100 мкг/см3). 10 мг очищенного анионоактивного детергента помещают в мерную колбу вместимостью 100 см3, доводят объем до метки водой и тщательно перемешивают.
9) Рабочий раствор для градуировки (ρ = 10 мкг/см3). 10 см3 исходного раствора (см. перечисление 8) разбавляют в мерной колбе до 100 см3 водой.
7.3. Установление градуировочной характеристики. Градуировочную характеристику, выражающую зависимость оптической плотности раствора от концентрации анионоактивного детергента, устанавливают по пяти сериям растворов для градуировки. Каждую серию, состоящую из семи растворов, готовят из раствора детергента (см. п. 7.2, перечисление 9). Растворы для установления градуировочной характеристики готовят в соответствии с табл. 5.39.
Для установления градуировочной характеристики на чистые фильтры АФА-XП-18 с обрезанными краями, помещенные в стаканы, наносят растворы для градуировки и обрабатывают аналогично пробам (см. п. 8). Одновременно так же анализируют нулевую пробу - чистый фильтр с обрезанными краями.
Растворы для установления градуировочной характеристики при определении концентрации детергента
|
1 |
2 |
3 |
4 |
5 |
6 |
7 |
|
|
Объем рабочего раствора (ρ = 10 мкг/см3), см3 |
0,05 |
0,1 |
0,3 |
0,5 |
0,7 |
1,0 |
1,5 |
|
Соответствует массе детергента, мкг |
0,5 |
1,0 |
3,0 |
5,0 |
7,0 |
10,0 |
15,0 |
7.5. Отбор проб
Для определения разовой концентрации детергентов исследуемый воздух аспирируют через фильтр АФА-XП-18 с расходом 50 дм3/мин или через фильтр из ткани ФПП площадью 36 см2 с расходом 100 дм3/мин в течение 20 мин. Для определения среднесуточных концентраций отбирают на один фильтр шесть разовых проб с перерывами в 4 ч. Срок хранения проб в герметичной упаковке неограничен.
8. Выполнение измерений
При определении массы детергентов в пробе должны быть выполнены следующие операции. Фильтр с пробой после обрезки края помещают в стакан и обрабатывают 10 см3 горячей воды (трижды малыми порциями), промывную жидкость сливают в пробирку. 5 см3 пробы помещают в делительную воронку или пробирку с притертой пробкой, приливают 1,5 см3 составного реактива, 5 см3 хлороформа и встряхивают в течение 20 мин. Затем добавляют 0,5 см3 0,3 %-ного раствора серной кислоты, повторно встряхивают и оставляют для разделения слоев. Затем измеряют оптическую плотность хлороформенного слоя при 650 нм по отношению к воде в кюветах с расстоянием между рабочими гранями 10 мм. Аналогично обрабатывают нулевую пробу - чистый фильтр с обрезанными краями.
Массу детергентов в пробе определяют с помощью установленной градуировочной характеристики по разности оптических плотностей растворов пробы и нулевого раствора.
9. Вычисление результата измерений
Методика предназначена для определения концентрации акролеина в атмосферном воздухе населенных пунктов в диапазоне 0,013 - 0,190 мг/м3 при объеме пробы воздуха 15 дм3. Используется для измерения разовых концентраций.
Определению не мешают предельные, непредельные и ароматические альдегиды. Флуоресцирующие кретоновый и уксусный альдегиды имеют на хроматограмме отличное от акролеина местоположение.
1. Нормы точности измерений
По экспертным оценкам, при определении концентрации акролеина в атмосферном воздухе в диапазоне 0,013 - 0,190 мг/м3 суммарная погрешность не превышает ±25 %.
2. Метод измерения
Метод основан на улавливании акролеина раствором солянокислого гидроксиламина и флуоресцентном определении образующегося нелетучего соединения с м-фенилендиамином, которое выделяют хроматографическим способом в тонком слое силикагеля.
3. Средства измерений, вспомогательные устройства, реактивы и материалы
3.1. При выполнении измерений должны быть применены следующие средства измерений, вспомогательные устройства, реактивы и материалы.
3.2. Средства измерений
Флуориметр
Лампа ультрафиолетового света со
светофильтром УФС-3.
Хроматографическая камера
Хроматографические пластины «силуфол»
Весы аналитические ВЛА-200 по ГОСТ 24104-80Е
Меры массы по ГОСТ 7328-82Е
Секундомер; класс 3; цена деления
секундной шкалы 0,2 с по ГОСТ 5072-79Е
Термометр лабораторный шкальный ТЛ-2;
пределы 0 - 150 °С; цена деления 1 °С по ГОСТ 215-73Е
Барометр-анероид М-67 по ТУ 2504-1797-75
Электроаспиратор ЭА-1; погрешность
±10 %; Госреестр № 5997-77 по ТУ 25-11-1414-78
Колбы по ГОСТ 1770-74
2-500-2 - 2 шт.
2-100-2 - 10 шт.
2-25-2 - 3 шт.
Цилиндры по ГОСТ 1770-74
1-50 - 2 шт.
1-100 - 2 шт.
1-500 - 2 шт.
Пипетки по ГОСТ 20292-74
1-2-1 - 3 шт.
2-2-5 - 3 шт.
2-2-10 - 3 шт.
8-2-0,1 - 2 шт.
3.3. Вспомогательные устройства
Поглотительные приборы с пористой
пластинкой по ТУ 25-11-1136-75
Набор сит (0,1 - 0,07 мм)
Стеклянная пластина размером 9´12 см
Пробирки ПА-10-14/23 ХС по ГОСТ 25336-82
Воронки по ГОСТ 25336-82
В-56-80 ХС
ВД-1-100 ХС
Чашки выпарительные фарфоровые,
диаметром 50 см по ГОСТ 9147-73
Баня водяная
Бумага фильтровальная
3.4. Реактивы
Акролеин, ч. по ТУ 6-09-3972-75
Аммиак водный, ч. д. а. по ГОСТ 3760-79
Бензол, х. ч. по ГОСТ 5955-75
Вода дистиллированная по ГОСТ 6709-72
Гидроксиламин солянокислый, ч. д. а. по ГОСТ 5456-79
Диметилформамид, х. ч. по ГОСТ 20289-74
Калия гидроксид, х. ч. по ГОСТ 24363-80
Кальций сернокислый, ч. д. а. по ТУ 6-09-706-76
Кальций хлористый по ГОСТ 4460-77
Кислота азотная конц., х. ч. по ГОСТ 4461-77
Кислота соляная (ρ = 1,19 г/см3), х. ч. по ГОСТ 3118-77
Кислота уксусная, ледяная, х. ч. по ГОСТ 61-75
Силикагель марки КСК или МСК
Спирт изопропиловый, х. ч. по ТУ 6-09-4522-77
Спирт этиловый, ректификат по ГОСТ 5962-67
Углерод четыреххлористый, х. ч. по ГОСТ 20288-74
Хлороформ, х. ч. по ТУ 6-09-4263-76
м-Фенилендиамин, ч. д. а. по ГОСТ 5826-78
4. Требования безопасности
См. п. 5.1.3.
Все работы с акролеином следует проводить под тягой, в резиновых перчатках.
5. Требования к квалификации оператора
См. п. 5.1.4..
6. Условия выполнения измерений
См. п. 5.1.14.
7. Подготовка к выполнению измерений
7.1. Перед выполнением измерений должны быть проведены следующие работы: приготовление растворов, установление градуировочной характеристики, подготовка поглотительных приборов, отбор проб воздуха.
1) Гидроксиламин солянокислый, 0,25 %-ный раствор. 0,25 г гидроксиламина солянокислого растворяют в мерной колбе вместимостью 100 см3 в дистиллированной воде, доводят объем водой до 100 см3.
2) Кислота соляная, раствор 5 моль/дм3. В цилиндре вместимостью 500 см3 к 200 см3 дистиллированной воды осторожно прибавляют 200 см3 концентрированной соляной кислоты, доводят объем водой до 500 см3.
3) Кислота соляная, раствор 1 моль/дм3. В цилиндр вместимостью 100 см3 наливают 20 см3 раствора соляной кислоты концентрацией 5 моль/дм3 и доводят водой до метки 100 см3.
4) Спирт этиловый, обезвоженный. К 100 см3 спирта добавляют 20 г гидроксида калия, перемешивают и оставляют стоять 2 - 3 ч. Затем перегоняют при 78,4 °С.
5) При отсутствии готовых хроматографических пластин «силуфол» их готовят из очищенного и измельченного крупнопористого силикагеля (марки КСК, МСК). Для этого силикагель заливают разбавленной (1:1) соляной кислотой. Через 18 - 20 ч кислоту сливают, силикагель промывают водой, заливают разбавленной (1:1) азотной кислотой и кипятят в вытяжном шкафу 2 - 3 ч. Затем силикагель промывают водой до нейтральной реакции, сушат при температуре 120 - 130 °С в течение 4 - 6 ч, измельчают и просеивают. Для работы отбирают силикагель фракции 0,10 - 0,07 мм. 5 г измельченного силикагеля тщательно смешивают с 0,5 г сернокислого кальция и 10 см3 воды, затем прибавляют еще 10 см3 воды. 10 г однородной массы наносят на протертую спиртом стеклянную пластину размером 9´12 см (предварительно промытую хромовой смесью, водой и высушенную в вертикальном положении). Массу равномерно распределяют по поверхности пластины, высушивают сначала на воздухе, а затем в течение часа при температуре 100 °С. Хранят высушенные пластины в эксикаторе над хлористым кальцием.
6) Подвижная жидкая фаза для хроматографического разделения. Может быть выбрана одна из следующих смесей: диметилформамид - бензол (в соотношении 1:2), четыреххлористый углерод - этиловый спирт (в соотношении 1:5), хлороформ - этиловый спирт (в соотношении 1:4).
7) м-фенилендиамин, 0,5 %-ный раствор. 0,5 г м-фенилендиамина растворяют в растворе соляной кислоты концентрацией 1 моль/дм3. Объем доводят до 100 см3. Хранят в темном месте не более 3 - 4 сут.
8) Исходный раствор для градуировки. В колбу вместимостью 25 см3 помещают небольшое количество воды и взвешивают. Затем прибавляют 1 каплю акролеина и взвешивают колбу повторно. Объем доводят водой до метки и по разности результатов первого и второго взвешивания вычисляют массу акролеина в 1 см3 раствора.
9) Рабочий раствор для градуировки (ρ = 2 мкг/см3). Готовят соответствующим разбавлением исходного раствора для градуировки.
7.4. Установление градуировочной характеристики
Градуировочную характеристику, выражающую зависимость интенсивности флуоресценции от количества акролеина, устанавливают по пяти сериям растворов для градуировки. Для этого в каждую колбу вместимостью 100 см3 вносят рабочий раствор для градуировки в соответствии с табл. 5.40, доводят 0,25 %-ным раствором гидроксиламина солянокислого объем до 100 см3 и тщательно перемешивают.
Растворы для установления градуировочной характеристики при определении концентрации акролеина
|
1 |
2 |
3 |
4 |
5 |
6 |
7 |
|
|
Объем рабочего раствора (ρ = 2 мкг/см3), см3 |
1 |
2 |
4 |
8 |
10 |
12 |
14 |
|
Объем воды дистиллированной, см3 |
13 |
12 |
10 |
8 |
4 |
2 |
- |
|
Соответствует массе акролеина в 5 см3, мкг |
0,1 |
0,2 |
0,4 |
0,8 |
1,0 |
1,2 |
1,4 |
Для установления градуировочной характеристики из каждой колбы отбирают в пробирки по 5 см3 раствора, добавляют по 1 см3 0,5 %-ного раствора м-фенилендиамина и по 5 моль/см3 раствора соляной кислоты. Содержимое пробирок встряхивают и помещают на 15 мин в кипящую водяную баню. По охлаждении содержимое пробирок переносят в делительные воронки, добавляют по 0,5 см3 раствора аммиака, 5 см3 хлороформа и встряхивают в течение 1 - 2 мин. После разделения нижний слой хлороформа фильтруют через бумажный фильтр в сухие выпарные чашки (диаметром 3 - 3,5 см). Содержимое чашек выпаривают на водяной бане при температуре не более 60 °С. Сухой остаток в каждой выпарной чашке растворяют 0,1 см3 хлороформа. Для хроматографического разделения используют 0,05 см3 этого раствора.
На пластине «силуфол» на расстоянии 1 см от края простым карандашом проводят линию «старта», на которой намечают (не повреждая поверхности силикагеля) точки на расстоянии 2,5 см друг от друга и 1 см от края пластины. В каждую точку с помощью пипетки (исполнения 8) легко касаясь пластины, наносят 0,05 см3 градуировочного раствора в несколько приемов: каждую следующую часть раствора наносят в ту же точку после полного испарения хлороформа от предыдущей части. Диаметр пятна раствора на линии старта не должен превышать 5 мм.
Пластину с нанесенными растворами помещают под углом примерно 30° в хроматографическую камеру так, чтобы линия старта располагалась внизу (для этой цели можно использовать эксикатор с крышкой или стеклом). На дно хроматографической камеры наливают тонкий слой одной из рекомендованных подвижных фаз с таким расчетом, чтобы пластина могла быть погружена в нее на 0,5 см3 (уровень жидкости не должен доходить до линии старта). Камеру закрывают крышкой.
После того как подвижная фаза продвинется по пластине вверх на 14 см от линии старта, хроматограмму вынимают, сушат в вытяжном шкафу и просматривают в ультрафиолетовом свете. Участки, соответствующие производному акролеина, флуоресцируют голубым светом. Силикагель с флуоресцирующего участка осторожно без потерь переносят в пробирку, добавляют 6 см3 раствора соляной кислоты концентрацией 1 моль/см3, перемешивают в течение 1 - 2 мин и центрифугируют.
Интенсивность флуоресценции прозрачного элюата измеряют на флуориметре с желтым светофильтром. Контролем служит раствор соляной кислоты концентрацией 1 моль/дм3, флуоресценцию которого устанавливают равной 6 % по шкале флуориметра. Градуировочную характеристику строят по разности показаний интенсивности флуоресценции элюата и контрольного раствора.
7.5. Отбор проб
Для определения разовой концентрации акролеина исследуемый воздух аспирируют с расходом 0,5 дм3/мин через два последовательно соединенных поглотительных прибора с пористой пластинкой, содержащих по 6 см3 0,25 %-ного водного раствора солянокислого гидроксиламина, в течение 20 - 30 мин.
8. Выполнение измерений
При определении массы акролеина в пробе должны быть выполнены следующие операции.
Уровень раствора в поглотительном приборе доводят до первоначального объема дистиллированной водой. Для анализа 5 см3 пробы переносят в пробирку, добавляют по 1 см3 0,5 %-ного раствора м-фенилендиамина и раствора соляной кислоты концентрацией 5 моль/дм3. Затем поступают согласно п. 7.4. Содержание акролеина в пробе находят с помощью градуировочной характеристики.
9. Вычисление результатов измерений
Расчеты производят в соответствии п. 5.1.16, по формуле (4). Результаты расчета умножают на 2.
Методика предназначена для определения концентрации изопропилового спирта (изопропанола) в атмосферном воздухе населенных пунктов в диапазоне 0,22 - 2,2 мг/м3 при объеме пробы воздуха 9,0 дм3. Используется для измерения разовых и средних суточных концентраций.
Определению мешает ацетон, не мешает пропиловый спирт.
1. Нормы точности измерений
По экспертным оценкам, при определении концентрации изопропилового спирта в атмосферном воздухе в диапазоне 0,22 - 2,2 мг/м3 суммарная погрешность не превышает ±25 %.
2. Метод измерения
Метод основан на улавливании изопропилового спирта из воздуха водой. Изопропиловый спирт при взаимодействии с персульфатом калия образует ацетон, окрашенное соединение которого с салициловым альдегидом определяют фотометрически.
3. Средства измерений, вспомогательные устройства, реактивы и материалы
3.1. При выполнении измерений должны быть применены следующие средства измерений, вспомогательные устройства, реактивы и материалы.
3.2. Средства измерений
Фотоэлектроколориметр или спектрофотометр
Весы аналитические ВЛА-200 по ГОСТ 24104-80Е
Меры массы по ГОСТ 7328-82Е
Термометр лабораторный шкальный ТЛ-2;
пределы 0 - 55 °С; цена деления 1 °С по ГОСТ 215-73Е
Барометр-анероид М-67 по ТУ 2304-1797-75
Электроаспиратор ЭА-1; погрешность
±10 %; Госреестр № 5997-77 по ТУ 25-11-1414-78
Колбы мерные по ГОСТ 1770-74Е
2-50-2 - 2 шт.
2-100-2 - 10 шт.
Пипетки по ГОСТ 20292-74
4-2-2 - 2 шт.
6-2-10 - 3 шт.
Водяная баня
3.3. Вспомогательные устройства
Поглотительный прибор с пористой
пластинкой по ТУ 25.11-1136-75
3.4. Реактивы
Вода дистиллированная по ГОСТ 6709-72
Калий надсернокислый (персульфат
калия) ч. д. а. по ГОСТ 4146-74
Калий пиросернистокислый (метабисульфит
калия), ч. д. а. по ГОСТ 5713-75
Натрия гидроксид, х. ч. по ГОСТ 4328-77
Салициловый альдегид, ч. д. а. по ГОСТ 9866-74
Спирт изопропиловый, х. ч. по ТУ 6-09-4522-77
Спирт этиловый, ректификат по ТУ 6-09-1710-77
4. Требования безопасности
См. п. 5.1.3.
5. Требования к квалификации оператора
См. п. 5.1.4.
6. Условия выполнения измерений
См. п. 5.1.14.
7. Подготовка к выполнению измерений
7.1. Перед выполнением измерений должны быть проведены следующие работы: приготовление растворов, установление градуировочной характеристики, отбор пробы воздуха.
Калий надсернокислый (персульфат), 1 %-ный раствор. 1 г калия надсернокислого растворяют в воде. Объем доводят до 100 см3.
2) Калий пиросернистокислый, 5 %-ный раствор. 5 г калия пиросернистокислого растворяют в воде. Объем доводят до 100 см3.
3) Натрия гидроксид, 40 %-ный раствор. 40 г гидроксида натрия растворяют в воде. После охлаждения объем доводят до 100 см3.
4) Салициловый альдегид, 20 %-ный раствор. 17,1 см3 салицилового альдегида растворяют в этиловом спирте. Объем доводят до 100 см3.
5) Исходный раствор для градуировки. 0,2 см3 изопропилового спирта вносят во взвешенную мерную колбу вместимостью 50 см3, содержащую 10 см3 воды, опять взвешивают, доводят водой до метки и рассчитывают массовую концентрацию изопропанола.
6) Рабочий раствор для градуировки (ρ = 100 мкг/см3) готовят разбавлением водой рассчитанного объема исходного раствора (см. перечисление 5) в мерной колбе вместимостью 100 см3.
7.3. Установление градуировочной характеристики
Градуировочную характеристику, выражающую зависимость оптической плотности раствора от массовой концентрации изопропилового спирта, устанавливают по пяти сериям растворов для градуировки. Каждую серию, состоящую из семи растворов, готовят из раствора изопропилового спирта (см. п. 7.2, перечисление 6).
Растворы для установления градуировочной характеристики готовят в мерных колбах вместимостью 100 см3. Для этого в каждую колбу вносят рабочий раствор для градуировки в соответствии с табл. 5.41, доводят объем дистиллированной водой до метки и тщательно перемешивают.
Растворы для установления градуировочной характеристики при определении концентрации изопропилового спирта
|
1 |
2 |
3 |
4 |
5 |
6 |
7 |
|
|
Объем рабочего раствора (ρ = 100 мкг/см3), см3 |
1,0 |
2,5 |
4,0 |
5,0 |
10,0 |
15,0 |
25,0 |
|
Соответствует массе изопропилового спирта в 2 см3 раствора, мкг |
2,0 |
5,0 |
8,0 |
10,0 |
20,0 |
30,0 |
50,0 |
Для установления градуировочной характеристики отбирают в пробирки по 2 см3 каждого раствора, добавляют по 0,2 см3 раствора персульфата калия. Пробирки закрывают и помещают на водяную баню при температуре 50 - 54 °С на 30 мин. После охлаждения пробы до комнатной температуры добавляют 0,2 см3 5 %-ного раствора метабисульфита калия, тщательно перемешивают и приливают 2 см3 40 %-ного раствора гидроксида натрия. Содержимое пробирки встряхивают, вливают 0,2 см3 20 %-ного раствора салицилового альдегида и повторно встряхивают. Затем пробу помещают в водяную баню, нагретую до 70 °С, на 15 - 20 мин. После охлаждения раствора измеряют оптическую плотность при 445 - 450 нм по отношению к воде в кюветах с расстоянием между рабочими гранями 10 мм. Аналогично анализируют нулевой раствор, в качестве которого используют 2 см3 воды, к которой добавлены те же реактивы.
7.4. Отбор проб
Для определения разовой концентрации изопропилового спирта исследуемый воздух аспирируют с расходом 0,3 дм3/мин в течение 30 мин в два последовательно соединенных поглотительных прибора с пористой пластинкой, содержащих по 4 см3 дистиллированной воды каждый. Во время отбора проб поглотительные приборы охлаждают смесью воды со льдом. Для определения среднесуточных концентраций отбирают 4 - 8 разовых проб за 24 ч.
8. Выполнение измерений
При определении массы изопропилового спирта в отобранной пробе должны быть выполнены следующие операции.
Уровень раствора в поглотительных приборах доводят до 4 см3 дистиллированной водой. Определяют массу изопропилового спирта в каждом поглотительном приборе. Для анализа 2 см3 раствора переносят в пробирку с притертой пробкой вместимостью 10 см3 и добавляют 0,2 см3 раствора персульфата калия. Пробирку быстро закрывают во избежание потери образовавшегося ацетона, помещают в водяную баню, которую постепенно нагревают до 50 - 54 °С, и оставляют на 30 мин. Затем пробирку охлаждают до комнатной температуры и добавляют 0,2 см3 5 %-ного раствора метабисульфита калия (для устранения избытка персульфата). Содержимое пробирки тщательно перемешивают и добавляют 2 см3 40 %-ного раствора гидроксида натрия. Содержимое пробирки встряхивают, вливают 0,2 см3 20 %-ного раствора салицилового альдегида и повторно встряхивают. Пробу помещают в водяную баню, нагретую до 70 °С на 15 - 20 мин. После охлаждения раствора измеряют оптическую плотность при 445 - 450 нм по отношению к воде в кюветах с расстоянием между рабочими гранями 10 мм. Одновременно измеряют оптическую плотность нулевых проб (см. п. 7.3).
Массу изопропилового спирта в пробе определяют с помощью установленной градуировочной характеристики по разности оптической плотности растворов пробы и средней оптической плотности нулевых проб.
9. Вычисление результата измерений
Методика предназначена для определения концентрации одноосновных карбоновых кислот в атмосферном воздухе населенных пунктов в диапазоне 0,1 - 1,7 мг/дм3 при отборе пробы объемом 150 дм3. Используется для определения разовых и среднесуточных концентраций.
1. Нормы точности измерений
По экспертным оценкам, при определении концентрации одноосновных карбоновых кислот в атмосферном воздухе в диапазоне 0,1 - 1,7 мг/дм3 суммарная погрешности не превышает ±25 %.
2. Метод измерения
Метод основан на улавливании силикагелем карбоновых кислот из воздуха, переведении их после десорбции в соответствующие метиловые эфиры, взаимодействии с гидроксиламином в щелочной среде с образованием гидроксаматов и их фотометрическом определении.
Определению не мешают минеральные кислоты, ацетон, динил, спирты и сложные эфиры летучих жирных кислот.
3. Средства измерений, вспомогательные устройства, реактивы и материалы
3.1. При выполнении измерений должны быть применены следующие средства измерений, вспомогательные устройства, реактивы и материалы.
3.2. Средства измерений
Фотоэлектроколориметр или спектрофотометр
Весы аналитические ВЛА-200 по ГОСТ 24104-80Е
Меры массы по ГОСТ 7328-82Е
Секундомер; класс 3; цена деления
секундной шкалы 0,2 с по ГОСТ 5072-79Е
Термометр лабораторный шкальный ТЛ-2;
пределы 0 - 55 °С; цена деления 1 °С по ГОСТ 215-73Е
Барометр-анероид М-67 по ТУ 2504-1797-75
Электроаспиратор ЭА-1; погрешность
±10 %; Госреестр № 5997-77 по ТУ 25-11-1414-78
Колбы мерные по ГОСТ 1770-74Е
2-25-2 - 10 шт.
2-50-2 - 10 шт.
2-100-2 - 5 шт.
2-250-2 - 1 шт.
2-1000-2 - 1 шт.
Колба K-1-500-29/32 ТС - 1 шт. по ГОСТ 25336-82
Пипетки по ГОСТ 20292-74Е
4-2-1 - 10 шт.
2-1-5 - 5 шт.
6-2-10 - 10 шт.
4-2-2 - 5 шт.
6-2-25 - 1 шт.
Холодильник ХШ-1-300-29/32 ХС по ГОСТ 25336-82
Пробирки вместимостью 10 см3 - 10 шт. по ГОСТ 1770-74Е
Чашки выпарительные ЧВП-2-250 - 3 шт. по ГОСТ 25336-82
Водяная баня
Сушильный шкаф
3.3. Вспомогательные устройства
Поглотительные приборы Яворовской или
МИИГ им. Ф.Ф. Эрисмана
Плитка электрическая бытовая с закрытой спиралью
Эксикатор 2 - 250 по ГОСТ 25336-82
Набор сит лабораторных «Физприбор»
3.4. Материалы
Трубка резиновая полувакуумная, тип 1 по ГОСТ 5496-57
3.5. Реактивы
Вода дистиллированная по ГОСТ 6709-72
Гидроксиламин гидрохлорид ч. д. а по ГОСТ 5456-79
Кислота серная (ρ = 1,84 г/см3) по ГОСТ 4204-77
Кислота уксусная, ледяная, х. ч. по ГОСТ 61-6975
Кислота соляная (ρ = 1,19 г/см3) х. ч. по ГОСТ 3118-77
Иод ч. д. а. по ГОСТ 4159-79
Магний металлический, техн., марки
МПФ-1 К-8
Натрия гидроксид, х. ч. по ГОСТ 4328-77
Силикагель мелкопористый (CMC, ACM)
Спирт метиловый х. ч. по ГОСТ 6995-77
Спирт этиловый по ГОСТ 18300-72
Фенолфталеин, индикатор, ч. д. а. по ГОСТ 5850-72
Железо треххлористое, х. ч. по ГОСТ 4147-74
4. Требования безопасности,
См п. 5.1.3.
Все работы с использованием метанола следует проводить в вытяжном шкафу.
5. Требования к квалификации оператора
См. п. 5.1.4.
6. Условия выполнения измерений
См. п. 5.1.14.
7. Подготовка к выполнению измерений
7.1. Перед выполнением измерений должны быть проведены следующие работы: приготовление растворов, установление градуировочной характеристики, подготовка поглотительных приборов, отбор пробы воздуха.
1) Гидроксиламин гидрохлорид, раствор 4 моль/дм3. В мерной колбе вместимостью 100 см3 растворяют 2,74 г гидроксиламина гидрохлорида и доводят водой до метки.
2) Кислота соляная, раствор 4 моль/дм3. В мерную колбу вместимостью 100 см3 вносят 32 см3 концентрированной соляной кислоты и доводят водой до метки.
3) Кислота соляная, раствор 0,5 моль/дм3. В мерную колбу вместимостью 1000 дм3 вносят 40 см3 концентрированной соляной кислоты и доводят водой до метки.
4) Натрия гидроксид, раствор 4 моль/дм3. В мерной колбе вместимостью 250 см3 растворяют 40 г гидроксида натрия в 100 - 150 см3 воды и после охлаждения доводят водой до метки.
5) Натрия гидроксид, раствор 0,05 моль/дм3. В мерную колбу вместимостью 100 см3 вносят 1,25 см3 раствора натрия гидроксида концентрацией 4 моль/дм3 и доводят до метки раствором этилового спирта в воде (1:1).
6) Подготовка силикагеля. Силикагель с диаметром зерен 0,5 - 2 мм заливают разбавленной (1:1) соляной кислотой и кипятят в течение 1 ч. Кислоту сливают и заливают силикагель новой порцией. Так продолжают до тех пор, пока кислота не будет оставаться бесцветной. Затем силикагель отмывают от кислоты водой, сушат при температуре 100 - 110 °С и активируют в течение 30 мин при температуре 200 - 250 °С. Хранят обработанный силикагель в склянке с хорошо притертой пробкой.
7) Спирт метиловый, осушенный металлическим магнием. В круглодонную колбу с обратным холодильником помещают 0,5 г иода, 5 г магния и 50 - 75 см3 метилового спирта. Смесь нагревают на водяной бане в вытяжном шкафу. Если при этом водород не выделяется бурно, добавляют еще 0,5 г иода и взгревают смесь до тех пор, пока весь магний не превратится в метилат магния. Затем прибавляют еще 900 см3 метилового спирта и кипятят смесь (с обратным холодильником) в течение 30 мин (не более!). Спирт отгоняют, предохраняя от влаги воздуха. Хранят в склянке с хорошо притертой пробкой.
8) Спирт этиловый, обработанный гидроксидом калия. К 100 см3 спирта прибавляют 20 г гидроксида калия, перемешивают и оставляют на 2 - 3 ч. Затем отгоняют при температуре 78 °С.
9) Железо треххлористое 1,6 %-ный раствор. В мерной колбе вместимостью 250 см3 растворяют 4 г треххлористого железа в растворе соляной кислоты концентрацией 0,5 моль/дм3.
10) Фенолфталеин, 0,5 %-ный раствор в этиловом спирте.
11) Исходный раствор для градуировки. В мерную колбу с притертой пробкой вместимостью 25 см3 вносят 5 - 10 см3 этилового спирта. Колбу закрывают, взвешивают, затем прибавляют 5 - 10 капель ледяной уксусной кислоты, либо кислоты, содержащейся в воздухе в наибольшем количестве, и снова взвешивают. По разности результатов взвешивания находят величину навески. Содержимое колбы доводят до метки этиловым спиртом и тщательно перемешивают. Вычисляют массу кислоты в 1 см3 исходного градуировочного раствора.
12) Рабочий раствор для градуировки (ρ = 100 мкг/см3). Готовят разбавлением исходного раствора этиловым спиртом.
7.3. Установление градуировочной характеристики
Градуировочную характеристику, выражающую зависимость оптической плотности раствора от массы кислоты в пробе, устанавливают по пяти сериям растворов для градуировки. Для приготовления растворов в мерные колбы вместимостью 50 см3 вносят рабочий раствор в соответствии с табл. 5.42 и доводят до метки этиловым спиртом. В качестве нулевого раствора используют этиловый спирт.
Растворы для установления градуировочной характеристики при определении концентрации карбоновых кислот С1 - С9
|
1 |
2 |
3 |
4 |
5 |
6 |
7 |
8 |
|
|
Объем рабочего раствора (ρ = 100 мкг/см3), см3 |
1,0 |
2,0 |
4,0 |
6,0 |
8,0 |
10,0 |
12,0 |
15,0 |
|
Соответствует массе кислоты в 5 см3 раствора, мкг |
10,0 |
20,0 |
40,0 |
60,0 |
80,0 |
100,0 |
120,0 |
150,0 |
При установлении градуировочной характеристики в пробирки, содержащие по 2 см3 силикагеля, вносят по 5 см3 каждого раствора, в том числе нулевого. Оставляют на 1 ч, периодически встряхивая. Затем из каждой пробирки по 3 см3 прозрачного раствора переносят в выпарные чашки и осторожно нейтрализуют раствором гидроксида натрия концентрацией 0,05 моль/дм3 в присутствии фенолфталеина (1 капля). Выпарительные чашки помещают на водяную баню, нагретую до 90 - 95 °С, для удаления растворителя. Сухой остаток подсушивают в эксикаторе в течение 2 - 3 ч или в сушильном шкафу при температуре 80 °С в течение 30 мин. Затем растворяют его в 1,5 см3 метилового спирта в три приема (по 0,5 см3), переносят раствор в пробирки с притертыми пробками, добавляют по 1 капле серной кислоты и оставляют на 30 мин. Затем добавляют по 0,2 см3 раствора гидроксиламина концентрацией 4 моль/дм3, по 0,6 см3 раствора гидроксида натрия концентрацией 4 моль/дм3, тщательно перемешивают и оставляют на 15 мин, периодически встряхивая. По истечении этого времени к пробам прибавляют по 1 капле фенолфталеина и раствора соляной кислоты концентрацией 4 моль/дм3 для нейтрализации щелочи (количество кислоты, необходимое для нейтрализации, устанавливают предварительным титрованием контрольной пробы). Затем в пробирки прибавляют по 2,5 см3 16 %-ного раствора треххлористого железа и содержимое встряхивают. Через 20 мин измеряют оптическую плотность растворов при 490 нм по отношению к воде в кюветах с расстоянием между рабочими гранями 10 мм. По разности оптических плотностей растворов для градуировки и средней нулевого находят действительные значения оптической плотности.
7.4. Отбор проб
Для определения разовой концентрации карбоновых кислот исследуемый воздух аспирируют с расходом 5 дм3/мин в течение 30 мин через два последовательно соединенных поглотительных прибора, содержащих по 2 см3 силикагеля каждый. Для определения среднесуточных концентраций отбирают шесть разовых проб через равные интервалы времени. Срок хранения отобранных проб не более 3 сут.
8. Выполнение измерений
Силикагель из поглотительных приборов переносят в пробирки с притертыми пробками вместимостью 10 см3. В каждую пробирку добавляют 5 см3 этилового спирта и оставляют на 60 мин (периодически встряхивая). Для анализа отбирают по 3 см3 прозрачного раствора из каждой пробирки, переносят в выпарные чашки и анализируют, как описано в п. 7.3. Одновременно анализируют нулевую пробу: 2 см3 силикагеля и 5 см3 этилового спирта. Через 20 мин после добавления последнего реактива измеряют оптическую плотность относительно воды окрашенных растворов и нулевого при длине волны 490 нм.
Массу одноосновных карбоновых кислот в пробе определяют с помощью градуировочного графика по разности оптических плотностей растворов проб и нулевого.
9. Вычисление результатов измерений
Методика предназначена для определения концентрации фенола в атмосферном воздухе населенных мест в диапазоне 0,003 - 0,1 мг/м3 при проведении разовых отборов (объем пробы воздуха 200 дм3).
1. Нормы точности измерений
По экспертным оценкам при определении концентрации фенола в атмосферном воздухе в диапазоне 0,003 - 0,1 мг/м3 суммарная погрешность не превышает ±25 %.
2. Метод измерения
Метод основан на улавливании фенола из воздуха пленочным хемосорбентом и фотометрическом определении по соединению, образующемуся в результате взаимодействия фенола с 4-аминоантипирином и железосинеродистым калием.
3. Средства измерений, вспомогательные устройства, реактивы и материалы
3.1. При выполнении измерений должны быть применены следующие средства измерений, вспомогательные устройства, реактивы и материалы.
3.2. Средства измерений
Фотоэлектроколориметр или спекрофотометр
Весы аналитические ВЛА-200 по ГОСТ 24104-80Е
Меры массы по ГОСТ 7328-82Е
Секундомер; класс 3; цена деления
секундной шкалы 0,2 с по ГОСТ 5072-79Е
Барометр-анероид М-67 по ТУ 2504-1797-75
Термометр лабораторный шкальный ТЛ-2;
пределы 0 - 55 °С; цена деления 1 °С по ГОСТ 215-73Е
Электроаспиратор модели 822 или по ТУ 25-11-1414-78
другие аспирационные устройства, обеспечивающие
расход воздуха 10 дм3/мин
Колбы мерные по ГОСТ 1770-74Е
2-100-2 - 10 шт.
2-50-2 - 2 шт.
2-25-2 - 1 шт.
Пипетки по ГОСТ 20292-74Е
4-2-1 - 5 шт.
4-2-2 - 1 шт.
2-2-5 - 3 шт.
Бюретки 3-2-25-01-3 шт. по ГОСТ 20202-74Е
3.3. Вспомогательные устройства
Трубка сорбционная СТ 212 (маркировка 2) по ТУ 25-1110.039-82
3.4. Реактивы
4-Аминоантипирин, ч. д. а. по ТУ 6-09-3948-75
Борная кислота, х. ч. по ГОСТ 9659-75
Глицерин, ч. д. а. по ГОСТ 6259-75
Калий железосинеродистый, х. ч. по ГОСТ 4206-75
Натрия гидроксид, х. ч. по ГОСТ 4328-77
Натрия тетраборат, ч по ГОСТ 4199-76
Кислота серная, конц., х. ч. по ГОСТ 4204-77
Спирт этиловый, ректификат по ГОСТ 18300-72
Тимолфталеин, индикатор, ч. д. а. по ТУ 6.09.1887-72
Фенол, ч. по ГОСТ 6417-72
4. Требования безопасности
См. п. 5.1.3.
Все работы по перегонке фенола необходимо проводить в вытяжном шкафу.
5. Требования к квалификации оператора
См. п. 5.1.4.
6. Условия выполнения измерений
См. п. 5.1.14.
7. Подготовка к выполнению измерений
7.1. Перед выполнением измерений должны быть проведены следующие работы: приготовление растворов, установление градуировочной характеристики, подготовка сорбционных трубок, отбор пробы воздуха.
1) Натрия тетраборат, раствор 0,05 моль/дм3. 19,1 г натрия тетраборнокислого растворяют в 1000 см3 воды.
2) 4-Аминоантипирин, 0,5 %-ный раствор. 0,5 г 4-аминоантипирина растворяют в 100 см3 воды. Раствор сохраняется в течение 7 сут.
3) Калий железосинеродистый, 1 %-ный раствор. 1 г калия железосинеродистого растворяют в 99 см3 воды. Раствор сохраняется в течение 7 сут.
4) Серная кислота, 10 %-ный раствор. В стакан из термостойкого стекла вносят 90 см3 воды, осторожно приливают 5,4 см3 концентрированной серной кислоты (ρ = 1,84 г/см3) и перемешивают.
5) Натрия гидроксид, насыщенный раствор. В стакан из термостойкого стекла наливают 40 см3 воды и медленно, тщательно перемешивая, добавляют 60 г гидроксида натрия.
6) Глицерин, 80 %-ный раствор. Смешивают 63,5 см3 глицерина и 20 см3 воды.
7) Тимолфталеин, 0,02 %-ный спиртовой раствор. В мерной колбе вместимостью 100 см3 растворяют 20 мг тимолфталеина в 40 - 60 см3 спирта и доводят объем до 100 см3 спиртом.
8) Раствор для обработки сорбционных трубок. Смешивают равные объемы насыщенного раствора гидроксида натрия и 80 %-ного раствора глицерина.
9) Борная кислота, 1 %-ный раствор.
10) Исходный раствор для градуировки. В мерную колбу вместимостью 50 см3 помещают 20 - 30 см3 раствора тетрабората натрия, точную навеску свежеперегнанного фенола (≈ 0,05 г) и доводят объем до 50 см3 раствором тетрабората натрия. Рассчитывают концентрацию фенола в полученном растворе, используют свежеприготовленный раствор.
11) Рабочий раствор для градуировки (ρ = 10 мкг/см3) готовят перед установлением градуировочной характеристики из исходного раствора (см. перечисление 10), разбавляя его раствором тетраборнокислого натрия в мерной колбе вместимостью 100 см3. Раствор готовят перед использованием.
7.3. Установление градуировочной характеристики
Градуировочную характеристику, выражающую зависимость оптической плотности от массы фенола в пробе, устанавливают по трем сериям растворов для градуировки. Каждую серию, состоящую из девяти растворов для градуировки, готовят из свежеприготовленного рабочего раствора фенола. Растворы для градуировки готовят в мерных колбах вместимостью 100 см3. Для этого в каждую колбу приливают по 40 - 50 см3 тетрабората натрия, рабочего раствора в соответствии с табл. 5.43 доводят объем до метки раствором тетрабората натрия и тщательно перемешивают.
Для установления градуировочной характеристики отбирают в пробирки по 5 см3 каждого раствора, добавляют по 0,2 см3 растворов 4-аминоантипирина и железосинеродистого калия. Содержание пробирок тщательно перемешивают и через 30 мин измеряют оптическую плотность при 508 нм по отношению к воде в кюветах с расстоянием между рабочими гранями 10 мм. Одновременно измеряют оптическую плотность трех нулевых проб, содержащих те же реактивы, кроме определяемого вещества.
Растворы для установления градуировочной характеристики при определении концентрации фенола
|
1 |
2 |
3 |
4 |
5 |
6 |
7 |
8 |
9 |
|
|
Объем рабочего раствора (ρ = 10 мкг/см3), см3 |
1 |
2 |
4 |
8 |
12 |
16 |
20 |
24 |
30 |
|
Масса фенола в 5 см3 раствора, мкг |
0,5 |
1 |
2 |
4 |
6 |
8 |
10 |
12 |
15 |
7.4. Подготовка сорбционных трубок
Чистые трубки, предназначенные для отбора проб воздуха, и те, которые используются в качестве нулевых, обрабатывают абсорбирующим раствором (см. п. 7.2, перечисление 8) согласно п. 5.1.12, тщательно обтирают снаружи фильтровальной бумагой, закрывают заглушками и вкладывают в полиэтиленовые пакеты. Срок хранения обработанных трубок в упаковке не более 2 сут.
7.5. Отбор проб
Для определения разовой концентрации фенола исследуемый воздух аспирируют с расходом 10 дм3/мин в течение 20 мин через сорбционную трубку, подготовленную к отбору. Сорбционная трубка должна быть укреплена в вертикальном положении слоем сорбента вниз. Для определения среднесуточной концентрации отбирают 4 - 8 разовых проб за 24 ч. Сорбционные трубки, после того как через них прокачан воздух, следует с обоих концов закрыть заглушками. Все соединительные трубки должны быть изготовлены из фторопласта и стекла и соединены встык резиновыми муфтами. Необходимо тщательно следить за тем, чтобы внутренняя поверхность соединительных трубок была сухой во избежание сорбции фенола.
8. Выполнение измерений
Сорбционную трубку помещают в стеклянные пробирки и заливают 4 см3 1 %-ной борной кислоты. Путем прокачивания раствора через сорбент при помощи резиновой груши перемешивают раствор. Промывают трубку 1 см3 раствора серной кислоты, которую тщательно выдувают в ту же пробирку. Трубку удаляют, а из пробирки отбирают на анализ 4 см3 раствора. Приливают одну - две капли тимолфталеина, при этом раствор окрашивается в синий цвет. Затем раствор нейтрализуют серной кислотой, добавляя ее по каплям до обесцвечивания, при этом pH раствора достигает 9,3. Общий объем раствора доводят до 5 см3 раствором тетрабората натрия и добавляют 0,2 см3 раствора 4-аминоантипирина и 0,2 см3 железосинеродистого калия. Содержимое пробирок энергично встряхивают после добавления каждого реактива и через 30 мин измеряют оптическую плотность относительно воды в кюветах с расстоянием между рабочими гранями 10 мм при длине волны 508 нм.
Одновременно готовят три нулевые пробы. Для этого сорбционные трубки из партии подготовленных к отбору помещают в стеклянные пробирки, заливают 4 см3 раствора борной кислоты, несколько раз прокачивают ее через слой сорбента при помощи резиновой груши. Промывают каждую трубку 1 см3 раствора серной кислоты, трубку удаляют, а из пробирки отбирают на анализ 4 см3 раствора и анализируют аналогично пробе. Время от добавления последнего реактива до измерения оптической плотности всех проб должно быть одинаковым. Среднее значение оптической плотности нулевой пробы не должно превышать 0,025. При проведении анализа необходимо тщательно следить за чистотой посуды, заглушек и измерительных кювет, качеством воды, приготовленных реактивов, воздуха, поступающего из резиновой груши.
Массу фенола в пробе определяют с помощью градуировочной характеристики по разности оптической плотности растворов пробы и средней оптической плотности нулевых проб.
9. Вычисление результатов измерений
Методика предназначена для определения концентрации фенола в атмосферном воздухе в диапазоне 0,004 - 0,2 мг/м3 при проведении разовых отборов (объем пробы 60 дм3).
1. Нормы точности измерений
По экспертным оценкам, при определении концентрации фенола в атмосферном воздухе в диапазоне 0,004 - 0,2 мг/м3 наибольшее значение суммарной погрешности не превышает ±25 %.
2. Метод измерения
Метод основан на улавливании фенола из воздуха раствором карбоната натрия и фотометрическом определении по азокрасителю, образующемуся при взаимодействии фенола с диазотированным паранитроанилином.
3. Средства измерений, вспомогательные устройства, реактивы и материалы
3.1. При выполнении измерений должны быть применены следующие средства измерений, вспомогательные устройства, реактивы и материалы.
3.2. Средства измерений
Фотоэлектроколориметр или спектрофотометр
Весы аналитические ВЛА-200 по ГОСТ 24104-80Е
Меры массы по ГОСТ 7328-82Е
Секундомер; класс 3; цена деления
секундной шкалы 0,2 с по ГОСТ 5072-79Е
Барометр-анероид М-67 по ТУ 2504-1797-75Е
Термометр лабораторный шкальный тип ТЛ-2;
пределы 0 - 55 °С; цена деления 1 °С по ГОСТ 215-73Е
Электроаспиратор ЭА-1; погрешность
±10 %; Госреестр № 5997-77 по ТУ 25-11-1414-78
Колбы мерные по ГОСТ 1770-74Е
2-100-2 - 10 шт.
2-50-2 - 2 шт.
Пипетки по ГОСТ 20292-74Е
4-2-1 - 4 шт.
4-2-2 - 4 шт.
6-2-10 - 2 шт.
Бюретки по ГОСТ 20292-74Е
3-2-25-10 - 2 шт.
3.3. Вспомогательные устройства
Поглотительные приборы Рыхтера по ТУ 25-11.1130-75
3.4. Реактивы
Вода дистиллированная по ГОСТ 6709-72
Натрия карбонат, х. ч. по ГОСТ 83-79
Натрия нитрит, х. ч. по ГОСТ 4197-74
Паранитроанилин, х. ч. по ТУ 6-09-06-545-75
Кислота соляная, х. ч. по ГОСТ 3118-77
Фенол, ч. д. а. по ГОСТ 6417-72
4. Требования безопасности
См. п. 5.1.3 настоящей главы.
Все работы с фенолом необходимо проводить в вытяжном шкафу.
5. Требования к квалификации оператора
См. п. 5.1.4.
6. Условия выполнения измерений
См. п. 5.1.14.
7. Подготовка к выполнению измерений
7.1. Перед выполнением измерений должны быть проведены следующие работы: приготовление растворов, установление градуировочной характеристики, отбор проб воздуха.
1) Поглотительный раствор. 8 г карбоната натрия растворяют в 1000 см3 воды. Срок хранения раствора 6 мес.
2) Соляная кислота, 4 %-ный раствор. 9,1 см3 концентрированной соляной кислоты (ρ = 1,19) добавляют к 89,2 см3 воды.
3) Нитрит натрия, 25 %-ный раствор. 10 г нитрита натрия растворяют в 30 см3 воды. Раствор хранить в холодильнике.
4) Паранитроанилин, 0,1 %-ный раствор. 0,1 г паранитроанилина, предварительно высушенного при температуре 60 °С в течение 2 ч растворяют в 4 %-ном растворе соляной кислоты в мерной колбе вместимостью 100 см3. Перед употреблением раствор охлаждают до 0 - 5 °С.
5) Диазотированный паранитроанилин. 12,5 см3 охлажденного раствора паранитроанилина приливают в мерную колбу вместимостью 50 см3, прибавляют постепенно 2,5 см3 раствора нитрита натрия и через несколько минут доводят объем до 50 см3 водой. Диазотирование паранитроанилина следует проводить в вытяжном шкафу. Раствор может храниться в холодильнике не более 3 сут.
6) Фенол свежеперегнанный. Для перегонки фенола собирают установку, состоящую из колбы Вюрца, на конце отростка которой в качестве приемника устанавливают пробирку. Для обогрева колбы используют колбонагреватель или плитку с закрытой спиралью. Собирают фракцию, перегоняющуюся при температуре 182 °С. Все операции по перегонке фенола необходимо производить в вытяжном шкафу.
7) Исходный раствор для градуировочной характеристики. В мерную колбу вместимостью 50 см3 помещают 20 - 30 см3 поглотительного раствора, точную навеску свежеперегнанного фенола (в пределах 20 - 50 мг) и доводят объем до 50 см3 поглотительным раствором. Рассчитывают концентрацию фенола в полученном растворе. Используют свежеприготовленный раствор.
8) Рабочий раствор для установления градуировочной характеристики с содержанием фенола 10 мкг/см3. Готовят перед установлением градуировочной характеристики из исходного раствора путем разбавления поглотительным раствором. Используют свежеприготовленный раствор.
7.3. Установление градуировочной характеристики. Градуировочную характеристику, выражающую зависимость оптической плотности от массы фенола в пробе, устанавливают по трем сериям растворов для градуировки. Каждую серию, состоящую из восьми растворов для градуировки, готовят из свежеприготовленного рабочего раствора фенола. Растворы для градуировки готовят в мерных колбах вместимостью 100 см3. Для этого в каждую колбу приливают по 40 - 50 см3 поглотительного раствора, рабочий раствор в соответствии с табл. 5.44, доводят объем до метки поглотительным раствором и тщательно перемешивают.
Растворы для установления градуировочной характеристики при определении концентрации фенола
|
1 |
2 |
3 |
4 |
5 |
6 |
7 |
8 |
|
|
Объем рабочего раствора (ρ = 10 мкг/см3), см3 |
0,4 |
0,8 |
1,6 |
2,0 |
4,0 |
8,0 |
16,0 |
20,0 |
|
Масса фенола в 5 см3 раствора, мкг |
0,2 |
0,4 |
0,8 |
1,0 |
2,0 |
4,0 |
8,0 |
10,0 |
Для установления градуировочной характеристики отбирают в пробирки по 5 см3 каждого раствора и добавляют 0,4 см3 диазотированного паранитроанилина. Содержимое пробирок энергично встряхивают и через 20 мин измеряют оптическую плотность растворов относительно воды при 494 нм в кюветах с расстоянием между рабочими гранями 10 мм. Одновременно измеряют оптическую плотность нулевых проб, в качестве которых используется 5 см3 поглотительного раствора.
7.4. Отбор проб. Для определения разовой концентрации фенола исследуемый воздух аспирируют с расходом 3 дм3/мин в течение 20 мин через поглотительный прибор Рыхтера, заполненный 6 см3 поглотительного раствора. Срок хранения отобранных проб 12 ч.
8. Выполнение измерений
Уровень раствора в поглотительном приборе доводят дистиллированной водой до метки 6 см3. Переносят в пробирку 5 см3 этого раствора, добавляют 0,4 см3 раствора диазотированного паранитроанилина. Содержимое энергично встряхивают и через 15 мин определяют оптическую плотность. Измерение производят в кюветах с расстоянием между рабочими гранями 10 мм при 494 нм относительно воды. Аналогично анализируют три нулевые пробы - 5 см3 поглотительного раствора (см. п. 7.2, перечисление 1). Время от добавления последнего реактива до измерения оптической плотности всех проб должно быть одинаковым. Среднее значение оптической плотности нулевого раствора не должно превышать 0,01. При проведении анализа необходимо следить за чистотой посуды, измерительных кювет, качеством воды, приготовленных реактивов.
Массу фенола в пробе определяют с помощью градуировочной характеристики по разности оптической плотности растворов пробы и средней оптической плотности нулевых проб.
9. Вычисление результата измерений
Методика предназначена для определения концентрации формальдегида в атмосферном воздухе населенных пунктов в диапазоне 0,01 - 0,3 мг/м3 при объеме пробы 20 дм3. Используется для измерения разовых концентраций.
1. Нормы точности измерений
По экспертным оценкам, при определении концентрации формальдегида в атмосферном воздухе в диапазоне 0,01 - 0,3 мг/м3 суммарная погрешность не превышает ±25 %.
2. Метод измерения
Метод основан на улавливании формальдегида из воздуха раствором серной кислоты и его фотометрическом определении по образовавшемуся в результате взаимодействия в кислой среде формальдегида с фенилгидразингидрохлоридом и хлорамином Б окрашенному соединению.
3. Средства измерений, вспомогательные устройства, реактивы и материалы
3.1. При выполнении измерений должны быть применены следующие средства измерений, вспомогательные устройства, реактивы и материалы:
3.2. Средства измерений
Фотоэлектроколориметр или спектрофотометр
Весы аналитические ВЛА-200 по ГОСТ 24104-80Е
Меры массы по ГОСТ 7328-82Е
Секундомер; класс 3; цена деления
секундной шкалы 0,2 с по ГОСТ 5072-79Е
Термометр лабораторный шкальный ТЛ-2;
пределы 0 - 55 °С; цена деления 1 °С по ГОСТ 215-73Е
Барометр-анероид М-67 по ТУ 2504-1797-75
Электроаспиратор ЭА-1; погрешность
±10 %; Госреестр № 5997-77 по ТУ 25-11-1414-78
Колбы мерные по ГОСТ 1770-74Е
2-100-2 - 12 шт.
2-1000-2 - 2 шт.
Пипетки по ГОСТ 20292-74Е
4-2-1 - 1 шт.
2-1-5 - 2 шт.
6-2-10 - 3 шт.
4-2-2 - 4 шт.
Бюретки по ГОСТ 20292-74Е
3-2-25 - 1 шт.
3.3. Вспомогательные устройства
Поглотительные приборы Рыхтера по ТУ 25-11-1136-75
3.4. Материалы
Трубка резиновая полувакуумная, тип 1 по ГОСТ 5496-57
Фильтры «синяя лента» по ТУ 6-09-1678-77
3.5. Реактивы
Вода дистиллированная по ГОСТ 6709-72
Иод, 0,05 моль/дм3 (0,1 н), стандарт-титр по ТУ 6-09-2540-72
Кислота серная, х. ч. по ГОСТ 4204-72
Кислота соляная (ρ = 1,19 г/см3), х. ч. по ГОСТ 3118-77
Крахмал, ч. по ГОСТ 10163
Натрия гидроксид, х. ч. по ГОСТ 4328-77
Натрий серноватистокислый (тиосульфат),
0,1 моль/дм3 (0,1 н.), стандарт-титр по ТУ 6-09-2540-72
Спирт этиловый, х. ч. по ГОСТ 5962-67
Фенилгидразин солянокислый по ГОСТ 5834-73
Формальдегид, 40 %-ный раствор
(формалин) ч. по ГОСТ 1625-75
Хлорамин Б, ч. по МРТУ 6-09-3177-66
4. Требования безопасности
См. п. 5.1.3.
5. Требования к квалификации оператора
См. п. 5.1.4.
6. Условия выполнения измерений
См. п. 5.1.14.
7. Подготовка к выполнению измерений
7.1. Перед выполнением измерений должны быть проведены следующие работы: приготовление растворов, установление градуировочной характеристики, отбор пробы воздуха.
1) Вода дистиллированная. При измерении концентраций формальдегида в атмосферном воздухе используется свежеприготовленная дистиллированная вода.
2) Иод, раствор 0,05 моль/дм3 (0,1 н.) готовят из стандарт-титра.
3) Крахмал, 0,5 %-ный раствор. 0,25 г крахмала смешивают с 10 см3 воды до получения равномерной взвеси. К 40 см3 воды, нагретой до 60 - 70 °С, прибавляют при непрерывном перемешивании взвесь крахмала, кипятят 1 мин и охлаждают.
4) Кислота серная, 20 %-ный раствор. К 80 см3 дистиллированной воды осторожно прибавляют 11 см3 концентрированной серной кислоты.
5) Кислота соляная, 10 %-ный раствор. К 78,1 см3 дистиллированной воды осторожно прибавляют 21,9 см3 концентрированной соляной кислоты.
6) Натрия гидроксид, 20 %-ный раствор. 20 г гидроксида натрия растворяют в дистиллированной воде. Объем доводят до 100 см3.
7) Тиосульфат натрия, раствор 0,1 моль/дм3 (0,1 н.). Готовят из стандарт-титра.
8) Фенилгидразин солянокислый, 5 %-ный раствор. 5 г фенилгидразина солянокислого растворяют в дистиллированной воде. Объем доводят до 100 см3. Раствор готовят в день анализа. При наличии мути фильтруют через фильтр «синяя лента».
9) Смесь этанола с фенилгидразином. К 10 см3 этанола приливают 2 см3 5 %-ного раствора фенилгидразина и перемешивают.
10) Хлорамин Б, 0,5 %-ный раствор. 0,25 г хлорамина Б растворяют в дистиллированной воде. Объем доводят до 50 см3. Раствор готовят в день анализа.
11) Исходный раствор формальдегида (ρ = 10 мкг/см3). Готовят приблизительно 1 %-ный раствор формальдегида, для чего 2,5 см3 формалина растворяют в воде в мерной колбе вместимостью 100 см3 и затем точно определяют его концентрацию иодометрическим титрованием (см. приложение 1 к методике 5.2.7.1). Определив концентрацию формальдегида в растворе, соответствующим разбавлением готовят раствор, содержащий 10 мкг/см3 вещества.
12) Рабочий раствор формальдегида (ρ = 1 мкг/см3). 10 см3 исходного раствора (см. перечисление 11) разбавляют в мерной колбе до 100 см3 водой. Раствор готовят перед использованием.
13) Поглотительный раствор - серная кислота, раствор 0,005 моль/дм3. Готовят добавлением 0,27 см3 концентрированной серной кислоты к 1000 см3 дистиллированной воды.
Растворы для установления градуировочной характеристики при определении концентрации формальдегида
|
1 |
2 |
3 |
4 |
5 |
6 |
|
|
Объем рабочего раствора (ρ = 1 мкг/см3), см3 |
4 |
10 |
- |
- |
- |
- |
|
Объем исходного раствора (ρ = 10 мкг/см3), см3 |
- |
- |
2 |
4 |
6 |
10 |
|
Масса формальдегида в 5 см3 раствора, мкг |
0,2 |
0,5 |
1,0 |
2,0 |
3,0 |
5,0 |
7.3. Установление градуировочной характеристики. Градуировочную характеристику, выражающую зависимость оптической плотности раствора от концентрации формальдегида, устанавливают по пяти сериям растворов для градуировки. Каждую серию, состоящую из шести растворов, готовят из свежеприготовленного раствора формальдегида.
Растворы для установления градуировочной характеристики готовят в мерных колбах вместимостью 100 см3. Для этого в каждую колбу вливают рабочий раствор формальдегида в соответствии с табл. 5.45, доводят объем поглотительным раствором до метки и тщательно перемешивают.
Для установления градуировочной характеристики отбирают в пробирки по 5 см3 каждого раствора для градуировки, добавляют по 1,2 см3 свежеприготовленной смеси этанола с фенилгидразином (см. п. 7.2, перечисление 9), перемешивают. Через 15 мин добавляют 1 см3 0,5 %-ного раствора хлорамина Б и опять перемешивают. Через 10 мин к каждой пробе добавляют по 2 см3 20 %-ного раствора серной кислоты, перемешивают. Через 10 мин измеряют оптическую плотность при 520 нм по отношению к воде в кюветах с расстоянием между рабочими гранями 20 мм. Одновременно проводят измерение оптической плотности нулевого раствора: 5 см3 поглотительного раствора, к которому добавлены те же реактивы. Действительные значения оптической плотности находят по разности оптических плотностей растворов для градуировки и нулевого раствора.
7.4. Отбор проб
Для определения разовой концентрации формальдегида исследуемый воздух аспирируют через поглотительный прибор Рыхтера, заполненный 6 см3 поглотительного раствора (см. п. 7.2, перечисление 13) с расходом 1 дм3/мин в течение 20 мин. Пробу анализируют в день отбора.
8. Выполнение измерений
В пробирку переносят 5 см3 раствора пробы, добавляют 1,2 см3 свежеприготовленной смеси этанола с фенилгидразином, перемешивают. Через 15 мин добавляют 1 см3 0,5 %-ного раствора хлорамина и перемешивают. Через 10 мин к пробе добавляют 2 см3 20 %-ного раствора серной кислоты и опять перемешивают. Через 10 мин измеряют оптическую плотность при 520 нм по отношению к воде в кюветах с расстоянием между рабочими гранями 20 мм. Аналогично анализируют три нулевые пробы, в качестве которых используют по 5 см3 поглотительного раствора. Время от добавления последнего реактива до измерения оптической плотности всех проб должно быть одинаковым. Среднее значение оптической плотности нулевой пробы не должно превышать 0,04.
Массу формальдегида в пробе определяют с помощью установленной градуировочной характеристики по разности оптических плотностей растворов пробы и средней оптической плотности нулевых проб.
9. Вычисление результата измерений
Методика предназначена для определения концентрации формальдегида в атмосферном воздухе населенных пунктов в диапазоне 0,01 - 0,22 мг/м3 при отборе пробы воздуха объемом 45 дм3. Используется для измерения разовых и среднесуточных концентраций.
1. Нормы точности измерений
По результатам метрологического исследования, при определении концентрации формальдегида в атмосферном воздухе в диапазоне 0,01 - 0,22 мг/м3 наибольшее значение суммарной погрешности при доверительной вероятности 0,95 не превышает ±20 %.
2. Метод измерения
Метод основан на улавливании формальдегида ацетилацетоном в среде уксуснокислого аммония и фотометрическом определении образующегося соединения, окрашенного в желтый цвет.
3. Средства измерений, вспомогательные устройства, реактивы и материалы
3.1. При выполнении измерений должны быть применены следующие средства измерений, вспомогательные устройства, реактивы и материалы.
3.2. Средства измерений
Фотоэлектроколориметр или спектрофотометр
Весы аналитические ВЛА-200 по ГОСТ 24104-80Е
Меры массы по ГОСТ 7328-82Е
Секундомер; класс 3; цена деления
секундной шкалы 0,2 с по ГОСТ 5072-79Е
Термометр лабораторный шкальный, тип ТЛ-2;
пределы 0 - 55 °С; цена деления 1 °С по ГОСТ 215-73Е
Барометр-анероид М-67 по ТУ 2404-1797-75Е
Электроаспиратор ЭА-1; погрешность
±10 %; Госреестр № 5997-77 по ТУ 25-11-1414-78
Колбы мерные по ГОСТ 1770-74Е
2-50-2 - 3 шт.
2-100-2 - 3 шт.
2-250-2 - 5 шт.
2-1000-2 - 1 шт.
Пипетки
4-2-1 - 2 шт.
2-1-5 - 3 шт.
6-2-10 - 3 шт.
Пробирки с притертой пробкой вместимостью 10 см3 по ГОСТ 1770-74
3.3. Вспомогательные устройства
Баня водяная
Поглотительные приборы Рыхтера по ТУ 25-11-1136-75
3.4. Реактивы
Ацетилацетон, ч. д. а. по ГОСТ 10259-78
Аммоний уксуснокислый, ч. д. а. по ГОСТ 3117-72
Вода дистиллированная по ГОСТ 6709-72
Кислота уксусная ледяная, х. ч. по ГОСТ 61-75
Кислота соляная, ч. д. а. по ГОСТ 3118-77
Крахмал растворимый по ГОСТ 10163-76
Натрия гидроксид, ч. д. а. по ГОСТ 4328-77
Натрия тиосульфат, раствор
0,1 моль/дм3, стандарт-титр по ТУ 6-09-2540-72
Иод, раствор 0,05 моль/дм3 (0,1 н.),
стандарт-титр по ТУ 6-09-2510-72
Формальдегид, 40 %-ный раствор
(формалин) по ГОСТ 1625-75
4. Требования безопасности
См. п. 5.1.3.
5. Требования к квалификации оператора
См. п. 5.1.4.
6. Условия выполнения измерений
См. п. 5.1.14.
7. Подготовка к выполнению измерений
7.1. Перед выполнением измерений должны быть проведены следующие работы: приготовление растворов, установление градуировочной характеристики, отбор проб воздуха.
1) Поглотительный раствор. 150 г уксуснокислого аммония растворяют в 800 см3 воды. К раствору прибавляют 2 см3 ацетилацетона и 3 см3 уксусной кислоты, тщательно перемешивают и доводят объем до 1000 см3 водой. Реактив хранят в склянке из темного стекла в холодильнике.
2) Кислота соляная, 10 %-ный раствор. К 78,1 см3 воды осторожно приливают 21,9 см3 концентрированной соляной кислоты.
3) Крахмал растворимый, 0,5 %-ный раствор. Готовят, как указано в методике 5.3.3.6 (см. п. 7.2, перечисление 3).
4) Натрия гидроксид, 17 %-ный раствор. 20 г гидроксида натрия растворяют в дистиллированной воде и после охлаждения доводят объем водой до 100 см3.
5) Кислота соляная (раствор. 1:1). В мерную колбу вместимостью 100 см3 помещают 50 см3 концентрированной соляной кислоты и доводят водой до метки.
6) Исходный раствор для градуировки. 5 см3 формалина вносят в мерную колбу вместимостью 250 см3 и доводят водой до метки. Для определения точного содержания формальдегида проводят титрование, как указано в приложении 1 методики 5.2.7.1. 1 см3 раствора йода концентрации 0,05 моль/дм3 соответствует 1,5 мг формальдегида. Устанавливают массу формальдегида в 1 см3 раствора.
7) Рабочий раствор для градуировки (ρ = 10 мкг/см3). Готовят соответствующим разведением водой исходного раствора. Раствор проверяют титрометрически.
Растворы для установления градуировочной характеристики при определении концентрации формальдегида
|
1 |
2 |
3 |
4 |
5 |
6 |
7 |
|
|
Объем рабочего раствора (ρ = 10 мкг/см3), см3 |
0,05 |
0,10 |
0,20 |
0,40 |
0,60 |
0,80 |
1,00 |
|
Соответствует массе формальдегида в 5 см3 раствора, мкг |
0,50 |
1,00 |
2,00 |
4,00 |
6,00 |
8,00 |
10,00 |
7.3. Установление градуировочной характеристики
Градуировочную характеристику, выражающую зависимость оптической плотности раствора от массы формальдегида в пробе, устанавливают по пяти сериям растворов для градуировки. Каждую серию, состоящую из семи растворов, готовят из раствора формальдегида (см. п. 7.2, перечисление 7) в пробирках с притертой пробкой вместимостью 10 см3. Для этого в каждую пробирку вносят рабочий раствор для градуировки в соответствии с табл. 5.46, доводят поглотительным раствором объем до 5,0 см3 и тщательно перемешивают. Одновременно готовят нулевую пробу: в пробирку вносят 5,0 см3 поглотительного раствора.
Для установления градуировочной характеристики растворы помещают в водяную баню при 40 °С и выдерживают в течение 30 мин. После охлаждения измеряют оптическую плотность при 412 нм по отношению к нулевому раствору (раствор 1) в кюветах с расстоянием между рабочими гранями 10 мм.
7.4. Отбор проб
Для определения разовой концентрации формальдегида исследуемый воздух аспирируют с расходом 1,5 дм3/мин в течение 30 мин в два последовательно соединенных поглотительных прибора Рыхтера, заполненных 5 см3 поглотительного раствора каждый. Для определения среднесуточной концентрации отбирают шесть разовых проб в один поглотительный прибор.
8. Выполнение измерений
Пробы в поглотительных приборах помещают в водяную баню при 40 °С и выдерживают 30 мин. После охлаждения измеряют оптическую плотность при 412 нм по отношению к нулевому раствору в кюветах с расстоянием между рабочими гранями 10 мм.
Массу формальдегида в пробе определяют с помощью установленной градуировочной характеристики.
9. Вычисление результата измерений
Методика предназначена для определения концентрации циклогексана, циклогексанола и циклогексанона в атмосферном воздухе населенных пунктов. Диапазон измеряемых концентраций определяемых веществ, а также значения их максимальной разовой и среднесуточной предельно допустимых концентраций в атмосферном воздухе (ПДКм.р и ПДКс.с) представлены в табл. 5.47.
ПДК и диапазон измеряемых концентраций (мг/м3) циклогексана, циклогексанола и циклогексанона в атмосферном воздухе
|
ПДКм.р |
ПДКс.с |
Диапазон измеряемых концентраций |
|
|
Циклогексан |
1,4 |
1,4 |
0,02 - 5 |
|
Циклогексанол |
0,06 |
0,06 |
0,02 - 2 |
|
Циклогексанон |
0,04 |
- |
0,02 - 2 |
1. Нормы точности измерений
По экспертным оценкам, при определении концентрации циклогексана, циклогексанола и циклогексанона в атмосферном воздухе в диапазонах, указанных в табл. 5.47, погрешность измерения при доверительной вероятности 0,95 не превышает ±25 %.
2. Метод измерения
Определяемые вещества улавливают в трубке, заполненной полисорбом-10, десорбируют их водяным паром в герметичный приемный сосуд и выполняют газохроматографический анализ полученного водного раствора, а также равновесной газовой фазы.
3. Средства измерений, вспомогательные устройства, реактивы и материалы
3.1. При выполнении измерений должны быть применены следующие средства измерений, вспомогательные устройства, реактивы и материалы.
3.2. Средства измерений
Газовый хроматограф серии по ТУ 1.550-150
«Цвет 500 М», снабженный пламенно-ионизационным
детектором или другой с чувствительностью по пропану
не менее 1,0×10-8 мг/см3
Весы аналитические ВЛА-200 по ГОСТ 24104-80Е
Меры массы по ГОСТ 7328-82Е
Электроаспиратор ЭА-1;
погрешность 10 %; Госреестр № 5997-77 по ТУ 25-11-1414-78
Термометр ТМ-8; пределы измерения
от минус 35 до 40 °С по ГОСТ 112-78Е
Барометр-анероид М-67 по ТУ 2504-1797-75
Секундомер; класс 3; цена деления по ГОСТ 5072-79Е
секундной шкалы 0,2 с
Термометр ТЛ-31-А, пределы измерения 0 - 500 °С по ГОСТ 215-73Е
Колбы мерные по ГОСТ 1770-74Е
2-100-2 - 2 шт.
2-50-2 - 2 шт.
Пипетки по ГОСТ 20292-74Е
2-2-10 - 2 шт.
2-2-5 - 2 шт.
2-2-2 - 2 шт.
2-2-1 - 2 шт.
3.3. Вспомогательные устройства
Редуктор кислородный по ТУ 26-05-235-70
Редуктор водородный по ТУ 26-05-463-76
Электропечь трубчатая для микроанализа СУОЛ
Лабораторный авто трансформатор ЛАТР-1М по ТУ 16-517.210-69
или регулятор температуры для электропечи
в диапазоне 110 - 200 °С
Насос водоструйный стеклянный по ГОСТ 10696-75
Колонка хроматографическая стеклянная 300´0,3 см3 по ГОСТ 16285-80
Микрошприц МШ-1ОМ по ТУ 2.833.106
Шприц медицинский комбинированный
для туберкулина вместимостью 1 см3 по ТУ 64-1-378-83
Шприц медицинский комбинированный со
стеклянным поршнем вместимостью 2 см3 по ТУ 64-1-378-83
Сорбционная трубка (черт. 5.14)
Устройство для термодесорбции (черт. 5.15)
Пробирки П4-10-14/23 - 20 шт. по ГОСТ 23932-79Е
Ампулы стеклянные вместимостью
1 см3 и 5 см3 по ГОСТ 18122-75
3.4. Материалы
Азот технический или ос. ч. по ГОСТ 9293-74
Водород технический по ГОСТ 3022-80
Воздух сжатый
Стекловата
3.5. Реактивы
Ацетон, ч. д. а. по ГОСТ 2603-79
Вода дистиллированная по ГОСТ 6709-77
Гексан, ч. по ТУ 6.09-3375-78
Кислота уксусная ледяная, х. ч. по ГОСТ 61-75
Полиметилсилоксановая
жидкость ПМС-100 по ГОСТ 13032-77
Полисорб-10 зернением 0,25 - 0,5 мм по ТУ 6-09-10-432-77
Толуол, ч. д. а. по ГОСТ 5789-78
Хроматон N-AW с 15 %
полиметилфенилсилоксанового масла
зернением 0,25 - 0,35 мм
Циклогексан для хроматографии, х. ч по ТУ 6-09-10-592-76
Циклогексанол, х. ч. по ТУ 6-09-06-101-72
Циклогексанон, ч. д. а. по ТУ 6-09-1807-77
4. Требования безопасности
См п. 5.1.3.
5. Требования к квалификации оператора
См п. 5.1.4.
1 - накидная гайка; 2 - штуцер; 3 - стекловата; 4 - корпус; 5 - сорбент; 6 - прокладка из силиконовой резины; 7 - прокладка из алюминиевой фольги.
Устройство для термодесорбции парами растворителей
1, 6, 11, 12 - накидная гайка; 2 - штуцер для ввода растворителя с предохранительным клапаном; 3 - трубчатая печь; 4 - пробка испарителя; 5 - испаритель; 7, 10, 13 - штуцер; 8 - змеевик; 9 - сорбционная трубка; 14 - приемный сосуд; 15, 21 - прокладка из вакуумной резины; 17, 18 - прокладка из силиконовой резины; 16 - игла медицинского шприца; 19 - алюминиевая прокладка; 20 - резиновое кольцо.
6. Условия выполнения измерений
См. п. 5.1.14
7. Подготовка к выполнению измерений
7.1. Перед выполнением измерений должны быть проведены следующие работы: подготовка измерительной аппаратуры, приготовление растворов, установление градуировочной характеристики для циклогексана, установление градуировочных характеристик для циклогексанола и циклогексанона, подготовка сорбционных трубок к отбору проб, отбор проб.
7.2. Подготовка измерительной аппаратуры.
Стеклянную хроматографическую колонку длиной 3 м промывают с помощью водоструйного насоса водой, ацетоном и гексаном, а затем высушивают в токе воздуха.
В фарфоровую чашку высыпают 7,5 г хроматона N-AW и заливают его 100 см3 раствора полиметилсилоксановой жидкости (см. п. 7.3, перечисление 1). Испаряют толуол в вытяжном шкафу при осторожном перемешивании шпателем полученной суспензии, нагревая ее на водяной бане до тех пор, пока насадка не станет сыпучей. Работу проводить в вытяжном шкафу. Окончательно высушивают насадку при температуре 60 - 70 °С в течение 30 мин. Для наполнения колонки лучше использовать готовую насадку, содержащую 15 % полиметилфенилсиликонового масла или силикона ДС-550 на хроматоне N-AW.
В промытую колонку со стороны, подключаемой к детектору, вкладывают тампон стекловаты и присоединяют этот конец колонки к водоструйному насосу. Постукивая по колонке, заполняют ее через воронку насадкой и закрепляют ее в колонке вторым тампоном стекловаты. Подготовленную колонку подключают к испарителю хроматографа и продувают азотом с расходом 30 см3/мин сначала при программировании температуры от 50 до 150 °С со скоростью 2 °С/мин, а затем в изотермическом режиме при 150 °С в течение 5 - 6 ч, после чего колонку охлаждают и присоединяют к детектору.
1) Раствор полиметилсилоксановой жидкости. 1,8 г полиметилсилоксановой жидкости ПМС-100 растворяют в 100 см3 толуола (или хлороформа).
2) Градуировочный раствор А. В мерную колбу вместимостью 50 см3 заливают 20 - 30 см3 уксусной кислоты и отвешивают в нее 200 - 250 мг циклогексана, после чего добавляют уксусной кислоты до метки.
3) Градуировочный раствор Б. В мерную колбу вместимостью 50 см3 заливают 25 - 30 см3 дистиллированной воды и отвешивают в нее по 200 - 250 мг циклогексанола и циклогексанона, после чего добавляют воды до метки.
4) Градуировочный раствор В. 1 см3 градуировочного раствора Б разбавляют дистиллированной водой в мерной колбе вместимостью 100 см3.
Срок хранения градуировочных растворов - 1 мес в запаянных стеклянных ампулах.
7.4. Установление градуировочной характеристики для циклогексана. Градуировочную характеристику, выражающую зависимость высоты хроматографического пика циклогексана от его массы в приемном сосуде устанавливают по четырем сериям градуировочных растворов. Каждую серию, состоящую из восьми градуировочных растворов, готовят последовательным разбавлением градуировочного раствора А.
В восемь пронумерованных пробирок П4-10 вместимостью 10 см3 заливают пипеткой по 5 см3 уксусной кислоты. Отбирают пипеткой 5 см3 градуировочного раствора А и переносят его в пробирку № 1. Закрывают пробирку пробкой, перемешивают ее содержимое, после чего 5 см3 раствора 1 переносят в пробирку № 2 и снова перемешивают. Аналогично готовят градуировочные растворы 3 - 8. Для хранения градуировочные растворы 1 - 8 заливают в стеклянные ампулы по 0,5 см3 и запаивают. Срок хранения растворов - 3 мес в защищенном от света месте.
Концентрацию циклогексана в градуировочном растворе рассчитывают по формуле:
![]()
где ρn - концентрация циклогексана, мкг/мм3;
m - навеска циклогексана, мг;
n - номер раствора.
В приемный сосуд вводят с помощью медицинского шприца для туберкулина 0,8 см3 дистиллированной воды. Закрывают сосуд накидной гайкой с прокладкой из вакуумной резины диаметром 10 мм и толщиной 5 - 6 мм, предварительно прокипяченной в воде в течение 30 мин. Переворачивают приемный сосуд так, чтобы жидкая фаза находилась над резиновой прокладкой и изолировала ее от газовой фазы сосуда, и вводят в него микрошприцем МШ-10М через прокладку 10 мм3 градуировочного раствора. Перемешивают содержимое приемного сосуда путем встряхивания, выдерживают его 10 - 15 мин при комнатной температуре, установив вертикально на торец гайки, затем снова перемешивают и анализируют газовую фазу, отбирая ее медицинским шприцем со стеклянным поршнем.
Условия хроматографического анализа:
объем вводимой в хроматограф пробы 1 см3;
температура термостата колонок 100 °С;
температура испарителя 120 °С;
расход газа-носителя (азота) 30 см3/мин;
расход водорода 30 см3/мин;
расход воздуха 300 см3/мин;
скорость протяжки ленты самописца 600 мм/ч;
шкала измерителя тока 20×10-12 - 20×10-10 А.
Время удерживания циклогексана составляет около 3 мин.
Измеряют высоту хроматографического пика циклогексана и приводят ее к одной шкале измерителя тока.
Для установления градуировочной характеристики вычисляют средние значения результатов параллельных измерений для четырех серий градуировочных растворов. Градуировку проверяют один раз в неделю путем анализа одного из градуировочных растворов 1 - 8. Результат измерения не должен отличаться более чем на 5 % от полученного при градуировке. В противном случае градуировку повторяют.
7.5. Установление градуировочных характеристик для циклогексанола и циклогексанона
Градуировочные характеристики, выражающие зависимость высоты хроматографических пиков циклогексанола и циклогексанона от концентрации этих веществ в водном растворе, устанавливают по четырем сериям градуировочных растворов. Каждую серию, состоящую из восьми градуировочных растворов, готовят последовательным двухкратным разбавлением градуировочного раствора Б.
В восемь пронумерованных пробирок П4-10 вместимостью 10 см3 заливают пипеткой по 5 см3 дистиллированной воды. Той же пипеткой отбирают 5 см3 градуировочного раствора В и переносят его в пробирку № 1. Закрывают пробирку пробкой, перемешивают ее содержимое, после чего 5 см3 полученного раствора 1 переносят в пробирку № 2 и снова перемешивают. Аналогично готовят градуировочные растворы 3 - 8. Концентрацию определяемых веществ в градуировочных растворах рассчитывают по формуле:
![]()
где ρn - концентрация определяемого вещества в градуировочном растворе, мкг/см3;
m - навеска определяемого вещества, мг;
n - номер раствора.
Микрошприцем МШ-10М отбирают 6 мм3 градуировочного раствора, вводят в испаритель хроматографа и анализируют при условиях, указанных в п. 7.4, используя шкалу измерителя тока 5×10-12 - 5×10-10 А.
Время удерживания циклогексанола составляет около 11 мин, циклогексанона - около 13 мин.
Измеряют высоты пиков указанных веществ и приводят их к одной шкале измерителя тока.
Для установления градуировочной характеристики вычисляют средние значения результатов параллельных измерений для четырех серий градуировочных растворов.
Градуировку проверяют 1 раз в неделю путем анализа одного из градуировочных растворов 1 - 8. Результат измерения не должен отличаться более чем на 5 % от полученного при градуировке. В противном случае градуировку повторяют.
7.6. Подготовка сорбционных трубок к отбору проб
Сорбционная трубка в собранном виде изображена на черт. 5.14. Корпус 4 сорбционной трубки выполняют из стекла «Пирекс», а накидные гайки 1, штуцера 2 - из латуни или нержавеющей стали. Сорбент (полисорб-10) перед заполнением трубок продувают азотом или водяным паром с расходом 100 - 200 см3/мин при температуре 150 °С в течение 4 ч, а затем при 200 °С - 20 ч. Для закрепления слоя сорбента в трубке используют стекловату.
Герметизируют трубки вложенными в накидные гайки прокладками из силиконовой резины и алюминиевой фольги, вырезанными пробочным сверлом диаметром 10 мм. Трубки нумеруют и обозначают на них направление потока воздуха при отборе пробы. Перед отбором проб каждую из них продувают водяным паром при температуре 175 °С. Подготовленные трубки должны быть использованы для отбора проб и анализа в течение 1 мес.
7.7. Отбор проб
Отвинчивают накидные гайки на концах сорбционной трубки, присоединяют ее к аспиратору в соответствии с обозначенным направлением потока воздуха и пропускают через сорбент 10 дм3 анализируемого воздуха с расходом 0,5 дм3/мин. После отбора пробы вновь герметизируют концы трубки и отправляют ее в лабораторию для анализа.
Для десорбции уловленных в сорбционной трубке веществ используют устройство, изображенное на черт. 5.15. Накидные гайки, штуцера и детали испарителя этого устройства изготовляют из латуни или нержавеющей стали. Змеевик 8 представляет собой свернутую в спираль металлическую трубку диаметром 2 мм и длиной 0,5 - 1,0 м. С гайкой 6 и пробкой испарителя 5 его соединяют герметично твердым припоем, например ПСР-45. Таким же способом в отверстии гайки 11 закрепляют иглу 16. Приемный сосуд 14 выполняют из стекла «пирекс».
Десорбцию выполняют следующим образом:
1) С сорбционной трубки 9 снимают герметизирующие заглушки и соединяют трубку со змеевиком 8 и гайкой 11 согласно черт. 5.15.
2) В приемный сосуд 14 вводят шприцем 0,1 см3 дистиллированной воды и соединяют сосуд с сорбционной трубкой 9.
3) Иглой медицинского шприца, соединенной с вакуумным насосом, прокалывают прокладку 21 и откачивают из сосуда, трубки с сорбентом и испарителя воздух до остаточного давления 0,01 - 0,10 атм, затем иглу вынимают, при этом проколотое ею отверстие перекрывается за счет упругости прокладки.
4) Через ту же прокладку шприцем вместимостью 1 см3 вводят в испаритель 0,7 см3 дистиллированной воды, после чего трубку и испаритель помещают в нагретую до 175 °С печь 3, установленную таким образом, чтобы добавленная в приемный сосуд вода заполнила его суженную шейку. Пары воды проходят через змеевик 8, нагреваются до температуры, близкой к температуре печи, вытесняют десорбирующиеся вещества в приемный сосуд и конденсируются в нем.
5) По окончании процесса десорбции, на что требуется 10 - 15 мин, приемный сосуд снимают с иглы, устанавливают его вертикально на торец накидной гайки, а затем вынимают из печи трубку, которую после охлаждения герметизируют теми же заглушками.
Примечание. Продувку водяным паром осуществляют в направлении, обратном направлению отбора пробы.
Анализируют газовую фазу приемного сосуда при условиях, указанных в п. 7.4. Массу циклогексана в пробе определяют с помощью установленной для циклогексана градуировочной характеристики.
Микрошприцем МШ-1ОМ отбирают 6 мм3 водного раствора из приемного сосуда и вводят в испаритель хроматографа при условиях, указанных в п. 7.5. Концентрацию циклогексанола и циклогексанона в растворе определяют, используя установленные градуировочные характеристики. Объем водного раствора в приемном сосуде определяют, взвешивая сосуд до и после выполнения десорбции.
9. Вычисление результата измерения
Массу циклогексанола и циклогексанона в пробе воздуха рассчитывают по формуле:
m = ρV,
где m - масса циклогексанола и циклогексанона в пробе воздуха, мкг;
V - объем раствора, см3;
ρ - концентрация циклогексанола и циклогексанона в растворе, мкг/см3.
Массовую концентрацию определяемых веществ в атмосферном воздухе рассчитывают по формуле (5), приведенной в п. 5.1.16.
Методика предназначена для определения концентрации метилового спирта (метанола) в атмосферном воздухе населенных пунктов в диапазоне 0,12 - 1,2 мг/м3 при отборе пробы воздуха объемом 15 дм3. Используется для измерения разовых и среднесуточных концентраций. Определению мешает формальдегид.
1. Нормы точности измерений
По экспертным оценкам, при определении концентрации метилового спирта в атмосферном воздухе в диапазоне 0,12 - 1,2 мг/м3 суммарная погрешность не превышает ±25 %.
2. Метод измерения
Метод основан на улавливании из воздуха метилового спирта водой, его последующем окислении до формальдегида и фотометрическом определении массы метанола по окрашенному в фиолетовый цвет продукту, образующемуся в результате взаимодействия формальдегида и хромотроповой кислоты.
3. Средства измерений, вспомогательные устройства, реактивы и материалы
3.1. При выполнении измерений должны быть применены следующие средства измерений, вспомогательные устройства, реактивы и материалы.
3.2. Средства измерений
Фотоэлектроколориметр или спектрофотометр
Весы аналитические ВЛА-200 по ГОСТ 24104-80Е
Меры массы по ГОСТ 7328-82Е
Секундомер; класс 3; цена деления
секундной шкалы 0,2 с по ГОСТ 5072-79Е
Термометр лабораторный шкальный ТЛ-2;
пределы 0 - 55 °С; цена деления 1 °С по ГОСТ 215-73Е
Барометр-анероид М-67 по ТУ 2504-1797-75
Электроаспиратор ЭА-1; погрешность ±10 %;
Госреестр № 5997-77 по ТУ 25-11-1414-78
Колбы мерные по ГОСТ 1770-74Е
2-50-2 - 7 шт.
2-100-2 - 10 шт.
2-1000-2 - 1 шт.
Пипетки по ГОСТ 20292-74Е
4-2-1 - 5 шт.
2-1-5 - 3 шт.
6-2-10 - 2 шт.
4-2-2 - 5 шт.
3.3. Вспомогательные устройства
Поглотительные приборы с пористой пластиной по ТУ 25-11-1136-75
Стаканы В-1-1000 ТС по ГОСТ 25336-82
Пробирки П4-10-14/23 ХС по ГОСТ 25336-82
Баня водяная
3.4. Материалы
Трубка резиновая полувакуумная, тип 1 по ГОСТ 5496-57
3.5. Реактивы
Вода бидистиллированная
Калий марганцевокислый, ч. д. а. по ГОСТ 20490-75 изм. № 1
Кислота серная (ρ = 1,84), х. ч. по ГОСТ 4204-77
Кислота ортофосфорная, х. ч. (ρ = 1,72) по ГОСТ 6552-80
Кислота хромотроповая, ч. д. а. по ТУ 6-09-3749-74
Метанол, х. ч. по ТУ 6-09-1709-74
Натрия сульфит (Na2SO3×2H2O), ч. по ГОСТ 195-77
4. Требования безопасности
См. п. 5.1.3.
Все работы, связанные с использованием метанола следует проводить под тягой. Хранить метанол необходимо в запирающемся железном шкафу под тягой.
5. Требования к квалификации оператора
См. п. 5.1.4.
6. Условия выполнения измерений
См. п. 5.1.14.
7. Подготовка к выполнению измерений
7.1. Перед выполнением измерений должны быть проведены следующие работы: приготовление растворов, установление градуировочной характеристики, подготовка поглотительных приборов к работе, отбор пробы воздуха.
1) Калия перманганат, 1 %-ный раствор. 1 г реактива растворяют в воде. Объем доводят до 100 см3.
2) Кислота серная, раствор 15 моль/дм3 (30 н.). В стакан из термостойкого стекла вносят 295 см3 воды и осторожно при помешивании 816 см3 серной кислоты.
3) Кислота серная, раствор 9 моль/дм3. В стакан из термостойкого стекла вносят 608 см3 воды и осторожно при помешивании приливают 490 см3 серной кислоты.
4) Кислота хромотроповая (1,8-диоксинафталин, 3,6-дисульфокислота или ее динатриевая соль), 5 %-ный раствор. 0,5 г кислоты растворяют в 10 см3 воды. Готовят перед использованием.
5) Кислота хромотроповая, 0,2 %-ный раствор готовят разбавлением 5 %-ного раствора хромотроповой кислоты раствором серной кислоты концентрацией 15 моль/дм3 перед использованием.
6) Натрия сульфит, 3 %-ный раствор. 3 г сульфита натрия растворяют в воде и доводят объем до 100 см3. Готовят перед использованием.
7) Исходный раствор метанола. В мерную колбу вместимостью 100 см3 вносят 20 - 30 см3 воды и взвешивают. Затем добавляют несколько капель метилового спирта и вновь взвешивают. Раствор в колбе доводят водой до метки и вычисляют массу метилового спирта в 1 см3 раствора.
8) Рабочий раствор для градуировки (ρ = 100 мкг/см3). Готовят соответствующим разбавлением исходного раствора. Готовят перед использованием.
7.3. Установление градуировочной характеристики
Градуировочную характеристику, выражающую зависимость оптической плотности раствора от массы метанола, устанавливают по пяти сериям растворов для градуировки. Каждую серию, состоящую из девяти растворов, готовят из свежеприготовленного раствора метанола (см. п. 7.2, перечисление 8).
Растворы для установления градуировочной характеристики готовят в мерных колбах вместимостью 50 см3. Для этого в каждую колбу вносят рабочий раствор для градуировки в соответствии с табл. 5.48, доводят объем до метки и тщательно перемешивают.
Растворы для установления градуировочной характеристики при определении концентрации метилового спирта
|
1 |
2 |
3 |
4 |
5 |
6 |
7 |
8 |
9 |
|
|
Объем рабочего раствора (ρ = 100 мкг/см3), см3 |
0,4 |
0,8 |
1,2 |
1,6 |
2,0 |
2,4 |
2,8 |
3,2 |
4,0 |
|
Масса метанола в 2,5 см3, мкг |
2,0 |
4,0 |
6,0 |
8,0 |
10,0 |
12,0 |
14,0 |
16,0 |
20,0 |
Для установления градуировочной характеристики отбирают в пробирки по 2,5 см3 каждого раствора и добавляют по 0,25 см3 фосфорной кислоты, затем по 2 капли 1 %-ного раствора перманганата калия и помещают в баню со льдом на 15 мин. Время отмечают по секундомеру от момента добавления последнего реактива1. Через 15 мин пробирки вынимают из бани и по каплям вносят в каждую из них 3 %-ный раствор сульфита натрия до обесцвечивания, избегая избытка сульфита. Далее во все пробирки вносят по 2 см3 0,2 %-ного раствора хромотроповой кислоты и помещают их в кипящую водяную баню на 45 мин.
1 Точное соблюдение времени необходимо для получения воспроизводимых результатов, так как окисление метанола протекает достаточно быстро.
По охлаждении объем раствора доводят до 5 см3 раствором серной кислоты концентрацией 9 моль/дм3. Через 60 мин после добавления хромотроповой кислоты измеряют оптическую плотность растворов относительно воды в кювете с расстоянием между гранями 10 мм при длине волны 574 нм.
Аналогично анализируют нулевой раствор, в качестве которого используют 2,5 см3 бидистиллированной воды, к которой добавлены те же реактивы.
7.4. Отбор проб
Для определения разовой концентрации метанола исследуемый воздух аспирируют через поглотительный прибор, заполненный 5 см3 воды, с расходом 0,5 дм3/мин в течение 30 мин.
Для определения среднесуточной концентрации отбирают 4 - 8 разовых проб в один и тот же поглотительный прибор в течение 1 сут.
8. Выполнение измерений
При определении массы метилового спирта должны быть выполнены следующие операции. 2,5 см3 из каждого поглотительного прибора переносят в пробирку с притертой пробкой и анализируют, как указано в п. 7.3 настоящей методики. Одновременно аналогично анализируют три нулевые пробы, в качестве которых используют 2,5 см3 бидистиллированной воды.
Массу метилового спирта в пробе определяют с помощью установленной градуировочной характеристики по разности оптической плотности растворов пробы и средней оптической плотности нулевых проб.
9. Вычисление результата измерений
Методика2 предназначена для определения концентрации метанола в атмосферном воздухе населенных пунктов. Диапазон измеряемых концентраций метанола составляет 0,25 - 25 мг/м3.
2 Методика разработана в НПО «Тайфун».
1. Нормы точности измерений
По результатам метрологических исследований, относительная погрешность измерения концентрации метанола в атмосферном воздухе в диапазоне 0,25 - 25 мг/м3 не превышает ±25 %.
2. Метод измерения
Метанол улавливают в сорбционной трубке, заполненной цеолитными адсорбентами KA и NaX, десорбируют парами воды в вакуумированный приемник и выполняют газохроматографический анализ конденсата.
3. Средства измерений, вспомогательные устройства, реактивы и материалы
3.1. При выполнении измерений должны быть применены следующие средства измерений, вспомогательные устройства, реактивы и материалы.
3.2. Средства измерений
Газовый хроматограф серии «Цвет»
пламенно-ионизационным детектором по ТУ 1.550-150
или другой с чувствительностью по пропану
не менее 1,0×10-8 мг/см3
Весы аналитические ВЛА-200 по ГОСТ 24104-80Е
Меры массы по ГОСТ 7328-82Е
Электроаспиратор ЭА-1; погрешность 10 %;
Госреестр № 5997-77 по ТУ 25-11-1414-78
Секундомер; класс 3; цена деления
секундной шкалы 0,2 с по ГОСТ 5072-79Е
Термометр ТМ-8; пределы измерения от
минус 35 до 40 °С по ГОСТ 112-78Е
Барометр-анероид М-67 по ТУ 2504-1797-75
Колбы мерные по ГОСТ 1770-74Е
2-100-2 - 1 шт.
2-50-2 - 1 шт.
Пипетки по ГОСТ 20292-74Е
2-2-10 - 2 шт.
2-2-5 - 1 шт.
2-2-1 - 1 шт.
3.3. Вспомогательные устройства
Редуктор кислородный по ТУ 26-05-235-70
Редуктор водородный по ТУ 26-05-463-76
Насос водоструйный стеклянный по ГОСТ 10696-75
Колонка хроматографическая тефлоновая
(трубка фторопластовая Ф-4Д-Э) 400´0,25 см3 по ГОСТ 22056-76
Сорбционная трубка (черт. 5.14, см. методику 5.3.3.8)
Устройство для термодесорбции парами
растворителей (черт. 5.15, см. методику 5.3.3.8)
Электропечь трубчатая для микроанализа СУОЛ
Лабораторный автотрансформатор ЛАТР-1М по ТУ 16-517216-69
Микрошприц МШ-10 вместимостью 10 мм3;
цена деления 0,2 мм3 по ТУ 2.833.106
Шприц медицинский комбинированный для
туберкулина вместимостью 2 см3 по ТУ 64-1-378-78
3.4. Материалы
Азот технический по ГОСТ 9293-74
Водород технический по ГОСТ 3022-80
Воздух сжатый
Стекловата
3.5. Реактивы
Вода дистиллированная по ГОСТ 6709-77
Инертон N-AW-DMCS зернением 0,2 - 0,25 мм
(носитель для хроматографической колонки)
Калия гидроксид, ос. ч. по ГОСТ 6-01-301-74
Метанол, х. ч. по ТУ 6-09-1709-74
Полисорб 30/160 зернением 0,25 - 0,5 мм
(носитель для хроматографической колонки)
Полиэтиленгликоль 6000 (карбовакс 6000)
Хлороформ, х. ч. по ТУ 6-09-4263-76
Цеолитные адсорбенты (молекулярные сита)
KA и NaX зернением 0,25 - 0,5 мм
(наполнитель сорбционных трубок) по ТУ 38-102-169-85
Этанол ректификат по ГОСТ 5962-57
4. Требования безопасности
См. п. 5.1.3.
5. Требования к квалификации оператора
См. п. 5.1.4.
6. Условия выполнения измерений
См. п. 5.1.14.
7. Подготовка к выполнению измерений
7.1. Перед выполнением измерений должны быть проведены следующие работы: подготовка измерительной аппаратуры, приготовление растворов, установление градуировочной характеристики, подготовка сорбционных трубок, отбор проб.
7.2. Подготовка измерительной аппаратуры
Тефлоновую колонку промывают проточной водой в течение 10 - 15 мин, затем ацетоном, толуолом, сушат 2 - 3 ч при 120 - 130 °С в сушильном шкафу, присоединяют к термостату хроматографа и продувают током газа-носителя при 160 °С в течение 7 - 8 ч.
В фарфоровую чашку высыпают 8 г полисорба 30/160 и заливают 60 см3 раствора гидроксида калия (см. п. 7.3, перечисление 1). Испаряют этанол при осторожном перемешивании шпателем полученной суспензии, нагревая ее на водяной бане или лампой накаливания мощностью 100 Вт до тех пор, пока насадка не станет сыпучей. Работу необходимо производить в вытяжном шкафу. Затем насадку заливают 60 см3 раствора полиэтиленгликоля 6000 (см. п. 7.3, перечисление 3), испаряют хлороформ так же, как этанол, и окончательно высушивают насадку при температуре 80 - 90 °С в течение 30 мин.
В другую фарфоровую чашку высыпают 8 г инертона N-AW-DMCS и аналогично обрабатывают его растворами гидроксида калия (см. п. 7.3, перечисление 2) и полиэтиленгликоля 6000 (см. п. 7.3, перечисление 3).
В колонку со стороны, подключаемой к детектору, вкладывают тампон стекловаты и подсоединяют этот конец колонки к водоструйному насосу. Постукивая по колонке засыпают в нее через воронку обработанную насадку инертона N-AW-DMCS в таком количестве, чтобы был заполнен участок колонки длиной 1,5 м, подключаемый к детектору. Остальную часть колонки длиной 2,5 м заполняют обработанным полисорбом 30/160 в таком количестве, чтобы участок колонки, входящий в испаритель, остался пустым. Отсоединив заполненную колонку от насоса, вкладывают в нее второй тампон стекловаты и продвигают его до насадки. Подготовленную колонку подключают к испарителю хроматографа и продувают азотом с расходом 45 см3/мин сначала при программировании температуры от комнатной до 160 °С со скоростью 2 °С/мин, затем в изотермическом режиме в течение 8 - 10 ч; при этом в испаритель вкалывают 15 - 20 раз по 10 мм3 свежепрокипяченной дистиллированной воды, после чего колонку охлаждают и присоединяют к детектору.
1) Раствор гидроксида калия. 0,35 - 0,40 г гидроксида калия растворяют в 80 см3 этанола.
2) Раствор гидроксида калия. 1,5 - 1,6 г гидроксида калия растворяют в 60 см3 этанола.
3) Раствор полиэтиленгликоля. 0,4 г полиэтиленгликоля 6000 растворяют в 60 см3 хлороформа.
4) Градуировочный раствор А. В мерную колбу вместимостью 100 см3 заливают 40 - 60 см3 дистиллированной воды, отвешивают в нее 150 - 200 мг метанола и добавляют дистиллированной воды до метки. Срок хранения раствора в холодильнике 1 мес.
5) Градуировочный раствор Б. Готовят разбавлением градуировочного раствора А в 5 раз дистиллированной водой в мерной колбе вместимостью 50 см3. Срок хранения раствора в холодильнике 7 сут.
7.4. Установление градуировочной характеристики
Градуировочную характеристику, выражающую зависимость высоты хроматографического пика от концентрации метанола в водном растворе, устанавливают по четырем сериям градуировочных растворов. Каждую серию, состоящую из семи градуировочных растворов, готовят последовательным двухкратным разбавлением градуировочного раствора Б. В семь пронумерованных пробирок П4-10 вместимостью 10 см3 пипеткой заливают по 5 см3 дистиллированной воды. Той же пипеткой отбирают 5 см3 градуировочного раствора Б и переносят его в пробирку № 1. Закрывают пробирку пробкой и перемешивают ее содержимое, после чего 5 см3 полученного раствора 1 переносят в пробирку № 2. Аналогично готовят градуировочные растворы 3 - 7. Срок хранения растворов в холодильнике 7 сут.
Концентрацию метанола в градуировочном растворе рассчитывает по формуле:
![]()
где ρn - концентрация метанола в растворе, мкг/см3; m - навеска метанола, мг; n - номер раствора.
Микрошприцем МШ-10 отбирают 5 мм3 градировочного раствора и вводят в испаритель хроматографа. Анализ проводят при следующих условиях:
объем вводимой в хроматограф пробы 5 мм3
температура испарителя 150 °С
температура термостата колонок 105 °С
расход газа-носителя (азота) 45 см3/мин
расход водорода 45 см3/мин
расход воздуха 330 см3/мин
скорость протяжки ленты самописца 600 мм/ч
шкала измерителя тока (10 ... 200)×10-12 А
Время удерживания метанола составляет около 1,5 мин.
Измеряют высоты пика метанола (при наличии интегратора измеряют площади) и приводят их к одной шкале измерителя тока.
Для установления градуировочной характеристики вычисляют средние значения результатов параллельных измерений для четырех серий градуировочных растворов. Градуировку проверяют 1 раз в неделю путем анализа одного из градуировочных растворов 1 - 7. Результат измерения не должен отличаться более чем на 5 % от полученного при градуировке. В противном случае градуировку повторяют.
7.5. Подготовка сорбционных трубок
Сорбционные трубки (см. черт. 5.14) заполняют послойно молекулярными ситами KA и NaX. Перед заполнением в трубку помещают тампон стекловаты, затем отвешивают 1,2 г KA и 2,2 г NaX, последовательно вносят их в сорбционную трубку и со второго конца помещают тампон стекловаты. Перед отбором проб в трубку вводят 1 см3 дистиллированной воды, подключают к линии газа-носителя (30 - 40 см3/мин) и прокаливают при температуре 350 - 400 °С в течение 30 - 40 мин. Трубку охлаждают в токе газа-носителя и герметизируют. Срок хранения подготовленных трубок не более 14 сут.
7.6. Отбор проб
Снимают заглушки на концах сорбционной трубки, присоединяют ее к аспиратору концом, заполненным молекулярными ситами NaX, и аспирируют через нее 15 дм3 воздуха с расходом не более 0,5 дм3/мин.
После отбора пробы вновь герметизируют концы трубки и отправляют ее в лабораторию для анализа.
8. Выполнение измерений
Десорбируют уловленные сорбентом вещества в герметичный приемный сосуд с помощью устройства, конструкция и описание работы которого приведены в разделе 8 методики 5.3.3.8. Для десорбции вводят в испаритель устройства 1,5 см3 дистиллированной воды. Микрошприцем МШ-10 отбирают 5 мм3 водного раствора из приемного сосуда, вводят в испаритель хроматографа и анализируют при условиях, указанных в п. 7.4 данной методики. Концентрацию метанола в конденсате определяют с помощью установленной градуировочной характеристики. Объем конденсата в приемном сосуде определяют, взвешивая сосуд до и после выполнения десорбции.
9. Вычисление результата измерений
Массу метанола в пробе воздуха (m мкг) рассчитывают по формуле:
m = ρV,
где ρ - концентрация метанола в растворе, мкг/см3; V - объем раствора, см3.
Массовую концентрацию метанола в атмосферном воздухе рассчитывают по формуле (5), приведенной в п. 5.1.16 данного раздела.
Методика предназначена для определения концентрации метилмеркаптана в атмосферном воздухе в диапазоне 2,7×10-5 - 1,4×10-3 мг/м3 при объеме пробы 36000 дм3.
Определению не мешает присутствие в пробе диметилдисульфида, диметилсульфида, сероводорода в количестве до 30 мкг и диоксида серы в количестве до 200 мкг. Влияние высоких концентраций сероводорода и диоксида серы устраняют в процессе отбора проб воздуха путем поглощения их твердым сорбентом, содержащим арсенит натрия. Другие меркаптаны реагируют аналогично метилмеркаптану.
Метод рекомендуется для определения среднесуточных концентраций.
1. Нормы точности измерений
По экспертным оценкам, при определении массовой концентрации метилмеркаптана в атмосферном воздухе в диапазоне 2,7×10-5 - 1,4×10-3 мг/м3 суммарная погрешность не превышает ±25 %.
2. Метод измерения
Метод основан на улавливании метилмеркаптана из воздуха пленочным хемосорбентом и фотометрическом определении соединения, образующегося в результате взаимодействия метилмеркаптана с диметил-п-фенилендиамином и хлорным железом в кислой среде.
3. Средства измерений, вспомогательные устройства, реактивы и материалы
3.1. При выполнении измерений должны быть применены следующие средства измерений, вспомогательные устройства, реактивы и материалы.
3.2. Средства измерений
Фотоэлектроколориметр или спектрофотометр
Весы аналитические ВЛА-200 по ГОСТ 24104-80Е
Меры массы по ГОСТ 7328-82Е
Секундомер; класс 3; цена деления
секундной шкалы 0,2 с по ГОСТ 5072-79Е
Барометр-анероид М-67 по ТУ 2504-1797-75
Термометр лабораторный шкальный, ТЛ-2;
пределы 0 - 55 °С; цена деления 1 °С по ГОСТ 215-73Е
Газовый счетчик РГ-40
Колбы мерные по ГОСТ 1770-74Е
2-50-2 - 10 шт.
2-100-2 - 5 шт.
Пипетки по ГОСТ 20292-74Е
4-2-1 - 1 шт.
4-2-2 - 4 шт.
2-2-5 - 2 шт.
5-2-10 - 1 шт.
3.3. Вспомогательные устройства
Трубка сорбционная СТ 223 (маркировка 3) по ТУ 25-1110.034-82
Установка компрессорная УК-25/1,6 по ТУ 64-1-2748-74
3.4. Реактивы
Глицерин, ч. д. а. по ГОСТ 6259-75
N, N-диметил-n-фенилендиамин
солянокислый, ч. д. а. по ТУ 6-03-1828-77
Железо хлорное, ч. д. а. по ГОСТ 4147-74
Кислота серная, х. ч. по ГОСТ 4204-77
Кислота соляная, х. ч. по ГОСТ 3118-77
Кислота уксусная ледяная, х. ч. по ГОСТ 61-75
Мышьяковистый ангидрид, ч.
Метилмеркаптид свинца (синтез
см. приложение 1 к данной методике)
S-метилизотиомочевина сернокислая, ч. по ТУ 6-09-2543-78
Натрия гидроксид, х. ч. по ГОСТ 4328-77
Ртути (II) оксид (желтый), ч. д. а. по ГОСТ 5230-74
Ртуть (II) уксуснокислая, ч. д. а. по ГОСТ 5509-51
Свинец уксуснокислый, х. ч. по ГОСТ 1027-67
3.5. Материалы
Фильтры беззольные «синяя лента»
4. Требования безопасности
См. п. 5.1.3.
Все работы по приготовлению солей ртути (II) и пропитке сорбционных трубок раствором уксуснокислой ртути необходимо проводить в вытяжном шкафу. Фильтровальная бумага, используемая для протирания трубок, должна быть уничтожена. Растворы, содержащие ртуть, после анализа следует сливать в специальную емкость. Обезвреживание растворов проводят согласно методике 5.2.7.2.
5. Требования к квалификации оператора
См. п. 5.1.4.
6. Условия выполнения измерений
См. п. 5.1.14.
7. Подготовка к выполнению измерений
7.1. Перед выполнением измерений должны быть проведены следующие работы: приготовление растворов, установление градуировочной характеристики, подготовка сорбционных трубок к работе, отбор проб воздуха.
1) Ртуть (II) уксуснокислая, 5 %-ный раствор (ядовит!). 5 г уксуснокислой ртути растворяют в 95 см3 дистиллированной воды и подкисляют 3 - 5 каплями ледяной уксусной кислоты для предотвращения гидролиза. Раствор не должен содержать ртути (I) (см. приложение 2 к данной методике), хранить в темной склянке.
2) Раствор для обработки сорбционных трубок для улавливания метилмеркаптана (ядовит!). Смешивают четыре объема 5 %-ного раствора уксуснокислой ртути и один объем глицерина.
3) Натрия гидроксид 20 %-ный раствор. 20 г NaOH растворяют в 80 см3 дистиллированной воды.
4) Арсенит натрия, 5 %-ный раствор (ядовит!). Растворяют 5 г мышьяковистого ангидрида в 20 см3 20 %-ного раствора гидроксида натрия. Объем раствора доводят до 100 см3 дистиллированной водой.
5) Раствор для обработки сорбционных трубок для улавливания сероводорода (ядовит!). Смешивают девять объемов 5 %-ного раствора арсенита натрия и один объем глицерина.
6) Соляная кислота, раствор 2 моль/дм3. 85,6 см3 концентрированной соляной кислоты доводят дистиллированной водой в мерной колбе вместимостью 500 см3 до метки.
7) N, N-диметил-п-фенилендиамин, 0,5 %-ный раствор в концентрированной соляной кислоте. 0,5 г N, N-диметил-п-фенилендиамина солянокислого растворяют в 100 см3 концентрированной соляной кислоты. Хранят в темной склянке при 4 °С.
8) Хлорное железо, 4 %-ный раствор. 14,5 см3 насыщенного при 20 °С раствора хлорного железа (раствор над твердой фазой) помещают в мерную колбу вместимостью 100 см3 и доводят дистиллированной водой до метки. Сливают равные объемы раствора хлорного железа и раствора соляной кислоты 2 моль/дм3. Раствор хранят в склянке из темного стекла.
9) Составной реактив. Смешивают три объема 0,5 %-ного раствора N, N-диметил-n-фенилендиамина и один объем 4 %-ного раствора хлорного железа в склянке из темного текла. Раствор готовят перед употреблением. Устойчив в течение одного рабочего дня.
10) Серная кислота, 10 %-ный раствор, В стакан из термостойкого стекла вносят 100 см3 дистиллированной воды, осторожно при постоянном перемешивании приливают 6 см3 концентрированной серной кислоты.
11) Уксуснокислый свинец, 10 %-ный раствор. 10 г уксуснокислого свинца растворяют в 90 см3 дистиллированной воды. Готовят из перекристаллизованного реактива.
12) Приготовление фильтра для улавливания сероводорода и диоксида серы. Чистую сорбционную трубку обрабатывают абсорбирующим раствором (см. перечисление 5) согласно п. 5.1.12. Трубка для улавливания сероводорода не должна содержать избыток раствора для пропитки во избежание попадания арсенита натрия в трубку для улавливания метилмеркаптана в ходе отбора проб.
13) Исходный раствор для установления градуировочной характеристики. 0,1567 г метилмеркаптида свинца растворяют в 5 %-ном растворе ацетата ртути в мерной колбе вместимостью 100 см3. Концентрация раствора соответствует содержанию метилмеркаптана 500 мкг/см3. Раствор сохраняется в холодильнике не менее 3 мес.
14) Рабочий раствор для установления градуировочной характеристики (ρ = 50 мкг/см3) готовят разбавлением исходного в 10 раз дистиллированной водой в мерной колбе вместимостью 50 см3. Раствор готовят перед использованием.
7.3. Установление градуировочной характеристики
Градуировочную характеристику, выражающую зависимость оптической плотности от содержания метилмеркаптана в пробе, устанавливают по пяти сериям растворов для градуировки. Каждую серию, состоящую из девяти растворов для градуировки, готовят из свежеприготовленного рабочего раствора для градуировки (см. п. 7.2., перечисление 14). Градуировочные растворы готовят в мерных колбах вместимостью 50 см3. Для этого в каждую колбу вносят рабочий раствор для градуировки в соответствии с табл. 5.49, доводят объем до метки дистиллированной водой и тщательно перемешивают.
Растворы для установления градуировочной характеристики при определении концентрации метилмеркаптана
|
1 |
2 |
3 |
4 |
5 |
6 |
7 |
8 |
9 |
|
|
Объем рабочего раствора для градуировки, см3 |
0,1 |
0,2 |
0,4 |
0,8 |
1,2 |
2,4 |
3,6 |
4,4 |
5,6 |
|
Содержание метилмеркаптана в 9 см3 раствора, мкг |
0,9 |
1,8 |
3,6 |
7,2 |
10,8 |
21,6 |
32,4 |
39,6 |
50,4 |
При установлении градуировочной характеристики отбирают в пробирки по 9 см3 каждого раствора, помещают в пробирки трубки, приготовленные для отбора проб, добавляют 0,5 см3 составного реактива (см. п. 7.2, перечисление 9). Для приготовления нулевого раствора вместо раствора для градуировки используют 9 см3 дистиллированной воды. Содержимое пробирок тщательно перемешивают. Через 30 мин при помощи резиновой груши вытесняют раствор из трубки в пробирку и измеряют оптическую плотность при 496 нм по отношению к воде в кюветах с расстоянием между рабочими гранями 20 мм.
7.4. Подготовка сорбционных трубок к отбору проб
Чистые трубки, предназначенные для отбора проб воздуха, и те, которые используют в качестве нулевых, обрабатывают абсорбирующим раствором (см. п. 7.2, перечисление 2) согласно п. 5.1.12, тщательно вытирают снаружи фильтровальной бумагой, закрывают заглушками и упаковывают в полиэтиленовые пакеты. Срок хранения пропитанных трубок в темном месте не более 7 сут.
Схема установки для отбора проб воздуха на метилмеркаптан
1 - сорбционная трубка для улавливания сероводорода; 2 - сорбционная трубка для улавливания метилмеркаптана.
7.5. Отбор проб
Для определения среднесуточной концентрации метилмеркаптана исследуемый воздух аспирируют с расходом 25 дм3/мин в течение 24 ч через две соединенные встык трубки (черт. 5.16), первая из которых предназначена для удаления сероводорода и диоксида серы, а вторая - для улавливания метилмеркаптана. Сорбционные трубки устанавливают в вертикальном положении и защищают от света с помощью чехла из фольги или черной бумаги.
Примечания:
1. При наличии сильного запаха метилмеркаптана в период отбора пробы продолжительность аспирации воздуха может быть сокращена до 1 ч. Результаты наблюдений в этом случае считаются достоверными, если в пробе будет обнаружено не менее 2 мкг метилмеркаптана.
2. Для более полного улавливания метилмеркаптана из сильно загрязненного воздуха допустимо последовательно присоединять дополнительную сорбционную трубку, обработанную ацетатом ртути. Трубки с уловленным меркаптаном анализируют раздельно и складывают найденные массы меркаптана.
8. Выполнение измерений
Сорбционную трубку помещают в пробирку и заливают 9 см3 дистиллированной воды, приливают 0,5 см3 составного реактива (см. п. 7.2, перечисление 9). При помощи резиновой груши путем нескольких прокачиваний пробу переводят в раствор, и содержимое пробирки перемешивают. Через 30 мин трубку вынимают. Если раствор окажется мутным, то его центрифугируют или фильтруют через фильтр «синяя лента» диаметром 5 см3. Измеряют оптическую плотность относительно воды в кюветах с расстоянием между рабочими гранями 20 мм при длине волны 496 нм. Одновременно готовят три нулевые пробы. Для этого сорбционные трубки из партии подготовленных к отбору помещают в пробирки, заливают 9 см3 воды, добавляют 0,5 см3 составного реактива, несколько раз прокачивают его через слой сорбента при помощи резиновой груши и через 30 мин анализируют аналогично пробе. Время от добавления последнего реактива до измерения оптической плотности всех проб должно быть одинаковым. При проведении анализа необходимо тщательно следить за чистотой посуды, заглушек и измерительных кювет, качеством воды, приготовленных реактивов, воздуха, поступающего из резиновой груши.
Массу метилмеркаптана в пробе определяют с помощью установленной градуировочной характеристики по разности оптических плотностей растворов пробы и средней оптической плотности нулевых проб.
9. Вычисление результата измерений
Синтез метилмеркаптида свинца
Для получения метилмеркаптида свинца в вытяжном шкафу собирают установку, состоящую из колбы Вюрца, соединенной с системой из четырех поглотителей Рыхтера. В первый поглотительный прибор наливают 5 - 7 см3 10 %-ного раствора серной кислоты, а в три последующих 5 - 7 см3 10 %-ного раствора уксуснокислого свинца. Выходной отвод последнего поглотительного прибора соединяют с водоструйным насосом. В колбу помещают 35 г S-метилизотиомочевины сернокислой, приливают 50 см3 20 %-ного раствора гидроксида натрия и при помощи водоструйного насоса через систему протягивают воздух со скоростью 100 - 200 см3/мин. Нагревают колбу на пламени спиртовки сначала слабо, затем по мере замедления реакции - до кипения. Выделяющийся при этом из колбы метилмеркаптан взаимодействует в процессе поглощения с ацетатом свинца, образуя меркаптид свинца. После окончания реакции содержимое трех последних поглотительных приборов фильтруют (под тягой) через фильтр «синяя лента» на воронке Бюхнера. Осадок метилмеркаптида свинца промывают холодной водой и высушивают в эксикаторе над хлористым кальцием в защищенном от света месте. Хранят метилмеркаптид свинца в темной склянке с притертой пробкой в холодильнике.
Внимание! Работы по синтезу соли свинца проводить в резиновых перчатках.
Синтез уксуснокислой ртути (II) и проверка на содержание ртути (I)
1. Для получения уксуснокислой ртути (II) в 300 мл 30 %-ной уксусной кислоты при нагревании постепенно вносят 110 г желтого оксида ртути. Раствор отфильтровывают на воронке для горячего фильтрования от белых кристаллов малорастворимой соли Hg (I), образующейся в небольших количествах за счет восстановления Hg (II). Затем фильтрат, защищая от света, упаривают до образования кристаллической пленки и охлаждают. Выпавшие кристаллы отсасывают на воронке Бюхнера, высушивают на воздухе, защищая от света, и переносят в темную банку.
Внимание! Все работы по синтезу соли ртути следует проводить под тягой в резиновых перчатках.
2. Для проверки уксуснокислой ртути (II) на содержание ртути (I) к 3 см3 проверяемого 5 %-ного раствора добавляют 3 см3 концентрированной соляной кислоты. В случае появления небольшой мути удаляют следы ртути (I). Для этого к 5 %-ному раствору уксуснокислой ртути приливают несколько капель 5 %-ного раствора хлористого натрия (х. ч.) и раствор отфильтровывают. В случае появления значительного осадка, свидетельствующего о большом содержании ртути (I), реактив использовать нельзя.
Методика предназначена для определения концентрации бензола, толуола, этилбензола и ксилолов в атмосферном воздухе населенных пунктов. Диапазон измеряемых концентраций ароматических углеводородов, а также значения максимальной разовой и среднесуточной предельно допустимых концентраций в атмосферном воздухе (ПДКм.ρ и ПДКс.с) представлены в табл. 5.50.
ПДК и диапазон измеряемых концентраций (мг/м3) ароматических углеводородов в атмосферном воздухе
|
ПДКм.р |
ПДКс.с |
Диапазон измеряемых концентраций |
|
|
Бензол |
1,5 |
0,1 |
0,02 - 5 |
|
Толуол |
0,6 |
0,6 |
0,02 - 5 |
|
Этилбензол |
0,02 |
0,02 |
0,01 - 5 |
|
Ксилолы (смесь изомеров) |
0,2 |
0,2 |
0,02 - 5 |
1. Нормы точности измерений
По результатам метрологических исследований, при определении концентрации бензола, толуола и ксилолов в атмосферном воздухе в диапазоне 0,02 - 5 мг/м3 и этилбензола в диапазоне 0,01 - 5 мг/м3 погрешность измерения при доверительной вероятности 0,95 не превышает 20 %.
2. Метод измерения
Определяемые вещества улавливают в трубке, заполненной полисорбом-10, десорбируют их водяным паром в герметичный приемный сосуд и выполняют газохроматографический анализ равновесной газовой фазы над полученным в сосуде раствором.
3. Средства измерений, вспомогательные устройства, реактивы и материалы
3.1. При выполнении измерений должны быть применены следующие средства измерений, вспомогательные устройства, реактивы и материалы.
3.2. Средства измерений
Газовый хроматограф «Цвет 500М» с по ТУ 1.550.150
пламенно-ионизационным детектором или другой
с чувствительностью по пропану не менее 1,0×10-8 мг/см3
Весы аналитические ВЛА-200 по ГОСТ 24104-80Е
Меры массы по ГОСТ 7328-82Е
Электроаспиратор ЭА-1; погрешность 10 %;
Госреестр № 5997-77 по ТУ 25-11-1414-78
Секундомер; класс 3; цена деления
секундной шкалы 0,2 с по ГОСТ 5072-79Е
Термометр ТМ-8; пределы измерения
от минус 35 до 40 °С по ГОСТ 112-78Е
Барометр-анероид М-67 по ТУ 2504-1797-75
Термометр ТЛ-31-А; пределы по ГОСТ 215-73Е
измерения 0 - 500 °С
Колбы мерные 2-50-2 - 2 шт. по ГОСТ 1770-74Е
Пипетки по ГОСТ 20292-74Е
2-2-5 - 2 шт.
2-2-2 - 2 шт.
2-2-1 - 2 шт.
3.3. Вспомогательные устройства
Редуктор кислородный по ТУ 26-05-235-70
Редуктор водородный по ТУ 26-05-463-76
Электропечь трубчатая для микроанализа
СУОЛ-0,15.2.2/12МР по ТУ 16-531.641-78
Лабораторный автотрансформатор
ЛАТР-1М по ТУ 16-517.216-69
или регулятор температуры для электропечи
в диапазоне 100 - 200 °С
Насос водоструйный стеклянный по ГОСТ 10696-75
Колонка хроматографическая стальная, 300´0,3 см3 по ГОСТ 16285-80
Микрошприц МШ-10М по ТУ 2.833.106
Шприц медицинский комбинированный
(для туберкулина) вместимостью 1 см3 по ТУ 64-1-378-83
Шприц медицинский комбинированный со
стеклянным поршнем вместимостью 2 см3 по ТУ 64-1-378-83
Сорбционная трубка (черт. 5.14, см. методику 5.3.3.8)
Устройство для термодесорбционное
(черт. 5.15, см. методику 5.3.3.8)
Пробирки П-4-10-14/23 - 10 шт. по ГОСТ 23932-79Е
Ампулы стеклянные вместимостью 1 см3 и 5 см3 по ГОСТ 18122-75
3.4. Материалы
Азот техн. или ос. ч. по ГОСТ 9293-74
Водород техн. по ГОСТ 3022-80
Воздух сжатый
Стекловата
3.5. Реактивы
Ацетон, ч. д. а. по ГОСТ 2603-79
Бензол для хроматографии, х. ч. по ТУ 6-09-779-76
Вода дистиллированная по ГОСТ 6709-77
Гексан, ч. по ТУ 6-09-3375-78
Кислота уксусная ледяная, х. ч. по ГОСТ 61-75
м-Ксилол для хроматографии, х. ч. по ТУ 6-09-4565-77
о-Ксилол для хроматографии, х. ч. по ТУ 6-09-915-76
п-Ксилол для хроматографии, х. ч. по ТУ 6-09-4609-78
Нитрилотрипропионитрил для хроматографии, ч. по ТУ 6-09-3391-78
Полисорб-10, ч. зернением 0,25 - 0,50 мм по ТУ 6-09-10-432-77
Толуол для хроматографии, х. ч. по ТУ 6-09-786-76
Хроматон N-AW зернением 0,25 - 0,315 мм
Этилбензол для хроматографии, х. ч. по ТУ 6-09-787-76
4. Требования безопасности
См. п. 5.1.3.
5. Требования к квалификации оператора
См. п. 5.1.4.
6. Условия выполнения измерений
См. п. 5.1.14.
7. Подготовка к выполнению измерений
7.1. Перед выполнением измерений должны быть проведены следующие работы: подготовка измерительной аппаратуры, приготовление растворов, установление градуировочной характеристики, подготовка сорбционных трубок, отбор проб.
7.2. Подготовка измерительной аппаратуры
Стальную хроматографическую колонку длиной 3 м промывают с помощью водоструйного насоса водой, ацетоном и гексаном, а затем высушивают в токе воздуха.
В фарфоровую чашку высыпают 6 г хроматона N-AW и заливают его 100 см3 раствора нитрилотрипропионитрила (см. п. 7.3, перечисление 1). Испаряют ацетон при осторожном перемешивании шпателем до получения суспензии; нагревают ее на водяной бане до тех пор, пока насадка не станет сыпучей. Работу производить в вытяжном шкафу. Окончательно высушивают насадку при температуре 60 - 70 °С в течение 30 мин.
В промытую колонку со стороны, подключаемой к детектору, вкладывают тампон стекловаты и присоединяют этот конец колонки к водоструйному насосу. Постукивая по колонке, заполняют ее через воронку полученной насадкой и закрепляют ее в колонке вторым тампоном стекловаты. Подготовленную колонку подключают к испарителю хроматографа и продувают азотом с расходом 30 см3/мин сначала при программировании температуры от 50 до 100 °С со скоростью 1 °С/мин, а затем в изометрическом режиме при 100 °С в течение 3 - 4 ч, после чего колонку охлаждают и присоединяют к детектору.
1) Раствор нитрилотрипропионитрила. 1 г нитрилотрипропионитрила растворяют в 100 см3 ацетона.
2) Градуировочный раствор А. В мерную колбу вместимостью 50 см3 заливают 20 - 30 см3 уксусной кислоты и отвешивают в нее по 250 - 300 мг бензола, толуола, этилбензола, орто-, и мета- или параксилола, после чего добавляют до метки уксусной кислоты. Введение углеводородов в колбу производят пипеткой на 1 см3 таким образом, чтобы капли попадали прямо в раствор. После приготовления градуировочный раствор А используют для установления градуировочной характеристики, а его остатки хранят в запаянных стеклянных ампулах. Срок хранения - 6 мес в защищенном от света месте.
7.4. Установление градуировочной характеристики
Градуировочную характеристику, выражающую зависимость высоты хроматографического пика определяемого вещества от его массы в приемном сосуде, устанавливают по четырем сериям градуировочных растворов. Каждую серию, состоящую из восьми градуировочных растворов, готовят последовательным разбавлением градуировочного раствора А.
В восемь пронумерованных пробирок вместимостью 10 см3 заливают пипеткой по 5 см3 уксусной кислоты. Отбирают пипеткой 5 см3 градуировочного раствора А и переносят его в пробирку № 1. Закрывают пробирку пробкой, перемешивают ее содержимое, после чего 5 см3 полученного раствора 1 переносят в пробирку № 2 и снова перемешивают. Аналогично готовят градуировочные растворы 2 - 8. Для хранения градуировочные растворы 1 - 8 заливают в стеклянные ампулы по 0,5 см3 и запаивают. Срок хранения растворов 3 мес в защищенном от света месте.
Концентрацию каждого определяемого вещества в градуировочном растворе рассчитывают по формуле:
![]()
где ρn - концентрация определяемого вещества, мкг/мм3;
m - навеска определяемого вещества, мк;
n - номер раствора.
В приемный сосуд вводят с помощью медицинского шприца для туберкулина 0,8 см3 дистиллированной воды. Закрывают сосуд накидной гайкой с прокладкой из вакуумной резины диаметром 10 мм и толщиной 5 - 6 мм, предварительно прокипяченной в воде в течение 30 мин. Переворачивают приемный сосуд так, чтобы жидкая фаза находилась над резиновой прокладкой и изолировала прокладку от газовой фазы сосуда, и вводят в него микрошприцем МШ-10М через прокладку 10 мм3 градуировочного раствора.
Перемешивают содержимое приемного сосуда путем встряхивания, выдерживают его 10 - 15 мин при комнатной температуре, установив вертикально на торец гайки, затем снова перемешивают и анализируют газовую фазу, отбирая ее медицинским шприцем со стеклянным поршнем. Анализ проводят при следующих условиях:
объем вводимой в хроматограф пробы 1 см3
температура испарителя 150 °С
температура термостата колонок 90 °С
расход газа-носителя (азота) 30 см3/мин
расход водорода 30 см3/мин
расход воздуха 300 см3/мин
скорость протяжки ленты самописца 240 мм/ч
диапазон шкал измерителя тока (20 ... 100)×10-12 А - (2 ... 100)×10-10 А.
Время удерживания бензола составляет 1 мин 30 с, толуола - 2 мин 20 с, этилбензола - 3 мин, суммы мета- и параксилолов - 3 мин 40 с, ортоксилола - 5 мин.
На хроматограмме измеряют высоты пиков указанных веществ и приводят их к одной шкале измерителя тока. Для установления градуировочной характеристики вычисляют средние значения результатов параллельных измерений для четырех серий градуировочных растворов.
Градуировку проверяют один раз в неделю путем анализа одного из градуировочных растворов 1 - 8. Результат измерения не должен отличаться более чем на 5 % от полученного при градуировке. В противном случае градуировку повторяют.
7.5. Подготовка сорбционных трубок
Сорбционные трубки, содержащие в качестве сорбента полисорб-10, изготавливают согласно п. 7.6 методики 5.3.3.8. Перед отбором проб каждую трубку продувают водяным паром при температуре 175 °С. Подготовленные трубки должны быть использованы для отбора проб и анализа в течение 1 мес.
7.6. Отбор проб
Отвинчивают накидные гайки на концах сорбционной трубки, присоединяют трубки к аспиратору в соответствии с обозначенным направлением потока воздуха и пропускают через сорбент 10 дм3 анализируемого воздуха с расходом 0,5 дм3/мин. После отбора пробы вновь герметизируют концы трубки и отправляют ее в лабораторию для анализа.
8. Выполнение измерений
Десорбируют уловленные сорбентом вещества в герметичный приемный сосуд с помощью устройства, конструкция и описание работы которого приведены в п. 8 методики 5.3.3.8. Анализируют газовую фазу приемного сосуда при условиях, указанных в п. 7.4 настоящей методики. Массу ароматических углеводородов в пробе определяют с помощью установленной градуировочной характеристики.
9. Вычисление результата измерений
Методика предназначена для определения массовой концентрации четыреххлористого углерода, хлороформа, трихлорэтилена и тетрахлорэтилена в атмосферном воздухе населенных пунктов. Диапазон измеряемых концентраций определяемых веществ, а также значения максимальной разовой и среднесуточной предельно допустимых концентраций их в атмосферном воздухе представлены в табл. 5.51.
ПДК и диапазон измеряемых концентраций (мг/м3) хлорированных углеводородов в атмосферном воздухе
|
ПДКм.р |
ПДКс.с |
Диапазон измеряемых концентраций |
|
|
Четыреххлористый углерод |
4,0 |
0,7 |
1,0×10-3 - 0,1 |
|
Хлороформ |
- |
0,03 |
4,5×10-2 - 5,0 |
|
Трихлорэтилен |
4,0 |
1,0 |
4,5×10-2 - 5,0 |
|
Тетрахлорэтилен |
0,5 |
0,06 |
3,0×10-3 - 3,0 |
1. Нормы точности измерений
По экспертным оценкам, относительная погрешность измерения содержания хлорированных углеводородов в атмосферном воздухе в указанных диапазонах не превышает ±25 %.
2. Метод измерения
Определяемые вещества улавливают в сорбционной трубке, заполненной угольным порошком марки АР, десорбируют бензиловым спиртом в системе циркуляционного барботирования и выполняют газохроматографический анализ равновесной парогазовой смеси.
3. Средства измерений, вспомогательные устройства, реактивы и материалы
3.1. При выполнении измерений должны быть применены следующие средства измерений, вспомогательные устройства, реактивы и материалы.
3.2. Средства измерений
Газовый хроматограф серии «Цвет 500М»
с электронно-захватным детектором по ТУ 1.550.150
Весы аналитические ВЛА-200 по ГОСТ 24104-80Е
Аспиратор для отбора проб воздуха ЭА-1 по ТУ 25-11-1414-78
Секундомер, класс 3; цена деления 0,2 с по ГОСТ 5072-79Е
Термометр тип ТМ-8; пределы измерения
от минус 30 до 40 °С по ГОСТ 112-78Е
Барометр-анероид М-67 по ТУ 2504-1797-75
Колбы мерные 2-100-2 - 2 шт. по ГОСТ 1770-74Е
Пипетки по ГОСТ 20292-74Е
2-2-10 - 2 шт.
2-2-5 - 2 шт.
2-2-2 - 2 шт.
2-2-1 - 1 шт.
2-2-0,1 - 1 шт.
3.3. Вспомогательные устройства
Редуктор кислородный по ТУ 26-05-235-70
Колонка хроматографическая
стальная 300´0,3 см3 - 1 шт. по ГОСТ 16285-80
Сорбционная трубка (черт. 5.17)
Система циркуляционного барботирования (черт. 5.18)
Стандартный набор почвенных сит
Циркуляционный насос Мр2-41
Вакуумный насос В11-461
Поглотитель Рыхтера по ТУ 25-11-1136-75
Ступка фарфоровая
3.4. Реактивы
Апиезон L
Ацетон, ч. д. а. по ГОСТ 2603-79
Бензиловый спирт, ч. по ГОСТ 8751-72
Тексан, ч. по ТУ 6-09-3375-78
Сорбент С-22 зернением 80 - 100 меш.
Тетрахлорэтилен, х. ч.
Трикрезилфосфат по ГОСТ 5728-76
Сорбционная трубка
1 - заглушка из стекла; 2 - тампон из нержавеющей стали; 3 - активированный угольный порошок; 4 - силиконовая трубка.
Принципиальная схема соединений устройства для получения равновесной парогазовой смеси
1 - детектор; 2 - колонка хроматографа; 3 - кран-дозатор; 4 - циркуляционный насос; 5 - поглотитель Рыхтера; 6 - термостат.
Трихлорэтилен, ос. ч. по ТУ 6-09-1012-79
Уголь активный рекуперационный АР по ГОСТ 8703-74
Хлороформ, х. ч. по ТУ 6-09-4263-76
Четыреххлористый углерод по ТУ 6-09-2663-77
3.5. Материалы
Азот ос. ч. по ГОСТ 9793-74
Стекловата УТВ
Трубка силиконовая диаметром 4 мм
4. Требования безопасности.
См. п. 5.1.3.
5. Требования к квалификации оператора
См. п. 5.1.4.
6. Условия выполнения измерений
См. п. 5.1.14.
7. Подготовка к выполнению измерений
7.1. Перед выполнением измерений должны быть проведены следующие работы: подготовка измерительной аппаратуры, приготовление растворов, установление градуировочной характеристики, подготовка сорбционных трубок, отбор проб.
7.2. Подготовка измерительной аппаратуры. Стальные хроматографические колонки длиной 3 м промывают с помощью вакуумного насоса водой, ацетоном и гексаном, а затем высушивают в токе воздуха.
В фарфоровую чашку высыпают 42,5 г сорбента С-22 и заливают его 100 см3 раствора трикрезилфосфата или 100 см3 раствора апиезона L (см. п. 7.3, перечисления 1 и 2). Испаряют ацетон или хлороформ в вытяжном шкафу при осторожном перемешивании шпателем полученной суспензии, нагревая ее на водяной бане до тех пор, пока насадка не станет сыпучей. Окончательно высушивают насадку при температуре 60 - 70 °С в течение 30 мин. Полученную насадку хранят в герметично закрытой емкости.
В промытую колонку со стороны, подключаемой к детектору, вкладывают тампон стекловаты и присоединяют этот конец колонки к вакуумному насосу. Постукивая по колонке, заполняют ее через воронку полученной насадкой и закрепляют насадку в колонке вторым тампоном стекловаты.
Подготовленную колонку подключают к испарителю хроматографа и продувают азотом с расходом 100 см3/мин сначала при программировании температуры от 50 до 100 °С со скоростью 1 °С/мин, а затем в изотермическом режиме при 100 °С в течение 3 - 4 ч, после чего колонку охлаждают и присоединяют к детектору.
1) Раствор трикрезилфосфата. 7,5 г трикрезилфосфата растворяют в 100 см3 ацетона.
2) Раствор апиезона L. 7,5 г апиезона L растворяют в 100 см3 хлороформа.
3) Градуировочный раствор А. В мерную колбу вместимостью 100 см3 заливают 60 см3 бензилового спирта и вносят пипетками вместимостью 0,1 см3 и 1 см3 по 0,1 см3 четыреххлористого углерода и тетрахлорэтилена и по 1 см3 хлороформа и трихлорэтилена, после чего добавляют до метки бензиловый спирт. Градуировочный раствор А содержит 1,63 мг/см3 четыреххлористого углерода, 14,9 мг/см3 хлороформа, 14,7 мг/см3 трихлорэтилена и 1,62 мг/см3 тетрахлорэтилена.
4) Градуировочный раствор Б. Готовят из исходного раствора А. В мерную колбу вместимостью 100 см3 заливают 60 см3 бензилового спирта и вносят 1 см3 исходного раствора А, после чего добавляют до метки бензиловый спирт. Градуировочный раствор Б содержит 1,63×10-2 мг/см3 четыреххлористого углерода, 1,5×10-1 мг/см3 хлороформа, 1,47×10-1 мг/см3 трихлорэтилена и 1,62×10-2 мг/см3 тетрахлорэтилена.
После приготовления градуировочный раствор используют для установления градуировочной характеристики, а его остатки хранят в холодильнике 3 мес.
7.4. Установление градуировочной характеристики
Градуировочную характеристику, выражающую зависимость высот или площадей хроматографических пиков хлоруглеводородов от концентрации их в растворе устанавливают по четырем сериям растворов. Каждый раствор готовят из градуировочного раствора Б. В пять пронумерованных мерных колб вместимостью 100 см3 заливают по 60 см3 бензилового спирта и вводят мерными пипетками вместимостью 0,1, 1, 5 и 10 см3 Градуировочный раствор Б согласно табл. 5.52, затем добавляют до метки бензиловый спирт.
Растворы для установления градуировочной характеристики
|
1 |
2 |
3 |
4 |
5 |
|
|
Объем градуировочного раствора Б, см3 |
0,1 |
0,5 |
1,0 |
5,0 |
10 |
|
Содержание в 1 см3 градуировочного раствора, мг |
|
|
|
|
|
|
четыреххлористого углерода |
1,6×10-5 |
8,1×10-5 |
1,6×10-4 |
8,1×10-4 |
1,6×10-3 |
|
хлороформа |
1,5×10-4 |
7,5×10-4 |
1,5×10-3 |
7,5×10-3 |
1,5×10-2 |
|
трихлорэтилена |
1,47×10-4 |
7,3×10-4 |
1,47×10-3 |
7,3×10-3 |
1,47×10-2 |
|
тетрахлорэтилена |
1,62×10-5 |
8,1×10-5 |
1,62×10-4 |
8,1×10-4 |
1,62×10-3 |
Приготовленную серию растворов анализируют, начиная с самой низкой концентрации. Отбирают пипеткой 2 см3 раствора и переносят в поглотитель Рыхтера, затем поглотитель подсоединяют к системе циркуляционного барботирования и проводят анализ равновесной парогазовой смеси согласно п. 8.
Условия хроматографического анализа:
Объем вводимой в хроматограф пробы 1 см3
Температура испарителя 100 °С
Температура детектора 160 °С
Температура термостата колонок 100 °С
Расход газа-носителя через колонку 66 см3/мин
Расход газа-носителя (азота) на продувку детектора 100 см3/мин
Скорость протяжки ленты самописца 720 мм/ч
Шкала измерителя тока (20 - 200)×10-12 А
Время удерживания (с) хлорированных углеводородов на колонках с трикрезилфосфатом (ТКФ) и с апиезоном L приведены в табл. 5.53.
|
Колонка с 15 % ТКФ |
Колонка с 15 % апиезона L |
|
|
Четыреххлористый углерод |
246 |
354 |
|
Хлороформ |
307 |
241 |
|
Трихлорэтилен |
377 |
446 |
|
Тетрахлорэтилен |
632 |
1047 |
На хроматограмме измеряют высоты или площади пиков определяемых веществ. Для установления градуировочной характеристики вычисляют средние значения результатов параллельных измерений для четырех серий градуировочных растворов. Наклон градуировочного графика определяется градуировочным коэффициентом прибора, который вычисляют по формуле:
k = S/ρ,
где k - градуировочный коэффициент прибора для каждого хлорированного углеводорода;
S - площадь (см2) или высота (мм) пика хлоруглеводорода;
ρ - концентрация хлоруглеводорода в растворе (мг/см3).
Градуировку проверяют один раз в неделю путем анализа одного из градуировочных растворов. Результат измерения не должен отличаться более чем на 5 % от полученного при градуировке. В противном случае градуировку повторяют.
7.5. Подготовка сорбционных трубок
Сорбционная трубка в собранном виде изображена на черт. 5.17. Корпус выполнен из стекла, тампон изготовлен из нержавеющей стальной сетки, заглушки - из стеклянного шарика и силиконовой трубки. Трубка заполнена активным углем АР.
Уголь АР измельчают в фарфоровой ступке и с помощью стандартного набора сит отбирают фракцию с диаметром частиц 0,25 - 0,5 мм. Для подготовки угля к работе его прокаливают под вакуумом в течение 4 ч при температуре 300 °С. После охлаждения уголь помещают в сорбционные трубки. Для закрепления слоя сорбента используют тампоны из нержавеющей стальной сетки, сорбционные трубки герметизируют заглушками с обеих сторон, нумеруют.
Подготовленные трубки должны быть использованы для отбора проб и анализа в течение 1 мес.
7.6. Отбор проб
Снимают заглушки с концов сорбционной трубки, присоединяют ее к аспиратору и пропускают через нее 20 дм3 анализируемого воздуха с расходом 1 дм3/мин. После отбора пробы вновь герметизируют концы трубки и отправляют ее в лабораторию для анализа.
8. Выполнение измерений
Измерения проводят при условиях, указанных в п. 7.4. Перед анализом заглушки снимают, угольный сорбент пересыпают в поглотитель Рыхтера и туда же пипеткой вносят 2 см3 бензилового спирта. Поглотитель подсоединяют к системе циркуляционного барботирования (см. черт. 5.18) с помощью муфты из силиконовой трубки между краном-дозатором 3 и циркуляционным насосом 4, включают насос и проводят насыщение газовой фазы парами определяемых углеводородов за счет барботирования газа через раствор в циркуляционном режиме. При этом поглотитель термостатируется в водном термостате 6 при (20 ± 0,5) °С. Равновесие между газом и жидкостью устанавливается в течение (3 ± 0,5) мин. После этого с помощью крана-дозатора 3 вводят пробу объемом 1 см3 в хроматографическую колонку 2.
Примечание. Все коммуникации в системе циркуляционного барботирования выполняются из стеклянных или фторопластовых трубок.
Измеряют высоту или площадь пиков хлорированных углеводородов. Методика позволяет проводить ввод одной и той же пробы десятки раз без существенного изменения концентрации раствора.
9. Вычисление результата измерений
Массовую концентрацию хлорированных углеводородов в воздухе рассчитывают по формуле
![]()
где ρ - массовая концентрация хлоруглеводорода в воздухе (мг/м3); S - площадь (см2) или высота (мм) пика хлоруглеводорода; V1 - объем бензилового спирта в ловушке (см3). V0 - объем воздуха (м3), приведенный к нормальным условиям (см. п. 5.1.16, формулу (1)); k - градуировочный коэффициент прибора для данного углеводорода.
1 Используется при отсутствии условий для применения методики 5.3.5.2.
Методика предназначена для определения концентрации хлороформа, четыреххлористого углерода, трихлорэтилена и тетрахлорэтилена в атмосферном воздухе населенных пунктов. Диапазон измеряемых концентраций определяемых веществ, а также значения максимальной разовой и среднесуточной предельно допустимых концентраций их в атмосферном воздухе представлены в табл. 5.54.
ПДК и диапазон измеряемых концентраций (мг/м3) определяемых веществ в атмосферном воздухе,
|
ПДКм.р |
ПДКс.с |
Диапазон измеряемых концентраций |
|
|
Хлороформ |
- |
0,03 |
0,003 - 5 |
|
Четыреххлористый углерод |
4 |
0,7 |
0,0002 - 5 |
|
Трихлорэтилен |
4 |
1 |
0,004 - 5 |
|
Тетрахлорэтилен |
0,5 |
0,06 |
0,001 - 5 |
1. Нормы точности измерений
По результатам метрологических исследований при определении концентрации хлороформа, четыреххлористого углерода, трихлорэтилена в атмосферном воздухе в диапазонах, указанных в таблице, погрешность измерения при доверительной вероятности 0,95 не превышает ±20 %.
2. Метод измерения
Определяемые вещества улавливают в трубке, заполненной полисорбом-10, десорбируют их водяным паром в герметичный приемный сосуд и выполняют газохроматографический анализ равновесной газовой фазы над полученным в сосуде раствором.
3. Средства измерений, вспомогательные устройства, реактивы и материалы
3.1. При выполнении измерений должны быть применены следующие средства измерений, вспомогательные устройства, реактивы и материалы:
3.2. Средства измерений
Газовый хроматограф серии «Цвет-500М»
с электронно-захватным детектором или с
чувствительностью по линдану не менее 4,0×10-11 мг/см3 по ТУ 1.550.150
Весы аналитические ВЛА-200 по ГОСТ 24104-80Е
Меры массы по ГОСТ 7328-82Е
Электроаспиратор ЭА-1; погрешность
±10 %; Госреестр № 5997-77 по ТУ 25-11-1414-78
Секундомер; класс 3; цена деления
секундной шкалы 0,2 с по ГОСТ 5072-79Е
Термометр ТМ-8; пределы измерения
от минус 35 до 40 °С по ГОСТ 112-78Е
Барометр-анероид М-67 по ТУ 2504-1797-75
Термометр ТЛ-31-А; пределы измерения 0 - 500 °С по ГОСТ 215-73Е
Колбы мерные 2-100-2 - 2 шт. по ГОСТ 1770-74Е
Пипетки по ГОСТ 20292-74Е
4-2-1 - 2 шт.
2-2-2 - 2 шт.
2-2-1 - 1 шт.
3.3. Вспомогательные устройства
Редуктор кислородный по ТУ 26-05-232-70
Электропечь трубчатая для микроанализа
СУОЛ-0,15.2.2/12МР по ТУ 16-531.641-78
Лабораторный автотрансформатор
ЛАТР-1М по ТУ 16-517-216-69
или регулятор температуры для электропечи
в диапазоне 100 - 200 °С
Насос водоструйный стеклянный по ГОСТ 10696-75
Колонка хроматографическая стальная
300´0,3 см3 - 2 шт. по ГОСТ 16285-80
Микрошприц МШ-10М по ТУ 2.833.106
Шприц медицинский комбинированный
для туберкулина вместимостью 1 см3 по ТУ 64-1-378-83
Шприц медицинский комбинированный
со стеклянным поршнем вместимостью 2 см3 по ТУ 64-1-378-83
Шприц медицинский стеклянный вместимостью 50 см3 по ТУ 64-1-1279-75
Сорбционная трубка (черт. 5.14, см. методику 5.3.3.8)
Устройство для термодесорбции
(черт. 5.15, см. методику 5.3.3.8)
Пробирки П4-5-14/23 - 7 шт. по ГОСТ 23932-79Е
Ампулы стеклянные вместимостью 1 см3 и 5 см3 по ГОСТ 18122-75Е
3.4. Материалы
Азот ос. ч. по ГОСТ 9293-74
Стекловата
3.5. Реактивы
Ацетон, ч. д. а. по ГОСТ 2603-79
Вода дистиллированная по ГОСТ 6709-77
Гексан, ч по ТУ 6-09-3375-78
Кислота уксусная, х. ч. по ГОСТ 61-75
Полиметилсилоксановая жидкость ПМС-100 по ГОСТ 13032-77
Полисорб-10, ч. зернением 0,25 - 0,5 мм по ТУ 6-09-10-432-77
Тетрахлорэтилен. ч. по МРТУ 6-19-6590-70
Толуол, ч. д. а. по ГОСТ 5789-78
Трихлорэтилен, ос. ч. по ТУ 6-09-1012-79
Углерод четыреххлористый, х. ч. по ГОСТ 20288-74
(изменение № 1)
или по ТУ 6-09-2663-77
Хлороформ для хроматографии, х. ч. по ТУ 6-09-4263-76
Хроматон N-AW зернением 0,25 - 0,315 мм
4. Требования безопасности
См. п. 5.1.3.
5. Требования к квалификации оператора
См. п. 5.1.4.
6. Условия выполнения измерений
См. п. 5.1.14.
7. Подготовка к выполнению измерений
7.1. Перед выполнением измерений должны быть проведены следующие работы: подготовка измерительной аппаратуры, приготовление растворов, установление градуировочной характеристики, подготовка сорбционных трубок, отбор проб.
7.2. Подготовка измерительной аппаратуры
Стальную хроматографическую колонку длиной 6 м (или ее отдельные секции) промывают с помощью водоструйного насоса водой, ацетоном и гексаном, а затем высушивают в токе воздуха.
В фарфоровую чашку высыпают 15 г хроматона N-AW и заливают его 100 см3 раствора полиметиленлоксановой жидкости (см. п. 7.3, перечисление 1). Испаряют толуол в вытяжном шкафу при осторожном перемешивании шпателем полученной суспензии, нагревая ее на водяной бане до тех пор, пока насадка не станет сыпучей. Окончательно высушивают насадку при температуре 60 - 70 °С в течение 30 мин.
В промытую колонку со стороны, подключаемой к детектору, вкладывают тампон стекловаты и присоединяют этот конец колонки к водоструйному насосу. Постукивая по колонке, заполняют ее через воронку полученной насадкой и закрепляют ее в колонке вторым тампоном стекловаты. Подготовленную колонку подключают к испарителю хроматографа и продувают азотом с расходом 30 см3/мин сначала при программировании температуры от 50 до 200 °С со скоростью 2 °С/мин, а затем в изотермическом режиме при 200 °С в течение 6 ч, после чего колонку охлаждают и присоединяют к детектору.
1) Раствор полиметилсилоксановой жидкости. 2,7 г полиметилсилоксановой жидкости ПМС-100 растворяют в 100 см3 толуола.
2) Градуировочный раствор А. В мерную колбу вместимостью 100 см3 заливают 50 - 60 см3 уксусной кислоты и отвешивают в нее по 100 - 150 мг хлороформа и трихлорэтилена, по 50 - 60 мг четыреххлористого углерода и тетрахлорэтилена, после чего раствор доводят до метки уксусной кислотой. Введение хлорированных углеводородов в колбу производят пипеткой таким образом, чтобы капли попадали прямо в раствор. Срок хранения 3 мес в защищенном от света месте.
7.4. Установление градуировочной характеристики
Градуировочную характеристику, выражающую зависимость высоты или площади хроматографического пика определяемого вещества от его массы в приемном сосуде, устанавливают по четырем сериям градуировочных растворов. Каждую серию, состоящую из восьми градуировочных растворов, готовят последовательным двухкратным разбавлением градуировочного раствора А.
В восемь пронумерованных пробирок П4-5 вместимостью 5 см3 заливают пипеткой по 2 см3 уксусной кислоты. Той же пипеткой отбирают 2 см3 градуировочного раствора А, переносят его в пробирку № 1 и перемешивают ее содержимое, после чего 2 см3 полученного раствора 1 переносят в пробирку № 2 и снова перемешивают. Аналогично готовят растворы 3 - 8. После приготовления градуировочные растворы заливают в ампулы по 0,3 - 0,5 см3 и запаивают. Срок хранения растворов 3 мес в защищенном от света месте.
Концентрацию каждого определяемого вещества в градуировочном растворе рассчитывают по формуле:
![]()
где ρ - концентрация определяемого вещества, мкг/мм;
m - навеска определяемого вещества, мг;
n - номер раствора.
В приемный сосуд вводят с помощью медицинского шприца 0,8 см3 дистиллированной воды. Закрывают сосуд накидной гайкой с прокладкой из вакуумной резины диаметром 10 мм и толщиной 5 - 6 мм, предварительно прокипяченной в воде в течение 30 мин. Переворачивают приемный сосуд так, чтобы жидкая фаза находилась над резиновой прокладкой и изолировала прокладку от газовой фазы сосуда, и вводят в него микрошприцем МШ-10М через прокладку 10 мм3 градуировочного раствора.
Перемешивают содержимое приемного сосуда путем встряхивания, выдерживают его 10 - 15 мин при комнатной температуре, установив вертикально на торец гайки, затем снова перемешивают и анализируют газовую фазу, отбирая ее медицинским шприцем со стеклянным поршнем.
Условия хроматографического анализа:
объем вводимой в хроматограф пробы 1 см3
температура термостата колонок 90 °С
температура испарителя 150 °С
температура термостата детекторов 150 °С
расход газа-носителя (азота) 30 см3/мин
расход продувочного газа (азота) 150 см3/мин
скорость протяжки ленты самописца 240 мм/ч
шкала измерителя тока (100 - 200)×10-12 А
Время удерживания хлороформа составляет около 4 мин, четыреххлористого углерода - 6 мин, трихлорэтилена - 7,5 мин, тетрахлорэтилена - 15 мин. Измеряют высоты пиков указанных веществ (при наличии интегратора измеряют площади) и приводят их к одной шкале измерителя тока. Для установления градуировочной характеристики вычисляют средние значения результатов параллельных измерений для четырех серий градуировочных растворов. Градуировку проверяют один раз в неделю путем анализа одного из градуировочных растворов 5 - 8. Результат измерения не должен отличаться более чем на 5 % от полученного при градуировке. В противном случае градуировку повторяют.
7.5. Подготовка сорбционных трубок
Сорбционные трубки, содержащие в качестве сорбента полисорб-10, изготавливают согласно п. 7.6 методики 5.3.3.8. Перед отбором проб каждую из них продувают водяным паром при температуре 175 °С. Подготовленные трубки должны быть использованы для отбора проб и анализа в течение 1 месяца.
7.6. Отбор проб
Отвинчивают накидные гайки на концах сорбционной трубки, присоединяют ее к аспиратору в соответствии с обозначенным направлением прокачки пробы и пропускают через трубку 10 дм3 анализируемого воздуха с расходом 0,5 дм3/мин. После отбора пробы вновь герметизируют концы трубки и отправляют ее в лабораторию для анализа.
8. Выполнение измерений
Десорбируют уловленные сорбентом хлорированные углеводороды в герметичный приемный сосуд с помощью устройства, конструкция и описание работы которого приведены в п. 8 методики 5.3.3.8. Анализируют газовую фазу приемного сосуда при условиях, указанных в п. 7.4 настоящей методики. Массу хлорированных углеводородов в пробе определяют с помощью градуировочной характеристики.
Если масса определяемого вещества в пробе превысит максимальное значение, измеряемое по установленной градуировочной характеристике, 1 см3 газа из приемного сосуда перед повторным анализом разбавляют чистым воздухом или азотом в медицинском стеклянном шприце емкостью 50 см3. Разбавление учитывают при вычислении результата измерений.
9. Вычисление результата измерений
Методика предназначена для определения концентрации хлоропрена при подфакельных измерениях. Диапазон измеряемых концентраций хлоропрена составляет 0,001 - 0,1 мг/м3.
1. Нормы точности измерений
По экспертным оценкам, относительная погрешность измерения содержания хлоропрена в атмосферном воздухе, в диапазоне 0,001 - 0,1 мг/м3 не превышает ±25 %.
2. Метод измерения
Хлоропрен улавливают в сорбционной трубке, заполненной угольным порошком марки АР, десорбируют бензиловым спиртом в системе циркуляционного барботирования и выполняют газохроматографический анализ равновесной парогазовой смеси.
3. Средства измерений, вспомогательные устройства, реактивы и материалы
3.1. При выполнении измерений должны быть применены следующие средства измерений, вспомогательные устройства, реактивы и материалы.
3.2. Средства измерений
Газовый хроматограф серии «Цвет 500М»
с пламенно-ионизационным детектором, или другой
с чувствительностью по пропану не менее 1,0×10-8 мг/см3 по ТУ 1.550-150
Весы аналитические ВЛА-200 по ГОСТ 24104-80Е
Меры массы по ГОСТ 7328-82Е
Электроаспиратор ЭА-1; погрешность 10 %;
Госреестр № 5997-77 по ТУ 25-11-1414-78
Секундомер; класс 3; цена деления
секундной шкалы 0,2 с по ГОСТ 5072-79Е
Термометр ТМ-8; пределы измерения
от минус 35 до 40 °С по ГОСТ 112-78Е
Барометр-анероид М-67 по ТУ 2504-1797-75
Колбы мерные 2-100-2 по ГОСТ 1770-74Е
Пипетки по ГОСТ 20292-74Е
2-2-0,1
3.3. Вспомогательные устройства
Редуктор кислородный по ТУ 26-05-235-70
Редуктор водородный по ТУ 26-05-463-76
Колонки хроматографические стальные 200´0,3 см3;
300´0,3 см3 по ГОСТ 16285-80
Циркуляционный насос Мр2-41
Вакуумный насос В11-461м
Сорбционная трубка (черт. 5.17, см. методику 5.3.5.2)
Система циркуляционного барботирования
(черт. 5.18, см. методику 5.3.5.2)
Набор почвенных сит
Поглотители Рыхтера по ТУ 25-11-1136-75
Ступка фарфоровая
3.4. Реактивы
Апиезон L
Ацетон, ч. д. а. по ГОСТ 2603-79
Бензиловый спирт, ч. по ГОСТ 8751-72
Гексан, ч. по ТУ 6-09-3375-78
Сорбент С-22 зернением 80 - 100 меш.
Трикрезилфосфат по ГОСТ 5728-76
Уголь активный рекуперационный АР по ГОСТ 8703-74
Хлороформ, х. ч. по ТУ 6-09-4263-76
3.5. Материалы
Азот ос. ч. по ГОСТ 9293-74
Водород по ГОСТ 3022-61
Воздух газообразный, сжатый
Стекловата УТВ
Трубка силиконовая, диаметром 4 мм
4. Требования безопасности
См. п. 5.1.3.
5. Требования к квалификации оператора
См. п. 5.1.4.
6. Условия выполнения измерений
См. п. 5.1.14.
7. Подготовка к выполнению измерений
7.1. Перед выполнением измерений должны быть проведены следующие работы: подготовка измерительной аппаратуры, приготовление растворов, установление градуировочной характеристики, подготовка сорбционных трубок, отбор проб.
7.2. Подготовка измерительной аппаратуры
Стальные хроматографические колонки длиной 2 м и 3 м промывают с помощью вакуумного насоса водой, ацетоном и гексаном, а затем высушивают в токе воздуха.
В фарфоровую чашку высыпают 42,5 г сорбента С-22 и заливают его 100 см3 раствора трикрезилфосфата или 100 см3 раствора апиезона L (см. п. 7.3, перечисления 1 и 2). Испаряют ацетон или хлороформ в вытяжном шкафу при осторожном перемешивании шпателем полученной суспензии, нагревая ее на водяной бане до тех пор, пока насадка не станет сыпучей. Окончательно высушивают насадку при температуре 60 - 70 °С в течение 30 мин. Полученную насадку хранят в герметично закрытой емкости.
В промытую колонку со стороны, подключаемой к детектору, вкладывают тампон стекловаты и присоединяют этот конец колонки к вакуумному насосу. Постукивая по колонке, заполняют ее через воронку полученной насадкой. Насадку закрепляют в колонке вторым тампоном стекловаты.
Подготовленную колонку подключают к испарителю хроматографа и продувают азотом с расходом 100 см3/мин сначала при программировании температуры от 50 до 100 °С со скоростью 1 °С/мин, а затем в изотермическом режиме при 100 °С в течение 3 - 4 ч, после чего колонку охлаждают и присоединяют к детектору.
1) Раствор трикрезилфосфата. 7,5 г трикрезилфосфата растворяют в 100 см3 ацетона.
2) Раствор апиезона L. 7,5 г апиезона L растворяют в 100 см3 хлороформа.
3) Градуировочный раствор А. В мерную колбу вместимостью 100 см3 заливают 60 см3 бензилового спирта и добавляют в нее 100 мг хлоропрена, после чего добавляют до метки Бензиловый спирт. Введение хлоропрена в колбу производят пипеткой вместимостью 0,1 см3 таким образом, чтобы капли попадали прямо в раствор.
После приготовления градуировочный раствор А используют для установления градуировочной характеристики, а его остатки хранят в холодильнике. Срок хранения - 1 месяц.
7.4. Установление градуировочной характеристики
Градуировочную характеристику, выражающую зависимость высоты или площади хроматографического пика хлоропрена от концентрации его в растворе устанавливают по четырем сериям градуировочных растворов. Каждый градуировочный раствор готовят из градуировочного раствора А.
В пять пронумерованных мерных колб вместимостью 100 см3 заливают по 60 см3 бензилового спирта и вводят мерными пипетками по 0,01; 0,05; 1; 5 и 10 см3 градуировочного раствора А и добавляют до метки бензиловый спирт, получая концентрации хлоропрена в стандартных растворах 0,0001; 0,005; 0,01; 0,05; 0,1 мг/см3 соответственно.
Отбирают пипеткой 2 см3 стандартного раствора и переносят в поглотитель Рыхтера, затем поглотитель подсоединяют в систему циркуляционного барботирования и проводят анализ равновесной парогазовой смеси согласно описанию, приведенному в методике 5.3.5.2.
Условия хроматографического анализа:
Объем вводимой пробы 1 см3
Температура испарителя 100 °С
Температура термостата колонок 80 °С
Расход газа-носителя (азота) 100 см3/мин
Расход водорода 40 см3/мин
Расход воздуха 400 см3/мин
Скорость протяжки ленты самописца 720 мм/ч
Шкала измерителя тока 2×10-12 А
Время удерживания хлоропрена на колонке с 15 % трикрезилфосфата составляет 112 с, с 15 % апиезона L - 125 с.
Измеряют высоты или площади пиков хлоропрена. Для установления градуировочной характеристики вычисляют средние значения результатов параллельных измерений для четырех серий градуировочных растворов.
Наклон градуировочного графика определяется градуировочным коэффициентом прибора, который вычисляют по формуле:
K = S/ρ,
где K - градуировочный коэффициент прибора для хлоропрена, S - площадь пика хлоропрена, см2, или его высота, мм, ρ - концентрация хлоропрена в растворе, мг/см3.
Градуировку проверяют один раз в неделю путем анализа одного из градуировочных растворов. Результат измерения не должен отличаться более чем на 5 % от полученного при градуировке. В противном случае градуировку повторяют.
7.5. Подготовка сорбционных трубок
Сорбционные трубки (см. черт. 5.17) подготавливают к отбору согласно п. 7.5. методики 5.3.5.2. Подготовленные трубки должны быть использованы для отбора проб и анализа в течение 1 мес.
7.6. Отбор проб
Сорбционные трубки освобождают от заглушек, присоединяют ее к аспиратору и пропускают через нее 20 дм3 анализируемого воздуха с расходом 1 дм3/мин.
После отбора пробы вновь герметизируют концы трубки и отправляют ее в лабораторию для анализа.
8. Выполнение измерений
Перед анализом заглушки снимают, угольный сорбент пересыпают в поглотитель Рыхтера и туда же пипеткой вносят 2 см3 бензилового спирта. Поглотитель подсоединяют к системе циркуляционного барботирования (черт. 5.18, см. методики 5.3.5.2). Анализируют газовую фазу в поглотителе при условиях, указанных в п. 7.4, и измеряют площадь или высоту пика хлоропрена. Методика позволяет проводить ввод одной и той же пробы десятки раз без существенного изменения концентрации раствора.
9. Вычисление результата измерений
Массовую концентрацию хлоропрена в воздухе (ρ мг/м3) рассчитывают по формуле:
![]()
где S - площадь пика хлоропрена, см2, или его высота, мм, V1 - объем бензилового спирта в поглотителе, см3, V0 - объем воздуха, м3, приведенный к нормальным условиям (см. п. 5.1.16, формулу (1)); K - градуировочный коэффициент прибора для хлоропрена.
1 Для проведения анализов на сети ОТСНК следует использовать методику 4.10, ч. III.
Методика предназначена для определения концентрации 3,4-бензпирена (3,4-БП) в атмосфере при проведении научных исследований и анализе проб, сильно загрязненных промышленными выбросами, в том числе на промплощадках и рабочих местах. При отборе пробы воздуха объемом 100 м3 определяемые концентрации составляют от 1×10-7 до 1×10-2 мг/м3. Влияние веществ, тушащих люминесценцию, учитывают путем использования добавок растворов 3,4-БП известной концентрации.
1. Нормы точности измерений
По экспериментальным данным, при определении концентрации 3,4-БП в атмосферном воздухе в диапазоне 1×10-7 - 1×10-2 мг/м3 суммарная погрешность при доверительной вероятности 0,95 не превышает ±15 %.
2. Метод измерения
Метод основан на улавливании 3,4-БП аэрозольным фильтром, извлечении его бензолом (или циклогексаном) при комнатной температуре, концентрировании, хроматографическом фракционировании экстракта, определении массовой концентрации 3,4-БП в элюате после хроматографии путем измерения и последующего сравнения относительной (по отношению к фону при λ = 401,5 нм) интенсивности его аналитической линии (λ = 403 нм) в спектре люминесценции элюата с добавлением двух частей н-октана (раствор с нулевой добавкой) и в спектре люминесценции элюата с добавлением 1 части н-октана и 1 части раствора 3,4-БП в н-октане с концентрацией 1×10-9 - 1×10-7 г/см3. Спектры люминесценции регистрируются фотоэлектрически при температуре кипения азота (77 К) и возбуждении ультрафиолетовым излучением ртутно-кварцевой лампы, выделенным фильтром УФС 3 (УФС 6) или монохроматором (λвозб = 367,4 нм).
3. Средства измерений, вспомогательные устройства, реактивы и материалы
3.1. При выполнении измерений должны быть применены следующие средства измерений, вспомогательные устройства, реактивы и материалы.
3.2. Средства измерений
Спектрометр дифракционный ДФС-12, ДФС-24, СДЛ-2,
любой спектрометрический или спектрофлуориметрический
комплекс со спектральным разрешением не менее 0,3 нм
в области 380 - 450 нм
Весы торсионные ВТ-20 по ГОСТ 13718-68
или весы микроаналитические ВЛР-20 по ТУ 25.06.815-76
Электроаспиратор 822 по ГОСТ 12.2.025-76
или электроаспиратор ЭА-2 по ТУ 25.11.1413-78
или электроаспиратор ЭА-2СМ по ТУ 25-11.1591-81
или электроаспиратор ЭА-3 по ТУ 25-11.1660-85
Пипетки 4-2-1 - 2 шт. по ГОСТ 20292-74Е
Колбы плоскодонные вместимостью
100 см3 - 2 шт. по ГОСТ 25336-82
Колбы плоскодонные вместимостью
250 см3 - 2 шт. по ГОСТ 25336-82
Цилиндры вместимостью 100 см3 по ГОСТ 1770-74
Пробирки стеклянные градуированные
с притертыми пробками (обратить внимание
на качество шлифа!) вместимостью 10 и 15 см3 по ГОСТ 1770-74Е
Стаканы химические по ГОСТ 25336-82
3.3. Вспомогательные средства
Ультразвуковая установка с водяной баней для
экстракции УЗУ-0,25 или ультрасоник или вибростенд
ВЭДС-10 (группа 1) по ГОСТ 22261-76
УФ-осветитель (на основе ртутных ламп
СВД-120, ПРК-4, ПРК-2, ДРШ-250) с фильтром УФС-2
или УФС-3 (УФС-6) для наблюдения
люминесцентных зон при тонкослойной хроматографии
Аппарат перегонный с холодильником КА-104 по СТУЗО 6184-62
Колбы конические по ГОСТ 8613-64
Ртутно-кварцевая лампа высокого давления
(источник возбуждения люминесценции) мощностью
500 Вт, кожух, система поджига и питания лампы
Светофильтр УФС-3 (УФС-6) с максимумом
пропускания в области 366 нм, укрепленный перед
выходным отверстием в кожухе лампы
Сосуд Дьюара стеклянный прозрачный, внутренний
диаметр 50 - 80 мм, высота 150 - 250 мм
Сосуд Дьюара металлический АСД-16 по ГОСТ 583771
Воронки ВД-3-56(75)-ХС по ГОСТ 25336-82
Колбы для перегонки, круглодонные,
вместимостью 1000 см3 по ГОСТ 25336-82
Пластинки стеклянные для тонкослойной
хроматографии 90´120 мм
Стаканы химические по ГОСТ 25336-82
Камера для тонкослойной хроматографии
или эксикатор по ГОСТ 6371-73
Стеклянная палочка с резиновыми валиками
для тонкослойной хроматографии
Сосуд Дьюара вместимостью 0,5 дм3
Шприц или груша резиновая вместимостью 10 см3
для набирания растворов в градуированные пипетки
Конденсор кварцевый, фокусирующий фильтрованный
свет от источника возбуждения на пробирке с раствором,
помещенной в сосуд Дьюара, наполненный жидким азотом
Роторный пленочный испаритель ИР-1М по ТУ 25-11-917-76
Стекла покровные для снятия адсорбента
с пластины после хроматографии
Баня электрическая водяная
Сушильный шкаф (до 200 °С)
3.4. Реактивы
Азот жидкий
Алюминия оксид II степени активности по Брокману по ТУ 6-09-3916-75
Ацетон, ч. по ГОСТ 2603-79
Бензол, х. ч. по ГОСТ 5955-79
3, 4-бензпирен (импортный, например
фирмы «Флука»)
Вода дистиллированная по ГОСТ 6709-72
н-Гексан, х. ч. по МРТУ 6-09-3375-78
Калий хромовокислый, х. ч. по ГОСТ 4240-75
Кислота серная, ч. по ГОСТ 4204-77
Циклогексан, ч. по МРТУ 6-3112-66
н-Октан, х. ч. по МРТУ 6-09-3778-74
3.5. Материалы
Фильтры из ткани ФПП-15 или ФПА-15
с поверхностью 36 см2 или 200 - 300 см2 по ТУ 957181-76
или АФА-ХП-20
Фильтры бумажные обезволенные, диаметром 100 мм
Респиратор «Лепесток»
4. Требования безопасности
Оператор должен пройти инструктаж и соблюдать все меры предосторожности при работе с канцерогенными углеводородами и бензолом, с пожароопасными ацетоном, н-гексаном, н-октаном, и концентрированной серной кислотой. 3,4-бензпирен (3,4-БП) - канцерогенный углеводород. Он должен храниться в сейфе, в герметически закрытой емкости. Растворы 3,4-бензпирена в н-октане с концентрацией 10-4 г/см3 должны храниться в холодильнике в герметично закупоренной емкости. Приготовление растворов 3,4-БП для добавок при проведении анализа и взятия навесок 3,4-БП должно производиться в вытяжном шкафу; при этом следует использовать респиратор и резиновые перчатки.
По окончании работы, а также при попадании раствора на кожу или на стол необходимо смыть загрязнение проточной водой с моющим средством, а затем обработать участок кожи и рабочий стол техническим этиловым спиртом.
н-Октан, н-гексан, бензол, серную кислоту хранят в специальных металлических шкафах-сейфах. Ртутные лампы должны находиться под местной вытяжной вентиляцией для удаления озона. Разведение растворов, экстракция, перегонка проводятся в вытяжном шкафу.
См. также п. 5.13.
5. Требования к квалификации оператора
Определение 3,4-БП по предложенной методике может производить оператор, прошедший стажировку не менее 7 дней в лаборатории, проводящей анализ на 3,4-БП объектов окружающей среды методом спектрофлуориметрии при низких температурах, сдавший экзамен в лаборатории по технике безопасности работы с канцерогенными веществами и горючими жидкостями. Предварительно оператор должен получить на спектрометре запись спектра люминесценции при 77К н-октановых растворов 3,4-БП с концентрациями от 1×10-7 до 1×10-10 г/см3 в области 400 - 410 нм. При этом высота пика при λ = 403,0 нм во всех случаях должна составлять не менее трети ширины диаграммной ленты. Оператор должен провести самостоятельный анализ половины экспонированного фильтра, другую половину которого анализирует опытный аналитик. Если полученные результаты будут различаться не более чем на ±15 %, то оператор может быть допущен к проведению анализов.
6. Условия выполнения измерений
См. п. 5.1.14.
7. Подготовка к выполнению измерений
7.1. Перед выполнением измерений должны быть проведены следующие работы: подготовка растворителей и приготовление растворов, подготовка стеклянной посуды, спектроскопической установки, отбор проб.
7.2. Подготовка растворителей и приготовление растворов
1) Бензол подвергают предварительной очистке путем медленной перегонки (не более 1 см3/мин). н-Гексан и н-октан подвергают очистке путем пропускания через колонку (диаметр 10 мм, высота 100 мм) с Al2O3 II степени активности по Брокману. Отсутствие 3,4-БП в растворителе определяют с помощью спектрометра: должен отсутствовать (на уровне шума) максимум в спектре замороженного раствора при λ = 403 нм для 3 см3 н-октана или смеси 1 см3 бензола с 2 см3 н-октана и при λ = 402,4 нм для 3 см3 н-гексана при условиях записи спектра (ширине щели и усилении), соответствующих записи н-октанового раствора 3,4-БП концентрацией 1×10-10 г/см3. Если при контроле растворителей в спектре фиксируют максимум в указанной спектральной области, то перегонку (с меньшей скоростью) или очистку на оксиде алюминия повторяют.
2) Хромовая смесь
В эксикатор насыпают 50 г хромовокислого калия и осторожно приливают по частям, тщательно перемешивая стеклянной палочкой, 1 дм3 концентрированной серной кислоты.
3) Исходный раствор 3,4-БП (ρ = 1×10-4 г/см3). На торсионных весах уравновешивают чашечку из промытой ацетоном фольги и взвешивают 5 мг 3,4-БП (с точностью до 0,01 мг). Навеску вместе с фольгой вносят в мерную колбу вместимостью 100 см3, растворяют в 50 см3 н-октана (на ультразвуковой установке) и доводят объем н-октаном до метки.
4) Рабочий раствор 3,4-БП (ρ = 1×10-6 г/см3) приготавливают в пробирке с притертой пробкой, внося 0,1 см3 исходного раствора (см. перечисление 3) в 9,9 см3 н-октана.
5) Растворы с концентрацией 1×10-7, 1×10-8, 1×10-9 и 1×10-10 г/см3 приготавливают из растворов более высокой концентрации путем последовательных разведений в 10 раз н-октаном (к 1 см3 раствора добавляют 9 см3 н-октана) в пробирках с притертой пробкой при тщательном перемешивании.
Исходный раствор 3,4-БП хранят до 1 года в холодильнике в посуде с притертой пробкой. Рабочие растворы с концентрацией 1×10-7 г/см3 - 1×10-10 г/см3 готовят для каждой серии из 10 проб и хранят в холодильнике в градуированных пробирках с притертой пробкой.
7.3. Подготовка стеклянной посуды
Подготовка всей посуды производится в несколько этапов: ополаскивание ацетоном; тщательное мытье в растворе моющего средства с последующим 3 - 4-кратным ополаскиванием в проточной воде и высушиванием; замачивание на срок не менее 1 ч в хромовой смеси с последующим отмыванием в проточной воде, ополаскиванием дистиллированной водой и высушиванием в сушильном шкафу.
Чистая посуда должна храниться в закрытом виде.
7.4. Подготовка спектроскопической (спектрофлуориметрической) установки
Пробирки с притертыми пробками, содержащие по 3 см3 раствора 3,4-БП концентрацией 1×10-7, 1×10-8, 1×10-9 и 1×10-10 г/см3, при перекрытом потоке УФ-излучения по очереди вставляют в прозрачный сосуд Дьюара, наполненный жидким азотом. Спустя две минуты открывают доступ УФ-излучения к замерзшему раствору, записывают спектр 3,4-БП в замороженном н-октановом растворе в области 400 - 410 нм, регулируя ширину щели и усиление (грубо) таким образом, чтобы для каждого из растворов (кроме 1×10-10 г/см3) высота пика аналитической линии 3,4-БП при λ = 403 нм составляла не менее половины ширины диаграммной ленты самописца. Для каждого раствора запись проводят дважды, добиваясь совпадения высот пиков на спектрограмме в пределах ±10 %; при необходимости запись повторяют до получения воспроизводимых результатов. Для раствора 3,4-БП концентрацией 1×10-10 г/см3 высота пика над фоном при λ = 403 нм должна быть доведена до 2 - 3 см. Записывают в журнал условия измерения (ширину щели и усиление), соответствующие оптимальному значению сигнала аналитической линии для растворов всех концентраций.
7.5. Отбор проб
Отбор суточных проб производят непрерывно в течение суток при расходе воздуха 70 - 100 дм3/мин на фильтр из ткани ФПП с поверхностью 36 см2 или дискретно не менее 4 раз в сутки на два фильтра АФА-ХП-20, присоединенные к двум аспираторам, с расходом 20 дм3/мин через каждый фильтр. Желательно отобрать пробу не менее 10 м3.
Разовые пробы в населенных пунктах отбирают не менее 4 раз в сутки через фильтры из ткани ФПП-15 с поверхностью 36 см2 при расходе воздуха 100 дм3/мин.
Разовые пробы в сильно загрязненной 3,4-БП атмосфере (в том числе на промплощадках коксовых батарей или алюминиевых заводов) отбирают на два сложенных вместе фильтра АФ-ХП-20 с расходом 5 дм3/мин.
Экспонированные фильтры хранят не более 30 сут в сухом помещении.
8. Выполнение измерений
8.1. Проведение экстракции
Фильтр или несколько фильтров, соответствующих одной пробе, отделяют от марлевой основы, помещают в колбу вместимостью 250 см3, заливают 100 см3 циклогексана и помещают в водяную баню ультразвуковой установки на 30 мин (при 40 - 60 °С). Циклогексан сливают в цилиндр, заливают фильтр новой порцией - 100 см3 циклогексана - и повторяют экстракцию в течение 30 мин. Экстракты объединяют и концентрируют до 1 см3 на роторном пленочном испарителе или в перегонном аппарате с водяной баней. Аналогично для каждой партии фильтров готовят нулевую (неэкспонированную) пробу.
8.2. Проведение хроматографического разделения веществ экстракта пробы и выделение 3,4-БП-фракции.
На стеклянную пластинку 90´120 мм наносят слой оксида алюминия толщиной 1 мм. Для этого на пластинку насыпают с избытком оксид алюминия и разравнивают его, прокатывая с легким нажимом стеклянную палочку, на концы которой на расстоянии 85 мм друг от друга надеты отрезки резинового шланга с толщиной стенки 1 мм. Адсорбент раскатывают по пластинке до получения равномерного слоя. Пластинку разделяют полосой на две неравные части - 70 мм (слева) и 20 мм (справа). На расстоянии 1 см от узкого края пластины в ее левой части пипеткой вместимостью 1 см3 наносят 0,1 - 0,5 см3 исследуемого экстракта (в зависимости от ожидаемой концентрации 3,4-БП) в виде полосы длиной 6 см. В правой части пластинки на том же расстоянии 1 см стеклянным капилляром наносят «свидетель» - каплю стандартного раствора 3,4-БП концентрацией 1×10-6 г/см3. Пластинку помещают в герметично закрываемую стеклянную камеру для проведения тонкослойной хроматографии. На дно камеры заливают слоем толщиной 0,5 см смесь гексана с перегнанным бензолом (2:1). Когда растворитель доходит до верхнего края пластинки, ее вынимают и наблюдают люминесценцию зон в свете ртутно-кварцевой лампы с серным фильтром (область пропускания 280 - 380 нм). Покровным стеклом выделяют зону 3,4-БП шириной 4 см3 на уровне люминесцирующего пятна раствора 3,4-БП (свидетеля). Адсорбент зоны 3,4-БП с помощью покровного стекла помещают в стеклянную воронку с обеззоленным бумажным фильтром над стеклянной колбой вместимостью 50 см3, промывают его под тягой 20 - 50 см3 перегнанного бензола.
8.3. Предварительная оценка концентрации 3,4-БП в растворе
В пробирку объемом не менее 10 см3 помещают 1 см3 3,4-БП-фракции и 2 см3 н-октана (раствор с нулевой добавкой 3,4-БП). При перекрытом потоке УФ-излучения закрепляют пробирку, опущенную в прозрачный сосуд Дьюара, перед щелью спектрометра; через 2 мин открывают доступ УФ-излучения к замерзшему раствору.
Регулируя ширину щели спектрометра добиваются, чтобы значение сигнала (высота пика), создаваемого люминесценцией фона при длине волны 401,5 нм не превышало 20 % шкалы. Записывают на спектрометре спектрограмму люминесценции в области 401,5 - 410 нм. Наличие в квазилинейчатом спектре люминесценции 3,4-БП-фракции полос с максимумом при 403,0 нм (более интенсивная) и с максимумом при 408,5 нм (менее интенсивная) однозначно свидетельствуют о присутствии во фракции 3,4-БП. Запись проводят не менее двух раз при повторяемости показания при λ = 403 нм не хуже, чем ±10 %. Сигнал люминесценции раствора пробы при λ = 403 нм сравнивают с сигналами рабочих растворов 3,4-БП, записанными при тех же условиях возбуждения и регистрации. Рабочий раствор, дающий наиболее близкий сигнал, используют при анализе данной пробы методом добавок.
Если значение сигнала при λ = 403 нм в спектре исследуемого раствора (фракции) с нулевой добавкой несравнимо меньше, чем в спектре раствора 3,4-БП концентрацией 1×10-9 г/см3 при тех же условиях возбуждения и регистрации спектра, то 3,4-БП-фракцию концентрируют на роторном испарителе или на водяной бане до объема 5 см3, готовят новый раствор с нулевой добавкой и повторно регистрируют его спектр в области 400 - 410 нм, сравнивая высоту пика на спектрограмме при λ = 403 нм с высотой пика при той же длине волны в спектре стандартного раствора 3,4-БП при одинаковых условиях регистрации. Если значение сигнала люминесценции раствора с нулевой добавкой при λ = 403 нм выше, чем раствора концентрацией 1×10-7 г/см3 при одинаковых условиях регистрации, то 3,4-БП-фракцию разбавляют в 10, 100, 1000 раз и повторяют измерения для разбавленных растворов с нулевой добавкой, сравнивая спектрограммы при λ = 403 нм со спектрограммами стандартных растворов при тех же условиях регистрации спектра.
8.4. Измерение концентрации 3,4-БП
Готовят пробу для записи спектрограммы исследуемого раствора (фракция после тонкослойной хроматографии) с добавкой раствора 3,4-БП такой концентрации, чтобы высота пика при λ = 403 нм возросла примерно в 2 - 9 раз по сравнению с высотой для раствора с нулевой добавкой. В пробирку, аналогичную использованной для приготовления раствора с нулевой добавкой, вносят 1 см3 3,4-БП-фракции в том же разбавлении, что и в растворе с нулевой добавкой. Добавляют 1 см3 н-октана и 1 см3 стандартного раствора 3,4-БП с концентрацией в диапазоне 1×10-9 - 1×10-7 г/см3, выбранной по результатам предварительной оценки (см. п. 8.3).
Закрепляют пробирку с раствором, погруженную в прозрачный сосуд Дьюара, повторяя все операции по п. 8.3, как для раствора с нулевой добавкой. Записывают спектрограмму раствора с добавкой 3,4-БП в тех же условиях возбуждения и регистрации спектра, что и для раствора с нулевой добавкой в области 401,5 - 405 нм. Запись повторяют не менее 2 раз. При правильном выборе концентрации 3,4-БП высота пика раствора с добавкой 3,4-БП при λ = 403 нм должна быть в 2 - 9 раз больше, чем для раствора с нулевой добавкой. Если высота пика увеличилась более чем в 9 раз, то готовят раствор пробы с добавкой более разбавленного раствора 3,4-БП. Если наоборот, высоты пиков различаются менее, чем на 15 %, то используют добавку более крепкого раствора 3,4-БП, но не выше 1×10-7 г/см3. При необходимости исследуемую фракцию разбавляют в 10 раз и повторяют запись спектров обоих растворов. Если высота пика при λ = 403 нм на спектрограмме раствора с добавкой 3,4-БП не более чем в 10 раз ниже высоты пика в спектре стандартного раствора той же концентрации при одинаковых условиях возбуждения и регистрации спектра, то это явление может быть связано с тушением люминесценции 3,4-БП примесями, присутствующими в 3,4-БП-фракции. В этом случае фракцию разбавляют н-октаном в 10, 100 раз и более и повторяют запись спектров растворов с нулевой добавкой стандартного раствора 3,4-БП с соответствующей концентрацией.
9. Вычисление результата измерения
По спектрограммам проб с различными добавками измеряют следующие величины.
I0ф - среднее значение из двух измерений фонового сигнала при λ = 401,5 нм (отсчет от линии темнового тока прибора), создаваемого люминесценцией примесей в растворе с нулевой добавкой, мм;
I0 - среднее значение их двух измерений сигнала при λ = 403 нм (отсчет от линии при λ = 401,5 нм), создаваемого примесью 3,4-БП в растворе с нулевой добавкой, мм;
I1 - среднее значение из двух измерений фонового сигнала при λ = 401,5 нм (отсчет от линии темнового тока), создаваемого примесями в растворе с добавкой 3,4-БП, мм.
I1 - среднее значение из двух измерений сигнала при λ = 403 нм (отсчет от линии фона при λ = 401,5 нм), создаваемого 3,4-БП в растворе с добавкой 3,4-БП, мм:
Вычисляют относительные интенсивности сигнала аналитической линии по формулам
и ![]()
где I'0 - относительное значение сигнала аналитической линии 3,4-БП в растворе с нулевой добавкой,
I'1 - относительное значение сигнала аналитической линии 3,4-БП в растворе с добавкой 3,4-БП.
Концентрацию 3,4-БП в исследуемой фракции пробы или фракции экстракта неэкспонированного фильтра (нулевой пробы) вычисляют по формуле:
![]()
где
-
концентрация 3,4-БП в исследуемой фракции нулевой пробы, г/см3;
ρx - концентрация 3,4-БП в исследуемой фракции пробы, г/см3;
ρ1 - концентрация 3,4-БП в добавке к исследуемой фракции, г/см3.
Массу 3,4-БП в пробе воздуха вычисляют по формуле
![]()
где m - масса 3,4-БП во всей пробе, г;
υ0 - объем сконцентрированного экстракта из пробы (обычно 1 - 5 см3), см3;
υ1 - объем элюата 3,4-БП-фракции после хроматографического разделения, см3;
n - кратность разбавления (концентрирования) элюата (при концентрировании n < 1, при разбавлении n > 1, без изменения концентрации n = 1);
υ2 - объем экстракта, подвергнутый хроматографическому разделению (обычно 0,1 - 0,5 см3), см3.
Концентрацию 3,4-БП в анализируемом воздухе (ρ мг/м3) вычисляют по формуле
![]()
где V0 - объем аспирированного через фильтр воздуха, приведенный к нормальным условиям, м3 (см. п. 5.1.16, формулу (1)).
Для непрерывных наблюдений за концентрацией наиболее распространенных примесей используются газоанализаторы. В настоящее время на сети Госкомгидромета СССР используются автоматические газоанализаторы для измерения концентраций основных загрязняющих веществ серии 600-01: 623 ИН-02, 645 ХЛ-01, 667 ФФ-01, 652 ХЛ-01, а также ГМК-3. Газоанализаторы серии 600-01 сняты с производства. В 1989 г. закончены разработки модернизированных приборов и готовятся к серийному выпуску газоанализаторы серии 600-03: 645 ХЛ-03, 667 ФФ-03, 623 КПИ-03, «Палладий-3». В состав модернизированных газоанализаторов серии 600-03 включены встроенные микроЭВМ, обеспечивающие статистическую обработку измеряемых сигналов для повышения точности измерений, в особенности при измерении концентраций на уровне ПДК и ниже. Кроме того, микроЭВМ управляет работой узлов газоанализатора по алгоритму, обеспечивающему повышение стабильности, воспроизводимости показаний и других метрологических характеристик, а также обеспечивает контроль работоспособности основных узлов. Технические характеристики газоанализаторов приведены в табл. 6.1.
Основные характеристики газоанализаторов
|
Измеряемый компонент |
Предел обнаружения, мг/м3 |
Верхний предел измерений, мг/м3 |
Погрешность, % |
Масса, кг |
Габариты, мм |
|
|
«Палладий-3» |
CO |
0,75 |
50 |
Не более 10 переменная по шкале |
5 |
225´205´285 |
|
623 КПИ-03 |
CH4 ΣCH nCH |
0,1 0,1 0,1 |
50 для цифровых сигналов; 5, 15, 50 для аналоговых сигналов |
15 |
35 |
483´591´241 |
|
645 ХЛ-03 |
NO NO2 NOx |
0,001 0,001 0,001 |
10 для цифровых сигналов; 0,1; 0,5; 2,0; 10,0 для аналоговых сигналов |
15 |
40 |
483´670´221 |
|
667 ФФ-03 |
SO2 |
0,001 |
10 для цифровых сигналов; 0,2; 1,0; 5,0 для аналоговых сигналов |
15 |
35 |
483´580´221 |
Работа персонала, обслуживающего газоанализаторы, заключается в проведении периодических регламентных работ, осуществлении эксплуатации, мелкого ремонта газоанализаторов, в обеспечении приборов расходными материалами и списании их по истечении срока службы.
Газоанализатор 623 КПИ-03 может эксплуатироваться только вместе с источником водорода, в качестве которого прилагается генератор водорода III ГС-03 либо баллон с водородом.
Перечень расходных материалов и вспомогательного оборудования дан в технологической документации, поставляемой вместе с газоанализаторами. В комплект поставки газоанализаторов входят паспорт, техническое описание и инструкция по эксплуатации, ведомость ЗИП, методические указания по поверке.
Для непрерывных инструментальных наблюдений за концентрацией диоксида серы применяются флуоресцентные автоматические газоанализаторы серии 667 ФФ. Сущность используемого метода состоит в регистрации флуоресцентного излучения молекул диоксида серы, возникающего под воздействием возбуждающего ультрафиолетового излучения. Возбуждение молекул диоксида серы происходит в спектральной области 220 - 240 нм, выделяемой с помощью первичного светофильтра из спектра излучения импульсной ксеноновой лампы ИСК20-1:
где h - постоянная Планка; v - длина волны возбуждающего излучения.
Возбужденная молекула переходит в основное состояние с излучением кванта света:
где v2 - длина волны излучения при флуоресценции.
Флуоресцентное излучение лежит в диапазоне длин волн 260 - 400 нм. Интенсивность излучения пропорциональна концентрации диоксида серы. Регистрация флуоресцентного излучения молекул диоксида серы производится с помощью фотоэлектронного умножителя (ФЭУ) в спектральной области 260 - 370 нм, выделяемой вторичным светофильтром. Для уменьшения влияния засветки ФЭУ возбуждающим излучением, а следовательно, для уменьшения аддитивной погрешности регистрация флуоресценции осуществляется под углом 90° к направлению возбуждающего излучения.
Вспомогательным, но необходимым узлом газоанализатора является осушитель газовой пробы. Влага, находящаяся в воздухе, вызывает частичное тушение флуоресценции, что приводит к снижению чувствительности прибора, а следовательно, к увеличению основной приведенной погрешности. Осушение газовой смеси происходит в диффузионном осушителе.
Для обеспечения функционирования диффузионного осушителя и необходимого расхода пробы в реакционной камере в газовых трактах блока анализа создается определенное (около 40 кПа) разрежение. Разрежение обеспечивается блоком побудителя расхода и поддерживается регулятором давления, входящим в состав этого блока.
Для непрерывных инструментальных наблюдений за концентрацией оксида азота (NO), диоксида азота (NO2) и суммы оксидов азота (NOx), применяется одна из модификаций хемилюминесцентного автоматического газоанализатора 645 ХЛ. Сущность этого метода состоит в том, что реакция взаимодействия оксида азота NO с озоном О3 в соответствующих условиях сопровождается люминесценцией:
где v - частота излучения; h - постоянная Планка.
Излучение происходит в области спектра 620 - 2500 нм с максимумом 1200 нм, т.е. в инфракрасном диапазоне. Основная особенность реакции заключается в том, что интенсивность излучения пропорциональна числу взаимодействующих молекул, т.е. концентрации оксида азота. Приемником излучения hv в газоанализаторах 645 ХЛ-03 служит фотоэлектронный умножитель. Озон, необходимый для протекания реакции, получают из кислорода окружающего воздуха при высоковольтном разряде в генераторе озона. Для определения концентрации диоксида азота NO2 и суммы оксидов азота NO + NO2 введен дополнительный канал преобразования NO2 в NO, содержащий каталитический конвертер, нагретый до температуры 200 °С. В этом режиме работы детектируется излучение, обусловленное суммарной концентрацией оксидов азота (NO + NO2). Концентрация NO2 определяется по разности значений электрических сигналов, пропорциональных концентрации NO + NO2 и концентрации NO. Таким образом, газоанализатор имеет три канала измерения концентрации: NO, NO2, NO + NO2.
Для получения максимальной чувствительности прибора в камере, где происходит реакция взаимодействия анализируемого оксида азота с озоном, с помощью побудителя расхода создается оптимальное разрежение (60 - 80 кПа).
Для непрерывных инструментальных наблюдений за концентрацией суммы углеводородов (ΣСН), метана (СН4) и суммы углеводородов без метана (ΣCH - CH4) применяется автоматический газоанализатор 623 КПИ-03. В основе определения концентрации углеводородов в воздухе лежит изменение тока ионизации, возникающее при введении в пламя водорода органических молекул.
Газоанализатор выполнен по двухканальной схеме. Поток анализируемого атмосферного воздуха делится на две равные части. Одна часть без изменений поступает в пламенно-ионизационный детектор (ПИД), где регистрируется общая сумма углеводородов. Другая часть потока проходит через устройство отделения метана от остальных углеводородов. Выходной сигнал, соответствующий концентрации в атмосфере углеводородов без метана, образуется как разность электрических сигналов с обоих детекторов.
Особенностью работы ПИД является его неодинаковая чувствительность к различным углеводородам. Относительная чувствительность ПИД для некоторых углеводородов следующая:
Углеводород..................................... Чувствительность
Метан СН4....................................................... 1
Этилен С2Н4.............................................. 0,6 - 0,77
Ацетилен С2Н2........................................ 0,65 - 0,79
Пропан С3Н8............................................ 0,65 - 0,81
Пропилен С3Н6........................................ 0,50 - 0,71
Бензол С6Н6............................................. 0,65 - 0,82
Толуол С7Н6............................................. 0,53 - 0,74
Для инструментальных наблюдений за концентрацией оксида углерода в атмосферном воздухе применяются оптико-акустические газоанализаторы ГМК-3 и электрохимические «Палладий-2М», «Палладий-3». Газоанализатор ГМК-3 используется в составе постов наблюдения за загрязнением атмосферного воздуха, а также в сетевых лабораториях для контроля разовых проб воздуха. Газоанализатор «Палладий-2М» может быть использован как в условиях передвижной лаборатории, так и в станционных условиях.
В газоанализаторе ГМК-3 использован оптико-акустический метод измерения, основанный на способности оксида углерода поглощать излучение в инфракрасном диапазоне длин волн с центром полосы поглощения 4,7 мкм.
Поглощение излучения А в соответствии с законом Бугера-Бера определяется по формуле:
где Ф0 - поток, создаваемый излучателем;
Ф - поток, регистрируемый фотоприемником;
c - концентрация газа;
L - толщина поглощающего слоя газа; ε - коэффициент поглощения оксида углерода, определяемый по формуле:
Здесь m, n - коэффициенты, зависящие от условий измерения (m ≈ 1; n ≈ 1/2); T и P - температура и давление анализируемой газовой смеси; T0, P0, ε0 - температура, давление и коэффициент поглощения в нормальных условиях.
При малых концентрациях оксида углерода (εcL << 1) поглощение может быть представлено линейной зависимостью:
На результаты измерений влияют углекислый газ и пары воды, спектры поглощения которых перекрываются со спектром поглощения оксида углерода. В качестве источника излучения обычно используется нихромовая спираль. Избирательность анализа обеспечивается выделением измерительной длины волны из сплошного спектра излучения за счет использования оптико-акустического приемника, представляющего собой замкнутую камеру, заполненную смесью оксида углерода с аргоном. В приемнике происходит поглощение излучения, соответствующего спектру поглощения оксида углерода. При этом возникают пульсации температуры и давления, которые воспринимаются микрофоном и преобразуются в электрический сигнал. Колебания давления возникают из-за модуляции излучения механическим обтюратором: амплитуда колебаний пропорциональна содержанию оксида углерода в анализируемой газовой смеси. Для повышения чувствительности и стабильности используются дифференциальные измерительные схемы.
На результаты измерений оказывают влияние давление и температура анализируемой газовой смеси, так как от этих параметров зависит коэффициент поглощения e. Для уменьшения погрешности, вызванной влиянием температуры, внутренний объем газоанализатора термостатируют.
Принцип действия газоанализатора основан на методе потенциостатической амперометрии, заключающейся в измерении тока при электрохимическом окислении оксида углерода на рабочем электроде трехэлектродной электрохимической ячейки при постоянном потенциале.
При этом на рабочем электроде протекает следующая реакция:
CO + H2O → CO2 + 2H+ + 2е-. (6.8)
На вспомогательном электроде ячейки протекает реакция:
1/2O2 + 2H+ + 2е- → H2O. (6.9)
Суммарная реакция:
Электрод сравнения в реакции не участвует и используется для установления необходимого потенциала рабочего электрода.
Потенциал рабочего электрода относительно электрода сравнения поддерживается с помощью потенциостата, расположенного в измерительном блоке газоанализатора. Потенциостат вместе с электрохимической ячейкой образуют систему автоматического регулирования, которая при окислении оксида углерода на рабочем электроде генерирует ток, поддерживающий потенциал рабочего электрода на постоянном уровне (ток поляризации). Ток поляризации протекает в цепи вспомогательный электрод - рабочий электрод. Сила тока пропорциональна концентрации оксида углерода в анализируемом газе.
В связи с тем, что в анализируемом воздухе обычно содержатся примеси (оксид азота, диоксид серы, сероуглерод, непредельные углеводороды и др.), плохо задерживаемые встроенными в газоанализатор «Палладий-2М» и «Палладий-3» фильтрами, для эксплуатации этого прибора собственными силами требуется изготовить вспомогательное фильтрующее устройство.
Чтобы приготовить 50 см3 сорбента для этого устройства, необходимо иметь:
50 см3 гранул легковесного огнеупорного кирпича по ГОСТ 5040-68, размером 1 - 2 мм;
12,5 см3 кислоты соляной концентрированной;
2 см3 кислоты серной (ρ = 1,83 г/см3);
2,5 г хромового ангидрида;
1,5 г азотнокислой ртути (I)
Устройство для селективного поглощения восстановителей
Размеры устройства представлены на черт. 6.1. Фильтр заполняется сорбентом, представляющим собой гранулы твердого инертного носителя (обычно легковесного огнеупорного кирпича, ГОСТ 5040-66), пропитанные кислым раствором хромового ангидрида. Сорбент готовят следующим образом.
Кирпич измельчают, отсеивают фракцию 1 - 2 мм, заливают разбавленной соляной кислотой в соотношении 1:1, кипятят в течение 1 ч (под тягой!), тщательно промывают теплой дистиллированной водой до отрицательной реакции на хлор-ион и сушат при температуре 100 - 110 °С. Высушенный кирпич прокаливают в течение 3 ч при температуре 600 °С. 50 см3 обработанного таким образом кирпича помещают в фарфоровую чашку и равномерно смачивают 25 см3 раствора, состоящего из 15 % серной кислоты, 10 % хромового ангидрида, 6 % азотнокислой ртути и 79 % воды. Полученную массу сушат под тягой при температуре 70 - 90 °С до появления однородной бурой окраски, периодически перемешивая стеклянной палочкой. Затем сорбент засыпают в стеклянный корпус устройства (см. черт. 6.1).
При амплитудах колебания концентрации оксидов азота более 0,02 мг/м3 и углеводородов более 0,4 мг/м3 на входе газоанализаторов 645 ХЛ-03 и 623 КПИ-03 рекомендуется установить демпфирующий сосуд вместимостью 15 - 25 дм3 (черт. 6.2). Демпфирующий сосуд имеет два штуцера: входной для подсоединения к воздухозаборному шлангу и выходной для подсоединения ко входу газоанализатора. Для исключения фотохимических реакций и реакций взаимодействия пробы с материалом сосуда демпфирующий сосуд должен быть изготовлен из светонепроницаемого и химически пассивного к оксидам азота и углеводородам материала. Наилучшими материалами являются: стекло, защищенное светонепроницаемым экраном; нержавеющая сталь; фторопласт (политетрафторэтилен, тефлон).
Если влажность анализируемой газовой смеси более 1 г/м3, на входе газоанализатора ГМК-3 необходимо установить устройство пробоподготовки, изображенное на черт. 6.3. Стеклянные резервуары должны иметь по одному тубусу в верхней и нижней частях для их соединения между собой и подсоединения к газовой системе.
Демпфирующий сосуд
Устройство прорбоподготовки
1 - стеклянный резервуар вместимостью 100 - 150 см3; 2 - ангидрон Mg (ClO4)2; 3 - стеклянный резервуар вместимостью 0,2 - 0,3 дм3 (для дискретных проб) или 2 - 3 дм3 (для непрерывной регистрации); 4 - силикагель.
Смену ангидрона и силикагеля производят при их насыщении не более чем на 50 % по объему. Отработанный ангидрон нагревают в фарфоровой чашке на электроплитке: при температуре 145 - 147 °С кристаллы плавятся, по мере испарения воды образуется пористая масса, которую в это время следует энергично перемешивать. Полученную массу переносят в сушильный шкаф, нагревают до температуры плавления (170 - 200 °С) и выдерживают около 2 ч. Массу охлаждают и быстро измельчают до зерен диаметром 3 - 4 мм, по возможности предохраняя от попадания влаги из воздуха, и вновь выдерживают в сушильном шкафу около 2 ч при температуре 200 °С.
Силикагель, пропитанный хлористым кобальтом, выдерживают в сушильном шкафу при температуре около 150 °С до его окраски в голубой цвет.
При выполнении работ с газоанализаторами необходимо выполнять общие требования по технике безопасности, изложенные в следующих документах:
Правила по технике безопасности при производстве наблюдений и работ на сети Госкомгидромета (Гидрометеоиздат, 1983);
ГОСТ 12.1.009-76. Система стандартов безопасности труда. Электробезопасность. Термины и определения;
ГОСТ 12.2.007.0-75. Система стандартов безопасности труда. Изделия электрические. Общие требования безопасности;
Правила технической эксплуатации электроустановок потребителей, правила техники безопасности при эксплуатации электроустановок потребителей (М., Энергоатомиздат, 1986).
Правила техники безопасности при работе с ядовитыми легколетучими газами, Правила и устройства безотказной эксплуатации сосудов, работающих под давлением (утверждены Гостехнадзором СССР 25.12.73 г.).
К работам по монтажу, настройке и эксплуатации газоанализаторов допускаются лица, прошедшие инструктаж и проверку знаний пользования электрическими и электроизмерительными приборами, техники безопасности при работе с ними, изучившие эксплуатационно-техническую документацию на газоанализатор и имеющие удостоверение о сдаче экзаменов по правилам, указанным в п. 6.7.
Работникам, обслуживающим и ремонтирующим газоанализатор, рекомендуется пройти стажировку по работе с газоаналитической техникой в Главной геофизической обсерватории им. А.И. Воейкова или в УГМ по рекомендации ГГО.
При выполнении измерений газоанализатор должен быть установлен в месте, обеспечивающем соблюдение условий, указанных в табл. 6.2.
Установку и подготовку газоанализатора к работе следует производить согласно соответствующим разделам технического описания и инструкции по эксплуатации. Площадь помещения для установки стационарного газоанализатора (если не используются комплектные лаборатории «Пост-1», «Пост-2» и др.) должна выбираться с учетом его габаритных размеров и обеспечивать свободный доступ к газоанализатору для его обслуживания и регулировки. Помещение должно быть оборудовано защитным заземлением с сопротивлением не более 4 Ом.
В узлах газоанализатора имеются опасные для жизни напряжения, в связи с этим помещение, где устанавливается газоанализатор, должно соответствовать требованиям документов, указанных в разд. 6.7.
Газоанализатор необходимо устанавливать таким образом, чтобы он не был подвержен механическим колебаниям от работы других приборов. Перед включением в месте установки газоанализатор должен быть выдержан при температуре окружающего воздуха в течение 6 ч.
Наиболее чувствителен к производственным вибрациям оптико-акустический газоанализатор ГМК-3, поэтому его необходимо установить на прочный фундамент или прикрепить к стене.
Газоанализаторы «Палладий-2М» и «Палладий-3» эксплуатируются также в условиях передвижных автолабораторий; при этом газоанализаторы устанавливаются в кузове автомобиля, обеспечивающем защиту от атмосферных осадков и пыли. В зимних условиях обязателен обогрев кузова, температура в котором должна быть не ниже 5 °С. Определение концентрации оксида углерода в атмосферном воздухе производится только во время стоянок автомобиля. В стационарных условиях газоанализаторы могут эксплуатироваться при непрерывном режиме работы.
Газоанализаторы шестисотой серии, модификации 03 предназначены для применения в составе автоматической станции контроля загрязнения атмосферы (АСКЗА-Г) и автономно, газоанализаторы ГМК-3, «Палладий-2М» и «Палладий-3» только автономно. При использовании газоанализаторов в составе автоматизированных систем выполнение условий по температуре и влажности (см. табл. 6.6) осуществляется автоматически системой жизнеобеспечения.
Условия измерений
|
ГМК-3 |
«Палладий-2М», «Палладий-3» |
645 ХЛ-03 |
667 ФФ-03 |
623 КПИ-03 |
|
|
Температура окружающей среды, °С |
10 - 35 |
5 - 50 |
10 - 35 |
10 - 35 |
10 - 35 |
|
Атмосферное давление, кПа |
90,7 - 105 |
94 - 105 |
90,6 - 104,6 |
90,6 - 104,4 |
90,6 - 106,7 |
|
Относительная влажность окружающего воздуха, % |
10 - 90 |
До 80 |
30 - 95 |
30 - 80 |
30 - 80 |
|
Анализируемая газовая смесь должна содержать, не более мг/м3 |
6000 CO2 |
0,04 H2S 2,0 SO2 0,1 O3 0,3 NO2 0,2 CH |
200 CO 50 CH 10 SO2 1,25 O3 1 H2S 10 пыль |
0,4 NО2 50 CH4 0,4 NH3 0,08 H2S 30 CO 0,1 O3 |
10 SO2 1,25 O3 7,5 NOx 200 CO 10 пыль |
|
Температура анализируемой газовой смеси в точке отбора, °С |
От 10 до 35 |
От -50 до 50 |
От -40 до 40 |
От -40 до 40 |
От -40 до 40 |
|
Содержание влаги на входе не должно превышать |
1 г/м3 |
|
|
30 - 98 % |
30 - 98 % |
|
Примечание. Не допускается резких изменений температуры, приводящих к конденсации влаги. |
|||||
Перед установкой газоанализатора в стационарном посту наблюдения за загрязнением атмосферного воздуха необходимо определить по климатическим справочникам диапазоны изменения температуры и влажности в месте установки поста. При значениях температуры окружающего воздуха в месте размещения поста, выходящих за диапазоны, указанные в табл. 6.6, необходимо использовать кондиционер или автоматический регулятор температуры в помещении поста.
Для определения нестабильности напряжения питания сети 220 В в месте установки газоанализатора следует с помощью вольтметра произвести измерения напряжения сети три раза в сутки (утром, днем и вечером) в течение недели (всего 21 измерение). Если значения напряжения выходят за пределы, указанные в технической документации, необходимо предусмотреть установку стабилизатора напряжения СИ-500М (по ТУ АЭЗ.232.002).
При подготовке газовой схемы прибора к работе необходимо подключить устройство пробоподготовки (если это требуется в соответствии с табл. 6.6). Пробоотборной линией для газоанализатора оксида углерода служит гибкая поливинилхлоридная трубка. Для других газоанализаторов пробоотборная линия представляет собой фторопластовую трубку, которая имеется в ЗИП к газоанализатору.
Увеличение длины пробоотборной линии, если это необходимо в конкретных условиях, можно производить из материала, химически пассивного к одному из перечисленных в табл. 6.1 измеряемому компоненту (фторопласт, политетрафторэтилен, пентафлор, стекло и т.п.). Пробоотборную линию следует подключить к газозаборному устройству анализатора.
Для проверки герметичности газовых систем газоанализаторов выход проверяемой системы закрывают заглушкой, а к входу подключают манометр типа MO-260-1´0,15 (ГОСТ 6521-72) и баллон с азотом или воздухом. В системе необходимо создать избыточное давление 29,4 кПа. Если в течение 30 мин падение давления не превышает 0,49 кПа, система считается герметичной. Если падение давления превышает указанное значение, то все стыки системы покрывают мыльным раствором и обнаруженную разгерметизацию устраняют путем более плотного соединения участков.
Перед вводом в эксплуатацию газоанализатора «Палладий-2М» необходимо провести ряд подготовительных операций, связанных с заполнением химического фильтра и увлажнителя и заправкой электрохимической ячейки. Чтобы подготовить химический фильтр к работе, необходимо: освободить его от крепления, отключить фильтр от пневматической схемы, отсоединить трубки от штуцеров «Вход» и «Выход» и извлечь из газового блока. Затем отвинтить крышку фильтра, извлечь из корпуса фильтра одну сетку и засыпать в корпус фильтра поглотитель - активированный уголь рекуперационный марки АР-В по ГОСТ 6703-74. После этого сверху положить в один слой материал ФПП-15, затем сетку, установить крышку и завернуть накидной гайкой. Заполненный и собранный фильтр установить на место и включить в пневматическую схему газового блока.
Примечание. Уголь АР-В входит в комплект поставки газоанализатора. Одна навеска в полиэтиленовом пакете рассчитана на одну заправку фильтра.
Для заправки увлажнителя водой необходимо вывернуть пробку из корпуса увлажнителя, при помощи стеклянной воронки залить в корпус дистиллированную воду так, чтобы уровень воды на 5 - 10 мм не доходил до нижнего среза отверстия под пробку и завинтить пробку в корпус. Перед заправкой электрохимической ячейки необходимо приготовить электролит, для чего в фарфоровый или термически стойкий стеклянный сосуд вместимостью 1000 см3 налить 750 см3 дистиллированной воды и по стеклянной палочке осторожно долить 188,5 см3 концентрированной серной кислоты (ρ = 1,83 г/см3). После охлаждения раствора до комнатной температуры его необходимо перелить в мерный стакан вместимостью 1000 см3 и довести объем водой до метки.
Для заправки ячейки ее необходимо отключить от электрической и пневматической схем газоанализатора, освободить от крепления и извлечь ячейку из газового блока. Затем ячейку промывают дистиллированной водой, заливая воду до половины объема ячейки и осторожно встряхивая ее. После промывки ячейку нужно заполнить приготовленным электролитом так, чтобы его уровень не доходил до нижнего среза крышки на 10 - 12 мм. После заливки отверстие закрыть пробкой и установить ячейку в газовом блоке, подключив ее к пневматической и электрической схемам.
Выполнение измерений следует осуществлять согласно соответствующему разделу «Технического описания и инструкции по эксплуатации» газоанализатора. Газоанализаторы можно использовать как для анализа отдельных проб в химлаборатории, так и для непрерывной регистрации концентрации примеси в атмосфере.
Анализ дискретных проб. При анализе отдельных проб газоанализатор устанавливают в лаборатории. Пробы воздуха отбираются в сосуды или камеры из материала, не искажающего содержание анализируемой пробы. Так, при отборе пробы для определения концентрации СО могут быть использованы резиновые камеры, полиэтиленовые пакеты и т.д., для остальных компонентов - стеклянные, фторопластовые и аналогичные им сосуды. Объем отобранной пробы должен составлять не менее пяти внутренних объемов рабочего газового тракта газоанализатора до камеры анализа включительно. Для ГМК-3 и «Палладий-2М» объем должен быть не менее 1,5 дм3, для 645 ХЛ-03, 667 ФФ-03 и 623 КПИ-03 - 5 дм3.
Анализ проб воздуха на содержание оксида углерода с помощью газоанализатора ГМК-3 выполняют в определенной последовательности:
к рабочей кювете подсоединить устройство пробоподготовки (см. рис. 6.3), сравнительную кювету для уменьшения объема пробы перекрыть;
продуть газоанализатор азотом или воздухом, предварительно очищенным с помощью устройства для получения нулевой газовой смеси (см. п. 6.12);
с помощью ручки «Установка нуля» установить стрелку регистрирующего прибора на 1 - 2 мг/м3 (это значение концентрации принимается за нулевое показание прибора);
подсоединить камеру с анализируемой пробой к устройству пробоподготовки;
в течение 3 - 4 мин пропускать анализируемую газовую смесь через газоанализатор, затем произвести измерение;
отсоединить камеру с пробой и через рабочую кювету прокачать азот или воздух, предварительно пропущенный через устройство для получения нулевой газовой смеси (см. п. 6.12), встроенное в газоанализатор (режим «Нулевой газ»);
после того как стрелка измерительного прибора возвратилась в нулевое положение, подключить следующую камеру с пробой;
на ленте самописца записать номер анализируемой пробы, место и время ее отбора и концентрацию СО в пробе;
концентрацию рассчитать путем умножения разности показаний при измерении пробы и азота на цену деления данной шкалы.
Примечания: 1. При стабильной работе прибора допускается продувать рабочую кювету азотом через 4 - 6 анализов пробы. Между анализами пробы в этом случае необходимо рабочую кювету продуть воздухом из помещения.
2. Допускается регистрировать концентрацию СО не по ленте самописца, а в журнале по показаниям встроенного прибора.
3. При продувке рабочей кюветы азотом рекомендуется выключать побудитель расхода.
4. Перед началом измерений, но не реже 1 раза в сутки, необходимо продуть сравнительную кювету азотом.
5. После окончания анализов всех отобранных проб нецелесообразно выключать прибор, если следующие измерения будут осуществлять менее чем через 24 ч; следует соединить выход системы с входом устройства пробоподготовки с помощью газового шланга.
Непрерывная регистрация показаний. В зависимости от режимов использования газоанализаторов снимаемая с них информация о концентрациях загрязняющих веществ поступает либо на устройство сбора и обработки информации при работе в составе автоматизированных систем, либо на автономный регистратор. В первом случае обработка результатов измерений осуществляется ЭВМ по имеющимся программам.
При автономной работе газоанализатора прибор устанавливают на одном из стационарных постов. Измерение концентрации производят непрерывно, исключая время регламентных работ, сроки проведения которых не должны совпадать с установленными сроками наблюдений на данном посту. В процессе эксплуатации необходимо производить проверку и настройку газоанализатора согласно техническому описанию и инструкции по эксплуатации.
Время начала и окончания работ по настройке газоанализатора, данные проверки и настройки нулевых показаний и чувствительности, замечания по работе прибора и фамилия оператора записываются в журнале наблюдений. На титульном листе журнала записываются: тип газоанализатора, его заводской номер, заводской номер самописца, характеристика места установки газоанализатора. Остальные листы журнала содержат графы, показанные в табл. 6.3.
Первичная обработка данных должна включать для автономно используемых газоанализаторов для каждого часа средние за первые 20 мин и средние за сутки значения концентраций примесей.
В газоанализаторе ГМК-3 проверить по реперу соответствие значения выходного сигнала его паспортному значению. Если указанные параметры не соответствуют значениям, указанным в техническом описании, необходимо произвести настройку газоанализатора или его ремонт.
Таблица 6.3
Образец записи в журнал
Титульный лист
Газоанализатор 667 ФФ-03
Заводской номер 012
Самописец, заводской номер 0187043
Место установки: Ленинград, ГГО
Форма журнала
|
Дата, время работы газоанализатора с момента последнего посещения, ч |
Суммарное время работы газоанализатора, ч |
Оценка работы газоанализатора, выполнение операции, регламентные работы, ремонт и т.п. |
Подпись |
|
|
|
|
|
При техническом обслуживании газоанализаторов оксида углерода в случае отсутствия поверочных газовых смесей (ПГС) с чистым воздухом допускается применение атмосферного воздуха, пропущенного через устройство получения нулевой газовой смеси. Для старых модификаций газоанализатора ГМК-3 в качестве такого устройства рекомендуется использовать фильтрующие коробки (типа «СО» или «М») от специальных противогазов, предназначенных для защиты от СО, заполненных гопкалитом. Устройство устанавливается на период проверки нулевых показателей перед входом газоанализатора после устройства пробоподготовки. Один раз в две недели необходимо проверять степень увлажнения гопкалитового патрона. Для этого патрон взвешивают на технических весах с точностью до 1 г, и если масса патрона более чем на 5 % превышает первоначальную (указанную на коробке), патрон выдерживают в сушильном шкафу при температуре 150 °С в течение 2 ч (при этом рекомендуется продувать патрон осушенным воздухом).
Для газоанализаторов «Палладий-2М» можно использовать атмосферный воздух, пропущенный через аналогичный гопкалитовый патрон, обеспечивающий удаление оксида углерода. При этом установка нуля с использованием гопкалитового патрона производится в следующей последовательности:
гопкалитовый патрон снабжают штуцерами, служащими для подсоединения его к газоанализатору;
гопкалитовый патрон помещают в сушильный шкаф, в котором выдерживают при температуре (110 ± 10) °С в течение всего рабочего дня при непрерывном продувании пропущенным через фильтры-осушителя воздухом со скоростью около 1 дм3/мин.
присоединяют высушенный патрон к штуцерам «Вход» и «Выход», включают насос, и по замкнутому циклу газоанализатор работает до установления показаний на диапазоне 0 - 3 мг/м3 (15 мин). Затем с помощью резистора «Установка нуля» переводят в нулевое положение стрелку микроамперметра.
При техническом обслуживании электрохимического газоанализатора «Палладий-2М» необходимо через 750 ч работы газоанализатора производить смену электролита в электрохимической ячейке, через 450 ч - угля-поглотителя в химическом фильтре. Концентрации сопутствующих примесей (аммиака, оксида азота, диоксида серы, этилена, ацетилена, сероводорода и других слабо поглощаемых угольным фильтром веществ) не должны превышать предельно допустимых (при отсутствии фильтра для поглощения восстановителей).
Для смены электролита ячейку отключить от пневматической и электрической схем, освободить от крепления и извлечь из газового блока. Отвернув винт крепления крышки, осторожно извлечь крышку с закрепленными на ней электродами и прополоскать их дистиллированной водой. Старый раствор кислоты слить, корпус промыть дистиллированной водой, установить в него крышку с электродами и закрепить ее винтами. Затяжку винтов крепления производить крест-накрест с небольшим усилием.
Заправленную электролитом ячейку установить в газоанализатор и подключить к пневматической и электрической схемам. Газоанализатор включить в сеть и по истечении времени прогрева произвести градуировку шкалы и приступить к работе.
Проверку чувствительности произвести при пропускании через газоанализатор аттестованной газовой смеси. При этом измеряется ток электрохимического окисления оксида углерода в ячейке с помощью микроамперметра, подключенного к клеммам «+» и «-» на передней панели измерительного блока при нажатии кнопки внешний «μА». Чувствительность определяется как отношение силы тока (μА) к номинальному значению концентрации оксида углерода (мг/м3) в используемой аттестованной газовой смеси.
Если чувствительность электрохимической ячейки уменьшилась и стала менее 1 мкА на 1 мг/м3, необходимо сменить рабочий электрод. Для этого ячейку следует извлечь из газового блока, отвернуть винты крепления, снять крышку с электродами и промыть корпус ячейки дистиллированной водой. Открутив винты, снять пластину, прижимающую платиновый вывод к активной массе электрода. Отвернуть гайки, крепящие электрод к крышке, и снять электрод. Новый электрод, находящийся в комплекте ЗИПе, необходимо ополоснуть дистиллированной водой и установить на крышке ячейки на месте снятого. Совмещая платиновый вывод с активной массой электрода, установить пластины и, прижимая вывод к активной массе, затянуть винты крепления.
При установке электрода следует помнить, что прикосновение к активной массе электрода может повлиять на свойства электрода или привести к его разгерметизации, поэтому нужно держать электрод за боковые поверхности, на которых отсутствует активная масса. Крышку с установленными электродами ополоснуть дистиллированной водой и установить в корпус ячейки. Ячейку заправляют электролитом, устанавливают в газоанализатор и производят градуировку шкалы в соответствии с инструкцией по эксплуатации.
При непрерывной регистрации погрешность измерений автоматических газоанализаторов в нормальных условиях равна основной приведенной погрешности используемого газоанализатора. Например, для газоанализатора ГМК-3, имеющего погрешность 10 % на первом диапазоне измерения (0 - 40 мг/м3), абсолютная погрешность измерения концентрации не превышает
Δc = 40×10/100 = ±4 мг/м3.
Приведенная погрешность газоанализатора определяется на этапе последней поверки газоанализатора органами Госстандарта и не должна превышать значений, указанных в паспорте газоанализатора. Методика определения основной приведенной погрешности изложена в соответствующем разделе «Методических указаний по поверке», входящих в комплект поставки газоанализатора.
При работе газоанализатора в условиях, указанных в техническом описании и отличных от нормальных, абсолютная погрешность результатов измерений равна основной и дополнительной и не должна превышать в соответствии с ГОСТ 17.2.6.02-85 удвоенного значения основной погрешности. Методика расчета относительной погрешности приводится в технической документации на газоанализатор.
При разовом контроле проб в лабораторных условиях можно повысить точность измерений путем статистической обработки результатов измерений в соответствии с ГОСТ 8.207-86, для чего необходимо: исключить грубые погрешности, обусловленные тряской прибора и резким изменением напряжения питания, исключить известные систематические погрешности, вычислить оценку среднего квадратического отклонения результата измерения, вычислить доверительные границы случайной составляющей погрешности результата измерения. Грубые погрешности, которые выражаются на ленте самописца в виде остроконечных пиков, превышающих основную погрешность, должны исключаться при обработке результатов.
Неисключенная систематическая погрешность результата измерений имеет следующие составляющие: погрешность аттестации ПГС; погрешность отклонения выходного сигнала газоанализатора при очередной проверке нулевых показаний или показаний, полученных при продувке ПГС (чем чаще осуществляется градуировка газоанализатора, тем меньше эта составляющая); погрешность вызванную изменением температуры окружающего воздуха (в долях основной приведенной погрешности на каждые 10 °С в соответствии с техническими условиями); погрешность, вызванную изменением давления окружающей среды (в долях основной приведенной погрешности на каждые 3,3 кПа в соответствии с ТУ; при наличии регулятора абсолютного давления и расхода эту составляющую можно исключить из рассмотрения). Составляющие неисключенной систематической погрешности рассматриваются как случайные величины.
Предел неисключенной систематической погрешности Δc результата измерения вычисляется по формуле
(6.11)
где Δci - предел i-й исключенной систематической погрешности; k - коэффициент, определяемый принятой доверительной вероятностью P; если P = 0,95, k = 1,1.
Для оценки среднего квадратического отклонения σ результата наблюдения концентрации измеряемого компонента необходимо: подключить к выходным клеммам газоанализатора цифровой вольтметр; пропустить на время измерений через газоанализатор нулевую смесь в течение 20 мин с минимальным расходом; записать показания Ni цифрового вольтметра в количестве n (обычно 10 - 20) отсчетов с интервалом 0,5 - 1 мин; определить среднее квадратическое отклонение σ (мг/м3) по формуле
где
Nmax - максимальный выходной сигнал газоанализатора по цифровому вольтметру при продувке газоанализатора максимальной концентрацией проверяемого диапазона измерения.
Доверительные границы случайной составляющей погрешности измерений определяются по формуле:
где t = 1,96 - коэффициент Стьюдента (для нормального закона распределения) при P = 0,95.
Примечание. В связи с тем, что случайная составляющая погрешности изменяется с течением времени, необходимо не реже 2 раз в год производить оценку ее доверительной границы.
Если
Δ
/σ < 0,8, неисключенными
систематическими погрешностями по сравнению со случайными пренебрегают и
принимают, что границы погрешности
Если
Δ
/σ > 8, случайными погрешностями
по сравнению с систематическими пренебрегают и принимают, что границы
погрешности результата
Если
0,8 ≤ Δ
/σ ≤ 8, границы погрешности
результата измерения находят путем построения композиции распределения
случайной и неисключенных систематических погрешностей, рассматриваемых как
случайные величины, т.е.
где K - коэффициент, зависящий от соотношения случайной и неисключенной систематической погрешности, S - оценка суммарного среднего квадратического отклонения результата измерения.
Оценка S и коэффициент K вычисляются по формулам:
(6.18)
Результаты измерений (c) в соответствии в МИ 1317-86 представляют в форме:
c; ±Δc; P.
Числовое значение результата измерения, как и значение погрешности Δc, должно округляться.
При существенном отличии функции распределения составляющих случайной погрешности от нормальной результаты измерения представляют в форме:
c; σ; n; Δc; P.
Пример:
1) Газоанализатор ГМК-3 поверяется ПГС, аттестованной с погрешностью ±2 %, что составляет для первого диапазона ±0,8 мг/м3; отклонение выходного сигнала газоанализатора за сутки непрерывной работы - 1 мг/м3, температура в лаборатории изменяется на 8 °С, что приводит к погрешности измерений, равной ±0,8 мг/м3 (0,2 основной погрешности на каждые 10 °С), давление не изменяется.
2) Предел неисключенной систематической погрешности равен:
![]()
3) Оценка среднего квадратического отклонения осуществляется по формуле (6.12). Результаты измерений выходных показаний газоанализатора при продувке азотом следующие:
|
Ni |
|
|
|
|
1 |
100 |
130 |
16900 |
|
2 |
50 |
180 |
32400 |
|
3 |
110 |
120 |
14400 |
|
4 |
120 |
110 |
12100 |
|
5 |
500 |
570 |
79900 |
|
6 |
350 |
120 |
14400 |
|
7 |
400 |
170 |
28900 |
|
8 |
160 |
70 |
4900 |
|
9 |
200 |
30 |
900 |
|
10 |
310 |
80 |
640 |
|
|
|
|
|
Концентрации 40 мг/м3 (верхнему пределу измерений) соответствует сигнал Nmax = 5000 мкА
![]()
4) Доверительные границы случайной составляющей погрешности измерений ε равны: ε = 1,96×1,2 = 2,36 ≈ 2,4 мг/м3.
5) Так как Δ
/σ = 0,7, что меньше 0,8, то неисключенными систематическими
погрешностями по сравнению со случайными пренебрегаем и принимаем, что границы
погрешности равны 2,4 мг/м3.
Таким образом, при показаниях регистрирующего прибора (самописца) 3,73 мг/м3 результат измерений равен:
3,7 мг/м3; ±2,4 мг/м3; 0,95.
Метрологическое обслуживание представляет собой комплекс организационных и технических мероприятий, направленных на обеспечение достоверности получаемой с газоанализаторов информации, и осуществляется в соответствии с «Методическими указаниями по поверке», входящими в комплект поставки газоанализатора.
Согласно «ГОСТ 8.513-84. Государственная система обеспечения единства измерений. Поверка средств измерений. Организация и порядок проведения», газоанализаторы серии 600-03 подлежат обязательной государственной поверке как средства измерений, предназначенные для защиты природной среды. В условиях эксплуатации поверка осуществляется без снятия газоанализатора с объекта. Поверку производят органы государственной метрологической службы, возглавляемые Госстандартом, аттестованные на право проведения государственной поверки средств измерений, и предприятия иной ведомственной принадлежности, которым право поверки предоставлено в установленном Госстандартом порядке. Органы Госкомгидромета СССР могут осуществлять своими силами ведомственную поверку газоанализаторов в промежутках между государственными поверками при наличии разрешения Госстандарта.
Поверочные и вспомогательные средства, необходимые для проведения государственной поверки, приведены в табл. 6.4. В необходимых случаях управление, эксплуатирующее газоанализатор, должно обеспечивать доставку поверочных и вспомогательных средств к месту поверки и обратно.
Для настройки, градуировки, поверки при выпуске из производства газоанализаторов 667 ФФ-03, 645 ХЛ-03, 623 КПИ-03 и для их государственной поверки государственными и ведомственными метрологическими службами используются переносные генераторы газовых смесей расходомерного типа ГР-03, предназначенные для получения поверочных газовых смесей (ПГС). Генераторы ГР-03 представляют собой динамические разбавители, работающие от баллонов с поверочными газовыми смесями. Суть работы генератора заключается в разбавлении исходной известной концентрации SO2, NO, NO2, CH4 чистым воздухом в заданное число раз. Необходимая высокая стабильность коэффициента разбавления обеспечивается в генераторе системой капилляров и поддержанием постоянного перепада давления на них.
Получение и приемка газоанализаторов. Приемка газоанализаторов производится проверкой его соответствия технической документации и оформлении документов по результатам приемки.
При техническом осмотре проверяются:
комплектность изделия в соответствии с упаковочным листом;
наличие комплекта эксплуатационной документации, наличие в паспорте газоанализатора штампа ОТК, свидетельства о государственной поверке;
качество лакокрасочных покрытий, целостность кожухов, наличие пломб, состояние упаковочной тары.
Таблица 6.4
Поверочное оборудование
|
Основные требования, предъявляемые к техническим средствам |
Нормативный документ на техническое средство |
Тип поверяемого газоанализатора |
Примечание |
|
|
Мегаомметр М4100/3 |
Испытательное напряжение 500 В, класс точности 1,5 |
ГОСТ 23706-69 |
Любой |
Для ГМК-3 рекомендован М1101М |
|
Вакуумметр образцовый ВО-250-1,0-(0,1)-0,25 |
Пределы измерения 0 - 98 кПа (0 - 1,0 атм), класс точности 0,25 |
ГОСТ 6521-72 |
Все, кроме ГМК-3 и ГИАМ-1 |
Для «Палладий-2М» и «Палладий-3» рекомендован 60-160-0,4 |
|
Психрометр аспирационный М-34 |
Пределы измерения относительной влажности 0 - 100 %, погрешность ±1 % |
ТУ-25-1607.054-85 |
Любой |
Для ГМК-3, «Палладий-2М» и «Палладий-3» рекомендован МВ4М |
|
Частотомер стрелочный Д506М |
Пределы измерений 44 - 55 Гц, класс 1,0 |
ГОСТ 7590-78 |
ГМК-3 |
|
|
Вольтметр многопредельный Д567 |
Диапазон измерения 0 - 300 В, класс точности 0,5 |
ГОСТ 8711-78 |
Любой |
Для ГМК-3 рекомендован Э 515/3 |
|
Пробивная установка УПУ-1М |
|
АЭ 2.771.001 ТУ |
ГМК-3 |
|
|
Термометр ртутный лабораторный ТЛ-2 |
Пределы измерения 0 - 50 °С; цена деления 0,1 °С; погрешность ±0,2 °С |
ГОСТ 215-73Е |
Любой |
Для ГМК-3, «Палладий-2М» и «Палладий-3» допускается класс 0,5 (I = А - 1) |
|
Секундомер С-1-2А |
|
ГОСТ 5072-72Е |
Любой |
|
|
Барометр-анероид метеорологический БАММ-1 |
Диапазон измерения 80 - 106 кПа |
ТУ 25-11-1513-74 |
» |
Для ГМК-3 рекомендован МД 49-2 |
|
Манометр МО-250-1,0-0,25 |
Пределы измерения 0 - 100 кПа, класс точности 0,25 |
ГОСТ 6521-72 |
» |
Для ГМК-3 рекомендован класс 0,15 |
|
Газовый счетчик ГСБ-400 |
|
|
«Палладий-2М», «Палладий-3» |
|
|
Вентиль запорно-регулирующий ВР-2 |
|
ТУ 25.07.511.69 |
Любой 1 |
|
|
Ротаметр РМ |
Класс точности 2,5, предел измерения до 1 л/мин |
ГОСТ 13045-81 |
ГМК-3 |
|
|
Генератор второго разряда ГР-03: |
Предел основной относительной погрешности ±7 % |
|
|
|
|
667 ГР-03 |
Концентрация генерируемых смесей (ГС) 0,2 - 10 мг/м3 |
ТУ 25 0571-0163-85 |
667 ФФ-03 |
|
|
645 ГР-03 |
Концентрация ГС 0,1 - 10 мг/м3 |
ТУ 25 7557 0057-89 (Ра 2.976.002)-81 |
645 ХЛ-03 |
|
|
623 ГР-03 |
Концентрация ГС 2-15 мг/м3 |
ТУ 25 7557 0057-89 |
623 КПИ-03 |
|
|
Баллоны с поверочными газовыми смесями (ПГС): |
|
- |
|
|
|
чистый воздух (азот) |
|
ТУ 6-21-5-82 |
Любой |
|
|
диоксид серы в азоте |
Концентрация 180 - 220 мг/м3 |
|
667 ФФ-03 |
|
|
оксид азота в азоте |
Концентрация 100 - 150 мг/м3 |
ТУ 6-21-1-80 |
645 ХЛ-03 |
|
|
диоксид азота в азоте |
Концентрация 100 - 150 мг/м3 |
ТУ 6-21-1-80 |
645 ХЛ-03 |
|
|
метан в воздухе |
Концентрация 1800 - 2200 мг/м3 |
ТУ 6-21-24-79 |
623 КПИ-03 |
|
|
оксид углерода в воздухе |
Концентрации 20; 40; 80; 200; 400 мг/м3 |
ТУ 6-21-31-78 |
ГМК-3 |
|
|
оксид углерода в воздухе |
Концентрации 1,5; 5; 15; 50 мг/м3 |
ТУ 6-21-31-78 |
«Палладий-2М», «Палладий-3» |
|
|
Примечание. 1. Список оборудования для поверки приводится на случай закупки его органами Госкомгидромета СССР для проведения ведомственных поверок. 2. Допускается применение оборудования, отличного от перечисленного, при условии обеспечения необходимой точности, кроме генераторов ГР-03 и баллонов с ПГС. 3. Исходные газовые смеси для генераторов ГР-03 поставляются вместе с генератором. 4. Генераторы ГР-03 поставляются КЗАП по отдельному заказу. |
||||
Техническая проверка газоанализатора состоит из проверки работоспособности (нормального функционирования) и проверяется в соответствии с эксплуатационной документацией.
Приемка газоаналитического оборудования по количеству и качеству производится в соответствии с «Положением о поставках продукции производственно-технического назначения», утвержденным постановлением Совета Министров СССР от 10.02.81 г.
Приемка газоанализаторов производится комиссией, назначенной начальником УГМ, которая несет ответственность за строгое соблюдение правил приемки продукции. В состав комиссии должен быть включен представитель сторонней организации.
По результатам технического осмотра и проверки составляется акт приемки газоанализатора. Форма акта произвольная. В случае обнаружения при осмотре и проверке некомплектности или неисправностей, исключающих ввод газоанализатора в эксплуатацию, составляется рекламационный акт.
Акты приемки и рекламационные акты утверждаются начальником УГМ или главным инженером.
Предъявление рекламаций. Рекламации предъявляются на газоанализатор, имеющий гарантию завода-изготовителя, в случаях:
1) несоответствия комплектности, указанной в упаковочном листе;
2) неработоспособности газоанализатора при введении в эксплуатацию или при возникновении отказов, неисправностей, обнаружении дефектов в течение гарантийного срока эксплуатации.
Рекламационный акт составляется комиссией, назначаемой начальником УГМ, с обязательным участием представителя сторонней организации или представителя предприятия-изготовителя газоанализатора и высылается в адрес завода-изготовителя и ГГО.
Ремонтно-восстановительные работы. Мелкие ремонтно-восстановительные работы, связанные с заменой отдельных элементов и узлов из комплекта запасных частей выполняются специалистами лабораторий, эксплуатирующих газоанализаторы, и монтажно-ремонтных групп служб средств измерений УГМ. Для выполнения крупного ремонта организуется вызов представителя завода-изготовителя или используются возможности ремонтных подразделений заводов отраслей промышленности на местах, или приборы отправляются на завод-изготовитель для ремонта.
Учет и списание газоанализаторов. В УГМ необходимо ввести учет имеющихся и поступающих газоанализаторов. Информацию о вновь поступивших газоанализаторах начальники сетевых подразделений в 5-дневный срок подают в службу средств измерений с указанием типа, года выпуска, пределов и погрешности измерений, периодичности поверки и завода-изготовителя. На каждый газоанализатор заводится карточка учета.
Дальнейший учет и списание газоанализаторов на сети Госкомгидромета СССР проводится в строгом соответствии с Инструкцией по введению первичного учета имущественно-материальных и денежных средств в сетевых органах (подразделениях) Госкомгидромета, не состоящих на самостоятельных балансах.
Газоанализаторы и вспомогательное оборудование, выработавшие технический ресурс и непригодные к дальнейшей эксплуатации, списываются с баланса УГМ в установленном порядке.
С целью проведения контроля точности результатов измерений содержания вредных веществ в объектах природной среды разработаны методические указания (РД 52.24.66-86) [8], в которых установлен единый порядок проведения проверки качества аналитических работ при наблюдениях за состоянием загрязнения поверхностных и океанических вод, атмосферного воздуха и почвы. Однако применение этих методических указаний на сети наблюдений за загрязнением атмосферы (СНЗА) имеет ряд ограничений, так как они распространяются на результаты измерений, получаемые по метрологически аттестованным или стандартизованным методикам. В то же время на СНЗА наряду с аттестованными методиками широко используется целый ряд неаттестованных. Кроме того, для некоторых примесей ограничение в применимости методических указаний [8] связано с тем, что процедура проведения контроля точности в [8] основана на многократных измерениях одной пробы или одного контрольного раствора в течение периода, длительность которого существенно больше срока сохранности (устойчивости) большинства растворов для определения газовых примесей. В связи с этим РД 52.24.66-86 [8] допускает осуществление контроля по методическим указаниям [2] в тех случаях, когда применение самого РД невозможно.
Настоящий раздел содержит более полное по сравнению с [2] изложение правил проведения контроля точности результатов измерений содержания загрязняющих воздух веществ.
Контроль точности измерений предусматривает оценку показателей точности результатов измерений проб воздуха без учета погрешности отбора проб.
Согласно МИ 1317-86 [7], для оценки точности измерений применяются количественные характеристики случайной и систематической составляющих погрешности измерений. Случайная погрешность отражает сходимость (воспроизводимость) результатов измерений, а систематическая - их правильность.
Средствами контроля являются стандартные образцы или контрольные растворы, в которых содержание анализируемого вещества установлено с требуемой точностью. Средства контроля должны охватывать весь интервал содержания вещества, предусмотренный в используемой методике анализа, и в случае анализа воздуха населенных мест обязательно включать содержание вещества на уровне, близком к ПДК.
Система контроля точности результатов измерений предусматривает внутренний и внешний контроль. Внутренний контроль организуется и проводится специалистами лабораторий (групп) контроля загрязнения атмосферы. Внешний контроль проводится подразделениями, осуществляющими методическое руководство сетевыми лабораториями (группами) контроля загрязнения атмосферы.
Внутренний контроль точности результатов измерений является обязательным для всех спектрофотометрических методик, используемых в лаборатории. Внутренний контроль организует руководитель аналитической лаборатории или инженер-химик.
Внутренний контроль точности включает проверку наличия грубой погрешности измерений (оперативный) и статистический контроль, оценивающий качество совокупности измерений за длительный период.
Оперативный контроль грубой погрешности предназначен для выявления несоответствия условий выполнения текущих измерений требованиям МВИ. Оперативный контроль грубой погрешности обязательно проводят только для МВИ, для которой длительность процедуры выполнения измерений не превышает 1 ч и сохранность (устойчивость) средства контроля составляет не менее 1 мес. Средством контроля является стандартный образец или контрольный раствор, приготовленный аналогично растворам для установления градуировочной характеристики в соответствии с требованиями, изложенными в разделе 5 данной части.
Частота проведения оперативного контроля определяется по табл. 7.1. в зависимости от количества анализов вещества, выполняемых в подразделении за 1 мес.
Таблица 7.1
Частота проведения оперативного контроля
|
< 150 |
151 - 200 |
201 - 300 |
301 - 400 |
> 400 |
|
|
Частота оперативного контроля в неделю |
1 |
2 |
3 |
4 |
5 |
Оперативный контроль проводится обязательно при появлении сомнительных результатов после окончания измерений состава рабочих проб.
Оперативный контроль грубой погрешности осуществляет оператор по результатам контрольного измерения одного - двух контрольных растворов; измерения проводятся аналогично измерениям рабочих проб. Результаты каждого контрольного измерения заносятся в журнал «Внутренний контроль точности измерений» по форме, приведенной в табл. 7.2. Графа 7 заполняется при выявлении грубой погрешности измерений.
Таблица 7.2
Оперативный контроль грубой погрешности
|
Фамилия исполнителя |
Название вещества |
Заданное содержание вещества |
Результат контрольного измерения X |
Оценка качества измерения |
Причины наличия погрешности и принятые меры |
|
|
1 |
2 |
3 |
4 |
5 |
6 |
7 |
|
|
|
|
|
|
|
|
Результат контрольного измерения X содержит грубую погрешность, если абсолютное значение его отклонения от заданного содержания измеряемого вещества c превышает утроенное значение допустимой максимальной погрешности метода согласно методике, а при ее отсутствии по ГОСТ 17.2.4.02-81 [3] составляет 25 %. В последнем случае, если
|x - c| > 3×25c/100, т.е. |x - c| > (3/4)×c, (7.1)
то результат измерений содержит грубую погрешность.
При обнаружении грубой погрешности необходимо выявить и устранить ее причины. После этого контрольное измерение следует повторить.
Статистический контроль точности проводится не реже двух раз в год для каждого контролируемого вещества и включает два этапа: контроль сходимости и контроль правильности.
Средства контроля (контрольные пробы, стандартные образцы) выдаются оператору вместе с рабочими пробами по возможности в зашифрованном виде. Число средств контроля должно быть не менее пяти (m ≥ 5). Оператор проводит не менее пяти параллельных измерений каждого средства контроля (l ³ 5). Результаты параллельных измерений каждого раствора записывают в журнал внутреннего контроля точности измерений по форме, представленной в табл. 7.3.
Таблица 7.3
Результаты измерений при статистическом контроле
|
Номер пробы, i |
Номер средства измерений i |
||||||
|
1 |
2 |
. |
i |
. |
m |
||
|
|
1 |
D11 |
D21 |
. |
Di1 |
. |
Dm1 |
|
|
. |
. |
. |
. |
. |
. |
. |
|
|
j |
Dj1 |
D2j |
. |
Dij |
. |
Dmj |
|
|
. |
. |
. |
. |
. |
. |
. |
|
|
l |
Dl1 |
D2l |
. |
Dil |
. |
Dml |
|
|
|
|
|
. |
|
. |
|
|
|
|
|
|
. |
|
. |
|
|
|
|
|
|
. |
|
. |
|
|
|
xi |
x1 |
x2 |
. |
xi |
. |
xm |
|
|
|
|
|
|
Фамилия оператора |
||
В
табл. 7.3. Dij - результат измерения оптической плотности
(или другой величины) j-й
пробы i-го
раствора; m - число средств контроля (контрольных
растворов); li
- число измерений i-го
контрольного раствора;
-
среднее значение оптической плотности i-го контрольного раствора, которое
вычисляется по формуле:
(7.2)
SD - среднее квадратическое отклонение измерений i-го раствора, которое вычисляется по формуле:
D0 - значение измерения нулевой пробы; Di - D0 - разность среднего значения оптической плотности i-го контрольного раствора и D0; xi - содержание анализируемого вещества в данном растворе, определяемое по градуировочной характеристике.
Данные статистического контроля точности заносят в журнал по форме, представленной в табл. 7.4.
Таблица 7.4
Данные статистического контроля точности результатов измерения
|
Номер средства измерений i |
Заданное содержание вещества Ci |
Наибольшая разность |
Отношение Ui |
Оценка сходимости |
Измеренное содержание xi |
Результаты расчетов при оценке правильности |
|
|
1 |
2 |
3 |
4 |
5 |
6 |
7 |
8 |
|
|
1 |
c1 |
|
u1 |
(уд., неуд.) |
х1 |
b = |
|
|
2 |
c2 |
|
u2 |
x2 |
Sb = |
|
|
|
. |
. |
. |
. |
. |
f = |
|
|
|
i |
ci |
|
ui |
xi |
t = |
|
|
|
. |
. |
. |
. |
. |
|
|
|
|
m |
cm |
|
um |
xm |
|
По полученным данным руководитель лаборатории (инженер-химик) проводит оценку сходимости и правильности результатов измерений. Сходимость оценивается на основе положений ГОСТ 11.002-73 [4]. Для каждого контрольного раствора определяется отношение
(7.4)
где Di* - значение Di, в наибольшей степени отклоняющееся от
среднего
. Результат сравнивается со значением величины Uα, приведенной
в табл. 7.5 для соответствующего li и принятой доверительной
вероятности α
= 0,05.
Если Ui ≥ Uα, то сходимость результатов измерений i-го контрольного раствора считается неудовлетворительной и результаты измерений этого раствора не учитываются в дальнейших расчетах.
Таблица 7.5
Значения Uα для доверительной вероятности α = 0,05
|
3 |
4 |
5 |
6 |
7 |
8 |
9 |
10 |
|
|
Uα |
1,15 |
1,46 |
1,67 |
1,82 |
1,94 |
2,03 |
2,11 |
2,18 |
Если сходимость удовлетворительна не менее чем для трех контрольных растворов, то далее проводится контроль правильности. Если сходимость удовлетворительна для меньшего числа растворов, то делается вывод о наличии случайной погрешности измерений в совокупности измерений, который записывается под табл. 7.4. При этом необходимо принять меры по устранению причин возникновения случайной погрешности.
Оценка правильности проводится путем сравнения результатов анализа с заданным содержанием вещества в средствах измерения. Для этого рассчитываются следующие величины:
(7.6)
(7.7)
где xi - результат анализа i-го контрольного раствора (i = 1, 2, ..., m);
ci - заданное содержание определяемого вещества в i-м контрольном растворе;
b - параметр, характеризующий угол наклона линии регрессии, т.е. близость результатов измерения к действительному содержанию вещества;
m - число средств контроля;
f - число степеней свободы (f = т - 1);
Sb - оценка разброса относительно значения величины b;
t - нормированное отклонение значения величины b от 1.
Результаты расчета b, Sb, f и t записываются в графу 8 табл. 7.4. Рассчитанное значение t сравнивается с tтабл(f), приведенным в табл. 7.6. Если t > tтабл(f) результат измерений содержит систематическую погрешность. Вывод о наличии (отсутствии) систематической погрешности записывается под табл. 7.4.
Таблица 7.6
Значения квантилей t-распределения Стьюдента для доверительной вероятности 0,05
|
2 |
3 |
4 |
5 |
6 |
7 |
8 |
9 |
10 |
|
|
t(f) |
2,920 |
2,353 |
2,132 |
2,015 |
1,943 |
1,895 |
1,860 |
1,833 |
1,812 |
Все случаи выявления систематических погрешностей должны быть тщательно исследованы и причины, вызвавшие их появление, должны быть устранены.
Внешний контроль точности результатов измерений является обязательным для всех используемых в сетевых лабораториях (группах) наблюдения за загрязнением атмосферы методик измерений, обеспеченных средствами контроля. Внешний контроль точности измерений предусматривает два этапа: контроль случайной составляющей погрешности измерений - контроль сходимости - и контроль систематической составляющей погрешности измерений - контроль правильности.
Средствами контроля являются стандартные образцы (твердые или жидкие) или контрольные растворы. Контрольные растворы приготавливаются в подразделении, организующем внешний контроль, в соответствии с процедурой приготовления растворов для установления градуировочной характеристики согласно методике измерений (см. раздел 5 данной части). Для повышения точности приготовления контрольных растворов следует увеличить в 10 раз навеску определяемого вещества и объем исходного и рабочего контрольных растворов.
Пример.
Требуется приготовить контрольные растворы при проведении внешнего контроля точности измерений диоксида азота.
1. Исходный контрольный раствор
Азотистокислый натрий растирают в ступке и сушат при температуре 50 - 60 °С в течение 3 - 4 ч. Навеску 1,5000 г растворяют в мерной колбе вместимостью 1000 см3; 1 см3 исходного контрольного раствора соответствует 1000 мкг диоксида азота.
2. Рабочий контрольный раствор
Для приготовления рабочего контрольного раствора бюретку вместимостью 25 см3 заполняют исходным раствором. В мерную колбу вместимостью 1000 см3 приливают из бюретки 10 см3 исходного раствора и доводят объем колбы до метки водой. 1 см3 рабочего раствора соответствует 10 мкг диоксида азота.
3. Серия контрольных растворов
Рабочий контрольный раствор помещают в бюретку. В мерные колбы вместимостью 1000 см3 наливают 200 - 300 см3 воды, из бюретки добавляют точные объемы рабочего раствора согласно задаваемым содержаниям определяемого вещества в пробе, добавляют 40 мл раствора для пропитки и доводят объем колб до метки водой. Расчет объемов рабочего раствора, необходимых для приготовления серии контрольных растворов, проводят по формуле
![]()
где Vi - объем i-го рабочего раствора, необходимый для приготовления контрольного раствора с заданным содержанием вещества;
ci - заданное содержание вещества в анализируемом объеме пробы, мкг в пробе;
ρ - концентрация рабочего раствора, мкг/см3;
1000 - приготовляемый объем контрольного раствора, см3;
5 - анализируемый объем пробы, см3.
Если ci = 0,15 мкг и ρ = 10 мкг/см3, то
![]()
Для ci, равного 0,30; 0,40; 0,75; 1,20 мкг в пробе, Vi равно соответственно 6, 8, 15, 24 см3.
Непосредственно после приготовления контрольных растворов проводится их проверка для того, чтобы исключить случайную ошибку, возможную при приготовлении раствора.
Из каждого контрольного раствора берется 5 - 7 проб (по 5 см3), пробы переносятся в пробирки и анализируются. По результатам анализа рассчитывается средняя оптическая плотность каждого контрольного раствора и с помощью градуировочных характеристик определяется содержание вещества в пробе. Полученный результат (xi) не должен отличаться от заданного значения (ci) более чем на 5 %. В противном случае i-й контрольный раствор (или вся серия) приготавливается заново.
В подразделении, организующем контроль, целесообразно проверять устойчивость контрольных растворов в течение срока рассылки. Для этого 100 - 150 см3 каждого из приготовленных растворов хранится в лаборатории в плотно закрытых бутылях темного стекла в течение 1 мес. Через 15 и 30 сут проводятся повторные измерения контрольных растворов с целью проверки их сохранности. При этом отличия результатов измерения от значений, полученных в день приготовления, не должны превышать 5 %. В этом случае раствор считается устойчивым.
Контрольные растворы рассылаются не позднее, чем на следующий день после их приготовления и проверки.
Контрольные растворы наливаются в тщательно вымытые и высушенные сосуды вместимостью 30 - 50 см3 так, чтобы сосуд был почти полностью заполнен раствором (материал сосуда должен быть инертным по отношению к контролируемому веществу). На сосуд наклеивается надпись: контрольный раствор для определения вещества (название) и номер контрольного раствора. Если при приготовлении контрольного раствора использовался поглотительный раствор, то его также направляют вместе с контрольным раствором в проверяемые лаборатории с соответствующей надписью. Сосуды тщательно закрывают в соответствии с требованиями методики.
К приготовлению контрольных растворов допускаются лица, хорошо владеющие техникой химического анализа, освоившие методику и не менее трех раз установившие градуировочную характеристику для определения контролируемого вещества. Котангенс угла наклона графиков, полученных при установлении градуировочной зависимости, не должен отличаться более чем на 10 % от значения, действующего в лаборатории.
Контрольные растворы должны быть проанализированы в лаборатории наблюдения за загрязнением атмосферы не позднее, чем через 3 сут после получения, в пятикратной повторности. Анализ контрольных растворов проводится одновременно с текущим анализом проб. Содержание вещества определяется по градуировочной характеристике в соответствии с МВИ для каждого измерения контрольной пробы. Результаты анализа записываются по форме табл. 7.7, оформляются для обработки на ЭВМ [5] (см. приложение 7.1) и направляются на обработку не позднее, чем через 7 сут после получения растворов.
Таблица 7.7
Результаты анализов растворов (мкг в пробе) при внешнем контроле (УГМ, ЛНЗА, город, дата получения контрольных растворов, дата анализа контрольных растворов, вещество)
|
Номер анализа |
||||
|
1 |
2 |
j |
n |
|
|
1 |
|
|
|
n1 |
|
… |
|
|
|
|
|
i |
|
|
|
ni |
|
… |
|
|
|
|
|
т |
|
|
|
nm |
При проведении внешнего контроля большинство расчетов производится с помощью ЭВМ по программе «Внешний периодический контроль точности результатов измерений содержания загрязняющих воздух веществ» [5]. Для ввода данных в ЭВМ результаты анализа переносятся из табл. 7.7 на машинные бланки. Правила и примеры заполнения машинных бланков приведены в приложении 7.1, описание результатов расчетов на ЭВМ - в программных документах [5] и в приложении 7.1.
Контроль сходимости. Для контроля сходимости при внешнем контроле используются оценки дисперсии измерений каждого i-го раствора:
j = 1,
2, ..., ni; i = 1, 2, ..., m, (7.8)
где
- среднее из измерений i-го контрольного раствора;
xij - отдельный результат измерения i-го контрольного раствора;
ni - количество измерений i-го контрольного раствора;
m - количество контрольных растворов.
Значения Si2 - анализируются на однородность. Для этой цели используется расчет статистики Бартлетта (В) [1, 6]. Сначала вычисляется суммарная дисперсия измерений отдельных контрольных растворов:
(7.10)
а затем сама статистика B:
Здесь
-
суммарное количество измерений всех контрольных растров, а
Вычисленные значения B сравниваются с табличным значением χ2 (табл. 7.8).
Таблица 7.8
Значения квантилей χ2-распределения для доверительной вероятности α = 0,05 и числа степеней свободы f = m - 1
|
2 |
3 |
4 |
5 |
6 |
7 |
8 |
9 |
10 |
|
|
χ2 |
5,99 |
7,82 |
9,49 |
11,07 |
12,52 |
14,07 |
15,51 |
16,92 |
18,31 |
Если B < χ2, то различия случайных погрешностей измерений отдельных контрольных растворов незначительны. Однако эти погрешности сами по себе могут быть велики. Для окончательного вывода о наличии случайной погрешности в измерениях следует оценить сходимость измерений того контрольного раствора, для которого получено наибольшее значение Si2. Оценку проводят аналогично п. 7.2.2 на основе положений ГОСТ 11.002-73 [4]. Определяется отношение
(7.13)
где xij* - наибольшее измеренное значение i-го контрольного раствора. Если Ui ≥Uα (где Uα из табл. 7.5), то измерения контрольных растворов содержат значительную случайную погрешность. В этом случае дальнейший контроль не проводится.
Если B ≥ χ2, то случайные погрешности измерений отдельных контрольных растворов существенно различаются. В этом случае для принятия окончательного решения о значениях случайных погрешностей следует оценить сходимость измерений тех двух контрольных растворов, для которых Si2 наибольшее. Процедура оценки такая же, как при B < χ2. Если выявлено наличие значимой случайной погрешности в измерениях i-го контрольного раствора, то все результаты измерений этого раствора необходимо исключить из последующей обработки. Для этого вносятся изменения в бланки машинной обработки, данные вводятся в ЭВМ и расчет повторяется. Следует иметь в виду, что выводы о качестве анализа, сделанные по измерениям менее чем трех контрольных растворов, являются статистически необеспеченными, поэтому в программе предусмотрено нижнее ограничение числа контрольных растворов: m ≥ 3.
Контроль правильности. Проверка значимости систематической погрешности основана на оценках линейного регрессионного анализа [1, 6]. Измеренные значения контрольных растворов xij сравниваются с заданным содержанием ci, связь между которыми должна быть линейна и описывается уравнением прямой вида x = a + bc. Параметры уравнения оцениваются как

(7.14)
Здесь
-
среднее значение заданных концентраций контрольных растворов.
Далее рассчитывается дисперсия оценок параметров a и b:
(7.15)

где ![]()
- оценка разброса результатов измерений относительно линии регрессии, которая представляет собой сумму оценок дисперсии средних значений «измерений» каждого контрольного раствора относительно линии регрессии.
(7.16)
и суммарной дисперсии измерений отдельных контрольных растворов
(7.17)
Для
выявления значимости систематической погрешности рассчитываются величины
и
. Эти величины сравниваются со значением tтабл(f), приведенным в табл. 7.6
для доверительной вероятности 0,05 и числе степеней свободы f = N
- 1.
Если t'b > tтабл(f), то это означает, что измерения содержат значимую систематическую погрешность, которая меняется от раствора к раствору. Если t'a > tтабл(f), то это означает, что измерения содержат значимую систематическую погрешность, примерно одинаковую для всех растворов. Чаще всего это связано с неправильным учетом значения нулевой пробы.
Большой объем данных наблюдений за состоянием загрязнения атмосферы, необходимость их широкого использования в природоохранной деятельности народнохозяйственных организаций как общесоюзного, так и регионального масштаба требуют проведения автоматизированной обработки информации по принципу распределенной машинной обработки [4]. Иерархический тип организации обработки способствует сокращению расчетных работ, выполняемых вручную, повышает качество и достоверность информации за счет применения объективных дифференцированных критериев контроля, расширяет диапазон изучаемых статистических характеристик, а также способствует оперативному удовлетворению запросов потребителей как местного, так и всесоюзного уровня, предоставляя им нужную информацию соответствующего пространственно-временного масштаба. При этом первичный сбор, контроль и обработка информации по заданной территории (региону, городу) выполняется на территориальном (региональном) уровне на базе территориальных (региональных) вычислительных центров, оснащенных ЕС ЭВМ [1, 4, 7, 8]. На этом же уровне в единой структуре Государственного фонда данных о состоянии природной среды (Госфонда) создается информационная база локального банка данных о загрязнении атмосферы [1, 4, 8, 9].
Последовательность сбора, обработки данных наблюдений и распространения выходных документов при машинной обработке информации с использованием автоматизированной системы обработки информации о загрязнении атмосферы (АСОИЗА)1 в общем виде представлена в табл. 8.1 в виде организационно-функциональной схемы.
1 При использовании других автоматизированных систем обработки (см. например, [2]) последовательность сбора, обработки и распространения информации в целом сохраняется.
Таблица 8.1
Организационно-функциональная схема сбора, контроля, обработки и архивации сведений о состоянии загрязнения атмосферы
Продолжение табл. 8.1
1 Или в другие сроки по согласованию между УГМ и центром обработки.
2 Передается 1 раз в год.
3 Ежегодник состояния загрязнения атмосферы в городах и промышленных центрах СССР.
На схеме отражены основные функции и информационные потоки системы машинной обработки данных: подготовка опорной информации, сбор данных наблюдений и заполнение форм сбора, занесение информации на входной технический носитель, ввод в ЭВМ, машинный синтаксический и логический (семантический) контроль, корректировка ошибок, выполнение расчетов и обобщений, получение выходных машинных документов (таблиц), формирование архива на магнитной ленте как на уровне территориального центра обработки, так и на всесоюзном уровне, сдача данных в Государственный фонд данных о состоянии природной среды (Госфонд). Все подразделения, обеспечивающие сбор и обработку информации, условно можно разделить на:
местные сетевые подразделения (графы 4, 5);
территориальные подразделения Центра обработки (графы 6 - 8);
всесоюзный специализированный центр сбора и обработки данных (ГГО) (графа 9);
центр гидрометеорологических данных (ВНИИГМИ-МЦД) (графа 10).
Результаты наблюдений за концентрациями примесей записываются в ручные формы сбора данных: таблицы ТЗА-0, ТЗА-1, ТЗА-2, ТЗА-3 и ТЗА-4. Формы таблиц и правила их заполнения даны в пп. 8.3.3 - 8.3.6. Запись в таблицы выполняется в лабораториях (группах) наблюдений за уровнем загрязнения атмосферы. Результаты наблюдений из форм сбора переносятся на технические носители - перфоленту (ПЛ), перфокарту (ПК), магнитную ленту (МЛ) - по двум макетам кода. Один из них используется при кодировании данных разовых наблюдений на стационарных и маршрутных постах или данных подфакельных измерений, второй - при кодировании данных непрерывных измерений с помощью газоанализаторов.
Занесение данных на технический носитель выполняется либо в лабораториях (группах) наблюдений за загрязнением (или в других подразделениях по указанию УГМ) с помощью телеграфных аппаратов типа Т-51 на пятипозиционную перфоленту [1, 4], либо в УГМ на вычислительном центре, выполняющем обработку информации по закрепленному региону, на перфокарты или магнитные ленты [4, 6]. При подготовке данных на перфоленте материалы перфорации (перфолента и получаемая одновременно с ней широкая лента) высылаются авиапочтой в Центр машинной обработки территориального (регионального) уровня. При занесении данных на другие носители в Центр обработки передаются заполненные бланки подготовки данных для ввода в ЭВМ. Данные с технического носителя вводятся в ЭВМ, информация проходит раскодировку, контроль, обработку и обобщение. В Центре обработки печатаются выходные машинные документы: таблицы наблюдений за загрязнением воздуха, таблицы, содержащие характеристики загрязнения воздуха за различные пространственные и временные интервалы. Порядок и сроки распространения машинных документов определяет УГМ на основе действующих инструкций. Примерный список рассылки приведен в табл. 8.2. Машинные документы сопровождаются результатами машинного контроля. УГМ принимает и анализирует качество машинных документов, после чего данные используются в регулярной практике обеспечения сведениями о состоянии загрязнения атмосферы, а также для подготовки обязательных информативных документов. Таблицы ТЗА передаются для хранения в архив. В УГМ составляются методические письма сетевым подразделениям с разъяснением допущенных ошибок наблюдений и кодирования. Замечания по качеству машинной обработки данных высылаются в Центр обработки.
При регулярной машинной обработке УГМ подготавливает также и справочные данные о составе постов сети наблюдений за загрязнением атмосферы в городах деятельности УГМ и о программе наблюдений на них. Эти сведения являются опорными для машинного контроля и составляются один раз в конце года с учетом запланированного на предстоящий год расширения сети и программы наблюдений. Справочные данные записываются на машинные бланки и направляются в вычислительный центр. Вычислительный центр подготавливает в формате перфокарт информацию справочного характера и после ввода ее в ЭВМ передает УГМ для контроля машинные документы, содержащие справочные данные.
Таблица 8.2
Порядок передачи результатов машинной обработки
|
Периодичность и срок представления |
Адресат |
|
|
1. Таблицы ТЗА |
Ежемесячно, до 10 числа следующего месяца1 |
ЦНЗПС (2 экз.) |
|
2. Характеристики загрязнения за месяц по отдельным постам |
То же |
ЦНЗПС (2 экз.), сетевые подразделения |
|
3. Характеристики загрязнения за месяц по городу |
» |
То же |
|
4. Характеристики загрязнения за первое полугодие по городу |
1 раз в год до 20 июля |
ЦНЗПС (2 экз.) |
|
5. Характеристики загрязнения за год по отдельным постам |
1 раз в год до 20 января |
То же |
|
6. Характеристики загрязнения за год по городу |
1 раз в год до 20 января |
» |
|
7. Характеристики загрязнения за любое количество месяцев года по отдельным постам |
По запросу |
Любая организация |
|
8. Характеристики загрязнения за любое количество месяцев года по городу |
По запросу с указанием номеров постов для обобщения |
То же |
|
1 Или в другие сроки по согласованию между УГМ (ЦНЗПС) и центром обработки. |
||
Проконтролированные данные наблюдений и результаты статистической обработки записываются для долговременного хранения на магнитную ленту в ЕС ЭВМ в единой структуре.
Полученная таким образом информационная база локального банка данных является основой для информационного обеспечения потребителей на региональном (территориальном) уровне. Доступ к данным обеспечивается средствами единой системы управления данными (СУД) автоматизированной информационной системы обработки режимной информации (АИСОРИ) [8], принятой в системе банков данных Госкомгидромета СССР. Магнитные ленты с архивной информацией передаются в специализированный центр сбора информации союзного уровня, где выполняется дополнительный контроль информации и формирование на магнитной ленте информационной базы всесоюзного банка данных «Загрязнение атмосферы», который входит в систему режимно-справочных банков данных (РСБД) Госкомгидромета СССР [9]. Экземпляр созданного во всесоюзном центре на магнитной ленте архива информации о загрязнении атмосферы направляется во ВНИИГМИ-МИД для помещения в Государственный фонд данных о состоянии природной среды.
РСБД «Загрязнение атмосферы» является заключительным звеном системы машинной обработки данных наблюдений за содержанием вредных примесей в атмосфере. Он предназначен для хранения и распространения информации о состоянии загрязнения атмосферы, для автоматизации обеспечения потребителей всесоюзного уровня режимно-справочной информацией с целью выполнения различных работ по охране воздушного бассейна от загрязнения.
Все результаты разовых наблюдений на стационарных и маршрутных постах записываются наблюдателем в таблицу записи ежедневных наблюдений за загрязнением атмосферы на постах ТЗА-0 (см. табл. 8.3). В начале таблицы записываются общие сведения о местонахождении поста и время наблюдений (город, пост, дата, срок). Затем записываются результаты наблюдений, название измеряемой примеси, номера пробы используемых поглотительных приборов, сорбционных трубок или фильтров, время начала (τ1) и конца (τ2) отбора пробы воздуха, расход воздуха (u), объем аспирированного воздуха (V), сведения о температуре воздуха, атмосферном давлении, направлении и скорости ветра, состоянии погоды и поверхности почвы. Порядок записи результатов наблюдений и точность записи метеорологических величин изложены в п. 4.4.3.
Один лист ТЗА-0 используется для записи данных за один срок. ТЗА-0 вместе с пробами отсылается в лабораторию, где хранится в течение года.
Первичной формой сбора результатов наблюдений за концентрацией примесей и необходимыми метеорологическими характеристиками является заполняемый вручную бланк подготовки данных для ввода в ЭВМ (ручная ТЗА). В зависимости от вида измерений различают ТЗА-1, ТЗА-2, ТЗА-3 и ТЗА-4. В ТЗА-1 записываются данные наблюдений на сети постоянно действующих стационарных или маршрутных постов, в ТЗА-2 - данные наблюдений под факелами промышленных предприятий на разных расстояниях от источника загрязнения, в ТЗА-3 - данные суточных наблюдений на стационарных постах, в ТЗА-4 - данные непрерывных наблюдений, проводимых с помощью автоматических газоанализаторов. Для ручных ТЗА-1, ТЗА-2, ТЗА-3 используется единый вид бланка перфорации, который заполняется в лабораториях (группах) наблюдений за загрязнением атмосферы. Запись в таблицу следует выполнять ежедневно. Данные о концентрациях примесей переносятся в таблицу из соответствующих журналов, метеорологические характеристики - из таблицы ТЗА-0 или из книжки КМ-1 (для основной метеостанции). Сведения ручной ТЗА являются исходными в автоматизированной системе обработки информации о загрязнении атмосферы. Они могут быть также использованы в УГМ (ЛНЗА) при оперативной работе.
Данные разовых наблюдений на отдельном посту или под факелом одного предприятия записываются в одну таблицу и занимают несколько листов бланков информации. Листы нумеруются. В верхней части каждого бланка (табл. 8.4) записывается название УГМ и города, год, месяц и номер поста и название таблицы (ТЗА-1, ТЗА-2, ТЗА-3). Для удобства перфорации графы в таблицах обозначены буквенными индексами, которые соответствуют макету кодирования (см. п. 8.3.2). Графы таблицы на бланке включают несколько позиций. В каждую позицию вписывается один символ (цифра, буква, пробел). Данные наблюдений за отдельный срок записываются в одну строку таблицы. При отсутствии всех наблюдений за срок пропуск строки не делается. При отсутствии наблюдений за отдельным элементом соответствующие графы либо остаются незаполненными, либо заполняются специальными символами. Таблицы заполняются темными синими чернилами, аккуратно, без помарок, четко и ясно.
Таблица 8.3
|
ТАБЛИЦА ТЗА-0 Город ___________________ Пост ___________________ Наблюдатель ______________ Дата _____________________________ Срок ____________________________ (ч, мин)
Дата отправки проб в лабораторию ___________________________________ Дата получения проб в лаборатории ___________________________________ |
|||||||||||||||||||||||||||||||||||||||||||||||||||||||||||||||||||||||||||||||||||||||
Таблица 8.4
Бланк подготовки данных для ввода в ЭВМ
|
ТЗА-1 ТЗА-2 ТЗА-3 (ненужное зачеркнуть) УГМ _____________________________________ Город _____________ Год _________ Месяц _________ Пост, предприятие __________ (ненужное зачеркнуть) Призначный блок |
Макет для кодирования результатов дискретных наблюдений имеет вид:
I II III IV V
||aaГГ MMhhhPλ φφφλλλ PPRRKS XXXXNN
1 2 3 4 5 6
((//R1 GGYYY bbrrr ±TTT0 ddυυφ ffeee
При записи данных для занесения их на магнитную ленту (перфокарту) вместо символов // используются символы # #, а вместо символов (( - символы NN.
Макет предназначен для кодирования результатов наблюдений за месяц на отдельном таценарном (или маршрутном) посту или под факелом одного промышленного предприятия. Он состоит из пяти шестизначных (группы I - V) и шести пятизначных групп (группы 1 - 6). Группы I - V содержат общую информацию - призначный блок. Группы 1 - 6 используются при кодировании информации в отдельные сроки наблюдений и разделены на три блока:
1) пространственно-временной блок - группы 1 - 2;
2) данные наблюдений за концентрациями примесей - группа 3;
3) данные метеорологических наблюдений - группы 4 - 6.
Макет для кодирования результатов непрерывных наблюдений за одним видом примеси на посту имеет вид:
I II III IV V VI
||aaГГ MMHHHPλ φφφλλλ PPbbKS XXXXNN FFFZZZ
1 2 3 4
((//ψ bbrrr RRRtt TTT))
Макет состоит из шести шестизначных групп I - VI: признанного блока и четырех пятизначных групп. Он предназначен для перфорации результатов наблюдений за месяц на отдельном стационарном (или маршрутном) посту, выполненные с помощью автоматических средств регистрации. При записи на бланке группы разделены пробелами.
Листы таблицы заполняются в соответствии с табл. 8.4. В первый лист записи данных отдельного поста заносится общая информация - призначный блок (группы I - V), т.е. заполняются первые 34 позиции бланка подготовки данных для ввода в ЭВМ.
Запись призначного блока. Все элементы признанного блока должны быть заполнены. Необходимо тщательно проверять правильность записи призначного блока.
Группа 1 заносится в позиции 1 - 6. В позициях 1 и 2 ставится символ, означающий начало записи сведений одного поста за един месяц. При занесении данных на перфоленту это символ //, а на магнитную ленту или перфокарту - # #. В позициях 3 и 4 записывается aa шифр вида информации (для ТЗА-1 всегда 11), в позициях 5 и 6 - год наблюдений (ГГ), две последние цифры.
Группа II занимает позиции 8 - 13. В позициях 8 и 9 помещается номер месяца ММ; январь кодируется 01, ноябрь - 11. В позициях 10 - 12 - высота метеорологической станции hhh над уровнем моря - кодируется в десятках метров (например, 65 м - 006, 287 м - 029, 1350 м - 135). Для станций, имеющих отрицательную отметку высоты над уровнем моря, знак минус записывается цифрой 9 в первом знаке (например, высота станции над уровнем моря - 112 м записывается 911). В позиции 13 признак долготы (Pλ) кодируется:
0 - восточная долгота меньше 100 °,
1 - восточная долгота больше или равна 100 °,
2 - западная долгота больше или равна 100 °,
3 - западная долгота меньше 100 °.
В позициях 15 - 20 записывается группа III - φφφλλλ - координатный номер метеостанции в данном городе, при ее отсутствии - координатный номер города.
Группа IV заносится в позиции 22 - 27. В позициях 22 - 23 записывается PP - общее количество постов в городе за данный месяц, позиции 24 - 25 - общее количество видов примесей (RR), записанных в данную ТЗА. В позиции 26 помещается код K типа поста в соответствии с табл. 8.5. Позиция 27 заполняется знаком координат поста S. Сами координаты (ХХХХ) записываются в позиции 29 - 32 (часть группы V). Группа V заканчивается номером поста (NN), помещаемым в позициях 33 и 34. Номер и координаты поста должны соответствовать информации, имеющейся в перечне условно-постоянных характеристик для данного города (см. п. 8.5.2). Для определения координат на схему города известного масштаба накладывается квадратная сетка с шагом 1 км (рис. 8.1), которая ориентируется строго по сторонам горизонта (С, Ю, З, В); квадраты нумеруются по этим направлениям начиная с верхнего левого угла. Положение сетки остается фиксированным из года в год, что обеспечивает постоянство координат постов. При расширении границ города соответственно добавляются квадраты. Знак координат поста S кодируется по схеме:
1 - положительное значение горизонтальной и вертикальной координат;
2 - отрицательное значение горизонтальной, положительное - вертикальной;
3 - отрицательное значение горизонтальной и вертикальной координат;
4 - положительное значение горизонтальной, отрицательное - вертикальной.
Пример определения координат поста
Таблица 8.5
Коды (K) типа постов
|
K |
|
|
Метеостанция без наблюдений за загрязнением атмосферы |
0 |
|
Опорный пост на основной метеостанции |
1 |
|
Опорный пост |
2 |
|
Стационарный пост на основной метеостанции |
3 |
|
Стационарный пост |
4 |
|
Маршрутный пост |
5 |
|
Стационарные (маршрутные) посты санитарно-эпидемиологической службы или других ведомств |
6 |
|
Подфакельные наблюдения |
7 |
|
Автоматизированный пост наблюдений |
8 |
|
Стационарный пост с суточной программой наблюдений |
9 |
|
Примечание. Информация основной метеостанции необходима для расчета фоновых концентраций вредных веществ в атмосферном воздухе города. |
|
В приведенном на рис. 8.1 примере заштрихованный квадрат имеет координаты 10 (по горизонтали) и 04 (по вертикали) и знак S-4, в графу ХХХХ записывается 1004. При положении поста на пересечении сетки при кодировании записываются меньшие номера квадрата.
Запись данных наблюдений. Для удобства в шапке таблицы записываются названия примесей и масштабный множитель М, соответствующий точности записи концентрации (табл. 8.6).
Данные наблюдений за все сроки каждого дня записываются последовательно по строке в соответствии с указанными на бланке индексами в пятизначные группы согласно макету перфорации. Номер группы указан под позициями, которые занимает группа. Результаты наблюдений объединены в два блока - концентрации примесей (группа 3) и метеорологические характеристики (группы 4 - 6). Запись каждой строки начинается с двух круглых левых скобок (позиции 1 и 2), если данные будут заноситься на перфоленту. В том случае, если данные будут заноситься на перфокарту или магнитную ленту, в позициях 1 и 2 каждой строки вписывается номер поста (NN) в городе. В позициях 3 и 4 записывается дата наблюдений (//). В позиции 5 указывается количество шифров примесей (R1), которое записано в группе 3 за данный срок. Срок отбора проб (GG) с округлением до целого часа указывается в позициях 7 и 8. Позиции 9 - 11 заполняются буквой Ш. В позициях 13 - 53 записываются сведения о концентрациях примесей. Названия граф для каждой примеси заполняются один раз в месяц. В графах для каждой примеси указывается четко и ясно название и шифр примеси над обозначениями b1b1, b2b2, ..., b7b7. В графах «Наименование, шифр и концентрация примеси» указывается точность М (масштабный множитель), с которой концентрация записывается вручную ТЗА (см. табл. 8.6). Записывать примеси по графам можно произвольно, но рекомендуется сначала указывать основные, а затем специфические примеси. Шифры примесей сообщаются в УГМ в установленном порядке.
Таблица 8.6
Шифры примесей в АСОИЗА и точность записи концентраций (вводится с 1.01.91 г.)
|
Шифр в АСОИЗА |
Точность записи концентрации примеси, мг/м3 |
Параметр А |
|
|
Азота диоксид |
05 |
0,01 |
1,30 |
|
Азота оксид |
06 |
0,01 |
1,00 |
|
Акролеин |
23 |
0,01 |
1,30 |
|
Акрилонитрил |
24 |
0,01 |
1,30 |
|
Аммиак |
19 |
0,01 |
0,85 |
|
Ангидрид фосфорный |
21 |
0,01 |
1,30 |
|
Анилин |
25 |
0,01 |
1,30 |
|
Ацетальдегид |
26 |
0,001 |
1,00 |
|
Ацетон |
27 |
0,01 |
0,85 |
|
Бензол |
28 |
0,01 |
1,30 |
|
Бутилацетат |
29 |
0,01 |
0,85 |
|
Взвешенные вещества (пыль) |
01 |
0,1 |
1,00 |
|
Водород фосфористый |
30 |
0,0001 |
1,30 |
|
Водород хлористый (соляная кислота) |
15 |
0,01 |
1,30 |
|
Водород цианистый |
31 |
0,001 |
1,30 |
|
Дивинил |
32 |
1 |
- |
|
Диметиламин |
33 |
0,001 |
1,30 |
|
Диметилдиоксан |
34 |
0,001 |
1,30 |
|
Диметиловый эфир терефталиевой кислоты |
35 |
0,001 |
1,30 |
|
Динил |
36 |
0,001 |
1,00 |
|
Диэтиламин |
37 |
0,01 |
0,85 |
|
Изопрен |
38 |
0,01 |
- |
|
Капролактам |
39 |
0,01 |
1,00 |
|
Кислота азотная |
40 |
0,01 |
1,30 |
|
Кислота борная |
41 |
0,01 |
1,00 |
|
Кислота валериановая |
42 |
0,01 |
1,00 |
|
Кислота капроновая |
43 |
0,001 |
1,00 |
|
Кислота масляная |
44 |
0,001 |
1,00 |
|
Кислота пропионовая |
45 |
0,001 |
1,00 |
|
Кислота серная |
20 |
0,01 |
1,30 |
|
Кислота уксусная |
46 |
0,01 |
1,00 |
|
Ксилол |
47 |
0,1 |
1,00 |
|
Марганец (в пересчете на диоксид марганца) |
48 |
0,001 |
1,30 |
|
Метилмеркаптан |
50 |
0,000001 |
1,30 |
|
α-Метилстирол |
51 |
0,01 |
1,00 |
|
Метиловый эфир акриловой кислоты |
52 |
0,001 |
0,85 |
|
Монометиламин |
53 |
0,001 |
1,30 |
|
Моноэтиламин |
54 |
0,001 |
1,30 |
|
Мышьяк |
55 |
0,001 |
1,30 |
|
Нафталин |
56 |
0,001 |
1,85 |
|
Озон |
07 |
0,001 |
1,70 |
|
Пиридин |
60 |
0,01 |
1,30 |
|
Ртуть |
17 |
0,0001 |
1,70 |
|
Сажа |
11 |
0,01 |
1,00 |
|
Свинец |
18 |
0,0001 |
1,70 |
|
Сероводород |
08 |
0,001 |
|
|
Сероуглерод |
09 |
0,001 |
1,30 |
|
Сернистый диоксид |
02 |
0,001 |
1,00 |
|
Синтетические моющие средства |
61 |
0,001 |
1,30 |
|
Синтетические поверхностно-активные вещества (СПАВ) |
62 |
0,001 |
- |
|
Спирт бутиловый |
63 |
0,01 |
1,00 |
|
Спирт изопропиловый |
64 |
0,1 |
1,00 |
|
Спирт метиловый |
65 |
0,1 |
1,00 |
|
Спирт пропиловый |
66 |
0,1 |
1,00 |
|
Спирт этиловый |
67 |
1 |
0,85 |
|
Стирол |
68 |
0,001 |
1,30 |
|
Сульфаты растворимые |
03 |
0,01 |
|
|
Тетрахлорэтилен (перхлорэтилен) |
70 |
0,01 |
1,30 |
|
Толуол |
71 |
0,1 |
1,00 |
|
Трикрезол |
72 |
0,001 |
1,30 |
|
Триметиламин |
73 |
0,001 |
- |
|
Трихлорэтилен |
74 |
0,1 |
1,00 |
|
Триэтиламин |
75 |
0,01 |
1,00 |
|
Углерода оксид |
04 |
1 |
0,85 |
|
Углеводороды |
16 |
0,1 |
|
|
Фенол |
10 |
0,001 |
1,30 |
|
Формальдегид |
22 |
0,001 |
1,30 |
|
Фториды твердые |
12 |
0,01 |
1,30 |
|
Фтористый водород |
13 |
0,001 |
1,30 |
|
Фурфурол |
76 |
0,01 |
1,00 |
|
Хлор |
14 |
0,01 |
1,30 |
|
Хлорбензол |
77 |
0,01 |
1,00 |
|
Хлоропрен |
78 |
0,001 |
1,30 |
|
Хром (VI) |
79 |
0,0001 |
1,70 |
|
Циклогексанон |
80 |
0,01 |
1,00 |
|
Эпихлоргидрин |
81 |
0,1 |
1,30 |
|
Этилацетат |
82 |
0,01 |
0,85 |
|
Этилбензол |
83 |
0,01 |
1,00 |
|
Этилен |
84 |
0,1 |
1,00 |
|
α-ГХЦГ (пестициды) |
85 |
0,01 |
- |
|
γ-ГХЦГ (пестициды) |
86 |
0,01 |
- |
|
Диоксин |
87 |
|
- |
|
Пыль цементная |
89 |
0,01 |
1,00 |
При записи значений концентраций следует соблюдать следующие правила:
1) значения концентраций должны записываться в строго соответствующие графы;
2) если наблюдалась концентрация примеси, на порядок превышающая указанную в табл. 8.6 точность, то значение концентрации кодируется тремя цифрами 999. Само значение записывается над этими цифрами и обводится красным карандашом;
3) вместо забракованных или сомнительных значений в соответствующих позициях ставятся знаки ???, а сами значения концентраций записываются над этими знаками;
4) если значения концентраций ниже принятой точности записи, то они округляются;
5) если число примесей, измеренных на данном посту в течение месяца, больше семи, то результаты наблюдений за остальными примесями оформляются в виде записей дополнительной ручной ТЗА-1. При этом в призначном блоке повторяется вся информация и указывается то количество примесей, которое записывается под данным призначным блоком. Данные метеорологических наблюдений за отдельные сроки повторяются;
6) если данные концентрации примесей в бланк перфорации не заносятся, в позиции 5 (R1) записывается 0, в позициях 13 и 14 - символ ::, в позиции 15 делается пробел, а с позиции 16 до конца блока записи концентраций (до позиции 54 включительно) следует прочертить горизонтальную стрелку →;
7) если 0 < R1 < 7, то после последней позиции, занятой записью концентрации, следует сделать пробел, затем занести символ ::, сделать пробел и прочертить горизонтальную стрелку → до конца блока (до позиции 54 включительно);
8) если отсутствуют измерения какой-либо примеси из числа указанных в шапке таблицы, то в соответствующую графу следует занести шифр примеси, а вместо значения концентраций записать ЮЮЮ;
9) Запись символов ЮЮ вместо шифра примеси не допускается.
Пример записи данных концентраций примеси
Примесь Серы диоксид Углерода оксид Азота диоксид Сероводород
Шифр 02 04 05 08
Концентрация,
мг/м3 0,15 9 5,39 Измерений нет
5,39
Вид группы 3 02015 04009 05??? 08ЮЮЮ
В позициях 55 - 65 записываются данные наблюдений за метеорологическими параметрами, измеренными в срок отбора проб на мосту. В том случае, когда наблюдения за концентрациями примесей выполняются на основной метеостанции, в таблицу заносятся данные наблюдений метеорологической станции за ближайший срок наблюдений (в пределах 1,5 ч); если наблюдения за загрязнением приходятся на середину интервала, то метеорологическая информация дается по предшествующему сроку.
В позициях 55 - 58 (±TTT) записывается температура воздуха со знаком с точностью до десятых долей градуса без запятой (например, значение 15,2 °С записывается как +152, а - 7,3 как - 073; в позиции 59 ставится нуль).
В позициях 61 и 62 (dd) записывается направление ветра в десятках градусов (например, 135 и 63° записываются как 14 и 80) В позициях 63 и 64 (υυ) записывается скорость ветра в м/с (например, 8 и 15 м/с записываются как 08 и 15). При штиле в позиции 61 - 64 вписываются нули.
Позиция 65 заполняется шифром атмосферных явлений (φ) в соответствии с табл. 4.5.
Для основной метеостанции в позициях 67 и 68 записывается значение относительной влажности (ff) с точностью до 1 %, влажность 100 % кодируется буквами ЭЭ. Позиции 69 - 71 заполняются значениями парциального давления водяного пара (еее) в гектопаскалях с точностью до десятых долей без запятой; значения меньше 0,1 гПа округляются до десятых (например, 0,07 и 0,04 гПа записываются как 001 и 000).
Если данные блока с метеорологическими наблюдениями неполные, то соответствующие позиции 55 - 71 заполняются буквами Ю, столько раз, сколько отведено позиций для записи отсутствующего элемента. При отсутствии метеорологических характеристик за данный срок в позициях 55 и 56 ставится символ ::, затем делается пробел и прочерчивается горизонтальная стрелка → до позиции 71 включительно.
Если данные будут заноситься на перфоленту, запись данных за срок обязательно заканчивается группой вида 000)) в позициях 73 - 77.
Правила заполнения ТЗА-2 аналогичны изложенным в п. 8.3.3. В одну таблицу заносятся данные обследования одного предприятия, выполненные за один месяц. Листы таблицы заполняются по форме табл. 8.4. В первый лист записи данных заносится общая информация и тем самым заполняются позиции 1 - 34 призначного блока. В призначном блоке в позиции 1 - 2 заносятся символы # #, в позиции 3 и 4 - шифр информации (для подфакельных наблюдений - 21). Позиции 5 - 20 заполняются так же, как в ТЗА-1. В позициях 22 - 23 указывается наибольшее количество дистанций от данного предприятия, на которых проводились наблюдения в данном месяце, в позициях 24 - 25 - наибольшее количество видов примесей, записанных в данную ТЗА-2. Позиции 26 - 34 заполняются так же, как в ТЗА-1, при этом в позиции 27 - 34 записываются условные координаты и условный номер предприятия в городе, определяемые так же, как координаты стационарного поста, по сетке с шагом 1 км (см. п. 8.3.3).
Данные наблюдений за отдельный срок заносятся в одну строку ТЗА-2 (см. табл. 8.4). Группы 1 и 2 заполняются так же, как в ТЗА-1, и разделяются пробелами.
В группе 1 в позициях 1 и 2 указывается номер предприятия NN (повторяется в каждой строке записи), в позициях 3 и 4 - дата наблюдений //, в позиции 5 - количество примесей R1, шифры которых указаны в строке записи за данный срок. Срок отбора проб GG (время начала отбора проб) и расстояние (в сотнях метров) ууу от точки наблюдений до источника выбросов обследуемого предприятия, указываются в позициях 7 - 11 и составляют группу 2.
Сведения о концентрациях примесей, представленные в виде шестизначных групп, заполняют группу 3 (позиции 13 - 60). Перед значением концентрации записывается шифр примеси. Точность записи концентрации соответствует табл. 8.6. Значение концентрации занимает четыре позиции; слева обязательно записываются незначащие нули.
За один срок наблюдений в таблицу может быть занесено не более восьми примесей. Если примесей меньше восьми, то сведения о наблюдениях записываются, начиная с позиции 13 подряд, а остальные до позиции 60 включительно остаются незаполненными. В том случае, когда примесь измерялась, но значение концентрации забраковано или сомнительно, вместо концентрации в соответствующих позициях ставятся знаки ????, а сами значения записываются над этими знаками.
В записи значений концентрации примеси допускаются символы юююю, если примесь не измерялась. Запись символов юю вместо шифра примеси не допускается.
В количество R1 входят все группы 3, даже, если вместо концентраций записаны символы ю.
Сведения о метеорологических наблюдениях заполняют позиции 61 - 65. Направление ветра в десятках градусов записывается в позиции 61 - 62, скорость ветра в м/с - в позиции 63 - 54, шифр атмосферных явлений (в соответствии с табл. 4.5) - в позицию 65. Если сведения о каком-либо метеорологическом параметре отсутствуют, то в позициях, отведенных для его записи, записывается ю. Если данные о метеорологических наблюдениях отсутствуют, то все пять позиций (61 - 65) заполняются символами ю.
8.3.5. Составление ТЗА-3
Правила заполнения ТЗА-3 аналогичны описанным в п. 8.3.3. Для каждого города составляется одна таблица со среднесуточными значениями концентрации примесей за месяц. Для записи данных каждого стационарного поста используются отдельные листы таблицы. В группе IV призначного блока в позициях 22, 23 (РР) указывается число постов, на которых определялись суточные концентрации за месяц, а в позициях 24, 25 (RR) - число определяемых примесей, в позиции 26 (K) записывается «9» в соответствии с табл. 8.5. Все листы таблицы служат для записи среднесуточных концентраций примесей и сопутствующих метеорологических величин.
В таблице ТЗА-3 записывается дата начала наблюдений, время начала отбора проб для определения среднесуточной концентрации примесей, количество измеряемых примесей в указанную дату и наименования, шифры, значения концентрации примеси с указанием масштабного множителя - M.
В позиции 61, 62 записывается преобладающее направление ветра за сутки, в позиции 63, 64 - среднесуточная скорость ветра. Если из восьми сроков наблюдений не менее чем в пяти направление ветра колебалось в пределах 100°, за преобладающее направление принимается среднее направление этого интервала; записывается в десятках градусов. Среднесуточная скорость ветра рассчитывается как среднее арифметическое из данных наблюдений ближайшей метеостанции или поста наблюдений за 4 - 8 сроков. За начальный срок принимается срок, ближайший к времени начала отбора пробы для среднесуточного определения концентрации.
В таблицу ТЗА-4 заносятся данные измерений за месяц, проводимых непрерывно с помощью газоанализаторов. В таблице для каждого часа записываются средние за первые 20 мин значения концентраций примесей, которые переносятся с лент газоанализаторов. ТЗА-4 составляется после обработки лент газоанализатора. Результаты измерения каждой примеси на одном посту включаются в одну таблицу. В позиции PP вместо числа постов записывается шифр примеси; в позиции RR вместо числа примесей - общее количество газоанализаторов, работавших в течение данного месяца.
Таблица 8.7
УГМ _______________________________________
Год ______ Месяц _______ Город _______ Номер поста ________ Примесь __________
|
Признак непрерывности |
Часы суток |
За сутки |
Концентрация, мг/м3 |
Время наступления qм |
Продолжительность периода при q > ПДК |
||||||
|
01 |
02 |
… |
24 ч |
сумма концентраци, Σqс |
число случаев n |
|
qм |
||||
|
((// |
ψ |
bbr |
RRR |
tt |
ТТТ)) |
||||||
|
Группа 1 |
Группа 2 |
Группа 3 |
Группа 4 |
||||||||
|
|
|
|
|
|
|
|
|
|
|
|
|
В позиции K шифруется тип поста цифрой 8 (см. табл. 8.5). После позиций ХХХХ добавляются позиции FFF и ZZZ. В позициях FFF указывается тип прибора: ГПК-1 кодируется числом 111, ГМК-3 - числом 231; в позиции ZZZ вписывается высота установки датчика газоанализатора над поверхностью земли в метрах.
В верхней части каждого развернутого листа, составленного по форме, приведенной в табл. 8.7, вписываются словами соответствующие сведения. В первой графе дата //, во второй - цифрой отмечается признак непрерывности записи наблюдений в течение суток ψ; 0 - запись наблюдений в течение суток имеется за все часы (и все 20-минутные интервалы), 1 - запись наблюдений в течение суток прерывалась хотя бы на один поминутный интервал.
Следующие 24 графы отводятся для записи (bb) концентрации каждый час (bb) суток от 01 до 24 ч; они снимаются с ленты газоанализатора за первые 20 мин каждого часа. Точность записи концентрации для отдельных примесей определяется в соответствии с табл. 8.6.
Графа RRR предназначена для записи самого высокого (максимального) значения концентрации qм, выбранного из всех наблюдений за данные сутки; графа tt - для записи времени (в часах), когда отмечалась эта концентрация (записывается с округлением до часа); в графу TTT записывается продолжительность периода (в часах с десятыми долями часа), в течение которого значение концентрации превышало разовую ПДК. Например, в течение данных суток 3 ч 15 мин концентрация превышала ПДК - записывается 032, если концентрация превышала ПДК за период менее 20 мин - 999.
Закодированные в ручных ТЗА данные наблюдений заносятся на технический носитель с целью последующего ввода в ЭВМ. Информация заносится на любой носитель - перфоленту, перфокарту, магнитную ленту - в зависимости от технической оснащенности и организационных возможностей центра обработки. Занесение на перфокарту или магнитную ленту выполняется в УГМ или в центре обработки, куда регулярно передаются заполненные бланки ручных ТЗА. Занесение данных на перфоленту выполняется на телетайпе, ближайшем к подразделению, в котором заполняется бланк ручной таблицы.
Занесение данных на технический носитель и передача их в центр обработки организуется таким образом, чтобы вся информация за истекший месяц поступала на обработку не позднее пятого числа следующего месяца. Для обеспечения такого срока данные подготавливаются к обработке в течение месяца по частям (например, подекадно или за 1 - 25 и 26 - 31 числа).
Результаты наблюдений на всех или нескольких постах города за месяц (или часть месяца) заносятся на одну перфоленту, которая сразу же передается в центр обработки.
По каждому отдельному посту данные перфорируются сочетаниями групп I - V и 1 - 6 макета кода для дискретных наблюдений. Группы I - V заносятся перед началом перфорации по каждому посту с первого листа ручной ТЗА. Группы 1 - 6 следуют за группами I - V и заносятся со страницы ручной ТЗА; группа 2 после занесения срока наблюдений GG заканчивается тремя буквами Ш. При занесении на перфоленту данные перфорируются по срокам последовательно, каждый срок заканчивается группой 000)). При занесении на перфокарту данные за один срок размещаются на одной перфокарте, каждый срок заканчивается данными метеорологического блока. Группы I - V также располагаются на одной перфокарте. После перфорации каждой группы кода перфорируется пробел, также пробелами отделяются группы вида ::. Горизонтальная стрелка в бланке записи означает, что после пробела перед стрелкой следует сразу перфорировать символы, стоящие после стрелки.
Перед началом перфорации необходимо на аппарате T-51 нажать верхнюю среднюю кнопку и этим отключить перфораторную приставку. Нажать один раз клавишу «Лат» и один раз клавишу «Циф». Затем нажать верхнюю правую кнопку, чтобы включить перфораторную приставку и приступить к перфорации данных наблюдений. Такая последовательность в работе должна сохраняться после любого отключения аппарата.
Перед перфорацией результатов наблюдений каждого поста за данный месяц нужно нажать клавишу «Рус» и добиться выхода ленты длиной 150 - 200 см3, затем нажать один раз клавишу «Лат», 10 - 15 раз клавишу «Рус» и один раз клавишу «Циф», после чего отперфорировать первые группы кода I - V в макете для дискретных наблюдений. Эти группы перфорируются один раз в начале перфорации за месяц или часть месяца, и никакие исправления в них не допускаются. Группы отделяются друг от друга знаком пробела.
После занесения первых групп кода нужно нажать на клавиши «Пробел», «Возврат каретки», «Перевод строки», затем можно перфорировать информацию за весь месяц или за часть месяца.
Перфорация данных каждого срока начинается с группы, содержащей две открывающиеся скобки ((. После перфорации каждой группы кода нажимают на клавишу «Пробел» и перфорируют следующую группу. Для удобства чтения на широкой ленте рекомендуется набирать по семь групп в одну строку, затем нажать клавиши «Пробел», «Возврат каретки», «Перевод строки». Перфорация данных за каждый срок группы 1 - 6 должна заканчиваться группой, содержащей две закрывающиеся скобки )). После знака )) необходимо нажать на клавиши «Пробел», «Возврат каретки», «Перевод строки» и приступить к перфорации данных следующего срока.
При обнаружении ошибок в процессе перфорации необходимо вернуть перфоленту обратно нажатием левой нижней кнопки на аппарате столько раз, сколько знаков отперфорировано после первого ошибочного знака, включая его. Затем столько же раз нажать на клавишу «Лат», в результате чего ошибочная информация будет забита.
Если при перфорации данных была ошибочно нажата клавиша «Рус», необходимо вернуть перфоленту обратно и обязательно забить эту пробивку и все последующие клавишой «Лат». После пробивки «Лат» следует нажать клавишу «Циф» один раз и продолжать перфорацию со знака, который был занесен неверно. Возвратить перфоленту и забивать пробивкой «Лат» более четырех знаков не рекомендуется. Если число неправильно отперфорированных знаков более четырех, необходимо перебить информацию за данный срок заново сразу же или в конце информации за месяц (или часть месяца) по данному посту.
После перфорации данных каждого поста за месяц (или часть месяца) следует произвести контроль всех отперфорированных данных, перебить неправильно отперфорированные данные, а затем 5 - 6 раз нажать клавишу «Рус», чтобы выход перфоленты составил 70 - 100 см3.
Контроль правильности занесения информации на перфоленту проводится как в месте подготовки перфолент, так и в центре обработки. Перед началом перфорации необходимо оценить качество бумаги перфоленты. Она должна быть без гнилых мест, жирных пятен, надрывов и т.д., соответствовать требованиям ГОСТ 1391-70.
При обнаружении ошибок необходимо повторно заперфорировать информацию за те сроки, в которых были допущены ошибки. Перфорируемые повторно данные могут не выделяться отдельным массивом, в этом случае они отделяются от занесенной на перфоленту информации по посту за данный срок или за месяц знаками «Пробел», «Возврат каретки», «Перевод строки». Затем следует определить количество заново отперфорированных сроков, обнаруженные ошибки отметить цветным карандашом на широкой ленте и написать «на перфоленте ошибка исправлена».
Перфорируемые повторно данные допускается выделить в отдельный корректирующий массив, который подготавливается по тем же правилам, что и вновь заносимые данные, начиная с призначного блока. В этом случае рекомендуется корректирующую информацию заносить на отдельную перфоленту, а на широкой ленте отметить «Корректирующая информация».
В начале и конце перфоленты и широкой ленты чернилами подписывается вид информации, название города, его координатный номер, год, месяц наблюдений, а на отдельной корректирующей перфоленте дополнительно деляется надпись «Корректирующая информация» и перечисляются номера постов, по которым подготовлена корректировка. Широкая лента складывается гармошкой. Перед отправкой перфолента наматывается на кольцо (начиная с конца): концы перфоленты закрепляются липкой лентой. Перфолента упаковывается в плотную бумагу, по бокам укладываются жесткие прокладки из картона для предохранения от механических повреждений. Присылаемая перфолента должна быть готова к вводу в ЭВМ. Перфолента склеивается тонкой прозрачной липкой лентой встык.
Хранить перфоленту до и после перфорации следует в сухом месте. Если перфолента отсырела (в этом случае бумага становится жесткой и бобина не прогибается в центре круга), то перед перфорацией ее следует просушить. Для просушки ленту можно поместить в сушильный шкаф или просто подвесить над электроплиткой. Если использовалась отсыревшая лента, то обработка информации на ЭВМ невозможна. В таких случаях центр обработки имеет право потребовать провести повторную перфорацию соответствующего материала наблюдений.
Техника занесения данных с ручных таблиц на перфокарту или магнитную ленту ничем не отличается от обычной работы на соответствующем устройстве подготовки данных [4, 6]. Для перфорации на перфокарту рекомендуется использовать устройство, обеспечивающее печать текста в верхней части перфокарты. Пакет перфокарт комплектуется таким образом, чтобы за картой с признанным блоком следовали все перфокарты за месяц, относящиеся к данному посту. Количество городов и постов, вводимых в одном задании, может быть любым. Вся информация должна относиться к одному месяцу.
Магнитная лента, используемая для занесения данных, должна быть без меток. Начало и конец файла отмечается стандартными метками. Файл может содержать информацию по любым городам и постам за один месяц. За каждым призначным блоком следует вся информация, относящаяся к данному посту. Корректирующие макеты могут быть занесены на ленту в конце записи информации поста.
Для проведения машинного контроля, обработки и получения выходных машинных документов в автоматизированной системе обработки информации о загрязнении атмосферы используется информация, которая носит справочный характер. Справочные данные включают для каждой примеси шифры и точность записи концентраций, значение ПДК максимальной разовой и среднесуточной, сведения для расчетов индексов загрязнения атмосферы. Справочная информация подготавливается в центрах обработки и должна содержать сведения о всех примесях, данные о концентрациях которых поступают на машинную обработку.
Справочная информация подготавливается на бланках в формате перфокарт. Запись на бланки начинается с первой позиции, в которую заносится символ «’» (кавычка), в позиции 2 и 3 записывается шифр примеси, в позицию 4 - символ «’», а в позицию 5 - запятая или пробел. Далее через запятую (или пробел) помещаются для каждой примеси три пробела, а затем следующие сведения: точность записи (по табл. 8.6), максимальная разовая ПДК, среднесуточная ПДК, параметр для расчета индекса загрязнения, шифр примеси по таблице «2тп-воздух», при его отсутствии - нуль. При записи в бланк десятичных чисел целая и дробная часть разделяются точкой. Если целая часть равна нулю, записывается ноль. Более подробно правила подготовки справочной информации даны в [1, 4].
Для выполнения машинного контроля подготавливается перечень условно-постоянных характеристик сети наблюдений за загрязнением атмосферы (СНЗА). К условно-постоянным характеристикам (УПХ) постов СНЗА относятся пространственно-временные и климатические характеристики загрязнения атмосферного воздуха и данные о постах, значения которых остаются постоянными либо длительное время не меняются. Эти сведения необходимы для проведения семантического контроля поступающей информации, ее статистической обработки и архивации, а также для наглядного представления табличного материала.
Условно-постоянные характеристики составляются в УГМ и заносятся на стандартные бланки перед внедрением автоматизированной системы обработки информации о загрязнении атмосферы (АСОИЗА). Каждая строка такого бланка содержит информацию, которая будет переноситься на одну перфокарту; количеству строк на бланке соответствует количество перфокарт. Эти бланки передаются в центры обработки, где информация с них перфорируется, записывается на магнитный диск и вводится в АСОИЗА. При появлении изменений в УПХ УГМ обязано послать всю измененную информацию в центр обработки данных.
Для условно-постоянных характеристик постов одного города отводится несколько строк бланка (несколько перфокарт).
Условно-постоянные характеристики разделены на блоки. Нулевой блок (признак блока - 0) содержит информацию о городе; первый блок (признак блока - 1) - о примесях; второй блок (признак блока - 2) - о постах наблюдений за загрязнением атмосферы (ПНЗ). Каждый блок начинается с новой строки. Если строка занята не полностью, информация заносится с признаком конца записи «!». Строка может быть заполнена до конца, тогда символ «!» отсутствует. Если символ «!» встретится раньше 80-й позиции, вся информация за ним игнорируется. Колонка (позиция) на перфокарте соответствует одному знаку (букве, цифре, пробелу) в записи на бланке.
На каждой строке бланка записывается обязательная информация, которая занимает первые 10 позиций; две позиции - шифр вида информации (о загрязнении атмосферного воздуха 11); семь позиций - координатный номер метеостанции в данном городе φφφλλλPλ или при ее отсутствии - координатный номер города, где Рλ - признак долготы - кодируется в соответствии с п. 8.3.3.; одна позиция - признак блока (0, 1 или 2).
Указанные характеристики должны обязательно присутствовать в начале каждой строки (перфокарты), так как по ним производится сортировка, корректировка и дополнение УПХ.
Нулевой блок занимает одну строку (перфокарту).
С 11-й позиции заносятся следующие характеристики:
00 - для нулевого блока;
название города (записывается русскими буквами); незаполненные из отведенных 32 позиций следует оставлять пустыми;
hhh - высота основной метеостанции над уровнем моря в десятках метров, кодируется в соответствии с правилами п. 8.3.3.;
RR - число видов примесей, за которыми проводятся наблюдения в городе;
PP - количество постов наблюдений в городе;
u* - верхняя граница градации скорости ветра, отвечающая условию, что скорость ветра > u* встречается в данном месте в 5 % случаев (климатическая характеристика). Определение u* производится в соответствии с указаниями [3].
Fk (k = 1 ... 10) - признаки автоматических газоанализаторов, работающих в непрерывном режиме. Запись каждого признака занимает одну позицию, например для ГМК-3 F2 = 1.
По мере включения в АСОИЗА информации, получаемой с использованием новых приборов, их код для перфорации будет указываться дополнительно инструктивными письмами. На бланке коды газоанализаторов записываются в заданном порядке. Если один (не последний) отсутствует, вместо его кода следует оставить пробел. Например, если есть газоанализаторы для SO2 и NO2, а газоанализатор для CO не используется, нужно записать 1 - 1. Не обязательно заполнять пробелами все отведенные под коды газоанализаторов позиции после кодов применяемых газоанализаторов, т.е. можно записать 111!
Первый блок заполняется сведениями о примесях в порядке возрастания шифров примесей. Информация о каждой примеси заносится в одну строку (на одну перфокарту). Количество строк (перфокарт) соответствует числу RR в нулевом блоке, каждая строка начинается с обязательной информации (позиции 1 - 10).
С 11-й позиции записывается:
bb - шифр примеси, кодируется двузначным числом;
Q - средняя концентрация;
σ - среднее квадратическое отклонение;
Qmax1, Qmax2 - максимальные разовые концентрации.
Способ определения климатических характеристик Q, σ, Qmax1, Qmax2 указан в [5] и п. 9.4 раздела 9.
Недостающие знаки при кодировке характеристик концентраций примесей дополняются слева нулями.
Второй блок служит для записи характеристик постов. Характеристики записываются последовательно для всех ПНЗ в порядке возрастания их номеров, причем информация об отдельном посте заносится на одну строку (перфокарту). Число строк должно соответствовать значению РР в нулевом блоке.
Каждая строка начинается с обязательной информации (позиции 1 - 10). После нее заносятся следующие характеристики:
NN - номер поста (кодируется двузначным числом);
KK - признак поста (кодируется двузначным числом от 00 до 09 на основе табл. 8.5);
00 - метеостанция без наблюдений за загрязнением атмосферы;
01 - опорный пост на основной метеостанции;
02 - опорный пост;
03 - стационарный пост на основной метеостанции;
04 - стационарный пост;
05 - маршрутный пост;
06 - стационарный (маршрутный) пост санитарно-эпидемиологической службы (или других ведомств);
07 - подфакельные наблюдения;
08 - автоматизированный пост наблюдений;
09 - стационарный пост с суточной программой наблюдений.
S - информация о знаках координат поста в городе кодируется в соответствии с п. 8.3.3;
ХХХХ - координаты поста в городе, кодируются четырехзначным числом в соответствии с п. 8.3.3;
GG - наибольшее количество сроков на посту в сутки, кодируется двузначным числом;
rr - наибольшее количество примесей на данном посту, записывается двузначным числом.
Макет записи условно-постоянных характеристик и пример подготовки условно-постоянных характеристик приведены в табл. 8.8 - 8.10.
Пример подготовки условно-постоянных характеристик
Город
Шифр вида информации - 11
Координатный номер города - 8624340
Название города - Город N
Высота над уровнем моря - 010
Таблица 8.8
Макет записи УПХ на перфокарты
|
Пояснения |
Количество байтов |
Позиции |
||
|
Обязательная информация |
||||
|
аа |
Шифр вида информации |
2 |
1 - 2 |
|
|
φφφλλλРλ |
Координатный номер города |
7 |
3 - 9 |
|
|
|
Признак блока |
1 |
10 |
|
|
Нулевой блок |
||||
|
|
00 - для нулевого блока |
2 |
11 - 12 |
|
|
|
Название города |
32 |
13 - 44 |
|
|
hhh |
Высота над уровнем моря |
3 |
45 - 47 |
|
|
RR |
Количество примесей |
2 |
50 - 51 |
|
|
PP |
Количество постов в городе |
2 |
48 - 49 |
|
|
u* |
Скорость ветра |
2 |
52 - 53 |
|
|
F1 |
|
|
|
|
|
. |
Признаки автоматических газоанализаторов |
1 |
С 54-й |
|
|
. |
|
|
|
|
|
. |
|
|
|
|
|
F10 |
Признак конца записи (!) |
1 |
После сведений о газоанализаторах |
|
|
Первый блок |
||||
|
bb |
Шифр примеси |
2 |
11 - 12 |
|
|
Q |
Средняя концентрация |
3 |
13 - 15 |
|
|
σ |
Среднее квадратическое отклонение |
3 |
16 - 18 |
|
|
Qmax1 |
Первый максимум концентрации |
4 |
19 - 22 |
|
|
Qmax2 |
Второй максимум концентрации |
4 |
23 - 26 |
|
|
|
Признак конца записи (!) |
|
|
|
|
Второй блок |
||||
|
NN |
Номер поста |
2 |
11 - 12 |
|
|
KK |
Признак поста |
2 |
13 - 14 |
|
|
S |
Информация о знаках координат поста |
1 |
15 |
|
|
ХХХХ |
Координаты поста |
4 |
16 - 19 |
|
|
GG |
Наибольшее количество сроков на посту |
2 |
20 - 21 |
|
|
rr |
Наибольшее количество примесей на посту |
2 |
22 - 23 |
|
|
|
Признак конца записи (!) |
1 |
24 |
|
Таблица 8.9
Шифры примесей и их характеристики. Первый блок
|
Q |
σ |
Qmax1 |
Qmax2 |
|
|
01 |
009 |
002 |
0051 |
0033 |
|
02 |
015 |
001 |
0195 |
0130 |
|
03 |
005 |
001 |
0160 |
0100 |
|
04 |
014 |
001 |
0041 |
0027 |
|
05 |
007 |
001 |
0110 |
0073 |
|
10 |
020 |
023 |
0060 |
0039 |
|
14 |
004 |
001 |
0100 |
0057 |
|
16 |
100 |
010 |
0260 |
0163 |
|
17 |
002 |
063 |
0017 |
0009 |
|
19 |
011 |
013 |
0440 |
0260 |
Таблица 8.10
Номера постов и их характеристики. Второй блок
|
KK |
S |
ХХХХ |
GG |
rr |
|
|
01 |
01 |
4 |
0805 |
04 |
08 |
|
02 |
04 |
4 |
0606 |
03 |
08 |
|
03 |
02 |
4 |
1504 |
03 |
08 |
|
04 |
04 |
4 |
0405 |
03 |
07 |
Количество примесей - 10
Количество постов в городе - 04;
Скорость ветра (u*) - 08
Признак автоматического газоанализатора ГМК-3 - 1
В ходе обработки информации на ЭВМ системой АСОИЗА создаются основные выходные машинные документы десяти форм (табл. 8.11 - 8.20):
Форма 1. Справочная информация;
Форма 2 Условно-постоянные характеристики;
Форма 3 Результаты семантического контроля данных наблюдений;
Форма 4 Таблица наблюдения за загрязнением воздуха ТЗА-1;
Форма 5 Характеристики загрязнения воздуха за месяц на посту;
Форма 6 Характеристики суммации действия нескольких примесей;
Форма 7. Промежуточные результаты расчета фоновых концентраций;
Форма 8. Характеристики загрязнения воздуха за месяц по городу;
Таблица 8.11
Справочная информация
|
Точность записи, мг/м3 |
ПДК, мг/м3 |
А |
|||
|
в АСОИЗА |
в «2-тп (воздух)» |
максимальная разовая |
среднесуточная |
||
|
|
|
|
|
|
|
Таблица 8.12
Условно-постоянные характеристики
|
Вид информации ________________________________ Город _______________ Координатный номер ______________ Высота над ур. м. _____ Количество примесей _________ Количество постов _________ Скорость ветра _______ Автоматические приборы F1 F2 F3 F4 F5 F6 F7 F8 F9 F10 |
|
Сведения о постах |
||||||||||
|
шифр |
средняя концентрация, мг/м3 |
среднее квадратическое отклонение, мг/м3 |
максимумы |
номер |
признак |
координаты |
количество |
|||
|
первый |
второй |
S |
ХХХХ |
сроков |
примесей |
|||||
|
|
|
|
|
|
|
|
|
|
|
|
Форма 9. Характеристики загрязнения воздуха за год на посту;
Форма 10. Характеристики загрязнения воздуха за год по городу.
Форма 1. Справочная информация (табл. 8.11). Таблица содержит общие сведения о примесях. В первой графе таблицы приводится шифр примеси, используемый в АСОИЗА (см. табл. 8.6), во второй шифр примеси по форме «2тп-воздух». В последующих графах таблицы для каждой примеси приводится точность, с которой концентрации примеси помещаются в выходных машинных документах системы (масштабный множитель); предельно допустимая концентрация содержания загрязняющих веществ в атмосферном воздухе населенных мест (максимальная разовая и среднесуточная); параметр для расчета индекса загрязнения атмосферы (А).
Форма 2. Условно-постоянные характеристики (табл. 8.12). Таблица содержит сведения о составе сети контроля загрязнения атмосферы в конкретном городе, о программе наблюдений постов сети, а также критерии, которые используются при контроле данных наблюдений за концентрациями примесей в атмосфере города.
После заголовка таблицы указываются название города, его координатный номер, высота метеостанции над уровнем моря. В следующей строке приводятся сведения о количестве примесей, измеряемых в городе, количестве постов наблюдений за загрязнением атмосферы, значение скорости ветра, используемое при расчете фоновых концентраций примеси. Значение скорости ветра определяется в соответствии с п. 9.8 раздела 9. Затем следует информация о наличии в городе автоматических газоанализаторов. В настоящее время условно принято, что F1, F2, F3 обозначают использование в городе газоанализаторов для непрерывного измерения диоксида серы, оксида углерода и диоксида азота соответственно.
Таблица 8.13
Результаты семантического контроля данных наблюдений
Город ________ Пост ___________ Год ________________ Месяц ___________________
|
Дата |
Срок |
Температура, °С |
Ветер |
Атмосферные явления |
Влажность |
Сомнительные величины |
|||||
|
направление, …° |
скорость, м/с |
относительная, % |
абсолютная, гПа |
шифр примеси |
концентрация, мг/м3 |
шифр сомнительности |
|||||
|
|
|
|
|
|
|
|
|
|
|
|
|
Таблица 8.14
Таблица наблюдений за загрязнением воздуха ТЗА-1
Город _____________________ Год _____________________ Месяц _________________
Координатный номер ________ Количество постов _______________________________
Пост ______________________ Координаты поста ________ Количество примесей ____
|
Срок |
Температура, °С |
Ветер |
Явление |
Влажность |
Концентрация примесей, мг/м3 |
||||||
|
направление, десятки градусов |
скорость, м/с |
относительная, % |
абсолютная, гПа |
01 |
05 |
… |
… |
||||
|
|
|
|
|
|
|
|
|
|
|
|
|
Таблица 8.15
Характеристики загрязнения воздуха за месяц на посту
Город _____________________ Год ___________________ Месяц ___________________
Координатный номер ________ Пост _____________________________
|
Число наблюдений |
Концентрация, кг/м3 |
Среднее квадратическое отклонение, мг/м3 |
Коэффициент вариации |
Повторяемость, % |
Число случаев превышения |
ИЗА |
|||||||
|
средняя |
максимальная |
> ПДК |
> 5 ПДК |
||||||||||
|
значение |
дата |
срок |
ПДК |
5 ПДК |
10 ПДК |
||||||||
|
|
|
|
|
|
|
|
|
|
|
|
|
|
|
Суммарный индекс загрязнения атмосферы _____________________________________
Таблица 8.16
Характеристики суммации действия нескольких примесей
|
Шифры примесей |
||||||||
|
07 + 05 + 22 |
02 + 20 |
02 + 08 |
02 + 05 |
02 + 10 |
02 + 13 |
02 + 05 + 19 + 03 |
02 + 04 + 05 + 10 |
|
|
Больше ПДК Больше 5 ПДК |
|
|
|
|
|
|
|
|
Таблица 8.17
Промежуточные результаты расчета фоновых концентраций
Город ______________ Год ______________ Месяц _____________ Пост _____________
|
Параметры |
Градация |
|||||
|
0 |
1 |
2 |
3 |
4 |
||
|
|
|
|
|
|
|
|
Таблица состоит из двух частей. В левой части помещены климатические характеристики загрязнения атмосферы в данном городе, предназначенные для использования в качестве критериев при контроле качества данных наблюдений. Для каждой примеси, обозначенной шифром, эти характеристики включают среднее значение концентрации, среднее квадратическое отклонение и два значения максимальных концентраций. Определение этих характеристик выполняется в соответствии с п. 9.4 раздела 9.
В правой части таблицы помещены сведения о постах: номер, признак поста (от 00 до 09), координаты поста в городе, программа наблюдений - количество сроков наблюдений в сутки и количество измеряемых примесей.
Форма 3. Результаты контроля данных (табл. 8.13). В таблицу помещаются основные результаты семантического контроля данных наблюдений. После заголовка таблицы указываются наименование города, номер поста, год и месяц. В таблице печатаются данные только тех сроков, в которых выявлено сомнительное или ошибочное значение. Такой срок обозначается также датой и номером макета во входном потоке данных. Содержание метеорологической информации печатается всегда. Метеорологический элемент, содержащий ошибку, подчеркивается символами *. Данные о концентрациях примесей, вызывающие сомнение, печатаются в графах с названием «Сомнительные величины». Ошибочное значение шифра примеси подчеркивается символами ¤, в графе «Концентрация» записывается значение концентрации, а в графе «Шифр сомнительности» помещается «0». В том случае, когда значение концентрации вызывает сомнение, печатается шифр примеси, само значение концентрации и указывается шифр сомнительности: 1 - концентрация превысила наибольшее максимальное значение, указанное в таблице условно-постоянных характеристик (см. форму 2); 2 - концентрация превысила второе максимальное значение, указанное в той же таблице; 4 - концентрация в течение нескольких сроков подряд сохраняет свое значение (не равное нулю) и при этом превышает второй максимум, указанный в таблице условно-постоянных характеристик.
Таблица 8.18
Характеристики загрязнения воздуха за месяц по городу
Город _____________________ Год ___________________ Месяц ___________________
Координатный номер ________ Количество постов _____________________________
|
Число постов |
Число наблюдений |
Средняя концентрация, мг/м3 |
Коэффициент вариации |
Среднее квадратическое отклонение, мг/м3 |
Максимум, мг/м3 |
Повторяемость, % |
Число случаев > 10 ПДК |
ИЗА |
||||
|
наблюдаемый |
расчетный |
> ПДК |
> 5 ПДК |
|||||||||
|
концентрация |
номер поста |
|||||||||||
Суммарный индекс загрязнения атмосферы ___________ Количество примесей _______
Таблица 8.19
Характеристики загрязнения воздуха за год на посту
Город ___________________ Пост ___________________ Год ______________________
Координатный номер ______ Координаты ____________ Период осреднения _____ мес
|
Число наблюдений |
Средняя концентрация, мг/м3 |
Среднее квадратическое отклонение, мг/м3 |
Коэффициент вариации |
Максимум, мг/м3 |
Повторяемость, % |
Число случаев > 10 ПДК |
ИЗА |
||||||
|
наблюдаемый |
расчетный при P |
||||||||||||
|
концентрация |
номер месяца |
5 % |
1 % |
0,1 % |
> ПДК |
> 5 ПДК |
|||||||
Суммарный индекс загрязнения атмосферы _____ Количество примесей _____________
Таблица 8.20
Характеристики загрязнения воздуха за год по городу
Город _________________________ Координатный номер ___________ Год __________
Период осреднения __________ мес Номера постов _________________
|
Число наблюдений |
Средняя концентрация, мг/м3 |
Среднее квадратическое отклонение, мг/м3 |
Коэффициент вариации |
Максимум, мг/м3 |
Повторяемость, % |
Число случаев > 10 ПДК |
ИЗА |
|||||||
|
наблюдаемый |
расчетный при Р % |
|||||||||||||
|
концентрация |
номер поста |
номер месяца |
5 |
1 |
0,1 |
> ПДК |
> 5 ПДК |
|||||||
Количество примесей ____ Суммарный индекс загрязнения атмосферы ___ Примеси __
Все проконтролированные данные наблюдений в дальнейшем сохраняются в АСОИЗА с соответствующей пометкой о качестве отдельного элемента. При шифре сомнительности 1 или 4 значение концентрации забраковывается и в последующих расчетах не учитывается, при шифре сомнительности 2 значение концентрации учитывается при расчетах.
Форма 4. Таблица наблюдений за загрязнением воздуха ТЗА-1 (табл. 8.14). Таблица содержит проконтролированные данные наблюдений за загрязнением воздуха за один месяц на одном посту. После заголовка таблицы печатается название города, год и месяц, координатный номер города, номер поста и его координаты в городе, общее количество постов в городе и количество примесей, включенных в данную ТЗА.
В таблице печатаются данные метеорологических наблюдений: температура воздуха (в °С) с десятыми долями градуса, направление (в десятках градусов) и скорость ветра (в м/с), атмосферные явления - цифра кода согласно табл. 4.5 (см. раздел 4), для основной метеостанции - влажность относительная (в %) и абсолютная (в гПа).
В следующих графах под названием «Концентрации примесей, мг/м3» помещаются шифры примесей, а в таблице тремя цифрами печатаются концентрации этих примесей; точность записи концентраций (масштабный множитель) содержится в форме 1 (справочная информация). Количество граф с данными о концентрациях соответствует количеству примесей и может составлять 6, 10 или 15. Таблица печатается листами, на каждом листе повторяется заголовок и головка таблицы. Количество листов таблицы зависит от числа наблюдений за месяц; на каждом листе печатается не более 51 срока.
При печати таблицы используются следующие обозначения:
´ - значение элемента забраковано по результатам синтаксического или семантического контроля;
¤ - значение элемента забраковано во входном сообщении;
пропуск - значение элемента отсутствует.
Результаты первичной статистической обработки информации за месяц по отдельному посту печатаются в виде трех таблиц (формы 5 - 7).
Форма 5. Характеристика загрязнения воздуха за месяц на посту (табл. 8.15). Перед таблицей указываются название города, его координатный номер, год, месяц и номер поста в городе. Для всех примесей, обозначенных шифром, таблица содержит следующие результаты расчетов: число наблюдений, значение средней концентрации, максимальное значение концентрации с указанием даты и срока, когда оно отмечалось, среднее квадратическое отклонение, коэффициент вариации, повторяемость случаев превышения максимальной разовой ПДК и 5 ПДК, число случаев превышения ПДК, 5 ПДК и 10 ПДК, а также ИЗА. При количестве наблюдений менее 20 для примеси приводятся только значения средней и максимальной концентрации примеси. Таблица завершается строкой «Суммарный индекс загрязнения атмосферы», в которой помещается значение ИЗА по всем примесям, наблюдаемым на данном посту за данный месяц.
Форма 6. Характеристики суммации действия нескольких примесей (табл. 8.16). Таблица включает повторяемость значений концентрации выше ПДК и выше 5 ПДК по характеристикам суммации действия при совместном присутствии в атмосферном воздухе нескольких примесей. Шифры примесей суммарного действия печатаются в заголовках граф этой таблицы. Перечень примесей, обладающих суммацией действия, приведен в приложении 1.1.
Форма 7. Промежуточные результаты расчета фоновых концентраций (табл. 8.17). Таблица содержит результаты предварительной обработки данных наблюдений на посту за один месяц для расчета фоновых концентраций (см. [3] и п. 9.8). После заголовка таблицы записываются название города, год, месяц, номер поста. В таблице для каждой примеси, обозначенной шифром, приводятся для пяти градаций направления и скорости ветра (см. [3] и п. 9.8) следующие величины: количество случаев с наблюдениями данной примеси, сумма значений концентраций примеси (мг/м3) и сумма квадратов значений концентраций примеси (мг/м3)2.
Форма 8. Характеристики загрязнения воздуха за месяц по городу (табл. 8.18). В таблице печатаются результаты обобщения информации о загрязнении атмосферы по данным наблюдений за месяц на нескольких постах города (или на всех постах). После заголовка таблицы указываются название города, год, месяц, координатный номер города и количество постов, по которым сделано обобщение. Для каждой наблюдаемой на постах примеси, которая обозначена в таблице шифром, печатается число постов, где проводились наблюдения, число наблюдений, вычисленные из этих наблюдений среднее значение концентрации, среднее квадратическое отклонение и коэффициент вариации. Затем приводится наблюденное максимальное значение концентрации примеси и номер поста, где это значение отмечалось, а также - при количестве измерений не менее 200 - расчетное максимальное значение концентрации примеси, соответствующее 95 %-ному квантилю логарифмически-нормального распределения (графа «Максимум расчетный» в таблице). В следующих графах указываются повторяемость случаев превышения максимальной разовой ПДК и 5 ПДК, а также число случаев превышения 10 ПДК. В последней графе таблицы печатается ИЗА. При числе измерений менее 20 в таблицу помещаются только значения средних и максимальных концентраций примеси.
В конце таблицы печатается значение суммарного индекса загрязнения атмосферы, вычисленное по данным всех примесей, перечисленных в таблице, количество этих примесей печатается в последней строке.
Форма 9. Характеристики загрязнения воздуха за год на посту (табл. 8.19). В таблице печатаются результаты статистический обработки информации о загрязнении атмосферы за год (или за несколько месяцев) на посту. После заголовка таблицы печатается название города, его координатный номер, номер поста и его координаты в городе, год и период осреднения (число месяцев, за которые обобщены данные наблюдений). В таблице в соответствии с названиями граф для каждой примеси указываются шифр примеси, количество наблюдений за рассматриваемый период, значение средней концентрации, среднее квадратическое отклонение, коэффициент вариации, наблюдаемое значение максимальной концентрации и месяц, когда это значение отмечалось. При количестве наблюдений не менее 200 помещаются расчетные значения максимальных концентраций, которые не могут быть превышены в Р % случаев (графы 5, 1 и 0,1 %). Оценки расчетных максимальных значений выполнены в предположении логарифмически-нормального закона распределения концентрации примеси в атмосфере.
В таблице указывается также повторяемость случаев превышения максимальной разовой ПДК и 5 ПДК, а также число случаев превышения 10 ПДК. В последней графе таблицы приводится индекс загрязнения атмосферы ИЗА. По окончании таблицы печатаются значения суммарного индекса загрязнения атмосферы всеми примесями, а также количество примесей, измеренных на данном посту за период обобщения.
Форма 10. Характеристики загрязнения воздуха за год по городу (табл. 8.20). В таблице печатаются результаты статистической обработки информации о загрязнении атмосферы за год (или за несколько месяцев) по данным наблюдений на нескольких (или на всех) постах. После заголовка таблицы указываются название города, его координатный номер, год, период осреднения (число месяцев, за которые обобщены данные наблюдений) и номера постов, по которым проведено обобщение. Далее для каждой примеси в соответствии с названиями граф печатаются шифр примеси, число наблюдений на перечисленных постах за рассматриваемый период. Затем для каждой примеси приводятся значения средней концентрации примеси, среднего квадратического отклонения, а также коэффициент вариации, наблюдаемое максимальное значение концентрации, номер поста и месяц, когда отмечалось это значение. При количестве наблюдений не менее 200 в таблице помещаются расчетные значения максимальных концентраций, которые могут быть превышены не более чем в Р % случаев (графы 5, 1 и 0,1 %). Расчеты выполняются в предположении логарифмически-нормального закона распределения концентрации примеси и атмосфере. В таблице также приводится повторяемость случаев превышения максимальной разовой ПДК и 5 ПДК, а также число случаев превышения 10 ПДК. Последняя графа таблицы содержит ИЗА. По окончании таблицы печатается количество примесей, по которым выполнены обобщения, значение суммарного индекса загрязнения атмосферы города с указанием шифров примесей и далее по строкам - значения ИЗА по наиболее загрязняющим примесям с указанием их шифров. Оценка суммарного ИЗА проводится не менее чем для четырех примесей.
Цель обработки и обобщения данных наблюдений состоит в получении достоверной и объективной информации об уровне загрязнения атмосферы и причинах загрязнения атмосферы, определении тенденции изменения уровня загрязнения атмосферы, разработке рекомендаций по его снижению и доведении информации до органов, принимающих решение, и широкой общественности. Обобщение выполняется на основании данных измерений разовых или среднесуточных концентраций вредных примесей и сведений о выбросах вредных веществ в атмосферу конкретных городов.
Результаты обобщения информации по территории, подведомственной УГМ, служат для выявления: 1) городов с наиболее высоким уровнем загрязнения атмосферы, 2) источников выбросов вредных веществ, вносящих наибольший вклад в уровень загрязнения атмосферы городов, 3) вредных веществ, содержание которых в атмосфере определяет загрязнение воздуха в городах. Это достигается совместным анализом выбросов вредных веществ, характеристик загрязнения атмосферы и метеорологических условий, определяющих перенос и рассеивание вредных веществ в атмосфере.
При обработке информации и ее обобщении необходимо соблюдать определенные правила. Обобщение материалов о состоянии загрязнения воздуха городов проводится за период от 1 мес до 1 г и более. Обобщение может осуществляться по одному городу и по нескольким городам и населенным пунктам на территории УГМ. При обобщении используются статистические характеристики состояния загрязнения воздуха населенных мест, систематизированные в п. 9.3.
Информационные документы должны быть оформлены в соответствии с действующими нормативными материалами, отпечатаны на стандартных листах белой бумаги через полтора интервала. Размер печатного текста 170´260 мм. Шрифт отпечатанного текста должен быть четким, черного цвета. Схемы, рисунки и условные обозначения должны быть выполнены черными чернилами или тушью.
Схемы города выполняются на белой бумаге или кальке размером 150´150 мм. Ориентировка схемы обычная: стрелкой указывается направление на север в верхней части рисунка. В нижней части рисунка под схемой приводятся розы ветров по восьми румбам за январь, июнь и в целом за рассматриваемый год; числа на концах румбов соответствуют значениям повторяемости данного направления ветра. Применяется масштаб: 1 см - 10 %. На схему наносятся главные площади, магистрали и улицы города и их названия, основные элементы ландшафта города (моря, озера, реки, парки, горы к т.п.) и местоположение постов с присвоенными им стандартными номерами. Используются следующие обозначения:
-
посты СЭС и других ведомств.
Графики временных изменений концентраций примесей и метеопараметров строятся размером не более 120´120 мм. Масштаб представления параметров должен быть таким, чтобы значения годовых или суточных колебаний располагались на всем поле графика. Графические материалы можно представлять на миллиметровой бумаге, чтобы при необходимости с любой кривой можно было снять значения параметра.
Размер таблиц не должен превышать стандартный машинописный лист. Во всех таблицах и документах, содержащих данные о концентрациях примесей в воздухе отдельных городов и описания особенностей загрязнения воздуха городов, должен соблюдаться алфавитный порядок расположения названий городов; сведения о примесях располагаются по порядку номеров шифра (см. табл. 8.6).
Страницы документа, включая приложения, должны быть пронумерованы. Титульный лист включается в общую нумерацию, но номер на нем не ставится; на последующих страницах номер проставляется в правом верхнем углу арабскими цифрами. Документ должен сопровождаться оглавлением с указанием страниц, на которых помещены сведения о состоянии загрязнения и выбросах вредных веществ по каждому городу.
Данные наблюдений за концентрациями примесей (qi) на стационарных и маршрутных постах, а также под факелами промышленных предприятий рассматриваются как совокупность случайных величин - единичных разовых показателей загрязнения атмосферы.
Для систематизации и оценки уровня загрязнения атмосферы за рассматриваемый период обычно применяются следующие статистические характеристики:
среднее
арифметическое значение концентрации примеси
;
среднее квадратическое отклонение σ результатов измерений от среднего арифметического;
максимальное значение концентрации примеси qм;
коэффициент
вариации V = σ/
, показывающий
долю изменчивости от среднего арифметического значения.
Среднее арифметическое значение концентрации примеси является единичным осредненным (основным) показателем загрязнения атмосферы.
Результаты многих исследований показали, что данные измерений концентраций примесей в приземном слое атмосферы городов с достаточной точностью соответствуют логарифмически нормальному распределению. По ряду наблюдений проверяют гипотезу о том, что результаты наблюдений относятся к логарифмически нормальному распределению, и вычисляют показатели логнормального распределения, а также значения максимальной концентрации с заданной вероятностью превышения. В соответствии с объемом данных наблюдений и необходимостью расчета фоновой концентрации примеси рассчитывают максимальные концентрации с вероятностью превышения в 5; 1 и 0,1 % случаев (qlм, q5м и q0,1м).
Все статистические характеристики рассчитываются для различного осреднения по времени и пространству (табл. 9.1).
Основным критерием качества атмосферного воздуха являются предельно допустимые концентрации (ПДК), утвержденные Минздравом СССР. Поэтому для оценки состояния или степени загрязнения атмосферы используются единичные осредненные показатели загрязнения атмосферы, нормированные на ПДК соответствующего периода осреднения. Устанавливают, выполняется ли соотношение.
Поскольку ПДКс.с (среднесуточные) устанавливались за продолжительный период, проверяют выполнение соотношения
Нормированные на ПДК единичные осредненные и разовые показатели загрязнения атмосферы называются единичными индексами загрязнения атмосферы (ИЗА).
Таблица 9.1
Статистические характеристики загрязнения атмосферы (ЗА)
|
Определение |
Обозначение |
Метод расчета |
Использование |
|
|
1. Основной единичный показатель ЗА отдельной примесью qi (мг/м3, мкг/м3) |
||||
|
Разовая концентрация примеси (ГОСТ 17.2.1.03-84) |
Концентрация примеси, измеренная за 20 - 30 мин |
qi |
Определяется путем 20 - 30-минутного отбора проб по программе наблюдений, установленной в ГОСТ 17.2.3.01-86 |
Для сравнения с санитарно-гигиеническими нормативами; для дальнейших расчетов. |
|
2. Осредненные показатели ЗА отдельной примесью 2.1. Единичные показатели ЗА в точке отбора
проб |
||||
|
1) Среднесуточная концентрация примеси (ГОСТ 17.2.1.03-84) |
Среднее арифметическое значение разовых концентраций, полученных через равные промежутки времени, включая обязательные сроки 1; 7; 13; 19 ч, а также значение концентрации, полученное по данным непрерывной регистрации в течение суток (ГОСТ 17.2.3.01-86) |
|
где n - число разовых концентраций, измеренных за 1 сут |
Для сравнения с санитарно-гигиеническими нормативами; для дальнейших расчетов |
|
2) Среднемесячная концентрация примеси (ГОСТ 17.2.1.03-84) |
Среднее арифметическое значение разовых или среднесуточных концентраций, измеренных в течение месяца (ГОСТ 17.2.1.01-86), а также полученное по специальной месячной программе |
|
где п - число разовых или среднесуточных концентраций, полученных в течение j-го месяца (n ≥ 20 в месяц для разовых) |
При составлении справок о состоянии ЗА в течение месяца в районе наблюдений; для оценки однородности рядов наблюдений; анализа годового хода изменений концентраций примеси; для дальнейших расчетов |
|
3) Среднегодовая концентрация примеси (ГОСТ 17.2.1.03-84) |
Среднее, арифметическое значение разовых или среднесуточных концентраций, измеренных в течение года (ГОСТ 17.2.3.01-86) |
|
где n - число разовых или среднесуточных концентраций за год (n ≥ 200 в год для разовых); qj - среднемесячная концентрация за j-й месяц; пj - число разовых или среднесуточных концентраций за месяц |
При составлении справок и обзоров состояния ЗА в течение года в районе наблюдений; для сравнения с санитарно-гигиеническими нормативами; для дальнейших расчетов |
|
4) Средняя многолетняя концентрация примеси |
Среднее арифметическое значение разовых или среднесуточных концентраций, полученных за ряд лет |
|
где n - число разовых или среднесуточных
концентраций за М лет;
|
При составлении территориальных комплексных схем, расчетах фоновых концентраций в районе наблюдений |
|
5) Среднегодовая концентрация примеси по данным подфакельных наблюдений |
Расчетная величина, полученная исходя из предположения логнормального распределения концентраций qi, по данным подфакельных наблюдений |
|
где Пz - ПЗА (см. п. 9.6); qм - максимальная концентрация, отмеченная при d-м направлении ветра; Pd - повторяемость d-го направления ветра |
Для обобщения данных наблюдений за содержанием специфических примесей в воздухе с целью определения зоны влияния отдельного источника выбросов и разработки территориально-комплексных схем |
|
2.2. Единичные показатели ЗА по совокупности точек отбора проб Q (мг/м3, мкг/м3) |
||||
|
1) Среднесуточная концентрация примеси для города (района города) |
Среднее арифметическое значение среднесуточных концентраций примеси по данным K стационарных и маршрутных постов |
Qс |
где n - число наблюдений на k-м посту за 1 сут |
При составлении справок о состоянии ЗА за месяц |
|
2) Среднемесячная концентрация примеси для города (района города) |
Среднее арифметическое значение концентраций примеси, полученное из среднемесячных концентраций на стационарных и маршрутных постах |
Qмес |
где nj - число наблюдений на k-м посту за 1 мес |
То же |
|
3) Среднегодовая концентрация примеси для города (района города) |
Среднее арифметическое значение среднегодовых концентраций примеси, полученных по K постам города |
Qг |
где n - количество наблюдений на k-м посту за год; nj - количество наблюдений на k-м посту за j-и месяц; J - число месяцев за год с наблюдениями за уровнем ЗА. |
При составлении справок и обзоров состояния ЗА; для сравнения с санитарно-гигиеническими нормативами, со средним уровнем ЗА по городам СССР; для дальнейших расчетов комплексных показателей ЗА; для изучения тенденции изменения уровня ЗА в городе |
|
4) Средняя многолетняя концентрация примеси для города (района города) |
Среднее арифметическое значение среднегодовых концентраций примеси, полученных из однородного ряда наблюдений за несколько лет по K постам в городе |
Qмн |
где n - количество наблюдений на k-м посту за рассматриваемый период |
При разработке методик и составлении краткосрочных и долгосрочных прогнозов ЗА города, территориальных комплексных схем; в теоретических исследованиях; как критерий оценки достоверности информации в АСОИЗА |
|
2.3. Единичный показатель состояния ЗА для
группы городов |
||||
|
Среднегодовая концентрация примеси для городов, объединенных в группы по различным признакам (численности населения, ведомственной принадлежности основных источников ЗА в городе, республиканской принадлежности) и в целом для городов СССР |
Среднее арифметическое значение среднегодовых концентраций примеси, полученных по L городам рассматриваемой группы |
|
|
Для сравнительной оценки ЗА отдельных городов |
|
3. Среднее квадратическое отклонение 3.1. Среднее квадратическое отклонение ряда qi, полученного на отдельных постах, σ (мг/м3, мкг/м3) |
||||
|
1) Среднее квадратическое отклонение разовых (среднесуточных) концентраций от среднемесячных |
Статистическая характеристика ряда случайных величин: разовых или среднесуточных концентраций, полученных на стационарном или маршрутном посту, позволяющая оценить разброс концентраций относительно среднемесячного значения |
σi |
где n - число наблюдений |
Для получения информации об изменчивости среднего; для статистического анализа распределения концентраций |
|
2) Среднее квадратическое отклонение разовых концентраций от среднегодовой |
То же относительно среднегодового значения |
σ |
n, nj - число наблюдений за год, за j-й месяц |
То же |
|
3) Среднее квадратическое отклонение среднемесячной концентрации от среднегодовой |
Статистическая характеристика ряда величин, позволяющая оценить разброс среднемесячных концентраций, полученных на стационарном или маршрутном постах, относительно среднегодового значения |
σj |
J - число месяцев за год с наблюдениями за ЗА |
Для описания изменчивости среднемесячных концентраций относительно среднегодового значения |
|
4) Среднее квадратическое отклонение среднемесячных концентраций от средней многолетней |
Статистическая характеристика ряда величин, позволяющая оценить разброс среднемесячных концентраций, полученных на стационарном или маршрутном постах, относительно среднего многолетнего значения |
σjм |
J - число месяцев за M лет с наблюдениями за ЗА |
Для различных статистических разработок, составления прогнозов, создания территориальных комплексных схем |
|
5) Среднее квадратическое отклонение среднегодовых концентраций от средней многолетней на посту наблюдения |
Статистическая характеристика ряда, позволяющая оценить разброс среднегодовых концентраций относительно средней за М лет |
σм |
|
То же |
|
3.2. Среднее квадратическое отклонение ряда концентраций, полученных для группы точек отбора проб в городе, S (мг/м3, мкг/м3) |
||||
|
1) Среднее квадратическое отклонение среднегодовых концентраций на постах от среднегодовой концентрации по городу (району) |
Статистическая
характеристика, позволяющая оценить разброс среднегодовых концентраций на
постах, |
Sгр |
|
При статистическом анализе изменчивости поля концентрации примеси |
|
2) Среднее квадратическое отклонение среднегодовых концентраций на постах от средней многолетней концентрации по городу (району) |
Статистическая характеристика, позволяющая оценить разброс среднегодовых концентраций на постах от среднего многолетнего значения концентрации по K постам города |
Sмн |
|
То же |
|
3) Среднее квадратическое отклонение разовых концентраций от среднегодовой концентрации по городу (району) |
Статистическая характеристика, позволяющая оценить разброс разовых концентраций, измеренных за год, относительно среднегодового значения по K постам города |
Si |
где n - число наблюдений на k-м посту города за год |
В ежегодных обобщениях состояния ЗА |
|
4) Среднее квадратическое отклонение среднегодовых концентраций для города от среднегодовой концентрации для группы городов, объединенных по различным признакам (численности населения, ведомственной принадлежности основных источников ЗА в городе, республиканской принадлежности) и в целом по городам СССР |
Статистическая характеристика, позволяющая оценить разброс среднегодовых концентраций для города от среднегодовой концентрации для группы городов L |
S |
|
То же |
|
5) Среднее квадратическое отклонение максимальных концентраций примеси для города за год от средней из максимальных концентраций примеси за год по группе городов |
Статистическая
характеристика, позволяющая оценить разброс максимальных концентраций qм
в городе за год от средней из максимальных
концентраций |
Sм |
|
« |
|
3.3. Коэффициент вариации V (безразмерный) |
||||
|
Коэффициент вариации концентраций |
Статистическая характеристика ряда концентраций примеси за период |
V |
V = σ/q, где q - средняя концентрация |
Для оценки степени изменчивости концентраций примеси в ежегодных обобщениях |
|
4. Максимальные показатели ЗА отдельной примесью 4.1. Максимальная концентрация примеси по данным наблюдений |
||||
|
1) Максимальная из разовых концентрация примеси (ГОСТ 17.2.1.03-84) |
Максимальное значение из разовых концентраций примеси из всех данных измерений в отдельной точке или в различных точках города за рассматриваемый период: в течение суток, месяца, года, ряда лет |
qм |
Максимальное значение ряда концентраций выбирается как наибольшее значение из вариационного убывающего ряда за рассматриваемый период на отдельном посту или на ряде постов в городе по данным за сутки, месяц, все месяцы года, все годы |
Для сравнения с санитарно-гигиеническими нормативами с целью характеристики наибольшего за рассматриваемый период времени (сутки, месяц, год, ряд лет) ЗА в реально наблюдавшихся метеорологических условиях распространения примеси от источников выбросов; как критерий максимального значения при критконтроле в АСОИЗА |
|
2) Максимальная из среднесуточных концентрация |
- |
|
Выбирается как наибольшее значение из убывающего вариационного ряда среднесуточных концентраций по данным за рассматриваемый период |
Для оценки состояния ЗА веществами, концентрации которых определяются при непрерывной регистрации в течение суток |
|
3) Максимальная из разовых концентрация по данным подфакельных наблюдений |
- |
qпфн.м |
Выбирается как наибольшее значение из убывающего вариационного ряда наблюдений за содержанием примеси под факелом выбросов в городе за год |
Для оценки вклада отдельного источника в уровень ЗА данной примесью |
|
4) Максимальная из среднемесячных концентрация (ГОСТ 17.2.1.03-84) |
- |
|
Выбирается как наибольшее значение из убывающего вариационного ряда среднемесячных концентрации по данным за год или ряд лет в городе |
Для оценки состояния ЗА веществами, концентрации которых определяются за период не менее месяца, а также для оценки однородности рассматриваемого ряда наблюдений за концентрациями примесей |
|
5) Максимальная из среднегодовых концентрация примеси по группе городов |
- |
|
Выбирается как наибольшее значение из убывающего ряда среднегодовых концентраций в городах рассматриваемой группы |
В ежегодном обобщении информации о состоянии ЗА в городах и промышленных центрах для выбора городов с наибольшим максимальным уровнем ЗА |
|
6) Средняя из максимальных за год по группе городов |
Среднее арифметическое значение концентрации примеси, полученное из максимальных концентраций за год по отдельным L городам |
|
|
Для оценки изменений максимальной концентрации в городах различных групп |
|
7) Максимальная концентрация из малого числа наблюдений |
Максимальная из разовых концентрация примеси, полученная из данных экспедиционных (эпизодических) обследований населенного пункта |
|
Выбирается как наибольшее значение из убывающего вариационного ряда разовых концентраций, полученных, в населенном пункте при общем количестве измерений не менее 50 за год |
Для ориентировочной оценки уровня ЗА населенного пункта |
|
4.2. Расчетная максимальная концентрация (мг/м3, мкг/м3) примеси |
||||
|
1) Максимальная концентрация примеси с заданной вероятностью P ее превышения |
Максимальная концентрация, полученная из предположения логнормального распределения концентраций примеси в атмосфере для заданной вероятности ее превышения |
qPм |
при P = 0,1 % z = 3,08; P = 1 % z = 2,33; P = 5 % z = 1,65. Здесь q - средняя концентрация |
Используется для оценки вероятности появления концентраций, превышающих заданный уровень ЗА |
|
2) Фоновая концентрация (ГОСТ 17.2.1.03-84) |
Концентрация примеси, создаваемая всеми источниками выбросов, исключая рассматриваемый |
cф |
(рассчитывается при заданных значениях направления и скорости ветра) |
При установлении ПДВ; при проектировании строительства новых и реконструкции действующих объектов промышленности |
|
3) Приземная максимальная концентрация примеси |
Расчетная концентрация в приземном слое воздуха, создаваемая отдельным источником выбросов |
cм |
Рассчитывается по [11] |
При установлении ПДВ; для характеристики степени ЗА, создаваемого выбросами промышленных предприятий на некотором расстоянии от источника при неблагоприятных метеоусловиях |
|
5. Санитарно-гигиенический норматив (мг/м3, мкг/м3) |
||||
|
1) Предельно допустимая концентрация примесей для населенных мест: максимальная разовая и среднесуточная |
Максимальная концентрация примеси в атмосфере, при периодическом воздействии не оказывающая вредного влияния на человека и окружающую среду |
ПДКм.р ПДКс.с |
Определяется органами Минздрава СССР для атмосферного воздуха населенных мест (см. приложение 1.1) |
Для оценки степени загрязнения |
Таблица 9.2
Индексы загрязнения атмосферы
|
Определение |
Обозначение |
Метод расчета |
Использование |
|
|
Единичные индексы ЗА одной примесью (безразмерные) |
||||
|
1. Коэффициент для выражения концентрации примеси в единицах ПДК |
Значение максимальной или средней концентрации, приведенное к ПДК |
а |
|
Используется как критерий качества атмосферного воздуха отдельными примесями (при необходимости могут использоваться ПДК для растительности, воздуха рабочей зоны предприятий и пр.) |
|
2. Повторяемость концентраций примеси в воздухе выше заданного уровня по посту либо по K постам города за год |
Повторяемость (%) случаев превышения заданного уровня разовыми значениями концентрации примеси |
g, g1 |
n - число наблюдений за рассматриваемый период; m, m1, m2 - число случаев превышения разовыми концентрациями на посту или на всех постах города уровня a×ПДК, где a равно соответственно 1, 5, 10 |
При составлении справок и обзоров состояния ЗА |
|
3. Индекс загрязнения атмосферы (ИЗА) отдельной примесью |
Количественная характеристика уровня ЗА отдельной примесью, учитывающая различие в скорости возрастания степени вредности веществ, приведенной к вредности диоксида серы, по мере увеличения превышения ПДК |
Ii |
или
i - примесь; ci - константа, принимающая значения 1,7; 1,3; 1,0; 0,9 для соответственно 1, 2, 3, 4-го классов опасности веществ, позволяющая привести степень вредности i-го вещества к степени вредности диоксида серы |
Для характеристики вклада отдельных примесей в общий уровень ЗА за данный период времени на данной территории или в точке измерения; для сравнения степени загрязнения атмосферы различными веществами |
|
Комплексный показатель ЗА несколькими веществами (безразмерный) |
||||
|
1. Комплексный индекс загрязнения атмосферы города (КИЗА) |
Количественная характеристика уровня ЗА, создаваемого n веществами, присутствующими в атмосфере города (района города) |
In |
i - примесь; n - количество рассматриваемых примесей. Рассчитывается за рассматриваемый период по одному или K постам города как сумма всех ИЗА |
При составлении справок и обзоров состояния ЗА |
|
2. Комплексный индекс загрязнения атмосферы приоритетными веществами |
Количественная характеристика уровня ЗА приоритетными l веществами, определяющими состояние загрязнения атмосферы в городе |
Il |
|
Для сравнения уровней ЗА в различных городах или регионах и составления приоритетных списков городов с наибольшим уровнем ЗА |
На основании проверки соотношения (9.1) рассчитывают число случаев (m) (или повторяемость - g) концентраций, превышающих ПДК и другие величины, кратные ПДК (например, g1) (табл. 9.2).
Все статистические характеристики и единичные ИЗА рассчитываются по данным наблюдений за концентрацией каждого контролируемого вещества отдельно.
Для сравнения степени загрязнения атмосферы в различных городах используется комплексный ИЗА - безразмерная функция характеристик степени загрязнения атмосферы несколькими веществами.
Комплексный ИЗА, учитывающий l веществ, присутствующих в атмосфере, рассчитывается по формуле
где
- осредненная по
времени (месяц и год), рассчитанная для поста, города или группы городов
концентрация i-й
примеси;
ci - безразмерная константа, позволяющая привести степень вредности i-го вещества к вредности диоксида серы.
Расчет индекса загрязнения атмосферы основан на предположении, что на уровне ПДК все вредные вещества характеризуются одинаковым влиянием на человека, а при дальнейшем увеличении концентрации степень их вредности возрастает с различной скоростью, которая зависит от класса опасности вещества (табл. 9.2). Для сравнения степени загрязнения атмосферы различных городов, различных районов одного города или различными веществами в городе используется комплексный индекс загрязнения атмосферы - ИЗА для каждого i-го вещества (Ii). Значения индексов Ii рассчитываются на ЭВМ. Затем составляется убывающий вариационный ряд величины Ii. Для каждого города рассчитывается комплексный ИЗА - I(l), учитывающий l первых веществ в этом ряду.
Для установления надежности результатов определения концентраций примесей в воздухе городов и оценки возможной погрешности измерений проводится регулярный критический контроль исходных данных. Критический контроль позволяет выявить сомнительную информацию и определить достоверность средних и максимальных характеристик на определенном уровне значимости.
Для проведения контроля качества данных наблюдений в городе выполняют предварительную статистическую обработку результатов наблюдений за уровнем загрязнения воздуха в предыдущие годы и устанавливают критерии контроля, а также закономерности пространственных и временных изменений концентрации примесей.
Критерии устанавливаются из однородного временного ряда данных о концентрациях примесей, поэтому необходимо проверить, является ли рассматриваемый ряд однородным. Выделяется два вида однородности: статистическая и климатологическая. Нарушение статистической однородности ряда возникает при изменении условий определения концентрации примеси, в том числе при установке нового прибора, изменении метода определения концентраций, местонахождения поста или условий окружающей местности.
Нарушение климатологической однородности ряда связано с антропогенными воздействиями, такими как изменение объема выбросов при появлении нового источника загрязнения или закрытии действующего, введение в действие газоочистных сооружений или новой технологии производства, смена вида топлива. Устранению климатологической неоднородности, т.е. получению сравнимых рядов значений концентрации примесей на отдельных постах, должно предшествовать исследование статистической однородности ряда.
Статистически однородные ряды используются для выявления тенденции изменения уровня загрязнения атмосферы за длительный период, связанных с антропогенным воздействием. Статистически и климатологически однородные ряды наблюдений применяются для получения статистических характеристик загрязнения воздуха из многолетнего ряда наблюдений, например, для определения фоновой концентрации примесей в городе.
Для
оценки однородности многолетнего ряда концентраций примеси сравнивают значения
средних за J
месяцев рассматриваемого периода концентраций примеси qj на посту с наибольшим qjм
или наименьшим qjмин
из рассматриваемой выборки
, где J
≥ 12. Из этого ряда вычисляется среднее
и его среднее квадратическое отклонение
Чтобы оценить принадлежность наибольшего qjм или наименьшего qjмин из qj к данной однородной выборке за J месяцев, в соответствии с [9] находят отношения:
(9.6)
(9.7)
Результаты
сравнивают с величиной Uα, приведенной в табл. 9.3, для данного ряда выборки J и принятой доверительной вероятности α = 0,05. Значение qjм
(qjмин)
принадлежит к совокупности ряда (однородный ряд), по которой рассчитано
, если Uм < Uα (Uмин
< Uα).
Если Uм ≥ Uα, то qjм исключается из дальнейшей обработки при отсутствии подтверждения достоверности qjм сведениями о значительном изменении режима выбросов или условий рассеивания примесей.
Если Uмин ≥ Uα, то qjмин исключается из дальнейшей обработки при тех же условиях, что и Uм.
После
исключения qjм или qjмин
повторно проводят расчеты
, σ и U по формулам (9.4) - (9.7),
уменьшая на количество исключенных qj до тех пор, пока не будет достигнуто
условия U
< Uα,
т.е. получен однородный ряд наблюдений.
Таблица 9.3
Значения Uα для доверительной вероятности α = 0,05
|
Uα |
J |
Uα |
J |
Uα |
J |
Uα |
|
|
10 |
2,57 |
16 |
2,73 |
22 |
2,83 |
28 |
2,91 |
|
11 |
2,60 |
17 |
2,75 |
23 |
2,84 |
29 |
2,92 |
|
12 |
2,63 |
18 |
2,76 |
24 |
2,86 |
30 |
2,93 |
|
13 |
2,66 |
19 |
2,78 |
25 |
2,87 |
40 |
3,02 |
|
14 |
2,68 |
20 |
2,80 |
26 |
2,88 |
50 |
3,08 |
|
15 |
2,70 |
21 |
2,82 |
27 |
2,90 |
100 |
3,28 |
Из
установленного однородного ряда определяют
и σJ, которые используют в качестве критериев - Qмн
и σjм
при контроле среднемесячных и среднегодовых концентраций в последующие годы.
При наличии подтверждения о достоверности qjм и qjмин
ряд рассматривается в целом, и
J и sj, вычисленные по этому
ряду, принимаются в качестве критериев Qмн
и σjм.
Ежегодно
проводится повторный расчет средних концентраций примесей с учетом qj последнего года. Если полученное
окажется больше, чем Qмн,
то новая величина принимается за критерий качества.
Для
определения среднего за рассматриваемый период критерия Qмн
проверку однородности проводят аналогично описанной для
.
Критерии для контроля максимальных значений устанавливаются из всего статистически однородного ряда наблюдений, который используется для оценки тенденции уровня загрязнения атмосферы. Из этого ряда наблюдений выбирается два наибольших значения, различающихся не более чем в 1,5 раза. Большее значение является критерием максимальных значений Qм.
Если в городе ежегодно отмечались значительно превышающие Qм концентрации, связанные с залповыми выбросами, обусловленными особенностями технологических процессов, то из наибольших значений определяется Qм1 (второй критерий максимальных значений).
Критический контроль проводится ежегодно перед началом обобщения информации за прошедший год.
Критический контроль разовых значений состоит в сравнении наибольшего из них с критерием максимума. Если максимальное значение qм ≤ Qм, то это значение достоверно. Если наблюдаемое значение выше критерия в 1,5 раза и более, то оно достоверно в случае, если имеется подтверждение, что наблюдалась ситуация, связанная с неблагоприятными условиями рассеивания примесей или изменением выбросов.
При
критическом контроле средних за месяц значений концентрации примесей
используется способ, аналогичный приведенному в п. 9.4.1. По
формулам (9.6)
и (9.7)
рассчитываются Uм и Uмин.
В Качестве значения
принимается
установленный критерий среднего значения Qмн,
а в качестве qjм и qjмин - наибольшее и наименьшее из средних за
месяц (
) значений концентраций примеси за
рассматриваемый год. Вычисленные Uм и Uмин сравниваются со
значениями Uα,
приведенными в табл. 9.3 для
заданного J и доверительной вероятности α = 0,05.
Если Uм (Uмин) ≥ Uα, то qjм (qjмин) является сомнительным и должно быть подтверждено ростом (снижением) выбросов или изменением погодных условий. Если таких подтверждений нет, то следует проверить весь процесс сравнения qjм, используя второе наибольшее среднее за месяц значение концентрации примеси.
Для оценки качества определения концентраций примесей рекомендуется проводить критический просмотр исходных данных, который позволяет выявить грубые ошибки, значительно искажающие средние значения концентрации.
С помощью статистического анализа временного ряда данных измерений на ЭВМ могут быть выполнены оценки погрешности наблюдений [12].
Регулярный
критический контроль результатов наблюдений за загрязнением воздуха в различных
городах показал, что для отдельного поста связь между значениями средней
концентрации примеси
и ее средним квадратическим
отклонением σ оказывается обычно линейной и ее можно выразить уравнением
регрессии
Коэффициенты а и b определяются по формулам:
(9.10)
где J - количество средних за месяц характеристик.
Коэффициент b уравнения прямой при отсутствии ошибок измерений, т.е. при a = 0, представляет собой коэффициент вариации концентрации примеси σ/q и является показателем достоверности данных. Не менее важным показателем правильности измерений является коэффициент корреляции между σj и qj. Он рассчитывается следующим образом:
При линейной связи qj и σj коэффициент корреляции составляет 0,6 - 0,9.
Для определения погрешности наблюдений используются значения средних и средних квадратических отклонений концентрации вредного вещества за каждый месяц по городу в целом.
Обработка результатов, выполняемая на ЭВМ, включает расчет коэффициента корреляции r между средними за месяц qj и σj, коэффициентов a и b уравнения прямой, среднего значения концентрации примеси за рассматриваемый период (J месяцев) и среднего из средних квадратических отклонений:
При отсутствии ошибок измерений в случае qj = 0 в уравнении прямой (9.8) σj также равна нулю. При наличии погрешностей измерений коэффициент a является средней квадратической ошибкой наблюдений, a/σ - ее относительным значением, а |ε| - средней абсолютной ошибкой:
Результаты статистической обработки информации заносятся в табл. 9.4.
Таблица 9.4
|
Примесь |
r |
b |
a |
|ε| |
σ |
|
a/σ |
J |
|
|
|
|
|
|
|
|
|
|
|
|
Если расчет погрешности измерений производится на микрокалькуляторах, то для простоты обработки информации qj и σj берутся в целых числах с учетом переводного множителя. Например, средняя концентрация сернистого газа берется не 0,25 а 25.
Переводной
множитель не нужно учитывать для определения r, b, а/σ и
. Он
необходим для уточнения значения a и
|ε|,
а также
и σ.
В зависимости от значений r и b, а также их сочетаний устанавливается надежность характеристик рассматриваемого ряда и соответственно его однородность:
1. При r > 0,7 и 0,8 < b < 1,5 погрешность a/σ, как правило, меньше 0,2; результаты измерений концентрации примеси следует считать достоверными с малой погрешностью измерений, которая не сказывается на средних характеристиках. Если они получены по большому ряду наблюдений (3 - 5 лет) при J ≥ 36, то весь ряд наблюдений однороден.
2. При r > 0,5 и b ≥ 1 погрешность a/σ составляет 0,2 - 0,4; результаты измерений содержат случайные ошибки, которые приводят к погрешности в определении концентрации примеси и других характеристик загрязнения атмосферы. Ряд наблюдений является однородным.
3. При 0,5 < r < 0,7 и b < 0,5 погрешность a/σ > 0,4; это возможно при некотором завышении концентраций примесей и случайных ошибках.
4. При r < 0,5 и b < 0,5 погрешность a/σ > 0,4. Это в большинстве случаев обусловлено наличием случайных погрешностей в наблюдениях, в результате которых σj значительно превышает qj; в этом случае данные наблюдений вызывают сомнение. Такие же значения a/σ могут быть обусловлены систематической погрешностью в наблюдениях в течение некоторого периода. Этот период можно обнаружить при просмотре годового хода qj и σj. При его обнаружении все статистические характеристики следует рассчитать повторно, исключив недостоверные данные измерений.
5. При 0,5 < r < 0,7 и 0,5 < b < 0,8 погрешность a/σ может принимать большие значения из-за систематической и случайной погрешностей в определении концентраций.
Годовое обобщение данных о концентрациях примесей в атмосфере относится к числу обязательных документов. Оно должно включать следующие разделы: «Введение», «Характеристика исходных материалов», «Состояние загрязнения воздуха городов», «Оценка состояния загрязнения атмосферы на территории УГМ», «Тенденция изменения уровня загрязнения воздуха на территории УГМ».
Составление раздела «Введение». Во «Введении» сообщаются сведения об информации, на основании которой выполнено обобщение: число городов и населенных пунктов, где ведутся наблюдения за уровнем загрязнения атмосферы на территории УГМ, количество стационарных и маршрутных постов, предприятий, под факелом которых проводились наблюдения, количество наблюдений за примесями, т.е. сведения об объеме исходной информации. Сообщается перечень организаций, представивших данные об уровне загрязнения атмосферы и выбросах вредных веществ, и некоторые другие сведения, фамилии исполнителей и ответственного исполнителя с указанием должности, ученой степени и звания, а также номер телефона ответственного исполнителя.
Составление раздела «Характеристика исходных материалов». Раздел содержит сведения о методах получения информации о состоянии загрязнения атмосферы, количестве исходных данных и их достоверности. Дается также пояснение символов и обозначений, используемых при обобщениях. Раздел составляется на основе данных, приводимых в табл. 9.5 - 9.7. В табл. 9.5 для каждого города указывается количество стационарных (С) и маршрутных (П) постов, количество наблюдений за всеми примесями, выполненных на этих постах, количество обследованных предприятий (подфакельные наблюдения) отдельно УГМ, СЭС либо другими ведомствами. Количество наблюдений дискретных и непрерывных, выполненных с помощью автоматических газоанализаторов, указывается раздельно. В таблице записывается общее количество дискретных наблюдений, а строкой ниже - количество наблюдений (20-минутных) по газоанализаторам, работающим в суточном режиме. В конце каждой графы приводится общее количество наблюдений, выполненных отдельно УГМ, СЭС, промышленными предприятиями и другими ведомствами. Отдельно указывается количество дискретных и непрерывных измерений.
Если в городе наблюдения проводились нерегулярно, то в графе вместо количеств постов записывается «Эпизодические наблюдения», а в графе «Количество наблюдений» в соответствующей колонке дается общая сумма наблюдений за год. Таблица 9.6 включает количество наблюдений по определению концентрации каждой примеси: дискретных, непрерывных и их общую сумму. В этой таблице приводятся также значения максимальных разовых и среднесуточных ПДК.
Таблица 9.5
Сведения о сети наблюдений за загрязнением воздуха в 19 __ г.
|
Количество |
||||||||||||
|
постов |
наблюдений |
обследованных предприятий (подфакельные наблюдения) |
||||||||||
|
УГМ |
СЭС |
других ведомств |
УГМ |
СЭС |
других ведомств |
УГМ |
СЭС |
другими ведомствами |
||||
|
С |
П |
С |
П |
С |
П |
|||||||
|
|
|
|
|
|
|
|
|
|
|
|
|
|
Итого:
Таблица 9.6
Количество наблюдений за концентрацией примесей в 19 __ г.
|
Количество наблюдений |
Значения ПДК |
|||||
|
УГМ |
СЭС |
промышленных предприятий |
других организаций |
максимальные разовые |
среднесуточные |
|
|
|
|
|
|
|
|
|
Дискретные наблюдения
Итого:
Непрерывные наблюдения
Итого:
Таблица 9.7
|
Номер методики в руководстве или другом литературном источнике |
Реактив |
|
|
|
|
|
Таблица 9.8
|
Вещество |
Прибор |
||
|
марка |
количество |
||
|
|
|
|
|
В табл. 9.7 приводятся сведения о методиках химического анализа проб воздуха, рекомендованных Госкомгидрометом СССР, с указанием номеров методик в соответствующем литературном источнике, названия реактивов, применяемых при проведении анализов. При использовании информации о концентрациях специфических веществ, полученных другими министерствами и ведомствами, указываются особенности применяемых методик, ссылки на литературный источник. Если концентрации примесей определяются с помощью автоматических приборов, то в табл. 9.8 указывается марка прибора и количество приборов, используемых в каждом городе.
Составление раздела «Состояние загрязнения воздуха городов». Для каждого города, где проводятся регулярные наблюдения на стационарных постах и под факелами промышленных предприятий, представляется описание особенностей загрязнения атмосферы, обусловленных размещением промышленных предприятий на территории города, составом и количеством выбросов, условиями метеорологического режима.
В описании состояния (или особенностей) загрязнения атмосферы города дается оценка степени загрязнения.
Рассчитывается комплексный ИЗА (см. формулу (9.3) для рассматриваемого города (I(l) при l = 5). Если значение I(l) ≤ 5, уровень загрязнения воздуха города считается ниже среднего по городам страны, если 5 < I(l) ≤ 8 - примерно равен среднему, если 8 < I(l) ≤ 15 - выше среднего, если I(l) > 15 - значительно выше среднего.
2) Выделяются 2 - 4 приоритетных вещества,
концентрации которых определяют основной вклад в уровень загрязнения атмосферы.
Значения концентраций этих примесей в описаниях приводятся в относительных
единицах: средние -
/ПДКс.с, максимальные - qм/ПДКм.р.
3) Перечисляются предприятия, выбросы которых содержат приоритетные вещества (указывается ведомственная принадлежность предприятий).
4) Сопоставляются уровни загрязнения атмосферы отдельными веществами на различных постах и отмечается местоположение зон с наибольшим загрязнением воздуха. Зона наибольшего загрязнения воздуха устанавливается также из результатов обработки подфакельных наблюдений (см. п. 9.6). В тексте описания приводятся максимальные концентрации примесей (в единицах ПДКм.р), полученные по данным подфакельных наблюдений в районе отдельных предприятий, и указывается ведомственная принадлежность этих предприятий. Поле средних концентраций примеси, полученных из обработки данных подфакельных наблюдений по статистически обеспеченному ряду концентраций, может быть представлено графически.
Зоны наибольшего загрязнения атмосферы в городе могут также определяться по результатам расчета полей максимальных концентраций примесей (cм), выполненных при разработке норм ПДВ [5] в течение рассматриваемого года.
ПРИМЕЧАНИЕ: При использовании результатов расчета cм необходимо предварительно сравнить наибольшие значения cм в точке, соответствующей местоположению стационарного поста, со значением q1м (P = 1 %) - максимальной концентрацией той же примеси с вероятностью превышения ее в 1 % случаев, полученной из данных наблюдений на стационарном посту. Если в расчет включены не все основные источники выбросов, определяющие уровень загрязнения воздуха в городе, то q1м может отличаться от cм для специфического вещества более чем в 1,5 раза, и данные расчетов не могут достоверно характеризовать зоны наибольших концентраций [5].
5) Указываются особенности сезонных изменений среднемесячных концентраций примесей и периоды наибольшего уровня загрязнения.
Годовой
ход средних значений P
и ![]()
Для анализа изменений средних концентраций примесей в годовом ходе могут быть построены графики (черт. 9.1), на которых представлены средние концентрации примесей по данным опорных постов или по данным тех постов, где измерялись концентрации этих примесей, и ряд метеорологических параметров. На одном графике может быть показан годовой ход средних концентраций нескольких веществ при сходном характере изменений их концентраций в течение года. В качестве метеорологических параметров, способствующих накоплению примесей в атмосфере, могут использоваться приземные или приподнятые инверсии, направление и скорость ветра, туманы, застойные явления и другие ситуации. На график наносятся значения повторяемости тех метеорологических параметров, изменения которых в годовом ходе могут объяснить характер годового хода концентраций примесей. В обобщение помещаются только наиболее характерные рисунки годового хода.
6) Выявляются причины изменения уровня загрязнения за длительный период. Указывается характер тенденции (рост, падение, стабильность) изменения среднего уровня загрязнения каждой примесью отдельно, причины изменения уровня, например развитие промышленности и транспорта, мероприятия по охране воздушного бассейна, изменение метеорологического режима. При анализе тенденции изменения уровня особое внимание уделяется последнему двухгодичному периоду и учитываются мероприятия по защите атмосферы за этот период.
К разделу «Состояние загрязнения воздуха городов» прилагается схема города.
Для
оценки состояния загрязнения атмосферы в городе используются характеристики
загрязнения (n,
, σ,
qм)
за отдельные месяцы и за год, полученные на стационарных постах в городах, где
наблюдения проводились регулярно в течение всего года или в отдельные периоды,
и данные наблюдений под факелами промышленных предприятий.
Сведения
за отдельные месяцы и за год помещаются в таблицу (табл. 9.9). Таблица составляется последовательно для каждой
примеси сначала по опорным постам, а затем по всем остальным. При этом
осредненные по городу в годовом ходе концентрации основных примесей (пыль,
диоксид серы, оксид углерода, оксид и диоксид азота) производятся только по
данным опорных постов, концентрации специфических вредных веществ - по данным
тех стационарных постов (опорных и неопорных), где имеются регулярные
наблюдения за этими веществами в течение 12 мес. Сведения о концентрациях
примеси учитываются только в том случае, если количество наблюдений n на каждом посту - не менее 20 за месяц. Если n < 20, то за данный месяц определяются только
две характеристики: qм и n; результаты
наблюдений за этот месяц учитываются при расчете статистических характеристик
по посту за год; для металлов и 3,4-бензпирена рассчитывается только значение
на отдельных постах и
в целом по всем постам города при наличии данных о концентрациях за период не
менее полугода.
Таблица 9.9
Средние за месяц характеристики загрязнения воздуха
|
Характеристика |
I |
II |
III |
IV |
V |
VI |
VII |
VIII |
IX |
X |
XI |
XII |
Год |
|
|
|
|
|
|
|
|
|
|
|
|
|
|
|
|
|
|
Город _______________ Примесь ___________________ |
||||||||||||||
|
Опорные посты |
||||||||||||||
|
|
n qг |
|
|
|
|
|
|
|
|
|
|
|
|
|
|
σ |
|
|
|
|
|
|
|
|
|
|
|
|
|
|
|
qм |
|
|
|
|
|
|
|
|
|
|
|
|
|
|
|
. |
|
|
|
|
|
|
|
|
|
|
|
|
|
|
|
. |
|
|
|
|
|
|
|
|
|
|
|
|
|
|
|
. |
|
|
|
|
|
|
|
|
|
|
|
|
|
|
|
Итого по опорным постам |
n qг |
|
|
|
|
|
|
|
|
|
|
|
|
|
|
σ |
|
|
|
|
|
|
|
|
|
|
|
|
|
|
|
qм |
|
|
|
|
|
|
|
|
|
|
|
|
|
|
|
. |
|
|
|
|
|
|
|
|
|
|
|
|
|
|
|
. |
|
|
|
|
|
|
|
|
|
|
|
|
|
|
|
. |
|
|
|
|
|
|
|
|
|
|
|
|
|
|
|
Посты |
||||||||||||||
|
Итого по городу |
n qг |
|
|
|
|
|
|
|
|
|
|
|
|
|
|
σ |
|
|
|
|
|
|
|
|
|
|
|
|
|
|
|
qм |
|
|
|
|
|
|
|
|
|
|
|
|
|
|
Таблицы «Характеристика загрязнения воздуха в городе за год по отдельным постам» (форма 9) и «Характеристика загрязнения воздуха за год в целом по городу» (форма 10) включают характеристики загрязнения атмосферы по всем постам, на которых проводились наблюдения (подробнее см. раздел 8).
Данные
о загрязнении воздуха металлами и 3,4-бензпиреном за год (при регулярном
определении их концентрации не менее шести месяцев за год) включаются в табл. 9.10 в виде значения средней за год
концентрации (
), наибольшей
из среднемесячных концентраций примеси qjм
и количество месячных определений (n1) концентрации примеси,
по которым получено
.
Таблица 9.10
Характеристики загрязнения воздуха металлами (q мкг/м3)
|
Пост |
Характеристика |
Названия металлов (в алфавитном порядке) |
|||||||
|
1 |
2 |
3 |
4 |
5 |
6 |
7 |
8 |
9 |
… |
|
|
|
п1 |
|
|
|
|
|
|
|
|
|
|
qг |
|
|
|
|
|
|
|
|
|
|
qм |
|
|
|
|
|
|
|
Средний уровень (Q мг/м3) загрязнения воздуха, выбросы (М тыс. т/год) вредных веществ и ПЗА за 19 __ - 19 __ гг.
Город _____________________
|
Характеристика |
Годы |
|
|||||
|
19.. |
19.. |
19.. |
19.. |
19.. |
|||
|
Пыль |
Q |
|
|
|
|
|
|
|
|
n |
|
|
|
|
|
|
|
|
M |
|
|
|
|
|
|
|
… |
. |
|
|
|
|
|
|
|
|
. |
|
|
|
|
|
|
|
|
. |
|
|
|
|
|
|
|
… |
Q |
|
|
|
|
|
|
|
|
n |
|
|
|
|
|
|
|
|
M |
|
|
|
|
|
|
|
|
ПЗА |
|
|
|
|
|
|
В
разделе приводится также табл. 9.11,
содержащая средние значения концентрации веществ и выбросы этих веществ за пять
лет. Она составляется отдельно по каждому городу: для основных примесей (пыль,
диоксид серы, оксид углерода, диоксид азота, оксид азота) - по данным
наблюдений на опорных постах, а для специфических примесей - по данным
стационарных постов, на которых ведутся наблюдения за этими примесями. Значение
, характеризующее
тенденцию изменения уровня загрязнения, рассчитывается по формуле:
(9.14)
где
,
,
,
- средние годовые
значения концентрации примеси за первый, второй, четвертый и пятый
последовательные годы наблюдений за данной примесью.
Значение
рассчитывается только
при условии достоверности каждого члена, входящего в формулу (9.14).
Данные наблюдений за концентрациями вредных веществ должны быть подвергнуты
критическому анализу в соответствии с изложенными выше
рекомендациями. В случае если за какой-либо год (годы) из рассматриваемого
пятилетнего ряда средняя концентрация отдельной примеси вызывает сомнение,
значение
не вычисляется, так как
при этом может возникнуть существенная погрешность. Значение
не вычисляется также в
случаях нарушения однородности пятилетнего ряда наблюдений из-за резкого
изменения уровня загрязнения воздуха данной примесью (в 2 - 3 раза) в отдельный
год. Среднее значение концентрации такой примеси в этот год может быть вполне
достоверно, но
не укажет в таком
случае верную направленность тенденции за 5 лет.
За каждый год рассчитывается комплексная характеристика - потенциал загрязнения атмосферы (ПЗА):
Здесь z1 и z2 являются аргументами интеграла вероятности
При этих аргументах Ф(z1) = 1 - 2P1, Ф(z2) = 1 - 2P2.
P1(q > qn) = Pин + Pсл - Pз - Pт,
P1(q > 1,5qn) = Pз + Pт. (9.17)
где Pин - повторяемость приземных инверсий;
Pсл - повторяемость скорости ветра 0 - 1 м/с;
Pз - повторяемость застоев;
Pт - повторяемость туманов.
Значения z1 и z2 определяются по Ф(z1) и Ф(z2) с помощью таблиц [13]. Используются средние за год повторяемости P в долях единицы.
Для выбросов относительное изменение не рассчитывается, определяется только характер тенденции (рост, без изменений, снижение). Критический контроль выбросов за 5-летний период M1, M2, M3, M4, M5 проводится особенно тщательно. Важно установить, как определены выбросы. При подсчете суммарных выбросов за каждый год должны быть использованы сведения, полученные от всех предприятий города. В некоторых случаях учитываются данные не всех предприятий, но каждый год одних и тех же, при условии, что их выбросы составляют примерно 90 - 95 % общего количества. Совместный анализ значений концентрации и выброса примеси в атмосферу показывает, что при неизменных параметрах источников выбросов (высота труб, температура и скорость выходящей газовоздушной смеси, количество источников загрязнения) и сходных метеорологических условиях рассеивания за рассматриваемые годы относительные изменения уровня загрязнения атмосферы будут примерно такими же, как и относительные изменения суммарного количества выбросов. Если, например, выбросы от всех источников загрязнения в городе снизятся на 10 %, то примерно на столько же снизится средний уровень загрязнения атмосферы.
При анализе сведений об изменении количества выбросов вредных веществ нужно учитывать, что мероприятия по сокращению выбросов осуществляются постепенно в течение всего года и обычно заканчиваются к концу года. Следовательно, выполнение мероприятий, обусловивших снижение выбросов вредных веществ, может не оказать влияния на уровень загрязнения воздуха в отчетном году и стать заметным лишь на следующий год. Аналогично в течение отчетного года не всегда наблюдается рост содержания в воздухе вредных веществ в результате ввода в действие новых предприятий или наращивании мощности старых производств (и последовавшего за этим увеличения выбросов вредных веществ).
В зависимости от метеорологических условий рассеивания примесей средние уровни загрязнения атмосферы при неизменных выбросах могут колебаться в пределах 10 - 20 %. Если меняется не только количество выбросов, но и параметры источников, то может произойти существенное изменение уровня загрязнения атмосферы. Например, значительное снижение содержания вредных веществ в воздухе может произойти при ликвидации низких неорганизованных выбросов на крупных предприятиях; при изменении состава используемого сырья и топлива; при выносе крупного источника загрязнения за пределы города; при уменьшении числа котельных с низкими трубами и вводе в эксплуатацию новой ТЭЦ с выбросами на большой высоте и т.п. Однако и в этом случае влияние указанных мероприятий на уровень загрязнения воздуха может стать заметным лишь через некоторое время после их завершения, нередко лишь по данным наблюдений в следующем году.
Составление раздела «Оценка состояния загрязнения атмосферы УГМ». Раздел содержит:
1) сравнительную характеристику состояния загрязнения воздуха в городах на территории УГМ и в городах страны за предыдущий год;
2) перечень городов с наиболее высоким средним уровнем загрязнения атмосферы, причин, приводящих к такому уровню. Отмечаются состояние газоочистного оборудования предприятий, случаи аварийных выбросов и другие причины, а также климатические особенности (повышенная повторяемость устойчивости атмосферы, опасной скорости ветра и т.д.), которые способствуют формированию высокого уровня загрязнения;
3) данные о наиболее высоких значениях максимальных разовых концентраций каждого вредного вещества, измеренных на стационарных постах и при подфакельных наблюдениях с указанием города и предприятия, в районе которого отмечены эти концентрации;
4) перечень предприятий с указанием министерств, ответственных за формирование наибольшего уровня загрязнения;
5) описание метеорологических и физико-географических условий, определяющих повышенный уровень загрязнения;
6) рекомендации по обеспечению чистоты атмосферы.
Для
написания раздела по результатам, приведенным в форме 10 (см. п.
8.6), можно рассчитывать
осредненные на территории УГМ характеристики загрязнения атмосферы (
,
,
, Sм) по всем (L) городам (табл. 9.12). Значения
и
представляются в информативных документах с точностью до знака, на
порядок превышающего точность определения концентрации примеси (например
пыли
определяется до десятых, Q
для города - до сотых; также до сотых рассчитывается
по территории
УГМ). Рассчитывается число городов, в которых повторяемость (g) концентраций
составляет больше 1, 10 и 50 % (графы 7
- 9), а также максимальная концентрация примеси qм выше заданного уровня l в 1, 5 и 10 раз (графы 10 - 12). Для
сравнения уровней загрязнения воздуха различных городов рассчитываются комплексные
ИЗА I(l) последовательно для двух, трех, ..., l веществ, определяющих наибольший уровень
загрязнения воздуха в каждом городе, т.е. имеющих первый, второй, ..., l-й номер в вариационном ряду значений Ii для отдельных городов.
По наибольшим значениям индексов выделяются вещества, концентрации которых
вносят наибольший вклад в уровень загрязнения атмосферы
(примерно 20 - 30 % комплексного ИЗА), затем устанавливаются предприятия, в
выбросах которых эти вещества содержатся.
Таблица 9.12
Характеристики загрязнения атмосферы на территории УГМ
|
Число городов L |
|
|
|
Sм |
Число городов (%), в которых |
||||||
|
Повторяемость (g %) превышает |
qм/l превышает |
||||||||||
|
1 |
10 |
50 |
1 |
5 |
10 |
||||||
|
1 |
2 |
3 |
4 |
5 |
6 |
7 |
8 |
9 |
10 |
11 |
12 |
|
Пыль Серы диоксид Углерода оксид Азота диоксид Азота оксид . . . . |
|
|
|
|
|
|
|
|
|
|
|
Для составления списка городов с наибольшим уровнем загрязнения воздуха используется убывающий вариационный ряд значений I(l), полученных по одинаковому количеству примесей: выделяются города с наибольшими значениями I(l).
В табл. 9.13 в графе 1 в алфавитном порядке помещаются названия городов с наибольшими I(l), в графе 2 - вещества (не более четырех веществ), имеющие наибольшие значения Ii, в графе 3 - ведомственная принадлежность предприятий, ответственных за загрязнение воздуха этими веществами.
Составление раздела «Тенденция изменения уровня загрязнения воздуха на территории УГМ». В этом разделе приводятся результаты анализа тенденции изменения содержания вредных веществ в воздухе городов с учетом сведений об изменении выбросов вредных веществ и метеорологических условиях рассеивания примесей в атмосфере на основе данных табл. 9.11. Перечисляются города, в которых происходит рост (снижение) уровня загрязнения многими веществами. Указываются причины изменения уровня загрязнения, основные мероприятия по обеспечению чистоты воздушного бассейна.
Таблица 9.13
Города с наибольшим уровнем загрязнения атмосферы
|
Приоритетное вещество |
Отрасль промышленности, предприятия которой ответственны за высокий уровень ЗА |
|
|
|
|
|
Для определения средних и максимальных концентраций примесей в районе промышленных предприятий используются результаты подфакельных наблюдений за год при количестве измерений n > 50 на каждом расстоянии от источника выбросов или за более длительный период (см. табл. 9.1).
Если подфакельные наблюдения проводились всего в 1 - 3 точках от источника выбросов (например, только на расстояниях x, равных 0,5, 1 и 3 км), то результаты этих наблюдений обобщаются в форме табл. 9.14. Если наблюдения проводились в большем числе точек на разных расстояниях от предприятия, то проводится специальная обработка результатов наблюдений.
Таблица 9.14
Характеристика загрязнения воздуха в районе промышленных предприятий (по данным подфакельных наблюдений)
|
Отрасль, предприятие |
Вещество |
п |
qм |
x |
|
|
|
|
|
|
|
|
Из данных подфакельных наблюдений на известном расстоянии от исследуемого предприятия выбирается 10 - 15 наибольших значений максимальных разовых концентраций i-й примеси (qм), а также 10 - 15 наибольших значений qм - из данных наблюдений на стационарных постах, расположенных на фиксированном расстоянии от обследуемого предприятия при ветре со стороны этого предприятия.
Максимальные концентрации (мг/м3) примеси на разных расстояниях от промышленного предприятия
Методом графической регрессии [4] исследуется зависимость наибольших концентраций qм от расстояния до источника выбросов (черт. 9.2). На графике проводится линия, огибающая основную массу точек. Не принимаются во внимание лишь отдельные, далеко отстоящие от основной массы точки. Проведенная огибающая линия позволяет определить расстояние, на котором наблюдается самое высокое загрязнение (на черт. 9.2 - 4 км). Огибающая охватывает также те расстояния от источника, где наблюдения не проводились, что дает дополнительную информацию о значениях максимальных концентраций, имеющих место на подветренной стороне предприятия.
Полученные по огибающей значения qм помещаются в табл. 9.14. В этой таблице для каждого расстояния x приводится значение максимума, полученного по огибающей, и количество измерений на этом расстоянии.
Частота появления в течение года максимальных концентраций на подветренной стороне источника зависит от годовой розы ветров. Расчет поля средней концентрации i-й примеси по данным подфакельных наблюдений в зависимости от повторяемости различных направлений ветра позволяет определить реальное местоположение зоны наибольшего загрязнения по отношению к источнику загрязнения.
Статистический метод расчета поля средних концентраций примеси используется только при достаточно большом числе измерений (более 200 на каждом расстоянии от источника). В этом случае для любой точки наблюдения, находящейся на расстоянии x (0,5; 1; 2;...; 10 км) от источника рассчитывается средняя концентрация i-й примеси с учетом повторяемости d-го направления ветра по румбам
где qм - максимальная концентрация (мг/м3) на расстоянии x от источника;
Pd - повторяемость (в долях единицы) направления ветра, при котором примесь попадает в заданную точку;
N - число направлений ветра, которые учитываются при расчете Pd;
Пz - значение ПЗА, определяемое по формуле
(9.19)
Численные значения величины Пz для ряда станций с учетом данных о повторяемости опасной скорости ветра для двух групп: 0 - 3 и 4 - 7 м/с - приведены в [10]. Для станций, не приведенных в [10], значения Пz в соответствии с алгоритмом в [2] рассчитываются следующим образом: определяются значения P1 и P2 по формулам:
где Pин - повторяемость инверсий в слое 0,01 - 0,25 км (определяется по [10]);
Pсл - повторяемость слабых ветров (0 - 1 м/с) в слое от 0,01 (на высоте флюгера) до 0,20 км (определяется по [10]);
Pи - повторяемость опасной скорости ветра в диапазоне 0 - 3 м/с или 4 - 7 м/с (определяется по [14]).
Все значения повторяемости определяются в среднем за год в долях единицы. По значениям P1 и P2 определяются функции Ф(z1) = 1 - 2P1 и Ф(z2) = 1 - 2P2, а затем по таблицам [13] определяются значения аргументов z1 и z2.
Значения
, нанесенные на график, позволяют проводить
изолинии средних концентраций примеси. Пример поля средних концентраций
примесей, создаваемого отдельным источником, приведен на черт. 9.3. На этом чертеже источник выбросов находится в точке
пересечения осей координат. На лучах каждого из восьми направлений в заданном
масштабе через 1 км наносятся расчетные значения
, а затем проводятся изолинии средних
концентраций примеси.
Поле средних концентраций (мг/м3) примеси в районе одиночного источника выбросов
Следует заметить, что построение графика проводится вертикально по отношению к розе ветров. Например, при северо-западном направлении ветра значения концентраций откладываются на луче юго-восточного направления.
Информация о состоянии загрязнения атмосферы в населенных пунктах выдается в виде справки. Справка включает количественные характеристики загрязнения атмосферы за рассматриваемый период, приведенные в таблицах различных форм. В тексте указываются особенности загрязнения в течение этого периода, случаи превышения максимальным и средним значениями концентраций уровня ПДК, случаи высокого и экстремально высокого уровней загрязнения, причины, их обусловившие, обязательно с указанием предприятий, виновных в появлении таких уровней.
Фоновая концентрация вредного вещества (фон) является характеристикой загрязнения атмосферы, создаваемого всеми источниками выбросов на рассматриваемой территории, исключая источник, для которого определяется фоновая концентрация. В соответствии с [3, 6] и нормативами расчета максимальных концентраций за фоновую концентрацию принимается статистически достоверная максимальная разовая концентрация примеси (средняя за 20 мин), значение которой превышается в 5 % случаев.
Фоновая концентрация каждого вредного вещества определяется по данным наблюдений на стационарных и маршрутных постах, выполняющих наблюдения по одной из основных программ (см. раздел 2), а также под факелом промышленных предприятий на сети ОГСНКА или рассчитывается по формулам нормативных документов [11] на основе данных о параметрах выбросов промышленных предприятий. Данные постов наблюдений, расположенных непосредственно вблизи автомагистралей с интенсивным движением транспорта, не следует использовать для расчета фоновых концентраций оксида углерода и диоксида азота.
Фон определяется по данным наблюдений за пять лет. При отсутствии пятилетнего ряда разрешается определение фона по данным наблюдений менее 5, но не менее 3 лет. Расчет фона по данным наблюдений более чем за 5 лет не допускается в связи с тем, что за больший период природоохранные мероприятия или развитие промышленности в городе приводят к значительному изменению уровня загрязнения.
Корректировка значений фона основных примесей (пыль, диоксид серы, оксид углерода, диоксид азота), выбрасываемых большинством предприятий города, производится через 5 лет. При изменении методики определения концентрации примеси корректировка значения фона может быть произведена и ранее - за трехлетний период с данными наблюдений, полученными по новой методике.
Ввод новых мощностей, реконструкция предприятий, закрытие отдельных производств могут привести к заметному изменению выбросов и средних концентраций примесей, а следовательно, и фона. Если изменение количества выбросов превышает 25 %, корректировку фона следует провести раньше, чем через пять лет. При меньших значениях изменений можно осуществлять последовательную корректировку фоновых значений, добавляя к объему данных, по которым рассчитан фон, данные наблюдений за последующие годы и вычитая данные измерений за первый год периода.
Уточнение ориентировочных значений фона и значений фона, определенных на основе рядов наблюдений за период менее пяти лет, проводится обязательно с использованием для этой цели в дополнение к имеющемуся объему данных результатов наблюдений за последующие годы.
Для расчета фоновой концентрации примеси используются только климатологически однородные ряды наблюдений (см. п. 9.4) за период, в течение которого соблюдались следующие условия:
не изменялись методики отбора и анализа проб воздуха;
не менялось (или изменялось не более чем на 0,5 км) местоположение поста, по данным которого рассчитывается фон;
не менялся характер застройки вблизи поста;
не менялись характеристики выбросов ближайших источников (в радиусе до 5 км от поста).
Число наблюдений за концентрацией примеси на одном посту за пять лет должно быть не менее 800. Расчет фона на всех постах по одной примеси производится по данным наблюдений за один и тот же период. Если в городе наблюдения за уровнем загрязнения выполняются в течение 5 лет ежегодно в разных точках города по сокращенной программе и количество наблюдений за год в целом по городу более 200, может быть рассчитано ориентировочное значение фона для города. Обработка данных наблюдений на каждом посту для расчета фона осуществляется в системе АСОИЗА (см. раздел 8). Расчет фона производится по пяти градациям направления и скорости ветра: скорость 0 - 2 м/с (при любом направлении), скорость (3 - u*) м/с при северном, восточном, южном и западном направлениях. Верхняя граница градации скорости u* определяется с точностью до 1 м/с из условия, что скорости u > u* встречаются в данном месте в 5 % случаев.
Для определения u* из Справочника по климату [14] выписываются значения повторяемости скоростей ветра по градациям за рассматриваемый период, затем рассчитываются накопленные повторяемости скоростей ветра менее заданного уровня. При этом принимается, что в градацию скорости ветра 0 - 1 м/с включаются случаи со значениями скорости до 1,5 м/с, в градацию 2 - 3 м/с - скорости от 1,5 до 3,5 м/с. Если одно из значений накопленной повторяемости скоростей ветра равно 95 %, то соответствующая ему скорость ветра, округленная до целых, принимается за u*. Если значение 95 % не встречается в таблице, то выбирают два соседних значения (больше и меньше 95 %) и затем линейной интерполяцией определяется скорость ветра, соответствующая 95 %.
Если промышленные предприятия, являющиеся основными источниками выбросов рассматриваемого вещества, сконцентрированы за городом или на его окраине, то по направлениям ветра выбираются также четыре градации, но такие, чтобы середина одной из них соответствовала направлению ветра от источников выбросов на центр города.
Для
определения однородности ряда данных наблюдений, используемых для расчета фона,
выполняется критический просмотр значений средних за месяц концентраций примеси
за период, взятый для расчета фона в соответствии с п. 9.4. За период с однородным
рядом наблюдений вычисляются
, σi, ni
для каждой из пяти градаций скорости и направления ветра qмн
и σ в целом для всех
градаций по данному посту. Если в какой-либо градации окажется ni < 100, то для нее
может быть принято ориентировочное значение фона в том случае, когда необходим
учет детальных особенностей местности. Например, если пункт наблюдений
расположен в долине с отчетливо выраженным преобладанием определенных
направлений ветра, то для направлений ветра поперек долины находится
при ni
< 100.
Значение фоновой концентрации cф для j-й градации скорости и направления ветра для i-й примеси рассчитывается с учетом коэффициента вариации по формуле
где F(Vij) - определяется по черт. 9.4.
График для определения F (Vij)
Если значение Vij меньше 0,2 или больше 4, это означает, что для расчета фона взят массив данных неоднородного ряда наблюдений и следует повторить критический просмотр данных.
Если предприятие, под факелом которого проведены наблюдения, является единственным или основным источником загрязнения воздуха данной примесью, значение фона может быть определено и при отсутствии данных регулярных наблюдений на стационарных постах. В этом случае используются данные подфакельных наблюдений за содержанием специфических примесей. Из наблюдений за все годы на график (см. черт. 9.2) наносятся концентрации примеси для разных расстояний от предприятия (1, 2, 3, ... км). На этот же график наносятся данные наблюдений за концентрациями этой примеси на постах или в разных точках города, находящихся на соответствующих расстояниях от предприятия. Затем проводится плавная линия, огибающая сверху основную массу точек, и определяется наибольшее значение (qм) для каждого расстояния от предприятия. После этого определяется средняя многолетняя повторяемость P четырех основных направлений ветра от источника, для которого рассчитывается фон (С, В, Ю, З). Поскольку в Справочнике по климату [14] приводится повторяемость для восьми румбов, перевод значений повторяемости для четырех румбов (так как фон определяется для четырех направлений ветра) производится суммированием значения данного румба с полусуммой повторяемости двух смежных румбов.
Для каждой точки при направлении ветра от предприятия в качестве фона принимается значение cф, рассчитанное по формуле
где Pd - повторяемость (в долях единицы) направлений ветра того румба, который соответствует переносу примеси от предприятия в эту точку;
qм i - максимальная концентрация на соответствующем расстоянии от предприятия.
Для направлений ветра других румбов фон принимается равным нулю.
Результаты расчета cф в этом случае могут быть нанесены на схему города в точках, соответствующих заданному расстоянию от предприятия. В этом случае могут быть проведены изолинии значений cф.
Фоновые концентрации примесей, рассчитанные одновременно двумя способами: по формуле (9.22) и графическим методом с помощью огибающей линии и формулы (9.23) для одной и той же точки города, - могут различаться. В этом случае используются данные, полученные по формуле (9.22).
Может оказаться, что концентрации примеси, превышающие фоновое значение, наблюдаются не в 5 % случаев, а с большей или меньшей повторяемостью. Это обусловлено особенностями выравнивания эмпирической функции распределения концентраций примеси с помощью логарифмически нормального закона. Эмпирическая кривая распределения концентрации может быть недостаточно надежной, особенно при малом количестве наблюдений (< 200) для заданной градации скорости и заданного направления ветра. Корректировка фона в этом случае не требуется.
После
расчета фона для каждой градации скорости и направления ветра проводится оценка
значимости различий
. Для этой цели рассчитываются значения
- среднего по пяти градациям и cф - среднего по четырем градациям (без
градации скорости ветра 0 - 2 м/с):
(9.25)
Если по данным наблюдений на посту получено, что максимальное и минимальное значения cфij, выбранные из cф для пяти градаций, удовлетворяют условию
то для такого поста в
качестве cфij принимается
независимо от скорости
и направления ветра.
Если по данным наблюдений на посту получено, что условие (9.26) не выполняется, но для различных градаций направления ветра выполняется условие
то для данного поста в качестве cфij принимаются два значения фона. Одно - для градации скорости ветра 0 - 2 м/с, а другое - для скорости ветра (3 - u*) м/с без учета направления ветра.
Примечание. Нельзя рассчитывать фоновую концентрацию примеси с 20-минутным интервалом осреднения по данным суточных измерений концентрации примеси.
Для учета суммации вредного действия нескольких (m) вредных веществ допускается определение единого значения фона cф по всем m веществам. При этом для каждого пункта наблюдений и одних и тех же сроков наблюдений концентрации m веществ приводятся, согласно [11], к концентрации наиболее распространенного из них вещества. Например, в случае суммации действия концентраций диоксида серы qSO2 и диоксида азота qNO2 приведенная концентрация определяется по формуле
qSO2 + NO2 = qSO2 + qNO2ПДКSO2/ПДКNO2 (9.28)
где ПДКSO2 и ПДКNO2 - максимальные разовые предельно допустимые концентрации этих веществ.
Дальнейшая обработка производится так же, как и в случае одного вещества.
В ряде случаев возникает необходимость определения фона при отсутствии данных наблюдений для окраин городов, пригородных зон за пределами зоны наблюдений в городе (экстраполяционное значение фона) или в пределах зон наблюдений на участках городских территорий, расположенных на большом расстоянии от постов (интерполяционное значение фона), а также для городов, где наблюдения не проводятся.
Анализ экспериментальных данных и результаты расчета средних концентраций примесей [2] показывают, что на территории города от зоны наибольших значений концентрации примесей к зоне наименьших (на окраинах) средние значения концентраций снижаются примерно на 50 % при одновременном уменьшении значений среднего квадратического отклонения. Поэтому если на окраине города нет крупных промышленных предприятий, ориентировочное значение фона cф для окраин при ветре со стороны города можно принимать равным 0,5cф, полученного по данным наблюдений на всех стационарных постах (без детализации по постам, скорости и направлениям ветра). При направлениях ветра на город из пригородных зон значения фона принимаются равными значениям, приведенным в табл. 9.15.
Таблица 9.15
Ориентировочные значения фоновой концентрации примесей (мг/м3) для городов с разной численностью населения
|
Пыль |
Диоксид серы |
Диоксид азота |
Оксид углерода |
|
|
250 - 125 |
0,4 |
0,05 |
0,03 |
1,5 |
|
125 - 50 |
0,3 |
0,05 |
0,015 |
0,8 |
|
50 - 10 |
0,2 |
0,02 |
0,008 |
0,4 |
|
Менее 10 |
0 |
0 |
0 |
0 |
В пределах зоны наблюдений в городе значение фона, как средней концентрации и коэффициента вариации, метут быть получены интерполяцией их значений, полученных на стационарных постах. При удалении местоположения исследуемой точки от ближайших постов более чем на 5 км детализация фона по направлениям ветра нецелесообразна, так как локальные условия могут внести существенные изменения в зависимости уровня загрязнения от направления ветра, и погрешность определения интерполированного значения фона может оказаться большей, чем погрешность от неучета влияния направления ветра. Интерполированное значение фона может быть получено отдельно для градаций скорости ветра 0 - 2 м/с и (3 - u*) м/с. При выполнении расчетов на ЭВМ и количестве постов наблюдений не менее восьми интерполяция и экстраполяция фона выполняются с использованием следующего алгоритма. Прежде всего определяется «центр тяжести» сети постов наблюдений, т.е. точка, координаты которой представляют собой среднее арифметическое из соответствующих координат постов наблюдений. Затем находится пост, максимально удаленный от центра тяжести (расстояние между постом и центром тяжести обозначается R), и из центра тяжести проводится окружность радиусом 1,1R. Внутри окружности интерполяция фона производится по формуле
где cфk и cф - фоновые концентрации на k-м посту наблюдения и в рассматриваемой точке (для соответствующей градации скорости и направления ветра);
rk - расстояние от рассматриваемой точки до k-го поста.
Вне окружности проводится экстраполяция по формуле
(9.30)
где rk0 - расстояние от k-го поста до точки пересечения окружности и прямой, соединяющей рассматриваемую точку с центром тяжести;
r0 - расстояние от рассматриваемой точки до центра тяжести, а c - «загородный» фон [8].
При определении фоновой концентрации примеси для всей территории города в целом используются результаты определения фона по данным наблюдений на отдельных стационарных и маршрутных постах и под факелами промышленных предприятий для каждой из пяти градаций скорости и направления ветра. В табл. 9.16 представлен пример записи cф для восьми постов.
По
данным cфij для каждого из постов рассчитывается
для города с учетом
количества наблюдений nij
на каждом посту в заданной градации, т.е. по формуле, аналогичной формуле (9.24) для K постов. Для постов, на которых |cфij -
| ≤ 0,25
, в качестве cфij принимается значение
.
Результаты
анализа значений фоновых концентраций примесей на отдельных постах показывают,
что возможна замена всех значений cфij на
и замена
значений
на
одно значение
для
города без детализации по скоростям и направлениям ветра, а также по отдельным
постам.
Для городов, в которых не проводятся наблюдения за уровнем загрязнения атмосферы, фоновая концентрация примеси устанавливается по данным городов-аналогов. В табл. 9.15 приведены ориентировочные значения фона для городов с разной численностью населения. Эти значения могут использоваться для города, где не проводятся наблюдения, если в данном городе не имеется крупных источников выбросов. При наличии таких источников фоновая концентрация примеси складывается из значения фона, полученного расчетным путем [11] по параметрам данного источника, и ориентировочного значения фона (см. табл. 9.15).
Таблица 9.16
Значения cф для города
|
cф |
0 - 2 м/с |
(3 - u*) м/с |
||||
|
С |
В |
Ю |
З |
|||
|
1 |
0,12 |
0,11 |
0,09 |
0,10 |
0,14 |
0,13 |
|
2 |
0,13 |
0,13 |
0,08 |
0,22 |
0,12 |
0,08 |
|
3 |
0,13 |
0,14 |
0,09 |
0,20 |
0,15 |
0,07 |
|
4 |
0,14 |
0,12 |
0,10 |
0,25 |
0,15 |
0,08 |
|
5 |
0,17 |
0,15 |
0,23 |
0,14 |
0,24 |
0,09 |
|
6 |
0,14 |
0,11 |
0,17 |
0,11 |
0,22 |
0,09 |
|
7 |
0,12 |
0,15 |
0,08 |
0,13 |
0,11 |
0,11 |
|
8 |
0,12 |
0,13 |
0,09 |
0,12 |
0,13 |
0,10 |
|
|
0,13 |
0,13 |
0,12 |
0,16 |
0,16 |
0,09 |
|
0,25 |
0,03 |
0,03 |
0,03 |
0,04 |
0,04 |
0,02 |
Фоновые концентрации УГМ сообщает только после поступления запроса. В запросах о фоновых концентрациях примесей необходимо указать название и местоположение предприятия, для которого запрашивается фон, причину запроса, перечень вредных веществ, для которых необходимы сведения о фоне и расчетный срок использования фона. Форма представления фоновых концентраций по каждому посту и веществу показана в табл. 9.17. Запись значений фоновых концентраций примесей должна производиться с одинаковой точностью на всех постах по форме табл. 9.15.
При отсутствии данных о фоне в какой-либо градации из-за малого количества наблюдений в этой градации ставится прочерк. Если фон определен только для одной - двух градаций, то обязательно следует включить в таблицу данные фона для поста без детализации по градациям. Если фон определен только для поста (города) без детализации по градациям, то при выдаче данных потребителю следует пояснить, что разница между значениями фона в каждой градации не превышает 25 % значения фона для поста (города).
В целях эффективного использования природных ресурсов в народном хозяйстве и предупреждения загрязнения природной среды, в том числе атмосферы, в последние годы составляются территориальные комплексные схемы охраны природы (ТКСОП), разрабатываются и устанавливаются предельно допустимые выбросы (ПДП) для предприятий и промышленных комплексов. Для выполнения указанных работ требуется обобщить данные наблюдений о содержании примесей в атмосфере за несколько лет, составить прогноз ожидаемого уровня загрязнения воздуха в городе при существующих тенденциях развития промышленности и природоохранных мероприятий, выделить города, имеющие наибольший уровень загрязнения, в городах установить основные источники загрязнения, а также вещества, определяющие уровень загрязнения воздуха в городе.
Таблица 9.17
Форма представления данных о фоновой концентрации загрязняющего вещества
ГОСУДАРСТВЕННЫЙ КОМИТЕТ СССР ПО ГИДРОМЕТЕОРОЛОГИИ
|
_____________________________________________ управление по гидрометеорологии Фоновые концентрации загрязняющих веществ Город _____________________ область, край, республика _________________________ Организация, запрашивающая фон, ее ведомственная принадлежность ___________________________________________________________________________ Предприятие, для которого устанавливается фон, его ведомственная принадлежность _ ___________________________________________________________________________ Фон определен с учетом выделения вклада предприятия, для которого он запрашивается ______________________________________________________________ (да, нет) Предприятия и ведомства, которым ранее переданы данные о фоне _________________ ___________________________________________________________________________ Значения фоновых концентраций для ___________________________________________ (вещество) не установлены из-за _________________________________________________________ Фоновые концентрации (cф мг/м3) для ________________________________________ (вещество)
Рекомендации по учету фона расчетным путем __________________________________ Подпись начальника УГМ ______________________________________ |
|||||||||||||||||||||||||||||
На основании полученных материалов с учетом информации о климатических условиях распространения примесей в атмосфере появляется возможность разработать научно обоснованные предложения по предупреждению загрязнения атмосферы. Ниже приводятся рекомендации по составлению таких территориальных комплексных программ.
Для анализа состояния загрязнения атмосферы необходимы обобщенные данные о выбросах вредных веществ в атмосферу, получаемые из формы статистической отчетности «2-тн (воздух)». Сведения о выбросах представлены в форме табл. 9.18.
Таблица 9.18
Выбросы вредных веществ в городе ____________________
19__ г.
|
Средняя высота труб H, м |
Количество предприятий |
Количество веществ, тыс. т/год |
|||
|
отходящих |
уловленных |
выбрасываемых |
|||
|
|
|
|
|
|
|
Перечень основных источников выбросов, осуществляющих примерно 80 % и более всех выбросов данного вещества, приводится в табл. 9.19.
Таблица 9.19
Основные источники выбросов вредных веществ
|
Вещество |
Количество выбросов, тыс. т/год |
Примечание |
|
|
|
|
|
|
Оценка состояния загрязнения атмосферы в районе отдельного промышленного объекта в городе, области или в крупном регионе осуществляется по результатам наблюдений за концентрациями примесей на стационарных и маршрутных постах, под факелом промышленных предприятий и при эпизодических обследованиях. В обработку включается временной ряд наблюдений за период не менее трех и не более пяти лет. До начала обработки данные измерений проходят контроль для установления их достоверности и оценки суммарных ошибок измерений, возникающих при отборе проб воздуха, химическом анализе этих проб и расчете статистических характеристик данного временного ряда. Контроль проводится в соответствии с п. 9.4. Для оценки уровня загрязнения атмосферы используется климатологически однородный ряд наблюдений; для изучения тенденции изменения уровня - статистически однородный ряд.
Расчет статистических характеристик за рассматриваемый период производится отдельно по данным каждого k-го поста, в целом по K постам, за j-й месяц и в целом за весь период.
Расчет каждой характеристики производится при числе наблюдений за концентрацией одной примеси на стационарном посту не менее 200 (табл. 9.20).
Таблица 9.20
Характеристики загрязнения воздуха в городе
|
Номер поста |
N |
Qмн |
σjм |
qм |
g |
|
|
|
1 |
|
|
|
|
|
|
|
2 |
|
|
|
|
|
|
|
. |
|
|
|
|
|
|
|
. |
|
|
|
|
|
|
|
. |
|
|
|
|
|
|
|
K |
|
|
|
|
|
Таблица 9.21
Характеристики загрязнения воздуха по данным K постов за период _________ гг.
|
Вещество |
Qмн |
σ |
Qм/ПДКм.р |
g |
|
|
|
|
|
|
|
|
Таблица 9.22
Характеристики загрязнения воздуха по месяцам в городе _________________ по данным K постов за период _____________ гг.
|
Характеристика |
I |
II |
III |
IV |
V |
VI |
VII |
VIII |
IX |
X |
XI |
XII |
|
|
|
|
|
|
|
|
|
|
|
|
|
|
|
|
|
|
σ |
|
|
|
|
|
|
|
|
|
|
|
|
|
|
qм |
|
|
|
|
|
|
|
|
|
|
|
|
Для составления табл. 9.20 - 9.22 используются данные наблюдений на тех постах, на которых наблюдения проводились в течение всего рассматриваемого периода. Расчет характеристик загрязнения атмосферы выполняется по обычным формулам (см. п. 9.3).
Состояние загрязнения атмосферы, создаваемое крупным промышленным предприятием, оценивается по результатам измерений концентрации примеси на разных расстояниях от предприятия (0,5; 1; 2; ...; 10 км) под факелом выбросов. Обработка результатов наблюдений за период 3 - 5 лет под факелом предприятия осуществляется по методике, изложенной в п. 9.6.
Изучение климатических условий распространения примесей в атмосфере позволяет установить степень их влияния на формирование уровня загрязнения атмосферы и определить, какие мероприятия могут оказаться наиболее эффективными для обеспечения чистоты атмосферы.
Общая оценка климатических условий рассеивания примесей в атмосфере основывается на материалах, представленных в справочном пособии [10], включая данные о районировании территории СССР по потенциалу загрязнения атмосферы.
К анализу привлекаются следующие климатические характеристики:
слабые и опасные скорости ветра (повторяемость);
застои воздуха - приземные инверсии при слабом ветре (повторяемость);
инверсии температуры, приземные и приподнятые (мощность, интенсивность, повторяемость);
коэффициент турбулентного обмена (повторяемость различных значений, среднее и максимальное значения);
туманы (продолжительность);
осадки (интенсивность жидких осадков).
Каждая из перечисленных характеристик сравнивается со значением для зоны наибольшей рассеивающей способности и со средним значением для зоны, включающей рассматриваемый регион [10]. Сравнение позволяет установить характерные особенности региона (например, преобладание приподнятых инверсий, повышенную частоту тумана и т.п.) и сформулировать обоснованные рекомендации по предупреждению загрязнения. Так, на Украине, особенно в местах значительной концентрации промышленности, строительство высоких труб не даст заметного эффекта в уменьшении загрязнения, поскольку здесь велика повторяемость приподнятых инверсий, являющихся задерживающим слоем для распространения выбросов в верхние слои атмосферы. Более подробно об учете климатологической информации см. в [10].
Исследование годового и суточного хода климатических характеристик позволяет выявить периоды, когда наиболее вероятны условия накопления примесей в атмосфере.
Известно, что многие предприятия осуществляют выбросы нерегулярно. В периоды профилактических и ремонтных работ газоочистного оборудования и других мероприятий выбросы вредных веществ в атмосферу могут возрастать. Поэтому следует выявить и рекомендовать периоды, наиболее безопасные для этих целей. Выполнение рекомендаций позволит предотвратить «пиковые» концентрации и приведет к снижению уровня загрязнения.
Степень загрязнения атмосферы, создаваемая выбросами промышленных предприятий, оценивается максимальной наземной концентрацией примеси cм [11]. В отдельные короткие периоды могут создаваться более неблагоприятные условия, при которых концентрация примеси может резко возрасти: низкие приподнятые инверсии (ин) над дымовыми трубами, ослабление ветра до штиля в слое от земли до высоты трубы (сл). О вероятности появления таких условий можно судить по повторяемости Pин и Pсл. При этом устанавливается Pин в слое до 250 м (0,05 - 0,25 км) и Pсл до высоты 200 м из [10]. Снижение выбросов на промышленных объектах при таких метеорологических условиях будет способствовать снижению загрязнения воздуха.
Выбросы источников загрязнения городов и промышленных объектов переносятся воздушными потоками на значительные расстояния, определяя региональный фон загрязнения атмосферного воздуха на территории СССР. Непосредственные сведения о состоянии загрязнения атмосферы на региональном уровне могут быть получены по данным наблюдений в небольших населенных пунктах, расположенных вдали от крупных городов, при условии, что источники загрязнения воздуха в этих пунктах отсутствуют. Сведения о региональном фоне загрязнения атмосферы получаются также из данных сети постов наблюдений за трансграничным переносом загрязняющих веществ через западную границу СССР, организованной в рамках совместной программы наблюдений и оценки распространения загрязняющих веществ на большие расстояния в Европе.
Косвенным показателем состояния загрязнения атмосферы могут служить данные о химическом составе проб атмосферных осадков и снежного покрова. Эти данные характеризуют загрязнение слоя атмосферы, в котором образуются облака, происходит газовый обмен и из которого выпадают осадки и сухие вещества в отсутствие осадков.
Данные о содержании веществ в снежном покрове являются единственными материалами для оценки регионального загрязнения атмосферы в зимний период на больших территориях страны и выявления ареала распространения загрязняющих веществ от промышленных центров и городов. Химический анализ содержания вредных веществ в снеге осуществляется методами, используемыми при исследовании либо проб атмосферных осадков, либо проб воздуха.
При реализации совместной программы наблюдения и оценки распространения загрязняющих веществ на большие расстояния (ЕМЕП) в СССР была создана сеть станций наблюдения за трансграничным переносом загрязняющих веществ.
Целью этой программы является получение сведений о переносе в атмосфере загрязняющих веществ через границы государств в европейском регионе.
Программа ЕМЕП состоит из четырех частей:
отбор проб, их анализ и определение химических характеристик;
сбор данных о выбросах загрязняющих веществ;
построение математических моделей для оценки трансграничных потоков, концентраций и других характеристик, их дальнейшее усовершенствование;
сопоставление экспериментальных и расчетных данных и их анализ.
В данном Руководстве рассматривается только первая из перечисленных задач программы ЕМЕП.
На станциях наблюдений за трансграничным переносом в основном используются те же методы анализа проб воздуха, что и для анализа проб воздуха с постов наблюдений загрязнения атмосферы в городах. Специальные методики для анализа, используемые только на станциях трансграничного переноса, приведены в п. 3.5.
Химический состав осадков является интегральной характеристикой загрязнения слоя атмосферы, в котором образуются облака. Отбор проб атмосферных осадков производится на метеорологических станциях, расположенных как в сельской местности, так и в пределах города или промышленного района [1]. Из сети станций по отбору проб атмосферных осадков в сельской местности выделены станции мониторинга фонового загрязнения атмосферы, вошедшие в международную сеть ВМО. Наблюдения на сети станций мониторинга фонового загрязнения атмосферы (БАПМоН) осуществляется в районах минимального загрязнения (базовые станции) и в районах, подверженных влиянию хозяйственной деятельности человека, куда загрязняющие вещества поступают путем местных миграционных процессов (региональные станции).
При отборе осадков должно быть исключено попадание в пробу посторонних веществ. Стандартный осадкомер, изготовленный из химически нестойкого материала, для этой цели непригоден. При ручном способе отбора проб используются устройства, установленные только на период выпадения осадков. Для анализа важно собрать первые, наиболее загрязненные порции осадков, поэтому на метеостанциях следует предусмотреть круглосуточный режим работы. При автоматическом отборе проб осадков используется установка, снабженная устройством, которое автоматически открывает крышку над приемной поверхностью в начале выпадения осадков и закрывает ее после их прекращения. Она обеспечивает измерения величины pH и электропроводности осадков.
Отбор проб производится на открытой ровной площадке, удаленной не менее чем на 100 м от деревьев, холмов, зданий, линий электропередачи, местных источников загрязнения атмосферы. Приемные поверхности осадкосборника и стандартного осадкомера должны быть примерно на одинаковом уровне от подстилающей поверхности.
В зависимости от периода отбора пробы могут быть суммарные и единичные. Единичная проба отбирается в период отдельного дождя или снегопада; сбор осадков может продолжаться от нескольких минут до нескольких часов, иногда суток. Если осадки выпадают с небольшим перерывом (менее 1 ч) и при неизменной облачности, их отбирают в один сосуд. При перерыве более 1 ч осадки собирают как отдельные пробы. Суммарная проба включает осадки, объединенные за некоторый промежуток времени: месяц, неделю, сутки. Такая проба характеризует среднее содержание определяемых компонентов за соответствующий период времени [1].
В соответствии с рекомендацией ВМО [5], период отбора проб на станциях фонового мониторинга составляет 7 сут. Каждый недельный период начинается во вторник, в срок, ближайший к 8 ч поясного декретного (зимнего) времени, когда производится измерение количества осадков [4]. На обычной сети станций собирают месячные пробы. При необходимости выяснения влияния метеорологических условий и локальных источников загрязнения на химический состав осадков программа работ на станциях может предусматривать отбор как суммарных, так и единичных проб осадков.
В связи с тем что содержание растворенных в осадках веществ невелико и измеряется милиграммами или даже долями миллиграмма в 1 дм3 воды, требуется строгое соблюдение условий отбора, хранения и анализа проб осадков. Необходимо исключить попадание посторонних веществ в пробы осадков как в момент отбора, так и во время их хранения и транспортировки в централизованные лаборатории. Организация транспортировки проб должна обеспечить минимальные сроки между отбором и анализом проб осадков.
Осадкосборные устройства и сосуды для хранения и транспортировки проб атмосферных осадков должны быть изготовлены из прочного химически стойкого материала. Их пригодность необходимо исследовать в химической лаборатории путем измерения электропроводности и pH дистиллированной воды, которую наливают в эти сосуды. За 1 сут допустимо изменение значения pH на 0,3, электропроводности на 1 - 2 мкСм/см. Полиэтиленовые колбы (флаконы), предназначенные для отбора и хранения проб, доставляются на станцию из химической лаборатории тщательно промытыми, закрытыми, пронумерованными и взвешенными. Они открываются только на время отбора проб осадков.
При ручном способе отбора проб осадков в теплый и холодный периоды используют разные осадкосборные устройства. Отбор проб дождевой воды осуществляется через эмалированные, стеклянные или полиэтиленовые воронки с надетым на горловину защитным приспособлением, препятствующим попаданию осадков, стекающих по внешней стороне воронки в сборную колбу (черт. 2.1). В качестве такого приспособления можно использовать крышку от полиэтиленовой колбы с просверленным в ней отверстием для горловины воронки. Конец воронки должен входить в сборную колбу. Для отбора проб твердых осадков (снег) применяют эмалированные кюветы или пластмассовые ванночки с крышками размером 30´40 см и высотой не менее 5 см. Полиэтиленовые ведра вместимостью 5 - 10 дм3 можно использовать для отбора проб как жидких, так и твердых осадков.
Установка для отбора проб твердых (а) и жидких (б) осадков
1 - штатив; 2, 5 - крышка; 3 - полиэтиленовое ведро; 4 - кольца держателя; 6 - полиэтиленовая воронка (диаметр 23 см); 7 - навинчивающаяся крышка; 8 - полиэтиленовая колба.
Площадь приемной поверхности устройства для отбора проб определяется объемом пробы, необходимым для выполнения анализа, и средним количеством осадков, выпадающих за тот или иной период отбора. Для проведения полного анализа химического состава осадков необходимо не менее 250 см3 воды, поэтому диаметр приемной поверхности при отборе месячных проб жидких осадков должен быть не меньше 15 см, недельных - 20 см, единичных - 25 см. В тех районах, где наименьшее значение средней месячной суммы осадков составляет 5 мм, диаметр воронки для отбора месячных или недельных проб должен быть не менее 25 см.
Воронки, ведра, кюветы или ванночки, закрытые крышкой и помещенные в чистые полиэтиленовые мешки, а также запасные колбы, доставляемые из химической лаборатории, должны храниться в шкафу или хорошо закрывающемся ящике в чистом помещении.
Для транспортировки и хранения чистой посуды и проб осадков применяются специальные ящики. Объем суммарных проб осадков может составлять от 2 до 4 дм3, поэтому следует предусмотреть место для шести колб вместимостью 0,5 дм3 или четырех колб вместимостью 1,0 дм3. При отборе единичных проб целесообразно использовать колбы вместимостью 0,25 дм3. Транспортировочные ящики имеют размеры 30´30´25 см. В них в зависимости от вместимости пересылаемых колб вставляют фанерные перегородки с ячейками соответствующих размеров. Ящик закрывается выдвижной крышкой, на одной стороне которой написан адрес станции, на другой - лаборатории, где проводится анализ пробы. Перед отправкой ящика крышка задвигается так, чтобы на ее наружной стороне был адрес пункта назначения, и привинчивается шурупами.
Отправка месячных проб осуществляется не позднее 5-го числа следующего месяца, недельных и единичных проб - каждый четверг. При этом единичные пробы сопровождают заполненной таблицей наблюдений за химическим составом осадков (ТНХО).
Установка для отбора проб осадков располагается на столе размером 80´80 см, установленном на высоте 130 - 150 см от поверхности земли. При отборе проб жидких осадков она состоит из полиэтиленовой приемной воронки 6, крышки 5, полиэтиленовой колбы 8 вместимостью 500 см3, штатива 1 и двух колец 4 разного размера, (см. черт. 2.1б). На горловине воронки имеется резьба, на которую навинчивается крышка 7 от стандартной колбы вместимостью 500 см3 с отверстием для горловины воронки. Не рекомендуется использовать в качестве сборного сосуда одну и ту же колбу, так как на ее стенках могут адсорбироваться примеси, которые при ополаскивании дистиллированной водой полностью не удаляются.
В зимнее время штатив убирают, металлические части тщательно протирают машинным маслом и хранят в сухом месте. Воронка и колба хранятся отдельно в полиэтиленовом пакете.
Для отбора проб твердых осадков используют кювету с ветровой защитой или полиэтиленовое ведро вместимостью 10 дм3, диаметр приемной поверхности которого равен 25 - 30 см (см. черт. 2.1а).
В теплый период перед началом выпадения жидких осадков выносят на метеоплощадку воронку с навинченной на ее конец колбой вместимостью 0,5 дм3, упакованные в полиэтиленовый пакет. Извлекают из пакета воронку с колбой и устанавливают их на столе, как показано на черт. 2.1. Воронку закрывают крышкой или чистым полиэтиленовым мешком. В момент начала выпадения осадков крышку или мешок снимают и убирают в полиэтиленовый пакет. Если дождь идет с перерывами, то на время перерыва необходимо закрыть воронку крышкой или полиэтиленовым мешком. Если колба успевает заполниться до прекращения дождя, то ее осторожно вывинчивают и сразу же вставляют новую. По окончании дождя колбу и воронку убирают с площадки и переносят в помещение. Воронку и крышку ополаскивают дистиллированной водой, стряхивают остатки дистиллированной воды, закрывают воронку крышкой и вкладывают в чистый полиэтиленовый пакет и затем убирают в шкаф.
Дистиллированная вода вместе с чистыми колбами для отбора проб осадков высылается на станцию из лаборатории в закрытых полиэтиленовых колбах.
В зимний период перед началом выпадения твердых осадкой (снега) выносят кювету (ванночку), закрытую крышкой или другой кюветой на метеоплощадку и устанавливают ее на столе внутри ветровой защиты. В момент начала выпадения снега крышку снимают и убирают в полиэтиленовый пакет. Если снег идет с перерывами, то на время перерыва кювету необходимо закрывать крышкой. По окончании выпадения снега кювету закрывают крышкой и переносят в помещение. Таяние снега происходит в удаленной от источников обогрева закрытой кювете при комнатной температуре.
В помещении метеостанции собранные недельные или месячные пробы осадков переливают в колбу вместимостью 0,5 или 1,0 дм3, плотно закрывают ее крышкой и убирают в темное прохладное место (шкаф или ящик). При наполнении одной колбы используют другие свободные колбы. Однако следует помнить, что нельзя смешивать осадки, выпавшие в течение разных недель или месяцев.
Единичные пробы жидких осадков хранят и транспортируют в тех колбах, в которые они были собраны. При отборе проб твердых осадков талую воду сливают в колбу, предназначенную для хранения единичной пробы, после заполнения одной колбы остаток переливают в другую колбу. В случае продолжительного дождя или снегопада необходимо собрать их полное количество, при этом могут быть последовательно заполнены несколько колб. Пробы рекомендуется хранить при температуре +5 °С.
Если объем суммарной или единичной пробы оказался меньше 10 см3, то ее выливают, так как такого объема недостаточно для проведения анализа. Освободившуюся колбу ополаскивают дистиллированной водой, закрывают пробкой и в дальнейшем снова используют для отбора проб. Однако, если программой исследования предусмотрено измерение pH или других параметров сразу после выпадения осадков, то в этом случае используется и количество осадков, меньшее 10 см3.
Сборную колбу, кювету (ванночку) после переливания из них осадков, а также крышку от кюветы ополаскивают дистиллированной водой. Стряхивают остатки воды, закрывают их соответствующими крышками, укладывают раздельно в полиэтиленовые пакеты и готовые к следующему употреблению хранят в шкафу или специальном ящике. В таблице ТНХО-1 или ТНХО-2 указывают номер колбы и необходимые сведения.
В конце каждого месяца воронку (в теплый период) или кюветы (в холодный период) промывают теплой водой с хозяйственным мылом, затем теплой чистой водой, после чего ополаскивают дистиллированной водой не менее трех раз и помещают в чистые полиэтиленовые пакеты, присылаемые из лаборатории. Использование для мытья сборных устройств синтетических стиральных порошков и питьевой соды категорически запрещается, поскольку следы этих веществ при последующем ополаскивании водой полностью не удаляются и могут быть причиной искажения химического состава осадков. В помещении, где находятся пробы осадков, нельзя хранить химические вещества бытового и производственного характера (поваренную соль, растворы аммиака, кислот, оснований и т.д.).
Химический состав проб осадков трансформируется как со временем, так и при смешивании отдельных проб для получения суммарной (недельной, месячной), поэтому рекомендуется производить измерение неустойчивых параметров в пункте отбора проб сразу после выпадения осадков, например водородного показателя pH, кислотности (щелочности) атмосферной воды. В связи с этим в программу работ на станциях по особому указанию могут быть включены измерения pH и удельной электропроводности. При отсутствии возможности проведения инструментальных измерений можно получить качественную оценку кислотности (щелочности) путем определения реакции воды проб осадков с помощью смешанного индикатора.
Смешанный индикатор готовят в лаборатории из метилового красного (0,2 %-ный раствор в спирте) и метиленового голубого (0,1 %-ный раствор в спирте) в объемном соотношении 1:1. В кислой среде окраска индикатора красно-фиолетовая, в щелочной - зеленая. При значении pH, равном 5,4, происходит изменение окраски индикатора на серую [2, 3]. Индикатор следует хранить в темной капельнице, обернутой черной бумагой. Срок хранения индикатора 3 - 4 мес.
Для определения реакции пробы осадков наливают до метки в пробирку 5 см3 собранную воду, добавляют из капельницы 2 - 3 капли индикатора, закрывают пробирку пробкой, хорошо перемешивают содержимое. Наблюдаемый цвет раствора (красно-фиолетовый, зеленый или серый) записывают в таблицу ТНХО-1 или ТНХО-2. После этого раствор из пробирки выливают в канализацию, пробирку и пробку ополаскивают несколько раз дистиллированной водой, высушивают в сушильном шкафу (или на воздухе) и хранят в чистом полиэтиленовом пакете.
Пробирки после использования в течение месяца отправляют в лабораторию для более тщательной обработки, откуда они снова поступают на станцию вместе с чистыми колбами и дистиллированной водой.
В лаборатории определяют массу собранной воды. Для этого взвешивают все сосуды, в которые собраны в течение месяца единичные и слитые суммарные (недельная, месячная) пробы осадков с точностью 0,1 г, из полученных значений вычитают массу пустых сосудов, определяя тем самым массу (M) собранной воды. Значение M в граммах записывают в таблицу ТНХО-1 или ТНХО-2.
Эффективность или полноту отбора пробы определяют, сопоставляя фактически собранный объем пробы с рассчитанным как произведение площади приемной поверхности воронки или кюветы на количество выпавших осадков за тот или иной период отбора. Поскольку плотность осадков вследствие чрезвычайно малой минерализации близка к плотности воды, равной единице, то масса собранной воды в граммах равна ее объему, выраженному в см3.
Эффективность отбора проб (η %) рассчитывают по формуле:
где M - масса пробы в граммах, равная ее объему в см3;
h - количество осадков по стандартному осадкомеру, см;
S - площадь приемной поверхности воронки или кюветы, см2.
Сотрудник лаборатории, сделав соответствующие расчеты по формуле (1), записывает замечания критического контроля в таблицу ТНХО-1 или ТНХО-2.
При отборе проб атмосферных осадков проводят следующие наблюдения:
при отборе суммарных проб в начале выпадения осадков измеряют направление (в градусах) и скорость (м/с) ветра, температуру воздуха (°С);
проводят измерение количества осадков за период выпадения каждого дождя и снегопада;
при отборе единичной пробы в начале отбора пробы, кроме направления, скорости ветра и температуры воздуха измеряют относительную влажность, определяют количество и форму облачности, проводят измерение осадков за период выпадения отдельного дождя или снегопада. При наличии на станции гигрографа желательно проследить ход изменения влажности во время выпадения осадков и указать пределы их колебания.
На станциях, где производится отбор суммарных (месячных или недельных) проб атмосферных осадков, составляется таблица ТНХО-2 (табл. 2.1).
Сначала заполняется титульный лист.
В графе 1 ТНХО-2 записывается дата отбора пробы, т.е. дни с осадками в данном месяце.
Форма титульного листа таблицы ТНХО-2
|
ГОСУДАРСТВЕННЫЙ КОМИТЕТ СССР ПО ГИДРОМЕТЕОРОЛОГИИ ___________________________________________________________________________ УГМ ______________________________________________________________________ ТНХО-2 ТАБЛИЦА
Год ____________________________ Месяц _________________ Неделя _____________ Станция _____________________ Область, район ________________________________ Широта ________________________ Долгота ________________ Высота (м) _________ Пробоотборное устройство: материал ________________________________________ размеры воронки Æ _______________ мм, кюветы или другого сосуда _______________ ____________ мм, высота над подстилающей поверхностью _______________ см Общие замечания (повреждение или замена установки, особые атмосферные явления: сильные ливни, грозы, метели, пыльные бури) ___________________________________________________________________________ ___________________________________________________________________________ ___________________________________________________________________________ Таблицу составил ___________________________________________________________ Замечания критического контроля _____________________________________________ ___________________________________________________________________________ ___________________________________________________________________________ ___________________________________________________________________________ Сотрудник лаборатории ____________________________ |
Форма таблицы ТНХО-2
Станция _________________ Год _____________ Месяц ___________ Неделя _________
|
Номер колбы, в которую слиты осадки |
Осадки |
Ветер |
Температура воздуха, °С |
Примечание |
||||
|
характер и вид |
количество по осадкомеру, мм |
масса собранной воды, г |
направление, …° |
скорость, м/с |
||||
|
1 |
2 |
3 |
4 |
5 |
6 |
7 |
8 |
9 |
|
|
|
|
|
|
|
|
|
|
|
Число дней с осадками за неделю (за месяц) ______________________ |
Число колб за неделю (за месяц) ___________________ |
Количество осадков, выпавших за неделю (за месяц), h мм ___________ Количество осадков, фактически собранных за неделю (за месяц), М г ________________________________ Эффективность отбора проб, η % ________________________________ |
Примечание. Графа 5 заполняется в лаборатории.
В графе 2 - номер колбы, в которую сливают осадки за данный дождь или снегопад (если выпадали очень слабые осадки и проба не была собрана, то ставится прочерк).
В
графу 3 выписывают из КМ-1 (или ТМ-1) вид осадков: жидкие (·,
,,
), твердые (*,
, *, D), смешанные (;,
,
).
В графу 4 выписывают из КМ-1 (или ТМ-1) количество осадков (в мм) за дату отбора пробы, измеренных осадкомером.
Графа 5 заполняется в лаборатории; в нее записывают массу (в г) собранной дождевой или снеговой воды, измеренную на технических весах с точностью до 1 г.
В графах 6 и 7 отмечаются соответственно направление (в градусах) и скорость (в м/с) ветра, наблюдавшиеся при отборе проб осадков.
В графе 8 указывают температуру воздуха (в целых °С) в момент начала выпадения осадков.
В графе 9 записывают, например, цвет воды после добавления индикатора сразу после окончания отбора пробы в случае определения реакции воды или результаты инструментального измерения pH и удельной электропроводности на станции.
По окончании недели или месяца суммируют и записывают число дней с осадками, колб с пробами и количество осадков (из ТМ-1) за неделю (за месяц).
На станциях, где кроме суммарных отбирают единичные пробы, составляется таблица ТНХО-1 (табл. 2.2). Ее титульный лист мало отличается от титульного листа ТНХО-2.
В графе 1 записывается номер колбы, в которую собрана единичная проба осадков (если выпадали очень слабые осадки и проба не была собрана, то в графе ставится прочерк).
В графе 2 записывается дата отбора единичной пробы.
В графах 3 - 6 указывается декретное время (в часах и минутах) начала и окончания выпадения осадков и отбора пробы.
В
графе 7 словами записывается характер осадков (обложные, ливневые, моросящие,
непрерывные, с перерывами) и выписывается из КМ-1 (или ТМ-1) их вид:
жидкие (·, ,,
), твердые (*,
, *, D), смешанные (;,
,
).
В графе 8 - количество осадков (в мм), выпавших за каждый дождь или снегопад, измеренное осадкомером.
Графа 9 заполняется в лаборатории. В нее записывают массу (в г) собранной дождевой или снеговой воды, измеренную на технических весах с точностью до 1 г.
В графе 10 указывается облачность (количество и форма облаков).
Графы 11, 12 заполняются данными о направлении (в градусах), скорости (м/с) ветра и температуре воздуха (в целых °С) в момент начала выпадения осадков; если во время выпадения осадков наблюдались резкие изменения указанных метеоэлементов, то это отмечается в примечании.
В графы 13 и 14 вписывается соответственно относительная влажность воздуха (в процентах) и погода (W), предшествующая отбору пробы (из КМ-1).
В графе 15 могут быть записаны, например, цвет воды после добавления индикатора сразу по окончании отбора проб или результаты измерения pH, удельной электропроводности на станции.
По окончании месяца суммируют и записывают число дней с осадками, количество осадков (в мм), выпавших за месяц.
В лаборатории измеряют и суммируют массу осадков, собранных в течение месяца и рассчитывают эффективность отбора проб за месяц (η).
Замечания критического контроля должны быть своевременно доведены до сведения наблюдателей.
Таблицы ТНХО-2 и ТНХО-1 вместе с результатами химического анализа направляются в ГГО, данные по станциям сети БАПМоН направляются в ВМО.
Форма титульного листа таблицы ТНХО-1
|
ГОСУДАРСТВЕННЫЙ КОМИТЕТ СССР ПО ГИДРОМЕТЕОРОЛОГИИ ___________________________________________________________________________ УГМ ______________________________________________________________________ ТНХО 1 ТАБЛИЦА
Год _________________________ Месяц ______________ Станция __________________ Область, район ______________________________________________________________ Широта ____________________ Долгота _______________ Высота (м) ______________ Пробоотборное устройство: материал __________________________________________ размеры воронки (Æ) ___________ мм, кюветы или другого сосуда ______________ мм, высота над подстилающей поверхностью __________________ см Общие замечания (повреждение или замена установки, особые атмосферные явления: сильные ливни, грозы, метели, пыльные бури) ___________________________________ ___________________________________________________________________________ ___________________________________________________________________________ ___________________________________________________________________________ ___________________________________________________________________________ Таблицу составил ___________________________________________________________ Замечания критического контроля _____________________________________________ ___________________________________________________________________________ ___________________________________________________________________________ ___________________________________________________________________________ ___________________________________________________________________________ Сотрудник лаборатории ____________________________ |
Форма таблицы ТНХО-1
Станция ___________________ Год _____________ Месяц ______________
|
Дата отбора |
Время выпадения осадков, ч мин |
Время отбора пробы, ч мин |
Осадки |
Облачность, количество (баллы) и форма облаков |
Ветер, направление, скорость, м/с |
Температура воздуха, °С |
Относительная влажность |
Погода, предшествующая отбору пробы |
Примечание |
|
|||||
|
характер и вид |
количество по осадкомеру, мм |
масса собранной воды, г |
|||||||||||||
|
начало |
конец |
начало |
конец |
|
|||||||||||
|
1 |
2 |
3 |
4 |
5 |
6 |
7 |
8 |
9 |
10 |
11 |
12 |
13 |
14 |
15 |
|
|
|
|
|
|
|
|
|
|
|
|
|
|
|
|
|
|
Количество осадков, выпавших за месяц, h мм ___________________________________
Количество осадков, собранных за месяц, M г ___________________________________
Эффективность отбора проб, η % ______________________________________________
Число дней с осадками в течение месяца ________________________________________
Программа работ сети наземных станций определяется программой ЕМЕП, которая утверждается раз в три года руководящим органом ЕМЕП и исполнительным органом «Конвенции о загрязнении воздуха на большие расстояния». В соответствии с этой программой на наземных станциях осуществляется постоянный (в течение 24 ч) отбор проб воздуха для определения содержания газообразных и аэрозольных примесей, отбор проб осадков, определение их электропроводности и pH и отправка проб в централизованные лаборатории для анализа, где в пробах воздуха определяют содержание сульфатов, нитратов, аммония, диоксида серы, диоксида азота, а в пробах осадков - сульфатов, нитратов, аммония, натрия, кальция, калия и магния. Возможны отбор и анализ проб воздуха на содержание суммы газовых и аэрозольных компонентов: азотная кислота и нитраты, аммиак и аммоний, а также летучих органических соединений, включая полихроматические углеводороды.
При выборе мест расположения станций наблюдения за трансграничным переносом учитывался опыт по выбору мест для станций фонового мониторинга, а также следующие положения:
станция должна быть расположена в пределах так называемой сетки ЕМЕП, т.е. практически на территории ЕТС;
в непосредственной близости от пункта наблюдений не должно быть локальных источников анализируемых веществ;
в каждой физико-географической зоне должен быть хотя бы один пункт наблюдения;
плотность сети станций должна быть выше там, где, по предварительным оценкам, больше трансграничные потоки загрязняющих веществ. Кроме того, организовывать пункт наблюдений предпочтительней на действующей метеостанции, что облегчает задачу размещения аппаратуры и обслуживающего персонала и позволяет оперативно использовать сопутствующую метеоинформацию.
Основные функциональные обязанности структурных подразделений по выполнению перечисленных работ следующие:
на наземных станциях сети наблюдения за трансграничным переносом загрязняющих веществ через западную границу СССР осуществляется отбор проб газов, аэрозолей и осадков, первичная обработка отобранных проб; измерение pH и электропроводности осадков; заполнение журнала отбора проб и сопроводительных документов; упаковка и отправка проб в централизованные лаборатории;
в централизованных лабораториях производят подготовку чистых фильтров, сорбционных трубок и полиэтиленовых сосудов и их пересылку на станции; химический анализ проб аэрозолей, газов и осадков; занесение результатов анализа в специальные бланки и их отправку в ИПГ; осуществляют оперативный контроль за правильностью работы персонала станций.
Методы определения в пробах воздуха и осадков, сульфатов, нитратов и аммония приведены в данном разделе, диоксида серы и диоксида азота в воздухе - в методиках 5.2.7.2 и 5.2.1.3 (ч. I), натрия, кальция, калия и магния в осадках - в разделе 4, ч. II, полициклических ароматических углеводородов - в приложении к ч. I (методика 5.3.8).
Аппаратура для отбора проб газов и аэрозолей, а также система управления автоматическим осадкосборником установлены в помещении комплектной лаборатории «Пост-1», осадкосборники располагаются в нескольких метрах от него. Внешний вид станции схематично изображен на черт. 3.1. Используются параллельно два осадкосборника: суммарный - для сухих и мокрых осадков (ОС) и автоматический - для жидких осадков (ОСА). Отбор проб воздуха в лаборатории «Пост» производится через пластмассовую трубу диаметром 150 мм и длиной 4 м. Расстояние от поверхности земли до верхнего края трубы составляет около 5 м. Сверху на трубе расположен конус - отражатель осадков.
Схема станции наблюдения за трансграничным переносом загрязняющих веществ
1 - помещение комплектной лаборатории «Пост-1»; 2 - труба для забора воздушного потока; 3 - вход воздушного потока для определения содержания озона; 4 - суммарный осадкосборник (ОС); 5 - автоматический осадкосборник (ОСА).
При отборе проб атмосферного аэрозоля для определения содержания полиароматических углеводородов воздух с помощью компрессора В-1 производительностью около 200 м3/ч аспирируется через пластмассовую трубу 2 со специально обработанным фильтром ФПА-15-20 диаметром 180 мм, вставленным в сменяемую кассету фильтродержателя. Для измерения количества аспирированного воздуха в корпусе компрессора установлен электромагнитный счетчик-расходомер, отградуированный в м3. Счетчик представляет собой конструкцию из вертушки, помещенной в поток воздуха, датчика и электронного блока тахометра ТЭС-А. Скорость вращения вертушки, пропорциональная скорости воздушного потока, преобразуется электромагнитным датчиком в электрические импульсы, регистрируемые электронным блоком тахометра ТЭС-А.
При отборе проб атмосферного аэрозоля для определения содержания остальных веществ используются та же пластмассовая труба 2 (см. черт. 3.1), штуцер, установленный для соблюдения изокинетичности отбора, пластмассовый отвод, сменный фильтродержатель с фильтром «Ватман-40», ротаметр РМ (ГОСТ 13045-81), регулирующий кран.
При отборе проб воздуха для определения содержания диоксида серы и диоксида азота также используется пластмассовая труба, штуцер, пластмассовый отвод, сорбционные трубки и ротаметры РМ. Отбор проб воздуха для определения содержания диоксида серы может также осуществляться на импрегнированный фильтр «Ватман-40», установленный после аэрозольного фильтра в тот же фильтродержатель.
Побудителем расхода при отборе проб атмосферного аэрозоля на фильтр «Ватман-40» и проб воздуха на сорбционные трубки является компрессорная установка УК-25-1,6 м (ТУ 64-1-2985-78). Держатели сорбционных трубок, фильтродержатель, соединяются с отводной трубой, кранами, ротаметрами и компрессорной установкой при помощи силиконового шланга.
Осадкосборник для отбора суммарных (сухих и мокрых) осадков представляет собой постоянно открытую полиэтиленовую воронку диаметром 210 мм, укрепленную с помощью подставки на высоте около 1 м над поверхностью земли. Осадкосборник изготовлен в соответствии с рекомендациями ВМО (размер и материал воронки, высота расположения над поверхностью земли, наличие кольца против птиц вокруг воронки). Диаметр воронки позволяет отбирать пробу объемом 35 см3 при выпадении слоя дождя 1 мм. К воронке крепится полиэтиленовый сосуд вместимостью 1 дм3, в который и происходит сбор осадков. При отрицательных температурах окружающего воздуха воронка с собирающим сосудом заменяется на полиэтиленовый стакан такого же диаметра и высотой 420 мм.
Автоматический осадкосборник
1 - шток; 2 - нагреватель датчика; 3 - датчик; 4 - крышка; 5 - воронка; 6 - сосуд; 7 - подставка; 8 - микрокомпрессор; 9 - блок автоматики; 10 - самописец; 11 - резиновая камера; 12 - корпус.
Автоматический осадкосборник (черт. 3.2) позволяет производить отбор только мокрых осадков. Корпус осадкосборника 12 крепится к штанге 7 таким образом, что его верхняя поверхность находится на высоте 1,5 м над поверхностью земли. В корпусе находится полиэтиленовая воронка 5 диаметром 210 мм с крышкой 4 и привинченным полиэтиленовым сосудом вместимостью 1 дм3 6, датчик 3 с подогревателем 2, подающий сигнал о начале и окончании выпадения осадков, и механизм открывания-закрывания крышки, в который входят блок автоматики 9, микрокомпрессор 8, резиновая камера 11 и шток 1. Когда нет дождя, крышка 4 плотно закрыта. При попадании на поверхность датчика первых капель дождя датчик подает сигнал на блок автоматики, который включает микрокомпрессор, нагнетающий воздух в резиновую камеру.
Увеличение объема камеры приводит к поступательно-вращательному движению штока, жестко соединенного с крышкой, которая поднимается и одновременно отходит в сторону, открывая полиэтиленовую воронку, в которую начинается сбор осадков. При прекращении дождя (или снега) датчик высыхает (для ускорения высыхания датчик постоянно подогревается до температуры 40 - 50 °С), блок автоматики выключает микрокомпрессор, давление в резиновой камере падает, шток опускается вниз и крышка плотно закрывает воронку. Время начала и окончания осадков автоматически регистрируется на ленте самопишущего потенциометра 10 Н 392 (ТУ 25-043154-79), который находится в помещении лаборатории «Пост». Время, прошедшее от первых капель дождя до полного открытия крышки, составляет не более 2 мин.
Схема блока автоматики осадкосборника ОСА
На черт. 3.3 приведена принципиальная схема блока автоматики осадкосборника. Сигнал с обкладок датчика подается на базу транзистора Т1, усиливается трехкаскадным усилителем постоянного тока (на транзисторах Т1 - Т3 типа КТ 315), что приводит к срабатыванию реле Р1, которое своими контактами включает микрокомпрессор. Питание на усилитель (+5 В) снимается с транзистора Т4, на который подается напряжение со вторичной обмотки трансформатора ТР1 через выпрямитель на диодах Д1 - Д4. Со вторичной обмотки трансформатора ТР1 (клеммы 3 и 4) снимается также напряжение (около 20 В) для питания подогревателя датчика мощностью 30 Вт. Потребляемая мощность блока автоматики от сети 220 В составляет 35 Вт. Описанный режим работы автоматического осадкосборника позволяет отбирать для анализа только мокрые выпадения и исключает попадание сухих веществ.
Для определения pH проб осадков используют иономер И-120 (ТУ 25-05.2304-77) или pH-метр.
Для поддержания в холодное время года комфортной для аппаратуры и обслуживающего персонала температуры в помещении станции устанавливается два электрических радиатора, а для хранения сорбционных трубок и фильтров до начала и после окончания пробоотбора - холодильник.
На станции необходимо иметь также аппарат «Молния» (ТУ 16-539.348-70) для заклеивания полиэтиленовых пакетов с сорбционными трубками по окончании пробоотбора и мерные цилиндры вместимостью 100 и 500 см3 (ГОСТ 1770-74Е) для измерения объема отобранных проб осадков.
Оператор должен пройти инструктаж по технике безопасности и выполнять все требования, изложенные в «Правилах по технике безопасности при производстве наблюдений и работ на сети Госкомгидромета» (Гидрометеоиздат, 1983 г.). Он должен соблюдать правила техники безопасности при работе с электрическими установками на 220 В.
Оператор должен точно и аккуратно выполнять требования инструкции по отбору проб, инструкций по работе с имеющейся на станции стандартной аппаратурой, регулярно раз в неделю отправлять отобранные пробы в централизованные измерительные лаборатории.
Отбор проб производится непрерывно в течение 24 ч при любых метеоусловиях. При необходимости один день в месяц отводится для профилактического обслуживания аппаратуры.
Отбор проб начинается в одно и то же время в период с 8 до 10 ч. При установке фильтра для отбора пробы ПАУ выключают компрессор В-1. Ручку фиксатора отводят в крайнее правое положение, удерживая фиксатор, вынимают фильтродержатель и устанавливают в кассету фильтр, предварительно вынутый из запаянного полиэтиленового пакета. Затем фильтродержатель с фильтром вставляют в корпус воздуходувки таким образом, чтобы ворсистая часть фильтра смотрела в сторону воздухозабора. Перед включением компрессора снимают показания счетчика ТЭС-А и записывают их в журнал и в паспорт пробы. Экспонированные фильтры на ПАУ, вкладываются в полиэтиленовые пакеты и запаиваются. Подготовленные к отправке экспонированные фильтры на ПАУ, фильтродержатели с «Ватман-40», сорбционные трубки, сосуды с осадками высылаются в лабораторию.
Отбор проб для последующего определения концентрации загрязняющих веществ в аэрозолях и газах производится путем аспирации воздуха с помощью компрессора УК-25-1,6 через фильтродержатель с фильтром «Ватман-40» и сорбционные трубки.
Смену фильтродержателей с фильтрами «Ватман-40» и сорбционных трубок проводят только при выключенном компрессоре УК-25-1,6. Экспонированный фильтродержатель и трубки необходимо с обеих сторон закрыть заглушками, а трубки, кроме того, вложить в полиэтиленовый пакет и запаять.
Расход воздуха через фильтр должен составлять 15 дм3/мин. Сорбционные трубки крепятся вертикально в держателях, представляющих собой тефлоновые трубки соответствующего диаметра, соединенные с отводной трубой. Трубки держатся во втулках на трении. При определении содержания диоксида серы устанавливают расход воздуха 2 дм3/мин, диоксида азота - 0,25 дм3/мин.
Пробы осадков отбираются с помощью осадкосборников. При смене пробы измеряется ее объем с помощью мерного цилиндра. Затем pH-метром измеряется значение pH. Для отправки в централизованную лабораторию пробу переносят в полиэтиленовую бутылку вместимостью 100 см3. Если происходил отбор проб снега в полиэтиленовый стакан, то его вносят в теплое помещение, накрывают крышкой во избежание попадания пыли и оставляют для оттаивания.
Методика предназначена для определения массовой концентрации иона аммония в пробах атмосферных осадков в диапазоне 0,04 - 2,0 мг/дм3 на сети наблюдений за трансграничным переносом загрязняющих воздух веществ.
По экспертным оценкам, при определении концентрации ионов аммония в пробах атмосферных осадков в диапазоне 0,04 - 2,0 мг/дм3 суммарная погрешность не превышает ±25 %.
Метод основан на фотометрическом определении ионов аммония по индофенолу, образующемуся в результате взаимодействия ионов аммония с гипохлоритом и фенолом в присутствии нитропруссида.
3. Средства измерения, вспомогательные устройства, реактивы и материалы
Фотоэлектроколориметр или спектрофотометр
Весы аналитические ВЛА-200 по ГОСТ 24104-80Е
Меры массы по ГОСТ 7328-82Е
Термометр лабораторный ТЛ-2; цена
деления 1 °С; пределы 0 - 100 °С по ГОСТ 215-73Е
Колбы мерные по ГОСТ 1770-74Е
2-50-2 - 9 шт.
2-500-2 - 2 шт.
2-100-2 - 2 шт.
2-1000-2 - 2 шт.
Пипетки по ГОСТ 20292-74Е
2-2-1 - 2 шт.
2-2-5 - 2 шт.
2-2-10 - 1 шт.
2-2-15 - 1 шт.
2-2-20 - 1 шт.
2-2-25 - 1 шт.
Бюретки 3-2-25-0,1 - 1 шт. по ГОСТ 1770-74Е
Микропипетка автоматическая вместимостью
0,25 см3, импортная
3.2. Вспомогательные устройства
Установка УК-40-2М по ТУ 64-122985-78
Воронка Бюхнера по ГОСТ 9247-73
Холодильник (бытовой)
Стерилизатор медицинский
Колбы конические КНКШ вместимостью
250 см3 - 3 шт. по ГОСТ 10394-72
Колба Бунзена по ТУ 25-11-435-69
Прибор для перегонки фенола
Пробирки с пришлифованными пробками
вместимостью 30 см3, изготовленные из стекла «пирекс»
или боросиликатного стекла - 50 шт.
Стакан фарфоровый вместимостью 500 см3 по ГОСТ 9147-73
Стакан стеклянный вместимостью 250 см3 по ГОСТ 10394-72
Аммония хлорид, х. ч. по ГОСТ 3773-72
Известь хлорная медицинская
Калий двухромовокислый, 0,1 моль/дм3,
стандарт-титр по ТУ 6-09-2540-72
Калия иодид, ч. д. а. по ГОСТ 4232-74
Кальция хлорид
Кислота азотная (ρ = 1,37 г/см3), ч. д. а. по ГОСТ 4461-77
Кислота серная (ρ = 1,84 г/см3), х. ч. по ГОСТ 4204-77
Кислота соляная (ρ = 1,19 г/см3), х. ч. по ГОСТ 3118-77
Крахмал растворимый, ч. по ГОСТ 10163-76
Натрий нитропруссидный дигидрат, импортный
Натрий углекислый, х. ч. по ГОСТ 83-79
Натрия гидроксид, х. ч. по ГОСТ 4328-77
Натрия тиосульфат (натрий серноватисто-кислый),
0,1 моль/дм3, стандарт-титр по ТУ 6-09-2540-72
Смола КУ-2 по ТУ 6-09-5-76
Фенол, ч. д. а. по ГОСТ 6417-72
4. Требования безопасности
См. ч. I, п. 5.1.3.
5. Требования к квалификации оператора
См. ч. I, п. 5.1.4.
6. Условия выполнения измерений
См. ч. I, 5.1.14.
7. Подготовка к выполнению измерений
7.1. При выполнении измерений необходимо провести следующие работы: приготовление растворов, подготовка проб к анализу, установление градуировочной характеристики.
1) Вода дистиллированная деионизированная. Получение деионизированной воды см. ч. I, п. 5.1.7.
2) Аммония хлорид. При установлении градуировочной характеристики используют перекристаллизованный реактив. Для перекристаллизации 150 г хлорида аммония растворяют в 225 см3 деионизированной воды при нагревании, добавляют несколько капель аммиака (до появления запаха аммиака) и горячий раствор фильтруют через складчатый фильтр. Фильтрат оставляют на ночь при комнатной температуре для выпадения кристаллов. Утром фильтруют на воронке Бюхнера через фильтр «синяя лента». Кристаллы сначала сушат на стекле при комнатной температуре, затем в сушильном шкафу при температуре 100 - 105 °С в течение 1 ч. Хранят хлористый аммоний в бюксе с притертой пробкой в эксикаторе над хлоридом кальция.
3) Исходный раствор хлорида аммония для
установления градуировочной характеристики (ρ
= 100 мг/дм3). Навеску 0,2965 г хлорида
аммония растворяют в мерной колбе вместимостью 1 дм3 в свежей деионизированной
воде. При хранении в холодильнике раствор пригоден для работы в течение 6 мес.
4) Рабочий раствор для градуировки (ρ
= 4 мг/дм3). В мерную колбу вместимостью
500 см3 вносят 20 см3 исходного раствора (см. перечисление 3) и доводят до метки
деионизированной водой. Готовят перед использованием.
5) Крахмал растворимый, 0,5 %-ный раствор. Растирают 0,5 г крахмала с небольшим количеством холодной воды. Полученную пасту добавляют к 100 см3 горячей воды и кипятят 2 - 3 мин до просветления раствора. Горячий раствор фильтруют через фильтр «синяя лента» в коническую колбу с притертой пробкой и к остывшему раствору прибавляют 1 - 2 капли хлороформа для консервирования.
6) Иодид калия, 5 %-ный раствор. 5 г иодида калия растворяют в 100 см3 деионизированной воды.
7) Серная кислота, 10 %-ный раствор. 68 см3 концентрированной серной кислоты (ρ = 1,84 г/см3) растворяют в 1 дм3 деионизированной воды.
8) Соляная кислота, раствор 2 моль/дм3. 172 см3 концентрированной соляной кислоты (ρ = 1,19 г/см3) растворяют до 1 дм3 деионизированной водой.
9) Калия бихромат, раствор 0,1 моль/дм3. Готовят из стандарт-титра в мерной колбе вместимостью 1 дм3 разбавлением деионизированной водой.
10) Тиосульфат натрия, раствор 0,1 моль/дм3. Готовят в мерной колбе вместимостью 1 дм3 растворением стандарт-титра в свежепрокипяченной деионизированной воде. Раствор тиосульфата хранят в бутылке оранжевого стекла. Перед определением молярной концентрации раствора тиосульфата натрия его выдерживают в темноте не менее 24 ч. Для определения концентрации в три конические колбы вместимостью 200 см3 с притертой пробкой вносят по 1 см3 раствора бихромата калия (см. перечисление 9), туда же добавляют 50 см3 воды, 0,4 г иодида калия (на кончике шпателя) и 3 см3 соляной кислоты (см. перечисление 8). Содержимое колб закрывают пробками, перемешивают и выдерживают в темном месте 5 мин. Титрование раствором тиосульфата натрия концентрацией 0,1 моль/дм3 проводят на белом фоне до получения светло-желтой окраски. Затем добавляют 1 см3 раствора крахмала (см. перечисление 5) и продолжают титрование до исчезновения синего окрашивания. Титрование повторяют 3 - 4 раза и, если расхождение в параллельных определениях не превышает 0,05 см3, конечный результат берут как среднее арифметическое.
Молярную концентрацию тиосульфата натрия (c моль/дм3) рассчитывают по формуле
![]()
где υб - объем раствора бихромата калия (υб = 1), см3; υт - объем раствора тиосульфата, пошедший на титрование, см3; молярная концентрация бихромата калия - 0,1 моль/дм3.
11) Раствор углекислого натрия. К 35 г безводного углекислого натрия добавляют 85 см3 деионизированной воды и перемешивают до полного его растворения.
12) Исходный раствор гипохлорита натрия. К 50 г хлорной извести добавляют 85 см3 деионизированной воды и тщательно размешивают. К массе добавляют весь раствор углекислого натрия (II) и перемешивают. При этом масса загустевает, а затем начинает разжижаться. Массу фильтруют через фильтр «синяя лента» на воронке Бюхнера. Раствор гипохлорита натрия хранят в склянке оранжевого стекла при температуре 0 - 3 °С.
Примечание. Массовую концентрацию (масса/объем) «активного» хлора в исходном растворе гипохлорита натрия определяют титрованием. Для этого 10 см3 деионизированной воды наливают в коническую колбу с притертой пробкой вместимостью 200 см3, добавляют 1 см3 исходного раствора гипохлорита натрия (см. п. 7.2, перечисление 12), 10 см3 раствора серной кислоты (см. п. 7.2, перечисление 7) и 10 см3 раствора иодида калия (см. п. 7.2, перечисление 6). Титрование проводят на белом фоне раствором тиосульфата натрия (см. п. 7.2, перечисление 10) с известной молярной концентрацией до светло-желтой окраски. Затем добавляют 1 см3 раствора крахмала и продолжают титрование до исчезновения синей окраски. Аналогично титруют нулевую пробу. Для этого вместо 1 см3 гипохлорита натрия берут 1 см3 деионизированной воды. Титрование проводят 3 - 4 раза и, если расхождение результатов параллельных определений не превышает 0,05 см3, берут среднее арифметическое.
Массовую концентрацию «активного» хлора (ρ мг/дм3) вычисляют по формуле
![]()
где a - объем раствора тиосульфата натрия (см. перечисление 10), израсходованный на титрование пробы, см3;
b - объем раствора тиосульфата натрия, израсходованный на титрование в холостом определении, см3;
c - молярная концентрация раствора тиосульфата натрия, моль/дм3;
υ - объем анализируемой пробы, см3;
35,45 - атомная масса хлора.
13) Реагент А. Растворяют 3,5 г фенола и 0,04 г нитропруссида натрия в мерной колбе вместимостью 100 см3 в деионизированной воде. Раствор хранят в склянке оранжевого стекла в холодильнике. Если раствор изменит свой цвет на зеленоватый, его необходимо приготовить заново.
14) Реагент Б. Растворяют 1,8 г гидроксида натрия в небольшом количестве деионизированной воды в мерной колбе вместимостью 100 см3, добавляют такое количество исходного раствора гипохлорита натрия, масса «активного» хлора в котором составляла бы 0,14 г (например, если массовая концентрация «активного» хлора в исходном растворе гипохлорита натрия 35,0 г/дм3, то такого раствора следует взять 4 см3). Затем доводят деионизированной водой до метки. Раствор хранят в склянке оранжевого стекла в холодильнике.
Примечание. Определение молярной концентрации раствора тиосульфата натрия, массовой концентрации «активного» хлора в исходном растворе гипохлорита натрия и приготовление реагента Б необходимо выполнять в один день. При повторном приготовлении реагента Б из исходного раствора гипохлорита натрия необходимо провести все операции по определению массовой концентрации «активного» хлора заново.
7.3. Подготовка проб к анализу
Если проба имеет pH < 3, ее необходимо предварительно нейтрализовать. Если проба мутная, то и пробу, и деионизированную воду, предназначенную для нулевой пробы, необходимо отфильтровать через фильтр «белая лента».
7.4. Установление градуировочной характеристики
Градуировочную характеристику, выражающую зависимость оптической плотности от массовой концентрации ионов аммония в пробе, устанавливают по растворам для градуировки, приготовленным в трех сериях. Каждую серию, состоящую из восьми растворов, готовят из рабочего раствора для установления градуировочной характеристики. Растворы для градуировки готовят в мерных колбах вместимостью 100 см3, для чего в каждую колбу наливают по 20 - 30 см3 деионизированной воды и рабочий раствор для градуировки (см. п. 7.2, перечисление 4) согласно табл. 3.1 доводят до метки деионизированной водой и тщательно перемешивают.
Таблица 3.1
Растворы для установления градуировочной характеристики при определении концентрации иона аммония в осадках и аэрозолях
|
1 |
2 |
3 |
4 |
5 |
6 |
7 |
8 |
|
|
Объем рабочего раствора NH4Cl (ρ = 4 мг/дм3), см3 |
1,0 |
2,0 |
5,0 |
10,0 |
25,0 |
30,0 |
40,0 |
50,0 |
|
Концентрация аммония, мг/дм3 |
0,04 |
0,08 |
0,2 |
0,4 |
1,0 |
1,2 |
1,6 |
2,0 |
Для установления градуировочной характеристики в тщательно вымытые и сухие пробирки (см. приложение к данной методике) вместимостью 30 см3 переносят по 5 см3 деионизированной воды и по 5 см3 каждого раствора для градуировки. В каждую пробирку добавляют с помощью автоматической микропипетки по 0,25 см3 реагента А и 0,25 см3 реагента Б. Пробирки закрывают пробками, герметизируют содержимое и помещают в водяную баню (медицинский стерилизатор) при 50 °С на 2 ч. Очень важно соблюдать одинаковые условия нагревания растворов при установлении градуировочной характеристики и анализе проб. Затем растворы охлаждают до комнатной температуры и измеряют оптическую плотность относительно воды в кювете с расстоянием между рабочими гранями 10 мм при длине волны 630 нм. Одновременно готовят из деионизированной воды и тех же реактивов нулевой раствор. Оптическая плотность нулевого раствора не должна превышать 0,020. В противном случае необходимо провести дополнительную очистку воды.
Проверку градуировочной характеристики следует проводить каждый раз при выполнении анализа проб.
8. Выполнение измерений
После измерения pH в пробе осадков из нее отбирают 5 см3 и переносят в пробирку с 5 см3 деионизированной воды. В каждую пробирку вносят по 0,25 см3 реагента А и 0,25 см3 реагента Б, пробирки закрывают пробками и помещают в водяную баню при 50 °С на 2 ч. Затем растворы охлаждают до комнатной температуры и измеряют оптическую плотность относительно воды при длине волны 630 нм в кюветах с расстоянием между гранями 10 мм.
9. Вычисление результата измерений
Действительное значение оптической плотности пробы находят по разности оптических плотностей раствора пробы и нулевого раствора. Концентрацию ионов аммония, выраженную в мг/дм3, определяют по установленной градуировочной характеристике. Массовую концентрацию азота в мг/дм3 получают умножением этой величины на 0,778.
Если в пробе концентрация ионов аммония превышает 2 мг/дм3, перед анализом пробу следует разбавить деионизированной водой и провести повторное определение. В этом случае массовую концентрацию ионов аммония, найденную по градуировочной характеристике, умножают на коэффициент υ'/υ (здесь υ - объем пробы, взятой на разбавление, υ' - объем пробы после разбавления).
Требования к чистоте посуды
В данном методе особое значение имеет чистота посуды. Сорбция аммиака на стекле и особенно на шлифах исключительно велика. Всю посуду после каждого анализа необходимо обработать соляной кислотой 1:1 и пропарить в медицинском стерилизаторе. Пробирки, в которых получали окрашенные растворы, после пропаривания и ополаскивания деионизированной водой сушат 2 - 2,5 ч в сушильном шкафу при температуре 200 °С, затем охлаждают в шкафу до 60 - 70 °С, закрывают пробками и в таком виде температуру доводят до комнатной.
Не допускается использование пробирок из стекла других марок, кроме «пирекс» и боросиликатного стекла.
Методика предназначена для определения массовой концентрации нитрат-иона в пробах атмосферных осадков в диапазоне 0,1 - 1,0 мг/дм3 на сети наблюдений за трансграничным переносом загрязняющих воздух веществ.
По экспертным оценкам, при определении концентрации нитрат-иона в пробах атмосферных осадков в диапазоне 0,1 - 1,0 мг/дм3 суммарная погрешность не превышает ±25 %.
Метод основан на восстановлении нитратов до нитритов с помощью омедненного кадмия и их фотометрическом определении по реакции с реактивом Грисса.
3. Средства измерений, вспомогательные устройства, реактивы и материалы
Спектрофотометр
Весы аналитические ВЛА-200 по ГОСТ 24104-80Е
Меры массы по ГОСТ 7328-82Е
Колбы мерные по ГОСТ 1770-74Е
2-100-2 - 8 шт.
2-1000-2 - 2 шт.
Пипетки по ГОСТ 20292-74Е
2-2-1 - 1 шт.
2-2-2 - 1 шт.
2-2-4 - 1 шт.
2-2-5 - 1 шт.
2-2-10 - 1 шт.
3.2. Вспомогательные устройства
Холодильник (бытовой)
Аппарат для встряхивания АВУ-6с по ТУ 64-1-2451-78
Мензурка
Колбы Эрленмейера конические с притертыми пробками
(диаметр дна колбы 50 мм, высота 70 - 80 мм). Колбы
должны быть изготовлены из стекла «пирекс» или
боросиликатного стекла - 30 шт.
Пробирки с притертыми пробками вместимостью
20 см3 из стекла «пирекс» или боросиликатного стекла - 60 шт.
Аммиак водный, ч. д. а. по ГОСТ 3760-79
Аммония хлорид, х. ч. по ГОСТ 3773-72
Грисса реактив, ч. д. а. по ТУ 6-09-3569-74
Кадмий гранулированный, ч. д. а по ТУ 6-09-3095-78
Калия нитрат, ч. д. а. по ГОСТ 4217-77
Кислота соляная (ρ = 1,19 г/см3), х. ч. по ГОСТ 3118-77
Кислота сульфаниловая, ч. д. а. по ГОСТ 5821-78
Кислота уксусная ледяная, ч. д. а. по ГОСТ 61-75
Меди сульфат, ч. д. а. по ТУ 6-09-4525-77
I-нафтиламин, ч. д. а. по ГОСТ 8827-74
4. Требования техники безопасности
См. ч. I, п. 5.1.3.
5. Требования к квалификации оператора
См. ч. I, п. 5.1.4.
6. Условия выполнения измерений
См. ч. I, п. 5.1.14.
7. Подготовка к выполнению измерений
7.1. Перед выполнением измерений необходимо провести следующие работы: приготовление растворов, установление градуировочной характеристики.
1) Вода, используемая для приготовления растворов и промывки посуды, должна быть бидистиллированной или дистиллированной и деионизированной.
2) Аммония хлорид, 5 %-ный раствор. Растворяют 50 г хлорида аммония в мерной колбе вместимостью 1 дм3 деионизированной водой. Раствор фильтруют через фильтр «синяя лента» и с помощью раствора аммиака доводят pH раствора до 8,6.
3) Соляная кислота, раствор 2 моль/дм3. Готовят разведением концентрированной кислоты 1:5.
4) Медь сернокислая, 2 %-ный раствор. Растворяют 2 г сульфата меди в 100 см3 деионизированной воды. Раствор готовят перед употреблением.
5) Восстановитель для нитратов - кадмий металлический 99,9 %-ный, омедненный. Используют кадмий в виде опилок. Если их нет, опилки получают следующим образом: палочку кадмия (которую можно получить плавлением гранулированного кадмия в тонкой стеклянной пробирке, которую после охлаждения расплава разбивают) укрепляют в тисках и строгают пилой. Полученные опилки просеивают через сита с размерами отверстий 0,5 и 1,0 мм. Используют фракцию опилок, прошедшую через первое сито и задержавшуюся на втором. Омеднение кадмия проводят следующим образом: переносят 10 г опилок в мензурку, добавляют такое количество раствора соляной кислоты концентрацией 2 моль/дм3, чтобы покрыть опилки, и перемешивают. Затем опилки хорошо отмывают водой, сразу же добавляют 100 см3 2 %-ного раствора сульфата меди и хорошо перемешивают. Продолжают перемешивание до полного обесцвечивания раствора. Раствор сливают и промывают опилки водой до отсутствия осадка меди. Полученный восстановитель нельзя оставлять на воздухе, его хранят под слоем хлорида аммония, защитив от пыли.
6) Реактив Грисса, 10 %-ный раствор. 10 г сухого реактива Грисса заливают 100 см3 деионизированной воды и доводят до кипения. Горячий раствор фильтруют через фильтр «синяя лента» в мерную колбу вместимостью 100 см3 и доводят до метки деионизированной водой. Реактив готовят в день проведения анализа.
Если реактив Грисса в лаборатории отсутствует, его готовят следующим образом:
а) уксусная кислота, 12 %-ный раствор. 25 см3 ледяной уксусной кислоты разбавляют деионизированной водой до 200 см3. Хранят в склянке с притертой пробкой (устойчив в течение нескольких месяцев);
б) раствор 1-нафтиламина. 0,2 г 1-нафтиламина растворяют в нескольких каплях ледяной уксусной кислоты и доводят объем до 150 см3 12 %-ной уксусной кислотой. Хранят в склянке из темного стекла (устойчив в течение нескольких месяцев);
в) раствор сульфаниловой кислоты 0,0025 моль/дм3. 0,5 г сульфаниловой кислоты растворяют в небольшом количестве 12 %-ной уксусной кислоты и доводят объем до 150 см3. Хранят в склянке из темного стекла (устойчив в течение нескольких месяцев).
Перед анализом смешивают растворы 1-нафтиламина и сульфаниловой кислоты в отношении 1:1.
7) Исходный раствор азотнокислого калия для градуировки (ρ = 1000 мг/дм3). Азотнокислый калий следует предварительно перекристаллизовать следующим образом: 100 г KNO3 растворяют в 80 см3 горячей деионизированной воды и фильтруют через фильтр «синяя лента». Профильтрованный раствор охлаждают при перемешивании до выпадения кристаллов. Кристаллы сушат в сушильном шкафу при температуре 120 - 130 °С в течение 1 ч и охлаждают в эксикаторе. Затем 1,6305 г очищенного нитрата калия растворяют в мерной колбе вместимостью 1 дм3 деионизированной водой. Раствор устойчив в течение 6 мес при условии хранения в холодильнике.
8) Рабочий раствор для градуировки с массовой концентрацией нитрат-ионов 10 мг/дм3. 10 см3 исходного раствора (см. перечисление 7) разбавляют в мерной колбе вместимостью 1 дм3 деионизированной водой.
7.3. Установление градуировочной характеристики
Градуировочную характеристику, выражающую зависимость оптической плотности от массовой концентрации нитрат-ионов в пробе, устанавливают по растворам для градуировки, приготовленным в трех сериях. Каждую серию, состоящую из шести растворов для градуировки, готовят из рабочего раствора для градуировки (см. п. 7.2, перечисление 8). Растворы для градуировки готовят в мерных колбах вместимостью 100 см3, для чего в каждую колбу наливают 25 - 30 см3 деионизированной воды и рабочий раствор для градуировки согласно табл. 3.2, доводят до метки деионизированной водой и тщательно перемешивают.
Таблица 3.2
Растворы для установления градуировочной характеристики при определении концентрации нитрат-иона
|
1 |
2 |
3 |
4 |
5 |
|
|
Объем рабочего раствора (ρ = 10 мг/дм3), см3 |
1,0 |
2,5 |
5,0 |
7,5 |
10,0 |
|
Концентрация нитрат-иона, мг/дм3 |
0,1 |
0,25 |
0,5 |
0,75 |
1,0 |
Для установления градуировочной характеристики в тщательно вымытые и сухие колбы вносят пипеткой по 4 см3 каждого из растворов для градуировки, добавляют по 6 см3 5 %-ного раствора хлорида аммония (см. п. 7.2, перечисление 2), примерно по 0,5 г восстановителя (см. п. 7.2, перечисление 5). Колбы закрывают пробками и устанавливают в аппарат для встряхивания на 10 мин. Необходимо соблюдать одинаковые условия встряхивания для градуировочных растворов и для проб (см. приложение 1 к данной методике). Раствор над восстановителем сливают в чистые сухие пробирки. Для анализа отбирают пипеткой 8 см3 этого раствора и переносят в чистые сухие пробирки. Добавляют 2 см3 раствора реактива Грисса, закрывают пробками, тщательно перемешивают и через 40 мин измеряют оптическую плотность на спектрофотометре при длине волны 536 нм относительно деионизированной воды в кюветах с расстоянием между гранями 20 мм. При использовании фотоэлектроколориметра необходимо выбрать светофильтр по максимуму поглощения.
Строят градуировочную характеристику, откладывая по оси ординат значение оптической плотности каждого раствора для градуировки, а по оси абсцисс - концентрацию нитрат-ионов в растворе. Проверку градуировочной характеристики следует проводить каждый раз перед анализом. Кадмий после анализа регенерируют (см. приложение 2 к данной методике).
8. Выполнение измерений
В тщательно вымытые и сухие колбы вносят пипеткой 4 см3 пробы осадков, добавляют 6 см3 5 %-ного раствора хлорида аммония (см. п. 7.2, перечисление 2), примерно 0,5 г восстановителя (см. п. 7.2, перечисление 5). Колбы закрывают пробками и устанавливают в аппарат для встряхивания на 10 мин. Раствор над восстановителем сливают в чистые сухие пробирки. Для анализа отбирают 8 см3 этого раствора и переносят в чистые сухие пробирки. Добавляют 2 см3 раствора реактива Грисса, закрывают пробками, тщательно перемешивают и через 40 мин измеряют оптическую плотность относительно деионизированной воды на спектрофотометре при длине волны 536 нм в кюветах с расстоянием между рабочими гранями 20 мм.
9. Вычисление результата измерений
Массовую концентрацию нитрат-ионов, выраженную в мг/дм3, определяют по градуировочной характеристике. Массовую концентрацию азота получают умножением этой величины на 0,226. Если в пробе содержится нитрат-ионов более 1 мг/дм3, следует провести повторное определение, разбавив предварительно пробу деионизированной водой. В этом случае концентрацию нитрат-ионов, найденную по градуировочному графику, умножают на коэффициент υ'/υ (здесь υ - объем пробы, взятой на разбавление, υ' - объем пробы после разбавления).
Условия восстановления
Диаметр дна колб должен быть 4,5 - 5 см. В этом случае кадмий равномерно распределяется по дну, что создает хорошие условия дли процесса восстановления. Чтобы условия для встряхивания растворов для градуировки и для проб были одинаковыми, к аппарату для встряхивания монтируется приспособление с ячейками для колб. Количество ячеек должно быть достаточным для одновременного встряхивания всех растворов для градуировки и анализируемых проб.
Регенерация кадмия
Кадмий после анализа не выбрасывают, а тщательно отмывают водой, заливают раствором хлористого аммония и используют для анализов. Если эффективность кадмия как восстановителя падает, его заново активируют омеднением (см. п. 7.2, перечисление 5).
Методика предназначена для определения массовой концентрации сульфат-иона в пробах атмосферных осадков в диапазоне 0,05 - 4,0 мг/дм3 на сети наблюдений за трансграничным переносом загрязняющих воздух веществ.
По экспертным оценкам, при определении концентрации сульфат-ионов в пробах атмосферных осадков в диапазоне 0,05 - 4,0 мг/дм3 в пересчете на серу суммарная погрешность не превышает ±25 %.
Метод основан на реакции в органическом растворителе между сульфат-ионами и перхлоратом бария, который добавляется в избытке, чтобы осадить все сульфаты в виде сульфата бария. Избыток ионов бария определяют спектрофотометрически при длине волны 520 нм после реакции с торином (натриевой солью 4-(ортоарсенофенилазо)-3-гидрокси-2,7-нафталиндисульфокислоты).
3. Средства измерений, вспомогательные устройства, реактивы и материалы
Спектрофотометр
Весы аналитические ВЛА-200 по ГОСТ 24104-80Е
Меры массы по ГОСТ 7328-82Е
Колбы мерные по ГОСТ 1770-74Е
2-10-2 - 2 шт.
2-100-2 - 9 шт.
2-500-2 - 1 шт.
2-1000-2 - 2 шт.
Микропипетка (автоматическая)
вместимостью 0,25 см3, импортная
Пипетки по ГОСТ 20292-74Е
2-2-1 - 1 шт.
2-2-2 - 1 шт.
2-2-4 - 1 шт.
2-2-10 - 2 шт.
1-2-5 - 1 шт.
1-2-10 - 1 шт.
Бюретка 4-2-50 по ГОСТ 1770-74Е
3.2. Вспомогательные устройства
Холодильник (бытовой)
Механическая мешалка (см. приложение 1 к данной методике)
Ионообменная колонка длиной 15 см и диаметром 1 см, изготовленная из стекла «пирекс» или боросиликатного стекла (см. черт. 3.4)
Пробирки с пришлифованными пробками на 30 см3, изготовленные из стекла «пирекс» или боросиликатного стекла - 30 - 40 шт.
Бария перхлорат, импортный
1,4-Диоксан сцинтилляционный, ч. д. а. по ГОСТ 10455-80
Кислота азотная, ч. д. а. по ГОСТ 4461-74
Кислота серная, раствор 0,1 моль/дм3, стандарт-титр по ТУ 6-0922540-72
Кислота соляная конц., х. ч. по ГОСТ 3118-77
Кислота хлорная, 57 %-ный раствор, по ТУ 6-09-2878-73
Смола катионообменная сильнокислотная
50W´8,50 - 100 меш., импортная (см. приложение 2 к данной методике)
Торин, импортный
4. Требования безопасности
См. ч. I, п. 5.1.3.
Ионообменная колонка
5. Требования к квалификации оператора
См. ч. I, п. 5.1.4.
6. Условия выполнения измерений
См. ч. I, п. 5.1.14.
7. Подготовка к выполнению измерений
7.1. Перед выполнением измерений необходимо провести следующие работы: приготовление растворов, установление градуировочной характеристики.
1) Вода, используемая для приготовления растворов и для промывания, должна быть бидистиллированной или дистиллированной и деионзированной.
2) Хлорная кислота, раствор 0,1 моль/дм3. Готовится из кислоты имеющейся концентрации соответствующим разбавлением.
3) Хлорная кислота, раствор 0,01 моль/дм3. 100 см3 раствора хлорной кислоты (см. перечисление 2) доводят до 1 дм3 деионизированной водой.
4) Основной раствор перхлората бария (ρ = 2,1 г/дм3). 0,0210 г перхлората бария, предварительно высушенного при температуре 100 - 110 °С в течение 1 ч, растворяют в мерной колбе вместимостью 10 см3 раствором хлорной кислоты (см. перечисление 2).
5) Раствор перхлората бария (ρ = 21 мг/дм3). Готовится разбавлением основного раствора (см. перечисление 4) диоксаном в 100 раз. Следует готовить свежий раствор в день проведения анализов в количестве, необходимом для градуировки и выполнения намеченного количества анализов.
6) Раствор торина (ρ = 2,5 г/дм3). 0,0250 г торина растворяют в 5 см3 раствора хлорной кислоты 0,01 моль/дм3 (см. перечисление 3) в мерной колбе вместимостью 10 см3. После полного растворения торина объем доводится до метки тем же раствором хлорной кислоты. Необходимо готовить свежий раствор торина в день проведения анализов. Если проводится большое количество анализов, следует увеличить объем приготавливаемого реагента (например, 0,0625 г торина растворяют в мерной колбе вместимостью 25 см3 раствором хлорной кислоты 0,01 моль/дм3).
7) Исходный раствор серной кислоты для градуировки 0,05 моль/дм3. Раствор готовят из стандарт-титра в мерной колбе вместимостью 1 дм3. Содержимое ампулы количественно переносят в мерную колбу и доводят до метки деионизированной водой.
8) Рабочий раствор серной кислоты для градуировки (ρ = 50 мг/дм3). 31,25 см3 исходного раствора (см. перечисление 7) разбавляют в мерной колбе вместимостью 1 дм3 деионизированной водой. Раствор готовят по мере использования.
7.3. Установление градуировочной характеристики
Градуировочную характеристику, выражающую зависимость оптической плотности от массовой концентрации сульфат-ионов в пробе, устанавливают по растворам для градуировки, приготовленным в трех сериях.
Каждую серию, состоящую из девяти растворов для градуировки, готовят из рабочего раствора (см. п. 7.2, перечисление 8). Растворы для градуировки готовят в мерных колбах вместимостью 100 см3, для чего в каждую колбу вносят рабочий раствор для градуировки согласно табл. 3.3, доводят до метки деионизированной водой и хорошо перемешивают.
Таблица 3.3
Растворы для установления градуировочной характеристики сульфат-ионов (в пересчете на серу)
|
1 |
2 |
3 |
4 |
5 |
6 |
7 |
8 |
|
|
Объем рабочего раствора (ρ = 50 мг серы на 1 дм3), см3 |
1,0 |
2,0 |
3,0 |
4,0 |
5,0 |
6,0 |
7,0 |
8,0 |
|
Концентрация серы, мг/дм3 |
0,5 |
1,0 |
1,5 |
2,0 |
2,5 |
3,0 |
3,5 |
4,0 |
Для установления градуировочной характеристики в тщательно вымытые и сухие пробирки вместимостью 30 см3 с пришлифованной пробкой отбирают пипеткой Мора по 4 см3 каждого раствора для градуировки, начиная от меньших концентраций к большим. Пипетку перед отмериванием каждого раствора ополаскивают дважды этим раствором. В каждую пробирку добавляют пипеткой Мора точно по 10 см3 реагентного раствора перхлората бария и с помощью автоматической микропипетки точно по 0,25 см3 раствора торина. Пробирки закрывают пробками и тщательно перемешивают на механической мешалке, добиваясь одинаковых условий перемешивания для всех проб (см. приложение 1 к данной методике). Время перемешивания должно составлять примерно 15 с.
Настраивают спектрофотометр на длину волны 520 нм и в соответствии с инструкцией по эксплуатации спектрофотометра устанавливают 0 % пропускания. Затем регулируют ширину щели таким образом, чтобы прибор показывал 0,80 единиц оптической плотности при измерении нулевого раствора. Переносят растворы в кюветы с расстоянием между гранями 10 мм. Измеряют оптическую плотность не позднее чем через 10 мин после добавления торина.
Градуировочную характеристику строят, откладывая на оси ординат значение оптической плотности каждого раствора для градуировки, а на оси абсцисс - концентрацию серы в растворах. Проверять градуировочную характеристику следует каждый раз при проведении анализа проб.
Перед проведением анализа проб атмосферных осадков на содержание сульфат-ионов необходимо удалить катионы. Для этого аликвотную часть пробы (5 - 6 см3) пропускают через колонку с сильнокислотной катионообменной смолой «Дауэкс». Из подготовленной таким образом пробы отбирают пипеткой 4 см3 пробы и переносят в тщательно вымытые сухие пробирки вместимостью 30 см3, добавляют 10 см3 реагентного раствора перхлората бария и точно 0,25 см3 реагентного раствора торина. Пробирку закрывают пробкой и перемешивают 15 с на механической мешалке. Измеряют оптическую плотность при длине волны 520 нм.
Катионообменную смолу периодически следует регенерировать (см. приложение 2 к данной методике).
Обработку посуды следует производить согласно приложению 3 к данной методике.
9. Вычисление результата измерений
Массовую концентрацию сульфат-ионов находят по градуировочному графику. Если в пробе содержится более 4,0 мг/дм3 серы, перед анализом ее следует разбавить деионизированной водой и сделать повторное определение. В этом случае массовую концентрацию сульфат-ионов, найденную по градуировочному графику, умножают на коэффициент υ'/υ (здесь υ - объем пробы, взятой на разбавление, см3; υ' - объем пробы после разбавления, см3).
Изготовление механической мешалки
Хорошее качество анализа достигается при тщательном перемешивании на механической мешалке в одинаковых условиях проб и градуировочных растворов. Механическая мешалка представляет собой электродвигатель мощностью 20 - 50 Вт с числом оборотов 1200 - 2000 мин-1, укрепленный не станине. На вертикально расположенной оси электродвигателя с эксцентриситетом 2 - 4 мм укреплен наконечник, в центре которого находится колодец глубиной 30 - 40 мм с диаметром, несколько большим внешнего диаметра пробирки. Наконечник изготовлен из пластичного материала (плотной резины, фторопласта и др.). При перемешивании пробирку с раствором держат рукой и вставляют в наклонном положении в колодец таким образом, чтобы ее нижний конец был плотно прижат к боковой стенке колодца. Раствор при перемешивании поднимается на всю длину пробирки. Размер эксцентриситета зависит от материала наконечника - более мягкий материал, например плотная резина, допускает больший эксцентриситет (до 4 мм).
Регенерация катинообменной смолы
Регенерацию смолы проводят после анализа каждой серии проб следующим образом. Смолу заливают раствором соляной кислоты концентрацией 0,01 моль/дм3, перемешивают в течение 5 - 10 мин и затем отмывают до нейтральной реакции по индикаторной бумажке деионизированной водой. Смолу хранят под слоем деионизированной воды в закрытой посуде.
Обработка химической посуды
Большое значение для точности анализа имеет чистота посуды. Посуду после анализа моют сначала мылом, затем разбавленной (1:1) азотной кислотой. Тщательно отмывают от следов азотной кислоты сначала проточной водой, затем ополаскивают несколько раз деионизированной водой и высушивают в сушильном шкафу при температуре 110 - 120 °С. Категорически запрещается использовать посуду, применявшуюся для проведения других анализов.
Методика предназначена для определения массовой концентрации сульфатов (в пересчете на серу) в атмосферном аэрозоле в диапазоне 0,7 - 5,5 мг/м3 при объеме пробы 20 м3. Рекомендуется для сети наблюдений за трансграничным переносом загрязняющих воздух веществ.
1. Нормы точности измерений
2. Метод измерения
3. Средства измерений, вспомогательные устройства, реактивы и материалы
Колбы конические вместимостью 100 см3 с пришлифованной пробкой № 29 и диаметром дна 70 мм. Колбы изготовлены из стекла «пирекс» или боросиликатного стекла.
Фильтры «Ватман-40»
3.2. Реактивы
См. п. 2.3 методики 3.5.3.
4. Требования безопасности
См. ч. I, п. 5.1.3.
5. Требования к квалификации оператора
См. ч. I, п. 5.1.4.
6. Условия выполнения измерений
См. ч. I, п. 5.1.14.
7. Подготовка к выполнению измерений
7.1. - 7.3. См. п. 7.1. - 7.3. методики 3.5.3.
См. п. 3.4 данной части.
7.5. Подготовка фильтров к анализу
Переносят экспонированные и неэкспонированные (нулевые) фильтры в конические колбы для замачивания. Добавляют 30 см3 деионизированной воды с температурой 70 - 90 °С (при определении низких концентраций - 10 см3 воды). Колбу закрывают пробкой, встряхивают и оставляют на ночь. В дальнейшем этот раствор служит для определения сульфатов, аммония и нитратов.
8. Выполнение измерений
Перед проведением анализа проб атмосферного аэрозоля на содержание сульфат-ионов удаляют катионы. Для этого аликвотную часть пробы (5 - 6 см3) пропускают через колонку с сильнокислотной катионообменной смолой «Дауэкс». Из подготовленной таким образом пробы отбирают пипеткой 4 см3 и переносят в тщательно вымытые сухие пробирки вместимостью 30 см3, добавляют 10 см3 реагентного раствора перхлората бария и с помощью автоматической микропипетки - точно 0,25 см3 реагентного раствора торина. Пробирку закрывают пробкой и тщательно перемешивают 15 с на механической мешалке. Измеряют оптическую плотность в кювете с расстоянием между гранями 10 мм, при длине волны 520 нм. Концентрацию сульфат-ионов ρ1 в аликвотной части пробы находят по градуировочному графику.
Если в аликвотной части пробы содержится больше 4,0 мг/дм3 серы, следует сделать повторное определение, разбавив пробу предварительно деионизированной водой. В этом случае при расчете концентрацию сульфатов, найденную по градуировочному графику, умножают на коэффициент υ'/υ (здесь υ - объем пробы, взятой на разбавление, см3; υ' - объем пробы после разбавления, см3).
9. Вычисление результата измерений
Для получения сравнимых результатов объем пробы воздуха прошедший через фильтр, приводят к нормальным условиям: температуре 0 °С и давлению 1013 гПа.
Концентрацию аэрозоля растворимых сульфатов в пересчете на серу (ρ мг/м3) рассчитывают по уравнению:
![]()
где ρ1 - концентрация сульфатов, найденная в пробе по градуировочной характеристике, мг/дм3.
ρ0 - концентрация сульфатов в пробе с неэкспонированным фильтром, мг/дм3;
V1 - объем экстрагирующего раствора, дм3;
V0 - объем аспирированного через фильтр воздуха, приведенный к нормальным условиям (см. ч. I, п. 5.1.16, формулу (1), м3.
Методика предназначена для определения концентрации иона аммония в атмосферных аэрозолях в диапазоне 0,02 - 3,0 мкг/м3 при объеме пробы 20 м3. Рекомендуется для сети наблюдений за трансграничным переносом загрязняющих воздух веществ.
1. Нормы точности измерений
2. Метод измерения
3. Средства измерений, вспомогательные устройства, реактивы и материалы
Фильтры «Ватман-40»
Требования безопасности
См. ч. I, п. 5.1.3.
5. Требования к квалификации оператора
См. ч. I, п. 5.1.4.
6. Условия выполнения измерений
См. ч. I, п. 5.1.14.
7. Подготовка к выполнению измерений
7.1. Приготовление растворов
7.2. Установление градуировочной характеристики
7.5. Подготовка фильтров к анализу
8. Выполнение измерений
Отбирают аликвотную часть пробы после замачивания фильтров объемом 5 см3 и переносят в пробирку вместимостью 30 см3, куда уже добавлено 5 см3 деионизированной воды. В каждую пробирку вносят по 0,25 см3 реагента А и 0,25 см3 реагента Б. Пробирки закрывают пробками и помещают в водяную баню при 50 °С на 2 ч. Затем растворы охлаждают до комнатной температуры и измеряют оптическую плотность относительно воды на спектрофотометре или фотоэлектроколориметре при длине волны 630 нм в кюветах с расстоянием между гранями 10 мм.
Концентрацию ионов аммония, выраженную в мг/дм3, в аликвотной части пробы определяют по градуировочной характеристике с учетом концентрации «нулевой» пробы, приготовленной одновременно из неэкспонированного фильтра и тех же реактивов.
Если в пробе содержится более 2 мг/дм3 аммония, перед анализом ее следует разбавить деионизированной водой и сделать повторное определение. В этом случае при расчете концентрацию аммония, найденную по градуировочной характеристике, умножают на коэффициент υ'/υ (здесь υ - объем пробы, взятой на разбавление, см3; υ' - объем пробы после разбавления, см3).
9. Вычисление результата измерений
Для получения сравнимых результатов объем пробы воздуха, прошедший через фильтр, приводят к нормальным условиям: температуре 0 °С и давлению 1013 гПа.
Концентрацию растворимого аэрозольного аммония в воздухе в пересчете на азот (ρ мг/м3) рассчитывают по уравнению
![]()
где ρ1 - концентрация ионов аммония, найденная по градуировочной характеристике, мг/дм3;
ρ0 - концентрация ионов аммония в нулевой пробе, мг/дм3;
V - объем экстрагирующего раствора, дм3;
V0 - объем аспирированного через фильтр воздуха, приведенный к нормальным условиям (см. ч. I, п. 5.1.16, формулу (1)), м3;
0,778 - коэффициент пересчета на азот.
Методика предназначена для определения массовой концентрации нитрат-иона в атмосферных аэрозолях в диапазоне 0,05 - 1,5 мкг/м3 при объеме пробы воздуха 20 м3. Рекомендуется для сети наблюдений за трансграничным переносом загрязняющих воздух веществ.
1. Нормы точности измерений
2. Метод измерения
3. Средства измерений, вспомогательные устройства, реактивы и материалы
Фильтры «Ватман-40»
4. Требования безопасности
См. ч. I, п. 5.1.3.
5. Требования к квалификации оператора
См. ч. I, п. 5.1.4.
6. Условия выполнения измерений
См. ч. I, п. 5.1.14.
7. Подготовка к выполнению измерений
7.1. Приготовление растворов
7.2. Установление градуировочной характеристики
7.3. Подготовка фильтров к анализу
Отбирают аликвотную часть пробы после замачивания фильтров объемом 4 см3 и переносят в тщательно вымытые сухие колбы, добавляют 6 см3 5 %-ного раствора хлорида аммония и примерно 0,5 г восстановителя. Колбы закрывают пробками и устанавливают в аппарат для встряхивания на 10 мин. Раствор над восстановителем сливают в пробирки. Для анализа отбирают 8 см3 этого раствора и переносят в чистые сухие пробирки. Добавляют 2 см3 раствора реактива Грисса, закрывают пробками, тщательно перемешивают и через 40 мин измеряют оптическую плотность на спектрофотометре или фотоэлектроколориметре при длине волны 536 нм относительно деионизированной воды в кюветах с расстоянием между гранями 20 мм.
Концентрацию нитрат-ионов, выраженную в мг/дм3, определяют по градуировочной характеристике с учетом концентрации нулевой пробы, приготовленной одновременно из неэкспонированного фильтра и тех же реактивов.
Если в аликвотной части пробы содержится более 1 мг/дм3 нитратов, то следует произвести повторное определение, предварительно разбавив пробу деионизированной водой. В этом случае концентрацию нитрат-ионов, найденную по градуировочной характеристике, умножают на коэффициент υ'/υ (здесь υ - объем пробы, взятой на разбавление, см3; υ' - объем пробы после разбавления, см3).
9. Вычисление результата измерений
Для получения сравнимых результатов объем пробы воздуха, прошедший через фильтр, приводят к нормальным условиям: температуре 0 °С и давлению 1013 гПа.
Концентрацию растворимых аэрозольных нитратов в воздухе в пересчете на азот (ρ мг/м3) рассчитывают по уравнению
![]()
где ρ1 - концентрация нитрат-ионов, полученная по градуировочной характеристике, мг/дм3;
ρ0 - концентрация нитрат-ионов в нулевой пробе, мг/дм3;
V1 - объем экстрагирующего раствора, дм3;
V0 - объем аспирированного через фильтр воздуха, приведенный к нормальным условиям (см. ч. I, п. 5.1.16, формулу (1)), м3;
0,226 - коэффициент пересчета на азот.
Методика предназначена для определения массовой концентрации в воздухе суммы аммиака и аммония в диапазоне 0,02 - 3 мкг/м3 (по иону аммония) при объеме пробы 20 м3. Рекомендуется для сети наблюдений за трансграничным переносом загрязняющих воздух веществ.
1. Нормы точности измерений
2. Метод измерения
Сумма аммиака и солей аммония отбирается из воздуха на фильтр, импрегнированный щавелевой кислотой. Аммоний из фильтра экстрагируется водой. Далее см. п. 2 методики 3.5.1.
3. Средства измерений, вспомогательные устройства, реактивы и материалы
3.1. Средства измерений
3.2. Вспомогательные устройства
Кроме того:
Фильтры «Ватман-40».
Колбы конические вместимостью 100 см3 с пришлифованной пробкой № 29 и диаметром дна 70 мм из стекла «пирекс» или боросиликатного стекла.
3.3. Реактивы
Кроме того:
Спирт этиловый, ректификат по ГОСТ 5962-67
Щавелевая кислота, х. ч. по ГОСТ 22180-76
4. Требования безопасности
См. ч. I, п. 5.1.3.
5. Требования к квалификации оператора
См. ч. I, п. 5.1.4.
6. Условия выполнения измерений
См. ч. I, п. 5.1.14.
7. Подготовка к выполнению измерений
7.1. Подготовка растворов
Кроме того:
Щавелевая кислота, 3 %-ный раствор в этаноле. Растворяют 3 г щавелевой кислоты в 100 см3 этанола. Используют только свежеприготовленный раствор.
7.2. Подготовка фильтров к отбору
Импрегнирование фильтров проводят следующим образом: на каждый фильтр равномерно наносят 0,6 см3 3 %-ного раствора щавелевой кислоты в этаноле. Фильтр сушат в сушильном шкафу при температуре 50 - 60 °С в потоке очищенного от аммиака воздуха. Во избежание загрязнения фильтров аммиаком внутри помещения, все операции с ними проводят очень быстро и только с помощью пинцета. После высушивания фильтр вставляют в фильтродержатель и в таком виде транспортируют к месту пробоотбора.
Фильтры, предназначенные для нулевых проб, также вставляют в фильтродержатели и транспортируют вместе с фильтрами, используемыми для пробоотбора.
7.3. Подготовка фильтров к анализу
Экспонированные и нулевые фильтры помещают в конические колбы, в которые заливают по 20 см3 деионизированной воды (см. ч. I, п. 5.1.7), закрывают пробками, хорошо перемешивают и оставляют на ночь.
7.4. Установление градуировочной характеристики
См. п. 7.5 методики 3.5.1.
8. Выполнение измерений
Перед измерением экстракт необходимо нейтрализовать, добавив несколько капель раствора гидрооксида натрия 10 моль/дм3. Далее см. п. 8 методики 3.5.5.
9. Вычисление результата измерений
Методика предназначена для определения массовой концентрации в воздухе суммы азотной кислоты и нитратов в диапазоне 0,05 - 1,5 мкг/м3 (по нитрат-иону) при объеме пробы 20 м3. Рекомендуется для сети наблюдения за трансграничным переносом загрязняющих воздух веществ.
1. Нормы точности измерений
2. Метод измерения
3. Средства измерений, вспомогательные устройства, реактивы и материалы
3.1. Средства измерений
3.2. Вспомогательные устройства
Кроме того:
Фильтры «Ватман-40»
Колбы конические из стекла «пирекс» или боросиликатного стекла с пришлифованной пробкой № 29, диаметром дна 70 мм
3.3. Реактивы
Кроме того:
Натрия гидроксид, х. ч. по ГОСТ 4328-77
Спирт этиловый, ректификат по ГОСТ 5962-67
4. Требования безопасности
См. ч. I, п. 5.1.3.
5. Требования к квалификации оператора
См. ч. I, п. 5.1.4.
6. Условия выполнения измерений
См. ч. I, п. 5.1.14.
7. Подготовка к выполнению измерений
7.1. Подготовка растворов
Кроме того:
Гидроксид натрия, 0,1 %-ный раствор в спирте. Растворяют 1 г гидроксида натрия в 100 см3 этанола. Используют только свежеприготовленный раствор.
7.2. Подготовка фильтров к отбору
Импрегнирование фильтров проводят следующим образом: на каждый фильтр равномерно наносится 0,6 см3 1 %-ного раствора гидроксида натрия в этаноле. Фильтр сушится в сушильном шкафу при температуре 50 - 60 °С в потоке очищенного от азотной кислоты и нитратов воздуха. Во избежание загрязнения фильтров все операции с ними проводят очень быстро и с помощью пинцета. После высушивания фильтры помещаются в фильтродержатели и в таком виде транспортируются к месту отбора вместе с фильтрами, предназначенными для нулевых проб.
7.3. Подготовка фильтров к анализу
7.4. Установление градуировочной характеристики
8. Выполнение измерений
9. Вычисление результата измерений
Методика предназначена для определения массовой концентрации диоксида серы в атмосферном воздухе с отбором проб на импрегнированный фильтр в диапазоне 0,1 - 4 мкг/м3 при объеме пробы 20 м3. Рекомендуется для сети наблюдений за трансграничным переносом загрязняющих воздух веществ.
1. Нормы точности измерений
2. Метод измерения
Метод основан на поглощении диоксида серы из воздуха фильтрами, пропитанными раствором гидроксида калия. В процессе пробоотбора и хранения сульфит частично окисляется до сульфата. Сульфаты из экспонированного фильтра экстрагируются водой. Оставшийся сульфит окисляется до сульфата после добавления перекиси водорода.
Далее см. п. 2 методики 3.5.3.
3. Средства измерений, вспомогательные устройства, реактивы и материалы
3.1. Средства измерений
3.2. Вспомогательные устройства
См. п. 3.2 методики 3.5.3 и п. 3.1 методики 3.5.4.
3.3. Реактивы
Кроме того:
Калия гидроксид, ос. ч. по ОСТ 01.301-74
Водорода перекись, 30 %-ный раствор по ГОСТ 10929-76
4. Требования безопасности
См. ч. I, п. 5.1.3.
5. Требования к квалификации оператора
См. ч. I, п. 5.1.4.
6. Условия выполнения измерений
См. ч. I, п. 5.1.14.
7. Подготовка к выполнению измерений
7.1. Приготовление растворов
Кроме того:
Раствор гидроксида калия 0,5 моль/дм3. 28 г гидроксида калия растворяют в 1 дм3 деионизированной воды.
7.2. Установление градуировочной характеристики
7.3. Подготовка фильтров к отбору
Импрегнирование фильтров проводится следующим образом: на каждый фильтр равномерно наносится 0,6 см3 раствора гидроксида калия. Фильтр сушится в сушильном шкафу при температуре 50 - 60 °С в потоке очищенного воздуха. После высушивания фильтры (в том числе для нулевых проб) помещаются в фильтродержатели и в таком виде транспортируются к месту отбора.
7.4. Подготовка фильтров к анализу
Экспонированный фильтр помещают в коническую колбу и заливают 5 - 20 см3 деионизированной воды, добавляют 0,1 см3 30 %-ного раствора перекиси водорода, добавляют примерно 10 мг влажной катионообменной смолы. Хорошо перемешивают. Через 1 ч проверяют pH раствора, нанеся одну каплю на индикаторную бумагу. Раствор должен быть нейтральным или слабокислым. Оставшаяся катионообменная смола полностью удаляется из раствора при пропускании его перед анализом через колонку с катионообменной смолой.
8. Выполнение измерений
Аналогичным образом проводится обработка «нулевых» фильтров.
9. Вычисление результата измерений
На каждую отобранную на станции пробу заполняется паспорт, который высылается вместе с пробой в централизованную лабораторию. Все записи в паспорте дублируются в рабочем журнале на станции.
|
|
|
|
Название и номер станции |
__________________________________ |
|
Шифр пробы (указать условное обозначение определяемого вещества, номер станции, порядковый номер пробы) |
__________________________________ |
|
Дата и точное время установки пробы |
__________________________________ |
|
Дата и точное время снятия пробы |
__________________________________ |
|
Объем пробы воздуха (дм3) |
__________________________________ |
|
Расход воздуха в начале отбора пробы (дм3/мин) |
__________________________________ |
|
и расход воздуха в конце отбора пробы (дм3/мин) |
__________________________________ |
|
Примечания (указать причины срыва отбора пробы: отсутствие электроэнергии, неполадки в аппаратуре и т.п.) |
__________________________________ |
|
Фамилия наблюдателя |
__________________________________ |
Следует употреблять следующие условные обозначения определяемых веществ:
полициклические ароматические углеводороды - ПАУ
диоксид серы - С
диоксид азота - А
атмосферный аэрозоль - Ф
сумма азотной кислоты и нитратов в аэрозоле - ΣАН
сумма аммиака и аммония - ΣАА
При проведении анализов проб в централизованной лаборатории результаты анализов за месяц заносятся на стандартные бланки ЕМЕП, в которых указывается название и шифр станции, дата и время начала и окончания отбора каждой пробы и концентрации определяемых веществ. Форма бланков для занесения результатов анализа проб газов и аэрозолей представлена в табл. 3.4, а проб осадков - в табл. 3.5.
Подготовка к проведению химического анализа проб атмосферных осадков включает следующие стадии: регистрация, осреднение и фильтрация пробы.
Таблица 3.4
Форма бланка ЕМЕП (газы, аэрозоли)
|
Время отбора пробы |
Газы |
Аэрозоли |
HNO3-N + NO3-N, мкг/м3 |
NH3-N + NH4-N, мкг/м3 |
|||||||||||||
|
год |
месяц |
от |
до |
SO2 S мкг/м3 |
NO2 N мкг/м3 |
HNO3 N, мкг/м3 |
NH3 N, мкг/м3 |
SO4 S, мкг/м3 |
NO3 N, мкг/м3 |
NH4 N, мкг/м3 |
Н+, мкг×экв/м3 |
SPM, мкг/м3 |
|||||
|
день |
время по Гринвичу |
день |
время по Гринвичу |
||||||||||||||
|
|
|
|
1 |
|
2 |
|
|
|
|
|
|
|
|
|
|
|
|
|
|
|
|
. |
|
. |
|
|
|
|
|
|
|
|
|
|
|
|
|
|
|
|
. |
|
. |
|
|
|
|
|
|
|
|
|
|
|
|
|
|
|
|
. |
|
. |
|
|
|
|
|
|
|
|
|
|
|
|
|
|
|
|
30 |
|
31 |
|
|
|
|
|
|
|
|
|
|
|
|
Таблица 3.5
Форма бланка ЕМЕП (осадки)
|
Время отбора пробы |
Осадки |
|||||||||||||||||
|
год |
месяц |
от |
до |
мм |
pH |
SO4 S, мг/л |
NO3 N, мг/л |
NH4 N, мг/л |
Na, мг/л |
Mg, мг/л |
Ca, мг/л |
Cl, мг/л |
H+, мкг×экв/л |
K+, мг/л |
удельная электропроводность, мкСм/см |
|||
|
день |
время по Гринвичу |
день |
время по Гринвичу |
|||||||||||||||
|
|
|
|
1 |
|
2 |
|
|
|
|
|
|
|
|
|
|
|
|
|
|
|
|
|
. |
|
. |
|
|
|
|
|
|
|
|
|
|
|
|
|
|
|
|
|
. |
|
. |
|
|
|
|
|
|
|
|
|
|
|
|
|
|
|
|
|
. |
|
. |
|
|
|
|
|
|
|
|
|
|
|
|
|
|
|
|
|
30 |
|
31 |
|
|
|
|
|
|
|
|
|
|
|
|
|
Пробы атмосферных осадков регистрируют сразу после поступления в химическую лабораторию. В журнале «Поступление проб» записывают месяц, номер колбы, количество отобранной пробы в см3 и г, количество дней с осадками и сумму осадков в мм за период осреднения пробы (сутки, неделя, месяц).
Пробу осадков за период осреднения (сутки, неделя, месяц), находящуюся в нескольких колбах, сливают в одну общую, тщательно перемешивают и оставляют на 4 ч.
Через 4 ч пробу фильтруют через беззольный фильтр «красная лента». Для полного химического анализа необходим объем пробы 650 см3, из них 250 см3 - для определения макросостава и 400 см3 - для определения микросостава.
Пробы анализируют не позднее чем через 10 сут после поступления в лабораторию. Определяют следующие макрокомпоненты: значение pH, удельную электропроводность, активную и общую кислотность, массовые концентрации макрокомпонентов: сульфат-ионов, нитрат-ионов, хлорид-ионов, гидрокарбонат-ионов, ионов аммония, натрия, калия, кальция и магния - и микрокомпонентов: фосфат-ионов, ионов цинка, свинца, кадмия, марганца и никеля. В табл. 4.1 приведены методы химического анализа проб атмосферных осадков.
Таблица 4.1
Методы химического анализа проб атмосферных осадков
|
Метод анализа |
Объем пробы, см3 |
|
|
Ионы аммония |
Колориметрический |
10 |
|
Удельная электропроводность |
Кондуктометрический |
30 |
|
pH |
Электрометрический |
30 |
|
Гидрокарбонат-ионы |
Титриметрический |
25 |
|
Сульфат-ионы |
Нефелометрический |
25 |
|
Нитрат-ионы |
Колориметрический |
10 |
|
Хлорид-ионы |
Титрометрический |
50 |
|
Ионы натрия, калия |
Фотометрический пламенный |
10 |
|
Ионы кальция, магния, цинка |
Атомно-абсорбционный пламенный |
10 |
|
Микроэлементы (отдельная проба) |
Атомно-абсорбционный пламенный |
400 |
|
Примечание. При малом объеме пробы (меньше 250 см3) в первую очередь определяют pH, удельную электропроводность, активную кислотность, массовые концентрации сульфат-ионов, нитрат-ионов и т.д. |
||
При определении массовой концентрации некоторых ионов в пробах атмосферных осадков методами прямого и обратного титрования необходимо установить и рассчитать молярную концентрацию (c' моль/дм3) титрующего раствора:
(1)
где c" - молярная концентрация титруемого раствора, моль/дм3;
υ1 - объем, пошедший на титрование, см3;
υ2 - объем, взятый для титрования, см3;
n1 и n2 - число валентных электронов.
При определении молярной концентрации иона в пробе (cпр моль/дм3) методом прямого титрования вычисление результата проводят по формуле (при n1 = n2 = 1):
где c' - молярная концентрация титрующего раствора, моль/дм3;
υ' - объем титрующего раствора, см3;
υпр - объем пробы, см3.
При определении молярной концентрации иона в пробе (cпр ммоль/дм3) методом обратного титрования вычисление результата проводят по формуле:
(3)
где c' - молярная концентрация титрующего раствора, моль/дм3;
cп" - молярная концентрация раствора, добавляемого в избытке, моль/дм3;
υ' - объем титрующего раствора, см3;
υ" - объем раствора, добавляемого в избытке, см3;
υпр - объем пробы, см3.
При определении массовой концентрации иона (ρ мг/дм3) окончательный результат анализа рассчитывают по формуле;
где cпр - молярная концентрация определяемого иона в пробе, ммоль/дм3;
m - масса иона как сумма атомных масс всех составляющих его элементов.
Концентрацию анионов и катионов, значение pH и удельную электропроводность (æэксп), найденные в результате анализа проб осадков, записывают в табл. 4.2. Переводят эти концентрации, выраженные в мг/дм3, в эквивалентную форму:
где cэi - концентрация катиона или аниона, мг-экв/дм3;
ρi - концентрация аниона или катиона, мг/дм3;
э - масса эквивалента.
При расчетах удельной электропроводности используют следующие значения эквивалентной электропроводности (λi См×см2/г-экв) ионов при 25 °С и концентрации 0,00005 моль/дм3 [7]:
Таблица 4.2
Химический состав месячных проб осадков
Станция ________________ Год ___________________
|
Сумма осадков за месяц, мм |
SO42- |
Cl- |
NO3- |
HCO3- |
NH4+ |
Na+ |
K+ |
Ca2+ |
Mg2+ |
Zn2+ |
Сумма ионов |
|
|
мг/дм3 |
||||||||||||
|
1 |
2 |
3 |
4 |
5 |
6 |
7 |
8 |
9 |
10 |
11 |
12 |
13 |
|
|
|
|
|
|
|
|
|
|
|
|
|
|
Продолжение табл.
|
Cl- |
NO3- |
HCO3- |
Кислотность |
NH4+ |
Na+ |
K+ |
Ca2+ |
Mg2+ |
Zn2+ |
H+ |
pH |
χэ |
χp |
Σi- |
Σi+ |
ΔΣ |
Σi-i+ |
|
|
|
|
мкг-экв/дм3 |
мкСм/см |
мкг-экв/дм3 |
% |
|||||||||||||||||
|
14 |
15 |
16 |
17 |
18 |
19 |
20 |
21 |
22 |
23 |
24 |
25 |
26 |
27 |
28 |
29 |
30 |
31 |
32 |
33 |
34 |
|
|
|
|
|
|
|
|
|
|
|
|
|
|
|
|
|
|
|
|
|
|
Ионы H+ K+ Na+ NH4- 1/2Ca2+ 1/2Mg2+
λi, См×см3/г-экв 345,8 72,2 48,9 71,3 55,8 49,8
Ионы 1/2Zn2+ Cl- NO3- HCO3- 1/2SO42-
λi, См×см3/г-экв 50,7 75 69,9 43,6 75,7
По значениям концентраций катионов и анионов, выраженных в эквивалентной форме, и соответствующим значениям эквивалентной электропроводности рассчитывают удельную электропроводность:
(2)
где æрасч - расчетная удельная электропроводность,×10-6 См/см (мкСм/см);
λi - эквивалентная электропроводность катиона или аниона, См×см2/г-экв;
ρi - концентрация иона, мг-экв/дм3;
n - число анионов и катионов в растворе.
Уравнение (2) хорошо выполняется для большинства проб атмосферных осадков.
Для оценки качества химического анализа проб осадков рассчитывают относительные отклонения удельной электропроводности и сумм ионов (%) по формулам:
![]()

где ΔΣ = Σi+ - Σi-, Σi-,i+ = Σi- + Σi+ - разность и сумма катионов и анионов в мг-экв/дм3.
Значения этих величин не должны превышать ±5 %.
Методика предназначена для определения удельной электропроводности в пробах атмосферных осадков в диапазоне 2 ¸ 500 мкСм/см.
1. Нормы точности измерений
По результатам метрологического исследования, при определении удельной электропроводности в пробах атмосферных осадков в диапазоне 2 - 500 мкСм/см суммарная погрешность не превышает ¸ 20 %.
2. Метод измерения
Для определения удельной электропроводности в пробах атмосферных осадков используют кондуктометрический метод. Метод заключается в измерении сопротивления пробы атмосферных осадков в термостатированной ячейке с гладкими платиновыми электродами с поверхностью 1 см2 и расстоянием между электродами 1 см; константу ячейки определяют предварительно по растворам хлорида калия.
3. Средства измерений, вспомогательные устройства, реактивы и материалы
3.1. При выполнении измерений должны быть применены следующие средства измерений, вспомогательные устройства, реактивы и материалы.
3.2. Средства измерений
Кондуктометр ММЗЧ-04 по ТУ 25-11-945-74
Термометр ТЛ-2; цена деления 0,2 °С;
пределы 0 - 50 °С по ГОСТ 215-73
Термометр ТК-1А; цена деления 1 °С;
пределы 0 - 50 °С по ГОСТ 19855-74
Весы аналитические ВЛР-200 по ГОСТ 24104-80Е
Меры массы по ГОСТ 7328-82Е
Колбы мерные по ГОСТ 1770-74Е
2-500-2 - 7 шт.
2-1000-2 - 1 шт.
Пипетки по ГОСТ 1770-74Е
4-2-0,5 - 1 шт.
4-2-1 - 1 шт.
4-2-5 - 1 шт.
5-2-10 - 1 шт.
2-2-25 - 1 шт.
2-2-25 - 1 шт.
3.3. Вспомогательные устройства
Шкаф сушильный лабораторный типа СНОЛ
Холодильник (бытовой)
Термостат жидкостной ТС-16А по ТУ 78-58-68
Трубки резиновые по ГОСТ 5496-78
3.4. Реактивы
Вода дистиллированная по ГОСТ 6709-72
Спирт этиловый ректификат высшей очистки по ГОСТ 59-62-67
Калия хлорид, раствор 0,1 моль/дм3,
стандарт-титр по ТУ 6-09-2540-72
4. Требования безопасности
См. ч. I, п. 5.1.3.
5. Требования к квалификации оператора
См. ч. I, п. 5.1.4.
6. Условия выполнения измерений
См. ч. I, п. 5.1.14.
7. Подготовка к выполнению измерений
7.1. Перед выполнением измерений должны быть проведены следующие работы: приготовление растворов, определение константы ячейки.
7.2. Приготовление растворов
Исходный раствор хлорида калия 0,1 моль/дм3. Готовят из стандарт-титра.
7.3. Определение константы ячейки
Константу ячейки определяют по растворам для градуировки, приготовленным в пяти сериях. Каждую серию, состоящую из семи растворов, готовят из исходного раствора. Для этого в каждую мерную колбу вместимостью 500 см3 наливают 100 - 150 см3 дистиллированной воды, вносят исходный раствор хлорида калия, согласно табл. 4.3, доводят до метки дистиллированной водой и тщательно перемешивают.
Таблица 4.3
Растворы для определения константы ячейки
|
1 |
2 |
3 |
4 |
5 |
6 |
7 |
|
|
Объем исходного раствора хлорида калия (c = 0,1 моль/дм3), см3 |
0,5 |
2,5 |
5,0 |
10,0 |
25,0 |
50,0 |
100,0 |
|
Соответствует массовой концентрации, моль/дм3 |
0,0001 |
0,0005 |
0,001 |
0,002 |
0,005 |
0,01 |
0,02 |
|
Удельная электропроводность χ (t = 20 °С), мкСм/с3 |
13,99 |
67,0 |
133,2 |
- |
- |
- |
- |
|
Удельная электропроводность χ (t = 25 °С), мкСм/см |
14,99 |
73,91 |
146,95 |
291,7 |
717,7 |
1412,7 |
2766,8 |
Для обеспечения постоянного объема измеряемого раствора на ячейку наносят метку. Метка должна быть расположена выше электродов на 1 см. Ячейку тщательно споласкивают дистиллированной водой, потом дважды небольшими количествами раствора для градуировки. Заливают в ячейку раствор для градуировки до метки, устанавливают в термостат и через 7 мин измеряют сопротивление данного раствора. Сопротивление всех растворов для градуировки измеряют при t = 20 °С, затем при t = 25 °С.
Константу ячейки определяют на основании средних арифметических значений результатов измерения пяти серий растворов для определения константы ячейки по формуле
где RKCl - измеренное сопротивление раствора для градуировки (среднее арифметическое из пяти измерений), Ом;
χKCl - удельная электропроводность соответствующего раствора для градуировки (см. табл. 4.3), мкСм/см.
8. Выполнение измерений
Ячейку тщательно промывают дистиллированной водой и ополаскивают исследуемой пробой атмосферных осадков. Заливают пробу в ячейку до метки и помещают ее в термостат. Через 7 мин измеряют сопротивление пробы. Измерение сопротивления проб атмосферных осадков проводят только при t = 25 °С.
9. Вычисление результата измерений
Удельную электропроводность пробы рассчитывают по формуле:
где K - константа ячейки;
R - измеренное сопротивление пробы атмосферных осадков, Ом.
Методика предназначена для определения величины pH в пробах атмосферных осадков в диапазоне 2 - 10.
1. Нормы точности измерений
По результатам метрологического исследования, при определении pH в пробах атмосферных осадков в диапазоне 2 - 10 суммарная погрешность не превышает ±10 %.
2. Метод измерения
Метод основан на измерении разности потенциалов, возникающих на границах между внешней поверхностью стеклянной мембраны электрода и исследуемым раствором относительно другого электрода, например хлорсеребряного, называемого электродом сравнения, потенциал которого практически не зависит от активности ионов водорода (pH) в исследуемом растворе.
3. Средства измерений, вспомогательные устройства, реактивы и материалы
3.1. При выполнении измерений должны быть применены следующие средства измерений, вспомогательные устройства, реактивы и материалы.
3.2. Средства измерений
pH-метр-милливольтметр pH-673, рн-673М
Термометр лабораторный ТП-2; цена
деления 1 °С; пределы 0 - 100 °С по ГОСТ 215-73
Секундомер; класс 3; цена деления
секундной шкалы 0,2 с по ГОСТ 5072-79Е
Электрод стеклянный ЭСЛ-43-07 по ГОСТ 5.2052-73
Электрод вспомогательный ЭВЛ-1МЗ по ТУ 25-05.2181-77
Весы аналитические ВЛР-200 по ГОСТ 24104-80Е
Меры массы по ГОСТ 7328-82Е
Колбы мерные по ГОСТ 1770-74Е
2-500-2 - 1 шт.
2-1000-2 - 6 шт.
3.3. Вспомогательные устройства
Мешалка магнитная по ТУ 25-11-834-73
Штатив Ш-2 по ОСТ 25.328-79
Холодильник (бытовой)
Стаканы ВН-50 - 2 шт. по ГОСТ 10394-82
3.4. Реактивы
Вода дистиллированная по ГОСТ 6709-72
Калия хлорид, х. ч. по ГОСТ 4234-77
Соляная кислота, раствор 0,1 моль/дм3,
стандарт-титр по ТУ 6-09-2540-72
Стандарт-титры «для pH-метрии» для
приготовления образцовых буферных растворов по ТУ 6-09-2541-72
4. Требования безопасности
См. ч. I, п. 5.1.3.
5. Требования к квалификации оператора
См. ч. I, п. 5.1.4.
6. Условия выполнения измерений
См. ч. I, п. 5.1.14.
7. Подготовка к выполнению измерений
7.1. Перед выполнением измерений должны быть проведены следующие работы: приготовление растворов, подготовка электродов, настройка прибора по буферным растворам.
1) Исходный раствор соляной кислоты 0,1 моль/дм3. Готовят из стандарт-титра. Ампулу со стандарт-титром тщательно обмывают дистиллированной водой, осторожно разбивают, содержимое количественно переносят в мерную колбу вместимостью 1000 см3 и доливают дистиллированной водой до метки.
2) Буферные растворы, имеющие значения pH, равные 1,68; 3,56; 4,01; 6,86; 9,18 при t = 25 °С. Все растворы готовят из стандарт-титров «для pH-метрии». Растворы сохраняются 2 - 3 мес в посуде из химического стекла в холодильнике.
3) Насыщенный раствор хлорида калия готовят растворением 150 г хлорида калия в 200 см3 дистиллированной воды.
7.3. Подготовка электродов
1) Измерительный стеклянный электрод выдерживают в растворе соляной кислоты (см. п. 7.2, перечисление 1) в течение 6 ч, промывают дистиллированной водой и хранят погруженным в дистиллированную воду.
2) Вспомогательный хлорсеребряный электрод заполняют наполовину насыщенным раствором хлорида калия (см. п. 7.2, перечисление 3) с кристаллами. В процессе работы раствор периодически доливают, чтобы уровень жидкости в электроде поддерживался постоянным. Хранят хлорсеребряный электрод погруженным в дистиллированную воду. При этом отверстие в электроде должно быть закрыто резиновой пробкой. Один раз в месяц оба электрода вымачивают в растворе соляной кислоты (см. п. 7.2, перечисление 1) в течение 24 ч, после чего промывают дистиллированной водой.
7.4. Настройка pH-метра-милливольтметра
Периодическую настройку прибора проводят по двум буферным растворам (pH 4,01 и pH 6,86 при t = 25 °С) следующим образом:
прогреть pH-метр 1 ч;
удалить резиновую пробку вспомогательного электрода;
электроды тщательно промыть дистиллированной водой и удалить остатки воды фильтровальной бумагой;
буферный раствор налить в стакан, опустить в него электроды и термометр таким образом, чтобы шарик стеклянного электрода был полностью погружен в раствор;
ручку температурной компенсации установить на 25 °С;
включить магнитную мешалку;
измерить pH буферного раствора через 5 мин на диапазонах минус 1 - 14 и 4 - 9.
Эти операции проделать в указанной последовательности сначала с буферным раствором pH 4,01, затем с буферным раствором pH 6,86. Если ошибка измерения превышает 0,05 на диапазоне 4 - 9, необходимо ручкой «буфер» установить значение pH, равное значению измеряемого буферного раствора. После корректировки необходимо проверить прибор заново по двум буферным растворам.
8. Выполнение измерений
Промывают электроды и перемешивающий стержень от электромагнитной мешалки дважды небольшим количеством исследуемой пробы атмосферных осадков, наливают в стакан исследуемую пробу, опускают электроды и включают электромагнитную мешалку. Через 5 мин снимают показания прибора.
9. Вычисление результата измерений
Концентрацию иона водорода c (моль/дм3) определяют по формуле:
c = 10-pH,
где c - концентрация иона водорода, моль/дм3;
pH - измеренное значение pH.
Концентрацию ионов водорода можно также найти из табл. 4.4.
Таблица 4.4
Данные для пересчета значений pH в концентрацию ионов водорода
|
0,00 |
0,01 |
0,02 |
0,03 |
0,04 |
0,05 |
0,06 |
0,07 |
0,08 |
0,09 |
|
|
0,0 |
1,00 |
0,98 |
0,96 |
0,93 |
0,91 |
0,89 |
0,87 |
0,85 |
0,83 |
0,81 |
|
0,1 |
0,79 |
0,77 |
0,76 |
0,74 |
0,73 |
0,71 |
0,69 |
0,68 |
0,66 |
0,65 |
|
0,2 |
0,63 |
0,62 |
0,60 |
0,58 |
0,58 |
0,56 |
0,55 |
0,54 |
0,53 |
0,51 |
|
0,3 |
0,50 |
0,49 |
0,48 |
0,47 |
0,46 |
0,45 |
0,44 |
0,43 |
0,42 |
0,41 |
|
0,4 |
0,40 |
0,39 |
0,38 |
0,37 |
0,36 |
0,36 |
0,35 |
0,34 |
0,33 |
0,32 |
|
0,5 |
0,31 |
0,31 |
0,30 |
0,30 |
0,29 |
0,28 |
0,28 |
0,27 |
0,26 |
0,26 |
|
0,6 |
0,25 |
0,25 |
0,24 |
0,23 |
0,23 |
0,22 |
0,22 |
0,21 |
0,21 |
0,20 |
|
0,7 |
0,20 |
0,20 |
0,19 |
0,19 |
0,18 |
0,18 |
0,17 |
0,17 |
0,17 |
0,16 |
|
0,8 |
0,16 |
0,16 |
0,15 |
0,15 |
0,15 |
0,14 |
0,14 |
0,14 |
0,13 |
0,13 |
|
0,9 |
0,13 |
0,12 |
0,12 |
0,12 |
0,12 |
0,11 |
0,11 |
0,11 |
0,11 |
0,10 |
Методика предназначена для определения потенциальной массовой концентрации Н+ в пробах атмосферных осадков в диапазоне концентраций 5 - 1000 мкг/см3.
1. Нормы точности измерений
По результатам метрологических исследований, при определении массовой концентрации иона водорода в пробах атмосферных осадков в диапазоне 5 - 1000 мкг/см3 суммарная погрешность не превышает ±10 %.
2. Метод измерения
Метод определения массовой концентрации иона водорода, обусловленный присутствием сильных и слабых неорганических и органических кислот основан на прямом титровании пробы осадков раствором гидроксида натрия в две ступени с потенциометрической индикацией точки эквивалентности.
3. Средства измерений, вспомогательные устройства, реактивы и материалы
3.1. При выполнении измерений должны быть применены следующие средства измерений, вспомогательные устройства, реактивы и материалы.
3.2. Средства измерений
pH-метр-милливольтметр pH-673, pH-673М
Термометр лабораторный ТЛ-2; цена
деления 1 °С; пределы 0 - 100 °С по ГОСТ 215-73
Секундомер; класс 3; цена деления
секундной шкалы 0,2 с по ГОСТ 5072-72
Электрод стеклянный ЭСЛ-43-07 по ГОСТ 5.2052-73
Электрод вспомогательный типа ЭВЛ-1МЗ по ТУ 25-05.2181-77
Весы аналитические ВЛА-200 по ГОСТ 24104-80Е
Меры массы по ГОСТ 7328-82Е
Колбы мерные по ГОСТ 1770-74Е
2-500-2 - 1 шт.
2-1000-2 - 6 шт.
Пипетки 2-2-25 - 2 шт. по ГОСТ 1770-74Е
Микробюретка - 1 шт. по ГОСТ 20292-74
3.3. Вспомогательные устройства
Мешалка магнитная по ТУ 25-11-834-73
Штатив Ш-2 по ОСТ 25.328-79
Холодильник (бытовой)
Микрокомпрессор МК-Л2 по ТУ 205 РСФСР 07.119-78
Установка для потенциометрического
титрования (черт. 4.1)
Фильтры газовые с прямым отводом типа ГФП по ГОСТ 9775-69
Стаканы ВН-50 по ГОСТ 10394-72
Трубки резиновые по ГОСТ 5496-78
3.4. Реактивы
Аскарит, ч. по ТУ 6-09-4128-75
Вода дистиллированная по ГОСТ 6709-72
Калия хлорид, х. ч. по ГОСТ 4234-77
Установка для потенциометрического титрования
1 - pH-метр-милливольтметр; 2 - газовые фильтры; 3 - трубка с аскаритом; 4 - микрокомпрессор; 5 - микро-бюретка; 6 - хлоркальциевая трубка; 7 - стеклянный сосуд; 8 - измерительный электрод; 9 - вспомогательный электрод; 10 - магнитная мешалка; 11 - стакан с пробой; 12 - термометр.
Кислота соляная, раствор 0,1 моль/дм3 по ТУ 6-09-2540-72
Натрия гидроксид, раствор 0,1 моль/дм3, стандарт-титр по ТУ 6-09-2540-72
Стандарт-титры «для pH-метрии» для приготовления
образцовых буферных растворов по ТУ 6-09-2540-72
4. Требования безопасности
См. ч. I, п. 5.1.3.
5. Требования к квалификации оператора
См. ч. I, п. 5.1.4.
6. Условия выполнения измерений
См. ч. I, п. 5.1.14.
7. Подготовка к выполнению измерений
7.1. Перед выполнением измерений должны быть проведены следующие работы: приготовление растворов, подготовка установки для потенциометрического титрования, настройка pH-метра, подготовка установки для удаления СО2.
1) Исходный раствор гидроксида натрия 0,1 моль/дм3 готовят из стандарт-титра.
2) Рабочий раствор гидроксида натрия 0,005 моль/дм3. 25 см3 исходного раствора (см. перечисление 1) переносят в мерную колбу вместимостью 500 см3 и доливают дистиллированной водой до метки.
3) Исходный раствор соляной кислоты 0,1 моль/дм3 готовят из стандарт-титра.
4) Рабочий раствор соляной кислоты 0,005 моль/дм3. Наливают 25 см3 исходного раствора (см. перечисление 3) в мерную колбу вместимостью 500 см3 и доводят дистиллированной водой до метки. Молярную концентрацию гидроксида натрия в приготовленном растворе определяют потенциометрически. Для этого в стакан переносят 5 см3 раствора (по перечислению 4), добавляют 20 см3 свежепрокипяченной и охлажденной дистиллированной воды и титруют раствор соляной кислотой, рабочим раствором гидроксида натрия при перемешивании (с помощью магнитной мешалки) до pH 5,65, одновременно пропуская воздух, очищенный от СО2. Определение повторяют 3 раза и берут среднее значение.
Расчеты концентрации проводят по формуле (1) (см. п. 4.3).
5) Буферные растворы, имеющие pH, равные 4,01 и 6,86 при t = 25 °С, готовят из стандарт-титра «для pH-метрии».
6) Насыщенный раствор хлорида калия. Готовят растворением 150 г хлорида калия в 200 см3 дистиллированной воды.
7.3. Подготовка установки для потенциометрического титрования.
1) Собирают установку в соответствии с черт. 4.1.
2) Подготовку pH-метра проводят, как указано в п. 7.4 методики 4.5.2.
3) Для удаления CO2 из реакционной среды через нее пропускают воздух, очищенный от CO2. Для очистки воздуха от CO2 его пропускают через стеклянную трубку, установленную вертикально и наполненную аскаритом.
Замену аскарита производят один раз в месяц.
8. Выполнение измерений
Промывают стакан, электроды и перемешивающий стержень от магнитной мешалки дистиллированной водой и небольшим количеством исследуемой пробы. Отбирают пипеткой в стакан 25 см3 исследуемой пробы, помещают в нее перемешивающий стержень, устанавливают на магнитную мешалку, погружают электроды, включают мешалку, через 5 мин снимают показание прибора. Затем опускают Г-образную стеклянную трубку и начинают продувать воздух, очищенный от CO2, одновременно титруя раствором гидроксида натрия. Титруют в две ступени: сначала до pH = 5,65, затем до pH = 8,4.
9. Вычисление результата измерений
См. п. 4.3, формулы (2) и (4).
Методика предназначена для определения массовой концентрации сульфат-ионов в пробах атмосферных осадков в диапазоне 0,5 - 30,0 мг/дм3.
1. Норма точности измерений
По результатам метрологического исследования, при определении массовой концентрации сульфат-ионов в пробах атмосферных осадков в диапазоне 0,5 - 30,0 мг/дм3 суммарная погрешность не превышает ±30 %.
2. Метод измерения
Для определения концентрации сульфат-ионов в пробах атмосферных осадков используют нефелометрический метод. Метод основан на взаимодействии сульфат-ионов и ионов бария с образованием труднорастворимого соединения сульфата бария в виде суспензии. Для стабилизации суспензии применяют смесь этилового спирта с этиленгликолем в соотношении 1:1.
3. Средства измерений, вспомогательные устройства, реактивы и материалы
3.1. При выполнении измерений должны быть применены следующие средства измерений, вспомогательные устройства, реактивы и материалы.
3.2. Средства измерений
Фотоэлектроколориметр или спектрофотометр
Весы аналитические ВЛА-200 по ГОСТ 24104-80Е
Меры массы по ГОСТ 7328-82Е
Колбы мерные по ГОСТ 1770-74
2-1000-2 - 1 шт.
2-500-2 - 15 шт.
Пипетки по ГОСТ 20292-74
2-2-1 - 1 шт.
2-2-2 - 1 шт.
2-2-5 - 1 шт.
2-2-10 - 2 шт.
2-2-20 - 1 шт.
2-2-25 - 1 шт.
Бюретка 1-1-100-02 - 1 шт. по ГОСТ 20292-74Е
Секундомер; класс 3; цена деления
стандартной шкалы 0,2 с по ГОСТ 5072-79Е
3.3. Вспомогательные устройства
Шкаф сушильный лабораторный СНОЛ
Холодильник (бытовой)
Пробирки ПГКШ 2-25-2 - 50 шт. по ГОСТ 1770-74
Колба круглодонная (Вюрца) КП 2-500-2 по ГОСТ 10394-72
Холодильник ХСН-КШ по ГОСТ 9499-70
Алонж типа АИ по ТУ 25-11-1109-75
Баня водяная по ТУ 46-22-608-75
3.4. Реактивы
Вода дистиллированная по ГОСТ 6709-72
Бария хлорид, х. ч. по ГОСТ 4108-72
Калия сульфат, х. ч. по ГОСТ 4145-74
Кислота соляная, раствор,
0,1 моль/дм3, стандарт-титр по ТУ 6-09-2540-72
Спирт этиловый, ректификат высшей
очистки по ГОСТ 59-69-67
Этиленгликоль, ч. д. а. по ГОСТ 10164-75
4. Требования безопасности
См. ч. I, п. 5.1.3.
5. Требования к квалификации оператора
См. ч. I, п. 5.1.4.
6. Условия выполнения измерений
См. ч. I, п. 5.1.14.
7. Подготовка к выполнению измерений
7.1. Перед выполнением измерений должны быть проведены следующие работы: приготовление растворов, установление градуировочной характеристики.
1) Исходный раствор сульфата калия 200 мг/дм3. 0,3628 г сульфата калия, высушенного при 105 °С, растворяют в небольшом количестве дистиллированной воды в мерной колбе вместимостью 1000 см3 и доводят дистиллированной водой до метки. Полученный раствор сульфата калия соответствует раствору с массовой концентрацией сульфат-ионов 200 мг/дм3.
2) Раствор соляной кислоты 0,1 моль/дм3 готовят из стандарт-титра.
3) Хлорид бария, раствор 0,25 моль/дм3. Помещают 6 г хлорида бария без предварительного высушивания в мерную колбу вместимостью 100 см3; доводят объем до метки раствором соляной кислоты концентрацией 0,1 моль/дм3 и тщательно перемешивают.
4) Этиловый спирт-ректификат высшей очистки очищают в перегонном аппарате на водяной бане при t = 78,4 °С.
5) Осаждающий реактив готовят смешиванием трех равных объемов этилового спирта (см. перечисление 4), трех равных объемов этиленгликоля и одного объема свежеприготовленного раствора хлорида бария (см. перечисление 3). Осаждающий реактив готов через 5 сут.
Хранить его необходимо в темном месте.
7.3. Установление градуировочной характеристики
Градуировочную характеристику, выражающую зависимость оптической плотности от массовой концентрации сульфат-ионов, устанавливают по пяти сериям растворов для градуировки. Каждую серию, состоящую из тринадцати растворов, готовят из исходного раствора сульфата калия (см. п. 7.2, перечисление 1). Растворы для установления градуировочной характеристики готовят в мерных колбах вместимостью 500 см3. Для этого в каждую колбу вливают раствор для градуировки в соответствии с табл. 4.5, доводят объем дистиллированной водой до метки и тщательно перемешивают.
Градуировочные характеристики устанавливают для двух диапазонов массовых концентраций сульфат-ионов: 1,0 - 8,0 и 6,0 - 32 мг/дм3. Для установления градуировочной характеристики в первом диапазоне отбирают по 25 см3 каждого раствора в пробирки, приливают по 4 см3 осаждающего реактива, содержимое пробирок тщательно перемешивают стеклянной палочкой с расплющенным концом. Через 6 мин измеряют оптическую плотность образовавшейся суспензии сульфата бария относительно дистиллированной воды при λ = 400 нм в кюветах с расстоянием между рабочими гранями 5 см. Одновременно готовят нулевой раствор. Для этого к 25 см3 дистиллированной воды приливают осаждающего реактива и тщательно перемешивают стеклянной палочкой. Через 6 мин измеряют оптическую плотность относительно дистиллированной воды. Для построения градуировочной характеристики во втором диапазоне концентраций отбирают по 10 см3 каждого раствора, приливают по 4 см3 осаждающего реактива, тщательно перемешивают стеклянной палочкой с расплющенным концом и через 6 мин измеряют оптическую плотность суспензии относительно дистиллированной воды при λ = 400 нм в кюветах с расстоянием между рабочими гранями 3 см. Для приготовления нулевого раствора отбирают по 10 см3 дистиллированной воды, приливают 4 см3 осаждающего реактива, тщательно перемешивают и через 6 мин измеряют оптическую плотность относительно дистиллированной воды. Проводят измерение 5 нулевых растворов в каждом диапазоне. По полученным данным строят градуировочные характеристики для каждого диапазона концентрации сульфат-ионов.
Таблица 4.5
Растворы для установления градуировочной характеристики при определении концентрации сульфат-иона
|
1 |
2 |
3 |
4 |
5 |
6 |
7 |
8 |
9 |
10 |
11 |
12 |
13 |
|
|
Объем исходного раствора (ρ = 200 мг/дм3), см3 |
2,5 |
5,0 |
10,0 |
12,5 |
15,0 |
20,0 |
25,0 |
30,0 |
40,0 |
50,0 |
60,0 |
70,0 |
80,0 |
|
Соответствует раствору с массовой концентрацией, мг/дм3 |
1,0 |
2,0 |
4,0 |
5,0 |
6,0 |
8,0 |
10,0 |
12,0 |
16,0 |
20,0 |
24,0 |
28,0 |
32,0 |
8. Выполнение измерений
Отбирают в пробирки по 25 см3 пробы атмосферных осадков (æ ≤ 30 мкСм/см) и по 10 см3 (æ > 30 мкСм/см). В каждую пробирку приливают по 4 см3 осаждающего реактива, интенсивно перемешивают стеклянной палочкой с расплющенным концом и через 6 мин измеряют оптическую плотность образовавшейся суспензии сульфата бария при λ = 400 нм относительно дистиллированной воды. Для повышения точности определения необходимо учитывать мутность проб атмосферных осадков. Для этого часть пробы отливают в кювету и измеряют оптическую плотность пробы относительно дистиллированной воды.
9. Вычисление результата измерений
Массовую концентрацию сульфат-иона в пробе находят из градуировочной характеристики по разности оптических плотностей исследуемой суспензии и нулевой пробы с учетом мутности пробы атмосферных осадков.
Методика предназначена для определения массовой концентрации нитрат-ионов в пробах атмосферных осадков в диапазоне 0,05 - 1,50 мг/дм3.
1. Нормы точности измерений
По результатам метрологического исследования, при определении массовой концентрации нитрат-ионов в пробах атмосферных осадков в диапазоне 0,05 - 1,50 мг/дм3 суммарная погрешность не превышает ±10 %.
2. Метод измерения
Метод основан на восстановлении нитрат-ионов металлическим кадмием
NO3- + Cd + H2O = NO2- + 2OH- + Cd2+ (1)
и последующем определении образующихся нитрит-ионов с реактивом Грисса-Илосвая. Нитрит-ион взаимодействует с сульфаниловой кислотой (первичный ароматический амин), образуя соль диазония:
Соль диазония реагирует с 1-нафтиламином с образованием сильно окрашенного азосоединения:
По интенсивности окраски образующегося азосоединения определяют фотометрическим методом содержание нитрит-ионов.
3. Средства измерений, вспомогательные устройства, реактивы и материалы
3.1. При выполнении измерений должны быть применены следующие средства измерений, вспомогательные устройства, реактивы и материалы.
3.2. Средства измерений
Фотоэлектроколориметр или спектрофотометр
Весы аналитические ВЛА-200 по ГОСТ 24104-80Е
Меры массы по ГОСТ 24104-82Е
Термометр лабораторный шкальный ТЛ-2;
цена деления 1 °С; пределы 0 - 55 °С по ГОСТ 215-73Е
Секундомер; класс 3; цена деления
секундной шкалы 0,2 с по ГОСТ 5072-72
Колбы мерные по ГОСТ 1770-74Е
2-100-2 - 8 шт.
2-500-2 - 2 шт.
2-1000-2 - 1 шт.
Пипетки по ГОСТ 1770-74Е
4-2-0,5 - 1 шт.
4-2-1 - 1 шт.
4-2-5 - 1 шт.
5-2-10 - 2 шт.
2-2-25 - 2 шт.
2-2-50 - 2 шт.
3.3. Вспомогательные устройства
Шкаф сушильный лабораторный типа СНОЛ
Баня песчаная по ТУ 46-22-688-74
Холодильник бытовой
Устройство для восстановления нитрат-иона до нитрит-иона изготовляется в соответствии с черт. 4.2.
3.4. Реактивы
Алюминия хлорид, ос. ч. по ТУ 6-09-587-75
Вода дистиллированная по ГОСТ 6709-72
Кадмий гранулированный, ч. д. а. по ТУ 6-09-3095-78
Кадмий в палочках, ч. д. а. по ТУ 6-09-3095-78
Калий азотнокислый, х. ч. по ГОСТ 4217-77
Кислота соляная, х. ч. по ГОСТ 3118-77
Кислота сульфаниловая, ч. д. а. по ГОСТ 5821-78
Кислота уксусная ледяная, х. ч. по ГОСТ 6175
1-нафтиламин, ч. д. а. по ГОСТ 8827-74
Ртути хлорид (II), сулема, х. ч. по ГОСТ 3773-47
4. Требования безопасности
См. ч. I, п. 5.1.3.
Все работы по приготовлению и использованию солей ртути (II) следует проводить в вытяжном шкафу.
Устройство для восстановления нитратов до нитритов
1 - крышка; 2 - промежуточные перегородки; 3 - фиксатор с защелкой; 4 - ось; 5 - металлические скобы; 6 - электромотор; 7 - станина; 8 - пробирки
Растворы, содержащие ртуть, после анализа следует сливать в специальную емкость. Обезвреживание растворов проводят согласно приложению 1 к методике 5.2.7 (см. ч. I).
5. Требования к квалификации оператора
См. ч. I, п. 5.1.4.
6. Условия выполнения измерений
См. ч. I, п. 5.1.14.
7. Подготовка к выполнению измерений
7.1. Перед выполнением измерений должны быть проведены следующие работы: приготовление растворов, подготовка устройства для восстановления нитрат-иона до нитрит-иона, установление градуировочной характеристики.
1) Исходный раствор азотнокислого калия 200 мг/дм3. 0,326 г азотнокислого калия (KNO3) растворяют в мерной колбе вместимостью 1000 см3 свежепрокипяченной и охлажденной дистиллированной водой.
2) Рабочий раствор азотнокислого натрия 10 мг/дм3. Отбирают 25 см3 исходного раствора в мерную колбу вместимостью 500 см3 и доливают до метки свежепрокипяченной и охлажденной дистиллированной водой.
3) Уксусная кислота, раствор 2 моль/дм3. 64 см3 ледяной уксусной кислоты переносят в колбу вместимостью 500 см3 и доводят дистиллированной водой до метки.
4) 1-нафтиламин, раствор 0,007 моль/дм3. 0,2 г 1-нафтиламина растворяют в 20 см3 дистиллированной воды при нагревании на песчаной бане. Образующиеся лиловые капли отфильтровывают. Фильтрат разбавляют 120 см3 раствора уксусной кислоты (см. перечисление 3). Реактив устойчив в течение нескольких месяцев при хранении в склянке из темного стекла в темном месте.
5) Сульфаниловая кислота, раствор 0,0025 моль/дм3. 0,5 г сульфаниловой кислоты растворяют в 150 см3 уксусной кислоты (см. перечисление 3). Хранить в склянке из темного стекла в темном месте. Устойчив в течение нескольких месяцев.
6) Реактив Грисса-Илосвая. Перед анализом смешивают растворы 1-нафтиламина (см. перечисление 4) и сульфаниловой кислоты (см. перечисление 5) в отношении 1:1.
7) Соляная кислота, раствор 1,4 моль/дм3. 143 см3 концентрированной соляной кислоты разбавляют до 1000 см3 дистиллированной водой.
8) Хлорид ртути (сулема), раствор 0,04 моль/дм3. 1 г сулемы растворяют в 100 см3 дистиллированной водой. Работу следует выполнять под тягой.
9) Хлорид аммония, раствор 0,1 моль/дм3. 5,35 г хлорида аммония растворяют в 1000 см3 дистиллированной водой. Устойчив в течение нескольких месяцев.
10) Кадмий металлический 99,9 %-ный, амальгамированный. Используют амальгамированный кадмий в виде мелкой стружки или опилок. Для получения стружки палочку кадмия обрабатывают на токарном станке. Затем с помощью сит отделяют стружку размером 0,5 - 2 мм. Палочку кадмия можно изготовить, расплавив гранулированный кадмий в стеклянной пробирке под тягой (осторожно, яд!). 100 г опилок или стружки промывают несколько раз дистиллированной водой, подкисленной соляной кислотой (см. перечисление 7) и заливают 100 см3 раствора хлорида ртути (см. перечисление 8) HgCl2. Перемешивают 3 мин. Затем сливают раствор сулемы в специальную посуду, а амальгамированный кадмий промывают 2 раза дистиллированной водой, переносят в склянку из темного стекла и заливают раствором хлорида аммония (см. перечисление 9). Хранят в темном месте.
После 4 - 5-кратного использования амальгамированный кадмий регенерируют. Для этого 100 г отработанной кадмиевой стружки или опилок обрабатывают дважды 300 см3 раствора соляной кислоты (см. перечисление 7) в стеклянном стакане вместимостью 500 см3 при интенсивном перемешивании стеклянной палочкой. Затем промывают дистиллированной водой до нейтральных значений pH, сушат и амальгамируют.
7.3. Подготовка устройства для восстановления нитрат-иона до нитрит-иона (см. формулу (1)).
Пробирки предварительно моют хозяйственным мылом, тщательно споласкивают дистиллированной водой, помещают в химический штатив и заливают раствором соляной кислоты (см. п. 7.2, перечисление 7) на 2 ч. Затем сливают кислоту в специальную емкость, промывают пробирки дистиллированной водой и сушат в сушильном шкафу при температуре 150 - 200 °С.
В чистые сухие пробирки отвешивают на аналитических весах по (3 ± 0,2) г амальгамированного кадмия и заливают 1 - 2 см3 раствора хлорида аммония (см. п. 7.2, перечисление 9), закрывают пробирки резиновыми пробками и вставляют в кассету устройства для восстановления нитрат-иона до нитрит-иона (см. черт. 4.2).
7.4. Установление градуировочной характеристики
Градуировочную характеристику, выражающую зависимость оптической плотности от массы нитрат-иона в пробе, устанавливают по пяти сериям растворов для градуировки. Каждую серию, состоящую из восьми растворов, готовят из рабочего раствора (см. п. 7.2, перечисление 2). Растворы для градуировки готовят в мерных колбах вместимостью 100 см3 согласно табл. 4.6. Доводят до метки дистиллированной водой и тщательно перемешивают.
Таблица 4.6
Растворы для установления градуировочной характеристики при определении концентрации нитрат-иона
|
1 |
2 |
3 |
4 |
5 |
6 |
7 |
8 |
|
|
Объем рабочего раствора (ρ = 10 мг/дм3), см3 |
0,5 |
1,0 |
2,0 |
3,0 |
6,0 |
7,0 |
10,0 |
15,0 |
|
Соответствует раствору с массовой концентрацией нитрат-иона, мг/дм3 |
0,05 |
0,1 |
0,2 |
0,3 |
0,5 |
0,7 |
1,0 |
1,5 |
Для установления градуировочной характеристики отбирают по 10 см3 дистиллированной воды и каждого раствора для градуировки в пробирки с заранее отвешенным амальгамированным кадмием из кассеты устройства для восстановления нитрат-иона до нитрит-иона. Закрывают резиновыми пробками, устанавливают в кассету устройства и фиксируют с помощью крышки с защелкой. Содержимое пробирок перемешивают вращением 30 - 35 мин. Отбирают по 5 см3 восстановленного раствора для градуировки в чистые сухие пробирки и приливают точно по 0,5 см3 свежеприготовленного реактива Грисса-Илосвая. Содержимое пробирок тщательно встряхивают и через 45 мин определяют оптическую плотность раствора. Измерения производят в кюветах с расстоянием между рабочими гранями 10 мм при длине волны 490 нм относительно дистиллированной воды. Время от добавления последнего реактива до измерения оптической плотности для всех проб должно быть одинаково. Одновременно измеряют оптическую плотность нулевого раствора (т.е. дистиллированной воды, прошедшей этап восстановления), содержащего все реактивы, кроме определяемого вещества. Проводят измерения пяти одновременно восстановленных нулевых растворов. Оптическая плотность нулевого раствора не должна превышать 0,025.
Градуировочную характеристику устанавливают по восьми точкам на основании средних арифметических значений результатов измерений пяти серий растворов для градуировки. Действительные значения оптической плотности находят по разности оптических плотностей раствора для градуировки и нулевого раствора. Проверки градуировочной характеристики следует проводить при каждой смене партии реактива, но не реже одного раза в месяц.
8. Выполнение измерений
Отбирают по 10 см3 пробы атмосферных осадков в пробирки кассеты устройства для восстановления, приготовленного к работе в соответствии с п. 7.3. Содержимое пробирок перемешивают вращением 30 - 35 мин. Каждый раз одновременно с пробами готовят нулевой раствор. Для этого 10 см3 дистиллированной воды отбирают в пробирку из кассеты и перемешивают вместе с пробами. Отбирают по 5 см3 восстановленной пробы и нулевого раствора в чистые сухие пробирки, приливают точно по 0,5 см3 свежеприготовленного реактива Грисса-Илосвая и через 45 мин измеряют оптическую плотность окрашенных растворов.
9. Вычисление результата измерений
Массовую концентрацию нитрат-иона в пробе находят из градуировочной характеристики по разности оптических плотностей исследуемого раствора и нулевой пробы.
Методика предназначена для определения массовой концентрации ионов аммония в пробах атмосферных осадков в диапазоне 0,05 - 5,0 мг/дм3.
1. Нормы точности измерений
По результатам метрологического исследования, при определении массовой концентрации ионов аммония в пробах атмосферных осадков в диапазоне 0,05 - 5,0 мг/дм3 суммарная погрешность не превышает ±10 %.
2. Метод измерения
Метод основан на взаимодействии аммонийных солей и аммиака со щелочным раствором ртутноиодистоводородного калия (реактивом Несслера)
2K2HgI4 + 2NH3 → NH2Hg2I3 + NH4I + 4KI.
По интенсивности окраски образующегося соединения определяют фотометрическим методом содержание ионов аммония.
3. Средства измерений, вспомогательные устройства, реактивы и материалы
3.1. При выполнении измерений должны быть применены следующие средства измерений, вспомогательные устройства, реактивы и материалы:
3.2. Средства измерений
Фотоэлектроколориметр или спектрофотометр
Весы аналитические ВЛР-200 по ГОСТ 24104-80Е
Меры массы по ГОСТ 7328-82Е
Колбы мерные по ГОСТ 1770-74Е
2-100-2 - 12 шт.
2-500-2 - 2 шт.
Пипетки по ГОСТ 20292-74
4-2-1 - 3 шт.
2-2-5 - 1 шт.
5-2-10 - 1 шт.
2-2-25 - 1 шт.
2-2-50 - 1 шт.
Секундомер; класс 3; цена деления
секундной шкалы 0,2 с по ГОСТ 5072-72
3.3. Вспомогательные устройства
Шкаф сушильный лабораторный типа СНОЛ
Установка для получения безаммиачной дистиллированной воды (кварцевый дистиллятор) изготавливается в соответствии с черт. 4.3.
Пробирки типа ПХ - 50 шт. по ГОСТ 10515-75
3.4. Реактивы
Вода дистиллированная по ГОСТ 6709-72
Калий-натрий виннокислый, четырехводный
(сегнетова соль), ч. д. а. по ГОСТ 5845-79
Калий марганцовокислый, х. ч. по ГОСТ 20490-72
Калия хлорид, х. ч. по ГОСТ 4234-77
Кислота серная, конц., х. ч. по ГОСТ 4204-77
Натрия гидроксид, х. ч. по ГОСТ 4328-77
Реактив Несслера, ч. д. а. по ТУ 6-09-2089-77
Устройство для получения безаммиачной дистиллированной воды
1 - электроплитка; 2 - колба кварцевая; 3 - расширитель; 4 - холодильник; 5 - приемная колба.
4. Требования безопасности
См. ч. I, п. 5.1.3.
5. Требования к квалификации оператора
См. ч. I, п. 5.1.4.
6. Условия выполнения измерений
См. ч. I, п. 5.1.14.
7. Подготовка к выполнению измерений
7.1. Перед выполнением измерений должны быть проведены следующие работы: приготовление растворов, установление градуировочной характеристики.
1) Безаммиачная дистиллированная вода. В дистиллированную воду в колбе вместимостью 1000 см3 добавляют 3 - 5 капель концентрированной серной кислоты, несколько кристалликов марганцевокислого калия и перегоняют в кварцевом дистилляторе - установке для получения безаммиачной дистиллированной воды.
2) Исходный раствор хлорида аммония 500 мг/дм3. 0,742 г предварительно высушенного при температуре 105 °С хлорида аммония растворяют в мерной колбе вместимостью 500 см3 в безаммиачной дистиллированной воде и доводят объем до метки.
3) Рабочий раствор хлорида аммония 5 мг/дм3. 5 мл исходного раствора (см. перечисление 2) разбавляют до 500 см3 безаммиачной дистиллированной водой в мерной колбе и добавляют 1 см3 хлороформа.
4) Раствор гидроксида натрия 2,5 моль/дм3. 10 г гидроксида натрия растворяют в 100 см3 дистиллированной воды.
5) Раствор сегнетовой соли (калия-натрия виннокислого) 2,5 моль/дм3´50 г KNaC4O6×4H2O растворяют при нагревании в дистиллированной воде, доводят объем до 100 см3, фильтруют, добавляют 5 мл 10 %-ного раствора NaOH и кипятят 30 мин для удаления следов аммиака. Объем раствора вновь доводят до 100 см3 безаммиачной дистиллированной водой.
7.3. Градуировочную характеристику, выражающую зависимость оптической плотности от содержания иона аммония в пробе, устанавливают по пяти сериям растворов для градуировки.
Каждую серию, состоящую из 11 растворов, готовят из рабочего раствора хлорида аммония (см. п. 7.2, перечисление 3). Растворы для градуировки готовят в мерных колбах вместимостью 100 см3 согласно табл. 4.7, доводят до метки дистиллированной водой и тщательно перемешивают.
Для установления градуировочной характеристики отбирают по 10 см3 безаммиачной дистиллированной воды и каждого раствора для градуировки в пробирки. Добавляют по 0,2 см3 сегнетовой соли, перемешивают, потом приливают по 0,2 см3 реактива Несслера, закрывают пробками, энергично взбалтывают. Оптическую плотность относительно безаммиачной дистиллированной воды измеряют через 10 мин в кюветах с расстоянием между рабочими гранями 20 мм при длине волны 450 нм (светофильтр № 4 для ФЭК-56М). Время от добавления последнего реактива до измерения оптической плотности для всех проб должно быть одинаковым. Одновременно измеряют оптическую плотность нулевого раствора, содержащего все реактивы, кроме определяемого вещества. Проводят пять параллельных измерений нулевых растворов. Оптическая плотность нулевого раствора не должна превышать 0,025.
Таблица 4.7
Растворы для установления градуировочной характеристики при определении концентрации иона аммония
|
1 |
2 |
3 |
4 |
5 |
6 |
7 |
8 |
9 |
10 |
11 |
|
|
Объем рабочего раствора (ρ = 5,0 мг/дм3), см3 |
1,0 |
2,0 |
4,0 |
7,0 |
10,0 |
15,0 |
20,0 |
30,0 |
40,0 |
50,0 |
60,0 |
|
Соответствует раствору с массовой концентрацией ионов аммония, мг/дм3 |
0,05 |
0,10 |
0,20 |
0,35 |
0,50 |
0,75 |
1,00 |
1,50 |
2,00 |
2,50 |
3,00 |
Градуировочную характеристику устанавливают по 11 точкам на основании средних арифметических значений, вычисленных из результатов измерений пяти серий растворов для градуировки. Действительные значения оптической плотности находят по разности оптических плотностей стандартных растворов и нулевого раствора. Проверку градуировочной характеристики следует проводить при каждой смене партии реактива, но не реже одного раза в месяц.
8. Выполнение измерений
Отбирают по 10 см3 исследуемого раствора и безаммиачной дистиллированной воды для нулевой пробы в пробирки, приливают по 0,2 см3 сегнетовой соли и встряхивают. Затем добавляют по 0,2 см3 реактива Несслера, закрывают резиновыми пробками и энергично перемешивают. Через 10 мин измеряют оптическую плотность окрашенных растворов относительно дистиллированной безаммиачной воды.
С целью повышения точности определения иона аммония в атмосферных осадках необходимо учитывать мутность пробы. Для этого часть пробы наливают в кювету и измеряют оптическую плотность.
9. Вычисление результата измерений
Концентрацию иона аммония в пробе находят из градуировочной характеристики по разности оптических плотностей окрашенных растворов с учетом мутности пробы.
Методика предназначена для определения массовой концентрации хлорид-ионов в пробах атмосферных осадков в диапазоне 0,2 - 10,0 мг/дм3.
1. Нормы точности измерений
По результатам метрологического исследования, при определении массовой концентрации хлорид-иона в пробах атмосферных осадков в диапазоне 0,2 - 10,0 мг/дм3 суммарная погрешность не превышает ±10 %.
2. Метод измерения
Метод основан на взаимодействии хлорид-ионов с ионами ртути (II) при прямом титровании проб атмосферных осадков раствором нитрата ртути (II) с образованием растворимого, но малодиссоциируемого соединения ртути - хлорида ртути (II) в присутствии смешанного индикатора (дифенилкарбазона и бромфенолового синего). Избыток ионов ртути (II) вступает в реакцию с дифенилкарбазоном, образуя комплексное соединение фиолетового цвета.
3. Средства измерений, вспомогательные устройства, реактивы и материалы
3.1. При выполнении измерений должны быть применены следующие средства измерений, вспомогательные устройства, реактивы и материалы.
3.2. Средства измерений
Весы аналитические ВЛР-200 по ГОСТ 24104-80Е
Меры массы по ГОСТ 7328-82Е
Колбы мерные 2-1000-2 - 5 шт. по ГОСТ 1770-74Е
Пипетки. по ГОСТ 20292-74
7-1-2 - 2 шт.
7-2-5 - 2 шт.
2-2-25 - 1 шт.
2-2-50 - 1 шт.
Микробюретка 1-2-2-0,1 - 1 шт. по ГОСТ 20292-74
3.3. Вспомогательные устройства
Колбы конические типа Кн-1-100-14/23 ТС - 40 шт. по ГОСТ 25336-82
Капельница типа 2-50-ХС - 1 шт. по ГОСТ 25336-82
Испаритель по ТУ 25-11-741-76
Баня песочная по ТУ 46-775-77
3.4. Реактивы
Бромфеноловый синий, ч. д. а.. по ТУ 6-09-1058-76
Вода дистиллированная по ГОСТ 6709-72
Дифенилкарбазон, ч. д. а. по ГОСТ 17551-72
Калия хлорид, раствор 0,1 моль/дм3,
стандарт-титр по ТУ 6-09-2540-72
Кислота азотная, х. ч. по ГОСТ 4461-77
Натрия гидроксид, х. ч. по ГОСТ 4328-77
Натрия хлорид, раствор 0,1 моль/дм3,
стандарт-титр по ТУ 6-09-2540-72
Ртути нитрат (II), х. ч. по ГОСТ 4520-78
Спирт этиловый, ректификат высшей очистки по ГОСТ 59-62-67
4. Требования безопасности
См. ч. I, п. 5.1.3.
5. Требования к квалификации оператора
См. ч. I, п. 5.1.4.
6. Условия выполнения измерений
См. ч. I, п. 5.1.14.
7. Подготовка к выполнению измерений
7.1. Перед выполнением измерений должны быть проведены следующие работы: приготовление растворов, определение их молярности.
1) Исходный раствор азотной кислоты 6,0 моль/дм3. В мерную колбу вместимостью 1000 см3 приливают 434 см3 концентрированной азотной кислоты и доливают до метки дистиллированной водой.
2) Рабочий раствор азотной кислоты 0,05 моль/дм3. 8,3 см3 исходного раствора (см. перечисление 1) переносят в мерную колбу вместимостью 1000 см3 и доводят до метки дистиллированной водой.
3) Исходный раствор нитрата ртути (II) 0,05 моль/дм3. 16,68 г нитрата ртути (II) помещают в мерную колбу вместимостью 1000 см3, приливают 40 - 50 см3 дистиллированной воды и 20 см3 исходного раствора (см. перечисление 1) для предотвращения гидролиза. После растворения навески доводят объем до метки дистиллированной водой. Хранят раствор в темном месте.
4) Рабочий раствор нитрата ртути 0,0025 моль/дм3. 50 см3 исходного раствора (см. перечисление 3) разбавляют в мерной колбе до 1000 см3 дистиллированной водой.
5) Исходный раствор хлорида натрия 0,1 моль/дм3. Готовят из стандарт-титра.
6) Рабочий раствор хлорида натрия 0,005 моль/дм3. 50 см3 исходного раствора (см. перечисление 5) разбавляют в мерной колбе до 1000 см3 дистиллированной водой.
7) Исходный раствор хлорида калия 0,1 моль/дм3. Готовят из стандарт-титра.
8) Рабочий раствор хлорида калия 0,005 моль/дм3. Готовят разбавлением исходного раствора (см. перечисление 7) аналогично приготовлению раствора по перечислению 6.
9) Раствор гидроксида натрия 0,05 моль/дм3. 2 г гидроксида натрия помещают в мерную колбу вместимостью 1000 см3 растворяют в небольшом количестве дистиллированной воды и затем доводят дистиллированной водой до метки.
10) Смешанный индикатор. 0,025 г кристаллического бромфенолового синего и 0,25 г кристаллического дифенилкарбазона помещают в мерную колбу вместимостью 50 см3 и доливают до метки этиловым спиртом. Раствор хранят в темном месте не более 1 мес.
7.3. Определение молярной концентрации рабочего раствора нитрата ртути (см. п. 7.2, перечисление 4). Для этого отбирают по 2 см3 растворов хлорида натрия и хлорида калия концентрацией 0,005 моль/дм3 (см. п. 7.2, перечисления 6 и 8), добавляют по 2 - 3 капли смешанного индикатора, приливают по каплям 0,05 моль/дм3 раствора азотной кислоты до перехода синей окраски раствора и желтую, прибавляют еще 0,5 см3 раствора азотной кислоты концентрацией 0,05 моль/дм3 и титруют рабочим раствором нитрата ртути (II). Определение повторяют три рази. Расчет ведут по формуле (1) п. 4.3.
8. Выполнение измерений
В коническую колбу вместимостью 100 см3 отбирают 50 см3 пробы атмосферных осадков и упаривают до 2 - 3 см3. Добавляют 2 - 3 капли смешанного индикатора. Если окраска титруемого раствора стала синей, то приливают по каплям раствор азотной кислоты концентрацией 0,05 моль/дм3 до перехода окраски в желтую, прибавляют еще 0,5 см3 этого раствора азотной кислоты и титруют раствором нитрата ртути концентрацией 0,0025 моль/дм3 до появления слабо-розовой окраски. Если после прибавления индикатора окраска титруемого раствора стала желтой, то добавляют по каплям 0,05 моль/дм3 раствора гидроксида натрия до появления синей окраски, потом по каплям приливают раствор азотной кислоты концентрацией 0,05 моль/дм3 до перехода синей окраски в желтую и еще 0,05 см3 этого раствора азотной кислоты и титруют рабочим раствором нитрата ртути (II) до появления слабо-розовой окраски пробы.
9. Вычисление результата измерений
См. п. 4.3. формулы (2) и (4).
Методика предназначена для определения массовой концентрации гидрокарбонат-иона в пробах атмосферных осадков в диапазоне 0 - 50 мг/дм3.
1. Нормы точности измерений
По результатам метрологического исследования, при определении массовой концентрации гидрокарбонат-ионов в пробах атмосферных осадков в диапазоне 0 - 50 мг/дм3 суммарная погрешность не превышает ±10 %.
2. Метод измерения
Концентрацию гидрокарбонат-ионов в пробах атмосферных осадков определяют методом обратного титрования. Метод основан на связывании избытка соляной кислоты раствором тетрабората натрия в присутствии смешанного индикатора (метилового красного и метиленового синего) при продувании через раствор воздуха, не содержащего CO2. Область перехода смешанного индикатора от 5,4 до 5,6 pH.
3. Средства измерений, вспомогательные устройства, реактивы и материалы
3.1. При выполнении измерений должны быть применены следующие средства измерений, вспомогательные устройства, реактивы и материалы.
3.2. Средства измерений
Весы аналитические ВЛР-200 по ГОСТ 24104-80Е
Меры массы по ГОСТ 7326-82Е
Колбы мерные по ГОСТ 1770-74
2-1000-2 - 2 шт.
2-500-2 - 1 шт.
2-100-2 - 2 шт.
Микробюретки 6-2-2 - 2 шт. по ГОСТ 20292-74
Пипетки по ГОСТ 20292-82
7-1-2 - 2 шт.
7-1-5 - 2 шт.
2-2-25 - 1 шт.
3.3. Вспомогательные устройства
Колбы конические Кн-1-50-14/23 ТС - 30 шт. по ГОСТ 25336-82
Воронки фильтрующие ВФ-1-32 ПОР 250 ТХС - 2 шт. по ГОСТ 25336-82
Трубки стеклянные диаметром 30 мм, длиной 500 мм - 2 шт.
Трубка резиновая медицинская по ГОСТ 54962-76
Капельница ХС 2-50 по ГОСТ 25336-82
Микрокомпрессор МК-Л2 по ТУ 205 РСФСР 07.119-78
Фильтры газовые ГФП с прямым отводом по ГОСТ 9775-69
3.4. Реактивы
Аскарит, ч. по ТУ 6-09-4128-75
Кислота соляная, раствор 0,1 моль/дм3,
стандарт-титр по ТУ 6-09-2540-72
Метиловый красный, ч. д. а. по ГОСТ 5853-51
Метиленовый синий, ч. д. а. по ТУ 6-09-29-76
Натрия гидрокарбонат, раствор
0,1 моль/дм3, стандарт-титр по ТУ 6-09-2540-72
Спирт этиловый, ректификат высшей очистки по ГОСТ 59-62-67
4. Требования безопасности
См. ч. I, п. 5.1.3.
5. Требования к квалификации оператора
См. ч. I, п. 5.1.4.
6. Условия выполнения измерений
См. ч. I, п. 5.1.14.
7. Подготовка к выполнению измерений
7.1. Перед выполнением измерений должны быть проведены следующие работы: приготовление растворов, определение молярной концентрации раствора тетрабората натрия.
1) Раствор тетрабората натрия 0,0025 моль/дм3. 0,474 г тетрабората натрия, предварительно выдержав его до постоянной массы при комнатной температуре в эксикаторе над смесью влажного хлорида натрия и сахара, растворяют в дистиллированной воде в мерной колбе вместимостью 1000 см3. Раствор доводят до метки дистиллированной водой.
2) Исходный раствор соляной кислоты 0,1 моль/дм3. Готовят из стандарт-титра.
3) Рабочий раствор соляной кислоты 0,005 моль/дм3 готовят разбавлением исходного раствора (см. перечисление 2, п. 7.2 методики 4.5.3).
4) Раствор бикарбоната натрия 0,1 моль/дм3. Готовят из стандарт-титра.
5) Рабочий раствор бикарбоната натрия 0,005 моль/дм3 готовят разбавлением раствора по перечислению 4 в 200 раз.
6) Раствор метилового красного. 0,2 г реактива растворяют в 60 см3 перегнанного этилового спирта и добавляют 40 см3 дистиллированной воды.
7) Раствор метиленового синего. 0,1 г реактива растворяют в мерной колбе вместимостью 100 см3 в перегнанном этиловом спирте.
8) Смешанный индикатор готовят смешиванием метилового красного и метиленового синего в соотношении 1:1.
7.3. Подготовка установки для удаления CO2 (см. черт. 4.1).
7.4. Определение молярной концентрации раствора тетрабората натрия.
В четыре конические колбы отбирают по 4 см3 раствора соляной кислоты (см. п. 7.2, перечисление 3), непосредственно перед измерением добавляют по 3 капли смешанного индикатора и продувают 5 мин воздухом без СО2. Титруют раствором тетрабората натрия до получения серо-зеленой окраски раствора. Расчеты ведут по формуле (1) п. 4.3.
8. Выполнение измерений
В коническую колбу вместимостью 50 см3 отбирают пипеткой 25 см3 пробы атмосферных осадков, добавляют 2 - 3 капли смешанного индикатора и приливают из микробюретки раствор соляной кислоты (см. п. 7.2, перечисление 3) до устойчивой красно-фиолетовой окраски. Пропускают 5 мин через раствор воздух без СО2 и титруют раствором тетрабората натрия (см. п. 7.2. перечисление 1), не прекращая продувать воздух, до получения серо-зеленой окраски.
9. Вычисление результата измерений
См. п. 4.3, формулы (3) и (4).
Методика предназначена для определения массовой концентрации фосфат-иона в пробах атмосферных осадков в диапазоне 0,005 - 0,300 мг/дм3.
1. Нормы точности измерений
По результатам метрологического исследования, при определении массовой концентрации фосфат-ионов в пробах атмосферных осадков в диапазоне 0,005 - 0,300 мг/дм3 суммарная погрешность не превышает ±15 %.
2. Метод измерения
Для определения фосфат-ионов в пробах атмосферных осадков используют фотометрический метод. Метод основан на образовании фосфорномолибденовой гетерополиядерной кислоты, в состав которой входит трехвалентный висмут, с последующим восстановлением ее аскорбиновой кислотой. Образующаяся гетерополиядерная кислота придает устойчивую голубую окраску исследуемому раствору.
3. Средства измерения, вспомогательные устройства, реактивы и материалы
3.1. При выполнении измерений должны быть применены следующие средства измерений, вспомогательные устройства, реактивы и материалы.
3.2. Средства измерений
Спектрофотометр СФ-46 по ГОСТ 15150-69
Колориметр фотоэлектрический
концентрационный КФК-2 по ТУ 3-3.1766-82
Весы аналитические ВЛА-200 по ГОСТ 24104-80Е
Меры массы по ГОСТ 7328-82Е
Колбы мерные по ГОСТ 1770-74Е
2-1000-2 - 1 шт.
2-200-2 - 6 шт.
2-50-2 - 2 шт.
Пипетки по ГОСТ 20292-74
2-2-1 - 1 шт.
2-2-2 - 1 шт.
2-2-10 - 2 шт.
2-2-20 - 1 шт.
Секундомер класс 3; цена деления
секундной шкалы 0,2 с по ГОСТ 5072-72
3.3. Вспомогательные устройства
Шкаф сушильный лабораторный СНОЛ по ТУ 16-531-299-78
Холодильник (бытовой)
Флаконы полиэтиленовые ФЦ-100 - 8 шт. по ТУ 6-19-45-75
Воронка полиэтиленовая по ТУ 25-05-1173-71
Капельницы полиэтиленовые по ТУ 64-1-1259-74
3.4. Реактивы
Висмута триоксид, х. ч. по ГОСТ 10216-75
Калия дигидроортофосфат, х. ч. по ГОСТ 4198-75
Кислота азотная, х. ч. по ГОСТ 4461-77
Кислота аскорбиновая, ч. по ТУ 6-09-10-710-72
Натрия гидроксид, ос. ч. по ОСТ 6-01-302-74
Натрия молибдат, ч. д. а. по ГОСТ 10931-74
4. Требования безопасности
См. ч. I, п. 5.1.3.
5. Требования к квалификации оператора
См. ч. I, п. 5.1.4.
6. Условия выполнения измерений
См. ч. I, п. 5.1.14.
7. Подготовка к выполнению измерений
7.1. Перед выполнением измерений необходимо провести следующие работы: приготовление растворов, подготовка к работе спектрофотометра (на примере СФ-46), установление градуировочной характеристики, вычисление коэффициента регрессии и свободного члена.
1) Исходный раствор дигидроортофосфата калия 125 мг/дм3. 0,5480 г дигидроортофосфата калия, дважды перекристаллизованного и высушенного при температуре 80 °С, растворяют в бесфосфатной дистиллированной воде в мерной колбе вместимостью 1000 см3 и доводят до метки.
2) Рабочий раствор дигидроортофосфата калия 5,0 мг/дм3. 8 см3 исходного раствора (см. перечисление 1) переносят в мерную колбу вместимостью 200 см3 и доливают до метки бесфосфатной дистиллированной водой.
3) Раствор азотной кислоты 10 моль/дм3. К 10 см3 концентрированной азотной кислоты (ρ = 1,4 мг/дм3) приливают 90 см3 дистиллированной бесфосфатной воды.
4) Раствор молибдата натрия 0,008 моль/дм3. Предварительно очищают молибдат натрия экстракцией от кремния, германия, фосфора и мышьяка. Для этого к 40 г молибдата натрия в полиэтиленовом сосуде приливают 100 см3 нагретой до кипения бесфосфатной дистиллированной воды, размешивают полиэтиленовой палочкой. После растворения фильтруют через фильтр, помещенный на полиэтиленовую воронку, при помешивании приливают к фильтрату азотную кислоту (ρ = 1,4 мг/дм3) до pH 1,5, через 15 мин охлаждают до (20 ± 10) °С, создают кислотность 3 моль/дм3 по азотной кислоте и проводят экстракцию гетерополикислот этилацетатом по 40 см3 до тех пор, пока очередной экстракт не станет бесцветным. Затем водный слой сливают в полиэтиленовый флакон, нейтрализуют до pH 6,5 раствором гидроксида натрия в бесфосфатной дистиллированной воде. Отбирают пипеткой 5 см3 этого раствора и приливают 95 см3 бесфосфатной дистиллированной воды. Раствор хранят в холодильнике. Срок хранения - 1 мес.
5) Смешанный реактив готовят непосредственно перед использованием. К 20 см3 азотной кислоты (см. перечисление 3) приливают 20 см3 раствора молибдата натрия (см. перечисление 4) (не наоборот!). Годен к употреблению 24 ч.
6) Раствор трехокиси висмута 0,25×10-4 моль/дм3. 0,01 г трехокиси висмута растворить в 10 см3 концентрированной азотной кислоты (ρ = 1,4 мг/дм3).
7) Аскорбиновая кислота, раствор 0,015 моль/дм3. 2,7 г аскорбиновой кислоты переносят в мерную колбу вместимостью 50 см3 и доводят дистиллированной водой до метки. Раствор хранят в холодильнике.
7.3. Подготовка к работе спектрофотометра (на примере СФ-46)
1) Включить прибор в сеть и нажать кнопку «Сеть», нажать клавишу «Пуск» на клавиатуре микропроцессора. Рукоятка шторки - в положении «Закр».
2) Установить длину волны 720 нм. Установить тумблер источника излучения в положение «Н», переключатель фотоэлементов - в положение «К». Установить ширину щели «1».
3) Нажать клавишу «Ш(0)» и установить рукояткой «Нуль» на фотометрическом табло числовое значение в диапазоне 0,05 ¸ 0,100. Показания с табло снимать, нажимая клавишу «Ш(0)» до тех пор, пока предыдущее показание не будет отличаться от последующего не более чем на 0,001. Последнее показание заносится в память МПС до следующего нажатия клавиши «Ш(0)».
7.4. Установление градуировочной характеристики
Градуировочную характеристику, выражающую зависимость оптической плотности от концентрации фосфат-ионов, устанавливают по растворам, приготовленным в пяти сериях. Каждую серию, состоящую из шести растворов, готовят из рабочего раствора дигидроортофосфата калия согласно табл. 4.8.
Таблица 4.8
Растворы для установления градуировочных характеристик при определении концентрации фосфат-иона
|
1 |
2 |
3 |
4 |
5 |
6 |
|
|
Объем рабочего раствора КН2РО4 (ρ = 5,0 мг/дм3), см3 |
0,4 |
1,0 |
2,0 |
8,0 |
16,0 |
24,0 |
|
Соответствует раствору с массовой концентрацией элементарного фосфора, мг/дм3 |
0,01 |
0,025 |
0,05 |
0,1 |
0,2 |
0,3 |
Для установления градуировочной характеристики необходимо отобрать по 10 см3 каждого раствора в полиэтиленовые флаконы, прилить по 1 см3 смешанного реактива и по 4 капли аскорбиновой кислоты, перемешать, затем добавить по 2 капли раствора трехокиси висмута, тщательно перемешать и через 5 мин измерить оптическую плотность исследуемого стандартного раствора в кюветах с расстоянием между рабочими гранями 1 см на КФК-2 при λ = 650 нм относительно нулевой пробы, которую готовят аналогично исследуемому стандартному раствору из бесфосфатной дистиллированной воды. Проводят измерения пяти нулевых растворов в каждом диапазоне.
По полученным данным строят градуировочные характеристики.
Чтобы построить градуировочную кривую на СФ-46, необходимо измерить оптическую плотность стандартных растворов при λ = 720 нм. Для этого необходимо кюветы поместить в кюветное отделение прибора и закрыть крышку. Затем установить на пути потока излучения при помощи рукоятки переключения кювет кювету с нулевой пробой, открыть шторку и нажать клавишу «К(1)». На фотометрическом табло должно появиться числовое значение в пределах 0,5 - 5,0. Показания с табло снимать нажимая клавишу «К(1)» до тех пор, пока предыдущее показание не будет отличаться от последующего не более чем на 0,001.
Нажать клавиши «П/Р» и «Л(5)». После 2 - 3-кратного высвечивания цифрового значения нулевой пробы установить на пути излучения кювету с исследуемым стандартным раствором и после 2 - 3-кратного высвечивания цифрового значения оптической плотности D исследуемого стандартного раствора, снять показание с фотометрического табло.
7.5. Вычисление коэффициентов регрессии и свободного члена
Допустим, что были получены данные, приведенные в табл. 4.9.
Таблица 4.9
Данные для определения коэффициента и свободного члена регрессии
|
Концентрация, ρ, мг/дм3 |
D |
104ρ2 |
104ρI |
104ρ2 |
|
|
1 |
0,010 |
0,013 |
1,0 |
1,3 |
1,69 |
|
2 |
0,025 |
0,023 |
6,25 |
5,75 |
5,29 |
|
3 |
0,050 |
0,042 |
25,0 |
21,0 |
17,64 |
|
4 |
0,100 |
0,084 |
0,01 |
84,0 |
70,56 |
|
5 |
0,200 |
0,172 |
0,04 |
344,0 |
295,84 |
|
6 |
0,300 |
0,251 |
0,09 |
762,0 |
645,16 |
|
Сумма |
0,685 |
0,588 |
0,14 |
1218,0 |
1036,18 |
Поскольку зависимость между оптической плотностью и концентрацией ρ фосфат-ионов в исследуемом диапазоне предполагается линейной, то управление линейной регрессии будет иметь вид:
D = bρi + c,
где b - коэффициент регрессии; с - свободный член регрессии.
Значения приведенных констант рассчитывают по формулам:


где ρ - концентрация фосфат-ионов, мг/дм3;
Di - оптическая плотность;
n - число измерений.
По приведенным формулам найдем b и c:
![]()
![]()
Окончательно уравнение градуировочной кривой:
D = 0,84ρi + 0,002.
Отобрать в полиэтиленовые флаконы по 10 см3 пробы атмосферных осадков. В каждый флакон прилить по 1 см3 смешанного реактива и по 4 капли раствора аскорбиновой кислоты, перемешать, затем добавить по 2 капли раствори триоксида висмута. Все тщательно перемешать и измерить через 5 мин оптическую плотность пробы относительно бесфосфатной дистиллированной воды на КФК-2 при λ = 650 нм. При использовании СФ-46 необходимо переключатель шторки установить в положение «Закр». В кюветное отделение поместить кюветы с нулевой и исследуемой пробами.
Нажать клавишу «Ш(0)». На световом табло должно высветиться числовое значение в диапазоне 0,05 - 0,10. Нажимать клавишу «Ш(0)» до тех пор, пока последующее показание не будет отличаться от предыдущего на 0,001.
Ввести значения констант c и b в память МПС:
а) нажать клавишу с, затем «Сбр» и набрать на клавиатуре нужное число, после чего нажать клавишу «Утв.»;
б) нажать клавишу «b», затем «Сбр» и набрать на клавиатуре нужное число, после чего нажать клавишу «Утв».
Установить на пути светового потока кювету с нулевой пробой и, нажимая клавишу «Ш(1)», установить значение сигнала в пределах 0,5 - 5,0. Убедиться, что последующее значение отличается от предыдущего не более чем на 0,001.
Ввести в световой поток кювету с исследуемой пробой и нажать клавишу «С(4)». Значение концентрации исследуемого раствора снять с фотометрического табло прибора.
9. Вычисление результата измерения
Массовую концентрацию фосфат-ионов в пробах атмосферных осадков находят из градуировочных характеристик по значению оптической плотности D
D = Dи - D0,
где Dи - оптическая плотность измеряемого раствора;
D0 - оптическая плотность нулевой пробы.
Методика предназначена для определения массовой концентрации ионов натрия и калия в пробах атмосферных осадков в диапазоне 0,05 - 5,0 мг/дм3.
1. Нормы точности измерения
По результатам метрологического исследования, при определении в осадках массовой концентрации ионов натрия и калия в диапазоне 0,05 - 5,0 мг/дм3 наибольшее значение суммарной погрешности не превышает ±8 %.
2. Метод измерения
Метод основан на измерении интенсивности излучения атомов натрия или калия, возбуждаемых в бутан-пропановом пламени (метод пламенной фотометрии).
3. Средства измерений, вспомогательные устройства, реактивы и материалы
3.1. При выполнении измерений применяют следующие средства измерений, вспомогательные устройства, реактивы и материалы.
3.2. Средства измерений
Фотометр пламенный ПАЖ-2 или ПФМ-У по ТУ 3-3.561-72
Весы аналитические ВЛА-200 по ГОСТ 24104-80Е
Меры массы по ГОСТ 7328-82Е
Колбы мерные по ГОСТ 1770-74Е
2-200-2 - 5 шт.
2-500-2 - 2 шт.
2-1000-4 - 2 шт.
Пипетки по ГОСТ 20292-74
4-2-1 - 2 шт.
4-2-5 - 2 шт.
5-2-10 - 2 шт.
3.3. Вспомогательные устройства
Баллон для бутана или пропана по ГОСТ 949-73
Редуктор бутан-пропановый ДПП-1-65 по ТУ 26-05-436-76
Стаканы по ГОСТ 10394-72
ВН-50 - 5 шт.
ВН-100 - 5 шт.
3.4. Материалы
Бумага фильтровальная марки ФН по ГОСТ 12026-76
Трубки с внутренним диаметром 5 - 7 мм по ГОСТ 5496-67
3.5. Реактивы
Бутан или пропан по ГОСТ 20448-75
Вода дистиллированная по ГОСТ 6709-72
Калий азотнокислый, х. ч. по ГОСТ 4217-77
Кислота соляная, х. ч. по ГОСТ 3118-77
Натрий хлористый, х. ч. по ГОСТ 4233-77
4. Требования безопасности
При выполнении измерений по определению массовой концентрации натрия и калия в пробах осадков необходимо соблюдать требования безопасности, изложенные в ч. I, п. 5.1.3.
5. Требования к квалификации оператора
См. ч. I, п. 5.1.4.
6. Условия выполнения измерений
См. ч. I, п. 5.1.14.
7. Подготовка к выполнению измерений
7.1. Перед выполнением измерений необходимо провести следующие работы: приготовление растворов, настройку пламенного фотометра, установление градуировочной характеристики.
1) Исходный раствор хлорида натрия и нитрата калия (ρ = 200 мг/дм3). 0,5083 г хлорида натрия и 0,517 г нитрата калия растворяют в мерной колбе вместимостью 1000 см3 дистиллированной водой.
2) Промежуточный раствор хлорида натрия и нитрата калия (ρ = 10 мг/дм3). Отбирают 25 см3 исходного раствора в мерную колбу вместимостью 500 см3 и доливают до метки дистиллированной водой.
3) Рабочие растворы хлорида натрия и нитрата калия готовят в мерных колбах вместимостью 200 см3 согласно табл. 4.10.
Таблица 4.10
Растворы для установления градуировочной характеристики при определении концентрации ионов натрия и калия
|
- |
- |
- |
2,0 |
5,0 |
|
|
Объем промежуточного раствора (ρ = 10 мг/дм3), см3 |
2,0 |
5,0 |
10,0 |
- |
- |
|
Массовая концентрация натрия и калия, мг/дм3 |
0,2 |
0,5 |
1,0 |
2,0 |
5,0 |
4) Раствор соляной кислоты 1,4 моль/дм3. 143 см3 концентрированной соляной кислоты разбавляют дистиллированной водой до 1000 см3.
7.3. Настройка пламенного фотометра ПФМ
1) Включают фотометр и прогревают электросхему прибора в течение 30 мин.
2) Устанавливают светофильтры с характеристиками 589 нм для натрия или 766 нм для калия.
3) Переключатель «Ослабление» ставят в положение «10».
4) Включают компрессор и регулятором «Воздух» устанавливают давление по манометру 0,4 атм. Убеждаются в том, что распылитель всасывает жидкость из стаканчика.
5) Открывают вентиль «Газ» и плавным поворотом устанавливают давление газа не более 20 мм вод. ст. Нажимают с интервалами 2 - 3 с кнопку «Поджиг» до тех пор, пока не произойдет воспламенение газа.
6) Рабочие давления воздуха и газа выбирают согласно инструкции к фотометру, после чего потенциометрами «Грубо» и «Точно» стрелку микроамперметра устанавливают на нуль.
7.4. Установление градуировочной характеристики
Градуировочную характеристику, выражающую зависимость силы тока через микроамперметр от массовой концентрации натрия или калия в растворе, устанавливают по рабочим растворам. Рабочие растворы последовательно распыляют в пламя и снимают отсчеты по микроамперметру. При этом отсчет по микроамперметру для рабочего раствора с концентрацией натрия или калия 5,0 мг/дм3 должен быть не менее 60 делений. Градуировочную характеристику строят отдельно для натрия и калия в координатах: концентрация компонента в рабочем растворе - отсчет по микроамперметру.
8. Выполнение измерений
1) Пробы осадков разливают в стаканы вместимостью 50 см3.
2) Промывают дистиллированной водой через распылитель камеру и горелку фотометра. Продолжая распылять дистиллированную воду, регулятором «Точно» стрелку микроамперметра устанавливают на нуль.
3) Стакан с пробой осадков подносят к открытому концу капиллярной трубки распылителя и через 5 - 10 с снимают показания микроамперметра.
4) Через распылитель снова промывают дистиллированной водой камеру и горелку фотометра, пока стрелка микроамперметра не установится на нуле.
5) Распыляют в пламя горелки следующую пробу осадков и делают отсчет по микроамперметру.
Таким образом, поочередно распыляя в пламя пробу осадков из стакана и дистиллированную воду, снимают показания микроамперметра для каждой пробы.
9. Вычисление результата измерения
С градуировочной характеристики, построенной отдельно для натрия и калия, определяют массовую концентрацию натрия или калия в пробе осадков.
Методика предназначена для определения массовой концентрации ионов кальция, магния и цинка в пробах атмосферных осадков в диапазоне 0,05 - 5,0 мг/дм3.
1. Нормы точности измерений
По результатам метрологического исследования, при определении массовой концентрации ионов кальция, магния и цинка в диапазоне 0,05 - 5,0 мг/дм3 суммарная погрешность не превышает ±8 %.
2. Метод измерения
Метод основан на измерении селективного поглощения в пламени атомами кальция, магния или цинка излучения резонансных линий атомов этих элементов от внешнего источника света (метод атомно-абсорбционной спектрофотометрии).
3. Средства измерений, вспомогательные устройства, реактивы и материалы
3.1. При выполнении измерений применяют следующие средства измерений, вспомогательные устройства, реактивы и материалы.
3.2. Средства измерений
Спектрофотометр «Сатурн» по ГОСТ 15150-69
Весы аналитические ВЛА-200 по ГОСТ 24104-80Е
Меры массы по ГОСТ 7328-82Е
Колбы мерные по ГОСТ 1770-74Е
2-100-2 - 5 шт.
2-500-2 - 2 шт.
2-1000-2 - 2 шт.
Пипетки по ГОСТ 20292-74
4-2-1 - 2 шт.
4-2-5 - 2 шт.
5-2-10 - 2 шт.
3.3. Вспомогательные устройства
Баллон для ацетилена по ГОСТ 949-73
Редуктор ацетиленовый типа ДАП-1-65 по ГОСТ 5.1381-72
Стаканы по ГОСТ 10394-72
ВН-50 - 5 шт.
ВН-100 - 5 шт.
3.4. Реактивы
Ацетилен серии Д по ГОСТ 5457-60
Вода дистиллированная по ГОСТ 6709-72
Кислота азотная, х. ч. по ГОСТ 4461-68
Кислота соляная, х. ч. по ГОСТ 3118-77
Стандартные образцы
№ За по ГСО 3664-87 ... 3667-87
№ 14 по ГСО 3539-86 ... 3540-86
ГСОРМ-4 по ГСО 2296-82
4. Требования безопасности
См. ч. I, п. 5.1.3.
5. Требования к квалификации оператора
См. ч. I, п. 5.1.4.
6. Условия выполнения измерений
См. ч. I, п. 5.1.14.
7. Подготовка к выполнению измерений
7.1. Перед выполнением измерений должны быть проведены следующие работы: приготовление растворов, настройка спектрофотометра, установление градуировочной характеристики.
Рабочие растворы с массовой концентрацией 0,1, 0,2, 0,5, 1,0, 2,0 и 5,0 мг/дм3 кальция, магния и цинка готовят в соответствии с инструкцией по применению стандартных образцов.
7.3. Настройка спектрофотометра «Сатурн»
Режим работы спектрофотометра при определении кальция, магния или цинка указан в табл. 4.11.
1) Устанавливают в держатель источник света (лампу ЛСП-1 или ВСБ-2), включают его и прогревают лампу в течение 30 мин.
2) Регуляторами устанавливают полупрозрачное зеркало, ширину щели, светофильтр (если он требуется) и по барабану нужную длину волны.
3) Проверяют наличие светового пятна. Изображение пятна должно быть расположено в центре щели на расстоянии 1 см3 от поверхности горелки.
4) Ручки управления «Режим измерительной схемы» переводят в положение «Разность» и «Контроль».
5) Тумблером «Сигнал» подают питание на ФЭУ (не более 3-х делений).
6) Вращая ручку регулятора длин волн, добиваются максимального отклонения стрелки микроамперметра. При зашкаливании стрелки тумблером «Сигнал» уменьшают напряжение на ФЭУ.
Таблица 4.11
Режим работы спектрофотометра
|
Ca |
Mg |
Zn |
|
|
Длина волны, нм |
422,7 |
285,2 |
213,9 |
|
Ширина щели прибора, мм |
0,5 |
0,2 |
0,5 |
|
Тип источника света |
ЛСП-1 |
ЛСП-1 |
ВСБ-2 |
|
Сила тока через источник света, мА |
15 |
25 |
80 |
7) Юстировку лампы и подбор напряжения на ФЭУ производят по максимальному отклонению стрелки микроамперметра. Только после этого ручку управления переключают в положения «Контроль» на положение «Измерение».
8) Проверяют электрический и оптический нули. Регуляторами «Сдвиг шкалы» и «Баланс потоков» стрелку микроамперметра выводят на нуль.
9) Производят «разгонку» шкалы микроамперметра, для чего световой поток перекрывают полностью и регулятором «Сигнал» подводят стрелку к 100 (100 %-ное поглощение).
10) Включают компрессор и ручкой «Окислитель» устанавливают давление воздуха около 2 атм. Тумблер подачи газа переводят в положение «Горючий газ» и регулятором «Горючий газ» по ротаметру устанавливают давление 0,7 - 0,8 атм.
11) Зажигают пламя и подбором давлений воздуха и горючего газа добиваются их оптимального соотношения.
12) К открытому концу трубки распылительной камеры подносят стакан с дистиллированной водой и производят еще раз операции по перечислениям 8, 9.
7.4. Установление градуировочной характеристики
Градуировочную характеристику, выражающую зависимость оптической плотности пламени от массовой концентрации кальция, магния или цинка в растворе, устанавливают по рабочим растворам. Распыляют в пламя горелки последовательно эталонные растворы и снимают отсчеты по микроамперметру. Градуировочную характеристику строят отдельно для каждого элемента в координатах: концентрация компонента в эталонном растворе - отсчет по микроамперметру (или самописцу).
8. Выполнение измерений
9. Вычисление результата измерений
По градуировочной характеристике, построенной отдельно для каждого компонента, определяют массовую концентрацию в пробе осадков кальция, магния или цинка.
Методика предназначена для определения в пробах атмосферных осадков массовой концентрации свинца в диапазоне 5,0 - 100 мкг/дм3, марганца, меди и железа в диапазоне 5 - 50 мкг/дм3, кобальта и никеля в диапазоне 1,0 - 50 мкг/дм3 и кадмия в диапазоне 0,5 - 12,5 мкг/дм3 с предварительным концентрированием экстракционным и флотационно-соосадительными методами.
1. Нормы точности измерений
По результатам метрологического исследования, при определении в осадках массовой концентрации микроэлементов в диапазоне 0,5 - 100 мкг/дм3 наибольшая суммарная погрешность не превышает ±10 %.
2. Метод измерения
Метод основан на измерении селективного поглощения в пламени атомами свинца, кадмия, марганца, никеля, меди, кобальта или железа излучения резонансных линий атомов этих элементов от внешнего источника света (метод атомно-абсорбционной спектрофотометрии).
3. Средства измерений, вспомогательные устройства, реактивы и материалы
3.1. При выполнении измерений применяют следующие средства измерений, вспомогательные устройства, реактивы и материалы.
3.2. Средства измерений
Спектрофотометр «Сатурн» по ГОСТ 15150-69
Весы аналитические ВЛА-200 по ГОСТ 24104-80Е
Меры массы по ГОСТ 7328-82Е
pH-метр-милливольтметр pH-673 по ТУ 25-05-1181-76
Секундомер по ГОСТ 5072-79Е
Колбы мерные по ГОСТ 1770-74Е
2-100-2 - 2 - 5 шт.
2-500-2 - 5 шт.
2-1000-2 - 2 шт.
Пипетки по ГОСТ 20292-74
4-2-1 - 2 шт.
4-2-5 - 2 шт.
5-2-10 - 2 шт.
Цилиндры измерительные по ГОСТ 1770-74
1-50 - 1 шт.
1-500 - 1 шт.
3.3 Вспомогательные устройства
Баллон для ацетилена по ГОСТ 949-73
Редуктор ацетиленовый ДАП-1-65 по ГОСТ 5.1381-72
Микрокомпрессор МК-П2 по ТУ 07.119-78
Мешалка магнитная ММ-2 по МРТУ 42-1503-62
Шкаф сушильный общелабораторный по ГОСТ 13474-70
Плитка типа ПЭК-800/3 по ТУ 92-208-74
Флотационная ячейка (черт. 4.4)
Стаканы по ГОСТ 10394-72
Н-1-500 - 2 шт.
ВН-50 - 10 шт.
ВН-100 - 10 шт.
Пробирки типа XV-1 П-2-10 - 50 шт. по ГОСТ 10515-75
Воронки делительные ХС по ГОСТ 25336-82
ВФ-80 - 5 шт.
ВД-1-500 - 5 шт.
Флотационная ячейка (а) и диспергатор (б) для концентрирования флотационно-соосадительным методом
1 - стеклянный цилиндр; 2 - кран для слива продуктов концентрирования; 3 - диспергатор газа-носителя; 4 - резиновая пробка; 5 - патрон диспергатора; 6 - прижимное кольцо; 7 - прокладка из пористого материала (мипласта).
3.4. Реактивы
Ацетилен Д по ГОСТ 5457-60
Вода дистиллированная по ГОСТ 6709-72
Аммиак водный, х. ч. по ГОСТ 3760-64
Квасцы алюмоаммонийные, ч. д. а. по ГОСТ 4238-77
Кислота азотная, х. ч.. по ГОСТ 4461-68
Кислота соляная, х. ч. по ГОСТ 3118-77
Натрия диэтилдитиокарбаминат, х. ч. по ГОСТ 8864-71
Натрия додецилбензолсульфанат, х. ч. по ТУ 6-09-64-75
Стандартные образцы
№ 1 ГСО 1837-80 ... 1841-80
№ 2 ГСО 1842-80 ... 1846-80
№ 4 ГСО 3087-84 ... 3091-84
№ 6 ГСО 3097-84 ... 3101-84
№ 7 ГСО 3102-84 ... 3106-84
ГСОРМ-1 ГСО 2293-82
Хлороформ, х. ч. по ТУ 6-09-06-800-76
Этанол по ГОСТ 59-62-67
4. Требования безопасности
См. ч. I, п. 5.1.3.
5. Требования к квалификации оператора
См. ч. I, п. 5.1.4.
6. Условия выполнения измерений
См. ч. I, п. 5.1.14.
7. Подготовка к выполнению измерений
7.1. Перед выполнением измерений должны быть проведены следующие работы: приготовление растворов, настройка спектрофотометра, концентрирование микроэлементов, установление градуировочной характеристики.
1) Рабочие растворы с массовой концентрацией микроэлементов 0,1, 0,2, 0,5, 1,0, 2,0 и 5,0 мг/дм3 готовят в соответствии с инструкцией по применению стандартных образцов.
2) Соляная кислота, раствор 0,5 моль/дм3. 41,5 см3 концентрированной соляной кислоты разбавляют до 1000 см3 дистиллированной водой.
3) Алюмоаммонийные квасцы, раствор 0,1 моль/дм3. 9,0 г алюмоаммонийных квасцов растворяют в 100 см3 дистиллированной воды.
4) Аммиак, раствор 5 моль/дм3. 370 см3 насыщенного раствора аммиака разбавляют до 1000 см3 дистиллированной водой.
5) Диэтилдитиокарбаминат натрия, раствор 0,1 моль/дм3. 2 г реактива растворяют в 100 см3 дистиллированной воды.
6) Додецилбензолсульфанат натрия, раствор 0,003 моль/дм3. 100 мг реактива растворяют при слабом нагревании в 100 см3 этанола.
7.3. Настройка спектрофотометра «Сатурн»
Спектрофотометр настраивают по инструкции к прибору и согласно рекомендациям, изложенным и методике 4.5.11 (см. п. 7.3, перечисления 1 - 12). Режим работы спектрофотометра при определении свинца, кадмия, марганца, никеля, меди, кобальта и железа приведены в табл. 4.12.
Таблица 4.12
Режим работы спектрофотометра «Сатурн»
|
Pb |
Cd |
Mn |
Ni |
Cu |
Co |
Fe |
|
|
Длина волны, нм |
283,3 |
228,8 |
279,5 |
232,0 |
324,8 |
240,7 |
248,3 |
|
Ширина щели, мм |
0,2 |
0,1 |
0,2 |
0,1 |
0,1 |
0,1 |
0,1 |
|
Тип источника света |
ЛСП-1 |
ЛСП-1 |
ЛСП-1 |
ЛСП-1 |
ЛСП-2 |
ЛСП-2 |
ЛСП-2 |
|
Сила тока через источник света, мА |
30 |
15 |
30 |
30 |
20 |
30 |
30 |
|
Напряжение на ФЭУ-39А, В |
1000 |
850 |
900 |
900 |
900 |
900 |
900 |
|
Расход ацетилена, дм3/ч |
130 |
135 |
125 |
130 |
135 |
130 |
130 |
|
Расход воздуха, дм3/ч |
680 |
700 |
680 |
700 |
700 |
680 |
800 |
7.4. Концентрирование микроэлементов
1) Концентрирование микроэлементов проводят из пробы осадков объемом 100 - 500 см3.
2) При экстракционном концентрировании пробу осадков объемом 100 см3 помещают в делительную воронку и приливают к ней 0,1 см3 раствора диэтилдитиокарбамината натрия (ДДТК-Na), 1,0 см3 раствора соляной кислоты и 5 см3 хлороформа. Содержимое энергично встряхивают в течение 3 - 4 мин. После расслаивания хлороформный слой сливают в стаканчик. В делительную воронку снова приливают 2 см3 раствора ДДТК-Na и 5 см3 хлороформа. Экстракцию повторяют 2 - 3 раза. Экстракты объединяют, и хлороформ отгоняют до влажных остатков. К влажному остатку добавляют 0,1 см3 концентрированной азотной кислоты и 1 - 2 см3 смеси воды и этанола (1:1). В этом экстракте измеряют содержание микроэлементов.
3) Флотационное концентрирование проводят в флотационной ячейке с диспергатором, изготавливаемой по черт. 4.4, для чего в стакан вместимостью 500 см3 отливают 400 см3 пробы осадков, добавляют 4 см3 раствора алюмоаммонийных квасцов и, постепенно приливая и перемешивая, раствором аммиака 5 моль/дм3 устанавливают по pH-метру значение pH в интервале 8,0 - 8,5. После этого добавляют 4 см3 раствора додецилбензолсульфаната натрия концентрацией 0,003 моль/дм3 в этаноле и содержимое стакана перемешивают в течение 15 мин. Затем смесь переносят во флотационную ячейку и пропускают через нее поток воздуха с расходом 100 - 150 дм3/ч в течение 10 - 15 с. Выключают компрессор, дают смеси расслоиться. Нижний слой (маточный раствор) выбрасывают. Верхний слой, представляющий собой концентрат, растворяют в 2 см3 соляной кислоты концентрацией 0,5 моль/дм3. Ячейку промывают 2 - 3 раза. Концентрат и смывные воды переносят в пробирку с делениями и записывают их суммарный объем. В концентрате измеряют содержание микроэлементов.
7.5. Установление градуировочной характеристики
8. Выполнение измерений
Анализу подвергают концентраты или экстракты проб атмосферных осадков. Измерения выполняют в соответствии с рекомендациями, изложенными в методике 4.5.9, п. 8.
9. Вычисление результата измерения
По градуировочной характеристике, построенной отдельно для каждого компонента, определяют массовую концентрацию в экстракте или концентрате (ρк) свинца, кадмия, никеля, марганца, меди, кобальта или железа.
Расчет концентрации микроэлемента в исходной пробе атмосферных осадков производят по формуле:
![]()
где ρ - массовая концентрация определяемого элемента в пробе, мг/дм3;
ρк - содержание определяемого элемента в экстракте или концентрате, мг/дм3;
υк - объем экстракта или концентрата, см3;
υ - объем исходной пробы осадков, см3;
Ф - фактор концентрирования, который находят по стандартным образцам или по результатам межлабораторных сравнений при заданных значениях ρ, ρк, υ и υк.
Сеть наблюдений за загрязнением природной среды на основе снегомерной съемки (СНЗС) функционирует на базе действующей в Госкомгидромете СССР сети снегомерной съемки [1, 2]. Основной задачей сети наблюдений за загрязнением снежного покрова является отбор проб снега для последующего определения концентраций загрязняющих веществ, получения количественных оценок объема выпадения и переноса веществ на территории СССР (включая трансграничный перенос).
Работа по определению загрязнения снежного покрова на сети включает два этапа: отбор проб и их первичную обработку на гидрометеорологических станциях и анализ проб в химических лабораториях.
Отбор проб производится один раз в год в период максимального накопления влагозапаса в снеге попутно с проведением измерений плотности снега и влагозапаса на снегомерном маршруте.
По данным многолетних наблюдений, отбор проб снега производится: в Эстонском, Латвийском, Литовском, Белорусском, Украинском УГМ во II, III декадах февраля; в Уральском, Башкирском, ЦЧО, Приволжском УГМ - в III декаде февраля - Ш декаде марта; в Верхневолжском, Северо-Западном УГМ и МосЦГНС - во II - III декадах марта; в Мурманском и Северном УГМ - в III декаде марта - I декаде апреля; в Омском (севернее 62° с. ш.), Красноярском (северная часть), Якутском, Колымском, Дальневосточном (северная часть) УГМ - во II, III декадах апреля; в Амдерминском, Тиксинском, Диксонском и Певекском УГМ - в III декаде апреля - II декаде мая; в Омском (южная часть), Красноярском (южная часть), Иркутском, Забайкальском, Западно-Сибирском, Дальневосточном (южная часть), Приморском, Сахалинском УГМ - во II, III декадах марта; в Казахском УГМ, в Северо-Казахстанской, Кустанайской, Кокчетавской, Павлодарской областях - во II, III декадах февраля; в Актюбинском, Целиноградской, Семипалатинской областях - в I, II декадах февраля.
Работы на СНЗС выполняются по программам двух видов. Программа первого вида выполняется почти 50 % станций. В лабораториях УГМ и централизованных лабораториях измеряют: кислотность (pH), электропроводность, концентрацию водорастворимых соединений - сульфатов, нитратов, хлоридов, аммония, калия, натрия, магния, кальция, тяжелых металлов, ПАУ, а для отдельных районов - ряда специфических соединений, перечень которых устанавливается специальным заданием Госкомгидромета СССР по согласованию с УГМ. Программа второго вида (изучение водорастворимых загрязняющих веществ) выполняется на всех станциях СНЗС. В лабораториях УГМ определяют: кислотность (pH), электропроводность, концентрацию сульфатов, нитратов, аммония, хлоридов, калия, натрия, магния, кальция.
Для отбора проб снега используются следующие вспомогательные устройства и материалы: стандартный снегомер-плотномер, снегомерная рейка; полиэтиленовый пакет вместимостью 10 - 12 дм3 или полиэтиленовое ведро с крышкой для пробы снега; полиэтиленовая пленка - подкладка под крышку ведра размером 50´50 см3.
Проба снега с каждого снегомерного маршрута (полевого или лесного) объединяет отдельные керны снега, взятые для определения плотности снега в начале, середине и конце маршрута. Необходимо выбирать точки отбора так, чтобы пробы приблизительно характеризовали среднюю высоту снежного покрова на данном маршруте. Количество кернов снега (n) в пробе определяется на месте исходя из условия получения общего объема воды в одной пробе не менее 2,5 дм3 и может быть вычислено по формуле:
![]()
где n - количество кернов снега;
υ - требуемый объем воды в пробе, υ = 2500 см3 (г);
ρ - плотность снега (ρ ≈ 0,25 г/см3);
S - площадь сечения трубы снегомера-плотномера (S = 50 см2);
h - средняя высота снежного покрова на маршруте, см.
При высоте снежного покрова более 60 см количество кернов снега в пробе не должно быть меньше 3. Каждый керн снега вырезается на полную глубину снежного покрова. Следует избегать захвата снегомером частиц грунта. Перед ссыпанием снега в полиэтиленовое ведро или пакет необходимо тщательно очистить нижний конец снегомера и снежного керна от грунта и растительных включений. Пробы снега доставляются на метеостанцию в плотно закрытых полиэтиленовых ведрах или пакетах. Разрешается уплотнение снега в ведре или пакете руками через полиэтиленовую пленку.
При отборе пробы на снегомерном маршруте фиксируются следующие данные: место отбора пробы (название метеостанции); дата отбора пробы; дата установления устойчивого снежного покрова; тип маршрута (полевой, лесной); средний влагозапас в снеге (в мм) на маршруте в день отбора пробы; суммарное количество атмосферных осадков (по осадкомеру), выпавших со дня установления устойчивого снежного покрова; средняя высота снега, измеренная в местах взятия кернов снега; количество кернов снега в пробе; средняя плотность снега на маршруте в день отбора пробы; наличие или отсутствие проталин или оголенных участков вблизи места отбора пробы (табл. 5.1).
Для обработки проб на метеостанциях при выполнении программы первого вида необходимы следующие вспомогательные устройства и материалы:
Фильтры «синяя лента» диаметром 15 см, предварительно взвешенные в лаборатории УГМ, снабженные этикеткой с указанием массы и упакованные в полиэтиленовый пакет.
Стеклянная воронка диаметром 10 - 15 см.
Колба или бутылка для отфильтрованной воды (фильтрата) вместимостью 800 - 1000 см3.
Лабораторные стаканы вместимостью 800 - 1000 см3 для растапливания снега - 1 - 2 шт.
Бутылки (стеклянные или полиэтиленовые) для заполнения отфильтрованной водой пробы снега общим объемом 4 дм3.
Таблица 5.1
Заполнение всех пунктов
ОБЯЗАТЕЛЬНО
Сопроводительный лист
(заполняется на метеостанции)
Место отбора пробы (метеостанция).
Дата отбора пробы.
Дата установления устойчивого снежного покрова.
Тип маршрута (полевой, лесной, болотный и т.д.).
Средний влагозапас в снеге на маршруте, к моменту отбора пробы, мм.
Суммарное количество атмосферных осадков (по осадкомеру), выпавших со дня установления устойчивого снежного покрова до момента отбора пробы снега, мм.
Средняя высота снега, измеренная при отборе кернов снега, мм.
Количество кернов снега в пробе, шт.
Средняя плотность снега на маршруте, при отборе пробы снега.
Общий объем воды в пробе.
Наличие или отсутствие проталин или оголенных участков вблизи мест отбора пробы.
Даты, когда дневные температуры атмосферного воздуха были положительными (превышали 0°).
Масса чистого фильтра, использованного при фильтровании (указана на этикетке).
Столовая ложка из нержавеющей стали или полиэтилена для перекладывания снега в стаканы и придерживания нерастаявшего кома снега в стакане во время слива растопленной части пробы из стакана на фильтр.
Кружок из полиэтиленовой пленки диаметром 20 см для закрывания воронки с фильтром во время фильтрации, при сушке или остановке в работе.
Пинцет для извлечения растительных включений в снеге.
Мензурка вместимостью 0,5 - 1 дм3.
Доставленную со снегомерного маршрута на метеостанцию пробу до начала обработки необходимо хранить на холоде, не допуская ее таяния. Предварительная обработка проб ставит своей целью разделить жидкую и твердую фазы пробы для раздельного определения в этих фазах химического состава и концентраций загрязняющих веществ.
К предварительной обработке проб предъявляются следующие основные требования: растапливанию и фильтрованию подлежит весь объем пробы; выполнение операции фильтрования следует проводить непосредственно в момент растапливания снега, так как при хранении талой воды в течение 4 - 5 ч на стенках сосуда, у поверхности, образуется несмываемая жирная сажистая пленка углеводородных соединений, захватывающая часть тонкодисперсной фракции твердых частиц, что приводит к непригодности пробы для анализа на углеводородные соединения и искажает истинное содержание в пробе других ингредиентов; осадок твердых частиц должен быть полностью перенесен на фильтр. Фильтр должен плотно прилегать к стенкам воронки, при фильтровании к нему прикасаться нельзя. Во избежание повреждения фильтра следует предохранять его от попадания комков нерастаявшего снега.
Для растапливания снег переносят в стаканы, при этом из него пинцетом выбирают и отбрасывают веточки, листья, хвою, траву и другие растительные остатки. Выбирать их с поверхности фильтра нельзя. Крупные одиночные растительные включения следует извлечь из талой воды в стакане, так как они не являются составной частью антропогенного загрязнения. Извлечение из пробы растительных включений необходимо потому, что включения, попадая на фильтр, увеличивают его массу, и следовательно, снижают значение определяемых концентраций загрязняющих веществ. Растапливание снега производится при комнатной температуре. Для ускорения работы первые порции снега в стаканах можно слегка подогреть на водяной бане при температуре не выше 40 °С. После образования первой порции воды форсировать растапливание снега не следует, поскольку процесс фильтрации, обычно идет медленнее, чем тает снег при комнатной температуре.
По мере накопления талой воды в стаканах ее сливают на фильтр. При этом необходимо следить, чтобы воронка была заполнена водой не более чем на 3/4 высоты. Заполнение ее до краев или перелив недопустимы. При сливе воды следует придерживать снежный ком в стакане ложкой или стеклянной палочкой. Отфильтрованную талую воду (фильтрат), замерив ее объем с точностью до 10 см3, переливают в бутылки; при этом фиксируют общий объем талой воды, полученной из пробы снега. По окончании фильтрования талой воды, когда измерен ее общий объем, тщательно переносят из стаканов осадок твердых частиц на фильтр. Затем стаканы ополаскивают небольшой порцией фильтрата (из бутылок) объемом 10 - 15 см3, слегка взбалтывают у дна стакана, не размазывая осадок по стенкам, и резким движением переводят раствор на фильтр. Эту операцию повторяют несколько раз. Полноту смыва осадка контролируют просмотром стакана на свет. Для пересылки в химическую лабораторию отливают в стеклянные или полиэтиленовые бутылки 2 дм3 фильтрата.
По окончании фильтрования фильтр с осадком оставляют в воронке для просушки в течение суток. При этом воронку прикрывают куском полиэтиленовой пленки. Просушенный фильтр осторожно извлекают пинцетом из воронки, складывают и вкладывают в пакет с этикеткой, на которой указана предварительная масса фильтра. На той же этикетке пишут название метеостанции. Край пакета заворачивают и заклеивают куском липкой или изоляционной ленты или лейкопластыря. Не сворачивая, пакет упаковывают в бумагу или помещают в конверт.
Бутылки, содержащие фильтрат, закупоривают, пробки заливают стеарином или сургучом, обвязывают полиэтиленовой пленкой и упаковывают в ящик, тщательно обвернув ветошью или соломой. К пакету с фильтром и к ящику с бутылками прилагается один экземпляр сопроводительного листа (см. табл. 5.1). Упакованные фильтр с осадком и фильтрат в бутылках пересылаются в химико-аналитическую лабораторию УГМ.
При выполнении программы второго вида необходимы следующие средства измерения, вспомогательные устройства и материалы:
Мерный сосуд вместимостью 0,5 - 1 дм3 с делениями 10 см3
Стеклянная или пластмассовая воронка диаметром 5 - 10 см
Бутылки стеклянные или полиэтиленовые вместимостью 0,5 - 1 дм3 общим объемом 2,5 дм3 для переливания талой воды
Полиэтиленовое ведро с крышкой вместимостью 8 - 10 дм3 для растапливания пробы.
Доставленную со снегомерного маршрута пробу растапливают при комнатной температуре в закрытом крышкой или пленкой полиэтиленовом ведре и отстаивают в течение 1 сут (предварительно ведро тщательно промывают дистиллированной водой). 2 дм3 отстоявшейся воды осторожно, не взмучивая осадок, переливают в бутылку, замерив ее объем. Бутылки герметично закрывают пробкой, наклеивают этикетки с надписью «Неотфильтрована». Затем измеряют всю оставшуюся в ведре воду и фиксируют общий объем талой воды из пробы снега. Бутылки упаковывают (см. п. 5.1.3) и отсылают в химическую лабораторию УГМ.
Таблица 5.2
Результаты анализа проб снежного покрова при внутреннем и внешнем контроле
Станция ______________________ Год ___________________________
|
Метеостанция |
Общий объем воды в пробе снега, см3 |
Масса чистого фильтра, мг |
Масса фильтра с осадком, мг |
Концентрация ионов, мг/дм3 |
pH |
Электропроводность |
|||||||||
|
SO42- |
NO3- |
NH4+ |
Cl- |
HCO3- |
Mg+ |
Na+ |
Ca2+ |
K+ |
|||||||
|
|
|
|
|
|
|
|
|
|
|
|
|
|
|
|
|
Таблица 5.1, содержащая сведения, полученные в процессе проведения отбора и обработки проб, и ряд данных, характеризующих период формирования снежного покрова, заполняется после выполнения работы на метеостанции. Для составления этой таблицы на каждой метеостанции (посту) необходимо вести систематические записи в отдельной тетради, дублирующие записи основного журнала метеонаблюдений. Эта таблица является сопроводительным документом к пробе.
В химических лабораториях УГМ выполняются следующие виды работ: сушка, взвешивание и упаковка фильтров «синяя лента», которые отправляются на метеостанции; сушка, взвешивание фильтров с осадком, поступивших с метеостанции после предварительной обработки проб; измерение в жидкой фазе проб снега, значений pH и электропроводности; аналитическое определение в жидкой фазе проб концентрации ионов водорастворимых соединений: гидрокарбоната, сульфата, нитрата, хлорида, аммония, калия, натрия, магния, кальция, а также специфических для данной территории водорастворимых загрязняющих веществ; внутренний контроль проводимых анализов; составление табл. 5.2 с результатами анализов; пересылка фильтров в централизованные лаборатории для анализа на содержание металлов и ПАУ.
Химическая лаборатория УГМ ежегодно подготавливает партию фильтров «синяя лента» диаметром 15 см для рассылки на метеостанции и посты, которые выполняют отбор и обработку проб снега. Подготовка фильтров включает их высушивание, взвешивание и упаковку. Для высушивания фильтры, помещенные на стекло или в фарфоровую чашку, выдерживают 2 - 4 ч в сушильном шкафу при температуре 50 - 70 °С и охлаждают в том же шкафу до температуры 30 °С, повторяют нагревание и охлаждение фильтров дважды и взвешивают на аналитических весах с точностью до 0,0001 г. Во время выполнения операций сушки, взвешивания и упаковки фильтров соблюдают условия, исключающие загрязнение фильтров. Интервал между этими операциями не должен превышать 30 мин. Массу фильтра указывают на этикетке.
Взвешенные фильтры складывают пополам и упаковывают в пакеты размером 6´6 см. Пакеты изготавливают с помощью машинки «Молния» из предварительно промытой дистиллированной водой и протертой фильтровальной бумагой полиэтиленовой пленки. В пакет вкладывают этикетку с указанием массы фильтра. Пакет с фильтром и этикеткой запаивают. Для каждой станции или поста подготавливают два фильтра, упакованные в отдельные пакеты (один из этих фильтров запасной).
По три пакета из каждой партии фильтров оставляют в лаборатории и после получения проб с постов или метеостанций отправляют их с пометкой «фон» вместе с этими пробами (см. табл. 5.3) в централизованную лабораторию, где выполняется анализ проб для определения концентраций металлов и ПАУ.
Таблица 5.3
Сопроводительный лист
(сведения, направляемые с пробами из лаборатории УГМ в
централизованную лабораторию)
Номер пробы
Метеостанция, УГМ, шифр метеостанции
Полный объем талой воды в отобранной пробе снега, см3
Площадь отбора пробы, см2
Период залегания снежного покрова, сут
Масса осадка (за вычетом фона), который содержался на подготовленном к анализу фильтре, мг
Поступившие в лабораторию фильтры с осадком извлекают из полиэтиленового пакета и помещают в фарфоровую или стеклянную чашку, в которой его не развертывая досушивают в сушильном шкафу в течение 3 - 4 ч при температуре не выше 50 - 70 °С. Если часть осадков просыпалась в пакет, то ее следует перенести на поверхность фильтра и после сушки взвесить до постоянной массы.
Фильтры с осадком взвешивают на аналитических весах с точностью до 0,0001 г. Массу фильтра с осадком и чистого фильтра записывают в таблицу с результатами анализа. Все фильтры с осадком упаковывают в те же пакеты, из которых они извлекались, при условии, что пакеты не повреждены. В пакет вкладывают этикетку с указанием названия метеостанции и разности между массами чистого фильтра и фильтра с осадком. Разрезанный пакет перегибают и заклеивают гибкой лентой. Пакет с фильтром направляют в УГМ.
Основные требования к операциям по сушке, взвешиванию и упаковке фильтров с осадком те же, что при подготовке чистых фильтров. Дополнительным требованием к обработке фильтров с осадком является условие сохранения фильтра при выполнении всех операций в том виде, в каком он поступает с метеостанции (поста): фильтр не должен развертываться или перегибаться.
Водные пробы, поступившие в лабораторию с пометкой «Неотфильтрована», перед анализом отфильтровывают через фильтр «синяя лента». Фильтрованию подвергается объем пробы не менее 1 дм3. Материал фильтра содержит заметное количество сульфатов, нитратов и других водорастворимых ингредиентов, которые могут перейти в фильтрат с первыми порциями фильтруемой жидкости. Для устранения влияния фильтра перед фильтрованием пробы необходимо пропустить через него 100 см3 дистиллированной воды.
В химико-аналитических лабораториях (Амдерминского, Диксонского, Тиксинского, Певекского, Колымского, Якутского, Камчатского, а также Дальневосточного, Красноярского и Омского УГМ) обязательна операция предварительного концентрирования проб, отобранных на станциях и постах, расположенных севернее 60° с. ш., за исключением Норильска, перед определением концентраций сульфат-ионов в фильтрате. Для этого 0,5 дм3 предварительно отфильтрованной водной пробы выпаривают до объема приблизительно 100 см3 в стакане или колбе, поставленной на электроплитку с асбестовой сеткой или подкладкой. Если после выпаривания раствор мутнеет или в нем образуется осадок, его следует отфильтровать.
Концентрацию сульфат-иона в исходном фильтрате определяют по формуле
![]()
где ρ0 - концентрация сульфат-иона в исходной пробе, мг/дм3;
ρ1 - концентрация сульфат-иона в обогащенной пробе, мг/дм3;
V0 и V1 - объем пробы соответственно до и после выпаривания, дм3.
В каждом УГМ должна быть выделена одна химическая лаборатория, в которой производится анализ проб, отобранных на снегомерных маршрутах. Исключения могут быть сделаны для Красноярского, Якутского и Украинского УГМ.
Для определения концентрации загрязняющих веществ в водных пробах снежного покрова рекомендуются методики, используемые при анализе проб атмосферных осадков (см. раздел 4 данной части).
Определение сульфат-иона - по реакции с хлоридом бария (см. п. 4.5.4).
Определение нитрат-иона - по реакции с дифениламином (см. п. 4.5.5).
Определение хлорид-иона - титрованием раствором азотнокислой ртути (см. п. 4.5.7).
Определение гидрокарбонат-иона - методом обратного титрования (см. п. 4.5.8).
Определение ионов аммония - по реакции с реактивом Несслера (см. п. 4.5.6).
Измерения pH производят в соответствии с п. 4.5.2.
Определение удельной электропроводности - в соответствии с п. 4.5.1.
Определение магния - комплексометрическим титрованием (см. п. 4.5.11).
Определение натрия, калия - методом пламенной фотометрии (см. п. 4.5.10).
Для определения содержания металлов в пробах снега необходимо получение концентрированного экстракта из осадка на фильтре.
Средства измерений, реактивы и материалы:
мерные пипетки вместимостью 1 - 2 см3 и вместимостью 10 см3 (ГОСТ 1770-74);
мерные цилиндры вместимостью 10 и 100 см3 (ГОСТ 1770-74);
химические термостойкие стаканы вместимостью 50 - 100 см3 (ГОСТ 7382-55);
стеклянные флаконы вместимостью 10 см3;
стеклянные палочки;
щипцы тигельные;
асбестовая сетка;
азотная кислота конц., ч. д. а. (ГОСТ 4461-77);
хлорная кислота конц., ч. д. а. (ТУ-6-09-2878-73);
дистиллированная вода.
Фильтр с осадком извлекают из полиэтиленового пакета и помещают в химический термостойкий стакан вместимостью 50 см3. Туда же переносят из пакета просыпавшуюся часть осадка с фильтра, добавляют 20 см3 концентрированной азотной кислоты и 5 см3 концентрированной хлорной кислоты и кипятят содержимое в стакане на электрической плитке, поверхность которой покрывают асбестовой прокладкой. На одной электроплитке можно производить выпаривание 5 - 6 проб одновременно. Не следует допускать слишком сильного кипения, поэтому устанавливают мощность плитки в положение 300 Вт.
В конце выпаривания содержимое стакана сильно вспенивается. В этот момент лучше снять стакан с плитки (пользоваться только щипцами) и после того, как он немного остынет, продолжить выпаривание до «мокрых солей», т.е. остаток после выпаривания должен выглядеть влажным. В случае пересушивания остатка в стакан добавляют немного (1 - 2 см3) концентрированной азотной кислоты и осторожно выпаривают до нужного состояния. В остывший стакан с помощью пипетки добавляют 10 см3 5 %-ной азотной кислоты. Часто в стакане остается нерастворимый осадок, присохший к стенкам. В этом случае необходимо стеклянной палочкой перемешать содержимое стакана, и затем взмученный раствор перелить в стеклянный флакон или другую удобную тару. Флакон с подготовленной пробой плотно закрывается полиэтиленовой пробкой, снабжается сопроводительным листом (см. табл. 5.3), на котором указывается номер пробы, метеостанция, УГМ и другие сведения, и высылается в централизованную лабораторию. Одновременно высылаются фильтры с пометкой «фон».
Анализ проб для определения металлов производится атомно-абсорбционным методом (см. п. 4.5.12).
При подготовке проб для определения содержания ПАУ используются следующие средства измерений, реактивы и материалы:
весы аналитические ВЛР-200; АДВ-200 (по ГОСТ 13076-67);
генератор ультразвуковых колебаний, 125 Вт, модель «Сономатик»;
колбы мерные вместимостью 25, 50, 100 см3 (по ГОСТ 1770-74);
стаканы плоскодонные вместимостью 50, 100 см3 (по ГОСТ 1572-70);
пробирки с притертыми пробками, градуированные вместимостью 10 см3 (по ГОСТ 10515-75);
аппарат для перегонки при атмосферном давлении;
электрическая плитка мощностью 600 Вт;
микрошприцы вместимостью 50, 100 мм3;
муфельная печь ПМ-8;
гексан, х. ч. (по ТУ 6-09-4521-77);
н-октан, х. ч. (по ТУ 6-09-661-76);
циклогексан, х. ч. (по ТУ 6-09-10-592-76);
цеолит NaX (4 А);
стандарты соединений: хризен, 3,4-бензпирен, 1,2-бензпирен, перилен, 11,12-бензперилен.
Все растворители подвергаются предварительной перегонке с дефлегматором.
Для сушки гексана, используемого в качестве подвижной фазы, применяются молекулярные сита NaX (4 А) (цеолит). Цеолит предварительно прокаливается в муфельной печи при 400 - 500 °С в течение 4 - 5 ч. После охлаждения в эксикаторе его засыпают на 24 ч в гексан (300 г цеолита на 1 дм3 гексана). После сушки гексан фильтруют через бумажный фильтр.
Фильтр с осадком измельчают и заливают 25 см3 гексана на ночь, после чего его экстрагируют в ультразвуковой бане в течение 15 мин. Затем проводят повторную экстракцию (25 см3 гексана в течение 15 мин.). Объединенный экстракт упаривают в стакане под тягой до объема 2 - 3 см3, затем центрифугируют в течение 20 мин. Жидкость сливают и упаривают до 1 - 2 см3, переносят в отградуированную пробирку с притертой пробкой и хранят до проведения анализа в холодильнике.
Анализ проб для определения концентрации ПАУ производится по методике 5.3.8 (см. приложения к ч. I).
Внутренний контроль производится в лаборатории с целью оценки воспроизводимости получаемых результатов, для установления случайных ошибок в определениях. Он осуществляется специалистом высокой квалификации или под его непосредственным контролем. С этой целью выбирают 5 - 6 проб из числа поступивших в лабораторию из районов с низким и высоким антропогенным загрязнением, и анализируют их 2 раза. Результаты анализов записываются в табл. 5.2.
Внешний контроль аналитических определений осуществляется для установления систематических погрешностей в анализах лаборатории. В лабораторию УГМ высылаются контрольные образцы проб из методического центра. Анализ этих контрольных проб осуществляет специалист, выполняющий анализы проб снега, поступающих с метеостанций. Результаты определения концентраций водорастворимых веществ записывают в табл. 5.2 и 5.4.
Конечной целью первичной обработки результатов измерений является получение значений концентрации загрязняющих веществ в снеге ρ, удельного запаса (поверхностной плотности) загрязняющих веществ на маршруте Q и средней интенсивности выпадений по исходным начальным данным для каждой пробы U.
Исходные данные для каждой пробы, отобранной на данном маршруте и в данный день, включают следующие параметры: а) общий объем талой воды V (дм3); б) массу (мг) чистого фильтра (до фильтрования) m1 и того же фильтра, но с осадком и после просушки m2; в) число отобранных снежных кернов (столбиков снега) n (число «уколов» снегомером для данной пробы); г) радиус снегомерной трубы R; д) дату отбора пробы (число, месяц, год); е) место отбора пробы (название метеостанции и УГМ); ж) ландшафтный тип снегомерного маршрута (поле, лес, болото).
При анализе пробы снега для определения концентрации каждого металла в пробе обычно получают два числа: массу вещества в осадке на фильтре и его концентрацию в фильтрате. Если производится анализ l веществ, то получаем 2l чисел. Вместе с величинами m1, m2, V, n, R они составляют исходные данные для одной пробы.
Результаты,
получаемые по всем пробам в данный день, усредняются. Поэтому единицей машинной
обработки (одним измерением) является маршруто-день. Общее число исходных
данных для одного измерения (одного маршруто-дня) будет
; где сумма берется по всем пробам этого маршрута,
с учетом того, что радиус R является одним и тем же, а j - номер пробы.
Таблица 5.4
Результаты измерений концентрации загрязняющих веществ в снежном покрове
|
Метеостанция |
Период залегания снежного покрова Т, сут |
Тип маршрута |
Средний влагозапас на маршруте, мм |
Количество атмосферных осадков, мм |
Объем воды в пробе, дм3 |
Масса осадка на фильтре, г |
||
|
за зиму |
за предыдущий год |
|||||||
|
1 |
2 |
3 |
4 |
5 |
6 |
7 |
8 |
9 |
|
|
|
|
|
|
|
|
|
|
Продолжение табл.
|
pH |
Электропроводность |
|||||||||
|
SO42- |
NO3- |
NH4- |
Cl- |
HCO3- |
Mg2+ |
Na+ |
Ca2+ |
K+ |
||
|
10 |
11 |
12 |
13 |
14 |
15 |
16 |
17 |
18 |
19 |
20 |
|
|
|
|
|
|
|
|
|
|
|
|
Таблица 5.5
Результаты анализа проб снежного покрова (заполняется в централизованной химико-аналитической лаборатории)
|
Номер пробы |
Общий объем воды в пробе снега, дм3 |
Площадь отбора пробы, см2 |
Период залегания снежного покрова до пробоотбора, сут |
Масса осадка на фильтре, мг |
Концентрация загрязняющих веществ |
||
|
металлы, мг/дм3 |
ПАУ, мг/дм3 |
||||||
|
|
|
|
|
|
|
|
|
Если производят определение только одного вещества, например сульфатов, то получают одно число, а не их группу.
Обнаруженная при анализе общая масса вещества G (мг) будет:
так как m есть масса (мг) на фильтре, а ρв - концентрация (мг/дм3) в воде.
Удельный запас (поверхностная плотность) загрязнения снега (Q мг/м2):
(5.3)
где
- средний влагозапас в
снеге, измеренный на снегомерном маршруте, дм3/м2 (мм).
Средняя интенсивность выпадения загрязняющего вещества U определяется по формуле
(5.4)
где Ро - сумма атмосферных осадков (мм) за время T; T - время накопления снега до отбора пробы (сут).
Запыленность снега (m' мг) определяется как разность между массой высушенного фильтра после процесса фильтрования и чистого фильтра.
Пример расчета и индексации для снегомерного маршрута.
На маршруте отбирается несколько проб и измеряется несколько веществ. Занумеруем пробы от 1 до K с помощью индекса j (K - число проб на маршруте) и занумеруем с помощью индекса i вещества от 1 до l (l - число веществ, определяемых при спектральном или химическом анализе). Тогда m'j будет означать массу пыли в пробе, имеющей номер j, а Vj будет обозначать объем воды в этой пробе. Параметры P° и T будут общими (одинаковыми) для всего маршруто-дня, т.е. для всех проб. Параметр m, измеренный для i-го вещества в j-й пробе, будем обозначать через mij; параметр ρ - через ρij.
Удельный
запас вещества (
, мг/м2) и интенсивность выпадения (
) для маршруто-дня определяются по формулам:
(5.5)
Получаемые характеристики интенсивности выпадения загрязняющих веществ в снежном покрове, как показал детальный анализ, могут быть с удовлетворительной точностью распространены на весь холодный период года (ноябрь - март) независимо от продолжительности залегания снежного покрова.
Результаты измерений концентрации загрязняющих веществ в снежном покрове заносятся в табл. 5.3, которая является сводной формой отчетности УГМ за год. В табл. 5.4 заносятся шифры метеостанций, их названия, период залегания снежного покрова, сут. Он вычисляется как сумма дней от даты установления снежного покрова до даты отбора пробы снега. Далее записываются средний влагозапас на маршруте, количество атмосферных осадков со дня установления устойчивого снежного покрова до момента отбора пробы, объем воды в пробе, масса осадка на фильтре, концентрация веществ в пробах, pH и электропроводность. В конце таблицы помещаются результаты внешнего и внутреннего контроля. К табл. 5.4 прилагаются все сопроводительные листы (см. табл. 5.1), поступившие с метеостанции.
Результаты анализов проб снежного покрова (табл. 5.5), проведенных в централизованной химико-аналитической лаборатории, направляются непосредственно в центр обработки данных по загрязнению снежного покрова.
Рост выбросов вредных веществ в атмосферу в результате процессов индустриализации и урбанизации ведет к увеличению содержания примесей на значительном расстоянии от источников загрязнения и к глобальным изменениям в составе атмосферы, что в свою очередь может привести ко многим нежелательным последствиям, в том числе к изменению климата. В связи с этим необходимо определять и постоянно контролировать уровень загрязнения атмосферы вне зоны непосредственного действия промышленных источников и тенденцию его дальнейших изменений. Всемирной метеорологической организацией (ВМО) в шестидесятые годы была создана мировая сеть станций мониторинга фонового загрязнения атмосферы (БАПМоН). Ее цель состояла в получении информации о фоновых уровнях концентрации атмосферных составляющих, их вариациях и долгопериодных изменениях, по которым можно судить о влиянии человеческой деятельности на состояние атмосферы. Организация такой службы позволяет накопить материал для оценки возможных изменений климата, перемещения и выпадения вредных веществ, оценить атмосферную часть биологических циклов.
Нарастающая острота проблемы загрязнения окружающей природной среды в глобальном масштабе привела к созданию в семидесятые годы комитета ООН по окружающей среде (ЮНЕП). Комитетом было принято решение о создании Глобальной системы мониторинга окружающей среды (ГСМОС), предназначенной главным образом для наблюдения за фоновым состоянием биосферы в целом и в первую очередь за процессами ее загрязнения.
Одним из первых в 80-е годы сформировалось звено ГСМОС в регионе восточноевропейских стран - членов СЭВ: Болгарии, Венгрии, ГДР, Польши, Румынии, СССР и ЧСФР, осуществляющих комплексный фоновый мониторинг (КФМ) загрязнения биосферы. Для выполнения единой программы наблюдений специалистами этих стран совместно были разработаны методы определения концентраций загрязняющих веществ в объектах природной среды, в том числе в атмосферном воздухе и осадках, и приняты для практического использования методики, дающие сопоставимые результаты [18].
Национальная сеть станций комплексного фонового мониторинга СССР входит в международную сеть и осуществляет наблюдения за состоянием загрязнения природных сред в фоновых районах СССР [12]. Эта сеть является фундаментом для создания национальной службы экологического мониторинга [13], которая впоследствии объединит станции, работающие по программам БАПМоН.
Данный раздел включает в себя описания методов определения загрязняющих веществ на станциях БАПМоН, КФМ, а также на специализированных станциях, производящих на фоновом уровне наблюдения за общим содержанием озона (ОСО), углекислого газа и атмосферным электричеством. Определение химического состава атмосферных осадков на фоновых станциях производится по методикам, приведенным в ч. II, разделах 2 и 3.
Станции фонового мониторинга атмосферы (станции БАПМоН) ответственны за проведение наблюдений и своевременную отправку полученных первичных данных в курирующие их управления по гидрометеорологии (УГМ) и Главную геофизическую обсерваторию (ГГО). На УГМ возлагаются задачи по обеспечению и контролю работы фоновых станций, а также по внедрению на них предлагаемых для сети новых методов контроля фонового состояния атмосферы. ГГО является национальным научно-методическим центром работ по фоновому мониторингу атмосферы в рамках программы БАПМоН и центром сбора и обработки информации по советским станциям сети БАПМоН. ГГО обеспечивает передачу этой информации в международный банк данных сети БАПМоН в ВМО (Ашвилл, США, шт. Северная Каролина).
Система комплексного фонового мониторинга в СССР включает станции комплексного фонового мониторинга (СКФМ) и региональные аналитические лаборатории.
СКФМ ответственны за отбор проб, их своевременную отправку в региональную аналитическую лабораторию, анализ проб, выполняемый непосредственно на СКФМ, и своевременную передачу информации в региональную аналитическую лабораторию. На УГМ возлагается материальное обеспечение станций и метрологический контроль пробоотборной и аналитической аппаратуры, работающей на станции.
Региональные аналитические лаборатории фонового мониторинга обеспечивают анализ проб, передачу данных в научно-методический центр, инспекционный контроль работы станций КФМ, внедрение новых методов, разрабатываемых научно-методическим центром. Материальное снабжение и контроль работы аналитической лаборатории фонового мониторинга осуществляет региональный центр наблюдения загрязнения природной среды, в рамках которого она функционирует.
Научно-методический центр системы комплексного фонового мониторинга осуществляет контроль выполнения программы наблюдений, контроль качества данных, разрабатывает и передает на сеть методы фонового мониторинга загрязняющих веществ, координирует работу на международном уровне, собирает первичную информацию о фоновом загрязнении окружающей природной среды и передает ее в Центр автоматизированной системы хранения, обработки и передачи данных (АСПОД), обобщает данные и издает ежегодный бюллетень фонового состояния окружающей природной среды в восточноевропейских странах.
Станции комплексного фонового мониторинга. Местоположение станции комплексного фонового мониторинга (СКФМ) по своим ландшафтным и климатическим характеристикам должно быть репрезентативным для данного региона. Оценку репрезентативности предполагаемого района размещения СКФМ целесообразно начинать с анализа климатических, топографических, почвенных, ботанических, геологических, экономических и других материалов.
После выбора района необходимо учесть имеющиеся на данной территории источники загрязнения. Если количество внутрирегиональных источников незначительно и они рассредоточены, можно ожидать, что они не окажут существенного влияния на уровни концентраций загрязняющих веществ в природных объектах в выбранном районе. При наличии крупных локальных источников (административно-промышленных центров с населением более 500 тыс. жителей) расстояние до наблюдательного полигона СКФМ должно составлять не менее 100 км. Если указанное требование выполнить невозможно, следует расположить СКФМ таким образом, чтобы повторяемость воздушного потока, обусловливающего перенос загрязняющих веществ от источника в направлении станции, не превышала 20 - 30 %. При определении района расположения СКФМ необходимо учитывать его доступность, обеспеченность электроэнергией и жилищно-бытовыми условиями для обслуживающего персонала.
Станция комплексного фонового мониторинга включает стационарный наблюдательный полигон и химическую лабораторию. Наблюдательный полигон составляют пробоотборные площадки, гидропосты и в ряде случаев наблюдательные скважины. На наблюдательном полигоне выполняется отбор проб атмосферного воздуха и атмосферных осадков, вод, почв, растительности, а также проводятся гидрометеорологические и геофизические измерения.
Площадка размером 50´50 м, на которой размещаются пробоотборные установки и измерительные приборы для определения химического состава и физических характеристик воздуха, называется опорной (базовой) площадкой фоновой станции. Она должна находиться на ровном участке ландшафта с малой степенью закрытости горизонта, вдали от строений, лесных полос, холмов и других препятствий, способствующих возникновению локальных орографических возмущений. При выборе местоположения площадки рекомендуется пользоваться также критериями выбора места для размещения метеорологических станций, так как метеорологические наблюдения на фоновой станции могут быть использованы для изучения долговременных климатических изменений.
Опорная площадка должна быть обеспечена устойчивым трехфазным электропитанием (напряжение 220/380 В, ток до 40 А, частота 50 Гц), иметь освещение, сетчатое ограждение по всему периметру и дорожки с твердым покрытием. На расстоянии 15 - 20 м от площадки должно размещаться одноэтажное обогреваемое помещение (с неметаллической крышей) из двух комнат общей площадью 20 - 25 м2, предназначенное для работы дежурного наблюдателя (замена фильтров, запись результатов наблюдений, размещение газоанализаторов). Площадку оборудуют установками для отбора проб воздуха, осадкосборниками, газоанализаторами, типовым комплектом метеорологических приборов.
Химическая лаборатория станции располагается на расстоянии не ближе 500 м от опорной площадки. В лаборатории проводятся обработка и анализ той части проб, которая не подлежит пересылке в региональную лабораторию: первичная обработка проб осадков, вод, почв и растительности; определение содержания в атмосферном воздухе взвешенных частиц (пыли), сульфатов и диоксида серы; измерение в атмосферных осадках pH, электропроводности, концентрации анионов и катионов. В лаборатории осуществляется хранение проб, производится техобслуживание и ремонт приборов и оборудования, ведется документация.
В соответствии с указанными работами лабораторные комнаты должны иметь приточно-вытяжную вентиляцию, водопровод и канализационный сток. В лаборатории должны быть предусмотрены помещения для хранения химических реактивов, приборов, материалов, запасных частей. Общая площадь химической лаборатории должна составлять 80 - 100 м2.
Станции БАПМоН. В соответствии с рекомендациями по организации фоновых станций, изложенными в специальном Руководстве ВМО для сети БАПМоН [28], фоновые станции подразделяются на три категории: базовые, региональные и континентальные.
Базовые станции следует располагать в наиболее чистых местах, в горах, на изолированных островах, где в 100 км от станции по всем направлениям в ближайшие 50 лет не предвидится значительных изменений в практике землепользования. Основной задачей базовых станций является контроль за глобальным фоновым уровнем загрязнения атмосферы, не испытывающим влияния никаких локальных источников.
Региональные станции, главная цель которых заключается в обнаружении в районе станции долгопериодных колебаний атмосферных составляющих, обусловленных изменениями в использовании земли и другими антропогенными воздействиями, должны находиться в сельской местности, не менее чем в 40 км от крупных источников загрязнения.
Континентальные станции (или региональные станции с расширенной программой) охватывают более широкий спектр исследований по сравнению с региональными станциями. Они должны размещаться в отдаленных районах, чтобы в радиусе 100 км не было источников, которые (за исключением коротких периодов времени) могли бы повлиять на локальные уровни загрязнения.
Поскольку континентальные фоновые станции призваны характеризовать особенности загрязнения континента в целом, их целесообразно устанавливать выше слоя перемешивания, т.е. выше 1000 м над уровнем моря.
Станции комплексного фонового мониторинга. Одним из принципов фонового мониторинга является комплексное изучение содержания загрязняющих веществ в компонентах экосистем (атмосферном воздухе, осадках, воде, почвах, биоте). В связи с этим программа наблюдений на СКФМ включает систематические измерения содержания загрязняющих веществ одновременно во всех средах. Результаты этих измерений дополняются гидрометеорологическими данными.
Перечень включенных в программу веществ составлен с учетом таких их свойств, как распространенность и устойчивость в окружающей среде, способность к миграции на большие расстояния, степень негативного воздействия на биологические и геофизические системы различных уровней. В атмосферном воздухе подлежат измерению среднесуточные концентрации взвешенных частиц, озона, оксидов углерода и азота, диоксида серы, сульфатов, 3,4-бензпирена, ДДТ и других хлорорганических соединений, свинца, кадмия, ртути, мышьяка, а также показателя аэрозольной мутности атмосферы; в атмосферных осадках подлежат измерению концентрации свинца, ртути, кадмия, мышьяка, 3,4-бензпирена, ДДТ и других хлорорганических соединений, pH, анионов и катионов по программе ВМО в суммарных месячных пробах.
Данные гидрометеорологических наблюдений используются для расчета параметров, характеризующих степень загрязнения природной среды, и интерпретации их динамики. Вместе с тем гидрометеорологические данные являются самостоятельными характеристиками состояния природной среды.
Метеорологические наблюдения включают наблюдения за температурой и влажностью воздуха, скоростью и направлением ветра, атмосферным давлением, облачностью (количеством, формой, высотой), солнечным сиянием, атмосферными явлениями (туман, метели, грозы, пыльные бури, пожары и др.), атмосферными осадками (количеством и интенсивностью), снежным покровом (высотой, содержанием влаги), температурой почвы (на поверхности и глубине), состоянием поверхности почвы, радиацией (прямой, рассеянной, суммарной и отраженной) и радиационным балансом, градиентами температуры, влажности и скорости ветра на высоте от 0,5 до 10 м, градиентами температуры, влажности почвы на глубине от поверхности до 20 см, тепловым балансом. Данные о температуре воздуха и атмосферном давлении используют при приведении объема проб воздуха к нормальным условиям; данные о количестве и интенсивности осадков - при расчете потоков загрязняющих веществ на подстилающую поверхность; о содержании влаги в снежном покрове - при определении количества загрязняющих веществ, выпавших на подстилающую поверхность за зимний период.
Станции БАПМоН. В обязательную программу наблюдений на базовых станциях включены наблюдения за содержанием диоксида серы, аэрозольной мутностью атмосферы, радиацией, взвешенными аэрозольными частицами, химическим составом осадков.
На региональных станциях программа наблюдений включает измерение атмосферной мутности, концентрации взвешенных аэрозольных частиц, определение химического состава атмосферных осадков.
Программа наблюдений на фоновых станциях разных категорий может быть расширена за счет увеличения числа определяемых в атмосфере газов, в частности озона, малых газовых компонентов, объемная концентрация которых ниже 1 %, газов, которые, преобразуясь в атмосфере, могут превратиться в аэрозольные частицы (например, диоксиды серы и азота). Постепенно увеличивается спектр анализируемых элементов в осадках и аэрозолях.
Любые наблюдения по программе фонового мониторинга должны сопровождаться комплексом обязательных метеорологических наблюдений (за видимостью, атмосферными явлениями, температурой и влажностью воздуха, направлением и скоростью ветра, атмосферным давлением), поэтому фоновые наблюдения желательно проводить на базе метеорологических станций.
Для оценки репрезентативности фоновой станции и изучения влияния города на окружающие его районы целесообразно в дополнение к региональным станциям создавать парные станции в ближайших городах, расположенных в 50 - 100 км от фоновых и работающих по аналогичной программе [2]. В СССР действует три таких пары: на северо-западе европейской части СССР (ЕЧС), в Западной и Восточной Сибири.
В программу обязательных наблюдений на советских станциях сети БАПМоН входят измерения аэрозольной мутности атмосферы и определение химического состава атмосферных осадков. На ряде региональных станций проводятся дополнительно измерения содержания диоксидов серы, азота и аэрозоля сульфатов в приземном слое.
Контроль на фоновом уровне общего содержания озона (ОСО), диоксида углерода, электрического состояния атмосферы осуществляется на специализированных станциях (см. раздел 6 данной части). Место, сроки, условия и частота отбора проб устанавливаются методическим центром.
Для отбора проб воздуха при определении содержания взвешенных частиц (пыли), тяжелых металлов, сульфатов, 3,4-бензпирена и других полициклических ароматических углеводородов (ПАУ), ДДТ и других хлорорганических пестицидов (ХОП) применяют метод принудительной фильтрации воздуха фильтровентиляционными (аспирационными) установками. Конструкция фильтровентиляционной установки включает побудитель расхода воздуха, измеритель расхода воздуха, фильтродержатель с защитой от атмосферных осадков и кассету для твердых сорбентов в случае определения ХОП. Для отбора проб используют фильтры различных типов, через которые проскок аэрозолей размером менее 0,3 - 0,5 мкм не превышает 10 %. Тип фильтра подбирают в соответствии с назначением пробы и методом ее анализа: Объем суточных проб воздуха для определения каждого ингредиента задается аналитической лабораторией в зависимости от применяемого метода анализа. Расход воздуха и площадь сечения фильтродержателя рассчитывают исходя из заданного объема пробы и диапазона допустимой линейной скорости потока воздуха через фильтр выбранного типа. По программе наблюдений на сухопутных фоновых станциях для определения содержания загрязняющих веществ в воздухе отбирают суточные пробы. Для этого ежедневно в установленные часы (утренние) производят смену фильтров.
Блок-схема аспирационной установки «Кипарис» (а) и сменной головки к ней для отбора проб на ХОП (б)
Блок-схема градуировки электроаспиратора «Кипарис»
Электроаспиратор ЭА-3 или «Кипарис»
(нестандартизованная установка) (черт. 3.1, 3.2) по ТУ 25-11-1660-85
Фильтроткань ФПА-15-2,0 и ФПП-15-1,5 по ТУ 6-16-2334-79
Фильтры АФА-ХА-160, АФА-ХП(ВП)-160,
АФА-ХП(ВП)-20 по ТУ 95.7181-76
Силохром С-80 или С-120 (фракция 0,3 - 0,5 мм) по ТУ 6-09-17-48-74
Пинцеты (металлический и пластмассовый)
Ножницы
Сосуды из темного стекла с пластмассовыми
пробками вместимостью 50 см3
Калька
Бумажные пакеты
Фильтровентиляционные установки для отбора проб воздуха размещают на открытой площадке наблюдательного полигона на расстоянии 1 - 1,5 м друг от друга таким образом, чтобы входное отверстие находилось на высоте 1,7 - 2 м и было ориентировано вверх, что исключает влияние направления и скорости ветра на эффективность пробоотбора.
При отборе проб воздуха для определения содержания тяжелых металлов используют фильтры из ткани ФПА-15-2,0 или АФА-ХА-160. Объем аспирированного воздуха должен составлять примерно 1000 м3 за сутки.
При отборе проб воздуха для определения содержания взвешенных частиц (пыли), сульфатов, 3,4-бензпирена и других ПАУ используют фильтры из ткани ФПП-15-1,5 или АФА-ХП(ВП)-160. При этом фильтры, предназначенные для определения концентрации пыли, предварительно высушивают до постоянной массы и взвешивают. Объем аспирированного за сутки воздуха должен составлять около 1000 м3.
Для определения содержания ДДТ и других ХОП в атмосферном воздухе отбирают аэрозольную и парогазовую составляющие указанных веществ. В фильтровентиляционной установке для этой цели должна быть предусмотрена кассета для твердого сорбента, размещаемая в воздуховоде за фильтром. В кассету, диаметр которой 30 - 50 мм, помещают 20 - 50 см3 адсорбента (силохром С-80 или С-120). В качестве фильтра используют АФА-ХП-20 или АФА-ВП-20. Объем аспирированного за сутки воздуха должен составлять около 100 м3.
При подготовке фильтровентиляционных установок к работе фильтры пинцетом извлекают из упаковки, накладывают на сетку фильтродержателя марлевой основой вниз и закрепляют прижимным устройством. После окончания пробоотбора операции выполняют в обратном порядке. Указанные операции выполняют в помещении.
Экспонированные фильтры сворачивают экспонированной частью внутрь и упаковывают в бумажные маркированные пакеты, адсорбент переносят в маркированную стеклянную банку с герметичной пробкой, хранят пробы в сухом помещении или в холодильнике в случае определения ДДТ и других ХОП, 3,4-бензпирена и других ПАУ.
Из каждой партии фильтров и сорбентов по три неэкспонированных образца направляют в аналитическую лабораторию для определения фонового содержания веществ в фильтре и сорбенте. Методические указания по отбору проб атмосферных аэрозолей для конкретных фоновых станций составляют на основании общих принципов организации наблюдений и исходя из конкретной пробоотборной аппаратуры, выбранных типов фильтров и используемых методов анализа проб.
Отбор проб воздуха для определения концентрации паров ртути проводят путем фильтрации воздуха через трубку-амальгаматор, заполненную посеребренными стеклянными шариками размером 0,9 - 1,0 мм. Фильтрацию воздуха с расходом 1,5 - 2 дм3/мин осуществляют с помощью малорасходных аспираторов, собранных на базе микрокомпрессора УК-25(40) или бытового микрокомпрессора ВК-1. Микрокомпрессор ВК-1, выпускаемый промышленностью для нагнетания воздуха, настраивают на режим всасывания. Для этого снимают крышку микрокомпрессора, срезают два пластмассовых штырька, закрывают лейкопластырем два отверстия на уплотнительной резиновой прокладке (отверстия, в которые ранее вставлялись штырьки), поворачивают мембранную камеру вокруг оси на 180 °С так, чтобы отверстие в мембране, прежде находившееся напротив нагнетательного клапана, встало напротив всасывающего. Затем лейкопластырем закрывают боковое отверстие в мембранной камере, закрепляют камеру в корпусе микрокомпрессора и закрывают крышкой. Подготовку трубок-амальгаматоров выполняют в региональной химической лаборатории по методике, изложенной в п. 7.4 методики 4.7.
Воздухоотборник «Компонента или электроаспиратор
на базе бытового микрокомпрессора ВК-1
Ротаметр РМ-0,25 ГУЗ или по ГОСТ 13045-81
газовый счетчик ГСБ-400 по ГОСТ 6463-53
Трубки-амальгаматоры
Шланги силиконовые 6 мм по ТУ 38-10-61-52-77
Лейкопластырь
Отбор проб воздуха проводят на высоте 1,7 - 2 м от подстилающей поверхности. Маркированную трубку-амальгаматор присоединяют к аспиратору с помощью силиконового шланга, устанавливают вертикально таким образом, чтобы поток воздуха в трубке проходил снизу вверх последовательно через кварцевую вату, посеребренные шарики и пористую перегородку. Расход воздуха должен составлять 1,5 дм3/мин. Трубку-амальгаматор защищают от прямых солнечных лучей кожухом. По окончании отбора пробы экспонированную трубку-амальгаматор отсоединяют и с двух сторон закрывают заглушками. Хранят их обернутыми светонепроницаемой бумагой в сухом помещении в течение не более 2 мес. В региональную химическую лабораторию отправляют упакованными в специальный ящик-пенал.
Отбор проб осуществляют аспирацией воздуха через сорбционную трубку, содержащую стеклянную крошку с нанесенным на нее поглотительным раствором. Приготовление поглотительного раствора и нанесение его на стеклянную крошку производят в химической лаборатории по методике, изложенной в ч. I, п. 5.1.12.
Павильон «Пост-2» или «Пост-1»,
оборудованный кондиционером
Холодильник «Морозко»
Воздухоотборник «Компонент»
Газовый счетчик ГСБ-400; Госреестр № 734-72 по ГОСТ 6463-53
Трубка сорбционная СТ (черт. 3.3), содержащая
4 - 5 см3 стеклянных гранул диаметром 1 - 2 мм
Вентилятор бытовой
Трубка тефлоновая 8 - 10 мм
Шланг силиконовый 6 мм по ТУ 38-10-61-57-77
Марля или другая ткань
Примечание. При отсутствии павильонов «Пост» и воздухоотборника «Компонент» допускается временное расположение пробоотборного оборудования внутри психрометрической будки. Для отбора проб могут быть использованы аспираторы на базе бытового микрокомпрессора ВК-1 (ТУ 25.06.926-72), настроенного на всасывание (см. п. 3.2.1), счетчик ГСБ-400 (ГОСТ 6463-53) и ротаметры РМ-1 ГУЗ и РМ-0,25 ГУЗ (ГОСТ 13045-81).
Внешний вид сорбционных трубок для отбора проб на диоксид серы
Отбор воздуха для определения концентрации диоксида серы осуществляют через штатный фторопластовый воздуховод, выведенный через крышу павильона «Пост-2». К распределительной гребенке воздуховода присоединяют S-образную и сорбционную трубки. Все соединения производят встык с помощью коротких муфт из силиконовой резины. Использование других материалов не разрешается.
При необходимости отбора проб на несколько ингредиентов допускается использование стеклянной распределительной гребенки, которая 1 раз в месяц должна промываться. На период отбора пробы сорбционную трубку располагают вертикально (заполненный крошкой конец должен быть внизу) и специальным экраном или алюминиевой фольгой полностью защищают от попадания света. Отбор пробы осуществляют непрерывно в течение 24 ч; замену сорбционных трубок производят в установленные сроки. Один раз в месяц участок воздуховода от воздухозабора до сорбционной трубки чистят с помощью проволоки с ватным тампоном, смоченным в спирте.
Скорость пропускания воздуха через сорбционную трубку зависит от ожидаемой концентрации и диаметра трубки. Рекомендуемые режимы отбора приведены в табл. 3.1. Режим отбора контролируют каждые 3 - 4 ч. Если температура воздуха в павильоне выше 22 °С, отбор проб производят при включенном кондиционере. В случае визуального обнаружения влаги на внутренней поверхности S-образной сорбционной трубки обе трубки следует сменить и записать время. Все пробы, отобранные за данные сутки, анализируют отдельно и вычисляют среднюю за сутки концентрацию.
Рекомендуемые режимы отбора проб (для 24-часовой экспозиции)
|
Внутренний диаметр сорбционных трубок, мм |
Расход воздуха, дм3/мин |
|
|
10 - 50 |
8 - 10 |
1 - 1,5 |
|
1 - 10 |
8 - 10 |
1,5 - 2,0 |
|
0,5 - 2 |
10 |
2 - 3 |
|
0,1 - 1 |
10 - 12 |
3 - 5 |
|
Менее 0,1 |
12 |
5 - 10 |
|
|
14 |
10 - 15 |
|
Примечание. Общая длина сорбционных трубок 120 - 150 мм; стеклянной крошкой заполнено 50 мм (не менее 3/4 объема между пористыми перегородками). |
||
Если кондиционер отсутствует (или неисправен), то при температуре воздуха в павильоне выше 30 °С, смену сорбционных трубок следует осуществлять каждые 3 - 4 ч. При этом на период отбора пробы сорбционную трубку и около 0,3 м воздуховода перед трубкой оборачивают смоченной в воде марлей или тонкой материей и направляют на них поток воздуха от вентилятора. Все пробы анализируют отдельно. Среднюю за сутки концентрацию (ρ мкг/м3) вычисляют как средневзвешенную по формуле:
(3.1)
где ρ1, ρ2, ..., ρn - концентрация диоксида серы в воздухе в каждый период отбора, мкг/м3;
τ1, τ2, ..., τn - время экспозиции каждой пробы.
Пропитанные сорбционные трубки до начала отбора проб и после его окончания хранят в холодильнике в плотно закрытых полиэтиленовых пакетах или стеклянных пробирках с пробкой. При температуре воздуха выше 25 °С транспортировку пропитанных сорбционных трубок до и после экспонирования осуществляют в сумке-холодильнике со льдом. Срок хранения проб в холодильнике - 5 сут, без холодильника в темном месте при температуре не выше 20 °С - 1 сут (выше 25 °С хранение не допускается).
См. п. 3.3.1.
См. п. 3.3.2.
Примечание. Для регистрации расхода воздуха используют ротаметр РМ-004 ГУЗ (ГОСТ 13045-81) или газовый счетчик ГСБ-400 (ГОСТ 6463-53).
Отбор проб осуществляется так, как изложено в разделе 4, ч. I. Скорость пропускания воздуха через сорбционную трубку (внутренний диаметр 10 мм, объем стеклянных гранул 4 - 5 см3) составляет 0,2 - 0,25 дм3/мин. Срок хранения пропитанных сорбционных трубок в герметичной упаковке в темном месте - 1 мес. Отобранные пробы в холодильнике сохраняются 30 сут.
Из существующей сети станций по отбору проб атмосферных осадков в сельской местности (ОГСНК) выделена группа станций фонового мониторинга, которая входит в международную сеть Всемирной метеорологической организации - БАПМоН. В соответствии с рекомендацией ВМО [27] на станциях фонового мониторинга атмосферы БАПМоН осуществляется недельный период отбора проб, который начинается каждый четверг в срок, ближайший к 6 ч поясного декретного (зимнего) времени, когда производится измерение количества осадков. В соответствии с программой наблюдений на СКФМ проводят декадный (месячный) отбор проб путем объединения ежедневно накопленных осадков (осадки сливают 2 раза в день - в 9 и 16 ч местного времени).
Все основные требования к осадкосборникам, условиям сбора и хранения проб осадков описаны в ч. II, п. 2.1. Особенностью наблюдений на фоновых станциях является одновременный отбор четырех проб индивидуальными осадкосборниками: для определения свинца, кадмия и мышьяка; для определения ртути; для определения анионов и катионов, для определения 3,4-бензпирена, ПАУ, ДДТ и других ХОП, - причем при отборе проб с целью определения концентрации органических веществ приемная поверхность осадкосборника должна быть изготовлена из стекла или эмалированного металла, а с целью определения концентрации тяжелых металлов, анионов и катионов - из бесцветного полиэтилена.
Площадь приемной поверхности осадкосборника (S см2) рассчитывают исходя из средней многолетней декадной или месячной суммы осадков Y (см) для района фоновой станции и необходимого для анализа объема пробы (V см3) (декадной или месячной):
В случае отсутствия осадков приемную поверхность неавтоматических осадкосборников промывают дистиллированной водой ежедневно в одно и то же время.
Осадкосборники с полиэтиленовой приемной
поверхностью
Осадкосборники с эмалированной или стеклянной
приемной поверхностью
Бутыли полиэтиленовые с завинчивающимися пробками
вместимостью 0,5, 1 и 10 дм3 по ТУ 6-19-110-78
Бутыли стеклянные с завинчивающимися или
притертыми пробками вместимостью 1, 10 или 20 дм3
Пипетки по ГОСТ 20292-74Е
Цилиндры мерные вместимостью 25; 50;
100; 500; 1000 см3 по ГОСТ 1770-74Е
Кислота азотная концентрированная, ос. ч. по ГОСТ 11125-78
Калия бихромат, х. ч. по ГОСТ 4220-78
н-Гексан, ч. (дважды перегнанный) по ТУ 6-09-3375-78
Стиральный порошок
Дистиллированная вода
Примечание. Приемные сосуды, бутыли перед отбором проб осадков обрабатывают стиральным порошком, промывают большим количеством кипяченой воды, полиэтиленовые сосуды дополнительно промывают 5 %-ным раствором азотной кислоты и затем все сосуды ополаскивают дистиллированной водой.
Осадкосборники устанавливают на подставках с таким расчетом, чтобы верхний край приемного сосуда находился на высоте 1,5 - 2 м от подстилающей поверхности. Для получения суммарной декадной (месячной) пробы осадков суточные осадки из осадкосборников сливают в бутыли-накопители.
Пробы, в которых определяют содержание неорганических веществ, хранят в полиэтиленовых бутылках, органических веществ - в стеклянных. В соответствии с определяемыми в осадках ингредиентами бутыли маркируют: свинец, кадмий, мышьяк; ртуть; анионы, катионы; 3,4-бензпирен и другие ПАУ, ДДТ и другие ХОП.
Объем декадной (месячной) пробы осадков для определения каждого ингредиента задается аналитической лабораторией в зависимости от применяемого метода анализа. Минимально необходимый для анализа объем может составлять при определении концентрации свинца и кадмия 0,2 - 1 дм3; мышьяка 0,2 - 0,5 дм3; ртути 0,1 - 0,5 дм3; 3,4-бензпирена и других ПАУ 1 - 2 дм3; ДДТ и других ХОП 1 - 2 дм3; анионов, катионов 1 дм3.
Пробы осадков, в которых определяют содержание тяжелых металлов, консервируют непосредственно после отбора концентрированной азотной кислотой из расчета 5 см3 кислоты на 1 дм3 пробы. В пробы, в которых определяют ртуть, кроме азотной кислоты вносят бихромат калия из расчета 0,2 г соли на 1 дм3 пробы.
Пробы осадков, в которых определяют содержание ХОП и ПАУ, консервируют после того, как накоплен необходимый объем пробы, т.е. консервации подвергают аликвоту из средней месячной (декадной) пробы дважды перегнанным н-гексаном из расчета 20 см3 на 1 дм3 аликвоты.
Снег из осадкосборника переносят в чистую посуду и переводят в жидкое состояние при комнатной температуре. Затем обрабатывают, как пробы жидких осадков.
Декадные (месячные) пробы осадков, в которых определяют концентрации тяжелых металлов, хранят в прохладном темном месте; пробы, в которых определяют концентрации органических веществ, хранят в холодильнике.
Отбор проб снега проводят на наблюдательной площадке станции фонового мониторинга в период накопления максимального запаса влаги. В нескольких точках наблюдательной площадки с ненарушенным снежным покровом вырезают снегомером керны снега на всю глубину снежного покрова, при этом следят, чтобы нижняя часть керна не была загрязнена частицами почвы. Количество точек, в которых отбирают пробы, определяют на месте, исходя из необходимого объема пробы, запаса влаги в нем и равномерного охвата выбранной площади отбора. Пробу переносят в эмалированный сосуд, закрывают и доставляют на фоновую станцию, где растапливают при комнатной температуре. Отстоявшуюся пробу декантируют и фильтруют через бумажный фильтр «белая лента», разливают в полиэтиленовые и стеклянные бутылки и консервируют так же, как пробы жидких атмосферных осадков. Для определения концентрации сульфатов пробу не консервируют. Фильтр с твердыми частицами высушивают на воздухе, складывают осадком внутрь и помещают в конверт из кальки.
В оборудование для проведения этих работ должны входить снегомер и фильтровальный аппарат с насосом, реактивы и материалы (см. п. 3.5.2).
Отбор проб осуществляют в предварительно вакуумированные сосуды (фляги), изготовленные из нержавеющей стали, вместимостью 1,5 дм3 с одним бессмазочным вакуумным краном. Для отбора необходима стеклянная палочка диаметром 4 мм. Для хранения фляг используют специально изготовленные ящики, в которых пробы пересылаются для анализа в ГГО.
В срок отбора заполняют воздухом две фляги следующим образом. Выносят к месту отбора две вакуумированные фляги. Берут одну из них, задерживают дыхание и делают три шага против ветра. «Прочищают» стеклянной палочкой носик фляги 5 раз. Вытягивают руку с флягой вперед-вверх против ветра и другой рукой открывают кран. При открытии крана должен быть слышен сильный шипящий звук заполнения воздухом вакуумированной фляги. После прекращения шипения кран плотно закрывают и восстанавливают дыхание. Таким же способом заполняют вторую флягу. После отбора проб заполняют сопроводительный лист (табл. 3.2).
Сопроводительный лист
к пробе воздуха на СО2
|
Станция ___________________________ Координаты _____________________________ Дата отбора «__» _________________________________ Номер фляг ______________________________________ Время отбора (местное) ____________________________ Условия отбора проб: Направление ветра ________________________________ (в градусах) Скорость ветра ___________________________________ м/с Температура воздуха ______________________________ °С Давление ________________________________________ гПа Относительная влажность __________________________ % Волнение моря ___________________________________ баллов Осадки __________________________________________ Примечание. Прочие атмосферные явления и др. _________________________________________________________________________ Был ли слышен шипящий звук при открывании крана? (да, нет) Наблюдатель ___________________________________ (ф. и. о.) |
Ящик с пробами хранят в помещении с положительной температурой воздуха. По заполнении восьми фляг пробами воздуха ящик с сопроводительными листами отсылают в ГГО.
Фоновый мониторинг как одна из подсистем наблюдений за уровнем загрязнения окружающей природной среды предполагает получение систематической информации в районах, удаленных от источников выбросов. Уровни содержания загрязняющих веществ в объектах природной среды в этих районах, как правило, чрезвычайно низки, поэтому методы анализа, разработанные для импактного мониторинга, как правило, непригодны.
Методы определения концентрации загрязняющих веществ на фоновом уровне должны отвечать следующим требованиям:
низкие пределы обнаружения определяемых ингредиентов;
высокая селективность;
высокая степень чистоты используемых реагентов;
современность и перспективность;
использование различных методов определения одного ингредиента возможно при наличии удовлетворительной сходимости результатов, полученных при сравнении.
Применяемые средства измерений должны быть поверены (аттестованы) в сроки, установленные по ГОСТ 80002-71, иметь клеймо или аттестат о поверке. При отсутствии каких-либо средств измерений они могут быть заменены приборами того же класса точности.
В связи с этим для количественного определения тяжелых металлов и органических соединений в объектах природной среды разработаны методы, предназначенные для использования на сети фоновых станций и в региональных лабораториях.
Полученная информация представляется в виде таблиц, которые являются исходными форматами для дальнейшей машинной обработки результатов.
Методика предназначена для определения концентрации диоксида серы в атмосферном воздухе на станциях фонового мониторинга в диапазоне 0,3 - 4,8 мкг/м3 при объеме пробы 2 м3 и в диапазоне 0,1 - 1 мкг/м3 при объеме пробы 10 м3. Для измерения концентрации выше 4,8 мкг/м3 необходимо разбавление растворов проб. Мешающее влияние оксидов азота устраняется сульфаминовой кислотой, озона - выдерживанием пробы перед фотометрированием, солей тяжелых металлов - добавлением трилона Б и фосфорной кислоты.
1. Нормы точности измерений
По результатам метрологического исследования, при определении концентрации диоксида серы в воздухе в диапазоне 0,1 - 4,8 мкг/м3 суммарная погрешность при доверительной вероятности 0,95 не превышает ±25 %.
2. Метод измерения
Метод основан на улавливании диоксида серы из воздуха пленочным хемосорбентом и фотометрическом определении по интенсивности окраски соединения, образующегося в результате взаимодействия диоксида серы с формальдегидом и парарозанилином (или фуксином).
3. Средства измерений, вспомогательные устройства, реактивы и материалы
3.1. При выполнении измерений должны быть применены следующие средства измерения, вспомогательные устройства, реактивы и материалы.
3.2. Средства измерений
Фотоэлектроколориметр или спектрофотометр
pH-метр-милливольтметр pH-673 по ТУ 25-05-2501-79
Весы аналитические ВЛА-200 по ГОСТ 24104-80Е
Меры массы по ГОСТ 7328-82Е
Барограф; погрешность ±7 гПа по ГОСТ 6359-75Е
Термограф; погрешность ±1 °С по ГОСТ 6416-75Е
Газовый счетчик ГСБ-400; погрешность
±1 %; Госреестр № 734-72 по ТУ 25-04-2261-75
Микрокомпрессор ВК-1 по ТУ 25.06.926-77
Колбы мерные по ГОСТ 1770-74Е
2-100-2 - 9 шт.
2-250-2 - 1 шт.
2-500-2 - 3 шт.
2-1000-2 - 2 шт.
Пипетки по ГОСТ 20292-74Е
4-2-1 - 5 шт.
4-2-2 - 2 шт.
2-2-5 - 3 шт.
6-2-10 - 2 шт.
2-2-10 - 2 шт.
2-2-50 - 2 шт.
2-2-100 - 1 шт.
Бюретки 3-2-25-0,1 - 3 шт. по ГОСТ 20292-74Е
3.3. Вспомогательные устройства
Трубки сорбционные СТ 212 (маркировка 2) по ТУ 25-1110.039-82
Стаканы В-1-50 ТС по ГОСТ 25336-82
Холодильник (бытовой)
Центрифуга (3 - 4 тыс. об/мин)
3.4. Реактивы
Бутанол-1, ч. д. а. по ГОСТ 6006-78
Вода дистиллированная по ГОСТ 6709-72
Водорода перекись, х. ч. по ГОСТ 10929-76
Глицерин, ч. д. а. по ГОСТ 6259-75
Иод, 0,05 моль/дм3 (0,1 н.),
стандарт-титр по ТУ 6-09-2540-72
Калия иодид, х. ч. по ГОСТ 4232-74
Кислота ортофосфорная (ρ = 1,72 г/см3), х. ч. по ГОСТ 6552-80
Кислота соляная (ρ = 1,19 г/см3), х. ч. по ГОСТ 3118-77
Кислота сульфаминовая, х. ч. по ТУ 6-09-2437-79
Комплексом III (трилон Б), ч. д. а. по ГОСТ 10652-73
Крахмал растворимый, ч. по ГОСТ 10163-76
Натрий сернистый, девятиводный, ч. по ГОСТ 2053-77
Натрия ацетат, трехводный, ч. д. а. по ГОСТ 199-78
Натрия гидроксид, х. ч. по ГОСТ 4328-77
Натрия гидроксид, 0,1 моль/дм3,
стандарт-титр по ТУ 6-09-2540-72
Натрия сульфит, ч. д. а. по ГОСТ 195-77
Натрия тиосульфат, 0,1 моль/дм3,
стандарт-титр по ТУ 6-09-2540-72
Натрия хлорид, х. ч. по ГОСТ 4233-77
Парарозанилина гидрохлорид, ч. или фуксин по ТУ 6-09-07-1182-79
основной для фуксинсернистой кислоты, ч. д. а. по ТУ 6-09-4091-75
Ртути (II) оксид (желтый), ч. д. а. по ГОСТ 5230-74
Формальдегид 40 %-ный (формалин) по ГОСТ 1625-75
Этиленгликоль, ч. д. а. по ГОСТ 10164-75
4. Требования безопасности
См. ч. I, п. 5.1.3.
Все работы по приготовлению солей ртути (II) и по обработке ими сорбционных трубок необходимо проводить в вытяжном шкафу. Фильтровальная бумага, используемая для протирания трубок, должна быть обезврежена. Растворы, содержащие ртуть, после анализа следует сливать в специальный сосуд. Обезвреживание растворов проводят согласно примечанию 1 методики 5.2.7.2, ч. I.
5. Требования к квалификации оператора
См. ч. I, п. 5.1.4.
6. Условия выполнения измерений
См. ч. I, п. 5.1.14.
7. Подготовка к выполнению измерений
7.1. Перед выполнением измерений должны быть проведены следующие работы: приготовление растворов, установление градуировочной характеристики, подготовка сорбционных трубок, отбор пробы воздуха.
1) Соляная кислота, раствор 10 моль/дм3. 86 см3 соляной кислоты (ρ = 1,19 г/см3) разбавляют до 100 см3 водой в мерной колбе.
2) Соляная кислота, раствор 1 моль/дм3. 86 см3 соляной кислоты (ρ = 1,19 г/см3) разбавляют до 1 дм3 водой.
3) Соляная кислота, раствор 0,1 моль/дм3. 100 см3 раствора, приготовленного по перечислению 2, разводят водой в мерной колбе вместимостью 1 дм3.
4) Гидроксид натрия, раствор 0,1 моль/дм3. Готовят из стандарт-титра.
5) Тетрахлормеркурат натрия (ТХМ), раствор 0,04 моль/дм3. В мерную колбу вместимостью 1 дм3 вносят 124 см3 гидроксида натрия концентрацией 0,1 моль/дм3, 600 см3 воды и перемешивают. В термостойкий стакан вместимостью 50 см3 вносят 8,7 г оксида ртути, 4,68 г хлорида натрия и 0,07 г трилона Б и смешивают стеклянной палочкой до образования однородной массы. Затем вливают в стакан 9,0 см3 соляной кислоты концентрацией 10 моль/дм3 и перемешивают до растворения оксида ртути. Полученный раствор медленно переливают в колбу с раствором гидроксида натрия, несколько раз ополаскивают стакан водой для полного переноса раствора в колбу. Раствор в колбе перемешивают, проверяют значение pH, которое должно быть в пределах 5,4 - 6,4. В случае необходимости pH доводят до нужного значения растворами гидроксида натрия (0,1 моль/дм3) или соляной кислоты (0,1 моль/дм3). Доливают раствор до метки и вновь перемешивают. Раствор оставляют на сутки и в случае легкого помутнения фильтруют. Срок хранения раствора в холодильнике не больше 6 мес.
Раствор ядовит! Все работы по приготовлению следует производить под тягой.
6) Сульфаминовая кислота для проведения анализа, 0,03 %-ный раствор. 0,15 г сульфаминовой кислоты растворяют в 500 см3 воды. Раствор сохраняется не более 2 сут.
7) Сульфаминовая кислота для установления градуировочной характеристики, 0,6 %-ный. 0,6 г сульфаминовой кислоты растворяют в 100 см3 воды. Раствор сохраняется не более 2 сут.
8) Формальдегид, 0,2 %-ный раствор. 0,5 см3 40 %-ного раствора формальдегида разбавляют до 100 см3 водой. Раствор готовят перед анализом. Концентрацию исходного раствора формальдегида проверяют титрованием (см. ч. I, приложение 1 к методике 5.2.7.1).
9) Ортофосфорная кислота, раствор 3 моль/дм3. 194,4 см3 концентрированной кислоты (ρ = 1,72 г/см3) разбавляют до 1 дм3 водой.
10) Исходный 0,2 %-ный раствор парарозанилина (или фуксина). 0,2 г парарозанилина (или фуксина для фуксинсернистой кислоты) растворяют в мерной колбе вместимостью 100 см3 в 40 - 60 см3 соляной кислоты концентрацией 1 моль/дм3 и доводят уровень до метки тем же раствором кислоты.
11) Рабочий раствор парарозанилина (или фуксина). В мерную колбу вместимостью 250 см3 наливают 200 см3 фосфорной кислоты концентрацией 3 моль/дм3, 20 см3 исходного раствора парарозанилина (или фуксина) и доливают до метки водой. Раствор устойчив 6 мес.
12) Иод, раствор 0,05 моль/дм3 (0,1 н.). Готовят из стандарт-титра.
13) Иод, раствор 0,005 моль/дм3. 50 см3 раствора иода концентрацией 0,05 моль/дм3 разводят водой в мерной колбе вместимостью 500 см3. Раствор готовят перед употреблением.
14) Крахмал растворимый, 0,2 %-ный раствор. Растирают 0,4 г крахмала с небольшим количеством воды и полученную пасту медленно добавляют к 200 см3 горячей воды; продолжают нагревание до получения прозрачного раствора, затем охлаждают и переносят в стеклянную колбу с пробкой!
15) Тиосульфат натрия, раствор 0,1 моль/дм3. Готовят из стандарт-титра.
16) Тиосульфат натрия, раствор 0,01 моль/дм3. 50 см3 раствора тиосульфата натрия концентрацией 0,1 моль/дм3 доводят водой до метки в мерной колбе вместимостью 500 см3. Раствор готовят перед употреблением.
17) Исходный раствор для установления градуировочной характеристики. 0,400 г сульфита натрия или 0,300 г пиросульфита натрия (Na2S2O5) растворяют в 500 см3 свежепрокипяченной и охлажденной воды. Этот раствор соответствует раствору с массовой концентрацией SO2 320 - 400 мкг/см3. Точную концентрацию SO2 устанавливают иодометрическим титрованием. Сначала проводят холостое определение. Для этого в три конические колбы вместимостью 200 - 250 см3 вносят из бюретки по 20 см3 раствора иода (0,005 моль/дм3) и по 10 см3 воды и титруют раствором тиосульфата натрия (0,01 моль/дм3) до получения слабожелтой окраски, затем добавляют 2 см3 раствора крахмала и продолжают титрование синего раствора до полного обесцвечивания. Вычисляют среднее значение холостого определения. После этого в три конические колбы вместимостью 200 - 250 см3 вносят из бюретки по 20 см3 раствора иода (0,005 моль/дм3) и точно по 10 см3 исходного раствора для установления градуировочной характеристики. Закрывают колбы и через 5 мин титруют, как при холостом определении. Массовую концентрацию ρ (мкг/см3) диоксида серы в исходном растворе для градуировки рассчитывают по формуле
ρ = 32(A - B),
где A - объем раствора тиосульфата натрия (0,01 моль/дм3), пошедший на титрование холостой пробы, см3;
B - объем раствора тиосульфата натрия (0,01 моль/дм3), пошедший на титрование исходного раствора для градуировки, см3;
32 - коэффициент пересчета.
Затем рассчитывают объем раствора, в котором содержится 1,00 мг диоксида серы.
18) Рабочий раствор для установления градуировочной характеристики с массовой концентрацией 10 мкг/см3 диоксида серы. Готовят в мерной колбе вместимостью 100 см3 сразу же после установления концентрации исходного раствора, поскольку он неустойчив. Для этого рассчитанный объем исходного раствора (см. перечисление 17), в котором содержится 1 мг диоксида серы помещают в мерную колбу и доводят до метки раствором ТХМ концентрацией 0,04 моль/дм3 (см. перечисление 5). Раствор устойчив в течение 30 сут при условии хранения в холодильнике; при отсутствии холодильника раствор готовят перед употреблением.
При наличии твердого стандартного образца сульфита для установления градуировочной характеристики из него сразу готовят рабочий раствор для установления градуировочной характеристики путем растворения навески, указанной в паспорте стандартного образца, в растворе ТХМ (см. перечисление 5). В этом случае растворы по перечислениям 12 - 17 не готовят.
19) Раствор для обработки сорбционных трубок. В колбе вместимостью 100 см3 растворяют 1,6 г ацетата натрия в растворе ТХМ концентрацией 0,04 моль/дм3, добавляют 15 см3 глицерина и доводят до метки раствором ТХМ (0,04 моль/дм3). Раствор (ядовит!) хранится в течение 6 мес с учетом правил по технике безопасности (см. ч. I, п. 5.1.3).
7.3. Установление градуировочной характеристики
Градуировочную характеристику, выражающую зависимость оптической плотности от массы диоксида серы в пробе, устанавливают по растворам для градуировки, приготовленным в пяти сериях. Растворы для градуировки готовят в мерных колбах вместимостью 100 см3, для чего в каждую колбу вносят по 1,7 см3 раствора для обработки сорбционных трубок, по 25 - 30 см3 дистиллированной воды, рабочий раствор для градуировки согласно табл. 4.1, доводят до метки дистиллированной водой, тщательно перемешивают.
Растворы для установления градуировочной характеристики при определении концентрации диоксида серы
|
1 |
2 |
3 |
4 |
5 |
6 |
7 |
|
|
Объем рабочего раствора (ρ = 10 мкг/см3), см3 |
0,2 |
1 |
2 |
4 |
8 |
12 |
16 |
|
Соответствует массе SO2 в 5 см3 раствора, мкг |
0,1 |
0,5 |
1,0 |
2,0 |
4,0 |
6,0 |
8,0 |
Для установления градуировочной характеристики отбирают в пробирки по 5 см3 каждого раствора для градуировки, приливают точно по 0,2 см3 0,6 %-ной сульфаминовой кислоты (см. п. 7.2, перечисление 7), встряхивают и оставляют на 10 мин, затем приливают по 0,4 см3 формальдегида и по 1 см3 раствора парарозанилина или фуксина (см. п. 7.2, перечисление 11). Содержимое пробирок тщательно встряхивают и через 30 мин определяют оптическую плотность раствора относительно воды. Измерения производят в кюветах с расстоянием между рабочими гранями 10 мм при длине волны 575 нм. Время от добавления последнего реактива до измерения оптической плотности для всех проб должно быть одинаковым. Одновременно измеряют оптическую плотность нулевого раствора, содержащего все реактивы, кроме определяемого вещества. Проводят измерение оптической плотности пяти нулевых растворов и вычисляют среднее значение, которое не должно превышать 0,035. В противном случае необходимо провести дополнительную очистку фуксина или парарозанилина согласно приложению 3 к методике 5.2.7.1 (см. ч. I).
Для большей точности измерений температура растворов при установлении градуировочной характеристики и при анализе проб не должна различаться более чем на 5 °С.
Градуировочную характеристику устанавливают по семи точкам на основании среднеарифметических значений результатов измерений пяти серий растворов для градуировки. Действительные значения оптической плотности находят по разности оптических плотностей растворов для градуировки и нулевого. Проверку градуировочной характеристики следует производить при каждой смене партии реактива, но не реже одного раза в квартал.
7.4. Подготовка сорбционных трубок
Чистые трубки, предназначенные для отбора проб, и те, которые используют в качестве нулевых, обрабатывают под тягой раствором (см. п. 7.2, перечисление 19) в соответствии с п. 5.1.12 ч. I, тщательно вытирают снаружи фильтровальной бумагой, сразу же закрывают заглушками, помещают в полиэтиленовые пакеты и транспортируют к месту отбора проб. Срок хранения обработанных трубок в герметичной упаковке в защищенном от света месте при температуре ниже 20 °С не более 14 сут.
7.5. Отбор проб
Для определения среднесуточной концентрации диоксида серы исследуемый воздух аспирируют через сорбционную трубку с расходом 1,4 дм3/мин в течение 24 ч. При низких концентрациях диоксида серы расход воздуха может быть увеличен до 15 дм3/мин за счет использования трубок больших размеров (см. табл. 3.1). При отборе проб сорбционная трубка должна быть укреплена в вертикальном положении слоем сорбента вниз. Перед отбором пробы слой сорбента в трубке уплотняют легким постукиванием нижним концом трубки о деревянную поверхность. Воздух должен идти снизу вверх. Во время отбора температура трубок не должна превышать 25 °С.
Измерение объема пробы воздуха осуществляется с помощью газового счетчика. Для предотвращения испарения воды из счетчика при отборах среднесуточных проб перед ним ставят увлажнитель, в качестве которого может быть использован поглотитель Рыхтера, заполненный дистиллированной водой. В счетчике устанавливают водяной манометр для регистрации разрежения между газовым счетчиком и трубкой. Схема установки представлена на черт. 4.1.
Сорбционную трубку в процессе отбора и при хранении необходимо защищать от света (при отборе - экраном из черной бумаги). При температуре 20 °С диоксид серы в пробах окисляется со скоростью 1,5 % в сутки, при более высокой - быстрее. Пробы необходимо сразу же после отбора закрыть заглушками, упаковать и поместить в холодильник или термос со льдом. Хранение их на пункте отбора проб без холодильника при температуре выше 20 °С недопустимо. Срок хранения в холодильнике - 8 сут. Способ увеличения срока хранения без холодильника описан в приложении 2 методики 5.2.7.2, ч. I. При смене трубок меняют диаграммные ленты термографа и барографа.
8. Выполнение измерений
В лаборатории трубки помещают в стеклянные пробирки и заливают их 6 см3 раствора сульфаминовой кислоты (см. п. 7.2, перечисление 6). Путем нескольких прокачиваний раствора через сорбент при помощи резиновой груши переводят пробу в раствор, выдувают его остатки и вынимают трубку. Растворы центрифугируют в течение 10 - 15 мин. Из пробирки отбирают для анализа 5 см3 раствора. Приливают 0,4 см3 формальдегида и 1 см3 раствора парарозанилина или фуксина. Содержимое пробирки тщательно перемешивают и через 30 мин измеряют оптическую плотность раствора относительно воды. Каждый раз одновременно с пробами анализируют три нулевых раствора - обработанные соответствующим раствором (см. п. 7.2, перечисление 19) сорбционные трубки, хранившиеся вместе с пробами.
Схема установки для отбора проб воздуха
1 - сорбционная трубка; 2 - светозащитный экран; 3 - увлажнитель; 4 - газовый счетчик; 5 - водяной манометр; 6 - микрокомпрессор-электроаспиратор.
Массу диоксида серы в пробе находят с помощью установленной градуировочной характеристики по разности оптических плотностей растворов пробы и нулевого.
9. Вычисление результата измерений
Для получения сравнимых результатов объем отобранной для анализа пробы воздуха V1 приводят к нормальным условиям (температуре 0 °С и давлению 1013 гПа). Расчет производят по формуле
(4.1)
где V0 - объем аспирируемого воздуха, приведенный к нормальным условиям, дм3;
ΔP - разрежение между сорбционной трубкой и газовым счетчиком, мм вод. ст.;
t - средняя температура в месте установки газового счетчика за период отбора пробы, вычисленная по записи термографа, °С;
13,6 - плотность ртути, г/см3;
P - среднее давление за период отбора, вычисленное по записи барографа, гПа (1 мм рт. ст. = 1,33 гПа).
Концентрацию диоксида серы ρ (мкг/м3) определяют по формуле:
где m - масса вещества в 5 см3 пробы, мкг;
1,2 - коэффициент пересчета на весь объем жидкости (6 см3).
Методика1 предназначена для определения концентрации диоксида азота в атмосферном воздухе населенных пунктов и для фонового мониторинга в диапазоне 0,02 - 1,2 мг/м3 при проведении разовых отборов (объем пробы 5 дм3) и 0,3 - 7 мкг/м3 при проведении 24-часовых отборов (объем пробы - 288 дм3).
1 Методика аттестована в ГГО. Свидетельство № 219.
1. Нормы точности измерений
При определении массовой концентрации диоксида азота в атмосферном воздухе суммарная погрешность при доверительной вероятности 0,95 в диапазоне концентраций 0,02 - 0,2 мг/м3 не превышает ±17 %, а в диапазоне 0,3 - 7 мкг/м3 ±14 %.
2. Метод измерения
Метод основан на улавливании диоксида азота из воздуха пленочным хемосорбентом. Образующийся нитрит-ион определяется фотометрически, по реакции с сульфаниловой кислотой и N-(1-нафтил)-этилендиамином, приводящей к образованию азокрасителя красного цвета.
3. Средства измерений, вспомогательные устройства, реактивы и материалы
3.1. При выполнении измерений должны быть применены следующие средства измерений, вспомогательные устройства, реактивы и материалы.
3.2. Средства измерений
Фотоэлектроколориметр или спектрофотометр
Весы аналитические ВЛА-200 по ГОСТ 24104-80Е
Меры массы по ГОСТ 7328-82Е
Секундомер; класс 3; цена деления
секундной шкалы 0,2 по ГОСТ 5072-79Е
Барограф; погрешность ±7 гПа по ГОСТ 6359-75
Термограф; погрешность ±1 °С по ГОСТ 6416-75
Барометр-анероид М-67 по ТУ 2504-1797-75
Термометр лабораторный шкальный
ТЛ-2; пределы 0 - 55 °С; цена деления 1 °С по ГОСТ 215-73Е
Электроаспиратор ЭА-1; погрешность
±10 %; Госреестр № 5997-77 по ТУ 25-11-1414-78
Газовый счетчик ГСБ-400; погрешность
±1 %; Госреестр № 734-72 по ГОСТ 6463-53
Колбы мерные по ГОСТ 1770-74Е
2-100-2 - 4 шт.
2-50-2 - 8 шт.
Пипетки по ГОСТ 20292-74Е
4-2-1 - 4 шт.
6-2-5 - 2 шт.
6-2-10 - 1 шт.
3.3. Вспомогательные устройства
Трубки сорбционные СТ212 по ТУ 25-1110.039-82
3.4. Реактивы
Аммония гидрофосфат, х. ч., по ГОСТ 3772-74
Ацетон, ч. д. а.. по ГОСТ 2603-79
Калия иодид, х. ч. по ГОСТ 4232-74
Кислота ортофосфорная, х. ч. по ГОСТ 6552-80
Кислота сульфаниловая, ч. д. а. по ГОСТ 5821-78
Натрия ортоарсенит двузамещенный, ч. по ТУ 6-09-2792-78
или натрия метаарсенит, ч. по ТУ 6-09-2791-78
Натрия гидроксид, ч. д. а. по ГОСТ 4328-77
Натрия нитрит, х. ч. по ГОСТ 4197-74
N-(1-нафтил)-этилендиамин дигидрохлорид, ч. по ТУ 6-09-15-420-80
Этиленгликоль, ч. д. а. по ГОСТ 10164-75
4. Требования безопасности
См. ч. I, п. 5.1.3.
Реактивы, в состав которых входят соединения мышьяка, должны храниться в склянках с надписью «Яд» в специальных, закрывающихся на ключ металлических ящиках. Подготовка сорбционных трубок к отбору проб, связанная с обработкой пропитывающим раствором, содержащим арсенит натрия, должна проводиться в вытяжном шкафу.
5. Требования к квалификации оператора
См. ч. I, п. 5.1.4.
6. Условия выполнения измерений
См. ч. I, п. 5.1.14.
7. Подготовка к выполнению измерений
7.1. Перед выполнением измерений должны быть проведены следующие работы: приготовление растворов, установление градуировочной характеристики, подготовка сорбционных трубок, отбор пробы воздуха.
1) Раствор для обработки сорбционных трубок. 40 г иодида калия растворяют в 35 см3 дистиллированной воды и прибавляют 15 см3 этиленгликоля. Отдельно растворяют в 10 см3 воды 1,77 г ортоарсенита натрия (NaAsO2) и 0,42 г NaOH. Оба раствора сливают вместе. Полученный раствор хранят в темном месте не более 1 мес.
При использовании метаарсенита натрия (NaAsO2) в 10 см3 воды растворяют 1,3 г NaAsO2 и 0,8 г NaOH, полученный раствор смешивают с раствором иодида калия и используют для обработки трубок.
Примечания:
1. Раствор для обработки сорбционных трубок можно приготавливать, используя и другие формы трехвалентного мышьяка. Например, при наличии мышьяковистого ангидрида следует взять 1,0 г As2O3 и добавить 1,25 г NaOH.
2. Этиленгликоль должен быть проверен на отсутствие окислителей (см. ч. I, п. 5.1.7).
2) Буферный раствор. 125 г аммония фосфорнокислого двузамещенного растворяют в 500 см3 дистиллированной воды, приливают 170 см3 фосфорной кислоты, доводят водой до 1000 см3, перемешивают.
3) Сульфаниловая кислота, 0,5 %-ный раствор. 5 г сульфаниловой кислоты растворяют в 600 см3 воды, приливают 100 см3 ацетона и доводят водой до 1000 см3.
4) N-(1-нафтил)-этилендиамин дигидрохлорид. 100 мг реактива растворяют в небольшом количестве воды, приливают 200 см3 буферного раствора, доводят водой до 1000 см3.
5) Составной реактив. Перед употреблением смешивают растворы сульфаниловой кислоты и N-(1-нафтил)-этилендиамина в отношении 1:1.
6) Составной реактив для установления градуировочной характеристики.
6а. Сульфаниловая кислота, 1 %-ный раствор. 10 г сульфаниловой кислоты растворяют в 500 см3 воды, приливают 200 см3 ацетона и доводят водой до 1000 см3.
6б. N-(1-нафтил)-этилендиамин дигидрохлорид. 200 мг реактива растворяют в небольшом количестве воды, приливают 400 см3 буферного раствора, доводят водой до 1000 см3.
Перед употреблением смешивают растворы 6а и 6б в отношении 1:1.
7) Исходный раствор нитрита натрия (ρ = 1 мг/см3). 0,15 г нитрита натрия, предварительно высушенного при 60 °С в течение 2 ч, растворяют дистиллированной водой в мерной колбе вместимостью 100 см3. Полученный раствор соответствует раствору с массовой концентрацией диоксида азота 1 мг/см3.
8) Рабочий раствор А для установления градуировочной характеристики (ρ = 10 мкг/см3). 1 см3 исходного раствора нитрита натрия разбавляют в мерной колбе вместимостью 100 см3 дистиллированной водой.
9) Рабочий раствор Б для установления градуировочной характеристики (ρ = 1 мкг/см3). 10 см3 раствора А разводят в мерной колбе вместимостью 100 см3 дистиллированной водой. Растворы А и Б готовят перед применением. Исходный раствор сохраняется в течение 14 сут.
7.3. Установление градуировочной характеристики
Градуировочную характеристику, выражающую зависимость оптической плотности от массовой концентрации диоксида азота, устанавливают по растворам для градуировки, приготовленным в пяти сериях. Каждую серию состоящую из семи растворов для градуировки, готовят из свежеприготовленного рабочего раствора нитрита натрия. Растворы для градуировки готовят в мерных колбах вместимостью 50 см3, для чего в каждую колбу наливают 25 см3 составного реактива (см. п. 7.2, перечисление 6), рабочий раствор Б согласно табл. 4.2, 2 см3 раствора для обработки сорбционных трубок (см. п. 7.2, перечисление 1) доводят до метки дистиллированной водой и тщательно перемешивают. Нулевой раствор готовят аналогично градуировочным, для чего в мерную колбу вместимостью 50 см3 приливают те же реактивы, кроме раствора нитрита натрия.
Через 20 мин определяют оптическую плотность растворов, содержащихся в колбах, по отношению к воде. Измерения производят в кюветах с расстоянием между гранями 10 мм при длине волны 550 нм. Оптическая плотность нулевого раствора не должна превышать 0,05.
Растворы для установления градуировочной характеристики при определении концентрации диоксида азота
|
1 |
2 |
3 |
4 |
5 |
6 |
7 |
|
|
Объем рабочего раствора Б (ρ = 1 мкг/см3), см3 |
1 |
2 |
4 |
6 |
8 |
10 |
20 |
|
Соответствует массе диоксида азота в 5 см3 пробы, мкг |
0,1 |
0,2 |
0,4 |
0,6 |
0,8 |
1,0 |
2,0 |
Примечание. Если методика используется для измерения концентрации диоксида азота в населенных пунктах, растворы для установления градуировочной характеристики добавляются согласно табл. 5.6 методики 5.2.1.3, ч. I.
7.4. Подготовка сорбционных трубок
Чистые трубки, предназначенные для отбора проб, и те, которые используют в качестве нулевых, обрабатывают соответствующим раствором (см. п. 7.2, перечисление 1) согласно п. 5.1.12, ч. I (способ 2). Тщательно вытирают снаружи чистой фильтровальной бумагой, сразу же закрывают заглушками и упаковывают в полиэтиленовые пакеты. Срок хранения пропитанных трубок в герметичной упаковке не более недели.
7.5. Отбор проб
Для определения разовой концентрации диоксида азота исследуемый воздух аспирируют с расходом 0,25 дм3/мин в течение 20 мин через сорбционную трубку, подготовленную к отбору. Для определения среднесуточной концентрации диоксида азота исследуемый воздух аспирируют через сорбционную трубку с расходом 0,2 дм3/мин в течение 24 ч. Изменение объема пробы воздуха в этом случае осуществляют с помощью жидкостного газового счетчика. Чтобы предотвратить испарение воды из счетчика при отборах для определения среднесуточных концентраций, перед счетчиком ставят увлажнитель, в качестве которого может быть использован поглотительный прибор Рыхтера, заполненный дистиллированной водой. В счетчике устанавливают водяной манометр для регистрации разрежения между газовым счетчиком и трубкой (см. черт. 4.1). При отборе сорбционная трубка должна быть укреплена в вертикальном положении слоем сорбента вниз. Отбор проб желательно проводить при температуре 0 - 25 °С. При смене трубок меняют диаграммные ленты термографа и барографа. Отобранные пробы в герметичной упаковке в темноте могут сохраняться в течение 20 сут.
8. Выполнение измерений
При определении массы диоксида азота в отобранной пробе должны быть выполнены следующие операции. Сорбционную трубку помещают в стеклянную пробирку и заливают 5 см3 составного реактива (см. п. 7.2, перечисление 5). Путем нескольких прокачиваний при помощи резиновой груши переводят пробу в раствор и содержимое пробирки перемешивают. Через 20 мин трубку вынимают и измеряют оптическую плотность раствора относительно воды. Измерения производят в кюветах с расстоянием между гранями 10 мм со светофильтром с максимумом пропускания 550 нм. Аналогично пробе анализируют нулевой раствор - сорбционную трубку, подготовленную к отбору (из той же партии). Массу диоксида азота в пробах находят с помощью градуировочной характеристики по разности оптических плотностей растворов пробы и нулевого.
9. Вычисление результата измерений
Для получения сравнимых результатов объем аспирированного воздуха приводят к нормальным условиям по формуле (4.1) методики 4.1. Концентрацию NO2 (мкг/м3) определяют по формуле:
где m - масса вещества в анализируемом объеме пробы, мкг;
V0 - объем аспирированного воздуха, приведенный к нормальным условиям, м3.
Методика предназначена для определения концентрации аэрозоля серной кислоты и сульфатов в атмосферном воздухе на станциях фонового мониторинга в диапазоне 0,15 - 6,0 мкг/м3 при объеме пробы 864 м3. Мешающее влияние нерастворимых аэрозолей устраняют фильтрованием.
1. Нормы точности измерений
По экспертным оценкам, при определении массовой концентрации аэрозоля серной кислоты и сульфатов в атмосферном воздухе в диапазоне 0,15 - 6,0 мкг/м3 суммарная погрешность не превышает ±25 %.
2. Метод измерения
Метод основан на образовании нерастворимого сульфата бария при взаимодействии сульфат-ионов с хлоридом бария. Массу сульфат-ионов определяют турбидиметрически.
3. Средства измерений, вспомогательные устройства, реактивы и материалы
3.1. При выполнении измерений должны быть применены следующие средства измерений, вспомогательные устройства, реактивы и материалы.
3.2. Средства измерений
Фотоэлектроколориметр или спектрофотометр
Весы аналитические ВЛА-200 по ГОСТ 24104-80Е
Меры массы по ГОСТ 7328-82Е
Секундомер; класс 3; цена деления
секундной шкалы 0,2 с по ГОСТ 5072-79Е
Термометр лабораторный шкальный
ТЛ-2; пределы 0 - 55 °С; цена деления 0,1 °С по ГОСТ 215-73Е
Электроаспиратор ЭА-3 по ТУ 25-11-1413-78
Колбы мерные 2-100-2 - 10 шт. по ГОСТ 1770-74Е
Пипетки по ГОСТ 20292-74Е
4-2-1 - 1 шт.
4-2-2 - 1 шт.
2-2-5 - 2 шт.
2-3-20 - 1 шт.
2-2-10 - 2 шт.
3.3. Вспомогательные устройства
Центрифуга (3 - 5 тыс. об/мин)
Пинцет по ГОСТ 21241-77
3.4. Материалы
Фильтры аэрозольные из ткани ФПП, используемые для отбора проб взвешенных частиц.
3.5. Реактивы
Бария хлорид дигидрат, х. ч. по ГОСТ 4108-72
Вода дистиллированная по ГОСТ 6709-72
Глицерин, ч. д. а. по ГОСТ 6259-75
Калия сульфат, х. ч. по ГОСТ 4145-74
Кислота соляная (ρ = 1,185 г/см3) х. ч. по ГОСТ 3118-77
Спирт этиловый (этанол), ректификат по ГОСТ 18300-72
4. Требования безопасности
См. ч. I, п. 5.1.3.
5. Требования к квалификации оператора
См. ч. I, п. 5.1.4.
6. Условия выполнения измерений
См. ч. I, п. 5.1.14.
7. Подготовка к выполнению измерений
7.1. Перед выполнением измерений должны быть проведены следующие работы: приготовление растворов, установление градуировочной характеристики, отбор проб воздуха.
1) Вода дистиллированная. Для приготовления всех растворов следует применять свежеперегнанную дистиллированную воду.
2) Раствор хлорида бария. 6 г кристаллического хлористого бария растворяют в воде и доводят до метки в мерной колбе вместимостью 100 см3.
3) Составной раствор. 100 см3 раствора хлорида бария смешивают с 300 см3 глицерина и 300 см3 этанола. Значение pH раствора доводят соляной кислотой до 2,5 - 2,8 и оставляют на 2 сут. После выстаивания реактив при наличии осадка фильтруют через фильтр «синяя лента». Срок хранения раствора - не более 1 года.
4) Сульфат калия, исходный раствор 1000 мкг/см3. Сульфат калия сушат при температуре 120 - 150 °С в течение 2 ч. 0,1814 г реактива растворяют в воде в мерной колбе вместимостью 100 см3. В 1 см3 этого раствора содержится 1000 мкг сульфат-иона.
5) Сульфат калия, рабочий раствор 100 мкг/см3. Готовят разбавлением 10 см3 исходного раствора в мерной колбе вместимостью 100 см3 водой.
6) Раствор для экстракции пробы с фильтра. В 1000 см3 воды растворяют 20 см3 концентрированной соляной кислоты.
7) Соляная кислота, раствор 1:1. В 100 см3 воды растворяют 100 см3 концентрированной соляной кислоты.
7.3. Установление градуировочной характеристики
Градуировочную характеристику, выражающую зависимость оптической плотности от массы сульфат-иона в пробе, устанавливают по семи точкам на основании средних арифметических значений, вычисленных из результатов измерений пяти серий растворов для установления градуировочной характеристики. Растворы для установления градуировочной характеристики готовят в мерных колбах вместимостью 100 см3. В каждую колбу наливают 15 - 20 см3 воды, рабочий раствор сульфата калия согласно табл. 4.3, 1 см3 раствора соляной кислоты (1:1), доливают до метки водой и тщательно перемешивают. Для приготовления нулевого раствора в колбу приливают 1 см3 раствора соляной кислоты (1:1), доливают водой до метки и тщательно перемешивают.
Для установления градуировочной характеристики в пробирки вносят по 10 см3 каждого раствора для градуировки, добавляют по 5 см3 составного раствора (см. п. 7.2, перечисление 3), встряхивают и выдерживают 30 мин.
Растворы для установления градуировочной характеристики при определении концентрации аэрозоля серной кислоты и сульфатов
|
1 |
2 |
3 |
4 |
5 |
6 |
7 |
|
|
Объем рабочего раствора сульфата калия (ρ = 100 мкг/см3), см3 |
1 |
2 |
3 |
4 |
6 |
8 |
10 |
|
Масса сульфат-иона в 10 см3 раствора, мкг |
10 |
20 |
30 |
40 |
60 |
80 |
100 |
Одновременно готовят нулевую пробу, для чего к 10 см3 нулевого раствора добавляют 5 см3 составного раствора. Через 30 мин, предварительно встряхнув, определяют оптическую плотность каждого раствора относительно воды в кюветах с расстоянием между рабочими гранями 30 мм при длине волны 400 нм. Проверку градуировочной характеристики следует проводить при смене реактива, но не реже 1 раза в 3 мес.
7.4. Отбор проб
При определении массовой концентрации сульфат-иона исследуемый воздух аспирируют через фильтр с расходом 600 дм3/мин в течение 24 ч. После окончания отбора фильтр пинцетом извлекают из фильтродержателя, сгибают пополам запыленной стороной внутрь и вкладывают в полиэтиленовый конверт. В таком виде проба доставляется в лабораторию. При необходимости пересылки конверт запаивают. Срок хранения проб не ограничен.
8. Выполнение измерений
В лаборатории фильтры с отобранной пробой пинцетом извлекают из конверта. Фильтры помещают в стакан вместимостью 100 см3, смачивают 2 см3 этанола и добавляют 50 см3 раствора для экстракции пробы с фильтра. Содержимое стакана перемешивают стеклянной палочкой и нагревают на водяной бане до 60 - 70 °С в течение 10 мин. Через 3 ч после охлаждения пробы нерастворившуюся часть аэрозоля удаляют центрифугированием или отфильтровывают через бумажный фильтр «синяя лента». Аналогично поступают с чистым аэрозольным фильтром, полученный раствор используют как нулевую пробу. Нулевые пробы обязательно пропускают через бумажный фильтр из той же упаковки, поскольку масса сульфат-иона в разных партиях бумаги различна. (Фильтр можно использовать, если из него вымывается не более 3 мкг сульфат-ионов.)
Для анализа отбирают аликвоту раствора 2 см3, переносят в пробирку и доводят объем водой до 10 см3. Аналогично поступают с нулевой пробой. В каждую пробирку добавляют по 1 капле раствора соляной кислоты (1:1), по 5 см3 составного реактива, энергично встряхивают. При необходимости аликвота может быть уменьшена до 0,5 см3 или увеличена до 10 см3.
9. Вычисление результата измерений
Для получения сравнимых результатов объем отобранной для анализа пробы воздуха приводят к нормальным условиям (температуре 0 °С и давлению 1013 гПа) по формуле (1) п. 5.1.16, ч. I.
Концентрацию аэрозоля серной кислоты и растворимых сульфатов (мг/м3) в исследуемом объеме воздуха находят по формуле
(4.4)
где m - масса сульфат-иона в анализируемой части пробы, мкг;
V0 - объем пробы анализируемого воздуха, приведенный к нормальным условиям, дм3;
υэ - объем экстракта пробы с фильтра, см3;
υч - объем части экстракта пробы, идущей на анализ, см3.
Методика1 предназначена для определения концентрации аэрозоля серной кислоты и растворимых сульфатов в диапазоне 2,0 - 50 мкг/м3 или 0,5 - 10 мкг/м3 при объемах проб соответственно 7,2 или 28,8 м3. Рекомендуется для использования при проведении научных исследований и измерений на сети БАПМоН.
1 Методика аттестована в ГГО. Свидетельство № 53.
1. Нормы точности измерений
При измерении концентрации аэрозоля серной кислоты и сульфатов в атмосферном воздухе в диапазоне 2,0 - 50 мкг/м3 или 0,5 - 10 мкг/м3 установленная суммарная погрешность при доверительной вероятности 0,95 не превышает ±17 %.
2. Метод измерения
Метод основан на улавливании аэрозоля серной кислоты и сульфатов на фильтры из горючего материала, термическом разложении сульфатов в пробе до диоксида серы и кулонометрическом измерении его массы.
3. Средства измерений, вспомогательные устройства, реактивы и материалы
3.1. При выполнении измерений должны быть применены следующие средства измерений, вспомогательные устройства, реактивы и материалы.
3.2. Средства измерений
Весы аналитические ВЛА-200 по ГОСТ 24102-80Е
Меры массы по ГОСТ 7328-82Е
Секундомер; класс 3; цена деления
секундной шкалы 0,2 с по ГОСТ 5072-79Е
Кулонометрический индикатор «Атмосфера-1» или
«Атмосфера-1М» по ТУ 25-05.2333-87
Самопишущий потенциометр; класс 1;
шкала 0 - 10 мВ марки КСП-4
Потенциометр показывающий с вращающимся
циферблатом КВП-503 гр. ПП68; пределы измерений
0 - 1600 °С по ГОСТ 15150-69
Барометр-анероид М-67 по ТУ 2504-1794-75
Термометр лабораторный шкальный ТЛ-2;
пределы 0 - 55 °С; цена деления 0,1 °С по ГОСТ 215-73Е
Установка компрессорная УК-25/1,6 по ТУ 64-1-2749-74
Колбы мерные по ГОСТ 1770-74Е
2-100-2 - 8 шт.
2-1000-2 - 1 шт.
Пипетки по ГОСТ 20292-74Е
4-2-1 - 1 шт.
4-2-2 - 1 шт.
2-2-5 - 3 шт.
2-2-10 - 2 шт.
3-3-20 - 1 шт.
3.3. Вспомогательные устройства
Электропечь трубчатая для микроанализа
СУОЛ-0,25.1,1/12МР-ПЗ по ТУ 16531-641-78
Преобразователь термоэлектрический
платинородий-платиновый ТПП-1378; длина 120 мм (термопара)
Резистор СП5-18 (сопротивление проволочное
переменное 0,1 кОм)
Магнитный пускатель П6-122,43 по ТУ 16.536.281-78
Лабораторные автотрансформаторы регулировочные
типов ЛАТР-1М или ЛАТР-2М по ТУ 16.517.416-69
Электрическая плитка бытовая (с закрытой спиралью)
Пинцет по ГОСТ 21241-77
3.4. Материалы
Фильтры бумажные «Ватман-40»
диаметром 7 см, импортные
Трубка кварцевая; наружный диаметр 18 - 22 мм по ГОСТ 21400-75
Фильтры аэрозольные марки АФА-В-10,
изготовитель ВО «Изотоп»
Кварцевое волокно
Кирпич легковесный шамотный по ГОСТ 5040-78
Колонка стеклянная вместимостью 100 см3
с верхним и нижним отводом
3.5. Нестандартное оборудование
Микропипетка. Для нанесения на бумажный фильтр раствора при установлении градуировочной характеристики и при анализе пробы используют микропипетку, позволяющую отмеривать 0,01 см3 жидкости. Ее изготавливают из тонкого стеклянного капилляра (с внутренним диаметром 0,5 - 1,0 мм), например, от термометра. При этом сначала определяют вместимость отрезка капилляра длиной 200 - 250 мм, а затем отрезают от него часть, имеющую нужную вместимость.
Для определения вместимости исходного капилляра его заполняют 10 %-ным раствором изопропилового спирта, прикасаясь кончиком горизонтально расположенного капилляра к висящей капле жидкости. Заполненный капилляр взвешивают. Затем, прижав кончик капилляра к кусочку фильтровальной бумаги, освобождают капилляр от жидкости и опять взвешивают его. По разности взвешиваний наполненного жидкостью и опорожненного капилляра определяют массу жидкости, выливающейся из капилляра. Длину части капилляра, позволяющего отмерить 0,01 см3 жидкости, рассчитывают по данным пяти измерений.
Расчет проводят по формуле:
где l0,01 - длина отрезка капилляра, вмещающего 0,01 см3 жидкости, мм;
la - длина исходного капилляра, мм;
m - масса жидкости, выливающейся из капилляра, г;
ρ - плотность 10 %-ного раствора изопропилового спирта, равная 0,983 г/см3 при 20 °С.
Например, масса жидкости, выливающейся из капилляра длиной 250 мм, составляет в среднем 0,025 г; тогда длину отрезка капилляра, вмещающего 0,01 см3 жидкости, рассчитывают по формуле
(4.6)
От капилляра отрезают кусок рассчитанной длины. Затем, несколько раз заполнив отрезок капилляра жидкостью и опорожнив его, определяют точную вместимость полученной микропипетки. Это значение учитывают при построении градуировочной характеристики и анализе.
Фильтр для улавливания йода. Колонку вместимостью 50 - 100 см3 заполняют кусочками поролона размером 3 - 6 мм, пропитанными раствором для улавливания иода (см. п. 7.2, перечисление 4) и отжатыми. Очищаемый воздух припускают через фильтр снизу вверх. Отработка фильтра определяется по изменению окраски поролона. После отработки половины слоя фильтр перезаряжают.
Установка для проведения анализа. Установка (черт. 4.2) состоит из вертикально расположенной кварцевой трубки 5, помещенной в трубчатую печь 4, температура которой измеряется и регулируется (на уровне 1000 °С) платинородий-платиновой термопарой 2, соединенной с автоматическим потенциометром 7. Потенциометр управляет магнитным пускателем 6, подающим питание от автотрансформатора 8 на нагревательную обмотку печи. Внутри трубки помещается слой катализатора 3 на тампоне из кварцевого волокна, поддерживаемом отрезком кварцевой трубки 1. К нижней части трубки 5 встык присоединены при помощи муфты из силиконовой трубки стеклянный стакан 13 с боковым отводом, соединенный через аэрозольный фильтр 12 с входным патрубком кулонометрической ячейки индикатора «Атмосфера-1». К выходному патрубку ячейки 11 через фильтр 10, поглощающий пары иода, присоединен фильтр грубой очистки и вся схема протягивания воздуха индикатора «Атмосфера-1» 9. В качестве побудителя расхода может быть использован также микрокомпрессор (МК), снабженный всасывающим патрубком и реометром или ротаметром. Расход воздуха устанавливается в пределах 0,8 - 0,9 дм3/мин.
Рабочий и сравнительный электроды кулонометрической ячейки, отключенные от электрической схемы индикатора «Атмосфера-1», присоединяются через подстроечный проволочный потенциометр 14, имеющий сопротивление 0,1 кОм к самопишущему потенциометру 15 на 10 мВ.
Установка работает следующим образом. Внесенный в верхнюю открытую часть кварцевой трубки 5 фильтр с пробой падает на накаленный катализатор и сгорает со вспышкой. Продукты сгорания, в том числе образовавшийся в результате термического разложения сульфатов диоксид серы, с потоком воздуха проходят через слой катализатора, где происходит дожигание несгоревших веществ и через аэрозольный фильтр 12 поступают в кулонометрическую ячейку. При наличии в потоке газа диоксида серы ячейка генерирует импульс электрического тока. Проходя через подстроечный потенциометр 14, этот ток создает соответствующее напряжение, регистрируемое самопишущим потенциометром 15 в виде пика. Высота пика пропорциональна массе сульфат-иона в пробе.
Используемый в установке катализатор при интенсивной работе (50 анализов в день) следует менять ежемесячно или чаще в случае возрастания значения нулевой пробы на 50 % по сравнению с первоначальным или в случае уменьшения значения сигнала при анализе контрольных проб с известной массой серной кислоты.
Установка для проведения анализа
3.8. Реактивы
Вода дистиллированная по ГОСТ 6709-72
Глицерин, ч. д. а. по ГОСТ 6259-75
Калия карбонат, х. ч. по ГОСТ 4221-76
Кислота серная, раствор
0,05 моль/дм3 (0,1 н.), стандарт-титр по ТУ 6-09-2540-72
Кобальта нитрата гексагидрат, ч. д. а. по ГОСТ 4528-78
Натрия тиосульфат, ч. по ТУ 6-09-1470-76
Спирт изопропиловый, х. ч. по ТУ 6-09-402-75
4. Требования безопасности
См. ч. I, п. 5.1.3.
5. Требования к квалификации оператора
См. ч. I, п. 5.1.4.
6. Условия выполнения измерений
См. ч. I, п. 5.1.14.
7. Подготовка к выполнению измерений
7.1. При подготовке к выполнению измерений должны быть проведены следующие работы: приготовление растворов, приготовление катализатора, установление градуировочной характеристики, отбор проб воздуха.
1) Вода дистиллированная. Для приготовления всех растворов применяют свежеперегнанную дистиллированную воду.
2) Серная кислота, раствор 0,05 моль/дм3 готовят из стандарт-титра.
3) Изопропиловый спирт, 10 %-ный раствор. 10 г спирта растворяют в 90 см3 воды.
4) Раствор для улавливания иода. Растворяют 20 г тиосульфата натрия и 10 г карбоната калия в 20 - 30 см3 воды, добавляют 15 см3 глицерина и доливают водой до 100 см3.
7.3. Приготовление катализатора
10 г дробленого легковесного огнеупорного кирпича (фракция 0,25 - 0,50 мм) смешивают с 20 г нитрата кобальта и высушивают периодически помешивая при температуре 150 °С. Затем массу прокаливают под тягой при температуре 700 °С в течение 2 ч. Порцию катализатора объемом 3 см3 помещают в кварцевую трубку для сожжения на тампон из кварцевого волокна, поддерживаемый снизу отрезком кварцевой трубки. Работы по приготовлению катализатора следует проводить под тягой.
Засыпанный в трубку для сожжения слой катализатора перед употреблением должен быть дополнительно прокален при температуре 1000 °С в течение 2 ч в токе воздуха. При этом воздух после катализатора должен пропускаться в обход кулонометрической ячейки во избежание ее загрязнения.
7.4. Установление градуировочной характеристики
Градуировочную характеристику, выражающую зависимость показаний самописца (высоты пика) от массы сульфатов в пробе, устанавливают по пяти точкам на основании средних арифметических значений, вычисленных из результатов измерений пяти серий растворов для установления градуировочной характеристики.
Растворы для установления градуировочной характеристики при определении концентрации аэрозоля серной кислоты и сульфатов
|
1 |
2 |
3 |
4 |
5 |
6 |
|
|
Объем раствора H2SO4 (c = 0,05 моль/дм3), см3 |
1 |
2 |
5 |
10 |
15 |
20 |
|
Масса сульфат-иона в 0,01 см3 раствора, мкг |
0,48 |
0,96 |
2,4 |
4,8 |
7,2 |
9,6 |
Их готовят в мерных колбах вместимостью 100 см3. В каждую колбу приливают 15 - 20 см3 воды, 10 см3 изопропилового спирта, раствора серной кислоты согласно табл. 4.4, доливают до метки водой и тщательно перемешивают.
Массу сульфат-иона в каждой дозе раствора, отмеренного микропипеткой, рассчитывают исходя из установленного объема микропипетки по формуле:
где m - масса сульфат-иона в отмеренной дозе, мкг;
Vм - объем микропипетки, см3;
m0,01 - масса сульфат-иона в 0,01 см3 раствора для установления градуировочной характеристики, мкг.
При установлении градуировочной характеристики градуировочные растворы наносят при помощи микропипетки (вместимостью 0,01 см3) на сектор бумажного фильтра «Ватман-40», равный 1/32 его площади. Массу сульфат-иона в нанесенной части пробы рассчитывают исходя из объема изготовленной пипетки и массы сульфат-иона в растворе для установления градуировочной характеристики.
Секторы фильтра, на которые будет наноситься раствор, помещают на пленку из фторопласта (Ф-3 или Ф-4). Микропипеткой наносят на каждый сектор раствор для градуировки. Одновременно готовят нулевую пробу, нанося на сектор фильтра 0,01 см3 10 %-ного раствора изопропилового спирта. Для каждой концентрации готовят пять проб.
При смене раствора микропипетку сначала промывают следующим раствором. Пробы просушивают на фторопластовой пленке, помещенной на 20 - 30 мин в нагретый до 50 - 100 °С сушильный шкаф и вносят в открытый конец нагретой кварцевой трубки установки (см. черт. 4.2). Через несколько минут после этого на ленте самопишущего прибора регистрируется пик, высоту которого, пропорциональную массе сульфат-иона, содержащегося в пробе, учитывают при установлении градуировочной характеристики.
7.5. Отбор проб
Для определения среднесуточной концентрации сульфатов исследуемый воздух аспирируют через фильтр с расходом 5 или 20 дм3/мин в течение 24 ч при помощи мембранного компрессора. Фильтры необходимо оберегать от загрязнения - прикасаться к фильтрам следует только пинцетом. При необходимости пересылки на анализ взвешенный фильтр сгибают пополам запыленной стороной внутрь и помещают в конверт из полиэтиленовой пленки, который запаивают. В таком виде пробы могут храниться неограниченно долго. На конверте указываются все необходимые данные о пробе (место отбора, дата, объем пробы воздуха).
8. Выполнение измерений
В лаборатории анализируемые фильтры извлекают из конверта, отрезают сектор, равный 1/32 его площади, и вносят в открытый конец нагретой до температуры 1000 °С кварцевой трубки. Через 5 - 10 мин снимают показания регистрирующего прибора.
Из каждой серии используемых чистых фильтров проводят измерение пяти нулевых проб, для чего секторы, равные 1/32 части чистого фильтра, сжигают как пробы и определяют среднее значение. Нулевую пробу и пробу с заданной массой SO42- анализируют в начале и конце каждого рабочего дня. Массу сульфат-иона в пробе определяют по разности высот пиков анализируемой и нулевой проб, пользуясь градуировочной характеристикой.
9. Вычисление результата измерений
Массовую концентрацию ρ (мкг/дм3) сульфатов в исследуемом объеме воздуха находят по формуле
где m - масса сульфат-иона в анализируемой части пробы, найденная с помощью градуировочной характеристики, мкг;
32 - коэффициент, учитывающий, что анализируют 1/32 часть фильтра;
V0 - объем пробы анализируемого воздуха, приведенный к нормальным условиям (см. формулу (4.1) методики 4.1), дм3.
Методика предназначена для определения среднесуточной концентрации металлов в атмосферном воздухе в диапазонах 2 - 100 нг/м3 для свинца и 0,2 - 5 нг/м3 для кадмия при объеме пробы 1000 м3 и в осадках в диапазонах 0,5 - 20 мкг/дм3 для свинца и 0,1 - 2 мкг/дм3 для кадмия при объеме пробы 0,5 дм3.
1. Нормы точности измерений
По результатам метрологического исследования, при определении концентрации в атмосферном воздухе свинца в диапазоне 2 - 100 нг/м3 и кадмия в диапазоне 0,2 - 5 нг/м3 и в осадках свинца в диапазоне 0,5 - 20 мкг/дм3 и кадмия в диапазоне 0,1 - 2 мкг/дм3 суммарная погрешность при доверительной вероятности 0,95 не превышает ±25 %.
2. Метод измерения
Метод основан на атомизации переведенных в раствор свинца и кадмия и воздушно-ацетиленовом пламени и на измерении поглощения резонансной линии спектра испускания лампы с полым катодом из соответствующего металла.
3. Средства измерений, вспомогательные устройства, реактивы и материалы
3.1. При выполнении измерений должны быть, применены следующие средства измерений, вспомогательные устройства, реактивы и материалы.
3.2. Средства измерений
Атомно-абсорбционный спектрофотометр
ААС-3 (производство ГДР)
Колбы мерные 2-25-2 по ГОСТ 1770-74Е
Пипетки по ГОСТ 20292-74Е
Потенциометр с термопарой или
термометр ТЛ-3 на 500 °С по ГОСТ 215-73
Электроаспиратор ЭА-3 по ТУ 25-11.1660-85
3.3. Вспомогательные устройства
Посуда
Аппарат для получения бидистиллированной воды по МРТУ 42-2028-62
Баллон с ацетиленом
Бутыли полиэтиленовые вместимостью 500 см3 по ТУ 6-19-110-78
Воронки стеклянные диаметром 50 мм по ГОСТ 23932-79Е
Груша резиновая
Лабораторный автотрансформатор по ТУ 16-677.025-84
АОСН-8-220-82
Печь муфельная ПМ-8 по ТУ 79-337-72
Плитка электрическая с песчаной баней типа
ШС-1/08-Н по ГОСТ 306-69
Пробирки градуированные с притертыми
пробками вместимостью 10 см3 по ГОСТ 1770-74Е
Редуктор ацетиленовый марки ДАП-1-65 по ГОСТ 5.1381-72
Стаканы термостойкие вместимостью 25, 50, 150 см3 по ГОСТ 10394-63
Тигли фарфоровые № 5 по ГОСТ 9147-59
Фильтры стеклянные по ГОСТ 9775-61
Цилиндры мерные вместимостью 25, 50, 100 см3 по ГОСТ 1770-74Е
Шкаф сушильный по ГОСТ 13474-70
Щипцы тигельные
3.4. Реактивы
Кадмий азотнокислый, х. ч. по ГОСТ 6262-74
Кислота азотная, конц., ос. ч. по ГОСТ 11125-78
Свинец азотнокислый, х. ч. по ГОСТ 4236-77
Стандартный образец раствора металла
ГСОРМ-1; Госреестр № 2293-82
Асбест по ТУ 6-09-4010-75
Фильтрующий материал ФПА-15-2,0 по ТУ 6-16-2334-79
4. Требования безопасности
См. ч. I, п. 5.1.3.
5. Требования к квалификации оператора
См. ч. I, п. 5.1.4.
6. Условия выполнения измерений
См. ч. I, п. 5.1.14.
7. Подготовка к выполнению измерений
7.1. Перед выполнением измерений должны быть проведены следующие работы: приготовление растворов, установление градуировочной характеристики, отбор проб воздуха и осадков.
1) Перегонка азотной кислоты. В кварцевую колбу, снабженную холодильником с водяным охлаждением, помещают 1 дм3 азотной и 10 см3 серной кислот и нагревают до кипения. Перегнанную азотную кислоту собирают в полиэтиленовую бутыль.
2) Кислота азотная, 1 %-ный (или 5 %-ный) раствор. 10 (или 50 см3) концентрированной азотной кислоты приливают в колбу вместимостью 1 дм3 и доводят до метки дистиллированной водой. Для длительного хранения кислоты используют полиэтиленовую посуду.
3) Приготовление исходных градуировочных растворов свинца и кадмия. Исходные градуировочные растворы свинца (ρ = 1 мг/см3) и кадмия (ρ = 1 мг/см3) готовят из стандартного образца или путем растворения 1,599 г Pb (NO3)2 и 1,372 г Cd (NO3)2×4H2O в небольшом количестве бидистиллированной воды и разбавлением полученного раствора в колбе вместимостью 100 см3 1 %-ной азотной кислотой. Эти растворы могут храниться в течение 5 лет.
4) Приготовление рабочих градуировочных растворов. Рабочие стандартные растворы свинца (0,5 - 5 мкг/см3) и кадмия (0,05 - 0,5 мкг/см3) готовят соответствующим разбавлением исходных растворов 1 %-ной азотной кислотой и хранят не более полугода.
5) Кислота азотная, раствор 1:1 (по объему). 500 см3 перегнанной концентрированной азотной кислоты приливают в колбу вместимостью 1 дм3 и доводят до метки дистиллированной водой. Для длительного хранения кислоты используют полиэтиленовую посуду.
7.3. Установление градуировочной характеристики
Измеряют абсорбцию излучения при введении в анализатор градуировочных растворов с концентрациями свинца (0,5 - 5 мкг/см3) при длине волны 283,3 нм и кадмия (0,05 - 0,5 мкг/см3) при длине волны 228,8 нм и устанавливают градуировочную характеристику в координатах абсорбция - концентрация металла. Выделяют линейную часть градуировочной характеристики, где сигнал пропорционален концентрации металла.
Отбор проб аэрозолей воздуха проводят электроаспиратором ЭА-3 на фильтр ФПА. При отборе используют держатель фильтра площадью 160 см2. Подготовку фильтров к работе проводят как описано в ч. I, пп. 4.4.5 и 5.1.13. Общий объем пропущенного воздуха составляет 1000 м3 при расходе 36 м3/ч.
Экспонированные фильтры складывают вчетверо и хранят в пакетах из крафт-бумаги. Срок хранения - не более 3 мес.
Отбор проб осадков для определения в них свинца и кадмия производят в соответствии с п. 3.5.
Экспонированные фильтры после отделения от марлевой основы помещают в фарфоровые тигли и озоляют в муфельной печи. Максимальная температура озоления фильтрующего материала - 430 °С. При этой температуре пробы выдерживают не менее 1 ч (до исчезновения черной массы углерода). Температуру постоянно контролируют отградуированной термопарой (или термометром на 500 °С). Тигли вынимают из муфеля, после охлаждения содержимое тиглей обрабатывают 10 см3 азотной кислоты (1:1) при нагревании на плитке, покрытой асбестом. Выпаривание не должно сопровождаться кипением. Выпаренные до влажных солей пробы охлаждают, заливают 10 см3 5 %-ной азотной кислоты, тщательно перемешивают. Раствор после отстаивания переносят в пробирку вместимостью 10 см3. Пробирки плотно закрывают притертыми пробками и маркируют с указанием номера фильтра и даты отбора. Свинец и кадмий определяют в растворе методом атомной абсорбции с атомизацией в воздушно-ацетиленовом пламени. В случае высоких концентраций измерение проводят после разбавления пробы.
В 3 - 5 неэкспонированных фильтрах из каждой партии определяют содержание свинца и кадмия. Среднее значение фона вычитают из результатов анализа.
Определение свинца и кадмия в атмосферных осадках проводят после концентрирования металлов из пробы объемом 0,5 дм3 упариванием в термостойком стакане на плитке, покрытой асбестом. Выпаривание не должно сопровождаться кипением. Выпаренную до влажных солей пробу растворяют в 10 см3 5 %-ной азотной кислоты, переносят в пробирки с притертыми пробками и маркируют с указанием даты и места отбора. Холостой пробой служит азотная кислота, использующаяся для консервации пробы.
Неполное разложение образцов, а также наличие мешающих веществ приводят к завышению концентраций свинца и кадмия за счет неселективного поглощения. Количественное определение элементов в образцах следует проводить с использованием дейтериевой лампы для коррекции фона.
9. Вычисление результата измерений
Массовую концентрацию ρ (нг/м3) металлов, содержащихся в аэрозолях воздуха, вычисляют по формуле:
(4.9)
где ρ1 - концентрация металла, определенная по градуировочной характеристике, мкг/см3;
υ - объем растворенной пробы, см3;
103 - множитель для перевода в нг;
V0 - объем пропущенного через фильтр воздуха (м3), приведенный к нормальным условиям (см. формулу (1), п. 5.1.16, ч. I).
Массовую концентрацию ρ (мкг/дм3) металлов в осадках вычисляют по формуле:
где ρ1 - концентрация металла, определенная по градуировочной характеристике, мкг/см3;
n - коэффициент концентрирования;
103 - множитель для перехода в мкг/дм3.
Методика предназначена для определения среднесуточной концентрации свинца и кадмия в атмосферном воздухе в диапазонах 0,4 - 100 нг/м3 для свинца и 0,01 - 5,0 нг/м3 для кадмия при объеме пробы 1000 м3 и в осадках в диапазонах 0,1 - 20 мкг/дм3 для свинца и 0,02 - 2 мкг/дм3 для кадмия при объеме пробы 0,5 дм3.
1. Нормы точности измерений
По результатам метрологического исследования, при определении концентрации в атмосферном воздухе свинца в диапазоне 0,4 - 100 нг/м3, кадмия в диапазоне 0,01 - 5,0 нг/м3 и в осадках свинца в диапазоне 0,1 - 20 мкг/дм3 и кадмия в диапазоне 0,02 - 2 мкг/дм3 суммарная погрешность при доверительной вероятности 0,95 не превышает ±25 %.
2. Метод измерения
Метод основан на атомизации переведенных в раствор свинца и кадмия в графитовой кювете при помощи высокотемпературного нагрева электрическим током в потоке инертного газа и на измерении поглощения резонансной линии спектра испускания лампы с полым катодом из соответствующего металла.
3. Средства измерений, вспомогательные устройства, реактивы и материалы
3.1. При выполнении измерений должны быть применены следующие средства измерений, вспомогательные устройства, реактивы и материалы.
3.2. Средства измерений
Атомно-абсорбционный спектрофотометр с электрическим
атомизатором (графитовая кювета) и корректором фона
ААС-3 (производство ГДР)
Колбы мерные 2-25-2 по ГОСТ 1770-74Е
Микропипетки со сменными наконечниками
вместимостью 10, 20, 50, 100, 500, 1000 мм3 по ГОСТ 1770-64
Пипетки по ГОСТ 20292-74Е
Потенциометр с термопарой или термометр
ТЛ-3 на 500 °С по ГОСТ 215-73
Электроаспиратор УА-3 по ТУ 25-11.1660-85
3.3. Вспомогательные устройства
Аппарат для получения бидистиллированной воды по МРТУ 42-2028-62
Баллон с аргоном по ГОСТ 10157-79
Бутыли полиэтиленовые вместимостью 500 см3 по ТУ 6-19-110-78
Воронки стеклянные диаметром 50 мм по ГОСТ 23932-79Е
Груша резиновая по ТУ 16-671.025-84
Лабораторный автотрансформатор АОСН-8-220-82
Печь муфельная ПМ-8 по ТУ 79-337-72
Плитка электрическая с песчаной баней
типа ШС-1/08-Н по ГОСТ 306-69
Пробирки градуированные с притертыми пробками
вместимостью 10 см3 по ГОСТ 1770-74Е
Редуктор для аргона марки ДКП-1-65 по ГОСТ 5.1381-72
Стаканы термостойкие вместимостью 25, 50, 100 см3 по ГОСТ 10394-63
Тигли фарфоровые по ГОСТ 9147-59
Фильтры стеклянные по ГОСТ 9775-61
Цилиндры мерные вместимостью
25, 50, 100 см3 по ГОСТ 1770-74Е
Шкаф сушильный по ГОСТ 13474-70
Щипцы тигельные
3.4. Реактивы
Кадмий азотнокислый, х. ч. по ГОСТ 6262-74
Кислота азотная, конц., ос. ч. по ГОСТ 11125-78
Свинец азотнокислый, х. ч. по ГОСТ 4236-77
Стандартный образец ГСОРМ-1; Госреестр № 2293-82
3.5. Материалы
Асбест по ТУ 6-09-4010-75
Фильтрующий материал ФПА-15-2,0 по ТУ 6-16-2334-79
4. Требования безопасности
См. ч. I, п. 5.1.3.
5. Требования к квалификации оператора
См. ч. I, п. 5.1.4.
6. Условия выполнения измерений
См. ч. I, п. 5.1.14.
7. Подготовка к выполнению измерений
7.1. Перед выполнением измерений должны быть проведены следующие работы: приготовление растворов, установление градуировочной характеристики, отбор проб воздуха.
7.2. Приготовление растворов
1) Перегонка азотной кислоты (см. методику 4.5, п. 7.2, перечисление 1).
2) Кислота азотная, 1 %-ный или 5 %-ный раствор (см. методику 4.5, п. 7.2, перечисление 2).
3) Приготовление исходных градуировочных растворов свинца и кадмия (см. методику 4.5, п. 7.2, перечисление 3).
4) Приготовление рабочих градуировочных растворов. Рабочие стандартные растворы свинца (1 - 10 нг/см3) и кадмия (0,1 - 2 нг/см3) готовят соответствующим последовательным разбавлением исходных растворов 1 %-ной азотной кислотой и хранят не более 3 сут.
5) Кислота азотная, раствор 1:1 (по объему) (см. методику 4.5, п. 7.2, перечисление 5).
7.3. Установление градуировочной характеристики
Измеряют абсорбцию излучения при введении в анализатор 20 мм3 рабочих градуировочных растворов с массовыми концентрациями свинца (1 - 10 нг/см3) при длине волны 283,3 нм и кадмия (0,1 - 2 нг/см3) при длине волны 228,8 нм в соответствии с программой устанавливают градуировочную характеристику в координатах абсорбция - концентрация металла (нг/см3). Выделяют линейную часть градуировочной характеристики, где сигнал пропорционален концентрации металла.
7.4. Отбор проб
Отбор проб аэрозолей воздуха производят в соответствии с методикой 4.5, п. 7.4; отбор проб осадкой - в соответствии с п. 3.5.
Программа определения свинца и кадмия в атмосферном воздухе
|
Сушка |
Озоление |
Атомизация |
||||
|
свинец |
кадмий |
свинец |
кадмий |
свинец |
кадмий |
|
|
Температура, °С |
85 |
85 |
150 |
150 |
2000 |
2000 |
|
Время, с |
30 |
30 |
40 |
40 |
- |
- |
8. Выполнение измерений
Обработку экспонированных и холостых фильтров производят в соответствии с методикой 4.5, п. 8.
Определение свинца и кадмия в осадках проводят без предварительного концентрирования металлов введением в графитовую кювету 20 мм3 анализируемой пробы микропипеткой со сменными пластмассовыми наконечниками. Холостой пробой служит азотная кислота, используемая для консервации проб. Свинец и кадмий определяют в растворе методом атомной абсорбции с термической атомизацией в графитовой кювете по заданной программе.
Неполное разложение образцов, а также наличие мешающих веществ приводят к завышению результатов определения свинца и кадмия за счет неселективного поглощения. Количественное определение элементов в образцах следует проводить с использованием дейтериевой лампы для коррекции фона.
9. Вычисление результата измерений
Концентрацию в осадках определяют по градуировочной характеристике, так как объем вводимой пробы и стандартных растворов одинаков (20 мм3). Массовую концентрацию (нг/м3) свинца и кадмия, содержащихся в аэрозолях воздуха, рассчитывают по формуле
где ρ1 - концентрация металла, определенная по графику, нг/см3;
V0 - объем пробы воздуха, приведенный к нормальным условиям (см. ч. I, п. 5.1.16, формулу (1)), м3;
υ - объем растворенной пробы, см3.
Методика предназначена для определения среднесуточной концентрации паров ртути в атмосферном воздухе в диапазоне 2 - 70 нг/м3 при объеме пробы 2 м3.
1. Нормы точности измерений
По результатам метрологического исследования, при определении концентрации ртути в атмосферном воздухе в диапазоне 2 - 70 нг/м3 суммарная погрешность при доверительной вероятности 0,95 не превышает ±25 %.
2. Метод измерения
Метод основан на улавливании ртути серебряным сорбентом (амальгаматором) и атомно-абсорбционном определении ее массы после термической десорбции с использованием измерительного амальгаматора.
3. Средства измерений, вспомогательные устройства, реактивы и материалы
3.1. При выполнении измерений должны быть применены следующие средства измерений, вспомогательные устройства, реактивы и материалы.
3.2. Средства измерений
Атомно-абсорбционный анализатор «Ртуть 101» по ТУ 25-05(1Е2.850.224)-79
«Рт-102» по ТУ 25-05(1Е2.850.235)-85
MAS-50 (фирма «Перкин-Элмер», США)
Ротаметры типа РМ по ГОСТ 13045-81
Барометр-анероид М-67 по ТУ 2504-1797-75
Секундомер; класс 3; цена деления
секундной шкалы 0,2 с по ГОСТ 5672-79Е
Термометр лабораторный шкальный ТЛ-2;
пределы 0 - 50 °С, цена деления 0,1 °С по ГОСТ 215-73Е
Термометр ТЛ-3, пределы 0 - 500 °С по ГОСТ 215-73Е
Шприц медицинский комбинированный
со стеклянным поршнем вместимостью 10 см3 по ТУ 64-1-378-83
Колбы мерные 2-100-2 - 3 шт. по ГОСТ 1770-74Е
3.3. Вспомогательные устройства
Баллон с газообразным азотом по ГОСТ 2405-72
Лабораторный автотрансформатор РНО-250-2А
Микрокомпрессор ВК-1 с расходом 2 дм3/мин,
настроенный на всасывание по ТУ 25-06.926-77
Полиэтиленовая бутыль вместимостью 1 дм3 с
завинчивающейся полиэтиленовой пробкой по ТУ 6-19-110-78
Редуктор кислородный ДКП-1-65 по ГОСТ 5.1381-72
Термостат
Электропечь трубчатая для микроанализа
СУОЛ-0,15-2/12 МР по ТУ 7895-68
3.4. Реактивы
Аммиак водный, ос. ч. по ГОСТ 24147-80
Калий двухромовокислый, х. ч. по ГОСТ 1220-78
Калия гидроксид, х. ч. по ГОСТ 4203-65
Кислота винная, ч. д. а. по ГОСТ 5817-77
Кислота серная, х. ч. по ГОСТ 4207-77
Магний хлорнокислый, ч. по ТУ 6-09-3880-75
Ртуть металлическая
Сахароза, х. ч. по ГОСТ 5833-75
Серебро азотнокислое, х. ч. по ГОСТ 1277-75
Спирт этиловый по ГОСТ 18300-72
3.5. Материалы
Активированный уголь
Вата кварцевая
Серебряная проволока диаметром 0,05 - 0,1 мм
Стеклянные шарики диаметром 0,9 - 1,0 мм
Трубки из кварцевого стекла диаметром 7 мм, длиной 350 мм
Шланги из силиконовой резины диаметром 6 мм по ТУ 38106152-77
4. Требования безопасности
См. ч. I, п. 5.1.3.
5. Требования к квалификации оператора
См. ч. I, п. 5.1.4.
6. Условия выполнения измерений
См. ч. I, п. 5.1.14.
7. Подготовка к выполнению измерений
7.1. Перед выполнением измерений должны быть выполнены следующие работы: приготовление растворов, изготовление посеребренных стеклянных шариков, изготовление пробоотборных амальгаматоров, контроль эффективности улавливания ртути пробоотборными амальгаматорами, изготовление и подготовка к работе измерительного амальгаматора, установление градуировочной характеристики, отбор проб.
7.2. Приготовление растворов
Для серебрения стеклянных шариков по реакции серебряного зеркала готовят следующие растворы.
1) Азотнокислое серебро, 4 %-ный раствор. 4 г азотнокислого серебра растворяют в мерной колбе вместимостью 100 см3 в дистиллированной воде и доводят водой до метки. Раствор хранят в склянке из темного стекла в темном месте.
2) Гидроксид калия, 9,5 %-ный раствор. 9,5 г гидроксида калия растворяют в мерной колбе вместимостью 100 см3 в дистиллированной воде и доводят водой до метки.
3) Винная кислота, 1,1 %-ный раствор. 1,1 г винной кислоты растворяют в мерной колбе вместимостью 100 см3 в дистиллированной воде и доводят водой до метки, раствор переносят в колбу и кипятят в течение 5 - 10 мин, охлаждают и добавляют к нему 20 см3 этилового спирта.
7.3. Изготовление посеребренных стеклянных шариков
Перед серебрением к 100 см3 4 %-ного раствора азотнокислого серебра добавляют раствор аммиака до растворения выпавшего осадка, но без избытка, затем приливают 100 см3 9,5 %-ного раствора гидроксида калия. Если при этом выпадает осадок, то добавляют по каплям раствор аммиака (без избытка) до растворения образующегося осадка. Затем полученный раствор быстро смешивают со 100 см3 1,1 %-ного раствора винной кислоты и выливают в сосуд для серебрения, в котором находятся предварительно обезжиренные хромовой смесью и тщательно промытые водой стеклянные шарики. Во время серебрения сосуд выдерживают при 70 - 80 °С на водяной бане. После серебрения раствор сливают, шарики промывают водой и сушат при комнатной температуре.
Амальгатор
1 - сорбент, содержащий серебро; 2 - стекловата; 3 - перегородка из пористого стекла.
7.4. Изготовление пробоотборных амальгаматоров
В трубку из кварцевого стекла диаметром 7 мм и длиной 350 мм помещают тампон из кварцевой ваты, засыпают 2 см3 посеребренных стеклянных шариков и фиксируют их другим тампоном из кварцевой ваты. Готовый пробоотборный амальгаматор (черт. 4.3) подвергают термической обработке в трубчатой печи при температуре 300 °С в течение 2 ч при непрерывном пропускании азота с расходом 0,5 дм3/мин. После этого пробоотборные амальгаматоры проверяют на наличие остаточных количеств ртути (см. п. 8), и в случае необходимости продолжают термическую обработку.
7.5. Контроль эффективности улавливания ртути пробоотборными амальгаматорами
Устанавливают линию из трех последовательно соединенных пробоотборных амальгаматоров, через которую и течение 24 ч пропускают воздух с расходом 1,5 дм3/мин и измеряют количество ртути на каждом амальгаматоре (см. п. 5). Затем вычисляют долю улавливания ртути (%) на первом (по ходу потока при прокачивании воздуха) амальгаматоре по отношению к общему количеству ртути на всех трех амальгаматорах. Пробоотборная трубка считается пригодной к использованию, если на ней оседает не менее 95 % ртути. Фиксируют дату его изготовления и испытания, эффективность (долю улавливания ртути) и количество циклов эксплуатации (один цикл - отбор пробы и ее измерение). Через каждые 20 циклов осуществляют повторный контроль эффективности. Чистые пробоотборные амальгаматоры после герметизации стеклянными палочками через силиконовые муфты могут храниться до одного года.
7.6. Изготовление и подготовка к работе измерительного амальгаматора.
В кварцевую трубку помещают тампон из кварцевой ваты и спирали из серебряной проволоки диаметром 0,05 - 0,10 мм (диаметр отдельной спирали 1,5 мм, длина 1 - 2 мм), которые фиксируют другим тампоном из кварцевой ваты. Новые измерительные амальгаматоры прокаливают в трубчатой печи в потоке воздуха или азота (расход 0,5 дм3/мин) при температуре 700 °С в течение 2 ч. Измерительные амальгаматоры после герметизации стеклянными палочками через силиконовые муфты могут храниться в течение года.
7.7. Установление градуировочной характеристики
Каждый измерительный амальгаматор градуируют путем внесения в него с помощью шприца дозированных количеств паров ртути. Для градуировки используют насыщенные пары ртути, находящиеся в равновесии с металлической ртутью в замкнутом сосуде при строго фиксированной температуре. В полиэтиленовую бутыль вместимостью 1 дм3 с завинчивающейся полиэтиленовой пробкой, имеющей отверстие диаметром 2 мм, наливают 15 - 25 см3 металлической ртути. Внутрь пробки помещают прокладку из вакуумной резины (можно использовать и обычную резину, но ее потребуется чаще менять) и навинчивают пробку на горловину бутылки. Бутыль выдерживают несколько часов в термостате или при комнатной температуре. Температуру измеряют термометром с ценой деления 0,1 °С. Иглу медицинского шприца вводят через отверстие в пробке и резиновую прокладку внутрь бутыли и отбирают различные объемы (от 1 до 10 см3) воздуха, насыщенного парами ртути. Отобранный объем паров ртути вводят в поток воздуха, пропускаемый через амальгаматор, путем прокалывания силиконового шланга иглой шприца и постепенным нажатием поршня. Массу ртути, внесенную в амальгаматор, вычисляют, используя данные табл. 4.5.
Зависимость массовой концентрации (ρ) насыщенного пара ртути в воздухе от температуры (t)
|
t, °С |
ρ, нг/см3 |
t, °С |
ρ, нг/см3 |
t, °С |
ρ, нг/см3 |
|
12 |
0,75 |
18 |
11,30 |
24 |
18,50 |
|
13 |
7,36 |
19 |
12,30 |
25 |
20,10 |
|
14 |
8,05 |
20 |
13,40 |
26 |
21,80 |
|
15 |
8,80 |
21 |
14,50 |
27 |
23,50 |
|
16 |
9,60 |
22 |
15,80 |
28 |
25,50 |
|
17 |
10,50 |
23 |
17,10 |
30 |
29,70 |
Примечание. Концентрацию насыщенных паров ртути для промежуточных температур рассчитывают путем линейной интерполяции.
Для проведения анализа измерительный амальгаматор соединяют последовательно с кюветой спектрофотометра, на выходе кюветы устанавливают поглотительный патрон с активированным углем для поглощения паров ртути после измерения и через систему пропускают поток очищенного от ртути воздуха или азота с расходом 0,5 дм3/мин. Затем измерительный амальгаматор вводят в предварительно нагретую до 500 °С трубчатую печь. При нагревании измерительного амальгаматора происходит выделение ртути и поступление ее в кювету спектрофотометра, при этом фиксируют максимальное значение абсорбции.
Градуировочную характеристику строят в координатах абсорбция - масса ртути в пробе.
7.8. Отбор проб
Для определения среднесуточной концентрации паров ртути исследуемый воздух аспирируют через защищенные от прямых солнечных лучей, установленные вертикально входным отверстием вниз пробоотборные амальгаматоры с расходом 1,2 - 1,5 дм3/мин в течение 24 ч.
После окончания пробоотбора амальгаматор герметизируют заглушками. Максимальный срок хранения экспонированных амальгаматоров 2 мес (в незагрязненном ртутью помещении).
Для определения концентрации ртути пробоотборный амальгаматор присоединяют силиконовым шлангом к измерительному амальгаматору (общая длина силиконовых коммуникаций 1 - 1,5 м), через систему подают азот с расходом 0,5 дм3/мин и помещают пробоотборный амальгаматор в трубчатую печь, нагретую до 300 °С. Освобождающуюся ртуть потоком азота с расходом 0,5 дм3/мин в течение 5 мин переносят на измерительный амальгаматор. Измерение проводят по поглощению излучения от ртутной лампы в области резонансной линии ртути 253,7 нм. Количество ртути в пробе определяют с помощью градуировочной характеристики.
9. Вычисление результата измерений
См. ч. I, п. 5.1.16, формулы (1), (5).
Методика предназначена для определения концентрации ртути в атмосферных осадках в диапазоне 0,05 - 10 мкг/дм3 при объеме пробы 100 см3.
1. Нормы точности измерений
По результатам метрологического исследования, при определении концентрации ртути в атмосферных осадках в диапазоне 0,05 - 10 мкг/дм3 суммарная погрешность при доверительной вероятности 0,95 не превышает ±25 %.
2. Метод измерения
Метод основан на химической обработке проб атмосферных осадков с целью минерализации органических соединений ртути и атомно-абсорбционном определении массы ртути после восстановления в растворе двухвалентной ртути до элементарного состояния хлористым оловом.
3. Средства измерений, вспомогательные устройства, реактивы и материалы
3.1. При выполнении измерений должны быть применены следующие средства измерений, вспомогательные устройства, реактивы и материалы.
3.2. Средства измерений
Атомно-абсорбционный анализатор
«Ртуть 101» по ТУ 25-05(1Е2.850.224)-79
Рт-102 по ТУ 25-05(1Е2.850.235)-85
или MAS-50 (фирма «Перкин-Элмер», США)
Весы аналитические ВЛА-200 по ГОСТ 24104-80Е
Колбы мерные 2-100-2 по ГОСТ 1770-74Е
Пипетки по ГОСТ 20292-74Е
4-2-0,5
Ротаметр с диапазоном измерений 0 - 1 дм3/мин по ГОСТ 13045-81
Цилиндры вместимостью 10, 25, 50, 100 см3 по ГОСТ 1770-74Е
3.3. Вспомогательные устройства
Аппарат для получения бидистиллированной воды по МРТУ 42-2028-62
Барботер с насадкой для продувки воздуха
Бутыль полиэтиленовая вместимостью 250, 500 см3 по ТУ 6-19-110-78
Воронки химические по ГОСТ 23932-79Е
Поглотительные трубки для перхлората магния
Шкаф сушильный по ГОСТ 13474-70
3.4. Реактивы
Гидроксиламин солянокислый, х. ч. по ГОСТ 5456-65
Дитизом, х. ч. по ГОСТ 10165-62
Калий двухромовокислый, х. ч. по ГОСТ 4220-78
Калия перманганат, х. ч. по ГОСТ 4527-65
Кислота азотная, ос. ч. по ГОСТ 11125-78
Кислота серная, х. ч. по ГОСТ 4207-77
Кислота соляная, ос. ч. по ГОСТ 3118-67
Магний хлорнокислый, ч. по ТУ 6-09-3880-75
Олово хлористое, х. ч. по ГОСТ 36-68
Ртути (II) хлорид, х. ч. по ГОСТ 4519-48
Четыреххлористый углерод, х. ч. по ГОСТ 5827-51
Активированный уголь
Вата стеклянная
Силикагель индикаторный цветной
Фильтры бумажные «красная лента»
Шланги силиконовые диаметром 6 мм по ТУ 38106152-77
4. Требования безопасности
См. ч. I, п. 5.1.3.
5. Требования к квалификации оператора
См. ч. I, п. 5.1.4.
6. Условия выполнения измерений
См. ч. I, п. 5.1.14.
7. Подготовка к выполнению измерений
7.1. Перед выполнением измерений должны быть проведены следующие работы: очистка реактивов, приготовление растворов, установление градуировочной характеристики, отбор проб атмосферных осадков.
1) Перегонка азотной (соляной) кислоты (см. методику 4.5, п. 7.2, перечисление 1).
2) Олово хлористое, 10 %-ный раствор. 11,3 г Sn Cl2×2H2O растворяют в 10 см3 горячей концентрированной соляной кислоты и доводят объем до 100 см3 бидистиллированной водой. Раствор хлорида олова перед употреблением продувают воздухом или другим газом, очищенным от ртути путем фильтрации через поглотительные трубки с активированным углем. При длительном хранении происходит окисление Sn (II) → Sn (IV) за счет кислорода воздуха. При образовании взвеси реактив непригоден для работы.
3) Гидроксиламин солянокислый, 2 %-ный раствор. 2 г реактива растворяют в 100 см3 бидистиллированной воды. При необходимости полученный раствор очищают от примеси ртути экстракцией несколькими порциями 0,05 %-ного раствора дитизона в четыреххлористом углероде.
4) Калия перманганат, 1 %-ный раствор. 1 г перманганата калия растворяют в 100 см3 бидистиллированной воды. При необходимости перманганат калия очищают перекристаллизацией.
5) Серная кислота, раствор 1:1. В стакан из термостойкого стекла вносят 50 см3 бидистиллированной воды и осторожно приливают 50 см3 концентрированной серной кислоты.
6) Азотная кислота, раствор 1:1. 50 см3 концентрированной азотной кислоты приливают в колбу вместимостью 100 см3 и доводят водой до метки.
7) Азотная кислота, 5 %-ный раствор (по объему). 5 см3 концентрированной азотной кислоты разбавляют до 100 см3 бидистиллированной водой.
8) Приготовление исходных градуировочных растворов ртути. 1,352 г хлорида ртути (II) растворяют в небольшом количестве бидистиллированной воды и разбавляют полученный раствор в колбе вместимостью 1 дм3 5 %-ной азотной кислотой. Раствор может храниться в течение 5 лет.
9) Приготовление рабочих градуировочных растворов. Рабочие градуировочные растворы ртути концентрацией 0,1 - 10 мг/дм3 готовят соответствующим разбавлением исходных растворов 5 %-ной азотной кислотой. Срок хранения - не более полугода.
7.3. Установление градуировочной характеристики
В колбах вместимостью 100 см3 готовится серия градуировочных растворов с массовыми концентрациями ртути 0,05 - 10 мкг/дм3 в 5 %-ной азотной кислоте. Растворы переносятся в барботеры, куда приливают по 1 см3 50 %-ного раствора серной кислоты и 1 %-ного раствора перманганата калия. Через 20 мин прибавляют 1 см3 2 %-ного раствора гидроксиламина солянокислого до обесцвечивания раствора. Измеряют при длине волны 253,7 нм абсорбцию излучения парами ртути, образующимися после прибавления к растворам 1 см3 10 %-ного раствора хлорида олова, которые потоком воздуха или инертного газа с расходом 0,5 дм3/мин выносятся в кювету анализатора. Устанавливают градуировочную характеристику в координатах абсорбция - концентрация ртути (мкг/дм3), выделяют ее линейную часть, где сигнал пропорционален концентрации ртути.
7.4. Отбор проб
См. п. 3.5.
8. Выполнение измерений
Перед определением ртути в атмосферных осадках проводят минерализацию содержащихся в ней ртутьорганических соединений. Для этого за сутки до анализа пробу объемом 0,1 дм3 обрабатывают добавлением 50 %-ных растворов серной и азотной кислот и 1 %-ного раствора перманганата калия (по 1 см3). Через сутки добавляют 1 см3 гидроксиламина солянокислого до обесцвечивания раствора. Пробу помещают в барботер с аэратором, добавляют 1 см3 10 %-ного раствора хлорида олова и выдувают образовавшиеся пары ртути в кювету анализатора потоком воздуха или инертного газа со скоростью 0,5 дм3/мин. Регистрируют максимальное значение сигнала. Проводят по два измерения содержания ртути в исследуемой и холостой пробах, средние значения холостой пробы вычитают из средних значений исследуемой пробы.
При низком содержании ртути в воде (< 0,05 мкг/дм3) ее концентрируют на серебряном измерительном амальгаматоре путем адсорбции паров, выдуваемых из барботера. Определение концентрации ртути производят в соответствии с п. 8 методики 4.7.
9. Вычисление результатов измерений
Концентрацию (мкг/дм3) ртути в воде определяют из соотношения
где m - масса ртути в 0,1 дм3 пробы, взятой на анализ, мкг;
10 - множитель для пересчета концентрации ртути в дм3.
Методика предназначена для определения среднесуточной концентрации изомеров 1,2,3,4,5,6-гексахлорциклогексана (α-ГХЦГ и γ-ГХЦГ), 1,2,3,4,10,10-гексахлор-1, 4; 5-8-ди(эндометилен)бицикло[4,4,0]декадиена-2,6(альдрина); 1,4,5,6,7,8,8-гептахлор-4,7-эндометиленбицикло[4,3,0]нонадиена-1,5 (гептахлора); 1,4,5,6,7,8,8-гептахлор-2,3-эпокси-4,7-эндометиленбицикло[4,3,0]нонена-5(гептахлорэпоксида); 1,2,3,4,10,10-гексахлор-6,7-эпокси-1,4,5,8-ди(эндометилен)бицикло[4,4,0]децена-2(дильдрина); 1,1-ди(4'-хлорфенил)-2,2,2-трихлорэтана (n,n’-ДДТ или ДДТ) 1,1-ди(4'-хлорфенил)-2,2-дихлорэтана (n,n’-ДДТ или ДДД) и 1,1-ди(4'-хлорфенил)-2,2-дихлорэтилена (n,n’-ДДЭ или ДДЭ) в атмосферном воздухе и атмосферных осадках. Диапазон измеряемых концентраций в воздухе составляет 0,005 - 10 нг/м3 при объеме пробы 100 - 150 м3; в осадках - 0,5 - 500 нг/дм3 при объеме пробы 1 дм3.
1. Нормы точности измерений
По экспертным оценкам, при определении концентрации хлорорганических пестицидов (ХОП) в атмосферном воздухе и осадках суммарная погрешность не превышает 25 %.
2. Метод измерения
Определение ХОП основано на поглощении их из воздуха фильтром АФА-20-ХП (фильтр улавливает аэрозольную фазу) и твердым адсорбентом силохромом С (адсорбент улавливает газовую фазу), извлечении ХОП из пробы воздуха или пробы осадков дважды перегнанным н-гексаном, последующей очистке, концентрировании экстрактов и конечном разделении и измерении методом газожидкостной хроматографии с электронно-захватным детектированием.
Содержание ХОП определяют расчетным способом по результатам газохроматографического анализа концентрированных экстрактов и градуировочных растворов ХОП. Пределы обнаружения в пробе: α-ГХЦГ и γ-ГХЦГ - 0,005 нг; альдрин, гептахлор и дильдрин - 0,05 нг; гептахлорэпоксид - 0,1 нг; ДДЭ - 0,02 нг; ДДД - 0,03 нг; ДДТ - 0,05 нг.
Мешающими веществами являются полихлорбифенилы (ПХБ) и фталаты, пределы обнаружения для которых в 20 и более раз превышают указанные для ХОП. При одновременном присутствии в пробе ХОП и ПХБ, когда содержание ПХБ существенно выше, чем содержание ХОП, их раздельное определение проводят по специальной методике.
3. Средства измерений, вспомогательные устройства, реактивы и материалы
3.1. При выполнении измерений должны быть применены следующие средства измерений, вспомогательные устройства, реактивы, материалы.
3.2. Средства измерений
Весы аналитические ВЛР-200 по ГОСТ 24104-80Е
Газовый хроматограф «Газохром-1106 Э» по ТУ 25.05-1457-73
или «Цвет-550» с электронно-захватным детектором по ТУ 1.550.150-85
Колбы мерные по ГОСТ 1770-74Е
Линейка металлическая по ГОСТ 427-56
Меры массы по ГОСТ 7328-82Е
Микрошприцы МШ-10 вместимостью 10 мм3 по ТУ 2.833.104
или фирмы «Гамильтон»
Пипетки по ГОСТ 20292-74Е
4-2-0,5
Пробирки вместимостью 5 и 10 см3 по ГОСТ 1770-74Е
Секундомер; класс 3; цена деления
секундной шкалы 0,2 с по ГОСТ 5072-79Е
Термометр ТЛ-2 по ГОСТ 215-73
Цилиндры вместимостью 25, 50, 100, 500 и 1000 см3 по ГОСТ 1770-74Е
Электроаспиратор ЭА-3 по ТУ 25-11.1660-85
3.3. Вспомогательные устройства
Аппарат для встряхивания проб АВУ-6С по ТУ 64-1-2451-78
Аппарат для получения бидистиллированной воды по МРТУ 42-2028-42-20-28-62
Аппарат для перегонки растворителей при
атмосферном давлении, состоящий из колбы
круглодонной КП 2-500-2 по ГОСТ 10394
холодильника ХСН-КШ по ГОСТ 9499-70
алонжа АИ по ТУ 25-11-2209-75
бани водяной по ТУ 46-22-608-75
Баллон азотный вместимостью 40 дм3 по ГОСТ 949-73
Баня водяная лабораторная с электрическим
подогревом по ТУ 64-1-2850-76
или БКЛ по ТУ 79-231-77
Воронки делительные вместимостью
25 - 30, 100, 250, 500, 1000, 2000 см3 по ГОСТ 23932-79Е
Воронки химические по ГОСТ 23932-79Е
Испаритель вакуумный ротационный ИР-1М по ТУ 25-11-917-76
Колбы конические с притертыми пробками
вместимостью 50, 100, 250, 500 см3 по ГОСТ 23932-79Е
Колонки стеклянные длиной 1 - 1,5 м с
внутренним диаметром 2,5 - 3 мм по ГОСТ 16285-75
Перчатки резиновые по ТУ 38106100-82
Печь муфельная ПМ-8 по ТУ 79-337-72
Плитка электрическая ШС-1/08-Н по ГОСТ 306-69
Редуктор кислородный ДКП-1-65 по ГОСТ 5.1381-72
Респиратор «Лепесток» АПАН-40 по ТУ 84-416-11-83
Сосуд цилиндрический стеклянный или
эмалированный с крышкой вместимостью 3 - 5 дм3
Установка компрессорная УК-25 по ТУ 64-1-2985-78
Холодильник (бытовой)
Шкаф сушильный по ГОСТ 13474-70
3.4. Реактивы
Гексан, ч. по ТУ 609-3375-78
Калия бихромат, х. ч. по ГОСТ 4220-75
Натрий сернокислый безводный, х. ч. по ГОСТ 4166-76
Натрий углекислый кислый, х. ч. по ГОСТ 4201-79
Серная кислоты, конц., ос. ч. по ГОСТ 1462-78
Силохром С-80 или С-120, фракция 0,35 - 0,5 мм по ТУ 6-09-17-48-74
Сорбенты для наполнения хроматографических колонок (импортные): 5 % SE-30 на хроматроне N-AW-DMCS, зернением 0,16 - 0,20 мм или 0,20 - 0,25 мм; смесь 1 % OV-1 и 1,5 % QF-1 на хромосорбе G/HP, зернением 0,149 - 0,177 мм
Спирт этиловый, ректификат по ГОСТ 18300-72
Стандартные вещества (импортные): α-ГХЦГ, γ-ГХЦГ, альдрин, гептахлор, гептахлорэпоксид, дильдрин, n,n’-ДДЭ, n,n’-ДДД, n,n’-ДДТ.
3.5. Материалы
Азот, ос. ч. по ГОСТ 9293-74
или ПНГ по ТУ 6-21-39-79
Бумага универсальная индикаторная по ТУ 6-09-1181-71
Бумага фильтровальная ФН по ГОСТ 12026-76
Вата медицинская
Фильтры АФА-ХП-20 по ТУ 95.7181-76
Фильтры «синяя лента» по ТУ 6-09-1678-77
4. Требования безопасности
См. ч. I, п. 5.1.3.
Все работы с легковоспламеняющимися и горючими веществами должны производиться под тягой и при отсутствии открытого огня. Эти вещества, а также кислоты должны храниться в толстостенных склянках с пробками и помещаться раздельно в металлические ящики (боксы) с плотно закрывающейся крышкой (дверцей). На склянках должно быть указано наименование содержимого. Особое внимание необходимо при работе с кристаллическими и жидкими ядовитыми хлорорганическими пестицидами. При их взвешивании и растворении следует пользоваться респиратором и резиновыми перчатками. В случае обнаружения утечки во время работы со сжатыми газами немедленно закрыть вентиль на баллоне и редуктор.
5. Требования к квалификации оператора
См. ч. I, п. 5.1.4.
6. Условия выполнения измерений
См. ч. I, п. 5.1.14.
7. Подготовка к выполнению измерений
7.1. Перед выполнением измерений должны быть проведены следующие работы: подготовка посуды, приготовление растворителей и растворов, подготовка хроматографа, отбор проб воздуха.
Используемую в работе химическую посуду необходимо тщательно вымыть хромовой смесью или стиральным порошком, последовательно ополоснуть водопроводной, дистиллированной водой и этиловым спиртом, а затем просушить при температуре 120 - 150 °С и прокалить при температуре 200 - 250 °С в течение 2 - 3 ч.
7.3. Подготовка растворителей и реактивов
1) Гексан подвергается двойной перегонке при атмосферном давлении.
2) Подготовка бидистиллированной воды.
Бидистиллированную воду очищают дважды перегнанным гексаном из расчета 50 см3 гексана на 1000 см3 воды. Операцию очистки проводят два раза.
3) Контроль качества очистки гексана и бидистиллированной воды выполняют путем анализа упаренного до 0,5 - 1 см3 гексанового экстракта на газовом хроматографе (холостой опыт).
4) Подготовка силохрома и сульфата натрия
Силохром и сульфат натрия промывают дважды перегнанным гексаном, просушивают при температуре 100 - 150 °С и прокаливают при температуре 250 - 300 °С в течение 3 - 4 ч.
5) Приготовление раствора бикарбоната натрия. 42 г бикарбоната натрия (кислого углекислого натрия) растворяют в 500 см3 бидистиллированной воды, общий объем доводят водой до 1 дм3 и получают раствор 0,5 моль/дм3.
6) Приготовление хромовой смеси. 50 г бихромата калия растворяют в 1000 г концентрированной серной кислоты при нагревании и получают 5 %-ный раствор.
7.4. Приготовление градуировочных растворов
1) Градуировочный раствор А. 10 мг каждого из анализируемых ХОП (взвешивают на аналитических весах) переносят количественно в мерную колбу вместимостью 100 см3 (для каждого вещества должна быть своя колба), прибавляют до метки дважды перегнанный гексан и получают раствор с массовой концентрацией ρ = 100 мкг/см3.
2) Градуировочный раствор Б (ρ = 1 мкг/см3). 10 см3 раствора А каждого вещества в мерной колбе вместимостью 100 см3 (для каждого вещества должна быть своя колба), разводят дважды перегнанным гексаном и получают раствор концентрации 1 мкг/см3.
3) Градуировочный раствор В. В одну пробирку вместимостью 10 см3 переносят пипеткой следующие количества раствора Б: 2 см3 ДДТ; 1,5 см3 ДДД; 1 см3 ДДЭ; 1 см3 дильдрина; 1,0 см3 альдрина, 1,0 см3 гептахлора; 1,0 см3 гептахлорэпоксида; 0,3 см3 α-ГХЦГ и 0,3 см3 γ-ГХЦГ, а затем к этой смеси добавляют пипеткой 0,8 см3 дважды перегнанного гексана и получают раствор концентрации (мкг/см3): ДДТ-0,2; ДДД-0,15; ДДЭ-0,1; дильдрин - 0,1; альдрин - 0,1; гептахлор - 0,1; гептахлорэпоксид - 0,1; α-ГХЦГ - 0,03 и γ-ГХЦГ - 0,03.
Градуировочный раствор В используют при работе на газовом хроматографе со шкалой электрометра 10×10-12 А и 20×10-12 А. Все приготовленные градуировочные растворы необходимо хранить только в стеклянной посуде с притертыми пробками и в холодильнике. Градуировочные растворы А и Б готовят один раз в год, раствор В - ежемесячно.
7.5. Подготовка хроматографа
Газохроматографический анализ экстрактов проводят на газовом хроматографе с электронно-захватным детектором. Для разделения компонентов ХОП используют стеклянную колонку длиной 1 - 1,5 м с внутренним диаметром 2 - 3 мм, заполненную либо смесью 1 % OV-1 и 1,5 % QF-1 на хромосорбе G/HP зернением 0,149 - 0,177 мм, либо 5 % SE-30 на хроматоне N-AW-DMCS зернением 0,125 - 0,160 мм (0,16 - 0,20 мм; 0,20 - 0,25 мм). В последнем случае пик о,п'-ДДТ практически не разделяется с пиком n,n’-ДДД, пик дильдрина с пиком n, n’-ДДЭ, пик γ-ГХЦГ с пиком β-ГХЦГ и гексабензола (ГХБ).
Заполнение колонки проводят под вакуумом путем легкого постукивания на колонке для равномерного уплотнения. Приготовленную колонку предварительно кондиционируют в потоке газа-носителя с расходом, близким к 50 см3/мин, постепенно поднимая температуру до 220 °С.
7.6. Отбор проб
Для определения концентрации ХОП в воздухе отбор проб производят путем пропускания воздуха через размещенные друг за другом фильтр АФА-ХП-20 и слой силохрома высотой не менее 1 см (в кассету с проходным диаметром 50 мм необходимо поместить не менее 20 см3 силохрома) с расходом 80 - 120 дм3/мин в течение 24 ч. Отбор проб должен проводиться на высоте 1,7 - 2 м с использованием электроаспиратора ЭА-3. В случае применения другой аспирационной установки необходимо обеспечить крепление фильтродержателя с кассетой в вертикальном положении таким образом, чтобы входное отверстие находилось на высоте 1,7 - 2 м и было ориентировано горизонтально и вверх; фильтродержатель должен иметь защитный колпак. При подготовке электроаспиратора к работе фильтр пинцетом извлекают из упаковки, помещают в бумажное разрезное кольцо и накладывают на сетку фильтродержателя. Отмеренное количество силохрома засыпают в кассету равномерным слоем, затем осуществляют закрепление фильтра в фильтродержателе прижимным устройством. После окончания экспонирования операции выполняют в обратном порядке.
Экспонированный фильтр упаковывают в конверт из крафт-бумаги или кальки (фильтр сворачивают экспонированной поверхностью внутрь), экспонированный адсорбент переносят в стеклянную баночку с герметичной пробкой. Хранят пробы в сухом помещении в затемненном месте или в холодильнике. Срок хранения - не более 3 мес. Из каждой партии фильтров и сорбентов по три неэкспонированных образца направляют в аналитическую лабораторию для определения в них фонового содержания пестицидов (холостые пробы).
Отбор декадных или месячных проб атмосферных осадков проводят с помощью осадкосборника (ручного или автоматического), снабженного эмалированным или стеклянным цилиндрическим сосудом диаметром и высотой не менее 30 см (например, эмалированная кастрюля вместимостью 3 - 5 дм3). Сосуд должен быть снабжен плотно прилегающей крышкой, которую снимают на время выпадения осадков. В стационарном режиме работы фоновой станции допускается оставлять осадкосборник открытым в течение суток, но при отсутствии осадков приемную поверхность тщательно промывают дистиллированной водой не реже одного раза в сутки.
Для получения суммарной декадной (месячной) пробы осадков проводят накопление суточных проб. Суточные осадки сливают в стеклянную бутыль вместимостью 5 - 10 дм3. Аликвоту из средней декадной (месячной) пробы объемом не менее 1 дм3 помещают в стеклянную бутыль и консервируют дважды перегнанным гексаном из расчета 20 см3 на 1 дм3 пробы осадков. Осадки в виде снега переносят в чистую посуду и переводят в жидкое состояние при комнатной температуре. Затем проводят все операции, как при обработке снежных (см. п. 3.6) проб. Законсервированные пробы хранят в холодильнике не более 3 мес.
8. Выполнение измерений
8.1. Экстракция и концентрирование
ХОП, отобранные из воздуха на фильтр и адсорбент, экстрагируют дважды перегнанным гексаном. С этой целью фильтр и адсорбент помещают отдельно в конические колбы с притертыми пробками вместимостью 250 см3, заливают 50 см3 гексана и проводят часовую холодную экстракцию на аппарате для встряхивания. Затем экстракты сливают в отгонные (грушевидные) колбы из комплекта ротационного испарителя вместимостью 100 см3, а фильтр и адсорбент вновь заливают 50 см3 гексана для проведения второй экстакции. Всего проводят не менее трех одночасовых экстракций. Все экстракты объединяют (отдельно для фильтра и адсорбента) и концентрируют на вакуумном ротационном испарителе до конечного объема 0,5 - 2 см3 со скоростью сбора отгонного конденсата не более 50 - 60 капель в минуту при температуре воды в бане не более 60 °С.
Пробу осадков (воды) объемом 1 - 2 дм3 переливают вместе с консервантом (н-гексаном) в двухлитровую делительную воронку, бутыль из-под пробы обмывают 50 см3 дважды перегнанного гексана и присоединяют к пробе. Содержание делительной воронки встряхивают в течение 15 - 20 мин. При встряхивании может образовываться эмульсия, для разрушения которой добавляют этиловый спирт-ректификат порциями по 10 см3 (до исчезновения эмульсии). После экстракции дают жидкостям расслоиться, нижний водный слой сливают обратно в бутыль, а верхний гексановый слой сливают в коническую колбу через слой безводного сульфата натрия, помещенного в химическую воронку с подложкой из обезжиренной ваты, предварительно смоченной 2 - 3 см3 гексана. Затем сульфат натрия промывают 3 - 5 см3 гексана и отжимают стеклянной пробкой.
Операцию экстракции повторяют еще два раза (по 10 - 15 мин). Для второй и третьей экстракции берут по 50 см3 гексана. После выполнения третьей экстракции делительную воронку обмывают 10 - 15 см3 гексана. Все гексановые экстракты фильтруют через сульфат натрия. Объединенные гексановые экстракты концентрируют на вакуумном ротационном испарителе до объема 0,5 - 2 см3, соблюдая требования выпаривания.
8.2. Очистка экстрактов
Экстракты проб воздуха и осадков, как правило, подвергают сернокислотной очистке. С этой целью концентрированные гексановые экстракты количественно переносят с помощью пипетки в делительную воронку вместимостью 25 - 50 см3 и добавляют концентрированную серную кислоту из расчета 3 - 5 см3 на 1 - 2 см3 экстракта; содержимое осторожно встряхивают 5 - 10 раз и оставляют до расслоения фаз. Отработанную кислоту (нижний слой) сливают. Операции очистки повторяют несколько раз до получения бесцветных экстракта и отработанной кислоты. Очищенный экстракт нейтрализуют раствором бикарбоната натрия концентрацией 0,5 моль/дм3 (2 - 3 порции по 2 см3), а затем промывают очищенной бидистиллированной водой до нейтральной реакции промывных вод. Экстракт сушат, фильтруя через слой безводного сульфата натрия. Слой осушителя тщательно промывают 5 - 7 см3 гексана и отжимают стеклянной пробкой. Высушенный экстракт концентрируют на вакуумном ротационном испарителе до объема 0,5 - 1 см3, соблюдая требования выпаривания.
8.3. Газохроматографический анализ экстрактов
Условия газохроматографического анализа
Температура
колонки 170 - 190 °С
детектора 230 - 250 °С
узла ввода пробы (испарители) 200 - 220 °С
Расход
газа-носителя (азота) на выходе из колонки 40 - 60 см3/мин
газа (азота) на поддуве детектора 50 - 100 см3/мин
Наиболее чувствительная рабочая шкала электрометра 10×10-12 А
Скорость протяжки диаграммной ленты регистратора 600 мм/ч
Объем вводимой пробы 2 - 8 мм3
Хроматограмма градуировочного раствора ХОП
Неподвижная фаза: 1 % OV-1 + 1,5 % QF-1 на хромосорбе G:
1 - н-гексан; 2 - α-ГХЦГ; 3 - γ-ГХЦГ; 4 - гептахлор; 5 - альдрин; 6 - гептахлорэпоксид; 7 - n,n-ДДЭ; 8 - дильдрин; 9 - n,n-ДДТ; 10 - n,n-ДДД; 11 - n,n-ДДТ.
Хроматограмма градуировочного раствора ХОП
Неподвижная фаза: 5 % Se-30 на хроматоне Na-AW-DMCS
1 - н-гексан; 2 - α-ГХЦГ; 3 - γ-ГХЦГ; 4 - гептахлор; 5 - альдрин; 6 - гептахлор; 7 - n,n-ДДЭ; 8 - n,n-ДДД; 9 - n,n-ДДТ; 10 - n,n-ДДТ.
Время выхода хроматографа на режим должно составлять не более 2 ч. В заданном режиме анализ одной и той же пробы проводят не менее 2 раз. В этих же условиях ежедневно (в начале, середине и конце рабочего дня) анализируют пробы градуировочного раствора В. Линейность показаний должна сохраняться в диапазоне концентраций для изомеров ГХЦГ 0,005 - 1 мкг/см3, для альдрина, гептахлора, гептахлорэпоксида и дильдрина 0,05 - 5 мкг/см3, для ДДЭ, ДДД и ДДТ 0,02 - 4 мкг/см3.
Хроматограммы градуировочного раствора В, полученные при использовании колонок с различными сорбентами, приведены на черт. 4.4, 4.5. Характеристики удерживания ХОП представлены в табл. 4.6.
Абсолютное (t) и относительное (t') время (мин) удерживания ХОП на колонках с различными неподвижными фазами
|
Неподвижная фаза |
||||
|
1 % OV-1 + 1,5 % QF-1 (температура 175 °С) |
5 % SE-30 (температура 180 °С) |
|||
|
t |
t' |
t |
t' |
|
|
н-Гексан (растворитель) |
0,2 |
- |
0,2 |
- |
|
α-ГХЦГ |
1,2 |
0,40 |
1,3 |
0,36 |
|
γ-ГХЦГ |
1,6 |
0,53 |
1,6 |
0,44 |
|
Гептахлор |
2,4 |
0,80 |
2,9 |
0,81 |
|
Альдрин |
3,0 |
1,0 |
3,6 |
1,0 |
|
Гептахлорэпоксид |
4,5 |
1,50 |
4,7 |
1,31 |
|
n,n’-ДДЭ |
6,4 |
2,13 |
7,9 |
2,19 |
|
Дильдрин |
7,1 |
2,36 |
7,9 |
2,19 |
|
o,n-ДДТ |
8,4 |
2,80 |
10,7 |
2,97 |
|
n,n’-ДДД |
9,4 |
3,13 |
10,3 |
2,86 |
|
n,n’-ДДТ |
11,6 |
3,87 |
14,0 |
3,9 |
9. Вычисление результата измерений
Определение ХОП проводят методом внешнего стандарта. Для расчета используют средние значения высот пиков анализируемых веществ. По результатам хроматографического анализа проб экстрактов массу m (нг) i-го компонента в пробе вычисляют по формуле:
где Vгр, Vпр - объемы введенного градуировочного раствора и упаренного экстракта соответственно, мм3;
ρiгр - массовая концентрация i-го компонента в градуировочном растворе, нг/мм3;
Vэкстр - конечный объем упаренного экстракта, мм3;
hiгр, hiпр - значения высот пиков i-го компонента, измеренные при анализах проб градуировочного раствора и экстракта соответственно, мм;
R1 и R2 - шкалы электрометра при регистрации i-го компонента в анализах проб градуировочного раствора и экстракта соответственно.
Массовую концентрацию ρ (нг/м3) i-го компонента в пробах атмосферного воздуха с учетом холостых опытов вычисляют по формулам:
аэрозольная составляющая
(4.14)
суммарная составляющая ρi = ρiа + ρiг, (4.16)
где miф, miадс, mфiхол, mадсiхол - массы i-го компонента, вычисленные для экстрактов фильтра и адсорбента по результатам анализов экстрактов исследуемых и холостых проб соответственно, нг;
Kiобн - коэффициент обнаружения, для изомеров ГХЦГ равный 1,2; для альдрина, гептахлора, гептахлорэпоксида и дильдрина - 1,3; для ДДТ, ДДД и ДДЭ - 1,1;
Kiул - коэффициент улавливания при отборе пробы, равный 0,95.
V0 - объем пробы воздуха, приведенный к нормальным условиям (см. ч. I, п. 5.1.16, формулу (1)).
Массовую концентрацию ρ (нг/дм3) i-го компонента в пробах осадков вычисляют по формуле:
(4.17)
где mi и miхол - массы i-го компонента в исследуемой и холостой пробах соответственно, вычисленные по формуле (4.13), нг;
V - объем пробы, дм3;
Kiобн - коэффициент обнаружения, для изомеров ГХЦГ, альдрина, гептахлора, гептахлорэпоксида и дильдрина, равный 1,4; для ДДЭ, ДДД и ДДТ - 1,3.
Методика предназначена для определения массовой концентрации 3,4-бензпирена (3,4-БП) в атмосферном воздухе незагрязненных и фоновых районов при отборе среднесуточных проб объемом до 1000 м3 в диапазоне определяемых концентраций от 1×10-5 до 1×10-9 мг/м3 и в атмосферном воздухе населенных мест при отборе пробы объемом до 20 м3 в диапазоне определяемых концентраций от 0,5×10-3 до 0,5×10-6 мг/м3.
1. Нормы точности измерений
По экспертным оценкам, при определении концентрации 3,4-БП в атмосферном воздухе в диапазоне от 1×10-9 до 0,5×10-3 мг/м3 наибольшее значение суммарной погрешности при доверительной вероятности 0,95 не превышает ±25 %.
Метод основан на улавливании 3,4-БП аэрозольным фильтром, извлечении его н-гексаном при комнатной температуре, определении массовой концентрации 3,4-БП в экстракте путем измерения интенсивности его аналитической линии 402,4 нм в спектре флуоресценции исследуемого экстракта при температуре кипения азота и возбуждении ультрафиолетовым излучением, фильтрованным монохроматором при длине волны 367,4 нм, и последующем сравнении интенсивности линии 402,4 нм с интенсивностью линии 419,2 нм в аналогичном спектре единого стандарта - н-гексанового раствора 1,12-бензперилена (1,12-БПЛ) концентрацией 1×10-8 г/см3 при том же возбуждающем излучении.
Если концентрация 3,4-БП в воздухе превышает 10-5 мг/м3 или в том случае, если интенсивность флуоресценции замороженного н-гексанового экстракта на длине волны 400,0 нм значительно превышает интенсивность флуоресценции нулевой пробы на той же длине волны, н-гексановый экстракт подвергают предварительному хроматографическому разделению и только после этого определяют в элюате концентрацию 3,4-БП.
3. Средства измерений, вспомогательные устройства, реактивы и материалы
3.1. При выполнении измерений должны быть применены перечисленные ниже средства измерений, вспомогательные устройства, реактивы и материалы.
3.2. Средства измерений
Спектрометр дифракционный люминесцентный СДЛ-2 по ГОСТ 2.106-68
или любой спектрофлуориметрический комплекс
со спектральным разрешением не менее 0,3 нм в
области 380 - 450 нм
Спектрофотометр для УФ-области спектра СФ-4
или импортный «Хитаси», Япония или «Спекорд», ГДР
Препаративный жидкостной хроматограф с колонкой
эффективностью не ниже 3000 т. т. или описанная в
методике система, состоящая из колонки 150´4 мм
с силасорбом-CN (9 мкм), резервуара для н-гексана
вместимостью 300 см3 и баллона (с редуктором) со
сжатым азотом
Весы торсионные ВТ-20 по ГОСТ 13718-68
или микроаналитические ВЛР-20 по ТУ 25-06-1315-76
Электроаспиратор ЭА-2 по ТУ 25-11.1413-78
или ЭА-2СМ по ТУ 25-11.1591-81
или ЭА-3 по ТУ 25-11.1660-85
Электроаспиратор «Кипарис»
Колба мерная 2-100-2 - 2 шт. по ГОСТ 1770-74Е
СТ СЭВ 1247-78
Пипетки мерные 4-2-1 по ГОСТ 20292-74Е
Пробирки стеклянные градуированные с притертыми
пробками вместимостью 10 и 15 см3 по ГОСТ 1770-74Е
Микрошприцы вместимостью 10, 100 и 500 мм3
(импортные)
Стаканы по ГОСТ 25336-82
3.3. Вспомогательные устройства
Аппарат для встряхивания АВУ-6-С по ТУ 64-1-24-51-78
или вибростенд ВЭДС-10, группа 1 по ГОСТ 22261-76
УФ-осветитель (на основе ртутных ламп СВД-120,
ПРК-4 или ДРШ-250) с фильтром УФС-3 (или УФС-6)
Сушильный шкаф (до 200 °С)
Аппарат перегонный с холодильником КА-104 по СТУ 30-6184-62
Колбы конические по ГОСТ 8613-64
Стеклянные воронки В 25-38 по ГОСТ 25336-82
или фильтры ВФ с пористой стеклянной пластинкой № 2 по ГОСТ 9775-69
Стеклянные пластинки размером ЭХ 12 или 13´18 см3
(для хроматографии)*
Стеклянная палочка с резиновыми валиками для
тонкослойной хроматографии*
Скальпель*
Эксикатор* по ГОСТ 6371-73
Сосуд Дьюара металлический АСД-15 или СДП-16 по ГОСТ 16024-70
Сосуд Дьюара стеклянный прозрачный, высота
200 - 250 мм, внутренний диаметр 50 - 80 мм
3.4. Реактивы
Азот жидкий
Алюминия оксид II, степень активности
по Брокману* по ТУ 6-09-3916-75
Ацетон, ч. по ГОСТ 2603-79
3-4-Бензпирен и 1,12-Бензперилен (импортные)
Вода дистиллированная по ГОСТ 6709-72
н-Гексан, ч. по ТУ 6-09-3375-78
Диметилсульфооксид (ДМСО), ч. по ТУ 6-09-3818-77
Калия бихромат по ГОСТ 4220-75
Кислота серная, ч. по ГОСТ 4204-77
Хлороформ, х. ч. по ТУ 6-09-4263-76
3.5. Материалы
Фильтры из ткани ФПП-15 или ФПА-15 с поверхностью
200 - 300 и 36 см2 или АФА-ХП-20 по ТУ 957181-76
Бумажные фильтры «синяя лента» диаметром 18,5 см,
предварительно промытые хлороформом* по ТУ 6-09-1706-77
Примечание. Вспомогательные устройства, реактивы и материалы, отмеченные звездочкой, используются только при проведении предварительного разделения гексанового экстракта пробы методом тонкослойной хроматографии.
4. Требования безопасности
Оператор должен пройти инструктаж и соблюдать все меры предосторожности при работе с канцерогенными углеводородами, летучими и пожароопасными н-гексаном и концентрированной серной кислотой. 3,4-БП - канцерогенный углеводород. Он должен храниться в холодильнике в герметично закрытом сосуде. При взятии навески необходимо пользоваться аспиратором и резиновыми перчатками.
н-Гексан и серную кислоту хранят в отдельных металлических шкафах. Ртутные и ксеноновые лампы должны находиться у местного отсоса для удаления выделяющегося озона.
Подготовка химической посуды для анализа, проведение экстракции, концентрирование или разбавление проб должны проводиться в вытяжном шкафу. При выполнении измерений концентрации 3,4-БП в атмосферном воздухе необходимо также соблюдать требования безопасности, изложенные в п. 5.1.3, ч. I.
5. Требования к квалификации оператора
Определение 3,4-БП по предложенной методике может производить оператор, имеющий опыт работы с органическими растворителями и спектральными установками. Предварительно оператор должен провести на спектрофлуориметрической установке запись и сравнение интенсивностей (Iρ) аналитической линии в спектрах флуоресценции трех н-гексановых растворов 3,4-БП (402,4 нм) с концентрациями ρ1 = 10-8, ρ2 = 10-9, ρ3 = 10-10 г/см3. Отношение интенсивностей аналитической линии в каждой паре (ρ1 - ρ2 и ρ2 - ρ3) этих растворов должно быть равно 10; отклонение от этого значения не должно превышать 10 % (δ ≤ 10 %). Например:
где Iρ1 и Iρ2 - интенсивность аналитической линии 402,4 нм в растворе с концентрацией соответственно ρ1 = 10-8 г/см3 и ρ2 = 10-9 г/см3.
Если результаты, полученные оператором, будут соответствовать изложенным требованиям, оператор может быть допущен к проведению анализа.
6. Условия выполнения измерений
См. ч. I, п. 5.1.14.
7. Подготовка к выполнению измерений
7.1. Перед выполнением измерений должны быть проведены следующие работы: подготовка растворителей и приготовление растворов, подготовка стеклянной посуды, установление градуировочной характеристики спектрометрической установки, отбор проб.
7.2. Подготовка растворителей и приготовление растворов
1) Растворители подвергают предварительной очистке с помощью медленной перегонки (скорость не более 1 см3/мин). Для этого в колбу установки для перегонки заливают 0,5 дм3 растворителя и постепенно нагревают до температуры кипения. Для контроля чистоты по 1 - 2 см3 перегнанного растворителя отливают в пробирки и рассматривают его свечение под УФ-осветителем. Если растворитель не люминесцирует, отсутствие в нем 3,4-БП контролируют на спектрометре (спектрофлуориметре). Если наблюдается небольшая люминесценция, перегонку повторяют, но более медленно.
Для проведения тонкослойной хроматографии н-гексан активируют. Для этого в цилиндр с притертой пробкой вносят 50 см3 чистого н-гексана и 2 см3 чистого диметилсульфооксида (ДМСО). Эту смесь сильно встряхивают в течение 2 - 3 мин, затем дают отстояться в течение 1 - 2 мин и верхний слой жидкости сливают в другой цилиндр. Следующую порцию чистого н-гексана для активации можно влить в тот же ДМСО, который остался в цилиндре после предыдущей активации. С помощью 2 см3 ДМСО можно активировать 2 - 3 порции н-гексана по 50 см3.
2) Хромовая смесь. В термостойкий стакан вместимостью 2 дм3 насыпают 50 г хромовокислого калия, осторожно приливают по стеклянной палочке частями, тщательно перемешивая, 1 дм3 концентрированной серной кислоты.
3) Исходные растворы 3,4-БП и 1,12-БПЛ (ρ = 10-5 г/см3). 0,005 г 3,4-БП и 0,005 г 1,12-БПЛ растворяют в двух колбах в 500 см3 н-гексана. Колбы герметично закрывают, тщательно размешивают их содержимое и оставляют на 1 сут. Затем каждый раствор еще раз тщательно перемешивают.
Для проверки концентрации приготовленных исходных растворов по 10 см3 каждого раствора 3,4-БП и 1,12-БПЛ в н-гексане (ρ ≈ 10-5 г/см3) наливают в кюветы и на спектрофотометре записывают их спектры поглощения при комнатной температуре. С учетом результатов измерений оптической плотности растворов, используя закон Ламберта-Бера и известные коэффициенты молярного погашения 3,4-БП и 1,12-БПЛ вычисляют действительную концентрацию приготовленных стандартных растворов ρ' (г/см3) по формуле:
где D - оптическая плотность при определенной длине волны;
ε - молярный коэффициент погашения;
l - толщина слоя раствора, см;
M - молекулярная масса исследуемого ПАУ.
Для 3,4-БП M = 252, для 1,12-БПЛ M = 276.
Для исходного раствора 3,4-БП оптическую плотность D определяют для длин волн в спектре поглощения: 296,0; 345,5 и 362,5 нм. Значения молярного коэффициента погашения ε для этих длин волн равны соответственно 57540; 12022,3 и 22909.
Для исходного раствора 1,12-БПЛ оптическую плотность D определяют для длин волн в спектре поглощения 329,0 и 345,0 нм. Значения молярного коэффициента погашения ε для этих длин волн равны соответственно 6607 и 10000. Затем определяют поправочный коэффициент q по формуле
Концентрацию каждого из приготовленных исходных стандартных растворов, вычисленную по формуле (4.20), можно записать как
4) Рабочие растворы 3,4-БП и 1,12-БПЛ (ρ' = 10-8 г/см3). В мерные колбы вместимостью 200,0 см3 вносят по 0,1 см3 исходных растворов 3,4-БП и 1,12-БПЛ и доводят до объема равного q×100,0 см3 н-гексаном.
Растворы 3,4-БП хранят до 1 года в холодильнике в градуированной посуде с притертой пробкой. Растворы 1,12-БПЛ хранятся несколько лет. Объем оставшегося рабочего раствора 3,4-БП и 1,12-БПЛ фиксируют специальной меткой на посуде для оценки возможного испарения растворителя в процессе хранения. Раствор 1,12-БПЛ в н-гексане с концентрацией 10-8 используют в дальнейшем в качестве единого стандарта.
5) Растворы сравнения. Для предварительной оценки суммарной концентрации объединенного н-гексанового экстракта получают нелетучий остаток после испарения н-гексана (досуха) из объединенных экстрактов большого числа проб воздуха, отобранных в разных фоновых районах или в населенных пунктах контролируемого данной лабораторией региона, дифференцированных по уровням концентрации 3,4-БП: а) < 10 нг/м3, б) 10 - 20 нг/м3, в) > 20 нг/м3. Исходная навеска каждого такого нелетучего остатка должна быть не менее 10 мг. 10 мг сухого остатка растворяют в 10 см3 н-гексана. Этот раствор, содержащий 10-3 г/см3 всех экстрагированных из пробы веществ (включая 3,4-БП), разбавляют в 10, 100, 1000 и 10000 раз, получая растворы, содержащие соответственно 10-4, 10-5, 10-6 и 10-7 г/см3.
7.3. Подготовка стеклянной посуды
Новые пробирки, пипетки, колбы, цилиндры заливают хромовой смесью на 1 ч, затем промывают водопроводной и дистиллированной водой, сушат в сушильном шкафу, ополаскивают 1 - 2 см3 перегнанного хлороформа или н-гексана, сушат. Критерием чистоты посуды является отсутствие свечения использованной порции растворителя при освещении светом от УФ-осветителя. После каждого анализа использованную посуду подвергают той же обработке. Посуду после анализа проб воздуха фоновых районов достаточно тщательно промыть несколькими порциями хлороформа без предварительной обработки хромовой смесью и также проконтролировать УФ-осветителем.
7.4. Градуировка спектрометрической (спектрофлуориметрической) установки
Пробирки
с притертыми пробками, содержащие по 2 - 4 см3 растворов 1,12-БПЛ и 3,4-БП концентрацией
1×10-8
г/см3, при перекрытом потоке УФ-излучения по очереди вставляют в
прозрачный сосуд Дьюара, наполненный жидким азотом. Спустя 2 мин открывают
доступ для УФ-излучения к замерзшему раствору и при одних и тех же параметрах
прибора (напряжение на ФЭУ, усиление, ширина щели и т.п.) записывают
попеременно аналитическую линию в квазилинейчатом спектре флуоресценции 1,12-БПЛ
в н-гексане - 419,2 нм и аналитическую полосу (состоит из пяти компонентов) в
аналогичном спектре 3,4-БП - центр тяжести полосы - 402,4 нм. Такие записи
повторяют 10 раз и вычисляют средние интенсивности (
) аналитических линий (высота максимума линии над
фоном).
Находят отношение
где KБП - коэффициент для вычисления концентрации 3,4-БП.
При неизменности интенсивности и спектрального состава потока возбуждающего излучения, постоянства места фиксации образа, формы кюветы (пробирки), ширины входной и выходной щелей монохроматоров и других параметров значение этого коэффициента постоянно. Его следует проверять не реже одного раза в месяц или при любых изменениях параметров установки.
7.5. Отбор проб
Отбор проб воздуха фоновых районов проводят на фильтры ФПП-15 с поверхностью 200 - 300 см2 или на фильтры АФА-ХП-20 с расходом воздуха 6 - 60 м3/ч, обеспечивающим объем отобранной пробы в диапазоне 100 - 1000 м3 за сутки.
Отбор проб воздуха в населенных районах проводят на фильтры из ткани ФПП-15 с поверхностью 36 см2 или АФА-ХП-20 с расходом воздуха 0,1 и 0,05 м3/мин соответственно. В населенных пунктах разовые пробы отбирают в течение 20 - 30 мин, а суточные непрерывно в течение суток или дискретно по 20 - 30 мин на один фильтр не менее 4 раз в сутки.
Экспонированные фильтры упаковывают в бумажные маркированные пакеты. Хранят пробы в сухом помещении или в холодильнике.
8. Выполнение измерений
8.1. Проведение экстракции
При анализе незагрязненного воздуха экспонированные фильтры, отделенные от марлевой основы, помещают в колбу с притертой пробкой вместимостью 0,5 дм3. В колбу заливают 30 - 50 см3 н-гексана и в течение 20 мин проводят экстракцию с помощью аппарата для встряхивания или вибростенда. Экстракт сливают в цилиндр. В колбу заливают новую порцию н-гексана. Операцию экстракции повторяют до получения экстракта, у которого отсутствует свечение под УФ-осветителем. Для контроля полноты извлечения фильтр оставляют в последней порции н-гексана на ночь в вытяжном шкафу. Свечение экстракта контролируют на следующий день. В среднем на экстракцию расходуют 100 - 150 см3 н-гексана.
При анализе загрязненного воздуха, фильтры с одного поста за весь месяц или суточную пробу складывают в колбу вместимостью 500 см3 и заливают 200 - 250 см3 н-гексана. Экстракцию проводят на вибростенде или на аппарате для встряхивания в течение 3 - 4 ч. Экстракт сливают в другую колбу, а фильтры заливают новой порцией н-гексана в количестве 200 см3. Экстракцию повторяют до полного извлечения 3,4-БП. Полноту извлечения 3,4-БП проверяют по отсутствию свечения при УФ-освещении. В среднем на экстракцию расходуют 500 - 600 см3 н-гексана.
Аналогично для каждой партии фильтров из неэкспонированных фильтров готовят нулевую пробу.
В случае необходимости экстракт подвергают предварительному хроматографическому разделению (см. п. 8.2) и анализ содержания 3,4-БП проводят в элюате после хроматографии.
8.2. Хроматографическое разделение веществ экстракта пробы
Разделение веществ экстракта пробы обязательно проводят в том случае, когда концентрации 3,4-БП в воздухе превышают 10-5 мг/м3 (10 нг/м3) или в случае наличия интенсивного диффузного фона люминесценции экстракта. (см. п. 2). Разделение веществ проводят или при помощи тонкослойной хроматографии на незакрепленном слое или при помощи препаративной жидкостной хроматографии под давлением.
Тонкослойная хроматография. На стеклянную пластинку, предварительно протертую н-гексаном, насыпают оксид алюминия II степени активности по Брокману. С помощью стеклянной палочки с резиновыми валиками толщиной 0,5 - 1 мм адсорбент раскатывают по пластинке до получения равномерного слоя. Затем 0,2 - 0,5 см3 сконцентрированного до 10-3 г/см3 (см. п. 7.2, перечисление 5) н-гексанового экстракта постепенно малыми дозами, периодически подсушивая, наносят на слой оксида алюминия по линии, отстоящей от нижнего края вертикально поставленной пластинки на 1 см, от левого и правого края на 0,5 см (линия старта). Пластинку с нанесенным по линии старта экстрактом помещают в герметически закрытую камеру или эксикатор под углом наклона приблизительно 30°. В камеру или эксикатор заранее заливают смесь н-гексана и ацетона в отношении 20:1. Пластинку в камере устанавливают так, чтобы жидкость на 0,5 см не доходила до линии старта. После того как фронт подвижной фазы на 0,5 см не дойдет до верхнего края пластинки, ее вынимают из камеры и высушивают в течение 2 мин под тягой. Слой оксида алюминия, начиная от линии, отстоящей на 1 см от линии старта, и до линии, отстоящей на 3 см от верхнего края пластинки, переносят в воронку с фильтром. 3,4-БП элюируют с адсорбента малыми порциями (по 10 см3) 50 см3 н-гексана, активированного ДМСО.
Препаративная жидкостная хроматография под давлением. Выделение фракции, содержащей 3,4-БП, проводят на установке, состоящей из металлической колонки размером 150´4 мм, наполненной адсорбентом «силасорб-CN» с размером частиц 9 мкм. В качестве элюента используется н-гексан, поступающий с помощью сжатого азота под давлением 5 атм (~ 5,1 МПа) из резервуара вместимостью 300 см3. В колонку микрошприцем вносят 10 мм3 (10-2 см3) сконцентрированного до 10-3 г/см3 и сопоставленного с растворами сравнения н-гексанового экстракта (см. п. 7.2, перечисление 5); включают систему подачи элюента. Через 4 мин в течение последующих 2 мин собирают в пробирку фракцию, содержащую 3,4-БП (1 - 1,5 см3). Полученную фракцию (элюат) подвергают спектрально-люминесцентному анализу описанным в п. 8.4 методом.
8.3. Предварительная оценка суммарной концентрации экстракта
Перед измерением необходимо ориентировочно оценить суммарную концентрацию объединенного экстракта анализируемой пробы. Для этого в пробирку с притертой пробкой отбирают 5 см3 этого экстракта и визуально под УФ-осветителем сравнивают его интегральную люминесценцию с интегральной люминесценцией специально приготовленных растворов сравнения (см. п. 7.2, перечисление 5). Если интенсивность флуоресценции анализируемой жидкости соответствует концентрации 10-5 - 10-6 г/см3, то в пробирке с притертой пробкой оставляют 2 - 4 см3 экстракта для последующего количественного определения 3,4-БП. Если она много меньше (на 2 порядка и более) или больше 10-5 г/см3, то раствор концентрируют путем упаривания при комнатной температуре с широкой поверхности или разбавляют н-гексаном.
Эту операцию можно выполнить и на флуориметре, предварительно отградуировав его по тем же растворам сравнения (см. п. 7.2, перечисление 5).
8.4. Измерение концентрации 3,4-БП
Для
определения концентрации 3,4-БП в полученном н-гексановом экстракте (элюате) 2
- 4 см3 этого раствора в пробирке с притертой пробкой1
быстро опускают в прозрачный сосуд Дьюара с жидким азотом. Поток УФ-излучения в
это время перекрывают с помощью диафрагмы или шторки. Спустя 2 мин замерзший
раствор освещают фильтрованным светом источника возбуждающего излучения. На
щели регистрирующего прибора должно получиться четкое изображение освещаемого
участка замерзшего раствора. Несколько раз поворачивая пробирку фиксируют
значение сигнала прибора, пропорционального интенсивности флуоресценции при
длине волны 402,4 нм. Максимальное значение этого сигнала свидетельствует об
оптимальной фокусировке флуоресцентного свечения анализируемого раствора на
щель спектрометра (спектрофлуориметра).
При этой фокусировке записывается аналитический максимум 3,4-БП в
области длин волн 400,0 - 403,5 нм. По результатам нескольких наблюдений
вычисляют среднее значение высоты максимума линии 402,4 нм над фоном (в мм),
соответствующее среднему значению интенсивности аналитической линии
раствора (экстракта
или элюата). Аналогично определяют среднее значение интенсивности аналитической
линии единого стандарта (419,2 нм) -
. Если фиксация всех параметров установки достаточно строга и
установка работает стабильно (флуктуации значения сигнала не превышают 10 %),
то запись аналитической линии единого стандарта можно проводить не для каждого
измерения, а только 2 - 3 раза в день - в начале, середине и конце рабочего
дня.
1 Необходима максимальная герметичность пробирки, чтобы во время процесса замораживания раствора в нее не попал воздух, который, конденсируясь, образует слой между стеклом и замерзшей жидкостью, что приблизительно на 30 % уменьшает интенсивность свечения экстракта.
9. Вычисление результата измерений
Концентрацию 3,4-БП в исследуемом объеме воздуха фоновых районов, где его содержание ниже 10-6 мг/м3 (1 нг/м3), находят по формуле:
где ρ" - концентрация 3,4-БП в воздухе, нг/м3;
KБП - коэффициент для вычисления концентрации 3,4-БП в растворе, найденный по формуле (4.22);
и
- средние интенсивности аналитических
линий соответственно 3,4-БП в экстракте и 1,12-БПЛ в растворе единого
стандарта, мм;
Vэк - общий объем полученного н-гексанового экстракта после упаривания или разбавлений перед определением, см3;
Vв - объем анализируемого воздуха, пропущенного через фильтр или часть фильтра, м3;
17 - коэффициент, представляющий собой результат умножения значений концентрации н-гексанового раствора 3,4-БП (10-8 г/см3, или 10 нг/см3), использованного для градуировки спектрометра (см. п. 7.4), и двух полученных экспериментально коэффициентов: коэффициента для компенсации спектральных эффектов (1,3) и коэффициента потерь, обусловленных неполнотой улавливания при отборе пробы и неполнотой извлечения 3,4-БП из фильтра (1,3).
При
неизменных условиях эксперимента и параметрах прибора единственной подлежащей
измерению на приборе величиной в формуле (4.23) является интенсивность
аналитической линии 3,4-БП в исследуемом экстракте -
.
При наличии 3,4-БП в неэкспонированном фильтре формулу (4.23) заменяют формулой (4.24).
(4.24)
где Q - количество 3,4-БП в неэкспонированном фильтре (нулевая проба) или части фильтра, используемой для анализа, нг.
Концентрацию 3,4-БП в исследуемом объеме воздуха районов, где его содержание находится в диапазоне 10-6 - 10-5 мг/м3 (1 - 10 нг/м3), без проведения предварительной хроматографии экстракта определяют по формуле:
(4.25)
где 14 - коэффициент (аналогичный коэффициенту «17» в формуле (4.23)), представляющий собой произведение концентрации стандартного раствора БП, равной 10 нг/см3, и результирующего коэффициента 1,4 для компенсации спектральных эффектов, а также потерь при отборе и экстракции проб.
Концентрацию 3,4-БП в исследуемом объеме воздуха после проведения предварительной хроматографии экстракта на тонком незакрепленном слое находят по формуле:
(4.26)
где
-
средняя интенсивность аналитической линии 3,4-БП в элюате после хроматографии,
мм;
Vэл - общий объем элюата, получаемого после хроматографии 0,2 - 0,5 см3 сконцентрированного н-гексанового экстракта с учетом упариваний и разбавлений перед определением, см3;
Vэк - общий объем сконцентрированного до 10-3 г/см3 н-гексанового экстракта (см. п. 7.2, перечисление 5), см3;
Vхр - объем сконцентрированного до 10 г/см3 экстракта, взятого для хроматографического разделения, см3;
16 - коэффициент, в значение которого вошли все параметры коэффициента «17» в формуле (4.23) и коэффициент потерь при хроматографии (1,2); коэффициент компенсации спектральных эффектов в этом случае равен (1,1).
Концентрацию 3,4-БП в исследуемом объеме воздуха после проведения предварительной препаративной жидкостной хроматографии под давлением по варианту, описанному в п. 8.2, находят по формуле:
(4.27)
где 12 - коэффициент, аналогичный коэффициенту 17 в формуле (4.23) и коэффициенту 14 в формуле (4.25), в котором результирующий коэффициент равен 1,2.
При записи аналитической полосы 3,4-БП (состоит из пяти максимумов: 401,4; 402,0; 402,4; 402,7; 403,0 нм) в спектре флуоресценции экстракта в ряде случаев может наблюдаться аномальное распределение интенсивности линий внутри этой полосы, а именно: максимум 402,0 нм будет существенно выше максимума на λ = 402,4 и значительно повысится интенсивность максимума на λ = 401,4 нм. В этом случае количественное определение 3,4-БП лучше проводить при длине волны возбуждающего излучения 350 нм, предварительно определив для нее новое значение KБП по формуле (4.22).
Методика предназначена для определения среднесуточной концентрации взвешенных в атмосферном воздухе частиц в диапазоне 0,4 - 150 мкг/м3 при объеме пробы 1000 м3.
1. Нормы точности измерений
По результатам метрологического исследования, при определении массовой концентрации пыли в атмосферном воздухе суммарная погрешность не превышает ±25 %.
2. Метод измерения
Определение пыли основано на улавливании взвешенных аэрозольных частиц фильтрами ФПП-15-1,5 или АФА-ХП(ВП)-160 при аспирации через них воздуха, высушивании в эксикаторе до постоянной массы и взвешивании на аналитических весах. Содержание пыли определяют по разности масс фильтра после и до экспонирования. Предел обнаружения 0,2 мг.
3. Средства измерений, вспомогательные устройства, реактивы и материалы
3.1. При выполнении измерений должны быть применены следующие средства измерений, вспомогательные устройства, реактивы и материалы.
3.2. Средства измерений
Весы аналитические ВЛР-200 по ГОСТ 24104-80Е
Меры массы по ГОСТ 7328-82Е
Электроаспиратор ЭА-3 по ТУ-25-11.1660-85
3.3. Вспомогательные устройства
Посуда
Эксикатор с вкладышем; внутренний диаметр 25 - 30 см
Пинцет металлический
Печь муфельная ПМ-8 по ТУ 79-337-72
3.4. Реактивы
Хлористый кальций плавленый по ГОСТ 4460-48
3.5. Материалы
Фильтроматериал ФПП-15-1,5 по ТУ 6-16-2334-79
Фильтры АФА-ХП(ВП)-160 по ТУ 95.7181-76
4. Требования безопасности
См. ч. I, п. 5.1.3.
5. Требования к квалификации оператора
См. ч. I, п. 5.1.4.
6. Условия выполнения измерений
См. ч. I, п. 5.1.14.
7. Подготовка к выполнению измерений
7.1. Перед выполнением измерений должны быть проведены следующие работы: подготовка эксикатора, подготовка фильтров, отбор проб воздуха.
7.2. Подготовка эксикатора
Эксикатор на одну треть заполняют свежим плавленым хлористым кальцием и вставляют вкладыш.
Для регенерации хлористого кальция насыщенный влагой хлористый кальций высыпают в фарфоровые чашки и прокаливают в муфельной печи при температуре 500 - 600 °С в течение 1 - 2 ч.
7.3. Подготовка фильтров
Фильтры вынимают из пакетов, снимают с них кальку, неплотно сворачивают вчетверо (или пополам) и на 24 ч помещают в плотно закрытый крышкой эксикатор с хлористым кальцием. Затем фильтры извлекают из эксикатора, раскладывают в комнате для взвешивания на чистом листе кальки, накрывают другим листом кальки и выдерживают в течение 1 ч, после чего каждый фильтр взвешивают, кладут между слоями кальки и помещают в бумажный пакет, на котором записывают массу фильтра.
7.4. Отбор проб аэрозолей воздуха
Отбор производят электроаспиратором ЭА-3 на фильтроматериал ФПП. При отборе используют держатель фильтра площадью 160 см2. Общий объем аспирированного воздуха при расходе 36 м3/ч составляет около 1000 м3.
Фильтры складывают пополам экспонированной поверхностью внутрь, помещают в кальку и в бумажный пакет (конверт).
8. Выполнение измерений
Экспонированный фильтр вынимают из пакета, снимают кальку, которую кладут в пустой конверт, складывают фильтр неплотно вчетверо (или пополам) и помещают в эксикатор с плавленым хлористым кальцием на 24 ч, доводя таким образом до постоянной массы. Затем фильтр вынимают из эксикатора, кладут между слоями кальки и выдерживают 1 ч при комнатной температуре (в условиях проведения взвешивания) и взвешивают на аналитических весах с точностью 0,1 мг.
9. Вычисление результатов измерений
Количество пыли в пробе определяют по разности масс экспонированного и неэкспонированного фильтров. Концентрацию пыли в воздухе ρ мкг/м3 рассчитывают по формуле
(4.28)
где m1 - объем неэкспонированного фильтра, мг;
m2 - масса экспонированного фильтра, мг;
V - объем воздуха, приведенный к нормальным условиям (см. ч. I, п 5.16, формулу (1)), м3.
Методика предназначена для определения аэрозольной мутности атмосферы (оптической плотности аэрозоля) по данным наблюдений за прямой солнечной радиацией в различных участках солнечного спектра в оптическом диапазоне 380 - 710 нм. При расчете характеристик аэрозольной мутности используются подходы, применяемые при решении обратных задач атмосферной оптики.
Для определения характеристик аэрозольного ослабления в разных странах используются различные приборы: солнечные фотометры с интерференционными узкополосными фильтрами, пиргелиометры и актинометры со стеклянными широкополосными фильтрами. В СССР на станциях фонового мониторинга для проведения наблюдений за аэрозольной мутностью в настоящее время применяется сетевой термоэлектрический актинометр М-3 с набором из пяти стеклянных фильтров отечественного производства, захватывающих спектральную область, рекомендованную руководством ВМО [28]. Характеристики светофильтров приведены ниже:
Марка................................................................... БС-8 ЖС-16 ОС-11 КС-13 КС-19
Толщина, мм.......................................................... 3 3 3 5 5
Коротковолновая граница пропускания, нм.... 380 470 530 630 710
При необходимости возможна замена светофильтров. С их помощью определяются энергетические освещенности в спектральных интервалах 380 - 470, 470 - 530, 530 - 630, 630 - 710 нм. Фильтры обладают высокой светостойкостью, значительной крутизной коротковолновой границы пропускания и хорошей прозрачностью в пропускаемой части спектра. Они установлены в пазах специальной насадки, которая надевается на трубку актинометра, и закреплены резиновыми прокладками. Насадка имеет шесть фиксированных позиций, пять из которых соответствуют измерениям с пятью сменными фильтрами, а шестая предназначена для измерения прямой солнечной радиации без светофильтра.
В случае совпадения фоновой станции с актинометрической имеется возможность использовать уже накопленный ряд наблюдений за прямой солнечной радиацией для получения интегральных характеристик мутности (коэффициента прозрачности и фактора мутности), что особенно важно при изучении вековых колебаний мутности.
Предельно допустимая погрешность рабочих средств измерений равна 3 %. Относительная погрешность определения оптических плотностей аэрозоля составляет 10 % при относительной погрешности измерений энергетической освещенности 1 % и около 20 % при относительной погрешности измерений 2 % (для оптической массы атмосферы m = 2) [9].
Требования к прибору и его установке. Спектральные измерения на станциях производятся с помощью фиксированной пары «актинометр М-3 - гальванометр ГСА-1МА». Приборы подбираются в актинометрической группе УГМ. Они должны отвечать следующим требованиям:
а) актинометр должен обладать достаточно высокой чувствительностью - не менее 10,0 мВ на 1 кВт/м2, и возможно меньшей инерцией, не более 20 секунд.
б) гальванометр должен быть хорошо уравновешен - при наклоне прибора ГСА-1МА на 5° изменение его показаний не может превышать трех делений шкалы;
в) гальванометр должен иметь плавно меняющиеся шкаловые поправки. Отбор пары проводится специалистом-актинометристом УГМ. Перед началом наблюдений приборы привозят в ГГО, где актинометр оснащают насадкой со светофильтром, а сотрудник УГМ проходит стажировку.
Затем выбранная пара поверяется в УГМ. При проведении поверки отсчеты снимаются при положении насадки на поверяемом приборе в позиции «без фильтра». Рассчитывается переводной множитель температурных поправок на основании дополнения к поверочным свидетельствам М-3 и ГСА-1МА или строится зависимость переводного множителя актинометра ai от температуры [14]. После этого приборы, снабженные поверочными свидетельствами и графиком температурной зависимости, направляются на станцию.
Актинометр с насадкой и гальванометр устанавливаются на специальном столе размером 120´70 см так, чтобы ГСА-1МА находился с севера по отношению к актинометру клеммами на юг. Гальванометр желательно поместить в защитный ящик с откидывающейся крышкой размером 25´25´15 см или использовать при наблюдениях затеняющий экран, а актинометр необходимо закрывать футляром в то время, когда наблюдения не ведутся. Особое внимание обращается на то, чтобы приборы были установлены горизонтально с помощью уровня. В период, когда высота солнца меньше 10° и наблюдения не производятся, приборы могут находиться в помещении станции.
Уход за прибором. Каждый раз перед началом наблюдений, отодвинув шторку на насадке, наблюдатель поворачивает насадку через все фиксированные положения и батистом или мягкой кистью снимает с фильтров пыль, фильтры очищаются как со стороны, обращенной к солнцу, так и со стороны наблюдателя. Один раз в месяц производится тщательный осмотр прибора. Время и результат такого осмотра должны быть отмечены в книжке наблюдений и в таблице. При этом следует отвинтить удерживающие насадку винты и снять насадку; в помещении станции насадку разобрать, аккуратно очистить все фильтры батистом, смоченным спиртом-ректификатом, а потом протереть их сухим батистом. Очищать фильтры спиртом следует и в том случае, если они сильно загрязнялись во время текущих наблюдений.
Порядок проведения наблюдений. Актинометрические наблюдения за фильтрами производятся в течение всего года ежечасно начиная с 9 ч 00 мин до 15 ч 00 мин среднего солнечного времени только в условиях малооблачной погоды при ⊙2, когда на солнечном диске и в зоне 5° вокруг солнца нет облаков, тумана или клубов дыма. Особенно важными являются сроки 9, 12, 15 ч. Если в эти сроки высота солнца ниже 10° (h⊙ < 10°), измерения не проводятся. Комплекс наблюдений включает в себя и необходимые для анализа метеорологические наблюдения.
Образец формы записи результатов спектральных наблюдений по актинометру М-3 с фильтрами в книжку КМ-12
|
Дата 11/VII |
Температура, °С |
Время, ч мин |
|
|
по смоченному |
по сухому |
||
|
Облачность 0/0 |
12,2 |
18,0 |
τm = 9 06 τ⊙ = 9 02 τn = 9 00 |
|
tгальв = 18,8 °С |
Парциальное давление водяного пара е, гПа |
9,6 гПа |
|
|
Видимость 50 км |
|||
|
Ветер направление 315° |
Точка росы |
6,0 °С |
P = 1000 гПа |
|
скорость 2 м/с |
|||
Место нуля актинометра 5,0
|
Состояние диска солнца |
Номер фильтра |
Марка фильтра |
Актинометр |
Радиация, кВт/м2 |
||
|
отсчет гальванометра |
исправленный отсчет |
|||||
|
9 00 |
⊙2 |
1 |
Без фильтра (б. ф.) |
69,7 |
64,8 |
0,85 |
|
|
|
|
|
69,7 |
|
|
|
|
|
|
|
+0,1 |
|
|
|
|
|
|
|
-5,0 |
|
|
|
|
⊙2 |
2 |
БС-8 |
60,0 |
55,1 |
0,72 |
|
|
|
|
|
59,9 |
|
|
|
|
|
|
|
+0,1 |
|
|
|
|
|
|
|
-5,0 |
|
|
|
|
⊙2 |
3 |
ЖС-16 |
52,0 |
47,1 |
0,61 |
|
|
|
|
|
52,0 |
|
|
|
|
|
|
|
+0,1 |
|
|
|
|
|
|
|
-5,0 |
|
|
|
|
⊙2 |
4 |
ОС-11 |
43,0 |
38,0 |
0,50 |
|
|
|
|
|
43,0 |
|
|
|
|
|
|
|
00 |
|
|
|
|
|
|
|
-5,0 |
|
|
|
|
⊙2 |
5 |
КС-13 |
38,0 |
32,8 |
0,43 |
|
|
|
|
|
37,8 |
|
|
|
|
|
|
|
-0,1 |
|
|
|
|
|
|
|
-5,0 |
|
|
|
9 12 |
⊙2 |
6 |
КС-19 |
32,0 |
26,9 |
0,36 |
|
|
|
|
|
32,0 |
|
|
|
|
|
|
|
-0,1 |
|
|
|
|
|
|
|
-5,0 |
|
|
Атмосферные явления = °
Примечания
Подпись наблюдателя: Егорова Проверил: Николаева
Наблюдатель производит операции в следующем порядке:
за 4 мин до срока снимает футляр и очищает фильтры, устанавливает актинометр по широте и наводит трубку актинометра на солнце по дополнительной точке визирования, которая наносится на кольцо актинометра после установления насадки с фильтрами на его трубку;
за 3 мин до срока заносит в книжку число, температуру гальванометра, количество и формы облаков, направление ветра в градусах и скорость ветра в метрах в секунду, видимость в километрах; отмечает атмосферные явления, а затем при закрытой шторке на насадке производит отсчет места нуля прибора по гальванометру и записывает его;
за 1 мин до срока, отодвинув шторку на насадке, наблюдатель проверяет положение зайчика, затем, выждав 20 с (пока установится стрелка гальванометра), точно в срок снимает показания гальванометра при открытом отверстии трубки актинометра (без фильтра), отмечает время начала отсчетов и записывает показания в книжку наблюдений;
поворачивая насадку по часовой стрелке, наблюдатель переводит ее в следующее фиксированное положение, когда отверстие трубки актинометра, направленное на солнце, закрыто белым фильтром БС-8; проверив нацеливание на солнце и выждав 20 с, снимает отсчет; продолжая поворачивать насадку по часовой стрелке и нацеливая актинометр на солнце перед каждым отсчетом, наблюдатель выполняет измерения с остальными светофильтрами в следующем порядке: ЖС-16 (желтое стекло), ОС-11 (оранжевое), КС-13 (светло-красное), КС-19 (темно-красное), а затем вновь наводит на солнце и повторяет весь цикл наблюдений в обратном порядке (от КС-19 до положения «без фильтра»); отмечает время окончания отсчетов;
закрывает шторку на насадке и футляр прибора и снимает конечное место нуля.
Для расчета абсолютной влажности следует записать показания сухого и смоченного термометров по аспирационному психрометру, установленному на высоте 2 м (если на станции производятся градиентные наблюдения) или по станционному психрометру в психрометрической будке. После этого нужно записать температуру воздуха и атмосферное давление. Продолжительность всего комплекса наблюдений занимает менее 10 мин.
Запись наблюдений производится в отдельной книжке КМ-12 или в обычной тетради по форме, представленной в табл. 5.1; неиспользованные листы могут быть изъяты.
Отсчеты по гальванометру записываются в следующем порядке: в верхней строке - 1-й отсчет, начиная с отсчета при измерении без фильтра и далее с каждым фильтром от БС-8 до КС-19 при повороте насадки по часовой стрелке, в нижней строке - 2-й отсчет при наблюдении с соответствующим фильтром и без фильтра при повороте насадки против часовой стрелки.
Запись и первичная обработка наблюдений на станции. В книжке наблюдений вычисляется среднее время наблюдений из двух отметок времени начала и конца измерений и записывается в строку τm. Так как наблюдения проводятся по среднему солнечному времени, то оно переводится в истинное солнечное время τ⊙ по формуле
и заносится в соответствующую строку книжки; поправка Δτ находится по табл. 4 приложения 5 Методических указаний по регистрации составляющих радиационного баланса [17]. В графе τn указывается местное поясное время τn, соответствующее среднему солнечному времени τm, по которому ведутся наблюдения.
По психрометрическим таблицам вычисляется влажность (парциальное давление водяного пара) и точка росы; вычисленные значения заносятся в соответствующие графы книжки наблюдений.
В графе «Отсчет гальванометра» под двумя отсчетами по актинометру при наблюдениях с фильтрами и без фильтра записываются шкаловые поправки гальванометра ΔN, соответствующие среднему из двух отсчетов, и место нуля гальванометра N0.
В графе «Исправленный отсчет» записывается Nиспр, для расчета которого к среднему из двух отсчетов актинометра прибавляется с соответствующим знаком шкаловая поправка ΔN и вычитается место нуля. Под исправленным отсчетом ΔNиспр записывается значение температурной поправки ΔN(t); поскольку переводной множитель актинометра при поверке обычно рассчитывается для температуры гальванометра 20 °С, то поправка учитывает ошибки за счет отличий температуры от 20 °С. Эта поправка определяется для каждой конкретной пары приборов в актинометрической группе УГМ и присылается на станцию в виде готовой таблицы. Под значением ΔN(t) записывается окончательное значение
Как правило, на станциях пользуются не таблицей для ΔN(t), а графиком зависимости переводного множителя актинометра с гальванометром от температуры или таблицей, составленной по этому графику. Тогда значения энергетической освещенности S получаются из следующего соотношения:
где at - переводной множитель актинометра для температуры измерений, полученной по термометру ГСА-1МА.
В последней графе книжки наблюдений последовательно записываются значения энергетической освещенности S в абсолютных единицах с точностью до сотых долей кВт/м2 при отсчете без фильтра Sбф и с каждым сменным фильтром: SБС-8, SЖС-16, SОС-11, SКС-13, SКС-19, - полученные по формуле (5.3).
Составление таблицы наблюдений по актинометру М-3 с фильтрами. В течение дежурства наблюдатель должен проверить запись в книжке и вычисления предыдущего дежурного наблюдения и после этого занести результаты наблюдений в специальную таблицу (табл. 5.2). Таблица состоит из титульного листа и страниц для записи результатов наблюдений, которые вписываются последовательно день за днем и срок за сроком в течение месяца в соответствии с обозначениями граф. На станции составляется 2 экземпляра таблицы, которые не позже 5-го числа следующего месяца вместе с книжкой наблюдений направляются для контроля в УГМ.
После контроля таблиц один экземпляр таблицы высылается в методический центр (ГГО), второй остается в УГМ.
Проверка актинометра М-3 с фильтрами. Проверка приборов должна производиться регулярно раз в месяц в соответствии с рекомендациями, приведенными в [1.17]. Новый переводный множитель актинометра с фильтрами находится при сравнении поверяемого прибора с контрольным; при этом на трубку поверяемого прибора должна быть надета насадка, но параллельные с контрольной парой отсчеты производятся только при положении насадки на поверяемом приборе в позиции «без фильтра». Смена переводного множителя производится по правилами, указанными и [17]. Результаты поверок пересылаются вместе с таблицей наблюдений в ГГО.
Государственный комитет СССР по гидрометеорологии
УГМ ______________________________________________________________________
ТАБЛИЦА
актинометрических наблюдений с фильтрами
|
Год __________________________________ Месяц _______________________________ Станция ______________________________ Высота площадки _____________________ Широта ______________________________ Долгота ______________________________ Область (республика, край) ___________________________________________________ Район _____________________________________________________________________ Начальник станции __________________________________________________________ Ст. актинометрист ___________________________________________________________ Наблюдатели _______________________________________________________________ Сведения о приборах Прибор Номер прибора Переводной множитель Актинометр Гальванометр Контрольный прибор Изменения в установке приборов ______________________________________________ ___________________________________________________________________________ Таблицу составили наблюдатели _______________________________________________ Проверил ст. актинометрист __________________________________________________ |
Расчет параметров аэрозольной мутности осуществляется централизованно на ЭВМ ГГО на основании данных, присылаемых с фоновых станций. Полученные результаты ежегодно направляются в Международный банк данных сети фонового мониторинга БАПМоН.
Применение на советских фоновых станциях актинометра М-3 с фильтрами (вместо пиргелиометра) потребовало некоторого изменения рекомендованной ВМО методики обработки наблюдений с целью уменьшения ее чувствительности к случайным ошибкам измерений. Разработанный в ГГО усовершенствованный вариант методики [20] позволяет с помощью ЭВМ определить требуемые ВМО [24, 28] параметры мутности и ряд дополнительных характеристик, позволяющих производить объективный контроль и отбраковку получаемой информации.
Суть методики сводится к следующему:
Методы определения характеристик аэрозольной мутности атмосферы основаны на представлении значений прямой радиации солнца (энергетической освещенности) Si, измеренных вблизи поверхности земли актинометром со светофильтром i (i = 1, 2, ..., r), в виде интеграла:
(5.4)
где интегрирование проводится по всем длинам волн.
Здесь S0(λ) - внеатмосферное распределение энергии Солнца по спектру;
τR(λ) и τ0z(λ) - показатели ослабления, связанные с рэлеевским рассеянием и поглощением озонным слоем;
m и m' - соответствующие им оптические массы;
N - коэффициент приведения к среднему расстоянию между Землей и Солнцем;
pi(λ) - функция пропускания i-го светофильтра;
xа(λ) - спектральный коэффициент аэрозольного пропускания.
Область интегрирования разбивается на n интервалов и вводятся в рассмотрение средние значения xk спектрального коэффициента аэрозольного пропускания на интервалах Δλk. В этом случае формула (5.4) переходит в равенство
(5.5)
где
(5.6)
Соотношение (5.5) представляет собой систему из r алгебраических уравнений, из которой определяются неизвестные значения xk. Для уменьшения влияния случайных ошибок измерений на конечный результат система (5.5) решается при условии Δλ > n, т.е. число измерений с различными фильтрами должно превышать количество спектральных интервалов. В этом случае количество уравнений больше количества неизвестных и такая система может быть решена относительно неизвестных коэффициентов xk, методом наименьших квадратов. При этом минимизируется квадратичная форма
(5.7)
Из условия минимума этой квадратичной формы
(5.8)
получается система линейных алгебраических уравнений для коэффициентов xk и на их основании рассчитываются наиболее употребительные характеристики аэрозольной мутности: оптическая плотность аэрозоля τa на разных спектральных интервалах, коэффициенты Шюппа (В) и Ангстрема (β), представляющие собой значения τa на длинах волн 0,5 и 1 мкм, параметр селективности аэрозольного ослабления α, показывающий, как меняется τa с длиной волны λ, и ряд дополнительных характеристик, позволяющих объективно производить выбраковку данных [9].
Для повышения надежности определения α используется метод регуляризации [23]. При этом в рассмотрение принимается дополнительная информация об определяемых характеристиках и конструируется регуляризатор F - неотрицательно определенная форма, минимум которой реализуется лишь при выполнении условий, соответствующих упомянутой добавочной информации. В общем случае в качестве такой информации можно принять, что имеет место закон Ангстрема
и для средних условий α = 1,3 (по Ангстрему). Решение системы уравнений относительно коэффициентов аэрозольного пропускания осуществляется, таким образом, с учетом регуляризатора F.
Используемая в СССР методика применима для обработки данных наблюдений по различным приборам, в том числе и пиргелиометрам, работающим с широкополосными фильтрами. Вследствие более высокого класса точности самого пиргелиометра и его измерительной аппаратуры характеристики мутности могут быть определены с большей надежностью.
Некоторое ограничение применению актинометров М-3 с фильтрами создают недостаточная точность работающих с ним измерителей - гальванометров ГСА-1МА. Их замена на приборы более высокого класса точности улучшает качество получаемых результатов.
Общее содержание озона (ОСО) - количество озона в вертикальном столбе атмосферы, численно равное толщине слоя газообразного озона при нормальных условиях (давлении 1013,25 гПа, температуре 288,15 К) [11].
Фоновый мониторинг должен установить особенности пространственно-временного распределения ОСО над СССР (сезонный ход, средние значения, дисперсию и т.д. для отдельных станций, регионов и всей территории), оценить естественные вариации фонового содержания и своевременно обнаружить изменения в поле ОСО, обусловленные возможными антропогенными воздействиями.
Наблюдения могут проводиться в любом пункте СССР, за исключением пунктов, где наблюдаются промышленные выбросы веществ (газов), обладающих селективным поглощением в УФ-области спектра (280 - 350 нм) [16]. Наблюдения ОСО должны проводиться в дневное время при высоте Солнца более 10°. Количество наблюдений составляет 5 - 7 сроков с часовым интервалом. Закрытость горизонта на станции - не более 10°.
Установленные нормы на точность измерений отсутствуют. Погрешности измерения действующей аппаратуры: спектрофотометра Добсона - 2 - 4 %, озонометра М-124 - 8 %.
Метод измерений - абсорбционная спектроскопия. Образцовое средство измерений - спектрофотометр Добсона № 108. Рабочее средство измерений - фильтровый озонометр М-124.
Методика выполнения измерений по спектрофотометру Добсона изложена в [27], по М-124 - в [11, 16].
Расчет значений ОСО производится согласно [27] для спектрофотометра Добсона и согласно [16] для озонометра М-124.
В настоящее время установлен рост содержания углекислого газа в атмосфере (примерно 0,5 % в год), что может привести к глобальному изменению климата Земли [5]. Изучение особенностей такого роста CO2 является основной целью мониторинга концентраций углекислого газа в атмосфере на фоновом уровне.
Определение фоновых концентраций CO2 осуществляют в местах, значительно удаленных от крупных природных и антропогенных источников и стоков CO2. Такими местами являются острова или побережья океанов. В настоящее время фоновые концентрации CO2 определяются на о. Беринга (Дальний Восток), в западном и восточном секторах Арктики и в Средней Азии. Отбор проб воздуха осуществляют в соответствии с п. 3.7 данной части, затем пробы пересылают для анализа в ГГО. Отбор производят один раз в одну - две недели при ветре с океана, когда его скорость больше 5 м/с.
При определении объемной концентрации CO2 в атмосферном воздухе суммарная погрешность при доверительной вероятности 0,95 в диапазоне 320 - 370 млн-1 не превышает ±0,1 % [4].
Метод измерения основан на поглощении ИК-радиации молекулами CO2 в пробах воздуха. В качестве измерительного прибора используют недисперсионный оптико-акустический газоанализатор (фирма «Хартман и Браун», ФРГ).
В качестве градуировочных стандартов используют смеси CO2 в воздухе, прошедшие градуировку в Центральной лаборатории мониторинга CO2 ВМО.
Отбор проб воздуха осуществляют в специальные вакуумированные сосуды объемом 1,5 л, изготовленные из нержавеющей стали с одним вакуумным бессмазочным краном.
Измерения проводят путем сравнения концентраций в пробах воздуха с градуировочными смесями. Для этого измерительную кювету газоанализатора поочередно заполняют градуировочными смесями и воздухом из сосудов. Пробы воздуха предварительно осушают, пропуская их через вымораживающую ловушку, имеющую температуру минус 77 °С [3].
Обработку результатов осуществляют централизованно в ГГО методом интерполяции. Концентрацию CO2 получают в единицах шкалы ВМО 1980 г.
Целью фонового мониторинга атмосферного электричества является обеспечение потребителей режимной информацией о наиболее общих характеристиках электрического состояния атмосферы на фоновом уровне и сведениями об антропогенном воздействии на среду.
Задачей фонового мониторинга атмосферного электричества в настоящее время является получение данных о градиенте потенциала электрического поля атмосферы и полярных электрических проводимостях воздуха в приземном слое атмосферы в пунктах, условия наблюдения в которых могут считаться типичными для географического региона [21, 26].
Наблюдения за атмосферным электричеством проводятся на станциях комплексного фонового мониторинга атмосферы по выборочному списку за счет расширения функций наблюдательных единиц. Научно-методическое руководство наблюдениями за электрическим состоянием атмосферы осуществляет Главная геофизическая обсерватория им. А.И. Воейкова. Она же является центром сбора, обработки и архивации информации по атмосферному электричеству.
Случайная составляющая погрешности измерения среднечасовых значений градиента потенциала электрического поля атмосферы и полярных электрических проводимостей выражается средней квадратической ошибкой, не превышающей ±20 %.
Измерение градиента потенциала электрического поля атмосферы производится проводимостным и генераторным методами [15, 22, 25]. Для измерения используются коллекторные установки с электрографом Бенндорфа [14] и датчики напряженности электрического поля типа «Поле» [10].
Измерение полярных электрических проводимостей производится аспирационным методом [15, 25]. Для измерения используются датчики электрической проводимости системы ГГО [19], системы «Электропроводность» и приборы системы Аллика [14]. Измерительная аппаратура не стандартизирована. Запись данных производится на ленточные регистраторы, либо входящие в комплект измерительной аппаратуры (коллекторные установки и приборы системы Аллика), либо типа КСП-4. Аппаратура типа «Поле» и «Электропроводность» пригодна для использования в комплекте со стандартными информационно-измерительными системами, имеющими аналоговый вход для подключения датчиков со входным сопротивлением порядка десятков омов и выходным напряжением ±1 В. Размещение первичных преобразователей датчиков на измерительной площадке регламентируется техническими описаниями и инструкциями по эксплуатации датчиков, «Руководством по наземным наблюдениям за атмосферным электричеством», утвержденным ГУГМС в 1960 г. и РД 52.04.168-88 («Методические указания. Наблюдения за атмосферным электричеством на станциях наземной метеорологической сети»).
Измерения градиента потенциала и полярных проводимостей производятся непрерывно. Эпизодически выполняются измерения редукционного множителя для контроля измерения градиента потенциала и приведения данных измерения градиента к равнине. Измерения выполняются согласно «Руководству по наземным наблюдениям за атмосферным электричеством» и РД 52.04.168-88. Указания по производству наблюдений, содержащиеся в упомянутых документах, являются исчерпывающими.
Обработка данных измерений производится согласно документам, перечисленным в п. 6.3., и Методическому письму ГГО № 2362/27 от 1.04.88. На пунктах производится первичная обработка лент регистраторов и перфорирование данных. Затем таблицы первичных данных контроля аппаратуры и перфокарты направляют в ГГО, где завершается обработка данных и выполняется их архивация на магнитных лентах. Кроме того, результаты измерений представляют в виде таблиц ТАЭЛ-1, содержащих массивы среднечасовых значений по каждой измеряемой и рассчитываемой величине за месяц. В таблицах отмечаются значения величин, полученных при нормальных метеорологических условиях. Их определение содержится в упомянутых документах. Представляется и необходимая метеорологическая информация.
ПРИЛОЖЕНИЯ к части I
Обязательное
1 Данный список включает списки № 3086-84 от 27.08.84 г.; № 3865-85 от 08.05.85 г.; № 4256-87 от 13.02.87 г.; № 5158-89 от 25.11.89 г.
|
Вещество |
Предельно допустимая концентрация, мг/м3 |
Класс опасности |
||
|
максимальная разовая |
среднесуточная |
|||
|
1. |
Азота диоксид |
0,085 |
0,04 |
2 |
|
2. |
Азота оксид |
0,4 |
0,06 |
3 |
|
3. |
Акролеин |
0,03 |
0,03 |
2 |
|
4. |
Акрилонитрил |
- |
0,03 |
2 |
|
5. |
Алкилдиметиламины фракции С17 - С20 |
0,01 |
- |
3 |
|
6. |
Алкилсульфат натрия |
0,01 |
- |
4 |
|
7. |
Аллил хлористый |
0,07 |
0,01 |
2 |
|
8. |
Аллилацетат (аллиловый эфир уксусной кислоты) |
0,4 |
- |
3 |
|
9. |
Альдегид бензойный (бензальдегид) |
0,04 |
- |
3 |
|
10. |
Альдегид валериановый |
0,03 |
- |
4 |
|
11. |
Альдегид изомасляный (2-метилпропаналь) |
0,01 |
- |
4 |
|
12. |
Альдегид каприловый |
0,02 |
- |
2 |
|
13. |
Альдегид каприновый |
0,02 |
- |
2 |
|
14. |
Альдегид капроновый |
002 |
- |
2 |
|
15. |
Альдегид кротоновый (β-метилакролеин, 2-бутеналь) |
0,025 |
- |
2 |
|
16. |
Альдегид масляный |
0,015 |
0,015 |
3 |
|
17. |
Альдегид пеларгоновый |
0,02 |
- |
2 |
|
18. |
Альдегид пропионовый |
0,01 |
- |
3 |
|
19. |
Альдегид энантовый |
0,01 |
- |
3 |
|
20. |
Альфа-3 (действующее начало - дихлоруксусный кальций) |
3 |
0,3 |
4 |
|
21. |
Амбуш |
0,05 |
0,02 |
3 |
|
22. |
н-Амилацетат |
0,1 |
0,1 |
4 |
|
23. |
Амилены (смесь изомеров) |
1,5 |
1,5 |
4 |
|
24. |
Аммония нитрат (аммиачная селитра) |
- |
0,3 |
4 |
|
25. |
Аммофос (смесь моно- и диаммоний фосфата с примесью сульфата аммония) |
2 |
0,2 |
4 |
|
26. |
5/6-Амино-(2-парааминофенил)-бензимидазол |
- |
0,01 |
3 |
|
27. |
Амины алифатические С15 - С20 |
0,003 |
0,003 |
2 |
|
28. |
2-Амино-1,3,5-триметилбензол (мезидин) |
0,003 |
0,003 |
2 |
|
29. |
Аммиак |
0,2 |
0,04 |
4 |
|
30. |
Ангидрид вольфрамовый (вольфрама (IV) оксид) |
- |
0,15 |
3 |
|
31. |
Ангидрид малеиновый (пары, аэрозоль) |
0,2 |
0,05 |
2 |
|
32. |
Ангидрид сернистый (серы диоксид) |
0,5 |
0,05 |
3 |
|
33. |
Ангидрид уксусный |
0,1 |
0,03 |
3 |
|
34. |
Ангидрид фосфорный |
0,15 |
0,05 |
2 |
|
35. |
Ангидрид фталевый (пары, аэрозоль) |
0,1 |
0,1 |
2 |
|
36. |
Анилин |
0,05 |
0,03 |
2 |
|
37. |
Арилокс-190 |
0,5 |
0,15 |
4 |
|
38. |
Арилокс-200 |
0,5 |
0,15 |
4 |
|
39. |
Ацетальдегид |
0,01 |
0,01 |
3 |
|
40. |
Ацетон |
0,35 |
0,35 |
4 |
|
41. |
Ацетофенон |
0,003 |
0,003 |
3 |
|
42. |
Бактериальный инсектицидный препарат (БИП) (действующее начало - спорово-кристаллический комплекс бациллус туренгиензис, вариант кауказикус) |
- |
1,5×105 микробных тел/м3 (0,005 мг/м3) |
2 |
|
43. |
Барий углекислый (в пересчете на барий) |
- |
0,004 |
1 |
|
44. |
Белок пыли белково-витаминного концентрата (БВК) |
- |
0,001 |
2 |
|
45. |
Бенз(а)пирен (3,4-бензпирен) |
- |
0,1 мкг/100 м3 |
1 |
|
46. |
Бензилацетат |
0,01 |
- |
4 |
|
47. |
Бензин (нефтяной, малосернистый, в пересчете на углерод) |
5 |
1,5 |
4 |
|
48. |
Бензин сланцевый (в пересчете на углерод) |
0,05 |
0,05 |
4 |
|
49. |
Бензиновая фракция легкой смолы высокоскоростного пиролиза бурых углей1 (в пересчете на суммарный органический углерод) |
0,25 |
- |
2 |
|
1 Характерна для углей Канско-Ачинского месторождения. |
||||
|
50. |
Бензол |
1,5 |
0,1 |
2 |
|
51. |
Бензотиазолилсульфенморфолид (сульфенамид М) |
0,1 |
0,02 |
3 |
|
52. |
Бензотрифторид |
0,3 |
- |
4 |
|
55. |
Битоксибациллин |
|
4,5×104 микробных тел/м3 (0,0015 мг/м3) |
2 |
|
54. |
Биоресметрин |
0,09 |
0,04 |
3 |
|
55. |
Борат кальция |
- |
0,02 |
3 |
|
56. |
Бром |
- |
0,04 |
2 |
|
57. |
о-Броманизол |
1 |
- |
4 |
|
58. |
Бромбензол |
- |
0,03 |
2 |
|
59. |
1-Бромбутан (бутил бромистый) |
0,03 |
0,01 |
2 |
|
60. |
1-Бромгексан (гексил бромистый) |
0,03 |
0,01 |
2 |
|
61. |
1-Бромгептан (гептил бромистый) |
0,03 |
0,01 |
2 |
|
62. |
1-Бромдекан (децил бромистый) |
0,03 |
0,01 |
2 |
|
63. |
1-Бром-3-метилбутан (изоамил бромистый) |
0,03 |
0,01 |
2 |
|
64. |
1-Бром-3-метилпропан (изобутил бромистый) |
0,03 |
0,01 |
2 |
|
65. |
1-Бромпропан (пропил бромистый) |
0,03 |
0,01 |
2 |
|
66. |
2-Бромпропан (изопропил бромистый) |
0,03 |
0,01 |
2 |
|
67. |
1-Бромпентан (амил бромистый) |
0,03 |
0,01 |
2 |
|
68. |
о-Бромфенол |
0,13 |
0,03 |
2 |
|
69. |
п-Бромфенол |
0,13 |
0,03 |
2 |
|
70. |
Бутан |
200 |
- |
4 |
|
71. |
1,3-Бутадиен (дивинил) |
3 |
1 |
4 |
|
72. |
Бутил хлористый |
0,07 |
- |
1 |
|
73. |
Бутилакрилат (бутиловый эфир акриловой кислоты) |
0,0075 |
- |
2 |
|
74. |
Бутилацетат |
0,1 |
0,1 |
4 |
|
75. |
Бутилен |
3 |
3 |
4 |
|
76. |
2-Бутилтиобензтиазол (бутилкаптакс) |
0,015 |
- |
3 |
|
77. |
Ванадия (V) оксид |
- |
0,002 |
1 |
|
78. |
Взвешенные вещества1 |
0,5 |
0,15 |
3 |
|
1 Недифференцированная по составу пыль (аэрозоль), содержащаяся в воздухе населенных пунктов. ПДК взвешенных веществ не распространяются на аэрозоли органических и неорганических соединений (металлов, их солей, пластмасс, биологических, лекарственных препаратов и др.), для которых устанавливаются соответствующие ПДК. |
||||
|
79. |
Винилацетат |
0,15 |
0,15 |
3 |
|
80. |
Висмута оксид |
- |
0,05 |
3 |
|
81. |
Водород бромистый |
1 |
0,1 |
3 |
|
82. |
Водород мышьяковистый |
- |
0,002 |
2 |
|
83. |
Водород фосфористый |
0,01 |
0,001 |
2 |
|
84. |
Водород хлористый (соляная кислота) по молекуле HCl |
0,2 |
0,2 |
2 |
|
85. |
Водород цианистый (синильная кислота) |
- |
0,01 |
2 |
|
86. |
Вольфрамит натрия (в пересчете на вольфрам) |
- |
0,1 |
3 |
|
87. |
Гексаметилендиамин |
0,001 |
0,001 |
2 |
|
88. |
Гексаметиленимин |
0,1 |
0,02 |
2 |
|
89. |
Гексаметиленимин м-нитробензоат (ингибитор коррозии Г-2) |
0,02 |
- |
3 |
|
90. |
Гексан |
60 |
- |
4 |
|
91. |
Гексафторбензол |
0,8 |
0,1 |
2 |
|
92. |
1,2,3,4,7,7-Гексахлорбицикло-(2,2,1)-гептен-2,5,6-бис (оксиметил) сульфит (тиодап) |
0,017 |
0,0017 |
2 |
|
93. |
Гексахлорциклогексан (гексахлоран) |
0,03 |
0,03 |
1 |
|
94. |
Гексен |
0,4 |
0,085 |
3 |
|
95. |
Гексилацетат |
0,1 |
- |
4 |
|
96. |
Гептен |
0,35 |
0,065 |
3 |
|
97. |
Германия диоксид (в пересчете на германий) |
- |
0,04 |
3 |
|
98. |
Гидропероксид изопропилбензола (гидроперекись кумила) |
0,007 |
0,007 |
2 |
|
99. |
Дендробациллин |
- |
3×104 микробных тел/м3 |
2 |
|
100. |
Диамид угольной кислоты (карбамид, мочевина) |
- |
0,2 |
4 |
|
101. |
4,4-Диаминодифенилсульфон |
- |
0,05 |
3 |
|
102. |
Диангидрид пиромеллитовой кислоты |
0,02 |
0,01 |
2 |
|
103. |
2,2-Дибензтиазолилдисульфид (альтакс) |
0,08 |
0,03 |
3 |
|
104. |
п-Дибромбензол |
0,2 |
- |
2 |
|
105. |
1,2-Дибромпропан |
0,04 |
0,01 |
3 |
|
106. |
1,2-Дибромпропанол |
0,003 |
0,001 |
2 |
|
107. |
2,4-Дибромтолуол |
0,4 |
0,1 |
2 |
|
108. |
β-Дигидрогептахлор (дилор) |
0,01 |
- |
2 |
|
109. |
1,1-Дигидроперфторгептилакрилат |
0,5 |
- |
3 |
|
110. |
Дикетен |
0,007 |
- |
2 |
|
111. |
1,3-Ди-(2, 4-ксилимино)-2-метил-2-азопропан (митак) |
0,1 |
0,01 |
3 |
|
112. |
Диметиламин |
0,005 |
0,005 |
2 |
|
113. |
N,N-Диметиланилин |
0,0055 |
0,0055 |
2 |
|
114. |
N,N-Диметилацетамид |
0,2 |
0,006 |
2 |
|
115. |
0,0-Диметил-S-(1,2-бис - карботоксиэтилдитиофосфат) (карбофос) |
0,015 |
- |
2 |
|
116. |
Диметилвинилкарбинол |
1 |
- |
3 |
|
117. |
4,4-Диметилдтоксан-1,3 |
0,01 |
0,004 |
2 |
|
118. |
Диметилдисульфид |
0,7 |
- |
4 |
|
119. |
0,0-Диметил-S-(N-метилкарбамоилметил) дитиофосфат (фосфамид, рогор) |
0,003 |
0,003 |
2 |
|
120. |
0,0-Диметил-S-2(1-N-метилкарбамоилэтилтиоэтил-фосфат) (кильваль) |
0,01 |
0,01 |
2 |
|
121. |
0,0-Диметил-S-(N-метил-N-формилкарбамоилметил) дитиофосфат (антио) |
0,01 |
0,01 |
3 |
|
122. |
0,0-Диметил-0-(4-нитрофенил) тиофосфат (метафос) |
0,008 |
- |
1 |
|
123. |
0,0-Диметил-(1-гидрокси-2,2,2-трихлорэтил) фосфонат (хлорофос) |
0,04 |
0,02 |
2 |
|
124. |
Диметилсульфид |
0,08 |
- |
4 |
|
125. |
Диметилтерефталат |
0,05 |
0,01 |
2 |
|
126. |
2,6-Диметилфенол (2,6-ксиленол) |
0,02 |
0,01 |
3 |
|
127. |
Диметилформамид |
0,03 |
0,03 |
2 |
|
128. |
Диметилэтаноламин |
0,25 |
0,06 |
4 |
|
129. |
0,0-Диметил-S-этилмеркаптоэтилдитиофосфат (М-81, экатин) |
0,001 |
0,001 |
1 |
|
130. |
Диморфолиндисульфид (N,N'-дитиодиморфолин, сульфазан Р) |
0,04 |
- |
2 |
|
131. |
Динил (смесь 25 % дифенила и 75 % дифенилоксида) |
0,01 |
0,01 |
3 |
|
132. |
Дифторхлорметан (фреон-22) |
100 |
10 |
4 |
|
133. |
3,4-Дихлоранилин |
0,01 |
0,01 |
2 |
|
134. |
4,4-Дихлордифенилсульфон |
- |
0,1 |
3 |
|
135. |
4,1-Дихлордифенилтрихлорметил карбинол (кельтан) |
0,2 |
0,02 |
2 |
|
136. |
Дихлордифторметан (фреон-12) |
100 |
10 |
4 |
|
137. |
2,3-Дихлор-1,4-нафтахинон (дихлон) |
0,05 |
0,05 |
2 |
|
138. |
1,2-Дихлорпропан |
- |
0,18 |
3 |
|
139. |
2,3-Дихлорпропен |
0,2 |
0,06 |
3 |
|
140. |
1,3-Дихлорпропилен |
0,1 |
0,01 |
2 |
|
141. |
Дихлорфторметан (фреон-21) |
100 |
10 |
4 |
|
142. |
Дихлорэтан |
3 |
1 |
2 |
|
143. |
Дициклогексиламина малорастворимая соль (ингибитор коррозии МСДА) |
0,008 |
- |
2 |
|
144. |
Дициклогексиламина нитрит (ингибитор коррозии НДА) |
0,02 |
- |
2 |
|
145. |
Диэтиламин |
0,05 |
0,05 |
4 |
|
146. |
β-Диэтиламиноэтилмеркаптан |
0,6 |
0,6 |
2 |
|
147. |
N,N-Диэтиланилин |
0,01 |
- |
4 |
|
148. |
0,0-Диэтил-0-(2-изопропил-4-метил-6-пиримидил) - тиофосфат (базудин) |
0,01 |
0,01 |
2 |
|
149. |
Диэтиловый эфир |
1 |
0,0 |
4 |
|
150. |
Диэтилкетон |
0,5 |
0,3 |
3 |
|
151. |
Диэтилртуть (в пересчете на ртуть) |
- |
0,0003 |
1 |
|
152. |
0,0-Диэтил-S-(6-хлорбензоксазонилин-3-метил) дитиофосфат (фозалон) |
0,01 |
0,01 |
2 |
|
153. |
Диэтилхлортиофосфат |
0,025 |
0,01 |
2 |
|
154. |
Железа оксид1 (в пересчете на железо) |
- |
0,04 |
3 |
|
155. |
Железа сульфат1 (в пересчете на железо) |
- |
0,007 |
3 |
|
156. |
Железа хлорид1 (в пересчете на железо) |
- |
0,004 |
2 |
|
1 При совместном присутствии в атмосферном воздухе контроль следует проводить по ПДК хлорида железа. |
||||
|
157. |
Зола сланцевая |
0,3 |
0,1 |
3 |
|
158. |
Изобутенилкарбинол |
0,075 |
- |
4 |
|
159. |
Изобутилацетат |
0,1 |
- |
4 |
|
160. |
Изобутиронитрил |
0,02 |
0,01 |
2 |
|
161. |
Изопропилбензол (кумол) |
0,014 |
0,014 |
4 |
|
162. |
Иод |
- |
0,03 |
2 |
|
163. |
Изопропил-2-(1-метил-н-пропил)-4, 6-динитрофенилкарбонат (акрекс) |
0,02 |
0,002 |
2 |
|
164. |
Ингибитор древесно-смоляной прямой гонки (по фенолу) (ИДСПГ) |
0,006 |
0,006 |
3 |
|
165. |
Индия нитрат (в пересчете на индий) |
- |
0,005 |
2 |
|
166. |
Кадмия иодид (в пересчете на кадмий) |
- |
0,0003 |
1 |
|
167. |
Кадмия нитрат (в пересчете на кадмий) |
- |
0,0003 |
1 |
|
168. |
Кадмия оксид (в пересчете на кадмий) |
- |
0,0003 |
1 |
|
169. |
Кадмия сульфат (в пересчете на кадмий) |
- |
0,0003 |
1 |
|
170. |
Кадмия хлорид (в пересчете на кадмий) |
- |
0,0003 |
1 |
|
171. |
Калия карбонат (поташ) |
0,1 |
0,05 |
4 |
|
172. |
Калия ксантогенат этиловый |
0,05 |
0,01 |
2 |
|
173. |
Капролактам (пары, аэрозоль) |
0,06 |
0,06 |
3 |
|
174. |
Карбонат циклогексиламина (КЦА) |
0,07 |
- |
3 |
|
175. |
Кислота азотная по молекуле HNO3 |
0,4 |
0,15 |
2 |
|
176. |
Кислота акриловая |
0,1 |
0,04 |
3 |
|
177. |
Кислота борная |
- |
0,02 |
3 |
|
178. |
Кислота α-броммасляная |
0,01 |
0,003 |
3 |
|
179. |
Кислота валериановая |
0,03 |
0,01 |
3 |
|
180. |
Кислота капроновая |
0,01 |
0,005 |
3 |
|
181. |
Кислота масляная |
0,015 |
0,01 |
3 |
|
182. |
Кислота метакриловая |
- |
0,01 |
3 |
|
183. |
Кислота муравьиная |
0,2 |
- |
2 |
|
184. |
Кислота перфторвалериановая |
0,1 |
- |
3 |
|
185. |
Кислота пропионовая |
0,015 |
- |
3 |
|
186. |
Кислота серная по молекуле H2SO4 |
0,3 |
0,1 |
2 |
|
187. |
Кислота себациновая |
0,15 |
0,08 |
3 |
|
188. |
Кислота терефталевая |
0,01 |
0,001 |
1 |
|
189. |
Кислота уксусная |
0,2 |
0,06 |
3 |
|
190. |
Кобальт металлический |
- |
0,001 |
1 |
|
191. |
Кобальта сульфат |
0,001 |
0,0004 |
2 |
|
192. |
Композиция «Дон-52» (в пересчете на изопропанол) |
0,6 |
- |
3 |
|
193. |
Ксилол |
0,2 |
0,2 |
3 |
|
194. |
Лепидоцид |
- |
3×105 микробных тел/м3 (0,003 мг/м3) |
2 |
|
195. |
Магния оксид |
0,4 |
0,05 |
3 |
|
196. |
Магния хлорат |
- |
0,3 |
4 |
|
197. |
Мазутная зола теплоэлектростанций (в пересчете на ванадий) |
- |
0,002 |
2 |
|
198. |
Марганец и его соединения (в пересчете на диоксид марганца) |
0,01 |
0,001 |
2 |
|
199. |
Меди оксид (в пересчете на медь) |
- |
0,002 |
2 |
|
200. |
Медь сернистая (в пересчете на медь) |
0,003 |
0,001 |
2 |
|
201. |
Медь сернокислая (в пересчете на медь) |
0,003 |
0,001 |
2 |
|
202. |
Меди трихлорфенолят |
0,006 |
0,003 |
2 |
|
203. |
Медь хлористая (в пересчете на медь) |
- |
0,002 |
2 |
|
204. |
Медь хлорная (в пересчете на медь) |
0,003 |
0,001 |
2 |
|
205. |
Мелиорант |
0,5 |
0,05 |
4 |
|
206. |
Меприн бактериальный |
0,01 |
- |
2 |
|
207. |
2-Меркаптобензотиазол (каптакс) |
0,12 |
- |
3 |
|
208. |
2-Меркаптоэтанол (монотиоэтиленгликоль) |
0,07 |
0,07 |
3 |
|
209. |
Метальдегид |
0,003 |
0,003 |
2 |
|
210. |
Метиакрилат |
0,01 |
0,01 |
4 |
|
211. |
N-Метиланилин |
0,04 |
0,04 |
3 |
|
212. |
Метилацетат |
0,07 |
0,07 |
4 |
|
213. |
2-Метилбутадиен-1,3 (изопрен) |
0,5 |
- |
3 |
|
214. |
Метил-1-(бутилкарбомоил)-2-бензимидазолкарбамат (узген) |
0,35 |
0,05 |
3 |
|
215. |
Метилвалерат (метиловый эфир валериановой кислоты) |
0,3 |
- |
3 |
|
216. |
4-Метил-5, 6-дигидропиран |
1,2 |
- |
2 |
|
217. |
Метилен бромистый |
0,1 |
0,04 |
4 |
|
218. |
Метилен йодистый |
0,4 |
- |
4 |
|
219. |
Метилен хлористый |
8,8 |
- |
4 |
|
220. |
4-Метилентетрагидропиран |
1,5 |
|
3 |
|
221. |
Метилизобутилкетон |
0,1 |
- |
4 |
|
222. |
Метилмеркаптан |
9×10-6 |
- |
2 |
|
223. |
Метилметакрилат |
0,1 |
0,01 |
3 |
|
224. |
Метилнитрофос |
0,005 |
- |
3 |
|
225. |
α-Метилстирол |
0,04 |
0,04 |
3 |
|
226. |
Метионин |
0,6 |
- |
3 |
|
227. |
2-Метокси-2-метилпропан (метил-третично-бутиловый эфир) |
0,5 |
- |
4 |
|
228. |
N-β-Метоксиэтилхлорацетат-о-толуидин (толуин) |
0,03 |
- |
3 |
|
229. |
Мильбекс (смесь 1,1-бис-4-хлорфенилэтанола и 4-хлорфенил (2,4,5-трихлорфенил) азосульфида |
0,2 |
0,1 |
3 |
|
230. |
Монобензилтолуол |
0,02 |
- |
2 |
|
231. |
Моноизобутиловый эфир этиленгликоля (бутилцеллозольв) |
1 |
0,3 |
3 |
|
232. |
Моноизопропиловый эфир этиленгликоля (пропилцеллозольв) |
1,5 |
0,5 |
3 |
|
233. |
Монометиламин |
0,004 |
0,001 |
2 |
|
234. |
Монохлорпентафторбензол |
0,6 |
0,1 |
3 |
|
235. |
Моноэтиламин |
0,01 |
0,01 |
3 |
|
236. |
Мышьяк, неорганические соединения (в пересчете на мышьяк) |
- |
0,003 |
2 |
|
237. |
Натрия сульфат |
0,3 |
0,1 |
3 |
|
238. |
Натрия сульфит |
0,3 |
0,1 |
3 |
|
239. |
Натрия сульфит-сульфатные соли |
0,3 |
0,1 |
3 |
|
240. |
Нафталин |
0,003 |
0,003 |
4 |
|
241. |
I-Нафтил-N-метилкарбамат (севин) |
- |
0,002 |
2 |
|
242. |
β-Нафтол |
0,006 |
0,003 |
2 |
|
243. |
α-Нафтахинон |
0,005 |
0,005 |
1 |
|
244. |
Никель металлический |
- |
0,001 |
2 |
|
245. |
Никеля оксид (в пересчете на никель) |
- |
0,001 |
2 |
|
246. |
Никеля растворимые соли (в пересчете на никель) |
0,002 |
0,0002 |
1 |
|
247. |
Никеля сульфат (в пересчете на никель) |
0,002 |
0,001 |
1 |
|
248. |
Нитрилы карбоновых кислот C17 - C20 |
0,04 |
- |
3 |
|
249. |
Нитробензол |
0,008 |
0,008 |
2 |
|
250. |
м-Нитробромбензол |
0,12 |
0,01 |
2 |
|
251. |
м-Нитрохлорбензол |
0,004 |
0,004 |
2 |
|
252. |
о-Нитрохлорбензол |
0,004 |
0,004 |
2 |
|
253. |
п-Нитрохлорбензол |
0,004 |
0,004 |
2 |
|
254. |
3-Нитро-4-хлорбензотрифторид |
0,005 |
- |
3 |
|
255. |
Озон |
0,16 |
0,03 |
1 |
|
256. |
Окситетрациклин |
0,01 |
- |
2 |
|
257. |
Окситетрациклина хлоралгидрат |
0,01 |
- |
2 |
|
258. |
Октафтортолуол |
1,3 |
- |
4 |
|
259. |
Олова диоксид (в пересчете на олово) |
- |
0,02 |
3 |
|
260. |
Олова оксид (в пересчете на олово) |
- |
0,02 |
3 |
|
261. |
Олова сульфат (в пересчете на олово) |
- |
0,02 |
3 |
|
262. |
Олова хлорид (в пересчете на олово) |
0,5 |
0,05 |
3 |
|
263. |
Оловяннокислый натрия гидрат (в пересчете на олово) |
- |
0,02 |
3 |
|
264. |
Парамолибдат аммония (в пересчете на молибден) |
- |
0,1 |
3 |
|
265. |
Пенициллин |
0,05 |
0,0025 |
3 |
|
266. |
Пентадиен-1,3 (пиперилен) |
0,5 |
- |
3 |
|
267. |
Пентан |
100 |
25 |
4 |
|
268. |
Пентафторбензол |
1,2 |
0,1 |
3 |
|
269. |
Пентафторфенол |
0,8 |
- |
4 |
|
270. |
Перметриновой кислоты метиловый эфир |
0,08 |
- |
4 |
|
271. |
Перфторгептан |
90 |
- |
4 |
|
272. |
Перфтороктан |
90 |
- |
4 |
|
273. |
Пивалоилуксусный эфир |
0,2 |
- |
3 |
|
274. |
Пиридин |
0,08 |
0,08 |
2 |
|
275. |
Поли-2,6-диметил-1, 4-фенилен-оксид (полифениленоксид) |
0,5 |
0,15 |
4 |
|
276. |
Полихлорпинен (смесь хлорированных бициклических соединений) |
0,005 |
0,005 |
2 |
|
277. |
Пропилацетат |
0,1 |
- |
4 |
|
278. |
Пропилвалерат |
0,03 |
- |
3 |
|
279. |
Пропилен |
3 |
3 |
3 |
|
280. |
Пропилена оксид |
0,08 |
- |
1 |
|
281. |
Пыль неорганическая с содержанием диоксида кремния (%): |
|
|
|
|
|
выше 70 (динас и др.) |
0,15 |
0,05 |
3 |
|
|
70 - 20 (шамот, цемент и др.) |
0,3 |
0,1 |
3 |
|
|
ниже 20 (доломит и др.) |
0,5 |
0,15 |
3 |
|
282. |
Пыль цементного производства с содержанием оксида кальция более 60 % и диоксида кремния более 20 % |
- |
0,02 |
3 |
|
283. |
Пыль хлопковая |
0,5 |
0,05 |
3 |
|
284. |
Растворитель ацетатно-кожевенный (АКР) (по этанолу) |
0,5 |
- |
3 |
|
285. |
Растворитель бутилформиатный (БЭФ) (по сумме ацетатов) |
0,3 |
- |
3 |
|
286. |
Растворитель древесно-спиртовой марки А (ацетоноэфирный) (по ацетону) |
0,12 |
0,12 |
4 |
|
287. |
Растворитель древесно-спиртовой марки Э (эфирноацетоновый) (по ацетону) |
0,07 |
0,07 |
4 |
|
288. |
Растворитель мебельный (АМР-3) (по толуолу) |
0,09 |
0,09 |
3 |
|
289. |
Ртуть азотнокислая закисная водная (в пересчете на ртуть) |
- |
0,0003 |
1 |
|
290. |
Ртуть азотнокислая окисная водная (в пересчете на ртуть) |
- |
0,0003 |
1 |
|
291. |
Ртуть амидохлорная (в пересчете на ртуть) |
- |
0,0003 |
1 |
|
292. |
Ртуть двуиодистая (в пересчете на ртуть) |
- |
0,0003 |
1 |
|
293. |
Ртуть металлическая |
- |
0,0003 |
1 |
|
294. |
Ртути оксид красный (в пересчете на ртуть) |
- |
0,0003 |
1 |
|
295. |
Ртути оксид желтый (в пересчете на ртуть) |
- |
0,0003 |
1 |
|
296. |
Ртуть уксуснокислая (в пересчете на ртуть) |
- |
0,0003 |
1 |
|
297. |
Ртуть хлористая (каломель) (в пересчете на ртуть) |
- |
0,0003 |
1 |
|
298. |
Ртуть хлорная (сулема) (в пересчете на ртуть) |
- |
0,0003 |
1 |
|
299. |
Сажа |
0,15 |
0,05 |
3 |
|
300. |
Свинец и его соединения, кроме тетраэтилсвинца (в пересчете на свинец) |
- |
0,0003 |
1 |
|
301. |
Свинец сернистый (в пересчете на свинец) |
- |
0,0017 |
1 |
|
302. |
Селена диоксид (в пересчете на селен) |
0,1 мкг/м3 |
0,05 мкг/м3 |
1 |
|
303. |
Смесь постоянного состава на основе дибутилфенилфосфата (НГЖ-4) |
0,01 |
0,005 |
2 |
|
304. |
Смола легкая высокоскоростного пиролиза бурых углей1 |
|
|
|
|
|
по органическому углероду |
0,2 |
- |
2 |
|
|
по фенолам |
0,004 |
- |
2 |
|
1 На примере углей Канско-Ачинского месторождения. |
||||
|
305. |
Сероводород |
0,008 |
- |
2 |
|
306. |
Сероуглерод |
0,03 |
0,005 |
2 |
|
307. |
Синтетические моющие средства типа «Кристалл» на основе алкилсульфата натрия (по алкилсульфату натрия) |
0,04 |
0,01 |
2 |
|
308. |
Скипидар |
2 |
1 |
4 |
|
309. |
Спирт амиловый |
0,01 |
0,01 |
3 |
|
310. |
Спирт бензиловый |
0,16 |
- |
4 |
|
311. |
Спирт н-бутиловый |
0,1 |
0,1 |
3 |
|
312. |
Спирт гексиловый |
0,8 |
0,2 |
3 |
|
313. |
Спирт 1,1-дигидроперфторамиловый |
0,3 |
- |
3 |
|
314. |
Спирт 1,1-дигидроперфторгептиловый |
0,1 |
- |
3 |
|
315. |
Спирт изобутиловый |
0,1 |
0,1 |
4 |
|
316. |
Спирт изооктиловый (2-этилгексанол) |
0,15 |
0,15 |
4 |
|
317. |
Спирт изопропиловый |
0,6 |
0,6 |
3 |
|
318. |
Спирт метиловый |
1 |
0,5 |
3 |
|
319. |
Спирт н-октиловый |
0,6 |
0,2 |
3 |
|
320. |
Спирт пропиловый |
0,3 |
0,3 |
3 |
|
321. |
Спирт этиловый |
5 |
5 |
4 |
|
322. |
Стирол |
0,04 |
0,002 |
2 |
|
323. |
Сурьма пятисернистая (в пересчете на сурьму) |
- |
0,02 |
3 |
|
324. |
Сурьмы (III) оксид (в пересчете на сурьму) |
- |
0,02 |
3 |
|
325. |
Таллия карбонат (в пересчете на таллий) |
- |
0,0004 |
1 |
|
326. |
Теллура диоксид (в пересчете на теллур) |
- |
0,5 мкг/м3 |
1 |
|
327. |
Термостойкая прядильная эмульсия (тепрэм) |
0,002 |
- |
3 |
|
328. |
Тетрагидрофуран |
0,2 |
0,2 |
4 |
|
329. |
Тетраметилтиурамдисульфид (ТМТД, тиурам Д) |
0,05 |
0,02 |
3 |
|
330. |
Тетрафторэтилен |
6 |
0,5 |
4 |
|
331. |
3-Тетрафторэтоксифенил мочевина (томилон, тетрафлурон) |
0,6 |
0,06 |
3 |
|
332. |
Тетрахлорпропен |
0,07 |
0,04 |
2 |
|
333. |
1,1,2,2-Тетрахлорэтан |
0,06 |
- |
4 |
|
334. |
Тетрахлорэтилен (перхлорэтилен) |
0,5 |
0,06 |
2 |
|
335. |
Тетрациклин |
0,01 |
0,006 |
2 |
|
336. |
Тетраэтилтиурам дисульфид (тиурам Е) |
- |
0,03 |
3 |
|
337. |
1,2,3-Тиадиазонил-5-N-фенилмочевина (дропп) |
0,5 |
0,2 |
4 |
|
338. |
Тиофен (тиофуран) |
0,6 |
- |
4 |
|
339. |
Толуилендиизоцианат |
0,05 |
0,02 |
1 |
|
340. |
Толуол |
0,6 |
0,6 |
3 |
|
341. |
Трибромметан (бромоформ) |
- |
0,05 |
3 |
|
342. |
1,1,3-Трибромпропан (пропилентрибромид) |
0,015 |
0,005 |
2 |
|
343. |
S,S,S-Трибутилтритиофосфат (бутифос) |
0,01 |
0,01 |
2 |
|
344. |
1,1,5-Тригидрооктафторпентанол |
1 |
0,05 |
4 |
|
345. |
1,1,3-Тригидротетрафторпропанол |
1 |
0,05 |
4 |
|
346. |
Трикрезол (смесь изомеров: орто-, мета-, пара-) |
0,005 |
0,005 |
2 |
|
347. |
Триметиламин |
0,15 |
- |
4 |
|
348. |
N-(3-трифторметилфенил)-N',N'-диметилмочевина (которан) |
- |
0,05 |
3 |
|
349. |
Трихлорацетальдегид |
0,03 |
- |
3 |
|
350. |
Трихлорметан (хлороформ) |
- |
0,03 |
2 |
|
351. |
1,2,3-Трихлорпропан |
- |
0,05 |
3 |
|
352. |
Трихлорфторметан (фреон-11) |
100 |
10 |
4 |
|
353. |
1,1,1-Трихлорэтан (метилхлороформ) |
2 |
0,2 |
4 |
|
354. |
Трихлорэтилен |
4 |
1 |
3 |
|
355. |
Триэтиламин |
0,14 |
0,14 |
3 |
|
356. |
Углеводороды предельные C12 - С9 (растворитель РПК 265П и др.) (в пересчете на суммарный органический углерод) |
1 |
- |
4 |
|
357. |
Углерода оксид |
5 |
3 |
4 |
|
358. |
Углерод четыреххлористый |
4 |
0,7 |
2 |
|
359. |
Угольная зола теплоэлектростанций1 (с содержанием оксида кальция 35 - 40 %, дисперсностью до 3 мкм и ниже не менее 97 %) |
0,05 |
0,02 |
2 |
|
1 На примере углей Канско-Ачинского месторождения. |
||||
|
360. |
3-Фенокси-α-цианобензиловый эфир α-изопропил 4-хлорфенуксусной кислоты (сумицидин, фенвалерат) |
0,02 |
0,01 |
3 |
|
361. |
Фенол |
0,01 |
0,003 |
2 |
|
362. |
Фенолы сланцевые |
0,007 |
- |
3 |
|
363. |
Фенольная фракция легкой смолы высокоскоростного пиролиза бурых углей |
0,008 |
- |
2 |
|
364. |
Феррит бариевый (в пересчете на барий) |
- |
0,004 |
3 |
|
365. |
Феррит магний-марганцевый (в пересчете на марганец) |
- |
0,002 |
2 |
|
366. |
Феррит марганец-цинковый (в пересчете на марганец) |
- |
0,002 |
2 |
|
367. |
Феррит никель-медный (в пересчете на никель) |
- |
0,004 |
2 |
|
368. |
Феррит никель-цинковый (в пересчете на цинк) |
- |
0,003 |
2 |
|
369. |
Феррицианид калия (красная кровяная соль) |
- |
0,04 |
4 |
|
370. |
Ферроцианид калия (желтая кровяная соль) |
- |
0,04 |
4 |
|
371. |
Флотореагент ФЛОКР-3 (по хлору) |
0,1 |
0,03 |
2 |
|
372. |
Флюс канифольный активированный (по канифоли) (ФКТ) |
0,3 |
0,3 |
4 |
|
373. |
Формальдегид |
0,035 |
0,003 |
2 |
|
374. |
Формамид |
- |
0,03 |
3 |
|
375. |
Фтористые соединения (в пересчете на фтор): |
|
|
|
|
газообразные соединения (фтористый водород, четырехфтористый кремний) |
0,02 |
0,005 |
2 |
|
|
хорошо растворимые неорганические фториды (фторид натрия, гексафторсиликат натрия) |
0,03 |
0,01 |
2 |
|
|
плохо растворимые неорганические фториды (фторид алюминия, фторид кальция, гексафторалюминат натрия) |
0,2 |
0,03 |
2 |
|
|
376. |
Фурфурол |
0,05 |
0,05 |
3 |
|
377. |
Хлор |
0,1 |
0,03 |
2 |
|
378. |
м-Хлоранилин |
0,01 |
0,01 |
1 |
|
379. |
п-Хлоранилин |
0,04 |
0,01 |
2 |
|
380. |
α-Хлорацетофенон |
0,01 |
- |
3 |
|
381. |
Хлорбензол |
0,1 |
0,1 |
3 |
|
382. |
п-Хлорбензотрифторид |
0,1 |
- |
3 |
|
383. |
Хлоропрен |
0,02 |
0,002 |
2 |
|
384. |
Хлортетрациклин (кормовой) |
005 |
0,05 |
2 |
|
385. |
м-Хлорфенилизоцианат |
0,005 |
0,005 |
2 |
|
386. |
п-Хлорфенилизоцианат |
0,0015 |
0,0015 |
2 |
|
387. |
2-Хлорциклогексилтио-N-фталамид (хлор ЦТФ) |
3,5 |
0,35 |
4 |
|
388. |
Хром шестивалентный (и пересчете на триоксид хрома) |
0,0015 |
0,001 |
1 |
|
389. |
β-Циано-3-феноксибензил-3-(2,2-дихлорвинил)-2,2-диметилциклопропанкарбоксилат (рипкорд) |
0,04 |
0,01 |
3 |
|
390. |
Циклогексан |
1,4 |
1,4 |
4 |
|
391. |
Циклогексанол |
0,00 |
0,06 |
3 |
|
392. |
Циклогексанон |
0,04 |
- |
3 |
|
393. |
Циклогексаноноксим |
0,1 |
- |
3 |
|
394. |
N-Циклогексилбензтиазолсульфенамид-2 (сульфенамид Ц) |
0,07 |
0,03 |
3 |
|
395. |
N-Циклогексилтиофталамид (ЦТФ) |
0,3 |
- |
4 |
|
396. |
Цинка оксид (в пересчете на цинк) |
- |
0,05 |
3 |
|
397. |
Цинка сульфат |
- |
0,008 |
2 |
|
398. |
Эпилхлоргидрин |
0,2 |
0,2 |
2 |
|
399. |
Этил хлористый |
- |
0,2 |
4 |
|
400. |
Этилакрилат |
0,0007 |
- |
3 |
|
401. |
N-Этиланилин |
0,01 |
- |
4 |
|
402. |
Этилацетат |
0,1 |
0,1 |
4 |
|
403. |
Этилбензол |
0,02 |
0,02 |
3 |
|
404. |
Этилвалерат |
0,03 |
- |
3 |
|
405. |
2-Этилгексилакрилат |
0,01 |
- |
3 |
|
406. |
Этилен |
3 |
3 |
3 |
|
407. |
Этилена оксид |
0,3 |
0,03 |
3 |
|
408. |
Этиленимин |
0,001 |
0,001 |
1 |
|
409. |
Этиленсульфид |
0,5 |
- |
1 |
|
410. |
0-Этил-0-4-(метилтио) фенилпропилтиофосфат (болстар) |
0,01 |
- |
3 |
|
411. |
Этил-о-толуидин |
0,01 |
- |
3 |
Примечания:
1. При совместном присутствии в атмосферном воздухе нескольких веществ, обладающих суммацией действия, сумма их концентраций не должна превышать единицы при расчете по формуле
![]()
где ρ1, ρ2, ..., ρ - фактические концентрации веществ в атмосферном воздухе;
ПДК1, ПДК2, ..., ПДК - предельно допустимые концентрации тех же веществ.
I. Эффектом суммации обладают:
1. Аммиак и сероводород;
2. Аммиак, сероводород и формальдегид;
3. Аммиак и формальдегид;
4. Азота диоксид и оксид, мазутная зола, серы диоксид;
5. Азота диоксид, гексан, углерода оксид, формальдегид;
6. Азота диоксид, гексен, серы диоксид, углерода оксид;
7. Азота диоксид, серы диоксид;
8. Азота диоксид, серы диоксид, углерода оксид, фенол;
9. Ацетон, акролеин, фталевый ангидрид;
10. Ацетон и фенол;
11. Ацетон и ацетофенон;
12. Ацетон, фурфурол, формальдегид и фенол;
13. Ацетальдегид и винилацетат;
14. Аэрозоли ванадия (V) оксида и оксидов марганца;
15. Аэрозоли ванадия (V) оксида и диоксида серы;
16. Аэрозоли оксидов ванадия (V) и хрома (VI);
17. Бензол и ацетофенон;
18. Валериановая, капроновая и масляная кислоты;
19. Вольфрама (VI) оксид и серы диоксид;
20. Гексахлоран и фзалон;
21. 2,3-Дихлор-1, 4-нафтахинон и 1,4-нафтахинон;
22. 1,2-Дихлорпропан, 1,2,3-трихлорпропан и тетрахлорэтилен;
23. Изопропилобензол и гидропероксид изопропилбензола;
24. Изобутилкарбинол и диметилвинилкарбинол;
25. Метилгидропиран и метилентетрагидропиран;
26. Мышьяковистый ангидрид и свинца ацетат;
27. Мышьяковистый ангидрид и германий;
28. Озон, диоксид азота и формальдегид;
29. Пропионовая кислота и пропионовый альдегид;
30. Свинца оксид, серы диоксид;
31. Сероводород, формальдегид;
32. Сернокислые медь, кобальт, никель и серы диоксид;
33. Серы диоксид, окись углерода, фенол и пыль конверторного производства;
34. Серы диоксид и фенол;
35. Серы диоксид и фтористый водород;
36. Серы диоксид и триоксид серы, аммиак и оксиды азота;
37. Сероводород и динил;
38. Сильные минеральные кислоты (серная, соляная и азотная);
39. Углерода оксид и пыль цементного производства;
40. Уксусная кислота и уксусный ангидрид;
41. Фенол и акетофенон;
42. Фурфурол, метиловым и этиловый спирты;
43. Циклогексан и бензол;
44. Этилен, пропилен, бутилен и амилен.
II. При совместном присутствии эффектом неполной суммации обладают:
1. Вольфрамат натрия, парамолибдат аммония, свинца ацетат (коэффициент комбинированного действия Kкд равен 1,6);
2. Вольфрамат натрия, мышьяковистый ангидрид, парамолибдат аммония, свинца ацетат (Kкд = 2,0);
3. Вольфрамат натрия, германия диоксид, мышьяковистый ангидрид, парамолибдат аммония, свинца ацетат (Kкд = 2,5).
III. При совместном присутствии сохраняются ПДК каждого вещества при изолированном воздействии:
1. Гексиловый, октиловый спирты;
2. Серы диоксид, цинка оксид.
IV. Эффектом потенцирования обладают:
1. Бутилакрилат и метилметакрилат с коэффициентом 0,8;
2. Фтористый водород и соли фторсодержащих кислот с коэффициентом 0,8.
Технические и торговые названия некоторых веществ (цифры - порядковый номер в списке ПДК)
|
Альтакс - 103 Амил бромистый - 67 Аммиачная селитра - 24 Антио - 121 Базудин - 148 Болстар - 410 Бромоформ - 341 2-Бутеналь - 15 Бутил бромистый - 59 Бутилкаптакс - 76 Бутилцеллозольв - 231 Бутифос - 343 Гексахлоран - 93 Гексил бромистый - 60 Гептил бромистый - 61 Гидроперекись кумила - 98 Децил бромистый - 62 Дивинил - 71 Дилор - 108 Дитиодиморфолин - 130 Дихлон - 137 Дропп - 337 Дихлоруксусный кальций - 20 ИДСПГ - 164 Изоамил бромистый - 63 Изобутил бромистый - 64 Изопрен - 213 Изопропил бромистый - 66 Ингибитор коррозии Г-2 - 89 Ингибитор коррозии МСДА - 143 Ингибитор коррозии НДА - 144 Каптакс - 207 Карбамид - 100 Карбофос - 115 Кельтан - 135 Кильваль - 120 Которан - 348 2,6-Ксиленол - 126 Кумол - 161 |
2-Метилпропаналь - 11 Метафос - 122 Метилакролеин - 15 Метилхлороформ - 353 Мезидин - 28 Митак - 111 Монотиоэтиленгликоль - 208 Перхлорэтилен - 334 Пиперилен - 266 Полифениленоксид - 275 Поташ - 171 Пропил бромистый - 65 Пропилентрибромид - 342 Пропилцеллозольв - 232 Рипкорд - 389 Севин - 241 Синильная кислота - 85 Сульфазан Р - 130 Сульфенамид М - 51 Сульфенамид Ц - 394 Сумицидин - 360 Тепрэм - 327 Тиодан - 92 Тиурам Е - 336 ТМТД, Тиурам Д - 329 Тиофуран - 338 Толуин - 228 Томилон, тетрафлурон - 331 Узген - 214 Фенвалерат - 360 Фозалон - 152 Фосфамид - 119 Фреон 11 - 352 Фреон 12 - 136 Фреон 21 - 141 Фреон 22 - 132 Хлор ЦТФ - 387 Хлороформ - 350 Хлорофос - 123 Экатин, М-81 - 129 |
Справочное
|
АФА-ВП-20 (40) |
АФА-ХП-20 (40) |
АФА-ХА-20 (40) |
по ТУ 52-01-367-80 |
|||
|
Фильтрующий материал |
ФПП-15-1,5 (перхлорвинил) |
НЭЛ-3 (хлорвинил) |
ФПП-15-1,5 (перхлорвинил) |
НЭЛ-3 (хлорвинил) |
ФПА-15-1,5 (ацетилцеллюлоза) |
ФПП-15-1,5 (перхлорвинил) |
|
Масса единицы площади фильтра, мг/см2 |
3,0 ± 0,5 |
1,5 ± 0,2 |
3,0 ± 0,5 |
1,5 ± 0,2 |
3,0 ± 0,5 |
3,0 ± 0,5 |
|
Сопротивление фильтра потоку воздуха при скорости 1 см/с, даПа (мм вод. ст.) |
|
1,0 ± 0,1 |
|
1,0 ± 0,1 |
2,0 ± 0,5 |
8 ± 0,8 |
|
Допустимая нагрузка по воздуху, л (мин×см2) |
7 |
7 |
7 |
7 |
7 |
7 |
|
Отношение к кислотам и щелочам |
Стоек |
Стоек |
Стоек |
Стоек |
Не стоек |
Стоек |
|
Отношение к влаге |
Гидрофобен |
Гидрофобен |
Гидрофобен |
Гидрофобен |
Гидрофилен |
Гидрофобен |
|
Температура воздуха при отборе пробы, °С |
от -200 до +60 |
от -60 до +60 |
от -200 до +60 |
от -60 до +60 |
от -200 до +150 |
от -200 до +60 |
|
Коэффициент проскока (%) по стандартному масляному туману при скорости фильтрации |
|
|
|
|
|
|
|
1 см/с |
0,1 |
- |
0,1 |
- |
0,1 |
- |
|
170 см/с |
- |
15 |
- |
15 |
- |
- |
|
Диаметр фильтра (мм) площадью: |
|
|
|
|
|
|
|
20 см2 |
52/68 |
52/68 |
52/68 |
52/68 |
52/68 |
- |
|
40 см2 |
73/93 |
73/93 |
73/93 |
73/93 |
73/93 |
- |
|
37,8 см2 |
- |
- |
- |
- |
- |
69,4/77 |
|
Примечание. В числителе - диаметр рабочей части фильтра, в знаменателе - полный. |
||||||
Рекомендуемое
При подготовке газоанализатора ГМК-3 снимают со штуцеров ввода и вывода газовой смеси герметизирующие колпачки и вынимают прокладки, проверяют заземление и включают прибор в сеть.
Время прогрева прибора перед замерами 180 мин.
При первом включении и затем регулярно один раз в месяц необходимо проверить герметичность газовой системы техническим азотом при избыточном давлении 0,5×103 гПа (0,5 кгс/см2). В течение 30 мин падение давления не должно превышать 0,5 гПа (0,005 кгс/см2). Если падение давления превышает указанное значение, места соединения исследуются с помощью мыльной пены; обнаруженная негерметичность соединений устраняется.
Подготовить к измерению вторичный прибор (самописец) в соответствии с инструкцией по эксплуатации миллиамперметра самопишущего КСУ-4.
Продуть сравнительную кювету газоанализатора воздухом, не содержащим оксида углерода, или чистым азотом, для чего краны на внешней стороне панели поставить в положение «Нулевой газ». Подготовку производить в течение 15 - 20 мин.
Проверить нулевое показание газоанализатора, пропуская через рабочую кювету воздух, предварительно прошедший через гопкалитовый фильтр. Отклонение стрелочного указателя измерительного прибора от нуля не должно превышать ±2 % верхнего предела измерения; при больших отклонениях произвести регулировку с помощью ручки «Установка нуля».
Проверить показания газоанализатора на контрольной точке, пропуская контрольную газовую смесь из баллона через рабочую кювету. Показания газоанализатора необходимо контролировать в течение 10 - 15 мин по показаниям измерительного прибора. При несоответствии показаний газоанализатора контрольной точки произвести корректировку потенциометром «Чувствительность».
Рекомендуемое
Рекомендуемое
Рекомендуемое
Справочное
Лабораторная мебель
1. Столы лабораторные химические
2. Столик на кронштейнах для аналитических весов
3. Шкафы для лабораторной посуды
4. Шкаф для реактивов
5. Вытяжной шкаф
6. Стол для сушильных шкафов
7. Табуреты лабораторные, стулья
8. Сейф для хранения реактивов
9. Холодильник
10. Шкаф для хранения небольшого запаса кислот
11. Шкаф для подсобного оборудования
12. Мойка
Основное оборудование
1. Фотоэлектроколориметр (ФЭК-56М, КФК-2, КФК-2МП или КФК-3) или спектрофотометр
2. Весы аналитические с разновесом ВЛА-200
3. Газовый счетчик ГБС-400 или РГ-7000
4. pH-метр-милливольтметр pH-673 М или иономер И-130
5. Весы технические (до 2 кг) с разновесом
6. Весы аптекарские (до 20 г)
7. Бидистиллятор или дистиллятор
8. Печь муфельная электрическая с термопарой
9. Баня песчаная электрическая
10. Баня водяная электрическая
11. Ареометры (комплект)
12. Насос водоструйный
13. Секундомер
14. Термометры химические до 500 °С (набор)
15. Шкафы сушильные, термостаты
16. Набор сит
17. Штативы для пробирок
18. Штативы для поглотительных приборов
19. Штативы лабораторные
20. Штативы для пипеток
21. Плитки электрические
22. Заглушки для поглотительных приборов и сорбционных трубок
Оборудование, использующееся для измерения химического состава осадков
1. Атомно-абсорбционный спектрофотометр с электротермическим атомизатором «Сатурн-4А» или аналогичный
2. Мономер И-115М или И-120
3. Сименсметр КЛ-3 «Импульс»
4. Пламенный фотометр ПАЖ-2
5. Ультратермостат УТ-15
6. Прибор комбинированный цифровой Щ-300
7. Баллон ацетиленовый
8. Редуктор ацетиленовый
9. Баллон бутан-пропановый
10. Редуктор бутан-пропановый
11. Микрокалькуляторы «Электроника МК-54» и «Электроника МК-71»
12. Кондуктометр
Основные реактивы для химического анализа атмосферного воздуха и осадков
1. Аммиак (25 %-ный водный)
2. Ацетон
3. Водорода перекись (30 %-ный раствор)
4. Глицерин
5. Индикаторная бумага разная
6. Индикаторы
дифенилкарбазон и дифенилкарбазид
метилоранж
метилрот
мурексид
фенолфталеин
7. Калия бихромат
8. Калия гидроксид
9. Калий бикарбонат
10. Калия иодид
11. Калин перманганат
12. Калия хлорид
13. Калия хромат
14. Кальция хлорид
15. Кислота азотная
16. Кислота серная
17. Кислота соляная
18. Кислота уксусная
19. Кислота фосфорная
20. Кислота хлорная
21. Крахмал растворимый
22. Натрия гидроксид
23. Натрий бикарбонат
24. Натрия иодид
25. Натрия хлорид
26. Смолы ионообменные
анионит
катионит
27. Стандарт-титры
аммония хлорид
иод
калия бихромат
калия перманганат
калия хромат
кислота серная,
кислота соляная
натрия тиосульфат
28. Толуол
29. Трилон Б
30. Углерод четыреххлористый
31. Этиленгликоль
Расходные материалы
1. Резиновые камеры
2. Груши резиновые нагнетательные разные
3. Горелки газовые и спиртовые
4. Ерши для мытья посуды разные
5. Зажимы для резиновых трубок
6. Карандаши для письма по стеклу и фарфору
7. Напильники и надфили разные
8. Ножницы
9. Пинцеты
10. Воронки для горячего фильтрования
11. Дрот стеклянный (6, 8, 10 мм)
12. Колбы Бунзена разной вместимости
13. Колбы конические разной вместимости
14. Колбы конические с притертой пробкой вместимостью 50, 100, 250 см3
15. Колбы плоскодонные разной вместимости
16. Колбы Вюрца для перегонки вместимостью 50 - 100 см3
17. Колбы мерные вместимостью 25, 50, 100, 250, 500, 1000 см3
18. Колонки для очистки и осушки газов
19. Краны соединительные одноходовые и трехходовые
20. Шпатели и ложки фарфоровые
21. Колбы для пропаривания вместимостью 3000 - 5000 см3
22. Палочки стеклянные
23. Переходники стеклянные разных размеров
24. Пипетки Мора вместимостью 5, 10, 20, 25, 50, 100 см3
25. Пипетки вместимостью 1, 2, 5, 10 см3
26. Пробирки химические
27. Промывалки вместимостью 1000 см3
28. Склянки с тубусом вместимостью 5 - 10 дм3
27. Ступка агатовая
30. Стаканы термостойкие разной вместимости
31. Стекла часовые разного диаметра
32. Ступки фарфоровые с пестиком разные
33. Склянки с притертой пробкой разной вместимости
34. Трубки хлоркальциевые
35. Тройники стеклянные разных размеров
36. Цилиндры вместимостью 10, 25, 50, 100, 250, 500, 1000 см3
37. Чашки выпарительные разных размеров
38. Эксикаторы
39. Воронки делительные
40. Бутыли полиэтиленовые вместимостью 50, 100, 250, 500, 1000 см3
41. Пакеты полиэтиленовые 30´40 см, 20´40 см
42. Кюветы полиэтиленовые или эмалированные 30´40 см
Кроме того, в лаборатории должны иметься реактивы и расходные материалы в соответствии с требованиями, изложенными в методиках анализа и РД 52.04-114-86 «Единые отраслевые нормы расхода основных материалов при производстве работ по контролю загрязнения1 атмосферного воздуха».
Справочное
Воскресенский П.И. Техника лабораторных работ. М.: Химия, 1969. 720 с.
ГОСТ 8.505-84. Метрологическая аттестация методики выполнения измерений содержания компонентов проб веществ и материалов. М.: Изд-во стандартов, 1984. 16 с.
ГОСТ 17.2.3.01-86. Охрана природы. Атмосфера. Правила контроля качества воздуха населенных пунктов. М.: Изд-во стандартов, 1986. 4 с.
Захаров Л.Н. Техника безопасности в химических лабораториях. Л.: Химия, 1985. 384 с.
Карякин Ю.В., Ангелов И.И. Чистые химические вещества. М.: Химия, 1974. 407 с.
Коростелев П.П. Реактивы и растворы в металлургическом анализе. М.: Металлургия, 1977. 400 с.
Лейте В. Определение загрязнений воздуха в атмосфере и на рабочем месте. Л.: Химия, 1980. 343 с.
Лурье Ю.Ю. Справочник по аналитической химии. М.: Химия, 1989. 447 с.
Методические указания. Основные санитарно-технические требования к проектированию, строительству, оборудованию и эксплуатации химических лабораторий по гидрометеорологии и контролю природной среды. М., 1986.
Муравьева С.И., Казнина Н.И., Прохорова Е.К. Справочник по контролю вредных веществ в воздухе. М., Химии, 1988. 320 с.
Правила по технике безопасности при производстве наблюдений и работ на сети Госкомгидромета. М.. 1983. 318 с.
Сусленникова В.М., Киселева Е.К. Руководство по приготовлению титрованных растворов. Л.: Химия, 1978. 184 с.
Рекомендуемое
5.3.1. Определение анилина [11]
Методика предназначена для определения концентрации анилина в атмосферном воздухе населенных пунктов в диапазоне 0,04 - 0,8 мг/м3 (при объеме пробы 30 дм3). Определению мешают аммиак, метиланилин, п-фенилендиамин и некоторые другие первичные ароматические амины, дающие аналогичную реакцию, а также бензидин и дианизидин, окрашивающие раствор в желтый цвет. Используется для определения разовых концентраций.
1. Нормы точности измерений
По экспертным оценкам, при определении концентрации анилина в атмосферном воздухе в диапазоне 0,04 - 0,8 мг/м3 суммарная погрешность не превышает ±25 %.
2. Метод измерения
Метод основан на улавливании анилина из воздуха в раствор серной кислоты и фотометрическом определении его массы по индофенолу, который образуется в результате взаимодействия анилина с хлорамином в присутствии фенола в щелочной среде.
3. Средства измерений, вспомогательные устройства, реактивы и материалы
3.1. При выполнении измерений должны быть применены следующие средства измерений, вспомогательные устройства, реактивы и материалы.
3.2. Средства измерений
Фотоэлектроколориметр или спектрофотометр
Весы аналитические ВЛА-200 по ГОСТ 24104-80Е
Меры массы по ГОСТ 7328-82Е
Термометр лабораторный шкальный ТЛ-2;
пределы 0 - 55 °С; цена деления 1 °С по ГОСТ 215-73Е
Барометр-анероид М-67 по ТУ 2504-1797-75
Электроаспиратор ЭА-1; погрешность
±10 %; Госреестр № 5997-77 по ТУ 25-11-1414-78
Колбы мерные по ГОСТ 1770-74Е
2-50-2 - 3 шт.
2-100-2 - 3 шт.
2-1000-2 - 1 шт.
Пипетки по ГОСТ 20292-74Е
4-2-1 - 5 шт.
2-1-5 - 5 шт.
6-2-10 - 2 шт.
4-2-2 - 5 шт.
3.3. Вспомогательные устройства
Поглотительные приборы с пористой пластиной № 1
Электроплитка с закрытой спиралью
Песчаная баня
Установка для перегонки
Стаканы химические стеклянные вместимостью
20 - 30 см3 по ГОСТ 1770-74
Делительные воронки вместимостью 50 см3 по ГОСТ 1770-74Е
Пробирки П4-10-14/23 по ГОСТ 23932-79
3.4. Материалы
Трубка резиновая полувакуумная, тип 1 по ГОСТ 5496-57
Фильтры «синяя лента» по ТУ 6-09-1678-77
3.5. Реактивы
Анилин по ГОСТ 5819-78
Вода дистиллированная по ГОСТ 6709-72
Кислота серная, х. ч. по ГОСТ 4204-77
Натрия гидроксид, ч. д. а. по ГОСТ 4328-77
Фенол по ГОСТ 6417-72
Хлорамин Т по ТУ 6-09-11-1218-79
4. Требования безопасности
См. ч. I, п. 5.1.3.
Все работы по перегонке анилина и фенола и приготовлению растворов необходимо проводить под тягой.
5. Требования к квалификации оператора
См. ч. I, п. 5.1.4.
6. Условия выполнения измерений
См. ч. I, п. 5.1.14.
7. Подготовка к выполнению измерений
7.1. Перед выполнением измерений должны быть проведены следующие работы: приготовление растворов, установление градуировочной характеристики, подготовка поглотительных приборов, отбор пробы воздуха.
7.2. Приготовление растворов
1) Гидроксид натрия, 2 %-ный раствор. 2 г гидроксида натрия растворяют в воде. Объем доводят до 100 см3.
2) Гидроксид натрия, раствор 0,1 моль/дм3. 4 г гидроксида натрия растворяют в воде. Объем в мерной колбе доводят до 1000 см3.
3) Кислота серная, раствор 0,005 моль/дм3. 0,3 см3 кислоты (ρ = 1,84 г/см3) вносят в мерную колбу вместимостью 1000 см3, содержащую 100 см3 воды, а после охлаждения до комнатной температуры объем раствора доводят дистиллированной водой до метки.
4) Фенол, 3 %-ный раствор. Готовят из свежеприготовленного фенола. 3 г фенола растворяют в воде и доводят объем до 100 см3.
5) Хлорамин Т, 4 %-ный раствор. 4 г хлорамина Т растворяют при нагревании до 30 - 50 °С в дистиллированной воде. После охлаждения доводят объем водой до 100 см3 и фильтруют.
6) Исходный раствор для градуировки. Готовят из свежеперегнанного анилина. В мерную колбу вместимостью 50 см3 вносят 15 - 20 см3 раствора серной кислоты концентрацией 0,005 моль/дм3, колбу взвешивают, вносят в нее 2 - 3 капли анилина и вновь взвешивают. Раствор в колбе доводят до метки тем же раствором серной кислоты и рассчитывают содержание анилина в 1 см3.
7) Рабочий раствор для градуировки (ρ = 100 мкг/см3). Готовят соответствующим разбавлением исходного градуировочного раствора раствором серной кислоты концентрацией 0,005 моль/дм3.
Примечание. Температура кипения фенола 181,4 °С, поэтому при перегонке используют песочную баню. Первую треть отогнанного фенола отбрасывают, а среднюю фракцию собирают в пробирку с притертой пробкой. Все операции по перегонке фенола следует проводить под тягой.
7.3. Установление градуировочной характеристики
Градуировочную характеристику, выражающую зависимость оптической плотности раствора от массы анилина в пробе, устанавливают по пяти сериям растворов для градуировки. Каждую серию, состоящую из восьми растворов, готовят из свежеприготовленного рабочего раствора анилина (см. п. 7.2, перечисление 7) в мерных колбах вместимостью 100 см3. Для этого в каждую колбу вносят рабочий раствор в соответствии с табл. 1, доводят поглотительным раствором до метки и тщательно перемешивают.
Для установления градуировочной характеристики отбирают в пробирки по 3 см3 каждого раствора, добавляют 0,3 см3 раствора гидроксида натрия концентрацией 0,1 моль/дм3 (для нейтрализации), 0,5 см3 4 %-ного раствора хлорамина Т, 0,5 см3 3 %-ного раствора фенола и 0,2 см3 2 %-ного раствора гидроксида натрия. После добавления каждого раствора содержимое пробирок взбалтывают. Через 10 - 20 мин определяют оптическую плотность каждого раствора относительно воды в кювете шириной 10 мм при длине волны 650 нм (светофильтр № 9 для ФЭК-56М). Время от добавления последнего реактива до измерения оптической плотности каждого раствора должно быть одинаковым. Для построения градуировочного графика используют значения разности оптических плотностей полученных окрашенных растворов и нулевого, для приготовления которого вместо раствора для градуировки используют 3 см3 поглотительного раствора.
Растворы для установления градуировочной характеристики при определении концентрации анилина
|
1 |
2 |
3 |
4 |
5 |
6 |
7 |
8 |
|
|
Объем рабочего раствора (ρ = 100 мкг/см3), см3 |
0,33 |
0,66 |
1,0 |
2,0 |
3,0 |
4,0 |
5,0 |
6,0 |
|
Соответствует массе анилина в 3 см3 раствора, мкг |
1,0 |
2,0 |
3,0 |
6,0 |
9,0 |
12,0 |
15,0 |
18,0 |
7.4. Отбор проб
Для определения разовой концентрации воздух аспирируют через поглотительный прибор, заполненный 4 см3 поглотительного раствора, со скоростью 1 дм3/мин в течение 20 - 30 мин.
8. Выполнение измерений
Уровень раствора в поглотительном приборе доводят до метки дистиллированной воды. Для анализа из каждого поглотительного прибора переносят в пробирку по 3 см3 пробы, добавляют по 0,3 см3 раствора гидроксида натрия концентрацией 0,1 моль/дм3 (для нейтрализации) и т.д., как описано в п. 7.3. Одновременно готовят три нулевые пробы, для чего к 3 см3 поглотительного раствора добавляют те же реактивы. Измеряют оптическую плотность растворов относительно воды в кювете шириной 10 мм при длине волны 650 нм через 10 - 20 мин после добавления последнего реактива. Это время должно быть одинаковым для всех проб.
Массу анилина в пробе определяют с помощью установленной градуировочной характеристики по разности результатов измерений оптической плотности растворов и средней оптической плотности нулевых проб.
9. Вычисление результата измерений
См. ч. I, п. 5.1.16 формулу (4).
Методика предназначена для определения массовой концентрации акрилонитрила в атмосферном воздухе населенных пунктов в диапазоне 0,025 - 1,5 мг/м3 при объеме пробы 200 см3. Используется для измерения разовых концентраций.
Определению не мешают стирол, α-метилстирол, этилакрилат, хлоропрен, четыреххлористый углерод.
1. Нормы точности измерений
По результатам метрологического исследования, при определении концентрации акрилонитрила в атмосферном воздухе в диапазоне 0,025 - 1,5 мг/м3 суммарная погрешность при доверительной вероятности 0,95 не превышает ±15 %.
Схема установки для газовоздушных смесей
1 - микрокомпрессор; 2 - система очистки; 3 - манометр; 4 - стеклянная трубка; 5 - смеситель; 6 - ампульный дозатор.
2. Метод измерения
Метод основан на концентрировании акрилонитрила из воздуха на твердый сорбент с последующей термодесорбцией и анализе на хроматографе с пламенно-ионизационным детектором.
3. Средства измерений, вспомогательные устройства, реактивы и материалы
3.1. При выполнении измерений должны быть применены следующие средства измерений, вспомогательные устройства, реактивы и материалы.
3.2. Средства измерений
Газовый хроматограф с пламенно-ионизационным
детектором и краном-дозатором по ТУ 1.550-150
Секундомер; класс 3; цена деления
секундной шкалы 0,2 с по ГОСТ 5072-79Е
Лупа измерительная по ГОСТ 8309-75
Весы аналитические ВЛА-200 по ГОСТ 24104-80Е
Меры массы по ГОСТ 7328-82Е
Термометр лабораторный шкальный ТЛ-2;
пределы 0 - 200 °С; цена деления 1 °С по ГОСТ 215-73Е
Барометр-анероид М-67 по ТУ 2504-1797-75
3.3. Вспомогательные устройства
Шприцы медицинские вместимостью
5 см3 со стеклянным поршнем по ТУ 64-528-67
Хроматографическая колонка из нержавеющей
стали длиной 3 м с внутренним диаметром 3 мм
Шприцы медицинские вместимостью 200 см3
со стеклянным поршнем по ТУ 64-255-70
Дозатор диффузионно-динамического типа (черт. 1)
Колонка концентрирующая U-образная из
молибденового стекла с внутренним диаметром 2 мм и
расширением у основания или прямая трубка из латуни
с хромированным покрытием длиной 70 мм, внутренним
диаметром 5 мм.
Вакуумный компрессор марки ВН-461М
Сосуд Дьюара
Печь электрическая; рабочая температура до 150 °С
(или глицериновая баня)
3.4. Материалы
Трубка резиновая вакуумная
Стекловата обезжиренная
Азот сжатый по ГОСТ 9293-74
Воздух сжатый по ГОСТ 11882-73
Водород сжатый по ГОСТ 3022-80
Охлаждающая смесь: лед с солью, помещенные в сосуд Дьюара
3.5. Реактивы
Акрилонитрил, перегнанный при температуре 77,3 °С
Апиезон L (жидкая фаза)
Хроматом N-AW с зернением 0,160 - 0,200 мм (твердый носитель)
4. Требования безопасности
См. ч. I, п. 5.1.3.
Все работы с акрилонитрилом необходимо проводить под тягой и в резиновых перчатках.
5. Требования к квалификации оператора
См. ч. I, п. 5.1.4.
6. Условия выполнения измерений
См. ч. I, п. 5.1.14.
7. Подготовка к выполнению измерений
7.1. Перед выполнением измерений должны быть проведены следующие работы: подготовка хроматографической и концентрирующей колонок, приготовление градуировочных смесей, установление градуировочной характеристики, отбор проб.
7.2. Подготовка хроматографической и концентрирующей колонок
Хроматографическую и концентрирующую колонки заполняют насадкой с помощью вакуумного насоса и тренируют в токе газа-носителя в течение 48 ч при температуре 200 °С, не подключая к детектору. В качестве насадки используют апиезон L, нанесенный в количестве 15 % на хроматон N-AW с зернением 0,16 - 0,200 мм. Перед заполнением колонок их промывают водой, спиртом, эфиром и продувают азотом. Заполненные колонки с двух сторон фиксируют стекловатой.
Перед проведением анализа необходимо подключить хроматографическую колонку к детектору и записать нулевую линию. При отсутствии мешающих пиков колонка готова к работе. Концентрирующую колонку кондиционируют при положении крана-дозатора «Анализ» при отключенном детекторе.
7.3. Приготовление градуировочных смесей
Градуировочные паровоздушные смеси «акрилонитрил-воздух» с содержанием акрилонитрила 0,005; 0,01; 0,05; 0,08; 0,1 мкг в 200 см3 воздуха получают диффузионным способом при помощи диффузионно-динамического дозатора (см. черт. 1).
7.4. Установление градуировочной характеристики
Градуировочную характеристику, выражающую зависимость площади пика на хроматограмме от концентрации акрилонитрила в паровоздушной смеси, устанавливают по пяти сериям паровоздушных смесей. Для этого в медицинские шприцы вместимостью 200 см3 отбирают градуировочные смеси (см. п. 7.3) и вводят через концентрирующую колонку в прибор в токе газа-носителя. Перед отбором концентрирующую колонку помещают в охлаждающую смесь (лед с солью) на 5 мин и вводят в нее градуировочные смеси. Затем колонку помещают в электропечь или глицериновую баню, предварительно нагретую до 150 °С, и по истечении 2 мин кран-дозатор переключают в положение «Анализ».
Условия газохроматографического анализа
Температура термостата колонок 100 °С
Температура испарителя 150 °С
Расход газа-носителя (азота) 50 см3/мин
Расход воздуха 500 см3/мин
Расход водорода 50 см3/мин
Скорость протяжки диаграммной ленты 600 мм/ч
Шкала измерителя тока 10×10-12 А
Время удерживания акрилонитрила составляет 49 с.
По хроматограмме рассчитывают площади пиков для градуировочных смесей и по средним результатам строят градуировочную характеристику.
7.5. Отбор проб
Для определения разовой концентрации акрилонитрила исследуемый воздух отбирают в шприцы вместимостью 200 см3 путем 10-кратного воздухообмена в течение 10 мин. После отбора пробы на шприц надевают иглу, отверстие которой закрывают резиновой пробкой. Анализируют в день отбора.
8. Выполнение измерений
После выхода прибора на режим концентрирующую колонку помещают в термостатирующее устройство (электропечь или глицериновую баню), нагретое до 150 °С, и кондиционируют с подачей газа-носителя в течение 1,5 ч. Затем записывают «контрольную» хроматограмму. Затем концентрирующую колонку помещают в охлаждающую смесь (лед с солью) на 5 мин и вводят шприцем отобранную пробу. Переключатель крана-дозатора в это время находится в положении «отбор проб». Концентрирующую колонку с пробой помещают в термостатирующее устройство, предварительно нагретое до 150 °С, и по истечении 2 мин кран-дозатор переводят в положение «Анализ». Проба из концентрирующей колонки потоком газа-носителя переносится в хроматографическую колонку для разделения. По полученной хроматограмме рассчитывают площадь пика акрилонитрила.
Массу акрилонитрила в пробе определяют с помощью градуировочной характеристики.
9. Вычисление результата измерений
См. ч. I, п. 5.1.16, формулу (5).
5.3.3. Определение ацетона [ГХ-метод] [7]
Методика предназначена для определения массовой концентрации ацетона в атмосферном воздухе населенных пунктов в диапазоне 0,16 - 3,5 мг/м3 при объеме пробы 60 дм3. Определению не мешают: вода, метилэтилкетон, метилбутанол-2, пентанон-2, 3,3-диметилбутанон-2 и другие кетоны, а также ароматические углеводороды. Используется для измерения разовых и среднесуточных концентраций.
1. Нормы точности измерений
По экспертным оценкам, при определении массовой концентрации ацетона в атмосферном воздухе в диапазоне 0,16 - 3,5 мг/м3 суммарная погрешность не превышает 25 %.
2. Метод измерения
Метод заключается в концентрировании ацетона из воздуха на силикагеле, его десорбции водой и последующем анализе на хроматографе с пламенно-ионизационным детектором.
3. Средства измерений, вспомогательные устройства, реактивы и материалы
3.1. При выполнении измерений должны быть применены следующие средства измерений, вспомогательные устройства, реактивы и материалы:
3.2. Средства измерений
Хроматограф серии «Цвет» с пламенно-ионизационным
детектором
Весы аналитические ВЛА-200 по ГОСТ 24104-80Е
Меры массы по ГОСТ 7328-82Е
Секундомер; класс 3; цена деления
секундной шкалы 0,2 с по ГОСТ 5072-79Е
Термометр лабораторный шкальный ТЛ-2;
пределы 0 - 55 °С; цена деления 1 °С
Барометр-анероид М-67 по ТУ 2504-1797-75
Электроаспиратор ЭА-1; погрешность
±10 %; Госреестр № 5997-77 по ТУ 25-11-1414-73
Микрошприц МШ-10М по ТУ 64-21-1279-75
Лупа измерительная по ГОСТ 8309-75
Колбы мерные по ГОСТ 1770-74Е
Пипетки по ГОСТ 20292-74Е
3.3. Вспомогательные устройства
Разделительная колонка длиной 2 м, диаметром 3 мм
Видоизмененные поглотительные приборы Зайцева
Набор сит лабораторных («Физприбор»).
Плитка электрическая
Пробирки с притертыми пробками по ГОСТ 10515-75
Стаканы химические термостойкие по ГОСТ 25336-82
Чашка выпарительная диаметром 150 мм
Флаконы пенициллиновые с резиновыми пробками
Эксикатор
3.4. Материалы
Трубка резиновая полувакуумная, тип 1 по ГОСТ 5496-57
Стекловата
Азот сжатый по ГОСТ 9293-74
Воздух сжатый по ГОСТ 11882-73
Водород сжатый по ГОСТ 3022-80
3.5. Реактивы
Ацетон, ч. д. а. по ГОСТ 2603-79
Ацетон для хроматографического анализа по ТУ 6-09-1707-77
Вода дистиллированная по ГОСТ 6709-72
Кислота соляная (ρ = 1,19 г/см3), х. ч. по ГОСТ 3118-77
Порапак Q зернением 150 - 200 меш. (насадка для хроматографической колонки)
Силикагель марки КСК или КСМ
4. Требования безопасности
См. ч. I, п. 5.1.3.
Все работы по приготовлению растворов ацетона и подготовку силикагеля следует проводить под тягой.
5. Требования к квалификации оператора
См. ч. I, п. 5.1.4.
6. Условия выполнения измерений
См. ч. I, п. 5.1.14.
7. Подготовка к выполнению измерений
7.1. Перед выполнением измерений должны быть проведены следующие работы: приготовление растворов, установление градуировочной характеристики, подготовка силикагеля и поглотительных приборов, отбор проб.
7.2. Приготовление растворов
1) Кислота соляная, раствор 1:1. 500 см3 кислоты (ρ = 1,19 г/см3) разбавляют таким же объемом дистиллированной воды.
2) Раствор ацетона для градуировки. Мерную колбу вместимостью 50 см3, содержащую 25 - 30 см3 дистиллированной воды, взвешивают и добавляют несколько капель хроматографически чистого ацетона таким образом, чтобы капли попадали прямо в воду, а не растекались по стенкам, и снова взвешивают. (Взвешивание проводят при закрытой пробке колбы, следя за тем, чтобы пробка и горлышко колбы оставались сухими). Затем объем в колбе доводят до метки водой и содержимое хорошо перемешивают. Рассчитывают массу ацетона в 1 см3. (При отсутствии хроматографически чистого ацетона допустимо использовать свежеперегнанный ацетон).
3) Исходный раствор ацетона для градуировки (ρ = 1 мг/см3). Готовят из раствора, приготовленного по перечислению 2, путем его разведения водой в мерной колбе вместимостью 100 см3.
4) Рабочий раствор для градуировки (ρ = 0,100 мг/см3). Готовят разбавлением градуировочного раствора, приготовленного по перечислению 3, водой в 10 раз.
7.3. Подготовка силикагеля
Силикагель просеивают и отбирают для работы фракции 0,5 - 2 мм, затем промывают соляной кислотой (1:1) при нагревании и периодически перемешивая. Пожелтевший раствор кислоты заменяют свежим до тех пор, пока он не перестанет окрашиваться, затем силикагель отмывают от кислоты дистиллированной водой, сушат при 100 °С, активируют при 200 °С, охлаждают в эксикаторе и хранят в склянках с притертыми пробками.
7.4. Установление градуировочной характеристики
Ввиду того что эффективность поглощения ацетона из воздуха (с учетом последующей десорбции) составляет 94 %, градуировочную характеристику рекомендуется устанавливать с использованием растворов ацетона, минуя операцию концентрирования ацетона на силикагеле.
Градуировочную характеристику, выражающую зависимость площади пика на хроматограмме от массы ацетона, устанавливают по пяти сериям растворов для градуировки. Каждую серию, состоящую из семи растворов, готовят в мерных колбах вместимостью 50 см3. Для этого в каждую колбу вносят рабочий раствор для градуировки в соответствии с табл. 2, доводят объем водой до метки и тщательно перемешивают.
Растворы для определения градуировочной характеристики при определении концентрации ацетона
|
1 |
2 |
3 |
4 |
5 |
6 |
7 |
|
|
Объем рабочего раствора (ρ = 0,1 мг/см3), см3 |
0 |
1,0 |
2,5 |
5,0 |
10,0 |
15,0 |
20,0 |
|
Содержание ацетона, мкг/мм3 |
0 |
0,002 |
0,005 |
0,01 |
0,02 |
0,03 |
0,04 |
Для установления градуировочной характеристики берут семь чистых пенициллиновых флаконов с резиновыми пробками (по числу растворов), каждый из них ополаскивают одним из растворов несколько раз, а затем наполняют раствором до самой пробки. Из каждого флакона микрошприцем отбирают 1 - 2 мм3 и вводят в хроматограф. Каждый раствор хроматографируют 3 - 5 раз до получения не менее трех примерно одинаковых пиков для одной концентрации.
Градуировка прибора может быть также осуществлена с использованием ацетоно-воздушной смеси, полученной с помощью абсолютного дозатора динамического типа (или другим путем).
Условия хроматографического анализа:
Температура термостата колонки 120 °С
Температура испарителя 150 °С
Расход водорода 30 см3/мин
Расход азота 30 см3/мин
Расход воздуха 300 см3/мин
Скорость протяжки диаграммной ленты 30 см/ч
Шкала измерителя тока 2×10-2 А
При указанном режиме работы хроматографа время удерживания составляет для ацетона 2 мин 10 с.
По хроматограмме рассчитывают площади пиков и по средним результатам из пяти серий строят градуировочную характеристику, выражающую зависимость площади пиков (см2) от массы ацетона (мкг).
7.5. Отбор проб
В случае определения разовой концентрации для отбора пробы исследуемый воздух аспирируют с расходом 2 дм3/мин через 1 г силикагеля, помещенного в поглотительный прибор. Продолжительность отбора - 30 мин. При определении среднесуточной концентрации пробы отбирают в 4 - 6 поглотительных приборов через равные промежутки времени. Отобранные пробы пересыпают из поглотительных приборов в пробирки с притертыми пробками и доставляют в лабораторию. Продолжительность хранения проб не более 1 сут в холодильнике.
8. Выполнение измерений
Пробу в пробирке заливают 10 см3 дистиллированной воды (с температурой около 20 °С) и периодически встряхивают содержимое в течение 30 мин. Для анализа отбирают пипеткой 2 - 3 см3 отстоявшегося прозрачного раствора и переносят в другую пробирку с притертой пробкой, вместимостью около 3 см3. 1 - 2 мм3 раствора вводят в испаритель хроматографа, предварительно включенного согласно инструкции и выведенного на рабочий режим. По полученной хроматограмме рассчитывают площадь пика и по градуировочной характеристике определяют массу ацетона в пробе.
9. Вычисление результата измерений
См. ч. I, п. 5.1.16, формулу (4).
5.3.4. Определение гексанола и октанола [9]
Методика предназначена для определения концентрации гексилового и октилового спиртов в атмосферном воздухе населенных пунктов в диапазонах соответственно 0,1 - 2 и 0,2 - 5 мг/м3 при объеме пробы 2 дм3.
Высшие алифатические спирты и оксиды азота определению не мешают. Используется для измерения разовых и среднесуточных концентраций.
1. Нормы точности измерений
По результатам метрологического исследования, при определении разовой концентрации гексилового и октилового спиртов в диапазонах соответственно 0,1 - 2 и 0,2 - 5 мг/м3 суммарная погрешность при доверительной вероятности 0,95 не превышает ±11 %.
2. Метод измерения
Метод основан на концентрировании спиртов из воздуха на твердый сорбент с последующей термодесорбцией и анализе на хроматографе с пламенно-ионизационным детектором.
3. Средства измерений, вспомогательные устройства, реактивы и материалы
3.1. При выполнении измерений должны быть применены следующие средства измерений, вспомогательные устройства, реактивы и материалы.
3.2. Средства измерений
Газовый хроматограф серии «Цвет-500М» с
пламенно-ионизационным детектором и
обогатительным устройством по ТУ 1.550.150
Весы аналитические ВЛА-200 по ГОСТ 24104-80
Меры массы по ГОСТ 7328-82Е
Секундомер; класс 3; цена деления
секундной шкалы 0,2 с по ГОСТ 5272-79Е
Термометр лабораторный шкальный ТЛ-2;
пределы 0 - 55 °С; цена деления 1 °С по ГОСТ 215-73Е
Дозатор диффузионно-динамический «Микрогаз»
Печь электрическая; рабочая температура не ниже 250 °С
Лупа измерительная по ГОСТ 8309-75
Линейка измерительная
Барометр-анероид М-67 по ТУ 2504-1797-75
Электроаспиратор ЭА-1; погрешность
±10 %; Госреестр № 5997-77 по ТУ 25-11-1414-78
Колбы мерные по ГОСТ 1770-74Е
Пипетки по ГОСТ 20292-74Е
3.3. Вспомогательные устройства
Хроматографическая колонка длиной 2 м с
внутренним диаметром 3 мм
Трубки сорбционные U-образные из нержавеющей стали
длиной 250 мм с внутренним диаметром 3 мм
3.4. Материалы
Трубка резиновая полувакуумная, тип 1 по ГОСТ 5496-57
Вата стеклянная
Азот сжатый по ГОСТ 9293-74
Водород сжатый по ГОСТ 3022-80
Воздух сжатый по ГОСТ 11882-73
3.5. Реактивы
Ацетон, х. ч. по ГОСТ 2603-79
Насадка для хроматографической колонки -
10 % ПЭГА от массы носителя
Полисорб-1 или порапак Q, или тенакс
(носитель неподвижной фазы)
Полиэтиленгликольадипинат (ПЭГА) для хроматографии
(неподвижная жидкая фаза)
Спирт гексиловый для хроматографии по ТУ 6-09-3499-79
Спирт октиловый для хроматографии по ТУ 6-09-3506-78
4. Требования безопасности
См. ч. I, п. 5.1.3.
Все работы с гексиловым и октиловым спиртами следует проводить под тягой.
5. Требования к квалификации оператора
См. ч. I, п. 5.1.4.
6. Условия выполнения измерений
См. ч. I, п. 5.1.14.
7. Подготовка к выполнению измерений
7.1. Перед выполнением измерений должны быть проведены следующие работы: подготовка хроматографической колонки и сорбционных трубок, приготовление градуировочных растворов, установление градуировочной характеристики, отбор проб воздуха.
7.2. Подготовка хроматографической колонки и сорбционных трубок. Вымытую и высушенную хроматографическую колонку заполняют насадкой одним из общепринятых способов (например, с использованием вакуумного насоса), закрывают с обеих сторон стекловолокном и тренируют при отключенном детекторе в токе азота до получения стабильной нулевой линии.
Сорбционные трубки заполняют 0,15 - 0,2 г полисорба-1, сорбент фиксируют с обеих сторон стекловатой. Перед отбором проб необходимо проверить чистоту сорбционных трубок, для чего каждую из них подсоединяют к хроматографу, как описано в п. 7.4. Стабильная нулевая линия на хроматограмме является свидетельством их чистоты. В противном случае сорбционные трубки также тренируют в токе азота при температуре 220 °С в течение 8 ч, а затем снова проверяют их чистоту.
7.3. Приготовление паровоздушных смесей для градуировки
Смеси гексиловый спирт-воздух и октиловый спирт-воздух с массовой концентрацией 0,1 - 10 мг/м3 готовят с применением дозирующего устройства, действие которого основано на использовании диффузионно-динамического эффекта.
7.4. Установление градуировочной характеристики
Градуировочную характеристику, выражающую зависимость площади пика на хроматограмме от массы гексилового или октилового спирта в паровоздушной смеси, устанавливают по пяти сериям паровоздушных смесей для каждого спирта. Для этого с помощью дозатора последовательно готовят паровоздушные смеси, содержащие по 0,2; 0,5; 1,0; 4,0 мкг гексилового и по 0,4; 1,0; 2,0; 4,0 и 10 мкг октилового спиртов в 2 дм3 смеси. Через чистые сорбционные трубки аспирируют по 2 дм3 паровоздушной смеси, содержащей указанные количества каждого из спиртов, с расходом 0,5 дм3/мин. Сорбционные трубки охлаждают смесью воды со льдом.
Не вынимая из охлаждающей смеси содержащую концентрированный спирт сорбционную трубку, присоединяют ее к обогатительному устройству хроматографа. Кран-дозатор при этом должен находиться в среднем положении. Затем сорбционную трубку переносят в предварительно нагретую до 250 °С электропечь. Через 5 мин кран-дозатор устанавливают в положение «Продувка» и десорбированный после термической обработки спирт переносится газом-носителем в хроматографическую колонку. На хроматограмме рассчитывают площади пиков и по средним результатам из пяти серий строят градуировочную характеристику, выражающую зависимость площади пика (мм) от массы спирта (мкг).
Условия хроматографического анализа
Температура термостата колонок 110 °С
Температура крана обогатительного устройства 150 °С
Температура электропечи 250 °С
Расход газа-носителя (азота) 30 см3/мин
Расход водорода 30 см3/мин
Расход воздуха 300 см3/мин
Скорость протяжки диаграммной ленты 240 мм/ч
При указанном режиме продолжительность удерживания гексилового спирта составляет 3 мин 50 с, для октилового - 10 мин 50 с.
7.5. Отбор проб
Для определения разовой концентрации анализируемый воздух (2 дм3) аспирируют через охлаждаемую (смесью воды со льдом) сорбционную трубку, заполненную полисорбом-1.
При определении среднесуточной концентрации воздух аспирируют 6 раз через равные промежутки времени. Продолжительность хранения проб не более 1 сут.
8. Выполнение измерений
Сорбционную трубку с пробой, не вынимая из охлаждающей смеси, присоединяют к обогатительному устройству хроматографа и проделывают операции в соответствии с п. 7.4: сорбционную трубку переносят в электропечь, нагретую до 250 °С и т.д.
9. Вычисление результата измерений
См. ч. I, п. 5.1.16, формулу (5).
5.3.5. Определение метилакрилата и метилметакрилата [ГХ-метод] [9]
Методика предназначена для определения массовой концентрации в атмосферном воздухе населенных пунктов метилакрилата в диапазоне 0,004 - 0,12 мг/м3 и метилметакрилата в диапазоне 0,004 - 0,12 мг/м3 при объеме пробы 1 дм3. Используется для определения разовых концентраций.
Определению не мешают оксиды азота, серы, углерода.
1. Нормы точности измерений
По результатам метрологического исследования, при определении метилакрилата и метилметакрилата в атмосферном воздухе в диапазонах соответственно 0,004 - 0,12 и 0,004 - 0,12 мг/м3 суммарная погрешность при доверительной вероятности 0,95 составляет соответственно 16 и 12 %.
2. Метод измерения
Метод основан на улавливании метилакрилата и метилметакрилата из воздуха полиметилсилоксановой жидкостью (на силохроме С-80), последующем газохроматографическом разделении и количественном определении с использованием пламенно-ионизационного детектора.
3. Средства измерений, вспомогательные устройства, реактивы, и материалы
3.1. При выполнении измерений должны быть применены следующие средства измерений, вспомогательные устройства, реактивы и материалы.
3.2. Средства измерений
Хроматограф серии «Цвет-500М» с
пламенно-ионизационным детектором по ТУ 1.550.150
Дозатор для приготовления паровоздушных смесей
метилакрилата с воздухом и метилметакрилата с
воздухом, работающий на использовании принципа диффузии
Секундомер; класс 3; цена деления
секундной шкалы 0,2 с по ГОСТ 5072-79Е
Весы аналитические ВЛА-200 по ГОСТ 24104-80Е
Меры массы по ГОСТ 7328-82Е
Лупа измерительная по ГОСТ 8309-75
Термометр лабораторный шкальный ТЛ-2;
пределы 0 - 55 °; цена деления 1 °С по ГОСТ 215-73Е
Барометр-анероид М-67 по ТУ 2504-1797-75
Электроаспиратор ЭА-1;
погрешность ±10 %; Госреестр № 5997-77 по ТУ 25-11-1414-78
Микрокомпрессор аквариумный МК-Л2 по ТУ 401-02-142-72
Компрессор медицинский КМ3Р по ТУ 64-1-1816-72
Шприцы стеклянные вместимостью 50 - 100 см3 по ТУ 64-2-55-70
Шприцы медицинские вместимостью 10 см3 по ТУ 64-1-863-78
Посуда стеклянная лабораторная не
ниже 2-го класса точности по ГОСТ 1770-74
и ГОСТ 20292-74Е
3.3. Вспомогательные устройства
Хроматографические колонки стальные
длиной 3 м и внутренним диаметром 4 мм
Баня водяная
Трубки для отбора проб воздуха из нержавеющей
стали длиной 135 мм, внутренним диаметром 5 мм (черт. 2)
Установка для перегонки
Чашки выпарительные
3.4. Материалы
Трубка резиновая полувакуумная, тип 1 по ГОСТ 5496-57
Стекловата
Азот сжатый по ГОСТ 9293-74
Водород сжатый по ГОСТ 3022-80
Воздух сжатый по ГОСТ 11882-73
3.5. Реактивы
Метилакрилат очищенный перегонкой и
стабилизированный 0,1 %-ным раствором гидрохинона по ТУ 8П-145-68
Метилметакрилат, хроматографически чистый по ТУ ИРЕА 29-66
Дидецилфталат, ч. д. а. для хроматографии
(неподвижная фаза)
Полиметиленлоксановая жидкость ПМС-100 по ГОСТ 13032-67
Силохром С-80, фракция 0,025 - 0,50 мм по ТУ 6-09-17-48-74
Хромосорб-W, фракция 80 - 100 меш.
Эфир диэтиловый, марки «для наркоза»
Хлороформ, ч. д. а. по ГОСТ 3160-61
Устройство для ввода пробы в прибор
1 - сквозное отверстие для газа-носителя; 2 - стекловолокно; 3 - пробоотборная трубка; 4 - насадка; 5 - «пятка», фиксирующая трубку в испарителе.
4. Требования безопасности
См. ч. I, п. 5.1.3.
Все работы, связанные с использованием метилакрилата, метилметакрилата, хлороформа, должны проводиться под тягой.
5. Требования к квалификации оператора
См. ч. I, п. 5.1.4.
6. Условия выполнения измерений
См. ч. I. п. 5.1.14.
7. Подготовка к выполнению измерений
7.1. Перед выполнением измерений должны быть проведены следующие работы: приготовление растворов, подготовка хроматографической и концентрирующей колонок, установление градуировочных коэффициентов, отбор проб.
7.2. Приготовление растворов и материалов
1) Хромосорб-W (инертный носитель) сушат в течение 2 ч при температуре 150 °С, охлаждают в эксикаторе. Хранят в надежно закрытой посуде.
2) Насадка для хроматографической (разделительной) колонки. Навеску ПМС-100, составляющую 10 % от массы хромосорба-W, растворяют в хлороформе. Раствор переносят в выпарительную чашку, куда маленькими порциями медленно высыпают высушенный хромосорб-W. Растворитель выпаривают на водяной бане, при осторожном помешивании.
3) Насадка, содержащая 7 % дидецилфталата от массы хромосорба-W, готовится так, как описано в перечислении 2.
4) Насадка для концентрирующих колонок. Навеску ПМС-100, составляющую 5 % от массы силохрома С-80, растворяют в этиловом эфире. Раствор переносят в выпарительную чашку, куда вносят силохром С-80. Осторожно перемешивают. Растворитель выпаривают при комнатной температуре.
7.3. Подготовка разделительной и концентрирующей колонок.
1) Разделительные колонки промывают, сушат и заполняют одной из насадок с помощью вакуумного насоса. Заполненные колонки закрывают с обеих сторон стекловатой и тренируют в термостате хроматографа (без подсоединения к детектору) в токе азота в течение 24 ч (до получения стабильной нулевой линии). Температура тренировки для колонки с ПМС-100 составляет 150 °С, для колонки с дидецилфталатом - 110 °С.
2) Концентрирующие трубки промывают, сушат и заполняют насадкой. Тренируют в течение 24 ч при температуре 200 °С. При хранении трубки должны быть хорошо закрыты заглушками. Перед отбором проб следует проверять чистоту трубок, подключив их к хроматографу, работающему в оптимальном режиме.
7.4. Установление градуировочных коэффициентов
Для вычисления градуировочного коэффициента используют стандартные градуировочные паровоздушные смеси метилакрилата и метилметакрилата, которые готовят с применением динамических дозаторов, работающих с использованием принципа диффузии эффекта (черт. 3). Для получения градуировочных коэффициентов на хроматографическую колонку через пробоотборную трубку вводят градуировочные смеси, содержащие в объеме 100 см3 по 0,004; 0,006; 0,012; 0,024; 0,072; и 0,12 мкг метилакрилата и 0,004; 0,008; 0,016; 0,032; 0,120 мкг метилметакрилата.
Условия хроматографического анализа
Температура испарителя 180 °С
Температура термостата колонок
насадка с ПМС-100 50 °С
насадка с дидецилфталатом 60 °С
Расход газа-носителя (азота) 35 см3/мин
Расход водорода 40 см3/мин
Расход воздуха 400 см3/мин
Скорость протяжки диаграммной ленты 720 мм/ч
При использовании насадки с ПМС-100 время удерживания метилакрилата составляет 4 мин 40 с, метилметакрилата - 7 мин 45 с. При использовании насадки с дидецилфталатом - соответственно 5 мин 17 с и 9 мин 43 с.
На полученных хроматограммах измеряют площади пиков и из соотношения площади пика стандартного образца и массы акрилатов определяют градуировочные коэффициенты K (мкг/мм2).
Схема установки для получения паровоздушных смесей
1 - игольчатый смеситель; 2 - шарообразный смеситель; 3, 8 - колонки для очистки воздуха; 4 - ротаметр; 5 - компрессор медицинский; 6 - микрокомпрессор; 7 - реометр; 9 - термостатирующий сосуд; 10 - дозатор.
7.5. Отбор проб
Через пробоотборную трубку, заполненную 0,5 г насадки, аспирируют 1 дм3 воздуха с расходом 0,1 дм3/мин. По окончании отбора пробы концы трубки закрывают заглушками из тефлона.
8. Выполнение измерений
После выхода прибора на режим отвинчивают крышку испарителя и быстро вставляют сорбционную трубку в испаритель через специальное устройство под названием «пятка», которое находится постоянно в испарителе термостата и изготовлено из нижней части газонаправляющей трубки испарителя. Сорбционная трубка вставляется в испаритель так, чтобы ее конусообразный конец плотно вошел в конус «пятки». После этого испаритель быстро закрывают и одновременно включают секундомер (см. черт. 2).
По полученной хроматограмме рассчитывают площади пиков анализируемых веществ и с помощью градуировочного коэффициента вычисляют массу метилакрилата и метилметакрилата.
9. Вычисление результата измерений
См. ч. I, п. 5.1.16, формулу (5).
5.3.6. Определение оксида углерода [ГХ-метод] [6]
Методика предназначена для определения массовой концентрации оксида углерода в атмосферном воздухе населенных пунктов в диапазоне 0,2 - 30,0 мг/м3 при объеме пробы воздуха 100 см3.
Используется для определения разовых концентраций при отсутствии автоматических анализаторов.
1. Нормы точности измерений
По результатам метрологического исследования, при определении разовой концентрации оксида углерода в диапазоне 0,2 - 30 мг/м3 суммарная погрешность при доверительной вероятности 0,95 не превышает ±5 %.
2. Метод измерения
Метод основан на хроматографическом разделении оксида углерода и сопутствующих компонентов на колонке с молекулярными ситами, конверсии оксида углерода в метан в присутствии нихромового катализатора и водорода и детектировании метана пламенно-ионизационным детектором без предварительного концентрирования.
3. Средства измерений, вспомогательные устройства, реактивы и материалы
3.1. При выполнении измерений должны быть применены следующие средства измерений, вспомогательные устройства, реактивы и материалы.
3.2. Средства измерений
Газовый хроматограф с пламенно-ионизационным детектором
Система газоснабжения СГС-2 по ТУ 6-09-1.550044-72
Микрокомпрессор ВК-1 по ТУ 25-06.926-77
Лупа измерительная по ГОСТ 8309-75
Секундомер; класс 3; цена деления
секундной шкалы 0,2 с по ГОСТ 5272-79Е
Термометр лабораторный шкальный ТЛ-2;
пределы 0 - 55 °С; цена деления 1 °С по ГОСТ 215-73Е
Барометр-анероид М-67 по ТУ 2504-1797-75
Посуда стеклянная лабораторная по ГОСТ 1770-74
и ГОСТ 20292-74
Электроаспиратор ЭА-1; погрешность
±10 %; Госреестр № 5997-77 по ТУ 25-11-1414-78
3.3. Вспомогательные устройства
Стальная хроматографическая колонка
длиной 2 м с внутренним диаметром 3 мм
Набор лабораторных сит («Физприбор») по ТУ 26-09-262-69
Пипетки газовые стеклянные
вместимостью 0,1 - 0,5 дм3 по ГОСТ 18954-73
Шприцы медицинские стеклянные
вместимостью 100 см3 по ТУ 64-1-129-75
Метанатор - U-образная трубка из нержавеющей стали
длиной 25 см, с внутренним диаметром 3 мм
3.4. Материалы
Азот сжатый, ос. ч. по ТУ 6-02-7376-65
или гелий по ТУ 51-940-80
Водород сжатый по ГОСТ 3022-80
Воздух сжатый по ГОСТ 11882-73
Вата стеклянная
Нихромовая проволока марки Х20Н80
Трубка резиновая полувакуумная, тип 1 по ГОСТ 5496-57
3.5. Реактивы
Стандартная аттестованная смесь оксида
углерода с воздухом или азотом с концентрациями
1,0 - 20,0 мг/м3
Сита молекулярные СаА по ТУ 38401-213-78
Натрия хлорид, х. ч. по ГОСТ 4233-77
4. Требования безопасности
См. ч. I, п. 5.1.3.
Все работы с использованием оксида углерода необходимо проводить под тягой.
5. Требования к квалификации оператора
См. ч. I, п. 5.1.4.
6. Условия выполнения измерений
См. ч. I, п. 5.1.14.
7. Подготовка к выполнению измерений
7.1. Перед выполнением измерений должны быть проведены следующие работы: подготовка разделительной колонки и метанатора, приготовление раствора, отбор проб.
7.2. Подготовка разделительной колонки
Стальную разделительную колонку промывают несколько раз водой, затем бензолом, гексаном, ацетоном, после чего высушивают гелием или азотом для удаления паров растворителей.
Молекулярные сита СаА измельчают, отсеивают фракцию 0,25 - 0,5 мм и прокаливают при температуре 350 °С в течение 4 ч. Охлажденным в эксикаторе адсорбентом заполняют разделительную колонку.
Схема газовых линий газохроматографической системы
1 - хроматографическая колонка; 2 - кран-дозатор; 3 - метанатор; 4 - детектор; 5 - тройник.
7.3. Подготовка метанатора
Нихромовую проволоку диаметром 0,15 - 0,25 мм нарезают кусочками длиной до 3 мм, прокаливают в муфельной печи при температуре 1000 °С в течение 2 ч. Охлажденным в эксикаторе катализатором заполняют метанатор, концы которого закрывают пробками из стекловаты. Концы U-образной трубки метанатора помещают в полые трубки испарителя. Верхнюю часть метанатора изолируют стекловатой и закрывают металлическим кожухом. Собирают газовую схему согласно черт. 4. Для этого к выходу колонки подсоединяют тройник из нержавеющей стали (для подвода водорода), который соединяют с одним из концов метанатора. Второй конец метанатора соединяют с детектором. Перед началом работы адсорбент активируют, пропуская через колонку газ-носитель при температуре 250 °С, а катализатор активируют в токе водорода при температуре 325 °С в течение 6 ч (нагрев метанатора обеспечивается термостатом испарителя).
7.4. Приготовление растворов
Натрия хлорид, насыщенный раствор
7.5. Отбор проб
Пробы воздуха отбирают в стеклянные медицинские шприцы или газовые пипетки, через которые протягивают десятикратный объем анализируемого воздуха. При использовании резиновых камер анализируемый воздух накачивают в них с помощью резиновой груши или насоса.
Пробы воздуха с концентрациями оксида углерода до 5,0 мг/м3 можно хранить в стеклянных пробоотборных сосудах в течение 15 сут.
8. Выполнение измерений
Пробы воздуха вводят в хроматограф с помощью крана-дозатора через дозирующую петлю. Для этого из газовых пипеток пробу воздуха вытесняют в дозирующую петлю насыщенным раствором хлористого натрия. Из стеклянных медицинских шприцев вместимостью 100 см3 (или из резиновых камер) отбирают около 20 см3 анализируемого воздуха медицинским шприцем, прокалывая резиновую трубку, которая (вместе с заглушкой) закрывает выходное отверстие, и продувают им дозирующую петлю.
Условия хроматографического анализа
Температура термостата колонки 80 °С
Температура термостата испарителя (метанатора) 235 °С
Расход газа-носителя (гелия или азота) 35 см3/мин
Расход водорода 35 см3/мин
Расход воздуха 270 см3/мин
При этих условиях время удерживания оксида углерода составляет 1 мин 40 с.
Для определения концентрации оксида углерода используют метод параллельного сравнения параметров рассчитываемого пика с параметрами пика, полученного в результате введения смеси с известной концентрацией оксида углерода (сравнение со стандартом). Для этого перед анализом и после анализа проб воздуха вводят в хроматограф стандартную смесь оксида углерода аналогично пробам. Концентрация оксида углерода в стандартной смеси должна быть близка к анализируемой. Измеряют высоты пиков оксида углерода стандартной смеси и пробы.
9. Вычисление результата измерений
Концентрацию оксида углерода в анализируемом воздухе (ρ мг/м3) рассчитывают по формуле:
![]()
где ρст - концентрация оксида углерода в стандартной аттестованной смеси, введенной в хроматограф, мг/м3;
H1 и H2 - высоты пиков оксида углерода соответственно в стандартной смеси и пробе, мм.
5.3.7. Определение полициклических ароматических углеводородов [метод высокоэффективной жидкостной хроматографии] [2, 10]
Методика предназначена для определения концентрации 3,4-бензпирена и ряда других полициклических ароматических углеводородов (ПАУ) в атмосферном воздухе и снежном покрове и диапазоне концентраций, указанном в табл. 3, при проведении научных исследований. Определению указанных в таблице веществ могут мешать их алкилзамещенные производные, поскольку методика не обеспечивает эффективного разделения незамещенных и алкилзамещенных ПАУ. При анализе атмосферного воздуха практическое значение может иметь только влияние алкилзамещенных пиренов, поэтому получаемые для него данные следует интерпретировать как сумму производных пирена.
Диапазоны измеряемых концентраций ПАУ (10-8 г/м3) при использовании ультрафиолетового и флуоресцентного детекторов
|
Ультрафиолетовый детектор (объем пробы воздуха 100 м3) |
Флуоресцентный детектор (λвозб = 254 нм объем пробы воздуха 10 м3) |
|
|
Пирены |
0,16 - 0,32 (254) |
2,0 - 40 (393) |
|
Перилен |
0,033 - 0,66 (254) |
0,07 - 1,4 (430) |
|
Хризен |
0,02 - 0,40 (254) |
0,9 - 18 (389) |
|
3,4-бензфлуорантен |
0,16 - 3,30 (254) |
5,0 - 100 (430) |
|
1,2-бензпирен |
0,16 - 3,30 (254) |
5,0 - 100 (430) |
|
3,4-бензпирен |
0,066 - 1,30 (293) |
0,13 - 2,6 (430) |
|
11,12-бензперилен |
0,16 - 3,30 (254) |
1,3 - 26 (419) |
|
Коронен |
0,16 - 3,30 (300) |
5,0 - 100 (430) |
|
1,2-5,6-дибензантрацен |
0,16 - 3,30 (300) |
0,9 - 18 (410) |
|
Примечание. В скобках указаны аналитическая длина волны (нм) для УФ детектора и аналитическая длина волны эмиссии (нм) для флуоресцентного детектора. |
||
1. Нормы точности измерений
По результатам метрологического исследования, относительная погрешность измерения концентрации бензпиренов, 3,4-бензфлуорантена, 1,2-5,6-дибезантрацена и 11,12-бензперилена в атмосферном воздухе при доверительной вероятности 0,95 не превышает ±25 % во всем диапазоне измеряемых концентраций.
2. Метод измерения
Метод основан на улавливании ПАУ из воздуха на аэрозольный фильтр, отделении при помощи препаративной тонкослойной хроматографии (ТСХ) от мешающих примесей и разделении с помощью высокоэффективной жидкостной хроматографии.
3. Средства измерений, вспомогательные устройства, реактивы и материалы
3.1. При выполнении измерений должны быть применены следующие средства измерений, вспомогательные устройства, реактивы и материалы.
3.2. Средства измерения
Жидкостной хроматограф «Миллихром» по ТУ 25-7405.0005-87
или любой импортный жидкостной хроматограф
с ультрафиолетовым и флуоресцентным детекторами
Весы микроаналитические ВЛР-20 по ТУ 26-06-1315-76
Меры массы по ГОСТ 7328-82Е
Колбы мерные по ГОСТ 1770-74Е
Пипетки по ГОСТ 20292-74Е
4-2-0,5
Пробирки с притертыми пробками,
градуированные на 10 см3 по ГОСТ 10515-75
Электроаспиратор ЭА-2СМ по ТУ 25-11.1511-81
или ЭА-3; погрешность ±6 % по ТУ 25-11.1660-85
Вспомогательные устройства
3.3. Вспомогательные устройства
Генератор ультразвуковых колебаний
Микрошприцы вместимостью 50 мм3 и 100 мм3 по ТУ 2.833.104
Хроматографическая камера 200´150´250 мм по ГОСТ 10565-63
Пластинки стеклянные для тонкослойного
хроматографирования 90´120 мм
Колонка хроматографическая, заполненная
силикагелем с диаметром частиц 5 мкм по ТУ 25-7405.0005-87
Муфельная печь ПМ-8 по ТУ 79-337-72
Водяная баня
Дефлегматор по ГОСТ 9425-60
Воронка
Колба круглодонная вместимостью 1000 см3
Насадка Вюрца по ГОСТ 9425-60
Холодильник Либиха по ГОСТ 9499-60
Трубка хлоркальциевая по ГОСТ 9964-62
Стаканы вместимостью 25 и 50 см3
Колбы плоскодонные вместимостью 100 и 250 см3 по ТУ 10394-72
Воронка Бюхнера по ГОСТ 9147-59
Колба для фильтрования под вакуумом СТУ 30-6341-63
Насос водоструйный по ГОСТ 10696-63
Эксикатор по ГОСТ 6371-52
Респиратор «Лепесток»
3.4. Материалы
Фильтры бумажные «синяя лента» по ТУ 6-09-1678-77
Фильтры АФА-ХП-20 по ТУ 95.7181-76
или из ткани ФПП-15 по ТУ 52-01-367-80
3.5. Реактивы
3,4-бензпирен1
1,2-бензантрацен1
1,2-бензпирен1
11,12-бензперилен1
3,4-бензфлуорантен1
Гексан х. ч. по МРТУ 6-09-2937-66
1,2-5,6-Дибензантрацен1
Диметильсульфоксид по МРТУ 6-09-375-63
Диэтиловый эфир по ТУ 811-126-68
Коронен1
н-Октан, х. ч. по МРТУ 6-09-4534-67
Оксид алюминия безводный, II степени
активности по Брокману
Петролейный эфир, iкип. 40 - 70 °С по МХП 1867-48
Пирен1
Хризен1
Цеолит NaX(4A)
1 Реактивы для приготовления стандартов (импортные).
4. Требования безопасности
См. ч. I, п. 5.1.3.
Работы следует проводить под тягой, используя для отбора порций растворителя и раствора пипетку с грушей.
Особую осторожность необходимо соблюдать при работе с кристаллическими ПАУ. При их взвешивании следует пользоваться респиратором и резиновыми перчатками.
5. Требования к квалификации оператора
Работу может проводить инженер или лаборант, имеющий опыт проведения химико-аналитических работ. Предварительно оператор должен изучить прибор и порядок проведения анализа на нем, построить градуировочную характеристику по п. 7 настоящей методики, измерить значения аналитического сигнала, стандартных калибровочных растворов.
При установлении градуировочной характеристики максимальное отклонение аналитического сигнала Δh от среднего не должно превышать 3σ флуктуации нулевой линии в отсутствие полезного сигнала:
Δhmax ≤ 3σ.
В этом случае оператор может быть допущен к проведению анализа на жидкостном хроматографе.
6. Условия выполнения измерений
См. ч. I, п. 5.1.14.
7. Подготовка к выполнению измерений
7.1. Перед выполнением измерений должны быть проведены следующие работы: подготовка (очистка) посуды и растворителей, приготовление растворов, установление градуировочной характеристики, отбор проб воздуха.
7.2. Подготовка посуды
Используемую при анализе посуду необходимо тщательно вымыть хромовой смесью, последовательно ополоснуть водопроводной и дистиллированной водой и просушить при температуре 120 - 150 °С.
7.3. Подготовка растворителей
Все растворители подвергают предварительной перегонке с дефлегматором, а затем при облучении ультрафиолетовым светом проводят визуальный контроль (по свечению) на присутствие ПАУ. Необходимо проводить холостые опыты, для чего следует отбирать и упаривать такие же объемы растворителя, как для исследуемого образца.
Для осушки гексана, используемого в качестве подвижной фазы, применяется цеолит NaX. Цеолит предварительно прокаливают в муфельной печи при 400 - 500 °С в течение 4 - 5 ч. После охлаждения в эксикаторе его засыпают в гексан (200 - 300 г на 1 дм3) и оставляют на 24 ч. Затем гексан фильтруют через бумажный фильтр «синяя лента» под вакуумом.
1) Исходные растворы ПАУ для градуировки, ρ = 10-5 г/см3, 10-3 г соответствующего ПАУ отвешивают на микроаналитических весах. Навеску количественно переносят в мерную колбу вместимостью 100 см3, прибавляют сначала 50 см3 н-октана и тщательно встряхивают, контролируя в ультрафиолетовом свете полноту растворения кристаллов. Если вещество полностью растворилось, то при облучении раствора ультрафиолетовым светом не обнаруживаются светящиеся кристаллы. Затем добавляют н-октан до метки.
Чтобы учесть ошибки, связанные с потерями ПАУ на различных стадиях обработки пробы, исходный раствор подвергают обработке по полному циклу. Для этого неэкспонированный фильтр смачивают 10 см3 исходного раствора стандарта ρ = 10-5 г/см3, дают ему высохнуть, после чего подвергают фильтр операциям по пп. 7.7 и 7.8. Упаренный до мокрых солей смыв после ТХС-фракционирования при помощи мерной пипетки заливают 10 см3 н-октана, полученный раствор рассматривают как исходный для приготовления рабочих растворов.
2) Рабочие растворы для градуировки УФ-детектора. Готовят по пять рабочих растворов индивидуальных ПАУ в мерных колбах вместимостью 50 см3 путем разбавления н-октаном соответствующих исходных растворов согласно табл. 4.
Рабочие растворы для установления градуировочных характеристик ультрафиолетового детектора
|
1 |
2 |
3 |
4 |
5 |
|
|
Объем исходного раствора для градуировки (ρ = 1×10-5 г/см3), см3 |
0,25 |
0,40 |
0,50 |
0,64 |
0,75 |
|
Объем н-октана |
Во все колбы до 50 см3 |
||||
|
Концентрация полученного рабочего раствора, 10-7 г/см3 |
0,5 |
0,8 |
1,0 |
1,3 |
1,5 |
Рабочие растворы для установления градуировочных характеристик флуоресцентного детектора
|
1 |
2 |
3 |
4 |
5 |
|
|
Объем исходного раствора для градуировки (ρ = 10-5 г/см3), см3 |
0,125 |
0,25 |
0,40 |
0,50 |
0,625 |
|
Объем н-октана |
Во все колбы по 50 см3 |
||||
|
Концентрация полученного рабочего раствора, 10-7 г/см3 |
0,25 |
0,50 |
0,80 |
1,0 |
1,25 |
3) Рабочие растворы для градуировки флуоресцентного детектора. Готовят по пять рабочих растворов индивидуальных ПАУ в мерных колбах вместимостью 50 см3 согласно табл. 5 путем разбавления н-октаном соответствующих исходных растворов.
Для градуировки флуоресцентного детектора по перилену и 3,4-бензпирену необходимо приготовить другие стандартные растворы вследствие более высокой чувствительности флуоресцентного детектора по отношению к этим ПАУ (табл. 6).
Рабочие растворы перилена и 3,4-бензпирена для установления градуировочных характеристик флуоресцентного детектора
|
1 |
2 |
3 |
4 |
5 |
|
|
Объем рабочего раствора для градуировки (ρ = 10-7 г/см3), см3 |
0,25 |
0,5 |
2,5 |
3,5 |
5,0 |
|
Объем н-октана |
Во все колбы до 50 см3 |
||||
|
Концентрация полученного рабочего раствора, 10-9 г/см3 |
0,5 |
1,0 |
5 |
7 |
10 |
7.5. Установление градуировочной характеристики
В жидкостной хроматограф с помощью микрошприца вводят рабочие растворы для градуировки в количестве 100 мм3, приготовленные по п. 7.4 перечисление 1 и 2 при использовании соответственно ультрафиолетового и флуоресцентного детекторов. Проводят по пять параллельных вводов каждого раствора. По средним для каждой точки значениям аналитического сигнала (высота пика) строят градуировочную характеристику hi = f(ρi) где hi - высота пика, мм; ρi - концентрация градуировочного раствора, г/см3. По установленной градуировочной характеристике и по значению аналитического сигнала пробы определяют концентрацию ПАУ в пробе. При установлении градуировочной характеристики можно использовать также площадь пиков.
7.6. Отбор проб воздуха
Отбор проб атмосферного воздуха производят на аэрозольные фильтры ФПП-15 или АФА-ХА-20. Размеры используемого фильтра определяются типом аспиратора. Объемы проб составляют 10 - 15 и 300 - 400 м3 при использовании соответственно флуоресцентного и ультрафиолетового детекторов. Удельный расход воздуха не должен превышать 5 дм3/(см3×мин).
Экспонированные фильтры складывают загрязненной поверхностью внутрь, укладывают в полиэтиленовый пакет и хранят в темном месте до проведения анализа. Срок хранения фильтров - до 2 мес при комнатной температуре и до 4 мес. в холодильнике.
Данная методика предполагает определение содержания ПАУ в аэрозольной фазе атмосферного воздуха. Приведенные в табл. 7 данные позволяют оценить потери ПАУ с газовой фазой при разных значениях температуры окружающего воздуха и ввести поправку на эти потери (Kгаз). Проскок аэрозоля ПАУ при отборе проб на ткань ФПП-15 не превышает 10 %.
7.7. Экстракция ПАУ с фильтров
Фильтр с пробой атмосферного воздуха предварительно замачивают в 25 - 50 см3 гексана (объем растворителя определяется размером фильтра) в течение 12 ч, после чего колбу с фильтром помещают в генератор ультразвуковых колебаний, заполненный водой таким образом, чтобы уровень воды был не ниже уровня растворителя, покрывающего фильтр, и проводят экстракцию 3-мя порциями н-гексана по 15 мин. Экстракты объединяют и упаривают естественным путем или на ротационном испарителе до объема 1 - 2 см3.
Распределение некоторых ПАУ между газовой и аэрозольной фазами (%) и ориентировочное значение поправочного коэффициента Kгаз
|
При 5 °С |
При 19 °С |
|||||
|
Газ |
Аэрозоль |
Kгаз |
Газ |
Аэрозоль |
Kгаз |
|
|
Пирен |
88 |
12 |
8,3 |
93 |
7 |
14,3 |
|
Хризен |
8 |
92 |
1,1 |
32 |
68 |
1,5 |
|
3,4-Бензфлуорантен |
1 |
99 |
1,0 |
2 |
98 |
1,0 |
|
3,4-Бензпирен, 1,2-бензпирен |
- |
100 |
1,0 |
1 |
99 |
1,0 |
|
11,12-Бензперилен |
- |
100 |
1,0 |
- |
100 |
1,0 |
7.8. Хроматографирование в тонком слое
При экстракции ПАУ с фильтров в раствор кроме ПАУ переходит большое число других органических соединений (гетероциклических, кислородсодержащих соединений, олефинов, парафинов), смолы и механические примеси, поэтому перед вводом пробы в адсорбционную колонку необходимо проводить ее очистку и предварительное фракционирование путем хроматографирования в незакрепленном слое оксида алюминия. С этой целью оксид алюминия наносят на стеклянную пластину (90´12 мм), раскатывая стеклянной палочкой с резиновыми ободками на концах так, чтобы толщина слоя составляла 1 мм. Слой оксида алюминия разделяют в продольном направлении на две неравные части, шириной 75 и 15 мм (узкая часть справа). В узкой части наносят точку или короткую полосу свидетеля - эталонного раствора 3,4-бензпирена (ρ = 10-6 г/см3), а в левой части наносят 0,5 - 1 см3 исследуемого экстракта (черт. 5).
После высыхания пятен на линии старта проводят проявление хроматографической пластинки в системе петролейный эфир - диэтиловый эфир (40:1). При УФ-облучении на хроматографической пластинке обнаруживаются три зоны с различным цветом флуоресценции (отсчет от линии старта):
1-я зона - светло-зеленый;
2-я зона - фиолетовый;
3-я зона - голубой.
При отсутствии свечения пробы пластинка делится на три зоны условно:
1-я зона - от старта до уровня зоны свидетеля;
2-я зона - зона на уровне свидетеля;
3-я зона - от уровня зоны свидетеля до конца пластинки.
С помощью шпателя оксид алюминия с выявленных зон переносят на воронку с бумажным фильтром «синяя лента» и смывают н-гексаном, активированным диметилсульфоксидом (ДМСО). Для активации н-гексан и ДМСО смешивают в отношении 50:2, несколько раз встряхивают, затем н-гексан сливают.
Для элюирования ПАУ используют 50 см3 активированного гексана (5 раз по 10 см3). Элюаты с каждой из зон упаривают естественным путем или на ротационном испарителе до «мокрых солей». После упаривания добавляют н-гексан (0,5 - 2 см3) и раствор переносят в пробирки с притертыми пробками.
Пластинка для препаративного хроматографического разделения ПАУ
8. Выполнение измерений
Три фракции пробы согласно табл. 8 анализируют на содержание индивидуальных ПАУ. Часть (110 мм3) анализируемой фракции отбирают при помощи микрошприца, вводят в инжектор с дозатором (петлей на 100 мм3) и записывают хроматограмму с использованием ультрафиолетового детектора при расходе элюента 1 см3/мин и значении оптической плотности 0,02 на всю шкалу. В качестве подвижной фазы используют осушенный гексан. Если чувствительность ультрафиолетового детектора недостаточна для количественного определения ПАУ в пробе, то проводят повторный анализ пробы с использованием флуоресцентного детектора. Пример хроматограммы приведен на черт. 6.
Распределение ПАУ по фракциям при тонкослойном хроматографировании
|
ПАУ |
|
|
I |
1,2-5,6-Дибензантрацен |
|
Коронен |
|
|
II |
1,2-Бензпирен |
|
3,4-Бензпирен |
|
|
Перилен |
|
|
3,4-Бензфлуорантен |
|
|
11,12-Бензперилен |
|
|
III |
Пирены |
|
Хризен |
Хроматограмма экстракта с аэрозольного фильтра
Условия хроматографирования: колонка Файнпак-сил 5 мкм, элюент-гексан, температура 20 °С, скорость потока 1,5 см3/мин, инжекция 50 мкл; условия детектирования: ультрафиолетовый детектор (а) λ = 293 нм; б) λ = 254 нм; чувствительность 0,01 единицы оптической плотности на всю шкалу; 1 - пирены; 2 - хризен; 3 - 3,4-бензпирен; 5 - 11,12-бензперилен; 6 - коронен.
Идентификацию хроматографических пиков проводят методом добавок. Для этого в микрошприце смешивают исследуемую пробу и раствор индивидуального ПАУ, применяемый для градуировки, и повторно записывают хроматограмму. Сопоставляя полученные хроматограммы, находят пик, относящийся к определяемому ПАУ. Объем и концентрацию раствора индивидуального ПАУ выбирают таким образом, чтобы было заметно увеличение пика на повторной хроматограмме, но при этом не маскировались близлежащие пики.
Примечание. Стадию препаративного хроматографирования в тонком слое можно не выполнять, если оснастить жидкостной хроматограф предколонкой размером 44´3,1 мм, заполненной сухим способом 0,2 г силикагеля силасорб 300 или силасорб 600 (производства Чехо-Словакии). Предколонка включается в систему хроматографа между инжектором и входом в аналитическую колонку. После 200 анализов сорбент в колонке следует заменить.
9. Вычисление результата измерений
По значению высоты или площади пика с помощью градуировочной характеристики на хроматограмме определяют ρi (г/см3) i-го ПАУ в исследуемом объеме раствора.
Масса i-го ПАУ в пробе
miпр = ρiυiпp,
где υiпp - объем гексанового раствора перед анализом, см3.
Масса i-го ПАУ на фильтре
![]()
где υэкс - общий объем сконцентрированного экстракта перед тонкослойным хроматографированием, см3;
υтсх - объем экстракта, отобранный для тонкослойного хроматографирования, см3;
K - эмпирический коэффициент, учитывающий потери ПАУ, представляющий собой произведение коэффициента проскока частиц за фильтр (проск) и коэффициента потерь с газовой фазой (Kгаз).
Значения коэффициента K для различных ПАУ при Kпроск = 1,1 представлены в табл. 9.
Коэффициент K для учета потерь ПАУ (Kпроск = 1,1)
|
Kгаз |
K |
|
|
Пирен |
10 |
11 |
|
Хризен |
1,4 |
1,5 |
|
Перилен |
1,4 |
1,5 |
|
1,2 и 3,4-Бензпирен |
1,0 |
1,1 |
|
3,4-Бензфлуорантен |
1,0 |
1,1 |
|
1,2-5,6-Дибензантрацен |
1,0 |
1,1 |
|
11,12-Бензперилен |
1,0 |
1,1 |
Концентрация i-го ПАУ в воздухе (ρiR нг/м3) рассчитывается по формуле
![]()
где V0 - приведенный к нормальным условиям объем воздуха, пропущенного через фильтр (см. ч. I, п. 5.1.16, формулу (1)), м3.
Примечание. В связи с тем что большая часть пирена находится в газовой фазе, причем размер этой части сильно зависит от температуры, результаты измерения концентрации пирена в атмосфере при отборе проб на аэрозольный фильтр могут рассматриваться как сугубо ориентировочные. По той же причине результаты измерения концентрации хризена следует рассматривать как полуколичественные.
Методика предназначена для полуколичественного определения массовой концентрации сажи в атмосферном воздухе населенных пунктов в диапазоне 0,025 - 1 мг/м3 при объеме пробы 20 дм3. Используется для измерения разовых концентраций.
1. Метод измерения
Метод основан на улавливании сажи из воздуха мембранными фильтрами и определении ее массовой концентрации путем сопоставления степени почернения фильтра со шкалой, приготовленной из суспензии чистой сажи.
2. Средства измерений, вспомогательные устройства, реактивы и материалы
2.1. При выполнении измерений должны быть применены следующие средства измерений, вспомогательные устройства, реактивы.
2.2. Средства измерений
Весы аналитические ВЛР-200 по ГОСТ 2404-80Е
Меры массы по ГОСТ 7328-82Е
Электроаспиратор ЭА-1; погрешность
±10 %; Госреестр № 5997-77 по ТУ 25-11-1414-78
Колбы мерные по ГОСТ 1770-74Е
2-1000-2 - 1 шт.
2-100-2 - 1 шт.
Пипетки
4-2-1 - 1 шт.
6-2-5 - 1 шт.
Воронка В-25-38ХС - 1 шт. по ГОСТ 25336-82
Чашка кварцевая (или стеклянная) ЧВП-2-250 - 1 шт. по ГОСТ 25336-82
2.3. Вспомогательные устройства
Мембранные фильтры «Сынпор 5»
производства Чехо-Словакии (диаметр пор 0,85 мкм)
Патрон сажевый из комплекта «Пост-1» или «Пост-2»
Водоструйный насос по ГОСТ 25336-82
Сушильный шкаф
Часовое стекло
2.4. Реактивы
Бензин любой марки
Сапонин
Синтетическое моющее средство (жидкое) «Прогресс»
3. Требования безопасности
См. ч. I, п. 5.1.3.
Все работы с сапонином следует проводить под тягой.
4. Требования к квалификации оператора
См. ч. I, п. 5.1.4.
5. Подготовка к выполнению измерений
5.1. Перед выполнением измерений должны быть проведены следующие работы: приготовление суспензий, изготовление шкалы, подготовка фильтров, отбор проб воздуха.
5.2. Приготовление растворов
1) Раствор для смачивания фильтров. 0,3 см3 моющего средства растворяют в 100 см3 дистиллированной воды.
2) Исходная суспензия сажи (ρ = 100 мг/дм3) для приготовления шкалы. Сажу получают сожжением бензина в маленькой фарфоровой чашке. Для сбора сажи используют стеклянную воронку, укрепленную над чашкой раструбом вниз. 0,1200 г сажи помещают на большое часовое стекло, смачивают раствором, содержащим 0,020 г сапонина (осторожно, яд!) в 0,1 - 0,2 см3 воды, и тщательно растирают фарфоровым пестиком. Затем эту смесь переносят в мерную колбу вместимостью 1 дм3, доводят водой до метки и энергично взбалтывают. В результате этих операций должна получиться равномерная, хорошо стабилизированная суспензия. На поверхности жидкости не должно оставаться плавающих конгломератов сажи. Из суспензии отбирают три пробы по 100 см3 в кварцевые или стеклянные чашки. Жидкость выпаривают в сушильном шкафу при температуре 120 °С и при этой же температуре доводят до постоянной массы. За истинную концентрацию сажи в стандартной суспензии принимают среднее значение из трех взвешиваний. Она должна быть близкой к 0,1 мг/см3.
3) Рабочая суспензия сажи (ρ = 5 мкг/см3). Рассчитанный объем (около 5 см3) исходной суспензии сажи для приготовления шкалы разбавляют в мерной колбе вместимостью 100 см3 дистиллированной водой.
Пример. Средняя масса остатка после высушивания составляет 0,0127 г. Так как в пробе объемом 100 см3 содержалось 0,002 г сапонина, концентрация сажи в стандартной суспензии будет равна (0,0127 - 0,002) : 100 = 0,000107 г/см3 = 107 мкг/см3. Объем стандартной суспензии, необходимой для приготовления 100 см3 суспензии с концентрацией сажи 5 мкг/см3, равен 5×100 : 107 = 4,67 см3.
5.3. Изготовление шкалы
Фильтры разрезают на восемь частей, стараясь не касаться рабочей поверхности пальцами. Подготовленные фильтры зажимают в патроне для отбора проб на сажу, который присоединяют к водоструйному насосу. Заливают в патрон 0,2 - 0,3 см3 раствора для смачивания и промывают 3 - 5 см3 воды. Затем взбалтывают суспензию сажи, наливают в патрон 1 см3 воды и сразу же добавляют определенное количество суспензии согласно табл. 10.
После прохождения всей жидкости через фильтр стенки патрона обмывают 1 - 2 см3 дистиллированной воды и отсасывают досуха. Скорость прохождения жидкости через фильтр должна составлять 0,2 - 0,3 см3/мин. Образующиеся на фильтрах пятна должны иметь четкую границу и равномерную окраску. Степень почернения фильтров должна плавно увеличиваться соответственно количеству нанесенной сажи.
Растворы для изготовления шкалы при определении концентрации сажи
|
1 |
2 |
3 |
4 |
5 |
6 |
7 |
8 |
9 |
10 |
|
|
Объем рабочей суспензии сажи (ρ = 5 мкг/см3), см3 |
0,1 |
0,2 |
0,4 |
0,6 |
0,8 |
1,2 |
1,6 |
2,0 |
3,0 |
4,0 |
|
Масса сажи, мкг |
0,5 |
1 |
2 |
3 |
4 |
6 |
8 |
10 |
15 |
20 |
Полученную серию пятен различной интенсивности окраски наклеивают клейстером из рисового крахмала или пшеничной муки на ленту из белой чертежной бумаги, под каждым пятном указывают массу сажи и помещают между двумя полосками из тонкого бесцветного стекла. Полоски по краям склеивают клеем БФ-2 и окантовывают липкой лентой.
5.4. Подготовка фильтров
Чистые фильтры, предназначенные для отбора проб, и те, которые используются в качестве нулевых, разрезают в лаборатории на кусочки примерно 8´8 м, нумеруют и вкладывают в пакет из кальки, имеющий тот же номер.
5.5. Отбор проб
Для определения разовой концентрации сажи исследуемый воздух аспирируют с расходом 1 дм3/мин в течение 20 мин через мембранный фильтр, помещенный в патрон. После отбора фильтр с пробой вынимают из патрона и помещают в пакет из кальки.
6. Выполнение измерений
В лаборатории фильтр извлекают пинцетом из пакета, на котором указан номер пробы. Массу сажи на фильтре определяют, сопоставляя интенсивность окраски пятна на фильтре со шкалой. Промежуточные градации оцениваются приблизительно.
7. Вычисление результата измерений
См. ч. I, п. 5.1.16, формулу (5).
5.3.9. Определение фенола [ГХ-метод] [8]
Методика предназначена для определения концентрации фенола в атмосферном воздухе населенных пунктов в диапазоне 0,001 - 0,01 мг/м3 при объеме пробы 1 дм3.
Используется для измерения разовых концентраций.
1. Нормы точности измерений
По результатам метрологического исследования, при определении концентрации фенола в атмосферном воздухе в диапазоне 0,001 - 0,01 мг/м3 суммарная погрешность при доверительной вероятности 0,95 не превышает ±17,3 %.
2. Метод измерения
Метод заключается в концентрировании фенола из воздуха на твердый сорбент, последующей термодесорбции и анализе на хроматографе с пламенно-ионизационным детектором.
3. Средства измерений, вспомогательные устройства, реактивы и материалы
3.1. При выполнении измерений должны быть применены следующие средства измерений, вспомогательные устройства, реактивы и материалы.
3.2. Средства измерений
Хроматограф серии «Цвет-102» с
пламенно-ионизационным детектором
Весы аналитические ВЛА-200 по ГОСТ 24104-80Е
Меры массы по ГОСТ 7328-82Е
Секундомер; класс 3; цена деления
секундной шкалы 0,2 с по ГОСТ 5072-79Е
Термометр лабораторный шкальный ТЛ-2;
пределы 0 - 200 °С; цена деления 1 °С по ГОСТ 215-73Е
Барометр-анероид М-67 по ТУ 2504-1797-75
Микрошприц МШ-10 по ГОСТ 8043-74
Шприц вместимостью 100 см3 по ТУ 6421-1279-75
Лупа измерительная по ГОСТ 8309-75
Колбы мерные по ГОСТ 1770-74
2-50-2 - 1 шт.
2-50-2 - 1 шт.
2-52-2 - 6 шт.
Пипетки по ГОСТ 20292-74Е
2-2-5 - 2 шт.
2-2-1 - 1 шт.
3.3. Вспомогательные устройства
Стеклянная хроматографическая колонка длиной 2 м,
внутренним диаметром 3 мм
Плитка электрическая с закрытой спиралью
Установка для перегонки фенола (колба Вюрца, приемники)
Сорбционные трубки из молибденового стекла
длиной 8 см, внутренним диаметром 3 мм
Пенициллиновые флаконы с пробками - 6 шт.
3.4. Материалы
Стекловата
Азот сжатый по ГОСТ 9293-74
Воздух сжатый по ГОСТ 11882-73
Водород сжатый по ГОСТ 3022-80
3.5. Реактивы
Фенол, ч. по ГОСТ 6417-72
Полиметилфенилсилоксановая жидкость (ПМФС)
на хроматоне N-AW (15 % по массе)
Силохром, фракция 0,15 - 0,5 мм
Вода дистиллированная по ГОСТ 6709-72
4. Требования безопасности
См. ч. I, п. 5.1.3.
Устройство для ввода пробы в хроматограф
1 - сорбционная трубка; 2 - испаритель; 3 - разделительная колонка.
Все работы по перегонке фенола и приготовлению стандартных растворов следует проводить под тягой.
5. Требования к квалификации оператора
См. ч. I, п. 5.1.4.
6. Условия выполнения измерений
См. ч. I, п. 5.1.14.
7. Подготовка к выполнению измерений
7.1. Перед выполнением измерений должны быть проведены следующие работы: подготовка хроматографической колонки и сорбционных трубок, приготовление градуировочных растворов, установление градуировочной характеристики, отбор проб.
7.2. Подготовка хроматографической колонки и сорбционных трубок. Хроматографическую колонку, верхняя часть которой видоизменена в соответствии с черт. 7, заполняют насадкой и тренируют в токе газа-носителя в течение 36 ч при температуре 150 °С. В качестве насадки используют 15 %-ный ПМФС на хроматоне N-AW.
Сорбционные трубки заполняют 0,1 г силохрома, сорбент фиксируют с двух сторон стекловатой. Заполненные сорбционные трубки помещают в верхнюю часть хроматографической колонки в испарителе и тренируют при температуре 190 °С до получения на хроматограмме стабильной нулевой линии.
7.3. Приготовление растворов
1) Исходный раствор для градуировки (ρ = 1 мг/см3). 250 мг перегнанного фенола помещают в мерную колбу вместимостью 250 см3, доводят объем до метки дистиллированной водой и тщательно перемешивают.
2) Рабочий раствор для градуировки (ρ = 100 мкг/см3). 5 см3 исходного раствора (см. перечисление 1) переносят в мерную колбу вместимостью 50 см3, доводят до метки дистиллированной водой и тщательно перемешивают.
Примечание. Используют свежеперегнанный фенол. Поскольку пары фенола легко кристаллизуются на холодном стекле, при перегонке необходимо следить, чтобы отросток колбы Вюрца не закупоривался кристаллами. В противном случае возможен взрыв от скопления паров в перегонной колбе. Температура кипения фенола 181,4 °С. Первую треть отогнанного фенола отбрасывают, среднюю фракцию собирают в пробирку с притертой пробкой.
7.4. Установление градуировочной характеристики
Градуировочную характеристику, выражающую зависимость площади пика на хроматограмме от массы фенола в растворе, устанавливают по пяти сериям растворов для градуировки. Каждую серию, состоящую из шести растворов, готовят из свежеприготовленного рабочего раствора фенола (см. п. 7.2, перечисление 2).
Растворы для установления градуировочной характеристики готовят в мерных колбах вместимостью 25 см3. Для этого в каждую колбу вносят рабочий раствор для градуировки в соответствии с табл. 11, доводят объем до метки дистиллированной водой и тщательно перемешивают.
Растворы для установления градуировочной характеристики при определении фенола
Для установления градуировочной характеристики берут шесть чистых, сухих пенициллиновых флаконов (по числу растворов), каждый из них ополаскивают соответствующим раствором несколько раз, затем наполняют раствором до самой пробки. Пробки на заполненных флаконах фиксируют клейкой лентой. Для анализа растворы берут из флаконов микрошприцем, прокалывая пробку. Каждый раз шприц предварительно промывают соответствующим раствором 3 - 4 раза, затем набирают 1 мм3 этого раствора и вводят в испаритель хроматографа. Во время градуировки в испарителе должна находиться незаполненная сорбционная трубка, служащая продолжением колонки. Раствор хроматографируют 3 - 5 раз до получения не менее трех примерно одинаковых пиков для каждой концентрации.
|
1 |
2 |
3 |
4 |
5 |
6 |
|
|
Объем рабочего раствора (ρ = 100 мкг/см3), см3 |
0,25 |
0,50 |
1,0 |
1,5 |
2,0 |
2,5 |
|
Масса фенола в 1 м3 раствора, мкг |
0,001 |
0,002 |
0,004 |
0,006 |
0,008 |
0,010 |
Условия хроматографического анализа
Температура термостата колонки 120 °С
Температура испарителя 180 °С
Расход газа-носителя (азота) 40 см3/мин
Расход водорода 40 см3/мин
Расход воздуха 400 см3/мин
Скорость протяжки диаграммной ленты 0,5 см/мин
Шкала измерителя тока 20×10-12 А
Время удерживания фенола 5 мин 36 с
По хроматограмме рассчитывают площади пиков для градуировочных растворов и по средним результатам из пяти серий строят градуировочную характеристику, выражающую зависимость площади пика (см2) от массы фенола (мкг).
7.5. Отбор проб
Для определения разовой концентрации фенола исследуемый воздух аспирируют с помощью шприца объемом 100 см3 через сорбционную трубку, заполненную силохромом. Общее количество исследуемого воздуха 1 дм3, скорость отбора 0,1 - 0,2 дм3/мин. Срок хранения пробы не более 24 ч. Сорбционные трубки следует закрывать заглушками с двух сторон.
8. Выполнение измерений
После выхода прибора на режим отвинчивают крышку испарителя и быстро опускают в испаритель сорбционную трубку, плотно соединяя ее с разделительной колонкой. На полученной хроматограмме рассчитывают площадь пика фенола, по градуировочной характеристике определяют его содержание в пробе.
9. Вычисление результата измерений
См. ч. I, п. 5.1.16, формулу (5).
Примечание. Экспериментально установлено, что эффективность сорбции и десорбции фенола на силохроме составляет 94 %. Это дает возможность строить градуировочную характеристику с использованием растворов фенола вместо трудоемкой операции градуировки прибора паровоздушной смесью с использованием сорбционных трубок. Ошибка, возникающая из-за потерь вещества при отборе пробы в сорбционные трубки, входит в суммарную погрешность метода.
5.3.10. Определение этилакрилата [ГХ-метод] [3]
Методика предназначена для определения массовой концентрации этилакрилата в атмосферном воздухе населенных пунктов в диапазоне 0,0007 - 0,03 мг/м3 при объеме пробы 6 дм3. Определению не мешают бутилакрилат, акрилонитрил, оксиды углерода, диоксид серы, оксиды азота. Используются для измерения разовых концентраций.
1. Норма точности измерений
По результатам метрологического исследования, при определении концентрации этилакрилата в атмосферном воздухе в диапазоне 0,0007 - 0,03 мг/м3 суммарная погрешность при доверительной вероятности 0,95 не превышает ±16 %.
2. Метод измерения
Метод заключается в концентрировании этилакрилата из воздуха на твердый сорбент и последующем определении на хроматографе с пламенно-ионизационным детектором.
3. Средства измерений, вспомогательные устройства, реактивы и материалы
3.1. При выполнении измерений должны быть применены следующие средства измерений, вспомогательные устройства, реактивы и материалы.
3.2. Средства измерений
Хроматограф серии «Цвет-102»
с пламенно-ионизационным детектором
Весы аналитические ВЛА-200 по ГОСТ 24104-80Е
Меры массы по ГОСТ 7328-82Е
Секундомер; класс 3; цена деления
секундной шкалы 0,2 с по ГОСТ 5072-79Е
Термометр лабораторный шкальный ТЛ-2;
пределы 0 - 55 °С; цена деления 1 °С по ГОСТ 215-73Е
Барометр-анероид М-67 по ТУ 2504-1797-75
Электроаспиратор модели 822; погрешность ±7 % по ТУ 64-1-862-82
Микрошприц МШ-10М по ГОСТ 8043-74
Лупа измерительная по ГОСТ 8309-75
Колбы мерные по ГОСТ 1774-74
2-50-2 - 2 шт.
2-25-2 - 7 шт.
Пипетки по ГОСТ 1770-74Е
2-2-1 - 3 шт.
2-2-5 - 2 шт.
3.3. Вспомогательные устройства
Стальная хроматографическая колонка
длиной 3 м, внутренним диаметром 3 мм
Сорбционные трубки из нержавеющей стали длиной
13,5 см3, внутренним диаметром 0,5 см3
Вакуумный компрессор марки ВН-461М
3.4. Материалы
Трубка резиновая вакуумная
Стекловата
Тефлоновые заглушки
Азот сжатый по ГОСТ 9293-74
Воздух сжатый по ГОСТ 11882-73
Водород сжатый по ГОСТ 3022-80
3.5. Реактивы
Этилакрилат, х. ч. по ТУ 6-03-09-192-74
Спирт этиловый, ректификат по ГОСТ 5963-67
Полисорб-1 зернением 0,25 - 0,5 мм
4. Требования безопасности
См. ч. I, п. 5.1.3.
Все работы с этилакрилатом следует проводить под тягой, в резиновых перчатках.
5. Требования к квалификации оператора
См. ч. I, п. 5.1.4.
6. Условия выполнения измерений
См. ч. I, п. 5.1.14.
7. Подготовка к выполнению измерений
7.1. Перед выполнением измерений должны быть проведены следующие работы: подготовка хроматографической колонки и сорбционных трубок, приготовление градуировочных растворов, установление градуировочной характеристики, отбор пробы воздуха.
7.2. Подготовка хроматографической колонки и сорбционных трубок
Хроматографическую колонку заполняют насадкой с помощью вакуумного насоса и тренируют в токе газа-носителя в течение 16 ч при температуре 190 °С, не подсоединяя к детектору. По истечении этого времени колонку подсоединяют к детектору и вписывают нулевую линию в рабочем режиме прибора.
Сорбционные трубки заполняют полисорбом-1 при легком постукивании, вставляют в испаритель прибора и кондиционируют в токе газа-носителя при температуре 170 °С в течение 8 ч. Перед проведением отбора проб необходимо проверить чистоту сорбционных трубок (записывают нулевую линию).
7.3. Приготовление растворов
1) Исходный раствор для градуировки (ρ = 10 мг/см3). 250 мг этилакрилата вносят в колбу вместимостью 25 см3, доводят объем до метки этиловым спиртом и тщательно перемешивают.
2) Рабочий раствор для градуировки (ρ = 1 мг/см3). 5 см3 исходного раствора, приготовленного по перечислению 1, помещают в мерную колбу вместимостью 50 см3, доводят объем до метки этиловым спиртом и тщательно перемешивают.
7.4. Установление градуировочной характеристики
Градуировочную характеристику, выражающую зависимость площади пика на хроматограмме от массы этилакрилата в пробе, устанавливают по пяти сериям растворов для градуировки. Каждую серию, состоящую из пяти растворов, готовят из свежеприготовленного раствора этилакрилата (см. п. 7.3, перечисление 2).
Растворы для установления градуировочной характеристики готовят в мерных колбах вместимостью 25 см3. Для этого в каждую колбу вносят рабочий раствор для градуировки в соответствии с табл. 12, доводят объем до метки этиловым спиртом и тщательно перемешивают.
Для установления градуировочной характеристики 1 мм3 каждого раствора вводят в испаритель хроматографа с сорбционной трубкой и анализируют, как описано в п. 8. По хроматограмме рассчитывают площади пиков для градуировочных растворов и по средним результатам из пяти серий строят градуировочную характеристику, выражающую зависимость площади пика (см2) от количества этилакрилата (мкг).
Растворы для установления градуировочной характеристики при определении концентрации этилакрилата
Условия хроматографического анализа
Температура термостата колонок 170 °С
Температура испарителя 200 °С
Расход газа-носителя (азота) 40 см3/мин
Расход воздуха 400 см3/мин
Расход водорода 40 см3/мин
Скорость протяжки диаграммной ленты 60 мм/час
Шкала измерителя тока 20×10-12 А
Время удерживания этилакрилата составляет 4 мин.
7.5. Отбор проб
Для определения разовой концентрации этилакрилата исследуемый воздух аспирируют с расходом 0,2 дм3/мин в течение 25 - 30 мин через сорбционную трубку, заполненную полисорбом-1. Срок хранения пробы не более 24 ч.
8. Выполнение измерений
После выхода прибора на режим отвинчивают крышку испарителя и быстро вставляют сорбционную трубку в испаритель через специальное устройство под названием «пятка», которая находится постоянно в испарителе термостата и изготовлена из нижней части газонаправляющей трубки испарителя. Сорбционная трубка вставляется в испаритель так, чтобы ее конусообразный конец плотно вошел в конус «пятки». После этого испаритель быстро закрывают и одновременно включают секундомер (см. черт. 2 методики 5.3.5). Током газа-носителя исследуемое вещество переносится в хроматографическую колонку на разделение. На полученной хроматограмме рассчитывают площадь пика этилакрилата и по градуировочной характеристике определяют его содержание в пробе.
9. Вычисление результата измерений
См. ч. I, п. 5.1.16, формулу (5).
Примечание. Экспериментально установлено, что эффективность сорбции и десорбции этилакрилата на полисорбе-1 не ниже 95 %, поэтому градуировочную характеристику можно строить с использованием спиртовых растворов этилакрилата, минуя трудоемкую операцию по созданию паровоздушных смесей. Ошибка за счет потерь вещества при отборе пробы в сорбционные трубки входит в суммарную погрешность метода.
|
1 |
2 |
3 |
4. |
5 |
|
|
Объем рабочего раствора (ρ = 1 мг/см3), см3 |
0,1 |
0,2 |
0,25 |
1,0 |
5,0 |
|
Масса этилакрилата в 1 мм3 раствора, мкг |
0,004 |
0,008 |
0,01 |
0,04 |
0,2 |
Обязательное
ПНЗ № ____________________
|
Срок |
t °С |
Р, мм рт. ст. |
K |
Вещество |
… |
Вещество |
||||||||
|
D - D0 |
m, мкг |
V0, дм3 |
ρ, мг/м3 |
D - D0 |
m, мкг |
V0, дм3 |
ρ, мг/м3 |
|||||||
|
|
|
|
|
|
|
|
|
|
|
|
|
|
|
|
Форма журнала фотометрических измерений
|
Номер ПНЗ |
Срок |
Вещество |
D0 |
D |
|
|
|
|
|
|
|
|
Примечание. D и D0 - оптическая плотность анализируемой и нулевой проб (для всех методик, кроме фотометрических, записывается значение аналитического сигнала; m - масса определяемого вещества в пробе; V0 - объем пробы воздуха, приведенный к нормальным условиям; ρ - массовая концентрация вещества в воздухе; K - коэффициент приведения объема пробы воздуха к нормальным условиям.
Справочное
При оценке затрат времени (см. таблицу) учитывались работы по подготовке к отбору, мытью химической посуды, приготовлению растворов, установлению градуировочной характеристики, анализу десяти рабочих и трех нулевых проб, расчету концентрации в пробах воздуха, составлению таблиц ТЗА-1 и перфорации данных. При необходимости оценить затраты времени без составления ТЗА-1 и перфорации данных их уменьшают на 0,26 чел/ч. При количестве анализов от 6 до 20 данные третьей графы таблицы умножают на число анализов и делят на 10.
В связи с тем что при проведении больших серий однотипных анализов производительность труда повышается (при выполнении единичных - снижается) в первую очередь за счет уменьшения (увеличения) доли вспомогательных и подготовительных операций, в случае одновременного проведения более 20 (менее 6) анализов при расчете затрат времени затраты на 10 анализов умножают на коэффициент 0,9 (1,1).
|
Подраздел, в котором изложена методика |
Затраты на проведение 10 анализов, чел/ч |
|
|
1 |
2 |
3 |
|
Диоксид азота |
2,33 2,33 |
|
|
Диоксид серы |
|
|
|
ФАП-метод |
2,6 |
|
|
ТХМ-метод |
2,6 |
|
|
Аммиак |
2,5 2,5 |
|
|
Формальдегид |
2,6 |
|
|
Фенол |
3,1 2,2 |
|
|
Сероводород |
2,69 2,69 |
|
|
Фтористый водород |
2,64 2,64 |
|
|
Сероуглерод |
2,5 |
|
|
Метилмеркаптан |
2,9 |
|
|
Сульфаты |
2,9 |
|
|
Хлор |
2,5 |
|
|
Хлористый водород |
2,7 |
|
|
Цианид водорода |
2,0 |
|
|
Хром |
3,2 |
|
|
Сажа |
5.3.9 (приложение к ч. I) |
0,75 |
|
Пыль (взвешенные частицы) |
1,29 |
Для ориентировочной оценки затрат времени на проведение фотометрических анализов веществ, не учтенных в таблице, можно использовать данные для методики, близкой по трудоемкости, т.е. имеющей примерно такое же количество равноценных операций.
Справочное
|
Марка |
Завод-изготовитель |
Адрес |
|
|
Фотоколориметры |
КФК-2 |
Загорский оптико-механический ЗОМЗ |
141300, Московская обл, г. Загорск, ПО ЗОМЗ |
|
Фотоколориметры и анализаторы автоматизированные |
КФК-3 КФА-2 |
То же |
То же |
|
Мономеры |
И-135 ЭВ-74 |
Завод измерительных приборов |
246634, г. Гомель, ул. Интернациональная, 49 |
|
pH-метры |
pH-101 |
То же |
То же |
|
Газовый счетчик барабанный |
РГ-7000 |
Кооператив «Гелиос» |
193130, Ленинград, 8-я Советская, 20 |
|
Электроаспираторы ЭА-1, ЭА-2, ЭА-2С, ЭА-2СМ, ЭА-3 |
ЭА-1, ЭА-2, ЭА-3, ЭА-2С, ЭА-2СМ «Компонент» |
ПО «Закарпатприбор» МЗКЛ |
295400, Мукачево, ул. Пионерская, 78 |
|
Комплектные лаборатории «Пост-1», «Пост-2» |
«Пост-1» «Пост-2» |
То же |
То же |
|
Хроматографы газовые |
Серия «Цвет 500 и 500 М» |
Дзержинское ОКБА НПО «Химавтоматика» |
606000, г. Дзержинск, Горьковской обл. |
|
Газоанализаторы |
645 ХЛ-03 667 ФФ-03 652 ХЛ-03 |
Киевский завод аналитических приборов |
252057, Киев. ул. полк. Шутова, 16 |
|
Газоанализаторы |
623 КПИ-03 |
ПО «Севкавэлектроприбор» |
360051, Нальчик, ул. Циолковского, 7 |
|
Газоанализаторы |
Палладий-3 |
ПО «Аналитприбор» |
214020, Смоленск, ул. Бабушкина, 3 |
Для обработки на ЭВМ результаты анализа переносятся из таблицы формы 7.7 (см. ч. I, п. 7.3.4) на стандартные бланки. Запись на бланках должна быть аккуратной, так как с них выполняется перфорация. Стандартные бланки после заполнения вместе с таблицей направляются в Центр обработки.
Бланк представляет собой лист с 20 строками, каждая из которых состоит из 80 позиций, отделенных друг от друга вертикальными черточками. Нумерация позиций в строке ведется слева направо. Строка заполняется, начиная со 2-й, но не более чем по 72-ю позицию. В одну позицию записывается один символ (цифра, буква, знак). Запись на каждой строке всегда заканчивается символом «,» (запятая).
На первой строке бланка записывается число контрольных растворов, для каждого из которых количество измерений не меньше трех. Число таких контрольных растворов должно быть тоже не менее трех. При этом на 2-й и 3-й позициях записывается N =, а на 4-й позиции - число растворов.
На второй строке записывается число измерений M, выполненных по каждому раствору: в позициях 2 - 3 записывается M =, а далее с 4-й позиции через запятую числа, соответствующие количеству произведенных измерений по каждому контрольному раствору.
Последующие строки бланка заполняются результатами измерений из таблицы формы 7.7. Для каждого контрольного раствора результаты измерения выписываются построчно. Порядок записи и количество записанных в бланк результатов измерений каждого контрольного раствора должно соответствовать порядку записи и числам, указанным во второй строке бланка.
В первой строке, использованной для записи результатов измерений, на 2-й и 3-й позициях записывается: Y =, а начиная с 4-й позиции - числа. Числа при записи на бланк разделяются запятой. Каждое число обязательно записывается с десятичной точкой, которая ставится после целой части числа даже в том случае, если дробная часть отсутствует. Если целая часть числа равна нулю, нуль можно не писать (опустить), тогда запись числа начинается с десятичной точки, после которой записывается дробная часть числа. Ноль можно опускать и на конце дробной части числа. Если в строке таблицы с цифрой 3 есть одинаковые числа, запись можно сократить, записав сначала коэффициент, равный количеству одинаковых чисел, затем символ * (звездочка), а далее один раз значение самого числа, т.е. данные измерений по одному раствору можно записывать в последовательности, удобной для перфорации. При записи на бланк цифру 0 следует перечеркивать косой чертой (Æ). Недопустимо разделять запись одного числа на две строки. Для удобства проверки перфорации данных и исправления ошибок рекомендуется использовать не все 72 позиции бланка.
В табл. 1 и 2 в качестве примера приведены результаты определения количества NO2 в контрольных пробах и форма их представления на бланке для обработки на ЭВМ.
Результаты измерений четвертого контрольного раствора (054) в бланк не занесены, так как проанализировано меньше трех проб.
Описание результатов расчетов на ЭВМ, проводимых при внешнем контроле с использованием программы [5], осуществляется в соответствии с табл. 3.
Результаты анализа, мкг в пробе
|
Номер анализа |
|||||
|
1 |
2 |
3 |
4 |
5 |
|
|
051 |
0,12 |
0,04 |
0,07 |
0,10 |
- |
|
052 |
0,14 |
0,15 |
0,14 |
0,14 |
0,14 |
|
053 |
0,44 |
0,42 |
0,42 |
0,36 |
0,39 |
|
054 |
0,73 |
- |
- |
- |
0,74 |
|
055 |
0,92 |
0,89 |
0,91 |
0,92 |
0,92 |
Соответствие обозначений текста раздела 7 и выходных документов программы [5]
|
Содержание |
Обозначение в тексте раздела 7 |
|
|
Массив X |
Заданные концентрации контрольных растворов |
ci |
|
Число к растворов (N) |
Число контрольных растворов |
m |
|
Массив Y |
Результаты измерений контрольных растворов |
xij |
|
Массив Y средн. |
Средние значения результатов измерений i-х контрольных растворов |
- xi |
|
SI**2 |
Оценки дисперсий измерений i-x контрольных растворов |
Si2 |
|
Суммарная дисперсия измерений отдельных контрольных растворов |
S12 |
|
|
В, А |
Оценки параметров уравнения линейной регрессии |
b, a |
|
SB2Ш, SА2Ш |
Оценки дисперсии параметров а и b |
Sb2', Sa2' |
|
S22Ш |
Оценка разброса результатов измерений относительно линии регрессии |
S22' |
|
ТВШ, ТАШ |
Расчетные значения t для параметров b и a |
t'b, t'a |
|
Т (табл.) |
Табличное значение t(f) - критерия Стьюдента (табл. 7.6) |
tтабл(f) |
|
Сумма N I - 1 |
Число степеней свободы |
f = N - 1 |
|
Число Бартлетта |
Статистика Бартлетта |
B |
ЧАСТЬ I
Раздел 1
1. Безуглая Э.Ю. Мониторинг состояния загрязнения атмосферы в городах. Л.: Гидрометеоиздат, 1986. 200 с.
2. Безуглая Э.Ю. Метеорологический потенциал и климатические особенности загрязнения воздуха городов. Л.: Гидрометеоиздат, 1980. 184 с.
3. Берлянд М.Е. Современные проблемы атмосферной диффузии и загрязнения атмосферы. Л.: Гидрометеоиздат, 1975. 448 с.
4. Берлянд М.Е. Прогноз и регулирование загрязнения атмосферы. Л.: Гидрометеоиздат. 1985. 272 с.
5. Временная методика нормирования промышленных выбросов в атмосферу. Л., ГГО. 1981. 58 с.
6. Климатические характеристики условий распространения примесей в атмосфере. Справочное пособие. Л.: Гидрометеоиздат, 1983. 328 с.
7. Методика расчета концентраций в атмосферном воздухе вредных веществ, содержащихся в выбросах предприятий. ОНД-86. Л.: Гидрометеоиздат, 1987. 93 с.
Раздел 2
1. Безуглая Э.Ю., Завадская Е.К., Зражевский И.М., Нестерова М.Ю. К оценке метеорологических условий загрязнения атмосферы // Тр. ГГО. 1984. Вып. 479. С. 87 - 98.
2. ГОСТ 17.2.3.01-86. Охрана природы. Атмосфера. Правила контроля качества воздуха населенных пунктов. М.: Изд-во стандартов, 1987. 5 с.
3. Климатические характеристики условий распространения примесей в атмосфере. Справочное пособие. Л.: Гидрометеоиздат, 1983. 328 с.
4. Наставление гидрометеорологическим станциям и постам. Вып. 1. РД 52.04.107-86. Л.: Гидрометеоиздат, 1987. 181 с.
5. Указания по расчету рассеивания в атмосфере вредных веществ, содержащихся в выбросах предприятий. СН 369-74. М.: Стройиздат, 1975. 47 с.
Раздел 3
1. Безуглая Э.Ю. Мониторинг состояния загрязнения атмосферы в городах. Л.: Гидрометеоиздат, 1986. С. 176 - 183.
2. Буренин Н.С., Горошко Б.Б., Кириллова В.И. Вертикальное распределение двуокиси азота, сернистого газа и окиси углерода в жизнедеятельном слое атмосферы // Тр. ГГО. 1983. Вып. 467. С. 60 - 69.
3. Горошко Б.Б., Зайцев А.С., Назаренко В.Я. Вопросы методики и результаты исследования загрязнения атмосферы с помощью вертолетов // Тр. ГГО. 1968. Вып. 234. С. 85 - 94.
4. ГОСТ 15.150-69. Машины, приборы и другие технические изделия. Исполнение для различных климатических районов. Категория, условия эксплуатации, хранение и транспортирование в части воздействия климатических факторов внешней среды. М.: Изд-во стандартов, 1983. 50 с.
5. Методика расчета концентраций в атмосферном воздухе вредных веществ, содержащихся в выбросах предприятий. ОНД-86. Госкомгидромет. Л.: Гидрометеоиздат, 1987. 93 с.
6. Янковский И.А. Опыт и практика работы службы наблюдения за загрязнением атмосферы / /Тр. ГГО. 1979. Вып. 417. С. 117 - 120.
Раздел 4
1. Александров Н.Н. и др. Стационарный пост для комплексных наблюдений за загрязнением атмосферы / /Тр. ГГО. 1975. Вып. 325. С. 109 - 115.
2. Александров Н.Н., Коновалов М.И., Немец С.М. Методы и средства контроля пыли в атмосфере и в промышленных выбросах // Тр. ГГО. 1987. Вып. 492. С. 95 - 110.
3. Временные методические указания по химическому анализу атмосферного воздуха с отбором проб на твердые пленочные сорбенты. Л.: Гидрометеоиздат, 1982. 35 с.
4. Охрана природы. Атмосфера. Гравиметрический метод определения взвешенных частиц пыли. ГОСТ 17.2.4.05-83 (СТ СЭВ 3846-82). М.: Изд-во стандартов, 1984. 2 с.
5. Охрана природы. Атмосфера. Общие требования к методам определения загрязняющих веществ. ГОСТ 17.2.4.02-81 (СТ СЭВ 2598-80). М.: Изд-во стандартов, 1981. 3 с.
6. Охрана природы. Атмосфера. Правила контроля качества воздуха населенных пунктов. ГОСТ 17.2.3.01-86. М.: Изд-во стандартов, 1987. 5 с.
7. Охрана природы. Атмосфера. Приборы для отбора проб воздуха населенных пунктов. Общие технические требования. ГОСТ 17.2.6.01-86. М.: Изд-во стандартов, 1986. 5 с.
8. Янковский И.А. и др. Передвижная лаборатория анализа загрязнения атмосферы / /Тр. ГГО. Вып. 352. 1975. С. 225 - 239.
Раздел 5
1. Абрамова Ю.В. К вопросу колориметрического определения жирных кислот группы C1 - C9 в воздухе // Гигиена и санитария. 1969. № 11. С. 63 - 65.
2. Алексеева Л.С. Спектрофотометрическое определение селена в атмосферном воздухе / /Гигиена и санитария. 1970. № 2. С. 59 - 60.
3. Алексеева Л.С. и др. Фотометрическое определение теллура в атмосферном воздухе // Заводская лаборатория. 1971. № 38, С. 1290 - 1300.
4. Барихин С.Я. Сероуглерод // Методы определения загрязняющих веществ в атмосферном воздухе населенных мест (Приложение № 2 к списку ПДК № 3086-84 от 27.08.84) М. Минздрав СССР, 1986. С. 52 - 54.
5. Буренко Т.С., Якимова В.П., Маркова О.М. Перспективы применения ионометрии в анализе воздушной среды // Тез. докл. II Всесоюз. конф. по электрохимическим методам анализа. Томск, 1985. С. 64 - 65.
6. Виноградова Т.С., Вольберг Н.Ш., Морозова М.М. Исследование метода измерения массовой концентрации паров ртути в атмосферном воздухе // Измерительная техника. 1985. № 5. С. 48 - 49.
7. Вольберг Н.Ш., Гершкович Е.И., Якимова В.Н. Способ количественного определения меркаптанов. А. с. № 659941 (СССР) // Бюл. изобр. 1979, № 16.
8. Вольберг Н.Ш., Егорова Е.Д. Использование твердых сорбентов при определении аммиака в воздухе // Тр. ГГО. 1985. Вып. 495. С. 98 - 101.
9. Вольберг Н.Ш., Кузьмина Т.А. Определение фтористого водорода в атмосфере с отбором проб на твердый сорбент / /Труды ГГО. 1973. Вып. 293. С. 78 - 82.
10. Вольберг Н.Ш., Кузьмина Т.А., Столяров К.П. Определение цианистого водорода в атмосферном воздухе с отбором проб на твердый сорбент // ЖАХ. 1983. Т. 38. Вып. 5. С. 797 - 801.
11. Вольберг Н.Ш., Павленко А.А. Исследование фотометрического метода определения сероуглерода с использованием тетраметилдипропилентриамина // Труды ГГО. 1985. Вып. 495. С. 102 - 107.
12. Вольберг Н.Ш., Павленко А.А. Сравнительная характеристика методов определения сероводорода в атмосфере с помощью абсолютного дозатора // Труды ГГО. 1975. Вып. 352. С. 179 - 184.
13. Вольберг Н.Ш., Тульчинская З.Г. Определение двуокиси серы в атмосфере парарозанилинформальдегидным методом с отбором проб сорбционными трубками // Труды ГГО. 1975. Вып. 352. С. 163 - 168.
14. Временные методические указания по определению содержания примесей в атмосфере / Под ред. М.Е. Берлянда, Н.Ш. Вольберга. Л.: Гидрометеоиздат, 1971. 79 с.
15. Временные методические указания по химическому анализу атмосферного воздуха с отбором проб на твердые пленочные сорбенты. Л.: Гидрометеоиздат, 1982. 35 с.
16. Гижларян М.С., Аветисян Д.П., Арустамова М.С. Газохроматографический метод определения хлорорганических веществ производства наирита ПДК в воздухе при их совместном присутствии // Гигиена и санитария. 1976. № 1. С. 64 - 66.
17. Гирина В.В., Полежаев Н.Г. Определение двуокиси азота // Гигиена и санитария, 1949. № 4. С. 26 - 29.
18. Гольдберт Е.Х. О фотометрическом определении мышьяковистого ангидрида в воздухе // Материалы Юбилейной конференции по общей и коммунальной гигиене. М., СЭС, 1967. С. 50 - 52.
19. ГОСТ 17.2.4.02-81. Охрана природы. Атмосфера. Общие требования к методам определения загрязняющих веществ. М.: Изд-во стандартов, 1981. 3 с.
20. ГОСТ 17.2.4.03-81 (СТ СЭВ 2599-80). Индофенольный метод определения аммиака. М.: Изд-во стандартов, 1981. 9 с.
21. ГОСТ 17.2.4.05-83 (СТ СЭВ 3846-82). Атмосфера. Гравиметрический метод определения взвешенных частиц пыли. М.: Изд-во стандартов, 1983. 2 с.
22. ГОСТ 8.504-84. Государственная система обеспечения единства измерений. Требования к построению, содержанию и изложению документации, регламентирующей методики выполнения измерений содержания компонентов проб вещества и материалов. М.: Изд-во стандартов, 1984. 7 с.
23. Гражданова Т.Н., Бреннер Э.С., Вольберг Н.Ш. Способ отбора проб фенолов из воздуха. А. с. № 789707 (СССР) // Бюл. изобр., 1980. № 17.
24. Другов Ю.С., Березкин В.Г. Газохроматографический анализ загрязненного воздуха. М.: Химия, 1981. С. 217 - 238.
25. Ждамиров Г.Г., Лапина Н.Ф., Тулупов П.Е. Определения хлоропрена в воздухе методом парофазного газохроматографического анализа // Гигиена и санитария. 1984. № 12. С. 33 - 35.
26. Ждамиров Г.Г., Лапина Н.Ф., Тулупов П.Е., Сныков В.П. Устройство для приготовления равновесных парогазовых смесей. А. с. № 1278700 (СССР) // Бюл. изобр. 1986. № 47.
27. Зайцева З.В. О применении ионометрии при контроле воздуха. Тез. докл. I Всесоюз. конф. по анализу неорганических газов. Л., 1983. 73 с.
28. Ионометрическое измерение концентрации борной кислоты и борного ангидрида // Методические указания по измерению концентраций вредных веществ в воздухе рабочей зоны. М., 1986. Вып. 21. С. 40 - 46.
29. Ипатова С.А., Деянова Е.В. Метод хроматографического определения акролеина в присутствии алифатических альдегидов // Гигиена и санитария. 1973. № 10. С. 65 - 67.
30. Исидоров В.А., Кузнецова Л.М., Маевский Г.А., Вольберг Н.Ш. Газохроматографическое определение аминов с отбором проб на пленочные сорбенты // Л.: Труды ГГО. Вып. 521. С. 51 - 54.
31. Исидоров В.А., Маевский Г.А., Иоффе Б.В. Способ определения низших алкиламинов. А. с. № 1051422 (СССР) // Бюл. изобр. 1983. № 40.
32. Крылова Н.А.. Формальдегид // Методы определения загрязняющих веществ в атмосферном воздухе населенных мест (приложение № 1 к списку ПДК № 3086-84 от 27.08.84). М. Минздрав СССР. 1985. с. 97.
33. Крылова Н.А. Определение цинка в воздухе // Гигиена и санитария. 1969. № 10. С. 65 - 67.
34. Кузьмина Т.А., Вольберг Н.Ш. Определение фтористого водорода в атмосфере // Труды ГГО. 1971. Вып. 254. С. 172 - 178.
35. Кузьмичева М.Н. К вопросу определения ванадия в воздухе // Гигиена и санитария. 1966. № 2. С. 53 - 54.
36. Логинов М.Е. Колориметрический метод определения малых количеств хрома в воздухе // Бюллетень Ленинградского института гигиены труда и техники безопасности. Л., 1931. № 7 - 8. С. 42 - 44.
37. Львов Б.В. Атомно-абсорбционный анализ. М.: Физматгиз. 1966. 250 с.
38. Методические указания по организации контроля за содержанием канцерогенных полициклических ароматических углеводородов в атмосферном воздухе населенных мест. М., Минздрав СССР, 1987. 17 с.
39. Методические указания по качественному и количественному определению канцерогенных полициклических ароматических углеводородов в продуктах сложного состава. М., Минздрав СССР, 1976.
40. Можаев Е.П. и др. Полевой метод определения анионоактивных ПАВ в воде // Гигиена и санитария. 1969. № 10. С. 75 - 77.
41. Определение формальдегида в воздухе производственных помещений // Информационный листок № 1456-78. 1978. 3 с.
42. Павленко А.А., Вольберг Н.Ш. Использование твердых сорбентов при определении окислов азота // Труды ГГО. 1979. Вып. 417. С. 105 - 112.
43. Павленко А.А. Усовершенствование способа отбора проб H2S на твердый сорбент // Труды ГГО. 1979. Вып. 436. С. 136 - 139.
44. Павленко А.А., Вольберг Н.Ш., Котов В.И. Определение сероуглерода в атмосферном воздухе с отбором проб на твердый пленочный сорбент // Труды ГГО. 1984. Вып. 479. С. 115 - 123.
45. РД 52.04.29-84. Методика выполнения измерений. Определение цианистого водорода в атмосферном воздухе с отбором на пленочный сорбент. Л., 1984. 8 с.
46. РД 52.04.53-85. Методические указания по определению содержания пиридина в атмосферном воздухе с отбором проб на пленочный сорбент. Л., 1986. 7 с.
47. РД 52.04.54-85. Методические указания по определению концентрации сероуглерода в атмосферном воздухе с отбором проб на пленочный сорбент. Л., 1986. 8 с.
48. РД 52.04.55-85. Методические указания по определению содержания фторида водорода в атмосферном воздухе с отбором проб на пленочный хемосорбент. Л., 1986. 10 с.
49. РД 52.04.56-85. Методические указания по определению концентрации двуокиси серы в атмосферном воздухе с отбором проб на пленочный сорбент. Л., 1986. 18 с.
50. РД 52.04.57-85. Методические указания по определению содержания диоксида азота в атмосферном воздухе с отбором проб на пленочный сорбент. Л., 1986. 8 с.
51. Селина И.А. Определение вторичного пропилового спирта в воздухе // Гигиена и санитария. 1962. № 12. С. 47 - 49.
52. Соловьева Т.В., Хрусталева В.А. Руководство по методам определения вредных веществ в атмосферном воздухе. М.: Медицина, 1974. 300 с.
53. Титов В.С., Струкова Т.П. Способ подготовки проб к анализу. А. с. № 1170317 (СССР) // Бюл. изобр. 1985. № 28.
54. Титов В.С., Струкова Т.П. Разработка унифицированных методик контроля загрязнения атмосферы органическими веществами для централизованных лабораторий Госкомгидромета // Докл. II Всесоюз. конф. «Методы и средства контроля загрязнения атмосферы и промышленных выбросов и их применение» Л.: Гидрометеоиздат, 1988. С. 233 - 239.
55. Титов В.С., Струкова Т.П. Способ определения состава смеси летучих веществ. А. с. № 1269015 (СССР) // Бюл. изобр. 1986. № 41.
56. Хесина А.Я. и др. Возможность количественного определения ПАУ в загрязнениях окружающей человека среды на основе квазилинейчатых спектров люминесценции и возбуждения // Ж. прикл. спектр. 1983. Т. 38, № 6. С. 928 - 934.
57. Хрусталева В.А. Определение аэрозолей двуокиси марганца в воздухе производственных помещений // Гигиена и санитария. 1951. № 10. С. 53 - 55.
58. Якимова В.П. Пленочная сорбционная трубка для высокоскоростного отбора проб воздуха // Инф. листок ЛМТЦ НТИТ. 1977. № 11.
59. Якимова В.П., Титова О.Н., Швецова В.А. Об определении вторичных алифатических аминов в воздухе по реакции образования дитиокарбаматов // Гигиена труда. 1985. № 10. С. 55 - 56.
60. Якимова В.П., Бродская Л.Н. Ионометрический метод определения хлористого водорода в воздухе // Инф. листок ЛМТЦНТИ и ТТ № 999-86. 3 с.
61. Якубович А.Л., Зайцев Е.И., Пжилаговский С.Н. Ядерно-физические методы анализа минерального сырья. АМА-02ф (инструкция по эксплуатации). М.: Атомиздат, 1973.
62. Damokos T., Haavs J. Analytical application of linear-response reagent compositions. II. The determination of salt content and ion exschanger capacity // Nung. Sci. Jnstrum. 1978. № 44. p. 19 - 24.
63. Dasgupta P.K., De Cesare K., Ullrey J.C. Determination of Almospheric Sulfur Dioxide without Tetrachloromercurate (II) and the Mechanism of the Schiff Reaction // Anal. Chem. 1980. v. 52. № 12.
Раздел 7
1. Браунли К.А. Статистическая теория и методология в науке и технике. М.: Наука, 1977. 408 с.
2. Временные методические указания по проведению периодического контроля точности результатов измерения содержания загрязняющих воздух веществ. Л.: ГГО, 1981, 19 с.
3. ГОСТ 17.2.4.02-81 (СТ СЭВ 2598-80). Охрана природы. Атмосфера. Общие требования к методам определения загрязняющих веществ. М.: Изд-во стандартов. 1982. 6 с.
4. ГОСТ 11.002-73 (СТ СЭВ 545-77). Прикладная статистика. Правила оценки анормальности результатов наблюдений. М.: Изд-во стандартов. 1982.
5. Полищук А.И., Стрельченя С.В. Внешний периодический контроль точности результатов измерений содержания загрязняющих воздух веществ. Программное средство. ОФАП Госкомгидромета. 1984. № Ж 051050895.
6. Полищук А.И., Стрельченя С.В., Шайкова Е.А. О методике проведения внешнего контроля точности измерений содержания загрязняющих воздух веществ // Тр. ГГО. 1987. Вып. 511. С. 132 - 137.
7. Результаты и характеристики погрешности измерений. Формы представления. Способы использования при испытаниях образцов продукции и контроле их параметров. МИ 1317-86. ГСП. М.: Изд-во стандартов. 1986.
8. Система контроля точности результатов измерений показателей загрязненности контролируемой среды. РД 52.24.66-86. Л.: Гидрометеоиздат. 1986. 31 с.
Раздел 8
1. Автоматизированная система обработки информации о загрязнении атмосферы (АСОИЗА) - первая очередь. Л., ГГО, 1986. ОФАП Госкомгидромета. № ИО51051036.
2. Автоматизированная система обработки информации на локальном уровне (ЛБАД). Программные документы. Кемерово, ЦНТИ, 1985.
3. Временные указания по определению фоновых концентраций вредных веществ в атмосферном воздухе. М.: Гидрометеоиздат, 1981. 36 с.
4. Инструкция по машинной обработке данных наблюдений сети контроля загрязнения атмосферы (временная). Л., ГГО, 1987. Ч. 1, 2.
5. Рекомендации по оценке достоверности данных наблюдений за загрязнением атмосферы. Л., ГГО, 1984.
6. Программа ввода с магнитных лент или перфокарт, раскодировки и контроля информации о загрязнении атмосферы в рамках АСОИЗА. Л., ГГО, 1987. ОФАП Госкомгидромета. № ИО51051036.
7. Программа статистической обработки информации о загрязнении атмосферы за год на посту наблюдений и в целом по городу. Л., ГГО, 1987. ОФАП Госкомгидромета. № ИО51051036.
8. Система управления данными АИСОРИ. Общее описание. ВНИИГМИ-МЦД, 1981. ОФАП Госкомгидромета. № И050020489.
9. Технический проект системы режимно-справочных банков данных, Госкомгидромета. Т. 1, 2. ВНИИГМИ-МЦД, 1981. ОФАП Госкомгидромета. № Я050020489.
Раздел 9
1. Безуглая Э.Ю. Мониторинг состояния загрязнения атмосферы в городах. Л.: Гидрометеоиздат, 1986.
2. Безуглая Э.Ю. Метеорологический потенциал и климатические особенности загрязнения воздуха городов. Л.: Гидрометеоиздат, 1980. С. 84 - 95.
3. Берлянд М.Е. и др. О методах определения фонового загрязнения атмосферы в городах // Тр. ГГО. 1984. Вып. 479. С. 17 - 30.
4. Берлянд М.Е. Современные проблемы атмосферной диффузии и загрязнения атмосферы. Л.: Гидрометеоиздат, 1975.
5. Временная методика нормирования промышленных выбросов в атмосферу. Расчет и порядок разработки нормативов предельно допустимых выбросов. Л., ГГО, 1981.
6. Временные указания по определению фоновых концентраций вредных веществ в атмосферном воздухе для нормирования выбросов и установления предельно допустимых выбросов. М.: Гидрометеоиздат, 1981. 36 с.
7. ГОСТ 11.002-73 (СТ СЭВ 545-77). Прикладная статистика. Правила оценки анормальности результатов наблюдений. М.: Изд-во стандартов, 1982. 36 с.
8. Гутер Р.С., Овчинский Б.В. Элементы численного анализа и математической обработки результатов опыта. М.: Наука, 1970. С. 343 - 367.
9. Зражевский И.М., Шишкин А.М. Основные принципы классификации источников выбросов вредных веществ в атмосферу // Тр. ГГО. 1984. Вып. 479. С. 98 - 104.
10. Климатические характеристики условий распространения примесей в атмосфере. Справочное пособие // Под ред. Э.Ю. Безуглой, М.Е. Берлянда. Л.: Гидрометеоиздат, 1983. 328 с.
11. Методика расчета концентраций в атмосферном воздухе вредных веществ, содержащихся в выбросах предприятий. ОНД-86. Л.: Гидрометеоиздат, 1987. 93 с.
12. Рекомендации по оценке достоверности данных наблюдений за загрязнением атмосферы. Л., ГТО. 1984. 15 с.
13. Сегал Б.И., Семендяев К.А. Пятизначные математические таблицы. М.: Гос. изд-во физ.-мат. литературы, 1962.
14. Справочник по климату СССР. Ч. 3, 5. Вып. 1 - 34. Л.: Гидрометеоиздат, 1966 - 1970.
ЧАСТЬ II
Раздел 2
1. ГОСТ 17.15.05-85. Охрана природы. Гидросфера. Общие требования к отбору проб поверхностных и морских вод, льда и атмосферных осадков.
2. Лурье Ю.Ю. Справочник по аналитической химии. М.: Химия, 1971, 453 с.
3. Методические указания по определению химического состава осадков. Л., 1980.
4. Наставление гидрометеорологическим станциям и постам. Ч. 1. Вып. 3. Л.: Гидрометеоиздат, 1985. 299 с.
5. Meszasos E., Whelpdale D.M. Manual for BAPMoN Station operators // WMO/TD № 66, October 1985.
Раздел 3
Co-operative programme for monitoring and evaluation of the long rauge transmission of air pollutants in Europe.
Manual for sampling and Metical analysis. EMEP/CHEM, - 3/77, Replaces EMP 1/76. Norwegian Institute for air research P. O. Box 130, № - 2001 Lillestrom, Norway.
Раздел 4
1. ГОСТ 17.15.05-85. Охрана природы. Гидросфера. Общие требования к отбору проб поверхностных и морских вод, льда и атмосферных осадков. М.: Изд-во стандартов, 1985.
2. Методические указания по определению химического состава осадков. Л.: ГГО, 1980. 52 с.
3. Мицуике А. Методы концентрирования микроэлементов в неорганическом анализе. М.: Химия, 1986. С. 52 - 55, 102 - 110.
4. Немец С.М., Чарыков А.К., Першина Н.А., Лободина М.Т. Фотометрическое определение содержания нитрат-иона в атмосферных осадках // Вестник ЛГУ. Химия. 1986. № 2. С. 57 - 61.
5. Немец С.М., Зуева В.Л., Туркин Ю.И. Флотационное концентрирование и атомно-абсорбционное определение кадмия и свинца при анализе атмосферных осадков // Аналит. химия. 1983. Т. 38. № 10. С. 1782 - 1786.
6. Руководство по химическому анализу поверхностных вод суши. Л.: Гидрометеоиздат, 1977. С. 247 - 257.
7. Эрден-Груз Т. Явления переноса в водных растворах. М.: Мир, 1976. С. 313 - 314.
Раздел 5
1. Василенко В.Н., Назаров И.М., Фридман Ш.Д. Мониторинг загрязнения снежного покрова. Л.: Гидрометеоиздат, 1985. 180 с.
2. Наставление гидрометеорологическим станциям и постам. Вып. 1. РД 52.04.107-86. Л.: Гидрометеоиздат, 1987. 183 с.
ЧАСТЬ III
1. Актинометр М-3. Методы и средства поверки. Л.: ГГО, 1979.
2. Берлянд М.Е. Современные проблемы атмосферной диффузии и загрязнения атмосферы. Л.: Гидрометеоиздат, 1975. 448 с.
3. Броунштейн А.М., Фабер Е.В., Шашков А.А. Газоаналитическая установка для осуществления мониторинга СО2 в атмосферном воздухе // Тр. ГГО. 1984. Вып. 472. С. 11 - 16.
4. Броунштейн А.М., Фабер Е.В., Шашков А.А. Исследование характеристик газоаналитической установки УГАН-СО2 // Тр. ГГО. 1985. Вып. 496. С. 55 - 65.
5. Будыко М.И. Эволюция биосферы. Л.: Гидрометеоиздат, 1984. С. 488.
6. Вольберг Н.Ш., Тульчинская З.Г. Применение парарозанилинформальдегидного метода для определения фоновых концентраций сернистого газа // Тр. ГГО. 1979. Вып. 418. С. 87 - 92.
7. Вольберг Н.Ш., Павленко А.А. Определение концентраций диоксида азота на фоновом уровне // Тр. ГГО. 1987. Вып. 511. С. 142 - 148.
8. Вольберг Н.Ш., Шарикова О. П. Определение малых концентраций серной кислоты и сульфатов в атмосфере кулонометрическим методом // Метеорологические аспекты загрязнения атмосферы. Л.: Гидрометеоиздат. 1988. С. 156 - 160.
9. Генихович Е.Л., Русина Е.Н. Сопоставление и оценка погрешностей методик обработки актинометрических наблюдений с широкополосными. фильтрами // Тр. ГГО. 1979. Вып. 418. С. 64 - 77.
10. Гордюк В.П. Исследование принципов построения приборов для измерения напряженности электрического поля в приземном слое атмосферы // Тр. ГГО, 1981. Вып. 442. С. 96 - 102.
11. Гущин Г.П., Виноградова Н.Н. Суммарный озон в атмосфере. Л.: Гидрометеоиздат, 1983. 238 с.
12. Израэль Ю.А. Основные принципы мониторинга окружающей природной среды и климата // Комплексный глобальный мониторинг загрязнения окружающей природной среды. Тр. Междунар. симпоз. Л., 1980. С. 5 - 14.
13. Израэль Ю.А. Экология и контроль состояния природной среды. Л.: Гидрометеоиздат, 1979. 375 с.
14. Имянитов И.М. Приборы и методы для изучения электричества атмосферы. М.: ГИТТЛ, 1957. 483 с.
15. Колоколов В.П., Шварц Я.М. Методы наблюдений элементов атмосферного электричества. Обзор. Обнинск., ВНИИГМИ-МЦД, 1976. 64 с.
16. Методические указания по производству и обработке наблюдений за общим содержанием атмосферного озона. Л.: Гидрометеоиздат, 1981. 45 с.
17. Методические указания по регистрации составляющих радиационного баланса. Л.: Гидрометеоиздат, 1986. С. 135.
18. Методы определения приоритетных загрязняющих веществ на фоновом уровне для объектов окружающей среды. М.: Гидрометеоиздат, 1982. С. 102 - 115.
19. Прибор для измерения электрической проводимости воздуха у поверхности земли / И.М. Имянитов, С.И. Зачек, Б.К. Иньков, К.А. Семенов // Тр. ГГО. 1960. Вып. 110. С. 53 - 66.
20. Русина Е.Н. Определение характеристик аэрозольной мутности атмосферы по данным спектральных актинометрических наблюдений // Метеорология и гидрология, 1977. № 5. С. 49 - 55.
21. Селезнева Е.С. и др. О критериях выбора и рекомендациях по местоположению станций мониторинга фонового загрязнения атмосферы // Тр. ГГО. 1979. Вып. 418. С. 3 - 19.
22. Таммет Х.Ф. К теории измерения атмосферного электрического поля // Ученые записки Тартуского госуниверситета, 1970. Вып. 240. С. 140 - 156.
23. Тихонов А.Н. О решении некорректно поставленных задач и методе регуляризации // ДАН СССР. 1963. Т. 151. № 3. С. 501 - 504.
24. Унифицированные методы мониторинга фонового загрязнения природной среды. М.: Гидрометеоиздат, 1986. 180 с.
25. Шварц Я.М. Характеристики атмосферного электричества // Аппаратура для исследований приземного слоя атмосферы / Л.П. Афиногенов и др. Л.: Гидрометеоиздат, 1977, С. 141 - 156.
26. Шварц Я.М., Огуряева Л.В. Основы построения сети наблюдений за электрическими свойствами атмосферы // Тр. ГГО. 1982. Вып. 463. С. 118 - 128.
27. Dobson G.M.B. Observer's handbook for the ozone spectrometer // Ann. I. G. J. 1957. V. 5. P. 46 - 89.
28. International operations handbook for measurement of background atmospheric pollution // WMO. 1978. № 491.
Приложение 5.3
1. Временные методические указания по определению содержания примесей в атмосфере. Л.: Гидрометеоиздат, 1971. С. 45 - 48.
2. Другов Ю.С., Беликов А.Б., Дьякова Г.А., Тульчинский В.М. Методы анализа загрязнений воздуха. М.: Химия, 1984. 384 с.
3. Зиновьева Н.П., Тепикина Л.А. Этилакрилат // Предельно допустимые концентрации (ПДК) загрязняющих веществ в атмосферном воздухе населенных мест (Дополнение № 2 к списку ПДК № 3086-84 от 27.08.84). М.: Минздрав СССР, 1987. С. 51 - 53.
4. Казнина Н.И., Зиновьева Н.П. Акрилонитрил // Методы определения загрязняющих веществ в атмосферном воздухе населенных мест (Приложение № 2 к списку ПДК № 2616-86 от 27.08.82). М.: Минздрав СССР, 1983. С. 4 - 7.
5. Комракова Е.А. Метилакрилат и метилметакрилат // Методы определения загрязняющих веществ в атмосферном воздухе населенных мест (Приложение № 2 к списку ПДК № 3086-84 от 27.08.84). М.: Минздрав СССР, 1986. С. 39 - 43.
6. Новикова И.С., Кедик Л.М. Окись углерода // Методы определения загрязняющих веществ в атмосферном воздухе населенных мест (Приложение № 1 к списку ПДК № 3086-84 от 27.08.84). М.: Минздрав СССР, 1985. С. 67 - 71.
7. Пинигина И.А., Яцукович Ю.В. Ацетон // Предельно допустимые концентрации (ПДК) загрязняющих веществ в атмосферном воздухе населенных мест (Дополнение № 4 к списку № 1892-78 от 01.08.78). М.: Минздрав СССР, 1984. С. 68 - 71.
8. Пинигина И.А., Яцукович Ю.Б. Фенол // Методы определения загрязняющих веществ в атмосферном воздухе населенных мест (Приложение № 1 к списку ПДК № 3086-84 от 27.08.84). М.: Минздрав СССР, 1985. С. 91 - 96.
9. Предельно допустимые концентрации загрязняющих веществ в атмосферном воздухе населенных мест (Дополнение № 2 к списку ПДК № 3086-84 от 27.08.84). М.: Минздрав СССР, 1987. С. 10 - 13.
10. Тульчинский В.М., Дликман И.Ф. Некоторые особенности отбора, подготовки и анализа проб атмосферного аэрозоля на содержание следовых количеств полициклических ароматических углеводородов // Тез. докл. V Всесоюз. конф. по аналитической химии органических соединений. М., Наука, 1984. с. 150.
11. Уланова Т.С. Анилин и его соединения // Предельно допустимые концентрации (ПДК) загрязняющих веществ в атмосферном воздухе населенных мест (Дополнение № 1 к списку ПДК № 3086-84 от 27.08.84) М.: Минздрав СССР, 1985. С. 8.
Азота диоксид
Азота оксид
Акрилонитрил
Акролеин
Аммиак
Аммиак и ион аммония, сумма
Аммония ион
Анилин
Ацетон
3,4-бензпирен
Бензол
Бром
Ванадий
Взвешенные частицы
Водорода
фторид
хлорид
цианид
Гексанол
Гидрокарбонат-ион
Детергенты анионактивные
Диметиламин
Диэтиламин
Железо
Изопропанол
Иттрий
Кадмий
Калий
Кальций
Кислотность осадков
Кислоты
азотная
борная
карбоновые
серная
Кобальт
Ксилолы
Магний
Марганец
Медь
Метанол
Метилакрилат
Метиламин
Метиланилин
Метилмеркаптан
Метилметакрилат
Мышьяк
Натрий
Никель
Нитрат-ион
Октанол
Пиридин
Ртуть
Сажа
Свинец
Селен
Сероводород
Сероуглерод
Серы диоксид
Стронций
Сульфаты
Теллур
Тетрахлорэтилен
Титан
Толуол
Триметиламин
Трихлорэтилен
Триэтиламин
Углеводороды полициклические ароматические
Углерода оксид
Фенол
Фосфат-ион
Фосфора (V) соединения
Хлор
Хлорид-ион
Хлорепрен
Хлорорганические пестициды
Хлороформ
Хром (VI)
Хром
Циклогексан
Циклогексанол
Циклогексанон
Цинк
Цирконий
Четыреххлористый углерод
Этилакрилат
Этилбензол
СОДЕРЖАНИЕ
|
|
|
|