//
ТехЛит.ру
- крупнейшая бесплатная электронная интернет библиотека для "технически умных" людей.
WWW.TEHLIT.RU - ТЕХНИЧЕСКАЯ ЛИТЕРАТУРА

:: Алготрейдинг::


АЛГОТРЕЙДИНГ
шаг за шагом
с нуля по урокам!

Торговые роботы на PYTHON, BackTrader,
Pandas, Pine Script для TradingView. Связка с брокерами, телеграм и легкими приложениями.


НАУЧНО ИССЛЕДОВАТЕЛЬСКИЙ ИНСТИТУТ
СТРОИТЕЛЬНОГО ПРОИЗВОДСТВА ГОССТРОЯ УССР

ТЕХНОЛОГИЧЕСКАЯ КАРТА
на устройство индустриальных сборных
ковровых кровель из полимерных рулонных
материалов с применением широкозахватной
траверсы

Утверждена заместителем директора НИИСП Госстроя УССР
В.И. СНИСАРЕНКО

Одобрена Ученым советом НИИСП Госстроя УССР

Протокол № 13 от 29.12.87

КИЕВ 1988

Изложена технология устройства сборных ковровых кровель из полимерных рулонных материалов с применением способа монтажа кровельных элементов «насухо», основанная на их заводской готовности, комплектной поставке крупноразмерных кровельных ковров и элементов, сборных железобетонных и засыпных - щебеночных пригрузов и применении комплексной механизации монтажных работ.

Для инженерно-технических работников, бригадиров и рабочих, выполняющих работы по устройству кровель жилых и промышленных зданий.

Технологическую карту разработали инж. О.И. Хрущев (ответственный исполнитель), канд. техн. наук О.Т. Павлюк (НИИСП Госстроя УССР), инженеры Ю.П. Шульженко (ВНИИстройполимер Минстройматериалов СССР), В.Г. Токарев, В.Н. Баклан (Главкиевгорстрой).

1. ОБЛАСТЬ ПРИМЕНЕНИЯ

1.1. Технологическая карта распространяется на монтаж крупноразмерных сборных кровельных ковров на покрытиях с площадью участков водосбора или блок-секции 400 м2 и более (преимущественно с теплым или открытым чердаком).

Карта предусматривает контейнеризованный и комплектный способ доставки сборных элементов кровли и монтаж сборного кровельного ковра с применением широкозахватной траверсы с сердечником конструкции НИИСП Госстроя УССР.

В перечень основных элементов сборной кровли входят железобетонные подкладочные элементы для зажима кровельного ковра по периметру, бронирующие фартуки и косынки для обустройства мест примыканий и собственно сборные кровельные ковры. Комплектующими материалами являются клеящая мастика, защитные колпаки водоприемных воронок, подстилающий песок, разделительный рубероид, пригрузочный щебень и др.

1.2. В состав работ, рассматриваемых картой, входят работы, показанные на рис. 1.

Рис. 1. Схема производства кровельных работ:

1 - контейнер для сыпучих материалов; 2 - поддон с подкладочными сборными железобетонными элементами; 3 - траверса для монтажа сборного ковра; 4 - поддон с прижимными сборными железобетонными элементами; 5 - контейнер для доборных кровельных элементов; 6 - контейнер для рулонных материалов; 7 - башенный кран; 8 - бадья для цементного раствора

Работы можно выполнять при температуре наружного воздуха до минус 30 °С и силе ветра при укладке сборного ковра не более 10 м/с при хорошей видимости.

2. ОРГАНИЗАЦИЯ И ТЕХНОЛОГИЯ СТРОИТЕЛЬНОГО ПРОЦЕССА

2.1. До начала кровельных работ на строительную площадку из расчета на участок водосбора или блок-секцию доставляют необходимый комплект кровельных элементов, материалов, а также инвентарные средства для безопасного производства работ.

Подкладочные и прижимные железобетонные элементы, рулонные и сыпучие материалы подают на кровлю башенным краном на поддонах и в контейнерах, сборные кровельные ковры - специальной траверсой; клеящую мастику - в стандартных металлических емкостях для клеящих мастик вместимостью 24 л.

2.2. До монтажа сборной ковровой кровли должны быть завершены следующие работы:

подготовлено основание покрытия с заделкой швов несущих плит, поверхности выровнены цементно-песчаным раствором и выполнена срезка монтажных петель плит заподлицо с основанием;

выполнены разуклонки из цементно-песчаного раствора или легкого бетона по линиям водоразделов к чашам водоприемных воронок;

выполнены отверстия в плитах покрытия под трубы (фановые стояки);

закончены работы по установке чаш водоприемных воронок;

закончено возведение кирпичной кладки стен машинного отделения лифтов до технологической отметки высотой не более 200 мм от плоскости основания;

очищена от мусора и выступающих наплывов цементного раствора поверхность несущих конструкций покрытия;

доставлены в зону работ по устройству сборной кровли необходимые инструменты и инвентарь.

При отсутствии указаний в проекте для планировки поверхности следует применять цементно-песчаный раствор марки не ниже 50 или керамзитобетон марки 35.

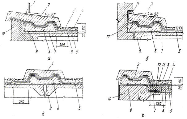
2.3. Для устройства сборной ковровой кровли применяются конструкции водоизоляционных ковров типа Т-I и Т-II. Конструктивные решения кровли должны соответствовать приведенным на рис. 2.

Ковры состоят из водоизоляционного и подкладочного слоев. Водоизоляционный слой выполняется из гидробутила К или армогидробутила АК по ТУ 21-27-96-85; подкладочный слой - из рубероида, пергамина. В качестве пригрузочного материала следует применять гравий (щебень) по ГОСТ 8268-82 обеспыленный, чистый с крупностью зерен 5 - 25 мм, маркой по морозостойкости не ниже 100. Для устройства разделительного слоя над кровельным ковром применяется рубероид подкладочный марок РПП 300 по ГОСТ 10923-82, пергамин кровельный по ГОСТ 2697-83. В качестве подстилающего слоя из сыпучих материалов следует применять мелкозернистый песок по ГОСТ 8735-75 или крупнозернистый песок по ГОСТ 8736-85. Для устройства дополнительных слоев применяются полотно клееное прокладочное (прокламелин) и тканая сетка марок ССС, СС-I.

В качестве клеящих мастик должны применяться бутилкаучуковая мастика МБК по ТУ 21-27-90-83, каучуковая мастика КН-2 и КН-3 по ГОСТ 24064-80.

Применение мастик КН-2 и КН-3 допускается при температуре наружного воздуха не ниже 5 °С при отсутствии атмосферных осадков. В качестве разбавителя мастики МБК должен использоваться уайт-спирит по ГОСТ 3134-78, а мастик КН-2 и КН-3 - этилацетат по ГОСТ 22300-76 с уайт-спиритом в соотношении по массе 1:1.

2.4. Доставленные на объект контейнеры с кровельными элементами следует устанавливать в зоне действия монтажного крана с созданием запаса элементов не менее чем на двухсменную работу (из расчета полного завершения работ по захватке). Доставка кровельных элементов осуществляется автотранспортными средствами по часовому графику, увязанному с общим графиком монтажных работ объекта.

2.5. Работы по устройству кровли выполняются в следующей технологической последовательности: монтаж подкладочных элементов; очистка основания; устройство подстилающего слоя; обустройство карнизов и чаш водоприемных воронок; монтаж сборного ковра кровли; устройство разделительного слоя; укладка пригруза из щебня и монтаж пригрузочных элементов; установка защитных колпаков водоприемных воронок.

Рис. 2. Схема конструктивных решений примыканий кровли к конструкциям покрытия:

а - к низкому кирпичному парапету; б - к внутренней кирпичной стене; в - в местах стыковки ковров на смежных захватках; г - к наружной кирпичной стене машинного помещения; д - к карнизу кирпичной стены машинного помещения; е - к вентиляционной шахте; ж - к фановым стоякам; 1 - металлическое ограждение; 2 - сборный прижимной элемент; 3 - пригрузочный слой; 4 - разделительный слой; 5 - сборный кровельный ковер; 6 - защитный фартук; 7 - подстилающий слой; 8 - сборный подкладочный элемент; 9 - несущая плита покрытия; 10 - кирпичная стена; 11 - заделка цементным раствором; 12 - пароизоляция; 13 - теплоизоляция; 14 - слив из оцинкованной кровельной стали; 15 - герметизирующая мастика; 16 - вентиляционная шахта; 17 - сварной патрубок из стального листа; 18 - конусообразный фартук из оцинкованной кровельной стали с хомутом и прокладкой из резины; 19 - фановый стояк (труба); 20 - пеньковое волокно

2.6. Монтаж подкладочных элементов по периметру участков водосбора (блок-секций), помещений машинных отделений лифтов и отверстий в местах выхода вентиляционных шахт ведется башенным краном с подъемом элементов с инвентарных поддонов. Укладку и горизонтальное выравнивание подкладочных элементов осуществляют по постели из песка или цементно-песчаного раствора.

2.7. Очистка основания включает удаление мелких острых предметов (кирпичного и бетонного боя, щебня и др.), заглаживание цементно-песчаным раствором острых выступов из бетона, раковин (глубиной более 20 мм) и откосов. Устройство подстилающего (выравнивающего) слоя по поверхности основания выполняется засыпкой и разравниванием скребками увлажненного песка толщиной не более 20 мм. Подача цементно-песчаного раствора и песка на покрытие осуществляется башенным краном в совковых бадьях и контейнерах для сыпучих материалов конструкции НИИСП Госстроя УССР.

2.8. Усиление кровельного ковра выполняется наклейкой на основание подкладок из гидробутила по слою мастики МБК (с расходом 1,2 - 1,5 м2). В местах установки водоприемных воронок наклеивают косынки размером 1´1 м, вдоль карнизов - полосы шириной 0,4 м после устройства карнизных свесов из оцинкованной кровельной стали.

2.9. К устройству сборной кровли разрешается приступать только после нанесения на основание покрытия маячных меток (направляющих линий) для привязки сборного ковра к площади его укладки. Маячные метки наносятся масляной краской, мелом или укладкой деревянных реек в местах привязочной установки траверсы с ковром в направлении укладки ковра. Метки наносятся по направлению продольной оси траверсы и по одной из граней рулона ковра. Привязка траверсы и направление укладки ковра устанавливаются проектом производства работ.

2.10. Укладку сборных ковров начинают с участков, отдаленных от мест подачи материалов, и, как правило, с торца здания. К укладке ковра следует приступать после проверки состояния подготовки основания с приемкой его по акту на скрытые работы.

На подготовленное место покрытия краном подается траверса с комплектом кровельных ковров на 3 - 4 блок-секции покрытия жилого дома суммарной массой до 3,0 т.

2.11. Укладку ковра кровли осуществляют с помощью башенного крана в следующем порядке: траверсу с кровельным ковром устанавливают на маячную метку, нанесенную на основание, с одновременной выверкой направления укладки ковра; ленту кровельного ковра укладывают по основанию покрытия; выполняют выверку ленты ковра после раскатки; ленту кровельного ковра развертывают от левой и правой линий его изгиба в стороны продольных парапетов с укладкой кромок на подкладочные сборные элементы в местах примыканий с установкой временных пригрузов.

Раскатку рулона ковра производят перемещением траверсы, располагая ее поперек здания симметрично центральной (привязочной) продольной оси.

Подшипниковые узлы и тормоза на опорах сердечника траверсы обеспечивают свободное и плавное падение ленты ковра на основание, не допуская отклонения грузового каната от вертикальной оси. Передвижение траверсы регулируют два кровельщика; при укладке ленты ковра допустимое расстояние от низа опор траверсы до плоскости покрытия не должно превышать 0,5 м.

Движение траверсы осуществляется участками длиной по 10 м с выверкой направления раскатки ленты ковра по маячным меткам. Развертывание на стороны многослойной ленты ковра монтажники производят вручную следующим образом: складывают верхнее однослойное полотнище ковра «гармошкой» так, чтобы его край (шириной не менее 1 м) был обращен к средней части, затем, начиная с середины, наружную верхнюю грань ковра (складку) сдвигают в направлении к парапету, выравнивая в несколько приемов, после чего с плоскости ковра отворачивают край полотнища на подкладочные сборные элементы. В местах расположения отверстий под вентиляционные шахты в ковре делают радиальные прорезы с целью осаживания ковра на подкладочные сборные элементы и укладывают по периметру отверстий локальные пригрузы, после чего продолжают укладку ковра.

При укладке ковра над водоприемной воронкой на поверхность косынки из гидробутила (см. п. 2.8) следует нанести слой мастики (из расчета 1,5 кг/м2) и после накатки на него кровельного ковра выполнить тщательную притирку или прикатку этой поверхности, обеспечивающую надежную приклейку кровельного ковра в зоне водоприемной воронки.

Над местами выхода вентиляционных блоков и труб в ковре вырезают необходимые отверстия.

После разворачивания кровельного ковра необходимо тщательно осмотреть его поверхность и произвести в случае необходимости мелкий ремонт.

Укладка ковра оформляется актом на скрытые работы.

2.12. Монтаж вентиляционных шахт (труб) выполняется краном с установкой сборных элементов на коробах, размещенных в чердачном пространстве. Установка фановых стояков производится в заранее выполненные отверстия в плитах покрытия и патрубки, расположенные над отверстиями.

2.13. В местах размещения ковра над сборными подкладочными элементами (по периметру ковра и вокруг отверстий) укладывают насухо защищенные фартуки и косынки (рис. 2). Ленты фартуков (длиной от 6 до 20 м) по длине склеивают мастикой с шириной нахлеста 100 мм; ленты должны иметь выпуск на горизонтальную плоскость покрытия шириной 250 мм; выпуск защемляют пригрузочным слоем щебня. В местах примыканий кровельного ковра к фановым стоякам защитный элемент выполняют в виде заранее изготовленного сварного патрубка из стального листа (полимерного материала) с фланцем шириной 100 мм. Патрубок устанавливают на ковер и приклеивают фланец мастикой. Обустройство патрубка выполняют двухслойной косынкой из гидробутила и стеклосетки с приклейкой к фланцу патрубка и кровельному ковру. Поверхность косынки по фланцу и патрубок тщательно окрашивают кистью за два раза суспензией алюминиевой пудры ПАК-3 в керосине (состав по массе 1:10). Верх полости паза между патрубком и стояком следует уплотнить на высоту 30 - 50 мм пеньковыми волокнами и защитить конусообразным фартуком из армогидробутила с поверхностью (нетканой основой вверх), окрашенной суспензией из алюминиевой пудры или краской БТ 177.

Водоприемные воронки оклеиваются двухслойными косынками из гидробутила и стеклосетки размером 1´1 м. Косынку наклеивают над отверстием воронки с последующей крестообразной разрезкой её по центру и приклейкой полученных концов к внутренней полости патрубка воронки.

Косынки и стеклосетки приклеивают мастикой, ковер в месте склейки зажимают, устанавливая защитный сетчатый колпак водоприемной воронки. После этого тщательно промазывают мастикой поверхность наклеенной косынки и стыка по периметру сетчатого колпака.

2.14. К устройству разделительного слоя следует приступить после проверки правильности укладки водоизоляционного ковра. Особое внимание уделяется сохранению целостности кровельного ковра за счет предупреждения воздействия на него острых предметов и ударных нагрузок. Рулонные материалы для разделительного слоя (рубероид, пергамин) необходимо доставлять на кровлю в контейнерах. Полотнища укладывают насухо от ендовы с нахлесткой на ширину 100 мм вверх по уклону водосброса кровли; раскатку рулонов следует начинать от парапета торцовой стены здания в направлении на себя, укладывая полотнище вдоль здания делянками по всей ширине кровли. Работы необходимо вести с установкой временных пригрузов или совмещать их с укладкой пригрузочного щебня.

Засыпка пригрузочного материала (гравия, щебня) производится из передвижного контейнера, подвешенного к крюку крана; равномерность укладки материала регулируется технологическим отверстием и скоростью передвижения контейнера; высота сброса должна быть не более 1 м. Посыпку в пределах делянки в дальнейшем разравнивают вручную скребками до толщины слоя 40 мм.

2.15. Монтаж прижимных элементов выполняется с помощью крана методом самофиксации и свободной укладки в гнезда подкладочных элементов с последующей разделкой стыков цементным раствором (см. рис. 2).

2.16. Устройство сборной ковровой кровли над машинным помещением лифтов выполняют по аналогии с основным решением. При неорганизованном водоотводе сборный ковер на карнизе приклеивают мастикой к основанию на ширину 400 мм, а пригрузочный слой щебня ограничивают прижимными элементами (железобетонной плиткой), уложенными на карниз с разрывами шириной 100 мм.

2.17. При выполнении работ в зимних условиях необходимо применять цементно-песчаные растворы на основе керамзитового песка с противоморозной добавкой, обеспечивающей незамерзаемость до минус 25 °С, а в качестве подстилающего слоя - рулонные битуминозные материалы.

При укладке ковра допускается наличие инея, а на отдельных участках - ровной корки из снега и наледи толщиной до 5 мм. Установку подкладочных элементов следует выполнять на растворе или песке влажностью до 3 %. Отдельные зоны (стяжка у воронки и на карнизе) перед наклейкой подкладок из гидробутила должны быть высушены с применением радиационных способов сушки (световыми или инфракрасными лучами).

Подстилающий слой из полотнищ рубероида (пергамина) следует укладывать насухо поперек ленты ковра во время его размотки с сердечника; укладка полотнищ производится от места начала размотки ковра нахлестом шириной до 50 мм.

Работы по кровле допускается производить сначала на участке левого затем правого разворота ковра до полного завершения всего объема работ на этих участках. Рассыпать пригрузочный щебень в этом случае допускается по слою снега толщиной не более 50 мм; разравнивать посыпку под отметку следует после таяния снега.

Кровельные элементы и материалы на покрытие транспортируют башенным краном в контейнерах, сборный ковер - специализированной траверсой, мастику и растворители - в герметически закрытых емкостях. Материалы подают непосредственно в рабочую зону в количестве, необходимом для устройства кровли на захватке.

2.18. Работы по устройству сборной ковровой кровли выполняет звено кровельщиков и изолировщиков, входящих в комплексную бригаду, в составе кровельщика V разряда, кровельщика IV разряда, двух кровельщиков III разряда и двух изолировщиков III разряда.

Затраты труда звена по устройству кровли на одной захватке (574 м2) составляют 8,78 чел.-смены. Калькуляция трудовых затрат приведена в табл. 1.

2.19. Приемка законченных работ по устройству сборной ковровой кровли осуществляется на основании контрольной проверки и тщательного осмотра ее поверхности по площадям, а в местах примыканий к выступающим конструкциям - на основании инструментальной проверки отдельных узлов и деталей в соответствии с правилами производства работ, перечнем пооперационного контроля, приведенным в табл. 2 и требованиями СНиП III-1-76.

2.20. При производстве работ, связанных с устройством сборной кровли, необходимо соблюдать правила техники безопасности, изложенные в СНиП III-4-80 и Правилах пожарной безопасности при производстве строительно-монтажных работ ППБ-05-86, утвержденных ГУПО МВД СССР 26.02.86; правила техники безопасности, прилагаемые к инструкциям по эксплуатации соответствующих механизмов. Все рабочие и ИТР, занятые на устройстве сборных кровель, должны быть обучены безопасным правилам и приемам производства работ, пройти вводный инструктаж по технике безопасности, а также производственный инструктаж на рабочем месте.

К работе с полимерными мастиками допускаются лица не моложе 18 лет, прошедшие медицинский осмотр.

2.21. Запрещается хранить и переносить летучие и легко воспламеняющиеся растворители и мастики в открытой таре. Доставка на крышу здания этих материалов должна осуществляться в герметически закрывающихся емкостях в составе комплекта элементов сборной кровли. Запрещается установка емкостей на незащищенный кровельный ковер; в качестве подкладки может быть применен деревянный щит с лицевой поверхностью из кровельной стали. При перерывах в работе емкости с полимерными материалами следует закрывать для предохранения от испарения растворителя.

Места производства работ должны быть укомплектованы средствами пожаротушения из следующего расчета: на 500 м2 кровли - два пенных огнетушителя и асбестовое полотно площадью 3 м2.

На кровле запрещается производить работы, ведущие к образованию искр, без принятия мер по защите кровельного ковра, а также курить и пользоваться открытым огнем.

2.22. При устройстве сборной кровли рабочие должны быть обеспечены индивидуальными средствами защиты и спецодеждой.

2.23. При перемещении траверсы в процессе монтажа кровли расстояние между ней и выступающими конструкциями покрытия должно быть по горизонтали не менее 1 м, по вертикали - не менее 0,5 м. При монтаже (раскатке) ленты ковра по ходу движения башенного крана расстояние от оси сердечника траверсы до плоскости покрытия должно быть не более 1,5 м.

Таблица 1. Калькуляция затрат труда на устройство 100 м2 ковровой кровли (ковер типа Т-I)

Основание

Наименование работ

Норма времени на единицу измерения, чел.-ч

Расценка на единицу измерения, р.-к.

Местные нормы ЦНИС Главкиевгорстроя от 1986 г.

Очистка основания, укладка сборных железобетонных подкладочных элементов на постель из песка толщиной 20 мм (или из раствора), выравнивание поверхности основания песком (при необходимости), разбивка привязочных меток ковра, укладка насухо защитных подкладок, наклейка подкладок из гидробутила в местах водоприемных воронок и на карнизе, укладка ленты ковра траверсой с последующим развертыванием ковра вручную, укладка защитных фартуков и косынок в местах примыканий насухо с обработкой в местах стыковки, устройство соединительных швов между коврами с обустройством воронки, мелкий ремонт ковра (при необходимости), устройство разделительного слоя из битуминозного материала с раскаткой рулонов насухо с укладкой временных пригрузов, укладка пригрузочного щебня при помощи контейнера, укладка сборных прижимных элементов насухо при помощи башенного крана, заделка швов раствором, перемещение материалов на расстояние до 30 м вручную, подача на кровлю контейнеров с кровельными элементами, ковром и сыпучими материалами башенным краном

12,25

6-76

Таблица 2. Перечень работ, подлежащих пооперационному контролю

Операции, подлежащие контролю

Контроль качества выполнения операций

производителем работ

мастером (бригадиром)

Состав операций

Способ контроля

Время

Приемка и контроль качества материалов

-

Проверка сертификатов на материалы и паспортов на сборный кровельный ковер и доборные элементы; проверка качества материалов

Визуально, при необходимости в лабораторных условиях

До начала работ

-

Подготовка оснований, устройство подстилающего слоя, обустройство чаш водоприемных воронок

Проверка соблюдения уклонов, толщин слоев, отсутствия бугров, впадин, острых выступов

Визуально, уровнем, трехметровой рейкой

В процессе работ

-

Укладка сборного ковра кровли

Проверка правильности укладки ковра, устройство отверстий под вентиляционные шахты и трубы, наличия усилений над воронками

Визуально

По окончании работ

-

Укладка бронирующих фартуков, косынок

Проверка правильности укладки фартуков, склейки по длине; ширины выхода фартуков на горизонтальный участок; качества герметизации примыканий к трубам

-«-

В процессе работ

-

Устройство разделительного слоя, укладка пригруза

Проверка правильности укладки полотнищ из рулонных материалов, соблюдения толщин слоя, однородности и чистоты пригруза

-«-

То же

2.24. Разворачивать ленту ковра на покрытии у парапета следует, укладывая полосу края ковра от себя (кровельщик ориентирован лицом к наружной стене здания). В зимнее время и при отсутствии ограждения рабочие должны применять предохранительные пояса. Места закрепления поясов должны быть указаны мастером.

2.25. Укладку ковров следует производить одновременно с их проектным закреплением или установкой временных пригрузов. Перерыв после укладки временных пригрузов и проектным закреплением ковра не должен превышать времени, отведенного на отдых, обеденный или технологический перерывы.

2.26. Запрещается совмещение на одной захватке работ, не связанных с устройством кровли (установка механизмов люлек при отделочных работах и пр.), а также размещение посторонних грузов.

2.27. Не допускается выполнение кровельных работ во время гололеда, снегопада, тумана, грозы и ветра скоростью 15 м/с и более. Работы по укладке сборного кровельного ковра следует прекращать при скорости ветра 10 м/с.

2.28. Технико-экономические показатели на 100 м2 кровельного покрытия следующие:

Затраты труда, чел.-смены .......................................................................  1,53

Стоимость кровли, руб. ............................................................................ 6,76

Выработка на одного работающего в смену, м2 .....................................  65,35

3. МАТЕРИАЛЬНО-ТЕХНИЧЕСКИЕ РЕСУРСЫ

3.1. Потребность в основных конструктивных элементах и материалах на 100 м2 кровельного покрытия приведена в табл. 3. Потребность в сборных подкладочных и прижимных элементах устанавливается проектом кровельного покрытия.

Таблица 3

Элемент, материал

ГОСТ, ТУ

Количество

Цементно-песчаный раствор, м3

ГОСТ 5802-86

0,1

Песок (подстилающий слой), м3

ГОСТ 8736-85

1,9

Кровельный ковер типа Т-I с защитными фартуками (развертка), м2

-

128,6

Рубероид (разделительный слой), м2

ГОСТ 10923-82

107,5

Щебень крупностью 5 - 25 мм, м3

ГОСТ 8267-82

3,4

Бутилкаучуковая мастика, кг

ТУ 21-27-90-83

2,8

Уайт-спирит, кг

ТУ 3134-78

0,5

Подкладки и накладки, м2

ТУ 21-27-96-85

1,7

Стеклосетка, м

ТУ 6-11-99-75

0,5

3.2. Потребность в машинах, инструментах, инвентаре и приспособлениях приведена в табл. 4.

Таблица 4

Наименование

Марка, ГОСТ, изготовитель

Количество

Основной параметр

Оборудование для устройства кровли

Широкозахватная траверса для монтажа сборного ковра*

НИИСП Госстроя УССР

По заявке

Грузоподъемность 3,0 т

Контейнер для рулонных материалов*

КЗ-1Г, ЦНИИОМТП Госстроя СССР

То же

Грузоподъемность 1,0 т

Контейнер для доборных элементов* (бронирующих фартуков, косынок)

ОР 5660, СКБ «Кассетдеталь» Главмосстроя

-«-

Грузоподъемность 0,4 т

Контейнер для сыпучих материалов (песка, щебня)*

НИИСП Госстроя УССР

-«-

Вместимость 2,5 м3

Скребок для разравнивания сыпучих материалов

Оргтехстрой Комитяжстроя Минтяжстроя СССР

2 шт.

-

Лопата подборочная

ЛП-2, ГОСТ 3620-76

3 шт.

-

Кисть малярная

КМ-65, ГОСТ 10597-80

2 шт.

-

Нож кровельный

-

2 шт.

-

Ведро с крышкой

-

2 шт.

Вместимость 13 л

Рулетка измерительная

РС-20, ГОСТ 7502-80

1 шт.

-

Предохранительные приспособления по охране труда и технике безопасности

Предохранительный пояс

ГОСТ 14185-77

3 шт.

-

Защитные очки с боковыми щитками

 

3 пары

-

Каска «Труд» с двухслойным подшлемником

-

5 шт.

-

Хлопчатобумажный костюм

ГОСТ 12.4.109-82

5 шт.

-

Костюм со стеганым утеплителем

ГОСТ 12.4.109-82

5 шт.

-

Специальные рукавицы, типа Е

ГОСТ 12.4.010-75

5 пар

-

Бензиностойкие перчатки

-

2 пары

 

Кожаные ботинки или полусапоги

-

5 пар

-

Респиратор

РПР-67А, ГОСТ 12.4.004-74

3 шт.

-

Пожарный инвентарь

Пенный огнетушитель

ОХП-10

2 шт.

-

Асбестовое полотно

-

1 коврик площадью 3 м2

-

* Оборудование для комплектной поставки элементов кровли (собственность базы УПТК).

3.3. Приемка законченной сборной кровли производится после контрольной проверки и тщательного осмотра ее поверхности, особенно у воронок и в местах примыканий к выступающим конструкциям.

При окончательной проверке кровли предъявляются данные о результатах лабораторных испытаний материалов; журнал производства работ; исполнительные чертежи покрытия и кровли; акты промежуточной приемки выполненных работ и натурного испытания водонепроницаемости кровли.

СОДЕРЖАНИЕ

 




Яндекс цитирования



   Copyright © 2007-2026,  www.tehlit.ru.

[ ѓосты, стандарты, нормативы, инструкции, правила, строительные нормы ]