//
ТехЛит.ру
- крупнейшая бесплатная электронная интернет библиотека для "технически умных" людей.
WWW.TEHLIT.RU - ТЕХНИЧЕСКАЯ ЛИТЕРАТУРА

:: Алготрейдинг::


АЛГОТРЕЙДИНГ
шаг за шагом
с нуля по урокам!

Торговые роботы на PYTHON, BackTrader,
Pandas, Pine Script для TradingView. Связка с брокерами, телеграм и легкими приложениями.


ОРДЕНА ЛЕНИНА ГЛАВМОССТРОЙ ПРИ МОСГОРИСПОЛКОМЕ

МОСОРГСТРОЙ

ТЕХНОЛОГИЧЕСКАЯ КАРТА

НА УСТРОЙСТВО ТЕЛЕФОННОЙ КАНАЛИЗАЦИИ
ИЗ ПОЛИЭТИЛЕНОВЫХ ТРУ
Б

Арх. 8375

МОСКВА - 1983

Технологическая карта разработана проектно-технологическим отделом треста Мосоргстрой (А. Абрамович, А.П. Смирнов), согласована с Управлением подготовки производства Главмосстроя, НИИМосстроем, ЦНИБ-Мосстрой (М.И. Черняк).

Технологическая карта рекомендована к внедрению в строительном производстве.

Замечания и предложения по настоящей карте направлять по адресу: 113095, Б. Полянка, д. 51а, трест Мосоргстрой

1. ОБЛАСТЬ ПРИМЕНЕНИЯ

1.1. Технологическая карта (ТК) составлена на производство работ по прокладке каналов телефонной канализации из полиэтиленовых (ПЭ) труб с соединением стыков труб на раструбах и сваркой.

1.2. В состав работ, рассматриваемых картой, входят:

подготовка основания траншеи;

установка телефонных колодцев;

соединение ПЭ труб;

укладка труб в проектное положение;

заделка вводов труб в колодцах и стенах зданий;

присыпка труб грунтом;

окончательная засыпка траншеи.

1.3. Технологическая карта предназначена для составления проектов производства работ (ППР) и имеет цель ознакомить рабочих и инженерно-технических работников с правилами производства и организацией труда.

1.4. При привязке технологической карты к конкретному объекту и условиям строительства уточняются схемы производства работ, объемы работ, калькуляция затрат труда, средства механизации и приспособления.

2. ОРГАНИЗАЦИЯ И ТЕХНОЛОГИЯ СТРОИТЕЛЬНОГО ПРОЦЕССА

2.1. До начала работ по устройству телефонной канализации из ПЭ труб должны быть выполнены следующие работы:

геодезическая разбивка трассы;

вертикальная планировка;

обозначены (отшурфлены) пересекаемые или находящиеся в зоне работы действующие подземные коммуникации;

доставлены на объект материалы, механизмы, приспособления.

2.2. После отрытия траншеи выполняются работы по устройству основания в соответствии с проектом.

2.3. Устанавливаются (устраиваются) телефонные колодцы с использованием автокрана.

2.4. Раскладываются трубы на бровке траншеи для соединения их в плеть на сварке.

2.5. Сваривается плеть при помощи комплекта монтажных сварочных приспособлений конструкции НИИМосстроя и СКБ «Мосстрой» (рабочие чертежи СКБ «Мосстрой» № 3911/1А).

2.6. Комплект монтажных приспособлений включает в себя:

центрирующее устройство;

электронагревательный диск;

торцевую фрезу;

поддерживающие опоры.

Указанная в п. 2.5 конструкция для контактной сварки ПЭ труб предназначена для труб диаметром до 110 мм.

Схема контактной сварки и техническая характеристика монтажного приспособления приведена на листе 7, схема организации работ на листе 9.

2.7. После окончания сварки труб в плеть и проверки надежности сваренных соединений плеть опускают в траншею при помощи «полотенец», и она укладывается в проектное положение.

Сбрасывать сваренные трубы в траншею не разрешается.

2.8. Соединение ПЭ труб раструбом на резиновых кольцах производится непосредственно в траншее.

2.9. Сборку раструбных соединений из ПЭ труб диаметром до 110 мм рекомендуется осуществлять вручную с помощью рычага, а также специальным монтажным приспособлением конструкции СКБ «Мосстрой» (рабочие чертежи СКБ «Мосстрой» № 5164/4).

Схемы ПЭ труб с раструбами и основные технические данные приспособлений приведены на листах 1, 5, 6.

2.10. В процессе соединения труб в них пропускается металлическая проволока, необходимая для калибрования каналов телефонной канализации.

2.11. При двухрядной прокладке ПЭ труб работы выполняются в следующей последовательности:

укладывается 1 ряд труб на расстоянии 20 мм один от другого;

после окончательной выверки правильности уложенных плетей труб 1-го ряда между ними и поверх их насыпается песок толщиной 5 см и уплотняется, после чего прокладываются трубы 2-го ряда в той же последовательности (см. письмо от 15.09.81 за № 16.02/1072).

Схема двухрядной укладки ПЭ труб приведена на листе 2, 3.

2.12. После окончательной выверки проложенных трубопроводов производится их заделка на вводах колодцев.

Технологическая схема ввода труб в колодец привезена на листе 4.

2.13. Получив разрешение авторского и технического надзора, производят обратную засыпку траншеи грунтом.

2.14. Засыпка траншеи с уложенными трубопроводами должна производится в два этапа:

1) сначала песком вручную засыпаются и подбиваются приямки и пазухи одновременно с обеих сторон, а затем траншея засыпается указанным грунтом на 0,2 м выше верха ПЭ труб с обеспечением сохранности труб и стыков.

2) засыпка траншеи производится любым грунтом без крупных включений механизированным способом.

ПРИМЕЧАНИЕ. Проезд механизмов над трубопроводами поперек или вдоль над траншеей не разрешается.

2.15. Устройство каналов телефонной канализации выполняется составом звена, приведенным в графике производства работ (см. табл. 1).

Составы звена приняты применительно к ранее проводимым экспериментам, при разработке ППР подлежат уточнению.

2.16. Калькуляция трудовых затрат приведена в табл. 2.

2.17. Операционный контроль качества работ по устройству телефонной канализации из труб ПЭ выполняется в соответствии с требованиями СНиП III-1-76 «Организация строительного производства» и инструкции СН-47-74.


Таблица 1

График производства работ (на 50 м траншеи)


Таблица 2

Калькуляция трудовых затрат

№ п/п

Обоснование

Наименование работ

Состав звена

Единица измерения

Объем работ

Норма времени на ед. измерения, чел.-ч.

Расценка на ед. измерения, руб. - коп.

На 50 м траншеи

затраты труда, чел.-дн. аш. - см)

сумма, руб. - коп.

1.

ЕНиР, § 10-30, п. 1

Подготовка основания траншей

Трубоукладчики:

м3

3,5

1,2

0 - 62,9

0,53

2 - 20

3 раз. - 2 чел.

2 раз. - 2 чел.

2.

ЕНиР, § 23-9-2, А. г. 2, п. 9а

Установка телефонных колодцев

Трубоукладчики:

1 колод.

2,0

3,5

2 - 20

0,88

4 - 40

4 раз. - 1 чел.

3 раз. - 2 чел.

 

машинист:

-"-

2,0

0,65

0 - 40,6

0,16

0 - 81

4 раз. - 1 чел.

3.

ЕНиР, § 23-9-2, В. г. 4, п. 1, прим. 1, К = 0,5

Установка люка

Трубоукладчики:

1 люк

2,0

1,05

0 - 58,5

0,26

1 - 17

4 раз. - 1 чел.

2 раз. - 1 чел.

4.

ЕНир, § 10-27, п. 7

Покрытие наружной поверхности колодцев битумом за 2 раза

Изолировщик:

1 колод.

2,0

0,91

0 - 56,9

0,23

1 - 14

4 раз. - 1 чел.

5.

Местные нормы, § 4-1-72, п. 2, применит.

Сборка труб в звенья при помощи сварки

Трубоукладчики:

10 м транш.

5,0

0,86

0 - 50,7

0,54

2 - 54

4 раз. - 1 чел.

3 раз - 1 чел.

6.

То же, п. 3

Укладка труб в проектное положение

Трубоукладчики:

-"-

5,0

1,6

0 - 92,5

1,0

4 - 63

4 раз. - 1 чел.

3 раз. - 2 чел.

7.

ЕНиР, § 23-9-2, В. г. 4, п. 2

Заделка вводов труб в колодцах

Трубоукладчики:

1 канал

2,0

0,76

0 - 44,8

0,19

0 - 90

4 раз. - 1 чел.

3 раз. - 1 чел.

8.

Обязательная технология строительства подземных сетей одопровода, канализации, водостока, газа), ЦНИБ «Мосстрой», 1974 г., ВТ-1-73, п № 14, 1 А т. 4, п. 1с, Б г. 8, п. 1с

Присыпка труб грунтом ручную:

 

 

 

 

 

 

 

а) засыпка пазух на высоту 0,5 диаметра трубы

Трубоукладчики:

1 м транш.

50,0

0,09

0 - 04,1

0,56

2 - 05

2 раз. - 3 чел.

б) засыпка траншеи на высоту 0,2 м над верхом трубы

-"-

-"-

50,0

0,31

0 - 14,5

1 - 94

7 - 25

9.

То же, 2, т. 10

Окончательная засыпка траншеи грунтом

Машинист:

100 м3

1,1

0,38

0 - 30

0 - 52,3

0 - 33

5 раз. - 1 чел.

 

 

ИТОГО:

чел. - дн.

 

 

 

 

6,13

26 - 28

 

 

 

маш. - см.

 

 

 

 

0,68

1 - 14

Таблица 3

Схема операционного контроля

№ п/п

Наименование операций, подлежащих контролю

Контроль качества выполнения операций

производителем робот

мастером

состав

способы

время

привлекаемые службы

1.

Подготовительные работы

-

Геодезическая разбивка; вертикальная планировка, правильность складирования, соответствие геометрических размеров, наличие внешних дефектов, наличие паспортов

Теодолитом, нивелиром, визуально, стальным метром, штангенциркулем

До начала земляных работ

Геодезическая

2.

-

Подготовка основания

Планировка, добор грунта

Нивелиром, визирками, визуально

В процессе работ

-"-

3.

-

Монтаж телефонных колодцев

Правильность и надежность строповки, соосность колодца, отметка основания колодца, надежность установки

Визуально, нивелиром, рулеткой, отвесом

-"-

-"-

4.

Стыковка труб

-

Качество и надежность соединения труб на сварке и на раструбах с резиновыми кольцами

Визуально

По окончании устройства стыка и укладки в проектное положение

Строительная лаборатория

5.

Укладка труб в траншею и вводы в колодцах

-

Соосность труб, сохранность стыков, наличие вязок, надежность заделки вводов труб

Визуально, нивелиром, визирками

В процессе работ

-

6.

-

Обратная засыпка траншеи

Качество грунта и уплотнения, сохранность труб, очередность засыпки

Визуально

В процессе работ

Строительная лаборатория

Схема операционного контроля привезена в табл. 3

2.18. При производстве работ следует строго соблюдать требования СНиП III-4-80 «Техника безопасности в строительстве» и системы стандартов безопасности трудаСБТ).

3. ТЕХНИКО-ЭКОНОМИЧЕСКИЕ ПОКАЗАТЕЛИ

(на 50 м телефонной канализации)

Затраты труда, чел. - дн.                                                                    - 6,13

Потребность в машинах, маш. - см.                                                  - 0,68

4. МАТЕРИАЛЬНО-ТЕХНИЧЕСКИЕ РЕСУРСЫ

4.1. Потребность в основных материалах и изделиях

Таблица 4

Наименование

Марка

Един. измер.

Количество

Телефонные трубы

ПЭ

пог. м

50

Железобетонные колодцы

ТК

шт.

2

Люки для телефонных колодцев

ТК

шт.

2

Вязальная металлическая проволока

-

пог. м

51

4.2. Потребность в машинах, оборудовании и приспособлениях

Таблица 5

Наименование

Марка

Тип

Количество

Монтажный кран

КС-2561Д

На пневмоходу

1

Сварочное приспособление

НИИМосстрой, СКБ «Мосстрой», р.ч. № 3911/

Переносное

1

Монтажное приспособление

-"-

р. № 5164/4

-"-

2

Лист 1

КАНАЛЫ ИЗ ПЭ ТРУБ

Дт

Дт

Др

Дз

l1

lк

l2

lр

l3

lтр

b1, b2, b3

110

113

121

128,6

6,8

35

3,8

20

4

6000

45°

ПРИМЕЧАНИЯ:

1. Масса 1 пог. м трубы - 1,76 кг

2. Размеры в мм

Лист 2

СХЕМЫ 2-РЯДНОЙ УКЛАДКИ ПЭ ТРУБ

(ТРУБЫ СОЕДИНЕНЫ РАСТРУБОМ НА РЕЗИНОВЫХ КОЛЬЦАХ)

Условные обозначения:

1 - траншея; 2 - песок (мягкий грунт); 3 - полиэтиленовые трубы

ПРИМЕЧАНИЯ:

1. Под укладку ПЭ труб выполняется постель 0,1 м из песка или мягкого грунта

2. а = 130 мм

Лист 3

СХЕМА 2-РЯДНОЙ УКЛАДКИ ПЭ ТРУБ

(ТРУБЫ СОЕДИНЕНЫ НА СВАРКЕ)

Условные обозначения:

I - присыпка труб грунтом вручную; II - трубы 2-го ряда; III - трубы 1о ряда;IV - подготовка из песка

1 - траншея; 2 - песок (мягкий грунт); 3 - полиэтиленовые трубы

ПРИМЕЧАНИЯ:

1. Под укладку труб выполняется постель 0,1 м из песка или мягкого грунта.

2. Трубы свариваются по всей длине пролета и опускаются при помощи лямок на заранее подготовленное и очищенное основание.

3. а = 130 мм.

Лист 4

СХЕМА ВВОДА ПЭ ТРУБ В КОЛОДЕЦ

(ОБЩАЯ ИНСТРУКЦИЯ ПО СТРОИТЕЛЬСТВУ ЛИНЕЙНЫХ Г.Т.С. М,: СВЯЗЬ, 1978)

Условные обозначения:

1 - (5 - 6) слоев битуминизированной ленты; 2 - полиэтиленовая труба; 3 - цементный раствор со щебнем; 4 - железобетонный колодец; 5 - один ряд кирпича

Лист 5

СХЕМЫ СОЕДИНЕНИЙ ПЭ ТРУБ

Условные обозначения:

1 - полиэтиленовые трубы; 2 - направление усилий при соединении ПЭ труб; 3 - резиновое кольцо; 4 - рычаг; 5 - деревянная прокладка

ПРИМЕЧАНИЕ

Размеры полиэтиленовых труб приведены на листе 1.

Лист 6

СПЕЦИАЛЬНОЕ МОНТАЖНОЕ ПРИСПОСОБЛЕНИЕ

(ДЛЯ ТРУБ ДИАМЕТРОМ 110 мм и БОЛЕЕ) (раб. чертеж СКБ «Мосстрой» № 5164/4)

Условные обозначения:

1 - зажимные хомуты; 2 - зажимы хомутов; 3 - втулка с подпружиненной собачкой; 4 - направляющая с зубьями; 5 - съемная рукоятка; 6 - система рычагов

ТЕХНИЧЕСКАЯ ХАРАКТЕРИСТИКА

Диаметр соединяемых труб, мм                                     110 - 160

Габариты, мм:

длина                                                                       655

ширина                                                                    360

высота                                                                     700

Масса, кг                                                                           17

Лист 7

СХЕМА КОНТАКТНОЙ СВАРКИ ПЭ ТРУБ

(С ПОМОЩЬЮ МОНТАЖНОГО ПРИСПОСОБЛЕНИЯ С КОНТРОЛЕМ СВАРОЧНЫХ ДАВЛЕНИЙ ПО ПРУЖИННОМУ ДИНАМОМЕТРУ) (раб. чертеж СКБ «Мосстрой» № 3811/1А)

Условные обозначения:

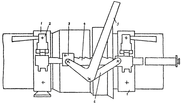
1 - рычаг центрирующего устройства; 2 - пружинный динамометр; 3 - электронагревательный диск; 4 - центрирующее устройство; 5 - поддерживающие опоры

ТЕХНИЧЕСКАЯ ХАРАКТЕРИСТИКА МОНТАЖНЫХ ПРИСПОСОБЛЕНИЙ ДЛЯ СВАРКИ

Наружный диаметр свариваемых труб, мм                     63 - 110

Напряжение электронагревательного диска, В              36

Мощность диска, Вт                                                          400

Габариты центрирующего устройства, мм                     430´260´290

Масса, кг:

устройства                                                                          28

диска                                                                                   5,4

фрезы                                                                                  2,0

Лист 8

СХЕМА ОРГАНИЗАЦИИ РАБОТ ПРОКЛАДКИ ТЕЛЕФОННОЙ КАНАЛИЗАЦИИ ОДНОКАНАЛЬНОЙ

Условные обозначения:

 - существующее здание;

 - подъездная дорога с тротуаром;

 - проектируемая телефонная канализация;

- траншея с проложенным каналом из труб;

1, 2, 3, 4, 5 - соединение труб раструбом на резиновых кольцах непосредственно в траншее и их последовательность;

6 - складирование труб;

7 - ящик с инструментом и приспособлениями;

8 - лестница.


Лист 9

СХЕМА ОРГАНИЗАЦИИ РАБОТ ПРИ ПРОКЛАДКЕ ТЕЛЕФОННОЙ КАНАЛИЗАЦИИ ИЗ ПЭ ТРУБ ДВУХТРУБНОЙ
(СОЕДИНЕНИЕ СТЫКОВ ТРУБ СВАРКОЙ)

Условные обозначения:

1 - складирование телефонных колодцев; 2 - место установок крана; 3 - откосы траншеи (1 шт.); 4 - телефонные колодцы; 5 - оси прокладываемых труб; 6 - места соединения труб сваркой; 7 - траншея; 8 - раскладка труб ПЭ на бровке траншеи; 9 - строящееся здание; 10 - отвал грунта; 11 - складирование труб ПЭ; 12 - ящик для инструмента и сварочных аппаратов; 13 - лестница.

Последовательность работ.

1 - отрывается траншея. 2 - раскладываются трубы. 3 - готовится основания под укладку труб. 4 - устанавливаются телефонные колодцы. 5 - укладываются плети труб. 6 - заделываются концы труб в колодцах (зданий). 7 - присыпаются трубы грунтом. 8 - обратная засыпка траншеи.

ПРИМЕЧАНИЕ. Вязки в трубах пропускают при стыковании труб.





Яндекс цитирования



   Copyright © 2007-2026,  www.tehlit.ru.

[ ѓосты, стандарты, нормативы, инструкции, правила, строительные нормы ]