//
ТехЛит.ру
- крупнейшая бесплатная электронная интернет библиотека для "технически умных" людей.
WWW.TEHLIT.RU - ТЕХНИЧЕСКАЯ ЛИТЕРАТУРА

:: Алготрейдинг::


АЛГОТРЕЙДИНГ
шаг за шагом
с нуля по урокам!

Торговые роботы на PYTHON, BackTrader,
Pandas, Pine Script для TradingView. Связка с брокерами, телеграм и легкими приложениями.


Министерство связи Российской Федерации

Акционерное общество
по разработке и совершенствованию
технологий строительства сооружений связи

АООТ «ССКТБ-ТОМАСС»

УТВЕРЖДАЮ

Заместитель

Министра связи

Российской Федерации

Н.Ф. Пожитков

21 декабря 1995 г.

РУКОВОДСТВО ПО СТРОИТЕЛЬСТВУ
линейных сооружений местных сетей связи

Москва - 1996

Руководство по строительству линейных сооружений местных сетей связи /Минсвязи России - АООТ «ССКТБ-ТОМАСС» - М. 1996

Руководство содержит требования и указания по технологии и организации строительства линейных сооружений местных сетей связи, обязательные для всех организаций, осуществляющих строительство, проектирование и эксплуатацию указанных сооружений.

ПРЕДИСЛОВИЕ

Настоящее «Руководство по строительству линейных сооружений местных сетей связи» разработано акционерным обществом по разработке и совершенствованию технологий строительства сооружений связи» (АООТ «ССКТБ-ТОМАСС») взамен действующей «Общей инструкции по строительству линейных сооружений городских телефонных сетей» (М. Связь, 1978).

В Руководстве учтены современный уровень развития техники связи, новые типы кабелей связи (в том числе оптические), линейного оборудования и технология их монтажа, новые разработки средств измерительной техники, опыт строительных организаций по механизации и индустриализации строительно-монтажных работ, технологические требования, изложенные в специальных частных инструкциях, ТУ и других нормативных документах. В случаях наличия расхождений в требованиях Руководства и действующих (до переработки) отдельных инструктивных материалов при выполнении работ следует выполнять требования Руководства.

Данное Руководство является обязательным для проектных, строительных и эксплуатационных организаций Министерства связи Российской Федерации, а также вневедомственных организаций в случае выхода принадлежащих им средств связи на Взаимоувязанную сеть связи Российской Федерации (ВСС России).

Обеспечение безопасных условий труда, пожаровзрывобезопасности и охраны окружающей среды при производстве работ должно осуществляться с соблюдением требований Системы стандартов безопасности труда, нормативных документов Госгортехнадзора России и ведомственных нормативных документов по этим вопросам.

При разработке Руководства разделы 1, 2, 7 - 10, 19 составлены Ю.Г. Каневским, 3 - Е.П. Дубровским, 4, 12 - А.К. Беленко, 5, 6 - А.П. Рыбаковым, 11 - С.М. Кулешовым, А.А. Никитиным и В.В. Кольцовым, 13 - А.А. Никитиным, 14 - С.П. Кромом, 15 - Н.Г. Княжером, 16 - Г.И. Инюшиным, 17 - к.т.н. К.К. Никольским, 18 - к.т.н. Л.Д. Разумовым.

Рассмотрение полученных замечаний по первой редакции и подготовка экспертного заключения с конкретными рекомендациями выполнено рабочей группой, состоящей из специалистов АО «Мостелефонстрой», АО «Союзтелефонстрой», концерна «Связьстрой», ЦНИИС, ЛОНИИС, ГП МГТС, института «Гипросвязь», АООТ «ССКТБ-ТОМАСС».

Руководство было рассмотрено и одобрено экспертной комиссией Министерства связи СССР.

Руководство состоит из девятнадцати разделов, размещенных в двух частях.

В I-ой части помещены следующие разделы:

Раздел 1 - «Организация строительства линейных сооружений местных сетей связи»;

Раздел 2 - «Земляные работы»;

Раздел 3 - «Строительство подземной кабельной канализации связи»;

Раздел 4 - «Прокладка кабелей в подземной кабельной канализации, коллекторах, тоннелях и по мостам»;

Раздел 5 - «Прокладка кабелей местных сетей связи в грунте»;

Раздел 6 - «Прокладка кабелей через водные преграды»;

Раздел 7 - «Устройство вводов кабелей в общественные и жилые здания и прокладка в них кабелей»;

Раздел 8 - «Строительство воздушных столбовых линий связи с подвеской проводов и кабелей»;

Раздел 9 - «Строительство стоечных линий связи».

Во II-ой части помещены следующие разделы:

Раздел 10 - «Устройство абонентских пунктов»;

Раздел 11 - «Монтаж электрических кабелей местных сетей связи»;

Раздел 12 - «Монтаж оптических кабелей местных сетей связи»;

Раздел 13 - «Включение в кабельную линию контейнеров аппаратуры ИКМ»;

Раздел 14 - «Электрические измерения и испытания электрических кабелей местных сетей связи»;

Раздел 15 - «Измерения и испытания оптических кабелей местных сетей связи»;

Раздел 16 - «Испытания герметичности кабелей и постановка их под постоянное избыточное воздушное давление»;

Раздел 17 - «Защита подземных металлических сооружений связи от коррозии»;

Раздел 18 - «Защита линейных сооружений от опасных напряжений и токов»;

Раздел 19 - «Приемка в эксплуатацию законченных строительством линейных сооружений местных сетей связи».

Ответственное и техническое редактирование, а также подготовка Руководства к изданию осуществлены к.т.н. В.И. Максимовым и Ю.Г. Каневским.

РАЗДЕЛ 1

ОРГАНИЗАЦИЯ СТРОИТЕЛЬСТВА ЛИНЕЙНЫХ СООРУЖЕНИЙ МЕСТНЫХ СЕТЕЙ СВЯЗИ

ОБЩИЕ ПОЛОЖЕНИЯ

1.1. Сеть электросвязи - технологические системы, обеспечивающие один или несколько видов передач: телефонную, телеграфную, факсимильную, передачу данных и иных видов документальных сообщений, включая обмен информацией между ЭВМ, телевизионное, звуковое и иные виды радио- и проводного вещания.

1.2. Взаимоувязанная сеть связи (ВСС России) - комплекс технологически сопряженных сетей электросвязи на территории Российской Федерации, обеспеченный общим централизованным управлением.

Сеть связи общего пользования - составная часть ВСС России, открытая для пользования всем физическим и юридическим лицам, в услугах которой этим лицам не может быть отказано.

Ведомственные сети связи - сети электросвязи министерств и иных федеральных органов исполнительной власти, создаваемые для удовлетворения производственных и иных специальных нужд, имеющие выход на сеть связи общего пользования.

1.3. Местная телефонная сеть связи является частью первичной сети ВСС России, которая ограничена территорией города с пригородом или сельского района.

1.4. Местные телефонные сети состоят из линейных и станционных сооружений.

Линейные сооружения включают в себя абонентские (АЛ) и соединительные линии (СЛ). Абонентская линия представляет собой совокупность цепей, соединяющих городскую или сельскую (районную) телефонную станцию с телефонным аппаратом, и состоит из участков: магистрального, распределительного и абонентской проводки.

Абонентские линии могут быть прямого питания, заключаемые посредством проложенных кабелей непосредственно на телефонную станцию, или включаемые в телефонную станцию по шкафной схеме через шкафы распределительные (ШР).

Линии от телефонных аппаратов до распределительных коробок называются абонентской проводкой. Десять абонентских проводок включаются в распределительную телефонную коробку (КРТ), от которой отходит десятипарный распределительный кабель.

Распределительные кабели от нескольких КРТ, как правило, включаются в распределительный кабель соответствующей емкости, который прокладывается к распределительному шкафу (ШР) и распаивается на его оконечные устройства. Совокупность линий между распределительными коробками и распределительными шкафами носит название распределительной сети. От распределительных шкафов к АТС прокладываются магистральные участки абонентской сети; отдельные станции, в том числе междугородные, связываются соединительными линиями (СЛ).

1.5. Линейные сооружения местной связи представляют собой комплекс технических средств, образующих среду распространения, состоящую из кабельной или воздушной линии связи, по парам проводов которой создаются физические цепи, предназначенные для передачи сигналов электросвязи.

1.6. Линейно-кабельные сооружения местной связи состоят:

·         из кабелей, проложенных в кабельной канализации, в коллекторах, в грунте, в зданиях по стеновым основаниям и в каналах, а также подвешенных на столбовых и стоечных опорах;

·         всех видов муфт и сростков;

·         необслуживаемых усилительных (НУП) и регенерационных пунктов (НРП);

·         распределительных шкафов и коробок;

·         оборудования для содержания кабелей под избыточным воздушным (газовым) давлением;

·         вмонтированных в кабель пупиновских ящиков;

·         кабельных переходов через автомобильные, железные дороги, подземные коммуникации и водные преграды.

1.7. К сооружениям воздушных линий связи относятся:

·         кабельные опоры с устройствами кабельными переходными (УКП);

·         вводы линий связи и проводного вещания в предприятия связи;

·         переходы воздушных линий при пересечениях контактных сетей наземного электротранспорта, железных и шоссейных дорог, линий электропередачи и связи;

·         стоечные линии, провода которых подвешены на установленных на крышах зданий промежуточных, угловых и оконечных стойках.

1.8. Основными видами строительно-монтажных работ при строительстве линейных сооружений являются:

·         производство земляных работ, строительство кабельной канализации, прокладка кабелей в канализации, коллекторах, тоннелях, прокладка кабелей в грунте, прокладка кабелей через водные преграды, автомобильные и железные дороги, устройство кабельных вводов в здания с прокладкой кабелей по стенам с установкой оконечных устройств;

·         строительство столбовых линий с установкой и оснасткой опор, подвеской проводов и кабелей, оборудованием молниеотводов; устройство стоечных линий с производством тех же работ, что и на столбовых линиях, а также абонентских пунктов с прокладкой однопарных кабелей, установкой телефонных аппаратов и устройством заземлений (при воздушном вводе);

·         устройство линейных вводов в здания телефонных станций с установкой металлоконструкций и арматуры в помещениях вводов кабелей, перчаточных и приямках;

·         работы по монтажу кабелей в смотровых устройствах канализации, в котлованах, на воздушных кабельных линиях и на стенах зданий; пупинизация и симметрирование кабелей, а также включение (зарядка) кабелей в боксы, коробки и кабельные ящики;

·         производство электрических измерений в процессе монтажа кабелей, а также на законченных монтажом линиях связи; защита кабелей от коррозии, от опасных напряжений и токов;

·         монтаж оборудования для содержания кабелей под избыточным давлением и постановка кабелей под постоянное избыточное давление;

·         составление исполнительной документации на законченные строительством линейные сооружения для предъявления их к сдаче рабочим приемочным комиссиям.

ОРГАНИЗАЦИЯ СТРОИТЕЛЬНОГО ПРОИЗВОДСТВА

ОСНОВНЫЕ ПРИНЦИПЫ ОРГАНИЗАЦИИ СТРОИТЕЛЬНО-МОНТАЖНЫХ РАБОТ

1.9. Организация строительного производства включает в себя совокупность организационных и технических мероприятий, обеспечивающих наиболее эффективное использование рабочей силы, машин, механизмов, материалов, в результате чего достигается успешное выполнение производственных целей, ввод в действие объектов строительства своевременно, при минимальных трудовых и материальных затратах и при высоком качестве работ.

1.10. При производстве работ по строительству линейных сооружений местных сетей должны соблюдаться требования, предусмотренные Государственными стандартами, Ведомственными строительными нормами Минсвязи России (ВСН), техническими условиями (ТУ), действующими правилами техники безопасности и настоящим Руководством.

1.11. При осуществлении строительства объектов на участках сложившейся городской застройки условия производства работ с выделением опасных зон, границ и осей подземных сооружений и коммуникаций должны быть согласованы с органами государственного надзора, местной Администрацией и эксплуатационными организациями.

1.12. Выполнение работ сезонного характера необходимо предусматривать в наиболее благоприятное время. Для круглогодичного строительства линейных сооружений должен создаваться задел, позволяющий производить работы в зимних условиях без выполнения трудоемких земляных работ.

1.13. Строительно-монтажные работы должны быть максимально механизированы. При производстве земляных, погрузочно-разгрузочных, транспортных и кабельных работ, имеющих большую трудоемкость, должна, по возможности, применяться комплексная механизация, то есть механизация, как главного, так и вспомогательных и сопутствующих строительных процессов.

Рекомендуется применять индустриальные методы строительства, при которых возможно большая часть работ производится в условиях подсобных производств, в результате чего сокращается объем работ на трассах.

Рекомендуется применять индустриальные методы строительства, при которых возможно большая часть работ производится в условиях подсобных производств, в результате чего сокращается объем работ на трассах.

1.14. Работы по строительству местных телефонных сетей выполняются организациями и физическими лицами, имеющими лицензии на производство того или иного вида работ и зарегистрированными на строительную деятельность в установленном законодательством порядке. Заказчиками сооружений местных сетей связи могут выступать юридические и физические лица, имеющие финансовые средства и представившие поручительство по требованию подрядчика.

1.15. Организации Заказчика (или физические лица), генподрядные организации заключают между собой договор подряда на строительство сооружений местных сетей связи, содержащий общие (неизменные, как правило, для всех случаев) и особые условия, отражающие специфику конкретного объекта строительства или необычные местные обстоятельства, требующие включения дополнительных согласованных обязательств.

Отношения между ними основываются исключительно на договорных условиях, при этом рекомендуется для практического применения при оформлении и заключении договоров подряда на строительство объектов использовать «Руководство по составлению договоров подряда на строительство в Российской Федерации». Госстрой РФ, М., 1994. Указанное руководство разработано по поручению правительства Российской Федерации в соответствии с действующим законодательством и является методическим пособием, но не носит директивный характер.

1.16. Права и обязанности ответственного исполнителя работ (производитель работ, мастер, бригадир, рабочий) регламентируются должностными инструкциями и контрактными соглашениями.

ПОДГОТОВКА СТРОИТЕЛЬНОГО ПРОИЗВОДСТВА

1.17. Подготовка строительного производства должна обеспечить технологическое развертывание строительно-монтажных работ и взаимоувязанную деятельность всех партнеров, участвующих в строительстве линейных сооружений.

1.18. Общая организационно-техническая подготовка строительства включает в себя: обеспечение проектно-сметной документации и ее входной контроль, заключение договоров подряда и субподряда на строительство, отвод в натуре трасс строительства кабельной канализации, прокладки кабелей, воздушных линий связи; оформление разрешений (ордеров) и допусков на производство работ, организацию поставки на строительство материалов, оборудования, конструкций и готовых изделий; подготовка автотранспорта и механизмов; получение и складирование оборудования, материалов, нетиповых изделий; формирование подразделений рабочей силой в соответствии с расчетом ее потребности, а также инструмента, инвентаря, средств малой механизации и измерительной аппаратуры; изыскание и подготовку жилья для рабочих; размещение участка строительства, приобъектного склада.

1.19. При ознакомлении с трассами прокладки линий местной связи необходимо уточнить: характеристику грунтов и характер местности; наличие и характер пересечений трасс с линиями электропередач, автомобильными и железными дорогами, водными преградами, подземными сооружениями; участки трасс строительства кабельной канализации и прокладки кабелей в грунте, на которых возможна механизация земляных работ; пункты размещения кабельных или других площадок и необходимых складских помещений; наличие жилья, питьевой воды, организацию питания работающих; состояние дорог и подъездов к местам складирования материалов, на трассах прокладки кабелей и строительства ВЛС; состояние и строительную готовность зданий и помещений, предназначенных для монтажа оборудования связи и в первую очередь шахты и кросса; наличие предприятий, способных изготовлять сборные железобетонные колодцы, железобетонные опоры и приставки для строительства, отпускать товарный бетон и условия предоставления этих услуг.

1.20. Во время подготовки к строительству каждого объекта местных сетей должно также предусматриваться: изучение линейным персоналом проекта и рабочих чертежей, а также в натуре трасс строительства линейных сооружений связи; составление, при необходимости, проекта производства работ (ППР).

1.21. Из-за специфических особенностей для большинства объектов строительства местной телефонной связи рекомендуется разрабатывать проекты производства работ (ППР). Они являются документами инженерной подготовки в конечном итоге должно обеспечить получение прибыли. При разработке ППР рекомендуется использовать указания и формы, приведенные в СНиП 3.01.01-85*. «Организация строительного производства», М, 1990 и в «Рекомендациях по составлению проектов производства работ на строительство линейных сооружений ГТС», ССКТБ, М., 1982.

1.22. Качество выполняемых работ, производительность труда рабочего и совершенствование организации труда в значительной степени зависит от технической оснащенности инструментом, приспособлениями и средствами малой механизации. При комплектовании ими рекомендуется пользоваться разработанными ССКТБ нормокомплектами, наименование и индекс которых приведены в табл. 1.1.

Таблица 1.1

Индекс нормокомплекта

Наименование нормокомплекта

1

2

ГТС-ЛС-1

Нормокомплект инструмента, приспособлений и инвентаря для выполнения земляных работ при строительстве линейных сооружений связи ГТС

ГТС-ЛС-2

То же для оснащения бригады по строительству кабельной канализации

ГТС-ЛС-3

То же для оснащения бригады по заготовке каналов и протягиванию кабелей в кабельной канализации

ГТС-ЛС-4

То же для оснащения бригады по прокладке кабелей в траншеях (при размотке кабеля с кабельной тележки)

ГТС-ЛС-5

То же для выполнения работ по прокладке кабелей по стенам зданий и устройству ввода в здания

ГТС-ЛС-6

То же для звена по монтажу кабелей ГТС

ГТС-ЛС-7

То же для выполнения работ по устройству столбовых линий связи с подвеской кабелей и проводов

ГТС-ЛС-8

То же для выполнения работ по устройству стоечных линий связи с подвеской кабелей и проводов

КМ-ЛС-1

То же для оснащения звена по механизированной прокладке магистральных и внутризоновых кабелей связи в грунте с помощью кабелеукладчика

КМ-ЛС-2

То же для оснащения звена рабочих по устройству горизонтальных скважин с помощью установки БГ-ЗМ (КМ-170)

КМ-ЛС-3

То же для оснащения звена по монтажу кабелей магистральных линий связи

КОНТРОЛЬ КАЧЕСТВА СТРОИТЕЛЬНО-МОНТАЖНЫХ РАБОТ

1.23. Особое место при выполнении договорных обязательств Исполнителя по строительству объектов местной телефонной связи занимают вопросы контроля качества строительно-монтажных работ, которое определяется соответствием их показателей требованиям проекта и нормативной документации.

1.24. В процессе технической подготовки строительного производства рекомендуется проводить следующие мероприятия, способствующие повышению качества СМР: изучение проектной документации и принятие решений по совершенствованию организации работ по внедрению прогрессивной технологии, накопленного опыта, рациональному составу механизмов, инструмента и приспособлений; обеспечению нормативной документацией, проектами производства работ, технологическими картами или технологическими схемами на весь комплекс выполняемых работ.

1.25. В процессе материально-технического обеспечения строительства целесообразны мероприятия, положительно влияющие на качество СМР, а именно: своевременная и комплектная поставка изделий, материалов, необходимых для строительства; организация проверки качества поставляемых изделий и материалов, оборудования; обеспечение нормативного качества изделий, изготавливаемых на подсобных предприятиях Исполнителя работ.

1.26. При комплектовании строительства квалифицированными кадрами должны учитываться, как минимум, следующие требования: квалификация специалистов должна соответствовать технической сложности выполняемых работ, а программы подготовки и повышения квалификации специалистов должны предусматривать изучение методов повышения качества СМР, в том числе прогрессивной технологии, новых механизмов, инструмента и приспособлений, а также анализ характерных дефектов, допускаемых при выполнении работ и методов их предотвращения.

Целесообразно также рекомендовать: создание условий для качественного выполнения СМР, основанных на объективном планировании, обеспечивающем ритмичное выполнение работ; обеспечении удовлетворительных бытовых условий на объектах, особенно линейных, что уменьшает текучесть рабочей силы, а также эффективное применение системы материального стимулирования повышения качества строительно-монтажных работ.

1.27. Контроль качества СМР должен осуществляться на всех стадиях их выполнения и подразделяется на следующие формы: входной; операционный; приемочный; инспекционный.

При входном контроле производится проверка соответствия поступающих на строительство проектно-сметной документации, оборудования, конструкций, монтажных узлов и материалов установленным требованиям.

При этом проверяется также соблюдение правил их транспортирования, складирования и хранения.

Состав проверок, испытаний и измерений, осуществляемых в процессе входного контроля, и порядок их оформления определяются соответствующими инструкциями. Проверка электрических параметров оборудования производится после его монтажа.

При операционном контроле производится проверка технологической дисциплины и качества работ в процессе выполнения и после завершения определенной производственной операции. Состав и его порядок устанавливаются схемами операционного контроля качества (СОКК), разрабатываемыми непосредственно организацией - ответственным Исполнителем работ.

Все выявленные в процессе операционного контроля дефекты должны быть устранены до начала выполнения последующих операций. Пример схемы операционного контроля приведен в табл. 1.2.

При приемочном контроле производится проверка качества выполненных конструктивных элементов, отдельных сооружений, видов работ и объектов в целом. Промежуточная приемка выполненных работ осуществляется представителями технического надзора, назначаемыми Заказчиком. В качестве представителей Заказчика могут быть назначены специалисты, выделенные эксплуатационной организацией.

1.28. Освидетельствованию в натуре при промежуточной приемке представителем технического надзора совместно с представителем организации Исполнителя подлежат скрытые работы, которые при выполнении последующих завершающих операций становятся недоступными для осмотра без вскрытий или проведения других мероприятий. К таким видам работ относятся: прокладка трубопроводов и строительство колодцев кабельной канализации; прокладка кабелей и защитных проводов в грунте; прокладка кабелей в каналах кабельной канализации; устройство кабельных переходов через автомобильные и железные дороги; устройство кабельных переходов через водные преграды; монтаж муфт и сростков кабелей; монтаж заземлений; строительство НУП и НРП; сборка, оснастка и установка опор и подвеска проводов воздушных линий связи.

Таблица 1.2

Схема операционного контроля качества работ. Строительство кабельной канализации

№№ пп

Этапы проверки

Кто проверяет (условно)

1

2

3

4

5

6

 

 

бригадир

мастер

прораб

совместно с технадзором

1

Разбивка трассы для строительства канализации

 

 

 

2

Глубина и качество дна траншеи

 

3

Качество укладки труб и заделки их стыков

 

4

Глубина котлована для установки смотровых устройств

 

5

Качество установки, монтажа и отделки колодцев, заделка ввода труб

6

Проверка качества работ перед предъявлением кабельной канализации к сдаче рабочей комиссии

 

Условные обозначения:

      Самоконтроль

       Редкая выборочная проверка

       Выборочная проверка

        Сплошная проверка

Представитель технического надзора Заказчика должен информироваться представителем Исполнителя работ когда, где и какие работы выполняются, систематически приглашаться на место этих работ для освидетельствования их качества и составления актов на скрытые и другие выполненные работы. В случае неявки в назначенное время представителя технического надзора Заказчика акты составляются представителями строительно-монтажной организации в одностороннем порядке.

В случае отказа представителя технического надзора Заказчика от подписания актов на скрытые работы из-за некачественного выполнения работ, он сообщает об этом организации Заказчика и Подрядчика для принятия соответствующих мер. Акты на скрытые работы по их видам, в которых указаны проверяемые показатели, составляются соответственно по разработанным и действующим нормам, известным Заказчику и Исполнителю работ.

1.29. При инспекционном контроле производится выборочная проверка соблюдения технологической дисциплины и качества строительно-монтажных работ. Инспекционный контроль осуществляется комиссиями, назначаемыми приказом организации-подрядчика. Результаты инспекционного контроля оформляются актом комиссии или отчетом, которые представляются должностному лицу, назначившему инспекцию, для принятия мер по выводам комиссии.

1.30. В соответствии с договором подряда, как правило, подрядчиком (Исполнителем) на строительной площадке ведется журнал производства работ с момента начала работ и до их завершения; при этом в договоре по соглашению сторон определяется порядок ведения (по каждому объекту в отдельности или в целом по стройке, или видам работ), а также оговаривается право Заказчика по контролю за содержанием журнала.

Требования Заказчика в части выполнения работ и ведения журнала должны выполняться подрядчиком (Исполнителем) в обязательном порядке и отражаются в журнале в виде записи, подтверждающей выполнение этих требований.

РАЗДЕЛ 2

ЗЕМЛЯНЫЕ РАБОТЫ

ОБЩИЕ ПОЛОЖЕНИЯ

2.1. При строительстве линейных сооружений местной связи производятся земляные работы, к которым относятся:

а) рыхление грунта, рытье и засыпка траншей и котлованов для прокладки и монтажа кабелей, а также для строительства кабельной канализации связи;

б) рытье котлованов для устройства НУП и НРП на кабельных линиях, проложенных в грунте;

в) устройство бестраншейным способом горизонтальных скважин через автомобильные, железные дороги и другие коммуникации для прокладки кабелей;

г) бурение и рытье ям для установки опор воздушных линий связи;

д) планировка трассы перед отрывкой траншей механизмами и прокладкой кабелей кабелеукладочной техникой;

е) рекультивация нарушенного слоя грунта.

Работы по погрузке и отвозке оставшегося грунта, подвозке песка или мягкого грунта, вскрытие и восстановление уличных покровов являются сопутствующими при выполнении земляных работ.

2.2. Выполнение земляных работ может производиться только при наличии утвержденной проектной документации.

2.3. При производстве земляных работ следует выполнять кроме требований настоящего «Руководства...» также требования действующих СНиП на земляные работы, «Правил охраны линий связи» и «Отраслевых строительно-технологических норм на монтаж сооружений и устройств связи, радиовещания и телевидения (ОСТН-600-93 Минсвязи России)».

Работы по прокладке кабельных линий местной связи в местах пересечения ими охранных зон магистральных трубопроводов газовой и нефтяной промышленности, а также электрических сетей должны выполняться с учетом требований соответствующих Инструкций по производству земляных работ в охранных зонах указанных подземных коммуникаций.

2.4. До начала земляных работ в населенных пунктах заказчик обязан оформить в органах территориальной администрации разрешение на выполнение предусмотренных проектом работ и передать его подрядчику.

Подрядчик обязан на основании разрешения получить ордер на производство работ. В ордере указываются:

а) фамилия, имя, отчество и должность лица, ответственного за ведение работ;

б) срок выполнения строительных работ на объекте, увязанный с представленным проектом производства работ;

в) организации, на которые возлагаются работы по восстановлению дорожных покрытий, пересадке зеленых насаждений, и сроки выполнения этих работ;

г) организации, представители которых должны быть вызваны на место до начала земляных работ.

2.5. Производство земляных работ в пределах охранных зон действующих подземных сооружений (кабели электрические и связи, трубопроводы и т.п.), а также надземных сооружений при их пересечении (железные дороги, шоссе), при прокладке кабеля по обочине и пр. допускается только при наличии письменного разрешения организации, эксплуатирующей эти сооружения и в присутствии ее представителя, а также ответственного исполнителя работ. Производство работ в таких местах должно быть согласовано и отражено в проектной документации.

2.6. Строительная организация обязана не позднее, чем за трое суток до начала земляных работ, указанных в п. 2.5, письменно уведомить о предстоящих работах, а за сутки - вызвать к месту работ представителей заинтересованных организаций для уточнения местоположения принадлежащих им сооружений и согласования мер, исключающих повреждение этих сооружений. До прибытия представителей производство земляных работ запрещается.

2.7. При работе в пределах охранных зон подземных коммуникаций ответственный исполнитель работ обязан проинструктировать под расписку бригадира и машинистов, работающих на механизмах, об условиях производства работ, показать места прохождения подземных коммуникаций по чертежам и в натуре, обозначить границы, в пределах которых запрещено работать с помощью землеройных механизмов, а также применять ударные механизмы.

Должно быть проведено предварительное шурфование для точного определения подземных сооружений, пересекаемых трассой прокладываемого кабеля связи или трубопровода кабельной канализации.

Шурфы должны иметь длину 1 м по оси будущей траншеи. В том случае, когда подземные сооружения проходят параллельно будущей трассе, шурфы должны быть вырыты перпендикулярно ее оси через каждые 20 м. Длина каждого шурфа должна превышать ширину проектируемой траншеи с каждой ее стороны не менее, чем на 0,3 м.

Глубина шурфов, если разыскиваемые сооружения не обнаруживаются, должна превышать глубину траншеи на 0,2 м. Шурфование должно производиться в присутствии представителя организации, эксплуатирующей подземные сооружения.

Вскрытые при шурфовании и при разработке траншей подземные сооружения должны быть защищены специальным коробом и подвешены способом, указанным в рабочих чертежах.

2.8. Рабочая документация, ордер на право производства работ и копия письменного документа - извещения должны находиться на месте производства работ.

2.9. При обнаружении в ходе выполнения земляных работ подземных сооружений, не указанных в рабочих чертежах, работы должны быть немедленно прекращены до выяснения назначения этих сооружений и согласования дальнейшего производства работ с их владельцами.

2.10. При случайном повреждении какого-либо подземного сооружения ответственный исполнитель работ обязан немедленно прекратить работы в этом месте, принять меры, обеспечивающие безопасность работающих, и сообщить о случившемся своему руководителю и в аварийную службу эксплуатирующей организации.

2.11. При обнаружении газа в траншеях или котлованах работы в них должны быть немедленно прекращены, а люди выведены из опасной зоны. Работы могут быть продолжены только после прекращения дальнейшего поступления газа.

2.12. Все поврежденные при разработке траншей сооружения (кюветы, водоспуски, арыки, каналы, насыпи, усовершенствованные покрытия, ограждения и т.п.) должны быть восстановлены. На пахотных землях должна быть произведена рекультивация плодородного слоя грунта. Объем и условия выполнения работ по рекультивации определяются проектной документацией.

2.13. При рытье траншей и котлованов необходимо следить, чтобы размеры разрываемого участка (особенно в городах и населенных пунктах) позволяли закончить работы в течение рабочего дня.

2.14. При строительстве линейных сооружений местных сетей земляные работы должны быть максимально механизированы.

Разработка грунта вручную допускается в случаях, когда применение механизмов по местным условиям невозможно (например, при строительстве кабельной канализации и прокладке кабеля в районах городов, насыщенных подземными коммуникациями) или экономически нецелесообразно из-за малых объемов работ и невыгодности в этом случае транспортировки механизмов на значительные расстояния.

ХАРАКТЕРИСТИКА И КЛАССИФИКАЦИЯ ГРУНТОВ

2.15. Грунт - любая горная порода или почва, залегающая в верхних слоях земной коры. Грунты имеют следующие основные характеристики, определяющие способы их разработки:

а) объемная масса - масса 1 м3 грунта в естественном состоянии;

б) плотность - масса 1 м3 грунта в плотном состоянии;

в) сцепление - начальное сопротивление грунта сдвигу;

г) рыхление - увеличение объема грунта при нарушении его естественной структуры (измеряют в процентах);

д) влажность - степень насыщения грунта водой (определяется в процентах, как отношение массы воды в грунте к массе твердых частиц);

е) угол естественного откоса - угол между горизонтальной плоскостью и боковой поверхностью земляного сооружения, при котором грунт находится в состоянии предельного равновесия.

2.16. По трудности разработки грунты классифицируются по одиннадцати группам (см. табл. 2.1). Наиболее часто встречающиеся грунты относятся к I, II и III группам.

Таблица 2.1

Классификация грунтов

Наименование и характеристика грунтов

Средняя объемная масса в плотном состоянии, кг/м3

Группа грунта

1

2

3

Песок:

 

 

- естественной влажности с примесью гравия, гальки или щебня в количестве до 20 % объема

1600

I

- то же - до 40 % по объему

1700

II

- сухой барханный и дюнный

1600

II

Глина:

 

 

- жирная, мягкая, а также насыпная, слежавшаяся, с примесью гравия, гальки, щебня и строительного мусора

1800

II

- тяжелая и мягкая ломовая, с теми же примесями, а также с примесью булыг до 10 % от объема

1950

III

- твердая карбонная кембрийская

2000

IV

Грунт растительного слоя:

 

 

- без корней

1200

I

- с корнями

1200

II

- с примесью строительного мусора, щебня и гравия

1400

II

Супесок без примесей и с примесью гравия, гальки или щебня

1600 - 1900

I

Строительный мусор

1850

III

Суглинок:

 

 

- легкий и лессовидный

1600

I

- то же слежавшийся с примесью гравия и гальки или щебня в количестве до 10 % объема

1750 - 1900

II

- тяжелый с примесью булыг

1950

III

Чернозем и каштановый грунт

1200 - 1300

II

Гравий (галька):

 

 

- мелкий, размером до 20 мм

1700

I

- средний, размером до 40 мм

1750

II

- крупный, размером до 150 мм

1950

III

- мелкий и средний с примесью булыг массой до 10 кг

1900

III

Лесс:

 

 

- естественной влажности, рыхлый

1600

I

- то же с примесью гравия и гальки

1800

II

- сухой

1750

II

- плотный

1800

III

- отвердевший

1800

IV

Гипс

2200

IV

Известняк:

 

 

- мягкий

1200

V

- мергелистый слабый

2300

IV

- крепкий плотный

2700

VII

- крепкий долометизированный

2800

VIII

- плотный окварцованный

2900

IX

Дресва

1800

IV

Торф

600

I

Туф

1100

V

Песчаник:

 

 

- выветрившийся

2200

V

- слабый

2500

VI

- глинистый

2200

VI

- очень плотный

2700

VIII

Шлак:

 

 

- котельный рыхлый

756

I

- слежавшийся металлургический

1000

II

- металлургический невыветрившийся

1500

IV

Грунты, гнейсы, фюриты и др.:

 

 

- сильно выветрившиеся

2200 - 2600

V - VII

- не тронутые выветриванием

2800 - 3300

VIII - XI

РАЗБИВКА ТРАСС

2.17. Разбивка трасс прокладки кабелей в грунте или для строительства кабельной канализации должна производиться в строгом соответствии с рабочими чертежами, по геодезическим отметкам.

2.18. Разбивка трассы состоит из двух рабочих операций:

а) переноса с рабочего чертежа в натуру и закрепления поворотных и основных промежуточных центров оси трассы, которые должны даваться в абсолютных привязках от местных ориентиров и от «красной линии» застройки. Разбивка должна производиться с помощью геодезического инструмента, при привязке к местным ориентирам - с помощью мерной цепи или рулетки;

б) определения прямолинейности и переноса в натуру продольной оси трассы между поворотными и основными промежуточными центрами с помощью вешек, мерной цепи или рулетки.

2.19. Закрепление прямолинейности трасс, а также мест контрольных точек при прокладке подземных сооружений с помощью вех должно выполняться следующим образом.

Главную веху № 1 высотой 3 - 4 м с красным флажком устанавливают в исходной точке, а вторую такую же веху № 2 устанавливают в следующей точке (в поворотном или основном промежуточном центре) так, чтобы ее было видно со стороны первой вехи. Затем между первой и второй вехами устанавливают веху № 3 таким образом, чтобы она находилась в створе (на одной прямой) с первой и второй вехами. Третью и последующие вехи устанавливают со стороны первой через каждые 40 - 50 м.

Правильность установки третьей вехи проверяют глазомерной визировкой с первой на вторую веху. Если третья веха находится на прямой, соединяющей первую и вторую вехи, она закрывает собой для наблюдателя со стороны первой вехи вторую веху и наоборот. Места установки фиксируют кольями (рис. 2.1).

Рис. 2.1. Установка вех

Колья, применяемые для разбивки трасс, должны иметь длину 30 - 40 см и диаметр 3 - 4 см. Нижнюю часть кола затесывают на конце, а на верхней делают срез для маркировки. Для забивки кола заготавливают гнездо с помощью лома.

2.20. При ручной разработке траншеи на расстоянии, равном половине ее ширины от колышков, следует натягивать шнур, обозначающий линию одного из краев траншеи.

2.21. В том случае, когда при разбивке обнаружатся несоответствие рабочих чертежей натуре и необходимость выполнения работ с отклонением от проектных данных, строительная организация должна пригласить представителей заказчика и проектной организации для решения вопроса об изменении трассы, что оформляется актом или коррекцией рабочего чертежа, которая должна быть удостоверена подписями представителей заказчика, проектной и заинтересованной организаций.

2.22. В процессе разбивки трасс ГТС необходимо учитывать следующее:

а) пересечение улиц подземными сооружениями ГТС должно осуществляться под углом 90° к оси улицы, только при невозможности этого допускается отклонение от прямого угла в пределах не более 45°;

б) пересечение рельсовых путей (железнодорожных и трамвайных) подземными сооружениями ГТС должно осуществляться только под углом 90°;

в) в садах, парках и скверах разбивка трасс должна производиться в присутствии представителя садово-паркового хозяйства и зеленого строительства с учетом наименьших повреждений зеленых насаждений.

2.23. При разбивке трассы прокладки кабельной канализации и кабелей связи в грунте необходимо соблюдать минимальные расстояния между ними и другими сооружениями, приведенные в табл. 2.2.

Таблица 2.2

Наименование сооружений

Минимальные расстояния (в свету), м

по горизонтали

по вертикали (при пересечении)

1

2

3

Мосты магистральных автомобильных и железных дорог общегосударственного значения:

 

 

- через внутренние водные пути, судоходные реки, каналы и водохранилища

1000

-

- через сплавные реки

300

-

- через несудоходные и несплавные реки

50 - 100

-

Мосты автомобильных и железных дорог областного и местного значения:

 

 

- через судоходные реки и каналы

200

-

- через остальные реки

50 - 100

-

Автомобильные и железные дороги

5 (от края подошвы насыпи)

1 (ниже полотна автодороги или подошвы рельса)

0,8 (ниже дна кювета1))

Кабельная канализация (от трубопровода до колодца)

0,25

0,1

Городская канализация

0,5

0,25/0,152)

Газопроводы высокого давления - до 5,5 МПа (55 кгс/см2), нефтепроводы и трубопроводы на загородной трассе

10

0,5/0,15

Газопроводы давлением 5 кПа - 1,2 МПа (0,05 - 12 кгс/см2) на городской трассе (при сближении и пересечении с кабелем)

1

0,5/0,15

Газопроводы давлением 0,6 - 1,2 МПа (6 - 12 кгс/см2) на городской трассе (при сближении и пересечении с кабельной канализацией)

3

0,15

То же, давлением 0,3 - 0,6 МПа (3 - 6 кгс/см2)

2

0,15

То же, давлением 5 кПа - 0,3 МПа (0,05 - 3 кгс/см2)

1,5

0,15

То же, давлением до 5 кПа (0,05 кгс/см2)

1

0,15

Газопроводы давлением 5 кПа (0,05 кгс/см2), проложенные по стенам зданий

1

-

Водопроводы разводящей сети диаметром до 300 мм при сближении и пересечении с кабелем

0,5

0,25/0,15

То же, при сближении и пересечении с кабельной канализацией

0,5

0,15

Водопроводы разводящей сети диаметром свыше 300 мм при сближении и пересечении с кабелем или кабельной канализацией

1

0,25/0,15

Коллекторы общие для подземных сетей

0,5

-

Здания в городах и поселках городского типа (от красной линии)

0,6

-

Бортовой камень улицы

1,5

-

Стены и опоры тоннелей и путепроводов (на уровне или ниже основания)

0,5

-

Насыпи или бровки каналов (от подошвы насыпи или бровки канала)

1

-

Оросительные каналы (от бровки канала)

1,5

-

Стволы деревьев в городах

1,5

-

Кабели силовые напряжением до 220 кВ

0,63)

0,54)

Опоры (подземная часть) ВЛ (переменного тока) напряжением 750 кВ или ближайшие электроды их заземлителей при удельном сопротивлении земли, Ом×м:

 

 

до 100

155)

-

101 - 500

255)

-

501 - 1000

405)

-

свыше 1000

505)

-

Опоры (подземная часть) ВЛ (переменного тока) напряжением 110 - 500 кВ или ближайшие электроды их заземлителей при удельном сопротивлении земли, Ом×м:

 

 

до 100

156)

-

101 - 500

256)

-

501 - 1000

406)

-

свыше 1000

506)

-

Расстояние от ближайшего провода ВЛ переменного тока напряжением 750 кВ (его проекции на горизонтальную плоскость) до подземного кабеля ЛС, ПВ (кабельной канализации) при удельном сопротивлении земли, Ом×м:

 

 

до 500

30

-

501 - 1000

40

-

свыше 1000

50

-

Расстояние от проводов ВЛ напряжением 400 - 500 кВ до вершины кабельной опоры ЛС и ПВ (при пересечении)

20

-

Опоры ВЛ напряжением 1 - 35 кВ или ближайшие электроды их заземлителей при удельном сопротивлении земли (r), Ом×м:

 

 

до 100

0,83Ör6)

-

101 - 500

106)

-

501 - 1000

116)

-

свыше 1000

0,35Ör6)

-

Заземлители деревянных опор или незаземленные опоры ВЛ с неизолированными проводами напряжением до 1 кВ при пересечении с подземным или подвесным кабелем ЛС и ПВ:

 

 

- в населенной местности

37)

-

- в ненаселенной местности

107)

-

Опоры незаземленные деревянные ВЛ с неизолированными проводами напряжением до 1 кВ при пересечении с подземным или подвесным кабелем:

 

 

- в населенной местности

2

-

- в ненаселенной местности

5

-

- в стесненных условиях

18)

-

Расстояние от основания кабельной опоры ЛС и ПВ до ближайшего рельса электрифицированной ж. д. (по перпендикуляру к полотну ж. д.) при угле пересечения (в плане) подземного кабеля ЛС и ПВ с осью полотна дороги:

 

 

90°

20

-

85°

30

-

80°

40

-

75°

50

-

Опоры контактных сетей наземного электротранспорта напряжением 1 - 35 кВ при пересечении с подземным кабелем ЛС и ПВ при удельном сопротивлении земли (r), Ом×м:

 

 

до 100

0,83Ör

-

101 - 500

10

-

501 - 1000

11

-

свыше 1000

0,35Ör

-

Опоры контактных сетей наземного электротранспорта напряжением до 1 кВ при пересечении с подземным кабелем ЛС и ПВ:

 

 

- в населенной местности

3

-

- в ненаселенной местности

10

-

Расстояние от места пересечения подземного кабеля ЛС и ПВ с электрифицированной ж. д. до стрелок, крестовин и мест присоединения отсасывающих кабелей

10

-

То же, при пересечении трамвайных путей

3

-

Расстояние от опор контактных сетей при пересечении электрифицированных ж. д. до колодцев кабельной канализации

15

-

Трамвайные пути

2 от ближайшего рельса

11) (ниже подошвы рельса)

Кабели связи

0,59)

0,25/0,1510)

Кабели сетей проводного вещания класса I

1,0

-(0,2510))

То же, класса II

0,5

-(0,2510))

Заземлители молниеотводов ВЛС

25

-

Опоры, подпоры, оттяжки ВЛС:

 

 

- в населенной местности

1

-

- в ненаселенной местности

по расчету

-

1) При защите кабеля в кювете кирпичом, бетонными плитами и т.п. это расстояние может быть уменьшено до 0,5 м.

2) В числителе указаны расстояния при прокладке кабелей непосредственно в грунте, в знаменателе - в трубах, а при отсутствии дроби - для обоих случаев.

3) При сближении низкочастотных кабелей связи с силовыми кабелями напряжением до 10 кВ допускается 0,25 м при условии защиты кабелей (прокладка в трубах, установка несгораемых перегородок и т.п.).

4) При пересечении с силовыми кабелями напряжением до 35 кВ в стесненных условиях допускается 0,15 м при условии разделения кабелей на всем участке пересечения плюс 1 м в каждую сторону плитами или трубами из бетона или другого равнопрочного материала; при этом кабель связи должен быть расположен выше силового кабеля.

5) При прокладке кабеля в стальной трубе или покрытии его швеллером по длине, равной расстоянию между крайними проводами ВЛ плюс 15 м с каждой стороны от крайних проводов, допускается уменьшение этих расстояний до 10 м.

6) При прокладке кабеля в стальной трубе или покрытии его швеллером по длине, равной расстоянию между крайними проводами ВЛ плюс 10 м с каждой стороны от крайних проводов, допускается уменьшение этих расстояний до 5 м.

7) Данные расстояния могут быть уменьшены соответственно до 2 и 5 м при прокладке кабеля в стальной трубе или покрытии его швеллером или угловой сталью по длине в обе стороны относительно опоры не менее 3 м в населенной местности и 9 м - в ненаселенной местности.

8) При этом кабель должен быть проложен в стальной трубе или покрыт швеллером или угловой сталью по длине в обе стороны от опоры не менее 3 м.

9) Норма дана для кабелей ЛС и кабельной канализации.

10) При пересечении кабеля ПВ с кабелями ЛС и ПВ это расстояние должно быть не менее 0,5 м; при этом прокладываемый кабель ПВ на всем участке пересечения плюс 1 м с каждой стороны от него должен быть заключен в трубу.

Примечание. Кабели и кабельная канализация прокладываются:

- выше канализационных и водопроводных сетей;

- выше или ниже действующих кабелей связи, силовых кабелей, газопроводов, нефтепроводов и теплосетей.

ОГРАЖДЕНИЕ УЧАСТКОВ ПРОИЗВОДСТВА ЗЕМЛЯНЫХ РАБОТ

2.24. Участки производства земляных работ в городских условиях должны ограждаться рогатками на переносных стойках (рис. 2.2, а и 2.2, б), а при производственной необходимости или по требованию территориальной администрации - инвентарными щитами (рис.  2.3аи 2.3.б) или глухим забором.

На ограждении должны быть указаны: наименование строительной организации, фамилия и номер телефона производителя работ.

Рис. 2.2. Ограждение траншей и котлованов рогатками на переносных стойках

Рис. 2.3а. Щит инвентарного ограждения

Рис. 2.3б. Стойка для установки щита инвентарного ограждения

2.25. При необходимости производства земляных работ на проезжей части дороги организация, производящая эти работы, должна согласовать с местными органами ГАИ схему ограждения места работы и расстановки дорожных знаков с указанием видов работ и сроков их выполнения. Место производства работ, затрудняющее движение транспорта, должно быть ограждено днем знаками «тихий ход», а с наступлением темноты и при густом тумане - красным световым сигналом. Световые сигналы устанавливают на концах траншей и у котлованов.

2.26. Для обеспечения нормального прохода транспорта и пешеходов при разрытии улиц, дорог и проездов над траншеями должны устанавливаться транспортные мосты (рис. 2.4) и пешеходные мостики с перилами (рис. 2.5). Транспортные мосты должны быть рассчитаны на проезд через улицу безрельсового транспорта с нагрузкой на ось, равной 10 т, а при въезде во дворы - 7 т.

Пешеходный инвентарный мостик должен иметь размеры: ширину не менее 0,75 м, высоту с перилами - 1,0 м.

Длина мостов и мостиков должна перекрывать траншею или котлован за пределы естественного откоса с тем, чтобы при их использовании не происходило обрушение стенок.

Траншеи и котлованы под транспортными мостами должны быть закреплены распорами.

Рис. 2.4. Мост транспортный

Рис. 2.5. Пешеходный мостик

2.27. Место производства работ под трамвайными путями должно быть ограждено специальными ограждениями и сигналами, устанавливаемыми на расстоянии, предусмотренном правилами по технике безопасности при производстве этих работ.

ВСКРЫТИЕ И ВОССТАНОВЛЕНИЕ ДОРОЖНЫХ И УЛИЧНЫХ ПОКРОВОВ

2.28. Вскрытие дорожных и уличных покровов является наиболее трудоемким рабочим процессом, предшествующим выполнению земляных работ и поэтому нуждающимся в максимальной механизации.

2.29. Вскрытие асфальтовых покровов производится с помощью асфальторезов и пневматического отбойного инструмента.

Для вскрытия бетонных покровов и оснований улиц и дорог следует применять бетоноломы.

Отбойные молотки и бетоноломы приводятся в действие передвижными компрессорными станциями.

2.30. Булыжные мостовые можно вскрывать с помощью одноковшовых экскаваторов или с применением пневматического отбойного инструмента.

2.31. Вскрытие уличных покровов производится на площади, определяемой размерами траншей или котлованов с учетом норм дополнительного вскрытия покровов, приведенных в табл. 2.3.

2.32. При производстве работ в парках и скверах верхний растительный покров рассматривается как уличный покров.

2.33. Полученные от вскрытия уличных покровов материалы, а также другие верхние слои почвы во избежание их засыпки и засорения вынимаемым из траншеи грунтом следует складывать на расстоянии не менее 1 м от края траншеи со стороны, противоположной отвалу грунта.

2.34. Временное замощение траншей и котлованов на проезжей части должно производиться строительной организацией, выполняющей земляные работы, сразу же после их завершения. Окончательное восстановление уличных покровов производится специализированными организациями по договорам со строительными организациями.

Таблица 2.3

Нормы дополнительного вскрытия уличных покровов

Тип покрытия

Ширина дополнительного вскрытия на каждой стороне траншеи или котлована

Асфальтовый покров

по 0,1 м

Мостовая из штучных камней

по 0,2 м

Плитный тротуар

Деревянные мостки

Плиты или доски снимаются в пределах, не допускающих их обвала в траншею, котлован или яму

Дерн в парках

по 0,1 м

Растительный слой на скверах и газонах

по 0,15 м

РАЗРАБОТКА ГРУНТОВ В ТРАНШЕЯХ И КОТЛОВАНАХ ОТКРЫТЫМ СПОСОБОМ

2.35. Траншеи и котлованы для прокладки и монтажа кабелей, а также для строительства кабельной канализации должны, как правило, отрываться механизированным способом.

2.36. В зависимости от типов линейно-кабельных сооружений и условий выполнения земляных работ рекомендуется применять следующие землеройные механизмы:

а) при рытье траншей на загородных участках кабельных линий СТС, а также для прокладки трубопроводов в городских районах новой застройки - экскаваторы непрерывного действия цепные и роторные, например, типа ЭТЦ-165, ЭТЦ-208Д, ЭТЦ-252, ЭТР-161, ЭТР-134, ЭТР -204, а при малых объемах - одноковшовые экскаваторы, например, типа ЭО-2621В, Э-304Г, ЭО-3322Б1;

б) при рытье котлованов для установки сборных железобетонных колодцев кабельной канализации, монтажа муфт в грунте, а также для устройства НУП и НРП - экскаваторы одноковшовые, например, типа ЭО-2621В, Э-304Г.

2.37. Ширина траншей, разрабатываемых землеройными механизмами, определяется размерами рабочего органа (ковша, скребка).

2.38. Ширина траншей при ручном способе разработки в зависимости от количества прокладываемых кабелей и глубины их прокладки приведена в табл. 2.4.

2.39. При разработке в отвал грунт следует складывать:

а) у котлованов и у траншей глубиной до 1,2 м - на расстоянии не менее 0,5 м от бровки (в населенных пунктах - со стороны проезжей части улиц);

б) у котлованов глубиной более 1,2 м - на расстоянии не менее 1 м от бровки.

При рытье котлованов допускается выбрасывать грунт на две стороны.

Таблица 2.4

Ширина траншей при ручном способе разработки

Глубина траншеи, м

Ширина траншеи по верху, м

без креплений

с креплением

при количестве кабелей

 

1

2

3

4

1

2

3

4

0,5

0,35

0,35

0,40

0,40

-

-

-

-

0,6 - 0,7

0,35

0,40

0,45

0,45

-

-

-

-

0,9

0,40

0,40

0,45

0,50

-

-

-

-

1,0

0,45

0,45

0,50

0,55

0,55

0,55

0,60

0,65

1,2

0,50

0,50

0,55

0,60

0,60

0,60

0,65

0,70

Примечания:

1. Ширина траншей по низу должна быть на 0,1 м меньше ширины траншей по верху.

2. Ширина траншей в скальных и мерзлых грунтах при предварительном рыхлении взрывным способом определяется принятой технологией буро-взрывных работ.

2.40. На склонах оврагов, крутых подъемах и спусках свыше 30° и до 45° траншея должна быть вырыта зигзагообразно («змейкой»), с максимальным отклонением от осевой прямой линии 1,5 м на длине 5 м (рис. 2.6). При уклонах от 30° до 45° прокладывается кабель с обычной броней (например, КСППБ), а при уклонах свыше 45° - с проволочной броней (КСППК).

Рис. 2.6. Зигзагообразная траншея при уклоне 30 - 45°:

1 - траншея; 2 - кабель

РАЗРАБОТКА ТРАНШЕЙ И КОТЛОВАНОВ В МЕРЗЛЫХ ГРУНТАХ

2.41. В мерзлых грунтах при толщине мерзлого слоя до 0,25 м допускается разработка траншей одноковшовыми экскаваторами с ковшом емкостью до 0,5 м3 без предварительного рыхления. При глубине промерзания грунта более, чем на 0,25 м необходимо производить предварительное рыхление грунта на всю глубину промерзания с удалением разрыхленного грунта одноковшовым экскаватором, либо разрабатывать траншеи на полную глубину роторными экскаваторами в соответствии с их техническими характеристиками.

Рекомендуется применение роторного экскаватора типа ЭТР-134, баровой машины типа ДГП-ЗУМ или цепного траншейного экскаватора типа ЭТЦ-208Д.

2.42. При разработке вручную траншей и котлованов в мерзлом грунте, осуществляемой, как правило, для строительства кабельной канализации в городских районах с большим количеством подземных коммуникаций, применяется предварительный отогрев грунта.

В табл. 2.5 приведены способы оттаивания грунта.

2.43. На практике применяется оттаивание мерзлых грунтов сжиганием под металлическими коробами дровяного топлива. Применение в качестве топлива угля и нефтепродуктов практически невозможно из-за сильного загрязнения окружающего воздуха. Наиболее приемлемым представляется осуществление отогрева грунта с помощью газовых горелок инфракрасного излучения. Этот метод требует соответствующего технического оснащения и внедрения в строительное производство.

2.44. При прогреве грунта в населенных пунктах, где имеются подземные сооружения, должны соблюдаться правила техники безопасности и обеспечиваться сохранность этих сооружений.

Таблица 2.5

Технико-экономические показатели различных способов оттаивания грунта

Метод и способ оттаивания

Толщина слоя оттаивания, м

Расход тепла, энергии или топлива для оттаивания 1м3 грунта

Продолжительность оттаивания грунта на глубину 1 м, ч

Трудоемкость оттаивания 1 м3 грунта, чел.-дн.

Стоимость оттаивания 1 куб. м грунта в ценах 1984 г. руб.

Кострами под металлическим коробом

0,4 - 0,5

 

24

0,11

2,05 - 2,37

То же жидким топливом

0,4 - 0,5

 

24

 

1,04 - 1,71

Поверхностными паровыми регистрами

до 1,0

50 - 100 кг

48

0,21

1,23

Нагревательным щитом с проводом КСОП

до 1,0

33,4 квт-ч

100

0,044

0,87

Электроотражательными печами

до 1,0

45,0 квт-ч

24 - 48

 

 

Электротепляками

до 0,7

45 - 63 квт-ч

36 - 48

0,28

1,02 - 2,12

Факельными газовыми горелками под коробом

до 1,0

 

24

0,14

0,81 - 1,59

Горелками инфракрасного излучения:

 

 

 

 

 

- при однослойном оттаивании

0,4 - 0,8

118000 ккал

17,7

0,09

1,20

- при многослойном оттаивании

0,1 - 0,3

36300 ккал

5,7

0,03

0,40

Горизонтальными струйными электродами

до 0,8

60 квт-ч

20 - 35

0,07

1,76

Вертикальными поверхностными электродами

до 0,8

30 - 95 квт-ч

49

0,07

1,76

Токами высокой частоты

до 1,5

10 - 32 квт-ч

0,5 - 1

 

 

КРЕПЛЕНИЕ СТЕН ТРАНШЕЙ И КОТЛОВАНОВ

2.45. Разработка траншей и котлованов с вертикальными стенками в грунтах естественной влажности без крепления может производиться на глубине:

не более 1 м - в насыпных, песчаных и гравелистых грунтах;

не более 1,25 м - в супесчаных и суглинистах грунтах;

не более 1,5 м - в глинистых грунтах;

не более 2 м - в особо плотных грунтах.

При этом выполнение работ следует производить немедленно вслед за отрывкой траншей и котлованов.

2.46. При превышении указанных глубин рытье траншей и котлованов допускается только при условии крепления вертикальных стен или устройстве откосов допустимой крутизны (рис. 2.7).

Наибольшая допустимая крутизна откосов траншей и котлованов в грунтах естественной влажности должна определяться по табл. 2.6.

Рис. 2.7. Определение крутизны откоса

2.47. Рытье траншей и котлованов в мерзлых грунтах всех пород, за исключением сухого песчаного, можно вести с вертикальными стенками без креплений на всю глубину их промерзания. При углублении ниже уровня промерзания должно производиться крепление.

2.48. Траншеи и котлованы в сухих (сыпучих) песчаных грунтах, независимо от степени их промерзания, следует разрабатывать с обеспечением установленной крутизны откосов или с устройством крепления стен.

2.49. Рыть траншеи и котлованы в отогретых (размороженных) грунтах следует выполнять с обеспечением необходимой крутизны откосов или устройством креплений стен в тех случаях (или местах), когда глубина отогретого участка превышает размеры, указанные в табл. 2.6.

Таблица 2.6

Максимально допустимая крутизна откосов траншей и котлованов

Грунт

Крутизна откосов при глубине выемок, м

до 1,5

от 1,5 до 3

от 3 до 5

угол1)

Н/А2)

угол

Н/А

угол

Н/А

Насыпной естественной влажности

76°

1:0,25

45°

1:1,00

38°

1:1,25

Песчаный и гравийный влажный, но не насыщенный

63°

1:0,50

45°

1:1,00

45°

1:1,00

Глинистый естественной влажности:

 

 

 

 

 

 

- супесь

76°

1:0,25

56°

1:0,67

50°

1:0,85

- суглинок

90°

1:0,00

63°

1:0,50

53°

1:0,75

- глина

90°

1:0,00

76°

1:0,25

63°

1:0,50

Лессовидный сухой

90°

1:0,00

63°

1:0,50

63°

1:0,50

1) угол между направлением откоса и горизонталью

2) отношение высоты откоса Н к его заложению А

Примечание. При глубине выемки свыше 5 м крутизна откоса устанавливается расчетным путем.

2.50. На пересечениях с железнодорожными или трамвайными путями необходимо разрабатывать траншеи и котлованы с обязательным креплением их стен. Крепить пути рельсовыми пакетами следует только в случаях, предусмотренных проектом, согласованным со службой эксплуатации данных путей.

2.51. Виды крепления котлованов и траншей с вертикальными стенками приведены в табл. 2.7.

Таблица 2.7

Виды крепления котлованов и траншей с вертикальными стенками

Грунтовые условия

Виды крепления

Грунты сухие, способные сохранять отвесные стены при глубине до 2 м

Горизонтально-рамное (рис. 2.8 а)

Грунты оползающие сухие и плотные грунты (если траншеи или котлованы остаются открытыми на длительный срок)

Горизонтально-сплошное (рис. 2.8 б)

Грунты связанные сухие при отсутствии грунтовых вод в глубине разработки не более 3 м

Горизонтальные с прозорами (рис. 2.8 в)

Грунты водонасыщенные

Смешанное: горизонтальное, сплошное и шпунты (рис. 2.8 г)

Грунты связанные сухие при отсутствии грунтовых вод

Вертикально-рамное (рис. 2.8 д)

Грунты сыпучие при глубоких траншеях и грунты с прослойками плывуна

Вертикально-сплошное (рис. 2.8 е)

2.52. Крепить траншеи и котлованы глубиной до 5 м следует, как правило, инвентарными приспособлениями. Инвентарные металлические винтовые распорки (рис. 2.9) применяют для сокращения расхода лесных материалов.

При глубине более 3 м крепления должны производиться по отдельным проектам, утвержденным руководством строительной организации.

2.53. При отсутствии инвентарных приспособлений детали крепления траншей и котлованов должны изготавливаться на месте с соблюдением следующих требований:

а) для крепления грунтов естественной влажности (кроме песчаных) должны применяться доски толщиной не менее 40 мм, а для грунтов повышенной влажности - не менее 50 мм. Доски следует укладывать за вертикальные стойки вплотную к грунту с укреплением распорками;

б) стойки креплений должны устанавливаться не реже чем через 1,5 м;

в) расстояние между распорками по вертикали не должно превышать 1 м. Распорки закрепляются упором;

г) над бровками верхние доски должны выступать не менее чем на 15 см;

д) узлы креплений, на которые опираются полки для переброски грунта, необходимо сделать усиленными. Полки ограждаются бортовыми досками высотой не менее 15 см.

2.54. Разработку выемок в грунтах, насыщенных водой (плывунах), следует осуществлять по индивидуальным проектам, предусматривающим безопасные способы производства работ - искусственное водопонижение, шпунтовое крепление и др.

2.55. Крепления котлованов и траншей следует разбирать снизу вверх, по мере обратной засыпки грунта и одновременно снимать не более двух-трех досок в нормальном грунте, не более одной доски - в плывунах.

Перед удалением досок нижней части крепления выше должны устанавливаться временные косые распорки, причем старые распорки разрешается удалять только после установки новых; крепления должны разбираться в присутствии ответственного исполнителя работ.

В местах, где разборка креплений может вызвать повреждения строящихся сооружений, а также в грунтах-плывунах возможно крепления частично или полностью оставлять в грунте.

2.56. Стенки котлованов и траншей, разрабатываемых землеройными машинами, должны крепиться готовыми щитами, которые опускают и распирают сверху (рабочим опускаться в нераскрепленную траншею запрещается). Разработку траншей землеройными машинами без устройства креплений необходимо вести с откосами.

2.57. Необходимость, объем и способ крепления траншей определяются проектно-сметной документацией.

Рис. 2.8. Способы крепления стенок траншей и котлованов:

а) горизонтально-рамное; б) горизонтально-сплошное; в) горизонтальное с прозорами; г) смешанное: горизонтальное, сплошное и шпунты; д) вертикально-рамное; е) вертикально-сплошное

Рис. 2.9. Винтовые распорки для крепления траншей

ЗАСЫПКА ТРАНШЕЙ И КОТЛОВАНОВ, ОТВОЗКА ГРУНТА

2.58. При засыпке траншей и котлованов на загородных участках трассы прокладки кабеля должны быть установлены в соответствующих местах замерные столбики. Все подземные сооружения (муфты, кабель, проложенные трубы и т.п.) должны быть зафиксированы в рабочих чертежах проекта и «привязаны» к постоянным ориентирам.

Засыпку траншей и котлованов, как правило, следует производить с помощью механизмов: бульдозеров и траншеезасыпщиков.

2.59. На городских участках траншеи следует засыпать вынутым грунтом с таким расчетом, чтобы наиболее рыхлая его часть отсыпалась в нижние слои траншеи.

Траншеи, вырытые с предварительным снятием твердого дорожного покрытия, следует засыпать песчаным грунтом.

В зимнее время траншеи и котлованы следует засыпать талым грунтом или песком.

2.60. Засыпка грунта должна производиться слоями толщиной не свыше 20 см с их тщательным послойным уплотнением с помощью электрических, пневматических или ручных трамбовок.

При применении для засыпки бульдозеров необходимо также обеспечивать послойную засыпку с уплотнением грунта.

2.61. Засыпка траншей и котлованов грунтом, засоренным строительным мусором, остатками твердого покрытия и т.д., не допускается.

2.62. Траншеи, отрытые в скальных грунтах, необходимо засыпать привозным рыхлым грунтом без скальных остатков или песком на высоту 0,2 - 0,3 м для предохранения от механических повреждений кабеля или труб. Остальную часть траншеи засыпают вынутым из нее грунтом.

2.63. Траншеи, имеющие крепления стен, засыпаются после снятия креплений. Если разборка крепления невозможна (опасна), последние, как отмечалось, могут быть частично или полностью оставлены в траншее и засыпаны.

2.64. На загородных участках трассы, а также на неспланированных и незамощенных улицах над траншеей должен быть образован валик из грунта для компенсации его последующей усадки.

2.65. Засыпка траншей и котлованов в местах вскрытых действующих подземных сооружений должна производиться в присутствии представителей соответствующих эксплуатационных организаций.

2.66. При строительстве сооружений ГТС грунт, оставшийся после прокладки трубопроводов, кабелей и установки колодцев, а также засоренный грунт и строительный мусор должны быть вывезены с места работ.

2.67. Землю следует отвозить на автомобилях-самосвалах, а погружать во всех возможных случаях с помощью механических погрузчиков или одноковшовых экскаваторов. Ручная погрузка грунта производится при малых объемах, когда применение механизмов нецелесообразно. При выемке грунта из котлованов одноковшовыми экскаваторами избыточный грунт следует погружать в автомашины непосредственно роющим механизмом.

2.68. Избыточный грунт нужно отвозить, в первую очередь, в места, где должна быть произведена подсыпка грунта до планировочной отметки. Только после этого грунт следует вывозить на свалки, местоположение которых должно согласовываться с органами территориальной администрации.

2.69. При погрузке и отвозке грунта необходимо следить за тем, чтобы вместе с грунтом не увозились с трассы кондиционные материалы, полученные от вскрытия уличных покровов (камень, плиты и пр.).

УСТРОЙСТВО ГОРИЗОНТАЛЬНЫХ СКВАЖИН ДЛЯ КАБЕЛЬНЫХ ПЕРЕХОДОВ ЧЕРЕЗ АВТОМОБИЛЬНЫЕ И ЖЕЛЕЗНЫЕ ДОРОГИ

2.70. При невозможности осуществления кабельного перехода через автомобильные и железные дороги открытым способом следует производить устройство горизонтальных скважин скрытой проходкой под дорогами.

2.71. Скрытая проходка может производиться:

а) проколом с уплотнением грунта без его выемки;

б) бурением;

в) вдавливанием футляра (стальной трубы большого диаметра) с выемкой из нее грунта.

2.72. Работы по устройству горизонтальных скважин должны производиться только при наличии рабочего чертежа, согласованного со всеми заинтересованными организациями. Работы по устройству горизонтальных скважин через железные дороги должны выполняться в присутствии представителей дороги.

2.73. Во всех случаях устройства горизонтальных скважин должна быть произведена разбивка трассы скважины, разбивка и отрывка входного и приемного котлованов. Стены отрываемых котлованов необходимо крепить надежно инвентарными щитами или досками толщиной 40 мм с распорками, независимо от типа оборудования.

2.74. Устройство горизонтальных скважин проколом производится с помощью пневмопробойников, например, типа ИП-4603, ИП-4605 (рис. 2.10), технические характеристики которых приведены в табл. 2.8.

Сжатый воздух к пневмопробойникам подается от передвижных компрессорных станций, например, типа ЗИФ-55, ПВ-10, ПР-10М.

2.75. Конструкция пневмопробойника позволяет производить возврат его из скважины посредством реверсирования в случае встречи с непреодолимым препятствием или при отклонении от необходимого направления.

Рис. 2.10. Пневмопробойник ИП-4603:

а) без расширителя; б) с расширителем диаметром 200 мм; в) с расширителем диаметром 300 мм

Таблица 2.8

Технические данные пневмопробойников

Показатели

ИП-4603

ИП-4605

Диаметр скважины, мм:

 

 

- без расширителя

130

90

- с расширителем

200, 250

150, 180

Длина пробиваемой скважины, м

50

50

Скорость проходки, м/ч:

 

 

- в грунте I группы

25 - 60

40 - 50

- в грунте II группы

15 - 30

30 - 40

- в грунте III группы

8 - 15

8 - 15

Масса без шлангов и расширителей, кг

до 90

до 50

Энергия удара, кгс×м

23 - 25

18 - 20

Частота ударов в минуту

390

850

Номинальное давление сжатого воздуха, кгс/см2

6

6

Расход сжатого воздуха, м3/мин

3,5

2,5

Долговечность машины, ч

550

550

2.76. Работы по проколу скважины производят в указанной ниже последовательности, соблюдая следующие требования:

а) отрывают входной и приемный котлованы.

Длина входного котлована (вдоль оси скважины) должна быть 5 м, ширина - 1 м, глубина должна соответствовать проектной глубине заложения скважины, но не менее 1 м (во избежание самопроизвольного выхода пневмопробойника на поверхность).

Длина приемного котлована должна быть 1,8 - 2,0 м, а ширина и глубина на 0,5 м больше, чем входного.

При длине скважин более 20 м рекомендуется глубину заложения скважины принимать не менее 1,5 м.

Входной и приемный котлованы должны располагаться на расстоянии не менее 3 м от нолевой бровки кювета, дороги.

Дно входного котлована должно быть выравнено строго горизонтально по уровню.

Расположение котлованов и механизмов показано на рис. 2.11;

Рис. 2.11. Расположение входного и приемного котлованов и механизмов при устройстве скрытого перехода:

1 - компрессорная станция; 2 - пневмопробойник; 3 - входной котлован; 4 - приемный котлован

б) пневмопробойник укладывают на дно котлована и ориентируют его в заданном направлении (в горизонтальной и вертикальной плоскостях) с помощью шнура, отвеса и уровня, как это показано на рис. 2.12;

Рис. 2.12. Установка пневмопробойника:

1, 2, 6 - стойки; 3 - шнур; 4 - приемный котлован; 5 - пневмопробойник

в) для придания пневмопробойнику при пуске нужного направления в вертикальных и горизонтальных плоскостях рекомендуется применять пусковое устройство типа ИК-9214;

г) пневмопробойник подключают к компрессору с помощью предварительно продутого сжатым воздухом шланга, имеющего на конце штуцер (муфту);

д) шланг укладывают на земле восьмерками или змейкой во избежание самопроизвольного вращения патрубка, как показано на рис. 2.13;

е) открыв вентиль у ресивера, производят пуск пневмопробойника (при неудаче повторный пуск производят перегибанием и последующим резким распрямлением шланга).

Рис. 2.13. Укладка шланга от компрессора

При запуске пневмопробойника рекомендуется подавать пониженное давление 3 - 4 кгс/см2;

ж) в начале углубления пневмопробойника, пока не произойдет его надежное сцепление с грунтом, необходимо прикладывать к нему усилие в направлении движения с помощью рычага (лома);

з) после того, как пневмопробойник углубится в грунт на 1/2 длины корпуса, машину необходимо остановить, проверить положение пневмопробойника и в случае отклонения его при помощи лома сместить хвостовую часть пневмопробойника в нужную сторону.

После этого запустить пневмопробойник и давление довести до номинального (6 кгс/см2).

При прохождении слабых грунтов, если движение машины вперед прекращается (машина работает на одном месте), рекомендуется снизить давление сжатого воздуха.

Во избежание самореверсирования или остановки пневмопробойника в процессе работы нужно постоянно следить за тем, чтобы шланг входил в скважину без перегибов и вращения. При выходе пневмопробойника из грунта во избежание обрушения стенки приемного котлована следует снизить давление до 3 - 4 кгс/см2;

и) скважину при необходимости расширяют вторичной проходкой пневмопробойником с закреплением на его корпусе расширителя соответствующего диаметра;

к) при встрече с непреодолимым препятствием или при недопустимом отклонении пневмопробойника от нужного направления он должен быть остановлен и возвращен из скважины посредством реверсирования, которое осуществляется в соответствии с заводской инструкцией, прилагаемой к пневмопробойнику;

л) после выхода пневмопробойника из грунта в приемный котлован прекращают подачу воздуха и вынимают пневмопробойник из котлована;

м) при низкой температуре и высокой влажности, когда есть опасность обмерзания машины, рекомендуется применять влагоотделители и смазывать пробойник дизельным топливом;

н) асбестоцементные трубы следует соединять между собой с помощью стальных манжет (рис. 2.14) и по мере их соединения заталкивать в скважину с помощью рычага (лома) и опорной доски. При этом на конец первой трубы следует надеть пробку (используют пробки, которыми закрывают незанятые каналы кабельной канализации).

При возникновении затруднений в заталкивании в скважину труб вручную рекомендуется трубы затягивать в скважину с помощью лебедки типа ЛР-1-400, ТА-1, устанавливаемой в приемном котловане.

Рис. 2.14. Стык асбестоцементных труб с помощью стальных манжет:

1 - асбестоцементная труба; 2 - манжета стальная; 3 - буртик для упора асбестоцементной трубы

2.77. Устройство горизонтальных скважин диаметром до 250 мм в грунтах I - IV групп может осуществляться гидропрессом БГ-3М, обычно входящим в состав комплексной машины КМ-170 (рис. 2.15), смонтированной на базе автомобиля, например ЗИЛ-157.

На раме автомашины смонтированы: насос Н-401 для подачи масла в гидропресс БГ-3М, гидрокран 4031 (4030), насос IB 20/5 или IB 20/10 для откачки грунтовых и талых вод из котлована. Все агрегаты имеют привод от двигателя автомобиля.

Сменное оборудование комплексной машины КМ-170 состоит из гидропресса БГ-3М, комплекта штанг (30 шт.), комплекта расширителей на 1, 2 и 3 канала, опорных плит для гидропресса БГ-3М, вспомогательного инструмента и инвентаря.

Рис. 2.15. Комплексная машина КМ-170

Установка БГ-3М может также работать от бензодвигателя с насосным агрегатом. Технические данные гидропресса БГ-3М приведены в табл. 2.9.

Таблица 2.9

Технические данные гидропресса БГ-3М

Давление в цилиндре, кг/см2

300

Скорость продавливания отверстий в грунте, м/мин

1,2

Усилие, развиваемое прессом, тс

30

Размер котлована под пресс, мм:

 

- длина

2000

- ширина

1600

- глубина

500 (глубже оси прокладки кабеля)

2.78. Устройство горизонтальной скважины производится в следующей последовательности:

а) отрывается входной (рабочий) котлован прямоугольной формы длиной 220 см и шириной 160 см, дно которого должно располагаться на 50 см ниже оси прокладываемых трубопроводов (глубина заложения трубопровода определяется проектом).

На дне котлована должен быть сделан настил из досок толщиной 40 мм, закрепленных на трех поперечных брусьях 150´100 мм. Отрывается также траншея на другой стороне перехода;

б) закрепляются стенки котлована способами, указанными в п. 2.73;

в) устанавливается строго горизонтально (по уровню) гидропресс. Опорные плиты устанавливаются параллельно и вертикально (рис. 2.16);

г) после запуска установки в грунт заталкивается первая штанга с навинченным конусообразным наконечником диаметром 70 мм.

По мере вдавливания в грунт штанги навинчиваются друг на друга до появления первой штанги с наконечником в траншее на другой стороне перехода;

д) сняв наконечник диаметром 70 мм, на конец штанги навинчивают расширитель диаметром 130 мм и штангу с расширителем протягивают в скважине в обратном направлении. Диаметр скважины можно увеличить, последовательно протягивая штангу с расширителями диаметром 170, 210 и 250 мм в обоих направлениях;

е) в скважину затягивают асбестоцементные трубы, как указано в п. 2.76 н).

Рис. 2.16. Установка гидравлического пресса в рабочем котловане

УСТРОЙСТВО КАБЕЛЬНЫХ ПЕРЕХОДОВ С ПРОКЛАДКОЙ АСБЕСТОЦЕМЕНТНЫХ ТРУБ В МЕТАЛЛИЧЕСКИХ ФУТЛЯРАХ

2.79. Бестраншейная прокладка трубопроводов кабельной канализации через железные и автомобильные дороги при количестве каналов больше шести производится, как правило, с устройством металлического футляра методом продавливания.

Этот способ заключается в том, что продавливаемая труба концом, снабженным ножом, вдавливается в массив грунта, после чего образовавшийся грунтовый керн разрабатывают и удаляют из трубы (футляра).

2.80. Установки для продавливания металлических футляров, как правило, монтируются с применением гидродомкратов ГД-170/1150, ГД-170/1600 или ГД-500/600, насосов высокого давления и контрольных приборов.

Указанные выше домкраты имеют обратный ход.

2.81. Наиболее распространенными установками для продавливания металлических футляров являются: установка, разработанная СКБ Главмосстроя, установка ПУ-2 конструкции ЦНИИподземмаш и установка У-12/60 Гипронефтеспецмонтажа.

2.82. Установка СКВ Главмосстроя, например, имеет следующие технические данные:

Диаметр кожуха, мм............................................................................................ 920

Максимальная длина прокладки, м................................................................... до 60

Скорость прокладки, м/смена............................................................................. 6 - 10

Ход штоков гидродомкратов, мм....................................................................... 1150

Давление в гидросистеме, мПа.......................................................................... 30

Максимальное усилие гидродомкратов, кН...................................................... 3400

Общая установленная мощность, кВт................................................................ 51,5

Общая масса установки, т................................................................................... 13

Технология применения этой установки приведена в типовых проектных решениях «Бестраншейная прокладка трубопроводов канализации кабелей связи 1-045-3-86», разработанных проектным институтом «Гипросвязь-2».

2.83. Установка У-12/60 для бестраншейной прокладки труб предназначена для прокладки стальных труб (кожухов) диаметром 1220 мм в сухих и увлажненных грунтах I - III групп. Применение установки дает возможность производить все работы при бестраншейной прокладке кожуха без присутствия рабочих на забое, с механизированной разработкой и удалением грунта.

Установка У-12/60 имеет следующие технические данные:

Диаметр кожуха, мм............................................................................................ 1220

Длина прокладки, м............................................................................................ 60

Длина секции (наибольшая), м.......................................................................... 6

Усилие продавливания, кН................................................................................ 3400

Мощность приводных электродвигателей, кВт................................................ 18

Масса отдельного блока, кг................................................................................ 2420

Масса установки, т.............................................................................................. 12,7

Головка установки приваривается к продавливаемому кожуху (трубе) и воспринимает сопротивление грунта. Удаление грунта осуществляют с помощью челнока, расположенного внутри головки, оснащенной запорным устройством.

Для бестраншейной прокладки трубы (кожуха) с помощью установки У-12/60 должен быть подготовлен котлован длиной 13 м, шириной 3 м и глубиной на 0,1 м ниже проектной отметки основания прокладываемой трубы. В задней части котлован расширяется и углубляется для монтажа основания из брусьев и шпал и установки инвентарного башмака.

Работа заключается в периодическом вдавливании прокладываемой трубы на длину хода домкратов (1000 мм) с последующим извлечением челнока из прокладываемой трубы и его разгрузкой.

При работе установки необходимо обеспечивать надежное крепление челнока в головке.

Заполнение челнока грунтом обеспечивается вдавливанием трубы гидравлическими домкратами при расклинивании челнока в головке продавливаемой трубы.

Разгрузку челнока производят в отвал или транспорт.

РЕКУЛЬТИВАЦИЯ ЗЕМЕЛЬ

2.84. Рекультивация земель заключается в восстановлении плодородного слоя земли, нарушенного при выполнении земляных работ.

Для этого при рытье траншей в зоне пахотных земель плодородный слой снимается, транспортируется и складируется до окончания земляных работ, после чего он должен быть нанесен на нарушенные площади почвы. Места отвала плодородного слоя почвы не должны быть подвержены затоплению водой и загрязнению мусором.

2.85. Снятие, транспортировка и нанесение плодородного слоя почвы должны осуществляться до наступления устойчивых отрицательных температур.

2.86. Снятие и перемещение плодородного слоя почвы производится бульдозером, а при отсутствии механизмов - вручную.

2.87. Рекультивация земель должна выполняться в строгом соответствии с проектом.

РАЗДЕЛ 3

СТРОИТЕЛЬСТВО ПОДЗЕМНОЙ КАБЕЛЬНОЙ КАНАЛИЗАЦИИ СВЯЗИ

ОБЩИЕ ПОЛОЖЕНИЯ

3.1. Подземная кабельная канализация связи представляет собой систему трубопроводов и колодцев, сооружаемую от здания АТС до распределительных шкафов и кабельных вводов в жилые и административные строения и на опоры воздушных линий, предназначенную для прокладки (затягивания) в каналах кабелей связи. Сооружения должны быть механически прочными, долговечными, водонепроницаемыми, экономичными и удобными для производства различных кабельных работ, изготовляться из недефицитных материалов и не оказывать вредного влияния на кабели.

3.2. Здания АТС имеют помещение ввода кабелей с выходом в многоотверстные блоки кабельной канализации или тоннель, а при наличии и совпадении трасс - в общегородские или ведомственные подземные коллекторы и частично - в тоннели метрополитена.

3.3. Помещения ввода кабелей должны устраиваться в гидроизолированных подвальных этажах зданий АТС (или других строений) под помещением кросса станции. Ввод кабельной канализации в АТС емкостью 10 и 20 тысяч номеров необходимо устраивать с двух противоположных сторон здания.

3.4. Помещение ввода кабелей должно быть оборудовано крепежными конструкциями для раскладки и распайки кабелей, стационарным и взрывобезопасным электроосвещением, вентиляцией, сигнализацией и др.

На станциях малой емкости вместо помещения ввода кабелей устраивают приямок с вводным шкафом или осуществляют распайку линейных кабелей в станционном колодце.

3.5. Подземные коллекторы представляют собой тоннели прямоугольного или круглого сечения, строящиеся вдоль магистралей города при значительном скоплении различных подземных коммуникаций (кабелей связи, электрокабелей, теплосети, водопровода и т.п.). Коллекторы должны быть оборудованы крепежными конструкциями для раскладки коммуникаций различного назначения, системами герметичного электроосвещения, сигнализации, водоудаления, вентиляции и др.

Строительство коллекторов ведется обычно городскими организациями инженерных сооружений открытым или закрытым способами на различных глубинах в зависимости от местных условий.

3.6. Подземные трубопроводы кабельной канализации связи должны сооружаться из одно- и многоотверстных труб (блоков) - общим числом до 48, а возможно и более каналов, прокладываемых, преимущественно, под пешеходной частью уличных проездов.

3.7. На расстоянии до 150 м друг от друга, а также в местах поворота или разветвления трубопровода устраивают колодцы (смотровые устройства) проходного, углового или разветвительного типа. При прокладке кабеля типа ТПП, емкостью 1400´2 и более, расстояние между колодцами не должно превышать 120 м.

Вход в колодцы обеспечивается через чугунные люки с наружными крышками. В колодцах должны свободно выполняться работы по затягиванию (вытягиванию) кабелей в каналы трубопровода, сращиванию их отдельных длин (пролетов), выяснению и устранению кабельных повреждений, замене отдельных пролетов кабелей и т.п.

3.8. В колодцах могут также размещаться ящики с катушками индуктивности (пупиновские ящики) и контейнеры регенераторов систем передачи ИКМ.

3.9. Для прокладки трубопроводов связи должны использоваться асбестоцементные, бетонные и полиэтиленовые трубы (блоки), а в местах вынужденного уменьшения заглубления - и стальные трубы с соответствующей обработкой.

Допускается использование поливинилхлоридных (винилитовых) и пековолокнистых труб, однако они используются значительно реже. Проводятся работы по изысканию новых материалов и типов (конструкций) труб, пригодных для прокладки трубопроводов кабельной канализации.

ТИПЫ И РАЗМЕРЫ ТРУБ И БЛОКОВ КАБЕЛЬНОЙ КАНАЛИЗАЦИИ СВЯЗИ

3.10. На магистральных направлениях кабельной канализации связи должны использоваться трубы и блоки с круглыми внутренними каналами диаметром 100 мм (для полиэтиленовых труб 93 - 103 мм).

3.11. На незагруженных направлениях, в тупиковых участках, кабельных вводах в здания и выводах на опоры воздушных линий целесообразно применять трубы с внутренним диаметром канала 55 - 58 и 66 - 69 мм.

3.12. Использование тех или иных типов и размеров труб (блоков) на различных участках кабельной сети должно определяться проектом. Основные формы и размеры труб и блоков представлены на рис. 3.1.

3.13. Асбестоцементные безнапорные трубы получили наибольшее распространение из-за ряда преимуществ в сравнении с другими типами. Они имеют диаметр 100 - 118 мм, длину 3 и 4 м, с массой одного метра 6,0 кг. Эти трубы могут поставляться с асбестоцементными муфтами диаметром 140 - 160 мм и длиной 150 мм для стыковки труб.

Механические и испытательные характеристики должны соответствовать стандарту.

3.14. Бетонные (цементно-песчаные) трубы и блоки прямоугольной формы изготовляют с круглым внутренним каналом диаметром 100 мм и длиной 1 м. Трубы и блоки могут изготовляться одно-, двух- и трехотверстными, а в перспективе - до 12 отверстий (каналов) включительно. Для изготовления труб (блоков) должен использоваться бетон марки 200, с водоцементным отношением 0,42 - 0,47 и с соотношением цемента и песка 1:3 и 1:4.

При испытаниях изготовленных труб после 28-дневного вызревания в естественных условиях одно - трехотверстные трубы (блоки) должны выдерживать, не разрушаясь, изгибающую нагрузку от 6,4 кН (650 кгс) до 15,2 кН (1550 кгс). Масса труб составляет: одноотверстных - 32 кг, двухотверстных - 56 кг и трехотверстных - 80 кг.

Для прокладки труб (блоков) изготовляют бетонные подкладки длиной 160, 280 и 410 мм и шириной 120, 120 и 140 мм соответственно для одно-, двух- и трехотверстных труб.

3.15. Полиэтиленовые трубы изготовляются из полиэтилена высокой плотности (ПВП) и низкой плотности (ПНП), при этом трубы из ПНП имеют большую толщину стенок. Для кабельной канализации должны использоваться трубы с наружным диаметром 110 и 63 мм и внутренним диаметром соответственно 97 - 101 и 55 - 57 мм. Длина труб с наружным диаметром 110 мм из ПВП (или ПНП) и диаметром 63 мм из ПВП колеблется от 5,5 до 12,0 м, а с наружным диаметром 63 мм из ПНП - до 200 м, в бухтах, диаметр которых не более 3 м. Соединение труб осуществляется методом стыковой сварки.

Рис. 3.1. Основные формы и размеры труб и блоков кабельной канализации связи:

а) - бетонные; б) - асбестоцементные; в) - полиэтиленовые

3.16. Поливинилхлоридные (винилитовые) трубы могут применяться для кабельной канализации и закладных устройств скрытой проводки в зданиях. Для кабельной канализации такие трубы используются крайне редко, но в зарубежной практике, в ряде стран, имеющих их производство, нашли широкое применение. Трубы характеризуются высокой морозостойкостью - от минус 15 °С до минус 40 °С и пределами прочности на сжатие 48 - 98 МПа (500 - 1000 кгс/кв.см). Трубы имеют диаметры 6/10 - 100/110 мм при массе одного метра соответственно 0,07 - 4,06 кг. Стыковка труб осуществляется путем устройства раструба, подогрева и использования клея или лака.

3.17. Стальные трубы используются в отдельных случаях при вынужденном уменьшении заглубления из-за наличия на трассе ранее проложенных других коммуникаций или сооружений. Изогнутые стальные трубы могут применяться при установке распределительных шкафов и устройстве кабельных вводов в здания и на опоры воздушных линий. Используются также стальные трубы при прокладке кабелей под мостами, на стенах зданий, по вертикальным шахтам, под полами и в стеновых блоках зданий и т.п. Стальные трубы поставляются диаметром 6/10,2 - 125/140 мм при массе одного метра 0,47 - 18,24 кг.

УСЛОВИЯ ПРОКЛАДКИ КАБЕЛЬНОЙ КАНАЛИЗАЦИИ СВЯЗИ

3.18. Одним из основных критериев применения различных типов труб для прокладки подземной кабельной канализации является вертикальная нагрузка, которую они могут выдержать, не разрушаясь и не деформируясь, на глубине 0,4 - 2,0 м. На проложенные трубы действуют постоянные и временные нагрузки. Постоянной нагрузкой является давление грунта засыпки траншеи и массы самих труб с затянутыми в них кабелями, а временной - наезд на трассу транспортных средств. Расчетными нагрузками от наезда транспортных средств является давление от колесных и гусеничных механизмов массой 10 - 80 т (НК-10...НК-80) и 60 т (НГ-60).

3.19. Глубина прокладки трубопроводов определяется с учетом вертикальных нагрузок и типов применяемых труб (блоков) (табл. 3.1).

3.20. Минимальная глубина траншей для кабельной канализации связи должна определяться данными, приведенными в табл. 3.2 и 3.3.

3.21. Трубопровод кабельной канализации должен прокладываться с уклоном не менее 3 - 4 мм на 1 м длины от середины пролета в сторону колодцев для обеспечения стока попадающей в каналы воды (из трубопровода в колодцы).

На местности с достаточным естественным уклоном трубопровод может одинаково заглубляться по всей длине пролета и лишь на подходах к колодцам ему должен придаваться уклон, обеспечивающий ввод в колодцы на заданных вертикальных отметках.

На местности без достаточного снижения трубопровод должен прокладываться с уклоном в одну сторону, когда у одного колодца задается минимальное, а у другого - завышенное заглубление, или с уклоном в обе стороны от места пролета с минимальным заглублением (рис. 3.2).

Таблица 3.1

Минимально допустимое заглубление трубопроводов кабельной канализации связи

Типы труб (блоков)

Минимальное расстояние от поверхности уличного покрытия до верхней трубы, м

под пешеходной частью улиц

под проезжей частью улиц

Асбестоцементные, полиэтиленовые, поливинилхлоридные, пековолокнистые

0,4

0,6

Бетонные (цементно-песчаные), керамические

0,5

0,7

Стальные

0,2

0,4

Примечания: 1. Под трамвайными и железнодорожными путями расстояние от подошвы рельса до верха трубы любого типа должно составлять не менее 1 м.

2. Под арыками и кюветами расстояние от их дна до верхней трубы должно составлять не менее 0,5 м.

3. При вероятности докладки труб минимальное заглубление должно учитывать планируемую докладку.

4. Под проезжими частями улиц полиэтиленовые трубы должны иметь дополнительную защиту.

5. Приведенные данные относятся к заглублению трубопроводов в пролетах. На вводах труб в колодцы глубина заложения должна составлять не менее 0,7 м под пешеходной и 0,8 м - под проезжей частями улиц.

Таблица 3.2

Минимальная глубина траншей для трубопроводов кабельной канализации в наивысшей точке пролета, м

Трубы

Место прокладки труб

Число рядов труб по высоте

1

2

3

4

5

6

Асбестоцементные, полиэтиленовые, поливинилхлоридные, пековолокнистые с каналами диаметром 100 мм

в пешеходной части улиц

0,52

0,66

0,80

0,94

1,08

1,22

в проезжей части улиц

0,72

0,86

1,00

1,14

1,28

1,42

под трамвайными и железнодорожными путями

1,22

1,36

1,50

1,64

1,78

1,92

То же, диаметром 55 мм

в пешеходной части улиц

0,46

0,54

0,63

0,71

0,80

0,88

в проезжей части улиц

0,66

0,74

0,83

0,91

0,99

1,08

Бетонные (цементно-песчаные), керамические с каналами диаметром 100 мм

в пешеходной части улиц

0,65

0,81

0,97

1,13

1,29

1,45

в проезжей части улиц

0,85

1,01

1,17

1,33

1,49

1,65

под трамвайными и железнодорожными путями

1,25

1,41

1,57

1,73

1,89

2,05

Стальные с каналами диаметром 100 мм

в пешеходной части улиц

0,32

0,45

0,58

0,70

0,83

0,96

в проезжей части улиц

0,52

0,65

0,77

0,89

1,02

1,14

под трамвайными и железнодорожными путями

1,22

1,35

1,47

1,59

1,72

1,84

Таблица 3.3

Глубина траншей для трубопроводов кабельной канализации связи на вводах в колодцы, м

Трубы

Место прокладки труб

Число рядов труб по высоте

1

2

3

4

5

6

Асбестоцементные, полиэтиленовые, поливинилхлоридные, пековолокнистые и стальные с каналами диаметром 100 мм

в пешеходной части улиц

0,82

0,96

1,10

1,24

1,38

1,5?

в проезжей части улиц

0,92

1,06

1,20

1,34

1,48

1,62

То же, диаметром 55 мм

в пешеходной части улиц

0,76

0,84

0,92

1,00

1,08

1,16

в проезжей части улиц

0,86

0,94

1,02

1,10

1,18

1,26

Бетонные (цементно-песчаные), керамические с каналами диаметром 100 мм

в пешеходной части улиц

0,85

1,01

1,17

1,33

1,49

1,65

в проезжей части улиц

0,95

1,11

1,27

1,43

1,59

1,75

Примечание. В колодцы типа ККС-1 трубы вводятся на уровне днища, т.е. глубина траншей не должна превышать 0,7 м.

Рис. 3.2. Профили прокладки трубопроводов кабельной канализации связи:

а) на ровной местности; б) на местности с недостаточным естественным уклоном; в) на местности с достаточным естественным уклоном; г) с минимальным заглублением при наличии других подземных коммуникаций и защитой трубопровода связи железобетонными плитами

1 - кабельный колодец; 2 - трубопровод; 3 - железобетонные плиты защиты; 4 - коммуникации другого назначения

3.22. В процессе прокладки трубопровода установленная величина уклона должна контролироваться специальной рейкой с отвесом или уклономером.

3.23. При прокладке трубопровода в траншее, отрываемой не целым пролетом от одного до другого колодца, а отдельными участками из-за загруженности уличного проезда городским транспортом, соблюдение общего уклона затруднено. Это может быть также вызвано подземными коммуникациями другого назначения, ранее проложенными с недостаточным заглублением или оказавшимися в других отметках после реконструкции улиц со срезкой грунта. В таких случаях должны приниматься дополнительные меры для соблюдения возможного уклона применительно к данной местности, а величины и места отклонений фиксироваться в технической документации.

3.24. При наличии на трассе прокладки трубопровода кабельной канализации других коммуникаций и строений минимально допустимое сближение с ними должно соответствовать расстояниям, приведенным в табл. 2.2 (раздел 2).

3.25. В горизонтальной плоскости трасса прокладки трубопровода, как правило, должна быть прямолинейной. Однако в отдельных случаях, предусмотренных проектом, и при выявлении неучтенных препятствий допускается некоторое отклонение трассы от прямой линии по плавной кривой из расчета не более 1 см на 1 м длины трубопровода.

3.26. При подготовке к прокладке трубопровода необходимо иметь в виду, что отдельные виды труб имеют некоторые отклонения в наружных и внутренних размерах по диаметру и толщине стенок. Поэтому при раскладке труб на бровке траншеи они должны подбираться таким образом, чтобы в соседних стыкуемых секциях трубы не имели существенной разницы в толщине стенок.

3.27. Перед прокладкой трубы (блоки) должны быть вывезены на трассу и разложены вдоль траншеи, по возможности, на свободной от грунта бровке, в пределах 1 м от ее края. Трубы следует укладывать под некоторым углом к оси траншеи, в устойчивом положении, исключающем произвольное их сползание и падение в раскопку. Этим обеспечивается свободная и быстрая перекладка труб с бровки в траншею при прокладке трубопровода.

3.28. Для обеспечения прямолинейности прокладываемого трубопровода на дне траншеи необходимо натянуть шнур (проволоку), закрепляемый на колышках. Каждая укладываемая труба должна касаться шнура боковой поверхностью, не оттягивая его в сторону. Трубы перед опусканием в траншею и стыковкой должны тщательно осматриваться и очищаться от случайных загрязнений.

3.29. Каналы начальных концов труб должны быть сразу плотно закрыты полиэтиленовыми, бетонными или деревянными пробками (рис. 3.3). По окончании прокладки пролета трубопровода все каналы конечной стороны следует также закрыть пробками во избежание попадания в них воды и мусора. В случае вынужденного приостановления работ в средней части пролета трубопровода каналы также необходимо закрывать временно пробками, а траншею защищать земляными валиками для предохранения от дождевых и талых вод.

Рис. 3.3. Бетонная пробка для закрытия канала трубопровода связи

3.30. Перед засыпкой траншеи проложенный трубопровод тщательно осматривается прорабом (мастером) с участием представителя заказчика, и соответствие его техническим требованиям должно быть зафиксировано актом на скрытые работы. Перед сдачей в эксплуатацию проходимость каналов должна быть проверена пробным цилиндром.

3.31. Средние объемы земляных работ при рытье и засыпке траншей и отвозке грунта приведены в справочнике «Строительство кабельных сооружений связи» - М., «Радио и связь», 1988.

ПРОКЛАДКА АСБЕСТОЦЕМЕНТНЫХ ТРУБ

3.32. При прокладке асбестоцементных труб на спланированное дно траншеи необходимо насыпать валики из просеянного грунта высотой 50 - 70 мм по ширине всего трубопровода. Валики следует разместить таким образом, чтобы от их осей до концов труб оставалось расстояние 200 - 300 мм.

3.33. На валики укладывается первая крайняя труба. Чтобы углубить ее, сначала приподнимается один и затем второй концы трубы и с некоторым усилием вдавливаются. Заданный уклон трубы должен контролироваться рейкой или уклономером и корректироваться большим или меньшим утоплением одного из ее концов. Аналогично следует укладывать и другие трубы нижнего ряда, оставляя между ними промежутки в 20 - 25 мм. После прокладки первого ряда все промежутки между трубами необходимо засыпать мягким грунтом до стенок траншеи с тщательной трамбовкой деревянной лопаткой толщиной 10 - 15 мм. После трамбовки первый ряд проложенных труб должен быть засыпан мягким грунтом или песком так, чтобы после уплотнения между ним и следующим рядом труб обеспечивалась прослойка толщиной 20 - 25 мм. Так же прокладываются и последующие ряды труб со сдвигом каждого из них по отношению к предыдущему на 200 - 250 мм (рис. 3.4).

Рис. 3.4. Прокладка асбестоцементных труб в многоотверстные блоки:

а) сдвиг труб в каждом последующем ряду; б) расстояния между трубами в ряду и между рядами; в) деревянная лопатка для трамбовки грунта между трубами

Перед стыкованием труб внутренняя и наружная поверхности каналов должны быть очищены от загрязнений и концы их сведены вплотную. Если при этом будет выявлено расхождение по внутренним и наружным диаметрам из-за недоброкачественной рассортировки, трубу заменяют.

3.34. Стыковка труб может осуществляться различными способами. В последние годы наибольшее распространение получил способ стыковки труб при помощи полиэтиленовых манжет (муфт) диаметром 116/122 мм и длиной 80 мм, с кольцеобразной перегородкой высотой 3 мм в середине муфты по внутреннему диаметру (рис. 3.5, а). Такие муфты должны предварительно прогреваться в бачке с горячей водой, нагретой до 90 - 100 °С, с выдержкой не менее 10 мин.

Горячую, несколько расширившуюся муфту надевают одним концом на ранее проложенную трубу до упора во внутреннюю перегородку. Очищенный конец второй трубы вставляют в муфту с противоположной стороны также до упора во внутреннюю перегородку. Плотность стыковки достигается легкими ударами молотком или кувалдой по торцу трубы через приложенную доску.

Этот способ стыковки труб приемлем только при прокладке их в нормальных сухих грунтах. На трассах с высоким уровнем грунтовых вод поверхность концов стыкуемых труб должна обмазываться по всей окружности битумом, разжиженным в керосине.

Рис. 3.5. Заделка стыков асбестоцементных труб при помощи:

а) полиэтиленовых муфт; б) металлических манжет

1 - полиэтиленовая муфта; 2 - асбестоцементные трубы; 3 - лента гидроизола (металлоизола, бризола, смоляная); 4 - манжета из кровельной стали; 5 - цементно-песчаная масса

3.35. Имеет также распространение способ стыковки труб при помощи металлических манжет, обмазываемых цементно-песчаным раствором. При его применении очищенные концы труб плотно составляются, и место их стыка обматывается одним слоем ленты гидроизола (металлоизола, бризола) или смоляной, шириной 50 - 60 мм. Поверх ленты накладывают и затягивают манжету из листовой стали с замковыми вырезами размерами 430´60 мм. Подготовленный стык по всей длине окружности обмазывают цементно-песчаной массой толщиной 10 - 15 мм (рис. 3.5, б).

3.36. Разновидностью манжетного способа является стыкование труб при помощи стальной манжеты, накладываемой на слой смоляной ленты с прогревом ее пламенем паяльной лампы или газовой горелки. После этого на горячую манжету должен быть намотан второй слой смоляной ленты с дополнительным подогревом. Оплавляясь, смола ленты достаточно надежно уплотняет стык и изолирует манжету от коррозии. Этот способ стыкования обеспечивает меньшую возможность влагопроницаемости и приемлем для увлажненных грунтов.

3.37. Для мокрых грунтов наиболее надежным является способ стыкования труб при помощи асбестоцементных муфт, заливаемых горячим битумом.

В этом случае расстояние между прокладываемыми трубами должно быть увеличено до 30 - 35 мм, а каждый последующий стык смещен по отношению к предыдущему в горизонтальной и вертикальной плоскостях на 200 - 250 мм. В асбестоцементных муфтах предварительно следует пробить по два отверстия диаметром 15 - 20 мм в одной продольной линии. При необходимости муфту и концы труб следует просушить пламенем паяльной лампы (газовой горелки).

Подготовленную муфту необходимо надеть на конец одной трубы, пододвигая последнюю в стык с ранее проложенной. Место стыка нужно обмотать двумя слоями битумной (смоляной) ленты шириной 60 - 70 мм и продвинуть на него муфту, размещая ее отверстиями вверх. Концы муфты зачеканивают смоляной прядью, сухой ветошью или паклей. В одно отверстие муфты следует заливать горячий расплавленный битум до момента его появления во втором отверстии и постепенной усадки. Охлаждение битума должно происходить в естественных условиях, и до отвердения битума стык шевелить нельзя (рис. 3.6, а).

3.38. На трассах, где грунт и трубопровод могут подвергаться некоторым смещениям и колебаниям, для стыковки необходимо применять асбестоцементные муфты с резиновыми кольцами. В таких случаях должны использоваться напорные асбестоцементные трубы с обточенными концами. При стыковке на конец одной трубы следует надвинуть муфту и два резиновых кольца, размещаемых на установленном расстоянии друг от друга и конца трубы (по шаблону). Вторую трубу укладывают в стык с первой и при помощи специальных рычагов или двух ломов муфту перемещают на середину стыка. При этом резиновые кольца перекатываются по обточенным концам труб и занимают симметричное положение по отношению к линии стыка. С обеих сторон муфты зазоры зачеканивают смоляной прядью (рис. 3.6, б).

Рис. 3.6. Заделка стыков асбестоцементных труб при помощи асбестоцементных муфт:

а) с заливкой расплавленным битумным компаундом; б) с применением резиновых колец

1 - асбестоцементная муфта; 2 - отверстия для заливки компаунда; 3 - смоляные пряди; 4 - лента смоляная (битумная); 5 - битумный компаунд; 6 - резиновые кольца; 7 - асбестоцементные трубы

ПРОКЛАДКА БЕТОННЫХ (ЦЕМЕНТНО-ПЕСЧАНЫХ) ТРУБ И БЛОКОВ

3.39. При прокладке бетонных труб вначале на спланированном дне траншеи по шаблону должны быть размечены места их стыковки. В отмеченных местах на ширину трубы (блока) устраивают углубления (выемки) для железобетонных подкладок соответствующих размеров. Глубина выемок определяется так, чтобы после укладки каждая труба (блок) своей нижней плоскостью лежала на спланированном дне траншеи с одновременным обеспечением заданного уклона. В плотных грунтах допускается вместо подкладок заполнять углубления раствором сырого бетона (рис. 3.7).

Рис. 3.7. Прокладка бетонных (цементно-песчаных) труб:

а) блок из рядов бетонных труб; б) размещение труб на бетонных подкладках или выемках в грунте, заполненных цементно-песчаной массой; в) стыковка труб с заполнением зазоров цементно-песчаной массой

1 - железобетонная подкладка; 2 - бетонные трубы; 3 - цементно-песчаная масса; 4 - песок; 5 - выемка в грунте

После установки подкладок их выемки заполняют цементно-песчаной массой, укладывая ее холмиком так, чтобы гребень возвышался над серединой впадины, а у краев не доходил до ее верхних обрезов. При использовании выемок в грунте они должны аналогично заполняться цементно-песчаной массой.

Каждая последующая труба должна вставляться замковым выступом во впадину (уступ) стыкуемой трубы до плотного упора. Для удобства стыковки и укладки следует пользоваться двумя стальными держателями (крюками). При этом один работник должен заводить концы держателей под трубу вблизи стыка, несколько приподнимая ее, а другой - направлять стыковку руками. Под тяжестью уложенной трубы цементно-песчаная масса в выемке подкладки или в углублении грунта разравнивается, заполняя их и зазор стыкуемых труб.

3.40. Качество стыка проверяется визуально и контрольной штангой (рис. 3.8), которая должна свободно проходить место стыка, без задержек и повышенного трения. Зазор между концами состыкованных труб должен быть минимальным и одинаковым по всему периметру их обрезов. Общее направление укладываемых и стыкуемых труб должно контролироваться натянутым по дну траншеи шнуром.

При прокладке одной трубы после проверки штангой место стыка по всему периметру смоченных водой поверхностей обмазывают цементно-песчаной массой марки 50 (100) шириной 60 - 75 мм и толщиной 7 - 10 мм.

Рис. 3.8. Крюк-держатель и контрольная штанга:

1 - кровельная сталь; 2 - деревянная скалка

3.41. Прокладку многоотверстных блоков рекомендуется производить в соответствии с рис. 3.9. При этом нижний ряд блоков необходимо укладывать с помощью бетонных подкладок соответствующих размеров или углублений в дне траншеи. Между соседними блоками в ряду следует обеспечивать зазоры в 4 - 5 мм, которые на расстоянии 50 - 70 мм в обе стороны от оси стыка должны заполняться бетонным раствором, а в остальной части - песком. Верх и боковые стороны стыка необходимо промазать цементным раствором.

Каждый последующий ряд труб должен укладываться на предыдущий по слою песчаной подготовки толщиной 10 - 15 мм со сдвигом стыков на 150 - 200 мм по отношению к каждому предыдущему ряду. В местах стыка слой песчаной подготовки должен прерываться на ширине 75 - 100 мм. На нижние трубы наносят слой цементно-песчаной массы толщиной 10 - 15 мм с возвышающимся валиком по оси стыка.

Дальнейшую укладку труб производят аналогично. В процессе прокладки крайние каналы трубопровода следует проверять контрольной штангой и при необходимости обеспечивать подправку.

После окончания заделки стыков их осторожно присыпают песком или мягкой землей.

Рис. 3.9. Некоторые варианты компоновки блоков из одно - трехотверстных бетонных труб

ПРОКЛАДКА ПОЛИЭТИЛЕНОВЫХ ТРУБ

3.42. При хранении, транспортировке и прокладке полиэтиленовых труб следует учитывать их горючесть, воздействие теплоизлучений и возможность сплющивания. Все работы должны выполняться с учетом возможности их деформации при температуре выше +20 °С и растрескивания с образованием трещин при температуре ниже минус 10 °С.

3.43. Развозку труб по трассе следует производить непосредственно перед укладкой, размещая их вдоль траншеи по бровке, свободной от грунта. Концы труб сваривают на длине каждого пролета канализации.

3.44. Сварка труб должна выполняться на специальных станках, состоящих из станины, зажимных хомутов и рычага, с применением нагревательного диска и фрезы (рис. 3.10).

Рис. 3.10. Сварка полиэтиленовых труб:

а) станок для закрепления концов труб; б) нагревательный диск; в) фреза с комбинированными резцами для торцовки и снятия фаски

1 - рычаг станка; 2 - зажимные хомуты; 3 - полиэтиленовые трубы; 4 - выступ для нагревания диска; 5 - дюралевая трубка; 6 - электроконтактный термометр или термодатчик; 7 - деревянная (пластмассовая) рукоятка; 8 - комбинированные резцы

Процесс сварки заключается в подготовке концов труб по диаметру, снятии с них фаски, оплавлении и сжатии с определенным усилием до отвердения.

Для этого сначала концы свариваемых труб жестко фиксируются в зажимных хомутах, один из которых может перемещаться, сближая и отдаляя трубы посредством рычага. По всей длине торцы труб должны быть плотно подогнаны один к другому, без видимых просветов, отторцованы. Затем по всей внутренней окружности торцов обеих труб снимают фаску на 1/3 толщины стенок.

Торцовку и снятие фаски выполняют одновременно специальной ручной фрезой с комбинированными резцами. При этом фрезу надвигают на конец одной из труб. Конец второй трубы вводят во фрезу с другой стороны поворотом рычага станка. Посредством съемной ручки рычага фрезу несколько раз поворачивают вперед и назад на угол не менее 120° по окружности. После этого обратным поворотом рычага станка трубы разводят, фрезу снимают и проверяют качество обработки концов труб. При необходимости операцию повторяют.

3.45. Оплавление концов труб должно производиться при помощи латунного или медного диска, нагреваемого электрическим током или пламенем паяльной лампы (газовой горелки). Температуру нагрева контролируют регулируемым биметаллическим термодатчиком или термоконтактным термометром помещаемым в рукоятке диска.

Сварку труб ПНП производят при температуре 180 - 200 °С, а ПВП - 200 - 220 °С. Нагретый до заданной температуры диск помещают между концами труб в станке. Действуя рычагом, концы труб прижимают к нагревателю, вследствие чего торцы их оплавляются. По истечении 10 - 15 с трубы несколько раздвигают и извлекают нагреватель, а оплавленные концы с некоторым усилием вновь сжимают. После естественного остывания в течение 0,5 - 1,0 мин трубы извлекают из зажимных хомутов и станок переносят к месту последующей сварки.

3.46. Аналогично свариваются трубы на протяжении всего пролета трубопровода. Качество сварки проверяется визуально. Линия спая должна быть затянута оплавленным полиэтиленом с выступанием внешних валиков на одинаковую высоту (1 - 2 мм) и ширину по всему шву сварки.

3.47. Сваренные трубы по всей длине пролета канализации при помощи лямок опускаются на спланированное дно траншеи с соблюдением прямолинейности и установленного уклона. Каждая последующая секция сваренных труб укладывается параллельно предыдущей с прослойкой между ними, равной 20 мм. Уложенные трубы засыпают мягким грунтом или песком с тщательной трамбовкой.

3.48. При укладке блоков из нескольких рядов труб каждый последующий ряд укладывается на предыдущий с прослойкой мягкого грунта или песка толщиной 50 мм. При этом, в отличие от асбестоцементных, оси полиэтиленовых труб смещаются в каждом последующем ряду поочередно вправо и влево на половину расстояния между трубами (рис. 3.11). Верхний ряд труб присыпают также слоем мягкой земли и песка толщиной не менее 100 мм, а затем вырытым грунтом.

Рис. 3.11. Укладка полиэтиленовых труб в траншее.

1 - полиэтиленовые трубы; 2 - мягкий грунт или песок

ПРОКЛАДКА ПОЛИВИНИЛХЛОРИДНЫХ ТРУБ

3.49. Прокладка поливинилхлоридных (винилитовых) труб должна осуществляться в основном по той же технологии, что и прокладка полиэтиленовых труб. Стыковку труб производят также на бровке траншеи, используя раструбные и муфтовые соединения с применением клея (рис. 3.12).

Рис. 3.12. Соединение поливинилхлоридных (винилитовых) труб:

а) раструбное; б) муфтовое

1 - клей; 2 - раструб; 3 - муфта

3.50. Раструб отформовывается специальной оправкой предварительно разогретом до температуры 100 - 130 °С одном из концов стыкуемых труб или плотно надвигаемой на стык поливинилхлоридной муфты. В раструбе или муфте концы труб закрепляются клеем или лаком.

Для этого пригодны клеи: марки РС-20, состоящий из 80 % метиленхлорида и 20 % перхлорвиниловой смолы, или марки РСД-15, состоящий из 85 % дихлорэтана технического и 15 % перхлорвиниловой смолы в весовых частях. Могут также использоваться лаки марки № 1 ПХВ-1 и № 2 ПХВ-2.

3.51. Для кабельной канализации должны использоваться трубы с внутренним диаметром 100 мм. Трубы меньших диаметров (25 - 50 мм) используются в закладных устройствах скрытой проводки в жилых и административных зданиях.

ПРОКЛАДКА ТРУБОПРОВОДА НА МОСТАХ

3.52. Прокладка трубопровода кабельной канализации на мостах через реки, железные дороги, шоссе, уличные проезды и др. осуществляется применительно к конструктивным особенностям каждого моста.

3.53. В зависимости от длины и ширины пролетов моста, конструкции ферм, числа каналов трубопровода и т.п. составляется технический проект, в котором, помимо указанного, должны быть учтены и такие факторы, как вибрация сооружений при проходе транспорта, подверженность более резким и частым перепадам температур, воздействие внешней среды, необходимость дополнительной защиты сооружений от возможных механических повреждений при проходе транспортных средств, ледоходе и т.п. На разводных мостах через реки и каналы дополнительно должны быть решены вопросы прокладки сооружений в местах разводных (раздвижных) конструкций. Все принятые решения согласовываются с организацией, осуществляющей эксплуатацию мостовых сооружений.

3.54. Наиболее целесообразной является прокладка асбестоцементных или полиэтиленовых труб в конструкциях моста. На больших городских мостах прокладку трубопровода обычно осуществляют в тротуарных ячейках с укладкой труб в один или два ряда. Для подхода к мосту с двух сторон устраивают колодцы, между которыми и прокладывают трубопровод в его пролетных частях.

Трубы блоков небольшой емкости размещают в один ряд. Трубопровод с большим числом каналов обычно выводят из колодцев уложенным в три, четыре и более рядов. На подходах к устоям моста трубопровод веерообразно, плавно перемещают в один или два ряда для укладки в тротуарных ячейках (рис. 3.13).

3.55. При значительной длине пролетов моста в его пешеходной части должны устраиваться нетиповые смотровые устройства, крышками которых являются съемные железобетонные плиты тротуара.

Поверх плит обычно наносится общий слой асфальта по всему тротуару, и вскрытие смотровых устройств приравнивается к раскопкам с последующим асфальтированием.

Рис. 3.13. Прокладка кабельной канализации на мостах:

а) переход трубопровода под тротуаром моста; б) тротуарная ячейка

1 - колодец; 2 - перевод трубопровода из двух в один ряд; 3 - смотровое устройство под настилом тротуара (со снятой плитой тротуара); 4 - трубы канализации; 5 - настил тротуара

3.56. При небольших пролетах моста тротуарные ячейки могут использоваться и без прокладки трубопровода, с размещением кабелей непосредственно на дно образованной ниши. Для уменьшения вибрации на дно ниши необходимо настелить упругие основания из асбестовых очесов или других материалов.

3.57. В случаях, когда вдоль обеих сторон моста проходят уличные проезды с проложенной кабельной канализацией связи, под мостом должны быть устроены колодцы и из них - кабельные переходы в нижнюю часть (шахту) мостовых устоев. Шахта и нижняя часть моста должны быть оборудованы крепежными конструкциями для раскладки кабелей.

3.58. На раздвижных мостах трубопровод прокладывается с обеих сторон моста одним из указанных способов. В раздвижных частях целесообразно использовать подводные бронированные кабели, укладываемые в дно реки. Спуск кабелей в реку должен выполняться по неподвижным устоям моста с защитой их от механических повреждений проходящими судами и ледоходом.

3.59. При отсутствии пустот (ячеек) под тротуаром моста и необходимости прокладки небольшого числа кабелей трубопровод должен подвешиваться к стальным конструкциям мостовых ферм. Для этого следует изготовить стальные хомуты по размерам несущей балки. На хомутах должны закрепляться стальные накладки и на них - трубопровод. Под накладками следует разместить пружинные амортизаторы, смягчающие вибрацию трубопровода с кабелями при проезде транспорта. Крепление трубопровода может быть выполнено также в деревянных колодках с полукруглыми вырезами по форме и размерам прокладываемых труб (рис. 3.14).

3.60. Если при прокладке кабелей небольшой длины используются стальные трубы, то они должны быть тщательно обработаны в торцах со снятием заусениц и покрыты с внутренней и наружной сторон расплавленным битумом или другим изолирующим составом. Это имеет особо важное значение при проходе под мостом электрифицированной железной дороги.

Рис. 3.14. Крепежные устройства для прокладки трубопровода под мостом:

а) подвеска на пружинных амортизаторах; б) укладка труб в деревянных колодках

1 - стальная балка моста; 2 - стальной хомут; 3 - трубы; 4 - пружинные амортизаторы; 5 - настил тротуара; 6 - деревянные колодки

ВВОД ТРУБОПРОВОДОВ В КОЛОДЦЫ КАБЕЛЬНОЙ КАНАЛИЗАЦИИ

3.61. Ввод трубопроводов в колодцы (смотровые устройства) должен осуществляться через предусмотренные для этого проемы в торцовых и боковых стенках. Все каналы трубопровода следует размещать в одной вертикальной и горизонтальной плоскостях с отступлением от внутренней поверхности стенки колодца на 30 - 40 мм (рис. 3.15).

Рис. 3.15. Ввод трубопровода в кабельные колодцы:

а) общий вид; б) обработка полиэтиленовых труб при вводе в колодец

1 - колодец; 2 - трубопровод; 3 - битумная лента; 4 - полиэтиленовая труба; 5 - раствор цемента со щебенкой

3.62. Свободные просветы проемов необходимо заделывать кирпичной кладкой, а промежутки между трубами - кирпичной щебенкой на цементном растворе. Лицевая плоскость вводного блока должна быть тщательно выровнена цементным раствором при вставленных в каналы пробках.

3.63. В целях достижения большей герметичности обработку проема с введенными трубами следует производить с двух сторон стенок колодца (из колодца и из котлована) до его засыпки грунтом.

3.64. Полиэтиленовые трубы должны вводиться в проем колодца с предварительной обмоткой очищенных концов пятью слоями битумной ленты с прогревом ее до оплавления пламенем паяльной лампы или газовой горелки. Пустоты также заделывают кирпичом и цементным раствором.

КОЛОДЦЫ КАБЕЛЬНОЙ КАНАЛИЗАЦИИ СВЯЗИ

3.65. Колодцы кабельной связи (ККС) подразделяются по следующим основным признакам:

а) по конструкции, размерам и соотношению размеров - на типовые и специальные;

б) по расположению на трубопроводе (улице) - на проходные, угловые, разветвительные и станционные;

в) по материалу - на железобетонные и кирпичные;

г) по расчетной вертикальной нагрузке в месте устройства - для проезжей части улиц (80 т) и непроезжей части улиц (10 т);

д) по типоразмерам - на колодцы кабельной связи (ККС) пяти основных размеров (ККС-1 - ККС-5), колодцы кабельной связи специальные (ККСС) двух основных размеров (ККСС-1 и ККСС-2) и колодцы станционные (ККСст) четырех размеров (для АТС емкостью 3 - 20 тыс. номеров);

е) по форме - на многогранные, прямоугольные, квадратные и овальные.

3.66. Типовые колодцы строят по определенным расчетным конструктивным данным на трубопроводах с установленным числом каналов.

3.67. Проходные колодцы (ККС) устраивают на прямолинейных участках трасс трубопровода, а также в местах, где угол отклонения от прямой линии трассы не превышает 30°.

3.68. Угловые колодцы (ККСу) строят в местах поворота трассы трубопровода под углом 90°. При повороте трассы на угол, несколько больший или меньший 90°, в каждом случае принимается соответствующее решение с учетом направления оси угловой вставки для ввода трубопровода со стороны поворота канализации.

В зависимости от материала, способа изготовления и местных условий они могут быть с угловыми вставками к проходным колодцам и специально угловыми. Сборные железобетонные угловые колодцы устраивают с угловыми вставками. Специально угловая конструкция применяется только при изготовлении монолитных железобетонных колодцев или при выкладке кирпичных колодцев на месте.

3.69. Разветвительные колодцы (ККСр) устраивают в местах разветвления трубопровода. Сборные железобетонные разветвительные колодцы устраивают из типовых проходных колодцев с двумя угловыми вставками. Специальные разветвительные колодцы применяют только при изготовлении монолитных железобетонных устройств или при выкладке кирпичных колодцев на месте (в котловане).

3.70. Станционные колодцы (ККСст) устраивают непосредственно у здания АТС и с торцовой стороны соединяют трубопроводом или тоннелем (коллектором) со станционной кабельной шахтой. С боковых сторон трубопровод разветвляется на два противоположных направления. По числу вводимых каналов трубопровода и габаритам станционные колодцы разделяются в зависимости от емкости строящейся АТС на 3, 6, 10 или 20 тыс. номеров. Станционные колодцы строят монолитными железобетонными или кирпичными с железобетонным перекрытием.

3.71. Специальные колодцы (ККСС) строятся при числе вводимых каналов до 36 и 48. Если число вводимых каналов превышает предельную величину, то устраивают нетиповые колодцы по отдельным проектным решениям.

3.72. Колодцы типа ККС-1 и ККС-2 могут быть только проходными, а ККС-3 - ККС-5 - проходными, угловыми и разветвительными.

Колодец ККС-1 рассчитан на ввод одного канала трубопровода, ККС-2 - двух каналов, ККС-3 - до шести каналов включительно, ККС-4 - до двенадцати каналов и ККС-5 - до двадцати четырех каналов.

Колодцы специального типа ККСС-1 и ККСС-2 рассчитаны на ввод соответственно до тридцати шести и сорока восьми каналов трубопровода.

3.73. Форма железобетонных колодцев определяется их типами, кирпичные колодцы всех типов выкладывают овальной нормы, а типа ККСст - овально-многогранной формы.

При наличии в месте строительства других подземных коммуникаций или строений форма колодца может быть произвольной в зависимости от местных условий и с согласованием с соответствующими организациями. Нетиповая форма может быть придана и при переустройстве (расширении) существующих колодцев на действующем трубопроводе при докладке каналов. Обычно в таких случаях выкладывают нетиповые кирпичные колодцы специального типа.

3.74. Технические данные типовых сборных железобетонных колодцев, изготовляемых по ТУ 45.1418-89, приведены в табл. 3.4.

Таблица 3.4

Типы сборных железобетонных колодцев

Типоразмер колодца

Допустимая нагрузка, т

Условные обозначения

Число вводимых каналов

проходной

угловой

разветвительный

5

80

ККС-5-80

ККСу-5-80

ККСр-5-80

24

10

ККС-5-10

ККСу-5-10

ККСр-5-10

24

4

80

ККС-4-80

ККСу-4-80

ККСр-4-80

12

10

ККС-4-10

ККСу-4-10

ККСр-4-10

12

3

80

ККС-3-80

ККСу-3-80

ККСр-3-80

6

10

ККС-3-10

ККСу-3-10

ККСр-3-10

6

2

80

ККС-2-80

-

-

2

10

ККС-2-10

-

-

2

1

10

ККС-1-10

-

-

1

1-ый специальный

80

ККСС-1-80

ККССу-1-80

ККССр-1-80

36

То же, на существующей канализации

80

ККСС-1-1-80

ККССу-1-1-80

ККССр-1-1-80

36

2-ой специальный

80

ККСС-2-80

ККССу-2-80

ККССр-2-80

48

То же, на существующей канализации

80

ККСС-2-1-80

ККССу-2-1-80

ККССр-2-1-80

48

5-ый для контейнеров НРП, К-12, икм-30

80

ККС-5М-80

-

-

24

Примечания:

1. Колодец ККС-1-10 в ТУ не учтен.

2. Колодцы 5 - 1 типоразмеров раньше назывались соответственно колодцами большого, среднего, малого типов, коробками большого и малого типов.

3. Станционные колодцы классифицируются соответственно емкости АТС.

3.75. Типы применяемых колодцев определяются проектом в зависимости от числа каналов трубопровода на каждом участке трассы, его направления (поворота и разветвления), емкости АТС, прокладки на пешеходной или проезжей частях улиц и перспектив развития сети на заданный период с учетом последующей докладки трубопровода без переустройства колодцев.

Необходимость и способы гидроизоляции колодцев, предотвращения их разрушения в грунтах, подверженных пучению, морозобойным трещинам, смещению в неустойчивых почвах (плывунах, заболоченных участках, оврагах) определяются в процессе проектирования.

ОСНОВНЫЕ МАТЕРИАЛЫ ДЛЯ СТРОИТЕЛЬСТВА И ИЗГОТОВЛЕНИЯ КОЛОДЦЕВ КАБЕЛЬНОЙ СВЯЗИ И ДРУГИХ УСТРОЙСТВ КАНАЛИЗАЦИИ

3.76. Основными материалами для изготовления и строительства колодцев и других устройств кабельной канализации являются цемент, песок (гравий, щебень), используемая для их затворения вода, а также кирпич и арматурная сталь.

3.77. Для образования бетона (искусственного камня) цемент с заполнителями (песок, гравий, щебень) затворяют чистой водой в определенных весовых соотношениях. В зависимости от предела прочности установлены марки бетона: 50, 75, 100, 150, 200, 300, 400 и 500. Созревающий бетон необходимо предохранять от сотрясений и высыхания.

В отличие от бетона цементно-песчаные растворы приготовляют из цемента и песка, затворяемых водой. В зависимости от соотношений компонентов растворы подразделяются по маркам: 25, 50, 75 и 100.

3.78. Для повышения прочности бетонных конструкций, подвергающихся воздействию растягивающих, изгибающих и скалывающих усилий, в них при изготовлении вводят стальные арматурные каркасы из отдельных стержней, скрепляемых проволокой или сваркой. В качестве арматуры должны использоваться горячекатанные круглые стержни гладкого или периодического профиля шести классов (от А-I до А-VI) диаметром 6 мм и более. Изделия называют железобетонными.

3.79. Для кирпичных сооружений связи должен использоваться глиняный красный кирпич прямоугольной формы семи марок: 75 - 300.

Строительство кирпичных колодцев должно производиться из такого кирпича марки 75.

3.80. От качества и правильности дозировки используемых компонентов зависит прочность и длительность срока службы построенных сооружений, поэтому они должны строго контролироваться.

3.81. Технические данные бетонов, цементно-песчаных растворов и кирпича, используемых при строительстве сооружений связи, приведены в табл. 3.5 - 3.7.

Таблица 3.5

Марки бетонов, цементно-песчаных растворов и кирпича, применяемых для строительства кабельных колодцев связи

Наименование изделий

Марка

бетона

кирпича

раствора

Элементы сборных железобетонных колодцев

200

-

-

Соединение элементов сборных железобетонных колодцев в грунте:

 

 

 

- сухом

-

-

50

- мокром

-

-

100

Монолитные железобетонные колодцы

200

-

-

Стены кирпичных колодцев

-

75

50

Днища кирпичных колодцев

50/75

-

100

Перекрытия кирпичных и монолитных железобетонных колодцев

200

-

-

Штукатурка стен кирпичных колодцев

-

-

50

Регулировочные кольца под люк

200

-

50

Таблица 3.6

Примерный состав бетона в номинальной дозировке на 1 м3

Марка бетона

Цемент марки 200 - 300, кг

Песок, м3

Гравий, м3

50/75

190

0,50

0,8

100

220

0,48

0,8

150

250

0,46

0,8

200

280

0,44

0,8

300

340

0,40

0,8

Таблица 3.7

Примерный состав цементно-песчаных растворов в объемной дозировке

Марка раствора

Соотношение цемента и песка для цемента марки:

100

150

200

300

25

1:5

1:6

1:9

1:12

50

1:2,5

1:3

1:4,5

1:6

100

-

-

1:2,5

1:3

ИЗГОТОВЛЕНИЕ И СТРОИТЕЛЬСТВО ЖЕЛЕЗОБЕТОННЫХ КОЛОДЦЕВ

3.82. Типовые сборные железобетонные колодцы изготовляют на заводах железобетонных изделий. В удаленных районах, с учетом местных условий, колодцы могут изготовляться и на участках или полигонах предприятий, ведущих основное строительство сооружений связи.

Изготовление колодцев регламентируется техническими условиями, специальными технологическими руководствами, картами и другой технической документацией.

3.83. Сборные железобетонные колодцы типа ККС-1 изготовляют квадратной (рис. 3.16), а типа ККС-2 - шестигранной (рис. 3.17) формы.

Проходные колодцы типа ККС-3, ККС-4 и ККС-5 имеют восьмигранную форму (рис. 3.18).

Угловые колодцы типа ККСу-3, ККСу-4 и ККСу-5 (рис. 3.19) изготовляют с угловой вставкой, с левой или с правой стороны проходного колодца в зависимости от поворота трассы трубопровода.

Разветвительные колодцы типа ККСр-3, ККСр-4 и ККСр-5 (рис. 3.20) изготовляют с двумя угловыми вставками с обеих сторон проходного колодца.

Рис. 3.16. Сборный железобетонный колодец типа ККС-1

Рис. 3.17. Сборный железобетонный колодец типа ККС-2

Рис. 3.18. Сборные железобетонные колодцы проходные типа ККС-3, ККС-4 и ККС-5

Рис. 3.19. Сборные железобетонные колодцы угловые типа ККСу-3, ККСу-4 и ККСу-5

Рис. 3.20. Сборные железобетонные колодцы разветвительные типа ККСр-3, ККСр-4 и ККСр-5

3.84. Основные размеры сборных железобетонных колодцев приведены в табл. 3.8.

3.85. Колодцы типа ККС-2 - ККС-5 изготовляют из двух отдельных составных частей (половин): нижней с днищем и половиной боковых стен и верхней с перекрытием и верхней частью боковых стен. В перекрытии предусмотрено круглое отверстие для входного люка.

В зависимости от грузоподъемности средств механизации и автотранспорта сборку колодцев целесообразно осуществлять на месте изготовления и вывозить на трассу в полностью готовом виде, с вмазанными стальными ершами для крепления кронштейнов или консольными крюками в колодцах ККС-1 и ККС-2. Однако допускается производить вмазку стальных ершей и на месте, в оставленные для этого при изготовлении отверстия (гнезда).

3.86. На трубопроводе емкостью более 24 каналов строят сборные железобетонные колодцы специального типа (ККСС) прямоугольной формы двух основных типоразмеров: ККСС-1 (рис. 3.21) при числе каналов 25 - 36 и ККСС-2 (рис. 3.22) при числе каналов 37 - 48.

В местах поворота или разветвления трассы трубопровода посредством угловых вставок устраивают угловые колодцы специального типа ККССу-1 или ККССу-2 (рис. 3.23), а также разветвительные колодцы специального типа ККССр-1 или ККССр-2 (рис. 3.24).

Таблица 3.8

Основные размеры проходных, угловых и разветвительных железобетонных колодцев

Колодец

Размеры, мм

L

В

Н

hB

hH

ТB

ТH

аB

аH

Ву

Вр

ККС-5-80

2990

1600

2030

1020

1000

120

100

110

90

-

-

ККСу-5-80

2990

1600

2030

1020

1000

120

100

110

90

2035

-

ККСр-5-80

2990

1600

2030

1020

1000

120

100

110

90

-

2470

ККС-5-10

2990

1600

2010

1000

1000

100

100

90

90

-

-

ккСу-5-10

2990

1600

2010

1000

1000

100

100

90

90

2035

-

ККСр-5-10

2990

1600

2010

1000

1000

100

100

90

90

-

2470

ККС-4-80

2390

1300

2010

1000

1000

100

100

90

90

-

-

ККСу-4-80

2390

1300

2010

1000

1000

100

100

90

90

1630

-

ККСр-4-80

2390

1300

2010

1000

1000

100

100

90

90

-

1960

ККС-4-10

2390

1300

1990

1000

980

100

80

90

70

-

-

ККСу-4-10

2390

1300

1990

1000

980

100

80

90

70

1630

-

ККСр-4-10

2390

1300

1990

1000

980

100

80

90

70

-

1960

ККС-3-80

1950

1160

1810

900

900

100

100

90

90

-

-

ККСу-3-80

1950

1160

1810

900

900

100

100

90

90

1500

-

ККСр-3-80

1950

1160

1810

900

900

100

100

90

90

-

1840

ККС-3-10

1950

1160

1770

880

880

80

80

70

70

-

-

ККСу-3-10

1950

1160

1770

880

880

80

80

70

70

1500

-

ККСр-3-10

1950

1160

1770

880

880

80

80

70

70

-

1840

ККС-2-80

1350

1030

1570

780

780

80

80

70

70

-

-

ККС-2-10

1350

1030

1570

780

780

80

80

70

70

-

-

Примечания:

1. Размеры колодцев ККС-1 показаны на рис. 3.16.

2. Конструкция и основные размеры колодца ККС-5М, предназначенного для размещения в нем контейнеров НРП-12 и аппаратуры ИКМ-30, отличаются от колодца ККС-5-80 лишь некоторыми деталями, имея те же основные размеры.

Рис. 3.21. Проходной сборный железобетонный колодец специального типа ККСС-1 на 25 - 36 каналов трубопровода

Рис. 3.22. Проходной сборный железобетонный колодец специального типа ККСС-2 на 37 - 48 каналов трубопровода

Рис. 3.23. Угловой сборный железобетонный колодец специального типа ККССу-1

Рис. 3.24. Разветвительный сборный железобетонный колодец специального типа ККССр-1

Угловые колодцы типа ККССу-2 и разветвительные ККССр-2 монтируют из проходных колодцев ККСС-2 и угловых вставок аналогично изображенным на рис. 3.23 и 3.24.

3.87. Угловые вставки к сборным железобетонным проходным колодцам представляют собой специальные железобетонные устройства (карманы), пристраиваемые к типовым проходным колодцам для ввода трубопровода со стороны поворота или разветвления трассы канализации.

Такие вставки изготовляются из двух частей (половин): верхней и нижней. При сборке в заводских условиях вставки к колодцам типа ККС-4 и ККС-3, кроме того, могут применяться и цельными.

Двухэлементные угловые вставки к колодцам типа ККС-3-80(10), ККС-4-80(10) и ККС-5-80(10) изображены на рис. 3.25, а одноэлементные вставки к колодцам типа ККС-3-80(10) и ККС-4-80(10) - на рис. 3.26. Их размеры приведены в табл. 3.9.

Разработаны и применяются также конструкции цельных и двухэлементных угловых вставок для установки на существующем блоке к сборным железобетонным колодцам специального типа.

Рис. 3.25. Двухэлементная угловая вставка к сборным железобетонным колодцам типа ККС-3-80(10), ККС-4-80(10) и ККС-5-80(10):

а) верх (ККС-3-В1); б) низ (ККС-3-В2)

Рис. 3.26. Одноэлементная угловая вставка к сборным железобетонным колодцам типа ККС-3-80(10) и ККС-4-80(10)

Таблица 3.9

Основные размеры угловых вставок, мм

Колодец

а

б

в

г

д

е

Н

hн

hв

Двухэлементные вставки (верх и низ) - рис. 3.25

ККС-5-80(10)

810

710

585

435

400

550

-

570

570

ККС-4-80(10)

725

625

470

330

300

440

-

570

570

ККС-3-80(10)

565

465

550

340

300

510

-

470

470

 

Одноэлементные (цельные) вставки - рис. 3.26

ККС-4-80(10)

725

625

470

330

300

440

1150

575

575

ККС-3-80(10)

565

465

550

340

300

510

950

475

425

3.88. Опорное железобетонное кольцо ОК-1 под люк колодца (рис. 3.27) устанавливается в створ с круглым отверстием в перекрытии. В зависимости от глубины заложения перекрытия колодца с уровнем дорожного покрытия под каждый люк может быть подложено одно или несколько опорных колец.

Рис. 3.27. Опорное железобетонное кольцо под люк колодца

3.89. Типовые железобетонные станционные колодцы строятся четырех типоразмеров: для АТС емкостью 3, 6, 10 и 20 тысяч номеров.

Конструкция станционных колодцев показана на рис. 3.28, основные размеры приведены в табл. 3.10.

Рис. 3.28. Станционный железобетонный колодец

Таблица 3.10

Основные размеры монолитных железобетонных колодцев станционного типа, м

Емкость АТС, номеров

А

Б

В

Г

Д

Е

Ж

З

И

R

3000

2,0

2,125

1,8

0,875

0,75

1,25

0,75

0,13

0,12

6,3

6000

4,3

2,600

2,2

1,650

1,00

1,62

0,75

0,18

0,13

10,4

10000

5,0

3,000

2,2

2,000

1,00

1,65

1,00

0,20

0,13

9,1

20000

6,0

3,000

2,2

2,250

1,50

1,65

1,00

0,20

0,13

12,4

Примечания:

1. На колодцы для АТС емкостью 3000 номеров устанавливается один люк, на другие колодцы - по два люка.

2. Перекрытия станционных колодцев устраивают из типовых железобетонных плит П-1-80(10), П-2-80(10) и П-3-80(10).

3.90. Транспортировка и монтаж сборных железобетонных колодцев допускается при достижении ими не менее 70 % проектной прочности. Работы выполняют при помощи автокранов с соответствующей грузоподъемностью и вылетом стрелы. Крепление строп производят за стальные петли, вмонтированные при изготовлении колодца или его деталей и связанные с арматурным каркасом.

3.91. Наиболее рациональной является схема организации работ, при которой колодец или его элементы выгружаются с автомашины сразу в котлован (рис. 3.29). При этом должно выверяться его правильное положение в вертикальной и горизонтальной плоскостях при помощи рейки, уровня и отвеса.

3.92. В местах стыковки половин или отдельных элементов колодца на каждую уложенную часть (деталь) должен наноситься слой цементно-песчаного раствора толщиной 5 - 10 мм. Перед наложением раствора все стыкуемые поверхности должны смачиваться водой для более прочного схватывания цементно-песчаной массы с бетоном изделий. После сборки колодца излишки раствора следует удалить или дополнить, если его недостаточно, тщательно разглаживая все швы.

В случаях, предусмотренных проектом, отдельные элементы сборного колодца скрепляют между собой при помощи стальных накладок, свариваемых с их арматурным каркасом.

Рис. 3.29. Монтаж сборного железобетонного колодца:

1 - котлован; 2 - нижняя часть колодца; 3 - траншея; 4 - верхняя часть колодца; 5 - автокран

3.93. Сборка угловых и разветвительных колодцев должна осуществляться с предварительной пробивкой окон (проемов) в стенках проходных колодцев для угловых вставок. Эти работы выполняются до установки колодцев в котлован. При использовании двухэлементных угловых вставок сначала к проему необходимо пристроить нижнюю ее часть с упором в стенку проема и ненарушенное дно котлована. Затем на верхний срез нижней половины следует нанести цементно-песчаный раствор и опустить верхнюю часть. Все стыкуемые поверхности необходимо смачивать водой, а по окончании работ - загладить швы стыковки.

3.94. Сборные железобетонные колодцы специального типа строятся по отдельному проектному решению и рабочим чертежам применительно к данной местности.

Наиболее приемлемым является опробованный способ монтажа колодцев, когда на выровненное и хорошо утрамбованное дно котлована наносят слой бетонной подготовки толщиной 100 мм. Стеновые блоки устанавливают на уложенную подготовку во взаимнопротивоположных положениях, внутрь нижними горизонтальными плоскостями (подошвами). Жесткая связь между стеновыми блоками (подошвами) в днище обеспечивается петлевыми выпусками арматуры, через которые пропускают стальной стержень с последующим тонированием. Плиты перекрытия связывают между собой и со стеновыми блоками накладными металлическими деталями, привариваемыми к таким же деталям сборных железобетонных элементов.

Все пазы между стеновыми блоками, плитами перекрытий и днищем заполняются цементно-песчаным раствором.

Штыри для крепления кронштейнов приваривают специальным арматурным выпускам каркаса стеновых блоков. Аналогично крепят и другие устройства для иных коммуникаций.

3.95. В случаях применения монолитных железобетонных колодцев в отрытом котловане устанавливают наружную и внутреннюю опалубки и между ними - арматурный каркас. Пространство между опалубками заполняют уплотняемым бетоном марки 200. Раствор бетона должен доставляться на трассу в готовом виде в количестве, необходимом для полного заполнения.

При этом наиболее рациональным способом строительства монолитных колодцев является непрерывный процесс их бетонирования, для чего необходимо использовать заранее подготовленные опалубки наружных и внутренних стенок в виде отдельных щитов и днища.

Наружная опалубка изготовляется из щитов длиной на всю высоту колодца, а внутренняя - высотой на половину колодца и шириной не более 0,6 м. Этим обеспечивается плавный изгиб стенок колодца и выемка щитов через люк по окончании работы. Стальную арматуру необходимо также заблаговременно сваривать и связывать отдельными щитами (полотнами).

3.96. В проектных решениях может быть предусмотрена и несколько иная технология строительства монолитных колодцев применительно к местным условиям и возможностям исполнителей.

СТРОИТЕЛЬСТВО КИРПИЧНЫХ КОЛОДЦЕВ

3.97. Строительство кирпичных колодцев в сравнении со строительством сборных железобетонных требует больших затрат труда и времени, поэтому оно оправдано только при наличии соответствующих обоснований, когда применение сборного железобетона невозможно, затруднено или нецелесообразно. Применение кирпичных колодцев вполне допустимо при незначительной потребности в смотровых устройствах на удаленных объектах строительства, когда организация изготовления их из железобетона требует высоких затрат и времени, а доставка издалека - нерентабельна. Допустимо применение кирпичных колодцев также в стесненных уличных условиях, не позволяющих использовать мощные грузоподъемные технические средства, в пригородной зоне, при наличии других подземных коммуникаций, переустройстве (расширении) колодцев, загруженных кабелями и т.п.

3.98. Форма типовых кирпичных проходных, угловых и разветвительных колодцев типа ККС-2 - ККС-5 должна быть овальной, а ККС-1 - квадратной. Станционные кирпичные колодцы на 3 - 20 тысяч номеров должны выполняться смешанной (многогранно-овальной) формы.

3.99. При строительстве кирпичных колодцев всех типов следует использовать готовые железобетонные перекрытия соответствующей формы и размера. Однако допускается устройство перекрытий из набора готовых стандартных железобетонных плит. В отдельных случаях перекрытие может изготовляться на месте с использованием арматурного каркаса и раствора бетона, закладываемых в опалубку. Днища колодцев должны устраиваться также из готовых железобетонных плит или бетонироваться на месте (в котловане) перед кладкой стен.

3.100. При строительстве кирпичных колодцев каждого типоразмера следует использовать специальные легкие шаблоны овальной формы. По наружному обводу шаблона на подготовленном днище сначала необходимо нанести слой цементно-песчаного раствора толщиной 10 - 15 мм и затем выложить первый ряд кирпичей по всему периметру колодца. Затем шаблон нужно удалить, и последующие ряды кирпичей должны укладываться по первому ряду с выверкой вертикальности и горизонтальности стенок отвесом и рейкой.

Кирпичи должны укладываться со взаимной переменой порядка кладки («тычковых» и «ложковых» рядов). С внутренней стороны колодца швы кирпичной кладки необходимо разделать под расшивку («в подрезку») с тщательным разглаживанием и удалением (добавлением) излишков (нехватки) раствора. По мере возведения стен в установленных местах по шаблону следует закладывать стальные ерши для крепления кронштейнов и петли («серьги») для установки блоков при затягивании кабелей.

3.101. При строительстве колодцев во влажных (мокрых) грунтах наружную сторону стен необходимо оштукатурить сплошным слоем цементно-песчаного раствора толщиной 3 - 5 мм.

3.102. Типовой колодец ККС-1 изображен на рис. 3.30 Конструкция типовых кирпичных колодцев ККС-5 - ККС-2 представлена на рис. 3.31, а их основные размеры - в табл. 3.11.

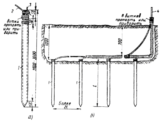
Рис. 3.30. Кирпичный колодец типа ККС-1

Рис. 3.31. Проходные кирпичные колодцы типа ККС-2, ККС-3, ККС-4 и ККС-5

Таблица 3.11

Основные размеры проходных кирпичных колодцев, мм

Колодец

а

б

в

г

д

е

ж

R

А

Е

в кирпичах

ККС-5

2800

1400

900

1800

250

250

4000

1

1

ККС-4

2200

1100

700

1800

250

250

100

3000

1

1

ккс-3

1800

1000

600

1600

250

100

2000

1

ККС-2

1200

900

550

1400

250

80

1150

1

Примечание. В числителе указаны размеры в пешеходной части улиц, а в знаменателе - в проезжей.

3.103. Угловые и разветвительные кирпичные колодцы показаны на рис. 3.32 и 3.33, а их размеры - в табл. 3.12 и 3.13.

Рис. 3.32. Угловые кирпичные колодцы типа ККСу-3, ККСу-4 и ККСу-5

Рис. 3.33. Разветвительные кирпичные колодцы типа ККСр-3, ККСр-4 и ККСр-5

Таблица 3.12

Основные размеры типовых угловых кирпичных колодцев, мм

Колодец

А

Б

В

Г

Д

Е

Ж

З

И

К

Л

R

КСу-5

2800

1400

900

1800

1060

740

550

315

565

375

4000

КСу-4

2200

1100

700

1800

820

500

450

260

470

330

100

3000

КСу-3

1800

1000

600

1600

620

300

450

260

470

330

100

2000

Примечание. В числителе указаны размеры в пешеходной части улиц, а в знаменателе - в проезжей.

Таблица 3.13

Основные размеры типовых разветвительных кирпичных колодцев, мм

Колодец

А

Б

В

Г

Д

Е

Ж

З

И

К

Л

М

R

КСр-5

2800

2000

1400

900

740

1060

315

550

375

565

1800

4000

КСр-4

2200

1600

1100

700

500

820

260

450

330

470

1800

100

3000

КСр-3

1800

1500

1000

600

300

620

260

450

330

470

1600

100

2000

Примечание. В числителе указаны размеры в пешеходной части улиц, а в знаменателе - в проезжей.

3.104. Конфигурация типовых станционных колодцев представлена рис. 3.34, а их основные размеры - в табл. 3.14.

Рис. 3.34. Станционные кирпичные колодцы

Таблица 3.14

Основные размеры станционных кирпичных колодцев, мм

Для АТС емкостью, тыс. номеров

А

Б

В

Г

Д

Е

Ж

З

И

К

Л

М

Н

R

20

6000

3000

1000

2730

2250

1500

1650

350

2200

375

130

200

850

12400

10

5000

3000

1000

2600

2000

1000

1650

350

2200

375

130

200

850

9100

6

4300

2600

750

2300

1650

1000

1620

230

2200

130

200

750

10400

3

2500

2125

750

1525

875

750

1250

125

1800

120

150

0

6300

Примечание. В числителе указаны размеры в пешеходной части улиц, а в знаменателе - в проезжей.

3.105. Перекрытия для типовых кирпичных колодцев изготовляют в виде отдельных или сборных железобетонных плит. Для проходных кирпичных колодцев типа ККС-5 - ККС-2 и угловых типа ККСу-5 - ККСу-3 перекрытия изготовляют в виде одной железобетонной плиты с отверстием под люк.

Для разветвительных кирпичных колодцев типа ККСр-5 - ККСр-3 перекрытия могут изготовляться сборными из двух железобетонных плит: одной (большей) с отверстием под люк и второй (меньшей) - без отверстия.

Для станционных кирпичных колодцев могут применяться готовые сборные железобетонные перекрытия. Допускается также применение сборных железобетонных перекрытий, состоящих из двух плит, изготовляемых на стройплощадке или заводе железобетонных изделий. При этом для колодца АТС на 3000 номеров одна плита (большая) изготовляется с отверстием под люк, а вторая (меньшая) - без отверстия. Для станционных кирпичных колодцев АТС на 6 - 20 тысяч номеров обе плиты (одинаковых размеров) изготовляются с отверстиями под люк.

При малом числе кирпичных станционных и разветви - тельных колодцев на объекте строительства допускается также бетонирование перекрытий на месте (в котловане) с применением арматурных каркасов и деревянных опалубок.

КОТЛОВАНЫ ДЛЯ КАБЕЛЬНЫХ КОЛОДЦЕВ СВЯЗИ

3.106. Формы и размеры котлованов для колодцев различных типов, отрываемых без крепления и с креплением стен, рассчитаны на минимально возможный объем земляных работ. При этом учитывается размещение основных деталей, колодцев на слежавшийся выровненный, хорошо подтрамбованный грунт.

Основными типами являются котлованы для проходных, угловых, разветвительных, станционных и специальных колодцев различных типов (рис. 3.35).

Размеры котлованов приведены в табл. 3.15.

Рис. 3.35. Котлован для строительства кабельных колодцев:

а) проходных ККС и ККСС; б), в) угловых ККСу и ККССу; г) разветвительных ККСр и ККССр; д) кирпичных и монолитных железобетонных разветвительных; е) станционных

Таблица 3.15

Размеры котлованов для колодцев кабельной связи, м

Колодец

А

Б

В

Г

Д

Епеш

Епр

Ж

З

и

 

проходные

 

сборные железобетонные

ККС-5

-

-

-

2,25

2,35

-

-

-

ККС-4

-

-

-

2,25

2,30

-

-

-

ккс-3

-

-

-

2,05

2,10

-

-

-

ККС-2

-

-

-

1,8

1,9

-

-

-

ККС-1

-

-

-

0,80

-

-

-

-

 

монолитные железобетонные

ККС-5

-

-

-

2,25

2,35

-

-

-

ККС-4

-

-

-

2,25

2,30

-

-

-

ККС-3

-

-

-

2,05

2,10

-

-

-

ККС-2

-

-

-

1,8

1,9

-

-

-

 

кирпичные с наружной штукатуркой стен

ККС-5

-

-

-

2,25

2,35

-

-

-

ККС-4

-

-

-

2,25

2,35

-

-

-

ККС-3-10

-

-

-

2,05

-

-

-

-

ККС-3-80

-

-

-

-

2,15

-

-

-

ККС-2-10

-

-

-

1,85

-

-

-

-

ККС-2-80

-

-

-

-

1,90

-

-

-

ККС-1

-

-

-

0,80

-

-

-

-

 

угловые

 

сборные железобетонные, составленные из проходного и угловой вставки

ККСу-5

-

2,25

2,35

1,8

-

1,2

ККСу-4

-

2,2Ь

2,30

1,7

2,0

1,2

ККСу-3

-

2,05

2,10

1,5

-

1,2

 

кирпичные с наружной штукатуркой стен

ККСу-5

-

0,3

2,25

2,35

-

-

ККСу-4

-

0,3

2,25

2,35

-

-

ККСу-3

-

0,3

2,05

2,15

-

-

 

монолитные железобетонные

ККСу-5

-

0,3

2,25

2,35

-

-

ККСу-4

-

0,3

2,25

2,30

-

-

ККСу-3

-

0,2

2,05

2,10

-

-

 

разветвительные

 

сборные железобетонные, составленные из проходного и двух угловых вставок

ККСр-5

-

2,25

2,35

1,8

-

1,2

ККСр-4

-

2,25

2,30

1,7

-

1,2

ККСр-3

-

2,05

2,10

1,5

-

1,2

 

кирпичные с наружной штукатуркой стен

ККСр-5

-

0,30

2,25

2,35

-

-

ККСр-4

-

0,25

2,25

2,35

-

-

ККСр-3

-

0,25

2,05

2,15

-

-

 

монолитные железобетонные

ККСр-5

-

0,30

2,25

2,35

-

-

ККСр-4

-

0,25

2,25

2,30

-

-

ККСр-3

-

0,25

2,05

2,10

-

-

 

станционные

 

кирпичные с наружной штукатуркой для АТС на 3000 номеров

в пешеходной части

1,0

2,3

-

-

-

-

в проезжей часта

1,1

-

2,4

-

-

-

 

для АТС на 6000 номеров

в пешеходной части

1,8

2,8

-

-

-

-

в проезжей части

1,9

-

2,9

-

-

-

 

для АТС на 10000 номеров

в пешеходной и проезжей частях

2,25

2,8

2,9

-

-

-

 

для АТС на 20000 номеров

в пешеходной и проезжей частях

2,5

2,9

2,9

-

-

-

 

монолитные железобетонные для АТС на 3000 номеров

в пешеходной части

0,9

2,3

-

-

-

-

в проезжей части

0,95

-

2,4

-

-

-

 

для АТС на 6000 номеров

в пешеходной части

1,7

2,8

-

-

-

-

в проезжей части

5,9

2,5

4,2

2,4

1,75

-

2,9

-

-

-

 

для АТС на 10000 номеров

в пешеходной части

2,1

2,8

-

-

-

-

в проезжей части

2,1

-

2,9

-

-

-

 

для АТС на 20000 номеров

в пешеходной и проезжей частях

2,4

2,9

2,9

-

-

-

 

колодцы специального типа

проходной ККСС-1

4,6

2,7

-

-

-

2,5

2,5

-

-

-

ККСС-2

6,4

2,7

-

-

-

2,5

2,5

-

-

-

угловой ККССу-1

4,6

2,7

3,6

2,4

 

2,5

2,5

2,1

 

0,9

ККССу-2

6,4

2,7

3,6

2,4

-

2,5

2,5

2,1

-

0,9

разветвительный ККССр-1

4,6

2,7

4,0

2,4

-

2,5

2,5

2,1

-

0,9

ККССр-2

6,4

2,7

4,0

2,4

-

2,5

2,5

2,1

-

0,9

Примечания:

1. В числителе указаны размеры котлованов без крепления стен, в знаменателе - с креплением.

2. Епеш - пешеходная часть, Епр - проезжая часть.

ОБОРУДОВАНИЕ КОЛОДЦЕВ КАБЕЛЬНОЙ СВЯЗИ

3.107. Колодцы кабельной связи оборудуют входными круглыми чугунными люками с двумя крышками: верхней чугунной и нижней (внутренней) стальной. На внутренней крышке устроено запорное приспособление для закрытия колодца на замок и ручка для ее подъема (вынимания). Для колодцев, устраиваемых в пешеходной части улиц, должны использоваться люки легкого типа, рассчитанные на нагрузку 30 т, а в проезжей части - люки тяжелого типа на нагрузку 80 т. Каждый люк имеет отверстие для проверки загазованности колодца, не открывая крышек; оно не должно ничем загрязняться.

Масса люка легкого типа 82 кг, а тяжелого - 138 кг (рис. 3.36).

3.108. При установке люка на перекрытии колодца сначала должны быть подложены железобетонные опорные кольца на ровной поверхности с круглым отверстием для входа в колодец. Их укладывают по слою раствора бетона толщиной 10 - 12 мм. Основание люка и место стыка его с опорными кольцами следует обмазать бетонным раствором со щебенкой толщиной 30 - 50 мм.

В проезжих частях улиц для большей устойчивости люки тяжелого типа должны закрепляться (привязываться) к арматуре перекрытий стальной проволокой диаметром 6 мм с усиленным бетонированием. Верхняя плоскость крышки люка во всех случаях должна строго совпадать с уровнем уличного покрытия или поверхностью грунта.

3.109. Для раскладки кабелей все колодцы, кроме ККС-1 и ККС-2, должны оборудоваться стальными кронштейнами (рис. 3.37). Кронштейны изготовляются типа ККП из полосовой и типа ККУ - из угловой стали.

На кронштейнах необходимо устанавливать чугунные консоли одно - шестиместные (рис. 3.38) в зависимости от намечаемой нагрузки, закрепляемые консольными болтами (рис. 3.39, а). Допускается применение маломестных консолей алюминиевого сплава.

Рис. 3.36. Чугунные люки тяжелого и легкого типов для кабельных колодцев:

1 - корпус (рама); 2 - верхняя чугунная крышка; 3 - нижняя стальная крышка; 4 - запорное приспособление; 5 - ручка; 6 - отверстие для проверки загазованности колодца

Рис. 3.37. Кронштейны стальные кабельные:

а) КПК-600; б) КПК-1300; в) ККУ-1300; г) ККУ-1900

1 - основание; 2 - стальной сухарь

Рис. 3.38. Консоли чугунные для кабельных колодцев, шахт, коллекторов:

а) ККЧ-1; б) ККЧ-2; в) ККЧ-3; г) ККЧ-4; д) ККЧ-5; е) ККЧ-6

Рис. 3.39. Крепежные детали для кабельных колодцев:

а) консольный болт; б) анкерный болт (стальной ерш); в) консольный крюк; г) стальная серьга (петля)

3.110. В колодцах типа ККС-3 и ККС-4 следует устанавливать по два кронштейна на каждой продольной стенке, а в колодцах типа ККС-5 - по три кронштейна. В угловых и разветвительных колодцах, при необходимости, могут быть установлены дополнительные кронштейны на торцевых стенах и в простенках между ними. В станционных колодцах малых АТС кронштейны устанавливают на трех стенках, а в колодцах для АТС на 6 - 20 тысяч номеров, кроме того, и в средней части колодца с креплением их в днище и в перекрытии. К стенам колодца кронштейны должны крепиться анкерными болтами (стальными ершами), вмазываемыми в предусмотренные для этого выемки (рис. 3.39, б).

В колодцах типа ККС-1 и ККС-2 вместо кронштейнов следует вмазывать в стенки консольные крюки (рис. 3.39, в), по одному в колодцах типа ККС-1 и по два - в колодцах типа ККС-2.

3.111. В колодцах с числом в основании вводного блока до четырех каналов следует устанавливать двухместные консоли, а при пяти - шести каналах в основании - трехместные. В станционных и других кабельных шахтах, в коллекторах и тоннелях должны устанавливаться трех - шестиместные консоли.

3.112. В нижних частях торцевых стен кирпичных колодцев типов ККС-2 - ККС-5 при их кладке должны закладываться стальные петли (серьги) для крепления круглых переносных блоков при затягивании кабелей в каналы канализации (рис. 3.39, г).

В сборных железобетонных колодцах для этой цели могут быть использованы стальные подъемные петли, связанные с арматурным каркасом.

3.113. Вмазка стальных ершей в стенки сборных колодцев должна производиться при их изготовлении до вывоза на трассу строительства. Стальные ерши, кронштейны, внутренние крышки люков и другие стальные детали должны быть окрашены серой масляной краской или битумным лаком.

3.114. По окончании строительства и оборудования колодцев все входящие в них свободные каналы трубопровода должны быть плотно закрыты пластмассовыми, бетонными или деревянными пробками, последние - с прокладкой ветоши.

Занятые кабелями каналы заделывают паклей или ветошью и замазывают технической замазкой на олифе. В состав такой замазки входят: мел - 80 % и олифа - 20 % или мел - 68 %, канифоль - 14 % и машинное масло - 18 %. Заделка занятых кабелями каналов может осуществляться также деревянными пробками с выбитым сектором для пропуска кабеля небольшого диаметра с использованием ветоши и замазки.

ОСОБЕННОСТИ ПРОКЛАДКИ КАБЕЛЬНОЙ КАНАЛИЗАЦИИ СВЯЗИ В ЗАГРУЖЕННЫХ И СЛОЖНЫХ УЛИЧНЫХ УСЛОВИЯХ

3.115. Прокладка и докладка кабельной канализации существующим сооружениям в стесненных уличных проездах насыщенных различными подземными коммуникациями, нередко требует принятия дополнительных технических решений с изменением типовых конструкций и установленных рекомендаций производства работ.

3.116. Строительство подземных сооружений различного профиля обычно совмещают с реконструкцией уличных проездов и выполняют в установленные, как правило, сжатые сроки.

В практике строительства канализационных сооружений связи имеют место случаи непосредственного сближения с ранее проложенными бронированными электрокабелями высокого напряжения, необходимости наращивания или снижения высоты колодцев, дополнительного крепления люков, подвески трубопровода и т.п.

3.117. Непосредственное сближение вновь прокладываемой кабельной канализации связи с ранее проложенными бронированными электрокабелями может быть в местах параллельных трасс и пересечений. При благоприятных условиях иногда возможно некоторое смещение места строящегося колодца или электрокабелей в ту или другую сторону, однако во многих случаях это невозможно из-за наличия других сооружений и отсутствия запасов длины кабелей.

В этих случаях допускается размещение электрокабеля в стенке колодца в разрезной трубе (рис. 3.40) или на его перекрытии. Для этого необходимо разрезать вдоль асбестоцементную (стальную) трубу диаметром 100 - 150 мм и обработать места разреза с полным удалением заусениц и наплывов металла. К каждой трубе подготовить по два стальных крепежных хомута в виде полуколец с отогнутыми концами. В отогнутых концах просверлить отверстия для скрепления их болтами диаметром 6 мм. Для изготовления хомутов обычно используют полосовую сталь размером 30´4 мм.

Рис. 3.40. Строительство колодцев в местах ранее проложенных электрокабелей:

1 - разрезные трубы с электрокабелями; 2 - люк колодца; 3 - хомут, скрепляющий трубу; 4 - трубопровод кабельной связи; 5 - колодец; 6 - электрокабель; 7 - болт

3.118. В процессе работ электрический кабель под наблюдением представителя электросети должен быть освобожден от грунта и осторожно заключен в разрезанную трубу, скрепляемую на концах хомутами. Длина трубы зависит от размеров колодца с учетом выхода ее концов на 1 м с каждой стороны колодца. Кабель обнажают и заключают в трубу до выемки из-под него грунта. Сверху трубу обертывают слоем толя, концы которого должны заходить под крепежные хомуты. Затем кабель подвешивают, не меняя его положения, и продолжают земляные работы.

Стены колодца необходимо выкладывать до уровня подвешенного электрокабеля, после чего подвеску снимают и трубу с кабелем замуровывают в толщу его стенки. Если позволяет уровень заглубления кабеля, то труба с кабелем может быть проложена на перекрытии колодца.

При наличии нескольких электрокабелей с ответвлением на разные направления они также могут быть проложены в разрезных трубах на перекрытии колодца. В необходимых случаях перекрытие колодца может быть несколько более заглублено.

3.119. По окончании работ колодец засыпают обычным порядком, но с особой осторожностью в местах укладки электрокабелей. О размещении электрокабелей в стенах или на перекрытии колодца должны быть сделаны соответствующие отметки в технической документации.

3.120. Переустройство кабельных колодцев связи производят при необходимости докладки трубопровода к существующему блоку, устройстве новых ответвлений канализации, изменении уровня дорожных покрытий и т.п.

Значительная емкость ранее проложенного трубопровода и большое число докладываемых труб может вызвать замену типа колодца или частичное его расширение в пределах допустимых возможностей.

Если работы выполняются одновременно с реконструкцией улиц, и изменяется уровень дорожных покрытий, то переустройство колодцев может ограничиться поднятием или опусканием их железобетонных перекрытий или горловин люков. Высота горловины люка во всех случаях не должна превышать 0,5 м, а верхняя плоскость крышки люка должна строго соответствовать поверхности уличного покрытия.

3.121. При необходимости полного переустройства колодец следует откопать, снять или разобрать перекрытие и подвесить действующие кабели к временным крепежным конструкциям (балкам, стойкам). Стены и днище колодца должны быть разобраны и удалены из образовавшегося котлована с подвешенными кабелями. Новое днище обычно бетонируют на месте с предварительным подравниванием дна котлована. На затвердевшем днище выкладывают кирпичные стенки по габаритам заданного типоразмера.

3.122. Действующие кабели должны быть последовательно перемещены на вновь укрепленные кронштейны и консоли с упразднением временных крепежных конструкций подвески. На возведенные стенки необходимо установить снятое или новое железобетонное перекрытие и люк.

При перекладке кабелей необходимо использовать некоторые запасы их длин в переустраиваемом и соседних колодцах, менять места на консолях и, в крайних случаях, производить замену отдельных пролетов.

3.123. В случае прохождения в колодце значительных пучков кабелей крупных емкостей они могут быть оставлены в прежнем положении, но с заменой кронштейнов и креплением их в днище и перекрытии колодца. Для доступа к кабелям с противоположных сторон может быть использовано двухлючное перекрытие или изменена форма колодца.

3.124. При непрочных уличных покрытиях, на склонах уличных проездов, в местах разворота тяжелого транспорта и т.п., обычного крепления люка на горловине колодца бывает недостаточно. Для устойчивого длительного положения люка, помимо закрепления его стальной проволокой диаметром 4 - 6 мм, вокруг опорных колец и нижней части рамы люка необходимо уложить кольцеобразные железобетонные сегменты разной толщины на цементно-песчаном растворе. Кладка сегментов должна превышать основание люка на 30 - 50 мм и от середины высоты рамы люка до перекрытия обмазываться (оштукатуриваться) бетонным раствором со щебенкой слоем толщиной 30 - 50 мм (рис. 3.41).

Рис. 3.41. Усиленное крепление люка кабельного колодца:

1 - цементно-песчаный раствор со щебенкой; 2 - железобетонные сегменты; 3 - люк; 4 - железобетонные опорные кольца; 5 - перекрытие колодца; 6 - стальная проволока

3.125. Вывод кабелей небольшой емкости из трубопровода в пролете канализации необходимо осуществлять путем, скрытия и разделки одного-двух каналов и устройства в этом месте колодца типа ККС-2. Колодец следует размещать так, чтобы трубопровод частично попал в его боковую стенку (рис. 3.42).

Рис. 3.42. Устройство колодца типа ККС-2 на действующем трубопроводе с вскрытием одного канала

3.126. Подвеску действующего трубопровода кабельной канализации связи устраивают в местах разрытии при пересечении его вновь прокладываемыми сооружениями связи или другими коммуникациями на больших глубинах, а также в процессе строительства подземных пешеходных переходов транспортных тоннелей, коллекторов и т.п.

Подвеска трубопровода связи может также производиться при параллельном прохождении новой кабельной канализации или бронированных кабелей в непосредственной близости к существующим сооружениям связи.

3.127. Способы подвески трубопровода связи весьма разнообразны и зависят от емкости (числа каналов) блока, длины обнажаемого участка, состояния грунта, расположения соседних сооружений и др. Балки для подвески должны выбираться в зависимости от емкости и типа подвешиваемого трубопровода и габаритов подвески.

3.128. Колодцы специального типа (нетиповой конструкции) устраивают при оборудовании кабельных переходов через реки и другие водоемы. Такие колодцы строят, если количество подводных кабелей более двух (с перспективой дальнейшего увеличения их количества) в местах стыка подводных кабелей с кабельной канализацией.

Из колодца до выхода кабелей в реку (водоем) следует прокладывать стальные трубы, нижние концы которых должны выходить в дно водоема ниже поверхности ледяного покрова в зимнее время. В каждом пакете укладываемых труб необходимо предусматривать резервные трубы для последующих прокладок и аварийных ситуаций. Стальные трубы следует покрывать антикоррозионным составом (битумом, лаком) и плотно заделывать бетонными или деревянными пробками с обоих концов.

При количестве труб перехода до 12 может устраиваться колодец типа ККС-5, вводный проем которого должен быть несколько изменен, а при 13 - 24 каналах - колодец нетиповой конструкции.

ПОМЕЩЕНИЯ ВВОДА КАБЕЛЕЙ ТЕЛЕФОННОЙ СТАНЦИИ

3.129. Помещение ввода кабелей телефонной станции является головным сооружением кабельной канализации, через которое кабели вводятся в здание станции, и в котором, как правило, многопарные линейные кабели распаиваются на станционные кабели емкостью 100 пар.

Помещение должно строиться без окон, со стенами, полом и потолком из огнеупорных материалов (железобетон, кирпич), с надежной гидроизоляцией. Оно размещается под помещением кросса и его площадь примерно равна площади последнего.

Помещение ввода кабелей должно быть оборудовано центральным (водяным) отоплением, вентиляцией, герметичным электроосвещением и отдельным запираемым входом (рис. 3.43).

3.130. В помещение ввода кабелей от станционных колодцев должны вводиться крупные блоки кабельной канализации емкостью до 96 каналов. В здания АТС емкостью 10 тысяч номеров и более ввод трубопровода должен осуществляться с двух противоположных направлений. При определенных условиях ввод от станционного колодца целесообразно осуществлять путем устройства коллектора (тоннеля) небольшой протяженности (рис. 3.44).

Вводному трубопроводу или тоннелю должен придаваться некоторый уклон от помещения ввода кабелей в сторону станционного колодца. Это необходимо для предотвращения ограничения поступления воды из станционного колодца.

Рис. 3.43. Помещение ввода кабелей:

1 - вводной блок; 2 - отрезки труб в перекрытии; 3 - кросс; 4 - защитные полосы; 5 - желоб (кабельрост); 6 - кабели емкостью 100 пар; 7 - разветвительные муфты; 8 - газонепроницаемые муфты; 9 - консоли на кронштейнах; 10 - распределительные стативы КСУ; 11 - помещение КСУ; 12 - входные двери

Рис. 3.44. Ввод кабелей через тоннель:

1 - станционный колодец; 2 - тоннель; 3 - помещение ввода кабелей; 4 - кабели

3.131. Для раскладки и распайки линейных кабелей помещение ввода кабелей следует оборудовать кронштейнами, укрепляемыми на стенах и, при необходимости, на полу и потолке, расположенными в два и более рядов. Для придания большей прочности в загруженных помещениях ввода кронштейны могут скрепляться полосовыми или угловыми стальными конструкциями, образующими единый металлический каркас. На кронштейнах крепят многоместные чугунные консоли.

Крепежные конструкции должны размещаться таким образом, чтобы расстояния от первых (нижних) рядов консолей до пола было равно 300 мм, а между рядами (ярусами) консолей - не менее 200 мм. В отдельных случаях допускается уменьшение расстояний между консолями до 150 - 180 мм. При этом должны обеспечиваться вертикальные и горизонтальные изгибы кабелей с установленными радиусами.

В верхней части каркаса должны устраиваться металлические желоба (кабельросты) шириной 0,5 - 0,6 м в горизонтальном направлении для раскладки пакетов мелких (обычно 100-парных) кабелей, подаваемых в кросс. С этой целью в перекрытие между помещением ввода кабелей и кроссом должны быть заложены отрезки металлических труб (патрубки) диаметром 38 - 63 мм, в каждый из которых при необходимости может быть пропущено до трех кабелей включительно. Трубы должны выступать на 100 - 150 мм от пола в помещении кросса и на 30 - 50 мм от потолка в помещении ввода кабелей. Со стороны кросса патрубки должны быть герметично заделаны паклей и замазкой или залиты кабельной массой.

Распайку линейных кабелей крупной емкости производят в разветвительных муфтах («перчатках»), размещаемых между консолями в горизонтальных рядах, как и в кабельных колодцах.

3.132. Каждое помещение ввода кабелей должно быть надежно защищено от попадания воды и горючих (взрывоопасных) газов, могущих проникнуть в кабельную канализацию. Для этого необходимо, чтобы вводный блок асбестоцементных труб, а также каналы, свободные и занятые, были герметичными.

Устройство герметичного блока осуществляется послойным бетонированием рядов асбестоцементных труб бетонной смесью марки 200, состоящей из гипсоглиноземистого расширяющегося цемента марки 300, песка и мелкозернистого гравия.

Количество материалов на 1 м3 бетона: цемент - 280 кг, песок - 0,4 м3, гравий - 0,8 м3.

При устройстве ввода из коллектора в стенном проеме здания должен быть устроен герметичный блок из отрезков асбестоцементных труб, длина которых определяется толщиной стены.

3.133. Проверка герметичности ввода труб должна осуществляться путем обдува заполненного проема с внешней стороны колодца струей воздуха от передвижного компрессора (ЗИФ-55 или другого) с давлением 39,2×104 Па (4 кгс/см2) в течение 1 мин. В помещении ввода кабелей по поверхности вводного блока должна быть нанесена мыльная пена, наблюдение за которой позволяет определить надежность герметичности.

3.134. Для герметизации каналов необходимо применять специальные герметизирующие устройства, разработанные ССКТБ, состоящие из двух металлических дисков диаметром 97 мм и толщиной 4 мм, стягивающихся по центру шпилькой М6´100 или болтом с гайкой М6. Между дисками закладывается герметизирующая нетвердеющая строительная мастика, изготовленная на основе этилен - пропиленового каучука, бутил-каучука, наполнителей и пластификаторов. Герметизация каналов, занятых кабелями, осуществляется аналогично, но с использованием дисков, стягивающихся несколькими болтами и имеющих 1 - 4 отверстия для кабелей (рис. 3.45).

Герметизация каналов достигается тем, что при завинчивании гаек на болтах пластичная герметизирующая мастика, сжимаемая дисками, уплотняется, заполняя объем между дисками и внутренней поверхностью канала, а также между кабелями и кромками отверстий в дисках. При этом мастика надежно адгезирует с поверхностями.

Извлечение в случае необходимости герметизирующего устройства из канала производится с помощью специальных съемников.

Испытание герметичности канала с герметизирующим устройством осуществляется путем подачи воздуха под давлением в каналы с одновременным нанесением пенообразующего раствора на герметизирующее устройство. Отсутствие пузырей свидетельствует о герметичности вводного отрезка канала.

При герметизации вводов кабелей необходимо пользоваться «Руководством по герметизации вводов кабелей предприятий связи», М., ССКТБ, 1986.

3.135. В помещениях ввода кабелей достаточной высоты допускается вертикальное расположение специальных разветвительных муфт. Также их можно размещать в отдельном помещении - перчаточной (рис. 3.46).

3.136. На станциях малой емкости для ввода линейных кабелей может быть устроен приямок с вводным шкафом (рис. 3.47) или оборудован ввод с применением изогнутых труб от станционного колодца до помещения кросса (рис. 3.48). В последнем случае распайка линейных кабелей производится непосредственно в станционном колодце.

Рис. 3.45. Герметизирующее устройство для заделки каналов трубопровода (свободных и занятых 1 - 4 кабелями) в помещении ввода кабелей:

1 - стальной диск; 2 - болт или шпилька М6´100; 3 - нетвердеющая мастика

Рис. 3.46. Помещение ввода кабелей с перчаточной:

1 - вводный блок; 2 - помещение ввода кабелей; 3 - перчаточная; 4 - желоб (кабельрост); 5 - вертикальные перчатки; 6 - кронштейны с консолями; 7 - газонепроницаемые муфты

Рис. 3.47. Приямок с вводным шкафом:

1 - кронштейны с консолями; 2 - вводный блок; 3 - приямок; 4 - вводный шкаф; 5 - кабели 100´2; 6 - перчатки

Рис. 3.48. Ввод кабелей с распайкой в станционном колодце:

1 - станционный колодец; 2 - вводный блок; 3 - изогнутые трубы; 4 - желоб с кабелями 100´2

РАСПРЕДЕЛИТЕЛЬНЫЕ ШКАФЫ

3.137. Распределительные шкафы поставляются емкостью 1200´2, 600´2, 300´2 и 150´2 двух типов: ШРП - для установки в помещениях и ШР - для установки на улицах.

Тип, емкость и место установки каждого шкафа определяются проектом с соответствующими согласованиями.

Шкафы типа ШРП должны устанавливаться в подъездах зданий или других удобных помещениях. В современных зданиях из панельных (блочных) железобетонных конструкций шкафы следует устанавливать вплотную к стене подъезда (рис. 3.49). В старых толстостенных подъездах шкафы могут устанавливаться с полным (заподлицо) или частичным утоплением в толщу стены. Для этого в стене предварительно вырубается ниша, при условии, что это не ослабит прочности здания.

Рис. 3.49. Распределительный шкаф ШРП, установленный в подъезде здания:

1 - подвал здания; 2 - крепление труб; 3 - изогнутые трубы; 4 - шкаф ШРП; 5 - первый этаж здания; 6 - двери подъезда; 7 - колодец

3.138. При установке распределительного шкафа в помещении от ближайшего колодца, который называется шкафным, через подвал должны прокладываться изогнутые трубы. Верхние концы труб должны заводиться в нижнюю часть шкафа, а нижние - в проем колодца. При некотором удалении шкафа от шкафного колодца или места установку шкафа от наружной стены здания трубы следует заводить проем фундамента до внутренней стены подвала.

3.139. Уличные распределительные шкафы должны устанавливаться на изготовленных в заводских условиях железобетонных цоколях (рис. 3.50) или на бетонно-кирпичных фундаментах, устраиваемых на месте. К цоколю или фундаменту, изготовляемому на месте, шкаф следует прикреплять болтами.

При использовании цоколя асбестоцементные трубы от шкафного колодца необходимо заводить в проем нижней его части с заделкой цементно-песчаным раствором. Если фундамент под шкаф изготовляют на месте, то изогнутые трубы замуровывают в его стенки. Нижние концы изогнутых труб стыкуют с трубопроводом от шкафного колодца.

3.140. Такой способ устройства ввода трубопровода шкаф приемлем, если расстояние до ближайшего колодца не превышает 35 м. При большем расстоянии или при необходимости некоторого разворота трубопровода у шкафа или непосредственно под ним должен быть построен кабельный колодец. Допускается установка шкафа непосредственно на перекрытии колодца с устройством в его перекрытии щели для вывода кабелей (рис. 3.51).

3.141. От шкафного колодца к шкафу емкостью 1200´2 должны прокладываться четыре трубы канализации, к шкафу емкостью 600´2 - три, к шкафу емкостью 300´2 - две и к шкафу емкостью 150´2 - одна труба.

3.142. Каналы трубопровода, введенного в шкаф и шкафной колодец, должны быть тщательно, герметично заделаны с целью предотвращения случайного проникновения воды и взрывоопасных газов через колодцы в шкаф и помещение.

3.143. Каждый шкаф должен быть окрашен снаружи серой, а внутри - черной масляной краской и не иметь механических и иных повреждений, что должно быть визуально проверено перед установкой шкафа.

Рис. 3.50. Распределительный шкаф ШР, установленный на улице:

а) шкаф, установленный на кирпично-бетонном фундаменте; б) цокольный бетонный фундамент

1 - изогнутые стальные трубы; 2 - бетон; 3 - кирпичная кладка; 4 - вентиляционная труба; 5 - шкафная доска

Рис. 3.51. Распределительный шкаф ШР, установленный на перекрытии колодца:

1 - шкаф ШР; 2 - шкафной колодец; 3 - колодец на трассе; 4 - фундамент под шкаф на перекрытии колодца; 5 - щель в перекрытии колодца для ввода кабелей в шкаф; 6 - трубопровод связи

КОЛЛЕКТОРЫ

3.144. Коллекторы представляют собой подземные железобетонные тоннели прямоугольной или круглой формы, предназначенные для прокладки в них различных подземных коммуникаций. Они строятся под тротуарной частью улиц на глубине 1,0 - 1,2 м открытым способом. На загруженных транспортом магистралях и площадях города коллекторы сооружают на больших глубинах (до 10 - 15 м) способом щитовой проходки, и обычно они имеют круглое сечение.

Каждый коллектор может быть общегородским для прокладки различных коммуникаций и ведомственным для прокладки только кабелей связи, электрокабелей или трубопроводов отопительных систем и др.

В общегородских коллекторах размещают кабели связи, силовые кабели, водопроводы, теплопроводы, воздуховоды, трубы городской канализации и др. Прокладка газопроводов в общегородских коллекторах большого сечения не разрешается.

3.145. Коллекторы сооружают из готовых железобетонных элементов (днища, стеновых блоков и перекрытия) или отдельных секций прямоугольного профиля. Круглые коллекторы глубокого заложения обычно собирают из сборных секционных элементов.

3.146. Каждый коллектор общего типа должен оборудоваться стационарным электроосвещением, вентиляцией, средствами водоудаления, системой сигнализации и автоматики диспетчерского управления и др.

3.147. Для размещения и крепления прокладываемых коммуникаций коллекторы оборудуют стальными крепежными конструкциями различных типов. Для раскладки кабелей связи используются кронштейны типа ККУ с чугунными консолями, прикрепляемые к анкерным болтам (ершам) на расстоянии не более 900 мм друг от друга. Вертикальное расстояние между консолями - не менее 150 - 180 мм. Между крепежными деталями с разложенными на них коммуникациями обеспечивается эксплуатационный проход не менее 800 мм.

3.148. Для ввода в коллектор канализационно-кабельных сооружений связи устраиваются специальные трапециевидные вводные камеры с размерами оснований 3 и 7 м и шириной (высотой трапеции) 2,3 м. В перекрытии вводной камеры должен устанавливаться стандартный чугунный люк для подачи или извлечения кабелей связи. Трубопровод кабельной канализации вводят через асбестоцементные гильзы с сальниковыми уплотнителями с целью предохранения от поступления воды и газов в коллектор (рис. 3.52).

3.149. Типовыми являются более 10 профилей общегородских коллекторов с внутренними габаритами: 1,7 - 2,7 м по ширине и 1,8 - 3,0 м по высоте.

Ввод кабелей связи в такие коллекторы, сооружаемые на больших глубинах, осуществляется через вертикальные шахты, также оборудованные стандартными чугунными люками.

3.150. Решения о необходимости строительства коллекторов в загруженных уличных условиях принимаются проектными, эксплуатационными и строительными организациями города.

3.151. Частично кабели связи по согласованию с владельцем могут прокладываться в тоннелях метрополитена на стальных сварных крепежных конструкциях. Для этого обычно используют бронированные кабели без верхней джутовой оплетки.

Рис. 3.52. Вводная камера в коллектор:

1 - кронштейны с консолями; 2 - кабели; 3 - гильзы с сальниковыми уплотнителями; 4 - трубопровод связи; 5 - стеновые железобетонные блоки; 6 - галерея коллектора; 7 - вводная камера

СТРОИТЕЛЬСТВО И ОБОРУДОВАНИЕ КОЛОДЦЕВ ДЛЯ РАЗМЕЩЕНИЯ НЕОБСЛУЖИВАЕМЫХ РЕГЕНЕРАЦИОННЫХ ПРОМЕЖУТОЧНЫХ ПУНКТОВ СИСТЕМ ПЕРЕДАЧИ ИКМ

3.152. Контейнеры НРП на соединительных линиях ГТС должны размещаться в колодцах кабельной канализации связи. На сетях крупной емкости для размещения контейнеров должны строиться отдельные колодцы, располагаемые вблизи существующего колодца действующей канализации (рис. 3.53). Строящиеся колодцы для контейнеров должны быть связаны с существующим колодцем трех - четырехотверстным трубопроводом с диаметром каналов 100 мм протяженностью не более 50 м.

Рис. 3.53. Расположение колодцев для установки контейнеров НРП-К12:

1 - трубопровод действующей канализации; 2 - колодец типа ККС-5; 3 - колодцы для размещения контейнеров НРП-К12; 4 - трех - четырехотверстный трубопровод

3.153. Типовым решением предусматривается размещение шести контейнеров НРП в колодце типа ККС-5 и восьми контейнеров - в колодце специального типа с установкой их на днище и боковых стенках колодцев.

3.154. В колодцах типа ККС-5 четыре контейнера размещаются на днище, на железобетонных фундаментах - подставках высотой 200 мм и два контейнера - на боковых стенках колодца с использованием крепежных металлоконструкций. В колодцах специального типа четыре контейнера размещаются также на фундаментах - подставках и четыре контейнера - на боковых стенках.

В качестве фундаментов-подставок могут использоваться типовые железобетонные плиты или кирпичные кладки на цементно-песчаном растворе.

3.155. Контейнеры НРП должны быть заземлены путем устройства в котловане колодца контурного защитного заземления. В качестве заземлителей должны использоваться электроды из прутковой стали диаметром 12 мм и длиной 5 м при удельном сопротивлении грунта до 200 Ом×м и из угловой стали размером 50´50´5 мм - при удельном сопротивлении грунта свыше 200 Ом×м. Электроды соединяются между собой по контуру колодца полосовой сталью размером 40´4 мм посредством сварки.

3.156. Сопротивление защитных заземляющих устройств должно быть не более 10 Ом для грунтов с удельным сопротивлением менее 100 Ом×м и не более 30 Ом - для грунтов с удельным сопротивлением более 100 Ом×м.

СТРОИТЕЛЬСТВО КАБЕЛЬНОЙ ЛОТКОВОЙ КАНАЛИЗАЦИИ СВЯЗИ НА ПЕРЕУВЛАЖНЕННЫХ ГРУНТАХ СЕВЕРА

3.157. На переувлажненных пучинистых грунтах Севера и Сибири целесообразно сооружать кабелепроводы в виде полуподземных сборных железобетонных каналов (лотков) для прокладки в них кабелей связи.

3.158. Конструктивно лотковая канализация связи составляется из типовых железобетонных лотков и плит перекрытия различных размеров.

Железобетонные лотки изготовляются десяти типоразмеров (Л1 - Л10) длиной 2970 мм и сечением от 760´370 мм (Л1) до 2380´730 мм (Л10) при толщине основания от 80 мм (Л1) до 140 мм (Л10). Для их изготовления используется бетон марки 300.

Железобетонные плиты перекрытия изготовляются восьми типоразмеров (П1 - П8) длиной от 2980 мм (П1) до 2990 мм (П5, П8) при ширине от 850 мм (П1) до 2409 мм (П5, П8) и толщине от 70 мм (П1) до 160 мм (П5, П8).

По отдельным разработкам перекрытия могут изготовляться шириной 2500 мм и толщиной 220 мм.

3.159. Конструкция лотков и размещение в них кабелей связи показаны на рис. 3.54. Для раскладки кабелей используют стальные кронштейны, привариваемые к металлической полосе на расстоянии 1000 мм друг от друга. К кронштейнам крепятся многоместные чугунные консоли. Укладка кабелей может также производиться на деревянных подставках, которые могут быть одно-, двух- или трехрядными. Толщина их должна быть 60 мм, а радиус вырезов мест под кабели - 40 мм.

Рис. 3.54. Конструкция лотка Л1

3.160. Железобетонные плиты перекрытия укладывают на лотки подъемными механизмами, используя имеющиеся на плитах подъемные петли или скобы из углеродистой стали диаметром 10 - 18 мм. Для исключения случайного сдвига плит относительно лотков каналов предусматривается приварка отрезков угловой стали размером 70´70´8 мм длиной 150 мм или фиксаторных штифтов. С этой целью плиты перекрытия могут изготовляться с выступом в нижней плоскости, входящей внутрь лотка или корытообразной формы. Плиты должны укладываться с прокладкой листовой микропористой резины толщиной 10 - 15 мм или пороизола диаметром 45 мм.

3.161. Соединение железобетонных лотков между собой следует осуществлять с помощью металлических полос размером 30´10 мм, привариваемых к закладным элементам с двух внутренних сторон каналов лотков. При этом через 50 м должны устраиваться деформационные швы, зачеканиваемые каболкой и заливаемые горячим битумом. Так же заделываются и все стыки лотков на различных участках лотковой канализации.

3.162. Все металлические детали лотковой канализации связи (полосы, кронштейны, консоли, скобы, фиксаторные штифты и др.), а также все поверхности плит перекрытия и внутренние поверхности лотков следует покрывать битумной краской или другими антикоррозионными покрытиями.

3.163. Для предохранения лотков от заполнения водой прокладку их в грунтах следует осуществлять на возможно меньшую глубину и обязательно выше уровня грунтовых вод.

Для уменьшения попадания в каналы надгрунтовых вод вертикальные стенки лотков необходимо поднимать выше уровня грунта на 100 мм.

При высоком уровне грунтовых вод следует сооружать полуподземную или даже наземную лотковую канализации связи с учетом предварительной или последующей планировку местности.

3.164. При сооружении лотковой канализации связи в опасных местах пучения грунта необходимо обеспечить защиту лотков от воздействия касательных и нормальных сил морозного пучения. Меры по снижению этих сил должны быть предусмотрены проектом и конкретными техническими решениями.

3.165. При строительстве кабельной лотковой канализации связи рекомендуется руководствоваться «Временными техническими указаниями по проектированию и строительству кабельной лотковой канализации на переувлажненных грунтах Севера», Минсвязи СССР, ГСС, КОНИИС, М., 1978.

РАЗДЕЛ 4

ПРОКЛАДКА КАБЕЛЕЙ В ПОДЗЕМНОЙ КАБЕЛЬНОЙ КАНАЛИЗАЦИИ, КОЛЛЕКТОРАХ, ТОННЕЛЯХ И ПО МОСТАМ

ОБЩИЕ ПОЛОЖЕНИЯ. ВХОДНОЙ КОНТРОЛЬ СТРОИТЕЛЬНЫХ ДЛИН

4.1. Работы в кабельной канализации по прокладке кабелей должны выполняться при строгом соблюдении требований действующих «Правил техники безопасности при работах на кабельных линиях связи и проводного вещания», основными из которых являются: ограждение открываемых колодцев и зон работ, проверка колодцев на наличие опасных газов, вентилирование колодцев, принятие мер предосторожности при наличии в колодцах кабелей с напряжением дистанционного питания и кабелей проводного вещания.

4.2. Для своевременной приемки и разгрузки поступающих барабанов с кабелем и их хранения необходимо заблаговременно подготовить кабельные площадки. Размеры площадок следует рассчитывать на размещение максимального количества барабанов, направляемых в данный пункт, предусмотрев автотранспорт и разгрузочные средства.

После разгрузки барабанов с кабелем, на железнодорожных разгрузочных пунктах необходимо произвести тщательный их внешний осмотр, сверить с накладными число мест, соответствие маркировки и упаковки требованиям ТУ на кабель. На все обнаруженные дефекты для предъявления иска необходимо составить акт с участием представителей подрядчика, заказчика и других заинтересованных организаций для предъявления претензий поставщику.

4.3. Все кабели, поступившие на строительство, должны быть зарегистрированы в ведомостях учета строительных длин и пройти входной контроль. Кабели, не прошедшие входного контроля, прокладке не подлежат.

Во время проведения входного контроля внешним осмотром необходимо проверить состояние барабанов и их обшивки. В случае обнаружения незначительных повреждений их следует устранить собственными силами на месте. Если барабан на месте отремонтировать невозможно или обнаруженные дефекты могут создать опасность повреждения кабеля при транспортировании или при прокладке, то с уведомлением заказчика кабель с этого барабана должен быть перемотан на исправный барабан плотными и ровными витками. Не допускается перемотка с барабана на барабан, если они установлены на щеки. При перемотке необходимо осуществлять визуальный контроль целостности наружной оболочки кабеля. Перемотке также подлежит поступивший оптический кабель, если выведенный на щеку барабана нижний конец имеет длину менее 1,7 м (запас для измерений).

4.4. После вскрытия обшивки барабана следует проверить наличие заводского паспорта (протокола), соответствие данных строительной длины, указанных в паспорте и данным, обозначенным на щеке барабана.

В паспорте на низкочастотные многопарные кабели (свыше 100 пар) и высокочастотные симметричные кабели должны быть указаны величины избыточного воздушного давления, дата и температура его заводской проверки.

В протоколе на оптический кабель должны быть указаны: длина кабеля, коэффициент затухания, дисперсия, тип покрытия и геометрические размеры каждого оптического волокна, дата изготовления. При отсутствии протокола на оптический кабель необходимо запросить его дубликат у завода-изготовителя и совместно с заказчиком решить вопрос об использовании данной строительной длины.

4.5. В строительных длинах кабелей, содержащихся под постоянным избыточным воздушным давлением, необходимо проверить наличие и величину этого давления, его соответствие паспортным данным (с учетом поправок на разность температур).

В случае, когда давление в кабеле ниже давления, указанного в паспорте, следует произвести контрольную проверку его герметичности в течение 24 часов, установив давление в кабеле 80 - 100 кПа. Если давление не изменится, то кабель следует считать годным для прокладки. Такую же проверку необходимо произвести в кабеле, если на него отсутствует заводской паспорт.

Если при проверке обнаружено отсутствие избыточного воздушного давления в кабеле, необходимо произвести проверку целостности жил и измерение сопротивления их изоляции между собой и по отношению к металлической оболочке или экрану, а также проверить целостность экрана. При положительных результатах измерений следует установить и устранить причину негерметичности оболочки с последующей проверкой строительной длины избыточным воздушным давлением 80 - 100 кПа в течение 24 часов.

4.6. При визуальной проверке строительных длин обращается внимание на внешнее состояние кабеля: отсутствие вмятин, порезов, пережимов, перекруток и пр. Если при внешнем осмотре обнаружены повреждения оболочки, то эти повреждения следует устранить имеющимися средствами (термоусаживаемыми трубками, термоусаживаемыми лентами, наплавлением полиэтиленовой ленты или кабельной оболочки под стеклолентой, пайкой и пр.). В этих случаях на электрических кабелях производят проверку жил на обрыв и сообщение, а также измеряют сопротивление их изоляции. Кабели, содержащиеся под избыточным воздушным давлением, после электрической проверки подлежат проверке на герметичность избыточным давлением 80 - 100 кПа в течение 48 часов.

4.7. На оптических кабелях после внешнего осмотра, при отсутствии повреждений и наличии паспорта необходимо произвести измерение затухания оптических волокон, предварительно убедившись в их целостности путем просветки источником света. При измерении проверяют соответствие километрического затухания оптических волокон норме, установленной для данного кабеля. Эту часть входного контроля целесообразно производить в сухом отапливаемом помещении.

Результаты входного контроля должны фиксироваться в протоколах по установленной форме (см. формы 15.1, 15.2 в разделе 15).

В случае выявления значительных дефектов кабеля, (обрыв волокон, превышение их километрического затухания от установленной нормы и др.), должен быть составлен акт с участием представителей подрядчика, заказчика и других заинтересованных организаций. При этом следует руководствоваться Законом Российской Федерации «О защите прав потребителей».

ГРУППИРОВАНИЕ СТРОИТЕЛЬНЫХ ДЛИН КАБЕЛЯ

4.8. Предназначенные для прокладки строительные длины кабелей должны быть распределены по пролетам кабельной канализации. Перед распределением (группированием) строительных длин кабеля рабочий чертеж на прокладку его должен быть сопоставлен с фактическими длинами пролетов и проведена проверка соответствия типов колодцев, установленных по трассе. При обследовании трассы также следует определить их состояние: наличие воды, льда, оснастки арматурой. Необходимо проверить возможность прокладки кабеля по тем каналам, которые указаны на рабочем чертеже, их занятость другими кабелями, наличие заготовочной проволоки. Для прокладки магистральных кабелей, как правило, занимаются центральные каналы. Распределительные кабели прокладывают в верхних крайних каналах для удобства вывода их в здания. При прокладке оптического кабеля по возможности используют каналы, расположенные в середине блока кабельной канализации по вертикали и у края по горизонтали.

Если прокладка будет производиться с одного из транзитных колодцев в два направления, необходимо заранее определить эти колодцы. Преимущественно для этого следует выбирать угловые колодцы.

4.9. При группировании кабеля, прокладываемого в кабельной канализации, необходимо подбирать строительные длины таким образом, чтобы остатки кабеля, с учетом выкладки в колодцах и запаса на монтаж соединительной муфты, были минимальными. При подборке строительных длин необходимо учитывать особенности трассы, наличие угловых колодцев, допустимые усилия тяжения кабеля, имеющиеся технические средства для прокладки, а также возможность транзитной прокладки кабеля и места расположения соединительных муфт.

4.10. Симметричные высокочастотные кабели, кроме требований, приведенных в п. 4.9, группируются по величине переходного затухания на ближнем конце и средним значениям рабочей емкости. При группировании строительных длин этих кабелей рекомендуется пользоваться «Руководством по строительству линейных сооружений магистральных и внутризоновых кабельных линий связи» (М, «Радио и связь», 1986, раздел 4, п.п. 4.61 - 4.66 «Группирование кабелей и пупиновских ящиков»).

4.11. При группировании строительных длин оптических кабелей, кроме требований п. 4.9, следует учитывать, что строительная длина оптического кабеля составляет от 1000 до 2000 м. И, как правило, должна быть затянута в канал кабельной канализации всей длиной (транзитом через колодцы). Разрезание строительной длины крайне нежелательно, так как каждая дополнительная муфта (стык оптического волокна) может вызвать завышение расчетного затухания линии.

При подборе строительных длин оптического кабеля следует исходить из того, что на одном регенерационном участке должен быть кабель только одной марки, с одним типом оптического волокна и его покрытия, одним типом центрального силового элемента. В отличие от электрических кабелей, запас оптического кабеля для монтажа соединительной муфты должен быть значительным и составлять по 8 м от канала с каждой стороны (для монтажа муфт кабеля в спецмашине).

ПОДГОТОВКА КАБЕЛЬНОЙ КАНАЛИЗАЦИИ К ПРОКЛАДКЕ КАБЕЛЯ

4.12. До начала проведения работ руководитель работами должен получить разрешение от соответствующего эксплуатационного предприятия на право их производства в смотровых устройствах данного района.

4.13. В соответствии с требованиями безопасности исполнителей и людей, оказавшихся в рабочей зоне, возле вскрываемых колодцев по обе стороны устанавливаются ограждения - барьеры. На проезжей части ограждения следует установить со стороны движения транспорта на расстоянии не менее 2 м от люка колодца. Кроме того, на расстоянии 10 - 15 м от ограждения навстречу движению транспорта должны быть установлены предупредительные знаки. При плохой видимости дополнительно должны быть установлены световые сигналы. Перед началом работ в колодцах, расположенных на проезжей части, необходимо поставить в известность местные органы ГАИ о месте и времени проведения работ.

4.14. В колодцах, в которых предстоит работать, необходимо проверить отсутствие газов: метана, пропана и углекислого газа. Временно открывается не менее, чем по одному каналу (желательно верхнему), и через 10 - 15 мин снова производится проверка на отсутствие вредных газов.

4.15. Для прокладки кабеля или стального каната (троса) в канале кабельной канализации в нем необходимо предварительно проложить стальную проволоку диаметром 3 мм - сделать заготовку канала. Заготовку канала производят тремя способами:

·       металлическими палками длиной по 1 м, свинчивающимися между собой в плеть;

·       полиэтиленовой трубкой ПНД 32 т, длиной до 150 м;

·       стеклопрутком, заключенным в полиэтиленовый шланг, наружным диаметром 11 мм и длиной до 150 м, намотанным на специальный тамбур, обеспечивающий удобство работы с прутками, исключающий его самопроизвольное раскручивание («УЗК» - устройство закотовки каналов - рис. 4.1).

Рис. 4.1. Устройство заготовки каналов

Заготовку каналов металлическими палками производят заталкиванием в канал, наращивая их свинчиванием. При выходе первой палки в смежном колодце к ее хвостовому наконечнику прикрепляют заготовочную стальную проволоку диаметром 3 мм и вытягивают палки, отвинчивая по одной. На прямолинейных участках трассы или при заготовке свободных каналов палки рекомендуется пропускать не развинчивая через несколько колодцев, пока это продвижение возможно.

Обычно палки рекомендуется применять при заготовке труднопроходимых каналов. При работе с палками следует избегать их раскручивания в канале. Если раскручивание произошло, то для извлечения плети палок следует пользоваться специальной воронкой для улавливания и свинчивания разомкнувшейся плети в канале.

Заготовку каналов полиэтиленовой трубкой производят проталкиванием, по возможности, через все транзитные колодцы. На труднопроходимых участках трассы обеспечивают вспомогательную подтяжку трубки рабочими. Заготовочную проволоку следует крепить к хвостовому наконечнику и протаскивать вместе с трубкой. Если продвижение трубки становится невозможным из-за возникших препятствий в канале, то трубку рекомендуется несколько раз провернуть по часовой стрелке и против часовой стрелки с одновременным проталкиванием в канал.

Наиболее эффективной является заготовка каналов приспособлениями УЗК. При этом стеклопруток проталкивают в канал, разматывая его с тамбура через транзитные колодцы вместе с заготовочной проволокой, прикрепленной к хвостовому наконечнику (с подтяжкой прутка в транзитных колодцах). При прокладке кабеля массой до 0,5 кг/м к хвостовому наконечнику стеклопрутка можно прикрепить кабель и проложить его в канале.

4.16. При подготовке к прокладке в занятых каналах (особенно палками) необходимо принимать меры, предупреждающие повреждения проложенных ранее кабелей. В частности головные и хвостовые наконечники (палок, полиэтиленовых труб, стеклопрутка), не должны иметь острых кромок и заусенцев, при креплении заготовки не должно быть выступающих острых концов проволоки, а ее скрутки необходимо обмотать липкой лентой.

4.17. Прокладка оптических кабелей связи в кабельной канализации производится как по свободным, так и по занятым каналам. Прокладка по свободным каналам должна производиться при условии, что в этих каналах не будет в дальнейшем докладки электрических кабелей связи, а только оптических одной массы в количестве не более 5 - 6. Если же докладка электрических кабелей предусматривается, то оптический кабель в свободном канале должен прокладываться только в полиэтиленовой трубе.

Оптические кабели с броней из стеклопластиковых стержней, стальных проволок и лент с защитной полиэтиленовой оболочкой поверх брони, могут прокладываться как по свободным, так и по занятым каналам без затягивания в полиэтиленовую трубу.

4.18. При прокладке полиэтиленовой трубы в канале кабельной канализации необходимо использовать те же способы, что и при заготовке канала проволокой при помощи такой же трубы (см. п. 4.15). Бухту полиэтиленовой трубы расположить возле начального колодца, конец трубы ввести в канал и проталкивать, по возможности, вперед по трассе. В транзитных колодцах осуществлять вспомогательную подтяжку. При прекращении прохождения трубы ее следует подтягивать обратно к начальному колодцу с обрезкой в каждом транзитном колодце, оставляя длину 200 - 250 мм от торца канала.

4.19. Если оптический кабель прокладывается по каналам, расположенным у края блока по горизонтали, то трубу обрезать не рекомендуется, а впоследствии выложить в колодце вместе с проложенным в нее кабелем.

4.20. Для защиты оптического кабеля в кабельных колодцах после прокладки трубы рекомендуется на ее обрезанные концы надвинуть и протолкнуть в канал отрезок пластмассовой полиэтиленовой трубы или металлорукав большего диаметра. При выкладке кабеля по форме колодца гофрированную трубу или металлорукав следует надвинуть на кабель и пропустить в противоположный канал.

4.21. Если прокладка кабеля осуществляется через некоторое время после прокладки полиэтиленовой трубы, то концы всех проложенных полиэтиленовых труб необходимо временно закрыть полиэтиленовыми колпачками. Водонепроницаемость стыка колпачка с кабелем рекомендуется обеспечить обмоткой 5 - 7 слоями липкой пластмассовой ленты.

При прокладке полиэтиленовой трубы в кабельной канализации маломерные ее остатки необходимо перераспределять на короткие пролеты трассы, определяя их по рабочему чертежу. Допускается стыковка маломерных длин полиэтиленовой трубы для прокладки на участках трассы, не превышающих 70 - 80 м. Стыковку следует производить с помощью металлической манжеты длиной 150 мм, толщиной стенки 1,5 - 2,0 мм, с внутренним диаметром, соответствующим внешнему диаметру полиэтиленовой трубы. Предварительно на торцах труб с внутренней стороны необходимо снять фаску под углом 30 градусов, установить металлическую манжету на стык обеих труб. Рядом с манжетой нанести герметик (сэвилен, ГИПК-14-13, КРУС-1 или КРД), а затем надвинуть и усадить соответствующую термоусаживаемую трубку длиной 250 мм.

4.22. Если прокладка предусмотрена проектом только в полиэтиленовых трубах и для оптических кабелей выделяется отдельный канал, то рекомендуется затянуть в него сразу несколько полиэтиленовых труб одного или разных диаметров. Для этого необходимо предварительно провести «заготовку» канала проволокой или тросом и с их помощью затянуть одновременно весь блок труб.

При значительном количестве больших пролетов целесообразно использовать зонтичный пневмопроходчик. Для его применения требуется передвижная компрессорная станция, обеспечивающая подачу сжатого воздуха под избыточным давлением 590 кПа.

4.23. Нередко возникают случаи, когда в результате проникновения в канал грунтовых вод каналы в отдельных местах оказываются заполненными песком, глиной, илом и т.п., при этом каналы необходимо прочистить. Для прочистки следует применять специальные стальные совки (рис. 4.2).

Рис. 4.2. Совок для очистки засоренных каналов

Образовавшийся в канале лед рекомендуется удалить с помощью пара от передвижного парообразователя. Если прочистка каналов не дает положительных результатов, то этот участок канализации следует вскрыть и отремонтировать. При необходимости выполняются вставки из отрезков новых цельных или разрезных труб.

4.24. В процессе подготовки кабельной канализации к прокладке кабеля проверяется проходимость каналов. Для этого пробный цилиндр (рис. 4.3) соединяют карабином (рис. 4.4 а) металлической щеткой (рис. 4.4 б).

Рис. 4.3. Цилиндр пробный

Рис. 4.4 а. Карабин

Диаметр пробного цилиндра должен быть:

·       92 мм - для асбестоцементных и бетонных труб диаметром 100 мм;

·       82 мм - для асбестоцементных и бетонных труб диаметром 90 мм, а также полиэтиленовых труб диаметром 100 мм.

Рис. 4.4 б. Щетка для прочистки канала

4.25. Если пробный цилиндр и щетка проходят по каналу с большим трудом, то их следует извлечь из канала. Заготовочную проволоку целесообразно заменить канатом. Канат прикрепляется с одной стороны к пробному цилиндру, с другой стороны - к щетке. Протаскивая цилиндр и щетку несколько раз вперед и назад через труднопроходимое место, очищают канал от загрязнений. Рекомендуется проводить комплексную очистку с использованием стального совка. После очистки канала цилиндр и щетку извлекают в начальном колодце. К щетке прикрепляют заготовочную проволоку и снова протаскивают через канал вместе с проволокой.

4.26. До начала прокладки кабелей все колодцы, в которых намечаются (проводятся) работы, должны быть проверены на отсутствие вредных газов, провентилированы и осушены, открыты смежные каналы, установлены ограждения.

ПРОКЛАДКА ЭЛЕКТРИЧЕСКИХ КАБЕЛЕЙ В КАБЕЛЬНОЙ КАНАЛИЗАЦИИ

4.27. В каналах кабельной канализации прокладываются кабели всех видов проводной связи, не имеющие поверх оболочки броневых защитных покрытий.

4.28. Барабан с кабелем, как правило, устанавливается на кабельных домкратах возле первого начального колодца со стороны трассы. Прокладка может вестись с барабана, установленного также на кабельном транспортере (тележке). Подвеска барабанов должна быть такой, чтобы при подаче кабеля в канал он разматывался с верха барабана. При этом необходимо отрегулировать его горизонтальное положение для исключения сползания во время вращения в одну из сторон (рис. 4.5).

Рис. 4.5. Установка барабана с кабелем у колодца

4.29. В качестве тягового средства используют кабельную машину, оборудованную лебедкой с приводом от двигателя автомашины, или ручную лебедку. Легкие кабели (массой до 3000 кг/км) целесообразно затягивать в канализацию вручную без применения специальных тяговых средств. В качестве тянущего элемента в основном используют стальную проволоку диаметром 3 мм или стальной канат (трос). При прокладке кабеля по занятым каналам тяжение рекомендуется производить стальным канатом, ошлангованным полиэтиленом или пеньковым, а также синтетическим канатами. Отдельные требования к условиям прокладки приведены в табл. 4.1.

Таблица 4.1

Масса кабеля

Средства тяжения

Вид тянущего элемента

до 3000 кг/км

вручную

стальная проволока диаметром 3 мм, стальной канат

до 6000 кг/км

кабельная машина, ручная лебедка 15 - 30 кН

стальной канат диаметром 8,0 - 8,8 мм

свыше 6000 кг/км

кабельная машина

стальной канат диаметром 11,5 мм

Пробный цилиндр, щетка и канат, конец которого должен быть заделан петлей и оснащен коушем, скрепляют между собой карабинами.

К щетке прикрепляют конец заготовочной проволоки, которую протягивают по каналу через весь пролет.

4.32. Протянутый по каналу канат освобождается от пробного цилиндра и щетки, скрепляется с концом кабеля посредством специального стального кабельного чулка (рис. 4.6), через карабин.

Рис. 4.6. Чулки стальные кабельные:

а - концевой; б - сквозной; в - разрезной

Размеры чулков приведены в табл. 4.2. При прокладке кабелей емкостью свыше 600 пар между чулком и кабелем необходимо устанавливать компенсатор кручения (рис. 4.7) для предотвращения осевого скручивания кабеля при тяжении.

Рис. 4.7. Компенсатор кручения

Таблица 4.2

Номер чулка

Максимальный наружный диаметр кабеля, мм

Разрывная прочность чулка

16

16

2,0

21

21

3,0

28

28

5,0

38

38

7,0

50

50

10

63

63

13

73

73

17

83

83

20

4.31. На кабелях со свинцовой оболочкой, для обеспечения более плотного обжатия сердечника чулком, оболочку рекомендуется усадить обивкой деревянным молотком, на кабелях с полиэтиленовой оболочкой по концу на всей длине чулка наложить 3 - 4 слоя пластмассовой или прорезиненной ленты. Концевой чулок надевается на кабель и закрепляется в 2 - 3 местах наложением бандажей из мягкой стальной проволоки диаметром 1,5 - 2,0 мм. При прокладке кабеля по занятому каналу стальной чулок по всей длине должен быть обмотан 2 - 3 слоями пластмассовой или прорезиненной ленты. При прокладке кабелей большой емкости или большой массы (если возникает вероятность больших тяговых усилий) сердечник вместе с чулком необходимо прошить стальной проволокой в нескольких местах и закрепить бандажом.

4.32. Прокладку кабеля следует производить при температуре окружающего воздуха не ниже:

минус 20 °С - для кабелей в свинцовой оболочке;

минус 10 °С - для кабелей в полиэтиленовой оболочке.

Прокладку кабелей при более низких температурах производят после предварительного прогрева его на барабане или выдержки в закрытом отапливаемом помещении в течение 48 часов при температуре 20 - 22 °С. Для прогрева кабеля, непосредственно перед прокладкой применяют портативные подогреватели и специальный брезентовый чехол, надеваемый на барабан.

4.33. Подготовленный к прокладке конец кабеля вводится в канал с одновременной подмоткой тягового каната лебедкой или вручную с противоположной стороны в колодце. Для предотвращения повреждения его оболочки на вход канала первого колодца (и во всех транзитных колодцах) необходимо устанавливать разрезные полиэтиленовые втулки или кабельные колена (рис. 4.8).

Рис. 4.8. Приспособления для защиты затягиваемого кабеля на вводе в канал

а - кабельное колено; б - разрезная предохранительная втулка; в - защита кабеля кабельным коленом; г - защита кабеля разрезной втулкой

Кабель должен входить в канал по плавной круговой траектории и не касаться люка колодца. Скорость тяжения кабеля должна быть равномерной и находиться в пределах 9 - 30 м/мин в зависимости от массы прокладываемого кабеля, длины пролета, сложности трассы.

4.34. Руководство прокладкой осуществляет монтажник, имеющий наивысшую в данной бригаде (звене) квалификацию и находящийся во время прокладки возле барабана с кабелем. Для оперативного управления прокладкой рекомендуется организовывать радиосвязь по всей трассе рациями УКВ.

4.35. Кабельную машину или ручную лебедку устанавливают в непосредственной близости от люка колодца. При необходимости, на выходе из канала и на верхней кромке люка колодца применяют кабельные колена или блочное колено, состоящее из набора роликов.

4.36. При прокладке кабелей в свинцовой оболочке для уменьшения трения целесообразно применять смазку оболочки техническим вазелином, но при условии, что в этом канале нет и не предвидится прокладка кабелей с полиэтиленовой оболочкой. Если прокладка ведется через несколько пролетов, то и в транзитных колодцах следует организовать дополнительную смазку свинцовой оболочки кабеля. При прокладке кабелей в полиэтиленовой оболочке технический вазелин для смазки применять нельзя, разрешается использовать для этого нейтральные и не активные к полиэтилену смазки (например, гидрофобное заполнение кабеля, ЛЗК-1).

4.37. Часто прокладку кабелей большой емкости и значительной длины осуществляют с ручной вспомогательной подтяжкой в транзитных колодцах с использованием специального разрезного чулка (рис. 4.6 в).

4.38. При выходе прокладываемого кабеля из канала в приемном колодце устанавливается специальный блок для горизонтального подтягивания кабеля (рис. 4.9 а, б), который крепится к специальной серьге, заделанной в нижнюю часть стенки колодца. При отсутствии серьги можно использовать различного рода вертикальные стойки или упоры (рис. 4.9 в, г). Концевой чулок с кабеля следует снять и заменить сквозным (рис. 4.9 б).

Рис 4.9. Приспособление для подтягивания троса из канала:

а - серьга и блок; б - серьга, блок, колена и ролики; в - телескопическая стойка и блок; г - вертикальная блочная стойка

Подтягивая кабель и перемещая сквозной чулок к выходу их канала, вытянуть кабель на длину, необходимую для выкладки и монтажа соединительной муфты, без учета кабеля под чулком, который после вытягивания должен быть отрезан.

4.39. Кабели небольшой емкости и массы следует прокладывать без применения блоков и без замены концевого чулка сквозным. Во всех случаях установка кабельных колен и разрезных пластмассовых воронок обязательна.

ПРОКЛАДКА ОПТИЧЕСКИХ КАБЕЛЕЙ

4.40. Прокладку оптических кабелей связи в кабельной канализации производят как ручным, так и механизированным способами с использованием различных механизмов и приспособлений. Это вызвано, в первую очередь, большими строительными длинами кабеля, сравнительно малыми допустимыми усилиями тяжения и необходимостью соблюдать радиус изгиба кабеля. Усилие тяжения и радиус изгиба должны соответствовать требованиям технических условий на прокладываемый кабель.

4.41. Рекомендуемый состав механизмов и приспособлений, используемых при прокладке оптического кабеля в кабельной канализации, состоит из:

·       лебедки концевой с ручным, бензиновым или электрическим приводами с регулируемым ограничителем усилия тяжения для протягивания кабеля по каналу или полиэтиленовой трубе, проложенной в канал;

·       устройства для размотки кабеля с барабана, заменяющего тяжелые козлы-домкраты или кабельную тележку, применяющиеся при прокладке электрических кабелей;

·       трубы гофрированной с продольным разрезом для ввода кабеля через люк колодца в канал канализации (или полиэтиленовую трубу, проложенную в канале);

·       роликов люкоогибных для прохождения заготовочной проволоки и кабеля через люк колодца;

·       горизонтальной распорки и блока кабельного для плавного поворота кабеля в угловом колодце;

·       полиэтиленовых разрезных воронок направляющих, устанавливаемых на канал канализации или на полиэтиленовую трубу, проложенную в канале, для предотвращения повреждения кабеля и обеспечения требуемого радиуса изгиба кабеля на входе и выходе канала;

·       наконечника кабельного с чулком для тяжения кабеля на центральный силовой элемент и полиэтиленовую оболочку;

·       компенсатора кручения;

·       лебедки промежуточной с ограничителем усилия тяжения для вспомогательной подтяжки кабеля в транзитных колодцах.

4.42. До выезда на трассу прокладки кабеля, как правило, проводят подготовительные работы: проверяют комплектность и работоспособность механизмов и приспособлений и регулируют (при необходимости) с помощью динамометра тяговое усилие концевой и промежуточных лебедок, которое не должно превышать допустимого тягового усилия, установленного техническими условиями на прокладываемый кабель. Концевую лебедку необходимо отрегулировать на усилие, менее установленного для кабеля (98 - 147 Н). Промежуточные лебедки отрегулировать на усилие, не превышающее 640 - 690 Н. Проверку и регулировку лебедок целесообразно производить в присутствии представителя заказчика с оформлением протокола.

4.43. Перед прокладкой оптического кабеля все механизмы, устройства, барабан с кабелем, ограждения, лестницы и пр., развозят по трассе и приступают к их установке.

4.44. Устройство для размотки кабеля с барабана устанавливается на расстоянии 1,5 - 2,0 м от люка первого колодца, с которого начинается прокладка кабеля. На люк колодца устанавливается рама с гофрированной трубой для ввода кабеля в канал канализации. Барабан с кабелем (обшивка удалена) размещается со стороны трассы прокладки так, чтобы сход кабеля производился сверху (рис. 4.10).

Рис. 4.10. Установка устройства для размотки оптического кабеля

С противоположной стороны на люк последнего выходного колодца устанавливают люкоогибные ролики (рис. 4.11), а в 2 - 3 м от люка - концевую лебедку.

Рис. 4.11. Установка люкоогибных роликов

Во всех транзитных колодцах на полиэтиленовую трубу, проложенную в канале, устанавливают на входе и выходе канала по одному противоугону (рис. 4.12) и по одной предохранительной воронке (рис. 4.13).

Рис. 4.12. Установка противоугона на полиэтиленовую трубу

Рис. 4.13. Установка воронки на полиэтиленовую трубу

Если прокладка будет вестись без полиэтиленовой трубы, то в канал устанавливают воронки, диаметр которых соответствует диаметру канала (рис. 4.14).

Рис. 4.14. Установка воронки в трубу канала

Во всех угловых колодцах устанавливают горизонтальную распорку и блок кабельный (рис. 4.15).

Рис. 4.15. Установка горизонтальной распорки и блока кабельного

В колодцах среднего и малого типа проход кабеля должен осуществляться вспомогательной подтяжкой вручную. Во всех транзитных колодцах на сложных участках трассы размещают промежуточные тяговые лебедки. При отсутствии таких лебедок вспомогательная подтяжка кабеля в этих колодцах также должна осуществляться вручную.

4.45. Прокладку оптического кабеля разрешается производить при температуре окружающего воздуха не ниже минус 10 °С.

4.46. Конец кабеля оборудуется наконечником с компенсатором кручения, обеспечивающим тяжение кабеля за центральный силовой элемент и полиэтиленовую оболочку (рис. 4.16).

Рис. 4.16. Установка наконечника с чулком и компенсатором кручения на конце кабеля

Компенсатор кручения соединяется с заготовочной проволокой обычной скруткой, на которую накладывается обмотка из 3 - 4 слоев липкой пластмассовой ленты (крутка не должна выступать за габариты наконечника и компенсатора кручения).

Затягивание кабеля производят ручной концевой тяговой лебедкой, установленной у последнего колодца, вращая ее барабан равномерно, избегая рывков (рис. 4.17).

4.47. Во время прокладки необходимо следить за работой промежуточных тяговых лебедок в транзитных колодцах. Средняя скорость прокладки кабеля составляет 5 - 7 м/мин. При отсутствии промежуточных лебедок вспомогательную подтяжку следует делать вручную с усилием не более 600 - 700 Н. Рекомендуется заранее подготовить рабочих для выполнения этих работ. При подтягивании кабеля руками запрещается упираться ногами в стенки колодца или его армаду. Нельзя допускать перегибов кабеля. Необходимо также следить, чтобы впереди не образовывалась петля и кабель равномерно уходил в противоположный канал.

Рис. 4.17. Затягивание кабеля в канал с помощью концевой ручной лебедки

4.48. При прокладке кабеля для уменьшения трения рекомендуется применять нейтральную смазку оболочки кабеля, указанную в п. 4.36. При прокладке кабеля в полиэтиленовой трубе очень эффективным является способ протяжки кабеля с помощью микрошариков. При этом способе в полиэтиленовую трубу вдуваются сжатым воздухом в необходимом количестве полимерные или стеклянные микрошарики диаметром от 0,2 до 0,3 мм, обеспечивая на всем протяжении трубы равномерное покрытие ее внутренней поверхности плотностью, примерно, один шарик на 1,5 - 2,0 см2, что снижает коэффициент трения при прокладке почти в пять раз. При этом главным условием остается требование к внутренней поверхности трубы. Она должна быть ровной, без каких либо шероховатостей и чистой (недопустимо присутствие песка, глины, ила и т.п.).

На сложных участках трассы и при наличии больших строительных длин кабеля, его прокладку производят в два направления с одного из транзитных колодцев, расположенного примерно на третьей части длины пролета. Желательно, чтобы это был угловой колодец. Вначале целесообразно проложить большую длину в одну сторону, затем оставшийся на барабане кабель размотать, уложить восьмеркой возле колодца и далее проложить в другую сторону. Если есть возможность, кабель можно размотать большими петлями вдоль трассы и затем проложить.

4.49. При появлении кабеля в последнем приемном колодце концевую лебедку перемещают на расстояние 20 - 25 м и продолжают вытяжку кабеля из колодца по люкоогибным роликам, обеспечивая, тем самым, запас кабеля на выкладку и монтаж.

4.50. Закончив выкладку кабеля, его конец возле чулка необходимо обрезать и загерметизировать полиэтиленовым колпачком.

ВЫКЛАДКА КАБЕЛЕЙ

4.51. Вытянутый из канала кабель (или его конец) необходимо протереть от смазки и загрязнений. На консолях, где кабель должен быть уложен, устанавливаются подкладки из бризола, гидроизола, рубероида или отходов полиэтиленовой оболочки.

4.52. Кабель укладывается по форме колодца, не допуская перекрещивания с другими проложенными кабелями и не перекрывая отверстий каналов кабельной канализации. Допустимый радиус изгиба кабелей в полиэтиленовой оболочке должен быть не менее двенадцати их диаметров, в свинцовой оболочке - не менее семи их диаметров; оптических кабелей, как правило, не менее двадцати их диаметров. При укладке кабелей, чтобы избежать пережимов и повреждений оболочки, необходимо применять кабельные колена. Электрические кабели в полиэтиленовой оболочке большой емкости необходимо изгибать после глубокого прогрева оболочки и сердечника в местах изгиба, снимая внутреннее механическое напряжение полиэтиленовой оболочки. Прогрев следует производить горячим воздухом от паяльной лампы, установив ее под кабелем, а над кабелем - козырек (как при сушке сердечников кабеля при монтаже муфт). Температура горячего воздуха выдерживается в пределах 60 - 70 °С. Время прогрева зависит от емкости кабеля (примерное время прогрева кабеля ТПП 600´2 - 1 час). После прогрева кабель необходимо изогнуть, применяя кабельные колена и временно закрепить на предназначенном ему месте. Кабели в полиэтиленовой оболочке емкостью до 300 пар можно выкладывать без предварительного прогрева.

Выкладку кабеля в транзитных колодцах следует начинать с последнего колодца к первому, где установлен барабан. При необходимости для подтяжки кабеля используют все имеющиеся средства: кабельные блоки, разрезные чулки, лебедки и пр.

4.53. Кабели емкостью свыше 100 пар после прокладки и выкладки проверяются на герметичность избыточным воздушным давлением 80 - 100 кПа в течение 24 часов.

4.54. Оптические кабели подтягивают и укладывают по форме колодца на консоли соответствующего ряда вручную, начиная с середины пролета в обе стороны, используя вытянутый в последнем колодце запас (20 - 25 м). Запас кабеля, необходимый для монтажа соединительной муфты, должен быть по 8 м от канала с обоих концов кабеля.

4.55. Запас кабеля, оставляемый в колодце для монтажа муфты, рекомендуется свернуть кольцами диаметром 1000 - 1200 мм, уложить и прикрепить к кронштейнам.

4.56. После выкладки оптического кабеля необходимо произвести контрольные измерения затухания оптических волокон, результат которых должен быть в пределах установленной километрической нормы. После проверки кабеля колпачки на его концах должны быть восстановлены.

ПРОКЛАДКА КАБЕЛЕЙ В КОЛЛЕКТОРАХ

4.57. Прокладке в коллекторах подлежат электрические и оптические небронированные кабели связи в свинцовой, стальной, алюминиевой оболочках. Учитывая свободное открытое положение кабелей, их следует прокладывать как максимальными строительными длинами, так и минимальными (кроме оптических).

4.58. Кабельная тележка или кабельные домкраты с барабаном кабеля устанавливаются у люка, ведущего в коллектор, в направлении прокладки кабеля так, чтобы кабель поступал в люк при размотке с верха барабана.

4.59. Прокладка кабеля может производиться вручную и механизированно.

Прокладка кабеля вручную состоит из трех основных операций: размотки кабеля с барабана, разноски его по коллектору и укладки его на консоли.

При прокладке вручную кабель разматывают с барабана, опускают через люк, где его подхватывают находящиеся в коллекторе рабочие, которые переносят на руках вдоль коллектора и укладывают кабель на пол. При этом количество рабочих определяется из расчета нагрузки кабеля на одного человека - не более 35 кг.

После того как вся длина кабеля размотана и уложена на пол коллектора, рабочие поднимают его в один или несколько приемов (в зависимости от количества рабочих) и укладывают на заданные проектом ряд и место на консолях. В зависимости от высоты заданного ряда консолей кабель укладывают непосредственно с пола, со стремянок или приставных лестниц (оснащенных резиновыми башмаками).

При наличии средств механизации (лебедок для тяжения кабеля и роликов, по которым он протягивается), прокладка осуществляется в соответствии с организацией и технологией выполнения работ, приведенных в «Рекомендациях по прокладке кабелей связи в коллекторах», ССКТБ, М., 1983.

ПРОКЛАДКА КАБЕЛЕЙ В ТОННЕЛЯХ

4.60. Прокладке в тоннелях подлежат как бронированные кабели без джутового покрова, так и не бронированные, включая оптические. Тип и марка кабеля для каждого конкретного случая определяются проектом.

4.61. При прокладке барабан с кабелем устанавливается на грузовую платформу, транспортируемую вдоль трассы. По мере продвижения платформы кабель сматывают с барабана и укладывают на консоли.

4.62. В случае отсутствия рельсовых путей прокладку кабеля производят одним из нижеуказанных способов:

·       выноской кабеля бригадой рабочих вдоль тоннеля;

·       протяжкой по раскаточным роликам;

·       с барабана, установленного на кабельном транспортере;

·       с барабана, установленного на кабельных домкратах.

ПРОКЛАДКА КАБЕЛЯ ПО МОСТАМ

4.63. В зависимости от конструкции моста, его протяженности, кабельных проходов и пр. способ прокладки кабеля определяется проектным техническим решением, при этом рассчитываются и предлагаются материальные и технические средства, а также меры безопасности проведения работ.

4.64. В случаях наличия труб, проложенных под пешеходной частью моста, или огнестойких желобов с боковой стороны моста прокладку кабеля производят в соответствии с пп. 4.27 - 4.39.

4.65. Оптические кабели прокладывают по мостам, если максимальная частота и амплитуда вибрации не превышает допустимой величины для этого кабеля, установленной требованиями технических условий. Прокладку их следует производить так же, как и электрических кабелей, с учетом их особенностей.

ИЗВЛЕЧЕНИЕ КАБЕЛЯ ИЗ КАБЕЛЬНОЙ КАНАЛИЗАЦИИ

4.66. Перед извлечением кабеля, проложенного в кабельной канализации, рекомендуется демонтировать все соединительные муфты и свободные концы кабеля загерметизировать колпачками.

4.67. Для извлечения из канализации электрического кабеля связи, непригодного для дальнейшего использования, на конец кабеля целесообразно надеть концевой чулок. Чулок закрепить бандажами с прошивкой сердечника стальной проволокой. Крепление должно быть надежным, рассчитанным на большие тяговые усилия. Кабель вытягивается через люк кабельной машиной или ручной лебедкой на всю длину пролета и затем наматывается на пустой барабан. При вытягивании кабеля на люк колодца и на выходе канала устанавливаются кабельные колена.

4.68. При извлечении кабеля, пригодного для дальнейшей эксплуатации, на конец извлекаемого кабеля надевается и закрепляется также сквозной кабельный чулок. В колодце устанавливается кабельный блок, через который пропускается тяговый канат от кабельной машины или ручной лебедки. Канат скрепляется с чулком посредством карабина. При извлечении кабеля большой емкости необходима установка между чулком и канатом компенсатора кручения (рис. 4.7).

Кабель следует извлекать на длину, равную расстоянию от канала до упора чулка в блок, каждый раз передвигая чулок к каналу. Освободившийся кабель необходимо сразу наматывать на пустой барабан ровными витками. При намотке кабеля следует визуально контролировать состояние наружной оболочки. При незначительных дефектах их необходимо немедленно устранить. При более серьезных повреждениях их надо отметить липкой пластмассовой лентой и зафиксировать характер повреждения. После намотки на барабан всей длины кабеля к барабану прикрепляют бирку, на которой указывают: марку кабеля, емкость, диаметр жил, длину, годность к дальнейшему использованию и характер отмеченных повреждений.

Извлеченный кабель проверяют на наличие обрывов и сообщений жил, сопротивление их изоляции и на герметичность избыточным воздушным давлением 80 - 100 кПа в течение 96 часов.

4.69. При извлечении из канала оптического кабеля применяют кабельные наконечники, обеспечивающие тяжение кабеля за центральный силовой элемент и его наружную оболочку. После его извлечения, в случае его дальнейшего использования, проверяют целостность оптических волокон, основные элементы конструкции, измеряют оптические характеристики.

РАЗДЕЛ 5

ПРОКЛАДКА КАБЕЛЕЙ МЕСТНЫХ СЕТЕЙ СВЯЗИ В ГРУНТЕ

ОБЩИЕ ПОЛОЖЕНИЯ

5.1. Непосредственно в грунте прокладываются кабели, бронированные стальными лентами с джутовым или пластмассовым покрытием (ТБ, ТЗБ, ТППБ, ТППБШп, МКСБ, КСППБ и т.п.) или стальными проволоками (ТК, ТЗК, КСПЗК и др.).

5.2. Кабели ГТС и сельской связи могут прокладываться в предварительно отрытую траншею или бестраншейным механизированным способом (с помощью кабелеукладчиков), если объемы работ, грунтовые условия и расстояния перевозки механизмов к месту работ делают применение этого способа экономически целесообразным.

5.3. При прокладке кабелей в грунт следует руководствоваться положениями и требованиями, изложенными в разделе 2 (п.п. 2.3 - 2.13), определяющими правила производства работ в пределах охранных зон, порядок оформления документов на производство земляных работ.

5.4. При прокладке кабеля в отрытую траншею работы следует организовывать с таким расчетом, чтобы траншея в открытом (незасыпанном) состоянии оставалась в течение минимального промежутка времени.

5.5. При прокладке кабелей механизированным способом или вручную в отрытую траншею необходимо обеспечить согласованность действий участвующих в прокладке подачей команд с помощью УКВ радиостанций, мегафонов или других средств.

5.6. По мере прокладки кабеля на поворотах трассы, пересечениях с другими сооружениями, переходах через реки, а также на стыках строительных длин должны быть установлены замерные столбики или другие (временные) знаки с нанесением на них соответствующих надписей (номер муфты, направление поворота и т.д.).

5.7. Температура окружающей среды, при которой допускается транспортировка, хранение и прокладка кабелей связи, должна соответствовать требованиям ГОСТ (ТУ) на данный тип кабеля. В случае прокладки кабеля при температуре ниже предусмотренной ГОСТ и ТУ должен производиться прогрев кабеля.

РАЗБИВКА ТРАССЫ

5.8. При разбивке трассы подземной кабельной линии связи работы следует выполнять в последовательности, изложенной в разделе 2 (п.п. 2.17 - 2.22), соблюдая при этом расстояния между сооружениями связи и другими сооружениями в соответствии с табл. 2.2.

5.9. В процессе разбивки трассы необходимо определить места, где перед прокладкой кабеля требуется планировка местности.

5.10. Если трасса кабельной линии связи запроектирована на местности, занятой посевами, необходимо перед прокладкой оформить разрешение землепользователей на производство работ в соответствии с согласованиями, обусловленными в проектной документации.

5.11. В лесистой местности предварительно должна производиться разбивка просеки. Здесь осевую линию трассы обозначают вехами, устанавливаемыми в пределах видимости. Затем следует вырубить просеку по визирной линии, после чего она вырубается на всю ширину в соответствии с проектом.

5.12. При прокладке кабеля в гористой местности, по крутым склонам, через овраги, на крутых берегах рек с уклоном свыше 30° первоначально следует произвести разбивку осевой линии, а затем двух боковых, параллельных осевой, ограничивающих ширину изгибов зигзагообразной траншеи (рис. 2.6).

ПРОКЛАДКА КАБЕЛЕЙ

5.13. Перед прокладкой кабелей в отрытую траншею дно ее должно быть выровнено и очищено от камней, строительного мусора и других предметов, которые могут повредить проложенный кабель после засыпки траншеи грунтом.

5.14. В скальных грунтах перед прокладкой кабеля дно траншеи должно быть очищено от острых выступов, камня крупного щебня; под кабелем и над ним должен быть уложен защитный слой мягкого (разрыхленного) грунта или песка толщиной не менее 10 см.

5.15. Глубина прокладки кабеля определяется проектом и не должна отклоняться от принятой в проекте величины более чем на 10 см.

5.16. Прокладка кабеля в отрытые траншеи должна производиться только после проверки их глубины. После прокладки кабеля и засыпки траншеи должен быть составлен акт на скрытые работы с участием представителя, осуществляющего технический надзор.

5.17. В процессе механизированной прокладки должен производиться непрерывный контроль за глубиной заложения рабочего ножа, который должен постоянно находиться на заданной глубине.

В грунтах, где щель непосредственно после прокладки кабеля остается открытой, контроль глубины заложения следует производить через каждые 40 - 50 м при помощи специальной деревянной планки с нанесенными на ней мерными отметками. Проверка глубины заложения кабеля при помощи лопаты категорически запрещается.

5.18. При отклонении от запроектированной глубины более, чем на 10 см (в сторону уменьшения) кабелеукладочная колонна должна быть немедленно остановлена. Прокладка кабеля может быть продолжена только после установления причин, вызвавших выглубление ножа кабелеукладчика, и их устранения (очистка от корней, удаление посторонних предметов, необходимость замены ножа и др.) с последующим доуглублением проложенного кабеля до проектной глубины.

5.19. Ширина траншеи зависит от количества прокладываемых кабелей. При этом учитывается ширина, занимаемая кабелями, промежутки между ними и стенками траншеи (по 50 мм). Принимая диаметр кабеля равным в среднем 50 мм, ширина подошвы траншеи определяется в 150, 250, 350 и 450 мм соответственно при прокладке одного, двух, трех и четырех кабелей (рис. 5.1).

При механизированном рытье ширина траншеи, кроме минимально необходимой для прокладки кабелей, определяется еще и фактической шириной рабочего органа применяемого землеройного механизма, которая может превышать потребную ширину траншеи для прокладки кабелей.

При ручной разработке минимальная ширина траншеи ограничивается шириной землекопной лопаты.

Рис. 5.1. Ширина подошвы траншей в зависимости от количества прокладываемых кабелей

5.20. Прокладку кабеля в подготовленную траншею выполняют одним из следующих способов:

а) опускают кабель в траншею сразу с барабана, установленного в специально оборудованном кузове автомашины или на кабельной тележке, которые передвигаются вдоль траншеи;

б) протаскивают кабель с помощью каната и лебедки по роликам, установленным на дне траншеи; при этом кабель сматывают с барабана, установленного на кабельных домкратах или кабельной тележке;

в) разносят кабель на руках вдоль траншеи так, чтобы он не имел резких изгибов и не волочился по земле, в то время, как барабан с кабелем установлен на домкраты или кабельную тележку, а рабочие сматывают кабель с барабана.

5.21. При сматывании кабеля барабан должен свободно вращаться по оси. Равномерное вращение барабана может обеспечиваться специальным механизмом или вручную рабочими. Вращение барабана за счет тяги кабеля не допускается. Кабель должен свободно сходить с барабана сверху.

При сматывании кабеля, особенно в холодное время года, необходимо строго следить за тем, чтобы из-за слипания витков не имели места заломы кабеля при сходе его с барабана. Исключение таких заломов обеспечивается четким регулированием скорости вращения барабана.

При прокладке кабеля с движущейся автомашины или кабельной тележки рабочие, передвигающиеся вслед за машиной, принимают сматываемый кабель и укладывают его на дно траншей. Скорость движения барабана с кабелем вдоль траншеи не должна превышать 1 км/ч.

5.22. При прокладке кабеля вручную необходимое число рабочих определяется из расчета нагрузки на одного рабочего не более 35 кг массы кабеля. В случае невозможности сматывания кабеля с барабана сразу на полную длину, например, при недостаточном количестве рабочих, применяют метод так называемой «петли» (рис. 5.2). Барабан в этом случае устанавливают посредине или в другой, заранее отмеренной точке трассы. При использовании этого метода следует особенно внимательно следить за тем, чтобы радиусы изгибов кабеля были не меньше минимально допустимых по ГОСТ или ТУ для данного типа кабеля, и исключалась возможность образования перекруток и вмятин.

Рис. 5.2. Разноска кабеля вручную вдоль траншеи напрямую или методом «петли»

5.23. При прокладке кабеля должна обеспечиваться полная сохранность наружной джутовой обмотки или защитных пластмассовых оболочек. Не допускается волочение кабеля по земле или по дну траншеи, через препятствия и т.п. Особой осторожности требует обращение с наружными защитными антикоррозийными покровами кабелей в алюминиевых и стальных оболочках.

5.24. Кабель должен быть уложен посредине дна траншеи без натяжения - со слабиной и плотно прилегать к дну траншеи.

При прокладке нескольких кабелей в одной траншее их следует располагать параллельно с расстоянием между ними не менее 50 мм без перекрещивания.

В месте стыка строительных длин кабелей их концы должны перекрывать друг друга (рис. 5.3) на величину не менее, м:

·         кабели симметричные (МКСБ, МКБ, ТЗБ)                                                 1,25

·         то же с пластмассовыми оболочками (ЗКП, ЗКВ)                                     2,80

·         кабели в алюминиевых и стальных оболочках                                           1,80

·         кабели симметричные с круглой проволочной броней                             1,80

·         кабели ГТС                                                                                                     1,50

·         кабели СТС типа КСПП                                                                               3,60

·         оптические кабели                                                                                         8,00

Рис. 5.3. Выкладка концов кабелей в котловане

5.25. Для максимального совмещения муфт в одном котловане необходимо подбирать барабаны с кабелями примерно одинаковой длины с размещением их в шахматном порядке.

Если разница в длинах кабеля не позволяет размещать две муфты в одном котловане, то в каждом отдельном случае необходимо определить целесообразность обрезки одного из концов кабеля или разноса муфт в разные котлованы, сопоставляя стоимость отрезанных концов кабеля со стоимостью разработки дополнительного котлована.

5.26. При пересечении проезжей части улиц, автомобильных и железных дорог кабели связи прокладываются в асбестоцементных или полиэтиленовых трубах с выводом их по обе стороны проезжей части улицы, подошвы насыпи или полевой бровки на длину не менее 1 м. Трубы должны прокладываться с уклоном в одну из сторон.

При пересечении постоянных грунтовых спрофилированных дорог кабели могут прокладываться без труб, с покрытием их кирпичом или бетонными плитками (рис. 5.4).

Рис. 5.4. Дополнительная защита кабеля от возможных механических повреждений

На пересечениях с полевыми дорогами покрытия кабелей не требуется.

При пересечении несколькими бронированными кабелями дорог местного значения с грунтовым или булыжным покрытием допускается прокладывать эти кабели непосредственно в грунт (без труб) при обязательной одновременной закладке рядом с кабелями резервных труб в количестве, определяемом проектом.

На концах пересечений дорог и улиц бронированными кабелями в случаях, предусмотренных проектом, устанавливаются колодцы.

Пересечения кабелем и трубопроводом автомобильных проездов и рельсовых путей следует осуществлять под углом не менее 75° к их оси. Места пересечения железнодорожных путей должны находиться не ближе 3 м от стрелок, крестовин и отсасывающих фидеров.

ПРОКЛАДКА ОПТИЧЕСКОГО КАБЕЛЯ КАБЕЛЕУКЛАДОЧНЫМ КОМПЛЕКСОМ КНВ-2К

5.27. Перед началом прокладки проверяют состояние всех закладных пальцев, шплинтов, соединителей, узлов и деталей. Проверяют затяжку всех болтовых соединений, соединений трубопроводов гидропровода, затяжку вилок карданного вала на вибраторе и ходоуменьшителе. Необходимо убедиться в отсутствии осевого люфта валов вибратора. При наличии люфта необходимо отрегулировать конические подшипники вибратора.

5.28. Подготавливают барабаны с кабелем для установки их на переднее навесное оборудование, для чего необходимо:

а) установить оси барабанов соответствующего размера в осевые отверстия барабанов;

б) зафиксировать оси барабанов по отношению к барабанам фиксаторами, препятствующими в дальнейшем осевому сдвигу барабанов.

5.29. На месте начала прокладки отрывают котлован размерами 3000´1500´1200 мм.

5.30. Прокладку кабеля кабелеукладчиком производят в следующей технологической последовательности:

а) опускают монобалку передней навески и поочередно погружают кабельные барабаны сначала в проушины левых вилочных захватов, затем - правых;

б) поднимают монобалку передней навески и заправляют кабель в направляющие ролики на тракторе;

в) при опущенном заднем навесном оборудовании кабель в кассету заправляют с запасом 5,0 - 5,5 м;

г) двигаясь в пассивном режиме, заглубляют рабочий орган на максимально возможную глубину, но не менее 1 м, после чего включают вибратор. Если при заглублении рабочего органа до глубины 1 м не хватает тяги кабелеукладчика, необходимо прицепить бульдозер или трактор.

5.31. Передачу кабелеукладчика и бульдозера при прокладке выбирают в соответствии с группой грунта, состояния его верхнего слоя и глубины прокладки. При прокладке на заболоченных участках или на переувлажненном грунте двигаются только на пониженных передачах.

5.32. В процессе прокладки кабеля обслуживающий персонал должен занимать строго отведенные места, следя за правильностью прохождения кабеля, его натяжением и стабильностью глубины прокладки. При этом оператор кабелеукладчика следит за натяжением кабеля при его сходе с барабана. При появлении пробуксовки кабелеукладчика последний останавливают подачей сигнала оператору, далее прокладка ведется только в сцепе с трактором или бульдозером.

5.33. В месте окончания одной строительной длины и начала другой отрывают котлован размерами 3000´1500´1200 мм. Конец проложенного кабеля освобождают из кассеты. Оставшаяся длина конца кабеля (запас) должна быть 8,0 м.

С другой стороны котлована заряжают в кассету конец следующей строительной длины кабеля, оставляя тот же запас - 8,0 м. После прокладки необходимо проверить, надежно ли защищены концы кабеля полиэтиленовыми колпачками.

ОСОБЕННОСТИ ПРОКЛАДКИ КАБЕЛЕЙ С НАРУЖНЫМИ ПЛАСТМАССОВЫМИ ОБОЛОЧКАМИ

5.34. Прокладка кабелей с наружными защитными пластмассовыми оболочками может производиться ножевыми кабелеукладчиками, рабочие органы которых обеспечивают сохранность пластмассовых оболочек от механических повреждений (задиров, царапин, проколов), а также в предварительно отрытую траншею.

5.35. При прокладке кабелей с наружными пластмассовыми оболочками кабелеукладчиком по заболоченным участкам, в лесистой местности, в плотных грунтах, где возможен его неравномерный ход, необходимо вести тщательный контроль за синхронностью размотки кабеля и обеспечением его слабины перед входом в кассету.

5.36. Для исключения повреждения пластмассовых оболочек лопатами при откопке котлованов для монтажа соединительных муфт перекрытие концов строительных длин кабеля должно быть обмотано по всей длине слоем ленты из стеклоткани или другого материала, не вызывающего загрязнения внутренней поверхности кассеты (обмотка кабельной битуминизированной лентой не допускается).

Обмотку следует начинать с конца строительной длины, подлежащей прокладке, с некоторым послаблением плотности обмотки в направлении к барабану (рис. 5.5).

Рис. 5.5. Обмотка кабеля с наружной пластмассовой оболочкой на стыке строительных длин

5.37. Для прокладки кабелей с наружными защитными пластмассовыми оболочками должны применяться кабеленаправляющие кассеты, конструкция которых показана на рис. 5.6.

Такие кассеты должны применяться для прокладки кабелей только с пластмассовыми оболочками во избежание загрязнения кассеты битумными компаундами.

При прокладке кабеля следует периодически осматривать внутреннюю часть кассеты и по мере необходимости очищать ее.

Рис. 5.6. Кассета для прокладки кабеля с наружной пластмассовой оболочкой

5.38. При прокладке кабеля с пластмассовыми оболочками в отрытые траншеи должны быть соблюдены меры предосторожности во избежание повреждений оболочек, возникающих в результате их взаимодействия с твердыми включениями грунта, асфальтового или бетонного покрытий и т.д. Волочение кабеля по поверхности грунта (асфальта, бетона) не допускается.

ОСОБЕННОСТИ ПРОКЛАДКИ КАБЕЛЯ В МЕРЗЛЫХ И ВЕЧНОМЕРЗЛЫХ ГРУНТАХ

5.39. С целью продления сезона кабелеукладочных работ прокладку кабелей следует вести в начальный период зимы, когда грунт промерзает не более, чем на 0,2 - 0,3 м, а температура окружающего воздуха не ниже минус 10 °С. При таких условиях перед прокладкой кабелей мерзлый слой грунта рыхлят с помощью тракторного рыхлителя, специального пропорщика или кабелеукладчика с пропорочным ножом. Число проходов пропорщика зависит от состава грунта и степени его промерзания. После пропорки трассы кабель прокладывается обычной кабелеукладочной колонной.

5.40. В случае промерзания грунта на глубину более 30 см кабели прокладывают кабелеукладочной колонной после неоднократной пропорки или в траншею, отрытую роторными экскаваторами или баровыми машинами.

5.41. При температуре окружающего воздуха ниже мину 10 °С кабель перед прокладкой следует предварительно отогреть.

5.42. Процесс оттаивания грунта в районах вечной мерзлоты протекает очень медленно, вследствие чего период прокладки кабеля ножевыми кабелеукладчиками весьма непродолжителен и ограничивается двумя - тремя месяцами в году (в летне-осенний период). Удлинение сезона кабелеукладочных работ достигается за счет многократной пропорки трассы с помощью прицепных пропорщиков или кабелеукладчиков, оборудованных пропорочными ножами. Тяговый сцеп кабелеукладчика составляет в этом случае семь - восемь тракторов тягового класса 100 кН.

Предварительная пропорка трассы наиболее эффективна при использовании разрыхлителей мерзлых грунтов и горных пород, смонтированных на базе мощных гусеничных тракторов тягового класса не менее 250 кН.

5.43. При производстве работ в районах вечной мерзлоты нужно тщательно следить за сохранением дернового и мохового покровов, нарушение которых может повлечь за собой ухудшение условий проходимости и нежелательные изменения теплового режима грунта. По этим же причинам работы по подготовке трассы, вырубке лесных просек рекомендуется производить до начала оттаивания грунта. Условия производства работ значительно улучшаются при использовании самоходных строительных и транспортных машин повышенной проходимости.

5.44. На участках трассы, где глубина сезоннооттаивающего слоя грунта меньше требуемой глубины заложения кабеля, а также в низинах, на участках, непроходимых в период оттаивания грунта, кабелепрокладочные работы рекомендуется выполнять ранней весной или поздней осенью, когда деятельный (сезоннооттаивающий) слой грунта находится в мерзлом состоянии, а температура воздуха - в пределах, допустимых для кабельных работ.

5.45. На отдельных участках, особенно в пределах города, для разработки прочных грунтов (мерзлых и скальных) применяется рыхление пневматическими и электрическими отбойными молотками.

5.46. При разработке мерзлых грунтов в населенных пунктах рекомендуется применять способы оттаивания грунтов, приведенные в разделе 2.

РАЗДЕЛ 6

ПРОКЛАДКА КАБЕЛЕЙ ЧЕРЕЗ ВОДНЫЕ ПРЕГРАДЫ

ОБЩИЕ ПОЛОЖЕНИЯ

6.1. На переходах через внутренние водные пути прокладываются в основном кабели, бронированные круглыми стальными оцинкованными проволоками, но в каждом конкретном случае тип кабеля определяется проектом. В воде, агрессивной по отношению к металлической оболочке кабелей, прокладываются кабели, имеющие полиэтиленовое покрытие.

6.2. Все кабельные переходы должны быть согласованы проектной организацией со всеми заинтересованными организациями, и в частности:

·       с организациями, эксплуатирующими водные пути;

·       с управлениями по охране и воспроизводству рыбных запасов и регулированию рыболовства;

·       с территориальными управлениями по регулированию использования и охране вод;

·       с городской администрацией, если кабельный переход расположен в городе или поселке городского типа;

·       с организациями, эксплуатирующими мосты, если кабель прокладывается по мостам;

·       с землепользователями (на подходе к переходу) и владельцами вблизи расположенных подводных сооружений: дюкеров, водозаборов, кабелей и т.д.

6.3. При прокладке кабелей на размываемых берегах с уклоном более 30° рытье траншеи на подъемах и спусках должно производиться вручную зигзагообразно («змейкой») с отклонением от оси направления прокладки на 1,5 м на участке длиной 5 м (рис. 2.6).

6.4. При прокладке кабеля на крутых берегах и в скальных грунтах вырубают штробу. Кабель в скальных грунтах прокладывают по песчаной подушке толщиной (верхнего и нижнего слоя) не менее 0,15 м.

6.5. Способ укрепления грунтов на откосе определяется проектом. Не рекомендуется допускать расхождение в длинах кабелей верхнего и нижнего створов переходов; при невозможности выполнения этого требования допускается отклонение в створах длин кабелей по затуханию: симметричного кабеля - не более 1,74 дБ, коаксиального - в пределах допуска на отклонение проектной длины усилительного участка от номинальной, оптического - не более 0,05 дБ.

6.6. Охранная зона кабельного перехода через водную преграду располагается на расстоянии 100 м от нее (выше по течению от верхнего створа и, соответственно, ниже нижнего створа перехода).

6.7. Все работы (как подводные, так и надводные) проводятся в соответствии с нормативными документами, предусматривающими безопасность их производства. При выполнении работ обязательно применение специальных приспособлений и техники, обеспечивающих безопасность труда работающих.

ПОДГОТОВИТЕЛЬНЫЕ РАБОТЫ

6.8. При подготовке к строительству кабельного перехода через водные преграды необходимо:

·         изучить проектную документацию, технические условия и требования, обусловленные согласованиями;

·         обследовать створы перехода и подходы к нему, а также уточнить на месте перехода конкретные условия и способы производства работ;

·         заключить (при необходимости) с субподрядными подводно-техническими (водолазными) организациями договор (заказ-наряд) на выполнение работ, требующих применение водолазного труда, обеспечить эти организации проектной документацией;

·         составить план и проект производства работ;

·         укомплектовать объект рабочей силой, механизмами, кабелем, материалами, измерительной аппаратурой и необходимыми приспособлениями;

·         подготовить строительные площадки, жилье, временные здания и сооружения;

·         подготовить кабели для прокладки на переходе, включая все его испытания, проверки и электроизмерения.

6.9. Перед началом работ необходимо произвести разбивку трассы кабельного перехода с учетом реперов, установленных на переходе в процессе проектирования. Ось перехода закрепляется на берегах хорошо видимыми с воды знаками: створными знаками, щитами, вешками или щелевыми створами. Пример разбивки трассы приведен на рис. 6.1.

Рис. 6.1. Схема разбивки трассы подводного перехода и закрепления створа реперами и створными знаками:

1 - информационные запрещающие знаки «Подводный переход»; 2 - створные знаки на период строительства; 3 - репер постоянный; 4 - репер рабочий; 5 - водомерный пост; 6 - место для складирования грунта, вынутого из траншеи

При выполнении работ в ночное время створные знаки должны освещаться огнями, как правило, желтого цвета в отличие от огней судоходной обстановки (красный, зеленый, белый).

6.10. Трассу кабельного перехода при необходимости дополнительно ограничивают рабочими реперами, устанавливаемыми на берегу вне рабочей зоны. Если береговых знаков недостаточно для ориентировки на воде (например, при большой ширине реки или водохранилища), то в створе кабельного перехода должны устанавливаться дополнительные вехи или буи, имеющие раскраску, отличную от раскраски знаков судоходной обстановки (рис. 6.2). Места установки этих вех или буев должны быть заблаговременно согласованы со службой безопасности судовождения.

Рис. 6.2. Временные буи для ориентировки створа перехода:

а) пробковый шар или бочка; б) деревянный брус; в) отрезок бревна; г) отрезок вехи

1 - якорь «кошка»; 2 - камень массой 25 - 60 кг; 3 - кусок рельса; 4 - кусок якорной цепи

6.11. На всех кабельных переходах до начала работ по разработке подводной траншеи необходимо выполнить промеры (с точностью ±0,1 м) пересекаемой водной преграды строго в заданном проектом створе. Результаты промеров наносят на проектный продольный профиль перехода.

6.12. Перед разработкой подводной траншеи (или прокладкой кабеля через водные преграды шириной более 25 м и глубиной более 1 м кабелеукладчиками) производят водолазное обследование трассы кабельного перехода с целью выявления и удаления предметов, которые могут помешать прокладке кабелей (корней, топляков, камней, затонувших судов и т.д.). Ширина полосы обследования водолазом трассы кабельного перехода зависит от механизмов, применяемых при разработке траншеи, характера грунтов русла водоема, интенсивности судоходства, сплава леса и других факторов; она является величиной переменной и определяется проектом. Границы обследуемой полосы дна реки закрепляются буями (рис. 6.3).

Рис. 6.3. Обследование и разбивка трассы подводного перехода:

1 - створные знаки; 2 - рабочие реперы; 3 - пограничный буй; 4 - граница траншеи; 5 - перемещение водолаза; 6 - ходовой трос для ориентировки водолаза; 7 - водолазный бот; 8 - зона обследования (до 5 м); 9 - рабочая группа створов

6.13. Водолазное обследование трассы прокладки кабеля по дну водоема производят как до начала разработки траншеи, так и после прокладки кабеля до обратной его засыпки с целью недопущения его перехлестов. Результаты водолазного обследования и контрольных промеров оформляются актом, составленным с привлечением органов эксплуатации, технадзора генподрядчика, а в необходимых случаях - с участием проектной организации.

ПРОКЛАДКА КАБЕЛЯ ЧЕРЕЗ ВОДНЫЕ ПРЕГРАДЫ НОЖЕВЫМ КАБЕЛЕУКЛАДЧИКОМ

6.14. Перед прокладкой кабеля кабелеукладчиком необходимо произвести двух - трехразовую пропорку дна реки в створе перехода. Прогон пропорщика осуществляется с помощью тросов и тракторных лебедок, установленных на противоположных берегах, или с использованием тяговых усилий тракторов.

6.15. Через реки глубиной до 0,8 м с пологими берегами и плотным невязким дном кабели прокладываются механизированной колонной так же, как и на всем протяжении трассы. На реках глубиной от 0,8 м до 6,0 м кабелеукладчик протаскивается через водную преграду (шириной до 300 м) тракторной лебедкой или колонной тракторов; при этом контролируется и должна быть обеспечена необходимая слабина кабеля на входе его в кассету ножа.

6.16. Работы по прокладке кабеля ножевыми кабелеукладчиками через водоемы выполняются в следующей последовательности:

·         подготовительные работы;

·         срезка береговых откосов крутизной не более 20° (планировка) бульдозером или экскаватором на ширину 3 - 4 м для обеспечения плавного спуска кабелеукладчика с берегов и выхода его из воды;

·         двух - трехкратная пропорка;

·         отмыв гидромониторами обнаруженных при водолазном обследовании препятствий и удаление их с трассы;

·         проверка герметичности оболочки кабеля избыточным воздушным давлением, испытание постоянным током, прозвонка жил;

·         погрузка кабеля на кабелеукладчик и прокладка его кабелеукладчиком, протаскиваемым на тросах тягой тракторами или тракторными лебедками с последующим водолазным обследованием трассы кабельного перехода и электроизмерениями параметров проложенного кабеля.

ПРЕДВАРИТЕЛЬНАЯ РАЗРАБОТКА ПОДВОДНЫХ ТРАНШЕЙ

6.17. При невозможности бестраншейной прокладки кабели на переходах через водные преграды прокладываются в предварительно разработанные подводные траншеи. На судоходных реках и водохранилищах подводные траншеи для прокладки кабелей разрабатываются техническими средствами специализированных субподрядных организаций («Подводречстроя» и др.).

6.18. На несудоходных реках подводные траншеи в русле при глубине до 0,8 м разрабатывают экскаваторами. При этом при больших глубинах экскаваторы необходимо устанавливать на понтонах, перемещаемых по створу перехода с помощью тросов лебедками.

6.19. Разработанные на полную глубину до проектных отметок подводные траншеи принимаются по акту комиссией в составе представителей: органов эксплуатации или технадзора, генподрядчика, технического участка пути или района гидросооружений (на судоходных реках или каналах) и организации, выполняющей подводно-технические работы. Приемка траншеи производится промером дна траншеи по оси кабельного перехода от горизонта воды, отметка которого известна (принимается по данным водомерного поста, оборудованного на переходе).

6.20. Акт приемки готовой траншеи является основным документом, разрешающим прокладку кабелей на переходе.

ПРОКЛАДКА КАБЕЛЯ С ПЛАВСРЕДСТВ В ГОТОВУЮ ТРАНШЕЮ

6.21. При прокладке кабеля в готовую траншею производят следующие работы:

·       установку знаков судоходной обстановки, ограждающих подводный переход на судоходных и сплавных водных преградах;

·       промер глубин и водолазное обследование отрытой траншеи методом обхода по ходовому тросу;

·       расшивку барабанов с кабелем, проведение комплекса испытаний его и погрузку барабанов с кабелем на плавсредства;

·       прокладку кабеля в подводную траншею с выводом его концов на берега не менее чем на 30 - 50 м;

·       проведение комплекса испытаний проложенного кабеля;

·       монтаж русловых муфт, если ширина водной преграды больше строительной длины кабеля;

·       засыпку подводных и береговых траншей до проектных отметок. На участках трассы, где кабель засыпается каменистым или скальным грунтом, кабель предварительно должен быть защищен слоем песка толщиной 15 - 20 см, а при больших скоростях течения - мешками с песком;

·       при необходимости выполняется укрепление берегов с целью их защиты от размыва и повреждения проложенных кабелей;

·       восстанавливаются поврежденные откосы и растительность.

6.22. Прокладка кабеля при глубине водной преграды до 0,5 м производится вручную, а при большей глубине - со специально оборудованных плавсредств (понтонов и барж-площадок), на которых устанавливаются для размотки барабаны с кабелем или укладывается «восьмерками» смотанный кабель. При этом кабель прокладывается в траншею вручную с опущенного за борт лотка или через специальное спусковое устройство.

6.23. На реках шириной до 200 м со скоростью течения до 1 м/с и глубиной до 6 м кабели прокладывают с плавплощадки, передвигающейся вдоль трассы по натянутому тросу. Для этого через водоем перемещают стальной трос, один конец которого крепят к анкеру на берегу, а другой - к барабану носовой лебедки, установленной на плавсредстве. При наличии течения в 100 м выше створа перехода на противоположном берегу оборудуется еще один анкер, и трос от него подается на лебедку, установленную на корме плавсредства. При этом перемещение плавсредства точно по створу прокладки кабеля осуществляется одновременным выбиранием троса носовой лебедкой и стравливания троса кормовой лебедки.

6.24. На судоходных реках и водохранилищах шириной более 400 м кабель прокладывается с плавсредств, ведомых буксирным теплоходом.

6.25. Прокладка кабеля со льда производится при достижении льдом необходимой прочности, позволяющей использовать гусеничные и колесные машины. Прорезь во льду (майна) устраивается ледорезными (ледофрезерными) машинами. Ширина майны не более 0,6 м, длина - 20 м. Между прорезями во льду оставляются нетронутые перемычки шириной 0,5 - 0,7 м. Кабель вдоль прорезей раскатывается по кабельным роликам, расположенным через 3 - 5 м, или с использованием саней-лыж. Возможна также установка кабельного барабана на домкратах в кузове автомобиля. Кабель раскатывают, вытягивая его лебедкой или автомобилем. Раскатанный вдоль прорези кабель укладывают сразу по всей длине перехода, последовательно разрушая оставленные перемычки.

6.26. При наличии сильного течения снос кабеля со створа предупреждают с помощью кольев, заглубленных в дно на 10 - 15 см, а при наличии большой глубины водоема - с помощью оттяжек. Укладку предварительно спущенного в прорезь кабеля непосредственно в разработанную траншею производят водолазы.

6.27. При устройстве кабельных переходов через реки, берега которых облицованы гранитом, кабели должны быть проложены в трубах. Отверстия труб должны располагаться на 1 м ниже нижней кромки ледового покрова при минимальном зимнем горизонте воды. После прокладки кабеля поврежденные набережные восстанавливаются.

6.28. При ширине перехода большей, чем строительная длина кабеля, расположение муфт на подводном кабеле выбирается так, чтобы они, по возможности, оказались вне судового хода и на небольших глубинах.

6.29. После прокладки кабеля в подводные траншеи производятся:

·       водолазное обследование проложенных кабелей с целью обнаружения и недопущения их взаимных перехлестов;

·       промеры глубин с целью установления фактических отметок заложения кабеля и соответствия их проектным;

·       измерение характеристик кабеля постоянным током и проверка его герметичности избыточным давлением;

·       фиксация проложенных кабелей и соединительных муфт по береговым ориентирам;

·       составление акта, разрешающего засыпку траншей с проложенными кабелями;

·       засыпка траншей по технологии, указанной в рабочих чертежах;

·       составление исполнительной документации.

УКРЕПЛЕНИЕ ПОДВОДНЫХ КАБЕЛЕЙ В БЕРЕГАХ

6.30. Для укрепления подводных кабелей на крутых (более 30°) береговых откосах их укладывают при минимальном горизонте воды в зигзагообразную траншею длиной до 50 м с отклонением от оси направления прокладки на 1,5 м по длине 5 м («змейкой»). При необходимости может устраиваться дополнительное укрепление кабелей путем укладки их на берегу в траншею, отрытую в виде «восьмерки». По внутренней стенке «восьмерки» могут быть установлены заподлицо деревянные или железобетонные столбы высотой не менее 1,6 м, диаметром 0,2 м с углублением в дно траншеи на 0,8 м.

6.31. На переходах через водоемы с каменистым или скалистым дном и аналогичными грунтами в береговых зонах зигзагообразная прокладка кабелей не практикуется; способы укрепления кабелей на таких переходах определяются проектом.

6.32. При «миграционных» процессах рек, опасности размыва или переформирования берегов (что может вызвать оголение или повреждение проложенных на переходе кабелей) проектом должны предусматриваться берегоукрепительные работы, которые должны выполняться в строгом соответствии с требованиями действующих СНиП.

ОГРАЖДЕНИЕ ПОДВОДНЫХ КАБЕЛЬНЫХ ПЕРЕХОДОВ

6.33. Зона выполнения подводных кабельных переходов ограждается на судоходных путях запрещающими знаками судоходной обстановки - «Подводный переход» (створные столбы), которые устанавливаются в 100 м выше и ниже по течению от места расположения перехода на обоих берегах. Знаки должны быть хорошо видны с судов. Диск знака должен иметь диаметр не менее 1,2 м и быть окрашен в соответствии с требованиями ГОСТа (перечеркнутый якорь) (рис. 6.4). В темное время суток знаки должны освещаться желтыми проблесковыми огнями, расположенными на дисках.

Рис. 6.4. Информационный запрещающий знак:

1 - диск соответствующего диаметра; 2 - опора

6.34. На судоходных каналах по согласованию с администрацией гидросооружений допускается установка одного запрещающего знака по оси перехода, освещаемого в ночное время двумя вертикально расположенными на диске огнями желтого цвета. Проводка для освещения знаков должна быть скрытой (в стальных трубах).

На стенках набережных, облицованных гранитом и бетонными блоками, створные знаки устанавливаются непосредственно на стенках, в местах, недоступных для посторонних лиц.

РАЗДЕЛ 7

УСТРОЙСТВО ВВОДОВ КАБЕЛЕЙ В ОБЩЕСТВЕННЫЕ И ЖИЛЫЕ ЗДАНИЯ И ПРОКЛАДКА В НИХ КАБЕЛЕЙ

ОБЩИЕ ПОЛОЖЕНИЯ

7.1. К вводам кабелей местной сети в здания относится часть линейных сооружений на участке от вводного колодца кабельной канализации или коллектора (сцепки), а также от вводной опоры воздушной линии связи до оконечных кабельных устройств, установленных в зданиях.

7.2. В здания вводятся распределительные кабели, проложенные от распределительных шкафов или магистральные - непосредственно от АТС (при прямом питании).

7.3. Способ ввода кабелей определяется проектом.

7.4. Кабельные вводы имеют наружные устройства (расположенные снаружи зданий) и внутридомовые (смонтированные непосредственно внутри зданий).

7.5. Внутридомовые проводки сетей связи по конструкции могут быть:

а) с открытой проводкой (рис. 7.1);

б) со скрытой проводкой (рис. 7.2);

в) со смешанной проводкой (рис. 7.3).

При открытой проводке кабели прокладываются, а арматура устанавливается на поверхности стен и других строительных конструкций.

При скрытой проводке кабели прокладываются в каналах, а кабельная арматура монтируется в нишах или люках, устраиваемых в толще конструктивных элементов зданий.

Смешанная проводка содержит элементы обоих указанных выше типов устройств.

Рис. 7.1. Устройство телефонной сети в общественном здании способом открытой проводки:

1 - распределительный кабель; 2 - лестничная проводка; 3 - телефонная распределительная коробка 10´2; 4 - защитный желоб; 5 - разветвительная коробка; 6 - вводная фарфоровая втулка

Рис. 7.2. Устройство телефонной сети в общественном здании способом скрытой проводки:

1 - ниша слаботочной сети; 2 - магистральные каналы; 3 - абонентские каналы для вывода кабелей и проводов в каналы плинтусов; 4 - проход под дверью в трубе; 5 - съемный угол плинтуса; 6 - коробки типа КП для подключения абонентских устройств

Рис. 7.3. Устройство телефонной сети в жилом доме способом смешанной проводки:

1 - ниша типа ЭРТ; 2 - вводные ниши; 3 - стояк телефонной сети; 4 - стояк радиотрансляционной сети; 5 - стояк электроосветительной сети; 6 - монтажная ниша телефонной и радиотрансляционной сетей; 7 - монтажная ниша осветительно-бытовой электросети; 8, 9 - каналы для ввода сетей в квартиры; 10 - телефонный аппарат; 11 - громкоговоритель

7.6. Независимо от типа ввода (подземный или воздушный), ввод кабеля связи следует производить в месте, удаленном от вводов электрокабелей, водопровода и других подземных коммуникаций, а также в месте, доступном для осмотра ввода в период эксплуатации.

7.7. Отдельные виды строительно-монтажных работ, выполняемые при устройстве вводов кабелей, технология которых не описана в настоящем разделе (прокладка трубопроводов и строительство колодцев кабельной канализации, протягивание и монтаж в ней кабелей и т.п.), необходимо выполнять по технологии, приведенной в соответствующем разделе настоящего Руководства.

УСТРОЙСТВО ПОДЗЕМНОГО ВВОДА КАБЕЛЯ В ЗДАНИЕ

7.8. Подземный ввод кабеля в здание может быть выполнен одним из следующих способов:

а) к месту ввода кабеля от проходящей мимо кабельной канализации прокладывается трубопровод, по которому кабель вводится в подвальное помещение (техническое подполье) с последующим выходом его наверх, на лестничные клетки и прокладкой по их стенам открытой или в каналах - скрытой проводкой (рис. 7.4, а);

б) кабель выводится из подземной канализации по трубопроводу на наружную стену дворового или бокового фасада здания и далее прокладывается открыто по стене между первым и вторым этажами, с ответвлениями через стену на лестничные клетки (рис. 7.4, б);

в) бронированным кабелем к месту ввода кабеля в подвальное помещение или на наружную стену здания;

г) через коллекторы малого сечения (сцепки) (рис. 7.4, в).

Рис. 7.4. Варианты устройства подземных вводов в здания

а) ввод кабеля через подвал (техническое подполье) здания по трубопроводу; б) вывод по трубопроводу на наружную стену здания; в) ввод кабеля через коллектор малого сечения (сцепку)

7.9. Трубопровод к вводу здания следует прокладывать от ближайшего колодца действующей кабельной канализации. В том случае, когда это невозможно, в месте отвода на канализации устанавливают дополнительный колодец (ККС-2).

7.10. Для ввода кабеля в здания, расположенные в глубине квартала, допускается прокладка кабеля от других каблированных зданий. В этом случае от каблированного здания прокладывается подземный трубопровод-перемычка. При длине перемычки до 30 м трубопровод прокладывается без колодца, при длине более 30 м - у ввода в здание строится колодец (ККС-2) (рис. 7.5, а). Ввод от каблированного здания может быть выполнен также через внутриквартальные коллекторы малого сечения (сцепки) (рис. 7.5, б).

Рис. 7.5. Устройство вводов в здания, расположенные в глубине квартала:

а) с помощью трубопроводов-перемычек; б) через внутриквартальные коллекторы малого сечения (сцепки)

7.11. В качестве трубопровода от действующей канализации до ввода кабеля следует применять полиэтиленовые трубы с внешним диаметром 63 мм, поставляемые длинномерными отрезками (до 200 мм), что позволяет производить их прокладку без стыков и этой же трубой выполнить ввод в подвальное помещение (техническое подполье) или вывод на наружную стену здания (рис. 7.6) и далее через проходы в стенах на лестничные клетки (рис. 7.7).

Рис. 7.6. Вывод кабеля на наружную стену здания и открытая прокладка его по стене

1 - изогнутая на конце пластмассовая труба, проложенная от колодца до стены здания; 2 - защитный желобок из тонколистовой стали; 3 - кабель; 4 - разветвительная муфта; 5 - ввод кабеля через сквозное отверстие на лестничную клетку; 6 - кабель для остальных лестничных клеток

Рис. 7.7. Ввод кабеля на лестничную клетку и прокладка его по внутренним стенам

1 - сквозное отверстие в стене; 2 - открыто проложенный по стенам кабель; 3 - телефонная распределительная коробка; 4 - стояк с защитным желобком из тонколистовой стали

7.12. При отсутствии полиэтиленовых труб для прокладки трубопровода от действующей канализации должны применяться асбестоцементные трубы.

7.13. В том случае, когда проектом предусмотрен ввод голого кабеля из кабельной канализации или бронированного кабеля непосредственно в технический коридор (рис. 7.8, а) или в подвальное помещение (рис. 7.8, б), прокладка кабеля может осуществляться:

а) по стенам подвала с креплением и защитой кабеля от механических повреждений металлическими желобами;

б) в газовых или винилпластовых трубах, прокладываемых по стенам подвала;

в) в каналах железобетонных плит перекрытий;

г) открыто по стенам;

д) на консолях или воздушных желобах (кабельростах);

е) на подвесных конструкциях к потолку;

ж) на стальном тросе.

Прокладка кабелей способами, указанными в пунктах г), д), е), ж), допускается только в тех случаях, когда подвальное помещение недоступно для входа посторонних лиц.

7.14. Трасса прокладки кабеля по подвалу должна быть выбрана с учетом кратчайшего расстояния от ввода кабеля в подвал до мест вертикальных подъемов кабелей по стоякам и наименьшего количества пробиваемых сквозных отверстий.

Рис. 7.8. Проход кабельного ввода:

а) через технический коридор; б) через подвальное помещение

7.15. Прокладку кабеля по подвалу в газовых или пластмассовых трубах следует вести в следующей последовательности:

а) разметить места установки деталей для крепления труб;

б) пробить сквозные отверстия для прохода труб сквозь стены и перекрытия и гнезда для установки крепежных деталей;

в) установить крепежные детали для крепления труб;

г) проложить трубы;

д) затянуть кабель в трубы;

е) установить защитные металлические желоба на смонтированные разветвительные муфты;

ж) произвести заделку всех проходов трубопроводов;

з) окрасить металлические трубы и желоба.

7.16. Крепление труб диаметром 3/4" на прямых участках должно быть не реже, чем через 1,5 м, труб диаметром от 1" и выше - не реже, чем через 2,5 м. На поворотах трубы крепятся через 0,25 м от вершины угла в обе стороны.

В качестве деталей для крепления труб следует применять крюки - «костыли», стальные полоски, скобы однолапковые и двухлапковые.

Крюк - «костыль» устанавливается в пробитое в стене гнездо и закрепляется строительным гипсом или цементным раствором.

Стальные полоски пристреливаются к стене с помощью строительно-монтажного пистолета или прибиваются вручную дюбелями-гвоздями (рис. 7.9). При креплении трубы она обжимается полоской, концы которой заделываются в замок.

Рис. 7.9. Крепление трубы с помощью стальных полосок:

1 - дюбель-гвоздь; 2 - стальная полоска

При креплении труб однолапковыми или двухлапковыми скобами последние следует закреплять на стене с помощью шурупов и дюбелей или спиралей, устанавливаемых в просверленные (пробитые) гнезда, или пристреливать к строительному основанию с помощью строительно-монтажного пистолета.

Проложенную металлическую трубу необходимо окрасить масляной краской любого цвета или битумным лаком.

7.17. Прокладку кабеля в канале плит перекрытия следует производить в следующей технологической последовательности:

а) простукиванием молотком по плитам перекрытия уточнить место нахождения пустотного канала плиты;

б) электросверлилкой или зубилом (шлямбуром) пробить отверстие в канал перекрытия на входе и выходе кабеля;

в) произвести протяжку кабеля через канал каждой плиты перекрытия;

г) после монтажа кабель в местах выхода на поверхность консольных колонн, а также разветвительные муфты защитить металлическими желобами.

7.18. Кабели по подвальному помещению могут прокладываться по консольным крюкам (рис. 3.39).

7.19. Прокладку кабеля в подвальном помещении на стальном канате необходимо производить с соблюдением следующей технологической последовательности:

а) в стену, через которую выполняется ввод кабеля, закрепить анкер проходной (рис. 7.10) или крюк;

б) на проушину надеть головку болта винтовой стяжки (тальрепа) (рис. 7.11);

Рис. 7.10. Анкер проходной

Рис. 7.11. Винтовая стяжка (тальреп)

в) на одном конце стального каната диаметром 6 - 9 мм выполнить оконечную заделку, которую надеть на головку другого болта винтовой стяжки;

г) в противоположной стене подвального помещения также закрепить анкер или болт с проушиной, через которую пропустить второй конец стального каната. Канат натянуть и закрепить оконечной заделкой;

д) винтовой стяжкой отрегулировать необходимую стрелу провеса стального каната, после чего отмерить необходимую длину кабеля, равную длине подвального помещения плюс запас на вывод в кабельную канализацию, плюс запас на прокладку кабеля вверх на лестничную клетку до оконечного устройства;

е) кабель проложить по полу подвального помещения и подвесить на стальном канате со стремянки с помощью стальных подвесов, оставляя в бухтах запасы кабеля, указанные в пункте д).

7.20. Прокладка кабелей открыто по стенам подвального помещения производится так же, как и по стенам зданий (п.п. 7.30 - 7.41).

7.21. В том случае, когда ввод кабеля предусмотрен на наружную стену здания и отсутствуют полиэтиленовые трубы, кабель следует вводить при помощи изогнутой стальной трубы, сопряженной с трубопроводом, проложенным от кабельной канализации (рис. 7.12).

Рис. 7.12. Вывод трубопровода на наружную стену здания при устройстве кабельного ввода

1 - трубопровод кабельной канализации; 2 - изогнутая труба; 3 - стальной защитный желоб; 4 - кабель; 5 - переходная пробка

7.22. Выводную трубу с подземным трубопроводом соединяют с помощью бетонной или деревянной пробки с заделкой стыка цементным раствором.

Конструкция переходной пробки показана на рис. 7.13. Ее размеры определяются наружным и внутренним диаметрами соединяемых труб.

Рис. 7.13. Конструкция переходной пробки:

1 - асбестоцементная труба; 2 - стальная изогнутая труба; 3 - переходная пробка

7.23. Стальная изогнутая труба должна иметь следующие размеры, мм:

внутренний диаметр............................................................................................... 50

радиус изгиба............................................................................................... 400 - 500

длина горизонтальной части...................................................................... 600 - 700

длина вертикальной части................................................................................. 1100

Изогнутая труба должна быть выведена на высоту 0,7 м от поверхности земли и утоплена в стене не менее, чем на половину своего наружного диаметра.

7.24. Кабель, проложенный по стене выше выводной трубы, должен быть защищен от возможных механических повреждений на высоту не менее 3 м от земли. Защита должна осуществляться желобами из тонколистовой стали толщиной 0,8 - 1,0 мм. Звенья желобов наращивают и крепят к стене в местах сочленения желобов стальными накладками с помощью шурупов на дюбелях (проволочных спиралях), устанавливаемых в высверленные в стене гнезда на строительном гипсе (алебастре). Применение для этой цели деревянных пробок запрещается.

Нижний конец желоба следует наложить на выводную трубу и закрепить переходной накладкой.

Труба, желоба и накладки должны плотно прилегать к стене, для чего допускается их изгибание и подштроблирование стены.

Верхние отверстия трубы и желоба после прокладки кабеля должны быть заделаны просмоленной паклей и цементным раствором или строительным гипсом.

7.25. Штробы в стенах из кирпича, шлакоблоков, гипсолита и т.п. рекомендуется выполнять с помощью механизма для выборки борозд или электромолотка. При отсутствии средств механизации штробление следует производить с помощь зубила и кувалды.

7.26. В том случае, когда стена выполнена из материала, трудно поддающегося штроблению, например, бетона, трубу необходимо крепить к стене скобами, пристреливаемыми с помощью строительно-монтажного пистолета. Сочленение верхнего конца трубы с защитным желобом рекомендуется выполнять с помощью переходной накладки, изготовленной из тонколистовой стали.

УСТРОЙСТВО ВОЗДУШНОГО ВВОДА КАБЕЛЯ В ЗДАНИЕ

7.27. Воздушный ввод кабеля в здание может выполняться от столбовой или от стоечной линий связи.

7.28. От стоечной линии кабель должен вводиться через изогнутую стальную трубу на чердак и там заводиться на установленный кабельный ящик (рис. 7.14, а) или прокладываться по конструкциям чердака вдоль здания (рис. 7.14, б) с ответвлениями на лестничные клетки через отверстия - «сквозняки», просверливаемые в чердачном перекрытии, и далее распределительных коробок. Кабели, прокладываемые на чердаках по деревянным конструкциям, следует крепить скрепами и толевыми гвоздями.

Проложенные на чердаке кабели должны быть защищены от механических повреждений на высоту до 2,3 м металлическими желобами.

Рис. 7.14. Воздушный ввод подвесного кабеля со стоечной линии:

1 - кабель; 2 - стальной канат; 3 - дужка запаса; 4 - защитная обмотка каболкой; 5 - изогнутая вводная труба на крыше; 6 - крепление кабеля скрепами на шурупах или гвоздях; 7 - кабельный ящик; 8 - доска, укрепленная на балках чердака; 9 - стоечная опора на крыше; 10 - хомут, скрепляющий стойку с вводной трубой; 11 - пакетик кроссировочных проводов от кабельного ящика к проводам на стойке

7.29. При выполнении ввода кабеля со столбовой линии связи опора, с которой вводится кабель, должна находиться не далее 40 м от стены здания. При большей длине - устанавливаются дополнительные опоры.

От столбовой опоры кабель нужно подавать к стене здания на стальном канате, имеющем оконечную заделку, которая надевается на закрепленный в стене крюк КН-16. Кабель вводится в здание через отверстие в стене (рис. 7.15). Отверстие в стене должно быть заделано просмоленной каболкой.

Кабель от крюка может также прокладываться открыто по наружной стене здания с ответвлениями через отверстия в стене внутрь здания на лестничные клетки.

Рис. 7.15. Ввод подвесного кабеля в здание:

1 - кабель; 2 - подвесной канат; 3 - подвеска для кабеля; 4 - петля с коушем; 5 - крюк КН-16; 6 - спираль из мягкой стальной проволоки; 7 - изолирующая трубка

ОТКРЫТАЯ ПРОКЛАДКА КАБЕЛЕЙ ПО СТЕНАМ ЗДАНИЙ

7.30. При выборе способа крепления кабелей необходимо учитывать структуру материала, из которого выполнено стеновое основание (бетон, шлакобетон, гипсолит, кирпич, дерево и т.п.), а также конструктивные формы строительных элементов здания.

При этом предпочтение должно отдаваться наиболее прогрессивным и индустриальным способам, которые исключают трудоемкие пробивные работы, обеспечивают быстроту, удобство выполнения креплений и позволяют нагружать установленные крепежные конструкции в кратчайший срок после их установки.

В этом отношении рекомендуется пристрелка с помощью строительно-монтажного пистолета крепежных деталей или приклеивание их к строительным основаниям или подвешивание кабелей на стальном канате по технологии, приведенной в п. 7.19.

7.31. До начала работ должны быть проверены электрические параметры кабелей, подготовлен необходимый инструмент, проверена исправность электроинструментов, а также лестниц и стремянок.

7.32. При прокладке кабелей работы должны выполняться в следующей технологической последовательности:

а) разметка трассы прокладки кабеля;

б) заготовка (подготовка) трассы прокладки кабелей;

в) прокладка и крепление кабеля;

г) установка и крепление защитных желобов;

д) заделка борозд, отверстий и штукатурка нарушенной поверхности стен.

7.33. Выбор трасс прокладки кабелей (проводов) должен производиться с учетом требований проекта, конфигурации строительных оснований, наличия скрытых электропроводок, сантехнических и других коммуникаций, а также в соответствии с требованиями защиты кабелей от механических повреждений.

7.34. Разметку следует производить с учетом следующих требований:

а) трасса прокладки кабеля распределительной телефонной сети по наружным стенам должна располагаться на высоте не менее 2,8 и не более 5,0 м от земли, а по внутренним стенам - на высоте не менее 2,3 м от пола и 0,1 м от потолка. Если указанная высота прокладки не может быть обеспечена, должна быть предусмотрена защита кабеля от повреждений;

б) расстояние между телефонным кабелем, проложенным по стене, и проходящими параллельно изолированными проводками осветительной, силовой или радиотрансляционной сети должно быть не менее 25 мм;

в) вертикальные направления трассы кабелей должны размечаться отвесно, с учетом архитектурных линий;

г) кабель разрешается пропускать сквозь отверстия в карнизах и других выступах зданий;

д) в швах между бетонными панелями размещать крепления запрещается;

е) на участках параллельной прокладки двух кабелей разрешается крепить их общей фигурной скобой или двумя скрепами под общий винт;

ж) сквозные отверстия, пробиваемые для прохода кабелей через стены и перегородки, могут быть общими для двух и большего числа кабелей;

з) при параллельной прокладке нескольких кабелей по одной трассе их взаимное расположение должно обеспечивать минимальное количество их пересечений при ответвлениях;

и) распределительные коробки должны располагаться на стене так, чтобы к ним был обеспечен свободный доступ на расстоянии от потолка не менее 150 мм. Запрещается устанавливать распределительные коробки над дверями, проемами и окнами.

7.35. Разметку трасс прокладки кабелей необходимо выполнять в следующей последовательности:

а) в соответствии с рабочими чертежами определить и разметить места установки оконечных устройств (распределительных коробок, кабельных ящиков, боксов и т.п.);

б) разметить точки провешивания осей трасс и их поворотов, места пробивки сквозных отверстий, проходов, нанося мелом или карандашом их наружные очертания;

в) с помощью отбойного шнура, на поверхность которого нанесен сыпучий краситель (синька, уголь, мел и т.п.), нанести линии трасс.

При этом вертикальные и горизонтальные линии разметки должны быть параллельны линиям сопряжений стен и потолков;

г) с помощью линейки-шаблона разметить места установки крепежных деталей, соблюдая следующие расстояния: для прокладки кабелей распределителей сети по горизонтали - через каждые 350 мм, по вертикали - через 500 мм, в местах поворота кабеля - 100 мм от вершины угла в обе стороны.

Нанесение линий прокладки кабеля производят обычно два монтажника связи - кабельщика, которые, наметив высоту прокладки кабеля по точкам разметки, производят отбивку шнуром линий трасс. В качестве прогрессивного приспособления, сокращающего затраты труда при разметке трасс, рекомендуется применять линейку-рамку, с помощью которой разметка выполняется одним монтажником (рис. 7.16).

Рис. 7.16. Применение линейки-рамки для разметки трассы при открытой прокладке кабелей по стенам зданий

7.36. После разметки следует производить работы по подготовке трассы, заключающиеся в установке крепежных деталей и сверлении (пробивке) отверстий для устройства проходов кабелей через стены и потолки, а также устройство борозд на пересечениях трассы кабеля с препятствиями.

Крепежные детали могут устанавливаться в просверленные (пробитые) гнезда, или приклеиваться к строительному основанию с помощью специального клея, или закрепляться с помощью строительно-монтажного пистолета.

В качестве крепежных деталей применяются: скрепы пластинчатые из тонколистовой оцинкованной стали для крепления кабелей с наружным диаметром до 15 мм (рис. 7.17), фасонные скобы для крепления кабелей с наружным диаметром свыше 15 мм (рис. 7.18).

Рис. 7.17. Скрепа пластинчатая

Рис. 7.18. Скоба фасонная

7.37. При установке крепежных деталей в гнезда их сверление (пробивку) рекомендуется производить с помощью сверлильных машин типов ИЭ-1035Э, ИЭ-1036Э, ИЭ-1032-1, ИЭ-1302 и др. со сверлами, имеющими наконечники из высокопрочной стали. Пробивка может выполняться также электрическими молотками типов ИЭ-4207, ИЭ-4210, оснащенными бурами диаметром 16 и 24 мм, а также пневматическими молотками, оснащенными трубчатыми пробойниками ПТ-28 с твердосплавными зубьями. Рабочие инструменты для пробивных работ показаны на рис. 7.19.

Рис. 7.19. Рабочие инструменты для пробивных работ:

а) цилиндрическое сверло с пластинками из твердого сплава; б) спиральное сверло с пластинками из твердого сплава; в) пробойник к электро- и пневмомолотку; г) коронка типа КГС для сверления гнезд; д) шлямбур для электросверлилки; е) бурики

Если электросверлилку по каким-либо причинам применить нельзя, гнезда пробиваются вручную при помощи коротких шлямбуров, пробойников или зубил.

7.38. Во избежание повреждений электрических проводов, проходящих под штукатуркой или в толще стен, место, выбранное для сверления или пробивки отверстий в стенах, должно быть предварительно проверено. Проверка наличия скрытых электропроводок производится внешним осмотром по расположению установленной арматуры (светильников, выключателей, распаечных коробок, щитков и т.п.).

К работам по сверлению, пробивке, штроблению следует приступать при наличии полной уверенности, что на пути сверла, пробойника, шлямбура отсутствуют скрытые коммуникации.

7.39. В заготовленные гнезда рекомендуется устанавливать:

а) дюбели пластмассовые с вворачиваемыми в них шурупами (рис. 7.20, а);

б) дюбели с распорной гайкой (рис. 7.20, б);

в) спирали из мягкой стальной проволоки с вворачиваемыми в них шурупами (рис. 7.21, а);

г) свернутый в трубку пластикат с ввернутым в нее шурупом (рис. 7.21, б);

д) пластинчатые скрепы, вмазываемые в гнездо строительным гипсом или закрепленные дюбелем-гвоздем.

Рис. 7.20. Дюбели:

а) пластмассовый, б) с распорной гайкой

Рис. 7.21. Способы крепления фасонной скобы:

а) с помощью спирали; б) с помощью свернутого в трубку пластиката

1 - спираль из мягкой стальной проволоки; 2 - полоска пластиката; 3 - кабель; 4 - алебастр (строительный гипс)

7.40. В связи с тем, что принцип закрепления дюбеля в гнезде основан на расклинивании его стенок при ввинчивании шурупа, необходимо, чтобы диаметр гнезда превышал диаметр дюбеля не более, чем на 1,2 - 2,0 мм, а глубина равнялась длине дюбеля.

7.41. К деревянным стенам фасонные скобы должны крепиться шурупами длиной 25 - 30 мм или толевыми гвоздями той же длины (рис. 7.22).

Рис. 7.22. Крепление фасонной скобы к деревянной стене:

1 - кабель; 2 - фасонная скоба; 3 - шуруп

УСТАНОВКА ДЕТАЛЕЙ КРЕПЛЕНИЯ НА СТРОИТЕЛЬНЫХ ОСНОВАНИЯХ С ПОМОЩЬЮ КЛЕЕВ

7.42. Установка на стеновых основаниях деталей крепления с помощью клея «Стык-10» или других марок клеев, прошедших испытания, позволяет исключить выполнение для указанной цели трудоемких работ по пробивке или сверлению гнезд, что существенно повышает производительность труда и снижает трудоемкость указанных работ.

Применение клеев для установки деталей крепления особенно эффективно при прокладке кабелей и установке распределительных коробок по бетонным, железобетонным, металлическим, стеклянным (стеклоблоки), керамическим основаниям, на которых невозможно или затруднено проведение пробивочных и сверловочных работ.

7.43. Детали крепления можно приклеивать к строительным основаниям, поверхностный слой которых обладает достаточной прочностью для их удержания.

В том случае, когда строительное основание не имеет достаточной прочности, на поверхности имеются отслоения, рыхлые места, неровности, загрязнения, устранение которых невозможно, необходимо отказаться от установки деталей крепления методом приклеивания.

7.44. Клеящая композиция (клей) «Стык-10» состоит из смеси клея полиуретанового «Стык-3-8» (ТУ 88 УССР 193.042.82), разработанного Институтом химии высокомолекулярных соединений Академии наук Украины (ИХВС АН Украины) и гипсового теста (наполнитель). Она предназначена для приклеивания деталей крепления кабелей и линейной арматуры к различным строительным основаниям (кирпичным, бетонным, железобетонным, керамзитобетонным, металлическим, стеклянным, керамическим).

7.45. Технические данные клея «Стык-10» и клеевых соединений:

·       клей «Стык-10» обладает повышенной конфекционной способностью (вязкостью), что позволяет приклеивать установочные изделия на различные прочные строительные основания без удерживающих приспособлений, не опасаясь их сползания или отрыва.

Начальная прочность приклеивания на сдвиг составляет не менее 0,01 кгс/см2;

·       клей «Стык-10» позволяет производить приклеивание как в помещениях, так и на открытом воздухе при температурах от минус 15 до +60 °С.

Допустимая влажность воздуха при этом не регламентируется.

Температурный интервал эксплуатации клеевых соединений от минус 60 до +80 °С;

·         отвердение клея, которое происходит за счет влаги, содержащейся в наполнителе, зависит от температуры окружающей среды и происходит за 16 - 24 часа.

Время контактного схватывания составляет 30 - 40 мин.

Время набора 50-процентной адгезионной прочности - 4 - 5 ч;

·         адгезионная прочность клеевых соединений стальбетон при нормальном отрыве (разрушение по бетону) составляет 1,5 - 2,0 МПа (15 - 20 кгс/см2), при сдвиге - 2,0 - 2,5 МПа (20 - 25 кгс/см2);

·         адгезионная прочность клеевого соединения древесина - бетон (разрушение по древесине) составляет 1,5 - 1,8 МПа (15 - 18 кгс/см2);

·         прочность приклеивания к строительным основаниям деталей крепления клеем «Стык-10» достаточна для длительной эксплуатации.

7.46. В качестве деталей для крепления кабелей связи следует применять скрепы, изготовленные из тонколистовой оцинкованной стали толщиной 0,6 - 0,7 мм.

Скрепа (рис. 7.23) состоит из пластины, которая приклеивается к строительному основанию, и полоски, посредством которой закрепляется кабель. Длина полоски выбирается в зависимости от внешнего диаметра кабеля.

7.47. На склеиваемых поверхностях не должно быть признаков смазочных материалов (масел, мазута и других нефтепродуктов), побелки, грязи, пыли, ржавчины и других загрязнений.

Рис. 7.23. Скрепа для прокладки кабеля с помощью клея

7.48. Подготовка поверхности строительных оснований заключается в очистке ее от указанных загрязнений и выравнивании.

Очистка поверхности от грязи, следов цементного раствора производится с помощью цикли бытовой ЦБ-40 или скребка и стальной щетки. Очистка поверхности от побелки и пыли производится ветошью, смоченной водой. Жировые пятна должны быть также удалены с помощью цикли, а затем эти места должны быть протерты ветошью, смоченной в бензине.

Детали крепления (скрепы, скобы и др.) перед приклеиванием должны быть очищены от загрязнений и, если это необходимо, протерты ветошью, смоченной в бензине.

7.49. Работы по приклеиванию деталей крепления должны производиться монтажниками связи - кабельщиками, прошедшими обучение данному методу и инструктаж по технике безопасности.

7.50. Инструменты для приготовления клея: сито с диаметром отверстий 0,25 мм, стакан полиэтиленовый емкостью 250 мл, мерный стаканчик емкостью 50 мл, мешалка стальная.

7.51. Клей «Стык-10» следует приготавливать в нужных количествах непосредственно перед началом работ по приклеиванию. Компоненты - полиуретановая основа и гипсовое тесто - берутся в равном соотношении по объему. Гипсовое тесто готовится смешением гипса строительного с водой.

Учитывая, что в практике производства строительно-монтажных работ взвешивание компонентов затруднено, для приготовления клея необходимо использовать объемные мерки. Компоненты берутся в следующих пропорциях:

·         гипс строительный - 0,6 мерки;

·         вода - 0,4 мерки;

·         полиуретановая основа клея - 1 мерка.

7.52. Последовательность приготовления клея:

а) в чистый полиэтиленовый или стеклянный стакан объемом 200 - 250 мл мерными стаканчиками отмерить 30 мл гипса, 20 мл воды и размешивать до получения густого (сметанообразного) гипсового теста (гипс перед применением необходимо просеять через сито с диаметром отверстий 0,25 мм). В качестве мерного стаканчика рекомендуется применять аптекарскую полиэтиленовую мензурку;

б) в полученное гипсовое тесто добавить полный до краев мерный стаканчик полиуретанового клея «Стык-3-8» и тщательно перемешивать в течение 5 - 10 мин до получения однородной массы (пропорции компонентов показаны на рис. 7.24);

Рис. 7.24. Пропорции компонентов для составления клея «Стык-10»

в) приготовленный клей должен отстояться 10 - 15 мин.

Приготовление клея необходимо производить в количестве, достаточном для выполнения работ по приклеиванию в течение не более одного часа (по 1, 2, 3 мерки клея).

В процессе работы с клеем его необходимо периодически перемешивать.

7.53. После разметки трассы прокладки кабелей и подготовки поверхности следует произвести приклеивание деталей крепления в следующей последовательности:

а) шпателем нанести слой клея «Стык-10» в месте приклеивания на площадь немногим более площади детали крепления (скрепы, скобы и т.п.). При этом толщина клеевого слоя не должна превышать 1 мм на шероховатых строительных основаниях (бетон, керамзитобетон, кирпич и т.п.) и 0,7 мм - на гладких (стекло, облицовочная плитка и т.д.).

Наносить клей следует как бы втирая его до полного смачивания поверхности;

б) деталь крепления установить на место приклеивания, прижать рукой с усилием 5 - 10 кг и притереть к строительному основанию, в результате чего толщина клеевого слоя становится минимальной, а также улучшается смачивание поверхностей, что повышает прочность.

Для повышения прочности клеевого соединения следует нанести слой клея толщиной 0,5 - 1,0 мм по периметру приклеенного основания скрепы;

в) таким образом следует произвести приклеивание всех деталей крепления на участке прокладки кабеля или другой линейной арматуры. Выравнивать положение приклеенных деталей следует сразу же после приклеивания.

7.54. Приклеивание при температуре ниже минус 15 °С не допускается. При отрицательных температурах с мест приклеивания необходимо удалить наледь и иней.

Места, загрязненные клеем, очищаются до начала его отвердения.

При сильном тумане или в дождливую погоду образовавшуюся водяную пленку на строительном основании необходимо удалить механическим способом.

7.55. С помощью клея «Стык-10» можно устанавливать на стеновых основаниях распределительные коробки. В качестве детали крепления применяется деревянный брусок прямоугольной формы. Бруски должны изготавливаться из отходов твердых пород древесины (дуб, бук, ясень, береза и др.). Приклеивание брусков должно производиться по технологии, приведенной в п. 7.53. Распределительная коробка крепится к приклеенному бруску шурупами 30´6 мм (рис. 7.25).

Рис. 7.25. Способ крепления распределительной коробки на стене

УСТАНОВКА ДЕТАЛЕЙ КРЕПЛЕНИЯ ПРИСТРЕЛКОЙ

7.56. Крепление деталей пристрелкой производится монтажным пистолетом ПЦ-84 (ПЦ 52-1) (рис. 7.26). Применение пистолета дает возможность производить крепление деталей к строительным конструкциям за одну рабочую операцию. Это значительно повышает производительность труда и снижает трудоемкость прокладки кабелей.

Рис. 7.26. Монтажный пистолет

Применение строительно-монтажного пистолета в особенности целесообразно при креплении деталей к высокопрочным строительным основаниям из бетона, железобетона и металла, сверление гнезд в которых весьма трудоемко.

Пистолет обладает большой маневренностью, так как его работа не зависит от источников энергии.

7.57. При работе с пистолетом следует руководствоваться требованиями «Руководящего технического материала «Инструмент пороховой. Типы, технические данные, область применения, хранение и ремонт» РТМ 36.6-87», ММСС СССР, «Руководства по применению строительно-монтажного пистолета ПЦ-84 (ПЦ 52-1) при строительстве объектов связи», ССКТБ, М, 1990 и Паспорта пистолета ПЦ 84.000.000 ПС.

7.58. Крепление деталей с помощью пистолета производится дюбелями-гвоздями марки ДГ и дюбелями-винтами марки ДВ (рис. 7.27).

Несъемное крепление должно осуществляться при помощи дюбелей-гвоздей, съемное - при помощи дюбелей-винтов, на резьбу которых навертываются гайки.

7.59. В пистолетах ПЦ-84 (ПЦ 52-1) применяются специальные беспульные патроны групп: Д (длинные), К (короткие) и МПУ (усиленные) (рис. 7.28).

Рис. 7.27. Дюбели для монтажного пистолета

Рис. 7.28. Монтажные патроны:

а) патрон Д; б) патрон К; в) патрон МПУ

1 - гильза; 2 - пороховой заряд; 3 - пыж; 4 - ударный состав; 5 - запальные отверстия; 6 - капсюль; 7 - место окраски патрона

7.60. Работа с пистолетом ПЦ-84 должна выполняться рабочим, прошедшим специальное обучение и имеющим удостоверение.

Рабочие, применяющие пистолет, должны иметь и пользоваться индивидуальными средствами защиты: каской, защитным щитком или предохранительными очками, противошумными наушниками группы А и перчатками.

7.61. При пристрелке деталей крепления необходимо выполнять следующие требования:

а) ширина пристреливаемой детали крепления должна быть не менее 20 мм;

б) наименьшая толщина строительного бетонного или железобетонного основания в месте забивания дюбеля должна быть равна 80 мм;

в) расстояние от точки забивания дюбеля до ближайшего края строительного основания должно быть не менее 100 мм - для бетонного, железобетонного и кирпичного оснований;

г) при креплении на неоштукатуренной кирпичной поверхности дюбель следует забивать в горизонтальный шов кирпичной кладки;

д) наименьшее расстояние между соседними дюбелями, забиваемыми в строительное основание, должно быть 50 мм для бетонного и железобетонного оснований;

е) при пристрелке к бетонному и кирпичному основанию стальной детали толщиной 3 - 4 мм, расстояние между соседними дюбелями должно быть не менее 200 мм;

ж) пристреливаемая деталь должна плотно прилегать к строительному основанию;

з) после выстрела головка дюбеля-гвоздя должна плотно прижимать закрепленную деталь без разрушения и деформации детали и центрирующей шайбы.

7.62. Основные правила работы с пистолетом приводятся ниже. Для выполнения работы с пистолетом рабочий должен:

а) получить от производителя работ (мастера) допуск-наряд на производство работ, получить также пистолет и патроны (не более дневной нормы);

б) ознакомиться с рабочими чертежами прокладки кабелей по стенам здания, выяснить, каков материал стенового основания, осмотреть произведенную разметку мест установки деталей крепления;

в) определить наличие в местах пристрелки стальной арматуры, скрытых проводок и других инженерных коммуникаций для исключения возможности повреждения их дюбелем;

г) по табл. 7.1 произвести выбор дюбелей и патронов в зависимости от типа строительного основания и закрепляемой детали;

Таблица 7.1

Выбор дюбелей и патронов при пристрелке деталей с помощью пистолета ПЦ-84 (ПЦ 52-1)

Вид материала строительной конструкции

Обозначение дюбеля/шифр патрона

Класс по прочности на сжатие

Марка

Пристрелка стальных деталей толщиной, мм

Забивка дюбелей-винтов

0,8 - 2,0

3,0 - 4,0

Тяжелый бетон:

 

 

 

 

В25

М300

ДГ 3,7´35

ДГ 4,5´35

ДВ М6´45

ДВ М8´45

В30

М400

К4

д3

К3

Д2

В12,5

М150

ДГ 3,7´35

ДГ 4,5´35

ДВ М6´45

ДВ М8´45

В22,5

М300

К4

Д3

К3 (К2)

К4 (К3)

ДГ 3,7´40

ДГ 4,5´40

 

 

К4

Д4

 

 

В7,5

М100

ДГ 4,5´50

ДГ 4,5´50

ДВ М6´50

ДВ М8´55

В10

М150

д3

Д4

К3

К4

Легкий бетон:

 

 

 

 

В3,5

М50

ДГ 4,5´60

ДГ 4,5´60

ДВ М8´70

 

В10

М150

Д1

Д2

К4

 

Кирпичная кладка:

 

 

 

 

- неоштукатуренная (забивка дюбеля в горизонтальный шов);

ДГ 3,7´40 К3

не рекомендуется

ДВ М6´50 К2

ДВ М8´55 К3

- оштукатуренная

ДГ 3,7´50 К4

не рекомендуется

ДВ М6´55 К3

 

Примечание. Дюбели и патроны, приведенные в скобках, рекомендованы для забивки в бетон со щебневым заполнителем прочностью менее 80 МПа.

д) зарядить пистолет дюбелем и патроном в соответствии с указаниями, приведенными в паспорте пистолета;

е) принять устойчивое положение, установить прижим пистолета в точку забивки дюбеля под прямым углом к стеновому основанию, нажать на рукоятку и оттянуть до отказа спусковой рычаг, после чего произойдет выстрел. При работе на высоте оператор должен твердо стоять на устойчивом основании: лесах, подмостях, вышке или стремянке, имеющих верхнюю площадку, огражденную перилами высотой не менее 1 м;

ж) если выстрел не последовал (произошла осечка) - не открывая пистолет, повторно оттягивают пусковой рычаг 2 - 3 раза. Если осечка повторилась, пистолет держат прижатым к основанию в течение одной минуты, затем открывают его и удаляют патрон.

УСТРОЙСТВО ПРОХОДОВ ДЛЯ КАБЕЛЯ СКВОЗЬ СТЕНЫ И ПЕРЕКРЫТИЯ

7.63. Устройство проходов для кабеля сквозь стены и перекрытия рекомендуется выполнять с помощью электросверлилок ИЭ-1305-1, ИЭ-1040, ИЭ-1206, ИЭ-1035Э, оснащенных сверлами-проходниками или шлямбурами длиной 250, 400 и 700 мм, армированными твердосплавными пластинками.

Для бурения отверстий в высокопрочных стеновых основаниях рекомендуется применять бетонолом с электрическим приводом типа ИЭ-4601 (С-850А), работающий на принципе ударно-вращательного действия и развивающий большую энергию удара, или специальную ударно-вращательную насадку к электросверлилке.

Передача в насадке преобразовывает вращательное движение электросверлилки в ударно-вращательное, что значительно облегчает и ускоряет процесс сверления.

7.64. При сверлении и пробивке отверстий и гнезд, штроблении борозд с помощью электроинструмента необходимо применять диэлектрические перчатки и очки и строго соблюдать правила техники безопасности.

ПРОКЛАДКА И КРЕПЛЕНИЕ КАБЕЛЕЙ

7.65. После окончания работ по установке крепежных деталей производится прокладка и крепление кабелей. Прокладка кабеля по трассе с приклеенными скрепами должна производиться после отвердения клея (по истечении 16 - 24 ч).

7.66. Кабели перед прокладкой должны быть проверены на целостность жил, отсутствие сообщений и соответствие нормам сопротивления изоляции.

7.67. Прокладку кабелей необходимо производить в указанной ниже технологической последовательности:

а) с помощью рулетки отмерить длину концов кабеля каждой емкости и нарезать отрезки с учетом запаса разделки концов для монтажа муфт.

Этот запас должен составлять для кабелей емкостью 10´2 - 250 мм, 20´2 и 30´2 - 300 мм, 50´2 - 350 мм, 100´2 - 450 мм на каждый конец;

б) произвести размотку кабеля по земле (или по полу) вдоль наружной или внутренней стены здания. Кабель должен лежать с некоторой (1 - 2 %) слабиной;

в) конец кабеля протянуть через все сквозные отверстия, встречающиеся на трассе;

г) у стены установить стремянку (лестницу), с которой один из монтажников крепит кабель, подаваемый ему с земли (пола) другим монтажником.

При этом кабель крепится в зависимости от типа крепления приклеенными скрепами, либо пластинчатыми скрепами, либо фасонными скобами при креплении их шурупами на пластмассовых дюбелях.

7.68. При прокладке кабелей необходимо соблюдать следующие требования:

·            кабель должен быть проложен прямолинейно, не иметь вмятин, перекручиваний и плотно прилегать к стене;

·            при параллельной прокладке двух кабелей разрешается их крепление двумя фигурными скрепами под один шуруп, при этом кабель большей емкости прокладывается выше кабеля меньшей емкости. Такое расположение кабелей позволяет при ответвлении избежать их взаимного пересечения;

·            в тех случаях, когда полностью избежать пересечений не удается, нужно следить за тем, чтобы кабели большей емкости прилегали к стене, меньшей емкости - огибали их сверху или снизу (в штробе). Если освинцованный кабель пересекает электропроводку, он должен быть заключен в труб из изоляционного материала (резиноэбонитовую, пластикатовую);

·            на прямых участках неизменной емкости кабеля его следует прокладывать одной длиной без соединительных муфт;

·            если трасса прокладки кабелей неудобна (много сквозных отверстий, поворотов, протяжка через стояки, а также при использовании маломерных кусков кабеля), допускается монтаж муфт;

·            разветвительные муфты необходимо размещать на горизонтальном участке трассы;

·            запрещается размещать муфты над лестничными маршами, рядом с водосточными трубами, наружными газопроводами. В исключительных случаях разрешается размещение муфт на вертикальных участках.

Скобы должны располагаться так, как показано на рис. 7.29.

Рис. 7.29. Крепление кабеля при изменениях направления трассы

7.69. Рекомендуется отрезки кабелей по отдельным трассам прокладки заготавливать централизованно в производственных мастерских по предварительным замерам. Например, при монтаже распределительных коробок жилы одного из концов отмеренного отрезка кабеля распаиваются на плинт распределительной коробки, кабель подвергается электрической проверке, сматывается в бухту, на которой закрепляется бирка с указанием участка прокладки. Бухты кабелей поставляются на объект, где прокладку начинают с закрепления распределительной коробки.

ЗАЩИТА КАБЕЛЕЙ ОТ МЕХАНИЧЕСКИХ ПОВРЕЖДЕНИЙ

7.70. Защита кабеля от механических повреждений должна производиться металлическими желобами двух типов: I тип - длиной 700 мм, II тип - 1000 мм. Крепление желобов производится накладками с помощью шурупов, ввинчиваемых в установленные дюбели или спирали.

Установку защитных устройств необходимо производить в следующих местах:

а) под водосточными трубами - желобом длиной 700 мм с равными концами по обе стороны трубы;

б) под пожарной лестницей в том случае, если она отстоит от стены менее, чем на 1 м - по 0,5 м в каждую сторону;

в) под окнами лестничных клеток (ближе 0,5 м от лаза окна) - на ширину окна и по 0,5 м в каждую сторону;

г) на выходе кабеля из-под балкона - по 0,5 м с каждой стороны;

д) на чердаках - на всем протяжении трассы кабеля, если высота прокладки ниже 2,3 м от пола;

е) на лестничных клетках на вертикальных участках - на высоту 2,3 м.

Нижние концы защитных желобов на лестничных клетках и в коридорах необходимо заделывать в перекрытии цементным раствором.

Кабели, проложенные под карнизом, в дополнительной защите не нуждаются.

7.71. Установку защитных желобов следует производить в следующей последовательности:

а) параллельно оси прокладки кабеля сверху и снизу от нее разметить (по накладке) и пробить гнезда для установки дюбелей. При этом необходимо учитывать, что при установке одного желоба расстояние между дюбелями по горизонтали составляет 660 мм для желобов I типа и 960 мм - для II типа.

При установке двух и более желобов соприкасающиеся желоба должны крепиться одной накладкой. В этом случае первая накладка устанавливается на расстоянии 20 мм от края желоба, а расстояние между последующими накладками равно длине каждого желоба. Последняя накладка устанавливается также на 20 мм от края желоба;

б) накладки закрепить шурупами, ввинчиваемыми в дюбеля;

в) в крайних желобах зазор между строительным основанием и желобом заделать строительным гипсом;

г) желоба и накладки окрасить масляной краской в тон с краской строительного основания.

ПРОКЛАДКА КАБЕЛЕЙ В КАНАЛАХ СКРЫТОЙ Проводки

7.72. В соответствии с требованиями ОСТН-600-93 Минсвязи России (п. 3.336) общественные и жилые здания должны быть оборудованы в процессе строительства закладными устройствами скрытой проводки для прокладки кабелей и проводов сетей связи и радио (подпольными и стенными каналами, трубными разводками, пустотами под плинтусами, галтелями, а также нишами, коробками, смотровыми пунктами), как это оговорено в проекте.

7.73. При прокладке кабелей в каналах скрытой проводки необходимо:

а) произвести проверку кабеля, предназначенного к прокладке, на целостность жил, отсутствие сообщений и соответствие нормам сопротивления изоляции;

б) произвести замеры длин трасс прокладки кабелей, отмотать и отрезать от кабеля на барабане (бухте) отрезки, соответствующие замеренным длинам с учетом запаса разделки концов для распайки в плинт распределительной коробки и для монтажа муфт;

в) в скрытые горизонтальные свободные каналы при длине пролета до 10 м кабель следует прокладывать без заготовки, проталкивая его в канал;

г) в свободных и занятых горизонтальных каналах с длиной пролета более 10 м кабели необходимо прокладывать с предварительной заготовкой каналов стальной проволокой диаметром 3 - 4 мм или отрезком стеклопластикового прутка. При этом конец проволоки должен быть заделан петлей и обмотан изоляционной лентой, а при заготовке занятых кабелями каналов на конце прутка должен быть наконечник.

При длине кабеля до 50 м затягивание в канал надо производить, скрепляя его непосредственно с заготовкой мягкой перевязочной проволокой. При длине кабеля более 50 м - с помощью кабельного чулка соответствующего размера, скрепляемого с заготовкой перевязочной проволокой.

Затягивание кабеля в свободный непрямолинейный канал, а также кабелей емкостью 100´2 и более, следует производить с помощью кабельного чулка, скрепленного со стальным канатом, предварительно затянутым в канал проволочной заготовкой.

Затягивание кабелей в занятый канал должно производиться при помощи стального каната, покрытого полиэтиленовым шлангом, или пеньковой (синтетической) веревки.

Место соединения кабеля с канатом должно быть обмотано изоляционной лентой;

д) в вертикальных каналах кабели необходимо прокладывать сверху вниз без заготовки; снизу вверх с предварительной заготовкой; в занятых каналах, независимо от направления подачи кабеля, - с предварительной заготовкой.

По возможности кабель длиной более 10 м, проложенный в вертикальном канале, следует крепить через каждые 50 см скобами из оцинкованной жести. Если такая возможность отсутствует, кабель до прокладки необходимо крепить перевязочной проволокой к стальному канату через каждые 50 см, после чего канат вместе с кабелем опустить в канал;

е) кабели в подпольные желоба (каналы) должны укладываться при снятых крышках на деревянные прокладки (скалки), собираться в пакет и крепиться к скалкам скобами из оцинкованной жести.

РАЗДЕЛ 8

СТРОИТЕЛЬСТВО ВОЗДУШНЫХ СТОЛБОВЫХ ЛИНИЙ СВЯЗИ С ПОДВЕСКОЙ ПРОВОДОВ И КАБЕЛЕЙ

ОБЩИЕ ПОЛОЖЕНИЯ

8.1. Воздушные столбовые линии Министерства связи России разделяются по назначению на линии:

междугородной телефонной связи;

местных телефонных сетей (городских и сельских);

сетей проводного вещания.

В связи с широким внедрением на местных телефонных сетях кабельных линий связи в настоящее время воздушные столбовые линии применяются более ограниченно в качестве соединительных (межстанционных) и абонентских линий сельской связи, а в отдельных случаях - как абонентские линии ГТС.

8.2. В зависимости от метеорологических условий местности типы воздушных линий определяются по табл. 8.1.

Таблица 8.1

Типы линий

Расчетные климатические условия района

Допускаемая масса гололеда, изморози или мокрого снега, не более, г/пог. м

О (облегченный)

Негололедный или гололедный со средней толщиной стенки льда на проводе до 5 мм или изморози - до 20 мм

до 150

Н (нормальный)

Гололед с толщиной стенки льда на проводе до 10 мм или изморози - свыше 20 мм

до 400

У (усиленный)

Гололед с толщиной стенки льда на проводе до 15 мм или изморози - свыше 20 мм

до 800

ОУ (особо усиленный)

Гололед с толщиной стенки льда на проводе до 20 мм или изморози - свыше 20 мм

до 1400

8.3. Типовые профили воздушных линий связи и номера мест цепей на опорах показаны на рис. 8.1 а, б.

Рис. 8.1 а. Типовые профили воздушных линий связи

Рис. 8.1б. Типовые профили воздушных линий связи

Наиболее распространенными профилями сельских ВЛС и ГТС являются профили №№ 1а, 2а, 3а с расстояниями между крюками - 300 мм.

Типовые профили опор для линий совместной подвески телефонных цепей сельской связи и проводного вещания показаны на рис. 8.2.

Рис. 8.2. Типовые профили опор для линий совместной подвески

На линиях совместной подвески цепь проводного вещания, как правило, подвешивается на первом (верхнем) месте, а телефонные цепи, с целью предотвращения влияния цепи проводного вещания, располагаются от этой цепи на расстоянии 1,2 м.

8.4. Строительство воздушных столбовых линий связи с подвеской проводов включает в себя выполнение следующих работ:

а) изготовление и оснастку опор,

б) разбивку трассы линии,

в) транспортировку опор и материалов на трассу,

г) бурение (рытье) ям под опоры,

д) установку и укрепление опор,

е) раскатку проволоки и соединение проводов,

ж) подвеску и регулирование проводов,

з) вязку проводов на изоляторах,

и) монтаж проводов при скрещивании,

к) оборудование кабельных опор.

8.5. При подвеске кабеля на опорах ВЛС выполняют следующие работы:

а) установка на опорах арматуры для крепления несущего или встроенного в кабель стального каната;

б) раскатка несущего стального каната по трассе, его подвеска с регулировкой стрелы провеса;

в) раскатка кабеля, крепление его к стальному канату.

При подвеске кабеля с встроенным тросом производится раскатка кабеля по трассе, подъем его на опоры, регулировка стрел провеса и крепление встроенного троса в специальных зажимах, установленных на опорах.

ЛИНЕЙНАЯ АРМАТУРА, МАТЕРИАЛЫ И ИНСТРУМЕНТ

8.6. На столбовых линиях местных сетей применяется линейная проволока: стальная оцинкованная диаметром 2; 2,5; 3; 4 мм, биметаллическая (сталемедная) марок БСМ-1 и БСМ-2, сталеалюминиевая проволока марки БСА-КПЛ диаметром 2,7; 4,3 мм, провода с атмосферостойкой изоляцией ПСБАР, ПСБАП, ПРСП.

8.7. Для крепления (вязки) на изоляторах стальных проводов диаметром 1,5 - 2 мм, 3 мм, 4 мм применяют стальную оцинкованную проволоку диаметром соответственно 1,2; 2,0; 2,5 мм.

Для крепления биметаллической сталемедной проволоки диаметром 4; 3; 2; 1,6 мм применяют медную или биметаллическую проволоку диаметром соответственно 2,5; 2,0; 1,2 мм.

8.8. Для оснастки опор и траверс применяется следующая арматура:

а) крюки стальные типа КН для крепления изоляторов на опорах типоразмеров: КН-20, КН-18, КН-16, КН-12;

б) штыри стальные типа ШТ для крепления изоляторов на траверсах. Они имеют типоразмеры: ШТ-20Д, ШТ-16Д, ШТ-12Д и ШТ-20УД - для оснастки деревянных траверс и ШТ-20С, ШТ-16С и ШТ-12С - для оснастки стальных траверс;

в) Г-образные кронштейны для скрещивания телефонных цепей, подвешиваемых на крюках;

г) подвесные крюки и накладки для скрещивания цепей, подвешиваемых на траверсах;

д) изоляторы фарфоровые типа ТФ, имеющие типоразмеры в зависимости от диаметров крюков и штырей ТФ-12, ТФ-16, ТФ-20.

8.9. Траверсы изготавливаются из древесины (сосна, ель, лиственница) и стали.

Как деревянные, так и стальные траверсы могут быть четырехштырные и восьмиштырные.

8.10. В качестве линейных крепежных материалов применяют болты с гайками, шайбы, шурупы с шестигранной головкой («глухарь»), барочные гвозди, скобы строительные, подкосы, коуши, зажимы двухболтовые и трехболтовые, трубки медные для соединения биметаллических (сталемедных) проводов.

8.11. При строительстве воздушных столбовых линий связи применяется следующий специальный инструмент: когти, пояса с цепью и карабином, блоки, ключи для ввертывания крюков, багры, рогачи, струги, ломики хомутовые, бурава, плоскогубцы, острогубцы, клуппы вильчатые, тиски ручные.

В качестве средств малой механизации применяются машины ручные сверлильные, гайковерты, лебедки, ручные мотопилы, электропилы.

При комплектовании инструмента для строительства воздушных столбовых линий связи рекомендуется пользоваться разработанным ССКТБ «Нормокомплектом средств малой механизации, инструмента, приспособлений и инвентаря для выполнения работ по устройству столбовых линий связи с подвеской кабелей и проводов». Шифр нормокомплекта ГТС-ЛС-7.

Порядок применения специального инструмента и средств малой механизации приведен ниже, по мере описания технологии выполнения работ.

ОПОРЫ

8.12. Опоры воздушных столбовых линий подразделяются на следующие типы:

а) промежуточные, устанавливаемые на прямолинейных участках линии;

б) угловые, устанавливаемые в местах изменения направления линии;

в) переходные, устанавливаемые в местах перехода линий связи через железные, автомобильные дороги, водные и другие преграды;

г) контрольные, устанавливаемые в местах, где провода линии подвергаются контрольным электроизмерениям и испытаниям;

д) оконечные (вводные) и кабельные, устанавливаемые в пунктах ввода проводов в предприятия связи или здания другого назначения или при переходе с воздушной линии на кабельную.

8.13. По материалу изготовления опоры подразделяются на деревянные, железобетонные и деревянные в железобетонных приставках.

8.14. Деревянные опоры должны изготавливаться из хвойных пород деревьев: лиственницы, сосны, кедра и ели.

8.15. Деревянные опоры, приставки и траверсы должны быть пропитаны антисептиком, одним из способов, приведенных в «Инструкции по пропитке деревянных опор, подпор, приставок и траверс» (Приложение 4 «Правил строительства и ремонта воздушных линий связи и радиотрансляционных сетей». Часть 1. «Связь», М., 1975).

8.16. В целях экономии древесины необходимо осуществлять изготовление и применение железобетонных опор и приставок.

8.17. Железобетонные опоры для воздушных линий связи различаются по форме поперечного сечения, прочности на изгиб и длине.

Они изготавливаются длиной 6,5; 7,5 и 8,5 м. В зависимости от типов линий, числа подвешиваемых проводов, габарита линии и длины пролета железобетонные опоры рассчитаны на изгибающие моменты в плоскости, перпендикулярной оси линии связи: 1,75; 2,75; 4,4 и 6,8 т. м.

8.18. Рекомендуется применять железобетонные опоры типа ПО (прямоугольная, облегченная с ненапряженной арматурой) или ПОН (с предварительно напряженной стержневой арматурой) (рис. 8.3).

Рис. 8.3. Опоры типа ПО и ПОН

Данные этих опор приведены в таблице 8.2.

Таблица 8.2

Типы опор

Расчетный изгибающий момент, т. м.

Размеры поперечного сечения h´B, см

Масса опоры, кг, при длине, м

6,5

7,5

8,5

ПО-1,75 и ПОН-1,75

1,75

24´14

314

390

-

ПО-2,75 и ПОН-2,75

2,75

24´14

410

455

-

ПО-4,4 и ПОН-4,4

4,4

30´18

-

725

810

ПО-6,8 и ПОН-6,8

6,8

30´18

-

-

810

Могут также применяться железобетонные опоры центрифугированные круглые.

8.19. Для удлинения опор и с целью экономии древесины следует применять железобетонные приставки прямоугольного типа ПР с ненапряженной стержневой арматурой (рис. 8.4) и таврового типа ПТ с предварительно напряженной стержневой арматурой.

Рис. 8.4. Приставки железобетонные:

а) прямоугольного типа ПР; б) таврового типа ПТ

Справочные данные о железобетонных приставках приведены в табл. 8.3а.

Таблица 8.3а

Справочные данные железобетонных приставок

Тип

Расчетный изгибающий момент двойных железобетонных приставок с вкладышем, т. м.

Размеры поперечного сечения, мм, а - для ПР, а´b´h для ПТ

Масса, кг

перпендикулярно к оси направления линии

вдоль оси направления линии

ПР-0,6-2,8

1,75

1,0 (0,5)

170·

169

ПР-0,6-3,0

1,75

1,0 (0,5)

170·

179

ПР-0,8-3,0

2,75

1,14 (0,57)

170·

179

ПР-0,8-3,2

2,75

1,14 (0,57)

170·

190

ПР-1,2-3,0

4,40

1,22 (0,61)

200·

209

ПР-1,2-3,2

4,40

1,22 (0,61)

200·

224

ПР-2,0-3,2

6.80

2,0 (1,0)

200·

224

ПР-2,0-3,5

6,80

2,0 (1,0)

200·

245

ПТ-0,6-3,0

1,90

1,0 (0,5)

100´140´170··

152

ПТ-0,8-3,25

2,72

1,3 (0,65)

100´140´170··

165

ПТ-1,2-3,25

4,40

1,9 (0,95)

100´180´220··

250

ПТ-1,7-3,25

6,10

2,4 (1,20)

100´180´220·

250

ПТ-2,2-3,25

8,80

2,8 (1,40)

100´180´220··

250

ПТ-2,2-4,25

8,80

2,8 (1,40)

100´180´220··

325

· Для пр

·· Для ПТ

ПР - приставка прямоугольная; ПТ - приставка трапецеидальная; первое число в обозначении типа приставки означает величину нормируемого расчетного изгибающего момента в направлении, перпендикулярном к оси линии связи в тонно-метрах на уровне заделки приставки в грунт, а второе- длину приставки в метрах. В скобках указаны величины изгибающего момента в направлении вдоль оси линии.

Выбор типа и количества приставок для укрепления опор приведен в табл. 8.3б.

Таблица 8.3б

Выбор типа и количества приставок для укрепления опор

Число проводов

Номер профиля

Длина опоры с приставкой, м

Тип линии

О

Н

Типы и число приставок

4

I; I-а

6,5

ПР-0,8 или ПТ-0,8

ПР-0,8 или ПТ-0,8

6

I; I-а

6,5

ПР-0,8 Û ПТ-0,8

ПР-0,8 Û ПТ-0,8

8

I; I-а

7,5

2ПР-0,6 Û ПТ-1,2

ПР-1,2 Û ПТ-1,2

4

I; I-а

8,0

2ПР-0,6 Û ПТ-1,7

2ПР-0,6 Û ПТ-1,7

6

I; I-а

8,0

2ПР-0,6 Û ПТ-1,7

2ПР-0,6 Û ПТ-1,7

8

I; I-а

8,0

2ПР-0,6 Û ПТ-1,7

2ПР-0,6 Û ПТ-1,7

4

I; I-а

8,5

2ПР-0,6 Û ПТ-1,7

2ПР-0,6 Û ПТ-1,7

6

I; I-а

8,5

2ПР-0,6 Û ПТ-1,7

2ПР-0,6 Û ПТ-1,7

8

I; I-а

8,5

2ПР-0,6 Û ПТ-1,7

2ПР-0,6 Û ПТ-1,7

10

I; I-а

8,5

2ПР-0,6 Û ПТ-1,7

2ПР-0,8 Û ПТ-1,7

12

6; 6-а

8,5

2ПР-0,6 Û ПТ-1,7

2ПР-0,6 Û ПТ-1,7

16

7; 7-а

8,5

ПР-2,0 Û ПТ-2,2

2ПР-0,8 Û ПТ-2,2

16

2; 2-а

8,5

ПР-2,0 Û ПТ-2,2

2ПР-0,8 Û 2ПТ-0,8

20

3; 3-а; 8; 9

8,5

2ПР-0,8 Û 2ПТ-0,8

2ПР-0,8 Û 2ПТ-0,8

28

4; 4-а

8,5

2ПР-1,2 Û 2ПТ-1,2

2ПР-1,2 Û 2ПТ-1,2

32

10; 11

7,5

2ПР-1,2 Û 2ПТ-1,2

2ПР-1,2 Û 2ПТ-1,2

32

5

7,5

2ПР-1,2 Û 2ПТ-1,2

2ПР-1,2 Û 2ПТ-1,2

40

5

8,5

2ПР-1,2 Û 2ПТ-1,2

2ПР-2,0 Û 2ПТ-2,0

Продолжение табл. 8.3б

Число проводов

Номер профиля

Длина опоры с приставкой, м

Тип линии

у

оу

Типы и число приставок

4

I; I-а

6,5

ПР-0,8 или ПТ-0,8

ПР-0,8 или ПТ-0,8

6

I; I-а

6,5

ПР-0,8 Û ПТ-0,8

ПР-1,2 Û ПТ-1,2

8

I; I-а

7,5

ПР-1,2 Û ПТ-1,2

ПР-2,0 Û ПТ-1,7

4

I; I-а

8,0

2ПР-0,6 Û ПТ-2,2

2ПР-0,6 Û ПТ-2,2

6

I; I-а

8,0

2ПР-0,6 Û ПТ-2,2

2ПР-0,6 Û ПТ-2,2

8

I; I-а

8,0

2ПР-0,6 Û ПТ-2,2

2ПР-0,6 Û ПТ-2,2

4

I; I-а

8,5

2ПР-0,6 Û ПТ-2,2

2ПР-0,6 Û ПТ-2,2

6

I; I-а

8,5

2ПР-0,6 Û ПТ-1,7

2ПР-0,6 Û ПТ-1,7

8

I; I-а

8,5

2ПР-0,8 Û ПТ-2,2

2ПР-0,8 Û ПТ-2,2

10

I; I-а

8,5

2ПР-1,2 Û ПТ-1,2

2ПР-1,2 Û ПТ-1,2

12

6; 6-а

8,5

2ПР-0,8 Û 2ПТ-1,2

2ПР-1,2 Û 2ПТ-1,2

16

7; 7-а

8,5

2ПР-0,8 Û 2ПТ-0,8

2ПР-1,2 Û 2ПТ-1,2

16

2; 2-а

8,5

2ПР-0,8 Û 2ПТ-0,8

2ПР-1,2 Û 2ПТ-1,2

20

3; 3-а; 8; 9

8,5

2ПР-1,2 Û 2ПТ-1,2

2ПР-1,2 Û 2ПТ-1,2

28

4; 4-а

8,5

2ПР-1,2 Û 2ПТ-1,2

2ПР-2,0 Û 2ПТ-1,7

32

10; 11

7,5

2ПР-2,0 Û 2ПТ-1,7

2ПР-2,0 Û 2ПТ-2,2

32

5

7,5

2ПР-2,0 Û 2ПТ-1,7

2ПР-2,0 Û 2ПТ-2,2

40

5

8,5

2ПР-2,0 Û 2ПТ-2,0

2ПР-2,0 Û 2ПТ-2,0

Примечания:

1. Цифра «2», стоящая перед типом приставки, указывает на количество приставок.

2. При выборе типа, расчетного момента и количества устанавливаемых приставок следует учитывать возможность увеличения числа подвешенных на опоре проводов.

ИЗГОТОВЛЕНИЕ И ОСНАСТКА ОПОР

8.20. Изготовление опор включает в себя:

а) очистку бревен от коры, луба и заделку вершины на два ската;

б) изготовление деталей сложных опор, устройство сопряжений и креплений между ними;

в) сборку сложных опор;

г) припасовку железобетонных приставок к деревянным стойкам опор;

д) подготовку железобетонных опор к оснастке траверсами и другой арматурой.

8.21. При оснастке опор и траверс выполняют следующие работы:

а) оснастку опор крюками и изоляторами;

б) установку на траверсах штырей и изоляторов;

в) установку на опорах траверс.

8.22. Изготовление и оснастку опор (при их количестве более 100) рекомендуется производить на специально оборудованной площадке (полигоне) с применением электроинструмента и других средств механизации, чтобы на трассу вывозить опоры в максимальной готовности (сборности), что способствует индустриализации строительства, повышению производительности труда и улучшению качества работ.

8.23. Место для размещения площадки необходимо выбирать в зависимости от протяженности трассы, мест дислокации участка, и разгрузки поступающих деревянных столбов, железобетонных опор, приставок, траверс и других материалов.

Для оборудования площадки рекомендуется создавать комплекты механизированного инструмента.

8.24. Обработку и оснастку опор на трассе при незначительном объеме работ рекомендуется производить при помощи подвижных узлов механизации.

Подвижной узел малой механизации представляет собой автомобиль или двухосный автоприцеп, на котором скомплектованы средства малой механизации, инструмент и смонтирована передвижная электростанция для осуществления автономного электропитания.

Перечень средств малой механизации, инструмента для оснащения специально оборудованной площадки и подвижного узла механизации для обработки и оснастки опор приведен в табл. 8.4.

Таблица 8.4

Перечень
средств механизации и приспособлений, необходимых для оснащения специально оборудованной площадки и подвижного узла механизации для изготовления, обработки и оснастки опор и траверс

Наименование машин и механизмов

Тип (марка)

Количество

Назначение

для специально оборудованной площадки

для подвижного узла механизации

1

2

3

4

5

Электростанция

АБ-2-Т/230

-

1

для энергоснабжения электроинструмента

Щит распределительный

 

3

1

для распределения электроэнергии по потребителям

Цепная электропила

ЦНИИМЭ К-5 м или К-6

1

1

для заделки вершин на два ската и опиловки столбов

Элекросучкорезка со сменной окорочной головкой

РЭС-2

2

1

для снятия коры и луба

Окорочный инструмент

ОА-19

2

1

то же

Электросверлилки с комплектами сверл по дереву, торцевых ключей и торцевых патронов

ИЭ-1015 или ИЭ-1017

2

1

для сверления в опорах отверстий под крюки и болты для крепления траверс, а также для механизации гайковертных работ при оснастке траверс штырями и насадке изоляторов

Гайковертный наконечник

-

2

1

для завинчивания гаек при сборке и оснастке опор

Фреза торцевая с установочной рамой

-

1

1

для выполнения врубок на опоре под траверсы

Электрошлифовальная машина

С-475 (И-54)

1

1

привод к торцевой фрезе

Шаблоны:

 

 

 

 

а) для разметки отверстий на опоре под крюки;

 

2

1

для ускорения и облегчения разметки

б) для разметки вершины опоры на два ската

 

2

1

то же

в) для сверления отверстий под штыри в деревянных траверсах

 

2

1

то же

Ручной инструмент в номенклатуре и количестве, приведенном в Нормокомплекте ГТС ЛС-7.

Примечания:

1. Производительность специально оборудованной площадки с указанным набором средств механизации составляет 20 обработанных и оснащенных опор и 45 оснащенных восьмиштырных траверс в смену (8 ч).

2. Производительность подвижного узла механизации 10 - 12 обработанных опор и 22 оснащенных траверсы в смену.

8.25. При изготовлении и оснастке опор необходимо выполнять следующие указания и рекомендации:

а) удаление с поверхности коры и луба производить с помощью электросучкорезки, а при ее отсутствии - окорочной лопатой и стругом;

б) запиловку или затеску вершины столба на два ската делать под углом 45 градусов с гребнем шириной 30 мм (см. рис. 8.5). Столбы, имеющие одностороннюю кривизну, затесывать так, чтобы кривизна столба была направлена вдоль линии. Для запиловки вершины, обрезки столбов рекомендуется использовать бензомоторную пилу «Дружба» или электропилу. При отсутствии средств механизации применяются ручные пилы. Разметку заделки вершины столба рекомендуется производить с помощью шаблона (рис. 8.6);

Рис. 8.5. Правильно обработанная вершина опоры

Рис. 8.6. Шаблон для разметки опиловки или затески вершины опоры

Шаблон может быть изготовлен из 2 - 3 мм фанеры, картона или листовой стали толщиной 0,5 - 0,7 мм.

а) оснастка столба должна производиться так, чтобы после его установки гребень был расположен: при оснастке крюками - перпендикулярно линии, при оснастке траверсами - по направлению линии;

г) разметку отверстий в столбе для ввертывания крюков рекомендуется производить при помощи шаблона (рис. 8.7).

Рис. 8.7. Шаблон разметки отверстий в столбе для ввертывания крюков

Отверстия сверлятся с помощью электрической сверлильной машины, а на трассе - буравом. Диаметр сверла или бурава берется на 2 мм меньше диаметра нарезной части крюка.

Глубина отверстий должна быть на 10 мм меньше длины нарезки крюка, для чего на сверле или бураве делается отметка, показывающая глубину отверстия. Крюк ввертывается сначала руками, а затем с помощью специального ключа, так чтобы после ввертывания расстояние между крюком и столбом равнялось 2 см, что может определяться толщиной ладони руки (рис. 8.8 а).

На угловых, а также на всех опорах линий У и ОУ крюки следует ввертывать вплотную к опоре (рис. 8.8 б).

На угловых опорах при вылете угла более 7,5 м на каждый провод должны устанавливаться два крюка, расположенные на расстоянии 80 мм друг от друга (рис. 8.8 в).

Рис. 8.8. Правила ввертывания крюков

Двойные крюки устанавливаются также на оконечных опорах. Оснастка опоры крюками с изоляторами показана на рис. 8.9.

Рис. 8.9. Оснастка опоры крюками с изоляторами

д) перед креплением деревянных траверс к столбу они должны быть оснащены штырями и изоляторами. В связи с тем, что штыри в отверстия деревянных траверс вставляются (забиваются) в большинстве случаев с усилием, рекомендуется эту трудоемкую операцию выполнять малооборотной электрической машиной, оснащенной торцовым ключом для ввертывания штырей (рис. 8.10). Гайки рекомендуется завинчивать с помощью гайковерта или электрической машиной, оснащенной гайковертной муфтой максимального момента.

Рис. 8.10. Торцовый ключ для ввертывания штырей деревянных траверс

Траверсы стальные для воздушных линий должны выпускаться оснащенными штырями и подкосами (приваренными);

е) траверсы должны крепиться к столбу во врубках с помощью болтов и подкосов.

Ширина врубок должна быть равна ширине устанавливаемых траверс, глубина для деревянных траверс должна быть 15 мм, а для стальных - 5 мм. Врубки должны быть покрыты креозотовым маслом. Отверстия для траверсных болтов в столбе сверлятся на полигоне с помощью сверлильной машины, на линии - буравом.

Болты диаметром 16 мм, длиной 300, 320 и 350 мм с длиной нарезки 100 мм применяются для крепления деревянных траверс к одинарным опорам; длиной 400, 420 и 450 мм - для крепления двойных траверс и подпор к опорам.

Стальные траверсы должны крепиться к столбу шурупами с шестигранной головкой размерами 12´100 мм.

Крепление стальных траверс на промежуточных опорах показано на рис. 8.11.

Рис. 8.11. Крепление стальных траверс на промежуточных опорах

Способ крепления траверс на опорах типа ПО и ПОН показан на рис. 8.12. Траверсы должны устанавливаться параллельно друг другу и перпендикулярно к оси столба, а на уклонах линии в 20 градусов и больше - врубки и отверстия делают под углом к оси столба, равным углу подъема линии;

Рис. 8.12. Способ крепления траверс на опорах типа ПО и ПОН

1 - болт М-16 с нарезкой с обеих сторон; 2 - угловая сталь 40´40´5; 3 - планка 40´40´5

ж) изоляторы на штыри и крюки следует навертывать, применяя полиэтиленовый колпачок с резьбой, навинчиваемый на верхнюю часть штыря или крюка. При отсутствии колпачков необходимо применять каболку, которую нужно наматывать плотными рядами на крюк или штырь. Толщина слоя каболки должна быть такой, чтобы изолятор навертывался с усилием.

Для навертывания изоляторов рекомендуется применять редуктор с подсоединенными муфтой и патроном, малооборотную сверлильную машину типа ИЭ-1023, оснащенную патроном для навинчивания изоляторов или специальный ключ. Изолятор должен навертываться до отказа строго вертикально, причем желобок на его головке следует устанавливать по направлению провода;

з) длина и диаметр промежуточных опор в зависимости от числа подвешиваемых проводов, профиля и габарита линий приведены в табл. 8.5

Таблица 8.5

Число проводов

Номер профиля

Общая длина опор

Минимальный диаметр опоры в вершине, см, для линий типов

О

Н

У

ОУ

4

1, 1а

6,5

12

12

12

13

8

1, 1а

7,5

12

14

14

15

10

1, 1а

8,5

14

15

15

16

12

6

8,5

12

14

16

19

16

2, 2а и 7, 7а

8,5

14

17

18

20

20

3, 3а и 8

8,5

15

18

19

21

24

5

6,5

16

18

19

22

32

5

7,5

18

22

-

-

40

5

8,5

20

25

-

-

и) угловые полуанкерные, кабельные и другие сложные опоры и детали для их укрепления (оттяжки, подпоры, якорные лежни, стержни и др.) следует изготовлять на полигоне и после контрольной сборки вывозить на трассу в собранном и разобранном виде (в зависимости от наличия соответствующих транспортных средств);

к) железобетонные опоры перед транспортировкой на трассу должны быть на полигоне соответствующим образом обработаны.

Обработка заключается в удалении деревянных пробок из отверстий или в прочистке закладных отрезков стальных труб, заложенных в отверстия опоры. Удаление деревянных пробок из отверстий опоры производится с помощью электросверлильной машины со сверлом соответствующего диаметра (если их невозможно выбить пробойником).

Железобетонные опоры должны быть тщательно проверены внешним осмотром на соответствие требованиям технических условий (размеры раковин, впадин, сколов, наличие трещин и т.п.). Трещины в опорах не допускаются, за исключением поверхностных усадочных, ширина которых не должна превышать 0,1 мм;

л) крепление железобетонных приставок к деревянным опорам должно производиться при помощи хомутов из стальной оцинкованной проволоки диаметром 4 - 5 мм или из проволоки-катанки диаметром 6 мм.

Количество витков проволоки - от четырех до восьми, в зависимости от нагрузки линии и от диаметра применяемой для хомутов проволоки.

Проволочные хомуты следует затягивать вокруг опоры и приставок с помощью монтажного ломика.

Предварительно деревянный столб (стойка) должен быть обработан с помощью электрорубанка или топора, так чтобы он плотно припасовывался к выступам приставок.

При укреплении опоры двумя приставками между ними должны быть закреплены деревянные антисептированные или бетонные вкладыши. Укрепление деревянных опор железобетонными приставками показано на рис. 8.13.

Рис. 8.13. Укрепление деревянных опор железобетонными приставками:

а) одной приставкой; в) двумя приставками с деревянным вкладышем; в) двумя приставками с бетонным вкладышем

РАЗБИВКА ТРАССЫ ЛИНИИ

8.26. Разбивку трассы воздушной столбовой линии связи необходимо производить в строгом соответствии с рабочими чертежами.

8.27. Трасса строительства линии должна быть согласована с заинтересованными организациями: с органами местной власти, управлениями железных и автомобильных дорог, организациями, ведающими лесными, речными хозяйствами и т.п.

8.28. При разбивке и строительстве линии необходимо строго соблюдать установленные габариты, приведенные в табл. 8.6.

При определении габаритов необходимо учитывать наибольшее провисание проводов, которое бывает при наивысшей для данной местности температуре или при гололеде.

Таблица 8.6

Габариты воздушных линий связи

Характеристика габарита

Расстояние, м, не менее

1

2

Расстояние от земли до нижнего провода для линий, идущих вдоль железных дорог вне населенных пунктов*

2,5

Расстояние от земли до нижнего провода для линий, идущих вдоль автомобильных или грунтовых дорог вне населенных пунктов

3,0

Расстояние между нижним проводом линии и тросом, несущим контактный провод электр. железных дорог

2,0

Расстояние от провода линии при пересечении с контактным проводом трамвая, считая до головки рельса

8,0

То же для троллейбуса, до поверхности дорожного полотна

9,0

Расстояние от земли до нижнего провода линий при пересечении автомобильных дорог

5,5

Расстояние между нижним проводом линий и головкой рельса при пересечении линией железнодорожного полотна нормальной и узкой колеи

7,5

Расстояние от земли до нижнего провода линии, проходящей в черте населенного пункта

4,5

Расстояние между нижним проводом фидерной цепи ПВ и верхним проводом линии связи, а также при пересечении проводов ПВ между собой

1,25

Расстояние между нижним проводом одной и верхним проводом другой линии при их пересечении между собой для наинизшей и наивысшей температур

0,6

Расстояние от наинизшей точки провода линии при пересечении рек и каналов до наиболее высоких мачт судов при высшем уровне воды

1,0

Расстояние от наинизшей точки провода линии до верхней точки габарита сплава** при горизонте наивысшего паводка пересекаемых сплавных рек и каналов

1,0

Расстояние от опор до головки ближайшего рельса при расположении линии вдоль железнодорожного полотна

1,3 высоты надземной части опоры

Горизонтальное расстояние между ближайшими к строению проводом и вертикальной плоскостью, проходящей через край карниза, или другой наиболее выступающей части строения (балкона, фонаря)

2,25

Расстояние между наинизшей точкой нижнего провода столбовой линии и коньком крыши для линий МТС, идущих вдоль железных дорог

1,5

Расстояние от ветвей деревьев до проводов линии:

 

а) в городах

1,25

б) в пригородных местностях

2,0

Расстояние от земли до нижнего провода абонентского ввода над тротуаром, огородом, садом или пустырем

3,0

Расстояние от головки рельса до полуанкерной опоры или подпоры линии, пересекающей полотно железной дороги

10,0

Расстояние от опор до подземных трубопроводов, водо-, газо , нефте- и теплопроводов, а также канализационных труб

1,0

Расстояние от опор до пожарных гидрантов, колодцев (люков) и водоразборных колонок

2,0

расстояние от опор до бензиновой колонки

5,0

расстояние от опор до электрических кабелей всех назначений

1,0

расстояние по горизонтали от бровки дорожного полотна до основания подпор переходных опор. На участках стесненной трассы это расстояние определяется по согласованию между заинтересованными организациями при условии дополнительного укрепления опор

высоты опоры

Вертикальное расстояние от полотна дороги до оттяжки опоры при пересечении оттяжкой:

 

а) пешеходных проходов

3,5

б) проездов

5,5

* Населенным пунктом считается территория городов, поселков, деревень, промышленных предприятий, парков, бульваров и прочих мест, посещаемых населением. Прилегающие к населенному пункту огороды, сады и т.п. рассматриваются также как территория населенного пункта.

** Габаритом сплава называется расстояние от водной поверхности реки (канала) до наивысшей точки сооружений на сплаве (домика, вышки, сигнальной вехи и т.п.).

8.29. Разбивка трассы линии должна производиться от начала линии до первого поворота и далее между точками изменения направления линии. При разбивке следует соблюдать точность при определении длины пролетов.

Допустимые отклонения длин пролетов нормируются по длинам элементов скрещивания (обычно равной двум пролетам). Отсчет элементов начинается от начала линии.

Допустимые отклонения длин элементов приведены в табл. 8.7.

Таблица 8.7

Длина элемента, м

Допустимое отклонение длины элемента, м

35

± 6,0

40

± 6,5

50

± 7,0

60

± 8,0

70

± 8,5

80

± 9,0

100

± 10,0

125

± 11,0

166

± 13,0

8.30. Для разбивки линии необходимо иметь:

а) мерную цепь для промера пролетов или отрезок проволоки, равный длине пролета;

б) деревянные вехи длиной 3 - 4 мм;

в) деревянные колышки длиной 30 - 40 см, диаметром 3 - 4 см для отметки мест установки опор;

г) флажки и свисток для сигнализации;

д) топор для заготовки колышков и забивки их в землю;

е) стальную саперную лопату.

8.31. Разбивка линии на прямых участках производится с помощью трех вех.

В начале линии или в точке изменения направления линии устанавливают веху № 1. На выбранном направлении ставят веху № 2, так чтобы ее было видно со стороны вехи № 1. Около вехи № 1 забивают колышек, обозначающий место установки первой опоры.

От вехи № 1 мерной цепью отмеривают расстояние, равное длине пролета. Точное положение второй опоры находят, устанавливая веху № 3 в створе вех № 1 и № 2. Для этой цели веху № 3 передвигают вправо или влево до тех пор, пока она при визировании от вехи № 1 не закроет веху № 2. Место установки второй опоры также отмечают колышком, на котором записывают номер опоры. Таким же образом определяют место установки следующих опор.

После разбивки половины расстояния между вехами № 1 и № 2 перемещают веху № 1 на место предпоследнего колышка, не меняя положения вехи № 3, а веху № 2 передвигают вперед на расстояние ясной видимости, но не дальше, чем в точку поворота направления линии, и устанавливают ее в створе вех № 1 и № 3 (рис. 8.14).

Рис. 8.14. Разбивка линии на прямых участках

8.32. Если трасса проходит через возвышенность, используют дополнительную (четвертую) веху и место для установки столба находят следующим образом (рис. 8.15):

Рис. 8.15. Разбивка линии на пересеченной местности

а) веху № 2 устанавливают за возвышенностью, у подножия холма;

б) на возвышенное место, в точках, из которых видны одновременно обе вехи (№ 1 и № 2), устанавливают вехи № 3 и № 4. Веху № 4 перемещают до тех пор, пока она не окажется на прямой линии, соединяющей вехи № 3 и № 2;

в) затем веху № 3 перемещают до тех пор, пока она не окажется на прямой линии, соединяющей вехи № 1 и № 4;

г) последовательным визированием вехи № 3 на веху № 2 и вехи № 4 на веху № 1 добиваются того, чтобы все четыре вехи находились на одной линии;

д) разбивку линии между вехами № 1 и № 3, № 3 и № 4, № 4 и № 2 производят, как указано в п. 8.31.

8.33. Если вылет угла больше 15 м, что соответствует внутреннему углу 45 градусов или углу поворота линии 35 градусов, то угол необходимо разбить на два. В населенных пунктах, где указанное требование не может быть выполнено, на угловой опоре для каждого провода нужно устанавливать два штыря ШУ-2Д или два крюка.

Для обозначения места установки угловой опоры внутри угла на расстоянии 25 - 35 см от основного колышка забивается второй колышек.

Пролеты, смежные с угловой опорой, должны иметь нормальную длину. При числе проводов более четырех и нормальном вылете угла более 5 м длины смежных пролетов должны быть равны половине нормальной. Кроме того, при числе проводов восемь и более опоры, смежные с угловой, укрепляются подпорами или оттяжками.

8.34. При строительстве столбовых линий ГТС разбивку трассы выполняют с учетом следующих дополнительных требований:

а) опоры, как правило, должны устанавливаться в пешеходной части улиц;

б) расстояние от опоры до бровки тротуара или кювета не должно превышать 0,5 м;

в) опоры и их крепления не должны мешать уличному движению пешеходов и транспорта;

г) провода должны пересекать улицы перпендикулярно осям последних. В порядке исключения допускается пересечение под углом не менее 45 градусов;

д) линия, по возможности, не должна проходить по одной стороне улицы с линией освещения;

е) опора пересекающего пролета устанавливается в том месте (при пересечении улиц), где впоследствии возможно ответвление проводов;

ж) установка опор против ворот, калиток, дверей и окон, а также на дне сточных канав и кюветов не допускается.

ТРАНСПОРТИРОВАНИЕ ОПОР

8.35. Опоры, как правило, должны перевозиться на автомобилях с прицепами-роспусками.

8.36. Для погрузки и выгрузки опор следует применять автомобильные краны. При отсутствии автокранов применяются лебедки и самоудерживающиеся покати (по две штуки на погрузку).

8.37. Подъем железобетонных и деревянных опор при погрузке и разгрузке автокранами должен производиться с помощью строп, которые крепятся к железобетонным опорам и приставкам за монтажные петли, или через отверстия в теле опор.

8.38. Железобетонные опоры и приставки следует тщательно оберегать от повреждений, возникающих при толчках и ударах.

8.39. При погрузке железобетонных опор или приставок на автомашины нижний ряд должен укладываться на деревянные подкладки, размещаемые в местах расположения монтажных скоб или в местах, указанных для строповки. Между рядами опор или приставок должны прокладываться деревянные прокладки из досок или брусков.

Во избежание смещения деревянных или железобетонных опор (приставок) при транспортировке они должны быть надежно укреплены.

8.40. После обработки и оснастки опор их развозят по линии, выгружая у колышков, забитых в грунт при разбивке трассы. Опоры укладывают комелем к колышку.

Разгрузка опор сбросом не допускается. Запрещается перемещение опоры по трассе волоком.

РЫТЬЕ ЯМ ПОД ОПОРЫ

8.41. Рытье ям под опоры, как правило, должно производиться бурильно-крановыми машинами, которые бурят скважины диаметром 0,35; 0,5; 0,8 м глубиной до 2 - 3 м.

Производительность бурильно-крановой машины при глубине ямы 1,6 м в грунте II группы составляет 70 - 80 ям в смену (8,2 часа). При рытье ям с одновременной установкой опор без их выверки и засыпки ям производительность составляет 35 - 40 опор в смену.

Исходя из вышеизложенного и учитывая значительную трудоемкость работ по рытью ям, рекомендуется при строительстве ВЛС большой протяженности (более 10 км) использовать бурильно-крановую машину только для рытья ям, а установку опор производить с помощью автокрана.

8.42. Рытье ям под опоры вручную допускается, в виде исключения, в стесненных уличных условиях или при незначительных объемах работ, когда нецелесообразно направлять бурильно-крановую машину на трассу строящейся линии, находящуюся на значительном расстоянии от ее дислокации.

При ручном способе рытье ям в грунтах I, II групп производится с помощью копальных остроконечных и подборочных лопат, рыхление грунта - с помощью ломов и киркомотыг. В каменистых, скалистых и мерзлых грунтах рыхление должно осуществляться с помощью компрессора и отбойных молотков и, в виде исключения, стальными клиньями и кувалдами.

8.43. Ямы для опор, пробуренные бурильно-крановой машиной, имеют круглую форму, а отрытые ручным способом - ступенчатую (рис. 8.16).

Рис. 8.16. Формы ям:

а - для одинарной опоры, отрытая бурильно-крановой машиной или бурофрезом; б - то же, отрытая вручную; в - для подпоры, отрытая вручную; г - то же, для оттяжки

Глубина ям (закопки опор) зависит от характера грунта, количества подвешиваемых проводов, длины опоры и определяется по табл. 8.8.

Таблица 8.8

Глубина закопки опор

Количество проводов

Грунт I - II групп при длине опор, м

Грунт IV группы при длине опор, м

7,5

8,5 и 9,5

11 и 13

7,5 - 9,5

11 и 13

2 - 12

1,4

1,5

1,6

1,1

1,3

14 - 24

1,5

1,6

1,7

1,1

1,3

26 - 40

-

1,8

1,9

1,1

1,3

Примечание. В слабых грунтах, а также на склонах холмов более 45 градусов ямы выкапываются на 150 мм глубже.

Глубина ям для подпор в грунтах I и II групп должна быть равной 1 м, в грунтах III группы - 0,6 м, IV группы - 0,5 м. Глубина ям для отбойных тумб в грунтах I и II групп - 1 м, III группы - 0,8 м и IV группы - 0,6 м.

8.44. Расположение ям для промежуточных, угловых и оконечных опор при рытье ручным способом показано на рис. 8.17.

Ямы для промежуточных и противоветровых опор должны отрываться по направлению линии. При этом отвесные стенки смежных ям должны быть направлены в разные стороны.

Ямы для оконечных и угловых опор следует отрывать с отвесной стенкой в сторону натяжения проводов. Колышек, находящийся внутри угла, должен прилегать к отвесной стенке ямы. Для опор, смежных с угловыми и оконечными, ямы должны отрываться так, чтобы отвесные стенки их были обращены в сторону, противоположную угловой и оконечной опорам.

Рис. 8.17. Расположение ям для промежуточных, угловых и оконечных опор при рытье ручным способом

8.45. Форма ям для угловых опор с подпорами показана на рис. 8.18.

Рис. 8.18. Форма ям для угловых опор с подпорами

Расстояние А между ямой для опоры и ямой для подпоры или якоря оттяжки указано в табл. 8.9.

Таблица 8.9

Расстояние между ямой для основного столба ямой для подпоры или якоря оттяжки

Длина вертикальных столбов, м

А, м

6,5

2,80

7,5

2,70

8,5

3,15

УСТАНОВКА И УКРЕПЛЕНИЕ ОПОР

8.46. Установка опор должна производиться бурильно-крановой машиной или автокраном сразу же после отрывки ям.

8.47. При установке опоры с помощью БКГМ ее стропуют подъемным канатом на расстоянии не менее 2/3 длины опоры от комля, после чего с помощью стрелы и лебедки опору поднимают и отпускают в яму (рис. 8.19).

Рис. 8.19. Установка опор с помощью БКГМ

При этом рабочий-землекоп должен веревкой удерживать вершину опоры и регулировать установку ее в яму. Не снимая подъемного каната, опору следует выверить по вертикали и в створ опор линии, после чего яму засыпать грунтом с послойным трамбованием.

8.48. В тех случаях, когда отсутствует возможность применения машин, установку опор выполняют вручную. При этом оснащенную и подготовленную опору необходимо уложить вдоль линии со стороны ступенек ямы так, чтобы ее комель упирался в доску, установленную у задней отвесной стенки ямы.

Рабочие поднимают опору за вершину, затем один из рабочих подпирает ее вертикальную часть рогачом, а остальные, передвигаясь поочередно к середине опоры, поднимают ее при помощи рогачей и багра до тех пор, пока комель опоры не достигнет дна ямы и опора займет вертикальное положение. После подъема опоры доску вынимают из ямы и опору выравнивают в линию с ранее установленными. Промежуточные опоры следует устанавливать по отвесу точно в створе линии.

Одновременно с выравниванием поднятой опоры ее кантуют с расчетом, чтобы крюки или траверсы расположились перпендикулярно направлению линии. После окончательного выравнивания опоры яму засыпают грунтом, вырытым при ее выкапывании. Грунт плотно утрамбовывают слоями в 15 - 20 см при помощи механической или ручной трамбовки. Излишек грунта насыпают вокруг опоры в виде конусообразного возвышения и также утрамбовывают.

8.49. До подвески проводов угловая опора должна быть укреплена оттяжкой или подпорой. Оттяжка или подпора устанавливается в плоскости, разделяющей угол между проводами на угловой опоре пополам. Подпора ставится к опоре с внутренней стороны этого угла, оттяжка - с внешней стороны.

8.50. Угловую опору следует устанавливать с некоторым наклоном вершины в сторону, противоположную направлению равнодействующей натяжению проводов или подвешенного кабеля (рис. 8.20).

Оттяжки следует изготавливать из стальной оцинкованной проволоки диаметром 4 - 5 мм, свиваемой в жгут. Количество проволок в жгуте зависит от нагрузки и угла поворота линии и может колебаться от двух до семи.

Нижний конец оттяжки необходимо закреплять за якорный жгут, который должен быть изготовлен из такой же проволоки, что и оттяжка, и заделан за якорный лежень (рис. 8.21).

Рис. 8.20. Угловая опора, укрепленная подпорой (профиль 1 а)

Рис. 8.21. Угловая опора, укрепленная подпорой и оттяжкой

8.51. Железобетонные опоры следует укреплять только оттяжками, которые нужно крепить к железобетонным опорам при помощи двухушковых хомутов (рис. 8.22).

Рис 8.22. Крепление подкосов и оттяжек к железобетонной опоре

Угловую опору нужно укреплять одной оттяжкой, оконечные и кабельные опоры - двумя оттяжками. При этом хомут размещают под первой траверсой.

8.52. Полуанкерные опоры (рис. 8.23) применяются при переходах через железные дороги, на удлиненных пролетах, в качестве вводных и кабельных опор, а также для увеличения устойчивости линии в гололедных районах.

Рис. 8.23. Полуанкерная опора, укрепленная подпорами

Рис. 8.24. Крепление верхней части подпоры к полуанкерной опоре

Они должны укрепляться подпорами. Крепление подпоры к верхней части опоры следует выполнять так, как показано на рис. 8.24.

КАБЕЛЬНЫЕ ОПОРЫ

8.53. Кабельные опоры должны устанавливаться в местах перехода воздушной линии на кабельную.

В качестве кабельной опоры при числе проводов не более шестнадцати следует устанавливать одинарную опору (рис. 8.25), укрепленную подпорой или оттяжкой.

Рис. 8.25. Кабельная опора:

1 - молниеотвод; 2 - кабельная площадка; 3 - заземление; 4 - кабельный ящик; 5 - шурупы с шестигранной головкой 12´100; 6 - стальной желоб; 7 - ступени; 8 - изогнутая труба; 9 - отверстие 6 мм

Рис. 8.26. Укороченная кабельная ОКУ

При числе проводов больше шестнадцати должна устанавливаться полуанкерная опора или сдвоенная опора, укрепленная подпорой или оттяжкой.

8.54. В настоящее время в строительство ВЛС начали внедрять кабельные опоры, представляющие собой железобетонную стойку длиной 2950 мм, с поперечным сечением 160´170 мм, на которой с помощью хомутов из полосовой стали укреплен кабельный ящик (рис. 8.26). В качестве стойки может быть использована железобетонная приставка для опор ВЛС типа ПР-5,9-2,8 или ПР-5,9-3,0 ТУ45 609-73.

8.55. Кабельные опоры должны устанавливаться в местах, имеющих свободный доступ для обслуживающего персонала; на берегах рек они должны устанавливаться в незатопляемой местности.

8.56. Для соединения проводов с жилами вводных кабелей или кабельных вставок на кабельных опорах воздушных линий сельской связи, в зависимости от их назначения, должны устанавливаться кабельные шкафы типа УКМШ и ШКМ или кабельные ящики ГТС типа УКП.

8.57. Кабельную опору следует оборудовать кабельной площадкой, ступенями, молниеотводами и заземлением. Кабель, проложенный по опоре, должен быть защищен стальным желобом или сталью уголкового профиля.

8.58. Кабельная опора также должна быть оборудована пятью восьмиштырными траверсами при емкости кабельного ящика 20´2 и тремя траверсами - при емкости 10´2.

Кабельный ящик должен быть укреплен на опоре шурупами с шестигранной головкой (глухарями) 6´80 мм и с установкой по отвесу.

8.59. Кабельная площадка должна прикрепляться к опоре сквозными болтами М16´280 мм на расстоянии 1400 мм от настила площадки.

Ступени должны быть из круглой стали диаметром 16 - 18 мм длиной 250 мм. Один конец ступени должен иметь отверстие 6 мм, второй - винтовую накатку длиной 70 мм.

Ввинчивание ступеней должно быть выполнено под углом 45 градусов к плоскости траверс по одну сторону опоры (пешеходную), на расстоянии 30 см одна от другой.

Ступени скрепляются между собой свитой из двух концов стальной проволоки диаметром 3 - 4 мм, одна из которых должна быть пропущена через отверстия в ступенях. Концы проволоки укрепляются глухарями.

8.60. Нижняя ступень устанавливается на расстоянии 1,7 м от земли, а верхняя - ниже кабельной площадки на 350 мм. Ступень ввинчивается в тело опоры на 100 мм, при этом ширина ступени должна быть не менее 140 - 150 мм.

8.61. Для защиты опор воздушной линии связи от ударов молнии на кабельных вводных угловых и переходных опорах должны быть установлены молниеотводы, выполненные из целого отрезка стальной оцинкованной проволоки диаметром 4 - 5 мм.

Кабельный ящик следует заземлить, подключая к молниеотводу медный провод (ПР) диаметром не менее 2 мм с пропайкой припоем ПОССу-30.

Молниеотвод должен быть укреплен на опоре скобами через каждые 300 мм и расположен на боковой стороне опоры, противоположной стороне установки ступеней (рис. 8.25).

8.62. Для устройства заземления следует использовать обрезки стальных труб или уголковой стали, длина, диаметр и сечение которых зависит от удельного сопротивления грунта и определяется проектом.

Устройство трубчатых заземлений показано на рис. 8.27.

Рис. 8.27. Устройство заземления:

а - одной трубой; б - несколькими трубами:

1 - труба стальная; 2 - стальная проволока диаметром 5 мм; 3 - хомут из перевязочной проволоки диаметром 2 мм; 4 - проволока стальная диаметром 4 - 5 мм

При устройстве заземления у железобетонной опоры его отвод и провод от кабельного ящика припаивают к оголенной арматуре в верхней и нижней частях опоры.

После устройства молниеотвода и заземления кабельной опоры должны быть проведены электрические измерения сопротивления заземления, величина которого не должна превышать нормы, указанные в табл. 8.10 и 8.11.

Таблица 8.10

Нормы сопротивлений для заземлений в зависимости от числа проводов

Удельное сопротивление грунта, Ом/м

Число проводов, введенных в кабельный ящик

до 5

6 - 10

11 - 20

21 - 40

Сопротивление заземления, не более, Ом

До 50 (чернозем, торф)

12

9

7

6

50 - 100 (глина, суглинок)

14

10

8

7

100 - 300 (супесок)

17

13

10

9

300 - 500 (песок)

24

18

14

12

500 - 1000 (каменистый грунт)

30

22

17

15

Таблица 8.11

Нормы сопротивления для молниеотводов в зависимости от удельного сопротивления грунта

Удельное сопротивление грунта, Ом/м

До 100 (чернозем, торф, глина суглинок)

100 - 300 (супесок)

300 - 500 (песок)

500 - 1000 (каменистый грунт)

Сопротивление заземления для молниеотводов, не более, Ом

80

100

1500

200

РАСКАТКА ПРОВОЛОКИ И СОЕДИНЕНИЕ ПРОВОДОВ

8.63. Проволоку рекомендуется раскатывать по земле с двойного тамбура, установленного на автомобиль. При этом одновременно раскатываются два провода, предварительно закрепленные за опору, от которой начинается раскатка (рис. 8.28).

Рис. 8.28. Раскатка проволоки с двухтамбурной установки

При раскатке проволоки следует следить, чтобы автомобиль передвигался равномерно. Необходимо исключить закручивания, спутывание проволоки и появление на ней барашков. При необходимости рабочий, находящийся у тамбура, должен притормаживать его имеющимся тормозом. Если при размотке проволоки образуется «барашек» (затянувшаяся петля), он должен быть вырезан. Вырезаются также и места проволоки, на которых имеются дефекты: надломы, трещины, расплющенности и т.п. Если невозможно вести раскатку проволоки с автомобиля, ее следует производить с переносного облегченного тамбура (рис. 8.29).

Рис. 8.29. Раскатка проволоки вручную с переносного облегченного тамбура

8.64. Стальная проволока после раскатки должна быть вытянута. При этом один конец проволоки зажимают в блочную лапку, которую при помощи петли или хомута закрепляют у основания начальной опоры вытягиваемого участка (6 - 8 пролетов) (рис. 8.30 а).

На другом конце вытягиваемого участка проволоку зажимают в блочную лапку, присоединенную к опоре через динамометр и блоки (рис. 8.30 б).

Величины усилий при вытягивании проволоки необходимо контролировать динамометром, они должны соответствовать величинам, приведенным в табл. 8.12.

Вытягивать медную или биметаллическую проволоку не допускается, неровные места и изгибы должны быть выровнены деревянным молотком на деревянной доске.

Таблица 8.12

Диаметр провода, мм

Допустимое усилие в проволоке, кг

5,0

350

4,0

230

3,0

130

2,0 - 2,3

90

Один конец проволоки зажать в блочную лапку, которую при помощи петли или хомута закрепить у основания опоры

На другом конце вытягиваемого участка проволоку зажать в блочную лапку, присоединенную к блокам через динамометр

Рис. 8.30. Закрепление проволоки при вытягивании:

а - у основания начальной опоры; б - у конечной опоры

8.65. Сталеалюминиевую проволоку АС перед подвеской необходимо вытягивать с помощью деревянного зажима (рис. 8.31).

Величина силы тяжения, контролируемая динамометром, должна быть равна для АС-10-981 Н (100 кгс), для АС-16-1471,5 Н (150 кгс) и для АС-25-2943 Н (300 кгс).

8.66. Концы стальных проводов, как правило, соединяются при помощи термитно-муфельных патронов и специальных сварочных клещей (рис. 8.32). При этом необходимо:

а) торцы свариваемых проводов подравнять напильником под прямым углом;

б) рычаг клещей отвести до отказа, затем концы свариваемых проводов зажать в клещи с таким расчетом, чтобы стык проводов находился примерно в середине между зажимами;

Рис. 8.31. Деревянный зажим для вытягивания проволоки

Рис. 8.32. Сварка стальных проводов

Рис. 8.33. Термитно-муфельный патрон

Рис. 8.34. Образцы термитно-муфельной сварки проводов:

а - правильно; б и в - неправильно

Масса муфельного патрона

Диаметр свариваемого провода, мм

Размеры муфельного патрона., мм

Масса патрона, г

D

Н

d

3

12,5

17

3,2

3,5

4

17,5

20

4,2

9

5

21,5

23,5

5,2

18

в) на один из концов провода надеть термитно-муфельный патрон (рис. 8.33); клещи свести до отказа, патрон надвинуть так, чтобы середина его приблизительно совпадала с плоскостью стыка проводов; если патрон идет по проводу туго, нужно его сдвинуть, удалить со стыка обычно образующуюся в этом случае термитную пыль, а затем установить патрон обратно;

г) надев предохранительные очки, сварщик должен поджечь термитной спичкой патрон;

д) после того, как патрон сгорит, клещи постепенно свести до отказа;

е) когда сгоревший патрон остынет до потемнения, его следует сбить с провода в специальное корытце, клещи снять с провода.

Для сварки коррозированных проводов рекомендуется применять буру.

Кривые сварки должны переделываться. Такая сварка обычно происходит из-за неправильной установки проводов в клещах или из-за преждевременного сжатия клещей (рис. 8.34).

Сваренный провод по 10 см в одну и другую стороны от места сварки необходимо покрыть суриком или битумом.

8.67. Провода диаметром 1,5 - 2,0 мм следует соединять скруткой так, как показано на рис. 8.35. Сначала провода нужно скрутить между собой, а затем каждый из концов проводов плотно намотать на провода. Далее правый конец провода отогнуть влево, сделать в разгонку два оборота в середине скрутки и восемь витков вокруг левого провода. Такую же операцию, но в противоположном направлении, проделать и с левым концом провода.

Рис. 8.35. Соединение проводов скруткой

8.68. Медные и биметаллические сталемедные провода следует соединять при помощи медных трубок. При этом концы проводов зачищают мелкой наждачной бумагой на длине 160 мм и вводят в трубки так, чтобы они выступали на 5 мм из нее с обоих концов. Затем концы трубки зажимают в струбцинах клуппа (рис. 8.36) и ключом, устанавливаемым посередине трубки, делают полтора оборота.

Рис. 8.36. Соединение проводов при помощи медных трубок

8.69. Стальной провод с биметаллическим должен соединяться термитной сваркой.

8.70. Концы сталеалюминевых проводов марки АС следует соединять при помощи алюминиевых трубок длиной 250 мм. Для соединения концы проводов нужно зачистить мелкой наждачной бумагой на длину 300 мм и ввести трубку так, чтобы они выступали из нее на 50 мм с обоих концов. Затем концы трубки зажать щипцами и закрутить ее, делая три полных оборота по часовой стрелке одними из щипцов, вторые щипцы должны оставаться при этом неподвижными.

8.71. При соединении медных и биметаллических сталемедных проводов с проводами АС медный или биметаллический провод необходимо залудить равномерным слоем ПОС-30, а затем соединить с проводом АС с помощью алюминиевой трубки (соединителя). В виде исключения допускается соединение стальных проводов наложением на сросток плотного бандажа из оцинкованной перевязочной проволоки и пропайкой сростка припоем ПОССу-30-2 (рис. 8.37).

Рис. 8.37. Соединение стальных проводов наложением на сросток бандажа из оцинкованной перевязочной проволоки

В качестве флюса служит паяльная кислота или паяльная паста. Перед наложением бандажа линейные провода должны быть тщательно зачищены личным напильником или наждачной бумагой (до металлического блеска).

ПОДВЕСКА И РЕГУЛИРОВАНИЕ ПРОВОДОВ

8.72. После размотки и вытяжки проводов их поднимают с земли на опоры с помощью шестов с вилками или при помощи веревок с крючками. При этом каждый провод укладывается в желоба изоляторов на промежуточных опорах и на шейки изоляторов на угловых опорах. Одновременно с этим проверяется прочность и правильность насадки изоляторов. Запрещается класть провода (особенно из цветных металлов) на крюки и стальные траверсы.

8.73. Регулирование проводов должно производиться на протяжении шести - восьми пролетов или на расстоянии между двумя местами скрещивания. Натягивание и регулирование проводов производится при помощи блоков, закрепленных на одной из опор. При этом провода зажимаются лапками для натяжения проводов.

Для повышения производительности труда рекомендуется производить натягивание и регулирование одновременно двух или четырех проводов при помощи комбинированных блоков (рис. 8.38).

Рис. 8.38. Крепление комбинированных блоков при одновременном регулировании двух проводов

8.74. Стрелы провеса проводов зависят от длины пролета, температуры окружающего воздуха, диаметра провода. Они определяются по табл. 8.13 - 8.15.

Регулирование проводов следует производить по величине натяжения проводов с помощью динамометра, подсоединяемого между блоками и лапками, или при помощи реек (рис. 8.39).

Таблица 8.13

Стрелы провеса медных, биметаллических и стальных проводов диаметром 2,5 - 5,0 мм

Температура, °С, для зоны

Стрела провеса, см, при длине пролета, м

I

II

III

35,7

40

50

62,5

83,3

-55

-40

-25

8

10

15,5

24

42

-50

-35

-20

8,5

10,5

16,5

25,5

45

-45

-30

-15

9

11,5

18

27,5

48

-40

-25

-10

10

12,5

19,5

30

52

-35

-20

-5

11

14

21,5

33

56

-30

-15

0

12,5

15,5

23,5

35

59

-25

-10

+5

14

17

25,5

38

63

-20

-5

+10

15,5

19

28

41

68

-15

0

+15

17,5

21

31

45

73

-10

+5

+20

19,5

23,5

34

49

78

-5

+10

+25

22

26,5

37

53

82

0

+15

+30

24,5

29,5

41

56

87

+5

+20

+35

27,5

32

44

60

92

+10

+25

+40

30

35

48

65

97

+15

+30

+45

33

38

51

69

102

+20

+35

+50

36

41

54

73

106

+25

+40

+55

38

44

57

77

110

+30

+45

+60

41

47

60

81

114

Примечание. Значения стрел провеса до 30 см могут иметь допуск до 0,5 см, а свыше 30 см - до 1 см.

Таблица 8.14

Стрелы провеса стальных и биметаллических проводов диаметром 1,2 - 2,0 мм

Температура, °С, для зоны

Стрела провеса, см, при длине пролета, м

I

II

III

40

50

62,5

83,3

1

2

3

4

5

6

7

-55

-40

-25

8

14

21

41

-45

-30

-15

9

15

23

43

-40

-25

-10

10

16

25

45

-35

-20

-5

11

17

27

47

-30

-15

0

11

18

28

50

-25

-10

+5

12

19

30

53

-20

-5

+10

13

20

32

56

-15

0

+15

14

22

35

60

-10

+5

+20

15

24

37

64

-5

+10

+25

17

26

39

68

0

+15

+30

18

28

43

73

+5

+20

+35

20

31

47

78

+10

+25

+40

23

34

51

84

+15

+30

+45

25

37

55

89

+25

+40

+55

30

43

63

100

+30

+45

+60

35

49

70

112

Таблица 8.15

Тяжение биметаллических и стальных проводов

Температура, °С

Тяжение, кгс, для проводов диаметром, мм

Длина пролета 40 м

Длина пролета 50 м

1,2

1,5

2,0

3,0

1,2

1,5

2,0

3,0

-30

19,6

30,6

54,3

96,1

18,5

28,8

51,2

95,4

-25

17,6

27,5

49,0

86,3

17,2

26,8

47,7

88,3

-20

16,1

25,1

44,6

78,4

16,2

25,3

44,9

79,8

-15

16,1

25,1

44,6

71,4

15,3

23,8

42,4

73,5

-10

14,7

23,0

40,8

64,9

14,5

22,6

40,2

67,5

-5

13,6

21,2

37,7

58,0

13,8

21,5

38,3

61,5

0

12,5

19,6

34,9

52,5

12,5

19,6

34,9

55,5

+5

11,8

18,4

32,7

46,9

11,8

18,0

32,0

50,7

+10

10,4

16,2

28,8

41,6

10,6

16,6

29,5

46,6

+15

9,8

15,3

27,2

37,4

9,8

15,4

27,3

42,0

+20

8,8

13,8

24,5

34,5

8,9

13,9

24,7

39,1

+25

7,7

12,0

21,3

31,5

8,1

12,7

22,5

35,9

+30

7,1

11,0

19,6

29,0

7,4

11,6

20,7

33,8

Продолжение табл. 8.15

Температура, °С

Длина пролета 62,5 м

Длина пролета 83,5 м

1,2

1,5

2,0

3,0

1,2

1,5

2,0

3,0

-30

18,8

29,3

52,1

98,2

17,7

27,3

49,3

99,6

-25

17,2

26,8

47,7

89,7

17,0

26,5

47,1

91,8

-20

15,9

24,9

44,3

81,2

16,3

25,4

45,2

85,5

-15

15,4

24,0

42,7

77,0

15,3

23,8

42,4

81,2

-10

14,4

22,4

39,9

70,7

14,5

22,6

40,2

75,6

-5

13,5

21,0

37,4

65,6

13,7

21,4

38,0

70,6

0

12,3

19,2

34,2

59,8

12,8

20,0

35,5

65,5

+5

11,6

18,2

32,3

54,9

12,0

18,7

33,3

61,3

+10

11,0

17,3

30,7

50,8

11,2

17,6

31,2

58,3

+15

10,2

15,6

27,8

48,0

10,5

16,4

29,1

55,0

+20

9,2

14,3

25,4

44,9

9,8

15,3

27,2

51,9

+25

8,4

13,2

23,5

41,4

9,1

14,2

25,3

49,2

+30

7,8

12,2

21,8

39,7

8,6

13,4

23,9

46,8

8.75. Регулирование стрелы провеса провода с помощью реек производится в следующей последовательности:

а) на опорах с двух сторон регулируемого участка у изоляторов на провод подвешиваются две рейки;

б) визиры обеих реек ставятся на величину, соответствующую стреле провеса для данного пролета (по таблицам 8.13, 8.14), с учетом температуры окружающего воздуха. При этом визиры обеих реек на проводе должны быть направлены в разные стороны;

в) рабочий, находящийся на одной из опор, смотрит через отверстие в визире (или поверх поперечины) одной рейки на отверстие (поперечину) другой рейки; провод натягивают или ослабляют блоками до тех пор, пока нижняя точка провеса провода не окажется на линии, проходящей через отверстия в визирах рейки (рис. 8.39);

г) после получения необходимой стрелы провеса провод закрепляют на изоляторах перевязочной проволокой на протяжении всего регулируемого участка.

8.76. При регулировании нескольких цепей достаточно отрегулировать только один верхний провод, а все остальные провода регулируют, наблюдая за их параллельностью.

Рис. 8.39. Определение стрелы провеса провода:

1 - рейка для измерения стрелы провеса; 2 - стрела провеса провода; 3 - воображаемые прямые линии

При подвеске проводов на вновь строящейся линии опоры могут быть выведены из вертикального положения силой тяги проводов. Чтобы этого не случилось, необходимо последнюю опору, на которой закрепляются провода, до снятия блоков укрепить временной оттяжкой. Эта оттяжка заделывается одним концом за вершину укрепляемой опоры и другим - за основание последующей опоры. Снимается оттяжка после натягивания проводов в следующих пролетах.

8.77. При работе с биметаллическими проводами лапки блоков должны быть с параллельными губками и медными вкладышами.

ВЯЗКА ПРОВОДОВ НА ИЗОЛЯТОРАХ

8.78. Отрегулированные провода закрепляют на изоляторах промежуточной, угловой или оконечной опорах вязками, которые не должны допускать перемещения провода из одного пролета в другой.

Вязка производится перевязочной проволокой, длина которой указана в табл. 8.16.

8.79. На прямых участках линии вязку выполняют двумя кусками перевязочной проволоки в следующем порядке (рис. 8.40):

Рис. 8.40. Вязка проводов на изоляторах промежуточных опор

Рис. 8.41. Крепление провода к изолятору на угловой опоре

а) куском перевязочной проволоки охватывают шейку изолятора так, чтобы один из концов проволоки был длиннее другого на величину, равную диаметру головки изолятора;

б) оба конца перевязочной проволоки скручивают таким образом, чтобы они вплотную подходили к желобку в головке изолятора;

в) вторым куском перевязочной проволоки охватывают шейку изолятора с другой стороны и также скручивают концы проволоки до желобка в головке изолятора;

г) длинные концы обоих кусков перевязочной проволоки перекидывают соответственно на другую сторону изолятора через провод, находящийся в желобке, и отгибают вниз; затем их вместе с короткими концами при помощи специальных плоскогубцев (имеющих в губках углубления) плотно навивают на линейный провод. При отсутствии таких плоскогубцев биметаллические или медные провода вяжут плоскогубцами с медными вкладышами без насечек.

Таблица 8.16

Диаметр линейной проволоки, мм

Тип изолятора

Диаметр перевязочной проволоки, мм

Длина перевязочной проволоки, см

на прямых участках

на угловых опорах

5 и 4

ТФ-20

2,5

51

56

4

ТФ-20

2,5

50

55

4

ТФ-16

2,5

46

51

3

ТФ-12

2,0

45

50

3

ТФ-12

2,0

40

45

2,5

ТФ-12

1,2

35

40

2,0

ТФ-12

1,2

34

39

1,5

ТФ-12

1,0

30

35

8.80. На угловых опорах провода закрепляются одним отрезком проволоки. При этом отрезок перевязочной проволоки, длина которого определена по табл. 8.16, прикладывают крестообразно к линейному проводу. Концы перевязочной проволоки обвивают вокруг шейки изоляторов, а затем при помощи плоскогубцев плотно обвивают вокруг линейного провода (рис. 8.41).

Крепление проводов на оконечных опорах производится так, как показано на рис. 8.42.

Рис. 8.42. Крепление стального провода на оконечной опоре

8.81. Провода цветных металлов на оконечной опоре закрепляют с помощью медной трубки так, как показано на рис. 8.43.

Рис. 8.43. Оконечная заделка провода из цветного металла

Рис. 8.44. Оконечная заделка провода малого диаметра скруткой

При отсутствии трубок оконечную заделку делают так, как показано на рис. 8.44.

8.82. Сталеалюминевые провода крепят на изоляторах алюминиевой мягкой проволокой диаметром 3 мм или стальной оцинкованной перевязочной проволокой диаметром 2,5 мм. В месте вязки на провод по направлению повива алюминиевых проводников плотно наматывают алюминиевую ленту.

При вязке биметаллических сталемедных проводов биметаллической перевязочной проволокой под последнюю подкладывают медную ленту (фольгу) размером 300´10´0,1 мм. Если применяется медная перевязочная проволока, медную ленту не подкладывают.

8.83. При креплении (вязке) проводов на изоляторах рекомендуется пользоваться клетневкой.

МОНТАЖ ПРОВОДОВ ПРИ СКРЕЩИВАНИИ

8.84. Скрещивание проводов производится с целью уменьшения влияния между цепями. Схемы скрещивания должны быть в составе проектной документации.

8.85. Монтаж проводов при скрещивании производится при траверсном профиле линии на накладках (точечное скрещивание) (рис. 8.45) или на подвесных крюках (в пролетах), а при крюковом профиле линии - на Г-образных кронштейнах (рис. 8.46).

8.45. Устройство скрещивания проводов на накладках

8.46. Устройство скрещивания на Г-образных кронштейнах

ПОДВЕСКА КАБЕЛЕЙ НА ВОЗДУШНЫХ СТОЛБОВЫХ ЛИНИЯХ СВЯЗИ

8.86. Подвеска кабелей на воздушных столбовых линиях связи определяется проектным решением. Она применяется на распределительных участках ГТС при телефонизации районов индивидуальной застройки, на абонентских и межстанционных линиях СТС, в горной местности, где подземная прокладка кабеля затруднена, в местах с густой сетью арыков, на переходе кабельных линий через глубокие овраги и реки, имеющие обрывистые склоны и в других обоснованных проектом условиях.

8.87. Подвеска, как правило, производится на опорах существующих воздушных линий связи.

Для подвески применяются специальные кабели, содержащие в своей конструкции несущий стальной канат (ТППт), а также ТПП (ТПВ), ТГ и КСПП, подвешиваемые на стальном канате.

На опорах ВЛС местных сетей допускается подвеска кабелей емкостью до 100 пар.

8.88. Кабель без встроенного каната подвешивают на стальном оцинкованном канате с помощью подвесов из листовой оцинкованной стали (рис. 8.47). Размеры подвесов и поясков приведены в табл. 8.17.

Таблица 8.17

Размеры подвесов и поясков

Размеры подвесов, мм

Размеры поясков, мм

D

d

С

I

L

h

11

9

40

17

45

13

16

9

40

17

45

13

20

12

45

25

60

15

24

12

55

30

72

18

34

14

65

30

72

18

Стальной канат крепят ниже проводов, на расстоянии 350 мм от нижней траверсы или крюка, с помощью чугунных клемм или стальных столбовых консолей (рис. 8.48 и 8.49), которые предварительно закрепляют на промежуточных опорах шурупами с шестигранной головкой размерами 12´100 мм.

Рис. 8.47. Подвесы из листовой оцинкованной стали

Рис 8.48. Способ крепления подвесного кабеля и каната на промежуточной опоре

Рис. 8.49. Штампованная стальная столбовая консоль

На угловых опорах, если кабель подвешен со стороны внешнего угла, устанавливают две консоли (клеммы) (рис. 8.50). При подвеске кабеля со стороны внутреннего угла консоли крепят к опоре сквозными болтами.

Рис. 8.50. Крепление стального каната с кабелем на угловой опоре двумя столбовыми консолями со стороны внешнего угла поворота линии:

1 - кабель; 2 - подвес; 3 - стальной канат; 4 - столбовая консоль; 5 - опора

При значительном угле поворота линии (близким к 90 градусам) следует крепить стальной канат двумя оконечными вязками.

На оконечных опорах стальной канат закрепляют специальной клеммой, проволокой или струбциной (винтовой стяжкой) (рис 8.51).

Рис. 8.51. Оконечная заделка стального каната:

а - при помощи клеммы; б - вязочной проволокой и жилами стального каната; в - при помощи струбцины:

1 - опора; 2 - шуруп с шестигранной головкой; 3 - клемма; 4 - заделка вязочной проволокой; 5 - заделка отдельными жилами стального каната; 6 - хомут; 7 - струбцина

Устройство сростков стального каната в пролете не допускается.

8.89. Подвеску стального каната и кабеля производят в следующем порядке:

а) устанавливают консоли и другие крепежные детали на опорах;

б) заготавливают стальной канат, диаметр которого выбирают в зависимости от массы подвешиваемого кабеля и типа линии, по табл. 8.18;

в) стальной канат с козел-домкратов, установленных на земле или на автомобиле, разматывают вдоль столбовой линии;

г) стальной канат закрепляют оконечной заделкой на первой (в начале линии) опоре и навешивают его на консоли промежуточных;

д) на оконечной опоре участка подвески канат закрепляют в лапки и натягивают с помощью блоков. При этом задается стрела провеса, выбранная по таблице. Стрелу провеса устанавливают с помощью двух реек так, как это указано в п. 8.75 (рис. 8.39).

По окончании регулировки стальной канат на оконечной опоре регулируемого участка крепят концевой заделкой, а на промежуточных опорах - в столбовых консолях;

е) кабель с козел-домкратов или с кабельного транспортера разматывают и укладывают на грунт вдоль линии в 1,0 - 1,5 м от опор;

ж) производят подвеску кабеля к стальному канату с телескопической вышки или автомашины, оборудованной раздвижной вышкой или с лестниц. Подвесы устанавливают через каждые 350 мм так, чтобы они плотно обжимали кабель и свободно висели на канате. Расстояние от опоры до подвеса должно быть не более 170 мм. Все подвесы закрепляют металлическими поясками;

з) при отсутствии возможности крепить кабель к канату на высоте, его опускают участками по 6 - 10 пролетов с таким расчетом, чтобы он оставался на высоте 1,0 - 1,5 м от земли, и крепят к нему кабель. На угловых и оконечных опорах кабель крепят с лестницы или поднявшись на опору с помощью монтерских когтей и пояса. Кабель можно поднимать к тросу двойным роликом так, как это показано на рис. 8.52. В этом случае двойной ролик должен передвигаться по канату рабочим с помощью веревки, закрепленной на корпусе арматуры ролика;

и) муфты располагают около опор, выдерживая следующие расстояния от опоры: прямые муфты на расстоянии 450 - 500 мм, разветвительные - до 700 мм от оси опоры (рис. 8.53).

к) на промежуточных опорах кабель должен быть изогнут дугой под консолью на угловых, оконечных и вводных опорах должен быть оставлен запас кабеля в виде полукольца с радиусом равным 12 - 15 диаметров кабеля;

Рис. 8.52 а. Подвеска кабеля с помощью двойного ролика

Рис. 8.52 б. Двойной ролик для подвески кабеля:

1 - стальной канат; 2 - кабель

Рис. 8.53. Выкладка и расположение муфт на подвесных кабелях:

а - при монтаже разветвительной муфты; б - при монтаже соединительной муфты; в - при монтаже муфты на кабеле со встроенным тросом (канатом);

1 - столбовая опора; 2 - столбовая консоль; 3 - отдельный подвесной канат; 4 - основной подвесной кабель; 5 - ответвляющиеся кабели; 6 - дужки запаса; 7 - подвесы из оцинкованной стали; 8 - муфта разветвительная; 9 - муфта соединительная; 10 - кабель со встроенным тросом; 11 - трос (в полиэтиленовом шланге), отделенный от кабеля; 12 - сросток троса; 13 - стяжки из каната или стальной оцинкованной проволоки; 14 - полиэтиленовые прокладки

Кабели со встроенным канатом подвешивают в указанной выше последовательности, с той разницей, что при этом исключаются работы по раскатке и подвеске стального каната.

Встроенный канат закрепляют в специальной столбовой консоли так, как это показано на рис. 8.54.

Рис. 8.54. Стальная столбовая консоль для подвески кабеля со встроенным стальным канатом:

а - на промежуточной опоре; б - на угловой опоре; в - разрез:

1 - кабель со встроенным стальным канатом; 2 - стальная консоль; 3 - опора; 4 - проволочный хомут; 5 - крепежный болт

8.90. Стальной канат, на котором подвешен кабель, должен быть заземлен в начале и в конце линии, а также через каждые 250 м.

Таблица 8.18

Типы стальных канатов для подвески кабелей местных сетей на столбовых опорах и нормируемые стрелы провеса

Масса 1 км подвешиваемого кабеля, кг

Тип линии

Тип стального каната

Заданная стрела провеса каната, см, в пролете длиной 40 м при температуре, °С

-20

-10

0

+10

+20

+30

До подвески кабеля

400

О, НиУ

1´7-4,2-140-1

62

67

72

77

80

84

450

О, НиУ

1´7-4,2-140-1

60

64

70

74

78

82

600

О, НиУ

1´7-4,2-140-1

55

60

65

70

74

78

750

О и Н

1´7-4,2-140-1

48

53

59

64

69

74

750

У

1´7-6,0-140-1

65

70

74

78

82

86

1050

О, НиУ

1´7-6,0-140-1

63

68

72

76

80

84

1100

О и Н

1´7-6,0-140-1

69

64

69

73

77

81

1100

У

1´7-6,0-140-1

59

64

69

73

77

81

1450

О и Н

1´7-6,0-140-1

45

51

57

62

67

72

1450

У

1´7-6,0-140-1

58

63

67

72

76

80

1700

О, НиУ

1´7-6,0-140-1

53

58

63

68

73

77

После подвески кабеля

400 - 1700

О, НиУ

Все указанные

83

86

89

92

95

98

Продолжение табл. 8.18

Масса 1 км подвешиваемого кабеля, кг

Тип линии

Тип стального каната

Заданная стрела провеса каната, см, в пролете длиной 50 м при температуре, °С

-20

-10

0

+10

+20

+30

До подвески кабеля

400

О, НиУ

1´7-4,2-140-1

76

82

88

94

99

103

450

О, НиУ

1´7-4,2-140-1

67

71

80

86

92

97

600

О, НиУ

1´7-4,2-140-1

58

65

71

78

84

90

750

О и Н

1´7-4,2-140-1

64

71

77

93

89

95

750

У

1´7-6,0-140-1

76

82

88

91

94

103

1050

О, НиУ

1´7-6,0-140-1

70

76

82

88

92

99

1100

О и Н

1´7-6,0-140-1

65

72

78

84

90

96

1100

У

1´7-6,0-140-1

78

84

90

95

100

105

1450

О и Н

1´7-6,0-140-1

43

51

58

65

77

87

1450

У

1´7-6,0-140-1

59

66

73

79

85

91

1700

О, НиУ

1´7-6,0-140-1

52

59

66

73

79

85

После подвески кабеля

400 - 1700

О, НиУ

Все указанные

104

108

111

114

117

120

Примечания:

1. В негололедных районах кабель массой до 1100 кг/км, а в слабогололедных районах массой до 750 кг/км допускается подвешивать на оцинкованной стальной проволоке диаметром 5 мм (за исключением пролетов на переходах).

2. Стрела провеса кабелей ТППт (с встроенным тросом) регулируется по нормам последней строки таблицы.

РАЗДЕЛ 9

СТРОИТЕЛЬСТВО СТОЕЧНЫХ ЛИНИЙ

УСТРОЙСТВО СТОЕЧНЫХ ЛИНИЙ

9.1. Стоечные линии состоят из установленных на крышах зданий металлических опор-стоек, на которые подвешены провода или распределительные кабели.

9.2. Опоры-стойки изготовляют четырех типов СПТ-1, СПТ-2, СПТ-6 и СПТ-10 для подвески соответственно одной, двух, шести и десяти пар проводов (рис. 9.1).

Рис. 9.1. Стоечные опоры

Основным материалом для изготовления стоек служат трубы стальные диаметром 48 и 27 мм.

9.3. По месту установки стойки подразделяются на промежуточные, оконечные и кабельные.

Для перехода с чердака на крышу или обратно применяют выводные трубы, укрепляемые самостоятельно или к стойкам с помощью двойного хомута (рис. 9.2).

На трассах с подвеской только кабелей в качестве промежуточных и оконечных опор применяют, как правило, выводные трубы.

В качестве кабельных опор, устанавливаемых в месте соединения проводов с жилами кабеля (через кабельный ящик), следует применять стойки СПТ-10 или СПТ-6.

Рис. 9.2. Установка выводной трубы:

а - у стойки; б- самостоятельно; в - хомут

Как промежуточные опоры для подвески одной пары проводов (при отсутствии перспективы подвески второй пары проводов) могут применяться штыри из круглой стали диаметром 12 мм и длиной 700 мм, установленные на крыше и для устойчивости связанные между собой стальной оцинкованной проволокой диаметром 2 мм и укрепленные оттяжками (рис. 9.3).

Рис. 9.3. Установка пары штырей

9.4. В комплект арматуры стоек входят следующие детали: колпачок, опорное кольцо, копыто, подкопытник, ступеньки струбцины, болты с гайками и шайбами, чугунные хомуты и болты для их крепления, стальные хомуты. На стоечных линиях следует применять стальные и биметаллические (сталемедные) провода диаметром 1,2 - 2,0 мм. При пересечении проводов проводного вещания или высокого напряжения необходимо подвешивать изолированные провода.

Для подвески и закрепления проводов применяют изоляторы Тф-12. Порядок оснастки штырей изоляторами приведен в разделе 8.

Количество изоляторов, которыми оснащаются траверсы стоек, определяется числом фактически подвешиваемых проводов.

УСТАНОВКА И УКРЕПЛЕНИЕ СТОЕЧНЫХ ОПОР

9.5. При разбивке трассы и выборе мест установки стоек необходимо уточнить проектные решения с соблюдением следующих требований:

а) трасса стоечной линии должна быть, по возможности, прямолинейной и иметь минимальное количество пересечений с другими линиями, особенно с линиями электропередачи;

б) длина пролета стоечной линии, как правило, не должна превышать 80 м. При невозможности выполнения этого, в виде исключения допускается увеличение пролета до 100 м;

в) опоры стоечной линии следует размещать на зданиях примерно одинаковой высоты для уменьшения резких перегибов подвешиваемых проводов или кабелей в вертикальной плоскости;

г) опоры следует устанавливать как можно ближе к гребню крыши для обеспечения возможно большего расстояния от подвешиваемых проводов или кабелей до поверхности крыши и вершин деревьев;

д) трасса подвески проводов должна быть выбрана с таким расчетом, чтобы расстояние между ними и выступающими устройствами крыши (трубы, слуховые окна, антенны, надстройки и др.) было не менее 0,8 м, а расстояние от проводов (кабеля) до телевизионных антенн - не менее 3 м;

е) не должно быть препятствий для установки стойки и ее оттяжек;

ж) стоечные опоры должны быть установлены строго вертикально. Заделка оттяжек должна допускать возможность регулирования их натяжения (в пределах 50-процентной винтовой нарезки струбцины);

з) стоечные опоры должны быть установлены так, чтобы их траверсы располагались перпендикулярно основному направлению линии, а при разветвлении - направлению равнодействующей силы тяжения отходящих линий;

и) на зданиях с железобетонными кровлями или с железобетонными стропилами в целях уменьшения вибрации проводов стойки устанавливают над лестничными клетками или над шахтами лифтов.

9.6. Установка стойки на наклонной крыше с деревянными стропилами должна производиться в следующей последовательности рабочих операций, при выполнении которых необходимо:

а) с крыши здания простукиванием и осмотром с чердака определить место прохода стойки через крышу и место ее закрепления хомутом на стропиле. В подрешетнике и железной кровле пробойником пробить сквозное отверстие - метку центра отверстия для стойки;

б) с крыши здания при помощи зубила и молотка вырубить в железной кровле отверстие для основания стойки: диаметром 29 мм - для стоек СПТ-1 и СПТ-2 и диаметром 51 мм - для стоек СПТ-6 и СПТ-10. Отверстия для болтов с проушинами крепления оттяжек стойки пробивают в кровле при помощи пробойника и молотка;

в) через вырубленное в железной кровле отверстие с помощью коловорота просверлить сквозное отверстие в подрешетнике для прохода стойки через крыши (по центру метки);

г) на основание стойки надеть стальное копыто вплотную к упорному кольцу; под основанием копыта на стойку намотать четыре - пять витков каболки (или надеть войлочную шайбу), промазать основание копыта суриком (замазкой), установить стойку в отверстие крыши и удерживать ее в вертикальном положении;

д) на чердаке закрепить стойку на стропильной балке, для чего:

наложить хомут на вертикально установленную стойку и разметить отверстия для болтов крепления хомута к стропильной балке;

наклонить стойку и ручным буравом просверлить отверстия в стропильной балке для болтов крепления хомута;

установить стойку вертикально и закрепить ее на стропильной балке при помощи хомута (хомутов) и болтов с гайками.

При этом стойки типа СПТ-6 следует крепить к стропильной балке одним чугунным хомутом, типа СПТ-10 и выводные трубы - двумя хомутами, а стойки СПТ-1 и СПТ-2 крепят сквозным болтом диаметром 10 мм (рис. 9.4).

Рис. 9.4. Крепление стоек:

а - СПТ-10 двумя хомутами, б - СПТ-6 одним хомутом, в - СПТ-1 и СПТ-2 болтом;

1 - труба стойки, 2 - хомут, 3 - строительная балка, 4 - чугунное копыто, 5 - упорное кольцо, 6 - войлочная прокладка, 7 - болты с обваркой, 8 - болт без обварки

Допускается крепить стойку и выводные трубы хомутами из круглой стали диаметром 12 мм (рис. 9.5). При установке стоек не разрешается выпиливать или подрубать стропильные балки.

Рис. 9.5. Крепление стойки стальным хомутом к стропильной балке:

1 - труба стойки; 2 - стальной хомут из круглой стали диаметром 12 мм с шайбами и гайками; 3 - стропильная балка; 4 - чугунное корыто; 5 - упорное кольцо; 6 - войлочная прокладка

е) изготовить оттяжки, при этом оттяжки должны изготовляться для стоек типа СПТ-1, СПТ-2 и пары штырей из двух свитых вместе стальных оцинкованных проволок диаметром 2 мм, а для стоек типов СПТ-6 и СПТ-10 и для выводных труб следует применять стальную оцинкованную проволоку диаметром 5 мм.

ж) закрепить стойку на крыше здания оттяжками, для чего:

разметить отверстия для болтов с проушинами, чтобы они проходили через железную кровлю, подрешетник и, по возможности, через стропила, а также, чтобы оттяжки были под углом 90 градусов друг к другу и под углом 45 градусов - по отношению к направлению траверсы и к основанию стойки;

при помощи пробойника пробить отверстия в железной кровле, ручным буравом просверлить отверстия в подрешетнике (стропиле) и закрепить в них болты с проушинами для оттяжек;

через отверстия в траверсе прикрепить к ней концы оттяжек закруткой концов проволоки;

за проушины болтов зацепить крюки струбцин, к струбцинам прикрепить закруткой концы оттяжек;

при помощи струбцин натянуть оттяжки и выполнить регулировку стойки по отвесу;

места прилегания стального копыта и основания стойки к крыше, а также места установки болтов с проушинами для крепления оттяжек промазать суриком;

наружную поверхность фарфоровой втулки и внутреннюю поверхность верхнего конца стойки обмазать суриком, установить ее в верхнее отверстие стойки и плотно прижать к ее торцу.

Заделка оттяжек должна допускать возможность последующей регулировки их натяжения в пределах до половины винтовой резьбы струбцины.

Стойки типов СПТ-1, СПТ-2 и СПТ-6 и пары штырей нужно укреплять четырьмя оттяжками, а стойки типа СПТ-10 - восемью оттяжками, располагаемыми в два яруса по вертикали.

При укреплении установленных штырей оттяжками, верхний конец каждой оттяжки крепится за выемку в верхней части штыря, а нижний - за гребень шва металлической кровли через просверленное в нем отверстие (рис. 9.3).

9.7. При установке стоечных опор на неметаллической кровле (шиферной, черепичной, этернитовой) в месте установки опор вскрывают и удаляют на минимально возможной площадке элементы мягкой кровли, вместо которой укладывают листы оцинкованной кровельной стали с таким расчетом, чтобы верхняя часть листа заходила под элементы неметаллической кровли, а нижняя часть накрывала элементы кровли сверху, обеспечивая сток дождевой воды. В остальном установка стоечных опор на крышах с неметаллической кровлей производится также, как и на металлических крышах. Установка стойки на крыше с неметаллической кровлей показана на рис. 9.6.

Рис. 9.6. установка стоечных опор на неметаллических крышах

Установка стойки 10´2 и детали ее крепления показаны на рис. 9.7.

Рис. 9.7. Установка стойки 10´2 и детали ее крепления:

а - заделка оттяжки за траверсу стойки; б - заделка оттяжки за струбцину с болтом; в - копыто чугунное; г - хомут чугунный:

1 - болт с кольцом длиной 260 - 440 мм диаметром 10 - 12 мм; 2 - струбцина с колодкой; 3 - оттяжки; 4 - войлочная прокладка; 5 - копыто; 6 - упорное кольцо; 7 - колпачок; 8 - провод ЛТВ-В или ЛТР-В; 9 - хомуты; 10 - стропила; 11 - пучок кроссировочных проводов; 12 - кабельный ящик; 13 - кабель 10´2; 14 - провод заземления

УСТАНОВКА ТЕЛЕФОННЫХ СТОЕК НА ПЛОСКИХ СОВМЕЩЕННЫХ КРОВЛЯХ

9.8. Установка телефонных стоек на плоских совмещенных кровлях, часто применяющихся в современном жилищном строительстве, должна производиться в приведенной ниже последовательности выполнения следующих технологических операций:

а) разметка мест установки стойки и крепления оттяжек;

б) вскрытие кровельного ковра до плиты перекрытия в местах установки закладных частей для крепления стойки и оттяжек;

в) пробивка отверстий и борозд в каналах плит перекрытия и установка в них закладных деталей;

г) заполнение бетонной смесью отверстий и борозд вместе с установленными в них закладными деталями;

д) восстановление кровельного ковра;

е) установка стойки и крепление ее оттяжками.

9.9. При разметке мест установки стоек, крепления оттяжек и при вскрытии кровельного ковра необходимо выполнять следующие требования:

а) место установки стойки выбирать с таким расчетом, чтобы расстояние от трассы подвески проводов и кабеля до радиостоек было не менее 0,8 м, а от телевизионных антенн - не менее 3 м;

б) место установки оконечной стойки выбирать с учетом возможности установки на лестничной клетке или в коридоре кабельного ящика в непосредственной близости от стойки;

в) разметку мест крепления оттяжек следует производить так, чтобы угол наклона оттяжки к горизонту был не более 45 градусов, а угол, образуемый оттяжкой и стволом стойки, соответственно, не менее 45 градусов. Для этого через намеченную точку установки стойки необходимо провести две перпендикулярные линии. На каждой линии от центра отмерить расстояние: для стоек СПТ-1 - 345 мм, СПТ-2 - 520 мм, СПТ-6 и СПТ-10 - 870 мм и через эти точки провести параллельные прямые: две - по вертикали, две - по горизонтали. При этом образуется квадрат, вершины углов которого являются центрами мест установки анкеров для крепления оттяжек (рис. 9.8).

г) приняв за центры размеченные точки установки закладных деталей, в каждом месте на кровельном ковре мелом очертить площадь вскрытие ковра - квадрат размером 700´700 мм;

д) с помощью топора, лопаты, лома и торцевых кусачек вскрыть кровельный ковер, сохраняя, по возможности, слои мягких материалов (рубероида, стеклохолста и толя). Для этого надрезы мягких материалов нужно делать по диагонали квадрата. Слои мягких материалов отогнуть, как показано на рис. 9.9. Сыпучие материалы следует выбирать лопатой и укладывать на кровле для использования при восстановлении кровельного ковра.

Рис. 9.8. Расположение оттяжек стойки:

а - вид спереди; б - вид сверху

1 - вертикальная труба стойки; 2 - оттяжки; 3 - траверсы

Рис. 9.9. Вскрытый кровельный ковер

9.10. Для крепления стойки применяется опорная гильза (рис. 9.10), для крепления стяжек - анкер типа АКО-1 (рис. 9.11).

Рис. 9.10. Опорная гильза для установки телефонной стойки

Рис. 9.11. Анкер для крепления оттяжек типа АКО-1

9.11. Установку закладных деталей следует производить в следующем порядке:

а) легким постукиванием молотка по поверхности перекрытия, освобожденного от кровельного ковра, необходимо определить расположение пустотных каналов, ближайших к размеченной точке установки стойки и через ближайший пустотный канал пробить сквозное отверстие по диаметру опорной гильзы;

б) по обе стороны от пробитого отверстия в плите пробить борозды, совпадающие со смежными пустотными каналами перекрытия. Длина борозды 450 мм, ширина 55 мм;

в) на дно борозды уложить слой бетонной смеси М-200 толщиной 50-60 мм, в которой поместить («утопить») траверсы (уголки) с укрепленными на них болтами;

г) надев на болты опорную плиту с приваренной к ней гильзой, выровнять траверсы (уголки) так, чтобы сквозное отверстие, пробитое в плите, совпало с отверстием в гильзе (проверяется штырем длиной 1 м на совмещение отверстий) и гильза была строго вертикальна (по отвесу).

В случае необходимости произвести выравнивание гильзы по отвесу, регулируя положение опорной плиты с помощью металлических подкладок;

д) после выравнивания уголков и болтов плиту с опорной гильзой снять и борозды вместе с установленными в них закладными частями заполнить бетонной смесью.

Во избежание растекания бетонной смеси по длине канала рекомендуется по обоим концам уголков в канале устанавливать пробки из пакли или ветоши;

е) после заливки борозд бетонной смесью плиту с опорной гильзой надеть на болты и оставить до затвердевания бетонной смеси;

ж) после затвердевания бетонной смеси опорную плиту с помощью гаек прочно закрепить на болтах, еще раз проверяя вертикальность гильзы;

з) если проектом не предусматривается установка вместе со стойкой выводной трубы для кабеля, то следует изготовить опорную плиту с двумя приваренными гильзами (рис. 9.12). При этом в плите перекрытия нужно пробить два сквозных отверстия;

и) монтаж анкера для крепления оттяжки следует выполнять так же и в той же последовательности, что и монтаж опорной гильзы.

Рис. 9.12. Опорная плита с двумя приваренными гильзами для установки стойки вместе с выводной трубой

9.12. При восстановлении кровельного ковра следует обратить внимание на тщательное соблюдение технологии всех операций, чтобы обеспечить восстановление гидроизоляционных свойств кровли.

Кровельный ковер должен восстанавливаться послойно. При этом, по возможности, следует использовать материалы, сохранившиеся в процессе демонтажа ковра: сыпучие материалы утеплителей и мягкие материалы кровли.

Рубероид, стеклоткани и другие мягкие материалы должны настилаться на горячей битумной мастике, разогретой до температуры 160 - 180 градусов, за исключением одного слоя толя, который стелится насухо.

После восстановления толевого слоя на опорную гильзу стойки и анкера нужно надеть металлическую гильзу с приваренным фланцем (рис. 9.13).

Рис. 9.13. Гильзы с фланцем

Зазор между гильзами необходимо заполнить смоляной паклей.

Армированную цементную стяжку необходимо восстанавливать, предварительно приварив концы наружной арматуры к фланцу металлической гильзы.

Во избежание проникновения влаги через зазор между гильзами, на опорной гильзе и теле анкера нужно крепить «фартук» из оцинкованной стали с обжимным кольцом на болтах.

Конструкция примыкания кровли к опорной гильзе и анкеру показана на рис. 9.14.

Рис. 9.14. Конструкция примыкания кровли к опорной гильзе и к анкеру

9.13. В опорную гильзу следует установить стойку и закрепить ее распорными болтами.

Струбцины оттяжек надевают на ушко болта гильзы анкера и перемещением колодок струбцин с помощью гаек регулируют натяжение оттяжки.

Стоечные опоры должны устанавливаться строго вертикально (по отвесу) и развертываться так, чтобы траверсы располагались перпендикулярно к основному направлению подвешенных проводов, а при их разветвлении - перпендикулярно направлению равнодействующей силы тяжения отходящих проводов линии.

9.14. Арматура и стойки, устанавливаемые как на крышах, так и на чердаках, должны быть выкрашены в черный или серый цвет.

ОБОРУДОВАНИЕ УСТРОЙСТВ ПОДХОДА К СТОЕЧНЫМ ОПОРАМ

9.15. Около всех стоек, устанавливаемых на зданиях высотой более одного этажа (в том числе на вновь строящихся, реконструируемых и капитально ремонтируемых) с металлическими или другими кровлями, должны оборудоваться люки с закрывающимися крышками и лестницами, закрепленными на чердаках (рис. 9.15).

Рис. 9.15. Люк для выхода на крышу (место соприкосновения кровли с оковкой угловой рамы и все щели промазать замазкой на сурике):

1 - рама люка; 2 - крышка люка в сборе; 3 - брусок; 4 - кольцо стальное (2 шт.); 5 - оковка угловой рамы (4 шт.)

Крышки люков должны быть оборудованы упорами, предохраняющими их от самозакрывания при ветре.

При отсутствии возможности устройства люка от слухового окна следует натягивать стальную оцинкованную проволоку диаметром не менее 5 мм или стальной канат.

Проволока должна быть надежно закреплена за хомут, укрепленный на слуховом окне и заделываться скруткой за планку закрепленную на стволе стойки. Высота закрепления планки - 0,8 м (рис. 9.16).

Рис. 9.16. Крепление предохранительного каната к стойке и слуховому окну

Вдоль проволоки (каната) необходимо оборудовать трапы (рис. 9.17). Надежность предохранительного провода (каната) должна проверяться ежегодно.

Рис. 9.17. Устройство мостков и трапа для подхода к стойке

9.16. На домах, имеющих кровлю из шифера, черепицы, рубероида (толя), с уклоном 30 градусов и выше, у стоек должны оборудоваться люки и рабочие площадки. На чердаке для подъема к люку должна быть изготовлена и закреплена лестница (рис. 9.18).

Рис. 9.18. Общий вид выходного люка и рабочей площадки

9.17. На крышах жилых зданий высотой 10 м и более при уклоне крыши более 10 градусов должны устраиваться ограждения высотой не менее 0,6 м.

ПОДВЕСКА ПРОВОДОВ

9.18. Подвеску проводов можно производить двумя способами: поочередным перетягиванием всех подвешиваемых проводов между каждыми двумя зданиями (между первым и вторым, вторым и третьим и т.д.) или перетягиванием поочередно каждого провода по всей длине подвешиваемого участка линии («захватки»).

9.19. При подвеске проводов поочередным перетягиванием всех подвешиваемых проводов, с крыш соседних зданий опускают до земли веревки длиной более на 10 - 15 м длины пролета.

Спущенные концы веревок связывают узлом, который подтягивают на крышу первого здания; к узлу привязывают конец провода, и последний перетягивают на крышу соседнего здания, где он временно закрепляется на стоечной опоре свободной вязкой с помощью пеньковой, капроновой или другой веревки.

После этого веревка перетягивается обратно на крышу первого здания, и процесс повторяется для второго, третьего и т.д. проводов.

Перетягивание проводов в последующих пролетах производится аналогично первому пролету. Регулировку и окончательное закрепление проводов на изоляторах производят после временной подвески всех проводов во всех пролетах данной линии.

9.20. При большом количестве подвешиваемых проводов (восемь, десять и более) перетягивание производят поочередно по одному проводу сразу вдоль всей линии. Для этого веревки одновременно опускают со всех домов линии, связывают между собой и натягивают. К каждому узлу последовательно привязывают конец провода и перетягивают его от стойки к стойке с закреплением временными свободными вязками (рис. 9.19).

Рис. 9.19. Подвеска проводов на стоечных линиях:

1 - веревка; 2 - провод; 3 - стойка; 4 - узел связанных веревок; I - IV - рабочие

После подвески вдоль всей линии каждый провод регулируют и закрепляют окончательной вязкой на изоляторах.

9.21. Проволоку рекомендуется разматывать с ручного тамбура, который подают через чердак и выводной люк на рабочую площадку, оборудованную у стойки или через слуховое окно по трапу на крышу здания. Если размотка проволоки производится с бухты, ее необходимо во избежание спутывания витков попеременно поворачивать с одной стороны на другую после роспуска равного количества витков.

При подвеске проводов необходимо тщательно оберегать их от царапин о металлические поверхности.

9.22. Пример закрепления проводов на промежуточной стоечной опоре показан на рис. 9.20, на оконечной - на рис. 9.21.

Рис. 9.20. Вязка проводов на изоляторах промежуточной стойки:

1 - линейный провод; 2 - вязочная проволока; 3 - изолятор

Рис. 9.21. Закрепление провода на изоляторе оконечной телефонной стойки

9.23. Данные стрел провеса определяются по табл. 9.1.

Таблица 9.1

Температура в тени, °С

Длина пролета, м

60

80

100

Стрела провеса, см

-30

20

38

59

-25

22

40

62

-20

24

42

65

-15

25

44

69

-10

27

47

73

-5

29

50

78

0

31

54

82

+5

34

57

87

+10

36

61

93

+15

39

66

99

+20

43

71

105

+25

47

76

111

+30

51

82

120

9.24. При работе на крышах зданий необходимо строго соблюдать требования правил техники безопасности, в том числе требование о необходимости перед выходом на металлическую кровлю с помощью индикатора напряжения убедиться в отсутствии в ней опасного напряжения.

При выходе на крышу следует закрепить карабин монтерского пояса за канат, протянутый между слуховым окном и стойкой. Дойдя до стойки, закрепиться за нее цепью монтерского пояса.

УСТАНОВКА КАБЕЛЬНОГО ЯЩИКА И ВКЛЮЧЕНИЕ ПРОВОДОВ

9.25. Кабельная стойка должна быть оборудована кабельным ящиком для соединения воздушных проводов с жилами кабеля.

Кабельный ящик нужно устанавливать на чердаке, на отдельной монтажной доске, прикрепляемой шурупами по дереву с шестигранной головкой к стропильным балкам.

9.26. Контактные винты на плинтах кабельного ящика следует соединять с отходящими со стойки к абонентским пунктам проводами проводом марки ЛТВ-В или ЛТР-В.

9.27. Провода ЛТВ должны быть пропущены внутри стоечной опоры по вертикальной трубе, а затем по трубчатой траверсе через отверстия в последней (находящееся под штырями) выведены к соответствующей паре изоляторов.

При выходе из отверстия в трубчатой траверсе провод ЛТВ должен быть пропущен через изолирующую втулку, заделан на изоляторах траверсы (рис. 9.22) и припаян к опущенным вниз концам (отросткам) стального провода.

Провод ЛТВ для заделки следует сложить в виде двух петель, надеть на изолятор и затянуть на шейке так, чтобы между выводной втулкой и изолятором остался запас провода, располагаемый в виде полукольца.

Конец провода ЛТВ, включаемого в плинты кабельного ящика, заделывают так же, как и на кабельных опорах столбовых линий.

Рис. 9.22. Соединение провода ЛТВ-В (ЛТР-В) с линейным проводом на стойке:

1 - провод ЛТВ-В (ЛТР-В); 2 - резиновая изоляция; 3 - медная жила; 4 - линейный провод; 5 - изолятор; 6 - траверса; 7 - труба стойки

9.28. Чердачные кабельные ящики должны иметь заземление для разрядников, которое оборудуют так же, как и заземления для кабельных ящиков на столбах. Заземляющий проводник от кабельного ящика должен иметь сечение не менее 4 кв. мм, проложен в пределах чердака изолированным и закреплен скобами отдельно от кабеля.

ПОДВЕСКА КАБЕЛЕЙ НА СТОЕЧНЫХ ЛИНИЯХ

9.29. На стоечных линиях подвешивают кабели марки ТГ, ТПП и ТППт емкостью до 30´2´0,5.

9.30. Кабели следует подвешивать на семижильном стальном канате, диаметр которого выбирают по таблице 8.18.

В негололедных районах допускается подвеска кабелей на стальной оцинкованной проволоке диаметром 5 мм.

9.31. Кабель к канату следует крепить подвесами через каждые 350 мм.

9.32. Подвешиваемые канат или проволока не должны иметь сростков в пролете.

9.33. Стальной канат или проволоку следует подвешивать попролетно по всей длине трассы способом, приведенным в п. 9.20.

9.34. После регулировки стрелы провеса стальной канат или проволоку необходимо закреплять за стойку оконечной заделкой. Для возможности регулировки натяжения в пролетах стального каната оконечную заделку рекомендуется выполнять через струбцину (винтовую стяжку).

9.35. Барабан с кабелем или бухту кабеля следует размещать на земле возле здания, от которого начинается подвеска, или, что предпочтительнее, на крыше здания (если имеется такая возможность).

9.36. В том случае, когда подвеска кабеля производится с земли, работы необходимо выполнять в указанной ниже последовательности:

а) барабан с кабелем установить на козлы-домкраты;

б) с крыш двух зданий, между которыми подвешивают кабель, спустить веревки (рис. 9.23). За конец веревки, спущенной с крыши здания, с которого начинают подвеску (здания № 1), закрепить конец кабеля, поднять его на крышу и временно закрепить.

Рис. 9.23. Способ подвески кабеля на стойках с помощью веревок, спущенных с крыш зданий

С крыши здания № 1 снова спустить веревку на землю, связать ее прочным узлом с веревкой, спущенной с крыши здания № 2. Натянув веревку между зданиями, закрепить конец кабеля за конец веревки и, подтягивая ее с крыши здания № 2, закрепить кабель на канате стальными скрепами, устанавливая их через каждые 350 мм. При этом скрепы должны обжимать кабель и свободно висеть на канате, обеспечивая свободное перетягивание по нему кабеля;

в) по достижении кабеля стойки, установленной на здании № 2, концы кабеля пропустить в выводные трубы и ввести в здания на длину, достаточную для сращивания с концом кабеля от кабельного ящика. У входа в выводную трубу должен быть оставлен запас кабеля в виде дуги с обмоткой кабеля на этом участке просмоленной лентой;

г) многопролетную подвеску кабеля следует производить аналогично приведенной в п. 9.20, с той разницей, что по мере перемещения из пролета в пролет кабеля необходимо перевешивать подвесы с одной стойки на другую.

9.37. При подвеске кабелей на стоечных линиях рекомендуется осуществлять связь между рабочими с помощью УКВ радиостанций.

РАЗДЕЛ 10

УСТРОЙСТВО АБОНЕНТСКИХ ПУНКТОВ

ОБЩИЕ ПОЛОЖЕНИЯ

10.1. К абонентским пунктам относятся линейные сооружения местных сетей, размещенные в пределах здания на участке от оконечных устройств (распределительной коробки, кабельного ящика, бокса) до телефонного аппарата включительно.

10.2. Ввод в абонентский пункт может быть кабельным и воздушным.

По конструкции проводок абонентские пункты делятся на устройства:

а) со скрытой проводкой;

б) с открытой проводкой;

в) со смешанной проводкой.

10.3. В состав абонентских пунктов входят: абонентские проводки, розетки, телефонные аппараты, диодные приставки, абонентские защитные устройства (АЗУ), абонентские комплекты аппаратуры высокочастотного уплотнения (АВУ), дополнительные приборы (добавочные звонки, блокираторы, усилители приема и т.п.).

10.4. Абонентскую проводку выполняют проводом марки ТРП (ТРВ) 1´2´0,5, а вводы с воздушных линий связи - проводом марки ЛТВ-В (ЛТР-В).

10.5. Технология работ по разбивке и заготовке трасс прокладки кабелей, способы и средства механизации для сверления гнезд и отверстий проходов для кабелей через строительные конструкции приведены в разделе 7.

УСТРОЙСТВО АБОНЕНТСКИХ ПУНКТОВ ПРИ ВОЗДУШНОМ ВВОДЕ

10.6. Воздушный ввод абонентской линии может выполняться от воздушных столбовой или стоечной линий связи.

10.7. Для ввода абонентской линии от столбовой ВЛС на стене здания следует закрепить два крюка, оснащенных изоляторами.

Крюки устанавливают на расстоянии 250 мм друг от друга, на высоте не менее 3 м от земли. На деревянных стенах они ввертываются в просверленные отверстия. На кирпичных, шлакоблочных, бетонных стенах крюки закрепляют в заготовленных отверстиях цементным раствором.

10.8. Абонентскую проводку от линейных проводов вводят через отверстия в стене или в оконной колоде проводом ЛТВ-В (ЛТР-В). Предварительно в отверстия должна быть вставлена резиновая трубка, обрамленная с двух сторон пластмассовыми или фарфоровыми втулками (воронками) (рис. 10.1, 10.2).

Рис. 10.1. Устройство абонентского ввода с воздушной столбовой линии через кирпичную стену:

1 - изоляционная втулка; 2 - провод ЛТВ-В (ЛТР-В); 3 - резиновая или эбонитовая трубка; 4 - изоляционная воронка; 5 - линейные провода; 6 - изоляторы; 7 - крюки

Рис. 10.2. Устройство абонентского ввода с воздушной столбовой линии через окно

Провода ЛТВ (ЛТР) подключаются к АЗУ, установленному в помещении абонента на расстоянии 0,5 - 1 м от отверстия ввода. От АЗУ до телефонного аппарата прокладывается однопарный провод (ТРП, ТРВ). Отверстие для заземляющего провода АЗУ просверливают в оконной колоде ниже отверстия ввода на 50 - 60 мм. Монтаж АЗУ показан на рис. 10.3.

Рис. 10.3. Монтаж АЗУ

10.9. При воздушном вводе от стоечной линии абонентскую проводку прокладывают от оконечной или промежуточной стойки. При этом от линейных проводов стойки на чердак прокладывают провода ЛТВ-В или ЛТР-В, которые включают в АЗУ, установленное на одной из деталей перекрытия. От АЗУ до телефонного аппарата через чердачное перекрытие прокладывают однопарный провод (рис. 10.4). Соединение проводов ЛТВ-В (ЛТР-В) с линейными показано на рис. 10.5.

Рис. 10.4. Абонентский пункт с воздушным вводом со стойки через чердачное перекрытие

1 - розетка настольного телефонного аппарата; 2 - однопарный провод; 3 - желоб; 4 - АЗУ; 5 - провод ЛТВ-В или ЛТР-В; 6 - стойка 1´2; 7 - стальная проволока диаметром 4 - 5 мм

Рис. 10.5. Соединение провода ЛТВ-В (ЛТР-В) с линейным проводом

УСТРОЙСТВО АБОНЕНТСКИХ ПУНКТОВ ПРИ КАБЕЛЬНОМ ВВОДЕ

10.10. Распределительные кабели, введенные в здание, должны заводиться на распределительные коробки, установленные при открытой проводке на стенах лестничных клеток, а при скрытой проводке - в электрошкафах типа ШС, помещенных в ниши лестничных клеток (рис. 10.6).

Рис. 10.6. Размещение распределительных устройств: телефонных и проводного вещания в нише лестничной клетки:

1 - распределительная коробка - КР-10´2; 2 - распределительный кабель; 3 - абонентские провода; 4 - шуруп (винт) крепления распределительной коробки; 5 - резиновая полутвердая трубка; 6 - кроссировочное кольцо

10.11. От распределительных коробок абонентские провода прокладывают в помещения абонентских пунктов. При этом у распределительной коробки абонентские провода должны иметь запас и быть выложены так, как показано на рис. 10.7. С левой стороны от кабеля абонентские провода подводят к клеммам пар коробки с номерами 1, 6, 0 и 5, а с правой - с номерами 3, 8, 4 и 9. Пары с номерами 2 и 7 должны быть заняты проводами с правой или с левой стороны в зависимости от местных условий. Перекрещивание однопарных проводов под коробкой не допускается.

Рис. 10.7. Выкладка абонентских проводов на вводе в распределительную коробку

1 - кабель; 2 - абонентские провода

ПРОКЛАДКА АБОНЕНТСКИХ ПРОВОДОК

10.12. Каждая абонентская проводка должна быть выполнена одним отрезком провода. Сращивание проводов не допускается.

10.13. Трасса для абонентской проводки (от распределительной коробки до телефонного аппарата) должна удовлетворять следующим основным требованиям:

а) учитывать расположение в помещениях проводок: электрических и проводного вещания;

б) быть кратчайшей, прямолинейной, иметь минимальное число пересечений с другими проводками;

в) внутри зданий проходить по стенам на высоте 2,3 - 3,0 м от пола и не менее 50 мм - от потолка или по каналам закладных устройств скрытой проводки (например, в специальных плинтусах);

г) по наружным стенам проходить под карнизами на высоте 2,5 - 3,0 м;

д) проходить по местам, доступным для обслуживания в любое время.

10.14. На участках горизонтальной прокладки крепление однопарного провода следует производить через каждые 250 мм, при вертикальной прокладке - через каждые 350 мм, в местах поворота провода - на расстоянии 50 мм от вершины угла.

10.15. Однопарный провод должен плотно прилегать к стене без волнистости и перекручиваний. Провода, идущие в одном направлении, следует прокладывать параллельно и вплотную друг к другу.

10.16. На участках параллельной прокладки с многопарными кабелями однопарные провода следует располагать сверху или снизу, с учетом минимального числа пересечений с ними. При пересечении многопарных кабелей однопарный провод может огибать кабель сверху или проходить под ним в штробе.

10.17. Абонентскую проводку следует прокладывать ниже электропроводки, а пересечения с ней выполнять так, как показано на рис. 10.8.

Рис. 10.8. Прокладка однопарного провода абонентской проводки:

1 - однопарный провод; 2 - гвоздь крепления; 3 - электропроводка

10.17. Абонентская проводка может прокладываться как сверху, так и снизу проводов проводного вещания при соблюдении допустимых расстояний между ними, приведенных в табл. 10.1.

Таблица 10.1

Допустимые расстояния между проводами абонентской проводки и проводного вещания

Протяженность проводки при совместной прокладке, м, не более

70

50

30

20

10

Допустимое расстояние сближения, мм, не менее

50

30

25

20

15

10.18. В помещениях с лепкой или резной отделкой следует прокладывать провод над или под плинтусами, наличниками окон или дверей для защиты от механических повреждений.

10.19. При пересечении карнизов наружных стен, покрытых листовой сталью, провод необходимо прокладывать через отверстие в карнизе.

10.20. При выборе трассы для прокладки абонентских проводов следует, по возможности, не пробивать отверстия через капитальные стены.

Сквозь перегородки и дверные коробки провода необходимо прокладывать через отверстия, просверленные в углах перегородок и переплетов.

10.21. Провода ТРП (ТРВ) следует крепить к стенам деревянным, оштукатуренным, кирпичным и шлакоблочным, гипсолитовым и т.п. стальными гвоздями диаметром 1,5 мм длиной 15 или 20 мм, забиваемыми в промежуток между жилами (рис. 10.9, а). При этом необходимо следить, чтобы гвозди не повреждали изоляцию жил. Допускается также крепление проводов скобами из стальной проволоки диаметром 2 мм (рис. 10.9, б).

По стенам из бетона, стеклоблоков, камня, кафеля и подобных материалов, в которые забивка гвоздей и проволочных скоб невозможна, а сверление гнезд затруднительно, крепление проводов следует производить специальными скобами, приклеиваемыми к стеновому основанию клеем «Стык-10» или другим, прошедшим испытания. Технология приклеивания скоб приведена в разделе 7.

Рис. 10.9. Способы крепления провода ТРП (ТРВ):

а) стальными гвоздями; б) скобами из стальной проволоки

10.22. При скрытой проводке провода от КР-10´2 должны прокладываться в закладных устройствах (трубах, каналах) способами, приведенными в разделе 7.

УСТАНОВКА ОБОРУДОВАНИЯ АБОНЕНТСКИХ ПУНКТОВ И ПОДСОЕДИНЕНИЕ АБОНЕНТСКИХ ПРОВОДОВ

10.23. При необходимости перехода абонентской проводки из одного здания в другое допускается подвеска однопарного провода на стальной оцинкованной проволоке диаметром 3 мм, закрепленной на стенах зданий. Для этого однопарный провод следует навить вокруг натянутой проволоки с шагом 160 - 200 мм. Длина подвески не должна превышать 25 м, а высота - 4,5 - 5,9 м от земли.

10.24. На лестничных клетках и в коридорах общественных зданий однопарные провода, прокладываемые ниже 2,3 м от пола, должны быть защищены металлическими или деревянными желобами.

10.25. Вводные или проходные отверстия в междуэтажных перекрытиях и на лестничных клетках после прокладки однопарного провода следует плотно заделать паклей, гипсом или алебастром.

10.26. При установке оборудования абонентских пунктов необходимо соблюдать следующую высоту установки от пола:

настенные телефонные аппараты                                                             1400 мм;

розетки настольных аппаратов                                                                 250 - 700 мм;

диодные приставки и безобрывные розетки                                           250 - 700 мм;

блоки АВУ                                                                                                   700 мм;

блокираторы и дополнительные звонки                                                  2200 мм.

Виды абонентских проводок показаны на рис. 10.10.

Рис. 10.10. Виды абонентских проводок:

1 - настенный телефонный аппарат; 2 - однопарный провод; 3 - электропроводка; 4 - коробка распределительная 10´2; 5 - радиопроводка; 6 - розетка настольного телефонного аппарата

10.27. Розетки телефонных аппаратов, АЗУ, диодные приставки следует крепить к деревянным стенам шурупами, к кирпичным, шлакоблочным, гипсолитовым стенам - шурупами на пластмассовых дюбелях или спиралях; настенные телефонные аппараты - на дюбелях с распорной гайкой или пластмассовых; подрозетники - к бетонным, стеклоблочным стенам и на оборудовании с металлическими поверхностями - с помощью клея «Стык-10» (см. раздел 7).

10.28. К телефонной розетке провод должен подходить строго вертикально и выкладываться вокруг нее, образуя запас, необходимый для повторных включений или производства контрольных измерений и ремонтных работ.

Установку розеток и включение в них однопарного провода следует производить так, как показано на рис. 10.11.

Рис. 10.11. Способы включения однопарного провода в розетки телефонных аппаратов:

а) в розетку настольного телефонного аппарата; б) в розетку добавочного настольного телефонного аппарата; в) в настенный телефонный аппарат

1 - однопарный провод; 2 - шнур телефонного аппарата; 3 - розетка; 4 - дюбель; 5 - подрозетник; 6 - гвоздь; 7 - основание настенного телефонного аппарата

РАЗДЕЛ 11

МОНТАЖ ЭЛЕКТРИЧЕСКИХ КАБЕЛЕЙ МЕСТНЫХ СЕТЕЙ СВЯЗИ

ОБЩИЕ ПОЛОЖЕНИЯ

11.1. В настоящем разделе рассматривается монтаж кабелей, применяемых на местных сетях связи:

·         городских телефонных типа Т с воздушно-бумажной изоляцией жил в свинцовой, алюминиевой и стальной гофрированной оболочках;

·         городских телефонных типа ТП с полиэтиленовой изоляцией жил в полиэтиленовой оболочке;

·         кабелей сельской связи типов КСПП, ПРППМ (ПРВПМ).

11.2. Монтаж симметричных кабелей МКС, ТЗ, применяемых на местных сетях связи, в настоящем Руководстве не рассматривается. При их монтаже следует руководствоваться технологией и организацией работ, приведенными в «Руководстве по строительству линейных сооружений магистральных и внутризоновых кабельных линий связи», М., «Радио и связь», 1986.

СОСТАВ И УСЛОВИЯ ПРОВЕДЕНИЯ МОНТАЖНЫХ РАБОТ

11.3. В состав монтажных работ входят:

а) сращивание в муфтах строительных длин кабелей, проложенных в кабельной канализации, коллекторах, непосредственно в грунте, под водой, по стенам зданий, подвешенных на столбовых и стоечных опорах;

б) ввод и включение кабелей в оконечные кабельные устройства: защитные полосы, рамки соединительных линий, вводные устройства систем передачи, боксы, распределительные коробки и кабельные ящики; а также в линейные промежуточные устройства;

в) проверка, измерение электрических характеристик и симметрирование кабелей;

г) испытание герметичности и установка кабельных линий под постоянное избыточное давление;

д) выполнение мероприятий по защите кабельных линий от коррозии, влияния линий высокого напряжения и других помех.

11.4. Монтаж кабелей местных сетей, проложенных в грунте или в кабельной канализации, необходимо производить при плюсовой температуре с обогревом, при необходимости, воздуха в монтажной палатке над котлованом или в колодце.

11.5. В смотровых устройствах кабельной канализации, помещениях ввода кабелей, коллекторах и тоннелях муфты укладываются на консоли или консольные крюки.

Перед началом монтажа муфт концы кабелей должны быть выложены на консолях так, чтобы муфта находилась на прямолинейном участке кабеля, и ближайший изгиб кабеля находился на расстоянии не менее 100 мм от конуса муфты.

11.6. Соединительные муфты укладываются между двумя консолями. Расстояния от конусов муфты до консолей с обеих сторон должны быть одинаковыми.

Если муфта монтируется в угловом или разветвительном колодцах, и необходимо обеспечить допустимый радиус изгиба кабеля, разрешается смещение муфты в сторону консоли, более удаленной от места изгиба.

Патрубки (пальцы) оголовника разветвительной муфты должны лежать на консоли.

11.7. В колодцах кабельной канализации и коллекторах муфты располагаются вдоль боковых стен в шахматном порядке (рис. 11.1). Консоли устанавливаются так, чтобы расстояние между продольными осями двух соседних кабелей, расположенных в одной вертикальной плоскости, было не менее 200 мм. Расстояние между продольной осью нижнего кабеля и дном колодца или между продольной осью верхнего кабеля и верхним перекрытием колодца должно быть не менее 300 мм.

Рис. 11.1. Расположение муфт в колодцах кабельной канализации и коллекторах

Станционные разветвительные муфты размещаются в помещениях ввода кабелей АТС. Допускаются вертикальное (рис. 11.2) и горизонтальное расположение станционных муфт. На первых двух секциях каркаса размещают вентили для подачи воздуха и газонепроницаемые муфты.

Рис. 11.2. Крепление вертикальных станционных разветвительных муфт к каркасу

11.8. При прокладке кабеля по стенам зданий рекомендуется подбирать строительные длины так, чтобы соединительных муфт на стенах не было.

Разветвительные муфты можно располагать как на горизонтальных, так и на вертикальных участках кабеля.

Кабели, входящие в муфту, по возможности не должны иметь изгибов. Для этого в стене часто делается штроба необходимой глубины. На деревянных и железобетонных неоштукатуренных стенах штробы для муфт не делают.

Не допускается располагать муфты на маршах лестниц, а также над проходами и проездами.

11.9. Муфты подвесных кабелей и сростки стальных канатов должны располагаться около опор. Соединительные и разветвительные муфты должны в этом случае размещаться, как показано на рис. 11.3.

Муфты, монтируемые в местах сращивания подземного кабеля с подвесным, должны располагаться на опоре.

Рис. 11.3. Размещение муфт на подвесных кабелях:

а) соединительных; б) разветвительных

ОРГАНИЗАЦИЯ МОНТАЖНЫХ РАБОТ

11.10. Монтажные работы на кабельных линиях связи выполняются бригадами монтажников связи - спайщиков, имеющих соответствующую квалификацию. Небольшие по объемам и несложные по структуре работы могут быть поручены звеньям монтажников, состоящим из двух - трех человек.

11.11. Каждая бригада или звено должны быть обеспечены:

·         транспортом для перевозки приспособлений, инструментов и материалов на время проведения монтажных работ;

·         исправным инвентарем, средствами ограждения рабочего места, спецодеждой.

Ответственным за обеспечение бригад и звеньев необходимыми инструментами и материалами назначается один из руководителей производства монтажных работ.

11.12. До начала монтажных работ мастером и бригадиром изучается техническая документация и составляется план очередности выполнения работ. Бригадиру монтажников выдается: наряд на выполнение работ, схема линии с распределением пар на оконечных кабельных устройствах, сведения о местоположении кабеля в кабельной канализации, адреса и номера колодцев, в которых должны быть проведены монтажные работы.

11.13. Работы на действующих сооружениях местной телефонной сети могут производиться только с письменного разрешения эксплуатационной службы этой сети.

Последовательность монтажа линии определяется из конкретных условий. В зависимости от классификации кабельную линию разбивают на участки: для межстанционных кабелей без пупинизации или уплотнения цепей такие участки могут быть длиной 2 - 3 км; на кабельных линиях, подлежащих пупинизации или уплотнению, участки определяются, соответственно, шагом пупинизации и регенерации; на магистральных, распределительных линиях первым является участок от станции до первого ответвления, а последующие - по порядку ответвления кабелей.

11.14. В случаях, когда на всех участках кабель проложен, начинать монтаж следует с первого от станции участка, включая зарядку оконечных устройств, монтаж разветвительной станционной муфты и установку газонепроницаемой муфты. Далее выполняют последовательно монтаж прямых муфт. При этом периодически, после соединения четырех длин кабеля, производят контрольную проверку смонтированных участков с оконечных устройств.

Монтаж распределительных участков абонентских линий производят от наиболее удаленной коробки или кабельного ящика по направлению к распределительному шкафу. Полностью смонтированные и проверенные участки соединяют между собой, включают в пупиновские ящики или в регенерационные пункты. Последняя, сборная муфта монтируется после прозвонки и нумерации пар с оконечных кабельных устройств.

ПОДГОТОВКА РАБОЧЕГО МЕСТА

11.15. Рабочее место должно быть ограждено. Перед началом работ в колодце кабельной канализации необходимо проверить отсутствие взрывоопасных и других вредных газов. Проверки проводят с соблюдением мер безопасности (согласно действующим «Правилам техники безопасности при работах на кабельных линиях связи и проводного вещания»). Колодец вентилируют. Для спуска в колодец устанавливается лестница.

Если в колодце есть вода, ее необходимо откачать, а снежные образования на потолке удалить скребком.

Рабочее место должно быть нормально освещено. Дополнительное освещение обеспечивается аккумуляторным (или батарейным) фонарем, а при возможности подключения к электросети светильник подключается через разделительный понижающий трансформатор напряжением не более 12 В.

11.16. Подготовка к монтажу на кабелях, проложенных непосредственно в грунте, начинается с рытья котлована. Разметку котлована делают так, чтобы его продольная ось была смещена в сторону поля от оси трассы кабельной линии на 500 мм. Форма котлована определяется в зависимости от количества муфт (рис. 11.4). Глубина котлована должна быть на 100 мм больше глубины заложения кабеля.

Стенки котлована в сыпучих грунтах укрепляются досками или щитами. Для спуска и выхода из котлована устанавливается лестница или откапываются ступеньки.

Перед вскрытием оболочки кабеля, вне зависимости от состояния погоды, над местом монтажа устанавливается палатка. Вход в палатку должен располагаться вдоль трассы со стороны, противоположной направлению ветра.

11.17. Монтаж кабелей в котлованах производят на козлах или специальном станке. Монтаж кабелей, проложенных по стенам зданий, выполняют с приставных лестниц или с раздвижных стремянок.

Кабели, подвешенные на канате, или кабели с встроенным несущим канатом монтируются на кабельных опорах с кабельных площадок, а около промежуточных опор - с телескопической вышки или с приставной лестницы, которая опирается и закрепляется на канате или кабеле со встроенным канатом и подпирается доской или другой лестницей. Допускается монтаж подвесных кабелей на земле с последующим подъемом их на опоры.

В коллекторах и тоннелях монтаж кабелей, проложенных на высоко установленных консолях, производят со специально устраиваемых подмостков.

После окончания работы рабочее место должно быть убрано, а отходы материалов собраны, рассортированы и сданы на склад.

Рис. 11.4. Расположение муфт в котлованах:

а) при монтаже одной муфты в котловане; б) при монтаже двух муфт с выкладкой кабелей по одну сторону от оси траншеи; в) то же, с выкладкой кабелей по обе стороны от оси траншеи

ПРОВЕРКА КАБЕЛЕЙ ПЕРЕД МОНТАЖОМ

11.18. Все кабели перед монтажом должны проверяться на: герметичность оболочки, соответствие сопротивления изоляции жил установленным нормам, обрыв жил и экрана, сообщение жил между собой, с экраном или оболочкой, соответствие нормам сопротивления изоляции защитного полиэтиленового шланга на металлических оболочках кабелей.

11.19. Для проверки кабеля на «обрыв» и «сообщение» с его концов удаляются участки оболочки длиной 150 - 400 мм, экранные ленты и поясная изоляция обрезаются и удаляются с сердечника. Нити и ленты, скрепляющие пучки и повивы, обрезать не рекомендуется. На одном из концов кабеля со всех жил удаляется изоляция на участке длиной 20 - 25 мм, затем жилы собирают в пучки емкостью 10 - 50 пар. Все жилы пучка закорачивают, плотно обмотав их зачищенные участки голой медной проволокой. Все пучки последовательно обматывают одним отрезком проволоки и соединяют их между собой.

Жилы другого конца заделывают «на пирамиду». При этом в кабелях повивной скрутки жилы верхнего повива обрезают бокорезами на расстоянии 20 - 40 мм от обреза экрана или оболочки. Жилы последующих повивов обрезают на расстоянии 15 - 20 мм от обреза предыдущего повива.

Проверку жил на обрыв и сообщение производят с помощью микротелефонной трубки, последовательно соединенной с батареей гальванических элементов. Проверку на обрыв (рис. 11.5, а) выполняют с конца кабеля, разделанного «на пирамиду». Провод от батареи соединяют с экранной проволокой или с металлической оболочкой кабеля и, поочередно касаясь проводом от телефона всех жил кабеля на «пирамиде», по щелчку в телефоне определяют их исправность. Отсутствие щелчка свидетельствует об обрыве жилы. Для удобства действий провод от трубки можно соединить с кусачками-бокорезами, и ими касаться жил.

Выявленные в ходе проверки на «обрыв» поврежденные жилы следует закоротить и соединить с экраном (или металлической оболочкой), чтобы иметь возможность еще раз убедиться в их неисправности во время проведения проверки на «сообщение». При наличии приборов ПКП или МУПС-2М проверку жил на «обрыв» можно проводить с помощью этих приборов. Эти приборы используют также для проверки жил на «сообщение».

Рис. 11.5. Проверка жил кабеля:

а) на «обрыв»; б) на «сообщение»

11.20. Проверку на «сообщение» производят с той стороны, где все жилы соединены между собой и с экраном. К экрану подключаются последовательно соединенные батарея и микротелефонная трубка (рис. 11.5, б). От общей связки отделяют по одной жиле и касаются ее свободным проводом трубки. Если проверяемая жила сообщается с какой-либо другой жилой или с экраном (металлической оболочкой), то в телефоне будет слышен щелчок. При касании исправной жилы щелчка не будет. Аналогично проверяют все остальные жилы кабеля.

В случаях обнаружения поврежденных жил они вновь соединяются с общей связкой. По окончании проверки поврежденные жилы отделяются от исправных, и для каждой из них определяется характер повреждения («земля», «короткое», «сообщение»).

11.21. По результатам проверок составляется список поврежденных пар, в котором фиксируются количество и характер повреждений, а также указывается, в каком повиве или пучке находятся эти пары. Бригадир обязан доложить о выявленных повреждениях кабеля ответственному исполнителю работ, который по имеющимся данным делает вывод о возможности использования данного кабеля.

11.22. Концы телефонных кабелей должны быть герметично заделаны. Открываются они только при монтаже муфт или для электрической проверки кабеля. При заделке концов кабеля свинцовая оболочка на каждом конце слегка вытягивается пяти - шестикратным изгибанием конца и зачеканивается молотком. После зачистки стальной щеткой один из концов кабеля запаивается припоем ПОССу-30-2, в противоположный конец впаивается вентиль для подачи воздуха. При этом используются латунные автомобильные вентили, которые предварительно залуживаются в стаканчиковом паяльнике с применением в качестве флюса канифоли. (Допускается использование в качестве вентилей отрезков свинцовой оболочки кабелей ТГ емкостью 10 - 20 пар и резиновой трубки, надеваемой на конец припаянного отрезка кабеля).

11.23. Концы кабелей в полиэтиленовой оболочке заделываются полиэтиленовыми колпачками, которые выпускаются двух типов: глухие и с вентилем. Металлические вентили могут запрессовываться в колпачки в процессе их изготовления или закрепляться в отверстии, просверленном в колпачке, имея фланец диаметром 10 - 20 мм и резьбу на корпусе. Герметичность соединения вентиля с колпачком обеспечивается резиновыми прокладками, которые устанавливаются с обеих сторон колпачка. Полиэтиленовые колпачки либо свариваются с оболочкой, либо соединяются с ней отрезком ТУТ с подклеивающим слоем.

11.24. Кабели небольшой емкости типа ТП (емкостью до 100´2) на короткое время и при отсутствии опасности поступления воды могут заделываться колпачками, стык которых с оболочкой обматывается 5 - 6 слоями липкой пластмассовой ленты.

11.25. Заделку концов кабелей в стальной гофрированной и в алюминиевой оболочках производят свинцовыми наконечниками, в качестве которых используют свинцовые муфты малых размеров или отходы свинцовой оболочки. Для этого участок стальной гофрированной оболочки залуживается пастой ПМКН-40. Свинцовый наконечник припаивается к залуженному участку оболочки. Для закрепления свинцового наконечника используются также термоусаживаемые изделия.

На кабеле с алюминиевой оболочкой в зависимости от материала изоляции жил свинцовый наконечник соединяется с оболочкой методом горячей пайки или с помощью отрезка ТУТ или ленты с подклеивающим слоем.

11.26. Термоусаживаемые колпачки, на внутреннюю поверхность которых нанесен подклеивающий слой, применяются для заделки концов кабелей с оболочками из любых материалов. Каждый типоразмер колпачка, как и трубка ТУТ, имеет определенные пределы применения, которые необходимо учитывать при его подборе. Термоусаживаемые колпачки выпускаются с вентилями и без них. Колпачок надвигается на подготовленный конец кабеля и усаживается умеренным пламенем газовой горелки.

ПОДГОТОВКА КОНЦОВ КАБЕЛЕЙ К МОНТАЖУ МУФТ

11.27. Во время прокладки кабель в проходных колодцах и концы кабеля в месте монтажа должны быть выложены на консолях по форме колодца. При этом должны соблюдаться допустимые радиусы изгибов кабеля, указанные в ГОСТ. Если для монтажа или для проверки оставляются длинные концы (более 3 м), то выкладку концов производят спайщики в процессе монтажа. При прокладке эти концы должны скручиваться в бухты и аккуратно укладываться на дно колодца. Бухты кабеля малой емкости должны подвязываться к металлоконструкциям - кронштейнам и консолям.

11.28. При подборе муфт для монтажа кабеля учитываются следующие его характеристики: тип и емкость кабеля, внешний диаметр оболочки и защитного шланга. Муфты подбираются по их техническим условиям на свинцовые или полиэтиленовые, а также по действующим нормативным документам по монтажу конкретных марок кабелей. Размеры разделки кабелей типа ТП с различными покровами, а также ТГ и ТБ с диаметром жил 0,5 мм, приведены на рис. 11.6 и в табл. 11.1.

Рис. 11.6. Размеры разделки концов при монтаже муфт на кабелях:

а) ТГ, ТПП, ТПВ; б) ТБ; в) ТППБ, ТППБШп;

1 - сердечник кабеля; 2 - свинцовая оболочка; 3 - пластмассовая оболочка; 4 - стальная гофрированная оболочка; 5 - стальные ленты брони; 6 - кабельная пряжа; 7 - защитный полиэтиленовый шланг

Таблица 11.1

Разделка кабелей ТГ, ТБ, ТПП, ТППБ, ТППБШп

Длина, мм

Число пар кабеля

10

20

30

50

100

150

200

300

400

500

600

700

800

900

1000

1200

L

l

140

185

200

230

300

340

400

450

490

520

530

540

550

570

580

630

l1

240

285

300

330

410

450

515

600

650

680

700

-

-

-

-

-

l2

290

335

350

380

470

510

575

660

710

750

780

-

-

-

-

-

L1

-

-

-

-

-

l3

140

160

180

240

300

310

320

400

420

440

460

-

-

-

-

-

l4

250

260

280

340

500

510

520

610

660

680

720

-

-

-

-

-

l5

300

340

360

420

520

590

600

690

740

760

780

-

-

-

-

-

Примечания:

1. В числителе указана длина участков L и L1 для муфты с ненумерованными жилами, а в знаменателе - с нумерованными.

2. Длины L, l, l1, l2 указаны для кабелей ТГ, ТПП (рис. 11.6, а) и ТБ (рис. 11.6, б).

3. Длины L1, l3 - l5 указаны для кабелей ТППБ и ТППБШп (рис. 11.6, в).

4. На кабелях с разнонаправленной скруткой жил указанную длину разделки следует увеличить в 2 - 3 раза для обеспечения возможности качественной разборки сердечника на пары.

11.29. По размерам подобранных муфт на сращиваемых концах кабелей делаются отметки местоположения муфт и намечаются места обрезов оболочки и защитных покровов, а также участок оболочки, который должен зачищаться. Отметки обрезов наносят на оболочку и защитные покровы кабельным ножом. Обрезы оболочек выполняются таким образом, чтобы обеспечить необходимую величину их захода в корпус муфты. Величина захода оболочки в муфту в среднем 10 - 15 мм.

11.30. Длина зачищаемого участка оболочки зависит от типа кабеля и метода восстановления оболочки. Для пайки свинцовых муфт достаточно зачищенных участков оболочки длиной 60 - 80 мм. На такую же длину зачищаются полиэтиленовые оболочки или шланги в том случае, если они восстанавливаются методом наплавления полиэтиленовой ленты под стеклолентой. Если же оболочка восстанавливается с помощью трубок ТУТ, то длина зачищаемого участка увеличивается до длины применяемого отрезка ТУТ. Зачищаемый участок оболочки обезжиривается ацетоном или бензином Б-70. Особенно тщательно должны обезжириваться и зачищаться места наложения подклеивающего слоя.

Зачистка оболочки выполняется кабельным ножом по всему периметру. Для зачистки металлических оболочек может применяться стальная кордная щетка, а для зачистки полиэтиленовых оболочек - абразивная шкурка или бумага. Применение абразивных материалов допускается только при использовании трубок ТУТ, так как в этом случае шероховатая поверхность в месте наложения подклеивающего слоя повышает надежность соединения, а мелкие посторонние включения при этом не влияют на его качество.

11.31. Для удаления с конца кабеля свинцовой оболочки на ней в намеченном месте делают круговой надрез, и оболочка легко стягивается с сердечника (у городских кабелей емкостью до 300´2). Для кабелей емкостью более 300´2, кроме кругового надреза, выполняют еще один или два продольных надреза, идущих от кругового надреза к концу кабеля, на расстоянии 10 - 15 мм друг от друга. При одном продольном надрезе оболочку, начиная с конца, постепенно раздвигают и снимают с сердечника. При двух продольных надрезах конец полоски между ними захватывают плоскогубцами, и полоска удаляется путем накручивания ее на плоскогубцы. Затем кромки раздвигают и оболочку снимают с сердечника. При выполнении надрезов следует соблюдать осторожность, чтобы не повредить внутренние элементы кабеля.

11.32. При разделке кабелей ТПП для облегчения выполнения надрезов оболочки ее следует предварительно прогреть пламенем газовой горелки или паяльной лампы. После удаления оболочки лента спирально наложенного экрана кабеля ТПП скручивается в рулон и подвязывается у обреза оболочки. Если экранную ленту смотать невозможно, у обреза оболочки оставляют участок экрана длиной 20 мм. Экранная лента у обреза оболочки закрепляется бандажом из голой медной проволоки.

Такой же участок экрана оставляют и на кабелях с алюмополиэтиленовым экраном (ТППэп), для этого на указанном расстоянии от кругового надреза оболочки делается еще один круговой надрез, а затем между ними - продольный. Все надрезы выполняются на предварительно прогретой оболочке тупым ножом или стальной пластиной, чтобы не разрезать экран. Полоску оболочки между круговыми надрезами постепенно осторожно отделяют от экрана.

Поясную изоляцию из пластмассовых лент разматывают, ленты скручивают в рулоны и подвязывают у обреза оболочки, там же подвязывают и экранную проволоку. Если ленты поясной изоляции невозможно отделить друг от друга, они обрезаются на расстоянии 5 - 10 мм от обреза экрана.

11.33. При разделке кабелей типа Т у обреза свинцовой оболочки кабелей с бумажной изоляцией жил на сердечник накладывается бандаж из двух витков миткалевой ленты, который осторожно заталкивают под оболочку на глубину 3 - 5 мм. Бумажные ленты поясной изоляции сматывают с сердечника и обрезают на расстоянии 5 мм от обреза оболочки.

Сердечники кабелей с бумажной изоляцией жил перед монтажом прошпаривают кабельной массой типа МКП при температуре 120 °С. Бумажные гильзы, миткалевую ленту и суровые нитки прошпаривают одновременно с прошпаркой кабеля. Допускается производить монтаж муфт без предварительной прошпарки, если есть возможность восстановить качество бумажной изоляции жил готового сростка, просушивая его горячим воздухом.

11.34. При разделке бронированных кабелей их концы в котловане непосредственно перед монтажом укладывают на монтажный станок или монтажные козлы, которые устанавливаются на расстоянии 0,35 - 0,5 м от оси траншеи. Выкладку следует производить, строго соблюдая допустимый радиус изгиба, указанный в ГОСТ для данного типа или марки кабеля. После выкладки производится разметка концов по защитным покровам. Кабельную пряжу или защитный полиэтиленовый шланг обрезают на расстоянии 30 - 60 мм от обреза бронелент. Перед выполнением обреза наружный покров из кабельной пряжи закрепляют проволочным бандажом, для которого используется мягкая проволока диаметром 1,0 - 1,5 мм.

При разделке кабелей с броней из круглых проволок бандаж состоит из 10 - 12 витков стальной оцинкованной проволоки диаметром 3 мм. Чтобы бандаж был достаточно плотным, его рекомендуется накладывать с помощью клетневки. На кабелях с броней из плоских лент кабельная пряжа обрезается на расстоянии 5 мм от бандажа, а на кабелях с броней из круглых проволок - сматывается в клубок и сохраняется.

Обнаженную броню очищают от битума, для чего ее слегка нагревают и удаляют расплавленный битум сухой ветошью. Затем броню протирают ветошью, смоченной в бензине. На расстоянии 25 - 30 мм от обреза наружного покрова или шланга на участке 30 мм броню зачищают стальной щеткой. Зачищенный участок протирают чистой, смоченной в бензине или ацетоне ветошью и залуживают. Бронеленты залуживаются не менее, чем на 1/3 окружности, причем залуженный участок должен перекрывать обе стальные ленты. Залуженный участок стальных бронепроволок должен перекрывать не менее 50 % проволок. Залуживание стальной брони производится припоем ПОССу-30-2 с применением в качестве флюса пасты ПБК-26.

На залуженный участок брони накладывается бандаж из луженой медной проволоки диаметром 1,2 мм, состоящий из 4 - 5 витков, который припаивается к залуженному участку брони. Длина проволоки должна быть достаточной для того, чтобы использовать концы бандажей с обеих сторон муфты в качестве перемычки между броней сращиваемых кабелей, а свободные концы проволок скручивают в жгуты (рис. 11.7).

Стальные бронеленты в намеченном месте надпиливают напильником, разматывают, начиная с конца кабеля, и обламывают. Заусенцы удаляют напильником. На кабелях с броней из круглых проволок поверх бандажа из медной проволоки клетневкой накладывают бандаж из 15 - 20 витков стальной оцинкованной проволоки диаметром 3 мм, при этом жгут медных проволок укладывают вдоль кабеля в сторону муфты. После закрепления бандажа все бронепроволоки отделяют от кабеля и выпрямляют, затем перегибают на 180°, укладывают вдоль кабеля и закрепляют перевязкой.

Рис. 11.7. Наложение бандажей и устройство перемычек:

1 - кабельная пряжа; 2 - бандаж на кабельной пряже; 3 - бандаж на бронелентах; 4 - жгут медных проволок; 5 - провод перемычки между оболочками

После удаления бронелент разматывают подброневые покровы (подушку) и обрезают их на расстоянии 2 - 3 мм от обреза бронелент. На кабелях с круглыми бронепроволоками подброневые покровы не обрезают, а сматывают в клубки и подвязывают к кабелю у отгиба бронепроволок. Освобожденную от защитных покровов оболочку протирают ветошью, смоченной в бензине. По размерам муфты производится разметка концов по оболочке, отмечаются места обреза оболочки и участки, подлежащие зачистке, после которой оболочку надрезают и удаляют. Затем на концы надвигаются части муфты и трубки ТУТ, предназначенные для восстановления оболочки и защитного полиэтиленового шланга.

11.35. При разделке подвесных кабелей разметку концов кабеля с несущим стальным канатом следует производить таким образом, чтобы во время монтажа сростка на участках с отделенным канатом можно было разместить части муфты. Ориентировочные размеры разделки подвесных кабелей приведены в табл. 11.2.

Таблица 11.2

Размеры разделки кабеля с несущим канатом марки ТППт с диаметром жил 0,5 мм

Число пар кабеля

Длина удаляемого участка перемычки, мм

Длина удаляемого участка оболочки, мм

Длина разделки и удаления оболочки троса, мм, при способе соединения

гильзой

клеммой

сплетением

10

800

250

530/41

800/150

800/200

20

800

300

530/41

800/150

800/200

30

1000

310

675/41

1000/150

1000/200

50

1000

340

785/41

1000/200

1000/200

100

1200

460

945/41

1200/250

1200/250

Примечание. В числителе указана длина разделки троса, а в знаменателе - длина удаляемого участка оболочки троса.

Перемычка между оболочкой кабеля и оболочкой каната прорезается кабельным ножом. На оболочке каната для ее удаления выполняют круговые и продольные надрезы, или просто срезают ее ножом. При необходимости канат укорачивается до нужного размера, для чего на расстоянии 5 - 7 мм от места будущего обреза на проволоки каната накладывается бандаж из 4 - 5 витков стальной проволоки, а затем проволоки каната надпиливают и обламывают.

МОНТАЖ СЕРДЕЧНИКОВ ГОРОДСКИХ КАБЕЛЕЙ

11.36. Сердечники кабелей до начала сращивания жил разбирают на пучки, концы которых плотно перевязывают обрезками жил. В кабелях повивной скрутки сердечники разбираются по полуповивам. Для этого каждый повив делится на два пучка: ближний и дальний. В ближний отбираются примерно 60 % групп (пар или четверок), а в дальний - 40 %. При разборке повивов счетные группы обоих кабелей должны попасть в одноименные пучки (рис. 11.8).

Рис. 11.8. Очередность монтажа групп жил сердечника:

а) повивной скрутки (по полуповивам); б) пучковой скрутки (по главным пучкам)

Образованные из полуповивов пучки жил кабелей увязываются в две косоплетки: «ближнюю» и «дальнюю». По окончании разборки они объединяются в одну, и на каждом конце кабеля образуется большая косоплетка, в которой пучки увязаны в порядке, обратном очередности их монтажа.

11.37. Сердечники кабелей пучковой скрутки разбирают на главные пучки, их подвязывают к кабелю в порядке, обратном очередности их монтажа. Наиболее удаленный от спайщика главный пучок оставляют неподвязанным и разбирают его на элементарные пучки, которые увязывают в косоплетку в порядке, обратном очередности их монтажа. Группы в элементарных пучках разбирают в процессе монтажа.

(Если главные пучки кабелей имеют повивную скрутку групп, то группы в главных пучках разбирают по полуповивам.)

11.38. При сращивании кабеля повивной скрутки с кабелем пучковой скрутки из сердечника кабеля повивной скрутки отбирают пучки групп, соответствующие числу групп в главных пучках кабеля пучковой скрутки. Запасные (резервные) пары (четверки) кабелей пучковой скрутки, расположенные между главными пучками, при разборке подвязывают к оболочкам отдельно. Эти пары соединяют в последнюю очередь.

11.39. При разделке кабелей типа ТП с переменным направлением скрутки жил следует увеличить длину оставляемых для разделки концов с таким расчетом, чтобы в соединительной муфте длина освобождаемого от оболочки сердечника была не менее 1 м, а в сборной муфте - не менее 1,2 м. Во время разборки сердечника следует соблюдать осторожность, чтобы не допустить рассыпания пар. Оболочку с кабеля сначала удаляют на участке длиной 500 мм.

11.40. Сердечник кабеля при разматывании экранной ленты и поясной изоляции должен быть скреплен на конце бандажом из обрезков жил. После чего он разбирается на главные пучки, каждый из которых, в свою очередь, также скрепляется бандажом. При разборе следует избегать резких изгибов главных пучков. Затем главные пучки разбирают на элементарные 10´2 пучки. При этом следует выделять пучки с трудноразличимой скруткой, а пучки с заметной скруткой сразу увязывать в порядке, обратном очередности монтажа.

Для отбора пар на пучок с трудноразличимой скруткой накладывают несколько бандажей на расстоянии 100 - 120 мм друг от друга. На пучке выбирают участок между бандажами, где можно различить хотя бы несколько пар. Пучок на этом участке распушивается, образуя так называемый «фонарик» (рис. 11.9). В «фонарике» большая часть жил разойдется попарно, их отбирают в первую очередь, а оставшиеся пары - во вторую очередь.

Рис. 11.9. Распушивание пучка в «фонарик»:

1 - элементарный 10´2 пучок; 3 - бандажи

Если этого сделать не удается, рассыпавшиеся пары нужно отобрать, ориентируясь на расцветку жил и на их близость друг к другу. При невозможности разобрать пары следует удалить еще часть полиэтиленовой оболочки. Если и эта мера не принесет успеха, пары отбираются с противоположного конца кабеля.

11.41. Сращиваемые концы кабелей с разобранными сердечниками закрепляют на консолях таким образом, чтобы соединяемые полуповивы или пучки обоих концов кабелей находились друг против друга, а расстояние между обрезами оболочек соответствовало размерам используемой муфты. Смонтированный сросток жил должен быть симметричен относительно оси, проходящей через центры соединяемых кабелей, и иметь достаточную плотность. При ручном монтаже первоначально сращивают наиболее удаленные от спайщика полуповивы и пучки, их жилы сращивают с определенной слабиной, которую уменьшают по мере приближения к центру.

11.42. При сращивании жил необходимо соблюдать основные правила:

·         не допускать «разбивки пар», то есть соединения жил одной пары (четверки) с жилами двух разных пар (четверок);

·         группы (жилы, пары, четверки) каждого повива, пучка одного конца кабеля должны соединяться с одноименными группами, повивами и пучками другого конца кабеля. Для кабелей одинаковой емкости переход из одного повива или пучка в другой не допускается. Исключения могут иметь место только при различном числе групп в одноименных повивах или пучках сращиваемых кабелей или при необходимости замены в них дефектных пар (четверок);

·         на всем протяжении кабеля одной и той же емкости должна сохраняться непрерывность контрольных и счетных групп (пар, четверок) каждого повива, пучка. В разветвительных муфтах контрольные и счетные группы основных кабелей должны, по возможности, соединяться с контрольными и счетными группами ответвляющихся кабелей;

·         при возможности должны сращиваться жилы и группы с одинаковой или сходной расцветкой изоляции. В паре жилу с более яркой расцветкой изоляции принято считать жилой «а»;

·         при различном числе групп в главных пучках соединяемых кабелей (например, 50´2 и 100´2) элементарные пучки двух главных 50´2 пучков одного кабеля должны соединяться с элементарными пучками одного 100´2 пучка другого кабеля;

·         в разветвительных муфтах внутренние повивы или пучки основного кабеля должны сращиваться с ответвляющимися кабелями большей емкости. По мере уменьшения емкости ответвляющихся кабелей их соединяют со все более удаленными от центра повивами или пучками основного кабеля;

·         запасные группы кабеля (сверх его номинальной емкости) должны сращиваться на всем протяжении линии. При неодинаковом числе групп в монтируемых кабелях свободные группы выводятся на поверхность сростка, изолируются и закрепляются на нем перевязкой из ниток;

·         поврежденные пары кабелей необходимо также вывести на поверхность сростка, соединить между собой и изолировать.

СРАЩИВАНИЕ ТОКОПРОВОДЯЩИХ ЖИЛ И ВОССТАНОВЛЕНИЕ ИХ ИЗОЛЯЦИИ

11.43. Медные жилы кабелей местных сетей связи должны сращиваться одним из следующих способов:

·         ручной скруткой с изолированием каждой жилы индивидуальной гильзой или пары жил общей гильзой;

·         механизированным соединением с помощью:

- групповых 10-парных сжимаемых соединителей СМЖ-10;

- 25-парных модульных соединителей МS2 серии 4000D;

- одножильных соединителей типа UY2 «Скотчлок».

Допускается использование индивидуальных и групповых соединителей других типов, а также приспособлений для механизированной скрутки жил, имеющих сертификат соответствия Минсвязи России.

11.44. При ручном скручивании жил на кабелях типа Т применяются бумажные гильзы, на кабелях типа ТП - гильзы из полиэтилена. Размеры гильз приведены в табл. 11.3.

Таблица 11.3

Размеры (мм) изолирующих гильз, применяемых для изоляции жил городских телефонных кабелей

Диаметр жил кабеля

Индивидуальные гильзы

Общие гильзы

Бумажные

Полиэтиленовые

Бумажные

Полиэтиленовые

длина

диаметр

длина

диаметр

длина

диаметр

длина

диаметр

наружный

внутренний

наружный

внутренний

наружный

внутренний

наружный

внутренний

0,32 и 0,4

40

3,1

2,5

40

3,6

3,0

-

-

-

70

4,8

4,0

0,5

40

3,4

2,8

40

3,6

3,0

100

3,4

2,8

70

4,8

4,0

0,64 и 0,7

40

3,6

3,0

40

4,8

4,0

-

-

-

70

5,8

5,0

11.45. Процесс сращивания жил ручной скруткой показан на рис. 11.10.

Рис. 11.10. Процесс сращивания жил ручной скруткой:

а) с изолированием индивидуальными гильзами; б) с изолированием общей гильзой

Перед сращиванием на жилы надеваются гильзы. В процессе сращивания одноименные жилы скрещивают и скручивают на два оборота вместе с изоляцией. Начиная от места скрутки жил в изоляции на расстоянии 30 - 40 мм изоляцию с жил удаляют бокорезами. Оголенные участки жил складывают вместе, сжимают пальцами одной руки и 8 - 10 кругообразными движениями другой руки свивают на длине 15 - 25 мм в зависимости от диаметра жил кабеля. Лишние концы жил обрезают. Длина обрезанной скрутки не должна быть меньше размера, указанного в табл. 11.4.

Таблица 11.4

Зависимость длины скрутки от диаметра жил кабеля

Диаметр жил кабеля, мм

Длина скрутки жил, мм

0,32

12

0,4

12

0,5

15

0,64

20

0,7

20

В месте обреза скрутки концы жил должны быть плотно прижаты друг к другу. Скрутка отгибается в сторону от гильзы или наоборот, по усмотрению спайщика, производящего монтаж муфты. Аналогично сращивают вторую жилу пары.

11.46. При сращивании жил и в процессе эксплуатации кабелей необходимо исключить разбивку, т.е. «рассыпание» соединенных пар и четверок.

Для этого каждая пара или четверка должны скрепляться перевязкой из ниток (суровых или капроновых) или же групповыми кольцами, изготовленными из того же материала, что и гильзы. Расположение скруток в гильзах, места установки групповых колец показаны на рис. 11.11. В случае использования общей гильзы групповые кольца или вязка нитками не требуются.

Рис. 11.11. Способы изолирования скруток жил:

а) индивидуальными гильзами; б) общими парными гильзами; в) общими четверочными гильзами при механизированной скрутке

При параллельном включении оконечных устройств (распределительных коробок, боксов и кабельных ящиков) соединяются вместе жилы трех кабелей. Жилы сращиваются ручной скруткой, которая изолируется индивидуальной гильзой.

11.47. Перед сращиванием каждой очередной пары или группы жил спайщик должен определить для них место расположения на сростке. Ближайшие к обрезу оболочки скрутки жил должны отстоять от него не менее чем на 40 мм. Скрутки жил отдельных пар (четверок) или группы таких скруток равномерно распределяют по всей длине сростка, смещая каждую последующую группу на половину гильзы предыдущей группы. Допускается размещение скруток жил в шахматном порядке (рис. 11.12).

Рис. 11.12. Размещение скруток жил по длине муфты:

а) со смещением на половину длины гильзы; б) в шахматном порядке

11.48. При сращивании двух кабелей, имеющих токоведущие жилы различного диаметра, скрутки жил необходимо пропаять, если разница в диаметрах равна или превышает 0,3 мм. Соотношения диаметров приведены в табл. 11.5.

Таблица 11.5

Соотношения диаметров медных жил сращиваемых кабелей, при которых скрутки подлежат пропайке

Диаметры жил кабелей, мм

Сторона «А» («Б»)

Сторона «Б» («А»)

0,32; 0,4

0,7; 0,8; 0,9

0,5

0,8; 0,9

0,64

1,0; 1,2

0,7; 0,8

0,8; 0,9; 1,0; 1,2

0,9; 1,0

0,9; 1,0; 1,2

1,2

1,2

11.49. Скрутки пропаиваются припоем ПОССУ-40 с применением в качестве флюса раствора канифоли в спирте (три весовые части канифоли на семь частей спирта). Пайку скруток производят в стаканчиковом паяльнике, разогреваемом пламенем газовой горелки или паяльной лампы. Перед пайкой концы скруток смазывают на длине 8 - 10 мм раствором канифоли в спирте при помощи мягкой кисточки. Концы скруток погружаются в расплавленный припой на 2 - 3 см. Длина пропаянного участка скрутки должна составлять 5 - 8 мм. Пропайка производится группами по 6 - 8 пар по мере сращивания.

11.50. Способ сращивания жил с помощью многопарных соединителей, при котором за один прием сращиваются 10 или 25 пар без предварительного снятия изоляции и применения изолирующих гильз, обеспечивает высокое качество монтажа и повышение производительности труда по сравнению с ручной скруткой жил.

11.51. Соединители СМЖ-10 отечественного производства применяются для сращивания жил городских телефонных кабелей с полиэтиленовой и бумагомассной изоляцией.

Не рекомендуется применение соединителей для монтажа кабелей типа Т с трубчато-бумажной изоляцией.

Соединитель СМЖ-10 (рис. 11.13) состоит из двух половин: нижней (2), которая содержит все металлические контактные элементы, и верхней (3), имеющей пазы и выступы, служащие для вдавливания в щели контактных элементов нижней половины сращиваемых жил (1) и их фиксации.

Рис. 11.13. Соединитель СМЖ-10:

1 - сращиваемые жилы, 2 - основание соединителя, 3 - крышка соединителя

11.52. Выпускаются два вида соединителей СМЖ-10:

·       для сращивания жил диаметром 0,32 и 0,4 мм с шириной прорези 0,26 - 0,29 мм;

·       для сращивания жил диаметром 0,5 и 0,7 мм с шириной прорези 0,39 - 0,43 мм.

При сращивании жил разного диаметра, например, при монтаже станционных разветвительных муфт, соединители подбираются для меньшего диаметра жил.

Цвет корпуса соединителя определяет его назначение. Соединители белого цвета предназначены для жил диаметром 0,32 и 0,4 мм; любого другого цвета (кроме черного) - для жил диаметром 0,5 и 0,7 мм.

Соединители поставляются в полиэтиленовых пакетах, по 100 штук в каждом. В пакет вкладывается бланк предприятия-изготовителя с техническими данными соединителей и свидетельством ОТК о приемке.

11.53. Опрессовка соединителей и одновременно с этим обрезание излишков жил производится с помощью ручной пресс-техники ПСМЖ-200 (рис. 11.14) с соблюдением следующей технологической последовательности.

Основание соединителя закладывается в соответствующее гнездо пресса. Сращиваемые концы жил заводятся в гнездо соединителя и устанавливаются над прорезями контактной пластины. Жилы фиксируются на штырях разделительной гребенки, концы жил зажимаются в спиральной пружине. Затем основание соединителя накрывается крышкой. Крышка прижимается откидной планкой пресс-техники. Поворотом рукоятки пресса части соединителя сжимаются и надежно фиксируются в таком положении. При этом контактные пластины приходят в соприкосновение с жилами, сдавливают их, прорезают изоляцию и внедряются в тело проводников. В результате обеспечивается надежный электрический контакт между сращиваемыми жилами. Обжатый соединитель извлекают из пресса, и таким же образом монтируется следующий соединитель.

Рис. 11.14. Ручная пресс-техника ПСМЖ-200:

1 - корпус, 2 - кронштейн, 3 - планка, 4 - делитель, 5 - толкатель, 6 - нож, 7 - рукоятка, 8 - пружина, фиксирующая жилы

Соединители СМЖ-10 в сростке объединяются в компактные группы. Количество групп зависит от емкости кабеля и размеров муфты. Соединители в группе должны быть плотно уложены один на другой, соединители разных групп не должны касаться друг друга (рис. 11.15).

Рис. 11.15. Размещение групп соединителей СМЖ-10 в сростке

11.54. Кроме многопарных соединителей СМЖ-10, нашедших массовое применение при монтаже кабелей ГТС, выпускаются модули МS серии 4000D и одножильные соединители UY2 «Скотчлок» («Scotchlock»).

Модули МS предназначены для одновременного соединения 25 пар жил кабеля сечением 0,32 - 0,7 мм с пластмассовой (полиэтилен, поливинилхлорид) и бумажной изоляцией без предварительного ее удаления. Конструкция этих соединителей предусматривает возможность обрезки концов соединяемых проводников, проведения необходимых измерений и правильной установки модуля в соединительные головки. Крышки и основания всех модульных соединителей съемные.

11.55. Модуль состоит из трех частей: основания, корпуса и крышки (рис. 11.16). Каждый элемент модуля имеет срезанный угол для правильной установки в соединительные головки.

Рис. 11.16. Конструкция модуля МS:

1 - основание, 2 - корпус, 3 - крышка, 4 - срезанный угол

Модуль МS 4000-D предназначен для выполнения прямых соединений. Его корпус имеет ножи для обрезания концов жил. Крышка и верхняя часть корпуса окрашены в цвет слоновой кости, а нижняя часть корпуса и основание - золотистого цвета.

Модуль МS 4008-D предназначен для запараллеливания пар при переключениях и ремонте кабеля. Нижняя часть корпуса (зеленая) не имеет ножей, а верхняя (цвета слоновой кости) - с ножами. Основание модуля окрашено в зеленый цвет, а крышка - цвета слоновой кости.

11.56. Жилы соединяются в модулях с помощью специального устройства - соединительной головки (рис. 11.17, а), которая используется как вспомогательный элемент для размещения модуля и удобства в обращении с жилами в процессе их соединения. Обжим модуля в процессе соединения осуществляется гидравлической установкой (рис. 11.17, б), состоящей из ручного гидравлического насоса, шланга и обжимного зажима. Процесс опресовки прекращается при давлении 20 кН.

При монтаже кабелей используется монтажное устройство для крепления соединяемых концов кабеля (рис. 11.17, в), состоящее из монтажной штанги (отрезка трубы) длиной 76 см с двумя передвижными хомутами со скобами и лямками, поперечного зажима, зажима для крепления соединительных головок. На одном основании могут быть установлены одна или две соединительные головки, крепящиеся с помощью четырех винтов (рис. 11.17, г).

Рис. 11.17. Монтажные устройства:

а) соединительная головка:

1 - обжимной зажим, 2 - направляющие проводников, 3 - разделитель пар, 4 - пружина, 5 - планка соединителя, 6 - основание

б) гидравлическая установка; в) монтажная штанга; г) соединительные головки на основании

11.57. Порядок крепления монтажного устройства к концам сращиваемых кабелей, присоединения поперечного зажима, установки оснований с соединительными головками, сращивания жил с различной изоляцией, обжима модулей, связки сростков в пучки подробно изложен в «Инструкции по применению модульных соединителей серии 4000 марки МS фирмы 3М».

11.58. Для обеспечения высокого качества сростка при монтаже кабелей малой емкости рекомендуется применять одножильные соединители, например, типа UY2 «Скотчлок» (рис. 11.18). Соединитель UY2 предназначен для соединения медных жил диаметром 0,4 - 0,9 мм с бумажной и полиэтиленовой изоляцией без предварительной их зачистки, при этом максимальный диаметр жилы в изоляции должен быть не более 2,08 мм. Корпус соединителя заполнен гидрофобной массой, предотвращающей воздействие влаги на место соединения проводников.

Рис. 11.18. Соединитель UY2:

1 - крышка, 2 - контактный элемент, 3 - корпус

Соединитель позволяет соединять проводники с различными диаметрами жил и типами изоляции. Их рекомендуется использовать для монтажа кабелей малой емкости (до 100´2) и для сращивания запасных жил в кабелях большой емкости. Монтаж кабелей с использованием одножильного соединителя осуществляется при помощи пресс-клещей (Е-9Y), обкусывающих и запрессовывающих проводники.

11.59. Сращивание жил кабеля с полиэтиленовой изоляцией производят в следующей последовательности: из отобранных пучков соединяемых кабелей выбирают пары (четверки), соответствующие друг другу по расцветке, и скручивают внатяг в три оборота на расстоянии 40 мм от обреза оболочки. Затем из скрученных пар (четверок) отбирают одноименные жилы (А1 и А2) и, сложив их вместе, подравнивают, обкусывают при помощи пресс-клещей на расстоянии 40 мм от места скрутки (рис. 11.19, а). Повернув соединитель прозрачной стороной к себе, вводят в него подготовленные жилы до упора в заднюю стенку корпуса соединителя. Опресовывают соединитель на жилах передней рабочей частью пресс-клещей. Далее отбирают две вторые одноименные жилы (Б1 и Б2) из сращиваемой пары (четверки) и, сложив их вместе, обрезают на расстоянии 45 мм от места скрутки. Вводят жилы в соединитель и опресовывают (рис. 11.19, б). В кабеле с четверочной скруткой жил аналогично подготавливают третьи и четвертые жилы, обрезая их соответственно на расстоянии 50 и 55 мм от места скрутки.

Места скруток последующих пар (четверок) располагают через каждые 30 мм на всей оставшейся длине рабочей зоны (рис. 11.19, в). Оставшиеся пары (четверки) монтируются против мест скруток пар (четверок) первого ряда. Смонтировав первый пучок жил, связывают его сердцевину в трех местах через равные промежутки, монтируют остальные пучки жил кабеля.

Сращенные пучки перевязывают вместе киперной лентой в трех местах через равные промежутки. Группы смонтированных соединителей, образовавшиеся после увязки, равномерно распределяют по окружности сростка веером, начиная с первой, и укладывают так, чтобы соединители лежали в один слой, а диаметр сростка был по всей его длине одинаковым.

Рис. 11.19. Сращивание жил при помощи одножильных соединителей

11.60. Особенностью сращивания жил кабеля с бумажной изоляцией является то, что на каждую пару жил надевают по групповому кольцу (если не применяется вязка нитками). Одноименные пары жил натягивают внутри рабочей зоны и изгибают под прямым углом на расстоянии 40 мм от одного из срезов оболочки. При этом нельзя допускать нарушений изоляции жил в месте сгиба, изгибать их следует плавно, удерживая в месте сгиба большим и указательным пальцами.

11.61. В зависимости от диаметра, типа и емкости монтируемого кабеля можно рекомендовать подбор полиэтиленовых и свинцовых муфт в соответствии с табл. 11.6.

Таблица 11.6

Подбор соединительных муфт МПС и МСС и размеры разделки кабелей ТПП и ТГ

Марка монтируемого кабеля

Тип рекомендуемой муфты

Длина освобождаемого от оболочки участка, мм

Расстояние между обрезами оболочки, мм

ТПП 10´2´0,4

МПС 7/13

270

170

0,5

0,64

0,7

ТПП 20´2´0,4

МПС 13/20

285

185

0,5

0,64

0,7

ТПП 30´2´0,4

0,5

ТПП 30´2´0,64

МПС 20/27

300

200

0,7

ТПП 50´2´0,5

ТПП 100´2´0,4

ТПП 50´2´0,64

МПС 24/33

380

280

0,7

ТПП 100´2´0,5

ТПП 100´2´0,64

МПС 32/40

415

315

0,7

ТГ 10´2´0,4-0,7

МСС-15

215

200

ТГ 20´2´0,4-0,64

ТГ 30´2´0,4; 0,5

ТГ 20´2´0,7

МСС-20

245

230

ТГ 30´2´0,64; 0,7

ТГ 50´2´0,4; 0,5

ТГ 50´2´0,64; 0,7

МСС-25

315

300

ТГ 100´2´0,4; 0,5

ТГ 100´2´0,64

МСС-35

325

310

ТГ 100´2´0,7

МСС-45

370

355

ВОССТАНОВЛЕНИЕ ПОЯСНОЙ ИЗОЛЯЦИИ И ЭКРАНА

11.62. Поясная изоляция на кабелях с бумажной изоляцией жил восстанавливается миткалевой лентой шириной 60 - 80 мм (рис. 11.20, а) или кабельной бумагой (рис. 11.20, б). Ширина подготовленной полосы кабельной бумаги должна превышать длину сростка на 100 - 120 мм, в зависимости от размера сростка.

Перед восстановлением поясной изоляции сросток кабеля просушивается горячим воздухом над пламенем газовой горелки. При этом над сростком устанавливается отражающий козырек из кабельной бумаги. Одновременно со сростком должен просушиваться материал, предназначенный для восстановления поясной изоляции. Для этого сросток слегка распушивается, и миткалевая лента, свернутая в рулон, укладывается на сросток. Если поясная изоляция восстанавливается кабельной бумагой, то полосу этой бумаги используют в качестве отражающего козырька. Сросток просушивается в течение 10 - 15 минут, а затем плотно обматывается двумя слоями прошпаренной миткалевой ленты с перекрытием в 15 - 20 мм.

Рис. 11.20. Восстановление поясной изоляции на кабелях типа Т:

а) миткалевой лентой; б) кабельной бумагой

1 - отметки местонахождения конусов свинцовой муфты; 2 - перевязки из суровых ниток

Конец полосы кабельной бумаги вставляется в сросток, сросток обматывается двумя-тремя слоями бумаги и уплотняется сворачиванием бумажной полосы. На краях сростка бумага обжимается руками. Концы миткалевой ленты и кабельная бумага закрепляются на сростке перевязками из ниток.

11.63. При восстановлении элементов кабелей с полиэтиленовой изоляцией жил (рис. 11.21) прежде всего должны использоваться ленты поясной изоляции и экрана кабеля, которые на стадии разделки сматывались в рулоны.

Смонтированный и отформованный руками сросток жил плотно обматывают встречными лентами поясной изоляции с перекрытием в 20 мм. Концы лент закрепляют перевязкой из ниток или обрезков жил. При невозможности размотать на ленты поясную изоляцию кабеля допускается использование в этом качестве полиэтиленовой ленты; при этом сросток должен закрываться двумя ее слоями с 50 % перекрытием.

Рис. 11.21. Восстановление поясной изоляции и экрана кабелей типа ТП:

а) восстановление поясной изоляции; б) восстановление экранной проволоки; в) восстановление экрана с использованием экранных лент кабеля ТПП; г) соединение экранных лент кровельным швом; д) восстановление экрана на кабеле ТППэп с использованием алюминиевой фольги

Концы экранной проволоки по спирали наматывают навстречу друг другу на закрытый поясной изоляцией сросток и в середине его соединяют ручной скруткой. Длина скрутки должна быть не менее 20 мм. Скрутка изолируется гильзой и затем сгибается пополам (рис. 11.21, б).

Собранные в рулоны экранные ленты наматываются на сросток с 50 % перекрытием. В середине сростка они соединяются кровельным замком (рис. 11.21, в, г).

На кабелях с экранами продольного наложения и кабелях марки ТППэп экран восстанавливается предварительно заготовленными экранными лентами, снятыми с концов кабелей ТПП, или алюминиевой фольгой. Экранная лента наматывается на сросток так же, как и в предыдущем варианте. Длина ленты должна обеспечивать обмотку сростка без соединений. Края ленты должны заходить на оголенные участки продольного экрана не менее, чем на 10 мм. На такое же расстояние должна перекрывать их и алюминиевая фольга. Суммарная толщина слоев фольги не должна быть тоньше экранной ленты кабеля. В местах захода на оголенный участок экрана лента или слои фольги закрепляются 2 - 3 витками голой медной проволоки.

11.64. Смонтированный сросток с восстановленными поясной изоляцией и экраном должен свободно входить в подготовленную муфту, чтобы при надвигании частей муфты на сросток нельзя было повредить восстановленные элементы кабелей. Перед установкой муфты на сросток в нее должен быть вложен паспорт по установленной форме.

ОСОБЕННОСТИ ВОССТАНОВЛЕНИЯ ПОЯСНОЙ ИЗОЛЯЦИИ ПРИ МОНТАЖЕ КАБЕЛЕЙ СОЕДИНИТЕЛЯМИ СМЖ-10 И МОДУЛЯМИ МS

11.65. Во время сушки сростка жил и сварки или пайки муфты возможна деформация соединителей, которая может вызвать повреждения жил кабелей. Для защиты соединителей от нагрева во время герметизации муфты на кабелях с полиэтиленовой изоляцией жил производится дополнительная намотка пяти - шести слоев полиэтиленовой ленты на восстановленной поясной изоляции.

Сросток кабеля с бумажной изоляцией жил, смонтированный соединителями, просушивается горячим воздухом от газовой горелки или паяльной лампы в течение 1 ч. Температура воздуха должна быть не более 60 °С. Значительно уменьшает время сушки применение стального кожуха с контрольным термометром. Кожух надевается на сросток и прогревается снаружи.

При восстановлении поясной изоляции на кабелях типа Т кроме положенных слоев кабельной бумаги дополнительно подматываются еще семь - восемь слоев кабельной бумаги.

ВОССТАНОВЛЕНИЕ СВИНЦОВЫХ ОБОЛОЧЕК

11.66. Свинцовые оболочки телефонных кабелей связи восстанавливаются свинцовыми муфтами: пайка стыков их частей и стыков с оболочкой кабеля производится припоем ПОССу-30-2, а в качестве флюса при пайке используется стеарин. Для формования и разглаживания паяных швов используется паяльная гладилка, изготовленная из куска льняной ткани и пропитанная стеарином. Во время пайки рекомендуется смачивать рабочий слой гладилки стеарином для предотвращения ее прогорания.

11.67. Подготовленная свинцовая муфта надвигается на сросток и устанавливается так, чтобы обеспечить одинаковый заход в нее оболочек сращиваемых кабелей. Конусы муфты зачеканивают деревянным молотком до размера внешнего диаметра оболочки, обеспечивая при этом симметричность муфты относительно продольной оси кабеля. Места пайки тщательно осматривают и, при необходимости, вновь зачищают загрязненные места кабельным ножом или стальной щеткой.

11.68. На муфтах, состоящих из двух полумуфт, сначала запаивают стык между полумуфтами, для разрезных муфт - продольный шов, а затем конусы муфты с оболочкой кабеля. Верхняя кромка продольного шва должна перекрывать нижнюю на 8 - 15 мм. Перед началом пайки муфты кабели, входящие в нее, закрепляются к консолям, чтобы исключить изменение положения муфты во время пайки.

11.69. Место пайки прогревают пламенем газовой горелки (или паяльной лампы), протирают куском стеарина, следя за тем, чтобы расплавленный стеарин не затекал внутрь муфты и не попадал на сросток. Припой в расплавленном состоянии накладывают на стык частей муфты или на стык муфты с кабелем и по участкам, начиная с труднодоступных, нагревают до пластичного состояния и формуют гладилкой до получения ровного конуса или округлого шва (рис. 11.22, а, б).

Рис. 11.22. Формы паяных швов на свинцовых муфтах:

а) с цилиндрическими окончаниями; б) с зачеканенными конусами; в) шов на муфте из рольного свинца; г) запайка шва при герметизации муфты

Муфты, изготовленные из листов рольного свинца, имеют продольный пропаянный шов (рис. 11.22, в), на который накладывается слой припоя, полностью закрывающий стык краев свинцового листа, и формуется округлый шов (рис. 11.22, г).

После окончания пайки швы охлаждают до температуры 40 - 50 °С, без нажима оглаживая их куском стеарина, после чего приступают к протирке муфты ветошью, убирая следы стеарина, и все швы внимательно осматривают. При необходимости швы подпаивают.

ВОССТАНОВЛЕНИЕ ПОЛИЭТИЛЕНОВЫХ ОБОЛОЧЕК

11.70. Полиэтиленовые оболочки и защитные полиэтиленовые шланги телефонных кабелей связи восстанавливаются с помощью полиэтиленовых муфт одним из способов:

·       способом наплавления полиэтиленовой светостабилизированной ленты под стеклолентой;

·       с применением термоусаживаемых материалов, усаженных на подклеивающий слой;

·       способом наплавления полиэтиленового прутка в струе горячего азота.

11.71. Способ наплавления полиэтиленовой ленты под стеклолентой является универсальным и позволяет восстанавливать оболочки и защитные шланги на любых кабелях, независимо от внешнего диаметра их оболочки, типоразмера и конструкции муфт. Используется для сварки кольцевых и продольных швов на полиэтиленовых муфтах.

Полиэтиленовая муфта в местах сварки тщательно зачищается, с торцов муфты снимается фаска (конусы муфты обрезаются в местах, где их внутренний диаметр равен внешнему диаметру оболочки кабеля); под местами сварки в муфтах устанавливаются металлические опорные кольца (рис. 11.23).

Рис. 11.23. Места установки опорных колец:

а) в муфтах, герметизируемых способом наплавления полиэтиленовой ленты; б) в муфтах, герметизируемых с помощью трубок ТУТ

Опорные кольца изготавливаются из листовой стали. Кольцо должно плотно входить в муфту. Края металлической полосы в кольце соединяются в разрез или точечной сваркой. Опорные кольца входят в комплект полиэтиленовой муфты и поставляются вместе с ней.

11.72. Для наплавления используется полиэтиленовая светостабилизированная лента (из полиэтилена той же марки, что и оболочка кабеля) шириной 50 мм и толщиной 0,2 мм. При необходимости, в процессе подготовки к сварке она разрезается на более узкие полоски. Наплавление должно выполняться через стеклоленту шириной 35 мм и толщиной 0,2 мм. Допускается применение стеклоленты меньшей ширины. При подборе стеклоленты прежде всего учитывается ее плотность. Она должна обеспечивать целостность стеклоленты при удалении ее с поверхности шва. Первоначально должны свариваться части муфты между собой, а затем муфта с оболочкой или защитным шлангом кабеля (рис. 11.24). Одновременная сварка нескольких швов не допускается.

Рис. 11.24. Наплавление полиэтиленовой ленты под стеклолентой:

1 - готовый сварной шов на стыке частей муфты; 2 - подготовленный к сварке конус муфты; 3 - направление пламени при сварке; 4 - газовая горелка или паяльная лампа

11.73. Стык частей муфты плотно и ровно обматывается несколькими слоями светостабилизированной полиэтиленовой ленты, чтобы общая их толщина составляла не менее трети толщины муфты (рекомендуемое число слоев ленты указано в табл. 11.7). Лента должна перекрывать участки шириной не менее 25 мм по обе стороны от стыка частей муфты. Конец ленты расплавляется пламенем и прижимается к верхнему слою обмотки. Поверх полиэтиленовой ленты наматывается чистая, без порезов и разрывов, стеклолента (повторное использование стеклоленты не допускается). Стеклолента также должна перекрывать участки не менее, чем на 25 мм по обе стороны от краев намотанной полиэтиленовой ленты. Концы стеклоленты закрепляются перевязкой из проволоки. Перед началом сварки кабели, входящие в муфту, жестко закрепляются на консолях, чтобы полностью исключить шевеление муфты во время сварки.

11.74. Закрытые стеклолентой участки равномерно прогревают умеренным пламенем, постепенно перемещая его по всей поверхности сварного шва. Прогрев должен чередоваться с перерывами (паузами), во время которых пламя отводится в сторону. После начального прогрева участок сварки следует прогревать с регулярными перерывами несколькими циклами, состоящими из паузы и нагрева. Циклическая сварка обеспечивает необходимую равномерность нагрева полиэтилена и повышает качество сварного шва. Рекомендуемые временные режимы сварки указаны в табл. 11.7.

Таблица 11.7

Временные режимы сварки полиэтиленовых муфт способом наплавления полиэтиленовой ленты

Наружный диаметр кабеля, мм

Кол-во слоев п/э ленты

Кол-во слоев стеклоленты

Время, мин

Кол-во циклов (пауза - нагрев)

всей сварки

начального нагрева

паузы

последующего нагрева

7 - 13

3

3

4

1

0,5

0,5

3

13 - 16

4

3

6

1

0,5

0,5

5

16 - 19

4

3

7

2

0,5

0,5

5

19 - 24

4

3

8

2

0,5

0,5

6

24 - 27

5

3

10

2

0,5

0,5

8

27 - 31

6

4

12

3

0,5

0,5

9

31 - 38

6

4

15

3

1

1

6

38 - 42

10

4

17

5

1

1

6

42 - 47

11

4

17

5

1

1

8

47 - 53

12

4

22

6

1

1

8

53 - 60

13

4

22

6

1

1

8

60 - 70

14

4

25

7

1

1

9

70 - 80

15

4

28

8

1

1

10

11.75. Стеклолента с готового шва удаляется только после того, как он охладится (до температуры 50 - 60 °С) и отвердеет. Не допускается применение принудительного охлаждения сварных швов (снегом, холодной водой и т.д.). Шов должен быть достаточно плотным, чтобы удаление стеклоленты не привело к отрыву пластов полиэтилена и, в то же время, не должен переохлаждаться, так как с холодного шва стеклолента снимается очень трудно. Сварной шов проверяется внешним осмотром: на его поверхности не должно быть складок, раковин, воздушных пузырей и обрывков стеклоленты. При необходимости дефектный участок шва дополнительно проваривают под стеклолентой. Остальные кольцевые швы на муфте завариваются аналогично.

11.76. Для выполнения продольных швов на разрезных полиэтиленовых муфтах их поверхность на полосе шириной 20 - 25 мм по обе стороны от разреза зачищается ножом, при этом должны приниматься меры по предотвращению деформации муфты во время сварки установкой нескольких опорных колец. Края разреза состыковываются, и муфта целиком обматывается полиэтиленовой лентой, а затем стеклолентой. При сварке продольного шва прогревается только район этого шва, т.е. полоса шириной 40 - 50 мм.

11.77. При восстановлении оболочек телефонных кабелей применяются термоусаживаемые трубки (ТУТ) черного цвета, изготовленные из светостабилизированного полиэтилена. Восстановление полиэтиленовой оболочки как правило выполняется с применением стандартных полиэтиленовых муфт и отрезков трубок ТУТ. Герметичность и необходимая эксплуатационная надежность муфт обеспечивается только в том случае, когда типоразмер трубки ТУТ подобран правильно, т.е. соединяемые детали обжаты с достаточным усилием; подклеивающий слой необходимой толщины нанесен на зачищенную, обезжиренную поверхность деталей муфты и кабеля; участки кабеля или муфты перекрыты отрезком трубки ТУТ на требуемое расстояние по обе стороны от герметизируемого стыка.

11.78. Условное обозначение трубок ТУТ (например, 40/20) состоит из отношения внутреннего диаметра до и после усадки. Выпускаемые типоразмеры ТУТ, нашедшие наибольшее применение при монтаже кабелей связи, приведены в табл. 11.8.

Таблица 11.8

Типоразмеры трубок ТУТ, применяемые при монтаже кабелей ГТС

Типоразмер ТУТ

Внутренний диаметр ТУТ, мм

Толщина стенки после усадки, мм

до усадки

после усадки

12/6

12

6

0,6

16/8

16

8

0,8

20/10

20

10

1,0

30/15

30

15

1,0

40/20

40

20

1,0

60/30

60

30

1,5

80/40

80

40

1,5

100/50

100

50

1,5

Эти трубки ТУТ имеют коэффициент усадки 1/2, т.е. полученный при полной усадке внутренний диаметр составляет половину внутреннего диаметра до усадки, что в определенной степени сокращает возможности применения ТУТ при герметизации муфт.

При отсутствии маркировки типоразмер ТУТ определяется диаметром, замеренным штангенциркулем или линейкой, для чего сплющенный конец трубки раздвигают рукой и придают ему форму, наиболее близкую к окружности.

11.79. Подбор трубок ТУТ производится с учетом диаметров соединяемых деталей (полумуфт, их конусов, оболочки кабеля), которые должны находиться в пределах применения подобранной трубки ТУТ. Рекомендуемые пределы их применения приведены в табл. 11.9.

Таблица 11.9

Рекомендуемые пределы применения трубок ТУТ

Типоразмер ТУТ

Рекомендуемый предел применения ТУТ

минимальный наружный диаметр, мм

максимальный наружный диаметр, мм

20/10

13

15

30/15

20

25

40/20

25

35

60/30

35

50

80/40

45

70

100/50

60

85

При наличии ТУТ с коэффициентом усадки 1/3 и более подбор трубки производят с таким расчетом, чтобы после усадки она обжимала соединяемые детали с достаточным усилием. Не допускается усадка трубки до нижнего предела типоразмера или натягивание ее на деталь, внешний диаметр которой равен верхнему пределу типоразмера.

11.80. В качестве герметизирующего подклеивающего слоя рекомендуется использовать сополимер этилена с винилацетатом - сэвилен (или миравитен), а также клей-расплав ГИПК-14-13. Подклеивающий слой может выпускаться в виде ленты, жгута или прутка, накладываемых на поверхности стыкуемых деталей в виде отдельных поясков, ширина которых в зависимости от диаметров стыкуемых деталей указана в табл. 11.10.

Клей-расплав ГИПК-14-13 выпускается в виде жгутов диаметром 25 - 50 мм. Конец жгута разогревается до плавления (80 - 100 °С) умеренным пламенем газовой горелки. Клей наносится путем натирания сплошным слоем на стыкуемые детали; толщина каждого слоя сэвилена (клея-расплава) должна быть не менее 1 мм.

Таблица 11.10

Ширина поясков сэвиленовой ленты

Наружный диаметр кабеля (муфты), мм

Ширина поясков сэвиленовой ленты, мм

до 30

20

до 50

30

свыше 50

40

11.81. Подобранные трубки ТУТ разрезаются на отрезки, длина которых должна быть в зависимости от типоразмера: для трубок 40/20 - не менее 100 мм; для трубок 60/30 - 120 мм; для трубок 80/40 - 130 мм; для трубок 100/50 - 150 мм.

Линия отреза должна быть перпендикулярна продольной оси трубки. Торцы отрезков, проверяемые внешним осмотром, должны быть ровными, без надрезов, заусенцев, наплывов, раковин, глубоких царапин, которые могут вызвать разрыв трубки во время усадки.

11.82. Отрезки ТУТ обезжириваются бензином Б-70 и надвигаются на кабель до начала разделки концов. На время монтажа сростка их защищают от загрязнения. С внешней стороны торцов частей полиэтиленовой муфты кабельным ножом снимается фаска, а конусы муфты обрезаются так, чтобы она плотно облегала кабель. В муфту вставляются опорные кольца, по два на каждый стык, и подготовленные части муфты надвигаются на кабель. После монтажа сростка жил, восстановления поясной изоляции и экрана полиэтиленовую оболочку кабеля в местах установки конусов муфты, а также стыкуемые детали муфты с внешней стороны обезжиривают бензином Б-70 и зачищают. Затем муфта устанавливается над смонтированным сростком. Для фиксации частей муфты между собой и с оболочкой кабеля на стыки наматываются один на другой три - четыре слоя полиэтиленовой ленты шириной 25 - 40 мм. По обе стороны от намотанной полиэтиленовой ленты на поверхность муфты и оболочки кабеля без зазора накладываются пояски сэвилена или наносится слой клея-расплава.

11.83. Отрезки ТУТ надвигаются на места, предназначенные для их установки, и усаживаются. Места наложения подклеивающего слоя и установки ТУТ показаны на рис. 11.25.

Рис. 11.25. Расположение поясков сэвиленовой ленты и слоев клея-расплава на полиэтиленовой муфте:

1 - пояски сэвиленовой ленты; 2 - отрезок ТУТ, подобранный для усадки на конус муфты; 3 - пояски полиэтиленовой ленты; 4 - слои клея-расплава; 5 - отрезок ТУТ, подобранный для усадки на стык частей муфты

Усадка ТУТ производится умеренным пламенем горелки, которое кругообразными движениями перемещают вокруг трубки. Сначала усаживается центр трубки (отрезка ТУТ), затем пламя перемещается от центра к одному из концов. После усадки одной половины отрезка ТУТ аналогично усаживают вторую его половину.

Особенно тщательно трубка должна прогреваться в местах установки поясков сэвилена или наложения клея-расплава. Прогрев продолжается до полной усадки ТУТ и активного выделения подклеивающего слоя из-под ее торцов. При слабом нажатии на трубку защищенными пальцами руки под ней должно чувствоваться плавление подклеивающего слоя.

11.84. Для восстановления и ремонта оболочек телефонных кабелей применяется двухслойная термоусаживаемая лента «РАДЛЕН», выпускаемая по ТУ-6-19-051-600-86. Она состоит из ленты-основы и герметизирующего подслоя. При герметизации оболочек и муфт телефонных кабелей следует дополнительно применять подклеивающий слой типа ГИПК-14-13 (КРУС-1, КРД).

При применении ленты «РАДЛЕН» на соединяемые детали муфты (участок оболочки) наносится расплавленный подслой, на него с легким подогревом наматывают ленту «РАДЛЕН» герметизирующим подслоем внутрь. Каждый виток ленты должен перекрывать предыдущий на 50 %. После намотки ленты весь участок равномерно прогревают до появления расплавленного подслоя из-под витков ленты.

11.85. Для восстановления оболочек и монтажа муфт допускается также использование сертифицированных термоусаживаемых изделий в виде соединительных прямых и распределительных муфт, муфт с застегивающими устройствами, а также в виде манжет, колпачков (с нипелями) и т.п.

ВОССТАНОВЛЕНИЕ РАЗНОРОДНЫХ ОБОЛОЧЕК

11.86. Восстановление оболочки в муфте на стыке кабелей в оболочках из разнородных материалов (например, полиэтилен - свинец или полиэтилен - сталь) производится с помощью переходной манжеты и свинцовой муфты. Переходная манжета изготавливается непосредственно на кабеле перед монтажом сростка. Для ее изготовления применяются: свинцовая втулка с продольным разрезом, изготовленная из рольного свинца или из отходов оболочки кабеля ТГ; один или два отрезка трубки ТУТ; подклеивающий слой (сэвилен, ГИПК-14-13, КРД и т.п.); кабельная бумага. Размеры свинцовых втулок и отрезков ТУТ приведены в табл. 11.11.

Таблица 11.11

Размеры ТУТ и свинцовых втулок

Количество пар в кабеле с диаметром жил, мм

Типоразмер ТУТ

Длина свинцовой втулки, мм

Длина первой ТУТ, мм

Длина второй ТУТ, мм

0,32

0,4

0,5

0,7

10 - 20

10

10

-

12/6

60

60

-

30 - 50

20 - 30

20

10

20/10

70

80

-

100 - 150

50

30 - 50

20 - 30

30/15

80

90

-

200 - 300

100 - 200

100

50

40/20

85

100

-

400 - 600

300 - 400

200 - 300

100 - 150

60/30

90

100

130

700 - 1200

500 - 900

400 - 600

200 - 300

80/40

120

110

140

-

1000 - 1200

700 - 1200

400 - 600

100/50

130

120

150

1400 - 1800

-

-

-

80/40

200

200

300

2000 - 2400

-

-

-

100/50

200

200

300

11.87. До удаления оболочки с концов сращиваемых кабелей на кабель с полиэтиленовой оболочкой надвигаются отрезки ТУТ (один или два, в зависимости от емкости кабеля), затем - части свинцовой муфты. На полиэтиленовую оболочку, начиная от места намечаемого обреза, накладывается бумажная прокладка из трех - четырех слоев кабельной бумаги, на которую устанавливается свинцовая втулка с продольным разрезом, подбиваемая киянкой до плотной посадки на оболочку и так, чтобы продольный разрез втулки сошелся встык, без зазора.

11.88. После окончания монтажа сростка жил, восстановления поясной изоляции над сростком, установки свинцовой муфты (экран из алюминиевой фольги в муфте не восстанавливается) экранная проволока выводится в ближайший конус муфты и припаивается к нему во время пайки муфты. Один из конусов муфты зачеканивается до диаметра свинцовой оболочки, второй - до диаметра свинцовой втулки, а затем конусы муфты и продольный разрез втулки запаиваются припоем ПОССу-30-2. Слой припоя, наложенный на продольный разрез втулки, должен быть ровным и пологим, не допускается крутой подъем припоя над поверхностью втулки.

11.89. В случае, если один из стыкуемых кабелей имеет стальную гофрированную оболочку, она предварительно залуживается пастой ПМКН-40. Свинцовая муфта припаивается к залуженному участку стальной оболочки припоем ПОССу-30-2 без применения стеарина. Экраны на стыке кабелей марок ТПП и ТПСтШП восстанавливаются соединением встречных концов экранных лент и проволок.

11.90. После окончания пайки муфта и втулка протираются ветошью, с торца втулки снимается фаска, втулка и полиэтиленовая оболочка в месте установки ТУТ тщательно обезжириваются и зачищаются (длина зачищаемого участка должна быть равна длине отрезка ТУТ). На зачищенные участки полиэтиленовой оболочки и свинцовой втулки накладываются пояски сэвиленовой ленты или слой клея-расплава (рис. 11.26), устанавливается и усаживается отрезок ТУТ (при установке двух отрезков ТУТ после усадки первого отрезка вплотную к его торцам снова накладываются пояски сэвилена или слой клея-расплава, а затем надвигается и усаживается второй отрезок ТУТ, который должен перекрывать нижний на одинаковое расстояние с обеих сторон).

Допускается использование свинцовых муфт на кабелях с полиэтиленовой оболочкой в случаях отсутствия полиэтиленовых муфт необходимого типоразмера и при ремонтных работах. При этом переходные манжеты в соединительных муфтах монтируются на обоих конусах, а в разветвительных муфтах - на основном кабеле и на каждом из ответвляющихся кабелей.

Рис. 11.26. Монтаж переходной манжеты и свинцовой муфты на стыке кабелей в свинцовой и полиэтиленовой оболочках:

1 - кабель в полиэтиленовой оболочке; 2 - отрезок ТУТ, подобранный по размерам втулки и кабеля; 3 - пояски сэвиленовой ленты; 4 - свинцовая разрезная втулка; 5 - прокладка из кабельной бумаги; 6 - пайка припоем ПОССу-30-2; 7 - экранная проволока кабеля ТПП; 8 - свинцовая муфта, подобранная по размеру сростка

ВОССТАНОВЛЕНИЕ СТАЛЬНОЙ ГОФРИРОВАННОЙ ОБОЛОЧКИ

11.91. Стальные гофрированные оболочки городских телефонных кабелей (например, кабелей марок ТСтШп и ТПСтШп) восстанавливаются свинцовыми муфтами с применением припоя ПОССу-30-2 (рис. 11.27).

Рис. 11.27. Восстановление стальных гофрированных оболочек городских телефонных кабелей:

1 - кабель в защитном полиэтиленовом шланге; 2 - залуженный пастой ПМКН-40 участок стальной оболочки; 3 - пайка припоем ПОССу-30-2 (без применения стеарина); 4 - свинцовая муфта, подобранная по размеру сростка; 5 - сросток жил с восстановленными внутренними элементами кабеля

Залуживание оболочки производится с помощью пасты ПМКН-40 в процессе подготовки концов кабелей к монтажу. В месте будущей пайки очищенная от битума стальная оболочка на участке длиной 50 - 60 мм тщательно зачищается стальной щеткой, обезжиривается бензином и просушивается.

Залуживание подготовленных участков оболочки производится в следующем порядке: поверхность оболочки покрывают слоем пасты толщиной 1 мм, после чего равномерно нагревают пламенем горелки до воспламенения и изменения цвета пасты до коричневого, а затем прекращают нагрев и осторожно, без нажима снимают с залуженной поверхности образовавшийся шлак мягкой хлопчатобумажной тканью. На теплую залуженную поверхность оболочки наносят новый слой пасты, и операция залуживания повторяется еще раз. (Особенно тщательно следует производить залуживание нижней части оболочки, где наиболее возможен недогрев, а также сварного шва на оболочке.)

11.92. При удалении оболочки круговой надрез выполняется по вершине гофра, в месте надреза она надламывается и осторожно стягивается с сердечника. После монтажа сростка и восстановления внутренних элементов кабеля свинцовая муфта устанавливается на место, и ее конусы зачеканиваются.

Пайка стыков муфты с залуженными участками стальной гофрированной оболочки производится без применения стеарина. Герметичность муфты проверяется местным избыточным давлением.

ВОССТАНОВЛЕНИЕ АЛЮМИНИЕВЫХ ОБОЛОЧЕК

11.93. Наибольшее распространение при монтаже кабелей ГТС получил клеевой способ восстановления алюминиевых оболочек, который заключается в том, что к алюминиевой оболочке кабеля клеем ВК-9 приклеиваются свинцовые втулки, а к втулкам припаивается свинцовая муфта (рис. 11.28).

Свинцовые втулки изготавливаются из рольного свинца или из отходов оболочки кабеля ТГ. Внутренний диаметр свинцовой втулки должен соответствовать наружному диаметру алюминиевой оболочки. Длина втулки должна составлять: для кабелей с наружным диаметром оболочки до 35 мм - 60 мм; свыше 35 мм - 70 мм. Толщина стенки втулки должна быть не менее 2 мм.

Рис. 11.28. Восстановление алюминиевой оболочки кабеля ГТС:

1 - кабель в защитном полиэтиленовом шланге; 2 - трубка ТУТ, подобранная по размерам втулки и кабеля; 3 - клеевой шов; 4 - разрезная свинцовая втулка; 5 - алюминиевая оболочка кабеля; 6 - пайка припоем ПОССу-30-2; 7 - свинцовая муфта, подобранная по размерам сростка; 8 - перепайка втулки с залуженным припоем ЦОП-40 участком алюминиевой оболочки

11.94. Продольный разрез втулки запаивается припоем ПОССу-30-2 без применения стеарина. Запаянная или подобранная по диаметру втулка должна плотно сидеть на алюминиевой оболочке.

При подготовке концов кабелей надрез полиэтиленового защитного шланга выполняется тупым ножом или стальной пластиной, которые предварительно нагреваются пламенем горелки.

Свинцовая втулка надвигается на очищенную от битума алюминиевую оболочку и устанавливается так, чтобы край втулки находился на расстоянии 10 мм от обреза шланга. На оболочке у торцов втулки делаются отметки и втулка сдвигается к концу кабеля. На алюминиевую оболочку, предварительно обезжиренную и зачищенную стальной щеткой, в том месте, где будет установлена втулка, наносится слой клея ВК-9. Клей наносится на участок оболочки длиной 20 мм по окружности, начиная от ближайшей к обрезу шланга отметки. Свинцовая втулка через участок с клеем сдвигается к обрезу шланга, при этом клей не должен попасть на торец втулки, обращенный к концу кабеля.

11.95. Участок оболочки на расстоянии 20 мм по обе стороны от второй (дальней от обреза шланга) отметки зачищается стальной щеткой и залуживается припоем ЦОП-40. Залуживание производится в следующем порядке: на малую стальную щетку накладываются 4 - 6 г припоя ЦОП-40, зачищенный сток алюминиевой оболочки открытым пламенем горелки нагревается до температуры плавления припоя ЦОП-40, и оболочка залуживается путем натирания ее щеткой с припоем.

Оболочка должна быть залужена не менее чем на 2/3 ее окружности. Допускается выполнение операции залуживания без щетки, натиранием оболочки прутком припоя ЦОП-40. Залуженная поверхность должна быть ровной, без включений. На залуженный участок наносится слой припоя ПОССу-30-2.

11.96. Втулка устанавливается на свое место. На поверхности оболочки и торца втулки наносится слой клея шириной 40 мм и накладывается бандаж из двух слоев марли шириной 40 мм. На клеевой шов надвигается и усаживается отрезок трубки ТУТ, типоразмер которой соответствует диаметрам алюминиевой оболочки и клеевого шва, длиной, позволяющей полностью закрыть клеевой шов и алюминиевую оболочку кабеля.

Дальний от обреза оболочки кабеля конец втулки припаивается к залуженному участку оболочки припоем ПОССу-30-2 без применения стеарина. Аналогично приклеивается втулка, и производится монтаж, муфты на другом конце кабеля.

В процессе монтажа сростка следует периодически, в течение 1,0 - 1,5 мин, слегка прогревать клеевые швы слабым пламенем горелки.

11.97. Свинцовая муфта устанавливается над упакованным сростком, и ее конусы зачеканиваются до наружного диаметра свинцовых втулок. Муфта припаивается к втулкам припоем ПОССу-30-2 с применением стеарина. На время пайки муфты отрезки ТУТ защищаются от излишнего нагрева двумя слоями стеклоленты.

11.98. Указания по использованию клея ВК-9:

·         Клей ВК-9 приготавливается из двух компонентов, которые поставляются в тюбиках разного цвета. Хранить их следует в сухом прохладном месте. Срок хранения - три месяца со дня изготовления. По истечении срока хранения необходима проверка клея на опытном образце муфты (при разрыве образец должен разрушаться по свинцу).

·         При температуре от 0 до минус 5 °С жизнеспособность клея увеличивается до 30 ч, при +21 °С и выше - уменьшается.

·         Для приготовления клея его компоненты выдавливаются из тюбиков в сухую, обезжиренную емкость и тщательно перемешиваются деревянной лопаточкой в течение 3 - 5 мин. Готовность клея проверяется визуально при подъеме лопаточки с клеем на высоту 10 см над емкостью, при этом струя стекающего клея должна быть однородной, без сгустков и посторонних примесей.

·         Приготовленный клей необходимо использовать в течение 2 ч.

11.99. По согласованию с эксплуатационными службами для монтажа муфт на кабелях с алюминиевыми оболочками можно применять способы опрессования и горячей пайки, приведенные в «Руководстве по строительству линейных сооружений магистральных и внутризоновых кабельных линий связи» (М., «Радио и связь», 1986).

ВОССТАНОВЛЕНИЕ ЗАЩИТНЫХ ИЗОЛИРУЮЩИХ ПОКРОВОВ КАБЕЛЕЙ МЕСТНЫХ СЕТЕЙ СВЯЗИ

11.100. На кабелях местных сетей связи, проложенных в кабельной канализации, защитные изолирующие покровы (битумный подслой и защитный полиэтиленовый шланг) восстанавливают с помощью трубок ТУТ или полиэтиленовых муфт.

11.101. При применении полиэтиленовых муфт на кабелях с металлическими оболочками свинцовая муфта и оголенные участки металлической оболочки кабеля должны изолироваться тремя чередующимися слоями компаунда ЛПК и полиэтиленовой ленты. Верхний слой полиэтиленовой ленты наносится с 50 % перекрытием. Край ленты закрепляется перевязкой.

Допускается восстановление изолирующих покровов пятью - шестью слоями липкой полиэтиленовой ленты, наматываемой с 50 % перекрытием.

11.102. На изолированную свинцовую муфту надвигаются части полиэтиленовой муфты. Защитный полиэтиленовый шланг должен заходить в каждый конус муфты не менее, чем на 50 мм. Полиэтиленовая муфта герметизируется одним из принятых способов.

11.103. Трубка ТУТ при восстановлении шланга может использоваться в виде одного или нескольких отрезков. Муфта и оболочка под трубкой изолируются слоем клея-расплава ГИПК-14-16 или ГИПК-14-13. Допускается использование битумно-резиновой мастики МБР и липкой полиэтиленовой ленты.

Трубка ТУТ подбирается с учетом пределов применения. Ее отрезок должен перекрывать полиэтиленовый шланг на 60 - 70 мм с каждой стороны.

При использовании нескольких отрезков ТУТ верхние отрезки должны перекрывать нижние не менее, чем на 40 мм с каждой стороны.

ПРОВЕРКА СМОНТИРОВАННЫХ УЧАСТКОВ И ЛИНИЙ

11.104. Монтажные и регенерационные участки кабельных линий местной связи или целиком кабельные линии небольшой протяженности после окончания монтажа муфт должны проверяться на «обрыв», «сообщение» и на «парность» (правильность соединения пар).

11.105. Проверка на «парность» выполняется после проверок на «обрыв» и «сообщение» (см. п. 11.19). Для ее проведения один из концов кабеля заделывают на «парную пирамиду», т.е. жилы каждой пары соединяют между собой (закорачивают) и изолируют отдельной гильзой. Соединение жил производят либо ручной скруткой, либо, на кабелях большой емкости, с помощью многопарных соединителей.

Проверка производится с противоположной стороны кабельной линии по схеме, показанной ни рис. 11.29.

Рис. 11.29. Проверка на «парность»

1 - скрутка жил пары, изолированная гильзой; 2 - «парная пирамида»; 3 - касание контактной пластины жилами без снятия изоляции

Микротелефонная трубка последовательно соединяется с батареей. К свободным выводам трубки и батареи присоединяются контактные пластины, в качестве которых используются два куска свинцовой оболочки кабеля ТГ или обрезки алюминиевой экранной ленты кабелей ТПП или ТСВ. Контактные пластины закрепляют на оболочке проверяемого кабеля или выбирают для них место, до которого можно легко дотянуться концами проверяемых жил. Пары кабеля поочередно отделяют от сердечника и кончиками жил одновременно касаются обеих контактных пластин. Если при этом в телефоне слышен щелчок, то пара исправна. Если щелчка нет, это означает, что в одной из муфт при сращивании данная пара была «разбита», т.е. ее жилы соединены с жилами двух разных пар.

По результатам проверок составляется список поврежденных пар. Места повреждения пар определяются с помощью измерительных приборов.

11.106. После определения места повреждения производится вырезка неисправных пар в муфтах. На кабелях, жилы которых сращивались в муфтах ручной скруткой, пары отыскиваются с помощью комплектов приборов типа ИКП-2М, ИПК-2, ПКС, ПДК.

Если монтаж сростков кабеля выполнен многопарными соединителями, то поиск поврежденных пар в муфтах может производиться также с помощью прозвонки. Конструкция соединителей, как отмечалось, позволяет осуществить контакт с искомой парой путем касания концов запрессованных в соединитель обрезанных жил через соответствующие выводы соединителя.

Обнаруженная «разбитая» пара выкусывается из соединителя и вновь прозванивается. По результатам прозвонки делается вывод о возможности использования данной пары. При необходимости поврежденная пара заменяется парой из запаса. Составление рабочих пар на участках линии из исправных жил поврежденных пар не допускается.

МОНТАЖ СБОРНЫХ МУФТ

11.107. Смонтированные участки кабельных линий и законченные монтажом оконечные кабельные устройства соединяются в сборной муфте (или в «муфте с прозвонкой»). На многопарных телефонных кабелях сборные муфты, как правило, должны монтироваться в помещениях ввода кабелей АТС. В колодцах и коллекторах сборные муфты монтируются в основном на кабелях емкостью не более 100´2 или в местах установки линейных промежуточных устройств (НРП и пупиновских ящиков).

11.108. В помещении ввода кабелей АТС при монтаже сборной муфты, которая одновременно является и станционной разветвительной муфтой, сердечник линейного кабеля разделывается на длину, позволяющую отыскать и вывести из любого пучка или повива любую пару (четверку) кабеля, не разбивая при этом остальные. С таким же расчетом производится и разделка стопарных станционных кабелей ТСВ, заведенных в пальцы оголовника муфты.

Сердечники линейного и станционных кабелей разбираются на отдельные пучки, концы жил в пучке аккуратно обрезаются на одинаковую длину. С концов всех жил на участке длиной 20 - 25 мм удаляется изоляция. Затем производится прозвонка всех кабелей, входящих в сборную муфту, с оконечных устройств. Целью прозвонки является определение местонахождения и номера каждой пары и жилы сращиваемых кабелей. Одновременно с этим производится и проверка исправности жил кабелей.

11.109. Прозвонка производится двумя монтажниками, первый из которых находится на месте установки оконечных устройств, а второй - у сборной муфты. Каждый из них должен иметь микротелефонную трубку или гарнитуру. Для прозвонки используются батареи сухих элементов напряжением 70 - 100 В.

Первый монтажник подключает один из полюсов батареи к корпусу оконечного устройства, соединенному с экраном (или оболочкой) кабеля. Один из выводов трубки он подключает ко второму полюсу батареи. Свободным выводом трубки он подключается к клеммам оконечного устройства.

Второй монтажник подключает один из выводов своей трубки к экранной проволоке (или оболочке) линейного кабеля, а другой вывод трубки он присоединяет, например, к рукоятке кусачек. Пары и жилы при прозвонке этот монтажник отыскивает, касаясь рабочей частью кусачек оголенных концов жил. При касании пары, к которой подключена трубка первого монтажника, в трубке второго будет прослушиваться щелчок (рис. 11.30).

Перед началом прозвонки между спайщиками устанавливается связь через общий пучок и «землю» (т.е. экран или оболочку). По договоренности выбирается контрольная пара, на которую следует возвращаться в случаях, когда искомые пары оказываются поврежденными.

Прозвонку линейного кабеля начинают с отбора пучков, приходящих на одно оконечное устройство, например, на один бокс.

Рис. 11.30. Прозвонка бокса в сборной муфте:

1 - бокс типа БКТ; 2 - винт крепления плинта, сообщающийся с экраном кабеля; 3 - экранная проволока; 4 - пучки сборной муфты; 5 - косоплетка с прозвоненными парами

Для этого первый монтажник закорачивает несколько пар на разных плинтах бокса, а второй в сборной муфте отыскивает пучки, в которых находятся эти пары, и отводит их в сторону от сердечника.

Затем производится прозвонка каждой пары и жилы оконечного устройства. Первый монтажник свободным выводом своей трубки подключается сразу к обеим клеммам нулевой пары оконечного устройства, а второй в сборной муфте отыскивает эту пару и дает команду встать на жилу «а» пары. Определив жилу «а», касанием другой жилы и общего пучка он проверяет, не сообщается ли жила «а» с другими жилами кабеля. Затем аналогично прозванивается и проверяется жила «б». Для маркировки жил в отобранной паре оголенный участок жилы «а» обрезается. Все остальные пары и жилы, включенные в оконечное устройство, прозваниваются аналогично.

11.110. Отобранные пары в порядке их номеров увязывают в «косоплетку» (рис. 11.31).

Косоплеткой называется приспособление для фиксации и выделения пронумерованных, поврежденных и запасных пар и жил. Косоплетка изготавливается из отрезка изолированной жилы. Отрезок сгибается пополам и в месте изгиба перекручиванием жил образуется кольцо. Это кольцо называется «головой» косоплетки. Счет пар в косоплетке ведется с «головы». Отобранные пары фиксируются в косоплетке перекручиванием концов. Между соседними парами одного десятка должны быть один - два витка косоплетки. Если на отобранной паре имеется повреждение или пару не удалось обнаружить в муфте, в косоплетку вместо нее увязывается так называемая «пустышка», т.е. сложенный пополам отрезок жилы. Поврежденные пары выводятся из пучка, группируются по виду повреждения (обрыв, короткое, сообщение, «земля», разбитость пар) и увязываются в отдельные косоплетки. К каждой косоплетке прилепляется бирка с соответствующей надписью.

Рис. 11.31. Косоплетка нулевого плинта прозвоненного бокса:

1 – «голова» косоплетки; 2 - кольцо на паре № 00; 3 - пустышка вместо поврежденной пары № 03; 4 - пара № 09; 5 - жила «а»; 6 - жила «б»

По результатам прозвонки составляется перечень поврежденных пар с указанием для каждой жилы номера ее оконечного устройства, ее собственного номера на этом устройстве и вида повреждения. По этому перечню производится поиск и устранение повреждений.

11.111. При монтаже кабелей емкостью до 100´2 десятки пар, приходящих на один плинт бокса или распределительную коробку, увязывают в отдельные косоплетки. Номер плинта или коробки обозначают, свертывая в кольцо концы пары соответствующего номера. Например, на косоплетке первого плинта кольцо делается на первой паре; на косоплетке нулевого плинта - на нулевой паре (рис. 11.31).

При монтаже многопарных кабелей в косоплетку ввязываются сразу сто пар. В этой косоплетке между десятками делаются интервалы длиной 10 - 15 мм. На каждую сотенную косоплетку вешается бирка с номером оконечного устройства.

Аналогичным образом прозваниваются пары станционных кабелей (ТСВ), приходящих из кросса.

После прозвонки всех сращиваемых пар и увязки их косоплетки нумерацию контролируют повторной прозвонкой.

11.112. Пронумерованные и проверенные пары сращиваются одним из указанных выше способов. Номера сращиваемых пар и жил должны совпадать.

11.113. После окончания монтажа исправных пар приступают к устранению повреждений. При отсутствии возможности найти и устранить повреждение используют запасные пары кабеля. По мере готовности исправленные пары линейного кабеля сращиваются с одноименными парами из кросса. Правильность соединения жил проверяется с оконечных устройств контрольной прозвонкой.

МОНТАЖ СТАНЦИОННЫХ РАЗВЕТВИТЕЛЬНЫХ МУФТ

11.114. Станционные разветвительные муфты могут располагаться как горизонтально, так и вертикально. На кабелях в металлических оболочках станционные разветвительные муфты должны быть свинцовыми, состоящими из корпуса и столовника со свинцовыми пальцами, на кабелях в полиэтиленовой оболочке - полиэтиленовыми.

На кабелях в металлической и полиэтиленовой оболочках допускается применение вертикальных соответствующих (свинцовых или полиэтиленовых) муфт без патрубков (пальцев) с вставленной в корпус прокладкой с отверстиями для кабелей 100´2. Пространство над прокладкой в верхней части муфты заливается массой МКС-6, битумным (МБР) или эпоксидно-тиоколовым (ЭТЗК) компаундом. Применяется также саморасширяющийся полиуретановый клей.

11.115. Из станционных разветвительных муфт к защитным полосам и рамкам соединительных линий выводятся станционные кабели (ТСВ). Допускается применение для этих целей кабелей ТПВ и ТПП, но с условием, что расшивки пучков жил от среза оболочки на кабелях должны быть обмотаны поливинилхлоридной лентой. Кроме того, на кабелях ТПП обмотке лентой подлежат полиэтиленовые оболочки на всем протяжении от выхода из помещения ввода кабелей до расшивки.

11.116. При монтаже разветвительных станционных муфт оболочки стопарных кабелей (ТСВ, ТПВ) вводятся в пальцы оголовника так, чтобы обрезы оболочек выступали из пальцев внутрь и входили в коробку на 30 - 35 мм. Концы пальцев и прилегающие к ним участки оболочек кабелей на длине 20 мм обматывают липкой поливинилхлоридной лентой.

11.117. Оголовник муфты с кабелями устанавливают в вертикальное положение (пальцами вниз) и заливают эпоксидно-тиоколовым компаундом ЭТЗК. При монтаже разветвительных муфт при всех вариантах сочетания материалов оболочек кабелей и муфт допускается применение трубок ТУТ длиной не менее 150 мм с подклеивающим слоем внутри. В этом случае заливка оголовника компаундом не производится.

МОНТАЖ ГАЗОНЕПРОНИЦАЕМЫХ МУФТ

11.118. Газонепроницаемые муфты (ГНМ) на телефонных кабелях монтируются на прямолинейных участках кабелей без разрезания токоведущих жил. На кабелях типа Т (ТПСтШп) применяются свинцовые газонепроницаемые муфты типа МСГ (рис. 11.32, табл. 11.12), а на кабелях типа ТП - полиэтиленовые соединительные муфты, подходящие по размеру конусов, при этом одна из полумуфт обрезается (рис. 11.33), а вентили устанавливаются в полумуфту с раструбом.

Рис. 11.32. Свинцовая газонепроницаемая муфта типа МСГ

Таблица 11.12

Размеры муфт типа МСГ

Типоразмер муфт

Размеры, мм

d1

d2

l

L

S

МСГ-25

25

28

20

270

2,0

МСГ-30

30

36

20

300

2,0

МСГ-35

35

42

30

370

2,0

МСГ-45

45

54

30

390

2,0

МСГ-50

50

60

30

420

2,5

МСГ-55

55

66

35

445

2,5

МСГ-60

60

72

35

460

3,0

МСГ-65

65

78

40

495

3,0

МСГ-70

70

84

40

520

3,0

МСГ-80

80

96

50

560

3,0

МСГ-85

85

102

50

600

3,0

Рис. 11.33. Полиэтиленовая соединительная муфта типа МПС, используемая в качестве газонепроницаемой

Корпуса ГНМ изготавливаются в заводских условиях. Патрубки для заливки массы напаиваются на ГНМ типа МСГ в процессе монтажа. Полиэтиленовые ГНМ должны оснащаться металлическими вентилями с внутренним диаметром отверстий не менее 5 мм. ГНМ на кабелях типа Т заливаются заливочной кабельной массой МКС-6, на кабелях типа ТП - эпоксидно-тиоколовым заливочным компаундом ЭТЗК.

11.119. Если монтаж ГНМ производится в помещении ввода кабелей АТС, в шкафном колодце или на кабеле, включенном в бокс, то ее корпус надевают на конец кабеля и продвигают к месту монтажа. Если ГНМ предстоит установить на уже смонтированном кабеле, например, на границе зон обслуживания телефонных узлов, то корпус ГНМ разрезается вдоль, устанавливается на кабель и запаивается (на МСГ) или заваривается (на полиэтиленовых ГНМ).

11.120. Перед установкой муфт на кабель места будущей пайки (или сварки) тщательно зачищаются. По размерам муфты на кабеле отмечают участок оболочки, подлежащий удалению. Обрезы оболочки после распушивания сердечника должны входить в конусы муфты на 30 - 40 мм.

Оболочка в намеченных местах надрезается и удаляется, внутренние элементы кабеля (поясная изоляция, экранные ленты) обрезаются на определенном для данного типа кабеля расстоянии от обреза оболочки. Кабель с обеих сторон подтягивается к центру освобождаемого от оболочки участка сердечника и при этом слегка разворачивается в направлении, обеспечивающем образование слабины и распушение сердечника. В этом положении кабель фиксируется на консолях перевязкой. Нитки и ленты, разделяющие пучки и повивы кабеля, осторожно обрезают и удаляют. Каждый пучок и повив сердечника, в свою очередь, должен распушиваться. Особое внимание при этом следует уделять разбору центральных пучков и повивов кабеля.

11.121. Особенности монтажа ГНМ на кабелях типа Т состоят в том, что у обрезов оболочки сердечник кабеля перевязывается миткалевой лентой, которая затем осторожно заталкивается под оболочку. Бумажные ленты поясной изоляции обрезаются на расстоянии 5 мм от обреза свинцовой оболочки. Распушенный сердечник просушивается горячим воздухом над пламенем газовой горелки, после сушки он без натяжения обматывается одним слоем марлевого бинта. На сердечник кабеля надвигается корпус муфты. Предварительно на корпусе, в местах установки патрубков, прорезаются или высверливаются отверстия диаметром не менее 20 мм. Конусы муфты зачеканиваются до диаметра оболочки, муфта устанавливается на место отверстиями вверх и припаивается к оболочке.

Патрубки для заливки массы изготавливаются с внутренним диаметром не менее 20 мм, длиной 200 - 300 мм. Один из патрубков делается более длинным. Патрубки зачищаются с одной стороны на участке длиной 50 - 70 мм и разрезаются на несколько лепестков (рис. 11.34, б). Противоположные концы патрубков развальцовываются. Подготовленные патрубки устанавливаются над отверстиями и припаиваются к муфте.

Рис. 11.34. Монтаж ГНМ на кабеле типа Т:

а) разделка кабеля:

1 - обрез свинцовой оболочки; 2 - бумажная поясная изоляция;

б) установка и запайка свинцовой муфты:

3 - патрубок, подготовленный и установленный на отверстие в муфте; 4 - напаянный патрубок;

в) заливка ГНМ массой МКС-6

Масса МКС-6 разогревается в стальном сварном чайнике до температуры +140 °С, готовность ее определяется термометром. Муфта и прилегающие к ней участки кабеля прогреваются до температуры +60 - 70 °С (определяется на ощупь).

Кабельная масса заливается из чайника в более длинный патрубок до появления ее во втором патрубке (рис. 11.34, в). Процесс заливки ГНМ в зависимости от размеров муфты продолжается 2 - 4 ч. В течение этого времени муфта периодически прогревается. Масса доливается по мере снижения ее уровня в патрубках. После прекращения усадки массы муфта охлаждается в естественных условиях, а затем патрубки обрезаются на высоте 30 - 50 мм, зачеканиваются и запаиваются.

Проверка муфты на герметичность производится не ранее, чем через 24 ч после заливки. Если при проверке муфта окажется негерметичной, то ее следует вновь прогреть до температуры плавления массы в течение 2 - 3 ч. При необходимости патрубки вскрываются, и в муфту вновь доливается разогретая масса. Если и после этого муфта останется негерметичной, ее следует демонтировать и повторить заливку. Для этого в нижней части муфты делается несколько узких прорезей и муфта прогревается до вытекания массы, которая собирается в металлический противень. После прекращения вытекания массы муфта распаивается и сдвигается с сердечника. Распушенные жилы сердечника промываются прошпарочной массой, нагретой до температуры +120 °С. После остывания сердечника жилы осторожно отделяются друг от друга. Муфта устанавливается на свое место, запаивается и вновь заливается массой МКС-6. Через сутки ее снова проверяют на герметичность.

11.122. При монтаже ГНМ на кабелях типа ТП экранные ленты обрезаются на расстоянии 10 мм от обреза полиэтиленовой оболочки. Ленты поясной изоляции обрезаются на расстоянии 5 мм от обреза экрана.

На кабелях марки ТППэп экран обрезается вместе с оболочкой, поясная изоляция на этих кабелях обрезается на расстоянии 10 мм от обреза оболочки.

Части полиэтиленовой ГНМ надвигаются на подготовленный сердечник и состыковываются. Муфта устанавливается вентилями вверх. Стыки частей муфты между собой и стыки муфты с оболочкой кабеля герметизируются одним из известных способов.

До начала заливки ГНМ массой на заливочном бачке (рис. 11.35) проверяют проходимость выходного штуцера и состояние резиновой прокладки на крышке.

На нижний конец выходного штуцера надевается полиэтиленовая трубка с косым срезом на конце. Один конец отрезка разогревается, в горячем состоянии надвигается на нижний конец выходного штуцера и плотно перевязывается проволокой. Косой срез на трубке выполняется с таким расчетом, чтобы трубка доставала до дна емкости с компаундом, установленной в бачок.

Рис. 11.35. Заливка ГНМ на кабеле типа ТП:

1 - автомобильный насос; 2 - заливочный бачок; 3 - компаунд ЭТЗК; 4 - трубка (воздуховод) для подачи компаунда в муфту

На верхний конец выходного штуцера бачка надевается прозрачная полиэтиленовая трубка (воздуховод) с внутренним диаметром 8 мм и длиной не более 0,5 м. Второй конец трубки надевается на один из вентилей муфты. На другой вентиль надевается отрезок такой же трубки длиной 150 мм. Входной штуцер бачка резиновым шлангом соединяется с ручным автомобильным насосом. Все места соединений скрепляются бандажами из проволоки. Заливочный бачок во время заливки должен находиться выше ГНМ или на одном с ней уровне.

11.123. Для заливки муфты подготавливается необходимое количество компаунда ЭТЗК. Количественный состав входящих в ЭТЗК компонентов приведен в табл. 11.13.

Таблица 11.13

Состав заливочного компаунда марки ЭТЗК

Маркировка ЭТЗК

Состав (в весовых частях)

К-153

К-115

ЭД-5

тиокол НВБ-2

ПЭПА

ЭТЗК-1

100

-

-

60

12

ЭТЗК-2

-

100

-

80

12

этзк-3

-

-

100

100

15

Примечание. В состав ЭТЗК-3 входит также полиэфир МГф-9 в количестве 10 весовых частей.

Компоненты компаунда ЭТЗК хранятся и доставляются к месту производства работ расфасованными в герметично закрытые емкости (полиэтиленовые пакеты, банки, стеклянные пузырьки). Эпоксидный компонент ЭТЗК и тиокол выливаются в подготовленную сухую и чистую (обезжиренную ацетоном) емкость и в течение 10 - 15 мин тщательно перемешиваются в одном направлении металлической лопаточкой.

До введения отвердителя полиэтиленполиамина (ПЭПА) приготовленный компаунд может храниться не более трех суток при температуре не выше +25 °С в герметично закрытой емкости. Перед заливкой муфты в компаунд вводится отвердитель, после чего компаунд вновь тщательно перемешиваете в одном направлении в течение 5 - 10 мин, при этом его температура повышается до +40 - 50 °С.

Смешиваться должны только входящие в один комплект расфасованные компоненты. При использовании сразу нескольких однотипных комплектов ЭТЗК количество отвердителя должно соответствовать количеству остальных компонентов. Приготовление компаунда из компонентов, взятых из разнотипных комплектов, или составление компаунда без дозаторов не допускается.

11.124. После введения отвердителя компаунд должен быть использован в течение 30 - 40 мин. Готовый компаунд заливается в емкость, входящую в бачок, или в полиэтиленовый пакет и помещается в бачок, который герметично закрывается крышкой. При отрицательной температуре окружающего воздуха бачок предварительно подогревается, в бачок нагнетается воздух до создания избыточного давления величиной 0,098 - 0,2 МПа. Контроль за величиной давления осуществляется по показаниям манометра, установленного на крышке бачка.

Компаунд должен проходить по трубке сплошным потоком. Характер движения компаунда оценивается визуально. При подъеме компаунда из свободного вентиля в трубку ее немедленно перегибают и перевязывают. Давление в бачке поддерживается до прекращения движения компаунда в трубке, соединяющей бачок с муфтой. После прекращения движения компаунда трубку перегибают и перевязывают у самого вентиля. В зависимости от типоразмера муфты время нагнетания компаунда составляет от 5 до 30 мин.

Избыточное давление в бачке снижается путем ослабления зажимов крышки. Трубка, соединяющая бачок с муфтой, обрезается и удаляется. Выходной штуцер бачка и трубка, через которую осуществлялся забор компаунда, продуваются сильной струей воздуха для очистки их от остатков компаунда.

11.125. Смонтированную муфту оставляют в фиксированном положении до полного отвердения компаунда. Время отвердения в зависимости от температуры окружающего воздуха составляет: при температуре до +15 °С 48 ч; при 0 °С - 96 ч; при минус 15 °С - 240 ч. По истечении указанных сроков лишние концы полиэтиленовых трубок с отвердевшим компаундом удаляются с вентилей и муфта проверяется на герметичность.

11.126. Проверка герметичности ГНМ состоит в том, что один из прилегающих к муфте участков кабеля герметизируется колпачком с вентилем, и в герметичный участок кабеля нагнетается осушенный воздух до создания избыточного давления величиной не более 0,098 МПа. Муфта считается герметичной, если зафиксированное давление не изменяется в течение 24 ч с учетом поправки на изменение температуры.

11.127. В последнее время на кабелях местной связи в полиэтиленовых оболочках широкое распространение находят ГНМ, заливаемые саморасширяющимся полиуретановым клеем «Вилад-31». Такие муфты получили условное сокращенное наименование МГНМс. МГНМс имеет меньшие габаритные размеры, чем ГНМ, и почти в 1,5 раза меньший расход заливочного клея.

Конструктивно МГНМс (рис. 11.36) состоит из двух конусов и полиэтиленового цилиндра.

Рис. 11.36. Муфты газонепроницаемые малогабаритные МГНМс:

а) МГНМс 19/29 и 27/40; б) МГНМс 40/66 и 60/77

Поставляются МГНМс централизованно в виде комплектов деталей и материалов. Цифры в маркировке (например, МГНМс 19/29) обозначают минимальный и максимальный диаметр (мм) оболочки кабеля ТПП, на котором можно использовать данную муфту (табл. 11.14).

МГНМс заливают в вертикальном положении на кабелях емкостью до 300´2. На кабелях большей емкости, а также на кабелях с неплотным сердечником допускается заливка в горизонтальном положении через отверстие, проделанное в корпусе полумуфты или в трубе. Отверстие, при подходе к нему расширяющейся массы герметика, заделывается отдельным отрезком трубки ТУТ или лентой «РАДЛЕН».

Герметик «Вилад-31» поставляется в виде двух компонентов - светлого и темного - расфасованных в герметичную тару в соотношении 1:1. Хранить его следует в сухих отапливаемых складских помещениях пробками вверх (срок хранения: шесть месяцев с момента изготовления). Перед заливкой компоненты смешиваются в сухой емкости в течение 1 - 2 мин. В течение 15 мин после смешивания герметик должен быть залит в муфту.

Заливка МГНМс должна производиться при температуре не ниже +5 °С. При более низких температурах следует обеспечить обогрев рабочей зоны в течение всего времени монтажа. Если герметик хранился при температуре ниже +15 °С, то его необходимо перед монтажом выдержать в течение трех суток при температуре выше +15 °С.

Кабель при монтаже МГНМс разделывается на длину, указанную в табл. 11.14.

Таблица 11.14

Габаритные размеры муфт МГНМс

Типоразмер муфты

L, мм

d1, мм

d2, мм

Длина разделки, мм

МГНМс 19/29

230

19

29

70

МГНМс 27/40

270

27

40

110

МГНМс 40/66

385

40

66

150

МГНМс 60/77

470

60

77

200

Герметизация стыков МГНМс с кабелем и частей муфты между собой производится только трубками ТУТ или лентой «РАДЛЕН», усаженными на подклеивающий слой.

При заливке следует использовать герметик, полученный в составе комплекта данного типоразмера муфты. В исключительных случаях допускается смешивание нескольких комплектов «Вилада-31». При этом следует помнить, что смесь компонентов (до начала расширения) должна заполнить не менее 2/3 объема муфты. Залитую герметиком муфту оставляют в фиксированном положении до полного отвердения герметика. Проверку МГНМс на герметичность следует производить через 48 ч после заливки давлением до 0,098 МПа.

11.128. Материалы и оборудование для заливки ГНМ приведены в табл. 11.15.

Таблица 11.15

Материалы и оборудование для заливки газонепроницаемых муфт

Тип кабеля

Изоляция жил

Тип ГНМ

Оснащение муфты до и во время монтажа

Заливочный материал

Особенности заливки

Специальное оборудование

Т

бумажная

свинцовая типа МСГ (однокорпусная или разрезная)

припаиваются два патрубка из свинцовой оболочки кабеля

заливочная масса МКС-6 с добавлением канифоли в количестве до 50 % от веса порции массы

масса нагревается по +140 °С

При температуре не ниже +100 °С заливается в подогретую до +70 °С муфту.

Муфта до прекращения осадки массы прогревается горелкой 2 - 4 ч

стальной сварной чайник, термометр со шкалой до +200 °С

тп

полиэтиленовая

укороченная полиэтиленовая соединительная типа МПС

в полумуфту устанавливаются два велосипедных вентиля

эпоксидно-тиоколовый заливочный компаунд ЭТЗК-1, ЭТЗК-2, ЭТЗК-3

компоненты смешиваются и в течение не более 30 мин компаунд заливается в муфту с помощью специального оборудования

специальный герметичный бачок, соответствующий объему муфты, емкость для смешивания компонентов, автомобильный насос, манометр, п/э трубки для подачи компаунда

тп

полиэтиленовая

специальная полиэтиленовая типа МГНМс (подбирается по диаметру кабеля)

не требуется

саморасширяющийся полиуретановый герметик «Вилад-31»

компоненты смешиваются в сухой емкости и в течение не более 15 мин заливаются в муфту, установленную вертикально, или в отверстие в горизонтально лежащей муфте. До окончания процесса расширения герметика муфта должна быть полностью герметизирована с применением ТУТ

емкость для смешивания компонентов

МОНТАЖ МУФТ КАБЕЛЕЙ, ПРОЛОЖЕННЫХ В ГРУНТЕ

11.129. Восстановление свинцовых, полиэтиленовых и металлопластмассовых оболочек бронированных кабелей производится теми же способами, что и при монтаже муфт в кабельной канализации. Для защиты муфт от механических повреждений применяются специальные защитные муфты типа МЗС, которые подбираются по наружному диаметру кабеля и габаритам смонтированной муфты. Взамен защитных муфт допускается использование отрезков асбестоцементных труб.

11.130. Бронепокровы концов сращиваемых кабелей должны быть соединены со свинцовой муфтой проволочной перемычкой (рис. 11.37). Если в одной траншее проложено два или несколько бронированных кабелей, их свинцовые оболочки должны быть соединены между собой. Для этого из муфт, расположенных в одном котловане, выводят изолированные провода, жилы которых соединены с оболочками кабелей.

Рис. 11.37. Устройство перемычки между бронепокровами концов кабелей и свинцовой муфтой

В случаях, когда проектом предусмотрена установка контрольно-измерительного пункта (КИП), изолированные провода включают в щиток КИП, вмонтированнный в замерный столбик.

Подробно технология монтажа кабелей, проложенных непосредственно в грунте, изложена в «Руководстве по строительству линейных сооружений магистральных и внутризоновых кабельных линий связи», раздел 8 (М. «Радио и связь», 1986).

ОСОБЕННОСТИ МОНТАЖА МУФТ ПОДВЕСНЫХ КАБЕЛЕЙ

11.131. Муфты подвесных кабелей и сростки стальных канатов должны размещаться, по возможности, около опор (рис. 11.3), а муфты подвесных кабелей с встроенным канатом - как показано на рис. 11.38. Монтаж сростка и восстановление оболочки осуществляется способами, принятыми для кабелей данного типа. При восстановлении оболочки с применением газовой горелки или паяльной лампы во избежание провисания проволоки или каната, необходимо снять прилегающие к муфте два - три подвеса с каждой стороны.

Рис. 11.38. Размещение муфты подвесного кабеля с встроенным стальным канатом:

1 - коуш; 2 - винтовая стяжка; 3 - крюк КН-18; 4 - подвесной крюк; 5 - канат (заземлить)

11.132. При монтаже кабеля со встроенным канатом сращивание концов каната производится при помощи стальной гильзы (рис. 11.39, а) или клеммы (рис. 11.39, б).

Рис. 11.39. Сращивание концов стального каната при помощи:

а) стальной гильзы; б) клеммы из двух плашек

Освобожденный от оболочки конец каната вводят в гильзу на половину ее длины. На расстоянии 8 мм от конца гильзу сжимают пресс-клещами типа ПК-1, в которые установлены соответствующие пуансон и матрица. Затем в гильзу с другой стороны вводят второй конец каната и также сжимают клещами. Далее гильзу дополнительно сжимают между участками первоначального сжатия. Основные размеры стальных гильз приведены в табл. 11.16.

При сращивании концов каната при помощи клеммы их помещают между двумя плашками, изготовленными из полосовой стали толщиной 4 - 5 мм, и сжимают болтами.

При всех видах соединения канатов их оголенные участки, стальную гильзу или клемму покрывают лаком «Кузбасс» или битумным лаком № 177.

Таблица 11.16

Размеры стальных гильз для соединения стального каната кабелей ТППт

Характеристика каната

Размеры гильз, мм

Число проволок, шт.

Диаметр проволок, мм

Диаметр

длина

внутренний

наружный

7

1,0

3,2

6,5

80

7

1,2

3,8

7,5

80

11.133. Монтируемые концы кабелей отводят от каната и с плавным изгибом укладывают параллельно друг другу на расстоянии 100 - 150 мм от каната и производят монтаж муфты. В местах обрезов перемычек на кабель и канат наматывают три - пять слоев липкой или сухой пластмассовой ленты шириной 20 - 25 мм, поверх которой накладывают бандажи из четырех - пяти витков стальной перевязочной проволоки диаметром 1,5 мм. На расстоянии 30 - 50 мм от концов муфты кабель крепят к канату подвесами из оцинкованной стали. Под подвесами на оболочку кабеля наматывают пластмассовую ленту шириной, превосходящей ширину подвеса на 10 - 15 мм.

11.134. Канат подвесного кабеля заземляют в начале и в конце линии, на кабельных опорах, а также на промежуточных опорах, через каждые 250 м. Заземляющий провод подключают к канату при помощи клеммы или посредством пайки с концом стальной перевязочной проволоки диаметром 1,0 - 1,5 мм, намотанной на канат на длине 50 - 60 мм. Оголенные участки каната и участок намотки покрывают лаком «Кузбасс» или битумным лаком № 177. Пайка заземляющего провода допускается непосредственно к свободному концу троса, закрепленному на опоре оконечной заделкой.

ОСОБЕННОСТИ МОНТАЖА КАБЕЛЕЙ, ПРОЛОЖЕННЫХ ПО ВНУТРЕННИМ И НАРУЖНЫМ СТЕНАМ ЗДАНИЙ

11.135. Монтаж муфт кабелей, проложенных по стенам зданий, следует производить так, чтобы не нарушать прямолинейности и четкости линий кабелей и муфт. Не допускается волнистость кабелей, чрезмерное выпячивание муфт, заметные неровности муфт. В стеновом основании для муфты рекомендуется делать штробу.

После разметки и разделки концов кабелей их снимают по обе стороны от места сращивания с трех - четырех скреп и укладывают так, чтобы фиксировалось расстояние между обрезами оболочек.

Муфту монтируют обычным способом и, если позволяет материал стены (штукатурка, кирпич), укладывают в штробу. Кабель закрепляют на скрепах, с которых он был снят. Строительным гипсом подправляют штробу.

Монтаж распределительных кабелей в пластмассовых оболочках емкостью до 100´2 включительно внутри сухих помещений допускается выполнять без сварки. Части муфт между собой и с оболочкой кабеля соединяются на стыках четырьмя - шестью слоями липкой пластмассовой ленты.

МОНТАЖ ОКОНЕЧНЫХ КАБЕЛЬНЫХ УСТРОЙСТВ

11.136. К оконечным устройствам местных телефонных сетей относятся:

·         коробки распределительные 10´2 типов КРТ и КРТП (КРО), устанавливаемые соответственно в неотапливаемых и отапливаемых помещениях;

·         кабельные ящики 10´2 и 20´2, устанавливаемые на кабельных опорах, или на чердаках, вблизи стоечных опор;

·         боксы кабельные телефонные 10´2, 20´2, 30´2, 50´2 и 100´2, устанавливаемые в распределительных телефонных шкафах на магистральных и распределительных кабелях;

·         защитные полосы, устанавливаемые на кроссах абонентских линий телефонных станций, состоящие из секций 25´2, которые набираются по 4 - 8 шт. в одной вертикали;

·         рамки 40´2, 15´2, 10´3, устанавливаемые на кроссах соединительных линий для включения кабелей межстанционных связей;

·         распределительные блоки мини-кросса 100´2 для включения абонентских и межстанционных линий.

МОНТАЖ РАСПРЕДЕЛИТЕЛЬНЫХ КОРОБОК 10´2

11.137. Монтаж (зарядка) распределительных коробок 10´2 производится кабелями 10´2 (5´4) преимущественно марок ТПП, ТППэп, но допускается и ТПВ, а в особо оговоренных проектом случаях - марки ТГ с бумагомассной изоляцией жил.

Как правило, распределительные коробки должны заряжаться в мастерской куском кабеля заранее отмеренной длины, достаточной для прокладки до ближайшей разветвительной или соединительной муфты.

До нарезки кусков для зарядки коробок кабель в общей длине должен быть проверен на обрыв жил, сообщение их между собой и с экраном или металлической оболочкой. Должно также быть проверено соответствие нормам сопротивления изоляции между жилами, между ними и экраном (оболочкой) и между клеммами плинта коробки.

Монтаж производится в соответствии с технологией, изложенной ниже.

11.138. С куска кабеля, подлежащего включению в коробку, на длине 200 - 250 мм от конца снимают оболочку, и кабель вводят в стальную втулку коробки так, чтобы обрез оболочки выступал на 3 - 5 мм за внутреннюю кромку втулки. Если кабель слишком свободно входит во втулку, то его на длине втулки обматывают несколькими слоями липкой пластмассовой ленты. На кабелях с пластмассовой оболочкой экранная лента обрезается у этой кромки, а экранная проволока загибается у обреза оболочки, заводится в щель между кабелем и внутренней поверхностью втулки, загибается на наружную поверхность последней, делает по ней два оборота и припаивается припоем ПОССу-30-2. В коробках типов КРТП и КРО экранная жила подключается к специально предназначенным для этой цели клеммам. На вводе в коробку участок кабеля в пластмассовой оболочке и стальная втулка, предварительно зачищенные и протертые бензином, плотно обматываются пятью - семью слоями липкой пластмассовой ленты, а кабели в свинцовой оболочке опаиваются припоем ПОССу-30-2. Если наружный диаметр вводимого кабеля больше внутреннего диаметра втулки, то на нее предварительно напаивают отрезок свинцовой трубочки, а обрез оболочки кабеля доводят только до наружного края стальной втулки. Стык свинцовой трубки и кабеля обматывают или опаивают, как указано выше.

Заделка ввода во втулку распределительной коробки кабеля в пластмассовой оболочке может осуществляться при помощи отрезка трубки ТУТ соответствующего диаметра и подклеивающего материала. При фиксированном положении кабеля на его участок, примыкающий к втулке, подматывают полиэтиленовую ленту так, чтобы образовался плавный переход от кабеля к внешней поверхности втулки заподлицо с последней. Трубка ТУТ с подклеивающим слоем надвигается на втулку до упора в корпус коробки и осаживается нагревом ее открытым пламенем паяльной лампы или газовой горелки.

11.139. В коробке типа КРО сердечник кабеля после удаления оболочки и экрана укладывается в корытце плинта, а кабель у обреза оболочки закрепляется металлической скобой (рис. 11.40).

Жилы конца кабеля расшиваются «елочкой» по шаблону и перевязываются нитками.

Рис. 11.40. Ввод и включение кабеля в распределительную коробку типа КРО 10´2

При зарядке коробки кабелем с бумагомассной изоляцией жил последние после снятия оболочки и поясной изоляции прошпаривают кабельной массой МКП. С концов жил по шаблону снимается изоляция, они включаются в штифты плинтов и припаиваются к ним припоем ПОССу-40-2.

11.140. На штифты с впаянными жилами коробок типов КРТ и КРТП надвигаются полиэтиленовые гильзы (для кабелей ТГ - бумажные). Размеры разделки и порядок включения пар в штифты плинтов приведены на рис. 11.41.

Рис. 11.41. Примерные размеры разделки кабеля и порядок включения жил в распределительную коробку 10´2 КРТ, КРТП:

а) ввод в коробку; б) выкладка кабеля; в) расшивка

1 - корпус коробки, 2 - втулка, 3 - кабель, 4 - сердечник кабеля, 5 - жгут расшивки, 6 - заделка ввода во втулку, 7 - плинт

При сборке бокса коробки с плинтом между ними закладывается тонкая картонная прокладка, предварительно прошпаренная массой МКП и промазанная с обеих сторон битумным лаком.

После зарядки все жилы, включенные в коробку, должны быть подвергнуты контрольной проверке на обрыв, сообщение, нарушение парности и на соответствие сопротивления изоляции установленным нормам. Конец кабеля должен быть герметично заделан.

МОНТАЖ БОКСОВ ТИПА БКТ

11.141. Для монтажа (зарядки) боксов типа БКТ применяются кабели ТПП, ТППэп, ТГ (с бумагомассной изоляцией жил) соответствующей емкости: 10´2, 20´2, 30´2, 50´2 или 100´2. Применение кабеля ТПВ допускается только, если он нигде далее не подлежит прокладке в кабельной канализации или непосредственно в земле.

После электрических проверок и измерений с конца кабеля, которым заряжается бокс, снимают оболочку, экранную ленту, поясную изоляцию на длине, превышающей на 200 - 300 мм высоту бокса. У обреза оболочки сердечник перевязывают отрезком прошпаренного миткалевого бинта, куском сухой, чистой полиэтиленовой ленты или обрезком поясной изоляции, снятой с конца кабеля. Если кабель слишком свободно входит во втулку бокса, то его на длине втулки обматывают несколькими слоями липкой пластмассовой ленты. Кабель вводят в бокс так, чтобы обрез оболочки выступал на 3 - 5 мм за внутреннюю кромку стальной втулки.

Экранную проволоку загибают у обреза пластмассовой оболочки, заводят в щель между кабелем и внутренней поверхностью втулки, загибают на наружную ее поверхность, делают по ней два оборота и припаивают припоем ПОССу-30-2. Все остальные операции ввода кабелей во втулки боксов выполняются аналогично описанным выше применительно к зарядке распределительных коробок.

11.142. При повивной скрутке сердечников жилы кабелей 20´2, 30´2, 50´2, 100´2 распределяются по плинтам боксов соответствующей емкости в порядке, показанном на рис. 11.42.

При пучковой скрутке сердечников кабелей элементарные пучки 10´2 расшиваются на плинты боксов от верхнего (нулевого) к нижним соответственно, начиная от центра сердечника к его периферии (рис. 11.43).

Рис. 11.42. Распределение жил по плинтам боксов:

а) при нумерации по схеме 10.72; б) при нумерации по схеме 10.73

Рис. 11.43. Распределение жил по плинтам бокса 100´2 в кабеле пучковой скрутки

11.143. Четные пучки 10´2 выкладывают с правой (обратной) стороны корпуса бокса, нечетные - с левой. Расшивка и выкладка пучков жил в корпусе бокса показаны на рис. 11.44. Перевязку жил допускается производить как отдельными пучками 10´2 непосредственно от корешка кабеля у кромки втулки бокса (рис. 11.45, а), так и общим жгутом от него до ответвления к плинтам, а далее индивидуальными пучками 10´2 (рис. 11.45, б).

Каждый пучок перед укладкой его для расшивки между перьями плинта обходит последний сверху вниз, что обеспечивает возможность поворота, при необходимости, каждого плинта, не нарушая общего жгута.

Рис. 11.44. Расшивка и выкладка пучков жил в корпусе бокса

Рис. 11.45. Способы вязки жил в боксах:

а) индивидуальными пучками; б) общими жгутами от корешка до ответвлений к плинтам

11.144. Жилы расшивают «елочкой», отделяя от пучка по две противолежащие пары (4 и 9, 3 и 8, 2 и 7, 1 и 6, 0 и 5). Пары разбирают пожильно и отгибают под прямым углом к перьям, делая у каждого отгиба стежок перевязки (рис. 11.46). С расшитых жил по шаблону снимают изоляцию и излишние концы обрезают. Длина до среза изоляции должна обеспечивать выкладку изолированной жилы по всей длине пера до отверстия (ушка) в нем. Освобожденный от изоляции конец жилы продевается с внутренней стороны в ушко пера, поджимается плоскогубцами и припаивается припоем ПОССу-40-2. На перья вместе с прижатыми к ним жилами надвигают полиэтиленовые гильзы.

Рис. 11.46. Схема расшивки жил на плинт бокса

Резервные пары выкладывают до самого отдаленного пера верхнего плинта с дополнительным запасом в 10 см и подвязывают их отдельными стежками к пучку жил.

11.145. Заднюю крышку и все плинты бокса устанавливают на прошпаренные и смазанные с обеих сторон битумным лаком тонкие картонные прокладки.

При зарядке кабелем с бумагомассной изоляцией жил до установки последнего (нижнего) плинта корешок бокса заливается через это окно массой МКС.

После зарядки все жилы, включенные в бокс, должны быть проверены на обрыв, сообщение, нарушение парности и на соответствие сопротивления изоляции установленным нормам. Конец кабеля должен быть герметично заделан.

Рекомендуется заряжать боксы 100´2 для магистральных участков линий ГТС отрезками кабелей ТПП (ТППэп), на одном конце которых смонтирована и проверена на герметичность малогабаритная газонепроницаемая муфта МГНМс.

МОНТАЖ КАБЕЛЬНЫХ ЯЩИКОВ

11.146. В кабельных ящиках 10´2 плинт расположен вертикально, и счет пар с лицевой стороны плинта ведется сверху вниз и слева направо. В кабельных ящиках 20´2 имеется два плинта, расположенных горизонтально, и счет пар в них ведется слева направо и сверху вниз.

При зарядке ящиков ввод в них кабелей должен в основном осуществляться аналогично описанному выше вводу при зарядке распределительных коробок 10´2. Для зарядки ящиков используются кабели тех же марок соответствующих емкостей. Экранная проволока кабелей в пластмассовых оболочках подключается к клемме заземления.

Расшивка кабелей и порядок включения жил на плинты кабельных ящиков 10´2 и 20´2 приведены на рис. 11.47.

При зарядке ящика кабелем с бумагомассной изоляцией жил последние после снятия оболочки и поясной изоляции должны прошпариваться массой МКП, а корешок бокса должен заливаться массой МКС.

Рис. 11.47. Расшивка кабеля и порядок включения жил на плинты кабельных ящиков:

а) 10´2; б) 20´2

МОНТАЖ ЗАЩИТНЫХ ПОЛОС КРОССОВ

11.147. В кроссах одинарной и двойной высоты каждый кабель 100´2, приходящий из помещения ввода кабелей, расшивается на четыре смежные полосы 25´2, расположенные в одной вертикали (рис. 11.48, а, в). На кроссах полуторной высоты часть кабелей 100´2 делят на два жгута для включения в защитные полосы, расположенные в двух разных вертикалях (рис. 11.48, б).

Рис. 11.48. Расшивка кабелей 100´2 на защитные полосы 25´2:

а) на кросс одинарной высоты; б) на кросс полуторной высоты; в) на кросс двойной высоты

Резервные пары кабелей оставляют в верхней крайней точке при нижней подаче кабелей и в нижней крайней точке - при верхней подаче с запасом по длине не менее 10 см.

11.148. Зарядка защитных полос производится у места их установки на кроссе абонентских линий кабелями, проложенными одной длиной от разветвительных муфт до монтажа этих муфт. С конца кабеля снимают оболочку, экранную ленту и поясную изоляцию на длине, превышающей на 10 - 15 см расстояние от начала разделки кабеля до наиболее удаленного пера крайней защитной полосы. Расшивку выполняют при помощи шаблона из фанеры с насверленными напротив перьев отверстиями и набитыми стальными шпильками. После расшивки жгут перевязывают у каждой ответвляющейся группы жил стежками суровых прошпаренных или капроновых ниток. По соответствующим отметкам на шаблоне жилы обрезаются, и с их концов снимается изоляция. Готовую расшивку снимают с шаблона и накладывают на защитную полосу.

Зачищенные концы жил продеваются в ушки контактных перьев и запаиваются припоем ПОССу-40-2 с использованием в качестве флюса спиртового раствора канифоли. Концы впаянных жил выкладываются и выравниваются у контактных перьев по единой форме. Экранные проволоки подключаются к шинам заземления защитных полос.

МОНТАЖ РАМОК МЕЖСТАНЦИОННЫХ СВЯЗЕЙ (СОЕДИНИТЕЛЬНЫХ ЛИНИЙ)

11.149. На кроссах соединительных линий устанавливаются рамки с разделительными пружинами. Рамки допускают подключение как двух-, так и трехпроводных соединительных линий. Порядок образования парных и троечных линий на рамках показан на рис. 11.49.

11.150. Для монтажа рамок с разделительными пружинами на кроссах соединительных линий используются те же кабели, что и для защитных полос. Каждый кабель 100´2 расшивается на две с половиной рамки емкостью 40´2 или на шесть рамок 15´2. В последнем случае на участке от разветвительной муфты до рамок кросса в кабеле остаются неиспользованными десять пар жил. Схемы расшивки кабелей 100´2 на рамки 40´2 и 15´2 (10´3) с разделительными пружинами приведены на рис. 11.50 и 11.51. Зарядка рамок производится аналогично зарядке защитных полос кроссов.

Рис. 11.49. Образование парных и троечных линий на рамках 40´2 и 15´2 (10´3)

Рис. 11.50. Расшивка кабелей 100´2 на рамки 40´2:

а) на кроссе полуторной высоты; б) на кроссе двойной высоты

Рис. 11.51. Расшивка кабелей 100´2 на рамки 15´2 (10´3):

а) на кроссе полуторной высоты; б) на кроссе двойной высоты

МОНТАЖ РАСПРЕДЕЛИТЕЛЬНЫХ БЛОКОВ МИНИ-КРОССА

11.151. Распределительные блоки (рамки) мини-кросса устанавливаются как на соединительных, так и на абонентских линиях. Рамки мини-кросса позволяют осуществлять беспаечное включение пар кабелей в поливинилхлоридной и полиэтиленовой изоляции с диаметром жил от 0,4 до 0,6 мм без ее снятия. Порядок расшивки кабеля на рамке мини-кросса парами и тройками показан на рис. 11.52.

Рис. 11.52. Счет пар в распределительном блоке и образование троечных линий

11.152. Зарядку рамок производят кабелями ТСВ 100´2. Применение кабелей ТПВ и ТПП допускается при соблюдении условий, изложенных п. 11.115.

Оболочка кабеля ТСВ снимается на 50 мм ниже уровня рамки при нижнем вводе кабеля или на 50 мм выше уровня рамки - при верхнем вводе кабеля. Сердечник кабеля расшивается по шаблону с таким расчетом, чтобы длина отходящих от сердечника жил составляла 250 мм. При парной зарядке против каждого элемента рамки выводится пять пар жил; при троечной зарядке - три пары жил и по одной жиле с последующих пар, так чтобы жилы «с» образовывались из пар, входящих в смежные тройки: С0 - С1, С2 - С3, С4 - С5 и т.п.

После расшивки сердечника жилы вводятся с левой стороны рамки в соответствующие гнезда и устанавливаются против верхних разрезных штифтов. Специальным ключом вдавливают жилы в прорези штифтов с одновременным откусыванием излишков провода.

11.153. По согласованию с эксплуатационными службами телефонных сетей допускается зарядка мини-кросса кабелями ТПП емкостью до 800´2´0,4. Оболочка кабелей ТПП, вводимых из помещения ввода в кросс, должна быть снята на выходе из этого помещения, а сердечник кабеля обмотан поливинилхлоридной лентой до расшивки жил.

МОНТАЖ ПУПИНОВСКИХ ЯЩИКОВ И МУФТ

11.154. Для пупинизации кабелей телефонных сетей применяются ящики с катушками индуктивности (пупиновские ящики). Ящики с катушками индуктивности на 100´2 устанавливаются непосредственно на дно колодца. Для установки ящика 200´2 в колодце пробивается дно, отрывается приямок, и устанавливается бетонный стакан с бетонным основанием. После установки ящика в приямок место стыка ящика с дном колодца заделывается цементным раствором.

11.155. При весе ящика до 100 кг в котлованах под него устраивают основание толщиной 100 мм из щебня или гравия; при весе более 100 кг - той же толщины из бетона. Перед установкой пупиновского ящика его внутренняя камера проверяется на герметичность избыточным давлением осушенного воздуха 0,03 МПа в течение 4 ч. Убедившись в герметичности внутренней камеры, снимают наружную чугунную крышку, очищают от вазелина внутреннюю крышку, распаивают ее по периметру и снимают. Монтаж пупиновских ящиков может выполняться как с помощью стабкабелей, так и с непосредственным вводом пупининзируемого кабеля. Ящики с катушками индуктивности могут применяться как для полной, так и для частичной пупинизации кабелей.

11.156. Если пупинизируются все пары, то концы кабелей соединяются со стабкабелями в соединительных муфтах (рис. 11.53, а). Если число пупининзированных пар кабеля превышает емкость одного ящика, то каждый конец кабеля соединяют в отдельной разветвительной муфте с двумя стабкабелями - по одному от каждого ящика (рис. 11.53, б). Если в кабеле пупинизируется только часть пар, то на нем монтируется трехпалая разветвительная муфта, в которой два пальца предназначены для стабкабелей входа и выхода пупиновского ящика, а третий - для непупинизируемых транзитных пар (рис. 11.53, в). При полной и частичной пупинизации кабеля допускается совмещение в одном стабкабеле (удвоенной емкости) всех пар входа и выхода пупиновского ящика. В этом случае на кабеле монтируется двухпалая разветвительная муфта (рис. 11.53, г) и в ней пары стабкабеля, включенные на вход катушек индуктивности, соединяются со стороной «А» кабеля, а включенные на выход катушек - со стороной «Б». Сращивание жил стабкабеля с выводами катушек индуктивности выполняется скруткой с последующим изолированием их бумажными гильзами и перевязкой пар гильз нитками.

Рис. 11.53. Соединение пупиновских ящиков с линейными кабелями:

а) соединительными муфтами; б) разветвительными муфтами с двумя пальцами каждая; в) разветвительной муфтой с тремя пальцами; г) одним общим стабкабелем

11.157. Соединенные жилы выкладываются по периметру внутреннего ящика, сросток жил закрывается кабельной бумагой для предохранения от соприкосновения его с корпусом. В случае, когда пупининзируемый кабель входит в колодец из нижних каналов трубопровода, как правило, следует заводить в ящик с катушками индуктивности непосредственно пупинизируемый кабель без стабкабелей. При этом соединение жил кабеля с выводами катушек индуктивности выполняется так же, как и жил стабкабеля. При частичной пупинизации транзитные (непупинизируемые) жилы также пропускаются через ящик, где соединяются напрямую, помимо катушек индуктивности.

Если материалы оболочек пупинизируемого кабеля и стабкабеля различны, то применяются (монтируются) переходные манжеты соответствующего размера.

Внутренняя крышка ящика и место ввода кабеля запаиваются припоем ПОССу-30-2.

На корпусе ящика устанавливается чугунная крышка, пространство между внутренним ящиком и чугунным корпусом заливается через лючки чугунной крышки битумной массой, разогретой до +130 - 140 °С.

РЕМОНТ ОБОЛОЧЕК КАБЕЛЕЙ И МУФТ

11.158. Мелкие трещины, щели, проколы, порезы свинцовых оболочек устраняют пайкой припоем ПОССу-30-2. Значительные отверстия в свинцовой оболочке ремонтируют заплатами, вырезанными из отходов кабелей в свинцовой оболочке. Края заплаты должны перекрывать отверстие на 8 - 10 мм.

Заплату плотно подбивают к оболочке деревянным молотком по форме кабеля, закрепляют в двух - трех точках припоем ПОССу-30-2, а затем припаивают к оболочке по всему периметру. Небольшие вмятины на оболочке и муфтах устраняют легкими ударами деревянного молотка по выпуклым местам.

При значительных деформациях оболочки или муфты в центр углублений, на очищенную поверхность свинца впаивают торец прутка припоя ПОССу-30-2, после отвердения которого производят вытягивание оболочки до необходимой степени. Затем пруток отпаивают и удаляют излишки припоя.

11.159. Незначительные повреждения полиэтиленовых оболочек и шлангов (трещины, проколы, раковины) устраняют наплавлением полиэтиленовой ленты через стеклоленту. Значительные отверстия в полиэтиленовых оболочках ликвидируют полиэтиленовыми заплатами, вырезаемыми из отходов оболочек кабелей.

Заплату нагревают и накладывают на зачищенную оболочку поверх места повреждения, прижимают отрезком резины и дают остыть. На остывшую заплату наматывают пять - шесть слоев полиэтиленовой ленты, затем два слоя стеклоленты и производят заварку. Повреждения оболочки на полиэтиленовых кабелях, обнаруженные до монтажа муфт, можно устранить, используя трубки ТУТ с подклеивающим слоем.

В труднодоступных местах (оголовники разветвительных муфт) повреждения рекомендуется устранять наплавлением полиэтиленового прутка в струе горячего азота.

11.160. Для устранения мелких повреждений в стальной гофрированной оболочке удаляют полиэтиленовый шланг вокруг места повреждения, стальную оболочку очищают от битума и залуживают. Место повреждения запаивают припоем ПОССу-30-2. Значительные повреждения в стальной оболочке устраняют свинцовыми заплатами. Полиэтиленовый шланг на кабелях восстанавливают способами, предусмотренными для ремонта полиэтиленовых оболочек.

11.161. Допускается производить ремонт полиэтиленовых оболочек и шланговых покрытий с помощью термоусаживаемых пленок и разрезных трубок ТУТ. Если пленки или трубки не имеют подклеивающего слоя, то подклеивающий материал (ГИПК-14-13, сэвилен и др.) наносится в зону усадки в разогретом состоянии. Разрезная трубка ТУТ или пленка устанавливаются на место повреждения с перекрытием в 1/3 своей длины и обматываются двумя-тремя слоями полиэтиленовой ленты с 50 % перекрытием, поверх накладываются два-три слоя стеклоленты, и производится сварка.

11.162. На кабельных линиях, содержащихся под воздушным давлением, ремонт оболочек кабеля производят после прекращения подачи воздуха и полного выхода его из кабельной линии.

ВСКРЫТИЕ И ДЕМОНТАЖ МУФТ

11.163. Для вскрытия свинцовых муфт их швы распаивают, предварительно подставив под муфту металлический противень или лист для сбора припоя. Места паек нагревают пламенем горелки до расплавления припоя, а затем гладилкой или ножом удаляют припой с места пайки. В муфте, состоящей из двух частей (полумуфт), первоначально распаивают средний шов и один из конусов. Сразу же после удаления припоя распаянную полумуфту слегка поворачивают в одну и другую сторону вокруг оси кабеля и сдвигают со сростка. Затем распаивают второй конус муфты и сдвигают вторую полумуфту.

В разрезной муфте сначала распаивают продольный шов и раздвигают края муфты. Затем распаивают оба конуса, муфту раскрывают по продольному шву и снимают со сростка. На свинцовых муфтах с зачеканенными конусами сначала распаивают конусы, затем отгибают и выпрямляют зачеканенные кромки и муфту сдвигают со сростка.

11.164. Вскрытие разветвительной муфты начинают с распайки шва между оголовником и корпусом муфты. Далее распаивают конус корпуса муфты и сдвигают его со сростка. Пальцы оголовника, как правило, не распаивают.

11.165. Перед вскрытием полиэтиленовых муфт сварные швы на них тщательно прогревают горячим воздухом от пламени горелки. Для этого над вскрываемой муфтой устанавливают козырек из картона или кабельной бумаги, а горелку размещают под муфтой. Нагретые участки швов осторожно прорезают ножом, и детали муфты сдвигают со сростка.

11.166. Защитные чугунные муфты перед вскрытием укладывают на козлы и очищают от земли и других загрязнений. Под муфту устанавливают противень. Открывают крышку люка верхней полумуфты. Муфту слегка наклоняют над противнем, обеспечивая сток битума при нагреве. Затем ее нагревают и, наклоняя по возможности, выливают битум. От нижней полумуфты отделяют обе накладки и верхнюю полумуфту. Свинцовую муфту дополнительно нагревают и ветошью снимают с нее битум. Остатки битума стирают смоченной бензином ветошью.

11.167. После вскрытия муфты, удаления экранных лент и поясной изоляции отбирают искомые пары с помощью приборов спайщика или прозвонкой, сдвигая гильзы и, при необходимости, раскручивая скрутки. Жилы, соединенные с помощью соединителей, прозванивают в соединителях или выкусывают из них. После выполнения работ по устранению повреждений муфту восстанавливают.

11.168. При демонтаже кабеля муфты вырезают, а концы кабелей запаивают (на кабелях с металлической оболочкой) или заделывают с помощью полиэтиленовых колпачков.

ОСОБЕННОСТИ МОНТАЖА КАБЕЛЕЙ СЕЛЬСКОЙ СВЯЗИ

11.169. При монтаже кабелей типа КСПП восстановление оболочек может выполняться следующими способами:

·         с помощью тупиковых муфт, заливаемых битумным компаундом;

·         «холодным» способом;

·         методом сварки под слоем стеклоленты;

·         с помощью термоусаживаемых материалов (ТУТ и термоусаживаемых лент).

11.170. Общая для всех способов технологическая операция при монтаже сердечника кабеля - соединение медных жил - производится скруткой и пропайкой припоем ПОССу-40-2. Пропайка производится в стаканчиковом паяльнике, нагреваемом газовой горелкой или паяльной лампой. Допускается производить соединение жил также одножильными соединителями.

11.171. Наиболее часто применяемым способом монтажа кабелей КСПП (Б) является способ с применением тупиковой муфты. Монтаж тупиковой муфты включает следующие технологические операции:

·         разделку концов кабеля;

·         залуживание бронелент;

·         наложение бандажей из бронеленты;

·         восстановление экранной ленты;

·         сращивание (скрутку) жил;

·         обмотку кабеля липкой лентой и установку распорного вкладыша;

·         установку муфты и заливку ее горячим компаундом;

·         погружение сростка в муфту.

11.172. Разделку концов кабеля (рис. 11.54) выполняют в следующей технологической последовательности:

·         обрезают лишние длины концов кабеля и ветошью, смоченной в бензине, очищают их от пыли и грязи на длине 400 - 500 мм;

·         на расстоянии 120 мм от конца кабеля делают круговой надрез на полиэтиленовой оболочке и от него - продольный к концу кабеля, разворачивают надрезанную оболочку и обрывают ее по круговому надрезу. Аналогично удаляют оболочку с другого конца кабеля;

·         разматывают ПВХ ленту, намотанную на алюминиевый экран, и обрезают ее у среза оболочки;

·         на расстоянии 100 мм от обреза оболочки делают круговой надпил на бронелентах, разматывают их и обламывают по надпилу. После этого участок, освобожденный от бронелент, очищают от битума и протирают ветошью, смоченной в бензине. Аналогично удаляют бронеленты с другого конца кабеля;

·         разматывают ПВХ ленту, намотанную на экран, и обрезают ее у среза бронелент;

·         разматывают экранную ленту и скручивают ее в рулончик у обреза оболочки. Поверх рулончика наматывают экранную проволоку;

·         на расстоянии 70 мм от конца кабеля делают круговой надрез поясной изоляции, слегка прогревают поясную изоляцию пламенем горелки, крестообразно разрезают ее между жилами и обрывают по круговому надрезу;

·         на расстоянии 40 мм от конца кабеля ножом делают круговые надрезы на изоляции жил и удаляют ее.

Рис. 11.54. Разделка концов кабеля КСППБ

11.173. Участки брони, оставленные около обреза оболочки, протирают ветошью, смоченной в бензине, зачищают напильником и залуживают припоем ПОССу-40-2 с применением флюс-пасты ПБК-26М молотковым паяльником.

11.174. Два разделанных конца кабеля складывают параллельно так, чтобы рулончики экранных лент не мешали плотному прилеганию концов кабеля.

На залуженный участок брони тремя витками наматывают медную проволоку диаметром 0,9 - 1,2 мм длиной 200 мм. Конец ее закрепляют скруткой. Витки проволоки перепаивают между собой и с залуженным участком брони.

11.175. Сращивание жил обоих концов кабеля производится поочередной попарной скруткой на длине 25 мм (рис. 11.55). Скрутки укорачивают кусачками до 15 - 20 мм.

Рис. 11.55. Скрутка жил двух концов кабеля

11.176. Рулончики экранных лент разматывают, укорачивают каждую до 70 мм, складывают вместе и скрепляют «кровельным швом». Затем обматывают ими оба конца кабеля по поясной изоляции (одним витком). Поверх экранных лент наматывают навстречу друг другу тремя витками экранные проволоки и соединяют их скруткой (рис. 11.56). Наматывают на скрутку бандажной проволоки скрутку экранных проволок, укорачивают до 15 - 20 мм и отгибают ее вниз.

Рис. 11.56. Восстановление экрана

11.177. Кисточкой, смоченной в растворе канифоли, смазывают скрутки жил, а также бандажной и экранной проволок и с помощью стаканчикового паяльника быстро пропаивают скрутки. После пайки скрутку экранной и бандажной проволок отгибают к экранным лентам.

На скрутки жил надвигают тупиковые гильзы длиной 40 мм так, чтобы они заходили на полиэтиленовую изоляцию скрутки на 15 - 20 мм.

11.178. На расстоянии 100 мм от обреза оболочки обоих концов кабеля для обеспечения зазора между ними вставляют распорный вкладыш - отрезок оболочки.

Муфту прикладывают к скрутке жил и определяют уровень, на который будет погружен в нее кабель с таким расчетом, чтобы концы надетых на жилы гильз не доходили до дна муфты на 10 - 15 мм (рис. 11.57).

Оба конца кабеля на этом уровне обматывают пятью - восемью витками полиэтиленовой липкой ленты шириной 10 - 20 мм и толщиной 0,1 - 0,2 мм. Конец ленты нагревают спичкой и прижимают к поверхности намотки. Общий вид сростка показан на рис. 11.58.

Рис. 11.57. Примерка муфты на сросток

Рис. 11.58. Общий вид сростка

11.179. Муфту строго вертикально устанавливают в углубление на дне котлована. Разогретым компаундом из чайника заливают муфту на 3/4 ее длины. Толщина струи при этом должна быть 2 - 3 мм. Если струя толще, чайник с компаундом дополнительно подогревают, если тоньше - ждут пока он остынет до температуры 120 °С (проверить, не перегрет ли компаунд, можно, опустив в него полиэтиленовую гильзу или ленту).

После заливки муфты компаундом в нее вводят сросток кабеля и погружают до начала обмотки оболочки лентами (рис. 11.59). Вставленный в муфту сросток шевелить не следует.

Рис. 11.59. Установка муфты и погружение сростка в нее

11.180. Запас кабеля выкладывают кольцом на дне котлована. В просвет между кабелем и дном котлована, у выхода из муфты подсыпают рыхлый грунт и утрамбовывают его. Затем котлован засыпают откопанной землей, не дожидаясь охлаждения муфты. Размещение тупиковых муфт в грунте, в колодце и у опоры подвесного кабеля показано на рис. 11.60.

Рис. 11.60. Размещение тупиковых муфт:

а) в грунте; б) в колодце; в) около опоры

1 - кабель, 2 - замерный столбик, 3 - тупиковая муфта, 4 - консоль, 5 - трубчатый кронштейн, 6 - болт, 7 - опора, 8 - столбовая консоль, 9 - бандажная лента, 10 - трос, 11 - клемма, 12 - проволочный подвес, 13 - шайба, 14 - провод заземления, 5 - скоба, 16 - деревянная рейка

11.181. Потребность в основных материалах и арматуре в расчете на одну тупиковую муфту длиной 330 мм с внутренним диаметром 0,32 мм и толщиной стенки 3,5 мм:

лента ПВХ............................................................................................................ 0,5 кг;

бензин Б-70.......................................................................................................... 0,1 л;

битумный компаунд............................................................................................ 0,25 кг;

флюс-паста ПБК-26М......................................................................................... 0,02 кг;

ветошь................................................................................................................... 0,1 кг;

припой ПОССу-40-2........................................................................................... 0,05 кг;

проволока круглая медная диаметром 0,9 - 1,2 мм.......................................... 0,2 м;

гильзы полиэтиленовые тупиковые.................................................................. 5 шт.

11.182. С помощью тупиковых муфт рекомендуется также производить сращивание кабеля ПРППМ (ПРВПМ) по технологии, приведенной выше. Разделка и соединение жил показаны на рис. 11.61.

Рис. 11.61. Разделка и соединение жил кабеля ПРППМ (ПРВПМ):

1 - участок пайки; 2 - скрутка жил

11.183. При монтаже одночетверочных кабелей КСПП «холодным» способом герметизация муфты производится путем многослойной обмотки сростка полиэтиленовыми лентами с промазкой липким полиизобутиленовым компаундом. Монтаж прямой муфты «холодным» способом показан на рис. 11.62.

Рис.11.62. Монтаж прямой муфты на кабеле КСПП 1´4 «холодным» способом

Размеры разделки показаны на рис. 11.62, а. Скрученные и пропаянные жилы изолируются полиэтиленовыми гильзами (рис. 11.62, б), сросток обильно покрывается полиизобутиленовой массой (рис. 11.62, в), поверх которой плотно наматывается полиэтиленовая лента с 50 % перекрытием и нанесением между слоями тонкого слоя массы (рис. 11.62, г). Восстановление экрана осуществляется намоткой ранее свернутых в рулончики экранных лент с 20 % перекрытием (рис. 11.62, д). Поверх экрана сросток обматывается полиэтиленовой лентой с промазкой полиизобутиленом и перекрытием оболочки кабеля.

11.184. При монтаже кабеля КСПП с восстановлением оболочек сваркой под стеклолентой и с помощью термоусаживаемых материалов сращивание жил и изолирование их сростков производится так, как показано на рис. 11.62, а, б, а восстановление оболочек осуществляется по технологии, изложенной соответственно в пп. 11.71 - 11.75, 11.77 - 11.85.

РАЗДЕЛ 12

МОНТАЖ ОПТИЧЕСКИХ КАБЕЛЕЙ МЕСТНЫХ СЕТЕЙ СВЯЗИ

ОБЩИЕ ПОЛОЖЕНИЯ И КОНСТРУКЦИЯ МУФТ

12.1. В разделе рассматривается технология монтажа прямых и разветвительных муфт оптических кабелей связи (ОК), прокладываемых на линиях местных телефонных сетей в кабельной канализации, коллекторах, тоннелях и в грунт.

12.2. Вопросы, касающиеся организации и подготовки монтажных работ, являются общими как для оптических кабелей, так и для электрических кабелей связи.

12.3. При монтаже ОК применяются следующие типы муфт:

·       МГОК 9/17 - муфта городского оптического кабеля, прокладываемого в кабельной канализации, коллекторах и тоннелях. Муфта предназначена для прямого сращивания.

Состоит из двух полиэтиленовых конусов, позволяющих ввод кабелей с наружными диаметрами от 9 до 17 мм, металлического каркаса из двух желобов, центральной части - полиэтиленовой трубы. Муфта укомплектована тремя полиэтиленовыми кассетами для укладки запаса оптического волокна и защитных гильз КДЗС, а также поясками термоусаживаемой трубки (рис. 12.1);

·       МГОК 17/27 - то же, для кабелей с наружными диаметрами от 17 до 27 мм;

·       МГОКР 9/17 - муфта городского оптического кабеля, разветвительная.

Состоит из полиэтиленового конуса и полиэтиленового оголовника с двумя ответвлениями, позволяющими ввод кабелей с наружными диаметрами от 9 до 17 мм, металлического каркаса из двух желобов, центральной части - полиэтиленовой трубы. Муфта укомплектована тремя полиэтиленовыми кассетами для укладки запаса оптического волокна и защитных гильз КДЗС (рис. 12.1);

·       МГОКР 17/27 - то же, для кабелей с наружными диаметрами от 17 до 27 мм;

Рис. 12.1. Основные детали для монтажа муфт МГОК и МГОКР:

1 - цилиндрическая часть муфты; 2 - металлический каркас; 3 - конус муфты (для муфты МГОК - 2 шт.); 4 - оголовник муфты (для муфты МГОКР); 5 - кассеты; 6 - поясок ТУТ (для муфты МГОК - 2 шт.)

·         МКО 15/27 - муфта магистрального и внутризонового оптических кабелей связи. На оптических кабелях местных сетей связи применяется при их прокладке в грунт. Муфта предназначена для прямого сращивания.

Состоит из внутреннего и внешнего корпусов, каждый из которых собран из двух полиэтиленовых полумуфт обтекаемой формы, что в значительной мере увеличивает прочность муфты. Муфта позволяет ввод кабелей с наружными диаметрами от 15 до 27 мм;

·         МКОР 15/27 - муфта магистрального и внутризонового оптических кабелей связи разветвительная. На оптических кабелях местных сетей связи применяется при их прокладке в грунт. Муфта предназначена для разветвления на два направления.

Состоит из корпуса, гильзы и оголовника внутренней и внешней муфты. Все детали имеют обтекаемую форму, как и у прямой муфты МКО. Муфта позволяет ввод и разветвление кабелей с наружными диаметрами от 15 до 27 мм;

·         МОГ, МОГР - модернизированные конструкции муфт МГОК и МГОКР. Отличаются тем, что вместо трех кассет устанавливаются два блока кассет, по две или четыре кассеты в каждом блоке. Металлический каркас отсутствует. Муфты позволяют ввод кабелей с наружными диаметрами от 12 до 25 мм.

12.4. Наряду с отечественными соединительными муфтами в практике строительства оптических линий связи применяются и зарубежные конструкции. К наиболее известным относятся муфты SМРС-ОF фирмы «Стевинг», FОSС-100В/Н фирмы Райхем, UСSО4-6 фирмы РХС, некоторые конструкции фирм Морель и Сименс.

ОРГАНИЗАЦИЯ РАБОЧЕГО МЕСТА

12.5. Монтаж соединительных муфт должен производиться в монтажно-измерительной автомашине закрытого типа. Требования к ее конструктивному оборудованию изложены ниже.

12.5.1. Внутри автомашины должен быть установлен монтажный стол, оборудованный приспособлениями для закрепления концов монтируемых кабелей и размещения монтажных инструментов. Здесь же должно быть предусмотрено место для транспортирования устройства для сварки оптических волокон и работы с ним во время монтажа, а также ящики для монтажных материалов и инструмента. Для сидения монтажников должны быть предусмотрены вращающиеся стулья, имеющие регулировку по высоте.

12.5.2. Освещение в салоне кузова должно быть естественное - через окна и искусственное - от ламп в плафонах, расположенных у монтажного стола.

Питание всех электропотребителей должно осуществляться от бортовой сети 12 В или внешней сети переменного тока напряжением 220 В через понижающий трансформатор 220/12 В. При отсутствии возможности внешнего подключения к источнику электропитания может быть использована портативная бензоэлектростанция, например типа АВ-1 мощностью 1 кВт.

Для подключения к источнику электропитания или к бензоэлектростанции в автомашине должен быть комплект кабелей на вращающейся катушке.

12.5.3. Для организации оперативной связи во время монтажа должна быть организована радиосвязь с помощью портативных раций. При наличии металлических элементов в оптическом кабеле для связи во время монтажа могут использоваться телефоны типа МБ с индукторным вызовом.

МОНТАЖ ПРЯМОЙ СОЕДИНИТЕЛЬНОЙ МУФТЫ МГОК

12.6. Монтаж прямой соединительной муфты МГОК производится с соблюдением технологии и последовательности выполнения рабочих операций, приведенных ниже.

12.6.1. Перед монтажом оба конца ОК, не раскручивая колец, подают из колодца в монтажно-измерительную автомашину к монтажному столу. На длине 2000 мм оба конца кабеля протирают ветошью, смоченной в бензине Б-70, а затем - сухой.

12.6.2. Вскрывают полиэтиленовый пакет с комплектом деталей и материалов для монтажа прямой муфты. На торце усеченной части обоих конусов и на торцах цилиндрической части муфты с обеих сторон ножом снимают фаску под углом 30°. Проверяют наличие металлических опорных колец в конусах.

12.6.3. На каждый конец ОК надвигают по одному пояску ТУТ 30/15 шириной 70 мм, по одному конусу, по одному пояску ТУТ 100/50 шириной 100 мм. На один из концов ОК надвигают цилиндрическую часть муфты. Полиэтиленовые конуса устанавливают на кабель на расстоянии 1500 мм от цилиндрической части конуса до его конца и закрепляют кабель в кронштейнах монтажного стола.

12.6.4. Поверхность оболочки ОК и полиэтиленовых конусов в месте их стыка протирают бензином Б-70 и зачищают ножом, после чего на место стыка наматывают три слоя полиэтиленовой ленты и поверх нее два слоя стеклоленты.

12.6.5. Открытым пламенем газовой горелки или паяльной лампы производят наплавление полиэтиленовой ленты под стеклолентой на герметизируемые стыки обоих конусов (рис. 12.2). Прогрев необходимо производить, соблюдая следующий циклический режим:

·       общее время сварки, мин.............................................................................. 4

·       время начального нагрева, мин.................................................................... 1

·       паузы, мин...................................................................................................... 0,5

·       время последующего нагрева, мин.............................................................. 0,5

·       количество циклов «пауза - нагрев»............................................................ 3

После остывания места сварки до температуры 50 - 60 °С стеклоленту удаляют.

Примечание. При наличии у исполнителя ТУТ с коэффициентом радиальной усадки более 1/3 герметизацию конуса с полиэтиленовой оболочкой кабеля можно производить этой ТУТ. Для этой цели рекомендуется использовать двухслойную термоусаживаемую ленту типа «РАДЛЕН».

Рис. 12.2. Наплавление полиэтиленовой ленты под стеклолентой на стыке конуса с оболочкой кабеля

12.6.6. Для повышения механической прочности стыка поверх наплавленного слоя полиэтиленовой ленты на место стыка полиэтиленового конуса с оболочкой кабеля наматывают в два слоя пояски герметизирующей ленты из сэвилена или наносят клей-расплав ГИПК 14-13.

12.6.7. Надвигают на стык поясок ТУТ 30/15 (рис. 12.3) и усаживают его открытым пламенем. Аналогичную операцию производят на другом конце кабеля.

12.6.8. На уровне окончания полиэтиленовых конусов полиэтиленовую оболочку обоих концов кабеля надрезают и удаляют с сердечника. Снимают пластмассовые ленты или нити.

12.6.9. Ветошью, смоченной в бензине, а затем - сухой, удаляют с сердечника кабеля гидрофобное заполнение.

12.6.10. Из сердечника обоих концов кабеля освобождают центральные силовые элементы.

Рис. 12.3. Установка пояска ТУТ 30/15 на стык конуса с оболочкой кабеля

12.6.11. Под конуса подкладывают и примеряют один из желобов металлического каркаса, входящего в состав монтажного комплекта. Расстояние между конусами устанавливают таким, чтобы концы желоба перекрывали чуть больше половины их цилиндрической части. В каркас укладывают прокладку из полиэтиленовой пленки длиной 700 мм, шириной 115 мм (в состав комплекта не входит).

12.6.12. Если силовой элемент представляет собой нити СВМ в ПВХ оболочке, то его, освободив от ПВХ оболочки, связывают в середине муфты тройным узлом. Для предотвращения распушивания концов нитей поверх узла устанавливают гильзу, предварительно надвинутую на один из концов центрального элемента.

Если центральный элемент выполнен в виде стального троса в полиэтиленовой оболочке, то его восстанавливают путем спайки в середине муфты припоем ПОССу-30-2 с применением паяльной пасты ПБК-26м. Место пайки изолируется полиэтиленовой гильзой или липкой пластмассовой лентой.

12.6.13. Оптические волокна распределяют по кассетам и выводят в их окна. Устанавливают кассеты на металлический желоб (рис. 12.4).

12.6.14. С оптических волокон удаляют модульные трубки так, чтобы часть трубки осталась в кассете после выкладки запаса волокна. После удаления модульных трубок волокна протирают от гидрофобного заполнителя тампоном, смоченным в бензине Б-70 или в спирте.

Рис. 12.4. Установка кассеты на каркас

12.6.15. После выполнения перечисленных выше рабочих операций приступают к сварке оптических волокон, для чего на оптическое волокно надвигают защитную термоусаживаемую гильзу КДЗС. На длине 30 мм удаляют защитное покрытие. Освобожденный от защитного покрытия участок волокна протирают тампоном, смоченным в спирте.

12.6.16. Для получения качественной сварки производят скол оптического волокна. В простейшем варианте применяются специальные устройства, в которых осуществлен принцип насечки и облома волокна на гибком элементе. При работе с таким устройством на оптическом волокне, отступив на 14 - 15 мм от начала его защитного покрытия, делают сначала насечку, а затем, изгибая упругий элемент, обламывают волокно в месте насечки (рис. 12.5).

Рис. 12.5. Скол оптического волокна

Скол должен быть ровным и перпендикулярным оси волокна. Качество скола следует определять с помощью микроскопа устройства для сварки. Если скол не получился, операции по удалению защитного покрытия и сколу следует повторить до получения требуемого качества. Аналогично подготавливают волокно другого конца кабеля.

Более качественные сколы оптического волокна получаются при применении скалывателей сложной конструкции с электронно-настраиваемыми ультразвуковыми вибрационными алмазными лезвиями.

12.6.17. Сварку оптических волокон двух строительных длин кабеля производят в соответствии с указаниями паспорта на устройство, которым производится сварка (рис. 12.6).

Рис. 12.6. Сварка оптического волокна

Сварку необходимо производить под контролем затухания стыка рефлектометром обратного рассеивания. Величина затухания сварного стыка, измеренного дважды: в направлении А - Б и Б - А, устанавливается в каждом конкретном случае отдельно, в зависимости от километрического затухания кабеля.

Получив положительные результаты измерений, на сварное соединение устанавливают и усаживают защитную термоусаживаемую гильзу КДЗС. Работу проводят под постоянным контролем затухания стыка.

12.6.18. Между фиксаторами гильз наносят немного липкого полиизобутиленового компаунда, затем укладывают усаженную гильзу и выкладывают волокно по периметру кассеты. Аналогично сваривают и выкладывают остальные волокна (рис. 12.7).

Рис. 12.7. Укладка трех соединенных оптических волокон и защитных гильз КДЗС в кассете

12.6.19. Сваривают оптические волокна, выведенные в окна следующих кассет. После сварки всех волокон порядок их счета следует отметить в паспорте на смонтированную муфту. Паспорт вкладывают в один из конусов муфты.

12.6.20. Над кассетами устанавливают вторую половинку металлического каркаса так, чтобы его корпус вошел в верхние пазы всех трех кассет (рис. 12.8).

Рис. 12.8. Установка второй половины каркаса

12.6.21. Желоба каркаса скрепляют между собой липкой лентой и надвигают на них цилиндрическую часть муфты. Полиэтиленовую поверхность возле герметизируемых стыков цилиндрической части муфты с конусами протирают бензином Б-70 и зачищают наждачной бумагой. Затем возле каждого стыка с обеих сторон наносят герметик (например, сэвилен, клей-расплав ГИПК-14-13, КРУС-1, КРД). На каждый стык устанавливают и усаживают открытым пламенем пояски ТУТ 100/50 шириной по 100 мм (рис. 12.9).

Рис. 12.9. Усадка пояска ТУТ 100/50 на стыке цилиндрической части муфты с конусом

МОНТАЖ РАЗВЕТВИТЕЛЬНОЙ МУФТЫ МГОКР

12.7. Монтаж разветвительной муфты МГОКР следует производить аналогично монтажу прямой муфты МГОК, поэтому, в основном следует руководствоваться указаниями, изложенными в п. 12.6, с дополнительным выполнением рабочих операций, приведенных ниже.

12.7.1. После удаления загрязнений с концов разветвляемого и ответвляемых кабелей на них надвигают: на конец разветвляемого кабеля - поясок ТУТ 30/15 шириной 70 мм, поясок ТУТ 100/50 шириной 100 мм и полиэтиленовый конус, а на концы ответвляемых кабелей - по одному пояску ТУТ 30/15 шириной 70 мм и оголовник муфты.

12.7.2. Стыки ответвлений оголовника герметизируют наплавлением полиэтиленовой ленты под стеклолентой, а затем поверх наплавленного слоя надвигают и усаживают пояски ТУТ 30/15. При наличии ТУТ соответствующего типоразмера с коэффициентом радиальной усадки более 1/3 герметизацию производят этой трубкой. Для этой цели рекомендуется использовать двухслойную термоусаживаемую ленту типа «РАДЛЕН».

12.7.3. Приварку полиэтиленового конуса и разделку кабеля производят, как это указано в пп. 12.6.5 - 12.6.10.

12.7.4. Под приваренный полиэтиленовый конус подкладывают, а в оголовник вводят, один из желобов металлического каркаса. Расстояние между конусом и оголовником следует установить так, чтобы конец желоба перекрывал чуть больше половины конуса.

12.7.5. Соединение трех центральных силовых элементов производят так же, как это описано в п. 12.6.12. Все три элемента соединяют в середине муфты. Над соединением устанавливают полиэтиленовую гильзу.

12.7.6. Производят разделку, маркировку оптических волокон, вывод их через окна кассет, установку кассет, сварку и выкладку оптических волокон в соответствии с указаниями пп. 12.6.13 - 12.6.18. На рис. 12.10 показана разветвительная муфта после сварки и выкладки всех оптических волокон.

Рис. 12.10. Разветвительная муфта после сварки и выкладки ОВ

12.7.7. На смонтированный сросток надевают вторую половину металлического каркаса. Половины каркаса скрепляют между собой липкой лентой. Надвигают цилиндрическую часть на конус и в оголовник.

12.7.8. Герметизацию стыка цилиндрической части муфты с конусом производят пояском ТУТ 100/50 шириной 100 мм, а стыка оголовника муфты с ее цилиндрической частью - наплавлением полиэтиленовой ленты под стеклолентой. Для этого на стык наматывают десять слоев полиэтиленовой ленты и четыре слоя стеклоленты. Режим сварки приведен ниже:

·       общее время сварки, мин.............................................................................. 17

·       время начального нагрева, мин.................................................................... 5

·       паузы, мин...................................................................................................... 1

·       время последующего нагрева, мин.............................................................. 1

·       количество циклов «пауза - нагрев»............................................................ 6

12.7.9. Далее производят выкладку запаса кабеля в колодце и установку муфты на консолях.

РЕМОНТ СМОНТИРОВАННОЙ СОЕДИНИТЕЛЬНОЙ МУФТЫ

12.8. При необходимости ремонта (демонтажа) соединительных муфт на прямой муфте пояски ТУТ на стыках срезают ножом и удаляют остатки герметика. Цилиндрическую часть муфты сдвигают с конусов в сторону кабеля и снимают верхний металлический желоб, тем самым предоставляя доступ к оптическим волокнам. На разветвительной муфте стык оголовника с цилиндрической частью вскрывают ножом.

При последующем восстановлении муфт операции выполняют в обратной последовательности. Стыки цилиндрической части муфты с конусами и оголовником герметизируют наплавлением полиэтиленовой ленты под стеклолентой. На конус и цилиндрическую часть муфты наматывают шесть слоев полиэтиленовой ленты и четыре слоя стеклоленты. Временной режим сварки приведен ниже:

·       общее время сварки, мин.............................................................................. 12

·       время начального нагрева, мин.................................................................... 3

·       паузы, мин...................................................................................................... 0,5

·       время последующего нагрева, мин.............................................................. 0,5

·       количество циклов «пауза - нагрев»............................................................ 9

В этом случае рекомендуется применять двухслойную термоусаживаемую ленту типа «РАДЛЕН».

МАРКИРОВКА КАБЕЛЯ И МУФТ

12.9. В смотровых устройствах кабельной канализации на кабель возле смонтированной муфты устанавливают свинцовое нумерационное кольцо или пластмассовую бирку. На кольце или бирке указывают, между какими АТС проложен кабель, марку кабеля и его номер.

В смотровых устройствах на ОК и в средней части смонтированной муфты желтой краской делают предупреждающую отметку размером 20´20 мм. По окружности канала кабельной канализации наносят желтой краской полосу шириной не менее 50 мм.

ОСОБЕННОСТИ МОНТАЖА ОПТИЧЕСКИХ КАБЕЛЕЙ, ИМЕЮЩИХ МЕТАЛЛИЧЕСКУЮ ОПЛЕТКУ

12.10. Для монтажа кабелей с металлической оплеткой применяются такие же муфты МГОК и МГОКР. Разделку кабеля следует начинать до приварки полиэтиленовых конусов.

После удаления полиэтиленовой оболочки кабеля металлическую оплетку собирают «в гармошку» возле ее среза и обрезают по окружности ножницами по металлу.

Проволоки распрямляют и обрезают половину на уровне среза оболочки. Оставшиеся проволоки собирают вместе, сплетают в косичку и скрепляют медной проволокой диаметром 0,4 - 0,5 мм. Аналогично подготавливают такую же косичку на другом конце кабеля.

Косички необходимо залудить припоем ПОССу-30-2 в стаканчиковом паяльнике с применением паяльной пасты ПБК-26м.

После сращивания центрального силового элемента косички соединяют скруткой проводом типа ПРППМ с диаметром медной жилы 0,9 - 1,2 мм. Скрутки пропаивают в стаканчиковом паяльнике припоем ПОССу-30-2. Места скруток изолируют полиэтиленовой гильзой.

ОСОБЕННОСТИ МОНТАЖА ОПТИЧЕСКИХ КАБЕЛЕЙ, ИМЕЮЩИХ СТАЛЬНУЮ ГОФРИРОВАННУЮ ОБОЛОЧКУ

12.11. При разделке кабеля стальную гофрированную оболочку удаляют на расстоянии 12 - 20 мм от среза полиэтиленовой оболочки. Стальную оболочку залуживают на 3/4 окружности припоем ПОССу-30-2 с применением паяльной пасты ПБК-26м.

Затем делают перепайку стальной оболочки сращиваемых длин кабеля проводом ПРППМ 1´2´0,9.

Примечание. Вместо «горячего» способа электрического соединения стальной оболочки рекомендуется «холодный» способ с применением электропроводящего клея ТПК-10.

МОНТАЖ МУФТЫ МКО

12.12. Монтаж муфты МКО производится с соблюдением технологических операций, приведенных ниже.

12.12.1. Концы кабеля на длине 2,0 м протирают ветошью, смоченной в бензине Б-70, а затем - сухой.

На каждый конец кабеля надвигают по одной полумуфте внешней муфты и по одной полумуфте внутренней муфты, после чего на оба конца надвигают по одному пояску ТУТ 30/15 шириной 55 мм. Отступив от концов кабеля на 1,5 м, удаляют внешнюю полиэтиленовую оболочку и пластмассовые ленты.

12.12.2. Защитные проволоки очищают от гидрофобного заполнителя бензином Б-70, разворачивают в направлении против их повива, отделяют друг от друга, укорачивают кусачками, оставляя длину 450 - 460 мм от среза полиэтиленовой оболочки, и отгибают в стороны.

12.12.3. Для предотвращения попадания влаги в смонтированную муфту в случае повреждения внешней полиэтиленовой оболочки или стыка внешней муфты делают влагонепроницаемую пробку - продольную герметизацию кабеля в муфте. Для этого на участке 25 мм от среза внешней полиэтиленовой оболочки на внутреннюю оболочку, а также на длине 25 мм на изоляцию всех защитных проволок накладывают в расплавленном виде клей-расплав ГИПК-14-13, КРУС или КРД-1.

Затем проволоки выпрямляют и поверх них накладывают бандаж из двух - трех слоев ПВХ ленты шириной 8 - 10 мм на расстоянии 20 мм от среза внешней оболочки. Сверху наносят еще один слой клея с заходом на 10 мм на внешнюю оболочку. Устанавливают и усаживают поясок ТУТ 30/15 (рис. 12.11).

Рис. 12.11. Продольная герметизация кабеля термоусаживаемой трубкой

Аналогичные операции выполняют на втором сращиваемом кабеле.

12.12.4. Концы кабеля плотно закрепляют в зажимах монтажного станка, обеспечив расстояние между усаженными поясками ТУТ 30/15 300 мм. Проволоки отгибают в сторону кабеля.

Отступив 45 мм от пояска ТУТ, удаляют внутреннюю оболочку, после чего разматывают на конце сердечника несколько витков пластмассовой ленты и ниткой временно закрепляют оптические волокна. Ленту разматывают полностью и обрезают ножом возле среза оболочки.

12.12.5. Оптические волокна поочередно извлекают из-под бандажа. Каждое волокно и центральный профилированный элемент протирают бензином Б-70. Если центральный элемент имеет профильную конструкцию, то на каждое волокно надвигают полиэтиленовую трубочку. В соответствии с маркировкой волокон трубочки должны быть разного цвета (рис. 12.12).

Рис. 12.12. Установка полиэтиленовых трубочек под внутреннюю оболочку в пазы центрального элемента

12.12.6. Полиэтиленовые трубочки укладывают в пазы центрального профилированного элемента и вводят под внутреннюю оболочку на 2 - 3 мм. На место стыка внутренней оболочки и трубочек (для закрепления последних) накладывают два - три слоя липкой полиэтиленовой ленты шириной 10 мм.

Волокна отгибают по четыре в диаметрально противоположные стороны: с первого по четвертое - в сторону к монтажнику, с пятого по восьмое - в противоположную. Отогнутые волокна временно прикрепляют к кабелю.

12.12.7. На обоих концах кабеля центральный элемент укорачивают на расстоянии 150 мм от герметизирующего пояска ТУТ. Производят сращивание центрального элемента. Нити СВМ связывают двойным узлом.

Если центральный элемент представляет собой стекло-стержень, то его соединяют внахлест. Нахлест скрепляют в четырех местах проволочным бандажом, промазывают клеем ВК-9 и обматывают двумя - тремя слоями липкой полиэтиленовой ленты.

Центральный элемент в виде стального троса спаивают припоем ПОССу-30-2 с применением паяльной пасты ПБК-26м. Спайку изолируют полиэтиленовой гильзой или двумя слоями липкой полиэтиленовой ленты.

12.12.8. Для сращивания металлических проволок берут контрольную (если ее нет - нижнюю) проволоку одного кабеля и соответствующую ей проволоку второго кабеля. На одну из них надвигают полиэтиленовую гильзу диаметром 8 мм и длиной 40 мм. Проволоки стягивают навстречу друг другу и отмечают место удаления полиэтиленовой изоляции на них. На одной из проволок изоляцию удаляют на длине 30 мм, а на другой - на длине 60 мм.

Скрутку производят у среза полиэтиленовой изоляции. Проволоки скручивают на длине 25 мм, лишнюю длину удаляют кусачками, проволоки пропаивают в стаканчиковом паяльнике припоем ПОССу-30-2 с применением пасты ПБК-26м. Скрутки изолируют полиэтиленовой гильзой.

12.12.9. В случае применения кабеля с жилами для дистанционного питания их сращивают так же, как и проволоки брони. Скрутки пропаивают припоем ПОССу-40-2 с применением канифольного флюса и изолируют полиэтиленовой гильзой.

При сращивании проволок их следует располагать таким образом, чтобы не произошло защемление оптических волокон. Если это обеспечить невозможно, две - три проволоки с обоих концов кабеля нужно удалить.

12.12.10. На центральный профилированный элемент и соединенные проволоки устанавливают, прикрепляя их нитками, обе кассеты. Предварительно оптические волокна освобождают от временного крепления и выводят через окна кассет (рис. 12.13).

Рис. 12.13. Установка кассеты и вывод волокон через окно кассеты

12.12.11. К сварке и выкладке оптических волокон в кассетах приступают, начиная с первого (в соответствии с маркировкой) по счету в кабеле. Сварку производят в соответствии с указаниями «Паспорта на комплект для сварки». Сварка и выкладка волокон должна вплоть до герметизации муфты производиться под контролем затухания рефлектометром обратного рассеивания. Измеренные величины затухания заносят в паспорт на муфту. Норма на сварное соединение устанавливается в каждом конкретном случае отдельно, в зависимости от километрического затухания кабеля.

12.12.12. Закончив сварку и выкладку всех восьми волокон, кассеты закрывают крышками (рис. 12.14). Крышки закрепляют в двух местах двумя - тремя слоями липкой пластмассовой ленты и прикрепляют к ней паспорт на смонтированную муфту.

Рис. 12.14. Установка крышки на кассету

12.12.13. Над сростком устанавливают внутреннюю муфту и производят ее герметизацию любым действующим способом: наплавлением полиэтиленовой ленты под стеклолентой, термоусаживаемыми трубками с коэффициентом радиальной усадки 1/3 или двухслойной термоусаживаемой лентой типа «РАДЛЕН».

12.12.14. Над внутренней муфтой устанавливают внешнюю муфту. Ее стыки герметизируют так же, как и стыки внутренней муфты.

12.12.15. После монтажа внешней защитной муфты производят ее заливку гидрофобным заполнителем. Для этого в корпусе муфты возле начала конусной части ножом делают одно отверстие диаметром 10 - 12 мм. В отверстие вставляют воронку, через которую в муфту заливают нагретый до 80 - 90 °С гидрофобный заполнитель. Во время заливки муфта должна быть в наклонном (примерно на 30°) положении. По мере остывания и усадки (примерно в течение часа) заполнитель доливают в муфту.

После окончания заливки муфты отверстие герметизируют теми же способами, которые применяются при герметизации муфты.

Примечание. Муфты МКО и МКОР могут применяться при сращивании строительных длин ОК с бронепокровами, прокладываемых в кабельной канализации, коллекторах и тоннелях. В этих случаях внешняя муфта не применяется.

МОНТАЖ МУФТЫ МКОР 15/27

12.13. Монтаж муфты МКОР 15/27 производится с соблюдением технологических операций, приведенных ниже.

12.13.1. После удаления ветошью загрязнений с концов ОК на разветвляемый кабель надвигают соединенные конус, корпус и гильзы внешней и внутренней муфт. Ответвляемые кабели вводят в пальцы оголовника внешней и внутренней муфт, удаляют полиэтиленовую оболочку, укорачивают армирующие проволоки и медные жилы.

12.13.2. Устанавливают оголовник внутренней муфты над срезом полиэтиленовой оболочки кабеля. Производят герметизацию стыков ответвлений оголовника с оболочкой кабелей.

Аналогично устанавливают и герметизируют места стыков внешней муфты.

12.13.3. Стальные проволоки и медные жилы одного ответвляемого кабеля отгибают в одну сторону, а проволоки второго ответвляемого кабеля - в другую. Проволоки разветвляемого кабеля отгибают так же, как и при монтаже прямой муфты МКО.

12.13.4. Каждую проволоку разветвляемого кабеля сращивают с парой проволок ответвляемых кабелей. Соединение медных жил производят в соответствии с проектом.

12.13.5. При восстановлении центрального элемента все три элемента (разветвляемого ОК и ответвляемых) сращиваются вместе в центре муфты. Кассета для выкладки запаса оптического волокна прикрепляется к трем соединенным центральным элементам.

12.13.6. Сварку и выкладку оптических волокон производят в соответствии с указаниями, приведенными выше.

12.13.7. Закончив монтаж сростка, приступают к его герметизации. Части внутренней муфты сдвигают и устанавливают в оголовник. Производят герметизацию стыка конуса муфты с оболочкой кабеля и гильзы с оголовником.

Затем над внутренней муфтой устанавливают внешнюю. Герметизацию частей внешней муфты производят так же, как и внутренней.

12.13.8. После герметизации внешняя муфта заливается гидрофобным заполнителем.

РЕМОНТ МУФТ МКО И МКОР

12.14. В нижней и верхней части внешней муфты делают по два отверстия диаметром 15 - 17 мм. На муфту надевают металлический кожух, в котором с помощью паяльной лампы или газовой горелки создают температуру 70 - 80 °С. Под муфту устанавливают противень. Выплавление гидрофобного заполнителя из внешней муфты производят примерно в течение часа, после чего вскрывают все стыки внешней муфты. Части муфты сдвигают на кабель.

Горячим воздухом от открытого пламени производят дальнейшее расплавление гидрофобного заполнителя, пока внутренняя муфта не освободится от него полностью. Закончив эту операцию, внутреннюю муфту протирают ветошью, смоченной в бензине, вскрывают ее стыки, сдвигают части муфты к частям внешней муфты и производят ремонт.

Восстановление герметичности внутренней и внешней муфт производят наплавлением полиэтиленовой ленты под стеклолентой или двухслойной термоусаживаемой лентой типа «РАДЛЕН».

РАЗДЕЛ 13

ВКЛЮЧЕНИЕ В КАБЕЛЬНУЮ ЛИНИЮ КОНТЕЙНЕРОВ АППАРАТУРЫ ИКМ

ОБЩИЕ ПОЛОЖЕНИЯ

13.1. Система ИКМ-30-4 представляет собой 30-канальную первичную цифровую систему передачи импульсно-кодовой модуляции с временным разделением каналов, предназначенную для работы на соединительных линиях связи ГТС по симметричным кабелям типов Т и ТП с жилами диаметром 0,5; 0,64; 0,7 мм при однокабельном и двухкабельном способах организации связи.

13.2. В результате оборудования кабельной линии аппаратурой ИКМ-30-4 по двум парам жил кабеля обеспечивается работа тридцати телефонных каналов.

Максимальная длина линейного тракта: 80 км - для кабелей с диаметром жил 0,64 и 0,7 мм и 50 км - для кабелей с диаметром жил 0,5 мм.

13.3. В состав линейного тракта аппаратуры ИКМ-30-4 входят:

·       оконечное станционное оборудование;

·       необслуживаемые регенерационные пункты НРП-12-4;

·       регенерационные участки кабельных линий.

13.4. Необслуживаемый регенерационный пункт НРП-12-4 предназначен для размещения в нем промежуточного оборудования линейного тракта, выполняющего роль восстановителя сигнала ИКМ.

13.5. Конструктивно НРП-12-4 выполнен в виде металлического контейнера цилиндрической формы с герметично закрывающейся крышкой. Размеры контейнера - 480´380´345 мм.

13.6. В состав контейнера входят: корпус, крышка, вводная муфта с двумя патрубками, патрубок с разъемом служебной связи и вентилем воздушного давления, каркас (выемная часть) с разъемами для включения регенераторов и блока контроля. Для контроля избыточного давления внутри НРП-12-4 в каркасе установлен сигнализатор пониженного давления СПД.

13.7. Допустимые минимальные и максимальные длины регенерационных участков для кабелей типа:

·       Т с диаметром жил 0,5 мм................................................................... 0,38 - 1,33 км;

·       Т с диаметром жил 0,64 и 0,7 мм........................................................ 0,57 - 2,0 км;

·       ТП с диаметром жил 0,5 мм................................................................ 0,56 - 1,94 км.

Пристанционные участки должны быть в два раза короче максимально допустимой длины.

ОРГАНИЗАЦИЯ МОНТАЖА КАБЕЛЬНОЙ ЛИНИИ, УПЛОТНЯЕМОЙ АППАРАТУРОЙ ИКМ-30-4

13.8. Вновь строящиеся кабельные линии, предназначенные для уплотнения аппаратурой ИКМ-30-4, должны комплектоваться из однородных кабелей (одной конструкции, одного диаметра жил). Допускается комплектация кабелей по участкам регенерации.

13.9. При монтаже кабелей на регенерационных участках необходимо строго соблюдать правила монтажа сростков муфт; группы (жилы, пары, четверки) каждого повива, пучки одного конца кабеля должны соединяться с одноименными группами, повивами и пучками другого конца кабеля.

Переход из одного повива или пучка в другой не допускается.

13.10. Включение уплотняемых цепей (пар жил) в контейнер НРП-12-4 производится при условии, если электрические характеристики кабеля и герметичность оболочки кабеля соответствуют установленным нормам на низкочастотные кабельные линии ГТС.

13.11. Электрические измерения должны производиться на всех этапах строительства кабельной линии в соответствии с требованиями настоящего Руководства.

13.12. Строительство и реконструкция кабельных соединительных линий, уплотняемых аппаратурой ИКМ, осуществляется в соответствии с утвержденной проектно-сметной документацией.

В состав рабочего проекта должны входить: пояснительная записка, ведомости объема работ, ведомости потребных материалов и оборудования, смета, рабочие чертежи трасс, схемы кабельных соединительных линий с указанием расстановки контейнеров.

В состав рабочих чертежей должны входить:

·       кабельный план трассы соединительных линий с указанием адресов колодцев, в которых устанавливаются контейнеры, с таблицами объемов по каждому направлению;

·       конструкция линейного ввода в здание станции и раскладка кабелей от шахты до стоек станционного оборудования и кросса;

·       чертежи размещения и установки контейнеров в кабельных колодцах, коллекторах или других местах;

·       рабочие чертежи на устройство заземлений в местах установки контейнеров;

·       схемы расшивки кабелей на вводные панели стоек оконечного оборудования ИКМ и на рамки кросса;

·       схемы распайки кабелей в шахтах и местах установки контейнеров.

13.13. Оборудование НРП заказчик, как правило, должен передать подрядчику по описи заводской технической документации с составлением двухстороннего акта. При приемке оборудования НРП от заказчика или поставщика следует произвести внешний осмотр, при котором проверяется отсутствие на корпусе следов коррозии и повреждений, качество его покраски, наличие болтов, гаек и т.д.

Следует также произвести проверку герметичности контейнера, измеряя давление манометром МТИ-1218-1,6´0,6, подсоединенным к вентилю под крышкой «Давление». Контейнер считается герметичным, если внутреннее избыточное давление в нем не снизилось по сравнению со значением, указанном в заводском паспорте, более чем на 10 кПа (0,1 кгс/см2).

При отсутствии избыточного давления внутри контейнера или при его снижении, а также при неудовлетворительных результатах внешнего осмотра оборудование НРП не принимается.

Вторично оборудование НРП должно приниматься только при наличии протоколов повторных испытаний, подтверждающих герметичность контейнера, а также протоколов измерения сопротивления изоляции токоведущих цепей относительно друг друга и раздельно относительно корпуса НРП.

Испытания должны оформляться соответствующими протоколами. Вывозить оборудование НРП на трассу и производить его установку без наличия протоколов не разрешается.

13.14. До начала прокладки кабеля должны быть обследованы все кабельные колодцы и определены те из них, через которые кабель может быть протянут транзитом, а также в соответствии с рабочими чертежами отмечаются места установки контейнеров. В случае невозможности размещения контейнеров в запроектированном месте установку их в другом месте следует согласовать с заказчиком. При этом необходимо учитывать, что длина регенерационного участка ограничивается собственным затуханием линии (для ИКМ-30-4 не более 36 дБ и не менее 8 дБ на частоте 1024 кГц).

Перед прокладкой кабеля производят подбор строительных длин, которые распределяются по пролетам кабельной канализации так, чтобы отходы кабеля были минимальными. Необходимые запасы кабеля в местах установки НРП на выкладку по форме колодца, на электрические измерения, проверку и монтаж должны оставляться с учетом расположения кабеля и муфт (рис. 13.1).

Рис. 13.1. Схема расположения кабеля и муфт в колодце ККС-5

13.15. До начала монтажа разветвительных муфт строительные длины кабелей на регенерационных участках должны быть полностью смонтированы, измерены и испытаны на герметичность. Ответвительные и основные кабели выкладываются по форме колодцев, отрезки ответвительных кабелей должны иметь длину, достаточную для включения их в контейнер и в разветвительные муфты основных кабелей.

При уплотнении соединительной линии, состоящей из кабелей ТПП, распайка производится ответвительными кабелями ТПП с монтажом на вводных патрубках контейнеров переходной манжеты «полиэтилен - свинец» или термоусаживаемых изделий.

13.16. Отбор пар, пригодных к уплотнению, следует производить:

а) при однокабельной системе связи - по результатам измерений переходного затухания на ближнем конце на частоте 1024 кГц;

б) при двухкабельной системе связи - выбираются любые исправные пары, соответствующие установленным нормам на НЧ кабели ГТС.

Отобранные пучки пар из основного кабеля сращиваются с парами ответвительных кабелей. При этом в одном из выпаиваемых пучков должны находиться пары, идущие со стороны передающих станций (вход), а в другом - пары, идущие со стороны приемных станций (выход).

На оконечных станциях пары жил, предназначенные для уплотнения, выпаиваются в помещении ввода кабелей из основного кабеля и отдельными кабелями заводятся в оконечные устройства цеха систем передач. Остальные пары выводятся в кросс на рамки соединительных линий.

13.17. Действующие кабельные линии, подлежащие реконструкции для уплотнения аппаратурой ИКМ-30-4, должны быть герметичны, а их электрические характеристики должны соответствовать действующим нормам на соединительные линии ГТС.

Протоколы измерений, а также данные о герметичности представляются эксплуатационной организацией сети в день передачи кабельной линии для реконструкции.

Кабельные линии, не отвечающие требованиям технической эксплуатации, оснащению аппаратурой ИКМ не подлежат вплоть до доведения их до соответствующих норм эксплуатационной организацией.

13.18. При двухкабельной системе связи отбираются, как правило, группы пар, объединенные одним оконечным устройством (рамки соединительных линий, кабели 100´2 в шахте).

При однокабельной системе связи необходимо произвести отбор пар, измеряя переходное затухание на частоте 1024 кГц.

13.19. В местах установки НРП на кабеле монтируется разветвительная муфта, а оболочка кабеля восстанавливается разрезной муфтой.

13.20. Контейнеры НРП устанавливаются в колодцах кабельной канализации. Допускается их установка в нишах и технических подвалах зданий. В местах установки контейнеров должно быть оборудовано защитное заземление.

13.21. Опускание контейнера в колодец следует производить с помощью автокрана. Металлический трос должен крепиться к двум ручкам контейнера так, чтобы при опускании НРП в колодец обеспечивался свободный его проход через горловину колодца. Во время опускания контейнера находиться человеку в колодце запрещается.

После спуска на дно колодца контейнер должен быть установлен в соответствии с проектом, закреплен и заземлен. Подключение контейнера к контуру заземления должно осуществляться проводом АВРГ (АНРГ) 1´16, который соединяется горячей пайкой со штырем заземления на корпусе контейнера.

Сопротивление защитного заземления контейнера должно быть не более 10 Ом для грунтов с удельным сопротивлением до 100 Ом/м и не более 30 Ом для грунтов с удельным сопротивлением более 100 Ом/м.

13.22. Перед вскрытием контейнера необходимо снять избыточное давление, открыв вентиль на его крышке.

МОНТАЖ КОНТЕЙНЕРОВ НРП-12-4

13.23. Наиболее часто применяемой схемой включения кабелей в НРП является двухкабельный двухконтейнерный вариант (рис. 13.2), который предусматривает монтаж на каждом кабеле 100´2 двух разветвительных муфт с разветвлением на три направления.

Рис. 13.2. Схема распайки кабелей при двухкабельном двухконтейнерном варианте

13.24. Если емкость уплотняемых кабелей превышает 100´2, то от основных кабелей делают выпайку пар в основном колодце посредством монтажа разветвительной муфты (рис. 13.3).

Рис. 13.3. Схема выпайки кабелей 100´2 из кабеля большей емкости

13.25. В вводные патрубки контейнеров включаются кабели 50´2 того же типа, что и уплотняемые. При зарядке контейнеров кабелями ТПП на последних монтируют переходную манжету «полиэтилен - свинец». Вне зависимости от количества устанавливаемых контейнеров распайка всех кабелей выполняется в полном объеме. Для включения последующих контейнеров внутри колодца выкладываются петли с таким расчетом, чтобы запаса кабеля было достаточно для монтажа последующих контейнеров.

13.26. Схема распайки кабелей при двухкабельном одноконтейнерном варианте показана на рис. 13.4.

Монтаж кабелей производится с помощью двух разветвительных муфт, каждая из которых объединяет кабели 100´2 встречных направлений передачи. Конструкция муфт представлена на рис. 13.5. Ввод подлежащих уплотнению кабелей 100´2 в оборудованный колодец осуществляется так же, как и при двухкабельном двухконтейнерном варианте.


Рис. 13.4. Схема распайки кабелей при двухкабельном одноконтейнерном варианте


Рис. 13.5. Разветвительные муфты:

а) для кабелей ТГ - свинцовая 2´100®6´50; б) для кабелей ТПП - полиэтиленовая:

1 - оголовник муфты МРП2; 2 - муфта МРП6 с обрезанной конической частью

Для разделения основных кабелей по воздушному давлению на одном из них, имеющем большую емкость, устанавливаются две газонепроницаемые муфты. Газонепроницаемые муфты могут быть установлены как в основном колодце, так и в оборудованном для установки контейнеров на кабелях 100´2 перед вводом их в объединяющие разветвительные муфты.

Если для уплотнения в обоих направлениях используются кабели 100´2 одного и того же типа, то установка газонепроницаемых муфт не обязательна.

13.27. Включение пар в контейнеры выполняется в соответствии с проектом.

13.28. Оконечными устройствами для уплотняемых пар являются, как правило, панели линейных переключений ОЛП-12 или ОЛП-11, устанавливаемые на стоечных каркасах СКУ-02 в залах систем передач.

По окончании монтажа на всех ответвительных кабелях должны быть установлены нумерационные кольца с указанием типа и емкости кабеля, направления передачи, номера кабеля, номера контейнера.

Пример нумерации:

СИСТЕМА ПЕРЕДАЧИ ИКМ-120-4. МОНТАЖ КОНТЕЙНЕРОВ НРП-6

13.29. Комплекс аппаратуры вторичной системы передачи ИКМ-120-4 предназначен для эксплуатации на городских сетях связи по симметричным семи- или четырехчетверочным кабелям типа МКС по одно- или двухкабельной схеме и обеспечивает организацию ста двадцати телефонных каналов в одном линейном тракте методом импульсно-кодовой модуляции, объединяя четыре цифровых потока со скоростью передачи 2048 кбит/с в один цифровой поток со скоростью передачи 8448 кбит/с.

13.30. Расстояние между регенерационными пунктами составляет:

·       при однокабельной системе................................................................ 0,5 - 2,0 км;

·       при двухкабельной системе................................................................ 0,5 - 3,2 км.

Максимальная длина линейного тракта 100 км.

13.31. Промежуточное оборудование линейного тракта размещается в контейнерах НРП-6.

В состав оборудования НРП-6 входят следующие блоки:

·       12 односторонних линейных регенераторов (РЛ),

·       1 блок контроля регенераторов (КР-21).

Конструктивно контейнер НРП-6 выполнен так же, как и контейнер НРП-12.

Порядок приемки оборудования НРП-6 от заказчика и установки контейнера на кабельную линию такой же, как и для контейнера НРП-12.

13.32. Однокабельный вариант включения контейнера в кабель МКС 7´4´1,2 показан на рис. 13.6.

Если проектом не предусмотрено строительство специального колодца, контейнер может быть установлен в основном колодце, который при этом должен быть оборудован защитным заземлением. Контейнер устанавливается на фундамент размером 500´500 мм, состоящий из двух слоев кирпича, или на железобетонную плиту таких же размеров с четырьмя вмазанными штырями диаметром 8 мм под отверстия в днище контейнера.

13.33. Включение уплотняемых пар производится монтажом двух прямых свинцовых муфт на патрубках контейнера и одной разветвительной муфты на три направления.

Сердечник кабеля разбирается по четверкам (рис. 13.7, а): центральная четверка используется для служебной связи и телеконтроля; вторая, третья и четвертая четверки - для направления передачи от станции А; пятая, шестая и седьмая четверки - для противоположного направления.

В кабеле цвет счетной четверки - красный, цвет четверки направления счета - зеленый.

Расположение рабочих пар внутри четверки показано на рис. 13.7, в. Цвет изоляции жил первой рабочей пары - красный и желтый; второй рабочей пары - зеленый и синий.

13.34. Оконечным устройством для кабеля, оснащаемого аппаратурой ИКМ-120-4, является бокс типа БМ с плинтами ПЭ-6, установленный в помещении систем передач.

13.35. Двухкабельный двухконтейнерный вариант включения контейнера показан на рис. 13.8, а, а двухкабельный одноконтейнерный вариант - на рис. 13.8, б.

Включение линейного кабеля в плату ОЛП при двухкабельном двухконтейнерном варианте представлено в табл. 13.1, а при двухкабельном одноконтейнерном варианте - в табл. 13.2.

13.36. Назначение четверок в кабеле МКС 7´4´1,2 для двухкабельного одно- и двухконтейнерного вариантов включения показано на рис. 13.7, б.

МАРКИРОВКА И НАЗНАЧЕНИЕ ЦЕПЕЙ КОНТЕЙНЕРА НРП-6

Номер пары кабеля, бокса (ст. А)

Маркировка цепей в патрубках и кассете контейнера

Номер пары кабеля, бокса (ст. 3)

Номер РЛ-21

Номер линейного тракта

«ВХОД»

«ВЫХОД»

ПЕРЕДАЧА

3

1

1

3

ПРИЕМ

1

1

4

2

2

4

2

2

5

3

3

5

3

3

6

4

4

6

4

4

7

5

5

7

5

5

8

6

6

8

6

6

ПРИЕМ

9

7

7

9

ПЕРЕДАЧА

7

1

10

8

8

10

8

2

11

9

9

11

9

3

12

10

10

12

10

4

13

11

11

13

11

5

14

12

12

14

12

6

резервные пары

13

13

резервные пары

14

14

1

ЛА А

ЛБ А

1

телеконтроль и служ. связь

2

ЛА Б

ЛБ Б

2


ВКЛЮЧЕНИЕ ЛИНЕЙНОГО КАБЕЛЯ В ПЛАТУ ОЛП

№№ стойки СКУ

№№ контейнера

№№ платы ОЛП

№№ пары платы ОЛП

№№ пар кабеля (бокса)

№№ пар в патрубке и кассете контейнера

№№ РЛ-21

№№ пары платы ОЛП

№№ пар кабеля (бокса)

№№ пар в патрубке и кассете контейнера

№№ РЛ-21

№№ пары платы ОЛП

№№ пар кабеля (бокса)

№№ пар в патрубке и кассете контейнера

№№ РЛ-21

№№ пары платы ОЛП

№№ пар кабеля (бокса)

№№ пар в патрубке и кассете контейнера

№№ РЛ-21

 

I

1

1

3

1

раб. пары

1

6

8

6 раб

6

11

9

7

раб. пары

1

16

14

12 раб

6

2

4

2

2

7

1

ЛАА

тк сс

-

12

10

8

2

17

1

ЛБА

тк сс

-

3

5

3

3

8

2

ЛАБ

-

13

11

9

3

18

2

ЛББ

-

4

6

4

4

9

-

-

-

14

12

10

4

19

-

 

-

5

7

5

5

10

-

-

-

15

13

11

5

20

-

-

-

 

передача

прием

Рис. 13.6. Однокабельный вариант включения НРП-6

Рис. 13.7. Назначение четверок в кабеле МКС 7´4´1,2:

а) для однокабельного варианта включения; б) для двухкабельного варианта включения; в) рабочие пары внутри четверки

Таблица 13.1

ВКЛЮЧЕНИЕ ЛИНЕЙНОГО КАБЕЛЯ В ПЛАТУ ОЛП

Станция «А» (или «Б»)

 

 

 

Кабель А (или Б)

Кабель Б (или А)

№№ стойки СКУ

№№ контейнера

№№ платы ОЛП

№№ пары платы ОЛП

№№ пар кабеля (бокса)

№№ пар в патрубке и кассете контейнера

№№ РЛ-21

№№ пары платы ОЛП

№№ пар кабеля (бокса)

№№ пар в патрубке и кассете контейнера

№№ РЛ-21

№№ пары платы ОЛП

№№ пар кабеля (бокса)

№№ пар в патрубке и кассете контейнера

№№ РЛ-21

№№ пары платы ОЛП

№№ пар кабеля (бокса)

№№ пар в патрубке и кассете контейнера

№№ РЛ-21

 

I

1

1

3

1

рабочие пары

1

6

13

11

раб.

11

11

3

1

рабочие пары

16

16

13

11

раб.

11

2

4

2

2

7

14

12

12

12

4

2

2

17

14

12

12

3

5

3

3

8

1

ЛАА

тк сс

-

13

5

3

3

18

1

ЛБА

тк сс

-

4

6

4

4

9

2

ЛАБ

-

14

6

4

4

19

2

ЛББ

-

5

7

5

5

10

-

-

-

15

7

5

5

20

-

-

-

 

I

2

1

8

6

рабочие пары

6

6

-

 

-

11

8

6

рабочие пары

6

16

-

-

-

2

9

7

7

7

-

 

-

12

9

7

7

17

-

-

-

3

10

8

8

8

-

-

-

13

10

8

8

18

-

-

-

4

11

9

9

9

-

-

-

14

11

9

9

19

-

-

-

5

12

10

10

10

-

-

-

15

12

10

10

20

-

-

-

 

передача

прием

Таблица 13.2

ВКЛЮЧЕНИЕ ЛИНЕЙНОГО КАБЕЛЯ В ПЛАТУ ОЛП

Станция «А»

 

 

 

Кабель А

Кабель Б

№№ стойки СКУ

№№ контейнера

№№ платы ОЛП

№№ пары платы ОЛП

№№ пар кабеля (бокса)

№№ пар в патрубке и кассете контейнера

№№ РЛ-21

№№ пары платы ОЛП

№№ пар кабеля (бокса)

№№ пар в патрубке и кассете контейнера

№№ РЛ-21

№№ пары платы ОЛП

№№ пар кабеля (бокса)

№№ пар в патрубке и кассете контейнера

№№ РЛ-21

№№ пары платы ОЛП

№№ пар кабеля (бокса)

№№ пар в патрубке и кассете контейнера

№№ РЛ-21

 

I

1

1

3

1

рабочие пары

1

6

8

6 раб.

6

11

3

7

раб. пары

7

16

8

12 раб.

12

2

4

2

2

7

1

ЛАА

тк сс

-

12

4

8

8

17

-

-

-

3

5

3

3

8

2

ЛАБ

-

13

5

9

9

18

-

-

-

4

6

4

4

9

-

-

-

14

6

10

10

19

-

-

-

5

7

5

5

10

-

-

-

15

7

11

11

20

-

-

-

 

II

2

1

9

1

рабочие пары

1

6

14

6 раб.

6

11

9

7

раб. пары

7

16

14

12 раб.

12

2

10

2

2

7

-

 

-

12

10

8

8

17

1

ЛБА

тк сс

-

3

11

3

3

8

-

-

-

13

11

9

9

18

2

ЛББ

-

4

12

4

4

9

-

-

-

14

12

10

10

19

-

-

-

5

13

5

5

10

-

-

-

15

13

11

11

20

-

-

-

 

передача

прием

Станция «Б»

 

 

 

Кабель Б

Кабель А

№№ стойки СКУ

№№ контейнера

№№ платы ОЛП

№№ пары платы ОЛП

№№ пар кабеля (бокса)

№№ пар в патрубке и кассете контейнера

№№ РЛ-21

№№ пары платы ОЛП

№№ пар кабеля (бокса)

№№ пар в патрубке и кассете контейнера

№№ РЛ-21

№№ пары платы ОЛП

№№ пар кабеля (бокса)

№№ пар в патрубке и кассете контейнера

№№ РЛ-21

№№ пары платы ОЛП

№№ пар кабеля (бокса)

№№ пар в патрубке и кассете контейнера

№№ РЛ-21

 

I

1

1

3

7

раб. пары

1

6

8

12 раб.

6

11

3

1

раб. пары

7

16

8

6 раб.

12

2

4

8

2

7

-

-

-

12

4

2

8

17

1

ЛБА

т.к. с.с.

-

3

5

9

3

8

-

-

-

13

5

3

9

18

2

ЛББ

-

4

6

10

4

9

-

-

-

14

6

4

10

19

-

-

-

5

7

11

5

10

-

-

-

15

7

5

11

20

-

-

-

 

II

2

1

9

7

раб. пары

1

6

14

12 раб.

6

11

9

1

раб. пары

7

16

14

6 раб.

12

2

10

8

2

7

1

ЛАА

тк сс

-

12

10

2

8

17

-

-

-

3

11

9

3

8

2

ЛАБ

-

13

11

3

9

18

-

-

-

4

12

10

4

9

-

-

-

14

12

4

10

19

-

-

-

5

13

11

5

10

-

-

-

15

13

5

11

20

-

-

-

 

передача

прием


МАРКИРОВКА И НАЗНАЧЕНИЕ ЦЕПЕЙ КОНТЕЙНЕРА КРП-6

Номер пары кабеля, бокса (ст. А)

Маркировка цепей в патрубках и кассете контейнера

Номер пары кабеля, бокса (ст. Б)

Номер РЛ-21

Номер линейного тракта

«ВХОД»

«ВЫХОД»

3

1

1

3

1

1

4

2

2

4

2

2

5

3

3

5

3

3

6

4

4

6

4

4

7

5

5

7

5

5

8

6

6

8

6

6

9

7

7

9

7

7

10

8

8

10

8

8

11

9

9

11

9

9

12

10

10

12

10

10

13

11

11

13

11

11

14

12

12

14

12

12

резервные пары

13

13

резервные пары

14

14

1

ЛА А

ЛБ А

1

телеконтроль и служ. связь

2

ЛА Б

ЛБ Б

2

МАРКИРОВКА И НАЗНАЧЕНИЕ ЦЕПЕЙ КОНТЕЙНЕРА

Номер пары кабеля бокса: станц. А/Б

Маркировка цепей в патрубках и кассете контейнера

Номер пары кабеля бокса: станц. А/Б

Номер РЛ на кабеле А/Б

Номер линейного тракта

№ контейнера

«ВХОД»

«ВЫХОД»

для каб. А/Б

для каб. А/Б

1

I-ый контейнер

2

3

4

5

6

рзв. пары

резервные пары

телеконтр. и служ. связь

1

II-ой контейнер

2

3

4

5

6

рзв. пары

резервные пары

 

Телеконтр. и служ. связь

Рис. 13.8. Двухкабельный вариант включения НРП-6:

а) двухконтейнерный; б) одноконтейнерный

РАЗДЕЛ 14

ЭЛЕКТРИЧЕСКИЕ ИЗМЕРЕНИЯ И ИСПЫТАНИЯ ЭЛЕКТРИЧЕСКИХ КАБЕЛЕЙ МЕСТНЫХ СЕТЕЙ СВЯЗИ

ОБЩИЕ ПОЛОЖЕНИЯ

14.1. Электрические измерения и испытания (проверки) в процессе строительства линейных сооружений местных сетей связи производят с целью контроля за качеством монтажных работ (применяемых материалов, оборудования, арматуры) и оценки электрического состояния законченных строительством линейно-кабельных сооружений.

14.2. Электрические измерения и испытания (проверки) производятся постоянным и переменным током.

Постоянным током измеряют:

·       электрическое сопротивление изоляции проводников (жил) и пластмассовых шланговых защитных покровов,

·       электрическое сопротивление цепей (сопротивление шлейфа жил),

·       разность сопротивлений жил (омическую асимметрию цепей), а также производят испытание изоляции напряжением, проверку целостности жил и экранов, правильности (полярности) включения пар в оконечные устройства и парности (отсутствия разбитости) жил.

Переменным током измеряют:

·       собственное затухание цепей,

·       переходное затухание между цепями на ближнем конце,

·       защищенность цепей на дальнем конце, а также проверяют жилы на сообщение, контролируя емкость каждой жилы по отношению к земле.

Кроме того, измеряются:

·       потенциалы (токи) в оболочке (броне) кабеля,

·       сопротивление заземлений,

·       режимы работы защитных устройств (катодных станций, электрических дренажей, протекторов и т.п.) (см. разделы 17 и 18).

14.3. Измерения переменным током должны производиться после измерений постоянным током и только в том случае, если параметры, измеренные постоянным током, соответствуют нормам.

14.4. Приборы, применяемые для измерения параметров линий связи, должны быть проверены в соответствии с действующим законодательством о государственной и внутриведомственной поверке средств измерений. Погрешность приборов не должна превышать величин, указанных в табл. 14.1.

Измерительные приборы должны использоваться в строгом соответствии с инструкциями по эксплуатации, прилагаемыми к каждому прибору.

Таблица 14.1

Измеряемый параметр (испытание)

Погрешность

Электрическое сопротивление проводников (жил) постоянному току

± 0,5 %

Омическая асимметрия цепей

± 0,5 %1)

Электрическое сопротивление изоляции

± 2,5 %2)

Испытание изоляции напряжением

± 3,0 %

Электрическая емкость цепи, измеренная:

 

- мостовым методом

± 1,0 % + 0,5 нФ

- методами непосредственной оценки

± 3,0 %3)

Собственное затухание симметричной цепи

± 1,0 дБ

Переходное затухание, защищенность

± 2,0 дБ

1) - погрешность относится к половине сопротивления шлейфа жил.

2) - погрешность относится к длине рабочей части шкалы.

3) - погрешность относится к верхнему пределу шкалы.

14.5. При измерениях переменным током необходимо устранить влияние генератора на приемник (индикатор).

При измерении симметричных цепей экраны измерительных шнуров должны быть надежно соединены с металлической оболочкой (экраном) кабеля и корпусом прибора. Корпуса измерительных приборов должны быть надежно соединены с заземлением. Проводники, используемые для соединения экранов и заземления корпусов, должны иметь сечение не менее 1 мм2 и минимально возможную длину.

14.6. При измерениях переходного затухания, защищенности, а также собственного затухания (симметричных пар) переходное затухание между цепями высокого и низкого уровней измерительного комплекта должно быть на 20 дБ выше, чем наибольшее нормируемое значение измеряемой величины.

14.7. При измерениях методом сравнения переходного затухания, защищенности и собственного затухания симметричных пар необходимо нагружать измеряемые цепи на согласованные нагрузки.

СОСТАВ И ОБЪЕМ ЭЛЕКТРИЧЕСКИХ ИЗМЕРЕНИЙ

14.8. В процессе строительства электрическим измерениям и испытаниям должны подвергаться элементы линейных сооружений, приведенные в табл. 14.2.

Измерения и испытания должны производиться в объемах, указанных в табл. 14.3, в соответствии с требованиями «Отраслевых строительно-технологических норм на монтаж сооружений и устройств связи, радиовещания и телевидения» ОСТН-600-93 Минсвязи России.

Таблица 14.2

Элементы линейных сооружений, подвергающиеся электрическим измерениям и испытаниям

Объект измерений

Параметры (проверки, испытания), измеряемые и контролируемые

постоянным током

переменным током

1

2

3

Городские телефонные кабели

Строительная длина кабеля под нормальным избыточным давлением, перед прокладкой

Электрическое сопротивление изоляции пластмассовых шланговых защитных покровов между металлической оболочкой (экраном) и броней (при ее наличии)

 

То же, при отсутствии давления

То же; электрическое сопротивление изоляции жил; проверка целостности жил и экранов

 

Строительная длина кабеля (или ее части) после прокладки, перед монтажом

Электрическое сопротивление изоляции пластмассовых шланговых защитных покровов между металлической оболочкой (экраном) и землей (броней); проверка целостности жил и экранов

 

Смонтированная секция длиной 0,8 - 1,0 км

То же; парность жил; электрическое сопротивление изоляции жил

 

Смонтированная кабельная линия, в т.ч. пары смонтированного межстанционного кабеля, подлежащего оснащению аппаратурой ИКМ, до включения в контейнер НРП

Электрическое сопротивление изоляции пластмассовых шланговых защитных покровов между металлической оболочкой (экраном) и землей (броней); электрическое сопротивление изоляции жил; электрическое сопротивление шлейфа жил; проверка жил на сообщение путем контроля емкости каждой жилы по отношению к земле; проверка правильности включения пар в оконечные устройства (кроме пар, подлежащих включению в контейнер НРП)

Переходное затухание на ближнем конце; собственное затухание цепей с дополнительной индуктивностью

Цепь смонтированного кабеля, предназначенная для системы ИКМ после включения в НРП (на регенерационном участке)

Проверка правильности включения в оконечные устройства

Переходное затухание на ближнем конце (при однокабельной системе организации связи)

Кабели сельской связи

Однопарный кабель в бухте перед прокладкой (погруженный в воду)

Электрическое сопротивление изоляции между жилами и между каждой жилой и водой; проверка целостности жил

 

Строительная длина кабеля, не подлежащего содержанию под избыточным давлением, при наличии вмятин, пережимов, трещин и т.п.

Электрическое сопротивление изоляции; испытание изоляции напряжением; проверка целостности жил и экранов

 

Строительная длина (или ее части) после прокладки, перед монтажом

Электрическое сопротивление изоляции пластмассовых шланговых защитных покровов между металлической оболочкой (экраном) и землей (броней); электрическое сопротивление изоляции жил; проверка целостности жил и экранов

 

Смонтированный шаг, секция высокочастотного кабеля

Электрическое сопротивление изоляции пластмассовых шланговых защитных покровов между металлической оболочкой (экраном) и землей (броней); электрическое сопротивление изоляции жил, испытание изоляции напряжением

 

Зоновые ВЧ кабели

Строительные длины симметричных ВЧ кабелей, поступившие под избыточным давлением, соответствующим норме, перед прокладкой

Электрическое сопротивление изоляции пластмассовых шланговых защитных покровов между металлической оболочкой (экраном) и броней (при наличии брони)

 

То же при отсутствии давления

То же; электрическое сопротивление изоляции жил

 

Строительные длины кабеля после прокладки, перед монтажом

То же; испытание изоляции напряжением; проверка целостности жил и экранов

 

Смонтированные шаги, секции

То же

 

Смонтированные регенерационные участки высокочастотных симметричных кабелей на линиях, предназначенных для оснащения аппаратурой ИКМ-120-4

То же; омическая асимметрия и электрическое сопротивление шлейфа жил

Защищенность цепей на дальнем конце (при двухкабельной схеме организации связи); переходное затухание между парами разных четверок на ближнем конце (при однокабельной схеме организации связи)

Воздушные линии

Воздушная линия ГТС и СТС

Электрическое сопротивление шлейфа проводов цепи, омическая асимметрия проводов; электрическое сопротивление изоляции проводов

 

Примечания:

1. Испытание изоляции симметричных кабелей напряжением производится только в строительных длинах, проложенных в скальном грунте или в каналах кабельной канализации, занятых ранее проложенными кабелями.

В шагах, секциях, на усилительных или регенерационных участках испытание изоляции напряжением производится вне зависимости от условий прокладки кабеля.

2. Электрические измерения постоянным и переменным током низкочастотных кабелей на смонтированных линиях производятся с оконечными устройствами.

3. Электрическое сопротивление изоляции проверяется по принципу допускового контроля.

4. Испытание изоляции пупинизированных цепей напряжением не производится.

5. Переходное затухание на ближнем конце городских телефонных кабелей контролируется прослушиванием и измеряется на парах, по которым прослушивается сигнал генератора.

6. Измерение шлейфа проводов воздушной цепи производится на линиях длиной более 3 км.

Таблица 14.3

Объем электрических измерений и испытаний

Измеряемый и контролируемый параметр (испытание)

Место или объем измерений, испытаний

1

2

Электрическое сопротивление изоляции пластмассовых шланговых защитных покровов

Между металлической оболочкой (экраном) и землей (для кабеля без брони); между металлической оболочкой (экраном) и броней; между броней и землей

Электрическое сопротивление изоляции жил

Между каждой жилой и всеми остальными жилами, соединенными с металлической оболочкой (экраном)

Испытание напряжением изоляции ВЧ кабелей

Между пучком жил и металлической оболочкой (экраном); между каждой жилой и всеми остальными жилами, соединенными с металлической оболочкой (экраном)

Электрическое сопротивление шлейфа жил ВЧ кабелей

Все цепи кабелей

Электрическое сопротивление шлейфа жил городских телефонных кабелей

1 % емкости оконечного устройства, но не менее одной цепи (пары)

Омическая асимметрия жил ВЧ кабелей

Все цепи кабелей

Переходное затухание на ближнем конце:

 

а) городских телефонных кабелей

Между каждой парой и последовательно остальными парами прослушиванием и измерением на парах, по которым прослушивается сигнал генератора, на частоте 800 Гц

б) ВЧ кабелей сельской связи

В комбинациях всех взаимовлияющих пар на полутактовой частоте аппаратуры передачи без перемены мест с двух сторон участка

в) междугородных ВЧ кабелей

В комбинациях всех взаимовлияющих пар на полутактовой частоте аппаратуры ИКМ-120-4 без перемены мест с двух сторон участка при однокабельной схеме организации связи

Защищенность цепей на дальнем конце междугородных ВЧ кабелей

Во всех комбинациях влияющих и подверженных влиянию пар без перемены их мест на полутактовой частоте аппаратуры ИКМ-120-4 с одной стороны участка при двухкабельной схеме организации связи

Затухание цепи городских телефонных кабелей

Пары с дополнительной индуктивностью в диапазоне частот 0,3 - 3,4 кГц

НОРМЫ ЭЛЕКТРИЧЕСКИХ ПАРАМЕТРОВ

14.9. При контроле электрического сопротивления изоляции кабеля и арматуры на промежуточных этапах строительства следует руководствоваться нормами этого параметра, указанными в технических условиях и стандартах на данный элемент линейно-кабельных сооружений.

14.10. Ниже приводятся нормы электрического сопротивления изоляции смонтированных ЭКУ и линий ГТС:

·       электрическое сопротивление изоляции между каждой жилой и всеми остальными жилами, соединенными с металлической оболочкой (экраном) на смонтированных ЭКУ симметричных ВЧ кабелей при температуре +20 °С - не менее 10000 МОм×км;

·       электрическое сопротивление изоляции между каждой жилой городских телефонных кабелей и всеми остальными жилами, соединенными с металлической оболочкой (экраном), при температуре +20 °С - не менее 1000 МОм×км;

·       электрическое сопротивление изоляции пластмассового шлангового защитного покрова кабеля:

- между металлической оболочкой (экраном) и землей (для кабеля без брони), между броней и землей - не менее 5 МОм×км;

- между металлической оболочкой и броней:

для 100 % участков - не менее 0,1 МОм×км;

для 50 % участков - не менее 1 МОм×км;

для 10 % участков - не менее 5 МОм×км.

14.11. Если при измерении электрического сопротивления изоляции между металлической оболочкой (экраном) и землей (для кабелей без брони) или между броней и землей установленная норма (5 МОм×км) не выдерживается, и в результате проверки состояния кабеля прибором ИМПИ-3 и устранения сосредоточенных повреждений довести сопротивление изоляции до нормы не представляется возможным, то допускается принимать в эксплуатацию кабели по фактически достигнутым величинам, но не менее 100 кОм×км.

14.12. Испытание изоляции кабелей должно производиться в течение двух минут напряжением постоянного тока. Значения напряжения при испытаниях ВЧ кабелей сельской связи на разных этапах строительства приведены в табл. 14.4.

Ниже приводятся нормы электрического сопротивления шлейфа и омической асимметрии жил ВЧ кабелей и электрического сопротивления шлейфа жил городских телефонных кабелей: (d - диаметр жилы, мм; l - ее длина, км)

·       электрическое сопротивление шлейфа жил ВЧ кабелей при температуре +20 °С - не более 46/d2 Ом/км;

·       омическая асимметрия жил ВЧ кабелей - не более 0,23Ö(l/d2) Ом;

·       электрическое сопротивление шлейфа жил городских телефонных кабелей диаметром:

0,32 мм - не более 458 Ом/км;

0,4 мм - не более 296 Ом/км;

0,5 мм - не более 192 Ом/км;

0,64 мм - не более 114 Ом/км;

0,7 мм - не более 96 Ом/км.

Таблица 14.4

Нормы испытательного напряжения ВЧ кабелей

Тип кабелей

Место испытания

Значение испытательного напряжения, В

строительной длины

смонтированного шага, секции

ЭКУ

Зоновые ВЧ кабели

Между пучком всех жил и заземленной металлической оболочкой (экраном)

2200

2000

2000

Между каждой жилой и всеми остальными жилами, соединенными с заземленной металлической оболочкой (экраном)

1700

1500

1500

ВЧ кабели сельской связи

Между пучком всех жил и заземленным экраном и между каждой жилой и всеми остальными жилами, соединенными с экраном

1700

1500

1500

14.13. Значения параметров взаимного влияния цепей, измеренных на местных кабельных линиях связи, должны соответствовать нормам, приведенным в табл. 14.5.

14.14. Электрическое сопротивление шлейфа проводов воздушных линий ГТС и СТС должно отвечать требованиям действующих стандартов и технических условий на проволоку.

14.15. Омическая асимметрия проводов воздушных линий ГТС и СТС в зависимости от материала и диаметра проводов должна быть:

·       для цепей с проводами из цветных металлов диаметром до 3 мм - не более 5 Ом;

·       для цепей из стальных проводов диаметром 4 мм - не более 5 Ом;

·       для цепей из стальных проводов диаметром до 3 мм включительно - не более 10 Ом.

Таблица 14.5

Нормы параметров взаимного влияния кабелей

Параметр

Частота, кГц

Норма, дБ, не менее

Примечания

Зоновые ВЧ кабели

Переходное затухание на ближнем конце между парами разных четверок, предназначенными для оснащения аппаратурой ИКМ-120-4

4224

40

При однокабельной схеме организации связи

Защищенность на дальнем конце пар, предназначенных для оснащения аппаратурой ИКМ-120-4:

 

 

При двухкабельной схеме организации связи

- в межчетверочной комбинации взаимовлияющих пар;

4224

35

- во внутричетверочной комбинации

4224

27

Кабели сельской связи

Переходное затухание на ближнем конце между парами, предназначенными для оснащения аппараттурой:

 

 

 

ИКМ-15

512

64

Длина ЭКУ не более 5,4 км

ИКМ-30С-4, КНК-30, ИКМ-15/30

1024

69

Длина ЭКУ не более 4,2 км

Городские телефонные кабели

Переходное затухание на ближнем конце:

 

 

 

100 % пар

0,8

65,0

 

95 % пар

0,8

69,5

 

ОФОРМЛЕНИЕ И ОБРАБОТКА РЕЗУЛЬТАТОВ ИЗМЕРЕНИЯ

14.16. Приемо-сдаточные измерения смонтированных кабельных линий и участков должны быть оформлены двусторонними протоколами (формы 14.1 - 14.3).

Для сравнения результатов измерения электрических параметров кабельных линий связи с нормами необходимо обработать измеренные величины для приведения их к единице длины при температуре +20 °С, либо нормы на параметры привести к конкретной длине измеряемой линии при температуре воздуха (грунта) в момент измерения.

Приведению подлежат величины:

·       измеренного сопротивления изоляции между каждой жилой и остальными жилами, соединенными с землей (для кабелей с бумажной и кордельно-бумажной изоляцией жил);

·       сопротивления шлейфа жил;

·       затухания цепей.

14.17. Измеренные значения электрического сопротивления изоляции жил приводят к температуре +20 °С по формуле:

Rиз20 = Rизt×Кт.и.,

где Rиз20 - электрическое сопротивление изоляции при температуре +20 °С;

Rизt - измеренное значение электрического сопротивления изоляции при температуре t °С;

Кт.и. - поправочный коэффициент для расчета сопротивления изоляции жил, определяемый по формуле:

Кт.и. = 1/[1 + aиз×(t - 20)],

где aиз - температурный коэффициент сопротивления изоляции, равный для бумажной и кордельно-бумажной изоляции - 0,06 1/°С.

Значения поправочного коэффициента Кт.и. для бумажной и кордельно-бумажной изоляции приведены в табл. 14.6.

Результаты измерения электрического сопротивления изоляции кабелей с полистирольной и полиэтиленовой изоляцией к температуре +20 °С не приводятся.

Таблица 14.6

Значения Кт.и. для бумажной и кордельно-бумажной изоляции

Температура, °С

Кт.и.

Температура, °С

Кт.и.

-10

0,36

+6

0,54

-9

0,37

+7

0,56

-8

0,37

+8

0,58

-7

0,38

+9

0,60

-6

0,39

+10

0,62

-5

0,40

+11

0,65

-4

0,41

+12

0,68

-3

0,42

+13

0,70

-2

0,43

+14

0,73

-1

0,44

+15

0,77

0

0,45

+16

0,81

+1

0,47

+17

0,85

+2

0,48

+18

0,89

+3

0,50

+19

0,94

+4

0,51

+20

1,00

+5

0,53

+25

1,43

14.18. Измеренные значения электрического сопротивления шлейфа жил приводят к температуре +20 °С по формуле:

Rшл20 = Rшлt×Кт.ш.,

где Rшл20 - электрическое сопротивление шлейфа жил при температуре +20 °С;

Rшлt - измеренное значение электрического сопротивления шлейфа жил при температуре t °С;

Кт.ш. - поправочный коэффициент для расчета сопротивления шлейфа жил, определяемый по формуле:

Кт.ш. = 1/[1 + aш×(t - 20)],

где aш - температурный коэффициент сопротивления жил, равный для медных жил 0,00393 1/°С.

Значения поправочного коэффициента Кт.ш. приведены в табл. 14.7.

Таблица 14.7

Значения Кт.ш. для медных жил

Температура, °С

Кт.ш.

Температура, °С

Кт.ш.

-10

1,136

+6

1,060

-9

1,131

+7

1,055

-8

1,126

+8

1,050

-7

1,121

+9

1,046

-6

1,116

+10

1,042

-5

1,111

+11

1,038

-4

1,106

+12

1,034

-3

1,101

+13

1,029

-2

1,096

+14

1,025

-1

1,092

+15

1.020

0

1,087

+16

1,016

+1

1,082

+17

1,012

+2

1,078

+18

1,008

+3

1,073

+19

1,004

+4

1,068

+20

1,000

+5

1,064

+25

0,980

Измеренные значения затухания цепей приводят к температуре +20 °С по формуле:

а20 = аt/[1 + aa×(t - 20)],

где а20 - затухание при температуре +20 °С;

аt - затухание, измеренное при температуре t °С;

aa - температурный коэффициент затухания, равный 0,003 1/°С.

Температура кабеля для расчета приведенных величин определяется по результатам измерения температуры:

·       воздуха в колодцах на уровне 0,5 м выше его дна;

·       грунта на уровне проложенного кабеля;

используются также сведения ближайшей метеостанции о температуре окружающего воздуха.

Форма 14.1

Наименование организации                                                                 Объект ___________

подрядчика _____________                                                                  _________________

________________________                                                                 Гор. ______________

ПРОТОКОЛ
электрических измерений городского телефонного кабеля

_________________________________________________________________________

(марка, емкость, диаметр жил)

ненужное                               {Распределительного                         Распределительный

зачеркнуть                              {Магистрального № _                        шкаф № ___________

{Межстанционного                            Сотня _____________

Длина, м ___________

Температура воздуха, °С ________                                                   Вычисленная норма

Тип и номер измерительного                                                            для данной длины

прибора ______________________                                                  (и температуры)

_______________________                                                 Rиз _____________ МОм

Дата « » ________________ 19 __ г.                                                 Rшл ______________ Ом

№ пар (троек)

Rиз по отношению всех жил, соединенных с землей, МОм

Rшл, Ом

Собственное затухание, дБ

Переходное затухание на ближнем конце

Примечание

а

b

с

дБ

номера пар влияющих

00

 

 

 

 

 

 

 

 

01

 

 

 

 

 

 

 

 

 

 

 

 

 

 

 

 

98

 

 

 

 

 

 

 

 

99

 

 

 

 

 

 

 

 

Примечания:

1. Электрическое сопротивление изоляции проверяется по принципу допускового контроля. Запись измеренного значения параметра в графах 2, 3, 4 производится, если Rиз ниже нормы.

2. Переходное затухание измеряется только на тех парах, по которым прослушивается сигнал генератора.

Измерения проводил                                                           Проверил представитель

представитель подрядчика                                                  заказчика

________________ (_______)                                              ________________ (_______)

Форма 14.2

Наименование организации                                                        Объект ________________

подрядчика _______________                                                     ЭКУ __________________

__________________________                                                    Кабель № ______________

ПРОТОКОЛ
электрических измерений постоянным током симметричного ВЧ кабеля

___________________________________________________________________________

(марка, емкость, диаметр жил)

Длина кабеля, м _________________                                          Вычисленная норма

Температура грунта, °С ___________                                         для данной длины

Тип и номер измерительного                                                      (и температуры)

прибора _______________________                                           Rиз _____________ МОм

Дата « » ________________ 19 __ г.                                             Rшл ______________ Ом

№№ четверок

№№ пар

Жилы

Испытательное напряжение, В, между

Электрическое сопротивление изоляции жил, МОм

Электрическое сопротивление изоляции между оболочкой (экраном) и землей, МОм

Электрическое сопротивление шлейфа, Ом

Омическая асимметрия, Ом

Примечание

жилой и пучком

пучком и оболочкой

(экраном)

I

1

а

 

 

 

 

 

 

 

b

 

 

2

а

 

 

 

 

 

b

 

 

II

1

а

 

 

 

 

 

b

 

 

2

а

 

 

 

 

 

b

 

 

 

 

 

 

 

 

 

VII

1

а

 

 

 

 

 

b

 

 

2

а

 

 

 

 

 

b

 

 

Примечание. Электрическое сопротивление изоляции проверяется по принципу допускового контроля. Запись измеренного значения параметра в графах 6 и 7 производится, если Rиз ниже нормы.

Измерения проводил                                                           Проверил представитель

представитель подрядчика                                                  заказчика

________________ (_______)                                              ________________ (_______)

Форма 14.3

Наименование организации                                                        Объект ________________

подрядчика _______________                                                     ЭКУ __________________

__________________________                                                    Кабель № ______________

ПРОТОКОЛ
измерений характеристик взаимного влияния кабеля

___________________________________________________________________________

(марка, емкость, диаметр жил)

Длина кабеля, м ________________

Тип и номер измерительного прибора _____________

Частота, кГц __________________

Дата « » __________ 19 __ г.

№№ цепей

Переходное затухание на ближнем конце, дБ

Защищенность на дальнем конце, дБ (ненужное зачеркнуть)

1

2

3

4

5

6

7

8

9

10

11

12

13

14

1

-

 

 

 

 

 

 

 

 

 

 

 

 

 

2

 

-

 

 

 

 

 

 

 

 

 

 

 

 

3

 

 

-

 

 

 

 

 

 

 

 

 

 

 

4

 

 

 

-

 

 

 

 

 

 

 

 

 

 

5

 

 

 

 

-

 

 

 

 

 

 

 

 

 

6

 

 

 

 

 

-

 

 

 

 

 

 

 

 

7

 

 

 

 

 

 

-

 

 

 

 

 

 

 

8

 

 

 

 

 

 

 

-

 

 

 

 

 

 

9

 

 

 

 

 

 

 

 

-

 

 

 

 

 

10

 

 

 

 

 

 

 

 

 

-

 

 

 

 

11

 

 

 

 

 

 

 

 

 

 

-

 

 

 

12

 

 

 

 

 

 

 

 

 

 

 

-

 

 

13

 

 

 

 

 

 

 

 

 

 

 

 

-

 

14

 

 

 

 

 

 

 

 

 

 

 

 

 

-

Измерения проводил                                                           Проверил представитель

представитель подрядчика                                                  заказчика

________________ (_______)                                                       _____________ (_______)

ОПРЕДЕЛЕНИЕ РАССТОЯНИЯ ДО МЕСТА ПОВРЕЖДЕНИЯ

14.19. В процессе строительства линий связи возможны следующие виды повреждений:

·       понижение электрического сопротивления изоляции жил,

·       обрыв жил,

·       сосредоточенная омическая асимметрия цепи,

·       разбитость пар,

·       понижение электрической прочности изоляции жил кабелей,

·       понижение электрического сопротивления изоляции шланговых защитных покровов между металлической оболочкой (экраном) и землей (броней).

14.20. Понижение электрического сопротивления изоляции.

Выбор метода измерения зависит от наличия или отсутствия жил с исправной (условно исправной) изоляцией с сопротивлением изоляции (Rиз), минимального значения сопротивления изоляции поврежденной жилы (Rп), соотношения переходных сопротивлений исправной и поврежденной жил Ки = Rиз/Rп, равенства или неравенства электрических сопротивлений исправной и поврежденной жил Rа = Rб или Rа ¹ Rб.

В табл. 14.8 приведены методы электрических измерений для определения расстояния до места понижения электрического сопротивления изоляции и рекомендуемые приборы, реализующие эти методы. Расстояние до места повреждения определяется по формулам, приведенным в инструкции по эксплуатации приборов.

Таблица 14.8

Методы электрических измерений для определения расстояния до места понижения электрического сопротивления изоляции

Характер повреждения

Рекомендуемые методы измерений

Рекомендуемые приборы

Погрешность измерений

1

2

3

4

Методы, применяемые при Ки > 400

Rп от 10 МОм до 50 МОм

Дифференциальный метод

ПКП-4

± 1,5 %

Дифференциально-компенсационный метод

ПКП-4

± 1,5 %

Rп £ 10 МОм

Метод Варлея

ПКП-4, ПКП-5, ПКП-3

1)

Метод Муррея

ПКП-4, ПКП-5, ПКП-3

1)

Метод трех измерений мостом с постоянным отношением плеч

ПКП-4, ПКП-5, ПКП-3

1)

Метод двух измерений мостом с постоянным отношением плеч (метод Фишера)

ПКП-4, ПКП-5, ПКП-3

1)

Методы, применяемые при 3 £ Ки £ 400

Rп от 10 МОм до 50 МОм

Двусторонний дифференциальный метод

ПКП-4

± 1,5 %

Двусторонний дифференциально-компенсационный метод

ПКП-4

± 1,5 %

Rп £ 10 МОм

Двусторонний метод Варлея

ПКП-4, ПКП-5, ПКП-3

1)

Двусторонний метод Муррея

ПКП-4, ПКП-5, ПКП-3

1)

Метод Купфмюллера

ПКП-4, ПКП-5, ПКП-3

1)

Двусторонний метод Фишера

ПКП-4, ПКП-5, ПКП-3

1)

Методы, применяемые при 1,3 £ Ки £ 3

Rп £ 0,1 МОм

Двусторонний компенсационный метод с использованием двух поврежденных пар

ПКП-4, ПКП-5

± 0,5 %

Односторонний компенсационный метод с использованием одной исправной и двух поврежденных пар

ПКП-4, ПКП-5

± 0,5 %

Метод двух односторонних измерений с использованием двух поврежденных пар

ПКП-4, ПКП-5

± 0,5 %

Rп £ 50Rшл

Метод Блавье

ПКП-4, ПКП-5, ПКП-3

± 2,0 %

Метод двустороннего измерения сопротивления поврежденной цепи мостом переменного тока частоты 10 - 25 Гц

ПКП-4, ПКП-5

± 1,5 %

Методы, применяемые при наличии помех

Rп £ 10 Мом

Ки ³ 400

Метод моста с переменным отношением плеч с использованием двух поврежденных пар и индикатора с двумя входными цепями

ПКП-4

± 1,0 %

Rп £ 10 Мом

3 £ Ки £ 400

Двусторонний метод моста с переменным отношением плеч с использованием двух поврежденных пар и индикатора с двумя входными цепями

ПКП-4

± 1,0 %

1) ± 1,0 % при Rп £ 10 МОм; ± 0,5 % при Rп £ 1,0 МОм.

Примечания:

1. Метод трех измерений мостом с постоянным отношением плеч применяется на строительных длинах, а также при Rа ¹ Rб.

2. Метод двух измерений мостом с постоянным отношением плеч (метод Фишера) применяется при Rа ¹ Rб.

3. Двусторонний метод Фишера применяется при Rа ¹ Rб.

14.21. Обрыв жил.

Для определения расстояния до места обрыва применяют следующие методы:

·         метод измерения емкости поврежденной цепи,

·         метод измерения отношения емкостей исправных и поврежденных жил,

·         импульсный метод.

Выбор метода измерений определяется наличием или отсутствием исправных жил и состоянием изоляции в месте повреждения.

Метод измерения емкости применяется, как правило, при обрыве всех жил.

Метод измерения отношения емкостей применяется при обрыве одной или нескольких жил, когда в наличии имеются неповрежденные жилы.

Импульсный метод применяется при обрыве жил, если сопротивление изоляции в месте повреждения значительно отличается от волнового сопротивления поврежденной цепи (Rп ³ 10 кОм).

В табл. 14.9 приведены методы электрических измерений для определения расстояния до места обрыва и рекомендуемые приборы, реализующие эти методы.

Таблица 14.9

Методы электрических измерений для определения расстояния до места обрыва жил

Характер повреждения

Рекомендуемые методы измерений

Рекомендуемые приборы

Погрешность измерений

1

2

3

4

Обрыв всех жил:

Метод измерения емкости оборванных жил:

 

 

Rп > 1,0 МОм

а) мостом переменного тока:

 

 

при длине менее 3 км на частоте 800 Гц;

ПКП-4

± 1,0 %

при длине более 3 км на частоте 10 или 25 Гц

ПКП-4

± 1,0 %

Rп > 10 МОм

б) методом «заряда - разряда»

ПКП-3, МУПС-2

± 2,5 %

Rп > 1,0 МОм

в) методом «вольтметра - амперметра»

ПКП-4, ПКП-5

± 2,5 %

 

Метод измерения отношений емкостей оборванной и исправной жил:

 

 

Rп > 1,0 МОм

а) мостом переменного тока:

 

 

при длине менее 3 км на частоте 800 Гц;

ПКП-4

± 0,6 %

при длине более 3 км на частоте 10 или 25 Гц

ПКП-4, ПКП-5

± 0,6 %

Rп > 10 МОм

б) мостом пульсирующего тока

ПКП-3

± 0,6 %

 

Импульсный метод

Р5-10, Р5-9, Р5-5

± 2,0 %

14.22. Сосредоточенная омическая асимметрия.

Для определения расстояния до места сосредоточенной омической асимметрии (Rа) применяется метод моста короткого замыкания с использованием весьма низкой частоты, реализованный в приборе ПКП-4.

Погрешность измерения ±5 % при Rа < 5 Ом и ±3 % - при Rа ³ 5 Ом.

14.23. Разбитость пар.

При монтаже кабелей связи возможны ошибки в соединении жил, заключающиеся в том, что какая-либо жила одной пары соединяется с жилой другой пары. Такие пары называются разбитыми. Расстояние до места разбитости пар определяется импульсным методом и методом моста переменного тока.

Импульсный метод дает возможность определять места одной или нескольких разбитостей пар. При этом методе в одну из разбитых пар с выхода прибора подается зондирующий импульс. Импульс, распространяясь по линии, доходит до места разбитости, которое характеризуется резким увеличением электромагнитной связи между парами. В результате этого импульс переходит из первой пары во вторую, которая подключена ко входу прибора, и возвращается к началу линии. На экране ЭЛТ появляется отраженный импульс (выброс), соответствующий резкому уменьшению переходного затухания в месте разбитости. Если в кабеле имеется несколько мест разбитости, то на экране ЭЛТ будут видны импульсы, соответствующие местам разбитости пар. При определении мест разбитости пар импульсным методом применяются приборы типа Р6.

Метод моста переменного тока применяется, если жилы перепутаны в одной или двух муфтах. Измерение производится на частоте 10 или 25 Гц (при длине участка более 3 км) и 800 Гц (при длине участка менее 3 км). При определении мест разбитости пар методом моста переменного тока применяются приборы ПКП-4 и ПКП-5. Погрешность определения расстояния ±1,5 % от длины линии.

14.24. Понижение электрической прочности изоляции.

Для определения расстояния до места повреждения применяются высоковольтные мосты постоянного тока. Уравновешивание моста производится в моменты пробоя изоляции.

Высоковольтные мосты бывают с непосредственным отсчетом расстояния по показателям моста (Р41270 с источником напряжения П4110) и с отсчетом по показаниям моста коэффициента пропорциональности, по которому рассчитывается расстояние (ВВМ-77, входящий в комплект КОП).

Определение места снижения электрической прочности изоляции (места пробоя изоляции) производится на трассе кабеля. Основными методами отыскания места пробоя являются индукционный и акустический.

Индукционный метод основан на прослеживании вдоль трассы кабеля изменения напряженности магнитного поля тока, протекающего по кабелю. В месте пробоя происходит резкое изменение напряженности магнитного поля. Определение места пробоя изоляции индукционным методом производится комплектом КОП, в состав которого, кроме высоковольтного моста ВВМ-77, входят усилитель универсальный оконечный УУО и набор индукционных датчиков (щупов):

ЩАВ - щуп активный выносной - применяется при определении мест пробоя с поверхности грунта;

ЩАБ - щуп активный болотный - применяется при определении мест пробоя в кабелях, проложенных в болотах;

ЩАН - щуп активный накладной - применяется для уточнения места пробоя на открытых кабелях (путем наложения щупа на кабель).

Акустический метод определения места пробоя основан на прослеживании вдоль трассы изменения интенсивности акустического сигнала, возникающего при пробое изоляции. Определение места пробоя акустическим методом производится с помощью прибора ИМП-2 с поверхности грунта. Для этого в поврежденные жилы необходимо включить источник высокого напряжения, и установить такое напряжение чтобы происходили периодические пробои изоляции. В месте пробоя сигнал, воспринимаемый акустическим датчиком прибора ИМП-2, будет максимальным.

14.25. Понижение электрического сопротивления изоляции шланговых защитных покровов между металлической оболочкой (экраном) и землей (броней).

Расстояние до места повреждения определяется мостом постоянного тока. В качестве вспомогательного провода используется исправная жила или исправная оболочка другого кабеля. Метод дает приемлемые результаты в случае наличия только одного повреждения или наличия преобладающего повреждения. Если повреждение изоляции металлических оболочек носит массовый характер, измерение расстояния до места повреждения не производят.

Определение мест понижения сопротивления изоляции металлических оболочек (экранов) кабелей с наружными шланговыми защитными покровами относительно земли производится методом градиента потенциалов. На бронированных кабелях без внешних шланговых защитных покровов этот метод не применяется. Метод реализуется в приборах ИМПИ-2 и ИМПИ-3 и основан на прослеживании вдоль трассы изменения напряженности электрического поля, обусловленного токами утечки; при этом в месте повреждения наблюдается увеличение напряженности.

РАЗДЕЛ 15

ИЗМЕРЕНИЯ И ИСПЫТАНИЯ ОПТИЧЕСКИХ КАБЕЛЕЙ МЕСТНЫХ СЕТЕЙ СВЯЗИ

ОБЩИЕ ПОЛОЖЕНИЯ

15.1. Основными параметрами распространения излучения в оптическом волокне (ОВ) являются показатели затухания и широкополосности.

15.2. Ослабление (затухание) излучения в ОВ обусловлено, главным образом, поглощением и рассеянием энергии. Поглощение световых квантов происходит из-за наличия примесей (ионов металлов) в массе диэлектрика, а также в результате собственного поглощения.

Рассеяние энергии, вызванное флуктуацией показателя преломления, называется рэлеевским. Кроме того, рассеяние вызывается нарушением геометрии волокна, изгибами, соединениями, скручиваниями, вносимыми при прокладке оптических кабелей.

15.3. Кроме затухания светового сигнала в ОВ расстояние между регенераторами ЦСП определяется также искажением передаваемых сигналов в виде уширения импульсов, что называется дисперсией. Модовая дисперсия возникает из-за различия времени задержки распространяющихся по ОВ мод, являющихся составляющими вводимого в ОВ излучения.

15.4. В соответствии с требованиями ТУ 16-705.296-86 величина коэффициента затухания на длине волны 0,85 мкм должна быть не более 3 дБ/км для кабелей марок: ОН-50-1-3-1, ОН-50-1-3-2, ОК-50-2-3-4, ОК-50-2-3-8, ОК-50-3-3-4, ОК-50-3-3-8 и не более 5 дБ/км для кабелей марок: ОН-50-1-5-1, ОН-50-1-5-2, ОК-50-2-5-4, ОК-50-2-5-8, ОК-50-3-5-4, ОК-50-3-5-8.

Коэффициент широкополосности ОВ в кабеле на длине волны 0,85 мкм должен быть не менее 250 МГц×км для кабелей с затуханием 5 дБ/км и не менее 500 МГц×км для кабелей с затуханием до 3 дБ/км.

По ТУ 16.к71-084-90 коэффициент затухания на длине волны 1,3 мкм должен быть не более 0,7 дБ/км или 1 дБ/км для разных марок кабеля с градиентным ОВ и не более 1 дБ/км для кабелей с одномодовым ОВ;

коэффициент широкополосности градиентного ОВ в кабеле на длине волны 1,3 мкм должен быть 1000 МГц×км;

дисперсия сигнала одномодового ОВ в кабеле должна быть не более 3,5 пс/нм×км.

15.5. По результатам заводских испытаний значения указанных в п. 15.4 параметров вносятся в протокол для каждого барабана с кабелем.

15.6. Измерение затухания волокна и стыка волокон может производиться методом измерения распределения потерь по длине (методом обратного рассеяния) и методом обрыва в соответствии с ГОСТ 26814-86 «Кабели оптические. Методы измерения параметров».

ИЗМЕРЕНИЕ ЗАТУХАНИЯ МЕТОДОМ ОБРЫВА

15.7. Метод обрыва применяется для измерения затухания ОВ, не армированных оптическими соединителями.

15.8. Метод обрыва состоит в сравнении мощности оптического излучения на выходе ОВ со значением мощности на входе за счет обрыва в начале измеряемого ОВ.

При этом измеряемое затухание определяется по формуле:

А = 10lg12), дБ,

где А - затухание ОВ, дБ;

P1 и Р2 - значения уровня мощности на входе и выходе волокна соответственно, в единицах мощности.

Коэффициент затухания измеряемого оптического кабеля определяется по формуле:

a = А/(L2 - L1), дБ/км,

где L1 - длина короткого отрезка волокна в начале измеряемого ОВ, км;

L2 - длина всего ОВ, км.

Измерение затухания методом обрыва производят по схеме, изображенной на рис. 15.1.

Рис. 15.1. Схема измерения затухания методом обрыва:

1 - источник оптического излучения с фиксированной длиной волны; 2 - смеситель мод, который исключает зависимость коэффициента затухания от внешних условий возбуждения; 3 - юстировочное устройство; 4 - измеряемое оптическое волокно; 5 - приемник излучения; X - точка обрыва оптического волокна

15.9. Торцевые поверхности оптических волокон измеряемого кабеля должны быть перпендикулярны оси волокон и не иметь сколов и повреждений, что определяется с помощью микроскопа с кратностью увеличения не менее 20.

15.10. Юстировочное устройство должно обеспечивать юстировку входного конца волокна в трех взаимно перпендикулярных плоскостях для осуществления оптимального ввода энергии в волокно и жесткую фиксацию волокна.

15.11. Для осуществления равномерного распределения мод может быть использован длинный световод, спиральный фильтр мод, который образуется из нескольких витков ОВ, намотанного на цилиндр небольшого диаметра. В практике измерений может быть использован также нормализатор из комплекта КОМС (изготовитель - ССКТБ) или несколько сваренных друг с другом отрезков ступенчатого и градиентного ОВ с длиной каждого отрезка около 1 м.

15.12. Основные характеристики приборов, которые могут применяться при измерении затухания ОВ методом обрыва, приведены в табл. 15.1.

Таблица 15.1

Наименование прибора

Марка прибора

Основные характеристики

1

2

3

Измеритель затухания

ИФ-193-2

Измерение оптических потерь на длине волны 0,85 мкм

Динамический диапазон: 0...70 дБм

Погрешность измерения затухания в поддиапазонах:

от 0 до 10 дБм - ±0,2 дБ;

от 10 до 30 дБм - ±0,4 дБ;

от 30 до 50 дБм - ±2,0 дБ;

от 50 до 70 дБм - ±4,0 дБ

Ваттметр поглощаемой мощности оптический

ОМЗ-65

Диапазон длин волн измеряемых мощностей: 0,8... 1,0 мкм

Измеряемая мощность: 10-9...10-2 Вт

Погрешность - 15 %

Генератор оптических и электрических импульсов

ОГ5-87

Рабочая длина волны: 0,85 и 1,3 мкм

Мощность излучения: 0,1 - 1,0 мВт

Частота импульсов: 10 кГц - 50 Мгц

Длительность импульса: 10-5...10-3 с

Измеритель затухания оптический

ОД1-20

Длина волны: 0,85 мкм (для градиентных ОВ) и 1,3 мкм (для градиентных и одномодовых ОВ)

Средняя мощность излучения оптического сигнала, модулированного 270 Гц, не менее 150 мкВт

Диапазон измерения: + 1...-60 дБм

Питание прибора: 13,5 ± 1,5 В постоянного тока от встроенного или внешнего источника

Оптический тестер

ОМКЗ-76

Длина волны: 0,85 и 1,3 мкм

Мощность непрерывного немодулированного излучения на волне длиной 0,85 мкм: 10 и 300 мкВт; на волне длиной 1,3 мкм: 1 и 100 мкВт

Частота модуляции оптического излучения: 270 Гц

Диапазоны измерения на волне длиной 0,85 мкм: 10-8...10-3 Вт (-50...0 дБ);

на волне длиной 1,3 мкм: 10-7...10-3 Вт (-40...0 дБ)

Погрешность - до 20 %

Ваттметр поглощаемой мощности

ОМЗ-99, выпуск с 1991 г.

Рабочие длины волн: 0,6..1,7 мкм

Диапазон измерений: 10-9...10-2 Вт (-60...+10 дБм)

Погрешность измерений: ±10 + 0,1(Рпршк - 1) %, где Рпр и Ршк - показания прибора и предельное значение шкалы

Питание: батарея 5,0 В или от сети 220 В, 50 Гц

Подключение к ОВ через разъемы или адаптером

МЕТОД ОБРАТНОГО РАССЕЯНИЯ

15.13. Метод пригоден для определения распределения оптических потерь по длине волокна, затухания волокна, неоднородностей (обрыв, место сварки и т.д.), значения потерь на неоднородностях, а также длины волокна и расстояния до мест обрыва.

15.14. Схема измерения затухания методом обратного рассеяния с помощью рефлектометра показана на рис. 15.2, а, а график распределения уровня мощности обратного рассеяния - на рис. 15.2, б.

Рис. 15.2. Измерение затухания методом обратного рассеяния:

а) схема измерения; б) рефлектограмма

1 - рефлектометр; 2 - отрезки кабеля строительной длины; 3 - место соединения строительных длин; 4 - точка соединения кабеля с прибором; 5 - точка соединения строительных длин; 6 - место неоднородности; 7 - конец кабеля

15.15. Следует учитывать, что рефлектометры, в зависимости от их динамического диапазона, позволяют проводить измерения в линии с затуханием не более 15 - 20 дБ, в связи с чем может возникнуть необходимость в проведении работ по сращиванию строительных длин и измерениям с разбивкой линии ВОЛС на участки.

Основные характеристики применяемых рефлектометров приведены в табл. 15.2.

Таблица 15.2

Марка прибора

Наименование характеристики

длина волны, мкм

диапазон измерения расстояния, км

максимально измеряемое затухание, дБ

погрешность при оценке затухания, дБ

питание

Горизонт-П

0,85

0...40

12

0,1А ± 0,25 (А - измеренная величина)

220 В

1,3

 

7

50 Гц

Горизонталь:

 

 

 

 

220 В

50 Гц или 12 - 15 В постоянного тока

ОР5-18

0,85

 

23

 

ОР5-19

1,3

до 100

20

 

ОР5-20

1,3

 

18

 

ОР5-21

1,55

 

13

 

МW98А

 

 

 

 

 

блок

 

18

 

 

220 В

МН913В

0,85

36

22,5

 

50 Гц

МН914В

1,3

72

20,0

 

 

МW910

 

18, 36, 72, 144

 

 

100, 115, 120, 200, 220, 240 В переменного тока частотой 50/60 Гц

блок

 

 

 

МHA/А1,

 

 

 

 

963

0,85

 

23

 

937

1,3

 

22

 

938

1,3

 

20

 

12, 24 В постоянного тока

939

1,55

 

18

 

955

1,31/1,55

 

18/16

 

МНС/С1,

 

 

 

 

 

938

1,31

 

30

 

 

939

1,55

 

27

 

 

955

1,31/1,55

 

28/25

 

 

Примечания:

1. Характеристики, не указанные в табл. 15.2, не приведены изготовителем.

2. Приборы МW98А, МW910 - производства Японии.

3. Для измерения волокон с градиентным профилем показателя преломления используются приборы: Горизонт, ОР5-18, ОР5-19, MW98А, МW910 с блоками МНА/А1, 963, 937.

4. Для измерения одномодовых волокон используются приборы: ОР5-20, ОР5-21, МW910 с остальными блоками.

ВХОДНОЙ КОНТРОЛЬ ОПТИЧЕСКОГО КАБЕЛЯ НА КАБЕЛЬНОЙ ПЛОЩАДКЕ

15.16. Все барабаны с оптическим кабелем, поступившие на кабельную площадку, должны быть подвергнуты внешнему осмотру и проверке наличия заводских паспортов.

При отсутствии заводского паспорта необходимо его запросить у завода-изготовителя.

15.17. Измерение затухания необходимо производить в полном объеме проверяемой партии оптического кабеля при отсутствии повреждений, выявленных при внешнем осмотре.

15.18. Если нижний конец кабеля короток для измерений (менее 1,5 м), кабель следует перемотать для обеспечения необходимой длины нижнего конца.

15.19. Если при внешнем осмотре выявлены серьезные повреждения барабана и кабеля, которые могут отрицательно повлиять на качество прокладки кабеля и ухудшить его параметры, то измерения не производятся. При этом заказчик и подрядчик должны совместно решить вопрос о предъявлении рекламации на дефектную строительную длину.

15.20. Перед измерениями оптический кабель нужно выдержать в сухом отапливаемом помещении не менее 3 - 4 ч. Для проведения измерений помещение должно быть хорошо освещено.

15.21. Измерения методом обрыва рекомендуется производить в следующей последовательности:

а) оба конца кабеля освободить от защитных оболочек: верхний - на расстоянии не менее 1 м, нижний - на расстоянии не менее 0,5 м;

б) концы каждого ОВ освободить на длине 10 - 50 мм от защитного покрытия, сколоть волокно;

в) после скола проверить торцы ОВ, которые должны быть ровными и перпендикулярными оси волокна;

г) выходной конец ОВ подключить к приемнику излучения с помощью адаптера;

д) закрепить входной конец ОВ в юстировочном устройстве, произвести его юстировку визуально и по максимуму сигнала на выходе приемника излучения, после чего положение входного конца ОВ зафиксировать;

е) измерить выходную мощность на конце ОВ не менее трех раз, при этом делать новые сколы на длине 0,5 - 3,0 см.

Результаты измерений могут отличаться не более, чем на 0,1 дБ. Рассчитать среднее значение выходной мощности (P2);

ж) не изменяя положения ОВ в юстировочном устройстве, обломать измеряемое волокно кабеля на расстоянии 1 ± 0,2 м от входного торца и произвести измерения входной мощности аналогично указанному в п. 15.21, е.

Рассчитать среднее значение входной мощности (Р1);

з) рассчитать коэффициент затухания измеряемого ОВ по формуле, приведенной в п. 15.8. Полученные результаты измерений должны быть не больше предельных значений на данную марку оптического кабеля. В случаях получения больших значений решение по использованию отбракованных барабанов принимает заказчик;

и) по результатам измерений входного контроля составляется протокол по форме 15.1 или 15.2.

Форма 15.1

Протокол входного контроля

Марка оптического кабеля ___________________

№№ барабанов

Длина кабеля, м

№ ОВ

Мощность излучения

Результаты расчета

Дата проверки

Заключение о пригодности кабеля

Рвых

Рвх

А, дБ

a, дБ/км

 

 

 

 

 

 

 

 

 

 

 

 

 

 

 

 

 

 

Примечание. Затухание ОВ определяется по формуле: А = 10lgвхвых).

Проверку производил ______________

«____» __________ 19 ___ г.

Форма 15.2

Протокол входного контроля

Марка оптического кабеля ___________________

№№ барабанов

Длина кабеля, м

№ ОВ

Мощность излучения

Результаты расчета

Дата проверки

Заключение о пригодности кабеля

Aвых, дБ

Авх, дБ

А, дБ

a, дБ/км

 

 

 

 

 

 

 

 

 

 

 

 

 

 

 

 

 

 

Примечание. Затухание ОВ определяется по формуле: А = Авх - Авых. Коэффициент затухания ОВ определяется по формуле: a = А/(L2 - L1).

Проверку производил ______________

«____» __________ 19 ___ г.

ИЗМЕРЕНИЕ ЗАТУХАНИЯ ВОЛОКОН ОПТИЧЕСКОГО КАБЕЛЯ В ПРОЦЕССЕ МОНТАЖА

15.22. В процессе монтажа оптического кабеля необходимо проводить измерения затухания стыков ОВ рефлектометром по методу обратного рассеяния (основной) или методом обрыва (при отсутствии рефлектометра).

15.23. При измерении затухания стыков методом обратного рассеяния предварительно нужно освободить концы кабеля от защитных покрытий на расстоянии не менее, чем 300 мм, затем на расстоянии 10 - 50 мм освободить ОВ от защитных покрытий. Торцы волокна обработать так, чтобы они имели ровный и перпендикулярный оси волокна скол. Измеряемое волокно подключить к прибору с помощью юстировочного устройства, при этом произвести юстировку по максимуму обратнорассеянного сигнала. Измерения затухания стыков, а также поиск мест повреждений ОВ произвести в соответствии с техническим описанием приборов. Величина затухания мест сварок определяется как среднеалгебраическое значение двух измерений - в направлении А - Б и Б - А - и не должна превышать 0,5 дБ.

Если затухание стыка превышает указанную величину, стык следует переделать, и повторить измерения. Если затухание стыка осталось прежним, но не более 0,8 дБ, то сварное соединение может быть оставлено, но скомпенсировано на следующих стыках для получения среднего значения затухания стыков каждого ОВ смонтированной линии не более 0,5 дБ.

В случае превышения указанных норм необходимо вызвать представителя заказчика для совместного принятия решения. Измеренные затухания стыков ОВ следует занести в паспорт на смонтированную муфту по форме 15.3.

15.24. При измерении затухания стыков методом обрыва нужно измерять последовательно затухание двух строительных длин (или участков) по схеме, представленной на рис. 15.1, но при этом используются два комплекта приборов.

Форма 15.3

Паспорт на смонтированную муфту оптического кабеля

муфта № __________ АТС № __________ АТС № ___________ № кабеля ___________

марка кабеля ______________________________________ № колодца ______________

строительные длины ________________________________________________________

монтаж производил _________________________________________________________

(Ф.И.О., наименование организации)

«____» _______________ 19 ___ г.

Сведения о ремонте ____________________________

_____________________________

_____________________________

(Ф.И.О. произведшего ремонт)

«___» _________________ 19 ____ г.

Обратная сторона паспорта

АТС № _____________________________________________________________ АТС №

(указываются номера ОВ)

№ ОВ

1

2

3

4

5

6

7

8

Затухание, дБ

 

 

 

 

 

 

 

 

15.25. Учитывая возможную погрешность измерения одной и той же мощности двумя приемниками, следует предварительно определить поправку по формуле:

a = 10lg12),

где Р1 - показания первого прибора,

Р2 - показания второго прибора.

Километрическое затухание рассчитывается с учетом поправки:

a = [10lgвх1вых2) - 10lg12)]/L, дБ/км.

15.26. Коэффициент затухания должен соответствовать значениям, полученным при входном контроле. В случае превышения коэффициента затухания относительно допустимого решение принимается заказчиком.

15.27. После сварки ОВ следует измерить затухание в двух длинах. При этом затухание двух длин, измеренное после их соединения, не должно превышать сумму измеренных значений затухания длин до сварки ОВ на величину более 0,5 дБ или 0,8 дБ (см. п. 15.23).

15.28. При использовании трех комплектов приборов предварительно следует определить затухание в соединяемых оптических кабелях, а затем измерить общее затухание после сварки. Предварительно необходимо определить погрешность за счет использования трех излучателей и приемников, и учитывать ее при расчетах затухания.

ИЗМЕРЕНИЯ ЗАТУХАНИЯ СМОНТИРОВАННЫХ РЕГЕНЕРАЦИОННЫХ УЧАСТКОВ

15.29. На смонтированных регенерационных участках после монтажа станционных шнуров (ШСС) СОК необходимо произвести измерения затухания ОВ кабеля, которые заносятся в паспорт по форме 15.4.

Измерения затухания следует проводить в обоих направлениях передачи.

Результаты измерений ОВ всего участка должны соответствовать предельным значениям затухания длин и стыков в процессе строительства, указанным в пп. 15.25 и 15.26, а также станционных шнуров, значение затуханий которых не должно превышать 3 дБ на каждом конце участка.

Форма 15.4

Паспорт регенерационного участка

Регенерационный участок _____________________

Общая длина участка _________________________

№ ОВ

Направление измерения

Направление А - Б

Направление Б - А

Мощность излучения

Результаты расчета

Мощность излучения

Результаты расчета

Рвых

Рвх

А, дБ

Рвых

Рвх

А, дБ

1

 

 

 

 

 

 

2

 

 

 

 

 

 

3

 

 

 

 

 

 

4

 

 

 

 

 

 

5

 

 

 

 

 

 

6

 

 

 

 

 

 

Заключение ______________________________________

Измерительные приборы __________________________

Измерения проводили ____________________________

«____» ______________ 19 ____ г.

РАЗДЕЛ 16

ИСПЫТАНИЕ ГЕРМЕТИЧНОСТИ КАБЕЛЕЙ И ПОСТАНОВКА ИХ ПОД ПОСТОЯННОЕ ИЗБЫТОЧНОЕ ВОЗДУШНОЕ ДАВЛЕНИЕ

ОБЩИЕ ПОЛОЖЕНИЯ

16.1. Строительные длины кабелей ГТС емкостью от 100 пар и более, высокочастотных и низкочастотных симметричных кабелей с металлическими и полиэтиленовыми оболочками, находящиеся на барабанах и после их прокладки, а также смонтированные секции, кабельные линии, усилительные (регенерационные) участки должны содержаться под избыточным воздушным давлением.

16.2. Для проверки герметичности оболочки кабеля, муфт и контейнеров и постановки кабельных линий в процессе монтажа под избыточное давление применяются:

·       компрессорные установки КМ-77-2М, полевые нагнетательно-осушительные установки ПНОУ-3, баллоны высокого давления для сжатого воздуха или азота емкостью 40, 12 и 5 л на рабочее давление 15 МПа (150 кгс/см2) с редуктором и осушительным устройством, установки для ручной накачки кабеля КЛ-67М - для осушки и нагнетания воздуха;

·       манометры показывающие - для контрольных измерений при оценке герметичности кабеля, контейнеров и элементов оборудования;

·       манометры образцовые - для проверки исправности показывающих манометров;

·       регенерационные установки - для восстановления осушающих свойств силикагеля;

·       устройства переносные подкачивающие УПП - для определения повреждения оболочки кабеля;

·       ультразвуковые течеискатели УЗТИ - для определения мест негерметичности на открытых участках кабеля;

· - галоидные (галогенные) течеискатели БГТИ-7 (БГТИ-5) - для определения индикаторного газа хладона при проведении работ по отысканию мест негерметичности оболочки кабеля;

·       полевые установки для ввода индикаторного газа и воздуха в кабель ПУВИГ - для подачи в кабель под давлением индикаторного газа хладона или воздуха;

·       зарядные углекислотные станции ЗС - для переливания жидкого индикаторного газа (хладона) из транспортных баллонов в баллоны емкостью 5 л.

16.3. Для содержания кабелей ГТС и симметричных кабелей под постоянным избыточным давлением применяются: компрессорно-сигнальные установки КСУ-2М, установки осушительные нагнетательные для кабелей ОНУК, стационарные компрессорные установки.

16.4. Герметичная концевая заделка кабелей осуществляется:

·       на кабелях типа ТГ, ТСШп, ТПСШп - с помощью свинцовых муфт типа МГ,

·       на кабелях типа ТПП - с помощью полиэтиленовых газонепроницаемых муфт,

·       на кабелях типа МКС - с помощью газонепроницаемых муфт типов ГМС и ГМСИ.

16.5. В процессе строительства линий связи проверке на герметичность должны подвергаться:

·       кабели на барабанах в складских пунктах, строительные длины кабеля до и после прокладки и непосредственно перед сращиванием, длины кабелей после затягивания в каналы кабельной канализации, смонтированные участки кабеля в канализации протяженностью до 0,5 км, смонтированные шаги (секции), усилительные (регенерационные) участки, межстанционные и магистральные кабели местной сети емкостью 100 пар и более;

·       газонепроницаемые муфты перед монтажом;

·       соединительные, разветвительные, газонепроницаемые и другие муфты после их монтажа;

·       пупиновские ящики и удлинители на складском пункте, до и после монтажа;

·       контейнеры для систем передачи до и после монтажа;

·       установки для содержания кабелей под постоянным воздушным давлением;

·       воздуховоды после монтажа.

Если непосредственно после окончания монтажа кабельной линии, усилительного (регенерационного) участка кабель не может быть вмонтирован в оконечные кабельные устройства, то проверка герметичности кабеля должна производиться без оконечных устройств.

16.6. Подачу воздуха и измерение избыточного давления в кабелях с металлической оболочкой следует производить через припаянный вентиль. Для припайки вентиля в металлической оболочке кабеля делается отверстие диаметром 8 мм. Нижнюю часть вентиля залуживают и тщательно припаивают к металлической оболочке. При пайке из вентиля необходимо вынуть золотник, так как резиновая прокладка на нем при нагревании может повредиться. Используются вентили типа ЛК с необрезным корпусом. На кабелях с полиэтиленовой оболочкой устанавливаются полиэтиленовые патрубки.

16.7. При подаче воздуха в кабель переносные осушительные устройства должны располагаться вертикально. Давление воздуха, подаваемого в кабель, и его влажность следует контролировать в течение всего времени нагнетания.

16.8. Воздух, нагнетаемый в кабель через осушительное устройство, не должен содержать более 2,6 г влаги на 1 м3 (относительная влажность - 15 % при температуре +20 °С). Влажность воздуха контролируется индикатором влажности.

16.9. При проверке герметичности оболочки кабеля необходимо проконтролировать герметичность заделки концов кабеля.

16.10. Временное подключение манометра к вентилю при измерении избыточного давления осуществляется с помощью резинового шланга, на одном конце которого постоянно закреплен на штуцере манометр, а на другом - устройство для подключения к вентилю для нагнетания воздуха.

Повторные измерения давления при проверке герметичности следует производить одним и тем же манометром.

16.11. Герметичность кабеля и установок определяется путем сравнения показаний манометра в начале испытаний и по истечении контрольного срока. При проверке местным (кратковременным) давлением признаком герметичности является отсутствие воздушных пузырей на испытуемой поверхности, покрытой мыльным раствором или залитой слоем воды.

16.12. Герметичность кабеля оценивается после выравнивания давления вдоль кабеля. Давление считается выравненным, если его значения в кабеле, измеренные по концам испытываемого участка длиной до 5 км, равны, а для участков длиной более 5 км не отличаются друг от друга более, чем на 0,002 МПа (0,02 кгс/см2).

16.13. При сравнении показаний манометра в начале испытаний и по истечении контрольного срока необходимо учитывать изменения атмосферного давления и температуры окружающей среды (воздуха, грунта) во время измерений давления в кабеле и вносить соответствующую поправку. Температуру окружающего воздуха следует измерять термометром с ценой деления не более 0,5 °С, а атмосферное давление - барометром с ценой деления не более 1 мм рт. ст.

16.14. Если в результате проверки установлена негерметичность оболочки проложенного кабеля, в нем следует поддерживать избыточное давление периодической подкачкой воздуха до проведения ремонта, чтобы не допустить попадания влаги в кабель.

16.15. Во всех случаях, когда кабель в строительных длинах или смонтированных секциях и участках, а также в оконечных кабельных устройствах оказался без избыточного давления, нагнетание воздуха допускается только после измерений электрического сопротивления изоляции и соответствия его установленным нормам. До нормы электрическое сопротивление изоляции может быть доведено путем продувки кабеля сухим воздухом.

16.16. Места негерметичности в оболочке кабеля при строительстве линий следует обнаруживать с помощью хладона-22. Указания о порядке обнаружения и устранения негерметичности даны ниже в подразделе «Определение мест негерметичности кабеля в процессе строительства».

16.17. Протоколы и акты испытания герметичности строительных длин кабеля, секций, пупиновских ящиков, оконечных кабельных устройств, смонтированных усилительных (регенерационных) участков с оконечными устройствами, контейнеров и установок для содержания кабелей под избыточным воздушным давлением должны входить в состав исполнительной документации.

16.18. Монтаж установок для содержания кабеля под избыточным воздушным давлением должен осуществляться лицами, прошедшими производственное обучение и сдавшими в соответствующем объеме экзамены по технике безопасности.

При организации и выполнении работ следует руководствоваться указаниями по технике безопасности, изложенными в «Правилах устройства и безопасной эксплуатации сосудов, работающих под давлением», «Энергоиздат», 1990.

НОРМЫ ГЕРМЕТИЧНОСТИ

16.19. Герметичность кабелей, муфт и контейнеров оценивается в соответствии с нормами, приведенными в табл. 16.1, а установок и оборудования для содержания кабелей под постоянным избыточным давлением - в табл. 16.2.

Таблица 16.1

Нормы для оценки герметичности кабелей и других кабельных устройств

Объект испытаний

Испытательное давление, МПа (кгс/см2)

Время испытания, ч

Норма герметичности (допустимое снижение давления), МПа (кгс/см2), не более

1

2

3

4

Строительные длины кабеля:

 

 

 

- поступившие под давлением;

0,05 - 0,1 (0,5 - 1,0)

24

0

- поступившие без давления либо с давлением менее 0,05 МПа (0,5 кгс/см2);

0,08 - 0,1 (0,8 - 1,0)

24

0

- подлежащие прокладке на речных переходах;

0,15 - 0,2 (1,5 - 2,0)

48

0

- после прокладки (перед монтажом)

0,08 - 0,1 (0,8 - 1,0)

24

0

- оказавшиеся с пониженным давлением, но не менее 0,05 МПа (0,5 кгс/см2);

0,08 - 0,1 (0,8 - 1,0)

48

0

Пупиновские ящики, удлинители:

 

 

 

до монтажа

0,05 (0,5)

4

0

после монтажа;

0,05 (0,5)

0,2 - 0,3

Отсутствие воздушных пузырьков при смачивании мыльным раствором

Муфты:

 

 

Отсутствие воздушных пузырьков при смачивании мыльным раствором

- смонтированные (прямые, соединительные);

0,08 - 0,1 (0,8 - 1,0)

0,2 - 0,3

- газонепроницаемые типа ГМС, ГМСИ:

 

 

 

до монтажа

0,2 (2,0)

3

0

после монтажа;

0,1 (1,0)

48

0

- газопроницаемые типа МГ на кабелях ТГ после монтажа не ранее, чем через 24 ч;

0,1 (1,0)

не менее 24

0

- газонепроницаемые на кабелях ТПП после монтажа:

 

 

 

через 48 ч при t до +15 °С;

 

 

 

через 96 ч при 0 °С;

 

 

 

через 10 суток при минус 10 °С;

0,1 (1,0)

24

0

Боксы 100´2, заряженные отрезками кабеля

0,05 - 0,07 (0,5 - 0,7)

 

 

Контейнеры НУП системы передачи ИКМ-30

0,07 (0,7)

24

0

Участок смонтированного кабеля длиной порядка 0,5 км, смонтированная секция

0,08 - 0,1 (0,8 - 1,0)

24

0

Смонтированная кабельная линия (регенерационный участок) длиной:

 

 

 

до 2 км;

0,05 (0,5)

48

0

свыше 2 км

0,05 - 0,06 (0,5 - 0,6)

240

0,005 (0,05)

Примечание. Для кабелей с пластмассовыми оболочками к концу испытательного срока, указанного в табл. 16.1, допустимая утечка воздуха не должна превышать 0,005 МПа (0,05 кгс/см2).

Таблица 16.2

Нормы для оценки герметичности установок и оборудования для содержания кабеля под избыточным воздушным давлением

Объект испытаний

Испытательное давление, МПа (кгс/см2)

Время испытания, ч

Норма герметичности (допустимое снижение давления), МПа (кгс/см2), не более

Блок осушки и автоматики ОНУК

0,6 (6,0)

5

0,05 (0,5) по манометру «Давление в ресивере»

Распределительный статив ОНУК

0,05 (0,5)

 

0,01 (0,1)

КСУ-2М

0,7 (7,0)

5 (с предварительной выдержкой 0,5 ч)

0,05 (0,5)

ПУВИГ

10 ± 1 (100 ± 10)

0,5

1 (10)

УПП

10 ± 1 (100 ± 10)

3

0,5 (5)

Осушительное устройство

0,1 (1)

1

0,015 (0,15)

16.20. Кабели типа МКС (МКССт, МКСА) и типов ТПП и СТПА поставляются под избыточным воздушным давлением в пределах 0,05 - 0,1 МПа (0,5 - 1,0 кгс/см2); кабели типа ТГ - 0,03 - 0,08 МПа (0,3 - 0,8 кгс/см2).

В заводском паспорте строительной длины кабеля должна быть указана величина избыточного давления.

16.21. Кабели, поступившие на площадку с давлением не менее 0,05 МПа (0,5 кгс/см2), но ниже указанного в паспорте более, чем на 0,002 МПа (0,02 кгс/см2) или без указания в паспорте величины, должны проверяться на герметичность при имеющемся в кабеле давлении. Кабели с металлической оболочкой считаются герметичными, если в течение 1 суток давление не изменится.

16.22. Кабели с металлической оболочкой, поступившие на площадку с давлением ниже 0,05 МПа (0,5 кгс/см2) или без вентиля, но под давлением, также должны быть испытаны на герметичность. В последнем случае в кабели необходимо впаять вентили. Давление в кабелях должно быть доведено до 0,08 - 0,1 МПа (0,8 - 1,0 кгс/см2). Кабели считаются герметичными, если давление после выравнивания в течение суток не изменяется.

16.23. Кабели с металлической оболочкой, поступившие на площадку без избыточного давления, должны быть накачаны воздухом и испытаны на герметичность согласно п. 16.22. Кабели, не выдержавшие испытания на герметичность по пп. 16.21, 16.22, подлежат испытаниям, предусмотренным ГОСТ 24641-81 «Оболочки кабельные свинцовые и алюминиевые. Технические условия», с целью предъявления рекламаций заводу-поставщику.

Согласно ГОСТ 24641-81 испытание герметичности металлических оболочек кабелей должно производиться сухим инертным газом или воздухом под избыточным давлением не менее 0,2 МПа (2 кгс/см2) и не более 0,5 МПа (5 кгс/см2). Газ или воздух под давлением должны вводиться до тех пор, пока манометр, установленный на другом конце кабеля, не покажет указанное давление.

Кабель считается герметичным, если на его конце при неизменной температуре давление после выравнивания остается постоянным в течение 2 ч.

16.24. Кабели в пластмассовой оболочке испытываются на герметичность по методике, предусмотренной ГОСТ 22498-88 «Кабели городские телефонные с полиэтиленовой изоляцией в пластмассовой оболочке».

Согласно ГОСТ 22498-88 сухой воздух подают до тех пор, пока установленный на конце кабеля манометр не покажет давление 0,1 МПа (1 кгс/см2), после чего подачу воздуха прекращают. Давление подачи воздуха должно быть 0,25 - 0,3 МПа (2,5 - 3,0 кгс/см2). Кабель считается герметичным, если после выравнивания давление остается постоянным в течение 2 ч.

16.25. Кабели, выдержавшие испытания по пп. 16.21, 16.22, допускаются к прокладке. Непосредственно перед прокладкой кабеля необходимо измерить давление в нем и результаты измерения занести в протокол. Давление должно соответствовать значению, зафиксированному при предыдущем испытании с учетом влияния температурных изменений.

К прокладке допускаются кабели, находящиеся под избыточным давлением 0,05 - 0,1 МПа (0,5 - 1 кгс/см2).

16.26. Контроль за возможным нарушением герметичности кабеля с металлической оболочкой в процессе прокладки следует производить путем проведения измерений давления в кабеле не менее, чем через 24 ч после прокладки. Для доступа к концам кабеля (при механизированной прокладке) должны быть вырыты шурфы. При ручной прокладке кабеля испытание герметичности проводится до полной засыпки траншеи. В случае длительного перерыва между окончанием прокладки кабеля и началом его монтажа вентили следует обмотать смоляной лентой.

16.27. Методы испытания кабелей, прокладываемых на речных переходах, аналогичны методам испытания подземных кабелей. Однако, кабели для речных переходов перед прокладкой должны быть испытаны давлением 0,15 - 0,2 МПа (1,5 - 2 кгс/см2) в течение не менее 48 ч.

16.28. Для обеспечения контроля за герметичностью оболочки кабеля при прокладке на речных переходах на одном или обоих его концах должны быть подключены манометры. В процессе прокладки подводный кабель должен находиться под давлением 0,1 - 0,12 МПа (1 - 1,2 кгс/см2). После окончания прокладки манометры отсоединяют не раньше, чем через 48 ч.

16.29. Проложенные длины кабеля перед монтажом необходимо снова проверить на герметичность. Давление в кабеле с металлической оболочкой должно соответствовать измеренному после прокладки с учетом влияния температурных изменений.

В тех случаях, когда кабели перед монтажом оказываются под давлением, меньшим, чем после прокладки, следует произвести испытания их герметичности давлением 0,08 - 0,1 МПа (0,8 - 1 кгс/см2). Давление в кабелях не должно уменьшаться в течение 48 ч. Если кабели перед монтажом оказываются без избыточного давления, то до испытания на герметичность необходимо проверить у них сопротивление изоляции. Кабели, выдержавшие испытания на герметичность, допускаются к монтажу.

Результаты испытаний должны быть зафиксированы в протоколе.

ИСПЫТАНИЕ ГЕРМЕТИЧНОСТИ СОЕДИНИТЕЛЬНЫХ МУФТ, ПУПИНОВСКИХ ЯЩИКОВ И УДЛИНИТЕЛЕЙ

16.30. Каждая смонтированная свинцовая муфта после запайки должна быть проверена на герметичность. В муфту нагнетают сухой воздух под давлением 0,08 - 0,1 МПа (0,8 - 1 кгс/см2) в течение 10 - 20 мин через предварительно впаянный вентиль (или свинцовую трубку).

16.31. Герметичность удлинителей и внутренняя камера до установки пупиновского ящика с катушками индуктивности проверяется избыточным давлением осушенного воздуха 0,05 МПа (0,5 кгс/см2) в течение 4 ч.

Пупиновский ящик или удлинитель считается герметичным, если по истечении контрольного срока давление в нем не понизилось (с учетом влияния температурных изменений).

16.32. Пупиновские ящики и удлинители после монтажа должны быть проверены на герметичность путем создания местного давления 0,05 МПа (0,5 кгс/см2) в течение 10 - 20 мин и смачивания мыльным раствором мест пайки.

ИСПЫТАНИЕ ГЕРМЕТИЧНОСТИ ОБОЛОЧЕК КАБЕЛЕЙ В СЕКЦИИ И НА СМОНТИРОВАННЫХ КАБЕЛЬНЫХ ЛИНИЯХ (РЕГЕНЕРАЦИОННЫХ УЧАСТКАХ)

16.33. Герметичность оболочек кабелей в смонтированных секциях испытывается давлением 0,08 - 0,1 МПа (0,8 - 1 кгс/см2). Смонтированные секции кабелей с металлическими оболочками считаются герметичными, если в течение не менее 48 ч после накачки и выравнивания давление не изменилось. При оценке герметичности кабель может быть оставлен на повторный срок испытания.

16.34. Герметичность оболочки смонтированных кабельных линий испытывается давлением 0,05 - 0,06 МПа (0,5 - 0,6 кгс/см2), а пупинизированных кабелей с установленными пупиновскими ящиками - давлением 0,045 МПа (0,45 кгс/см2). Давление в кабеле измеряется с обоих концов линии. Смонтированные участки кабелей с металлическими оболочками с оконечными устройствами считаются герметичными, если в течение 10 суток давление снизится не более, чем на 0,005 МПа (0,05 кгс/см2).

16.35. Воздух в кабель без пупиновских ящиков следует нагнетать под давлением 0,1 МПа (1 кгс/см2) с одного или с двух концов, а в кабели с пупиновскими ящиками - под давлением 0,045 МПа (0,45 кгс/см2).

16.36. Продолжительность нагнетания воздуха зависит от типа, емкости и длины кабеля. При изменении длины кабеля между точками нагнетания необходимое время нагнетания изменяется пропорционально квадрату изменения длины участка накачивания (длина участка накачивания - это половина расстояния между точками нагнетания, а при нагнетании воздуха с одной стороны - вся длина участка). Примерная скорость распространения воздуха в кабелях ГТС при давлении 0,05 - 0,1 МПа (0,5 - 1 кгс/см2) составляет порядка 100 м/ч.

16.37. Нагнетание воздуха с одного конца кабеля следует прекратить, как только давление на дальнем конце достигнет 0,025 - 0,03 МПа (0,25 - 0,3 кгс/см2). Отсутствие давления на дальнем конце свидетельствует о наличии мест негерметичности в оболочке кабеля.

16.38. После окончания нагнетания воздуха в кабель вентили должны быть закрыты и проверены на герметичность, а кабель оставлен для выравнивания давления. Давление считается выровненным, если его значения на концах участка длиной более 5 км не отличаются друг от друга более, чем на 0,002 МПа (0,02 кгс/см2). Если разница в значениях давления превышает эту величину, то измерения давления должны быть повторены для секций и усилительных (регенерационных) участков не менее, чем через 4 - 6 ч.

16.39. Если в указанный срок давление не выравнивается и систематически понижается, необходимо принять меры по обнаружению мест негерметичности.

16.40. Результаты испытания герметичности кабеля в секциях должны быть зафиксированы в протоколе по форме 16.1, а на смонтированной кабельной линии (регенерационном участке) - оформлены актом по форме 16.2.

ИСПЫТАНИЕ ГЕРМЕТИЧНОСТИ КОНТЕЙНЕРОВ

16.41. Контейнеры ИКМ, сдаваемые в эксплуатацию, должны быть испытаны на герметичность избыточным воздушным давлением 0,07 МПа (0,7 кгс/см2). Контейнер считается герметичным, если в течение 24 ч не наблюдается снижения давления. Результаты проверки герметичности контейнера ИКМ должны быть зафиксированы в протоколе по форме 16.3.


Форма 16.1

ПРОТОКОЛ
испытания герметичности оболочки кабеля и смонтированных муфт на секции

Усилительный (регенерационный) участок ____________________________ кабель № __________________________

 

Участок накачки (секция)

Длина, м

Число муфт на проверяемом участке

Накачка

Контроль 1

Контроль 2

Номера манометров

Заключение о герметичности кабеля

Подпись

Дата

Давление, кгс/см2

Дата

Давление, кгс/см2

Дата

Давление, кгс/см2

1

 

 

 

 

 

 

 

 

 

 

 

 

2

 

 

 

 

 

 

 

 

 

 

 

 

3

 

 

 

 

 

 

 

 

 

 

 

 

Руководитель работ по монтажу кабеля _____________________________________

(подпись, ФИО)


Форма 16.2

АКТ
проверки герметичности кабеля

«___» _____________ 19 ___ г.

Объект _______________ кабельная линия _____________ участок ___________

Мы, нижеподписавшиеся, представитель рабочей комиссии (заказчика) _____________________________________________ и представитель организации подрядчика _______________________________________________________ составили настоящий акт в том, что кабель с оконечными устройствами на кабельной линии (регенерационном участке) был поставлен под избыточное давление и опломбирован для испытания герметичности оболочки. Результаты первичных измерений, произведенных «___» __________ 19 ___ г. даны в табл. 1.

Таблица 1

Измерения со стороны

Номер кабеля

Измеренное давление, кгс/см2

Номер манометра

Шкала до, кгс/см2

Цена деления, кгс/см2

Подписи

А

 

 

 

 

 

 

 

 

 

 

 

 

Б

 

 

 

 

 

 

 

 

 

 

 

 

Результаты вторичных измерений, произведенных «___» __________ 19 ___ г., т.е. через ____ суток, даны в табл. 2.

Таблица 2

Измерения со стороны

Номер кабеля

Измеренное давление, кгс/см2

Номер манометра

Шкала до, кгс/см2

Цена деления, кгс/см2

Подписи

А

 

 

 

 

 

 

 

 

 

 

 

 

Б

 

 

 

 

 

 

 

 

 

 

 

 

На основании существующих норм кабель с оконечными устройствами на участке __________________ считать герметичным и установленным под избыточное давление.

Представитель рабочей                                                      Представитель организации

комиссии (заказчика)                                                          подрядчика

______________________                                                  _________________________

(подпись, ФИО)                                                                                                        (подпись, ФИО)

Форма 16.3

ПРОТОКОЛ
проверки герметичности контейнера ИКМ

«___» _____________ 19 ___ г.

Настоящий протокол составлен представителями заказчика ___________________________________________________________________________

(наименование организации, должность, ФИО)

с одной стороны и организацией подрядчика ____________________________________

___________________________________________________________________________

(наименование организации, должность, ФИО)

с другой стороны с целью определения герметичности контейнера типа ______________ № _____________

Дата и время первого измерения __________________________________________

Показание манометра, кгс/см2 ____________________________________________

Дата и время второго измерения __________________________________________

Показание манометра, кгс/см2 ____________________________________________

Измерения производились манометром № __________________________________

Цена деления __________________________________________________________

Заключение: На основании существующих норм контейнер считать герметичным, негерметичным (ненужное зачеркнуть)

Представитель подрядчика ________________________________

(подпись, ФИО)

Представитель заказчика __________________________________

(подпись, ФИО)

КОМПРЕССОРНО-СИГНАЛЬНАЯ УСТАНОВКА КСУ-2М

16.42. Основным оборудованием для содержания кабелей ГТС под постоянным избыточным воздушным давлением является компрессорно-сигнальная установка типа КСУ-2М. Установка обеспечивает:

·       содержание под избыточным воздушным давлением до 30 или до 60 кабелей емкостью от 100 до 2400 пар или других типов, в том числе соответственно не более трех или не более шести кабелей с поврежденной оболочкой при расходе воздуха не более 35 л/мин;

·       контроль за давлением воздуха в ресивере и на выходе установки, за расходом воздуха, подаваемого в кабели;

·       контроль влажности воздуха, подаваемого в кабели, по изменению цвета индикаторного силикагеля в индикаторе влажности;

·       автоматическую замену осушительных камер и регенерацию силикагеля без его извлечения;

·       подачу сигналов при нарушении герметичности оболочек кабелей и нарушении работы установки (пропадание переменного или постоянного тока, перегрузка электродвигателя компрессора и включение осушительной камеры на регенерацию).

16.43. Конструктивно КСУ-2М (рис. 16.1) состоит из компрессора, блока осушки и автоматики и одного или двух распределительных стативов, устанавливаемых на одном каркасе, а также - щитка выносной сигнализации.

Функциональная схема КСУ-2М приведена на рис. 16.2. Основные технические характеристики КСУ-2М приведены в табл. 16.3.

Рис. 16.1. Компрессорно-сигнальная установка КСУ-2М:

1 - компрессорная группа; 2 - воздуховод; 3 - блок осушки и автоматики; 4 - распределительный статив; 5 - ротаметр; 6 - трубки к кабелям

Рис. 16.2. Функциональная схема КСУ-2М:

I - компрессорная группа; II - блок осушки и автоматики; III - распределительный статив

1 - обратный клапан; 2 - ресивер; 3 - воздушный фильтр; 4 - электронно-контактный манометр (ЭКМ); 5 - блок автоматики и сигнализации; 6 - осушительные камеры; 7 - клапаны КЭП; 8 - индикатор влажности; 9, 14, 16 - манометры; 10 - выход дюзы; 11 - редуктор РДВ-0,5; 12 - ротаметр; 13 - редуктор РДВ-0,6; 15 - выходной вентиль; 17 - сигнальный ротаметр; 18 - ротаметры с эбонитовыми поплавками; 19 - ротаметры со стальными поплавками; 20 - обводной вентиль; А - выход к поврежденным кабелям; Б - выход к кабелям ГТС

Таблица 16.3

Основные технические характеристики установки КСУ-2М

Наименование характеристики

Показатели

Количество обслуживаемых кабелей, шт.

30 или 60

Количество распределительных стативов, шт.

1 или 2

Производительность, л/мин, не менее

35

Диапазон рабочего давления на выходе, МПа (кгс/см2)

0,05 ± 0,002 (0,5 ± 0,02)

Абсолютная влажность воздуха на выходе, г/м3

0,3

Работоспособность в интервале температур, °С

+10...+35

Относительная влажность окружающего воздуха при температуре +20 °С, %, не более

80

Время регенерации силикагеля, ч

15

Электропитание:

 

- от трехфазной сети переменного тока напряжением, В

220/380

с частотой, Гц

50

- постоянное напряжение, В

60

- переменный ток, А

10

- постоянный ток, А

0,5

Максимальная потребляемая мощность, ВА

4000

Габаритные размеры, мм:

 

- блока осушки и автоматики

660´440´1664

- компрессора

860´360´380

- распределительного статива

1100´210´1800

Масса, кг:

 

- блока осушки и автоматики

200

- компрессора

75

- распределительного статива

90

МОНТАЖ УСТАНОВКИ КСУ-2М

16.44. Размещение установки КСУ-2М должно производиться в соответствии с рабочей документацией проекта.

Компрессор, блок осушки и автоматики, стативы установки устанавливаются на фундаменты. Устройство фундаментов необходимо осуществлять в соответствии с рекомендациями, изложенными в инструкции по эксплуатации 3т2.959.008 ИЭ.

Блок осушки и автоматики устанавливают на фундамент по отвесу и закрепляют фундаментными болтами.

Распределительный статив в верхней части крепится к стене планками, изготовленными из угловой стали.

Примерное размещение КСУ-2М показано на рис. 16.3.

Рис. 16.3. Размещение КСУ-2М:

а) размещение КСУ-2М на 30 или 60 кабелей; б) размещение двух КСУ-2М

1 - помещение ввода кабелей; 2 - компрессорная группа; 3 - блок осушки и автоматики; 4 - распределительные стативы

16.45. В блок осушки и автоматики необходимо установить ресивер, который поставляется отдельно, и произвести соединение узлов установки. Для этого следует снять заднюю стенку блока осушки и автоматики, вставить горловину ресивера в отверстие планки и закрепить ресивер в верхней части хомутом.

16.46. Произвести подсоединение с помощью воздуховодов входного штуцера ресивера к обратному клапану компрессора, выходного штуцера ресивера к маслоотделителю, выходного штуцера блока осушки и автоматики к выходным штуцерам распределительных стативов.

16.47. Подсоединение выходных штуцеров распределительных стативов к выходным штуцерам кабеля производится с помощью воздуховодов, в качестве которых применяются медицинские резиновые трубки типа 6 (ГОСТ 3399-76) или трубки гибкие поливинилхлоридные (ТУ6-05-1498-77) с внутренним диаметром 6 мм.

16.48. Подсоединение воздуховодов к кабелям с металлической оболочкой производится при помощи переходных штуцеров, которые входят в комплект поставки установки.

16.49. Подсоединение воздуховодов к кабелям с полиэтиленовой оболочкой производится при помощи полиэтиленовых патрубков. На место соединения воздуховодов накладывается стягивающий бандаж из проволоки.

16.50. При размещении распределительных стативов в помещении ввода кабелей герметизация места прохода воздуховодов, соединяющих блок осушки и автоматики с распределительными стативами, через стенку помещения ввода кабелей обеспечивается при помощи технической замазки (мел - 80 %, олифа - 20 %) или с помощью мастики нетвердеющей герметизирующей строительной (ГОСТ 14791-79).

16.51. При размещении распределительных стативов в компрессорном помещении герметизация места прохода воздуховодов, соединяющих выходы распределительных стативов с кабелями, через стенку помещения ввода кабелей обеспечивается при помощи предварительно изготовленного блока воздуховодов.

16.52. Для изготовления блока воздуховодов необходимо подготовить опалубку, сквозь стенки которой пропускают 30 медных трубок с внутренним диаметром 6 мм (трубки М3-М-8´1 ГОСТ 617-90). Подготовленную форму заливают раствором бетона и оставляют на 6 - 8 суток для схватывания бетона.

16.53. В стене в соответствии с размерами блока воздуховодов прорубается окно, в которое вставляется блок, и место стыка по периметру заделывается цементным раствором.

Воздуховоды со стороны компрессорного помещения и помещения ввода подсоединяются к медным трубкам блока воздуховодов. На место соединения накладывается бандаж из проволоки.

16.54. Электрический монтаж установок необходимо выполнить в соответствии с рис. 1 и 2 инструкции по эксплуатации 3т2.959.008 ИЭ.

16.55. В местах, где провода и кабели могут подвергаться механическим повреждениям, они должны прокладываться в стальных трубах с внутренним диаметром 25 мм, которые закладываются в полу на глубине не менее 20 мм и заливаются бетоном.

16.56. К стальным трубам должны быть приварены болты заземления, к которым подключаются узлы установки с помощью заземляющих изолированных медных (алюминиевых) проводников сечением не менее 1,5 мм2 (2,5 мм2).

Концы заземляющих проводников должны иметь припаянные наконечники. Соединение стальных труб должно осуществляться сваркой.

16.57. В помещении автозала размещают щиток выносной сигнализации для дублирования сигналов от установки.

ПРОВЕРКА РАБОТОСПОСОБНОСТИ УСТАНОВКИ КСУ-2М

16.58. До включения электропитания установки КСУ-2М необходимо:

а) проверить соответствие установленного переменного напряжения 380 В, постоянного напряжения 60 В и правильность чередования фаз;

б) подготовить компрессор к работе;

в) смазать подшипник электродвигателя КЭП;

г) проверить правильность установки подвижных контактов сигнального устройства электроконтактного манометра.

16.59. Для подготовки компрессора к работе необходимо:

а) снять консервационную смазку с наружных поверхностей;

б) снять боковую крышку картера и тщательно смыть консервационную смазку с коленчатого вала, шатунов и стенок картера;

в) слить керосин через спускную пробку, протереть все внутренние поверхности материалом, не оставляющим ворса, закрыть крышку так, чтобы не повредить прокладку, и завернуть сливную пробку;

г) залить в картер масло марки КС-19 (ГОСТ 9243-75) или 19Т (ГОСТ 1861-73) до верхней метки щупа;

д) проверить натяжение приводных ремней и при необходимости отрегулировать его путем перемещения электромотора на основании при сохранении параллельности осей вала компрессора и электромотора (под усилием 1 кгс ветвь ремня должна оттягиваться на 7 мм);

е) провернуть вручную на несколько оборотов маховик, убедившись в отсутствии заеданий;

ж) включить питание компрессора и убедиться в правильности вращения маховика по стрелке, нанесенной на ограждении;

з) отсоединить воздуховод, соединяющий компрессор с блоком осушки и автоматики, и дать возможность компрессору несколько минут работать в холостом режиме;

и) остановить компрессор и проверить затяжку и крепление всех соединений, в особенности крепление маховика к валу.

16.60. При отсутствии дефектов включить компрессор на 30 мин. Убедиться в исправности компрессора и подсоединить к нему воздуховод от блока осушки и автоматики.

16.61. Для смазки подшипников электродвигателя КЭП снять его и залить 2 см3 приборного масла марки МВП (ГОСТ 1805-76) при помощи медицинского шприца через отверстие, заглушенное винтом, которое расположено на корпусе электродвигателя с противоположной от выходного вала стороны.

16.62. Залить 10 см3 масла марки МВП в редуктор электродвигателя через верхнее отверстие, заглушенное винтом.

16.63. Нижний подвижной контакт электроконтактного манометра должен быть установлен на деление 0,2 МПа, а верхний - на деление 0,7 МПа.

16.64. При контрольной работе КСУ-2М проверяют работу компрессора, предохранительного и обратного клапанов, ротаметров, редукторов, командного электропневматического прибора КЭП, герметичность установки, пропускную способность распределительных стативов, цвет индикаторного силикагеля, настройку термореле ТР-200, степень очистки воздуха от масла и влаги, и кроме того, сигнализацию: пропадания электропитания, перегрузки установки, перегрузки электродвигателя компрессора, перегорания нагревательного элемента, аварийной утечки воздуха.

16.65. Проверку герметичности установки следует производить в следующей последовательности:

а) проверить, чтобы верхний колокол КЭП стоял в положении «0» или «50»;

б) открыть вентиль выхода на стативы на блоке осушки и автоматики, вентили сигнальных ротаметров и вентили ротаметров со стальными поплавками;

в) закрыть вентили индивидуальных ротаметров;

г) включить компрессор;

д) установить давление в ресивере 0,7 МПа;

е) после 30 мин выдержки зафиксировать показания электроконтактного манометра. Через 5 ч вторично зафиксировать показания манометра.

Если по истечении указанного срока спад давления по электроконтактному манометру не превышает 0,05 МПа, установка считается герметичной.

Проверку КСУ-2М в работе следует производить по методикам, изложенным в инструкции по эксплуатации 3т2.959.008 ИЭ.

ОПРЕДЕЛЕНИЕ МЕСТ НЕГЕРМЕТИЧНОСТИ КАБЕЛЯ В ПРОЦЕССЕ СТРОИТЕЛЬСТВА

16.66. Место негерметичности проложенной или находящейся на барабане строительной длины кабеля начинают с проверки герметичности запайки (заварки) концов. Если утечка воздуха не обнаружена, то следует уточнить место негерметичности. Кабель, находящийся на барабане, необходимо размотать на строительной площадке или вдоль бровки тротуара.

16.67. Место негерметичности оболочки кабеля уточняют с помощью индикаторного газа хладона-12 или хладона-22 и галогенного течеискателя.

16.68. Место негерметичности оболочки смонтированных кабелей определяют в два этапа: сначала определяют район негерметичности, а затем уточняют место негерметичности.

16.69. До начала проведения работ по определению района негерметичности оболочки кабеля необходимо убедиться в герметичности газопроницаемой муфты, воздуховодов и оболочки кабеля в помещении ввода кабелей с помощью мыльного раствора, УЗТИ или небольшого количества индикаторного газа хладона-22 и галогенного течеискателя.

16.70. Район негерметичности оболочки кабеля определяют манометрическим методом или по расходу воздуха, подаваемого с обоих концов участка кабеля при установившемся режиме.

Режим давления в кабеле устанавливается в течение нескольких суток в зависимости от типа и длины кабеля.

Установившийся режим давления в кабеле характеризуется тем, что распределение избыточного давления воздуха в кабеле и расход воздуха, подаваемого с установок, постоянны.

ОПРЕДЕЛЕНИЕ РАЙОНА НЕГЕРМЕТИЧНОСТИ ОБОЛОЧКИ КАБЕЛЯ МАНОМЕТРИЧЕСКИМ МЕТОДОМ

16.71. Манометрический метод определения района повреждения оболочки кабеля заключается в следующем.

На негерметичном кабеле оборудуют несколько контрольных пунктов для измерения давления воздуха вдоль кабеля при помощи переносного манометра. С одной или двух сторон кабеля производят непрерывную подачу сухого воздуха под постоянным избыточным давлением 0,05 - 0,06 МПа и производят измерение давления воздуха в контрольных пунктах. При наступлении в кабеле установившегося режима потока воздуха, характеризующегося тем, что давление в контрольных пунктах стабилизируется во времени, производят снятие показаний переносного манометра, после чего по результатам измерений строят график распределения давления вдоль кабеля.

Характер распределения давления вдоль кабеля позволяет определить район негерметичности оболочки кабеля.

16.72. Для оборудования контрольных пунктов в соединительные свинцовые муфты кабеля впаивают вентили, а в полиэтиленовые - приваривают полиэтиленовые патрубки, позволяющие произвести измерение давления воздуха практически без утечки его из кабеля.

Корпус вентиля (без золотника) следует припаять к свинцовой муфте. Через припаянный корпус вентиля делают прокол в муфте, затем ввинчивают золотник.

Полиэтиленовый патрубок приваривают с помощью пластины из нержавеющей стали, нагретой до 250 °С, помещенной между торцом патрубка и поверхностью корпуса муфты. Свариваемые поверхности разогревают до оплавления и прижимают патрубок к корпусу муфты после удаления пластины. Затем нагретым металлическим стержнем через приваренный патрубок в корпусе муфты проплавляют отверстие диаметром не менее 5 мм. В качестве полиэтиленового патрубка рекомендуется использовать оболочку кабеля типа ТПП 20´2´0,5.

Герметичность места припайки корпуса вентиля или приварки полиэтиленового патрубка тщательно проверяют.

16.73. Давление в контрольных пунктах измеряют при помощи переносного манометра типа МТИ на 1 кгс/см2 класса I. Манометр должен иметь короткий шланг для подключения к вентилю или припаянную металлическую трубку для подключения к полиэтиленовому патрубку.

16.74. График распределения давления вдоль кабеля необходимо выполнить на листе миллиметровой бумаги формата А3. По оси ординат следует откладывать величину давления воздуха в кабеле (кгс/см2), по оси абсцисс - длину кабеля (км).

Для давления в кабеле следует выбрать масштаб 1 см = 0,02 кгс/см2; для длины - масштаб 1 см = 200 м при длине кабеля до 6 км; 1 см = 500 м при длине кабеля от 6 до 20 км или 1 см = 1000 м при длине кабеля более 20 км.

При выполнении графических работ следует обратить особое внимание на тщательность их выполнения. Используемая линейка должна иметь ровные края, карандаш тщательно заточен. Примерный график приведен на рис. 16.4.

Рис. 16.4. График распределения давления в кабеле

16.75. Манометрический метод используется при любом количестве повреждений оболочки кабеля.

ОПРЕДЕЛЕНИЕ МЕСТА НЕГЕРМЕТИЧНОСТИ ОБОЛОЧКИ КАБЕЛЯ ПРОЛОЖЕННОГО В КАБЕЛЬНОЙ КАНАЛИЗАЦИИ

16.76. Перед началом работ по определению места негерметичности оболочки кабеля следует убедиться в отсутствии взрывоопасных газов в смотровых устройствах, находящихся в районе негерметичности кабеля. Работать при наличии взрывоопасных газов в смотровых устройствах запрещается.

До ввода индикаторного газа хладона в кабель в районе негерметичности необходимо обследовать галогенным течеискателем смотровые устройства и каналы, в которых лежит негерметичный кабель, для установки наличия фона от возможных остатков галоидосодержащих веществ.

Каналы канализации в колодцах следует закрыть пробками и заделать замазкой для предотвращения проникновения хладона в соседние колодцы.

В кабель хладон следует вводить через вентиль, впаиваемый (ввариваемый) в муфту, расположенную в колодце, ближайшем к месту повреждения оболочки.

16.77. Смесь хладона с воздухом вводится в кабель через камеру (рис. 16.5), в которую с помощью установки ПНОУ-3 или другого источника воздуха подают осушенный воздух под давлением 0,08 МПа, а из ПУВИГ подают хладон до установления в камере давления 0,085 МПа. Затем подачу хладона прекращают. После снижения давления в камере до 0,08 МПа подачу хладона следует возобновить.

Рис. 16.5. Камера для смешивания хладона с воздухом (свинцовая разветвительная муфта)

Подачу смеси хладона с воздухом в кабель необходимо производить в течение 30 мин. При этом следует проверить галогенным течеискателем герметичность кабеля, муфты и соединительного воздуховода, по которому подается хладон. Щуп-датчик прибора медленно перемещают вдоль кабеля, начиная от выхода его из канала, а также вдоль муфты и соединительного воздуховода. Когда конец трубки щупа будет находиться против места негерметичности, прибор покажет наличие хладона.

Работы по проверке наличия хладона в пункте ввода в кабель и в соседних колодцах следует производить не ранее, чем через 4 - 6 ч после ввода хладона. Щуп-датчик течеискателя необходимо опустить на дно колодца, так как хладон скапливается внизу.

16.78. При обнаружении хладона в колодце необходимо снизить его концентрацию проветриванием колодца с помощью вентилятора (стрелка течеискателя должна отклоняться не более, чем на четверть шкалы) и проверить герметичность кабеля и муфты в колодце.

Если хладон в колодцах не обнаружен, повреждение оболочки кабеля находится в пролете канализации.

16.79. Для уточнения пролета с негерметичным кабелем в канале необходимо создать воздушный поток с помощью вентилятора или установки ПНОУ-3. Для этого конец шланга от вентилятора следует направить в канал. Контроль за наличием хладона в канале проводится течеискателем с противоположной стороны канала.

16.80. Определение места повреждения оболочки кабеля в пролете канализации рекомендуется производить методом предварительной адсорбции следующим образом:

·       предварительно колодцы, между которыми имеется повреждение оболочки кабеля, и каналы канализации необходимо провентилировать с помощью вентилятора или ПНОУ-3 до полного удаления хладона, что контролируется течеискателем;

·       в канал с поврежденным кабелем затягивают киперную ленту, обильно пропитанную техническим вазелином (рис. 16.6);

Рис. 16.6. Определение места негерметичности оболочки кабеля в пролете канализации с помощью киперной ленты:

1, 2 - колодцы; 3 - кабель; 4 - шланг вентилятора; 5 - киперная лента; 6 - соединительная муфта; 7 - баллон с хладоном; 8 - вентилятор

·       в первом колодце, прилегающем к пролету с негерметичным кабелем, в кабель впаивают вентиль и вводят хладон под давлением 0,05 - 0,06 МПа, после чего проверяют герметичность мест соединений при помощи течеискателя;

·       во втором колодце в этот же канал направляют шланг вентилятора или установки ПНОУ-3 и создают поток воздуха в сторону первого колодца;

·       в первом колодце к каналу с негерметичным кабелем подносят щуп-датчик течеискателя и, обнаружив хладон, прекращают подачу его в кабель;

·       киперную ленту извлекают через второй колодец и прокладывают по поверхности в том же направлении, как она находилась в канале;

·       обследуют киперную ленту на наличие хладона с помощью течеискателя, начиная с конца, расположенного во втором колодце. При этом щуп-датчик течеискателя необходимо прикладывать вплотную к киперной ленте через каждые 1 - 2 м;

·       после обнаружения следов хладона на киперной ленте следует определить точку, где происходит максимальное отклонение стрелки течеискателя. Эта точка будет соответствовать месту повреждения оболочки кабеля в пролете канализации.

Работы по обнаружению следов хладона на киперной ленте следует производить быстро, так как хладон полностью испаряется с ленты через 2 - 3 ч.

16.81. Если в первом колодце хладон не удалось обнаружить, необходимо произвести повторный поиск на следующий день.

При отрицательном результате поиска хладона в первом колодце необходимо создать с помощью вентилятора поток воздуха в канале в противоположном направлении (от первого колодца ко второму) и проконтролировать появление хладона во втором колодце.

Если хладон в колодцах не обнаруживается, необходимо уточнить район повреждения оболочки кабеля и повторно произвести работы по отысканию течи по методике, приведенной выше.

16.82. Решение по устранению повреждения оболочки кабеля путем замены строительной длины кабеля или вскрытия канализации для ремонта принимается в каждом конкретном случае по результатам поиска места негерметичности.

ОПРЕДЕЛЕНИЕ МЕСТА НЕГЕРМЕТИЧНОСТИ ОБОЛОЧКИ КАБЕЛЯ, ПРОЛОЖЕННОГО В ГРУНТЕ

16.83. Наиболее распространенным методом определения места негерметичности оболочки кабеля является метод с использованием индикаторного газа хладона, который вводится под давлением в кабель в районе повреждения оболочки и, распространяясь по кабелю, в месте негерметичности оболочки выходит в грунт.

Если вдоль трассы кабеля произвести шурфование грунта ломом или заостренным стальным штырем, то хладон, выходящий из места повреждения оболочки, скапливается в шурфах, причем наибольшая его концентрация образуется непосредственно над местом выхода из кабеля. При помощи галогенного течеискателя определяют место наибольшей концентрации хладона, и таким образом, находят место повреждения оболочки кабеля.

16.84. Для определения места негерметичности оболочки кабеля необходимо:

·       определить с помощью кабелеискателя ИП-8 точное прохождение трассы кабеля в районе предполагаемой негерметичности оболочки;

·       обозначить вешками, устанавливаемыми через каждые 5 - 10 м, трассу кабеля на участке повреждения. Криволинейные участки трассы следует обозначить вешками более точно (через 2 - 3 м);

·       произвести шурфование грунта через 1,5 - 2 м на длине обозначенного вешками участка кабеля. Шурфы представляют собой отверстия диаметром 1,5 - 2 см и глубиной 30 - 40 см. В зимнее время допускается шурфы делать в снегу;

·       обследовать трассу кабеля на поврежденном участке галогенным течеискателем (БГТИ-7, БГТИ-5) в целях установления наличия естественного фона, который могут создавать галоидосодержащие вещества, находящиеся в почве, а также хладон, вводившийся в кабель ранее. Почву, загрязненную галоидосодержащими испарениями, отметить и, по возможности, удалить;

·       откопать ближайшую к месту повреждения муфту, демонтировать чугунную муфту, удалить битум и впаять в свинцовую муфту вентиль. Если ближайшим к месту повреждения является усилительный (регенерационный) пункт, ввод хладона в кабель следует производить оттуда.

На коротких участках или при наличии сложной трассы, когда нельзя впаивать вентили, хладон следует вводить с пункта, расположенного ближе к повреждению.

Если в пункте подачи хладона в кабеле имеется избыточное давление воздуха, его следует снизить, выпуская воздух из кабеля в течение 10 мин. Это будет способствовать ускорению продвижения хладона вдоль кабеля;

·       ввести в кабель смесь хладона с воздухом согласно рекомендациям, изложенным в п. 16.77;

·       отключить от кабеля ПУВИГ, загерметизировать место ввода хладона в кабель, закопать отрытую муфту до половины глубины, чтобы в случае утечки в месте введения хладона иметь возможность обнаружить ее с помощью течеискателя.

16.85. Время распространения хладона по кабелю зависит от величины избыточного давления газа и расстояния от места его введения до места негерметичности оболочки. Для ускорения движения хладона по кабелю и защиты кабеля от проникновения в него влаги в течение всего периода работ по отысканию места негерметичности в кабель следует подкачивать воздух под давлением 0,05 - 0,1 МПа.

16.86. Время прохождения хладона от места негерметичности оболочки кабеля через почву зависит от структуры последней. В песчаных почвах хладон проходит легко, в тяжелых, например, глине - очень медленно.

К определению наличия хладона в шурфах на песчаных грунтах следует приступать через 12 - 15 ч, на тяжелых грунтах - через сутки после введения хладона в кабель.

16.87. Определение наличия хладона в шурфе производят, держа щуп галогенного течеискателя непосредственно над шурфом в течение 10 - 15 с.

В первую очередь следует обследовать районы, где расположены муфты, так как негерметичность в них появляется чаще.

Над местом утечки хладон обычно распространяется по большой площади, образуя «пятно загрязнения». «Пятно» имеет форму эллипса, большая ось которого проходит вдоль кабеля.

В зависимости от количества хладона, прошедшего через повреждение в оболочке, и времени, прошедшего с момента его появления в почве до обнаружения течеискателем, «пятно» может занимать площадь от 2 до 10 м2.

16.88. Если места выхода хладона в шурфах не обнаруживаются, отыскание утечки повторяют в течение 1 - 10 суток (в зависимости от плотности грунта). Если и после этого место утечки не найдено, следует вновь уточнить район повреждения, ввести в кабель новую порцию хладона и повторить работы по отысканию течи.

16.89. После обнаружения места выхода хладона необходимо откопать кабель и определить место выхода хладона из него при помощи галогенного течеискателя или пенистых средств.

Пенистые средства должны наноситься кисточкой в достаточном количестве. В месте нанесения пенистого средства при наличии утечки образуются пузыри. При этом необходимо учитывать, что при больших утечках воздуха может происходить срыв пенистого средства, что требует повышенного внимания при выполнении работ. В качестве пенистого средства обычно применяется поверхностно-активный (например, мыльный) раствор с коцентрацией 1:1 - 1:10.

Этот метод может применяться при температуре окружающей среды не ниже минус 5 °С.

Полиэтиленовая оболочка кабеля после применения мыльного раствора должна быть тщательно промыта водой.

16.90. В зимнее время при наличии снежного покрова нет необходимости в шурфовании грунта, так как хладон скапливается под снегом. Достаточно сделать проколы в снегу по трассе кабеля на поврежденном участке через 3 - 5 м.

16.91. После устранения негерметичности оболочки кабеля и проверки герметичности запаянных мест кабель следует установить под избыточное воздушное давление.

РАЗДЕЛ 17

ЗАЩИТА ПОДЗЕМНЫХ МЕТАЛЛИЧЕСКИХ СООРУЖЕНИЙ СВЯЗИ ОТ КОРРОЗИИ

ОБЩИЕ ПОЛОЖЕНИЯ

17.1. При строительстве линейных сооружений местных кабельных линий связи должны строго соблюдаться требования ГОСТ 9.602-89 ЕСЗКС «Сооружения подземные. Общие требования к защите от коррозии.»

17.2. Не допускается прокладка кабелей со свинцовыми оболочками без защитного покрова непосредственно в грунте, а также в кабельной канализации связи из пластмассовых труб.

17.3. Защита от коррозии вновь строящихся, действующих и реконструируемых линейных сооружений местных кабельных линий связи должна осуществляться в строгом соответствии с рабочей документацией проекта. Изменение строительно-монтажной организацией проектных решений без ведома и санкции на это проектной организации запрещается.

Оборудование всех видов электрохимической защиты, предусмотренных рабочей документацией проекта, а также наладка, контрольные измерения и включение устройств защиты в работу, должны осуществляться исполнителем работ до сдачи подземных металлических сооружений связи в эксплуатацию.

17.4. Устройства защиты от коррозии подземных металлических сооружений связи должны быть сданы в эксплуатацию исполнителем работ в составе всех работ, выполненных при строительстве объекта, предъявляемого к сдаче.

17.5. Если в процессе строительства выявилась ранее не предусмотренная проектом необходимость защиты подземных металлических сооружений связи от коррозии или в процессе наладки защитных устройств, предусмотренных проектом, выявилась недостаточная эффективность защиты от коррозии, то дополнительное проектирование и строительство устройств защиты следует считать отдельным этапом работ, за исключением случаев, когда внесение изменений в проект и их реализация исполнителем работ могут быть выполнены до предъявления сооружений к сдаче в эксплуатацию и не ведет к срыву установленных сроков сдачи построенного объекта в эксплуатацию.

17.6. Если разработка рабочей документации на защиту от коррозии выполнена после прокладки и монтажа кабеля, устройство защиты осуществляется и принимается отдельным этапом.

17.7. При выполнении работ по защите от коррозии подземных металлических сооружений местных кабельных линий связи необходимо:

а) в процессе сращивания строительных длин кабеля, прокладываемого как непосредственно в землю, так и в некоторых случаях в каналы кабельной канализации, в местах, предусмотренных проектом, оборудовать контрольно-измерительные пункты (КИП);

б) после завершения монтажа кабеля, проложенного в зоне действия блуждающих токов, измерить потенциал его по отношению к земле, на участках пересечения с другими подземными металлическими сооружениями (трубопроводами, силовыми кабелями) и рельсами - соответственно разность потенциалов «кабель связи - другое подземное сооружение» или «кабель связи - рельсы».

Примечание. Разность потенциалов «кабель связи - рельсы» должна измеряться только при необходимости оборудования электродренажной защиты.

17.8. Создаваемые устройствами защиты катодные (защитные) поляризационные потенциалы металлической оболочки кабеля, по отношению к медносульфатному электроду сравнения, должны соответствовать проектным данным и быть не более и не менее (по абсолютной величине) значений, указанных в табл. 17.1.

Таблица 17.1

Минимальные и максимальные защитные потенциалы относительно медносульфатного электрода сравнения

Металл сооружения

Защитный потенциал, В

Минимальный

Максимальный

Сталь

-0,85

-1,15

Свинец

-0,70

-1,30

Алюминий

-0,85

-1,40

Примечания:

1. Для свинцовых оболочек кабелей связи без защитных покровов, проложенных в кабельной канализации, допускается по краям зоны защиты смещение минимального защитного потенциала от стационарного не менее 100 мВ.

2. При катодной поляризации стальной брони кабелей связи максимальное значение разности потенциалов между броней и медносульфатным электродом сравнения должно быть не более 2,5 В, а по краям зоны защиты смещение минимального потенциала от стационарного не менее 50 мВ.

3. Для кабелей связи с металлическими оболочками и защитными покровами шлангового типа поверх оболочки, а также поверх оболочки и брони электрохимическая защита не проводится. Катодная поляризация таких кабелей в опасных зонах осуществляется лишь в случаях нарушения сплошности защитного покрова и понижения сопротивления изоляции его ниже норм, установленных ОСТ 45.01-86, если в процессе эксплуатации нельзя осуществить ремонт или замену кабеля.

17.9. Одновременно с регулировкой режима работы защитных устройств на подземных сооружениях связи должны быть измерены потенциалы по отношению к земле на других, расположенных рядом, подземных металлических сооружениях.

17.10. Катодная поляризация подземных металлических сооружений связи должна осуществляться так, чтобы исключить вредное влияние ее на соседние подземные металлические сооружения.

Примечание. Вредным влиянием катодной поляризации защищаемого сооружения на соседние металлические сооружения считается уменьшение по абсолютной величине максимального защитного потенциала на соседних металлических сооружениях, имеющих катодную поляризацию; появление опасности электрохимической коррозии на соседних подземных металлических сооружениях, ранее не требовавших защиты от нее; смещение в любую сторону величины стационарного потенциала на кабелях связи, не имеющих катодной поляризации, или возникновение в броне или оболочке тока, которого ранее не было.

17.11. В случаях, когда при осуществлении катодной поляризации возникает вредное влияние на соседние металлические сооружения, необходимо применить другие меры по устранению вредного влияния, рекомендованные проектной организацией, или осуществить совместную защиту этих сооружений.

17.12. После окончания выполнения всех работ по защите от коррозии, предусмотренных проектом, по результатам контрольных измерений потенциалов на подземных металлических сооружениях связи, а также на соседних подземных металлических сооружениях, при наличии последних, должен быть составлен акт об эффективности работы защитных устройств, представляемый в числе других исполнительных документов приемочной комиссии.

ПЕРЕПАЙКА ОБОЛОЧЕК И БРОНИ КАБЕЛЕЙ СВЯЗИ

17.13. Для проведения электрических измерений, осуществления совместной защиты и устранения возможного влияния защищенных катодной поляризацией кабелей связи на соседние незащищенные, все оболочки кабелей связи, проложенные в одной кабельной канализации или оболочки и броня кабелей, проложенных в одной траншее, перепаивают между собой.

Примечание. Перепайке с другими кабелями не подлежат кабели связи с покровами шлангового типа (Шп и Бп Шп).

17.14. Перепайку оболочек кабелей осуществляют:

·       на всех кабелях, проложенных в кабельной канализации;

·       в помещении ввода кабелей телефонной станции, во всех шкафных и разветвительных колодцах, в колодцах на пересечении кабеля с рельсами трамвая и электрифицированной железной дорогой, а также в колодцах, где устанавливаются изолирующие муфты;

·       на участках действия установок электрозащиты (электродренажей, катодных станций, блоков совместной защиты) во всех колодцах;

·       на кабелях местной связи, проложенных непосредственно в земле - в местах расположения КИП и изолирующих муфт, а также в местах подключения защитных устройств (электрических дренажей, катодных установок и т.д.) и перемычек (блоков) при осуществлении совместной защиты.

17.15. В бронированных кабелях со свинцовой и алюминиевой оболочками соединение оболочки с броней должно производиться только через КИП.

17.16. Перепайка голых свинцовых оболочек кабелей, прокладываемых в кабельной канализации, производится свинцовой лентой шириной 20 - 40 мм, толщиной 1 - 1,5 мм или медной проволокой диаметром 1,5 - 2 мм. Свинцовая лента и медная проволока должны иметь небольшой запас длины между двумя соседними пайками.

17.17. Соединение между собой оболочек и бронепокровов нескольких кабелей, проложенных непосредственно в грунте (в одной траншее), осуществляется только в КИП.

МОНТАЖ КИП

17.18. Контрольно-измерительные пункты (КИП) на сооружениях связи оборудуют в соответствии с проектом.

В зависимости от условий применения и назначения КИП могут быть оборудованы: в специальном железобетонном столбике КИП-1 и КИП-2; непосредственно в земле КИП-3; на стене здания, в ковере.

17.19. Контрольно-измерительные пункты оборудуют на месте их установки одновременно с монтажом кабельной линии связи в следующей последовательности:

·       подключают соединительные провода к сооружению связи (оболочке, броне кабеля, заземлению, протектору и т.д.);

·       маркируют соединительные провода и клеммы на щитке;

·       прокладывают соединительные провода от сооружения связи до клеммного щитка;

·       подключают соединительные провода к клеммному щитку;

·       устанавливают клеммный щиток в нише железобетонного столбика, в специальной коробке или ковере;

·       выполняют необходимые монтажные работы и засыпку траншеи.

17.20. Оболочки и брони кабелей следует соединять с клеммными щитками КИП только изолированными проводами.

При монтаже клеммного щитка соединительные провода припаивают к наконечникам на лицевой стороне панели без применения кислоты.

При креплении клеммного щитка в нише, коробке, ковере следует предусматривать запас соединительных проводов на случай снятия щитка для проведения профилактических работ и ремонта.

При оборудовании КИП в железобетонном столбике нижнюю часть отверстия продольного канала в столбике следует залить битумом БН-IV; перед заливкой отверстие закупорить сухой ветошью.

17.21. Соединительные провода от КИП подключают к сооружениям связи в соответствии с руководствами и инструкциями по монтажу этих сооружений.

17.22. В бронированных кабелях с защитными покровами типа Б, Бл и Б2л перепайка оболочки и брони в соединительных муфтах не производится. Выводы к клеммному щитку КИП от оболочки и брони кабелей должны производиться отдельными проводниками.

При прокладке в одной траншее нескольких кабелей перепайка их оболочек и брони в муфтах также не производится. Соединение их, при необходимости, осуществляется в КИП.

17.23. На небронированных кабелях с защитными покровами типа Шп соединительный проводник припаивают к соединительной муфте каждого кабеля, где предусмотрено устройство КИП, и выводят через шейку защитной муфты, если она устанавливается, к клеммному щитку КИП.

17.24. На бронированных кабелях с защитными покровами типа Бп и БпШп выводные проводники должны быть припаяны к соединительной муфте и броне раздельно.

17.25. При прокладке соединительных проводников следует обращать особое внимание на сохранность изоляции на них, особенно в местах ввода в канал столбика, коробку или ковер.

17.26. При необходимости проведения периодических измерений величин блуждающих токов, протекающих по оболочкам и броне, в местах, предусмотренных проектом, на расстоянии 1 м от соединительной муфты (в сторону А) оборудуют дополнительный вывод от оболочки или от оболочки и брони и подключают его к клеммному щитку.

При устройстве дополнительного вывода на бронированном кабеле с покровами Б, БЛ или Б2л вскрывают защитные покровы (пряжа, броня) и закрепляют их проволочными бандажами также, как при разделке кабеля для монтажа муфт; под бандаж на броне подкладывают залуженный конец выводного проводника. Оболочку тщательно очищают и к ней припаивают выводной проводник.

При прокладке в одной траншее нескольких кабелей от каждого из них выводят проводники, которые подключают к соответствующим клеммам щитка КИП.

После припайки выводных проводников восстанавливают защитные покровы при помощи термоусаживаемых манжет или путем покрытия оголенных участков оболочки и брони горячим битумом и обмотки кабельной лентой или лентой стеклоткани. Затем устанавливают защитную муфту и заливают ее битумом.

17.27. Столбик КИП устанавливают по окончании монтажа на расстоянии 0,1 м от оси трассы клеммным щитком в сторону кабеля.

17.28. Схемы подключения соединительных проводников от различных типов кабелей и изолирующих муфт к КИП приведены в «Руководстве по проектированию и защите от коррозии подземных металлических сооружений связи» М., Связь, 1978.

17.29. В случае необходимости, определяемой проектом, к клеммному щитку может быть подключено заземление.

17.30. При оборудовании КИП на участках одновременной защиты кабелей связи, проложенных непосредственно в земле, от коррозии, ударов молнии и электромагнитных влияний следует руководствоваться требованиями, изложенными в разделе 18.

МОНТАЖ ИЗОЛИРУЮЩИХ МУФТ

17.31. Изолирующие муфты на кабелях связи устанавливаются:

·         на стыках кабелей с разнородными металлическими оболочками;

·         на вводах кабелей с защитными покровами шлангового типа в НУП, ОУП, НРП, МТС, ГТС;

·         на стыках кабелей без изолирующих покровов с кабелями, имеющими покровы шлангового типа;

·         на каждом участке кабельной линии, защищаемом протекторными или катодными установками;

·         на пересечении водных преград (при необходимости) по обоим концам перехода в незатопляемых местах;

·         при вводе кабелей в тоннели метрополитена;

·         на участках сближений и пересечений с рельсами электрифицированного транспорта;

·         при необходимости изоляции цистерн НУП от вводимых в них кабелей.

Места установки изолирующих муфт должны быть указаны в проекте.

17.32. Изготовление и монтаж изолирующих муфт должен осуществляться в соответствии с действующими инструкциями и руководствами по монтажу конкретных типов муфт.

Примечание. Изолирующая муфта может быть шунтирована конденсатором, сопротивлением или их комбинацией, если это предусмотрено проектом.

17.33. Смонтированные изолирующие муфты подлежат проверке на сопротивление изоляции (изолирующего промежутка) и герметичность и должны удовлетворять установленным требованиям.

Муфты типа МИ изготавливают непосредственно при строительстве кабельных линий; муфты типов ГМСИ и МИС изготавливают в заводских условиях, а на месте установки их только монтируют.

МОНТАЖ И УСТАНОВКА ПРОТЕКТОРОВ

17.34. Протекторы могут устанавливаться для защиты от почвенной коррозии и от коррозии блуждающими токами кабелей, проложенных непосредственно в земле.

17.35. Протекторы, применяемые для защиты подземных металлических сооружений связи от почвенной коррозии и коррозии блуждающими токами, могут быть комплектными, поставляемыми в упакованном виде совместно с активаторами, и некомплектными (неупакованными). Типы и размеры магниевых протекторов приведены в табл. 17.2 и 17.3.

Таблица 17.2

Типы и размеры магниевых протекторов

Тип анода

Размеры, мм

Масса, кг

Рабочая поверхность, м2

Условный диаметр

Длина

ПМ 5

95

500

5

0,16

ПМ 10

123

600

10

0,23

ПМ 20

181

610

20

0,35

Таблица 17.3

Типы и размеры комплектных магниевых протекторов

Тип комплектного протектора

Размеры, мм

Масса, кг

Условный диаметр

Длина

ПМ 5У

165

580

16

ПМ 10У

200

700

30

ПМ 20У

270

710

60

Для некомплектных протекторов, изготавливаемых на заводе или в мастерской, активаторы приготавливаются на месте заблаговременно. Состав активатора для магниевых протекторов приведен в табл. 17.4.

Таблица 17.4

Состав активатора для магниевых протекторов

Компоненты

Содержание, %

Гранулированный сернокислый натрий

25

Сернокислый кальций (строительный гипс)

25

Бентонитовая глина

50

17.36. Места установки протекторов определяются проектом. При параллельной прокладке нескольких кабелей протекторные установки следует располагать с той стороны защищаемого кабеля, где достигается максимальное удаление их от других подземных металлических сооружений, находящихся вблизи.

Расстояние между протекторной установкой и защищаемым сооружением связи должно быть: для одиночных протекторов - не менее 3 м, а для групповых протекторных установок - не менее 6 м, расстояние между отдельными протекторами в группе должно быть не менее 3 м.

17.37. При защите сооружений связи, находящихся непосредственно в земле, протекторы устанавливают в специально отрываемых шурфах, а при защите сооружений, находящихся в кабельной канализации, - вблизи телефонного колодца в местах, удобных для их эксплуатации.

17.38. К монтажным работам, связанным с установкой протекторов в грунте, относятся:

·       рытье шурфов и траншей для установки протекторов и рытье траншей для прокладки соединительных проводов;

·       установка протекторов;

·       прокладка и припайка соединительных проводов к защищаемым сооружениям связи, изоляция мест пайки и засыпка шурфов и траншей;

·       установка и монтаж КИП для протекторов.

17.39. Соединительный провод, идущий от протектора к сооружению связи, укладывают в траншею глубиной 70 см и шириной 25 см.

17.40. При установке некомплектного протектора в шурфе или траншее на дно предварительно укладывают активатор слоем толщиной 40 - 50 мм. После этого устанавливают протектор, вокруг которого укладывают активатор.

При установке протектора в яме для равномерного распределения активатора вокруг него, активатор укладывают в специальную форму из листовой стали в виде цилиндра диаметром 160 - 180 мм. Для удобства форма делается разъемной и с двумя ручками.

После укладки активатора в форму яму засыпают землей до верхнего торца формы, землю трамбуют, а форму извлекают из земли.

17.41. При установке комплектных протекторов отрывают шурф диаметром, превышающим диаметр протектора на 50 мм. После установки в шурфе протектор засыпают грунтом, который периодически уплотняют, а затем заливают водой.

17.42. В состав монтажных работ, связанных с установкой протекторов для защиты цистерн НУП, кроме указанных в п. 17.38, входят также установка щитка КИП на стене в наземной части НУП и присоединение к нему проводов, идущих от протекторов и корпуса НУП.

17.43. При подключении протекторов через щиток КИП провода, идущие от протекторов, подключают к клеммам 1 - 4, а от цистерны - к клемме 5.

17.44. Количество и место установки протекторов для защиты цистерн НУП от коррозии определяются проектом.

17.45. Протекторы для защиты НУП устанавливают в грунт на глубину 1,5 м от поверхности земли до верхнего торца протектора. Если промерзание грунта превышает 1,4 м, то глубина закопки соответственно увеличивается.

Соединительный провод от щитка КИП подключают к специальному болту, который приварен к горловине цистерны.

17.46. При оборудовании поляризованных протекторных установок их вентильные элементы (германиевые или кремниевые диоды) устанавливают на клеммном щитке КИП в соответствии с рабочей документацией проекта. Положительный полюс вентильного элемента подключают к клемме «сооружение связи», а отрицательный - к клемме «протектор».

17.47. Монтаж КИП и подключение к ним проводов от протекторов и защищаемого сооружения производят согласно п.п. 17.18 - 17.30.

17.48. Места установки протекторов отмечают на чертеже трассы кабеля.

МОНТАЖ КАТОДНЫХ УСТАНОВОК

17.49. Место включения катодной установки указывается в рабочей документации проекта и при необходимости уточняется проектной организацией при пробном включении по результатам измерений разности потенциалов подземного металлического сооружения связи относительно земли в районе запроектированного места включения. Одновременно (при необходимости) должны быть уточнены места расположения анодного и защитного заземлений.

17.50. Монтажные работы проводят в следующей последовательности:

·         устанавливают катодную станцию;

·         подводят питание к выпрямителю катодной станции;

·         оборудуют анодное и защитное заземления;

·         прокладывают и монтируют дренажные кабели;

·         устанавливают не поляризующий электрод сравнения долговременного действия (при использовании автоматических катодных станций).

17.51. В зависимости от конкретных условий и типа катодной станции она может быть установлена на наружной стене здания, деревянных, железобетонных или асбоцементных столбиках, железобетонной опоре или в специальном шкафу, устанавливаемом на фундаменте.

17.52. К катодным станциям должен быть обеспечен свободный доступ для обслуживающего персонала. Катодные станции устанавливают на высоте 0,7 - 1,2 м от поверхности земли до нижнего основания кожуха катодной станции. На стенах кирпичных зданий катодную станцию крепят на предварительно устанавливаемых шпильках.

17.53. Опоры для катодных станций должны устанавливаться в незатопляемых местах, а при расположении вблизи шоссейных дорог - на небольшом расстоянии от проезжей части (5 - 10 м от насыпи, полевой бровки кювета и т.д.). При установке катодных станций на фундаментах, конструкции их предусматриваются проектной документацией.

17.54. Питание от сети переменного тока может быть подведено к выпрямителю катодной станции в зависимости от места его расположения путем:

·         сооружения воздушной столбовой линии;

·         прокладки подземного бронированного кабеля;

·         прокладки изолированных проводов в стальных трубах или на изоляторах при расположении катодной станции на стенах зданий (в соответствии с действующими правилами и нормами). Тип проводки и сечение проводов должны соответствовать проекту.

17.55. Анодные и защитные заземления для катодных установок, включая глубинные анодные заземления, оборудуют на запроектированных площадках в соответствии с расчетом и рабочими документами, содержащимися в проекте.

17.56. Работы по устройству анодного и защитного заземлений производят в следующей последовательности:

·         подготавливают шурфы и траншеи для установки заземлителей и укладывают соединительные полосы (кабели);

·         устанавливают заземлители (электроды);

·         соединяют отдельные заземлители в контур и гидроизолируют места соединений (сварки);

·         засыпают шурфы и траншеи.

17.57. Устройство глубинных анодных заземлений производят в соответствии с проектом. Технология оборудования глубинного анодного заземления зависит от его конструкции.

17.58. Сопротивление растеканию смонтированного анодного и защитного заземлений не должно быть больше величин, указанных в проекте, с учетом сезонных изменений.

17.59. К защитному заземлению подключают каркас и металлический шкаф катодной станции.

17.60. Положительный зажим выпрямителя катодной станции соединяют с анодным заземлением, а отрицательный - с защищаемыми подземными металлическими сооружениями связи. В качестве дренажных следует применять кабели с металлическими оболочками и шланговыми защитными покровами или кабели с пластмассовыми оболочками.

17.61. Конец дренажного кабеля от минусового зажима катодной станции должен присоединяться к защищаемому сооружению связи (кабелю, цистерне НУП, контейнеру НРП и т.д.) в соответствии с рабочей документацией проекта.

На концы дренажных кабелей, подключаемых к положительному и отрицательному полюсам выпрямителя катодной станции, напаивают специальные наконечники.

Конец кабеля от положительного зажима катодной станции припаивают к анодному заземлению, причем место пайки тщательно изолируют.

Концы дренажных кабелей, подходящих к катодной станции, должны быть защищены от механических повреждений угловой сталью, некондиционными газовыми трубами, которые верхней частью входят в патрубок кожуха катодной станции. Нижние концы должны быть углублены в землю не менее чем на 40 - 50 см.

17.62. Тип дренажных кабелей и сечение жил указываются в проекте. Применение кабелей иного типа или сечения должно быть согласовано с проектной организацией.

МОНТАЖ ЭЛЕКТРОДРЕНАЖНЫХ УСТАНОВОК

17.63. Тип электродренажного устройства (прямого, поляризованного, усиленного) и места его подключения к защищаемым кабелям и источникам блуждающих токов указывается в рабочей проектной документации.

17.64. Не допускается непосредственное присоединение установок электродренажной защиты к отрицательным шинам и сборке отрицательных линий тяговых подстанций трамвая.

17.65. Поляризованные и усиленные электрические дренажи, подключаемые к рельсовым путям электрифицированных железных дорог с автоблокировкой, не должны нарушать нормальную работу рельсовых цепей СЦБ.

Поляризованный и усиленный электрические дренажи подключаются к рельсовым путям:

·         при однониточных рельсовых цепях - к тяговой нити в любом месте;

·         при двухниточных рельсовых цепях - к средним точкам путевых дроссель-трансформаторов в местах установки междупутных соединителей;

·         к средним точкам дроссель-трансформаторов, отстоящих на три рельсовые цепи от точек подключения междупутных соединителей или других путевых дроссель-трансформаторов, к средним точкам которых подключены защитные установки и конструкции, имеющие сопротивление утечки переменного тока 50 Гц через все сооружения и конструкции менее 5 Ом.

Допускается более частое подключение защитных установок, если сопротивление всех параллельно подключенных к путевому дроссель -трансформатору устройств и сооружений более 5 Ом для сигнального тока частотой 50 Гц. Во всех случаях сопротивление утечки переменного тока включает сопротивление защитной установки при шунтированном вентильном элементе и сопротивление заземления собственно сооружения.

17.66. С целью ограничения блуждающих токов присоединение усиленного дренажа к рельсовым путям электрифицированных железных дорог не должно приводить к появлению положительных потенциалов в точке отсоса в часы интенсивного движения поездов.

Ток усиленного дренажа в часы интенсивного движения поездов должен быть ограничен значением, при котором не устанавливаются устойчивые положительные потенциалы на рельсах в пункте присоединения усиленного дренажа.

Не допускается присоединять усиленный дренаж в анодных зонах рельсовой сети, а также к рельсам путей депо.

17.67. Среднесуточный ток всех установок электродренажной защиты, подключенных к рельсовому пути или сборке отрицательных питающих линий тяговой подстанции магистральных участков электрифицированных дорог постоянного тока, не должен превышать 25 % общей нагрузки данной тяговой подстанции.

17.68. При влиянии на подземные металлические сооружения нескольких источников блуждающих токов (электрифицированная железная дорога, трамвай, метрополитен и др.) необходимо выявить источник, оказывающий преимущественное влияние.

При осуществлении защиты следует применять в первую очередь электрическое дренирование блуждающих токов на источник, оказывающий преимущественное влияние.

17.69. К проведению монтажных работ приступают после уточнения места подключения электродренажной установки.

17.70. Монтажные работы проводят в следующей последовательности:

·         устанавливают электродренажное устройство;

·         прокладывают и монтируют дренажные кабели;

·         подключают дренажные кабели к источнику блуждающих токов, электродренажному устройству, защищаемому подземному металлическому сооружению связи.

17.71. Электродренажное устройство может быть расположено на стене здания или специальной опоре. К нему должен быть обеспечен свободный доступ для обслуживающего персонала. Электродренажное устройство к наружной стене здания крепят на высоте 1 - 1,5 м от поверхности земли до нижнего основания кожуха.

При креплении электродренажного устройства на опорах, последние должны устанавливаться в незатопляемых водой местах, а при расположении вблизи шоссейных дорог - на небольшом расстоянии от проезжей части (5 - 10 м от насыпи, полевой бровки кювета и т.д.).

17.72. От места установки электродренажного устройства до защищаемых подземных металлических сооружений связи, отсасывающих пунктов или средних точек путевых дросселей дренажные кабели могут быть проложены непосредственно в земле или кабельной канализации.

17.73. Подключение дренажного проводника к рельсам осуществляют организации, эксплуатирующие трамвай и электрифицированные железные дороги.

17.74. Для защиты места соединения дренажного кабеля с проводом, идущим от рельсового пути (средней точки путевого дросселя), служат чугунные соединительные муфты типа МЧ.

Марка муфты определяется при проектировании. Монтаж чугунных муфт должен осуществляться в соответствии с действующими инструкциями и руководствами.

17.75. К отсасывающему пункту на рельсовой сети трамвая дренажный кабель подключают в настенном коробе или в кабельном ящике, в который заведены кабели, идущие от тяговой подстанции трамвая и от рельсов. При отсутствии коробов и кабельных ящиков дренажный проводник присоединяют к минусовому фидеру у концевой муфты.

17.76. Присоединение конца дренажного кабеля к свинцовым оболочкам кабелей, проложенных в кабельной канализации, осуществляется при помощи свинцовой полосы шириной 20 - 40 мм и толщиной 1 - 2,5 мм. Место соединения токоведущих жил дренажного кабеля и свинцовой полосы изолируется битумом и изоляционной лентой.

17.77. Подключение дренажного кабеля к оболочке и броне защищаемого кабеля, проложенного непосредственно в земле, производится в следующей последовательности:

·       на наружный слой кабельной пряжи защищаемого кабеля накладывают два проволочных бандажа (четыре - пять витков) на расстоянии 150 - 200 мм друг от друга;

·       кабельную пряжу между бандажами срезают и удаляют;

·       ленты или проволоки брони на расстоянии 10 - 15 мм от обоих бандажей тщательно зачищают на длине 25 - 30 мм и облуживают. Затем отдельные проволоки или ленты брони перепаивают между собой путем наложения бандажа (четыре - пять витков) из двух медных проволок поперечным сечением 2 - 2,5 мм2, внутренние концы медных проволок оставляют свободными на длину 100 - 150 мм;

·       броню между внутренними бандажами срезают ножовкой-бронерезкой, подушку из кабельной пряжи и кабельную бумагу удаляют;

·       к свинцовой оболочке кабеля припаивают свинцовую полосу необходимого поперечного сечения, к которой припаивают проводники от бандажа и жилы перемычки;

·       место соединения брони и свинцовой оболочки защищаемого кабеля и жил перемычки изолируют битумом марки БН-IV, а затем помещают в чугунную муфту типа МО.

Площадь контакта в месте присоединения свинцовой полосы к оболочке кабеля (в квадратных миллиметрах) численно должна быть не менее величины максимального тока дренирования (в амперах).

17.78. В качестве дренажных кабелей целесообразно использовать кабели с наружными изолирующими покровами шлангового типа. При использовании кабелей без специальных защитных покровов должны применяться меры по защите их от коррозии.

17.79. Тип дренажных кабелей и сечение жил указываются в проекте. Применение кабелей иного типа или сечения должно быть согласовано с проектной организацией.

МОНТАЖ ТОКООТВОДОВ

17.80. Токоотводы оборудуются на подземных сооружениях связи в соответствии с проектом защиты без пробных включений.

В состав монтажных работ, связанных с оборудованием токоотвода, входят: устройство заземления; установка КИП; установка вентильного блока; прокладка и монтаж дренажных кабелей.

17.81. Заземления для токоотводов оборудуются в соответствии с проектом, причем состав и порядок выполнения работ аналогичны описанному в п. 17.56.

17.82. При устройстве токоотводов применяются КИП. Расположение КИП определяется проектом, а монтаж их осуществляется в соответствии с п.п. 17.19 - 17.30. К клемме «Оболочка» подключается заземление токоотвода, а к клемме «Муфта» - проводник от защищаемого сооружения.

В случае устройства поляризованного токоотвода между клеммами КИП включается вентильный элемент на величину дренируемого тока. В том случае, когда вентильный элемент не устанавливается, между клеммами КИП ставится перемычка.

17.83. Тип и сечение дренажных кабелей должны соответствовать проекту. Прокладка их производится в траншее такой же глубины, как и у защищаемого сооружения, или в кабельной канализации.

Дренажные кабели подключаются к защищаемому сооружению и заземлению токоотвода так, как это рекомендовано в п. 17.77.

МОНТАЖ СОВМЕСТНОЙ ЗАЩИТЫ

17.84. После окончательного выбора мест установки электродных устройств или катодных станций, а также перемычек между совместно защищаемыми сооружениями на основании результатов пробных включений приступают к монтажу совместной защиты.

17.85. Монтаж совместной защиты подземных сооружений связи от коррозии включает в себя:

·         рытье траншей для прокладки дренажных кабелей (проводов) и перемычек между совместно защищаемыми сооружениями;

·         прокладку и подключение дренажных кабелей (проводов) и перемычек к защищаемым сооружениям;

·         установку и подключение защитных устройств и блоков совместной защиты;

·         оборудование заземлений;

·         подачу электропитания к катодным станциям;

·         включение предохранителей, сопротивлений, разрядников и вентильных элементов в перемычки.

17.86. Прокладку подземных дренажных кабелей (проводов) и перемычек следует выполнять в соответствии с разделом 5.

17.87. Подключение дренажного кабеля или перемычки к совместно защищаемым сооружениям осуществляется в соответствии с действующими правилами и нормами по монтажу этих сооружений.

Монтаж дренажных установок при совместной защите производится аналогично изложенному в п.п. 17.63 - 17.79, а монтаж катодных установок при совместной защите - аналогично изложенному в п.п. 17.49 - 17.62.

Блоки совместной защиты размещаются рядом с устройствами защиты или на специальных железобетонных опорах на высоте 0,8 - 1,2 м от поверхности земли.

17.88. В необходимых случаях допускается установка регулировочного реостата, включаемого в перемычку, в кожухе катодной станции.

Предохранители, вентильные элементы и сопротивления, включаемые в перемычки между совместно защищаемыми сооружениями, могут быть размещены в специальном кожухе или КИП, оборудуемых на сооружениях связи.

17.89. Подключение перемычек между кабелем и совместно защищаемыми сооружениями должно выполняться в местах расположения соединительных муфт на кабелях связи.

УТОЧНЕНИЕ МЕСТ ВКЛЮЧЕНИЯ УСТАНОВОК ЭЛЕКТРОХИМИЧЕСКОЙ ЗАЩИТЫ И ПЕРЕМЫЧЕК

17.90. На подземных металлических сооружениях связи, находящихся в эксплуатации, защитные устройства монтируются и включаются в точном соответствии с проектом защиты.

Для вновь прокладываемых сооружений места включения защитных устройств намечаются проектом защиты этих сооружений, а затем уточняются после прокладки сооружения путем пробных включений.

УТОЧНЕНИЕ МЕСТА ВКЛЮЧЕНИЯ ЭЛЕКТРОДРЕНАЖНОЙ УСТАНОВКИ

17.91. Место включения электродренажного устройства (прямого, поляризованного, усиленного, автоматического усиленного) уточняется по результатам измерений потенциала сооружения и рельсов относительно земли в районе запроектированного места включения дренажной установки.

17.92. Пробное включение электрических дренажей на подземных сооружениях связи и на источниках блуждающих токов производится:

·         прямых дренажей - в местах, где среднее измеренное значение положительного потенциала сооружения связи по отношению к земле и рельсам является всегда положительным и по возможности максимальным;

·         поляризационных дренажей - в местах, где среднее измеренное значение положительного потенциала оболочки является по возможности максимальным;

·         усиленных (автоматических усиленных) дренажей - в местах, где среднее измеренное значение положительного потенциала кабеля является по возможности максимальным и имеется возможность подключения электроэнергии.

Подключение дренажных кабелей на рельсовой сети трамвая и электрифицированных железных дорог должно осуществляться только в точках, указанных в п. 17.65.

17.93. С целью уменьшения затрат на дренажные кабели места включения дренажа на сооружении связи и рельсах должны находиться по возможности ближе друг к другу.

Если места предполагаемого включения на сооружении связи и рельсах, удовлетворяющие вышеуказанным требованиям, находятся на значительном расстоянии друг от друга, то необходимо пробное включение в других местах на сооружении и рельсах, расположенных ближе друг к другу.

17.94. При пробном включении дренажа определяют зону защиты на сооружении связи, ток в цепи и сопротивление реостата дренажа.

17.95. Протяженность зоны защиты дренажом и параметры дренажной защиты определяются на основании измерений потенциала сооружения связи относительно земли и тока в цепи дренажа при определенном сопротивлении дренажа.

Для пробного включения берется дренаж, предусмотренный проектом, а в качестве дренажного кабеля используется такой изолированный проводник, площадь поперечного сечения которого по меди (алюминию) равна или близка площади сечения запроектированного дренажного кабеля.

17.96. Ток в цепи дренажа и сопротивление реостата дренажа, необходимые для полной защиты сооружений связи, определяются в следующей последовательности:

·         включается дренаж;

·         при помощи реостата дренажа устанавливается такая величина тока, при которой отрицательный потенциал на всей длине сооружения связи, подлежащей защите, будет не менее (по абсолютной величине) значения минимального защитного потенциала и не более максимально допустимого потенциала. Ток в цепи дренажа измеряется при помощи переносного амперметра (с нулем посередине шкалы), включаемого параллельно рубильнику или предохранителю, которые при измерении тока выключаются;

·         производится измерение разности потенциалов «сооружение связи - земля» на всем протяжении защищаемого участка;

·         если окажется, что анодная зона полностью не ликвидирована, то величина тока в цепи дренажа при помощи реостата увеличивается, но не более предельно допустимого значения для данного дренажа и дренажного кабеля, после чего вновь производятся измерения разности потенциалов «сооружение связи - земля».

В указанной последовательности эта работа производится до тех пор, пока во всех точках защищаемого участка сооружение связи не приобретет катодного состояния, причем отрицательный потенциал на нем будет не менее (по абсолютной величине) значения минимального защитного потенциала и не более максимально допустимого потенциала (см. табл. 17.1 и 17.2).

17.97. Режимы работы усиленного и автоматического усиленного дренажей регулируют путем изменения выходного напряжения и величины поддерживаемого защитного потенциала на кабелях связи в точке дренирования.

17.98. После выбора режима работы дренажа измеряют разности потенциалов на соседних подземных металлических сооружениях (если они имеются). После включения дренажной установки коррозионное состояние этих подземных сооружений не должно ухудшаться.

Указанные измерения проводятся при включенном и выключенном дренажном устройстве. Результаты измерений оформляются специальным актом, который подписывается также представителями организаций, в ведении которых находятся соседние подземные сооружения. Все измерения потенциалов проводятся в соответствии с п.п. 17.119 - 17.127.

17.99. Если при пробном включении дренажа в любом режиме его работы, т.е. при любом токе в цепи дренажной установки, не превышающем предельно допустимого значения для данной системы дренажа, протяженность зоны защиты окажется меньше протяженности анодной зоны, т.е. останутся участки, где не достигнуто значение минимального защитного потенциала, то включение дренажа производится в другом месте - справа или слева, в зависимости от того, в какой стороне остается больший участок анодной (незащищенной) зоны.

Если при изменении места включения дренажа анодная зона полностью не ликвидируется, то по согласованию с проектирующей организацией и при ее участии намечают дополнительные мероприятия по ликвидации оставшихся анодных зон: включение второй дренажной установки, включение дополнительной катодной установки, протекторов и т.п.

17.100. После уточнения места включения дренажной установки и определения параметров защиты приступают к монтажу электродренажной установки.

УТОЧНЕНИЕ МЕСТА ВКЛЮЧЕНИЯ КАТОДНОЙ УСТАНОВКИ

17.101. Место включения катодной установки или автоматической катодной установки уточняется по результатам измерения потенциала сооружения связи относительно земли в районе запроектированного места включения.

17.102. Пробное включение катодной установки производится в том месте, где средний положительный потенциал на сооружении связи имеет максимальную величину (при влиянии блуждающих токов), или в середине зоны, подлежащей защите (при действии почвенной коррозии).

Для пробного включения катодной установки берется катодная станция, предусмотренная проектом.

Временное заземление оборудуется из стальных труб, уголков или кусков рельсов, причем расстояние от заземления до сооружения должно соответствовать проекту. В качестве дренажных кабелей может быть использован любой изолированный проводник, рассчитанный на предполагаемую величину тока в цепи защиты.

17.103. При пробном включении катодной установки определяются протяженность и величина защитного тока, необходимого для полной защиты. Величина защитного тока определяется в следующей последовательности:

·         оборудуют и включают временную катодную установку;

·         устанавливают такую величину тока в цепи катодной станции, при которой отрицательный потенциал на сооружении связи в зоне действия катодной станции будет не менее (по абсолютной величине) значения минимального защитного потенциала. Ток в цепи катодной станции измеряют при помощи амперметра, установленного в самой катодной станции, либо при помощи переносного амперметра;

·         производят измерение потенциалов сооружения связи на всем протяжении зоны, подлежащей защите. Если окажется, что зона, подлежащая защите, имеет потенциал меньше минимального защитного (по абсолютной величине), то осуществляется ряд мероприятий, направленных на обеспечение полной защиты (увеличение тока, изменение места размещения анодного заземления и др.).

В указанной последовательности эта работа продолжается до тех пор, пока на всем участке сооружения связи, подлежащем защите, не будет иметь место потенциал, абсолютная величина которого не менее значения минимального защитного и не более максимально допустимого защитного потенциала (см. табл. 17.1.).

17.104. Если в процессе пробного включения катодной установки при любом режиме ее работы протяженность защищенной зоны окажется меньше протяженности зоны, подлежащей защите, т.е. с одной из сторон остался незащищенный участок, то точка включения катодной установки и временное заземление переносятся в сторону незащищенного участка, и вновь проводятся работы, предусмотренные в п. 17.103.

Если при любом режиме работы катодной станции не удается обеспечить защиту зоны, предусмотренную проектом, то по согласованию с проектной организацией и при ее участии намечаются дополнительные мероприятия: включение двух катодных станций вместо одной, замена запроектированной станции на станцию большей емкости или дополнительное включение двух защитных устройств.

17.105. Режимы работы автоматической катодной станции регулируются путем изменения величины поддерживаемого защитного потенциала на кабелях связи в месте защиты.

17.106. После выбора режима работы катодной установки измеряется потенциал соседних металлических сооружений (если они имеются). После включения катодной установки коррозионное состояние этих подземных сооружений не должно ухудшаться.

Измерения проводятся при выключенной и включенной катодной станции. Результаты измерений оформляются актом, который подписывается также представителями организаций, в ведении которых находятся соседние подземные сооружения.

17.107. После уточнения места включения катодной установки и определения защитного тока приступают к монтажным работам.

УТОЧНЕНИЕ МЕСТ ВКЛЮЧЕНИЯ ЭЛЕКТРИЧЕСКИХ ПЕРЕМЫЧЕК

17.108. Места включения перемычек при осуществлении совместной защиты намечаются в проекте и уточняются при пробных включениях.

17.109. Пробные включения перемычек при совместной защите от электрокоррозии производят на сооружении связи в местах с максимальными положительными потенциалами по отношению к земле. При этом необходимо одновременно произвести измерение разности потенциалов между сооружениями связи и подземными сооружениями, с которыми осуществляется подземная защита, а также измерение потенциала подземного сооружения по отношению к земле. Перемычка подключается к той точке на соседнем подземном сооружении, в которой имеется сравнительно большой отрицательный потенциал по отношению к земле и которая расположена на сравнительно небольшом расстоянии от точки включения перемычки на сооружении связи.

Если две точки (на сооружении связи и соседнем сооружении), удовлетворяющие вышеуказанным требованиям, находятся на значительном расстоянии друг от друга, необходимо перемычку включить в других точках, расположенных ближе друг к другу, потенциалы которых по отношению к земле наиболее соответствуют вышеуказанному требованию.

17.110. В случае, когда после оборудования перемычек анодная зона на сооружении связи снимается неполностью или возникающий потенциал по абсолютному значению меньше защитного потенциала, необходимо провести совместно или в отдельности следующие мероприятия:

·         установить перемычки с увеличенным поперечным сечением (меньшего сопротивления);

·         увеличить отрицательный потенциал на подземном сооружении, с которым осуществляется совместная защита, путем соответствующего регулирования защитных устройств на этом сооружении;

·         увеличить число перемычек, устанавливая дополнительные перемычки в тех местах, где оставшиеся положительные потенциалы на сооружении связи имеют максимальную величину.

17.111. При пробных включениях определяется величина защитного тока в перемычке, при которой достигается защита от коррозии.

17.112. В результате пробного включения перемычек при защите от почвенной коррозии добиваются такого их расположения и режима работы устройств защиты, при которых обеспечивается совместная защита сооружения связи и соседнего подземного сооружения.

ЭЛЕКТРИЧЕСКИЕ ИЗМЕРЕНИЯ

17.113. Исходные данные, необходимые при осуществлении защиты от коррозии подземных металлических сооружений связи, получают путем проведения электрических измерений. К основным измерениям, которые выполняют в процессе осуществления защиты от коррозии, относятся:

·         измерение удельного сопротивления грунта;

·         определение наличия блуждающих токов в земле;

·         измерение разности потенциалов «подземное сооружение связи - земля»;

·         измерение разности потенциалов «подземное сооружение связи - рельсы»;

·         измерение разности потенциалов «подземное сооружение связи - соседнее подземное металлическое сооружение»;

·         измерение сопротивления изоляции металлических оболочек кабелей связи;

·         определение мест повреждений защитных покровов кабелей связи.

ИЗМЕРЕНИЕ УДЕЛЬНОГО СОПРОТИВЛЕНИЯ ГРУНТА

17.114. В процессе строительства удельное сопротивление грунта измеряется при выполнении работ, связанных с устройствами анодных и защитных заземлений при необходимости оборудования их на площадках, не предусмотренных проектом.

17.115. Измерение удельного сопротивления грунта производится с помощью симметричной четырехэлектродной установки с использованием измерителей сопротивления типа Ф-416, М-416 и МС-08 и стальных электродов длиной 250 - 350 мм и диаметром 15 - 20 мм, по схеме рис. 17.1.

Величина удельного сопротивления грунта подсчитывается по формуле:

r = 2pаR, Ом×м,

где R - показание прибора, Ом;

а - расстояние между двумя соседними электродами, равное глубине, на которую производится измерение, м.

Глубина забивки электродов в грунт (l) не должна быть более 1/20а.

Рис. 17.1. Схема измерения удельного сопротивления земли прибором МС-08:

а - расстояние между электродами, l - глубина забивки стержней

ОПРЕДЕЛЕНИЕ НАЛИЧИЯ БЛУЖДАЮЩИХ ТОКОВ В ЗЕМЛЕ

17.116. Наличие блуждающих токов рекомендуется определять по результатам измерений разности потенциалов между подземными металлическими сооружениями, проложенными в данном районе, и землей.

17.117. При отсутствии подземных металлических сооружений наличие блуждающих токов в земле может быть выявлено по результатам измерений разности потенциалов между двумя точками земли через каждые 1000 м по двум взаимно перпендикулярным направлениям при разносе электродов на 100 - 200 м (рис. 17.2).

Рис. 17.2. Схема определения блуждающих токов в земле

При измерениях необходимо использовать вольтметры с внутренним сопротивлением не менее 20 кОм на 1 В шкалы с пределами измерений: 75 - 0 - 75 мВ; 0,5 - 0 - 0,5 В; 1 - 0 - 1 В; 5 - 0 - 5 В или близким к указанным пределам (М-231, ВАК-2, 43312, 43313.1, 43313.2 и др.), а также медносульфатные электроды сравнения.

17.118. Показания вольтметра снимаются через каждые 5 - 10 сек в течение 10 - 15 мин в каждой точке.

Если измеренная разность потенциалов изменяется по величине и знаку или только по величине, то это указывает на наличие в земле блуждающих токов.

ИЗМЕРЕНИЕ РАЗНОСТИ ПОТЕНЦИАЛОВ «ПОДЗЕМНОЕ СООРУЖЕНИЕ СВЯЗИ - ЗЕМЛЯ»

17.119. Разность потенциалов «подземное сооружение связи - земля» измеряется с целью выявления опасности коррозионного разрушения подземных металлических сооружений связи, а также для определения эффективности действия применяемой электрохимической защиты.

17.120. Измерение разности потенциалов «подземное сооружение связи - земля» производится контактным методом с применением (по возможности) самопишущих и интегрирующих приборов. Допускается производить измерения показывающими приборами с входным сопротивлением не менее 20 кОм на 1 В шкалы (п. 17.117).

17.121. При измерении разности потенциалов «подземное сооружение связи - земля» необходимо применять только неполяризующиеся электроды сравнения.

17.122. Под разностью потенциалов «подземное сооружение связи - земля» понимается: разность потенциалов между кабелем связи (броня и оболочка перепаяны) и землей, между броней и землей, между оболочкой и землей, между корпусом НУП (НРП) и землей и т.д.

17.123. Измерения разности потенциалов подземного кабеля связи относительно земли могут быть выполнены в колодцах, КИП или в специально отрываемых шурфах (рис. 17.3.).

При этих измерениях положительная клемма прибора подключается к кабелю, а отрицательная - к электроду сравнения. Если стрелка прибора отклоняется влево, потенциал сооружения имеет отрицательное значение, если вправо - положительное.

При использовании медносульфатного неполяризующегося электрода сравнения величина разности потенциалов между сооружением и землей может быть определена по формуле:

Uс-з = ±Uизм + Uс,

где Uизм - измеренная величина потенциалов, В;

Uс - стационарный потенциал металла в грунте (без внешней поляризации), В.

Среднее значение Uс может быть принято: для стали - 0,55 В; для свинца - 0,48 В; для алюминия - 0,7 В.

Рис. 17.3. Схема измерения разности потенциалов оболочек кабеля относительно земли:

а) в колодце; б) в контрольно-измерительном пункте; в) в шурфе;

1 - штанга со свинцовым электродом; 2 - кабель; 3 - неполяризующийся медносульфатный электрод сравнения; 4 - штанга со стальным зубчатым электродом

Рис. 17.4. Схема измерения разности потенциалов оболочек кабелей относительно земли по методу выноса электрода:

а) в грунте; б) в канализации;

1 - контрольно-измерительный пункт; 2 - электрод сравнения; 3 - кабель; 4 - катушка с проводом; 5 - свободный канал

17.124. При необходимости измерения разности потенциалов кабеля относительно земли на участках между контрольно-измерительными пунктами используется метод выноса заземляющего электрода. Этот метод заключается в том, что в контрольно-измерительном пункте (колодце или шурфе) измерительный прибор подключается к кабелю, а электрод сравнения располагается или на поверхности земли над кабелем при измерениях на кабелях, проложенных в траншеях (рис. 17.4, а), или в свободном канале при измерениях на кабелях, проложенных в канализации (рис. 17.4, б). Электрод сравнения располагается в тех местах, где необходимо определить потенциал. Расстояние от точки подключения прибора к кабелю до точки выноса электрода сравнения не должно превышать 250 м.

17.125. При измерениях электроды сравнения устанавливаются на дно колодца в случае измерений на кабелях, проложенных в канализации, и на поверхности земли над кабелем при измерениях на кабелях, проложенных непосредственно в земле.

Примечание. Если дно колодца (или земля), с которым осуществляется контакт через электрод сравнения, окажется сухим, то перед измерением его необходимо увлажнить.

17.126. В зонах отсутствия блуждающих токов время измерения в каждой точке может быть ограничено 3 - 5 мин. Отсчеты должны производиться через каждые 15 - 20 с.

В зонах влияния блуждающих токов трамвая отсчеты необходимо производить через 10 - 20 с в течение 5 - 10 мин, а при частом движении вагонов - через каждые 5 - 10 с.

В зонах влияния блуждающих токов электрифицированных железных дорог отсчеты необходимо производить через каждые 10 с в течение 10 - 15 мин.

Необходимо, чтобы за период измерений мимо пункта наблюдения прошло не менее чем по два электропоезда (трамвая) в разных направлениях.

При необходимости выполнения длительных измерений разностей потенциалов оболочек кабелей связи относительно земли целесообразно применять регистрирующие приборы типов Н-373, Н-399 и др.

17.127. При измерении разности потенциалов между камерой НУП и землей положительный полюс прибора присоединяется к камере НУП (или к выводу от нее на специальный щиток), отрицательный - к электроду сравнения. Электрод сравнения устанавливается в землю вблизи НУП.

ИЗМЕРЕНИЕ РАЗНОСТИ ПОТЕНЦИАЛОВ «ПОДЗЕМНОЕ СООРУЖЕНИЕ СВЯЗИ - РЕЛЬСЫ»

17.128. Разность потенциалов между сооружением связи и рельсами измеряют в колодцах, контрольно-измерительных пунктах или шурфах, отрываемых на расстоянии 10 - 30 м от рельсов, на участках пересечений и сближений сооружений связи с рельсами для определения наиболее рациональных мест подключения электродренажной защиты.

Как правило, измерение разности потенциалов «сооружение связи - рельсы» производят приборами, приведенными в п. 17.117, одновременно с измерением разности потенциалов сооружения связи относительно земли на тех участках, где положительные потенциалы сооружения связи по отношению к земле максимальны, а также на участках пересечения сооружений связи с рельсами.

Необходимо, чтобы за период измерений мимо пункта наблюдений прошло не менее чем по два электропоезда (трамвая) в разных направлениях.

17.129. Схема измерения разности потенциалов между кабелем и рельсами на участке пересечения показана на рис. 17.5.

Рис. 17.5. Схема измерения разности потенциалов между кабелем и рельсами на участке пересечения:

1 - колодец или КИП; 2 - кабель; 3 - рельсовые пути

ИЗМЕРЕНИЕ РАЗНОСТИ ПОТЕНЦИАЛОВ «ПОДЗЕМНОЕ СООРУЖЕНИЕ СВЯЗИ - СОСЕДНЕЕ ПОДЗЕМНОЕ МЕТАЛЛИЧЕСКОЕ СООРУЖЕНИЕ»

17.130. Измерение разности потенциалов между подземными сооружениями связи и другими подземными металлическими сооружениями (трубопроводами, силовыми кабелями и т.д.) производят приборами, приведенными в п. 17.117, в колодцах, контрольно-измерительных пунктах или шурфах, в местах пересечений и наибольших сближений между ними (рис. 17.6). На основе этих измерений устанавливают возможность осуществления совместной защиты.

При проведении измерений на силовых кабелях следует пользоваться оборудованными на них контрольно-измерительными пунктами и соблюдать действующие правила по технике безопасности.

Измерения должны проводиться в присутствии представителей организаций, в ведении которых находятся соседние подземные металлические сооружения.

Рис. 17.6. Схема измерения разности потенциалов между кабелем и соседним подземным металлическим сооружением:

1 - трубопровод; 2 - кабель; 3 - электрод со стальным наконечником; 4 - электрод со свинцовым наконечником

17.131. Измерения разности потенциалов «подземное сооружение связи - соседнее подземное металлическое сооружение» целесообразно проводить одновременно с измерением разности потенциалов сооружения связи относительно земли.

17.132. Для создания контакта с подземными металлическими сооружениями, проложенными в канализации, используют электроды из того же металла, из которого сделано само сооружение.

ИЗМЕРЕНИЕ СОПРОТИВЛЕНИЯ ИЗОЛЯЦИИ МЕТАЛЛИЧЕСКИХ ОБОЛОЧЕК, БРОНИ КАБЕЛЕЙ СВЯЗИ, КАМЕР НУП И НРП

17.133. Измерение величины сопротивления изоляции металлических оболочек кабелей связи (свинцовых, алюминиевых и стальных) и брони рекомендуется производить только для тех типов кабелей, которые имеют специальные изолирующие покровы шлангового или ленточного типов, обладающие высокими диэлектрическими свойствами.

17.134. Измерение величины сопротивления изоляции защитного покрова оболочек кабелей связи и брони, имеющих специальный защитный покров, следует производить на постоянном токе на длине усилительного или выделенного участка с обоих его концов при помощи кабельных мостов типов ПКП-3, ПКП-4, ПКП-5, КМ-6/С или приборами МОМ-36, М-4100 и др.

Перед началом измерений каждый обследуемый участок должен быть изолирован по концам. Броня и оболочка кабеля на обследуемом участке не должны соединяться между собой и со специально устраиваемыми заземлениями, НУП, аппаратурой и другими устройствами.

Измерение сопротивления изоляции оболочек бронированных кабелей должно производиться по отношению к их броне. Сопротивление изоляции оболочек кабелей без брони, а также сопротивление изоляции брони должны измеряться по отношению к заземлителю, расположенному на расстоянии 700 - 1000 м в направлении, перпендикулярном трассе кабеля. При таком расстоянии измеренные значения сопротивления изоляции наиболее точны. В случае уменьшения расстояния по отношению к заземлению точность измерения снижается.

Измерение сопротивления изоляции камер НУП по отношению к земле может быть выполнено приборами типов МС-08, Ф-416, М-416 при сопротивлении изоляции менее 1000 Ом или мегомметром на 500 В, например типов М-1101, М-4100 при сопротивлении изоляции более 1000 Ом по схеме рис. 17.7.

17.135. Перед началом измерения следует убедиться, что камера НУП изолирована от рабочих заземлений и от оболочек и брони входящих в него кабелей при помощи изолирующих муфт. Защитные заземления и протекторы на период измерений должны быть отключены.

Рис. 17.7. Схема измерения сопротивления изоляции корпусов НУП:

а) прибором МС-08; б) мегомметром;

1 - корпус НУП; 2 - вспомогательные заземлители

ОПРЕДЕЛЕНИЕ МЕСТ ПОВРЕЖДЕНИЙ ЗАЩИТНЫХ ПОКРОВОВ

17.136. Определение мест повреждений наружных защитных покровов производится только на кабелях с защитными покровами шлангового типа Шп и БпШп.

17.137. Места повреждения наружных защитных покровов могут быть определены при помощи специальных приборов - искателей мест повреждения изоляции типа ИМПИ-2 или ИМПИ-3.

Методика определения мест повреждения защитных покровов изложена в описаниях к указанным приборам.

РАЗДЕЛ 18

ЗАЩИТА ЛИНЕЙНЫХ СООРУЖЕНИЙ ОТ ОПАСНЫХ НАПРЯЖЕНИЙ И ТОКОВ

ОБЩИЕ ПОЛОЖЕНИЯ

18.1. Местные линии связи в случаях, когда это необходимо, оборудуют защитой от опасных и мешающих воздействий линий высокого напряжения (ВЛ), электрифицированных железных дорог (эл. ж. д.), грозовых разрядов. Необходимость защиты и конкретные защитные мероприятия, включая прокладку линии связи на определенном минимально допустимом расстоянии от источника влияния, определяются проектом.

18.2. Для защиты местных кабельных линий связи от влияния ВЛ и эл. ж. д. применяют кабели с повышенным экранирующим действием металлических покровов, разрядники для защиты от кратковременного влияния ВЛ, экранирующие хорошо проводящие заземленные провода и стальные канаты, редукционные трансформаторы (РТ).

Для защиты местных воздушных линий связи от влияния ВЛ и эл. ж. д. применяют разрядники, разделительные и изолирующие трансформаторы, дренажные катушки с заземленной средней точкой, коробки сопротивлений, экранирующие хорошо проводящие заземленные провода и стальные канаты, частичную замену воздушных линий кабельными на участках сближения с влияющей линией.

18.3. Защищенность кабеля от влияния ВЛ и эл. ж. д. характеризуется коэффициентом защитного действия (КЗД) металлических покровов, равным отношению ЭДС, индуктируемой в жилах кабеля, к ЭДС, индуктируемой в его металлических покровах.

Наилучшим экранирующим действием обладают кабели в алюминиевой оболочке и с бронепокровом из стальных лент с высокой магнитной проницаемостью. Защитное действие металлических покровов обеспечивается за счет их заземления. Расстояние между заземлителями и требуемые величины их сопротивлений растеканию определяются проектом.

Металлические покровы одночетверочных кабелей сельской связи не обладают высоким защитным действием.

18.4. Для сетей ГТС выпускаются специальные кабели СТПА и ТАШП, предназначенные для прокладки вблизи заземляющих контуров энергоустановок и в зонах повышенного электромагнитного влияния ВЛ и эл. ж. д. Кабели СТПА изготавливаются с числом пар от 10 до 200. Наиболее высоким защитным действием обладают кабели СТПАпБп, имеющие алюминиевую оболочку толщиной от 1,6 до 2,0 мм (в зависимости от количества пар) и бронеленты толщиной 0,5 мм.

Кабельные линии с применением кабеля емкостью более 200 пар защищают от влияния ВЛ и эл. ж. д. с помощью защитных покровов или путем замены кабеля большой емкости несколькими кабелями марки СТПА меньшей емкости.

ПЕРЕСЕЧЕНИЯ И СБЛИЖЕНИЯ КАБЕЛЬНЫХ ЛИНИЙ МЕСТНОЙ СВЯЗИ С ВЛ

18.5. Минимально допустимое расстояние между кабелем местной связи и ВЛ на участках их параллельного или косого сближения определяется проектом. При этом должны соблюдаться приведенные ниже строительные нормы и требования, установление которых связано с защитой от возможного влияния ВЛ.

18.6. При пересечении подземного кабеля местной связи с ВЛ напряжением до 1000 В:

а) угол пересечения ВЛ с кабелем должен быть по возможности близок к 90°. В стесненных условиях угол не нормируется (под стесненными следует понимать условия, когда установленный угол пересечения по каким-либо причинам в данном направлении выдержать нельзя, например, из-за выступов зданий, скал, водных преград и др.);

б) расстояние от подземного кабеля до незаземленной деревянной опоры ВЛ в населенной местности должно быть не менее 2 м. В стесненных условиях это расстояние может быть уменьшено до 1 м, однако, при этом кабель должен быть проложен в стальной или полиэтиленовой трубе либо покрыт швеллером (уголковой сталью) по длине не менее 3 м в обе стороны от опоры;

в) в ненаселенной местности расстояние от подземного кабеля до незаземленной деревянной опоры ВЛ должно быть не менее 5 м;

г) расстояние от подземного кабеля до заземляющего контура опоры ВЛ или до железобетонной опоры в населенной местности должно быть не менее 3 м. Это расстояние может быть уменьшено до 2 м при прокладке кабеля в стальной трубе или покрытии его швеллером (уголковой сталью) по длине не менее 3 м в обе стороны от опоры;

д) в ненаселенной местности расстояние от подземного кабеля до заземляющего контура опоры ВЛ или до железобетонной опоры должно быть не менее 10 м. Это расстояние может быть уменьшено до 5 м при прокладке кабеля в стальной трубе или покрытии его швеллером (уголковой сталью) по длине не менее 9 м в обе стороны от опоры;

е) подвесной кабель должен располагаться под проводами ВЛ. Расстояние по вертикали от проводов ВЛ до подвесного кабеля должно быть не менее: 1,25 м при наивысшей температуре воздуха без учета нагрева проводов ВЛ электрическим током, 1,0 м при гололеде и температуре минус 5 °С. Место пересечения проводов ВЛ с подвесными кабелями должно находиться по возможности ближе к опоре ВЛ, но не менее 2 м от нее.

18.7. При пересечении местного кабеля с ВЛ напряжением выше 1000 В:

а) расстояние от подземного кабеля до подземной части незаземленной деревянной опоры ВЛ напряжением до 35 кВ в населенной местности должно быть не менее 2 м. В стесненных условиях это расстояние может быть уменьшено до 1 м при условии прокладки кабеля в стальной трубе по длине не менее 3 м в обе стороны от опоры;

б) в ненаселенной местности расстояние от подземного кабеля до подземной части незаземленной деревянной опоры ВЛ должно быть не менее значений, приведенных в табл. 18.1;

Таблица 18.1

Наименьшее допустимое расстояние от подземного кабеля до ближайшего заземлителя и подземной части опоры ВЛ напряжением до 35 кВ в ненаселенной местности

Эквивалентное удельное сопротивление земли, Ом×м

Наименьшее допустимое расстояние, м

до заземлителя и подземной части железобетонной или металлической опоры

до подземной части незаземленной деревянной опоры

До 100

10

5

От 101 до 500

15

10

От 501 до 1000

20

15

Более 1000

30

25

в) расстояние от подземного кабеля до ближайшего заземлителя опоры ВЛ напряжением до 35 кВ и ее подземной металлической или железобетонной части в населенной местности должно быть не менее 3 м;

г) в ненаселенной местности расстояние от подземного кабеля до ближайшего заземлителя опоры ВЛ напряжением до 35 кВ и ее подземной металлической или железобетонной части должно быть не менее значений, приведенных в табл. 18.1;

д) расстояние от подземного кабеля до ближайшего заземлителя опоры ВЛ напряжением 110 кВ и выше и ее подземной металлической или железобетонной части должно быть не менее значений, приведенных в табл. 18.2.

Таблица 18.2

Наименьшее допустимое расстояние от подземного кабеля до ближайшего заземлителя и подземной части опоры ВЛ напряжением 110 кВ и выше

Эквивалентное удельное сопротивление земли, Ом×м

Наименьшее допустимое расстояние, м при напряжении ВЛ, кВ

110 - 500

750

До 100

10

15

От 101 до 500

25

25

От 501 до 1000

35

40

Более 1000

50

50

В случае прокладки подземного кабеля в стальных трубах, а также при защите его швеллером на длине, равной расстоянию между проводами ВЛ плюс 10 м с каждой стороны от крайних проводов ВЛ до 500 кВ и 15 м для ВЛ 750 кВ, допускается уменьшение указанных в табл. 18.2 расстояний до 5 м для ВЛ до 500 кВ и 10 м для ВЛ 750 кВ. В этом случае при пересечении с ВЛ 110 кВ и выше бронепокровы кабеля, не имеющего наружного изолирующего шланга, следует соединять со стальной трубой или швеллером по обоим концам. При этом помимо приведенных мер защиты необходимо устройство дополнительной защиты от ударов молнии путем оконтуровки опор защитным проводом (стальным канатом) в соответствии с «Руководством по защите подземных кабелей связи от ударов молнии».

18.8. Прокладку кабеля на участке пересечения с ВЛ 750 кВ для обеспечения благоприятных условий производства работ желательно осуществлять не далее 100 м от опоры ВЛ.

18.9. При подвеске кабеля местной связи на опорах или устройстве кабельной вставки расстояния по горизонтали от основания опор для подвески или кабельных опор вставки до проекции на горизонтальную плоскость крайнего неотклоненного провода ВЛ напряжением до 330 кВ должно быть не менее 15 м. Для ВЛ 500 кВ расстояние в свету от крайних неотклоненных проводов ВЛ до вершин указанных опор ЛС должно быть не менее 20 м, а это же расстояние для ВЛ 750 кВ - не менее 30 м.

18.10. Расположение любого оборудования связи (НУП, НРП, НЗП, РТ и т.п.) на участках пересечения кабеля с ВЛ в пределах охранной зоны ВЛ не допускается.

Охранной зоной ВЛ называется полоса земли, ограниченная по обе стороны от ВЛ вертикальными плоскостями, отстоящими по горизонтали от проекций крайних проводов ВЛ на расстояния, приведенные в табл. 18.3.

Таблица 18.3

Ширина охранной зоны ВЛ

Напряжение ВЛ, кВ

до 20

35

110

150 - 220

330 - 500

750

Ширина охранной зоны ВЛ (в каждую сторону от проекции крайнего провода), м

10

15

20

25

30

40

ПЕРЕСЕЧЕНИЯ И СБЛИЖЕНИЯ КАБЕЛЬНЫХ ЛИНИЙ МЕСТНОЙ СВЯЗИ С КОНТАКТНЫМИ ПРОВОДАМИ НАЗЕМНОГО ТРАНСПОРТА

18.11. Расстояние между кабельной линией и параллельно расположенным ближайшим рельсом эл. ж. д. должно быть не менее 10 м, а между кабелем и рельсом неэлектрифицированной железной дороги - не менее 5 м.

При пересечении кабеля с эл. ж. д. или линией трамвая расстояние между кабелем и подошвой рельса должно быть не менее 1 м, а с автомобильными дорогами, имеющими контактную сеть троллейбуса - не менее 0,8 м ниже дна кювета.

Расстояние по горизонтали от подземного кабеля до фундамента ближайшей опоры контактной сети должно быть не менее 5 м в населенной местности и 20 м в ненаселенной местности.

Угол пересечения (в плане) подземного кабеля с осью полотна эл. ж. д. постоянного и переменного тока и трамвайной линии, а также с осью полотна дорожного покрытия линии троллейбуса должен быть в пределах 75 - 90°.

В зависимости от угла пересечения расстояния по горизонтали от основания кабельной опоры до ближайшего рельса эл. ж. д. должны соответствовать приведенным в табл. 18.4.

Таблица 18.4

Расстояние от кабельной опоры до ближайшего рельса эл. ж. д.

Угол пересечения (в плане) подземного кабеля с рельсами эл. ж. д.

90°

85°

80°

75°

Расстояние от кабельной опоры до ближайшего рельса эл. ж. д. (по перпендикуляру к полотну эл. ж. д.), м, не менее

20

30

40

50

При пересечении с железнодорожными и трамвайными путями, а также автомобильными дорогами, имеющими контактную сеть троллейбуса, кабели должны прокладываться в полиэтиленовых трубах диаметром 100 мм. Трубы должны укладываться на всю длину пересечения с выходом их по обе стороны от подошвы насыпи или полевой бровки кювета на длину не менее 10 м с установкой смотровых устройств по концам труб. Количество труб следует принимать в зависимости от количества и диаметра прокладываемых кабелей с учетом необходимого резерва.

Места пересечений кабелей с эл. ж. д. должны отстоять от стрелок, крестовин и мест присоединения отсасывающих кабелей не менее, чем на 10 м. При пересечениях трамвайных путей это расстояние может быть уменьшено до 3 м.

ЗАЩИТА КАБЕЛЬНЫХ ЛИНИЙ МЕСТНОЙ СВЯЗИ ОТ ГРОЗОВЫХ РАЗРЯДОВ

18.12. Защита кабеля от грозовых разрядов осуществляется в соответствии с действующим «Руководством по защите подземных кабелей связи от ударов молнии».

Необходимость защиты и конкретные защитные мероприятия устанавливаются проектом.

18.13. К основным мерам защиты подземных кабелей от повреждений ударами молнии относятся:

а) применение грозостойких кабелей (тип кабеля определяется проектом);

б) прокладка параллельно кабелю подземных металлических хорошо заземленных проводов, например, стальных оцинкованных типа ПС-70 или стальных канатов;

в) включение малогабаритных разрядников между жилами и металлической оболочкой (в специальных муфтах);

г) прокладка с целью перехвата токов молнии защитных проводов (тросов) вокруг отдельно стоящих деревьев, опор ВЛ и связи.

18.14. Кабели местной связи в населенных пунктах с густой сетью подземных коммуникаций или проводов воздушных линий связи, радиофикации и электроснабжения защите не подлежат независимо от условий прокладки и удельного сопротивления земли (за исключением защиты в местах сближения с отдельно стоящими опорами ВЛ напряжением 35 кВ и выше).

Под густой сетью подземных коммуникаций или проводов воздушных линий связи, радиофикации и электроснабжения следует понимать наличие не менее двух подземных коммуникаций с каждой стороны кабеля на расстоянии не более 10 - 15 м от него, или не менее двух воздушных линий с каждой стороны на расстоянии 15 - 20 м.

Защита одно- и двухчетверочных кабелей КСПП и однокоаксиальных ВКПА от грозовых разрядов предусматривается только в районах с повышенной грозовой деятельностью (свыше 80 ч в год и в районах вечной мерзлоты выше 20 ч) и высоким удельным сопротивлением земли (выше 500 Ом×м), где отсутствуют ранее проложенные аналогичные кабели; в районах, где существующие одно- и двухчетверочные кабели подвергались повреждениям от ударов молнии чаще установленной нормы, а также в местах сближения с отдельно стоящими деревьями и опорами ВЛ и связи.

18.15. Типовые схемы прокладки защитных проводов и тросов с целью перехвата токов молнии показаны на рис. 18.1. Сопротивление заземления должно соответствовать ГОСТ 464-79 (табл. 18.5).

Таблица 18.5

Нормы сопротивления заземления для металлических оболочек кабелей, защитных проводов и тросов, прокладываемых в грунте

Удельное сопротивление грунта, Ом×м

до 100

101 - 300

301 - 500

501 - 1000

свыше 1000

Сопротивление заземления, Ом, не более

10

20

30

50

60

Рис. 18.1. Схемы для перехвата токов молнии, попавших в дерево, с помощью защитного троса, проложенного в земле между кабелем и деревом:

а - расстояние от центра дерева до кабеля; b - расстояние от оси, проходящей параллельно кабелю через дерево, до заземления; h1 - глубина заложения кабеля; h2 - глубина заложения защитного троса (0,4 м £ h1 < h; b ³ 2 м, если а ³ 10 м; b ³ 5, если 5 < а < 10 м; b ³ 10, если а £ 5 м)

ПРОКЛАДКА И СРАЩИВАНИЕ ЗАЩИТНЫХ ПРОВОДОВ

18.16. Количество защитных проводов (стальных канатов), их тип и способ прокладки определяются проектом.

18.17. Основным типом защитного провода от влияния ВЛ и эл. ж. д. для прокладки на небольшой длине (до 1 - 2 км) является медный провод марки М-50 (сечением 50 мм2). Можно применять провода меньшего сечения, что должно быть определено проектом.

Так как эти провода одновременно защищают кабель и от ударов молнии, то условия их прокладки должны быть такими же, как и при прокладке грозозащитных проводов типа ПС-70.

18.18. Основным типом защитного провода от прямых ударов молнии является провод для воздушных линий электропередач ПС-70 сечением 70 мм2, свитый из отдельных стальных оцинкованных проволок. Провода ПС-70 могут быть заменены стальными оцинкованными проводами меньшего диаметра, а также биметаллическими проводами диаметром 3 - 4 мм в соответствии с данными, приведенными в табл. 18.6.

Таблица 18.6

Эквивалентное количество защитных проводов

Количество проводов ПС-70

Эквивалентное количество защитных проводов и стальных канатов

биметаллических диаметром 4 мм

стальных оцинкованных диаметром, мм

ПС-25

6

5

4

1

1

2/2

2/2

3/3

2/2

2

2

2/3

2/3

3/4

3/4

Примечание. В числителе указано количество проводов при прокладке кабеля по открытой местности и отсутствии отдельно стоящих деревьев, опор ВЛ или связи; в знаменателе - при прокладке кабеля по открытой местности или вдоль опушки леса при наличии опор ВЛ или связи.

18.19. Допускается отклонение от принятых в проекте расстояний между защитным проводом и кабелем и между защитными проводами в пределах 15 %. В случае прокладки одного защитного провода над кабелем допускается отклонение расстояния в пределах ±0,25 м от вертикальной плоскости, проходящей через ось кабеля.

18.20. Соединение защитных проводов с металлическими покровами защищаемого кабеля не производят.

18.21. Строительные длины защитных проводов (стальных канатов) сращивают с помощью овальных соединителей и клещей (рис. 18.2 и 18.3), концы медных и биметаллических проводов - с помощью опрессования медными трубками.

18.22. При проведении монтажа муфт в котлованах нарушение целостности защитных проводов не допускается.

Рис. 18.2. сращивание защитных проводов ПС-70 с помощью овальных соединителей:

а) овальный соединитель; б) сросток после обжатия

Рис. 18.3. Клещи типа МИ-31 для обжатия овальных соединителей:

1 - корпус; 2 - вкладыш; 3 - нажимной винт; 4 - регулировочный винт

УСТАНОВКА И МОНТАЖ РЕДУКЦИОННЫХ ТРАНСФОРМАТОРОВ

18.23. Редукционные трансформаторы (РТ) предназначены для защиты цепей кабелей от перенапряжений при опасном влиянии эл. ж. д. переменного тока и ВЛ. Изготавливают РТ для одно- и четырехчетверочных кабелей симметричной конструкции и однокоаксиальных кабелей ВКПА.

18.24. Типы РТ и марки защищаемых кабелей приведены в табл. 18.7, а габариты и масса РТ - в табл. 18.8.

Таблица 18.7

Типы РТ и марки защищаемых ими кабелей

Тип РТ

Марка кабеля РТ

Длина кабеля РТ, м

Защищаемые кабели

ОСГР-1´4/8-80УХЛ1

ЗКПАШп-1´4´1,2

101,5

ЗКВ, ЗКП, ЗКПАШ, КСПП, МКСАШп, КСПЗП, КСПЗПБ

ОСГР-4´4/8-80УХЛ1

МКСАШп-4´4´1,2

105

МКСАБпШп, МКСАБп, МКСАШп, МКСБпШп, МКСБп, МКСБп

ОСГР-1/8-80УХЛ1

ВКПАП-1

180,5

ВКПАП-1, ВПКАПт-1

Таблица 18.8

Тип РТ

Габариты, мм

Масса, кг

Примечание

ОСГР-1´4/8-80УХЛ1

1190´1020´550

520

На два кабеля

ОСГР-4´4/8-80УХЛ1

1190´990´650

700

На один кабель

ОСГР-1/8-80УХЛ1

1070´900´560

475

На один кабель

18.25. Место установки РТ определяется проектом. Если требуется установка одного РТ на участке, то его располагают примерно посередине, если двух - то по концам, при трех и более - равномерно по длине. В зависимости от конкретных условий место установки РТ в процессе строительства может быть перенесено на одну - две строительные длины кабеля в ту или другую сторону от расчетного, но в пределах одного и того же усилительного или регенерационного участка.

18.26. РТ необходимо устанавливать в земле так, чтобы вводные патрубки трансформатора находились на глубине прокладки кабеля. При этом верхняя часть контейнера должна быть на 0,25 м выше максимального уровня грунтовых вод. Если оба условия обеспечить нельзя, то трансформатор необходимо установить так, чтобы соблюдалось второе условие.

Входной контроль РТ перед их установкой следует производить в соответствии с указаниями, приведенными в «Инструкции по установке и монтажу редукционных трансформаторов серии ОСГР» (VI., 1982), а также в «Руководстве по строительству линейных сооружений магистральных и внутризоновых кабельных линий связи» (М., «Радио и связь», 1986).

18.27. Для защиты корпуса РТ от коррозии применяют битумно-полимерное или битумно-минеральное покрытие в соответствии с действующим ГОСТ 9.015.

Перед нанесением защитных покрытий поверхность необходимо очистить от ржавчины и промыть бензином.

Если удельное сопротивление грунта меньше 20 Ом×м, следует применять дополнительную защиту в виде протектора, подключенного через щиток КИП к болту заземления РТ (рис. 18.4). В этом случае вместо замерного столбика устанавливают столбик КИП. Установку протекторов и контроль эффективности их действия осуществляют в соответствии с указаниями, изложенными в разделе 17.

На кабелях с наружным защитным покровом типа Бп защищать корпус РТ от коррозии не требуется, так как он будет защищен одновременно с защитой бронепокрова.

Рис. 18.4. Схема включения протектора для защиты корпуса РТ от коррозии:

1 - редукционные трансформаторы; 2 - болт заземления; 3 - щиток КИП; 4 - протекторы

18.28. Для обеспечения защитного действия РТ по концам защищаемого участка оборудуют заземляющие устройства, которые подключают к металлическим покровам кабеля через щиток КИП-2. Требуемые значения сопротивлений растеканию заземляющих устройств определяются проектом. В качестве заземляющих устройств для РТ могут быть использованы защитные заземления станций, промежуточные заземления металлических покровов кабелей при условии, что их сопротивления растеканию удовлетворяют значениям, установленным в проекте.

18.29. Подключать промежуточные заземления, а также соединять металлические оболочки с бронепокровом (на кабелях с наружным защитным покровом типа Бп) на участках, где установлены РТ, допускается только на щитке КИП-2 через разрядник Р-76.

18.30. Симметрирование кабелей производят после установки и монтажа РТ.

18.31. После монтажа РТ и проверки электрических параметров цепей на смонтированном участке проверяют сопротивление изоляции экрана или металлической оболочки кабеля по отношению к земле, а также целостность экрана или металлической оболочки на защищаемом участке с помощью прибора типа ПКП.

Экран и металлическая оболочка на всем протяжении защищаемого участка должны быть непрерывны и однородны.

На участках сближения кабеля с эл. ж. д. переменного тока эти измерения проводят до включения электротяги. Если РТ устанавливают на линии связи, подверженной влиянию эл. ж. д., то измерения проводят в периоды отсутствия электровозов на участке сближения по договоренности с управлением железной дороги. При этом необходимо иметь в виду, что возможны случаи, когда влияние, хотя и небольшое, возникает и при отсутствии электровозов на участке сближения. Это происходит за счет тока, протекающего в контактном проводе на участке сближения с электровозами, находящимися на соседних участках.

18.32. На участках сближения кабеля с ВЛ для проверки исправности РТ необходимо провести измерения тока, протекающего по оболочке защищаемого кабеля по схеме, приведенной на рис. 18.5. Для этого на станции (НУП, НРП) с одной стороны защищаемого участка подключают между оболочкой кабеля и землей источник напряжения 220 В частотой 50 Гц (например, бензоагрегат АБ-1) и амперметр, затем отключают от оболочки станционное заземление, оставив то, к которому подсоединен на время измерения амперметр, и подают напряжение. При этом необходимо пользоваться защитными изолирующими средствами, применяемыми при работах на электроустановках напряжением до 1000 В. Результаты измерения тока передают организации, которая будет эксплуатировать кабельную линию. Эти данные в процессе эксплуатации послужат основанием для оценки исправного состояния РТ (ток в процессе эксплуатации не должен изменяться более, чем на 20 %).

Рис. 18.5. Схема измерения тока после монтажа РТ:

1 - жилы кабеля; 2 - оболочка; 3 - редукционный трансформатор; 4 - защищаемый участок кабеля

18.33. Все работы по установке и монтажу РТ на участках сближения с эл. ж. д. переменного тока необходимо проводить до включения электротяги. При этом следует соблюдать общие требования безопасности, изложенные в действующих «Правилах техники безопасности при работах на кабельных линиях связи и проводного вещания».

18.34. Если работы проводят на действующем кабеле, и в жилах длительно индуктируется повышенная ЭДС, или кабель прокладывают вдоль действующей эл. ж. д. переменного тока, то необходимо соблюдать следующие дополнительные требования: демонтаж соединительных муфт на действующих защищаемых кабелях, откопку защищаемых кабелей от места стыка строительных длин до котлована РТ, укладку защищаемых кабелей к РТ, соединение концов защищаемых кабелей и кабелей РТ прямыми соединительными муфтами внутри РТ, соединение дополнительных и защищаемых кабелей в котловане необходимо осуществлять с обязательным соблюдением требований техники безопасности, изложенных в «Правилах техники безопасности при работах на кабельных линиях связи и проводного вещания» и в «Инструкции по строительству и ремонту кабельных линий связи, на жилах которых индуктируется напряжение 400 В частотой 50 Гц». Установку и монтаж РТ следует производить в технологической последовательности, приведенной в документах, указанных в п. 18.26.

18.35. При проведении монтажа РТ следует пользоваться индикаторами напряжения: сначала высоковольтным (ИВН), затем низковольтным (ИНН).

18.36. Проверку сопротивления изоляции экрана или металлической оболочки кабеля по отношению к земле, а также целостности экрана или металлической оболочки после установки и монтажа РТ в условиях влияния эл. ж. д. переменного тока производят с соблюдением мер, обеспечивающих защиту персонала от поражения электрическим током в случае внезапного появления индуктированного высокого напряжения при проведении измерений. Эти меры необходимо соблюдать независимо от договоренности с управлением железной дороги о графике движения электропоездов.

Перед подключением измерительного прибора к металлической оболочке или экрану кабеля необходимо проверить отсутствие напряжения на оболочке или экране с помощью индикатора напряжения.

ЗАЩИТА ВОЗДУШНЫХ ЛИНИЙ СВЯЗИ, ПОДВЕСНЫХ КАБЕЛЕЙ И АБОНЕНТСКИХ ПУНКТОВ

18.37. Защита воздушных линий связи и подвесных кабелей местной сети от грозовых перенапряжений и опасного влияния ВЛ и эл. ж. д., защита деревянных опор от разрушения при прямых ударах молнии, монтаж устройств защиты, а также защита абонентских комплектов на станциях и абонентских пунктов ГТС, СТС осуществляется в соответствии с ГОСТ 5238-81 (с учетом изменения № 1), «Правилами строительства и ремонта воздушных линий связи и радиотрансляционных сетей» (часть IV), М., «Радио и связь», 1987, «Правилами пересечения воздушных линий связи и проводного вещания с линиями электропередачи».

18.38. Пересечение ЛС с ВЛ напряжением до 1000 В должно быть выполнено по одному из следующих вариантов:

а) изолированными проводами ЛС и неизолированными проводами ВЛ;

б) подземным или подвесным кабелем ЛС и неизолированными проводами ВЛ;

в) неизолированными проводами ЛС и неизолированными проводами ВЛ;

г) неизолированными проводами ЛС и изолированными проводами ВЛ;

д) неизолированными проводами ЛС и подземной кабельной вставкой в ВЛ.

18.39. Пересечение ЛС с ВЛ напряжением до 35 кВ должно быть выполнено по одному из следующих вариантов:

а) подземным кабелем ЛС и проводами ВЛ;

б) воздушным кабелем ЛС и проводами ВЛ;

в) неизолированными проводами ЛС и проводами ВЛ;

г) неизолированными проводами ЛС и подземным кабелем ВЛ.

18.40. Пересечение ЛС с ВЛ напряжением 110 - 500 кВ должно быть выполнено по одному из следующих вариантов:

а) подземным кабелем ЛС и проводами ВЛ;

б) неизолированными проводами ЛС и проводами ВЛ;

в) подземным кабелем ВЛ и проводами ЛС.

18.41. Пересечение ЛС с ВЛ 750 кВ допускается только подземным кабелем ЛС.

18.42. Выбор того или иного варианта пересечения из приведенных выше, длина кабельной вставки и дополнительные меры по защите, в том числе допустимые расстояния между ЛС и ВЛ, определяются проектом.

18.43. При устройстве пересечений воздушных ЛС с ВЛ необходимо выполнять приведенные ниже требования и нормы, от которых зависит степень защиты ЛС от ВЛ.

18.44. При пересечении ЛС с ВЛ напряжением до1000 В:

а) Угол пересечения ЛС с ВЛ должен быть по возможности близок к 90°. Для стесненных условий (см. п. 18.6, а) угол пересечения не нормируется;

б) Расстояние по вертикали от проводов ЛС до проводов ВЛ в пролетах пересечения необходимо устанавливать не менее 1,25 м при наивысшей температуре воздуха без учета нагрева проводов ВЛ током; 1,0 м при расчетной толщине гололеда и температуре минус 5 °С;

в) Место пересечения проводов ЛС и проводов ВЛ в пролете следует располагать по возможности ближе к опоре ВЛ, но не менее 2 м от нее;

г) При пересечении изолированных проводов ЛС с неизолированными проводами ВЛ:

·         опоры ВЛ, ограничивающие пролет пересечения с ЛС соединительных линий СТС должны быть анкерного типа, при пересечении с остальными линиями СТС и линиями ГТС допускаются опоры промежуточного типа, усиленные дополнительной приставкой или подкосом;

·         пересечение следует выполнять только в пролете;

·         провода ЛС на участке пересечения должны иметь атмосферостойкую изоляцию с испытательным напряжением не менее 2 кВ и коэффициент запаса прочности на растяжение при наибольших расчетных нагрузках не менее 1,5;

·         при числе проводов на ЛС до десяти пролет пересечения допускается выполнять проводами ПСБАП, ПСБА или другими, отвечающими указанным выше требованиям. При числе проводов на линии ГТС и СТС равном или более десяти пересечение необходимо выполнять подвесным или подземным кабелем;

·         провода ЛС следует располагать под проводами ВЛ, при этом на опорах ВЛ, ограничивающих пролет пересечения, должны быть установлены двойные крепления;

·         провода ВЛ напряжением 380/220 В и ниже допускается располагать под проводами стоечных линий ГТС, при этом провода на стойках, ограничивающих пролет пересечения, должны иметь двойное крепление;

·         сращивание проводов в пролете пересечения не допускается;

·         на опорах ЛС, ограничивающих пролет пересечения, должны быть установлены молниеотводы, а в спуске молниеотвода на высоте (1,5 ± 0,2) м нужно оборудовать разрыв длиной 50 мм. На опорах с железобетонными приставками разрыв в спуске следует выполнять на деревянной части опоры и располагать его на 10 - 15 см выше приставки. Если заземление молниеотвода одновременно используется в качестве заземлителя для искровых разрядников каскадной защиты или газонаполненных, то разрыв в спуске оборудовать не обязательно, а спуск следует закрывать деревянной рейкой в соответствии с «Правилами строительства и ремонта воздушных линий связи и радиотрансляционных сетей» (часть IV);

д) При пересечении неизолированных проводов ЛС с неизолированными проводами ВЛ:

·         пересечение следует выполнять только в пролете;

·         опоры ВЛ, ограничивающие пролет пересечения, должны быть только анкерного типа;

·         провода ЛС должны иметь коэффициент запаса прочности на растяжение при наибольших расчетных нагрузках не менее 2,2;

·         провода ЛС следует располагать под проводами ВЛ, при этом на опорах, ограничивающих пролет пересечения, должны быть установлены двойные крепления;

·         провода ВЛ напряжением 380/220 В и ниже допускается располагать под проводами стоечных линий ГТС, при этом провода на стойках, ограничивающих пролет пересечения, должны иметь двойное крепление;

·         сращивание проводов в пролете пересечения не допускается;

·         на опорах ЛС, ограничивающих пролет пересечения, необходимо устанавливать молниеотводы согласно пп. г);

е) При оборудовании кабельной вставки на кабельных опорах следует устанавливать молниеотводы, спуски которых необходимо подключать к заземлителям кабельных опор. Спуски молниеотводов по всей длине закрывают деревянной рейкой, разрыв в спусках не делают;

ж) При использовании в пролете пересечения подвесного или подземного кабеля на кабельных опорах нужно устанавливать кабельные ящики. Кабельные ящики и трос подвесного кабеля необходимо заземлить, сопротивление заземления должно быть не более 10 Ом;

з) Расстояние по горизонтали от основания кабельной опоры до проекции ближайшего провода ВЛ на горизонтальную плоскость должно быть не менее высоты опоры ВЛ;

и) Расстояние по горизонтали между проводами ЛС и ВЛ должно быть не менее высоты наибольшей опоры (ВЛ или ЛС). В стесненных условиях это расстояние допускается уменьшить до 1,5 м;

к) Расстояние по горизонтали между проводами ЛС и ВЛ на вводах в здание должно быть не менее 1,5 м. При этом провода от опоры ВЛ до ввода и на вводе не должны пересекаться с проводами ответвлений от ЛС к вводам и должны располагаться не ниже проводов ЛС.

18.45. При пересечении ЛС с ВЛ напряжением выше 1000 В:

а) При пересечении кабельной вставкой воздушной линии:

·         угол пересечения ЛС с ВЛ не нормируется;

·         расстояние в свету от вершин кабельных опор до неотклоненных проводов должно быть не менее 15 м для ВЛ 330 кВ, 20 м - для ВЛ 500 кВ, 30 м - для ВЛ 750 кВ, если по условиям мешающего влияния, что определяется проектом, не потребуются большие расстояния;

б) Пересечение воздушных линий ГТС с проводами ВЛ необходимо выполнять только кабелем;

в) Расстояние от подземных кабельных вставок до заземлителей опор ВЛ и рельсов железных дорог должно соответствовать п.п. 18.7 и 18.11;

г) При пересечении проводов ЛС с проводами ВЛ напряжением до 500 кВ:

·         угол пересечения следует устанавливать по возможности ближе к 90°, для стесненных условий угол пересечения не нормируется;

·         место пересечения нужно выбирать возможно ближе к опоре ВЛ. При этом расстояние от ближайшей части опоры до проводов ЛС должно быть не менее 7 м;

·         опоры ЛС под проводами пересекаемой ВЛ располагать нельзя;

·         опоры ВЛ напряжением до 35 кВ, ограничивающие пролет пересечения, должны быть анкерными облегченной конструкции из любого материала, как свободностоящие, так и на оттяжках. Деревянные опоры должны быть усилены приставками и подкосами;

·         соединения проводов ЛС в пролете пересечения не допускаются;

·         провода ЛС следует располагать под проводами ВЛ;

·         расстояние по вертикали от проводов ЛС до пересекаемых проводов ВЛ в нормальном режиме ее работы должно быть не менее величин, приведенных в табл. 18.9;

·         изменение места установки опор, ограничивающих пролет пересечения, допускается при условии, что отклонение средней длины элемента скрещивания на ЛС не превышает величин, указанных в табл. 18.10.

Таблица 18.9

Наименьшее расстояние по вертикали от проводов ЛС до проводов ВЛ

Расчетный режим ВЛ

Наименьшее расстояние, м, при напряжении ВЛ, кВ

до 10

20

35

110

150

220

330

500

Нормальный:

 

 

 

 

 

 

 

 

а) ВЛ на деревянных опорах при наличии грозозащитных устройств, а также на металлических и железобетонных опорах

2

3

3

3

4

4

5

5

б) ВЛ на деревянных опорах при отсутствии грозозащитных устройств

4

4

5

5

6

6

7

7

Аварийный:

 

 

 

 

 

 

 

 

обрыв проводов в смежных пролетах на ВЛ с подвесной изоляцией

1

1

1

1

1,5

2

2,5

3,5

Таблица 18.10

Допустимое изменение установки опор ЛС, ограничивающих пролет пересечения

Длина элемента скрещивания, м

35

40

50

60

70

80

100

125

166

Допустимое отклонение, м (±)

6

6,5

7

8

8,5

9

10

11

13

ОБОРУДОВАНИЕ ЗАЗЕМЛЯЮЩИХ УСТРОЙСТВ (ЗАЗЕМЛЕНИЙ)

18.46. Места оборудования заземлений, их сопротивления растеканию, количество отдельных заземлителей в контуре заземляющего устройства определяются проектом.

18.47. Заземляющее устройство состоит из одного или нескольких металлических заземлителей, помещенных в грунт на глубину от 0,7 до 1,5 м от поверхности земли, и заземляющих проводников (соединительных шин или проволок). Стальные шины и проволока используются для протяженных заземлителей.

18.48. При оборудовании заземлений в первую очередь, независимо от наличия этих данных в проекте, необходимо измерить удельное сопротивление грунта, в котором предполагается устанавливать заземление, после чего сравнить полученные в результате измерений значения с указанными в проекте.

Если измеренные величины оказались больше проектных (на 20 % и более), то пересчетом следует определить новое количество заземлителей, обеспечивающих требуемое сопротивление растеканию токов. При этом нужно учитывать коэффициент сезонного изменения удельного сопротивления.

Если измеренные величины оказались равными или меньше указанных в проекте, то следует оборудовать заземляющее устройство в соответствии с проектом.

18.49. В зависимости от требуемой величины сопротивления растеканию Rз следует применять:

·         при Rз ³ 30 Ом - протяженные заземлители;

·         при 15 < Rз < 30 Ом - вертикальные одиночные или многоэлектродные заземлители;

·         при Rз £ 15 Ом - многоэлектродные или глубинные заземлители.

18.50. Во всех грунтах (кроме скальных и вечномерзлых) с удельным сопротивлением до 200 Ом×м для оборудования заземлений рекомендуется применять электроды из круглой стали диаметром 12 мм и длиной 5 м по ГОСТ 2590-88 или из прутковой стали диаметром 15 - 16 мм. Электроды из круглой стали вворачивают в грунт при помощи приспособлений ПЗД-12 на базе бензодвигателя пилы «Дружба» или ПВЭ на базе электросверлилки.

В качестве вертикального стержневого заземлителя длиной до 3 м допускается использовать уголковую сталь 40´40´4, 45´45´4, 50´50´4 мм и некондиционные трубы диаметром 2 - 2,5 дюйма.

18.51. Устройство заземления из одной трубы показано на рис. 18.6, а, а из одного уголка - на рис. 18.6, б. Перед вбиванием электродов заземляющего устройства в грунт к каждому из них необходимо приварить или припаять стальную проволоку диаметром 4 - 5 мм.

Рис. 18.6. Устройство заземления, изготовленное:

а) из одной трубы; б) из одного уголка;

1 - хомутик из перевязочной проволоки диаметром 2 мм; 2 - стальная проволока диаметром 4 - 5 мм; 3 - витки пропаять или проварить

Чтобы не повредить края трубы при забивке в грунт, в верхний ее конец вставляют стальной вкладыш с головкой, которая своими заплечиками опирается на срез трубы (рис. 18.7). Нижний конец трубы, забиваемой в грунт, предварительно сплющивают, как показано на рис. 18.6, а.

Перед забивкой электродов в грунт для каждого из них следует выкопать яму глубиной 0,8 м. Электрод забивают в центре ямы так, чтобы верхний конец возвышался над уровнем дна ямы на 10 см.

Рис. 18.7. Стальной вкладыш для забивки труб

1 - труба; 2 - вкладыш

18.52. Значения величин сопротивления растеканию одиночного заземлителя из уголка 40´40´4 мм при длине его от 1 до 2 м, верхний конец которого заглублен на 0,7 м от поверхности земли, приведены в табл. 18.11.

Таблица 18.11

Сопротивления растеканию одиночного заземлителя из стального уголка 40´40´4 мм

Длина заземлителя, м

Сопротивление растеканию заземлителя, Ом, при удельном сопротивлении грунта, Ом×м

10

25

50

80

100

200

300

500

1000

1,0

6,8

16,5

34,0

54,0

66

132

190

340

680

1,5

4,95

12,5

24,5

39,5

55

98

150

249

490

2,0

4,0

10,0

20,0

32,0

40

79

120

200

400

18.53. В качестве протяженного заземлителя используют стальную оцинкованную проволоку диаметром 4 - 5 мм и длиной до 12 м (рис. 18.8). Увеличение длины заземлителя свыше 12 м нецелесообразно, так как в этом случае сопротивление растеканию заземлителя уменьшается незначительно. Величины сопротивления растеканию протяженного заземлителя из проволоки диаметром 4 мм, уложенной на глубину 0,7 м, приведены в табл. 18.12.

Рис. 18.8. Протяженный заземлитель

Таблица 18.12

Сопротивления растеканию одиночного заземлителя из стальной проволоки диаметром 4 мм

Длина заземлителя, м

Сопротивление растеканию заземлителя, Ом, при удельном сопротивлении грунта, Ом×м

10

25

50

80

100

200

300

500

1000

4

3,6

7,8

18

29

37

69

110

170

370

8

2,0

5,0

10

16

20

40

60

100

200

12

1,4

3,0

7

11

15

29

45

70

130

18.54. Если при установке одиночного заземлителя не удается получить требуемую величину сопротивления заземления, то следует оборудовать многоэлектродные заземления.

Контуры заземляющих устройств многоэлектродных заземлений могут быть однорядными, замкнутыми, многорядными, в виде прямой или креста. Примеры многоэлектродных контуров показаны на рис. 18.9.

Многоэлектродные протяженные (проволочные) заземлители, а также соединение трубчатых заземлителей проводами показано на рис. 18.10. Провода, если их больше двух, свивают с шагом 10 - 25 см.

Рис. 18.9. Расположение электродов заземления:

а) в один ряд; б) в форме креста; в) в форме круга

l - длина одиночного электрода

Рис. 18.10. Многоэлектродные заземлители:

а) из нескольких электродов угловой стали (или стальных труб); б) двухлучевой протяженный; в) трехлучевой протяженный; г) четырехлучевой протяженный; д) единичные электроды, расположенные по замкнутому контуру

18.55. Для соединения вертикальных электродов между ними следует прокопать траншею шириной 20 - 30 см и глубиной 0,5 - 0,7 м, на дно которой укладывают соединительные провода или шины. В качестве соединительных используют стальные шины (полосовая сталь) сечением 40´4, 30´4, 25´4 мм. Шины нужно уложить на ребро и приварить к уголкам или трубчатым электродам. Вместо стальных шин можно применять стальные провода ПС-70 или биметаллические сталемедные провода диаметром 4 - 6 мм. Соединение электродов из уголков с помощью стальной шины показано на рис. 18.11.

Рис. 18.11. Заземления для защиты кабелей от ударов молнии:

а) соединение с заземлением провода ПС-70 или шины для защитных контуров; б) соединение с заземлением проводов для искровых промежутков

1 - хомутик из перевязочной проволоки; 2 - стальная проволока диаметром 4 - 5 мм; 3 - витки пропаять

18.56. При устройстве рабочих заземлений во всех грунтах, а защитных - в агрессивных, соединительные провода на всем протяжении до выхода на поверхность следует изолировать от земли двухслойным покрытием асфальтового лака. После выполнения указанных работ траншею нужно засыпать землей.

18.57. В процессе выполнения строительных работ число электродов в контуре может быть уточнено по результатам измерений сопротивления растеканию при последовательном наращивании устанавливаемых электродов. При этом число электродов, необходимое для обеспечения нормы сопротивления заземления, может отличаться от запроектированного как в сторону увеличения, так и в сторону уменьшения.

18.58. Заземлители многоэлектродного контура следует располагать так, чтобы токоотводный провод занимал центральное место и был удален от крайних электродов заземления не более, чем на 12 м. Если это условие невыполнимо, то необходимо делать несколько токоотводов, соединяя их параллельно на выходе из траншеи первого токоотвода.

Если заземление предназначено для кабельного ящика, запирающей или дренажной катушки, то от заземлителей вдоль опоры прокладывают два токоотвода из проволоки диаметром 4 - 5 мм, один из которых присоединяют к корпусу кабельного ящика или к заземляющему зажиму запирающей катушки, а другой прокладывают до вершины опоры.

18.59. Выбор типа заземлителя для устройства заземления у абонента производят в зависимости от местных условий. В городе для заземления используют стальные вертикальные электроды - трубы или уголки. Протяженные проволочные заземлители оборудуют в сельской местности.

Для разрядников, расположенных внутри здания, токоотводы от заземлителей следует прокладывать по стене до ввода в здание. Перед вводом в здание проводник от заземлителей припаивают к изолированному проводу сечением не менее 1,5 мм2 и через отдельное отверстие в стене проводят непосредственно к разряднику. Молниеотвод, прокладываемый по стене здания, необходимо закрыть деревянной рейкой на высоту 2,5 м от уровня земли.

18.60. Защитное и рабоче-защитное заземляющие устройства следует оборудовать с учетом использования естественных заземлителей: проложенных под землей металлических труб, металлических конструкций, арматуры зданий и их бетонных фундаментов и других. Не допускается использовать для этих целей трубопроводы горючих и взрывоопасных смесей, канализации, центрального отопления и бытового водопровода, расположенные вне здания, в котором размещено оборудование предприятия связи. Допускается использовать в качестве заземлений для кабелей ГТС и оборудования металлические корпуса распределительных шкафов, если сопротивление растеканию при их установке в грунте не превышает значений, установленных проектом.

В качестве заземлителей для абонентской аппаратуры СТС и защиты абонентов и оборудования на абонентских линиях могут быть использованы водопроводные трубы. В этом случае проводник присоединяют к водопроводной трубе, как показано на рис. 18.12. Для создания хорошего контакта трубу, хомутик и свинцовые прокладки предварительно зачищают до металлического блеска. Водомер необходимо зашунтировать перемычкой, включенной между двумя контактными хомутиками, установленными по обе его стороны.

Рис. 18.12. Устройство заземления с использованием в качестве заземлителя водопроводной трубы

В качестве токоотвода и заземлителя могут быть использованы оттяжки опор. При этом оттяжки должны быть расположены от подземных кабелей на расстоянии не менее 25 м.

18.61. Расстояние между отдельными неизолированными частями разных заземляющих устройств (между рабочим, защитным, измерительным и др.) на участке до ввода в здание должно быть не менее 20 м.

18.62. Металлическую оболочку и бронепокров кабелей использовать в качестве заземления запрещается.

18.63. Сопротивление заземления нужно измерять сразу же после его устройства. Результаты измерения оформляются протоколом.

ЗАЗЕМЛЕНИЯ В МЕСТАХ С ВЫСОКИМ УДЕЛЬНЫМ СОПРОТИВЛЕНИЕМ ГРУНТА

18.64. Конструкция заземления в местах с высоким удельным сопротивлением грунта определяется проектом.

Одним из способов снижения удельного сопротивления грунта является обработка грунта солью, что позволяет снизить сопротивление растеканию тока заземлителя в 2,5 - 8 раз. Примерная конструкция котлована при обработке грунта солью показана на рис. 18.13. Работы рекомендуется производить в следующей последовательности:

а) в месте, где должен быть забит электрод, отрыть котлован глубиной 2,5 м, круглый - диаметром 0,8 - 1,0 м, или квадратный - 1´1 м;

б) в котлован уложить поочередно слои грунта и вдвое тоньше слои соли;

в) смачивая соль водой, плотно утрамбовать;

г) применять нужно соль, не увеличивающую коррозию стали, например, нитрат натрия, гидрат окиси кальция; запрещается применять хлористый натрий, хлористый кальций, купоросы и т.п.;

д) траншею для соединительной полосы солью обрабатывать не требуется.

Рис. 18.13. Конструкция котлована при обработке грунта солью для установки заземлителя из уголковой стали

18.65. Снижения сопротивления растеканию можно добиться также путем установки электрода в насыпной грунт. Для этого необходимо:

а) для каждого электрода отрыть котлован радиусом 1,5 - 2,5 м и глубиной, равной длине забиваемого стержня плюс 0,8 м (рис. 18.14);

б) после установки электрода (уголка, трубы) заполнить котлован грунтом с небольшим удельным сопротивлением и грунт утрамбовать.

Рис. 18.14. Устройство заземлителя в грунте с высоким удельным сопротивлением

1 - провод ПР или ПРЖ сечением 6 - 10 мм2; 2 - заземлитель; 3 - насыпной грунт; 4 - основной грунт

При устройстве многоэлектродного контура электроды следует соединить после неполной засыпки котлована. В качестве грунта-заполнителя можно применять любой грунт, имеющий удельное сопротивление в 5 - 10 раз меньшее удельного сопротивления основного грунта. В песчаном или каменистом грунте заполнителем можно брать глину, торф, чернозем, суглинок, шлак, коксовую мелочь и др.

18.66. В скальных и других грунтах, где рытье отдельных котлованов практически невозможно, рекомендуется применять взрывные методы и отрывать один общий котлован для всего контура заземления. Котлован засыпают привозным грунтом с обработкой всего контура солью из расчета 8 кг на 1 м3 грунта.

МЕРЫ ПО ТЕХНИКЕ БЕЗОПАСНОСТИ

18.67. В процессе выполнения строительных работ по защите воздушных и кабельных линий местной сети от опасного влияния ВЛ и эл. ж. д., а также грозовых разрядов необходимо строго выполнять требования по безопасным приемам работы, особенно на участках ЛС, проложенных вблизи действующих ВЛ или эл. ж. д., где возможно возникновение в кабелях и проводах воздушных линий связи длительно и кратковременно индуктируемых опасных напряжений и токов.

К таким участкам, работа на которых требует применения мер безопасности, относятся:

а) пересечения линий связи с действующими линиями электропередачи любого напряжения, эл. ж. д.;

б) сближения, особенно в условиях стесненной трассы, линий связи с действующими линиями электропередачи и эл. ж. д. переменного тока;

в) участки совместной подвески проводов связи и проводного вещания, так как последние могут подвешиваться на опорах линий электропередачи и осветительной сети и, следовательно, оказаться под напряжением в результате контакта между проводами.

Особое внимание следует уделять участкам, на которых строительные машины должны работать вблизи линий электропередачи, а также участкам, где необходимо рытье ям для установки опор вблизи от места прохождения силовых кабелей. Участки, где возможно появление высоких напряжений, должны быть указаны в проекте.

18.68. Работы на кабельных и воздушных линиях связи во время грозы и при ее приближении категорически запрещаются.

18.69. Работы на указанных участках необходимо выполнять в соответствии с требованиями, изложенными в «Правилах техники безопасности при работах на кабельных линиях связи и проводного вещания», М., «Недра», 1991, в «Правилах техники безопасности при работах на воздушных линиях связи и проводного вещания», М., «Союзинформсвязь», 1991, в «Инструкции по технике безопасности при строительстве и ремонте кабельных линий связи, на жилах которых индуктируется напряжение до 400 В частотой 50 Гц», а также в соответствии с указаниями, приведенными в данном разделе.

РАЗДЕЛ 19

ПРИЕМКА В ЭКСПЛУАТАЦИЮ ЗАКОНЧЕННЫХ СТРОИТЕЛЬСТВОМ ЛИНЕЙНЫХ СООРУЖЕНИЙ МЕСТНЫХ СЕТЕЙ СВЯЗИ

19.1. Приемка в эксплуатацию законченных строительством линейных сооружений местных сетей связи должна осуществляться в соответствии с порядком, определенным «Руководством по приемке в эксплуатацию линейных сооружений проводной связи и проводного вещания», утвержденным приказом Минсвязи СССР № 40 от 24.01.90 г., М., 1990, с соблюдением требований действующих СНиП «Приемка в эксплуатацию законченных строительством объектов. Основные положения».

Ниже приводятся основные положения, определяющие порядок приемки в эксплуатацию линейных сооружений.

19.2. Законченные строительством в соответствии с утвержденным проектом и подготовленные к эксплуатации линейные сооружения должны быть предъявлены заказчиком к приемке Государственным приемочным комиссиям.

19.3. До предъявления линейных сооружений Государственным приемочным комиссиям рабочие комиссии, назначаемые заказчиком, должны проверить предъявленные подрядчиком линейные сооружения на соответствие их требованиям проектной документации, строительных норм и правил, «Руководства по строительству линейных сооружений местных сетей», а также готовность их к эксплуатации, после чего произвести приемку линейных сооружений.

19.4. Дополнительные работы, не предусмотренные проектом, не могут задержать приемку законченных строительством линейных сооружений.

19.5. Рабочими комиссиями принимаются для предъявления Государственной комиссии отдельные законченные линейные сооружения местных сетей по мере их готовности:

а) участки ОУП - ОУП внутризоновых кабельных линий связи, участки НУП - НУП (НРП - НРП), соединительные кабельные линии различного назначения, законченные строительством кабельные переходы через водные преграды.

В случае обслуживания участка ОУП - ОУП несколькими эксплуатационными предприятиями или при выполнении на нем работ несколькими субподрядными организациями допускается приемка законченных участков НУП - НУП (НРП - НРП) группами в пределах зон обслуживания (строительства);

б) кабельные линии межстанционной (межузловой) связи, магистральные кабельные линии вне зависимости от готовности питаемых шкафных районов и шкафные районы вне зависимости от питающих магистралей;

в) кабельные и воздушные линии межстанционной сельской связи и абонентских телефонных сетей;

г) кабельные и воздушные линии внутрипроизводственной связи сельскохозяйственных предприятий;

д) законченные строительством (реконструкцией) усилительные участки воздушных линий связи;

е) сети проводного вещания или законченные строительством их линейные участки.

19.6. Подрядчик должен представить рабочей комиссии исполнительную документацию.

Она должна состоять из рабочей документации проекта в полученном от заказчика объеме, откорректированной в соответствии с выполненными в натуре работами, а также из документов по монтажным работам, электрическим измерениям, испытаниям и проверкам.

Исполнительная документация представляется в одном экземпляре в составе, определенном «Единым руководством по составлению исполнительной документации на законченные строительством линейные сооружения проводной связи», М., ССКТБ, 1991.

19.7. В обязанности рабочей комиссии входит:

а) проверка исполнительной документации на комплектность, полноту содержания и качество исполнения;

б) проверка соответствия выполненных строительно-монтажных работ проектно-сметной документации и согласованным отступлениям от проекта;

в) освидетельствование выполненных работ, проверка их качества, проведение выборочных испытаний, проверок и электрических измерений в соответствии с техническими программами приемки, приведенными в «Руководстве по приемке в эксплуатацию линейных сооружений проводной связи и проводного вещания», М., 1990.

г) проверка готовности линейных сооружений к эксплуатации;

д) приемка линейных сооружений от подрядчика с составлением акта о приемке и готовности их для предъявления Государственной приемочной комиссии (форма 19.1).

19.8. Порядок и продолжительность работы рабочей комиссии определяются заказчиком по согласованию с подрядчиком. При этом сроки работы комиссии по сооружениям должны быть в следующих ориентировочных пределах:

а) при приемке линейных сооружений ГТС общей емкостью магистралей:

·        до 2000 пар - 5 дней;

·        от 2000 до 4000 пар - 8 дней;

·        от 4000 до 6000 пар - 10 дней;

·        от 6000 до 10000 пар - 12 дней;

б) при приемке линейных сооружений очередями:

·        кабелей межстанционной связи - до 10 дней;

·        кабелей магистральных участков - до 10 дней;

·        шкафного района распределительной и абонентской сети - до 1 дня;

в) при приемке кабельной канализации протяженностью 1 км трассы при емкости блока:

·        до 12 каналов - не более 2 дней;

·        до 24 каналов - не более 3 дней;

·        до 36 каналов - не более 4 дней;

·        до 48 каналов - не более 5 дней;

г) при приемке линейных сооружений сельской связи:

·        кабельных соединительных линий - 25 км трассы линий в 2 дня;

·        абонентских линий - в сроки, указанные в п. б);

·        внутрипроизводственной связи - до 3 дней;

·        воздушных линий связи - 25 км линии в день;

д) при приемке оптических кабелей ГТС и СТС - в сроки, указанные в п. б).

19.9. Исполнительная документация и акты приемки линейных сооружений после окончания работы рабочей комиссии должны быть переданы заказчику для представления Государственной приемочной комиссии.

19.10. После подписания акта рабочей комиссией заказчик строительства сооружений связи или назначенные эксплуатационные организации несут ответственность за сохранность всех сооружений, включенных в акты рабочих комиссий.

19.11. В обязанности Государственных приемочных комиссий входят:

а) проверка готовности линейных сооружений к приемке в эксплуатацию (в том числе проверка устранения недоделок, выявленных рабочей комиссией);

б) проверка наличия и содержания актов рабочих комиссий на приемку законченных строительством линейных сооружений;

в) проверка представленных заказчиком справок о вводимых мощностях и фактической стоимости строительства в сопоставлении с утвержденной проектно-сметной документацией;

г) проверка качества выполненных работ;

д) составление акта приемки в эксплуатацию объекта в целом по форме 19.2.

19.12. Акт о приемке в эксплуатацию линейных сооружений составляется в пяти экземплярах, два из которых вместе с проектом решения должны быть направлены в орган, назначивший Государственную приемочную комиссию, два - заказчику, один - подрядчику.

19.13. Датой ввода объекта в эксплуатацию считается дата подписания акта Государственной приемочной комиссией.

19.14. Эксплуатация сооружений (или их составных элементов), не принятых Государственной приемочной комиссией, не допускается.

19.15. Акты приемки в эксплуатацию объектов связи должны рассматриваться и утверждаться органом, назначившим Государственную приемочную комиссию, в месячный срок после его подписания.

Форма 19.1

АКТ
РАБОЧЕЙ КОМИССИИ О ГОТОВНОСТИ ЗАКОНЧЕННОГО СТРОИТЕЛЬСТВОМ СООРУЖЕНИЯ ДЛЯ ПРЕДЪЯВЛЕНИЯ ГОСУДАРСТВЕННОЙ ПРИЕМОЧНОЙ КОМИССИИ

г. _____________                                                                      «___» ________ 19 ___ г.

Рабочая комиссия, назначенная _____________________________________________

___________________________________________________________________________

(наименование организации-заказчика (застройщика), назначившей рабочую комиссию)

решением от «___» ______________ 19 _____ г. № ____________

в составе: председателя - представителя заказчика (застройщика) __________________

___________________________________________________________________________

___________________________________________________________________________

(фамилия, имя, отчество, должность)

и членов комиссии - представителей:

генерального подрядчика ____________________________________________________

___________________________________________________________________________

(фамилия, имя, отчество, должность)

субподрядных (монтажных) организаций _______________________________________

___________________________________________________________________________

(фамилия, имя, отчество, должность)

эксплуатационной организации _______________________________________________

___________________________________________________________________________

(фамилия, имя, отчество, должность)

генерального проектировщика ________________________________________________

___________________________________________________________________________

(фамилия, имя, отчество, должность)

органов государственного санитарного надзора __________________________________

___________________________________________________________________________

(фамилия, имя, отчество, должность)

органов государственного пожарного надзора ___________________________________

___________________________________________________________________________

(фамилия, имя, отчество, должность)

профсоюзной организации заказчика или эксплуатационной организации

_________________________________________________________________________

_________________________________________________________________________

(фамилия, имя, отчество, должность)

других заинтересованных организаций и органов надзора _________________________

___________________________________________________________________________

___________________________________________________________________________

(фамилия, имя, отчество, должность)

руководствуясь правилами, изложенными в действующих СНиП и "Руководстве по приемке в эксплуатацию линейных сооружений проводной связи и проводного вещания", установила:

1. Генеральным подрядчиком ______________________________________________

___________________________________________________________________________

(наименование организации и ее ведомственная подчиненность)

предъявлено к приемке в эксплуатацию законченное строительством __________________________________________________________________________

(наименование сооружения)

входящего в состав __________________________________________________________

(наименование объекта)

2. Строительство осуществлялось генеральным подрядчиком, выполнившим_______________________________________________________________

___________________________________________________________________________

(виды работ)

и его субподрядными организациями___________________________________________

___________________________________________________________________________

(наименование организаций и их ведомственная подчиненность)

выполнившими______________________________________________________________

(виды работ)

3. Проектно-сметная документация на строительство разработана проектными организациями______________________________________________________________

___________________________________________________________________________

(наименование организаций и их ведомственная подчиненность)

4. Строительство осуществлялось по проекту__________________________________

___________________________________________________________________________

(номер проекта, номер серии/ по типовым проектам/)

5. Проектно-сметная документация утверждена________________________________

___________________________________________________________________________

(наименование органа, утвердившего документацию на объект в целом)

"___"________19___ г.                                                                      № __________________

6. Строительно-монтажные работы осуществлены в сроки:

начало работ _______________;                              окончание работ ______________

(месяц и год)                                                                                                   (месяц и год)

7. Рабочей комиссии представлена следующая документация: _________________________________________________________________________

_________________________________________________________________________

(перечень документов)

Указанные документы являются обязательным приложением к настоящему акту.

8. Объем выполненных работ: ______________________________________________

___________________________________________________________________________

(протяженность кабельной трассы или ВЛС, количество муфт и т.п.)

9. Оборудование установлено согласно актам о его приемке после индивидуального испытания и комплексного опробования рабочими комиссиями (перечень актов приведен в приложении __________ к настоящему акту) в количестве:

по проекту ______________________________________________ единиц;

фактически _____________________________________________ единиц.

10. Мероприятия по охране труда, обеспечению взрывобезопасности, пожаробезопасности, охране окружающей природной среды и антисейсмические мероприятия, предусмотренные проектом ______________________________________

___________________________________________________________________________

(сведения о выполнении)

Характеристика мероприятий приведена в приложении _____ к настоящему акту.

11. Выявленные дефекты и недоделки должны быть устранены в сроки, указанные в приложении _____________ к настоящему акту.

12. Сметная стоимость по утвержденной проектно-сметной документации:

всего ____________ тыс. руб., в том числе

стоимость строительно-монтажных работ __________ тыс. руб.,

стоимость оборудования, инструмента и инвентаря __________ тыс. руб.

Решение рабочей комиссии

___________________________________________________________________________

(наименование сооружения)

СЧИТАТЬ ПРИНЯТЫМ от генерального подрядчика и готовым для предъявления Государственной приемочной комиссии.

Председатель рабочей комиссии _____________________

(подпись)

Члены рабочей комиссии: ___________________________

___________________________

___________________________

(подписи)

Сдали                                                                                      Приняли

представители генерального                                                   представители заказчика

подрядчика и субподрядных                                                   (застройщика):

организаций:

_________________________                                                 ______________________

_________________________                                                 ______________________

(подписи)                                                                                                                (подписи)

Форма 19.2

УТВЕРЖДЕН

_____________________

_____________________

(дата и номер решения

/приказа, постановления/,

ФИО и должность лица,

подписавшего решение

/приказ, постановление/)

АКТ
ГОСУДАРСТВЕННОЙ ПРИЕМОЧНОЙ КОМИССИИ О ПРИЕМКЕ В ЭКСПЛУАТАЦИЮ ЗАКОНЧЕННОГО СТРОИТЕЛЬСТВОМ ОБЪЕКТА

г. ____________                                                                                      «__» _______ 19 __ г.

Государственная приемочная комиссия, назначенная решением

_________________________________________________________________________

_________________________________________________________________________

(наименование органа, назначившего комиссию)

от «___» _____________ 19____ г.                                                             № ___________

в составе: председателя ______________________________________________________

___________________________________________________________________________

(фамилия, имя, отчество, должность)

и членов комиссии - представителей:

заказчика (застройщика) _____________________________________________________

___________________________________________________________________________

(фамилия, имя, отчество, должность)

эксплуатационной организации _______________________________________________

___________________________________________________________________________

(фамилия, имя, отчество, должность)

генерального подрядчика _____________________________________________________

___________________________________________________________________________

(фамилия, имя, отчество, должность)

генерального проектировщика ________________________________________________

___________________________________________________________________________

(фамилия, имя, отчество, должность)

органов государственного санитарного надзора __________________________________

___________________________________________________________________________

(фамилия, имя, отчество, должность)

органов государственного пожарного надзора ___________________________________

___________________________________________________________________________

(фамилия, имя, отчество, должность)

территориальной администрации _____________________________________________

___________________________________________________________________________

(фамилия, имя, отчество, должность)

профсоюзной организации заказчика (застройщика) или эксплуатационной организации (по объектам производственного назначения) или профсоюзной организации заказчика (застройщика) или соответствующего совета профсоюзов (по объектам жилищно-гражданского назначения) __________________________________

___________________________________________________________________________

(фамилия, имя, отчество, должность)

финансирующего банка (по объектам производственного назначения) ______________

___________________________________________________________________________

(фамилия, имя, отчество, должность)

других заинтересованных органов и организаций ________________________________

___________________________________________________________________________

(фамилия, имя, отчество, должность)

руководствуясь правилами, изложенными в действующих СНиП и «Руководстве по приемке в эксплуатацию линейных сооружений проводной связи и проводного вещания», установила:

1. Заказчиком (подрядчиком совместно с заказчиком) __________________________

___________________________________________________________________________

(наименование организации и ее ведомственная подчиненность)

предъявлен к приемке в эксплуатацию _________________________________________

___________________________________________________________________________

(наименование объекта и вид строительства: новое, расширение, реконструкция, техническое перевооружение)

2. Строительство осуществлено на основании решения (приказа, постановления и др.) _______________________________________________________________________

___________________________________________________________________________

(наименование органа, вынесшего решение)

от «___» _____________ 19 ____ г.                                                            № ___________

и в соответствии с разрешением на производство строительно-монтажных работ

_________________________________________________________________________

__________________________________________________________________________

(наименование органа, выдавшего разрешение)

от «___» _____________ 19 ____ г.                                                            № ___________

3. Строительство осуществлено генеральным подрядчиком

___________________________________________________________________________

(наименование организации и ее ведомственная подчиненность)

выполнившим ______________________________________________________________

___________________________________________________________________________

(виды работ)

и субподрядными организациями ______________________________________________

___________________________________________________________________________

(наименования организаций и их ведомственная подчиненность)

выполнившими _____________________________________________________________

(виды работ)

При числе организаций свыше трех перечень их указывается в приложении к настоящему акту.

4. Проектно-сметная документация на строительство разработана генеральным проектировщиком ___________________________________________________________

___________________________________________________________________________

(наименование организации и ее ведомственная подчиненность)

выполнившим ______________________________________________________________

(наименование частей или разделов документации)

и субподрядными организациями ______________________________________________

___________________________________________________________________________

(наименования организаций и их ведомственная подчиненность)

выполнившими _____________________________________________________________

(наименование частей или разделов документации)

При числе организаций свыше трех перечень их указывается в приложении к настоящему акту.

5. Исходные данные для проектирования выданы ______________________________

___________________________________________________________________________

(наименования научно-исследовательских и изыскательских организаций, их ведомственная подчиненность, тематика исходных данных)

При числе организаций свыше трех перечень их указывается в приложении к настоящему акту.

6. Строительство осуществлялось по проекту (типовому, индивидуальному, повторно применяемому) _____________________________________________________

___________________________________________________________________________

(номер проекта, номер серии /по типовым проектам/)

7. Проектно-сметная документация утверждена _______________________________

___________________________________________________________________________

(наименование органа, утвердившего (переутвердившего) документацию на объект, очередь, пусковой комплекс)

«___» _____________ 19 ____ г.                                                                № ___________

8. Строительно-монтажные работы осуществлены в сроки:

начало работ _______________;                                    окончание работ ______________

9. Государственной приемочной комиссии представлена следующая документация:

___________________________________________________________________________

___________________________________________________________________________

(перечень документов)

Указанные документы являются обязательным приложением к настоящему акту.

10. Предъявленный к приемке в эксплуатацию объект имеет следующие основные показатели: протяженность кабельной линии (ВЛС), марка кабеля, количество муфт и т.д. ________________________________________________________________________

___________________________________________________________________________

Выпуск продукции (оказание услуг), предусмотренной проектом, в объеме, соответствующем нормам освоения проектных мощностей в начальный период ___________________________________________________________________________

___________________________________________________________________________

(факт начала выпуска продукции с указанием объема)

11. На объекте установлено предусмотренное проектом оборудование в количестве согласно актам о его приемке после индивидуального испытания и комплексного опробования (перечень указанных актов приведен в приложении _______ к настоящему акту)

12. Мероприятия по охране труда, обеспечению взрывобезопасности, пожаробезопасности, охране окружающей природной среды и антисейсмические мероприятия, предусмотренные проектом ______________________________________

___________________________________________________________________________

(сведения о выполнении)

Характеристика мероприятий приведена в приложении _____ к настоящему акту.

13. Недоделки и дефекты, выявленные рабочими комиссиями, устранены.

14. Сметная стоимость по утвержденной проектно-сметной документации:

всего ____________ тыс. руб., в том числе:

стоимость строительно-монтажных работ __________ тыс. руб.,

стоимость оборудования, инструмента и инвентаря __________ тыс. руб.

15. Сметная стоимость основных фондов, принимаемых в эксплуатацию ____________ тыс. руб., в том числе:

строительно-монтажных работ ____________ тыс. руб.,

оборудования, инструмента и инвентаря ____________ тыс. руб.

Решение Государственной приемочной комиссии

Предъявленный к приемке ___________________________________________________

___________________________________________________________________________

(наименование объекта)

ПРИНЯТЬ В ЭКСПЛУАТАЦИЮ.

Председатель

Государственной приемочной комиссии ________________________

(подпись)

Члены

Государственной приемочной комиссии: ________________________

________________________

________________________

(подписи)

СОДЕРЖАНИЕ

Предисловие. 1

Раздел 1. Организация строительства линейных сооружений местных сетей связи. 2

Общие положения. 2

Организация строительного производства. 4

Основные принципы организации строительно-монтажных работ. 4

Подготовка строительного производства. 5

Контроль качества строительно-монтажных работ. 6

Раздел 2. Земляные работы.. 8

Общие положения. 8

Характеристика и классификация грунтов. 10

Разбивка трасс. 12

Ограждение участков производства земляных работ. 16

Вскрытие и восстановление дорожных и уличных покровов. 18

Разработка грунтов в траншеях и котлованах открытым способом.. 19

Разработка траншей и котлованов в мерзлых грунтах. 20

Крепление стен траншей и котлованов. 21

Засыпка траншей и котлованов, отвозка грунта. 24

Устройство горизонтальных скважин для кабельных переходов через автомобильные и железные дороги. 25

Устройство кабельных переходов с прокладкой асбестоцементных труб в металлических футлярах. 29

Рекультивация земель. 30

Раздел 3. Строительство подземной кабельной канализации связи. 30

Общие положения. 30

Типы и размеры труб и блоков кабельной канализации связи. 31

Условия прокладки кабельной канализации связи. 33

Прокладка асбестоцементных труб. 36

Прокладка бетонных (цементно-песчаных) труб и блоков. 39

Прокладка полиэтиленовых труб. 41

Прокладка поливинилхлоридных труб. 42

Прокладка трубопровода на мостах. 43

Ввод трубопроводов в колодцы кабельной канализации. 45

Колодцы кабельной канализации связи. 46

Основные материалы для строительства и изготовления колодцев кабельной связи и других устройств канализации. 48

Изготовление и строительство железобетонных колодцев. 49

Строительство кирпичных колодцев. 58

Котлованы для кабельных колодцев связи. 63

Оборудование колодцев кабельной связи. 66

Особенности прокладки кабельной канализации связи в загруженных и сложных уличных условиях. 71

Помещения ввода кабелей телефонной станции. 74

Распределительные шкафы.. 79

Коллекторы.. 82

Строительство и оборудование колодцев для размещения необслуживаемых регенерационных промежуточных пунктов систем передачи ИКМ... 83

Строительство кабельной лотковой канализации связи на переувлажненных грунтах Севера. 84

Раздел 4. Прокладка кабелей в подземной кабельной канализации, коллекторах, тоннелях и по мостам.. 85

Общие положения. Входной контроль строительных длин. 85

Группирование строительных длин кабеля. 87

Подготовка кабельной канализации к прокладке кабеля. 87

Прокладка электрических кабелей в кабельной канализации. 91

Прокладка оптических кабелей. 95

Выкладка кабелей. 99

Прокладка кабелей в коллекторах. 100

Прокладка кабелей в тоннелях. 101

Прокладка кабеля по мостам.. 101

Извлечение кабеля из кабельной канализации. 101

Раздел 5. Прокладка кабелей местных сетей связи в грунте. 102

Общие положения. 102

Разбивка трассы.. 102

Прокладка кабелей. 103

Прокладка оптического кабеля кабелеукладочным комплексом КНВ-2К.. 106

Особенности прокладки кабелей с наружными пластмассовыми оболочками. 106

Особенности прокладки кабеля в мерзлых и вечномерзлых грунтах. 108

Раздел 6. Прокладка кабелей через водные преграды.. 109

Общие положения. 109

Подготовительные работы.. 110

Прокладка кабеля через водные преграды ножевым кабелеукладчиком.. 112

Предварительная разработка подводных траншей. 112

Прокладка кабеля с плавсредств в готовую траншею.. 113

Укрепление подводных кабелей в берегах. 114

Ограждение подводных кабельных переходов. 114

Раздел 7. Устройство вводов кабелей в общественные и жилые здания и прокладка в них кабелей. 115

Общие положения. 115

Устройство подземного ввода кабеля в здание. 117

Устройство воздушного ввода кабеля в здание. 124

Открытая прокладка кабелей по стенам зданий. 125

Установка деталей крепления на строительных основаниях с помощью клеев. 129

Установка деталей крепления пристрелкой. 132

Устройство проходов для кабеля сквозь стены и перекрытия. 135

Прокладка и крепление кабелей. 135

Защита кабелей от механических повреждений. 136

Прокладка кабелей в каналах скрытой проводки. 137

Раздел 8. Строительство воздушных столбовых линий связи с подвеской проводов и кабелей. 137

Общие положения. 138

Линейная арматура, материалы и инструмент. 142

Опоры.. 142

Изготовление и оснастка опор. 146

Разбивка трассы линии. 152

Транспортирование опор. 156

Рытье ям под опоры.. 156

Установка и укрепление опор. 158

Кабельные опоры.. 162

Раскатка проволоки и соединение проводов. 165

Подвеска и регулирование проводов. 170

Вязка проводов на изоляторах. 173

Монтаж проводов при скрещивании. 175

Подвеска кабелей на воздушных столбовых линиях связи. 176

Раздел 9. Строительство стоечных линий. 182

Устройство стоечных линий. 182

Установка и укрепление стоечных опор. 184

Установка телефонных стоек на плоских совмещенных кровлях. 188

Оборудование устройств подхода к стоечным опорам.. 195

Подвеска проводов. 197

Установка кабельного ящика и включение проводов. 200

Подвеска кабелей на стоечных линиях. 200

Раздел 10. Устройство абонентских пунктов. 202

Общие положения. 202

Устройство абонентских пунктов при воздушном вводе. 202

Устройство абонентских пунктов при кабельном вводе. 205

Прокладка абонентских проводок. 206

Установка оборудования абонентских пунктов и подсоединение абонентских проводов. 208

Раздел 11. Монтаж электрических кабелей местных сетей связи. 210

Общие положения. 210

Состав и условия проведения монтажных работ. 210

Организация монтажных работ. 212

Подготовка рабочего места. 213

Проверка кабелей перед монтажом.. 214

Подготовка концов кабелей к монтажу муфт. 216

Монтаж сердечников городских кабелей. 220

Сращивание токопроводящих жил и восстановление их изоляции. 222

Восстановление поясной изоляции и экрана. 230

Особенности восстановления поясной изоляции при монтаже кабелей соединителями СМЖ-10 и модулями МS. 231

Восстановление свинцовых оболочек. 232

Восстановление полиэтиленовых оболочек. 232

Восстановление разнородных оболочек. 237

Восстановление стальной гофрированной оболочки. 239

Восстановление алюминиевых оболочек. 239

Восстановление защитных изолирующих покровов кабелей местных сетей связи. 241

Проверка смонтированных участков и линий. 241

Монтаж сборных муфт. 242

Монтаж станционных разветвительных муфт. 245

Монтаж газонепроницаемых муфт. 245

Монтаж муфт кабелей, проложенных в грунте. 251

Особенности монтажа муфт подвесных кабелей. 252

Особенности монтажа кабелей, проложенных по внутренним и наружным стенам зданий. 253

Монтаж оконечных кабельных устройств. 254

Монтаж распределительных коробок 10´2. 254

Монтаж боксов типа БКТ. 256

Монтаж кабельных ящиков. 259

Монтаж защитных полос кроссов. 260

Монтаж рамок межстанционных связей (соединительных линий) 261

Монтаж распределительных блоков мини-кросса. 264

Монтаж пупиновских ящиков и муфт. 264

Ремонт оболочек кабелей и муфт. 266

Вскрытие и демонтаж муфт. 266

Особенности монтажа кабелей сельской связи. 267

Раздел 12. Монтаж оптических кабелей местных сетей связи. 272

Общие положения и конструкция муфт. 272

Организация рабочего места. 274

Монтаж прямой соединительной муфты МГОК.. 274

Монтаж разветвительной муфты МГОКР. 278

Ремонт смонтированной соединительной муфты.. 279

Маркировка кабеля и муфт. 279

Особенности монтажа оптических кабелей, имеющих металлическую оплетку. 279

Особенности монтажа оптических кабелей, имеющих стальную гофрированную оболочку. 279

Монтаж муфты МКО.. 280

Монтаж муфты МКОР 15/27. 282

Ремонт муфт МКО и МКОР. 283

Раздел 13. Включение в кабельную линию контейнеров аппаратуры ИКМ... 283

Общие положения. 283

Организация монтажа кабельной линии, уплотняемой аппаратурой ИКМ-30-4. 284

Монтаж контейнеров НРП-12-4. 287

Система передачи ИКМ-120-4. Монтаж контейнеров НРП-6. 291

Раздел 14. Электрические измерения и испытания электрических кабелей местных сетей связи. 297

Общие положения. 297

Состав и объем электрических измерений. 298

Нормы электрических параметров. 301

Оформление и обработка результатов измерения. 303

Определение расстояния до места повреждения. 307

Раздел 15. Измерения и испытания оптических кабелей местных сетей связи. 310

Общие положения. 310

Измерение затухания методом обрыва. 311

Метод обратного рассеяния. 313

Входной контроль оптического кабеля на кабельной площадке. 314

Измерение затухания волокон оптического кабеля в процессе монтажа. 315

Измерения затухания смонтированных регенерационных участков. 317

Раздел 16. Испытание герметичности кабелей и постановка их под постоянное избыточное воздушное давление. 317

Общие положения. 317

Нормы герметичности. 320

Испытание герметичности соединительных муфт, пупиновских ящиков и удлинителей. 322

Испытание герметичности оболочек кабелей в секции и на смонтированных кабельных линиях (регенерационных участках) 323

Испытание герметичности контейнеров. 323

Компрессорно-сигнальная установка КСУ-2М... 326

Монтаж установки КСУ-2М... 328

Проверка работоспособности установки КСУ-2М... 330

Определение мест негерметичности кабеля в процессе строительства. 332

Определение района негерметичности оболочки кабеля манометрическим методом.. 332

Определение места негерметичности оболочки кабеля проложенного в кабельной канализации. 333

Определение места негерметичности оболочки кабеля, проложенного в грунте. 335

Раздел 17. Защита подземных металлических сооружений связи от коррозии. 337

Общие положения. 337

Перепайка оболочек и брони кабелей связи. 339

Монтаж КИП.. 339

Монтаж изолирующих муфт. 341

Монтаж и установка протекторов. 341

Монтаж катодных установок. 343

Монтаж электродренажных установок. 344

Монтаж токоотводов. 346

Монтаж совместной защиты.. 347

Уточнение мест включения установок электрохимической защиты и перемычек. 347

Уточнение места включения электродренажной установки. 348

Уточнение места включения катодной установки. 349

Уточнение мест включения электрических перемычек. 350

Электрические измерения. 351

Измерение удельного сопротивления грунта. 351

Определение наличия блуждающих токов в земле. 352

Измерение разности потенциалов «подземное сооружение связи - земля». 353

Измерение разности потенциалов «подземное сооружение связи - рельсы». 354

Измерение разности потенциалов «подземное сооружение связи - соседнее подземное металлическое сооружение». 355

Измерение сопротивления изоляции металлических оболочек, брони кабелей связи, камер НУП и НРП.. 356

Определение мест повреждений защитных покровов. 357

Раздел 18. Защита линейных сооружений от опасных напряжений и токов. 357

Общие положения. 357

Пересечения и сближения кабельных линий местной связи с ВЛ.. 358

Пересечения и сближения кабельных линий местной связи с контактными проводами наземного транспорта. 360

Защита кабельных линий местной связи от грозовых разрядов. 360

Прокладка и сращивание защитных проводов. 362

Установка и монтаж редукционных трансформаторов. 363

Защита воздушных линий связи, подвесных кабелей и абонентских пунктов. 366

Оборудование заземляющих устройств (заземлений) 369

Заземления в местах с высоким удельным сопротивлением грунта. 375

Меры по технике безопасности. 376

Раздел 19. Приемка в эксплуатацию законченных строительством линейных сооружений местных сетей связи. 377

 




Яндекс цитирования



   Copyright © 2007-2026,  www.tehlit.ru.

[ ѓосты, стандарты, нормативы, инструкции, правила, строительные нормы ]