//
ТехЛит.ру
- крупнейшая бесплатная электронная интернет библиотека для "технически умных" людей.
WWW.TEHLIT.RU - ТЕХНИЧЕСКАЯ ЛИТЕРАТУРА

:: Алготрейдинг::


АЛГОТРЕЙДИНГ
шаг за шагом
с нуля по урокам!

Торговые роботы на PYTHON, BackTrader,
Pandas, Pine Script для TradingView. Связка с брокерами, телеграм и легкими приложениями.


Госгортехнадзор России
НТЦ «Промышленная безопасность»

Серия 05

Нормативные документы по безопасности,
надзорной и разрешительной деятельности
в угольной промышленности

Выпуск 9

БЕЗОПАСНОСТЬ
ГОРНОТРАНСПОРТНОГО ОБОРУДОВАНИЯ,
ЭЛЕКТРОУСТАНОВОК И ЭЛЕКТРООБОРУДОВАНИЯ
УГОЛЬНЫХ ШАХТ И РАЗРЕЗОВ

Сборник документов

НОРМЫ БЕЗОПАСНОСТИ
НА ЭЛЕКТРОУСТАНОВКИ УГОЛЬНЫХ РАЗРЕЗОВ
И ТРЕБОВАНИЯ ПО ИХ БЕЗОПАСНОЙ ЭКСПЛУАТАЦИИ

РД 05-334-99

Москва

Государственное унитарное предприятие
«Научно-технический центр по безопасности в промышленности
Госгортехнадзора России»

2003

Ответственные составители-разработчики:

А.И. Субботин, В.Д. Чигрин, Л.А. Беляк, И.Д. Таран, В.А. Гришин, В.О. Жидков, Л.А. Чубаров

В настоящий Сборник включены нормативно-технические документы Госгортехнадзора России, разработанные для реализации в угольной отрасли требований Федерального закона «О промышленной безопасности опасных производственных объектов» от 21.07.97 № 116-ФЗ и постановления Правительства Российской Федерации «О применении технических устройств на опасных производственных объектах» от 25.12.98 № 1540.

Требования нормативно-технических документов обязательны для разработчиков, изготовителей горнотранспортного оборудования, электроустановок и электрооборудования для подземных и открытых горных работ, а также для акционерных обществ, предприятий и организаций (независимо от форм собственности), осуществляющих эксплуатацию, техническое обслуживание, ремонт, испытания и сертификацию указанного оборудования.

В разработке включенных в настоящий Сборник документов принимали участие сотрудники ННЦ ГП ИГД им. А.А. Скочинского, ВостНИИ, МОС «Сертиум», ЗАО «Трансбелт», Управления по надзору в угольной промышленности Госгортехнадзора России.

СОДЕРЖАНИЕ

Предисловие. 2

Основные термины и их определения. 2

Часть первая. 2

Нормы безопасности на электроустановки угольных разрезов. 2

1. Электрические сети разрезов. 2

2. Комплектные подстанции. 3

3. Приключательные пункты.. 3

4. Кабельные коробки и муфты.. 4

5. Экскаваторы и роторные комплексы.. 4

6. Буровые станки. 6

7. Кольцевые токоприемники экскаваторов и кабельных барабанов напряжением 6 - 35 кв.. 6

8. Специальные осветительные установки. 7

9. Опоры передвижных лэп. 7

10. Защита от поражения электротоком водителей карьерных автосамосвалов. 7

11. Защита от замыканий на землю.. 7

12. Трансформаторы для ручной электродуговой сварки. 7

13. Основные требования к исполнению электрооборудования и электроустановок по фактору устойчивости к воздействиям внешней среды.. 7

Приложения. 9

Основные требования и характеристики безопасности защитно-коммутационной аппаратуры и других устройств. 9

П.1. Технические требования к устройствам (схемам) защиты при обрыве заземляющей жилы гибкого кабеля (к пп. 1.1.8 и 2.2.2) 9

П.2. Схемы электроснабжения экскаваторов с различными уровнями защиты, контроля и управления (к п. 1.1.9) 10

П.3. Технические требования к устройствам контроля изоляции и защите от утечек тока на землю (к пп. 5.6, 5.7, 6.4) 11

П.4. Основные технические требования к кбу (к п. 3.1.9) 13

П.5. Требования безопасности при осуществлении апв линий 6 - 10 кв после отключения их защитами от замыканий на землю (к п. 3.1.9) 13

П.6. Рекомендации по объединению сетей 380 в и сетей с нестандартным значением напряжения в целях защиты их одним реле утечки (к пп. 5.8 и 6.5) 13

Часть вторая. 14

Требования безопасности при эксплуатации электроустановок на угольных разрезах. 14

1. Воздушные лэп.. 14

2. Работа самоходного оборудования вблизи воздушных лэп.. 15

3. Кабельные линии напряжением до 10 кв.. 15

4. Подключение электропотребителей и переключение воздушных лэп и кабельных линий. 15

5. Передвижные одиночные распределительные устройства и пктп.. 16

6. Защита от утечек тока на землю в сетях напряжением до 1000 в.. 16

7. Защита от замыканий на землю в сетях напряжением 6 - 10 кв.. 16

8. Защита от атмосферных и коммутационных перенапряжений. 17

9. Защитное заземление. 17

10. Заземление экскаваторов, работающих в забоях с контактными сетями электрифицированного железнодорожного транспорта. 19

Утверждены

постановлением Госгортехнадзора

России от 24.12.99 № 96

НОРМЫ БЕЗОПАСНОСТИ НА ЭЛЕКТРОУСТАНОВКИ УГОЛЬНЫХ РАЗРЕЗОВ И ТРЕБОВАНИЯ ПО ИХ БЕЗОПАСНОЙ ЭКСПЛУАТАЦИИ*

* Разработчики настоящих нормативно-технических документов - зав. лабораторией безопасности горного и промышленного электрооборудования ВостНИИ канд. техн. наук В.О. Жидков, ст. н. с. Н.А. Щур.

Рецензенты: Н.С. Морозов (гл. энергетик ОАО «Концерн Кузбассразрезуголь»); А.Ф. Гребенкин, В.В. Брастовский (ОАО «Разрез Бачатский»).

РД 05-334-99

ПРЕДИСЛОВИЕ

Настоящие Нормы безопасности на электроустановки угольных разрезов и требования по их безопасной эксплуатации (далее - Нормативы) содержат комплекс основополагающих требований электробезопасности, которые отражают специфику устройства и эксплуатации самоходных и передвижных электроустановок в зоне ведения горных работ на угольных разрезах. Требования настоящих Нормативов имеют главенствующее значение применительно к этим условиям из всей другой нормативной документации. В части, не оговоренной в настоящих Нормативах, должны выполняться требования действующих общеотраслевых и межотраслевых документов по устройству электроустановок и безопасности их эксплуатации (ПУЭ, ПТЭ и ПТБЭЭП и др.).

Требования настоящих нормативно-технических документов являются обязательными и должны учитываться:

научно-исследовательскими и конструкторскими организациями, а также заводами-изготовителями при создании новых и модернизации выпускаемых электрифицированных машин, механизмов, электроустановок и отдельного электрооборудования для угольных разрезов;

проектными организациями при технологическом проектировании угольных разрезов;

испытательными организациями, проводящими экспертизу и испытания на электробезопасность машин, механизмов и электроустановок для угольных разрезов;

организациями и предприятиями, эксплуатирующими электроустановки на разрезах, в том числе при разработке отраслевой, региональных и местных инструкций по безопасной эксплуатации электроустановок угольных разрезов.

ОСНОВНЫЕ ТЕРМИНЫ И ИХ ОПРЕДЕЛЕНИЯ

Электрическая сеть разреза - совокупность электроустановок для передачи и распределения электрической энергии по территории разреза, состоящая из подстанций, распределительных устройств, воздушных и кабельных линий электропередачи.

Передвижные электроустановки - электроустановки, размещаемые на салазках, тележках, волокушах и т.п. и передвигаемые (буксируемые) транспортными средствами - тракторами, автомобилями, самоходными электроустановками и т.п.

Самоходные электроустановки - электроустановки, размещенные на самоходных горно-транспортных и иных машинах (экскаваторах, буровых станках, самоходных кабельных барабанах и т.д.).

Передвижные воздушные ЛЭП - воздушные линии электропередачи, выполняемые на опорах с наземными основаниями (подножниками) и периодически перемещаемые транспортными средствами по территории разреза.

Временные воздушные ЛЭП - стационарные воздушные линии электропередачи с ограниченным сроком эксплуатации (как правило, 5 - 7 лет).

Передвижные приключательные пункты - передвижные одиночные комплектные распределительные устройства напряжением 6 - 35 кВ, предназначенные для подключения к воздушным или кабельным линиям электропередачи самоходных и других электроприемников.

Секционные передвижные КРУ - передвижные одиночные комплектные распределительные устройства напряжением 6 - 35 кВ, предназначенные для разделения линий электропередачи на отдельные участки.

«Должно», «необходимо», «следует» означают, что выполнение изложенных требований обязательно.

«Как правило» означает, что данное решение является лучшим и поэтому должно применяться в большинстве случаев.

«Рекомендуется» означает, что данное решение является одним из лучших, но необязательным.

«Допускается» означает, что данное решение является удовлетворительным, а в ряде случаев - вынужденным.

Часть первая

НОРМЫ БЕЗОПАСНОСТИ НА ЭЛЕКТРОУСТАНОВКИ УГОЛЬНЫХ РАЗРЕЗОВ

Излагаемые ниже требования должны учитываться при разработке новых и модернизации выпускаемых электроустановок для угольных разрезов, проектировании схем электроснабжения новых и реконструируемых разрезов, а также при экспертизе и испытаниях на электробезопасность.

1. ЭЛЕКТРИЧЕСКИЕ СЕТИ РАЗРЕЗОВ

1.1. При проектировании новых электрических сетей разрезов необходимо учитывать следующие требования безопасности:

1.1.1. Для питания передвижных и самоходных электроустановок следует применять сети напряжением не выше 35 кВ с изолированной нейтралью трансформаторов или заземленной через высокоомные резисторы либо трансформаторы стабилизации сети.

При выборе режима нейтрали распределительных сетей 6 - 10 кВ (полностью изолированная нейтраль; заземление нейтрали через высокоомные сопротивления или трансформаторы стабилизации сети) необходимо учитывать следующие факторы:

1) тип применяемых защит от однофазных замыканий на землю, устанавливаемых в приключательных пунктах и на подстанциях;

2) возможную вариацию в одной и той же сети емкостного тока металлического однофазного замыкания на землю от Iм max до 0,35Iм max;

3) различие собственных емкостных токов присоединений (фидеров);

4) характер электрических процессов, протекающих в контуре нулевой последовательности при однофазных замыканиях в сетях с различными режимами нейтрали.

1.1.2. Суммарная протяженность металлически связанных сетей напряжением 6 - 10 кВ должна быть такой, чтобы емкостный ток однофазного замыкания на землю не превышал 15 А.

1.1.3. В распределительных устройствах напряжением 6 (10) кВ подстанций 110 (35)/6 (10) кВ должны предусматриваться ячейки с конденсаторами для увеличения минимального тока однофазного замыкания на землю до величины, обеспечивающей гарантированное срабатывание защит от однофазных замыканий на землю, а также сохранение работоспособности указанных защит при одной включенной линии. Емкость конденсаторов 0,2 - 0,5 мкФ на фазу.

1.1.4. Питание карьерных электроустановок должно выполняться обособленно - отдельно от потребителей другого назначения (городских, шахтных и т.д.).

Совместное питание потребителей от одной секции шин допускается при условии оборудования всех фидеров, в том числе питающих сторонние потребители, селективными защитами от однофазных замыканий на землю с действием на отключение.

1.1.5. В зависимости от горно-геологических и технологических особенностей разрезов внутрикарьерные линии электропередачи выполняются воздушными, кабельными и воздушно-кабельными. В качестве кабельных вставок в передвижных воздушно-кабельных линиях допускается применять гибкие экскаваторные кабели, присоединяемые к проводам воздушных линий непосредственно на опорах без аппаратов подключения. При этом концевые разделки кабельных вставок должны иметь изоляцию, устойчивую к воздействию атмосферных осадков и солнечной радиации.

1.1.6. Для сооружения кабельных передвижных распределительных сетей и для питания самоходных и передвижных электропотребителей разрезов (экскаваторов, конвейерно-отвальных комплексов, буровых станков и т.п.) должны использоваться гибкие шланговые кабели как минимум с пятью жилами: три силовых, заземляющая и вспомогательная (контрольная).

1.1.7. Для соединения гибких кабелей должны применяться соединительные коробки и штепсельные муфты. Технические требования, предъявляемые к коробкам и муфтам, изложены в разд. 4.

1.1.8. Для защиты при обрыве заземляющей жилы в гибких кабелях должны предусматриваться защиты, воздействующие на отключение коммутационного аппарата с питающей стороны кабеля. Технические требования к таким защитам приведены в приложении П.1.

1.1.9. Электрические сети разрезов следует ориентировать на возможно высший уровень автоматизации управления и контроля электросетевых устройств, элементов сети и т.п.

Целесообразные иерархические ступени автоматизации в сетях напряжением 6 - 10 кВ показаны в приложении П.2.

1.1.10. Грозозащита сетей, электросетевых устройств и электроустановок должна осуществляться в соответствии с Нормативами по защите электроустановок открытых горных разработок от атмосферных перенапряжений.

2. КОМПЛЕКТНЫЕ ПОДСТАНЦИИ

2.1. Подстанции с напряжением 6 (10) кВ, питающие самоходные и передвижные электроустановки.

2.1.1. Все ячейки отходящих РУ-6 (10) кВ должны оборудоваться селективными высокочувствительными защитами от замыканий на землю. Технические требования к защитам от замыканий на землю изложены в разд. 11.

2.2. Передвижные карьерные подстанции с напряжением 220, 380, 660, 1140 В.

2.2.1. На стороне высшего напряжения должны устанавливаться разъединители в комплексе с заземляющими ножами и предохранители с плавкими вставками. При этом предохранители должны обеспечивать защиту от токов короткого замыкания в зоне от места установки до вводных контактов автоматических выключателей на низшей стороне подстанций.

Двери распредустройства высокого напряжения должны иметь механическую блокировку, исключающую возможность их открывания при отключенных заземляющих ножах, а также отключение заземляющих ножей при открытых дверях.

2.2.2. В распредустройствах напряжением 220, 380, 660, 1140В в качестве коммутационных аппаратов должны применяться автоматические выключатели, а также защиты с действием на отключение автоматических выключателей:

1) максимально-токовая;

2) при обрыве заземляющей жилы кабелей, отходящих от подстанции (основные требования к этой защите приведены в приложении П.1);

3) от утечек тока на землю.

3. ПРИКЛЮЧАТЕЛЬНЫЕ ПУНКТЫ

3.1. Приключательные пункты на напряжение 6 (10) кВ.

3.1.1. В зависимости от конкретного назначения приключательные пункты рекомендуется изготовлять со следующим набором коммутационной и силовой аппаратуры:

3.1.1.1. Только с разъединителем.

3.1.1.2. С разъединителем и контактором (или выключателем нагрузки).

3.1.1.3. С разъединителем и выключателем мощности.

3.1.2. Приключательные пункты, изготовляемые в соответствии с пп. 3.1.1.1 и 3.1.1.2, могут оснащаться селективными устройствами от замыканий на землю и междуфазных замыканий, действующими «на сигнал» с сохранением информации о срабатывании.

3.1.3. Приключательные пункты, изготовляемые в соответствии с п. 3.1.1.3, должны оснащаться следующими видами защит с действием «на отключение»: селективной защитой от замыканий на землю, максимально-токовой защитой и защитой при обрыве заземляющей жилы кабеля.

3.1.4. Защиты от замыканий на землю, применяемые в приключательных пунктах, должны соответствовать требованиям, изложенным в п. 11.2.

Максимально-токовые защиты должны иметь конструкцию, не требующую применения инструментальных методов настройки уставок после перемещений приключательных пунктов в точки сети с изменившимися токами КЗ.

3.1.5. Разъединители в приключательных пунктах должны применяться в комплексе с заземляющими ножами. При этом приводы разъединителя и заземляющих ножей должны быть сблокированы таким образом, чтобы вначале отключался разъединитель, а затем включались заземляющие ножи. Включению разъединителя должно предшествовать отключение заземляющих ножей. Кроме того, в приключательных пунктах, изготовляемых в соответствии с пп. 3.1.1.2 и 3.1.1.3, должна быть выполнена блокировка между разъединителем и выключателем (контактором), препятствующая ошибочным операциям с разъединителем и выключателем.

3.1.6. Все двери высоковольтных отсеков приключательных пунктов должны иметь надежное запирающее устройство и механическую блокировку, исключающую возможность открывания дверей при отключенных заземляющих ножах, а также их отключение при открытых дверях.

3.1.7. Для повышения электробезопасности и удобства обслуживания приключательные пункты, имеющие трансформаторы собственных нужд (ТСН), рекомендуется оснащать дополнительным разъединителем с заземляющими ножами для питания ТСН. При этом дверь отсека с ТСН должна иметь механическую блокировку с заземляющими ножами указанного разъединителя в соответствии с п. 3.1.6 настоящих Нормативов.

3.1.8. Снаружи корпуса приключательного пункта должно быть предусмотрено не менее двух (с противоположных сторон) заземляющих болтов.

3.1.9. Для обеспечения автоматизации управления коммутационным аппаратом и повышения электробезопасности рекомендуется оснащение приключательных пунктов набором аппаратуры, в который полностью либо частично могут входить:

защита минимального напряжения; защита от обрыва фазы; устройство контроля состояния изоляции отходящего кабеля, срабатывающее перед каждым включением коммутационного аппарата и блокирующее его включение при неисправной изоляции (Основные технические требования к контрольно-блокировочным устройствам приведены в приложении П.4);

устройство однократного автоматического повторного включения (после срабатывания защит от замыканий на землю) совместно с устройством контроля состояния изоляции кабелей (Требования безопасности при осуществлении АПВ линий 6 - 10 кВ после отключения их защитами от замыканий на землю приведены в приложении П.5).

4. КАБЕЛЬНЫЕ КОРОБКИ И МУФТЫ

4.1. Коробки для соединения гибких кабелей должны иметь заземляющие ножи, сблокированные с механизмом открывания крышки таким образом, чтобы открывание крышки было возможно только после включения заземляющих ножей.

Положение ножей («включено», «отключено») должно указываться положением рукоятки привода ножей либо другими механическими указателями.

Рукоятки приводов заземляющих ножей и механизма открывания крышки должны закрываться защитным кожухом со специальным ключом. Защитный кожух должен закрываться при полностью отключенных заземляющих ножах.

4.2. Соединительные и концевые муфты штепсельного типа для гибких кабелей должны иметь не менее пяти контактов: три силовых, один для заземляющей жилы и один для вспомогательной (контрольной) жилы. При разъединении муфт вначале должен размыкаться контакт для вспомогательной жилы, затем контакты силовых жил и в последнюю очередь - контакт для заземляющей жилы.

4.3. Соединительные коробки и муфты, а также концевые муфты, отвечающие требованиям пп. 4.1 и 4.2 настоящих Нормативов, должны применяться в сочетании с устройствами, приводящими к автоматическому отключению коммутационного аппарата, снимающего напряжение с питающей стороны кабеля при открывании защитного кожуха коробки и в начальной стадии разъединения штепсельной муфты.

5. ЭКСКАВАТОРЫ И РОТОРНЫЕ КОМПЛЕКСЫ

5.1. На борт экскаватора подается, как правило, напряжение 6 кВ и реже - 10 кВ. Для мощных экскаваторов допускается ввод на борт напряжения 35 кВ.

Во внутриэкскаваторных электрических сетях в зависимости от их функционального назначения могут применяться следующие напряжения:

для сетевых двигателей преобразовательных агрегатов и трансформаторов собственных нужд - 6 - 10 кВ переменного тока;

для основных приводов - до 1140 В трехфазного переменного или выпрямленного тока и до 1500 В постоянного тока;

для вспомогательных приводов переменного тока - 220, 380 В;

для общего освещения - 127, 220 В;

для специальных осветительных установок - до 380 В;

для цепей управления, автоматики, сигнализации и т.п. - не выше 380 В.

5.2. Нейтральные точки трансформаторов внутриэкскаваторных систем переменного тока, а также генераторов постоянного тока и других преобразователей должны быть, как правило, изолированы от корпуса (исключение - п. 5.7). Рекомендуется использование трансформаторов с выведенными нейтральными точками для упрощения присоединения средств автоматического контроля изоляции и защиты от токов утечки.

5.3. Во внутриэкскаваторных КРУ-6 кВ, через которые подается напряжение на сетевой двигатель и ТСН, должны использоваться два разъединителя: один для питания трансформатора, другой - для цепи «выключатель - сетевой двигатель». Разъединители должны применяться в комплексе с заземляющими ножами. Приводы разъединителей и заземляющих ножей должны иметь взаимную блокировку, исключающую ошибочное включение разъединителя при включенных заземляющих ножах.

5.4. При применении в КРУ-6 кВ вакуумных или полупроводниковых выключателей необходимо предусматривать устройства прямого либо косвенного контроля отключенного положения фаз.

5.5. Для повышения электробезопасных свойств внутриэкскаваторных электросистем необходимо при их проектировании сокращать разветвленность и суммарную протяженность проводников сетей за счет электрического разделения через трансформаторы.

Критерием протяженности является электрическая емкость проводников одной фазы (полюса) на корпус, которая не должна превышать:

1) в сетях переменного тока напряжением 220 - 1140 В и постоянного тока в системах Г-Д и ТП-Д главных приводов - 1 мкФ на фазу (полюс);

2) в системах переменного, постоянного и смешанного тока напряжением до 380 В, питающих цепи автоматики, управления и контроля, - не более 0,1 мкФ на фазу (полюс).

5.6. Для защиты обслуживающего персонала от поражения электротоком в сетях с напряжением выше 42 В переменного тока и 110 В постоянного тока должны, как правило, применяться устройства контроля изоляции, а также реле утечки, действующие на отключение контролируемой электрической сети при снижении сопротивления изоляции относительно земли, в том числе при однофазном (однополюсном) прикосновении человека (Технические требования к устройствам контроля изоляции и защите от утечек тока на землю приведены в приложении П.3).

5.7. Для ускорения поиска мест повреждений изоляции в разветвленных электросистемах переменного тока 220 - 380 В допускается применение селективных двухступенчатых устройств защитного отключения, действующих на отключение участка сети при однофазных утечках тока (замыканий) на корпус, в том числе при прикосновении человека (см. приложение П.3).

5.8. При питании цепей автоматики, управления и т.п. от трансформаторов, первичные обмотки которых присоединены к электросистемам, защищенным реле утечки, допускается соединение первичных и вторичных обмоток через токоограничивающие резисторы. Защита этих цепей при утечках тока выполняется реле утечки, установленным в сети первичной обмотки (Рекомендации по объединению сетей 380 В и сетей с нестандартным значением напряжения в целях защиты их одним реле утечки приведены в приложении П.6).

5.9. Время отключения поврежденных электросистем при утечках тока на землю необходимо определять исходя из следующего:

5.9.1. Режимные особенности экскаваторов цикличного действия предопределяют недопустимость внезапного отключения энергии в бортовых сетях, питающих узлы управления главных приводов во время цикла экскавации, особенно при повороте платформы и разгрузке ковша.

5.9.2. Эксплуатационные особенности заключаются в ограничении числа людей (1 - 3 человека), управляющих работой экскаватора. При этом во время работы экскаватора маловероятно прикосновение людей к каким-либо токоведущим частям.

5.9.3. Обслуживание электрической части экскаваторов во время ремонтов и наладки, то есть когда работы проводятся непосредственно в шкафах с размещенной аппаратурой и, следовательно, возможно прикосновение к токоведущим частям, выполняется в основном специалистами-электриками. Главные приводы при этом обесточены и цикл экскавации не выполняется.

С учетом перечисленных особенностей условия отключения внутриэкскаваторных электросистем различного функционального назначения приведены в табл. 5.1.

5.10. Электрическая компоновка шкафов управления приводами должна выполняться по принципу «функциональной завершенности», то есть вся аппаратура контроля, управления, защиты и автоматики привода должна размещаться в отдельном шкафу (или нескольких шкафах)*. К «посторонним» электрическим цепям, которые допускаются в этих шкафах, могут быть отнесены внутреннее освещение шкафов, а также цепи автоматики и связи с другими приводами. При этом «посторонние» цепи должны быть четко выделены и защищены от случайного прикосновения при работе персонала в цепях основного функционального назначения шкафа.

* Выполнение этого требования для средств контроля изоляции и защиты от токов утечки необязательно.

Таблица 5.1

Назначение электросистемы

Отключение «с выдержкой времени» (СВВ) «без выдержки времени» (БВВ)

1. Трехфазного переменного тока напряжением до 380 В, питающие тиристорные блоки и генераторы собственных нужд (возбуждения)

СВВ*

2. Переменного тока напряжением 220 В, питающие освещение

БВВ

3. Главных приводов постоянного и выпрямленного токов (систем Г-Д, ТП-Д, ТПЧ-АД)

СВВ*

4. Одновременно питающие потребителей разного назначения

СВВ* - при выполнении цикла экскавации

БВВ - при неработающих главных приводах

* Выдержка времени устанавливается в технических условиях на экскаватор.

5.11. При технической сложности выполнения п. 5.10 допускается компоновка в одном шкафу электрооборудования для нескольких приводов. При этом группы аппаратов для отдельных приводов должны четко различаться (надписями, расцветкой и т.п.) и по возможности закрываться внутренними перегородками, исключающими случайное прикосновение к электрооборудованию других приводов при работах на конкретном приводе.

5.12. Двери шкафов управления должны оборудоваться электрическими блокировками, обеспечивающими при открывании дверей снятие напряжения с электроаппаратуры шкафа, за исключением посторонних цепей.

5.13. Кабельные магистрали и провода, соединяющие электрические машины и аппараты, должны прокладываться по каналам, закрывающимся металлическими пластинами, конструктивно выполненными таким образом, чтобы исключалось их самопроизвольное смещение. При размещении в одном канале кабелей (проводов) напряжением до 1000 В и выше 1000 В между ними должны быть металлические перегородки.

5.14. Для эпизодического подключения неэкскаваторных, сравнительно небольших по мощности потребителей рекомендуется на внешней стороне поворотной платформы и на базе экскаватора устанавливать штепсельные розетки, запитываемые от трансформаторов собственных нужд с низшим напряжением 220, 380 В.

5.15. На экскаваторах крупных параметров и роторных комплексах, имеющих значительное количество электрически разделенных цепей различного функционального назначения, рекомендуется для удобства эксплуатации и ускорения обнаружения неисправностей (утечек, замыканий на корпус) всю информацию о работе защит выводить на центральный пульт в кабину машиниста. При этом должна быть неселективная звуковая сигнализация (о срабатывании любой из оговоренных защит) и селективная световая, однозначно указывающая конкретную сеть, в которой произошла утечка тока на корпус.

5.16. Обособленные внутриэкскаваторные системы напряжением 6 (10) кВ, что может иметь место при вводе на борт экскаватора напряжения 35 кВ, должны оборудоваться следующими видами электрических защит:

1) понижающие 35/6 (10) кВ трансформаторы и распределительного устройства напряжением 6 (10) кВ - комплектами защит в соответствии с требованиями ПУЭ, касающимися этих установок;

2) в распределительных устройствах напряжением 6 (10) кВ должна предусматриваться двухступенчатая защита от замыканий на корпус. Первая селективная ступень защиты мгновенного действия устанавливается в ячейках распределительных устройств напряжением 6 (10) кВ отходящих линий и отключает ячейку при возникновении замыкания в отходящей от ячейки линии. Вторая неселективная ступень защиты действует на отключение вводной ячейки с выдержкой времени до 0,7 с при отказах первой ступени защиты или при замыканиях вне зоны действия защиты первой ступени.

6. БУРОВЫЕ СТАНКИ

6.1. Для питания буровых станков допускается применение напряжения, вводимого на борт, до 10 кВ.

6.2. При вводе на борт бурового станка напряжением 6 - 10 кВ подсоединение кабеля к воздушной линии должно выполняться посредством приключательного пункта.

6.3. При вводе на борт бурового станка напряжением 380, 660, 1140 В питание его должно осуществляться от передвижной трансформаторной подстанции с набором защитно-коммутационной аппаратуры, соответствующей требованиям пп. 2.2.1 и 2.2.2 части первой настоящих Нормативов.

6.4. Обособленные электросистемы внутри буровых станков напряжением до 1140 В должны оборудоваться защитой от утечек тока, осуществляющей непрерывный контроль активного сопротивления изоляции и утечек находящейся под рабочим напряжением сети, и обеспечивать возможность ее отключения без выдержки времени коммутационным аппаратом при снижении указанных сопротивлений ниже нормированных значений (Технические требования к устройствам контроля изоляции и защите от утечек тока на землю приведены в приложении 3).

6.5. При питании цепей автоматики, управления и т.п. от трансформаторов, первичные обмотки которых присоединены к электросистемам, защищенным реле утечки, допускается защиту от утечек этих цепей осуществлять в соответствии с п. 5.8 части первой настоящих Нормативов.

6.6. Требования к компоновке шкафов управления, прокладке кабельных и проводных коммуникаций аналогичны требованиям, изложенным в разд. 5 части первой настоящих Нормативов.

7. КОЛЬЦЕВЫЕ ТОКОПРИЕМНИКИ ЭКСКАВАТОРОВ И КАБЕЛЬНЫХ БАРАБАНОВ НАПРЯЖЕНИЕМ 6 - 35 кВ

7.1. Кольцевые токоприемники экскаваторов и кабельных барабанов должны оборудоваться защитными кожухами с механическими либо электрическими блокировками, исключающими доступ к токоведущим частям до снятия с них напряжения.

7.2. Кольцевые токоприемники экскаваторов и кабельных барабанов должны выполняться как минимум с пятью кольцами: три для силовых жил и по одному для заземляющей и вспомогательной (контрольной) жил кабеля.

8. СПЕЦИАЛЬНЫЕ ОСВЕТИТЕЛЬНЫЕ УСТАНОВКИ

Для специальных осветительных установок, например с ксеноновыми лампами, которым необходимы два уровня напряжения - 220 и 380 В, должны применяться индивидуальные трансформаторы с выведенной нулевой точкой. Эксплуатация установок допускается без устройства защиты от утечек тока при условии, что корпусы электрооборудования не должны присоединяться к проводу, идущему от нейтрали.

9. ОПОРЫ ПЕРЕДВИЖНЫХ ЛЭП

9.1. Опоры передвижных ЛЭП напряжением до 10 кВ должны изготовляться по специальным проектам.

9.2. Конструкция опоры должна обеспечивать возможность механизированной перевозки, установки и натяжки проводов.

9.3. В качестве стоек для опор могут использоваться дерево, железобетон, металлоконструкции либо металлические трубы.

9.4. В качестве подножников опор могут использоваться железобетонные, металлические либо другие элементы, обеспечивающие устойчивость опоры.

10. ЗАЩИТА ОТ ПОРАЖЕНИЯ ЭЛЕКТРОТОКОМ ВОДИТЕЛЕЙ КАРЬЕРНЫХ АВТОСАМОСВАЛОВ

10.1. Для исключения поражения электротоком водителей автосамосвалов при подъеме кузова под ЛЭП напряжением выше 1000 В автомобили должны оснащаться устройствами, обеспечивающими предупреждение водителя и блокировку подъема кузова при попытке его подъема вблизи ЛЭП, находящейся под напряжением.

10.2. Чувствительность устройств предупреждения и блокировки должна обеспечивать их срабатывание на расстоянии от верха кабины до ближайшего фазного провода менее (8 ± 2) м.

11. ЗАЩИТА ОТ ЗАМЫКАНИЙ НА ЗЕМЛЮ

11.1. Защита от замыканий на землю для электрических сетей напряжением 6 - 10 кВ должна разрабатываться с использованием технических решений, обеспечивающих поперечную селективность, высокую чувствительность и надежность работы.

11.2. Защита от замыканий на землю должна реагировать на однофазные и двухфазные разноместные замыкания на землю.

11.3. Технические требования, которым должны отвечать собственно устройства защиты от замыканий на землю:

Первичный ток нулевой

последовательности, приводящий

к срабатыванию, А.............................................................................................. 0,5 и более

Время срабатывания, с......................................................................................... 0,06 - 0,08

Принцип обеспечения

поперечной селективности...................................................... Направленность действия

Коэффициент поперечной селективности, %............................................... Не менее 99.

Срабатывание должно обеспечиваться: при металлических ОЗЗ; при дуговых ОЗЗ; при ОЗЗ через сопротивление до 1000 Ом.

Зона срабатывания защиты при всех видах замыканий - от места установки защиты до наиболее удаленной точки защищаемого участка сети.

Защита не должна срабатывать при самоустраняющихся ОЗЗ длительностью не более 0,05 с.

Защита должна иметь самоконтроль исправности либо встроенный узел периодического контроля ее исправности обслуживающим персоналом.

12. ТРАНСФОРМАТОРЫ ДЛЯ РУЧНОЙ ЭЛЕКТРОДУГОВОЙ СВАРКИ

12.1. Напряжение холостого хода обмотки низшего напряжения, питающей сварочные цепи, не должно превышать 80 В.

12.2. Для облегчения возбуждения дуги между электродом и свариваемым изделием и повышения стабильности горения дуги допускается применение преобразователей повышенной частоты (осцилляторов) и импульсных генераторов.

12.3. Сварочные трансформаторы должны иметь встроенные либо отдельно подключаемые устройства для ограничения уровня напряжения холостого хода на электроде после его отрыва от свариваемой детали.

Учитывая специфику выполнения сварочных работ на разрезах, ограничители напряжения холостого хода должны обеспечивать:

время существования полного напряжения на электроде - не более 1 с;

действующее значение остаточного напряжения на электроде - не более 20 В.

13. ОСНОВНЫЕ ТРЕБОВАНИЯ К ИСПОЛНЕНИЮ ЭЛЕКТРООБОРУДОВАНИЯ И ЭЛЕКТРОУСТАНОВОК ПО ФАКТОРУ УСТОЙЧИВОСТИ К ВОЗДЕЙСТВИЯМ ВНЕШНЕЙ СРЕДЫ

13.1. Электроустановки для разрезов как комплектные изделия, а также все комплектующее электрооборудование (электрические машины, трансформаторы, коммутационные аппараты, устройства защиты, управления, автоматики и пр.) должны обладать эксплуатационными свойствами, обеспечивающими в течение нормируемого срока службы нормальное функционирование в условиях воздействия внешней среды.

13.2. В Российской Федерации не имеется норм на изготовление специального электрооборудования для открытых горных разработок, а применяемое электрооборудование, в основном общего назначения, оказывается неспособным выдерживать жесткие воздействия внешней среды, характерные для условий эксплуатации его на разрезах (карьерах). Поэтому ниже приведены требования, которые следует рассматривать как дополнительные к существующим нормам и требованиям по изготовлению электрооборудования общего назначения, позволяющие повысить эксплуатационные свойства при его применении на разрезах.

13.3. Основными факторами внешней среды, неблагоприятно воздействующими на электроустановки разрезов, являются:

а) механические - вибрации и удары;

б) климатические - температура, влажность, солнечная радиация, ветер;

в) технологические - высокая запыленность, в том числе токопроводящей пылью, ударные волны и сейсмические колебания при взрывных работах.

13.4. Значения механических воздействий, которые могут иметь место при работе карьерной электроустановки, должны устанавливаться на стадии ее проектирования (модернизации) с учетом:

а) нормативных данных (ГОСТ 17516.1-83 «Изделия электротехнические. Условия эксплуатации в части воздействия механических факторов внешней среды»);

б) фактических данных, измеренных на эксплуатирующихся подобных установках.

В качестве ориентировочных значений могут быть рекомендованы данные, приведенные в табл. 13.1.

Таблица 13.1

Значения механических воздействий на электроустановки разрезов

Вид электроустановки

Места размещения комплектующего электрооборудования

Вибрации

Многократные удары

Одиночные удары

Диапазон частот, Гц

Макс, ускорение, м/с2

Ускорение, м/с2

Длительность, мс

Ускорение, м/с2

Длительность, мс

1

2

3

4

5

6

7

8

Экскаваторы (шагающие, роторные, мехлопаты с ковшом менее 20 м3), станки вращательного бурения

На поворотных платформах с креплением на полу, в шкафах, на щитах, панелях, пультах

1 - 35

0,5

15*

2 - 15*

-

-

Экскаваторы-мехлопаты с ковшом 20 м3 и более, станки ударно-вращательного бурения

То же

1 - 35

0,5

15

2-15

-

-

Передвижные приключательные пункты 6 (10) кВ, передвижные трансформаторные подстанции с низшим напряжением 220 - 1140 В, кабельные коробки и муфты

На полу и стенах, на щитах, пультах

-

-

-

-

10*

20 - 50*

* Требования только по прочности, остальные - по устойчивости и прочности. Термины «прочность» и «устойчивость» даются по ГОСТ 16962-71.

13.5. Значения климатических факторов, в частности температуры и влажности окружающей среды, следует принимать в зависимости от категории размещения электрооборудования по ГОСТ 15150-69 «Машины, приборы и другие технические изделия. Исполнения для различных климатических районов. Категории, условия эксплуатации, хранения и транспортирования в части воздействия климатических факторов внешней среды».

Практически для всех передвижных электроустановок наружные токоведущие части (вводные устройства, разрядники, трансформаторы, разъединители и т.п.) относятся к категории размещения 1. Электрооборудование, находящееся внутри электроустановки (экскаватора, бурового станка, приключательного пункта, передвижной трансформаторной подстанции и т.п.), следует относить к категории размещения 2.

13.6. Электроустановки должны быть устойчивы к воздействию дождя, верхнее значение интенсивности которого 5 мм/мин, за исключением изделий на напряжение выше 1000 В в исполнении для умеренного и холодного климата (У и ХЛ), для которых верхнее значение интенсивности дождя составляет 3 мм/мин.

13.7. Электроустановки и комплектующее электрооборудование должны быть устойчивы к воздействию смены температур от максимальной температуры изделий при эксплуатации до нижнего значения температуры окружающей среды при эксплуатации.

13.8. Все передвижные электроустановки должны быть работоспособны при динамическом или статическом воздействии пыли природного и искусственного происхождения.

Наружные части электроустановок в соответствии с ГОСТ 16962-71 «Изделия электронной техники и электротехники. Механические и климатические воздействия. Требования и методы испытаний» должны быть устойчивы к абразивному воздействию кварцевого песка с размерами частиц до 200 мкм, летящих со скоростью 15 м/с.

13.9. Конструктивное исполнение электроустановок и размещенного внутри электрооборудования должно обеспечивать их нормальное функционирование при наличии пыли, создаваемой рабочими органами машин и взрывными работами.

Наиболее подвержено запылению электрооборудование, размещаемое в экскаваторах-мехлопатах, а также в районе погрузочных устройств роторных экскаваторов.

Максимальные значения запыленности в электроустановках при их эксплуатации на разрезах приведены в табл. 13.2.

Таблица 13.2

Наибольшие концентрации пыли в местах размещения электрооборудования карьерных электроустановок

Вид электроустановки

Место размещения

электрооборудования

Концентрация пыли в воздухе, мг/м3

Экскаваторы-мехлопаты: при работе в угольном забое при работе в породном забое

Внутри кузова

150 - 180

На стреле экскаватора

300 - 800

Внутри кузова

120 - 160

На стреле экскаватора

180 - 200

Роторные экскаваторы

Вблизи погрузочного устройства

500 - 800

Внутри экскаватора

70 - 90

Шагающие экскаваторы

Внутри кузова

5

Буровые станки

Внутри кузова

90 - 120

Приключательные пункты, передвижные трансформаторные подстанции и т.п.

Внутри корпусов

5 - 10*

* Концентрации, возникающие эпизодически после взрывных работ.

13.10. Электроустановки должны быть устойчивы к воздействию солнечной радиации, характеризующейся верхними значениями интегральной плотности теплового потока 1125 Вт/м2 (0,027 кал/см2×с), в том числе плотности потока ультрафиолетовой части спектра (длина волн 280 - 400 мкм) 42 Вт/м2 (0,001 кал/см2×с).

13.11. Требования к оболочкам электроустановок и комплектующего электрооборудования.

13.11.1. Общие требования:

а) оболочки электрооборудования, размещаемого в кузове экскаватора, бурового станка и других самоходных установок, должны обеспечивать прежде всего защиту от попадания внутрь твердых посторонних тел. Степень защиты оболочки (первая цифра обозначения по ГОСТ 14254-80 «Изделия электротехнические. Оболочки. Степени защиты») должна быть не ниже 4. Кроме этого оболочка должна защищать изделие как минимум от вертикально падающих капель воды (вторая буква в обозначении степени защиты 1).

В случае экономической нецелесообразности или технической сложности изготовления оболочек с указанной степенью защиты (крупные двигатели и генераторы, трансформаторы, выключатели 6(10) кВ и т.д.) допускается применение оболочек с более низкой степенью защиты. Однако при этом должны предусматриваться технические меры, обеспечивающие надежную работу электрооборудования в условиях запыленной среды (пылеотсос, периодическая продувка и т.п.);

б) оболочки несамоходных электроустановок (приключательные пункты, передвижные трансформаторные подстанции, кабельные коробки и т.п.) в первую очередь должны обеспечивать защиту электрооборудования, размещенного внутри, от дождя (степень защиты не ниже 3). Защита от пыли для этих установок является второстепенной задачей.

13.11.2. Специальные требования к оболочкам несамоходных электроустановок:

а) оболочки (корпусы) приключательных пунктов, трансформаторных подстанций и других установок, периодически перетаскиваемых на санях (салазках) по территории разрезов тракторами, должны обладать повышенной жесткостью и прочностью.

Жесткость является достаточной, если при подъеме установки за переднюю часть одного полоза саней (салазок) на высоту 300 мм корпус и сани (салазки) не деформируются, а при резком опускании не наблюдается их поломок;

б) оболочки должны исключать проникновение внутрь электроустановки воды от инея, осаждающегося на их наружных поверхностях.

Приложения

ОСНОВНЫЕ ТРЕБОВАНИЯ И ХАРАКТЕРИСТИКИ БЕЗОПАСНОСТИ ЗАЩИТНО-КОММУТАЦИОННОЙ АППАРАТУРЫ И ДРУГИХ УСТРОЙСТВ

П.1. Технические требования к устройствам (схемам) защиты при обрыве заземляющей жилы гибкого кабеля (к пп. 1.1.8 и 2.2.2)

П.1.1. Размещение устройств защиты

П.1.1.1. Защита при обрыве заземляющей жилы кабеля, питающего экскаватор, должна устанавливаться в приключательном пункте, питающем экскаваторный кабель, и при разрыве заземляющей жилы воздействовать «на отключение» выключателя.

При питании экскаватора от приключательного пункта, не имеющего выключателя, допускается установка защиты непосредственно на экскаваторе с действием «на отключение» выключателя сетевого двигателя при обрыве заземляющей жилы в питающем экскаватор кабеле.

П.1.1.2. Защита при обрыве заземляющей жилы в магистральном гибком кабеле должна размещаться в приключательном пункте с питающей стороны и воздействовать «на отключение» выключателя при разрыве заземляющей жилы в питаемом кабеле.

При наличии в кабельной магистрали нескольких последовательно включенных приключательных пунктов с выключателями защита при обрыве заземляющей жилы должна устанавливаться в каждом из этих пунктов.

П.1.1.3. Защита при обрыве заземляющей жилы в кабелях, питающих буровые станки от подстанций с напряжением 380 - 1140В, должна устанавливаться в этих подстанциях и воздействовать «на отключение» автоматических выключателей при обрыве заземляющих жил.

П.1.2. Основные технические требования к защитам

П.1.2.1. Измерительная часть защиты должна, как правило, подключаться к петле, образованной заземляющей и вспомогательной жилами кабеля. В конце кабеля вспомогательная и заземляющая жилы должны совместно подключаться к заземляющему болту.

При наличии в кабеле нескольких заземляющих жил они должны в начале и в конце кабеля объединяться (включаются параллельно). Это требование относится также к вспомогательным жилам, если они не используются для других целей (дистанционное управление, сигнализация и т.п.).

П.1.2.2. Напряжение, прикладываемое к петле «заземляющая - вспомогательная жила» для контроля обрыва, не должно превышать 42 В переменного тока частотой 50 Гц либо 110 В постоянного тока.

П.1.2.3. Защита должна иметь указатели срабатывания (электрические или механические) и устройства (схемы) оперативной проверки ее исправности.

П.2. Схемы электроснабжения экскаваторов с различными уровнями защиты, контроля и управления (к п. 1.1.9)

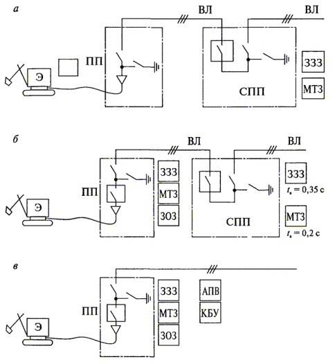
Схемы электроснабжения по варианту а (рис. П.2.1) предусматривают применение в качестве приключательных пунктов ПП экскаваторов ячейки простейшего типа - без выключателей. Защитно-коммутационными аппаратами в этом варианте схемы являются групповые (секционные) приключательные пункты (СПП), оборудованные выключателями и защитами от сверхтоков и от замыканий на землю.

Защита при обрыве заземляющей жилы в экскаваторном кабеле ЗОЗ устанавливается непосредственно на экскаваторе в соответствии с требованиями приложения П.1 настоящих Нормативов.

Рис. П.2.1. Схемы электроснабжения экскаваторов с различными уровнями защиты, контроля и управления

Для ускорения поиска поврежденного присоединения допускается также установка в ячейках ПП устройств сигнализации при замыканиях на землю и междуфазных замыканиях. Эти устройства должны действовать «на сигнал» с запоминанием информации.

В схемах электроснабжения по варианту б в качестве приключательных пунктов применяются ячейки с выключателем и защитами от сверхтоков и замыканий на землю. В секционной ячейке СПП допускается установка защит (МТЗ и ЗЗЗ), которые для обеспечения продольной селективности должны иметь выдержки времени на срабатывание 0,2 и 0,35 с соответственно.

В целях исключения повторной подачи напряжения на поврежденный участок, автоматизации процесса поиска повреждения и повышения безопасности этой процедуры приключательные пункты с выключателями (вариант «I в I») рекомендуется оборудовать контрольно-блокировочными устройствами (КБУ) в комплексе с устройствами автоматического повторного включения (АПВ). Технические требования, которым должны отвечать устройства КБУ и АПВ, приведены в приложениях П.4 и П.5.

П.3. Технические требования к устройствам контроля изоляции и защите от утечек тока на землю (к пп. 5.6, 5.7, 6.4)

П.3.1. Сопротивление срабатывания защиты при симметричной трехфазной утечке на землю должно соответствовать значениям, приведенным в табл. П.3.1.

Таблица П.3.1

Номинальное напряжение сети, В

Сопротивление срабатывания, кОм на фазу, не менее

127

3,3

220

10,0

380

10,0

660

30,0

1140

60,0

Примечание. Для трех фаз значения, указанные в таблице, уменьшают в три раза.

П.3.2. Сопротивление срабатывания защиты при однофазной утечке следует выбирать таким, чтобы при сопротивлении изоляции не менее сопротивления срабатывания при трехфазной утечке длительный ток утечки, протекающий через указанное сопротивление, не превысил 0,025 А (с учетом измерительного тока).

П.3.3. Сопротивление срабатывания защиты от токов утечки при симметричной двухполюсной утечке в сетях постоянного тока систем Г-Д должно соответствовать значениям, приведенным в табл. П.3.2.

Таблица П.3.2

Номинальное напряжение сети, В

Сопротивление срабатывания, кОм на полюс, не менее

110

2,2

220

4,4

300

6

400

8

440

9

600

12

700

14

900

18

1500

30

П.3.4. Сопротивление срабатывания защиты от токов утечки в сетях, имеющих электрическую связь между сетью переменного и выпрямленного тока, должно быть:

1) при напряжении питающей сети 380 В:

на стороне сети переменного тока                                                              10 кОм на фазу

на стороне сети выпрямленного тока                                                      11 кОм на полюс

2) при напряжении питающей сети 660 В:

на стороне сети переменного тока                                                              30 кОм на фазу

на стороне сети выпрямленного тока                                                      18 кОм на полюс

3) при напряжении питающей сети 1140 В:

на стороне сети переменного тока                                                              60 кОм на фазу

на стороне сети выпрямленного тока                                                      32 кОм на полюс

П.3.5. В сетях с отключением без выдержки времени собственное время срабатывания защиты от токов утечки при сопротивлении однофазной утечки 1 кОм в сетях переменного тока должно быть не более 0,1 с при напряжении до 660 В и не более 0,07 с при напряжении 1140 В.

Общее время срабатывания аппаратов защиты от токов утечки и коммутационного аппарата, отключающего сеть, не должно превышать:

для сети переменного тока с напряжением до 660 В, в том числе с тиристорными преобразователями - 0,2 с;

для сети переменного тока с напряжением выше 660 В и до 1140 В, в том числе с тиристорными преобразователями - 0,12 с.

Время срабатывания защиты от токов утечки при однофазных и трехфазных утечках, равных сопротивлениям срабатывания, не нормируется.

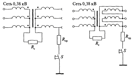
П.3.6. Двухступенчатые защиты от однофазных замыканий (утечек) на землю должны размещаться в соответствии с рис. П.3.1 и П.3.2. Нейтраль трансформатора при этом должна соединяться с землей (корпусом) через резистор сопротивлением 500 - 600 Ом мощностью 150 - 200 Вт. При этом пробивные предохранители допускается не устанавливать.

Подключение резистора к нейтрали трансформатора и земле (корпусу) должно осуществляться двумя независимыми проводниками сечением не менее 4 мм.

П.3.7. При питании потребителей по схеме, приведенной на рис. П.3.2, должна предусматриваться защита при обрыве заземляющих жил кабелей с действием «на отключение».

П.3.8. Минимальный ток однофазного замыкания (утечки), приводящий к срабатыванию защиты, должен быть равен 0,025 А.

Рис. П.3.1. Схема размещения двухступенчатой защиты от утечек тока во внутриэкскаваторной сети 220 - 380 В:

РУ1с - реле утечки первой ступени; РУ2с - реле утечки второй ступени; R0 - резистор в цепи заземления нейтрали трансформатора

Рис. П.3.2. Схема размещения двухступенчатой защиты от утечек тока при питании бурстанков и осветительной установки от передвижной подстанции:

РУ1с - реле утечки первой ступени;

РУ2с - реле утечки второй ступени;

ЗОЗ - защита при обрыве заземляющей жилы кабеля;

R0 - резистор в цепи заземления нейтрали трансформатора

П.3.9. Собственное время срабатывания защит первой и второй ступеней при сопротивлении однофазной утечки 1 кОм должно быть не более 0,1 с.

П.3.10. Выдержка времени для защиты второй ступени должна быть не более 0,2 с.

П.3.11. Общее время отключения при однофазной утечке 1 кОм должно быть таким, чтобы количество электричества не превышало 50 мАс.

П.3.12. Все устройства защиты от утечек тока должны иметь цепи оперативного контроля исправности.

Проверочное сопротивление для реле утечек, имитирующее однофазную (однополюсную) утечку, должно составлять 80 % сопротивления срабатывания, а для двухступенчатых защит - 1 кОм.

П.4. Основные технические требования к КБУ (к п. 3.1.9)

П.4.1. КБУ предназначено для:

выявления однофазных повреждений в гибких экскаваторных кабелях;

выявления замыканий на землю проводов воздушных линий при пробоях изоляторов, обрывах проводов и т.п.

П.4.2. КБУ должно контролировать линию до подачи на нее напряжения (включение выключателя) при любом управлении выключателем (местном, дистанционном, автоматическом). При отсутствии повреждений изоляции линии КБУ должно выдавать разрешение на подачу напряжения, в противном случае цепь включения выключателя должна блокироваться.

П.4.3. В качестве контролирующего напряжения в КБУ может быть использован выпрямленный ток.

П.4.4. КБУ с выпрямленным контролирующим током должно иметь следующую характеристику:

значение контрольного тока при металлическом замыкании на землю контролируемой линии не более 0,025 А;

контролирующее напряжение холостого хода должно определяться в зависимости от емкости контролируемой линии относительно земли в соответствии с данными рис. П.4.1;

не допускать ложных срабатываний от бросков зарядного тока, превышающих уставку срабатывания.

Рис. П.4.1. Уровни контрольного напряжения в зависимости от емкости сети:

линии 1 и 2 - верхние границы первой и второй ступеней контроля соответственно

П.4.5. Уставка срабатывания КБУ по активному сопротивлению утечки должна быть в пределах 120 - 200 кОм.

П.5. Требования безопасности при осуществлении АПВ линий 6 - 10 кВ после отключения их защитами от замыканий на землю (к п. 3.1.9)

П.5.1. Особенность применения АПВ в карьерных сетях обусловлена следующими обстоятельствами:

наличием большого количества мощных синхронных двигателей, генерирующих длительное время ЭДС выбегов после отключения линий защитами от ОЗЗ;

высокой вероятностью и частотой возникновения однофазных пробоев в гибких кабелях.

П.5.2. АПВ должно реализовываться аппаратурой, обеспечивающей:

однократность действия;

подачу команды на включение линии после полного затухания ЭДС выбегов и после осуществления контроля состояния изоляции.

П.5.3. Аппаратура повторного включения должна иметь совместимость с КБУ, оговоренными в приложении П.4.

П.6. Рекомендации по объединению сетей 380 В и сетей с нестандартным значением напряжения в целях защиты их одним реле утечки (к пп. 5.8 и 6.5)

Первичная 380 В и вторичная обмотки трансформатора, питающего сети с нестандартным значением напряжения, соединяются через резистор Rс по схемам, приведенным на рис. П.6.1 и П.6.2. Для проверки срабатывания реле утечки предусматриваются резистор Rпр и кнопка S.

Параметры резисторов Rс и Rпр: мощность 15 - 20 Вт, сопротивление 2,7 кОм.

Рис. П.6.1. Схема соединения трехфазных трансформаторов

Рис. П.6.2. Схема соединения однофазных трансформаторов

Часть вторая

ТРЕБОВАНИЯ БЕЗОПАСНОСТИ ПРИ ЭКСПЛУАТАЦИИ ЭЛЕКТРОУСТАНОВОК НА УГОЛЬНЫХ РАЗРЕЗАХ

Требования этой части Нормативов должны учитываться при разработке отраслевых и местных инструкций и других руководящих материалов по безопасной эксплуатации и обслуживанию электроустановок на угольных разрезах.

1. ВОЗДУШНЫЕ ЛЭП

1.1. Участковые стационарные и передвижные воздушные ЛЭП напряжением до 10 кВ разрешается перестраивать в процессе ведения горных работ (удлинение и укорочение линий, устройство отпаек и т.п.) без проектов с внесением изменений в схему на плане горных работ участка.

1.2. При строительстве и эксплуатации участковых воздушных ЛЭП должны соблюдаться следующие нормы безопасности:

1.2.1. Наибольшее расстояние между передвижными опорами не должно превышать 50 м. Для воздушных ЛЭП, проходящих по откосам уступов при расположении опор на разных горизонтах, это расстояние может быть увеличено исходя из механической прочности провода, устойчивости опор и местных условий.

Для стационарных и специальных передвижных опор расстояние между ними определяется расчетом.

1.2.2. При пересечении воздушными ЛЭП автомобильных дорог вертикальное расстояние от нижнего фазного провода (при максимальной стреле провеса проводов) до наиболее высокой части транспортного средства, в том числе до перевозимого груза, должно быть не менее 2 м. При перевозке негабаритных грузов, для которых это расстояние не соблюдается, необходимо напряжение с воздушной ЛЭП отключать.

1.2.3. Вертикальное расстояние от нижнего фазного провода до земли и заземленных конструкций при максимальной стреле провеса проводов должно быть не менее:

6 м - в местах горных участков и породных отвалов, доступных для наземного транспорта;

5 м - в местах горных участков и породных отвалов, недоступных для наземного транспорта;

3 м - в местах откосов, уступов.

1.2.4. Минимальное вертикальное расстояние при максимальной стреле провеса проводов от нижнего фазного провода в местах пересечения не электрифицированных железных дорог - 7,5 м до головки рельсов, а электрифицированных железных дорог - 2 м до контактного провода или несущего троса.

1.2.5. Горизонтальные расстояния от крайних проводов воздушных ЛЭП при наибольшем их отклонении до ближайших объектов должны быть не менее 2 м от наиболее выступающих частей сооружений и зданий.

1.2.6. Горизонтальное расстояние от крайнего провода воздушной ЛЭП, расположенной на уступе при неотклоненном положении, должно быть не менее:

2,5 м - до провода контактной сети, подвешенного с полевой стороны опоры контактного провода;

2 м - до бровки земляного полотна автомобильной дороги.

1.2.7. Для крепления проводов на передвижных опорах должны применяться штыревые изоляторы. На изоляторах провода должны крепиться с помощью проволочных вязок или специальных зажимов. Проволочная вязка должна быть из того же металла, что и провод.

Крепление проводов на стационарных опорах может выполняться при помощи штыревых или подвесных изоляторов.

В концевых точках и местах ответвлений провода на опорах должны иметь глухое крепление.

1.2.8. Крепление проводов на промежуточных опорах должно быть одинарным.

На анкерных опорах и на опорах, ограничивающих пролет пересечения с железной либо автомобильной дорогами, крепление проводов должно быть двойным. В местах пересечения воздушными ЛЭП призабойных автомобильных дорог допускается одинарное крепление проводов на опорах.

При пересечении воздушных ЛЭП между собой двойное крепление должно предусматриваться только на пересекающей линии, провода которой проходят выше проводов пересекаемой линии.

1.2.9. Для воздушных ЛЭП должны применяться многопроволочные алюминиевые и сталеалюминиевые провода.

1.2.10. Сечение проводов определяется по токовым нагрузкам и потере напряжения.

1.2.11. Наибольшие допустимые сечения проводов приведены в табл. 1.1.

Таблица 1.1

ЛЭП

Алюминиевый провод, мм2, не более

Сталеалюминиевый провод, мм2, не более

Стационарные

185

150

Передвижные

120

95

1.2.12. Минимально допустимое сечение проводов регламентируется механической прочностью и составляет: для линий напряжением до 1000 В, выполненных алюминиевым проводом, - 16 мм2, сталеалюминиевым - 10 мм2; для линий напряжением 6 - 10 кВ, выполненных алюминиевым проводом, - 25 мм2, сталеалюминиевым - 16 мм2.

1.2.13. Соединение проводов воздушных ЛЭП должно производиться с помощью специальных зажимов, скруткой по способу «елочка» или комбинированным способом. Механическая прочность соединения должна быть не ниже прочности целого провода.

1.2.14. Количество соединений провода в одном пролете должно быть не более трех.

1.2.15. При обрыве хотя бы одной проволочки в проводе воздушной ЛЭП на это место должен накладываться бандаж. Если суммарное сечение оборванных проволочек достигло 20 - 25 % сечения провода, необходимо провод менять либо выполнять в месте разрыва соединение в соответствии с п. 1.2.13.

2. РАБОТА САМОХОДНОГО ОБОРУДОВАНИЯ ВБЛИЗИ ВОЗДУШНЫХ ЛЭП

2.1. Работа экскаваторов, погрузчиков и буровых станков вблизи воздушных ЛЭП, находящихся под напряжением, допускается в том случае, если эти машины принадлежат владельцу воздушной ЛЭП или переданы ему в пользование на правах аренды или других форм договоров и при условии, что расстояние по воздуху от подъемной или выдвижной части в любом ее положении, в том числе и при наибольшем допускаемом конструкцией подъеме или боковом вылете, до ближайшего провода, находящегося под напряжением, будет не менее:

1,5 м - при напряжении до 1 кВ;

2 м - при напряжении от 1 до 10 кВ;

4 м - при напряжении от 10 до 35 кВ.

2.2. Карьерные автосамосвалы для исключения опасности задевания проводов при подъеме кузова вблизи воздушных ЛЭП, а также обрыва проводов при движении с поднятым кузовом должны оснащаться устройствами:

сигнализации и блокировки подъема кузова при расстояниях от верха кабины до ближайшего фазного провода менее (8 ± 2) м;

блокировки движения автомобиля с поднятым кузовом.

2.3. Работа автокранов вблизи воздушных ЛЭП, находящихся под напряжением, допускается при условии оснащения их устройствами обнаружения напряжения в линиях. Чувствительность устройств должна оговариваться в заводских инструкциях.

3. КАБЕЛЬНЫЕ ЛИНИИ НАПРЯЖЕНИЕМ ДО 10 кВ

3.1. Для питания электроэнергией самоходных и передвижных электроустановок должны применяться в соответствии с п. 1.1.6 части первой настоящих Нормативов гибкие шланговые пятижильные кабели. Сроки замены находящихся в эксплуатации четырехжильных кабелей на пятижильные устанавливаются Госгортехнадзором России.

3.2. Каждый кабель, находящийся в эксплуатации, должен иметь инвентарный номер.

3.3. Погрузка экскаватором горной массы «через кабель» запрещается. При производственной необходимости такой способ может быть разрешен на ограниченный срок руководством горного участка при условии надежной защиты кабеля в зоне работы экскаватора.

3.4. Отрезки кабелей, питающих экскаваторы, а также магистральных кабелей соединяются методом вулканизации, а также посредством соединительных коробок (муфт).

Наибольшее количество коробок (муфт) в одном кабеле для экскаватора не регламентируется и устанавливается лицом, ответственным за электрохозяйство разреза.

3.5. Технологические процессы ремонта кабелей и нормирование отдельных положений эксплуатации кабелей, не упомянутых в вышеизложенных требованиях, следует проводить в соответствии с Руководством по эксплуатации и ремонту гибких кабелей на напряжение 6 - 10 кВ на открытых горных разработках.

4. ПОДКЛЮЧЕНИЕ ЭЛЕКТРОПОТРЕБИТЕЛЕЙ И ПЕРЕКЛЮЧЕНИЕ ВОЗДУШНЫХ ЛЭП И КАБЕЛЬНЫХ ЛИНИЙ

4.1. Подключение к линиям 6 - 10 кВ экскаваторов, роторных комплексов и других карьерных механизмов, предусматривающих ввод на борт машины напряжения 6 - 10 кВ, должно осуществляться посредством приключательных пунктов. Приключательные пункты в зависимости от конструкции ввода подключаются к воздушной ЛЭП кабелем или проводами.

4.2. Подключение к линиям 6 - 10 кВ передвижных подстанций 6 (10) / 0,38 (0,22) кВ, конструкция которых соответствует п. 2.2.2 части первой настоящих Нормативов, осуществляется непосредственно без приключательных пунктов.

4.3. Установка ПП или ПКТП для подключения к воздушной ЛЭП должна производиться на расстоянии 3 - 10 м от опоры, к которой производится подключение.

4.4. Подача напряжения на подключенные ПП или ПКТП разрешается после проверки их исправности и измерения сопротивления заземления. При наличии неисправностей, а также при сопротивлении заземления более 4 Ом подача напряжения не допускается.

4.5. Количество экскаваторов и буровых станков, подключаемых к одной линии (фидеру), не регламентируется.

Предельное количество потребителей, подключаемых к одной линии, устанавливается лицом, ответственным за электрохозяйство угольного разреза.

4.6. Монтерские когти (лазы) для подъема на деревянные опоры воздушной ЛЭП должны периодически испытываться в следующие сроки:

4.6.1. Через три года после начала эксплуатации новых когтей (лазов), имеющих отметки о заводских испытаниях, статической нагрузкой 135 кГс в течение 5 мин с периодичностью один раз в 12 месяцев.

4.6.2. Если новые когти (лазы) не имеют отметок о заводских испытаниях либо срок со дня выпуска когтей (лазов) до начала их эксплуатации превысил пять лет, необходимо перед вводом в эксплуатацию провести испытания статической нагрузкой 180 кГс в течение 5 мин. На разрезах должен вестись учет используемых когтей (лазов) с указанием заводского номера, даты выпуска, начала эксплуатации и периодических испытаний.

5. ПЕРЕДВИЖНЫЕ ОДИНОЧНЫЕ

РАСПРЕДЕЛИТЕЛЬНЫЕ УСТРОЙСТВА И ПКТП

5.1. Одиночные распределительные устройства любых типов и ПКТП должны оборудоваться салазками для перемещения по территории разреза. Требования к механической прочности салазок изложены в п. 13.11.2 части первой настоящих Нормативов.

5.2. Находящиеся в эксплуатации ПП могут иметь коммутационную аппаратуру, номенклатура которой и условия применения отличаются от изложенных в п. 3.1.1 части первой настоящих Нормативов.

5.3. Корпуса КРУ и ПКТП должны иметь надежное соединение с заземляющими проводниками (магистралями) заземляющих устройств.

5.4. Осветительная арматура ПКТП и КРУ должна устанавливаться таким образом, чтобы были освещены места расположения контрольно-защитной аппаратуры и приводов коммутационных аппаратов.

Примечание. Устройство освещения ПКТП и КРУ не является обязательным. При его отсутствии в инструкциях для персонала по обслуживанию КРУ и ПКТП должны быть предусмотрены способы освещения при осмотрах (ремонтах) в темное время суток.

6. ЗАЩИТА ОТ УТЕЧЕК ТОКА НА ЗЕМЛЮ В СЕТЯХ

 НАПРЯЖЕНИЕМ ДО 1000 В

6.1. Электрические сети самоходных и передвижных электроустановок напряжением выше 42 В переменного тока и 110 В постоянного тока должны оборудоваться устройствами контроля сопротивления изоляции и защиты от утечки тока на землю (реле утечки). Техническая характеристика реле утечки должна соответствовать требованиям, изложенным в приложении П.3 части первой настоящих Нормативов.

6.2. В разветвленных электрических сетях допускается применять двухступенчатую защиту от однофазных замыканий на землю (см. п. 5.7 части первой настоящих Нормативов).

6.3. Проверка исправности реле утечки должна производиться в сроки, установленные лицом, ответственным за электрохозяйство разреза.

При этом периодичность проверки реле утечки тока должна быть не реже:

одного раза в 10 дней - для реле утечки внутри экскаваторов;

одного раза в сутки - для реле утечки буровых станков.

Проверку реле утечки тока в комплекте с автоматом на время их срабатывания необходимо производить один раз в шесть месяцев, а также при их первоначальной установке на машину или при перестановке с машины на машину.

7. ЗАЩИТА ОТ ЗАМЫКАНИЙ НА ЗЕМЛЮ

В СЕТЯХ НАПРЯЖЕНИЕМ 6 - 10 кВ

7.1. Эксплуатация самоходных и передвижных электроустановок на угольных разрезах, а также стационарных электроустановок, питающихся вместе с ними от одной секции шин или обмотки трансформатора, запрещается в случае возникновения замыкания фазы на землю в любой точке сети.

7.2. Для сокращения длительности существования замыкания на землю и ускорения поиска места повреждения изоляции в сетях напряжением 6 - 10 кВ должна применяться, как правило, селективная двухступенчатая защита от замыканий на землю.

7.3. Защита первой ступени должна устанавливаться в ПП экскаваторов или секционных РУ и отключать без выдержки времени защищаемое присоединение при возникновении в нем замыкания на землю.

7.4. Защита второй ступени должна устанавливаться в ячейках распредустройств РУ-6 (10) кВ питающих подстанций либо в ячейках групповых РУ-6 (10) кВ и отключать с выдержкой времени не более 0,7 с защищаемый фидер при возникновении на нем замыкания на землю в точках сети, не входящих в зону защиты первых ступеней, либо при отказе первых ступеней защиты.

7.5. При питании от одной секции шин карьерной подстанции передвижных карьерных электроустановок и сторонних потребителей в ячейках РУ-6 (10) кВ подстанций, питающих эти потребители, также должны устанавливаться защиты от замыканий на землю с выдержкой времени не более 0,7 с.

7.6. При питании участков разрезов от подстанций промышленных предприятий, которые могут работать при замыканиях фазы на землю в течение 2 ч, безопасность эксплуатации передвижных электроустановок должна обеспечиваться по одному из следующих вариантов:

7.6.1. Сети разрезов питаются от отдельной секции шин и оборудуются защитами от замыканий на землю в соответствии с пп. 7.3 и 7.4.

7.6.2. Сети разрезов и других потребителей питаются от одной секции шин. При этом все ячейки, отходящие от секции шин, должны оборудоваться защитами от замыканий на землю в соответствии с п. 7.4.

7.6.3. Сети разрезов питаются от разделительного трансформатора и оборудуются защитами в соответствии с пп. 7.3 и 7.4.

7.6.4. При невозможности реализации перечисленных вариантов в качестве временной меры допускается оборудование ячеек, питающих сети разрезов двумя видами защит: селективной защитой, действующей при замыканиях в сетях разрезов (в соответствии с пп. 7.3 и 7.4), и неселективной защитой с временем отключения линий, питающих сети разрезов, не более 1 с при замыканиях на землю в сетях других потребителей.

7.7. Линии электроснабжения после отключения их защитой от однофазных замыканий на землю должны включаться после выявления причины отключения и устранения повреждения.

7.8. На линиях, питающих карьерные механизмы, для которых мгновенное отключение напряжения может привести к аварийным ситуациям (конвейерные линии, шахтные подъемники), допускается действие защиты от однофазных замыканий на землю «на сигнал» до разгрузки конвейера или завершения цикла подъема сосуда. Допустимость действия защиты «на сигнал» должна сопровождаться следующими условиями:

заземление механизмов должно осуществляться на отдельный контур, электрически не связанный с контуром для заземления передвижных электроустановок;

от секции шин подстанции, питающей линии этих потребителей, не должны питаться передвижные электроустановки;

в качестве питающих линий должны применяться бронированные кабели, воздушные линии либо их сочетания;

сигнал о срабатывании защиты от однофазных замыканий на землю должен выводиться кроме подстанции на пульт управления механизмами;

общее время работы сети с замкнутой на землю фазой не должно превышать 1 ч.

7.9. В отдельных случаях, например на время отыскания однофазных замыканий на землю в воздушных ЛЭП, допускается выводить защиту из работы при условии, что все самоходные электроустановки отключаются от сети.

7.10. Учитывая, что большое количество карьерных сетей питаются от ранее введенных в эксплуатацию подстанций, для которых допускался ток однофазного металлического замыкания на землю до 30 А (для сетей напряжением 6 кВ), защиты от замыканий на землю должны иметь зоны срабатывания по первичному току до 30 А.

При этом независимо от типа опор в электрических сетях (деревянные, железобетонные) допускается работа сетей без устройств компенсации емкостных токов.

7.11. Контроль исправности защит от замыканий на землю должен проводиться посредством имитации однофазного замыкания (без искусственного замыкания в сетях 6 - 10 кВ).

В необходимых случаях допускается проверка работоспособности защит при искусственном замыкании фазы на землю по специальной методике.

Периодичность проверки защит устанавливается лицом, ответственным за электрохозяйство разреза, но должна быть не реже:

одного раза в год - для защит, установленных в передвижных распределительных устройствах (ПП, секционных КРУ);

одного раза в три года - для защит, установленных в ячейках подстанционных КРУ.

При наличии в ПП устройств для оперативного контроля исправности защит от замыканий на землю периодичность проверок может быть увеличена.

8. ЗАЩИТА ОТ АТМОСФЕРНЫХ И КОММУТАЦИОННЫХ ПЕРЕНАПРЯЖЕНИЙ

8.1. Защита электрооборудования и электросетей от атмосферных перенапряжений, выбор, установка и эксплуатация средств защиты осуществляются с учетом специфики горных работ в соответствии с требованиями Нормативов по защите электроустановок горных разработок от атмосферных перенапряжений. Для защиты электроустановок, не отраженных в Нормативах, необходимо пользоваться Руководящими указаниями по защите от перенапряжений электроустановок переменного тока 3 - 600 кВ и Инструкцией по проектированию и устройству молниезащиты зданий и сооружений (РД 34.21.122-87).

8.2. Требования к эксплуатации средств защиты от атмосферных перенапряжений, периодичность осмотров, испытаний и их объем регламентируются Нормативами по защите электроустановок открытых горных разработок от атмосферных перенапряжений.

8.3. Для защиты от коммутационных перенапряжений электрооборудования разрезов на напряжение до 35 кВ включительно могут быть рекомендованы ограничители перенапряжений типа ОПН, созданные на базе высоконелинейных оксидно-цинковых резисторов.

9. ЗАЩИТНОЕ ЗАЗЕМЛЕНИЕ

9.1. Заземлению подлежат корпуса электрических экскаваторов, буровых станков, ПКТП, ПП и другого передвижного электрооборудования.

9.2. Заземление стационарных и передвижных электроустановок напряжением до 1 кВ и выше рекомендуется выполнять общим.

Общее заземляющее устройство состоит из центрального заземлителя, магистрали заземления, заземляющих проводников и местных заземлителей, присоединенных к магистралям заземления и к корпусам передвижных и самоходных электроустановок.

На разрезе разрешается иметь несколько общих заземляющих устройств, металлически не соединенных между собой.

9.3. В качестве центрального заземлителя разрешается использовать контур заземления подстанции ГПП 35/6 (10) кВ или распредпунктов РП-6 - 10 кВ.

9.4. Во избежание выноса высоких потенциалов запрещается использовать в качестве центрального заземлителя на разрезе заземляющие контуры подстанции ГПП 110/35/6 (10) кВ, в том числе ПКТП 110/6 (10) кВ, устанавливаемых на разрезе, а также подстанции ГПП, совмещенной с тяговой подстанцией.

Использование рельсов электрифицированной железной дороги в качестве заземлителя запрещается.

9.5. Сопротивление заземляющего устройства Rз, измеренное у любой электроустановки, должно иметь следующие значения:

при удельном сопротивлении грунта до 500 Ом×м сопротивление Rз должно быть не более 4 Ом;

при удельном сопротивлении грунта более 500 Ом×м сопротивление Rз определяется по формуле

Rз = 4ρ / 500,

где ρ - удельное сопротивление грунта, Ом×м.

Предельно допустимое значение Rз, вычисляемое по вышеприведенной формуле, не должно превышать 40 Ом.

9.6. Центральные заземлители должны соединяться с магистралями заземлений не менее чем двумя проводниками, подключенными к заземлителю в разных местах.

9.7. Для соединения заземляемых частей электроустановок с центральным заземлителем прокладываются магистральные заземляющие проводники.

Заземляющие проводники прокладываются на опорах ЛЭП ниже фазных проводов и закрепляются на стальных крюках, скобах или на костылях без изоляторов.

Расстояние по вертикали от нижнего провода ЛЭП до заземляющего проводника должно быть не менее 0,8 м.

9.8. В качестве магистральных заземляющих проводников следует использовать стальные (однопроволочные и многопроволочные), сталеалюминиевые, алюминиевые провода с площадью поперечного сечения, определяемой расчетом, но не менее 25 мм2.

9.9. В местах пересечения ЛЭП с автомобильными дорогами заземляющий проводник должен подвешиваться с таким расчетом, чтобы исключить его обрыв движущимся транспортом, а расстояние по вертикали от заземляющего проводника до наиболее выступающей части автотранспорта должно быть не менее 1 м. Если это условие выполнить невозможно, то допускается подземная прокладка заземляющего проводника.

9.10. Соединение заземляющих проводников в пролетах ЛЭП должно производиться с помощью болтовых соединений, сваркой или специальными зажимами.

В каждом пролете допускается не более трех соединений заземляющего проводника.

Включение различных приборов и устройств в рассечку заземляющего проводника запрещается.

9.11. Заземление самоходных электроустановок (экскаваторов, буровых станков, кабельных барабанов и т.п.) и других электроустановок, питающихся по гибким кабелям, должно осуществляться посредством заземляющей жилы кабеля.

9.12. Подключение заземляющей жилы к корпусам экскаваторов, буровых станков, ГШ и другого оборудования рекомендуется выполнять к наружному заземляющему болту. При технической сложности наружного подключения допускается присоединение заземляющей жилы к внутреннему заземляющему болту.

9.13. Для заземления отдельных электроустановок, удаленных на значительное расстояние от центрального заземлителя, допускается устраивать индивидуальные заземлители, обеспечивающие в любое время года сопротивление заземления, регламентируемое п. 9.5 части второй настоящих Нормативов. При этом следует проверять на срабатывание первую и вторую ступени защиты, установленные на питающей линии, при искусственном замыкании фазы на землю в электроустановке либо вблизи нее.

9.14. Электрооборудование, размещенное внутри самоходной или передвижной электроустановки, должно иметь надежный электрический контакт с корпусом, который, в свою очередь, должен быть подключен к заземляющему устройству.

Надежность контакта между оборудованием и корпусом может быть обеспечена:

электрической сваркой;

болтовым соединением (при этом должны быть предусмотрены меры против ослабления контакта и коррозии). Допускается также установка заземляющих поводков. Места присоединения поводков на оборудовании и корпусе должны обеспечивать металлический контакт и защищаться от коррозии.

9.15. Соединительные кабельные коробки, муфты и кабельные разъемы, устанавливаемые на гибких кабелях, должны быть зеземлены путем присоединения заземляющих жил кабеля к специальным заземляющим зажимам без устройства местных заземлителей.

9.16. Допускается не устраивать местные заземлители у передвижных приключательных пунктов и трансформаторных подстанций при условии, что имеется дополнительный заземлитель (аналогичный центральному), подключенный к магистрали заземления таким образом, чтобы при выходе из строя центрального заземлителя сопротивление общего заземляющего устройства не превышало значений, оговоренных в п. 9.5 части второй настоящих Нормативов.

9.17. Для контроля сопротивления заземления должны производиться замеры его у каждой электроустановки. Периодичность замеров - не реже одного раза в месяц, а также после каждой передвижки электроустановки и подключения ее к магистральному заземляющему проводу в другом месте.

При замерах сопротивления заземления отключение корпусов других электроустановок от сети заземления не требуется.

10. ЗАЗЕМЛЕНИЕ ЭКСКАВАТОРОВ, РАБОТАЮЩИХ В ЗАБОЯХ С КОНТАКТНЫМИ СЕТЯМИ ЭЛЕКТРИФИЦИРОВАННОГО ЖЕЛЕЗНОДОРОЖНОГО ТРАНСПОРТА

10.1. При выборе способа заземления экскаваторов, работающих на погрузке горной массы в забоях с контактными сетями электрифицированного транспорта, необходимо исходить из следующего:

при оборудовании забойной контактной сети защитой, отключающей напряжение с контактной сети при прикосновении ковша экскаватора к контактному проводу, заземление осуществляется обычным способом, то есть на общее заземляющее устройство;

при невозможности установки в контактной сети защиты, реагирующей на прикосновение ковша к контактному проводу (это имеет место в тяговых сетях постоянного тока напряжением 1500 В), заземление экскаваторов следует осуществлять на обособленное заземляющее устройство (отдельный контур, металлически не связанный с общей сетью заземления).

В обоих случаях необходимо обеспечить контроль целостности заземляющей жилы кабеля (автоматический либо ручной), так как токи, протекающие через заземляющую жилу кабеля, при прикосновении ковша к контактному проводу могут достигать сотен ампер и создают опасность ее выгорания.





Яндекс цитирования



   Copyright © 2007-2026,  www.tehlit.ru.

[ ѓосты, стандарты, нормативы, инструкции, правила, строительные нормы ]