//
ТехЛит.ру
- крупнейшая бесплатная электронная интернет библиотека для "технически умных" людей.
WWW.TEHLIT.RU - ТЕХНИЧЕСКАЯ ЛИТЕРАТУРА

:: Алготрейдинг::


АЛГОТРЕЙДИНГ
шаг за шагом
с нуля по урокам!

Торговые роботы на PYTHON, BackTrader,
Pandas, Pine Script для TradingView. Связка с брокерами, телеграм и легкими приложениями.


Министерство строительства МССР

Проектно-технологический трест
«
Оргстрой»

ТЕХНОЛОГИЧЕСКАЯ КАРТА
НА ОСТЕКЛЕНИЕ ГРАЖДАНСКИХ ЗДАНИЙ
КРУПНОРАЗМЕРНЫМ СТЕКЛОМ С ПРИМЕНЕНИЕМ
МЕХАНИЗМОВ

Главный инженер треста «Оргстрой»                                                   Я. Пресман

Начальник отдела ОС                                                                              Э. Дафир

Главный инженер проекта                                                                      Ф. Мосинцев

Кишинев - 1969 г.

I. ОБЛАСТЬ ПРИМЕНЕНИЯ

Технологическая карта разработана на остекление металлических переплетов гражданских зданий на уровне 1 этажа с применением механизмов и механизированного инструмента.

II. ТЕХНИКО-ЭКОНОМИЧЕСКИЕ ПОКАЗАТЕЛИ НА ОСТЕКЛЕНИЕ

1. Трудоёмкость при остеклении 100 п/м фальца                    - 72,81 чел. час

2. Трудоёмкость при остеклении 1 п/м фальца                        - 0,73 чел. час

3. Выработка на 1-го рабочего в смену                                     - 11,1 п/м фальца

III. ОРГАНИЗАЦИЯ И ТЕХНОЛОГИЯ СТРОИТЕЛЬНОГО ПРОИЗВОДСТВА

Остекление гражданских зданий крупноразмерным стеклом необходимо осуществлять в соответствии с рабочими чертежами и проектом производства работ СНиП III-В.13-62. «Отделочные покрытия строительных конструкций, правила производства и приемки работ» и с соблюдением следующих условий:

1. До начала остекления переплетов должны быть выполнены следующие работы:

а) установлены и подогнаны переплеты;

б) установлены приборы открывания переплетов;

в) очищены от грязи и коррозии и огрунтованы оконные переплеты;

г) доставлены в зону производства работ материалы, механизмы, приспособления и инструмент;

д) территория вдоль остекляемого здания спланирована;

е) крепления для стекла должны быть подобраны соответственно остекляемым переплетам;

ж) проверены и испытаны механизмы, приспособления и инструмент;

з) проведен инструктаж по технике безопасности при производстве стекольных работ;

и) составлены карты раскроя стекла в случае поступления стекла на объект с учетом резки его на месте;

к) проверено соответствие размеров стекла размерам остекляемых переплетов.

2. В металлических переплетах стекло может укрепляться: клиновыми зажимами, кляммерами из оцинкованной стали, металлическими штапиками на винтах, шпильками, вставляемыми в заранее просверленные отверстия, коробчатыми штапиками и др.

3. При остеклении металлических и железобетонных переплетов клиновые зажимы или кляммеры устанавливаются на расстоянии 300 мм один от другого. Металлические штапики должны устанавливаться на резиновые или пластмассовые прокладки.

4. Теплопоглощающие стекла в конструкциях светового проема, подвергающиеся при эксплуатации зданий большим температурным деформациям, в целях предохранения их от растрескивания должны находиться в свободном состоянии.

С этой целью следует применять эластичные замазки.

Для стекол размерами, превышающими 150×80 см, применяются резиновые прокладки.

5. Приемка стекольных работ должна производиться до окончательной окраски переплетов (если окраска производится после вставки стекол).

При приемке работ должно проверяться соответствие их требованиям по допускам, установленным при производстве стекольных работ, а также соблюдение следующих качественных показателей:

а) наружные фаски штапиков должны совпадать с внешней гранью фальцев, не выступая за их пределы и не образовывая впадин, штапики должны быть прочно соединены между собой и с фальцем переплета;

б) при установке стекол на резиновых прокладках последние должны плотно прилегать к поверхности фальца, стекла и штапиков; резиновая прокладка не должна выступать над гранью штапика, обращенной к поверхности стекла;

в) поверхности вставленных стекол должны быть чистыми, без следов замазки, раствора, жировых пятен и т.п.

6. Транспортирование крупноразмерного стекла на объект производится в ящиках на панелевозах.

Погрузка и разгрузка ящиков со стеклом производится автокраном грузоподъемностью 3 тн.

Ящики со стеклом устанавливаются в пирамиды, располагаемые в зоне производства работ.

7. Остекление производится с помощью специального приспособления, смонтированного на автопогрузчике.

Приспособление предназначено для транспортирования стекла к столу раскроя, укладки на стол раскроя, снятия со стола, перевозки к месту остекления и подъема к месту установки. (Рис. 1, Рис. 2).

Резка стекла осуществляется стеклорезом, смонтированным на подвижной каретке специальной линейки. (Рис. 3).

Передвижение стекла вручную производится с помощью присосов (рис. 4).

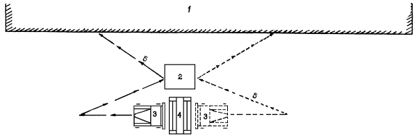
Схема организации работ при остеклении переплетов крупноразмерным стеклом дана на рис. 5.

ПОСЛЕДОВАТЕЛЬНОСТЬ ВЫПОЛНЕНИЯ РАБОТ

В том случае, когда раскрой стекла производится непосредственно на объекте, остекление производится в следующей последовательности:

Автопогрузчиком с приспособлением для транспортирования и кантования стекла перевозят стекло из ящика, установленного на пирамиде, к столу раскроя, при этом стекло на подвижной раме приспособления укрепляется присосами и струбцинами, затем стекло переводится в горизонтальное положение и плавно опускается на стол раскроя, освобождается от креплений, после чего производится раскрой стекла с помощью специальной линейки.

Затем наносится клей в пазы устанавливаемой резины, которая надевается по периметру стекла, в случае отсутствия спецрезины на кромки стекла устанавливается шланг.

Для предотвращения выпадения резины во время транспортировки и установки стекла, последняя перевязывается шпагатом или шнуром.

После этого стекло вновь укрепляется на приспособлении присосами и струбцинами, переводится в вертикальное положение с помощью лебедки и транспортируется к месту установки.

Затем оно освобождается от струбцин и присосов и ручными присосами направляется в проектное положение и устанавливается на место, где закрепляется металлическими профилями на винтах с помощью шуруповерта.

Закрепление верхней части стекла производится с металлических или деревянных лестниц-стремянок.

При остеклении 2-го и последующих этажей здания подвижная рама со стеклом подается к месту установки краном.

В тех случаях, когда стекло поступает на объект с размерами, соответствующими размерам переплетов, последовательность операций по установке стекла аналогична указанной выше, исключается лишь операция раскроя стекла.

При перевозке стекла автопогрузчиком со специальным приспособлением, при его укладке на стол раскроя и установки на место подача команды машинисту автопогрузчика должна осуществляться одним лицом - звеньевым.

IV. ОРГАНИЗАЦИЯ И МЕТОДЫ ТРУДА

Работа по остеклению зданий крупноразмерным стеклом выполняется звеном в составе 7 человек.

Состав звена:

1. Стекольщик                                 - 5 р. - 1 звеньевой

2. Стекольщик                                 - 4 р. - 1

3. Транспортные рабочие              - 2 р. - 4

4. Машинист автопогрузчика        - 5 р. - 1

Методы и приемы работ

Автопогрузчик по команде звеньевого (С1) подъезжает к ящику со стеклом, наклоняет телескопическую раму с приспособлением вперед и подводит низ подвижной рамы приспособления под ящик со стеклом. Стекольщик (С1) лебедкой устанавливает подвижную раму приспособления параллельно стеклу, транспортные рабочие вплотную прижимают раму к стеклу и включают присосы.

Затем стекольщик (С1) лебедкой устанавливает раму со стеклом в исходное положение.

Транспортные рабочие закрепляют стекло струбцинами.

В случае, если подвижная рама приспособления установлена не параллельно стеклу, то последнее отделяют от штабеля с помощью ручных присосов и вручную устанавливают в подвижную раму.

Затем стекольщик (С1) лебедкой устанавливает подвижную раму со стеклом в исходное положение.

Машинист автопогрузчика наклоняет телескопическую раму на себя.

После этого автопогрузчик перемещает стекло к столу раскроя и с помощью гидравлической системы автопогрузчика приспособление со стеклом устанавливает в один уровень со столом раскроя. Затем наклоняет телескопическую раму вперед.

Стекольщик (С1) лебедкой переводит подвижную раму приспособления в горизонтальное положение и, не доводя стекло с рамой до плоскости стола на 10 - 15 см, останавливает лебедку.

Транспортные рабочие освобождают стекло от струбцин, после чего стекольщик (С1) плавно опускает стекло на стол раскроя.

Транспортные рабочие в этот момент поддерживают раму со стеклом, регулируя укладку стекла на стол раскроя.

Установив стекло на стол раскроя, стекольщик (С1) совместно с транспортными рабочими освобождает стекло от присосов и переводит подвижную раму в исходное положение.

После этого автопогрузчик отъезжает на 2 - 3 метра от стола раскроя.

Стекольщик (С1) производит разметку стекла.

Транспортные рабочие подготавливают линейку для раскроя и по команде стекольщика (С1) накладывают на заданную стекольщиком отметку, укрепляют ее к стеклу с помощью ручных присосов, стекольщик (С1) прижимает стеклорез к стеклу.

Затем, вращая рукоятку, перемещает каретку со стеклорезом по линии разреза.

Далее, освобождая совместно с рабочими линейку от присосов, убирают её. После этого транспортные рабочие приподнимают ручными присосами стекло со стороны раскроя. Стекольщик (С1) подкладывает рейку вдоль линии реза.

Транспортные рабочие по команде стекольщика (С1) опускают стекло на стол. Затем стекольщик (С1) ломает стекло по линии разреза.

После окончания раскроя стекольщик (С1) совместно с транспортными рабочими наносит клей в паз специальной резины и надевает по периметру стекла.

Затем для предотвращения выпадения или смещения резиновых прокладок во время транспортирования и установки стекла последнее обвязывается шпагатом.

По команде стекольщика (С1) автопогрузчик подъезжает к столу раскроя, устанавливает его в исходное положение.

Стекольщик (С1) плавно опускает подвижную раму приспособления на стекло и совместно с транспортными рабочими закрепляет последнее присосами.

Затем транспортный рабочий вращением лебедки приподнимает раму со стеклом на 10 - 15 см над уровнем стола. Стекольщик (С1) и транспортные рабочие закрепляют стекло струбцинами, после чего подвижная рама со стеклом устанавливается в исходное положение.

Убедившись в надежности крепления, стекольщик (С1) подает команду автопогрузчику для перемещения стекла к месту установки.

Транспортные рабочие подносят и устанавливают приставные лестницы по краям остекляемого переплета.

Автопогрузчик, подъехав к месту установки стекла, приподнимает и устанавливает приспособление так, чтобы низ стекла совпадал с плоскостью нижнего фальца переплета.

Транспортные рабочие устанавливают направляющие бруски на цоколь. Затем стекольщик (С1) совместно с транспортными рабочими освобождает стекло от струбцин и присосов.

После этого ручными присосами они направляют нижнюю часть стекла в проектное положение, одновременно поддерживая верхнюю часть, и устанавливают стекло на место.

Стекольщик (С1) совместно с транспортным рабочим частично укрепляет стекло в верхней части переплета. Автопогрузчик отъезжает к пирамиде со стеклом, где повторяются операции, указанные выше.

Стекольщик (С1) совместно с транспортным рабочим закрепляет стекло в соответствии с проектом.

ТЕХНИКА БЕЗОПАСНОСТИ

При производстве стекольных работ необходимо руководствоваться строительными нормами и правилами СНиП III-А.11-62 «Техника безопасности в строительстве» и следующими указаниями:

1. К самостоятельной работе по производству стекольных работ допускаются лица, прошедшие обучение, сдавшие экзамены квалификационной комиссии и получившие соответствующий разряд.

2. Кроме специального обучения, каждый поступающий на работу, независимо от производственного стажа, должен получить вводный инструктаж по технике безопасности, а также инструктаж по безопасным методам работы - непосредственно на рабочем месте.

Повторение инструктажа обязательно при переходе на другой объект.

3. При производстве стекольных работ с применением автопогрузчика команды машинисту автопогрузчика при перемещении стекла должны подаваться одним лицом - звеньевым.

4. Электрифицированный инструмент должен быть перед началом работы проверен, токоведущие провода тщательно изолированы.

5. Работать неисправным инструментом запрещается.

6. Лицам, страдающим головокружением, припадками и другими подобными болезнями, работать на высоте запрещается.

7. Рабочие должны быть обеспечены спецодеждой, согласно существующих норм.

8. При ветре силой 6 баллов, тумане, сильном ливне, работы по установке стекол нужно прекращать.

9. При раскрое стекла обрезки стекла необходимо складывать в ящики.

10. При транспортировке и монтаже крупноразмерного стекла последнее должно закрепляться струбцинами.

КАЛЬКУЛЯЦИЯ
трудовых затрат на остекление промышленных и гражданских зданий крупноразмерным стеклом на 100 п.м. фальца

№ пп

Обоснование

Наименование работ

Состав звена

Един. изм.

Объем

На ед. измер.

На вес объем

н. вр.

расц.

трудоёмк. в ч. ч.

сумма руб. коп.

1

2

3

4

5

6

7

8

9

10

1.

1-8 № 5а

Погрузка отекла на автопогрузчик

Стекольщик   5 р. - 1

           -"-           4 р. - 1

 

 

 

 

 

 

Транспортные рабочие 2 р. - 4

10 тн

0,49

6,4

2-56

0,58

0-23

2.

8-2-20 таб. 9

Нарезка стекол по размерам

Стекол. 5 р. - 1

Стекол. 4 р. - 1

100 м фольц.

1

1,65

0-805

1,65

0-81

3.

1-8

Разгрузка стекла с автопогрузчика

Стекольщ.      5 р. - 1

           -"-           4 р. - 1

 

 

 

-

 

 

Транспортные рабочие 2 р. - 4

10 тн

0,09

6,6

2-65

0,59

0-24

4.

8-2-20 таб. 8 № 12в

Вставка стекол

-"-

100 м фольц.

1

14,0

7-87

14,0

7-87

5.

8-2-20 таб. 9 прил. 3

Добавляется 4 человека транспортных рабочих

-"-

100 фол.

1

56,0

22-45

56,0

22-46

 

 

 

Итого:

 

 

 

 

72,82

31-61

 

 

Согласовано: Инженер НИиНОТ

/д. Табак/

V. МАШИНЫ, ОБОРУДОВАНИЕ, МЕХАНИЗИРОВАННЫЙ ИНСТРУМЕНТ, ИНВЕНТАРЬ, ПРИСПОСОБЛЕНИЯ

№ пп

Наименование

Тип

Марка

К-во

Техническая характеристика

1

2

3

4

5

6

1.

Автопогрузчик

 

М-4045

1

 

2.

Приспособление для кантования стекла

-

-

 

Рабочие чертежи, разработанные трестом «Оргстрой»

3.

Присос тройной (ручной)

-

-

2

 

4.

Стол для раскроя крупноразмерного стекла

-

-

1

Рабочие чертежи тр. «Оргстрой»

5.

Линейка для резки стекла со стеклорезом

-

-

1

-"-  -"-

6.

Шуруповерты

 

И-160

2

Напряжение 36 вт.

7.

Трансформатор

 

С-622

1

мощность 1,0 ква

8.

Пирамида для хранения стекол в ящиках

-

-

2

Чертежи, разработанные трестом «Кишиневстрой»

9.

Лестницы-стремянки

-

-

2

 

10.

Метр металлическ.

-

-

1

Складной, длиной в один метр

11.

Рулетка 10 метр.

-

-

1

 

12.

Ящик для хранения обрезков стекла

-

-

1

 

13.

Плоскогубцы

-

-

2

 

14.

Клещи

-

-

2

 

Рис. 1. ПРИСПОСОБЛЕНИЕ ДЛЯ КАНТОВАНИЯ СТЕКЛА

1 - каркас;

2 - подвижная рама;

3 - вакуум-присосы;

4 - лебедка;

5 - струбцины;

6 - автопогрузчик.

Рис. 2. СТОЛ РАСКРОЯ СТЕКЛА

Рис. 3. ЛИНЕЙКА ДЛЯ РЕЗКИ СТЕКЛА

Рис. 4. присос тройной

Рис. 5. СХЕМА ОРГАНИЗАЦИИ РАБОТ

1. Строящееся здание.

2. Стол раскроя стекла.

3. Автопогрузчик.

4. Пирамида складирования стекла.

5. Путь движения автопогрузчика.

СОДЕРЖАНИЕ

I. Область применения. 1

II. Технико-экономические показатели на остекление. 1

III. Организация и технология строительного производства. 1

IV. Организация и методы труда. 3

V. Машины, оборудование, механизированный инструмент, инвентарь, приспособления. 5

 




Яндекс цитирования



   Copyright © 2007-2026,  www.tehlit.ru.

[ ѓосты, стандарты, нормативы, инструкции, правила, строительные нормы ]