//
ТехЛит.ру
- крупнейшая бесплатная электронная интернет библиотека для "технически умных" людей.
WWW.TEHLIT.RU - ТЕХНИЧЕСКАЯ ЛИТЕРАТУРА

:: Алготрейдинг::


АЛГОТРЕЙДИНГ
шаг за шагом
с нуля по урокам!

Торговые роботы на PYTHON, BackTrader,
Pandas, Pine Script для TradingView. Связка с брокерами, телеграм и легкими приложениями.


Открытое акционерное общество

Проектно-конструкторский и технологический
институт промышленного строительства

ОАО ПКТИпромстрой

УТВЕРЖДАЮ

Генеральный директор, к.т.н.

____________ С.Ю. Едличка

«20» декабря 2002 г.

ТЕХНОЛОГИЧЕСКАЯ КАРТА
ИЗВЛЕЧЕНИЕ МЕТАЛЛИЧЕСКОГО ШПУНТА
ВИБРОПОГРУЖАТЕЛЕМ
MS-25Н

33-02 ТК

Главный инженер

_____________ А.В. Колобов

Начальник отдела

_____________ Б.И. Бычковский

2002

В технологической карте представлена технология извлечения металлического шпунта вибропогружателем MS-25H. Технологическая карта разработана в соответствии с действующими нормативными документами и на основании изучения опыта работы организаций по извлечению металлического шпунта на строительных объектах Московского строительного комплекса.

В карте приведена технология производства работ по извлечению металлического шпунта; представлены разделы по организации и технологии строительного процесса, по безопасности и охране труда, качеству работ; приведена потребность в машинах, механизмах и приспособлениях с целью снижения затрат труда, совершенствования организации и повышения качества работ.

Карта предназначена для производителей работ, мастеров и бригадиров, занимающихся извлечением металлического шпунта, а также работников технического надзора заказчика и инженерно-технических работников строительных и проектно-технологических организаций.

В разработке карты принимали участие сотрудники ОАО ПКТИпромстрой:

- Любавина И.Ю. - исполнитель работы, компьютерная обработка и графика;

- Черных В.В. - технологическое сопровождение разработки;

- Холопов В.Н. - проверка работы;

- Бычковский Б.И. - техническое руководство, нормоконтроль, корректура разработки;

- к.т.н. Едличка С.Ю. - общее техническое руководство разработкой технологической документации.

СОДЕРЖАНИЕ

1 ОБЛАСТЬ ПРИМЕНЕНИЯ

1.1 Технологическая карта разработана на извлечение металлического шпунта с помощью вибропогружателя марки MS-25H «Мюллер» фирмы «KRUPP HANDEL», навешиваемого на базу крана на спецшасси автомобильного типа 70GMT-AT фирмы «KRUPP HANDEL».

1.2 Технологическая карта разработана в соответствии с руководством по разработке технологических карт в строительстве (ЦНИИОМТП 1998 г.).

1.3 Работы по извлечению шпунта осуществляются при не замерзшем грунте II группы.

1.4 Привязка технологической карты к конкретным объектам и условиям производства работ состоит в уточнении объемов работ, данных потребности в трудовых и материально-технических ресурсах.

1.5 Карта предусматривает обращение ее в сфере информационных технологий с включением карты в базу данных по технологии и организации строительных процессов автоматизированного рабочего места технолога строительного производства (АРМ ТСП), подрядчика и заказчика.

2 ОРГАНИЗАЦИЯ И ТЕХНОЛОГИЯ СТРОИТЕЛЬНОГО ПРОЦЕССА

2.1 Извлечение шпунта следует производить механическими устройствами, способными развивать выдергивающие усилия в 1,5 раза превышающие усилия, определенные при пробном извлечении шпунта в данных или аналогичных условиях.

В практике обычно шпунт извлекают кранами, оснащенными вибромолотами, вибропогружателями, молотами двойного действия и т.д.

2.2 Для извлечения шпунтов Ларсена III, IV и V, а также двутавровых балок не свыше № 55 длиной до 24 м из грунтов глинистых пластичных и песков средне-рыхлых использован навесной вибропогружатель MS-25H на базе крана на спецшасси автомобильного типа 70GMT-AT фирмы «KRUPP HANDEL», совместная работа которых допускается согласно «Инструкции по эксплуатации крана 70GMT-AT.(KRUPP) с вибропогружателем MS-25H «Мюллер» фирмы «Крупп» для извлечения шпунта (балки)».

2.3 Оборудование для извлечения шпунта, основные характеристики которого представлены в таблице 1, состоит из следующих основных частей:

- базовой машины-крана на спецшасси автомобильного типа 70GMT-AT фирмы «KRUPP HANDEL», представленной на рисунке 1;

- вибропогружателя марки MS-25H «Мюллер» фирмы «KRUPP HANDEL», общий вид которого дан на рисунке 2;

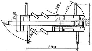
- дизельного приводного агрегата MS-A245, представленного на рисунке 3;

- грузового каната лебедки главного подъема для навешивания вибропогружателя;

- грузового каната лебедки вспомогательного подъема для страховки и опускания извлеченного шпунта (балки).

* - расстояние от оси вращения до оси пяты стрелы

Сечение стрелы

Размер выносной опоры в плане

Рисунок 1 - Общий вид базового крана 70GMT-AT «KRUPP HANDEL»

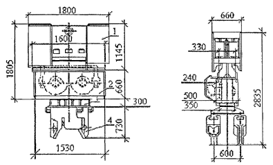
1 - ярмо пружины эластомер; 2 - возбудитель; 3 - консоль затяжки; 4 - затяжное устройство

Рисунок 2 - Вибропогружатель MS-25H

Рисунок 3 - Дизельный приводной агрегат MS-A245

Таблица 1 - Основные технические характеристики оборудования для извлечения шпунта

Наименование оборудования

Наименование показателей

Значения

Кран 70 GMT-AT фирмы «KRUPP HANDEL» с навесным оборудованием

Длина стрелы, м

20,0

28,5

Вылет стрелы, м

4,0; 5,0; 11,0

5,0; 6,0; 8,0

Грузоподъемность, т

33,17; 32,97; 14,37

18,7; 18,7; 15,67

Масса крана, т

52,0

Вибропогружатель MS-25H с комплектом шлангов

Центробежная сила, т

70

Момент эксцентрика, макс, кг см

25

Максимальное тяговое усилие, т

24

Частота колебаний, Гц

2530

Габариты, мм

2835´1800´660

Масса, т

5,3

2.3.1 Кран 70GMT-AT фирмы «KRUPP HANDEL» грузоподъемностью 70 тонн является краном автомобильного типа на спецшасси с дизельным приводом. Кран оснащен трехсекционной телескопической стрелой, выдвигаемой гидравлическим приводом.

2.3.2 Вибропогружатель MS-25H «Мюллер» фирмы «KRUPP HANDEL» представляет собой механизм, обеспечивающий извлечение шпунта из грунта посредством механического уменьшения силы сцепления шпунта с грунтом.

Вибропогружатель MS-25H состоит из двух основных узлов:

- вибратора;

- гидропривода.

Вибропогружатель с помощью вибратора создает посредством дебалансов, направленные, действующие по продольной оси извлекаемого шпунта, высокочастотные колебания определенной частоты и амплитуды. Удар машины направлен вверх и передается непосредственно извлекаемому шпунту, а вниз направлена только реакция пружин, которая изменяется плавно, по синусоиде, в то время как ударный импульс действует в малом промежутке времени и достигает значительной величины. Эти колебания переносятся на извлекаемый шпунт через универсальное затяжное устройство при помощи колодки с насечкой, которая прочно связывает извлекаемый шпунт с вибратором. При этом извлекаемый шпунт приводится в высокочастотные колебания. Снабжение энергией вибропогружателя обеспечивается приводным агрегатом MS-A245.

Вибратор является возбудителем колебаний и сблокирован с основными узлами:

- ярмом пружины;

- возбудителем;

- зажимным устройством.

Ярмо пружины Г25-246 является изолятором передачи вибрации вибропогружателя на конструкцию крана. В качестве пружинных элементов служат эластомерные блоки, которые с одной стороны работают как изоляторы колебаний, а с другой как демпферы. Глушение при этом распространяется как на колебания, так и на шумовую эмиссию.

Зажимное устройство состоит из стального тела особой конструкции, в котором гидравлический цилиндр двойного действия зажимает извлекаемый шпунт прижимным ползуном и колодкой с насечкой. Наличие размыкающего клапана обратного хода обеспечивает сокращение давления зажима также при обрыве шланга. Затяжка и открывание затяжного устройства приводится в действие от приводного агрегата.

2.3.3 Приводной агрегат MS-A245 снабжает энергией вибропогружатель MS-25H «Мюллер» фирмы «KRUPP HANDEL». Он состоит из дизельного мотора с двумя аксиально-поршневыми гидронасосами, связанными через прифланцованную распределительную передачу. Они нагнетают масло, которое приводит в движение аксиально-поршневые моторы в возбудителе вибратора. В состав приводного агрегата входят все контрольно-измерительные приборы для эксплуатации вибратора, баки для гидравлического масла и для горючего, фильтры, батареи и т.д.

Все части установлены в раме, которая покрыта звукоизоляционным колпаком. Для подключения шлангопроводов служит быстродействующие разъемы, которые исключают замену неармированными шлангопроводами.

Основные технические характеристики дизельного приводного агрегата приведены в таблице 2.

2.3.4 Грузовой канат лебедки главного подъема для навешивания вибропогружателя в соответствии с необходимой грузоподъемностью запасовать согласно технической документации на кран 70GMT-AT фирмы «KRUPP HANDEL».

Таблица 2 -Технические характеристики приводного агрегата

№ п/п

Показатели

Ед. изм.

Количество

Примечание

1.

Мощность

кВт

247

 

2.

Число оборотов двигателя

об/мин

2300

 

3.

Производительность насосов

л/мин

380

 

4.

Максимальное давление в гидросистеме

бар

350

 

5.

Емкость топливного бака

л

460

 

6.

Габаритные размеры

мм

4060´1540´2160

 

7.

Масса

т

3,8

 

2.3.5 Грузовой канат лебедки вспомогательного подъема для страховки и опускания извлеченного шпунта (балки) запасовать согласно технической документации на кран 70GMT-AT фирмы «KRUPP HANDEL».

2.4 До начала производства работ по извлечению металлического шпунта из грунта с помощью вибропогружателя марки MS-25H должны быть выполнены организационно-подготовительные мероприятия в соответствии со СНиПом 3.01.01-85* «Организация строительного производства», в том числе:

- производителю работ или мастеру должна быть предоставлена генподрядчиком или заказчиком исполнительная схема забитого шпунта;

- засыпаны грунтом пазухи между конструкцией крепления вертикальной стенки котлована и конструкцией подземной части строящегося здания или сооружения, недосыпая 0,3 м до верха шпунта;

- выполнена планировка и освобождена площадка для работы и перемещения механизмов;

- произведена комплектация, монтаж и наладка оборудования;

- определены места складирования извлекаемого металлического шпунта и места погрузки их на транспортные средства.

2.5 Машинист экскаватора ЭО-2621В-3 с жесткой подвеской рабочего оборудования на базе трактора МТЗ-50 откапывает шпунт при необходимости слева и справа на всей длине шпунтовой стенки, на глубину не менее 0,3 м, отсыпая грунт по обе стороны от нее. Землекоп, находясь от экскаватора на безопасном расстоянии, равном радиусу действия экскаватора плюс 5 м, осуществляет подчистку грунта лопатой около шпунтин и балок, отбрасывая его в сторону, как показано на рисунке 4. Ширина откапываемого котлована определяется габаритами ковша и размерами шпунта.

1 - экскаватор ЭО-2621В-3 на базе трактора МТЗ-50; 2 - откопанные верхние концы шпунта; 3 - откопанные и очищенные от грунта верхние концы шпунта;  - рабочее место и перемещение землекопа;  - машинист экскаватора на тракторе МТЗ-50;  - граница опасной зоны

Рисунок 4 - Схема организации рабочего места при откапывании верхних концов шпунта

2.6 В состав звена для обслуживания установки вибропогружателя включаются: машинист крана 6 разр. - 1 и копровщики - 3 (один из которых управляет работой дизельного приводного агрегата MS-A245).

2.7 Перед началом работ машинисту и копровщику необходимо:

- ознакомиться с нарядом-заказом, где указано количество, порядок и глубина заложения шпунта;

- проверить герметичность элементов гидросистемы;

- проверить наличие рабочей жидкости в баке гидрооборудования (уровень по показателю);

- проверить наличие ограждения опасной зоны;

- убедиться в правильности исходных положений механизмов управления крана и приводного агрегата.

В период работы крана с вибратором внешний осмотр крана должен производиться ежедневно с целью своевременного обнаружения трещин в металлоконструкциях.

2.8 Рабочий цикл оборудования по извлечению металлического шпунта состоит из следующих основных операций:

- перемещения крана к месту извлечения шпунта;

- установки вибропогружателя на извлекаемый шпунт;

- извлечение шпунта;

- укладка шпунта.

1 - кран 70GMT-AT; 2 - вибропогружатель MS-25H; 3 - дизельный приводной агрегат MS-A245; 4- шланги высокого давления; 5 - извлекаемый шпунт; 6 - забитый шпунт;  - рабочее место машиниста крана 70GMT-AT;  - рабочее место копровщиков К1 и К2;  - рабочее место оператора дизельного приводного агрегата MS-A245

Рисунок 5 - Технологическая схема извлечения металлического шпунта

2.9 Установку крана 70GMT-AT с навесным оборудованием для извлечения шпунта на объекте производить, обеспечивая уклон рабочей площадки в пределах требований инструкции по эксплуатации на базовую машину-кран 70GMT-AT при работе ее с крановым оборудованием.

Кран на рабочее место перемещается с приподнятой мачтой, подъем и опускание которой производится стрелоподъемным канатом. Машинист крана подводит машину по оси подготовленного к извлечению шпунтового ограждения так, чтобы мачта опиралась на землю против извлекаемого шпунта на расстоянии 1,0 - 1,1 м, после чего блокирует рессоры и устанавливает кран на выносные опоры.

Схема организации работ при извлечении металлического шпунта дана на рисунке 5.

2.10 Дизельный приводной агрегат MS-A245 устанавливают вне опасной зоны производства работ.

Рисунок 6 - Наводка вибропогружателя на шпунт

2.11 Машинист крана подвешивает вибропогружатель на крюк каната лебедки главного подъема при помощи затяжного устройства. Опускает вибропогружатель на шпунт, не доводя его нижнюю часть до торца шпунта на 20 ¸ 30 см, и фиксирует в этом положении. Точность установки вибропогружателя над извлекаемым шпунтом (балкой) осуществляется машинистом крана манипулированием двух движений: поворотом поворотной платформы и перемещением крана.

Копровщики (К1 и К2) в это время находятся на безопасном расстоянии от вибропогружателя.

2.12 После этого копровщики (К1 и К2) подходят к вибропогружателю и наводят его затяжное устройство на шпунт, как показано на рисунке 6.

2.13 По сигналу копровщика (К1) машинист крана 70GMT-AT опускает вибропогружатель до упора. Убедившись в правильной установке вибропогружателя на шпунт, копровщик (К1) дает сигнал оператору дизельного приводного агрегата MS-A245 закрепить затяжное устройство на шпунте. Копровщики (К1 и К2) отходят на безопасное расстояние от вибропогружателя.

2.14 Копровщик (К1), находясь на безопасном расстоянии, подает сигнал оператору дизельного приводного агрегата MS-A245 на включение вибропогружателя и сигнал машинисту крана 70GMT-AT на извлечение шпунта. Запускают представленный на рисунке 3 дизельный приводной агрегат MS-A245, включают грузовой барабан главной лебёдки на подъём и начинают извлечение шпунта.

Целесообразно до начала извлечения провести в течение 1 - 2 мин. предварительное вибрирование шпунтины.

2.15 После выхода шпунта примерно на 2 м от поверхности земли копровщик (К1) дает сигналы оператору и машинисту о прекращении работы и отключении механизмов.

2.16 Затем газорезчик подходит к поднятому шпунту, размечает место прорези и резаком-керосинорезом РГ-71 прорезает в шпунте отверстие размером 150´30 мм на расстоянии 1,5 м от торца шпунта согласно разметке на чертежах 7 и 9.

Рисунок 7 - Прорезание отверстия в шпунте

2.17 Копровщик (К2) вставляет в прорезанное отверстие съемную монтажную петлю, изготовленную согласно рисунку 8. Копровщик (К1) заводит в нее карабин подъемного троса крана и закрепляет ее к подъемному канату вспомогательной лебедки. Копровщики отходят на безопасное расстояние.

2.18 Копровщик (К1) подает команду машинисту крана натянуть трос. Затем дает сигнал оператору и машинисту на запуск дизельного приводного агрегата MS-A245 и включение грузового барабана лебедки главного подъема на продолжение извлечения шпунта по данным, указанным в таблице 3. При этом подъемный трос крана находится в натянутом положении. Скорость подъема шпунта не должна превышать 3 м/мин в песках и 1 м/мин в глинистых грунтах.

Рисунок 8 - Съемная монтажная петля

Рисунок 9 - Разметка отверстия в металлическом шпунте под съемную монтажную петлю

Рисунок 10 - Установка съемной петли

Лебедку вспомогательного подъема включать периодически кратковременно для выбора слабины каната.

Данные таблицы 3 даны из расчета ориентации стрелы перпендикулярно продольной оси ходовой части крана. Приведенные данные по усилению на крюке необходимо уточнить расчетом с учетом сечения шпунта и характеристик грунта. Согласно «Инструкции по эксплуатации крана» допускается работа по данным таблицы 3 в зоне 360° при условии, что элементы конструкции крана позволяют использовать указанные величины вылета крюка.

2.19 После извлечения шпунта (при свободном выходе шпунта из грунта - визуальное определение) по сигналу копровщика оператор агрегата MS-A245 и машинист крана 70GMT-AT отключают механизмы.

Оператор отключает зажимное устройство вибропогружателя.

Таблица 3 - Диапазоны работы крана при извлечении шпунта

Длина стрелы, м

Вылет крюка

Грузоподъемность, т

Шифр грунта и опорной поверхности

Усилие на крюке, необходимое для извлечения шпунта (балки), тс

20,0

4,0

33,17

1

21,94

5,0

32,97

1

2

18,82

22,54

11,0

14,37

1

12,79

28,5 (длина шпунта 12,0 м)

5,0

18,7

1

16,1

6,0

18,7

1

2

14,39

16,89

8,0

15,67

1

12,32

28,5 (длина шпунта 24,0 м)

5,0

18,7

1

2

15,23

17,68

6,0

18,7

1

2

14,0

16,03

8,0

15,67

1

2

12,51

13,98

Примечание - шифры грунта: 1 - глинистый пластичный; 2 - песок средне-рыхлый

2.20 Машинист крана по сигналу копровщика (К1) опускает вибропогружатель на расстояние 0,5 ¸ 1 м от земли и фиксирует его в этом положении. Машинист крана по сигналу копровщика (К1) разворачивает кран с навесным оборудованием и опускает извлеченный шпунт нижним концом на землю. По сигналу копровщика (К1) машинист «стравливает» подъемный трос, опуская шпунтину на грунт в заданном направлении на заранее уложенные через 2 - 3 м по длине шпунтины прокладки.

2.21 Извлеченный шпунт складируют на территории стройплощадки. Схема строповки шпунтины длиной 13 м приведена на рисунке 11.

2.22 Образовавшиеся после извлечения шпунта углубления в грунте засыпают.

2.23 Извлечённый шпунт необходимо отсортировать. Пригодный для дальнейшего использования, а также бракованный шпунт, транспонируют со строительной площадки автотранспортом.

Применение вибропогружателей для извлечения шпунта на расстоянии менее 1 м от подземных стальных трубопроводов с внутренним давлением не более 2 МПа не допускается, а при давлении свыше 2 МПа или меньших расстояниях допускается производить только с учетом данных обследования и при соответствующем обосновании в проекте.

Рисунок 11 - Схема строповки шпунтины

2.24 Шпунт следуют укладывать на транспортное средство на деревянные прокладки толщиной не менее 150 мм. При погрузке, транспортировке, разгрузке и хранении шпунта необходимо принять меры, исключающие возможность повреждения, коррозии и загрязнения шпунта.

2.25 Шпунт следует хранить в штабелях на открытом складе. Склад должен иметь сквозной или круговой проезд шириной не менее 3,5 м с основанием из бетонных плит для транспортных или грузоподъёмных средств. Расстояние от проезда до ближайшего стеллажа со шпунтом должно быть не менее 0,5 - 0,7 м. Для осмотра и строповки шпунта должны оставаться проходы шириной не менее 1 м.

2.26 Работы по извлечению металлического шпунта выполнять в соответствии с правилами производства и приемки работ согласно:

- СНиП 3.02.01-87 «Земляные сооружения, основания и фундаменты»;

- «Правила производства земляных и строительных работ, прокладки и переустройства инженерных сетей и коммуникаций в г. Москве». ОАО ПКТИпромстрой, 2000 г.;

- «Организационно-технологическому регламенту строительства (реконструкции) объектов в стесненных условиях существующей городской застройки». ОАО ПКТИпромстрой, 2002 г.;

- «Регламенту подготовки, организации и производства строительных (земляных) работ в стесненных условиях городской застройки». ОАО ПКТИпромстрой, 2000 г.;

- «Методическим рекомендациям по инжиниринговому сопровождению строительства и реконструкции крупных и уникальных объектов в г. Москве». ОАО ПКТИпромстрой, 1995 г.

3 ТРЕБОВАНИЯ К КАЧЕСТВУ И ПРИЕМКЕ РАБОТ

3.1 Контроль качества осуществляют в соответствии со СНиПом 3.02.01-87 «Земляные сооружения, основания и фундаменты». Контроль и отбраковку извлеченного шпунта с учетом механических повреждений и коррозии металла следует производить согласно «Инструкции по определению годности извлеченного шпунта для повторного использования», разработанной ОАО ПКТИпромстрой, М., 2001 г.

3.2 Извлеченный шпунт необходимо подвергнуть визуальному осмотру и контрольным обмерам, после чего определяют годность для повторного использования.

3.3 Состояние извлеченного шпунта зависит от грунта, из которого извлечен шпунт, времени нахождения шпунта в грунте, агрессивности грунтовых вод, наличия блуждающих токов и других факторов.

3.4 Перед осмотром и контрольными обмерами извлеченный шпунт необходимо очистить скребком и металлической щеткой от грунта, ржавчины и загрязнений.

3.5 Контрольные размеры толщины полок и стенок извлеченного шпунта производят на расстоянии не менее 0,5 м от торцов и через каждые 2 м по длине шпунта.

3.6 После осмотра шпунта и определения соответствия его геометрических параметров на шпунт краской наносят порядковый маркировочный номер, являющийся знаком годности шпунта для повторного использования. Шпунт, считающийся непригодным для дальнейшего использования, маркируется краской надписью «брак».

3.7 На строительной площадке должен оформляться строительной лабораторией и начальником участка акт отбраковки извлеченного шпунта по форме приложения А.

3.8 При отбраковке шпунта в случае, когда дефект распространен на небольшой по протяженности длине, поврежденную часть отрезают.

3.9 На строительной площадке необходимо предусмотреть размещение штабеля годного для повторного использования шпунта и штабеля отбракованного шпунта с указанием соответствующих табличек.

3.10 При проведении работ по извлечению шпунта с помощью вибропогружателя марки MS-25H «Мюллер» фирмы «KRUPP HANDEL» вблизи зданий и сооружений последние подлежат обследованию, если они расположены от ближайшего шпунта на расстоянии менее указанных в таблице 4.

3.11 При устройстве шпунтовых стенок на расстоянии менее указанных в таблице допустимый уровень колебаний определяется проектной организацией в соответствии с Руководством по вибропогружению свай-оболочек и шпунта вблизи существующих зданий и сооружений, разработанный ВНИИГС и ГПИ Фундаментпроект Минмонтажспецстроя.

Таблица 4 - Минимальные расстояния до зданий и сооружений от ближайшего шпунта

№ п/п

Наименование и конструктивные особенности зданий и сооружений

Минимальное расстояние от шпунтового ограждения до зданий и сооружений, подлежащих обследованию перед началом производства работ по виброизвлечению, м

1.

Каркасные здания, стальные и железобетонные, связевой конструкции. Монолитные железобетонные здания. Кирпичные здания с железобетонными перекрытиями, с фундаментами одной глубины заложения.

20

2.

Железобетонные каркасные здания рамной конструкции. Панельные здания.

30

3.

Дымовые трубы и сооружения башенного типа. Кирпичные здания, имеющие особенности, увеличивающие их чувствительность к неравномерным осадкам (с фундаментами различного заглубления, с частями здания разной высоты; имеющие сквозные проезды, арочные и клинчатые перемычки, с деревянными перекрытиями и др.)

40

4 ТРЕБОВАНИЯ БЕЗОПАСНОСТИ И ОХРАНЫ ТРУДА, ЭКОЛОГИЧЕСКОЙ И ПОЖАРНОЙ БЕЗОПАСНОСТИ

4.1 Приказом по строительной организации согласно ст. 9.4.2 ПБ 10-382-00 «Правила устройства и безопасной эксплуатации грузоподъемных кранов» Госгортехнадзора России назначаются:

- инженерно-технический работник по надзору за безопасной эксплуатацией грузоподъемных кранов, грузозахватных приспособлений и тары;

- инженерно-технический работник, ответственный за содержание грузоподъемных кранов в исправном состоянии;

- лицо, ответственное за безопасное производство работ краном.

4.2 К работам на кране 70GMT-AT с вибропогружателем MS-25H допускаются мужчины не моложе 18 лет, прошедшие медицинское освидетельствование и курс обучения безопасным способам работ и по конструкции крана 70GMT-AT и вибропогружателя MS-25H, сдавшие экзамены квалификационной комиссии предприятия или учебного центра, аттестованные в соответствии с требованиями ПБ 10-382-00 «Правила устройства и безопасной эксплуатации грузоподъемных кранов», утвержденные Госгортехнадзором России, изучившие Руководство по эксплуатации вибропогружателя MS-25H и получившие удостоверения на право производства соответствующих видов работ.

4.3 Вновь обученные рабочие, согласно ГОСТ 12.0.004-90 «Организация обучения безопасности труда. Общие положения», могут быть допущены к самостоятельной работе после проведения:

- вводного инструктажа по безопасности и охране труда;

- инструктажа на рабочем мест;

- недельной стажировки у опытных мастеров.

Вводный инструктаж проводит инженер по охране труда с лицами, впервые поступающими на работу, по соответствующей программе, учитывающей особенности производства с записью в журнале регистрации вводного инструктажа по охране труда, независимо от их образования, стажа работы по данной профессии.

Инструктаж на рабочем месте производится с каждым работником индивидуально по инструкциям по охране труда с практическим показом безопасных приемов и методов труда. Допуск к самостоятельной работе фиксируют датой и подписью инструктирующего в журнале регистрации инструктажа на рабочем месте (личной карточке инструктажа).

4.4 Инструктаж бригады (звена) производится начальником (менеджером) строительного участка или производителем работ в следующих случаях:

- при новых условиях производства работ;

- при изменении конструкции навесного оборудования;

- при особых обстоятельствах, связанных с местными условиями строительной площадки.

4.5 Администрация строительной организации организует проверку знаний членов бригады квалификационной комиссией предприятия:

- повторные, не реже одного раза в 6 месяцев;

- при переходе из другой организации;

- по требованию лиц, осуществляющих надзор за безопасной эксплуатацией машин, и представителей технической инспекции профсоюза, если действия членов бригады вызывают сомнения в их профессиональных навыках.

4.6 Машинист, допущенный к работе на кране с навесным оборудованием, должен знать:

- устройство и назначение всех частей крана и навесного оборудования, правила управления и обслуживания;

- факторы, влияющие на устойчивость крана с навесным оборудованием, причины потери устойчивости;

- установленный порядок обмена условными сигналами с копровщиками.

4.7 Проверка работоспособности и устойчивости крана с навесным оборудованием производится начальником участка и лицом, ответственным за исправное состояние крана.

4.8 Маневрирование крана, оснащенного навесным оборудованием с поднятой стрелой, на уклоне, превышающем 6° (0,1), запрещается.

4.9 Работа с вибропогружателем разрешается только после приемки оборудования комиссией, назначенной приказом руководителя организации, производящей работы с составлением соответствующего акта. В состав комиссии входят - главный механик, инженер по безопасности труда, старший прораб, бригадир копровщиков и машинист крана.

4.10 В соответствии с конкретными условиями работ на каждом объекте прораб, старший прораб дополняет данную инструкцию мероприятиями по обеспечению безопасности в связи с местной ситуацией производства работ, и после утверждения главным инженером организации, производящей работы по извлечению шпунта, инструкция с разъяснениями для проведения инструктажа рабочих.

4.11 Допуск к самостоятельной работе машиниста и копровщиков может быть разрешен после прохождения: вводного инструктажа инженерно-техническим работником по надзору, первичного инструктажа (на рабочем месте) и пятидневной стажировки под руководством ответственного лица за проведением работ.

4.12 Ответственное лицо, отвечающее за безопасность производства работ, назначается из числа ИТР, и его фамилия указывается в наряде-допуске, подписанным руководителем (начальником, главным инженером) организации, производящей работы.

4.13 Перед началом работ машинист и копровщик должны ознакомиться с наряд-заказом, где указаны количество, порядок и глубина заложения извлекаемого шпунта.

4.14 В процессе эксплуатации машинист должен периодически, не реже одного раза в смену, производить осмотр конструкции навесного оборудования. Стропы и канаты должны подвергаться техническому осмотру не реже одного раза в 10 дней в соответствии с требованиями ПБ 10-382-00 «Правила устройства и безопасной эксплуатации грузоподъемных кранов», утвержденных Госгортехнадзором России.

4.15 При применении для извлечения шпунта вибропогружателей вблизи существующих зданий и сооружений необходимо оценить опасность для них динамических воздействий, исходя из влияния колебаний на деформации грунтов оснований, технологические приборы и оборудование, а также допустимости уровня колебаний по санитарным нормам.

4.16 После окончания работ все механизмы копра и дизельного агрегата должны быть отключены, пульты управления вышеуказанных механизмов закрыты на замок.

4.17 Эластомеры и прочие резиновые части пружинного ярма вибратора необходимо защищать от масла, а при длительном хранении - и от сильного солнечного облучения.

4.18 Необходимо регулярно проверять прочность посадки винтов пружинного ярма вибратора и затягивать их по необходимости.

4.19 При сборке и разборке шлангов высокого давления вибратора необходимо соблюдать строжайшую чистоту. После разъединения посадить пыленепроницаемые колпаки и штекеры.

4.20 Оператор в процессе работы должен следить за прочностью резьбовых соединений, посадки и герметичности шлангопроводов. Дефектные шланги заменять немедленно.

4.21 Во время перерывов в работе дизельный привод MS-A245 необходимо блокировать для защиты от несанкционированной эксплуатации.

4.22 По окончании рабочей смены машинист крана опускает вибропогружатель в крайнее нижнее положение, осматривает кран с навесным оборудованием, делает запись в вахтенном журнале о состоянии механизмов и закрывает кабину на ключ.

4.23 При производстве газопламенных работ рабочее место необходимо освободить от сгораемых материалов в радиусе не менее 5 м, а от взрывоопасных материалов и установок, в том числе газовых баллонов, на 10,0 м.

4.24 Закрепление газопроводящих рукавов на ниппелях горелок, резаков и редукторов, а также в местах наращивания рукавов необходимо выполнять стяжными хомутами.

4.25 При резке отверстий в шпунте керосинорезом следует соблюдать требования пожарной безопасности при производстве строительно-монтажных работ согласно ППБ 01-93** «Правила пожарной безопасности в Российской Федерации».

4.26 При производстве работ по извлечению металлического шпунта руководствоваться требованиями:

- СНиП 12-03-2001 «Безопасность труда в строительстве. Часть 1. Общие требования»;

- СНиП 12-04-2002 «Безопасность труда в строительстве. Часть 2. Строительное производство»;

- ГОСТ 12.1.012-90 «Вибрационная безопасность. Общие требования»;

- ПБ 10-382-00 «Правила устройства и безопасной эксплуатации грузоподъемных кранов», Госгортехнадзор России, М., 2000 г.;

- ПОТ РМ-016-2001 «Межотраслевые правила по охране труда (правила безопасности) при эксплуатации электроустановок», М., 2001 г.;

- ППБ 01-93** «Правила пожарной безопасности в Российской Федерации», МВД РФ, М., 2000 г.;

- Санитарными правилами при варке и наплавке металлов;

- «Инструкцией по устройству и эксплуатации вибрационной установки MS-25H «Мюллер» фирмы «KRUPP HANDEL». ОАО ПКТИпромстрой, 1989 г.;

- «Рекомендаций по организации работы службы охраны труда в организации». ОАО ПКТИпромстрой, 2000 г.

5 ПОТРЕБНОСТЬ В МАТЕРИАЛЬНО-ТЕХНИЧЕСКИХ РЕСУРСАХ

5.1 Потребность в основных машинах, механизмах и оборудовании, а также перечень технологической оснастки и приспособлений для извлечения металлического шпунта вибропогружателем MS-25H с указанием их номера ГОСТа, ТУ, типов, марок или организации-разработчика и номера чертежей, а также технических характеристик, назначения и количества на звено приведена в таблице 5.

Таблица 5 - Перечень машин, механизмов и оборудования

№ п/п

Наименование машин, механизмов и оборудования

Тип, марка, ГОСТ, ТУ, организация-изготовитель

Техническая характеристика

Назначение

Кол. на звено (бригаду), шт.

1

2

3

4

5

6

1.

Вибропогружатель с комплектом шлангов

MS-25H Фирмы «KRUPP HANDEL»

Центробежная сила, т - 70

Макс, момент, кг см - 25

Макс, тяговое усилие, т - 24

Частота колебаний, Гц - 25 ¸ 30

Габариты, мм - 2835´1800´660

Масса, т - 5,3

Извлечение шпунта

1

2.

Дизельный приводной агрегат

MS-A245 Фирмы «KRUPP HANDEL»

Мощность, кВт - 247

Число об/мин -2300

Производительность, л/мин - 380

Макс, давление, бар - 350

Дизельный бак, л - 460,0

Габариты, мм - 4060´1540´2160

Масса, т - 3,8

Подача энергии к вибропогружателю

1

3.

Прицеп

ГКГ-817 выпускается серийно

Длина, мм - 4686

Грузоподъемность, т - 5,5

Перемещение агрегата MS-A245

1

4.

Кран

70GMT-AT Фирмы «KRUPP HANDEL»

Грузоподъемность, т - 33,17; 32,97; 14,37 и 18,7; 18,7; 15,67

Масса, т - 52

Длина стрелы, м - 20,0 и 28,5

Базовая машина для извлечения шпунта

1

5.

Резак-керосинорез

РК-71 Свердловского машиностроительного завода им. Воровского

Габариты, мм - 580´160´70

Масса, кг - 1,57

Толщина стали, подлежащей резке, мм - 3 ¸ 200

Топливо - керосин или бензин

Устройство прорезей в шпунте

1

6.

Экскаватор с жесткой подвеской рабочего оборудования (обратной лопаты)

ЭО-2621В-3 на базе МТЗ-50

База - трактор МТЗ-50

Мощность двигателя, кВт - 44

Скорость передвижения км/час -19

Емкость ковша, м3 - 0,25

Угол поворота рабочего оборудования, град - 150

Глубина копания, м - 4,15

Планировка и отрывка верхних концов шпунта

1

7.

Лопата копальная

ЛКО-1

ГОСТ 19596-87

Габариты, мм - 1158´210

Масса, кг - 1,9

Откапывание верхней части шпунта

1

8.

Лопата подборочная

ЛП-2

ГОСТ 19596-87

Габариты, мм - 1550´240

Масса, кг - 2,2

Откапывание верхней части шпунта

1

9.

Лом монтажный

 

Габариты, мм - Æ 24´1180

Масса, кг - 4

Сопутствующие работы

2

10.

Кувалда кузнечная продольная

ГОСТ 11402-75*

Габариты, мм - 500´57´167

Масса, кг - 3

Сопутствующие работы

2

11.

Рулетка металлическая

РС-20

ГОСТ 7502-98

Габариты, мм - Æ 100´20

Масса, кг - 0,35

Длина ленты, м - 20

Для линейных измерений

1

12.

Съемная монтажная петля

Изготовить по месту

Габариты, мм - 280´115´20

Строповка извлекаемого шпунта

1

13.

Строп двухветвевой

2 СК-5,0/5000 чертеж 1026/1 СКВ Мосстрой

Масса, кг - 730

Q, тс - 5

Длина, м - 5

Р, кг - 46

Грузоподъемное приспособление

1

14.

Строп кольцевой

СКК1-2500/2000 чертеж 1033/3 СКВ Мосстрой

Масса, кг- 1350

Q, тс - 2,5

Длина, м - 2

Р, кг - 2,92

Грузоподъемное приспособление

2

5.2 Потребность в средствах индивидуальной защиты, обеспечивающих наибольшую производительность звена при наиболее благоприятных и безопасных условиях производства работ при извлечении металлического шпунта вибропогружателем MS-25H, с указанием их номера ГОСТа, ТУ, типов, марок или организации-разработчика и количества на звено приведена в таблице 6.

Таблица 6 - Перечень средств индивидуальной защиты

№ п/п

Наименование машин, механизмов и оборудования

Количество на звено

Тип, марка, ГОСТ, ТУ, организация-изготовитель

1.

Каска строительная

5

ГОСТ 12.4.087-84

2.

Щиток-маска-НУ

1

ГОСТ 12.4.035-78

3.

Костюм мужской для сварщиков

1

ТУ 17-08-69-77

4.

Комбинезон

5

ГОСТ 12276-75

5.

Сапоги резиновые

5

ГОСТ 12.4.072-79

6.

Перчатки диэлектрические

1

 

7.

Беруши

5

 

6 ТЕХНИКО-ЭКОНОМИЧЕСКИЕ ПОКАЗАТЕЛИ

6.1 Трудоемкость выполнения работ по извлечению металлического шпунта вибропогружателем MS-25H, характеризующая использование материально-технических и трудовых ресурсов, определена в калькуляции трудовых затрат и машинного времени по «Единым нормам и расценкам на строительные, монтажные и ремонтно-строительные работы» и приведена в таблице 7.

Таблица 7 - Калькуляция затрат труда и машинного времени

Измеритель конечной продукции - 10 шпунтин

Обоснование (ЕНиР)

Наименование технологических процессов

Ед. изм.

Объем работ

Норма времени

Затраты труда

рабочих, чел.-ч.

машиниста, маш.-ч. (работа машин маш.-ч.)

рабочих, чел.-ч.

машиниста, маш.-ч. (работа машин маш.-ч.)

Е2-1-13, раздел II, т. 5, № 1з

Разработка грунта экскаватором ЭО-2621В-3 с жесткой подвеской рабочего оборудования на базе трактора МТЗ-50 с объемом ковша 0,25 м3 на глубину 0,3 м (до 1 м) в грунтах II группы навымет

100 м3

0,059

-

4,5 (4,5)

-

0,27 (0,27)

Е2-1-47А, т. 1,№ 1е

Добор грунта вручную на глубину 0,3 м (до 1 м) в грунтах II группы навымет

1 м3

1,98

1,3

-

2,57

-

Е12-52, № 2г

Извлечение металлического шпунта вибропогружателем MS-25H

шт.

10

2,16

0,72 (0,72)

21,6

7,2 (7,2)

-

Неучтенные и сопутствующие работы

%

10

-

-

2,42

0,75 (0,75)

ИТОГО:

26,59

8,22 (8,22)

6.2 График производства работ приводится в таблице 8.

Таблица 8 - График производства работ на извлечение шпунта

Измеритель конечной продукции - 10 шпунтин

6.3 Основные технико-экономические показатели.

Извлеченные шпунтины, шт.................................................................. 10

Затраты труда, чел.-ч............................................................................ 26,59

Выработка на рабочего в смену, шт..................................................... 3,24

Затраты машинного времени, маш.-ч.................................................. 8,22

7 ПЕРЕЧЕНЬ ИСПОЛЬЗОВАННОЙ НОРМАТИВНО-ТЕХНИЧЕСКОЙ ЛИТЕРАТУРЫ

1   СНиП 12-03-2001 «Безопасность труда в строительстве. Часть 1. Общие требования».

2   СНиП 12-04-2002 «Безопасность труда в строительстве. Часть 2. Строительное производство».

3   СНиП 3.02.01-87 «Земляные сооружения, основания и фундаменты».

4   ГОСТ 12.0.004-90 «Организация обучения безопасности труда. Общие положения».

5   ГОСТ 12.1.012-90 «Вибрационная безопасность. Общие требования».

6   СП 12-135-2002 «Безопасность труда в строительстве. Отраслевые типовые инструкции по охране труда», Госстрой России, М., 2002 г.

7   ПБ 10-382-00 «Правила устройства и безопасной эксплуатации грузоподъемных кранов», Госгортехнадзор России, М., 2000 г.

8   ПОТ Р М-016-2001 «Межотраслевые правила по охране труда (правила безопасности) при эксплуатации электроустановок», М., 2001 г.

9   ППБ 01-93** «Правила пожарной безопасности в Российской Федерации», МВД РФ, М., 2000 г.

10 ЕНиР. Сборник Е2. «Земляные работы. Выпуск 1. Механизированные и ручные земляные работы» М.: 1988 г.

11 ЕНиР. Сборник Е12. «Свайные работы» М.: 1988 г.

12 «Правила производства и приемки земляных и строительных работ, прокладки и переустройства инженерных сетей и коммуникаций в г. Москве» ОАО ПКТИпромстрой, М., 2000 г.

13 «Регламент подготовки, организации и производства строительных (земляных) работ в стесненных условиях городской застройки», ОАО ПКТИпромстрой, М., 2000 г.

14 «Организационно-технологический регламент строительства (реконструкции) объектов в стесненных условиях существующей городской застройки». ОАО ПКТИпромстрой, М., 2002 г.

15 «Рекомендации по организации работы службы охраны труда в организации». ОАО ПКТИпромстрой, 2000 г.

16 «Инструкция по определению годности извлеченного шпунта для повторного использования», ОАО ПКТИпромстрой, М., 2001 г.

17 «Инструкцией по устройству и эксплуатации вибрационной установки MS-25H «Мюллер» фирмы «KRUPP HANDEL». ОАО ПКТИпромстрой, 1998 г.

18 «Вибрационная техника и технология в свайных и буровых работах» М.Г. Цейтлин, В.В. Верстов, Г.Г. Азвель, Ленинград: Стройиздат Ленинградское отделение, 1987 г.

19 «Машины и оборудование для погружения свай» В.В. Лубнин, В.З. Заикина, М.: Высшая школа, 1989 г.

20 «Машины и оборудование для устройства оснований и фундаментов» М.И. Смородинов, Л.В. Ерофеев и др., М.: Машиностроение, 1985 г.

21 Строительные машины. Том 1» под ред. д-ра техн. наук Э.Н. Кузина, М.: Машиностроение, 1991 г.

Приложение А

(обязательное)

Форма АКТа
отбраковки извлеченного шпунта

«__» ____________________ 200_ г.

Объект __________________________________________________________________.

Комиссия в составе: _______________________________________________________

(должность, инициалы, фамилия)

___________________________________________________________________________

___________________________________________________________________________

___________________________________________________________________________

___________________________________________________________________________

___________________________________________________________________________

Составила настоящий акт о нижеследующем:

1. _______________________________________________________________________

(описание извлеченного шпунта)

2. _______________________________________________________________________

(описание по отбраковке извлеченного шпунта)

3. Извлечено шпунта всего _________________________________________________

4. Количество пригодного шпунта

для повторного использования ______________________________________________

5. Количество отбракованного шпунта _______________________________________

6. Дата начала работ _______________________________________________________

7. Дата окончания работ ___________________________________________________

_________________________ (Подпись)

_________________________

_________________________

 




Яндекс цитирования



   Copyright © 2007-2026,  www.tehlit.ru.

[ ѓосты, стандарты, нормативы, инструкции, правила, строительные нормы ]