//
ТехЛит.ру
- крупнейшая бесплатная электронная интернет библиотека для "технически умных" людей.
WWW.TEHLIT.RU - ТЕХНИЧЕСКАЯ ЛИТЕРАТУРА

:: Алготрейдинг::


АЛГОТРЕЙДИНГ
шаг за шагом
с нуля по урокам!

Торговые роботы на PYTHON, BackTrader,
Pandas, Pine Script для TradingView. Связка с брокерами, телеграм и легкими приложениями.


МИНИСТЕРСТВО МЕЛИОРАЦИИ И ВОДНОГО ХОЗЯЙСТВА СССР
ВСЕСОЮЗНЫЙ ГОЛОВНОЙ ПРОЕКТНО-ТЕХНОЛОГИЧЕСКИЙ ИНСТИТУТ
«СОЮЗОРГТЕХВОДСТРОЙ»

ЮЖНЫЙ НАУЧНО-ИССЛЕДОВАТЕЛЬСКИЙ ИНСТИТУТ
ГИДРОТЕХНИКИ И МЕЛИОРАЦИИ

ТЕХНОЛОГИЧЕСКАЯ КАРТА
НА ПРИГОТОВЛЕНИЕ БИТУМНО-ПОЛИМЕРНОЙ МАСТИКИ

МОСКВА 1987

Технологическая карта на приготовление битумно-полимерной мастики разработана отделом технологии водохозяйственного строительства в зоне орошения ВГПТИ «Союзоргтехводстрой» (А.И. Кузнецов, Г.Г. Маркина, Н.В. Ковалева) совместно с отделом ГТС и ЭГМС (Ю. М. Косиченко, Р.Р. Галицкий) и бюро внедрения (В.Н. Пушкарный) ЮжНИИГиМ.

Технологическая карта рассмотрена и одобрена научно-техническим советом Союзоргтехводстроя. Протокол № 2 от 17 марта 1987 г.

1. ОБЛАСТЬ ПРИМЕНЕНИЯ

1.1. Технологическая карта разработана на приготовление битумно-полимерной клеящей мастики, разработанной ЮжНИИГиМ.

1.2. Битумно-полимерная клеящая мастика предназначена для соединения полиэтиленовой пленки при устройстве противофильтрационных экранов.

1.3. В состав работ, рассматриваемых картой, входят:

приготовление мастики на производственной базе;

разогрев брикетов мастики в полевых условиях.

2. ОРГАНИЗАЦИЯ И ТЕХНОЛОГИЯ СТРОИТЕЛЬНОГО ПРОЦЕССА

2.1. Состав битумно-полимерной, клеящей мастики приведен в табл. 1.

Таблица 1

Наименование компонентов

Нормативный документ

Содержание весового %

Битум нефтяной дорожный БНД 40/60 или строительный БН 50/50

ГОСТ 22245-76

ГОСТ 6617-76

88 ... 93

Кубовые остатки синтетических жирных кислот (КОСЖК) фракции С21 выше марки Б и С

ОСТ 38.001182-80

6 ... 8

Катионактивная адгезионная битумная присадка БП-3

ТУ 38 УССР 201170-78

1 ... 4

Допускается приготовление битумно-полимерной мастики без включения в ее состав битумной присадки. В этом случае состав мастики будет следующий: битум строительный БН 70/30 - 80 весовой %, КОСЖК - 20 весовой %.

Битум БНД 40/60 или БН 50/50 - углеводородные вяжущие материалы, малолетучие, горючие, с температурой вспышки 220 °С.

Кубовые остатки синтетических жирных кислот (КОСЖК) - модифицирующая добавка, состоящая и смеси высших жирных кислот, придает мастике трещиностойкость при низких температурах; повышает адгезию и пластичность битумно-полимерной композиции, температура вспышки выше 220 °С.

Катионактивная адгезионная битумная присадка БП-3 - модифицирующая добавка, улучшающая адгезию мастики, малолетучий, невзрывоопасный горючий продукт с температурой вспышки выше 180 °С.

2.2. Технология приготовления битумно-полимерной клеящей мастики на производственной базе предусматривает следующие основные и вспомогательные операции:

доставку и хранение составляющих материалов;

дозировку и подачу составляющих материалов;

приготовление мастики;

доставку мастики к месту затаривания или непосредственно к месту производства работ.

2.3. Заготовка и хранение исходных материалов.

Битум доставляется на склад в бумажных мешках или специальных битумовозах и выгружается в закрытый склад или битумохранилище стационарного типа. При небольших объемах работ битум доставляют в бухтах или бочках, которые складируют в складских помещениях не более чем в два ряда по высоте, также как и мешки с битумом.

Битум должен иметь заводской паспорт с техническими характеристиками. В случае его отсутствия марку битума определяют в лаборатории.

Кубовые остатки синтетических жирных кислот (КОСЖК) поступают от поставщиков железнодорожным транспортом в цистернах или автоцистернах и хранятся в железных бочках. При загрузке или выгрузке КОСЖК запрещается применять острый пар для их разогрева во избежание попадания воды.

На КОСЖК должен быть документ, удостоверяющий качество кубового остатка и его соответствие требованиям ОСТ 38.001182-80. Потребитель имеет право производить контрольную проверку качества КОСЖК.

Катионактивная адгезионная битумная присадка доставляется на склад автотранспортом в герметично закрытых бочках. Она должна быть однородной по составу и соответствовать требованиям ТУ 38 УССР 201170-78. Срок хранения присадки 1 год с момента ее изготовления.

2.4. Подготовка материалов и приготовление мастики.

Битум, находящийся на складе, освобождают от бумажной тары и по конвейеру ТК-12А подают в битумоварочный котел ДБП-12, загружая его на 2/3 объема. Путем разогрева до температуры 130 ... 140 °С происходит расплавление и обезвоживание битума.

Для ускорения процесса обезвоживания битума и во избежание его вспенивания в котел добавляют 2 - 3 капли пеногасителя - полиметилсиликсановой жидкости ПМС-200.

Обезвоженный битум из котла насосом перекачивают по трубам в объемный дозатор ДЖ-171 емкостью 0,3 м3. Дозатор оборудован поплавковым уровнемером и электронагревательными элементами. Из дозатора по сливной трубе разогретый битум поступает в битумосмесительный агрегат УБВ-2, где и происходит приготовление мастики.

КОСЖК дозируют весовым или объемным способом с помощью мерной емкости и доставляют к смесительному котлу. Битум и КОСЖК тщательно перемешивают в течение 10 ... 15 минут.

Затем в смеситель подают битумную присадку, которую дозируют аналогично КОСЖК. Массу тщательно перемешивают в течение 15 ... 20 минут.

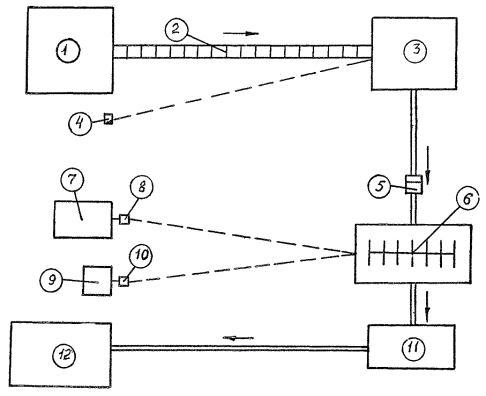
Технологический процесс приготовления мастики и схема размещения оборудования представлены на рис. 1, 2.

Температура в битумосмесительном агрегате поддерживается в течение всего процесса приготовления мастики 130 ... 140 °С. Контроль за температурой осуществляется с помощью контактного термометра класса 2,5 с пределами измерений 50 ... 300 °С.

2.5. Готовую битумно-полимерную мастику разливают в металлические формы размером 20×30×40 см, предварительно смазанные отработанным маслом для предотвращения адгезии мастики к металлическим стенкам формы. Остывшие брикеты предварительно обсыпают тальком во избежание слипания и затаривают в бумажные или полиэтиленовые мешки. Бумажные мешки должны состоять из двух - трех слоев, а полиэтиленовые мешки должны быть в комплекте с бумажными. На каждом мешке должна быть наклеена этикетка с указанием:

предприятия-изготовителя;

наименования продукта;

марки состава мастики;

номера партии и даты изготовления;

массы брутто и нетто;

номера государственного стандарта на продукт;

класса опасности по ГОСТ 19433-81.

2.6. Брикетированная и затаренная мастика может транспортироваться любыми видами транспорта.

2.7. На объект строительства на небольшие расстояния готовую горячую мастику можно доставлять заливщиком швов МБ-16. Для этого МБ-16 подгоняют к смесительному котлу, отключают электроподогрев котла, опускают битумопровод в загрузочный люк заливщика и с помощью насоса смесительного котла заливщик МБ-16 заполняют через фильтры на 85 % его емкости.

2.8. Битумно-полимерную мастику хранят в закрытых помещениях, защищенных от воздействия солнечных лучей, при положительной температуре не выше 40 °С, на расстоянии не ближе 10 м от теплоизлучающих приборов и отрицательной температуре не ниже 20 °С.

Срок хранения мастики 1 год со дня ее изготовления. В случае неиспользования мастики в течение года, ее пригодность определяют после лабораторных испытаний. Если все физико-механические характеристики мастики будут удовлетворять требованиям технических условий ТУ 33-71-36, то срок действия мастики может быть продлен еще на 1 год.

Рис. 1. Технологический процесс приготовления битумно-полимерной мастики

Рис. 2. Схема размещения оборудования для приготовления битумно-полимерной мастики на производственной базе

1 - склад хранения битума; 2 - ленточный транспортер ТК-12А; 3 - битумонагревательный котел ДБП-12; 4 - склад хранения пеногасителя ПМС-200; 5 - объемный дозатор ДЖ-171; 6 - битумосмесительный агрегат УБВ-2; 7 - склад хранения КОСЖК; 8 - дозирующее устройство для КОСЖК; 9 - склад хранения битумной присадки; 10 - дозирующее устройство для присадки; 11 - оборудование брикетирования и упаковки мастики; 12 - склад готовой мастики

2.9. На месте строительства брикеты мастики разогревают в битумоварочных котлах. Котлы подбирают в зависимости от объема работ. Многократное разогревание мастики приводит к ее ококсованию, в результате чего теряются ее клеящие свойства. Поэтому емкость котла и объем разогреваемой мастики в нем следует рассчитывать не более чем на 4 - 5-разовое разогревание с полным расходованием ее за этот цикл.

Для разогрева мастики в полевых условиях может быть рекомендован электрокотел конструкции Главленинградстроя емкостью 0,5 м3. Котел устанавливают на предварительно спланированную площадку на расстоянии 50 ... 100 м от места производства работ по склеиванию пленки. Брикеты мастики раскалывают и загружают в котел на 2/3 его емкости. Разогрев производят до рабочей температуры мастики, т.е. до 90 ... 100 °С. Объем готовой мастики составит 330 кг.

2.10. Работы по приготовлению битумно-полимерной мастики на производственной базе выполняет звено в составе:

машинист 6 разр. - 1

изолировщик 4 разр. - 1

изолировщик 3 разр. - 1

изолировщик 2 разр. - 1

2.11. Работы по разогреву битумно-полимерной мастики в полевых условиях выполняет звено в составе:

рабочий 3 разр. - 1

рабочий 2 разр. - 1

2.12. График производства работ на приготовление мастики на производственной базе приведен в табл. 2, калькуляция трудовых затрат - в табл. 3.

2.13. График производства работ на разогрев мастики в полевых условиях представлен в табл. 4, калькуляция трудовых затрат - в табл. 5.

2.14. Контроль качества приготовления мастики должен осуществляться техническими работниками лаборатории в соответствии с «Техническими требованиями и методикой испытания на герметизирующие материалы для водохозяйственного строительства», Минводхоз СССР, М., 1970.

При приготовлении мастики контролю подлежат:

качество составляющих компонентов и их соответствие требованиям нормативных документов (ГОСТ, ОСТ, ТУ);

дозировка компонентов в соответствии с п. 2.1;

температурный режим при приготовлении мастики;

качество перемешивания компонентов и однородность приготовленной мастики.

Качество перемешивания компонентов считается удовлетворительным, если не наблюдается видимых неперемешанных комочков и сгустков мастики и цвет ее одинаков.

Не допускается перегрев мастики свыше 150 °С, т.к. это может резко ухудшить физико-механические свойства ее.

Для проверки качества мастики при приготовлении каждой порции необходимо брать пробы для лабораторного анализа и определять следующие физико-механические показатели:

предел прочности при разрыве;

температуру размягчения;

гибкость на стержне;

водопоглощение;

адгезию к полиэтиленовой пленке;

морозостойкость;

теплостойкость;

склеивающую способность;

водонепроницаемость.

Методы определения основных свойств мастики и результаты испытаний должны удовлетворять требованиям ТУ 33-71-86 «Мастика битумно-полимерная клеящая».

В журнале по контролю за качеством необходимо фиксировать дату варки и показатели физико-механических свойств мастики.

Каждая партия мастики должна быть принята ОТК предприятия-изготовителя и сопровождаться паспортом, в котором указывают:

наименование предприятия, изготавливающего мастику;

наименование и марку мастики;

номер технических условий;

номер партии;

массу нетто;

дату изготовления продукта;

результаты испытаний.

Таблица 2

Таблица 3

Обоснование

Наименование работ

Единица измерения

Объем работ

Норма времени на единицу измерения, чел.-ч

Трудоемкость на весь объем работ, чел.-день

Стоимость затрат труда на единицу измерения, руб.-коп.

Стоимость затрат труда на весь объем работ, руб.-коп.

ЕНиР §11-47

Приготовление битумно-полимерной мастики в битумоварочном котле

т

10

2,8

3,42

1-72

17-20

Таблица 4

Таблица 5

Обоснование

Наименование работ

Единица измерения

Объем работ

Норма времени на единицу измерения, чел.-ч

Трудоемкость на весь объем работ, чел.-день

Стоимость затрат труда на единицу измерения, руб.-коп.

Стоимость затрат труда на весь объем работ, руб.-коп.

ЕНиР §11-46 п. 36

Разогрев битумно-полимерной мастики в котле емкостью 0,6 м3

т

0,33

15,0

0,60

7-86

2-59

Мастику, поступившую на строительные объекты, подвергают контрольному испытанию. Для этого от каждой партии мастики отбирают пробы в количестве 0,5 кг не менее чем от 3-х упаковочных мест. Отобранные пробы тщательно перемешивают и получают среднюю пробу, которую делят на две равные части. Одна часть предназначается для испытаний, другая - маркируется и хранится в опечатанных герметических емкостях на случай арбитражных испытаний.

2.15. Техника безопасности.

При производстве работ по приготовлению битумно-полимерной мастики необходимо руководствоваться нормами и правилами техники безопасности в соответствии со СНиП III-4-80 Техника безопасности в строительстве» главы 1, 2, 8, а также требованиями, изложенными ниже.

К работам по приготовлению битумно-полимерной мастики допускаются лица не моложе 18 лет, прошедшие инструктаж по технике безопасности, а также специальный инструктаж по выполнению следующих работ:

загрузка и разгрузка битумоварочного котла;

приготовление и разогрев мастики;

транспортировка и хранение мастики.

Лида, работающие с битумно-полимерными мастиками, должны быть ознакомлены со специальными требованиями противопожарной безопасности при работе с горючими и взрывчатыми веществами.

В соответствии с приказом Министерства здравоохранения СССР от 30.05.69 № 400 все, работающие с мастиками, должны проходить медицинский осмотр не реже одного раза в шесть месяцев.

Во избежание ожогов рабочие обеспечиваются спецодеждой и защитными очками.

На площадке, где происходит приготовление или разогрев мастику на расстоянии 5 м от котла должен находиться комплект противопожарных средства огнетушитель, ящик с сухим песком, лопаты, брезент, технический войлок.

Склады компонентов мастики должны быть расположены на расстоянии не менее 15 м от котла смесители и должны быть оснащены щитами с противопожарным оборудованием (лопата, лом, ведра, топор, багор, ящики с сухим песком, густопенные огнетушители).

В процессе приготовления мастики необходимо соблюдать следующие условия:

котел для приготовления мастики должен быть исправным, без трещин, с плотно прилегающей крышкой;

должны быть исправны все механизмы и контрольно-измерительные приборы;

верхний край котла должен возвышаться над поверхностью земли не менее чем на 1,5 м;

котел можно загружать только на 2/3 его емкости;

котел должен быть закрыт за исключением моментов загрузки материалов.

При загрузке котла запрещается:

становиться на кромки загрузочного люка, наклоняться и заглядывать через него в котел;

производить загрузку компонентов мастики при работающей циркулярной системе.

Перед включением циркулярной системы для перекачки расплавленного битума из котла в смеситель необходимо проверить правильность установки запорных кранов, закрыть загрузочные люки.

При обнаружении подтеков из битумного котла необходимо немедленно прекратить подогрев и устранить подтеки.

Внутреннюю поверхность котла рекомендуется очищать не реже одного раза в пять дней. Перед чисткой необходимо остановить работу котла и дать ему остыть до температуры 40 °С. После этого из котла полностью удаляют остаток битумно-полимерной мастики специальными скребками через люк задней торцевой стенки.

Персоналу, обслуживающему заливщик швов, запрещается:

включать насос промывки при открытом кране битумного насоса;

производить заправку мастикой, регулировку, ремонт, очистку и смазку при работающем генераторе или включенной внешней электросети;

допускать попадание в котел посторонних предметов;

производить заправку мастикой без спецодежды;

работать при неисправных приборах электрозащиты;

использовать этилированный бензин для промывки смесительной камеры от остатков мастики.

Заливщик швов должен быть снабжен двумя огнетушителями, лопатами, кошмой.

При разогреве мастики в полевых условиях необходимо соблюдать дополнительные требования:

для удобства загрузки верх варочного котла следует располагать на уровне груди рабочего среднего роста;

не использовать при загрузке котла неустойчивые подмости;

загрузку котла брикетами мастики вести постепенно по мере расплавления, при этом куски следует опускать осторожно, чтобы расплавленная мастика не расплескалась;

расплавленную мастику в котле следует перемешивать, при этом необходимо находиться с наветренной стороны.

3. ТЕХНИКО-ЭКОНОМИЧЕСКИЕ ПОКАЗАТЕЛИ

Затраты труда на приготовление 10 т битумно-полимерной мастики, чел.-день  3,42

Затраты труда на разогрев 330 кг мастики, чел.-день                                                  0,6

Выработка на одного рабочего в смену при приготовлении мастики, т                 2,91

Выработка на одного рабочего в смену при разогреве мастики, т                           0,55

Стоимость работ по приготовлению 10 т мастики, руб.                                           17,2

Стоимость работ по разогреву 330 кг мастики, руб.                                                  2,59

4. МАТЕРИАЛЬНО-ТЕХНИЧЕСКИЕ РЕСУРСЫ

4.1. Потребность в основных материалах по приготовлению 10 т мастики приведена в табл. 6.

Таблица 6

Наименование материалов

Марка

Единица измерения

Количество

Битум нефтяной дорожный или строительный

БНД 40/60

БН 50/50

т

9

Кубовые остатки синтетических жирных кислот фракции С21

Б или С

«

0,7

Катионактивная адгезионная битумная присадка

БП-3

«

0,3

Пеногаситель

ПМС-200

г

10

4.2. Потребность в оборудовании, инвентаре, приспособлениях приведена в табл. 7.

Таблица 7

Наименование

Тип

Марка

Количество

Техническая характеристика

1

2

3

4

5

Битумосмесительный агрегат

Электрообогрев

УБВ-2

1

Производительность 1,4 ... 1,6 т/ч, мешалка - винтовая, мощность 2,8 кВт

Битумонагревательный котел

Электрообогрев

ДБП-12

1

Производительность 2,3 т/ч, мощность 18,5 кВт

Дозатор объемный

Регулируемый

ДЖ-171

1

Вместимость 0,3 м3

Дозирующее устройство

Весовое или объемное

-

2

-

Конвейер ленточный

Передвижной

ТК-12А

1

Производительность 90 т/ч, длина 15 м, мощность 2,8 кВт

Выгружатель

Принудительный

-

1

Мощность 7 кВт

Оборудование для брикетирования и упаковки мастики

-

-

комплект

12 ... 15 шт.

Контактный термометр

-

Класс 2,5

2

Предел измерений 50 ... 300 °С

Битумонагревательный котел

Электрообогрев

Конструкция Главленинградстроя

1

Емкость 0,5 м, мощность 15 кВт

СОДЕРЖАНИЕ

 




Яндекс цитирования



   Copyright © 2007-2026,  www.tehlit.ru.

[ ѓосты, стандарты, нормативы, инструкции, правила, строительные нормы ]