//
ТехЛит.ру
- крупнейшая бесплатная электронная интернет библиотека для "технически умных" людей.
WWW.TEHLIT.RU - ТЕХНИЧЕСКАЯ ЛИТЕРАТУРА

:: Алготрейдинг::


АЛГОТРЕЙДИНГ
шаг за шагом
с нуля по урокам!

Торговые роботы на PYTHON, BackTrader,
Pandas, Pine Script для TradingView. Связка с брокерами, телеграм и легкими приложениями.


ОРДЕНА ЛЕНИНА ГЛАВМОССТРОЙ ПРИ МОСГОРИСПОЛКОМЕ

МОСОРГСТРОЙ

ТЕХНОЛОГИЧЕСКАЯ КАРТА
НА ПРОКЛАДКУ ПОДЗЕМНЫХ КОММУНИКАЦИЙ
В ТРАНШЕЯХ С КРЕПЛЕНИЯМИ

Арх. № 8809

МОСКВА - 1983

Технологическая карта разработана проектно-технологическим отделом треста Мосоргстрой (А.Н. Абрамович, А.П. Смирнов), согласована с Управлением подготовки производства Главмосстроя, НИИМосстроем.

Технологическая карта рекомендована к внедрению в строительном производстве.

Замечания и предложения по карте направлять по адресу: 113095, Б. Полянка, д. 51 а, трест Мосоргстрой.

СОДЕРЖАНИЕ

1. Область применения

1.1. Технологическая карта составлена на производство работ по прокладке подземных коммуникаций (канализация, водопровод, водосток и др.) в траншеях с креплениями на объектах Главмосстроя.

1.2. Технологическая карта предназначена для составления проектов производства работ и с целью ознакомления (обучения) рабочих и инженерно-технических работников с правилами производства работ.

1.3. При привязке технологической карты к конкретному объекту и условиям строительства уточняются схемы производства работ, объемы работ, калькуляция затрат труда, средства механизации.

2. Технология строительного процесса

2.1. При прокладке подземных коммуникаций в траншеях с креплениями необходимо руководствоваться СНиП III-8-76 «Земляные сооружения», СНиП III-30-74 «Водоснабжение, канализация и теплоснабжение. Наружные сети и сооружения» и др.

2.2. Прокладка подземных коммуникаций в траншеях с консольными креплениями. До начала работ должна быть проверена устойчивость крепления стен траншеи и составлен акт на право производства работ и допуска рабочих в траншею.

К началу работ на стройплощадку должны быть завезены все необходимые материалы и изделия (трубы, железобетонные колодцы и др.), доставлены необходимые машины и оборудование.

Прокладку труб необходимо выполнять в следующей последовательности:

геодезическая разбивка оси трубопровода;

подготовка основания траншеи;

укладка труб;

установка железобетонных колодцев;

заделка вводов труб в колодцах;

присыпка трубопроводов грунтом;

гидравлическое испытание трубопроводов (при необходимости);

окончательная засыпка траншеи;

извлечение из грунта элементов креплений траншеи (двутавровые балки, металлические трубы, шпунт Ларсена и др.).

Схемы организации работ приведены на листах 1 и 2.

2.3. Прокладка подземных коммуникаций в траншеях с распорными креплениями производится в такой же последовательности, как указано выше, но со следующим добавлением: распорки креплений, мешающие монтажу труб, в процессе работ переставляются.

Схемы организации работ приведены на листах 3 и 4.

2.4. Схемы организации работ при прокладке пластмассовых труб в траншеях с креплениями и соединение их на сварка приведены на листах 5, 6; 7.

2.5. Засыпка траншей с уложенными трубопроводами должна производиться в два приема:

1) сначала мягкими грунтами (песчаным, глинистым, за исключением твердых глин, природными песчаногравийными слоями без крупных включений) засыпаются и подбиваются приямки и пазухи одновременно с обеих сторон, а затем траншея засыпается указанным грунтом на 0,2 выше верха труб с обеспечением сохранности труб, стыков и изоляции; при этом грунт отсыпается слоями и уплотняется ручными и навесными электротрамбовками, для трубопроводов из керамических, асбестоцементных и полиэтиленовых труб высота слоя засыпки грунта над трубой должна быть 0,5 м;

2) последующая засыпка траншеи производится после испытания трубопроводов любым грунтом без крупных включений (200 и > мм) механизированным способом; при этом должна обеспечиваться сохранность труб.

2.6. Разборку элементов крепления стен траншеи производить в направлении снизу вверх по мере обратной засыпки грунтом.

2.7. После извлечения металлических труб из грунта оставшиеся скважины засыпать грунтом на всю высоту.

2.8. При работе с пластмассовыми трубами необходимо руководствоваться требованиями, изложенными в инструкции СН 478-80 и технологической картой «На устройство фекальной канализации из полиэтиленовых труб», арх. № 8355.

2.9. Ширину по дну траншеи с вертикальными стенками без учета креплений следует принимать:

для трубопроводов водоснабжения и канализации в соответствии с требованиями СНиП III-8-76, п. 3.12;

для двух трубопроводов тепловых сетей (подающего и обратного) при бесканальной прокладке в соответствии с требованиями СНиП III-30-74, п. 2.4.

2.10. Прокладка подземных коммуникаций в траншеях с креплениями выполняется составом звена, приведенным в графике производства работ (приложение 1).

2.11. Калькуляция трудовых затрат приведена в приложении 2.

2.12. Операционный контроль качества работ по прокладке подземных коммуникаций в траншеях с креплениями выполняется в соответствии с требованиями СНиП III-1-76 «Организация строительного производства», инструкций СН-47-74, СН-478-80.

Схема операционного контроля приведена в приложении 3.

2.13. При производстве работ следует строго соблюдать требования СНиП III-4-80 «Техника безопасности в строительстве» и системы стандартов безопасности труда (ССБТ).

3. Технико-экономические показатели

(на 100 пог. м трубопровода)

Затраты труда, чел.-дн.                                                                              - 32,68

Потребность в машинах, маш.-см.                                                           - 4,3

Стоимость затрат труда, руб.                                                                    - 138,95

Затраты труда на 1 м уложенного трубопровода, чел.-дн.                    - 0,33

Стоимость затрат труда на 1 м уложенного трубопровода, руб.          - 1,39

4. Материально-технические ресурсы

Потребность в основных материалах и изделиях

(на 100 пог. м трубопровода)

Наименование

Марка

Един. измер.

Количество

Трубы железобетонные диаметром 400

по проекту

пог. м

110

Железобетонные колодцы (комплект)

- ² -

шт.

4

Песок (песчаный грунт)

- " -

м3

107

Цементный раствор

- ² -

- ² -

2,1

Потребность в основных машинах и оборудовании

Наименование

Марка

Тип

Количество

Монтажный кран

КС-2561Д

Самоходный

1

Бульдозер

ДЗ-42

На тракторе ДТ-75

1

Электротрамбовки

ИЭ-4502

Переносные

2


Приложение 1

ГРАФИК ПРОИЗВОДСТВА РАБОТ

Примечание. Звено рабочих входит в состав комплексной бригады по строительству нулевого цикла.


Приложение 2

КАЛЬКУЛЯЦИЯ ТРУДОВЫХ ЗАТРАТ

Обоснование (ЕНиР)

Наименование работ

Един. измер.

Объем работ

Трудоемкость

Расценка на един. измер., руб.-коп.

Стоимость затрат труда на весь объем работ, руб.-коп.

на един. измер., чел.-ч. или маш.-ч.

на весь объем, чел.-дн. или маш.-см.

§ 10-5, т. 4, п. 3Б; Д

Укладка железобетонных труб диаметром 40, с предварительной подготовкой основания траншеи монтажным краном

1 м

100

1,06

13,25

0-60,9

60-00

§ 10-27. п. 3, 4 Б

Установка сборных железобетонных колодцев диаметром 1250 мм с заделкой вводов труб в колодцах

1 кол.

4

8,2

4,1

4-69

18-76

§ 2-1-44, т. 1, п. 2а

Засыпка пазух песком на высоту 0,5 диаметра трубопровода и на высоту 0,2 м над верхом трубопровода вручную

м3

107

0,8

10,7

0-37,2

39-80

§ 2-4-21, т. 2, п. 10Б

Обратная засыпка траншеи грунтом бульдозером с разборкой элементов креплений (досок забирок)

100 м3

3,8

0,34

0,17

0-30

1-14

§ 10-31, п. 2Б

1 м

208

0,18

4,63

0-08,9

18-35

 

Итого:

 

 

 

32,68

4,3

 

 

138-95

Приложение 3

СХЕМА ОПЕРАЦИОННОГО КОНТРОЛЯ

Наименование операций, подлежащих контролю

Контроль качества выполнения работ

производителем работ (мастером)

состав

способы

время

привлекаемые службы

Укладка железобетонных труб диаметром 400 с предварительной подготовкой основания траншеи монтажным краном

Геодезическая разбивка, планировка, добор и уплотнение грунта, наличие внешних дефектов, качество соединения труб при помощи раструба, соосность труб, надежность закрепления

Теодолитом, нивелиром; визирками; рулеткой, стальным метром, визуально

До начала и в процесса работ

Геодезическая

Установка сборных железобетонных колодцев диаметром 1250 с заделкой вводов труб в колодцах

Правильность и надежность строповки, соосность колодца, отметка основания колодца, надежность установки

Нивелиром, отвесом

В процессе установки

-

Засыпка пазух песком на высоту 0,5 диаметра трубопровода и на высоту 0,2 м над верхом трубопровода вручную

Качество песка и уплотнения, сохранность труб и стыков

Визуально, мерным кольцом

В процессе и по окончании работ

Строительная лаборатория, представителя заказчика и эксплуатирующей организации

Обратная засыпка траншеи грунтом бульдозером с разборкой элементов крепления (досок забирок)

Качество грунта, очередность засыпки, сохранность труб, качество уплотнения

- ² -

- ² -

- ² -


СХЕМА ОРГАНИЗАЦИИ РАБОТ                                                                        Лист 1

(при прокладке канализации, водостока, водопровода и др.)

Крепление стен траншеи консольное

Условные обозначения:

1 - лестница для спуска рабочих в траншею; 2 - место складирования железобетонных колодцев; 3 - монтажный кран; 4 - места складировании труб; 5 - ящики-контейнеры для раствора (бетона); 6 - ящик для инструмента; 7 - железобетонная труба; 8 - железобетонный колодец; 9 - забирка из досок; 10 - временное ограждение высотой 110 см

Читать совместно с листом 2

Примечания

1. Допуск рабочих в траншею разрешается после проверки устойчивости крепления стен.

2. Размеры даны в сантиметрах

СХЕМА ОРГАНИЗАЦИИ РАБОТ                                                                           Лист 2

Крепление стен траншеи консольное

Условные обозначения:

3 - монтажный кран; 7 - железобетонная труба; 8 - железобетонный колодец; 9 - забирка из досок; 10 - временное ограждение; 11 - ограждение высотой 100 см

Читать совместно с листом 1

СХЕМА ОРГАНИЗАЦИИ РАБОТ                                                                          Лист 3

(при прокладке канализации, водостока, водопровода и пр.)

Крепление стен траншеи с распорками

Условные обозначения:

1 - лестница для спуска рабочих в траншею; 2 - места складирования железобетонных колодцев; 3 - монтажный кран; 4 - места складирования труб; 5 - распорки креплений стен траншеи; 6 - ящики-контейнеры для бетона (раствора); 7 - ящик для инструмента; 8 - забирки из досок; 9 - металлические трубы диаметром 219 мм; 10 - пояса из двутавровых балок № 30 ¸ 60; 11 - железобетонный колодец; 12 - временное ограждение высотой 110 см; 13 - уложенные железобетонные трубы;

Читать совместно с листом 4.

Примечание:

Допуск рабочих в траншею разрешается после приемки устойчивости крепления стен траншеи.

СХЕМА ОРГАНИЗАЦИИ РАБОТ Лист 4

Крепление стен траншеи с распорками

Условные обозначения:

3 - монтажный кран; 5 - распорки креплений стен траншеи; 8 - забирки из досок; 9 - металлические трубы диаметром 219 мм; 10 - пояса из двутавровых балок; 11 - железобетонный колодец; 12 - временное ограждение; 13 - железобетонная труба; 14 - ограждение зоны работ крана высотой 100 см

Читать совместно с листом 3

СХЕМА ОРГАНИЗАЦИИ РАБОТ                                                                        Лист 5

(при прокладке коммуникаций из пластмассовых труб)

Крепление стен траншеи консольное

Условные обозначения:

1 - двутавровые балки № 30 ¸ 80; 2 - забирки из досок; 3 - опорные стойки; 4 - передвижная платформа; 5 - установка для сварки; 6 - железобетонный колодец; 7 - монтажный кран; 8 - автомашина; 9 - лестница для спуска рабочих в траншею; 10 - пластмассовые трубы, сваренные в плеть; 11 - раскладка пластмассовых труб на бровке траншеи

Примечания.

1. Допуск рабочих в траншею разрешается после приемки устойчивости крепления стен траншеи.

2. Траншея должна быть ограждена, как показано на листах 1 и 2.

3. Разрезы III - III, IV - IV показаны на листах 6, 7.

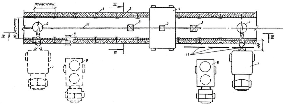
СХЕМА ОРГАНИЗАЦИИ РАБОТ Лист 6

Крепление стен траншеи консольное

По III - III

Условные обозначения:

1 - двутавровые балки № 30 ¸ 60; 2 - забирки из досок; 3 - опорные стойки; 4 - передвижная платформа; 5 - установка для сварки труб; 6 - железобетонный колодец; 7 - монтажный кран; 8 - автомашина; 9 - пластмассовые трубы, сваренные в плеть; 10 - раскладка пластмассовых труб на бровке траншеи; 11 - временное ограждение траншеи высотой 110 мм; 12 - основание для передвижения платформы из досок; 13 - ограждение зоны работы крана высотой 100 см

СХЕМА ОРГАНИЗАЦИИ РАБОТ Лист 7

(при прокладке подземных коммуникаций из пластмассовых труб)

Крепление стен траншеи консольное

ПО IV - IV

Условные обозначения см. листы 5 и 6.




Яндекс цитирования



   Copyright © 2007-2026,  www.tehlit.ru.

[ ѓосты, стандарты, нормативы, инструкции, правила, строительные нормы ]