|
| |
ПРАВИТЕЛЬСТВО
МОСКВЫ
ДЕПАРТАМЕНТ ГРАДОСТРОИТЕЛЬНОЙ ПОЛИТИКИ,
РАЗВИТИЯ И РЕКОНСТРУКЦИИ ГОРОДА
УПРАВЛЕНИЕ НАУЧНО-ТЕХНИЧЕСКОЙ ПОЛИТИКИ
В СТРОИТЕЛЬНОЙ ОТРАСЛИ
ГОСУДАРСТВЕННОЕ УНИТАРНОЕ ПРЕДПРИЯТИЕ
НАУЧНО-ИССЛЕДОВАТЕЛЬСКИЙ ИНСТИТУТ
МОСКОВСКОГО СТРОИТЕЛЬСТВА
«НИИМОССТРОЙ»
ТЕХНИЧЕСКИЕ
РЕКОМЕНДАЦИИ
по проектированию и монтажу
систем внутреннего водопровода зданий
с использованием труб из сшитого полиэтилена
(ПЭ-Х)
ТР 139-03
МОСКВА - 2003
Настоящие технические
рекомендации разработаны ГУП «НИИМосстрой» на основе комплексных испытаний
напорных труб из сшитого полиэтилена (ПЭ-Х) и соединительных латунных деталей с
разрезным обжимным кольцом, предлагаемых ООО «ВАН.ТУБО».
При подготовке ТР были
использованы:
- ТУ 2248-001-50151359-2000
«Трубы напорные из сшитого полиэтилена для санитарно-технических систем»;
- ТУ 2248-039-00284581-99
«Трубы напорные из сшитого полиэтилена для систем холодного и горячего
водоснабжения и отопления»;
- техническая информация по
проектированию и монтажу инофирм «WIRSBO», «КАN s.c.».
Настоящие ТР согласованы с АО «Моспроект» и ООО «ВАН.ТУБО ПЛЮС»
В разработке ТР от ГУП «НИИМосстрой» участвовали: к.т.н. А.В. Сладков,
инж. В.Л. Павлов.
|
Правительство Москвы
Департамент
градостроительной политики, развития и реконструкции города
|
Технические
рекомендации по проектированию и монтажу систем внутреннего водопровода
зданий с использованием труб из сшитого полиэтилена (ПЭ-Х)
|
ТР
139-03
Вводятся
впервые
|
|
Разработаны
ГУП «НИИМосстрой»
|
Утверждены:
Начальник Управления научно-технической
политики в строительной области
А.Н.
Дмитриев
«10» 08 2003 г.
|
Дата введения в действие
«1» 09
2003 г.
|
1. ОБЩИЕ
ПОЛОЖЕНИЯ
1.1. Настоящие рекомендации распространяются на строительство внутренних
систем холодного и горячего водоснабжения (температура до 75 °С) жилых и гражданских
зданий в г. Москве с использованием труб из сшитого полиэтилена (ПЭ-Х),
соединенных латунными резьбовыми деталями с разрезным обжимным кольцом
(компрессионного типа).
1.2. Трубы из сшитого полиэтилена и латунные детали следует применять для
всех систем водоснабжения зданий (кроме раздельной сети противопожарного
водоснабжения) при условии скрытой прокладки в плинтусах, штрабах, шахтах и
каналах. Допускается открытая прокладка труб из сшитого полиэтилена (ПЭ-Х) для
подводок к санитарно-техническим приборам.
Примечание: Допускается открытая прокладка
водопроводов из сшитого полиэтилена в производственных и складских помещениях,
а также в технических этажах, чердаках и подвалах, в местах, где исключается их
механическое повреждение.
1.3. Напорные трубы из сшитого полиэтилена и латунные резьбовые
соединительные детали должны иметь сертификаты соответствия в системе
«Мосстройсертификация» или ГОСТ Р и гигиенические заключения Госсанэпиднадзора
Минздрава России о возможности их использования в системах хозяйственно-питьевого
водоснабжения.
1.4. Для систем водоснабжения зданий следует применять трубы из сшитого
полиэтилена, производимые ООО «ВАН.ТУБО» (г. Москва) по ТУ
2248-001-50151359-2000.
Примечание. Допускается применение для
внутренних водопроводов зданий труб из сшитого полиэтилена (ПЭ-Х) других
производителей, не уступающих по показателям требованиям ТУ
2248-001-50151359-2000 и имеющих гигиенический сертификат Госсанэпиднадзора РФ
или Мосгорсанэпиднадзора, а также сертификат соответствия или техническое
свидетельство ФЦС Госстроя РФ, ОС «Мосстройсертификация», или других
аккредитованных органов сертификации.
Напорные трубы из сшитого
полиэтилена и латунные резьбовые соединительные детали с разрезным обжимным
кольцом предназначены для проектирования и монтажа:
- систем внутреннего
хозяйственно-питьевого водоснабжения при температуре воды до 20 °С и рабочем
давлении: серии S5 - до 1,25 МПа; серии S4 - до 1,6 МПа, при сроке
службы не менее 50 лет;
- систем внутреннего
хозяйственно-питьевого водоснабжения при температуре воды до 75 °С и рабочем
давлении: S5 - до 0,6 МПа; серии S3,2 и S2,5 - до
1,0 МПа, при сроке службы не менее 25 лет.
2.1. Напорные трубы из сшитого полиэтилена (ПЭ-Х)
2.1.1. Напорные трубы из сшитого полиэтилена изготавливаются методом
непрерывной шнековой экструзии из силанольно-сшивающейся композиции на основе
полиэтилена высокой плотности с добавлением катализатора.
Основные показатели свойств
напорных труб из сшитого полиэтилена приведены в приложении 1.
Допускается изготовление
напорных труб из любых других композиций сырья, имеющих разрешение органов
здравоохранения РФ на применение в хозяйственно-питьевом водоснабжении и
соответствующих требованиям по техническим характеристикам и показателям
качества, указанным в Приложении 1.
2.1.2. Размеры напорных труб из сшитого полиэтилена в зависимости от их типов
должны соответствовать данным, указанным в Приложении 2.
2.1.3. Теоретическая масса напорных труб из сшитого полиэтилена (ПЭ-Х)
приведена в Приложении 3.
2.1.4. Напорные трубы из сшитого полиэтилена соединяются между собой
соединительными деталями из латуни с разрезным обжимным кольцом (соединение
компрессионного типа).
2.2. Соединительные детали
2.2.1. Соединительные детали из латуни с разрезным обжимным кольцом и
прочности соединения с трубой должны быть рассчитаны на номинальное давление
2,5 МПа.
2.2.2. Конструкция соединения представлена в Приложении 4.
2.2.3. Перечень возможных соединительных деталей из латуни приведен в
Приложении 5.
Примечание.
Допускается использование других типов соединительных деталей для монтажа труб
из сшитого полиэтилена, отвечающих требованию п. 2.2.1 и имеющих гигиеническое
заключение и сертификат соответствия в системе «Мосстройсертификация» или ГОСТ
Р.
3.1. При проектировании систем внутреннего холодного и горячего
водоснабжения из ПЭ-Х с соединительными латунными деталями компрессионного типа
следует руководствоваться требованиями настоящих рекомендаций; СНиП 2.04.01-85 «Внутренний водопровод и канализация зданий»; СП 40-102-2000 «Проектирование и монтаж трубопроводов систем водоснабжения и
канализации из полимерных материалов. Общие требования» и ТУ
2248-001-50151359-2000 «Трубы напорные из сшитого полиэтилена для
санитарно-технических систем».
3.2. При проектировании внутреннего водопровода поэтажное присоединение к
стоякам рекомендуется выполнять через распределительные коллекторы.
Распределительные коллекторы
устанавливаются в квартире на ответвлениях от стояков после запорных устройств,
фильтров и КРД (квартирный регулятор давления).
3.3. Трубопроводы горячей и холодной воды не должны примыкать вплотную к
поверхностям строительных конструкций. Расстояние в свету между трубами и
строительными конструкциями должно быть не менее 20 мм.
3.4. Теплоизоляция трубопроводов водоснабжения выполняется в соответствии с
требованиями СНиП 2.04.02-85 и СНиП
2.04.14-88, СП 41-103-2000.
3.4.1. Допускается отсутствие теплоизоляции на подводках к
санитарно-техническим приборам.
3.5. Гидравлический расчет трубопроводов горячего и холодного водоснабжения
заключается в определении потерь напора на преодоление сопротивлений,
возникающих в трубе, соединительных деталях, в местах резких поворотов и
изменений диаметра трубопровода.
3.5.1. При гидравлическом расчете величина напора в системах горячего и
холодного водоснабжения Нтр, необходимая для подачи воды
потребителю, определяется по формуле:
Нтр = Σil + Σhм.с., (1)
где i - удельная потеря напора при
температуре воды t, °С (потери напора на единицу
длины трубопровода, м/м);
l - длина участка трубопровода,
м;
hм.с. - потеря напора в местных
сопротивлениях, м.
3.5.2. Расчет гидравлических потерь напора ПЭ-Х труб следует производить по
методике СП 40-102-2000 и по таблицам приложения № 8.
3.5.3. Потери напора при преодолении местных сопротивлений Σhм.с. могут быть определены из
зависимости:
(2)
где Σξ -
сумма
коэффициентов местных сопротивлений на рассчитываемом участке трубопровода;
V - скорость прохождения воды на рассчитываемом участке трубопровода,
м/с;
ρ - плотность воды при
соответствующей температуре на рассчитываемом участке трубопровода, кг/м3.
3.5.4. Ориентировочные значения коэффициентов местных сопротивлений
соединительных деталей и других элементов трубопровода из ПЭ-Х труб систем
горячего и холодного водоснабжения приведены в Приложении 6.
3.5.5. Для укрупненных расчетов внутренних водопроводных систем с
использованием труб из сшитого полиэтилена ПЭ-Х, соединенных латунными деталями
компрессионного типа с разрезным обжимным кольцом, величину потерь напора на
местные сопротивления в соединительных деталях и арматуре рекомендуется
принимать равной 30 % величины потерь напора в трубах.
3.6. Компенсация температурных удлинений должна осуществляться, как
правило, за счет самокомпенсации отдельных участков трубопровода: поворотов,
изгибов и т.д. Это достигается правильной расстановкой неподвижных креплений,
делящих трубопровод на независимые участки, деформация которых воспринимается
поворотами трубопровода.
3.6.1. Удлинение участка трубопровода в мм при максимальной температуре воды
в трубопроводе следует определять по формуле 3 или по табл. 1:
DL = 0,18LDt, (3)
где L - длина участка трубопровода,
м;
Dt - разность температур при монтаже и эксплуатации,
°С.
Удлинение трубопровода в
зависимости от длины участка
Таблица
1
|
Длина отрезка L (м)
|
Удлинение отрезка DL (мм)
|
|
Разница температур Dt (°С)
|
|
10
|
20
|
30
|
40
|
50
|
60
|
70
|
80
|
90
|
|
0,5
|
0,9
|
1,8
|
2,7
|
3,6
|
4,5
|
5,4
|
6,3
|
7,2
|
8,1
|
|
1,0
|
1,8
|
3,6
|
5,4
|
7,2
|
9,0
|
10,8
|
12,6
|
14,4
|
16,2
|
|
2,0
|
3,6
|
7,2
|
10,8
|
14,4
|
18,0
|
21,6
|
25,2
|
28,8
|
32,4
|
|
3,0
|
5,4
|
10,8
|
16,2
|
21,6
|
27,0
|
32,4
|
37,8
|
43,2
|
48,6
|
|
4,0
|
7,2
|
14,4
|
21,6
|
28,8
|
36,0
|
43,2
|
50,4
|
57,6
|
64,8
|
|
5,0
|
9,0
|
18,0
|
27,0
|
36,0
|
45,0
|
54,0
|
63,0
|
72,0
|
81,0
|
|
6,0
|
10,8
|
21,6
|
32,4
|
43,2
|
54,0
|
64,8
|
75,6
|
86,4
|
97,2
|
|
7,0
|
12,6
|
25,2
|
37,8
|
50,4
|
63,0
|
75,6
|
88,2
|
100,8
|
113,4
|
|
8,0
|
14,4
|
28,2
|
43,2
|
57,6
|
72,0
|
88,2
|
100,8
|
115,2
|
129,6
|
|
9,0
|
16,2
|
32,4
|
48,6
|
64,8
|
81,0
|
97,2
|
113,4
|
129,6
|
145,8
|
|
10,0
|
18,0
|
36,0
|
54,0
|
72,0
|
90,0
|
100,8
|
126,0
|
144,0
|
162,0
|
3.7. Крепление трубопроводов из
сшитого полиэтилена (ПЭ-Х) осуществляется с учетом линейных температурных
удлинений и их компенсирующей способности.
Средства крепления должны
иметь поверхности, исключающие возможность механического повреждения труб.
Крепления не должны иметь острых кромок и заусенцев.
3.7.1. Размеры хомутов, фиксаторов, скоб должны строго соответствовать
диаметрам труб. Металлические крепления должны иметь прокладки и
антикоррозионное покрытие.
3.7.2. Расстояние между креплениями, следует принимать в соответствии с табл.
2
Таблица
2
|
Наружный диаметр трубы, мм
|
Расстояние
между опорами трубопроводов (мм)
|
|
горизонтальная
прокладка
|
вертикальная
прокладка
|
|
15
|
500
|
1000
|
|
16
|
500
|
1000
|
|
18
|
500
|
1000
|
|
20
|
500
|
1000
|
|
22
|
500
|
1000
|
|
25
|
800
|
1000
|
|
32
|
800
|
1000
|
3.7.3. Необходимо предусматривать
соответствующее расположение креплений на поворотах и ответвлениях
трубопровода.
3.7.4. Распределительные коллекторы и запорно-регулирующую арматуру следует
крепить с помощью неподвижных креплений для устранения передачи усилий на
трубопровод в процессе эксплуатации.
3.7.5. Неподвижные опоры необходимо размещать так, чтобы температурные
изменения длины участка трубопровода между ними не превышали компенсирующей
способности отводов и компенсаторов, расположенных на этом участке, и
распределялись пропорционально их компенсирующей способности.
3.8. Установку компенсаторов следует предусматривать при невозможности
компенсации удлинений за счет поворотов трубопроводов.
3.9. Расчет компенсирующей способности Г-образных элементов и П-образных
компенсаторов (рис. 1) производится по формуле 4 (табл. 3).
Lк = 15 , (4)
где Lк - длина компенсационного
плеча, воспринимающего температурные изменения длины трубопровода, мм;
d -
наружный диаметр трубы, мм;
DL -
температурные изменения длины трубы, мм.

Рис. 1. Устройство компенсаторов П-образного (а),
Г-образного (б)
Требуемая длина наружного плеча Lк в зависимости от теплового
удлинения трубы DL и ее
диаметра d
Таблица
3
|
Удлинение DL (мм)
|
Длина
компенсационного плеча (м)
|
|
Диаметр
трубы d, мм
|
|
15
|
16
|
18
|
20
|
22
|
25
|
32
|
|
50
|
0,41
|
0,43
|
0,45
|
0,47
|
0,50
|
0,55
|
0,60
|
|
75
|
0,50
|
0,52
|
0,55
|
0,58
|
0,61
|
0,65
|
0,75
|
|
100
|
10,58
|
0,60
|
0,65
|
0,67
|
0,70
|
0,75
|
0,85
|
|
125
|
0,65
|
0,67
|
0,70
|
0,75
|
0,79
|
0,85
|
1,00
|
|
150
|
0,71
|
0,71
|
0,80
|
0,82
|
0,86
|
0,90
|
1,05
|
4.1. Трубы и соединительные детали перевозят любым видом транспорта в
соответствии с требованиями перевозки грузов, действующими на данном виде
транспорта.
4.2. Транспортирование и хранение следует производить методом, исключающим
механическое повреждение поверхности труб и нарушение целостности упаковки
соединительных деталей (сбрасывание труб и соединительных деталей с
транспортных средств не допускается).
4.3. Напорные трубы из сшитого полиэтилена следует хранить в складских
помещениях в условиях, исключающих вероятность их механических повреждений, не
ближе 1 м от отопительных приборов.
4.4. Соединительные детали следует хранить в условиях, исключающих
повреждение упаковки.
4.5. Высота штабелирования труб при хранении более 2 мес. не должна
превышать 2 м, при меньших сроках хранения - не более 3 м; упаковок
соединительных деталей - не более 1 м.
4.6. В условиях строительной площадки допускается временное хранение
напорных труб ПЭ-Х и соединительных деталей под навесом, защищающим трубы от
прямых солнечных лучей (УФ) и контакта с горюче-смазочными материалами.
4.7. При нарушении правил транспортирования и хранения труб из ПЭ-Х и
латунных соединительных деталей вопрос о возможности дальнейшего их
использования решается только после определения изменения эксплуатационных
свойств соответствующими организациями и испытательными лабораториями.
Работы по монтажу систем
холодного и горячего водоснабжения зданий из напорных труб сшитого полиэтилена
(ПЭ-Х) должны производиться квалифицированными монтажниками, прошедшими
соответствующее обучение и усвоившими правила обращения с напорными трубами
ПЭ-Х и латунными соединительными деталями при монтаже трубопроводов.
Монтаж систем трубопроводов
должен производиться в соответствии с утвержденной в установленном порядке
проектно-сметной и рабочей документацией, а также проектом производства работ.
При монтажных работах большое
внимание должно быть уделено контролю качества производимых соединений.
Система качества монтажа
трубопроводов должна включать входной контроль.
5.1. Общие требования
5.1.1. При хранении бухт труб из сшитого полиэтилена (ПЭ-Х) или их транспортировании
при температуре ниже 0 °С, трубы перед раскаткой и дальнейшими монтажными
операциями должны быть выдержаны в течение 24 часов при температуре не ниже +10
°С.
5.1.2. Монтаж следует производить при температуре не ниже 0 °С.
5.1.3. В процессе размотки бухты и монтажа трубопровода необходимо следить,
чтобы труба не перекручивалась.
Возможные перекручивания и
загибы следует устранять с помощью нагрева по рекомендациям, указанным в п. 5.7.3.
Нагретую часть трубы не
допускается использовать в качестве соединения в месте сопряжения с
соединительной деталью.
5.1.4. Прокладку труб следует вести без натяга.
5.1.5. В процессе монтажа, при протаскивании труб через стены для защиты
системы от загрязнения свободные концы труб необходимо закрывать заглушками или
липкой лентой.
5.1.6. Монтаж систем водопровода с использованием труб из сшитого полиэтилена
по возможности следует прокладывать скрыто.
Стояки целесообразно
размещать в каналах, нишах, бороздах, за декоративными панелями или
замоноличивать их в стенах и перегородках. В случае замоноличивания труба из
сшитого полиэтилена должна быть защищена гофрированной оболочкой или изоляцией
из пенополиэтилена.
Горизонтальные трубопроводы и
подводки допускается размещать за плинтусами. По возможности открытые участки
должны быть закрыты декоративными элементами.
5.1.7. Для прохода труб через строительные конструкции стен и перекрытий
необходимо предусматривать гильзы.
Внутренний диаметр гильзы
должен быть на 5 - 10 мм больше наружного диаметра прокладываемой трубы. Зазор
между трубой и гильзой необходимо заделать мягким несгораемым материалом,
допускающим продольное перемещение трубы.
5.1.8. При прокладке труб из сшитого полиэтилена в конструкцию пола не
допускается натягивание по прямой линии; трубы следует укладывать дугами малой
кривизны (змейкой), учитывая температурные деформации трубопровода в процессе
монтажа и эксплуатации.
5.2. Входной контроль качества труб и соединительных деталей
5.2.1. Входной контроль качества труб и соединительных деталей включает:
- наличие сопроводительного
документа о качестве (паспорт, сертификат соответствия и
санитарно-эпидемиологическое заключение);
- наличие маркировки на
трубах и соединительных деталях;
- контроль внешнего вида;
- выборочный контроль
геометрических размеров;
- комплектность
соединительных деталей.
5.2.2. Контроль внешнего вида осуществляется визуально без применения
увеличительных приборов.
Трубы должны иметь гладкие
наружную и внутреннюю поверхности. На наружной, внутренней и торцевой
поверхностях не допускаются пузыри, трещины, раковины, посторонние включения.
Окраска труб должна быть сплошной и однородной.
Резьбовые части латунных
соединительных деталей должны быть полностью оформлены, без заусенцев, сколов,
рваных и смятых ниток. Резьба должна быть изготовлена в соответствии с ГОСТ
6357-81.
5.2.3. Латунные соединительные детали состоят из:
- корпуса соединительной
детали;
- разрезного обжимного
кольца;
- накидной гайки.
5.2.4. Контроль геометрических размеров должен проводиться выборочно (не
менее 3-х образцов труб и соединительных деталей) путем измерения
штангенциркулем или другим соответствующим его точности измерительным
инструментом и сопоставления с размерами, указанными в нормативно-технической
документации на изделия.
5.2.5. При получении неудовлетворительных результатов входного контроля
монтажные работы приостанавливают до выяснения причин брака.
5.3. Соединения труб из сшитого полиэтилена с латунными деталями с
разрезным обжимным кольцом
5.3.1. Соединения труб из сшитого полиэтилена (ПЭ-Х) с латунными
соединительными деталями осуществляются путем обжатия разрезным кольцом трубы
на ниппельную часть детали с помощью накидной гайки.
Герметичность и надежность
соединения достигается за счет геометрии ниппельной части латунной
соединительной детали, соответствующего усилия обжатия разрезного кольца к
трубе и необходимой пластичности материала трубы.
5.3.2. Монтаж соединений труб из сшитого полиэтилена с латунными деталями
резьбового типа следует осуществлять при температуре окружающей среды не менее
+10 °С.
5.4. Подготовительные работы
5.4.1. До начала монтажа трубопровода систем холодного и горячего
водоснабжения из труб ПЭ-Х необходимо выполнить следующие подготовительные
работы:
а) отобрать трубы и
соединительные детали, прошедшие входной контроль в соответствии с п. 5.1;
б) разметить трубы в
соответствии с проектом или по месту с учетом припуска на соединение и с учетом
увеличения длины за счет установки соединительной детали;
в) разрезать трубы согласно
разметке специальным инструментом (труборезами для пластмассовых труб).
5.4.2. Разметка труб может быть осуществлена стандартными измерительными
инструментами - измерительной линейкой, складным метром, рулеткой, а также
специально изготовленным шаблоном и разметочным приспособлением.
5.4.3. Риски для отрезки и ориентации соединительной детали относительно
трубы наносятся мягким карандашом или маркером. Недопустимо нанесение царапин
или надрезов на поверхностях трубы.
5.4.4. Разрезка трубы производится согласно разметке специальными ножницами,
по возможности, не допуская смятия трубы и образования заусенцев. Овальность
торцов труб должна быть не более 5 %. Отклонение плоскости реза от
перпендикуляра к оси трубы не должно превышать 5°.
5.5. Технология получения соединения
Технологический процесс
соединения трубы из сшитого полиэтилена (ПЭ-Х) и латунных деталей с разрезным
обжимным кольцом состоит из следующих операций:
а) надевание накидной гайки
на трубу;
б) надевание разрезного
обжимного кольца на трубу;
в) сопряжение трубы с
ниппельной частью соединения;
г) затяжка накидной гайки на
резьбовую часть соединения.
5.5.1. Резьбовая часть накидной гайки надевается на трубу в сторону резьбовой
части соединения.
5.5.2. Разрезное кольцо надевается на трубу так, чтобы край кольца отступал
от края трубы на 0,5 ÷ 1 мм.
5.5.3. Труба должна быть насажена до упора ниппельной части соединительной
детали.
Не допускается применять
какие-либо смазки и пасты с целью более легкой насадки трубы на ниппельную
часть соединительной детали.
5.5.4. Накидная гайка, зажимающая разрезное кольцо, затягивается двумя
рожковыми ключами для предотвращения передачи усилия на трубу.
Не допускается прокручивание
соединительной детали относительно трубы после затяжки накидной гайки.
5.6. Присоединения к резьбовым элементам
5.6.1. Соединение трубопроводов из сшитого полиэтилена (ПЭ-Х) со стальными, а
также с трубопроводами из других пластмасс, присоединение запорно-регулирующей
арматуры, устройство разъемных соединений выполняется специальными латунными
соединительными деталями (см. приложение 5).
5.6.2. Резьбовая часть должна быть оформлена в соответствии с требованиями
ГОСТ 66357-81 (класс точности В).
5.6.3. При сборке узлов резьбовые соединения должны быть уплотнены.
При температуре теплоносителя
до 95 °С включительно в качестве уплотнителя для резьбовых соединений следует
применять ленту из фторопластового уплотнительного материала (ФУМ), анаэробные
герметики и пр.
Примечание. Для резьбовых соединений
допускаются и другие уплотнительные материалы, обеспечивающие герметичность
соединений при температуре теплоносителя 95 °С, допущенные к применению в
системах хозяйственно-питьевого водоснабжения в качестве уплотнителей резьбовых
частей и прошедших согласование соответствующих органов в установленном
порядке.
5.6.4. Затяжка резьбовых соединений производится либо с помощью гаечного
ключа соответствующего размера, газового ключа или специального инструмента.
В любом случае необходимо
принять меры, чтобы усилие, прилагаемое при затяжке, не передавалось на трубу.
5.7. Гнутье труб
5.7.1. Гнутье труб из сшитого полиэтилена (ПЭ-Х) производится в холодном или
горячем состоянии в зависимости от необходимого радиуса изгиба.
Наименьшие радиусы изгиба
приведены в Приложении 7.
5.7.2. При необходимости изгиба в холодном состоянии с малым радиусом надо
использовать фиксатор (угловую опору).
5.7.3. Для гнутья трубы в горячем состоянии необходимо использовать горячий
воздух и внутреннюю спиральную пружину.
Не допускается нагрев трубы
открытым пламенем. Максимальная температура нагрева 130 °С.
После нагрева согнутую в
нужное положение и зафиксированную трубу следует охладить в воде или на
воздухе.
5.8. Испытания системы водопровода с использованием труб из сшитого
полиэтилена (ПЭ-Х)
5.8.1. Испытания трубопровода производятся в соответствии с действующими
правилами.
Предварительно осуществляется
визуальный контроль всех смонтированных соединений труб из сшитого полиэтилена
(ПЭ-Х) с деталями из латуни.
Не должно обнаруживаться
видимых дефектов соединительной детали из латуни и трубы из сшитого, полиэтилена,
полученных в процессе монтажа (сколы, трещины, царапины, перегибы труб в местах
закруглений и т.д.).
5.8.2. Режимы и последовательность гидравлических или пневматических
испытаний систем холодного и горячего водоснабжения с использованием труб из
сшитого полиэтилена регламентируется СНиП
3.05.01-85.
5.8.3. Испытания внутренним давлением должны производиться после полной
герметизации резьбовых элементов в соответствии с рекомендациями
предприятий-изготовителей.
Системы внутреннего холодного
и горячего водоснабжения с использованием труб из сшитого полиэтилена (ПЭ-Х)
рекомендуется испытывать гидростатическим методом.
5.8.4. При сдаче трубопровода в эксплуатацию гидравлические испытания
проводят при температуре воды до 20 °С в два этапа:
а) предварительное
гидравлическое испытание производится в следующем порядке:
- трубопровод заполняется
водой и выдерживается без давления в течение 2 ч;
- в трубопроводе создается
испытательное полуторократное рабочее давление (1,5Рраб.) и
поддерживается в течение 0,5 ч;
- испытательное давление
снижается до рабочего и производится осмотр трубопровода;
- выдержка трубопровода под
рабочим давлением (Рраб.) производится не менее 0,5 ч.
Трубопровод считается
выдержавшим предварительное гидравлическое испытание, если под давлением 1,5Рраб.
не обнаружено разрушения элементов системы, а под рабочим давлением не
обнаружено видимых утечек воды.
б) окончательное
гидравлическое испытание проводится в следующем порядке:
- в трубопроводе создается
рабочее давление и поддерживается в течение не менее 2 ч;
- при падении рабочего
давления на 0,02 МПа производится подкачка воды;
- давление поднимают до
уровня рабочего в течение 10 мин и поддерживают его в течение 2 ч.
Трубопровод считается
выдержавшим окончательное гидравлическое испытание, если в течение последнего
часа окончательного гидравлического испытания падение давления наблюдалось не
более чем на 0,02 МПа.
5.8.5. Порядок пневматических испытаний трубопроводов систем горячего и
холодного водоснабжения с использованием труб из сшитого полиэтилена
устанавливается проектом.
5.8.6. Арбитражным методом приемо-сдаточных испытаний системы трубопровода на
прочность и герметичность соединений является гидравлический метод.
5.9. Ремонтные работы
5.9.1. Работы по ремонту систем холодного и горячего водоснабжения зданий с
использованием труб из сшитого полиэтилена и латунных соединительных деталей с
разрезным обжимным кольцом должны производиться квалифицированным персоналом,
прошедшим соответствующее обучение и усвоившим правила обращения с трубами из
сшитого полиэтилена и латунными соединительными деталями.
5.9.2. При замене труб и соединительных частей во время ремонта не
допускается изменение диаметра трубы, установка других узлов соединительных
деталей, а также любые другие действия, способные изменить эксплуатационные
параметры системы трубопровода. Все принципиальные изменения должны быть
внесены в проектные и эксплуатационные документы и утверждены в установленном порядке.
5.9.3. Течи в резьбовых соединениях устраняются путем затягивания в резьбовой
части или полной замены уплотнителя.
5.9.4. В процессе ремонтных работ не допускается проворачивание трубы
относительно ниппельной части соединительной детали.
5.9.5. В случае повреждения участка трубопровода или устранения течи в
резьбовом соединении путем замены участка трубопровода целесообразно вырезать
поврежденный участок. Длина вырезаемого участка определяется в каждом случае
отдельно, исходя из условий проведения ремонтных работ. Замена производится с
помощью отрезка трубы необходимой длины, соединенного с ремонтируемым
трубопроводом различными латунными соединительными деталями.
Вырезанная труба может быть
использована при ремонте при условии, что участок находился на расстоянии не
менее 10 мм от края соединительной детали.
5.9.6. Замена участка ремонтируемого трубопровода проходит по схеме и
операциями, указанными в пп. 5.1 ÷ 5.6 настоящих рекомендаций.
6.1. При производстве работ по монтажу водопровода с использованием труб из
сшитого полиэтилена (ПЭ-Х) и латунных соединительных деталей следует выполнять
общие требования СНиП 12-03-2001 «Безопасность труда в строительстве» и требования, указанные в
настоящем разделе.
6.2. К монтажным работам при строительстве трубопроводов из сшитого
полиэтилена с латунными соединительными деталями допускаются лица, прошедшие
обучение по специальной программе и усвоившие особенности обращения с трубами
из сшитого полиэтилена, вводный инструктаж по технике безопасности и пожарной
безопасности.
6.3. При монтаже водопровода с использованием труб из сшитого полиэтилена и
латунных соединительных деталей с разрезным обжимным кольцом необходимо
производить работы только исправным инструментом, соблюдая условия безопасного
обращения с ним.
6.4. Трубы ПЭ-Х относятся к 4-му классу опасности. В стандартных условиях
при комнатной температуре (23 °С) трубы не выделяют в окружающую среду
токсичных веществ и при непосредственном контакте не оказывают вредного
воздействия на организм человека. Работа с ними не требует особых мер
предосторожности.
6.5. Трубы из сшитого полиэтилена относятся к сгораемым материалам.
Пожарно-технические характеристики труб следующие:
- группа горючести Г3;
- группа воспламеняемости В3;
- дымообразующая способность
Д3;
- токсичность продуктов
горения Т2.
Первичные средства
пожаротушения: распыленная вода, пена, инертные тазы, песок, асбестовые
одеяла.
Для защиты органов дыхания от
токсичных веществ, образующихся в условиях пожара, следует применять
противогазы любого типа.
6.6. Гидравлические (или пневматические) испытания трубопроводов следует
производить после визуального осмотра соединений и надежного закрепления
трубопровода в присутствии мастера или производителя работ. Лица, проводящие
испытания, должны находиться в безопасных местах на случай разрушения
трубопровода.
6.7. Возможные отходы от монтажа подлежат уничтожению в соответствии с
санитарными правилами обезвреживания и захоронения отходов.
|
Наименование показателя
|
Значение
|
Метод
испытания
|
|
1. Внешний вид поверхности
|
Трубы должны иметь гладкие наружную и
внутреннюю поверхности. На наружной, внутренней и торцевой поверхностях труб
не допускаются пузыри, трещины, раковины, посторонние включения, видимые без
применения оптики. Цвет труб - белый
|
ТУ
2248-001-50151359-2000
|
|
2. Предел текучести при растяжении, МПа, не
менее
|
20
|
ГОСТ 11262
|
|
3. Относительное удлинение при разрыве, %,
не менее
|
540
|
ГОСТ 11262
|
|
4. Стойкость при постоянном внутреннем
давлении при температуре 20 °С, ч, не менее
|
(при
начальном напряжении в стенке трубы 12 МПа)
1
|
ГОСТ
24157
|
|
5. Стойкость при постоянном внутреннем
давлении при температуре 95 °С, ч, не менее
|
(при
начальном напряжении в стенке трубы 4,8 МПа)
1
|
ГОСТ
24157
|
|
6. Стойкость при постоянном внутреннем
давлении при температуре 95 °С, ч, не менее
|
(при
начальном напряжении в стенке трубы 4,6 МПа)
165
|
ГОСТ
24157
|
|
7. Стойкость при постоянном внутреннем
давлении при температуре 95 °С, ч, не менее
|
(при
начальном напряжении в стенке трубы 4,4 МПа)
1000
|
ГОСТ
24157
|
|
8. Изменение длины труб после прогрева при
температуре 120 °С, %, не более
|
3
|
ГОСТ
27078
|
|
9. Степень сшивки, %, не менее
|
65
|
ТУ
2248-001-50151359-2000
|
|
Наружный диаметр, d, мм
|
Серия
труб, S
|
|
S5 (SDR 11)
|
S4 (SDR 9)
|
S3,2 (SDR 7,4)
|
S2,5 (SDR 6)
|
|
Толщина
стенки трубы в миллиметрах
|
|
номинал.,
мм
|
пред.
отклон., мм
|
номинал.,
мм
|
пред.
отклон., мм
|
номинал.,
мм
|
пред.
отклон., мм
|
номинал.,
мм
|
пред. отклон.,
мм
|
номинал.,
мм
|
пред.
отклон., мм
|
|
12
|
+0,3
|
-
|
-
|
-
|
-
|
1,8
|
+0,4
|
2,0
|
+0,4
|
|
15
|
+0,3
|
-
|
-
|
-
|
-
|
2,0
|
+0,5
|
2,5
|
+0,5
|
|
16
|
+0,3
|
1,5
|
+0,4
|
1,8
|
+0,4
|
2,2
|
+0,5
|
2,7
|
+0,5
|
|
18
|
+0,3
|
1,7
|
+0,4
|
2,0
|
+0,4
|
2,5
|
+0,5
|
31
|
+0,6
|
|
20
|
+0,3
|
1,9
|
+0,4
|
2,3
|
+0,5
|
2,8
|
+0,5
|
3,4
|
+0,6
|
|
22
|
+0,3
|
2,0
|
+0,5
|
2,5
|
+0,5
|
3,0
|
+0,6
|
3,8
|
+0,6
|
|
25
|
+0,3
|
2,3
|
+0,5
|
2,8
|
+0,5
|
3,5
|
+0,6
|
4,2
|
+0,7
|
|
32
|
+0,3
|
2,9
|
+0,5
|
3,6
|
+0,6
|
4,4
|
+0,7
|
5,4
|
+0,8
|
|
40
|
+0,4
|
3,7
|
+0,6
|
4,5
|
+0,7
|
5,5
|
+0,8
|
6,7
|
+0,9
|
|
50
|
+0,5
|
4,6
|
+0,7
|
5,6
|
+0,8
|
6,9
|
+0,9
|
8,3
|
+1,1
|
|
63
|
+0,6
|
5,8
|
+0,8
|
7,1
|
+1,0
|
8,6
|
+1,1
|
10,5
|
+1,3
|
|
75
|
+0,7
|
6,8
|
+0,9
|
8,4
|
+1,1
|
10,3
|
+1,2
|
12,5
|
+1,5
|
|
90
|
+0,9
|
8,2
|
+1,1
|
10,1
|
+1,3
|
12,3
|
+1,5
|
15,0
|
+1,7
|
|
110
|
+1,0
|
10,0
|
+1,2
|
12,3
|
+1,5
|
15,1
|
+1,8
|
18,3
|
+2,1
|
|
Номинальный наружный диаметр, d, мм
|
Расчетная
масса 1 м трубы, кг
|
|
S5 (SDR 11)
|
S4 (SDR 9)
|
S3,2 (SDR 7,4)
|
S2,5 (SDR 6)
|
|
12
|
-
|
-
|
0,059
|
0,064
|
|
15
|
-
|
-
|
0,083
|
0,100
|
|
16
|
0,083
|
0,089
|
0,098
|
0,147
|
|
18
|
0,094
|
0,103
|
0,138
|
0,124
|
|
20
|
0,111
|
0,134
|
0,153
|
0,226
|
|
22
|
0,128
|
0,180
|
0,180
|
0,302
|
|
25
|
0,169
|
0,204
|
0,238
|
0,343
|
|
32
|
0,268
|
0,324
|
0,382
|
0,575
|
|
40
|
0,425
|
0,506
|
0,594
|
0,881
|
|
50
|
0,659
|
0,778
|
0,926
|
1,34
|
|
63
|
1,03
|
1,26
|
1,47
|
2,19
|
|
75
|
1,45
|
1,78
|
2,07
|
3,05
|
|
90
|
2,10
|
2,57
|
2,98
|
4,43
|
|
110
|
3,00
|
3,82
|
4,44
|
6,52
|
Примечание.
Теоретическая масса 1 м трубы вычислена при плотности полиэтилена 0,94 г/см3
с учетом половины допусков на толщину стенки и средний наружный диаметр.

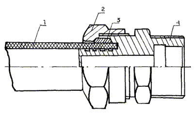
1 - труба из сшитого
полиэтилена; 2 - накидная гайка; 3 - разрезное обжимное кольцо; 4 - корпус
соединительной детали с наружной резьбой
|
№№ п/п
|
Наименование типов соединительных деталей
|
Типоразмеры соединительных деталей
|
|
1
|
2
|
3
|
|
1.
|
Переходник прямой с наружной резьбой
|
15×1/2"
|
|
|
|
15×3/4"
|
|
|
|
16×1/2"
|
|
|
|
16×3/4"
|
|
|
|
18×1/2"
|
|
|
|
18×3/4"
|
|
|
|
22×3/4"
|
|
|
|
22×1/2"
|
|
|
|
25×3/4"
|
|
|
|
25×1"
|
|
|
|
32×3/4"
|
|
|
|
32×1"
|
|
2.
|
Переходник прямой с внутренней резьбой
|
15×1/2"
|
|
|
|
15×3/4"
|
|
|
|
16×1/2"
|
|
|
|
16×3/4"
|
|
|
|
18×1/2"
|
|
|
|
18×3/4"
|
|
|
|
22×1/2"
|
|
|
|
22×3/4"
|
|
|
|
22×1"
|
|
|
|
25×3/4"
|
|
|
|
25×1"
|
|
|
|
32×1"
|
|
3.
|
Прямое соединение (муфта)
|
15×15
|
|
|
|
16×16
|
|
|
|
18×18
|
|
|
|
22×22
|
|
|
|
25×25
|
|
|
|
32×32
|
|
4.
|
Угловое соединение
|
15×15
|
|
|
|
16×16
|
|
|
|
18×18
|
|
|
|
22×22
|
|
|
|
25×25
|
|
|
|
32×32
|
|
5.
|
Угловое соединение с наружной резьбой
|
15×1/2"
|
|
|
|
15×3/4"
|
|
|
|
16×1/2"
|
|
|
|
16×3/4"
|
|
|
|
18×1/2"
|
|
|
|
18×3/4"
|
|
|
|
22×3/4"
|
|
|
|
25×3/4"
|
|
|
|
25×1"
|
|
|
|
32×1"
|
|
6.
|
Угловое соединение с внутренней резьбой
|
15×1/2"
|
|
|
|
15×3/4"
|
|
|
|
16×1/2"
|
|
|
|
16×3/4"
|
|
|
|
18×1/2"
|
|
|
|
18×3/4"
|
|
|
|
22×1/2"
|
|
|
|
22×3/4"
|
|
|
|
25×3/4"
|
|
|
|
25×1"
|
|
|
|
32×1"
|
|
7.
|
Тройник равнопроходный
|
15×15×15
|
|
|
|
16×16×16
|
|
|
|
18×18×18
|
|
|
|
22×22×22
|
|
|
|
25×25×25
|
|
|
|
32×32×32
|
|
8.
|
Тройник с наружной резьбой
|
15×1/2"×15
|
|
|
|
16×1/2"×16
|
|
|
|
18×1/2"×18
|
|
|
|
22×1/2"×22
|
|
|
|
22×3/4"×22
|
|
|
|
25×3/4"×25
|
|
|
|
25×1"×25
|
|
|
|
32×1"×32
|
|
9.
|
Тройник с внутренней резьбой
|
15×1/2"×15
|
|
|
|
16×1/2"×16
|
|
|
|
18×1/2"×18
|
|
|
|
22×1/2"×22
|
|
|
|
22×3/4"×22
|
|
|
|
25×3/4"×25
|
|
|
|
32×3/4"×32
|
|
|
|
32×1"×32
|
|
10.
|
Крестовина
|
15×15×15×15
|
|
|
|
16×16×16×16
|
|
|
|
18×18×18×18
|
|
|
|
22×22×22×22
|
|
|
|
25×25×25×25
|
|
|
|
32×32×32×32
|
|
11.
|
Угловое соединение с внутренней резьбой с креплением
|
15×1/2"
|
|
|
|
16×1/2"
|
|
|
|
18×1/2"
|
|
12.
|
Прямое переходное соединение (муфта переходная)
|
15×22
|
|
|
|
18×22
|
|
13.
|
Угловое переходное соединение
|
15×22
|
|
14.
|
Тройник разнопроходный
|
15×22×15
|
|
|
|
18×15×15
|
|
|
|
18×15×18
|
|
|
|
18×18×15
|
|
|
|
18×22×18
|
|
|
|
22×15×15
|
|
|
|
22×15×22
|
|
|
|
22×18×18
|
|
|
|
22×18×22
|
|
|
|
22×22×15
|
|
|
|
22×22×18
|
|
15.
|
Соединение с шаровым краном и наружной резьбой
|
15×1/2"
|
|
|
|
16×1/2"
|
|
|
|
18×1/2"
|
|
|
|
22×1/2"
|
|
|
|
22×3/4"
|
|
|
|
25×3/4"
|
|
|
|
25×1"
|
|
|
|
32×1"
|
Примечание.
Номенклатура соединительных деталей может быть дополнена.
|
№ п/п
|
Детали
|
Схематическое
изображение деталей
|
Значение
коэффициента ξ
|
|
1
|
2
|
3
|
4
|
|
1.
|
Отвод с
радиусом закругления ≥ 5d:90°
|

|
0,5
|
|
2.
|
Отвод с
радиусом закругления ≥ 5d:45°
|

|
0,3
|
|
3.
|
Тройник
на проход
|

|
0,5
|
|
4.
|
Тройник
на ответвление 90°
|

|
1,5
|
|
5.
|
Тройник
на слияние 90°
|

|
1,5
|
|
6.
|
Тройник
на разделение потоков
|

|
3,0
|
|
7.
|
Крестовина
на проход
|

|
2,0
|
|
8.
|
Крестовина
на ответвление
|

|
3,0
|
|
9.
|
Крестовина
на разделение потоков
|

|
2,1
|
|
10.
|
Крестовина
на соединение потоков
|

|
3,7
|
|
11.
|
Отступ
|

|
0,5
|
|
12.
|
Обход
трубопровода
|

|
1,0
|
|
13.
|
Отвод
|

|
2,0
|
|
14.
|
Вентиль
шаровой
|

|
0,15
|
|
15.
|
Компенсатор
П-образный
|

|
2,0
|
|
16.
|
Редукция
на 1 размер
|

|
0,4
|
|
17.
|
Редукция
на 2 размера
|

|
0,5
|
|
18.
|
Редукция
на 3 размера
|

|
0,6
|
|
19.
|
Расширение
на 1 размер
|

|
0,8
|
|
20.
|
Расширение
на 2 размера
|

|
1,0
|
|
21.
|
Соединение
компрессионного типа с обжимным кольцом
|
Рис.
приложение 4
|
1,5
|
|
dе, мм
|
Холодный изгиб
|
Горячий изгиб
|
|
без угловой
опоры
|
с угловой опорой
|
|
10
|
45
|
30
|
20
|
|
12
|
60
|
30
|
25
|
|
15
|
75
|
45
|
34
|
|
16
|
80
|
65
|
36
|
|
18
|
90
|
70
|
40
|
|
20
|
100
|
100
|
45
|
|
22
|
110
|
120
|
48
|
|
25
|
125
|
120
|
48
|
|
32
|
150
|
-
|
85
|
|
40
|
220
|
-
|
105
|
|
50
|
300
|
-
|
125
|
|
63
|
440
|
-
|
160
|
|
75
|
600
|
-
|
-
|
|
90
|
800
|
-
|
-
|
|
110
|
1100
|
-
|
-
|
Система внутреннего холодного водоснабжения (10 °С)
|
q, м/с
|
Наружный диаметр на толщину стенки трубы в
мм
|
|
15×2,0
|
15×2,5
|
16×1,5
|
16×1,8
|
16×2,2
|
16×2,7
|
18×2,0
|
18×2,5
|
20×1,9
|
20×2,3
|
|
V, м/с
|
1000i
|
V, м/с
|
1000i
|
V, м/с
|
1000i
|
V, м/с
|
1000i
|
V, м/с
|
1000i
|
V, м/с
|
1000i
|
V, м/с
|
1000i
|
V, м/с
|
1000i
|
V, м/с
|
1000i
|
V, м/с
|
1000i
|
|
1
|
2
|
3
|
4
|
5
|
6
|
7
|
8
|
9
|
10
|
11
|
12
|
13
|
14
|
15
|
16
|
17
|
18
|
19
|
20
|
21
|
|
0,02
|
0,21
|
1,7
|
0,25
|
17,8
|
0,15
|
5,2
|
0,17
|
6,5
|
0,19
|
8,8
|
0,23
|
13,5
|
0,13
|
3,7
|
0,15
|
5,2
|
9,7
|
1,8
|
0,11
|
2,4
|
|
0,04
|
0,42
|
1,7
|
0,51
|
57,3
|
0,30
|
16,5
|
0,33
|
20,6
|
0,38
|
28,3
|
0,45
|
43,4
|
0,26
|
11,6
|
0,3
|
16,5
|
0,19
|
5,8
|
0,21
|
7,4
|
|
0,06
|
0,63
|
1,7
|
0,76
|
115,7
|
0,45
|
32,9
|
0,50
|
41,31
|
0,57
|
56,8
|
0,68
|
87,4
|
0,39
|
23,1
|
0,45
|
32,9
|
0,29
|
11,5
|
0,32
|
19,7
|
|
0,1
|
1,05
|
1,7
|
1,27
|
284,2
|
0,75
|
80,0
|
0,83
|
100,5
|
0,95
|
138,6
|
1,13
|
214,4
|
0,65
|
56,0
|
0,75
|
80,1
|
0,48
|
27,8
|
0,54
|
35,5
|
|
0,12
|
1,26
|
247,5
|
1,53
|
393,2
|
0,91
|
110,3
|
0,99
|
138,6
|
1,14
|
191,4
|
1,36
|
296,3
|
0,78
|
77,2
|
0,90
|
110,0
|
0,58
|
38,2
|
0,64
|
48,8
|
|
0,14
|
1,47
|
325,8
|
1,78
|
518,1
|
1,05
|
144,9
|
1,16
|
182,1
|
1,32
|
251,7
|
1,59
|
390,1
|
0,91
|
101,2
|
1,05
|
144,9
|
0,68
|
50,1
|
0,75
|
63,9
|
|
0,16
|
1,68
|
413,7
|
2,04
|
658,6
|
1,21
|
183,7
|
1,33
|
231,0
|
1,51
|
319,5
|
1,81
|
495,6
|
1,04
|
128,3
|
1,21
|
183,7
|
0,78
|
63,4
|
0,86
|
80,9
|
|
0,18
|
1,89
|
511,2
|
2,29
|
814,4
|
1,36
|
226,6
|
1,49
|
285,1
|
1,70
|
394,5
|
2,04
|
612,5
|
1,17
|
158,1
|
1,36
|
22,6
|
0,87
|
78,0
|
0,97
|
99,7
|
|
0,2
|
2,11
|
618,0
|
2,55
|
985,4
|
1,51
|
273,6
|
1,66
|
344,4
|
1,89
|
476,8
|
2,27
|
740,8
|
1,3
|
190,8
|
1,51
|
273,7
|
0,97
|
94,0
|
1,07
|
120,2
|
|
0,2
|
2,31
|
734,2
|
2,80
|
1171,4
|
1,66
|
324,7
|
1,82
|
408,8
|
2,08
|
566,2
|
2,49
|
880,26
|
1,43
|
226,3
|
1,66
|
324,7
|
1,07
|
111,4
|
1,18
|
142,4
|
|
0,24
|
2,521
|
859,5
|
3,06
|
1372,1
|
1,81
|
379,7
|
1,99
|
478,3
|
2,27
|
662,6
|
2,72
|
1030,7
|
1,6
|
264,6
|
1,81
|
379,7
|
1,16
|
130,2
|
1,29
|
166,4
|
|
0,26
|
2,74
|
993,9
|
3,31
|
1587,5
|
1,96
|
438,7
|
2,15
|
552,6
|
2,46
|
766,0
|
2,95
|
1192,1
|
1,69
|
305,5
|
1,96
|
438,7
|
1,26
|
150,2
|
1,40
|
192,1
|
|
0,28
|
2,95
|
1137,3
|
3,57
|
1817,5
|
2,11
|
501,5
|
2,32
|
632,0
|
2,65
|
876,3
|
3,17
|
1364,4
|
1,82
|
349,2
|
2,11
|
501,5
|
1,36
|
171,5
|
1,50
|
219,4
|
|
0,3
|
3,16
|
1289,6
|
3,82
|
2061,8
|
2,26
|
568,2
|
2,48
|
716,2
|
2,84
|
993,4
|
3,40
|
1547,4
|
1,95
|
395,5
|
2,26
|
568,2
|
1,46
|
194,1
|
1,61
|
248,4
|
|
0,32
|
3,37
|
1450,8
|
4,08
|
2320,5
|
2,41
|
638,8
|
2,65
|
805,3
|
3,03
|
1117,3
|
2,63
|
1741,1
|
2,08
|
444,4
|
2,41
|
638,8
|
1,553
|
218,0
|
1,72
|
279,0
|
|
0,34
|
3,58
|
1620,8
|
4,33
|
2593,4
|
2,56
|
713,1
|
2,87
|
899,2
|
3,22
|
1247,9
|
3,85
|
1945,4
|
2,21
|
496,0
|
2,56
|
713,1
|
1,65
|
243,1
|
1,83
|
311,3
|
|
0,36
|
3,79
|
1799,5
|
4,59
|
2880,5
|
2,71
|
791,2
|
2,98
|
997,9
|
3,41
|
1385,3
|
4,08
|
2160,2
|
2,34
|
550,2
|
2,71
|
791,2
|
1,75
|
269,5
|
1,93
|
345,1
|
|
0,38
|
4,0
|
1987,0
|
4,84
|
3181,7
|
2,86
|
873,1
|
3,15
|
1101,3
|
3,60
|
1529,3
|
4,31
|
2385,6
|
2,47
|
606,9
|
2,86
|
873,1
|
1,84
|
297,2
|
2,04
|
380,6
|
|
0,4
|
4,21
|
2183,1
|
5,1
|
3496,8
|
3,01
|
958,7
|
3,31
|
1209,5
|
3,79
|
1679,9
|
4,53
|
2621,3
|
2,6
|
666,3
|
3,01
|
958,7
|
1,94
|
326,0
|
2,15
|
417,7
|
|
0,42
|
4,42
|
2387,8
|
5,35
|
3825,9
|
3,17
|
1048,0
|
3,48
|
1322,4
|
3,98
|
1837,1
|
4,76
|
2867,5
|
2,73
|
728,2
|
3,17
|
1048,0
|
2,04
|
356,2
|
2,26
|
456,3
|
|
0,44
|
4,63
|
2601,0
|
5,61
|
4168,9
|
3,32
|
1141,1
|
3,64
|
1440,0
|
4,16
|
2000,8
|
4,99
|
3124,0
|
2,86
|
792,6
|
3,32
|
1141,0
|
2,14
|
387,5
|
2,36
|
496,6
|
|
0,46
|
4,84
|
2822,8
|
5,86
|
4525,6
|
3,47
|
1237,7
|
3,81
|
1562,2
|
4,35
|
2171,1
|
5,21
|
3390,7
|
2,99
|
859,6
|
3,47
|
1237,7
|
2,23
|
420,1
|
2,47
|
538,4
|
|
0,48
|
5,05
|
3053,1
|
|
|
3,62
|
1338,1
|
3,98
|
1689,1
|
4,54
|
2347,9
|
5,44
|
3667,7
|
3,12
|
929,1
|
3,62
|
1338,1
|
2,33
|
453,8
|
2,58
|
581,7
|
|
0,5
|
5,26
|
3291,9
|
|
|
3,77
|
1442,1
|
4,14
|
1820,6
|
4,73
|
2531,1
|
5,67
|
3954,9
|
3,25
|
1001,1
|
3,77
|
1442,1
|
2,43
|
488,8
|
2,68
|
626,7
|
|
0,54
|
5,68
|
3794,7
|
|
|
4,07
|
1660,9
|
4,47
|
2097,4
|
5,11
|
2916,9
|
|
|
5,51
|
1152,6
|
4,07
|
1660,9
|
2,62
|
562,4
|
2,9
|
721,1
|
|
0,6
|
|
|
|
|
4,52
|
2016,2
|
4,97
|
2546,9
|
5,68
|
3543,6
|
|
|
3,9
|
1398,4
|
4,52
|
2016,2
|
2,91
|
681,6
|
3,22
|
874,4
|
|
0,7
|
|
|
|
|
5,28
|
2679,4
|
5,70
|
3386,3
|
|
|
|
|
4,55
|
1857,0
|
5,28
|
2269,0
|
3,4
|
903,9
|
3,76
|
1160,1
|
|
0,8
|
|
|
|
|
|
|
|
|
|
|
|
|
5,2
|
2376,1
|
|
|
3,88
|
1155,1
|
4,30
|
1438,2
|
|
0,9
|
|
|
|
|
|
|
|
|
|
|
|
|
5,85
|
2954,9
|
|
|
4,37
|
1434,9
|
4,83
|
1843,1
|
|
1,0
|
|
|
|
|
|
|
|
|
|
|
|
|
|
|
|
|
4,85
|
1743,0
|
5,37
|
2239,6
|
|
1,2
|
|
|
|
|
|
|
|
|
|
|
|
|
|
|
|
|
5,82
|
2442,9
|
|
|
|
|
|
|
|
|
|
|
|
|
|
|
|
|
|
|
|
|
|
|
|
|
Продолжение табл.
|
q, м/с
|
Наружный диаметр на толщину стенки трубы в
мм
|
|
20×2,3
|
20×2,8
|
20×3,4
|
22×2,0
|
22×3,0
|
25×2,3
|
25×2,8
|
25×3,5
|
25×4,2
|
32×2,9
|
|
V, м/с
|
1000i
|
V, м/с
|
1000i
|
V, м/с
|
1000i
|
V, м/с
|
1000i
|
V, м/с
|
1000i
|
V, м/с
|
1000i
|
V, м/с
|
1000i
|
V, м/с
|
1000i
|
V, м/с
|
1000i
|
V, м/с
|
1000i
|
|
1
|
2
|
3
|
4
|
5
|
6
|
7
|
8
|
9
|
10
|
11
|
12
|
13
|
14
|
15
|
16
|
17
|
18
|
19
|
20
|
21
|
|
0,2
|
|
|
0,12
|
3,24
|
0,15
|
4,9
|
|
|
|
|
|
|
|
|
|
|
|
|
|
|
|
0,04
|
|
|
0,25
|
10,2
|
0,29
|
15,4
|
0,16
|
3,6
|
0,2
|
6,2
|
0,12
|
2,0
|
0,14
|
2,5
|
0,16
|
3,6
|
0,18
|
5,2
|
|
|
|
0,06
|
|
|
0,37
|
20,3
|
0,44
|
30,7
|
0,24
|
7,0
|
0,3
|
12,3
|
0,18
|
3,9
|
0,2
|
4,9
|
0,24
|
7,0
|
0,28
|
10,3
|
0,11
|
1,2
|
|
0,1
|
|
|
0,61
|
49,0
|
0,73
|
74,4
|
0,39
|
16,8
|
0,5
|
29,6
|
0,31
|
9,3
|
0,33
|
11,8
|
0,39
|
16,8
|
0,46
|
24,8
|
0,19
|
2,8
|
|
0,12
|
|
|
0,74
|
67,4
|
0,88
|
102,5
|
0,47
|
23,1
|
0,6
|
40,6
|
0,37
|
12,7
|
0,4
|
16,1
|
0,47
|
23,1
|
0,55
|
34
|
0,22
|
3,9
|
|
0,14
|
|
|
0,86
|
88,4
|
1,02
|
134,6
|
0,55
|
30,2
|
0,7
|
53,2
|
0,43
|
16,6
|
0,47
|
21,1
|
0,55
|
30,2
|
0,65
|
44,6
|
0,26
|
5,0
|
|
0,16
|
|
|
0,98
|
112,0
|
1,17
|
170,6
|
0,63
|
38,2
|
0,8
|
67,3
|
0,49
|
20,9
|
0,54
|
26,6
|
0,63
|
38,2
|
0,74
|
56,4
|
0,3
|
6,3
|
|
0,18
|
|
|
1,11
|
138,0
|
1,32
|
210,5
|
0,71
|
47,0
|
0,9
|
82,9
|
0,55
|
25,7
|
0,60
|
32,7
|
0,71
|
47,0
|
0,83
|
69,4
|
0,33
|
7,8
|
|
0,2
|
|
|
1,23
|
166,5
|
1,46
|
254,1
|
0,79
|
56,6
|
1,0
|
99,9
|
0,61
|
30,9
|
0,67
|
39,4
|
0,79
|
56,6
|
0,92
|
83,6
|
0,37
|
9,3
|
|
0,22
|
|
|
1,35
|
197,4
|
1,61
|
301,4
|
0,86
|
66,9
|
1,09
|
118,4
|
0,67
|
36,6
|
0,74
|
46,6
|
0,86
|
66,9
|
1,02
|
99,0
|
0,41
|
11,0
|
|
0,24
|
|
|
1,47
|
230,7
|
1,75
|
352,5
|
0,94
|
78,1
|
1,19
|
138,2
|
0,73
|
42,7
|
0,81
|
54,4
|
0,94
|
78,1
|
1,09
|
115,6
|
0,45
|
12,8
|
|
0,26
|
|
|
1,60
|
266,3
|
1,9
|
407,1
|
1,02
|
90,1
|
1,29
|
159,5
|
0,8
|
49,2
|
0,88
|
62,7
|
1,02
|
90,1
|
1,2
|
133,4
|
0,48
|
14,7
|
|
0,28
|
|
|
1,72
|
304,3
|
2,05
|
465,4
|
1,1
|
102,8
|
1,39
|
182,2
|
0,86
|
56,1
|
0,95
|
71,5
|
1,1
|
102,8
|
1,29
|
152,3
|
0,52
|
17,0
|
|
0,3
|
|
|
1,84
|
344,6
|
2,19
|
527,3
|
1,18
|
116,3
|
1,49
|
206,2
|
0,92
|
63,4
|
1,02
|
80,9
|
1,18
|
116,3
|
1,39
|
172,4
|
0,56
|
19,0
|
|
0,32
|
|
|
1,97
|
387,2
|
2,34
|
592,7
|
1,26
|
130,5
|
1,59
|
231,6
|
0,98
|
71,1
|
1,08
|
90,8
|
1,26
|
130,5
|
1,48
|
193,6
|
0,59
|
21,2
|
|
0,34
|
|
|
2,09
|
432,1
|
2,49
|
661,7
|
1,34
|
145,5
|
1,69
|
258,3
|
1,04
|
79,3
|
1,15
|
101,1
|
1,34
|
145,5
|
1,57
|
215,9
|
0,63
|
23,6
|
|
0,36
|
|
|
2,21
|
479,3
|
2,63
|
734,1
|
1,42
|
161,3
|
1,79
|
286,4
|
1,1
|
87,8
|
1,22
|
112,0
|
1,42
|
161,3
|
1,66
|
239,3
|
0,67
|
26,2
|
|
0,38
|
|
|
2,33
|
528,7
|
2,78
|
810,0
|
1,49
|
177,7
|
1,89
|
315,7
|
1,16
|
96,7
|
1,29
|
123,4
|
1,49
|
177,7
|
1,76
|
263,8
|
0,71
|
28,8
|
|
0,4
|
|
|
2,46
|
580,3
|
2,92
|
889,4
|
1,57
|
194,9
|
1,99
|
346,4
|
1,22
|
106,0
|
1,35
|
135,4
|
1,57
|
194,9
|
1,85
|
289,4
|
0,74
|
31,5
|
|
0,42
|
|
|
2,58
|
634,1
|
3,07
|
972,2
|
1,65
|
212,9
|
2,09
|
378,5
|
1,29
|
115,7
|
1,42
|
147,8
|
1,65
|
212,9
|
1,94
|
316,1
|
0,78
|
34,4
|
|
0,44
|
|
|
2,7
|
690,2
|
3,22
|
1058,5
|
1,73
|
231,5
|
2,19
|
411,8
|
1,35
|
125,8
|
1,49
|
160,7
|
1,73
|
231,54
|
2,03
|
343,9
|
0,82
|
37,4
|
|
0,46
|
|
|
2,83
|
748,5
|
3,36
|
1148,1
|
1,81
|
250,9
|
2,29
|
446,4
|
1,41
|
136,3
|
1,56
|
174,1
|
1,81
|
250,9
|
2,12
|
372,8
|
0,85
|
40,4
|
|
0,48
|
|
|
2,95
|
808,9
|
3,51
|
1241,1
|
1,89
|
271,0
|
2,39
|
482,3
|
1,47
|
147,1
|
1,62
|
188,0
|
1,89
|
271,0
|
2,27
|
402,7
|
0,89
|
43,6
|
|
0,5
|
|
|
3,07
|
871,5
|
3,66
|
1337,5
|
1,97
|
291,8
|
2,49
|
519,5
|
1,53
|
158,4
|
1,69
|
202,4
|
1,97
|
291,8
|
2,31
|
433,7
|
0,93
|
46,9
|
|
0,54
|
|
|
3,32
|
1003,3
|
3,95
|
1540,4
|
2,12
|
335,5
|
2,69
|
597,7
|
1,65
|
182,0
|
1,83
|
232,6
|
2,12
|
335,5
|
2,5
|
498,9
|
1,00
|
53,9
|
|
0,6
|
|
|
3,69
|
1217,0
|
4,39
|
1869,7
|
2,36
|
406,4
|
2,99
|
724,5
|
1,71
|
194,4
|
2,03
|
281,6
|
2,36
|
406,4
|
2,77
|
604,6
|
1,11
|
65,1
|
|
0,7
|
|
|
4,3
|
1615,8
|
5,12
|
2484,4
|
2,75
|
538,4
|
3,48
|
960,9
|
2,14
|
238,4
|
2,37
|
306,2
|
2,75
|
444,7
|
3,24
|
666,3
|
1,30
|
68,9
|
|
0,8
|
|
|
4,91
|
2006,9
|
5,85
|
3180,4
|
3,14
|
687,4
|
3,98
|
1228,1
|
2,44
|
306,1
|
2,71
|
393,2
|
3,15
|
571,4
|
3,70
|
856,6
|
1,48
|
88,3
|
|
0,9
|
|
|
5,53
|
2569,8
|
|
|
3,54
|
853,2
|
4,48
|
1525,8
|
2,75
|
381,7
|
3,05
|
490,5
|
3,54
|
713,1
|
4,16
|
1069,6
|
1,67
|
109,9
|
|
1,0
|
|
|
|
|
|
|
3,93
|
1035,7
|
4,98
|
1853,5
|
3,06
|
465,2
|
3,38
|
597,9
|
3,93
|
869,8
|
4,62
|
1305,1
|
1,86
|
133,8
|
|
1,2
|
|
|
|
|
|
|
4,72
|
1449,9
|
5,97
|
2598,1
|
3,67
|
655,6
|
4,06
|
843,2
|
4,72
|
1227,3
|
5,55
|
1843,1
|
2,23
|
188,2
|
|
1,4
|
|
|
|
|
|
|
5,5
|
1928,9
|
|
|
4,2
|
876,9
|
4,74
|
1128,3
|
5,50
|
1643,4
|
|
|
2,60
|
251,2
|
Продолжение табл.
|
q, м/с
|
Наружный диаметр на толщину стенки трубы в
мм
|
|
32×3,6
|
32×4,4
|
32×5,4
|
|
|
|
|
|
|
|
|
V, м/с
|
1000i
|
V, м/с
|
1000i
|
V, м/с
|
1000i
|
V, м/с
|
1000i
|
V, м/с
|
1000i
|
V, м/с
|
1000i
|
V, м/с
|
1000i
|
V, м/с
|
1000i
|
V, м/с
|
1000i
|
V, м/с
|
1000i
|
|
1
|
2
|
3
|
4
|
5
|
6
|
7
|
8
|
9
|
10
|
11
|
12
|
13
|
14
|
15
|
16
|
17
|
18
|
19
|
20
|
21
|
|
0,06
|
0,12
|
1,56
|
0,14
|
2,13
|
0,17
|
3,26
|
|
|
|
|
|
|
|
|
|
|
|
|
|
|
|
0,1
|
0,21
|
3,68
|
0,24
|
5,04
|
0,28
|
7,73
|
|
|
|
|
|
|
|
|
|
|
|
|
|
|
|
0,12
|
0,25
|
5,02
|
0,28
|
6,89
|
0,34
|
10,58
|
|
|
|
|
|
|
|
|
|
|
|
|
|
|
|
0,14
|
0,29
|
6,54
|
0,33
|
8,98
|
0,4
|
13,81
|
|
|
|
|
|
|
|
|
|
|
|
|
|
|
|
0,16
|
0,33
|
8,24
|
0,38
|
11,32
|
0,45
|
17,42
|
|
|
|
|
|
|
|
|
|
|
|
|
|
|
|
0,18
|
0,37
|
10,1
|
0,43
|
13,89
|
0,51
|
21,4
|
|
|
|
|
|
|
|
|
|
|
|
|
|
|
|
0,2
|
0,41
|
12,13
|
0,47
|
16,69
|
0,57
|
25,72
|
|
|
|
|
|
|
|
|
|
|
|
|
|
|
|
0,22
|
0,46
|
14,32
|
0,52
|
19,72
|
0,62
|
30,42
|
|
|
|
|
|
|
|
|
|
|
|
|
|
|
|
0,24
|
0,5
|
16,68
|
0,57
|
22,98
|
0,68
|
35,46
|
|
|
|
|
|
|
|
|
|
|
|
|
|
|
|
0,26
|
0,54
|
19,19
|
0,62
|
26,45
|
0,74
|
40,84
|
|
|
|
|
|
|
|
|
|
|
|
|
|
|
|
0,28
|
0,58
|
21,87
|
0,66
|
30,15
|
0,79
|
46,57
|
|
|
|
|
|
|
|
|
|
|
|
|
|
|
|
0,3
|
0,62
|
24,7
|
0,71
|
34,06
|
0,85
|
52,64
|
|
|
|
|
|
|
|
|
|
|
|
|
|
|
|
0,32
|
0,66
|
27,68
|
0,76
|
38,19
|
0,91
|
59,04
|
|
|
|
|
|
|
|
|
|
|
|
|
|
|
|
0,34
|
0,7
|
30,82
|
0,8
|
42,52
|
0,96
|
65,78
|
|
|
|
|
|
|
|
|
|
|
|
|
|
|
|
0,36
|
0,75
|
34,1
|
0,85
|
47,07
|
1,02
|
72,84
|
|
|
|
|
|
|
|
|
|
|
|
|
|
|
|
0,38
|
0,79
|
37,54
|
0,9
|
51,83
|
1,08
|
80,23
|
|
|
|
|
|
|
|
|
|
|
|
|
|
|
|
0,4
|
0,83
|
41,13
|
0,95
|
56,8
|
1,13
|
87,95
|
|
|
|
|
|
|
|
|
|
|
|
|
|
|
|
0,43
|
0,87
|
44,86
|
0,99
|
61,97
|
1,19
|
95,98
|
|
|
|
|
|
|
|
|
|
|
|
|
|
|
|
0,44
|
0,91
|
48,74
|
1,04
|
67,35
|
1,25
|
104,34
|
|
|
|
|
|
|
|
|
|
|
|
|
|
|
|
0,46
|
0,95
|
52,77
|
1,09
|
72,93
|
1,3
|
113,02
|
|
|
|
|
|
|
|
|
|
|
|
|
|
|
|
0,48
|
0,99
|
56,95
|
1,14
|
78,71
|
1,36
|
122,01
|
|
|
|
|
|
|
|
|
|
|
|
|
|
|
|
0,5
|
1,04
|
61,26
|
1,18
|
84,69
|
1,42
|
131,32
|
|
|
|
|
|
|
|
|
|
|
|
|
|
|
|
0,54
|
1,12
|
70,33
|
1,29
|
97,26
|
1,53
|
150,87
|
|
|
|
|
|
|
|
|
|
|
|
|
|
|
|
0,6
|
1,24
|
84,99
|
1,42
|
117,59
|
1,7
|
182,52
|
|
|
|
|
|
|
|
|
|
|
|
|
|
|
|
0,7
|
1,45
|
112,22
|
1,66
|
155,37
|
1,98
|
241,39
|
|
|
|
|
|
|
|
|
|
|
|
|
|
|
|
0,8
|
1,66
|
142,9
|
1,89
|
197,95
|
2,27
|
307,78
|
|
|
|
|
|
|
|
|
|
|
|
|
|
|
|
0,9
|
1,86
|
176,96
|
2,13
|
245,26
|
2,55
|
381,58
|
|
|
|
|
|
|
|
|
|
|
|
|
|
|
|
1,0
|
2,07
|
214,35
|
2,37
|
297,22
|
2,83
|
462,7
|
|
|
|
|
|
|
|
|
|
|
|
|
|
|
|
1,2
|
2,49
|
299,01
|
2,84
|
414,91
|
3,4
|
646,57
|
|
|
|
|
|
|
|
|
|
|
|
|
|
|
|
1,4
|
2,9
|
396,6
|
3,31
|
550,67
|
3,97
|
858,84
|
|
|
|
|
|
|
|
|
|
|
|
|
|
|
|
1,6
|
3,31
|
506,92
|
3,79
|
704,21
|
4,54
|
1099,09
|
|
|
|
|
|
|
|
|
|
|
|
|
|
|
|
1,8
|
3,73
|
629,79
|
4,26
|
875,3
|
5,1
|
1366,96
|
|
|
|
|
|
|
|
|
|
|
|
|
|
|
|
2,0
|
4,14
|
765,07
|
4,79
|
1063,74
|
5,67
|
1662,15
|
|
|
|
|
|
|
|
|
|
|
|
|
|
|
|
2,2
|
4,56
|
912,62
|
5,2
|
1269,36
|
|
|
|
|
|
|
|
|
|
|
|
|
|
|
|
|
|
2,4
|
4,97
|
1072,35
|
5,68
|
1492,01
|
|
|
|
|
|
|
|
|
|
|
|
|
|
|
|
|
|
2,6
|
5,39
|
1244,15
|
|
|
|
|
|
|
|
|
|
|
|
|
|
|
|
|
|
|
|
2,8
|
5,8
|
1427,94
|
|
|
|
|
|
|
|
|
|
|
|
|
|
|
|
|
|
|
Система внутреннего горячего
водоснабжения (50 °С)
|
q, м/с
|
Наружный диаметр на толщину стенки трубы в
мм
|
|
15×2,0
|
15×2,5
|
16×1,5
|
16×1,8
|
16×2,2
|
16×2,7
|
18×2,5
|
20×1,9
|
20×2,3
|
|
V, м/с
|
1000i
|
V, м/с
|
1000i
|
V, м/с
|
1000i
|
V, м/с
|
1000i
|
V, м/с
|
1000i
|
V, м/с
|
1000i
|
V, м/с
|
1000i
|
V, м/с
|
1000i
|
V, м/с
|
1000i
|
V, м/с
|
1000i
|
|
1
|
2
|
3
|
4
|
5
|
6
|
7
|
8
|
9
|
10
|
11
|
12
|
13
|
14
|
15
|
16
|
17
|
18
|
19
|
20
|
21
|
|
0,02
|
0,21
|
8,8
|
0,25
|
13,8
|
0,15
|
4
|
0,17
|
5
|
0,19
|
6,8
|
0,23
|
10,5
|
0,13
|
2,8
|
0,15
|
4
|
-
|
-
|
0,11
|
1,8
|
|
0,04
|
0,42
|
29,3
|
0,51
|
46,4
|
0,3
|
15,8
|
0,33
|
16,4
|
0,38
|
22,6
|
0,45
|
35
|
0,26
|
9,2
|
0,3
|
13,1
|
0,19
|
4,6
|
0,21
|
5,8
|
|
0,06
|
0,63
|
60
|
0,76
|
95,5
|
0,45
|
26,7
|
0,5
|
33,6
|
0,57
|
46,4
|
0,68
|
71,9
|
0,39
|
18,7
|
0,45
|
26,7
|
0,29
|
9,2
|
0,32
|
11,8
|
|
0,08
|
0,84
|
100,6
|
1,02
|
160,2
|
0,6
|
44,6
|
0,66
|
56,1
|
0,76
|
77,6
|
0,91
|
120,5
|
0,52
|
31,1
|
0,6
|
44,6
|
0,39
|
15,4
|
0,43
|
19,6
|
|
0,1
|
1,05
|
150,4
|
1,27
|
240,1
|
0,75
|
66,5
|
0,83
|
83,7
|
0,95
|
116
|
1,13
|
120,4
|
0,65
|
46,4
|
0,75
|
66,5
|
0,49
|
22,8
|
0,53
|
29,2
|
|
0,12
|
1,26
|
209,5
|
1,53
|
334,7
|
0,9
|
92,4
|
0,99
|
116,4
|
1,14
|
161,4
|
1,36
|
251,3
|
0,78
|
64,3
|
0,9
|
92,4
|
0,58
|
31,6
|
0,64
|
40,4
|
|
0,14
|
1,47
|
277,4
|
1,78
|
443,8
|
1,06
|
122,1
|
1,16
|
154,0
|
1,33
|
213,7
|
1,59
|
332,9
|
0,91
|
85
|
1,06
|
122,1
|
0,68
|
41,7
|
0,75
|
53,4
|
|
0,16
|
1,68
|
354,2
|
2,04
|
5671
|
1,21
|
155,7
|
1,32
|
196,4
|
1,51
|
272,6
|
1,81
|
425,2
|
1,04
|
108,3
|
1,21
|
155,7
|
0,78
|
53
|
0,86
|
67,9
|
|
0,18
|
1,9
|
439,7
|
2,29
|
704,4
|
1,36
|
192
|
1,49
|
243,5
|
1,7
|
338,3
|
2,04
|
528
|
1,17
|
134,1
|
1,36
|
193
|
0,87
|
65,6
|
0,97
|
84,1
|
|
0,2
|
2,11
|
533,7
|
2,55
|
855,6
|
1,51
|
234
|
1,66
|
295,4
|
1,89
|
410,5
|
2,27
|
641
|
1,3
|
162,5
|
151
|
234
|
0,97
|
79,4
|
1,07
|
101,8
|
|
0,22
|
2,32
|
636,2
|
2,8
|
1020,6
|
1,66
|
278,7
|
1,82
|
351,8
|
2,08
|
489,2
|
2,49
|
764,4
|
1,43
|
193,4
|
1,66
|
278,7
|
1,07
|
94,4
|
1,18
|
121,1
|
|
0,24
|
2,53
|
747,2
|
3,06
|
1199,2
|
1,81
|
327
|
1,99
|
412,9
|
2,27
|
574,3
|
2,72
|
897,9
|
1,56
|
226,9
|
1,81
|
327
|
1,16
|
110,7
|
1,29
|
141,9
|
|
0,26
|
2,74
|
866,5
|
3,31
|
1391,4
|
1,96
|
378,8
|
2,15
|
478,5
|
2,46
|
665,3
|
2,95
|
1041,4
|
1,69
|
262,8
|
1,96
|
378,8
|
1,26
|
128,1
|
1,4
|
164,3
|
|
0,28
|
2,95
|
994,1
|
3,57
|
1597,0
|
2,11
|
434,3
|
2,32
|
548,7
|
2,65
|
763,7
|
3,17
|
1195,0
|
1,82
|
301,1
|
2,11
|
434,3
|
1,36
|
146,7
|
1,5
|
188,2
|
|
0,3
|
3,16
|
1129,9
|
3,82
|
1816,0
|
2,26
|
493,3
|
2,49
|
623,4
|
2,84
|
867,8
|
3,4
|
1358,5
|
1,95
|
341,9
|
2,26
|
493,3
|
1,46
|
166,4
|
1,61
|
213,6
|
|
0,32
|
3,37
|
1273,97
|
4,08
|
2048,33
|
2,41
|
555,8
|
2,65
|
702,5
|
3,03
|
978,3
|
3,63
|
1532,0
|
2,08
|
385,1
|
2,41
|
555,8
|
1,55
|
187,4
|
1,72
|
240,5
|
|
0,34
|
3,58
|
1426,2
|
4,33
|
2293,9
|
2,56
|
621,8
|
2,82
|
786,1
|
3,22
|
1094,9
|
3,85
|
1715,2
|
2,21
|
430,7
|
2,56
|
621,8
|
1,65
|
209,4
|
1,83
|
268,9
|
|
0,36
|
3,79
|
1586,5
|
4,59
|
2552,6
|
2,71
|
691,3
|
2,98
|
874,1
|
3,41
|
1217,8
|
4,08
|
1908,3
|
2,34
|
478,7
|
2,71
|
691,3
|
1,75
|
232,6
|
1,93
|
298,8
|
|
0,38
|
4,00
|
1754,9
|
4,84
|
2824,4
|
2,86
|
764,2
|
3,15
|
966,4
|
3,6
|
1346,8
|
4,31
|
2111,1
|
2,47
|
529,1
|
2,86
|
764,2
|
1,84
|
257,0
|
2,04
|
330,1
|
|
0,4
|
4,21
|
1931,3
|
5,1
|
3109,3
|
3,02
|
840,6
|
3,31
|
1063,2
|
3,79
|
1481,9
|
4,54
|
2323,6
|
2,6
|
581,9
|
3,02
|
840,6
|
1,94
|
282,5
|
2,15
|
362,9
|
|
0,42
|
4,42
|
2115,7
|
5,35
|
3407,1
|
3,17
|
920,4
|
3,48
|
1164,3
|
3,98
|
1623,2
|
4,76
|
2545,8
|
2,73
|
637
|
3,16
|
920,4
|
2,04
|
309,1
|
2,26
|
397,2
|
|
0,44
|
4,63
|
2308,1
|
5,61
|
3718,0
|
3,32
|
1003,7
|
3,65
|
1269,8
|
4,17
|
1770,6
|
4,99
|
2777,6
|
2,86
|
694,4
|
3,32
|
1003,7
|
2,14
|
336,9
|
2,36
|
432,9
|
|
0,46
|
4,84
|
2508,5
|
5,86
|
4041,8
|
3,47
|
1090,3
|
3,81
|
1379,6
|
4,35
|
1924,0
|
5,22
|
3019,0
|
2,99
|
754,2
|
3,47
|
1090,3
|
2,23
|
365,7
|
2,47
|
470,0
|
|
0,48
|
5,05
|
2716,8
|
|
|
3,62
|
1180,3
|
3,98
|
1493,7
|
4,54
|
2083,5
|
5,44
|
3270,0
|
3,12
|
816,4
|
3,61
|
1180,3
|
2,33
|
395,7
|
2,58
|
508,6
|
|
0,5
|
5,26
|
29330,0
|
|
|
3,77
|
1273,8
|
4,14
|
1612,1
|
4,73
|
2249
|
5,67
|
3530,5
|
3,25
|
880,8
|
3,77
|
1273,8
|
2,43
|
426,8
|
2,69
|
548,6
|
|
0,54
|
5,69
|
3389,0
|
|
|
4,07
|
1470,7
|
4,47
|
1861,7
|
5,11
|
2598,0
|
|
|
3,51
|
1016,6
|
4,07
|
1470,7
|
2,62
|
492,3
|
2,9
|
633
|
|
0,6
|
|
|
|
|
4,52
|
1791,1
|
4,97
|
2268,1
|
5,68
|
3116,4
|
|
|
3,9
|
1237,6
|
4,52
|
1791,1
|
2,91
|
598,7
|
3,22
|
770,1
|
|
0,7
|
|
|
|
|
5,28
|
2391,6
|
5,8
|
3029,7
|
|
|
|
|
4,55
|
1651,4
|
5,28
|
2391,6
|
3,4
|
797,9
|
3,76
|
1026,7
|
|
0,8
|
|
|
|
|
|
|
|
|
|
|
|
|
5,2
|
2121,5
|
|
|
3,88
|
1023,9
|
4,3
|
1318
|
|
0,9
|
|
|
|
|
|
|
|
|
|
|
|
|
5,85
|
2647,4
|
|
|
4,37
|
1276,5
|
4,83
|
1643,7
|
|
1,0
|
|
|
|
|
|
|
|
|
|
|
|
|
|
|
|
|
4,85
|
1555,4
|
5,37
|
2003,4
|
|
1,2
|
|
|
|
|
|
|
|
|
|
|
|
|
|
|
|
|
5,82
|
2191,4
|
|
|
Продолжение табл.
|
q, м/с
|
Наружный диаметр на толщину стенки трубы в
мм
|
|
20×2,8
|
20×3,4
|
22×2,0
|
22×3,0
|
25×2,3
|
25×2,8
|
25×3,5
|
25×4,2
|
32×2,9
|
32×3,6
|
|
V, м/с
|
1000i
|
V, м/с
|
1000i
|
V, м/с
|
1000i
|
V, м/с
|
1000i
|
V, м/с
|
1000i
|
V, м/с
|
1000i
|
V, м/с
|
1000i
|
V, м/с
|
1000i
|
V, м/с
|
1000i
|
V, м/с
|
1000i
|
|
1
|
2
|
3
|
4
|
5
|
6
|
7
|
8
|
9
|
10
|
11
|
12
|
13
|
14
|
15
|
16
|
17
|
18
|
19
|
20
|
21
|
|
0,02
|
0,12
|
2,4
|
0,15
|
3,7
|
-
|
-
|
|
-
|
-
|
-
|
-
|
-
|
-
|
-
|
-
|
-
|
-
|
-
|
-
|
-
|
|
0,04
|
0,25
|
8
|
0,29
|
12,2
|
0,16
|
2,8
|
0,2
|
4,8
|
0,12
|
1,5
|
0,14
|
1,9
|
0,16
|
2,8
|
0,18
|
4,1
|
-
|
-
|
-
|
-
|
|
0,06
|
0,37
|
16,3
|
0,44
|
24,8
|
0,24
|
5,6
|
0,3
|
9,8
|
0,18
|
3,1
|
0,2
|
3,9
|
0,24
|
5,6
|
0,28
|
8,2
|
0,11
|
0,9
|
0,12
|
1,2
|
|
0,08
|
0,49
|
27,1
|
0,58
|
41,4
|
0,31
|
9,2
|
0,4
|
16,3
|
0,24
|
5,1
|
0,27
|
6,4
|
0,31
|
9,2
|
0,37
|
13,6
|
0,15
|
1,5
|
0,17
|
2
|
|
0,1
|
0,61
|
40,4
|
0,73
|
61,7
|
0,39
|
13,7
|
0,5
|
24,2
|
0,31
|
7,5
|
0,34
|
9,5
|
0,39
|
13,7
|
0,46
|
20,3
|
0,19
|
2,3
|
0,21
|
3
|
|
0,12
|
0,74
|
56,1
|
0,88
|
85,7
|
0,47
|
19
|
0,6
|
33,6
|
0,37
|
10,3
|
0,41
|
13,2
|
0,47
|
19
|
0,55
|
28,1
|
0,22
|
3,1
|
0,25
|
4
|
|
0,14
|
0,86
|
74
|
1,02
|
113,3
|
0,55
|
25
|
0,7
|
44,3
|
0,43
|
13,6
|
0,47
|
17,4
|
0,55
|
25
|
0,65
|
37
|
0,26
|
4,1
|
0,29
|
5,3
|
|
0,16
|
0,98
|
94,3
|
1,17
|
144,55
|
0,63
|
31,7
|
0,8
|
56,3
|
0,49
|
17,3
|
0,54
|
22
|
0,63
|
31,7
|
0,74
|
47,1
|
0,3
|
5,1
|
0,33
|
6,7
|
|
0,18
|
1,11
|
116,8
|
1,32
|
179,1
|
0,71
|
39,2
|
0,9
|
69,7
|
0,55
|
21,3
|
0,61
|
27,2
|
0,71
|
39,2
|
0,83
|
58,2
|
0,33
|
6,3
|
0,37
|
8,3
|
|
0,2
|
1,23
|
141,5
|
1,46
|
217,1
|
0,79
|
47,4
|
1
|
84,4
|
0,61
|
25,8
|
0,68
|
32,9
|
0,79
|
47,4
|
0,92
|
70,5
|
0,37
|
7,6
|
0,41
|
10
|
|
0,22
|
1,35
|
168,4
|
1,61
|
258,5
|
0,86
|
56,4
|
1,09
|
100,4
|
0,67
|
30,6
|
0,74
|
39,1
|
0,86
|
56,4
|
1,02
|
83,8
|
0,41
|
9,1
|
0,46
|
11,8
|
|
0,24
|
1,47
|
197,5
|
1,75
|
303,2
|
0,94
|
66
|
1,19
|
117,6
|
0,73
|
38,8
|
0,81
|
45,8
|
0,94
|
66
|
1,11
|
98,2
|
0,45
|
10,6
|
0,5
|
13,8
|
|
0,26
|
1,6
|
228,7
|
1,9
|
351,3
|
1,02
|
76,4
|
1,29
|
136,2
|
0,8
|
41,4
|
0,88
|
52,9
|
1,02
|
76,4
|
1,2
|
113,6
|
0,48
|
12,2
|
0,54
|
16
|
|
0,28
|
1,72
|
262
|
2,05
|
402,7
|
1,1
|
87,4
|
1,39
|
155,9
|
0,86
|
47,4
|
0,95
|
60,6
|
1,1
|
87,4
|
1,29
|
131
|
0,52
|
14
|
0,58
|
18,3
|
|
0,3
|
1,84
|
297,5
|
2,19
|
457,4
|
1,18
|
99,1
|
1,49
|
176,9
|
0,92
|
53,7
|
1,02
|
68,7
|
1,18
|
99,1
|
1,39
|
147,6
|
0,56
|
15,8
|
0,62
|
20,7
|
|
0,32
|
1,97
|
335,0
|
2,34
|
515,3
|
1,26
|
111,6
|
1,59
|
199,2
|
0,98
|
60,4
|
1,08
|
77,2
|
1,26
|
111,6
|
11,48
|
166,2
|
0,59
|
17,8
|
0,66
|
23,2
|
|
0,34
|
2,09
|
374,7
|
2,49
|
576,5
|
1,34
|
124,7
|
1,69
|
222,7
|
1,04
|
67,4
|
1,16
|
86,3
|
1,34
|
124,7
|
1,57
|
185,7
|
0,63
|
19,8
|
0,7
|
25,9
|
|
0,36
|
2,21
|
416,4
|
2,63
|
640,9
|
1,42
|
138,4
|
1,79
|
247,4
|
1,1
|
74,8
|
1,22
|
95,8
|
1,42
|
138,4
|
1,66
|
206,3
|
0,67
|
22
|
0,75
|
28,8
|
|
0,38
|
2,33
|
460,2
|
2,78
|
708,4
|
1,49
|
152,9
|
1,89
|
273,3
|
1,16
|
82,6
|
1,29
|
105,7
|
1,49
|
152,9
|
1,76
|
227,9
|
0,71
|
24,3
|
0,79
|
31,7
|
|
0,4
|
2,46
|
506
|
2,92
|
779,2
|
1,57
|
168
|
1,99
|
300,4
|
1,22
|
90,7
|
1,35
|
116,2
|
1,57
|
168
|
1,85
|
250,4
|
0,74
|
26,6
|
0,83
|
34,8
|
|
0,42
|
2,58
|
553,9
|
3,07
|
853,2
|
1,65
|
180,7
|
2,09
|
328,7
|
1,29
|
99,2
|
1,42
|
127
|
1,65
|
183,7
|
1,94
|
274
|
0,78
|
29,1
|
0,87
|
38,1
|
|
0,44
|
2,7
|
603,8
|
3,22
|
930,3
|
1,73
|
200,2
|
2,19
|
358,2
|
1,35
|
108
|
1,49
|
138,4
|
1,73
|
200,2
|
2,03
|
298,6
|
0,82
|
31,7
|
0,91
|
41,4
|
|
0,46
|
2,83
|
655,8
|
3,36
|
1010,5
|
1,81
|
217,3
|
2,29
|
388,9
|
1,41
|
117,2
|
1,56
|
150,1
|
,81
|
217,3
|
2,31
|
324,2
|
0,85
|
34,3
|
0,95
|
44,9
|
|
0,48
|
2,95
|
709,7
|
3,51
|
1094
|
1,89
|
235
|
2,39
|
428
|
1,47
|
126,7
|
1,62
|
162,4
|
,89
|
235
|
2,22
|
350,7
|
0,89
|
37,1
|
0,99
|
48,5
|
|
0,5
|
3,07
|
765,7
|
3,66
|
1180,5
|
1,97
|
253,4
|
2,49
|
453,9
|
1,53
|
136,6
|
1,69
|
175,1
|
,97
|
153,4
|
2,31
|
378,2
|
0,93
|
40
|
1,04
|
52,3
|
|
0,54
|
3,32
|
883,7
|
3,95
|
1362,9
|
2,12
|
292,1
|
2,69
|
523,6
|
1,65
|
157,4
|
1,83
|
201,7
|
2,12
|
292,1
|
2,5
|
436,2
|
1
|
46
|
1,12
|
60,2
|
|
0,6
|
3,69
|
1075,6
|
4,39
|
1659,7
|
2,36
|
355,1
|
2,99
|
636,9
|
1,84
|
191,2
|
2,03
|
245,1
|
2,36
|
355,1
|
2,77
|
530,5
|
1,11
|
55,8
|
1,24
|
73,0
|
|
0,7
|
4,3
|
1434,8
|
5,12
|
2215,8
|
2,75
|
472,7
|
3,48
|
848,8
|
2,14
|
254,2
|
2,37
|
326,1
|
2,75
|
472,7
|
3,24
|
706,8
|
1,3
|
74
|
1,45
|
96,4
|
|
0,8
|
4,91
|
1842,9
|
5,86
|
2847,9
|
3,15
|
606,1
|
3,98
|
1089,3
|
2,45
|
325,7
|
2,71
|
417,9
|
3,15
|
606,1
|
3,7
|
906,8
|
1,48
|
94,6
|
1,66
|
124
|
|
0,9
|
5,53
|
2299,3
|
|
|
3,54
|
755,1
|
4,47
|
1358,1
|
2,75
|
405,4
|
3,05
|
523
|
3,54
|
755,1
|
4,16
|
1130,3
|
1,67
|
117,5
|
1,86
|
154
|
|
1,0
|
|
|
|
|
3,93
|
919,5
|
4,98
|
1655
|
3,06
|
493,3
|
3,38
|
633,3
|
3,93
|
919,5
|
4,62
|
1377
|
1,86
|
142,8
|
2,07
|
187,4
|
|
1,2
|
|
|
|
|
4,72
|
1294,2
|
5,97
|
2332
|
3,67
|
693,4
|
4,6
|
890,7
|
4,72
|
1294,2
|
500,5
|
1939,7
|
2,23
|
200,2
|
2,49
|
262,8
|
|
1,4
|
|
|
|
|
5,5
|
1729,2
|
|
|
4,29
|
925,6
|
4,74
|
1189,4
|
5,5
|
1729,2
|
|
|
2,6
|
266,7
|
2,9
|
350,2
|
|
1,6
|
|
|
|
|
|
|
|
|
4,9
|
1189,3
|
5,44
|
1528,8
|
|
|
|
|
2,97
|
342,1
|
3,31
|
449,4
|
|
1,8
|
|
|
|
|
|
|
|
|
5,51
|
1484,4
|
|
|
|
|
|
|
3,34
|
426,3
|
3,73
|
560,2
|
|
2,0
|
|
|
|
|
|
|
|
|
|
|
|
|
|
|
|
|
3,71
|
519,3
|
4,14
|
682,6
|
|
2,2
|
|
|
|
|
|
|
|
|
|
|
|
|
|
|
|
|
4,08
|
620,9
|
4,56
|
816,4
|
|
2,4
|
|
|
|
|
|
|
|
|
|
|
|
|
|
|
|
|
4,45
|
731,1
|
4,97
|
961,5
|
|
2,6
|
|
|
|
|
|
|
|
|
|
|
|
|
|
|
|
|
4,83
|
849,8
|
5,39
|
1118
|
|
2,8
|
|
|
|
|
|
|
|
|
|
|
|
|
|
|
|
|
5,2
|
977,1
|
5,8
|
1285,6
|
|
3,0
|
|
|
|
|
|
|
|
|
|
|
|
|
|
|
|
|
5,57
|
1112,7
|
|
|
|
3,2
|
|
|
|
|
|
|
|
|
|
|
|
|
|
|
|
|
5,94
|
1256,8
|
|
|
Продолжение табл.
|
q, м/с
|
Наружный диаметр на толщину стенки трубы в
мм
|
|
32×4,4
|
32×5,4
|
|
|
|
|
|
|
|
|
|
|
|
|
|
|
|
|
|
V, м/с
|
1000i
|
V, м/с
|
1000i
|
V, м/с
|
1000i
|
V, м/с
|
1000i
|
V, м/с
|
1000i
|
V, м/с
|
1000i
|
V, м/с
|
1000i
|
V, м/с
|
1000i
|
V, м/с
|
1000i
|
V, м/с
|
1000i
|
|
1
|
2
|
3
|
4
|
5
|
6
|
7
|
8
|
9
|
10
|
11
|
12
|
13
|
14
|
15
|
16
|
17
|
18
|
19
|
20
|
21
|
|
0,04
|
|
|
0,11
|
1,27
|
|
|
|
|
|
|
|
|
|
|
|
|
|
|
|
|
|
0,06
|
0,14
|
0,17
|
2,55
|
|
|
|
|
|
|
|
|
|
|
|
|
|
|
|
|
|
|
0,08
|
0,19
|
2,73
|
0,23
|
4,2
|
|
|
|
|
|
|
|
|
|
|
|
|
|
|
|
|
|
0,1
|
0,24
|
4,03
|
0,28
|
6,22
|
|
|
|
|
|
|
|
|
|
|
|
|
|
|
|
|
|
0,12
|
0,28
|
5,56
|
0,34
|
8,58
|
|
|
|
|
|
|
|
|
|
|
|
|
|
|
|
|
|
0,14
|
0,33
|
7,3
|
0,4
|
11,29
|
|
|
|
|
|
|
|
|
|
|
|
|
|
|
|
|
|
0,16
|
0,38
|
9,26
|
0,45
|
14,32
|
|
|
|
|
|
|
|
|
|
|
|
|
|
|
|
|
|
0,18
|
0,43
|
11,42
|
0,51
|
17,69
|
|
|
|
|
|
|
|
|
|
|
|
|
|
|
|
|
|
0,2
|
0,47
|
13,79
|
0,57
|
21,37
|
|
|
|
|
|
|
|
|
|
|
|
|
|
|
|
|
|
0,22
|
0,52
|
16,36
|
0,62
|
25,37
|
|
|
|
|
|
|
|
|
|
|
|
|
|
|
|
|
|
0,24
|
0,57
|
19,13
|
0,68
|
29,68
|
|
|
|
|
|
|
|
|
|
|
|
|
|
|
|
|
|
0,26
|
0,62
|
22,1
|
0,74
|
34,3
|
|
|
|
|
|
|
|
|
|
|
|
|
|
|
|
|
|
0,28
|
0,66
|
25,66
|
0,79
|
39,23
|
|
|
|
|
|
|
|
|
|
|
|
|
|
|
|
|
|
0,3
|
0,71
|
28,62
|
0,85
|
44,46
|
|
|
|
|
|
|
|
|
|
|
|
|
|
|
|
|
|
0,32
|
0,76
|
32,17
|
0,91
|
49,99
|
|
|
|
|
|
|
|
|
|
|
|
|
|
|
|
|
|
0,34
|
0,8
|
35,91
|
0,96
|
55,83
|
|
|
|
|
|
|
|
|
|
|
|
|
|
|
|
|
|
0,36
|
0,85
|
39,84
|
1,02
|
61,96
|
|
|
|
|
|
|
|
|
|
|
|
|
|
|
|
|
|
0,38
|
0,9
|
43,96
|
1,08
|
68,38
|
|
|
|
|
|
|
|
|
|
|
|
|
|
|
|
|
|
0,4
|
0,95
|
48,26
|
1,13
|
75,1
|
|
|
|
|
|
|
|
|
|
|
|
|
|
|
|
|
|
02
|
0,99
|
52,75
|
1,19
|
82,11
|
|
|
|
|
|
|
|
|
|
|
|
|
|
|
|
|
|
0,44
|
1,04
|
57,43
|
1,25
|
89,41
|
|
|
|
|
|
|
|
|
|
|
|
|
|
|
|
|
|
0,46
|
1,09
|
62,29
|
1,3
|
97
|
|
|
|
|
|
|
|
|
|
|
|
|
|
|
|
|
|
0,48
|
1,14
|
67,33
|
1,36
|
104,88
|
|
|
|
|
|
|
|
|
|
|
|
|
|
|
|
|
|
0,5
|
1,18
|
72,56
|
1,42
|
113,04
|
|
|
|
|
|
|
|
|
|
|
|
|
|
|
|
|
|
0,54
|
1,28
|
83,55
|
1,53
|
130,23
|
|
|
|
|
|
|
|
|
|
|
|
|
|
|
|
|
|
0,6
|
1,42
|
101,39
|
1,7
|
158,12
|
|
|
|
|
|
|
|
|
|
|
|
|
|
|
|
|
|
0,7
|
1,66
|
134,68
|
1,98
|
210,2
|
|
|
|
|
|
|
|
|
|
|
|
|
|
|
|
|
|
0,8
|
1,89
|
172,35
|
2,27
|
269,18
|
|
|
|
|
|
|
|
|
|
|
|
|
|
|
|
|
|
0,9
|
2,13
|
214,35
|
2,55
|
334,98
|
|
|
|
|
|
|
|
|
|
|
|
|
|
|
|
|
|
1,0
|
2,37
|
260,63
|
2,83
|
407,53
|
|
|
|
|
|
|
|
|
|
|
|
|
|
|
|
|
|
1,2
|
2,84
|
365,88
|
3,4
|
572,63
|
|
|
|
|
|
|
|
|
|
|
|
|
|
|
|
|
|
1,4
|
3,31
|
487,83
|
3,97
|
764,07
|
|
|
|
|
|
|
|
|
|
|
|
|
|
|
|
|
|
1,6
|
3,79
|
626,27
|
4,54
|
981,53
|
|
|
|
|
|
|
|
|
|
|
|
|
|
|
|
|
|
1,8
|
4,26
|
781,02
|
5,1
|
1224,76
|
|
|
|
|
|
|
|
|
|
|
|
|
|
|
|
|
|
2,0
|
4,73
|
951,94
|
5,67
|
1493,53
|
|
|
|
|
|
|
|
|
|
|
|
|
|
|
|
|
|
2,2
|
5,2
|
1138,9
|
|
|
|
|
|
|
|
|
|
|
|
|
|
|
|
|
|
|
|
2,4
|
5,68
|
1341,79
|
|
|
|
|
|
|
|
|
|
|
|
|
|
|
|
|
|
|
Система внутреннего горячего
водоснабжения (80 °С)
|
q, м/с
|
Наружный диаметр на толщину стенки трубы в
мм
|
|
15×2,0
|
15×2,5
|
16×1,5
|
16×1,8
|
16×2,2
|
16×2,7
|
18×2,0
|
18×2,5
|
20×1,9
|
20×2,3
|
|
V, м/с
|
1000i
|
V, м/с
|
1000i
|
V, м/с
|
1000i
|
V, м/с
|
1000i
|
V, м/с
|
1000i
|
V, м/с
|
1000i
|
V, м/с
|
1000i
|
V, м/с
|
1000i
|
V, м/с
|
1000i
|
V, м/с
|
1000i
|
|
1
|
2
|
3
|
4
|
5
|
6
|
7
|
8
|
9
|
10
|
11
|
12
|
13
|
14
|
15
|
16
|
17
|
18
|
19
|
20
|
21
|
|
0,02
|
0,21
|
7,7
|
0,25
|
12,2
|
0,15
|
3,5
|
0,17
|
4,4
|
0,19
|
6,0
|
0,23
|
9,2
|
0,13
|
2,4
|
0,15
|
3,5
|
|
|
0,11
|
1,5
|
|
0,04
|
0,42
|
26,4
|
0,51
|
42,0
|
0,3
|
11,7
|
0,3
|
14,7
|
0,38
|
20,4
|
0,45
|
31,6
|
0,26
|
8,2
|
0,3
|
11,7
|
0,19
|
4,1
|
0,21
|
5,2
|
|
0,06
|
0,63
|
54,7
|
0,76
|
87,2
|
0,45
|
24,2
|
0,5
|
30,5
|
0,57
|
42,2
|
0,68
|
65,6
|
0,39
|
16,9
|
0,45
|
24,2
|
0,29
|
8,3
|
0,32
|
10,6
|
|
0,08
|
0,84
|
92,2
|
1,02
|
147,4
|
0,6
|
40,6
|
0,66
|
51,2
|
0,76
|
71,0
|
0,91
|
110,6
|
0,52
|
28,3
|
0,6
|
40,6
|
0,39
|
13,9
|
0,43
|
17,8
|
|
0,1
|
1,05
|
138,6
|
1,27
|
221,9
|
0,75
|
60,9
|
0,83
|
76,8
|
0,95
|
106,7
|
1,13
|
166,4
|
0,65
|
42,4
|
0,75
|
60,9
|
0,49
|
20,7
|
0,54
|
26,6
|
|
0,12
|
1,26
|
193,7
|
1,53
|
310,4
|
0,9
|
85,0
|
0,99
|
107,2
|
1,14
|
149,0
|
1,36
|
232,6
|
0,78
|
59,0
|
0,9
|
85,0
|
0,58
|
28,9
|
0,64
|
37,0
|
|
0,14
|
1,47
|
257,3
|
1,78
|
412,8
|
1,06
|
112,7
|
1,16
|
142,3
|
1,33
|
197,9
|
1,59
|
309,2
|
0,91
|
78,2
|
1,06
|
112,7
|
0,68
|
38,2
|
0,75
|
49,0
|
|
0,16
|
1,68
|
329,4
|
2,04
|
528,9
|
1,21
|
144,1
|
1,33
|
182,0
|
1,51
|
253,1
|
1,81
|
395,9
|
1,04
|
99,9
|
1,21
|
144,1
|
0,78
|
48,7
|
0,86
|
62,5
|
|
0,18
|
1,9
|
409,8
|
2,29
|
658,4
|
1,36
|
179,0
|
1,49
|
226,2
|
1,7
|
314,8
|
2,04
|
492,6
|
1,17
|
124,1
|
1,36
|
179,0
|
0,87
|
60,4
|
0,97
|
77,5
|
|
0,2
|
2,11
|
498,4
|
2,55
|
801,2
|
1,51
|
217,4
|
1,61
|
274,8
|
1,89
|
382,7
|
2,27
|
599,3
|
1,3
|
150,7
|
1,51
|
217,4
|
0,97
|
73,3
|
1,07
|
94,1
|
|
0,22
|
2,32
|
595,1
|
2,8
|
957,4
|
1,66
|
259,4
|
1,82
|
328,0
|
2,08
|
456,9
|
2,49
|
715,8
|
1,43
|
179,7
|
1,66
|
259,4
|
1,07
|
87,3
|
1,18
|
112,1
|
|
0,24
|
2,53
|
700,0
|
3,06
|
1126,6
|
1,81
|
304,8
|
1,99
|
385,5
|
2,27
|
537,2
|
2,72
|
842,1
|
1,56
|
211,1
|
1,81
|
304,8
|
1,16
|
102,5
|
1,29
|
131,7
|
|
0,26
|
2,74
|
812,9
|
3,31
|
1308,9
|
1,96
|
353,7
|
2,15
|
447,4
|
2,46
|
623,7
|
2,95
|
978,1
|
1,69
|
244,8
|
1,96
|
353,7
|
1,26
|
118,8
|
1,4
|
152,7
|
|
0,28
|
2,9
|
933,8
|
3,57
|
1504,2
|
2,11
|
406,0
|
2,32
|
513,7
|
2,65
|
716,3
|
3,17
|
1123,7
|
1,82
|
280,9
|
2,11
|
406,0
|
1,36
|
136,3
|
1,5
|
175,1
|
|
0,3
|
3,16
|
1062,6
|
3,82
|
1712,5
|
2,26
|
461,7
|
2,49
|
584,3
|
2,84
|
814,9
|
3,4
|
1279,0
|
1,95
|
319,4
|
2,26
|
461,7
|
1,46
|
154,8
|
1,61
|
199,0
|
|
0,32
|
3,37
|
1199,4
|
4,08
|
1933,6
|
2,41
|
520,8
|
2,65
|
659,2
|
3,03
|
919,6
|
3,63
|
1443,8
|
2,08
|
360,1
|
2,41
|
520,8
|
1,55
|
174,5
|
1,72
|
224,3
|
|
0,34
|
3,58
|
1344,0
|
4,33
|
2167,4
|
2,56
|
583,3
|
2,82
|
738,3
|
3,22
|
1030,4
|
3,85
|
1618,1
|
2,21
|
403,2
|
2,56
|
583,3
|
1,65
|
195,2
|
1,83
|
251,0
|
|
0,36
|
3,79
|
1496,5
|
4,59
|
2414,1
|
2,71
|
649,1
|
2,98
|
821,8
|
3,41
|
1147,0
|
4,08
|
1801,9
|
2,34
|
448,6
|
2,71
|
649,1
|
1,75
|
217,1
|
1,93
|
279,2
|
|
0,38
|
4,00
|
1656,7
|
4,84
|
2673,4
|
2,86
|
718,2
|
3,15
|
909,4
|
3,6
|
1269,6
|
4,31
|
1995,1
|
2,47
|
496,2
|
2,86
|
718,2
|
1,84
|
240,1
|
2,04
|
308,8
|
|
0,4
|
4,21
|
1824,8
|
5,1
|
2945,4
|
3,02
|
790,6
|
3,31
|
1001,3
|
3,79
|
1398,2
|
4,54
|
2197,7
|
2,6
|
546,2
|
3,02
|
790,6
|
1,94
|
264,1
|
2,15
|
339,7
|
|
0,42
|
4,42
|
2000,6
|
5,35
|
3230,03
|
3,17
|
866,4
|
3,48
|
1097,4
|
3,98
|
1532,7
|
4,76
|
2409,7
|
2,73
|
598,4
|
3,17
|
866,4
|
2,04
|
289,2
|
2,26
|
372,1
|
|
0,44
|
4,63
|
2184,1
|
5,61
|
3527,2
|
3,32
|
945,5
|
3,65
|
1197,7
|
4,17
|
1673,0
|
4,99
|
2631,0
|
2,86
|
52,9
|
3,32
|
945,5
|
2,14
|
315,5
|
2,36
|
405,9
|
|
0,46
|
4,84
|
2375,4
|
5,86
|
3837,0
|
3,47
|
1027,8
|
3,81
|
1302,2
|
4,35
|
1819,3
|
5,22
|
2861,6
|
2,99
|
709,6
|
3,47
|
1027,8
|
2,23
|
342,7
|
2,47
|
441,1
|
|
0,48
|
5,05
|
2574,3
|
|
|
3,62
|
1113,4
|
3,98
|
1410,8
|
4,54
|
1971,4
|
5,44
|
3101,5
|
3,12
|
768,6
|
3,62
|
1113,4
|
2,33
|
371,1
|
2,58
|
477,6
|
|
0,5
|
5,26
|
2780,8
|
|
|
3,77
|
1202,3
|
4,14
|
1523,6
|
4,73
|
2129,3
|
5,67
|
3350,7
|
3,25
|
829,8
|
3,77
|
1202,3
|
2,43
|
400,5
|
2,69
|
515,5
|
|
0,54
|
5,69
|
3216,9
|
|
|
4,07
|
1389,9
|
4,47
|
1761,6
|
5,11
|
2462,6
|
|
|
3,51
|
958,9
|
4,07
|
1389,9
|
2,62
|
462,5
|
2,9
|
595,5
|
|
0,6
|
|
|
|
|
4,52
|
1695,4
|
4,97
|
2149,5
|
5,68
|
3006,1
|
|
|
3,9
|
1169,2
|
4,52
|
1695,4
|
2,91
|
563,5
|
3,22
|
725,7
|
|
0,7
|
|
|
|
|
5,28
|
2269,0
|
5,8
|
2877,8
|
|
|
|
|
4,55
|
1563,8
|
5,28
|
2269,0
|
3,4
|
752,7
|
3,76
|
969,8
|
|
0,8
|
|
|
|
|
|
|
|
|
|
|
|
|
5,2
|
2012,9
|
|
|
3,88
|
967,9
|
4,3
|
1247,5
|
|
0,9
|
|
|
|
|
|
|
|
|
|
|
|
|
5,85
|
2516,1
|
|
|
4,37
|
1208,7
|
4,83
|
1558,4
|
|
1,0
|
|
|
|
|
|
|
|
|
|
|
|
|
|
|
|
|
4,85
|
1475,1
|
5,37
|
1902,4
|
|
1,2
|
|
|
|
|
|
|
|
|
|
|
|
|
|
|
|
|
5,82
|
2089,6
|
|
|
|
|
|
|
|
|
|
|
|
|
|
|
|
|
|
|
|
|
|
|
|
|
|
Продолжение табл.
|
q, м/с
|
Наружный диаметр на толщину стенки трубы в
мм
|
|
20×2,8
|
20×3,4
|
22×2,0
|
22×3,0
|
25×2,3
|
25×2,8
|
25×3,5
|
25×4,2
|
32×2,9
|
32×3,6
|
|
V, м/с
|
1000i
|
V, м/с
|
1000i
|
V, м/с
|
1000i
|
V, м/с
|
1000i
|
V, м/с
|
1000i
|
V, м/с
|
1000i
|
V, м/с
|
1000i
|
V, м/с
|
1000i
|
V, м/с
|
1000i
|
V, м/с
|
1000i
|
|
1
|
2
|
3
|
4
|
5
|
6
|
7
|
8
|
9
|
10
|
11
|
12
|
13
|
14
|
15
|
16
|
17
|
18
|
19
|
20
|
21
|
|
0,02
|
0,12
|
2,1
|
0,15
|
3,2
|
|
|
|
|
|
|
|
|
|
|
|
|
|
|
|
|
|
0,04
|
0,25
|
7,1
|
0,29
|
10,9
|
0,16
|
2,4
|
0,2
|
4,3
|
0,12
|
1,3
|
0,14
|
1,7
|
0,16
|
2,4
|
0,18
|
3,6
|
|
|
|
|
|
0,06
|
0,37
|
14,7
|
0,44
|
22,5
|
0,24
|
5,0
|
0,3
|
8,8
|
0,18
|
2,7
|
0,2
|
3,48
|
0,24
|
5,0
|
0,28
|
7,4
|
0,11
|
0,8
|
0,12
|
1,1
|
|
0,08
|
0,49
|
24,7
|
0,58
|
37,7
|
0,31
|
8,32
|
0,4
|
14,7
|
0,24
|
4,5
|
0,27
|
5,8
|
0,31
|
8,3
|
0,37
|
12,3
|
0,15
|
1,4
|
0,17
|
1,8
|
|
0,1
|
0,61
|
36,9
|
0,73
|
56,5
|
0,39
|
12,4
|
0,5
|
22,1
|
0,31
|
6,8
|
0,34
|
8,6
|
0,39
|
12,4
|
0,46
|
18,4
|
0,19
|
2,01
|
0,21
|
2,6
|
|
0,12
|
0,74
|
51,4
|
0,88
|
78,8
|
0,47
|
17,2
|
0,6
|
30,7
|
0,37
|
9,4
|
0,41
|
12,0
|
0,47
|
17,2
|
0,55
|
25,6
|
0,22
|
2,8
|
0,25
|
3,6
|
|
0,14
|
0,86
|
68,1
|
1,02
|
104,5
|
0,55
|
22,8
|
0,7
|
40,6
|
0,43
|
12,4
|
0,47
|
15,8
|
0,55
|
22,8
|
0,65
|
33,9
|
0,26
|
3,7
|
0,29
|
4,8
|
|
0,16
|
0,98
|
87,0
|
1,17
|
133,6
|
0,63
|
29,1
|
0,8
|
51,8
|
0,49
|
15,8
|
0,54
|
20,1
|
0,63
|
29,1
|
0,74
|
43,2
|
0,3
|
4,7
|
0,33
|
6,1
|
|
0,18
|
1,11
|
108,0
|
1,32
|
166,0
|
0,71
|
36,0
|
0,9
|
64,2
|
0,55
|
19,5
|
0,61
|
24,9
|
0,71
|
36,0
|
0,83
|
53,6
|
0,33
|
5,7
|
0,37
|
7,5
|
|
0,2
|
1,23
|
131,1
|
1,46
|
201,6
|
0,79
|
43,6
|
1,0
|
77,9
|
0,61
|
23,6
|
0,68
|
30,2
|
0,79
|
43,6
|
0,92
|
65,0
|
0,37
|
7,0
|
0,41
|
10,0
|
|
0,22
|
1,35
|
156,3
|
1,61
|
240,5
|
0,86
|
52,0
|
1,09
|
92,9
|
0,67
|
28,1
|
0,74
|
36,0
|
0,86
|
52,0
|
1,02
|
77,4
|
0,41
|
8,3
|
0,46
|
10,8
|
|
0,24
|
1,47
|
183,6
|
1,75
|
282,6
|
0,94
|
61,0
|
1,19
|
109,0
|
0,73
|
32,9
|
0,81
|
42,2
|
0,94
|
61,0
|
1,11
|
91,0
|
0,45
|
9,7
|
0,5
|
12,6
|
|
0,26
|
1,6
|
212,9
|
1,9
|
327,9
|
1,02
|
70,6
|
1,29
|
126,4
|
0,8
|
38,1
|
0,88
|
48,8
|
1,02
|
70,6
|
1,2
|
105,3
|
0,48
|
11,2
|
0,54
|
14,6
|
|
0,28
|
1,72
|
244,3
|
2,05
|
376,3
|
1,1
|
81,0
|
1,39
|
144,9
|
0,85
|
43,7
|
0,95
|
56,0
|
1,1
|
81,0
|
1,29
|
120,8
|
0,52
|
12,8
|
0,58
|
16,7
|
|
0,3
|
1,84
|
277,6
|
2,19
|
427,9
|
1,18
|
91,9
|
1,49
|
164,6
|
0,92
|
49,6
|
1,02
|
63,5
|
1,18
|
91,9
|
1,39
|
137,2
|
0,56
|
14,51
|
0,62
|
19,0
|
|
0,32
|
1,97
|
313,1
|
2,34
|
482,7
|
1,26
|
103,6
|
1,59
|
185,6
|
0,98
|
55,8
|
1,08
|
71,5
|
1,26
|
103,6
|
1,48
|
154,6
|
0,6
|
16,3
|
0,66
|
21,4
|
|
0,34
|
2,09
|
350,5
|
2,49
|
540-,5
|
1,34
|
115,9
|
1,69
|
207,7
|
1,04
|
62,4
|
1,15
|
80,0
|
1,34
|
115,9
|
1,57
|
173,0
|
0,63
|
18,2
|
0,7
|
23,9
|
|
0,36
|
2,21
|
389,9
|
2,63
|
601,5
|
1,42
|
1128,8
|
1,79
|
230,9
|
1,1
|
69,4
|
1,22
|
88,9
|
1,42
|
128,8
|
1,66
|
192,4
|
0,67
|
20,2
|
0,75
|
26,5
|
|
0,38
|
2,33
|
431,3
|
2,78
|
665,5
|
1,49
|
142,4
|
1,89
|
255,3
|
1,16
|
76,6
|
1,29
|
98,3
|
1,49
|
142,4
|
1,76
|
212,7
|
0,71
|
22,3
|
0,79
|
29,3
|
|
0,4
|
2,46
|
474,6
|
2,92
|
732,6
|
1,57
|
156,6
|
1,99
|
280,9
|
1,22
|
84,3
|
1,35
|
108,0
|
1,57
|
156,6
|
1,85
|
234,0
|
0,74
|
24,6
|
0,83
|
32,2
|
|
0,42
|
2,58
|
519,9
|
3,07
|
802,8
|
1,65
|
171,4
|
2,09
|
307,7
|
1,29
|
92,2
|
1,42
|
118,3
|
1,65
|
171,4
|
1,94
|
256,2
|
0,78
|
26,9
|
0,87
|
35,2
|
|
0,44
|
2,7
|
567,2
|
3,22
|
876,0
|
1,73
|
186,9
|
2,19
|
335,6
|
1,35
|
100,5
|
1,49
|
128,9
|
1,73
|
186,9
|
2,03
|
279,4
|
0,82
|
29,9
|
0,91
|
38,3
|
|
0,46
|
2,83
|
616,5
|
3,36
|
952,2
|
1,81
|
203,0
|
2,29
|
364,6
|
1,41
|
109,1
|
1,56
|
140,0
|
1,81
|
203,0
|
2,13
|
303,6
|
0,85
|
31,7
|
0,95
|
41,6
|
|
0,48
|
2,95
|
667,7
|
3,51
|
1031,5
|
1,89
|
219,7
|
2,39
|
394,2
|
1,47
|
118,1
|
1,62
|
151,5
|
1,89
|
219,7
|
2,22
|
328,7
|
0,89
|
34,3
|
0,99
|
45,0
|
|
0,5
|
3,07
|
720,8
|
3,66
|
1113,8
|
1,97
|
237,1
|
2,49
|
426,1
|
1,53
|
127,4
|
1,69
|
163,5
|
1,97
|
237,1
|
2,31
|
354,7
|
0,93
|
37,0
|
1,04
|
48,5
|
|
0,54
|
3,32
|
832,9
|
3,95
|
1287,5
|
2,12
|
273,7
|
2,69
|
492,1
|
1,65
|
147,0
|
1,83
|
188,6
|
2,12
|
273,7
|
2,5
|
409,6
|
1,00
|
42,6
|
1,12
|
55,9
|
|
0,6
|
3,69
|
1015,4
|
4,39
|
1570,4
|
2,36
|
333,2
|
2,99
|
599,6
|
1,84
|
178,8
|
2,03
|
229,6
|
2,36
|
333,2
|
2,77
|
498,9
|
1,11
|
51,8
|
1,24
|
68,0
|
|
0,7
|
4,3
|
1357,7
|
5,12
|
2101,4
|
2,75
|
444,7
|
3,48
|
801,0
|
2,14
|
238,4
|
2,37
|
306,2
|
2,75
|
444,7
|
3,24
|
666,3
|
1,3
|
68,9
|
1,45
|
90,4
|
|
0,8
|
4,91
|
1747,2
|
5,85
|
2706,1
|
3,15
|
571,4
|
3,98
|
1030,0
|
2,45
|
306,0
|
2,71
|
393,2
|
3,15
|
571,4
|
3,7
|
856,6
|
1,48
|
88,3
|
1,66
|
115,9
|
|
0,9
|
5,53
|
2183,7
|
|
|
3,54
|
713,1
|
4,48
|
1286,4
|
2,75
|
381,7
|
3,05
|
490,5
|
3,54
|
713,1
|
4,16
|
1069,6
|
1,67
|
109,9
|
1,86
|
144,4
|
|
1,0
|
|
|
|
|
3,93
|
869,8
|
4,98
|
1570,0
|
3,06
|
465,2
|
3,38
|
597,9
|
3,93
|
869,8
|
4,62
|
1305,1
|
1,86
|
133,8
|
2,07
|
175,8
|
|
1,2
|
|
|
|
|
4,72
|
1227,3
|
5,97
|
2218,0
|
3,62
|
655,6
|
4,06
|
843,1
|
4,72
|
1227,3
|
5,55
|
1843,1
|
2,23
|
188,1
|
2,49
|
247,3
|
|
1,4
|
|
|
|
|
5,5
|
1643,4
|
|
|
4,29
|
877,0
|
4,74
|
1128,3
|
5,5
|
1643,4
|
|
|
2,6
|
251,2
|
2,9
|
330,3
|
|
1,6
|
|
|
|
|
|
|
|
|
4,9
|
1129,0
|
5,42
|
1453,0
|
|
|
|
|
3,0
|
322,8
|
3,31
|
424,6
|
|
1,8
|
|
|
|
|
|
|
|
|
5,51
|
1411,3
|
|
|
|
|
|
|
3,34
|
402,9
|
3,73
|
530,2
|
|
2,0
|
|
|
|
|
|
|
|
|
|
|
|
|
|
|
|
|
3,71
|
491,5
|
4,14
|
647,0
|
|
2,2
|
|
|
|
|
|
|
|
|
|
|
|
|
|
|
|
|
4,08
|
588,5
|
4,56
|
774,8
|
|
2,4
|
|
|
|
|
|
|
|
|
|
|
|
|
|
|
|
|
4,45
|
693,7
|
4,97
|
913,6
|
|
2,6
|
|
|
|
|
|
|
|
|
|
|
|
|
|
|
|
|
4,83
|
807,3
|
5,39
|
1063,3
|
|
2,8
|
|
|
|
|
|
|
|
|
|
|
|
|
|
|
|
|
5,2
|
929,0
|
5,8
|
1224,0
|
|
3,0
|
|
|
|
|
|
|
|
|
|
|
|
|
|
|
|
|
5,57
|
1059,0
|
|
|
|
3,2
|
|
|
|
|
|
|
|
|
|
|
|
|
|
|
|
|
5,94
|
1197,1
|
|
|
Продолжение табл.
|
q, м/с
|
Наружный диаметр на толщину стенки трубы в
мм
|
|
32×3,6
|
32×4,4
|
32×5,4
|
|
|
|
|
|
|
|
|
|
|
|
|
|
|
|
V, м/с
|
1000i
|
V, м/с
|
1000i
|
V, м/с
|
1000i
|
V, м/с
|
1000i
|
V, м/с
|
1000i
|
V, м/с
|
1000i
|
V, м/с
|
1000i
|
V, м/с
|
1000i
|
V, м/с
|
1000i
|
V, м/с
|
1000i
|
|
1
|
2
|
3
|
4
|
5
|
6
|
7
|
8
|
9
|
10
|
11
|
12
|
13
|
14
|
15
|
16
|
17
|
18
|
19
|
20
|
21
|
|
0,06
|
0,14
|
1,47
|
0,17
|
2,27
|
|
|
|
|
|
|
|
|
|
|
|
|
|
|
|
|
|
0,08
|
0,19
|
2,44
|
0,23
|
3,77
|
|
|
|
|
|
|
|
|
|
|
|
|
|
|
|
|
|
0,1
|
0,24
|
3,62
|
0,28
|
5,61
|
|
|
|
|
|
|
|
|
|
|
|
|
|
|
|
|
|
0,12
|
0,28
|
5,02
|
0,34
|
7,77
|
|
|
|
|
|
|
|
|
|
|
|
|
|
|
|
|
|
0,14
|
0,33
|
6,61
|
0,4
|
10,26
|
|
|
|
|
|
|
|
|
|
|
|
|
|
|
|
|
|
0,16
|
0,38
|
8,41
|
0,45
|
13,05
|
|
|
|
|
|
|
|
|
|
|
|
|
|
|
|
|
|
0,18
|
0,43
|
10,4
|
0,51
|
16,16
|
|
|
|
|
|
|
|
|
|
|
|
|
|
|
|
|
|
0,2
|
0,47
|
12,59
|
0,57
|
19,57
|
|
|
|
|
|
|
|
|
|
|
|
|
|
|
|
|
|
0,22
|
0,52
|
14,97
|
0,62
|
23,27
|
|
|
|
|
|
|
|
|
|
|
|
|
|
|
|
|
|
0,24
|
0,57
|
17,53
|
0,68
|
27,28
|
|
|
|
|
|
|
|
|
|
|
|
|
|
|
|
|
|
0,26
|
0,62
|
20,29
|
0,74
|
31,57
|
|
|
|
|
|
|
|
|
|
|
|
|
|
|
|
|
|
0,28
|
0,66
|
23,23
|
0,79
|
36,16
|
|
|
|
|
|
|
|
|
|
|
|
|
|
|
|
|
|
0,3
|
0,71
|
26,35
|
0,85
|
41,04
|
|
|
|
|
|
|
|
|
|
|
|
|
|
|
|
|
|
0,32
|
0,76
|
29,65
|
0,91
|
46,2
|
|
|
|
|
|
|
|
|
|
|
|
|
|
|
|
|
|
0,34
|
0,8
|
33,14
|
0,96
|
51,65
|
|
|
|
|
|
|
|
|
|
|
|
|
|
|
|
|
|
0,36
|
0,85
|
36,81
|
1,02
|
57,38
|
|
|
|
|
|
|
|
|
|
|
|
|
|
|
|
|
|
0,38
|
0,9
|
40,65
|
1,08
|
63,4
|
|
|
|
|
|
|
|
|
|
|
|
|
|
|
|
|
|
0,4
|
0,95
|
44,67
|
1,13
|
69,69
|
|
|
|
|
|
|
|
|
|
|
|
|
|
|
|
|
|
0,42
|
0,99
|
48,87
|
1,19
|
76,26
|
|
|
|
|
|
|
|
|
|
|
|
|
|
|
|
|
|
0,44
|
1,04
|
53,25
|
1,25
|
83,11
|
|
|
|
|
|
|
|
|
|
|
|
|
|
|
|
|
|
0,46
|
1,09
|
57,8
|
1,3
|
90,24
|
|
|
|
|
|
|
|
|
|
|
|
|
|
|
|
|
|
0,48
|
1,14
|
62,53
|
1,36
|
97,64
|
|
|
|
|
|
|
|
|
|
|
|
|
|
|
|
|
|
0,5
|
1,18
|
67,43
|
1,42
|
105,31
|
|
|
|
|
|
|
|
|
|
|
|
|
|
|
|
|
|
0,54
|
1,28
|
77,75
|
1,53
|
121,48
|
|
|
|
|
|
|
|
|
|
|
|
|
|
|
|
|
|
0,6
|
1,42
|
94,52
|
1,7
|
147,76
|
|
|
|
|
|
|
|
|
|
|
|
|
|
|
|
|
|
0,7
|
1,66
|
125,87
|
1,98
|
196,92
|
|
|
|
|
|
|
|
|
|
|
|
|
|
|
|
|
|
0,8
|
1,89
|
161,42
|
2,27
|
252,71
|
|
|
|
|
|
|
|
|
|
|
|
|
|
|
|
|
|
0,9
|
2,13
|
201,14
|
2,55
|
315,06
|
|
|
|
|
|
|
|
|
|
|
|
|
|
|
|
|
|
1,0
|
2,37
|
244,96
|
2,83
|
383,9
|
|
|
|
|
|
|
|
|
|
|
|
|
|
|
|
|
|
1,2
|
2,84
|
344,83
|
3,4
|
540,88
|
|
|
|
|
|
|
|
|
|
|
|
|
|
|
|
|
|
1,4
|
3,31
|
460,8
|
3,97
|
723,31
|
|
|
|
|
|
|
|
|
|
|
|
|
|
|
|
|
|
1,6
|
3,79
|
592,69
|
4,55
|
930,91
|
|
|
|
|
|
|
|
|
|
|
|
|
|
|
|
|
|
1,8
|
4,26
|
740,36
|
5,1
|
1163,46
|
|
|
|
|
|
|
|
|
|
|
|
|
|
|
|
|
|
2,0
|
4,73
|
903,67
|
5,67
|
1420,78
|
|
|
|
|
|
|
|
|
|
|
|
|
|
|
|
|
|
2,2
|
5,21
|
1082,53
|
|
|
|
|
|
|
|
|
|
|
|
|
|
|
|
|
|
|
|
2,4
|
5,68
|
1276,84
|
|
|
|
|
|
|
|
|
|
|
|
|
|
|
|
|
|
|
| |
|