//
ТехЛит.ру
- крупнейшая бесплатная электронная интернет библиотека для "технически умных" людей.
WWW.TEHLIT.RU - ТЕХНИЧЕСКАЯ ЛИТЕРАТУРА

:: Алготрейдинг::


АЛГОТРЕЙДИНГ
шаг за шагом
с нуля по урокам!

Торговые роботы на PYTHON, BackTrader,
Pandas, Pine Script для TradingView. Связка с брокерами, телеграм и легкими приложениями.


МИНИСТЕРСТВО АВТОМОБИЛЬНЫХ ДОРОГ
КАЗАХСКОЙ
ССР

РЕКОМЕНДАЦИИ
ПО БЛАГОУСТРОЙСТВУ И ОБОРУДОВАНИЮ
АВТОМОБИЛЬНЫХ ДОРОГ КАЗАХСКОЙ ССР
ДЛЯ ОБЕСПЕЧЕНИЯ БЕЗОПАСНОСТИ
ДВИЖЕНИЯ

Алма-Ата, 1977

РЕКОМЕНДАЦИИ ПО БЛАГОУСТРОЙСТВУ И ОБОРУДОВАНИЮ АВТОМОБИЛЬНЫХ ДОРОГ КАЗАХСКОЙ ССР ДЛЯ ОБЕСПЕЧЕНИЯ БЕЗОПАСНОСТИ ДВИЖЕНИЯ. Алма-Ата, издание Минавтодора Каз. ССР, 1977.

Рекомендации содержат результаты многолетних научно-исследовательских работ кафедры Проектирования дорог Московского автомобильно-дорожного института, опытно-экспериментальных работ, проводившихся совместно МАДИ и НПИ «Каздорпроект», и материалы анализа и обобщения зарубежного опыта.

Рекомендации составлены в дополнение и развитие отдельных положений СНиП II-Д.5-72, касающихся вопросов безопасности и организации движения (п.п. 2.2 - 2.4) и проектирования дорожных обустройств, обстановки и озеленения дорог (п.п. 10.2 - 10.15).

В рекомендациях приведены схемы разметки и расстановки дорожных знаков в характерных дорожных условиях и определены условия применения требований ГОСТ 13508-74 «Разметка дорожная» и ГОСТ 10807-71 «Знаки дорожные» с учетом транспортно-эксплуатационных качеств автомобильных дорог и обеспеченности безопасности движения. Предложена методика и показатели для оценки экономической эффективности оборудования автомобильных дорог.

Рекомендации разработаны на кафедре Проектирования дорог Московского автомобильно-дорожного института. В их составлении участвовали профессор, доктор техн. наук В.Ф. Бабков, доцент, канд. техн. наук Г.М. Ситников, доцент, канд. техн. наук Н.П. Орнатский, доцент, канд. техн. наук В.П. Залуга, доцент, канд. техн. наук Е.М. Лобанов, доцент, канд. техн. наук В.В. Сильянов, доцент, канд. техн. наук О.А. Дивочкин.

ВВЕДЕНИЕ

Внимательный учет требований организации и безопасности движения при проектировании и эксплуатации автомобильных дорог является ответственной задачей текущего периода в развитии дорожного строительства. Ее актуальность определяется существующей в настоящее время тенденцией значительного роста интенсивности движения на дорогах при более медленных темпах прироста дорожной сети.

Исследования, выполненные в МАДИ и других организациях, показывают, что роль дорожных условий в возникновении дорожно-транспортных происшествий настолько весома, что требует активного вовлечения дорожников в борьбу за обеспечение безопасности движения по дорогам. Безопасной может считаться только та дорога, которая соответствующим образом благоустроена и оборудована, вследствие чего созданы оптимальные условия для работы водителей.

Благоустройство и оборудование дорог для обеспечения безопасности движения включают обширный комплекс мероприятий, начиная со средств регулирования движения (дорожная разметка, знаки) и заканчивая комплексами обслуживания движения, обеспечивающими для водителей удобства в пути. Очевидно, что в зависимости от значения автомобильных дорог, интенсивности и состава движения, погодно-климатических условий, рельефа и других факторов, подход к оборудованию дорог должен быть различным.

Настоящие «Рекомендации», основываясь на выполненных в последние годы в МАДИ научных исследованиях, дополняют и развивают отдельные положения действующих в СССР нормативных документов, таких как СНиП II-Д.5-72, ГОСТ 13508-74 «Разметка дорожная», ГОСТ 10807-71 «Знаки дорожные» и др. в направлении учёта конкретных дорожно-транспортных ситуаций, обеспеченности безопасности движения при проектировании благоустройства и оборудования автомобильных дорог в специфических условиях Казахской ССР. В них предложены критерии для использования при разработке проектов автомобильных дорог. Ряд рекомендаций относится к улучшению безопасности движения и оборудования существующих автомобильных дорог, которые могут быть выполнены силами дорожной службы. Приведены методы оценки экономической эффективности решений и очередности мероприятий по последовательному обустройству автомобильных дорог. Разработан комплекс технических мероприятий и принципы регулирования скорости движения транспортных потоков на автомобильных дорогах.

ГЛАВА 1. ПРИНЦИПЫ УЧЕТА ТРЕБОВАНИЙ БЕЗОПАСНОСТИ ДВИЖЕНИЯ ПРИ ПРОЕКТИРОВАНИИ БЛАГОУСТРОЙСТВА И ОБОРУДОВАНИЯ АВТОМОБИЛЬНЫХ ДОРОГ

1. Общие положения.

1.1. Благоустройство и оборудование автомобильных дорог следует рассматривать как одно из средств обеспечения безопасности движения. Вследствие изменения по протяжению дороги условий движения транспортных потоков, мероприятия по оборудованию дорог необходимо увязывать с потребностью в обеспечении безопасности или регулирования движения на отдельных участках.

1.2. Основным показателем обеспеченности безопасности движения дороги является отсутствие на ней мест, на которых из-за неблагоприятных условий плана, продольного или поперечного профиля и придорожной обстановки резко изменяются режимы движения транспортных потоков. Мероприятия по оборудованию дорог призваны информировать и направлять действия водителей в осложнившейся дорожно-транспортной обстановке и способствовать предотвращению происшествий по вине дороги.

1.3. Благоустройство дорог для обслуживания в пути пассажиров, водителей и автомобилей повышает эффективность использования автомобильного транспорта и, обеспечивая своевременное снижение утомления водителей путём создания условий для отдыха в пути, повышает безопасность движения.

1.4. Исходя из учёта требований безопасности движения при проектировании оборудования автомобильных дорог, их применение необходимо обосновывать повышенным количеством дорожно-транспортных происшествий. Такими условиями чаще всего характеризуются следующие участки дорог:

а) участки резкого уменьшения скоростей движения на коротком по протяжению участке дорог, преимущественно в связи с недостаточной видимостью или обеспечением устойчивости автомобилей на кривых, хотя элементы плана и профиля допускают сравнительно высокие скорости;

б) участки резкого несоответствия одного из элементов дороги скоростям движения, обеспечиваемым другими её элементами (скользкое покрытие на кривой большого радиуса, узкий мост на длинном прямом горизонтальном участке, кривая малого радиуса в конце затяжного спуска, сужение дороги, скользкие обочины и т.д.);

в) участки, где погодные условия создают несоответствие в обеспечиваемых скоростях движения на отдельных коротких участках дороги по сравнению с остальной дорогой (заниженное земляное полотно на участках, где часто бывает туман, гололёд на дорогах, проходящих по северным склонам гор и холмов и т.д.);

г) участки, где дорожные условия создают возможность значительного возрастания скоростей, которые могут превысить безопасные при данной ровности покрытий по условиям управляемости автомобилей (длинные затяжные спуски, прямые участки дорог в открытой степной местности);

д) участки, где у водителя исчезает ориентировка в дальнейшем направлении дороги или возникает о нём неправильное представление (поворот дороги в плане непосредственно за выпуклой кривой, неожиданный для водителей поворот дороги в сторону с продолжением примыкающей второстепенной дорогой по прямому направлению, и т.п.);

е) участки слияния или перекрещивания транспортных потоков на пересечениях дорог, съездах, примыканиях, переходно-скоростных полосах;

ж) участки дорог, проходящие через малые населенные пункты; участки дорог около пунктов обслуживания движения, автобусных остановок, площадок отдыха и т.д., где имеется возможность неожиданного появления на дороге пешеходов и транспортных средств с придорожной полосы;

з) участки, где однообразность придорожного ландшафта, плана и профиля дороги способствует потере водителем контроля за скоростью движения или вызывает быстрое утомление и сонливость водителей (длинные прямые участки в степи).

2. Оценка безопасности движения по дороге.

1.5. Оценка безопасности движения по дороге способствует выявлению опасных участков дорог и определяет выбор технических средств оборудования дорог для снижения количества и тяжести дорожно-транспортных происшествий.

В качестве оценочных показателей для выявления опасных участков дорог рекомендуются методы:

- коэффициентов происшествий;

- коэффициентов безопасности;

- коэффициентов аварийности.

Оценка относительной аварийности

1.6. Для получения сопоставимых данных при анализе дорожных условий возможно использование системы показателей, основанной на коэффициенте относительной аварийности или, сокращенно, коэффициенте происшествий.

Для длинных однородных по геометрическим элементам участков дорог коэффициент происшествий определяют по формуле:

, происшествий/1 млн. авт-км,        (1.1)

где Z - количество происшествий в год;

N - среднегодовая суточная интенсивность движения в обоих направлениях, принимаемая по данным учёта движения;

L - длина дороги, км.

Для коротких участков дорог, резко отличающихся от смежных, коэффициент определяют по следующей формуле:

, происшествий/1 млн.авт.                   (1.2)

Коэффициенты происшествий, определяемые по формулам (1.1) и (1.2) могут быть использованы для первичной обработки статистических данных по аварийности на отдельных участках существующих дорог. При использовании их для анализа относительной опасности движения необходимо учитывать, что для надежной оценки необходимо располагать данными за достаточно длительный период времени, не менее 3 - 5 лет.

Метод коэффициентов безопасности

1.7. Коэффициентом безопасности называют отношение максимальной скорости движения, обеспечиваемой тем или иным участком дороги, к максимально возможной скорости въезда на этот участок автомобилей. Таким образом, метод коэффициентов безопасности основывается на построении и анализе графика изменения скоростей движения по дороге.

1.8. При построении теоретического графика скоростей движения по дороге для определения коэффициентов безопасности в обычную методику расчёта скоростей вносят следующие изменения, направленные на учёт опасных ситуаций, которые могут возникать при движении:

а) при расчётах скоростей движения для реконструируемых дорог не принимаются во внимание местные ограничения скорости, накладываемые органами регулирования движения или требованиями правил движения по дороге (ограничение скорости в населенных пунктах, на переездах железных дорог, на пересечениях с другими дорогами, на кривых малых радиусов, в зонах действия дорожных знаков и др.). Этим учитывается влияние возможной недисциплинированности или недостаточной опытности отдельных водителей;

б) не учитываются участки постепенного снижения скорости, необходимые для безопасного въезда на кривые малых радиусов, на пересечения, узкие мосты.

1.9. Для построения графика коэффициентов безопасности в конце каждого участка дороги определяется максимальная скорость, которая может быть развита без учёта условий движения на последующих участках.

1.10. Участки дороги оценивают по опасности для движения исходя из следующих значений коэффициентов безопасности:

Значения коэффициента безопасности

- при скоростях 85 % обеспеченности или вычисленных теоретически

Менее 0,4

0,4 - 0,6

0,6 - 0,8

Более 0,8

- при средних скоростях потока транспорта

Менее 0,6

0,6 - 0,7

0,7 - 0,85

Более 0,85

Характеристика участка дороги

Очень опасный

Опасный

Мало опасный

Практически не опасный

1.11. Выбор мероприятий по оборудованию дорог для обеспечения безопасности движения с учётом величин коэффициентов безопасности рекомендуется выполнять на основании положений п. п.

Метод коэффициентов аварийности

1.12. Степень опасности участка дороги характеризуется итоговым коэффициентом аварийности, который представляет собой произведение частных коэффициентов, учитывающих влияние отдельных элементов плана и профиля

Kавар = K1 × K2 × K3 × ..... × K17,                                 (1.3)

где коэффициенты K1, K2, ..... K17 - отношение количества происшествий при той или иной величине элемента плана и профиля по сравнению с эталонным горизонтальным прямым участком дороги с проектной шириной 7,5 м, шероховатым покрытием и укрепленными обочинами.

Приведенный далее в п. 1.13 перечень частных коэффициентов аварийности не является исчерпывающим.

Дорожные организации, осуществляя учёт и анализ дорожных происшествий на обслуживаемых ими участках, могут устанавливать дополнительные коэффициенты, учитывающие местные условия, например, частоту расположения кривых, наличие вблизи от дороги аллейных насаждений или ирригационных каналов и т.д.

1.13. Приведенные ниже значения частных коэффициентов аварийности основаны на материалах статистики дорожно-транспортных происшествий на дорогах СССР с интенсивным движением и учёте зарубежных литературных данных.

Интенсивность движения, авт/сутки

3000

5000

7000

9000

11000

13000

15000

20000

Значения К1

0,75

1,00

1,30

1,70

1,80

1,5

1,00

0,60

 

Ширина проезжей части, м

6

7

7,5

9

10,5

14 - 15 без разделит. полосы

14 и более с разделит. полосой

K2

- при укрепленных обочинах

1,35

1,05

1,0

0,8

0,7

0,6

0,5

- при неукрепленных обочинах

2,50

1,75

1,5

1,0

0,9

0,8

0,7

 

Ширина обочин, м

0,5

1,5

2,0

3,0

4,0

Значения К3

2,2

1,4

1,2

1,0

0,8

 

Продольный уклон,

20

30

50

70

80

Значения K4

1,0

1,25

2,5

2,8

3,0

 

Радиус кривых в плане, м

100

150

200 - 300

400 - 600

1000 - 2000

Более 2000

Значения K5

5,4

4,0

2,25

1,6

1,25

1,0

 

Видимость, м

50

100

150

200

250

350

400

500 и более

K6

- в плане

3,6

3,0

2,7

2,25

2,0

1,45

1,2

1,0

- в профиле

5,0

4,0

3,4

2,5

2,4

2,0

1,4

1,0

 

Ширина проезжей части мостов по отношению к проезжей части дороги

Меньше на 1,0 м

Равна

Шире на 1 м

Шире на 2,0 м

Равна ширине земляного полотна

Значения K7

6,0

3,0

2,0

1,5

1,0

 

Длина прямых участков, км

3,0

5

10

15

20

25 и более

Значения K8

1,0

1,1

1,4

1,6

1,9

2,0

 

Тип пересечения с примыкающей дорогой

В разных уровнях

Кольцевые пересечения

В одном уровне при интенсивности движения на пересекаемой дороге в % от суммарной на двух дорогах

Менее 10

10 - 20

Более 20

Значения K9

0,35

0,70

1,5

3,0

4,0

 

Пересечения в одном уровне, интенсивность движения по основной дороге, авт/сутки

Менее 1600

1600 - 3500

3500 - 5000

5000 - 7000 и более

Значения K10

1,5

2,0

3,0

4,0

 

Видимость пересечения в одном уровне с примыкающей дороги, м

Более 60

60 - 40

40 - 30

30 - 20

Менее 20

Значения K11

1,0

1,1

1,65

2,5

5,0

 

Число полос движения на проезжей части

2

3 без разметки

3 с разметкой

4 без разделительной полосы

4 и более с разделительной полосой

Значения K12

1,0

1,5

0,9

0,8

0,65

 

Расстояние от застройки проезжей части (м) и ее характеристика

Более 50, населенный пункт с одной стороны

50 - 20, населенный пункт с одной стороны; имеются тротуары

50 - 20*), населенный пункт с двух сторон от дороги; имеются тротуары и полосы местного движения

50 - 20*), населенный пункт с двух сторон; имеются тротуары и полосы местного движения

Значения K13

1,0

1,25

2,5

5,0

Значения K13

Менее 10*), полосы для местного движения отсутствуют; имеются тротуары

10*) и менее, полосы для местного движения и тротуары отсутствуют

7,5

10,0

*) Если при данных характеристиках застройки населенный пункт находится с одной стороны от дороги, значения частных коэффициентов берутся вдвое меньше.

Длина населенного пункта, км

0,5

1

2

3

5

6 и более

Значения K14

1

1,2

1,7

2,2

2,7

3,0

 

 

Характеристика покрытий

Скользкое, покрытое грязью

Скользкое

Чистое, сухое

Шероховатое

Очень шероховатое

Величина коэффициентов сцепления

0,2 - 0,3

0,4

0,6

0,7

0,75

Значения K16

2,5

2,0

1,3

1,0

0,75

 

Ширина разделительной полосы, м

1

2

3

5

10

15

Значения K17

2,5

2,0

1,5

1

0,5

0,4

1.14. При назначении частных коэффициентов аварийности для разных участков их значения не интерполируют, а принимают ближайшее по данным п. 1.13.

При разработке программ для расчётов на ЭВМ можно пользоваться функциональными зависимостями величины частных коэффициентов аварийности от определяющих их факторов.

1.15. При определении величины коэффициента К5 необходимо вводить поправку на наличие виражей. Для этого, при оценке степени безопасности движения следует исходить из величин эквивалентных радиусов кривых, допускающих проезд с той же скоростью, что и рассматриваемые кривые, но имеющие уклон виража, равный уклону проезжей части на прямых участках.

Величину эквивалентных радиусов определяют из выражения:

,                                                     (1.4)

где Р - радиус, м;

φ - коэффициент поперечной силы, при расчётах на устойчивость принимаемый равный коэффициенту поперечного сцепления (примерно 0,6φпрод). Индекс «кр» относится к рассматриваемой кривой, а индекс «пр» - к характеристике проезжей части на прилегающем участке;

i - поперечный уклон виража в десятичных дробях.

1.16. Итоговые коэффициенты аварийности устанавливают на основе плана и профиля или линейного графика исследуемого участка дороги, путем перемножения всех частных коэффициентов.

Для определения итоговых коэффициентов аварийности строят линейный график (см. ВСН 39-67 Минавтодора РСФСР*), на который наносят сжатый план и профиль дороги с выделением на них всех элементов, от которых зависит безопасность движения и для которых в п. 1.13 имеются частные коэффициенты аварийности (продольные уклоны, вертикальные кривые, населенные пункты, кривые в плане, мосты, пересекающиеся дороги и др.).

*) Указания по обеспечению безопасности движения на автомобильных дорогах. ВСН 39-67 Минавтодора РСФСР. М., «Транспорт», 1968, 96 с.

В графике фиксируют по отдельным перегонам среднюю интенсивность движения по данным учётов, проводимых дорожными организациями или специальными изыскательскими партиями, а для проектирующихся дорог - перспективную интенсивность движения. Особыми условными знаками обозначают места зарегистрированных в последние годы дорожно-транспортных происшествий.

Под планом и профилем выделяют графы для каждого из учитываемых показателей, для которых выше приведены относительные коэффициенты аварийности.

1.17. При построении графика коэффициентов аварийности трассу дороги анализируют по каждому из показателей, выделяя на ней однородные по условиям участки. При этом необходимо учитывать, что влияние опасного места на дороге не ограничивается его протяжением, а распространяется на прилегающие участки, где возникают те или иные помехи для движения:

Элементы дороги

Протяжение зоны влияния

Подъемы и спуски:

100 м за вершиной подъёма

150 м у подошвы спуска

Пересечения в одном уровне

По 50 м в каждую сторону

Кривые в плане с обеспеченной видимостью менее 400 м

По 50 м в каждую сторону

Кривые в плане и профиле при необеспеченной видимости

По 100 м в каждую сторону

Мосты и путепроводы

По 75 м в каждую сторону

Пересечения в разных уровнях

В пределах между примыканиями переходно-скоростных полос и правоповоротных съездов к основной дороге

3. Выбор технических средств для оборудования дорог

1.18. Условием обеспечения безопасности движения является своевременная информация водителей о необходимости изменения режима движения при приближении к опасным участкам дорог или ухудшении дорожно-транспортной обстановки вследствие изменения погодно-климатических и пр. факторов. Одновременно с информацией водителей, оборудование дороги должно обеспечивать (при условии экономической целесообразности) снижение тяжести возможных на участке дорожно-транспортных происшествий, происходящих по вине водителей или вследствие технической неисправности автомобилей.

1.19. Выбор технических средств обеспечения безопасности движения определяется необходимостью:

- предоставить водителю необходимую в процессе движения информацию;

- обеспечить безопасность движения на опасных участках дороги в сложной дорожно-транспортной обстановке;

- обеспечить отдых для водителей и пассажиров в пути с целью снижения их утомления.

1.20. Информация, необходимая водителю в процессе движения, неоднозначна, вследствие чего неоднозначны должны быть рекомендуемые технические средства. При этом следует различать следующие группы информации, передаваемой с помощью технических средств:

1. Характеристика дороги и объектов обслуживания: общие сведения о маршруте, направление дороги, ровность и скользкость дорожного покрытия, опасные участки, расположение сооружений для обслуживания движения.

2. Условия движения по дороге: параметры транспортного потока (загрузка дороги движением, наличие заторов на отдельных участках, рекомендуемые скорости движения, рекомендации по выбору полос движения) и рекомендации по выбору оптимального режима движения в конкретной дорожной обстановке.

3. Изменение условий движения под влиянием погодно-климатических условий: метеорологической видимости, осадков, снежных заносов, гололёда, а также опасности камнепадов, лавин, обвалов.

1.21. Для передачи водителю информации 1-й группы (см. п. 1.20) о характеристиках дороги и её основных элементов, рекомендуются следующие технические средства:

№№

Вид информации

Технические средства

1.

Общая характеристика дороги

Маршрутные схемы, указатели

2.

Направление дороги на отдельных участках, характеризующихся неудачными решениями трассы

Средства зрительного ориентирования, предупреждающие знаки, указатели

3.

Местоположение сооружений для обслуживания движения

Маршрутные схемы, указатели

4.

Сведения о состоянии покрытия (плохая ровность, выбоины), опасные участки дороги

Предупреждающие знаки, световая сигнализация, разметка проезжей части

1.22. Для передачи водителю информации 2-й группы (см. п. 1.20) с рекомендациями по выбору оптимального режима движения, рекомендуются следующие технические средства:

№№

Вид информации

Технические средства

1.

Рекомендуемая скорость движения

Запрещающие знаки, дистанционно управляемые знаки, световая сигнализация

2.

Наличие заторов или аварий на впереди лежащем участке

Световая или звуковая сигнализация

3.

Маршрут движения

Предписывающие знаки, указатели, маршрутные схемы

4.

Выбор полосы движения

Разметка проезжей части, указатели, дистанционно управляемые знаки, световая сигнализация

1.23. Передача водителям информации о внешних условиях движения может быть выполнена с использованием следующих средств:

№№

Вид информации

Технические средства

1.

Ограниченная метеорологическая видимость, снежные заносы

Системы предупреждения со световой сигнализацией, радио

2.

Гололёд

Дистанционно управляемые знаки, световая сигнализация

3.

Опасность лавин, камнепадов, обвалов

Плакаты, временные знаки, системы предупреждения со световой или звуковой сигнализацией

1.24. Оборудование опасных участков дорог необходимо предусматривать, исходя из степени обеспеченности безопасности, характеризуемой системой приведенных выше (см. п. п. 1.5 - 1.7) показателей.

При использовании данных о величинах коэффициентов безопасности, рекомендуемые мероприятия имеют следующий характер:

а) на участках, характеризуемых как опасные (см. п. 1.10.): установка индивидуальных знаков, предупреждающих о приближении к очень опасным участкам на дороге; установка ограждений на кривых и высоких насыпях; установка зеркал и устройство срезок видимости; устройство возвышающихся разделительных полос на кривых малых радиусов в плане, нанесение разметки, запрещающей обгон, а в некоторых случаях стоянку и остановку автомобилей; устройство тротуаров и велодорожек; канализирование пересечений; устройство дополнительных полос движения; устройство освещения; установка автоматических сигнальных знаков, знаков ограждения скорости и предупреждения о тумане, гололёде и др.

б) на участках, характеризуемых как опасные (см. п. 1.10), требуется: установка ограждений; установка запрещающих и предупреждающих знаков; устройство уширений проезжей части; устройство трясущих полос; запрещение обгонов; разметка проезжей части;

в) на участках малоопасных для движения требуется: нанесение осевой и краевой разметки; установка предупреждающих дорожных знаков, направляющих столбиков на кривых, предотвращение возможности попадания пешеходов и велосипедистов на проезжую часть.

1.25. При проектировании обустройства и оборудования дорог необходимо учитывать, что в связи с постоянным ростом интенсивности движения на дорогах, применяемые средства организации движения должны периодически обновляться по мере увеличения загрузки дороги движением.

Дорожно-эксплуатационная служба совместно с органами ГАИ должна своевременно устанавливать дополнительные обустройства или заменять старые более эффективными в соответствии с данными выше рекомендациями. Этот процесс должен рассматриваться как обязательный. Применимость различных обустройств характеризуется следующими данными:

Уровень загрузки дороги движением

Рекомендуемые обустройства

Расположение знаков и указателей

Менее 0,2

Разметка проезжей части: предупреждающие знаки и направляющие устройства

Сбоку от дороги

0,2 - 0,5

Знаки и разметка, ограничивающие маневры и предупреждающие об изменении дорожных условий; направляющие стрелы; световые информационные указатели рекомендуемых скоростей движения; многопозиционные знаки

Сбоку от дороги с дублированием на противоположной стороне дороги

0,5 - 0,75

Разметка проезжей части, дублирующаяся знаками; направляющие стрелы, знаки; островки безопасности и направляющие островки; многопозиционные знаки

Сбоку от дороги с дублированием около крупных пересечений над проезжей частью

0,75 - 1,0

Знаки, рекомендующие интервалы движения; автоматизированные системы регулирования движения; меняющийся режим работы световых табло с указанием скоростей движения и полос движения; знаки, дублирующие разметку

Под проезжей частью с установкой перед ними дублирующих знаков, указатели и знаки сбоку от дороги. Освещение основных указателей.

1.26. Выбор и применение технических средств с учётом загрузки дорог движением, степени опасности отдельных участков дороги, состав движения и скоростей транспортных потоков целесообразно выполнять с использованием системы типовых мероприятий, приведенных ниже, применительно к отдельным участкам дорог.

1.27. Основу выбора стадийных мероприятий по оборудованию дорог с ростом интенсивности составляет понятие об уровнях загрузки дороги движением. Уровень загрузки, определяемый как отношение приведенной к легковому движению интенсивности к пропускной способности участка дороги, рекомендуется определять с учётом имеющихся нормативных документов.*)

*) Минавтодор РСФСР. Методические рекомендации по оценке пропускной способности автомобильных дорог. М., Транспорт , 1973, 73 с.

Минавтодор Каз. ССР. Рекомендации по повышению транспортно-эксплуатационных показателей общегосударственных дорог Казахской ССР. Алма-Ата, 1973.

1.28. Система мероприятий по обустройству отдельных участков дорог (включая технические мероприятия строительного характера) должна выбираться с учётом следующих рекомендаций:

а) на горизонтальных участках двухполосных дорог:

Уровень загрузки дороги движением

Характеристика обустройств и мероприятий по обеспечению безопасности движения

Менее 0,30

Осевая разметка проезжей части: установка предупреждающих знаков; устройство краевых полос

0,30 - 0,50

Укрепление обочин; устройство краевых полос; устройство поверхностной обработки; устройство обгонных участков протяжением не менее 300 м; соевая и краевая разметка проезжей части

0,50 - 0,75

Устройство обгонных участков; уширение проезжей части на 2,0 м; устройство поверхностной обработки; запрещение обгонов в часы пик с применением многопозиционных знаков

0,75 - 1,00

Устройство дополнительной полосы движения для обгонов; разметка проезжей части, определяющая режим работы 3-й полосы

б) на подъёмах и спусках:

Уровень загрузки дороги движением

Характеристика обустройств и мероприятий по обеспечению безопасности движения

Менее 0,15

Устройство осевой разметки; установки знаков, ограждений и направляющих столбиков

0,15 - 0,40

Устройство уширений в верхней и нижней частях подъёма на 2,0 м с разметкой и укреплением обочин на этих участках

0,40 - 0,60

На подъёмах протяжением менее 300 м: устройство дополнительной полосы на всю длину подъёма. На затяжных подъёмах: устройство дополнительной полосы, начиная с середины подъёма, в пределах вертикальной выпуклой кривой и за подъёмом

0,60 - 1,00

На затяжных подъёмах: устройство дополнительной полосы на всю длину подъёма

в) на горизонтальных кривых:

Уровень загрузки дороги движением

Характеристика обустройств и мероприятий по обеспечению безопасности движения

Менее 0,15

Устройство осевой разметки проезжей части; установка знаков, ограждений и направляющих столбиков

0,15 - 0,40

Уширение проезжей части с осевой и краевой разметкой; обеспечение фактической видимости 600 - 700 м

0,40 - 0,60

Устройство разделительного островка

0,60 - 1,00

Увеличение радиуса кривой

Примечание: В таблице предусмотрено, что все кривые имеют виражи.

г) на пересечениях в одном уровне:

Уровень загрузки основной дороги

Характеристика обустройств и мероприятий по обеспечению безопасности движения

Менее 0,15

Осевая разметка

0,15 - 0,40

Осевая разметка и островки на второстепенной дороге

0,40 - 0,60

Канализирование движения

0,60 - 1,00

Устройство пересечения в разных уровнях

д) на пересечениях в разных уровнях:

Уровень загрузки основной дороги

Характеристика обустройств и мероприятий по обеспечению безопасности движения

Менее 0,15

Устройство разметки и установка предупреждающих знаков и указателей

0,15 - 0,40

Установка знака «Остановка обязательна» или светофора, регулирующего въезд на автомагистраль

0,40 - 0,60

Устройство переходно-скоростных полос, разметка проезжей части, ограждения

0,60 - 1,00

Увеличение числа полос движения

е) на участках с ограниченной видимостью в продольном профиле:

Уровень загрузки дороги движением

Характеристика обустройств и мероприятий по обеспечению безопасности движения

Менее 0,15

Осевая разметка с уширением каждой полосы на 1 м в пределах вертикальной кривой

0,15 - 0,40

Устройство островка в пределах вертикальной кривой и укрепление обочин, знаки запрещения обгонов

Более 0,40

Увеличение радиуса вертикальной выпуклой кривой

ж) планировка автобусных остановок:

Уровень загрузки дороги движением

Характеристика обустройств и мероприятий по обеспечению безопасности движения

Менее 0,15

Простой карман без отгонов ширины с площадкой для пассажиров

0,15 - 0,40

Устройство отгонов ширины с учётом плавного торможения; осевая разметка проезжей части дороги

0,40 - 0,60

Устройство разделительного островка, разметка, знаки

0,60 - 1,00

Установка ограждений для пешеходов, увеличение длины отгона с учётом встраивания в поток и увеличение протяжения участка разгона автобуса

1.29. Дорожные условия следует анализировать с учётом необходимости проектирования обустройств для всех участков с величиной итогового коэффициента аварийности свыше 20.

ГЛАВА 2. ТРЕБОВАНИЯ К РАЗМЕТКЕ ПРОЕЗЖЕЙ ЧАСТИ

1. Общие положения

2.1. Разметка проезжей части устраивается для улучшения ориентирования водителей в сложных дорожных условиях, для более эффективного использования ширины проезжей части и для обеспечения безопасных условий при совершении различных маневров.

2.2. Участки, на которых в первую очередь должна устраиваться разметка проезжей части, должны выбираться с использованием методов «коэффициентов аварийности» и «коэффициентов безопасности», (см. главу 1), а также исходя из общего анализа транспортно-эксплуатационных характеристик дороги.

2.3. Разметка проезжей части может применяться как самостоятельно, так и совместно с дорожными знаками и светофорами.

2.4. Рекомендации по разметке проезжей части и очередности её устройства должны быть обязательной частью проектов новых и реконструируемых дорог.

2.5. Выбор материала для устройства разметки проезжей части дорог должен решаться с учётом рекомендаций ВСН 172-70 Минтрансстроя СССР, регламентирующих тип материала с учётом интенсивности движения и долговечности применяемого материала.

2.6. Для разметки больших площадей (пешеходные переходы типа «Зебра», выделение отдельных полос движения или обочин) рекомендуется использовать светлые каменные материалы (типа теромолита, синопала), втапливаемые в свежеуложенный асфальтобетон по специальной технологии.

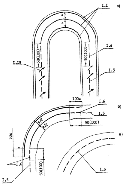
2.7. Форму, размеры линий и цвет разметки принимают в соответствии с ГОСТ 13508-74 «Разметка дорожная» (см. рис. 2.1-а, 2.1-б).

2. Продольная разметка

2.8. Продольная разметка проезжей части служит для обозначения кромки проезжей части и разделения встречных и попутных потоков автомобилей и выделения для них полос движения, способствуя наилучшему её использованию. Минимальная ширина полос движения выделяемых продольной разметкой должна быть не менее 3,0 м, а в исключительных случаях может быть уменьшена для полос, предназначенных для легковых автомобилей, до 2,75 м.

*) V - скорость движения.

Рис. 2.1-а. Требования к цвету, форме и размерам (в метрах) горизонтальной разметки по ГОСТ 13508-74.

Рис. 2.1-б. Требования к цвету, форме и размерам (в метрах) горизонтальной разметки по ГОСТ 13508-74.

При достаточной ширине проезжей части, ширина полос движения должна приниматься 3,75 м.

2.9. ГОСТ 13508-74 рекомендует применять следующие виды продольной разметки:

- сплошная одиночная разметка, используемая для запрещения поперечных маневров;

- прерывистая одиночная разметка:

а) ориентирующая;

б) предупреждающая;

- двойная продольная разметка для регулирования обгонов и попеременных маневров;

- краевая разметка для ориентирования водителей (в первую очередь ночью).

2.10. Ширина линий продольной разметки должна приниматься:

- для разделения потоков автомобилей - 0,1 м;

- для краевой разметки - 0,2 м;

- для краевой разметки на пересечениях и примыканиях - 0,4 м.

Расстояние между двумя линиями продольной разметки при использовании двойной продольной разметки должно быть 0,1 м (рис. 2.1-а).

2.11. Прерывистые линии продольной разметки должны иметь размеры штрихов и разрыв между ними, указанные в таблице:

№№

Характеристика участка дороги

Скорость 85 %-ной обеспеченности, км/ч

Общая длина штриха и разрыва, м

Отношение длин штриха и разрыва

Область применимости разметки

1.

На перегонах

100

14 - 16

1 : 3, 1 : 4

На участках с благоприятными дорожными условиями

80

12

1 : 3, 1 : 2

60

9

1 : 2

2.

На перегонах

80

8

1 : 1, 1 : 2

На участках с плохой ровностью и низкими сцепными качествами; с шириной полосы движения менее 3,0 м; в населённых пунктах

60

6

1 : 1

Менее 60

4

1 : 1

3.

На подходах к опасным участкам

-

16 (на длине дороги не менее 1 км)

1 : 3

Узкие мосты, путепроводы, тоннели, кривые малых радиусов, пересечения, железнодорожные переезды, сужения проезжей части, ограниченная видимость, разрушение дорожного покрытия

4.

Непосредственно на опасных участках

На 30 - 40 % ниже, чем на перегонах

4 (за 5 км до опасного участка, на нём и 0,5 км после него)

1 : 1

2.12. Краевая разметка применяется для указания границы проезжей части и выделения проезжей части при укреплённых обочинах.

Размеры и применение краевой разметки указаны в таблице:

№№ пп.

Условия применения

Ширина линии, м

Вид линии

Область применимости разметки

1.

По всей длине дороги

0,2

Прерывистая

На всех дорогах, имеющих твердое покрытие (кроме гравийных и щебёночных)

2.

Выборочно, только на опасных участках

0,2

Сплошная

На кривых с радиусами менее 400 м; на спусках и подъёмах; на узких мостах, путепроводах, сужениях проезжей части; при близком расположении боковых препятствий

3.

Выборочно

0,4

Прерывистая

В пределах пересечений и примыканий

2.13. Двойная продольная разметка (рис. 2.1-а, п. 1.9) предназначается для гибкого регулирования обгонов по длине дороги с учётом наличия участков с ограниченной видимостью.

Такая разметка также рекомендуется на подъемах при наличии дополнительной полосы, для регулирования въезда и выезда с неё; перед пересечениями в одном уровне; перед кривыми в плане; в пределах обратных кривых.

2.14. Для предупреждения водителей о приближении к сплошной разметке рекомендуется использовать предупреждающую прерывистую разметку с соотношением длины штрихов и разрывов 3 : 1, причём при скорости менее 60 км/ч длина штрихов назначается в пределах 3 - 6 м, разрывов - 1 - 2 м; при скорости более 60 км/ч - длина штрихов 6 - 9 м, разрывов - 2 - 3 м.

2.15. Предупреждающую прерывистую разметку рекомендуется наносить: перед кривыми в плане и вертикальными кривыми, где расстояние видимости близко к минимальному; перед пересечениями в одном уровне; перед направляющими островками.

Общая длина предупреждающей прерывистой линии должна приниматься: при скоростях более 60 км/ч - 100 м.

2.16. Предупреждающую прерывистую разметку целесообразно применять в сочетании с направляющими стрелами (рис. 2.2.).

2.17. Для обозначения реверсивных полос движения должна использоваться специальная продольная двойная прерывистая разметка по ГОСТ 13508-74 с соотношением длины штрихов и разрывов 3 : 1.

3. Поперечная разметка

2.18. Поперечную разметку устраивают для регулирования движения и установления места остановки автомобилей перед пересечением, на въездах и т.п. К поперечной разметке по ГОСТ 13508-74 относится: стоп-линия; разметка пешеходных переходов, велодорожек, скотопрогонов.

2.19. Стоп-линия устраивается для обозначения границ остановки транспортных средств в соответствии с требованиями установленных правил и знаков. Около стоп-линии должна наноситься надпись «Стоп» в соответствии с рекомендации ГОСТ 13508-74.

2.20. Положение стоп-линий должно выбираться из условия обеспечения достаточного расстояния видимости.

Расстояние видимости для водителя с места остановки транспортного средства должно составлять вне населенных пунктов 120 м вправо и 80 м влево; в пределах населенных пунктов - 80 м вправо и 50 м влево.

2.21. Перед регулируемым пешеходным переходом стоп-линия должна наноситься на расстоянии 2 - 5 м до ближайшей границы пешеходного перехода.

При отсутствии перехода и невозможности выполнения требований п. 2.20, стоп-линия должна наноситься возможно ближе к пересекаемой дороге.

2.22. Пешеходные переходы должны выделяться при помощи разметки в соответствии с ГОСТ 13508-74 и должны быть хорошо видимы водителю на достаточно большом расстоянии. При выборе места положения разметки пешеходного перехода необходимо обеспечивать расстояние видимости приближающихся транспортных средств не менее 30 м. В населенных пунктах пешеходные переходы должны размечаться не ближе 5 м от начала закругления тротуара.

2.23. Ширина пешеходного перехода должна быть не менее 4,0 м и зависит от количества пешеходов.

При большом числе пешеходов рекомендуется устраивать разметку с дополнительными стрелками (см. рис. 2.4.).

2.24. Форма и ширина разметки, обозначающие место переезда велосипедистов, принимается в соответствии с рис. 2.5.

2.25. Места расположения скотопрогонов необходимо выделять на проезжей части разметкой шириной не менее 10 м. Наиболее практично устраивать такую разметку путём втапливания в покрытие светлых каменных материалов.

Рис. 2.2. Экспериментальная разметка с применением направлявших стрел:

а, б - варианты расположения стрел на проезжей части при постоянном и убывающем расстоянии между ними; 1 - осевая прерывистая линия; 2 - разделительная сплошная линия; 3 - направляющие стрелы.

Рис. 2.3. Требования к форме и размерам (приведены в метрах) вертикальной разметки по ГОСТ 13508-74.

Рис. 2.4. Разметка пешеходного перехода при большой интенсивности движения пешеходов.

Рис. 2.5. Требования к разметке, обозначающей место переезда велосипедистов через дорогу.

Рис. 2.6. Разметка поверхности ограждений на кривых в плане.

Рис. 2.7. Разметка поверхности ограждений на прямолинейных участках дорог.

Рис. 2.8. Разметка участков въездов с второстепенных дорог на главную дорогу:

а - разметка въездов; б - обозначение приближения к въезду на главную дорогу.

Разметка должна устраиваться в сочетании со знаками, предупреждающими о возможности появления животных.

4. Вертикальная разметка

2.26. Вертикальная разметка должна применяться для обозначения опасных участков дорог с целью выделения боковых препятствий, расположенных близко к проезжей части. Она применяется совместно с горизонтальной разметкой проезжей части и расстановкой дорожных знаков. Разметка наносится на вертикальной поверхности элементов инженерных сооружений, обстановки дороги, а также других предметов, находящихся в непосредственной близости от проезжей части (опоры и пролётные строения мостов; ограждения, тумбы, стойки перил и ограждений, высокие бордюры и др.).

2.27. Различают следующие виды вертикальной разметки (рис. 2.3.):

- чередующиеся косые полосы (обозначают вертикальную поверхность дорожных сооружений, таких как опоры мостов и путепроводов; боковых поверхностей ограждений дорог на опасных участках; обозначений высокого бордюра);

- чередующиеся горизонтальные полосы (для обозначения круглых тумб на островках безопасности и вертикальных элементов дорожных сооружений);

- одиночные косые полосы (наносятся на сигнальные столбики, надолбы, опоры тросовых ограждений);

- одиночные горизонтальные полосы (для обозначения боковых поверхностей бетонных и металлических ограждений автомобильных дорог).

2.28. Боковые поверхности ограждений дорог (железобетонные брусья, металлические планки и т.п.), обращенные в сторону проезжей части, на участках кривых, а также в начале и в конце ограждения, должны обозначаться с помощью разметки, указанной на рис. 2.6., а на прямых участках - рис. 2.7. с устройством катафотов.

2.29. Вертикальную разметку с чередующимися вертикальными чёрными и белыми полосами, обозначающую нижний край пролётных строений, следует наносить при габарите над дорогой тоннеля, моста или путепровода менее 5 м, над серединой каждой полосы движения в направлении движения.

2.30. Вертикальная разметка с чередующимися горизонтальными черными и белыми полосами служит для обозначения крупных тумб различного диаметра на островках и вертикальных элементов дорожных сооружений (стойки перил, ограждений для пешеходов и т.п.) в опасных местах, если ширина этих элементов не превышает 0,1 м.

2.31. Торцовые поверхности железобетонных брусьев ограждений, а также высоких бордюров, обращенные в сторону приближающихся транспортных средств, должны быть окрашены в белый цвет.

2.32. Для обеспечения видимости вертикальной разметки в темное время суток на участках улиц и дорог, не имеющих искусственного освещения, целесообразно дополнять её светоотражающими элементами. При этом белые полосы вертикальной разметки должны быть не менее чем на 2/3 их ширины покрыты белой светоотражающей плёнкой или светоотражающей краской, наносимой посредине белых полос.

Чёрные полосы, наносимые на направляющие и ограждающие устройства, должны иметь светоотражающие элементы в виде прямоугольника, расположенного вертикально в центре полосы (см. рис. 2.7.).

Допускается применение аналогичных элементов для маркировки больших деревьев в неосвещённых местах, расположенных в непосредственной близости от проезжей части дороги.

5. Прочие виды разметки

2.33. К прочим видам разметки относится разметка островков безопасности, зон отгона ширины проезжей части, надписи на проезжей части, указательные стрелы и направляющие стрелы.

2.34. Направляющие стрелы необходимо наносить перед участками, где нанесена сплошная продольная разметка, перед сужениями проезжей части, перед двойной продольной разметкой, при наличии обратных кривых.

Назначение направляющих стрел - предупреждение водителей о необходимости вернуться на правую полосу движения.

Расстояние между направляющими стрелами должно приниматься с учётом скоростей движения транспортных потоков:

Скорость, км/ч

Расстояние между направляющими стрелами (рис. 2.2), отсчитываемое от начала сплошной разметки, м

Менее 60

15

30

45

Более 60

30

60

90

2.35. Длина направляющих стрел при скоростях потока движения более 60 км/ч принимается 6,0 м, при скоростях менее 60 км/ч - 3,0 м.

2.36. Указательные стрелы используют для указания разрешенного направления движения на каждой полосе движения. Стрелы должны дублироваться через расстояния, соответствующие движению со скоростью 85 % обеспеченности в течение 3 сек, а также дорожными знаками, устанавливаемыми за 50 м до места совершения маневра.

2.37. В южных районах целесообразно применять надписи на проезжей части, которые должны выполняться с учётом их восприятия водителями в перспективной проекции в соответствии с рекомендациями ГОСТ 13508-74.

Высота букв при скоростях транспортных потоков свыше 60 км/ч должна быть не менее 4,0 м, а при скорости менее 60 км/ч - 1,8 м. Ширина букв - 0,5 м.

2.38. Для выделения резервных зон, островков безопасности, разделительных и направляющих островков должны использоваться параллельные наклонные линии, размеры которых принимаются в соответствии с ГОСТ 13508-74.

2.39. Въезды на главную дорогу следует обозначать разметкой из линии треугольников (рис. 2.8-а), указывающих на необходимость уступить дорогу транспорту, движущемуся по главной дороге.

Приближение к этой разметке обозначается треугольником (рис. 2.8-б), наносимым на проезжей части второстепенной дороги.

2.40. Границы площадок отдыха, стоянок рядом с проезжей частью и способы расположения транспортных средств на площадках отдыха и стоянках, должны обозначаться сплошными линиями толщиной 0,1 м.

2.41. В местах запрещения остановки транспортных средств, в сочетании со знаком «Остановка запрещена» или самостоятельно, у кромки проезжей части (по верху бордюра при его наличии) должна наноситься сплошная линия разметки желтого цвета толщиной 0,1 м. Для лучшей видимости в начале и конце линии запрещения остановки может быть нанесена короткая поперечная линия длиной 0,2 - 0,3 м.

2.42. В местах запрещения стоянки транспортных средств, в сочетании со знаком «Стоянка запрещена», самостоятельно у кромки проезжей части (по верху бордюра при его наличии) должна быть нанесена прерывистая линия толщиной 0,1 м и длиной штриха 1,0 м.

Для лучшей видимости разметки в начале и конце линии запрещения стоянки может быть нанесена короткая поперечная линия длиной 0,2 - 0,3 м.

ГЛАВА 3. ПРОЕКТИРОВАНИЕ БЛАГОУСТРОЙСТВА АВТОМОБИЛЬНЫХ ДОРОГ

1. Общие рекомендации по благоустройству

3.1. Основное требование, предъявляемое к выбору местоположения и внешнему виду всех элементов благоустройства автомобильных дорог - обеспечение безопасности движения. В первую очередь должно быть обеспечено зрительное ориентирование, то есть создание системы таких зрительных ориентиров, по расположению которых водители могли бы предвидеть на значительном расстоянии, в том числе за пределами видимости, изменение направления дороги и выбрать безопасный режим движения.

3.2. Все элементы дорожного ландшафта: трасса и проезжая часть, мосты и путепроводы, линейные здания, озеленение, оформление, обстановка пути - составляют единый архитектурный ансамбль, вырастающий перед автомобилем на фоне естественного ландшафта. Постепенно разворачиваясь перед водителем и пассажиром в процессе движения, ландшафт должен обладать известным разнообразием на различных участках, обеспечивая, однако, четко выраженное единство архитектурного облика данной дороги, что требует одновременного проектирования всего комплекса оборудования и благоустройства дороги, учитывая взаимозависимость всех её элементов.

Всеми средствами архитектуры должны подчеркиваться подходы к городам, курортам, мостам через крупные реки, комплексам обслуживания движения, конечным пунктам дорог.

3.3. Большая (по сравнению с шириной) длина дороги делает невозможным одновременное зрительное восприятие всей дороги. Необходима разбивка протяжения дороги в целях проектирования ее благоустройства на отдельные, более короткие участки, имеющие в известной степени самостоятельное значение; такие участки принято называть архитектурными бассейнами.

Границами архитектурных бассейнов могут являться заметные выпуклые переломы продольного профиля, границы разных ландшафтов, совпадающие с населенными пунктами или мостовыми переходами, отдельные глубокие выемки, крупные мостовые переходы, характерные резкие повороты трассы в плане, совмещенные с какими-либо зрительно выделяющимися ориентирами на местности. В открытой степной местности, при отсутствии выделяющихся заметных ориентиров, архитектурные бассейны имеют границы, определяемые видимостью линии горизонта, и перемещающиеся вместе с автомобилем.

Протяжение архитектурного бассейна соответствует движению с расчетной скоростью в течение 3 - 5 мин. и составляет:

- для дорог I технической категории                           - 12 - 16 км;

- для дорог II и III категории                                        - 8 - 10 км;

- для дорог IV и V категории                                        - 6 - 8 км.

3.4. В архитектурных бассейнах следует иметь главные оси или центры архитектурной композиции. Их подчеркивают и фиксируют выявленным на местности или же созданием доминант (сочетаний элементов трассы, зданий, сооружений, группы деревьев и др.), выделяющихся на фоне остальных компонентов дорожного ландшафта. В каждом архитектурном бассейне может быть не более одной доминанты. В некоторых случаях доминанта может разграничивать архитектурный бассейны друг от друга.

3.5. На основе планов трассы и продольных профилей (или путем рекогносцировки на существующих дорогах) составляют общую архитектурную схему дороги в виде архитектурного линейного графика (рис. 3.1), в котором для каждого архитектурного бассейна предусматривают общий фон (его можно создать, например, средствами озеленения) и доминанты, то есть ориентир, имеющие господствующее значение в данном бассейне (они нужны не повсеместно). Доминанты, как и границы бассейнов, следует совмещать с переломами трассы в плане или в продольном профиле. Выявляют, каких доминант или разграничений в природе не хватает, чтобы создать их средствами дорожной архитектуры. На том же графике намечают предварительную схему декоративного озеленения, на основании которой в натуре подбирают вдоль трассы будущей дороги (или существующей) деревья и кустарники, подлежащие сохранению в ходе строительства (реконструкции, капитального ремонта) дороги, после чего составляют ведомость сохраняемой растительности.

Решение вопросов размещения обстановки пути, декоративного озеленения, благоустройства, оформления дороги и выбора местоположения линейных зданий и сооружений производят на основе изучения линейного архитектурного графика, материалов полевых изысканий (обследований) и в соответствии с требованиями СНиП II-Д.5-72, касающимися вопросов организации и безопасности движения (п. п. 2.2 - 2.4.) и дорожных обустройств, обстановки и озеленения дорог (п. п. 10.2 - 10.5).

2. Декоративное озеленение автомобильных дорог

3.6. Проектирование мероприятий по озеленению автомобильных дорог может преследовать следующие цели:

а) технические: укрепление склонов и откосов, укрепление оврагов, оползней, дренирование почвы;

б) обеспечение безопасности движения и зрительное ориентирование (создание на дороге направляющих ориентиров, особенно за пределами непосредственной видимости покрытия; предупреждение о местах, требующих повышения внимания водителя; защита от бокового ветра; защита от ослепления светом фар встречных автомобилей; частичная замена или усиление ограждающих устройств);

в) санитарно-гигиенические (улучшение микроклимата площадок и комплексов в придорожной полосе; защита от шума, пыли и вредных газов в местах отдыха у дороги);

г) архитектурно-ландшафтные и эстетические (создание однородного фона в местах с пестрым, неорганизованным ландшафтом, подчеркивание красивых ландшафтов, декорирование некрасивых мест, членение территорий для облегчения их восприятия и связывания дороги с ландшафтом местности).

В зависимости от местных условий следует стремиться использовать придорожные посадки для выполнения нескольких задач. Одни и те же посадки могут являться зрительными ориентирами и быть декоративным средством; укреплять поверхность полотна от размыва и подчеркивать выдающиеся сооружения, имеющиеся на дороге. Декоративные посадки у дорог должны служить средством организации движения путем правильной ориентации водителей, а в условиях заболоченных или орошаемых земель выполнять роль биологического дренажа, значительно понижая уровень грунтовых вод у дороги и создавая благоприятный микроклимат. Деревонасаждения могут также фиксировать границы полосы отвода и служить надежными, долговечными межевыми знаками.

3.7. Расположение озеленения на полосе отвода должно быть подчинено требованиям наилучшего выполнения посадками своего основного назначения, при условии удовлетворения, в то же время, архитектурно-ландшафтных требований. Придорожные насаждения не должны затруднять работ по ремонту и содержанию дороги. Из-за этого, а также с целью сокращения тяжести последствий дорожно-транспортных происшествий, связанных с наездом на стволы деревьев, любые посадки могут быть расположены не ближе 5,0 м от кромки проезжей части (рис. 3.2). Это требование справедливо и в отношении кустарников, которые при более близком к дороге расположении ограничивают боковую видимость. Следует учитывать также размеры кроны деревьев во взрослом состоянии, из-за чего некоторые породы деревьев должны быть помещены ещё дальше (рис. 3.3).

Рис. 3.1. Линейный архитектурный график дороги.

3.8. Все деревья, используемые в декоративном озеленении дорог, могут быть по их величине (во взрослом состоянии) разделены на три группы:

а) деревья первой величины - высотой во взрослом состоянии 25 м и выше;

б) деревья второй величины - высотой 10 - 20 м;

в) деревья третьей величины - высотой во взрослом состоянии до 10 м.

Кустарники относят по их высоте во взрослом состоянии к одному из двух классов: первый - выше 2 м, второй - высотой менее 2 м (его подразделяют на низкий кустарник 2-го класса, т.е. высотой до 1 м, и высокий 2-го класса - высотой от 1 до 2 м).

Для озеленения автомобильных дорог пригодны такие породы деревьев и кустарников, которые газоустойчивы, нетребовательны к почвам, к иссушению почв (не нуждаются в поливе), устойчивы против ветролома и светолюбивы.

Рис. 3.2. Размещение придорожных насаждений по отношению к кромке проезжей части и бровке земляного полотна:

а - в насыпях;

б - в выемках.

Рис. 3.3. Требования к наименьшему удалению посадок от бровки земляного полотна с учетом размеров кроны дерева.

3.9. При проектировании озеленения следует максимально использовать уже имеющуюся растительность. Особенно ценны отдельно-стоящие крупные деревья или их группы с внешней стороны закругленный, у опушки леса, у выемок, у съездов и пересечений, а также на резких выпуклых переломах продольного профиля.

Ведомость растительности, сохраняемой в пределах полосы отвода дороги, должна быть составлена:

а) при проектировании капитального ремонта или реконструкции существующей дороги - во время изысканий для составления технического проекта;

б) при проектировании дорог по новому направлению - во время разработки основной архитектурной схемы дороги (когда выявляют, где в первую очередь желательно сохранить деревья), с окончательным уточнением в ходе изысканий для составления рабочих чертежей.

Для сохранения и использования в придорожном озеленении отбирают взрослые экземпляры деревьев и кустарников, достигшие зрелости, не имеющие признаков потери декоративности или заболеваний, нестесненные (не угнетаемые) соседними деревьями.

3.10. В районах с однообразным ландшафтом (степь) следует разнообразить пейзаж контрастными приемами озеленения: чередование строгих аллейных посадок (в степи) с открытыми пространствами, создание зрительного акцента (подчеркивания) на объектах, важных в техническом или же культурно-бытовом отношении.

В районах разнообразного ландшафта озеленение должно способствовать объединению ландшафта путем повторения в соседних архитектурных бассейнах повторяющихся, легко запоминаемых форм (типов, размеров и породы посадок).

3.11. Возможны три типа конструкций декоративного озеленения:

а) групповые посадки деревьев и кустарника;

б) линейные (аллейные или рядовые) посадки (деревьев, деревьев с опушкой из кустарника, живых изгородей);

в) комплексные посадки в выемках, у перекрестков, автобусных остановок, путепроводов, у входа дороги в лес и т.п.

3.12. Групповые посадки могут быть древесные, древесно-кустарниковые и кустарниковые. В принципе в группе посадок можно выделить её ядро, внешний контур и опушку.

Ядро является композиционным (но не геометрическим) центром группы, состоящим из 1 - 3 деревьев, доминирующих по высоте, силуэту, окраске или художественной значимости. Внешний контур составляют из деревьев меньшей величины с целью создать фон для восприятия ядра и подгон для ускорения роста деревьев, уменьшить скорость ветра. Опушка необходима, прежде всего, из агротехнических соображений, чтобы защитить всю группу посадок (в открытой местности) от высушивания и эрозии почвы, задержать и создать дополнительный фонпьедестал»).

При узкой полосе отвода, как правило, группы формируют из 1 - 4 деревьев с опушкой из кустарника или без нее. Они могут быть как однородными (рис. 3.4), так и разнопородными, но не более 2 - 3 пород деревьев в одной группе (рис. 3.5).

Рис. 3.4. Примеры групповых однопородных посадок без опушки из кустарника у дороги:

а - самостоятельная группа из 3-х деревьев;

б - сопутствующая группа из 3-х деревьев;

в - самостоятельная группа из 4-х деревьев;

г - сопутствующая группа из 4-х деревьев.

3.13. В заболоченных или орошаемых низменностях прямолинейные каналы и канавы орошения (или мелиорации), расчленяющие территорию на сетку прямоугольников, предопределяют проложение дорог преимущественно короткими прямыми участками в плане, обусловленными направлением каналов и водотоков. Эти прямые желательно, где это возможно, направлять на высокие ориентиры, а если их нет, то создавать такие ориентиры средствами озеленения или оформления дороги. В таких местностях рекомендуется рядовое (аллейное) озеленение в 1 - 3 ряда высокими деревьями влаголюбивых пород (иногда они должны быть, кроме того, солеустойчивыми), в особенности на подходах к мостам и с внешней стороны кривых в плане (в качестве указателя дальнейшего направления дороги).

Рис. 3.5. Примеры групповых декоративных посадок в открытой местности:

а - из 2-х деревьев с высоким кустарником;

б - из 2-х деревьев;

в - из 1-го дерева.

3.14. Для ослабления опасности бокового ветрового давления на автомобили и смягчения зрительно резкого перехода от открытого пространства к узкой просеке в лесном массиве, рекомендуется перед входом в лес предусматривать «переходные» групповые посадки деревьев и кустарника с постепенным их сгущением к лесу на длине 60 - 80 м (рис. 3.6). При проложении трассы новой дороги через лесную опушку всегда целесообразно назначение кривой в плане с малым углом поворота (3 - 5°). Аллейные (рядовые) посадки вдоль дороги должны начинаться и заканчиваться «вступительной» группой посадок (рис. 3.7).

3.15. Во избежание «зебра-эффекта» аллеи применимы только на прямых, которые проложены в направлении север-юг или с отклонением от меридиана (в любую сторону) не более 30°. Если прямая пересекает редколесье в широтном направлении (отклонение от меридиана более 30°), с южной стороны вдоль дороги между деревьями следует предусмотреть густую посадку кустарника первого класса.

Рис. 3.6. «Переходные» посадки при входе дороги в лесной массив.

Рис. 3.7. «Вступительная» группа поездок в начале аллейного озеленения дороги.

3.16. Высокие насыпи сопровождают посадкой деревьев у их подошвы, уменьшающей кажущуюся высоту насыпи (при высоте насыпи до 6 - 9 м) над уровнем местности и повышающей уверенность вождения автомобиля (рис. 3.8). При высоте насыпи более 10 м применима посадка аллеи деревьев по берме, устроенной на откосе насыпи. При этом предпочтительны деревья с неглубокой, но широко развитой корневой системой.

На обочинах посадка кустарника и деревьев ни в каких случаях не допускается.

Насыпь подходов к путепроводу пересекающей дороги всегда выглядит неприятно, если деревья на ней помещены параллельно ее бровке (рис. 3.9).

3.17. На пересечениях в разных уровнях ряды высоких деревьев размещают у подошвы насыпи, ведущей на путепровод, причем следует декорировать опоры путепровода (главным образом справа от нижней дороги, считая по ходу движения) и конусы насыпи посредством сгущения посадок деревьев и добавления опушки из кустарника (рис. 3.9и 3.9-в).

3.18. Озеленение может быть использовано для полного декорирования или смягчения неудачных мест на трассе дороги или в окружающем ландшафте (например, оврагов, карьеров, складских территорий и др.). В отдельных случаях, наоборот, требуется частичная вырубка деревьев леса, когда это необходимо для раскрытия перед едущим по дороге живописных пейзажей (рис. 3.10). В лесу и вообще в монотонном придорожном ландшафте возможна посадка крупномерных деревьев или групповых насаждений.

Предельное протяжение (вдоль дороги) разрывов в посадках или в существующей растительности (в метрах) может быть принято численно равным величине расчётной скорости, выраженной в км/ч, т.е. не менее величин, указанных ниже в таблице, если необходимо сделать этот разрыв заметным, или меньше указанных величин, если разрыв в посадках следует декорировать (сделать незаметным).

Рис. 3.8. Озеленение высоких насыпей:

а - при высоте 6 - 8 м; б - при высоте более 10 м; в - устройство бермы при переходе от насыпи высотой до 8 м к насыпи высотой более 10 м.

Рис. 3.9. Декоративные посадки у насыпи на подходах к путепроводу:

а - неправильно; б, в - правильно.

Техническая категория дороги

I

II

III

IV

V

Расчётная скорость, км/ч

150

120

100

80

60

Протяжение разрыва, м

150

120

100

80

60

Рис. 3.10. Разрывы в посадках или расчистка зарослей:

вверху - раскрытие вида на озеро; внизу - декорирование используемого притрассового карьера (оврага, свалки).

3.19. При проложении дороги по лесу на протяжении более 10 км, для нарушения однообразия лесной просеки предусматривают уширения просеки с соответствующим уширением полосы отвода для расчистки леса и устройства полян, которые могут быть использованы для сооружения на них стоянок и площадок отдыха. Протяжение полян вдоль дороги принимают на 20 - 30 м больше величин, указанных в п. 3.18, а глубину расчисток принимают равной:

- в равнинной местности - до 50 - 80 м;

- у рек или ручьев, пересекающих дорогу - до 150 - 200 м;

- в холмистой местности - до 40 м.

Однообразие лесной просеки на прямых может быть также нарушено путем сохранения на выпуклых переломах продольного профиля выступов растительности протяжением от 10 до 40 м, приближенных на 5 - 6 м к кромке проезжей части. Такие выступы могут быть созданы и посредством оставления при вырубке просеки 3 - 4 крупных экземпляров деревьев или путем посадки их вновь (в существующих просеках - рис. 3.11-а). Расстояние между такими декоративными «пятнами» посадок должно быть, безусловно, переменным, притом не менее величин, указанных в п. 3.18 (рис. 3.11-б). В первую очередь для размещения такого декоративного озеленения выбирают выпуклости рельефа, наружную сторону закругления в плане, мелкие выемки.

3.20. В лесу и среди густых садов с высокими деревьями откосы выемок следует засаживать кустарником местных пород и деревьями третьей величины с постепенным увеличением высоты посадок снизу вверх по откосу, чтобы создать опушку леса (сада) и улучшить продуваемость выемки зимой (рис. 3.12).

Рис. 3.11. Приёмы устранения монотонности вида дороги:

а - в лесной просеке; б - при расположении вдоль дороги аллейных снегозадерживающих посадок;

1 - искусственно устроенный выступ леса; 2 - расчистка растительности; 3 - полоса посадок.

Рис. 3.12. Способ озеленения выемок в закрытой местности путём посадок деревьев и кустарников на откосах.

3.21. В открытой местности по концам выемок, в той их части, которую приходится устраивать раскрытой из-за их малой глубины и соображений снегоборьбы, следует размещать комплексные посадкикулисы») из 7 - 8 деревьев с каждой стороны и кустарника; они призваны улучшить продуваемость этих мест зимой и смягчить резкость изменения бокового давления ветра на автомобиль. На остальном протяжении откосов выемки размещают однопородные группы кустарников (3 - 5 корней), удалённые одна от другой на расстояние 50 - 70 м.

Рис. 3.13. Озеленение верховых подпорных стен при их значительной высоте.

3.22. Высоту крутых откосов выемок и скальных обнажений вдоль дороги с верховой стороны не следует допускать более 3,5 - 4,0 м, в противном случае желательно предусматривать озеленение откоса, которое может быть выполнено либо деревьями у подножья, либо ползучими растениями, высаженными в верхней части откоса.

Высота низовых подпорных стен не ограничивается. Высота верховых подпорных и одевающих стен, которая видна с дороги, не должна превышать 3,0 - 3,5 м. Если высота верхового откоса больше, то подпорные стены следует устраивать ступенчатыми, а между ними предусматривать берму шириной 2,0 - 2,5 м с укладкой на ней растительного грунта и посадкой кустарника (рис. 3.13).

3.23. Группы деревьев на выпуклом переломе продольного профиля могут быть как бы «воротами», подготавливающими водителя и пассажиров к изменению придорожного ландшафта и восприятию нового архитектурного бассейна (рис. 3.14). В открытой местности в этом случае необходимы низкие кусты (опушка этой группы), в закрытой - опушка не требуется.

3.24. Посадки, предназначенные для зрительного ориентирования, можно разбить на три группы: направляющие, барьерные и декорирующие (либо акцентирующие).

Направляющие посадки указывают на изменение направления проезда, и, повторяя линии дороги, издалека дают представление о степени крутизны поворота. Направляющие посадки могут быть только линейными; их размещают параллельно оси проезда на расстоянии 5 - 7 м от кромки проезжей части. Линия направляющих посадок должна зрительно перекрывать всю ширину движения, если смотреть на кривую с подходов к ней (рис. 3.15). На крутых поворотах в плане необходимы два отдельных участка линейных посадок на продолжении правой полосы движения (рис. 3.15-а), а на менее крутых поворотах (большой радиус, незначительный угол поворота) - один участок (рис. 3.15-б).

Рис. 3.14. Приёмы озеленения выпуклых переломов продольного профиля групповыми парными посадкамиворота»):

а - в закрытой местности; б - в открытой местности.

Рис. 3.15. Способы устройства направляющих посадок на кривых в плане:

а - на крутых поворотах;

б - на кривых с малыми углами поворота или при больших радиусах.

3.25. Барьерные посадки показывают или же подчеркивают невозможность продолжать движение в том же направлении, являясь, в то же время, зрительными «отражателями» взгляда, заставляющими перенести внимание в нужную сторону. Они могут быть и линейными и групповыми. Их располагают по тому же принципу, что и направляющие посадки, стремясь зрительно перекрыть всю ширину прежнего направления движения.

Барьерные посадки необходимы на развязках против каждого примыкания съездов к основной дороге, у примыканий и односторонних съездов вне развязок (на перегоне), причем их размещают за пределами земляного полотна дороги со стороны, противоположной съезду (рис. 3.16).

3.26. Декорирующие посадки имеют целью не допустить отвлечения внимания водителя от наиболее важной или потенциально опасной в данном месте части дороги, скрыть места яркие, но некрасивые или ненужные, несущественные для водителя. Как правило, декорирующие посадки бывают групповыми, но могут быть и линейными.

При помощи акцентирующих посадок можно привлечь внимание к наиболее важным местам развязки, обозначить ими границы развязок, комплексов обслуживания, начало переходно-скоростных полос у съездов или автобусных остановок, - они могут быть только групповыми.

3.27. Озеленение разделительной полосы автомобильных магистралей I-й категории не должно вызывать дополнительных снегозаносов на покрытии и нарушать ландшафт геометрически правильными линиями. Оно возможно при ширине разделительной полосы более 6 м, и необходимо в двух случаях: для предотвращения ослепления водителей светом фар встречных автомобилей и при пересечении магистралью леса или рощи. Противоослепительные посадки кустарника на разделительной полосе производят по схеме, показанной на рис. 3.17. Для этого применяют посадку кустарника высотой не менее 1,5 м. При ширине разделительной полосы 6 м и менее на ней допускается устанавливать только противоослепительные экраны и опоры узких дорожных знаков и указателей.

3. Оформление дороги, дорожные указатели

3.28. В местах, где естественных доминант в ландшафте нет и создавать их средствами озеленения нецелесообразно, в качестве доминант могут быть использованы линейные здания, скульптуры или малые формы архитектуры (беседки, цветники, вазы, оформление водных источников и т.п.) в сочетании с кривыми в плане или в продольном профиле.

3.29. Для озеленения и декорирования линейных дорожных зданий и сооружений применяют, помимо деревьев, живые изгороди, цветочное оформление и вертикальное озеленение оград, стен и балконов.

3.30. Для ориентирования водителей и пассажиров на дороге должна быть обеспечена исчерпывающая и четкая путевая информация (плакаты, знаки, указатели, маршрутные схемы), чтобы проезжающие могли, не съезжая с дороги, узнавать все сведения, касающиеся предстоящего им пути, мест заправки топливом, возможного ночлега, технической помощи, медицинской помощи, расстояний до основных пунктов маршрута. Перечень, размеры и форма знаков и указателей для дорог II - V категорий предусмотрены в ГОСТ 10807-71 (для автомобильных магистралей I категории размеры знаков, предусмотренные в ГОСТ, могут быть недостаточны).

Рис. 3.16. Размещение барьерных посадок у съездов с дороги (а и б) и у скрытого за холмом примыкания дорог (в).

Рис. 3.17. Противоослепительные посадки кустарников на разделительной полосе автомобильной магистрали:

а - ширина разделительной полосы; б - расстояние между группами кустарника.

3.31. Дорожные знаки и указатели устанавливают за бровкой земляного полотна на расстоянии не ближе (но и не дальше) 3 - 4 м от кромки проезжей части на дорогах I, II и III категорий, и на расстоянии 2 - 3 м на дорогах IV и V категорий.

На дорогах I и II категории перед пересечениями или разветвлениями основных дорог должны быть помещены видимые издалека указатели направления движения, подвешенные на специальных кронштейнах или на тросах-растяжках, укрепленных на мачтах над проезжей частью на высоте 5 м. Ночью эти знаки должны быть освещены.

На автомобильных магистралях I категории знаки дублируют, устанавливая их на разделительной полосе и справа за бровкой земляного полотна.

Знаки устанавливают в таких местах, чтобы ближе 20 м от них не было других знаков, а также сооружений или предметов, отвлекающих внимание водителя или закрывающих вид на знак и затрудняющих его восприятие.

3.32. Для плакатов, напоминающих об отдельных положениях Правил движения, можно использовать обратную сторону дорожных указателей.

Категорически недопустимы на дорогах рекламные и агитационные плакаты, отвлекающие внимание водителей и представляющие собой угрозу жизни водителей и пассажиров, если они установлены ближе 20 м от проезжей части.

3.33. Конкретные места установки указателей назначают в пределах соответствующих перегонов дороги по архитектурной схеме, с тем, чтобы каждый из них мог попутно служить для усиления доминанты или для разграничения архитектурных бассейнов (в сочетании с кривыми в плане или в продольном профиле).

3.34. Помимо знаков, предусмотренных ГОСТ 10807-71, на дорогах необходимы нестандартные указатели, к которым можно отнести маршрутные схемы, оформление границ районов и республики и оформление въездов в города и поселки городского типа.

3.35. Маршрутные схемы устанавливают при въезде и выезде из городов и у важнейших пересечений или примыканий дорог общегосударственного и республиканского значения. На них показывают схему дороги (маршрута) с подъездами к ней, номера дорог (маршрутов), автозаправочные станции, города, а также основные расстояния по перегонам.

Маршрутная схема, как правило, должна быть двусторонней. Так, при въезде в город на одной ее стороне показывают схему проезда по дороге, начиная от данного города, а с другой стороны - схему проезда по улицам города с указанием выходов из него на другие автомобильные дороги. Там, где есть кольцевая дорога вокруг города или обходная дорога, показывают, кроме того, схему проезда по ним.

3.36. Маршрутные схемы устанавливают на специальной площадке вне земляного полотна, на которой предусматривают место для стоянки автомобилей, место отдыха со скамьей, тротуарную полосу вдоль стоянки (по типу парковых дорожек (рис. 3.18), а со стороны входа в город - и туалет.

3.37. Оформление пересечения дорогой границы районов или республики в пределах одной дороги должно быть однотипным и устанавливается так, чтобы его было видно издалека. С этой целью его помещают на возвышенностях - у выпуклых переломов продольного профиля или же на кривой в плане. Размеры и форма оформления границы должны контрастно выделяться на том фоне, который за ними расположен. Стоянок около этих знаков сооружать не следует.

3.38. В проектах дорог следует предусматривать монументально-декоративные средства оформления (плакаты, скульптуры, памятные доски, беседки, видовые площадки и стоянки), отмечающие знаменательные места исторического прошлого народа и великих людей нашей страны. Такие элементы оформления могут доминировать в отдельных архитектурных бассейнах дороги. Для их проектирования, особенно при благоустройстве дорог I и II категорий, необходимо привлечение архитектора (художника-конструктора).

3.39. Скульптуры и плакаты (знаки) на кривых в плане следует размещать с наружной стороны закругления на пересечении линий, продолжающих ось правых полос движения (траекторию автомобилей) на подходах к закруглению (рис. 3.19).

Рис. 3.18. Планировка стоянки около односторонней маршрутной схемы:

1 - основная дорога; 2 - стоянка; 3 - разделительный островок с газоном; 4 - тротуарная полоса; 5 - скамья; 6 - маршрутная схема; 7 - газон.

Рис. 3.19. Размещение элементов оформления дороги на кривых в плане.

4. Стоянки автомобилей и места кратковременного отдыха

3.40. На автомобильных дорогах общего пользования возможны три типа сооружений, предназначенных для кратковременного отдыха и стоянки автомобилей, сооружаемых органами дорожной службы:

1 - площадки отдыха всех видов и размеров;

2 - видовые площадки;

3 - стоянки автомобилей.

При выборе площадок для их строительства следует учитывать условия местности, обеспеченность естественного водоотвода, увязку внешнего вида автомобильной дороги и проектируемых сооружений и место сооружения в общем архитектурном ансамбле, а также, при возможности, наличие поблизости исторических или архитектурных достопримечательностей.

3.41. При проложении автомобильных дорог всех категорий (протяжением более 30 км) около торговых и общественных зданий, столовых, кафе, пунктов медицинской помощи и других мест с систематическими остановками автомобилей предусматривают стоянки, рассчитанные не менее чем на 5 легковых автомобилей. Кроме перечисленных, необходимы стоянки в комплексах обслуживания движения и у АЗС.

Как правило, стоянки у предприятий торговли, общественного питания и предприятий обслуживания движения предусматривают для приема автомобилей всех типов, а потому рассчитывают на размеры и вес грузовых автомобилей с полуприцепами. Стоянки только для легковых автомобилей предусматривают около музеев, парков, достопримечательностей; стоянки значительного размера с выделением отдельных мест стоянки для легковых, грузовых автомобилей и для автобусов предусматривают у придорожных гостиниц и в комплексах обслуживания.

3.42. Планировка стоянки зависит от размеров свободной площадки земли, её конфигурации, числа мест на стоянке, типа расчетного автомобиля и длительности его пребывания на стоянке; возможны, например, длительная стоянка (в течение ночи) или короткая, с частой сменой автомобилей (у магазинов, ресторанов, кафе).

Минимальное расстояние между кромкой покрытия на стоянке и кромкой проезжей части основной дороги - не менее 2,7 м, независимо от категории дороги. Съезды на стоянки желательно, по возможности, совмещать со съездами на дороги IV - V категорий и на местные и полевые дороги.

3.43. Исходя из соображений удобства пользования стоянкой и ее экономичности, возможны следующие рекомендации:

а - при устройстве стоянок на узких улицах населённых пунктов или на обрезах полосы отвода для небольшого числа автомобилей (не более 5 - 6), целесообразна продольная установка автомобилей под углом 0° к оси стоянки;

б - для кратковременной остановки большого числя автомобилей (например, у столовых, магазинов, отдельных памятников или у видовых площадок) следует предусматривать планировочные решения, обеспечивающие косую установку автомобилей под углом 45 - 5, сокращающие время на маневрирование при относительно небольшой по ширине полосе отводимой под стоянку земли;

в - для длительной стоянки большого числа автомобилей, а также в случаях, если возможно обеспечить лишь один выезд с территории стоянки, следует предусматривать планировочные решения, по установке автомобилей под углом 90°, т.е. перпендикулярно к направлению движения по полосе маневрирования. Эти требования относятся к стоянкам у придорожных гостиниц, мотелей, музеев, заповедников и к платным стоянкам.

3.44. При продольной установке автомобилейв затылок») и зазоре между ними в 1,0 м по концам, один легковой автомобиль занимает 7×2,5 м (площадь 16 кв.м).

При установке автомобилей бок о бок, между ними остается зазор шириной 1 м, без которого нельзя безопасно раскрыть дверцы и выйти; при этом условии на каждый легковой автомобиль требуется место размером 5×2,5 м (площадь 13 кв.м).

Для грузовых автомобилей требуется при продольном размещении 10×2,5 м (площадь 26 кв.м), а при установке бок о бок - 7×4 м (площадь 28 кв.м).

Для ориентировочного назначения суммарной площадки покрытия на стоянках (вместе с проездом и площадью для маневрирования) принимают в среднем 25 кв.м на легковой автомобиль, и 40 кв.м на один грузовой автомобиль.

При косой установке автомобилей на стоянке, каждому легковому автомобилю требуется место шириной 3 м (рис. 3.20-а) или, с учетом косой установки, ширина (вдоль фронта стоянки (рис. 3.20-б)) 3,3 м, то есть место размером 3,3×4,5 м (площадь 15 кв.м).

Рис. 3.20. Размеры места стоянки при косой установке автомобиля.

3.45. Место для маневрирования служит для въезда, выезда и для движения в пределах территории стоянки. Его ширина зависит от длины расчетного автомобиля, его минимального радиуса поворота (около 8 м у легковых и 16 м у грузовых автомобилей) и угла установки автомобилей на стоянке (рис. 3.21).

Не допускается выезд с территории стоянки на дорогу задним ходом, как и выезд на основную проезжую часть при маневрировании.

Желательно, чтобы проезд к месту установки автомобиля происходил при движении вперед, прямо и, по возможности, без маневрирования.

3.46. В заселенных пунктах вместимость стоянок и их размеры назначают согласно требований СНиП II-60-75, причём для легковых автомобилей принимают по 25 кв.м на одно место. Наименьшее число мест на стоянке - 3 автомобиля.

3.47. На всех местах кратковременного отдыха, стоянках и остановках общественного транспорта вне населенных пунктов желательны туалеты (санузлы) и мусоросборники. Туалеты могут быть как отдельностоящими, так и встроенными в здания АЗС, СТО и других предприятий обслуживания движения.

На всех стоянках вблизи АЗС, СТО и пунктов ГАИ, а также на стоянках в местах кратковременного отдыха (приблизительно через 30 км пути) предусматривают смотровые устройства для технического осмотра автомобилей (см. п. 3.63.).

На стоянках около постов ГАИ предусматривают устройства для регулировки фар автомобилей (рис. 3.22).

3.48. Перед въездом на стоянку, на основной дороге предусматривают переходно-скоростные полосы для торможения длиной, указанной в СНиП II-Д.5-72 для дорог соответствующей категории. За 100 м до начала переходно-скоростной полосы съезда на стоянку устанавливают указательный знак «стоянка разрешена» с дополнительной табличкой, указывающей расстояние до стоянки (в метрах).

На стоянках желательно устанавливать схему прилегающих участков дороги с указанием расстояний до соседних городов, до сооружений обслуживания движения. Возможны также краткие пояснения о ближайших достопримечательностях и пути к ним.

3.49. На стоянках в условиях Каз. ССР необходимо затенение полосы собственно стоянки автомобилей (рис. 3.23), для чего стволы деревьев или декоративные затеняющие стенки должны быть размещены в 1,8 - 2,0 м от кромки покрытия стоянки, притом с южной стороны. Озеленение стоянки может потребовать незначительного увеличения отводимых земель, но позволяет создать тень и одновременно разграничить места установки автомобилей. Посадка деревьев (желательно мелколистных, высокоштамбовых) или использование имеющихся насаждений возможны как по контуру площади стоянки, так и на небольших островках, которые предпочтительнее, особенно на больших стоянках (рис. 3.24).

Рис. 3.21. Планировочные решения мест стоянки автомобилей при различных углах установки автомобилей:

а - продольная установка автомобилей;

б - перпендикулярная установка автомобилей;

в - косая установка автомобилей.

Рис. 3.22. Площадка для регулирования фар автомобилей определённых типов:

1 - щит с разметкой;

2 - горизонтальная площадка.

Рис. 3.23. Создание тени на стоянке путём размещения посадок высоких деревьев около стоянки.

Рис. 3.24. Способы размещения деревьев на стоянках автомобилей:

а - вдоль фронта стоянки;

б - на островках при сквозном проезде через стоянку;

в - на выступах газона вдоль стоянки.

3.50. На автомобильных стоянках рекомендуется применять дорожную одежду облегченной конструкции, по сравнению с одеждой проезжей части основной дороги. Уклоны покрытия следует назначать в пределах от 4 до 25 .

3.51. Кратковременный отдых в пути предполагает остановку продолжительностью, как правило, менее 1 часа, то есть без ночлега. Для кратковременного отдыха необходимо сооружение специальных мест кратковременного отдыха, так как остановка на обочинах дороги допустима только в случае технической неисправности автомобиля. Места отдыха должны не только обеспечивать отдых проезжающих и технический осмотр автомобилей, но и быть достаточно привлекательными, чтобы вызывать желание ими воспользоваться.

При выполнении ремонтных работ на дороге, площадки отдыха допускается временно использовать для стоянки дорожных машин и механизмов, размещении запаса строительных материалов и в качестве объезда ремонтируемых мест.

3.52. Придорожные места кратковременного отдыха могут быть трех видов:

а) панорамные (они же видовые площадки, - см. п. 3.54);

б) пейзажные, расположенные в живописных местах с закрытым ландшафтом, - на лесной поляне, у водоемов среди деревьев, у опушки леса;

в) историко-монументальные, расположенные в местах, связанных с историческими событиями или с жизнью и деятельностью великих людей.

3.53. Площадки отдыха предназначены для кратковременного отдыха в пути водителей и пассажиров автомобилей и для технического осмотра автомобиля (без его мойки или смены масла). Они должны быть, как правило, отделены от проезжей части основной дороги. Выбор места для площадки отдыха может быть связан с наличием живописного пейзажа или же с обзором пейзажа не связан.

3.54. Видовую площадку устраивают в местах, откуда открывается живописная панорама развитого в глубину пространства, что возможно на перевалах, закруглениях дороги, над обрывом у водотока или водоема, на подходах к высокому месту, на возвышенности, с которой открывается панорама города или исторических мест и других достопримечательностей. На стоянке у видовой площадки предусматривают размещение автомобилей всех типов. В отдельных местах при устройстве видовой площадки возможно размещение мест торговли или общественного питания.

3.55. Места кратковременного отдыха размещают, как правило, на обрезах полосы отвода или за счет незначительного ее уширения. Они должны располагаться не ближе 1,5 км от населенных пунктов, мотелей, ресторанов или АЗС.

Площадки отдыха преимущественно для грузовых автомобилей и автобусов устраивают в виде полосы уширения вдоль проезжей части основной дороги, расположенной на земляном полотне последней; на ней укладывают такую же дорожную одежду, как на основной дороге.

Площадки отдыха для легковых автомобилей всегда должны быть отделены от проезжей части основной дороги (в пределах основной полосы отвода или вне ее) островком шириной, достаточной для размещения 2 рядов деревьев и кустарника между ними; их устраивают не более чем на 3 - 5 автомобилей, предусматривая облегченное покрытие полосы стоянки.

В естественных условиях (в пригородной зоне, на ценных землях) возможно устройство общей площадки отдыха для автомобилей всех типов. Это может быть также целесообразным при капитальном ремонте или реконструкции дороги, когда для стоянки в местах кратковременного отдыха используют покрытие, брошенное при спрямлении дороги из крутых кривых старой трассы.

3.56. Местоположение площадок выбирают на прямых участках дороги с небольшим продольным уклоном (не более 30 ), с обеспеченным естественным водоотводом и ровной, сухой поверхностью земли. Уровень земли на стоянке не должен отличаться от уровня обочин основной дороги более, чем на 0,5 м, чем сокращаются затраты на планировку территории и постройку съездов. Исключение допустимо только для площадок тупикового типа (см. п. 3.61).

3.57. В местах кратковременного отдыха желательны источники воды для охлаждения двигателя, а при возможности - и для питья. Около них обязательна надпись «питьевая вода».

Колодцы, ручьи и родники с водой, которую нельзя по санитарным нормам рекомендовать для питья, ограждают надписью «вода не для питья».

3.58. В любых местах кратковременного отдыха следует предусматривать три планировочных зоны, зрительно четко отделенных друг от друга:

- зоны стоянки автомобилей со въездами и выездами и сооружениями при них для технического осмотра автомобилей (зона «А»);

- зона отдыха с ее оборудованием навесом для укрытия от непогоды, столами и скамьями и декоративным озеленением (зона «О»);

- санитарно-гигиеническая зона с мусоросборником, туалетом и декорирующим их озеленением (зона «С»).

3.59. Планировка площадок отдыха и видовых площадок в зависимости от конфигурации в плане зоны стоянки (зона «А») может быть линейного или тупикового типа. Линейный тип планировки требует меньшего дополнительного отвода земель и потому более распространен. Тупиковый тип планировки применяют в случае, если живописные или удобные для устройства площадки места расположения в стороне от основной дороги.

3.60. При сквозном движении по площадке без разворота автомобилей (линейный тип планировки) требуется 2 съезда (въезд и выезд) с размерами съездов по нормам дорог IV категории (ширина проезжей части 3 м и обочины по 2 м). Линейные площадки представляют собой «карман», иногда отделенный от дороги полосой деревьев и кустарника. Они особенно целесообразны при их размещении на узкой полосе земли между дорогой и сельскохозяйственными угодьями либо между дорогой и обрывом или водотоком (рис. 3.25).

На стоянке обочины принимают шириной 2 м с левой стороны (для обгона) и 1 м справа; возможна другая планировка стоянки: обочина шириной 2,5 м слева, а справа бордюр высотой 15 см над покрытием.

3.61. Тупиковая схема планировки целесообразна в лесу, если в стороне от дороги лежит поляна, озеро, брошенный карьер; если вид на мост требует выноса видовой площадки в сторону от дороги.

На площадке тупикового типа ширину проезжей части принимают как на дорогах V категории, то есть 4,5 м, с обочинами шириной по 1,75 м. Для обеспечения разъезда встречных автомобилей либо устраивают покрытия серповидного профиля, либо обочины укрепляют на ширину по 0,75 м.

Рис. 3.25. Основные планировочные элементы площадок отдыха с линейной планировкой:

1 - основная дорога;

2 - разделительный островок;

3 - полоса проезда;

4 - стояночная полоса;

5 - зона отдыха.

Рис. 3.26. Зона отдыха, расположенная выше зоны стоянки автомобилей, с видом на пейзаж, обозреваемый через дорогу.

Съезды, ведущие к площадке тупикового типа, стремятся прокладывать по гребню поперечных гряд рельефа, чтобы упростить водоотвод, и либо искривляют в плане, либо трассируют их под некоторым углом к направлению основной дороги (но не перпендикулярно!).

Тупиковая площадка должна оканчиваться либо поворотным кольцом с радиусом по оси проезда не менее 12 м (рис. 3.27), либо сооружают прямоугольную площадку для разворота размерами в плане не менее 30×20 м. Между кромкой покрытия такой площадки (кольца) и стеной здания, оградой, бровкой откоса (обрыва), подпорной стенкой и т.п. необходимо предусматривать обочину в виде полосы газона или пешеходной дорожки шириной не менее 1,5 м.

На поворотном кольце устраивают покрытие в виде полосы шириной 4,5 м с центральным островком шириной (или диаметром) 20 м, который приподнимают над уровнем покрытия на 5 - 10 см без окаймления его бордюром.

3.62. В стесненных условиях, а также на горных и парковых дорогах допускается устройство стоянки (зоны «А») вдоль основной проезжей части на том же земляном полотне, а зоны отдыха - в стороне от дороги, иногда значительно выше или ниже (рис. 3.25).

На видовых площадках зона «О» (она же обзорная зона) должна быть расположена так, чтобы стоящие в зоне «А» автомобили не закрывали вида. Для этого стоянки размещают с нагорной стороны, либо на 3 - 5 м ниже зоны отдыха, либо в стороне от последней.

3.63. В зоне «А», кроме въезда, выезда и полосы стоянки, может быть через 30 - 40 км пути предусмотрено осмотровое устройство - эстакада или полуэстакада.

Рис. 3.27. Характерная планировка площадки отдыха тупикового типа:

Н - навес для укрытия от непогоды;

С - столы;

М - мусоросборник;

Т - туалет.

Эстакады устраивают в равнинном рельефе при невозможности устройства полуэстакады. При наличии даже небольшой косогорности возле зоны «А», на площадке отдыха целесообразно сооружение полуэстакады (рис. 3.28), позволяющей обслуживать автомобиль не только с боков, но и снизу, и обеспечивающий простейший и надежный водоотвод из канавы.

Рис. 3.28. Смотровая полуэстакада на площадке отдыха.

3.64. Вблизи крупных городов (областных центров) вместо полуэстакады на площадке желательно устройство моечной площадки с водоснабжением от местного водопровода и с сооружением отстойников для очистки загрязненных сточных вод. Основные размеры мойки автомобилей показаны на рис. 3.29.

Рис. 3.29. Конструктивные элементы площадки для осмотра и мойки автомобилей. (Стрелками указано направление стока воды)

3.65. Пространство зоны отдыхаО») зрительно отделяют от зоны стоянки автомобилейА»), для чего между ними помещают 2 - 4 дерева или высоких кустарника. Зона отдыха может быть устроена не только вблизи стоянки, но и в стороне, за деревьями, иногда на другом уровне, выше или ниже дороги. На косогоре зона отдыха может быть отделена от зоны стоянки откосом, подпорной стенкой, зелеными насаждениями или водотоком (канава, ручей). К ней прокладывают дорожку, иногда с пешеходным мостиком или лестницей шириной 1,5 м.

Пространство зоны отдыха может быть расчленено на отдельные изолированные уголки (своеобразные комнаты на воздухе), что достигается посадкой однорядной живой изгороди, групп высоких кустов с 1 - 2 деревьями, а в некоторых случаях путем устройства декоративных стенок и трельяжей (опорных решеток с вьющимися растениями). Стенки могут быть созданы из камня, кирпича или бетона.

3.66. Столы и скамьи должны иметь простую, дешевую и прочную конструкцию, пригодную для использования на открытом воздухе. Основания столов и скамей - из природного камня, кирпича, бетона, пней или деревянных брусьев; столешницы столов - из пластика, досок или бетона. Сиденья скамей - только из деревянных реек.

Отдельно стоящие скамьи на видовых площадках должны быть со спинками и слегка наклонными сиденьями, поскольку здесь приятно расслабиться, спокойно созерцая природу. В остальных случаях проще в эксплуатации и дешевле предусматривать скамьи без спинок с горизонтальными сиденьями.

Возможно применение скамей и столов на пнях, а также скамей в виде бревен, затесанных с одной стороны.

3.67. Санитарная зона должна быть размещена при въезде, рядом с зоной отдыха, так чтобы можно было, въезжая на площадку, заметить наличие туалета.

В санитарной зоне предусматривают 1 - 2 туалета, мусоросборник и декорирующее озеленение. Дорожку, соединяющую туалет с другими зонами площадки, нельзя прокладывать по прямой. Её обязательно трассируют с 1 - 2 поворотами, внутри которых размещают либо густокронные высокие кустарники, либо низкоштамбовые деревья с густой листвой.

От дороги или зоны стоянки к туалету расчищают проезд шириной около 3 м для специальных автомобилей, обеспечивающих очистку туалетов с выгребом.

Мусоросборник, помещаемый в начале дорожки, не должен бросаться в глаза, но и не декорируется, как туалет, он должен быть доступно расположен и побуждать к его использованию. Его сооружают в виде металлических урн, закрываемого бака или ямы с бортиком.

Практика показывает, что посетители поддерживают чистоту на площадке, если последняя выглядит ухоженной и её зона отдыха просматривается из зоны стоянки, а санитарная зона размещена поблизости и мусоросборник находится невдалеке от столов и навеса на площадке (но не ближе 30 м).

3.68. Рекомендуемое размещение дорожных знаков, в соответствии с ГОСТ 10807-71, около съездов к различным сооружениям обслуживания движения (СТО, АЗС, комплексы обслуживания) показано на рис. 3.30.

Указательные знаки около мест кратковременного отдыха следует предусматривать за 2 - 3 км до площадки, за 100 м до начала переходно-скоростной полосы или, при её отсутствии, до съезда на площадку. У выезда с площадки (стоянки) на дорогу устанавливаю знаки «Левый поворот запрещён» для выезжающих автомобилей и «Въезд запрещен» - со стороны основной дороги (последний знак не устанавливают на съездах к площадкам тупикового типа).

Рис. 3.30. Разметка проезжей части и расстановка дорожных знаков около комплексов обслуживания движения.

ГЛАВА 4. ТРЕБОВАНИЯ К РАССТАНОВКЕ ДОРОЖНЫХ ЗНАКОВ

1. Принципы расстановки дорожных знаков

4.1. Дорожные знаки устанавливают в соответствии с категорией дороги, транспортно-эксплуатационными характеристиками отдельных участков и принятой схемой организации движения пешеходных и транспортных потоков на основе учета требований ГОСТ 10807-71.

4.2. Работу по проектированию расстановки знаков следует выполнять в несколько этапов:

I этап. Обеспечение зрительного ориентирования и информации водителя о всем маршруте следования и расположении зон обслуживания движения.

II этап. Анализ состояния опасных участков дороги (населенные пункты, пересечения, мосты, тоннели, железнодорожные перепады, горизонтальные и вертикальные кривые, сужения, подъемы, спуски, прямые участки, придорожные комплексы обслуживания, площадки отдыха, места оживленного пешеходного движения) и проверка соответствия их транспортно-эксплуатационных характеристик требованиям безопасности и удобства движения в различное время суток и года.

III этап. Уточнение видов знаков и мест их расположения на сопряжениях опасных зон. Изыскание возможностей уменьшения числа знаков без ущерба для безопасности движения. Оценка необходимости введения ограничений максимальных и минимальных скоростей на всей дороге или в отдельных зонах. Окончательное уточнение размеров знаков, устранение противоречивых знаков.

4.3. На I этапе работы основная задача проектировщиков, эксплуатационников и специалистов по организации движения заключается в размещении по всей длине дороги основных знаков, информирующих водителей: нанесение на график километровых знаков (4.18), маршрутных марок (4.19), маршрутных схем, указателей расстояний (4.16), указателей наименований рек, озер, перевалов, населенных пунктов (4.5 - 4.6, 4.17), знаков, указывающих начало и конец скоростной дороги (4.3 - 4.4), предварительных указателей направлений у пересечений (4.14), указательных знаков «Автозаправочная станция» (4.20), «Пункт технического обслуживания» (4.21), «Пункт медицинской помощи» (4.22), «Телефон» (4.23), «Пункт питания» (4.24), «Гостиница» (4.25), «Кемпинг» (4.26).

При этом учитывается необходимость повторения надписей на национальном языке республики или на дорогах, по которым намечено открыть движение иностранных автотуристов, повторение надписей, выполненных латинскими буквами, передающими произношение названий на соответствующем национальном языке.

На всех дорогах должны быть обозначены знаками подъезды к достопримечательностям и пункты обслуживания движения (знаки 4.12, 4.20 - 4.26). Эти знаки наносят на схему, учитывая необходимость их повторения по длине дороги, в соответствии с условиями их применения.

На первом этапе также намечают ориентировочное расположение и содержание изображений предварительных указателей направлений 4.14, указателей расстояний 4.16 и указателей направлений на пересечениях 4.15, учитывая необходимость информирования, в первую очередь, проезжих водителей, не знакомых с дорогой, а также устанавливая преимущество в движении транспортных средств на перекрестках.

4.4. На втором этапе проектирования расстановки знаков приступают к детальному размещению знаков на отдельных участках с реальной или потенциальной опасностью. Эти участки и их границы следует устанавливать на основе совместного рассмотрения плана дороги, продольного профиля, графиков коэффициентов аварийности, пропускной способности и уровней загрузки, графиков скоростей движения и коэффициентов безопасности, данных о дорожно-транспортных происшествиях.

Вначале следует условно разделить всю дорогу по протяженности на две группы участков: населенные пункты и перегоны. Затем, в пределах каждого участка, следует выделить следующие элементы: перекрестки, мосты, путепроводы, тоннели, железнодорожные переезды, горизонтальные и вертикальные кривые, сужения, подъемы, спуски, прямые участки, придорожные комплексы обслуживания, площадки отдыха, автобусные остановки, стоянки, места оживленного пешеходного движения. Некоторые элементы могут быть проанализированы совместно.

Для каждого элемента или группы элементов должна быть составлена подробная схема организации движения с учетом возможного использования линий разметки и светофорной сигнализации.

В пределах каждого участка должны быть выделены следующие конфликтные зоны:

1) Зоны оживленного пешеходного и велосипедного движения вдоль проезжей части или поперек нее и зоны возможного скопления людей, ожидающих попутных автомобилей.

2) Зоны, где часто происходит изменение скорости движения или маневры автомобилей:

- автобусные остановки, места кратковременной остановки и длительной стоянки автомобилей;

- участки, где часто происходят обгоны и смена полос движения;

- зоны пересечения, разветвления и переплетения транспортных потоков, разворота автомобилей и изменения траекторий движения;

- зоны, в которых резко изменяется скорость свободного движения автомобилей (коэффициент безопасности менее 0,8);

- зоны, где резко уменьшается скорость движения потоков автомобилей из-за повышенной плотности движения или появления медленно движущихся тракторов, гужевых повозок, сельскохозяйственных машин.

3) Зоны, в которых ширина проезжей части, число полос, габариты высоты или допустимые нагрузки от веса автомобилей меньше, чем на предшествующих участках.

4) Зоны с ограниченной видимостью в плане и профиле.

5) Зоны, в которых в различное время года возникают густые туманы, гололед, сильный боковой ветер, неровности покрытия, появляется опасность падения камней, выхода животных на дорогу.

6) Зоны со светофорным регулированием и односторонним движением.

4.5. Работу по составлению проекта расстановки знаков следует сочетать с разработкой плана мероприятий по перестройке опасных участков и организации на них движения.

Для этого на существующих дорогах необходимо ознакомиться со схемой организации движения, предусматривая введение в нее соответствующих изменений. В проектах новых дорог должна отмечаться необходимость изменения сочетания геометрических элементов или планировки отдельных зон, для исправления недостатков, выявленных при оценке степени опасности движения по дороге, и разработке мероприятий по организации движения.

4.6. На основе анализа соответствия транспортно-эксплуатационных характеристик рассматриваемого отрезка дороги фактическим режимам движения автомобилей должны быть намечены в уже принятой последовательности места установки указательных, предупреждающих, предписывающих и запрещающих знаков. Особо необходимо отмечать участки, где необходимо вводить временные ограничения в отдельные периоды года (гололед, туман, боковой ветер, падение камней). Выбор видов знаков (главным образом запрещающих) выполняют на основе известных закономерностей воздействия знаков на режимы движения автомобилей.

На этом же этапе должен быть ориентировочно назначен размер знаков, выполнена оценка необходимости повторения знаков по длине дороги, дублирования в поперечной плоскости дороги и подвески указателей над проезжей частью. Одновременно должен быть решён вопрос о необходимости использования объёмных знаков, световых табло и многопозиционных дорожных знаков.

Рис. 4.1. Схема расстановки дорожных знаков.

4.7. После расстановки знаков в отдельных зонах, на III-м этапе приступают к общей компоновке и взаимной увязке знаков и анализируют необходимость введения ограничения максимальных скоростей по всей дороге.

При этом следует провести уточнение видов знаков, назначение их размеров, мест расположения на дороге, изучить возможность сокращения числа знаков без ущерба для удобства и безопасности движения, оценить необходимость введения ограничения скорости движения по всей дороге и откорректировать схему расстановки знаков (рис. 4.1).

2. Условия применения и общие указания по установке дорожных знаков

4.8. В соответствии с ГОСТ 10807-71 дорожные знаки разделены на 4 группы: предупреждающие, запрещающие, предписывающие и указательные.

Дорожным знакам присвоены номера: первая цифра - номер группы, к которой принадлежит знак; вторая - порядковый номер знака в группе. Для знаков, имеющих одинаковое смысловое содержание, сохраняется общий порядковый номер, а их разновидности обозначены буквенными индексами.

4.9. Каждая группа знаков в соответствии с ГОСТ 10807-71 имеет характерную форму, цвет фона и каймы и назначение, которые должны строго выдерживаться, при установке знаков на дорогах.

4.10. Предупреждающие знакиорма равностороннего треугольника с белым фоном, красной каймой и черным символом) принимают для заблаговременного оповещения водителя о характере предстоящей опасности и необходимости принять меры предосторожности, соответствующие обстановке.

4.11. Запрещающие знаки применяют для введения различных ограничений:

- знаки 2.1 - 2.14 запрещают движение всех или отдельных участников движения, отдельных типов транспортных средств или транспортных средств, имеющих определенные весовые или габаритные характеристики;

- знаки 2.15 - 2.24 запрещают выполнение определенных действий (маневров).

Запрещающие знаки имеют форму круга (кроме знака 2.15) с белым фоном (кроме знаков 2.1, 2.15 с красным и знаков 2.22, 2.23 с голубым фоном) и красной каймой. Знаки 2.25, показывающие конец зоны действия соответствующих запрещающих знаков, имеют черную кайму.

4.12. Предписывающие знаки (форма круга с голубым фоном, узкой белой каймой и белым символом) применяют для введения определенных режимов движения путем указания разрешенных направлений движения, определенной минимальной скорости движения или путем разрешения использовать участок дороги только определенным участникам движения.

4.13. Указательные знаки применяют для информирования водителей об особенностях установленного на дороге режима движения, о расположении различных объектов и направлениях движения к ним.

Указательные знаки имеют форму прямоугольника с голубым фоном (кроме знаков 4.1, 4.2 с желтым и знаков 4.5,а, 4.6,а с белым фоном).

4.14. Дополнительные средства информации (прямоугольные таблички с белым или голубым фоном) применяют отдельно или в сочетании с другими дорожными знаками для уточнения, ограничения или усиления их действия.

4.15. При установке знаков необходимо тщательно учитывать местные условия, оценивая возможную видимость в светлое и темное время, удобство содержания дороги и знаков, условия движения в плотном потоке, удобство содержания дороги и знаков, а также возможности предотвращения случайных или преднамеренных повреждений знаков.

4.16. Перед любым участком дороги должен быть установлен только один знак. В исключительных случаях, когда знаки дополняют друг друга, усиливая внимание водителя к опасному участку, разрешается установка не более 3-х знаков.

4.17. На автомобильных дорогах стойки знаков следует устанавливать на бермах, присыпанных к обочине (рис. 4.2,а), откосах насыпи (рис. 4.2,б) или на полосе отвода за боковой канавой (рис. 4.2,в). При установке знаков по указанным схемам следует соблюдать следующие требования:

- расстояние между ближним к проезжей части краем знака и бровкой земляного полотна дороги должна составлять 0,5 - 2,0 м;

- нижний край знака должен возвышаться под уровнем кромки проезжей части на 1,5 - 2,0 м.

4.18. Верхний предел установки знака (п. 4.17) следует использовать:

- на участках, где знаки располагают ближе 3,0 м от кромки проезжей части;

- в районах, где возможны случаи преднамеренных повреждений знаков (на окраинах городов, вблизи мелких населенных пунктов, в туристских и курортных районах);

- на участках, где знаки устанавливают за выпуклыми переломами продольного профиля.

4.19. На участках, где устроены полосы или площадки для стоянки автомобилей, знаки следует располагать до или после них или поднимать над ними на высоте от 5,0 до 5,5 м (рис. 4.2,г).

4.20. На горных дорогах допускается установка стоек на обочинах в стесненных условиях (у обрывов, выступов скал, парапетов и т.п.) при условии, что расстояние между ближним к проезжей части краем знака и кромкой проезжей части составляет не менее 1 м (рис. 4.2,д). Рекомендуется устанавливать стойки за парапетом в сторону откоса, встраивать в блоки парапета или устанавливать между отдельными блоками парапета. На участках, где установлены балочные или тросовые ограждения, рекомендуется располагать стойки за ограждениями в сторону от проезжей части, ближе к опорам, или закреплять непосредственно на опорах ограждений.

4.21. Разрешается установка знаков на разделительной полосе для дублирования знаков, расположенных с правой стороны дороги или над проезжей частью, а также при необходимости регулирования движения по внутренней полосе проезжей части, при условии, что знаки не ограничивают видимость, а стойки легко срезаются или ломаются при наезде автомобиля, не нанося ему существенных повреждений (стойки из тонких металлических труб, деревянные стойки с ослабленным сечением и т.п.). Массивные железобетонные и металлические стойки можно устанавливать на разделительной полосе только при защите их ограждениями.

4.22. На разделительной полосе вогнутого профиля шириной более 2 м следует устанавливать стойки ближе к кромке проезжей части того направления движения, для которого предназначен знак, как правило, на расстоянии не менее 0,5 - 1 м от оси разделительной полосы (рис. 4.2,е). Ближний к проезжей части край знака должен находиться на расстоянии 2,5 - 4 м от кромки проезжей части. При установке легкодеформируемых стоек на узких разделительных полосах расстояние от ближнего к проезжей части края знака должно составлять не менее 1 м (рис. 4.2,ж). Такое расположение знака допустимо в исключительных случаях, как правило, применительно к временным знакам. Если на разделительной полосе установлены ограждения, то стойки следует располагать ближе к их опорам на расстоянии 1 м вдоль линии ограждения (рис. 4.2,з). Край знака не должен выступать за линию ограждения.

Рис. 4.2. Способ установки знаков на автомобильных дорогах.

4.23. Большие щиты знаков 4.14, 4.16 и нестандартных указателей на автомобильных дорогах следует устанавливать на стойках, расположенных на присыпанных к обочине бермах (рис. 4.3,а), откосах насыпей и выемок (рис. 4.3,б) или на полосе отвода за боковой канавой (рис. 4.3).

4.24. Ближний к проезжей части край знака должен быть расположен на расстоянии 0,5 - 6 м от бровки земляного полотна. На дорогах I - II категорий необходимо защищать массивные стойки указателей ограждениями, если расстояние от кромки проезжей части до стойки менее 3 м. На участках, где установлены ограждения, следует располагать стойки ближе к их опорам так, чтобы расстояние между краем знака и опорой составили не менее 0,75 м (рис. 4.2,г). Расстояние между краем знака и кромкой проезжей части или краем укрепленной полосы обочины должно быть не менее 1,5 м (рис. 4.2,а - д).

4.25. Большие щиты указательных знаков рекомендуется закреплять на наклонных стойках, установленных рядом с земляным полотном дороги или на откосах выемок (рис. 4.2,д - е). Такая конструкция стоек позволяет располагать край знака на расстоянии 0,5 - 1,0 м от бровки земляного полотна, не устанавливая ограждения.

В трудных условиях (при большой высоте насыпи или при установке стоек на откосе раскрытой выемки) можно увеличивать это расстояние до 5,0 м.

4.26. На участках, где невозможно установить стойки на откосе насыпи или рядом с земляным полотном (на высоких насыпях с крутыми откосами, у водотоков, болот, железнодорожных линий, вблизи застройки и т.п.), щиты знаков рекомендуется подвешивать над обочинами на консолях, прикрепленных к массивным стойкам (рис. 4.3,ж).

Расстояние от нижнего края щита до уровня кромки проезжей части должно быть от 5,0 до 5,5 м. Стойки должны быть защищены ограждениями.

4.27. На дорогах I - II категории знаки целесообразно устанавливать над проезжей частью на арках, рамах, тросах-растяжках. Опоры несущих конструкций должны располагаться на расстоянии не менее 0,5 м от бровки дороги и не менее 2,5 м от края проезжей части на разделительной полосе. Расстояние между нижним краем знака и уровнем проезжей части должно быть от 5,0 до 5,5 м (рис. 4.3,з, и).

Рис. 4.3. Способы установки указателей на автомобильных дорогах.

4.28. Допускается установка знаков на пролетных строениях путепроводов и порталах тоннелей, при условии, что они не выходят за габариты, отведенные для транспортных средств. Указатели направлений можно устанавливать на островках безопасности, обеспечивая минимальное расстояние между нижним краем знака и поверхностью земли на островке - 0,6 м.

4.29. В населенных пунктах знаки следует устанавливать на индивидуальных стойках или колонках (рис. 4.4,а), на одной стойке со светофором (рис. 4.4,б), на кронштейнах, прикрепленных к осветительным мачтам (рис. 4.4,в), опорам контактной сети трамваев и троллейбусов (рис. 4.4,г, е) или стенам зданий (рис. 4.4,д), на тросах-растяжках, прикрепленных к зданиям (рис. 4.4,е), натянутых между зданием и специальной опорой (рис. 4.4,ж) или между осветительными мачтами (рис. 4.4,з). Допускается установка знаков над сигнальными столбиками с проблесковыми огнями (рис. 4.4,и).

4.30. При установке знаков в населенных пунктах над проезжей частью или обочиной, расстояние от нижнего края знака до уровня проезжей части должно составлять 5,0 - 5,5 м. При установке знака за пределами проезжей части и обочины нижний край знака должен возвышаться над уровнем проезжей части на 2,0 - 3,6 м. Расстояние от ближнего края к проезжей части края знака до границы проезжей части должно быть в пределах 0,5 - 2,0 м (рис. 4.4,а, б, в, д).

4.31. Расстояние краев знаков от проводов осветительной сети должно составлять не менее 1,0 м, от проводов контактной сети трамваев и троллейбусов 2 - 2,5 м, а от проводов сети высокого напряжения - не менее 3,0 м. В пределах охранной зоны высоковольтных линий подвеска знаков на тросах-растяжках запрещается.

4.32. Знаки, расположенные справа по ходу движения, следует повторять на той же стороне дороги, дублировать на ее левой стороне, разделительной полосе или над проезжей частью, если условия движения таковы, что знак, расположенный справа, может быть своевременно не замечен водителем. Эти дополнительные знаки следует устанавливать в случаях, предписанных ГОСТ 10807-71 и на участках с интенсивным движением, где знаки установленные справа плохо видны из-за движущихся шин стоящих транспортных средств.

4.33. Рекомендуется устанавливать дополнительные знаки (главным образом запрещающие и предупреждающие об опасностях), которые не могут быть своевременно замечены водителем при обозрении дороги или вводящие определенные правила движения (при интенсивности движения, указанной в табл. 4.1), если информация подобного вида не дублируется на предварительных указателях направлений или других знаках.

Рис. 4.4. Способы установки знаков в населённых пунктах.

4.34. Кроме случаев, указанных в п. 4.33, знаки подвешивают над проезжей частью в следующих случаях:

а) на участках, где боковое размещение знака невозможно;

б) когда это единственный способ, обеспечивающий хорошую видимость знака;

в) при необходимости регулирования движения по отдельным полосам.

Таблица 4.1

Сочетания знаков

Область применимости знаков

Двух и трехполосные дороги

Четырехполосные дороги с разделительной полосой

Интенсивность движения по дороге, тыс. авт/сутки

Основной, с правой стороны дороги

До 3

До 5

Основной и повторный с правой стороны дороги

3 - 5

-

Основной, с правой стороны дороги, и дублирующий, на левой стороне или разделительной полосе

5 - 9

5 - 15

Подвесной, над проезжей частью, или обочиной

Более 9

Более 15

4.35. При установке знака следует учитывать какие коррективы следует вводить в схему организации движения и принимать меры по устранению противоречий с другими средствами организации движения.

4.36. Дорожные знаки должны иметь размеры, установленные ГОСТ 10807-71 и соответствующие этим знакам размеры табличек.

3. Особенности установки указательных знаков

4.37. На автомобильных дорогах применяют несколько разновидностей знаков-указателей направления, которые, с учётом предъявляемой участникам движения информации, можно классифицировать на 5 типов (рис. 4.5).

Тип I - предварительные указатели направлений, устанавливаемые на дорогах общего пользования. На указателях этого типа должны быть схематично показаны конфигурация пересечений, названия важных пунктов и номера дорог.

Рис. 4.5. Разновидности указателей направлений движения

Тип II - предварительные указатели направлений, устанавливаемые в населённых пунктах и на дорогах III - V технической категории.

На указателях этого типа стрелами показывают направления движения по отдельным маршрутам, названия важных пунктов и расстояния до них.

Тип Ш - указатели направлений на пересечениях дорог, информирующие водителей о маршрутах следования и расстояниях до важных населённых пунктов.

Тип IV - указатели направлений движения и назначения полос движения многополосных дорог. Эти знаки целесообразно устанавливать после предварительных указателей направления (тип I, тип II), для дополнения и уточнения переданной ими информации.

Тип V - указатели направлений для многополосных скоростных дорог, развешиваемые над проезжей частью.

4.38. Указательные знаки устанавливают:

- 4.1 - 4.4 - соответственно в начале и конце обозначаемых участков дороги;

- 4.5,а; 4.6,а - в местах, где необходимо соответственно ввести или отменить требования правил дорожного движения, относящихся к населенным пунктам;

- 4.5,б; 4.7 - 4.10; 4.13; 4.17 - непосредственно перед обозначаемыми объектами или участками дорог. При этом знаки 4.9 и 4.10,а устанавливают за перекрестком, а 4.9,б и 4.10,б - перед перекрестком;

- 4.6,б - в конце населенного пункта, обозначенного знаком 4.5, б;

- 4.11; 4.12; 4.20 - 4.26 - непосредственно у мест разворотов, обозначаемых объектов, мест поворота к ним или на расстоянии, указанном на знаке или дополнительной табличке 5.2,а, б;

- 4.14 - на дорогах (вне населенных пунктов) не менее чем за 300 м, а в населенных пунктах не менее чем за 50 м до перекрестка;

- 4.15 - в границах перекрестка;

- 4.18 - в конце каждого километра дороги (маршрута).

4.39. В зависимости от местных условий, можно повторить знак 4.1 «Главная дорога» перед перекрестком, а знак 4.19 «Номер дороги» - после перекрестков.

4.40. На дороге можно располагать дополнительные знаки 4.12; 4.20 - 4.26 с табличками 5.2,а, б, информирующие водителей о расположении площадок для стоянки, автозаправочных станций, пунктов технического обслуживания, медицинской помощи и питания, телефона, гостиницы, кемпинга.

4. Особенности установки предупреждающих и запрещающих знаков

4.41. Предупреждающие знаки, кроме знака 1.6, вне населенных пунктов устанавливают на расстоянии от 150 до 300 м, а в населенных пунктах - на расстоянии от 50 до 100 м до начала опасного участка. При необходимости эти знаки можно устанавливать на другом расстоянии, указываемом на табличке 5.2,а.

4.42. Знак 1.6 устанавливают непосредственно перед пересечением с главной дорогой. Вне населенных пунктов этому знаку должен предшествовать такой же знак с табличкой 5.2,а.

4.43. Запрещающие и предписывающие знаки устанавливают непосредственно перед участками дорог, на которых необходимо ввести соответствующие ограничения. Их можно устанавливать заблаговременно с табличкой 5.2, а.

4.44. Вне населенных пунктов знаку 2.15 должен предшествовать знак 1.6 с табличкой 5.2,в.

4.45. Независимо от интенсивности движения, вне населенных пунктов следует обязательно повторять знаки: 1.1 «Железнодорожный переезд со шлагбаумом»; 1.2 «Железнодорожный переезд без шлагбаума»; 1.8 «Разводной мост»; 1.9 «Выезд на набережную»; 1.20 «Дети»; 1.21 «Ремонтные работы».

Второй знак устанавливают не менее, чем за 50 м от опасного участка (железнодорожного переезда, разводного моста, паромной переправы, набережной, школы, зоны ремонтных работ).

4.46. Протяженность опасных участков, обозначенных знаками 1.11 - 1.16 и 1.20 - 1.23, указывают на табличках 5.1.

4.47. Действие запрещающего знака 4.16 и предписывающего 3.1 распространяется непосредственно на то пересечение, перед которым знак установлен. При установке знака 3.1 за перекрестком, его зона действия распространяется до ближайшего перекрестка.

Знак 3.1,а не запрещает повороты направо во дворы.

4.48. Зона действия запрещающих знаков 2.18 - 2.23 - до ближайшего перекрестка, а при его отсутствии в населенных пунктах, расположенных на автомобильных дорогах, - до конца населенного пункта.

При необходимости зону действия этих знаков можно уменьшить, применяя дополнительные таблички 5.1, а знаков 2.18 - 2.20, кроме того, установкой знаков 2.25 (а, б, в).

Зона действия знаков 2.22 и 2.23 может быть уменьшена применением табличек 5.3,г, д.

4.49. Знаки 2.22 и 2.28 действуют только на ту сторону дороги, на которой они установлены.

4.50. Если необходимо уменьшить зону действия одновременно двух или более ограничений, введенных запрещающими знаками 2.18 - 2.23, может применяться знак 2.25,г.

Действие знака 4.8, располагаемого здесь же, распространяется на весь перекресток.

4.51. Действие знаков 2.1 - 2.3 и 2.22 не распространяется на транспортные средства общего пользования, движущиеся по установленным маршрутам.

ГЛАВА 5. ТРЕБОВАНИЯ К РАЗМЕТКЕ И РАССТАНОВКЕ ЗНАКОВ НА ХАРАКТЕРНЫХ УЧАСТКАХ ДОРОГ

1. Кривые в плане

5.1. Кривые в плане влияют на транспортно-эксплуатационные качества автомобильных дорог, удобство и безопасность движения.

В зависимости от радиусов кривых, необходимо предусматривать на них устройство виражей, установку ограждений, разметку проезжей части, установку дорожных знаков.

5.2. На кривых с радиусами кривых менее 250 м должна быть предусмотрена установка с внешней стороны ограждений.

5.3. Вид разметки проезжей части на кривых в плане зависит от величины радиуса кривой:

а) на кривых с радиусом менее 250 м осевую разметку смещают к внешней кромке проезжей части (рис.5.1,а), принимая ширину внешней и внутренней полос движений в соответствии со следующими рекомендациями:

Величина радиуса по внутренней кромке проезжей части, м

Менее 75

75 - 100

100 - 150

150 - 250

Более 250

Отношение ширины внутренней полосы движения (а) к ширине внешней полосы (в) (см. рис. 5.1)

1,4

1,3

1,2

1,1

1,0

Вдоль внешней и внутренней кромок проезжей части должна наноситься краевая разметка.

б) на кривых с радиусами 250 - 400 м, независимо от обеспечиваемого расстояния видимости, разметка должна состоять из краевой полосы и осевой линии (рис. 5.1,б).

Краевую разметку следует начинать за 100 м до начала кривой и продолжать на 50 м после кривой.

в) на кривых с радиусами более 400 м при условии обеспеченной видимости осевую разметку можно наносить в виде прерывистой линии (рис. 5.1,в). При ограниченной видимости следует выделять разметкой зоны ограничений, запрещая в них перестроение и обгоны (рис. 5.2,в).

При высокой интенсивности движения в пределах кривой целесообразно выделять островок (рис. 5.2,б).

Рис. 5.1. Схемы разметки проезжей части автомобильных дорог на кривых в плане:

а - при величине радиуса кривой менее 250 м;

б - при величине радиуса 250 - 400 м;

в - при величине радиуса свыше 400 м.

Рис. 5.2. Схемы разметки проезжей части автомобильных дорог на кривых в плане:

а - при наличии обратных кривых;

б - при высокой интенсивности движения;

в - при ограниченной видимости в плане.

5.4. При наличии обратных кривых в плане разметку наносят в соответствии с рекомендациями рис. 5.2,а.

5.5. На кривых в плане, имеющих ширину проезжей части 6,0 м и менее, целесообразно укреплять внутреннюю кромку проезжей части в пределах кривой на ширину не менее 1,0 м.

5.6. На кривых в плане с ограниченной видимостью начало двойной линии 1.11, запрещающей для транспортных средств выезд на полосу встречного движения (см. рис. 5.2,в), устанавливают в точке с минимальной видимостью, обеспечивающей безопасность движения при данной скорости (см. табл. 5.1.).

Таблица 5.1.

Скорость 85 % обеспеченности, км/ч

30

40

50

60

80

100

120

Минимальное расстояние видимости, обеспечивающее безопасность движения, м

0 - 80

100

120

150

200

280

850

Примечание: Под расстоянием видимости подразумевается расстояние, на котором предмет, установленный на высоте 1,2 м над уровнем проезжей части, виден наблюдателю, глаз которого также находится на высоте 1,2 м.

5.7. Разметку проезжей части на кривых в плане необходимо устраивать в сочетании со знаками.

Знак 1.10а, б «Опасный поворот» рекомендуется устанавливать на всех кривых в плане с радиусами менее 250 м. При больших радиусах установка знака целесообразна, когда фактическая видимость меньше расчётной:

Радиус кривой, м

200

400

500

800

1000

Расчётное расстояние видимости, м

190

270

315

420

500

5.8. Знаки 1.10а, б устанавливают за 150 - 300 м от начала кривой (рис. 5.3). Рекомендуется информировать водителей о допустимой скорости движения на кривой, устанавливая под знаком 1.10а, б знак 2.20 с табличкой 5.2а. После кривой должен быть установлен знак 2.25в. Максимально допустимую скорость движения на кривых в плане следует назначать по табл. 5.2.

Рис. 5.3. Схемы установки дорожных знаков на горизонтальных кривых автомобильных дорог:

а - на дорогах с двумя полосами движения;

б, в - на дорогах с тремя полосами движения при различных схемах разметки проезжей части.

Таблица 5.2

Дорожные условия

Радиус кривых в плане, м

50

100

200

300

500

Максимально допустимая скорость, км/ч

Вираж 60 %

40

50

70

85

90

Горизонтальная проезжая часть

30

45

60

75

90

Внешняя сторона двухстороннего поперечного профиля

30

40

55

70

90

Если фактическая видимость на кривой меньше расчетной, то значения допустимой скорости движения должны быть уменьшены. Расчетные расстояния видимости имеют следующие значения:

Скорость 95 % обеспеченности, км/ч

50

80

100

120

150

Расстояние видимости, м

130

200

270

300

500

Если на подходах к кривой скорость движения намного превышает допустимую скорость, то целесообразно вводить ступенчатое регулирование скоростей, располагая знаки через 100 м и изменяя пределы скорости через 20 км/ч.

5.9. Разметка проезжей части кривых в плане дорог с тремя полосами движения может быть выполнена по схемам, приведенным на рис. 5.3,б, в.

Схема на рис. 5.3,в рекомендуется при необходимости создания преимущества для какого-либо направления движения (например, сочетание подъёма с кривой в плане, когда следует создать более лучшие условия для движения на подъём с выделением дополнительной полосы для медленных автомобилей).

В связи с наличием участка сужения, перед кривыми в плане трехполосных дорог должен быть установлен знак 1.17,в.

5.10. На кривых малого радиуса (менее 250 м), горизонтальная разметка должна дублироваться стрелами-указателями 5.11, устанавливаемыми с внешней стороны кривой. Указатели 5.11 необходимы для обозначения местонахождения и направления опасного поворота, обеспечивая видимость в тумане, в зимнее время или в темное время суток.

2. Участки подъёмов и спусков

5.11. Основной целью нанесения разметки на участках подъёмов и спусков является предупреждение обгонов в верхней части подъёма и в конце спуска при неблагоприятных условиях (недостаточное расстояние видимости, малая разница в скоростях обгоняющих и обгоняемых автомобилей).

5.12. Вид разметки проезжей части на участках подъёмов зависит от наличия дополнительной полосы движения.

При отсутствии дополнительной полосы и малой интенсивности движения тип разметки выбирают с учетом протяжения подъёма:

- при длине менее 200 м наносят сплошную осевую разметку ис. 5.4,б);

- при длине более 200 м в пределах подъема наносят прерывистую линию 1.5, а сплошную разметку выполняют только в пределах вертикальных кривых (рис. 5.4,в).

Рис. 5.4. Разметка проезжей части на подъёмах автомобильных дорог с обеспеченной видимостью при отсутствии дополнительной полосы для движения на подъём:

б - при длине подъёма менее 200 м; в - то же, более 200 м; I - линия приближения к сплошной разметке, устраиваемая в соответствии с требованиями черт. 4 ГОСТ 13508-74.

Рис. 5.5. Разметка проезжей части на подъемах автомобильных дорог при наличии дополнительных полос:

а - дороги с двумя полосами движения; б - то же, с тремя; I - линия приближения к сплошной разметке, устраиваемая в соответствии с требованиями черт. 4 ГОСТ 13508-74.

Рис. 5.6. Выделение дополнительной полосы для движения легковых автомобилей на автомагистралях:

1 - разделительная полоса;

2 - дополнительная полоса для движения легковых автомобилей;

3 - знак, поясняющий назначение дополнительной полосы.

5.13. При устройстве разметки на подъемах и спусках при отсутствии дополнительной полосы, при интенсивности движения свыше 1000 авт/сутки на спуске должна быть обязательно сделана краевая разметка 1.1 в дополнение к разметке, выполняемой в соответствии с рекомендациями п. 5.12.

Начало краевой разметки - за 100 м до начала выпуклой вертикальной кривой; конец - 50 м после конца вогнутой вертикальной кривой.

5.14. При наличии дополнительной полосы на подъем или на спуск на дорогах с двумя и тремя полосами движения, разметка устраивается в соответствии с рекомендациями, приведенными на рис. 5.5.

5.15. На подъемах и спусках с ограниченной видимостью на выпуклых переломах продольного профиля разметку проезжей части дорог с двумя полосами движения устраивают с учетом протяжения зон ограниченной видимости на основании рекомендаций ГОСТ 13508-74 (черт. 5 и 6).

При наличии ограничений видимости в продольном профиле на участках дорог с тремя полосами движения (включая дополнительную полосу на подъем), в пределах участка ограничения следует устраивать разметку 1.11 в соответствии с рекомендациями рис. 5.5.

5.16. На автомобильных магистралях при выделении дополнительной полосы на подъём для быстро движущихся автомобилей разметка проезжей части участков подъёмов и спусков должна соответствовать приведенной на рис. 5.6.

5.17. Установку дорожных знаков на подъёмах и спусках необходимо выполнять в соответствии со схемами, приведенными на рис. 5.7, с учетом количества полос движения и типа разметки проезжей части.

Располагать знаки следует в соответствии с положениями главы 4 настоящих «Рекомендаций».

5.18. Перед подъёмами большой крутизны необходимо предусматривать установку знака 1.18 с указанием величины уклона.

5.19. Перед спусками, превышающими, в зависимости от величины уклона, расстояния, приведенные ниже, целесообразна установка нестандартного указателя с надписью «Тормози двигателеми изображением знака 1.18:

Крутизна спуска, ‰

60

70

80

90

100

Длина спуска, м

800

850

250

200

150

5.20. Эффективность работы дополнительных полос повышается при установке знаков:

- знака 4.8 (см. рис. 5.7,г), устанавливаемого перед дополнительной полосой и в конце ее;

- знака 2.18 «Обгон запрещен» (рис. 5.7,д);

- знака 1.17,в «Сужение дороги» (рис. 5.7,д) и др.

5.21. В начале дополнительной полосы в первое время их работы после строительства целесообразна установка временного нестандартного указателя с надписью «Левый ряд для обгона» с табличкой 5.1, указывающей зону действия, которая распространяется на весь участок подъема.

5.22. При высокой интенсивности движения на участках спусков дорог с двумя полосами движения, при наличии дополнительных полос на подъём, следует запретить остановку автомобилей путем установки знаков 2.22 (рис. 5.7,г). Зона действия знака должна распространяться на всю длину спуска.

5.23. При устройстве аварийных въездов на горных дорогах должны быть установлены знаки:

- нестандартный плакат-указатель, предупреждающий о наличии въездаДо аварийного въезда ... м»), устанавливается за 300 - 400 м до въезда;

- знак 2.1 «Въезд запрещен», запрещающий съезд с дороги на аварийный въезд для остановки или стоянки; устанавливается непосредственно перед аварийным въездом.

Рис. 5.7. Схемы установки знаков на подъёмах и спусках.

3. Пересечения и примыкания

5.24. Основное назначение разметки на пересечениях и примыканиях - выделение полос для потоков автомобилей, движущихся в различных направлениях, и своевременное предупреждение водителей о назначении каждой полосы движения.

5.25. Вид разметки на пересечении в одном уровне выбирается в зависимости от типа пересечения: необорудованное, частично канализированное, кольцевое, отнесенного типа или регулируемое пересечения (см. ВСН 39-67 Минавтодора РСФСР).

5.26. Разметка в пределах каждого из перечисленных в п. 5.25 типов пересечения дорог в одном уровне осуществляется согласно индивидуально разрабатываемым схемам, с учетом местных условий движения и интенсивности и состава.

5.27. Основные параметры разметки на необорудованных пересечениях в одном уровне выбирают с учетом интенсивности движения на пересекающихся дорогах в соответствии с рекомендациями табл. 5.3 и рис. 5.8,а.

Таблица 5.3

Интенсивность движения по главной дороге, авт/сутки

Интенсивность движения по второстепенной дороге авт/сутки

До 500

1000

1500

2000

2500

Длина сплошной осевой линии на главной дороге, м

До 1000

200

250

300

400

600

2000

200

300

400

500

650

3000

300

400

500

650

750

4000

450

550

650

800

1000

5000

600

750

950

1100

1350

5.28. На опасных примыканиях, где водителям подъезжающих автомобилей трудно определить направление основной дороги (например, когда второстепенная дорога является продолжением главной дороги), разметку проезжей части рекомендуется выполнять в соответствии с рис. 5.8,б.

5.29. Разметку проезжей части примыканий к трехполосным дорогам рекомендуется выполнять в соответствии с рис. 5.8,в.

5.30. На пересечениях в разных уровнях основное внимание необходимо уделять разметке проезжей части на участках въездов и съездов с основной дороги, а также около опор и устоев путепроводов.

На пересечениях в разных уровнях неполного типа устранение возможных точек пересечения траекторий движения поворачивающих автомобилей достигается ограничением сплошной линией разметки мест въезда на главною дорогу.

Рекомендуемая разметка проезжей части в пределах пересечений в разных уровнях показана на рис. 5.9.

Рис. 5.8. Схемы разметки проезжей части на пересечениях автомобильных дорог в одном уровне:

а - простые пересечения; б - простое примыкание; в - примыкание к трехполосной дороге с канализированием движения по второстепенной дороге.

Рис. 5.9. Разметка проезжей части на участках въездов и съездов с основной дороги на пересечениях в разных уровнях.

Рис. 5.10. - Схемы проектирования островков на примыканиях автомобильных дорог.

Рис. 5.11. Схемы проектирования островков и разметки проезжей части на ответвлениях автомобильных дорог.

5.31. Особое внимание при нанесении разметки в пределах пересечений в разных уровнях необходимо уделять нанесению указательных и предупреждающих стрел и их дублированию (см. главу 2).

5.32. Разметка направляющих и разделительных островков на канализированных пересечениях автомобильных дорог должна выполняться с учетом требований главы 2 настоящих рекомендаций.

5.33. Форма островков и их размеры принимаются с учетом скоростей потоков автомобилей на пересекающихся дорогах.

Для главной дороги - это расчетная скорость для данной категории дороги, для второстепенной:

- для правых поворотов - не менее 30 км/ч;

- для левых поворотов - 15 - 20 км/ч.

5.34. Конструктивные параметры и форму островков следует принимать в зависимости от типа пересечения (примыкания) в соответствии с рекомендациями рис. 5.10 - 5.12.

5.35. На пересечениях и примыканиях автомобильных дорог водители должны быть заблаговременно проинформированы о расположении основных пунктов маршрута, порядке движения через пересечение, расположении пешеходных переходов и других особенностях обстановки.

5.36. В зависимости от скоростей движения на главной и второстепенной дорогах, расстояния боковой видимости и интенсивности движения на простых примыканиях второстепенной дороги к главной можно использовать одну из четырёх схем расстановки знаков (рис. 5.13). Схему 5.13,б, г рекомендуется применять на улицах, проездах и съездах, примыкающих к главной дороге на участках, где автомобили движутся с большими скоростями (горизонтальные прямые, спуски); на участках с ограниченной боковой видимостью.

Схему рис. 5.13, а, в рекомендуется применять в тех случаях, когда необходимо обеспечить право преимущественного проезда по главной дороге, при отсутствии постоянной необходимости остановки автомобилей, если условия не требуют применения знака 2.15 «Проезд без остановки запрещен» (на переходно-скоростных полосах, имеющих длину менее расчётной, и на любом пересечении, где наблюдения за движением подтверждают эффективность применения этой схемы).

Рис. 5.12. Расположение островков и схемы разметки проезжей части на пересечениях отнесённого типа:

а - геометрическая схема пересечения;

б - планировка пересечения при высокой интенсивности движения на второстепенной дороге;

в - то же, при малой интенсивности.

5.37. За 300 - 600 м от примыкания устанавливают предварительный указатель направлений 4.14, а за 150 - 300 м от примыкания устанавливают предупреждающие знаки 1.5а, б, в, или 1.6 с табличкой 5.2а, в. Указатель направлений на примыкании 4.15 для водителей, совершающих левый поворот на второстепенную дорогу, устанавливают параллельно направлению примыкающей дороги с левой стороны ее на одной стойке с указателем направлений для водителей, двигающихся по главное дороге во встречном направлении. Для знака следует выбирать место, хорошо обозреваемое с двух встречных направлений движения по главной дороге. На второстепенной примыкающей дороге располагают справа по направлению движения предварительный указатель направлений, если эта дорога не местного значения. Ближе к примыканию устанавливают знак 1.6 с дополнительной табличкой 5,2а, на которой указано расстояние до примыкания, или табличкой 5.2в, на которой показано расстояние до знака 2.15. Непосредственно у примыкания располагают знаки 1,6 или 2.15 (рис. 5.13,а - г).

5.38. Большое значение имеет правильная установка на пересечениях указателей 4.15, информирующих о дальнейшем направлении дороги. Схемы расстановки указателей приведены на рис. 5.14 - 5.16.

5.39. На подходах к скоростной дороге водитель должен быть заблаговременно предупрежден с помощью знака 4.3. Второй знак 4.3 должен быть установлен непосредственно у места примыкания второстепенной дороги. Этот знак заменяет знаки 1.6 и 2.15.

5.40. На пересечениях в разных уровнях особенности планировки требуют индивидуального решения расстановки и проектирования самих знаков. Основные направления движения, рекомендуемая скорость и возможность совершения определенных маневров должны быть подсказаны водителю дорожными знаками и, в первую очередь, указателями направлений, как предварительными (4.14), на которых дана упрощенная схема развязки, так и указателями направлений 4.15, размещаемыми непосредственно у ответвлений. Покидая зону транспортной развязки, водитель должен получить подтверждение в правильности выбора маршрута дальнейшего пути следования. На рис. 5.17 показаны схемы установки знаков на ответвлениях дорог.

Рис. 5.13. Схемы расстановки знаков на пересечениях и примыканиях автомобильных дорог в одном уровне:

а - примыкание с обозначением права преимущественного проезда по главной дороге;

б - примыкание с обязательной остановкой транспортных средств, выезжающих со второстепенной дороги;

в - пересечение с обозначением права преимущественного проезда по главной дороге;

г - пересечение со второстепенной дорогой в условиях недостаточной боковой видимости.

ВТ - второстепенная дорога; ГЛ - главная дорога.

Рис. 5.14. Схемы установки знаков 4.15 «Указатель направлений» на примыканиях двух-трехполосных дорог.

Рис. 5.15. Схемы установки знаков 4.15 «Указатель направлений» на пересечениях автомобильных дорог.

Рис. 5.16. Схемы установки километровых указателей 4.18:

а - на дорогах без разделительной полосы;

б - на дорогах с разделительной полосой.

5.41. На многополосных дорогах рекомендуется заблаговременно предупреждать водителей о приближении к пересечению или примыканию, устанавливая за 0,8 - 1,0 км предварительный указатель направлений, на котором показывают расстояние до развязки, упрощенную схему развязки и расположение основных маршрутов.

Непосредственно в начале переходно-скоростной полосы устанавливают подвесные указатели направлений, на которых стрелами указывает направления движения по отдельным полосам (рис. 5.18). На разветвлении устанавливают знак 4.15, подтверждающий правильность выбора водителем направления движения (см. рис. 5.17).

Схемы примыканий (включая съезды транспортных развязок) к автомобильным дорогам I технической категории и примеры их оборудования дорожными знаками показаны на рис. 5.18.

Рис. 5.17. Схемы установки знаков на ответвлениях дорог.

Рис. 5.18. Схемы установки дорожных знаков на примыканиях автомобильных дорог.

4. Сужения проезжей части

5.42. Под сужением проезжей части подразумевается участок перехода с большей ширины проезжей части к меньшей. Основное назначение разметки проезжей части в таких местах - своевременно предупредить водителей о наличии сложного для движения участка и помочь им выбрать правильную траекторию движения.

5.43. На участках перехода с ширины проезжей части 7,5 м и меньшей, разметку наносят в соответствии с рекомендациями рис. 5.19,а.

5.44. На участках изменения количества полос движения для движения в одном направлении разметка проезжей части выполняется в соответствии с требованиями рис. 5.19,б, в.

Длина участка перехода должна быть на круче 1 : 20 и назначаться с учетом скоростей движения.

При размерах сужения 3,75 м, длина переходного участка должна приниматься следующей:

Скорость 85 % обеспеченности, км/ч

50

70

100

120

Длина переходной линии, м

70

85

100

115

5. Участки с близко расположенными боковыми препятствиями

5.45. На указанных участках разметка проезжей части должна помогать водителям заблаговременно выбрать безопасную траекторию движения.

5.46. При близком расположении боковых препятствий (опор, столбов, фундаментов, домов и т.п.) разметку следует устраивать с учетом рекомендаций рис. 5.20. Схема установки знаков на участках сужений показана на рис. 5.21а, б.

Основная задача разметки не только направить движение, но и снизить скорость. Поэтому в этом случае разметка должна сочетаться с установкой знака ограничения скорости 2.20.

5.47. Все препятствия должны обозначаться вертикальной разметкой (см. Главу 2).

Рис. 5.19. Схемы разметки проезжей части на участках сужений:

а - при изменении ширины от 7,5 м до меньшей;

б, в - при изменении количества полос движения в одном направлении от 2-х до 1.

Рис. 5.20. Разметка проезжей части на участке с близко расположенным боковым препятствием.

Рис. 5.21. Схемы расстановки дорожных знаков на участках сужений.

6. Мосты и путепроводы

5.48. Разметку на мостах и путепроводах наносят с целью обозначения для водителей границ моста и ширины проезжей части с тем, чтобы водители могли своевременно принять безопасную траекторию и скорость движения.

5.49. Тип разметки проезжей части мостов выбирают с учетом длины моста и соотношения ширины проезжей части на мостах и подходах к ним, учитывая рекомендации п. п. 5.42 - 5.47.

5.50. На элементах мостов и путепроводом (пролётные строения, опоры, парапеты, бордюры и т.п.) устраивают вертикальную разметку в соответствии с требованиями Главы 2 настоящих рекомендаций.

При устройстве вертикальной разметки на путепроводах необходимо делать вертикальную разметку на балке путепровода при величине вертикального габарита менее 5,0 м.

5.51. На мостах чаще всего возникает необходимость установки указателя наименования реки (непосредственно перед мостом), указания габарита моста, допустимой нагрузки на ось, сужения проезжей части, предупреждения о неровной проезжей части, ограничения скорости движения. В отдельных случаях требуется предупредить водителей о сильном боковом ветре. Знаки, указывающие габарит высоты путепровода (устанавливают при габарите менее 5 м) или допустимую нагрузку на ось, необходимо устанавливать заблаговременно. Первый знак должен быть расположен в месте, где возможен безопасный разворот или поворот большегрузных автомобилей. Желательно в этом месте установить знак, информирующий о направлении объезда моста или путепровода. Второй знак следует установить за 150 - 300 м от путепровода (моста). При ограничении габаритной высоты целесообразно наносить линии вертикальной разметки и подвешивать третий знак непосредственно над проезжей частью.

Предупреждение о сужении проезжей части на мосту целесообразно, когда габариты проезжей части моста меньше ширины проезжей части дороги (мост без высоких бордюров) или когда габариты моста равны ширине проезжей части моста (с высокими бордюрами). Кроме того, знаки сужения проезжей части следует устанавливать, когда мосты расположены на кривых в плане, но проезжая часть моста не имеет уширения, необходимого по нормам для кривых малых радиусов.

Рис. 5.22. Разметка проезжей части в зоне железнодорожных переездов:

1 - стоп-линия; 2 - шлагбаум;

а - на переездах с шлагбаумом и достаточным расстоянием видимости;

б - при ограниченной видимости;

в - на переездах с узкой колеёй

7. Железнодорожные переезды

5.52. Разметку проезжей части в зоне железнодорожных переездов наносят с целью упорядочения движения на подходе к переезду и выбирают с учетом вида регулирования проезда через железнодорожные пути и условий видимости в зоне переезда.

5.53. На переездах через железнодорожные линии широкой колеи и достаточном расстоянии видимости разметку наносят в соответствии с рекомендациями рис. 5.22,а; при ограниченной видимости устраивают разметку в соответствии с рекомендациями 5.22,б.

5.54. На железнодорожных переездах при узкой колее или при широкой колее с очень низкой интенсивностью движения поездов, разметку устраивают только в виде предупреждающей прерывистой линии (рис. 5.22,в).

5.55. На все элементы оборудования переезда (шлагбаум, опоры) наносят вертикальную разметку.

5.56. На железнодорожных переездах устанавливают знаки 1.1 и 1.2 с табличками 5.8а, б, в и крестообразным знаком «Берегись поезда!». Знаки 1.1 и 2.2 устанавливают с табличкой 5.8а за 150 - 300 м до переезда вне населенных пунктов и за 50 - 100 м в переездах населенных пунктов. Вторые знаки устанавливают не менее чем за 50 м от шлагбаума. Предупреждающие знаки «Берегись поездаустанавливают на переездах за 20 м от наружных рельс. При наличии на неохраняемых переездах автоматической сигнализации знаки «Берегись поезда!» крестообразной формы не устанавливают, чтобы не путать их с переездами, не имеющими шлагбаумов. Перед железнодорожными переездами, оборудованными автоматическими шлагбаумами, на одной стойке с дублирующим знаком 1.1 должен быть установлен указатель с надписью «Внимание! Автоматический шлагбаум!».

Схемы расстановки знаков на железнодорожных переездах показаны на рис. 5.23.

Рис. 5.23. Схемы расстановки знаков на железнодорожных переездах:

а - переезд через двухколейную дорогу;

б - два близко расположенных однопутных переезда;

в - кривые в плане на подходах к переезду;

г - переезд в зоне примыкания дорог.

ГЛАВА 6. УСТАНОВКА ОГРАЖДЕНИЙ И НАПРАВЛЯЮЩИХ УСТРОЙСТВ

1. Общие положения

6.1. Комплекс дорожных обустройств, включая установку ограждений, дорожных знаков и указателей, разметку проезжей части и т.п., в соответствии с требованиями СНиП II-Д.5-72, должен обеспечивать безопасность движения.

При этом, ограждения (см. рис. 6.1 - 6.2) должны быть предусмотрены на участках дорог I, II, а при интенсивности свыше 2000 авт/сутки и более (достигаемой в первые 5 лет эксплуатации) и III категорий:

- при высоте насыпи 3 м и более;

- с наружной стороны кривых в плане с радиусами менее 600 м при высоте насыпи более 2 м;

- с вогнутыми кривыми в продольном профиле, сопрягающими встречные уклоны с алгебраической разностью - 50 и более;

- идущих параллельно (на расстоянии менее 25 м от кромки проезжей части) железнодорожным линиям, заданиям, водным потокам глубиной более 2 м, оврагам и горным ущельям, а также расположенным на склонах, крутизной более 1 : 3;

- в местах с недостаточной видимостью дороги на кривых в плане;

- на участках сложных пересечений и примыканий дорог в разных уровнях.

6.2. При соответствующих технико-экономических обоснованиях, допускается установка ограждений на дорогах низких технических категорий и на участках, не вошедших в перечень п. 6.1.

6.3. Столбы ограждений следует устанавливать на расстоянии не менее 0,5 м от бровки земляного полотна. Ширина обочин от кромки проезжей части до ближайшей плоскости барьерного ограждения должна быть: на дорогах I, II категории не менее 3 м, а на дорогах III категории - не менее 1,75 м. Высоту барьерных ограждений следует назначать не менее 0,8 м. Конструкцию ограждений следует принимать с учетом удобства очистки дорог от снега.

6.4. Направляющие устройства в виде сигнальных столбиков предусматривают в соответствии с требованиями СНиП II-Д.5-72:

- на прямых участках дорог в плане при высоте насыпей от 2 до 3 м через 50 м для дорог I - III категорий, а для дорог, где не предусматриваются ограждения барьерного типа, и при большей высоте;

- при прохождении дорог через болота, вдоль водотоков глубиной 1 - 2 м, а также в зоне расположения малых искусственных сооружений и на подходах к ним на расстоянии 30 м с каждой стороны через 10 м;

- на ответвлениях пересечений в одном уровне с внутренней стороны закруглений в пределах кривых при радиусах менее 60 м через 5 м; то же при радиусах от 60 до 400 м - через 10 м.

Расстояния между столбиками при высоте насыпи более 1 м на внешней стороне закруглений в плане в зависимости от величины радиуса кривых следует принимать:

- при радиусах 1500 м и более                                                 - 25 м;

- то же, от 1500 до 1000                                                            - 20 м;

-    -"-     " 1000 до 400                                                               - 15 м;

-    -"-     " 400 до 60                                                                   - 10 м;

-    -"- менее 60                                                                          - 5 м.

Расстояния между сигнальными столбиками с внутренней стороны закруглений следует принимать в два раза большими, по сравнению с расстояниями с внешней стороны.

6.5. Разметка ограждений и направляющих устройств должна соответствовать ГОСТ 13508-74 и выполняться с учетом требований главы 2 настоящих рекомендаций.

Рис. 6.1. Схема крепления и конструктивные особенности металлических ограждений из прокатных профилей.

2. Особенности установки пешеходных ограждений

6.6. Для упорядочения движения пешеходов на опасных участках автомобильных дорог и улиц должны устанавливать направляющие пешеходные ограждения.

6.7. В зависимости от желаемой степени надежности защиты участка дороги от прохода пешеходов применяют ограждения из стальных газовых труб (рис. 6.3,а) и сетки из оцинкованной тканей и крученой проволоки (рис. 6.3,б). Ограждения из труб применяют в городах и на автомобильных дорогах в пределах населенных пунктов. Сетки, прикрепляемые к железобетонным, металлическим или деревянным столбам, устанавливают вдоль полосы отвода дорог I категории для предотвращения выхода на проезжую часть пешеходов, диких животных, домашнего окота и переезда через дорогу сельскохозяйственных машин. Сетки, усиленные тросами, применяют на разделительной полосе дорог I технической категории (рис. 6.3,в).

Рис. 6.2. Схема крепления и конструктивные особенности железобетонных ограждений:

1 - закладная пластина;

2 - болт; 3 - сварка.

Рис. 6.3. Конструктивные особенности пешеходных ограждений на автомобильных дорогах.

Рис. 6.4. Установка пешеходных ограждений в населённых пунктах.

6.8. Пешеходные ограждения в первую очередь устанавливают в местах:

- где интенсивность движения пешеходов по тротуару близка к их пропускной способности и пешеходы систематически сходят на проезжую часть при интенсивном движении автомобилей;

- где требуется обеспечить поочерёдный пропуск автомобилей и пешеходов по установленным направлениям на улицах со светофорным регулированием в пределах отведенных для движения полос;

- где необходимо обеспечить проходы переходов через проезжую часть по кратчайшему пути с максимальной видимостью движущихся транспортных средств;

- где требуется запретить движение пешеходов в опасных местах, отвести его в сторону или предотвратить падение пешеходов с большой высоты.

6.9. Ограждения рекомендуется устанавливать вдоль проезжей части магистральных улиц (без разделительной полосы) при наличии хотя бы одного из следующих условий:

- интенсивность пешеходного движения превышает 1000 чел/ч на одну полосу тротуара и разрешены остановка и стоянка автомобилей. Интенсивность движения пешеходов превышает 750 чел/ч на одну полосу тротуара, а остановка или стоянка автомобилей запрещены.

6.10. Ограждения из труб устанавливают на тротуаре в непосредственной близости к бордюру. Если у тротуара разрешена стоянка или остановка автомобилей, то ограждения рекомендуется отодвигать на расстояние не менее 0,4 м от края проезжей части для облегчения открытия дверей и выхода пассажиров автомобилей (рис. 6.4,а).

На дорогах и улицах с узкими тротуарами можно увеличивать ширину зоны пешеходного движения в местах пешеходных переходов, остановки общественного транспорта, у выходов из объектов и мест массового посещения, устанавливая пешеходные ограждения на проезжей части, при условии, что обеспечена хорошая видимость ограждения в светлое и темное время суток (рис. 6.4,б).

6.11. Для обеспечения четкого порядка пропуска пешеходов через дорогу в населенных пунктах с интенсивным движением пешеходов в пределах разрешенной зоны, ограждения рекомендуется устанавливать в зоне наземных пешеходных переходов со светофорным регулированием. При установке ограждений у пешеходных переходов следует создавать такие условия, чтобы пешеходы, желающие пересечь дорогу, некоторое время шли в направлении противоположном направлению движения потока автомобилей по ближайшей полосе проезжей части. С этой целью рекомендуется устанавливать пешеходные ограждения на расстоянии не менее 20 м от границ перехода в направлении противоположном направлению движения автомобилей и на 30 м в обратном направлении (рис. 6.4,в).

Рис. 6.5. Установка пешеходных ограждений у мостов и путепроводов, на высоких насыпях и участках с ограниченной видимостью:

1 - ограждения из стальных труб,

2 - ограждения из сеток.

6.12. Расположение ограждений должно быть увязано с общей схемой организации движения на пересечениях и примыканиях.

На «У»-образных примыканиях наземные пешеходные переходы следует отнести вглубь кварталов (рис. 6.4,г), а у кинотеатров, школ, магазинов, проходных крупных предприятий пешеходные переходы следует располагать на расстоянии не менее 20 м от выхода в сторону противоположную направлению движения автомобилей по ближайшей к тротуару полосе проезжей части (рис. 6.4,д). Наземные пешеходные переходы рекомендуется устраивать по кратчайшему расстоянию между противоположными тротуарами, там, где обеспечена хорошая видимость.

6.13. Пешеходные ограждения следует устанавливать между и перед опорами путепровода, под которым выделена дорожка для пешеходов, если возникает опасность выхода пешеходов на проезжую часть дороги или под путепроводом со стороны лестничных сходов и боковых кварталов (рис. 6.5,а).

6.14. На мостах и путепроводах, соединяющих отдельные части населенных пунктов, при отсутствии специальных пешеходных мостиков можно организовать движение пешеходов по берме и лестнице с установкой пешеходных ограждений (рис. 6.5,б), в дополнение к установке ограждений, удерживающих транспортные средства от съезда с дороги или въезда на тротуар.

6.15. Пешеходные ограждения необходимо устанавливать в тоннелях, где разрешено движение пешеходов по тротуарам, отделенным от проезжей части бордюром высотой 0,15 - 0,2 м, на пешеходных дорожках и тротуарах, возвышающихся уступом над проезжей частью в местах с ограниченной видимостью (рис. 6.5, в), на участках, где возможно падение пешеходов с высокой насыпи у остановок общественного транспорта (рис. 6.5,г), на участках с ограниченной боковой видимостью (рис. 6.5,д, е).

6.16. Для запрещения интенсивного движения пешеходов чрез проезжую часть на участках с ограниченной видимостью следует устанавливать ограждения из сеток (рис. 6.5,е), направляя движение пешеходов в безопасное место.

6.17. Напротив остановочных пунктов общественного пассажирского транспорта с подземными или надземными пешеходными проходами реконструируется устройство ограждений на разделительной полосе между проезжими частями встречных направлений движения для предотвращения перебегания через дорогу пешеходов.

3. Особенности установки транспортных ограждений

6.18. Транспортные ограждения устанавливают для предотвращения съездов транспортных средств с дороги под откос, столкновений со встречными автомобилями и различными предметами (перила мостов, стойки дорожных знаков, мачты освещения, опоры путепроводов). Ограждения следует устанавливать только в тех случаях, когда это необходимо для предотвращения происшествий, связанных с гибелью или ранениями людей и серьезными повреждениями автомобилей и грузов, а другие более эффективные решения (уполаживание откосов насыпей, уменьшение высоты насыпи, удаление на достаточные расстояния от кромки проезжей части массивных предметов и т.д.) невозможно осуществить по условиям рельефа, ситуации, экономическим или конструктивным соображениям.

6.19. Ограждения должны плавно замедлить скорость движения наехавшего автомобиля, не нанося ему значительных повреждений, обеспечивая остановку автомобиля у ограждения или возвращая автомобиль на полосу движения без вращения и резкого снижения скорости движения.

Для удерживания транспортных средств от съезда с дороги или наезда на неподвижные препятствия применяют тросовые, балочные металлические и железобетонные ограждения, парапеты специального профиля (рис. 6.1, 6.2, 6.6).

6.20. Тросовые ограждения ввиду их повышенной упругости и большого прогиба тросов при наезде автомобиля рекомендуется использовать на снегозаносимых участках, на разделительной полосе, особенно в сочетании с сетками, для усиления ограждений из металлических планок на мостах и крутых горизонтальных кривых, где угол наезда на ограждение может быть более 20° или требуется повышенная прочность ограждения.

Тросовые ограждения не рекомендуется устанавливать в местах, где нельзя допустить большой прогиб тросов (на мостах, у пешеходных зон, на подпорных стенках).

Рис. 6.6. Конструкция железобетонного ограждения парапетного типа.

Стальные тросы Д = 195 мм пропускают через компенсаторы из листовой стали, прикрепленные к металлическим или железобетонным столбам. По концам участков ограждений устанавливают столбы специальной конструкции и устраивают анкерное закрепление тросов.

6.21. Ограждения из стальных профильных планок в первую очередь рекомендуется применять на дорогах I - III категории (рис. 6.1). Стальные планки прикрепляют к металлическим железобетонным или деревянным столбам. На разделительной полосе следует использовать ограждения с двусторонними планками.

6.22. Железобетонные балочные ограждения рекомендуется применять на дорогах IV - V категорий и в виде исключения на дорогах высших категорий, где наезды на ограждения возможны под углами до 10° (рис. 6.2).

6.23. В районах с незначительной высотой снежного покрова для ограждения узких разделительных полос можно применять железобетонные ограждения парапетного типа (рис. 6.6). Эти же ограждения можно использовать на мостах и для защиты легких стоек путепроводов.

6.24. На разделительной полосе автомобильных дорог ограждения следует устанавливать: при ширине разделительной полосы от 1,2 до 5,5 м, когда интенсивность движении составляет до 20 тыс. авт/сут., при ширине разделительной полосы от 5,5 до 12 м - с интенсивностью от 20 до 40 тыс. авт/сут.

6.25. Для улучшения видимости поверхности дороги на кривых в плане малых радиусов необходимо смещать ограждения с оси разделительной полосы во внутреннюю сторону кривой.

6.26. Высокие бордюрные выступы и балочные ограждения на мостах работают при ударе совместно с тротуарными блоками. И поэтому конструкция моста должна предусматривать надежное крепление тротуарных элементов к балкам пролетного строения.

6.27. На мостах с пролетными строениями, имеющими небольшую строительную высоту, рекомендуется использовать железобетонные криволинейные бордюрные выступы, совмещенные с плитным тротуаром.

Жесткие железобетонные ограждения типа «триеф» и полужесткие металлические ограждения (рис. 6.1) можно совмещать с рамными тротуарными блоками.

6.28. Ограждение на подходах к мосту должно быть плавно изогнуто, образуя в плане раструб, ведущий к проезжей части моста. Конец ограждения должен быть отведен в сторону и заанкерен.

6.29. При устройстве высоких бордюрных выступов или установке балочных ограждений проезжая часть моста должна быть расширена или временно введено ограничение скорости движения.

6.30. Каменные, бетонные и бутобетонные парапеты высотой 0,7 - 1,0 м, шириной 0,5 - 0,7 м устраивают в виде отдельных стен длиной 2 - 2,5 м с промежутками 0,5 - 0,6 м для выпуска воды и сбрасывания снега. Недостаток парапетов заключается в том, что отдельные камни не образуют единой конструкции и в работу не вовлекаются смежные звенья. Кроме того, разрывы между отдельными парапетами вызывают заклинивание автомобилей при скольжении вдоль ограждения.

ГЛАВА 7. РЕГУЛИРОВАНИЕ СКОРОСТЕЙ ДВИЖЕНИЯ

1. Общие положения

7.1. Регулирование скоростей движения на автомобильных дорогах, параметры плана и продольного профиля которых не полностью удовлетворяют требованиям движения, является эффективным мероприятием, направленным на повышение безопасности движения и улучшение транспортно-эксплуатационных качеств дорог. Ограничение максимальной скорости движения на опасных участках, выравнивание скорости транспортного потока и снижение помех для движения уменьшает потребность в обгонах, что приводит к повышению безопасности движения.

7.2. Ограничение скоростей движения можно проводить в следующих целях:

а) ограничение верхнего предела скорости на протяжении всей дороги или сети дорог (общее ограничение скоростей), как временное средство повышения безопасности движения до улучшения дорожных условий;

б) ограничение верхнего предела скорости на опасных участках дороги (местное ограничение);

в) ограничение максимальных скоростей отдельных видов транспортных средств для сокращения количества обгонов.

7.3. Скорость движения автомобилей в транспортном потоке не одинакова. Можно выделить три группы автомобилей: медленно движущиеся автомобили, автомобили, скорость которых незначительно отличается от средней скорости потока, и быстродвижущиеся. Безопасность движения зависит от распределения автомобилей по этим группам; с увеличением количества быстродвижущихся автомобилей растет потребность в обгонах, а тихоходных увеличивается количество пачек автомобилей. Наиболее безопасные условия движения достигаются при движении всех автомобилей со скоростями, близкими к средней, для всего транспортного потока. Поэтому на дорогах магистрального типа, предназначенных для больших перевозок с высокими скоростями, иногда устанавливают два предела скоростей - верхний и нижний.

7.4. Ограничение верхнего предела скорости, приводящее к уменьшению количества обгонов, распространяется, главным образом, на быстроходную часть потока (т.е. на легковые автомобили). Поэтому, при правильном выборе уровня ограничения скорости, экономических потерь при перевозке грузов и пассажиров можно избежать, так как средняя скорость всего потока при этом изменяется незначительно, а для грузовых автомобилей и автобусов остается неизменной. Практика введения ограничения максимальных скоростей движения на дорогах показала, что не отражаясь на производительности работы автомобильного транспорта, это ограничение снимет количество дорожно-транспортных происшествий на 12 - 25 %, в число которых входят наиболее тяжелые. Тяжесть дорожно-транспортных происшествий на дороге в целом снижается на 30 - 40 %.

7.5. Ограничение скоростей дает эффект только в том случае, если все участники движения подчиняются этому ограничению. Поэтому ограничение должно распространиться на весь транспортный поток. Как исключение, можно разделять поток на грузовые и легковые автомобили.

7.6. Эффективность ограничения максимальной скорости движения связана не только с дисциплиной водителей, но и с тем, насколько введенные ограничения соответствуют дорожным условиям. Если причина ограничения скорости водителям не ясна или не соответствует дорожным условиям, большая часть водителей ему не подчиняется. Дисциплина водителей не улучшается даже в присутствии на таких участках инспектора ГАИ. В связи с этим уровень ограничения скоростей следует выбирать только с учетом дорожных условий и особое внимание при этом уделять информации водителей о причинах ограничений. Неверно определенная длина участка дороги, на котором введено ограничение скорости движения, или неоправданно низкий уровень ограничения снижают доверие водителей к дорожным знакам и всей системе организации движения.

Особенно большой вред в этом отношении приносят ограничительные дорожные знаки, на длительное время оставляемые дорожниками после окончания ремонтных работ на дороге.

7.7. Служба ремонта и содержания дорог, планируя мероприятия по улучшению условий движения, должна иметь в виду, что ограничение скоростей движения, особенно на отдельных участках дороги, является вынужденным мероприятием. Поэтому при реконструкции дороги или капитальном ремонте основные усилия должны быть направлены на устранение причины ограничения скорости движения. Первостепенными мероприятиями являются: увеличение радиусов вертикальных и горизонтальных кривых, строительство обходов населенных пунктов, разделение потоков автомобилей по направлениям, инженерное оборудование дорог, включая устройство стационарного освещения, осветления дорожных покрытий и разметки проезжей части.

2. Выбор уровня ограничения скорости движения

7.8. Выбор предельной скорости движения зависит от причины, вызывающей это ограничение. К числу таких причин относятся: недостаточная видимость, возможность неожиданного появления пешеходов на проезжей части, близость переходных дорожек к проезжей части, низкие эксплуатационные характеристики проезжей частиовность и коэффициент сцепления), неблагоприятные сочетания элементов трассы, высокая опасность движения в темное время суток. Наличие таких участков на дороге можно установить по графику коэффициентов безопасности и на основании анализа статистики дорожно-транспортных происшествий. Как правило, места сосредоточения дорожно-транспортных происшествий соответствуют участкам с малой величиной коэффициента безопасности. Поэтому выбор уровня ограничения скорости движения должен начинаться с установления причин снижения коэффициента безопасности.

7.9. При выборе уровня ограничения скорости движения следует учитывать, что ограничения до 40 км/ч и ниже не эффективны, поскольку при таких скоростях движения за счет ослабления внимания водителей продолжительность их реакции увеличивается. Остановочный путь автомобиля при этом практически не изменяется, а дисциплина водителей, соблюдение ими введенных ограничений, ухудшается. В связи с этим следует избегать ограничений скорости движения ниже 40 км/ч.

7.10. На участках с ограниченной видимостью величину ограничения скорости следует выбирать в соответствии с минимальной фактической видимостью. При этом необходимо ориентироваться на наиболее неблагоприятные условия (рассеянное внимание водителя, неожиданное появление опасности) и предельно высокий уровень обеспеченности (не ниже 95 %).

Могут быть рекомендованы следующие предельные скорости движения в зависимости от фактического расстояния видимости объекта, представляющего опасность для движения:

Наибольшая скорость движения, км/ч

20

30

50

80

Наименьшее расстояние видимости, м

17

40

70

118

7.11. В соответствии с результатами проведенных обширных наблюдений при расчете максимальной скорости движения по остановочному пути на участках дороги, где опасность может появиться неожиданно для водителя, время реакции водителя следует выбирать дифференцированно:

а) на дорогах II категории и ниже вне населенных пунктов - 2,0 сек;

б) на автомобильных магистралях - 2,5 сек:

в) в населенных пунктах - 1,2 сек.

7.12. Если опасность данного участка связана с опасностью наездов на пешеходов, то максимальную скорость движения нужно определять из условия обеспечения боковой видимости появляющегося пешехода с учетом приведенных выше значений времени реакции водителя.

7.13. Предельная скорость движения на спусках, в конце которых расположены кривые в плане, определяется безопасной скоростью движения по кривой.

Радиус кривой в плане в конце спуска, м

50

100

200

300

400

600

800 и более

Допустимая скорость движения, км/ч

25

40

50

60

70

80

90

Во избежание резких торможений на спуске скорость рекомендуется ограничивать на всей длине и кривой в плане, расположенной за ним.

На затяжных спусках допустимую скорость движения следует выбирать в зависимости от длины спуска:

Длина спуска, м

200

400

600

800 и более

Продольный уклон: до 40 %

Без ограничений

- 50 %

80

80

80

80

- 60 %

70

70

70

80

- 70 %

50

60

60

60

- 80 %

45

50

50

50

7.14. Большое практическое значение имеет ограничение скорости движения в темное время суток. Эти ограничения должны распространяться на участки дороги, не имеющие искусственного освещения, причем допустимая скорость движения должна выбираться в зависимости от интенсивности движения и параметров трассы дороги.

Допустимые скорости движения на прямых участках дорог в темное время суток следует принимать следующими:

Состояние дорожного покрытия

Коэффициент сцепления

Допустимая скорость движения в темное время суток, км/ч

Шероховатое покрытие в хорошем состоянии, сухое

0,7

90

То же, при увлажнении

0,5

80

Гладкий асфальтобетон в сухую погоду или изношенное покрытие

0,3

70

Гладкий асфальтобетон при увлажнении

0,25

60

7.15. На кривых в плане и продольном профиле расстояние видимости в темное время суток зависит от радиуса кривой и угла поворота трассы:

Радиус кривой в плане, м

Угол поворота трассы, град.

Допустимая скорость движения (км/ч) при коэффициенте сцепления

0,7

0,5

0,3

100

5

70

60

50

10

60

50

50

15 и более

50

50

45

250

5

70

60

50

10 и более

60

50

45

500

5

80

70

60

10 и более

70

60

50

750

5 и более

80

70

60

1000

5 и более

90

80

70

 

Радиусы вертикальных вогнутых кривых, м

500

1000

3000

5000

1000 и более

Допустимая скорость движения, км/ч

60

75

85

90

90

3. Организация ввода ограничения скоростей движения

7.16. Вводу ограничения скорости движения (как местного, так и общего) должен предшествовать анализ статистики дорожно-транспортных происшествий за последние 5 - 6 лет, изменения интенсивности движения и дорожных условий.

7.17. Уровень местного ограничения скорости устанавливается согласно п. п. 7.8 - 7.15.

Для установления общего ограничения скорости на участке дороги большой протяженности необходимо определить критическую загрузку дороги движением.

Критическая загрузка может быть определена для каждой дороги расчетом. Для этого по формулам Главы I настоящих «Рекомендаций» вычисляют коэффициент происшествий (количество происшествий на 10 млн. авт-км пробега) для каждого года из последних 5 - 6 лет и в координатах интенсивность движения (ось абсцисс) и коэффициент происшествий (ось ординат) строят графики. Участок нарушения прямолинейной зависимости и начала быстрого роста аварийности характеризует момент начала ухудшения условий движения на данном участке дороги, оправдывающего введение ограничения скорости.

7.18. При отсутствии данных об аварийности и интенсивности движения по дороге за последние годы необходимость введения общего ограничения скорости можно установить по приведенным ниже данным. Введение общего ограничения скорости целесообразно, если фактическая интенсивность движения превышает указанную в таблице:

Доля легковых автомобилей в потоке, %

Критическая интенсивность движения (тыс. авт/сутки) при ширине проезжей части дорог, м

Двухполосные дороги

Трехполосные дороги

Четырехполосные дороги

 

7,0

7,5

9

10,5

12,0

14,0

0

4,0

4,3

5,2

6,7

8,4

11

25

5,0

5,3

6,3

7,3

9,6

13

50

6,0

6,2

7,0

8,3

10,9

16

75

7,0

7,1

7,9

9,25

12,7

20

100

8,0

8,2

8,3

8,8

10,5

14,7

7.19. Численное значение общего ограничения скоростей должно быть оптимальным по трем позициям: сокращение количества дорожно-транспортных происшествий, обеспечение экономичности автомобильных перевозок и обеспечение оптимальной надежности работы водителей. Первому условию удовлетворяет скорость, близкая к средней для всего транспортного потока, поскольку при этом уменьшается количество обгонов.

Второму условию - максимальная техническая скорость груженого грузового автомобиля. Как показывают наблюдения, эта скорость имеет обеспеченность по кумулятивной кривой - менее 80 %.

Третья условие может быть удовлетворено, если вводимое ограничение скорости не вызовет перехода транспортного потока на колонный режим движения, выход из которого будет невозможен из-за практического отсутствия возможности обгонов. Для реализации обгона пачки из 2 - 3 автомобилей при интенсивности встречного движения 100 - 120 авт/ч (суммарная интенсивность движения по дороге - около 3000 авт/сутки) обгоняющий автомобиль должен иметь скорость не менее 80 км/ч.

7.20. Численное значение ограничения скорости рекомендуется выбирать по кумулятивной кривой при уровне обеспеченности не ниже 85 %. Эта кривая должна быть построена по данным непосредственных измерений (не менее 3 створов) скоростей движения на дороге. Найденную величину скорости следует округлять до ближайшего десятка в большую сторону.

7.21. При ограничении скорости движения в населенных пунктах следует иметь в виду, что ограничения ниже 40 км/ч водителями не соблюдаются и вызывают справедливые нарекания водителей.

7.22. Расстановка знаков на участках ограничения скорости должна учитывать не только длину самого участка, но и зону его влияния, в пределах которой изменяются режимы движения транспортного потока. Протяжение этой зоны можно определить измерением скоростей движения в нескольких створах.

Для повышения дисциплинированности водителей желательно вместе со знаком 2.20 «Ограничение скорости» ГОСТ 10807-71 устанавливать и предупреждающие знаки, информирующие водителя о причине ограничения. Кроме этого рекомендуется применить табличку 5.1. «Зона действия знака» или 5.6 «Время действия знака». Эти знаки и таблички можно устанавливать на одной стойке.

7.23. Ограничение скорости воспринимается водителями всегда с неудовольствием. При отсутствии в зоне действия знака инспектора ГАИ водители превышают регламентированную скорость движения. Это превышение тем выше, чем больше разница между скоростью ограничения и скоростью на подходах. Практика показывает, что дисциплинированность водителей можно повысить, если скорость движения ограничивать постепенно. Каждое последующее ограничение следует вводить только после того, как водители привыкнут к пониженной скорости на предыдущем участке. Такое ступенчатое ограничение рекомендуется вводить при снижении на 30 км/ч и более. «Ступени» ограничения скорости не должны превышать 20 км/ч, а расстояние между знаками следует принимать согласно следующим рекомендациям:

Уровень ограничения скорости движения, км/ч

90

70

50

30

Минимальное расстояние между знаками, м

 

1000

750

500

 

 

Уровень ограничения скорости движения, км/ч

80

60

40

20

Минимальное расстояние между знаками, м

 

800

600

300

 

4. Методы снижения скоростей движения

7.24. Необходимость снижения скорости движения до безопасной величины должна быть доведена до сознания водителя. Удовлетворяющие этому условию мероприятия могут быть разделены на три группы: информационные, психологически воздействующие, принудительные.

К мероприятиям информационного характера относятся установка знаков ограничения скоростей движения и устройство специальной разметки проезжей части.

Психологическое воздействие на водителя, обеспечивающее снижение скорости, достигается средствами зрительного ориентирования, создающими у водителей впечатление резкого ухудшения дорожных условий на расположенном впереди участке дороги, которое вынуждает его снижать скорость.

К принудительным мероприятиям можно отнести устройства, вынуждающие водителей снижать скорости движения из-за уменьшения ширины полосы движения, возникновения при высокой скорости неприятных эффектов (тряска, шум и т.д.).

7.25. В настоящее время как в СССР, так и за рубежом наиболее широко для ограничения скорости движения используют установку знаков, на которых указывается предельно-допустимая скорость движения.

Дорожные знаки постоянного действия, указывающие одну величину допускаемой скорости, независимо от погодных условий и интенсивности движения, могут иметь дополнительные таблички зоны действия знака «Ограничение скорости» в случае, если эта зона отличается от обычной, указанной в правилах движения.

Знаки, вводящие на дорогах с высокой интенсивностью движения ограничения скорости в определенные часы суток или при ухудшении погодных условий, должны представлять собой световые табло, на которых величина ограничения скорости показывается горящими электрическими лампочками, включаемыми с центрального пункта управления или автоматически, установленными на дороге датчиками изменения погодных условий, например, тумана или гололеда.

7.26. Знаки временного действия, включаемые только в периоды фактической необходимости, наиболее эффективны. Эффективность знаков «Ограничение скорости» постоянного действия всегда связана с наличием причины ограничения скорости движения. Водители игнорируют указания знаков ограничения, регулярно повторяющихся на протяжении ряда километров или в каждом населенном пункте, если причина этих ограничений им неясна. Снизив скорость движения на первых участках и не увидев опасности, водители перестают обращать внимание и на последующие знаки, хотя в определенные моменты эти участки представляют существенную опасность для движения.

7.27. В отдельных, наиболее опасных местах дорог (кривые малых радиусов, примыкания, железнодорожные переезды), где игнорирование водителями указаний знаков, ограничивающих скорость движения, может привести к наиболее тяжелым последствиям, необходимо их дублировать другими способами воздействия на режим движения автомобилей. Хороший эффект достигается устройством на усовершенствованных покрытиях трясущих (шумовых) полос - искусственных неровностей в виде чередующихся полос поверхностей обработки из щебня крупностью 25 мм. При въезде на них с высокой скоростью возникал шум и тряска, заставляющие водителей непроизвольно снижать скорость движения, повышать внимание. Водители автомобилей, движущиеся с высокой скоростью, быстрее реагируют на тряску и шум, чем на указания знаков. Схема расположения трясущих и шумовых полос на дорогах приведены в п. 7.28. Ширину трясущих полос принимают равной 1 м, толщину на первых 2 - 3 полосах - 1,5 - 2 см, на следующих - до 3 см.

7.28. При выборе типа трясущей полосы для конкретных дорожных условий безопасную скорость автомобилей на этом участке следует определять расчетом согласно п. п. 7.16 - 7.20, фактическую скорость проезда участка автомобилями следует устанавливать на основании натурных наблюдений, принимая ее по кумулятивной кривой как скорость, соответствующую 85 % обеспеченности. Разница между фактической и безопасной скоростями на участке дает представление о необходимой величине её снижения.

Трясущие полосы можно устраивать не только по методу поверхностной обработки, но и из наклеиваемых на покрытие полос пластика и другими способами. Снижение скоростей на непродолжительный период времени до 1 - 1,5 месяцев можно обеспечить нанесением на покрытие краской хорошо видимых издалека поперечных полос.

Расстояния между поперечными полосами поверхностей обработки принимают следующими:

Требуемое снижение скорости, %

Необходимее количество поперечных полос, шт.

Расстояния между полосами, м

1 - 2

2 - 3

3 - 4

4 - 5

5 - 6

6 - 7

7 - 8

8 - 9

10

2

20

-

-

-

-

-

-

-

20

4

20

15

10

-

-

-

-

-

25

5

20

15

10

6

-

-

-

-

30

6

20

15

10

6

6

-

-

-

40

8

20

15

10

6

6

3

3

-

50

9

20

15

10

6

3

3

3

3

5. Регулирование скоростей при помощи ограничения и запрещения обгонов

7.29. Для автомобильных дорог СССР характерно преобладание смешанных потоков движения, складывающихся из нескольких групп, имеющих разные скорости. Это вызывает необходимость обгонов, и, как следствие, увеличение количества дорожно-транспортных происшествий. Вследствие этого, ограничение или полное запрещение обгонов является в определенных условиях эффективным средством регулирования скоростей транспортных потоков.

7.30. Вопрос об ограничении или запрещении обгонов на каком-либо участке дороги следует решать на основе анализа комплекса факторов, определяющих дорожные условия: интенсивность и состав движения; геометрические элементы дороги на рассматриваемом и предшествующих участках; фактическую видимость; обеспечиваемые геометрическими элементами скорости движения, наиболее типичные для периода года на которое осуществляют ограничение; погодно-климатические условия, определяющие состояние дорожного покрытия.

7.31. Вследствие годовой неравномерности движения, приводящей в ряде случаев к 3 - 5 кратному изменению интенсивности, периоды ограничения скоростей должны быть строго согласованы с изменением интенсивности и состава движения в течение года. Целесообразно, при значительном изменении интенсивности и состава оперативно и гибко менять условия ограничения по периодам года.

Мероприятия по повышению безопасности движения на участках с ограниченной видимостью

Суммарная интенсивность движения, авт/час

Типичное для времени года состояние покрытии

Сухое

Мокрое

Ширина проезжей части, м

6,0 - 6,5

7,0 - 7,5

9,0 - 9,5

6,0 - 6,5

7,0 - 7,5

9,0 - 9,5

Фактическая видимость, обеспечивающая безопасность обгонов, м

Запрещение обгонов грузовым автомобилем

100

450

380

300

700

630

500

200

570

490

380

-

700

630

300

700

610

470

-

-

700

400

-

700

550

-

-

-

500

-

-

620

-

-

-

600

-

-

700

-

-

-

Полное запрещение обгонов

100

400

350

250

660

580

420

200

550

400

300

-

670

500

300

700

470

330

-

-

550

400

-

550

370

-

-

620

500

-

650

400

-

-

670

600

-

-

450

-

-

-

Примечание: Прочерки поставлены в тех случаях, когда на дороге недопустимы обгоны.

7.32. Вследствие суточной неравномерности движения, периоды ограничения обгонов необходимо распространять на часы с наибольшей интенсивностью, информируя водителей о времени ограничения с помощью дополнительных табличек 5.6 к знакам запрещения обгонов, указывающих время действия знака и табличек 5.7, указывающих вид транспортного средства, на которое распространяется ограничение.

7.33. Исходя из фактических условий движения, ограничение обгонов следует осуществлять на основании следующих данных:

Мероприятия по повышению безопасности движения на прямолинейных участках дорог

Ширина проезжей части, м

Типичное для времени года состояние покрытия

Сухое

Мокрое

Суммарная интенсивность, свыше которой рекомендуется проводить указанное мероприятие, авт/ч

Запрещение обгонов грузовым автомобилем

6,0 - 6,5

300

170

7,0 - 7,5

500

300

9,0 - 9,5

700

400

Полное запрещение обгонов

6,0 - 6,5

500

300

7,0 - 7,5

750

500

9,0 - 9,5

800

700

7.34. Установка временных или постоянных знаков запрещения обгонов с дополнительными табличками, как средство организации движения недостаточно гибко, так как не позволяет оперативно учитывать все изменения интенсивности и состава движения на дорогах, состояние покрытия и т.п. Более эффективным средством организации движения, рекомендуемым к использованию на дорогах высших технических категорий, является устройство световых табло над проезжей частью.

ГЛАВА 8. ОЦЕНКА ЭФФЕКТИВНОСТИ ОБОРУДОВАНИЯ АВТОМОБИЛЬНЫХ ДОРОГ

1. Общие положения

8.1. Оценку эффективности оборудования автомобильных дорог необходимо выполнять на основе учета требований действующих типовых и отраслевых методик определения экономической эффективности капитальных вложений. При этом в качестве базовых следует применять основные положения «Типовой методики определения экономической эффективности капитальных вложений» (утверждена Госпланом СССР, Госстроем СССР и президиумом АН СССР 8 сентября 1969 г.) и отраслевых ВСН.

8.2. В соответствии с отраслевой методикой, основанной на положениях «Типовой», оценка эффективности капитальных вложений может быть выполнена на основе сопоставления по рассматриваемым вариантам решений суммарных приведенных затрат или величин коэффициентов сравнительной эффективности. Вместе с тем, необходим учет специфики рекомендуемых на дорогах мероприятий по их благоустройству и оборудованию с целью повышения безопасности движения.

8.3. Подлежащие учету специфические требования заключаются в необходимости большей детализации расчетов и более высоких требований к используемым показателям текущих расходов.

8.4. При оценке эффективности следует учитывать характер мероприятий по оборудованию дорог, которые могут быть классифицированы следующим образом:

а) мероприятия с многолетней перспективой срока действия (включают комплекс мероприятий по благоустройству дорог, расстановке дорожных знаков, некоторые типы разметки проезжей части, установка ограждений и т.п.). В том числе:

а,1 - мероприятия, влияющие на режим и безопасность движения транспортных потоков;

а,2 - мероприятия, влияющие только на безопасность движения

б) мероприятия временного характера, нуждающиеся в стадийном совершенствовании с ростом загрузки дорог движением. Срок действия таких мероприятий ограничен периодом, в течение которого дорога работает в режиме одного из уровней загрузки (табл. 8.1);

Таблица 8.1

Загрузка дороги движением, % от пропускной способности

Характер прироста интенсивности движения

Ежегодный прирост интенсивности, %

3

5

6

7

10

15

20

25

Расчетное значение периода суммирования приведенных затрат, Тсл, лет

Менее 20 (А)

По линейному закону

35

35

35

35

30

20

15

12

20 - 50 (Б)

35

30

25

20

15

10

8

6

50 - 75 (В)

15

10

7

6

5

-

-

-

75 - 100 (Г)

10

7

6

5

-

-

-

-

Менее 20 (А)

По закону сложных процентов

35

30

25

20

15

10

8

7

20 - 50 (Б)

30 - 32

20

16

14

10

8

6

5

50 - 75 (В)

15

10

7

6

5

-

-

-

75 - 100 (Г)

10

7

6

5

-

-

-

-

В том числе:

б,1 - мероприятия, влияющие на режим и безопасность движения транспортных потоков;

б,2 - мероприятия, влияющие только на безопасность движения.

2. Методы оценки эффективности вариантов.

8.5. Для целей технико-экономических обоснований мероприятий по благоустройству и оборудованию автомобильных дорог целесообразно использовать:

а) расчетные показатели суммарных приведенных затрат;

б) коэффициент сравнительной эффективности капиталовложений.

8.6. Для определения суммарных приведенных затрат вариантов с примерно равными сроками службы рекомендуется выражение:

,                                                       (8.1)

где Пi - суммарные приведенные затраты по каждому из i вариантов решений;

Kпрi - суммарные приведенные к 1-му году капиталовложения по каждому из i вариантов;

Эрi - текущие затраты расчетного года tр, характеризуемого средневзвешенной за срок службы мероприятия (Тсл) интенсивностью движения;

Ен - нормативный коэффициент эффективности (Ен = 0,12).

8.7. Коэффициенты сравнительной эффективности капиталовложений рекомендуется определять с использованием удельных показателей по следующей общей формуле:

,                                                               (8.2)

где ΔКi - приращение удельных капиталовложений (капиталоёмкости) по каждому из i вариантов;

 - средневзвешенное (за период Тсл) приращение удельных текущих затрат (или полной себестоимости перевозок), вызванное осуществлением проектного решения.

8.8. Для расчетов по приведенной в п. 8.7 формуле могут быть использованы различные удельные показатели, выбор которых необходимо осуществлять из условия наилучшей сопоставимости вариантов и соответствия их показателям существующего производства.

Основной эффект от дорожного строительства заключается в снижении издержек на транспорте. Таким образом при экономической оценке эффективности затрат, направляемых на повышение транспортных качеств дорог и безопасность движения, необходимо учитывать особенности таких отраслей народного хозяйства, как автомобильный транспорт и дорожное строительство.

8.9. В качестве удельных показателей могут быть предложены:

1) показатель грузовой работы, выражаемый в тонно-километрах (т-км). Его удобно использовать для оценки вариантов решений на дорогах с преимущественно грузовым (не менее 95 % состава) движением. Формулы для определения суммарной величины грузовой работы по вариантам сравниваемых решений имеют вид:

- при линейном законе роста интенсивности

;                                               (8.3-а)

- при росте интенсивности по закону сложных процентов

;                                                  (8.3-б)

,                                   (8.3-в)

РГ - грузовая работа на участке протяжением Li км за период Тсл, млн. т-км;

 - интенсивность движения грузовых автомобилей на дороге в первый год эксплуатации, авт/сутки;

ŋj - количество каждой из j моделей автомобилей в составе потока грузовых автомобилей, в долях единицы;

b; q - ежегодный прирост интенсивности движения на дороге;

Гj - номинальная грузоподъемность каждой из j моделей автомобилей;

β, γ - соответственно коэффициенты использования пробега и грузоподъемности;

2) показатель транспортной работы, характеризуемый в автомобиле-километрах (авт-км) или автомобиле-часах (авт-ч) работы автомобильного парка в границах сравниваемых вариантов проектных решений. Удобен для оценки вариантов на дорогах со значительным количеством в составе движения автомобилей, не выполняющих тонно-километровой работы (легковые автомобили и автобусы).

Расчетные формулы для определения суммарных величин транспортной работы следующие:

- при линейном законе роста интенсивности

, млн. авт-км;          (8.4-а)

, млн. авт-ч;            (8.4-б)

- при росте интенсивности по закону сложных процентов

, млн. авт-км;               (8.4-в)

, млн. авт-ч,                  (8.4-г)

где  - средневзвешенная за срок Тсл скорость потока движения по каждому из i вариантов, вычисленная для расчетного года tp, км/ч.

8.10. Для расчетов суммарных приведенных затрат с использованием удельных показателей капиталоемкости и текущих расходов по вариантам рекомендуется следующая формула, учитывающая, что варианты могут иметь различные сроки службы Тслi:

, тыс.руб.                       (8.5)

где Cp - расчетный показатель себестоимости, коп/авт-км.

3. Расчёт показателей капиталоёмкости

8.11. Суммарные приведенные капиталовложения по вариантам проектных решений определяют расчетом по формуле:

,                             (8.6)

где Кoi - капиталовложения исходного года по каждому из вариантов, оборудования дорог с учетом их технического уровня, включая затраты на развертывание необходимых на дороге служб (служба организации движения и пр.). Если затраты на развертывание служб носят многолетний характер, то за исходный год приведения затрат рекомендуется принимать год полного развертывания службы, тогда капиталовложения разбивают по годам строительства и включают в формулу (8.6) величину, вычисленную по выражению:

,                                                             (8.6-а)

Kct - капиталовложения последующих лет на возобновление средств организации движения (например ежегодное возобновление разметки);

n - количество повторных возобновлений за срок службы;

Kat - капиталовложения в подвижной состав автомобильного транспорта на освоение возрастающих объемов перевозок (определяются на основании действующих ведомственных методик, например, ВСН 32-66 Минавтодора РСФСР).

Величины Кat учитывают в расчётах только в случае, если рекомендуемые к рассмотрению варианты мероприятий относятся к группе а,1 или б,1 (см. п. 8.4) и влияют на скорости движения транспортных потоков.

Рис. 8.1. Номограмма для определения капиталоёмкости при линейном законе роста интенсивности движения.

Рис. 8.2. Номограмма для определения капиталоемкости при законе роста интенсивности по сложным процентам.

8.12. Показатели удельной капиталоемкости (Ki) для расчетов экономической эффективности рекомендуется определять из выражения (8.7) или по номограммам рис.8.1 и 8.2, использующим результаты расчетов по формулам (8.6; 8.7):

,                                                             (8.7)

где Pi - суммарная величина грузовой или транспортной работы (в зависимости от принятого удельного показателя), определяемая по формулам п. 8.9 для каждого из i вариантов в пределах общих границ сравнения.

4. Расчет показателей текущих затрат

8.13. Показатели текущих расходов (себестоимость перевозок) рекомендуется принимать по вариантам проектных решений в зависимости от обеспечиваемой на них скорости потока. Для этой цели целесообразно использование готовых расчетных зависимостей.

Расчётные значения транспортной составляющей себестоимости в зависимости от скоростей потоков движения, типов автомобилей и показателей их пользования можно принять по данным, приведенным на рис. (8.3, 8.4 и 8.5).

8.14. При разнородном потоке среднее значение транспортной составляющей определяют по формуле:

,                                                        (8.8)

где СTj - себестоимость перевозок j-го типа автомобиля транспортного потока;

ηj - количество автомобилей j-го типа в потоке движения (в долях единицы).

8.15. При оценке эффективности, расчеты скоростей транспортных потоков по дорогам рекомендуется выполнять на основании действующих ведомственных инструкций и указаний. Влияние типа разметки или дорожных знаков в таком случае может быть оценено введением коррективов к вычислению скоростей с учетом рекомендаций табл. 8.2 и 8.3.

Рис. 8.3. Номограмма для определения себестоимости 1 т-км грузовой работы. Автомобили:

1 - средние грузовые с прицепами;

2 - тяжелые грузовые;

3 - средние грузовые;

4 - лёгкие грузовые.

Таблица 8.2

Тип разметки проезжей части

Ширина проезжей части, м

6,0

7,0

7,5

9,0

10,5

Значения поправочных коэффициентов к скоростям транспортных потоков

Без разметки

0,70

0,90

1,00

1,05

1,10

Краевая разметка

0,64

0,87

0,98

1,08

1,15

Осевая прерывистая разметка

0,68

0,89

1,00

1,05

1,10

Осевая прерывистая в сочетании с краевой разметкой

0,55

0,74

0,92

1,08

1,15

Сплошная разделительная линия

0,59

0,73

0,78

1,04

1,10

Рис. 8.4. Номограмма для определения себестоимости 1 авт-км транспортной работы. Автомобили:

1 - тяжёлые грузовые с прицепами и полуприцепами;

2 - средние грузовые с прицепам;

3 - тяжелые грузовые;

4 - средние грузовые;

5 - средние грузовые;

6 - легкие грузовые;

7 - микроавтобусы, легковые автомобили.

Рис. 8.5. Номограмма для определения себестоимости 1 авт-часа транспортной работы. Автомобили:

1 - тяжёлые грузовые с прицепами и полуприцепами;

2 - средние грузовые с прицепами;

3 - тяжелые грузовые;

4, 5 - средние грузовые;

6 - лёгкие грузовые;

7 - микроавтобусы, легковые автомобили.

Таблица 8.3

№№ пп.

Тип знака

Значения поправочных коэффициентов к скоростям движения на опасных участках

1

2

3

1.

Кривые в плане:

 

- знак отсутствует

1,00

- знак «Опасный поворот»

0,94

- знак «Извилистая дорога»

0,96

- знаки «Опасный поворот» и «Прочие опасности»

0,88

- знаки «Опасный поворот» и «Ограничение скорости»

0,90

- знаки «Прочие опасности» и «Опасный поворот» в 100 м друг от друга

0,84

2.

Малые мосты:

 

- знак отсутствует

1,00

- знак «Сужение дороги» или «Неровная дорога»

0,98

- знаки «Сужение дороги» и «Ограничение скорости» на одной стойке

0,87

- знак «Сужение дороги» и знаки ступенчатого ограничения скоростей

0,85

3.

Участки спусков:

 

- знак отсутствует

1,00

- знак «Крутой спуск»

0,94

- знаки «Крутой спуск» и «Ограничение скорости»

0,91

4.

Прямые участки:

 

- знак отсутствует

1,00

- знак «Обгон воспрещён»

0,95

- знак «Обгон воспрещён» с табличкой

0,75

8.16. Для обеспечения полноты расчетов, показатели себестоимости должны включать составляющие, учитывающие автотранспортные расходы и потери от дорожноранспортных происшествий (для вариантов мероприятий типа а,1 и б,1 (см. п. 8.4).

Если комплекс мероприятий по оборудованию дорог оказывает влияние только на безопасность движения, расчеты должны базироваться на учете потерь от снижения аварийности.

8.17. Для вычисления составляющей себестоимости от происшествий на каком-либо участке дорог рекомендуется следующее исходное выражение:

,                               (8.9)

где atpi - вероятное количество происшествий на участке дороги, ав/млн. авт-км;

Сср.исх. - средние потери от одного происшествия, руб.;

tp - расчетный год для определения технико-экономических показателей;

Mд - коэффициент, учитывающий влияние конкретных дорожных условий и оборудования дорог на аварийность;

mт - коэффициент, учитывающий тяжесть происшествий.

8.18. Вероятное количество происшествий на дороге, определяемое размерами интенсивности движения определят по формулам:

- для дорог с количеством полос движения до 3-х (включительно):

,     (8.10-а)

- для дорог с количеством полос движения свыше 3-х:

,                                    (8.10-б)

где Ntpi - интенсивность движения расчетного года tp, авт/сутки.

8.19. Средние потери от одного дорожно-транспортного происшествия по годам меняются следующим образом:

Исходный календарный год

1975

1976

1977

1978

1979

1980

Потери от ДТП, руб.

3260

3325

3390

3460

3520

3590

8.20. При оценке эффективности необходимы средневзвешенные за период сравнения вариантов значения показателей, которые можно получить только используя понятие расчетного года. Расчетный год следует определять с учетом характера роста интенсивности и периода сопоставления вариантов. Если принять в качестве критерия для отыскания величины расчетного года средневзвешенную за срок службы интенсивность движения, tр может быть найдено из выражений:

- при линейном росте интенсивности движения

;                                (8.11-а)

- при росте интенсивности по закону сложных процентов:

.                                  (8.11-б)

8.21. Коэффициент Мдi определяют из следующей зависимости по каждому из i вариантов решений:

Мдi = K1 × К2 × ..... К8,                                               (8.12)

где K1, К2, ..... К8 - коэффициенты, учитывающие влияние различных факторов на изменении аварийности на дороге.

Величины коэффициентов определяют следующим образом:

Коэффициент К1 - учитывает влияние ширины проезжей части дорог (применим только для дорог с количеством полос движения до 4 - . При 4-х и большем количестве полос движения его величину рекомендуется применять равной 1,0).

;                                     (8.13)

К2 - учитывает изменение ширины обочин:

;                                      (8.14)

К3 - учитывает влияние продольного уклона:

;                                           (8.15)

К4 - учитывает изменение видимости в плане:

;                                       (8.16)

К5 - учитывает влияние радиусов кривых в плане:

;                             (8.17)

К6 - учитывает влияние скорости потока движения:

;                                           (8.18)

К7 - коэффициент, учитывающий количество полос движения (см. табл. 8.4.).

Таблица 8.4.

Количество полос движения

1

2

3

4

5

6

7

8

Коэффициент К7

0,8

1,0

1,5

0,85

1,0

0,42

0,55

0,30

В выражениях (8.13) - (8.18) значения ширины проезжей части (Вш), ширина обочин (Воб), расстояния видимости (LB), радиуса кривых (Р) подставляются в метрах; продольные уклоны (i) в , скорости потоков () в км/ч.

8.22. Значение коэффициента К8, входящего в расчетное выражение (8.12), учитывают влияние средств оборудования дорог на количество происшествий и для различных дорожных условий меняются следующим образом:

Таблица 8.5.

Характер мероприятий

Оборудование малых мостов

Устройство транспортных ограждений на подходах

Оборудование мостового перехода знаками

Разметка проезжей части

Разметка на знаки

К8

0,71

0,89

0,78

0,70

Таблица 8.6.

Характер мероприятий

Оборудование населенных пунктов

Устройство пешеходных ограждений

Оборудование стояночных площадок перед общественными местами

Освещение

Ограничение скорости

Устройство тротуаров

К8

0,5

0,85

0,83

0,84

0,75

Таблица 8.7.

Характер мероприятий

Пересечения автомобильных дорог

Разметка проезжей части

Канализирование движения

Устройство переходно-скоростных полос

Установка знаков

Оборудование пешеходных переходов, автобусных остановок

К8

0,88

0,50

0,91

0,93

0,77

Таблица 8.8.

Характер мероприятий

Прямые участки автомобильных магистралей

Устройство транспортных ограждений на разделительной полосе

Осевая разметка проезжей части

Выделение разметкой краевых полос и обочин

К8

0,70

0,92

0,81

Таблица 8.9.

Характер мероприятий

Кривые в плане с ограниченной видимостью

Устройство ограждений

Разметка проезжей части (осевая и краевая)

Установка знаков

Разметка и знаки

К8

0,94

0,75

0,70

0,60

Таблица 8.10.

Характер мероприятий

Кривые в плане с обеспеченной видимостью

Устройство ограждений

Разметка проезжей части

Установка знаков

Разметка и знаки

К8

0,90

0,70

0,84

0,65

Таблица 8.11.

Характер мероприятий

Подъемы и спуски

Краевая разметка и ограждения в нижней части спуска

Разметка верхней части подъема

Разметка и знаки

Дополнительные полосы

К8

0,88

0,80

0,68

0,70

8.23. Расчетный показатель текущих затрат при вычислениях по формуле (8.2) следует определять по формуле:

,                                        (8.19)

где fi - коэффициент, учитывающий различия в сроках службы вариантов мероприятий:

;                                             (8.20)

τtpi - коэффициент приведения разновременных затрат:

,                                                    (8.21)

Tmin - наименьшее значение срока службы для сравниваемых вариантов решений;

EНП - норматив для приведения разновременных затрат, ЕНП = 0,08.

8.24. При выполнении расчетов эффективности по формуле (8.1) текущие затраты расчетного года определяют по формуле:

,                                             (8.22)

где СTcp.i и Спi - показатели себестоимости, вычисленные при интенсивности движения и пр. условиях для расчетного года tр;

PTp - транспортная работа расчетного года.

8.25. Значения , входящие в формулу (8.2), определяют по отношению к базисному варианту, за который рекомендуется принимать вариант с наибольшими текущими затратами.

СОДЕРЖАНИЕ

Введение. 1

Глава 1. Принципы учета требований безопасности движения при проектировании благоустройства и оборудования автомобильных дорог. 2

1. Общие положения. 2

2. Оценка безопасности движения по дороге. 3

3. Выбор технических средств для оборудования дорог. 7

Глава 2. Требования к разметке проезжей части. 11

1. Общие положения. 11

2. Продольная разметка. 11

3. Поперечная разметка. 15

4. Вертикальная разметка. 17

5. Прочие виды разметки. 18

Глава 3. Проектирование благоустройства автомобильных дорог. 19

1. Общие рекомендации по благоустройству. 19

2. Декоративное озеленение автомобильных дорог. 20

3. Оформление дороги, дорожные указатели. 32

4. Стоянки автомобилей и места кратковременного отдыха. 34

Глава 4. Требования к расстановке дорожных знаков. 45

1. Принципы расстановки дорожных знаков. 45

2. Условия применения и общие указания по установке дорожных знаков. 49

3. Особенности установки указательных знаков. 55

4. Особенности установки предупреждающих и запрещающих знаков. 56

Глава 5. Требования к разметке и расстановке знаков на характерных участках дорог. 57

1. Кривые в плане. 57

2. Участки подъёмов и спусков. 61

3. Пересечения и примыкания. 64

4. Сужения проезжей части. 73

5. Участки с близко расположенными боковыми препятствиями. 73

6. Мосты и путепроводы.. 75

7. Железнодорожные переезды.. 76

Глава 6. Установка ограждений и направляющих устройств. 77

1. Общие положения. 77

2. Особенности установки пешеходных ограждений. 79

3. Особенности установки транспортных ограждений. 84

Глава 7. Регулирование скоростей движения. 86

1. Общие положения. 86

2. Выбор уровня ограничения скорости движения. 87

3. Организация ввода ограничения скоростей движения. 89

4. Методы снижения скоростей движения. 90

5. Регулирование скоростей при помощи ограничения и запрещения обгонов. 91

Глава 8. Оценка эффективности оборудования автомобильных дорог. 93

1. Общие положения. 93

2. Методы оценки эффективности вариантов. 94

3. Расчёт показателей капиталоёмкости. 95

4. Расчет показателей текущих затрат. 97

 




Яндекс цитирования



   Copyright © 2007-2026,  www.tehlit.ru.

[ ѓосты, стандарты, нормативы, инструкции, правила, строительные нормы ]