|
КАРТА ТРУДОВОГО ПРОЦЕССА СТРОИТЕЛЬНОГО ПРОИЗВОДСТВА
|
КТ-4.1-6.8-77
|
|
|
Разработана конструкторско-технологическим
институтом Минпромстроя СССР*
Откорректирована и рекомендована ВНИПИ труда в строительстве Госстроя СССР для внедрения в строительное производство
|
|
|
УКЛАДКА РИГЕЛЕЙ С ПОМОЩЬЮ ГРУППОВОГО КОНДУКТОРА
|
|
|
Входит в комплект карт ККТ-4.1-1
Монтаж каркасных зданий из сборных железобетонных элементов серии ИИ-04
|
|
|
Взамен КТ-4.1-6.8-73
|
|
* 300600, г. Тула, проспект Ленина, 108.
1. ОБЛАСТЬ
И ЭФФЕКТИВНОСТЬ ПРИМЕНЕНИЯ КАРТЫ
1.1. Карта предназначена для организации труда рабочих при укладке ригелей массой до 3 т с помощью группового кондуктора.
1.2. Показатели производительности труда
|
|
По карте
|
По ЕНиР
|
|
Выработка на 1 чел.-день, ригелей
|
10,4
|
5,0
|
|
Затраты труда на один ригель, чел.-ч
|
0,77
|
2,10
|
1.3. Снижение затрат труда и повышение выработки рабочих достигается за счет применения группового кондуктора, а также сокращения численного состава звена монтажников по сравнению с нормами ЕНиР на два человека.
Примечание. В затраты
труда включено время на подготовительно-заключительные работы (4 %) и отдых (12
%).
2. УСЛОВИЯ И ПОДГОТОВКА ВЫПОЛНЕНИЯ ПРОЦЕССА
2.1. До начала работ необходимо: выверить колонны; замонолитить стыки колонн с фундаментами (прочность бетона в стыках должна быть не менее 70 % проектной); закончить все работы по монтажу конструкций, расположенных ниже уровня монтируемого перекрытия; доставить в зону монтажа ригели и уложить их на подкладки; подготовить ригели к монтажу (очистить от грязи, снега и наледи, проверить их размеры и соответствие закладных деталей проекту); установить групповой кондуктор; доставить на рабочее место инструменты и приспособления.
2.2. Работы следует выполнять, строго соблюдая правила техники безопасности и охраны труда рабочих согласно СНиП III-А, 11-70, § 14.
3. ИСПОЛНИТЕЛИ, ПРЕДМЕТЫ И ОРУДИЯ ТРУДА
3.1. Исполнители:
монтажник конструкций V разряда (М1) - 1
монтажник конструкций IV " (М2) - 1
монтажник конструкций II " (М3) - 1
3.2. Инструменты, приспособления и инвентарь
|
Наименование, назначение и основные параметры
|
ГОСТ, № чертежа
|
Количество, шт.
|
|
Строп двухветвевой грузоподъемностью 4 т, длина ветвей 4 м
|
РЧ-508-72, ЦНИИОМТП*
|
1
|
|
Кондуктор групповой
|
Чертеж Р3104-10/1-00-00
треста Оргтехстрой Главприокскстроя**
|
1
|
|
Кондуктор для временного крепления и выверки ригеля
|
Чертеж ТС-054 треста Оргтехстрой Главзапстроя***
|
2
|
|
Рулетка
|
РС-20, ГОСТ 7502-69
|
1
|
|
Метр стальной складной
|
ГОСТ 7253-54
|
2
|
|
Молоток-зубило
|
ГОСТ 11042-72
|
3
|
|
Лом монтажный
|
ГОСТ 1405-72
|
2
|
|
Ящик с инструментами
|
-
|
3
|
* Рабочие чертежи можно приобрести в Бюро внедрения ЦНИИОМТП.
** 300600, г. Тула, ул. Свободы, 38.
***
Ленинград-Центр, ул. Герцена, 31.
4.
ТЕХНОЛОГИЯ ПРОЦЕССА И ОРГАНИЗАЦИЯ ТРУДА
4.1. Операции по укладке ригеля выполняют в следующем порядке: подготовляют, стропят и подают ригель к месту установки; подготовляют место укладки ригеля и укладывают его; крепят ригель при помощи кондуктора; расстроповывают ригель и рихтуют его в проектное положение.
4.2. Временное крепление ригеля снимают после закрепления его электросваркой, которую выполняет звено электросварщиков, входящее в состав бригады монтажников.
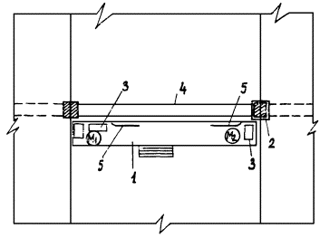
4.3. Организация рабочего места

- рабочие места монтажников
1 - групповой кондуктор; 2
- кондуктор для временного крепления ригеля;
3 - ящики с
инструментами; 4 - место укладки ригеля; 5
- ломы
4.4. График трудового процесса

4.5. Описание операций
|
№ по графику
|
Наименование операций, их продолжительность,* исполнители и орудия труда; характеристика приемов труда
|
|
1
|
2
|
|
1, 2
|
ПОДГОТОВКА РИГЕЛЯ К МОНТАЖУ; СТРОПОВКА И ПОДАЧА РИГЕЛЯ К МЕСТУ УКЛАДКИ; 4 мин; М3; молоток-зубило, лом, метр, строп
Монтажник М3 осматривает ригель, ломом
проверяет прочность монтажных петель, молотком-зубилом сбивает наплывы бетона с
закладных деталей и с помощью метра наносит осевые риски на оба конца ригеля. Монтажник М3 принимает поданный машинистом крана строп, цепляет его крюки
за монтажные петли ригеля и подает команду машинисту крана поднять и переместить ригель к месту укладки

|
|
3, 4
|
ПОДГОТОВКА МЕСТА УКЛАДКИ РИГЕЛЯ; УКЛАДКА РИГЕЛЯ; 6,5 мин; М1, М2; групповой кондуктор, строп, молотки-зубила, метр
Монтажники М1 и М2, стоя на площадке группового кондуктора, молотками-зубилами очищают опорную часть консолей колонн от наплывов бетона. Затем при помощи метра и грифеля они наносят осевые риски на боковые грани колонн. После чего они принимают ригель на расстоянии 30 см от опорных консолей колонн и ориентируют его над местом укладки. По сигналу монтажника М1 машинист крана медленно опускает ригель, а монтажники направляют его так, чтобы риски на торцах ригеля и колонн совместились


|
|
5
|
УСТАНОВКА КОНДУКТОРОВ НА КОЛОННЫ; 2,5 мин; М1, М2; строп, групповой кондуктор, кондукторы для временного крепления ригеля
Монтажники М1 и М2, находясь на площадке группового кондуктора, устанавливают на обе колонны по кондуктору для временного крепления ригеля, после чего
при натянутом стропе крепят ригель стяжными винтами кондукторов

|
|
6
|
РАССТРОПОВКА РИГЕЛЯ; 0,5 мин; М1, М2; строп, групповой кондуктор, кондукторы для временного крепления ригеля
Убедившись в надежности временного крепления ригеля кондукторами, монтажник М1 подает команду машинисту крана ослабить натяжение стропа, после чего вместе с монтажником М2 расстроповывает ригель
|
|
7
|
РИХТОВКА РИГЕЛЯ; 3,5 мин; М1, М2; групповой кондуктор, кондукторы для временного крепления ригеля, ломы
Монтажники М1 и М2, оперируя двумя упорными винтами кондукторов, рихтуют ригель в проектное положение по осевым рискам на колоннах и ригеле

|
* На один ригель.
СОДЕРЖАНИЕ