|
| |
|
КАРТА ТРУДОВОГО ПРОЦЕССА СТРОИТЕЛЬНОГО ПРОИЗВОДСТВА
|
КТ-4.1-8.22-77
|
|
|
Разработана конструкторско-технологическим
институтом Минпромстроя СССР*
Откорректирована и рекомендована ВНИПИ труда в строительстве Госстроя СССР для внедрения в строительное производство
|
|
|
УСТАНОВКА ПАНЕЛЕЙ ПЕРЕГОРОДОК
|
|
|
Входит в комплект карт ККТ-4.1-1
Монтаж каркасных зданий из сборных железобетонных элементов серии ИИ-04
|
|
|
Взамен КТ-4.1-8.22-73
|
|
* 300600, г. Тула, проспект Ленина, 108.
1. ОБЛАСТЬ
И ЭФФЕКТИВНОСТЬ ПРИМЕНЕНИЯ КАРТЫ
1.1. Карта предназначена для организации труда рабочих при установке гипсоцементнобетонных панелей перегородок площадью до 15 м2.
1.2. Показатели производительности труда
|
|
По карте
|
По ЕНиР
|
|
Выработка на 1 чел.-день, панелей
|
11,4
|
7,4
|
|
Затраты труда на одну панель, чел.-ч
|
0,70
|
1,08
|
Примечание. В затраты
труда включено время на подготовительно-заключительные работы (4 %) и отдых (12
%).
1.3. Снижение затрат труда и повышение выработки рабочих достигается за счет четкой организации труда, применения новых приспособлений и сокращения численного состава звена монтажников по сравнению с нормами ЕНиР на одного человека.
2. УСЛОВИЯ И ПОДГОТОВКА ВЫПОЛНЕНИЯ ПРОЦЕССА
2.1. До начала работ необходимо: закончить монтаж конструкций нижележащих
этажей, включая окончательную сварку стыков и покрытие их антикоррозионным составом; уложить и окончательно закрепить все ригели монтируемого этажа; приварить
к ригелям стальные пластины для крепления перегородок, отогнув под прямым углом
один из усов каждой пластины; вырубить в панелях дверные проемы и борозды (на
стенде); подготовить инструменты и приспособления.
2.2. Работы следует выполнять, строго соблюдая правила техники безопасности
и охраны труда рабочих согласно СНиП
III-А.11-70, § 14.
3. ИСПОЛНИТЕЛИ, ПРЕДМЕТЫ И ОРУДИЯ ТРУДА
3.1. Исполнители:
монтажник конструкций V разряда (М1) - 1
монтажник конструкций IV " (М2) - 1
монтажник конструкций II " (М3) - 1
3.2. Инструменты, приспособления и инвентарь
|
Наименование, назначение и основные параметры
|
ГОСТ, № чертежа
|
Количество, шт.
|
|
Траверса универсальная для подъема перегородок
|
Чертеж 066-000 ЦНИИОМТП*
|
1
|
|
Площадка монтажная
|
Чертеж 2577.000.000
треста Мосоргстрой**
|
2
|
|
Скоба-захват для временного
крепления перегородки
|
Чертеж 1165 треста Укрстальконструкция***
|
2
|
|
Ящик для деревянных клиньев
|
-
|
1
|
|
Ящик для инструментов
|
-
|
1
|
|
Метр стальной складной
|
ГОСТ 7253-54
|
3
|
|
Лом монтажный
|
ГОСТ 1405-72
|
2
|
|
Молоток-зубило
|
ГОСТ 11042-72
|
3
|
|
Отвес-рейка
|
РЧ-602-76 цнииомтп****
|
1
|
* 127434,
Москва, И-434, Дмитровское шоссе, 9.
**
113095, Москва, Ж-95, ул. Б. Полянка, 51а.
***
920030, г. Днгепропетровск-30, Центральная пл., 2/4.
**** Рабочие чертежи можно приобрести в
Бюро внедрения ЦНИИОМТП.
4. ТЕХНОЛОГИЯ
ПРОЦЕССА И ОРГАНИЗАЦИЯ ТРУДА
4.1. Операции по установке панелей перегородок выполняют в следующем порядке: подготовляют панель; размечают место установки панели и подают ее; устанавливают, временно крепят и расстроповывают панель; заводят панель под ригель и подбивают клинья; окончательно выверяют панель перегородки.
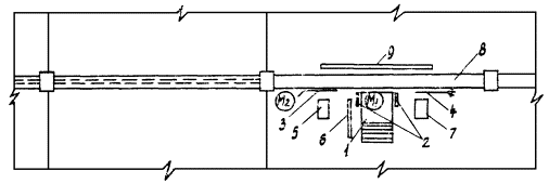
4.2. Организация рабочего места

- рабочие места монтажников
1
- монтажная площадка; 2 - скобы-захваты; 3 - лом; 4 - метла; 5 - ящик с
инструментами; 6 - отвес-рейка; 7 - ящик с деревянными клиньями; 8 - ригель; 9
- траверса
4.3. График трудового процесса

4.4. Описание операций
|
№ по графику
|
Наименование операций, их продолжительность,* исполнители и орудия труда; характеристика приемов труда
|
|
1
|
2
|
|
1
|
ПОДАЧА ПАНЕЛИ К МЕСТУ УСТАНОВКИ- 1,5 мин; М3; траверса
Стоя на мостике кассеты, монтажник М3 принимает поданную машинистом крана траверсу и, поочередно зацепив ее крюки за монтажные петли панели перегородки, подает команду машинисту крана натянуть стропы траверсы. Убедившись в надежности строповки, монтажник спускается на землю и отходит на безопасное
расстояние. По его сигналу машинист крана поднимает и перемещает панель к
месту установки
|
|
2
|
РАЗМЕТКА МЕСТА УСТАНОВКИ ПАНЕЛИ; 1,5 мин; М1, М2; метры
Монтажники М1 и М2 с помощью стальных метров и грифелей размечают место установки панели перегородки, нанося риски на колонны и перекрытие
|
|
3
|
УСТАНОВКА ПАНЕЛИ; 2,5 мин; М1, М2; траверса, ломы

Монтажники М1 и М2 принимают панель на расстоянии 30 см от перекрытия с той стороны, где стальные пластины, приваренные к ригелю, отогнуты. По сигналу монтажника М1 машинист крана опускает панель, а монтажники ломами направляют ее подошву под ригель, ориентируя панель по рискам на плите перекрытия. Стропы траверсы остаются натянутыми
|
|
|
ВРЕМЕННОЕ КРЕПЛЕНИЕ ПАНЕЛИ; 0,5 мин; М1, М2; скобы-захваты, монтажные площадки, траверса
Монтажник М2 удерживает панель от смещения, а монтажник М1 устанавливает монтажные площадки, с которых он поочередно крепит скобы-захваты на ригеле так, чтобы их опорные части находились со стороны наклона монтируемой перегородки. Затем он подает команду машинисту крана ослабить натяжение стропов траверсы

|
|
5
|
РАССТРОПОВКА ПАНЕЛИ; 1 мин; М1, М2; траверса, молотки-зубила, монтажные площадки
Монтажник М2 поднимается на монтажную площадку и, убедившись в надежности крепления панели скобами-захватами, вместе с монтажником М1 расстроповывает панель. Затем оба монтажника легкими ударами молотков-зубил загибают монтажные петли панели

|
|
6
|
УСТАНОВКА ПАНЕЛИ ПОД РИГЕЛЬ; 2,5 мин; М1, М2; монтажные площадки, молотки- зубила
Монтажники М1 и М2, стоя на монтажных площадках и нажимая руками на верхнюю часть панели перегородки, заводят ее под ригель до упора в вертикальные пластины, приваренные к ригелю. Затем при помощи молотков-зубил монтажники загибают пластины

|
|
7
|
ПОДБИВКА КЛИНЬЕВ, 1,5 мин; М1, М2; ящик с клиньями, молоток-зубило, лом
Для обеспечения необходимого зазора между перегородкой и ригелем (2 см) монтажник М1, действуя ломом как рычагом, приподнимает с одной стороны перегородку, а монтажник М2 подбивает деревянный клин, располагая его вдоль перегородки на расстоянии 50 см от торца. Аналогично они подбивают клин с другой стороны перегородки и в ее средней части через каждый метр
|
|
8
|
ОКОНЧАТЕЛЬНАЯ ВЫВЕРКА ПАНЕЛИ; 2 мин; М1, М2; отвес-рейка, монтажные площадки, лом, молотки-зубила, скобы-захваты
 
Монтажник М1 с помощью отвеса-рейки выверяет установленную панель перегородки по вертикали, в случае необходимости рихтуя ее ломом. Затем оба монтажника с монтажных площадок уточняют положение верха панели и молотками-зубилами окончательно загибают пластины-держатели заподлицо с поверхностью перегородки. Убедившись в надежности крепления перегородки, монтажники снимают скобы-захваты
|
|
9
|
ПОДГОТОВКА СЛЕДУЮЩЕЙ ПАНЕЛИ К МОНТАЖУ; 10 мин; М3; молоток-зубило, метр
Монтажник М3 поднимается на мостик кассеты и проверяет состояние монтажных петель панели перегородки. С помощью метра и грифеля он размечает, а затем молотком-зубилом вырубает борозды в перегородке на глубину равную толщине
пластин-держателей. После этого монтажник подает команду машинисту крана переместить траверсу к месту строповки панели
|
* На одну панель.
СОДЕРЖАНИЕ
| |
|