|
КАРТА ТРУДОВОГО ПРОЦЕССА СТРОИТЕЛЬНОГО ПРОИЗВОДСТВА
|
КТ-4.1-7.18-77
|
|
|
Разработана конструкторско-технологическим
институтом Минпромстроя СССР*
Откорректирована и рекомендована ВНИПИ труда в строительстве Госстроя СССР для внедрения в строительное производство
|
|
|
УКЛАДКА СВЯЗНЫХ (РАСПОРНЫХ) ПАНЕЛЕЙ ПЕРЕКРЫТИЯ
|
|
|
Входит в комплект карт ККТ-4.1-1
Монтаж каркасных зданий из сборных железобетонных элементов серии ИИ-04
|
|
|
Взамен КТ-4.1-7.18-73
|
|
* 300600, г. Тула, проспект Ленина, 108.
1.
ОБЛАСТЬ И ЭФФЕКТИВНОСТЬ ПРИМЕНЕНИЯ КАРТЫ
1.1.
Карта предназначена для организации труда рабочих при укладке связных (распорных) панелей перекрытия площадью до 10 м2.
1.2. Показатели производительности труда
|
|
По карте
|
По ЕНиР
|
|
Выработка на 1 чел.-день, панелей
|
11,4
|
10,5
|
|
Затраты труда на одну панель, чел.-ч
|
0,70
|
0,76
|
Примечание. В затраты
труда включено время на подготовительно-заключительные работы (4 %) и отдых (12
%).
1.3. Снижение затрат труда и повышение выработки рабочих достигается за счет чёткой организации труда в звене.
2. УСЛОВИЯ И ПОДГОТОВКА ВЫПОЛНЕНИЯ ПРОЦЕССА
2.1. До начала работ необходимо: смонтировать и закрепить все конструкции нижележащих этажей и ригели данного этажа; доставить в зону монтажа и расположить на рабочем месте в порядке, исключающем лишние движения работающих, монтажные приспособления, инструменты и инвентарь.
2.2. Работы следует выполнять, строго соблюдая правила техники безопасности и охраны труда рабочих согласно СНиП III-А.11-70, § 14.
3. ИСПОЛНИТЕЛИ, ПРЕДМЕТЫ И ОРУДИЯ ТРУДА
3.1. Исполнители:
монтажник конструкций V разряда (М1) - 1
монтажник конструкций IV " (М2) - 1
монтажник конструкций II " (М3) - 1
3.2. Инструменты, приспособления и инвентарь
|
Наименование, назначение и основные параметры
|
ГОСТ, № чертежа
|
Количество, шт.
|
|
1
|
2
|
3
|
|
Строп четырехветвевой грузоподъемностью 4 т, длина ветвей 4 м
|
РЧ-508-72 ЦНИИСМТП*
|
1
|
|
Площадка монтажная
|
Чертеж 2577.000.000
треста Мосоргстрой**
|
2
|
|
Шаблон универсальный
|
-
|
3
|
|
Ящик для раствора объемом 0,35 м3
|
РЧ-72-209-001 ГОСИНТИ***
|
1
|
|
Ящик для инструментов
|
-
|
1
|
|
Лом монтажный
|
ГОСТ 1405-72
|
2
|
|
Молоток-зубило
|
ГОСТ 11042-72
|
2
|
|
Метр стальной складной
|
ГОСТ 7253-54
|
2
|
|
Лопата
|
ГОСТ 3620-63
|
2
|
|
Кельма
|
ГОСТ 9533-71
|
2
|
|
Ведро
|
-
|
2
|
|
Уровень строительный
|
УС2-700, ГОСТ 9416-67
|
1
|
* Рабочие чертежи можно приобрести в Бюро внедрения ЦНИИОМТП.
**
113095, Москва, Ж-95, ул. Б. Полянка, 51а.
***
Москва-Центр, проезд Серова, 5.
4.
ТЕХНОЛОГИЯ ПРОЦЕССА И ОРГАНИЗАЦИЯ ТРУДА
4.1. Операции по укладке связной панели перекрытия выполняют в следующем порядке: подготовляют панель к укладке; размечают место укладки панели и устраивают растворную постель; подают, укладывают и выверяют панель; расстроповывают ее.
4.2. Организация рабочего места

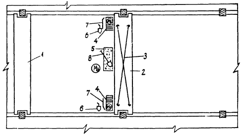
- рабочие места монтажников
1
- уложенная панель; 2 - укладываемая панель; 3 - строп; 4 - монтажные площадки;
5 - ящик с раствором; 6 - кельмы; 7 - ломы; 8 - лопата
4.3. График трудового процесса

4.4. Описание операций
|
№ по графику
|
Наименование операций, их продолжительность,* исполнители и орудия труда; характеристика приемов труда
|
|
1
|
2
|
|
1
|
ПОДГОТОВКА ПАНЕЛИ К УКЛАДКЕ; 3 мин; М3; универсальный шаблон
Монтажник М3 проверяет правильность расположения закладных деталей и целостность монтажных петель. Затем с помощью универсального шаблона и грифеля он наносит риски с двух торцов панели

|
|
2
|
РАЗМЕТКА МЕСТА УКЛАДКИ ПАНЕЛИ; 2,5 мин; М1, М2; метры, монтажные площадки
Монтажники М1 и М2 раскладывают инструменты и приспособления в соответствии со схемой организации рабочего места. Затем монтажник М1 на одной колонне, а монтажник М2 на другой с помощью метра и грифеля размечают места установки панели, нанося осевые риски

|
|
3
|
ПОДГОТОВКА РАСТВОРНОЙ ПОСТЕЛИ; 2,5 мин; М1, М2; кельмы, ящик с раствором, монтажные площадки, молотки-зубила, ведра, лопаты
Монтажники М1 и М2 набирают лопатами раствор из ящика в ведра и поднимаются на монтажные площадки. Молотками-зубилами они очищают место укладки панели от наплывов бетона. Затем достают кельмами раствор из ведер, укладывают его на полки ригелей и разравнивают

|
|
4
|
СТРОПОВКА И ПОДАЧА ПАНЕЛИ К МЕСТУ УКЛАДКИ; 2 мин; М3; строп
Монтажник М3 принимает поданный машинистом крана строп, поочередно цепляет его крюки за монтажные петли панели и подает команду машинисту крана натянуть строп. Убедившись в надежности строповки, монтажник отходит на безопасное расстояние. По его сигналу машинист крана поднимает и перемещает панель к месту укладки
|
|
5
|
УКЛАДКА ПАНЕЛИ; 3 мин; М1, М2; строп, монтажные площадки
Монтажники М1, и М2, стоя на монтажных площадках, принимают поданную машинистом крана панель на расстоянии 30 см от перекрытия и ориентируют ее над местом укладки. Затем монтажник М1 подает команду машинисту крана опустить панель. Ветви стропа остаются натянутыми

|
|
6
|
ВЫВЕРКА ПАНЕЛИ; 3 мин; М1, М2; строп, монтажные площадки, кельмы, ведра,
ящик с раствором, ломы, уровень
Монтажники М1 и М2 проверяют правильность укладки панели по рискам на ней и колоннах, в случае необходимости ломами рихтуя панель в проектное положение. Затем монтажники при помощи
уровня проверяют правильность укладки панели по вертикали, устраняя замеченные отклонения путем изменения толщины растворной постели

|
*
На одну панель.
СОДЕРЖАНИЕ