|
| |
|
КАРТА ТРУДОВОГО ПРОЦЕССА СТРОИТЕЛЬНОГО ПРОИЗВОДСТВА
|
КТ-4.1-8.47-77
|
|
|
Разработана трестом Мосоргстрой* и ЦНИБ-Мосстрой Главмосстроя
Откорректирована и рекомендована ВНИПИ труда в строительстве Госстроя СССР для внедрения в строительное производство
|
|
|
МОНТАЖ СТЕНОК ЛОДЖИЙ БС-20-2
|
|
|
Входит в комплект карт ККТ-4.1-2
Возведение крупнопанельных жилых домов серии
1-515/9
|
|
|
Взамен КТ-4.1-8.47-75
|
|
* 113095, Москва, Ж-95, ул. Б. Полянка,
51а.
1.
ОБЛАСТЬ И ЭФФЕКТИВНОСТЬ ПРИМЕНЕНИЯ КАРТЫ
1.3. Карта предназначена дня организации труда рабочих при монтаже башенным краном стенок лоджий площадью до 6 м2.
1.2. Показатели производительности труда
|
|
По карте
|
По ЕНиР
|
|
Выработка на 1 чел.-день, стенок
|
10,0
|
6,1
|
|
Затраты труда на одну стенку, чел.-ч
|
0,8
|
1,3
|
Примечание. В затраты труда включено время на
подготовительно-заключительные работы и отдых.
2. УСЛОВИЯ И ПОДГОТОВКА ВЫПОЛНЕНИЯ ПРОЦЕССА
2.1. До начала работ необходимо установить панели наружных стен и уложить плиту перекрытия лоджии.
2.2. Работы следует выполнять, строго соблюдая правила техники безопасности и охраны труда рабочих согласно СНиП III-А.11-70, § 14.
3. ИСПОЛНИТЕЛИ, ПРЕДМЕТЫ И ОРУДИЯ ТРУДА
3.1. Исполнители:
монтажник конструкций V разряда (М1) - 1
монтажник конструкций IV " (М2) - 1
такелажник III разряда (Т) - 1
машинист крана V " (М) - 1
3.2. Инструменты, приспособления и инвентарь
|
Наименование, назначение и основные параметры
|
ГОСТ, № чертежа
|
Количество, шт.
|
|
Струбцина
|
Чертеж 4107 треста Мосоргстрой
|
1
|
|
Подкос
|
Чертеж 250 того же треста
|
1
|
|
Ящик-контейнер для раствора
|
Чертеж 3182 того же треста
|
1
|
|
Тяга для дистанционной расстроповки
|
Чертеж 3974 того же треста
|
1
|
|
Подштопка
|
Чертеж 226 того же треста
|
1
|
|
Отвес-рейка
|
РЧ-602-76 ЦНИИОМТП*
|
1
|
|
Лом монтажный
|
ГОСТ 1405-72
|
2
|
|
Лопата
|
ГОСТ 3620-63
|
2
|
|
Кельма
|
ГОСТ 9533-71
|
1
|
|
Ведро
|
-
|
1
|
|
Метла
|
-
|
1
|
|
Щетка стальная
|
Каталог-справочник
ЦНИИТЭстроймаша**, стр. 83
|
1
|
|
Ящик с инструментами
|
-
|
1
|
|
Строп двухветвевой
|
РЧ-507-72 ЦНИИОМТП
|
1
|
* Рабочие чертежи можно приобрести в Бюро внедрения ЦНИИОМТП.
** 121019, Москва, Г-19, ул. Маркса и
Энгельса, 7/10.
4.
ТЕХНОЛОГИЯ ПРОЦЕССА И ОРГАНИЗАЦИЯ ТРУДА
4.1. Операции по установке стенок лоджий выполняют в следующем порядке: подготовляют стенку к строповке, стропят и подают ее к месту установки; устраивают растворную постель; устанавливают стенку на растворную постель; рихтуют стенку в проектное положение, выверяют и временно крепят ее; расстроповывают стенку; уплотняют раствор в горизонтальном шве; подготовляют место установки следующей стенки.
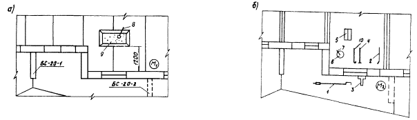
4.2. Организация рабочего места

- рабочие места монтажников
1
- струбцина с подкосом; 2 - лом; 3 - отвес-рейка; 4 - подштопка; 5 - ящик с
инструментами; 6 - ведро; 7 - метла; 8 - лопата; 9 - ящик с раствором; 10 -
тяга для дистанционной расстроповки
Примечание. При установке
стенок лоджий монтажник М1 находится на перекрытии смонтированного
этажа (рис. а), а монтажник М2 - на перекрытии лоджии нижележащего
этажа (рис. б).
4.3. График трудового процесса

4.4. Описание операций
|
№ по графику
|
Наименование операций, их продолжительность,* исполнители и орудия труда; характеристика приемов труда
|
|
1
|
2
|
|
1
|
ПОДГОТОВКА СТЕНКИ К СТРОПОВКЕ; 8,5 мин; Т; стальная щетка
Такелажник проверяет маркировку стенки, состояние монтажных петель и наличие закладных деталей, очищая их при необходимости стальной щеткой
|
|
2
|
СТРОПОВКА И ПОДАЧА СТЕНКИ К МЕСТУ УСТАНОВКИ; Т - 1,5 мин; М - 2,5 мин; строп


Такелажник поочередно заводит крюки стропа в монтажные петли стенки и, отойдя на 4 - 5 м, подает команду машинисту крана приподнять стенку на 20 - 30 см, а затем, убедившись в надежности строповки, подает сигнал поднять и переместить стенку к месту установки
|
|
3
|
УСТРОЙСТВО РАСТВОРНОЙ ПОСТЕЛИ; 1,5 мин; М1, М2; лопата, кельма
Монтажник М1 лопатой подает раствор на место установки стенки, а монтажник М2 - кельмой разравнивает его слоем на 5 - 8 мм выше проектного шва

|
|
4
|
УСТАНОВКА СТЕНКИ НА РАСТВОРНУЮ ПОСТЕЛЬ; 1 мин; М1, М2; строп
Монтажник М1, находясь на перекрытии смонтированного этажа, а монтажник М2 - на перекрытой лоджии нижнего этажа, принимают стенку на расстоянии 20 - 30 см от растворной постели и разворачивают ее в нужном направлении. Затем по сигналу монтажника М1 машинист крана медленно опускает стенку на подготовленную постель, оставляя ветви стропа натянутыми

|
|
5
|
РИХТОВКА, ВЫВЕРКА И ВРЕМЕННОЕ КРЕПЛЕНИЕ СТЕНКИ; 4 мин; М1, М2, М; отвес-рейка, лом, строп, струбцина с подкосом


Монтажник М1 проверяет правильность установки основания стенки по расстоянию от риски, закрепляющей смещенную ось стенки на перекрытии, до внутренней грани стенки и подает сигнал машинисту крана ослабить натяжение ветвей стропа. Вертикальность стенки монтажники М1, и М2 проверяют с помощь к отвеса-рейки. Небольшие отклонения от проектного положения монтажник М2 устраняет, рихтуя стенку ломом. Затем электросварщик крепит стенку вверху, а монтажник М1 переходит на плиту перекрытия нижней лоджии и вместе с монтажником М2 временно закрепляет стенку струбциной
|
|
6
|
РАССТРОПОВКА СТЕНКИ; 0,5 мин; М1, М; строп, тяга для дистанционной расстроповки
Монтажник М1 при помощи тяги для дистанционной
расстроповки поочередно выводит крюки стропа из монтажных петель стенки

|
|
9
|
ПОДГОТОВКА МЕСТА УСТАНОВКИ СЛЕДУЮЩЕЙ СТЕНКИ; М1 - 3 мин; М2 - 2,5 мин; ведро, метла
Монтажники М1 и М2 размещают оснастку, инвентарь, приспособления и инструменты по схеме организации рабочего места. Монтажник М2 очищает от мусора место установки следующей стенки и смачивает его водой при помощи метлы
|
* На одну
стенку лоджии.
СОДЕРЖАНИЕ
| |
|