|
КАРТА ТРУДОВОГО ПРОЦЕССА СТРОИТЕЛЬНОГО ПРОИЗВОДСТВА
|
КТ-4.1-4.5-77
|
|
|
Разработана
конструкторско-технологическим институтом Минпромстроя СССР*
Откорректирована и рекомендована ВНИПИ труда в строительстве Госстроя СССР для внедрения в строительное производство
|
|
|
УСТАНОВКА ЭТАЖНЫХ КОЛОНН С ПОМОЩЬЮ РШИ
|
|
|
Входит в комплект карт ККТ-4.1-4
Монтаж сборных железобетонных конструкций каркасных зданий
|
|
|
Взамен КТ-4.1-4.5-70
|
|
*
300600,
г. Тула, проспект Ленина, 108.
1.1. Карта предназначена для организации труда рабочих при установке этажных колонн массой до 3 т с помощью рамно-шарнирных индикаторов (РШИ).
1.2. Показатели производительности труда
|
|
По карте
|
По ЕНиР
|
|
Выработка на 1 чел.-день, колонн
|
7,00
|
1,78
|
|
Затраты труда на одну колонну, чел.-ч
|
1,15
|
4,50
|
Примечание. В затраты
труда включено время на подготовительно-заключительные работы и отдых.
1.3. Снижение затрат труда и повышение выработки рабочих достигается за счет использования рамно-шарнирных индикаторов (РШИ).
2.1. До начала работ необходимо: завезти колонны на приобъектный склад (или обеспечить поставку их в соответствии с почасовым графиков монтажа); вынести на монтажный горизонт базовые оси; доставить в зону монтажа приспособления, инвентарь и расположить на рабочем месте; установить рамно-шарнирные индикаторы на перекрытии и выверить их по базовым осям.
2.2. Работы следует выполнять, строго соблюдая правила техники безопасности и охраны труда рабочих согласно СНиП III-А.11-70, § 14.
3.1. Исполнители:
монтажник конструкций V разряда (М1) - 1
монтажник конструкций IV разряда (М2) - 1
монтажник конструкций III разряда (М3) - 1
монтажник конструкций II разряда (М4) - 1
3.2. Инструменты, приспособления и инвентарь
|
Наименование, назначение и основные параметры
|
ГОСТ, № чертежа
|
Количество, шт.
|
|
Строп двухветвевой
|
РЧ-507-72 ЦНИИОМТП*
|
1
|
|
Лом монтажный
|
ГОСТ 1405-72
|
1
|
|
Щетка стальная
|
Каталог-справочник ЦНИИТЭстроймаша,** стр. 83
|
1
|
|
Кувалда (5,5 кг)
|
ГОСТ 11402-65
|
1
|
|
Метр стальной складной
|
ГОСТ 7253-54
|
1
|
|
Приспособление для проверки вертикальности колонн
|
Рабочие чертежи СУ-19 треста Мосстрой-4***
|
1
|
|
Молоток-кирочка
|
ГОСТ 11042-72
|
1
|
*
Рабочие
чертежи можно приобрести в Бюро внедрения ЦНИИОМТП.
**
121019,
Москва, Г-19, ул. Маркса и Энгельса, 7/10.
***
Москва,
В-44, Ленинский проспект, 2г.
4.1. Операция по установке колонны выполняют в следующем порядке: очищают колонну от грязи, снега, наледи и ржавчины; стропят ее; одновременно подготовляют место опирания - оголовок нижележащей колонны; поднимают колонну, ориентируют ее над хомутом РШИ и устанавливают на нижележащую колонну; выверяют и временно крепят колонну хомутом; расстроповывают колонну.
4.2. Установку начинают с угловой колонны. Временное закрепление, выверку и установку колонн в проектное положение производят с помощью РШИ. Заделку стыка бетоном выполняет звено бетонщиков.
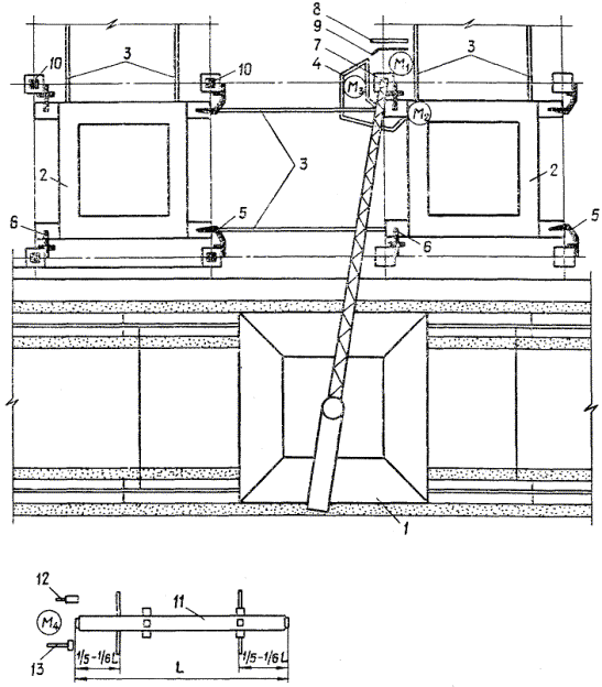
4.3. Организация рабочего места

- рабочие места монтажников
1 -
кран; 2 - рамно-шарнирные индикаторы; 3 - соединительные тяги; 4 -
поворотно-выдвижная люлька; 5 - поворотные хомуты; 6 - откидные хомуты; 7 -
устанавливаемая колонна; 8 - приспособление для проверки вертикальности колонн;
9 - монтажный лом; 10 - установленные колонны; 11 - колонна, подготовленная к
установке; 12 - стальная щетка; 13 - кувалда
4.4. График трудового процесса

4.5. Описание операции
|
№ по графику
|
Наименование операций, их продолжительность,* исполнители и орудия труда; характеристика приемов труда
|
|
1
|
2
|
|
1
|
ПОДГОТОВКА КОЛОННЫ К УСТАНОВКЕ; 9 мин; М4; кувалда, щетка
Монтажник М4 осматривает колонну, проверяет наличие и правильность расположения закладных деталей, а также основные размеры колонн. При необходимости он очищает закладные детали и оголовок колонны от наплывов бетона с помощью кувалды и стальной щетки

|
|
3
|
ПОДГОТОВКА МЕСТА ОПИРАНИЯ КОЛОННЫ; 2,5 мин; М1, М3; щетка, метр, молоток-кирочка
Монтажник М3 при помощи молотка-кирочки и стальной щетки очищает оголовок смонтированной (нижестоящей) колонны от грязи, наледи и ржавчины. Монтажник М1 при необходимости
подносит стальные подкладки и укладывает их на оголовок колонны до проектной отметки

|
|
4
|
ПОДЪЕМ И ПЕРЕМЕЩЕНИЕ КОЛОННЫ К МЕСТУ УСТАНОВКИ;
М4 - 0,5 мин; М2 - 2 мин; строп
По команде монтажника М4 машинист крана переводит колонну в вертикальное положение и приподнимает ее над землей. Убедившись в надежности строповки, монтажник М4
подает команду машинисту крана переместить колонну в зону монтажа. Монтажник М2 центрирует колонну над хомутом РШИ

|
|
5
|
УСТАНОВКА ПОВОРОТНО-ВЫДВИЖНОЙ ЛЮЛЬКИ В РАБОЧЕЕ ПОЛОЖЕНИЕ; 5 мин; М2
Монтажник М2, ослабив зажимной винт фиксатора, вращением рукоятки против часовой стрелки поворачивает люльку в
рабочее положение. Вращая рукоятку по часовой стрелке, он закрепляет люльку фиксатором

|
|
6
|
УСТАНОВКА КОЛОННЫ; 6,5 мин; М1, М2, М3; строп
Монтажник М1, стоя на верхней площадке РШИ, принимает и наводит колонну на хомут. Машинист крана плавно опускает, колонну, а монтажник М2, находящийся в поворотно-выдвижной люльке, удерживает ее от раскачивания Монтажник М3, стоя на перекрытии, принимает колонну, ориентирует нас оголовком нижестоящей колонны и подает команду машинисту крана опустить ее. (При монтаже колонн с фиксирующими штырями монтажник М3 следит за тем, чтобы закладной фиксирующий штырь вошел в гнездо установленной колонны)

|
|
7
|
ВРЕМЕННОЕ ЗАКРЕПЛЕНИЕ КОЛОННЫ ХОМУТОМ; 1,5 мин; М1, М2, М3; строп, лом, приспособление для проверки вертикальности колонн
Монтажники М2 и М3 заводят колонну в корпус хомута углового упора и охватывают ее прижимным тросом, конец которого закрепляют на корпусе хомута. Затем вращением штурвала натяжного механизма прижимают колонну к двум граням хомута.

Равномерное притяжение колонны обеспечивается установленной на хомуте скобой, отклоняющей трос. Монтажник М1 прикладывает приспособление для проверки вертикальности к ребру колонны так, чтобы оно опиралось своими внутренними упорами на две плоскости, и следит за положением уровней, позволяющих производить выверку колонны одновременно в двух плоскостях.

Монтажник М3 по команде монтажника М1 ломом рихтует низ колонны до тех пор, пока она не займет строго вертикальное положение

|
|
8
|
РАССТРОПОВКА КОЛОННЫ; 1,5 мин; М2; строп
После установки и закрепления колонны машинист крана ослабляет натяжение ветвей стропа, а монтажник М2, стоя
на верхней площадке РШИ, расстроповывает колонну и подает команду машинисту крана поднять строп

|
* На одну колонну.
СОДЕРЖАНИЕ