|
| |
|
КАРТА ТРУДОВОГО ПРОЦЕССА СТРОИТЕЛЬНОГО ПРОИЗВОДСТВА
|
КТ-4.1-4.14-77
|
|
|
Разработана Отраслевой лабораторией монтажных работ Минмонтажспецстроя УССР при ДИСИ*
Откорректирована и рекомендована ВНИПИ труда в строительстве Госстроя СССР для внедрения в строительное производство
|
|
|
МОНТАЖ ЖЕЛЕЗОБЕТОННЫХ ДВУХВЕТВЕВЫХ КОЛОНН МАССОЙ ОТ 15 ДО 20 т
|
|
|
Входит в комплект карт ККТ-4.1-1
Монтаж сборных железобетонных конструкций
|
|
|
Взамен КТ
|
|
*
г. Днепропетровск-92, ул. Чернышевского, 24а.
1.1. Карта предназначена для организации труда рабочих при установке железобетонных двухветвевых колонн массой 15 - 20 т в стаканы фундаментов.
1.2. Показатели производительности труда
|
|
По
карте
|
По
ЕНиР
|
|
Выработка на 1 чел.-день, колонн
|
1,60
|
0,76
|
|
Затраты труда на одну колонну, чел.-ч
|
5,0
|
10,5
|
2.1. До начала работ необходимо: закончить все работы нулевого цикла; произвести обратную засыпку пазух фундаментов; выполнить геодезическую съемку осей и отметок стаканов фундамента; проверить геометрические размеры колонны и заполнить бетоном дно стакана фундамента до проектной отметки; проверить наличие осевых рисок на колонне и фундаменте; доставить на рабочее место инструменты и приспособления и проверить их исправность.
2.2. Колонны должны быть разложены на подкладках у мест их установки в зоне действия крана.
2.3. Работы следует выполнять, строго соблюдая правила техники безопасности и охраны труда рабочих согласно СНиП III-А.11-70, § 14.
3.1. Исполнители:
монтажник конструкций (он же газорезчик) V разряда (М1) - 1
монтажники конструкций IV разряда (М2, М3) - 2
монтажник конструкций III (М4) - 1
машинист крана VI разряда (К) - 1
3.2. Инструменты, приспособления и инвентарь
|
Наименование, назначение и основные параметры
|
ГОСТ, № чертежа
|
Количество, шт.
|
|
1
|
2
|
3
|
|
Захват полуавтоматический для подъема
колонн
|
Чертежи ПИ Промстальконструкция*
|
1
|
|
Расчалка с винтовой стяжкой и струбциной
|
Чертеж 5021-15 того же ПИ
|
2
|
|
Строп универсальный длиной 6 м для перекантовки колонны
|
Чертежи того же ПИ
|
2
|
|
Аппарат газорезный
|
К-51
|
1
|
|
Линейка стальная Т-образная
|
Чертежи лаборатории
монтажных работ при ДИСИ
|
2
|
|
Клин разводной стальной
|
Чертежи той же лаборатории
|
6
|
|
Лопата совковая
|
ГОСТ 3620-63
|
2
|
|
Метр стальной складной
|
ГОСТ 7253-54
|
1
|
|
Нивелир
|
НВ-1, ГОСТ 10528-69
|
1
|
|
Теодолит
|
Т-10, ГОСТ 10529-70
|
2
|
|
Рулетка
|
РС-50, ГОСТ 7502-69
|
1
|
|
Тележка двухколесная с контейнером
для инструментов
|
Чертеж КБ-6805 Гипрооргсельстроя**
|
1
|
|
Кувалда
|
ГОСТ 11402-65
|
2
|
|
Молоток слесарный
|
ГОСТ 2310-70
|
2
|
|
Зубило
|
ГОСТ 7211-72
|
2
|
|
Лом монтажный
|
ГОСТ 1405-72
|
2
|
|
Щетка стальная
|
Каталог-справочник ЦНИИТЭстроймаша,*** стр. 83
|
2
|
|
Скребок для очистки закладных
деталей
|
-
|
2
|
|
Оттяжка длиной 33 м из пенькового каната диаметром 25 мм (с карабинами на концах)
|
-
|
1
|
*
Москва, А-80, Волоколамское шоссе, 1.
**
Москва, А-80, Волоколамское шоссе, 3.
***
Москва, Г-19, ул. Маркса и Энгельса, 7/10.
4.1. Операции по установке железобетонной колонны выполняют в следующем порядке: подготовляют колонну и стакан фундамента к монтажу; стропят колонну; устанавливают разводные клинья в стакане фундамента; устанавливают колонну; выверяют колонну с помощью разводных стальных клиньев и временно крепят ее железобетонными клиньями; снимают разводные клинья и расстроповывают колонну.
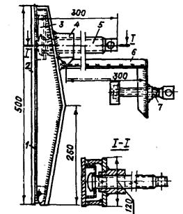
4.2. Организация рабочего места

- рабочие места монтажников
1 - кран на гусеничном ходу; 2 - передвижной контейнер для инструментов; 3 - положение колонны до перекантовки; 4 - положение колонны перед подъемом; 5 - фундаменты стаканного типа; 6 - ящик с бетонными клиньями; 7 - клинья разводные стальные; 8 - теодолиты; 9 - места стоянок крана
4.3. График трудового процесса

4.4. Описание операций
|
№ по графику
|
Наименование операций, их продолжительность, * исполнители и орудия труда; характеристика приемов труда
|
|
1
|
2
|
|
1
|
УСТАНОВКА ГЕОДЕЗИЧЕСКИХ И РАСКЛАДКА РУЧНЫХ ИНСТРУМЕНТОВ; 10 мин; М1, М3; теодолиты, нивелир, контейнер с инструментами
Монтажник М1 для выверки колонны по цифровой и буквенной осям здания устанавливает теодолиты на расстоянии двойной высоты монтируемой колонны, а нивелир - на расстоянии одной высоты колонны. Монтажник М3 раскладывает инструменты в соответствии со схемой организации рабочего места
|
|
2
|
ПОДГОТОВКА ФУНДАМЕНТА; 6 мин; М2, М4; лопата, рулетка, метр
Монтажник М2 стальным метром промеряет размеры стакана фундамента, затем он проверяет наличие осевых рисок и при отсутствии восстанавливает их. Монтажник М4 при помощи лопаты очищает стакан от грязи, мусора, при необходимости промывает водой
|
|
3
|
ПОДГОТОВКА КОЛОННЫ К УСТАНОВКЕ; 9 мин; М1, М3; молоток, зубило, скребок, рулетка, щетка, газорезный аппарат
Монтажник М3 проверяет наличие закладных деталей на колонне, очищает их
стальной щеткой, а также при помощи скребка очищает колонну от налипшего грунта. Монтажник М1 газорезным аппаратом срезает монтажные петли. Затем монтажники М1 и М3 рулеткой промеряют геометрические размеры колонны и расстояния между закладными деталями, а потом масляной краской наносят осевые риски на гранях и оголовке колонны
|
|
4
|
УСТАНОВКА РАЗВОДНЫХ КЛИНЬЕВ; 18 мин; М2, М4; линейки

Монтажники М2 и М4 наносят на обрезе фундамента риски, обозначающие положение граней колонны. Затем они устанавливают поочередно три разводных клина: два клина у одной ветви колонны по двум смежным граням стакана и один клин у второй ветви.
Клинья устанавливают так, чтобы щека «2» (см. рис. клина) упиралась ребром во внутреннюю стенку стакана фундамента. По рискам, обозначающим положение граней колонны, монтажники М2 и М4 укладывают на смежных гранях стакана фундамента две Т-образные линейки. Затем монтажник М2
вращением винта «7» разводного клина доводит опорное ребро щеки «2» до упора
с Т-образной линейкой, а монтажник М4
вращением винта «5» приводит подвижную
щеку «2» в плоскость будущего положения грани колонны. Аналогично монтажники М2 и М4
устанавливают два других клина

Разводной клин
1, 2 - щеки; 3 - швеллер, 4 - гайка; 5 - разводной винт; 6 - шарнирно-накладной кронштейн; 7 - прижимной винт
|
|
5
|
СТРОПОВКА КОЛОННЫ ДЛЯ ПЕРЕКАНТОВКИ; 6 мин; М1, М3; универсальные стропы

По команде монтажника М1 машинист К перемещает кран к месту установки колонны. В это время монтажник М3 подносит к колонне универсальные стропы. Затем монтажник М3 подсовывает универсальные стропы под колонну в середине ее двухветвевой части. Монтажник М1 принимает стропы, подтягивает их и устанавливает по граням колонны инвентарные подкладки, прикрепленные на универсальных стропах. Закрепив таким образом колонну «на удав», монтажник М3,
придерживая крюк крана одной рукой, другой отводит предохранительную скобу, а монтажник М1 надевает концы стропов на крюк крана
|
|
6
|
ПЕРЕКАНТОВКА КОЛОННЫ; 6 мин; М1, М3, К; универсальные стропы
Монтажники М1 и М3, закончив строповку
колонны, отходят от нее. Монтажник М1
подает машинисту крана К сигнал перекантовать колонну. Машинист крана К, приподнимая колонну, устанавливает ее на ребро. Затем, по команде монтажника М1, машинист опускает колонну, а монтажник М3 расстроповывает ее

|
|
7
|
СТРОПОВКА КОЛОННЫ; 8 мин; М1, М3, К; полуавтоматический захват

По сигналу монтажника М1 машинист крана К опускает крюк к полуавтоматическому захвату. Монтажник М3 отводит серьгу захвата в положение удобное для заводки крюка. Монтажник М1, придерживая предохранительную скобу, заводит крюк крана в серьгу захвата. Монтажники М1 и М3 находятся по
обе стороны колонны и, придерживая раму захватного устройства, наводят ее на верхнюю ветвь подготовленной к монтажу колонны так, чтобы запорный палец оказался напротив строповочного отверстия в теле колонны. Машинист крана К включает электродвигатель, приводящий в движение запорный палец. Монтажник М1 вводит его в отверстие колонны. Когда палец достигнет противоположной боковой грани захватного устройства, движение его приостанавливается автоматически при помощи конечного выключателя. Монтажник М1 дает машинисту крана сигнал натянуть строп захвата и вместе с монтажником М3 проверяет правильность и надежность строповки

Полуавтоматический захват
1 - рама; 2 - тросовые тяги; 3 - балочная траверса; 4 - штекерный разъем; 5 - кабель; 6 - электродвигатель; 7 - коробка;
8 - гайка; 9 - дублирующая
кнопка управления; 10 - винт; 11 - запорный палец
|
|
8
|
КРЕПЛЕНИЕ РАСЧАЛОК; 5 мин; М2, М4; расчалки со струбцинами
Монтажник М2 крепит струбцину к диафрагме колонны. Монтажник М4, нажимая пальцем на защелку крюка расчалки, заводит его в кольцо струбцины
|
|
9
|
ПОДЪЕМ И УСТАНОВКА КОЛОННЫ; 5 мин; М1, М2, М3, М4, К; полуавтоматический захват
Монтажник М1 дает машинисту крана сигнал приподнять колонну от земли на 20 - 30 см. Монтажник М3 проверяет надежность строповки, после чего монтажник М1 дает сигнал машинисту крана К подвести колонну к стакану фундамента. Монтажники М2 и М4 принимают колонну на высоте 30 см над стаканом фундамента. По сигналу монтажника М1 машинист крана плавно опускает колонну, а
монтажники М2 и М4 придерживают ее с двух сторон, направляя колонну в стакан фундамента. При этом монтажники прижимают грани колонны к наружным граням
подвижных щек разводных клиньев, установленных на стакане фундамента и совмещают риски на колонне с
рисками на стакане фундамента

|
|
10
|
ВЫВЕРКА И ВРЕМЕННОЕ КРЕПЛЕНИЕ КОЛОННЫ; 28 мин; М1, М2, М3, М4, К; разводные стальные клинья, ломы, бетонные клинья, кувалды, расчалки, теодолиты
Монтажники М3 и М4
устанавливают на стакане фундамента поочередно три разводных клина у трех свободных граней двухветвевой колонны в дополнение к трем ранее установленным. Монтажники М1 и М2, находясь у теодолитов, установленных по цифровой и буквенной осям колонны, подают сигналы монтажникам М3 и М4, которые регулируют положение колонны в плане и по вертикали путем завинчивания винтов клиньев с одной стороны колонны и ослабления их с другой. При вращении прижимного винта щека клина поворачивается вокруг опорного ребра и нижним концом прижимает колонну к ранее установленным разводным клиньям, что обеспечивает рихтовку положения колонны в плане.

Вращая разводные винты монтажники М3 и М4 рихтуют колонну по вертикали. При помощи винтов клиньев монтажники М3 и М4 защемляют колонну между двумя щеками на уровне расположения
разводных клиньев. Затем монтажники М1 и М2 закрепляют нижние концы расчалок за строповочные петли на соседних фундаментах или за инвентарные якоря, устанавливаемые в грунте. Монтажники М3 и М4 кувалдами забивают
железобетонные клинья между гранями колонны и внутренней стенкой стакана фундамента. Это обеспечивает надежность временного крепления колонны в стакане. После этого монтажники М1, М2, М3 и М4 вынимают разводные клинья

|
|
11
|
РАССТРОПОВКА КОЛОННЫ; 1 мин; К; полуавтоматический захват
После установки и закрепления колонны машинист крана К, нажав кнопку в кабине, включает двигатель полуавтоматического захвата, выводит запорный палец из отверстия колонны, освобождая таким образом захват без помощи монтажника. Затем машинист поднимает захват вверх и отводит его в сторону от установленной колонны
|
* На одну
колонну.
СОДЕРЖАНИЕ
| |
|