|
| |
|
КАРТА ТРУДОВОГО ПРОЦЕССА СТРОИТЕЛЬНОГО ПРОИЗВОДСТВА
|
КТ-4.1-0.4-77
|
|
|
Разработана Лабораторией монтажных работ при ДИСИ Минмонтажспецстроя УССР *
Откорректирована и рекомендована ВНИПИ труда в строительстве Госстроя СССР для внедрения в строительное производство
|
|
|
МОНТАЖ ЖЕЛЕЗОБЕТОННЫХ Н-ОБРАЗНЫХ РАМ МАССОЙ 5,8
- 6,2 т
|
|
|
Входит в комплект карт ККТ-4.1-0
Монтаж железобетонных каркасов многоэтажных зданий
|
|
|
Взамен КТ-4.1-0.4-72
|
|
*
г. Днепропетровск-92, ул. Чернышевского, 24а.
1.1. Карта предназначена для организации труда рабочих при монтаже железобетонных Н-образных рам массой 5,8 - 6,2 т, опорные стыки которых выполнены с центрирующими прокладками и накладными стержнями из арматурной стали. Монтаж ведется с помощью кондуктора для установки и выверки четырех рам.
1.2. Показатели производительности труда
|
|
По карте
|
По МНиР
|
|
Выработка на 1 чел.-день, рам
|
2,75
|
1,10
|
|
Затраты труда на одну раму, чел.-ч
|
2,9
|
7,3
|
Примечание. В затраты
труда не включены 0,9 чел.-ч, затрачиваемые такелажниками из другого звена на
подготовку рамы к монтажу и строповку ее.
1.3. Снижение затрат труда и повышение выработки рабочих достигается за счет использования при монтаже рам группового кондуктора.
2.1. До начала работ необходимо: выполнить геодезическую съемку высоты оголовков стоек рам по всему ярусу для определения толщины центрирующих прокладок; завезти и подготовить к работе механизмы, инвентарь и приспособления.
2.2. Работы следует выполнять, строго соблюдая правила техники безопасности и охраны труда рабочих согласно СНиП III-А.11-70, § 14.
3.1. Исполнители:
монтажник конструкций VI разряда (М1) - 1
монтажник конструкций (он же электросварщик) V разряда (М2) - 1
монтажник конструкций IV разряда (М3) - 1
монтажник конструкций II разряда (М4) - 1
3.2. Инструменты, приспособления и инвентарь
|
Наименование, назначение и основные параметры
|
ГОСТ, № чертежа
|
Количество, шт.
|
|
Кондуктор групповой дня установки и выверки четырех рам
|
Чертеж 1040-160Р16 Днепропетровского отдела института Укрмонтажоргстрой *
|
2
|
|
Строп четырехветвевой
|
РЧ-508-72 ЦНИИОМТП **
|
1
|
|
Рулетка
|
РС-20, ГОСТ 7502-69
|
2
|
|
Зубило
|
ГОСТ 7211-72
|
2
|
|
Кувалда (4 кг)
|
ГОСТ 11402-65
|
1
|
|
Рейка-шаблон для разметки мест установки
кондуктора
|
-
|
1
|
|
Лом монтажный
|
ГОСТ 1405-72
|
2
|
|
Скребок стальной
|
Каталог-справочник ЦНИИТЭстроймаша, *** стр. 159
|
2
|
|
Теодолит
|
ГОСТ 10529-70
|
1
|
|
Метр стальной складной
|
ГОСТ 7253-54
|
1
|
|
Трансформатор сварочный
|
ТСП-2
|
1
|
|
Комплект инструментов электросварщика
|
-
|
1
|
*
г. Днепропетровск, проспект К. Маркса, 59.
**
Рабочие чертежи можно приобрести в Бюро внедрения ЦНИИОМТП.
***
121019, Москва, Г-19, ул. Маркса и Энгельса, 7/10.
4.1. Операции по монтажу железобетонных Н-образных рам выполняют в следующем порядке: при помощи крана устанавливают на перекрытии кондуктор, соблюдая равное расстояние от осей рам нижележащего яруса; устанавливают на оголовках стоек ранее установленной рамы струбцины с рулетками; подготовляют, стропят и подают раму к кондуктору; устанавливают раму на оголовки стоек нижестоящей рамы, совмещая при этом их оси, и, набросив откидной кронштейн кондуктора на ригель рамы, зажимают его с помощью регулировочного винта; расстроповывают раму и рихтуют ее при помощи регулировочного винта кронштейна кондуктора; производят электроприхватку накладных стержней арматуры.
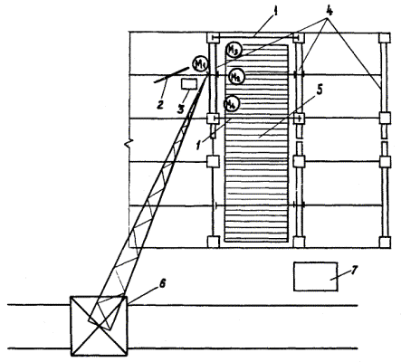
4.2. Организация рабочего места

- рабочие места монтажников
1 - рулетки; 2 - рейка-шаблон для разметки мест установки кондуктора; 3 - сварочный трансформатор; 4 - железобетонные рамы; 5 - групповой кондуктор для установки рам; 6 - монтажный кран; 7 - площадка для подготовки и складирования стержней и центрирующих прокладок
4.3. График трудового процесса

Примечания
к графику. 1. В затраты
труда включено время на подготовительно-заключительные работы.
2.
Сварку стержней и центрирующих прокладок выполняет звено сварщиков, затраты
труда которых не учтены в графике. Стержни, сварке которых мешает кондуктор,
сваривают после его перестановки.
4.4. Описание операций
|
№ по графику
|
Наименование операций, их продолжительность, * исполнители и орудия труда; характеристика приемов труда
|
|
1
|
2
|
|
1
|
УСТАНОВКА КОНДУКТОРА; 20 мин; М1, М3, М4; строп, рейка-шаблон
Монтажник М1 при помощи рейки-шаблона намечает мелом на плитах перекрытия оси для ориентации при установке группового кондуктора с таким
расчетом, чтобы откидные кронштейны его располагались по центру ригеля монтируемой рамы. Затем
монтажники М3 и М4, стоя на площадке кондуктора, цепляют крюки стропа за верхний пояс кондуктора в четырех точках и подают команду машинисту крана натянуть строп.

Убедившись в надежности строповки, они спускаются на перекрытие и отходят на безопасное расстояние. Машинист крана по сигналу монтажника М3 поднимает кондуктор и подает его к месту установки. Монтажники М1, М3 и М4 принимают кондуктор, направляют его на место установки и совмещают оси кондуктора с осями, нанесенными на панелях перекрытия. По команде монтажника М1 машинист ослабляет строп, а монтажники М3 и М4, поднявшись на площадку
кондуктора, расстроповывают его. Затем они проверяют работу винтов откидных кронштейнов кондуктора и спускаются на перекрытие
|
|
2, 3
|
УКЛАДКА ЦЕНТРИРУЮЩИХ ПРОКЛАДОК; УСТАНОВКА СТРУБЦИН С РУЛЕТКАМИ; 28 мин; М3, М4; скребки, рулетки
Монтажники М3 и М4, находясь на перекрытии, скребками очищают опорные поверхности стоек четырех нижестоящих рам от наплывов бетона и мусора, после чего укладывают на них центрирующие
прокладки (прокладки
подготовляют и укладывают на перекрытии заранее). Толщину прокладок определяют с учетом отметок нижестоящих рам и высоты устанавливаемых.

Затем, поднявшись на площадку кондуктора, монтажники М3 и М4 с помощью струбцин зажимают на двух
оголовках стоек ранее установленной рамы монтируемого яруса концы измерительных рулеток
|
|
4
|
ЭЛЕКТРОПРИХВАТКА ФИКСИРУЮЩИХ СТЕРЖНЕЙ; 28 мин; М2; сварочный трансформатор, инструменты электросварщика

Монтажник М2 с помощью электроприхватки устанавливает на двух смежных гранях оголовков стоек нижестоящей рамы фиксирующие стержни из арматурной стали
|
|
5 - 7
|
ПОДЪЕМ И ПОДАЧА РАМЫ К МЕСТУ УСТАНОВКИ; УСТАНОВКА РАМЫ И ЗАКРЕПЛЕНИЕ ЕЕ В КОНДУКТОРЕ; РАССТРОПОВКА РАМЫ; М1
- 64 мин; М3, М4 - 40 мин; кондуктор, ломы
Монтажник М1, стоя на перекрытии, сигнализирует машинисту о подъеме и
подаче рамы к месту установки. Монтажники М3 и М4 принимают раму на высоте 20 - 30 см от оголовков рам нижележащего яруса. По команде монтажника М1 машинист плавно опускает раму, а монтажники М3 и М4, придерживая раму, направляют ее вдоль фиксирующих стержней и устанавливают
на оголовки стоек нижней рамы. Монтажник М1 поднимается на площадку кондуктора, набрасывает откидной кронштейн кондуктора на ригель рамы и, вращая зажимной винт кронштейна, закрепляет раму на кондукторе. В это время монтажники М3 и М4 с помощью ломов совмещают оси стоек устанавливаемой и нижней рам, после чего поднимаются на площадку кондуктора. Монтажник М1 подает команду машинисту крана ослабить натяжение стропов траверсы, а монтажники М3 и М4 расстроповывают раму

|
|
8
|
ВЫВЕРКА РАМЫ; 48 мин; М1, М2, М3, М4; рулетки, ломы, теодолит
Монтажник М2 поднимается на площадку кондуктора, а монтажник М1 спускается на перекрытие и теодолитом определяет отклонение рамы от вертикальной оси. По команде монтажника М1 монтажник М2 вращением зажимного винта кондуктора приводит раму в вертикальное положение, а монтажники М3 и М4 при помощи рулеток одновременно замеряют расстояние между осями стоек ранее установленной и монтируемой рам
|
|
9
|
РАЗМЕТКА МЕСТ И УСТАНОВКА СТЕРЖНЕЙ С ЭЛЕКТРОПРИХВАТКОЙ; М1 - 20 мин; М2 - 92 мин; метр, сварочный трансформатор, инструменты электросварщика
Монтажник М1 размечает места установки накладных стержней из арматурной стали, а монтажник М2 производит временное закрепление стержней
электроприхваткой. До освобождения рамы от группового кондуктора монтажник М2 должен сварить примерно 60 % стержней

|
* На четыре рамы.
СОДЕРЖАНИЕ
| |
|