|
КАРТА ТРУДОВОГО ПРОЦЕССА СТРОИТЕЛЬНОГО ПРОИЗВОДСТВА
|
КТ-4.1-0.31-77
|
|
|
Разработана конструкторско-технологическим
институтом Минпромстроя СССР*
Откорректирована и рекомендована ВНИПИ труда в строительстве Госстроя СССР для внедрения в строительное производство
|
|
|
МОНТАЖ ПОЛИГОНАЛЬНОГО СВОДА ИЗ ОТДЕЛЬНЫХ СЕКЦИЙ
|
|
|
Входит в комплект карт ККТ-4.1-6
Покрытие промышленных зданий из полигональных сводов
|
|
|
Взамен КТ
|
|
* 300600, г. Тула, проспект Ленина, 108.
1. ОБЛАСТЬ
И ЭФФЕКТИВНОСТЬ ПРИМЕНЕНИЯ КАРТЫ
1.1. Карта предназначена для организации труда рабочих при монтаже секций полигонального свода для устройства покрытия производственного здания пролетом 24 м. Работы ведутся при помощи крана на гусеничном ходу Э-801.
1.2. Показатели производительности труда
|
|
По карте
|
По ЕНиР
|
|
Выработка на 1 чел.-день, секций сводов
|
3,33
|
-
|
|
Затраты труда на одну секцию свода, чел.-ч
|
2,4
|
-
|
Примечание. В затраты труда
включено время на подготовительно-заключительные работы и отдых.
2. УСЛОВИЯ И ПОДГОТОВКА ВЫПОЛНЕНИЯ ПРОЦЕССА
2.1. До начала работ необходимо: установить, выверить и закрепить колонны, подкрановые балки и ригели (подсводные балки); закончить все электросварочные работы; вынести на монтажный горизонт базовые оси; подвесить монтажные люльки; проверить качество собранной секции свода (геометрические размеры, натяжение затяжек и подвесов, правильность установки закладных деталей); доставить в зону монтажа приспособления, инструменты, инвентарь и разложить их на рабочем месте.
2.2. Работы следует выполнять, строго соблюдая правила техники безопасности и охраны труда рабочих согласно СНиП III-А.11-70, § 14.
3. ИСПОЛНИТЕЛИ, ПРЕДМЕТЫ И ОРУДИЯ ТРУДА
3.1. Исполнители:
монтажник конструкций V разряда (М1, М2) - 2
монтажник конструкций IV " (М3) - 1
монтажник конструкций III " (М4) - 1
3.2. Инструменты, приспособления и инвентарь
|
Наименование, назначение и основные параметры
|
ГОСТ, № чертежа
|
Количество, шт.
|
|
Электросварочный аппарат
|
ТС-500
|
2
|
|
Комплект инструментов электросварщика
|
-
|
2
|
|
Лом монтажный
|
ГОСТ 1405-72
|
4
|
|
Метр стальной складной
|
ГОСТ 7253-54
|
2
|
|
Оттяжка из пенькового каната длиной 35 м
|
-
|
2
|
|
Уровень строительный
|
УС1-300, ГОСТ 9416-67
|
1
|
|
Строп четырехветвевой удлиненный типа «Паук»
|
Чертежи Челябинского УралНИИстромпроекта*
|
2
|
|
Струбцина
|
Чертеж треста Оргтехстрой Главприокскстроя**
|
2
|
|
Ящик для инструментов
|
-
|
1
|
|
Лестница приставная с площадкой
|
Чертежи 5627Т-30 и 5627Т ПИ Промстальконструкция***
|
2
|
|
Люлька навесная
|
Чертеж 1131.00.00.00М треста Мосоргстрой****
|
2
|
|
Лестница приставная
|
-
|
1
|
* г.
Челябинск, проспект Ленина, 89.
** 300600, г. Тула, ул. Свободы, 38.
***
125080, Москва, А-80, Волоколамское шоссе, 1.
****
113095, Москва, Ж-95, Б. Полянка, 51а.
4.
ТЕХНОЛОГИЯ ПРОЦЕССА И ОРГАНИЗАЦИЯ ТРУДА
4.1. Операции по установке секций полигонального свода выполняют в следующем порядке: стропят, поднимают и подают к месту установки секцию полигонального свода; устанавливают ее в проектное положение; производят окончательное крепление электросваркой секции свода к ригелям, а также крепление секций сводов между собой арматурными стержнями на электросварке; расстроповывают секцию свода.
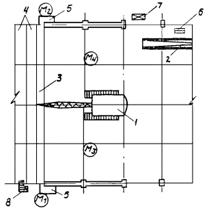
4.2. Организация рабочего места

М1, М2, М3,
М4 - рабочие места монтажников
1 -
монтажный кран; 2 - собранная секция свода; 3 - монтируемая секция свода; 4 -
смонтированные секции свода; 5 - навесные люльки; 6 - ящик для инструментов; 7
- сварочный пост; 8 - лестница приставная с площадкой
4.3. График трудового процесса

4.4. Описание операций
|
№ по графику
|
Наименование операций, их продолжительность,* исполнители и орудия труда; характеристика приемов труда
|
|
1
|
2
|
|
1
|
СТРОПОВКА, ПОДЪЕМ И ПОДАЧА СЕКЦИИ СВОДА К МЕСТУ УСТАНОВКИ; 25 мин; М3, М4; стропы, оттяжки
 
Монтажники М3 и М4 стропят двумя четырехветвевыми стропами собранную секцию свода, затем к монтажным петлям привязывают две оттяжки. После этого монтажник М3 подает машинисту крана сигнал поднять секцию свода. При подъеме секции свода монтажники М3 и М4 удерживают ее от раскачивания пеньковыми оттяжками
|
|
2
|
РАЗМЕТКА МЕСТ ОПИРАНИЯ СЕКЦИИ СВОДА; 8 мин; М1, М2; навесные люльки, метр
Монтажники М1 и М2, находясь в навесных люльках, выполняют разметку, наносят
риски в местах опирания секции свода
|
|
3
|
УСТАНОВКА СЕКЦИИ СВОДА, ВЫВЕРКА И РИХТОВКА ЕЕ; 13 мин; М1, М2, М3, М4; ломы, стропы, струбцина
Монтажники М1 и М2 принимают поданную к месту установки секцию
свода. По сигналу монтажника М1 машинист крана опускает секцию свода на место установки. Монтажники М3 и М4 поднимаются на покрытие и вместе с монтажниками
М1 и М2 производят выверку секции. При необходимости они рихтуют секцию свода ломами. Убедившись в том, что секция свода заняла проектное положение, монтажники М3 и М4 временно крепят ее в коньковой части к ранее смонтированной при помощи струбцины

|
|
4
|
КРЕПЛЕНИЕ СЕКЦИИ СВОДА К РИГЕЛЯМ ЭЛЕКТРОСВАРКОЙ; 39 мин; М1, М2; электросварочные аппараты, инструменты электросварщика
Монтажники М1 и М2 (каждый со своей стороны) сваривают стыки свода с ригелями
|
|
5
|
КРЕПЛЕНИЕ СЕКЦИЙ СВОДА МЕЖДУ СОБОЙ; 17 мин; М3, М4; электросварочный аппарат, струбцина, инструменты электросварщика
Монтажник М4 заводит в монтажные петли плит стержни длиной 300 мм и диаметром 20 мм и кувалдой загибает их концы. Монтажник М3 приваривает стержни к монтажным петлям
|
|
6
|
РАССТРОПОВКА СЕКЦИИ СВОДА И ПЕРЕХОД РАБОЧИХ; 5 мин; М3, М4; лестница
По окончании крепления секций свода между собой монтажники М3 и М4 расстроповывают смонтированную секцию и переходят к следующей секции

|
* На одну секцию свода.
СОДЕРЖАНИЕ