//
ТехЛит.ру
- крупнейшая бесплатная электронная интернет библиотека для "технически умных" людей.
WWW.TEHLIT.RU - ТЕХНИЧЕСКАЯ ЛИТЕРАТУРА

:: Алготрейдинг::


АЛГОТРЕЙДИНГ
шаг за шагом
с нуля по урокам!

Торговые роботы на PYTHON, BackTrader,
Pandas, Pine Script для TradingView. Связка с брокерами, телеграм и легкими приложениями.


МИНИСТЕРСТВО ТРАНСПОРТНОГО СТРОИТЕЛЬСТВА

ГОСУДАРСТВЕННЫЙ ВСЕСОЮЗНЫЙ ДОРОЖНЫЙ
НАУЧНО-ИССЛЕДОВАТЕЛЬСКИЙ ИНСТИТУТ
(СОЮЗДОРНИИ)

МЕТОДИЧЕСКИЕ РЕКОМЕНДАЦИИ
ПО ВЫБОРУ РАЦИОНАЛЬНЫХ КОНСТРУКЦИЙ
ПРИЕМНЫХ УСТРОЙСТВ НА СКЛАДАХ
КАМЕННЫХ МАТЕРИАЛОВ

Москва 1977

МЕТОДИЧЕСКИЕ РЕКОМЕНДАЦИИ ПО ВЫБОРУ РАЦИОНАЛЬНЫХ КОНСТРУКЦИЙ ПРИЕМНЫХ УСТРОЙСТВ НА СКЛАДАХ КАМЕННЫХ МАТЕРИАЛОВ. Союздорнии. М., 1977.

Рассмотрены различные типы приемных устройств для разгрузки железнодорожных вагонов, в частности бункер с ленточным конвейером в нижней части, который эксплуатировался в условиях большого грузооборота.

Приводится рациональная схема маневрирования железнодорожными вагонами в зоне приемного устройства.

Для восстановления сыпучести смерзшихся материалов рекомендуется механическое рыхление с применением бурорыхлительной машины.

Табл. 1, рис. 3.

Предисловие

Выгрузка сыпучих дорожно-строительных материалов из железнодорожных вагонов в установленные сроки при массовом поступлении грузов и их приемка на АБЗ и ЦБЗ нередко вырастает в сложную техническую и организационную проблему. В данной работе рассмотрены наиболее рациональные способы быстрой и полной разгрузки вагонов.

Основное внимание уделено бункерным приемным устройствам (ПУ), которые являются наиболее универсальными и удобными в эксплуатации. Предлагается использовать рациональную конструкцию бункера ПУ, лебедку для маневрирования вагонов и люкозакрыватели с регулируемым усилием закрывания.

Любое перемещение каменных материалов приводит к их сегрегации - разделению по крупности, форме или плотности. Сегрегация материалов происходит на камнедробильных заводах во время погрузки и выгрузки из вагонов в ПУ. Проверка однородности щебня в вагонах показала, что колебания зернового состава находятся в пределах 20 - 80 %. Поэтому меры по борьбе с сегрегацией должны приниматься на всех этапах перемещения зернистых материалов.

ПУ в этом смысле занимают особое место, поскольку они являются первым агрегатом в технологической линии по приему и переработке каменных материалов на АБЗ и ЦБЗ.

«Методические рекомендации» составлены канд. техн. наук А.Ю. Гольдштейном и инж. М.М. Нахатакяном и предназначены для работников проектных и строительных организаций.

Замечания и пожелания просьба направлять по адресу: 143900 Балашиха-6 Московской обл., Союздорнии.

Общие положения

1. На объекты Главдорстроя за год поступает около 14 млн. т различных каменных материалов: 39 % из них доставляется автомобильным, 10 % - водным и 51 % - железнодорожным транспортом. Поскольку большая часть грузов перевозится по железной дороге, которая предъявляет жесткие требования к срокам разгрузки, основное внимание уделено вопросу быстрой и полной разгрузки железнодорожных вагонов.

2. Приемное устройство независимо от конструкции должно удовлетворять следующим требованиям:

обеспечивать разгрузку вагонов в сроки, установленные Министерством путей сообщения, с наименьшими затратами;

давать возможность раздельного приема и выдачи на хранение материалов разных фракций;

сохранять однородность материалов при разгрузке;

механизировать трудоемкие операции;

иметь оборудование для разгрузки вагонов в зимнее время;

усреднять зерновой состав разгружаемых материалов, так как способы устройства штабелей каменных материалов и их загрузка в железнодорожные вагоны не обеспечивают стабильности зернового состава.

3. В настоящих «Методических рекомендациях» показаны основные типы конструкций бункеров ПУ. Даны методы определения рациональной производительности ПУ, а также конструкции бункера, способные усреднять зерновой состав материалов.

Типы приемных устройств

4. Известны приемные устройства следующих типов:

а) на повышенных путях;

б) бункерные;

в) бункерно-эстакадные;

г) с разгрузчиком С-492;

д) с разгрузчиками Т-182 и Т-183 для платформ.

5. Применение ПУ на повышенных путях приводит к смешению фракций щебня при разгрузке. Для штабелирования материалов требуются дополнительные погрузочные и перемещающие механизмы. Обычно это бульдозеры, дробящие щебень при перемешивании. В этом варианте затруднена механизация открывания и закрывания люков. Себестоимость и энергоемкость переработки материалов на таких ПУ выше, чем на ПУ других типов.

6. Разгрузчики С-492 и Т-182 обеспечивают раздельную приемку щебня разных фракций. Разгрузчик С-492 передвигается вдоль железнодорожного состава и образует склад материалов по всей длине при этом велика доля ручного труда на зачистке полувагонов, часты повреждения их кузовов. Разгрузчик Т-182 используется для разгрузки платформ и работает совместно с бункерными приемными устройствами.

Рис. 1. Бункер приемного устройства Московского комбината ЖБИ № 6:

1 - бункер; 2 - рыхлитель; 3 - регулятор выпуска материала на выносной конвейер

7. Бункерные ПУ наиболее удобны в эксплуатации, универсальны, позволяют принимать материалы разных фракций последовательно в один и тот же бункер, обеспечивая их раздельное хранение на складе.

8. ПУ с подрельсовым бункером (рис. 1) включает маневровую лебедку для перемещения вагонов в зоне ПУ с требуемыми скоростями и усилиями, механизмы для открывания и закрывания люков, приспособления для зачистки вагонов после выгрузки, механизмы для восстановления сыпучести смерзшихся материалов и выносной конвейер для удаления сыпучих грузов из бункера.

Производительность приемных устройств

9. Длина фронта выгрузки влияет на производительность ПУ и определяется количеством одновременно разгружаемых вагонов.

10. От фронта выгрузки следует отличать фронт подачи. Фронтом подачи вагонов принято называть часть складского пути, используемую для постановки группы вагонов до начала выполнения грузовых операций. Фронт подачи обычно больше фронта выгрузки.

11. В бункерных ПУ выгрузка из вагонов выполняется непосредственно на фронте выгрузки, длина которого составляет от 1/3 до 2 вагонов.

В бункерных ПУ фронт выгрузки принято называть точечным, так как при разгрузке вагонов обслуживающие механизмы находятся на одном месте, а вагоны в процессе выгрузки перемещаются вдоль фронта.

12. Длина фронта подачи Lф определяется количеством одновременно подаваемых вагонов и при наличии маневровой тележки находится из выражения

где n - количество вагонов в подаче;

lв - длина вагона в сцепке, м;

lт - длина маневровой тележки, м.

Если приемное устройство включает маневровую лебедку, длина фронта подачи определяется из выражения

При тупиковом размещении железнодорожных путей фронт подачи нужно размещать после приемного бункера, а при сквозном размещении железнодорожных путей длина фронта подачи не ограничивается.

13. Сроки выгрузки материалов средствами получателей устанавливает Министерство путей сообщения исходя из производительности механизмов при максимальном их использовании и рациональной организации погрузочно-разгрузочных работ с учетом особенностей данного подъездного пути и комплексного совмещения операций.

14. Расчетный срок выгрузки включает затраты времени на подготовительные, основные и заключительные операции. В подготовительные операции входят открывание и закрывание люков, подача вагонов в ПУ и зацепка троса тяговой лебедки или тележки к вагону.

Нормативные сроки выгрузки из полувагонов (см. таблицу) приведены в «Правилах перевозок грузов» (М., «Транспорт», 1967).

15. Расчетная формула для определения срока выгрузки вагонов имеет следующий вид

где tподг - время на подготовительные операции;

П - производительность ПУ, т/ч;

m - число одновременно обрабатываемых вагонов;

tзакл - время на заключительные операции;

tгруз - время выгрузки,

gв - средняя масса материала в вагоне;

tвсп - время на вспомогательные операции.

Наименование материала

Сроки выгрузки из полувагонов

на повышенных путях, эстакадах на всю группу по фронту, ч

стреловым краном и краном-экскаватором с грейфером емкостью 1,5 м3, ч

на одну сторону

на две стороны

на один полувагон

на одну платформу

Уголь мелкий всякий

0,52

0,35

0,88

-

Уголь крупнокусковой всякий

0,67

0,43

0,97

-

Антрацит-плита

0,90

0,52

-

-

Торф

0,85

0,42

1,18

-

Шлак всякий

1,05

0,63

1,26

1,11

Песок всякий

0,45

0,29

0,81

0,69

Гравий, щебень, руда всякие

0,52

0,32

1,11

1,00

Примечания: 1. При использовании стреловых кранов-экскаваторов с грейфером емкостью 2 м3 срок выгрузки уменьшается на 10 %, емкостью 2,5 м3 - на 20 %.

2. Сроки выгрузки экскаваторным оборудованием и ковшом рассчитываются согласно методике, указанной в приложении 5 «Правил перевозок грузов».

3. Время на подготовительные и заключительные операции равно 0,1 ч - при использовании стреловых кранов и экскаваторов, 0,12 ч - на повышенных путях (на две стороны), 0,15 ч - на повышенных путях (на одну сторону).

16. Верхний предел производительности ПУ с подрельсовым бункером зависит в основном от производительности выносного конвейера, конвейера, отводящего материалы на склад, и от механизации вспомогательных операций. В некоторой степени на производительность ПУ влияет и объем бункеров.

17. Обследование показало, что производительность ПУ при выгрузке песка на 20 - 25 % меньше, чем при выгрузке щебня, но при достаточном техническом оснащении фронта разгрузки мало зависит от времени года. Производительность ПУ с подрельсовым бункером в настоящее время ограничена производительностью последнего звена в транспортной линии перемещения зернистых материалов - радиально-штабелирующего конвейера.

Перемещение вагонов в зоне приемного устройства

18. В зоне ПУ необходим механизм, обеспечивающий перемещение с малой скоростью нескольких вагонов, составляющих подачу, и создающий достаточное тяговое усилие при работе бурорыхлительной машины в зимнее время. Обычно для этой цепи применяют маневровую лебедку.

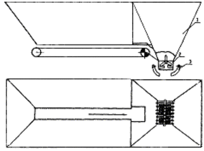
19. Маневровое устройство конструкции ВНИИстройдормашах) (рис. 2) позволяет перемещать вагоны в обе стороны и включает, кроме лебедки, еще и маневровую тележку, автоматически сцепляющуюся с вагоном. Поэтому целесообразно предусмотреть возможность применения этого маневрового устройства в новых ПУ. Для контроля крайних положений хода тележки и автоматизации процесса разгрузки на путях устанавливают конечные выключатели.

х) Авторское свидетельство № 269972 - «Бюллетень изобретений и открытий», 1970, № 16.

Открывание и закрывание люков полувагонов

20. Открывание люков является первой операцией при разгрузке вагонов и отнимает до 10 чел.-мин. на один полувагон. Эта операция не механизирована и производится ударами кувалды по запорам. Для закрывания люков четырехосного вагона по нормам требуется 21 чел.-мин.

Рис. 2. Схема приемного устройства с маневровой тележкой и подрельсовым бункером:

1 - направляющий блок; 2 - вагон; 3 - маневровая тележка; 4 - выносной конвейер; 5 - рыхлитель; 6 - рассекатель потока; 7 - подбункерный конвейер

21. Люки современных полувагонов подпружинены и в исправном состоянии закрываются легко, однако при неисправности требуется усилие, которое в некоторых случаях не может быть создано люкозакрывателем на базе тельфера. В связи с этим предлагается использовать люкозакрыватель с регулируемой силой тяги (рис. 3).

Рис. 3. Люкоподъемник конструкции комбината ЖБИ № 6:

1 - барабан люкоподъемника; 2 - рычаг регулировки усилия подъемника; 3 - палец люкоподъемника

Разгрузка, восстановление сыпучести материалов и зачистка вагонов

22. Для разгрузки полувагонов ПУ необходимо оборудовать люкоподъемниками, накладными вибраторами или люковибраторами, а для разгрузки платформ наиболее эффективно применять два отвала, скрепленных над платформой, и зачищающую механическую щетку.

23. Сыпучесть смерзшихся в вагонах материалов наиболее целесообразно восстанавливать механическим и вибрационным способами. Однако вибрационные устройства могут быть использованы только при разгрузке полувагонов, а бурорыхлительные - и при разгрузке платформ. Конструкция вагонов влияет на выбор типа оборудования для восстановления сыпучести смерзшихся материалов. Более универсальным оборудованием являются бурорыхлительные машины.

24. Оборудование для зачистки вагонов после разгрузки выбирается в зависимости от их конструкции, типа ПУ и средств механизации. Для зачистки платформ целесообразно применять механические щётки. Полувагоны зачищают накладным вибратором или люковибратором.

Конструкция бункеров

25. Анализ конструктивных особенностей бункеров ПУ показывает, что наиболее целесообразно применять бункера вместимостью около 30 м3 с ленточным конвейером (см. рис. 2) и с рыхлителем. Рыхлитель применяется для разрушения больших смерзшихся глыб, попадающих в бункер при разгрузке вагонов зимой. Применение таких бункеров обеспечивает надежную работу в зимних условиях и облегчает задачу усреднения зернового состава щебня.

26. Над бункерами ПУ следует устанавливать решетки с размерами ячеек 200´200 мм и настил для прохода обслуживающего персонала. Зимой эти решетки, с учетом работы рыхлителя, необходимо заменять другими с размерами ячеек около 500´500 мм.

27. По краям решетки над бункером необходимо устанавливать ограждение высотой около 0,5 м.

28. Применение в ПУ бункера рекомендуемой конструкции позволяет в процессе разгрузки усреднять первоначальную неоднородность материалов, сокращать время передвижки вагонов над бункером и уменьшать время их разгрузки.

СОДЕРЖАНИЕ

 




Яндекс цитирования



   Copyright © 2007-2026,  www.tehlit.ru.

[ ѓосты, стандарты, нормативы, инструкции, правила, строительные нормы ]