//
ТехЛит.ру
- крупнейшая бесплатная электронная интернет библиотека для "технически умных" людей.
WWW.TEHLIT.RU - ТЕХНИЧЕСКАЯ ЛИТЕРАТУРА

:: Алготрейдинг::


АЛГОТРЕЙДИНГ
шаг за шагом
с нуля по урокам!

Торговые роботы на PYTHON, BackTrader,
Pandas, Pine Script для TradingView. Связка с брокерами, телеграм и легкими приложениями.


Открытое акционерное общество

Проектно-конструкторский и технологический
институт промышленного строительства
ОАО ПКТИпромстрой

УТВЕРЖДАЮ

Генеральный директор, к.т.н.

____________ С.Ю. Едличка

«___» _____________ 2000 г.

ТЕХНОЛОГИЧЕСКАЯ КАРТА
НА УСТРОЙСТВО ГИДРОИЗОЛЯЦИИ
СТРОИТЕЛЬНЫХ
КОНСТРУКЦИЙ
УНИВЕРСАЛЬНЫМ
ПОРОШКОВЫМ
ГИДРОИЗОЛИРУЮЩИМ
МАТЕРИАЛОМ
«ГЕРМСМЕСЬ»

7400 ТК

Главный инженер

____________ А.В. Колобов

Начальник отдела

____________ Н.Н. Филипенко

Начальник лаборатории

____________ Б.И. Бычковский

2000

Технологическая карта на устройство гидроизоляции строительных конструкций универсальным порошковым гидроизолирующим материалом «Гермсмесь» разработана в соответствии с «Планом научно-технических разработок и инжиниринговых услуг московскому строительному комплексу на 2000 - 2001 гг.».

Карта содержит решения по организации и производству гидроизоляционных работ с целью их ускорения, снижения затрат труда и повышения качества.

В технологической карте приведены: область применения, особенности приготовления и применения материала, технология и организация выполнения работ, требования к качеству и приемке работ, калькуляция трудовых затрат, график производства работ, нормокомплект средств механизации и инструмента, решения по технике безопасности.

Технологическая карта предназначена для инженерно-технических работников строительных и проектных организаций, а также производителей работ, мастеров и бригадиров, связанных с производством и контролем качества выполняемых работ и работников технического надзора заказчика.

Технологическую карту разработали:

к.т.н. Филипенко Н.Н. - руководитель работы;

к.т.н. Захаров Н.М. - ответственный исполнитель;

Федунов В.В. - исполнитель от 26 ЦНИИ МО РФ;

Покровская Е.В., Воинова Е.А. - компьютерная обработка и графика;

Ярымов Ю.А. - технологическое сопровождение разработкой карты;

Бычковский Б.И. - техническое руководство, корректура и нормоконтроль;

к.т.н. Шахпаронов В.В. - научно-методическое руководство;

к.т.н. Едличка С.Ю. - общее руководство разработкой технологической карты.

Технологическая карта не заменяет ППР. (см. СНиП 3.01.01-85*)

СОДЕРЖАНИЕ

1 ОБЛАСТЬ ПРИМЕНЕНИЯ

1.1 Технологическая карта распространяется на производство работ на устройство гидроизоляции строительных конструкций зданий и сооружений с использованием универсального порошкового материала (герметика) «Гермсмесь».

1.2 Материал предназначен для выполнения работ по гидроизоляции поверхности строительных конструкций зданий и сооружений, выполненных из монолитного или сборного железобетона, мелкоштучных каменных материалов, а также для герметизации швов, трещин и отверстий.

Работы по гидроизоляции конструкций могут производиться даже в условиях постоянного напора воды при выполнении строительных и ремонтных работ.

1.3 Герметик «Гермсмесь», который должен отвечать требованиям ТУ 7805062-5775-1-96, классифицируется:

а) по оптимальному количеству воды затворения:

НВ - нормальной водопотребности;

ПВ - пониженной водопотребности.

б) по срокам начала схватывания смеси:

А - «Гермсмесь» с нормальным началом схватывания;

Б - «Гермсмесь» с быстрым началом схватывания.

в) по прочности при сжатии в возрасте 28 суток:

на марки 300, 400, 500.

1.4 Условное обозначение «Гермсмеси» должно состоять из:

- полного или сокращенного наименования («Гермсмесь», Гс);

- характеристики водопотребности по п. 1.3 (а);

- типа материала по срокам начала схватывания по п. 1.3 (б);

- марки по прочности при сжатии по п. 1.3 (в);

- обозначения технических условий на материал.

Пример: «Гермсмесь» пониженной водопотребности с быстрым началом схватывания марки 500-Гс-ПВ-Б-500-ТУ 7805062-5775-1-96.

1.5 «Гермсмесь» должна изготавливаться в соответствии с требованиями технических условий и по технологическому регламенту, утвержденному предприятием-изготовителем.

Физико-механические свойства материала «Гермсмесь» должны соответствовать требованиям, указанным в таблице 1.

Таблица 1 - Физико-механические свойства

№ п/п

Показатель

Величина

«Гермсмесь» с нормальной водопотребностью

«Гермсмесь» с пониженной водопотребностью

1

Водопотребность - оптимальное количество воды для затворения «Гермсмеси» (% от количества порошка)

28 - 32

19 - 24

2

Типы «Гермсмеси» по срокам начала схватывания

А

Б

Б

3

Сроки схватывания от начала затворения, мин.:

 

 

 

а) начало, не ранее

8  10

2  5

2

б) конец, не позже

30

10

10

4

Марки по прочности

300; 400

500

5

Предел прочности при сжатии (МПа) в возрасте:

 

 

 

а) 1х суток, не ниже

10,7

14,3

17,9

б) 3х суток, -"-

19,3

25,7

32,1

в) 28 суток, -"-

29,4

39,2

49,0

6

Линейное расширение, %

 

а) через 2 часа после затворения

 

не менее

0,2

не более

1,2

б) в возрасте 3 суток твердения, не более

1,5

7

Водонепроницаемость через 24 часа, атм

5

8

Температура эксплуатации, °С

От минус 40 до +50

9

Температура окружающего воздуха при твердении, °С

От +5 до +30

1.6 «Гермсмесь» используется самостоятельно или в смеси с различными заполнителями - песок, шлак, минеральные добавки и т.д.

1.7 Привязка технологической карты к конкретным объектам и условиям производства работ состоит в оценке состояния изолируемой поверхности, наличия грунтовых вод, уточнения объемов работ, данных потребностей в трудовых и материально-технических ресурсах и сроков исполнения.

2 ОРГАНИЗАЦИЯ И ТЕХНОЛОГИЯ СТРОИТЕЛЬНОГО ПРОЦЕССА

2.1 Работы по устройству гидроизоляции строительных конструкций должны осуществляться в соответствии со СНиП 3.04.01-87.

2.2 До начала гидроизоляционных работ должны быть:

- тщательно очищены поверхности конструкций зданий от пыли, грязи, жировых и битумных пятен, а также от выступающих солей;

- смочены водой подлежащие гидроизоляции поверхности конструкций.

2.3 При герметизации швы, трещины, отверстия должны быть расшиты на глубину не менее 20 мм и промазаны пастой или зачеканены порошком (при наличии водяных подтеков).

2.4 Гидроизоляция поверхности строительных конструкций должна осуществляться поочередно в три слоя следующим образом.

2.4.1 Для нанесения первого (грунтовочного) слоя порошок «Гермсмесь» смешивается с водой до получения «цементного молока». Воду доливают постепенно, начиная с 1/10 массы порошка. Перемешивание осуществляется не более 2 минут, после чего сразу с помощью кисти «цементное молоко» наносят на гидроизолируемую поверхность. Вода для растворов должна соответствовать ГОСТу 23732-79.

2.4.2 Для устройства основного второго слоя может быть использован как порошок «Гермсмесь» в отдельности, так и в смеси с песком в соотношении 1:1 (по массе). Воду доливают постепенно до получения сметанообразной массы. Основной слой следует наносить шпателем или мастерком (кельмой). Толщина основного слоя в чистом виде может быть от 1 до 2 мм, а при использовании в смеси с песком - от 3 до 5 мм.

2.4.3 Нанесение третьего (покрывочного) слоя производится аналогично грунтовочному слою через 0,5 - 1 час после нанесения основного слоя.

2.5 Герметизация швов, трещин или отверстий должна осуществляться в следующей последовательности:

- расшивка швов, трещин;

- очистка от пыли и грязи, смачивание водой;

- зачеканка швов, трещин или отверстий пастой или порошком;

- последовательное нанесение грунтовочного, основного и покрывочного слоев.

2.6 При значительной фильтрации воды через изолируемую поверхность необходимо непосредственно перед нанесением основного слоя обработать поверхность сухим порошком с помощью кисти и максимально снизить количество воды затворения основного слоя.

2.7 В случае герметизации швов, отверстий, трещин в условиях постоянного напора воды заделка их должна производиться двумя слоями равной толщины: первый слой - сухая «Гермсмесь», второй - «цементное молоко» из «Гермсмеси» с минимальным количеством воды затворения. Уплотнение смеси следует производить путем надавливания на нее с незначительным усилием.

2.8 Приготовление рабочих составов растворов для устройства гидроизоляции строительных конструкций рекомендуется производить в передвижных малогабаритных растворосмесителях, предназначенных для приготовления небольших количеств смесей непосредственно на строительном объекте, в том числе на быстросхватывающихся вяжущих. Небольшие габариты таких смесителей позволяют перевозить их через дверные проемы и устанавливать непосредственно в помещениях. Техническая характеристика передвижных растворосмесителей представлена в таблице 2.

Таблица 2 - Техническая характеристика передвижных растворосмесителей

Показатели

СО-23

СО-26

СО-46

СО-80

Емкость смесительного барабана, л

80

80

80

40

Объем готового замеса, л

65

65

65

30

Производительность, м3

1,5

2,0

2,0

1,0

Мощность электродвигателя, кВт

1,5

1,5

1,5

0,8

Габариты, мм:

 

 

 

 

длина

1800

1800

1680

1320

ширина

700

730

730

540

высота

1000

1160

1160

920

Масса, кг

65

210

270

120

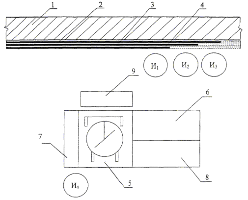
2.9 Работы по устройству гидроизоляции строительных конструкций должны выполняться в соответствии с рекомендуемой в настоящей карте схемой организации рабочего места согласно рисунку 1.

Рисунок 1 - Схема организации рабочего места

И1 - И3 - рабочие места изолировщиков; И4 - рабочее место оператора растворосмесителя; 1 - стена; 2 - грунтовочный слой; 3 - основной слой; 4 - покрывочный слой; 5 - растворосмеситель; 6 - ящик для мешков «Гермсмесь»; 7 - дозатор воды; 8 - ящик для песка; 9 - расходный ящик готовой смеси.

3 ТРЕБОВАНИЯ К КАЧЕСТВУ И ПРИЕМКЕ РАБОТ

3.1 Гидроизолирующие покрытия должны выполняться в соответствии с проектом и настоящей технологической картой.

3.2 Производственный контроль качества работ должен включать входной контроль материалов, операционный контроль гидроизоляционных работ и приемочный контроль гидроизолирующего покрытия.

3.3 При входном контроле материалов производится проверка качества «Гермсмеси» и песка на соответствие ТУ 7805062-1-96 и ГОСТ 8736-93. Вода должна соответствовать требованиям ГОСТ 23732-79.

3.4 Порошок «Гермсмесь» должен поступать на объект в мешках массой по 50 кг. Маркировка мешков с порошком должна быть приведена в соответствие с п. 1.4. раздела 1.

3.5 Операционный контроль должен осуществляться в ходе выполнения гидроизоляционных работ и включать в себя проверку качества подготовки основания, нанесения грунтовочного, основного и покрывочного слоев, толщину наносимого изоляционного покрытия в целом, а также прочность сцепления изоляционного покрытия с основанием.

3.6 При приемочном контроле производится проверка качества готового гидроизоляционного покрытия. На готовой поверхности должны отсутствовать трещины, наплывы раствора, пятна, высолы, раковины и т.д.

При приемочном контроле проверяется:

- прочность сцепления гидроизоляционного слоя с основанием;

- неровности поверхности плавного очертания.

3.7 Размеры отклонений гидроизолирующих покрытий должны соответствовать требованиям СНиП 3.04.01-87. Контролируемые параметры и средства контроля представлены в таблице 3.

3.8 По результатам контроля выполненных работ с использованием универсального герметика «Гермсмесь» должен быть составлен акт на скрытые работы.

4 ТРЕБОВАНИЯ ТЕХНИКИ БЕЗОПАСНОСТИ И ОХРАНЫ ТРУДА, ЭКОЛОГИЧЕСКОЙ И ПОЖАРНОЙ БЕЗОПАСНОСТИ

4.1 При производстве гидроизоляционных работ необходимо соблюдать требования СНиП III-4-80*, СНиП 12-03-99 и ГОСТ 12.3.040-86.

4.2 Работники, занятые производством гидроизоляционных работ, должны быть обеспечены индивидуальными и коллективными средствами защиты по ГОСТ 12.4.011-89.

4.3 Перед началом работ растворосмеситель должен проверяться на холостом ходу. Корпус должен быть заземлен, токопроводящие провода надежно изолированы, а пусковые рубильники закрыты.

4.4 К выполнению гидроизоляционных работ, к которым предъявляются дополнительные требования по безопасности труда, и управлению механизмами допускаются лица не моложе 18 лет, прошедшие медицинский осмотр и признанные годными, имеющие профессиональные навыки, после прохождения обучения безопасным методам и приемам работ и получения соответствующего удостоверения.

4.5 Разборку, ремонт и очистку растворосмесителя разрешается производить только после отключения машины от сети.

4.6 Переносные токоприемники (инструмент, светильники и т.д.), применяемые при выполнении работ, должны иметь напряжение не более 42 В.

Таблица 3 - Контролируемые параметры и средства контроля

№ п/п

Контролируемые параметры

Величина допустимых отклонений

Порядок контроля

Метод контроля

1

Отклонения поверхности основания:

 

Измерительный, технический осмотр, не менее 5-ти измерений на каждые 70 - 100 м2 поверхности

Двухметровая рейка и металлическая линейка по ГОСТ 427-75*

на горизонтальной поверхности

± 5 мм

на вертикальной поверхности

-5 ... +10 мм

2

Число неровностей (плавного очертания протяженностью не более 150 мм) на площади поверхности основания 4 м2

Не более 2

Визуальный осмотр

 

3

Толщина готового гидроизоляционного слоя

5 %

Измерительный, технический осмотр, не менее 5-ти измерений на каждые 70 - 100 м2 поверхности

Толщиномер по ГОСТ 11358-89*

4

Качество поверхности гидроизоляционного слоя: наличие вздутий, разрывов, проколов, наплывов, трещин

-

Визуальный, измерительный

Лупа типа «Мир»

5

Прочность сцепления гидроизоляции с основанием

-

Измерительный, 5 измерений на 120 - 150 м2 поверхности покрытия

Адгезиметр АМЦ 2-20

Акт приемки

5 ПОТРЕБНОСТЬ В МАТЕРИАЛЬНО-ТЕХНИЧЕСКИХ РЕСУРСАХ

5.1 Потребность в машинах, механизмах, инструментах, оборудовании и инвентаре должна определяться с учетом выполняемых операций и технических характеристик, приведенных в таблице 4.

Таблица 4 - Ведомость технологической оснастки, инструмента, инвентаря и приспособлений

№ п/п

Наименование оснастки, инструмента, инвентаря и приспособлений

Марка, ГОСТ, ТУ или организация-разработчик, номер рабочего чертежа

Техническая характеристика

Назначение

Количество на звено (бригаду), шт.

1

2

3

4

5

6

1

Передвижной малогабаритный растворосмеситель

 

 

Для приготовления быстросхватывающихся составов

1

2

Кельма штукатурная

ГОСТ 9533-81

 

Для нанесения и разравнивания растворов и смесей

3

3

Отрезовка

ГОСТ 9533-51

 

Для заделки небольших раковин, трещин

2

4

Сокол дерево-алюминиевый

 

 

Для переноса раствора и паст и разравнивания гидроизоляционного слоя

3

5

Ковш для отделочных работ

 

 

Для набрасывания раствора на поверхность

3

6

Лопата растворная

 

 

Для выгрузки (погрузки) раствора и паст

2

7

Кисть маховая

ГОСТ 10597-87*

 

Для промывки поверхности и нанесения цементного молока

3

8

Кисть-макловица

ГОСТ 10597-87*

 

Для смачивания вертикальных поверхностей

3

9

Терка деревянная

ГОСТ 25782-90

 

Для затирки и уплотнения слоя гидроизоляции

3

10

Гладилка овальная большая

 

 

Для разравнивания и заглаживания слоя гидроизоляции

2

11

Правило окованное

ГОСТ 25782-90

 

Для проверки горизонтальности и вертикальности выполненной гидроизоляции

2

12

Скребок

 

 

Для очистки поверхностей от грязи и наплывов раствора и бетона

3

13

Бучарда штукатурная

 

 

Для насечки бетонных поверхностей

2

14

Молоток для насечки поверхности

ГОСТ 11042-90

 

Для насечки поверхностей бетонных и кирпичных стен

2

15

Скарпели диаметром 8 и 10 мм

 

 

Для расшивки отверстий, дыр, скалывания бетона и раствора

2

16

Уровень строительный

УС1-300

 

Для проверки горизонтальности и вертикальности элементов

1

ГОСТ 9416-83

17

Рулетка металлическая

ГОСТ 7502-98

 

Для линейных измерений

1

18

Рейка с отвесом

 

 

Для провешивания вертикальной плоскости

1

19

Расходная емкость

 

 

Для хранения готового раствора (пасты)

1

20

Очки защитные

ГОСТ 12.4.011-89

 

Для предохранения глаз рабочих

3

21

Ведро

 

 

Для подноски и хранения воды

3

22

Комплект знаков по технике безопасности

ГОСТ 12.4.026-76*

 

Безопасность труда

1

23

Толщиномер

НЧ ГОСТ 11358-89*

 

Измерение толщины гидроизоляции

1

24

Лупа

Типа «Мир»

 

Определение качества поверхности

1

25

Адгезиметр

АМЦ-2-20

 

Измерение прочности сцепления

1

26

Рейка 2-х метровая

 

 

Для обнаружения неровностей

1

27

Линейка металлическая

ГОСТ 427-75*

 

Измерение толщин изоляции

1

5.2 Расход материалов для выполнения 1 м2 гидроизоляционной поверхности представлен в таблице 5.

Таблица 5 - Ведомость расхода материалов.

№ п/п

Наименование

Ед. изм.

Количество

Примечание

1

Порошок

кг

6

 

2

Песок

кг

6

 

3

Вода

л

по потребности

 

6 ТЕХНИКО-ЭКОНОМИЧЕСКИЕ ПОКАЗАТЕЛИ

6.1 Работы по устройству гидроизоляции строительных конструкций выполняют 4 человека.

6.2 Калькуляция затрат труда на устройство гидроизоляционного покрытия, составленная на устройство 10 м2 гидроизоляции, приведен в таблице 6.

6.3 Календарный план производства работ представлен в таблице 7.

6.4 Технико-экономические показатели по устройству гидроизоляции с помощью сухой смеси типа «Гермсмесь» составляют:

- производительность 1 человека в час, в м2

на горизонтальной поверхности                                                                               4,46

на вертикальной поверхности                                                                                   2,36

- трудозатраты на 10 м2 гидроизоляции, чел.-час

на горизонтальной поверхности                                                                               2,07

на вертикальной поверхности                                                                                   4,19

- продолжительность выполнения работ, ч:

на горизонтальной поверхности                                                                               2,24

на вертикальной поверхности                                                                                   4,24


Таблица 6 - Калькуляция затрат труда на устройство гидроизолирующего покрытия

Измеритель конечной продукции - 10 м2 гидроизоляционного покрытия

Таблица 7 - Календарный план производства работ

Единица измерения конечной продукции - 10 м2 гидроизоляции

Примечание:

0,48 - затраты труда на нанесение изолирующих слоев на горизонтальную поверхность;

0,94 - затраты труда на нанесение изолирующих слоев на вертикальную поверхность.


7 ПЕРЕЧЕНЬ НОРМАТИВНО-ТЕХНИЧЕСКОЙ ЛИТЕРАТУРЫ

1 СНиП 3.04.01-87. Изоляционные и отделочные покрытия.

2 СНиП III-4-80*. Техника безопасности в строительстве.

3 СНиП 12-03-99. Безопасность труда в строительстве. Часть 1. Общие требования.

4 ГОСТ 12.3.040-86. ССБТ. Строительство. Работы кровельные и гидроизоляционные. Требования безопасности.

5 ГОСТ 12.4.011-89. ССБТ. Средства защиты работающих. Общие требования и классификация.

6 ГОСТ 12.4.026-76*. ССБТ. Цвета сигнальные и знаки безопасности.

7 ГОСТ 427-75* Линейки измерительные металлические.

8 ГОСТ 7502-98. Рулетки измерительные металлические. Технические условия.

9 ГОСТ 8736-93. Песок для строительных работ. Технические условия.

10 ГОСТ 9416-83. Уровни строительные. Технические условия.

11 ГОСТ 9533-81. Кельмы, лопатки, отрезовки. Технические условия.

12 ГОСТ 10597-87*. Кисти и щетки малярные. Технические условия.

13 ГОСТ 11042-90. Молотки стальные строительные. Технические условия.

14 ГОСТ 11358-89*. Толщиномеры и стенкомеры индикаторные с ценой деления 0,01 и 0,1 мм. Технические условия.

15 ГОСТ 23732-79. Вода для бетонов и растворов. Технические условия.

16 ГОСТ 25782-90. Правила, терки и полутерки. Технические условия.

17 ТУ 7805062-5775-1-96. Герметик «Гермсмесь». Технические условия.

18 ЕНиР. Единые нормы и расценки на строительные, монтажные и ремонтно-строительные работы. Сборник 11. Изоляционные работы. М., 1988.




Яндекс цитирования



   Copyright © 2007-2026,  www.tehlit.ru.

[ ѓосты, стандарты, нормативы, инструкции, правила, строительные нормы ]