//
ТехЛит.ру
- крупнейшая бесплатная электронная интернет библиотека для "технически умных" людей.
WWW.TEHLIT.RU - ТЕХНИЧЕСКАЯ ЛИТЕРАТУРА

:: Алготрейдинг::


АЛГОТРЕЙДИНГ
шаг за шагом
с нуля по урокам!

Торговые роботы на PYTHON, BackTrader,
Pandas, Pine Script для TradingView. Связка с брокерами, телеграм и легкими приложениями.


МИНИСТЕРСТВО ТРАНСПОРТНОГО СТРОИТЕЛЬСТВА СССР

МЕТОДИЧЕСКИЕ
УКАЗАНИЯ

ПО ПРОЕКТИРОВАНИЮ
МОРОЗОЗАЩИТНЫХ
И ДРЕНИРУЮЩИХ СЛОЕВ
В ОСНОВАНИИ ПРОЕЗЖЕЙ ЧАСТИ
АВТОМОБИЛЬНЫХ ДОРОГ

МОСКВА 1965

Техническое управление Государственного производственного комитета по транспортному строительству СССР рекомендует при проектировании морозозащитных и дренирующих слоев в основании проезжей части автомобильных дорог руководствоваться настоящими «Методическими указаниями», разработанными Ленинградским филиалом СоюздорНИИ в развитие пункта 5.16 СНиП II-Д.5-62.

Для учета при издании следующей редакции «Методических указаний» необходимо накапливать данные, уточняющие характеристики, используемые для расчета конструкций дорожных одежд на морозоустойчивость и осушение. Эти данные, а также пожелания по изменению или дополнению «Методических указаний» следует направлять в Ленинградский филиал СоюздорНИИ (Ленинград, Д-65, ул. Герцена, 19).

Заместитель начальника

Технического управления В. Бирюков

7 апреля 1965 г.

ПРЕДИСЛОВИЕ

В настоящих «Методических указаниях» даны основные рекомендации, позволяющие при проектировании учесть весь комплекс условий, влияющих на работу дорожной конструкции. Стабильность дорожной одежды может быть достигнута рациональным выбором материалов, правильным их размещением в конструкции и обоснованным назначением толщин слоев. Это позволяет широко применять типовые конструкции дорожных одежд, выбирая их применительно к составу и интенсивности ожидаемого движения.

Земляное полотно подвержено сезонным изменениям, интенсивность которых зависит от общих климатических условий района и от индивидуальных природных особенностей данного участка дороги.

В результате воздействия природных факторов возможны значительные и неравномерные зимние поднятия, вызывающие повреждение дорожной одежды и нарушение ее ровности (пучины), а также недопустимое весеннее ослабление грунтовых оснований.

Задачей конструирования земляного полотна является ограничение влияния сезонных изменений допустимыми пределами. Эту задачу нужно решать индивидуальным проектированием с подробным учетом особенностей каждого участка дороги. Там, где это требуется, в состав дорожной конструкции должны быть введены дополнительные слои для предохранения от чрезмерного и неравномерного вспучивания при промерзании (морозозащитные слои) и для отвода воды, поступающей в основание (дренирующие слои).

В «Методических указаниях» приведены расчетные зависимости, позволяющие установить размеры морозозащитных и дренирующих слоев с учетом местных условий и свойств используемых материалов.

Рекомендации «Методических указаний» позволяют дать технико-экономическую оценку возможных вариантов конструкций и выбрать наиболее экономичные в данных местных условиях.

При разработке «Методических указаний» были учтены работы Н.А. Пузакова, А.Я. Тулаева, Н.Я. Хархута и Ю.М. Васильева, С.В. Бельковского, Л.А. Преферансовой, И.А. Золотаря, результаты исследований ХАДИ и другие работы.

Авторами «Методических указаний» являются: Г.В. Волчанский, М.Б. Корсунский, А.М. Кривисский, Н.В. Орнатский и П.Д. Россовский.

Директор СоюздорНИИ

канд. техн. наук Ф. Катаев

I. ОБЩИЕ ПОЛОЖЕНИЯ

1. Дополнительные слои в основании проезжей части автомобильной дороги должны предохранять дорожную конструкцию от недопустимого зимнего вспучивания, а также обеспечить эффективное осушение верхней части земляного полотна и основания дорожной одежды.

Чаще всего обе эти функции выполняет один конструктивный слой. Однако в отдельных случаях целесообразно иметь два отдельных конструктивных слоя, один из которых предназначается для предотвращения недопустимого зимнего вспучивания (морозозащитный слой), а другой - предохраняет от избыточного увлажнения (дренирующий слой). В определенных условиях можно ограничиться устройством только дренирующего слоя.

При составлении смет и другой технической документации дополнительные конструктивные слои, выполняющие обе функции и устраиваемые путем улучшения верхней части земляного полотна на всю ширину последнего, условно относятся к земляному полотну, а слои, предназначаемые главным образом для дренирования основания, сооружаемые на ширину проезжей части, относятся к дорожной одежде.

2. Морозозащитные и дренирующие слои проектируют на основе учета климатических условий, а также свойств грунтов и гидрогеологии на отдельных участках проектируемой дороги. Эти слои назначаются только на участках, где необходимость в них вызывается особенностями водно-теплового режима дорожной конструкции.

Специальные мероприятия по предохранению дорожной конструкции от недопустимого зимнего вспучивания, как правило, необходимы в районах с продолжительным зимним периодом и значительной глубиной промерзания (II и частично III климатические зоны) на участках с высоким уровнем грунтовых вод или необеспеченным поверхностным водоотводом (3-й и 2-й типы увлажнения местности) на земляном полотне из грунтов, склонных к пучению.

Мероприятия по осушению основания проезжей части нужно предусматривать в следующих случаях.

а) на участках с земляным полотном из слабофильтрующих грунтов во всех случаях, когда можно ожидать в отдельные периоды года увлажнения подстилающего грунта до полной влагоемкости (при близком залегании грунтовых вод, на эпизодически подтапливаемых участках и т.п.);

б) в районах с большим количеством осадков на участках, где можно ожидать скопления в основании проезжей части воды, проникающей с поверхности (участки с затяжными продольными уклонами, при легководопроницаемых покрытиях и грунтах обочин, участки, прилегающие к газонам и т.д.).

Когда дорога проектируется в местности с очень малой глубиной промерзания и небольшим количеством осадков (IV и V климатические зоны), при отсутствии систематического увлажнения грунтовыми и поверхностными водами (1-й тип местности), а также в любых условиях водно-теплового режима, если земляное полотно на всю глубину промерзания сложено морозоустойчивыми и хорошо фильтрующими грунтами, нет необходимости в специальных мерах по морозозащите и осушению.

II. КОНСТРУКЦИИ

3. Конструкции морозозащитного и дренирующего слоев определяются требованиями к эксплуатационным качествам проектируемой дороги, климатическими условиями, характером увлажнения и свойствами грунта земляного полотна.

Наряду с этим, конструкции зависят в большой степени от обеспеченности района дорожно-строительными материалами. Учитывая значительный объем необходимых материалов, дренирующие и морозозащитные слои следует сооружать исключительно из местных материалов.

В ряде случаев приходится разрабатывать несколько вариантов конструкций и выбирать наиболее целесообразную на основании результатов технико-экономического сравнения.

4. Чаще всего морозозащитные слои проектируются на всю ширину земляного полотна, особенно в тех случаях, когда последнее сооружается в насыпи, а морозозащитный слой устраивается из фильтрующих материалов (рис. 1).

Морозозащитный слой из фильтрующих материалов обычно является и дренирующим элементом конструкции. Лишь в отдельных случаях, если это требуется по расчету (см. раздел IV), приходится применять для такого совмещенного слоя материалы с более высоким коэффициентом фильтрации.

Толщина морозозащитного слоя назначается в соответствии с результатом расчета (см. раздел IV) исходя из условия, чтобы общая толщина слоев из материалов, не склонных к пучению (стабильных), z1 гарантировала проезжую часть от недопустимого зимнего вспучивания.

Рис. 1. Морозозащитный слой из фильтрующих материалов:

z1 - общая толщина слоев из стабильного материала; h - толщина морозозащитного слоя; 1 - дорожная одежда; 2 - укрепленная обочина

Когда морозозащитный слой проектируется из укрепленного, практически водонепроницаемого грунта, в целях экономии может оказаться целесообразным устраивать такой слой только на ширину проезжей части (с бордюрами) (рис. 2). При этом, чтобы смягчить неравномерность вспучивания по ширине дороги, слой стабильного материала уширяется с глубиной.

Рис. 2. Морозозащитный слой из укрепленного грунта:

1 - морозозащитный слой; 2 - дренирующий материал в основании морозозащитного слоя; 3 - дренажные устройства под обочинами

Если поступление воды с поверхности невелико, специального дренирующего слоя в основании проезжей части не устраивают; однако отвод воды из пористых конструктивных слоев одежды должен быть обеспечен.

В грунте под морозозащитным слоем за зимний период может накопиться значительное количество влаги; в связи с этим при оттаивании несущая способность подстилающего грунта будет сильно понижена. Поэтому полезно в основании такого морозозащитного слоя уложить дренирующий слой, ускоряющий осушение грунта земляного полотна и улучшающий условия передачи нагрузок.

Устройство такого дренирующего слоя целесообразно при неблагоприятных грунтово-гидрогеологических условиях (3-й тип увлажнения местности, пылеватые суглинистые и супесчаные грунты земляного полотна), когда мощность вышележащих конструктивных слоев не превышает 1 м, поскольку напряжения в основании от временных нагрузок достигают здесь ощутимой величины. Дренирующий слой в этом случае включается при расчетах в состав морозозащитного слоя.

В отдельных случаях морозозащитный слой можно устраивать из уплотненного грунта, изолированного от поступления влаги. В качестве изоляции могут быть использованы обработанный битумом, дегтем или эмульсией грунт слоем 7 - 10 см, различного рода рулонные изоляционные материалы, укладываемые в 2 - 3 слоя с проклейкой, водонепроницаемые пленки из пластиков.

Устройство морозозащитных слоев из грунта, изолированного от влаги, целесообразно в районах, где отсутствуют местные естественные материалы, пригодные для устройства морозозащитного слоя.

В этих же условиях для создания морозозащитного слоя можно использовать также местный грунт, укрепленный вяжущими или гидрофобизирующими добавками.

В случае устройства в выемке морозозащитного слоя из зернистых материалов от основания пористого слоя должен быть обеспечен отвод воды (рис. 3).

Рис. 3. Морозозащитный слой в выемке:

1 - дорожная одежда; 2 - морозозащитный слой; 3 - дренажная трубка

5. На концах участка с морозозащитным слоем его толщина, во избежание образования значительных сезонных неровностей на проезжей части, вызванных неравномерным поднятием, постепенно уменьшается в продольном направлении с уклоном не круче 1:20 (рис. 4).

6. Толщина дренирующего слоя hп (рис. 5 и 6) назначается по расчету (раздел IV), в зависимости от количества подлежащей отводу воды, фильтрующей способности материала дренирующего слоя и других факторов.

Проектированию дренирующих устройств в местах вогнутых переломов продольного профиля, где может скапливаться большое количество воды, притекающей с прилегающих участков, нужно уделять особое внимание.

Рис. 4. Продольный разрез по морозозащитному слою:

z1 - общая толщина слоев из стабильного материала; 1 - дорожная одежда; 2 - морозозащитный слой

Рис. 5. Дренирующий слой при двухскатном поперечном профиле проезжей части:

hп - толщина дренирующего слоя; 1 - покрытие и каменное основание; 2 - укрепленная обочина

Рис. 6. Дренирующий слой при односкатном поперечном профиле проезжей части:

1 - дренирующий слой

7. Из дренирующего слоя должен быть обеспечен надежный отвод воды. Для этого под обочинами укладывают сплошной слой из фильтрующего материала или устраивают продольные либо поперечные дрены.

Выбор конструкции дренажных устройств в процессе проектирования дренирующего слоя зависит от количества подлежащей отводу воды, фильтрующей способности материала дренирующего слоя, требований, предъявляемых в отношении долговечности конструкции и обеспеченности местными материалами.

Для обеспечения долговечности дренажных устройств на дорогах с капитальными покрытиями рекомендуется устраивать трубчатые продольные дрены вдоль края проезжей части и трубчатые поперечные дрены, а также сплошной слой из хорошо фильтрующего материала под обочинами. Узкие поперечные дрены под обочинами (дренажные воронки), заполненные крупнопористым материалом, требуют для предохранения от заиливания устройства надежной изоляции. Это связано с затратой значительного количества ручного труда. Поэтому в ряде случаев более целесообразно устраивать широкие поперечные прорези на ширину отвала бульдозера, (рис. 7), заполняемые щебнем или гравием с изоляцией рулонным материалом только с поверхности. Расстояние между поперечными дренами под обочинами назначается при проектировании дренирующего слоя (раздел IV).

Рис. 7. Уширенный поперечный дренаж:

hп - толщина дренирующего слоя; 1 - дренажная воронка, заполненная щебнем или гравием; 2 - толь или рубероид; 3 - местный грунт

Продольные дрены (рис. 8) и сплошной дренирующий слой под обочинами (рис. 9) целесообразно устраивать при большом количестве отводимой воды, использовании в дренирующем слое материалов с невысокой фильтрующей способностью, а также в случаях, когда необходимо снизить толщину дренирующего слоя (раздел IV).

Поперечные дрены под обочинами, заполненные песком, обладают низкой пропускной способностью, сравнительно быстро заиливаются и оттаивают со значительным опозданием по сравнению с дренирующим слоем. Поэтому их можно устраивать только при небольшом количестве отводимой воды, в основном на дорогах с покрытиями переходных типов и преимущественно в южных районах.

8. На затяжных уклонах для перехвата и отвода воды, перемещающейся в дренирующем слое по уклону, целесообразно устраивать приблизительно через 50 м валики из крупнопористого материала в толще дренирующего слоя (рис. 10).

Рис. 8. Продольный трубчатый дренаж:

1 - дренирующий слой; 2 - труба; 3 - обсыпка стыка

Рис. 9. Сплошной дренирующий слой под обочинами:

i - поперечный уклон грунтового основания; 1 - сплошной дренирующий слой под обочинами; 2 - укрепление крупным щебнем или гравием

Рис. 10. Поперечный дренаж на затяжном продольном уклоне:

1 - покрытие и каменное основание; 2 - дренирующий слой из песка; 3 - гравий или щебень; 4 - дренажная трубка

Такие валики особенно полезны, когда дренирующий слой устраивается из сравнительно мелкого песка. Из валиков вода отводится с помощью дренажных труб или дрен.

9. При проектировании мероприятий по морозозащите и осушению дорожных конструкций необходим всесторонний учет опыта работы дорог в районе проектирования.

III. МАТЕРИАЛЫ

10. Для устройства морозозащитных слоев обычно используют естественные зернистые материалы: щебень, гравий, ракушку, песок, а также металлургические и топливные шлаки. Если это экономически оправдано и обосновывается расчетом (раздел IV), могут быть использованы также легкие супесчаные грунты.

В отдельных случаях можно устраивать морозозащитные слои из местных грунтов, укрепленных вяжущими, гидрофобизирующими добавками либо изолированных от влаги.

Общим требованием к материалу для устройства морозозащитного слоя является отсутствие в нем склонности к значительному льдонакоплению при замерзании в увлажненном состоянии (сохранение постоянного объема).

Обычно этим требованиям удовлетворяют зернистые материалы, характеризующиеся:

а) содержанием частиц мельче 0,1 мм не более 10 % и

б) коэффициентом фильтрации уплотненного материала не менее 1 м/сутки.

Материалы, не удовлетворяющие указанным требованиям, можно использовать только после специального испытания их на морозоустойчивость (приложение 1). Причем полученная в результате испытания величина вспучивания материала должна быть учтена при расчете конструкции на морозоустойчивость (раздел IV).

В отличие от испытания на морозостойкость, характеризующего сохранность материалов при многократном замораживании и оттаивании, испытание на морозоустойчивость имеет целью оценить склонность материалов к льдонакоплению при промерзании в увлажненном состоянии.

Для устройства морозозащитного слоя нельзя применять неморозостойкие каменные материалы, в результате распада которых образуется глинистая фракция (например, глинистые сланцы).

11. При отсутствии местных зернистых материалов можно использовать для создания морозозащитного слоя грунты, укрепленные малыми дозами (2 - 4 %) вяжущих - жидких битумов и дегтей, извести, цемента, а также грунты, гидрофобизированные введением 0,1 - 0,25 % фурфуроланилиновых смол и других поверхностно-активных веществ.

Количество добавок уточняют в каждом отдельном случае на основании лабораторных испытаний с учетом получения достаточной морозоустойчивости материала (см. приложение 1).

12. Целесообразность использования различных материалов для устройства морозозащитного слоя диктуется в каждом отдельном случае местными условиями, необходимой толщиной слоя, требованиями к надежности и долговечности сооружаемой конструкции, а также условиями строительства и решается на основании технико-экономического сравнения возможных вариантов.

13. Для устройства дренирующих слоев в основании дорожной одежды используются песок, гравийные материалы, шлаки и другие местные материалы, обладающие достаточным коэффициентом фильтрации в уплотненном состоянии.

В районах с холодным климатом материалы для дренирующего слоя должны быть морозоустойчивыми (см. п. 10).

Необходимый коэффициент фильтрации уплотненного материала дренирующего слоя устанавливается расчетом, в зависимости от толщины слоя, способа отвода воды и других факторов (раздел IV), но во всяком случае не должен быть меньше 1 м/сутки. Материал для устройства дренирующего слоя выбирают в каждом отдельном случае с учетом наличия в районе строительства материалов и условий их транспортирования.

14. Специальные конструктивные слои, так же как и остальные элементы дорожной конструкции, воспринимают напряжения от временных нагрузок и участвуют в передаче их на подстилающий грунт. Поэтому к материалам для устройства морозозащитных и дренирующих слоев предъявляются также требования в отношении их прочностных характеристик (см. разд. V), обеспечивающих нормальную их работу в соответствующих элементах конструкции.

15. Продольные и поперечные трубчатые дрены для отвода воды из дренирующего слоя устраивают из гончарных или асбоцементных труб диаметром 80 - 100 мм. Можно использовать также пластмассовые (винипластовые, полиэтиленовые и т.п.) трубы.

У приемного отверстия поперечных трубчатых дрен укладывают щебень или гравий (рис. 11), чтобы избежать вымывания материала дренирующего слоя. Стыки труб продольных дрен обсыпают щебнем или гравием на всю толщину дренирующего слоя (см. рис. 8).

Вода из продольных дрен отводится с помощью выпускных труб, укладываемых в зависимости от характера продольного профиля дороги через 50 - 100 м. Выпускные трубы соединяют с продольными дренами при помощи тройников из мелкозернистого бетона или других материалов.

Рис. 11. Трубчатый поперечный дренаж:

1 - дренирующий слой; 2 - обсыпка щебнем или гравием; 3 - дренажная трубка

Для устройства поперечных дрен используют щебень или гравий размером 25 - 30 мм.

Для устройства песчаных дрен следует использовать только чистые крупные пески.

Выходные отверстия у песчаных дрен и выходной пояс в случае устройства под обочинами сплошного слоя из песка укрепляют щебнем или гравием.

IV. РАСЧЕТ КОНСТРУКЦИЙ НА МОРОЗОУСТОЙЧИВОСТЬ И ОСУШЕНИЕ

16. При расчете конструкций на морозоустойчивость и осушение дорога делится на ряд типичных участков, устанавливаемых с учетом погодно-климатических особенностей (для дорог большого протяжения), грунтово-гидрогеологических и гидрологических условий, типа покрытия, вида земляного полотна (насыпь, выемка), характера продольного профиля дороги, обеспеченности строительства местными материалами. На каждом таком участке выбирают расчетное сечение, где природные и конструктивные факторы складываются наиболее неблагоприятно с точки зрения морозоустойчивости и увлажнения конструкции. Расчеты, сделанные для этого сечения, распространяют затем на весь участок (или ряд типичных участков).

Обеспечение морозоустойчивости

17. Расчет конструкций на морозоустойчивость необходим для участков, на которых сочетаются следующие условия, могущие вызвать недопустимое зимнее вспучивание проезжей части дороги: глубина промерзания превышает приблизительно 1 м; грунты земляного полотна склонны к пучению (см. табл. 1); гидрогеологические условия типичны для 3-го и 2-го типов местности по степени увлажнения (СНиП II-Д.5-62); толщина одежды, требующаяся по условиям прочности, меньше 2/3 глубины промерзания. Перечисленные характеристики принимаются во внимание при разбивке дороги на типичные участки и выборе расчетных сечений.

18. Чтобы ослабить вредное влияние на прочность и долговечность дорожной конструкции морозного воздействия, величина возможного поднятия поверхности проезжей части в процессе промерзания должна быть ограничена.

Допустимая величина морозного вспучивания зависит от типа покрытия и при расчетах может быть принята в следующих размерах:

для цементно-бетонных покрытий............................................... 2 см

для асфальтобетонных покрытий................................................. 4 см

для усовершенствованных облегченных покрытий.................... 6 см

Опыт эксплуатации автомобильных дорог показывает, что при указанных величинах предельного зимнего вспучивания ровность и состояние проезжей части отвечают требованиям, предъявляемым к эксплуатационным качествам капитальных и усовершенствованных облегченных покрытий на дорогах I - III категорий.

19. Расчет дорожной конструкции на морозоустойчивость сводится к удовлетворению неравенства:

lпуч + lм.з £ lпуч.д,                                                              (1)

где lпуч.д - допускаемая величина вспучивания дорожной конструкции;

lпуч - расчетное пучение грунта земляного полотна;

lм.з - ожидаемое пучение морозозащитного слоя.

При устройстве морозозащитного слоя из материалов, удовлетворяющих требованиям п. 10, величина lм.з в расчет не вводится.

В остальных случаях ожидаемое пучение морозозащитного слоя устанавливается на основании результатов испытания материала на морозоустойчивость (приложение 1).

20. Расчет ожидаемого зимнего вспучивания земляного полотна основывается на определении влагонакопления в грунте в процессе промерзания.

Величина вспучивания lпуч обусловливается свойствами и мощностью слоя промерзающего грунта, гидрогеологическими условиями, условиями поверхностного увлажнения, скоростью промерзания, а также длительностью зимнего периода и может быть вычислена для 3-го типа местности на основании следующей зависимости:

                                                                                                                                       (2)*

* Формула (2) получена М. Б. Корсунским. При ее выводе принято, что скорость потока влаги, перемещающейся в промерзающем грунтовом массиве, обратно пропорциональна среднему пути фильтрации, выражаемому экспоненциальной функцией от кратчайшего пути подтока, удовлетворительно согласующейся с данными опытов Н.А. Пузакова. Другие физические предпосылки, на которых базируется вывод формулы (о состоянии влаги и механизме влагонакопления и льдообразования, о содержании в промерзающем грунте незамерзшей влаги, о температурных условиях непрерывности потока, а также о ходе и скорости промерзания) приняты по Н.А. Пузакову.

где lпуч - ожидаемое пучение, см;

В - комплексная характеристика, учитывающая свойства грунта земляного полотна, влияющие на влагонакопление (табл. 1);

Н - глубина залегания грунтовых (или длительно застаивающихся поверхностных) вод в осенний период, считая от поверхности покрытия по оси проезжей части (рис. 12), см;

z1 - общая толщина одежды и морозозащитного слоя, см;

z - глубина промерзания дорожной конструкции, считая от поверхности покрытия по оси проезжей части, см;

a0 - показатель, учитывающий особенности климатических условий, см2/сутки;

                                                        (3)**

** Формула Н.А. Пузакова.

Vпр - средняя скорость промерзания, см/сутки;

Тз - расчетная продолжительность зимнего периода, суток.

Таблица 1

Характеристики свойств грунтов

Наименование грунта

Расчетная величина показателя В, характеризующего свойства грунта, см2/сутки

Степень пучинистости

Глины, суглинки легкие и тяжелые (непылеватые), супеси тяжелые (непылеватые), пески пылеватые..

3

Слабопучинистые

Суглинки тяжелые пылеватые.....................................

3,5

Пучинистые

Супеси пылеватые, суглинки легкие пылеватые......

4 - 4,5

Сильнопучинистые

Супеси тяжелые пылеватые.........................................

5

Очень сильнопучинистые

Примечание. Значения показателя В получены расчетным путем по формуле (2) на основании фактических данных о величине пучения дорожных конструкций на эксплуатируемых дорогах, при известных значениях z; z1; H и a0.

Рис. 12. Схема к расчету величины пучения:

z1 - общая толщина слоев из стабильного материала; H - глубина залегания грунтовых вод; z - глубина промерзания

За расчетную длительность зимнего периода принимают: для Европейской части СССР - количество суток с момента наступления осенью температуры воздуха -5 °С до наступления весной периода с устойчивой температурой воздуха выше 0 °С; для Зауральской части СССР, где климат более континентален и выше скорость промерзания, - с момента понижения температуры воздуха до -10 °С в начале зимы до наступления устойчивой температуры воздуха 0 °С весной.

Когда не представляется возможным получить достоверные данные о глубине промерзания, максимальную глубину z в данном районе можно принимать по карте Л.Т. Абрамова (рис. 13)* с добавлением к ней для районов Европейской части СССР около 40 см (средняя толщина стабильного слоя) и для Зауральской части СССР - примерно 60 см. В этом случае можно также воспользоваться непосредственно картой изолиний a0 (рис. 14), рассчитанных по формуле (3).

* Д.А. Могилевский и др. Изыскания и проектирование аэродромов. Автотрансиздат, М., 1963.

21. Для упрощения расчетов по формуле (2) ее автором составлена номограмма (рис. 15) с помощью которой можно установить величину ожидаемого пучения lпуч при известных значениях параметров z, z1, H, В и a0. С помощью этой номограммы нетрудно также найти и величину любого другого параметра, входящего в формулу (2).

Номограмма построена в двух совмещенных сетках прямоугольной, системы координат с общей вертикальной осью

 (см. формулу 2).                                              (4)

На горизонтальных осях отложены относительная толщина слоев из стабильных материалов  (верхняя шкала) и величина пучения lпуч (нижняя шкала).

Кривые на номограмме соответствуют различным отношениям , а лучи - разным величинам

22. При втором типе местности по условиям увлажнения во II и III климатических зонах толщина морозозащитного слоя назначается по табл. 2. При этом должно быть обеспечено возвышение низа стабильного слоя над поверхностью земли, требуемое по табл. 16 СНиП II-Д.5-62 (п. 4.7).

Во всех случаях возвышение покрытия над поверхностью земли не должно быть меньше, чем это требуется по условиям незаносимости снегом.

Толщины в табл. 2 даны для материалов морозозащитных слоев с коэффициентом пучения, не превышающим 1 % (приложение 1). На дорогах с асфальтобетонными (а также с облегченными усовершенствованными) покрытиями могут использоваться материалы с более высоким коэффициентом пучения (но не более 3 %). В этих случаях к толщинам, приведенным в таблице, следует добавлять 10 см на каждый процент коэффициента пучения сверх 1 % .


Рис. 13. Карта изолиний глубины промерзания по Л.Т. Абрамову:

 границы дорожно-климатических зон;  изолинии глубины промерзания в см;  государственная граница СССР

Рис. 14. Карта изолиний климатического коэффициента a0


Рис. 15. Номограмма для расчета конструкций на морозоустойчивость

Таблица 2

Необходимая толщина слоев из стабильных материалов в условиях второго типа увлажнения местности

Грунты дорожного полотна

Климатическая зона

Общая толщина слоев из стабильных материалов (включая толщину дорожной одежды), см

цементно-бетонное покрытие

асфальтобетонное покрытие

Суглинки пылеватые и супеси пылеватые...............................................

II

III

90

80

60

50

Суглинки и супеси (непылеватые) и пылеватые пески....................................

II

III

70

55

*

*

Примечание. Для одежд с усовершенствованными облегченными покрытиями, а также в случаях, помеченных в таблице знаком*, толщина дорожной одежды, определяемая расчетом на прочность, обеспечивает также и необходимую морозоустойчивость дорожной конструкции.

Осушение

23. При назначении мероприятий по осушению дорожной конструкции важно правильно наметить расчетный период и выбрать расчетные сечения. Расчетным, наиболее неблагоприятным периодом в смысле увлажнения дорожной конструкции в условиях холодного и влажного климата (II и III климатические зоны) является обычно начало весны, когда происходит оттаивание дорожной одежды и земляного полотна и в основание одежды поступает накопленный зимой избыток влаги из грунта земляного полотна, а также проникают атмосферные осадки через обочины, у краев проезжей части и частично через трещины и швы покрытия.

В условиях теплого, но влажного климата (IV климатическая зона) расчетным чаще всего является период максимального выпадения осадков.

Расчетные сечения на равнинных участках следует выбирать в местах, где можно ожидать максимального поступления воды в основание дорожной одежды (неблагоприятные грунтово-гидрологические условия, низкие насыпи, выемки, водопроницаемые грунты обочин и т.д.). На пересеченной местности с затяжными продольными уклонами расчетными будут чаще всего сечения на вогнутых переломах профиля, где может скапливаться вода, стекающая по дренирующему слою.

24. Когда количество поступающей в основание проезжей части в расчетный период воды больше, чем может разместиться в порах конструктивных слоев одежды и подстилающего грунта, без снижения их способности сопротивляться нагрузкам от движущихся автомобилей, необходимо предусматривать устройство дренирующего слоя под проезжей частью дороги.

Наряду с улучшением условий осушения конструкции пористые слои в основании одежды создают более благоприятные условия передачи нагрузок от движущихся автомобилей на подстилающий грунт в случаях, когда последний полностью насыщен водой. В этих условиях при наличии пористого слоя с частично свободными от воды пустотами большая часть быстро прикладываемой нагрузки передается на скелет подстилающего грунта. В этом случае не происходит повышения давления в поровой воде, резко ухудшающего напряженное состояние насыщенного водой грунта земляного полотна. Поэтому пористые слои в основании одежды следует предусматривать во всех случаях, когда можно ожидать полного насыщения водой слабофильтрующего грунта верхней части земляного полотна. Это соответствует влажности супесчаных грунтов около 0,7, а суглинистых и глинистых - около 0,75 от границы текучести.

25. Проектируемая дренажная система должна быть рассчитана на обеспечение отвода всей свободной воды, поступающей в основание проезжей части в расчетный период, а также на временное размещение ее до начала работы водоотводящих устройств.

При проектировании следует различать два следующих расчетных случая.

Первый расчетный случай имеет место в начале весеннего периода, когда в основании дорожной одежды образуется талая область под серединой проезжей части, в то время как дренирующий слой у краев находится еще в мерзлом состоянии и, таким образом, водоотводящие устройства не работают. В пористом слое основания проезжей части при данных условиях должно разместиться, без ущерба для прочности конструкции, все количество воды, освобождающейся при оттаивании.

Второй расчетный случай соответствует периоду, когда дренирующий слой в основании проезжей части полностью оттаял, и водоотводящие устройства начали нормально работать. Расчет дренажной системы в этом случае базируется на закономерностях движения воды в сравнительно маломощных пористых слоях, а толщина дренирующего слоя и требования к коэффициенту фильтрации материала зависят, при прочих равных условиях, от типа дренажных устройств.

26. Для того, чтобы обеспечивалась достаточная устойчивость материала дренирующего слоя под действием кратковременных повторных нагрузок от движущегося транспорта, нельзя допускать полного насыщения дренирующего слоя водой, так как в этом случае быстро прикладываемая нагрузка воспринимается в первый момент водой, заполняющей поры, а минеральный скелет остается не нагруженным. В этих условиях резко снижается сопротивление материала сдвигу, что может привести к преждевременному разрушению всей дорожной конструкции.

В связи с этим при расчете дренирующего слоя нужно предусматривать во всех случаях запас по толщине слоя над материалом, поры которого в расчетный период заполнены водой. Таким образом, полная толщина дренирующего слоя должна составлять:

hп = hнас + hзап,                                                         (5)

где hнас - толщина насыщенного слоя;

hзап - дополнительная толщина слоя, зависящая от капиллярных свойств материала, может быть принята равной 0,1 м для крупнозернистых материалов и 0,15 м - для песков средней крупности и мелких.

27. Расчет дренажной системы ведется обычно следующим образом:

исходя из особенностей природных условий и характера продольного профиля, проектируемую дорогу разбивают на типичные участки и устанавливают расчетные сечения; для равнинных участков, а также для участков с однообразными уклонами определяют суммарное суточное поступление воды в дренирующий слой q; зная величину q, а также коэффициент фильтрации материала дренирующего слоя, поперечный уклон грунтового основания и длину пути фильтрации при намечаемом типе дренажных устройств, рассчитывают толщину дренирующего слоя hнac, обеспечивающую своевременный отвод воды, поступающей за сутки; затем по формуле (5) определяют полную толщину дренирующего слоя hп;

проверяют достаточна ли величина hп для размещения всего объема воды, накапливающейся за период с момента появления свободной воды в основании до начала работы дренажных устройств.

При наличии местных материалов с различным коэффициентом фильтрации, а также в случаях, когда можно запроектировать дренажные устройства различного типа, разрабатывают несколько вариантов и на основании технико-экономического сравнения выбирают наиболее рациональный тип дренажной системы.

При расчете дренажной системы для участков с затяжными уклонами у мест вогнутых переломов продольного профиля определяют общее количество подлежащей размещению и отводу воды с учетом объема воды, поступающей за счет продольного перемещения, в дренирующем слое по уклону, когда бездействуют дренажные устройства.

28. Количество воды, поступающей весной в основание проезжей части за сутки, q в общем случае складывается из:

а) объема воды, освобождающейся при оттаивании переувлажненного грунта под проезжей частью, q1;

б) объема воды, освобождающейся при оттаивании грунта земляного полотна под обочинами, q2;

в) объема воды, проникающей в основание с поверхности дороги, q3;

q = q1 + q2 + q3.                                                             (6)

Количество воды, поступающей от того или иного источника, зависит от грунтово-гидрогеологических и погодно-климатических условий местности, а также конструкции земляного полотна и типа дренажной системы.

29. Поступление в основание воды из оттаивающего грунта земляного полотна под проезжей частью q1 имеет место, когда влажность грунта в результате зимнего влагонакопления превысила величину полной влагоемкости грунта, уплотненного до требуемой плотности.

Объем воды, освобождающейся при оттаивании, составляет в этом случае:

q1 = bh1(wвесdвес - bwтекd) м3/сутки на 1 пог. м дороги,                    (7)

где h1 - толщина слоя грунта, оттаивающего за одни сутки в пределах верхней толщи (0,5 м) грунтового основания (расчетного слоя); при отсутствии данных о скорости оттаивания земляного полотна в районе проектирования эта величина может быть принята для II и III климатических зон равной 0,06 м в сутки;

b - ширина проезжей части, м;

wвес - расчетная весенняя влажность грунта земляного полотна, зависящая от характера влагонакопления в осенне-зимний период в данных условиях, в долях единицы по весу;

wтек - влажность, соответствующая границе текучести грунта, в долях единицы по весу;

b - коэффициент, показывающий, какое количество воды удерживается в порах грунта, уплотненного до требуемой плотности, в долях от влажности при границе текучести грунта; для супесчаных грунтов он принимается равным 0,7, а для суглинистых и глинистых - 0,75;

dвес - объемный вес скелета грунта при расчетной влажности, г/см3;

d - то же при влажности, равной bwтек, г/см3.

30. Вследствие образования мерзлого донника при оттаивании грунта под обочинами освобождающаяся вода перемещается также в пористый слой под проезжую часть.

Количество поступающей воды q2 может быть определено тоже по формуле (7); в этом случае в нее подставляют вместо b величину 2а, где а - ширина обочины, и принимают расчетную толщину слоя грунта, оттаивающего под обочиной за одни сутки, h1 = 0,03 м.

На дорогах с разделительной полосой при определении q2 принимаются в расчет одна обочина и половина ширины разделительной полосы.

При наличии под обочинами сплошного дренирующего слоя из крупнозернистого песка или других крупнопористых материалов в грунте над этим слоем не происходит существенного накопления влаги в зимний период. В этом случае практически q2 = 0.

31. При вычислении q1 и q2 за расчетную весеннюю влажность wвес принимают среднюю влажность в слое грунта мощностью 0,5 м ниже дренирующего слоя в весенний период наиболее неблагоприятного по погодным условиям года.

Если отсутствуют достоверные данные многолетних наблюдений за влажностью грунтов в земляном полотне дорог в районе проектирования, для II и III климатических зон можно использовать ориентировочные значения весенней расчетной влажности в земляном полотне, отвечающем требованиям СНиП-62 (табл. 3).

В IV и V климатических зонах, где расчетные влажности не превышают, как правило, (0,7 - 0,75)wтек, вода из грунта земляного полотна в дренирующий слой не поступает. Поэтому при расчете дренирующего слоя учитывают лишь объем воды, поступающей с поверхности дороги.

Таблица 3

Значения расчетной влажности в долях от границы текучести грунта wтек, определяемой методом балансирного конуса (ГОСТ 5184-59)

Климатическая зона

Тип увлажнения местности

Грунты

Супесь легкая крупная (непылеватая)

Супесь легкая (непылеватая)

Суглинки (непылеватые) и глины

Супеси, суглинки пылеватые

II

1

0,65

0,7

0,75

0,8

2

0,7

0,75

0,8

0,85

3

0,75

0,8

0,85

0,9

III

1

0,6

0,65

0,7

0,75

2

0,65

0,7

0,75

0,8

3

0,7

0,7

0,75

0,8

Примечания. 1. Значения расчетной влажности указаны для западных районов; для районов восточнее р. Северная Двина и Волга, где климат более континентальный, приводимые значения относительной влажности могут быть снижены на 5 - 10 %.

2. Данные о расчетных влажностях грунта земляного полотна получены при толщине одежды в среднем около 0,5 м. В случаях, когда одежда (стабильный слой) имеет большую толщину, влагонакопление в верхней части земляного полотна, вследствие большей пригрузки, происходит менее интенсивно. В этих случаях расчетную влажность грунта земляного полотна следует устанавливать, пользуясь номограммой рис. 16.

Рис. 16. Номограмма для определения расчетной влажности грунта

32. Количество воды, поступающей в основание с поверхности дороги, q3 определяется в зависимости от интенсивности осадков в расчетный период с учетом стока и испарения.

Для дорог с капитальными покрытиями в расчет принимают наибольшее месячное количество осадков в период оттаивания дорожной конструкции (или в период максимального выпадения осадков в южных районах), наблюдающееся за 20 лет, а для дорог с покрытиями других типов - за 10 лет.

Суточный объем воды, проникающей с поверхности в основание проезжей части на 1 пог. м дороги, вычисляют по формуле:

                                              (8)

где S - месячное количество осадков, выпадающих за расчетный период, мм;

С - коэффициент, учитывающий сток с поверхности дороги, смачивание и испарение.

Остальные обозначения приведены ранее.

Если расчет ведется при незамерзшем земляном полотне, в формулу вводится только ширина проезжей части - b.

В формуле (8) сумма осадков принята в мм за расчетный период 30 дней и учтен коэффициент неравномерности выпадения осадков 1,5, в связи с этим при пересчете объема воды в м3 на 1 пог. м знаменатель равен 20000.

Сведения о количестве осадков имеются в климатологических справочниках Гидрометиздата СССР. Их можно также получить в местных метеорологических станциях. Для основных пунктов Европейской части СССР данные о расчетном количестве осадков приведены в приложении 2.

Коэффициент С, по данным Н.А. Пузакова, можно принимать равным 0,6 - 0,7 при суглинистых грунтах обочин и 0,4 - 0,5 - при супесчаных. Если обочины достаточно водонепроницаемы, коэффициент С может быть повышен до 0,8 - 0,9.

33. Последние исследования показали, что при гидравлическом расчете дренирующих слоев в основании проезжей части вследствие сравнительно небольшой мощности свободного потока нужно учитывать движение воды не только в зоне полного насыщения дренирующего материала, но также и в капиллярной кайме.

Установлено, что при малой толщине водонасыщенного слоя расход воды, движущейся в капиллярной кайме, соизмерим с расходом свободной воды, а иногда и превосходит его.

Опыты показали, что движение воды в дренирующем слое происходит в виде двух взаимосвязанных потоков, расположенных в два яруса (рис. 17); в нижнем потоке движется свободная, а в верхнем - капиллярная вода.

Поскольку в каждом из потоков имеет место ламинарный режим движения воды, для вывода расчетных формул, определяющих ее расход, возможно применение закона Дарси.

Единичный расход воды вычисляется по двухчленной формуле, первый член которой дает расход свободной воды, а второй - расход воды, перемещающейся в капиллярной кайме:

        (9)*

* Формула предложена М.Б. Корсунским и П.Д. Россовским.

где q - расход воды на 1 м ширины потока, м3/сутки;

kф - коэффициент фильтрации материала дренирующего слоя при требуемой плотности, м/сутки;

kw - коэффициент влагопроводимости в капиллярной кайме, м/сутки;

hнас - высота уровня воды в дренирующем слое в начале пути фильтрации, м;

h11 - высота капиллярно-насыщенной зоны, в которой движется вода, в начале фильтрационного потока, м;

h21 - то же в конце фильтрационного потока, м;

i - уклон основания дренирующего слоя в долях единицы;

L - длина пути фильтрации, м;

m и m1 - коэффициенты скорости потоков свободной и капиллярной воды (табл. 4).

Рис. 17. Расчетная схема движения воды в дренирующем слое

Средние значения параметров, входящих в формулу (9), приведены в табл. 5.

Таблица 4

Средние значения коэффициентов скорости потоков

Высота уровня воды в дренирующем слое в начале фильтрационного потока hнас, м

Пески

крупные разнозернистые и средней крупности одномерные

средней крупности разнозернистые и мелкие одномерные

мелкие разнозернистые

m

m1

m

m1

m

m1

0,05 - 0,15

0,9 - 1,4

0,3 - 0,5

.0,9 - 1,2

0,6 - 0,8

0,9 - 1,2

0,6 - 0,8

0,16 - 0,3

0,6 - 0,9

0,15 - 0,3

0,65 - 0,9

0,6 - 0,8

0,75 - 0,9

0,4 - 0,6

Примечание. Большие значения коэффициентов т и т1 соответствуют меньшим величинам hнас.

Таблица 5

Расчетные характеристики песков

Группы песков

Пески

Содержание частиц

Коэффициент фильтрации kф в м/сутки

Коэффициент влагопроводимости в капиллярной кайме kw в м/сутки

Высота зоны движения воды в капиллярной кайме в м

размер частиц в мм, более

% по весу, более

h11

h21

1

Очень крупные.................

1

50

40

0,5kф

0,05

0,03

Крупные одномерные......

0,5

80

2

Крупные разнозернистые

0,5

50

11 - 40

0,55kф

0,12

0,07

Средней крупности одномерные......................

0,25

80

3

Средней крупности разнозернистые................

0,25

50

8 - 10

0,6kф

0,14

0,09

Мелкие одномерные.......

0,1

90

4

Мелкие разнозернистые..

0,1

75

3 - 7

0,65kф

0,15

0,12

Для упрощения расчетов по формуле (9) она представлена в виде номограмм для трех различных по крупности песков (рис. 18). Вертикальная ось  каждой номограммы представляет величины отношения суточного количества воды, поступающей в основание проезжей части, к коэффициенту фильтрации материала дренирующего слоя, а горизонтальная ось - толщину водонасыщенного слоя. Номограммы составлены для трех значений длины пути фильтрации L, характерных для современных дорог и применяемых типов дренажных устройств.

Рис. 18. Номограммы для расчета дренирующего слоя:

а - для мелких песков; б - для песков средней крупности; в - для крупных песков; i - поперечный уклон грунтового основания;  при длине фильтрации 3,75 м;  при длине фильтрации 7,5 м,  при длине фильтрации 10,5 м

При ширине проезжей части 7 - 7,5 м с двухскатным поперечным профилем, когда вода из дренирующего слоя отводится продольными трубчатыми дренами (см. рис. 8), а также поперечными трубчатыми или щебеночными дренами (см. рис. 7 и 11), длина пути фильтрации до приемной части дрен составляет 3,5 - 3,75 м.

При двухскатном поперечном профиле фильтрация воды происходит в обе стороны от оси дороги. В этом случае принимается q1 = 0,5q.

При проезжей части шириной 7 - 7,5 м с односкатным профилем, а также на дорогах с четырехполосной проезжей частью при двухскатном профиле, когда проектируются дрены указанных типов, расчет ведут при L = 7,5 м и q1 = q. При этой же длине пути фильтрации и q1 = 0,5q рассчитывают и дренажную систему со сплошным дренирующим слоем под обочинами (см. рис. 9) на дорогах с двухскатной проезжей частью шириной 7 - 7,5 м.

На дорогах с четырехполосной проезжей частью при устройстве сплошного дренирующего слоя под обочинами можно принимать L = 10,5 м и q1 = q.

При длине пути фильтрации, значительно отличающейся от указанных, следует пользоваться формулой (9).

При расчете по этой формуле было бы точнее принимать уклон в направлении фильтрации воды  и наибольшую длину пути фильтрации  где iпоп - поперечный уклон основания дренирующего слоя, а iпрод - продольный.

Однако расчеты по формуле (9) показали, что при уклонах до 70 ‰ можно пренебречь влиянием продольного уклона. Объясняется это тем, что учет влияния продольного уклона приводит, с одной стороны, к увеличению пути фильтрации, а с другой, - к увеличению уклона в направлении фильтрации.

Пользуясь номограммами (см. рис. 18, а, б и в) или формулой (9), находят необходимую толщину водонасыщенного слоя hнас для отвода всего количества поступающей в основание воды при величине коэффициента фильтрации материала kф, используемого для устройства дренирующего слоя.

Полную толщину дренирующего слоя hп находят по формуле (5). При этом, естественно, hзап не должно быть меньше h11 (см. табл. 5).

Когда для устройства дренирующего слоя могут быть использованы два или более материалов с различными значениями коэффициента фильтрации, разрабатывают варианты конструкции дренажных систем и на основании технико-экономического сравнения выбирают наиболее целесообразное решение.

При применении варианта водоотводящих устройств в виде поперечных дрен под обочинами расстояние между ними принимается равным приблизительно 2L.

34. Расчет дренирующего слоя на временное размещение в нем воды в начале оттаивания дорожной конструкции, когда водоотводящие устройства еще не выполняют свои функции, производят путем сопоставления суммарного объема воды, которая поступает за этот период в дренирующий слой, с объемом воды, который может разместиться в свободных порах дренирующего слоя

Qрасч £ Qдоп,                                                               (10)

где Qpacч - общее количество поступающей воды;

Qдоп - количество воды, которое может разместиться в свободных порах.

35. В условиях равнинного рельефа количество поступающей в дренирующий слой воды в этом случае может быть вычислено по формуле:

Qрасч = qtзап,                                                             (11)

а количество воды, которое может разместиться в свободных порах дренирующего слоя:

Qдоп = bn(hнас + hк.зап - hпjзим).                                        (12)

В формулах (11) и (12):

п - пористость материала при требуемой плотности;

hк.зап - приведенная высота капиллярной воды в дренирующем слое над уровнем свободной воды, принимаемая для крупных песков равной 0,06 м, для песков средней крупности, и мелких - 0,11 м;

jзим - коэффициент заполнения пор в материале дренирующего слоя (hп) влагой к моменту оттаивания;

tзап - время запаздывания начала работы дренажных устройств в сутках.

Коэффициент заполнения порового пространства дренирующего слоя влагой, оставшейся с осени и накопившейся за зимний период, jзим зависит от плотности материала, толщины дренирующего слоя, конструкции земляного полотна и погодно-климатических условий (табл. 6).

Запаздывание оттаивания песчаного дренирующего слоя у краев проезжей части, по сравнению с оттаиванием по оси дороги tзап, в условиях II климатической зоны принимается равным 4 - 6 суткам, в условиях III зоны - 3 - 4 суткам (большие значения для мелких песков). При крупных одномерных песках, а также других крупнопористых материалах запаздывание в расчет не вводится (tзап = 0).

Таблица 6

Значения jзим, полученные на основании наблюдений на дорогах во II климатической зоне

Толщина дренирующего слоя, см

Величины jзим

Пористость материала

0,4

0,36

0,32

0,28

До 20

0,42

0,5

0,59

0,71

20 - 40

0,36

0,42

0,51

0,6

40

0,32

0,37

0,45

0,54

Примечание. В III климатической зоне величину jзим можно принимать равной 0,8 от значений, указанных в табл. 6.

36. Особое внимание при расчете конструкции на осушение следует уделять участкам с вогнутыми переломами продольного профиля.

В сечении, где величина продольного уклона изменяется от большего к меньшему, происходит накопление воды, обусловленное различными скоростями ее притока и оттока.

В связи с этим толщина дренирующего слоя, рассчитанная для равнинных участков или участков с однообразным уклоном, может оказаться недостаточной для размещения воды до начала работы водоотводящих устройств.

Общее количество воды, скопляющейся за счет местного поступления, а также продольного притока на первом погонном метре, прилегающем к точке перелома продольного профиля, Qвог находят по формуле:

               (13)

где qtзап - объем воды за счет местного поступления, м3;

Q1вог - то же за счет продольного притока, м3;

     (14)

i1 и i2 - соответственно большее и меньшее значения продольного уклона.

Остальные обозначения прежние.

Для облегчения вычисления величины Qвог1 составлена номограмма (рис. 19). По вертикальной оси отложены значения А, по горизонтальной оси  (верхняя шкала) и h (нижняя шкала).

                                                              (15)

где q - расчетное количество воды в сутки за счет местного поступления.

Кривые на номограмме построены для различных значений tзап, а лучи - для разных отношений  Последовательность расчета показана на номограмме пунктирными линиями со стрелками. Величину Qвог вычисляют по формуле (13) с учетом (15).

После того, как определен объем воды, подлежащий аккумуляции в дренирующем слое, находят толщину последнего hп по формуле:

                            (16)

Все обозначения приведены ранее.

Полная толщина дренирующего слоя, рассчитанная по формуле (16), относится к поперечному сечению в месте изменения продольного уклона. На некотором расстоянии Lукл от этого сечения вниз по уклону (см. рис. 19) вода за счет продольного перемещения уже не скапливается, и здесь толщину дренирующего слоя hп находят по формулам (5) и (10).

Длину участка, на котором имеет место дополнительное накопление воды, находят по формуле:

.                                                     (17)

Объем воды на 1 м, скапливающейся в местах вогнутого перелома продольного профиля со встречными уклонами, определяют по формуле:

                       (18)

Величины уклонов i1 и i2 принимают по продольному профилю с учетом смягчения, обусловленного устройством вертикальной вогнутой кривой (см. пример 2 на стр. 43).

Полную толщину дренирующего слоя для этих мест определяют также по формуле (16). Но в этом случае вместо Qвог принимают в расчет величину Qвстр, найденную по формуле (18).

Рис. 19. Номограмма для расчета накопления воды в местах вогнутых переломов продольного профиля (последовательность расчета показана для примера):

i1 = 0,003; i2 = 0,02; kф = 6 м/сутки; h = 0,4 м; tзan = 6 суток; l - путь за сутки

Участки с вогнутыми переломами продольного профиля, а тем более понижения при встречных уклонах особенно опасны в отношении возможности накопления воды в основании проезжей части и требуют поэтому усиленного дренажа.

На этих участках целесообразно укладывать сплошной дренирующий слой на всю ширину полотна из крупнопористого материала (с коэффициентом фильтрации не менее 10 м/сутки) либо устраивать поперечные щебеночные (гравийные) валики на всю ширину проезжей части с устройством трубчатых выпусков (см. рис. 10).

V. РЕКОМЕНДАЦИИ ПО ПРОЕКТИРОВАНИЮ ДОРОЖНОЙ ОДЕЖДЫ И ЗЕМЛЯНОГО ПОЛОТНА С УЧЕТОМ ОБЕСПЕЧЕНИЯ МОРОЗОУСТОЙЧИВОСТИ И ОСУШЕНИЯ

37. Конструкции одежды проезжей части и земляного полотна современных автомобильных дорог должны отвечать следующим основным требованиям:

а) прочность одежды должна обеспечивать пропуск ожидаемого на дороге движения без образования недопустимых деформаций, нарушающих ровность проезжей части и сокращающих межремонтные сроки;

б) должна быть исключена возможность образования недопустимых сезонных деформаций, связанных с процессами увлажнения, замерзания и оттаивания конструкций.

Обеспечение указанных требований должно достигаться с минимальными затратами труда и средств.

Создание надежных и экономичных дорожных конструкций возможно только в результате комплексного рассмотрения работы земляного полотна и дорожной одежды с учетом влияния местных условий.

Так как пока еще отсутствуют методы комплексного конструирования и расчета, позволяющие исчерпывающе оценивать в количественных показателях влияние на работу конструкции многочисленных природных и эксплуатационных факторов, наиболее целесообразное решение находят, сравнивая несколько вариантов.

Для сложных участков проектируемой дороги разрабатывают варианты с различными параметрами земляного полотна, дорожной одежды, а также разными мероприятиями по обеспечению морозоустойчивости, осушения конструкции и на основании результатов технико-экономического сравнения выбирают наиболее целесообразное решение.

38. При всех условиях дорожная конструкция должна иметь необходимую прочность при ожидаемом движении. Но одновременно с конструированием одежды по условиям прочности нужно предусматривать мероприятия, гарантирующие достаточную морозоустойчивость конструкции и обеспечивающие надежное дренирование основания проезжей части.

39. В условиях, когда расчетная влажность грунта земляного полотна в весенний период (табл. 3, п. 31) может достигать или, тем более, превышать величину полной влагоемкости грунта при требуемой плотности (для супесчаных грунтов ³ 0,7wтек и для суглинистых ³ 0,75wтек), нужно предусматривать введение в конструкцию подстилающего слоя из дренирующих материалов.

Наличие в данном случае дренирующего слоя между верхними монолитными конструктивными слоями одежды и насыщенным водой подстилающим грунтом в значительной степени смягчает неблагоприятные явления, связанные с повышением давления в поровой воде (см. п. 24) в момент внезапного приложения нагрузок от движущихся автомобилей.

40. В районах с холодным климатом, особенно в неблагоприятных грунтово-гидрогеологических условиях, каждая запроектированная по условиям прочности конструкция должна быть проверена на морозоустойчивость.

Если необходимо, принимаются следующие меры к снижению величины морозного вспучивания:

а) развитие средних и нижних конструктивных слоев одежды либо замена неблагоприятных грунтов в верхней части земляного полотна достаточно стабильными грунтами или материалами, т.е. изменение значений z и В в формуле (2) с одновременным сокращением толщины верхних слоев одежды;

б) подъемка земляного полотна местным грунтом либо понижение уровня грунтовых вод (увеличение H);

в) укладка в тело насыпи изолирующих прослоек из пористых или водопаронепроницаемых материалов. Введение в земляное полотно на той или иной глубине различного рода прослоек прерывает перемещение влаги из нижних переувлажненных горизонтов в верхние, что улучшает влажностный режим верхней части земляного полотна в зоне промерзания и уменьшает зимнее вспучивание конструкции.

Возможно и комплексное применение перечисленных мероприятий.

В сложных случаях разрабатывают несколько вариантов и производят их технико-экономическое сравнение.

41. Проверяется дренирующий эффект введенного в конструкцию в неблагоприятных климатических и грунтово-гидрогеологических условиях морозозащитного слоя из фильтрующих материалов. Для этого находят общее количество воды, поступающей в основание проезжей части в неблагоприятный период за сутки (пп. 28 - 32), и устанавливают расчетом (пп. 33 - 36), какое количество воды может быть отведено данным дренирующим материалом или временно размещено в нем. Одновременно решается вопрос о типе и конструкции устройств для отвода воды из дренирующего слоя.

Если намеченная конструкция дорожной одежды не удовлетворяет требованиям в отношении своевременного отвода воды, поступающей в основание проезжей части, приходится вносить в конструкцию необходимые изменения.

Для конструкций, рассчитанных на морозоустойчивость и осушение, в соответствии с настоящими «Методическими указаниями», не обязательно выполнение требований СНиП II-Д.5-62 п. 46, табл. 15 в отношении наименьшего возвышения низа дорожной одежды над расчетным уровнем воды.

42. На отдельных стадиях проектирования изложенные в настоящих «Методических указаниях» вопросы решаются с различной полнотой.

На стадии составления проектного задания разрабатываются характерные поперечники для типичных участков. Все расчеты на этой стадии делают по усредненным данным о климате, грунтах и гидрогеологии с использованием опыта работы дорог в районе проектирования.

На стадии рабочего проектирования подробно оцениваются особенности климата и грунтово-гидрогеологических условий на каждом отдельном участке дороги. Для типичных участков разрабатывают конструкции земляного полотна и дорожной одежды с обоснованием расчетами мероприятий по обеспечению морозоустойчивости и осушения конструкции.

При составлении технического проекта вопросы обеспечения морозоустойчивости и осушения конструкций решаются с необходимой полнотой, в зависимости от местных условий, степени изученности района проектирования и опыта работы дорог в данном районе.

VI. ПРИМЕРЫ ПРОЕКТИРОВАНИЯ

Пример 1. Проектируется дорога II категории (ширина проезжей части - 7,5 м, ширина обочины - 3,75 м) в северозападной части II - климатической зоны.

Грунт - тяжелый пылеватый суглинок с границей текучести wтек = 0,3 (в долях единицы).

На месте имеются пески мелкие и средней крупности с коэффициентом фильтрации соответственно 3 и 4,7 м/сутки.

Цементно-бетонное покрытие устраивается на основании из песка, укрепленного цементом.

Должен быть решен вопрос о мерах предохранения дорожной конструкции от недопустимого зимнего вспучивания и об осушении ее на одном из наиболее неблагоприятных участков дороги.

Местность равнинная, поверхностный сток затруднен; грунтовые воды залегают на глубине 1 м от поверхности земли. По этим признакам участок относится к 3 типу местности по условиям увлажнения.

Возможны следующие варианты конструкции.

Первый вариант. Земляное полотно отсыпается из мелкого песка.

Общую толщину стабильного слоя (z1) определяем по номограмме (см. рис. 15).

Расчетные данные для участка: величина допускаемого морозного вспучивания lпуч.д = 2 см (см. п. 18). Параметр, характеризующий свойства грунта, В = 3,5 (см. табл. 1). Глубина промерзания z = 200 см (см. рис. 13). Показатель, учитывающий особенности климатических условий, a0 = 120 (см. рис. 14).

Задаемся расстоянием от поверхности покрытия до поверхности земли, равным 130 см; тогда расстояние до уровня грунтовых вод (H) составит 230 см.

Для расчета по номограмме предварительно вычисляем отношения:

При этих значениях и lпуч.д = 2 см находим по номограмме z1/H = 0,56, откуда z1 = 0,56 × H = 0,56 × 230 ≈ 130 см, т.е. соответствует предварительно принятой.

В эту толщину стабильного слоя входят цементно-бетонное покрытие (22 см) и основание из мелкого песка, укрепленного цементом (20 см).

Второй вариант. Земляное полотно сооружается из местного тяжелого пылеватого суглинка. Задаемся возвышением покрытия над поверхностью земли - 180 см.

При этом:

Для lпуч.д = 2 см по номограмме получаем z1/H = 0,25. Необходимая толщина стабильного слоя z1 = 0,25 × 280 = = 70 см.

В состав стабильного слоя в данном случае входит цементно-бетонное покрытие (22 см), основание из песка, укрепленного цементом (20 см), и слой песка средней крупности толщиной 28 см.

Техническая характеристика рассмотренных вариантов

Варианты

Грунты земляного полотна

Возвышение покрытия над поверхностью земли, см

Толщина конструктивных слоев, см

Цементно-бетонное покрытие

Песок, укрепленный цементом

Песок

1

Мелкий песок..........................

130

22

20

Мелкий 88

2

Суглинок тяжелый пылеватый................................

180

22

20

Средней крупности 28

В первом варианте отвод воды от основания проезжей части обеспечивается. Во втором варианте это нуждается в проверке. Ожидаемое суточное поступление воды в песчаный слой дорожной одежды q определяем по формуле (6), предварительно рассчитав слагаемые q1, q2 и q3.

Для определения количества воды, поступающей в песчаный слой из подстилающего грунта q1, находим сначала по табл. 3 и номограмме рис. 16 при толщине стабильного слоя, равной 70 см, что расчетная влажность грунта составляет wрасч = 0,88 × wтек = 0,88 × 0,3 = 0,26.

Весовая влажность оттаявшего грунта после отдачи излишней влаги bwтек = 0,75 × 0,3 = 0,23.

По формуле (7) вычисляем q1 = 7,5 × 0,05 × (0,26 - 0,23) × 1,7* = 0,019 м3/сутки на 1 пог. м дороги.

* Ввиду отсутствия данных об объемном весе скелета грунта при w = 0,23 принимаем часто встречающееся его значение d = 1,7 г/см3.

Поступление воды из грунта обочин в песчаный слой в расчет не вводится, поскольку слой песка уложен на всю ширину полотна и избытка влаги при промерзании в грунте обочин не создается (q2 = 0).

Количество воды, поступающей в песчаный слой с поверхности при расчетном количестве атмосферных осадков S = 70 мм, находим по формуле (8):

Таким образом,

q = q1 + q3 = 0,019 + 0,031 = 0,05 м3/сутки на 1 пог. м.

Проверяем, достаточна ли толщина песчаного слоя для своевременного отвода всего поступающего за сутки количества воды.

Дренирующий слой устраивается из песка средней крупности на всю ширину земляного полотна; поэтому используем при расчете номограмму рис. 18, б для L = 7,5 м. Предварительно вычисляем отношение  При указанном отношении и поперечном уклоне i = 0,02 находим по номограмме hнас = 0,2 м.

Необходимая полная толщина дренирующего слоя

hп = hнас + hзап = 0,2 + 0,15 = 0,35 м.

Таким образом, толщину песчаного слоя следует увеличить на 7 см.

Проверяем по формулам (10) - (12), достаточна ли эта толщина песчаного слоя для временного размещения воды до начала дренирования.

Определяем сначала общее количество воды Qpacч, поступающее за tзап = 6 суткам (п. 35):

Qpacч = qtзап = 0,05 × 6 = 0,3 м3/пог. м.

Затем по формуле (12) находим количество воды, которое может разместиться в порах дренирующего слоя:

Qдоп = bn(hнас + hк.зап - hпjзим) = 7,5 × 0,34(0,2 + 0,11 - 0,35 × 0,46) = 0,38 м3,

т.е.

Qдоп > Qрасч.

Это свидетельствует о достаточной толщине (35 см) песчаного слоя. Величина hк.зап = 0,11 принята по п. 35, а jзим = 0,46 - по табл. 6; пористость n = 0,34 вычислена при стандартной плотности песка, равной 1,75 г/см3.

С учетом данных о стоимости сооружения насыпи из местных грунтов, а также стоимости на месте работ песков разной крупности производят технико-экономическое сравнение двух запроектированных вариантов.

Пример 2. Дорога III категории с асфальтобетонным покрытием проектируется во II климатической зоне. Один из участков дороги проходит по пересеченной местности с глубоким залеганием грунтовых вод; поверхностный сток обеспечен.

По характеру увлажнения местности участок относится к типу I.

Продольный уклон на основном протяжении равен 0,05, в конце участка смягчается до 0,01 вставкой вертикальной кривой.

Земляное полотно сооружено из тяжелого пылевого суглинка wтек = 0,3.

В районе строительства имеется песок средней крупности с коэффициентом фильтрации 4 м/сутки. Оптимальная плотность песка - 1,7 г/см3 (пористость n = 0,36).

Так как проектируемый участок дороги находится в условиях I типа увлажнения местности, то расчет конструкции на морозоустойчивость не производится.

На основании исходных данных по формулам (6) - (8) находим ожидаемое поступление воды в дренирующий слой весной:

q = 0,009 + 0,004 + 0,016 = 0,029 м3/сутки на 1 пог. м.

Для своевременного отвода этого количества воды возможны два варианта дренирующих устройств: сплошной песчаный, слой на всю ширину земляного полотна (см. рис. 9) и песчаный слой на ширину проезжей части с продольными трубчатыми дренами по краям (см. рис. 8).

Сначала определяем необходимую толщину дренирующего слоя на участке с однообразным уклоном.

Первый вариант. Толщину песчаного слоя находим по номограмме рис. 18, б для L = 7,5 м. Предварительно вычисляем отношение

Для этого отношения и поперечного уклона i = 0,02 находим по номограмме hнас = 0,08 м.

Таким образом, h = hнас + hзап = 0,08 + 0,15 = 0,23 м.

Достаточность этой толщины для временного размещения поступающей воды до начала работы дренирующих устройств проверяем по формулам (10) - (12).

По формуле (11)

Qрасч = 6 × 0,029 = 0,17 м3,

где 6 - число суток до начала работы дренажных устройств, а по формуле (12)

Qдоп = 7 × 0,36(0,08 + 0,11 - 0,23 × 0,42) = 0,23 м3.

Так как Qдоп > Qрасч, размещение всего количества воды обеспечено.

Второй вариант. Расчет толщины дренирующего слоя ведем по номограмме рис. 18, б для L = 3,75 м. При  и i = 0,02 получаем hнас = 0,05 м.

Поэтому hп = 0,05 + 0,15 = 0,2 м. Расчет по формулам (10) - (12) показывает, что Qpaсч = 0,17 м3 < Qдоп = 0,2 м3 на 1 пог. м.

Здесь принято, что при hп = 0,2 м величина jзим = 0,42 (см. табл. 6).

Вопрос о том, какой из этих вариантов рациональнее, решается на основании экономического сравнения с учетом наличия дренажных труб.

Для расчета толщины дренирующего слоя в месте перелома продольного профиля определяем максимальное скопление воды за счет продольного притока до начала работы дренажных устройств в нижней части вертикальной кривой, где продольный уклон изменяется с i1 = 0,02 до i2 = 0,01.

Количество скапливающейся здесь воды находим с помощью номограммы рис. 19 и формулы (15).

Предварительно вычисляем отношения  (горизонтальная ось на номограмме) и  (лучи на номограмме).

При этих значениях и tзап = 6 суткам (кривая на номограмме) находим, что h = 3, откуда по формуле (15):

Q1вог = 2 × 0,029 × 3 = 0,17 м3,

а по формуле (13):

Qвог = 6 × 0,029 + 0,17 = 0,34 м3.

Необходимую толщину дренирующего слоя для временного размещения воды определяем по формуле (16):

Величина jзим = 0,5 принята по табл. 6.

Аналогичный расчет, произведенный для участка, где уклон меняется с 0,03 до 0,02, показывает, что толщина дренирующего слоя здесь должна составлять 0,27 м.

На основании сделанных расчетов можно заключить, что в пределах вертикальной кривой, где продольный уклон постепенно изменяется от 0,05 до 0,01, толщина дренирующего слоя должна составлять от 0,23 м в начале кривой до 0,36 м - в конце.

Вместо утолщения песчаного слоя здесь может быть устроен сплошной дренирующий слой из крупнопористого материала на всю ширину земляного полотна либо валики из щебеночного или гравийного материала с трубчатыми выпусками (см. рис. 10).

Устройство валиков из крупнопористого материала через 50 м целесообразно также на всем протяжении участка с затяжным уклоном для предотвращения случайных скоплений воды в отдельных местах из-за неравномерного оттаивания дренирующего слоя и возможной неоднородности дренирующего материала.

Приложение 1

ИНСТРУКЦИЯ
по определению пригодности материалов для устройства морозозащитных слоев*

Условия проведения испытаний

*) Инструкция составлена с использованием материалов Ю.М. Васильева.

Методика испытаний для определения степени пучения материалов, используемых для морозозащитных слоев, сводится к замораживанию образца такого материала и измерению деформации его морозного пучения в условиях, близких к условиям пучения грунтов земляного полотна автомобильных дорог.

Эти условия устанавливают исходя из следующих соображений.

1. Результаты наблюдений показали, что скорость промерзания земляного полотна автомобильных дорог колеблется от 1 - 1,5 см/сутки для II и III дорожно-климатических зон Европейской территории СССР до 1,5 - 2,5 см/сутки для Сибири, а также Северного Казахстана (IV зона). Для обеспечения таких скоростей промерзания в лаборатории испытания нужно вести при температурах воздуха в камере от -3 до -4 °С для Европейской территории СССР и от -5 до -6 °С для Сибири и Северного Казахстана. При этом более низкие температуры принимаются для районов с более суровым климатом.

Рис. 1. Коэффициент уменьшения морозного пучения в зависимости от толщины стабильного слоя

2. Влияние давления вышележащих слоев на вспучивание материала, в целях упрощения испытаний, можно ориентировочно учесть умножением величины относительного морозного пучения, полученной в результате этих испытаний, на коэффициент, определяемый по графику (рис. 1) в зависимости от мощности стабильного слоя (значения коэффициента усреднены для распространенных пучинистых грунтов).

3. Испытуемый материал уплотняется до 0,98 - 1 от стандартной плотности при оптимальной влажности в рассматриваемых условиях.

4. Грунты и материалы, предназначенные для устройства морозозащитных слоев в условиях третьего типа местности, испытывают при неограниченном подтоке влаги в зоне пучения.

Для участков в условиях второго типа местности испытания проводятся также при неограниченном подтоке воды, но за величину пучения в этом, случае принимают 0,6 от полученной в опыте величины.

5. Грунты, укрепленные добавками, образующими жесткие связи между частицами (цемент, известь и т.п.), нужно проверять, помимо вспучивания, также и на морозостойкость, т.е. на сохранение структуры в процессе повторных промораживаний.

Оборудование и методика испытаний

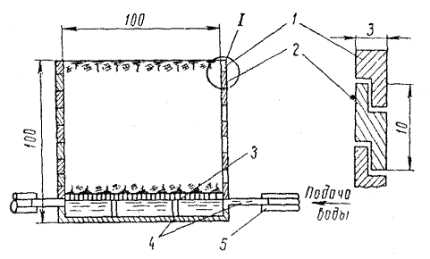
Испытания проводят в кольцевом разрезном стакане (рис. 2). Образец диаметром 100 и высотой 82 мм формуют в этом же стакане. Кольцевой разрезной стакан состоит из отдельных колец высотой 10 мм, которые с обеих сторон имеют выточки, заполняемые для герметизации солидолом. Выточки (3 мм) сделаны с допусками, позволяющими кольцам свободно перемещаться, вдоль вертикальной оси, что гарантирует беспрепятственное вспучивание образца при замерзании.

Рис. 2. Схема кольцевого стакана:

1 - верхнее кольцо; 2 - промежуточное кольцо; 3 - поддон (съемный, с отверстиями для пропуска воды); 4 - основание стакана; 5 - шланг, подводящий воду

Образец приготовляют так же, как при испытании по методу стандартного уплотнения. Количество ударов подбирают из условия, чтобы обеспечить получение плотности 0,98 - 1 от стандартной при оптимальной влажности. После уплотнения каждого слоя его поверхность разрыхляют на глубину 3 - 5 мм, чтобы разрушить образовавшуюся корку.

Уплотненный образец при комнатной температуре в течение 2 - 4 суток (нижний предел - для малосвязных, верхний - для связных грунтов) насыщают водой.

Для промораживания образцов желательно применять фреоновые холодильники. В процессе опыта заданная температура должна поддерживаться с точностью до ±0,3 °С.

Рис. 3. Схема холодильной установки:

1 - камера холодильника; 2 - кольцевые стаканы с грунтом; 3 - испаритель; 4 - ртутный контактный термометр ТК-6; 5 - шланг, подводящий воду; 6 - устройство для поддержания постоянного уровня воды; 7 - теплоизоляция (мипора); 8 - мессуры

Можно использовать для этих целей переоборудованные домашние холодильники небольшой емкости (≈ 0,15 м3), холодильный агрегат которых заменяют агрегатом холодильника ЗИЛ (с испарителем, собранным из четвертой части трубок конденсатора от агрегата ФАК-0,7). Ввиду недостаточной точности собственного терморегулятора холодильника вводят новую систему регулировки с применением ртутного контактного термометра ТК-6 (с передвижным контактом для установки на нужную температуру) и реле переменного тока МКУ-48. К двум контактам реле подключают ртутный контактный термометр ТК-6. Другие два контакта включают последовательно в электрическую цепь агрегата холодильника ЗИЛ, разрывая ее между собственным терморегулятором холодильника и электродвигателем.

После очередной автоматической остановки холодильника температура в его камере постепенно повышается, ртуть контактного термометра замыкает цепь управления, включая электродвигатель.

В камеру холодильника (рис. 3) устанавливают кольцевые стаканы с испытуемым грунтом. Испаритель, расположенный в верхней части рабочей камеры, обеспечивает получение нужных отрицательных температур.

Ртутный контактный термометр ТК-6, являющийся терморегулятором, через реле МКУ-48 управляет работой компрессора.

К образцам воду подают при помощи шлангов и устройства, позволяющего поддерживать постоянный уровень ее. Стеклянная трубка, выходящая из колбы, должна быть скошена, чтобы обеспечить плавное поступление воды в питающую систему. Установленные в холодильник кольцевые стаканы с испытуемым грунтом засыпают до верхнего уровня изоляционным материалом (опилки или мипора) для того, чтобы промораживание грунта происходило только сверху вниз. Нужно следить за тем, чтобы изоляция не подмачивалась, иначе это отразится на точности эксперимента.

Величина деформации морозного пучения измеряется с помощью индикаторов (мессур). Опыт продолжается до полного промерзания образца, которое для условий Европейской части занимает примерно 5 суток, для условий Сибири и Северного Казахстана - 4 суток. К этому времени показания мессур уже не изменяются, что указывает на окончание процесса промерзания. Степень пучения определяется на основании показаний мессур по формуле:

где Кпуч - коэффициент пучения грунта, %;

Dh - величина пучения;

h - высота промороженного образца.

Вычисленный по формуле Кпуч умножают, как указывалось, на коэффициент уменьшения пучения, полученный по графику 1, при запроектированной толщине морозозащитного слоя.

Материалы, для которых вспучивание при промерзании не превышает 1 %, можно считать практически не изменяющими объема в дорожной конструкции. Изменение объема сверх 1 % следует учитывать при проектировании мероприятий по морозозащите (см. пп. 19 и 22 «Методических указаний»).

Испытания на морозостойкость грунтов, укрепленных неорганическими добавками, производят общепринятым методом (см. пункт 47 «Рекомендаций по укреплению грунтов цементом при строительстве дорожных и аэродромных оснований и покрытий», СоюздорНИИ, М., 1964).

Приложение 2

МАКСИМАЛЬНОЕ КОЛИЧЕСТВО ОСАДКОВ В ВЕСЕННИЕ МЕСЯЦЫ ДЛЯ ОСНОВНЫХ ГОРОДОВ СССР, мм

Города

Март

Апрель

Май

Повторяемость осадков 1 раз в

20 лет

10 лет

20 лет

10 лет

20 лет

10 лет

Ленинград..........................................

58

-

71

-

133

-

Кострома...........................................

66

58

73

63

89

79

Киров..................................................

-

-

61

57

122

103

Великие Луки....................................

60

49

62

56

107

96

Москва...............................................

79

68

93

79

103

98

Иваново..............................................

-

-

81

71

88

82

Горький..............................................

-

-

65

-

82

-

Козьмодемьянск..............................

-

-

66

56

94

81

Семенов.............................................

55

51

86

75

118

94

Рязань.................................................

-

-

62

56

90

80

Орел....................................................

58

54

80

68

132

109

Воронеж.............................................

57

53

74

65

98

84

Курск..................................................

67

61

93

78

112

102

Белгород............................................

-

-

92

84

117

104

СОДЕРЖАНИЕ

I. Общие положения. 2

II. Конструкции. 3

III. Материалы.. 7

IV. Расчет конструкций на морозоустойчивость и осушение. 9

V. Рекомендации по проектированию дорожной одежды и земляного полотна с учетом обеспечения морозоустойчивости и осушения. 25

VI. Примеры проектирования. 27

Приложение 1. Инструкция по определению пригодности материалов для устройства морозозащитных слоев. 31

Приложение 2. Максимальное количество осадков в весенние месяцы для основных городов СССР, мм.. 35

 




Яндекс цитирования



   Copyright © 2007-2026,  www.tehlit.ru.

[ ѓосты, стандарты, нормативы, инструкции, правила, строительные нормы ]