//
ТехЛит.ру
- крупнейшая бесплатная электронная интернет библиотека для "технически умных" людей.
WWW.TEHLIT.RU - ТЕХНИЧЕСКАЯ ЛИТЕРАТУРА

:: Алготрейдинг::


АЛГОТРЕЙДИНГ
шаг за шагом
с нуля по урокам!

Торговые роботы на PYTHON, BackTrader,
Pandas, Pine Script для TradingView. Связка с брокерами, телеграм и легкими приложениями.


ОТКРЫТОЕ АКЦИОНЕРНОЕ ОБЩЕСТВО

ПРОЕКТНО-КОНСТРУКТОРСКИЙ И ТЕХНОЛОГИЧЕСКИЙ
ИНСТИТУТ
ПРОМЫШЛЕННОГО СТРОИТЕЛЬСТВА
ОАО ПКТИПРОМСТРОЙ

УТВЕРЖДАЮ

ГЕНЕРАЛЬНЫЙ ДИРЕКТОР, К.Т.Н.

______________ С.Ю. ЕДЛИЧКА

«_18_» ________10_______ 2002 Г.

ТЕХНОЛОГИЧЕСКАЯ КАРТА
НА ОБЛИЦОВКУ КИРПИЧОМ ВЕНТИЛИРУЕМЫХ
ФАСАДОВ ИЗ СБОРНЫХ ЖЕЛЕЗОБЕТОННЫХ ПЛИТ
С ПРОКЛАДКОЙ УТЕПЛИТЕЛЯ

28-02 ТК

ГЛАВНЫЙ ИНЖЕНЕР

_______________ А.В. КОЛОБОВ

НАЧАЛЬНИК ЛАБОРАТОРИИ

_______________ Б.И. БЫЧКОВСКИЙ

2002

«Технологическая карта на облицовку кирпичом вентилируемых фасадов с прокладкой утеплителя» разработана для жилых домов из сборных железобетонных конструкций и содержит решения по организации и производству облицовочных работ в процессе монтажа строительных конструкций с целью обеспечения качества облицованных поверхностей, повышения тепловой защиты жилого дома, снижения материально-технических и трудовых затрат.

В технологической карте приведены область применения, организация и технология строительного процесса, требования к качеству и приемке выполняемых работ, требования техники безопасности и охраны труда, экологической и пожарной безопасности, потребность в материально-технических ресурсах, технико-экономические показатели.

Технологическая карта предназначена для инженерно-технических работников, бригадиров и рабочего персонала строительных организаций, занятых подготовкой и проведением работ по облицовке сборных железобетонных стен жилых домов с вентилируемым фасадом с прокладкой утеплителя, а также выполнением производственного контроля качества облицовочных работ.

Технологическая карта разработана сотрудниками ОАО ПКТИпромстрой.

Покровская Е.В. - разработка, компьютерная графика и обработка карты;

Бычковский Б.И. - общее техническое руководство, корректура и нормоконтроль;

Холопов В.Н. - техническое руководство разработки;

к.т.н. Едличка С.Ю. - общее руководство разработкой технологических карт.

Технологическая карта не заменяет ППР. (см. СНиП 3.01.01-85*)

СОДЕРЖАНИЕ

1 Область применения

1.1 Технологическая карта разработана на облицовку кирпичом вентилируемых фасадов с прокладкой утеплителя. В качестве ограждающих конструкций приняты стены из сборных железобетонных плит.

1.2 Карта предназначена для производства наружных облицовочных работ с применением кирпичей и теплоизоляционного материала в виде пенополистирольных плит, образующих промежуточный утепленный слой между облицовкой и стеной из сборных железобетонных конструкций. Конструкция принятой в технологической карте стены жилого дома с утепляющим слоем представлена на рисунках 1 и 2.

1.3 Карта разработана с учетом требований СНиП 3.01.01-85*, СНиП 3.03.01-87, ГОСТ 379-95, ГОСТ 7484-78, ГОСТ 15588-86, ГОСТ 28013-98 и в соответствии с «Руководством по разработке технологических карт в строительстве» (ЦНИИОМТП, М., 1998).

1.4 Организация и производство работ, предусмотренных настоящей технологической картой, должны осуществляться с соблюдением требований техники безопасности согласно СНиП 12-03-2001 и СНиП III-4-80*.

1.5 Привязка технологической карты к конкретным объектам и местным условиям производства работ состоит в уточнении объемов работ, данных потребности в трудовых и материально-технических ресурсах и корректировке календарного плана производства работ.

2 Организация и технология строительного процесса

2.1 Технология производства облицовочных работ основана на применении следующих строительных материалов и изделий:

- кирпич, соответствующий ГОСТ 379-95 и ГОСТ 7484-78, технические характеристики, которых приведены в таблице 1;

- плиты теплоизоляционные из пенополистирола марки 25, 35 и 50 по ГОСТ 15588-86;

- растворы строительные по ГОСТ 28013-98;

- монтажные связи (анкера) длиной, установленной проектной организацией, из проволоки диаметром 4 мм из стали Вр I по ГОСТ 6727-80* или арматурной стали (анкера: Ø 10 АI по ГОСТ 10922-90).

Рисунок 1 - Вариант конструктивного решения стенового ограждения жилого дома с прокладкой утеплителя и облицовкой кирпичом в простенках

Рисунок 2 - Вариант конструктивного решения стенового ограждения жилого дома с прокладкой утеплителя и облицовкой кирпичом в местах примыкания плит перекрытия

Таблица 1 - Технические характеристики кирпича

Наименование

Размеры, мм

Марка

Марка по морозостойкости

Плотность, кг/м3

длина

ширина

толщина

Кирпич керамический

250

120

65

300, 250, 200, 150, 125, 100, 75

Мрз 25, Мрз 35, Мрз 50

 

Кирпич силикатный одинарный

250

120

65

75, 100, 125, 150, 175, 200, 250, 300

F15, F25, F35, F50

До 1500 - пористый, свыше 1500 - плотный

Примечание - По согласованию с потребителем допускается использование силикатного утолщенного кирпича размерами 250´120´88 мм.

2.3 До начала работ по облицовке стен вентилируемых фасадов должны быть доставлены на стройплощадку и подготовлены к работе навесные площадки, необходимые приспособления, инвентарь и материалы, очищена рабочая зона от мусора и обеспечен свободный доступ к рабочим местам, а также должен быть закончен монтаж плит перекрытий одного этажа захватки, причем монтажные работы над зоной производства облицовочных работ не должны производиться.

2.4 Доставку кирпича на объект осуществлять в специально оборудованных бортовых машинах в соответствии с правилами перевозок грузов и требованиями документации по погрузке и креплению грузов на поддонах вместимостью по 200 шт., соответствующих ГОСТ 18343-80. Для транспортировки силикатного кирпича используют устройство для пакетной перевозки согласно ГОСТ 23421-79. Раствор на объект доставлять авторастворовозом СБ-89 или растворосмесителями типа СБ-69, СБ-92 и др. с выгрузкой в установку для перемешивания и выдачи раствора УБ-342 или МС-353 (или СО-126).

2.5 Разгрузку кирпича с автомашин и подачу на склад осуществляют в пакетах на поддонах, а к рабочему месту - монтажным краном после монтажа плит перекрытия соответствующего этажа. Кирпич с перекрытия на навесную площадку подается вручную по мере надобности. Раствор на рабочее место подают инвентарным раздаточным бункером объемом 1 м3 с перегрузкой в металлические ящики объемом 0,35 м с заполнением их раствором по 0,25 м3.

2.6 Пенополистирольные плиты поставляют упакованными в транспортные пакеты высотой 0,9 м. При толщине плит пенополистирольных 150 мм транспортные пакеты формируют из 6 плит, при назначении плит других толщин пакеты формируют согласно указаниям проекта. На боковой грани плиты или пакета наносится штамп ОТК предприятия-изготовителя, тип и марка плиты.

2.7 Плиты в пакетах транспортируют всеми видами транспорта в крытых транспортных средствах в соответствии с правилами перевозки грузов. Хранение плит осуществляется в крытых складах, а на стройплощадке допускается хранение под навесом на подкладках, защищающим плиты от воздействия атмосферных осадков и солнечных лучей. Высота штабеля не должна превышать 3 м.

На перекрытия плиты подаются в контейнерах монтажным краном, а к месту работы - вручную.

2.8 По мере окончания материала на перекрытии по требованию каменщиков краном подается новая партия кирпича, раствора, утеплителя и крепежных элементов, при этом должны строго соблюдаться требования техники безопасности. Расстроповку груза могут производить каменщики, прошедшие обучение и имеющие удостоверения такелажников (стропальщиков).

2.9 Поверхности, подлежащие облицовке, не должны иметь отклонений, превышающих допуски, установленные ГОСТ 11024-84* и ГОСТ 13015.0-83*. Стены, подлежащие облицовке, должны иметь:

- прочность бетона в конструкции, соответствующую проектной;

- влажность бетона не более 4 %;

- анкера или другие крепежные элементы, устанавливаемые при изготовлении стеновых панелей здания согласно проекту.

2.10 К бетонным поверхностям стен, подлежащих облицовке, предъявляются следующие требования:

- поверхности стен должны быть очищены от наплывов бетона, цоколь и опорные балки от строительного мусора;

- неровности и перепады более 1 см должны быть устранены, а трещины разделаны и затерты цементно-песчаным раствором;

- допускаемые отклонения поверхности стен при проверке двухметровой рейкой должны находиться в пределах ± 5 мм;

- анкера для крепления монтажных связей должны выступать над плоскостью наружной стены на 30 мм, если нет других указаний в проекте.

2.11 Шаг анкеров по высоте и ширине облицовываемой поверхности стены устанавливает проектная организация. Варианты расстановки анкеров в стеновых панелях различной конфигурации представлены на рисунке 3.

Рисунок 3 - Варианты расстановки анкеров в стеновых панелях

2.12 Облицовка стен из сборных железобетонных плит облицовочным кирпичом состоит из следующих операций:

- укладка кирпича вертикальных рядов между анкерами;

- протяжка монтажной связи сквозь анкера;

- установка теплоизоляционной плиты на место с ее закреплением враспор после кладки 4 - 5 рядов кирпича;

- укладка монтажной связи в стык кладки вертикальных рядов и облицовочного ряда;

- кладка наружных стен из облицовочного кирпича толщиной 120 мм с организацией зазора в 30 мм;

- установка заранее изготовленных фиксаторов размером 30´50 мм из пенополистирола.

2.13 Окончательная установка теплоизоляционных плит производится после их подготовки к конкретному месту установки. Плиты устанавливаются между вертикальными рядами кирпичной кладки. Крепление плит осуществляется с помощью фиксаторов из пенополистирола в соответствии с проектом. Пример раскладки теплоизоляционных пенополистирольных плит, ширина которых согласно проекту принята равной шагу между уложенными вертикальными рядами кирпичей, показан на рисунке 4. Оптимальной длиной плит утеплителя при работе с ними на навесных площадках можно принять размер в 1,0 ÷ 1,3 м.

Рисунок 4 - Примеры раскладки теплоизоляционных пенополистирольных плит

2.14 В процессе производства работ в период выпадения атмосферных осадков и при перерывах в работе следует принимать меры по защите утеплителя от намокания.

2.15 Отклонения теплоизоляционного слоя от проектных размеров должно быть не более:

- по толщине от +10 % до минус 5 %;

- по объемному весу минус 5 %.

2.16 Кирпичную кладку облицовки устраивают в следующей технологической последовательности:

- подготовка рабочих мест каменщиков;

- кирпичная кладка облицовки и вертикальных рядов кладки с укладкой монтажных связей и расшивкой швов. В промежутке производится установка плит утеплителя.

Процесс кирпичной кладки состоит из следующих операций:

- установка и перестановка причалки;

- подача кирпичей и раскладка их на стене;

- перелопачивание, подача, растирание и разравнивание раствора на стене;

- укладка монтажных связей по облицовочному ряду;

- укладка кирпичей в конструкцию;

- расшивка швов;

- проверка правильности выложенной кладки;

- установка фиксаторов из пенополистирола враспор.

Кирпичная кладка облицовки выполняется из цельного кирпича с перевязкой швов в 1/2 кирпича по длине рядов. В отдельных местах для обеспечения перевязки устанавливается кирпич других размеров согласно проекту. Варианты принятых в рабочих чертежах кладочных планов простенков представлены на рисунке 5.

Рисунок 5 - Варианты кладочных планов простенков

При устройстве облицовки навесные площадки в зависимости от ее грузоподъемности загружаются кирпичом, а ящик-контейнер - раствором.

2.17 Отделка участка и всей поверхности интерьера и фасада облицовочными изделиями разного цвета, фактуры, текстуры и размеров должна производиться с подбором всего рисунка поля облицовки в соответствии с проектом.

2.18 Кладку облицовки ведет звено «двойка», состоящее из каменщиков 5 и 3 разрядов. Звено должно быть закреплено за выделенной ему делянкой на весь период кладки облицовки. Кладка ведется с наружной стороны стены с навесных площадок и балконов.

До начала кладки облицовки устанавливают и закрепляют угловые и промежуточные порядовки. Их выполняют по отвесу и нивелиру. Засечки для каждого ряда на всех порядовках должны быть в одной горизонтальной плоскости.

Порядовки устанавливаются на углах, в местах пересечения и примыкания стен, а также на прямых участках стен - на расстоянии 10 - 15 м одна от другой. Закрепив и выверив порядовки на углах стен, выкладывают маяки в виде убежной штрабы. При укладке наружной стенки облицовки верхний причальный шнур устанавливают для каждого ряда, натягивая его на уровне верха укладываемых кирпичей с отступом от вертикальной плоскости кладки на 1 - 2 мм.

Каменщик 5 разряда (К-1) закрепляет и натягивает причальный шнур. Закончив кладку очередного ряда облицовки, каменщик 5 разряда (К-1) ослабляет на порядовке фиксатор натяжения причального шнура. Затем, одной рукой поднимая хомутик, а другой, поддерживая порядовку, устанавливает хомутик на риске следующего ряда и закрепляет его винтом. Натянув шнур, проверяет его горизонтальность.

Каменщик 3 разряда (К-2) раскладывает кирпичи вплотную один к другому, на расстоянии трех кирпичей от начала кладки, оставляя место для расстилки раствора. Так укладывает 6 кирпичей, после чего расстилает раствор. Перед подачей раствора каменщик 3 разряда (К-2) перелопачивает его в ящике до получения однородной массы. Затем лопатой подает раствор на стену, и, поставив лопату наклонно на боковую грань, расстилает его грядкой шириной около 10 см, толщиной 2 - 2,5 см и длиной 75 см. После того как каменщик 5 разряда уложит три кирпича, каменщик 3 разряда укладывает раствор еще под три кирпича.

Каменщик 5 разряда (К-1) ведет кладку «вприжим». Сначала кельмой разравнивает раствор под три кирпича; затем, держа кирпич левой рукой в наклонном положении, тычковой гранью загребает часть разостланного раствора и двигает его к ранее уложенному кирпичу, создавая полный вертикальный шов. После этого выравнивает кирпич заподлицо с поверхностью стены, легкими ударами ручки кельмы осаживая кирпич до уровня причального шнура с тем, чтобы зазор между шнуром и кирпичом не превышал 1 - 2 мм. Выжатый на лицевую поверхность стены раствор подрезает кельмой и забрасывает в вертикальный шов кладки. Затем укладывает еще три кирпича на этом же участке.

Установка монтажных связей и расшивка швов осуществляется каменщиком 3 разряда (К-2) одновременно с кладкой, причем сначала расшиваются горизонтальные швы, а затем вертикальные. Операция расшивки швов выполняется в два приема: сначала широкой частью расшивки, а затем более узкой после затирки поверхности шва ветошью.

Приемы труда по комплексу работ, связанных с облицовкой вентилируемых сборных железобетонных стен с установкой плит утеплителя, представлены схематично на рисунке 6.

1 Установка пенополистирольных плит

2 Протяжка монтажной связи сквозь анкер

3 Установка порядовки

4 Раскладка кирпича

5 Кладка кирпича

6 Расшивка швов

Рисунок 6 - Приемы труда

2.20 Для улучшения качества кладки угловой части фасада здания рекомендуется применять шаблоны из досок, оструганных с наружной и отфугованных с внутренней рабочей стороны.

2.21 При кладке облицовочного кирпича особое внимание уделяется полноте заполнения швов раствором, правильности положения каждого кирпича, вертикальности кладки в целом. Толщина горизонтальных швов кладки должна составлять 12 мм, вертикальных - 10 мм. Толщина швов, в которую укладываются усы монтажных связей, должна превышать диаметр проволоки (или сумму диаметров пересекающихся стержней) не менее чем на 4 мм при толщине шва не более 16 мм.

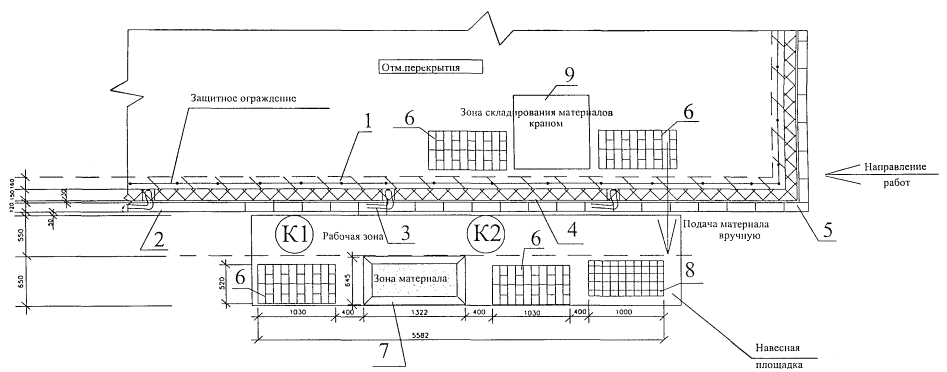
2.22 Организация рабочих мест каменщиков при укладке монтажной связи, установке теплоизоляционных плит и кирпичной кладке облицовки должна соответствовать рекомендуемой ниже схеме по рисунку 7.


Условные обозначения:

1 - существующая железобетонная стена;

2 - выступающая часть анкеров;

3 - установленная монтажная связь;

4 - установленные теплоизоляционные плиты;

5 - укладываемая кирпичная облицовка;

6 - поддоны с облицовочным кирпичом;

7 - ящик с раствором;

8 - ящик с фиксаторами и монтажными связями;

9 - место складирования утеплителя;

 - рабочие места каменщиков.

Рисунок 7 - Схема организации рабочего места


2.23 После окончания облицовочных работ на первой захватке каменщики переходят на вторую захватку, законченную монтажом стеновых панелей и плит перекрытия вышерасположенного этажа.

2.24 При производстве работ в зимних условиях следует руководствоваться следующими указаниями:

2.24.1 Кладку облицовочного кирпича рекомендуется выполнять на цементных, цементно-известковых и цементно-глинистых растворах. Состав строительного раствора заданной марки для зимних работ, подвижность и сроки сохранения подвижности устанавливает проектная организация и контролирует предварительно строительная лаборатория.

Возведение облицовки следует выполнять равномерно по всей захватке, не допуская разрывов по высоте более чем на 1/2 этажа. При кладке глухих участков и углов разрывы допускаются высотой не более 1/2 этажа и выполняются штрабой.

Не допускается при перерывах в работе укладывать раствор на верхний ряд кладки. Для предохранения от обледенения и заноса снегом на время перерыва в работе верх кладки следует накрывать.

2.24.2 Кладку облицовки из кирпича в зимних условиях допускается возводить:

- с противоморозными добавками на растворах не ниже марки М50;

- на обыкновенных (без противоморозных добавок) растворах с последующим своевременным упрочнением кладки прогревом;

- способом замораживания на обыкновенных (без противоморозных добавок) растворах не ниже марки 10 при условии обеспечения достаточной несущей способности конструкций в период оттаивания (при нулевой прочности раствора).

2.24.3 Применение растворов с противоморозными добавками должно быть согласовано с проектной организацией.

Кладку на растворах с химическими добавками ведут на открытом воздухе так же, как и кладку способом замораживания на обычных подогретых растворах, но с обязательным соблюдением требований специальных инструкций.

Растворная смесь с химическими добавками в момент укладки должна иметь температуру не ниже 5 °С. Замерзший, а затем отогретый горячей водой раствор использовать запрещается.

2.24.4 Кладку способом прогрева конструкций необходимо выполнять с соблюдением следующих требований:

- утепленная часть сооружения должна оборудоваться вентиляцией, обеспечивающей влажность воздуха в период прогрева не более 70 %;

- нагружение прогретой кладки допускается только после контрольных испытаний и установления требуемой прочности раствора отогретой кладки;

- температура внутри прогреваемой части здания в наиболее охлажденных местах (у наружных стен на высоте 0,5 м от пола) должна быть не ниже 10 °С.

Глубина оттаивания кладки, продолжительность оттаивания, прочность растворов, твердеющих при различных температурах, принимается в соответствии со СНиП 3.03.01-87.

2.24.5 При кладке способом замораживания растворов (без противоморозных добавок) необходимо соблюдать следующие требования:

- выполнять работы следует одновременно по всей захватке;

- во избежание замерзания раствора его следует укладывать не более чем на два смежных кирпича при выполнении версты;

- на рабочем месте каменщика допускается запас раствора не более чем на 30 - 40 мин. Ящик для раствора необходимо утеплять или подогревать. Использование замерзшего или отогретого горячей водой раствора не допускается.

При устройстве кладки способом замораживания следует учитывать величину осадки кладки во время оттепели.

Температура раствора в момент его укладки должна соответствовать показателям, приведенным в таблице 2.

Таблица 2 - Температура раствора в момент его использования

Среднесуточная температура наружного воздуха

Положительная температура раствора, °С, на рабочем месте для кладки стен из кирпича при скорости ветра, м/с

до 6

свыше 6

До минус 10

5

10

От минус 11 до минус 20

10

15

Ниже минус 20

15

20

2.25 Окончательный выбор варианта производства работ в зимних условиях с использованием химических добавок, прогрева или замораживания кладки осуществляет исполнитель работ в рабочем порядке при согласовании с проектной организацией.

3 Требования к качеству и приемке работ

3.1 Работы по устройству облицовки здания кирпичом должны производиться только при наличии полного комплекта документации, утвержденной в установленном порядке.

3.2 Контроль качества облицовочных работ должен осуществляться специальными службами строительных организаций.

3.3 Производственный контроль качества должен включать входной контроль рабочей документации, кирпича лицевого, цементно-песчаного раствора, теплоизоляционных материалов, анкеров и монтажных связей, предназначенных для устройства облицовки фасада кирпичом с одновременным утеплением наружных стен из сборных железобетонных плит, операционный контроль технологических процессов и приемочный контроль облицованной поверхности вентилируемых фасадов жилого дома.

3.4 При входном контроле рабочей документации проводится проверка ее комплектности и достаточности содержащейся в ней технической информации для производства облицовочных работ. При входном контроле кирпича, цементно-песчаного раствора, плитных теплоизоляционных материалов, монтажных связей и анкеров проверяется соответствие этих изделий стандартам, наличие сертификатов соответствия, гигиенических и пожарных документов, паспортов и других сопроводительных документов.

3.5 Каждая партия поставляемых на стройплощадку строительных материалов должна соответствовать следующим требованиям:

- кирпич лицевой:

а) отбитости и притупленности углов и ребер, шероховатости, трещины и другие повреждения на лицевых поверхностях не допускаются;

б) на лицевой поверхности не должно быть отколов, пятен, выцветов и других дефектов, видимых на расстоянии 10 м на открытой площадке при дневном освещении;

в) цвет, рисунок рельефа и другие показатели внешнего вида лицевой поверхности изделий должны соответствовать утвержденному в установленном порядке образцу-эталону;

г) наличие глины, песка, извести и посторонних включений размером свыше 5 мм на лицевой поверхности не допускаются, в изломе допускается в количестве не более 3;

д) допускаемые отклонения от номинальных размеров и показателей внешнего вида лицевой поверхности кирпича не должны превышать на одном изделии величин, указанных в таблице 3;

Таблица 3 - Допускаемые отклонения для кирпичей

Наименование показателей

Отклонения для кирпичей

керамического лицевого

силикатного

Отклонения от размеров, мм, не более: - по длине

± 4

± 2

- по ширине

± 3

± 2

- по толщине

+3

± 2

-2

Неперпендикулярность граней и ребер кирпича и камня, отнесенная к длине 120 мм, мм, не более

2

-

Непараллельность граней, мм, не более

-

+2

Непрямолинейность лицевых поверхностей и ребер, мм, не более:

 

 

- по ложку

3

-

- по тычку

2

-

Отбитость углов глубиной от 10 до 15 мм, шт.

-

3

Отбитости, притупленности ребер глубиной от 5 до 10 мм, шт.

1

3

Шероховатости или срыв грани глубиной, мм

-

5

Трещины на всю толщину изделия протяженностью по постели до 40 мм, шт.

-

1

Отдельные посечки шириной не более 0,5 и длиной до 40 мм на 1 дм2 лицевой поверхности, шт., не более

2

-

- цементно-песчаные растворы:

а) подвижность цементно-песчаного раствора должна соответствовать глубине погружения стандартного конуса, равной 6 - 8 см;

б) марка цементно-песчаного раствора М-100;

- плиты пенополистирольные, используемые в качестве теплоизоляционных материалов:

а) номинальные размеры плит должны быть:

по длине - от 900 до 5000 мм с интервалом через 50 мм;

по ширине - от 500 до 1300 мм с интервалом через 50 мм;

по толщине - от 20 до 500 мм с интервалом через 10 мм.

Предельные отклонения плит пенополистирольных от номинальных размеров, контролируемых при входном контроле, не должны превышать данных таблицы 4.

Таблица 4 - Предельные отклонения размеров плит пенополистирольных

Наименование показателей

Предельные отклонения

По длине:

 

для плит длиной до 1000 мм включительно

± 5

для плит длиной свыше 1000 до 2000 мм включительно

± 7,5

для плит длиной свыше 2000 мм

± 10

По ширине:

 

для плит шириной до 1000 мм включительно

± 5

для плит шириной свыше 1000 мм

± 7,5

По толщине:

 

для плит толщиной до 50 мм

± 2

для плит толщиной свыше 50 мм

± 3

Разность диагоналей не более, мм:

 

для плит длиной до 1000 мм

5

для плит длиной свыше 1000 до 2000 мм

7

для плит длиной свыше 2000 мм

13

б) отклонение от плоскостности грани плиты не должно превышать 3 мм на 500 мм длины грани;

в) плотность теплоизоляционных плит из пенопласта полистирольного должна соответствовать проекту;

г) показатели физико-механических свойств, по которым проверяют качество плит, должны соответствовать нормам, указанным в таблице 5.

Таблица 5 - Физико-механические свойства плит пенополистирольных

Наименование показателей

Норма для плит марок

высшей категории качества

первой категории качества

15

25

35

50

15

25

35

50

Плотность, кг/м3

До 15,0

От 15,1

От 25,1

От 35,1

До 15,0

От 15,1

От 25,1

От 35,1

до 25,0

до 35,0

до 50,0

до 25,0

до 35,0

до 50,0

Прочность на сжатие при 10 % линейной деформации, МПа, не менее

0,05

0,10

0,16

0,20

0,04

0,08

0,14

0,16

Предел прочности при изгибе, МПа, не менее

0,07

0,18

0,25

0,35

0,06

0,16

0,20

0,30

Теплопроводность в сухом состоянии при (25 ± 5) °С, Вт/(м*К), не более

0,042

0,039

0,037

0,040

0,043

0,041

0,038

0,041

Время самостоятельного горения плит типа ПСБ-С, с, не более

4

4

Влажность плит, отгружаемых потребителю, %, не более

12

12

Водопоглощение за 24 ч, % по объему, не более

3,0

2,0

2,0

1,8

4,0

3,0

2,0

2,0

Каждую партию плит сопровождают документом о качестве согласно ГОСТ 15588-86, в котором указывают:

- наименование предприятия-изготовителя или его товарный знак;

- дату изготовления;

- наименование продукции и номер партии;

- марку и тип плит;

- количество плит в партии и в каждом пакете;

- обозначение стандарта;

- штамп ОТК;

- результаты испытаний;

- изображение государственного Знака качества для продукции, которой он присвоен.

При проведении входного контроля необходимо убедиться в наличии актов на скрытые работы для подготовки работ под облицовку.

3.6 Операционный контроль осуществляется в ходе выполнения технологических операций по устройству теплоизоляционного слоя и кирпичной кладки облицовки для обеспечения своевременного выявления дефектов и принятия мер по их устранению и предупреждению.

При операционном контроле качества проверяется соблюдение технологий выполнения работ, соответствие выполнения работ рабочим чертежам, строительным нормам, правилам, стандартам. Основным документом при операционном контроле является СНиП 3.03.01-87, который устанавливает требования, соблюдаемые при производстве облицовочных работ и указанные в таблице 6.

Таблица 6 - Требования к производству облицовочных работ

Технические требования

Предельные отклонения, мм

Контроль (метод, объем, вид регистрации)

Допускаемые несовпадения профиля на стыках архитектурных деталей и швов, мм:

-

Измерительный, не менее 5 измерений на 50 - 100 м2 поверхности или на отдельном участке меньшей площади в местах, выявленных сплошным визуальным осмотром, журнал работ.

керамическими, стеклокерамическими и другими изделиями в наружной облицовке - до 4

Неровности плоскости (при контроле двухметровой рейкой), мм:

-

керамическими, стеклокерамическими и другими изделиями в наружной облицовке - до 3

Отклонения ширины шва облицовки керамическими, стеклокерамическими и другими изделиями (внутренней и наружной облицовке)

± 0,5

Облицованная поверхность отклонения от вертикали (мм на 1 м длины):

Не более 5 на этаж

Измерительный, не менее 5 измерений на 50 - 70 м2 поверхности.

керамическими, стеклокерамическими и другими изделиями в наружной облицовке - 2

Отклонения расположения швов от вертикали и горизонтали (мм на 1 м длины) в облицовке, мм:

-

керамическими, стеклокерамическими и другими изделиями в наружной облицовке - до 2

Результаты операционного контроля фиксируются в журнале производства работ.

3.7 При приемочном контроле производится проверка качества выполненных работ с составлением актов освидетельствования скрытых работ (установка монтажных связей и устройство теплоизоляции).

3.8 Состав и содержание операций производственного контроля качества работ приведены в таблице 7.

Таблица 7 - Перечень технологических процессов, подлежащих контролю

№ п/п

Наименование технологических процессов, подлежащих контролю

Предмет контроля

Способ контроля

Время проведения контроля

Ответственный за контроль

Технологические характеристики оценки качества

1

2

3

4

5

6

7

1

Установка монтажных связей

Диаметр проволоки

Измерительный. Штангенциркуль, журнал работ

В процессе производства работ

Мастер, прораб

Диаметр проволоки 4 мм

2

Установка теплоизоляционных плит с креплением их фиксаторами

Толщина теплоизоляционного слоя, наличие фиксаторов

Измерительный. Линейка Л-150 по ГОСТ 427-75*, журнал работ

В процессе производства работ

Мастер, прораб

Толщина устанавливается проектом: отклонения по толщине от +10 % до минус 5 %

Установка монтажных связей и заделка кирпичом

Визуальный. Журнал работ

В процессе производства работ

Мастер, прораб

Места установки и их количество устанавливается проектом

3

Кирпичная кладка облицовки

Отклонения толщины швов

Измерительный. Линейка Л-150 по ГОСТ 427-75*. Горизонтальный.

В процессе производства работ

Мастер, прораб

 

 

 

-2; +3 мм

Вертикальный, журнал работ

-2; +2 мм

Отклонение поверхности и углов кладки: на один этаж;

Измерительный. Геодезическая исполнительная схема

В процессе производства работ

Мастер, прораб

 

 

 

10 мм

на здание более двух этажей

 

30 мм

Отклонение рядов кладки от горизонтали на 10 м длины

Измерительный. Геодезическая исполнительная схема

В процессе производства работ

Мастер, прораб

15 мм

Неровности вертикальной поверхности кладки при накладывании рейки длиной 2 м

Технический осмотр, журнал работ

В процессе производства работ

Мастер, прораб

10 мм

Правильность перевязки швов, их толщина и заполнение

Технический осмотр, измерительный, журнал работ

В процессе производства работ

Мастер, прораб

Сплошной

Внешний вид облицованной поверхности

Визуальный, журнал работ

После окончания работ по устройству облицовки

Мастер, прораб

Сплошной

4 Требования техники безопасности и охраны труда, экологической и пожарной безопасности

4.1 При выполнении работ по облицовке вентилируемых фасадов зданий из сборных железобетонных конструкций кирпичом с укладкой утеплителя необходимо соблюдать требования, изложенные в СНиП 12-03-2001 и СНиП III-4-80*.

Все рабочие, занятые на этих работах, должны пройти вводный инструктаж и инструктаж по технике безопасности на рабочем месте согласно ГОСТ 12.0.004-90, при работе с механизмами, инструментами, материалами, а также должны быть обучены безопасным методам и приемам работ с применением навесных площадок согласно требованиям инструкций завода-изготовителя и инструкции по охране труда.

4.2 Участки работ и рабочие места должны быть обеспечены необходимыми средствами коллективной и индивидуальной защиты работающих (строительные каски, предохранительные пояса, очки, рукавицы и т.д.), первичными средствами пожаротушения, а также средствами связи, сигнализации и другими техническими средствами обеспечения безопасных условий труда.

4.3 Укладка кирпича на поддоне должна производиться «елочкой» или другим способом, обеспечивающим устойчивость пакета в процессе транспортирования. Погрузка кирпича навалом (набрасыванием) и выгрузка его сбрасыванием запрещается.

Во время транспортирования и подачи кирпича к рабочему месту должны быть приняты меры, обеспечивающие их сохранность от механических повреждений и загрязнения.

4.4 Требуемое качество навесных площадок должно обеспечиваться строительными организациями путем осуществления комплекса технических и организационных мер в соответствии с требованиями ГОСТ 28347-89 и СНиП 3.01.01-85*.

4.5 Эксплуатация навесных площадок после их монтажа может быть допущена только после их испытания в течение 1 ч статической нагрузкой, превышающей нормативную на 20 %.

4.6 Допуск рабочих к выполнению работ с навесных площадок разрешается после осмотра прорабом или мастером совместно с бригадиром исправности несущих конструкций навесных площадок.

4.7 За состоянием всех конструкций площадок устанавливается систематическое наблюдение. Ежедневно после окончания работ навесные площадки очищаются от мусора. Состояние площадок ежедневно перед началом смены проверяется мастером и бригадиром.

4.8 В процессе эксплуатации навесных площадок должно производиться систематическое наблюдение за состоянием всех соединений, настилов и ограждений, а также навески и крепления навесных площадок. Во всех случаях обнаружения деформаций элементов площадок, нарушения устойчивости и других дефектов работа с навесных площадок должна быть прекращена до исправления и повторной их приемки.

4.9 Подъем и спуск людей производится по входящим в комплект площадки лестницам. В местах подъема людей на площадки должны быть размещены плакаты с указанием схемы размещения и величин допускаемых нагрузок, а также схемы эвакуации работников в случае возникновения аварийной ситуации.

4.10 В местах проходов в здание, расположенных в зоне производства облицовочных работ, необходимо устроить защитные козырьки и боковую сплошную обшивку для защиты рабочих от падения сверху различных предметов, причем защитный козырек должен выступать не менее чем на 2,0 м от стены здания и устанавливаться под углом 70 - 75° к вышерасположенной стене. Высота проходов должна быть не менее 1,8 м.

4.11 Перед перестановкой навесных площадок на другую захватку они должны быть освобождены от материалов и тары, а рабочие должны перейти на указанные прорабом или мастером места безопасности на перекрытии.

4.12 Весь строительный мусор должен удаляться в специально подготовленные контейнеры. Не допускается сбрасывать его без специальных устройств.

4.13 Рабочие, занятые на выполнении технологических операций по устройству облицовки с прокладкой утеплителя, должны быть обеспечены спецодеждой, спецобувью и другими средствами индивидуальной защиты.

4.14 Участки работ и подходы к ним в темное время суток должны быть освещены в соответствии с требованиями ГОСТ 12.1.046-85. Освещенность рабочих мест должна быть равномерной, без слепящего действия осветительных приспособлений на работающих. Производство работ в неосвещенных местах не допускается.

4.15 Рабочие места и проходы к ним, расположенные на перекрытиях, покрытиях на высоте более 1,3 м и на расстоянии менее 2 м от границы перепада по высоте, должны быть ограждены предохранительными или страховочными защитными ограждениями, а при расстоянии более 2 м - сигнальными ограждениями, соответствующими требованиям ГОСТ 12.4.059-89. При отсутствии ограждений рабочие должны иметь предохранительные пояса по ГОСТ Р 50849-96*, закрепляемые за указанные прорабом или мастером смонтированные конструкции или другие элементы, при этом должен быть оформлен наряд-допуск.

4.16 При производстве облицовочных работ необходимо руководствоваться требованиями «Правил пожарной безопасности в Российской Федерации» ППБ 01-93**.

4.17 При выполнении работ на высоте внизу, под местом работ, необходимо выделить опасные зоны. Выполнение работ по одной вертикали запрещены.

5 Потребность в материально-технических ресурсах

5.1 Потребность в машинах, механизмах и оборудовании определяется с учетом выполняемых работ и технических характеристик, приведенных в таблице 8.

Таблица 8 - Ведомость потребности машин, механизмов и оборудования

№ п/п

Наименование

Тип, марка, ГОСТ

Техническая характеристика

Назначение

Кол. на одно звено

1

Бортовой автомобиль

МАЗ-500А

Полезная нагрузка 8 т

Доставка кирпича

По потребности

2

Устройство для пакетной перевозки силикатного кирпича

ГОСТ 23421-79

 

Перевозка силикатного кирпича

По потребности

3

Бортовой автомобиль

ЗИЛ-130-76

Полезная нагрузка 6 т

Доставка утеплителя и монтажных связей и анкеров

По потребности

4

Авторастворовоз

СБ-86

 

Доставка раствора

1

5

Растворосмесители

СБ-69

 

Доставка раствора

2

СБ-92

6

Установка для перемешивания и выдачи раствора

УБ-342

 

Перемешивание и подача раствора

1

(или МС-353)

или СО-126

5.2 Потребность в технологической оснастке, инвентаре и приспособлениях определяется с учетом данных, приведенных в таблице 9.

Таблица 9 - Ведомость потребности технологической оснастки, инструмента, инвентаря и приспособлений

№ п/п

Наименование

Тип, марка, ГОСТ

Техническая характеристика

Назначение

Кол. на одно звено

1

2

3

4

5

6

1

Ящик для раствора

СКБ Мосстрой проект № 5161

Емкость 0,35 м3

Хранение раствора

2

2

Поддон с металлическими крючьями

ГОСТ 18343-80

 

Разгрузка кирпича с автотранспорта

4

ГОСТ 9078-84

3

Футляр траверсный

Карачаровский мех. завод № Р-4086

 

Подъем груза на рабочее место

2

4

Стальная щетка

 

 

Очистка металла от ржавчины

1

5

Рейка-порядовка универсальная

Р.ч. 29309.000 ЦНИИОМТП

 

Контроль кладки

4

6

Причальный шнур

Покупное изделие

30 м

Для соблюдения горизонтальности рядов

2

7

Навесная площадка

Р.ч. ОАО ПКТИпромстрой

Грузоподъемность - 2,0 т

Для облицовочных работ

1

Размеры 3500´1200´3000

8

Навесная площадка

То же

Грузоподъемность - 2,0 т

Для облицовочных работ

1

Размеры 6000´1200´3000

9

Кельма для каменных работ

ГОСТ 9533-81

Масса 0,34 кг

Разравнивание раствора

2

10

Молоток-кирочка строительный

Тип МКИ

Масса 0,5 кг

Рубка и теска кирпичей

2

ГОСТ 11042-90

11

Отвес строительный

ОТ-400

Масса 0,4 кг

Контроль вертикальности кладки

2

ГОСТ 7948-80

12

Уровень строительный

УС1-300

Масса 0,12 кг

Контроль горизонтальности кладки

1

ГОСТ 9416-83

13

Шаблон деревянный

 

 

Для разметки оконных проемов

1

14

Струбцина

 

 

Для крепления порядовки

4

15

Правило

ГОСТ 25782-90

Размер, мм

Контроль кладки

1

2000´50´30

16

Рулетка измерительная металлическая

ЗПК-30-АНТ 11

Длина 30 м

Для линейных измерений

1

ГОСТ 7502-98

17

Лопата растворная

ЛС-2

Масса 2 кг

Подача и расстилание раствора

1

ГОСТ 19596-87*

18

Линейка металлическая измерительная

ГОСТ 427-75*

Длина 1 м

Для линейных измерений

1

19

Расшивка (выпуклая и вытянутая)

 

 

Обработка швов кладки

2

20

Угольник для каменных работ деревянный

ГОСТ 3749-77*

 

Контроль правильности углов кладки

1

21

Ножовка по дереву широкая

ГОСТ 26215-84*

 

Резка плит утеплителя

1

22

Каска строительная

ГОСТ 12.4.087-84

 

 

4

23

Пояс предохранительный

ГОСТ Р 50849-96*

 

 

4

24

Щетка-зубило

 

 

 

1

25

Кусачки

ГОСТ 28037-89

 

 

1

26

Плоскогубцы комбинированные

ГОСТ 5547-93

 

 

1

27

Очки защитные

 

 

 

4

28

Рукавицы

ГОСТ 12.4.010-75*

 

 

8

5.3 Потребность в основных материалах, необходимых для устройства армированной кирпичной облицовки толщиной в 1/2 кирпича с прокладкой утеплителя, определенная на основании «Нормативных показателей расхода материалов», приведена в таблице 10.

Таблица 10 - Ведомость потребности в материалах, изделиях и конструкциях

№ п/п

Наименование

Ед. изм.

Исходные данные

Потребность на 100 м2

Обоснование норм расхода

Ед. изм. по норме

Объем работ в нормативных единицах

Норма расхода

1

Кирпич керамический облицовочный 250´120´65 мм

1000 шт.

Е8-7.3

100 м2 за вычетом проемов

1

5

5

2

Раствор цементно-песчаный М-100 ГОСТ 28013-98

м3

Е8-7.3

100 м2 за вычетом проемов

1

2,27

2,27

3

Плиты пенополистирольные ГОСТ 15588-86

м3

По проекту

100 м2 за вычетом проемов

1

5,0

5,0

4

Проволока Ø 4 мм ГОСТ 6727-80*

м2/кг

Е8-7.1

100 м2 фасада

1

15/8,7

15/8,7

6 Технико-экономические показатели

6.1 Для выполнения работ по устройству облицовки кирпичом с прокладкой утеплителя используется комплексная бригада в составе каменщика 5 разряда и каменщика 3 разряда, выполняющих комплекс работ по облицовке стен жилого дома как с навесных площадок, так и с балконов.

6.2 Затраты труда и машинного времени на устройство 10 м облицовки из кирпича с укладкой утеплителя подсчитаны по «Единым нормам и расценкам на строительные, монтажные и ремонтно-строительные работы», введенным в действие в 1987 г., и представлены в таблице 11.

Таблица 11 - Калькуляция затрат труда и машинного времени

Измеритель конечной продукции - 10 м2.

№ п/п

Обоснование (ЕНиР и др. нормы)

Наименование технических процессов

Ед. изм.

Объем работ

Норма времени

Затраты труда

рабочих, чел.-ч

машиниста, чел.-ч (работа машин, маш.-ч)

рабочих, чел.-ч

машиниста, чел.-ч (работа машин, маш.-ч)

1

Е 6-3, № 1

Установка площадок

шт.

1

0,24

0,08 (0,08)

0,24

0,08 (0,08)

2

Е 1-7, № 28

Подача монтажных связей

т

0,02

0,13

0,064 (0,064)

0,0026

0,0013 (0,0013)

3

Е 3-18, № 1

Установка монтажных связей

100 кг

0,2

1,1

-

0,22

-

4

Е 1-7, № 28

Подача плит теплоизоляции

т

0,5

0,13

0,064 (0,064)

0,065

0,032 (0,032)

5

Е 11-42

Установка теплоизоляционных плит в один слой с вырезкой четвертей

м2

10,0

0,34

-

3,4

-

6

Е 1-7, № 9

Подача - приемка раствора

м3

1

0,54

0,27 (0,27)

0,54

0,27 (0,27)

7

Е 1-7, № 1

Подача кирпича на поддонах на перекрытия

1000 шт.

0,5

0,72

0,36 (0,36)

0,36

0,18 (0,18)

8

Е 3-12, № 3

Кирпичная кладка толщиной 120 мм

м2

10,0

0,51

-

5,1

-

9

Е 3-21, № 14

Заделка четвертей кирпичом

100 шт. кирпичей

0,2

3,9

-

0,78

-

10

Е 3-19 Б, а

Расшивка швов

м2

10,0

0,25

-

2,5

-

11

Е 6-3, № 1

Перестановка площадок

шт.

1

0,24

0,08 (0,08)

0,24

0,08 (0,08)

Итого:

13,45

0,63 (0,63)

6.3 Продолжительность работ по устройству облицовки с прокладкой утеплителя определяется календарным планом производства работ согласно таблице 12.

6.4 Основные технико-экономические показатели:

- трудозатраты на устройство 10 м2 облицовки с утеплителем, чел.-ч................... 13,5

- затраты машинного времени, маш.-ч....................................................................... 0,6

- производительность труда 1 человека в смену, м.................................................. 7,7

- продолжительность выполнения работ, ч............................................................... 7


Таблица 12 - Календарный план производства работ

Измеритель конечной продукции - 10 м2.


7 Перечень использованной научно-технологической литературы

1 СНиП 3.01.01-85* Организация строительного производства. Изд. 1995 г.

2 СНиП 3.03.01-87 Несущие и ограждающие конструкции.

3 СНиП 12-03-2001 Безопасность труда в строительстве. Часть 1. Общие требования.

4 СНиП III-4-80* Техника безопасности в строительстве.

5 ГОСТ 12.0.004-90. ССБТ. Организация обучения безопасности труда. Общие положения.

6 ГОСТ 12.1.046-85. ССБТ. Строительство. Нормы освещения строительных площадок.

7 ГОСТ 12.4.010-75*. ССБТ. Средства индивидуальной защиты. Рукавицы специальные. Технические условия.

8 ГОСТ 12.4.011-89. ССБТ. Средства защиты работающих. Общие требования и классификация.

9 ГОСТ 12.4.059-89. ССБТ. Строительство. Ограждения предохранительные инвентарные. Общие технические условия.

10 ГОСТ 12.4.087-84. ССБТ. Строительство. Каски строительные. Технические условия.

11 ГОСТ 379-95. Кирпич и камни силикатные. Технические условия.

12 ГОСТ 427-75*. Линейки измерительные металлические. Технические условия.

13 ГОСТ 2590-88. Прокат стальной горячекатаный круглый. Сортамент.

14 ГОСТ 2715-75*. Сетки металлические проволочные. Типы, основные параметры и размеры.

15 ГОСТ 3749-77*. Угольники поверочные 90°. Технические условия.

16 ГОСТ. 5547-93. Плоскогубцы комбинированные. Технические условия.

17 ГОСТ 6727-80* Проволока из низкоуглеродистой стали холоднотянутая для армирования железобетонных конструкций. Технические условия.

18 ГОСТ 7484-78 Кирпич и камни керамические лицевые. Технические условия.

19 ГОСТ 7502-98. Рулетки измерительные металлические. Технические условия.

20 ГОСТ 7948-80. Отвесы стальные строительные. Технические условия.

21 ГОСТ 9078-84. Поддоны плоские. Общие технические требования.

22 ГОСТ 9416-83. Уровни строительные. Технические условия.

23 ГОСТ 9533-81. Кельмы, лопатки и отрезовки. Технические условия.

24 ГОСТ 11024-84*. Панели стеновые наружные бетонные и железобетонные для жилых и общественных зданий. Общие технические условия.

25 ГОСТ 11042-90. Молотки стальные строительные. Технические условия.

26 ГОСТ 13015.0-83*. Конструкции и изделия бетонные и железобетонные сборные. Общие технические требования.

27 ГОСТ 15588-86. Плиты пенополистирольные. Технические условия.

28 ГОСТ 18343-80. Поддоны для кирпича и керамических камней. Технические условия.

29 ГОСТ 19596-87*. Лопаты. Технические условия.

30 ГОСТ 23421-79. Устройство для пакетной перевозки силикатного кирпича автомобильным транспортом. Основные параметры и размеры. Технические требования.

31 ГОСТ 25782-90. Правила, терки и полутерки. Технические условия.

32 ГОСТ 26215-84*. Ножовки по дереву. Технические условия.

33 ГОСТ 28013-98. Растворы строительные. Общие технические условия.

34 ГОСТ 28037-89 Е. Кусачки. Технические условия.

35 ГОСТ 28347-89. Подмости передвижные с перемещаемым рабочим местом.

36 ГОСТ Р 50849-96*. Пояса предохранительные. Общие технические условия.

37 Руководство по разработке технологических карт в строительстве. ЦНИИОМТП, М., 1998.

38 ППБ 01-93**. Правила пожарной безопасности в Российской Федерации.




Яндекс цитирования



   Copyright © 2007-2026,  www.tehlit.ru.

[ ѓосты, стандарты, нормативы, инструкции, правила, строительные нормы ]