//
ТехЛит.ру
- крупнейшая бесплатная электронная интернет библиотека для "технически умных" людей.
WWW.TEHLIT.RU - ТЕХНИЧЕСКАЯ ЛИТЕРАТУРА

:: Алготрейдинг::


АЛГОТРЕЙДИНГ
шаг за шагом
с нуля по урокам!

Торговые роботы на PYTHON, BackTrader,
Pandas, Pine Script для TradingView. Связка с брокерами, телеграм и легкими приложениями.


Открытое акционерное общество

Проектно-конструкторский и технологический
институт промышленного строительства
ОАО ПКТИпромстрой

УТВЕРЖДАЮ

ГЕНЕРАЛЬНЫЙ ДИРЕКТОР, К.Т.Н.

_____________ С.Ю. ЕДЛИЧКА

«_27_» ___08___ 2004 Г.

ТЕХНОЛОГИЧЕСКАЯ КАРТА
НА УСТРОЙСТВО НАЛИВНЫХ
ПОЛОВ «САДУРИТ 517»

96-04 ТК

Главный инженер

____________ А.В. Колобов

Начальник отдела

____________ Б.И. Бычковский

2004

Настоящая технологическая карта содержит организационно-технологические и технические решения на устройство наливных полов «Садурит 517».

В технологической карте приведены: область применения, организация и технологическая последовательность выполнения работ, калькуляция затрат труда, график производства работ, потребность в материально-технических ресурсах, решения по безопасности и охране труда и технико-экономические показатели.

Исходные данные и конструктивные решения, применительно к которым разработана карта, приняты с учетом требований строительных норм, правил и стандартов.

Технологическая карта является составной частью ППР и используется в составе ППР согласно СНиП 3.01.01-85* и предназначается для инженерно-технических работников строительных организаций, производителей работ, мастеров и бригадиров, связанных с работами на устройство наливных полов «Садурит 517».

В разработке технологической карты участвовали сотрудники ОАО ПКТИпромстрой:

- Самосуд Н.В. - разработка технологической карты, компьютерная обработка и графика;

- Рязанова И.С. - проверка технологической карты;

- Бычковский Б.И. - техническое руководство, корректура и нормоконтроль;

- Колобов А.В. - общее техническое руководство разработкой технологических карт;

- к.т.н. Едличка С.Ю. - общее руководство разработкой технологической документации.

Технологическая карта на устройство наливных полов выпускается впервые.

СОДЕРЖАНИЕ

1 ОБЛАСТЬ ПРИМЕНЕНИЯ

1.1 Технологическая карта разработана на устройство наливных полов «Садурит 517» согласно ТУ У 6-00204625.037-97 на бетонные или аналогичные им по прочности основания в общественных и производственных легко нагружаемых помещениях, за исключением тех помещений, в которых возможен прямой контакт покрытия с пищевыми продуктами и питьевой водой.

1.2 Технологическая карта, входящая согласно СНиП 3.01.01-85* в состав ППР, предназначена для инженерно-технического персонала (прорабов, мастеров) и рабочих строительных организаций, занятых на устройстве наливных полов «Садурит 517», сотрудников технадзора заказчика, осуществляющих надзорные функции за технологией и качеством выполнения работ, а также инженерно-технических работников строительных и проектно-технологических организаций.

1.3 Привязка технологической карты к конкретным объектам и условиям производства работ состоит в уточнении объемов работ, средств механизации и данных потребности в трудовых и материально-технических ресурсах, калькуляции и календарного плана производства работ и используется в составе ППР согласно СНиП 3.01.01-85*.

1.4 Карта предусматривает обращение ее в сфере информационных технологий с включением карты в базу данных по технологии и организации строительного производства автоматизированного рабочего места технолога строительного производства (АРМ ТСП), подрядчика и заказчика.

2 ОРГАНИЗАЦИЯ И ТЕХНОЛОГИЯ СТРОИТЕЛЬНОГО ПРОЦЕССА

2.1 Наливные полы «Садурит 517» рекомендуются для укладки в помещениях, к которым предъявляются повышенные эстетические и санитарно-гигиенические требования:

- вестибюли;

- фойе;

- коридоры зданий и офисов;

- торговые залы;

- залы атомных электростанций;

- вычислительные центры;

- производства микроэлектроники и др.

Наливные полы не допускаются в местах, где возможны движение транспорта на гусеничном ходу; работа на полу с применением ломов и кувалд; постоянное тепловое воздействие свыше 50 °С.

2.2 Наливные полы «Садурит 517» можно устраивать, если в здании закончены все общестроительные и специальные работы, при этом должны быть:

- выполнены отделочные работы;

- смонтировано стационарное оборудование;

- проверена правильность выполнения основания под покрытие;

- оформлены деформационные швы, сточные лотки, каналы, трапы;

- завезены все необходимые материалы;

- смонтированы, опробованы и подготовлены к работе механизмы, оборудование и приспособления;

- обеспечены необходимый температурно-влажностный режим в помещении и приточно-вытяжная вентиляция;

- проведены мероприятия по противопожарной безопасности и безопасности труда.

2.3 Материалы, применяемые для устройства наливных полов «Садурит 517», представляют собой комплект составов на основе эпоксидных смол, пигментов, наполнителей, отвердителей и различных добавок. Все составляющие комплекта должны удовлетворять соответствующим стандартам и техническим условиям на материалы.

Температура укладываемых материалов и нижележащего слоя, а также температура воздуха на уровне пола должна быть не ниже +15 °С и не выше +30 °С.

Разность температуры между материалами для покрытия пола и основанием (стяжкой) должна быть не более 5 °С.

Во избежание появления ряби на поверхности покрытия площадь, на которой ведется укладка, должна быть защищена от воздействия прямых солнечных лучей и сквозняков до окончания схватывания материала покрытия.

Допустимая температура эксплуатации покрытия составляет 12 ÷ 50 °С.

2.4 В качестве разбавителя для грунтовочного слоя используется ацетон, а для остальных слоев композиции разбавление составляющих не требуется.

Разбавление другими не предусмотренными разбавителями, а также смешивание с иными лакокрасочными материалами недопустимо.

2.5 Устройство наливных полов «Садурит 517» выполняется в следующей технологической последовательности:

- подготовка поверхности бетонного основания;

- пропитка основания;

- нанесение упрочняюще-выравнивающего слоя;

- нанесение слоя композиции «Садурит 517».

Если в бетонном основании в будущем могут возникнуть трещины или деформации и возможны ударные нагрузки или движение транспорта, покрытие может быть усилено стеклотканью.

Технологическая схема производства работ по устройству наливных полов приведена на рисунке 1.

2.6 Подготавливаемое основание для нанесения наливных полов должно отвечать следующим требованиям:

- прочность при сжатии для нагруженных транспортом поверхностей 25 МПа (250 кг/см2);

- прочность при сжатии для пешеходных поверхностей 17,5 МПа (175 кг/см2);

- влажность не более 4 %.

Основание, на которое планируется нанести композиции для наливных полов, должно быть изолировано от влияния грунтовой влаги.

При необходимости выровнять поверхность основания наносят бетонную стяжку, которую выдерживают до 100-процентной прочности, она не должна иметь трещин, высолов, загрязнений, железненности.

Бетонное основание (подложку) подвергают очистке от мусора и пыли и выравниванию (шлифовке) при помощи шлифовальной машины с абразивным диском (предпочтительно алмазным).

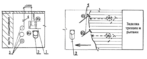
Схема организации рабочего места при подготовке основания представлена на рисунке 2.


Условные обозначения:

1 - смеситель ЗЛ-50 для приготовления грунтовочного состава; 2 - бочки с пигментным составом; 3 - бочка емкостью 40 л для доставки грунтовочного и основного составов к месту работ; 4 - тележка трехколесная для транспортировки грунтовочного и основного составов; 5 - пожарный гидрант; 6 - ящик с песком для противопожарных целей; 7 - противопожарный щит; 8 - машина ручная сверлильная пневматическая ИП-1024; 9 - бочка с отвердителем; 10 - передвижная компрессорная станция СО-7Б; 11 - шланг для подачи сжатого воздуха; 12 - бланк с металлической щетиной; 13 - ракля для разравнивания состава; 14 - машина подметальная вакуумная КУ-405 «А»; 15 - плоская щетка из натуральной щетины; 1, 2, ... - номера захваток, последовательность выполнения работ;  - направление движения потока.

Примечание: На захватке 3 сначала осуществляют работы по подготовке всей поверхности под огрунтовку (пылеудаление). После окончания подготовки поверхности те же рабочие производят огрунтовку.

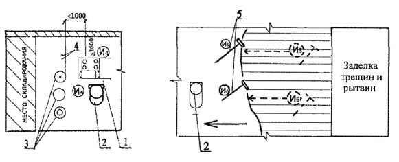
Рисунок 1. Технологическая схема по устройству наливных полов


1 - подметально-вакуумная машина КУ-405А; 2 - емкость с затирочным составом; 3 - шлифовальная машина с алмазным кругом.

Рисунок 2 - Схема организации рабочего места при подготовке основания

Перед нанесением состава на гладкую подложку необходимо убедится в ее горизонтальности.

Если поверхность основания в пределах разрешенных по СНиПу 3.04.01-87 допусков, не загрязнено асфальтом, битумом, маслами, краской и т.п., то шлифовка не обязательна.

После шлифовки пыль и мусор необходимо тщательно убрать при помощи подметально-вакуумной машины КУ-405А или при помощи веника, швабры и пылесоса.

Влажная уборка не желательна, поскольку требует 24 часовой сушки основания.

2.7 Пропиточно-грунтовочный слой наносят с целью повышения прочности приповерхностного слоя, улучшения адгезии последующего слоя с основанием, а также для вытеснения воздуха из пор.

В состав композиции для пропитки (пропиточно-грунтовочного слоя) входят: смола CHS-Ероху 370 А25 100 весовых частей или 110 объемных частей, отвердитель Р11 две весовые части или две объемные части.

Предварительно взвешенные или отмеренные количества эпоксидной смолы CHS-Ероху 370 А25 и отвердителя смешивают в смесителе ЗЛ-50 в течение 5 - 6 минут (в случае отсутствия смесителя материалы размешиваются в любой подходящей для этого емкости в течение 2 - 5 минут пневмодрелью ИП-102 с лопастной насадкой из алюминия) до получения прозрачного однородного раствора.

Приготовленная композиция должна быть удалена из смесительной емкости в течение 40 минут и использована до потери составом жизнеспособности. Замес объемом до 10 л сохраняет пригодность в течение 4 часов при температуре 20 °С.

У стенок, в углах и других труднодоступных местах композицию наносят малярной кистью, на остальной поверхности - валиком.

По окончании работ или при перерыве более 60 минут смесительный механизм и инструмент должны быть очищены от налипшего состава. Для этой цели в смеситель загружают раствор соды и ветошь и перемешивают до полной очистки.

Материал следует наносить равномерным слоем, насыщающим подложку, однако образование сплошного лакового слоя не желательно.

Если же это произошло, то такие участки необходимо немедленно посыпать кварцевым или просеянным речным песком.

Схема организации рабочего места при приготовлении и нанесении пропиточно-грунтовочного состава представлена на рисунке 3.

1 - смеситель ЗЛ-50 для приготовления грунтовки; 2 - бочка на тележке для доставки грунтовочного состава к месту работы; 3 - емкости с материалами (со смолой, ацетоном, отвердителем); 4 - мерные емкости для дозирования смолы и отвердителя; 5 - щетка волосяная плоская (или валик).

Рисунок 3 - Схема организации рабочего места при приготовлении и нанесении пропиточно-грунтовочного состава

Расход композиции может составлять:

- на пористой бетонной стяжке - до 800 г/м2;

- на бетоне автоклавного твердения, плотном цементе и мозаичных полах - 120 г/м2;

- на кафельной плитке - 100 г/м2.

Время отвердения композиции 12 - 24 часа при температуре 20 °С.

После отвердения композиции, т.е. через 12 - 24 часа, заделывают трещины и рытвины в бетонном основании шпатлевкой следующего состава: композиция «Садурит 517» - 100 весовых частей, отвердитель Р11 - 9 весовых частей и наполнитель (мел, мелкий кварцевый песок) - до требуемой консистенции.

По окончании работ или при перерыве более 60 минут смесительный механизм и инструмент должны быть очищены от налипшего состава. Для этой цели в смеситель загружают раствор соды и ветошь и перемешивают до полной очистки.

2.8 Верхний слой «Садурит 517» наносят не более чем через 1 - 2 суток после нанесения предыдущего слоя (более продолжительная пауза в укладке полов нежелательна).

При укладке верхнего слоя «Садурит 517» температура основания и воздуха должна быть не менее 18 °С, а относительная влажность - до 60 % (при использовании отвердителя Epostyl 517-07-В материал можно использовать при относительной влажности до 85 %).

Несоблюдение вышеуказанных условий нанесения по температуре и влажности приведет к ухудшению декоративного эффекта (матовость, белесые пятна, липкость).

В состав материала для верхнего слоя входят: композиция - «Садурит 517» - 100 весовых частей; отвердитель Telalit 800 - 20 весовых частей или отвердитель Epostyl 517-07-В - 30 весовых частей.

После вскрытия бочки с композицией «Садурит 517» содержимое перемешивают спиральной электромешалкой так, чтобы на дне не осталось осадка пигментов и наполнителей, иначе порции композиции из разных бочек могут отличаться по оттенку.

Затем в бочку вливают отвердитель (все содержимое канистры, заполненной по верхнюю метку) и перемешивают электромешалкой при 200 - 600 об./мин. в течении 5 - 10 минут. При перемешивании особое внимание уделяют пристенной и придонной областям бочки. Плохое перемешивание всегда приводит к свилям, разводам и локальным недоотвержденным участкам.

Укладку верхнего слоя производят через 5 - 30 минут после приготовления смеси.

Доставку эпоксидной композиции к месту нанесения осуществляют в бочке на тележке.

Состав на подготовленную поверхность наносят методом «разлива» вручную, начиная от стены, расположенной против выхода из помещения, и ведут полосами шириной от 2 до 8 м.

Выравнивание смеси по поверхности покрытия и обеспечение заданной толщины слоя производят раклей, у которой высота зубьев соответствует толщине слоя, или шваброй так, чтобы получить как можно более тонкий слой.

Распределенный слой смеси раскатывают специальным зубчатым валиком в двух перпендикулярно направленных друг другу направлениях для дополнительного выравнивания, ускорения выхода пузырьков воздуха и предотвращения образования разводов.

При этом рабочие работают в специальных туфлях с шипами.

Схема организации рабочего места при приготовлении и нанесении основного состава представлена на рисунке 4.

1 - бочка на тележке для доставки основного состава к месту работы; 2 - машина пневматическая ИП-1024 с мешалкой; 3 - шланг для подачи сжатого воздуха; 4 - мерные емкости для дозирования смолы и отвердителя; 5 - емкости с материалами (со смолой, ацетоном, отвердителем); 6 - ракля для разравнивания основного состава; 7 - зубчатый валик.

Рисунок 4 - Схема организации рабочего места при приготовлении и нанесении основного состава

Расход композиции «Садурит 517» может составлять 3 - 4 кг/м2 и более в зависимости от ровности основания и эстетических требований.

После нанесения декоративного слоя помещение следует закрыть, по возможности избегать сквозняков, проникновения влажного или загрязненного воздуха, насекомых.

До начала эксплуатации покрытия необходимо выждать 2 суток: через 48 часов по полам можно ходить, а полная нагрузка (установка оборудования, тяжелой мебели) рекомендуется через 14 суток.

2.9 Сохранность готовых участков покрытия в процессе дальнейшей работы следует обеспечить путем организации производства работ «Фронт на себя» со встречной подачей материалов, исключающей транспортирование их по готовому покрытию.

2.10 Композиции для наливных полов «Садурит 517» расходуются (в зависимости от ровности основания): 3 и более кг/м2. Время отвердения при температуре 20 °С не более:

- каждого слоя - 24 часа;

- перед началом эксплуатации - 48 часов;

- полное - 168 часов.

2.11 Покрытия выдерживают воздействия бензина, ксилола, дизельного топлива, а также 10 % и 40 % водные растворы щелочи.

2.12 Степень перетира не более 100 мкм.

2.13 Твердость покрытия:

- через 2 суток после отвердения - 50 МПа;

- через 7 суток после отвердения - 200 МПа.

2.14 Предел прочности при изгибе не менее 45 МПа. Предел прочности при растяжении не менее 25 МПа.

2.15 Срок годности компонентов смеси при температуре 20 °С не менее 0,5 часа.

2.16 Для обеспечения долговечности наливных полов важно строгое соблюдение всех технологических норм.

2.17 Для выполнения работ по устройству наливных полов «Садурит 517» устанавливаются следующие приемы труда в порядке технологической последовательности:

1. Подготовка поверхности.

Рабочий-изолировщик (И1) с помощью электромолотка очищает поверхность пола от наплывов бетона.

Рабочий-изолировщик (И3) надевает очки, респиратор, перчатки, включает подметально-вакуумную машину КУ-405А и удаляет с поверхности бетона цементную пыль.

Рабочий-изолировщик (И2) затирает кистью раковины и трещины раствором.

2. Приготовление и нанесение грунтовочного состава.

Рабочий-изолировщик (И4) надевает очки, перчатки, респиратор, дозирует компоненты грунтовочного состава по рецептуре и загружает ими смеситель ЗЛ-50, перемешивает в течение 2 - 5 минут и выгружает готовую грунтовку в бочку путем опрокидывания смесительной камеры. Рабочий-изолировщик (И5) транспортирует грунтовку на тележке к месту работы.

Рабочие-изолировщики (И5, И6) надевают очки, респираторы, выливают из бочки грунтовку и разравнивают ее плоскими волосяными щетками по подготовленной поверхности.

3. Приготовление и нанесение основного состава.

Рабочий-изолировщик (И5) надевает средства индивидуальной защиты, дозирует отвердитель, выливает его в бочку и перемешивает его с эпоксидным составом с помощью пневмодрели ИП-1024 с лопастной насадкой.

4. Укладка ограничивающих реек.

Рабочий-изолировщик (И5) укладывает ограничительные рейки по периметру огрунтованной захватки.

5. Нанесение мастики.

Рабочие-изолировщики (И5, И6) надевают средства индивидуальной защиты, колодки с шипами, выливают мастику на прогрунтованную поверхность пола, разравнивают ее раклей до верхнего уровня ограничительной рейки, а затем прокатывают во взаимно перпендикулярном направлении зубчатыми валиками. Поверхность должна быть обработана в течение 35 - 40 минут.

6. Промывка смесителя.

Рабочий-изолировщик (И3) загружает в смеситель раствор соды и ветошь, промывает его до полной очистки.

2.18 Работы по устройству наливных полов должны выполняться в соответствии с требованиями СНиП 3.04.01-87 «Изоляционные и отделочные покрытия» и МДС 31-6.2000 «Рекомендации по устройству полов».

2.19 Композиции для наливных полов отличаются хорошими физико-механическими свойствами (прочность при сжатии, минимальная усадка, стойкость к истиранию, высокая адгезия к бетону), пониженной горючестью и легкостью в эксплуатации.

3 ТРЕБОВАНИЯ К КАЧЕСТВУ И ПРИЕМКЕ РАБОТ

3.1 Работы по устройству наливных полов необходимо выполнять в соответствии с технологическими картами или проектами производства работ при соблюдении требований охраны труда и безопасности работ.

3.2 Контроль качества работ осуществляют на всех стадиях технологической цепи, начиная от разработки проекта и кончая его реализацией на объекте на основе ППР и технологических карт.

3.3 Производственный контроль осуществляют ИТР, работники строительных лабораторий, а также представители технадзора заказчика, проектного института, оснащенные техническими средствами, обеспечивающими необходимую достоверность и полноту контроля.

3.4 Производственный контроль качества работ по устройству наливных полов «Садурит 517» должен включать входной контроль рабочей документации, конструкций, изделий, материалов и оборудования, операционный контроль отдельных строительных процессов или производственных операций и приемочный контроль работ по устройству полов.

3.5 При входном контроле рабочей документации должна производиться проверка ее комплектности и достаточности содержащейся в ней технической информации для производства работ.

При входном контроле строительных конструкций, изделий, материалов и оборудования следует проверять внешним осмотром их соответствие требованиям стандартов или других нормативных документов и рабочей документации, а также наличие и содержание паспортов, сертификатов и других сопроводительных документов.

Композиции для наливных полов «Садурит 517» должны соответствовать требованиям ТУ У 6-00204625.037-97.

3.6 При производстве и приемке наливных полов «Садурит 517» необходимо контролировать качество основания, на которое наносится покрытие:

- толщину покрытий;

- адгезию покрытий с полом-основанием;

- декоративность покрытий;

- сплошность покрытий;

- физико-механические показатели покрытия.

3.7 Марку бетона основания контролируют в процессе его укладки методом отбора контрольных проб и испытывают по ГОСТ 10180-90.

3.8 Влагосодержание (не более 3 %) пола основания определяют по ГОСТ 12730.0-78.

3.9 Поверхность основания должна быть ровной, без раковин, трещин, жировых пятен, грязи и цементного молока.

3.10 Ровность основания проверяют двухметровой рейкой. Просвет между рейкой и поверхностью стяжки не должен превышать 2 мм.

3.11 Приемку основания под наливные полы оформляют актом.

3.12 Заданную толщину покрытия контролируют в период его устройства по маякам, рейкам и толщиномерами.

3.13 Адгезию покрытия с основанием проверяют простукиванием. Появление глухого звука указывает на отсутствие сцепления.

3.14 Цвет покрытия пола должен быть однородным, без полос, пятен и вкраплений другого цвета.

3.15 Покрытие не должно иметь наплывов, загрязнений, царапин, трещин.

3.16 Приемка готового покрытия пола должна быть оформлена приемно-сдаточным актом.

3.17 В случае необходимости восстановления разрушенного покрытия необходимо подготовить разрушенный участок к нанесению нового покрытия.

3.18 Перед началом производства работ по устройству верхнего слоя покрытия температура основания и воздуха должна быть не менее 18 °С, а относительная влажность - до 60 %. При использовании отвердителя Epostyl 517-07-В материал можно использовать при относительной влажности до 85 %.

3.19 Результаты входного контроля качества заносятся в «Журнал входного учета и контроля качества получаемых деталей, материалов, конструкций и оборудования».

3.20 Устройство наливных полов допускается только после окончания в помещении всех строительных, монтажных и отделочных работ, при производстве которых могут быть повреждены элементы наливного пола.

3.21 Операционный контроль осуществляют непосредственно в процессе выполнения операций по устройству пола, а также сразу после завершения работ. При операционном контроле следует проверять соблюдение технологии выполнения строительных процессов; соответствие выполняемых работ рабочим чертежам, строительным нормам, правилам и стандартам. Результаты операционного контроля должны фиксироваться в журнале производства работ.

3.22 При приемочном контроле необходимо производить проверку качества выполненных работ по устройству наливных полов.

3.23 Трещины, выбоины и открытые швы в элементах пола, щели в местах примыкания покрытия пола к плинтусам, стенам и перегородкам не допускаются и подлежат исправлению.

3.24 Особое внимание при производстве работ уделяют контролю качества скрытых работ. Их выполнение оформляют специальными актами. Окончательная оценка качества отделочных работ выносится рабочей комиссией при приемке здания или сооружения в эксплуатацию.

3.25 При условии выполнения работ с высоким качеством и правильной эксплуатации покрытие на основе композиций для наливных полов сохраняет эксплуатационные свойства в течении 15 и более лет в общественных зданиях и 10 и более лет - в легко нагружаемых производственных помещениях.

Композиции для наливных полов надежно защищают основания от коррозии и обладают высокой сопротивляемостью агрессивным средам.

Покрытие, получаемое в процессе укладки композиций, характеризуется отсутствием швов, высокой плотностью, что делает этот материал незаменимым при защите от токсичных и радиоактивных веществ, т.к. композиции для наливных полов не сорбируют их.

4 ТРЕБОВАНИЯ БЕЗОПАСНОСТИ И ОХРАНЫ ТРУДА, ЭКОЛОГИЧЕСКОЙ И ПОЖАРНОЙ БЕЗОПАСНОСТИ

4.1 Вопросы организации работ на участие и безопасности и охраны труда обязательно должны рассматриваться на стадии разработки проекта производства работ.

4.2 Перед допуском к работе с рабочими должны быть проведены вводный инструктаж по охране труда и первичный инструктаж на рабочем месте.

Вводный инструктаж проводит инженер по охране труда, первичный - непосредственный руководитель работ.

Не реже одного раза в три месяца рабочие должны проходить повторный инструктаж по безопасности труда на рабочем месте.

Проведение инструктажей регистрируется в журналах установленной формы и подтверждается подписями инструктирующего и инструктируемого.

4.3 При перерыве в работе более чем на 30 календарных дней проводится внеплановый инструктаж.

4.4 К выполнению работ по устройству наливных полов «Садурит 517» допускаются рабочие не моложе 18 лет, прошедшие медицинское освидетельствование и признанные годными для выполнения указанных видов работ, обученные по соответствующей программе, сдавшие экзамены и получившие удостоверение на право производства данных работ.

4.5 В целях предупреждения и своевременного выявления случаев профессиональных заболеваний рабочие при устройстве наливных полов должны проходить периодические медосмотры.

4.6 Перед началом работ в местах, где имеется или может возникнуть производственная опасность (вне связи с характером выполняемой работы), рабочие должны пройти текущий инструктаж по охране труда, который фиксируется в наряде-допуске на опасные работы.

4.7 Перед началом работы на территории действующего предприятия или цеха работающим необходимо ознакомиться с мероприятиями, обеспечивающими безопасность проведения работ, указанными в акте-допуске.

4.8 Работающие во время работы обязаны пользоваться выдаваемой им спецодеждой и спецобувью - комбинезоном хлопчатобумажным, резиновыми сапогами, прорезиненным фартуком, рукавицами комбинированными, медицинскими резиновыми перчатками или полиэтиленовыми перчатками на бязевой подкладке.

Срок использования указанной спецодежды 7 дней, после чего она должна поступать в механическую стирку. Вынос одежды для стирки на дому воспрещается.

4.9 В связи с тем, что смола СНS-Ероху 370 А25 представляет собой раствор в ацетоне, поэтому необходимо обеспечить хорошую проветриваемость помещения, наличие средств пожаротушения, работающий персонал должен быть снабжен защитной спецодеждой, обувью, средствами защиты органов дыхания.

В помещении, где ведутся работы по устройству полов, должен быть обеспечен не менее чем трехкратный обмен воздуха путем организации приточно-вытяжной вентиляции.

Работающий персонал должен быть снабжен средствами индивидуальной защиты: предохранительными очками, респиратором, а также защитной каской.

4.10 Вблизи помещения не должны проводиться огневые и сварочные работы.

4.11 Для защиты кожных покровов следует применять защитные пасты или мази.

4.12 Композиции для наливных полов «Садурит 517» приготавливаются на основе эпоксидных смол, оказывающих раздражающее действие на кожу, слизистые оболочки, органы дыхания. Все эпоксидные составы в незатвердевшем состоянии токсичны. Наиболее токсичной частью являются отвердители. Пары, аэрозоль отвердителей и состав действуют раздражающе на слизистые оболочки носа, горла, глаз, вызывая кашель, головокружение, отечность лица и рук.

4.13 Все работы по приготовлению и нанесению составов следует проводить с большой осторожностью во избежании случайного попадания компонентов или самого состава на кожу или слизистые оболочки.

4.14 Отвердители Р-11 и Те1аlit 800 - едкие вещества, раздражают органы дыхания, ограниченно водорастворимы.

В случае попадания их на кожу или в глаза пораженное место следует промыть проточной водой и обработать 2 %-ым раствором борной кислоты, в случае необходимости обратится за медицинской помощью.

При случайном разливе в помещении отвердителя облитое место немедленно засыпать опилками, смоченными керосином, с последующей нейтрализацией 10 %-ным раствором серной кислоты и тщательной промывкой водой.

4.15 Смола СНS-Ероху 370 А25 и основа «Садурит 517» с кожи могут быть удалены этиловым спиртом с последующей продолжительной промывкой проточной водой.

4.16 Применение эпоксидных составов, рецептура которых не имеет санитарно-гигиенической оценки, запрещается.

4.17 Около рабочего места должны находится: чистая вода, физиологический раствор (3 %-ный раствор поваренной соли), аптечка с перевязочными материалами и необходимыми медикаментами, в том числе 5 %-ным раствором уксусной или лимонной кислоты (10 %-ный раствор серной кислоты), чистое сухое полотенце разового пользования, чистый обтирочный материал, вата, первичные средства пожаротушения.

4.18 При появлении признаков отравления (недомогание, сонливость, тошнота) рабочих нужно немедленно вывести из зоны действия ядовитых паров на свежий воздух и оказать медицинскую помощь.

4.19 Лица, у которых при работе с эпоксидными составами возникают кожные заболевания, должны быть переведены на другую работу, не связанную с применением этих составов.

4.20 При работе в темное время суток в затемненных местах производитель работ должен обеспечить освещение рабочих мест и проходов к ним в соответствии с ГОСТ 12.1.046-85.

Светильники в помещении должны быть во взрывобезопасном исполнении.

4.21 Подача материалов на рабочие места должна осуществляться в технологической последовательности, обеспечивающей безопасность работ.

Складировать материалы на рабочих местах следует так, чтобы они не создавали опасности при выполнении работ и не загромождали проходы.

4.22 Курить только в местах, специально для этого отведенных и снабженных противопожарным оборудованием.

4.23 Устраивать наливные полы следует одновременно на площади не более 100 м2.

Работу следует начинать с наиболее удаленных мест от выхода из помещений, устройство полов в коридорах должно производиться после завершения работ в помещениях.

4.24 Перемешивание состава производится в металлических емкостях из металла, не дающего искрообразования, с помощью пропеллерного наконечника из алюминия или других цветных металлов, прикрепленного к пневматической дрели.

После перемешивания состава на поверхности не должно наблюдаться следов растворителя и отвердителя.

4.25 Растворитель и отвердитель добавляют непосредственно перед использованием состава.

4.26 Нанесение грунта на основание производится с помощью резиновых раклей (или из цветных металлов).

Шпатлевание трещин и выбоин производится с помощью резиновых шпателей (или из цветных металлов).

4.27 В случае необходимости загрунтованные и зашпатлеванные поверхности подвергаются шлифованию шкуркой с помощью шлифовальной машины в искро- и взрывобезопасном исполнении.

4.28 Материалы должны храниться в сухих помещениях в плотно закрытой таре, не подвергаемой непосредственному воздействию солнечных лучей и влаги.

Без смешения компонентов - 12 месяцев со дня изготовления.

4.29 При транспортировке кислоты или легковоспламеняющихся жидкостей (ацетон) во избежании ожогов кожи, глаз и загораний соблюдать следующие правила:

- бутылки с кислотой или ацетоном хранить закрытыми притертыми пробками и только в специальных обрешетках, бутыли в обрешетках устанавливать на специальные шарнирные подставки, обеспечивающие безопасность слива.

Слив и выдача жидкостей разрешается только в герметически закрывающуюся металлическую тару, не дающую искр при ударе.

Слив из бутылей в обрешетках производить вдвоем или пользоваться для этой цели специальными сифонами.

- бутыли переставлять и перевозить только в обрешетках, используя для этого тележки.

Если бутыли с кислотой (ацетон) затарены в корзины с ручками, то переносить их можно только за ручки двумя рабочими.

- смешение кислоты с водой производить в специально приспособленных для этого емкостях из специальных материалов, не пользоваться для приготовления раствора стеклянной посудой.

Для смешения кислоты с водой сначала налить в емкость холодную воду, а затем тонкой струей вливать кислоту, запрещается наливать сначала кислоту, потом воду, т.к. при этом произойдет вскипание и бурное разбрызгивание горячей кислоты, что приведет к тяжелым ожогам.

Работу с кислотой производить только в специальных защитных очках и резиновых перчатках. Освободившуюся тару из-под кислоты (ацетона) следует закрыть пробками и немедленно удалить с рабочего места в специальное помещение (площадку), расположенную на расстоянии не менее 20 м от склада (по согласованию с пожарной охраной).

Хранить ацетон в общих складах даже временно запрещается.

Легковоспламеняющуюся жидкость (ацетон) следует хранить непосредственно на месте проведения работ с легковоспламеняющимися жидкостями в количествах не более суточного расхода. Текущий запас (не более 3-суточного расхода) - в кладовой, в больших количествах - в специальных складах для легковоспламеняющихся жидкостей.

4.30 Если концентрация вредных веществ в воздухе помещения превышает допустимые пределы, то работа в помещении без респираторов или противогазов запрещена.

При возгорании наливные полы специфических ядовитых газов не выделяют.

4.31 По окончании работы необходимо убрать рабочее место и помещение от пыли.

4.32 Рабочие инструменты и агрегаты моют сначала ацетоном, затем водой и стиральным порошком.

4.33 Опилки, тряпки, загрязненные отвердителем, или материалы, содержащие отвердитель, должны собираться в специально отведенном месте в закрытом металлическом ящике и утилизироваться в местах, согласованных с санэпидемстанцией.

4.34 Спецодежду и индивидуальные средства убрать в установленные для этого места.

4.35 Запрещается:

- сливать в канализацию или водоем продукты нейтрализации, загрязненные растворителем, растворы после нейтрализации собираются в специальную тару;

- использовать загрязненный растворитель для чистки спецодежды;

- мыть руки бензолом, толуолом, этилированным бензином и другими токсичными растворителями;

- курить, разводить огонь, пользоваться паяльными лампами, производить электросварочные работы в помещениях, где производятся работы с наливными эпоксидными полами, работать электроинструментом и машинами с электроприводом не во взрывобезопасном исполнении;

- хранить и принимать пищу, включая спецмолоко на производственном участке;

- выполнять работы без спецодежды и без средств индивидуальной защиты;

- присутствовать в помещении, где производятся работы, посторонним лицам.

5 ПОТРЕБНОСТЬ В МАТЕРИАЛЬНО-ТЕХНИЧЕСКИХ РЕСУРСАХ

5.1 Для устройства наливных эпоксидных полов приняты композиции «Садурит 517», отвечающие требованиям ТУ У 6-00204625.037-97. Составляющие композиции «Садурит 517» без смешивания компонентов могут храниться 12 месяцев со дня изготовления. Компоненты следует хранить в сухих помещениях в плотно закрытой таре, не подвергаемой непосредственному воздействию солнечных лучей и влаги.

5.2 Потребность в оборудовании, инструментах, приспособлениях, средствах индивидуальной защиты для устройства наливных полов с учетом технических характеристик, назначения и количества на звено приведена в таблице 2.

Таблица 2 - Ведомость потребности в оборудовании, инструменте, приспособлений, средствах индивидуальной защиты

№ п/п

Наименование

Тип, марка, ГОСТ

Техническая характеристика

Назначение

Количество на звено

1

2

3

4

5

6

1

Молоток ручной электрический

ИЭ-4215

Энергия удара, Дж

1

Для очистки поверхностей от наплывов бетона

1

Частота ударов, Гц

46,6

2

Установка компрессорная передвижная

СО-7Б

Производительность, м3

30

Для приведения в действие пневмосверлильной машины ИП-1024

1

Рабочее давление сжатого воздуха, МПа

0,6

Масса, кг

140

3

Шлифовальная машина с абразивным диском

 

 

 

Для очистки и выравнивания (шлифовки) бетонного основания

1

4

Вакуумная подметальная машина

КУ-405А

Производительность, м2

2700

Для сбора мусора с одновременным удалением пыли из зоны подметания

1

Рабочая скорость перемещения, м/с

0,9

Ширина захвата, мм -

800

Емкость мусоросборника, м3

0,26

Производительность вентилятора в рабочем режиме, м3

1470

Габаритные размеры, мм 1800´800´1140

 

Масса (без кабеля), кг

75

5

Смеситель периодического действия с Z-образными лопастями

ЗЛ-50

Объем смесительной камеры, м3:

 

Для приготовления липких пастообразных масс

2

- рабочий

0,05

- номинальный

0,075

Рабочая температура, °С

150

Угол опрокидывания смесительной камеры, град.

105 ± 5

Габаритные размеры, мм 1400´1160´1400

 

Масса, кг:

 

- для исполнений НРУ и НРК

1280

- для исполнения ВРУ и ВРК

1310

6

Малярная кисть

 

 

 

Для нанесения грунтовочного слоя у стенок, в углах и др. труднодоступных местах

3

7

Валик

 

 

 

Для нанесения грунтовочного слоя на остальную поверхность

3

8

Машина сверлильная пневматическая

ИП-1024

Расход сжатого воздуха, м3/мин.

0,8

Для перемешивания отвердителя с подготовленной смесью

1

Давление, МПа

0,5

Масса, кг

2,1

9

Мешалка к машине ручной пневматической

 

Габаритные размеры, мм

800´130

Для перемешивания отвердителя с подготовленной смесью

1

Масса, кг

0,95

10

Тележка трехколесная

 

Грузоподъемность, кг

100

Для транспортирования материалов

2

Габаритные размеры, мм 1050´620´1015

 

Масса, кг

11

11

Щетка волосяная плоская на длинной ручке (натуральная щетина)

 

 

 

Для разравнивания грунтовочного состава

2

12

Ракля (резиновый или из цветного металла)

 

 

 

Для разравнивания основного состава

2

13

Зубчатый валик

 

 

 

Для дополнительного разравнивания грунтовочного состава и ускорения выхода пузырьков воздуха и предотвращения образования разводов

2

14

Кисть-ручник

КР-26

Длина с ручкой, мм

270

Для затирки раковин и трещин

2

Диаметр цайга, мм

26

Масса, кг

0,064

15

Емкости мерные (алюминиевые)

 

 

 

Для дозирования материалов

5

16

Весы торговые до 10 кг

 

 

 

Для взвешивания материалов

1

17

Респираторы лепестковые

ШБ-1

 

 

Для защиты органов дыхания от пыли

6

18

Фартук прорезиненный

 

 

 

Для защиты от паров органических растворителей

6

19

Комбинезон хлопчатобумажный

 

 

 

Для индивидуальной защиты

6

20

Сапоги резиновые кислотощелочестойкие

 

 

 

Для защиты ног от кислот и щелочей

6

21

Рукавицы комбинированные

 

 

 

Для защиты рук от химических растворителей

6

22

Перчатки резиновые технические

 

 

 

Для защиты рук от химических растворителей

6

23

Очки защитные с прямой вентиляцией

ЗП1-90

 

 

Для защиты глаз от цементной пыли и паров органической пыли

6

24

Противогаз шланговый с компрессором или респиратор РУ-60М с патроном А

ПШ-2

 

 

Для защиты органов дыхания от паров органических растворителей

3

25

Защитный головной убор

«Дружба»

 

 

Для индивидуальной защиты головы

6

26

Аптечка с перевязочным материалом

 

 

 

Для оказания первой помощи

1

27

Колодки с шипами

 

 

 

Для передвижения рабочих по свежеуложенному покрытию

2

6 ТЕХНИКО-ЭКОНОМИЧЕСКИЕ ПОКАЗАТЕЛИ

6.1 Работы по устройству покрытия организуют по поточно-расчлененному методу. Площадь пола делят на равные захватки по 100 - 200 м2, ограниченные либо осями колонн или деформационными швами.

Объем работ на захватках рассчитывают так, чтобы устройство покрытия заканчивалось в течение одного дня. Работы организуют в две смены. В первую смену осуществляют подготовку основания и его огрунтовку, а во вторую смену - нанесение основного покрытия.

Работы по устройству наливных полов выполняет бригада из 6 человек.

6.2 Трудоемкость выполнения работ по устройству наливных полов, характеризующая использование материально-технических и трудовых ресурсов, определена в калькуляции трудовых затрат и машинного времени по ЕНиР сборник Е19 «Устройство полов», § 35, 40, 41 и приведена в таблице 3.

Таблица 3 - Калькуляция затрат труда при устройстве наливных полов

Измеритель конечной продукции - 100 м2 основания

Обоснование (ЕНиР)

Наименование технологических процессов

Ед. изм.

Объем работ

Нормы времени

Затраты труда

рабочих, чел.-ч

машиниста, маш.-ч, (работа машин, маш.-ч)

рабочих, чел.-ч

машиниста, маш.-ч, (работа машин, маш.-ч)

1

2

3

4

5

6

7

8

Е 19-41 № 2

Очистка и обеспыливание поверхности бетонного основания

100 м2

1,00

5,7

-

5,7

-

Е 19-41 № 2

Срубка наплывов (применительно)

100 м2

1,00

5,7

-

5,7

-

Е 19-40 № 4б

Подготовка поверхности основания под наливные полы

100 м2

1,00

34,5

-

34,5

-

Е 19-52

Приготовление композиции

100 кг

3,00

2,1

-

6,3

-

Е 19-35 № 2

Нанесение основного раствора

100 м2

1,00

18,0

-

18,0

-

ИТОГО:

70,2

 

6.3 Календарный план производства работ по устройству наливных полов приводится в таблице 4.

6.4 Основные технико-экономические показатели при устройстве наливных полов «Садурит 517» составляют:

Устройство наливных полов «Садурит 517», м2...................................................... 100

Затраты труда, чел.-ч................................................................................................... 70,2

Выработка на рабочего в смену, м2............................................................................ 11,4

Затраты машинного времени, маш.-ч........................................................................ -

Продолжительность, ч................................................................................................ 17,0

Таблица 4 - Календарный план производства работ по устройству наливных полов «Садурит 517»

Измеритель конечной продукции - 100 м2

7 ПЕРЕЧЕНЬ ИСПОЛЬЗОВАННОЙ НОРМАТИВНО-ТЕХНИЧЕСКОЙ ЛИТЕРАТУРЫ

1 СНиП 2.03.13-88 «Полы».

2 СНиП 3.01.01-85* «Организация строительного производства».

3 СНиП 3.03.01-87 «Несущие и ограждающие конструкции».

4 СНиП 3.04.01-87 «Изоляционные и отделочные покрытия».

5 СНиП 12-03-2001 «Безопасность труда в строительстве. Часть 1. Общие требования».

6 СНиП 12-04-2002 «Безопасность труда в строительстве. Часть 2. Строительное производство».

7 ГОСТ 12.0.004-90 «Организация обучения безопасности труда. Общие положения».

8 ГОСТ 12.1.046-85. ССБТ. «Строительство. Нормы освещения строительных площадок».

9 ВСН-9-94 «Инструкция по устройству полов в жилых и общественных зданиях». Департамент строительства, Научно-техническое управление, 1995 г.

10 ПОТ РМ-016-2001 «Межотраслевые правила по охране труда (правила безопасности) при эксплуатации электроустановок», М., 2001 г.

11 ППБ 01-03 «Правила пожарной безопасности в Российской Федерации», МЧС России, М., 2003 г.

12 СП 12-135-2003 «Безопасность труда в строительстве. Отраслевые типовые инструкции по охране труда», Госстрой России, М., 2002 г.

13 «Рекомендации по устройству полов». АО «ЦНИИпромзданий», 1998 г.

14 «Рекомендации по организации работы службы охраны труда в организации».

15 «Технология строительного производства» И.А. Ганичев. М.: «Стройиздат», 1972 г.

16 «Указания по технологии ремонтно-строительного производства и технологические карты на работы при капитальном ремонте жилых домов». Под ред. канд. техн. наук С.Д. Химунина. Ленинград: «Стройиздат. Ленинградское отделение», 1978 г.




Яндекс цитирования



   Copyright © 2007-2026,  www.tehlit.ru.

[ ѓосты, стандарты, нормативы, инструкции, правила, строительные нормы ]