//
ТехЛит.ру
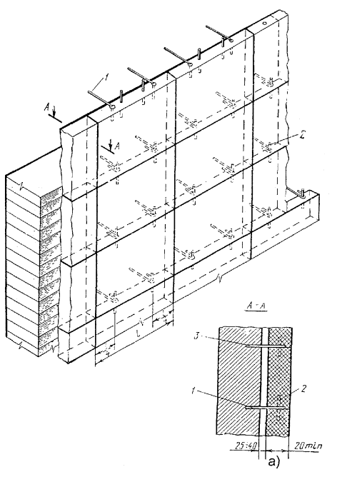
- крупнейшая бесплатная электронная интернет библиотека для "технически умных" людей.
WWW.TEHLIT.RU - ТЕХНИЧЕСКАЯ ЛИТЕРАТУРА

:: Алготрейдинг::


АЛГОТРЕЙДИНГ
шаг за шагом
с нуля по урокам!

Торговые роботы на PYTHON, BackTrader,
Pandas, Pine Script для TradingView. Связка с брокерами, телеграм и легкими приложениями.


Открытое акционерное общество

Проектно-конструкторский и технологический институт промышленного строительства

ОАО ПКТИпромстрой

ТЕХНОЛОГИЧЕСКАЯ КАРТА
НА ОБЛИЦОВКУ ФАСАДОВ
ПЛИТАМИ ИЗ ЕСТЕСТВЕННОГО
И ИСКУССТВЕННОГО КАМНЯ

1998

СОДЕРЖАНИЕ

1. Область применения. 1

2. Технология и организация выполнения работ. 2

3. Требования к качеству и приемке работ. 14

4. Технологический комплект оборудования, средств механизации, ручных машин, инструмента, приспособлений и инвентаря для производства работ по облицовке плитами фасадов жилых, гражданских и общественных зданий. 17

5. Решения по технике безопасности. 24

6. Технико-экономические показатели по облицовке плитами фасада площадью 10 м2 25

Использованная литература. 39

АННОТАЦИЯ.

Технологическая карта на облицовку фасадов плитами из естественного и искусственного камня разработана в соответствии с Перечнем научно-исследовательских и опытно-конструкторских работ на 1998 г. для нужд строительного комплекса, финансируемых из внебюджетного фонда согласно Распоряжения Премьера правительства Москвы от 2 апреля 1997 года № 336-РП.

Карта содержит решения по организации и производству облицовочных работ с целью их ускорения, снижения затрат труда и повышения качества.

В технологической карте приведены область применения, технология и организация выполнения работ, требования к качеству и приемке работ, калькуляция трудовых затрат, график производства работ, нормокомплект средств механизации и инструмента, решения по технике безопасности.

Технологическая карта предназначена для инженерно-технических работников строительных и проектных организаций, а также производителей работ, мастеров и бригадиров, связанных с производством и контролем качества облицовочных работ.

Технологическую карту разработали:

Ярымов Ю.А. - руководитель работы, Калинин А.Ю. - ответственный исполнитель от НИИМосстроя, Нечаева Е.С., Матвеев Д.А., Уханова Е.Б., Гапеев В.И. - исполнители, Северинова Г.В. - ЦНИИОМТП.

Шахпаронов В.В. - научно-методическое руководство и редактирование.

Едличка С.Ю. - общее руководство разработкой комплекта технологических карт.

1. ОБЛАСТЬ ПРИМЕНЕНИЯ.

1.1. Технологическая карта разработана на облицовку фасадов плитами из естественного (природного) и искусственного камня (далее «облицовка плитами») при строительстве, реконструкции и ремонте жилых, гражданских и общественных зданий.

1.2. Карта предназначена для производства наружных облицовочных работ с применением природных каменных материалов и изделий в виде плит, изготовленных из камней твердых пород, средней и мягкой твердости, а также искусственных изделий в виде бетонных плит.

1.3. Состав и содержание карты включают требования, предъявляемые к облицовочным материалам, к их транспортированию, хранению и обработке, а также к готовности предшествующих работ, решения по технологии и организации выполнения облицовочных работ с обеспечением их качества, технике безопасности и охране труда, производству работ в зимнее время. В организационно-технологической части карты содержатся решения по производству облицовочных работ, по облицовке плитами кирпичного цоколя, облицовке фасадов без устройства и с устройством металлического каркаса, приводится технологический комплект оборудования, средств механизации, ручного и механизированного инструмента, приспособлений и инвентаря, характеристики и схемы крепления плит к основанию, а также графики работ.

1.4. Графики производства работ, представленные в настоящей карте, составлены на облицовку 4,58 м2 простенка с проемами, 1 м2 поверхности фасада с устройством стального каркаса и без него и 5 м2 поверхности цоколя.

1.5. При привязке карты к конкретным условиям подлежат уточнению объемы работ, калькуляция и график производства работ.

1.6. Организация и производство работ, предусмотренные настоящей технологической картой при строительстве, реконструкции и ремонте объектов в г. Москве должны осуществляться с соблюдением требований инструкции о работах по отделке фасадов всех наружных частей зданий, сооружений и строений, расположенных на территории Москвы.

2. ТЕХНОЛОГИЯ И ОРГАНИЗАЦИЯ ВЫПОЛНЕНИЯ РАБОТ.

2.1. Облицовочные плиты в зависимости от ширины делятся на пять групп (табл. 1).

Размеры облицовочных плит в зависимости от группы плит по ширине.

Табл. 1

Группа

Размеры плиты, мм

ширина

длина

толщина

I

св. 800 до 1200

Не менее ширины

20, 25, 30

II

св. 600 до 800

III

св. 300 до 600

Но не более 1500

10, 15, 20, 25, 30

IV

св. 150 до 300

полоска и плашка

св. 20   до 150

Размеры плит по длине и ширине (высоте) должны быть кратными 10 мм. Допускаемые отклонения от заданных размеров плит не должны превышать: по толщине ±3 мм, по длине и ширине (высоте) ±1 мм.

2.2. До начала работ по облицовке плитами поверхности фасада должны быть закончены все строительные, монтажные и специальные работы, производимые над участками стен, подлежащими облицовке, очищена рабочая зона от мусора и обеспечен свободный доступ к рабочему месту.

2.3. Поверхности, подлежащие облицовке плитами, не должны иметь отклонений от вертикали, превышающих допуски, установленные СНиП 3.03.01-87 «Несущие и ограждающие конструкции» для соответствующих каменных и бетонных поверхностей.

2.4. Стены, подлежащие облицовке плитами, должны иметь:

- допускаемую нагрузку не менее 80 % проектной, за исключением стен, облицовка которых выполняется одновременно с кладкой;

- насечку на поверхности стен, выполненных с полностью заполненными швами, а поверхности стен, выполненных впустошовку;

- горизонтальные и вертикальные отметки конструктивных элементов облицовки, перенесенных в натуру до начала облицовочных работ.

2.5. Поверхности стен перед началом облицовочных работ должны быть очищены, насечены или обтянуты металлическим каркасом участки стен, выверены плоскости кладки и нанесены проектные отметки линий, осей, углов, пилястр, оконных проемов, горизонтальных линий, провешены, облицовываемые поверхности, а на стенах установлены маяки.

2.6. До начала облицовочных работ должна быть проведена технологическая обработка плит.

Операции по обработке плит выполняются в соответствии с графиком производства работ (рис. 1):

- доставленные плиты распаковываются и проверяются их размеры;

- при помощи угольников проверяется прямоугольность плит, наносятся скарпелями линии окола, кромки плит окалываются закольниками, отесываются по периметру тыльные стороны плит под углом 30 - 45°;

- для лучшего сцепления плит с раствором на их тыльных сторонах делается насечка;

- производится грубая отеска кромок при помощи шпунтов, а затем скарпелями - чистая отеска;

- в пазухах каждой плиты пробиваются при помощи буров, скарпелей и молотков гнезда глубиной 35 - 45 мм и вырубаются борозды для установки креплений;

- заготавливаются отдельные полосы для заполнения кратных мест.

Обработку плит вручную выполняют камнетесы V р. - 1 чел, IV р. - 1 чел.

Инструменты, приспособления и инвентарь необходимые для выполнения работ должны соответствовать приведенному комплекту (табл. 2).

Инструменты, приспособления и инвентарь

Табл. 2

Наименование

ГОСТ

Количество

Лом-гвоздодер

ГОСТ 1405-83*

2

Угольник стальной

ГОСТ 10920-64

2

Метр стальной складной

-

2

Закольник для околки кромки плит

-

4

Скарпель для обработки плит

-

4

Молоток стальной

ГОСТ 11042-90

2

Очки защитные

ГОСТ 12.4.013-85*Е

2

Машина сверлильная электрическая ИЭ-1012

ГОСТ 16436-70

1

Шпунт ручной для насечки плит

-

4

2.7. В соответствии с Инструкцией о работах по отделке фасадов всех наружных частей зданий, сооружений и строений, расположенных на территории Москвы, до проведения работ по отделке фасадов необходимо провести экспертную оценку состояния объекта и выполнить работы по капитальному ремонту всех наружных частей, подлежащих отделке.

2.8. Облицовка плитами стен многоэтажных зданий производится ярусами на высоту этажа. Каждый ярус устанавливается на разгрузочный опорный ряд, который в свою очередь устраивается по конструктивным элементам облицовываемой стены и отделяется от нижележащего яруса компенсационным швом шириной 5 - 10 мм.

Облицовка начинается с установки угловых плит на цоколь или угловых камней очередного опорного ряда на перекрытие, с тщательной проверкой горизонтальности первого ряда нивелиром. Последующие ряды облицовки контролируются с помощью шнура, уровня и отвеса.

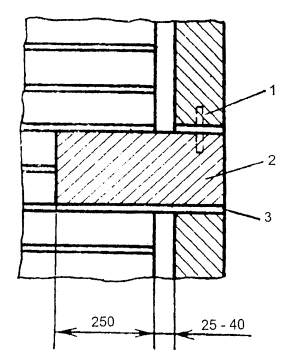
2.9. Облицовка стены одновременно с кладкой. В безкаркасных зданиях опорный разгрузочный узел устраивается из утолщенных плит, с перевязкой их с кладкой стены на глубину не менее 250 мм (рис. 2).

В каркасных зданиях опорные ряды устраиваются по балкам из угловой стали или плитам перекрытий (рис. 3).

Для крепления облицовочных плит одновременно с кладкой стены, в горизонтальных рядах на нижнюю плиту устанавливаются по два простых крюка, по два штыря и по два комбинированных крюка (рис. 4, табл. 3).

До установки плит в проектное положение проверяется соответствие их размеров и формы рабочим чертежам. Плита предварительно очищается и промывается.

2.10. Облицовка стены по готовой кладке. При облицовке плитами стены по готовой кладке предусматривается сверление отверстий для установки креплений или закладка в горизонтальные ряды кладки специальных петель, через которые заводятся вертикальные стержни, к которым крепится крюк (рис. 5).

Облицовочные плиты крепятся специальными закрепами (табл. 4). Готовую стену облицовывают плитами следующим способом:

- проверяется вертикальность стены отвесом по плоской части через 2 - 3 м, а так же в точках перелома фасада на всю высоту здания или поэтажно;

- промывается плоскость стены;

- намечается краской по шнуру положение горизонтальных швов облицовки или устанавливаются рейки-порядовки;

- намечается горизонтальным шнуром наружная поверхность облицовки на высоте ее первого ряда;

- проверяется соответствие размеров и формы плит рабочим чертежам;

- устраиваются в стене отверстия, для крепления плит в соответствии с размерами закреп;

- очищается и промывается место установки плиты;

- укладывается раствор в соответствии с проектной толщиной шва, ставятся деревянные клинья или свинцовые прокладки-фиксаторы;

- устанавливается плита в проектное положение и закрепляется крюками;

- снимается выдавленный из шва раствор, очищаются швы на глубину 15 - 20 мм для дальнейшей расшивки;

- оформляются вертикальные швы после установки всего ряда.

Закрепы для крепления плит облицовки поля стены одновременно с кладкой

Таблица 3

Закрепы

Изображение детали

Обозначение

Размер закреп при толщине плит, мм

20 - 40

40 и более

Крюк

l

170 - 180

180 - 200

h

15 - 20

20

d

3 - 4

4 - 6

Штырь

l

30 - 40

40

d

3 - 4

4 - 6

Крюк комбинированный

l

170 - 180

180 - 200

d

3 - 4

4 - 6

Закрепы для крепления плит облицовки поля стены по готовой кладке

Таблица 4

Закрепы

Изображение детали

Обозначение

Размеры закреп, мм, при толщине плит, мм

20 - 40

40 и более

Петля

l

170

170

h

30 - 40

30 - 40

d

5

5

Прут

l

1200

1200

d

5

5

Крюк

l*

120

150

h

15 - 20

20

d

3

4 - 5

2.11. Для соединения плит в углах на их верхних гранях устанавливается по одной скобе на каждый угол (рис. 6). Скобы изготавливаются из нержавеющей стали. Размеры скоб: длина 100 - 150 мм, длина загиба 20 - 30 мм, диаметр 5 - 8 мм.

2.12. Массивные подоконники в виде утолщенных плит устанавливаются одновременно с кладкой стен с уклоном к наружному краю (рис. 7).

Подоконники по всему этажу укладываются под общий шнур. Торцы подоконника соединяются с плитами облицовки стены встык.

Наличники в виде массивных деталей устанавливаются после затвердения раствора, на каждом уложенном подоконнике. Цельные наличники закрепляются сверху и снизу комбинированными крюками или устанавливаются на штырь снизу и укрепляются сверху (рис. 7 «в», табл. 5).

Перемычки устанавливаются на наличники после того, как кладка стены доведена до верхнего уровня наличников. Над перемычкой оставляется пустой шов (рис. 7 «г»), толщиной 10 мм, заполняемый эластичной мастикой.

Закрепляются перемычки комбинированными крюками и штырями, расположенными в шве между наличником и перемычкой, а сверху - с помощью крюков через каждые 500 мм, но не менее 2-х на перемычку.

2.13. Пояса облицовки выполняются вперевязку с кладкой стены (рис. 8) или крепятся к готовой стене закрепами (рис. 9, табл. 6).

2.14. Безрастворная облицовка плитами поверхности стен осуществляется с применением специальных анкеров (рис. 10, 11).

После провески стены производится разметка ее для устройства отверстий под анкеры. Диаметр отверстий определяется сечением анкера, а глубина его (не менее 80 мм) выявляется при разметке и провешивании стены. Отверстия очищаются от пыли продувкой или промывкой водой под давлением.

Отверстия с помощью специальных шприцев заполняются тампонирующим составом. Тампонирующий состав приготовляется на месте небольшими порциями из расчета использования его в течении 0,5 - 1,0 ч.

К тампонирующему составу предъявляются требования:

состав должен быть пластичным;

начальный период твердения состава, обеспечивающий закрепление анкеров в проектном положении, должен быть не более 5 - 10 мин;

срок набора прочности, позволяющий устанавливать на анкеры следующий по высоте ряд плит, должен составлять не более 1 - 2 ч.

Закрепы для облицовки проемов

Таблица 5

Закрепы

Изображение детали

Обозначение

Размеры закреп, мм

Комбинированный крюк

l

120 - 150

h

20

d

5 - 8

Штырь

l

40 - 60

d

6 - 8

Скоба

l

120 - 150

h

20 - 30

d

5 - 8

Крюк

l

150

h

20

d

5

Пластина подвеса (полоса 30´50)

l1

150

l2

20

Закрепы для крепления поясов облицовки

Таблица 6

Закрепы

Изображение детали

Обозначение

Размеры закреп, мм, при толщине плит облицовки, мм

20 - 40

40 и более

Крюк

l

170 - 180

180 - 200

h

15 - 20

20

d

3 - 4

4 - 6

Штырь

l

30 - 40

40

d

3 - 4

4 - 6

Крюк комбинированный

l

200

h

20

d

10 - 12

Штырь для крюка

l

60

d

10 - 12

Тампонирующий состав, отвечающий перечисленным требованиям, приготовляется из следующих компонентов:

цемент марки РЦ - 400 (ГОСТ 11052 - 74);

песок строительный МК - 1,0 ÷ 1,5 (ГОСТ 8736-93);

смола № 89 (ТУ 6-0,5-1224-76).

Подготовленный анкер вставляется в отверстие с тампонирующим составом и фиксируется в проектном положении.

При установке пластинчатой закрепы (по вертикали большей стороной) ее толщина ля плиты δ = 30 - 40 мм) должна быть 1,2 - 1,5 мм, закрепы устанавливаются попарно.

При горизонтальном расположении закреп толщина их увеличивается до 2,5 - 4,5 мм и в каждое отверстие вставляется один крепежный элемент.

Установку следующего ряда плит (при облицовке горизонтальными рядами) рекомендуется производить через 1 - 2 ч. после монтажа плит предыдущего ряда.

Надежность установленной закрепы проверяется на выдергивание.

Закрепы, не выдержавшие проверки, подлежат повторному закреплению и проверке.

Деформационные швы заполняются резиновым уплотнителем со степенью обжатия 20 %. Дальнейшее оформление шва производится герметизирующими пастообразными мастиками. Открытые стыки обязательно заполняются герметиком.

Облицовка плитами кирпичного цоколя.

2.15. Кирпичный цоколь облицовывается готовыми плитами из камня твердых горных пород с высокой механической прочностью и атмосферостойкостью - кварцитов, гранитов, лабрадоритов, габбро размерами 1000´500´80 (100) мм.

При облицовке цоколя известняком внутренняя поверхность камня предохраняется от влаги изоляционными прокладками или обмазывается жидким тестом из гидрофобного цемента слоем 10 - 15 мм. При использовании для облицовки гранитных плит с тыльной стороны камня водонепроницаемыми растворами промазываются только швы.

2.16. Облицовка плитами кирпичного цоколя с устройством металлического каркаса выполняется в следующей последовательности:

устраивается стальной каркас на всей захватке по всей высоте цоколя для чего, стальные вертикальные стержни диаметром 8 мм пропускаются через скобы, заделанные в кирпичной стене, между стеной и вертикальными стержнями на уровне верхней кромки плит заводятся горизонтальные стержни диаметром 6 мм, горизонтальные и вертикальные стержни связываются между собой вязальной проволокой (рис. 5);

размечаются места установки плит первого ряда облицовки. С помощью водяного уровня наносятся отметки верха облицовки цоколя или соответствующего ряда. В начале и в конце захватки устанавливаются и закрепляются по отметкам шаблоны, определяющие угол наклона плит (при необходимости) и верх цоколя. По шаблонам устанавливаются маячные плиты так, чтобы верхняя кромка их была на заданной отметке верха ряда. Снизу и по верхней кромке маячных плит натягивается шнур-причалка и крепится к стене штырями;

устраивается постель из раствора с раскладкой на ее поверхности деревянных клиньев;

на постель из раствора устанавливается первый ряд плит, с опусканием их на разложенные клинья. Между стеной и плитой также закладываются деревянные клинья, для придачи плите соответствующего наклона. В гнездо ранее установленной плиты вставляется штырь и надвигают устанавливаемую плиту, чтобы штырь установленной плиты вошел в гнездо вертикальной кромки устанавливаемой. Нижний край устанавливается по шнуру. Правильность установки маячных плит проверяют по уровню, прикладываемому к горизонтальной и вертикальной кромкам плиты;

последующие ряды плит устанавливаются насухо на нижележащие плиты, на кромках которых предварительно укладывается толевая прокладка;

после установки трех плит в ряду проверяется ровность поверхности облицовки с помощью рейки, прикладываемой к лицевой поверхности плит в нескольких направлениях;

смежные плиты скрепляются временно гипсовым раствором;

с помощью крюка, заводимого в гнездо верхней кромки устанавливаемой плиты, плиты крепятся к стальному каркасу;

после установки всего ряда плит на захватке пазухи заливаются раствором на 1/3 высоты плиты. После затвердения первого слоя раствора пазухи заполняются вторым слоем на 3/4 высоты плиты.

Организация рабочего места, график выполнения работ, а также инвентарь, инструменты и приспособления должны обеспечивать указанную последовательность работ и операций (рис. 12, 13, 14, 15, табл. 8).

2.17. Облицовка плитами кирпичного цоколя без устройства металлического каркаса выполняется в следующей последовательности:

точно определяется соответствие длины плит (с учетом толщины швов) длине облицовываемого цоколя;

проверяется горизонтальная поверхность постели фундамента. Отклонения поверхности постели фундамента от плоскости не должно превышать 10 мм. Выступающие неровности срубаются, а впадины заполняются раствором;

на высоте первого устанавливаемого ряда шнуром намечается наружная поверхность облицовки;

размечаются и устраиваются отверстия в стене. Глубина отверстия в стене не менее 100 мм, диаметр зависит от величины загнутого конца, но должен составлять не менее 3-х диаметров крюка;

плиты цоколя устанавливаются по готовой стене на крюках, закрепленных в гнездах. Вертикальное положение плит облицовки регулируется деревянными клиньями;

при облицовке цоколя одновременно с кирпичной кладкой плиты устанавливаются на раствор густой консистенции с толщиной слоя 10 - 15 мм. Кладка ведется вплотную к облицовке. Крепления вводятся после того, как кладка стены выполнена на высоту установочного ряда;

промежуточные плиты устанавливаются после того, как раствор, на котором установлены угловые плиты, достаточно затвердеет. Плиты устанавливаются с обеих концов одновременно. Последняя, замковая, плита подгоняется по месту;

плиты цоколя крепятся к стене крюками по две штуки на плиту сверху, а между собой штырями и скобами (рис. 16 табл. 7).

Для производства работ по облицовке кирпичного цоколя применяется комплект инструмента, приспособлений и инвентаря (табл. 8).

2.18. Облицовка плитами стен фасадов без устройства металлического каркаса с заливкой пазух раствором выполняется в следующей технологической последовательности:

проверяется вертикальность поверхности стен, выравниваются неровности;

на расстоянии 2,5 - 3 м друг от друга забиваются штыри и натягивается на них шнур;

шнур закрепляется на штырях в плоскости лицевой поверхности облицовки;

отвесом проверяется вертикальность поверхности стены;

устанавливаются плиты насухо на штыри, выверяются по шнуру и отвесу, а затем раскрепляются деревянными клиньями, забиваемыми между стеной и плитой;

намечаются места установки креплений, устраиваются отверстия в стене, в них забиваются деревянные пробки;

плиты крепятся к стене анкерами, забиваемыми в деревянные пробки. Верхние плиты с нижними соединяются штырями (рис. 17);

пазухи между стеной и плитой облицовки заполняют раствором слоями по 150 - 200 мм, не доводя заливку на 5 см до верха;

облицованная поверхность очищается от подтеков и брызг раствора.

Закрепы для крепления плит из камней для облицовки цоколя

Таблица 7

Закрепы

Изображение детали

Обозначение

Размеры закреп, мм

Крюк

l

100 - 150

h

20

d

6 - 8

Штырь

1

50

d

6

Скоба

l

Не менее 100

h

20

d

6 - 8

Скоба

l

Не менее 100

h

20

b

25

δ

3

Инструменты, приспособления и инвентарь, необходимые для производства работ по облицовке кирпичного цоколя

Таблица 8

наименование

ГОСТ

кол-во штук

Лом монтажный

ГОСТ 1405-83*

2

Рулетка

ГОСТ 7502-89*

1

Молоток строительный

ГОСТ 11042-90

2

Уровень гибкий

ГОСТ 9416-83

1

Уровень строительный

ГОСТ 9416-83

1

Шнур длиной 15 м

ГОСТ 1765-89

2

Ведро

-

2

Кельма

ГОСТ 9533-81

2

Лопата растворная

-

2

Кусачки

ГОСТ 28037-89*

1

Плоскогубцы

ГОСТ 5547-89

1

Рейка длиной 1,5 м

-

1

Метр складной стальной

-

2

Чашка резиновая для раствора гипса

-

1

Ящик для креплений

-

1

Ящик для инструмента

-

1

Шаблон для разметки

-

2

Совок для заливки раствора

-

1

Пирамида для хранения плит на рабочем месте

-

2

Организация рабочего места, график выполнения работ, а также необходимый инструмент, приспособления и инвентарь должны обеспечивать указанную последовательность работ и операций (рис. 18, табл. 9).

Инструменты, приспособления и инвентарь

Табл. 9

Наименование, назначение и основные параметры

ГОСТ

Количество шт

Отвес для проверки вертикальности поверхности стен

ГОСТ 7948-80

2

Рулетка

ГОСТ 7502-89*

2

Шнур длиной 20 м

ГОСТ 1765-89

1

Штырь стальной длиной 100 мм, диаметром 8 мм для крепления шнура

-

6

Скарпель для очистки поверхности стен

-

1

Молоток стальной

ГОСТ 11042-90

2

Шлямбур для пробивки отверстий

-

4

Лопата растворная

-

2

Тележка для подвозки плит

-

1

Ящик большой инвентарный для раствора

-

1

Ковш штукатурный для заливки раствора

ГОСТ 7945-86*

2

Щетка большая для очистки облицовки

 

2

Ножницы ручные для резки арматуры

-

2

Машина сверлильная ИЭ-1502

ГОСТ 16436-70

1

Очки защитные

ГОСТ 12.4.013-85*Е

2

2.19. При облицовке плитами фасадов с устройством металлического каркаса, крепежные детали (крючья, скобы и штыри) изготавливаются из нержавеющей стали, меди или латуни. Допускается применение обычной стали с антикоррозийным покрытием.

Виды и размеры крепежных деталей зависят от вида облицовки.

Каркас изготовляется из стальных стержней диаметром 6 и 8 мм.

2.20. Облицовка плитами глухих стен выполняется в следующей последовательности:

провешивается облицовываемая поверхность, для чего с помощью отвеса проверяется через каждые 3 этажа по высоте здания вертикальность стены, подлежащей облицовке плитами, и выставляется требуемое количество маяков по всему фасаду;

устраивается стальной каркас для крепления плит облицовки простенка и перемычки, для чего с верхнего яруса лесов пропускается через скобы, заделанные в кирпичной стене простенка, стальной стержень. Перед установкой очередного ряда плит на уровне верхней кромки плит заводятся горизонтальные стержни и привязываются к вертикальным стержням вязальной проволокой (рис. 5);

натягивается причалка, для чего на стене вверх от цоколя на расстоянии, равном высоте плиты плюс 2 см олщина растворной постели) наносится риска, которая затем переносится на установленный конец захватки. В местах нанесения рисок забиваются штыри, по которым на расстоянии 5 см от стены натягивается причалка;

укладывается на цоколь раствор, разравнивается и на его поверхности раскладываются деревянные клинья;

на уложенные на растворе деревянные клинья по причалке устанавливаются плиты первого ряда, между установленной плитой и стеной также закладываются клинья;

плита по стене устанавливается строго по причалке и рискам на цоколе ля чего служат горизонтальные и вертикальные деревянные клинья). В гнездо вертикальной кромки плит заводится штырь и следующая плита простенка надвигается гнездом на штырь предыдущей. Плиты следующих рядов устанавливаются насухо на верхние кромки установленных ниже плит;

после установки четырех-пяти плит проверяется ровность облицованной поверхности простенка с помощью рейки, прикладываемой к поверхности в разных направлениях;

смежные плиты на швах крепятся гипсовыми накладками;

угловые плиты соединяются между собой скобой, концы которой заводятся в гнезда верхних кромок плит. К каркасу угловые плиты крепятся так же как и рядовые (рис. 5, 6);

плиты рядовые крепятся к каркасу, для чего один загнутый конец крюка заводится в гнездо верхней кромки установленной плиты, а другой крепится за горизонтальный стержень каркаса. Рядовые плиты длиной 600 - 1000 мм крепятся к каркасу двумя крюками;

пазухи между стеной и закрепленными плитами заливаются раствором на 1/3 высоты плиты. После затвердения первого слоя раствора заливают второй слой на 3/4 высоты плиты. Незалитая часть пазухи заполняется при заливке пазухи следующего ряда плит. Раствором обязательно должны быть залиты все металлические крепления.

Организация рабочего места, график выполнения работ, а также необходимый инструмент, приспособления и инвентарь должны соответствовать приведенным в карте рекомендациям (рис. 19, 20, табл. 10).

Инструменты, инвентарь и приспособления

Табл. 10

Наименование

ГОСТ

Количество

Отвес

ГОСТ 7948-80

2

Уровень гибкий

ГОСТ 9416-83

1

Причалка капроновая

ГОСТ 1765-89

1

Угольник стальной

-

2

Молоток стальной строительный

ГОСТ 11042-90

2

Метр стальной складной

-

2

Рулетка

ГОСТ 7502-89*

1

Кусачки (острогубцы)

ГОСТ 28037-89*

2

Лопата

-

1

Кельма

ГОСТ 9533-81

1

Ведро

-

2

Ящик для крепежных деталей

-

2

Рейка деревянная длиной 2 м

-

1

Чаша резиновая для гипсового раствора

-

1

Лопатка стальная

-

1

Столик для ведра с раствором

-

2

Совок для заливки пазух

ГОСТ 7945-86*

2

Ларь для гипса

-

1

Ящик для инструмента

-

2

Тележка для подвозки плит к рабочему месту

-

1

2.21. Облицовка плитами стен с оконными проемами выполняется в следующей последовательности (см. п. 2.20):

провешивается облицовываемая плитами поверхность;

устраивается стальной каркас для крепления плит;

натягивается причалка для установки плит;

с помощью шаблона размечаются места установки плит в простенке, определяется длина простенка, после чего определяется длина плит простенка с учетом расположения вертикальных швов;

устраивается постель из раствора по цоколю;

устанавливаются и выверяются плиты простенка первого ряда;

нижняя плита откоса устанавливается на деревянный клин по рискам на коробке и плите простенка, выверяется по вертикали отвесом, крепится к стене простенка скобой, концы которой заводятся в гнезда верхних кромок плит. Последующие плиты устанавливаются на верхней кромке установленных ниже;

плиты верхнего горизонтального откоса укладываются на горизонтальную доску, опирающуюся на трубчатые стойки, уложенные в проеме. В гнездо боковой кромки плиты заводится штырь, который крюком соединяется со скобой, заделанной в стене над проемом. Следующая смежная плита, надвигается гнездом в ее кромке на штырь предыдущей плиты;

плиты перемычек укладываются на уложенный по опалубочной доске деревянный брусок, проверяются по вертикали отвесом. В гнездо вертикальной кромки плиты заводится штырь, который крюком соединяется со скобой, заделанной в стену. Таким же образом устанавливают вторую плиту, надвигая гнездо в ее вертикальный кромке на штырь первой плиты;

после установки 4 - 5-ти плит проверяется ровность облицовываемой поверхности, плиты простенка крепятся к каркасу, смежные плиты на швах крепятся гипсовыми накладками, производится заливка пазух раствором.

Порядок облицовки плитами стен на захватке, а также график выполнения работ и необходимые инструменты, приспособления и инвентарь должны соответствовать рекомендациям технологической карты (рис. 21, 22, табл. 11).

Особенности производства работ в зимнее время.

2.21. В зимнее время облицовку ведут или в тепляках, или с применением растворов со специальными добавками или с применением электрообогрева.

2.22. В тепляках обогрев конструкций осуществляется при помощи теплогенераторов, работающих на жидком топливе или с помощью панельно-линейных переносных электронагревателей. Расчет количества теплогенераторов и электронагревателей для обогрева конструкций в каждом конкретном случае ведется с учетом: температуры наружного воздуха, скорости ветра, температуры укладываемого раствора, температуры изотермического прогрева, скорости разогрева раствора, времени разогрева и прочности раствора к моменту остывания.

Для обогрева рекомендуется мобильные теплогенераторы «Thermobile» (табл. 12).

Указанный теплогенератор позволяет автоматически контролировать процесс горения. При перегреве, задымлении или нехватки топлива теплогенератор отключается автоматически. Теплогенератор оборудован термостатом, автоматически поддерживающим заданную температуру в тепляке. В качестве топлива могут использоваться без дополнительной настройки керосин или солярка. Среднее время работы одной заправки 8 - 10 час.

Инструменты, инвентарь и приспособления

Табл. 11

Наименование

ГОСТ

Количество

Отвес

ГОСТ 7948-80

2

Уровень

ГОСТ 9416-83

1

Уровень гибкий

ГОСТ 9416-83

1

Причалка капроновая

ГОСТ 1765-89

1

Молоток стальной строительный

ГОСТ 11042-90

2

Метр стальной складной

-

2

Рулетка

ГОСТ 7502-89*

1

Кусачки

ГОСТ 28037-89*

2

Шаблон для разметки мест установки плит откосов и простенков

-

1

Лопата

-

1

Кельма

ГОСТ 9533-81

1

Ведро

-

2

Доска опалубочная для установки плит горизонтального откоса

-

1

Стойка трубчатая инвентарная

-

2

Ящик для крепежных деталей

-

2

Рейка деревянная длиной 2 м

-

1

Чаша резиновая для гипсового раствора

-

1

Лопатка стальная

-

1

Столик для ведра с раствором

-

2

Совок для заливки пазух

ГОСТ 7945-86*

2

Ларь для гипса

-

1

Ящик для инструмента

-

2

Тележка для подвозки плит к рабочему месту

-

1

Характеристика теплогенератора «Thermobile»

Табл. 12

Модель

Тепловая мощность

Расход топлива, л/час

Производительность вентилятора, м3/час

Емкость бака, л

Вес без топлива, кг

Потребляемый ток (230 В), А

кВт

кКал/час

ТА16

18,6

16000

1,8

600

15

24

0,6

2.23. При замоноличивании раствором пазух могут использоваться растворы с химическими добавками, понижающими температуру замерзания жидкой фазы и обеспечивающими твердение раствора при отрицательных температурах воздуха в зимнее время в условиях строительной площадки при устойчивой среднесуточной температуре наружнего воздуха ниже 5 °С и минимальной суточной температурой ниже 0 °С.

Выбор противоморозных добавок в каждом конкретном случае производится строительной лабораторией с учетом обеспечения требуемого качества.

2.24. Электропрогрев раствора пазух рекомендуется производить при помощи пластинчатых или ленточных электронагревателей.

Сущность электропрогрева проволочными или пластинчатыми электронагревателями, заключается в передаче выделенного тепла от греющей поверхности к прогреваемой поверхности облицовки и далее к раствору, заполняющему пазухи.

Пластинчатые и проволочные электронагреватели могут использоваться для термообработки раствора, для удаления снега, попавшего в пазухи, кроме того, при необходимости, могут быть использованы как термические печи для обогрева и просушки тепляков. Электрообогрев может совмещаться с другими способами ускорения твердения раствора (например с использованием химических добавок).

Диапазоны применения электрообогрева:

высота ряда камня                         от 200 до 600 мм;

толщина камня                               от 20 до 60 мм;

ширина пазухи                               от 30 до 60 мм.

3. ТРЕБОВАНИЯ К КАЧЕСТВУ И ПРИЕМКЕ РАБОТ.

3.1. Необходимым требованием для выполнения отделочных работ на фасадах зданий и сооружений является наличие паспорта, выданного Службой Главного художника г. Москвы (Москомархитектура) и Государственным Унитарным Предприятием «Энлаком».

3.2. Контроль качества облицовочных работ должен осуществляться специальными службами строительных организаций.

Выборочный инжиниринг-контроль за проведением и качеством выполнения отделочных работ по фасадам зданий и сооружений осуществляет ГУП Центр «Энлаком».

3.3. Производственный контроль качества работ должен включать входной контроль рабочей документации плит, предназначенных для облицовки фасадов, операционный контроль процесса облицовки плитами и приемочный контроль облицованной поверхности фасадов зданий и сооружений.

3.4. При входном контроле рабочей документации проводится проверка ее комплектности и достаточности содержащейся в ней технической информации для производства облицовочных работ.

При входном контроле плит, предназначенных для облицовки фасадов зданий и сооружений проверяется соответствие этих изделий требованиям стандартов, нормативных документов и рабочей документации, а также наличие и содержание паспортов, сертификатов и других сопроводительных документов.

3.5. Каждая партия поставляемых на стройку плит, а также материалы и изделия, необходимые для облицовки фасадов должны соответствовать следующим требованиям:

облицовочные плиты не должны иметь сквозных трещин и поверхностных каверн;

облицовочные плиты должны быть прямоугольными или квадратными, с отклонением от прямого угла (просвет под угольником) смежных граней не более 1 мм на 1 м длины плиты;

лицевая поверхность плит должна быть ровной и правильной. Отклонения от правильности плоскости (просвет под линейкой) не более 2 мм на 1 м длины плиты;

отклонения лицевой поверхности облицовочных плит не должны превышать допускаемых (табл. 13);

каждая партия поставляемых на стройку плит должна сопровождаться паспортом с указанием в нем наименования и адреса предприятия изготовителя, породы камня, наименования месторождения, физико-механических показателей блоков по ГОСТ 9479-76, № партии, количество плит и их размеров, группы и фактуры плит;

растворы, применяемые для заполнения зазора между облицовываемой поверхностью и облицовочными элементами, не должны содержать растворимых солей, образующих высолы на поверхности облицовки. Для этой цели следует использовать растворы на пуццолановом портландцементе и промытом песке с добавкой пластификатора. Водоцементное отношение раствора не должно превышать 0,4 - 0,5;

подвижность цементно-песчаного раствора, применяемого для заливки пазух, должна соответствовать глубине погружения стандартного конуса 8 - 10 см;

цементные растворы должны использоваться не позже чем через 1,5 ч после их приготовления;

крепежные детали должны быть выполнены из нержавеющей стали, меди, латуни или из обычной стали с антикоррозийным покрытием.

Допускаемые отклонения от качества лицевой поверхности облицовочных плит.

Табл. 13

Виды допуска

Гранит и другие твердые породы

Мрамор, известняк, травертин, песчаник, туф и другие горные породы

Сколы на ребрах лицевой грани по периметру:

 

 

количество,

3

2

длина по ребру, мм

5

5

Отбитые углы:

 

 

количество,

2

2

длина по ребру, мм

5

5

3.6. Операционный контроль осуществляется в ходе выполнения процесса облицовки плитами и обеспечивает своевременное выявление дефектов с целью принятия мер по их устранению и предупреждению.

При операционном контроле проверяется соблюдение технологий выполнения облицовочных работ, соответствия выполненных работ рабочим чертежам, строительным нормам, правилам и стандартам.

Основным документом при операционном контроле является СНиП 3.04.01-87 «Изоляционные и отделочные покрытия».

Результаты операционного контроля фиксируются в журнале производства работ.

3.7. При приемочном контроле производится проверка качества выполненных облицовочных работ.

Качество облицованных поверхностей должно удовлетворять следующим требованиям:

облицованные поверхности должны соответствовать заданным геометрическим формам;

материал, размеры и рисунок облицовки - соответствовать проекту;

поверхности, облицованные однотонными искусственными материалами, должны иметь однотонность, а облицованные изделиями из природных каменных пород - однотонность или плавность перехода оттенков;

горизонтальные и вертикальные швы должны быть однотипны и однородны;

пространство между стеной и облицовкой должно быть полностью заполнено раствором;

облицованная поверхность в целом должна быть жесткой, не иметь сколов в швах более 0,5 мм, трещин, пятен, потеков раствора и высолов.

Состав и содержание производственного контроля качества работ приведен в таблице 14.

3.8. При производстве облицовочных работ должны быть соблюдены требования СНиП 3.04.01-87 «Изоляционные и отделочные покрытия» и рекомендации настоящей технологической карты.

3.9. Организации, производящие отделку фасадов и связанный с ними ремонт, реставрацию и реконструкцию объектов несут полную ответственность за соблюдение требований нормативно-технической документации и обязаны обеспечивать качество работ.


СОСТАВ И СОДЕРЖАНИЕ ПРОИЗВОДСТВЕННОГО КОНТРОЛЯ КАЧЕСТВА

Табл. 14

Кто контролирует

Прораб или мастер

Операции подлежащие контролю

Входной контроль

Операционный контроль

Приемочный контроль

Состав контроля

Проверка комплектности документации

Полнота технической информации для производства облицовочных работ

Соответствие плит облицовки требованиям стандартов, нормативных документов

Наличие и содержание паспортов, сертификатов и др. сопроводительных документов

Подготовка поверхности к облицовке

Проверка разметки установки плит и мест креплений

Проверка заполнений пазух раствором

Проверка отклонений плит облицовки

Проверка качества облицовки

Проверка качества швов

Проверка внешнего вида облицовки

Проверка отклонений

Методы контроля

Регистрационно

Визуально и инструментально

Время контроля

До начала работ

В процессе выполнения облицовочных работ

После окончание облицовочных работ

Кто привлекается к проверке

 

Лаборатория

 


4. ТЕХНОЛОГИЧЕСКИЙ КОМПЛЕКТ ОБОРУДОВАНИЯ, СРЕДСТВ МЕХАНИЗАЦИИ, РУЧНЫХ МАШИН, ИНСТРУМЕНТА, ПРИСПОСОБЛЕНИЙ И ИНВЕНТАРЯ ДЛЯ ПРОИЗВОДСТВА РАБОТ ПО ОБЛИЦОВКЕ ПЛИТАМИ ФАСАДОВ ЖИЛЫХ, ГРАЖДАНСКИХ И ОБЩЕСТВЕННЫХ ЗДАНИЙ.

4.1. Полный технологический комплект технических средств должен обеспечивать производительную работу бригады при осуществлении подготовительных, подсобно-вспомогательных и основных производственных процессов и операций по облицовке плитами фасадов зданий и сооружений.

4.2. Технологический комплект (нормокомплект) оборудования, средств механизации, ручных машин, инструмента, приспособлений и инвентаря, приведенный в настоящей карте разработан для бригады в количестве 10 человек в составе:

камнетесы-гранитчики 5-го разряда - 2 чел.

камнетесы-гранитчики 4-го разряда - 4 чел.

камнетесы-гранитчики 3-го разряда - 2 чел.

камнетесы-гранитчики 2-го разряда - 2 чел. (табл. 15).

Оборудование, средства механизации, ручные машины и инструмент, приспособления и инвентарь для облицовки плитами фасадов.

Табл. 15

№ п/п

Наименование

ГОСТ

Назначение, краткая техническая характеристика

Количество

1

2

3

4

5

1. Оборудование, ручные машины и инструмент для механической обработки плит

1

Станок для резки мрамора

-

Предназначен для резки мрамора на строительной площадке

 

1

Толщина разрезаемого материала, мм

40

Диаметр отрезного круга, мм

320

Мощность электродвигателя, кВт

2,8

Габаритные размеры, мм

1300´720´1600

Масса, кг

218

2

Станок для резки гранита

-

Предназначен для резки гранита на строительной площадке

 

1

Толщина разрезаемого материала, мм

100

Диаметр отрезного круга, мм

400

Мощность электродвигателя, кВт

7,0

Габаритные размеры, мм

2400´1000´1700

Масса, кг

530

3

Машина ручная сверлильная электрическая двухскоростная ударно-вращательного действия ИО-1502

ГОСТ 16436-70

Предназначена для сверления отверстий

Диаметр сверла, мм:

 

1

для стали

9/6

для кирпича, бетона

14/9

Масса, кг

2,5

4

Молоток ручной электрический фугальный ИЭ-4207

ГОСТ 16416-70

Предназначен для пробивки борозд, офактуривания и очистки поверхностей, бурения отверстий

 

1

Мощность, кВт:

 

ударная

0,2

потребляемая

0,6

Диаметр бура, мм

24

Глубина бурения, мм

200

Масса, кг

6,9

5

Перфоратор ручной электрический ИЭ-4713

ГОСТ 16436-70

Предназначен для бурения отверстий, сверления и пробивки борозд, заворачивания винтов, а также очистки поверхностей

 

1

Наибольший диаметр бурения

 

в бетоне, мм

12

Наибольший диаметр бурения

 

в стали, мм

9

Глубина бурения, мм

100

Масса, кг

3,2

6

Машина ручная шлифовальная электрическая с гибким валом ИЭ-6103

ГОСТ 16436-70

Предназначена для шлифования плит

 

1

Состав:

 

прямая шлифовальная головка,

 

угловая шлифовальная головка,

 

гибкий вал,

 

электродвигатель

 

Масса комплекта, кг

34

7

Электрическая угловая высокооборотная шлифовальная машина WSBA-140

 

Предназначена для резки листового металла и зачистки плит.

 

1

Размеры круга, мм

230´3´22

Масса, кг

5,7

8

Скарпель с победитовым режущим ножом

-

Предназначен для скалывания неровностей с поверхности основания плит

 

10

Габаритные размеры, мм:

 

длина

200

диаметр корпуса

10

ширина рабочей части

16

Масса, кг

0,12

9

Скарпель стальной

-

Предназначен для скалывания неровностей с поверхности основания плит

 

10

Габаритные размеры, мм:

 

длина

200

диаметр корпуса

10

ширина рабочей части

16

Масса, кг

0,12

10

Закольник с победитовым режущим ножом

-

Предназначен для околки кромок плит

 

4

Габаритные размеры, мм:

 

длина

220

ширина лезвия

30

Масса, кг

0,8

11

Закольник стальной

-

Предназначен для околки кромок плит

 

4

Габаритные размеры, мм:

 

длина

220

ширина лезвия

30

Масса, кг

0,8

12

Круг алмазный отрезной

ГОСТ 10110-87*Е

Предназначен для резки плит из природного камня

 

 

Диаметр, мм

250

10

Диаметр, мм

320

15

Диаметр, мм

400

15

Диаметр, мм

500

10

13

Круг алмазный отрезной сегментный

ГОСТ 16115-88*Е

Предназначен для резки плит из природного камня

 

 

Диаметр, мм

250

2

Диаметр, мм

320

5

Диаметр, мм

400

5

Диаметр, мм

500

2

14

Сверло спиральное с пластинками из твердого сплава

ГОСТ 5756-81*Е

Предназначено для сверления отверстий в плитах из природного камня

 

 

Диаметр, мм

4

10

Диаметр, мм

6

20

Диаметр, мм

8

10

Диаметр, мм

10

4

2. Оборудование и приспособления для вертикального и горизонтального перемещения строительных материалов.

1

Лебедка электрическая

 

Предназначена для подъема и опускания грузов

 

1

Масса, кг

300

2

Таль электрическая

ГОСТ 18501-73

Предназначена для подъема и опускания грузов

 

1

Масса, кг

45

3

Таль ручная передвижная

ГОСТ 18501-73

Предназначена для подъема и опускания грузов

 

1

Масса, кг

66

4

Строп четырехветвевой

ГОСТ 25573-82

Предназначен для строповки строительных материалов при подъеме электрической лебедкой

 

1

Масса, кг

29

5

Захват для гранитных плит

-

Предназначен для производства монтажа полированных плит толщиной 60 - 200 мм

 

1

Масса, кг

134

6

Строп универсальный

ГОСТ 25573-82

Предназначен для строповки ящика с плитами

 

2

Масса, кг

16,4

7

Тележка на пневмоходу (рикша)

-

Предназначена для перемещения плит и раствора к месту производства работ в пределах этажа

 

2

Грузоподъемность, кгс

200

Габаритные размеры, мм

1310´727´980

Масса, кг

55

8

Тележка для отделочных материалов

-

Предназначена для перемещения плит к месту производства работ

 

1

Грузоподъемность, кгс

120

Габаритные размеры, мм

1310´650´1000

Масса, кг

12,5

3. Оборудование, ручные машины и инструмент

а) для проектного закрепления плит

1

Пила дисковая

ГОСТ 16438-70

Предназначена для распиловки древесины

 

1

Диаметр диска, мм

200

Масса, кг

6,8

2

Ножовка по дереву широкая

ГОСТ 26215-84

Предназначена для распиловки древесины

 

1

Масса, кг

0,488

3

Топор строительный

ГОСТ 18578-89

Предназначен для рубки и тески древесины

 

1

Масса, кг

1,97

4

Молоток плотничный

ГОСТ 11042-90

Предназначен для забивки в отверстие деревянных пробок и клиньев

 

1

Масса, кг

0,8

5

Молоток слесарный с круглым бойком

ГОСТ 2310-77*

Предназначен для ударных операций

 

2

Масса, кг

1,0

6

Кувалда кузнечная продольная остроносая

ГОСТ 11402-75*

Предназначена для ударных операций

 

1

Масса, кг

4,0

7

Молоток резиновый

-

Предназначен для прижатия (осаживания) гранитных и мраморных плит

 

2

Масса, кг

0,4

8

Киянка металлическая по граниту

-

Предназначена для сплачивания гранитных плит

 

2

Масса, кг

0,75

9

Киянка металлическая по мрамору

-

Предназначена для сплачивания мраморных плит

 

2

Масса, кг

0,25

10

Киянка прямоугольная деревянная

-

Предназначена для сплачивания плит из природного камня

 

2

Масса, кг

0,95

11

Кусачки торцовые

ГОСТ 28037-89Е

Предназначены для перекусывания проволоки

 

1

Диаметр перекусываемой проволоки, мм

3

Масса, кг

0,3

12

Шлямбур твердосплавный

 

Предназначен для пробивки отверстий в бетонных и кирпичных стенах зданий при небольших объемах работ

 

1

Масса, кг

0,9

13

Лом монтажный

ГОСТ 1405-83*

Предназначен для установки плит при облицовочных работах

 

1

Габаритные размеры, мм:

 

длина общая

560

длина лапы

80

ширина лапы

38

диаметр корпуса

20

Масса, кг

1,3

14

Лом монтажный

ГОСТ 1405-83*

Предназначен для установки плит при облицовочных работах

 

1

Габаритные размеры, мм:

 

длина общая

1180

длина лапы

100

ширина лапы

38

диаметр корпуса

24

Масса, кг

4,0

15

Рамка ножовочная ручная с набором полотен

ГОСТ 17270-71*Е

Предназначена для резки металла

 

1

Масса, кг

1,0

16

Штырь стальной

-

Предназначен для крепления шнура при провешивании поверхности и разметке рядов

 

50

Габаритные размеры, мм:

 

длина

120

диаметр

8

Масса, кг

0,04

б) для приема и транспортирования жестких растворов, устройства подстилающего слоя, заливки пазух

1

Установка для приема и транспортирования жестких растворов

-

Предназначена для приема и транспортирования жестких растворов при производстве облицовочных работ

 

1

Габаритные размеры, мм:

4710´2300´2370

Масса, кг

4500

2

Бетонорастворосмеситель СБ-133

-

Предназначен для приготовления растворных смесей

 

1

Габаритные размеры, мм:

4550´1730´1870

Масса, кг

320

3

Передвижная компрессорная станция

-

Предназначена для обеспечения сжатым воздухом

 

1

4

Лопата растворная

-

Предназначена для перелопачивания и подачи раствора

 

5

Масса, кг

2,1

5

Лопата копальная остроконечная

-

Предназначена для перелопачивания раствора

 

3

Масса, кг

2,0

6

Кельма

ГОСТ 9533-81

Предназначена для устройства постели и заполнения пазух раствором при облицовочных работах

 

4

Масса, кг

0,34

7

Шпатель малярный

ГОСТ 10778-83*

Предназначен для заделки трещин раствором, а также для очистки облицовки от брызг раствора

 

1

Масса, кг

0,215

8

Ковш для отделочных работ

ГОСТ 7945-86*

Предназначен для заливки пазух и набрасывания раствора на обрабатываемую поверхность

 

5

Масса, кг

0,4

9

Бучарда штукатурная

ОТУ 22-1066-67

Предназначена для насечки бетонных поверхностей с целью получения шероховатостей при облицовочных работах

 

2

Масса, кг

1,9

4. Средства механизации, ручные машины и инструмент для затирки и очистки плит

1

Машина ручная штукатурно-затирочная СО-86А

-

Предназначена для очистки плит из мягких пород естественного камня

 

1

2

Соединение штепсельное трехполюсное ИЭ-990

-

Предназначено для подключения ручных машин и других приемников к питающей сети

 

4

3

Щетка стальная прямоугольная

-

Предназначена для очистки облицовки от грязи, раствора и пыли

 

1

Масса, кг

0,26

4

Щетка волосяная

-

Предназначена для мойки поверхности

 

1

Масса, кг

0,6

5. Электросварочное оборудование

1

Сварочный трансформатор

-

Предназначен для питания электрической дуги переменным током при ручной дуговой сварке и резке металла

 

1

2

Электродержатель пассатижного типа

ГОСТ 14651-78*Е

Предназначен для креплений электродов при ручной электродуговой сварке

 

1

Масса, кг

0,67

3

Пенал для электродов

-

Предназначен для временного хранения расходного запаса электродов

 

1

4

Щетка-зубило

-

Предназначена для очистки поверхности от шлака и срубки металла

 

1

5

Переносной трехфазный понижающий трансформатор

-

Предназначен для питания механизированного инструмента

 

1

6

Преобразователь частоты тока

-

Предназначен для преобразования напряжения и частоты тока

 

1

7

Выпрямитель сварочный однопостовой

-

Предназначен для питания электрической дуги постоянным током при ручной сварке и резке металла

 

1

6. Оборудование и приспособления для заточки ручного инструмента

1

Машина заточная электрическая

-

Предназначена для заточки ручного инструмента

 

1

2

Напильник трехгранный

ГОСТ 1465-80*

Предназначен для опиливания металла, заточки инструментов

 

1

Длина рабочей части, мм

150

Масса, кг

0,1

3

Брусок шлифовальный плоский

ГОСТ 2456-82*

Предназначен для заточки и правки ручного инструмента

 

1

Материал - электрокорунд, твердостью СТ1 и зернистостью 36 - 46

 

Габаритные размеры, мм

200´40´20

Масса, кг

0,55

7. Инвентарь

1

Поэтажная емкость

-

Предназначена для приема и хранения раствора

 

2

Емкость, м3

0,35

Габаритные размеры, мм

1100´600´647

Масса, кг

44

2

Ведро

-

Предназначено для приема и хранения воды

 

6

3

Столик для доработки и сортировки плит

-

Предназначен для доработки и сортировки плит

 

4

Габаритные размеры, мм

1600´800´700

4

Ларь для инструмента

-

Предназначен для хранения инструмента на строительной площадке

 

1

Габаритные размеры, мм

2000´2000´1200

8. Контрольно-измерительные и разметочные инструменты

1

Метр складной металлический

-

Предназначен для линейных измерений

 

10

Масса, кг

0,05

2

Рулетка в закрытом корпусе

ГОСТ 7502-89*

Предназначена для линейных измерений

 

2

3

Уровень строительный

ГОСТ 9416-83

Предназначен для проверки горизонтальных отметок

 

1

Габаритные размеры, мм

300´22´40

Масса, кг

0,22

4

Уровень гибкий водяной

ГОСТ 9416-83

Предназначен для проверки горизонтальных отметок

 

1

Длина шланга, мм

10000 - 12000

Высота визирной трубки, мм

255

Масса, кг

1,6

5

Отвес стальной строительный

ГОСТ 7948-80

Предназначен для проверки вертикальных поверхностей

 

2

Диаметр корпуса, мм

18

Длина корпуса, мм

115

Масса, кг

0,2

Диаметр корпуса, мм

30

2

Длина корпуса, мм

130

Масса, кг

0,6

6

Угольник металлический

-

Предназначен для разметки и проверки прямых углов

 

4

Габаритные размеры, мм

500´240´20

Масса, кг

0,48

7

Линейка металлическая

ГОСТ 427-75*

Предназначена для линейных измерений

 

10

Длина, мм

1080

Ширина, мм

40

Масса, кг

0,35

8

Рейка контрольная

-

Предназначена для проверки ровности поверхностей

 

2

Габаритные размеры, мм

2000´30´80

Масса, кг

1,9

9

Шнур разметочный в корпусе

-

Предназначен для разметки осевых линий

 

1

Длина шнура, м

15

Габаритные размеры, мм

128´77´45

Масса, кг

0,1

10

Шнур капроновый

ГОСТ 1765-89

Предназначен для разметки осевых линий

 

2

Диаметр, мм

3

Длина, м

30

11

Чертилка

-

Предназначена для разметочных операций

 

2

12

Кернер

-

Предназначен для разметки плит и мест сверления отверстий

 

2

13

Карандаш

-

Предназначен для разметочных операций

 

10

9. Средства индивидуальной защиты

1

Каска строительная

ГОСТ 12.4.087-84

Предназначена для защиты головы от механических повреждений

 

10

2

Каска защитная для электросварщика и маска сварщика, монтируемая на каске защитной

-

Предназначена для защиты головы, глаз и лица при электросварочных работах

 

1

3

Очки защитные

ГОСТ 12.4.013-85*Е

Предназначены для защиты глаз от механических повреждений

 

5

4

Очки защитные для сварщика

ГОСТ 12.4.013-85*Е

Предназначены для защиты глаз при электросварочных работах

 

1

5

Респиратор

ГОСТ 17269-71

Предназначен для защиты органов дыхания от пыли малой токсичности

 

10

6

Пояс предохранительный

ГОСТ 12.4.089-86*

Предназначен для безопасного ведения работ на высоте

 

5

7

Рукавицы

ГОСТ 12.4.010-75*

Предназначены для защиты рук от механических повреждений

 

10

8

Перчатки резиновые диэлектрические бесшовные

ТУ 38-105977-76

Предназначены для защиты от повреждения электрическим током

 

1

9

Перчатки резиновые технические

ГОСТ 20010-93

Предназначены для защиты рук при работе с агрессивными веществами

 

6

10

Коврик диэлектрический

ГОСТ 4997-75*

Предназначен для защиты от поражения электрическим током

 

4

5. РЕШЕНИЯ ПО ТЕХНИКЕ БЕЗОПАСНОСТИ

5.1. При выполнении работ по облицовке фасадов плитами необходимо соблюдать требования, изложенные в СНиП III-4-80* «Техника безопасности в строительстве».

Все рабочие, занятые на облицовочных работах, должны пройти инструктаж по технике безопасности на рабочем месте, при работе с механизмами, инструментами, материалом.

5.2. К работе с электрофицированным инструментом допускаются только рабочие, прошедшие специальное обучение и инструктаж по технике безопасности.

Камнетесов-гранитчиков необходимо обеспечивать спецодеждой: комбинезоном, рукавицами, наколенниками, респираторами, очками, резиновой обувью и перчатками (при работе с электрофицированным инструментом), защитными касками.

5.3. Обработка камня должна производиться в отдельных огражденных местах, доступ в которые посторонних лиц не разрешается.

5.4. При обработке камня рабочие места с расстоянием между ними менее 3-х метров должны быть защищены.

5.5. Запрещается работа камнетесов-гранитчиков лицом друг к другу без установки защитных экранов.

5.6. При электропрогреве раствора (в пазухах между стеной и облицовкой) зона электропрогрева должна иметь надежные ограждения, установленные на расстоянии 3 м от прогреваемого участка, систему блокировок, световую сигнализацию, предупредительные плакаты.

5.7. При приготовлении растворов с химическими добавками рабочие должны работать в комбинезонах, резиновых сапогах, перчатках и защитных очках.

5.8. К работам на высоте допускаются лица не моложе 18 лет, годные по медицинским показаниям к выполнению этих работ.

5.9. Все рабочие должны пройти вводный инструктаж по технике безопасности, а также инструктаж по технике безопасности на рабочем месте.

5.10. Требуемое качество и надежность лесов, с которых ведутся облицовочные работы, должно обеспечиваться строительными организациями путем осуществления комплекса технических и организационных мер в соответствии с требованиями ГОСТ 27321-87 «Леса стоечные приставные для строительно-монтажных работ», СНиП 3.01.01-85* «Организация строительного производства».

5.11. В процессе эксплуатации лесов должно производиться систематическое наблюдение за состоянием всех соединений, креплений к стене, настилов и ограждений. Для этого ежедневно перед началом смены леса осматриваются прорабом или мастером, руководящими работами, выполняемыми с лесов.

Во всех случаях обнаружения деформаций элементов лесов, нарушения устойчивости и других дефектов, работа с лесов должна быть прекращена до исправления и повторной приемки лесов.

5.12. Леса должны быть оборудованы лестницами или трапами для подъема и спуска людей, находящимися на расстоянии не более 40 м друг от друга, причем для лесов протяженностью менее 40 м должно устанавливаться не менее двух лестниц или трапов. Верхние концы лестниц или трапов должны быть прикреплены к поперечинам лесов, проемы в настилах лесов для выхода с лестниц ограждены с трех сторон. Угол наклона лестниц к горизонту не должен превышать 60°, а уклон трапов не более чем 1:3.

5.13. Рабочий настил со стороны внешнего ряда лесов должен иметь ограждение, высота ограждения от уровня основания до верха горизонтального элемента должна быть не менее 1 метра. Ограждения и перила лесов должны выдерживать сосредоточенную нагрузку, равную 40 кг, приложенную в любом месте по длине поручня.

5.14. В местах проходов в здание леса должны иметь защитные козырьки и боковую сплошную обшивку для предохранения людей от падения сверху различных предметов, причем защитный козырек должен выступать не менее чем на 1,5 м и устанавливаться под углом 15 - 20° к горизонту. Высота проходов должна быть не менее 1,8 м.

5.15. Леса должны быть оборудованы грозозащитными устройствами и обязательно заземлены. Расстояние между молниеприемниками не должно превышать 20 м.

5.16. Настилы лесов, расположенные выше одного метра от уровня земли, должны быть ограждены. Ограждение состоит из поручня, расположенного на высоте не менее одного метра от рабочего настила, одного промежуточного горизонтального элемента и бортовой доски высотой не менее 15 см. Зазор между досками настила должен быть не более 5 мм.

5.17. Зазор между стеной существующего здания и рабочим настилом установленных лесов не должен превышать 150 мм.

На лесах должны быть вывешены плакаты со схемами размещения нагрузок и их допускаемой величиной.

5.18. При эксплуатации лесов необходимо руководствоваться требованиями «Правил пожарной безопасности при производстве строительно-монтажных работ» Главного Управления пожарной охраны (ППБ-01-93).

Рабочий настил должен иметь первичные средства пожаротушения:

на каждые 20 м рабочего настила - 1 огнетушитель;

вода - не менее 4-х ведер на весь настил.

6. ТЕХНИКО-ЭКОНОМИЧЕСКИЕ ПОКАЗАТЕЛИ ПО ОБЛИЦОВКЕ ПЛИТАМИ ФАСАДА ПЛОЩАДЬЮ 10 м2

Наименование работ

Затраты труда на 10 м2 чел. час

Выработка на 1 чел. день м2

Облицовка кирпичного цоколя:

 

 

первого ряда

16,3

4,9

любой следующий ряд

8,5

9,4

Облицовка стен фасадов без устройства металлических каркасов с заливкой пазух раствором

24,3

3,29

Облицовка глухих стен по металлическому каркасу

16,3

4,9

Облицовка стен с оконными проемами:

 

 

простенков и перемычек

17,6

4,6

откосов

19,5

4,1

Обработка плит вручную

54,6

1,46

График производства работ по обработке плит

Рис. 1

1 - штырь, 2 - опорный ряд, 3 - компенсационный шов

Рис. 2 Устройство опорного ряда при облицовке стены одновременно с кладкой

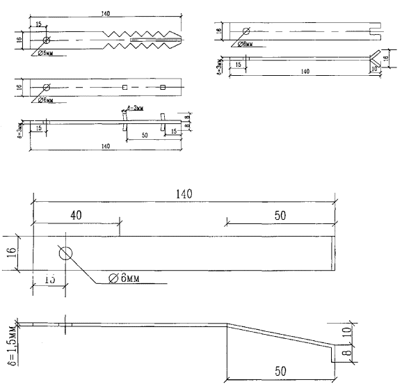
1 - балка из угловой стали; 2 - прокладка из асбестового шнура; 3 - анкер; 4 - штырь; 5 - эпоксидный клей; 6 - эластичная мастика; 7 - штырь, приваренный к уголку

Рис. 3. Устройство опорного ряда при облицовке по готовой стене

а - размещение закреп на плитах;

1 - крюк; 2 - штырь; 3 - комбинированный крюк

Рис. 4 Облицовка стены одновременно с кладкой

а - при постоянной длине облицовочных плит; б - при произвольной длине облицовочных плит;

1 - петля; 2 - крюк; 3 - вертикальный прут; 4 - горизонтальный прут

Рис. 5 Облицовка стены по готовой кладке

а - при толщине камня 20 - 40 мм; б - при толщине камня 40 мм и более

Рис. 6 Установка скоб на смежных угловых плитах

а - установка подоконника, наличника и архитрава; б - устройство фартука подоконника из оцинкованной стали; в - установка наличника на подоконниках; г - деталь установки архитрава; д - подвеска плит облицовки стены над архитравом

1 - комбинированный крюк; 2 - штырь; 3 - скоба или крюк; 4 - фартук из оцинкованной стали; 5 - облицовка поля стены; 6 - крюк из полосовой стали; 7 - пустой шов; 8 - архитрав; 9 - оконный проем

Рис. 7 Облицовка проемов с применением массивных деталей обрамления

1 - штырь; 2 - пояс; 3 - пустой шов

Рис. 8 Гладкий пояс, устанавливаемый одновременно с кладкой стен

Рис. 9 Рельефный пояс, устанавливаемый одновременно с кладкой стен

Рис. 10 Анкеры из нержавеющей стали для безрастворных облицовок

Рис. 11 Наружная облицовка безрастворным способом

а) - на пластинчатых закрепах; б) - на преднапряженных закрепах

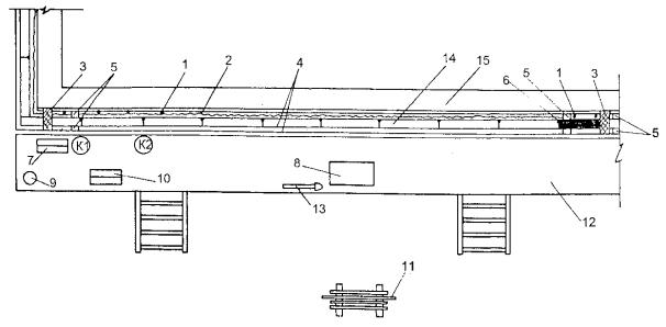
1 - обрез фундамента; 2 - стержни каркаса; 3 - раствор в пазухе; 4 - шаблоны; 5 - шнур; 6 - клинья; 7 - маячные плиты; 8 - ящик с инструментами; 9 - ящик с раствором; 10 - ведро; 11 - пирамида с плитами; 12 - ящик с креплениями; 13 - лопата; 14 - цоколь.

Рис. 12 Организация рабочего места при установке плит первого ряда цоколя

1 - стержни каркаса; 2 - раствор в пазухе; 3 - шаблоны; 4 - шнуры; 5 - клинья; 6 - маячная плита; 7 - ящик с инструментами; 8 - ящик с раствором; 9 - ведро; 10 - ящик с креплениями; 11 - пирамида с плитами; 12 - подмости; 13 - лопата; 14 - первый ряд плит; 15 - цоколь.

Рис. 13 Организация рабочего места при установке плит любого следующего ряда цоколя

 

 

 

 

 

 

 

 

График производства работ на установку плит первого ряда

Примечание: затраты на устройство каркаса приняты из расчета установки его по всей высоте цоколя (для всех рядов плит).

Рис. 14

График производства работ на установку плит любого следующего ряда

Рис. 15

а - простой цоколь; б - составной цоколь

1 - штырь; 2 - крюк; 3 - скоба; 4 - кордонный камень

Рис. 16 Крепление элементов облицовки цоколя к стене

ШТЫРЬ

 

 

 

 

 

АНКЕР

Рис. 17 Детали креплений плит

График производства работ при облицовке стен фасада без устройства металлического каркаса

Рис. 18

К1 и К2 - рабочие места камнетесов

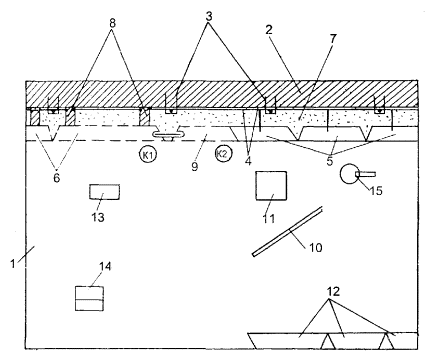
1 - настил наружных лесов; 2 - кирпичная стена; 3 - скобы; 4 - стержни каркаса; 5 - плиты первого ряда; 6 - плиты следующего ряда; 7 - раствор в пазухе между стеной и первым рядом плит; 8 - деревянные клинья; 9 - устанавливаемая плита; 10 - рейка; 11 - ящик с инструментами; 12 - плиты, подлежащие установке; 13 - ящик с креплениями; 14 - ларь с гипсом; 15 - ведро и совок.

Рис. 19 Организация рабочего места

График производства работ при облицовке стен с устройством металлического каркаса

Рис. 20

Цифрами 1 - 24 обозначена последовательность установки плит облицовки

Рис. 21 Порядок установки плит облицовки на захватке

Рис. 22

ИСПОЛЬЗОВАННАЯ ЛИТЕРАТУРА.

1 СНиП 3.01.01-85* «Организация строительного производства»

2 СНиП 3.04.01-87 «Изоляционные и отделочные покрытия»

3 СНиП 3.03.01-87 «Несущие и ограждающие конструкции»

4 СНиП III-4-80* «Техника безопасности в строительстве»

5 ГОСТ 24258-88 «Средства подмащивания. Общие технические условия»

6 ГОСТ 27321-87 «Леса стоечные приставные для строительно-монтажных работ. Технические условия»




Яндекс цитирования



   Copyright © 2007-2026,  www.tehlit.ru.

[ ѓосты, стандарты, нормативы, инструкции, правила, строительные нормы ]