//
ТехЛит.ру
- крупнейшая бесплатная электронная интернет библиотека для "технически умных" людей.
WWW.TEHLIT.RU - ТЕХНИЧЕСКАЯ ЛИТЕРАТУРА

:: Алготрейдинг::


АЛГОТРЕЙДИНГ
шаг за шагом
с нуля по урокам!

Торговые роботы на PYTHON, BackTrader,
Pandas, Pine Script для TradingView. Связка с брокерами, телеграм и легкими приложениями.


МЕТОДИЧЕСКАЯ ДОКУМЕНТАЦИЯ В СТРОИТЕЛЬСТВЕ

ОАО «ЦНИИпромзданий»

СТЕНЫ С ТЕПЛОИЗОЛЯЦИЕЙ
ИЗ ПЕНОПОЛИСТИРОЛА
И МИНЕРА
ЛОВАТНЫХ ПЛИТ
С ОТДЕЛОЧНЫМ СЛОЕМ ИЗ
ТОНКОСЛОЙНОЙ ШТУКАТУРКИ

Материалы для проектирования
и рабочие чертежи узлов

МДС 55-1.2005

Москва 2005

Стены с теплоизоляцией из пенополистирола и минераловатных плит с отделочным слоем из тонкослойной штукатурки. МДС 55-1.2005/ОАО «ЦНИИпромзданий». - М.: ФГУП ЦПП, 2005.

РАЗРАБОТАН ОАО «Центральный научно-исследовательский и проектно-экспериментальный институт промышленных зданий и сооружений» (канд. техн. наук С.М. Гликин, канд. техн. наук А.М. Воронин).

РАССМОТРЕН Органом по сертификации проектной продукции массового применения в строительстве Госстроя России № 0311314 от 31.03.2004.

ПРИНЯТ И ВВЕДЕН в действие с 1 марта 2005 г. на основании экспертного заключения № 314с 104 от 26.03.04. Сертификат соответствия ГОСТ Р № РОСС RU.CP48.C00132.

Настоящий методический документ выполнен в полном соответствии с действующими строительными нормами и правилами и регламентирует применение материалов, разработанных и поставляемых в соответствии с государственными стандартами или техническими условиями, утвержденными в установленном порядке.

Методический документ разработан для применения во всех регионах России и не требует дополнительной проверки и подтверждения пригодности для применения в строительстве.

СОДЕРЖАНИЕ

1. Общие положения. 1

2. Теплоизоляция. 2

3. Нормы теплозащиты и данные по толщине теплоизоляции. 3

4. Конструктивные решения стен. 9

Приложение 1. Рабочие чертежи узлов. 12

Раздел 1.1 Стены с теплоизоляцией из пенополистирола. 13

Раздел 1.2 стены с теплоизоляцией из минераловатных плит. 32

Раздел 1.3 изделия комплектующие. 50

Приложение 2. Пример расчета повышения теплозащиты стены.. 52

Приложение 3. Пример расчета парозащиты стены.. 53

Приложение 4. Обеспечение пожарной безопасности. 55

Приложение 5. Сертификаты соответствия. 59

1. ОБЩИЕ ПОЛОЖЕНИЯ

1.1. МДС содержит материалы для проектирования и рабочие чертежи узлов трехслойных стен отапливаемых зданий различного назначения с теплоизоляцией из плитного пенополистирола типа ПСБ-С-25 или минеральной ваты на синтетическом связующем.

1.2. Материалы разработаны для следующих условий:

здания одно- и многоэтажные, I - V степеней огнестойкости с сухим и нормальным температурно-влажностными режимами для строительства на всей территории России;

стены несущие или самонесущие из штучных материалов (кирпич, камни, ячеистобетонные и бетонные блоки) или монолитного железобетона;

температура холодной пятидневки обеспеченностью 0,92 - до минус 55 °С.

1.3. Проектирование следует вести с учетом указаний следующих действующих нормативных документов:

СНиП 31-01-2003 «Здания жилые многоквартирные»;

СНиП 31-05-2003 «Общественные здания административного назначения»;

СНиП 31-03-2001 «Производственные здания»;

СНиП 2.09.04-87* «Административные и бытовые здания» (изд. 2001);

СНиП 23-02-2003 «Тепловая защита зданий»;

СНиП 11-22-81* «Каменные и армокаменные конструкции»;

СНиП 21-01-97* «Пожарная безопасность зданий и сооружений»;

СНиП 23-01-99* «Строительная климатология»;

СП 23-101-2004 «Проектирование тепловой защиты зданий».

2. ТЕПЛОИЗОЛЯЦИЯ

2.1. В качестве теплоизоляции применяют изделия из плит пенополистирола типа ПСБ-С-25Ф (ТУ 2244-051-04001232-99), ПУТ-25 (ТУ 2244-002-11488074-01) или минеральной ваты на синтетическом связующем FAS4, FAS5, FAL1 (ТС-07-0650-03), Fasoterm PF, Fasoterm NF (TC-07-0701-03), Facade Slab, Facade BATTS (TC-07-0720-03), NOBASIL TF, NOBASIL TFL (TC-07-0765-03).

2.2. Плиты имеют следующие номинальные размеры:

Пенополистирольные: 1200×1000; 1200×500; 1000×500 и 945×650 мм.

Минераловатные: 1200×600; 1000×500; 1200×650; 1000×600; 100×1200; 150×1200; 200×1200 и 200×1000 мм.

2.3. Физико-технические показатели теплоизоляционных пенополистирольных плит приведены в таблице 1, а минераловатных плит - в таблице 2.

2.4. Плиты имеют следующие характеристики пожарной опасности:

Пенополистирольные:

- группа горючести Г1 - Г2 по ГОСТ 30244-94;

- группа воспламеняемости В2 по ГОСТ 30244-94;

- группа дымообразующей способности Д3 по ГОСТ 12.1.044-91.

Минераловатные:

- группа горючести НГ по ГОСТ 30244-94.

2.5. Стены с теплоизоляцией из пенополистирола и защитным штукатурным слоем (система Ceresit VWS) относятся с внешней стороны к классу пожарной опасности К0 и могут применяться в зданиях и сооружениях высотой до 75 м (25 этажей) всех степеней огнестойкости (по СНиП 2.01.02-85* и СНиП 21-01-97*), всех классов конструктивной и функциональной опасности (по СНиП 21-01-97*), за исключением класса функциональной пожарной опасности Ф1.1, школ и внешкольных учебных заведений класса Ф4.1, при соблюдении дополнительных требований, указанных в приложении 4 «Обеспечение пожарной безопасности».

Таблица 1

Физико-технические свойства плит из пенополистирола

Наименование показателя, ед. изм.

Норма показателя для плит ПСБ марки 25

1. Плотность, кг/м3

От 15,1 до 25,0

2. Прочность на сжатие при 10 %-ной линейной деформации, МПа, не менее

0,1

3. Предел прочности при изгибе, МПа, не менее

0,18

4. Теплопроводность λ25, Вт/(м ∙ °С), не более

0,039

5. Водопоглощение за 24 ч, % по объему, не более

2,0

6. Расчетная теплопроводность для всех марок плит, Вт/(м ∙ °С), не более:

 

λА

0,041

λБ

0,042

7. Паропроницаемость, мг/(м ∙ ч ∙ Па), не менее

0,03

Таблица 2

Физико-технические свойства минераловатных плит

Наименование показателя, ед. изм.

Требуемое значение для плит на синтетическом связующем марки

FAS4

NOBASIL TF

Facade Slab

Facade BATTS

Fasoterm PF

1. Модуль кислотности минеральной ваты, не менее

1,9

2. Водостойкость (рН водной вытяжки)

3,0

3. Плотность, кг/м3

140

(±10 %)

150

(±10 %)

105 - 1281)

(±10 %)

128 - 163

130

(±10 %)

4. Прочность на сжатие при 10 %-ной линейной деформации, кПа, не менее

40

40

-

45

90

5. Прочность на сжатие при 10 %-ной линейной деформации после сорбционного увлажнения, кПа, не менее

35

35

-

40

80

6. Прочность на отрыв слоев, кПа, не менее

15

15

202)

15

15

7. Теплопроводность λ25, Вт/(м ∙ °С), не более

0,038

0,038

0,038

0,040

0,041

8. Теплопроводность при условиях эксплуатации А и Б по СНиП 23-02-2003, Вт/(м °С), не более:

 

 

 

 

 

λА

0,042

0,045

0,043

0,0475

0,046

λБ

0,045

0,048

0,045

0,05

0,049

9. Паропроницаемость, мг/(м · ч · Па), не менее

0,3

0,3

0,3

0,3

0,32

1) В зависимости от толщины.

2) Для верхнего слоя.

2.6. Стены с теплоизоляцией из минераловатных плит на синтетическом связующем и защитно-декоративным штукатурным слоем (система Ceresit WM) относятся с внешней стороны к классу пожарной опасности К0 и могут применяться в зданиях высотой до 75 м (25 этажей) всех степеней огнестойкости (по СНиП 2.01.02-85* и СНиП 21-01-97*), классов пожарной опасности С0 (по СНиП 21-01-97*, табл. 4 и 5).

3. НОРМЫ ТЕПЛОЗАЩИТЫ И ДАННЫЕ ПО ТОЛЩИНЕ ТЕПЛОИЗОЛЯЦИИ

3.1. Минимальное допустимое сопротивление теплопередаче стен зданий различного назначения и различных климатических условий принимается согласно СНиП 23-02-2003 «Тепловая защита зданий».

3.2. По назначению рассматриваемые в работе здания образуют три группы:

1. Жилые, лечебно-профилактические и детские учреждения, школы, интернаты.

2. Общественные, кроме указанных выше, административные и бытовые, за исключением помещений с влажным режимом.

3. Производственные с сухим и нормальным режимами.

3.3. При новом строительстве необходимая толщина слоя теплоизоляции определялась по следующим конструктивным решениям.

Несущая часть стены выполнена из полнотелого керамического кирпича или камней толщиной 380 мм, а наружный защитный слой - из штукатурки толщиной 4,5 мм, армированной стеклосеткой марок R 131, R 267, R 275 (ТС-07-0766-03), SSA-1363-S (ТС-07-0732-03) и SD 4418, SDA 4420, SD 4412, SD 4512 (ТС-07-0686-03), толщина же декоративного слоя определяется фракцией заполнителя. В зданиях 1-й и 2-й групп стена с внутренней стороны имеет отделочный штукатурный слой толщиной 20 мм. В зданиях 3-й группы отделочный слой с внутренней стороны отсутствует. Коэффициент теплотехнической однородности стен - 0,95.

Для других типов стен выполняется расчет необходимой толщины теплоизоляции по СНиП 23-02-2003 «Тепловая защита зданий» (пример см. в приложении 2 настоящего документа).

3.4. При реконструкции толщина слоя дополнительной теплоизоляции (таблица 4) определялась с учетом следующих условий.

Стены выполнены из полнотелого глиняного кирпича толщиной в зависимости от назначения здания и района строительства - 380, 510, 640 или 770 мм со штукатуркой 20 мм для зданий 1-й и 2-й групп и без штукатурки - для зданий 3-й группы.

Защитный слой по дополнительной теплоизоляции выполнен из штукатурки толщиной 4,5 мм, армированной щелочестойкой стеклосеткой марок R 131, R 267, R 275 (ТС-07-0766-03), SSA-1363-S (ТС-07-0732-03) и SD 4418, SD 4420, SDA 4412, SD 4512 (ТС-07-0686-03), а толщина декоративного слоя определяется фракцией заполнителя.

3.5. Характеристика щелочестойких стеклосеток приведена в таблице 3.

3.6. Необходимая толщина слоя теплоизоляции при новом строительстве и реконструкции зданий для различных населенных пунктов приведена в таблице 4.

Таблица 3

Физико-технические показатели щелочестойких стеклосеток

Наименование показателя, ед. изм.

Требуемое значение для сеток марок

R 131

R 267

R 275

SD 4418

SD 4420

SDA 4412

SD 4512

SSA-1363-S

1. Масса 1 м2 номинальная, г

160

314

343

149

161

161

327

150

2. Толщина номинальная, мм

0,47

0,95

0,9

0,48

0,5

0,52

0,85

0,36

3. Размер ячеек, мм

3,5×3,5

8,5×6,5

6×6

4×5,5

4×5

7×8,5

6×6

7×8

4×4

4. Разрывная нагрузка в исходном состоянии, Н/5 см, не менее:

 

 

 

 

 

 

 

 

по основе

1900

1500

3800

2000

2000

1900

4000

1700

по утку

1900

5500

3500

1800

2000

2000

5500

2100

5. Разрывная нагрузка после «быстрого» теста, Н/5 см, не менее:

 

 

 

 

 

 

 

 

по основе

1250

1000

2300

1200

1200

1100

2400

110

по утку

1250

3800

2300

1100

1200

1300

3300

1250

6. Разрывная нагрузка после 28 дней выдержки в 5 %-ном растворе NaOH при температуре (18 - 30) °С, Н/5 см, не менее:

 

 

 

 

 

 

 

 

по основе

1200

900

1900

1000

1000

950

2000

1000

по утку

1200

3000

1750

900

1000

1100

2750

1100

Таблица 4

Необходимая толщина слоя теплоизоляции при новом строительстве и реконструкции зданий для различных населенных пунктов

№ п.п.

Город РФ

Условия эксплуатации

Градусо-сутки

Группа здания

Новое строительство

Реконструкция

R0тр, м2°С/Вт

Толщина теплоизоляции, мм

R0сущ, м2°С/Вт

Толщина дополнительной теплоизоляции, мм

1

Архангельск

Б

6170

1

3,56

150

0,97

130

5670

2

2,90

110

0,78

110

3

2,13

70

0,69

70

2

Астрахань

А

3540

1

2,64

80

0,82

70

3200

2

2,08

60

0,66

60

3

1,64

40

0,57

40

3

Анадырь

Б

9500

1

4,72

200

1,13

180

8900

2

3,87

160

0,93

150

3

2,76

110

0,81

100

4

Барнаул

А

6120

1

3,54

120

1,12

100

5680

2

2,90

90

0,91

80

3

2,13

60

0,8

50

5

Белгород

А

4180

1

2,86

90

0,82

80

3800

2

2,32

70

0,66

70

3

1,76

50

0,57

50

6

Благовещенск

Б

6670

1

3,74

160

1,02

140

6240

2

3,07

120

0,83

110

3

2,25

80

0,73

80

7

Брянск

Б

4570

1

3,00

120

0,87

110

4160

2

2,45

90

0,7

80

3

1,83

60

0,62

60

8

Волгоград

А

3950

1

2,78

90

0,85

80

3600

2

2,24

60

0,69

60

3

1,72

40

0,6

50

9

Вологда

Б

5570

1

3,35

140

0,97

120

5100

2

2,73

100

0,78

100

3

2,02

70

0,69

70

10

Воронеж

А

4530

1

3,0

100

0,87

90

4140

2

2,44

70

0,7

70

3

1,83

50

0,62

50

11

Владимир

Б

5000

1

3,3

130

0,91

120

4580

2

2,57

100

0,74

90

3

1,91

60

0,64

60

12

Владивосток

Б

4680

1

3,04

120

0,83

110

4300

2

2,49

90

0,67

90

3

1,86

60

0,59

60

13

Владикавказ

А

3410

1

2,59

80

0,72

80

3060

2

2,02

50

0,58

60

3

1,61

40

0,50

50

14

Грозный

А

3060

1

2,47

70

0,72

70

2740

2

1,9

50

0,58

50

3

1,55

40

0,5

40

15

Екатеринбург

А

5980

1

3,49

120

1,04

100

5520

2

2,85

90

0,85

80

3

2,10

60

0,74

60

16

Иваново

Б

5230

1

3,23

130

0,93

120

4800

2

2,64

100

0,75

90

3

1,96

60

0,66

70

17

Игарка

Б

9660

1

4,78

210

1,28

180

9090

2

3,93

160

1,06

140

3

2,82

110

0,92

100

18

Иркутск

А

6480

1

3,79

130

1,06

110

6360

2

3,12

100

0,86

90

3

2,27

70

0,76

60

19

Ижевск

Б

5680

1

3,39

140

1,08

120

5240

2

2,77

110

0,88

90

3

20,5

70

0,8

60

20

Йошкар-Ола

Б

5520

1

3,33

130

1,02

120

5080

2

2,72

100

0,83

90

3

2,02

70

0,73

60

21

Казань

Б

5420

1

3,30

130

0,98

120

4990

2

2,70

100

0,8

100

3

2,0

70

0,7

70

22

Калининград

Б

3650

1

2,68

100

0,72

100

3260

2

2,10

70

0,58

80

3

1,65

50

0,5

60

23

Калуга

Б

4810

1

3,08

120

0,89

110

4400

2

2,52

100

0,72

90

3

1,88

60

0,63

60

24

Кемерово

А

6540

1

3,69

120

1,12

110

6080

2

3,02

90

0,91

90

3

2,21

60

0,8

60

25

Вятка

Б

5870

1

3,45

140

1,0

120

5400

2

2,82

110

0,82

100

3

2,08

70

0,71

70

26

Кострома

Б

5300

1

3,25

130

0,97

110

4860

2

2,66

100

0,78

90

3

1,97

60

0,69

60

27

Краснодар

А

2680

1

2,34

70

0,74

70

2380

2

1,75

40

0,59

50

3

1,48

30

0,52

40

28

Красноярск

А

6340

1

3,62

120

1,13

100

5870

2

2,96

90

0,93

80

3

2,17

60

0,81

60

29

Курган

А

5980

1

3,49

110

1,08

100

5550

2

2,86

90

0,88

80

3

2,11

60

0,77

50

30

Курск

Б

4400

1

2,95

120

0,87

100

4040

2

2,41

90

0,7

90

3

1,80

60

0,62

60

31

Кызыл

А

7880

1

4,16

140

1,26

120

7430

2

3,43

110

1,06

100

3

2,49

70

0,64

80

32

Липецк

А

4730

1

3,06

100

0,89

90

4320

2

2,50

70

0,72

70

3

1,86

50

0,63

50

33

Магадан

Б

7800

1

4,13

170

0,93

160

7230

2

3,37

140

0,91

120

3

2,45

90

0,8

80

34

Махачкала

А

2560

1

2,30

60

0,64

70

2260

2

1,7

40

0,51

50

3

1,45

30

0,45

40

35

Москва

Б

4940

1

3,13

120

0,87

110

4520

2

2,55

100

0,73

90

3

1,9

60

0,61

60

36

Мурманск

Б

6380

1

3,63

150

0,89

140

5830

2

2,95

120

0,72

110

3

2,17

80

0,63

80

37

Нальчик

А

3260

1

2,54

70

0,72

70

2920

2

1,97

50

0,58

60

3

1,58

40

0,5

40

38

Нижний Новгород

Б

5180

1

3,21

130

0,97

110

4750

2

2,63

100

0,78

90

3

1,95

60

0,67

60

39

Новгород

Б

4930

1

3,13

120

0,89

110

4490

2

2,55

100

0,72

90

3

1,9

60

0,63

60

40

Новосибирск

А

6600

1

3,71

120

1,12

110

6140

2

3,04

90

0,91

90

3

2,23

60

0,8

60

41

Омск

А

6280

1

3,60

120

1,08

100

5840

2

2,85

90

0,88

80

3

2,17

60

0,77

60

42

Оренбург

А

5310

1

3,26

100

0,97

90

4900

2

2,67

80

0,78

80

3

1,98

50

0,69

50

43

Орел

Б

4650

1

3,03

120

0,87

110

4250

2

2,48

90

0,7

90

3

1,85

60

0,62

60

44

Пенза

А

5070

1

3,17

100

0,94

90

4660

2

2,60

80

0,75

80

3

1,93

50

0,66

50

45

Пермь

Б

5930

1

3,48

140

1,05

120

5470

2

2,84

110

0,84

100

3

2,09

70

0,75

70

46

Петрозаводск

Б

5540

1

3,34

130

0,94

120

5060

2

2,85

110

0,75

110

3

2,10

70

0,66

70

47

Петропавловск-Камчатский

Б

4760

1

3,07

120

0,76

120

4250

2

2,48

90

0,61

90

3

1,85

60

0,53

70

48

Псков

Б

4580

1

3,0

120

0,87

110

4160

2

2,45

90

0,7

90

3

1,83

60

0,62

60

49

Ростов-на-Дону

А

3520

1

2,63

80

0,83

70

3180

2

2,07

50

0,64

60

3

1,64

40

0,55

40

50

Рязань

Б

4890

1

3,11

130

0,89

110

4470

2

2,54

100

0,72

90

3

1,90

60

0,64

60

51

Самара

Б

5110

1

3,19

130

0,95

110

4710

2

2,61

100

0,77

90

3

1,94

60

0,68

60

52

Санкт-Петербург

Б

4800

1

3,08

120

0,87

110

4360

2

2,51

90

0,7

90

3

1,87

60

0,62

60

53

Саранск

А

5120

1

3,19

100

0,95

90

4700

2

2,61

80

0,77

80

3

1,94

50

0,68

50

54

Саратов

А

4760

1

3,07

100

0,89

90

4370

2

2,51

70

0,72

70

3

1,87

50

0,64

50

55

Салехард

Б

9170

1

4,61

200

1,17

170

8590

2

3,78

160

0,96

140

3

2,72

100

0,85

90

56

Смоленск

Б

4820

1

3,09

120

0,87

110

4400

2

2,52

100

0,7

90

3

1,88

60

0,62

60

57

Ставрополь

А

3210

1

2,52

70

0,74

70

2880

2

1,95

50

0,59

60

3

1,58

40

0,52

40

58

Сыктывкар

Б

6320

1

3,61

150

1,06

130

5830

2

2,95

120

0,86

100

3

2,17

70

0,76

70

59

Тамбов

А

4760

1

3,07

100

0,91

90

4360

2

2,51

70

0,73

70

3

1,87

50

0,66

50

60

Тверь

Б

5010

1

3,15

130

0,93

110

4580

2

2,57

100

0,75

90

3

1,92

60

0,66

60

61

Томск

Б

6700

1

3,75

160

1,13

130

6230

2

3,07

120

0,93

110

3

2,25

80

0,82

70

62

Тула

Б

4760

1

3,07

120

0,89

110

4350

2

2,50

100

0,72

90

3

1,87

60

0,64

60

63

Тюмень

А

6120

1

3,54

120

1,08

100

5670

2

2,90

90

0,88

80

3

2,13

60

0,78

60

64

Ульяновск

А

5380

1

3,29

100

0,97

100

4960

2

2,69

80

0,78

80

3

1,99

50

0,69

50

65

Улан-Удэ

А

7200

1

3,92

130

1,08

120

6730

2

3,22

100

0,88

100

3

2,35

70

0,78

60

66

Уфа

А

5520

1

3,33

110

1,04

70

5090

2

2,73

80

0,84

80

3

2,02

50

0,75

50

67

Хабаровск

Б

6180

1

3,56

150

0,97

130

5760

2

2,93

110

0,78

110

3

2,15

70

0,68

70

68

Чебоксары

Б

5400

1

3,29

130

0,98

120

4970

2

2,70

100

0,8

100

3

2,00

70

0,71

60

69

Челябинск

А

5780

1

3,43

130

1,02

100

5340

2

2,80

90

0,83

80

3

2,07

60

0,73

70

70

Чита

А

7600

1

4,06

140

1,1

120

7120

2

3,34

110

0,89

100

3

2,42

70

0,79

70

71

Элиста

А

3670

1

2,68

80

0,82

80

3320

2

2,13

60

0,66

60

3

1,66

40

0,58

40

72

Южно-Сахалинск

Б

5590

1

3,36

140

0,83

130

5130

2

2,74

100

0,67

100

3

2,03

70

0,59

70

73

Якутск

А

10400

1

5,04

180

1,42

150

9900

2

4,17

140

1,17

120

3

2,98

90

1,03

80

74

Ярославль

Б

5300

1

3,26

130

0,97

110

4860

2

2,66

100

0,78

90

3

1,97

60

0,69

60

4. КОНСТРУКТИВНЫЕ РЕШЕНИЯ СТЕН

4.1. Стена при новом строительстве может быть несущая или самонесущая и представляет собой трехслойную конструкцию с несущим слоем из полнотелого глиняного кирпича толщиной 380 мм или 510 мм, а также из бетонных блоков или монолитного железобетона со слоем теплоизоляции из плитного пенополистирола типа ПСБ-С или минераловатной плиты на синтетическом связующем с защитным слоем толщиной 4,5 мм из штукатурки Ceresit СТ 190 (ТУ 5745-008-58239148-03) - для минплиты, Ceresit CT 85 (ТУ 5745-008-58239148-03) - для ПСБС.

4.2. При защитно-декоративном слое из штукатурки необходимо, чтобы:

- защитная штукатурка имела нулевой предел распространения огня и была армирована щелочестойкой стеклосеткой;

- толщина ее составляла 4,5 мм (кроме цоколя) и не менее 7 мм - в цокольной части;

- при теплоизоляции из пенополистирола следует предусматривать рассечки из негорючих материалов (в нашем случае - из минераловатных плит) на всю толщину слоя теплоизоляции и высотой не менее толщины перекрытия, но не менее 150 мм в соответствии с рекомендациями, изложенными в приложении 4 «Обеспечение пожарной безопасности».

4.3. Теплоизоляционные плиты крепят к несущему слою стены на клею и дополнительно распорными дюбелями.

При подготовке несущей части стены до закрепления к ней теплоизоляции рекомендуется использовать при необходимости: антигрибковый препарат Ceresit CT 99; смывку высолов Ceresit CL 55; грунтовки Ceresit CT 16 и Ceresit CT 17 (ТУ 5745-008-58239148-03), выравнивающую штукатурку и шпатлевку Ceresit СТ 29 (ТУ 5745-007-58239148-03).

4.4. Для наклейки минераловатных плит рекомендуется использовать клей Ceresit CT 190, а пенополистирольных плит - Ceresit CT 83 или Ceresit CT 85 (ТУ 5745-008-58239148-03), которые характеризуются прочностью сцепления с основанием не менее 0,9 МПа, морозостойкостью не менее 75 циклов и величиной линейной усадки не более 0,5 %.

4.5. Клей следует наносить на теплоизоляционную плиту с помощью штукатурного шпателя валиком (шириной 4 - 6 см) по всему периметру с отступлением от краев на 2 - 3 см и дополнительно «куличами» на остальную поверхность плиты, при этом площадь приклеенной поверхности плит - не менее 40 %.

4.6. Установку плит в проектное положение осуществляют с прижатием к поверхности несущей части стены и выравниванием по высоте относительно друг друга трамбовками. Образование излишков выступающего клея недопустимо.

4.7. Выравнивание по горизонтали теплоизоляционных плит может осуществляться с помощью временно закрепленной к несущей части стены деревянной рейки или с применением цокольного профиля (изготовленного из алюминия или оцинкованной стали) толщиной 1 - 1,5 мм, который закрепляют к несущей части стены дюбелями, расположенными с шагом не более 300 мм.

4.8. При установке цокольных профилей необходимо оставлять зазор в стыке между ними 2 - 3 мм. Для выравнивания вдоль несущей части стены необходимо использовать соответствующие подкладочные шайбы из ПВХ, а для соединения профилей между собой - пластмассовые соединительные элементы.

4.9. После установки первого ряда теплоизоляционных плит на цокольный профиль зазор между поверхностью несущей части стены и профилем необходимо заполнить полиуретановой пеной.

4.10. Теплоизоляционные плиты устанавливают вплотную друг к другу. В случае если между ними образуются зазоры более 2 мм, их необходимо заполнить материалом используемого утеплителя или полиуретановой пеной.

4.11. Установку и наклеивание теплоизоляционных плит следует выполнять с перевязкой швов с устройством зубчатого защемления на внешних и внутренних углах стен.

4.12. Плиты теплоизоляционного материала, устанавливаемые в углах оконных и дверных проемов, должны быть цельными с вырезанными по месту фрагментами. Не допускается стыковать плиты на линиях углов оконных и дверных проемов.

4.13. Установка дюбелей для крепления плит теплоизоляции должна выполняться после полного высыхания клеевого состава. Срок высыхания при температуре наружного воздуха 20 °С и относительной влажности 65 % составляет не менее 72 ч. Перед установкой дюбелей выполняется шлифовка плит теплоизоляции при наличии неровностей в местах стыка.

4.14. Рекомендуемые типы дюбелей приведены в таблице 5.

4.15. Для крепления теплоизоляции к несущей части стены могут быть использованы другие виды дюбелей, отвечающие требованиям таблицы 6.

Таблица 5

Рекомендуемые типы дюбелей для крепления фасадной теплоизоляции

Тип дюбелей

Фирма-изготовитель

Диаметр Днар, мм

Глубина заделки, мм

Расчетное выдергивающее усилие, кН

Комплект Д1 В3-1 Ш Ст. 5,5-L-1

Бийский завод стеклопластиков

ТУ 2291-006-994511-99

8

45

0,30*

HPS-1

«Хилти»

6

40

0,25*

8

50

0,40*

ДГ 3,7×40

Дг 4,5×40

ТУ 14-4-1231-83

3,7

35

0,40**

4,5

 

0,25***

EJOT TID-T

EJOT Holding GmbH Co. KG

8

35

0,28**

 

 

0,27***

ДЗ «Термозит»

ЗАО «Завод Искра»

ТУ 2456-95633632-001-2002

4,15

60

0,65**

5,1

60

0,55***

* В бетоне В 15, кладке из полнотелого керамического кирпича. В кладке из дырчатого кирпича или легкого бетона расчетное усилие уменьшить на половину.

** В бетоне В 12,5.

*** В кладке из силикатного кирпича.

Таблица 6

Основные требования к дюбелям для крепления фасадной теплоизоляции

Вид дюбеля

Материал

Глубина заделки, мм

Длина дюбеля, мм

Диаметр, мм

Вырывающее усилие, кН, не менее

дюбеля

шляпки

Винтовой с обычной распорной зоной

Бетон, кирпич и камни керамические полнотелые, кирпич и камни силикатные полнотелые, трехслойные панели при толщине наружного бетонного слоя не менее 40 мм

50

100 - 340

8; 10

60

0,5

Забивной

То же

35 - 50

75 - 295

8

60

0,25

Винтовой с удлиненной распорной зоной

Пустотелый кирпич и легкий бетон

90

20 - 340

8; 10

60

0,2

Винтовой для пустотелых материалов

Пенобетон, газобетон плотностью от 600 кг/м3

110

150 - 340

8

60

0,2

4.16. Внешние углы здания с укрепленной теплоизоляцией, а также углы дверных и оконных проемов должны быть усилены пластмассовыми уголками с вклеенной сеткой, которые устанавливают встык по отношению друг к другу с нахлесткой сетки в месте стыка на 10 см.

4.17. После устройства усиливающего уголка на плоскости откосов дверных и оконных проемов следует наклеить усилительную диагональную армирующую сетку размером 20×30 см. При этом усилительная сетка в углах оконных и дверных проемов вклеивается без напуска на пластмассовую часть уголка.

4.18. При устройстве защитного слоя на поверхность закрепленного утеплителя наносится полутерком клеевой состав Ceresit CT 85 по пенополистирольному утеплителю с противопожарными рассечками из минплиты в системе Ceresit VWS или Ceresit CT 190 - по минераловатному утеплителю в системе Ceresit WM, на котором фиксируется и втапливается полотно стеклосетки. Второе и последующие полотна стеклосетки устанавливают с напуском 9 - 10 см на предыдущее. В местах примыкания защитного слоя к оконным и дверным блокам снимается фаска под углом 45° для уплотнительной ленты или герметизирующей мастики (допускается для уплотнения применять самоклеющиеся профили).

4.19. После технологического перерыва не менее 72 ч, необходимого для высыхания клеевого состава, на поверхность защитного слоя наносят грунтовку Ceresit CT16 или производят окраску с подготовкой.

4.20. До нанесения защитно-декоративного слоя необходимо выдержать технологический перерыв не менее 6 ч.

4.21. Основание под декоративную штукатурку или окраску должно соответствовать требованиям СНиП 3.04.01-87.

4.22. На заармированную стеклосеткой поверхность защитной штукатурки декоративная штукатурная смесь наносится теркой слоем, соответствующим размеру зерна минерального наполнителя.

4.23. Работы по нанесению декоративной штукатурной смеси следует выполнять при температуре воздуха от +5 до +30 °С (для цветных штукатурок от +9 °С) и относительной влажности не более 80 %.

4.24. При выполнении работ следует избегать нанесения штукатурки на участки фасада, находящиеся под воздействием прямых солнечных лучей, ветра и дождя, для чего строительные леса следует закрывать ветрозащитной сеткой или пленкой.

4.25. Свеженанесенный декоративный штукатурный слой в течение трех суток (для белой и цветной штукатурок) и в течение 24 ч (штукатурки «под окраску») следует защищать от прямого воздействия дождя и пересыхания под воздействием прямых солнечных лучей.

4.26. Окрашивание штукатурки следует выполнять силикатными фасадными красками (например, Ceresit CT 54) через 3 дня, а акриловыми (например, Ceresit CT 42 или Ceresit CT 44) - через 2 недели после устройства штукатурки.

4.27. Между штукатурным слоем и элементами заполнения проемов (окон, дверей) применяется профиль из ПВХ с уплотнительной лентой. Как вариант, предусматривается паз на всю толщину штукатурки, заполняемый уплотнительной лентой, герметиком или вулканизирующимися мастиками - клей-герметиком «Эластосил» 11-06 (ТУ 6-02-275-76), «Эластосил» 137-181 (ТУ 6-02-1-362-84), тиоколовой мастикой «АМ-0,5» (ТУ 84-246-95) и т.п.

4.28. На высоту не менее 2,5 м от планировочной отметки защитный слой должен выполняться толщиной не менее 7 мм с устройством дополнительного слоя стеклосетки. Допускается также применение одного слоя усиленной стеклосетки (например, R 267).

4.29. Отделку цоколя рекомендуется выполнять из материалов повышенной прочности и стойкости к истиранию, допускающих их очистку и мойку, например, из лицевого кирпича, плит из натурального или искусственного камня, керамической и стеклянной плитки, мозаичной штукатурки СТ 177 (ТУ 5745-010-58239148-2003) и др.

4.30. Аналогичная отделка цоколя на высоту не менее 0,6 м от планировочной отметки должна предусматриваться и при реконструкции стены.

4.31. Парапеты, пояса, подоконники и т.п. должны иметь надежные сливы из оцинкованной стали, которые обеспечивают отвод атмосферной влаги и исключают возможность ее сбегания непосредственно по стене.

4.32. Все открытые поверхности стальных элементов, выходящих на фасад, и анкеры, устанавливаемые в кладке, должны быть защищены от коррозии металлизацией слоем толщиной 120 мкм или лакокрасочными покрытиями (пп. 2.40 - 2.45 СНиП 2.03.11-85).

4.33. Необходимость устройства в стене слоя пароизоляции определяется расчетом.

4.34. Сертификаты соответствия на проектную документацию и используемые материалы приведены в приложении 5.

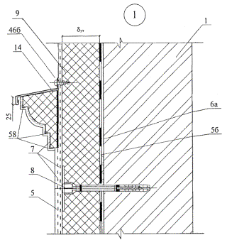
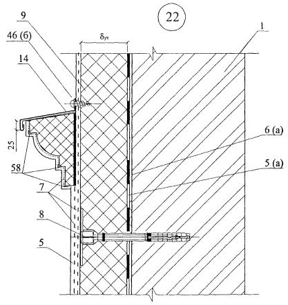
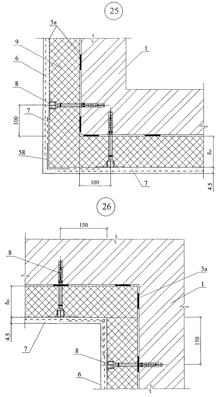
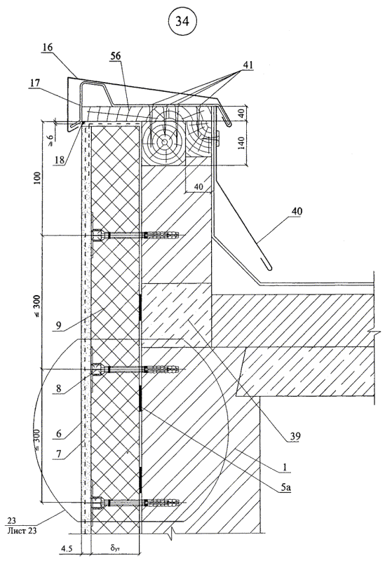
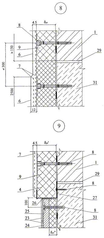
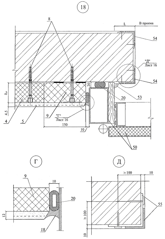
Приложение 1

РАБОЧИЕ ЧЕРТЕЖИ УЗЛОВ

Экспликация материалов и изделий

№ поз.

Наименование

1

Стена (несущая часть)

2

Защитно-декоративная кладка

3

Рихтовочный зазор (засыпка из песка)

4

Плита теплоизоляционная из пенополистирола (ТУ 2244-002-11488074-01, ТУ 2244-051-04001232-99)

5

Клеевой состав для приклейки плит теплоизоляции и устройства защитного слоя, сухая смесь

5а

Ceresit CT 190 (ТУ 5745-008-58239148-03)

5б

Ceresit CT 85 (ТУ 5745-008-58239148-03) или Ceresit CT 83 - только для крепления утеплителя (ТУ 5745-008-58239148-03)

6

Декоративная штукатурка, сухая смесь Ceresit CT 68 (ТС-07-0823-03), Ceresit CT 35, Ceresit CT 36, Ceresit CT 137 (ТУ 5745-007-58239148-03), Ceresit CT 60, Ceresit CT 63, Ceresit CT 64, Ceresit CT 177 (ТУ 5745-010-58239148-2003)

Грунтовки Ceresit CT 16

6б

         »           Ceresit CT 17 (ТУ 5745-008-58239148-03)

7

Армирующая сетка SD 4418, SD 4420, SDA 4412, SD 4512 (TC-07-0686-03), SSA-1363-S (TC-07-0732-03), R 131, R 267, R 275 (TC-07-0766-03)

8

Дюбель из полиамида или полиэтилена

9

Теплоизоляция из минераловатных плит

10

Доска, пропитанная антипиреном; пластина 6×40 мм с болтом Æ 10 и шагом 600 мм, но не менее 2 штук на проем

11

Стык сеток внахлест 100 мм

12

Дополнительная сетка 200×300 мм на углах

13

Рейка 40×50 мм, закрепление к пробкам 50×60 мм шурупами. Пробки закреплены к стене дюбелями без шайбы (см. дюбельный комплект)

14

Слив С1

15

Слив С2

16

Слив С3

17

Костыль К1

18

Мастика, см. п. 4.27

19

Прокладка уплотняющая из пенорезины сечением 8×8 мм по ТУ 38-406316-87

20

Прокладка пенополиэтиленовая уплотняющая марки Вилатерм-СМ Æ 30; 40 (трубчатая), ТУ 6-05-221-872-86

21

Пена строительная

22

Компенсатор

23

Плитка облицовочная

24

Клей для плитки облицовочной Ceresit CM 11, Ceresit CM 17, Ceresit CM 117 (ТУ 5745-008-58239148-03)

25

Цокольная плита (цементно-волокнистая)

26

Уплотнительная лента

27

Опорный профиль

28

Отмостка по проекту

29

Гидроизоляция - цементно-песчаный раствор

30

Обмазочная гидроизоляция 2 слоя Ceresit CR 65 или Ceresit CR 66 (ТУ 5775-009-58239148-03)

31

Стены подвала

32

Пол подвала или 1-го этажа:

- линолеум;

- армированная стяжка из Ceresit CN 87 - 30 мм;

- плита теплоизоляции;

- гидроизоляция Ceresit CR 65;

- бетонная подготовка марки В7,5 - 80 мм

33

Перекрытие подвала

34

Защитная стенка из кирпича

35

Щебень

36

Труба дренажная

37

Бортовой камень

38

Крупный песок

39

Термовставка из ячеистобетонных блоков по ГОСТ 21520-89

40

Фартук из оцинкованной стали

41

Гвоздь диаметром 6 мм через деревянную прокладку с шагом 600 мм, но не менее 2 шт. на проем

42

Дюбель HPS-I, «Хилти», диаметром 6 или 8 мм

43

Пластина 6×40 мм, заранее скрепленная с окном шурупами

44

Железобетонная перемычка

45

Окно деревянное

46

Шуруп

46а

Шуруп нерж. по ГОСТ 1144-80

46б

Шуруп полиамидный с конической спиралью

47

Дюбель из полиамида (ТУ 36-941-79)

48

Подоконник по проекту

49

Прокладка уплотнительная

50

Рама и полотно распашных складчатых ворот серии 1.435-28

51

Костыль МС-1 с шагом 700 мм, см. в серии ворот

52

Стальная планка для крепления рамы ворот, см. в серии ворот

53

Наличник деревянный

54

Обрамляющий уголок 50×4 мм

55

Полоса 4×40 мм, крепить к стене дюбелями

56

Антисептированная доска

57

Костыль К2

58

Усиливающий уголок со стеклосеткой

59

Усиливающий уголок с капельником и стеклосеткой

60

Профиль из ПВХ примыкающий оконный с уплотнительной лентой

61

Заглушка из ПВХ для подоконного отлива

62

Выравнивающий состав Ceresit CT 29 (ТУ 5745-007-58239148-03)

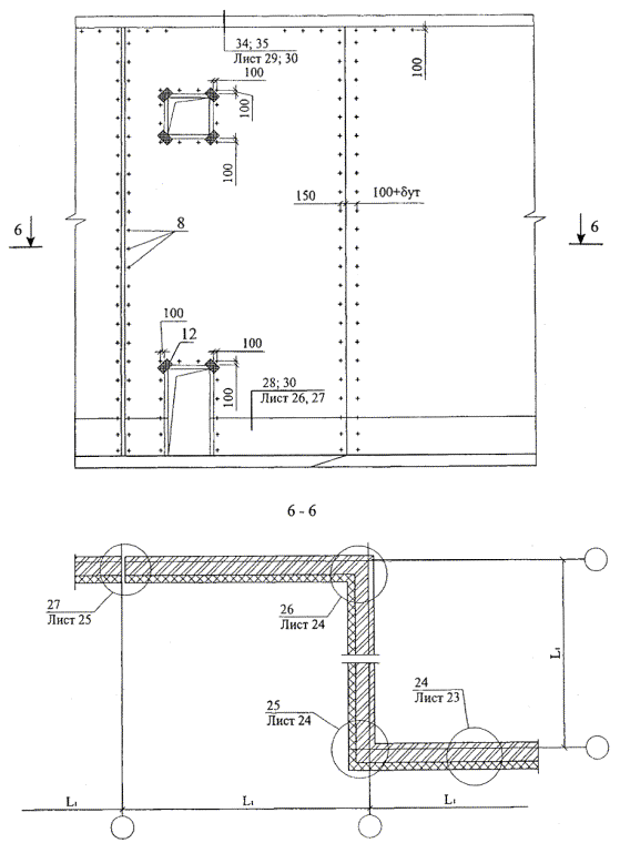
СХЕМА № 1. Расположение плит утеплителя, рассечек, сетки и штукатурки

СХЕМА № 2. Расположение анкеров в углах, температурных швах и у проемов

СХЕМА № 3

СХЕМА ПРИВЯЗКИ ДЮБЕЛЕЙ

для плит размером: 1200×100; 1200×500; 1000×500; 945×650

1. Количество дюбелей, устанавливаемых на 1 м2 системы, зависит от размеров плиты утеплителя и допустимой нагрузки на дюбель + высоты (h).

2. Границы краевой зоны расположены на расстоянии 1 ма/8 ≤ 2 м, где а - ширина торца здания.

Вариант с поверхностным сбросом дождевой воды

Вариант с дренажем

РАЗДЕЛ 1.2
СТЕНЫ С ТЕПЛОИЗОЛЯЦИЕЙ ИЗ МИНЕРАЛОВАТНЫХ ПЛИТ
М24.37/03-1.2

СХЕМА № 4. Расположение плит утеплителя, сетки и штукатурки

СХЕМА № 5. Расположение анкеров в углах, температурных швах и у проемов

СХЕМА № 6

СХЕМА ПРИВЯЗКИ ДЮБЕЛЕЙ

1. Количество дюбелей, устанавливаемых на 1 м2 системы, зависит от размеров плиты утеплителя и допустимой нагрузки на дюбель + высоты (h).

2. Границы краевой зоны расположены на расстоянии 1 м ≤ а/8 ≤ 2 м, где а - ширина торца здания.

Вариант с поверхностным сбросом дождевой воды

Вариант с дренажем

Вариант примыкания с опорным профилем

РАЗДЕЛ 1.3
ИЗДЕЛИЯ КОМПЛЕКТУЮЩИЕ
М24.37/03-1.3

СЛИВ С1

СЛИВ С2*

* - толщина слива С2 - 1 мм

СЛИВ С3

     

КОСТЫЛЬ К2

КОСТЫЛЬ К1

УГЛОВОЙ КОМБИНИРОВАННЫЙ ПРОФИЛЬ

ЦОКОЛЬНЫЙ ПРОФИЛЬ

1. * Уточняется в проекте.

2. Костыли окрасить за 2 раза или оцинковать

3. ** Значение в скобках указано для профилей с шириной полки профиля В ≥ 123 мм.

Приложение 2

ПРИМЕР РАСЧЕТА ПОВЫШЕНИЯ ТЕПЛОЗАЩИТЫ СТЕНЫ

Административное здание в г. Москве.

Усиление теплозащиты выполнено с применением полистирольных плит марки 25. Принятая конструкция стены дана на расчетной схеме.

Расчетная схема стены

1 - цементно-известковая штукатурка, λ1 = 0,87 Вт/(м ∙ °С); 2 - кирпичная кладка, λ2 = 0,64 Вт/(м ∙ °С); 3 - плита пенополистирола марки ПСБ-С-25Ф, λ3 = 0,041 Вт/(м ∙ °С); 4 - защитный слой из тонкостенной штукатурки, λ4 = 0,87 Вт/(м ∙ °С).

Требуемое сопротивление теплопередаче стены является функцией числа градусо-суток отопительного периода (ГСОП):

ГСОП = (tв - tот.пер)Zот.пер;

где tв - расчетная температура внутреннего воздуха, °С;

tот.пер, Zот.пер - средняя температура, °С, и продолжительность, сут, периода со средней суточной температурой воздуха ниже или равной 8 °С по СНиП 23-01-99* «Строительная климатология».

ГСОП = (18 + 3,1) ∙ 214 = 4600;

Тогда: R0тр = 2,58 м2 °С/Вт.

Требуется усиление теплозащитной способности стены на

ΔR = R0тр - R0сущ = 2,58 - 0,96 = 1,62 м2°С/Вт,

а за вычетом сопротивления R защитно-декоративного слоя, равного R04 = 0,0045/0,87 = 0,005 м2 ∙ °С/Вт, получаем ΔR = 1,62 - 0,005 = 1,615 м2 ∙ °С/Вт.

Толщина слоя дополнительной теплоизоляции при λ3 = 0,041 Вт/(м ∙ °С) и коэффициенте теплотехнической однородности r = 0,92 составит:

Принимаем слой изоляции равным 80 мм, тогда фактическое сопротивление теплопередаче составит:

R0фак = R0сущ + (R3r) + R4 = 0,096 +

Приложение 3

ПРИМЕР РАСЧЕТА ПАРОЗАЩИТЫ СТЕНЫ

Наружная стена

1. Цель расчета - определение необходимости устройства специальной парозащиты в многослойной стене.

Расчет выполнен по СНиП 23-02-2003 «Тепловая защита зданий».

2. Исходные данные - административное здание в г. Москве;

tвн = 18 °С; φвн = 50 %; R0фак = 2,76 м2 °С/Вт (см. расчет теплозащиты стены).

3. Конструкция стены:

1 - цементно-известковая штукатурка λ = 0,87 Вт/(м ∙ °С); μ = 0,098 мг/(м ∙ ч ∙ Па);

2 - кирпичная кладка λ = 0,81 Вт/(м ∙ °С); μ = 0,11 мг/(м ∙ ч ∙ Па);

3 - плита пенополистирола ПСБ-С-25Ф λ = 0,041 Вт/( м ∙ °С); μ = 0,0147 мг/(м ∙ ч ∙ Па);

4 - защитный слой из тонкостенной штукатурки λ = 0,87 Вт/(м ∙ °С); μ = 0,13 мг/(м ∙ ч ∙ Па).

 - плоскость возможной конденсации.

Сопротивление теплопередаче внутренних слоев составит:

4. Требуемое сопротивление паропроницанию слоев стены до плоскости возможной конденсации должно быть не менее его значения:

по формуле , или

по формуле

5. Проверка возможности влагонакопления за годовой период.

Значения среднемесячных температур наружного воздуха для Москвы по СНиП 23-01-99* «Строительная климатология» приведены в таблице 2.1, Z0 по тому же СНиПу (стр. 8) и средней упругости водяных паров наружного воздуха по СП 23-101-2004, так как в новом СНиПе эти данные отсутствуют.

Таблица 3.1

Месяц

1

2

3

4

5

6

7

8

9

10

11

12

Тн, °С

-10,2

-9,2

-4,3

4,4

11,9

16,0

18,1

16,3

10,7

4,3

-1,9

-7,3

ен, гПа

2,8

2,9

3,7

6

8,9

12,4

14,7

14,2

10,4

6,9

4,8

3,6

Z0 = 145 сут.

Сезонные и среднемесячные температуры:

Z1 = 3 мес; tн1 = -8,9 °С;

Z2 = 4 мес; tн2 = +0,625 °С;

Z3 = 5 мес; tн3 = +14,6 °С.

Температура в плоскости возможной конденсации, соответствующая среднезонным температурам, определяется по формуле:

τв = 18 - (18 + 8,9) = -7,0 °С;

τ2 = 18 - (18 - 0,625)  = +2,0 °С;

τ3 = 18 - (18 - 14,6)  = +14,9 °С;

соответственно Е1 = 337 Па; Е2 = 705 Па; Е3 = 1695 Па, тогда Е = (337 ∙ 3 + 705 ∙ 4 + 1695 ∙ 5)/12 = 1025 Па;

ев = 1032 Па;

ен = 761 Па (средняя упругость водяного пара, см. табл. 3.1).

RП.нар.слоя = 0,0045/0,13 = 0,035 м2ч ∙ Па/мг;

RП.внут.слоя = 0,08/0,0147 + 0,51/0,11 + 0,02/0,098 = 10,28 м2ч ∙ Па/мг.

По формуле

RП1 = (1032 - 1025)1,09/(1025 - 761) = 0,029 < 10,28 м2ч ∙ Па/мг, то есть по этому условию устройство парозащиты не требуется.

6. Проверка возможности влагонакопления за период с отрицательными среднемесячными температурами.

Средняя упругость водяного пара наружного воздуха за период Z0

ено = 356 Па.

Средняя температура наружного воздуха за тот же период

tно = -6,58 °С.

По формуле

τ0 = 18 - (18 + 6,58)  = -4,98 °С.

Этой температуре соответствует Е0 = 405 Па.

По формуле

η = 0,0024 (405 - 356) 145/1,09 = 15,67.

При γ = 25 кг/м3; δ = 0,08 м; Δwср = 25 % находим

RП2 = 0,0024 ∙ 145 ∙ (1032 - 405)/(25 ∙ 0,08 ∙ 25 + 15,64) = 3,32 < 10,28 м2 ч ∙ Па/мг, то есть по этому условию устройство дополнительной пароизоляции также не требуется.

Приложение 4

ОБЕСПЕЧЕНИЕ ПОЖАРНОЙ БЕЗОПАСНОСТИ

1. Настоящее приложение устанавливает требования пожарной безопасности применения фасадной системы «CERESIT VWS».

2. В соответствии с требованиями табл. 2 ГОСТ 31251-2003 «Конструкции строительные. Методы определения пожарной опасности. Стены наружные с внешней стороны» и результатами проведенных ЛПИСИЭС ЦНИИСК им. В.А. Кучеренко испытаний («Протокол огневых испытаний по ГОСТ 31251-2003 системы «CERESIT VWS» наружной теплоизоляции фасадов зданий», № 11Ф-04, ЛПИСИЭС ЦНИИСК, 2004 г.), наружные стены, выполненные с внешней стороны на толщину не менее 60 мм из кирпича, бетона, железобетона и других подобных негорючих материалов плотностью не менее 600 кг/м3, с плотной (без «пустошовки») заделкой негорючими материалами стыков (швов) между конструкциями и/или элементами конструкций наружных стен, со смонтированной на стенах системой «CERESIT VWS» наружной теплоизоляции фасадов зданий, имеющей:

- принципиальное конструктивное решение, представленное в материалах для проектирования и рабочих чертежах узлов (шифр М24.37/03 «Стены с теплоизоляцией из пенополистирола и минераловатных плит с отделочным слоем из тонкослойной штукатурки», (ОАО «ЦНИИПромзданий», 2004);

- декоративно-защитную штукатурку, выполняемую из системных продуктов «CERESIT» (клеевой/шпатлевочный состав «CERESIT CT 85» по ТУ 5745-008-58239148-03 для организации базового (армированного) слоя штукатурки в системе; состав «CERESIT CT 16» по ТУ 5745-008-58239148-03 для грунтовки наружной поверхности базового слоя штукатурки; состав «CERESIT CT 35» по ТУ 5745-007-58239148-03 для организации отделочного (фактурного) слоя штукатурки системы) производства ООО «Хенкель Баутехник (Россия); при этом толщина базового (армированного) слоя штукатурки должна составлять не менее 4,5 мм по «глади» стены и не менее 7 мм на откосах проемов, толщина отделочного (фактурного) слоя штукатурки - 1,5 ... 3,5 мм (в зависимости от крупности фракции наполнителя);

- утеплитель из плит пенополистирольных марки ПСБС-25Ф по ГОСТ 15588-86*, средней плотности 15 ... 18 кг/м3, группы горючести Г3/Г4 по ГОСТ 30244-94, производства ООО «ФТТ-Пластик» (Россия, г. Ижевск), из сырья марки KF 262M фирмы «BASF» (Германия); при этом значения термоаналитических характеристик этого пенополистирола должны быть не более представленных в протоколе идентификационного контроля № 80 от 23.09.2004 г., приведенного в приложении № 5 вышеуказанного «Протокола огневых испытаний»;

- общую толщину пенополистирольного утеплителя в системе не более 200 мм;

- противопожарные рассечки и окантовки оконных (дверных) проемов из негорючих (по ГОСТ 30244-94) минераловатных плит «PAROC FAS-4» со средней плотностью 140 ... 150 кг/м3 производства фирмы «PAROC OY АВ» (Финляндия); горизонтальные рассечки следует устанавливать в уровне верхних откосов проемов по всей длине фасада здания, на каждом этаже, но не реже, чем через 4 м по высоте; по всем другим сторонам проемов, вдоль всей их длины, следует устанавливать окантовки из минераловатных плит; высота поперечного сечения рассечек и окантовок должна составлять не менее 150 мм, толщина их поперечного сечения должна соответствовать толщине пенополистирольного утеплителя в системе, равно как и сама указанная система, смонтированная на вышеуказанных стенах, - относятся с внешней стороны к классу пожарной опасности К0.

3. При использовании в системе «CERESIT VWS» наружной теплоизоляции фасадов зданий:

- других негорючих (по ГОСТ 30244-94) минераловатных плит с волокнами из каменных пород и температурой плавления волокон не менее 1000 °С, имеющих разрешительную документацию на применение в фасадных системах, для выполнения рассечек и окантовок;

- утеплителя из плит пенополистирольных марки ПСБС-25 и/или ПСБС-25Ф по ГОСТ 15588-86*, средней плотности 15 ... 18 кг/м3, группы горючести Г2/Г3 по ГОСТ 30244-94, производства ООО «ФТТ-Пластик» (Россия, г. Ижевск) из сырья марки SE-2000 фирмы «SHIN-HO» (Ю. Корея) или марки KF 262M фирмы «BASF» (Германия);

- утеплителя из плит пенополистирольных марки ПСБС-25 по ГОСТ 15588-86*, средней плотности 15 ... 18 кг/м3, группы горючести Г3/Г4 по ГОСТ 30244-94, производства ОАО «ТИГИ-КНАУФ» (Россия, Московская обл., г. Красногорск-5) из сырья марки NF 414 фирмы «Styrochem OY» (Финляндия) или одноименные плиты средней плотности 15 ... 19 кг/м3, группы горючести Г3/Г4 по ГОСТ 30244-94, производства ОАО «Мосстройпластмасс» (Россия, Московская обл., г. Мытищи) из сырья марки NF 714 фирмы «Styrochem OY» (Финляндия) или марки F215 фирмы «BASF» (Германия);

- утеплителя из плит пенополистирольных марки KNAUF Therm Facade по ТУ 2244-003-50934765-2002 средней плотности 15,1 ... 17 кг/м3 производства ООО «КНАУФ ГИПС» (Россия, Московская обл., г. Красногорск) из сырья марки SE 2000 фирмы «SHIN-HO» (Ю. Корея);

- утеплителя из плит пенополистирольных теплоизоляционных для наружного утепления («фасадных») марки ПСБС-Ф-25 по ТУ 2244-051-040011232-99, одновременно отвечающих требованиям ГОСТ 15588-86*, средней плотности 15 ... 19 кг/м3, группы горючести Г3/Г4 по ГОСТ 30244-94, производства ОАО «Мосстройпластмасс» из сырья марки NF 714 фирмы «Styrochem OY» (Финляндия) или марки F215 фирмы «BASF» (Германия);

- утеплителя из пенополистирольных плит других производителей, в том числе из другого сырья, при наличии согласования ЛПИСИЭС ЦНИИСК им. В.А. Кучеренко и имеющих разрешительную документацию на применение в фасадных системах;

- взаимозамене составов «CERESIT СТ 850» и «CERESIT СТ 83» производства ООО «Хенкель Баутехник» по ТУ 5745-008-58239148-03 при наклейке плит пенополистирольного утеплителя, рассечек и окантовок из минераловатных плит к строительному основанию;

- взаимозамене составов «CERESIT СТ 35», «CERESIT СТ 36» и «CERESIT СТ 137» производства ООО «Хенкель Баутехник» по ТУ 5745-007-58239148-03 при выполнении отделочного слоя штукатурки системы;

- фасадных красок для окрашивания наружной поверхности отделочного слоя штукатурки системы;

- сохранении неизменным оговоренного в пп. 2 и 3 настоящего приложения перечня используемых в системе основных материалов, изделий, а также конструктивных решений, представленных в материалах для проектирования и рабочих чертежах узлов (шифр М24.37/03 «Стены с теплоизоляцией из пенополистирола и минераловатных плит с отделочным слоем из тонкослойной штукатурки» - далее «Материалы для проектирования»), вышеуказанные наружные стены со смонтированной на них системой «CERESIT VWS» наружной теплоизоляции фасадов зданий, равно как и сама система, смонтированная на вышеуказанных стенах, - относятся с внешней стороны к классу пожарной опасности К0.

4. Областью применения рассматриваемых конструкций в соответствии с табл. 5* СНиП 21-01-97* «Пожарная безопасность зданий и сооружений» являются здания и сооружения всех степеней огнестойкости (по СНиП 2.01.02-85* и СНиП 21-01-97*), всех классов конструктивной и функциональной опасности (по СНиП 21-01-97*), за исключением класса функциональной пожарной опасности Ф1.1, школ и внешкольных учебных заведений класса Ф4.1, при соблюдении следующих дополнительных требований:

- при наличии пустот (воздушных зазоров) толщиной 5 мм и более между строительным основанием и пенополистирольным утеплителем площадь каждой из них не должна превышать 1,5 м2; сквозные зазоры между рассечками (окантовками) из негорючих минераловатных плит и строительным основанием, а также в стыках смежных плит рассечек (окантовок) друг с другом не допускаются;

- участки наружных стен по периметру всех эвакуационных выходов из здания должны выполняться на ширину не менее 1 м от каждого откоса выхода с применением в качестве утеплителя вышеуказанных в пп. 2 и 3 настоящего приложения негорючих минераловатных плит;

- участки стен в пределах воздушных переходов, ведущих в незадымляемые лестничные клетки типа HI, в пределах остекленных лоджий и балконов, должны выполняться с применением в качестве утеплителя вышеуказанных в пп. 2 и 3 настоящего приложения негорючих минераловатных плит, либо плит пенополистирола при условии защиты пенополистирола цементно-песчаной штукатуркой толщиной не менее 20 мм по стальной сетке с ее креплением стальными закладными деталями непосредственно к строительному основанию;

- участки стен, образующие внутренние углы здания, при наличии хотя бы в одной из них оконных проемов (включая внутренние углы, образуемые стенами и ограждением остекленных лоджий (балконов)), расположенных на расстоянии 1 м и менее от этого угла, должны выполняться на ширину оконного проема и до внутреннего угла и на всю высоту здания с применением в качестве утеплителя вышеуказанных в пп. 1 и 2 настоящего приложения негорючих минераловатных плит;

- при расстоянии от внутреннего угла здания до ближайшего вертикального откоса оконного проема от 1,0 до 1,5 м участок стены в пределах вертикального створа на ширину оконного проема и дополнительно на 0,25 м в сторону внутреннего угла здания должен выполняться с применением негорючих минераловатных плит по пп. 2 и 3; остальную поверхность рассматриваемого участка стены выполнять с применением пенополистирола и с поэтажными рассечками из негорючих минераловатных плит;

- при расстоянии от внутреннего угла до ближайшего вертикального откоса оконного проема более 1,5 м утепление стен выполнять в соответствии с «Материалами для проектирования»;

- система теплоизоляции должна начинаться на нижней отметке применения и заканчиваться на верхней отметке применения сплошной рассечкой из вышеуказанных негорючих минераловатных плит по всему периметру здания; высота поперечного сечения рассечек - не менее 150 мм;

- при расстоянии между смежными проемами этажа, а также между углом здания и ближайшим проемом более 1,5 м, промежуточные поэтажные рассечки из вышеуказанных негорючих минераловатных плит допускается выполнять в пределах этих участков, за исключением 1-го этажа зданий, дискретными, продлевая за пределы проема на расстояние не менее 0,75 м в сторону соответствующего бокового простенка;

- на «глухих» (без проемов) стенах здания промежуточные поэтажные рассечки из негорючих минераловатных плит, за исключением располагаемой на высоте 2,5 ... 3 м от нижней отметки применения системы на этих участках, допускается не устанавливать;

- участки стен в пределах всей высоты проекции пожарной лестницы, наружной маршевой лестницы и не менее 0,5 м в каждую боковую сторону, считая от соответствующего края лестницы, должны выполняться с применением в качестве утеплителя вышеуказанных негорючих минераловатных плит;

- по всей длине стыков рассматриваемой системы теплоизоляции с другой фасадной системой теплоизоляции (отделки, облицовки) должны устанавливаться рассечки из вышеуказанных негорючих минераловатных плит с высотой поперечного сечения не менее 0,15 м, на всю толщину сечения рассматриваемой системы.

5. Вышеуказанные класс пожарной опасности и область применения рассматриваемых конструкций действительны для зданий:

- соответствующих требованиям пп. 4.2, 4.4 и 5.3 ГОСТ 31251-2003 «Конструкции строительные. Методы определения пожарной опасности. Стены наружные с внешней стороны»;

- соответствующих требованиям действующих СНиП в части обеспечения безопасности людей при пожаре;

- высотность (этажность) которых не превышает установленную действующими СНиП.

6. Наибольшая высота применения вышеуказанной системы для зданий различного функционального назначения в зависимости от ее класса пожарной опасности (К0) приведена в таблице 1 настоящего приложения.

7. Решение о возможности применения с позиций обеспечения пожарной безопасности рассматриваемой фасадной системы теплоизоляции на зданиях, не отвечающих требованиям п. 5 настоящего приложения, и для зданий сложной архитектурной формы (наличие выступающих/западающих участков фасада, смежных с проемами внутренних углов здания, архитектурных элементов отделки фасадов и др.) принимается в установленном порядке, в соответствии с п. 1.6 СНиП 21-01-97* при представлении прошедшего экспертизу в ЛПИСИЭС ЦНИИСК им. В.А. Кучеренко проекта привязки системы к конкретному объекту.

8. Отступления от представленных в «Материалах для проектирования» технических решений фасадной системы «CERESIT VWS», возможность замены предусмотренных системных материалов и изделий на другие (за исключением уже оговоренной в пп. 2 и 3 настоящего приложения), согласовываются Федеральным центром по сертификации.

Таблица 1

Наибольшая высота применения системы «CERESIT VWS», ограниченная высотой зданий различного функционального назначения

Тип здания

Наибольшая высота применения системы Ceresit VWS, ограниченная высотой здания, выраженная в метрах или числе этажей

Многоквартирные дома по СНиП 2.08.01-89*

75 м*

Общежития по СНиП 2.08.01-89*

50 м*

Общественные здания и сооружения по СНиП 2.08.02-89*

16 этажей

Бытовые и административные здания по СНиП 2.09.04-87*

50 м*

Дома жилые одноквартирные по СНиП 31-02-2001

Без ограничений

Производственные здания по СНиП 31-03-2001

54 м**

Складские здания по СНиП 31-04-2001

36 м**

* Высота здания определяется высотой расположения верхнего этажа (включая мансардный), не считая верхнего технического этажа, а высота расположения этажа определяется разностью отметок поверхности проезда для пожарных машин и нижней границы открывающегося проема (окна) в наружной стене.

** Высота здания измеряется от пола 1-го этажа до потолка верхнего этажа, включая технический; при переменной высоте потолка принимается средняя высота этажа.

9. Площадь пенополистирола, незащищенного штукатурным слоем, в процессе производства работ по теплоизоляции фасадов зданий в системе «CERESIT VWS» не должна превышать 250 м2, причем высота этой площади не должна превышать 12 м. Допускается выполнять монтаж системы теплоизоляции одновременно на нескольких участках фасада здания при условии, что на каждом участке площадь незащищенного пенополистирола не превысит указанных размеров, а между участками будут обеспечены разрывы не менее 2,6 м по горизонтали и не менее 4 м по вертикали.

10. Работы по утеплению стен зданий по технологии системы «CERESIT VWS» должны выполняться в соответствии с «Материалами для проектирования» и «Инструкцией по монтажу систем теплоизоляции CERESIT WM и CERESIT VWS» строительными организациями, имеющими лицензию на данный вид строительной деятельности, специалисты которых прошли соответствующее обучение в ООО «Хенкель Баутехник» (Россия) или в уполномоченных организациях.

11. Для зданий V степени огнестойкости, классов С2 и С3 конструктивной пожарной опасности соблюдение требований пп. 2, 3, 4, 7 и 8 настоящего приложения с позиций пожарной безопасности не является обязательным.

Разработано

ЛПИСИЭС ЦНИИСК

(А.В. Пестрицкий)

Приложение 5

СЕРТИФИКАТЫ СООТВЕТСТВИЯ

Продукция

№ сертификата

Срок действия

Орган по сертификации

с

по

Проектная документация «Стены с теплоизоляцией из пенополистирола и минераловатных плит с отделочным слоем из тонкослойной штукатурки. Материалы для проектирования и рабочие чертежи узлов»

Шифр 24.37/03

РОСС RU.CP48.С00132

31.03.2004

31.03.2007

ОС «ГУП ЦПП» РОСС RU.900111CP48 от 11.07.02

Клеи для крепления теплоизоляционных материалов марок «Ceresit» СТ 83, СТ 85, СТ 190

РОСС DЕ.СЛ35.Н00075

06.02.2004

06.02.2007

Московское областное общественное учреждение - Региональный сертификационный центр «Опытное» POCC RU.9001.11CЛ35

Грунтовки марок «Ceresit» СТ 16, СТ 17

РОСС DЕ.СЛ35.Н00072

06.02.2004

06.02.2007

То же

Декоративные штукатурки марок «Ceresit» СТ 35, СТ 36, СТ 137

РОСС DЕ.СЛ33.Н00074

06.02.2004

06.02.2007

»

Полимерная тонкослойная штукатурка марки «Ceresit» СТ 60, СТ 63/64, СЕ 177

РОСС DЕ.СЛ35.Н00073

06.02.2004

06.02.2007

»

 




Яндекс цитирования



   Copyright © 2007-2026,  www.tehlit.ru.

[ ѓосты, стандарты, нормативы, инструкции, правила, строительные нормы ]