//
ТехЛит.ру
- крупнейшая бесплатная электронная интернет библиотека для "технически умных" людей.
WWW.TEHLIT.RU - ТЕХНИЧЕСКАЯ ЛИТЕРАТУРА

:: Алготрейдинг::


АЛГОТРЕЙДИНГ
шаг за шагом
с нуля по урокам!

Торговые роботы на PYTHON, BackTrader,
Pandas, Pine Script для TradingView. Связка с брокерами, телеграм и легкими приложениями.


МИНИСТЕРСТВО ТРАНСПОРТНОГО СТРОИТЕЛЬСТВА СССР

ГОСУДАРСТВЕННЫЙ ВСЕСОЮЗНЫЙ ДОРОЖНЫЙ
НАУЧНО-ИССЛЕДОВАТЕЛЬСКИЙ ИНСТИТУТ
(СОЮЗДОРНИИ)

РЕКОМЕНДАЦИИ
ПО ПРИМЕНЕНИЮ КРЕМНИЙОРГАНИЧЕСКИХ ДОБАВОК
ПРИ
СТРОИТЕЛЬСТВЕ ЦЕМЕНТОБЕТОННЫХ
ПОКРЫТИЙ
ДОРОГ И АЭРОДРОМОВ

Балашиха Московской области 1970

РЕКОМЕНДАЦИИ ПО ПРИМЕНЕНИЮ КРЕМНИЙОРГАНИЧЕСКИХ ДОБАВОК ПРИ СТРОИТЕЛЬСТВЕ ЦЕМЕНТОБЕТОННЫХ ПОКРЫТИЙ ДОРОГ И АЭРОДРОМОВ. Союздорнии, Балашиха-6 Московской обл., 1970.

Приведены основные свойства дорожного бетона с добавками кремнийорганических соединений полигидросилоксанового типа (ГКЖ-94) и силиконатов натрия (ГКЖ-10, ГКЖ-11), их преимущество перед воздухововлекающими добавками: СНВ, мылонафтом, асидол-мылонафтом, применяемыми в настоящее время для повышения долговечности дорожного бетона; требования к добавкам; технология изготовления бетонов с добавками кремнийорганических соединений; описана технология приготовления эмульсии ГКЖ-94 на различных эмульгаторах в мешалках непрерывного действия ЦНИИС и периодического Союздорнии; даются рекомендации по эффективному применению добавок с учетом климатических факторов (среднемесячной температуры наиболее холодного месяца, количество дней с гололедом); требования по технике безопасности. Приведено количество дней с гололедом в областях и краях РСФСР, двух прибалтийских республиках и БССР.

Табл. - 1, рис. - 2.

Предисловие

«Рекомендации по применению кремнийорганических добавок при строительстве цементобетонных покрытий дорог и аэродромов» составлены на основании результатов лабораторных исследований и полевых опытно-экспериментальных работ.

В «Рекомендациях» приведены основные свойства дорожных бетонов с добавками кремнийорганических соединений, требования к добавкам, технология приготовления бетонов с добавками кремнийорганических соединений, область применения добавок, а также требования по технике безопасности. Использованы результаты исследований НИИЖБ и ЦНИИС Минтрансстроя СССР.

«Рекомендации» составили канд. техн. наук А.Н. Защепин, инж. Н.Н. Янбых.

Все замечания и предложения по «Рекомендациям» просьба направлять по адресу: Балашиха-6 Московской обл., Союздорнии.

ЗАМ. ДИРЕКТОРА СОЮЗДОРНИИ

кандидат технических наук

Н.В. Горелышев

Общие положения

Хлористые соли, применяемые для удаления гололеда, образуют на поверхности цементобетонных покрытий растворы 3 - 5 %-ной концентрации, которые в сочетании с переменным замораживанием и оттаиванием вызывают интенсивное шелушение покрытий. Шелушение бетона обычно наступает после 25 - 30-кратной россыпи солей на покрытие.

Для предотвращения разрушения бетона от совместного многократного воздействия растворов хлористых солей и мороза широко применяют воздухововлекающие добавки типа СНВ (смола нейтрализованная воздухововлекающая - абиетат натрия), мылонафт и др. Применением воздухововлекающих добавок количество воздуха в бетоне в виде замкнутых мелких пор доводят до 4,5 - 5 %. Этим самым увеличивают стойкость бетона против агрессивного воздействия растворов хлористых солей и мороза в 5 - 6 раз.

Увеличение количества воздуха до 4,5 - 5 % может привести к снижению механической прочности бетона при сжатии на 20 - 25 % и на растяжение при изгибе до 15 %.

Прочность бетона удается повысить за счет пластифицирующего действия воздухововлекающих добавок и уменьшения в бетонной смеси песка на 2 - 3 %, однако полностью восстановить прочность бетона при одном и том же расходе цемента, используя воздухововлекающие добавки, не всегда возможно. Поэтому исследовали дорожный бетон с добавками гидрофобных кремнийорганических жидкостей, которые существенно увеличивают стойкость бетона против агрессивного воздействия хлористых солей и мороза и одновременно не вызывают снижения его механической прочности.

Эффективные результаты получены при применении гидрофобной кремнийорганической жидкости - полигидросилоксана, - выпускаемой промышленностью под индексом ГКЖ-94. При введении ГКЖ-94 в бетонную смесь в количестве 0,1 - 0,15 % от веса цемента существенно повышается морозостойкость бетона при многократном действии на него хлористых солей и мороза.

Действие этой добавки на бетон существенно отличается от действия воздухововлекающих добавок. При введении в бетон воздухововлекающих добавок типа СНВ и мылонафта вовлеченный воздух стабилизируется на зернах мелкого заполнителя (песка), ослабляя при этом контактную зону. При введении же добавки ГКЖ-94 происходит химическое взаимодействие добавки с продуктами гидролиза и гидратации цемента. За счет выделения газа образуется мелкопористая структура цементного камня с объемом пор не более 1 - 2 %, при этом цементный камень с такой структурой не оказывает влияния на прочность бетона. Добавка ГКЖ-94 имеет еще одно важное преимущество перед СНВ. При применении воздухововлекающих добавок СНВ на количество вовлекаемого в бетонную смесь воздуха, кроме дозировки добавки, влияют еще многие факторы: подвижность бетонной смеси, расход цемента в смеси, зерновой состав мелкого заполнителя, тип бетономешалки, время перемешивания смеси, температура, жесткость воды, продолжительность и интенсивность уплотнения и др.

При применении же газообразующей добавки ГКЖ-94 на количество выделенного газа в бетоне, кроме дозировки добавки, влияют только расход цемента и температура смеси. Действие на бетон добавок ГКЖ-10 и ГКЖ-11 не отличается от действия воздухововлекающих добавок СНВ и мылонафта, но они обладают ограниченным воздухововлечением (5 - 6 %), что имеет важное значение для получения однородного по прочности и морозостойкости бетона (по сравнению с добавками СНВ, при введении которых количество вовлеченного воздуха может достигать 8 - 9 %, а в подвижных бетонных смесях с осадкой конуса 5 - 6 см и более).

Несмотря на существенные преимущества кремнийорганических добавок перед воздухововлекающими, их широкое применение в настоящее время ограничено из-за высокой стоимости. При существующих ценах на ГКЖ их применение целесообразно только в отдельных случаях, там, где бетон подвергается большому количеству циклов замораживания-оттаивания в растворах хлористых солей или где снижение прочности бетона может потребовать увеличения толщины покрытия.

Основные строительные свойства бетонов с добавками кремнийорганических соединений

1. Добавки ГКЖ-10, ГКЖ-11, ГКЖ-94 замедляют твердение бетонов в ранние сроки, особенно в первые сутки, но к 28-суточному возрасту прочность бетонов сравнивается с прочностью бетона без добавок.

2. Добавки ГКЖ-10, ГКЖ-11, ГКЖ-94 оказывают пластифицирующее действие на бетонные смеси, снижают ее расслаивание во время транспортирования и укладки, повышают водонепроницаемость бетона. При сохранении заданной подвижности смеси введение добавок ГКЖ-11 и ГКЖ-94 позволяет уменьшать величину В/Ц до 0,03, а при добавке ГКЖ-10 до 0,05.

3. Добавка ГКЖ-94 значительно повышает морозостойкость бетона нормального твердения и подвергнутого тепловлажностной обработке, позволяет получать высокопрочные (марки «400» и более) и морозостойкие (марки «200» и более при испытании в растворах хлористых солей) бетоны (см. таблицу).

4. Добавки ГКЖ-10, ГКЖ-11 повышают морозостойкость бетонов нормального твердения и позволяют получать по прочности бетоны марки «350» и морозостойкости при испытании в растворах хлористых солей бетоны марки «150» - «200».

Основные строительно-технические свойства бетонов с добавками кремнийорганических соединений.

Вид кремнийорганических соединений

Рекомендуемые дозировки добавок от веса цемента, %

Марка бетона

Содержание воздуха в бетоне, %

Содержание газа в бетоне, %

по прочности при сжатии, кг/см2

по морозостойкости при испытании в растворах хлористых солей

ГКЖ-94

0,1 - 0,2 (100 %-ную жидкость)

400 - 500

200 и более

-

1 - 2

ГКЖ-10

0,1 - 0,2 (на сухое вещество)

350

200

3 - 5

-

ГКЖ-11

То же

350

200

3 - 5

-

5. Добавка ГКЖ-94 в дорожный бетон на крупном заполнителе из известняка увеличивает его морозостойкость при испытании в растворах хлористых солей. Поэтому при строительстве дорожных покрытий из бетона на известняковом щебне следует, как правило, применять добавку ГКЖ-94.

Требования к добавкам

6. Гидрофобизирующая и кремнийорганическая жидкость ГКЖ-94 должна соответствовать ГОСТ 10834-64 и удовлетворять следующим требованиям:

- цвет: от бесцветного до бледно-желтого;

- содержание активного водорода в весовых процентах - 1,3 - 1,42;

- вязкость кинематическая в ССТ при 20 °С в пределах 45 - 200;

- рН не менее 6.

ГКЖ-94 поставляется заводами в виде 100 %-ной жидкости, не смешивающейся с водой, в стеклянной таре - бутылях весом 20 кг с плотно притертыми пробками. Каждая партия кремнийорганической жидкости сопровождается соответствующим паспортом. До употребления жидкость необходимо хранить в крытых, не освещаемых солнцем складских помещениях при положительной температуре от 0 до 20 °С (под действием солнечных лучей может произойти полимеризация жидкости). Срок хранения жидкости в нормальных условиях 6 месяцев и более.

7. Кремнийорганические жидкости ГКЖ-10 ж ГКЖ-11 в соответствии с техническими условиями МР ТУ 6-02-271-63 должны удовлетворять следующим требованиям:

- цвет: от желтого до светло-коричневого (осадка не допускается);

- содержание сухого остатка в весовых процентах 30 ± 5;

- щелочность (в пересчете на NaОН) в весовых процентах 15 ± 2;

- содержание кремния в весовых процентах не менее 4;

- плотность 1,19 ± 0,02 г/см3.

Поставляются заводами в виде водно-спиртовых растворов 30 %-ной концентрации этил и метилсиликонаты натрия. До употребления жидкость хранят в металлической таре при температуре от 0 до 30 °С.

Технология приготовления бетонных смесей с добавками кремнийорганических соединений

8. Добавки кремнийорганических соединений вводят в бетонные смеси с водой затворения.

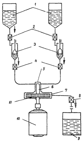
9. Добавку ГКЖ-94 вводят в бетонную смесь в виде 50 %-ной водной эмульсии. Эмульсию приготавливают в быстроходных смесителях при 8000 - 12000 об/мин (возможно применение электросмесителей с меньшим числом оборотов, но производительность значительно снижается). Эмульсии рекомендуется готовить в диспергаторе периодического действия, разработанном ПКБ Союздорнии по образцу выпускаемого в ГДР производительностью 40 - 50 л/час. Рекомендуемый диспергатор был опробован в производственных условиях при строительстве участков цементобетонного покрытия с кремнийорганическими добавками на дороге Москва-Калуга. При расходе эмульсии 0,7 - 1,0 л/на 1 м3 бетона одним диспергатором за смену можно приготовить эмульсии на 300 - 400 м3 бетона. При небольших объемах бетона для приготовления эмульсии рекомендуется использовать разработанную ЦНИИС мешалку непрерывного действия производительностью 20 л/час.

10. Эмульсию в диспергаторе Союздорнии (рис. 1) приготавливают следующим образом: в воронку вливают заранее приготовленный раствор эмульгатора, затем включают электросмеситель, вливая в него маслянистую полигидросилоксановую жидкость 100 %-ной концентрации. Соотношение масла к раствору эмульгатора 1:1.

Для получения однородной и стабильной эмульсии рекомендуется полученный продукт пропускать через эмульгатор не менее 5 раз. При приготовлении эмульсии раствор эмульгатора и жидкость ГКЖ-94 должны быть абсолютно чистыми, без посторонних примесей (кусков бумаги, щепы и других предметов), так как это может привести к порче смесителя.

Рис. 1. Схема диспергатора Союздорнии

1 - электромотор УЛ-62 №-0,270 квт, 8000 об/мин; 2 - воронка; 3 - корпус; 4 - турбинка (смеситель); 5 - шнек; 6 - кран; 7 - гайка; 8 - стойка

Готовую эмульсию сливают в тару, а смеситель тщательно промывают.

11. Эмульсии в мешалке непрерывного действия ЦНИИС (рис. 2) приготовляют следующим образом: жидкость ГКЖ-94 и заранее приготовленный раствор стабилизатора в соотношении 1:1 по весу заливают в загрузочные бачки. Из бачков через вентили жидкости поступают в мерные емкости, имеющие поплавковые указатели уровня, и из них через вентили в приемную камеру, где шнеком предварительно смешиваются компоненты эмульсии и смесь подается в мешалку с 8000 об/мин. Требуемую дисперсность эмульсии получают регулированием зазоров между диском и крышкой камеры и временем нахождения эмульсии в мешалке. Готовую эмульсию сливают в приемный бак.

12. Приготовление эмульсии ГКЖ-84 необходимо проводить под контролем лаборатории.

13. Однородность эмульсии и отсутствие механических примесей определяют фильтрованием под вакуумом через матерчатый фильтр на воронке Бюхнера. После фильтрования не должно оставаться посторонних включений.

Рис. 2. Схема мешалки непрерывного действия ЦНИИС:

1 - загрузочный бак; 2 - вентиль; 3 - мерная емкость с поплавковым указателем уровня; 4 - вентиль; 5 - приемная камера; 6 - шнек; 7 - крышка; 8 - вентиль; 9 - приемный бак; 10 - электродвигатель УЛ-072 - 8000 об/мин; 11 - диск

Стабильность эмульсии проверяют следующим методом: в мерный цилиндр наливают 10 см3 эмульсии и 100 см3 воды. Содержимое цилиндра тщательно перемешивают в течение 1 мин и оставляют в покое на 2 часа. Эмульсия считается стабильной, если в течение этого времени в ней не наблюдается расслаивания.

Перед применением эмульсии необходимо проверять ее стабильность.

14. Качество эмульсии во многом зависит от вида применяемого эмульгатора. Эмульсии, приготовленные на эмульгаторах сольвар, сопал, ОС-2, очень устойчивы и могут храниться в течение нескольких месяцев, не расслаиваясь.

Эмульсии, приготовленные на желатине, неустойчивы особенно при температуре 35 - 40 °С. Их стабильностьх) всего несколько дней, и поэтому их необходимо использовать сразу же после приготовления.

х) Под стабильностью понимается время, в течение которого эмульсия полностью сохраняет свои свойства, не расслаивается.

При расходовании эмульсии не сразу, а через некоторое время (месяц-два) после приготовления рекомендуется применять эмульгаторы, опробованные ЦНИИС, ОС-2хх), сольвар, сопал.

хх) ОС-2 выпускает лакокрасочный завод на станции Долгопрудная Московской обл., сольвар - ереванский завод «Поливинилацетат».

Стабильность эмульсий, приготовленных на указанных стабилизаторах, несколько месяцев и во многом зависит от температуры. С повышением температуры стабильность эмульсии резко понижается. До приготовления рабочих растворов эмульсию рекомендуется хранить при температуре от 0 до +20 °С в таре из белой жести.

15. Растворы эмульгаторов готовят следующим образом: к отмеренному объему холодной воды добавляют эмульгаторы: желатин из расчета получения 1 %-ного, сопал - 2 %-ного, сольвар - 4 %-ного растворов. После введения эмульгаторов воду подогревают до температуры 60 - 70 °С и поддерживают ее до полного растворения их, затем растворы охлаждают до комнатной температуры. При приготовлении раствора эмульгатора из сольвара для лучшего растворения рекомендуется его предварительно замочить на сутки в воде.

16. Эффективность применения добавки ГКЖ-94 во многом зависит от качества эмульсии. При применении некачественной эмульсии (частично распавшейся) эффективность добавки резко снижается.

17. Добавки ГКЖ-10 и ГКЖ-11 вводятся в бетонные смеси с водой затворения в виде исходных водно-спиртовых растворов 30 %-ной концентрации. Порядок приготовления бетонной смеси обычный.

Область применения добавок

18. Учитывая высокую стоимость добавок (удорожание 1 м3 дорожного бетона при оптимальных дозировках колеблется с добавкой ГКЖ-94 от 1 руб. 68 коп. до 3 руб. 60 коп., с ГКЖ-10 от 70 коп. до 1 руб. 40 коп., с ГКЖ-11 - от 65 коп. до 1 руб. 30 коп.), в настоящее время рекомендуется следующее применение:

ГКЖ-94 в бетонных и железобетонных конструкциях, к которым предъявляются повышенные требования по морозостойкости и прочности:

- при строительстве цементобетонных покрытий в районах со среднемесячной температурой воздуха наиболее холодного месяца ниже -20 °С;

- при строительстве отдельных участков цементобетонных покрытий в районах, где количество дней с гололедом превышает 40 в год;

- на подъездах к крупным городам, взлетно-посадочных полосах (на аэродромах), где наряду с высокой морозостойкостью требуется высокая прочность бетона;

- на подходах к крупным искусственным сооружениям, затяжных спусках (подъемах), виражах, пересечениях дорог в одном уровне и других участках дорог, где по условиям безопасности движения больше всего рассыпают хлористые соли во время гололеда;

- при строительстве однослойных дорожных и аэродромных покрытий из бетона на известковом щебне.

ГКЖ-10 и ГКЖ-11 в бетонных и железобетонных конструкциях, к которым предъявляются умеренные требования по морозостойкости:

- при строительстве цементобетонных покрытий в районах со среднемесячной температурой наиболее холодного месяца от -10 до -20 °С и количеством дней с гололедом в году от 20 до 30. Применение добавок ГКЖ-10 и ГКЖ-11 целесообразно при устройстве цементобетонных покрытий в осенне-весеннее время при температуре воздуха от 0 до -3 °С (при введении в бетон добавки данного типа понижают температуру замерзания воды).

19. Учитывая высокую эффективность кремнийорганической добавки ГКЖ-94 в повышении морозостойкости бетона при воздействии хлористых солей и мороза, ее применение может быть также рекомендовано:

- при устройстве проезжей части мостов из цементобетона без применения оклеечной изоляции;

- при ремонте цементобетонных покрытий дорог и аэродромов цементопесчаными смесями;

- при изготовлении бортовых камней, тротуарных блоков, железобетонных перил, парапетов, лотков и других элементов мостов, изготавливаемых в пропарочных камерахх), которые в процессе эксплуатации могут подвергаться воздействию растворов хлористых солей и мороза.

х) При изготовлении железобетонных элементов с добавкой ГКЖ-94 в пропарочных камерах следует руководствоваться «Рекомендациями по применению бетонов и растворов с добавками полимеров», разработанными НИИЖБом.

20. Количество дней с гололедом в краях и областях РСФСР, двух прибалтийских республиках и БССР приведено в приложении.

Техника безопасности

21. Жидкость ГКЖ-94 не имеет запаха, не выделяет при хранении вредных газов и паров - не токсична. Работы с добавкой ГКЖ-94 не требуют специальных мер предосторожности. Техника безопасности работ такая же, как при приготовлении бетона в обычных заводских условиях.

22. При работе с добавками ГКЖ-10, ГКЖ-11 должны соблюдаться следующие правила техники безопасности:

- рабочие должны быть обеспечены резиновыми перчатками и фартуками;

- растворы ГКЖ-10, ГКЖ-11 не должны попадать на открытые участки кожи; в случае попадания на кожу их необходимо смыть струей воды.

Приложение

Количество дней с гололедом в годух) в краях и областях РСФСР, двух прибалтийских республиках и БССР

№ по пор.

Область, край

Среднее число случаев гололеда в году

Максимальное число случаев гололеда в году

 

РСФСР

 

 

1

Алтайский край

15

25

2

Амурская обл.

6

-

3

Архангельская обл.

16

20

4

Астраханская обл.

8

-

5

Башкирская АССР

15

23

6

Белгородская обл.

30

48

7

Бурятская АССР

-

27

8

Брянская обл.

14

31

9

Волгоградская обл.

15

30

10

Вологодская обл.

6

10

11

Воронежская обл.

28

40

12

Владимирская обл.

7

-

13

Горьковская обл.

52

63

14

Дагестанская АССР

35

50

15

Ивановская обл.

24

36

16

Иркутская обл.

20 - 25

-

17

Калининградская обл.

15 - 18

-

18

Калининская обл.

13

19

19

Калмыцкая АССР

-

28

20

Калужская обл.

-

25

21

Камчатская обл.

26

-

22

Карельская АССР

8

13

23

Кемеровская обл.

2

18

24

Кировская обл.

-

31

25

Коми АССР

-

110

26

Костромская обл.

-

18

27

Краснодарский край

10

15

28

Красноярский край

30

50

29

Курская обл.

20

30

30

Куйбышевская обл.

18

27

31

Липецкая обл.

15

25

32

Марийская АССР

17

35

33

Мордовская АССР

9

9

34

Московская обл.

-

41

35

Мурманская обл.

70

106

36

Новгородская обл.

35

60

37

Новосибирская обл.

20

36

38

Омская обл.

20

40

39

Оренбургская обл.

12

22

40

Пермская обл.

-

48

41

Приморский край

-

26

42

Сахалинская обл.

6 - 8

10 - 12

43

Северо-Осетинская АССР

10

24

44

Смоленская обл.

7

11

45

Ставропольский край

-

14 - 21

46

Тамбовская обл.

-

10

47

Татарская АССР

15

32

48

Томская обл.

4

7

49

Тульская обл.

-

20 - 35

50

Тюменская обл.

-

4 - 6

51

Удмуртская АССР

16

28

52

Хабаровский край

9

14

53

Чечено-Ингушская АССР

-

10 - 12

54

Якутская АССР

-

20 - 30

55

Ярославская обл.

14

21

 

Эстонская ССР

 

 

1

Таллин

16

28

2

Нарва

12

17

3

Иыхви

21

31

4

Вяйке-Маарья

36

49

5

Куузику

14

17

6

Хельтерма

10

16

7

Тоома

26

40

8

Тийрикоя

16

22

9

Тюри

14

26

10

Виртсу

11

14

11

Пярну

13

19

12

Вильянди

14

22

13

Тарту

16

20

14

Кингисепп

12

19

15

Выру

12

18

16

Валга

13

15

 

Латвийская ССР

 

 

1

Айзпуте

13

20

2

Лиепая

10

16

3

Колка

3

5

4

Стенде

14

17

5

Вентспилс

3

6

6

Бауска

10

11

7

Айнажи

4

7

8

Руиена

16

19

9

Салдус

16

26

10

Елгава

7

12

11

Рига

10

15

12

Скривери

18

33

13

Залани

14

24

14

Гауя

9

13

15

Приекули

14

18

16

Прибалтийская стоковая

16

32

17

Гурели

30

50

18

Виляка

12

22

19

Резекне

15

22

20

Дагда

13

20

21

Даугавпилс

7

11

 

БССР

 

 

1

Езерище

18

28

2

Верхнедвинск

9

15

3

Шарковщина

16

21

4

Витебск

20

27

5

Полоцк

10

14

6

Докшицы

26

34

7

Лынтупы

13

29

8

Орша

22

29

9

Лепель

16

25

10

Горки

25

38

11

Борисов

22

33

12

Могилев

24

37

13

Березино

22

30

14

Минск

23

37

15

Костюковичи

23

34

16

Славгород

21

27

17

Марьина Горка

28

41

18

Новогрудок

29

55

19

Лида

18

25

20

Гродно

10

13

21

Жлобин

16

30

22

Бобруйск

21

32

23

Слуцк

14

18

24

Барановичи

16

20

25

Ивацевичи

10

16

26

Волковыск

20

31

27

Гомель

29

37

28

Василевичи

14

18

29

Мозырь

18

23

30

Пинск

11

14

31

Пружаны

17

21

32

Брест

11

18

33

Брагин

11

16

34

Житковичи

14

23

х) Количество дней с гололедом в году приведено по данным дорожно-эксплуатационных служб и метеостанций за последние 5 лет.

СОДЕРЖАНИЕ

 




Яндекс цитирования



   Copyright © 2007-2026,  www.tehlit.ru.

[ ѓосты, стандарты, нормативы, инструкции, правила, строительные нормы ]