//
ÒåõËèò.ðó
- êðóïíåéøàÿ áåñïëàòíàÿ ýëåêòðîííàÿ èíòåðíåò áèáëèîòåêà äëÿ "òåõíè÷åñêè óìíûõ" ëþäåé.
WWW.TEHLIT.RU - ÒÅÕÍÈ×ÅÑÊÀß ËÈÒÅÐÀÒÓÐÀ

:: Àëãîòðåéäèíã::


ÀËÃÎÒÐÅÉÄÈÍÃ
øàã çà øàãîì
ñ íóëÿ ïî óðîêàì!

Òîðãîâûå ðîáîòû íà PYTHON, BackTrader,
Pandas, Pine Script äëÿ TradingView. Ñâÿçêà ñ áðîêåðàìè, òåëåãðàì è ëåãêèìè ïðèëîæåíèÿìè.


ÏÐÀÂÈÒÅËÜÑÒÂÎ ÌÎÑÊÂÛ

ÊÎÌÏËÅÊÑ ÀÐÕÈÒÅÊÒÓÐÛ, ÑÒÐÎÈÒÅËÜÑÒÂÀ,
ÐÀÇÂÈÒÈß È ÐÅÊÎÍÑÒÐÓÊÖÈÈ ÃÎÐÎÄÀ

ÃÓÏ «ÍÈÈÌÎÑÑÒÐÎÉ»

ÒÅÕÍÈ×ÅÑÊÈÅ ÐÅÊÎÌÅÍÄÀÖÈÈ
ÏÎ ÑÒÐÎÈÒÅËÜÑÒÂÓ ÃÎÐÎÄÑÊÈÕ ÄÎÐÎÃ
Ñ ÏÐÈÌÅÍÅÍÈÅÌ ÊÐÈÂÎËÈÍÅÉÍÛÕ
ÁÎÐÒÎÂÛÕ ÊÀÌÍÅÉ

ÒÐ 172-05

Ìîñêâà - 2005

Òåõíè÷åñêèå ðåêîìåíäàöèè ðàçðàáîòàíû íà îñíîâå ðåçóëüòàòîâ íàó÷íî-èññëåäîâàòåëüñêèõ è îïûòíî-ïðîèçâîäñòâåííûõ ðàáîò, àíàëèçà îòå÷åñòâåííîãî è çàðóáåæíîãî îïûòà äîðîæíîãî ñòðîèòåëüñòâà, îáîáùåíèÿ ïðîåêòíûõ ðåøåíèé ïî ïëàíèðîâàíèþ ãîðîäñêèõ ìàãèñòðàëåé, âíóòðèêâàðòàëüíûõ äîðîã è äîðîã ïðè áëàãîóñòðîéñòâå äâîðîâûõ òåððèòîðèé, âûïîëíåííûõ ëàáîðàòîðèåé äîðîæíîãî ñòðîèòåëüñòâà ÃÓÏ «ÍÈÈÌîññòðîé» è ñòðîèòåëüíîé ôèðìîé ÎÎÎ «Îïòèì Èíæèíèðèíã».

Ðåêîìåíäàöèè íàïðàâëåíû íà ïîâûøåíèå êà÷åñòâà äîðîæíî-ñòðîèòåëüíûõ ðàáîò è äîëãîâå÷íîñòè äîðîæíûõ êîíñòðóêöèé.

Ðåêîìåíäàöèè ðàçðàáîòàíû ê.ò.í. Ë.Â. Ãîðîäåöêèì, ê.ò.í. Ð.È. Áåãà, Â.Ô. Äåìèíûì (ÃÓÏ «ÍÈÈÌîññòðîé»), Ë.È. Çèí÷åíêî (ÎÎÎ «Îïòèì Èíæèíèðèíã»); ñîãëàñîâàíû ñ ÎÀÎ «Èíæäîðñòðîé», ÎÀÎ «Ãîðäîðñòðîé».

ÑÎÄÅÐÆÀÍÈÅ

1. Îáùèå ïîëîæåíèÿ. 2

2. Êîíñòðóêöèè è íîìåíêëàòóðà êðèâîëèíåéíûõ áîðòîâûõ êàìíåé. 2

3. Òðåáîâàíèÿ ê ìàòåðèàëàì äëÿ èçãîòîâëåíèÿ êðèâîëèíåéíûõ áîðòîâûõ êàìíåé. 2

4. Òðåáîâàíèÿ ê áåòîíó è áåòîííîé ñìåñè. Ðåêîìåíäóåìûå ñîñòàâû áåòîííîé ñìåñè äëÿ èçãîòîâëåíèÿ êðèâîëèíåéíûõ áîðòîâûõ êàìíåé. 4

5. Òåõíîëîãèÿ ñòðîèòåëüñòâà ãîðîäñêèõ äîðîã ñ ïðèìåíåíèåì êðèâîëèíåéíûõ áîðòîâûõ êàìíåé. 7

6. Êîíòðîëü êà÷åñòâà ñòðîèòåëüñòâà. 7

7. Òðåáîâàíèÿ áåçîïàñíîñòè. 8

8. Îõðàíà îêðóæàþùåé ñðåäû.. 8

11. Ëèòåðàòóðà. 8

Ïðèëîæåíèå 1. Íîìåíêëàòóðà êðèâîëèíåéíûõ áîðòîâûõ êàìíåé. 9

Ïðèëîæåíèå 2. Íîìåíêëàòóðà êðèâîëèíåéíûõ áîðòîâûõ êàìíåé. 9

Ïðèëîæåíèå 3. Íîìåíêëàòóðà êðèâîëèíåéíûõ áîðòîâûõ êàìíåé äëÿ âíóòðèêâàðòàëüíûõ ïðîåçäîâ è áëàãîóñòðîéñòâà. 10

Ïðèëîæåíèå 4. Ìàëîãàáàðèòíûå ïîãðóç÷èêè äëÿ ìåõàíèçàöèè òåõíîëîãè÷åñêèõ îïåðàöèé ïðè óñòàíîâêå áîðòîâûõ êàìíåé. 10

 

Ïðàâèòåëüñòâî Ìîñêâû

Òåõíè÷åñêèå ðåêîìåíäàöèè ïî ñòðîèòåëüñòâó ãîðîäñêèõ äîðîã ñ ïðèìåíåíèåì êðèâîëèíåéíûõ áîðòîâûõ êàìíåé

ÒÐ-172-05

Ââîäÿòñÿ âïåðâûå

Êîìïëåêñ àðõèòåêòóðû, ñòðîèòåëüñòâà, ðàçâèòèÿ è ðåêîíñòðóêöèè ãîðîäà

 

Ðàçðàáîòàíû

ÃÓÏ «ÍÈÈÌîññòðîé»

ÓÒÂÅÐÆÄÅÍÛ:

Íà÷àëüíèê Óïðàâëåíèÿ íàó÷íî-òåõíè÷åñêîé ïîëèòèêè â ñòðîèòåëüíîé îòðàñëè

_________________ À.Í. Äìèòðèåâ

«21» àïðåëÿ 2005 ã.

Äàòà ââåäåíèÿ â äåéñòâèå

«1» èþíÿ 2005 ã.

ÎÁÙÈÅ ÏÎËÎÆÅÍÈß

1.1. Íàñòîÿùèå ðåêîìåíäàöèè ðàñïðîñòðàíÿþòñÿ íà ñòðîèòåëüñòâî ìàãèñòðàëüíûõ, ìåñòíûõ è âíóòðèêâàðòàëüíûõ äîðîã, à òàêæå äîðîã è òðîòóàðîâ ïðè áëàãîóñòðîéñòâå äâîðîâûõ òåððèòîðèé ñ ïðèìåíåíèåì êðèâîëèíåéíûõ áîðòîâûõ êàìíåé.

1.2. Êðèâîëèíåéíûå áîðòîâûå êàìíè ïðåäíàçíà÷åíû äëÿ óñòðîéñòâà ïëàâíûõ çàêðóãëåíèé ðàçëè÷íûõ ðàäèóñîâ íà äîðîãàõ è ìîãóò èçãîòàâëèâàòüñÿ èç òÿæåëûõ è ìåëêîçåðíèñòûõ áåòîíîâ, â òîì ÷èñëå öâåòíûõ è àðìèðîâàííûõ ìåòàëëè÷åñêèìè è áàçàëüòîâûìè ôèáðàìè, ìîäèôèöèðîâàííûõ ðàçëè÷íûìè äîáàâêàìè, ïî ðàçëè÷íûì òåõíîëîãèÿì, îáåñïå÷èâàþùèì ïîëó÷åíèå ôèçèêî-ìåõàíè÷åñêèõ ñâîéñòâ, ñîîòâåòñòâóþùèõ òðåáîâàíèÿì ÃÎÑÒ 6665-91.

1.3. Ïðèìåíåíèå ïðÿìûõ ðÿäîâûõ áîðòîâûõ êàìíåé âìåñòî êðèâîëèíåéíûõ ïðè âûïîëíåíèè äîðîæíî-ñòðîèòåëüíûõ ðàáîò íà çàêðóãëåíèÿõ íåäîïóñòèìî â ñîîòâåòñòâèè ñ òðåáîâàíèÿìè ÑÍèÏ III-10-75 (ï. 3.25).

2. ÊÎÍÑÒÐÓÊÖÈÈ È ÍÎÌÅÍÊËÀÒÓÐÀ ÊÐÈÂÎËÈÍÅÉÍÛÕ ÁÎÐÒÎÂÛÕ ÊÀÌÍÅÉ

2.1.  êîíñòðóêöèÿõ êðèâîëèíåéíûõ áîðòîâûõ êàìíåé, ðàçðàáîòàííûõ ÃÓÏ «ÍÈÈÌîññòðîé», ïðåäóñìîòðåíû ñêîñû ñ âíóòðåííåé è âíåøíåé ñòîðîíû, ÷òî ïîçâîëÿåò èñïîëüçîâàòü èõ êàê íà âîãíóòûõ, òàê è íà âûïóêëûõ êðèâîëèíåéíûõ ó÷àñòêàõ äîðîãè è, òåì ñàìûì, ñîêðàòèòü íîìåíêëàòóðó èçäåëèé è ïîâûñèòü èõ ýêñïëóàòàöèîííóþ íàäåæíîñòü.

Îáùèé âèä êðèâîëèíåéíûõ áîðòîâûõ êàìíåé ïðåäñòàâëåí íà ðèñ. 1.

2.2. Äëÿ óñòðîéñòâà çàêðóãëåíèé íà ìàãèñòðàëüíûõ è âíóòðèêâàðòàëüíûõ äîðîãàõ è ïðîåçäàõ, äâîðîâûõ òåððèòîðèÿõ óñòàíîâëåíà ìèíèìàëüíî íåîáõîäèìàÿ íîìåíêëàòóðà êðèâîëèíåéíûõ áîðòîâûõ êàìíåé, à òàêæå ðåêîìåíäóåìûå ïàðàìåòðû (òàáë. 1).

Ïðè âûïîëíåíèè äîðîæíî-ñòðîèòåëüíûõ ðàáîò òàêæå ìîæåò áûòü èñïîëüçîâàíà ðàñøèðåííàÿ íîìåíêëàòóðà èçäåëèé ñ ðàçëè÷íûìè ïàðàìåòðàìè êðèâîëèíåéíûõ áîðòîâûõ êàìíåé, ïðèâåäåííûõ â ïðèëîæåíèÿõ 1, 2, 3.

3. ÒÐÅÁÎÂÀÍÈß Ê ÌÀÒÅÐÈÀËÀÌ ÄËß ÈÇÃÎÒÎÂËÅÍÈß ÊÐÈÂÎËÈÍÅÉÍÛÕ ÁÎÐÒÎÂÛÕ ÊÀÌÍÅÉ

3.1. Äëÿ ïðèãîòîâëåíèÿ áåòîííîé ñìåñè, â òîì ÷èñëå öâåòíîé è äèñïåðñíî-àðìèðîâàííîé, äîëæåí ïðèìåíÿòüñÿ ïîðòëàíäöåìåíò áåç ìèíåðàëüíûõ äîáàâîê ìàðêè íå íèæå 400, îòâå÷àþùèé òðåáîâàíèÿì ÃÎÑÒ 10178-85*. Ïðè ýòîì ñîäåðæàíèå â öåìåíòíîì êëèíêåðå òðåõêàëüöèåâîãî àëþìèíàòà (Ñ3À) íå äîëæíî ïðåâûøàòü 7 %.

3.2.  êà÷åñòâå ìåëêîãî çàïîëíèòåëÿ äëÿ áåòîíîâ ñëåäóåò ïðèìåíÿòü ïåñêè ïðèðîäíûå, êâàðöåâûå èëè ïîëåâîøïàòîâûå â ÷èñòîì âèäå èëè ñ äîáàâêàìè.  êà÷åñòâå äîáàâîê ìîãóò ïðèìåíÿòüñÿ èñêóññòâåííûå ïåñêè, ïîëó÷åííûå äðîáëåíèåì ïðî÷íûõ, ìîðîçîñòîéêèõ ïîðîä. Äîïóñêàåòñÿ èñïîëüçîâàíèå îäíèõ èñêóññòâåííûõ ïåñêîâ. Ïåñêè äîëæíû îòâå÷àòü òðåáîâàíèÿì ÃÎÑÒ 8736-93*. Ìîäóëü êðóïíîñòè ïåñêîâ äëÿ òÿæåëûõ áåòîíîâ äîëæåí áûòü íå ìåíåå 1,8, à äëÿ ìåëêîçåðíèñòûõ - íå ìåíåå 2,2. Ïðè òåõíèêî-ýêîíîìè÷åñêîì îáîñíîâàíèè èëè ïî ñîãëàñîâàíèþ ñ çàêàç÷èêîì äîïóñêàåòñÿ èñïîëüçîâàíèå ïåñêîâ ñ áîëåå íèçêèì ìîäóëåì. Ñîäåðæàíèå ãëèíèñòûõ, èëèñòûõ è ïûëåâàòûõ ÷àñòèö âî âñåõ ñëó÷àÿõ íå äîëæíî ïðåâûøàòü 1 %.

3.3.  êà÷åñòâå êðóïíîãî çàïîëíèòåëÿ ñëåäóåò èñïîëüçîâàòü ùåáåíü, ñîîòâåòñòâóþùèé òðåáîâàíèÿì ÃÎÑÒ 8267-93*, ñ ðàçìåðîì ôðàêöèé íå áîëåå 20 ìì. Äëÿ ïîëó÷åíèÿ áåòîíà ïðîåêòíîé ìàðêè ïî ìîðîçîñòîéêîñòè ìàðêà ùåáíÿ ïî ìîðîçîñòîéêîñòè äîëæíà áûòü íå íèæå F200. Ìàðêà ùåáíÿ ïî ïðî÷íîñòè íà ñæàòèå ïðè äðîáèìîñòè â öèëèíäðå èñõîäíîé ãîðíîé ïîðîäû äîëæíà áûòü íå íèæå 120 ÌÏà (ïðè òåõíèêî-ýêîíîìè÷åñêîì îáîñíîâàíèè äîïóñêàåòñÿ ìàðêà ³100 ÌÏà).

3.4. Äëÿ ïîâûøåíèÿ ìîðîçîñòîéêîñòè êðèâîëèíåéíûõ áîðòîâûõ êàìíåé ñëåäóåò èñïîëüçîâàòü äîáàâêè òèïà «Àêâàñòîï-7». Îñíîâíûå õàðàêòåðèñòèêè «Àêâàñòîïà-7»: íàñûïíàÿ ïëîòíîñòü 1,5 ± 1 ã/ñì3; íà÷àëî ñõâàòûâàíèÿ 110 - 115 ìèí.; êîíåö ñõâàòûâàíèÿ 240 - 245 ìèí. «Àêâàñòîï-7» ñòîåê ê êèñëîòàì è äðóãèì àãðåññèâíûì ñðåäàì. Ïîñòàâëÿåòñÿ â óïàêîâêå ìàññîé 5 - 25 êã.

3.5. Âîäà äëÿ ïðèãîòîâëåíèÿ ñìåñè äîëæíà îòâå÷àòü òðåáîâàíèÿì ÑÍèÏ 3.03.01-87.

3.6. Äëÿ óëó÷øåíèÿ òåõíîëîãè÷íîñòè ïðèãîòîâëåíèÿ áåòîííîé ñìåñè è ïîâûøåíèÿ ôèçèêî-ìåõàíè÷åñêèõ ïîêàçàòåëåé èçäåëèé ñëåäóåò èñïîëüçîâàòü äîáàâêè - ñóïåðïëàñòèôèêàòîðû òèïà Ñ-3 (ÒÓ 6-36-0204229-625-90).

Äîáàâêè - ñóïåðïëàñòèôèêàòîðû äîëæíû îòâå÷àòü òðåáîâàíèÿì, ïðèâåäåííûì â òàáë. 2.

Ðèñ. 1. Îáùèé âèä êðèâîëèíåéíûõ áîðòîâûõ êàìíåé.

Òàáëèöà 1

Ðåêîìåíäóåìàÿ íîìåíêëàòóðà (ìèíèìàëüíî íåîáõîäèìàÿ) è ïàðàìåòðû êðèâîëèíåéíûõ áîðòîâûõ êàìíåé

¹ ï/ï

Ìàðêà

Ðàçìåðû, ìì

Ïðèìå÷àíèå

R

ã

L

l

h

h1

h2

b

b1

b2

 

1

2

3

4

5

6

7

8

9

10

11

12

13

14

1

ÁÊ 50.20.8.3

3000

2920

500

489

200

185

15

80

50

15

10

ãàçîííûé

2

ÁÊ 50.30.18.5

5000

4820

500

481

300

150

150

180

120

30

6

äëÿ âíóòðèêâàðòàëüíûõ ïðîåçäîâ è ìàãèñòðàëåé ïðè ñîîòâåòñòâóþùåì îáîñíîâàíèè

3

ÁÊ 100.30.18.5

5000

4820

1000

964

300

150

150

180

120

30

11

4

ÁÊ 50.30.18.8

8000

7820

500

488

300

150

150

180

120

30

4

5

ÁÊ 100.30.18.8

8000

7820

1000

977

300

150

150

180

120

30

8

6

ÁÊ 100.30.18.12

12000

11820

1000

988

300

150

150

180

120

30

5

7

ÁÊ 100.30.21.15

15000

14790

1000

986

300

150

150

210

150

30

4

äëÿ ìàãèñòðàëåé

Òàáëèöà 2

Ñâîéñòâà ñóïåðïëàñòèôèêàòîðà

Ïîêàçàòåëè

Ñîäåðæàíèå òâåðäûõ ìàòåðèàëîâ, %

20 - 40

Ïëîòíîñòü, ã/ñì3

1,1 - 1,22

Âîäîðîäíûé ïîêàçàòåëü ÐÍ

7 - 9

Âÿçêîñòü ÑÏ

20 - 45

3.7. Äëÿ ïîâûøåíèÿ ôèçèêî-ìåõàíè÷åñêèõ ïîêàçàòåëåé êðèâîëèíåéíûõ áîðòîâûõ êàìíåé ïðè ïðèãîòîâëåíèè áåòîííîé ñìåñè ðåêîìåíäóåòñÿ èñïîëüçîâàòü áàçàëüòîâóþ èëè ñòàëüíóþ ôèáðó, êîòîðûå äîëæíû îòâå÷àòü òðåáîâàíèÿì, ïðèâåäåííûì â òàáë. 3 è 4 ñîîòâåòñòâåííî.

Òàáëèöà 3

Õàðàêòåðèñòèêà áàçàëüòîâîãî âîëîêíà

Ïîêàçàòåëè

Çíà÷åíèÿ

Äèàìåòð âîëîêîí, ìì

0,4 - 0,45

Äëèíà, ìì

40,0

Âðåìåííîå ðàñòÿæåíèå ðàçðûâó, ÌÏà

400 - 500

Ïëîòíîñòü, êã/ì3

2740

Òàáëèöà 4

Õàðàêòåðèñòèêà ðåêîìåíäóåìûõ ñòàëüíûõ ôèáð äëÿ èçãîòîâëåíèÿ áåòîííûõ áîðòîâûõ êàìíåé

Õàðàêòåðèñòèêà ôèáð

Çíà÷åíèÿ

Äëèíà (l), ìì

40 - 70

Äèàìåòð (d), ìì

0,40 - 0,70

Äèàìåòð ïðèâåäåííûé (l/d)

80 - 100

Âðåìåííîå ñîïðîòèâëåíèå ðàçðûâó, ÌÏà

400 - 1100

Îòíîñèòåëüíîå óäëèíåíèå, %

14 - 8

3.8. Äëÿ ïîëó÷åíèÿ öâåòíûõ áîðòîâûõ êàìíåé ìîãóò ïðèìåíÿòüñÿ ïèãìåíòû íåîðãàíè÷åñêèå: êðàñíîãî öâåòà - ðåäîêñàéä, ñóðèê æåëåçíûé, æåëåçîîêèñíûé â êîëè÷åñòâå 6 % îò ìàññû öåìåíòà, à òàêæå îðãàíè÷åñêèå ïèãìåíòû - ôòàëîöèàíèíîâûå çåëåíîãî è ãîëóáîãî öâåòà â êîëè÷åñòâå 0,5 % îò ìàññû öåìåíòà.

4. ÒÐÅÁÎÂÀÍÈß Ê ÁÅÒÎÍÓ È ÁÅÒÎÍÍÎÉ ÑÌÅÑÈ. ÐÅÊÎÌÅÍÄÓÅÌÛÅ ÑÎÑÒÀÂÛ ÁÅÒÎÍÍÎÉ ÑÌÅÑÈ ÄËß ÈÇÃÎÒÎÂËÅÍÈß ÊÐÈÂÎËÈÍÅÉÍÛÕ ÁÎÐÒÎÂÛÕ ÊÀÌÍÅÉ

4.1. Êðèâîëèíåéíûå áîðòîâûå êàìíè, ïîäâåðãàþòñÿ ïîâûøåííûì ýêñïëóàòàöèîííûì íàãðóçêàì (óäàðíûì, èçíîñó è äð.), ïîýòîìó äîëæíû èçãîòàâëèâàòüñÿ èç áåòîíà êëàññîâ ïî ïðî÷íîñòè íà ñæàòèå íå íèæå Â35 (Ì450) äëÿ óñòàíîâêè íà âíóòðèêâàðòàëüíûõ äîðîãàõ è äâîðîâûõ òåððèòîðèÿõ è íå íèæå Â40 (Ì500) äëÿ ìàãèñòðàëüíûõ äîðîã.

4.2. Îñíîâíûå ôèçèêî-ìåõàíè÷åñêèå òðåáîâàíèÿ ê êðèâîëèíåéíûì áîðòîâûì êàìíÿì ïðèâåäåíû â òàáë. 5.

Òàáëèöà 5

Îñíîâíûå òðåáîâàíèÿ ê êðèâîëèíåéíûì áîðòîâûì êàìíÿì

¹¹ ï/ï

Ôèçèêî-ìåõàíè÷åñêèå ñâîéñòâà êàìíåé

Åäèí. èçì.

Ïîêàçàòåëè

1.

Êëàññ áåòîíà ïî ïðî÷íîñòè íà ñæàòèå, â (ì)

 (Ì)

35, 40 (450, 500)

2.

Ïðî÷íîñòü áåòîíà ê ìîìåíòó îòïóñêà èçäåëèé, % îò ìàðî÷íîé ïðî÷íîñòè

% îò ìàðî÷íîé ïðî÷íîñòè

 

 

â ëåòíåå âðåìÿ

70

 

â çèìíåå âðåìÿ

90

3.

Ìàðêà áåòîíà ïî ìîðîçîñòîéêîñòè â ñîëåâûõ ðàñòâîðàõ, F

F

íå ìåíåå 200

4.

Âîäîïîãëîùåíèå ïëèò, %, âûïîëíåííûõ

 

 

 

èç ïåñ÷àíîãî áåòîíà

%

íå áîëåå 6

 

èç òÿæåëîãî áåòîíà

%

íå áîëåå 5

Òàáëèöà 6

Îðèåíòèðîâî÷íûå ñîñòàâû ìåëêîçåðíèñòûõ áåòîííûõ ñìåñåé äëÿ èçãîòîâëåíèÿ êðèâîëèíåéíûõ áîðòîâûõ êàìíåé

1

Âèä ìàòåðèàëà

Åäèí. èçì.

Ñîñòàâû

Êëàññ áåòîíà (ìàðêà)

Â40 (Ì500)

Â35 (Ì450)

Öåìåíò àêòèâíîñòüþ, êãñ/ñì2

Öåìåíò àêòèâíîñòüþ, êãñ/ñì2

500

400

500

Ðàñõîä ìàòåðèàëîâ, êã/ì3

1.

Âîäà

ë

190

194

185

182

183

174

168

170

170

165

160

160

2.

Öåìåíò

êã

640

610

600

580

630

580

570

580

580

550

530

520

3.

Ïåñîê

êã

1560

1550

1570

1600

1600

1670

1640

1630

1630

1645

1670

1680

4.

«Àêâàñòîï-7»

êã

-

35

30

-

-

40

35

-

-

35

30

-

5.

Ñóïåðïëàñòèôèêàòîð Ñ-3

% îò ìàññû öåìåíòà èëè öåìåíòà + Àêâàñòîï-7

-

-

0,15 - 0,25

0,15 - 0,25

-

-

0,15 - 0,25

0,15 - 0,25

-

-

0,15 - 0,25

0,15 - 0,25

6.

Áàçàëüòîâàÿ ôèáðà

% îò ìàññû öåìåíòà

 

 

 

4 - 5

 

 

 

4 - 5

 

 

 

4 - 5

4.3. Êðèâîëèíåéíûå áîðòîâûå êàìíè ìîãóò áûòü èçãîòîâëåíû èç ìåëêîçåðíèñòîãî è òÿæåëîãî áåòîíîâ. Áîðòîâûå êàìíè èç ìåëêîçåðíèñòîãî áåòîíà èçãîòàâëèâàþò, êàê ïðàâèëî, ìåòîäîì âèáðîïðåññîâàíèÿ. Íàèáîëåå òåõíîëîãè÷íûì ìåòîäîì äëÿ èçãîòîâëåíèÿ êàìíåé èç òÿæåëîãî áåòîíà, â òîì ÷èñëå è ñ ôèáðàìè, ÿâëÿåòñÿ ëèòüåâîé ìåòîä.

Ïîäáîð ñîñòàâîâ áåòîííîé ñìåñè, â òîì ÷èñëå è ìîäèôèöèðîâàííîé ôèáðàìè, ìîæåò ïðîèçâîäèòüñÿ ëþáûì ïðîâåðåííûì íà ïðàêòèêå ñïîñîáîì, îáåñïå÷èâàþùèì ïîëó÷åíèå áåòîíà ñ çàäàííûìè ñâîéñòâàìè ïðè ìèíèìàëüíîì ðàñõîäå öåìåíòà.

4.4. Îðèåíòèðîâî÷íûå ñîñòàâû ìåëêîçåðíèñòûõ áåòîííûõ ñìåñåé äëÿ áîðòîâûõ êàìíåé, èçãîòàâëèâàåìûõ ìåòîäîì âèáðîïðåññîâàíèÿ, ïðåäñòàâëåíû â òàáë. 6.

4.5. Äëÿ ïðèãîòîâëåíèÿ áîðòîâûõ êàìíåé èç òÿæåëîãî áåòîíà èñïîëüçóþòñÿ ëèòûå áåòîííûå ñìåñè, ìîäèôèöèðîâàííûå ðàçëè÷íûìè ñóïåðïëàñòèôèêàòîðàìè òèïà Ñ-3, ïîäâèæíîñòü êîòîðûõ äîëæíà íàõîäèòüñÿ â ïðåäåëàõ 14 - 18 ñì.

Ïðèãîòîâëåíèå áåòîííîé ñìåñè ñ ôèáðàìè íå òðåáóåò ñïåöèàëüíîãî ñìåñèòåëüíîãî îáîðóäîâàíèÿ è îñóùåñòâëÿåòñÿ íà îáû÷íîì îáîðóäîâàíèè. Ñòàëüíàÿ ôèáðà ââîäèòñÿ â ñìåñèòåëüíûé áàðàáàí îäíîâðåìåííî ñ îñòàëüíûìè êîìïîíåíòàìè è ïåðåìåøèâàåòñÿ â òå÷åíèå 1,5 - 2 ìèí. Îïòèìàëüíîå ñîäåðæàíèå ôèáð óòî÷íÿåòñÿ â êàæäîì êîíêðåòíîì ñëó÷àå.

Îðèåíòèðîâî÷íûå ñîñòàâû ëèòûõ áåòîííûõ ñìåñåé äëÿ èçãîòîâëåíèÿ êðèâîëèíåéíûõ áîðòîâûõ êàìíåé ïðåäñòàâëåíû â òàáë. 7 è 8.

4.6. Òâåðäåíèå èçäåëèé íåçàâèñèìî îò ìåòîäîâ èõ èçãîòîâëåíèÿ ìîæåò îñóùåñòâëÿòüñÿ êàê â åñòåñòâåííûõ óñëîâèÿõ ïðè 100 % îòíîñèòåëüíîé âëàæíîñòè, òàê è ñ ïðèìåíåíèåì òåïëîâëàæíîñòíûõ ðåæèìîâ. Ïðè èñïîëüçîâàíèè òåïëîâëàæíîñòíîé îáðàáîòêè ðåêîìåíäóþòñÿ ìÿãêèå ðåæèìû ïðè òåìïåðàòóðå äî 60 °Ñ. Ïîñëå òåïëîâëàæíîñòíîé îáðàáîòêè äëÿ ïîâûøåíèÿ ìîðîçîñòîéêîñòè èçäåëèÿ ðåêîìåíäóåòñÿ âûäåðæèâàòü â ñïåöèàëüíûõ êàìåðàõ äîçðåâàíèÿ ñ âûñîêîé îòíîñèòåëüíîé âëàæíîñòüþ ñðåäû, â âîäíûõ óñëîâèÿõ èëè óêðûâàòü èõ ïëåíî÷íûìè ìàòåðèàëàìè â òå÷åíèå ìàêñèìàëüíî âîçìîæíîãî ñðîêà (äî 28 ñóò.). Ïåðåäà÷à áîðòîâûõ êàìíåé íà ñêëàä ïîñëå òåïëîâëàæíîñòíîé îáðàáîòêè ðàçðåøàåòñÿ ïîñëå èõ îñòûâàíèÿ, êîãäà ïåðåïàä òåìïåðàòóðû ìåæäó ïîâåðõíîñòüþ èçäåëèÿ è îêðóæàþùåé ñðåäîé íå ïðåâûøàåò 40 °Ñ.

Òàáëèöà 7

Îðèåíòèðîâî÷íûå ñîñòàâû ëèòûõ áåòîííûõ ñìåñåé äëÿ èçãîòîâëåíèÿ êðèâîëèíåéíûõ áîðòîâûõ êàìíåé

¹¹ ï/ï

Êëàññ áåòîíà (ìàðêà)

Ìàòåðèàëû

Öåìåíò ìàðêè 500

Öåìåíò ìàðêè 400

Â

Ö

Ï

Ù

Ñ-3

Â

Ö

Ï

Ù

Ñ-3

1

2

3

4

5

6

7

8

9

10

11

12

1.

Â40 (Ì500)

180

490

600

1150

0,7

ýêîíîìè÷åñêè íå öåëåñîîáðàçíî

2.

Â35 (Ì450)

175

430

630

1160

0,7

183

520

610

1150

0,7

Òàáëèöà 8

Îðèåíòèðîâî÷íûå ñîñòàâû ëèòûõ ôèáðîáåòîííûõ ñìåñåé äëÿ èçãîòîâëåíèÿ êðèâîëèíåéíûõ áîðòîâûõ êàìíåé

¹¹ ï/ï

Êëàññ áåòîíà (ìàðêà)

Ìàòåðèàëû

Öåìåíò ìàðêè 500

Öåìåíò ìàðêè 400

Â

Ö

Ï

Ù

Ôèáðà

Ñ-3, % îò ìàññû öåìåíòà

Â

Ö

Ï

Ù

Ôèáðà

Ñ-3, % îò ìàññû öåìåíòà

1

2

3

4

5

6

7

8

9

10

11

12

13

14

1.

Â40 (Ì500)

180

490

600

1150

35

0,7

180

510

650

1000

45

0,7

2.

Â35 (Ì450)

175

430

630

1160

30

0,7

183

520

610

1150

35

0,7

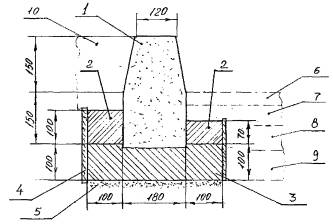
Ðèñ. 2. Ñõåìà óñòàíîâêè áîðòîâîãî êàìíÿ

1 - áîðòîâîé êàìåíü; 2 - áåòîííàÿ îáîéìà; 3 - áåòîííîå îñíîâàíèå ïîä áîðòîâîé êàìåíü; 4 - îïàëóáêà 5 -ïåñ÷àíûé ïîäñòèëàþùèé ñëîé; 6 - âåðõíèé ñëîé àñôàëüòîáåòîíà; 7 - íèæíèé ñëîé àñôàëüòîáåòîíà; 8 - áåòîííîå îñíîâàíèå äîðîãè; 9 - òåõíîëîãè÷åñêèé ñëîé äîðîãè; 10 - òðîòóàð.

5. ÒÅÕÍÎËÎÃÈß ÑÒÐÎÈÒÅËÜÑÒÂÀ ÃÎÐÎÄÑÊÈÕ ÄÎÐÎÃ Ñ ÏÐÈÌÅÍÅÍÈÅÌ ÊÐÈÂÎËÈÍÅÉÍÛÕ ÁÎÐÒÎÂÛÕ ÊÀÌÍÅÉ

5.1. Áîðòîâûå êàìíè íà îáúåêò äîëæíû äîñòàâëÿòüñÿ â ñïåöèàëüíûõ êîíòåéíåðàõ (ïîääîíàõ). Ðàçãðóçêà îñóùåñòâëÿåòñÿ ñ èñïîëüçîâàíèåì àâòîêðàíîâ, àâòîïîãðóç÷èêîâ ñîîòâåòñòâóþùåé ãðóçîïîäúåìíîñòè.

5.2. Óñòàíîâêà áîðòîâûõ êàìíåé îñóùåñòâëÿåòñÿ ñ èñïîëüçîâàíèåì ðó÷íûõ ïðèñïîñîáëåíèé èëè ìàëîãàáàðèòíûõ ïîãðóç÷èêîâ (ïðèëîæåíèå 4).

5.3.  çàâèñèìîñòè îò êàòåãîðèè äîðîãè áîðòîâûå êàìíè óñòàíàâëèâàþòñÿ íà áåòîííîå îñíîâàíèå èëè íà ïåñ÷àíûé ïîäñòèëàþùèé ñëîé. Ïðè óêëàäêå áîðòîâîãî êàìíÿ íà ïåñ÷àíûé ïîäñòèëàþùèé ñëîé ïî íåìó ïðåäâàðèòåëüíî óêëàäûâàþò ñëîé áåòîíà òîëùèíîé 10 ñì è øèðèíîé, íà 20 ñì ïðåâûøàþùåé øèðèíó áîðòîâîãî êàìíÿ, è ñ ó÷åòîì êðèâèçíû êàìíÿ. Äëÿ ýòîãî èñïîëüçóåòñÿ áåòîí êëàññà Â15 (Ì200), êîòîðûé óêëàäûâàåòñÿ âðó÷íóþ.

Ïðè íàëè÷èè áåòîííîãî îñíîâàíèÿ áîðòîâîé êàìåíü óñòàíàâëèâàåòñÿ áåç óêëàäêè äîïîëíèòåëüíîãî ñëîÿ áåòîíà.

Ïîñëå óñòàíîâêè êàìíÿ äëÿ åãî óñòîé÷èâîñòè ñ äâóõ ñòîðîí âðó÷íóþ â äåðåâÿííîé èëè ìåòàëëè÷åñêîé îïàëóáêå óñòðàèâàåòñÿ áåòîííàÿ îáîéìà âûñîòîé 10 ñì ñî ñòîðîíû òðîòóàðà èëè ãàçîíà è 7 ñì ñî ñòîðîíû äîðîãè (ðèñ. 2).

Áåòîííàÿ îáîéìà âûïîëíÿåòñÿ èç ïëàñòè÷íîé áåòîííîé ñìåñè ñ îñàäêîé êîíóñà 4 - 5 ñì, êëàññà Â15 (Ì200) íà èçâåñòíÿêîâîì ùåáíå. Ñîñòàâ áåòîííîé ñìåñè äëÿ óñòðîéñòâà îáîéìû ïðåäñòàâëåí â òàáë. 9.  çèìíåå âðåìÿ áåòîííóþ îáîéìó íåîáõîäèìî ïðåäîõðàíÿòü îò ïðîìåðçàíèÿ.

Òàáëèöà 9

Îðèåíòèðîâî÷íûé ñîñòàâ áåòîííîé ñìåñè îáîéìû êðèâîëèíåéíûõ áîðòîâûõ êàìíåé

Âèä ìàòåðèàëîâ

Ðàñõîä ìàòåðèàëîâ

Öåìåíò ìàðêè 400

Öåìåíò ìàðêè 500

Âîäà, ë

165

160

160

155

Öåìåíò, êã

340

315

280

260

Ïåñîê, êã

600

640

660

680

Ùåáåíü, êã

1240

1180

1210

1190

Äîáàâêà Ñ-3, % îò ìàññû öåìåíòà

-

0,15 - 0,2

-

0,15 - 0,2

5.4. Øèðèíà øâîâ ìåæäó êðèâîëèíåéíûìè áîðòîâûìè êàìíÿìè èëè íà ñòûêå êðèâîëèíåéíûõ è ïðÿìîëèíåéíûõ èçäåëèé íå äîëæíà ïðåâûøàòü 5 ìì. Øâû ìåæäó òîðöàìè áîðòîâûõ êàìíåé äîëæíû áûòü çàïîëíåíû öåìåíòíî-ïåñ÷àíûì ðàñòâîðîì ñîñòàâà 1 : 4, à çàòåì ðàñøèòû öåìåíòíî-ïåñ÷àíûì ðàñòâîðîì â ñîîòíîøåíèè 1 : 2. Äîïóñêàåòñÿ èñïîëüçîâàíèå öåìåíòíî-ïåñ÷àíîãî ðàñòâîðà ñîñòàâà 1 : 3.

5.5. Áîðòîâîé êàìåíü äîëæåí áûòü óñòàíîâëåí íå ïîçæå, ÷åì çà 3 ñóò. äî óñòðîéñòâà äîðîæíîãî ïîêðûòèÿ äëÿ òîãî, ÷òîáû áåòîííàÿ îáîéìà è ðàñòâîð â øâàõ ìåæäó áîðòîâûìè êàìíÿìè íàáðàëè äîñòàòî÷íóþ ïðî÷íîñòü.

6. ÊÎÍÒÐÎËÜ ÊÀ×ÅÑÒÂÀ ÑÒÐÎÈÒÅËÜÑÒÂÀ

6.1. Êîíòðîëü â ïðîöåññå ñòðîèòåëüñòâà çàêëþ÷àåòñÿ â ïðîâåðêå ñîîòâåòñòâèÿ âûïîëíåííûõ ðàáîò ïðîåêòó, òåõíè÷åñêèì ðåêîìåíäàöèÿì è ïðàâèëàì ïðîèçâîäñòâà ðàáîò, à òàêæå ñîîòâåòñòâèÿ êà÷åñòâà ïðèìåíÿåìûõ ìàòåðèàëîâ, áåòîííûõ ñìåñåé è èçäåëèé, óñòàíîâëåííûõ ñòàíäàðòàìè.

6.2. Ïðè ïðèåìêå êà÷åñòâà óñòàíîâêè áîðòîâûõ êàìíåé ïðîâåðÿþò èõ óñòîé÷èâîñòü, ïðîäîëüíûé óêëîí, ðîâíîñòü êðîìêè ïî ãîðèçîíòàëè è âåðòèêàëè, à òàêæå êà÷åñòâî êàìíåé, èõ ðàçìåðû, âîçâûøåíèå áîðòîâ íàä ëîòêîì ïðîåçæåé ÷àñòè, õàðàêòåð çàäåëêè øâîâ. Îòêëîíåíèÿ â ðàçìåðàõ øèðèíû äîðîãè ìåæäó áîðòîâûìè êàìíÿìè íå äîëæíî ïðåâûøàòü ±5 ñì.

6.3. Ðàáîòû ïî óñòðîéñòâó áîðòîâûõ êàìíåé äîëæíû âûïîëíÿòüñÿ ñ ïîîïåðàöèîííûì èõ êîíòðîëåì ñ ïîìîùüþ òåõíè÷åñêîãî ïåðñîíàëà ñòðîèòåëüíûõ ôèðì è ïåðèîäè÷åñêèì êîíòðîëåì ñïåöèàëèçèðîâàííûìè ëàáîðàòîðèÿìè.

6.4. Áîðò äîëæåí ïîâòîðÿòü ïðîåêòíûé ïðîôèëü ïîêðûòèÿ. Óñòóïû â ñòûêàõ áîðòîâûõ êàìíåé â ïëàíå è ïðîôèëå íå äîïóñêàþòñÿ.

7. ÒÐÅÁÎÂÀÍÈß ÁÅÇÎÏÀÑÍÎÑÒÈ

7.1. Òåõíèêà áåçîïàñíîñòè íà ñòðîèòåëüíûõ îáúåêòàõ äîëæíà ñîáëþäàòüñÿ â ñîîòâåòñòâèè ñ òðåáîâàíèÿìè íîðì è ïðàâèë ÑÍèÏ 12-03-2001 «Áåçîïàñíîñòü òðóäà â ñòðîèòåëüñòâå», ÷. 1 Îáùèå òðåáîâàíèÿ.

7.2. Ê ðàáîòå ïî óêëàäêå áîðòîâûõ êàìíåé äîïóñêàþòñÿ ðàáî÷èå íå ìîëîæå 18 ëåò, ïðîøåäøèå ìåäèöèíñêèé îñìîòð, îáó÷åííûå ïî óòâåðæäåííîé ïðîãðàììå áåçîïàñíûì ìåòîäàì ðàáîòû, ïîëó÷èâøèå óäîñòîâåðåíèå î ñäà÷å ýêçàìåíîâ è ïðîèíñòðóêòèðîâàííûå íåïîñðåäñòâåííî íà ðàáî÷åì ìåñòå. Ïðîâåðêà çíàíèé ðàáî÷èõ ïðîèçâîäèòñÿ åæåãîäíî ñïåöèàëüíîé êîìèññèåé.

Âñå ïîäãîòîâèòåëüíûå è ìåõàíèçèðîâàííûå ðàáîòû äîëæíû ïðîèçâîäèòüñÿ ïîä íåïîñðåäñòâåííûì ðóêîâîäñòâîì èíæåíåðíî-òåõíè÷åñêèõ ðàáîòíèêîâ, íàçíà÷åííûõ ïðèêàçîì.

Ê ðàáîòå íà ìåõàíèçìàõ äîïóñêàþòñÿ ëèöà, èìåþùèå ñïåöèàëüíûå óäîñòîâåðåíèÿ íà ïðàâî óïðàâëåíèÿ èìè.

7.3. Ðàáî÷èå äîëæíû áûòü îáåñïå÷åíû ñïåöèàëüíîé îäåæäîé è èñïðàâíûì ðó÷íûì èíñòðóìåíòîì â ñîîòâåòñòâèè ñ òðåáîâàíèÿìè ÃÎÑÒ 28010-88.

7.4. Ïðè ïðîèçâîäñòâå ðàáîò â çèìíåå âðåìÿ äëÿ îáîãðåâà ðàáî÷èõ óñòàíàâëèâàþòñÿ ïåðåðûâû ïðîäîëæèòåëüíîñòüþ 10 ìèí. ïðè òåìïåðàòóðå îò -20 °Ñ äî -30 °Ñ è ïîëíîå ïðåêðàùåíèå ðàáîò ïðè òåìïåðàòóðå íèæå -30 °Ñ.

7.5. Ðàáî÷óþ çîíó íåîáõîäèìî îãðàäèòü. Ñ íàñòóïëåíèåì òåìíîòû â çîíå ðàáîò äîëæíû áûòü óñòàíîâëåíû ñèãíàëüíûå ëàìïû êðàñíîãî öâåòà. Îñâåòèòåëüíûå ëàìïû ìîùíîñòüþ äî 200 Âò ïîäâåøèâàþò íà âûñîòå 2,5 - 3 ì, à áîëåå 200 Âò - íà âûñîòå 3,5 - 10 ì.

7.6. Ïðè ïåðåíîñå èçäåëèé è ìàòåðèàëîâ âðó÷íóþ â ïðîöåññå ñòðîèòåëüñòâà ïðåäåëüíàÿ íîðìà äëÿ êàæäîãî ðàáî÷åãî íå äîëæíà ïðåâûøàòü 50 êã.

7.7. Îòâåòñòâåííîñòü çà èñïðàâíîñòü ìàøèí è ìåõàíèçìîâ, èñïîëüçóåìûõ íà ñòðîèòåëüñòâå, íåñåò íà÷àëüíèê ó÷àñòêà. Êàòåãîðè÷åñêè çàïðåùàåòñÿ ëèöàì, íå èìåþùèì ñïåöèàëüíîãî óäîñòîâåðåíèÿ, óïðàâëÿòü ìåõàíèçìàìè èëè ðåìîíòèðîâàòü èõ.

8. ÎÕÐÀÍÀ ÎÊÐÓÆÀÞÙÅÉ ÑÐÅÄÛ

8.1. Ïðè ïðîâåäåíèè ñòðîèòåëüíûõ ðàáîò ñëåäóåò îñóùåñòâëÿòü ìåðîïðèÿòèÿ è ðàáîòû ïî îõðàíå îêðóæàþùåé ïðèðîäíîé ñðåäû â ñîîòâåòñòâèè ñ òðåáîâàíèÿìè ÑÍèÏ 22-01-95; ÑÍèÏ 22-02-2003; ÑÍèÏ 12-01-2004.

8.2. Íà òåððèòîðèè ïðîèçâîäñòâåííûõ ïðåäïðèÿòèé, çàâîäîâ è ñòðîèòåëüíûõ ïëîùàäêàõ äîëæíà áûòü îáåñïå÷åíà ñîõðàííîñòü çåëåíûõ íàñàæäåíèé.

8.3. Ñëèâ âîäû ïîñëå ìîéêè àâòîòðàíñïîðòíîé è ñòðîèòåëüíîé òåõíèêè ñëåäóåò ïðîèçâîäèòü â ìåñòà, ïðåäóñìîòðåííûå ïðîåêòîì ïðîèçâîäñòâà ðàáîò.

8.4. Âñå ÈÒÐ è ðàáî÷èå äîëæíû ïðîéòè èíñòðóêòàæ ïî îõðàíå îêðóæàþùåé ñðåäû â ïðåäåëàõ ñòðîÿùåãîñÿ îáúåêòà.

11. ËÈÒÅÐÀÒÓÐÀ

1. ÃÎÑÒ 6665-91 «Êàìíè áîðòîâûå áåòîííûå è æåëåçîáåòîííûå. Òåõíè÷åñêèå óñëîâèÿ».

2. ÃÎÑÒ 8267-93* «Ùåáåíü è ãðàâèé èç ïëîòíûõ ãîðíûõ ïîðîä äëÿ ñòðîèòåëüíûõ ðàáîò. Òåõíè÷åñêèå óñëîâèÿ».

3. ÃÎÑÒ 8736-93* «Ïåñîê äëÿ ñòðîèòåëüíûõ ðàáîò. Òåõíè÷åñêèå óñëîâèÿ».

4. ÃÎÑÒ 26633-91* «Áåòîíû òÿæåëûå è ìåëêîçåðíèñòûå. Òåõíè÷åñêèå óñëîâèÿ».

5. ÃÎÑÒ 10178-85* «Ïîðòëàíäöåìåíò è øëàêîïîðòëàíäöåìåíò. Òåõíè÷åñêèå óñëîâèÿ».

6. ÑÍèÏ III-10-75 «Áëàãîóñòðîéñòâî òåððèòîðèé».

7. ÑÍèÏ 3.06.03-85 «Àâòîìîáèëüíûå äîðîãè».

8. ÑÍèÏ 52.01.2003 «Áåòîííûå è æåëåçîáåòîííûå êîíñòðóêöèè. Îñíîâíûå ïîëîæåíèÿ».

9. ÒÐ 159-04 «Òåõíè÷åñêèå ðåêîìåíäàöèè ïî òåõíîëîãèè ñòðîèòåëüñòâà ãîðîäñêèõ äîðîã â çèìíåå âðåìÿ».

10. ÒÐ-158-04 «Òåõíè÷åñêèå ðåêîìåíäàöèè ïî óñòðîéñòâó òðîòóàðîâ èç áåòîííûõ ïëèò».

11. ÑÍèÏ 12-03-2001 «Áåçîïàñíîñòü òðóäà â ñòðîèòåëüñòâå», ÷. 1 Îáùèå òðåáîâàíèÿ.

ÏÐÈËÎÆÅÍÈß

Ïðèëîæåíèå 1.

ÍÎÌÅÍÊËÀÒÓÐÀ ÊÐÈÂÎËÈÍÅÉÍÛÕ ÁÎÐÒÎÂÛÕ ÊÀÌÍÅÉ

¹ ï/ï

Ìàðêà

Ðàçìåðû, ìì

R

r

L

l

h

h1

h2

b

b1

b2

 

1

2

2

3

4

5

6

7

8

9

10

11

13

1.

ÁÊ 50.30.21.5

5000

4790

500

478,8

300

150

150

210

150

30

6

2.

ÁÊ 100.30.21.5

5000

4790

1000

958

300

150

150

210

150

30

11

3.

ÁÊ 50.30.21.8

8000

7790

500

487

300

150

150

210

150

30

4

4.

ÁÊ 100.30.21.8

8000

7790

1000

973

300

150

150

210

150

30

7

5.

ÁÊ 100.30.21.12

12000

11790

1000

987

300

150

150

210

150

30

5

6.

ÁÊ 100.30.21.15

15000

14790

1000

986

300

150

150

210

150

30

4

 

 

 

 

 

 

 

 

 

 

 

 

 

7.

ÁÊ 50.30.18.3

3000

2820

500

492

300

150

150

180

120

30

10

8.

ÁÊ 50.30.18.5

5000

4820

500

481

300

150

150

180

120

30

6

9.

ÁÊ 100.30.18.5

5000

4820

1000

964

300

150

150

180

120

30

11

10.

ÁÊ 50.30.18.8

8000

7820

500

488

300

150

150

180

120

30

4

È.

ÁÊ 100.30.18.8

8000

7820

1000

977

300

150

150

180

120

30

8

12.

ÁÊ 100.30.18.12

12000

11820

1000

988

300

150

150

180

120

30

5

13.

ÁÊ 100.30.18.15

15000

14820

1000

990

300

150

150

180

120

30

4

 

 

 

 

 

 

 

 

 

 

 

 

 

14.

ÁÊ 50.20.8.3

3000

2920

500

489

200

185

15

80

50

15

10

15.

ÁÊ 50.20.8.5

5000

4920

500

492

200

185

15

80

50

15

6

16.

ÁÊ 100.20.8.5

5000

4920

1000

984

200

185

15

80

50

15

11

17.

ÁÊ 100.20.8.8

8000

7920

1000

990

200

185

15

80

50

15

7

18.

ÁÊ 100.20.8.12

12000

11920

1000

998

200

185

15

80

50

15

5

19.

ÁÊ 100.20.8.15

15000

14920

1000

994

200

185

15

80

50

15

4

Ïðèëîæåíèå 2.

ÍÎÌÅÍÊËÀÒÓÐÀ ÊÐÈÂÎËÈÍÅÉÍÛÕ ÁÎÐÒÎÂÛÕ ÊÀÌÍÅÉ

¹ ï/ï

Ìàðêà

Ðàçìåðû, ìì

 

R

r

L

l

h

h1

h2

b

b1

b2

1

2

3

4

5

6

7

8

9

10

11

12

13

1

ÁÊ 100.30.21.8

8000

7790

1000

973

300

150

150

210

150

30

7

2

ÁÊ 100.30.21.12

12000

11790

1000

987

300

150

150

210

150

30

5

3

ÁÊ 100.30.21.15

15000

14790

1000

986

300

150

150

210

150

30

4

 

 

 

 

 

 

 

 

 

 

 

 

 

4

ÁÊ 50.30.18.5

5000

4820

500

481

300

150

150

180

120

30

6

5

ÁÊ 100.30.18.5

5000

4820

1000

964

300

150

150

180

120

30

11

6

ÁÊ 100.30.18.12

12000

11820

1000

988

300

150

150

180

120

30

5

7

ÁÊ 100.30.18.15

15000

14820

1000

990

300

150

150

180

120

30

4

Ïðèëîæåíèå 3.

ÍÎÌÅÍÊËÀÒÓÐÀ ÊÐÈÂÎËÈÍÅÉÍÛÕ ÁÎÐÒÎÂÛÕ ÊÀÌÍÅÉ ÄËß ÂÍÓÒÐÈÊÂÀÐÒÀËÜÍÛÕ ÏÐÎÅÇÄÎÂ È ÁËÀÃÎÓÑÒÐÎÉÑÒÂÀ

¹ ï/ï

Ìàðêà

Ðàçìåðû, ìì

 

R

r

L

l

h

h1

h2

b

b1

b2

1

2

3

4

5

6

7

8

9

10

11

12

13

1

ÁÊ 50.30.18.5

5000

4820

500

481

300

150

150

180

120

30

6

2

ÁÊ 50.30.18.8

8000

7820

500

488

300

150

150

180

120

30

4

3

ÁÊ 100.30.18.8

8000

7820

1000

977

300

150

150

180

120

30

8

4

ÁÊ 100.30.18.12

12000

11820

1000

988

300

150

150

180

120

30

5

5

ÁÊ 100.30.18.15

15000

14820

1000

990

300

150

150

180

120

30

4

 

 

 

 

 

 

 

 

 

 

 

 

 

6

ÁÊ 50.20.8.3

3000

2920

500

489

200

185

15

80

50

15

10

7

ÁÊ 50.20.8.5

5000

4920

500

492

200

185

15

80

50

15

6

Ïðèëîæåíèå 4.

ÌÀËÎÃÀÁÀÐÈÒÍÛÅ ÏÎÃÐÓÇ×ÈÊÈ ÄËß ÌÅÕÀÍÈÇÀÖÈÈ ÒÅÕÍÎËÎÃÈ×ÅÑÊÈÕ ÎÏÅÐÀÖÈÉ ÏÐÈ ÓÑÒÀÍÎÂÊÅ ÁÎÐÒÎÂÛÕ ÊÀÌÍÅÉ

ÏÎÃÐÓÇ×ÈÊ ÓÍÈÂÅÐÑÀËÜÍÛÉ ÌÀËÎÃÀÁÀÐÈÒÍÛÉ ÏÓÌ-500

Òåõíè÷åñêàÿ õàðàêòåðèñòèêà

Ìîùíîñòü äâèãàòåëÿ, êÂò                       - 18,4 - 22

Ãðóçîïîäúåìíîñòü, êã                             - 500

Âìåñòèìîñòü êîâøà, ì3                           - 0,38

Âûñîòà ðàçãðóçêè, ì                                - 1,9

Ñêîðîñòü äâèæåíèÿ, êì/÷                       - 9

Ãàáàðèòíûå ðàçìåðû, ìì                        - 3400´1560´2260

Ìàññà, ò                                                    - 2,77

ÏÎÃÐÓÇ×ÈÊ (ÑÒÐÎÈÒÅËÜÍÀß ÌÀØÈÍÀ ÌÀËÎÃÀÁÀÐÈÒÍÀß)

ÑÌÌ-750

Òåõíè÷åñêàÿ õàðàêòåðèñòèêà

Ìîùíîñòü äâèãàòåëÿ, êÂò                       - 44

Ãðóçîïîäúåìíîñòü, êã                             - 750

Âìåñòèìîñòü êîâøà, ì3                           - 0,375

Âûñîòà ðàçãðóçêè, ìì                             - 2234

Ïðèâîä õîäà è îáîðóäîâàíèÿ                  - ãèäðàâëè÷åñêèé

Äàâëåíèå â ãèäðîñèñòåìå, ÌÏà             - 28

Ñêîðîñòü ïåðåäâèæåíèÿ, êì/÷               - 10

Ãàáàðèòíûå ðàçìåðû, ìì                        - 3300´1680´2200

Ìàññà, ò                                                    - 3,25

Ìîãóò êîìïëåêòîâàòüñÿ äîïîëíèòåëüíî îáîðóäîâàíèåì: ãèäðîáóðîì, ñíåãîî÷èñòèòåëåì, äîðîæíîé ùåòêîé, êðþêîì äëÿ ïîäúåìà ãðóçîâ è äð.

 

 




ßíäåêñ öèòèðîâàíèÿ



   Copyright © 2007-2026,  www.tehlit.ru.

[ ƒîñòû, ñòàíäàðòû, íîðìàòèâû, èíñòðóêöèè, ïðàâèëà, ñòðîèòåëüíûå íîðìû ]