//
ТехЛит.ру
- крупнейшая бесплатная электронная интернет библиотека для "технически умных" людей.
WWW.TEHLIT.RU - ТЕХНИЧЕСКАЯ ЛИТЕРАТУРА

:: Алготрейдинг::


АЛГОТРЕЙДИНГ
шаг за шагом
с нуля по урокам!

Торговые роботы на PYTHON, BackTrader,
Pandas, Pine Script для TradingView. Связка с брокерами, телеграм и легкими приложениями.


Р.Н. КАРЯКИН

доктор техн. наук, профессор

НОРМЫ УСТРОЙСТВА СЕТЕЙ ЗАЗЕМЛЕНИЯ

МОСКВА

Энергосервис

2002

Автор: доктор технических наук, профессор Карякин Рудольф Николаевич

Нормы относятся к заземляющим устройствам электроустановок напряжением до 1 кВ и выше. Настоящее 3-е издание Норм, являясь технологическим дополнением главы 1.7 «Заземление и защитные меры электробезопасности» Правил устройства электроустановок (ПУЭ), соответствует требованиям стандартов Международной Электротехнической Комиссии (МЭК): 60364-5-54-2001: Earthing arrangements protective conductors and equipotential bonding и 61024-1-2001: Protection of structures against fire, explosion and life hazards (Lightning Protection).

По сравнению с предыдущим 2-м изданием объем книги увеличен более чем вдвое за счет добавления новых нормативных материалов.

Книга адресована инженерам (электротехникам, электроэнергетикам, электромонтажникам, строителям), мастерам, бригадирам, техникам, рабочим-электромонтажникам, связанным с проектированием, монтажом, испытаниями, сертификацией, энергонадзором, ремонтом, реконструкцией и эксплуатацией электроустановок.

ПРЕДИСЛОВИЕ К 3-МУ ИЗДАНИЮ

Настоящее 3-е издание Норм устройства сетей заземления задумано как технологическое продолжение главы 1.7 «Заземление и защитные меры электробезопасности» Правил устройства электроустановок (ПУЭ). Именно поэтому Нормы предполагают их практическое применение одновременно с ПУЭ в едином процессе создания электроустановок и молниезащиты зданий и сооружений: проектирование - заказ оборудования и материалов - монтаж - пуско-наладочные и приемочные испытания - сертификация.

По сравнению с предыдущим 2-ым изданием объем книги увеличен более чем вдвое за счет добавления дополнительных нормативных требований к сетям заземления и молниезащиты, учитывающих новые стандарты Международной Электротехнической Комиссии (МЭК):60364-5-54-2001: Earthing arrangements protective conductors and equipotential bonding и 61024-1-2001: Protection of structures against fire, explosion and life hazards (Lightning Protection).

Автор выражает благодарность инж. А.С. Ермоленко за большую помощь при подготовке 3-ей редакции рукописи к печати.

Автор

Москва

29 октября 2001 г.

ИЗ ПРЕДИСЛОВИЯ К 1-МУ ИЗДАНИЮ

В отличие от известных инструктивных материалов по устройству сетей заземления и молниезащите предлагаемые Нормы соответствуют Основному правилу устройства электроустановок (см. Главу 1, п. 1.1.) и комплексу стандартов ГОСТ Р 50571 (МЭК 364), согласно которому заземление или зануление открытых проводящих частей электроустановок следует выполнять:

1) при номинальном напряжении более 50 В переменного тока или более 120 В постоянного тока - во всех электроустановках;

2) при номинальных напряжениях выше 25 В переменного тока или выше 60 В постоянного тока - в помещениях с повышенной опасностью, особо опасных и в наружных электроустановках.

Для сравнения напомним, что согласно известным инструктивным материалам заземление или зануление электроустановок выполняют:

1) при напряжении 380 В и выше переменного тока и 440 В и выше постоянного тока - во всех электроустановках;

2) при номинальных напряжениях выше 42 В переменного тока и выше 110 В постоянного тока - только в помещениях с повышенной опасностью, особо опасных и в наружных остановках.

Норма дополнены стандартными методиками расчета заземляющих и защитных проводников и современной классификацией систем заземления электроустановок напряжением до 1 кВ. Используемая в книге терминология в области устройства заземляющих сетей уточнена и дополнена в соответствии с комплексом стандартов ГОСТ Р 50571 (МЭК 364).

Автор считает своим приятным долгом выразить благодарность своим коллегам канд. техн. наук В.И. Солнцеву и инж. Л.К. Коноваловой за помощь при подготовке ряда параграфов.

Автор благодарит инж. А.С. Ермоленко за помощь при подготовке рукописи к печати.

Автор

Москва

1 сентября 1999 г.

ВВЕДЕНИЕ

Действующие в 2001 году Правила устройства электроустановок (ПУЭ - 6 изд.) достаточно четко регламентируют требования к защитным мерам в зависимости от значений номинальных напряжений. Согласно ПУЭ требуется выполнять заземление или зануление электроустановок:

1) при напряжении 380 В и выше переменного тока и 440 В и выше постоянного тока - во всех электроустановках;

2) при номинальных напряжениях выше 42 В, но ниже 380 В переменного тока и выше 110 В, но ниже 440 В постоянного тока -только в помещениях с повышенной опасностью, особо опасных и в наружных установках.

Заземление или зануление электроустановок не требуется при номинальных напряжениях до 42 В переменного тока и до 110 В постоянного тока во всех случаях, кроме взрывоопасных зон и электросварочных установок.

Рекомендации ПУЭ - 6 изд. не обеспечивают электробезопасность как в помещениях, так и на территориях размещения наружных электроустановок.

Для обеспечения электробезопасности согласно стандарту МЭК 364-4-41-1992 требуется выполнять заземление или зануление электроустановок:

1) при номинальном напряжении более 50 В переменного тока (действующее значение) или более 120 В постоянного (выпрямленного) тока - во всех электроустановках;

2) при номинальных напряжениях выше 25 В переменного тока (действующее значение) или выше 60 В выпрямленного тока - только в помещениях с повышенной опасностью, особо опасных и в наружных электроустановках.

Заземление или зануление электроустановок не требуется при номинальных напряжениях до 25 В переменного тока или до 60 В выпрямленного тока во всех случаях, кроме взрывоопасных зон и электросварочных установок.

Таблица B.1

Нормативный документ

Требования

Помещения

Без повышенной опасности

с повышенной опасностью

особо опасные

ПУЭ - 6 изд.

Требуется выполнять заземление или зануление

При номинальном напряжении 380 В и выше переменного или 440 В и выше постоянного тока

При номинальном напряжении выше 42 В переменного или выше 110 В постоянного тока

Не требуется выполнять заземление или зануление

При номинальном напряжении ниже 380 В переменного или ниже 440 В постоянного тока

При номинальном напряжении до 42 В переменного или до 110 В постоянного тока во всех случаях, кроме взрывоопасных зон и электросварочных установок

Рекомендации МЭК 364-4-41 (1992)

Требуется выполнять заземление или зануление

При номинальном напряжении более 50 В переменного или более 120 В постоянного тока

При номинальном напряжении выше 25 В переменного или выше 60 В выпрямленного тока

Не требуется выполнять заземление или зануление

При номинальном напряжении 50 В и ниже переменного или 120 В и ниже постоянного тока

При номинальном напряжении до 25 В переменного или до 60 В выпрямленного тока во всех случаях, кроме взрывоопасных зон и электросварочных установок

Не требуется защита от прямого прикосновения с помощью ограждений или оболочек, или изоляции, если электрооборудование находится в зоне действия системы уравнивания потенциалов

При номинальном напряжении, не превышающем 25 В переменного или 60 В выпрямленного тока

При номинальном напряжении, не превышающем 6 В переменного или 15 В выпрямленного тока

Не требуется защита от прямого прикосновения к сторонним проводящим частям, которые могут оказаться под напряжением

При напряжении, не превышающем 25 В переменного или 60 В выпрямленного тока

При напряжении, не превышающем 6 В переменного или 15 В выпрямленного тока

Защита от прямого прикосновения с помощью ограждений или оболочек, или изоляции не требуется, если электрооборудование находится в зоне действия системы уравнивания потенциалов и номинальное напряжение не превышает:

- 25 В переменного тока или 60 В выпрямленного тока при условии, что оборудование нормально эксплуатируется только в сухих помещениях и мала вероятность контакта человека с частями, могущими оказаться под напряжением;

- 6 В переменного тока или 15 В выпрямленного тока во всех остальных случаях.

Численные значения нормативов стандартов МЭК 364-4-41 (1992) и ПУЭ - 6 изд. даны в таблице.

Сравнение сопоставимых нормативов ПУЭ и стандартов МЭК позволяет сделать вывод о необходимости существенного ужесточения требований к защитным мерам. В частности, в помещениях без повышенной опасности согласно стандарту МЭК 364-4-41  -1992 требуется выполнять заземление или зануление при номинальном напряжении в 7,6 раз меньшем, чем установлено требованиями ПУЭ - 6 изд.

В разработанную и утвержденную в 2002 году новую редакцию главы 1.7. «Заземление и защитные меры электробезопасности» (ПУЭ - 7 изд.) внесены изменения, учитывающие рекомендации МЭК 364-4-41-1992.

Предлагаемые Нормы устройства сетей заземления удовлетворяют Основному правилу устройства электроустановок (см. Главу 1, п. 1.1) и потому соответствуют наиболее жестким требованиям ПУЭ [1], [2], ГОСТ 12.1.030 [4], ГОСТ 12.1.038 [5], комплекса стандартов ГОСТ Р 50571 (МЭК 364) [6]-[20] и новой редакции главы 1.7 ПУЭ - 7 изд.

ГЛАВА 1. ОБЛАСТЬ ПРИМЕНЕНИЯ, ТЕРМИНОЛОГИЯ, КЛАССИФИКАЦИЯ, СИСТЕМЫ ЗАЗЕМЛЕНИЯ ЭЛЕКТРОУСТАНОВОК, ОБЩИЕ ТРЕБОВАНИЯ ЭЛЕКТРОБЕЗОПАСНОСТИ

1.1. Область применения, терминология, классификация

Нормы распространяются на все вновь сооружаемые и реконструируемые электроустановки переменного и постоянного тока напряжением до 1 кВ и выше и содержат требования к их заземлению и защите людей от поражения электрическим током при прямом прикосновении к опасным токоведущим частям, а также при повреждении изоляции, в соответствии с ПУЭ [1], [2], комплексом стандартов ГОСТ Р 50571 [6 - 20] и другими нормативно-техническими документами [3 - 5], [21], [22 - 64].

В целях большей чёткости всё дальнейшее изложение построено на основе использования терминологии, принятой в ПУЭ [1], [2]. В необходимых случаях термины и их определения (табл. 1.1) уточнены и дополнены в соответствии с современными представлениями.

В основу классификации электроустановок по мерам электробезопасности положено номинальное напряжение электроустановки (до 1 кВ и выше 1 кВ) и режим её нейтрали (табл. 1.2).

В основу классификации помещений и территорий по опасности электропоражения положены условия, создающие повышенную опасность: сырость, токопроводящая пыль, химически активная среда, токопроводящие полы, высокая температура, возможность одновременного прикосновения человека к металлическим корпусам электрооборудования и к заземлённым частям (табл. 1.3).

Различают три вида электропроводок: открытая, скрытая и наружная электропроводки (табл. 1.5).

Таблица 1.1.

Термин

Определение

1. Электроустановка

Совокупность машин, аппаратов, линий, заземляющих и защитных устройств, а также вспомогательного оборудования (вместе с сооружениями и помещениями, в которых они установлены), предназначенных для безопасного производства, преобразования, трансформации, передачи, распределения электрической энергии и преобразования ее в другой вид энергии.

Электроустановки по условиям электробезопасности разделяются на электроустановки до 1 кВ и электроустановки выше 1 кВ (по действующему значению напряжения)

2. Открытая или наружная электроустановка

Электроустановка, не защищенная зданием от атмосферных воздействий.

Электроустановка, защищенная только навесами, сетчатыми ограждениями и т.п., рассматривается как наружная

3. Закрытая или внутренняя электроустановка

Электроустановка, размещенная внутри здания, защищающего ее от атмосферных воздействий

4. Электропомещение

Помещение или отгороженная, например сетками, часть помещения, которые доступны только для квалифицированного обслуживающего персонала и в которых расположены электроустановки

5. Сухое помещение

Помещение, в котором относительная влажность воздуха не превышает 60 %. При отсутствии в таком помещении условий, приведенных в пп. 6 - 11, оно называется нормальным

6. Влажное помещение

Помещение, в котором пары или конденсирующаяся влага выделяются лишь кратковременно в небольших количествах, а относительная влажность воздуха более 60 %, но не превышает 75 %

7. Сырое помещение

Помещение, в котором относительная влажность воздуха длительно превышает 75 %

8. Особо сырое помещение

Помещение, в котором относительная влажность воздуха близка к 100 % (потолок, стены, пол и предметы, находящиеся в помещении, покрыты влагой)

9. Жаркое помещение

Помещение, в котором под воздействием различных тепловых излучений температура превышает постоянно или периодически (более 1 сут.) +35° С (например, помещение с сушилками, сушильными и обжигательными печами, котельные и т.п.)

10. Пыльное помещение

Помещение, в котором по условиям производства выделяется технологическая пыль в таком количестве, что она может оседать на проводниках, проникать внутрь машин, аппаратов и т.п. Пыльные помещения разделяются на помещения с токопроводящей пылью и помещения с нетокопроводящей пылью

11. Помещение с химически активной или органической средой

Помещение, в котором постоянно или в течение длительного времени содержатся агрессивные пары, газы, жидкости, образуются отложения или плесень, разрушающие изоляцию, токоведущие части электрооборудования и заземляющие устройства электроустановок

12. Квалифицированный персонал

Специально подготовленные лица, прошедшие проверку знаний в объеме, обязательном для данной работы, и имеющие квалификационную группу по технике безопасности, предусмотренную Правилами техники безопасности при эксплуатации электроустановок

13. Распределительное устройство (РУ)

Электроустановка, служащая для приема и распределения электроэнергии и содержащая коммутационные аппараты, сборные и соединительные шины, заземляющие устройства, вспомогательные устройства (компрессорные, аккумуляторные и др.), а также устройства защиты, автоматики и измерительные приборы

14. Открытое распределительное устройстве (ОРУ)

Распределительное устройство, все или основное оборудование которого расположено на открытом воздухе

15. Закрытое распределительное устройстве (ЗРУ)

Распределительное устройство, оборудование которого расположено в здании

16. Комплектное распределительное устройстве

Распределительное устройство, состоящее из полностью или частично закрытых шкафов или блоков со встроенными в них аппаратами, устройствами защиты и автоматики и поставляемое в собранном или полностью подготовленном для сборки виде.

Комплектное распределительное устройство, предназначенное для внутренней установки, обозначается КРУ, а для наружной установки - КРУН

17. Подстанция

Электроустановка, служащая для преобразования и распределения электроэнергии и состоящая из трансформаторов или других преобразователей энергии, распределительных устройств, заземляющих и защитных устройств, устройств управления и вспомогательных сооружений.

В зависимости от преобладания той или иной функции подстанций они называются трансформаторными или преобразовательными

18. Заземляющее устройство

Совокупность заземлителя и заземляющих проводников

19. Заземлитель

Проводник (электрод) или совокупность электрически соединенных между собой проводников (электродов), находящихся в соприкосновении с землей или ее эквивалентом

20. Искусственный заземлитель

Заземлитель, специально выполняемый для целей заземления

21. Естественный заземлитель

Находящиеся в соприкосновении с землей или с ее эквивалентом электропроводящие части коммуникаций, зданий и сооружений производственного или иного назначения, используемые для целей заземления

22. Заземляющий проводник

Проводник, соединяющий заземляемые части с заземлителем

23. Заземленная нейтраль

Нейтраль трансформатора или генератора, присоединенная к заземляющему устройству непосредственно или через малое сопротивление (например, через трансформаторы тока)

24. Коэффициент замыкания на землю в трехфазной электрической сети

Отношение разности потенциалов между неповрежденной фазой и землей в точке замыкания на землю другой или двух других фаз к разности потенциалов между фазой и землей в этой точке до замыкания

25. Электрическая сеть с эффективно заземленной нейтралью

Трехфазная электрическая сеть выше 1 кВ, в которой коэффициент замыкания на землю не превышает 1,4

26. Изолированная нейтраль

Нейтраль трансформатора или генератора, не присоединенная к заземляющему устройству или присоединенная к нему через приборы сигнализации, измерения, защиты, заземляющие дугогасящие реакторы и подобные им устройства, имеющие большое сопротивление

27. Заземление какой-либо части электроустановки или другой установки

Преднамеренное электрическое соединение этой части с заземляющим устройством

28. Защитное заземление

Заземление частей электроустановки с целью обеспечения электробезопасности

29. Зануление в электроустановках напряжением до 1 кВ

Преднамеренное электрическое соединение открытых проводящих частей (ОПЧ) с заземленной нейтралью источника трехфазного тока посредством PEN-проводника (система TN-C) или РЕ-проводника (система TN-S), с заземленным выводом источника однофазного тока - посредством РЕ-проводника (система TN-S)

30. Электрический удар

Патофизиологический эффект в результате прохождения электрического тока через тело человека или домашнего животного

31. Токоведущие части

Проводники или проводящие части, предназначенные для протекания тока в нормальных условиях, включая нулевой рабочий проводник и PEN-проводник

32. Опасные токоведущие части

Токоведущие части, которые при определенных условиях могут наносить вредный для здоровья электрический удар. PEN-проводник не относится к опасным токоведущим частям

33. Открытые проводящие части (ОПЧ)

Нетоковедущие проводящие части электроустановки, доступные прикосновению, которые могут оказаться под напряжением при повреждении изоляции токоведущих частей

34. Сторонние проводящие части (СПЧ)

Проводящие части, которые не являются частью электроустановки, но могут оказаться под напряжением при определенных условиях, в частности, при повреждении изоляции токоведущих частей электроустановки

35. Защитный проводник (РЕ-проводник)

Проводник, применяемый для выполнения защитных мер от поражения электрическим током в случае повреждения и для соединения открытых проводящих частей: - с другими открытыми проводящими частями; - со сторонними проводящими частями; - с заземлителем, заземляющим проводником или заземленной токоведущей частью

36. Уравнивающий проводник

Защитный проводник (РЕ-проводник), применяемый с целью уравнивания потенциалов (см. п. 70)

37. Нулевой защитный проводник (РЕ-проводник) в электроустановках напряжением до 1 кВ

Проводник в системе TN-S, соединяющий открытые проводящие части (ОПЧ) с заземленной нейтралью источника трехфазного тока, с заземленным выводом источника однофазного тока, с заземленной средней точкой источника в сетях постоянного тока (система TN)

38. Магистраль заземления, уравнивания или зануления

Заземляющий, уравнивающий или нулевой защитный проводник с двумя или более ответвлениями

39. Рабочее заземление

Заземление какой-либо точки токоведущих частей электроустановки, необходимое для обеспечения работы электроустановки

40. Нулевой рабочий проводник (N-проводник) в электроустановках до 1 кВ

Проводник в системе TN-S, используемый для питания электроприемников, соединенный с заземленной нейтралью генератора или трансформатора в сетях трехфазного тока, с заземленным выводом источника однофазного тока, с заземленной средней точкой источника в трехпроводных сетях постоянного тока

41. PEN-проводник

Проводник в трехфазной системе TN-C, который присоединен к заземленной нейтрали источника и одновременно выполняет функции нулевого защитного проводника (РЕ-проводника) и нулевого рабочего проводника (N-проводника)

42. Замыкание на землю

Случайное соединение находящихся под напряжением частей электроустановки с конструктивными частями, не изолированными от земли, или непосредственно с землей

43. Замыкание на корпус

Случайное соединение находящихся под напряжением частей электроустановки с их конструктивными частями (ОПЧ), нормально не находящимися под напряжением

44. Ток повреждения

Ток, появившийся в результате повреждения или перекрытия изоляции

45. Ток замыкания на землю

Ток, стекающий в землю через место замыкания

46. Сверхток

Ток, значение которого превосходит наибольшее рабочее значение тока электроустановки

47. Ток короткого замыкания

Сверхток, обусловленный повреждением с малым сопротивлением между точками, находящимися под разными потенциалами в нормальных рабочих условиях

48. Ток перегрузки

Сверхток в электрической цепи электроустановки при отсутствии электрических повреждений

49. Электрическая цепь

Совокупность устройств или сред, через которые может протекать электрический ток

50. Сопротивление заземляющего устройства

Отношение напряжения на заземляющем устройстве к току, стекающему с заземлителя в землю

51. Эквивалентное удельное сопротивление земли с неоднородной структурой

Такое удельное сопротивление земли с однородной структурой, в которой сопротивление заземляющего устройства имеет то же значение, что и в земле с неоднородной структурой Термин «удельное сопротивление», применяемый в Нормах для земли с неоднородной структурой, следует понимать как «эквивалентное удельное сопротивление»

52. Зона растекания

Область земли, в пределах которой возникает заметный градиент потенциала при стекании тока с заземлителя

53. Зона нулевого потенциала

Зона земли за пределами зоны растекания

54. Напряжение на заземляющем устройстве

Напряжение, возникающее при стекании тока с заземлителя в землю между точкой ввода тока в заземляющее устройство и зоной нулевого потенциала

55. Напряжение шага

Напряжение между двумя точками земли, обусловленное растеканием тока замыкания на землю, при одновременном касании их ногами человека

56. Напряжение относительно земли при замыкании на корпус

Напряжение между этим корпусом и зоной нулевого потенциала

57. Напряжение при повреждении изоляции

Напряжение на открытых проводящих частях оборудования или сторонних проводящих частях по отношению к зоне нулевого потенциала при повреждении изоляции

58. Предельно допусти мое напряжение при повреждении

Наибольшее напряжение, которое допускается на открытых проводящих частях по отношению к зоне нулевого потенциала при повреждении изоляции

59. Прямое прикосновение

Электрический контакт между человеком или домашним животным и опасными токоведущими частями, находящимися под напряжением

60. Косвенное прикосновение

Электрический контакт между человеком или домашним животным и опасными токоведущими частями через одно или более повреждение изоляции между ними и ОПЧ и СПЧ

61. Напряжение прикосновения

Напряжение между двумя точками цепи тока замыкания на землю (на корпус) при одновременном прикосновении к ним человека или домашнего животного

62. Ожидаемое напряжение прикосновения

Часть напряжения при повреждении, появляющаяся между доступными проводящими частями, которых может одновременно коснуться человек или домашнее животное

63. Ток прикосновения

Ток, который может протекать через тело человека или тело домашнего животного, когда человек или животное касаются одной или более доступных проводящих частей. Ток прикосновения может протекать при нормальных или аварийных условиях

64. Поражающий ток

Ток, проходящий через тело человека или домашнего животного, характеристики которого могут обусловить патофизиологические воздействия

65. Ток утечки

Ток, который протекает в землю или на сторонние проводящие части в электрически неповрежденной цепи

66. Ток утечки в сети с заземленной нейтралью

Ток, протекающий по участку электрической цепи, соединенному параллельно с нулевым рабочим проводником, а при отсутствии нулевого рабочего проводника - ток нулевой последовательности

67. Ток утечки в сети с изолированной нейтралью

Ток, протекающий между фазой и землей в сети с изолированной нейтралью

68. Ток утечки в сети постоянного тока

Ток, протекающей между полюсом и землей в сети постоянного тока

69. Выравнивание потенциала

Снижение разности потенциалов между заземляющим устройством и поверхностью земли путем электрического соединения его с уложенными в земле защитными проводниками.

Выравнивание потенциала предназначено для предотвращения появления опасных напряжений прикосновения и шага на территории электроустановки при повреждении изоляции, а также при нормальных и вынужденных режимах, не сопровождающихся повреждением основной изоляции в электроустановках, использующих землю в качестве цепи обратного тока, например, в электроустановках электрифицированных железных дорог

70. Уравнивание потенциалов

Снижение разности потенциалов между доступными одновременному прикосновению открытыми проводящими частями (ОПЧ), сторонними проводящими частями (СПЧ), заземляющими и защитными проводниками (РЕ-проводниками), а также PEN-проводниками, путем электрического соединения этих частей между собой

71. Защитное уравнивание потенциалов

Уравнивание потенциалов с целью обеспечения электробезопасности

72. Зажим уравнивания потенциалов

Зажим, присоединенный к ОПЧ или СПЧ и предназначенный для электрического соединения с системой уравнивания потенциалов

73. Зажим защитного уравнивания потенциалов

Зажим уравнивания потенциалов, выполненный с целью обеспечения электробезопасности

74. Основная защита (защита от прямого прикосновения)

Применение мер, предотвращающих прямой контакт

75. Основная изоляция

Изоляция опасных токоведущих частей, которая обеспечивает основную защиту от электрического удара

76. Защита при повреждении (защита при косвенном прикосновении)

Применение мер, предотвращающих вредное действие повреждения изоляции. Вредное действие включает электрический удар при косвенном прикосновении к опасным токоведущим частям

77. Автоматическое отключение питания

Разрыв одного или более токоведущих проводников, выполняемый автоматическим защитным устройством в случае его повреждения

78. Защитное устройство от сверхтока

Механическое выключающее устройство, способное включать, пропускать и отключать токи при нормальных условиях, а также включать, пропускать и автоматически отключать токи при аварийных условиях работы сети, таких как перегрузка и короткое замыкание

79. Дополнительная защита

Применение мер для исключения или смягчения электрического удара в случае повреждения основной защиты и/или защиты при повреждении изоляции

80. Защитное отключение в электроустановках напряжением до 1 кВ

Автоматическое отключение всех фаз (полюсов) участка сети, обеспечивающее безопасные для человека сочетания тока и времени его прохождения при замыканиях на корпус или снижении уровня изоляции ниже определенного значения

81. Устройство защитного отключения или УЗО-Д

Механическое выключающее устройство, предназначенное для включения, прохождения и отключения токов при нормальных условиях эксплуатации, и которое может обеспечивать автоматическое размыкание контактов, когда разностный ток достигает заданного значения при определенных условиях

82. Разностный (дифференциальный) ток (IΔ)

Векторная сумма токов, протекающих через дифференциальное токовое устройство, такое как УЗО-Д

83. Двойная изоляция электроприемника

Совокупность основной и дополнительной изоляции, при которой доступные прикосновению части электроприемника не приобретают опасного напряжения при повреждении только основной или только дополнительной изоляции (оборудование класса II)

84. Усиленная изоляция

Изоляция опасных токоведущих частей, которая обеспечивает степень защиты от электрического удара эквивалентную двойной изоляции

85. Электрическое разделение

Защитная мера, при которой опасная токоведущая часть отделяется от всех других цепей и частей, от земли, и защищается от возможности прямого прикосновения

86. Простое разделение

Разделение между цепями или цепью и землей посредством основной изоляции

87. Защитное разделение

Отделение одной электрической цепи от других посредством двойной изоляции, или - основной изоляции и защитного экранирования, или - усиленной изоляции

88. Система сверхнизкого безопасного напряжения (БСНН, ЗСНН, ФСНН)

Совокупность технических мер защиты от прямого и косвенного прикосновений, которые характеризуются применением сетей с напряжением, не превышающим 50 В переменного тока или 120 В постоянного тока, питаемых от источников питания, обеспечивающих степень безопасности, равноценную степени, обеспечиваемой безопасным разделяющим трансформатором, и устройством электрических цепей, обеспечивающих необходимую степень безопасности (оборудование класса III)

89. Безопасный разделяющий трансформатор

Трансформатор, предназначенный для отделения сети, питающей электроприемник, от первичной электрической сети, а также от сети заземления или зануления, с целью обеспечения электробезопасности

90. Ограждение

Часть, обеспечивающая защиту от прямого контакта со стороны обслуживания

91. Оболочка

Часть, окружающая наружные части оборудования с целью предотвращения доступа к опасным токоведущим частям со всех сторон

92. Экран

Проводящая часть, которая окружает или отделяет электрические цепи и/или проводники

93. Защитный экран

Экран, используемый для отделения электрической цепи и/или проводников от опасных токоведущих частей

94. Защитное экранирование

Отделение электрических цепей и/или проводников от опасных токоведущих частей защитным экраном, соединенным с системой уравнивания потенциалов, и предназначенное для обеспечения защиты от электрического удара

Таблица 1.2.

Классификация электроустановок по мерам электробезопасности

Номинальное напряжение электроустановки, кВ

Режим нейтрали

Классификация электроустановок

До 1 кВ

Заземленная нейтраль

Электроустановка до 1 кВ с заземленной нейтралью

Изолированная нейтраль

Электроустановка до 1 кВ с изолированной нейтралью

Выше 1 кВ

Эффективно заземленная нейтраль

Электроустановка выше 1 кВ в сетях с эффективно заземленной нейтралью

Изолированная нейтраль

Электроустановка выше 1 кВ с изолированной нейтралью

Таблица 1.3.

Классификация помещений и территорий по опасности электропоражения

Помещение, территория

Условия, создающие опасность

1. Помещение без повышенной опасности

Отсутствуют условия, создающие повышенную или особую опасность (см. пп. 2 и 3)

2. Помещение с повышенной опасностью

Наличие в нем одного из следующих условий, создающих повышенную опасность:

а) сырости или токопроводящей пыли (см. табл. 1.1., п. 7, 10);

б) токопроводящих полов (металлических, земляных, железобетонных, кирпичных и т.п.);

в) высокой температуры (см. табл. 1.1., п. 9);

г) возможности одновременного прикосновения человека к имеющим соединение с землей металлическим или железобетонным конструкциям зданий, технологическим аппаратам, механизмам, с одной стороны, и к металлическим корпусам электрооборудования - с другой

3. Особо опасное помещение

Наличие одного из следующих условий, создающих особую опасность:

а) особой сырости (см. табл. 1.1., п. 8);

б) химически активной или органической среды (см. табл. 1.1., п. 11);

в) одновременно двух или более условий повышенной опасности (см. п. 2)

4. Территория размещения наружных электроустановок

По опасности поражения людей электрическим током эта территория приравнивается к особо опасному помещению

Таблица 1.4.

Виды электропроводок

Вид электропроводки

Определение

Способы прокладки проводов и кабелей

Открытая электропроводка

Электропроводка, проложенная по поверхности стен, по фермам и другим строительным элементам зданий и сооружений, по опорам и т.п.

Непосредственно по поверхности стен, потолков, на струнах, полосах, тросах, роликах, изоляторах, в трубах, коробах, гибких металлических рукавах, на лотках, в электрических плинтусах и наличниках, свободной подвеской и т.п.

Открытая электропроводка может быть стационарной, передвижной и переносной

Скрытая электропроводка

Электропроводка, проложенная внутри конструктивных элементов зданий и сооружений (в стенах, полах, фундаментах, перекрытиях), а также по перекрытиям в подготовке пола, непосредственно под съемным полом и т.п.

В трубах, гибких металлических рукавах, коробах, замкнутых каналах и пустотах строительных конструкций, в заштукатуриваемых бороздах, под штукатуркой, а также замоноличиванием в строительные конструкции при их изготовлении

Наружная электропроводка

Электропроводка, проложенная по наружным стенам зданий и сооружений, под навесами и т.п., а также между зданиями на опорах (не более четырех пролетов длиной до 25 м каждый) вне дорог и т.п.

Наружная электропроводка может быть открытой и скрытой

1.2. Системы заземления электроустановок

Системы электроснабжения классифицируются Международной электротехнической комиссией (МЭК) в зависимости от способа заземления распределительной сети и примененных мер защиты от поражения электрическим током. Распределительные сети подразделяются на сети с заземленной нейтралью и сети с изолированной нейтралью. Стандарт МЭК-364 подразделяет распределительные сети в зависимости от конфигурации токоведущих проводников, включая нулевой рабочий (нейтральный) проводник, и типов систем заземления. При этом используются следующие обозначения. Первая буква, I или Т, характеризует связь с землей токоведущих проводников (заземление сети). Вторая буква, Т или N, характеризует связь с землей открытых проводящих частей (ОПЧ) и сторонних проводящих частей (СПЧ) (заземление оборудования и СПЧ).

Первая буква (I или Т). Первая буква I означает, что все токоведущие части изолированы от земли или что одна точка сети связана с землей через сопротивление, или - через разрядник, или - воздушный промежуток. Сети с изолированной нейтралью (I) могут быть: (1) весьма малыми сетями, такими как сети безопасного сверхнизкого напряжения (БСНН или SELV) с электрическим отделением с помощью безопасных разделяющих трансформаторов, или (2) средними по размеру - такими, которые используются для питания отдельных цехов промышленных предприятий.

Использование системы IT ограничивается специальным применением в тех производствах, где перерыв электроснабжения может быть опасен.

Первая буква Т указывает на прямую связь, по меньшей мере одной точки сети, с землей (terra).Например, питаемая от вторичной обмотки трансформатора, соединенной в звезду, трехфазная распределительная сеть с нейтральным проводником, напряжением 127/220 В или 220/380 В с нейтралью, соединенной с землей через заземляющее устройство.

Вторая буква (Т или N). Вторая буква означает тип соединения между ОПЧ, защитным заземляющим проводником (заземление оборудования) электроустановки и землей. Вторая буква Т означает прямое соединение между ОПЧ и СПЧ и землей (terra), независимое от системного заземления, которое может содержать или не содержать токоведущие части системы. Вторая буква N означает прямое соединение ОПЧ и СПЧ с заземленной точкой (точками) сети посредством PEN- или РЕ-проводника.

Таблица П.2

Сетевое (рабочее) и защитное заземление

Обозначение

Сетевое (рабочее) заземление

Защитное заземление проводящих частей

IT

Непосредственное соединение с землей отсутствует. Допускается соединение с землей через сопротивление, воздушный промежуток, разрядник и т.д.

Непосредственное соединение с землей, независимое от сетевого заземления

ТТ

Соединение с землей в одной или нескольких точках распределительной сети за пределами сети потребителя

Непосредственное соединение с землей, независимое от сетевого заземления

TN

Соединение с землей в одной или нескольких точках распределительной сети и в одной или более точках в сети потребителя

Соединение с «сетевой землей» с помощью РЕ- или PEN-проводника

TI

Соединение с землей в одной или нескольких точках распределительной сети за пределами сети потребителя

Отсутствуют соединения с землей и с сетевым заземлением

Токоведущие части сети соединяются с землей для ограничения напряжения, которое может появиться на них в результате прямого удара молнии (п.у.м.) или вторичных проявлений молнии (индуцированные волны перенапряжений), или в результате непреднамеренного контакта с линиями более высокого напряжения, или в результате пробоя изоляции токоведущих частей распределительной сети.

Причины, по которым не соединяют токоведущие части распределительной сети с землей, следующие: во избежание перерыва питания потребителя при единственном повреждении (пробой изоляции на землю токоведущих частей распределительной сети); во избежание искрообразования во взрыво- и пожароопасных зонах при единственном повреждении изоляции токоведущих частей сети. Заземление электрооборудования, а точнее - заземление открытых проводящих частей (ОПЧ), является одной из многочисленных мер, которые могут быть использованы для защиты от поражения электрическим током. Заземление ОПЧ предполагает создание эквипотенциальной среды, что снижает вероятность появления напряжения на теле человека. В системе TN заземление ОПЧ обеспечивает создание для тока замыкания цепи с низким сопротивлением. Это облегчает работу устройств защиты от сверхтока.

Обозначения TN, ТТ и IT относятся только к конфигурации распределительных сетей. Эти обозначения имеют ограниченное отношение к различным методам, которые могут быть использованы для обеспечения защиты от поражения электрическим током, включая заземление ОПЧ. Хотя каждая система обеспечивается посредством соединения ОПЧ с землей, эффективный метод, используемый в установке для защиты от поражения электрическим током, может включать другие меры защиты.

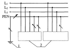
На рис. 1.1. - 1.5. даны системы трёхфазных сетей. Принятые на рисунках обозначения имеют следующий смысл. Первая буква:

Т - непосредственное присоединение одной точки токоведущих частей источника питания к земле,

I - все токоведущие части изолированы от земли, или одна точка заземлена через сопротивление.

Вторая буква - характер заземления открытых проводящих частей (ОПЧ) электроустановки:

Т - непосредственная связь ОПЧ с землёй, независимо от характера связи источника питания с землёй,

N - непосредственная связь ОПЧ с точкой заземления источника питания (в системах переменного тока обычно заземляется нейтралью).

Последующие буквы (если таковые имеются) - устройство нулевого рабочего и нулевого защитного проводника:

S - функция нулевого защитного и нулевого рабочего проводника обеспечивается раздельными проводниками;

С - функции нулевого защитного и нулевого рабочего проводников объединены в одном проводнике (PEN-проводник).

Система TN

Питающие сети системы TN имеют непосредственно присоединенную к земле точку. Открытые проводящие части электроустановки присоединяются к этой точке посредством нулевых защитных проводников.

В зависимости от устройства нулевого рабочего и нулевого защитного проводников различают следующие три типа системы TN:

система TN-S - нулевой рабочий и нулевой защитный проводники работают раздельно по всей системе;

система TN-C-S - функции нулевого рабочего и нулевого защитного проводников объединены в одном проводнике в части сети;

система TN-C - функции нулевого рабочего и нулевого защитного проводников объединены в одном проводнике по всей сети.

Система ТТ

Питающая сеть системы ТТ имеет точку, непосредственно связанную с землёй, а открытые проводящие части электроустановки присоединены к заземлителю, электрически независимому от заземлителя нейтрали источника питания.

Система IT

Питающая сеть системы IT не имеет непосредственной связи токоведущих частей с землёй, а открытые проводящие части электроустановки заземлены.

Рис. 1.1. Система TN-S (нулевой рабочий и нулевой защитный проводники работают раздельно)

1 - заземлитель источника питания; 2 - открытые проводящие части

Объяснение обозначений согласно публикации МЭК 617-11 (1983)

нулевой рабочий проводник (N)

нулевой защитный проводник (РЕ)

совмещённый нулевой рабочий и защитный проводник (PEN)

Рис. 1.2. Система TN-C-S (в части сети нулевой рабочий и нулевой защитный проводники объединены)

1 - заземлитель источника питания; 2 - открытые проводящие части

Рис. 1.3. Система TN-C (нулевой рабочий и нулевой защитный проводники объединены по всей сети)

1 - заземлитель источника питания; 2 - открытые проводящие части

Рис. 1.4. Система ТТ

1 - заземлитель источника питания; 2 - открытые проводящие части; 3 - заземлитель корпусов оборудования

Рис. 1.5. Система IT

1 - сопротивление; 2 - заземлитель источника питания; 3 - открытые проводящие части; 4 - заземлитель корпусов оборудования

1.3. Общие требования электробезопасности электроустановок

Основное правило устройства электроустановок

1.1. Все электроустановки переменного и постоянного тока напряжением до 1 кВ и выше должны удовлетворять требованиям основного правила устройства электроустановок:

Опасные токоведущие части электроустановки не должны быть доступны для непреднамеренного прямого прикосновения к ним, а доступные прикосновению открытые проводящие части, сторонние проводящие части, защитные проводники и заземляющие проводники (РЕ-проводники), а также открытые токоведущие части цепей обратного тока, включая PEN-проводники, не должны быть опасны при прямом прикосновении к ним как при нормальном режиме работы, так и при повреждении изоляции опасных токоведущих частей.

Напряжение шага на территории электроустановки и в пределах зоны растекания тока с заземлителя в землю не должно быть опасно как при нормальном режиме работы, так и при повреждении изоляции опасных токоведущих частей.

Кроме того, опасные токоведущие части электроустановки напряжением до 1 кВ не должны быть опасны при случайном непреднамеренном прямом прикосновении к ним при нормальном режиме работы.

Токи токоведущих и проводящих частей электроустановки и - сторонних проводящих частей, Ii, а также сосредоточенный ток утечки с опасных токоведущих частей электроустановки в землю IΔ, не должны превышать предельно допустимых значений [Ii] и [IΔ], соответственно, с учетом длительности нагрева этих частей при всех возможных режимах работы электроустановки, включая повреждение изоляции токоведущих частей.

Для обеспечения сформулированного требования должны быть применены защита от сверхтока в токоведущих и проводящих частях и защита от превышения сосредоточенным током утечки предельно допустимого значения [IΔ] с учетом длительности протекания этих токов при всех возможных режимах работы электроустановки, включая повреждение изоляции токоведущих частей.

В качестве защиты от сверхтока должно быть использовано автоматическое отключение, в том числе с применением устройств зашиты, реагирующих на дифференциальный ток.

В качестве защиты от превышения сосредоточенным током утечки IΔ предельно допустимого значения [IΔ] должны быть применены устройства защиты, реагирующие на дифференциальный ток с номинальным отключающим дифференциальным током IΔn, не превышающим 300 мА.

Для защиты от поражения электрическим током в электроустановках напряжением до 1 кВ и выше должны быть применены основная защита от непреднамеренного прямого прикосновения к опасным токоведущим частям и защита при прямом прикосновении к открытым проводящим частям, сторонним проводящим частям, защитным проводникам и заземляющим проводникам (РЕ-проводникам), а также к открытым токоведущим частям цепей обратного тока, включая PEN-проводники, в нормальном режиме работы, а также при повреждении изоляции опасных токоведущих частей электроустановки.

В электроустановках до 1 кВ для защиты от поражения электрическим током должна быть применена дополнительная защита при случайном непреднамеренном прямом прикосновении к опасным токоведущим частям при нормальном режиме работы.

В качестве основной защиты от непреднамеренного прямого прикосновения к опасным токоведущим частям в электроустановках до 1 кВ и выше могут быть применены:

- изоляция, соответствующая минимальному испытательному напряжению, и усиленная изоляция;

- ограждения и оболочки;

- барьеры;

- размещение вне зоны досягаемости.

В электроустановках до 1 кВ в качестве основной защиты от непреднамеренного прямого прикосновения к опасным токоведущим частям могут быть применены:

- двойная изоляция (оборудование класса II);

- системы. БСНН, ЗСНН, ФСНН (оборудование класса III).

В качестве дополнительной защиты от поражения электрическим током при случайном непреднамеренном прямом прикосновении к опасным токоведущим частям при нормальном режиме работы в электроустановках до 1 кВ должны быть применены устройства зашиты, реагирующие на дифференциальный ток, с номинальным отключающим дифференциальным током IΔn, не превышающим 30 мА.

В качестве защиты при повреждении изоляции в электроустановках до 1 кВ и выше могут быть использованы:

- уравнивание потенциалов, в том числе местное;

- заземление, в том числе повторное;

- автоматическое отключение, в том числе с применением устройств защиты от сверхтоков и устройств защиты, реагирующих на дифференциальный ток с номинальным отключающим дифференциальным током IΔn, не превышающим 30 мА;

- электрическое разделение цепей;

- проводящие экраны;

- проводящие оболочки;

- дополнительная изоляция;

- усиленная изоляция.

Кроме того, для защиты при повреждении изоляции могут быть применены:

в электроустановках выше 1 кВ:

- выравнивание потенциалов;

в электроустановках до 1 кВ:

- использование проводящих частей (в том числе, экранов, оболочек) в качестве PEN-проводников;

- зануление (системы TN, в том числе TN-C, TN-C-S, TN-S);

- двойная изоляция (оборудование класса II);

- системы БСНН, ЗСНН, ФСНН (оборудование класса III);

- изолирующие помещения, зоны и площадки.

В качестве дополнительной защиты при повреждении изоляции в электроустановках до 1 кВ может быть применена дополнительная система уравнивания потенциалов.

Защита от непреднамеренного прямого прикосновения к токоведущим частям (основная защита от прямого прикосновения) и защита при прямом прикосновении к открытым проводящим частям, сторонним проводящим частям, защитным проводникам и заземляющим проводникам (РЕ-проводникам),

а также открытым токоведущим частям цепей обратного тока, включая PEN-проводники, в нормальном режиме работы, а также при повреждении изоляции токоведущих частей электроустановки (защита «при повреждении» или «защита при косвенном прикосновении») не требуются, если электрооборудование находится в зоне действия системы уравнивания потенциалов и номинальное напряжение не превышает:

- 25 В переменного тока или 60 В выпрямленного тока при условии, что оборудование эксплуатируется в помещениях без повышенной опасности;

- 6 В переменного тока или 15 В выпрямленного тока во всех остальных случаях.

Заземление электроустановок

1.2. Заземление или зануление ОПЧ электроустановок следует выполнять:

1) при номинальном напряжении выше 50 В переменного тока и выше 120 В постоянного тока - во всех электроустановках;

2) при номинальных напряжениях выше 25 В, но ниже 50 В переменного тока и выше 60 В, но ниже 120 В постоянного тока - только в помещениях с повышенной опасностью, особо опасных и в наружных установках.

Во взрывоопасных зонах любого класса подлежат занулению (заземлению) также:

а) электроустановки при всех напряжениях переменного и постоянного тока;

б) электрооборудование, установленное на зануленных (заземленных) металлических конструкциях.

Это требование не относится к электрооборудованию, установленному внутри зануленных (заземленных) корпусов шкафов и пультов.

Заземление электрооборудования, установленного на опорах ВЛ

1.3.1. Заземление или зануление электрооборудования, установленного на опорах ВЛ (силовые и измерительные трансформаторы, разъединители, предохранители, конденсаторы и другие аппараты), должно быть выполнено с соблюдением требований, приведённых в настоящей главе.

Сопротивление заземляющего устройства опоры ВЛ, на которой установлено электрооборудование, должно соответствовать требованиям:

1) 4.4., 4.6. - 4.8. - в электроустановках выше 1 кВ сети с изолированной нейтралью;

2) 5.17. - 5.19. - в электроустановках до 1 кВ с заземлённой нейтралью (система TN);

3) 6.2., 6.3. - в электроустановках до 1 кВ с изолированной нейтралью (система IT);

4) 3.5. - 3.7. - в сетях 110 кВ и выше.

В трёхфазных сетях до 1 кВ с заземлённой нейтралью и в однофазных сетях с заземлённым выводом источника однофазного тока (система TN) установленное на опоре ВЛ электрооборудование должно быть занулено (см. 5.18. - 5.20.).

Заземление опор ВЛ

1.3.2. На ВЛ должны быть заземлены:

1) опоры, имеющие грозозащитный трос или другие устройства грозозащиты;

2) железобетонные и металлические опоры ВЛ 3 - 35 кВ;

3) металлические и железобетонные опоры ВЛ 110 - 500 кВ без тросов и других устройств грозозащиты.

Сопротивление заземляющих устройств опор, указанных в 1.3.2., п. 1, должны быть не более приведенных в табл. 1.3.1.

Сопротивления заземляющих устройств опор, указанных в 1.3.2., п. 2, должны быть: для ВЛ 3 - 20 кВ в населенной местности, а также для всех ВЛ 35 кВ - не более приведенных в табл. 1.3.1.; для ВЛ 3 - 20 кВ в ненаселенной местности в земле с удельным сопротивлением ρ до 100 Ом · м - не более 30 Ом, а в земле с ρ выше 100 Ом · м - не более 0,3 ρ Ом.

Сопротивления заземляющих устройств опор, указанных в 1.3.2., п. 3, определяются при проектирование ВЛ.

Таблица 1.3.1.

Наибольшее сопротивление заземляющих устройств опор ВЛ

Удельное эквивалентное сопротивление земли ρ, Ом · м

Наибольшее сопротивление заземляющего устройства, Ом

До 100

10

Более 100 до 500

15

Более 500 до 1000

20

Более 1000 до 5000

30

Более 5000

6 · 10-3ρ

Для ВЛ, защищенных тросами, сопротивления заземляющих устройств, выполняемых по условиям грозозащиты, должны обеспечиваться при отсоединенном тросе, а по остальным условиям - при неотсоединенном тросе.

Для опор высотой более 40 м на участках ВЛ, защищенных тросами, сопротивления заземляющих устройств должны быть в 2 раза меньше по сравнению с приведенными в табл. 1.3.1.

Сопротивления заземляющих устройств опор ВЛ должны обеспечиваться и измеряться при токах промышленной частоты в период их наибольших значений в летнее время. Допускается производить измерение в другие периоды с корректировкой результатов путем введения сезонного коэффициента.

Использование естественных заземляющих устройств

1.4. Для заземления электроустановок в первую очередь должны быть использованы естественные заземляющие устройства. Если при этом сопротивление заземляющих устройств или напряжение прикосновения имеют допустимые значения, а также обеспечиваются нормированные значения напряжения на заземляющем устройстве, то искусственные заземлители должны применяться лишь при необходимости снижения плотности токов, протекающих по естественным защитным проводникам (РЕ- и PEN-проводникам) (см. 8.3.) или стекающих с естественных заземлители (см. 8.5., 8.6.).

Объединение заземляющих устройств

1.5. Для заземления электроустановок различных назначений и различных напряжений, территориально приближенных одна к другой, рекомендуется применять одно общее заземляющее устройство.

Для объединения заземляющих устройств различных электроустановок в одно общее заземляющее устройство следует использовать все имеющиеся в наличии естественные, в особенности протяжённые, заземляющие проводники.

Заземляющее устройство, используемое для заземления электроустановок одного или различных назначений и напряжений, должно удовлетворять всем требованиям, предъявляемым к заземлению этих электроустановок: защиты людей и животных от поражения электрическим током при повреждении изоляции, условиям режимов работы сетей, молниезащиты, защиты электрооборудования от атмосферных и коммутационных перенапряжений, защиты технологического оборудования и электрооборудования от статического электричества и т.д. Если заземляющее устройство используется как для защиты, так и для нормальной работы электроустановки, в первую очередь следует соблюдать требования, предъявляемые к мерам защиты от поражения электрическим током.

Удельное сопротивление земли

1.6. Требуемые настоящими Нормами сопротивления заземляющих устройств и напряжения прикосновения должны быть обеспечены при наиболее неблагоприятных условиях.

Удельное сопротивление земли следует определять, принимая в качестве расчётного значение, соответствующее тому сезону года, при котором сопротивление заземляющего устройства или напряжение прикосновения принимает наибольшие значения.

Режим нейтрали электроустановок до 1 кВ

1.7. Электроустановки до 1 кВ переменного тока могут выполняться с заземлённой нейтралью (системы: TN-C, TN-C-S, TN-S), или с изолированной нейтралью (система IT), электроустановки постоянного тока - с заземлённой (системы TN-C, TN-C-S, TN-S) или изолированной (система IT) средней точкой, а электроустановки с однофазными источниками тока - с одним заземлённым (система TN-S) или с обоими изолированными выводами (система IT).

Зануление и устройства защиты

1.8. В электроустановках до 1 кВ с заземлённой нейтралью или заземлённым выводом источника однофазного тока, а также с заземлённой средней точкой в трёхпроводных сетях постоянного тока, должно быть выполнено зануление (система TN), при этом характеристики устройств защиты должны обеспечивать предельно допустимые времена отключения согласно табл. 4.6.1. Применение в таких электроустановках заземления корпусов электроприёмников (ОПЧ) без их зануления (система ТТ) не допускается.

Применение электроустановок до 1 кВ с изолированной нейтралью

1.9. Электроустановки до 1 кВ переменного тока с изолированной нейтралью или изолированным выводом источника однофазного тока (система IT), а также электроустановки постоянного тока с изолированной средней точкой, следует применять при недопустимости перерыва питания при первом замыкании на землю. Для таких электроустановок в качестве защитной меры должно быть выполнено заземление в сочетании с автоматическим контролем изоляции сети или защитное отключение, при этом характеристики устройств защиты должны обеспечивать предельно допустимые времена отключения согласно табл. 4.6.1.

Заземление электроустановок выше 1 кВ с изолированной нейтралью

10. В электроустановках выше 1 кВ с изолированной или заземленной через дугогасящий реактор нейтралью должно быть выполнено заземление (система IT).

В таких электроустановках должна быть предусмотрена возможность быстрого отыскания замыканий на землю. Защита от замыканий на землю должна устанавливаться с действием на отключение (по всей электрически связанной сети) в тех случаях, в которых это необходимо по условиям безопасности.

Применение УЗО-Д в качестве дополнительной защиты в электроустановках до 1 кВ

1.11. В электроустановках напряжением до 1 кВ устройство защитного отключения с номинальным током срабатывания, не превышающим 30 мА, рекомендуется применять в качестве дополнительной меры защиты от поражения электрическим током при случайном непреднамеренном прямом прикосновении в нормальном режиме в случае недостаточности или отказа других мер защиты. Применение таких устройств не может быть единственной мерой защиты и не исключает необходимость применения одной из защитных мер, указанных в 1.1. Устройства защитного отключения могут применяться только в качестве дополнительной меры защиты от поражения электрическим током в нормальном режиме.

В системах TN-S и TN-C-S устройство защитного отключения с номинальным током срабатывания, не превышающим 30 мА, может быть применено в качестве основной защиты от поражения электрическим током при косвенном прикосновении.

Защита сети до 1 кВ с изолированной нейтралью

1.12. Трёхфазная сеть до 1 кВ с изолированной нейтралью или однофазная сеть до 1 кВ с изолированным выводом (система IT), связанная через трансформатор с сетью выше 1 кВ, должна быть защищена пробивным предохранителем от опасности, возникающей при повреждении изоляции между обмотками высшего и низшего напряжений трансформатора. Пробивной предохранитель должен быть установлен в нейтрали или фазе на стороне низшего напряжения каждого трансформатора. При этом должен быть предусмотрен контроль за целостностью пробивного предохранителя.

ГЛАВА 2. УРАВНИВАНИЕ ПОТЕНЦИАЛОВ

2.1. Общие требования

Объединение с основной системой уравнивания потенциалов

2.1.1. С целью уравнивания потенциалов в тех зданиях, помещениях и наружных установках, в которых применяются заземление или зануление открытых проводящих частей, должны быть объединены с основной системой уравнивания потенциалов следующие проводящие части:

- основной (магистральный) защитный проводник (РЕ- или PEN-проводник);

- основной (магистральный) заземляющий проводник или основной заземляющий зажим; металлические части строительных и производственных конструкций, стационарно проложенные трубопроводы всех назначений, металлические корпуса технологического оборудования, подкрановые и железнодорожные рельсовые пути, система центрального отопления и системы вентиляции и кондиционирования воздуха. При этом должна быть обеспечена непрерывность электрической цепи, образованной стальными и железобетонными каркасами производственных зданий и сооружений на всём протяжении их использования в качестве РЕ- или PEN-проводников (см. 7.37).

2.1.2. Сечение главного проводника системы уравнивания потенциалов должно быть не менее половины наибольшего сечения защитного проводника установки, но не менее 6 мм2 по меди. Однако не требуется применять проводники сечением более 25 мм2 по меди или равноценное ему, если проводник изготовлен из другого металла.

2.1.3. Сечение дополнительного проводника системы уравнивания потенциалов, соединяющего две открытые проводящие части электрооборудования, нормально не находящихся под напряжением, должно быть не менее сечения наименьшего из защитных проводников, подключенных к этим частям.

Сечение дополнительного проводника системы уравнивания потенциалов, соединяющего заземляемые части электрооборудования и металлические конструкции строительного и производственного назначения, должно быть не менее половины сечения защитного проводника электрооборудования, подключенного к данной заземляющей части.

Применение сторонних проводящих частей для уравнивания потенциалов

2.1.4. Связь для уравнивания потенциалов может быть обеспечена либо металлоконструкциями строительного и производственного назначения, либо специальными дополнительными проводниками, либо сочетанием того и другого.

2.1.5. В случае использования труб водопровода здания в качестве заземляющих или защитных проводников необходимо предусматривать шунтирование расходомеров при помощи проводника надлежащего сечения, в зависимости от того, используется ли он в качестве защитного проводника системы уравнивания потенциалов или заземляющего проводника.

Заземление и зануление открытых проводящих частей

2.1.6.1. Доступные прикосновению открытые проводящие части (ОПЧ) должны быть заземлены или занулены путём присоединения к защитному проводнику в соответствии с особенностями типов систем заземления.

К частям, подлежащим занулению или заземлению согласно 1.2. относятся:

1) корпуса электрических машин, трансформаторов, аппаратов, светильников и т.п.;

2) приводы электрических аппаратов;

3) вторичные обмотки измерительных трансформаторов (см. также 2.1.6.2. и 2.1.6.3);

4) каркасы распределительных щитов, щитов управления, щитков и шкафов, а также съёмные или открывающиеся части, если на последних установлено электрооборудование напряжением выше 25 В переменного тока или более 60 В постоянного тока;

5) металлические конструкции распределительных устройств, металлические кабельные конструкции, металлические кабельные муфты, металлические оболочки и броня контрольных и силовых кабелей, металлические оболочки проводов, металлические рукава и трубы электропроводки, кожухи и опорные конструкции шинопроводов; лотки, короба, струны, тросы и стальные полосы, на которых укреплены кабели и провода (кроме струн, тросов и полос, по которым проложены кабели с заземлённой или запулённой металлической оболочкой или бронёй), а также другие металлические конструкции, на которых устанавливается электрооборудование;

6) металлические оболочки и броня контрольных и силовых кабелей и проводов напряжением до 25 В переменного тока и до 60 В постоянного тока, проложенных на общих металлических конструкциях, в том числе в общих трубах, коробах, лотках и т.п. вместе с кабелями и проводами, металлические оболочки и броня которых подлежат заземлению и занулению;

7) металлические корпуса передвижных и переносных электроприёмников;

8) электрооборудование, размещённое на движущихся частях станков, машин и механизмов.

2.1.6.2. Заземление во вторичных цепях трансформаторов тока следует предусматривать в одной точке на ближайшей от трансформаторов тока сборке зажимов или на зажимах трансформаторов тока.

Для защит, объединяющих несколько комплектов трансформаторов тока, заземление должно быть предусмотрено также в одной точке; в этом случае допускается заземление через пробивной предохранитель с пробивным напряжением не выше 1 кВ с шунтирующим сопротивлением 100 Ом для стекания статического заряда.

Вторичные обмотки промежуточных разделяющих трансформаторов тока допускается не заземлять.

2.1.6.3. Вторичные обмотки трансформатора напряжения должны быть заземлены соединением нейтральной точки или одного из концов обмотки с заземляющим устройством.

Заземление вторичных обмоток трансформатора напряжения должно быть выполнено, как правило, на ближайшей от трансформатора напряжения сборке зажимов или на зажимах трансформатора напряжения.

Рекомендуется объединение заземляемых вторичных цепей нескольких трансформаторов напряжения одного распределительного устройства общей заземляющей шиной.

Для трансформаторов напряжения, используемых в качестве источников оперативного переменного тока, если не предусматривается рабочее заземление одного из полюсов сети оперативного тока, защитное заземление вторичных обмоток трансформаторов напряжения должно быть осуществлено через пробивной предохранитель.

2.1.6.4. При заземлении или занулении металлических оболочек силовых кабелей оболочка и броня должны быть соединены гибким медным проводником между собой и с корпусами муфт (концевых, соединительных и др.). На кабелях 6 кВ и выше с алюминиевыми оболочками заземление оболочки и брони должно выполняться отдельными проводниками.

Применять заземляющие или нулевые защитные проводники с проводимостью, большей, чем проводимость оболочек кабелей, не требуется, однако сечение во всех случаях должно быть не менее 6 мм2 (по меди).

Сечения заземляющих проводников контрольных кабелей следует выбирать в соответствии с требованиями 7.13.

2.1.7. Не требуется преднамеренно заземлять или занулять:

1) корпуса электрооборудования, аппаратов и электромонтажных конструкций, установленных на заземлённых (занулённых) металлических конструкциях, распределительных устройствах, на щитках, шкафах, станинах станков, машин и механизмов, при условии обеспечения надёжного электрического контакта с заземлёнными или занулёнными основаниями в помещениях без повышенной опасности;

2) конструкции, перечисленные в 2.1.6.1., п. 5, при условии надёжного электрического контакта между этими конструкциями и установленными на них заземлённым или занулённым электрооборудованием. При этом указанные конструкции не могут быть использованы для заземления или зануления установленного на них другого электрооборудования;

3) съёмные или открывающиеся части металлических каркасов камер распределительных устройств, шкафов, ограждений и т.п., если на съёмных (открывающихся) частях не установлено электрооборудование или если напряжение установленного электрооборудования не превышает 25 В переменного тока или 60 В постоянного тока в помещениях без повышенной опасности (исключение см. 1.2., п. 3);

4) корпуса электроприёмников с двойной изоляцией;

5) металлические скобы, закрепы, отрезки труб механической защиты кабелей в местах их прохода через стены и перекрытия и другие подобные детали, в том числе протяжные и осветительные коробки размером до 100 см2, электропроводок, выполняемых кабелями или изолированными проводами, прокладываемыми по стенам, перекрытиям и другим элементам строений.

Электромагнитная совместимость

2.1.8. Всё применяемое в электроустановках зданий электрооборудование должно отвечать требованиям электромагнитной совместимости (ЭМС).

2.1.9. Уровни защищенности электрооборудования должны быть выбраны с учетом взаимных электромагнитных влияний при нормальном режиме работы электроустановки.

Электрооборудование должно быть выбрано с возможно более низким уровнем электромагнитного влияния, чтобы оно не могло оказывать вредного воздействия на другое оборудование внутри или снаружи здания с учетом мер защиты, указанных в пп. 1 - 10.

Меры снижения электромагнитных влияний

(рис. 2.1.3)

1. Выбор надлежащих мест взаимного расположения электрооборудования, создающего электромагнитное влияние, и оборудования, чувствительного к этому влиянию.

2- Применение фильтров и устройств защиты от перенапряжений в цепях, питающих чувствительное к электромагнитному влиянию электрооборудование.

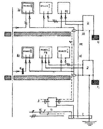
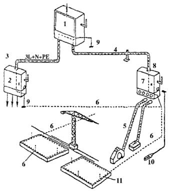
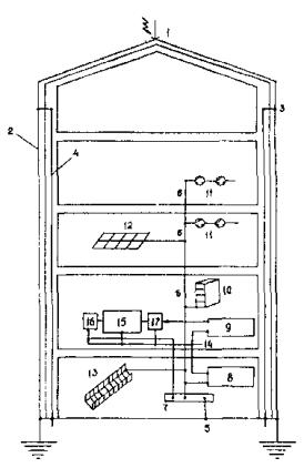
Рис. 2.1.3. Меры защиты электроустановок зданий от электромагнитных влияний:

1) Общая точка входа в здание всех металлических подземных коммуникаций (кабелей с металлическими защитными покровами и металлических трубопроводов); 2) Общая трасса с надлежащим отделением и исключением петель; 3) Кратчайшая трасса уравнивающих соединений и использование заземляющих проводников, проложенных параллельно кабелю; 4) Сигнальные кабели защищены экранами, броней и/или применена парная скрутка жил; 5) Применена система TN-S за входом в распределительный щит здания; 6) Применены разделяющие трансформаторы; 7) Применено местное поэтажное уравнивание потенциалов; 8) Использовано оборудование класса II

Обозначено: 1 - главный заземляющий зажим; 2 - этажный распределительный щит; 3 - проводники, питающие информационно-технологическое оборудование

3. Выбор защитных устройств с выдержкой времени для исключения нежелательных отключений в период переходных процессов.

4. Использование металлических экранов и оболочек (рис. 2.1.4.).

5. Надлежащее отделение (расстоянием или металлическими экранами) от силовых сигнальных кабелей.

6. Надлежащее отделение (расстоянием или металлическими экранами) силовых и сигнальных кабелей от молниеотводов.

7. Исключение индуктивных петель посредством разделения кабелепроводов силовых и сигнальных кабелей.

8. Использование экранированных кабелей и сигнальных кабелей со скрученными парами жил.

9. В зданиях, насыщенных информационно-технологическим оборудованием, переход от системы TN-C (рис. 2.1.5, а) к системе TN-C-S (рис. 2.1.5, б) или к системе TN-S (рис. 2.1.6).

10. Все металлические подземные коммуникации (металлические трубопроводы и кабели с металлическими защитными покровами) должны входить в здание в одном месте. При этом металлические оболочки, экраны и броня кабелей, металлические трубопроводы должны быть электрически соединены между собой, и присоединены к главной шине заземления (ГШЗ) здания (рис. 2.1.7).

Особенности защиты устройств передачи информации

2.1.10. В зданиях, использующих систему TN-C или систему TN-C-S, для защиты устройств передачи информации от электромагнитных влияний PEN-проводника могут быть применены следующие дополнительные меры:

1) использование оптоволоконных сигнальных кабелей;

2) использование электрооборудования класса II;

3) использование электрического разделения цепей (защитное разделение).

В рассматриваемом случае эти защитные меры предназначены для предотвращения появления опасного потенциала на открытых проводящих частях устройств передачи информации в случае возникновения короткого замыкания в системе TN-C или в системе TN-C-S.

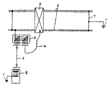
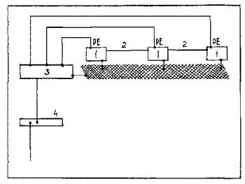
Рис. 2.1.4. Заземляющее устройство здания

Обозначено: 1 - молниеприемник, 2 - молниезащитные спуски, 3 - уравнивающие проводники, 4 - стальной каркас или арматура железобетонного каркаса здания, 5 - фундаментный заземлитель или арматура железобетонных фундаментов здания, 6 - система электроснабжения, 7 - главный заземляющий зажим, 8 - главная распределительная шина, 9 - система непрерывного питания, 10 - распределительный щит, 11 - выключатель, 12 - уравнивающая сетка, 13 - металлические кабелепроводы, 14 - местная система уравнивания потенциалов, 15 - информационно -технологическое оборудование, 16 - телефон, 17 - электронные системы здания и квартир

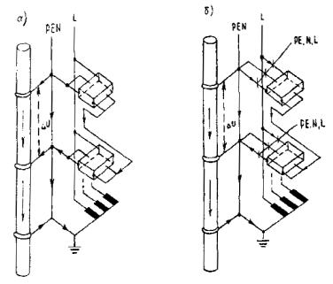
Рис. 2.1.5. Системы питания электроустановок многоэтажного здания: TN-C (а) и TN-C-S (б)

2.1.11. Защита посредством электрического разделения цепей обеспечивается соблюдением следующих требований:

1) Цепь должна питаться от отдельного источника питания:

- разделяющего трансформатора или

- источника тока, обеспечивающего степень безопасности, равноценную степени безопасности, обеспечиваемой разделяющим трансформатором.

Источники питания должны быть такими, чтобы вторичная цепь была отделена от первичной цепи и от оболочки двойной изоляцией. Если такой источник питает несколько электроприемников, их открытые проводящие части не должны иметь электрической связи с металлической оболочкой источника питания.

Рис. 2.1.6. Система питания электроустановок многоэтажного здания TN-S

Рис. 2.1.7. Схемы ввода в здание металлических подземных коммуникаций:

2.1.7 а - общая точка ввода (предпочтительная схема, ΔU 0); 2.1.7 б - ввод в разных местах, ΔU 0

1 - кабели электроснабжения, 2 - телефонные кабели, 3 - кабель антенны, 4 - металлические трубопроводы (вода, газ, отопление и проч.), 5 - главная шина заземления (ГШЗ), 6 - стальная арматура, Ii - индуцированный ток i-го проводника

2) Номинальное напряжение электрически отделенной цепи не должно превышать 500 В.

3) Токоведущие части электрически отделенной цепи не должны иметь точек присоединения к другой цепи или к земле.

4) Для разделенных цепей рекомендуется использование отдельных трасс электропроводок.

2.1.32. Если отделенная цепь питает только один электроприемник, открытые проводящие части цепи не должны быть присоединены ни к защитному проводнику, ни к открытым проводящим частям других цепей.

2.1.33. Если приняты меры для защиты отделенной цепи от порождения и пробоя изоляции, то источник питания может питать несколько электроприемников при условии выполнения следующих требований:

- открытые проводящие части отделенной цепи должны быть соединены между собой изолированным незаземленным проводником системы уравнивания потенциалов. Такие проводники не должны быть соединены ни с защитными проводниками, ни с открытыми проводящими частями других цепей, ни со сторонними проводящими частями;

- все штепсельные розетки должны иметь защитный контакт, который должен быть присоединен к системе уравнивания потенциалов;

- все гибкие кабели, за исключением питающих оборудование класса II, должны иметь защитный проводник, применяемый в качестве проводника системы уравнивания потенциалов;

- при двойном замыкании разных фаз на две открытые проводящие части устройство защиты должно обеспечивать отключение питания за время отключения, указанное в табл. 2.1.1.

Таблица 2.1.1.

Наибольшее время отключения отделенной цепи при двойном замыкании разных фаз

Номинальное линейное напряжение отделенной цепи, U0, В

Время отключения, с

120

0,8

220

0,4

380

0,2

500

0,1

2.2. Информационно-технологические установки

Настоящий раздел содержит специальные требования к заземлению информационно-технологических установок с целью обеспечения их нормальной работы.

Заземление информационно-технологических установок должно соответствовать общим требованиям раздела 2.1 с учетом требований настоящего раздела, которые дополняют общие требования.

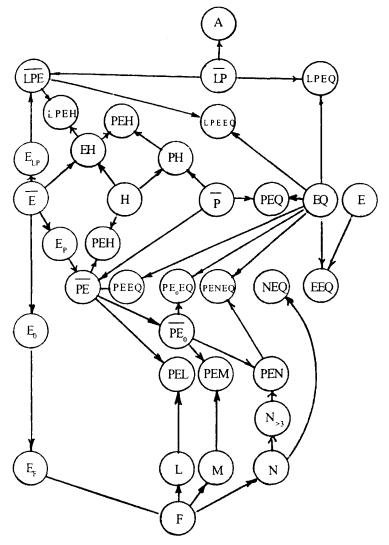
Классификация проводников, используемая в настоящем и в последующих разделах книги, дана в табл. 2.2.1. и в виде структурной схемы на рис. 2.2.1.А, 2.2.1.Б, 2.2.2., где приняты следующие обозначения:

E - заземляющий; Р - защитный; EQ - уравнивающий; F - рабочий; N - нулевой рабочий; L - фазный; FE - заземленный рабочий; РЕ - заземленный защитный; PEQ - уравнивающий защитный; PEEQ - заземленный уравнивающий защитный; FEQ - уравнивающий рабочий; EEQ - заземленный уравнивающий; PEF - совмещенный заземленный защитный и заземленный рабочий; PEL - совмещенный заземленный защитный и заземленный фазный; PEN - совмещенный заземленный (нулевой) защитный и заземленный (нулевой) рабочий; ЕН (Н) - выравнивающий; РЕН - защитный выравнивающий; LPE - молниезащитный.

В табл. 2.2.2. даны наименьшие размеры поперечного сечения защитных (РН, PEEQ, РЕН, Е2) и молниезащитных (LPE, LPEEQ, LPEH, EΣ) неизолированных стальных проводников, не защищенных от коррозии и не имеющих механической защиты.

Требования настоящего раздела распространяются на заземление и уравнивание потенциалов информационно-технологического оборудования и аналогичного оборудования, использующего проводные линии для целей передачи информации. Эти требования могут быть также применены для другого электронного оборудования, которое чувствительно к электромагнитным влияниям. Принципиальная схема защитного и рабочего заземлений в системе TN дана на рис. 2.2.2.

Заметим, что оборудование информационных технологий включает все формы электрического и электронного конторского оборудования и телекоммуникационного оборудования. В качестве примеров оборудования, на которое распространяются требования настоящего раздела, отметим следующие:

1) телекоммуникационные и информационные линии связи или оборудование информационных технологий, или установок, использующих сигналы с возвратом тока через землю в наружных линиях связи и линиях связи внутри зданий;

2) сети питания постоянного тока, обслуживающие оборудование информационных технологий внутри зданий.

3) местные сети автоматического обмена информацией между отдельными установками;

4) местные сети связи;

5) системы пожарной сигнализации и другие системы аварийной сигнализации;

Таблица 2.2.1.

Классификация проводников

Тип

Оператор

Виды проводников

Род проводников

Обозначение

Наименование

Порядок

Обозначение

1

Базисные

I-0

1

Е

E0

EQ

H

первообразные

I-1

Е

-

-

EEQ

EH

производные

II

Защитные

II-1

Р

РЕ

PEO

PEQ

PH

1-го рода

II-2

РЕ

Еp

EPO

PEEQ

PEH

2-го рода

III

Молниезащитные

III-I

LP

LPE

LPE0

LPEQ

LPH

1-го рода

III-2

LPE

ELP

ELР0

LPEEQ

LPEH

2-го рода

IV

Функциональные

I-0

1

N

M

M

L

первообразные

I-1

Е

EN

EN≥3

EM

EL

производные

IV-1

F

EF

EF0

EQF

HF

1-го рода

IV-2

FE

-

-

EEQF

EHF

2-го рода

V

Совмещенные

II-2

РЕ

EPF

EPF0

-

PEL

1-го рода

V-1

РЕ0

-

PE0N≥3

PE0M

-

III-2

LPE

ELPF

ELPF0

-

LPEL

2-го рода

V-2

LPE0

-

LPE0N≥3

NPE0M

-

Рис. 2.2.1.А Классификация проводников (структурная схема)

Таблица 2.2.2

Наименьшие размеры поперечного сечения неизолированных защитных, молниезащитных и совмещенных стальных проводников, не защищенных от коррозии и не имеющих механической защиты

Класс проводников

Условия прокладки

Сортамент

Размеры

 

Диаметр прутка, мм

Толщина полосы, мм

Диаметр проволоки, мм

Площадь сечения, мм2

 

Молниеприемники (А)

В

пруток

16

4

1,8

200

 

Г

трос

8

50

 

МПС

пруток

 

Токоотводы (LPE)

В

пруток

полоса

трос

 

Уравнивающие (PEEQ, LPEEQ)

Г, В

 

Заземляющие (PE, LPE)

В, Г

 

Выравнивающие (РЕН, LPEH)

Г

пруток

10

2,2

78

 

полоса

100

 

трос

72

 

В

пруток

14

150

 

Заземлители (EΣ)

Г

2,6

полоса

160

 

трос

100

 

В

пруток

16

200

 

Рис. 2.2.1.Б. Классификация проводников (круговая диаграмма)

6) системы, обслуживающие установки зданий, например, системы прямого цифрового контроля;

7) системы компьютерного контроля производства и другие компьютерные устройства.

Фильтры подавления радиопомех, которыми оснащается информационно-технологическое оборудование, могут вызывать появление токов утечки, превышающих 3,5 мА. В таких случаях обрыв Цепи защитного заземления приводит к росту напряжения прикосновения до значений, превышающих предельно допустимые. Требования пп. 2.2.18. - 2.2.25., направленные на предотвращение этой опасности, относятся к электроустановкам, питающим информационно-технологическое оборудование с токами утечки, превышающими 3,5 мА. В дальнейшем такое оборудование будем называть информационно-технологическим оборудованием с большими токами утечки. Заземление электроустановок, питающих информационно-технологическое оборудование с большими токами утечки, должно соответствовать общим требованиям настоящего раздела с учетом требований 2.2.18. - 2.2.25., которые дополняют общие требования. Требования настоящего раздела распространяются на электроустановки зданий до места присоединения информационно-технологического оборудования (рис. 2.2.3).

Рис. 2.2.2. Защитное и рабочее заземления в системе TN.

В дальнейшем изложении будем использовать следующую терминологию:

Информационно-технологическое оборудование - блоки электроаппаратуры, которые раздельно или собранные в системы накапливают, запоминают и преобразовывают информацию. Ввод и вывод информации может осуществляться с помощью электронных приборов.

Система уравнивания потенциалов с низкими помехами - система уравнивания потенциалов, при которой уровень гальванических влияний внешних источников не вызывает недопустимых нарушений в работе информационно-технологического оборудования.

В этом разделе под термином «рабочее (функциональное) заземление» понимается использование земли и уравнивающих проводников для целей передачи сигналов и для обеспечения электромагнитной совместимости (ЭМС).

Главный заземляющий зажим

2.2.1. В тех случаях, когда цепи БСНН, ЗСНН и доступные проводящие части оборудования класса II и класса III заземлены для рабочих (функциональных) целей, они должны быть соединены с системой уравнивания потенциалов в соответствии с требованиями раздела 2.1. (рис. 2.2.4). Рабочее (функциональное) заземление может быть обеспечено посредством защитного проводника питающей цепи информационно-технологического оборудования. В ряде случаев роль рабочего (функционального) заземляющего проводника и защитного проводника выполняет специальный совмещенный проводник, соединенный с главным заземляющим зажимом здания.

Рис. 2.2.3. Питающая электроустановка и информационно-технологическое оборудование

1 - электроустановка; 2 - информационно-технологическое оборудование (ИТО); 3 - разъемное контактное соединение для тока промышленной частоты; 4 - присоединенное ИТО; 5 - соединительная коробка; 6 - соединительные зажимы

Рис. 2.2.4. Уравнивание потенциалов проводящих частей, доступных одновременному прикосновению

1 - открытые проводящие части; 2 - доступные проводящие части, заземленные для рабочих (функциональных) целей; 3 - сторонние проводящие части; 4 - оборудование класса I; 5 - оборудование классов I, II, III; 6 - металлические конструкции, трубопроводы и т.п.; 7 - общая сеть уравнивания потенциалов

2.2.2. Роль своеобразного распределенного главного заземляющего зажима здания может выполнять главная заземляющая шина здания, позволяющая заземлять информационно-технологическое оборудование здания путем соединения подлежащих заземлению частей оборудования с ближайшей точкой заземляющей шины. Главная заземляющая шина здания должна быть выполнена в виде замкнутого контура, проложенного по периметру здания. Площадь поперечного сечения главной заземляющей шины здания должна быть не менее 25 мм2 по меди. Однако не требуется применять заземляющую шину сечением более 50 мм2 по меди.

2.2.3. К главному заземляющему зажиму или к главной заземляющей шине должны быть присоединены заземляющие проводники, защитные проводники, проводники главной системы уравнивания потенциалов, проводники рабочего (функционального) заземления, стальные трубы коммуникаций зданий и между зданиями, металлические части строительных конструкций, в том числе стальная арматура железобетонных строительных конструкций, система центрального отопления и системы вентиляции и кондиционирования воздуха, кроме того, - проводящие экраны, металлические оболочки и стальная броня кабелей связи;

- заземляющие проводники устройств защиты от перенапряжений;

- заземляющие проводники антенн радиосвязи;

- заземляющие проводники систем питания постоянного тока информационно-технологического оборудования;

- проводники системы молниезащиты;

- проводники вспомогательной системы уравнивания потенциалов.

2.2.4. Главная заземляющая шина должна быть проложена открыто или в кабелепроводе (плинтусе, коробе, лотке и т.п.), обеспечивающем доступность по всей длине. Голые проводники заземляющей шины должны быть изолированы от поддерживающих устройств, а в местах прохода через стены должны быть защищены от коррозии.

2.2.5. Главный заземляющий зажим заземляющей шины должен быть присоединен к заземлителю заземляющим проводником, удовлетворяющим требованиям раздела 2.1. Площадь поперечного сечения заземляющего проводника должна быть не менее 10 мм2 по меди.

2.2.6. Для снижения высокочастотного электромагнитного влияния в заземляющий проводник могут включаться специальные фильтр-пробки. Эти устройства не должны заметно увеличивать сопротивление заземляющего проводника при промышленной частоте.

Электромагнитная несовместимость информационно-технологических установок и PEN-проводников зданий

2.2.7. Для исключения возможности прохождения рабочего тока PEN-проводника (рис. 2.1.5) через сигнальные цепи, в зданиях, имеющих информационно-технологические установки, должна быть применена система питания TN-S (рис. 2.1.6).

Уравнивание потенциалов

2.2.8. Система уравнивания потенциалов включает специальные проводники, металлические оболочки кабелей, металлические трубопроводы здания, металлические кабелепроводы, специальные металлические сетки, смонтированные в полу каждого этажа здания или в части пола.

2.2.9. Стальные и железобетонные каркасы строительных конструкций зданий должны быть объединены в единую систему уравнивающих проводников, присоединенную к заземляющему зажиму главной шины заземления.

Рабочие заземляющие проводники

2.2.10. Площадь поперечного сечения рабочего заземляющего проводника должна быть определена с учетом длительности протекания рабочего тока при нормальном режиме, а также с учетом возможного тока короткого замыкания. Однако площадь поперечного сечения рабочего заземляющего проводника должна быть не менее 10 мм2 по меди.

Объединение рабочих заземляющих и защитных проводников

2.2.11. Проводник возврата постоянного тока питания информационно-технологической установки может быть использован в качестве рабочего заземляющего и защитного проводника, если при этом напряжение прикосновения к открытым проводящим частям не превысит предельно допустимых значений.

2.2.12. Площадь поперечного сечения объединенного рабочего заземляющего и защитного проводника должна быть такой, чтобы падение напряжения в нем при длительном протекании тока нормального режима было не более 1 В. При расчете падения напряжения шунтирующая проводимость сторонних проводящих частей не учитывается.

2.2.13. Рекомендуется объединенный рабочий заземляющий и защитный проводник через каждые 10 м присоединять к уравнивающей сетке или к главной заземляющей шине.

Сигнальные соединения

2.2.14. В зданиях с наружными проводными установками, включающими PEN-проводники, для обеспечения электромагнитной совместимости кабелей связи и электроустановок могут быть применены следующие меры:

1. Использование оптоволоконных систем для кабелей связи;

2. Использование разделяющих трансформаторов для питания информационно-технологического оборудования;

3. Отделение трасс кабелей связи от трасс силовых кабелей;

4. Использование оборудование класса II.

Способы заземления и уравнивания потенциалов для обеспечения электромагнитной совместимости

2.2.15. Радиальное соединение защитных проводников (рис. 2.2.5) может быть допущено для защиты информационно-технологического оборудования, имеющего низкую чувствительность к электромагнитным влияниям. При этом питающая сеть и система заземления рассматриваемого информационно-технологического оборудования должны быть отделены от других питающих сетей и систем заземления, а также от сторонних проводящих частей. Рабочие заземляющие и защитные проводники информационно-технологического оборудования соединяются посредством специального изолированного проводника с заземляющим зажимом главной шины заземления.

2.2.16. Местная система уравнивания потенциалов (рис. 2.2.6) позволяет несколько снизить уровень электромагнитных влияний электроустановок на информационно-технологическое оборудование. Как и в случае радиального соединения (п. 2.2.15.), системы питания и заземления рассматриваемого информационно-технологического оборудования, включая уравнивающую сетку, должны быть отделены от других питающих сетей и систем заземления, а также от сторонних проводящих частей, таких как стальной или железобетонный строительный каркас здания.

2.2.17. Для обеспечения общего уравнивания потенциалов на каждом этаже должны быть выполнены горизонтальные уравнивающие сетки, между которыми должны быть устроены вертикальные уравнивающие связи (рис. 2.2.7). При этом система уравнивающих сеток соединяется со всеми сторонними проводящими частями здания, в том числе со стальными и железобетонными строительными каркасами и металлическими трубопроводами здания, а также с открытыми проводящими частями электроустановок. Общее уравнивание потенциалов должно выполняться для обеспечения электромагнитной совместимости ответственных информационно-технологических установок.

Рис. 2.2.5. Радиально соединенные защитные проводники

1 - информационно-технологическое оборудование; 2 - сигнальные кабели; 3 - распределительный щит; 4 - главный заземляющий зажим или главная заземляющая шина

Дополнительные требования для оборудования с токами утечки, превышающими 3,5 мА

2.2.18. Требования пп. 2.2.18. - 2.2.22. распространяются на электроустановки, питающие информационно-технологическое оборудование (рис. 2.2.3). Дополнительные требования, относящиеся к системам питания ТТ и IT, даны в пунктах 2.2.23. и 2.2.24.

Информационно-технологическое оборудование с током утечки, превышающим 3,5 мА, несовместимо с электроустановками, содержащими УЗО-Д.

Рис. 2.2.6. Использование местной горизонтальной системы уравнивания потенциалов (горизонтальная сетка) Обозначения те же, что и на рис. 2.2.5

Дополнительные требования для электроустановок, питающих оборудование с токами утечки, превышающими 10 мА

2.2.19. Если при выполнении требований электромагнитной совместимости (см. гл. 2.1) ток утечки оборудования превышает 10 мА, то питание оборудования должно быть выполнено одним из трех способов, указанных в пп. 2.2.20., 2.2.21., 2.2.22.

Защитные проводники увеличенного сечения

2.2.20. Площадь поперечного сечения защитных проводников:

а) в случае использования в качестве РЕ-проводника независимого проводника площадь его поперечного сечения должна быть не менее 10 мм2;

б) в случае использования в качестве РЕ-проводника двух проводников с независимыми контактными соединениями площадь поперечного сечения каждого проводника должна быть не менее 4 мм2;

в) в случае использования в качестве РЕ-проводника одной из жил многожильного кабеля площадь её поперечного сечения должна быть не менее 2,5 мм2 при условии, что суммарная площадь поперечных сечений всех жил кабеля не менее 10 мм2;

г) в случае прокладки РЕ-проводника в металлическом кабелепроводе, который преднамеренно соединен с ним параллельно, площадь поперечного сечения проводника должна быть не менее 2,5 мм2.

Рис. 2.2.7. Использование горизонтальных и вертикальных систем уравнивания потенциалов

5 - соединения с горизонтальными системами уравнивания потенциалов на других этажах, а также соединения с металлическим или железобетонным каркасом здания; другие обозначения те же, что и на рис. 2.2.4

2.2.21. Мониторинг целостности защитных проводников должен обеспечивать автоматическое отключение питания в случае их разрыва.

2.2.22. Питание оборудования должно осуществляться через разделяющий трансформатор (рис. 2.2.8) или от источников с равноценным разделением цепей. При этом вторичная цепь должна выполняться по системе TN-S (рис. 2.2.6).

Дополнительные требования для системы ТТ

2.2.23. Если цепь защищена устройством дифференциальной защиты (УЗО-Д), то полный ток утечки IΔ(A), сопротивление растеканию заземлителя открытых проводящих частей оборудования R (Ом) и ток уставки УЗО-Д IΔn(A) должны удовлетворять следующему соотношению

где

UL - предельно допустимое значение напряжения прикосновения, В.

Дополнительные требования для системы IT

2.2.24. Питание оборудования с большим током утечки от системы IT может быть допущено при условии, что сопротивление заземляющего устройства, используемого для заземления открытых проводящих частей информационно-технологического оборудования, - R удовлетворяет неравенству

где

IΔ - ток замыкания фазы на открытые проводящие части. Значение IΔ включает в себя значения всех токов нулевой последовательности.

Рис. 2.2.8. Питание ИТО через разделяющий трансформатор

1 - разделяющий трансформатор; 2 - нагрузка; 3 - открытые проводящие части; С - помехоподавляющий фильтр

Требования к системе уравнивания потенциалов с низкими помехами

2.2.25. Открытые проводящие части информационно-технологического оборудования должны быть присоединены к зажиму главной заземляющей шины.

Это требование распространяется и на открытые проводящие части оборудования классов II и III, а также цепей ЗСНН и ФСНН.

ГЛАВА 3. ЭЛЕКТРОУСТАНОВКИ НАПРЯЖЕНИЕМ ВЫШЕ 1 KB СЕТИ С ЭФФЕКТИВНО ЗАЗЕМЛЁННОЙ НЕЙТРАЛЬЮ

Принцип нормирования

3.1. Заземляющее устройство электроустановки напряжением выше 1 кВ сети с эффективно заземлённой нейтралью следует выполнять с соблюдением требований либо к напряжению прикосновения (см. 3.5. - 3.8.), либо с соблюдением требований к его сопротивлению и к конструктивному выполнению (см. 3.3., 3.4., 3.8. - 3.10.). Как в том, так и в другом случае должно быть соблюдено требование ограничения напряжения на заземляющем устройстве (см. 3.2.). Требования 3.3. не распространяются на заземляющие устройства опор ВЛ.

Для рабочего и защитного заземлений выполняется единое заземляющее устройство.

Напряжение на заземляющем устройстве

3.2. Напряжение на заземляющем устройстве при стекании с него расчётного тока замыкания на землю не должно превышать 5 кВ. При напряжении на заземляющем устройстве более 3 кВ должны быть предусмотрены меры по защите изоляции отходящих кабелей связи и телемеханики и по предотвращению выноса опасных потенциалов за пределы электроустановки.

Сопротивление заземляющего устройства

3.3. Заземляющее устройство, выполняемое с соблюдением требований к его сопротивлению, должно иметь в любое время года сопротивление не более 0,5 Ом с учётом естественных заземлителей.

Выравнивание потенциалов

3.4. В целях выравнивания электрического потенциала и обеспечения присоединения электрооборудования к заземляющему устройству на территории, занятой оборудованием, следует прокладывать продольные и поперечные горизонтальные заземлители и сочинять их между собой в заземляющую сетку.

Продольные заземлители должны быть проложены вдоль осей электрооборудования со стороны обслуживания на глубине 0,5 - 0,7 м от поверхности земли и на расстоянии 0,8 - 1 м от фундаментов или оснований оборудования. Допускается увеличение расстояний от фундаментов или оснований оборудования до 1,5 м с прокладкой одного заземлителя для двух рядов оборудования, если стороны обслуживания обращены одна к другой, а расстояние между фундаментами или основаниями двух рядов не превышает 3,0 м.

Поперечные заземлители следует прокладывать в удобных местах между оборудованием на глубине 0,5 - 0,7 м от поверхности земли. Расстояние между ними рекомендуется принимать увеличивающимся от периферии к центру заземляющей сетки. При этом первое и последующие расстояния, начиная от периферии, не должны превышать соответственно 4,0; 5,0; 6,0; 7,5; 9,0; 11,0; 13,5; 16,0; и 20,0 м.

Размеры ячеек заземляющей сетки, примыкающих к местам присоединения нейтралей силовых трансформаторов, короткозамыкателей, компенсирующих аппаратов и т.п. к заземляющему устройству, не должны превышать 6´6 м2.

Горизонтальные заземлители следует прокладывать по краю территории, занимаемой заземляющим устройством так, чтобы они в совокупности образовывали замкнутый контур.

Глубина укладки горизонтальных заземлителей на территории ОРУ должна быть не менее 0,5 м, за территорией электроустановки - не менее 1 м.

В скальных породах допускается прокладывать заземлители на меньшей глубине, но не менее 0,15 м.

Вертикальные заземлители, применяемые для снижения сопротивления заземляющего устройства, рекомендуется устанавливать по его внешнему периметру.

Если контур заземляющего устройства располагается в пределах внешнего ограждения, то у входов и въездов на её территории следует выравнивать потенциал путём установки двух вертикальных заземлителей у внешнего горизонтального заземлителя напротив входов и въездов. Вертикальные заземлители должны быть длиной 3 - 5 м, а расстояние между ними должно быть равно ширине входа или въезда.

Напряжение прикосновения

3.5. Заземляющее устройство, выполняемое с соблюдением требований, предъявляемых к напряжению прикосновения, должно обеспечивать в любое время года при стекании с него тока замыкания на землю значений напряжения прикосновения, не превышающих нормированных (табл. 3.6.1.). Сопротивление заземляющего устройства при этом определяется по допустимому напряжению на заземляющем устройстве и току замыкания на землю.

3.6. При определении значения допустимого напряжения прикосновения (табл. 3.6.1.) в качестве расчетного времени воздействия следует принимать сумму времени действия защиты и полного времени отключения выключателя. При этом для определения допустимого значения напряжения прикосновения у рабочих мест, где при производстве персоналом оперативных переключений может возникнуть КЗ, следует принимать время действия резервной защиты, а для остальной территории - основной защиты.

Таблица 3.6.1

Нормированные значения напряжения прикосновения и токов, проходящих через человека, для электроустановок напряжением выше 1 кВ частотой 50 Гц с эффективно заземленной нейтралью

Нормируемая величина

Продолжительность воздействия тока t, с

0,01 - 0,08

0,1

0,2

0,3

0,4

0,5

0,6

0,7

0,8

0,9

1

1 - 5

I, мА

650

500

400

325

250

200

160

130

110

105

100

50/t

U, В

650

500

400

325

250

200

160

130

110

105

100

50/t

Размещение горизонтальных заземлителей

3.7. Размещение продольных и поперечных горизонтальных гасителей должно определяться требованиями ограничения напряжений прикосновения до нормированных значений и удобством присоединения заземляющего оборудования. Расстояние между продольными и поперечными горизонтальными искусственными заземлителями не должно превышать 30 м, а глубина их заложения в грунт должна быть не менее 0,3 м. У рабочих мест допускается прокладка заземлителей на меньшей глубине, если необходимость этого подтверждается расчётом, а само выполнение не снижает удобства обслуживания электроустановки и срока службы заземлителя. Для снижения напряжения прикосновения у рабочих мест в обоснованных случаях может быть выполнена подсыпка щебня толщиной 0,1 - 0,2 м.

Дополнительные требования к конструктивному выполнению заземляющего устройства

3.8. При выполнении заземляющего устройства с соблюдением требований, предъявляемых к его сопротивлению или к напряжению прикосновения табл. 3.6.1., дополнительно к требованиям 3.3. или 3.5. следует:

заземляющие проводники, присоединяющие оборудование или конструкции к заземлителю, в земле прокладывать на глубине не менее 0,3 м;

вблизи мест расположения заземляемых нейтралей силовых трансформаторов, короткозамыкателей, компенсирующих аппаратов и т.п. прокладывать продольные и поперечные горизонтальные заземлители, которые должны обеспечивать распределение тока не менее чем в двух направлениях.

При выходе заземляющего устройства за пределы ограждения электроустановки горизонтальные заземлители, находящиеся вне территории электроустановки, следует прокладывать на глубине не менее 1 м. Внешний контур заземляющего устройства в этом случае рекомендуется выполнять в виде многоугольника с тупыми или скруглёнными углами.

Внешняя ограда

3.9. Внешнюю ограду электроустановки не рекомендуется присоединять к заземляющему устройству, если последнее не выходит за пределы ограды.

Когда ограждение не присоединено к заземляющему устройству, расстояние от элементов ограды до элементов заземляющего устройства должно быть не менее 2 м. Если от электроустановки отходят воздушные линии электропередачи напряжением ПО кВ и выше, то металлическую или железобетонную ограду следует заземлять с помощью вертикальных заземлителей длиной 2 - 3 м, установленных по периметру ограды через 20 - 50 м. Установка таких заземлителей не требуется для ограды с металлическими стойками или стойками из железобетона, арматура которых электрически соединена с металлическими частями ограды.

Внешнюю ограду электроустановки рекомендуется присоединить к заземляющему устройству в случаях, когда последнее выходит за пределы ограждения. Во всех случаях напряжение прикосновения к ограждению не должно превышать допустимых значений. С этой целью рекомендуется с внешней стороны ограждения на расстоянии 1 м от него и на глубине 0,5 м проложить замкнутый горизонтальный заземлитель, связанный с заземляющим устройством не менее чем с четырёх сторон. С этой же целью и таким же образом прокладывается замкнутый горизонтальный заземлитель вокруг зданий, расположенных вне контура заземляющего устройства и имеющего металлическую связь с этим контуром. При наличии асфальтовых отмосток замкнутый заземлитель не обязателен.

Внутреннее ограждение электроустановки следует присоединять к заземляющему устройству. Внутреннее ограждение подсоединяется к внешнему только в случае присоединения последнего к заземляющему устройству. Изоляция внешнего ограждения от внутреннего должна выполняться так же, как внешнего от зданий и сооружений.

Не следует устанавливать на внешней ограде электроприёмники напряжением до 1 кВ, питаемые непосредственно от понизительных трансформаторов, расположенных на территории электроустановки. При размещении электроприёмников на внешней ограде их питание следует осуществлять через безопасные разделяющие трансформаторы (табл. 1.1, п. 89). Эти трансформаторы не допускается устанавливать на ограде. Линия, соединяющая вторичную обмотку безопасного разделяющего трансформатора с электроприёмником, расположенным на ограде, должна быть изолирована от земли на расчётное значение напряжения на заземляющем устройстве.

Выходящие за пределы ограды горизонтальные заземлители, трубопроводы, кабели с металлическими защитными покровами и другие металлические коммуникации должны быть проложены посередине между стойками ограды на глубине не менее 0,5 м.

Выравнивание потенциалов вокруг производственных зданий

3.10. Если заземляющее устройство промышленной или другой электроустановки соединено с заземлителем электроустановки выше 1 кВ с эффективно заземлённой нейтралью кабелем с металлической оболочкой или броней или посредством других металлических связей, то для выравнивания потенциалов вокруг такой электроустановки или вокруг здания, в котором она размещена, необходимо соблюдение одного из следующих условий:

1. Укладка в землю на глубине 1 м и на расстоянии 1 м от фундамента здания или от периметра территории, занимаемой оборудованием, заземлителя, соединённого с металлическими конструкциями строительного и производственного назначения и сетью заземления (зануления), а у входов и въездов в здание - укладка проводников на расстоянии 1 и 2 м от заземлителя на глубине 1 и 1,5 м соответственно и соединение этих проводников с заземлителем;

2. Использование железобетонных фундаментов в качестве заземлителей в соответствии с 1.4 и 8.1, если при этом обеспечивается допустимый уровень выравнивания потенциалов. Обеспечение условий выравнивания потенциалов с помощью железобетонных фундаментов, используемых в качестве заземлителей, определяется на основе требований 3.5., 3.6.

Не требуется выполнение условий, указанных в пп. 1 и 2, если вокруг здания имеются асфальтовые отмостки, в том числе у входов и въездов. Если у какого-либо входа (въезда) отмостка отсутствует, у этого входа (въезда) должно быть выполнено выравнивание потенциалов путём укладки двух проводников, как указано в п. 1, или соблюдено условие по п. 2. При этом во всех случаях должны выполняться требования 3.11.

Вынос потенциала

3.11. Во избежание выноса потенциала не допускается: питание электроприёмников, находящихся за пределами заземляющих устройств электроустановок выше 1 кВ сети с эффективно заземлённой нейтралью, от обмоток до 1 кВ с заземлённой нейтралью трансформаторов, находящихся в пределах контура заземляющего устройства;

питание электроприёмников от трансформаторов с изолированной нейтралью, если эти трансформаторы заземляются на заземляющее устройство, на котором возможно возникновение потенциала, превышающего напряжение срабатывания пробивного предохранителя, а электроприёмники располагаются за пределами заземляющего устройства.

При необходимости питания таких электроприёмников, на территории, занимаемой такими электроприёмниками, должно быть выполнено выравнивание потенциалов. См. также 3.10.

ГЛАВА 4. ЭЛЕКТРОУСТАНОВКИ НАПРЯЖЕНИЕМ ВЫШЕ 1 KB СЕТИ С ИЗОЛИРОВАННОЙ НЕЙТРАЛЬЮ

Принцип нормирования

4.1. Заземляющее устройство электроустановки напряжением выше 1 кВ сети с изолированной нейтралью следует выполнять с соблюдением требований либо к напряжению (см. 4.2., 4.4., 4.6.), либо с соблюдением требований к его сопротивлению и к конструктивному выполнению (см. 4.3., 4.8.).

Как в том, так и в другом случае должно быть соблюдено требование ограничения напряжения на заземляющем устройстве. Требования не распространяются на заземляющие устройства опор ВЛ.

Напряжение на заземляющем устройстве

4.2. Напряжение на заземляющем устройстве при стекании с него расчётного тока замыкания на землю (п. 4.7.) не должно превышать:

при использовании заземляющего устройства только для электроустановок выше 1 кВ - 250 В;

при использовании заземляющего устройства одновременно для электроустановки до 1 кВ - 125 В.

Сопротивление заземляющего устройства

4.3. Заземляющее устройство, выполняемое с соблюдением требований к его сопротивлению, должно иметь в любое время года сопротивление не более 1 Ом с учётом естественных заземлителей.

Напряжение прикосновения

4.4. Заземляющее устройство, выполняемое с соблюдением требований, предъявляемых к напряжению прикосновения, должно обеспечивать в любое время года при стекании с него тока замыкания на землю значений напряжения прикосновения, не превышающих нормированных (см. табл. 4.6.1.). При этом сопротивление заземляющего устройства определяется по допустимому напряжению на заземляющем устройстве и расчётному току замыкания на землю (п. 4.7.).

Устройство для быстрого отыскания замыкания на землю

4.5. В электроустановках выше 1 кВ с изолированной нейтралью в дополнение к заземлению должны быть предусмотрены устройства для быстрого отыскания замыканий на землю (см. 1.10.). Защита от замыканий на землю должна устанавливаться с действием на отключение (по всей электрически связанной сети) в тех случаях, в которых это необходимо по условиям безопасности (для линий, питающих передвижные подстанции и механизмы, торфяные разработки и т.п.).

Таблица 4.6.1.

Нормированные значения напряжения прикосновения и токов, проходящих через человека, для электроустановок напряжением до 1 кВ с заземленной и изолированной нейтралью и выше 1 кВ с изолированной нейтралью

Род тока

Нормируемая величина

Продолжительность воздействия тока t, с

0,01 - 0,08

0,1

0,2

0,3

0,4

0,5

0,6

0,7

0,8

0,9

1

1 - 5

Переменный ток, 50 Гц

I, мА

650

500

250

165

125

100

85

70

65

55

50

6

U, В

650

500

250

165

125

100

85

70

65

55

50

36

Переменный ток, 400 Гц

I, мА

650

500

500

330

250

200

170

140

130

110

100

8

U, В

650

500

500

330

250

200

170

140

130

110

100

36

Постоянный ток

I, мА

650

500

400

350

300

250

240

230

220

210

200

15

U, В

650

500

400

350

300

250

240

230

220

210

200

40

Выпрямленный двухполупериодный ток

I, мА

650

500

400

300

270

230

220

210

200

190

180

-

U, В

650

500

400

300

270

230

220

210

200

190

180

-

Выпрямленный однополупериодный ток

I, мА

650

500

400

300

250

200

190

180

170

160

150

-

U, В

650

500

400

300

250

200

190

180

170

160

150

-

Время действия защиты

4.6. Напряжения прикосновения (табл. 4.6.1.) рекомендуется определять для времени его воздействия при наличии защиты, действующей на отключение, как суммы времени действия основой защиты и полного времени отключения выключателя. При отсутствии такой защиты время воздействия следует принимать выше 1 сек.

Расчетный ток при повреждении

4.7. При определении напряжения на заземляющем устройстве и напряжения прикосновения в качестве расчётного тока следует принимать:

1) в сетях без компенсации ёмкостных токов - полный ток замыкания на землю;

2) в сетях с компенсацией ёмкостных токов:

для заземляющих устройств, к которым присоединены компенсирующие аппараты, - ток, равный 125 % номинального тока этих аппаратов;

для заземляющих устройств, к которым не присоединены компенсирующие аппараты, - остаточный ток замыкания на землю, проходящий в данной сети при отключении наиболее мощного из компенсирующих аппаратов или наиболее разветвлённого участка сети.

В качестве расчётного тока может быть принят ток срабатывания релейной защиты от однофазных замыканий на землю или междуфазных замыканий, если в последнем случае защита обеспечивает отключение замыканий на землю. При этом ток замыкания на землю должен быть не менее полуторакратного тока срабатывания релейной защиты или трёхкратного номинального тока предохранителей.

Расчётный ток замыкания на землю должен быть определён для той из возможных в эксплуатации схем сети, при которой этот ток имеет наибольшее значение.

Выравнивание потенциала

4.8. В случаях, когда заземляющее устройство выполняется с соблюдением требований к его сопротивлению, в целях выравнивания потенциала в открытых электроустановках вокруг площади занимаемой электрооборудованием, на расстоянии 0,8 - 1 м от фундаментов или оснований электрооборудования на глубине 0,5 м должен быть проложен замкнутый горизонтальный заземлитель («контур»), к которому подсоединяется заземляемое оборудование.

Если сопротивление заземляющего устройства выше 1 Ом (в соответствии с 9.5. для земли с удельным сопротивлением более 500 Ом · м), то следует дополнительно проложить горизонтальные заземлители вдоль рядов оборудования со стороны обслуживания на глубине 0,5 м и на расстоянии 0,8 - 1 м от фундаментов или оснований оборудования.

При установке оборудования на опорах ВЛ горизонтальный заземлитель должен быть проложен со стороны обслуживания на расстоянии 0,8 - 1 м от фундамента на глубине 0,5 м и присоединён к заземлителю опоры.

ВЛ напряжением 3 - 35 кВ

4.9. На ВЛ напряжением 3 - 35 кВ должны быть заземлены:

1) опоры, имеющие грозозащитный трос или другие устройства защиты;

2) железобетонные и металлические опоры;

3) опоры, на которых установлены силовые или измерительные трансформаторы, разъединители, предохранители или другие аппараты.

4.10. Значения сопротивления заземляющих устройств опор должны обеспечиваться применением искусственных заземлителей, а естественная проводимость фундаментов, подземных частей опор и пасынков (приставок) при расчетах не должна учитываться.

4.11. Горизонтальные заземлители ВЛ, как правило, должны находиться на глубине не менее 0,5 м.

В случае установки опор в скальных грунтах допускается кладка лучевых заземлителей непосредственно под разборным слоем над скальными породами при толщине слоя не менее 0,1 м. При меньшей толщине этого слоя или в случае отсутствия рекомендуется прокладка заземлителей по поверхности скалы с заливкой их цементным раствором.

4.12. Железобетонные фундаменты опор, не ограничивающих полет пересечения, могут быть использованы в качестве естественных заземлителей при осуществлении металлической связи между анкерными болтами и арматурой фундамента.

Наличие битумной обмазки на железобетонных опорах и фундаментах, используемых в качестве естественных заземлителей, не должно учитываться.

4.13. Для заземления железобетонных опор в качестве заземляющих проводников следует использовать все те элементы ненапряженной продольной арматуры стоек, которые металлически соединены между собой и могут быть присоединены к заземлителю.

4.14. Тросы и детали крепления изоляторов к траверсе железобетонных опор должны быть металлически соединены с заземляющим спуском или заземленной арматурой.

4.15. Каждый из заземляющих проводников опор ВЛ должен иметь сечение 50 мм2 при стальных многопроволочных проводниках и диаметр не менее 10 мм при стальных оцинкованных одно-проволочных проводниках.

ГЛАВА 5. ЭЛЕКТРОУСТАНОВКИ НАПРЯЖЕНИЕМ ДО 1 KB СЕТИ С ЗАЗЕМЛЁННОЙ НЕЙТРАЛЬЮ (СИСТЕМА TN)

Заземление нейтрали

5.1. Нейтраль генератора, трансформатора на стороне до 1 кВ должна быть присоединена к заземляющему устройству при помощи специального искусственного заземляющего проводника (РЕ-проводника). Сечение заземляющего проводника должно быть не менее указанного в табл. 7.1., 7.6.

Использование нулевого рабочего проводника (N-проводника), идущего от нейтрали генератора или трансформатора на щит распределительного устройства, в качестве заземляющего проводника не допускается.

В качестве указанного заземляющего устройства рекомендуется в первую очередь использовать железобетонные фундаменты производственных зданий и сооружений в соответствии с 1.4. и 8.1. В этом случае нейтраль трансформатора следует заземлять путём присоединения к металлической или железобетонной колонне здания или сооружения.

При отсутствии возможности использовать железобетонные фундаменты производственных зданий и сооружений должно быть сооружено искусственное заземляющее устройство в непосредственной близости от генератора или трансформатора.

5.2. Все доступные прикосновению открытые проводящие части электроустановок должны быть присоединены к заземленной нейтральной точке источника питания посредством защитных проводников. Если нейтральной точки нет или она недоступна, должен быть заземлен фазный проводник. Запрещается использовать фазный проводник в качестве PEN-проводника.

1. Если существуют другие точки связи с землей, рекомендуется защитные проводники также присоединять к этим точкам (повторное заземление).

2. В больших зданиях, таких как высотные, повторное заземление защитных проводников практически невозможно. В этом случае аналогичную функцию выполняет система уравнивания потенциалов (см. 2.1.).

3. По той же причине рекомендуется заземление защитных проводников на вводе в здания и в помещения.

PEN-проводник

5.3. В стационарных электроустановках трехфазного тока функцию защитного и нулевого рабочего провода можно совместить в одном проводнике (PEN-проводнике) при условии выполнения следующих требований:

- если его сечение не менее 10 мм2 по меди или 16 мм2 по алюминию и рассматриваемая часть электроустановки не защищена устройствами защитного отключения, реагирующими на дифференциальные токи;

- если, начиная с какой-либо точки установки, нулевой рабочий и нулевой защитный проводники разделены, запрещается объединять их за этой точкой. В точке разделения необходимо предусмотреть раздельные зажимы или шины нулевого рабочего и нулевого защитного проводников. PEN-проводник, совмещающий функции рабочего и защитного, должен подключаться к зажиму, предназначенному для защитного проводника.

5.4. Сторонние проводящие части не могут быть использованы в качестве единственного PEN-проводника.

5.5. В цепи PEN-проводника допускается устанавливать выключатели, которые одновременно с отключением PEN-проводника отключают все находящиеся под напряжением проводники.

5.6. Допускается использование PEN-проводников осветительных линий для зануления электрооборудования, питающегося по другим линиям, если все указанные линии питаются от одного трансформатора, их проводимость удовлетворяет требованиям настоящей главы и исключена возможность отсоединения PEN-проводников во время работы других линий. В таких случаях не должны применяться выключатели, отключающие PEN-проводники вместе с фазными.

5.7. В местах, где неизолированные РЕ- и PEN-проводники могут образовывать электрические пары или возможно повреждение изоляции фазных проводников в результате искрения между неизолированными РЕ- или PEN-проводником и открытыми проводящими частями (ОПЧ) или сторонними проводящими частями (СПЧ), например, при прокладке проводов в трубах, коробах, лотках, РЕ- и PEN-проводники должны иметь изоляцию, равноценную изоляции фазных проводников.

5.8. Не допускается использование PEN-проводников в цепях питания электроприёмников однофазного тока. Для питания таких электроприёмников в качестве нулевого рабочего проводника (N-проводника) должен быть использован отдельный третий проводник, присоединённый к PEN-проводнику в ответвительной коробке, низковольтном комплектном устройстве.

Устройства защиты

5.9. В системах TN могут использоваться:

- устройства защиты от сверхтока;

- устройства защиты, реагирующие на дифференциальный ток.

5.10. В системе TN-C не должны применяться устройства защиты, реагирующие на дифференциальный ток.

Применение защиты, реагирующей на дифференциальный ток

5.11. Когда устройство защиты, реагирующее на дифференциальный ток, применяют для автоматического отключения в системе TN-C-S, PEN-проводник не должен использоваться на стороне нагрузки. Присоединение защитного проводника к PEN-проводнику должно осуществляться на стороне источника питания по отношению к устройству защиты, реагирующему на дифференциальный ток.

Во взрывоопасных зонах любого класса в электроустановках до 1 кВ с заземленной нейтралью должна применяться система TN-S с селективной системой защит, реагирующих на дифференциальные токи. При этом проводящие свойства открытых проводящих частей (ОПЧ) и сторонних проводящих частей (СПЧ) при определении параметров цепи «фаза-нуль» учету не подлежат. Проводящие свойства ОПЧ и СПЧ могут быть учтены при определении необходимого сечения уравнивающих проводников. Собственное сечение преднамеренно проложенных уравнивающих проводников должно быть не менее 6 мм2 (по меди).

5.12. Когда устройство защиты, реагирующее на дифференциальный ток, используют для автоматического отключения цепи вне зоны действия основной системы уравнивания потенциалов, открытые проводящие части не должны быть связаны с сетью системы TN, но защитные проводники должны присоединяться к заземлителю, имеющему сопротивление, обеспечивающее срабатывание этого устройства.

Вне зоны действия основной системы уравнивания потенциалов могут использоваться другие защитные меры:

- питание через безопасный разделяющий трансформатор;

- применение дополнительной изоляции.

Характеристики устройств защиты

5.13. Характеристики устройств защиты и полное сопротивление цепи «фаза-нуль» (в случае, когда сопротивлением в месте замыкания можно пренебречь) должны обеспечивать при замыкании на открытые проводящие части автоматическое отключение питания в пределах нормированного времени. Это требование выполняется при соблюдении следующего условия

ZSIa U0,

где: ZS - полное сопротивление цепи «фаза-нуль»;

Ia - ток, меньший тока замыкания, вызывающий срабатывание устройства защиты за время, являющееся функцией номинального напряжения U0, согласно табл. 5.1.;

U0 - номинальное напряжение (действующее значение) между фазой и землёй.

Предельно допустимые времена отключения, указанные в табл. 5.1, обеспечивают электробезопасность цепей, питающих передвижное или переносное электрооборудование класса I посредством штепсельных розеток или без них.

5.14. Для распределительных цепей время отключения не должно превышать 5 с.

Таблица 5.1.

Предельно допустимые времена отключения для системы TN

U0, В

Время отключения, с

120

0,8

220

0,4

380

0,2

500

0,1

Время отключения, превышающее время, требуемое табл. 5.1., но не более 5 с, допускается для распределительной цепи, питающей стационарное электрооборудование, только при условии выполнения одного из следующих требований:

а) полное сопротивление защитного проводника между распределительным щитом и точкой присоединения защитного проводника к основной системе уравнивания потенциалов не превышает

или

б) имеется уравнивающая связь распределительного щита с основной системой уравнивания потенциалов.

Использование проводящих частей в качестве PEN-проводника

5.15. В качестве PEN-проводника между нейтралью и щитом распределительного устройства следует использовать: при выводе фаз шинами - шину на изоляторах, при выводе фаз кабелем (проводом) - жилу кабеля (провода).

Проводимость PEN-проводника, идущего от нейтрали генератора или трансформатора, должна быть не менее 50 % проводимости вывода фаз.

Изоляция PEN-проводников должна быть равноценна изоляции фаз, за исключением тех случаев, когда в качестве PEN-проводников используются алюминиевые оболочки кабелей, оболочки и опорные конструкции шинопроводов, а также открытые проводящие части (ОПЧ) и сторонние проводящие части (СПЧ).

Дополнительная защита от сверхтока

5.16. Если при использовании устройств защиты от сверхтока формулированные условия (см. табл. 5.1) не выполняются, должно применяться дополнительное уравнивание потенциалов. В качестве альтернативы уравниванию потенциалов для защиты может пользоваться устройство защитного отключения, реагирующее на дифференциальный ток.

Сопротивление заземлителя нейтрали

5.17. В случаях замыкания фазного проводника на землю, для того, чтобы потенциал защитного проводника и связанных с ним открытых проводящих частей не превышал установленного значения 25 В, должно выполняться следующее соотношение:

где Rb - эквивалентное сопротивление всех заземлителей, соединённых параллельно;

RE - минимальное сопротивление заземлителя сторонних проводящих частей, не присоединённых к защитному проводнику и оказавшихся в цепи замыкания фазы на землю;

U0 - номинальное действующее значение фазного напряжения.

При этом сопротивление заземляющего устройства, к которому присоединены нейтрали генератора или трансформатора или выводы источника однофазного тока, в любое время года должно быть не более 1, 2 и 3 Ом соответственно при линейных напряжениях 660, 380 и 220 В источника трёхфазного тока или 380, 220 и 127 В источника однофазного тока. Это сопротивление должно быть обеспечено с учётом использования естественных заземлителей, а также заземлителей повторных заземлений PEN-проводника ВЛ до 1 кВ при количестве отходящих линий не менее двух. При этом сопротивление заземлителя, расположенного в непосредственной близости от нейтрали генератора или трансформатора или вывода источника однофазного тока, должно быть не более 10, 20 и 30 Ом соответственно при линейных напряжениях 660, 380 и 220 В источника трёхфазного тока или 380, 220 и 127 В источника однофазного тока.

При удельном сопротивлении горной породы более 100 Ом · м допускается увеличивать указанные нормы в 0,01ρ раз, но не более чем в десять раз.

Повторное заземление PEN-проводника

5.18. На ВЛ зануление должно быть осуществлено PEN-проводником, проложенным на тех же опорах, что и фазные провода.

На концах ВЛ (или ответвлений от них) длиной более 200 м, а также на вводах от ВЛ к электроустановкам, которые подлежат занулению, должны быть выполнены повторные заземления PEN-проводника. При этом в первую очередь следует использовать естественный заземлитель, например подземные части опор (см. 8.1), а также заземляющие устройства, выполненные для защиты от грозовых перенапряжений.

Повторные заземления PEN-проводника в сетях постоянного тока должны быть осуществлены при помощи отдельных искусственных заземлителей, которые не должны иметь металлических соединений с подземными трубопроводами. Заземляющие устройства на ВЛ постоянного тока, выполненные для защиты от грозовых перенапряжений, рекомендуется использовать для повторного заземления PEN-проводника.

Заземляющие проводники для повторных заземлений PEN-проводника должны быть выбраны из условия длительного прохождения тока не менее 25 А. По механической прочности эти проводники должны иметь размеры не менее приведённых в табл. 7.1.

5.19. Общее сопротивление растеканию заземлителей (в том числе естественных) всех повторных заземлений PEN-проводника каждой ВЛ в любое время года должно быть не более 2, 5 и 10 Ом соответственно при линейных напряжениях 660, 380 и 220 В источника трёхфазного тока или 380, 220 и 127 В источника однофазного тока. При этом сопротивление растеканию заземлителя каждого из повторных заземлений должно быть не более 10, 20 и 30 Ом соответственно при тех же напряжениях.

При удельном сопротивлении земли ρ более 100 Ом · м допускается увеличивать указанные нормы в 0,01ρ раз, но не более чем в десять раз.

5.20. Крюки и штыри фазных проводов, установленных на железобетонных опорах, а также арматура этих опор, должны быть присоединены к PEN-проводнику. Стальные оцинкованные однопроводные заземляющие проводники должны иметь диаметр не менее 8 мм. Крюки и штыри фазных проводов, установленные на деревянных опорах, где выполнено повторное заземление PEN-проводника, подлежат заземлению.

Предельно допустимые перенапряжения

5.21. Изоляция электрооборудования электроустановки потребителя должна выдерживать перенапряжения, вызываемые повреждением на высокой стороне, обрывом нулевого рабочего провода (PEN- или N-проводника), а также коротким замыканием фазного провода на PEN- или N-проводник, что выполняется при условии ограничения предельно допустимого значения перенапряжения в электрооборудовании электроустановки потребителя следующими значениями:

Uф + 250 В при t > 5 с;

Uф + 1200 В при t5 с.

ГЛАВА 6. ЭЛЕКТРОУСТАНОВКИ НАПРЯЖЕНИЕМ ДО 1 KB СЕТИ С ИЗОЛИРОВАННОЙ НЕЙТРАЛЬЮ (СИСТЕМА IT)

Заземление открытых проводящих частей

6.1. В сетях системы IT электроустановка должна быть изолирована от земли или связана с ней через достаточно большое сопротивление.

В случае первого замыкания на открытые проводящие части ток замыкания недостаточен для срабатывания защитного устройства. Во избежание вредных физиологических воздействий на человека при прикосновении к одновременно доступным проводящим частям должны быть приняты Меры на случай возникновения замыкания второй фазы.

Открытые проводящие части должны быть заземлены отдельно, группами или все вместе.

Примечание. В больших зданиях, таких как высотные, заземление доступных прикосновению сторонних проводящих частей может быть достигнуто их соединением с защитными проводниками, открытыми проводящими частями и сторонними проводящими частями.

Сопротивление заземляющего устройства

6.2. Сопротивление заземляющего устройства, используемого для заземления открытых проводящих частей электрооборудования - R, должно удовлетворять неравенству

 но не более 2 Ом,

где IΔ - ток замыкания фазы на открытые проводящие части. Значение IΔ включает в себя значения всех токов нулевой последовательности.

Условия отключения питания при втором замыкании

6.3. Если для обнаружения первого замыкания на открытые проводящие части или на землю предусмотрено устройство контроля изоляции, то это устройство должно подавать световой и/или звуковой сигнал. Рекомендуется устранять первое замыкание в кратчайший срок.

После появления первого замыкания условия отключения питания при втором замыкании зависят от того, как соединены открытые проводящие части с заземлителем.

а) При индивидуальном или групповом заземлении открытых проводящих частей требования по защите указаны ниже.

Все открытые проводящие части, защищенные одним защитным устройством, должны присоединяться защитным проводником к одному заземляющему устройству.

Должно выполняться следующее условие:

RAIA25 B,

где RA - суммарное сопротивление заземлителя и заземляющего проводника;

IА - ток срабатывания защитного устройства.

Если защитное устройство является устройством защитного отключения и реагирует на дифференциальный ток, то под IА подразумевается уставка защитного устройства по дифференциальному току IΔn.

Если защитное устройство - устройство защиты от сверхтока, то оно должно быть:

- либо устройством с обратно зависимой токовременной характеристикой и IА - значение тока, обеспечивающее время срабатывания устройства не более 5 с;

- либо устройством с отсечкой тока и тогда IA - уставка по току отсечки.

б) Когда связь с землёй открытых проводящих частей осуществляется посредством соединения с защитным проводником для обеспечения защиты должно быть выполнено условие:

где U0 - значение фазного напряжения;

ZS - полное сопротивление цепи замыкания;

IА - ток срабатывания защитного устройства за время отключения t, указанное в табл. 6.1.

Таблица 6.1

Наибольшее время отключения для сетей системы IT (двойное замыкание)

Номинальное напряжение установки, U0, В

Время отключения, с

120

0,8

220

0,4

380

0,2

500

0,1

В сетях системы IT могут применяться:

- устройства контроля изоляции;

- устройства защиты от сверхтоков;

- устройства защиты, реагирующие на дифференциальный ток.

ГЛАВА 7. ЗАЗЕМЛЯЮЩИЕ И НУЛЕВЫЕ ЗАЩИТНЫЕ ПРОВОДНИКИ (РЕ- И PEN-ПРОВОДНИКИ)

А. Защитные проводники

Специальные проводники

7.1. В качестве защитных проводников (РЕ-проводников и PEN-проводников) должны быть в первую очередь использованы специально предусмотренные для этой цели проводники, в том числе жилы и алюминиевая оболочка кабелей; изолированные провода в общей оболочке с фазными проводами; стационарно проложенные неизолированные или изолированные проводники.

Использование проводящих частей в качестве РЕ- и PEN- проводников

В качестве РЕ-проводников и PEN-проводников могут быть использованы сторонние проводящие части (СПЧ) и открытые проводящие части (ОПЧ), например:

1) металлические конструкции производственных зданий и сооружений (фермы, колонны и т.п.);

2) арматура железобетонных строительных конструкций и фундаментов производственных зданий;

3) металлические конструкции производственного назначения (подкрановые рельсы и т.п.);

4) алюминиевые оболочки кабелей;

5) стальные трубы электропроводок;

6) металлические кожухи и опорные конструкции шинопроводов, металлические короба и лотки электропроводок;

7) металлические стационарные открыто проложенные трубопроводы всех назначений, кроме трубопроводов горючих и взрывоопасных веществ и смесей, канализации и центрального отопления.

Использование проводящих частей в качестве единственных РЕ-проводников

7.2. Приведенные в пп. 1 - 7 проводники, конструкции и другие элементы могут служить единственными РЕ-проводниками, если они по проводимости удовлетворяют требованиям настоящей главы и если обеспечена непрерывность электрической цепи на всем протяжении использования.

7.3. Защитные проводники должны быть защищены от коррозии.

Использование сторонних проводящих частей и открытых проводящих частей в качестве PEN-проводников

7.4. Сторонние проводящие части (СПЧ) и открытые проводящие части могут использоваться в качестве защитных проводников (РЕ- и PEN-проводников), если они одновременно отвечают следующим требованиям:

а) электрическая непрерывность цепи обеспечивается либо их конструкцией, либо соответствующими соединениями, защищающими ее от механических, химических и электрохимических повреждений;

б) их демонтаж невозможен, если не предусмотрены меры по сохранению непрерывности цепи и ее проводимости;

в) они сконструированы или, при необходимости, приспособлены для этой цели.

7.5. Допускается использование металлических труб водопровода при наличии разрешения организации, ответственной за эксплуатацию водопровода. Использование труб системы газоснабжения в качестве защитных проводников запрещается.

7.6. Использование СПЧ или ОПЧ в качестве единственного PEN-проводника запрещается.

7.7. Использование металлических оболочек трубчатых проводов, несущих тросов при тросовой электропроводке, металлических оболочек изоляционных трубок, металлорукавов, а также брони и свинцовых оболочек проводов и кабелей, в качестве защитных проводников (РЕ- и PEN- проводников) запрещается.

В помещениях и в наружных установках, в которых требуется применение заземления или зануления, эти элементы должны быть заземлены или занулены и иметь надежные соединения на всем протяжении. Металлические соединительные муфты и коробки должны быть присоединены к броне и к металлическим оболочкам пайкой.

Доступность для осмотра

7.8. Магистрали заземления или зануления и ответвления от них в закрытых помещениях и в наружных установках должны быть доступны для осмотра.

7.9. Требование о доступности для осмотра не распространяется на нулевые жилы и оболочки кабелей, на арматуру железобетонных конструкций, а также на защитные проводники, проложенные в трубах и в коробах, а также непосредственно в теле строительных конструкций (замоноличенные).

Ответвления от магистралей к электроприемникам до 1 кВ допускается прокладывать скрыто непосредственно в стене, под чистым полом и т.п. с защитой их от воздействия агрессивных сред. Такие ответвления не должны иметь соединений.

В наружных установках защитные проводники допускается прокладывать в земле, в полу или по краю площадок, фундаментов технологических установок и т.п.

Использование неизолированных алюминиевых проводников для прокладки в земле в качестве защитных проводников не допускается.

Наименьшие размеры заземляющих проводников

7.10. Заземляющие проводники должны удовлетворять всем требованиям настоящей главы, предъявляемым к защитным проводникам, и, если они проложены в земле, их наименьшие размеры Должны соответствовать значениям, указанным в табл. 7.1а.

Таблица 7.1а.

Наименьшие размеры заземляющих проводников, проложенных в земле

Защищенные от коррозии

Имеющие механическую защиту

Согласно требованиям настоящей главы

Не имеющие механической защиты

16 мм2 по меди

16 мм2 по стали

Не защищенные от коррозии и не имеющие механической защиты

Круглое сечение

25 мм2 по меди

78 мм2 по стали (диаметр 10 мм)

Угловая сталь:

толщина полки, мм

4

Полосовая сталь:

 

сечение, мм2

100

толщина, мм

4

Водогазопроводные трубы (стальные):

 

Толщина стенки, мм

3,5

Наименьшие размеры заземляющих и уравнивающих проводников для производственных помещений даны в табл. 7.16.

Площадь поперечного сечения защитных проводников

7.11. Площадь поперечного сечения защитного проводника S, мм2, должна быть не меньше значения, определяемого следующей формулой (применяется только для времени отключения не более 5 с)

                                                                      (7.1)

где I - действующее значение тока короткого замыкания, протекающего через устройство защиты при пренебрежимо малом переходном сопротивлении, А;

t - выдержка времени отключающего устройства, с.

Примечание. Следует учитывать ограничение тока сопротивлением цепи и ограничивающую способность (интеграл Джоуля) устройства защиты.

Таблица 7.1.б.

Заземляющие и уравнивающие стальные проводники наименьшего сечения по коррозионной стойкости, рекомендуемые для производственных помещений.

Вид заземляющего и уравнивающего проводника

Характеристика среды

Рекомендуемые стальные проводники

Магистрали заземления и управления

Нормальная

Стальная полоса 30´4 мм

Влажная

Стальная полоса 40´4 мм

Сырая или химически активная1

Сталь круглая Æ 14 мм

Ответвления от магистралей заземления и управления

Нормальная

Влажная

Стальная полоса 25´4 мм

Сырая или химически активная1

Сталь круглая Æ 10 мм

1 Рекомендуются соответствующие среде защитные покрытия.

k - коэффициент, значение которого зависит от материала защитного проводника, его изоляции и начальной и конечной температур А · с1/2/мм2.

Коэффициент k определяется выражением:

где: Qc - объёмная теплоёмкость материала проводника, Дж/ °С · мм3;

B - величина, обратная температурному коэффициенту сопротивления проводника при 0 °С; °С;

ρ20 - удельное электрическое сопротивление материала проводника при 20 °С, Ом · мм;

θi - начальная температура проводника, °С;

θf - конечная температура проводника, °С.

Материал

В, °С

Qc, Дж/ °С · мм3

ρ20, Ом · мм

Медь

234,5

3,45´10-3

17,241´10-6

226

Алюминий

228

2,5´10-3

28,264´10-6

148

Свинец

230

1,45´10-3

214´10-6

42

Сталь

202

3,9´10-3

132´10-6

78

Значение k для защитных проводников в различных условиях указаны в таблицах 7.2. - 7.5.

Значения коэффициента k для стальных сторонних проводящих частей (СПЧ) и открытых проводящих частей (ОПЧ), используемых в качестве РЕ- и PEN-проводников, а также для специально прокладываемых стальных проводников, даны в табл. 7.7.

Если в результате применения формулы (7.1.) получается нестандартное сечение, следует использовать проводники ближайшего большего стандартного сечения.

Примечания:

1. Необходимо, чтобы сечение, рассчитанное таким образом, соответствовало условиям, определяемым сопротивлением цепи «фаза-нуль».

2. Значение максимальной температуры для электроустановок во взрывоопасных зонах устанавливают по ГОСТ 22782.0.

3. Следует учитывать максимально допустимые температуры зажимов.

Таблица 7.2.

Значения коэффициента k для изолированных защитных проводников, не входящих в кабели и не образующих пучков с другими кабелями

Изоляция проводника

Температура, °С

Материал проводника

Начальная

Конечная

Медь

Алюминий

Сталь

Поливинилхлоридный пластикат (В)

30

160

143

95

52

Полиэтилен вулканизующийся (Пв)

250

176

116

64

Резина изоляционная (Р)

200

159

105

58

Резина изоляционная повышенной теплостойкости (Рт)

250

176

116

64

Кремнийорганическая изоляция

350

201

133

73

Таблица 7.2.а.

Значения коэффициента k для изолированных защитных проводников, соприкасающихся с защитными покровами кабеля, но не образующих пучков с другими кабелями

Изоляция кабеля

Температура, °С

Материал проводника

Начальная

Конечная

Медь

Алюминий

Сталь

Поливинилхлоридный пластикат (В)

30

200

159

105

58

Полиэтилен вулканизующийся (Пв)

200

159

105

58

Резина изоляционная повышенной теплостойкости т)

220

166

110

60

Таблица 7.3.

Значения коэффициента k для изолированных защитных проводников, входящих в кабель или образующих пучки с другими кабелями или изолированными проводниками

Изоляция проводника

Температура, °С

Материал проводника

Начальная

Конечная

Медь

Алюминий

Сталь

Поливинилхлоридный пластикат (В)

70

160

115

76

42

90

160

100

66

36

Резина изоляционная (Р)

60

200

141

93

51

Полиэтилен вулканизующийся (Пв)

90

250

143

94

52

Резина изоляционная повышенной теплостойкости (Рт)

Кремнийорганическая изоляция

180

350

132

87

47

Таблица 7.4.

Значения коэффициента k для изолированных защитных проводников, используемых в качестве защитных покровов (брони, оболочки, экрана и т.д.) кабеля

Изоляция проводника

Температура, °С

Материал проводника

Начальная

Конечная

Медь

Алюминий

Свинец

Сталь

Поливинилхлоридный пластикат (В)

60

200

141

93

26

51

80

200

128

85

23

46

Резина изоляционная (Р)

55

200

144

95

26

52

Полиэтилен вулканизующийся (Пв)

80

200

128

85

23

46

Резина изоляционная повышенной теплостойкости (Рт)

75

220

140

93

26

51

Таблица 7.5.

Значения коэффициента k для неизолированных проводников при условиях, когда указанные температуры не создают опасности повреждения прилегающих материалов

Условия прокладки проводников

Температура, °С

Материал проводника

Начальная

Конечная

Медь

Алюминий

Сталь

Проложены открыто и в специально отведенных местах

30

300*

 

125

 

500*

228

 

82

Проложены в нормальной среде

200

159

105

58

Проложены в пожароопасной среде

150

138

91

50

* Указанные температуры допускаются только при условии, что они не ухудшают качество соединений.

7.12. Сечение защитных проводников (по меди) должно быть не менее значений, приведённых в таблице 7.6. (см. 7.13. - 7.17.). В этом случае не требуется проверять сечение на соответствие неравенству (7.1).

Если при расчёте получают значение сечения, отличное от приведённого в таблице, следует выбирать из таблицы ближайшее большее значение.

Таблица 7.6.

Сечение фазных проводников, мм2

Наименьшее сечение защитных проводников, мм2

S16

S

16 < S ≤ 35

16

S > 35

S/2

7.13. Значения таблицы 7.6. действительны только в случае, если защитные проводники изготовлены из того же материала, что и фазные проводники. В противном случае сечения защитных проводников выбирают таким образом, чтобы их проводимость была равной проводимости, получаемой в результате применения таблицы.

Во всех случаях сечение защитных медных проводников, не входящих в состав кабеля, должно быть не менее:

2,5 мм2 - при наличии механической защиты;

4 мм2 - при отсутствии механической защиты.

Сечение отдельно проложенных защитных алюминиевых проводников во всех случаях должно быть не менее 16 мм2.

Примечание. При выборе и прокладке защитных проводников следует учитывать внешние воздействующие факторы по ГОСТ Р 50571.2.

Сечение заземляющих проводников в электроустановках выше 1 кВ с эффективно заземлённой нейтралью

7.14. В электроустановках выше 1 кВ с эффективно заземленной нейтралью сечения стальных заземляющих проводников должны быть выбраны такими, чтобы при протекании по ним наибольшего тока однофазного КЗ температура заземляющих проводников не превысила 400 °С (кратковременный нагрев, соответствующий времени действия основной защиты и полного времени отключения выключателя).

Сечение заземляющих проводников в электроустановках выше 1 кВ с изолированной нейтралью

7.15. В электроустановках до 1 кВ и выше с изолированной нейтралью проводимость заземляющих проводников должна составить не менее 1/3 проводимости фазных проводников, а сечение - не менее приведенных в табл. 7.1. Не требуется применения медных проводников сечением более 25 мм2, алюминиевых - 35 мм2, оцинкованных стальных - 120 мм2. В производственных помещениях с такими электрическими магистралями заземления из оцинкованной стальной полосы должны иметь сечение не менее 100 мм2. Допускается применение круглой оцинкованной стали того же сечения.

Проводимость нулевого защитного проводника

7.16. Полная проводимость нулевого защитного проводника во всех случаях должна быть не менее 50 % проводимости фазного проводника.

Учет проводимости проводящих частей, шунтирующих четвертую жилу кабеля

7.17. В четырехпроводных сетях при системах TN-C или TN-S должны применяться четырехжильные кабели, четвертая жила которых выполняет функцию PEN-проводника или РЕ-проводника, соответственно. При этом проводимости сторонних проводящих частей (СПЧ), а также открытых проводящих частей (ОПЧ), в том числе алюминиевых оболочек кабелей (бронированных и небронированных), шунтирующих PEN-проводник, не должны учитываться при выборе минимально необходимого сечения PEN-проводника определяемого требованием к сечению соответствующего проводника. Проводимости СПЧ, а также ОПЧ, в том числе алюминиевых оболочек кабелей (бронированных и небронированных), шунтирующих PEN-проводник или РЕ-проводник, могут быть учтены при выборе минимально необходимого сечения PEN-проводника или РЕ-проводника, определяемого требованиями к сечению РЕ-проводника (см. п. 7.11.).

Обеспечение непрерывности электрической цепи, образованной сторонними проводящими частями

7.18. Для обеспечения непрерывности электрической цепи, образованной стальными и железобетонными каркасами производственных зданий, на всём протяжении её использования в качестве РЕ- или PEN-проводника, шунтирующего четвёртую жилу кабеля, при создании промышленных электроустановок в производственных зданиях рекомендуется руководствоваться требованиями 7.37 и ГОСТ 12.1.030-81.

Изоляция PEN-проводников

7.19. PEN-проводники должны быть рассчитаны на длительное протекание рабочего тока.

7.20. Рекомендуется в качестве PEN-проводников применять проводники с изоляцией, равноценной изоляции фазных проводников. Такая изоляция обязательна как для нулевых рабочих, так и для нулевых защитных проводников в тех местах, где применение неизолированных проводников может привести к образованию электрических пар или к повреждению изоляции фазных проводников в результате искрения между неизолированным нулевым проводником и оболочкой или конструкцией (например, при прокладке проводов в трубах, коробах, лотках). Такая изоляция не требуется, если в качестве PEN-проводника, шунтирующего четвёртую жилу кабеля, используются алюминиевые оболочки кабелей, стальные и железобетонные каркасы производственных зданий и сооружении, а также, если в качестве дополнительных PEN-проводников применяются кожухи и опорные конструкции комплектных шинопроводов и шин комплектных распределительных устройств (щитов, распределительных пунктов, сборок и т.п.)

Таблица 7.7.

Значения коэффициента к для стальных проводников

Вид проводников

Конечная температура, °С

Начальная температура, °С

Термический коэффициент

Специально проложенные стальные проводники (стальные полосы, круглая сталь)

400

35

68

Стальная арматура железобетонных конструкций зданий и сооружений, в т.ч. арматура железобетонных опор ЛЭП

85

25

35

Стальные строительные конструкции зданий и сооружений (фермы, колонны и т.п.) и стальные конструкции производственного назначения (подкрановые пути и проч.)

95

25

37

Стальные трубы электропроводок

120

50

35

7.21. Не допускается использовать в качестве нулевых защитных проводников нулевые рабочие проводники, идущие к электроприемникам однофазного и постоянного тока. Для зануления таких электроприемников должен быть применен отдельный третий проводник, присоединяемый во втычном соединителе ответвительной коробки, в щите, щитке, сборке и т.п. к нулевому рабочему или нулевому защитному проводнику.

Разъединяющие приспособления и предохранители в цепи PEN-проводников

7.22. В цепи заземляющих и нулевых защитных проводников не должно быть разъединяющих приспособлений и предохранителей.

7.23. В цепи нулевых рабочих проводников, если они одновременно служат для целей зануления (PEN-проводники), допускается применение выключателей, которые одновременно с отключением PEN-проводников отключают все провода, находящиеся под напряжением (см. также 7.24.).

Однополюсные выключатели следует устанавливать в фазных проводниках, а не в нулевом рабочем проводнике.

7.24. Нулевые защитные проводники линии не допускается использовать для зануления электрооборудования, питающегося по другим линиям.

Допускается использовать PEN-проводники осветительных линий для зануления электрооборудования, питающегося по другим линиям, если все указанные линии питаются от одного трансформатора, проводимость их удовлетворяет требованиям настоящей главы и исключена возможность отсоединения PEN-проводников во время работы других линий. В таких случаях не должны применяться выключатели, отключающие PEN-проводники вместе с фазными.

Требования к прокладке защитных проводников

7.25. Защитные проводники следует прокладывать на расстоянии от стен не менее чем 10 мм.

В помещениях сухих, без агрессивной среды, защитные проводники допускается прокладывать непосредственно по стенам.

7.26. Заземляющие и нулевые защитные проводники должны быть предохранены от химических воздействий. В местах перекрещивания этих проводников с кабелями, трубопроводами, железнодорожными путями, в местах их ввода в здания и в других местах, где возможны механические повреждения заземляющих и нулевых защитных проводников, эти проводники должны быть защищены.

7.27. Прокладка заземляющих и нулевых защитных проводников в местах прохода через стены и перекрытия должна выполняться, как правило, с их непосредственной заделкой. В этих местах проводники не должны иметь соединений и ответвлений.

7.28. У мест ввода заземляющих проводников в здания должны быть предусмотрены опознавательные знаки.

7.29. Использование специально проложенных заземляющих или нулевых защитных проводников для иных целей не допускается.

Б. Соединение и присоединение заземляющих и нулевых защитных проводников (РЕ- и PEN-проводников)

Главный заземляющий зажим

7.30. В каждой электроустановке должен быть предусмотрен главный заземляющий зажим или шина и к нему (или к ней) должны быть присоединены:

- заземляющие проводники;

- защитные проводники;

- проводники главной системы уравнивания потенциалов;

- PEN-проводники.

7.31. В доступном месте следует предусматривать возможность разъёма (отсоединения) заземляющих проводников для измерения сопротивления растеканию заземляющего устройства. Эта возможность может быть обеспечена при помощи главного заземляющего зажима или шины. Конструкция зажима должна позволять его отсоединение только при помощи инструмента, быть механически прочной и обеспечивать непрерывность электрической цепи.

Требования к контактному соединению заземляющего проводника и заземлителя

7.32. Заземляющий проводник должен быть надёжно присоединен к заземлителю и иметь с ним контакт, удовлетворяющий требованиям ГОСТ 10434-82 «Соединения контактные электрические Общие технические требования». При использовании зажимов они не должны повреждать ни заземлитель, ни заземляющие проводники.

Соединение защитных проводников

7.33. Соединения защитных проводников должны быть доступны для осмотра и испытания, за исключением соединений, заполненных компаундом или герметизированных.

7.34. Запрещается включать коммутационные аппараты в цепи РЕ- и PEN-проводников, однако могут иметь место соединения, которые могут быть разобраны при помощи инструмента для целей испытания.

7.35. Не допускается использовать открытые проводящие части электрооборудования (ОПЧ) в качестве РЕ- и PEN-проводников для другого электрооборудования.

7.36. Соединения заземляющих и нулевых защитных проводников (РЕ- и PEN-проводников) между собой должны обеспечивать надежный контакт и выполняться посредством сварки.

Допускается в помещениях и в наружных установках без агрессивных сред выполнять соединения РЕ- и PEN-проводников другими способами, обеспечивающими требования ГОСТ 10434-82 «Соединения контактные электрические. Общие технические требования» ко 2-му классу соединений. При этом должны быть предусмотрены меры против ослабления и коррозии контактных соединений. Соединения РЕ- и PEN-проводников электропроводок и ВЛ допускается выполнять теми же методами, что и фазных проводников.

Обеспечение непрерывности электрической цепи при использовании сторонних проводящих частей в качестве PEN-проводников

7.37. Для обеспечения непрерывности электрической цепи, образованной стальными и железобетонными каркасами производственных зданий на всём протяжении её использования в качестве РЕ- и PEN-проводника, шунтирующего четвёртую жилу кабеля, при создании промышленных электроустановок в производственных зданиях рекомендуется руководствоваться ГОСТ 12.1.030-81. «Электробезопасность. Защитное заземление, зануление».

Кроме того, непрерывность электрической цепи, образованной каркасами производственных зданий, обеспечивается соединением стальных элементов:

- в зданиях с монолитным железобетонным каркасом - сваркой рабочей арматуры элементов;

- в зданиях из сборных железобетонных элементов - сваркой закладных изделий, примыкающих друг к другу конструкций, либо при помощи стальных перемычек сечением не менее 100 мм2, которые привариваются к закладным изделиям соединяемых железобетонных элементов;

- в зданиях со стальным каркасом - болтовыми, заклёпочными и сварными соединениями, обеспечивающими совместную работу элементов каркаса.

Для обеспечения непрерывности электрической цепи длина сварных швов соединяемых элементов должна быть не менее 60 мм, а высота швов - не менее 5 мм.

Создание объединяющего контура с использованием сторонних проводящих частей

738. При наличии в кровле здания молниеприёмной сетки объединяющий контур создаётся молниеприёмной сеткой и арматурой колонн, соединённой перемычками с арматурой фундаментов - заземлителей.

7.39. В зданиях с железобетонным каркасом при отсутствии молниеприёмной сетки объединяющий контур может быть создан соединением арматуры колонн с арматурой фундаментных балок в местах отсутствия фундаментных балок должен быть предусмотрен специальный проводник из стали сечением не менее 100 мм2. В многоэтажных зданиях непрерывный внутренний контур, объединяющий в единую цепь колонны и ригели каркаса, выполняется на одном или нескольких этажах.

7.40. Для присоединения защитного заземления оборудования в колоннах предусматриваются закладные изделия.

Закладные изделия в колоннах для опирания заземляемого технологического оборудования (металлических площадок) или для крепления сантехнических и технологических коммуникаций должны быть соединены с продольной арматурой колонн.

Все остальные конструкции (площадки, вентиляционные устройства, трубы, лестницы, металлические корпуса технологического и электрического оборудования и пр.) должны быть присоединены при помощи сварки к цепи заземления, использующей заземляющие свойства строительных конструкций.

Соединение открытых проводящих частей

7.41. Стальные трубы электропроводок, короба, лотки и другие конструкции, используемые в качестве заземляющих или нулевых защитных проводников (РЕ- и PEN-проводников), должны иметь соединения, соответствующие требованиям ГОСТ 10434-82, предъявляемым ко 2-му классу соединений. Должен быть также обеспечен надёжный контакт стальных труб с корпусами электрооборудования, в которые вводятся трубы, и с соединительными (осветительными) металлическими коробками.

Этим же требованиям должны соответствовать соединения брони и металлических оболочек кабелей, металлорукавов, металлических оболочек трубчатых проводов и изоляционных трубок.

Места и способы соединения заземляющих и защитных проводников

7.42. Места и способы соединения заземляющих проводников с протяжёнными естественными заземлителями (например, с трубопроводами) должны быть выбраны такими, чтобы при разъединении заземлителей для ремонтных работ было обеспечено расчёт-нос значение сопротивления заземляющего устройства.

7.43. В случае использования труб водопровода в качестве РЕ- или PEN-проводников, водомеры, задвижки и т.п. должны иметь обходные проводники, обеспечивающие непрерывность цепи заземления.

7.44. Присоединение РЕ- и PEN-проводников к частям оборудования, подлежащим заземлению или занулению, должно быть выполнено сваркой или болтовым соединением. Присоединение должно быть доступно для осмотра. Для болтового присоединения должны быть предусмотрены меры против ослабления и коррозии контактного соединения.

7.45. Заземление или зануление оборудования, подвергающегося частому демонтажу или установленного на движущихся частях или частях, подверженных сотрясениям или вибрации, должно выполняться гибкими РЕ- и PEN-проводниками.

Использование естественных контактов

7.46. При наличии надёжного электрического контакта между электрооборудованием, аппаратами, электромонтажными конструкциями и другими частями и металлическими основаниями, на которых они установлены (рамы, каркасы комплектных устройств, станины станков, машин и механизмов), дополнительная установка перемычек между указанными частями и основаниями в помещениях без повышенной опасности не требуется; в помещениях без повышенной опасности не требуется установка металлической перемычки между корпусом электродвигателя и заземленным (зануленным) металлическим основанием при креплении электродвигателя к этому основанию с помощью болтов (исключение - взрывоопасные зоны любого класса).

7.47. В цепях заземления и зануления ОПЧ и СПЧ считаются достаточными естественные контакты в помещениях без повышенной опасности между заземлённой (занулённой) металлической оболочкой, броней или оплеткой кабеля, с одной стороны, и тросом, струной или полосой, по которым проложен кабель, с другой стороны, для заземления или зануления этого троса, струны или полосы;

между арматурой изолятора и металлической конструкцией, на которой он закреплён;

между стальными рельсами и стальными колёсами передвижных механизмов для заземления (зануления) ОПЧ и СПЧ передвижных механизмов, перемещающихся по этим рельсам;

между металлическими строительными производственными конструкциями ферм, балок, колонн, трубопроводов и т.п.

7.48. Для соединения в целях уравнивания потенциалов ОПЧ и СПЧ в помещениях без повышенной опасности наряду с указанными естественными контактами являются достаточными также шарнирные и петлевые соединения поворотных и съёмных конструкций, если на них не установлено электрооборудование.

Штепсельные соединители для переносных электроприемников

7.49. Для присоединения защитных проводников переносных электроприемников следует применять только такие соединители штепсельные, которые имеют специальные контакты. Соединение между этими контактами при включении должно устанавливаться до того, как войдут в соприкосновение контакты фазных (полюсных) проводников. Порядок разъединения контактов при отключении должен быть обратным. Соединители должны исключать возможность соединения контактов фазных (полюсных) проводников с контактами защитного проводника.

7.50. Защитный проводник со стороны электроприёмника должен быть подключён к вилке, а со стороны питания - к розетке. Заземление или зануление корпуса соединителя следует выполнять путем соединения его с контактом защитного проводника.

7.51. К защитным контактам соединителей штепсельных, предназначенных для переносных электроприёмников, должен быть проложен самостоятельный защитный проводник от ближайшего щитка сборки или ответвительной коробки.

Присоединение защитных проводников к сторонним проводящим частям

7.52. Присоединение защитных проводников системы уравнивания потенциалов к арматуре железобетонных зданий и сооружений, к трубопроводам с горючими или взрывоопасными веществами, а также заземляющих проводников к обсадным трубам нефтяных и газовых скважин, должно выполняться сваркой.

7.53. Каждая часть электроустановки, подлежащая заземлению или занулению, должна быть присоединена к сети заземления или зануления при помощи отдельного ответвления. Последовательное включение в РЕ- или PEN-проводник заземляемых или зануляемых частей электроустановки не допускается.

Монтаж заземляющих и нулевых защитных проводников

7.54. При использовании по проекту стального каркаса здания заземление нейтралей трансформаторов, а также корпусов оборудования и электротехнических конструкций, следует производить с помощью приварки проводника заземления к колонне здания или строительным конструкциям, связанным с каркасом здания; строители должны дать акт на скрытые работы по соединению арматуры фундаментов с анкерными болтами.

7.55. При использовании в цепи заземления железобетонного каркаса здания должны быть составлены акты на скрытые работы, если соединения замоноличиваются, или акт на выполнение соединений в соответствии с проектом, если соединения видимы последнее может быть отмечено в паспорте на заземляющее устройство).

Соединение нуля трансформатора с закладным изделием осуществляется приваркой заземляющего проводника к закладному элементу колонны или фундамента. Заземление корпусов электрооборудования и электротехнических конструкций следует осуществлять приваркой к закладным изделиям на колоннах. Запрещается приваривать заземляющий проводник к арматуре стеновых панелей.

Аналогичные требования при монтаже необходимо соблюдать при использовании эстакад в качестве заземляющего устройства.

7.56. До начала монтажа искусственных заземляющих проводников на объекте строительная организация должна закончить и сдать по акту все строительные работы.

7.57. Работу по монтажу искусственных заземляющих проводников необходимо производить в объеме, предусмотренном проектом, в следующей последовательности:

1) разметить линии прокладки проводников, определить места проходов и обходов;

2) просверлить или пробить отверстия проходов сквозь стены и перекрытия;

3) установить опоры, проложить и закрепить предварительно окрашенные заземляющие проводники или закрепить проводники с помощью пристрелки (для сухих помещений);

4) соединить проводники между собой сваркой;

5) произвести окраску мест соединения проводников.

7.58. Части магистралей заземления и их транспортабельные узлы (опоры крепления, перемычки и другие заземляющие проводники) изготовляются в мастерских электромонтажных заготовок. Полосовая или круглая сталь, использующаяся в качестве заземляющих проводников, должна быть предварительно выправлена, очищена и окрашена со всех сторон.

7.59. Окраску мест соединений необходимо производить после сварки стыков, для этого в сухих помещениях с нормальной средой следует применять масляные краски и нитроэмали; в сырых помещениях и в помещениях с химически активной средой окраска должна производиться красками, стойкими к химическим воздействиям. Заземляющие проводники окрашиваются в желто-зеленый цвет путем последовательного чередования желтых и зеленых полос одинаковой ширины от 15 до 100 мм каждая. Полосы должны прилегать друг к другу или по всей длине каждого проводника, или в каждом доступном месте, или в каждой секции.

7.60. Заземляющие проводники должны прокладываться горизонтально или вертикально, допускается также прокладка их параллельно наклонным конструкциям зданий. Прокладка плоских заземляющих проводников по кирпичным и бетонным основаниям должна производиться в первую очередь с помощью строительно-монтажного пистолета. В сухих помещениях полосы заземления могут прокладываться непосредственно по кирпичным и бетонным основаниям. В сырых и особо сырых помещениях и в помещениях с химически активными веществами прокладку заземляющих проводников следует производить на опорах.

Опоры крепления заземляющих проводников должны устанавливаться с соблюдением расстояний, мм:

На поворотах (от вершин углов)........................................................................ 100

От мест ответвлений........................................................................................... 100

От нижней поверхности съемных перекрытий каналов................................. 50

От уровня пола помещений................................................................................ 400 - 600

В качестве опор используются закладные изделия в железобетонных основаниях, держатели шин заземления К188 (рис. 7.1.).

Держатели шин заземления К188 применяются для крепления к стенам и металлоконструкциям заземляющих проводников из круглой стали диаметром 10,12 мм и из полосовой стали размером 40´4 и 25´4 мм. Держатели закрепляются пристрелкой или сваркой, имеют климатическое исполнение V категории 2, масса 1000 шт. - 75 кг.

Расстояние от поверхности основания до заземляющих проводников должно быть не менее 10 мм (рис. 7.1.).

Держатели крепятся к закладным изделиям, расположенным в бетонном основании с помощью сварки, которая выполняется по периметру хвостовика держателя, а также с помощью пистолетных дюбелей. К бетонным, кирпичным и другим основаниям держатели крепятся с помощью пистолетных дюбелей, в особых случаях - с помощью дюбелей с распорной гайкой или капроновых распорных дюбелей. Размеры дюбелей приводятся в табл. 7.8 - 7.10., расстояния между креплениями заземляющих проводников на прямых участках указаны в табл. 7.11.

Рис. 7.1. Держатель шин заземления:

а - для стальных круглых шин заземляющих проводников; б - для прямоугольных заземляющих проводников

Таблица 7.8.

Рекомендуемые размеры дюбелей для крепления заземляющих проводников

Строительное основание

Материал и толщина пристреливаемой детали, мм

Рекомендуемый дюбель

Тяжелый бетон и железобетон

Сталь толщиной 1 - 4

ДГПШ 4,5´40

Неоштукатуренная кирпичная кладка, оштукатуренный тяжелый бетон и железобетон

То же

ДГПШ 4,5´50

Оштукатуренная кирпичная кладка, легкий бетон и железобетон

» »

ДГРШ 4,5´60

7.61. Для заземления корпусов изделий и подсоединения заземляющих проводников применяются заземляющие зажимы следующих типов: ЗШ - зажим со шпилькой (рис 7.4); ЗБ - зажим с болтом (рис. 7.5); ЗВ - зажим с винтом (рис. 7.6); ЗВП - зажим с винтом, припаянным к подпорке, для заземления оболочки и брони кабелей (рис. 7.7); ЗШ2П - зажим с двумя шпильками и пластинами (рис. 7.8); ЗШ2С - зажим с двумя шпильками и скобой (рис. 7.9); ЗБХ - зажим с болтом с хомутом (рис. 7.10); ЗБ2 - зажим с двумя болтами (рис 7.11).

Рис. 7.2. Дюбель с распорной гайкой

Таблица 7.9.

Дюбели с распорной гайкой (рис. 7.2)

Тип

Размеры болта или винта

Наибольшая толщина закрепляемой детали, мм

Размеры, мм

Масса 1000 шт., кг

L

D

К437/I

М 10´65

15

55

18

99

К437/II

М 10´80

30

55

18

110

K438/I

М 12´80

20

65

20

141

K438/II

М 12´100

40

65

20

157

К439/I

М 16´100

20

85

26

303

K439/II

М 16´120

40

85

26

338

Рис. 7.3. Распорный капроновый дюбель

Таблица 7.10.

Дюбели распорные капроновые (рис. 7.3)

Тип

Размеры шурупов, мм

Наибольшая толщина закрепляемой детали, мм

Размеры, мм

Масса 1000 шт., кг

L

D

У656

4´30

7

5

6

5

У658

5´40

10

35

8

7,1

У678

5´60

10

45

8

9,9

У661

8´80

15

60

14

37

У663

12´100

15

80

20

103

Таблица 7.11.

Расстояния между креплениями заземляющих проводников, мм

Размеры проводника, ми

Место прокладки

Сталь полосовая

Сталь круглая диаметром

по стенам

под перекрытием

на высоте, м

До 2

более 2

До 2

более 2

20´4

0

400

600

600

800

25´4

12

600

800

800

1000

30´5, 40´4

-

600

800

800

1000

Примеры установки зажимов показаны на рис. 7.12.

7.62. Проходы через стены должны выполняться в открытых проемах, трубах, а проходы через перекрытия - в отрезках стальных или кассетах пластмассовых труб.

7.63. Каждая заземляемая часть электроустановки должна быть присоединена к магистрали заземления или зануления при помощи отдельного ответвления. Способ присоединения заземляющих проводников к отдельным аппаратам выбирается в зависимости от основания, на котором крепится аппарат.

7.64. При установке аппаратов на металлических конструкциях заземляющие проводники присоединяются сваркой к конструкции, а также способами, приведенными в табл. 7.14.

7.65. Способы соединения и присоединения заземляющих и нулевых защитных проводников приводятся в табл. 7.12.

7.66. Соединение электрооборудования, подвергающегося частому демонтажу, вибрации или установленного на движущихся частях, выполняется с помощью гибких заземляющих или нулевых защитных проводников.

Рис. 7.4. Зажим типа ЗШ:

1 - шпилька; 2 - гайка; 3 - шайба пружинная; 4 - шайба

Рис. 7.5. Зажим типа ЗБ:

1 - болт; 2 - шайба пружинная; 3 - шайба

Рис. 7.6. Зажим типа ЗВ:

1 - винт; 2 - шайба пружинная; 3 - шайба

Рис. 7.7. Зажим типа ЗВП:

1 - винт; 2 - гайка или гайка-барашек; 3 - шайба пружинная; 4 - шайба; 5 - скоба

Таблица 7.12.

Соединения и присоединения заземляющих и нулевых защитных проводников

Соединяемые проводники

Способы соединения

Дополнительные требования к качеству соединения

Заземляющие и нулевые защитные проводники

Сварка

1. Соединения и присоединения заземляющих и нулевых защитных проводников должны быть доступны для осмотра

2. Места и способы соединения заземляющих проводников с протяженными естественными заземлителями (например, с трубопроводами) должны быть выбраны такими, чтобы при разъединении заземлителей для ремонтных работ было обеспечено расчетное значение сопротивления заземляющего устройства. Водомеры, задвижки должны иметь обходные проводники, обеспечивающие непрерывность цепи заземления

3. Каждая часть электроустановки, подлежащая заземлению или занулению, должна быть присоединена к сети заземления или зануления при помощи отдельного ответвления. Последовательное включение в заземляющий или нулевой защитный проводник заземляемых или зануляемых частей электроустановки не допускается

Заземляющие и нулевые защитные проводники в помещениях и в наружных установках без агрессивных сред

Допускается выполнять соединения заземляющих и нулевых защитных проводников другими способами, обеспечивающими требования ГОСТ 10434-82 ко 2-му классу соединений, при этом должны быть предусмотрены меры против ослабления и коррозии заземляющих и нулевых защитных проводников электропроводок и ВЛ допускается выполнять теми же методами, что и фазных проводников

Стальные трубы электропроводок, короба, лотки и другие конструкции, используемые в качестве заземляющих или нулевых защитных проводников

Должны иметь соединения, соответствующие требованиям ГОСТ 10434-82, предъявляемым ко 2-му классу соединений. Должен быть обеспечен надежный контакт стальных труб с корпусами электрооборудования, в которые вводятся трубы, и с соединительными (ответвительными) металлическими коробками

Присоединение заземляющих и нулевых защитных проводников к частям оборудования, подлежащим заземлению или занулению

Должно быть выполнено сваркой или болтовым соединением. Для болтового присоединения должны быть предусмотрены меры против ослабления и коррозии контактного соединения

Заземление или зануление оборудования, подвергающегося частому демонтажу или установленного на движущихся частях или частях, подверженных сотрясениям или вибрациям

Должно выполняться гибкими заземляющими или нулевыми защитными проводниками

Таблица 7.13.

Способы присоединения проводников к силовому электрооборудованию

Оборудование

Заземляемые элементы

Способ присоединения к заземляющей сети

Пусковой аппарат (магнитный пускатель, ящик с автоматическим выключателем и т.д.), аппарат управления (кнопочный пост, конечный выключатель, реостат, контролер и т.д.), щитки, распределительные шкафы

Корпус аппарата, ящика, щитка, шкафа

Заземляющий проводник присоединяется к заземляющему или крепящему болту корпуса аппарата, ящика или щитка; при установке на металлоконструкции заземляющий проводник приваривается к конструкции. Если заземление производится через трубы электропроводки, то оно выполняется:

а) присоединением перемычки от флажка или болта, приваренного к трубе, к заземляющему болту на корпусе аппарата, щитка, ящика (рис. 7.13)

б) установкой на трубе двух царапающих гаек или одной царапающей гайки и контргайки с зажимом стального листа корпуса аппарата между гайками (рис. 7.14)

Электрооборудование, установленное на станках и прочих механизмах

Корпус станка или механизма, имеющего металлическую связь с корпусом электродвигателя или другого оборудования

Заземляющий проводник, идущий от магистрали заземления или от стальной трубы электропроводки (если трубы используются в качестве заземляющих проводников), присоединяется к заземляющему болту на станке (механизме). Электрооборудование, установленное на движущейся части станка, заземляется при помощи отдельной жилы в гибком кабеле, питающем движущуюся часть

Электрооборудование мостового крана

Подкрановые рельсы

Ответвления от заземляющего устройства привариваются в двух местах к подкрановым рельсам. Все стыки рельсов должны быть надежно соединены сваркой, на разъемных стыках должны быть приварены гибкие перемычки

7.67. Способы присоединения заземляющих проводников к корпусам силового оборудования указаны в табл. 7.13.

7.68. Места присоединения и крепления заземляющих и нулевых защитных проводников к силовому оборудованию даны в ГОСТ 21130-75*.

Рис. 7.8. Зажим типа ЗШ2П:

1 - шпилька; 2 - гайка; 3 - пружинная шайба; 4 - пластина

Рис. 7.8. Зажим типа ЗШ2С:

1 - шпилька; 2 - гайка; 3 - пружинная шайба; 4 - скоба

Рис. 7.10. Зажим типа ЗБХ:

1 - хомут; 2 - болт; 3 - стальная шайба; 4 - шайба пружинная; 5 - гайка

Рис. 7.11. Зажим типа ЗБ2:

1 - скоба; 2 - болт; 3 - стальная шайба; 4 - шайба пружинная; 5 - гайка

7.69. Установочные заземляющие гайки (табл. 7.14.) применяются для создания электрического контакта между корпусом аппарата или электроконструкции и стальными трубами, патрубками (табл. 7.15.). Гайки устанавливаются по обе стороны стенки корпуса, при этом острые выступы должны быть обращены к этой стенке.

Рис. 7.12. Варианты установки зажимов:

а - на прямоугольное изделие; б - на прилив; в - на приливе, установленном сбоку изделия; г - на листовом корпусе

Рис. 7.13. Заземляющая установочная гайка

Рис. 7.14. Вводный патрубок

Таблица 7.14.

Размеры и массы установочных заземляющих гаек (рис. 7.13)

Тип

Для трубы с условным проходом, мм

Резьба трубная d, дюймы

Размеры, мм

Масса 1000 шт., кг

S

h

D

К480

15

1/2

27

3

30

5

K481

20

3/4

.12

3

37

7

К482

25

1

41

4

48

16

К483

32

1 1/4

50

4

58

23

К484

40

1 1/2

60

5

66

48

К485

50

2

70

5

81

55

К486

70

2 1/2

90

6

104

117

Таблица 7.15.

Размеры и массы вводных патрубков (рис. 7.14)

Тип

Для труб с наружным диаметром, мм

Условный проход труб, мм

Резьба трубная D, дюймы

Размеры, мм

Масса, кг

L

l

d

У476

25 - 27

20

3/4

55

25

26

0,1

У477

32 - 34

25

1

55

25

32

0,1

У478

47 - 49

40

1 1/2

68

25

48

0,3

У479

59 - 61

50

2

90

30

60

0,4

ГЛАВА 8. УСТРОЙСТВО ЗАЗЕМЛИТЕЛЕЙ

Естественные заземлители

8.1. В качестве естественных заземлителей и заземляющих устройств рекомендуется использовать:

1) подземные или подводные части стальных и железобетонных конструкций и сооружений всех назначений, в том числе имеющих защитные гидроизоляционные покрытия, в неагрессивных и слабоагрессивных средах;

2) железобетонные фундаменты производственных зданий и сооружений, в том числе имеющих защитные гидроизоляционные покрытия, в неагрессивных, слабо- и среднеагрессивных средах, при условии приварки анкерных болтов стальных колонн (арматурных стержней железобетонных колонн) к арматурным стержням железобетонных фундаментов;

3) технологические, кабельные и совмещенные (стальные и железобетонные) эстакады промышленных предприятий;

4) проложенные в земле металлические трубопроводы всех назначений, кроме трубопроводов горючих и взрывоопасных веществ и смесей, канализации и центрального отопления;

5) открыто проложенные металлические стационарные трубопроводы всех назначений, кроме трубопроводов горючих и взрывоопасных веществ и смесей, канализации и центрального отопления;

6) обсадные трубы буровых скважин;

7) рельсы электрифицированных железных дорог на станциях и перегонах, а также рельсы подъездных путей тяговых подстанций временного тока;

8) рельсы магистральных неэлектрифицированных железных дорог, а также рельсы подъездных путей, при наличии устройства преднамеренного электрического контакта между рельсами каждой рельсовой нити;

9) рельсы кранового пути при установке крана на открытом воздухе, при наличии преднамеренного электрического соединения между рельсами каждой рельсовой нити;

10) заземлители опор ВЛ, соединенные с заземляющим устройством электроустановки при помощи грозозащитного троса ВЛ (если трос не изолирован от опор ВЛ);

11) повторные заземлители ВЛ напряжением до 1 кВ, соединенные с заземляющим устройством электроустановки PEN-проводником, при числе ВЛ не менее двух;

12) свинцовые оболочки кабелей, проложенных в земле, при числе кабельных линий не менее двух.

8.2. Заземлители должны быть связаны с магистралями заземлений не менее чем двумя проводниками, присоединенными к заземлителю в разных местах. Это требование не распространяется на опоры ВЛ, повторное заземление нулевого защитного проводника (PEN-проводника) и металлические оболочки кабелей.

Предельно допустимые токи заземлителя

8.3. Естественный заземлитель в месте его присоединения к заземляющему устройству должен обеспечивать протекание по нему наибольшего допустимого тока в кА, определяемого по формуле:

Iдопj · S,

где S - сечение естественного заземлителя, в мм2;

j - допустимая плотность тока (кА/мм2), которая при времени протекания тока в одну секунду и менее определяется по выражению:

а при времени более одной секунды - по выражению:

где t - время в секундах, а ke принимается

для стальных проводов и конструкций - 0,07;

для арматуры железобетона - 0,03;

для свинцовой оболочки кабеля с бумажной пропитанной изоляцией - 0,02;

t - время протекания тока в секундах (предел t, относящийся к кратковременному воздействию - 5 с). Для снижения плотности тока до допустимых значений следует использовать искусственные заземлители.

Обходные защитные проводники

8.4. При использовании естественных заземлителей (особенно протяжённых, например, трубопроводов) должна учитываться возможность проведения ремонтных работ, при которых заземлитель может быть разъединен (например, при ремонте задвижек, водомеров и т.п.). Это должно учитываться при выборе мест присоединения к заземлителю защитных проводников и при определении его сопротивления. Задвижки, водомеры и т.п. должны иметь обходные защитные проводники.

Предельно допустимая плотность тока, стекающего с арматуры железобетонного фундамента

8.5. Для железобетонных фундаментов, используемых в качестве заземлителей, плотность тока, стекающего с арматуры, не должна превышать предельно допустимых значений, указанных в табл. 8.1.

Во избежание местного превышения значений плотности тока, указанных в таблице, рекомендуется объединять в единую систему все элементы конструкций, используемых в цепи заземления. Соединения этих элементов должны осуществляться только стальными изделиями (рис. 8.1).

8.6. При соединении металлической колонны с арматурой железобетонного фундамента (рис. 8.2) необходимо учитывать следующее:

а) фундаментные болты (не менее двух) должны быть соединены с арматурой подколонника сваркой;

Таблица 8.1.

Вид тока

Предельно допустимая плотность тока, А/м2

Ток молнии

30 · 103

Ток кратковременный промышленной частоты (до 3 с)

1,0 · 103

Ток длительный промышленной частоты

1,0

Ток постоянный или выпрямленный

0,06

б) соединение арматуры подколонника с арматурой подошвы должно быть выполнено сваркой;

в) если пространственный каркас подколонника не пересекается с арматурными сетками подошвы фундамента, то его следует нарастить в двух местах с помощью отдельных арматурных стержней и соединить их сваркой с арматурными сетками;

г) если подошва фундамента не армируется, то достаточно соединить сваркой арматуру подколонника и фундаментные болты;

д) все стержни каркаса арматуры фундамента должны быть соединены между собой сваркой;

е) пластины размером 50´100 мм2 должны иметь толщину более 5 мм для приварки проводников заземления. Расстояние от пластины до уровня чистого пола должно быть не более 500 мм. Сварной шов выполняют по ширине пластины с двух сторон.

8.7. Естественные заземлители должны быть связаны с магистралями заземлений не менее чем двумя проводниками, присоединенными к заземлителю в разных местах (рис. 8.3). Это требование не распространяется на опоры воздушных линий электропередачи (ВЛ), повторное заземление PEN-проводника и металлические оболочки кабелей.

8.8. В случае использования естественных заземлителей (особенно протяженных) при выборе мест присоединения к ним защитных проводников необходимо учитывать возможность разъединения заземлителя, например, при ремонтных работах.

Рис. 8.1. Соединение арматуры железобетонных конструкций:

1 - молниеприемная сетка; 2 - токоотвод; 3 - арматура колонны; 4 - заземляющая перемычка; 5 - арматура фундамента

Рис. 8.2. Соединение металлической колонны с арматурой железобетонного фундамента:

1 - арматура подошвы; 2 - арматура фундамента; 3 - фундамент; 4 - фундаментные болты (не менее двух), соединенные с арматурой фундамента; 5 - пластины для приварки проводников заземления; 6 - стальная колонна

Использование железобетонных фундаментов в качестве заземлителей в агрессивных средах

8.9. Допускается использование фундаментов в качестве заземлителей в агрессивной среде при концентрации ионов хлора до 0,5 г/л (Cl) или сульфат-ионов до 10,0 г/л (SO4) в том случае, если плотность токов, длительно стекающих с арматуры фундамента, не превышает 1 А/м2.

Рис. 8.3. Присоединение к тяговому рельсу проводников защитного заземления:

1 - провод заземления; 2 - зажим заземления; 3 - крюковой болт

Искусственные заземлители

8.10. Для искусственных заземлителей и устройств выравнивания потенциала следует применять, как правило, оцинкованную сталь.

Искусственные заземлители не должны иметь окраски.

8.11. Наименьшие размеры стальных заземлителей при низкой коррозионной активности грунтов приведены ниже:

Диаметр круглых (прутковых) заземлителей, мм.............................................................. 10

Сечение прямоугольных заземлителей, мм2...................................................................... 100

Толщина прямоугольных заземлителей, мм....................................................................... 4

Толщина полок угловой стали, мм....................................................................................... 4

В случае опасности повышенной коррозии для заземлителей следует использовать оцинкованную сталь круглого профиля и повышенного сечения. Наименьшее сечение стальных заземлителей в зависимости от агрессивности грунта дано в табл. 8.2.

Сечение горизонтальных заземлителей для электроустановок напряжением выше 1 кВ выбирается по термической стойкости.

8.12. Не следует располагать (использовать) заземлители в местах, где земля подсушивается под действием тепла трубопроводов и т.п.

Траншеи для горизонтальных заземлителей должны заполняться однородным грунтом, не содержащим щебня и строительного мусора.

Таблица 8.2.

Наименьшие размеры поперечного сечения заземлителей в зависимости от агрессивности грунтов

Вид заземляющего устройства

Коррозионная активность грунта по отношению к стали

Диаметр круглой стали, мм

Ширина и толщина стальной полосы, мм

Вертикальные электроды

Весьма высокая, высокая (ρ < 10 Ом · м)

16

-

Повышенная, средняя (10 Ом · м ≤ ρ ≤ 100 Ом · м)

14

-

Низкая (ρ > 100 Ом · м)

16

-

Горизонтальные заземлители

Весьма высокая (ρ <5 Ом · м)

16

40´10

Высокая (5 Ом · м ≤ ρ10 Ом · м)

14

40´8

Повышенная, средняя (10 Ом · м ≤ ρ100 Ом · м)

12

40´6

Низкая (ρ > 100 Ом · м)

10

40´4

Таблица 8.3.

Наименьшие размеры поперечного сечения горизонтальных заземлителей

Материал

Сортамент

Размеры

Диаметр прутка, мм

Толщина полосы, мм

Диаметр проволоки троса, мм

Площадь сечения, мм2

Медь

Пруток

Полоса

Трос

8

2

1,8

50

Оцинкованная сталь

Пруток

10

3

78

Полоса

90

Трос

2,6

100

Нержавеющая сталь

Полоса

2

Пруток

78

8.13. Вертикальные заземлители приведены на рис. 8.4. Длина вертикальных электродов определяется проектом, но не должна быть менее 1 м; верхний конец вертикальных заземлителей должен быть заглублен, как правило, на 0,5 - 0,7 м.

8.14. Горизонтальные заземлители используют для связи вертикальных заземлителей или в качестве самостоятельных заземлителей. Глубина прокладки горизонтальных заземлителей - не менее 0,5 - 0,7 м. Меньшая глубина прокладки допускается в местах их присоединений к оборудованию, при вводе в здания, при пересечении с подземными сооружениями и в зонах многолетнемерзлых и скальных грунтов. Горизонтальные заземлители из полосовой стали следует укладывать на дно траншеи на ребро (рис. 8.5).

8.15. Горизонтальные заземлители в местах пересечения с подземными сооружениями, железнодорожными путями и дорогами, а также в других местах возможных механических повреждений, следует защищать металлическими или асбоцементными трубами.

Рис. 8.4. Установка вертикальных заземлителей

Рис. 8.5. Прокладка горизонтальных заземлителей в траншее (а) и совместно с кабелем (б):

1 - полоса; 2 - мягкий грунт; 3 - грунт; 4 - силовые кабели; 5 - контрольные кабели

Прокладку заземлителей параллельно кабелям или трубопроводам следует выполнять на расстоянии не менее 0,3 м, а при пересечениях - не менее 0,1 м.

Траншеи для горизонтальных заземлителей должны быть заполнены сначала однородным грунтом, не содержащим щебня и строительного мусора, с утрамбовкой на глубину 200 мм, а затем - местным грунтом.

8.16. Если диаметр горизонтального стального заземлителя меньше 12 мм, то необходимо при расположении этого заземлителя ближе, чем 0,3 м от железобетонного фундамента, изолировать часть заземлителя на расстоянии в обе стороны от фундамента до 0,5 м.

8.17. Места входа в грунт заземлителей и места пересечения ими грунтов с различной воздухопроницаемостью рекомендуется гидроизолировать.

При пересечении трасс кабелей, имеющих свинцовую или алюминиевую оболочку, с трассой горизонтального стального заземлителя, если оба элемента прокладывают непосредственно в грунте, расстояние между заземлителем и кабелем в местах пересечения должно быть выбрано не менее 1 м.

При невозможности выполнения этого требования кабель рекомендуется прокладывать максимально близко к заземлителю и его оболочку следует дополнительно соединить с заземлителем. Место соединения необходимо гидроизолировать.

Гидроизоляцию можно выполнить при помощи противокоррозийных лент, полихлорвиниловых обмоток и тафтяных лент с пропиткой их горячим битумом. Верхняя точка наложения изоляции должна находиться на 10 - 15 см выше поверхности грунта, нижняя - на том же расстоянии ниже уровня поверхности или под слоем раздела грунтов в случае их неоднородности.

Расчет сопротивления контурного заземлителя

8.18. Сопротивление растеканию заземляющего устройства выполненного в виде контурного заземлителя, состоящего из горизонтальной сетки и вертикальных электродов, рассчитывается по формуле:

где R11 - сопротивление растеканию горизонтальной сетки, Ом;

R22 - сопротивление растеканию вертикальных электродов, Ом;

R12 - взаимное сопротивление между горизонтальной сеткой и вертикальными электродами, Ом.

Сопротивления R11, R22, R12 определяются выражениями:

где ρ - удельное сопротивление земли, Ом · м;

L - полная длина проводников, образующих горизонтальную сетку, м;

S - площадь, покрытая сеткой, м2;

l - длина вертикального электрода, м;

d - диаметр вертикального электрода, м;

n - число вертикальных электродов;

b - ширина полосы горизонтального проводника, образующего сетку, м;

h - глубина заложения горизонтальной сетки.

Сопротивление одиночных заземлителей

8.19. Сопротивление растеканию одиночного заземлителя определяется по формуле

где Г - главный (наибольший) линейный размер заземлителя, м;

С - безразмерный коэффициент, зависящий от формы заземлителя и условий его заглубления.

Главный линейный размер для сферы или полусферы равен:

Г = D,

где D - диаметр сферы или полусферы.

Для протяженного электрода

Г = l,

где l - длина протяженного электрода.

Значения коэффициента С для наиболее характерных условий заглубления одиночных электродов приведены в табл. 8.4.

Удельное сопротивление земли

8.20. Удельное электрическое сопротивление различных горных пород, измеренное при температуре 15 - 30 °С и при промышленной частоте 50 - 60 Гц, приведено в табл. 8.5. Значения удельного сопротивления для отдельного минерала в ряде случаев отличаются на несколько порядков. Эти изменения обусловлены влиянием примесей и различной структурой минеральных зерен, на которых проводились измерения. Микроскопические трещины и окисления поверхности в пределах индивидуальных зерен вызывают значительные изменения значений измеряемых сопротивлений.

В табл. 8.6. приведены рекомендуемые для использования в пробных расчетах значения удельного электрического сопротивления верхнего слоя земли мощностью до 50 м.

Таблица 8.4.

Значение коэффициента С для расчета одиночных заземлителей

Заземлителъ

Условия заложения

Коэффициент С

Условия

1. Полусфера (Г = D)

1

-

2. Сфера (Г = D)

H > D/2

3. Круглая пластина (Г = D)

π/2

-

H > D/2

4. Кольцо (Г = D)

D >> d*

D >> d,

H << D

D >> d,

H << D

5. Горизонтальный стержень (Г = L)

L >> d*

L >> d,

H << L

L >> d,

H << L

6. Вертикальный стержень (Г = 1)

l >> d

l >> d,

h > l/2

* Для плоской ленты шириной b следует принимать d = b/2

Таблица 8.5.

Удельное электрическое сопротивление горных пород ρ

Таблица 8.6.

Рекомендуемые расчетные значения удельного электрического сопротивления верхнего слоя земли (мощностью не более 50 м)

Слой земли

Сопротивление земли, Ом · м

Песок (при температуре выше 0 °С):

 

сильно увлажненный грунтовыми водами

10 - 60

умеренно увлажненный

60 - 130

влажный

130 - 400

слегка влажный

400 - 1500

сухой

1500 - 4200

Суглинок:

 

сильно увлажненный грунтовыми водами (при температуре выше 0 °С)

10 - 60

промерзший слой (при температуре -5 °С)

60 - 190

Глина (при температуре выше 0 °С)

20 - 60

Торф:

 

при температуре около 0 °С

40 - 50

при температуре выше 0 °С

10 - 40

Солончаковые почвы (при температуре выше 0 °С)

15 - 25

Щебень:

 

сухой

Не менее 5000

мокрый

Не менее 3000

Дресва (при температуре выше 0 °С)

5500

Гранитное основание (при температуре выше 0 °С)

22500

Монтаж заземлителей

8.22. До начала электромонтажных работ строительная организация должна закончить работы по планировке, рытью траншей или котлованов.

Работы по соединению арматуры фундаментов с арматурой колонн должна выполнять строительная организация по строительному заданию к проекту, выданному проектировщиками-электриками. Замоноличиваемые соединения внутри арматуры железобетонных изделий должны быть переданы строителями по акту скрытых работ заказчику.

8.23. Конструктивные узлы и транспортабельные части заземлителей должны быть изготовлены в мастерских электрозаготовок.

8.24. Заземлители должны быть очищены от ржавчины, следов масла и т.д. Погружение электродов в грунт следует выполнять с помощью специальных приспособлений.

8.25. Соединение частей заземлителя, а также соединение заземлителей с заземляющими проводниками следует выполнять при помощи сварки (рис. 8.6, 8.7).

Сварные швы, расположенные в земле, следует покрывать битумным лаком.

Рис. 8.6. Соединение заземляющих проводников с вертикальными заземлителями:

1 - стержневой заземлитель; 2 - заземляющий проводник из круглой стали; 3 - заземляющий проводник из полосовой стали; 4 - заземлитель из угловой стали

8.26. Присоединение заземляющих проводников к трубопроводам должно осуществляться либо сваркой, либо с помощью хомута (рис. 8.8).

Присоединение к трубопроводу заземляющего проводника с помощью хомута следует применять только в случае невозможности присоединения заземляющих проводников сваркой.

При установке хомутов контактная поверхность трубопровода Должна быть зачищена до металлического блеска, а контактная поверхность хомутов - облужена. Хомуты должны быть изготовлены из полосовой стали шириной не менее 40 мм и толщиной 4 мм. Присоединение заземляющего проводника к хомуту следует выполнять сваркой.

Рис. 8.7. Соединение заземляющих проводников с горизонтальными заземлителями:

а - продольное соединение проводников из полосовой стали; б - ответвление проводника из полосовой стали; в - ответвление проводника из круглой стали; г - продольное соединение проводников из полосовой и круглой стали; д - продольное соединение проводников из круглой стали; е - ответвление проводника из круглой стали; 1 - стальная полоса; 2 - сталь круглая

8.27. При работе на отдаленных объектах и линиях электропередачи рекомендуется соединение частей заземлителей с заземляющими проводниками выполнять термитной сваркой (рис. 8.9, 8.10).

8.28. После монтажа заземляющих устройств перед засыпкой траншеи должен быть составлен акт на скрытые работы, а также паспорт на заземляющее устройство.

Рис. 8.8. Присоединение заземляющего проводника к трубопроводу сваркой (а - в) и с помощью хомута (г):

1 - заземляющий проводник из полосовой стали; 2 - трубопровод; 3 - заземляющий проводник из круглой стали; 4 - хомут

Рис. 8.9. Соединение стальных полос и стержней, выполненные термитной сваркой

Рис. 8.10. Ответвления стальных заземляющих проводников, выполненные термитной сваркой

Паспорт на заземляющее устройство должен содержать схему заземления, основные технические данные, данные о результатах проверки состояния заземляющего устройства, о характере ремонтов и изменений, внесенных в данное устройство.

Форма № 47

_____________________________________

(министерство и ведомство)

_____________________________________

(трест)

_____________________________________

(монтажное управление)

_____________________________________

(участок)

_____________________________________

(город)

_____________________________________

(заказчик)

_____________________________________

(объект)

_______________________________ 200_ г.

АКТ
освидетельствования скрытых работ по монтажу заземляющих устройств и присоединений к естественным заземляющим устройствам

Осмотром выполненных работ по монтажу заземляющего устройства установлено:

1) заземляющее устройство выполнено в соответствии с проектом ________________, разработанным _____________________________________________

(название)                                                                          (проектная организация)

по чертежам _______________.

                                (номер)

2) отступления от проекта __________________________________________________

___________________________________________________________________________

___________________________________________________________________________

___________________________________________________________________________

___________________________________________________________________________

___________________________________________________________________________

согласованы с _______________________________________________________________

                                                          (организация, должность, фамилия, имя, отчество)

и внесены в чертежи _________________________________________________________

                                                                                       (номера)

3) характеристика заземляющего устройства

№ пп

Элементы заземляющего устройства

Параметры элементов заземляющего устройства

Примечание

Материал

Профиль

Размеры, мм

Количество

Глубина заложения от планировочной отметки

1) характер соединений элементов заземляющего устройства между собой и присоединение их к естественным заземляющим устройствам ______________________

___________________________________________________________________________

2) выявленные дефекты: ___________________________________________________

___________________________________________________________________________

3) заключение. Заземляющее устройство может быть засыпано землей на участках: _

___________________________________________________________________________

___________________________________________________________________________

Оформляется подписями представителей заказчика, строительной организации, электромонтажной организации.

Форма № 48

_____________________________________

(министерство и ведомство)

_____________________________________

(трест)

_____________________________________

(монтажное управление)

_____________________________________

(участок)

_____________________________________

(город)

_____________________________________

(заказчик)

_____________________________________

(объект)

_______________________________ 200_ г.

АКТ
осмотра и проверки состояния открыто проложенных заземляющих проводников

1. Прокладка заземляющих проводников выполнена в соответствии с проектом _____________________, разработанным ________________________________________

       (название)                                                                                           (проектная организация)

по чертежам _____________________________.

                                                       (номер)

2. Обрывов заземляющих проводников _______________________________________

___________________________________________________________________________

(не обнаружено)

3. Визуальный осмотр мест сварки показал: ___________________________________

___________________________________________________________________________

4. Визуальный осмотр болтовых соединений показал: __________________________

___________________________________________________________________________

(указать наличие неудовлетворительных контактов,

___________________________________________________________________________

а также наличие антикоррозионной защиты и отличительной окраски)

5. Выявленные дефекты: ___________________________________________________

___________________________________________________________________________

6. Заключение ____________________________________________________________

___________________________________________________________________________

Оформляется подписями проверяющего и производителя работ (мастера).

ГЛАВА 9. ЭЛЕКТРОУСТАНОВКИ В РАЙОНАХ С УДЕЛЬНЫМ СОПРОТИВЛЕНИЕМ ГОРНЫХ ПОРОД БОЛЕЕ 500 ОМ · М

9.1. Заземляющие устройства электроустановок в районах с удельным сопротивлением горных пород более 500 Ом · м рекомендуется выполнять с соблюдением требований, обеспечивающих безопасные значения тока и напряжения прикосновения при повреждении изоляции (см. 3.5. - 3.8., 4.4. - 4.7., 5.1. - 5.17., 6.2., 6.3.).

В скальных горных породах допускается прокладывать горизонтальный заземлитель на меньшей глубине, чем этого требуют 3.4., 3.7., 3.8., 3.9., но не менее чем 0,15 м.

9.2. Сооружение искусственных заземлителей допускается только в тех случаях, когда расчётные значения тока и напряжения прикосновения при использовании естественных заземляющих устройств превышают соответствующие предельно допустимые значения или не обеспечиваются нормированные значения напряжения на заземляющем устройстве.

9.3. При сооружении искусственных заземлителей в дополнение к рекомендациям 3.4., 3.7., 3.9., 4.8. рекомендуется устройство вертикальных заземлителей увеличенной длины, если с глубиной удельное сопротивление горных пород снижается, а естественные протяжённые заземлители (например, обсадные трубы буровых скважин) отсутствуют.

Использование естественных протяженных заземлителей

9.4. В районах многолетней мерзлоты кроме рекомендаций, приведённых в 9.3., рекомендуется использовать естественные вертикальные (обсадные трубы буровых скважин) и горизонтальные (трубопроводы, технологические эстакады) протяжённые заземлители.

9.5. Заземляющие устройства электроустановок напряжением выше 1 кВ, а также электроустановок до 1 кВ с изолированной нейтралью (система IT) допускается выполнять с соблюдением требований к их сопротивлению и конструктивному выполнению (3.3., 3.4., 3.8. - 3.10., 4.8.). В этом случае допускается повысить требуемые настоящей главой значения норм сопротивлений заземляющих устройств в 0,002ρ раз, где ρ - эквивалентное удельное сопротивление горной породы, Ом · м. При этом увеличение требуемых настоящей главой норм сопротивлений заземляющих устройств должно быть не более десятикратного.

ГЛАВА 10. ОСОБЕННОСТИ МОНТАЖА ЗАЗЕМЛЯЮЩИХ УСТРОЙСТВ

10.1. Распределительные устройства

10.1.1. При вертикальной установке фаз бетонных или деревянных реакторов должны быть заземлены фланцы опорных изоляторов нижней фазы и фланцы распорных (при наличии таковых) изоляторов верхней фазы. При горизонтальном расположении фаз реакторов заземляющие проводники следует присоединять к заземляющим болтам фланцев изоляторов каждой фазы. Заземляющие проводники не должны образовывать вокруг реакторов замкнутых контуров.

10.1.2. У трансформаторов тока должны быть заземлены корпус, каждая закороченная (неиспользуемая вторичная) обмотка, а также все остальные вторичные обмотки, если это предусмотрено проектом. Вторичные обмотки заземляются с помощью перемычки из медного провода между одним из зажимов вторичной обмотки и заземляющим винтом на корпусе трансформатора тока. Каждая вторичная обмотка должна быть заземлена только в одной точке.

10.1.3. Батареи статических конденсаторов следует заземлять путем присоединения заземляющего проводника к заземляющему болту бака каждого конденсатора, а вентильных разрядников - к заземляющим болтам основания (цоколя) каждой фазы непосредственно или через счетчик срабатываний.

10.1.4. У силовых трансформаторов с заземленной нейтралью вторичной обмотки трансформатора напряжением до 1000 В нейтраль трансформатора должна соединяться с заземлителем отдельным проводником (рис. 10,1, а).

Нейтраль трансформатора должна быть заземлена. Заземление нейтрали осуществляется отдельным проводником, присоединенным к ближайшим металлическим частям строительных конструкций. Для этих целей в первую очередь необходимо использовать металлические и железобетонные колонны.

В установках с изолированной нейтралью заземление обмотки трансформатора напряжением до 1000 В осуществляется через пробивной предохранитель в соответствии с проектом (рис. 10.1, б).

Для заземления корпуса силового трансформатора заземляющий проводник следует присоединить к заземляющему болту на корпусе трансформатора. Это присоединение должно быть выполнено так, чтобы не было необходимости нарушения проводки при выкатке трансформатора.

10.1.5. В помещениях распределительных устройств (РУ), щитов управления и защиты, КТП и ЩСУ в качестве магистрали заземления (зануления) следует использовать стальные и железобетонные каркасы промышленных зданий, металлические обрамления кабельных каналов, а также закладные элементы при установке КСО, КРУ, ЩУ и т.п.

Отдельные участки магистрали, образованной металлическим обрамлением кабельных каналов, а также закладными элементами для установки КСО, КРУ, ЩУ и т.п. должны быть надежно сварены. Специально заземляющие проводники надлежит прокладывать только для соединения обрамлений каналов и закладных элементов между собой и присоединения их к заземляющему устройству.

Рис. 10.1. Заземление силового трансформатора с заземленной нейтралью вторичной обмотки напряжением до 1000 В (а) и с изолированной нейтралью (б)

1 - заземляющий болт; 2 - гибкая перемычка; 3 - магистраль заземления (зануления); 4 - пробивной предохранитель

Каждый шкаф КРУ, КСО и каждая панель защиты или управления должны быть присоединены сваркой не менее чем в двух местах к закладным деталям или обрамлениям каналов, образующим магистраль заземления (зануления). При этом площадь сечения сварных соединений не должна быть меньше площади сечения стального нулевого защитного проводника.

При использовании конструкций зданий в качестве заземляющих устройств каждый шкаф КРУ, КСО и каждая панель защиты или управления должны быть присоединены при помощи стальной полосы или прутка к стальной колонне или к закладному элементу железобетонной колонны каркаса здания.

10.1.6. Заземляющий проводник должен быть приварен к основным рамам дверей ограждения бетонных ячеек распределительных устройств.

10.1.7. Металлические конструкции открытых распределительных устройств заземляют путем приваривания заземляющего проводника к основанию (нижней части) конструкции. Отдельные звенья конструкции должны быть соединены между собой сваркой.

10.1.8. У масляных выключателей и приводов к ним, у опорных изоляторов, линейных выводов, проходных изоляторов, предохранителей высокого напряжения, добавочных сопротивлений, автоматических выключателей и т.п. заземляющий проводник должен быть присоединен к заземляющему болту.

10.1.9. Трансформаторы напряжения следует заземлять путем присоединения заземляющего проводника к заземляющему болту на кожухе (корпусе).

Нулевая точка обмотки высокого напряжения (в случаях, указанных в проекте) должна быть присоединена медным проводом к заземляющему болту на кожухе (корпусе) трансформатора. Нулевая точка или фазный провод обмотки низкого напряжения должна быть присоединена либо к заземляющему болту на кожухе (корпусе) трансформатора, либо к клеммным зажимам в соответствии с указаниями, приведенными в проекте.

10.1.10. Вывод PEN-проводника от нейтрали генератора или трансформатора на щит распределительного устройства должен быть выполнен при выводе фаз шинами - шиной на изоляторе, а при выводе фаз кабелем (проводом) - жилой кабеля (провода).

Проводимость PEN-проводника, идущего от нейтрали генератора или трансформатора, должна быть не менее 50 % проводимости вывода фаз.

10.1.11. PEN-проводники, отходящие от нулевой шины (независимо от того, установлена она на изоляторах или нет), должны иметь изоляцию, соответствующую напряжению данной сети.

10.2. Кабельные сети

10.2.1. Металлические корпуса кабельных муфт, защитных противопожарных кожухов, кабельных вводов в трансформаторы и КРУ; металлические оболочки, экраны и броня кабелей; панцирные оплетки проводов, а также металлические конструкции, по которым или в которых прокладывают кабели и провода, должны быть заземлены.

10.2.2. Металлические оболочки и броня кабелей должны быть соединены гибкой медной перемычкой между собой (рис. 10.2) и с металлическим корпусом муфт.

Рис. 10.2. Заземление кабеля с металлической оболочкой и ленточной броней на концевой заделке

1 - оболочка кабеля: 2 - броня; 3 - провод заземления; 4 - место пайки; 5 - бандаж, скрепляющий оконцевание брони

Допускается для соединительных и концевых муфт использовать заземляющие перемычки в виде медной шины требуемого сечения толщиной не менее 2 мм.

Заземляющую перемычку из медной шины следует присоединять при помощи пайки.

10.2.3. Сечение гибких соединительных перемычек для силовых кабелей в установках до и выше 1000 В при отсутствии указаний в проекте должно быть не менее значений, приведенных ниже, мм2:

Сечение жилы кабеля                                    6                   10              16 - 35               50

Сечение медной перемычки                          6                     10                  16                    25

Заземление металлических оболочек контрольных кабелей следует выполнять медными проводниками сечением не менее 4 мм2.

10.2.4. В сырых помещениях, туннелях и каналах места пайки необходимо покрывать антикоррозионным составом.

10.2.5. Если на опорной конструкции установлены концевые муфты и комплект разрядников, то броня, металлические оболочки и экраны кабелей, а также металлические корпуса кабельных муфт, должны быть присоединены к заземляющему устройству разрядников.

Использование в качестве заземляющего устройства только металлической оболочки, экрана и брони кабеля запрещается.

10.3. Воздушные линии электропередачи

ВЛ напряжением до 1 кВ

10.3.1. В сетях с заземленной нейтралью крюки и штыри фазных проводов, устанавливаемые на железобетонных опорах, а также металлические конструкции и арматура этих опор, должны быть присоединены защитным проводником к PEN-проводнику.

Заземляющие проводники должны иметь диаметр не менее 8 мм.

Крюки и штыри фазных проводов, устанавливаемые на деревянных опорах, заземлению не подлежат, за исключением крюков и штырей на опорах, где выполнены повторные заземления PEN- проводника и заземления защиты от атмосферных перенапряжений, а также во всех случаях, когда по опоре проложен неизолированный заземляющий проводник или кабель с металлической заземленной оболочкой.

10.3.2. В сетях с заземленной нейтралью арматура изоляторов всех типов, оттяжки, кронштейны, осветительная арматура, установленные на металлических и железобетонных опорах, должны быть присоединены к PEN-проводнику, который должен быть заземлен у трансформатора и повторно на линии согласно проекту.

Соединение с PEN-проводником необходимо производить перемычкой из голого проводника, которую следует присоединить к PEN-проводнику специальными ответвительными болтовыми зажимами.

Заземляющие перемычки присоединяют к опоре болтовым зажимом, установленным непосредственно на металлической опоре или траверсе (рис. 10.3), а к железобетонной опоре - с помощью специального вывода, соединенного с арматурой опоры.

Рис. 10.3. Заземление металлической опоры воздушной линии электропередачи напряжением до 1000 В в сетях с заземленной нейтралью

1 - PEN-проводник; 2 - ответвительный зажим; 3 - заземляющая перемычка; 4 - заземляющий винт

10.3.3. Заземление опор наружного освещения с кабельным питанием необходимо производить через нулевую жилу, соединенную с оболочкой кабеля, в сетях с заземленной нейтралью.

10.3.4. Оттяжки металлических и железобетонных опор ВЛ, закрепленные нижним концом на высоте менее 2,5 м от земли, должны быть либо заземлены с сопротивлением заземляющего устройства не более 10 Ом, либо изолированы при помощи натяжного изолятора, рассчитанного на напряжение ВЛ и установленного на высоте не менее 2,5 м от земли.

Заземление оттяжек на деревянных опорах не требуется.

ВЛ напряжением 3 - 35 кВ

10.3.5. На ВЛ напряжением 3 - 35 кВ должны быть заземлены:

1) опоры, имеющие грозозащитный трос или другие устройства защиты;

2) железобетонные и металлические опоры;

3) опоры, на которых установлены силовые или измерительные трансформаторы, разъединители, предохранители или другие аппараты.

10.3.6. Значения сопротивления заземляющих устройств опор должны обеспечиваться применением искусственных заземлителей, а естественная проводимость фундаментов, подземных частей опор и пасынков (приставок) при расчетах не должна учитываться.

10.3.7. Горизонтальные заземлители ВЛ, как правило, должны находиться на глубине не менее 0,5 м, а в пахотной земле - на глубине 1 м. В случае установки опор в скальных грунтах допускается прокладка лучевых заземлителей непосредственно под разборным слоем над скальными породами при толщине слоя не менее 0,1 м. При меньшей толщине этого слоя или в случае его отсутствия рекомендуется прокладка заземлителей по поверхности скалы с заливкой их цементным раствором.

10.3.9. Железобетонные фундаменты опор ВЛ могут быть использованы в качестве естественных заземлителей при осуществлении металлической связи между анкерными болтами и арматурой фундамента.

Наличие битумной обмазки на железобетонных опорах и фундаментах, используемых в качестве естественных заземлителей, не должно учитываться.

10.3.9. Для заземления железобетонных опор в качестве заземляющих проводников следует использовать все те элементы напряженной и ненапряженной продольной арматуры стоек, которые металлически соединены между собой и могут быть присоединены к заземлителю.

Оттяжки железобетонных опор следует использовать в качестве заземляющих проводников дополнительно к арматуре. При этом свободный конец тросов оттяжек должен быть присоединен к рабочей части оттяжек при помощи специального зажима.

Тросы и детали крепления изоляторов к траверсе железобетонных опор должны быть металлически соединены с заземляющим спуском или заземленной арматурой.

10.3.10. Каждый из заземляющих проводников опор ВЛ должен иметь сечение 50 мм2 при стальных многопроволочных проводниках и диаметр не менее 10 мм при оцинкованных стальных одно-проволочных проводниках.

На ВЛ с деревянными опорами рекомендуется болтовое соединение заземляющих проводников, на металлических и железобетонных опорах соединение заземляющих проводников может быть выполнено как сварным, так и болтовым.

10.4. Электрические машины

10.4.1. Электрические машины, установленные на металлических заземленных основаниях (корпусах станков, опорных рамах, плитах и т.п.), дополнительно заземлять не требуется.

Электрические машины, установленные на вибрирующем основании или на салазках, необходимо заземлять (занулять) с помощью гибкой перемычки между неподвижным заземляющим (нулевым защитным) проводником и корпусом электродвигателя.

10.4.2. Двигатель-генераторы, состоящие из машин напряжением до 1 кВ, следует заземлять путем присоединения заземляющих (нулевых защитных) проводников к заземляющим винтам статоров. У машин напряжением выше 1000 В заземляющие проводники следует присоединять к заземляющим винтам как статора, так и фундаментам плиты.

Заземление обмоток машин необходимо выполнять в соответствии с проектом.

10.4.3. У машин, имеющих на статоре два винта (болта) заземления (турбогенераторы, гидрогенераторы, синхронные компенсаторы), заземляющие проводники должны быть подведены также к заземляющим винтам (болтам) фундаментных плит и систем водоснабжения газоохладителей.

Съемные металлические кожухи, закрывающие токоведущие части, кроме кожуха траверсы, если он не установлен на изолированном подшипнике, должны быть электрически соединены с заземленным корпусом турбогенератора.

Внешние трубопроводы подачи и слива дистиллята, а также трубопроводы продувки коллекторов, трубопроводы обмотки статора должны быть заземлены не менее чем в двух точках.

10.4.4. При наличии у машин стояков подшипников, имеющих электрическую изоляцию от фундаментной плиты, заземляющие проводники должны быть проложены на расстоянии не менее 50 мм от изолированного стояка и от присоединенных к нему маслопроводов.

10.5. Отдельные аппараты, щитки, шкафы и ящики с электрооборудованием напряжением до 1 кВ

10.5.1. Присоединение стальных заземляющих проводников к корпусам аппаратов следует выполнять с помощью болтового соединения. Контактные поверхности при этом должны быть зачищены до металлического блеска и покрыты противокоррозионной смазкой, например по ГОСТ 19537-83 «Смазка пушечная. Технические условия» или по ГОСТ 6267-74* «Смазка ЦИАТИМ-201. Технические условия».

10.5.2. В шкафах, ящиках, щитах должна быть предусмотрена общая шина, к которой следует присоединять зануляемые части отдельных аппаратов. К этой шине должен быть присоединен корпус шкафа, ящика, щита и т.д., а также медные проводники для зануления проводов с металлической оболочкой, перемычки от металлических труб электропроводки и т.п. Заземляющую шину щита (шкафа, ящика) следует присоединять к РЕ- или PEN-проводнику питающей линии или к магистрали зануления.

10.5.3. Металлические дверцы щитка, шкафа, ящика должны быть занулены с помощью гибких медных перемычек между дверцей и металлическим зануленным неподвижным каркасом щита, шкафа, ящика.

10.5.4. К одному зануляющему болту (винту) запрещается присоединять более двух кабельных наконечников. На заземляющей (нулевой) шине должны быть предусмотрены болтовые присоединения необходимого числа заземляющих, нулевых защитных и нулевых рабочих проводников.

10.5.5. Не требуется преднамеренно занулять корпуса электрооборудования и аппаратов, установленных на зануленных металлических конструкциях, распределительных устройствах, щитах, шкафах, щитках, станинах станков, машин и механизмов, при условии обеспечения надежного электрического контакта с зануленными основаниями.

10.6. Передвижные электроустановки

10.6.1. Электроприемники передвижных установок должны получать питание от стационарных или передвижных источников питания электроэнергией с заземленной нейтралью (система TN) (рис. 10.4). При этом характеристики устройств защиты должны обеспечивать предельно допустимые времена отключения согласно табл. 5.1.

Передвижные источники могут использоваться для питания электроприемников стационарных или передвижных электроустановок.

При питании стационарных электроприемников от автономных передвижных источников режим нейтрали источника питания и защитные меры должны соответствовать режиму и защитным мерам, принятым в сетях стационарных электроприемников.

Рис. 10.4. Система TN-C-8

1 - заземлитель нейтрали источника питания; 2 - открытые проводящие части

10.6.2. При питании электроприемников передвижных установок от стационарных или передвижных источников с заземленной нейтралью зануление следует выполнять в сочетании с защитным отключением (рис. 10.5).

При выполнении зануления передвижных электроустановок проводимость РЕ-проводников должна соответствовать требованиям главы 7.

10.6.3. Корпуса электроприемников передвижной установки должны иметь надежную металлическую связь с корпусом этой установки (рис. 10.6).

10.6.4. При выполнении электрической связи корпуса источника питания с корпусом передвижной установки в качестве РЕ-проводника электрической связи корпусов электрооборудования должна использоваться специальная жила кабеля в трехфазных и однофазных сетях при системе питания TN-S (рис. 10.6).

Рис. 10.5. Электроустановка, питающая строительную площадку небольших размеров

1 - источник питания; 2 - дифференциальный выключатель; 3 - бетономешалка; 4 - электропила; 5 - защитный проводник; 6 - заземляющий проводник; 7 - распределительный щит; 8 - усиленная изоляция; 9 - заземлитель; 10 - переносное освещение; 11 - заземлитель фундаментного типа

Рис. 10.6. Электроустановка, питающая строительную площадку средних размеров

1 - главный распределительный щит; 2 - распределительный шит, питающий стационарное электрооборудование; 3 - подземный кабель; 4 - воздушная линия; 5 - защитный проводник; 6 - заземляющий проводник; 7 - распределительный щит, питающий передвижное и переносное электрооборудование; 8 - усиленная изоляция; 9 - заземлитель; 10 - переносное освещение; 11 - заземлитель фундаментного типа

10.6.5. Защитные проводники, включая проводники электрической связи корпусов оборудования, должны быть медными, находиться в общей оболочке с фазными проводниками и иметь равное с ними сечение.

10.6.6. В автономных передвижных источниках электроэнергии трехфазного тока допускается использование PEN-проводника на участке от нейтрали генератора до зажимов на щите распределительного устройства (система TN-C).

10.6.7. В передвижных электроустановках с автономными передвижными источниками питания допускается наличие разъединяющих приспособлений в цепях всех проводников (фазных, нулевых, защитных), если эти разъединяющие приспособления отключают все фазные и нулевые проводники одновременно с отключением защитных проводников или ранее.

Рис. 10.7. Схема питания, обеспечивающая последовательную селективность защиты при использовании УЗО-Д

10.6.8. В случае применения в качестве меры защиты в передвижных электроустановках защитного отключения, питающее напряжение должно отключаться устройствами, установленными до ввода в установку, при этом рекомендуется, чтобы в зону защиты входил и кабель, используемый для электроснабжения указанных передвижных электроустановок (рис. 10.7).

10.7. Краны

10.7.1. Части кранов, подлежащие занулению, должны быть присоединены к металлическим конструкциям крана, при этом должна быть обеспечена непрерывность электрической цепи металлических конструкций.

10.7.2. Рельсы кранового пути должны быть надежно соединены на стыках сваркой, приваркой перемычек соответствующего сечения, приваркой к металлическим подкрановым балкам для создания непрерывной электрической цепи, а также занулены.

При установке крана на открытом воздухе рельсы кранового пути, кроме того, должны быть соединены между собой (рис. 10.8) и заземлены не менее чем в двух разных местах, если сопротивление растеканию самих рельсов недостаточно.

10.7.3. При питании крана кабелем отдельная жила для зануления должна находиться в общей оболочке с остальными жилами.

10.7.4. Корпус кнопочного аппарата управления крана, управляемого с пола, должен быть изготовлен либо из изоляционного материала, либо занулен не менее чем двумя проводниками.

В качестве одного из этих проводников может быть использован тросик, на котором подвешен кнопочный аппарат управления.

10.7.5. Троллейные конструкции должны быть занулены.

Для зануления пневмоколесных кранов должны применяться заземлители в соответствии с ГОСТ 16556-81 «Заземлители для передвижных электроустановок. Общие технические условия».

Рис. 10.8. Схема заземления (зануления) крана, установленного на открытом воздухе и питающегося по гибкому кабелю

1 - заземлитель; 2 - вторичная обмотка питающего трансформатора; 3 - неподвижный четырехжильный питающий кабель; 4 - гибкий переносной питающий кабель; 5 - кран; 6 - рельсовые пути крана; 7 - перемычка; 8 - вводно-распределительное устройство

10.8. Лифты

10.8.1. Металлические направляющие кабины и противовеса, а также корпуса лебедок, металлические оболочки кабелей и проводов, металлические рукава и трубы электропроводок, а также металлические конструкции, на которых установлено электрооборудование, металлические конструкции ограждения шахты и другие электропроводящие конструкции и элементы лифтов (подъемников) должны иметь надежное электрическое соединение с сетью зануления.

10.8.2. Для зануления электрооборудования шахты лифта нулевые защитные проводники необходимо присоединить к стоякам дверей шахты, соединенным между собой полосой заземления. Стояк двери шахты верхней остановки следует соединить с нулевым защитным проводником машинного помещения.

В качестве дополнительного РЕ-проводника в шахте рекомендуется использовать стояки трубопровода электропроводки, соединенные между собой уравнивающими проводниками.

10.8.3. Электрооборудование машинного помещения лифтовых установок, подлежащее занулению, необходимо присоединить к магистрали зануления при помощи параллельных ответвлений. Ответвления представляют собой стальную полосу того же сечения, что и магистраль зануления, один конец которой приварен к магистрали, а другой - к зануляемой конструкции. Ответвления присоединяются к аппаратам при помощи болтового соединения.

10.8.4. Зануление электрооборудования, установленного на кабине, а также на элементах лифтов, подверженных ударам и вибрациям, должно быть выполнено гибкими проводниками.

10.8.5. Для зануления кабины лифта, имеющей электрооборудование, следует использовать одну из жил подвесного кабеля или один из проводов токопровода, присоединенного к металлической части кабины при помощи болтового соединения. Рекомендуется использовать в качестве дополнительного РЕ-проводника экранирующие оболочки и несущие тросы кабелей токопроводов, а также стальные канаты кабины.

10.8.6. Металлические направляющие кабины и противовеса должны быть присоединены к сети зануления в верхней и нижней части. При этом соединение стыков направляющих должно обеспечивать непрерывность электрической цепи.

Использование металлических направляющих кабины и противовеса лифтов (подъемников) в качестве магистралей зануления запрещается.

10.8.7. Магистрали зануления лифтов группового управления должны быть электрически соединены между собой уравнивающими проводниками.

10.9. Переносные электроприёмники

10.9.1. Питание переносных электроприёмников следует выполнять от сети напряжением не выше 380/220 В, при этом характеристики устройств защиты должны обеспечивать предельно допустимые времена отключения для системы TN согласно табл. 5.1.

В зависимости от категории помещения по уровню опасности поражения людей электрическим током переносные электроприемники могут питаться либо непосредственно от сети, либо через безопасные разделяющие или понижающие трансформаторы.

10.9.2. Зануление металлических корпусов переносных электроприемников следует выполнять:

1) при номинальном напряжении выше 50 В переменного тока и выше 120 В постоянного тока - во всех электроустановках;

2) при номинальном напряжении выше 25 В переменного тока и выше 60 В постоянного тока в помещениях с повышенной опасностью, особо опасных и в наружных установках, за исключением электроприемников с двойной изоляцией или питающихся от безопасных разделяющих трансформаторов.

10.9.3. Зануление переносных электроприёмников должно осуществляться специальной жилой (третья - для электроприёмников однофазного и постоянного тока, четвёртая или пятая - для электроприёмников трёхфазного тока), расположенной в одной оболочке с фазными жилами и присоединяемой к корпусу электроприемника и к специальному контакту вилки втычного соединителя (см. 10.9.4.). Сечение этой жилы должно быть равным сечению фазных проводников. Использование для этой цели нулевого рабочего проводника, в том числе расположенного в общей оболочке, не допускается.

Жилы проводов и кабелей, используемые для зануления переносных электроприёмников, должны быть гибкими, медными сечением не менее 1,5 мм2.

10.9.4. Во втычных соединителях переносных электроприёмников, удлинительных проводов и кабелей к розетке должны быть подведены проводники со стороны источника питания, а к вилке - со стороны электроприёмников.

Втычные соединители должны иметь специальные контакты, к которым присоединяются РЕ-проводники.

Соединение между этими контактами при включении должно устанавливаться до того, как войдут в соприкосновение контакты фазных проводников. Порядок разъединения контактов при отключении должен быть обратным.

Конструкция втычных соединителей должна быть такой, чтобы была исключена возможность соединения контактов фазных проводников с контактами зануления.

Если корпус втычного соединителя выполнен из металла, он должен быть электрически соединён с контактом зануления.

10.9.5. РЕ-проводник переносных проводов и кабелей должны иметь отличительный признак.

10.10. Электрическое освещение

Общие требования

10.10.1. Для питания осветительных приборов общего внутреннего и наружного освещения должно применяться напряжение не выше 220 В переменного или постоянного тока. В помещениях без повышенной опасности напряжение 220 В может применяться для всех стационарно установленных осветительных приборов вне зависимости от высоты их установки.

10.10.2. В помещениях с повышенной опасностью и особо опасных при высоте установки светильников общего освещения над полом или площадкой обслуживания менее 2,5 м необходимо применять светильники класса защиты II или III. Допускается использование светильников класса защиты I, в этом случае цепь должна быть защищена дифференциальными автоматическими выключателями с током срабатывания до 30 мА.

10.10.3. В установках освещения фонтанов и бассейнов номинальное напряжение питания погружаемых в воду осветительных приборов должно быть не более 12 В (система БСНН).

10.10.4. Для питания светильников местного стационарного освещения с лампами накаливания должны применяться напряжения: в помещениях без повышенной опасности - не выше 220 В (защита при косвенном прикосновении обеспечивается посредством автоматического отключения питания) и в помещениях с повышенной опасностью и особо опасных - не выше 25 В (защита при косвенном прикосновении обеспечивается посредством системы БСНН).

В помещениях с повышенной опасностью и особо опасных допускается напряжение до 220 В. В этом случае защита при косвенном прикосновении обеспечивается посредством автоматического отключения питания, а кроме основной защиты от прямого прикосновения посредством основной изоляции должна быть обеспечена дополнительная защита при случайном непреднамеренном прямом прикосновении к опасным токоведущим частям посредством УЗО-Д с током уставки IΔn не выше 30 мА.

Для питания светильников местного освещения с люминесцентными лампами должно применяться напряжение не выше 220 В. При этом в помещениях сырых, особо сырых, жарких и с химически активной средой применение люминесцентных ламп для местного освещения допускается только в арматуре специальной конструкции.

Лампы ДРЛ, ДРИ, ДРИЗ и ДНаТ должны применяться для местного освещения при напряжении не выше 220 В в арматуре, специально предназначенной для местного освещения.

10.10.5. Для питания переносных светильников в помещениях с повышенной опасностью и особо опасных должно применяться напряжение не выше 25 В (защита при прямом и косвенном прикосновении обеспечивается посредством системы БСНН).

При наличии особо неблагоприятных условий, а именно когда опасность поражения электрическим током усугубляется теснотой, неудобным положением работающего, соприкосновением с большими металлическими, хорошо заземленными поверхностями (например, работа в котлах), и в наружных установках для питания ручных светильников, должно применяться напряжение не выше 12 В (система БСНН).

Переносные светильники, предназначенные для подвешивания или устанавливаемые на переставных стойках независимо от высоты установки, а также настольные, напольные и т.п. приравниваются при выборе напряжения к стационарным светильникам местного стационарного освещения (п. 5.7.4.).

10.10.6. Питание светильников напряжением до 50 В должно производиться от безопасных разделяющих трансформаторов или от автономного источника тока (гальванического элемента, аккумулятора, двигатель-генератора), который обеспечивает степень безопасности, равноценную степени, обеспечиваемой безопасным разделяющим трансформатором.

Выполнение и защита осветительных сетей

10.10.7. Сечение PEN-проводников трехфазных четырехпроводных питающих и групповых линий с лампами люминесцентными, ДРЛ, ДРИ, ДРИЗ, ДНаТ при одновременном отключении всех фазных проводников линии должно выбираться:

1. Для участков сети, по которым протекает ток от ламп с компенсированными пускорегулирующими аппаратами, равным фазному, но не менее 10 мм2 для медных и 16 мм2 для алюминиевых проводников независимо от сечения фазных проводников.

2. Для участков сети, по которым протекает ток от ламп с некомпенсированными пускорегулирующими аппаратами, равным фазному при сечении фазных проводников менее или равном 16 мм2 для медных и 25 мм2 для алюминиевых проводников, но не менее 10 мм2 для медных и 16 мм2 для алюминиевых проводников независимо от сечения фазных проводников, и не менее 50 % сечения фазных проводников при больших сечениях, но не менее 16 мм2 для медных и 25 мм2 для алюминиевых проводников.

10.10.8. Установка предохранителей, автоматических и неавтоматических однополюсных выключателей в нулевых рабочих проводниках (N-проводниках) и в PEN-проводниках запрещается.

Защитные меры безопасности

10.10.9. Зануление установок электрического освещения должно выполняться согласно требованиям главы 5, а также дополнительным требованиям, приведенным в пп. 10.10.10. - 10.10.17., 10.10.19. и в разделе 2.1.

10.10.10. Зануление металлических корпусов светильников общего освещения с лампами накаливания и с лампами люминесцентными, ДРЛ, ДРИ, ДРИЗ, натриевыми со встроенными внутрь светильника пускорегулирующими аппаратами следует осуществлять присоединением к заземляющему винту корпуса светильника РЕ-проводника.

Зануление корпуса светильника ответвлением от нулевого рабочего проводника внутри светильника запрещается. При вводе в светильник проводов, не имеющих механической защиты, защитный проводник должен быть гибким.

10.10.11. Зануление металлических корпусов светильников местного освещения на напряжение выше 25 В должно удовлетворять следующим требованиям:

1. Защитный проводник (РЕ-проводник) должен быть присоединен к корпусу светильника.

2. Между корпусом светильника, металлической конструкцией, на которой светильник установлен, и металлическим кронштейном должно быть выполнено надежное электрическое соединение посредством специально предназначенных для этой цели уравнивающих проводников.

10.10.12. Зануление металлических корпусов светильников общего освещения с любыми источниками света в помещениях как без повышенной опасности, так и с повышенной опасностью и особо опасных, во вновь строящихся и реконструируемых жилых и общественных зданиях, а также в административно-конторских, бытовых, проектно-конструкторских, лабораторных и т.п. помещениях промышленных предприятий (приближающихся по своему характеру к помещениям общественных зданий) следует осуществлять в соответствии с требованиями раздела 10.11.

10.10.13. В помещениях без повышенной опасности производственных, жилых и общественных зданий при напряжении выше 50 В должны применяться переносные светильники класса I по ГОСТ 12.2.007.0-75 «ССБТ. Изделия электротехнические. Общие требования безопасности».

Групповые линии, питающие штепсельные розетки, должны выполняться в соответствии с требованиями раздела 10.11.

10.10.14. Защитные проводники в сетях с заземленной нейтралью в групповых линиях, питающих светильники общего освещения и штепсельные розетки (пп. 10.10.11, 10.10.12), нулевой рабочий и нулевой защитный проводники не допускается подключать под общий контактный зажим.

10.10.15. При выполнении зануления осветительных приборов наружного освещения должно выполняться также подключение железобетонных и металлических опор к РЕ-проводнику и к PEN- проводнику.

10.10.16. При установке осветительных приборов наружного освещения на железобетонных и металлических опорах электрифицированного городского транспорта осветительные приборы и опоры должны быть подсоединены к PEN-проводнику линии.

10.10.17. При питании наружного освещения воздушными линиями должна выполняться защита от атмосферных перенапряжений в соответствии с разделом 10.18.

10.10.18. При выполнении схем питания светильников и штепсельных розеток следует выполнять требования по установке дифференциальных автоматических выключателей и УЗО, изложенные в разделе 10.11.

10.10.19. Для установок наружного освещения: освещения фасадов зданий, монументов и т.п., наружной световой рекламы и указателей в сетях TN-S или TN-C-S должны быть применены дифференциальные автоматические выключатели с током срабатывания до 30 мА, при этом фоновое значение токов утечки должно быть, по крайней мере, в 3 раза меньше уставки срабатывания автоматического выключателя по дифференциальному току.

Внутреннее освещение. Общие требования

10.10.20. Питание светильника местного освещения может осуществляться при помощи ответвления от силовой цепи механизма или станка, для которых предназначен светильник.

Ответвление к светильникам местного освещения при напряжении более 25 В в пределах рабочего места должно выполняться в трубах, коробах, других механически прочных конструкциях из негорючих материалов.

Выполнение и защита сетей наружного освещения

10.10.21 В однофазных трехпроводных сетях (TN-S) наружного освещения, питающих осветительные приборы с разрядными лампами сечение нулевых рабочих проводников (N-проводников) должно быть равным фазному.

В трехфазных четырехпроводных сетях (TN-C) при одновременном отключении всех фазных проводников линии сечение РЕN-проводников должно выбираться:

1. Для участков сети, по которым протекает ток от ламп с компенсированными пускорегулирующими аппаратами, равным фазному, но не менее 10 мм2 для медных и 16 мм2 для алюминиевых проводников независимо от сечения фазных проводников.

2. Для участков сети, по которым протекает ток от ламп с некомпенсированными пускорегулирующими аппаратами равным фазному при сечении фазных проводников менее или равному 16 мм2 для медных и 25 мм2 для алюминиевых проводников, но не менее 10 мм2 для медных и 16 мм2 для алюминиевых проводников независимо от сечения фазных проводников, и не менее 50 % сечения фазных проводников при больших сечениях, но не менее 16 мм2 для медных и 25 мм2 для алюминиевых проводников.

Осветительные приборы

10.10.22. Зарядка кронштейнов осветительной арматуры местного освещения должна соответствовать требованию:

Провода необходимо заводить внутрь кронштейна или защищать иным путем от механических повреждений. Это требование не является обязательным для сетей напряжением до 25 В (система БСНН).

Электроустановочные устройства

10.10.23. Штепсельные розетки для переносных электроприемников с частями, подлежащими защитному заземлению, должны быть снабжены защитным контактом для присоединения РЕ проводника. При этом конструкция розетки должна исключать возможность использования токоведущих контактов в качестве контактов, предназначенных для защитного заземления.

Соединение между заземляющими контактами вилки и розетки должно устанавливаться до того, как войдут в соприкосновение токоведущие контакты; порядок отключения должен быть обратным. Заземляющие контакты штепсельных розеток и вилок должны быть электрически соединены с их корпусами, если они выполнены из токопроводящих материалов.

10.10.24. В трехпроводных сетях TN-S должны использоваться двухполюсные выключатели.

10.10.25. В групповых сетях при напряжении выше 25 В в помещениях с повышенной опасностью и особо опасных число полюсов выключателя должно быть равным числу рабочих проводников.

10.11. Электроустановки жилых, общественных, административных и бытовых зданий

Определения

10.11.1. Вводное устройство (ВУ) - совокупность конструкций, аппаратов и приборов, устанавливаемых на вводе питающей линии в здание или в его обособленную часть.

Вводное устройство, включающее в себя также аппараты и приборы отходящих линий, называется вводно-распределительным (ВРУ).

10.11.2. Главный распределительный щит (ГРЩ) - распределительный щит, через который снабжается электроэнергией все здания или его обособленная часть. Роль ГРЩ может выполнять ВРУ или щит низкого напряжения подстанции.

10.11.3. Распределительный пункт (РП) - устройство, в котором установлены аппараты защиты и коммутационные аппараты (или только аппараты защиты) для отдельных электроприемников или их групп (электродвигателей, групповых щитков).

10.11.4. Групповой щиток - устройство, в котором установлены аппараты защиты и коммутационные аппараты (или только аппараты защиты) для отдельных групп светильников, штепсельных розеток и стационарных электроприемников.

10.11.5. Квартирный щиток - групповой щиток, установленный в квартире и предназначенный для присоединения сети, питающей светильники, штепсельные розетки и стационарные электроприемники квартиры.

10.11.6. Этажный распределительный щиток - щиток, установленный на этажах жилых домов и предназначенный для питания квартир или квартирных щитков.

10.11.7. Электрощитовое помещение - помещение, доступное только для обслуживающего квалифицированного персонала, в котором устанавливаются ВУ, ВРУ, ГРЩ и другие распределительные устройства.

10.11.8. Питающая сеть - сеть от распределительного устройства подстанции или ответвления от воздушных линий электропередачи до ВУ, ВРУ, ГРЩ.

10.11.9. Распределительная сеть - сеть от ВУ, ВРУ, ГРЩ до распределительных пунктов и щитков.

10.11.10. Групповая сеть - сеть от щитков и распределительных пунктов до светильников, штепсельных розеток и других электроприемников.

Общие требования. Электроснабжение

10.11.11. Питание электроприемников должно выполняться от сети 380/220 В с системой заземления TN-S или TN-C-S.

10.11.12. В цепях РЕ и PEN проводников запрещается иметь коммутирующие контактные и бесконтактные элементы.

10.11.13. При размещении ВУ, ВРУ, ГРЩ, распределительных пунктов и групповых щитков вне электрощитовых помещений они должны устанавливаться в удобных и доступных для обслуживания местах, в шкафах со степенью защиты оболочки не ниже IP31.

Электропроводки и кабельные линии

10.11.14. В зданиях следует применять кабели и провода с медными жилами.

Питающие сети должны выполняться кабелями и проводами с медными жилами, если их расчетное сечение не превышает 16 мм2.

В жилых зданиях сечение медных проводников должны соответствовать расчетным значениям, но быть не менее указанных в таблице 10.1.

10.11.15. В жилых зданиях прокладка вертикальных участков распределительной сети внутри квартир не допускается.

Запрещается прокладка от этажного щитка в общей трубе, общем коробе или канале проводов и кабелей, питающих линии разных квартир.

10.11.16. Во всех зданиях линии групповой сети, прокладываемые от групповых, этажных и квартирных щитков до светильников общего освещения, штепсельных розеток и стационарных электроприемников, должны выполняться трехпроводными (фазный - L, нулевой рабочий - N и нулевой защитный - РЕ-проводники).

Не допускается объединение нулевых рабочих и нулевых защитных проводников различных групповых линий.

Нулевой рабочий и нулевой защитный проводники не допускается подключать на щитках под общий контактный зажим.

Сечения проводников должны отвечать требованиям п. 10.11.18.

10.11.17. Применение несменяемой замоноличенной прокладки проводов в панелях стен, перегородок и перекрытий, выполненной при их изготовлении на заводах стройиндустрии или выполняемой в монтажных стыках панелей при монтаже зданий, не допускается.

10.11.18. Однофазные двух- и трехпроводные линии, а также трехфазные пятипроводные линии при питании однофазных нагрузок, должны иметь сечение нулевых рабочих проводников (N-проводников), равное сечению фазных проводников.

Трехфазные пятипроводные линии при питании трехфазных симметричных нагрузок должны иметь сечение нулевых рабочих проводников (N-проводников), равное сечению фазных проводников, если фазные проводники имеют сечение до 16 мм2 по меди и 25 мм2 по алюминию, а при больших сечениях - не менее 50 % сечения фазных проводников.

Трехфазные четырехпроводные линии при питании трехфазных нагрузок должны иметь сечение PEN-проводников равным фазному при сечении фазных проводников менее или равному 16 мм2 для медных и 25 мм2 для алюминиевых проводников, но не менее 10 мм2 для медных и 16 мм2 для алюминиевых проводников независимо от сечения фазных проводников, и не менее 50 % сечения фазных проводников при больших сечениях, но не менее 16 мм2 для медных и 25 мм2 для алюминиевых проводников.

В однофазных трехпроводных линиях, а также в трехфазных пятипроводных линиях сечение РЕ-проводников должно равняться сечению фазных при сечении последних до 16 мм2 по меди, - 16 мм2 при сечении фазных проводников от 16 до 35 мм2 по меди и - 50 % сечения фазных проводников при больших сечениях.

Таблица 6.1.1

Наименьшие допустимые сечения кабелей и проводов электрических сетей в зданиях

Наименование линий

Наименьшее сечение кабелей и проводов с медными жилами, мм2

Система питания

Линии групповых сетей однофазные трехпроводные трехфазные пятипроводные

1,5´3

1,5´5

TN-S

Линии от этажных до квартирных щитков и к расчетному счетчику однофазные трехпроводные трехфазные пятипроводные

2,5´3

2,5´5

Линии распределительной сети (стояки) трехфазные

пятипроводные

4´5

четырехпроводные

4´3 + 10´1

TN-C

Внутреннее электрооборудование

10.11.19. В зданиях при трехпроводной сети (см. п. 10.11.16.) должны устанавливаться штепсельные розетки на ток не менее 16 А с защитным контактом.

Штепсельные розетки, устанавливаемые в квартирах, жилых комнатах общежитий, а также в помещениях для пребывания детей в детских учреждениях (садах, яслях, школах и т.п.), должны иметь защитное устройство, автоматически закрывающее гнезда штепсельной розетки при вынутой вилке.

Защитные меры безопасности

10.11.20. Заземление и защитные меры безопасности электроустановок зданий должны выполняться в соответствии с требованиями главы 5 и дополнительными требованиями, приведенными в данном разделе.

10.11.21. Во всех помещениях необходимо присоединять открытые проводящие части светильников общего освещения и стационарных электроприемников (электрических плит, кипятильников, бытовых кондиционеров, электрополотенец и т.п.) к нулевому защитному проводнику.

10.11.22. В помещениях зданий металлические корпуса однофазных переносных электроприборов и настольных средств оргтехники класса I по ГОСТ 12.2.007.0-75 «ССБТ. Изделия электротехнические. Общие требования безопасности» должны присоединяться к нулевому защитному проводнику трехпроводной групповой линии (см. п. 10.11.16.).

К нулевому защитному проводнику должны присоединяться металлические каркасы перегородок, дверей и рам, используемых для прокладки кабелей.

10.11.23. Применение подвесных светильников, не оснащенных зажимами для присоединения к нулевому защитному проводнику, не допускается.

10.11.24. В групповой сети, питающей штепсельные розетки для переносных электрических приборов должна быть обеспечена дополнительная защита при случайном непреднамеренном прикосновении к опасным токоведущим частям посредством устройства защитного отключения (УЗО-Д) с номинальным отключающим дифференциальным током (током уставки) не более 30 мА. В качестве УЗО-Д могут быть применены как УЗО-Д, не имеющие источника питания, зависимого от напряжения защищаемой сети («независимые» УЗО-Д), так и УЗО-Д, имеющие такой источник («зависимые» УЗО-Д), в равной мере успешно обеспечивающие надлежащую защиту при случайном непреднамеренном прямом прикосновении.

10.11.25. В сетях с номинальным напряжением 220 В защита при косвенном прикосновении должна быть обеспечена посредством автоматического отключения за время не более 0,4 с. В качестве автоматического выключателя может быть применен дифференциальный автоматический выключатель с номинальным отключающим дифференциальным током не более 30 мА.

В качестве дифференциальных автоматических выключателей должны быть использованы дифференциальные выключатели, не имеющие источника питания, зависимого от напряжения защищаемой сети («независимые» дифференциальные выключатели).

10.11.26. При установке УЗО последовательно должны выполняться требования селективности. При двух- и многоступенчатой схемах УЗО, расположенное ближе к источнику питания, должно иметь уставку и время срабатывания не менее чем в 3 раза большие, чем у УЗО, расположенного ближе к потребителю.

10.11.27. В зоне действия УЗО нулевой рабочий проводник не должен иметь соединений с заземленными элементами и с нулевым защитным проводником.

10.11.28. Во всех случаях применения УЗО должно обеспечивать надежную коммутацию цепей нагрузки с учетом возможных перегрузок.

10.11.29. Рекомендуется использовать УЗО, представляющее собой единый аппарат с автоматическим выключателем, обеспечивающим защиту от сверхтока.

Не допускается использовать УЗО в групповых линиях, не имеющих защиты от сверхтока, без дополнительного аппарата, обеспечивающего эту защиту.

При использовании УЗО, не имеющих защиты от сверхтока, необходима их расчетная проверка в режимах сверхтока с учетом защитных характеристик вышестоящего аппарата, обеспечивающего защиту от сверхтока.

10.11.30. В жилых зданиях не допускается применять УЗО, автоматически отключающие потребителя от сети при исчезновении или недопустимом падении напряжения сети.

10.11.31. В зданиях должны применяться УЗО типа «А», реагирующие как на переменные, так и на пульсирующие токи повреждений.

Источником пульсирующего тока являются, например, стиральные машины с регуляторами скорости, регулируемые источники света, телевизоры, видеомагнитофоны, персональные компьютеры и др.

10.11.32. В групповых сетях, питающих штепсельные розетки, следует применять УЗО с номинальным током срабатывания не более 30 мА.

Допускается присоединение к одному УЗО нескольких групповых линий через отдельные автоматические выключатели.

10.11.33. В жилых зданиях УЗО рекомендуется устанавливать на квартирных щитках.

10.11.34. Установка УЗО запрещается для электроприемников, отключение которых может привести к ситуациям, опасным для потребителей (отключение пожарной сигнализации и т.п.)

10.11.35. Обязательной является установка УЗО с номинальным током срабатывания не более 30 мА для групповых линий, питающих розеточные сети, находящиеся вне помещений и в помещениях особо опасных и с повышенной опасностью, например в зоне 3 ванных и душевых помещений квартир и номеров гостиниц.

10.11.36. Суммарный ток утечки сети с учетом присоединяемых стационарных и переносных электроприемников в нормальном режиме работы не должен превосходить 1/3 номинального тока УЗО. При отсутствии данных ток утечки электроприемников следует принимать из расчета 0,4 мА на 1 А тока нагрузки, а ток утечки сети - из расчета 10 мкА на 1 м длины фазного проводника.

10.11.37. Для повышения уровня защиты от возгорания при замыканиях на заземленные части, когда величина тока недостаточна для срабатывания максимальной токовой защиты, на вводе в квартиру, индивидуальный дом и т.п. рекомендуется установка УЗО с током срабатывания до 300 мА.

10.11.38. Для жилых зданий при выполнении требований п. 10.11.36. функции УЗО по пп. 10.11.32. и 10.11.39. могут выполняться одним аппаратом с током срабатывания не более 30 мА.

10.11.39. Если УЗО предназначено для защиты от поражения электрическим током и возгорания или только для защиты от возгорания, то оно должно отключать как фазный, так и нулевой рабочие проводники.

10.11.40. На вводе в здание должна быть выполнена система уравнивания потенциалов путем объединения следующих проводящих частей:

- магистральный нулевой защитный проводник;

- магистральный заземляющий проводник или главный заземляющий зажим;

- стальные трубы коммуникаций зданий и между зданиями;

- металлические части строительных конструкций, молниезащиты, системы центрального отопления, вентиляции и кондиционирования. Такие проводящие части должны быть соединены между собой на вводе в здание.

Рекомендуется по ходу передачи электроэнергии повторно выполнять дополнительные системы уравнивания потенциалов.

10.11.41. К дополнительной системе уравнивания потенциалов должны быть подключены все доступные прикосновению открытые проводящие части стационарных электроустановок, сторонние проводящие части и нулевые защитные проводники всего электрооборудования (в том числе штепсельных розеток).

10.12. Помещения, содержащие ванну или душ

Настоящий раздел содержит специальные требования к электроустановкам ванных и душевых помещений и окружающих их зон с целью обеспечения защиты людей от поражения электрическим током.

Электроустановки ванных и душевых помещений и окружающих их зон должны соответствовать требованиям раздела 10.11 с учетом требований настоящего раздела, которые дополняют эти требования.

Общие характеристики

10.12.1. Классификация зон.

Требования настоящего стандарта для обеспечения безопасности и выбора электрооборудования основываются на следующих размерах зон для ванных и душевых помещений (см. рис. 10.9, А и рис. 10.9, В).

Зона 0 представляет собой внутреннее пространство ванны или душевого поддона.

Зона 1 ограничивается:

- внешней вертикальной плоскостью ванны или душевого поддона или вертикальной плоскостью на расстоянии 0,60 м от душевого разбрызгивателя - для душа без поддона;

- полом и горизонтальной плоскостью на расстоянии 2,25 м над полом.

Зона 2 ограничивается:

- внешней вертикальной плоскостью зоны 1 и параллельной ей вертикальной плоскостью на расстоянии 0,60 м;

- полом и горизонтальной плоскостью на расстоянии 2,25 м над полом.

Зона 3 ограничивается:

- внешней вертикальной плоскостью зоны 2 и параллельной ей вертикальной плоскостью на расстоянии 2,40 м;

- полом и горизонтальной плоскостью над полом на расстоянии 2,25 м.

Размеры измеряются с учетом стен и стационарных перегородок (рисунки 10.9, А и 10.9, В).

Требования по обеспечению безопасности

Защита от поражения электрическим током.

10.12.2. При применении в качестве защитной меры системы БСНН защиту от прямого прикосновения, независимо от номинального напряжения, следует выполнять:

- ограждениями* или оболочками, обеспечивающими, по крайней мере, степень защиты не ниже IP2X, или

- изоляцией, способной выдерживать испытательное напряжение переменного тока 500 В (действующее значение) в течение 1 мин.

* В ГОСТ Р 50571.11-96 ошибочно указаны барьеры.

10.12.3. Уравнивание потенциалов.

Дополнительное уравнивание потенциалов должно предусматривать соединение сторонних проводящих частей в зонах 1-3 с защитными проводниками всех открытых проводящих частей, находящихся в этих зонах.

10.12.4. Применение защитных мер от поражения электрическим током.

В зоне 0 допускается защита только с применением системы БСНН или ЗСНН при номинальном напряжении, не превышающем 12 В, причем источник питания системы БСНН или ЗСНН должен размещаться за пределами зоны 0.

Не допускаются меры защиты от прямого прикосновения посредством барьеров и размещения вне зоны досягаемости.

Не допускаются меры защиты при косвенном прикосновении посредством размещения электрооборудования в непроводящих помещениях и применения системы местного уравнивания потенциалов без заземления.

Выбор и монтаж электрооборудования

Общие правила

10.12.5. Электрооборудование должно иметь по меньшей мере следующие степени защиты:

в зоне 0 - IPX7;

в зоне 1 - IPX5;

в зоне 2 - IPX4 (IPX5 - в ваннах общего пользования);

в зоне 3 - IPX1 (IPX5 - в ваннах общего пользования).

Электропроводка

10.12.6. Требования применяют к открытой электропроводке и к скрытой электропроводке (глубина не более 5 см).

Электропроводка должна иметь изоляцию, удовлетворяющую требованиям 10.12.2. без какой-либо металлической оболочки.

Примечание. Такая электропроводка может состоять, например, из одножильных кабелей в изолирующей оболочке или многожильных кабелей с изолирующей оболочкой.

В зонах 0, 1 и 2 должны находиться только те электропроводки, которые необходимы для подачи питания устройствам в этих зонах.

Установка соединительных коробок в зонах 0, 1 и 2 не допускается.

10.12.7. Устройства защиты и управления:

а) в зонах 0, 1 и 2 установка устройств защиты и управления не допускается.

Примечание. В зонах 1 и 2 допускается установка изоляционных шнуров выключателей с приводом от шнура.

В зоне 3 установка штепсельных розеток допускается только тогда, когда:

- они имеют индивидуальное питание от разделяющего трансформатора, или

- они питаются от системы БСНН, или

- они защищены устройством дифференциальной защиты с током уставки / не более 30 мА;

б) выключатели и штепсельные розетки должны устанавливаться на расстоянии не менее 0,6 м от дверного проема душевой кабины заводского изготовления (см. рис. 10.9.С).

Рис. 10.9.А. Размеры зон (план)

1-а - ванна; 2-b - ванна со стационарной перегородкой; 3 - зона 0; 4 - зона 1; 5 - зона 2; 6 - зона 3; 7-с - душ с поддоном; 8-е - душ без поддона; 9-f - душ без поддона, но со стационарной перегородкой; 10 - разбрызгиватель душа; 11-d - душевой поддон со стационарной перегородкой

Рис. 10.9. В. Размеры зон (вертикальный разрез)

1 - ванна; 2 - зона 1; 3 - зона 2; 4 - зона 3; 5 - зона 0; 6-h) душ с тазом; 7 - i) душ без таза, но со стационарной перегородкой; 8 - капитальная стена - перегородка.

Рис. 10.9.С. Расположение душевой кабины (ДК), изготовленной заводским способом

10.12.8. Прочее стационарное оборудование

Настоящие требования распространяются на установки, питающиеся от системы БСНН.

В зоне 0 допускается применять только приборы, специально предназначенные для использования в ванне.

В зоне 1 допускается устанавливать только электрические водонагреватели.

В зоне 2 допускается устанавливать только водонагреватели и светильники класса II.

10.12.9. Нагревательные элементы, замоноличенные в полу и предназначенные для обогрева помещения, допускается устанавливать во всех зонах при условии, что они закрыты металлической сеткой или металлическим кожухом, присоединенным к системе уравнивания потенциалов.

10.13. Помещения, содержащие нагреватели для саун

Настоящий раздел содержит специальные требования к электроустановкам помещений, содержащих нагреватели для саун, с целью обеспечения защиты людей от поражения электрическим током.

Электроустановки помещений, содержащие нагреватели для саун, должны соответствовать общим требованиям раздела главы 5, с учетом требований настоящего раздела, которые дополняют общие требования.

Требования по обеспечению безопасности

10.13.1. Защита от поражения электрическим током с учетом следующих требований.

При применении в качестве защитной меры системы БСНН защиту от прямого прикосновения независимо от номинального напряжения, следует выполнять:

- при помощи установки ограждений* или оболочек, имеющих степень защиты не менее IP2X;

- при помощи изоляции токоведущих частей, выдерживающей испытательное напряжение 500 В переменного тока (действующее значение) в течение 1 мин.

* В ГОСТ 50571.12-96 ошибочно указаны барьеры.

10.13.2. Применение мер защиты от поражения электрическим током выполняется с учетом следующих требований.

Меры защиты от прямого прикосновения, выполняемые путем установки барьеров или путем размещения токоведущих частей вне зоны досягаемости, не допускаются.

Меры защиты при косвенном прикосновении посредством использования непроводящих помещений и посредством устройства систем местного уравнивания потенциалов, не соединенных с землей, не допускаются.

Выбор и монтаж электрооборудования

10.13.3. Электрооборудование должно иметь степень защиты не ниже IP24.

10.13.4. Регламентируются зоны размещения электрооборудования и требования к электрооборудованию (рис. 10.10):

- зона 1, в которой допускается размещать только электронагреватели для саун;

- зона 2, для которой требования по теплостойкости к электрооборудованию не устанавливаются;

- зона 3, в которой электрооборудование должно выдерживать температуру не менее 125 °С, а изоляция проводов и кабелей - не менее 170 °С;

- зона 4, в которой должны устанавливаться только устройства управления электронагревателями (термостаты и ограничители температуры) и электропроводка к ним. Электропроводка должна выдерживать температуру не менее 170 °С.

Рис. 10.10. Температурные зоны

И - теплоизоляция; К - соединительная коробка

10.13.5. Электропроводки

Электропроводки должны иметь изоляцию, отвечающую требованиям, и не иметь металлических оболочек и металлических кабелепроводов.

10.13.6. Распределительные устройства и устройства управления

Аппаратура, не встроенная в электронагреватели, должна быть размещена вне саун.

Запрещается устанавливать в саунах штепсельные розетки.

Сауна должна быть оборудована ограничителем температуры, который должен отключать электронагреватель от сети, если температура в зоне 4 превышает 140 °С.

10.14. Стесненные помещения с проводящими полом, стенами и потолком

Настоящий раздел содержит специальные требования к электроустановкам стесненных помещений с проводящими полом, стенами и потолком с целью обеспечения защиты людей от поражения электрическим током.

Электроустановки стесненных помещений с проводящими полом, стенами и потолком должны соответствовать общим требованиям главы 5 с учетом требований настоящего раздела, которые дополняют общие требования.

10.14.1. Стесненное помещение с проводящими полом, стенами и потолком - помещение, полы, стены и потолок которого выполнены из токопроводящих материалов (металлические, железобетонные и т.п.), внутри которого человек имеет возможность одновременно прикасаться к имеющим соединение с землей сторонним проводящим частям (металлоконструкциям зданий, технологическим аппаратом, механизмам и т.п.), с одной стороны, и к открытым проводящим частям (металлическим корпусам электрооборудования) с другой, и в котором возможность препятствовать этому одновременному прикосновению затруднена,

10.14.2. Защита от поражения электрическим током.

При применении системы БСНН, независимо от номинального напряжения, защиту от прямого прикосновения следует обеспечивать либо посредством ограждений* или оболочек со степенью защиты не менее IP2X, или посредством изоляции, выдерживающей испытательное напряжение 500 В переменного тока (действующее значение) в течение 1 мин.

* В ГОСТ 50571.13-96 ошибочно указаны барьеры.

10.14.3. Применение мер защиты от поражения электрическим током.

Защита от прямого прикосновения посредством установки барьеров и путем размещения вне зоны досягаемости не допускается.

10.14.4. Для защиты при косвенном прикосновении допускаются только следующие меры защиты:

а) при питании ручного инструмента и переносных измерительных приборов - либо посредством применения систем БСНН или ЗСНН, либо посредством электрического разделения цепей при условии, что к вторичной обмотке разделяющего трансформатора подключают только один электроприемник. Рекомендуется применять электрооборудование класса II. При использовании электрооборудования класса I последнее должно иметь рукоятку из изоляционного материала или с изоляционным покрытием;

Примечание. Разделяющий трансформатор может иметь несколько вторичных обмоток.

б) при питании переносных ламп (светильников) - посредством применения системы БСНН или ЗСНН.

Допускается применение люминесцентных светильников со встроенным двухобмоточным трансформатором, подключаемым к источнику питания системы БСНН или ЗСНН;

в) при питании стационарного электрооборудования:

- либо посредством автоматического отключения питания и применения дополнительной системы уравнивания потенциалов, объединяющей все открытые проводящие части стационарного электрооборудования и все проводящие части помещения, одновременно доступные для прикосновения;

- либо посредством электрического разделения цепей при условии, что к вторичной обмотке разделяющего трансформатора подключен только один электроприемник.

10.14.5. Источник питания системы БСНН или ЗСНН и разделяющие трансформаторы следует устанавливать вне стесненных помещений с проводящими полом, стенами и потолком, за исключением случая, предусмотренного в 10.14.4, б.

10.14.6. Если для отдельных видов стационарного электрооборудования, таких как контрольно-измерительные приборы, необходимо предусматривать рабочее заземление, то в этом случае применяют систему уравнивания потенциалов, соединяющую все открытые проводящие части стационарного электрооборудования и сторонние проводящие части внутри стесненного помещения с проводящими полом, стенами и потолком, и рабочее заземление.

10.15. Электроустановки зрелищных предприятий, клубных учреждений и спортивных сооружений

10.15.1. На сцене (эстраде, манеже) подлежат занулению металлические корпуса и конструкции всех электрических аппаратов.

10.15.2. Подвижные металлические конструкции сцены (эстрады, манежа), предназначенные для установки осветительных и силовых электроприемников (софитные фермы, портальные кулисы и т.п.), должны быть занулены посредством отдельного медного провода или жилы кабеля. Эти проводники не должны одновременно служить проводниками рабочего тока.

Сечение жилы гибких проводов и кабелей, используемых для зануления подвижных металлических конструкций, должно быть не менее 1,5 мм2.

10.15.3. Зануление вращающейся части сцены и аппаратуры, размещенной на ней, допускается осуществлять через кольцевой контакт с двойным токосъемом.

10.15.4. Металлические корпуса и конструкции информационно-технологического оборудования (электроакустические и кинотехнологические устройства, системы связи и сигнализации, телевидение и т.п.) должны присоединяться к общему заземляющему устройству здания.

Рабочее (функциональное) заземление может быть обеспечено посредством защитного проводника питающей цепи информационно-технологического оборудования. В этом случае роль рабочего (функционального) заземляющего проводника и защитного проводника выполняет совмещенный проводник, соединенный с главным заземляющим зажимом здания или с главной заземляющей шиной здания.

10.15.5. Главная заземляющая шина здания должна быть выполнена в виде замкнутого контура, проложенного по периметру здания. Площадь поперечного сечения главной заземляющей шины здания должна быть не менее 25 мм2 по меди.

К главному заземляющему зажиму или к главной заземляющей шине должны быть присоединены заземляющие проводники, защитные проводники, проводники главной системы уравнивания потенциалов, проводники рабочего (функционального) заземления, стальные трубы коммуникаций здания, металлические части строительных конструкций, в том числе стальная арматура железобетонных строительных конструкций, система центрального отопления и системы вентиляции и кондиционирования воздуха, кроме того:

- проводящие экраны, металлические оболочки и стальная броня кабелей связи и оборудования связи;

- заземляющие проводники устройств защиты от перенапряжений;

- заземляющие проводники антенн радиосвязи;

- заземляющие проводники систем питания постоянного тока информационно-технологического оборудования;

- проводники системы молниезащиты;

- проводники вспомогательных систем уравнивания потенциалов.

10.15.6. Главная заземляющая шина должна быть проложена открыто или в кабелепроводе (плинтусе, коробе, лотке и т.п.), обеспечивающем доступность по всей длине. Голые проводники заземляющей шины должны быть изолированы от поддерживающих устройств, а в местах прохода через стены должны быть защищены от коррозии.

10.15.7. Главный заземляющий зажим заземляющей шины должен быть присоединен к заземлителю заземляющим проводником, удовлетворяющим требованиям гл. 7. Площадь поперечного сечения заземляющего проводника должна быть не менее 10 мм2 по мели.

10.15.8. Для снижения высокочастотного электромагнитного влияния в заземляющий проводник могут включаться специальные фильтр-пробки. Эти устройства не должны заметно увеличивать сопротивление заземляющего проводника при повышенной частоте.

10.15.9. Для исключения возможности прохождения рабочего тока PEN-проводника через сигнальные цепи, в зданиях, имеющих информационно-технологические установки, должна быть применена система питания TN-S.

10.16. Выставки, шоу и стенды

Настоящий раздел содержит специальные требования к электроустановкам выставок, шоу и стендов с целью обеспечения защиты людей и животных от поражения электрическим током.

Электроустановки выставок, шоу и стендов должны соответствовать требованиям главы 5 с учетом требований настоящего раздела, которые дополняют общие требования.

Заметим, что специальные требования раздела распространяются на временные электроустановки выставок, шоу и стендов, включая передвижные и портативные выставки и оборудование.

В дальнейшем изложении будем использовать следующую терминологию.

Выставка - мероприятие, предназначенное для целей демонстрации продукции, которое может иметь место в подходящем помещении, здании или специальном временном сооружении.

Шоу - демонстрация или выступление в подходящем помещении, здании или специальном временном сооружении.

Стенд - пространство или временное сооружение, используемое для демонстрации, маркетинга, развлечений и т.п.

Временное сооружение - блок или часть блока, включающие подвижные портативные части, снабженные входами и выходами, спроектированные в виде сборно-разборных конструкций.

Временная электроустановка - электроустановка, собираемая и разбираемая одновременно с выставкой или стендом, с которыми она связана.

Общие характеристики

10.16.1. Номинальное напряжение питания временных электроустановок выставок, шоу и стендов не должно превышать 220/380 В переменного тока.

10.16.2. Условия внешних влияний такие же как и в специальных помещениях, где монтируются временные электроустановки, т.е. присутствие воды, механических воздействий.

10.16.3. При типе системы заземления TN временные электроустановки должны получать питание по системе TN-S.

10.16.4. При использовании защитных мер при косвенном прикосновении посредством автоматического отключения питания, предельно допустимое напряжение прикосновения в помещении, в котором содержаться животные, должно быть 25 В переменного тока или 60 В постоянного тока, а максимальное время отключения должно соответствовать табл. 10.2.

Таблица 10.2.

Максимальное время отключения

Система TN

Номинальное напряжение установки (фазное), U0, В

Время отключения, с

120

0,35

220

0,2

380

0,05

Эти условия должны быть также выполнены в помещениях, связанных посредством сторонних проводящих частей с помещениями, где содержаться животные.

Дополнительные уравнивающие проводники

10.16.5. В помещениях, используемых для содержания животных, дополнительные уравнивающие проводники должны соединять все открытые проводящие части и сторонние проводящие части, которых животное может коснуться одновременно, с защитным проводником установки.

Если в полу уложена металлическая сетка, она должна быть соединена с местной системой уравнивающих проводников, выполняемой в помещениях, где содержаться животные.

10.16.6. Сторонние проводящие части экипажа, товарного вагона, жилого автоприцепа или контейнера должны быть присоединены к защитному проводнику установки более, чем в одном месте, если тип конструкции не обеспечивает непрерывности и целостности. Номинальная площадь поперечного сечения проводников, используемых для этой цели, должна быть не менее 4 мм2 по меди.

Если экипаж, товарный вагон, автоприцеп или контейнер выполнены из изоляционного материала, эти требования не должны применяться к металлическим частям, которые не могут оказаться под напряжением в случае повреждения.

10.16.7. Там, где используется БСНН или ЗСНН, защита проводников должна быть обеспечена изоляцией, способной выдержать испытательное напряжение 500 В переменного тока в течение 1 мин., или ограждениями или оболочками, способными обеспечить степень защиты не менее IP4X или IPXXD.

Отделение

10.16.8. Каждая отдельная временная структура, такая как экипаж, стенд или блок, предназначенная для занятия одним специальным использованием, и каждая распределительная сеть, питающая наружную установку, должны быть обеспечены собственным легко доступным и хорошо обозначенным средством отделения. Средство отделения должно быть выбрано и смонтировано в соответствии с МЭК 60364-5-537, раздел 537.2. Коммутационные аппараты, автоматические выключатели, устройства, реагирующие на дифференциальный ток и т.д. считаются подходящими для отделения, если они удовлетворяют требованиям соответствующих стандартов МЭК.

Защита от поражения электрическим током в нормальных режимах

10.16.9. В качестве защитных мер от прямого прикосновения не могут быть использованы барьеры и размещение за пределами зоны досягаемости.

Защита от поражения электрическим током в случаях повреждения

10.16.10. В качестве защитных мер при косвенном прикосновении не могут быть использованы непроводящие помещения и проводники, не связанные с землей.

Выбор защитных мер в зависимости от внешних воздействий

10.16.11. Автоматическое отключение кабелей, предназначенных для питания временных структур, должно быть обеспечено посредством установки у источника устройства, реагирующего на дифференциальный ток с уставкой, не превышающей 500 мА. Это устройство должно обеспечивать выдержку времени или быть типа S - для обеспечения селективности с УЗО, защищающими конечные цепи.

Примечание. Рекомендация дополнительной защиты вызвана увеличенным риском повреждения кабелей во временных помещениях.

10.16.12. Кроме цепей аварийного освещения, все конечные цепи для освещения и штепсельные розетки на номинальные токи до 32 А должны быть дополнительно защищены УЗО с током уставки не более 30 мА.

10.16.13. Коммутационные аппараты должны быть помещены в закрытые шкафы, которые могут быть открыты только при использовании ключа или инструмента, за исключением той части аппаратов, которые были спроектированы и предназначены для использования обычными лицами (ВА1).

Система электропроводок

10.16.14. Там, где имеется опасность механического повреждения, должны быть применены бронированные кабели или кабели, защищенные от механических повреждений.

Жилы кабелей должны быть медными и иметь площадь поперечного сечения не менее 1,5 мм2.

Соединение кабелей должно быть выполнено в оболочке со степенью защиты не менее IP4X или IPXXD.

10.16.15. Светильники, расположенные ниже 2,5 м (в пределах досягаемости) от уровня пола, или иным образом доступные случайному контакту, должны быть жестко и надежно закреплены и так расположены или защищены, чтобы была исключена опасность поражения людей или возгорания материалов.

Низковольтный генераторный агрегат

10.16.16. При установке генератора для питания временной установки должно быть обеспечено выполнение заземляющего устройства в соответствии с требованиями главы 8.

Для системы TN все открытые проводящие части генератора должны быть присоединены к нулю генератора посредством отдельного защитного проводника, площадь поперечного сечения которого должна соответствовать требованиям главы 7.

10.17. Взрывоопасные зоны

10.17.1. Во взрывоопасных зонах любого класса должны быть заземлены (занулены) электроустановки при всех напряжениях переменного и постоянного тока, в том числе электрооборудование, установленное на заземлённых (занулённых) металлических конструкциях, кроме электрооборудования, установленного внутри заземлённых (занулённых) корпусов шкафов и пультов.

10.17.2. В качестве заземляющих и защитных проводников следует использовать проводники, специально предназначенные для этой цели. Использование металлических и железобетонных конструкций зданий, конструкций производственного и технологического назначения, стальных труб электропроводки, металлических оболочек кабелей и т.п. в качестве заземляющих и защитных проводников допускается только как дополнительное мероприятие.

10.17.3. В силовых и вторичных цепях во взрывоопасных зонах любого класса, а также в групповых осветительных сетях в качестве нулевого защитного проводника следует использовать отдельную жилу кабеля или отдельный провод, подключённый одним концом к нулевой шине РУ (подстанции, щиту, щитку, сборке и т.п.), расположенного вне взрывоопасной зоны, а другим - к заземляющему зажиму внутри вводного устройства электрооборудования; совмещение нулевого рабочего и нулевого защитного проводника не допускается.

10.17.4. Нулевые защитные проводники в сетях переменного тока следует прокладывать совместно с фазными в общих оболочках, трубах, коробах, лотках, пучках.

10.17.5. Искробезопасные цепи (в том числе корпусы искробезопасных приборов, аппаратов, экранов кабелей и т.п.) заземлять не следует. Необходимость их заземления должна быть особо оговорена в проекте.

10.17.6. Во взрывоопасных зонах любого класса должно быть выполнено уравнивание потенциалов.

10.17.7. Во взрывоопасных зонах любого класса следует выполнять комплексное защитное устройство с целью заземления, уравнивания потенциалов и защиты от вторичных проявлений молнии, а также от статического электричества.

Комплексное защитное устройство должно состоять из заземлителей молниезащиты (кроме заземлителей отдельно стоящих молниеотводов для зданий и сооружений), объединённых с заземлителями электроустановок, комплексной магистрали и защитных проводников. Комплексное защитное устройство должно быть выполнено таким образом или при его эксплуатации должны быть приняты такие меры, чтобы при демонтаже любого его участка или защищаемого элемента конструкции, оборудования, трубопровода и т.п. защита остальных элементов здания, помещения, сооружения, установки в целом не нарушалась.

Комплексная магистраль в двух или более различных местах по возможности с противоположных концов помещения или установки должна быть присоединена к заземлителю (заземлителям), а при наличии электроустановок до 1 кВ с заземленной нейтралью, кроме того, занулена.

10.17.8. В защищаемом помещении, здании, сооружении, установке металлические конструкции, подкрановые и рельсовые пути, стационарно проложенные трубопроводы всех назначений, металлические и футерованные корпуса технологического и сантехнического оборудования, корпуса электрооборудования, в том числе занулённого специальным нулевым защитным проводником, должны быть присоединены к магистрали при помощи защитных проводников.

В электроустановках в сетях с изолированной нейтралью при заземлении корпусов электрооборудования присоединением к магистрали заземления допускается прокладывать защитные проводники как в общих оболочках с фазными, так и отдельно от них.

10.17.9. Проходы участков магистрали заземления и защитных проводников через ограждающие взрывоопасные зоны конструкции (стены, перегородки, перекрытия) следует выполнять в отрезках труб или в проемах. Места проходов должны быть уплотнены несгораемым составом (материалом) на всю глубину прохода. Проходы заземляющих проводников сквозь фундаменты должны быть выполнены в трубах или иных жестких обрамлениях с уплотнением мест прохода.

10.17.10. Соединенные секции лотков, коробов, профилей, кабельных блоков и прогонов, стальных труб электропроводок, а также струны, тросы, полосы и т.п., служащие для прокладки кабелей и проводов и (или) защиты их от механических повреждений, должны образовывать непрерывную электрическую цепь и присоединяться к магистрали заземления не менее чем в двух местах - в начале и в конце трассы; при длине этих конструкций менее 2 м допускается присоединять их к магистрали заземления в одном месте.

На участках подвода кабелей к электрооборудованию эти конструкции, кроме того, должны быть подключены к наружному зажиму заземления электрооборудования, если между ними и электрооборудованием отсутствует надежный контакт.

10.17.11. Непрерывность цепи заземления (зануления) стальных водогазопроводных труб электропроводок, а также надежный контакт их с металлическими ответвительными коробками (фитингами) и металлическими вводами (нажимной муфтой, штуцером) должны обеспечиваться резьбовыми соединениями; в этом случае не следует дополнительно подсоединять конец трубы, вводимый в электрооборудование (фитинг), к его наружному болту заземления или к комплексной магистрали.

10.17.12. Непосредственное присоединение защитных проводников к технологическому и сантехническому оборудованию, к трубопроводам и их кожухам, а также установку шунтирующих перемычек на трубопроводах, гибких рукавах и шлангах, сливо-наливных стояках и т.п., выполняют организации, монтирующие основные конструкции и оборудование.

10.18. Молниезащита

10.18.1. Устройства молниезащиты (молниеотводы) должны включать в себя молниеприемники, непосредственно воспринимающие на себя удар молнии, токоотводы и заземлители.

10.18.2. Вертикальные молниеприемники должны быть изготовлены из круглой стали сечением не менее 200 мм2, длиной не менее 500 мм и укреплены на опоре или непосредственно на самом защищаемом здании или сооружении.

Горизонтальные молниеприемники должны быть изготовлены из стальных многопроволочных тросов сечением не менее 50 мм2.

10.18.3. Токоотводы, соединяющие молниеприемники всех видов с заземлителями, следует выполнять из стали. Их размеры должны быть не менее приведенных ниже:

                                                                                                                            Снаружи здания

                                                                                                                                 на воздухе                В земле

Диаметр круглых токоотводов и перемычек, мм............................................ 8                               -

Диаметр круглых вертикальных (горизонтальных) электродов, мм.............. -                         16 (14)

Сечение (толщина) прямоугольных токоотводов, мм2 (мм)..................... 50 (4)                     160 (4)

Наименьшие размеры поперечного сечения молниезащитных проводников, выполненных из оцинкованной стали, меди и других материалов, даны для вертикальных молниеприемников и вертикальных заземлителей в табл. 10.3, для токоотводов и горизонтальных молниеприемников - в табл. 10.4.

10.18.4. Молниеприемная сетка должна быть выполнена из стальных проводников диаметром не менее 8 мм, уложена на неметаллическую кровлю здания сверху или под несгораемые или трудносгораемые утеплитель или гидроизоляцию. Размер ячеек сетки должен быть не более 6´6 м. Сетка в узлах должна быть соединена сваркой.

В зданиях с покрытиями по металлическим фермам или балкам молниеприемную сетку на кровле не укладывают. В этом случае несущие конструкции покрытия должны быть связаны токоотводами из стальных стержней марки А1 диаметром 12 мм. Все металлические детали, расположенные на кровле (трубы, вентиляционные устройства, водосточные воронки и т.п.) должны быть соединены с молниеприемной сеткой молниеотводами. На неметаллических возвышающихся частях зданий следует дополнительно уложить металлическую сетку и соединить ее при помощи сварки с молниеприемной сеткой на кровле.

10.18.5. При прокладке молниеприемной сетки и установке молниеотводов следует использовать на защищаемом объекте всюду, где это возможно, в качестве токоотводов металлические конструкции зданий и сооружений (колонны, фермы, рамы, пожарные лестницы и т.п., а также арматуру железобетонных конструкций) при условии обеспечения непрерывной электрической связи в соединениях конструкций и арматуры с молниеприёмниками и заземлителями, выполняемых, как правило, сваркой.

10.18.6. Если строительные конструкции здания используются для молниезащиты, то устройство молниезащиты здания с использованием строительных конструкций включает в себя молниеприёмную сетку (или стержневые молниеотводы), соединённую с помощью металлических перемычек с арматурой колонн и железобетонных фундаментов-заземлителей.

Таблица 10.3.

Наименьшие размеры поперечного сечения вертикальных молниеприемников и вертикальных заземлителей

Материал

Класс проводников

Сортамент

Размеры

Диаметр прутка, мм

Площадь сечения, мм2

Медь

Молниеприемники (А),

Заземлители (Е2)

Пруток

16

200

Оцинкованная сталь

Нержавеющая сталь

Алюминиевый сплав

Молниеприемники (А)

Таблица 10.4.

Наименьшие размеры поперечного сечения токоотводов и горизонтальных молниеприемников

Материал

Сортамент

Размеры

Диаметр прутка, мм

Толщина полосы, мм

Диаметр проволоки, мм

Площадь сечения, мм2

Медь

Пруток

Полоса

Трос

8

2

1,8

50

Луженая медь

Алюминий

Пруток

Трос

Алюминиевый сплав

Пруток

Полоса

Трос

2,5

Оцинкованная сталь

Нержавеющая сталь

Пруток

10

3

78

Полоса

75

Трос

2,2

72

Алюминий

Полоса

75

Рис. 10.11. Узел в системе молниезащиты многоэтажного здания с железобетонными ригелями с полками:

1 - соединительная деталь; 2 - плиты покрытия; 3 - колонна

Рис. 10.12. Узел в системе молниезащиты многоэтажного здания с прямоугольными железобетонными ригелями:

1 - соединительная деталь; 2 - сетка молниезащиты; 3 - бетон замоноличивания; 4 - плита покрытия; 5 - соединительная деталь

Для соединения с арматурой колонн, используемой в качестве токоотводов, молниеприёмная сетка приваривается к специальным соединительным изделиям, заложенным в швы между плитами перекрытия. Примеры узлов, обеспечивающих непрерывность электрической цепи в системе молниезащиты в зданиях со сборным железобетонным каркасом, даны на рис. 10.11, 10.12.

10.18.7. Железобетонные фундаменты зданий и сооружений, наружных установок, опор молниеотводов следует, как правило, использовать в качестве заземлителей молниезащиты при условии обеспечения непрерывной электрической связи по их арматуре и присоединения ее к закладным деталям с помощью сварки.

Битумные и битумно-латексные покрытия не являются препятствием для использования фундаментов.

10.18.8. Металлические конструкции и корпуса всего электротехнического оборудования и аппаратов, находящихся в защищаемом здании, должны быть присоединены к заземляющему устройству электроустановок, о чем должны быть даны указания в электротехнической части проекта.

10.1 S.9. Конструкции токоотводов и заземлителей в устройствах молниезащиты аналогичны конструкциям заземляющих проводников и заземлителей в устройствах защитного заземления электроустановок, поэтому требования к их устройству и прокладке, а также требования к электромонтажным работам, аналогичны изложенным.

10.18.10 Установку молниеприёмной сетки, отдельно стоящих, крышных и пристенных молниеотводов, а также углублённых заземлителей, выполняют строительные организации.

ГЛАВА 11. ПРОВЕРКА, ИСПЫТАНИЯ И СДАЧА РАБОТ

11.1. При сдаче-приемке в эксплуатацию смонтированных заземляющих устройств должна быть предъявлена следующая техническая документация на каждый отдельно стоящий объект:

а) паспорт, содержащий схему заземления, а также основные технические данные о результатах проверки состояния заземляющего устройства, характере ремонтов и изменениях, внесённых в данное устройство;

б) протоколы приемо-сдаточных испытаний. Схема заземления в паспорте должна быть в виде исполнительных чертежей проекта заземляющего устройства с изменениями, внесёнными в процессе строительства.

Данные о результатах проверки состояния заземляющего устройства в паспорте должны быть в виде актов освидетельствования скрытых работ по монтажу заземляющих устройств и присоединений к естественным заземляющим устройствам, а также актов осмотра и проверки состояния открыто проложенных заземляющих проводников.

11.2. Параметры заземляющего устройства следует определять в соответствии со следующими рекомендациями.

А. Измерение электрическою сопротивления земли

Удельное электрическое сопротивление земли по глубине определяется методом вертикального электрического зондирования (ВЭЗ) при помощи измерителя сопротивления заземления МС-08 (07) или М-416 (рис. 11.1), а также ИКС-1 или ИКС-50. К токовым электродам АВ подключаются токовые выводы прибора; напряжение между потенциальными электродами подается на потенциальные выводы прибора. По измеренному значению сопротивления ρизм определяется кажущееся удельное сопротивление:

ρк = kρизм,                                                                      (П.1)

где k - коэффициент, зависящий от расстояния между электродами измерительной установки.

При равных расстояниях между электродами, т.е. при а = АВ/3,

k = 2πа,

где а принимается равным двойной глубине слоя грунта, до которого производится измерение ρ.

При исследовании изменения сопротивления грунта по глубине целесообразно провести 10 - 15 измерений при различных расстояниях между электродами. Центр установки О при этом остается неизменным. Трассу для измерений нужно выбирать на расстоянии 5 - 10 м от металлических коммуникаций.

Рис. 11.1. Схема для определения удельного сопротивления грунта:

а - измерителем заземления МС-08 (М-416); б - по методу амперметра-вольтметра

Значения k для соответствующих расстояний между электродами при проведении измерений с разносом электродов следующие:

АВ, м............................ 20             30              45             60              90            120          150             200

MN, м........................... 6,6             10              15             20              30             40            50               66

k................................... 42,1          62,8          94,2         125,6        188,4        251,2        314             421

Рассчитанные по формуле (11.1) значения кажущегося удельного сопротивления грунта следует представить в виде графика, называемого кривой ВЭЗ, на логарифмической бумаге с логарифмической единицей, равной 6,25 см.

По оси ординат откладывают значения ρк, а по оси абсцисс - 0,5AВ (в метрах). Для определения параметров двухслойного грунта (удельного сопротивления первого и второго слоев ρ1, ρ2 и мощности верхнего слоя h1) пользуются расчетными кривыми - палетками (рис. 11.2). Полученную экспериментальную кривую калькируют вместе с осями координат и накладывают на набор палеток. Перемещая кальку по набору палеток, добиваются наилучшего совпадения кривой с одной из теоретических кривых. Оси координат при этом должны оставаться параллельными. Затем, отсчитав ординату эмпирической кривой ρ'к, отсекаемую осью абсцисс палетки λ, получают удельное сопротивление верхнего слоя грунта.

Ось ординат палетки ρк отсекает на оси абсцисс эмпирической кривой λ' отрезок h1 определяющий глубину границы раздела слоев, т.е. толщину верхнего слоя. Сопротивление второго слоя определяется асимптотой эмпирической кривой при I больших значениях АВ/2.

На рис. 11.3 приведен пример определения параметров грунта. В рассматриваемом примере экспериментальная кривая ВЭЗ (штриховая линия 2) совпадает с палеткой ρ1/ρ2 = 1/4. Палетка построена в осях координат: ρк - ось ординат; λ - ось абсцисс; оси координат экспериментальной кривой ρ'к и λ'. При совмещении кривой ВЭЗ с палеткой ось ординат палетки ρк отсекает на оси абсцисс экспериментальной кривой λ' отрезок, определяющий толщину верхнего слоя h1 = 4 м. Ось абсцисс палетки 1 отсекает на оси ординат эмпирической кривой ρ'к ординату ρ'к, определяющую сопротивление верхнего слоя грунта. Для рассматриваемого примера ρ1 = 500 Ом · м. Сопротивление второго слоя ρ2 = ρ1/4 = 125 Ом · м.

Рис. 11.2. Палетка ВЭЗ

Рис. 11.3. Определение параметров электрической структуры грунта:

1 - кривая палетки ВЭЗ; 2 - экспериментальная кривая ВЭЗ

Б. Измерение сопротивления заземляющих устройств

Измерение сопротивления заземлителей. Методы измерения электрических характеристик заземляющих устройств должны обеспечивать следующие основные требования: ошибки при измерении не должны превышать 10 %; малая трудоемкость измерения; электробезопасность персонала, выполняющего измерения, а также лиц, случайно прикасающихся во время измерения к заземленным частям электроустановок. Приборы должны обеспечивать максимально возможную помехозащищенность.

Экспериментальное определение сопротивления заземляющего устройства сводится к одновременному измерению напряжения на нем и стекающего в землю тока. Для этого используют так называемую схему амперметра-вольтметра.

Измерение сопротивления растеканию одиночных заземлителей производят по схемам, указанным в табл. 11.1.

Измерение сопротивления заземляющего устройства. Сопротивление заземляющих устройств следует измерять по общепринятому методу амперметра- вольтметра (рис. 11.4), при этом используется измеритель заземления со шкалой, градуированной непосредственно в омах. Можно также использовать комплект геофизической аппаратуры ИКС-50.

Точность измерения зависит, в основном, от правильности расположения измерительных электродов: токового Т и потенциального П. При различных геоэлектрических разрезах грунта (различных соотношениях удельных сопротивлений поверхностных и подстилающих слоев грунта) близкое к действительному значение сопротивления может быть получено при различном соотношении расстояний от испытуемого заземлителя до потенциального и до токовою электродов.

Измерительные электроды рекомендуется размещать по однолучевой схеме рис. 11.4: токовый электрод Т на расстоянии rзт = 2D (предпочтительно rзт = 3D) от края испытуемого заземляющего устройства (D - наибольшая диагональ заземляющего устройства) и потенциальный электрод П устанавливаются поочередно на расстояниях 0,2rзт; 0,3rзт; 0,4rзт; 0,5rзт; 0,6rзт; 0,7rзт; 0,8rзт.

Измерения сопротивления производят при установке потенциального электрода в каждой из указанных точек. По данным измерений строится кривая зависимости сопротивления от расстояния потенциального электрода до заземляющего устройства ЗУ.

Если вид полученной зависимости соответствует изображенной на рис. 11.4. сплошной линии, а значения сопротивлений, измеренные при положениях потенциального электрода на расстояниях 0,4rзт и 0,6rзт, отличаются не более чем на 10 %, то за сопротивление заземляющего устройства принимается величина, измеренная при расположении потенциального электрода на расстоянии 0,5rзт.

Таблица 11.1.

Схемы измерения сопротивления растеканию одиночных заземлителей

Измерение сопротивления растеканию

Схема измерения

Приборы

Особенности измерения

Одиночные вертикальные заземлители

Измерители заземления М-416, МС-08, МС-07, Ф4103

Расстояние между электродами принимается:

а) при l ≤ 6 м

rзт = 40 м; rЗП = 25 м;

б) при l > 6 м

rзт > 6l, rЗП = 0,5rзт

Одиночные горизонтальные полосы

То же

а) при L > 40 м

rзт = 24 м; rЗП = 4 м;

б) при 10 м ≤ L40 м

rзт ≥ 80 м; rЗП = 0,5rзт

в) при L < 10 м

rзт = 40 м; rЗП = 20 м

Рис. 11.4. Пример построения зависимости измеренного сопротивления заземляющего устройства от положения потенциального электрода

Если значения сопротивлений, измеренные при положениях потенциального электрода на расстояниях 0,4rзт и 0,6rзт, отличаются более чем на 10 %, то измерения сопротивлений необходимо повторить при увеличенном в 1,5 - 2 раза расстоянии до токового электрода.

Если полученная измерением зависимость сопротивления отличается от зависимости, изображенной сплошной линией (например, как изображенная штриховой линией), что может быть следствием влияния подземных или наземных коммуникаций, то измерения должны быть повторены при расположении токового электрода в другом направлении от заземляющего устройства. Измерительные электроды должны быть приняты в соответствии с инструкцией к применяемому прибору.

Измерительные приборы (амперметр, вольтметр, измеритель заземления) и трансформатор тока должны иметь класс точности не менее 2,5. При применении измерителей сопротивления (например, типа МС-08) или геофизического прибора ИКС их токовые и потенциальные зажимы следует присоединять к испытуемому заземлителю отдельными проводниками.

В целях исключения возможного влияния посторонних токов на результаты измерения необходимо проверить наличие напряжения между заземлителем и потенциальным электродом при отключенном источнике измерительного тока.

При наличии напряжения от посторонних токов необходимо принять меры к возможному уменьшению его значения (например, отключить электросварку) или уменьшению его влияния.

Для этой цели рекомендуется повысить измерительное напряжение (если это возможно по условиям техники электробезопасности) или использовать отстройку по частоте (применить прибор типа ИКС или МС-08). В отдельных случаях может помочь также изменение направления разноса измерительных электродов. Схема разбирается лишь после выполнения всех измерений и подсчетов, подтверждающих удовлетворительный результат измерений.

Наибольшее сопротивление заземлитель имеет летом при наибольшем высыхании земли или зимой при наибольшем ее промерзании. Если сопротивление заземлителя измерялось в сезон, отличный от предполагаемого сезона наибольших его значений, то измеренную величину R3 умножают на сезонный коэффициент сопротивления заземлителя Кс. При измерении R сложных заземлителей в виде замкнутого контура целесообразно отмерять расстояния от края контура, как показано на рис. 11.5, 11.6, при этом расстояние от геометрического центра сложного заземлителя до края контура а следует определять, используя проектные данные.

Рис. 11.5. Основные схемы взаимного расположения заземлителя З и электродов Т и П:

а, б - однолучевые схемы; в - двухлучевая схема; ´ - центр заземлителя

Если заземлитель выполнен в виде одиночной горизонтальной полосы с рядом вертикальных электродов (гребенка) или без них (простой горизонтальный), то результаты измерения R оказываются достаточно точными при расположении Т и П в соответствии с рис. 11.7.

Рис. 11.6. Определение расстояний до электродов Т и П от края контура сложного заземлителя:

а - однолучевая схема; б - двухлучевая схема; ´ - центр заземлителя

Рис. 11.7. Схемы расположения электродов Т и П при измерении сопротивления сложного заземлителя в виде гребенки:

а - однолучевая; б - двухлучевая

В. Измерение напряжения прикосновения

При измерениях в процессе приемосдаточных испытаний и при периодических измерениях в эксплуатации рекомендуется применять метод амперметра-вольтметра.

Метод амперметра-вольтметра при повторно-кратковременном приложении напряжения до 500 В промышленной частоты (длительность импульсов 0,05 - 0,1 с, длительность пауз 5 - 10 с) позволяет получить большое значение измерительного тока при обеспечении электробезопасности производства измерений без специально принимаемых мер. Сущность метода амперметра-вольтметра заключается в одновременном измерении тока (измерительного), стекающего с заземлителя, и напряжения прикосновения, обусловленного этим током.

Измерительная цепь (рис. 11.8) состоит из источников питания (ЭДС или тока), испытуемого заземлителя ЗУ, токового электрода Т, потенциального электрода П, проводов и измерительных приборов.

Рис. 11.8. Принципиальная схема измерения напряжения прикосновения по методу амперметра-вольтметра:

ЗУ - заземляющее устройство; ЗО - заземленное оборудование; П - потенциальный электрод; Т - токовый электрод; R - резистор, имитирующий сопротивление тела человека

Напряжение прикосновения измеряется, как разность потенциалов между доступными прикосновению заземленными металлическими частями оборудования или конструкции и потенциальным электродом, имитирующим подошвы человека, стоящего в контрольной точке на земле (на полу). Сопротивление тела человека имитируется эквивалентным сопротивлением параллельно включенных вольтметра V и резистора R.

При использовании метода амперметра-вольтметра в качестве источника ЭДС могут применяться трансформатор собственных нужд, разделяющий трансформатор с вторичным напряжением до 500 В и мощностью до 100 кВА, питающийся от трансформатора собственных нужд, автономный генератор.

Для осуществления повторно-кратковременного режима приложения напряжения рекомендуется применять бесконтактный тиристорный короткозамыкатель с регулируемой длительностью импульсов и пауз.

При использовании трансформатора собственных нужд схема токовой цепи собирается в соответствии с рис. 11.9. Нейтраль вторичной обмотки трансформатора при этом заземляется. Если имеется возможность изменять место заземления нейтрали, ее заземление следует выполнять в точке А в соответствии с указаниями для заземления вторичной обмотки разделяющего трансформатора.

При использовании тиристорного короткозамыкателя (ЭКЗ) он включается последовательно в токовую цепь. При использовании разделяющего трансформатора токовая цепь выполняется в соответствии с рис. 11.9, б.

Точка ввода тока в заземляющее устройство (точка А) располагается:

а) при измерениях у рабочих мест - непосредственно у места измерений;

б) при измерениях на остальной территории - по одному из двух вариантов: при заземленных нейтралях силовых трансформаторов - у места заземления нейтрали одного из трансформаторов (предпочтительно с наибольшей мощностью); при разземленной нейтрали силового трансформатора и наличии короткозамыкателя - в месте заземления короткозамыкателя.

Рис. 11.9. Принципиальные схемы токовых цепей при измерениях напряжений прикосновения по методу амперметра-вольтметра:

а - от фазы трансформатора собственных нужд (ТСН); б - через дополнительный трансформатор

В качестве потенциального электрода следует применять металлическую квадратную пластину размером 25´25 см. (рис. 11.10). Поверхность земли в контрольных точках должна быть тщательно выровнена (в габаритах потенциального электрода). Землю под потенциальным электродом рекомендуется увлажнять на глубину 2 - 3 см. На потенциальный электрод (пластину) должен быть положен груз массой не менее 30 кг.

Измерительный ток и точность измерения напряжений прикосновения зависят от сопротивления и расположения токового электрода.

Сопротивление токового электрода, как правило, не должно превышать сопротивление испытываемого заземлителя более чем в 20 раз.

Расстояние между ближайшей частью испытываемого заземлителя и токовым электродом должно быть не менее 1,5D (D - больший линейный размер заземлителя в плане, но не менее 20 м. Если заземлитель имеет внешний замкнутый контур, то D - большая диагональ). Токовый электрод не должен располагаться вблизи подземных металлических коммуникаций (трубопроводы, кабели с металлической оболочкой и броней) или железобетонных оснований и фундаментов, имеющих металлическую связь с испытываемым заземлителем или проходящих вблизи него.

Рис. 11.10. Потенциальный электрод, имитирующий две ступни человека:

1 - влажная суконная прокладка; 2 - медная пластина; 3 - пластина из изоляционного материала; 4 - рукоятка переноса электрода; 5 - проводник для подключения потенциального электрода к вольтметру

В случае отсутствия заземлителей, которые могли быть использованы в качестве токового электрода, токовый электрод (заземлитель) рекомендуется выполнять в виде нескольких соединенных проводниками вертикальных стержневых заземлителей диаметром 10 - 12 мм и длиной 1,5 - 2,5 м, погружаемых в землю на глубину 1,2 - 2,2 м и на расстоянии 3,5 м один от другого. При удельном сопротивлении земли до 100 Ом м в качестве токового электрода обычно достаточно использовать два-три вертикальных стержневых заземлителя, при большем удельном сопротивлении земли - четыре и более вертикальных заземлителей.

При измерении методом амперметра-вольтметра токовую цепь следует выполнять изолированным проводом, сечение которого выбирается исходя из ожидаемого значения измерительного тока, но не менее 2,5 мм2. Падение напряжения в токовом проводе, как правило, не должно превышать 10 % номинального напряжения источника питания. Потенциальная цепь должна выполняться изолированным проводом с сечением, выбранным по механической прочности.

Эквивалентные сопротивления включенных параллельно вольтметра и резистора не должны выходить за пределы 1 ± 0,05 кОм (если входное сопротивление вольтметра равно или больше 20 кОм, то следует использовать резистор с сопротивлением 1 кОм).

Амперметр, трансформатор тока и вольтметр должны иметь класс точности не менее 2,5. Рекомендуется применять многопредельные вольтметры с пределами измерений от долей вольта до нескольких сотен вольт. Можно использовать находящиеся в эксплуатации многопредельные вольтамперметры, например Ц430, Ц433, Ц434 и др.

При применении метода амперметра-вольтметра с повторно-кратковременным приложением напряжения к испытываемому заземлителю измерения действующих значений напряжения прикосновения и измерительного тока должны выполняться с помощью импульсных вольтметра и амперметра. Пределы измерений приборов рекомендуется выбирать так, чтобы при измерениях стрелка прибора отклонялась не менее чем на две трети шкалы.

На точность измерений могут оказывать значительное влияние так называемые посторонние токи в земле (блуждающие токи, а также обусловленные рабочим режимом электроустановки токи, стекающие с заземлителя в землю). Поэтому перед измерениями необходимо выяснить наличие посторонних токов в земле, принять по возможности меры к их уменьшению или обеспечить условия, при которых напряжение на заземлителе от измерительного тока было бы по крайней мере в 10 раз больше, чем значение напряжения, обусловленное посторонними токами.

Напряжения помех следует определять по показанию вольтметра при отключенном источнике питания измерительной цепи.

Напряжения прикосновения рекомендуется измерять в контрольных точках, в которых эти значения определены расчетом при проектировании. Для сопоставления измеренных и расчетных значений напряжений прикосновения необходимо пересчитать измеренные значения на расчетный ток короткого замыкания с учетом сезонных изменений удельных сопротивлений грунта.

Программа измерений при КЗ должна включать схемы первичных соединений, выделяемые для КЗ, схему измерений, порядок подготовки схем, перечень выделяемого оборудования, порядок измерений, перечень мер, обеспечивающих безопасность, перечень ответственных лиц.

Измеренные значения напряжений прикосновения должны быть приведены к расчетному току замыкания на землю и к сезонным условиям, при которых напряжения прикосновения имеют наибольшее значение, по формуле:

где Uизм - измеренное значение напряжения прикосновения при токе в измерительной цепи;

Iк.расч - расчетный для заземляющего устройства ток короткого замыкания;

Rст.изм.ср - среднее значение сопротивлений потенциального электрода, измеренных по схеме рис. 11.4 в момент измерения напряжений прикосновения;

Rcm.min - минимальное значение сопротивления потенциального электрода.

Сопротивление потенциального электрода Rст.изм измеряется с помощью мегаомметра со шкалой от 100 Ом в четырех - шести точках измерения напряжения прикосновения при существующей при этих измерениях влажности грунта (при сухом грунте во время измерения Uпр производится увлажнение грунта под потенциальным электродом на глубину 2 - 3 см). Для пересчета используется среднее из измеренных значений Rст.изм.

Минимальное значение сопротивления потенциального электрода Rcm.min измеряется по схеме рис. 11.4 в одной из точек после измерения Uпр и Rст.изм при искусственно увлажненном на глубину 20 - 30 см грунте.

При отсутствии возможности увлажнения грунта на глубину 20 - 30 см ρ принимается по следующим значениям:

                                                Грунт в месте измерений                                                                 Удельное

                                                                                                                                                     сопротивление, Ом

Бетон, травяной покров на глинистом грунте, супесь без травы................................................... 250

Песок, песчано-гравийная смесь, очень мелкий загрязненный

почвой щебень, травяной покров на песке...................................................................................... 1200

Щебень, загрязненный почвой, метлахская плитка....................................................................... 10000

Если при измерениях Rст.изм получилось меньше указанных значений, то Rcm.min принимается равным Rст.изм.

Если во время измерения напряжений прикосновения грунт на площадке подстанции (РУ) увлажнен на глубину 30 - 40 см и более, то вместо поправочного коэффициента  применяется коэффициент, равный 1,5.

Полученные данные при измерении вносятся в протокол.

ПРОТОКОЛ
испытания заземляющего устройства

_________________________________________________________________________

(объект)

1. Характеристика электроустановки (заземляемого объекта)

_________________________________________________________________________

Номинальное напряжение РУ кВ

По проекту

Режим нейтрали

Расчетный ток однофазного КЗ, кА

для рабочих мест

 

для остальной территории

 

Время отключения КЗ, с

основной защитой

 

резервной защитой

 

В период измерения

Расчетный ток однофазного КЗ, кА

для рабочих мест

 

для остальной территории

 

Время отключения КЗ, с

основной защитой

 

резервной защитой

 

Расчетные формулы:

2. Проверка состояния элементов заземляющих устройств Заземление выполнено по проекту _______________________________________________________________

_________________________________________________________________________

Чертежи № _____________________________________________________________

Отклонения от проекта: __________________________________________________

_________________________________________________________________________

согласованы ______________________________________________________________

Акт на скрытые работы см. _______________________________________________

_________________________________________________________________________

Осмотром мест подключения подлежащего заземлению электрооборудования, элементов наружной сети заземляющего устройства установлено, что _____________

_________________________________________________________________________

3. Измерение напряжения прикосновения

Сопротивление потенциального электрода:

Ом (среднее) Ом (при искусственном увлажнении)

Расчетная точка по проекту

Измерено сопротивление R, Ом

Измерительный ток I, А

Напряжение прикосновения, В

Заключение

измеренное

расчетное

допустимое

 

 

 

 

 

 

 

 

 

 

 

 

 

 

 

 

 

 

 

 

 

 

 

 

 

 

 

 

Состояние грунта при измерении __________________________________________

(влажный, сухой, мерзлый)

Погода при измерении ___________________________________________________

(сухо, дождь, снег, температура воздуха)

Измерительные приборы _________________________________________________

_________________________________________________________________________

_________________________________________________________________________

4. Измерение сопротивления заземляющего устройства

Зависимость измеренного сопротивления от положения потенциального электрода

Относительное расстояние до потенциального электрода

Сопротивление, Ом

 

0,2

0,3

0,4

0,5

0,6

0,7

 

0 0,1 0,2 0,3 0,4 0,5 0,6 0,7 0,8 0,9

Метеорологические условия

Расчетный потенциал на заземляющем устройстве ___________________________

Сопротивление измерялось методом _______________________________________

________________________________________________________________ прибором

_________________________________________________________________________

Схема контура заземления, места подключения измерительных приборов при измерении и размещении вспомогательных электродов (указать размеры контура, расстояние А до токового электрода и до потенциальных электродов)

Примечание: ___________________________________________________________

Заключение: ___________________________________________________________

_________________________________________________________________________

Испытание произвел _____________________________________________________

(подпись, фамилия, дата)

ГЛАВА 12. ТРЕБОВАНИЯ ТЕХНИКИ БЕЗОПАСНОСТИ

12.1. При монтаже заземляющих устройств и электрических измерениях на них следует руководствоваться Правилами техники безопасности при электромонтажных и наладочных работах.

12.2. Работы по измерениям электрических характеристик заземляющих устройств действующих РУ и подстанций следует выполнять по нарядам.

12.3. При электрических измерениях без снятия напряжения на действующих подстанциях с использованием выносных (за пределы территории подстанции) измерительных электродов необходимо выполнять следующие меры безопасности (для защиты от воздействия полного напряжения на заземлителе при стекании с него тока однофазного короткого замыкания):

а) измерительная установка, а также отдельные элементы измерительной схемы (например, токовый и потенциальный электроды), на которых могут появиться опасные напряжения, должны быть ограждены;

б) на ограждении должны быть стандартные плакаты, предупреждающие об опасности поражения электрическим током;

в) у места испытаний должен быть выставлен наблюдающий.

Персонал, производящий измерения, обязан работать в диэлектрических ботах и резиновых перчатках, пользоваться инструментом с изолированными ручками.

Производитель работ (руководитель испытаний) обязан лично проверить обеспечение мер электробезопасности.

12.4. Запрещается проводить измерения на заземляющих устройствах во время грозы, дождя, мокрого тумана и снега, а также в темное время суток.

12.5. При сборке измерительных схем следует соблюдать последовательность соединения проводов токовой и потенциальной цепи. Сначала необходимо присоединить провод к вспомогательному электроду (токовому или потенциальному заземлителю) и лишь затем к соответствующему измерительному прибору.

Послесловие

Материал книги, основанный на правилах и стандартах [1] - [64], носит рецептурный характер.

Читателю, желающему получить инженерное обоснование нормативных решений, можно рекомендовать познакомиться с книгами, приведенными в списке дополнительной литературы [Д.1] - [Д.22].

Автор

Москва

30 октября 2001 г.

Список действующих нормативных документов

1. Правила устройства электроустановок. 6-е изд., перераб. и доп. - М.: Энергоатомиздат, 1987.

2. Правила устройства электроустановок. Раздел 6. Электрическое освещение. Раздел 7. Электрооборудование специальных установок. Глава 7.1. Электроустановки жилых, общественных, административных и бытовых зданий. Глава 7.2. Электроустановки зрелищных предприятий, клубных учреждений и спортивных сооружений. 7-е изд. - М.: «Издательство НЦ ЭНАС», 1999.

3. Строительные нормы и правила. СНиП 3.05.06-85. Электротехнические устройства. Госстрой СССР, 1986.

4. ГОСТ 12.1.030-81. Электробезопасность. Защитное заземление, зануление.

5. ГОСТ 12.1.038-82. Электробезопасность. Предельно допустимые уровни напряжений прикосновения и токов.

6. ГОСТ Р 50571.1-93 (МЭК 364-1-72, МЭК 364-2-70). Электроустановки зданий. Основные положения.

7. ГОСТ Р 50571.2-94 (МЭК 364-3-93). Электроустановки зданий. Часть 3. Основные характеристики.

8. ГОСТ Р 50571.3-94 (МЭК 364-4-41-92). Требования по обеспечению безопасности. Защита от поражения электрическим током.

9. ГОСТ Р 50571.4-94 (МЭК 364-4-42-80). Требования по обеспечению безопасности. Защита от тепловых воздействий.

10. ГОСТ Р 50571.5-94 (МЭК 364-4-43-77). Требования по обеспечению безопасности. Защита от сверхтока.

11. ГОСТ Р 50571.6-94 (МЭК 364-4-45-84). Требования по обеспечению безопасности. Защита от понижения напряжения.

12. ГОСТ Р 50571.7-94 (МЭК 364-4-46-81). Требования по обеспечению безопасности. Отделение, отключение, управление.

13. ГОСТ Р 50571.8-94 (МЭК 364-4-47-81). Требования по обеспечению безопасности. Общие требования по применению мер защиты для обеспечения безопасности. Требования по применению мер защиты от поражения электрическим томом.

14. ГОСТ Р 50571.9-94 (МЭК 364-4-473-77). Требования по обеспечению безопасности. Применение мер защиты от сверхтоков.

15. ГОСТ Р 50571.10-96 (МЭК 364-5-54-80). Выбор и монтаж электрооборудования. Заземляющие устройства и защитные проводники.

16. ГОСТ Р 50571.11-96 (МЭК 364-7-701-84). Требования к специальным электроустановкам. Ванные и душевых помещения.

17. ГОСТ Р 50571.12-96 (МЭК 364-7-703-84). Требования к специальным электроустановкам. Помещения, содержащие нагреватели для саун.

18. ГОСТ Р 50571.13-96 (МЭК 364-7-706-83). Требования к специальным электроустановкам. Стесненные помещения с проводящим полом, стенами и потолком.

19. ГОСТ Р 50571.14-97 (МЭК 364-7-705-84). Требования к специальным электроустановкам. Электроустановки сельскохозяйственных и животноводческих помещений.

20. ГОСТ Р 50571.15-97 (МЭК 364-5-52-93). Выбор и монтаж электрооборудования. Электропроводки.

21. ГОСТ Р 50807-95 (МЭК 755-83). Устройства защитные, управляемые дифференциальным (остаточным) током. Общие требования и методы испытаний.

Стандарты Международной Электротехнической Комиссии (IEC), относящиеся к устройству электроустановок зданий

22. 364-1 (1992) Part 1: Scope, object and fundamental principles.

23. 364-2-21 (1993) Part 2: Definitions - Chapter 21: Guide to general terms.

24. 364-3 (1993) Part 3: Assessment of general characteristics. Amendment No. 1 (1994).

25. 364-4-41 (1992) Part 4: Protection for safety. Chapter 41: Protection against electric shock.

26. 364-4-42 (1980) Chapter 42: Protection against thermal effects.

27. 364-4-43 (1977) Chapter 43: Protection against overcurrent.

28. 364-4-442 (1993) Chapter 44: Protection against overvoltages. Section 442: Protection of low-voltage installations against faults between high-voltage systems and earth.

29. 364-4-443 (1995) Chapter 44: Protection against overvoltages. Section 443: Protection against overvoltages of atmospheric origin or due to switching.

30. 364-4-45 (1984) Chapter 45: Protection against undervoltage.

31. 364-4-46 (1981) Chapter 46: Isolation and switching.

32. 364-4-47 (1981) Chapter 47: Application of protective measures for safety. Section 470: General. Section 471: Measures of protection against electric shock. Amendment No. 1(1993).

33. 364-4-473 (1977) Chapter 47: Application of protective measures for safety. Section 473: Measures of protection against overcurrent.

34. 364-4-481 (1993) Chapter 48: Choice of protective measures as a function of external influences. Section 481: Selection of measures for protection against electric shock in relation to external influences.

35. 364-4-482 (1982) Chapter 48: Choice of protective measures as a function of external influences. Section 482: Protection against fire.

36. 364-5-51 (1994) Part 5: Selection and erection of electrical equipment. Chapter 51: Common rules.

37. 364-5-52 (1993) Chapter 52: Writing systems.

38. 364-5-523 (1983) Chapter 52: Writing systems. Section 523: Current-carrying capacities.

39. 364-5-53 (1994) Chapter 53: Switchgear and controlgear.

40. 364.5-537 (1981) Chapter 53: Switchgear and controlgear. Section 537: Devices for isolation and switching. Amendment No. 1 (1989)

41. 364-5-54 (1980) Chapter 54: Earthing arrangements and protective conductors. Amendment No. 1 (1982)

42. 1024-1 (1990). Protection of structures against lighting. Part 1: General principles.

43. 364-5-551 (1994) Chapter 55: Other equipment - Section 551: Low-voltage generating sets.

44. 364-5-56 (1980)Chapter 56: Safety services.

45. 364-6-61 (1986) Part 6: Verification. Chapter 61: Initial verification. Amendment 1 (1993).

46. 449 Voltage bands for electrical installations of buildings. Amendment No. l (1979).

47. 479-1 (1994) Effects of current passing through the human body. Part 1: General aspects.

48. 479-2 (1987) Part 2: Special aspects.

49. 536 (1976) Classification of electrical equipment with regard to protection against electric shock.

50. 536-2 (1992) Part 2: Guidelines to requirements for protection against electric shock.

51. 1140 (1992) Protection against electric shock. Common aspects for installation and equipment.

52. 1200-52 (1993) Electrical installation guide. Part 52: Selection and erection of electrical equipment - Wiring systems.

53. 1200-53 (1994) Part 53: Selection and erection of electrical equipment - Switchgear and controlgear.

Стандарты Международной Электротехнической Комиссии (IEC), относящиеся к устройству специальных электроустановок

54. 364-7-701 (1984) Part 7: Requirements for special installations or locations. Section 701: Locations containing a bath tub or shower basin.

55. 364-7-702 (1983) Section 702: Swimming pools.

56. 364-7-703 (1984) Section 703: Locations containing sauna heaters.

57. 364-7-704 (1989) Section 704: Construction and demolition site installations.

58. 364-7-705 (1984) Section 705: Electrical installations of agricultural and horticultural premises.

59. 364-7-706 (1983) Section 706: Restrictive conducting locations.

60. 364-7-707 (1984) Section 707: Earthing requirements for the installation of data processing equipment.

61. 364-7-708 (1988) Section 708: Electrical installations in caravan parks and caravans. Amendment 1 (1993).

62. 364-7-709 (1994) Section 709: Marinas and pleasure craft.

63. 60364-7-710. Requirements for special installation or locations - Medical locations.

64. 60364-7-711 (1998-03) Exhibitions, shows and stands.

Дополнительная литература

1. Оллендорф Ф. Токи в земле. -М. -Л. Гостехиздат, 1932.

2. Рюденберг Р. Переходные процессы в электроэнергетических системах. -М.: Изд-во иностр. лит-ры, 1955.

3. Карякин Р.Н. Резонанс в тяговых сетях и его демпфирование. М.: Гос. изд-во «Высшая школа», 1961.

4. Карякин Р.Н. Методика расчета сопротивлений тяговых сетей переменного тока. - М: Трансжелдориздат, 1962.

5. Карякин Р.Н. Тяговые сети переменного тока, изд. 2-е, перераб. и дополн. -М.: Транспорт, 1987.

6. Карякин Р.Н. Критерии безопасности заземлений устройств электрической тяги переменного тока. - Вестник ВНИИ железнодорожного транспорта, 1966, № 2.

7. Karyakin R.N., Yagudaev B.M., Vlasov S.P. Safety Criteria - a Basis for Choosing the Parameters of Grounding Arrangements of 50 Hz Industrial Electrical Installations. Electrical Shock Safety Criteria. Proceedings of the First International Symposium on Electrical Shock Safety Criteria. Pergamon Press. New York, Oxford, Toronto, Sydney, Paris, Frankfurt, 1985.

8. Бургсдорф В.В., Якобе А.И. Заземляющие устройства электроустановок. - М.: Энергоатомиздат, 1987.

9. Карякин Р.Н., Солнцев В.И. Использование железобетонных фундаментов производственных зданий в качестве заземлителей.- М.: Энергоатомиздат, 1988.

10. Karyakin R.N. Effects of electrical current on the human body. Proceedings 10-th International Symposium of the International Section of the ISSA for the Prevention of Occupational Risks Due to Electricity. Wien. 1990.

11. Карякин Р.Н. Научные основы концепции электробезопасности электроустановок жилых зданий. - Промышленная энергетика, 1995, № 5.

12. Карякин Р.Н. Электромагнитные процессы в протяженных заземлителях в неоднородных структурах. - Электричество, 1996, № 7.

13. Карякин Р.Н. Нормативные основы использования проводящих частей в качестве PEN-проводников. - Электричество, 1997, № 10.

14. Карякин Р.Н. Нормативные основы устройства электроустановок. -М.: Энергосервис, 1998.

15. Карякин Р.Н. Заземляющие устройства электроустановок. Справочник. -М.: Энергосервис. 2000.

16. Карякин Р.Н. Концепция электробезопасности электроустановок. - Промышленная энергетика, 1998, № 5.

17. Карякин Р.Н. Научные основы концепции электробезопасности электроустановок. - Электрические станции, 1999, № 2.

18. Карякин Р.Н. Основное правило электробезопасности. - Промышленная энергетика, 1999, № 2.

19. Карякин Р.Н. Уравнение экологической электробезопасности. - Промышленная энергетика, 1999, № 10.

20. Карякин Р.Н. Пожарная электробезопасность электроустановок зданий. - Промышленная энергетика, 2000, № 2.

21. Карякин Р.Н. Основное правило устройства электроустановок. - Промышленная энергетика, 2000, № 11.

22. Карякин Р.Н. Электробезопасность заземляющего устройства. - Электричество, 2000, № 12.

Доктор технических наук, профессор Рудольф Николаевич Карякин сформулировал первичные критерии электробезопасности (1966 г.), принятые Международной Электротехнической Комиссией в Публикации МЭК 479-1 (1994) Effects of current passing through the human body. Part 1. General aspects.

Разработал научные и нормативные основы современной концепции электробезопасности электроустановок (1964 - 1990 гг.), использованные при разработке стандарта МЭК 364-4-41 (1992). Part 4: Protection for safety. Chapter 41. Protection against electric shock и ГОСТ P 50571.3-94 (МЭК 364-4-41-92). «Требования по обеспечению безопасности. Защита от поражения электрическим током».

Результаты выполненных Всесоюзным государственным научно-исследовательским и проектным институтом ВНИИПЭМ под руководством проф. Р.Н. Корякина в 1971 - 1989 гг. исследований по использованию стальных и железобетонных строительных конструкций производственных зданий и сооружений в качестве PEN-проводника, а железобетонных фундаментов этих зданий и сооружений в качестве естественных заземлителей, нашли отражение в ГОСТ 12.1.030-81. Электробезопасность. Защитное заземление, зануление, а также в стандарте МЭК 1024-1-90-03. Protection of structures against lightning. Part 1. General principles, подготовленным ТК 81 «Молниезащита» по докладу, прочитанному проф. Р. Н. Корякиным на заседании Комитета МЭК в Токио (23 июня 1988 г.)

Автор ряда монографий, в том числе вышедших в свет в издательстве «Энергосервис», Москва:

Нормативные основы устройства электроустановок. М. 1998.

Заземляющие устройства электроустановок. Справочник. М. 1998; 2000.

Нормы устройства сетей заземления. М. 1999; 2-ое изд. 2000, 3-е изд. 2002.

Нормы устройства безопасных электроустановок. М. 1999; 2-ое изд. 2000.

Нормы устройства электроустановок строительных площадок. М. 2001.

Нормы устройства электроустановок производственных зданий. М. 2001.

Нормы устройства электроустановок медицинских помещений. М. 2001.

СОДЕРЖАНИЕ

Предисловие к 3-му изданию.. 1

Из предисловия к 1-му изданию.. 2

Введение. 2

Глава 1. Область применения, терминология, классификация, системы заземления электроустановок, общие требования электробезопасности. 4

1.1. Область применения, терминология, классификация. 4

1.2. Системы заземления электроустановок. 11

1.3. Общие требования электробезопасности электроустановок. 15

Основное правило устройства электроустановок. 15

Заземление электроустановок. 17

Заземление электрооборудования, установленного на опорах ВЛ.. 17

Заземление опор ВЛ.. 17

Использование естественных заземляющих устройств. 18

Объединение заземляющих устройств. 18

Удельное сопротивление земли. 19

Режим нейтрали электроустановок до 1 кВ.. 19

Зануление и устройства защиты.. 19

Применение электроустановок до 1 кВ с изолированной нейтралью.. 19

Заземление электроустановок выше 1 кВ с изолированной нейтралью.. 19

Применение УЗО-Д в качестве дополнительной защиты в электроустановках до 1 кВ.. 19

Защита сети до 1 кВ с изолированной нейтралью.. 20

Глава 2. Уравнивание потенциалов. 20

2.1. Общие требования. 20

Объединение с основной системой уравнивания потенциалов. 20

Особенности защиты устройств передачи информации. 24

2.2. Информационно-технологические установки. 27

Электромагнитная несовместимость информационно-технологических установок и PEN-проводников зданий. 33

Уравнивание потенциалов. 33

Рабочие заземляющие проводники. 33

Объединение рабочих заземляющих и защитных проводников. 33

Сигнальные соединения. 34

Способы заземления и уравнивания потенциалов для обеспечения электромагнитной совместимости. 34

Дополнительные требования для оборудования с токами утечки, превышающими 3,5 мА.. 35

Дополнительные требования для электроустановок, питающих оборудование с токами утечки, превышающими 10 мА.. 35

Защитные проводники увеличенного сечения. 35

Дополнительные требования для системы ТТ. 36

Дополнительные требования для системы IT. 36

Требования к системе уравнивания потенциалов с низкими помехами. 37

Глава 3. Электроустановки напряжением выше 1 kb сети с эффективно заземлённой нейтралью.. 37

Принцип нормирования. 37

Напряжение на заземляющем устройстве. 37

Сопротивление заземляющего устройства. 38

Выравнивание потенциалов. 38

Напряжение прикосновения. 38

Размещение горизонтальных заземлителей. 39

Дополнительные требования к конструктивному выполнению заземляющего устройства. 39

Внешняя ограда. 39

Выравнивание потенциалов вокруг производственных зданий. 40

Вынос потенциала. 41

Глава 4. Электроустановки напряжением выше 1 kb сети с изолированной нейтралью.. 41

Принцип нормирования. 41

Напряжение на заземляющем устройстве. 41

Сопротивление заземляющего устройства. 41

Напряжение прикосновения. 41

Устройство для быстрого отыскания замыкания на землю.. 41

Время действия защиты.. 42

Расчетный ток при повреждении. 42

Выравнивание потенциала. 42

ВЛ напряжением 3 - 35 кВ.. 43

Глава 5. Электроустановки напряжением до 1 kb сети с заземлённой нейтралью (система tn) 43

Заземление нейтрали. 43

PEN-проводник. 44

Устройства защиты.. 45

Применение защиты, реагирующей на дифференциальный ток. 45

Характеристики устройств защиты.. 45

Использование проводящих частей в качестве PEN-проводника. 46

Дополнительная защита от сверхтока. 46

Сопротивление заземлителя нейтрали. 46

Повторное заземление PEN-проводника. 47

Предельно допустимые перенапряжения. 47

Глава 6. Электроустановки напряжением до 1 kb сети с изолированной нейтралью (система it) 48

Заземление открытых проводящих частей. 48

Сопротивление заземляющего устройства. 48

Условия отключения питания при втором замыкании. 48

Глава 7. Заземляющие и нулевые защитные проводники (ре- и pen-проводники) 49

А. Защитные проводники. 49

Специальные проводники. 49

Использование проводящих частей в качестве РЕ- и PEN- проводников. 49

Использование проводящих частей в качестве единственных РЕ-проводников. 50

Использование сторонних проводящих частей и открытых проводящих частей в качестве PEN-проводников. 50

Доступность для осмотра. 50

Наименьшие размеры заземляющих проводников. 50

Площадь поперечного сечения защитных проводников. 51

Сечение заземляющих проводников в электроустановках выше 1 кВ с эффективно заземлённой нейтралью.. 54

Сечение заземляющих проводников в электроустановках выше 1 кВ с изолированной нейтралью.. 54

Проводимость нулевого защитного проводника. 54

Учет проводимости проводящих частей, шунтирующих четвертую жилу кабеля. 54

Обеспечение непрерывности электрической цепи, образованной сторонними проводящими частями. 54

Изоляция PEN-проводников. 55

Разъединяющие приспособления и предохранители в цепи PEN-проводников. 55

Требования к прокладке защитных проводников. 56

Б. Соединение и присоединение заземляющих и нулевых защитных проводников (РЕ- и PEN-проводников) 56

Главный заземляющий зажим.. 56

Требования к контактному соединению заземляющего проводника и заземлителя. 56

Соединение защитных проводников. 56

Обеспечение непрерывности электрической цепи при использовании сторонних проводящих частей в качестве PEN-проводников. 57

Создание объединяющего контура с использованием сторонних проводящих частей. 57

Соединение открытых проводящих частей. 58

Места и способы соединения заземляющих и защитных проводников. 58

Использование естественных контактов. 58

Штепсельные соединители для переносных электроприемников. 59

Присоединение защитных проводников к сторонним проводящим частям.. 59

Монтаж заземляющих и нулевых защитных проводников. 59

Глава 8. Устройство заземлителей. 67

Естественные заземлители. 67

Предельно допустимые токи заземлителя. 68

Обходные защитные проводники. 69

Предельно допустимая плотность тока, стекающего с арматуры железобетонного фундамента. 69

Использование железобетонных фундаментов в качестве заземлителей в агрессивных средах. 70

Искусственные заземлители. 71

Расчет сопротивления контурного заземлителя. 73

Сопротивление одиночных заземлителей. 74

Удельное сопротивление земли. 74

Монтаж заземлителей. 77

Глава 9. Электроустановки в районах с удельным сопротивлением горных пород более 500 ом · м.. 81

Использование естественных протяженных заземлителей. 81

Глава 10. Особенности монтажа заземляющих устройств. 81

10.1. Распределительные устройства. 81

10.2. Кабельные сети. 83

10.3. Воздушные линии электропередачи. 84

10.4. Электрические машины.. 86

10.5. Отдельные аппараты, щитки, шкафы и ящики с электрооборудованием напряжением до 1 кВ.. 86

10.6. Передвижные электроустановки. 87

10.7. Краны.. 89

10.8. Лифты.. 90

10.9. Переносные электроприёмники. 91

10.10. Электрическое освещение. 92

Общие требования. 92

Выполнение и защита осветительных сетей. 93

Защитные меры безопасности. 93

Внутреннее освещение. Общие требования. 94

Выполнение и защита сетей наружного освещения. 94

Осветительные приборы.. 95

Электроустановочные устройства. 95

10.11. Электроустановки жилых, общественных, административных и бытовых зданий. 95

Определения. 95

Общие требования. Электроснабжение. 96

Электропроводки и кабельные линии. 96

Внутреннее электрооборудование. 97

Защитные меры безопасности. 97

10.12. Помещения, содержащие ванну или душ.. 99

Общие характеристики. 99

Требования по обеспечению безопасности. 100

Выбор и монтаж электрооборудования. 100

10.13. Помещения, содержащие нагреватели для саун. 103

Требования по обеспечению безопасности. 103

Выбор и монтаж электрооборудования. 103

10.15. Электроустановки зрелищных предприятий, клубных учреждений и спортивных сооружений. 105

10.16. Выставки, шоу и стенды.. 106

Общие характеристики. 107

Дополнительные уравнивающие проводники. 107

Отделение. 108

Защита от поражения электрическим током в нормальных режимах. 108

Защита от поражения электрическим током в случаях повреждения. 108

Выбор защитных мер в зависимости от внешних воздействий. 108

Система электропроводок. 108

Низковольтный генераторный агрегат. 109

10.17. Взрывоопасные зоны.. 109

10.18. Молниезащита. 110

Глава 11. Проверка, испытания и сдача работ. 113

А. Измерение электрическою сопротивления земли. 113

Б. Измерение сопротивления заземляющих устройств. 115

В. Измерение напряжения прикосновения. 119

Глава 12. Требования техники безопасности. 124

Послесловие. 124

Список действующих нормативных документов. 125

Стандарты Международной Электротехнической Комиссии (IEC), относящиеся к устройству электроустановок зданий. 125

Стандарты Международной Электротехнической Комиссии (IEC), относящиеся к устройству специальных электроустановок. 126

Дополнительная литература  127

 




Яндекс цитирования



   Copyright © 2007-2026,  www.tehlit.ru.

[ ѓосты, стандарты, нормативы, инструкции, правила, строительные нормы ]