//
ТехЛит.ру
- крупнейшая бесплатная электронная интернет библиотека для "технически умных" людей.
WWW.TEHLIT.RU - ТЕХНИЧЕСКАЯ ЛИТЕРАТУРА

:: Алготрейдинг::


АЛГОТРЕЙДИНГ
шаг за шагом
с нуля по урокам!

Торговые роботы на PYTHON, BackTrader,
Pandas, Pine Script для TradingView. Связка с брокерами, телеграм и легкими приложениями.


МИНИСТЕРСТВО АВТОМОБИЛЬНЫХ ДОРОГ РСФСР

 

ЦЕНТРАЛЬНОЕ БЮРО НАУЧНО-ТЕХНИЧЕСКОЙ ИНФОРМАЦИИ

АВТОМОБИЛЬНЫЕ ДОРОГИ
ТРУБЫ ПОД НАСЫПЯМИ АВТОМОБИЛЬНЫХ ДОРОГ

Обзорная информация

Выпуск 6

Москва 1988

Содержание

 

В обзоре систематизирован отечественный и зарубежный опыт проектирования, строительства и эксплуатации водопропускных труб под насыпями дорог. Приведены данные о новых конструктивных решениях, об экспериментальных исследованиях и опытном строительстве железобетонных и металлических гофрированных труб (МГТ). Рассмотрены особенности возведения и эксплуатации труб в районах Западной Сибири и БАМа.

Обзор подготовили канд. техн. наук Н.П. Лукин (Харьковский автомобильно-дорожный институт), инж. А.Н. Лукин (Харьковский Промтранспроект), канд. техн. наук С.А. Щуко (Владимирский политехнический институт)

1. ВВЕДЕНИЕ

Самыми распространенными искусственными сооружениям на дорогах являются трубы, на 1 км их насчитывается 1-1,4 шт. [1]. Объем железобетона и бетона труб составляет 9-11% от общего расхода материала на искусственные сооружения.

Труба - это инженерное сооружение, укладываемое в тело насыпи автомобильной (железной) дороги для пропуска водного потока, дороги или скотопрогона [2].

Существенные преимущества труб перед малыми мостами (непрерывность земляного полотна, и, следовательно, повышенная комфортабельность проезда; низкие стоимость и трудоемкость строительства; малые эксплуатационные расходы и др.) привели к необходимости проектирования, строительства большого количества труб, замене ими многих малых мостов. Так, на автомобильных дорогах Европейской части СССР, построенных до 1900 г., трубы составляли 46,3% от общего количества труб и малых мостов длиной до 30 м, а на дорогах, построенных в 1930-1980 гг. 88-93% [3]. С течением времени менялось соотношение между количеством труб из разных материалов: до 1900 г. трубы были, в основном, каменные и чугунные; в 1930 г.: каменные и бетонные - 42,2%, железобетонные - 39,4%, металлические - 16,8%, деревянные - 1,6% (с 1985 г., в соответствии с нормами [4], запрещено строительство деревянных труб). К 1980 г. доля железобетонных труб составляла 95%, из других материалов (в том числе металлических) - 5%.

Наибольшее распространение получили круглые железобетонные трубы диаметром до 1,5 м (78-80%). В настоящее время на дорогах эксплуатируются: круглые трубы - 87%, прямоугольные - 9%, прочие - 4%; одноочковые - 82%, двух очковые - 16%, трех очковые и более - 2%.

Больше половины всех труб сооружают под насыпями высотой до 3 м, 85% труб - под насыпями высотой до 6 м.

До 70-х годов в основном применяли короткие железобетонные звенья длиной 1 м. С оснащением дорожно-строительных организаций более мощным крановым оборудованием стали широко применяться более технологичные длинномерные (длиной до 5 м) звенья круглых труб ливневой канализации для промышленных предприятий. При этом не всегда учитывалась низкая морозостойкость бетона, что недопустимо для дорожных труб. Типовой проект водопропускных труб из длинномерных звеньев был разработан в 1974 г. Воронежским филиалом Гипродорнии.

В связи со строительством БАМа и освоением нефтегазовых месторождений Западной Сибири вновь стали широко использоваться трубы из гофрированного металла (впервые были применены в нашей стране).

В настоящее время в СССР и за рубежом проводятся исследования по применению в дорожном строительстве труб из алюминиевых сплавов и синтетических полимерных материалов с повышенной прочностью, химической стойкостью и водонепроницаемостью.

С целью экономии материала и увеличения долговечности труб происходит постоянное совершенствование их конструктивных элементов, направленное на повышение пропускной способности водного по тока в обычных дорожно-климатических условиях, в условиях вечной мерзлоты, а также на косогорных участках дорог.

Совершенствование приборов, регистрирующих напряженно-деформированное состояние конструкции "труба-грунт", использование современных ЭВМ позволяют более правильно исследовать работу труб код нагрузкой, проектировать и строить более экономичные, технологичные и долговечные конструкции.

2. ЖЕЛЕЗОБЕТОННЫЕ ТРУБЫ

Учитывая важность использования труб в дорожном строительстве и с целью унификации требований к ним, в 1982 г. был введен в действие ГОСТ 24547-81 [5] на звенья железобетонные водопропускных труб под насыпи автомобильных и железных дорог, где были определены общие технические требования к маркировке, материалам, точности изготовления, качеству поверхностей и внешнему виду, правилам приемки, методам контроля и испытаний, хранению и транспортированию.

В соответствии с этим ГОСТом с 01.07.86 г. действует ОСТ 35-27-85 на звенья железобетонные круглых и прямоугольных водопропускных труб под железные и автомобильные дороги [6-8].

По форме поперечного сечения железобетонные звенья труб подразделяются на круглые (ЗК), круглые с плоским основанием (ЗКП) и прямоугольные (ЗП). Круглые звенья (цилиндрические и конические) предназначены для дорожно-климатических районов с расчет ной температурой воздуха - 40°С и выше, прямоугольные звенья - для любых районов. Размеры и армирование труб разработаны; диаметр (в свету) для круглых звеньев составляет 500, 750, 1000, 1250, 1500, 2000 мм при длине от 1 до 3 м; для прямоугольных - сечение (в свету) от 1,0x1,5 м до 4,0x2,5 м при длине 1 и 2 м.

В соответствии с правилами, изложенными в работе [6], потребитель имеет право производить контроль качества звеньев, при меняя при этом методы отбора образцов, правила приемки и методы испытаний, предусмотренные стандартом [5]. По требованию потребителя предприятие-изготовитель обязано сообщить ему результаты лабораторных испытаний.

Фактические размеры звеньев труб не должны превышать размеры, приведенные в чертежах типовых конструкций, мм:

Звенья:

 

по длине

+5; -10

по толщине стенок

+10; -5

по внутреннему диаметру (ширине, высоте)

±10

Перекос торцевой поверхности звена

не более 5

Защитный слой бетона

±5

Наличие трещин в бетоне звеньев исключается. Допускаются местные поверхностные усадочные трещины (шириной не более 0,1 мм) при соответствии звена требованиям испытаний на сопротивление просачиванию воды, которые проводятся следующим образом. Звено устанавливают на плоский поддон с бортиком высотой 15 см, размеры поддона на 10 см больше наружных размеров звена. На уровне опирания звено заливают горячим битумом слоем толщиной 10 см или герметизируют место сопряжения поддона и звена другим способом и наполняют звено водой. Если после выдерживания воды в течение времени, указанного в таблице, на наружной поверхности звена не будут обнаружены потеки, считается, что оно выдержало испытание.

Длина звена, м

Время выдерживания звена, ч, под гидростатическим давлением Рн кПа (кгс/см2), на уровне

верха звена

низа звена

1(0,01)

10(0,1)

20(0,2)

30(0,3)

1

2

3

48

48

48

40

-

-

-

30

-

-

-

20

На внутренней поверхности каждого звена должны быть нанесены несмываемой краской при помощи трафарета или штампов следующие маркировочные знаки: товарный знак или краткое наименование предприятия-изготовителя; номер партии; марка звена; дата изготовления (число, месяц, год); заводской номер звена; масса звена в кг; штамп ОТК или заводской инспекции; государственный Знак качества (для звеньев высшей категории качества). Каждую партию звеньев необходимо сопровождать соответствующим документом для железобетонных конструкций.

Достаточно широкий набор типовых проектов конструкций круглых, овоидальных и прямоугольных труб для различных дорожно-климатических зон нашей страны позволяет проектировать и строить трубы в равнинной, пересеченной и горной местностях.

На рис. 1 приведена конструкция двух очковой трубы из типовых цилиндрических звеньев с коническими звеньями на входе и выходе.

Одним из важных элементов конструкции трубы являются оголовки, которые не только направляют поток воды, но и препятствуют раздвижке насыпи вдоль трубы и расхождению стыков между звеньями.

Рис. 1 Двух очковая труба из типовых элементов:

а - продельный разрез; б - вид в плане; 1 - железобетонный лекальный блок; 2 - обмазочная гидроизоляция; 3 - монолитный блок; 4 - подготовка из щебня

Из различных; вариантов конструкций оголовков (рис. 2): портальные; раструбные с коническими звеньями или без них; воротниковые и др., наиболее часто применяют раструбные, как обеспечивающие наилучшие условия пропуска, водотока.

Рис. 2. Оголовки труб:

а - портальный; б - раструбный с коническим звеном на входе; в - воротниковый

По сравнению с портальными, где отсутствуют откосные крылья, в раструбных оголовках практически исключено попадание грунта насыпи в трубу. Исходя из условий обеспечения надежного опирания на грунт и противодействия сдвигу портальные стенки, откосные крылья и крайние звенья оголовков должны опираться на фундаменты, тип и глубина заложения которых зависят от нагрузки и вида основания: при пучинистых грунтах - на 0,25 м больше расчетной глубины промерзания, при непучинистых грунтах - не менее 1,25 м. В скальных грунтах глубину заложения фундаментов оголовков можно уменьшить, предусматривая конструктивные специальные мероприятия, которые обеспечат устойчивость оголовков и откосов насыпи.

По условиям унификации в типовых проектах труб рекомендуется применять входные и выходные оголовки круглых железобетонных труб одинаковыми, с коническими звеньями (см. рис. 1).

Для прямоугольных труб обтекаемые оголовки могут быть выполнены в виде усеченной пирамиды. Но пирамидальные секции в типовых проектах не предусмотрены. В практической деятельности одну или несколько первых секций устанавливают более высокими, чем остальные.

Если величина отверстия трубы соответствует конструктивному решению и практически не зависит от расхода водотока, допускается на входе и выходе устанавливать оголовки с цилиндрическими звеньями.

Воротниковые оголовки имеют невысокие гидравлические показатели; изготавливаются заводами только по индивидуальным проектам и применяются очень редко.

В зависимости от высоты насыпи, типа грунтов основания, их несущей способности и уровня грунтовых вод тело трубы может опираться непосредственно на грунт или на специальные фундаменты.

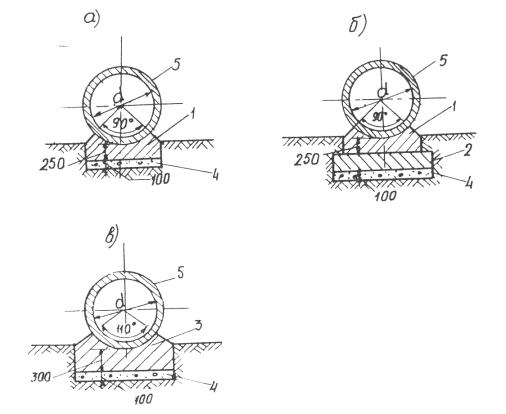
Бесфундаментные трубы, укладываемые на спрофилированное ложе (рис. 3, а), применяют при крупнообломочных и плотных песчаных (кроме пылеватых) грунтах, твердых и глинистых полутвердых грунтах с Rо=250 кПа при высоте насыпи hн ≤ 7 м для труб диаметром 1 м. Трубы диаметром 1 м (рис. 3, б) на относительно слабых грунтах можно применять при высоте насыпи до 7 м, диаметром 1,25 м - на скальных грунтах при насыпях высотой до 15 м.

Рис. 3. Бесфундаментные трубы:

а - труба на спрофилированном грунтовом ложе; б - труба на гравийно-песчаной подушке; 1 - гравий (щебень), втрамбованный в грунт; 2 - обмазочная гидроизоляция; 3 - гравийно-песчаная подушка

При недостаточной несущей способности грунтов трубы диаметром 1 м и более укладываю на специальные фундаменты (рис. 4)

Рис. 4. Фундаментные трубы:

а - с лекальным фундаментным блоком; б - с лекальным блоком и фундаментной плитой: в - с монолитным бетонным фундаментом; 1 - лекальный блок; 2 - монолитная или сборная плита; 3 - монолитный бетонный фундамент: 4 - щебеночная (гравийная) подготовка; 5 - обмазочная гидроизоляция

Сборные или монолитные фундаменты выполняют секциями длиной 1,5-3 м, иногда до 5-6 м.

Арматурный каркас круглых труб выполняют из двух рядов рабо­чей арматуры, распределительной арматуры и хомутов. Лекальные блоки армируют конструктивно (рис. 5).

Рис. 5. Армирование круглых труб:

а - армирование звена; б - армирование лекального блока; в - лекальный блок конусного звена; 1 - наружная рабочая арматура; 2 - внутренняя рабочая арматура; 3 - распределительная арматура; 4 - хомуты

На рис. 6 приведена более технологичная в производстве работ, но более трудоемкая в изготовлении, конструкция трубы с плоским основанием.

По сравнению с круглыми звеньями трубы с плоским основанием имеют следующие преимущества: при фиксированном положении трубы выполнение армирования более экономично; достигается высокое качество уплотнения грунта около трубы; отсутствие лекальных блоков; удобство при Производстве гидроизоляционных работ.

Рис. 6. Армирование круглой трубы с плоским основанием:

1 - наружная рабочая арматура; 2-внутренняя рабочая арматура; 3 - распределительная арматура основания; 4 - хомуты; 5 - распределительная арматура тела трубы

Строительство труб с плоским основанием диаметром 1,5 м и длиной звеньев 3 м [9] и диаметром 1 м и длиной звеньев 2 м [10] достаточно эффективно: производительность труда при этом возросла на 20%; расход бетона уменьшился на 50%, арматуры - на 10%. Доказано, что наибольшие изгибающие моменты в продольных сечениях труб с плоским основанием возникают при минимальной высоте насыпи и одностороннем расположении временной нагрузки.

Длинномерные звенья (L = 2-4 м) выпускаются с торцевыми участками различной формы: фальцевые, раструбные (рис. 7). Типовые звенья таких труб изготавливают с диаметрами: 1,0; 1,2; 1,4 и 1,6 м.

Ведутся разработки по изготовлению удлиненных (до 3 м) звеньев прямоугольных водопропускных труб под железные и автомобильные дороги с использованием имеющегося оборудования в заводских условиях [11]. По сравнению с блоками длиной 1 м при применении секции длиной 3 м достигается экономия на 1 м изделия: цемента - 50 кг, металла до 4 кг, электроэнергии - до 3 кВт ч.

Рис. 7. Длинномерные цилиндрические звенья труб:

а - фальцевые; б - раструбные типа РТС и РТБ; в – раструбные типа РГ

Заводы Минтрансстроя СССР ежегодно изготавливают 120 тыс. м3 водопропускных труб, в том числе около 70 тыс. м3 прямоугольных, из которых свыше 35 тыс. м3 составляют звенья труб. Внедрение удлиненных звеньев позволит снизить себестоимость строительства на 20%, сократить затраты труда на 30%, но повлечет за собой использование более мощного кранового оборудования грузоподъемностью 16-25 т.

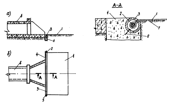
При производстве работ большое внимание необходимо уделять выполнению стыков (швов) между звеньями труб (рис. 8). Основным конструктивным элементом, обеспечивающим герметичность шва, является плотно утрамбованная (зачеканенная) пакля, пропитанная битумом и цементным раствором. С наружной поверхности стыки дополнительно покрывают горячей асбестобитумной мастикой, битумным лаком, горячей асбестоцементной или асбестобитумной мастикой, мешковиной, отделочным слоем из горячей битумной мастики толщиной 1,5-3 мм.

Рис. 8. Стыки звеньев труб с обмазочной гидроизоляцией:

а - стык звеньев труб со стенками одинаковой толщины по всей длине; б - стык звеньев фальцевых труб; 1 - смежные звенья трубы; 2 - цементный раствор: 3 - пакля, пропитанная битумом; 4 - асбестобитумная мастика; 5 - битумный лак: 6 - асбестоцементная или асбестобитумная мастика; 7 - армирующий материал (мешковина); 8 - отделочный слой из горячей битумной мастики

На практике стыки между звеньями и фундаментами труб нередко расстраиваются вследствие неравномерной осадки основания. При слабых основаниях осадки сопровождаются выдавливанием грунта в стороны оголовков. Труба является составной частью насыпи и объединена с силами трения и. сцепления.

Слабо уплотненная насыпь "растягивается" вдоль трубы, которая при этом удлиняется за счет увеличения осадочных швов каждой секции. Механизм деформаций швов труб достаточно хорошо представлен в работе Ф.Г. Карманова [12]: предложено длину секций между осадочными швами увеличивать до 6 м вместо рекомендуемой типовым проектом длины 3 м (рис. 9). Под стык секций целесообразно укладывать на всю ширину фундамента бетонные или железобетонные плитки размером 49x49x8 см, используемые для укрепления русла.

Швы между секциями рекомендуется выполнять с помощью прокладок из рыхлой резины толщиной 3-4 см, приклеиваемых к торцам уже установленных блоков фундаментов или тела трубы. При укладке по следующей секции (с нанесением на ее торцы клея) прокладку сжимают до толщины 5-6 мм. В источнике [12] рассматривается работа шва, растянутого до 4-4,5 см, но сохранившего водонепроницаемость.

Рис. 9. Стыки звеньев и фундаментных секций труб:

а - по типовому проекту; б - по предложению Ф.Г. Карманова; в - рекомендуемые размеры шва с прокладкой из сырой резины; г - шов с прокладкой из сырой резины в сжатом состоянии; д - шов с прокладкой из сырой резины в растянутом состоянии;

1 - деформационные (осадочные) швы между секциями; 2 - швы между звеньями; 3 - звенья круглых или прямоугольных труб; 4 - сборные фундаменты; 5 - монолитный бетон; 6 - плиты под стыками секций; 7 - прокладка из сырой резины; 8 - клей; 9 - цементный раствор

Только после нескольких лет эксплуатации, когда стабилизируются процессы осадки и продольные деформации трубы, рекомендуется заполнять деформационные швы цементным раствором.

Опыт строительства дорог в условиях высокотемпературной мерзлоты (температура грунта до 1°С) на БАМе и Севере страны показал, что многие трубы деформируются [13]. Наибольшие деформации испытывают трубы на глинистых грунтах (удлинение, отжим оголовков, осадки, трещины в звеньях). В некоторых сооружениях растяжка достигла 2 м при максимальном раскрытии швов в средней части трубы до 50 см. Как правило, растяжка сопровождается неравномерной осадкой секций.

Многолетние (в течение 8-10 лет) наблюдения за состоянием труб показали, что наиболее интенсивно деформации труб на мерзлых грунтах оснований происходят во время отсыпки насыпи и в первый год эксплуатации. Удлинение некоторых труб в этот период составило около 50% от общей деформации за десятилетний период наблюдений. В работе [13] приводится формула величины наибольшего раскрытия швов в зависимости от высоты насыпи (для насыпей высотой более 6 м). Анализ конструктивных различных приемов показал, что замена текучих и текучепластичных грунтов только по ширине фундамента эффекта не дает. Неэффективны также такие мероприятия, как увеличение высоты фундамента без опирания его на прочные грунты, сооружение деревянных свай и деревянных ростверков. Целесообразно для строительства сборных или монолитных труб использовать фундаменты на подушках из крупнообломочных грунтов (рис. 10), свайные фундаменты и трубы с экранирующими элементами.

При неглубоком залегании прочных грунтов рекомендуется первый тип грунтовых подушек (рис. 10, а), при глубоком залегании - второй тип (рис. 10,б). Толщина грунтовой подушки устанавливается расчетом. Можно устраивать над трубой или под подошвой фундамента (возможно и по боковым граням) экранирующие элементы в виде гибких полос из объединенных по длине деревянных или металлических щитов [13]. Экранирующие элементы предназначены для уменьшения сил трения вдоль наружных поверхностей трубы.

Дальнейшее развитие экранирующих конструкции, препятствующих растяжке труб и уменьшающих их осадку, было предложено в виде плиты-экрана [14]. Прямоугольная в плане плита-экран выполняется из монолитного бетона в форме арки толщиной в середине 20 см и утолщениями по концам до 1-2 м. Под плитой-экраном предусматривается щебеночный слой толщиной 20 см, пропитанный цементным раствором.

Рис. 10. Трубы с фундаментами на подушках из крупнообломочных грунтов:

а - при неглубоком залегании прочных грунтов; б - при глубоком залегании прочных грунтов

Над плитой-экраном до уровня подошвы фундамента трубы устраивают песчано-гравийную подушку. Дальнейшее строительство трубы выполняют традиционным: способом. Экономический эффект от замены ранее запроектированных семи водопропускных сооружений на конструкции с плитой-экраном составил 475 тыс.р. при уменьшении трудозатрат на 32%, сокращении объема кладки па 31% и экономии арматуры на 10%.

Совершенствование конструкции водопропускных труб в сложных геологических условиях, в том числе в Условиях Севера, продолжается [15-17]. При строительство мостов со столбчатыми фундаментами используют высокопроизводительную буровую технику для возведения прямоугольных труб со сборными или монолитными фундаментами на столбах [15]. Железобетонные столбы диаметром 80 см устанавливают в предварительно пробуренные скважины большего диаметра. Пространство между стенами скважин и столбами заполняют цементно-песчаным раствором или грунтом. Для предотвращения оттаивания мерзлых грунтов у оголовков труб размещают охлаждающие установки системы С.И. Гапеева, работающие по принципу конвективной передачи холода. Сравнение стоимости мостов и стоимости, заменяющих их 8-ми труб на столбчатых фундаментах дает экономический эффект 1,1 млн.р.

Возможно уменьшение количества и размеров свай в фундаментах прямоугольных труб, выполняемых по типовому проекту инв. № 824 [16] (рис. 11)

Рис. 11. Труба на свайном фундаменте:

а - продольный разрез; б - эпюры давлений на грунт под фундаментными блоками (без учета свай); в - расположение свай в фундаментных блоках в плане по типовому проекту; г - расположение свай в плане при удлиненных секциях;

1 - давление на грунт от грунта засыпки; 2 - давление на грунт основания от массы трубы; 3 - давление от существующей временной нагрузки; 4 - давление от второй полосы временной нагрузки и вызванное этим уширение насыпи и трубы

В практике строительства при слабых водонасыщенных грунтах почти невозможно выполнить ступенчатое очертание дна котлована. В основном получаются волнистые плоскости с наклоном от середины трубы к оголовкам, что приводит к возникновению дополнительных продольных сил, способствующих растяжению трубы и расстройству деформационных швов. Целесообразнее уменьшить количество уступов и выполнить дно котлована по линии АВСД (рис. 11, а).

Анализ действующих типовых проектов труб на свайных фундаментах, опыт их строительства, новые технические решения и изобретения, в результате внедрения которых ожидается большой экономический эффект, описаны в работе [17].

В нашей стране и за рубежом внедряются новые конструкции труб из полуколец (рис. 12) [18] . Определение гидротехнических характеристик таких труб выполнено на модели.

Рис. 12. Водопропускная труба из полуколец:

1 - тело трубы; 2 - фундаментный блок; 3 - выступ

Рис. 13. Водопропускная труба арочного типа:

1 - сборные секции арок; 2 - гидроизоляция; 3 - дренаж из гравия или щебня; 4 - глиняный замок; 5 - каменная призма; 6 - сваи; 7 - лоток, из бетонных плит по щебеночной подготовке

На рис. 13 приведена конструкция двух сборно-монолитной очковой трубы арочного типа, опирающейся на свайные фундаменты [19]. Особенностью конструкции является то, что она позволяет пропускать водоток (не расчетный) во время строительства.

Сводчатые конструкции наиболее рациональны при насыпях высотой 5-6 м и более. Во Франции фирма Matiere предложила и построила трубы эллипсоидного очертания из сборных железобетонных элементов [20, 21]. Они могут быть выполнены из четырех и трах элементов. На рис. 14 показана конструкция трубы из четырех элементов с площадью сечения до 25 м2. Сборные элементы труб соединяются "в замок", швы между секциями заполняются неопреновыми прокладками, а между боковыми элементами и нижней плитой - безусадочным цементом. Элементы изготавливают с десятью типоразмерами, что позволяет выполнять трубы с пролетами в свету от 2,44 до 7,92 м, внутренней высотой от 1,83 до 5,49 м. Наибольшая высота засыпки составляет 30 м. Фирма Matiere запатентовала сегментную сборную систему труб в 67 странах.

Рис. 14. Труба эллипсоидного очертания из четырех элементов

Строительство дорог в пересеченной местности и горных условиях потребовало решения многих вопросов возведения труб на косогорах. Принципиальные схемы таких труб предусматривают различные решения; ступенчатые, наклонные с быстротоком и др. (рис. 15) [22].

Рис. 15. Схемы труб на косогорах:

а - ступенчатая; б - с лотком в виде быстротока; в - на скальном грунте

В связи со значительной стоимостью труб на косогорах, у которых лоток (прямо или ступенчато) соответствует уклону лога, и сложностью их строительства были созданы новые типы водопропускных сооружений.

Ленгипротрансмост разработал несколько вариантов таких сооружений с использованием обычных типовых железобетонных звеньев, опирающихся на ступенчатые или свайные фундаменты (рис. 16).

Рис. 16. Трубы на косогорах:

а - типовое решение; б - с укреплением откоса насыпи; в - с консольным водосбросом

Труба со ступенчатым фундаментом в условиях косогорности обладает рядом недостатков: большие объемы котлованов и кладки фундаментов, возможность осадки и растяжки сооружений при слабых и вечномерзлых грунтах, большая длина трубы и др. [23].

Для устранения этих недостатков и ускорения строительства на БАМе Ленгипротрансмост совместно с СКВ Главстройпрома разработал новые конструктивные решения по укреплению насыпи на выходе из трубы или устройству консольного водосброса. Трубы на столбчатых или свайных фундаментах могут быть с монолитными или сборными ростверками. Подводящее русло выполняется в виде лотка из бетона, ступенчатого перепада, водоприемного колодца или другого типа сооружения, гасящего энергию потока я предотвращающего фильтрацию воды под сооружением.

Специфика дорожных работ в сложных горных условиях Юга страны потребовала отличных от типовых практических решений по строительству водопропускных труб, особенно при переходах через глубокие овраги [24] . Трубы выносили на скальные склоны оврагов, где вырезались устойчивые полки. По дну оврага выполняли скальные тюфяки или каменные отвалы толщиной до 4 м и длиной до 150-200 м, работающие по принципу фильтрующей насыпи. При значительных ливнях начинали работать трубы, вынесенные на борты оврагов. К трубам устраивали подводящие и отводящие лотки. В СССР около 40 сооружений такого типа нормально работают более 20 лет.

Целесообразно строительство труб диаметром 0,5 и 0,75 м не только на съездах, при малой длине труб, но и под насыпями автомобильных дорог [25, 26]. При этом возможна механизированная очистка труб малых диаметров длиной 50 м и более. Применение труб малых диаметров, работающих в напорном режиме короткое время, что безопасно для насыпи дорог, оправдано, если труба правильно запроектирована и надежно построена [27].

Постоянно совершенствуются конструкции и методы производства работ по гидроизоляции труб [28]. Вместо рекомендуемой ранее защитной стенки из кирпича могут использоваться новые конструкции б виде асбестоцементной плиты (рис. 17), что дает большую экономию стоимости работ при сокращении сроков строительства.

Другим направлением упрощения гидроизоляции водопропускных труб на БАМе является применение эпоксидно-каменноугольной мастики без устройства защитной стенки из кирпича. Гидроизоляционный слой можно выполнять в заводских условиях [28].

Рис. 17. Защитные конструкции гидроизоляции труб:

а - типовое решение; б - предлагаемое решение: 1 - оклеечная гидроизоляция; 2 - защитная стенка в 1/2 кирпича; 3 - защитный слой; 4 - асбестоцементная плита; 5 – доска

3. ТРУБЫ ИЗ МЕТАЛЛА И ПОЛИМЕРНЫХ МАТЕРИАЛОВ.

В известных литературных источниках не приведены сведения о том, из какого материала (металла, чугуна или стали) впервые начали возводить водопропускные трубы под насыпями дорог. На не которых железных дорогах нашей страны более 70 лет эксплуатируются чугунные трубы диаметром до 2,1 м [1].

Первые металлические гофрированные трубы (МГТ) были изготовлены в 1875 г. на Петербургском металлическом заводе и в 1887-1888 гг. они применялись на строительстве Закаспийской железной дороги. В 1887-1914 гг. в России на железнодорожной сети было уложено около 64 тыс. погонных м металлических труб или построено примерно 5 тыс. сооружений. Значительно реже МГТ использовались под насыпями автомобильных дорог [1].

За рубежом МГТ были построены на 10-15 лет позднее. В 1886 г. в США был получен первый патент на гофрированную трубу [29].

МГТ начали широко применяться в последние три десятилетия в таких странах, как США, Япония, Франция, Англия, Австралия, Канада, ФРГ и др. В СССР первая партия элементов для гофрированных труб из волнистого металла была выпущена в 1972 г.

Широко стали применяться МГТ в связи с промышленным освоением Севера и Востока нашей страны и прежде всего со строительством БАМа и дорог в Западной Сибири.

Однако к началу строительства БАМа проектные организации не были обеспечены типовыми проектами на МГТ для суровых климатических условий [30].

В действовавших в тот период Нормах на проектирование мостов и труб (СН 200-62) не было указаний о металлических трубах. Только в 1970 г. ЦНИИС разработал указания по проектированию, изготовлению и постройке металлических гофрированных водопропускных труб на железных и автомобильных дорогах (ВСН 176-71). Опыт строительства, эксплуатации [31-37] и большие научные исследования стали основой для издания в 1978 г. ВСН 176-78 [38]. Основные положения этой инструкции были использованы Ленгипротрансмостом при разработке нового типового проекта серии 3.501.3-133 "Трубы водопропускные круглые, отверстиями 1,5-3,0 м из гофрированного металла для железных и автомобильных дорог", введенного в действие с 01.01.1985 г. В отличие от ранее действовавшего типового проекта (инв. № 996) в этом проекте предложен вариант северного исполнения МГТ.

По сравнению с железобетонными МГТ имеют следующие преимущества:

высокую экономическую эффективность, особенно в отдаленных, труднодоступных и суровых районах;

простоту сборки и выполнения ее рабочими невысокой квалификации;

короткий срок строительства;

возможность сооружения вместо малых мостов;

реконструкцию старых малых мостов (гильзование).

Расчеты показывают, что в условиях Западной Сибири строительство одной МГТ вместо малого моста даст экономический эффект не менее 20 тыс.р. при сокращении трудозатрат на 60 чел./дн. [39].

Типовой проект серии 3.501.3-133 предусматривает возможность выполнения МГТ диаметром до 3 м с тремя типами оголовков: с вертикально срезанными краями (рис. 18); с краями, срезанными параллельно откосу; с применением железобетонных конструкций (портальные станки, крылья).

Рис. 18. Металлическая гофрированная труба (МГГ):

1-тело трубы; 2-оголовок; 3-уголок,- 4-грунтовая призма; 5-гравийно-песчаная подушка; 6-противофильтрационный экран; 7-лоток

Тело трубы состоит из звеньев. Длина их 0,91 м между стыками. Типовой проект предусматривает применение стыков внахлестку на болтах М 16 с использованием гаек, плосковогнутых и плосковыпуклых шайб. Количество продольных стыков зависит от числа гофрированных листов, которые, в свою очередь, зависят от диаметра трубы.

Типовой размер гофра 130±2 мм, радиус R - 39,3 мм, возможная толщина листа 1,5; 2,0; 2,5 мм. В северных условиях толщина листов МГТ под автомобильной дорогой должна быть не менее 2 мм.

Важнейшими элементами конструкции являются подушка и противофильтрационные экраны под оголовки. Подушка под телом трубы обычно устраивается из гравийно-песчаной смеси толщиной не менее 0,4 м (на вечномерзлых грунтах - не менее 0,7 м). При слабых грунтах толщина подушки устанавливается расчетом с их заменой.

Противофильтрационные экраны устраивают для предотвращения подмыва основания трубы. Экраны бывают железобетонные, из цементно-грунтовой или глинощебеночной смеси.

Типовой проект предусматривает сооружение асфальтобетонного или цементобетонного лотка на трети сечения круглой трубы по дну. Однако такие лотки недолговечны [36, 40] . Основные причины их разрушений: агрессивность воды; истирание их льдом и переносимы ми потоком твердыми частицами; замораживание и оттаивание в зоне переменного горизонта воды, наледи и др. Целесообразно строительство лотков из сборных железобетонных блоков.

Антикоррозионную защиту МГГ выполняют путем нанесения слоя цинка толщиной до 100 мкм, и дополнительного покрытия из специальных мастик (в основном используются высоковязкие эмали на основе эпоксидной или эпоксидно-каменноугольной смолы) [39]. ЦНИИС, СибЦНИИС, Ленгипротрансмост проводят исследования и разрабатывают проекты по обеспечению возможности строительства труб диаметром больше 3 м. Для труб диаметром (пролетом) 3-6 м достаточно иметь два-три типа профилей (235x114x3 и 348x168x4 см), образующих арочную и лотковую части (рис. 19) [35, 41].

Рис. 19. Схемы арочно-лотковых труб:

а - из трех элементов; б - из четырех элементов; 1 - арочные элементы; 2 - лотковые элементы

Из арочно-лотковых труб можно выполнять путепроводы с пролетом до 10 м.

В связи с тем, что работа тонкостенных (гибких) гофрированных труб на восприятие нагрузки существенно отличается от работы железобетонных труб, создан метод расчета МГТ [31, 34, 42-46].

В начальный период послойной засыпки сечение круглой МГТ вверху принимает овоидальную форму. С увеличением высоты насыпи труба деформируется внутрь по вертикали и в наружные стороны - по горизонтали. При этом вертикальное давление грунта может уменьшаться (как правило, оно не учитывается). Боковые перемещения вызывают упругий отпор окружающего грунта, обеспечивающего общее равновесие системы "труба-грунт".

Метод геометрически и физически нелинейного расчета гибких металлических труб, разработанный ВНИИ транспортного строительства, и зарубежный опыт положены Гипротрансмостом в основу рас четных положений типового проекта МГТ.

Метод основан на том, что предельное состояние гибкой трубы под нагрузкой может быть при нулевых величинах пассивного отпора грунта, так как вследствие роста поперечных деформаций трубы, направленных внутрь (рис. 20), объем трубы начинает уменьшаться и дальнейшее уплотнение грунта не происходит. Принятое условие дает возможность определять предельные величины вертикаль ной нагрузки Р и деформации Д.

Рис. 20. Схема деформации поперечного сечения металлической трубы:

1 - до деформации; 2 - в момент предельного равновесия: 3 - после исчерпания несущей способности; 4 - упругий отпор (пассивное давление)

За рубежом для предотвращения деформаций МГТ используют систему нескольких (чаще двух) перекрещивающихся стержней, устанавливаемых внутри трубы [35].

В условиях Севера нашей страны мало крупных песков, гравелистых и щебенисто-галечных грунтов, которые при соответствующем уплотнении до 0,95-0,98 стандартной плотности могут обеспечить надежную работу системы "труба-грунт". Преобладают мелкие или влажные пылеватые и водонасыщенные пески с малым модулем деформации (Е<20 кПа), практически непригодные для засыпки МГТ.

СибЦНИИС предложил простую и эффективную конструкцию в виде жесткого слоя (ограничителя деформаций) на уровне горизонтального диаметра труб (рис. 21).

Рис. 21. Схемы металлических гофрированных труб с жестким слоем:

а - из жестких элементов (обломки свай, бетонные столбики и др.); б - из местного грунта, укрепленного цементом; 1 - элементы плоских рам; 2 - распорки; 3 - тело трубы; 4 - уширители; 5 - жесткий слой из укрепленного местного грунта

За рубежом запатентован [35] ряд предложений по усилению МГТ. Некоторые из них приведены на рис. 22.

Рис. 22. Схемы усиленных металлических гофрированных труб:

а - усиление продольными и поперечными ребрами; б - усиление продольными ребрами; в - усиление продольными ребрами и плитой (вместо гибкой арки в верхней части); 1 - тело трубы; 2 - продольное ребро; 3 - фундамент; 4 - поперечное ребро, 5 - плита

В разнообразных типах поперечных сечений МГТ [29], применяемых за рубежом (рис. 23), кроме стыков внахлестку, используют фланцевые соединения листов, соединения встык, в паз и т.д.

Рис. 23. Типы поперечных сечений МГТ:

а - круглая; б - эллиптическая; в - овоидальная; г - труба-арка; д - арочная

Во Франции используют металл с шагом гофра от 67,7 до 200 мм и глубиной гофрировки от 12,7 до 60 мм [47]. Трубы диаметром до 1,8 м нередко изготавливают со спиральной гофрировкой. Трубы круглого сечения сооружают диаметром от 0,3 до 7.0 м. Используя специальные приемы (ребра жесткости, предварительное нагружение конструкций и др.), создают конструкции с пролетами до 10-12 м. При значительных высотах насыпей, коротких сроках строительства и архитектурных требованиях обязательного применения арочной конструкции иногда используют МП с пролетами до 18 м для пересечений путепроводного типа (рис. 24) [47].

Японские фирмы изготавливают МГТ: круглые - диаметром от 0,3 до 4,5 м, овоидальные - с длинной осью от 2,0 до 6,0 м, арочные - пролетом от 1,5 до 7,0 м [48]. Для изготовления труб используют гофрированные листы или пластинчатые элементы толщиной 2,7-7,0 мм.

Трубы делят на два типа: первый - выполняемые из одноразмерных листовых элементов, изогнутых по полуокружности с волнами 67,7x12,7 мм; второй - из различных по ширине изогнутых пластинчатых элементов с волнами 150x48 мм. Трубы первого типа диаметром 0,3-1,8 м выполняют с фланцевыми продольными стыками и с продольными стыками внахлестку с пазами. Трубы второго типа выполняют из специальных пластинчатых элементов, соединяемых болтами в конструкции круглого, эллиптического, овоидального или арочного видов.

Рис. 24. Схема МГТ для путепровода тоннельного типа

Основным типом МГТ являются круглые трубы, имеющие наиболее устойчивую форму сечения. Соединение листов труб выполняют болтами, болтами с крючкообразной головкой, болтами с проушиной. Трубы арочного сечения используют только на прочных грунтах.

С 1975 г. в США начали возводить оребренные трубы коробового очертания из алюминиевых строительных листов [49]. Расчет труб выполняли на основе эмпирических формул. С 1978 г. проводятся экспериментальные и теоретические исследования работы таких труб с целью разработки рациональных конструктивных форм. В 1980 г. для расчета труб коробового очертания (рис. 25, а) был использован метод конечных элементов. В 1981 г, 1984 г. проведены дополнительные натурные испытания для детального сравнения с теоретическими данными. К августу 1984 г. в США находилось в эксплуатации около 1 тыс. алюминиевых труб коробового очертания с пролетами от 2,67 до 7,75 м, высотой от 0,76 до 3,2 м с толщиной листов 4,5-5 мм. За четыре года эксплуатации только у трех труб при проходе по дороге большегрузных автомобилей были повреждены верхние элементы, так как у этих труб высота засыпки была меньше допустимой.

Для уменьшения воздействия временной нагрузки предложены бетонные разгрузочные плиты толщиной 19-24 см, укладываемые непосредственно на трубу или с засыпкой между трубой и плитой (рис. 25, б). Разгрузочная плита наиболее эффективна, если ее длина больше пролета на 0,3 м с каждой стороны. Плита толщиной 19-23 см должна иметь швы сжатия - растяжения. В работе [40] приведены результаты исследований, величины изгибающих моментов в конструкциях без разгрузочной плиты и с плитой, дан упрощенный расчет разгрузочных плит из бетона на портландцементе.

Рис. 25. Формы поперечных сечений труб коробового очертания из алюминиевых сплавов:

а - без разгрузочных плит; б - с бетонными разгрузочными плитами

В 50-х годах во всех развитых странах начали проводить исследования по применению в дорожном строительстве труб из синтетических материалов (полимербетоны, стеклопластики, поливинилхлорид и др.), которые обладают водонепроницаемостью, химической стойкостью. Недостатком этих материалов является старение, то есть изменение физико-механических свойств во времени.

В 1974-1975 гг. по проектам Ленгипротранса было осуществлено опытное строительство стеклопластиковых водопропускных гофрированных труб диаметром 1,5 м, что дало возможность сократить срок строительства в 10-15 раз и трудоемкость работ в 4-5 раз [1].

В 1960 г. на основе исследований Союздорнии Мосгипротранс предложил конструкцию трубы из полимербетона (рис. 26).

В Англии и США для труб наиболее часто используют полиэтилен, в ФРГ - поливинилхлорид для труб диаметром до 2,7 м со спиральными ребрами (рис. 27) и длиной звена до 12 м.

Рис. 26 Труба из полимербетона

Рис. 27 Труба, из поливинилхлорида

Положительные свойства поливинилхлорида (легкий, удельный вес - 1,55 г/см, прочный - Ry = 75 МПа, диэлектрик, сваривается, склеивается и т.п.) можно улучшить путем введения добавок (армирование полиэфирной смолой, усиление стеклопластиком).

Существенным недостатком полимерных материалов является большая величина коэффициента Пуассона (V = 0,4), что не позволит объединять эти материалы со сталью и бетоном в районах с большими температурными перепадами.

4. КОНСТРУКТИВНЫЕ РЕШЕНИЯ, УЛУЧШАЮЩЕ ПРОПУСК ПАВОДКОВЫХ ВОД, ГИДРАВЛИЧЕСКИЕ РАСЧЕТЫ ВОДОПРОПУСКНЫХ ТРУБ

С целью возможности использования металлических гофрированных труб в условиях Севера Западной Сибири при обеспеченной их долговечности Сибгипротрансом запроектирована, а СМП-329 Тюменстройпуть при участии СибЦНИИСа построена опытная трех очковая труба с расположением очков в разных уровнях [50]. Схема возведения трубы приведена на рис. 28.

Рис. 28. Схемы возведения трех очковой трубы с разными уровнями положения

а - начало засылки; б и в - промежуточные этапы засыпки и уплотнения грунта; г - окончание работ по выполнению призмы засыпки

Принятое конструктивное решение обесценивает полную работу трех очков только в период паводка. В остальное время воду пропускает одна труба, расположенная в нижнем уровне. Такой прием снижает возможность заиливания трубы и образования коррозии металла. В случае замерзания воды в трубе значительно уменьшается опасность полного закупоривания ее льдом. При возведении трубы использовали тяжелую грунтоуплотнительную технику, что позволило отсыпать грунтовую призму слоями по 0,5-0,6 м. При монтаже трубы и ее засыпке измеряли вертикальные и горизонтальные деформации диаметров поперечных сечений, снимали продольные профили. Результаты наблюдений спустя три года после строительства показали правильность принятого решения.

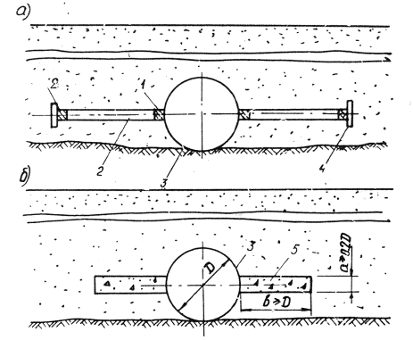
В работах [51, 52] предложены два варианта диафрагм (рис. 29), улучшающих пропускную способность труб без оголовков.

Рис. 29. Безоголовочные трубы с диафрагмами на входе:

а - с горизонтальной диафрагмой; б - с наклонной диафрагмой

Вопросы защиты от размыва отводящих русл в нижних бьефах дорожных труб освещены в работах [53-57].

На основании экспериментальных данных и опыта эксплуатации установлено, что бетонные укрепления отводящих русл значительно меньше гасят энергию потока на выходе из трубы, чем мощение и каменная наброска.

Дня ликвидации размыва необходимо: равномерное распределение средних скоростей и глубин по ширине укрепления; в случае образования размыва формирование режима сопряжения потока с нижним бьефом, создавая условия для эффективного гашения кинетической энергии.

Типовое решение по возведению бетонных укреплений с предохранительным откосом без каменной наброски не эффективно, так как при этом гасится только 3-4% энергии потока 2%-ной вероятности, и место размыва практически удаляется от оголовка (от места крепления). В условиях неустановившегося режима движения потока необходимо гасить его энергию на мягком деформируемом креплении, включая в работу грунт основания.

Для проверки теории и лабораторных экспериментов в 1977 г. при ремонте выходного русла железобетонной трубы диаметром 1,5 м было выполнено "мягкое" укрепление из ВПР-10. В этот период глубина размыва в пределах раструба составляла 0,95 м. "Мягкий" материал длиной 3 м и шириной 4,7 м был выполнен взамен предусмотренного проектом укрепления монолитным бетоном толщиной 12 см на той же площади. Конструкция укрепления приведена на рис. 30.

Рис. 30. Конструкция укрепления выходного русла "мягким" материалом:

а - продольный разрез; б - вид в плане; 1 - полотнище "мягкого" материала; 2 - стержень крепления полотнища; 3 - металлическая труба с прорезью для полотнища; 4 - бетонный упор; 5 - деревянные пробки; 6 - труба; 7 - грунт; 8 - анкерный штырь

За период эксплуатации износа укрепления и размывов не наблюдалось. Новый тип крепления массой 10 кг можно монтировать и демонтировать за 10-15 мин, что принципиально меняет технологию и организацию строительных работ [54].

Примеры расчета деформаций дна и размеров обычных укреплений приведены в методических рекомендациях [57], а гидравлические расчёты труб, водобойных колодцев, быстротоков - в работе [58].

Гидравлические расчеты водопропускных труб из гофрированного металла [1, 59] показывают, что их пропускная способность при безнапорном и полунапорном режимах на 5-7% больше, чем гладких труб. Это объясняется тем, что шероховатость внутренней поверхности трубы не оказывает влияния на гидравлическую работу.

Теоретические и экспериментальные исследования водопропускных труб приведены в работах [60-67]. В 1985 г. на IV Республиканской конференции в Саратове была заслушаны доклады по научно-техническим проблемам гидравлики дорожных водопропускных сооружений.

5. ПРОЕКТИРОВАНИЕ, СТРОИТЕЛЬСТВО И ЭКСПЛУАТАЦИЯ ВОДОПРОПУСКНЫХ ТРУБ

Проектные организации выполняют рабочую документацию, пользуясь, в основном, типовыми проектами, учитывая экономические показатели и конкретные условия строительства [68]. В 70-х годах начали создавать систему автоматизированного проектирования (САПР) водопропускных труб [69], в 80-х годах во многих организациях уже используют САПР для проектирования. При хорошо отлаженных программах и наличии графопостроителей технико-экономическая эффективность САПР способствует снижению ручного труда при расчетах и вычерчивании на 75%, стоимости за счет применения уточненных расчетных схем, повышению качества проектных решений за счет выбора рациональной (для конкретного заказчика) конструкции [70].

При разработке проектов учитывается отечественный и зарубежный опыт проектирования [69-71], анализируются новые опытные конструкции, экспериментальные данные и новые теории расчета, более точно отражающие взаимодействие элементов трубы с грунтом [72-81]. Для расчета используются методы, базирующиеся на гипотезе Винклера с различными вариантами отпорности грунта по периметру трубы. Реализация теорий расчета, как правило, осуществляется на ЭВМ. За рубежом обычно применяется метод конечных элементов.

При разработке проектов труб учитываются реальные возможности заводов-изготовителей [82, 83], производства работ в конкретных условиях [84]. Проектирование металлических труб проводится с учетом новых химических материалов [85-87], которые могут значительно увеличить срок службы сооружений. Для суровых климатических условий Севера предусматриваются различные мероприятия против образования наледей [88]. Конструкции сооружений проектируют таким образом, чтобы можно было обеспечить требуемое качество строительства [89].

Эксплуатация труб включает в себя комплекс мероприятий по поддержанию сооружения в исправности, с целью создания условий для бесперебойного движения транспортных средств по дороге при воздействии различных природных факторов.

Основные положения содержания и ремонта труб изложены в соответствующих разделах нормативных документов [90, 91] и учебнике [92].

Содержание трубы начинается с момента ее приемки в эксплуатацию. В период паводков и после, а также после сильных ливней мастер производит осмотр: проверяет положение звеньев и оголовков, состояние русла на 100 м выше и на 50 м ниже трубы, определяет заиленность, в журнале искусственных сооружений фиксирует обнаруженные дефекты. В соответствующие периоды года трубы очищают ото льда, снега, мусора, в необходимых случаях производят их текущий ремонт, усиление, капитальный ремонт. Для очистки труб от ила и грязи целесообразно использовать машину Т-927 (гидромонитор) в комплекте с поливомоечной машиной КДО-130 и прицепной цистерной [93].

Для ухода за трубами используют имеющиеся механизмы, оборудование и материалы [93, 94]. Осуществлять механическую очистку труб не рекомендуется, так как можно повредить само сооружение.

При обнаружении дефектов необходимо установить причину их появления и выбрать метод устранения. Эти работы наиболее существенны для труб, эксплуатируемых в суровых климатических условиях. Ниже приведены данные о наиболее часто встречающихся дефектах железобетонных труб [95].

Вид дефекта

Распространенность дефекта (по отношению к общему количеству труб),%

Осадка звеньев

25

Раскрытие швов между звеньями

74

Крен звеньев

4

Трещины

32

Сколы и разрушения бетона

12

То же с оголением арматуры

4

Выщелачивание бетона

36

Разрушение лотка

21

Осадка оголовков

15

Пучение оголовков и концевых звеньев

50

Крен оголовков

16

Отрыв оголовков от тела трубы

17

Трещины в оголовках

64

Разрушение оголовков

5

Отступление от правил проведения работ во время возведения труб (особенно при плохом уплотнении "пазух" и слабых грунтах основания) может привести к появлению промоин за телом трубы, что наиболее опасно при паводке. В некоторых случаях (при насыпях малой высоты и прохождении очень тяжелого груза) возникают полные или частичные разрушения средних звеньев труб.

Если нельзя быстро заменить трубу, то на разрушенных участках следует выполнить временное усиление путем установки деревянных стоек-распорок, упирающихся вверху в продольный прогон, а внизу в самозаклинивающиеся двухклиновые подкладки. Такие работы необходимо выполнять с соблюдением правил техники безопасности.

Опыт свидетельствует, что периодическое усиление разрушенных труб очень трудоемко и, как правило, значительно дороже, чем полная их замена. Установка внутри круглой железобетонной трубы (длиной более 50-70 м) трубы из металла с последующим инъецированием зазоров практически трудно осуществима, так как заранее сваренную плеть нельзя поместить в трубу (разрывается металл или сварка). А при сварке коротких металлических звеньев непосредственно в трубе даже при хорошей вентиляции возникает загазованность.

При невысоких насыпях (до 4-6 м) разрушенную трубу следует заменить, при высоких - осуществить проходку горным методом.

В связи с увеличением хозяйственной деятельности человека, во многих районах страны повысилась кислотность воды, что может привести к существенному уменьшению срока службы труб. По данным исследований установлено, что железобетонные трубы без защитного покрытия могут служить 50 лет и более в среде с показателем кислотности рН ≥ 4,5 [96].

В Нидерландах при исследованиях влияния химических факторов на долговечность железнодорожных прямоугольных труб выявлено, что помимо растворов кислот в грунтах, богатых гумусом, содержится газ СО2, который взаимодействует с цементным камнем; в ряде районов страны грунт содержит растворы серной кислоты [97].

Для повышения долговечности труб целесообразно изготавливать их из плотного бетона на портландцементе, получаемом в шахтных печах с .дутьем и содержащем минимальное количество шлаковых добавок (коэффициент диффузии составляет 4·10-9 см2/с вместо 44·10-9 см2/с с обычным портландцементом), с толщиной защитного слоя не менее 20 мм, раскрытием трещин до 0,2 мм. В стыках звеньев следует применять бутадиенстирольный каучук.

В северных районах СССР наледи нередко закупоривают отверстия водопропускных труб, и вода переливается через земляное полотно, размывая его.

На участках с вероятным образованием наледи в осенний период к верхней части трубы подвешивают металлическую трубу диаметром 30-40 мм (рис. 31). К вертикальным концам трубы прикрепляют вешки так, чтобы они были выше прогнозируемого уровня наледи. В зимний период при образовании наледи в трубу подается пар, при этом образуется канал, в который вставляют металлическую перфорированную трубку диаметром 20-30 мм и через нее пропускают пар. В канал диаметром 30-40 мм направляют воду, которая полностью освобождает трубу ото льда.

Рис. 31. Схема парооттаивания наледи в трубе:

1-наледи; 2-указательные вешки; 3-угловые фитинги; 4-труба

Эту работу выполняют два человека в течение 40 мин [98]. Для направления стока воды необходимо устраивать канавы, используя солнечное тепло, посыпая нужные места землей, углем и т.п.

Дорожный мастер В.Н. Тестов из Кировской области применяет другой способ протаивания наледей [99]. Осенью внутри трубы протягивают проволоку диаметром 6-8 мм, концы ее выводят наружу и подвязывают вешки. Весной, когда снег только начинает таять, к одному концу проволоки подключают массу сварочного аппарата, а другой конец закрепляют в держателе электрода. Пропускают ток и через 15-20 мин в трубе длиной 20 м образуется канал, который на входе расширяют до 20 см. Через несколько дней весенние воды полностью размывают лед в трубе.

В паводок для предотвращения закупоривания труб при движении деревьев с корнями и кроной (карчеход) перед ними с верховой стороны на расстоянии 1,5 м друг от друга забивают сваи, объединенные между собой горизонтальными стержнями из уголков, швеллеров или арматуры, образуя "забор".

"Забор" в виде полукруга (в плане) устанавливают на расстоянии от оголовка, равном 2-4-м диаметрам трубы. В работе [100] приведены формулы, позволяющие определить усилия от карчехода, действующие на конструктивные элементы "забора".

На примере строительства моста в пределах широкой поймы со староречьем показано, что перекрытое насыпью староречье (без трубы или малого моста) превратилось в болото, погибли сенокосные луга, началось изменение экологической системы [101]. Люди понесли материальный ущерб, а также лишились места отдыха. В нормах [4] оговорены требования, предусматривающие меры по охране окружающей среды, по поддержанию экологического равновесия и охране рыбных запасов при проектировании новых и реконструкции существующих мостов и труб.

ЗАКЛЮЧЕНИЕ

До настоящего времени наибольшее количество труб возводили из круглых железобетонных звеньев диаметром до 2 м или прямоугольных сборных секции, отвечающих требованиям технологии массового заводского изготовления.

Большие преимущества труб перед мостами привели к необходимости совершенствования конструкций сборных и сборно-монолитных труб, позволяющих перекрыть пролеты до 18 м (трубы - мосты, трубы - путепроводы). Так, например, в 1985 г. в Канаде закончено строительство железобетонной сборной трубы арочного типа с пролетом 20 м, что на 2 м длиннее самой большой по проекту металлической трубы [102].

Конструкция и масса сборных элементов железобетонных труб должны соответствовать не только требованиям, необходимым при заводском изготовлении, но и условиям, при которых возможен монтаж широко распространенными самоходными кранами. Поскольку специального оборудования для заделки стыков сборных железобетонных труб разработано еще очень мало, доля ручного труда достаточно велика.

Широкое применение металлических гофрированных труб в различных дорожно-климатических районах, особенно в суровых районах Севера, дает возможность сокращать время строительства, более просто транспортировать конструкции. Исследования СибЦНИИСа, относящиеся к особенностям работы тонкостенных металлических труб в условиях Севера нашей страны, показали реальность применения МГТ с использованием местных грунтов с малым модулем упругости.

Большие перспективы ожидаются от строительства водопропускных труб из алюминиевых сплавов и синтетических материалов.

Новые конструктивные решения отводящих русл, особенно с "мягкими" материалами вместо монолитного бетона или камня, позволяют существенно сократить долю ручного труда и принципиально меняют технологию и организацию строительства.

Наличие типовых проектов позволяет сократить время проектирования труб.

Для обеспечения быстрого и качественного проектирования и строительства труб необходимо разработать, изготовить и внедрить средства, малой механизации для заделки стыков, простые и дешевые антикоррозионные материалы; применять САПР.

Для обеспечения надежной эксплуатации труб необходимо разработать специальные механизмы (сменные, на одной подвижной установке), позволяющие быстро и качественно устранять дефекты, используя при этом незначительную долю ручного труда.

Список литературы

1. Водопропускные трубы под насыпями. /Под ред. О.А. Янковского. - М.: Транспорт, 1982. - 232 с.

2. Дорожная терминология: Справочник. /Под ред. М.И. Вейцмана. - М.: Транспорт, 1985. - 310 с.

3. Лисов В.М. Совершенствование водопропускных труб //Автомоб. дороги. - 1982. - №7. - С. 9-10.

4. Мосты и трубы: СНиП 2.05.03-84 /Госстрой СССР. - Взамен СНиП II-Д.7-62, СН 200-62, СН 365-67. - М., ЦИТП Госстроя СССР, 1985. - 200 с.

5. ГОСТ 24547-81. Звенья железобетонные водопропускных труб под насыпи автомобильных и железных дорог. Общие технические условия. - Введ. с 01.01.82. Группа ЖЗЗ.

6. ОСТ 35-27.0-85. Звенья железобетонные круглых и прямоугольных водопропускных труб под железные и автомобильные дороги. Технические условия. - Введ. 01.07.86 до 01.07.91 Группа Ж33.

7. ОСТ 35-27.1-85. Звенья железобетонные круглых водопропускных труб под железные и автомобильные дороги. Конструкция и размеры. - Введ. 01.07.86 до 01.07.91. Группа Ж33.

8. ОСТ 35-27.2-85. Звенья железобетонные прямоугольных водопропускных труб под железные и автомобильные дороги. Конструкция и размеры. - Введ. 01.07.86 до 01.07.91 -Группа Ж33.

9. Захаров Ю.К., Зелевич П.М. Эффективность применения круглых удлиненных звеньев труб с плоской пятой// Трансп. стр-во. - 1983. - № 5 С. 12-13.

10. Опыт строительства сборных железобетонных овоидальных водопропускных труб /Е.В. Оршанский, В.Н. Штейн, Ю.Э. Тартаковский и др. // Трансп. стр-во. - 1978. - № 4. - С. 10-11.

11. Казакин В.Н., Сиговый В.П., Ромашова Г.А. Изготовление и строительство прямоугольных водопропускных труб из удлиненных звеньев// Трансп. стр-во. - 1984. - № 7. - С. 11-I3.

12. Карманов Ф.Г. О деформационных швах водопропускных труб под насыпями //Трансп. стр-во. - 1983. №1. - С. 15-16.

13. Водопропускные трубы в районах вечной мерзлоты /А.С. Потапов, Р.Е. Повальный, Е.Ф. Казначеева, Р.С. Клейнер //Трансп. стр-во. 1978. - №1. - С. 10-12.

14. Новая конструкция фундаментов водопропускных труб /А.П. Романов, Р.С. Клейнер, В.Н. Сафонов и др. //Трансп. стр-во. 1986. - № 5. - С. 12-13.

15. Елисеев В.М., Григорьев В.Н. Трубы на столбчатых фундаментах //Трансп. стр-во. - 1979. - № 9. - С. 52-53.

16. Карманов Ф.Г. Свайные фундаменты под водопропускные трубы //Трансп. стр-во. - 1983. - № 7. - С. 10-12.

17. Совершенствование конструкций водопропускных труб /К.В. Мохортов, Ю.Б. Нарусов, Е.В. Оршанский, Ф.В. Ходаковский //Трансп. стр-во. 1983. - № 4. - С. 10-12.

18. Рассказов Д.С. Пропускная способность трубы новой конструкции //Автомоб. дороги. - 1984. - № 8. - С. 15-16.

19. Рязанов Ю.С., Глушко Е.Г., Шульман С.А. Строительство водопропускного сооружения со сводчатым перекрытием //Трансп. стр-во. - 1985. - № 10. - С. 20-21.

20. Бетонные трубы новой конструкции из сборных железобетонных элементов (Франция) //Трансп. стр-во за рубежом: Экспресс-информация/ ВПТИтрансстрой. - 1984. - Вып. 21. - С. 4-6.

21. Водопропускные трубы из сборного железобетона /ТППУССР, Харьков, отд-ние. - № 21318/7. - Харьков, 1987. - С. 7 Пер. ст. из журн: Concrete Products. - 1986. -Vol. 84. - P. 42-43.

22. Толмачев К.Х. Автомобильные дороги: Специальные сооружения. - М.: Транспорт, 1986. - 200 г.

23. Косогорные железобетонные водопропускные трубы для условий БАМа /Е.В. Оршанский, И.С. Розанов, Р.С. Клейнер и др. //Трансп. стр-во. - 1982. - № 10. - С. 11-12.

24. Котляренко М.Т. Строительство водопропускных труб в горных условиях //Автомоб. дороги. - 1981. - №2. - С. 12.

25. Применение водопропускных труб малых диаметров в условиях поливного земледелия/ М.М. Басин, Б.А. Цыпляков, М.Ш. Юспин, Н.В. Рапопорт //Автомоб. дороги. - 1983. - № 6.-С. 19-20.

26. Рабухин JI.Г. О применении водопропускных труб малого диаметра //Автомоб. дороги. - 1985. - № 4. - С. 28-29.

27. Бликштейн С.М. Малые водопропускные трубы на дорогах //Автомоб. дороги. - 1987. - № 2. - С. 12-13.

28. Совершенствование гидроизоляции и укрепления русл водопропускных труб //Ю.Б. Нарусов, Е.В. Оршанский, А.А. Ли. А.П. Романов //Трансп. стр-во. - 1982. - № 11. - С. 10-11.

29. Гофрированные стальные трубы //ВЦП. - № Б34559. - 117 с. ("Указатель переводов", 1981, серия 5. вып. 3, с. 9).

30. Шульман С.А., Ткаченко С.С. Типовое проектирование и разработка новых конструкций искусственных сооружений БАМа //Трансп. стр-во. - 1984. - № 4. - С. 12-13.

31. Опытное строительство гофрированных водопропускных труб //А.И. Кондратюк, Э.Г. Храковокий, Б.И. Нечаев, К.Б. Щербина //Трансп. стр-во. - 1978. - № 2. - С. 5-7.

32. 0пыт строительства гофрированных водопропускных труб //В.П. Чернявский, С.А Фейтельман, П.Д. Стрельников и др. //Трансп. стр-во. - 1979. - № 1. - С. 8-11.

33. Сооружение металлических гофрированных труб на БАМе //А.С. Потапов, Е.Ф. Казначеева, З.М. Палькина и др. //Трансп.стр-во. - 1981. - № 8. - С. 4-6.

34. Использование глинистых грунтов для засыпки гофрированных труб //А.С. Потапов, Е.Ф. Казначеева, З.М. Палькина, М.Г. Раткевич //Автомоб. дороги. - 1981. - № 11. - С. 5-6.

35. Подвальный Р.В., Потапов А.С, Палькина З.М. Конструкции и способы сооружения металлических гофрированных труб //Трансп. стр-во. - 1982. - № 3. - С. 44-45.

36. О состоянии гофрированных водопропускных труб в процессе эксплуатации //Г.С. Рояк, В.П. Польевко, М.Д. Харит, А.И. Сазыкин //Трансп. стр-во. - 1986. - № 9. - С. 12-13.

37. Польевко В.П., Рояк Г.С, Харит М.Д. Особенности эксплуатации металлических водопропускных труб в Западной Сибири //Исследование конструкций искусств, сооружений для Западной Сибири и р-нов со сложными условиями стр-ва. - М., 1987. - С. 14-16. - (Сб. науч. тр. /ЦНИИС).

38. Инструкция по проектированию и постройке металлических гофрированных водопропускных труб: ВСН 176-78 /Минтрансстрой, МПС СССР. - М., 1979. - 130 с.

39. Никифоров А.С, Каменцев В.П., Рояк Г.С. Применение гофрированных труб в Западной Сибири //Трансп. стр-во. - 1985. -№ 4. - С. 17.

40. Гегелия Д.И. Защитные лотки в металлических гофрированных водопропускных трубах //Автомоб. дороги. - 1978. -К 5. -С. 17-18.

41. Катуркин Е.А. Больше габаритные трубы из гофрированной стали //Трансп. стр-во. - 1981. - № 10. - С. 23-24.

42. Взаимодействие гофрированных труб с грунтом в процессе их засыпки //А.С. Потапов, Е.Ф. Казначеем, З.М. Палькина, М.Г. Раткевич //Трансп. стр-во. - 1978. - № 5. - С. 43-45.

43. Обобщение опыта проектирования и практические рекомендации по строительству металлических водопропускных труб в Калифорнии  ТИП УССР, Харьков, отд-ние. - № 8801/7. - Харьков1987. - С. 17. - Пер. ст. из журн. Transportation Research Record, - 1985. - № 1008. - P. 89-94.

44. Металлические водопропускные трубы. Исследование процессов уплотнения земляных насыпей /ТПП УССР, Харьков, отд-ние.- № 14478/6. - Харьков, 1986. - С. 76. - Пер. ст. из журн.: Buses metallique. Etude du compactage des remblais de calage. 1986. - №3. - P. 4-87.

45. Долговечность гофрированных водопропускных труб /ТПП УССР, Харьков, отд-ние. - № 16435/7. - Харьков, 1987. - С. 22. -Пер. ст. из журн. Transportation Research Record, - 1984. - № 3. - P. 69-76.

46. Анализ работы водопропускных труб с болтовыми соединениями с прорезями /ТПП УССР, Харьков, отд-ние. - № 8800/7. -Харьков, 1986. - С. 34. - Пер. ст. из журн. Transportation Research Record, 1985. - № 1008. - P. 22-32.

47. Стальные гофрированные трубы в дорожном строительстве Франции /ВЦП. - № Л-03709.

48. Металлические гофрированные трубы фирмы Nippon Steel (Япония) //Трансп. стр-во за рубежом: Экспресс-информация /ВПТИтрансстрой. - 1985. - Вып. 5. - С. 3-9.

49. Проектирование гофрированных труб в США /ТПП УССР, Харьков, отд-ние. - № 14573/7, С. 27.

50. Многоочковая гофрированная труба под высокой насыпью /О.М. Шапошник, Л.Б. Кудрявцев, М.Г. Раткевич и др. //Трансп. стр-во. - 1983. - № 2. - С. 14-16.

51. Рабухин Л.Г. Водопропускная труба с горизонтальной диафрагмой //Трансп. стр-во. - 1978. -№11. - С. 50.

52. Рабухин Л.Г., Рабухина Э.Л. Водопропускная труба с наклонной диафрагмой на входе //Автомоб. дороги. - 1983 - № 11 -С. 15-16.

53. Денисенко И.Д., Букраба Н.М. Расчет глубин размывов в нижних бьефах дорожных труб //Трансп. стр-во. - 1978. - № 12. - С. 45-50.

54. Круцык М.Д., Большаков В.А., Букраба Н.М. Защита выходных участков водопропускных труб //Автомоб. дороги. - 1979 -№ 6. - С. 18-19.

55. Букраба Н.М., Денисенко И.Д. Оценка работы бетонных и мягких укреплений за дорожными трубами //Трансп. стр-во. -1985. - № 9. - С. 12-13.

56. Купцов Е.К. Защита отводящих русл у труб: (о разработке типовых конструкций) //Автомоб. дороги. - 1982. - № 4. - С. 7-8.

57. Методические рекомендации по определению деформаций дна и размеров укреплений за дорожными водопропускными трубами. М., 1987. - 70 с.

58. Примеры гидравлических расчетов / Под ред. Н.М. Константинова. - М.: Транспорт, 1987. - 440 с.

59. Алтунин В.И. Гидравлическая работа водопропускных труб из гофрированного металла //Водопропускные сооружения в условиях Крайнего Севера. - Якутск, 1987. - С. 16-21.

60. Рабухин Л.Г. Об аккумуляции притока перед двумя последовательно расположенными трубами //Трансп. стр-во. - 1981. - № 5. - С. 44.

61. Карманов Ф.Г. Об особенностях гидравлической работы труб // Трансп. стр-во. - 1981. - № 6. - С. 44.

62. Рабухин Л.Г. Учет особенностей гидравлической работы труб под насыпями / Трансп. стр-во. - 1982. - № 2. - С. 44-45.

63. Рабухин Л.Г. Современное состояние и задачи исследований водопропускных сооружений //Трансп. стр-во. - 1982. - № 7. - С. 44-45.

64. Рабухин Л.Г. Закономерности изменения максимального напора перед трубами //Трансп. стр-во. - 1983. - №12. - С.12-13.

65. Рабухин Л.Г. О переливе воды через насыпь //Автомоб. дороги. - 1986. -№7. - С. 16.

66. Александров А.А., Кршкин Д.Г. О повышении эффективности строительства искусственных сооружений на линии Тында-Ургал //Трансп. стр-во. - 1980. - № 5. - С. 10-12.

67. Рабухин Л.Г., Рабухина Э.Л. О применении формул для расчета водопропускных труб с учетом аккумуляции //Трансп. стр-во. - 1979. - № 12. - С. 43-44.

68. Киселышков О.В. Об экономике строительства водопропускных труб //Автомоб. дороги. - 1987. - № 5. - С. 13.

69. Наумов Б.М. Комплексный метод оптимального проектирования водопропускных труб //Автомоб. дороги. - 1978. - № 12. -С. 19-21.

70. Меерсон В.Н. Система автоматизированного проектирования гофрированных труб //Трансп. стр-во. - 1984. - № 3. - С. 16.

71. Проектирование водопропускных труб на автомобильных дорогах и автострадах. Некоторые предварительные соображения /ТПП УССР, Харьков, отд-ние. - № 15848/7. - Харьков, 1987. -15 с. - Пер. ст. из журн.: Transporte у vias de comunicacion.-1985. -Vol. 6. - № 4. - P. 374-383.

72. Дружинин М.К. Обследование грунтов оснований и среди малых искусственных сооружений //Трансп. стр-во. - 1985. - № 3. - С. 18-19.

73. Снежко О.В. Расчет глубины заложения фундаментов водопропускных труб //Трансп. стр-во. - 1979. -№ 2. - С. 47.

74. Статическая работы трубы, сооружаемой щитовым способом /В.Ф.Калганов, О.Д. Тананайко, Е.И. Тимофеев, Н.С. Щербатский //Трансп. стр-во. - 1980. - № 6. - С. 48-49.

75. Астрахан А.Х., Брик. А.Л. Расчет на прочность водопропускных труб с учетом бокового отпора грунта засыпки //Вопросы надежности искусств, сооружений в условиях сурового климата - Хабаровск, 1982. - С. 56-63. - (Сб. тр. /ХабИИЖТ; Вып. 44).

76. Брик А.Л., Ненашев А.В., Болотовский Р.Г. Об особенностях работы металлических гофрированных труб в теле насыпи //Улучшение эксплуатационных качеств и содержания мостов и водопропускных труб. - Л.: 1980. - С. 92-100. - (Сб. тр. /ЛИИЖТ, НИИмостов).

77. Ненашев А.В., Болотовский Р.Г. Исследование работа сборных прямоугольных железобетонных труб в период возведения насыпи //Улучшение эксплуатационных качеств и содержания мостов и водопропускных труб. - Л.: 1980. - С. 86-92. - (Сб. тр. /ЛИИЖТ, НИИмостов).

78. Дергачев П.В. Исследование работы водопропускных труб //Трансп. стр-во. - 1981. - № 3. - С. 45-46.

79. Дж. Нейл Кай, Стефан Ид. Хайн. Метод расчета бетонной трубы, укладываемой под высокими насыпями /ВЦП. - № И-07052.

80. Анализ условий работы конструкции водопропускной трубы повышенной несущей способности /ТИП УССР, Харьков, отд-ние. - № 7530/7. - Харьков, 1987. - С. 17. - Пер. ст. из журн.: Transportation Research Record. - 1985. - № 1008. - P. 117-122.

81. Хегер Ф. Метод расчета трубопровода из сборного железобетона /ВЦП. - № И-07058.

82. Зелевич П.М. Применение песчаного грунта при сооружении устоев мостов и труб //Трансп. стр-во. - 1984. - № 5. - C.11-12.

83. Возможности производства железобетонных труб большого диаметра методом центробежного проката /О.Б. Морштейн, Е.И. Цимбарг, В.А. Кочетов и др. //Трансп. стр-во. - 1986. -№1. - С. 27-28.

84. Доценко А.И. Земляные работы в стесненных условиях транспортного строительства. - М.: Транспорт, 1987. - 80 с.

85. Брак А.А., Кузьмин В.П., Каранетова Г.А., Ненашев А.В. Материалы на основе эпоксидных смол и альтинов для гидроизоляции металлических труб. - М.: Транспорт. - С. 100-108.

86. Попченко С.Н. Гидроизоляция сооружений и зданий. - Д.: Стройиздат, Ленингр. отд-ние, 1981. - 304 с.

87. Юхневич Р., Богданович В., Валашковсйий Е., Видуховский А. Техника борьбы с коррозией /Под ред. А.М. Сухотина - Л.: Химия, 1980. - 224 с.

88. Меркулов Д.М. Противоналедные мероприятия на постоянных водотоках //Трансп. стр-во. - 1981. - №1. - С. 38-39.

89. Гладченко В.В., Олейник А.Ф., Мотора Н.В. Допуски при строительстве автомобильных дорог и искусственных сооружений. - Киев: Будьвельник, 1979. - 48 с.

90. Технические правила ремонта и содержания автомобильных дорог: ВСН 24-75 / Минавтодор РСФСР. - М.: Транспорт, 1976. -264 с.

91. Технические правила ремонта и содержания автомобильных дорог общего пользования Украинской ССР: П 218 УССР 113-80. -Киев: Будьвельник, 1981. - 192 с.

92. Содержание и реконструкция мостов /В.О. Осипов, Ю.Г. Козьмин, В.С. Анциперовский, А.А. Кирота; Под ред. В.О. Осипова: Учебник для студентов вузов ж-д транспорта. - М.: Транспорт, 1986.-327 с.

93. Механизация работ по ремонту и содержанию автомобильных дорог /А.И. Макарчук, И.М. Александров, П.М. Бибик и др. - Киев: Будьвельник, 1985. - 88 с.

94. Круцык М.Д., Максименко С.Ф. Эксплуатация горных автомобильных дорог и окружающая среда. - Киев: Будьвельник, 1981. -104 с.

95. Боровик Г.М. Методика оценки технического состояния эксплуатируемых водопропускных труб: Дис. канд. техн. наук. - Новосибирск, 1984. - В надзаг.: Новосибир. ин-т инж. ж-д транспорта.

96. Влияние уровня кислотности воды на эксплуатационное состояние водопропускных труб в штате Огайо /ТПП УССР, Харьков отд-ние. - № 8801/7. - Харьков, 1967. - С. 11. - Пер. ст. из журн.: Transportation Research Record. - 1985. - № 1008. P. 105-108.

97. Bridge and culvert limit pace on big earth and rock project. //Highway and Heavy Constr._ 1986. -Vol. 129. -№ 7. - P. 40-41.

Эксплуатация водопропускных труб в Нидерландах.

98. Дементьев В.А. Пропуск весеннего паводка при закупорке труб наледями //Автомоб. дороги. - 1986. - № 3. - С. 16-17.

99. Тестов В.Н. Как протаять трубу //Автомоб. дороги. -1986. - № 6. - С. 11.

100. Домогашев В.Н. Защита водопропускных сооружений от карчехода //Автомоб. дороги. - 1986. - № 6. - С. 10-11.

101. Журавлев М.М. Охрана окружающей среды в свете нормативных документов на проектирование и строительство мостов и труб. //Трансп. стр-во. - 1979. - № 4. - С. 9-10.

102. Hebden R.H. Segmentall precast culverts for the coquihalla Fraway //Concr.Transp.Detroit. - 1986. - P.769-795.




Яндекс цитирования



   Copyright © 2007-2026,  www.tehlit.ru.

[ ѓосты, стандарты, нормативы, инструкции, правила, строительные нормы ]